JP5480592B2 - カード送出装置およびカード送出装置の制御方法 - Google Patents

カード送出装置およびカード送出装置の制御方法 Download PDF

Info

Publication number
JP5480592B2
JP5480592B2 JP2009244020A JP2009244020A JP5480592B2 JP 5480592 B2 JP5480592 B2 JP 5480592B2 JP 2009244020 A JP2009244020 A JP 2009244020A JP 2009244020 A JP2009244020 A JP 2009244020A JP 5480592 B2 JP5480592 B2 JP 5480592B2
Authority
JP
Japan
Prior art keywords
card
sending
claw
delivery
motor
Prior art date
Legal status (The legal status is an assumption and is not a legal conclusion. Google has not performed a legal analysis and makes no representation as to the accuracy of the status listed.)
Active
Application number
JP2009244020A
Other languages
English (en)
Other versions
JP2011088719A (ja
Inventor
恵治 太田
康博 北澤
Current Assignee (The listed assignees may be inaccurate. Google has not performed a legal analysis and makes no representation or warranty as to the accuracy of the list.)
Nidec Instruments Corp
Original Assignee
Nidec Sankyo Corp
Priority date (The priority date is an assumption and is not a legal conclusion. Google has not performed a legal analysis and makes no representation as to the accuracy of the date listed.)
Filing date
Publication date
Application filed by Nidec Sankyo Corp filed Critical Nidec Sankyo Corp
Priority to JP2009244020A priority Critical patent/JP5480592B2/ja
Priority to US12/909,334 priority patent/US8646652B2/en
Priority to CN201510707369.0A priority patent/CN105243402B/zh
Priority to CN201010532919.7A priority patent/CN102043968B/zh
Publication of JP2011088719A publication Critical patent/JP2011088719A/ja
Application granted granted Critical
Publication of JP5480592B2 publication Critical patent/JP5480592B2/ja
Active legal-status Critical Current
Anticipated expiration legal-status Critical

Links

Images

Classifications

    • GPHYSICS
    • G06COMPUTING OR CALCULATING; COUNTING
    • G06KGRAPHICAL DATA READING; PRESENTATION OF DATA; RECORD CARRIERS; HANDLING RECORD CARRIERS
    • G06K13/00Conveying record carriers from one station to another, e.g. from stack to punching mechanism
    • G06K13/02Conveying record carriers from one station to another, e.g. from stack to punching mechanism the record carrier having longitudinal dimension comparable with transverse dimension, e.g. punched card
    • G06K13/08Feeding or discharging cards
    • G06K13/14Card magazines, e.g. pocket, hopper
    • GPHYSICS
    • G06COMPUTING OR CALCULATING; COUNTING
    • G06KGRAPHICAL DATA READING; PRESENTATION OF DATA; RECORD CARRIERS; HANDLING RECORD CARRIERS
    • G06K13/00Conveying record carriers from one station to another, e.g. from stack to punching mechanism
    • G06K13/02Conveying record carriers from one station to another, e.g. from stack to punching mechanism the record carrier having longitudinal dimension comparable with transverse dimension, e.g. punched card
    • G06K13/06Guiding cards; Checking correct operation of card-conveying mechanisms
    • G06K13/067Checking presence, absence, correct position, or moving status of cards

Landscapes

  • Physics & Mathematics (AREA)
  • General Physics & Mathematics (AREA)
  • Engineering & Computer Science (AREA)
  • Theoretical Computer Science (AREA)
  • Conveying Record Carriers (AREA)
  • Sheets, Magazines, And Separation Thereof (AREA)

Description

本発明は、カードを所定の方向へ送り出すカード送出装置およびカード送出装置の制御方法に関する。
従来、複数のカードが積層されて収納されるカード収納部と、カード収納部から送り出されるカードが搬入されるとともにカードに記録された磁気情報の読取りが行われるカード処理部と、カード収納部に収納されたカードをカード処理部に向かって送り出すカード送出機構とを備えるカード発行装置が本出願人によって提案されている(たとえば、特許文献1参照)。
この特許文献1に記載のカード発行装置では、カード送出機構は、カード収納部の下面側に配置される収納部搬送機構と、カード収納部の外部に配置される送出ローラと、送出ローラに向かって付勢されるパッドローラと、収納部搬送機構および送出ローラを駆動するモータと、モータの駆動力を収納部搬送機構および送出ローラに伝達する伝達機構とを備えている。
収納部搬送機構は、カード収納部に収納された複数のカードの中で一番下に収納されているカード(最下位のカード)の後端に係合してカードを1枚ずつ送り出す送出爪と、送出爪が固定されるチェーンと、チェーンが架け渡される一対のスプロケットとを備えている。伝達機構は、上述の一対のスプロケットの一方の回転軸に固定されこのスプロケットに動力を伝達する従動プーリと、送出ローラの回転軸に固定され送出ローラに動力を伝達する従動プーリと、モータの出力軸に固定される駆動プーリと、これらの従動プーリ、駆動プーリに架け渡されるベルトとを備えている。また、このカード発行装置では、送出爪によるカードの搬送速度よりも送出ローラによるカードの搬送速度が速くなるように、送出ローラに動力を伝達する従動プーリの径がスプロケットに動力を伝達する従動プーリの径よりも小さくなっている。
このカード発行装置では、所定の待機位置にある送出爪がモータの回転に伴って移動すると、この送出爪によって最下位のカードがカード収納部から送り出される。送出爪によってカード収納部から送り出されたカードの先端が送出ローラに達すると、カードは、送出ローラとパッドローラとによってさらにカード処理部に向かって送り出される。また、送出ローラとパッドローラとの間からカードの後端が抜けると、カードの排出口にカードの一部が露出して、カード送出機構によるカードの送出が完了する。カードの送出が完了すると、ユーザがカードの先端側を掴んでカード発行装置からカードを引き抜くのを待つカードの引抜き待ち状態となる。
特開2008−276484号公報
特許文献1に記載された構成を備えるカード発行装置では、たとえば、いたずらによってカードの排出口が塞がれたり、送出ローラとパッドローラの間でカードがスリップして、カードが装置内で詰まる(カードジャムが発生する)ことがある。また、ユーザによって、引抜き待ちのカードが装置内に押し込まれることもある。この場合には、カード送出機構によって、ジャムしたカードまたは押し込まれたカードを再度、送り出さなければならない。
しかしながら、特許文献1に記載のカード発行装置では、送出爪と送出ローラとが共通のモータで駆動されている。そのため、このカード発行装置では、ジャムしたカードまたは押し込まれたカードを送出ローラとパッドローラとによって再度送り出すときに、送出爪が待機位置を通過しカード収納部に収納されている次の最下位のカードに当接して、このカードを送り出してしまうおそれがある。したがって、このカード発行装置では、カードジャムが発生したり、引抜き待ちのカードが装置内に押し込まれると、このカードを自動で送り出すことが困難になる。
そこで、本発明の課題は、カード収納部に収納されているカードを送り出すことなく、引抜き待ち状態で装置内に押し込まれたカードやジャムしたカードを自動で送り出すことが可能なカード送出装置を提供することにある。また、本発明の課題は、カード収納部に収納されているカードを送り出すことなく、引抜き待ち状態で装置内に押し込まれたカードやジャムしたカードを自動で送り出すことが可能となるカード送出装置の制御方法を提供することにある。
上記の課題を解決するため、本発明のカード送出装置は、複数のカードが積層されて収納されるカード収納部と、カード収納部に収納されるカードがカード収納部の外部に向かって通過するゲートと、カードに係合してカード収納部に収納されるカードを1枚ずつゲートから送り出す送出爪と、送出爪を移動させる爪送り機構と、カード収納部の外部に配置され送出爪で送り出されたカードをさらに送り出す送出ローラと、爪送り機構と送出ローラとを一緒に駆動するモータと、カードの送出が完了したことを検出するためのカード送出検出手段と、送出ローラによって送り出されたカードが排出されるカード排出口からカードが排出されたことを検出するためのカード排出検出手段と、モータを制御する制御手段とを備え、送出爪には、カードの送出方向におけるカードの後端部に当接してカードを送り出す係合部が形成され、カード収納部からカードが所定量送り出されることでカード送出検出手段によって検出されたカードが、その後、カード送出検出手段によって検出されなくなると、カードの送出が完了したことが検出され、制御手段は、モータを正転させて、カード収納部の外部にカードを送り出すとともに、カード送出検出手段の検出結果に基づいてカードの送出が完了したことが検出された後、カード排出検出手段によってカード排出口からカードが排出されたことが検出される前に再び、カード送出検出手段によってカードが検出されると、モータを逆転させて、カード収納部に収納されているカードの後端部と係合部とが当接しない位置まで、カードの送出方向と逆方向へ送出爪を移動させ、その後、再度、モータを正転させて、カードを送り出すことを特徴とする。また、上記の課題を解決するため、本発明のカード送出装置の制御方法は、複数のカードが積層されて収納されるカード収納部と、カード収納部に収納されるカードがカード収納部の外部に向かって通過するゲートと、カードの端部に当接してカード収納部に収納されるカードを1枚ずつゲートから送り出す送出爪と、送出爪を移動させる爪送り機構と、カード収納部の外部に配置され送出爪で送り出されたカードをさらに送り出す送出ローラと、爪送り機構と送出ローラとを一緒に駆動するモータと、カードの送出が完了したことを検出するためのカード送出検出手段と、送出ローラによって送り出されたカードが排出されるカード排出口からカードが排出されたことを検出するためのカード排出検出手段とを備え、カード収納部からカードが所定量送り出されることでカード送出検出手段によって検出されたカードが、その後、カード送出検出手段によって検出されなくなると、カードの送出が完了したことが検出されるカード送出装置の制御方法であって、モータを正転させて、カード収納部の外部にカードを送り出すカード送出ステップと、カード送出検出手段の検出結果に基づいてカードの送出が完了したことが検出された後、カード排出検出手段によってカード排出口からカードが排出されたことが検出される前に再び、カード送出検出手段によってカードが検出されると、モータを逆転させて、カード収納部に収納されているカードの、カードの送出方向における後端部と送出爪とが当接しない位置まで、カードの送出方向と逆方向へ送出爪を移動させる送出爪逆送ステップと、送出爪逆送ステップ後に、モータを正転させて、カードを再度、送り出すカード再送出ステップとを備えることを特徴とする。
本発明のカード送出装置では、送出爪を移動させる爪送り機構と送出ローラとを駆動するモータを制御する制御手段は、カード送出検出手段の検出結果に基づいてカードの送出が完了したことが検出された後、カード排出検出手段によってカード排出口からカードが排出されたことが検出される前に再び、カード送出検出手段によってカードが検出されると、モータを逆転させて、カードの送出方向と逆方向へ送出爪を移動させ、その後、再度、モータを正転させて、カードを送り出している。また、本発明のカード送出装置の制御方法では、送出爪逆送ステップにおいて、カード送出検出手段の検出結果に基づいてカードの送出が完了したことが検出された後、カード排出検出手段によってカード排出口からカードが排出されたことが検出される前に再び、カード送出検出手段によってカードが検出されると、モータを逆転させて、カード収納部に収納されているカードの、カードの送出方向における後端部と送出爪とが当接しない位置まで、カードの送出方向と逆方向へ送出爪を移動させている。また、送出爪逆送ステップ後のカード再送出ステップで、モータを正転させて、カードを再度、送り出している。そのため、カード送出検出手段での検出結果に基づいて、引抜き待ちのカードが装置内に押し込まれたことが検出された場合には、カードの送出方向と逆方向へ送出爪を移動させた後、押し込まれたカードを再び送り出すことが可能となる。したがって、送出爪と送出ローラとが共通のモータで駆動されていても、押し込まれたカードを送出ローラによって再び送り出すときに、送出爪が待機位置を通過してカード収納部に収納されているカードに当接するのを防止することが可能になる。その結果、本発明では、カード収納部に収納されているカードを送り出すことなく、引抜き待ち状態で装置内に押し込まれたカードを自動で送り出すことが可能になる。また、本発明では、制御手段は、モータの逆転時に、カード収納部に収納されているカードの後端部と係合部とが当接しない位置まで、モータを逆転させている。また、本発明では、送出爪逆送ステップにおいて、カード収納部に収納されているカードの、カードの送出方向における後端部と送出爪とが当接しない位置まで、モータを逆転させている。そのため、モータを逆転させて、カードの送出方向と逆方向へ送出爪を移動させる場合であっても、押し込まれたカードを送出ローラによって再び送り出すときに、カード収納部に収納されているカードを送出爪が送り出すのを防止することが可能になる。さらに、本発明では、カード送出装置は、送出ローラによって送り出されたカードが排出されるカード排出口からカードが排出されたことを検出するためのカード排出検出手段を備えているため、カード排出検出手段を用いて、送出ローラによって送り出されたカードの状態を適切に判断することが可能になる。
本発明において、カード送出装置は、送出爪の位置を検出するための送出爪検出手段を備え、制御手段は、送出爪検出手段によって送出爪が検出される送出爪の所定の基準位置を基準にして、カード収納部に収納されているカードの後端部と係合部とが当接しない位置まで、モータを逆転させることが好ましい。このように構成すると、送出爪の所定の基準位置を基準にして、モータの逆転量を決定することができるため、カード収納部に収納されているカードの後端部と係合部とが当接しない位置まで、より正確に、モータを逆転させることができる。
また、上記の課題を解決するため、本発明のカード送出装置は、複数のカードが積層されて収納されるカード収納部と、カード収納部に収納されるカードがカード収納部の外部に向かって通過するゲートと、カードに係合してカード収納部に収納されるカードを1枚ずつゲートから送り出す送出爪と、送出爪を移動させる爪送り機構と、カード収納部の外部に配置され送出爪で送り出されたカードをさらに送り出す送出ローラと、爪送り機構と送出ローラとを一緒に駆動するモータと、カードの送出が完了したことを検出するためのカード送出検出手段と、カードを送り出す前の送出爪が待機する所定の待機位置に送出爪があることを検出するための待機位置検出手段と、モータを制御する制御手段とを備え、送出爪には、カードの送出方向におけるカードの後端部に当接してカードを送り出す係合部が形成され、制御手段は、モータを正転させて、カード収納部の外部にカードを送り出した後、カード送出検出手段の検出結果に基づいてカードの送出が完了したことが検出される前に、待機位置検出手段によって送出爪が待機位置にあることが検出されると、モータを逆転させて、カード収納部に収納されているカードの後端部と係合部とが当接しない位置まで、カードの送出方向と逆方向へ送出爪を移動させ、その後、再度、モータを正転させて、カードを送り出すことを特徴とする。また、上記の課題を解決するため、本発明のカード送出装置の制御方法は、複数のカードが積層されて収納されるカード収納部と、カード収納部に収納されるカードがカード収納部の外部に向かって通過するゲートと、カードの端部に当接してカード収納部に収納されるカードを1枚ずつゲートから送り出す送出爪と、送出爪を移動させる爪送り機構と、カード収納部の外部に配置され送出爪で送り出されたカードをさらに送り出す送出ローラと、爪送り機構と送出ローラとを一緒に駆動するモータと、カードの送出が完了したことを検出するためのカード送出検出手段と、カードを送り出す前の送出爪が待機する所定の待機位置に送出爪があることを検出するための待機位置検出手段とを備えるカード送出装置の制御方法であって、モータを正転させて、カード収納部の外部にカードを送り出すカード送出ステップと、カード送出ステップ後、カード送出検出手段の検出結果に基づいてカードの送出が完了したことが検出される前に、待機位置検出手段によって送出爪が待機位置にあることが検出されると、モータを逆転させて、カード収納部に収納されているカードの、カードの送出方向における後端部と送出爪とが当接しない位置まで、カードの送出方向と逆方向へ送出爪を移動させる送出爪逆送ステップと、送出爪逆送ステップ後に、モータを正転させて、カードを再度、送り出すカード再送出ステップとを備えることを特徴とする。
本発明のカード送出装置では、送出爪を移動させる爪送り機構と送出ローラとを駆動するモータを制御する制御手段は、モータを正転させて、カード収納部の外部にカードを送り出した後、カード送出検出手段の検出結果に基づいてカードの送出が完了したことが検出される前に、待機位置検出手段によって送出爪が待機位置にあることが検出されると、モータを逆転させて、カード収納部に収納されているカードの後端部と係合部とが当接しない位置まで、カードの送出方向と逆方向へ送出爪を移動させ、その後、再度、モータを正転させて、カードを送り出している。また、本発明のカード送出装置の制御方法では、送出爪逆送ステップにおいて、カード送出検出手段の検出結果に基づいてカードの送出が完了したことが検出される前に、待機位置検出手段によって送出爪が待機位置にあることが検出されると、モータを逆転させて、カード収納部に収納されているカードの、カードの送出方向における後端部と送出爪とが当接しない位置まで、カードの送出方向と逆方向へ送出爪を移動させている。また、送出爪逆送ステップ後のカード再送出ステップで、モータを正転させて、カードを再度、送り出している。そのため、カード送出検出手段での検出結果に基づいて、たとえば、カードジャムが発生したことや、引抜き待ちのカードが装置内に押し込まれたことが検出された場合には、カードの送出方向と逆方向へ送出爪を移動させた後、ジャムしたカードまたは押し込まれたカードを再び送り出すことが可能となる。したがって、送出爪と送出ローラとが共通のモータで駆動されていても、ジャムしたカードまたは押し込まれたカードを送出ローラによって再び送り出すときに、送出爪が待機位置を通過してカード収納部に収納されているカードに当接するのを防止することが可能になる。その結果、本発明では、カード収納部に収納されているカードを送り出すことなく、引抜き待ち状態で装置内に押し込まれたカードやジャムしたカードを自動で送り出すことが可能になる。また、本発明では、制御手段は、モータの逆転時に、カード収納部に収納されているカードの後端部と係合部とが当接しない位置まで、モータを逆転させる。また、本発明では、送出爪逆送ステップにおいて、カード収納部に収納されているカードの、カードの送出方向における後端部と送出爪とが当接しない位置まで、モータを逆転させている。そのため、モータを逆転させて、カードの送出方向と逆方向へ送出爪を移動させる場合であっても、ジャムしたカードまたは押し込まれたカードを送出ローラによって再び送り出すときに、カード収納部に収納されているカードを送出爪が送り出すのを防止することが可能になる。
本発明において、制御手段は、待機位置を基準にして、カード収納部に収納されているカードの後端部と係合部とが当接しない位置まで、モータを逆転させることが好ましい。このように構成すると、待機位置を基準にして、モータの逆転量を決定することができるため、カード収納部に収納されているカードの後端部と係合部とが当接しない位置まで、より正確に、モータを逆転させることができる。
本発明において、カード送出装置は、モータの逆転時に、送出ローラによるカードの搬送を阻止するカード搬送阻止手段を備えることが好ましい。このように構成すると、モータを逆転させる場合であっても、引抜き待ち状態で装置内に押し込まれたカードやジャムしたカードがカード収納部に搬入されるのを防止することが可能になる。
本発明において、カード搬送阻止手段は、モータの正転時にモータの駆動力を送出ローラに伝達し、モータの逆転時に送出ローラへのモータの駆動力の伝達を遮断するワンウェイクラッチであることが好ましい。このように構成すると、比較的簡易な構成で、引抜き待ち状態で装置内に押し込まれたカードやジャムしたカードがカード収納部に搬入されるのを防止することが可能になる。
以上のように、本発明のカード送出装置では、カード収納部に収納されているカードを送り出すことなく、引抜き待ち状態で装置内に押し込まれたカードやジャムしたカードを自動で送り出すことが可能になる。また、本発明のカード送出装置の制御方法を用いると、カード収納部に収納されているカードを送り出すことなく、引抜き待ち状態で装置内に押し込まれたカードやジャムしたカードを自動で送り出すことが可能になる。
本発明の実施の形態にかかるカード送出装置の概略構成を側面から説明するための図である。 図1に示すカード収納部の底面部を示す平面図である。 図1のE部の拡大図である。 図1に示す送出爪の側面図である。 図1に示すカード送出装置の制御部とその周辺の概略構成を示すブロック図である。 図1に示すカード送出装置において、カード収納部からカードを送り出す前の待機状態を示す図である。 図1に示すカード送出装置において、送出爪によってカードを送り出している状態を示す図である。 図1に示すカード送出装置において、送出ローラおよびパッドローラによってカードを送り出している状態を示す図である。 図1に示すカード送出装置において、カードの送出が完了してカードの引抜き待ちとなった直後の状態を示す図である。 図1に示すカード送出装置において、カードの引抜き待ち状態で送出爪が待機位置に戻った状態を示す図である。 図1に示すカード送出装置において、引抜き待ちのカードがカード送出装置の内部へ押し込まれた状態を示す図である。 図1に示すカード送出装置において、カード送出装置内でジャムしたカードあるいは引抜き待ち状態でカード送出装置の内部へ押し込まれたカードを再度、送り出す前の状態を示す図である。 図1に示すカード送出装置の制御フローの一例を示すフローチャートである。 本発明の他の実施の形態にかかるカード送出装置の制御フローの一例を示すフローチャートである。
以下、図面を参照しながら、本発明の実施の形態を説明する。
(カード送出装置の概略構成)
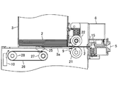
図1は、本発明の実施の形態にかかるカード送出装置1の概略構成を側面から説明するための図である。図2は、図1に示すカード収納部3の底面部3aを示す平面図である。図3は、図1のE部の拡大図である。図4は、図1に示す送出爪25の側面図である。図5は、図1に示すカード送出装置1の制御部7とその周辺の概略構成を示すブロック図である。
本形態のカード送出装置1は、カード2を所定の方向へ送り出すための装置である。具体的には、カード送出装置1は、カード2を発行するためのカード発行装置であり、カード発行システム等の所定の上位装置(図示省略)に組み込まれて使用される。
このカード送出装置1は、図1に示すように、複数のカード2が積層されて収納されるカード収納部3と、カード収納部3に収納されたカード2をカード収納部3の外部へ送り出すカード送出機構4と、カード送出機構4によって送り出されたカード2が排出されるカード排出口5が形成されるカード排出部6とを備えている。また、カード送出装置1は、図5に示すように、カード送出装置1の各種の制御を行う制御部7と、カード2を検出するためのフロント検出部8およびリア検出部9と、カード送出機構4を構成する後述の送出爪25が所定の待機位置にあることを検出するための待機位置検出部10とを備えている。
なお、以下の説明では、互いに直交する3方向をX方向、Y方向およびZ方向とするとともに、図1のX方向を「左右方向」、Y方向を「前後方向」、Z方向を「上下方向」とする。また、以下の説明では、図1のX1方向側を「右」側、X2方向側を「左」側、Z1方向側を「上」側、Z2方向側を「下」側とする。
カード収納部3は、カード送出装置1の上側部分を構成している。カード排出部6は、カード送出装置1の右側部分を構成している。カード送出機構4は、カード収納部3の下方および左方に配置されている。本形態では、カード収納部3から右方向に向かってカード2が送り出される。すなわち、本形態では、X1方向がカード2の送出方向である。以下では、カード2の送出方向におけるカード2の先端部となるカード2の右端部を「先端部」とし、カード2の送出方向におけるカード2の後端部となるカード2の左端部を「後端部」とする。
本形態では、カード送出機構4によってカード排出部6まで送り出されたカード2は、最終的に、ユーザがカード2の先端側を掴んで引き抜くことで、カード送出装置1から取り出される。
カード2は、たとえば、厚さが0.7〜0.8mm程度の矩形状の塩化ビニール製のカードである。カード2の表面には、たとえば、磁気情報が記録される磁気ストライプ(図示省略)が形成されている。本形態では、たとえば、カード2には予め、磁気情報が記録されており、カード排出部6に配置される後述の磁気ヘッド16で磁気情報の記録が読み取られ、その読取り結果がカード送出装置1から上位装置へ送信されると、カード2の使用が可能となる。なお、カード2は、厚さが0.18〜0.36mm程度のPET(ポリエチレンテレフタレート)カードや、所定の厚さの紙カード等であっても良い。
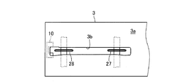
カード収納部3は、上面が開口する略直方体の箱状に形成されている。図2に示すように、カード収納部3の底面を形成する底面部3aには、カード送出機構4を構成する後述の送出爪25が通過する通過孔3bが形成されている。カード収納部3の右側壁3cの下端と底面部3aとの間には、図3に示すように、カード収納部3に収納されるカード2がカード排出部6に向かって(右側に向かって)通過するゲート14が形成されている。図3に示すように、ゲート14の隙間Gは、1枚のカード2は通過できるが、2枚のカード2が重なった状態で通過できないように設定されている。なお、本形態では、カード収納部3の、図1の紙面手前側の側壁および右側壁3cの一部が切り欠かれている。
カード排出部6の内部には、カード2が通過する通過路15が形成されている。また、カード排出部6は、図1に示すように、カード2の磁気ストライプに記録された磁気情報を読み取るための磁気ヘッド16と、通過路15を閉鎖するためのシャッタ部材17とを備えている。磁気ヘッド16は、通過路15の下側に配置されている。この磁気ヘッド16は、図示を省略する板バネ等の付勢部材によって上方向に付勢されている。シャッタ部材17は、磁気ヘッド16の左側に配置されている。シャッタ部材17には、所定の動力伝達機構を介して、ソレノイド18が連結されている。
カード送出機構4は、図1に示すように、カード収納部3の下面側に配置される収納部搬送機構20と、ゲート14とカード排出部6との間に配置される送出ローラ21と、送出ローラ21に対向配置されるパッドローラ22と、収納部搬送機構20および送出ローラ21を駆動する駆動源としてのモータ23と、モータ23の動力を収納部搬送機構20および送出ローラ21へ伝達する伝達機構24とを備えている。なお、本形態のモータ23は、たとえば、ステッピングモータであるが、モータ23は、ステッピングモータ以外のDCモータであっても良い。
収納部搬送機構20は、カード収納部3に収納された複数のカード2の中で一番下に収納されているカード2(最下位のカード2)の後端部に係合して、カード収納部3に収納されるカード2を1枚ずつゲート14から送り出す送出爪25と、送出爪25が固定されるチェーン26と、チェーン26が掛け渡される一対のスプロケット27、28とを備えている。本形態では、チェーン26とスプロケット27、28とによって、送出爪25を移動させる爪送り機構が構成されている。なお、図2では、送出爪25およびチェーン26の図示を省略している。
送出爪25には、図4に示すように、カード2の後端部に当接してカード2を送り出す係合部25aが形成されている。スプロケット27、28は、左右方向に所定の間隔をあけた状態で配置されている。本形態では、スプロケット27が右側に配置され、スプロケット28が左側に配置されている。
送出ローラ21とパッドローラ22とは、上下方向で当接するように配置されている。具体的には、図1に示すように、送出ローラ21が下側に配置され、パッドローラ22が上側から送出ローラ21に当接するように配置されている。また、パッドローラ22は、送出ローラ21に向かって付勢されている。
本形態の送出ローラ21には、ワンウェイクラッチ(図示省略)が内蔵されている。具体的には、後述のように、モータ23が正転するときに、モータ23の動力を送出ローラ21に伝達し、モータ23が逆転するときに、送出ローラ21へのモータ23の動力の伝達を遮断するワンウェイクラッチが送出ローラ21に内蔵されている。本形態のワンウェイクラッチは、モータ23の逆転時に送出ローラ21によるカード2の搬送を阻止するカード搬送阻止手段である。
伝達機構24は、スプロケット27の回転軸に固定されスプロケット27に動力を伝達する従動プーリ30と、送出ローラ21の回転軸に固定され送出ローラ21に動力を伝達する従動プーリ31と、モータ23の出力軸に固定される駆動プーリ32と、これらのプーリ間に掛け渡されるベルト(タイミングベルト)33と、ベルト33のテンションを調整するためのテンションプーリ34とを備えている。本形態では、送出爪25によるカード2の送出速度よりも送出ローラ21によるカード2の送出速度が速くなるように、従動プーリ30の径よりも従動プーリ31の径が小さくなっている。
フロント検出部8は、たとえば、前後方向におけるカード2の端部に当接する当接レバー(図示省略)と、この当接レバーの動きに連動する接点レバーおよび接点スイッチによって構成される機械式のセンサ(図示省略)とを備えている。このフロント検出部8は、カード排出部6に配置されている。なお、図1では、フロント検出部8の図示は省略されているが、フロント検出部8は、左右方向における磁気ヘッド16の配置位置とほぼ同じ位置に配置されている。
本形態では、フロント検出部8によって、カード排出口5からカード2が引き抜かれたか否かが検出される。すなわち、フロント検出部8によって、カード排出口5からカード2が排出されたか否かが検出される。本形態のフロント検出部8は、カード排出口5からカード2が排出されたことを検出するためのカード排出検出手段である。
リア検出部9は、上下方向で互いに対向するように配置される発光素子と受光素子とを備える光学式のセンサである。このリア検出部9は、図1に示すように、送出ローラ21およびパッドローラ22のすぐ左側に配置されている。具体的には、ゲート14から送出ローラ21およびパッドローラ22に向かって通過するカード2が発光素子と受光素子との間を通過するようにリア検出部9が配置されている。
本形態では、カード2の後端部がリア検出部9を通過し、送出ローラ21とパッドローラ22との間からカード2が抜けると、カード2の送出が完了する。具体的には、カード2の後端部がリア検出部9を通過した時点を基準にして、モータ23が所定量、回転すると、カード2の送出が完了する。本形態のリア検出部9は、カード2の送出が完了したことを検出するためのカード送出検出手段である。
待機位置検出部10は、前後方向で互いに対向するように配置される発光素子と受光素子とを備える光学式のセンサである。この待機位置検出部10は、図1に示すように、スプロケット28の左側に配置されている。具体的には、送出爪25が発光素子と受光素子との間を通過するように待機位置検出部10が配置されている。本形態の待機位置検出部10は、カード2を送り出す前の送出爪25が待機位置にあることを検出するための待機位置検出手段である。また、本形態の待機位置検出部10は、送出爪25の位置を検出するための送出爪検出手段である。
制御部7は、上述のように、カード送出装置1の各種の制御を行う。すなわち、制御部7は、モータ23の制御も行う。図5に示すように、制御部7には、モータ23の制御に関連する構成として、フロント検出部8とリア検出部9と待機位置検出部10とモータ23とが接続されている。また、制御部7は、カード送出装置1が搭載される上位装置の制御指令部36に接続されている。本形態の制御部7は、モータ23を制御する制御手段である。なお、制御部7は、たとえば、トランジスタ等を有するモータ駆動回路、ROMやRAM等の記憶手段、CPU等の演算手段およびIOポート等の入出力手段等によって構成されている。
(カード送出装置の概略動作)
図6は、図1に示すカード送出装置1において、カード収納部3からカード2を送り出す前の待機状態を示す図である。図7は、図1に示すカード送出装置1において、送出爪25によってカード2を送り出している状態を示す図である。図8は、図1に示すカード送出装置1において、送出ローラ21およびパッドローラ22によってカード2を送り出している状態を示す図である。図9は、図1に示すカード送出装置1において、カード2の送出が完了してカード2の引抜き待ちとなった直後の状態を示す図である。図10は、図1に示すカード送出装置1において、カード2の引抜き待ち状態で送出爪25が待機位置に戻った状態を示す図である。図11は、図1に示すカード送出装置1において、引抜き待ちのカード2がカード送出装置1の内部へ押し込まれた状態を示す図である。図12は、図1に示すカード送出装置1において、カード送出装置1内でジャムしたカード2あるいは引抜き待ち状態でカード送出装置1の内部へ押し込まれたカード2を再度、送り出す前の状態を示す図である。
以上のように構成されたカード送出装置1の概略動作を以下に説明する。なお、以下の説明では、図1および図6〜図12の時計回りの回転方向を「時計方向」、図1および図6〜図12の反時計回りの回転方向を「反時計方向」とする。
カード送出装置1が、カード収納部3からカード2を送り出す前の待機状態である場合、図6に示すように、送出爪25は、スプロケット28の左側で待機している。このときには、待機位置検出部10によって、送出爪25が待機位置にあることが検出されている。この状態で、モータ23が時計方向に回転すると、スプロケット27、28が時計方向に回転し、送出ローラ21も時計方向に回転する。
スプロケット27、28の回転に伴って移動を開始した送出爪25は、図7に示すように、最下位のカード2の後端部に係合するとともに、通過孔3bを左側から右側に向かって移動して、カード2をゲート14から送り出す。本形態では、送出爪25によるカード2の送出速度よりも送出ローラ21によるカード2の送出速度が速いため、送出爪25によってゲート14から送り出されたカード2の先端部が送出ローラ21に到達すると、それ以降は、送出ローラ21とパッドローラ22とがカード排出部6に向かってカード2をさらに送り出す(図8参照)。
本形態では、左右方向における送出ローラ21の中心とカード排出口5との距離は、カード2の長さ(左右方向の長さ)よりも短くなっている。そのため、送出ローラ21とパッドローラ22とによって送り出されているカード2の後端部がリア検出部9を通過し、送出ローラ21とパッドローラ22との間からカード2の後端部が抜けると、図9に示すように、カード2の右端側は、カード送出装置1の外部に露出して、ユーザによるカード2の引抜きが可能な状態となる。このように、送出ローラ21とパッドローラ22との間からカード2の後端部が抜けて、カード2の送出が完了すると、ユーザがカード2の先端側を掴んでカード送出装置1からカード2を引き抜くのを待つカード2の引抜き待ち状態となる。
なお、本形態では、左右方向におけるリア検出部9とフロント検出部8との距離は、カード2の長さ(左右方向の長さ)よりも短くなっており、カード2の後端部がリア検出部9を通過する前に、フロント検出部8によって、カード2が検出される。また、カード2の引抜き待ち状態では、フロント検出部8によって、カード2の一部がカード排出部6内にあることが検出されている。また、本形態では、送出ローラ21とパッドローラ22との間からカード2の後端部が抜けるときには、図9に示すように、カード収納部3の底面部3aの下側へ送出爪25が移動するように、伝達機構24の減速比が設定されている。
送出ローラ21とパッドローラ22との間からカード2の後端部が抜けた後も、モータ23は回転を続け、図10に示すように、送出爪25が待機位置に到達すると、モータ23が停止する。
なお、送出ローラ21とパッドローラ22とによって送り出されているカード2の後端部がリア検出部9を通過したときを基準にして、送出ローラ21とパッドローラ22との間からカード2の後端部が抜けるまでモータ23を回転させた後、一旦、モータ23を停止させ、所定時間経過後に再び、モータ23を回転させて、送出爪25を待機位置まで移動させても良い。または、送出ローラ21とパッドローラ22とによって送り出されているカード2の後端部がリア検出部9を通過したときを基準にして、送出ローラ21とパッドローラ22との間からカード2の後端部が抜けるまでモータ23を回転させた後、一旦、モータ23を停止させ、引抜き待ちのカード2が引き抜かれたときに再び、モータ23を回転させて、送出爪25を待機位置まで移動させても良い。あるいは、送出ローラ21とパッドローラ22とによって送り出されているカード2の後端部がリア検出部9を通過したときを基準にして、送出ローラ21とパッドローラ22との間からカード2の後端部が抜けるまでモータ23を回転させた後、一旦、モータ23を停止させ、次のカード2を発行する際にモータ23を回転させて、送出爪25を待機位置まで移動させて、カード送出装置1を待機状態にしても良い。
ここで、たとえば、図11に示すように、いたずらによってカード排出口5が塞がれ、送出ローラ21とパッドローラ22との間でカード2がスリップして、カード送出装置1内でカード2がジャムしたり、引抜き待ちのカード2がカード送出装置1の内部に押し込まれたりすると、カード送出機構4によって、カード2を再度、右側へ向かって送り出す必要が生じる。このような状況で、モータ23を時計方向に回転させて、送出ローラ21とパッドローラ22とによってカード2を再度、送り出そうとすると、カード収納部3に収納されている次の最下位のカード2を送出爪25が送り出してしまうおそれがある。
そこで、本形態では、カード収納部3に収納されている次の最下位のカード2を送出爪25が送り出してしまうおそれが生じた場合には、図12に示すように、モータ23を反時計方向に回転させ、チェーン26を反時計方向に回転させて、カード2の送出方向と逆方向へ送出爪25を移動させる。具体的には、送出爪25の係合部25aがカード収納部3に収納されている次の最下位のカード2の後端部に当接しないように、カード2の送出方向と逆方向へ送出爪25を移動させる。より具体的には、係合部25aが次の最下位のカード2の後端部のわずかに右側で停止するように、待機位置検出部10によって送出爪25が検出されている送出爪25の待機位置を基準にして所定量だけ、カード2の送出方向と逆方向へ送出爪25を移動させる。
なお、係合部25aが次の最下位のカード2の後端部よりもかなり右側で停止するように、カード2の送出方向と逆方向へ送出爪25を移動させても良いし、送出爪25が底面部3aの下方で停止するように、カード2の送出方向と逆方向へ送出爪25を移動させても良い。また、本形態において、「カード2の送出方向と逆方向へ送出爪25を移動させる」とは、チェーン26を反時計方向に回転させて送出爪25を移動させることをいう。
本形態では、左右方向におけるリア検出部9とカード排出口5との距離は、カード2の長さ(左右方向の長さ)よりも短くなっている。そのため、引抜き待ちのカード2がカード送出装置1の内部に押し込まれると、リア検出部9によってカード2の後端側が検出される。また、本形態では、上述のように、送出ローラ21にはワンウェイクラッチが内蔵されているため、モータ23を反時計方向に回転させても、ジャムしたカード2や押し込まれたカード2が、送出ローラ21とパッドローラ22とによって左方向へ搬送されることはない。
上述のように、本形態では、モータ23が時計方向に回転すると、送出爪25および送出ローラ21がカード収納部3からカード2を送り出す。以下では、カード2を送り出すときのモータ23の回転(すなわち、時計方向へのモータ23の回転)を正転(正回転)とする。また、反時計方向へのモータ23の回転を逆転(逆回転)とする。
(カード送出装置の制御方法)
図13は、図1に示すカード送出装置1の制御フローの一例を示すフローチャートである。
以下、カード送出装置1の制御フローの一例を図13に基づいて説明する。
カード送出装置1でカード2を発行する際には、制御部7に制御指令部36からカード2の発行指令が入力される。すると、制御部7は、モータ23を正転させて、カード収納部3からカード2を送り出す(ステップS1)。具体的には、まず、待機位置から移動してきた送出爪25によってカード2を送り出し、その後、送出ローラ21とパッドローラ22とによってカード2を送り出す。ステップS1において、送出爪25によって送り出されたカード2は、やがて、リア検出部9で検出される(すなわち、リア検出部9はオン(ON)になる。)。
その後、制御部7は、カード2を送り出しながら、送り出されたカード2の後端部がリア検出部9を通過してリア検出部9がオフ(OFF)になったか否かを判断する(ステップS2)。ステップS2でリア検出部9がオフになった場合には、制御部7は、待機位置検出部10で送出爪25が検出されるまで(すなわち、待機位置検出部10がオン(ON)になるまで)、引き続き、モータ23を正転させる。待機位置検出部10がオンになると(すなわち、ステップS3で「Yes」になると)、制御部7はモータ23を停止させる(ステップS4)。
また、リア検出部9がオフになった(ステップS2で「Yes」になった)後、モータ23が所定量、正転して、送出ローラ21とパッドローラ22との間からカード2の後端部が抜けると、カード2の引抜き待ち状態となる(ステップS5)。カード2の引抜き待ち状態では、上述のように、フロント検出部8がカード2を検出している(すなわち、フロント検出部8がオンになっている)ため、カード2の引抜き待ち状態になると、制御部7は、カード2が引き抜かれてフロント検出部8がオフ(OFF)になったか否かを判断する(ステップS6)。
ステップS6でフロント検出部8がオフになり(すなわち、カード2が引き抜かれ)、かつ、モータ23が停止している場合には(すなわち、ステップS7で「Yes」になると)、制御部7は、カード2の発行制御を終了する。
一方、ステップS6でフロント検出部8がオフにならない場合には、制御部7は、リア検出部9が再びオンになったか否かを判断する(ステップS8)。ステップS8でリア検出部9がオンにならない場合には、ステップS6に戻る。
また、ステップS8でリア検出部9がオンになった場合には、制御部7は、引抜き待ちのカード2がカード送出装置1の内部に押し込まれたと判断する。そして、制御部7は、モータ23が停止している否かを判断し(ステップS9)、モータ23が停止している場合には、モータ23を逆転させる(ステップS10)。具体的には、制御部7は、ステップS10において、送出爪25の係合部25aがカード収納部3に収納されている次の最下位のカード2の後端部に当接しない位置まで、カード2の送出方向と逆方向へ送出爪25が移動するように、モータ23を逆転させる。
その後、制御部7は、モータ23を正転させて、カード2を再び、送り出し(ステップS11)、ステップS2に戻って、カード2の後端部がリア検出部9を通過してリア検出部9がオフになったか否かを判断する。
また、ステップS2でリア検出部9がオフにならない場合には、待機位置検出部10がオンになっているか否かを判断する(ステップS12)。ステップS12で待機位置検出部10がオンになっていない場合には、ステップS2に戻る。一方、ステップS12で待機位置検出部10がオンになっている場合には、制御部7は、何らかの原因でカード2がジャムしていると判断しステップS10へ進み、モータ23を逆転させた後、再び、カード2を送り出す(ステップS11)。なお、ステップS12で待機位置検出部10がオンになっている場合には、モータ23は停止している。
本形態では、ステップS1は、モータ23を正転させて、カード収納部3の外部にカード2を送り出すカード送出ステップであり、ステップS10は、カード送出検出手段であるリア検出部9の検出結果に基づいて、モータ23を逆転させて、カード2の送出方向と逆方向へ送出爪25を移動させる送出爪逆送ステップである。また、ステップS11は、送出爪逆送ステップであるステップS10後に、モータ23を正転させて、カード2を再度、送り出すカード再送出ステップである。
(本形態の主な効果)
以上説明したように、本形態では、制御部7は、ステップS10において、ステップS2でのリア検出部9の検出結果とステップS6でのフロント検出部8の検出結果とステップS8でのリア検出部9の検出結果とに基づいて、あるいは、ステップS2でのリア検出部9の検出結果とステップS12での待機位置検出部10の検出結果に基づいて、モータ23を逆転させ、チェーン26を逆転させることでカード2の送出方向と逆方向へ送出爪25を移動させている。また、本形態では、ステップS11で、モータ23を正転させて、カード2を再度、送り出している。そのため、リア検出部9等によって、カードジャムが発生したことや、引抜き待ちのカード2がカード送出装置1内に押し込まれたことが検出された場合には、カード2の送出方向と逆方向へ送出爪25を移動させた後、ジャムしたカード2または押し込まれたカード2を再び送り出すことができる。したがって、送出爪25と送出ローラ21とが共通のモータ23で駆動されていても、ジャムしたカード2または押し込まれたカード2を送出ローラ21によって再び送り出すときに、送出爪25が待機位置を通過してカード収納部3に収納されているカード2に当接するのを防止することができる。その結果、本形態では、カード収納部3に収納されているカード2を送り出すことなく、引抜き待ち状態でカード送出装置1内に押し込まれたカード2やジャムしたカード2を自動で送り出すことが可能になる。
本形態では、モータ23が正転するときに、モータ23の動力を送出ローラ21に伝達し、モータ23が逆転するときに、送出ローラ21へのモータ23の動力の伝達を遮断するワンウェイクラッチが送出ローラ21に内蔵されている。そのため、モータ23を逆転させる場合であっても、比較的簡易な構成で、引抜き待ち状態でカード送出装置1内に押し込まれたカード2やジャムしたカード2がカード収納部3に搬入されるのを防止することができる。
本形態では、ステップS10において、制御部7は、送出爪25の係合部25aがカード収納部3に収納されている次の最下位のカード2の後端部に当接しないように、モータ23を逆転させている。そのため、モータ23を逆転させて、カード2の送出方向と逆方向へ送出爪25を移動させる場合であっても、ジャムしたカード2または押し込まれたカード2を送出ローラ21によって再び送り出すときに、カード収納部3に収納されている次の最下位のカード2を送出爪25が送り出すのを防止することができる。
特に本形態では、待機位置検出部10によって送出爪25が検出されている送出爪25の待機位置を基準にして所定量だけ、カード2の送出方向と逆方向へ送出爪25を移動させている。そのため、送出爪25の待機位置を基準にして、モータ23の逆転量(すなわち、カード2の送出方向と逆方向への送出爪25の移動量)を決定することができる。したがって、送出爪25の係合部25aがカード収納部3に収納されている次の最下位のカード2の後端部に当接しないように、より正確に、送出爪25を移動させることができる。
本形態では、カード排出口5が形成されるカード排出部6に、カード排出口5からカード2が引き抜かれたことを検出するためのフロント検出部8が配置されている。そのため、フロント検出部8を用いて、カード排出口5からカード2が引き抜かれたか否かを適切に判断することができる。また、フロント検出部8とリア検出部9とを用いて、引抜き待ちのカード2がカード送出装置1の内部に押し込まれたか否かを適切に判断することができる。すなわち、本形態では、フロント検出部8を用いて、送出ローラ21によって送り出されたカード2の状態を適切に判断することが可能になる。
(他の実施の形態)
上述した形態は、本発明の好適な形態の一例ではあるが、これに限定されるものではなく本発明の要旨を変更しない範囲において種々変形実施が可能である。
上述した形態では、カード送出装置1の制御フローの一例として、送出ローラ21とパッドローラ22との間からカード2の後端部が抜けた後も、モータ23が回転を続け、送出爪25が待機位置に到達したときにモータ23が停止する場合の制御フローを図13に基づいて説明しているが、送出ローラ21とパッドローラ22とによって送り出されているカード2の後端部がリア検出部9を通過したときを基準にして、送出ローラ21とパッドローラ22との間からカード2の後端部が抜けるまでモータ23を回転させた後、一旦、モータ23を停止させ、引抜き待ちのカード2が引き抜かれたときに再び、モータ23を回転させて、送出爪25を待機位置まで移動させる場合のカード送出装置1の制御フローは、たとえば、図14に示すフローとなる。
すなわち、図13に示す制御フローと同様に、まず、制御部7は、モータ23を正転させて、カード収納部3からカード2を送り出し(ステップS21)、カード2を送り出しながら、送り出されたカード2の後端部がリア検出部9を通過してリア検出部9がオフ(OFF)になったか否かを判断する(ステップS22)。ステップS22でリア検出部9がオフになった場合には、制御部7は、送出ローラ21とパッドローラ22との間からカード2の後端部が抜けるまで、所定量、モータ23を正転させた後、モータ23を停止させる(ステップS23)。
ステップS23でモータ23が停止すると、カード2の引抜き待ち状態になる。カード2の引抜き待ち状態では、フロント検出部8がカード2を検出しているため、その後、制御部7は、カード2が引き抜かれてフロント検出部8がオフ(OFF)になったか否かを判断する(ステップS24)。
ステップS24でフロント検出部8がオフになった場合には、制御部7は、待機位置検出部10で送出爪25が検出されるまで、モータ23を正転させ、待機位置検出部10がオンになると、モータ23を停止させる(ステップS25〜S27)。また、制御部7は、ステップS27でモータ23を停止させることで、カード2の発行制御を終了する。
一方、ステップS24でフロント検出部8がオフにならない場合には、制御部7は、リア検出部9が再びオンになったか否かを判断する(ステップS28)。ステップS28でリア検出部9がオンにならない場合には、ステップS24に戻る。
また、ステップS28でリア検出部9がオンになった場合には、制御部7は、引抜き待ちのカード2がカード送出装置1の内部に押し込まれたと判断する。そして、制御部7は、待機位置検出部10が送出爪25を検出しているか否か(すなわち、送出爪25が待機位置にあり、待機位置検出部10がオン(ON)となっている否か)を判断し(ステップS29)、待機位置検出部10が送出爪25を検出している場合には、モータ23を逆転させる(ステップS30)。具体的には、制御部7は、ステップS30において、送出爪25の係合部25aがカード収納部3に収納されている次の最下位のカード2の後端部に当接しないように、モータ23を逆転させる。
その後、制御部7は、モータ23を正転させて、カード2を再び、送り出し(ステップS31)、ステップS22に戻って、カード2の後端部がリア検出部9を通過してリア検出部9がオフになったか否かを判断する。
一方、ステップS29で待機位置検出部10が送出爪25を検出していない場合には、モータ23を正転させても、送出爪25が待機位置を通過してカード収納部3に収納されている次の最下位のカード2に当接する可能性が低い。そのため、ステップS29で待機位置検出部10がオフとなっている場合には、ステップS31に進む。
また、ステップS22でリア検出部9がオフにならない場合には、待機位置検出部10がオンになっているか否かを判断する(ステップS32)。ステップS32で待機位置検出部10がオンになっていない場合には、ステップS22に戻る。一方、ステップS32で待機位置検出部10がオンになっている場合には、制御部7は、何らかの原因でカード2がジャムしていると判断しステップS30へ進み、モータ23を逆転させた後、再び、カード2を送り出す(ステップS31)。
図14に示す制御フローでは、制御部7は、ステップS29において、待機位置検出部10によって送出爪25が待機位置にあることが検出された場合に、ステップS30で、モータ23を逆転させて、カード2の送出方向と逆方向へ送出爪25を移動させている。上述のように、ステップS29で待機位置検出部10が送出爪25を検出していない場合には、モータ23を正転させても、送出爪25が待機位置を通過してカード収納部3に収納されている次の最下位のカード2に当接する可能性が低いため、このように構成すると、送出爪25が待機位置に到達するまでは、カード2の送出方向と逆方向へ送出爪25を移動させることなく、そのまま、モータ23を正転させて、ジャムしたカード2または押し込まれたカード2を送出ローラ21によって再び送り出すことができる。したがって、カードジャムが発生したときや、引抜き待ち状態のカード2がカード送出装置1内に押し込まれたときのカード2の排出処理の速度を上げることが可能になる。
なお、図14に示す制御フローでは、ステップS21は、カード送出ステップであり、ステップS30は、送出爪逆送ステップであり、ステップS31は、カード再送出ステップである。また、図14に示す制御フローでは、待機位置検出部10によって送出爪25が待機位置にあることが検出された場合に、モータ23を逆転させて、カード2の送出方向と逆方向へ送出爪25を移動させているが、カード収納部3の下方に送出爪25の位置を検出するための送出爪検出手段を別途設け、この送出爪検出手段で送出爪25が検出された場合に、送出爪検出手段で送出爪25が検出されている位置を基準にして、モータ23を逆転させて、カード2の送出方向と逆方向へ送出爪25を移動させても良い。また、ステップS28でリア検出部9がオンになった場合には、待機位置検出部10によって送出爪25が待機位置にあることが検出されたか否かにかかわらず、カード2の送出方向と逆方向へ送出爪25を移動させても良い。この場合には、ステッピングモータであるモータ23のステップ数から送出爪25の位置を特定することで、送出爪25の係合部25aがカード収納部3に収納されている次の最下位のカード2の後端部に当接しないように、カード2の送出方向と逆方向へ送出爪25を移動させることが可能である。
上述した形態では、カード送出装置1は、カード排出部6を備えているが、カード送出装置1は、カード排出部6を備えていなくても良い。すなわち、本発明のカード送出装置は、たとえば、特開2008−165402号公報に開示されたカード送出装置と同様に構成されても良い。また、カード送出装置1は、カード排出部6に代えて、上述の特許文献1に記載のカード処理部と同様のカード処理部を備えていても良い。
上述した形態では、送出ローラ21にワンウェイクラッチが内蔵されており、モータ23の逆転時に、送出ローラ21へのモータ23の動力の伝達が遮断されている。この他にもたとえば、パッドローラ22を上側へ退避させる退避機構あるいは送出ローラ21を下側へ退避させる退避機構をカード送出装置1が備え、モータ23の逆転時にこの退避機構でパッドローラ22あるいは送出ローラ21を退避させて、送出ローラ21およびパッドローラ22によるカード2の搬送が行われないようにしても良い。この場合には、この退避機構は、モータ23の逆転時に送出ローラ21によるカード2の搬送を阻止するカード搬送阻止手段である。
上述した形態では、フロント検出部8、リア検出部9および待機位置検出部10の検出結果に基づいて、制御部7が所定の演算等を行って、モータ23を制御している。この他にもたとえば、フロント検出部8、リア検出部9および待機位置検出部10の検出結果に基づいて、制御指令部36が所定の演算等を行うとともに、この演算結果に基づく制御指令部36からの制御指令によって、制御部7がモータ23を制御しても良い。
上述した形態では、送出爪25を移動させる爪送り機構は、送出爪25が固定されるチェーン26と、スプロケット27、28とによって構成されている。この他にもたとえば、爪送り機構は、送出爪25が固定されるベルトと、このベルトが架け渡されるプーリとによって構成されても良い。また、爪送り機構は、送出爪25が固定されるワイヤと、このワイヤが架け渡されるシーブとによって構成されても良い。
上述した形態では、伝達機構24は、従動プーリ30、31、駆動プーリ32およびベルト33等によって構成されているが、伝達機構24は、チェーンやスプロケット等によって構成されても良いし、歯車列等によって構成されても良い。
上述した形態では、カード2は磁気ストライプを有する磁気カードである。この他にもたとえば、カード2は、表面にICチップが固定された接触式のICカードであっても良いし、通信用のアンテナが内蔵された非接触式のICカードであっても良い。この場合には、カード排出部6には、ICチップに接触するIC接点を有する処理機構や、カード2に内蔵されたアンテナと通信を行うアンテナを有する処理機構が配置される。
上述した形態では、カード収納部3は、カード送出装置1の上側部分を構成し、カード収納部3の下方に、送出爪25や伝達機構24等が配置されている。この他にもたとえば、カード収納部3がカード送出装置1の下側部分を構成し、カード収納部3の上方に、送出爪25や伝達機構24等が配置されても良い。
なお、上述した形態では、カード送出装置1は、送出爪25と送出ローラ21とを一緒に駆動するモータ23を備えているが、カードリーダあるいはプリンタ等と一緒にカード送出装置1が使用されて、カード送出装置1がカードリーダあるいはプリンタ等に向かってカード2を送り出すような場合には、カードリーダやプリンタ等が有するモータを利用して、送出爪25と送出ローラ21とを一緒に駆動することも可能である。
1 カード送出装置
2 カード
3 カード収納部
5 カード排出口
6 カード排出部
7 制御部(制御手段)
8 フロント検出部(カード排出検出手段)
9 リア検出部(カード送出検出手段)
10 待機位置検出部(待機位置検出手段、送出爪検出手段)
14 ゲート
21 送出ローラ
23 モータ
25 送出爪
25a 係合部
26 チェーン(爪送り機構の一部)
27、28 スプロケット(爪送り機構の一部)
S1、S21 カード送出ステップ
S10、S30 送出爪逆送ステップ
S11、S31 カード再送出ステップ

Claims (8)

  1. 複数のカードが積層されて収納されるカード収納部と、前記カード収納部に収納される前記カードが前記カード収納部の外部に向かって通過するゲートと、前記カードに係合して前記カード収納部に収納される前記カードを1枚ずつ前記ゲートから送り出す送出爪と、前記送出爪を移動させる爪送り機構と、前記カード収納部の外部に配置され前記送出爪で送り出された前記カードをさらに送り出す送出ローラと、前記爪送り機構と前記送出ローラとを一緒に駆動するモータと、前記カードの送出が完了したことを検出するためのカード送出検出手段と、前記送出ローラによって送り出された前記カードが排出されるカード排出口から前記カードが排出されたことを検出するためのカード排出検出手段と、前記モータを制御する制御手段とを備え、
    前記送出爪には、前記カードの送出方向における前記カードの後端部に当接して前記カードを送り出す係合部が形成され、
    前記カード収納部から前記カードが所定量送り出されることで前記カード送出検出手段によって検出された前記カードが、その後、前記カード送出検出手段によって検出されなくなると、前記カードの送出が完了したことが検出され、
    前記制御手段は、前記モータを正転させて、前記カード収納部の外部に前記カードを送り出すとともに、前記カード送出検出手段の検出結果に基づいて前記カードの送出が完了したことが検出された後、前記カード排出検出手段によって前記カード排出口から前記カードが排出されたことが検出される前に再び、前記カード送出検出手段によって前記カードが検出されると、前記モータを逆転させて、前記カード収納部に収納されている前記カードの後端部と前記係合部とが当接しない位置まで、前記カードの送出方向と逆方向へ前記送出爪を移動させ、その後、再度、前記モータを正転させて、前記カードを送り出すことを特徴とするカード送出装置。
  2. 前記送出爪の位置を検出するための送出爪検出手段を備え、
    前記制御手段は、前記送出爪検出手段によって前記送出爪が検出される前記送出爪の所定の基準位置を基準にして、前記カード収納部に収納されている前記カードの後端部と前記係合部とが当接しない位置まで、前記モータを逆転させることを特徴とする請求項記載のカード送出装置。
  3. 複数のカードが積層されて収納されるカード収納部と、前記カード収納部に収納される前記カードが前記カード収納部の外部に向かって通過するゲートと、前記カードに係合して前記カード収納部に収納される前記カードを1枚ずつ前記ゲートから送り出す送出爪と、前記送出爪を移動させる爪送り機構と、前記カード収納部の外部に配置され前記送出爪で送り出された前記カードをさらに送り出す送出ローラと、前記爪送り機構と前記送出ローラとを一緒に駆動するモータと、前記カードの送出が完了したことを検出するためのカード送出検出手段と、前記カードを送り出す前の前記送出爪が待機する所定の待機位置に前記送出爪があることを検出するための待機位置検出手段と、前記モータを制御する制御手段とを備え、
    前記送出爪には、前記カードの送出方向における前記カードの後端部に当接して前記カードを送り出す係合部が形成され、
    前記制御手段は、前記モータを正転させて、前記カード収納部の外部に前記カードを送り出した後、前記カード送出検出手段の検出結果に基づいて前記カードの送出が完了したことが検出される前に、前記待機位置検出手段によって前記送出爪が前記待機位置にあることが検出されると、前記モータを逆転させて、前記カード収納部に収納されている前記カードの後端部と前記係合部とが当接しない位置まで、前記カードの送出方向と逆方向へ前記送出爪を移動させ、その後、再度、前記モータを正転させて、前記カードを送り出すことを特徴とするカード送出装置。
  4. 前記制御手段は、前記待機位置を基準にして、前記カード収納部に収納されている前記カードの後端部と前記係合部とが当接しない位置まで、前記モータを逆転させることを特徴とする請求項3記載のカード送出装置。
  5. 前記モータの逆転時に、前記送出ローラによる前記カードの搬送を阻止するカード搬送阻止手段を備えることを特徴とする請求項1から4のいずれかに記載のカード送出装置。
  6. 前記カード搬送阻止手段は、前記モータの正転時に前記モータの駆動力を前記送出ローラに伝達し、前記モータの逆転時に前記送出ローラへの前記モータの駆動力の伝達を遮断するワンウェイクラッチであることを特徴とする請求項記載のカード送出装置。
  7. 複数のカードが積層されて収納されるカード収納部と、前記カード収納部に収納される前記カードが前記カード収納部の外部に向かって通過するゲートと、前記カードの端部に当接して前記カード収納部に収納される前記カードを1枚ずつ前記ゲートから送り出す送出爪と、前記送出爪を移動させる爪送り機構と、前記カード収納部の外部に配置され前記送出爪で送り出された前記カードをさらに送り出す送出ローラと、前記爪送り機構と前記送出ローラとを一緒に駆動するモータと、前記カードの送出が完了したことを検出するためのカード送出検出手段と、前記送出ローラによって送り出された前記カードが排出されるカード排出口から前記カードが排出されたことを検出するためのカード排出検出手段とを備え、前記カード収納部から前記カードが所定量送り出されることで前記カード送出検出手段によって検出された前記カードが、その後、前記カード送出検出手段によって検出されなくなると、前記カードの送出が完了したことが検出されるカード送出装置の制御方法であって、
    前記モータを正転させて、前記カード収納部の外部に前記カードを送り出すカード送出ステップと、
    前記カード送出検出手段の検出結果に基づいて前記カードの送出が完了したことが検出された後、前記カード排出検出手段によって前記カード排出口から前記カードが排出されたことが検出される前に再び、前記カード送出検出手段によって前記カードが検出されると、前記モータを逆転させて、前記カード収納部に収納されている前記カードの、前記カードの送出方向における後端部と前記送出爪とが当接しない位置まで、前記カードの送出方向と逆方向へ前記送出爪を移動させる送出爪逆送ステップと、
    前記送出爪逆送ステップ後に、前記モータを正転させて、前記カードを再度、送り出すカード再送出ステップとを備えることを特徴とするカード送出装置の制御方法。
  8. 複数のカードが積層されて収納されるカード収納部と、前記カード収納部に収納される前記カードが前記カード収納部の外部に向かって通過するゲートと、前記カードの端部に当接して前記カード収納部に収納される前記カードを1枚ずつ前記ゲートから送り出す送出爪と、前記送出爪を移動させる爪送り機構と、前記カード収納部の外部に配置され前記送出爪で送り出された前記カードをさらに送り出す送出ローラと、前記爪送り機構と前記送出ローラとを一緒に駆動するモータと、前記カードの送出が完了したことを検出するためのカード送出検出手段と、前記カードを送り出す前の前記送出爪が待機する所定の待機位置に前記送出爪があることを検出するための待機位置検出手段とを備えるカード送出装置の制御方法であって、
    前記モータを正転させて、前記カード収納部の外部に前記カードを送り出すカード送出ステップと、
    前記カード送出ステップ後、前記カード送出検出手段の検出結果に基づいて前記カードの送出が完了したことが検出される前に、前記待機位置検出手段によって前記送出爪が前記待機位置にあることが検出されると、前記モータを逆転させて、前記カード収納部に収納されている前記カードの、前記カードの送出方向における後端部と前記送出爪とが当接しない位置まで、前記カードの送出方向と逆方向へ前記送出爪を移動させる送出爪逆送ステップと、
    前記送出爪逆送ステップ後に、前記モータを正転させて、前記カードを再度、送り出すカード再送出ステップとを備えることを特徴とするカード送出装置の制御方法。
JP2009244020A 2009-10-23 2009-10-23 カード送出装置およびカード送出装置の制御方法 Active JP5480592B2 (ja)

Priority Applications (4)

Application Number Priority Date Filing Date Title
JP2009244020A JP5480592B2 (ja) 2009-10-23 2009-10-23 カード送出装置およびカード送出装置の制御方法
US12/909,334 US8646652B2 (en) 2009-10-23 2010-10-21 Card extracting device and control method for card extracting device
CN201510707369.0A CN105243402B (zh) 2009-10-23 2010-10-22 卡送出装置及卡送出装置的控制方法
CN201010532919.7A CN102043968B (zh) 2009-10-23 2010-10-22 卡送出装置及卡送出装置的控制方法

Applications Claiming Priority (1)

Application Number Priority Date Filing Date Title
JP2009244020A JP5480592B2 (ja) 2009-10-23 2009-10-23 カード送出装置およびカード送出装置の制御方法

Publications (2)

Publication Number Publication Date
JP2011088719A JP2011088719A (ja) 2011-05-06
JP5480592B2 true JP5480592B2 (ja) 2014-04-23

Family

ID=43897534

Family Applications (1)

Application Number Title Priority Date Filing Date
JP2009244020A Active JP5480592B2 (ja) 2009-10-23 2009-10-23 カード送出装置およびカード送出装置の制御方法

Country Status (3)

Country Link
US (1) US8646652B2 (ja)
JP (1) JP5480592B2 (ja)
CN (1) CN102043968B (ja)

Families Citing this family (11)

* Cited by examiner, † Cited by third party
Publication number Priority date Publication date Assignee Title
JP5480592B2 (ja) * 2009-10-23 2014-04-23 日本電産サンキョー株式会社 カード送出装置およびカード送出装置の制御方法
US20130292405A1 (en) * 2012-05-04 2013-11-07 Saint-Fun International Ltd. Card vending machine
CN104828593B (zh) * 2015-04-14 2017-08-18 江苏华桠融通智能科技有限公司 一种智能卡片自动入卡装置
JP6286697B2 (ja) * 2015-07-29 2018-03-07 旭精工株式会社 カード送出装置
JP6522491B2 (ja) * 2015-12-10 2019-05-29 日本電産サンキョー株式会社 カード送出装置
CN107436578B (zh) * 2017-08-14 2019-09-03 深圳来电科技有限公司 物品传输控制方法、物品传输装置及物品传输设备
CN110020578A (zh) 2018-01-10 2019-07-16 广东欧珀移动通信有限公司 图像处理方法、装置、存储介质及电子设备
CN109117899B (zh) * 2018-08-01 2021-08-27 长城信息股份有限公司 介质自助发放设备
CN111137708A (zh) * 2020-01-17 2020-05-12 深圳市赛尔瑞科技有限公司 进卡装置和具有该进卡装置的证卡打印机
CN113129937B (zh) * 2021-05-17 2022-07-19 重庆医科大学附属口腔医院 一种用于口腔医院的门诊数据存储设备
JP7430401B2 (ja) * 2021-09-29 2024-02-13 旭精工株式会社 物品収納容器および物品送出装置

Family Cites Families (27)

* Cited by examiner, † Cited by third party
Publication number Priority date Publication date Assignee Title
US3850299A (en) * 1973-12-03 1974-11-26 Ncr Co Card transport and capture mechanism
US4008889A (en) * 1975-06-16 1977-02-22 Redco, Inc. Vacuum feed mechanism
JPH0620348U (ja) * 1992-05-15 1994-03-15 武藤化学薬品株式会社 プレパラート用ガラス板自動繰出装置
US5238143A (en) * 1992-08-03 1993-08-24 Ncr Corporation Apparatus for dispensing flat articles
US5542571A (en) * 1994-08-08 1996-08-06 Lottery Enterprises, Inc. Dispensing/vending machine and method with double dispensing protection
US5611456A (en) * 1995-01-24 1997-03-18 Algonquin Industries Inc. Apparatus for dispensing tickets, cards and the like
US5857588A (en) * 1995-01-24 1999-01-12 Algonquin Industries, Inc. Apparatus for dispensing tickets, cards and the like from a stack
US5829631A (en) * 1995-01-24 1998-11-03 Algonquin Industries, Inc. Apparatus for dispensing tickets, cards and the like from a stack
US5833104A (en) * 1995-06-29 1998-11-10 Stephen Horniak Ticket dispensing device
TW301442U (en) * 1995-09-04 1997-03-21 Asahi Seiko Co Ltd Plate-like article dispensing device
US5941414A (en) * 1996-07-01 1999-08-24 Algonquin Industries, Inc. Apparatus for dispensing tickets, cards and the like from a stack
JP3800565B2 (ja) * 1997-02-26 2006-07-26 株式会社日本コンラックス カード払出し装置
JPH10250856A (ja) * 1997-03-12 1998-09-22 Asahi Seiko Co Ltd カード払い出し装置システム
GB9711182D0 (en) * 1997-05-31 1997-07-23 Ncr Int Inc Sheet feeding apparatus
GB9718798D0 (en) * 1997-09-05 1997-11-12 Ncr Int Inc Document feeding apparatus
BE1011471A3 (fr) * 1997-09-24 1999-10-05 Staar Sa Dispositif de degagement et distribution de boitiers, cassettes,...
US5934662A (en) * 1997-10-14 1999-08-10 Xerox Corporation Bottom sheet separator-feeder with sheet stack levitation
US6036052A (en) * 1998-02-11 2000-03-14 Tong; Hui-Jin Roller mechanism for a lottery ticket machine
JP2000076390A (ja) * 1998-09-01 2000-03-14 Anritsu Corp カード発券機
JP4374523B2 (ja) * 2003-06-30 2009-12-02 旭精工株式会社 シート状商品の自動払出装置
JP4436792B2 (ja) * 2005-07-29 2010-03-24 日本電産サンキョー株式会社 カード処理装置
JP4474345B2 (ja) * 2005-09-26 2010-06-02 日本電産サンキョー株式会社 カード送出装置
JP4991995B2 (ja) * 2006-08-30 2012-08-08 旭精工株式会社 カードの送り出し装置
JP5010340B2 (ja) 2007-04-27 2012-08-29 日本電産サンキョー株式会社 カード発行装置
JP2009189190A (ja) * 2008-02-08 2009-08-20 Nidec Sankyo Corp モータ装置
JP5341650B2 (ja) * 2009-07-13 2013-11-13 日本電産サンキョー株式会社 媒体処理装置および媒体処理方法
JP5480592B2 (ja) * 2009-10-23 2014-04-23 日本電産サンキョー株式会社 カード送出装置およびカード送出装置の制御方法

Also Published As

Publication number Publication date
JP2011088719A (ja) 2011-05-06
CN105243402A (zh) 2016-01-13
CN102043968A (zh) 2011-05-04
US8646652B2 (en) 2014-02-11
CN102043968B (zh) 2015-11-25
US20110095041A1 (en) 2011-04-28

Similar Documents

Publication Publication Date Title
JP5480592B2 (ja) カード送出装置およびカード送出装置の制御方法
US7770793B2 (en) Printing apparatus and printing method
JP6424328B2 (ja) カード処理装置
JP5010340B2 (ja) カード発行装置
JP3845558B2 (ja) 硬貨処理装置
US7364157B2 (en) Compact backnote dispensing device with banknote length sensor
JP2006103840A (ja) シート給送装置及びこれを備えた画像形成装置
JP4904149B2 (ja) カード送出装置
JP4687569B2 (ja) シート処理装置
JP7265802B2 (ja) 紙幣収容装置
JP4068240B2 (ja) カード搬送装置
JP5992269B2 (ja) 硬貨処理機および硬貨処理方法
JP5145100B2 (ja) 紙幣収納装置
JP3866578B2 (ja) 棒金払出装置
WO2018173440A1 (ja) 媒体処理装置
JP5130860B2 (ja) 紙幣搬送制御装置
WO2017099005A1 (ja) カード送出装置
JPH04107169A (ja) 給紙装置
JP4701813B2 (ja) カード処理装置
JP2017167950A (ja) 紙葉類処理装置
KR100985480B1 (ko) 문서발급기의 문서 이송장치
JP2019067124A (ja) 紙幣収容装置
JP5123563B2 (ja) 紙幣一括払出し装置
JP2008030941A (ja) 帳票カード処理装置
JP2013250889A (ja) 自動販売機等の硬貨返却装置

Legal Events

Date Code Title Description
A621 Written request for application examination

Free format text: JAPANESE INTERMEDIATE CODE: A621

Effective date: 20120904

A977 Report on retrieval

Free format text: JAPANESE INTERMEDIATE CODE: A971007

Effective date: 20130806

A131 Notification of reasons for refusal

Free format text: JAPANESE INTERMEDIATE CODE: A131

Effective date: 20130812

A521 Request for written amendment filed

Free format text: JAPANESE INTERMEDIATE CODE: A523

Effective date: 20131010

TRDD Decision of grant or rejection written
A01 Written decision to grant a patent or to grant a registration (utility model)

Free format text: JAPANESE INTERMEDIATE CODE: A01

Effective date: 20140124

A61 First payment of annual fees (during grant procedure)

Free format text: JAPANESE INTERMEDIATE CODE: A61

Effective date: 20140214

R150 Certificate of patent or registration of utility model

Ref document number: 5480592

Country of ref document: JP

Free format text: JAPANESE INTERMEDIATE CODE: R150