JP5075813B2 - 偏光子保護フィルム、偏光板、および画像表示装置 - Google Patents
偏光子保護フィルム、偏光板、および画像表示装置 Download PDFInfo
- Publication number
- JP5075813B2 JP5075813B2 JP2008505042A JP2008505042A JP5075813B2 JP 5075813 B2 JP5075813 B2 JP 5075813B2 JP 2008505042 A JP2008505042 A JP 2008505042A JP 2008505042 A JP2008505042 A JP 2008505042A JP 5075813 B2 JP5075813 B2 JP 5075813B2
- Authority
- JP
- Japan
- Prior art keywords
- polarizer
- polarizing plate
- protective film
- weight
- polarizer protective
- Prior art date
- Legal status (The legal status is an assumption and is not a legal conclusion. Google has not performed a legal analysis and makes no representation as to the accuracy of the status listed.)
- Active
Links
Images
Classifications
-
- G—PHYSICS
- G02—OPTICS
- G02B—OPTICAL ELEMENTS, SYSTEMS OR APPARATUS
- G02B5/00—Optical elements other than lenses
- G02B5/30—Polarising elements
-
- G—PHYSICS
- G02—OPTICS
- G02B—OPTICAL ELEMENTS, SYSTEMS OR APPARATUS
- G02B1/00—Optical elements characterised by the material of which they are made; Optical coatings for optical elements
- G02B1/10—Optical coatings produced by application to, or surface treatment of, optical elements
-
- C—CHEMISTRY; METALLURGY
- C08—ORGANIC MACROMOLECULAR COMPOUNDS; THEIR PREPARATION OR CHEMICAL WORKING-UP; COMPOSITIONS BASED THEREON
- C08J—WORKING-UP; GENERAL PROCESSES OF COMPOUNDING; AFTER-TREATMENT NOT COVERED BY SUBCLASSES C08B, C08C, C08F, C08G or C08H
- C08J5/00—Manufacture of articles or shaped materials containing macromolecular substances
- C08J5/18—Manufacture of films or sheets
-
- G02B1/105—
-
- G—PHYSICS
- G02—OPTICS
- G02B—OPTICAL ELEMENTS, SYSTEMS OR APPARATUS
- G02B1/00—Optical elements characterised by the material of which they are made; Optical coatings for optical elements
- G02B1/10—Optical coatings produced by application to, or surface treatment of, optical elements
- G02B1/14—Protective coatings, e.g. hard coatings
-
- G—PHYSICS
- G02—OPTICS
- G02B—OPTICAL ELEMENTS, SYSTEMS OR APPARATUS
- G02B5/00—Optical elements other than lenses
- G02B5/30—Polarising elements
- G02B5/3025—Polarisers, i.e. arrangements capable of producing a definite output polarisation state from an unpolarised input state
- G02B5/3033—Polarisers, i.e. arrangements capable of producing a definite output polarisation state from an unpolarised input state in the form of a thin sheet or foil, e.g. Polaroid
-
- B—PERFORMING OPERATIONS; TRANSPORTING
- B32—LAYERED PRODUCTS
- B32B—LAYERED PRODUCTS, i.e. PRODUCTS BUILT-UP OF STRATA OF FLAT OR NON-FLAT, e.g. CELLULAR OR HONEYCOMB, FORM
- B32B2457/00—Electrical equipment
- B32B2457/20—Displays, e.g. liquid crystal displays, plasma displays
- B32B2457/202—LCD, i.e. liquid crystal displays
-
- B—PERFORMING OPERATIONS; TRANSPORTING
- B82—NANOTECHNOLOGY
- B82Y—SPECIFIC USES OR APPLICATIONS OF NANOSTRUCTURES; MEASUREMENT OR ANALYSIS OF NANOSTRUCTURES; MANUFACTURE OR TREATMENT OF NANOSTRUCTURES
- B82Y30/00—Nanotechnology for materials or surface science, e.g. nanocomposites
Landscapes
- Physics & Mathematics (AREA)
- General Physics & Mathematics (AREA)
- Optics & Photonics (AREA)
- Chemical & Material Sciences (AREA)
- Engineering & Computer Science (AREA)
- Manufacturing & Machinery (AREA)
- Materials Engineering (AREA)
- Health & Medical Sciences (AREA)
- Chemical Kinetics & Catalysis (AREA)
- Medicinal Chemistry (AREA)
- Polymers & Plastics (AREA)
- Organic Chemistry (AREA)
- Polarising Elements (AREA)
- Laminated Bodies (AREA)
- Graft Or Block Polymers (AREA)
Description
従来のメチルメタクリレートなどの(メタ)アクリル系樹脂を主成分とする偏光子保護フィルムでは、高い耐熱性、高い透明性、高い光学的特性、高い機械的強度と、偏光子との高い接着性とを両立することはできなかった。本発明のごとく、ラクトン環構造を有する(メタ)アクリル系樹脂を用いるとともに、特定構造のコアシェル型ナノ粒子をも用いることにより、偏光子保護フィルムとして、高い耐熱性、高い透明性、高い光学的特性、高い機械的強度と、偏光子との高い接着性とを両立することができた。
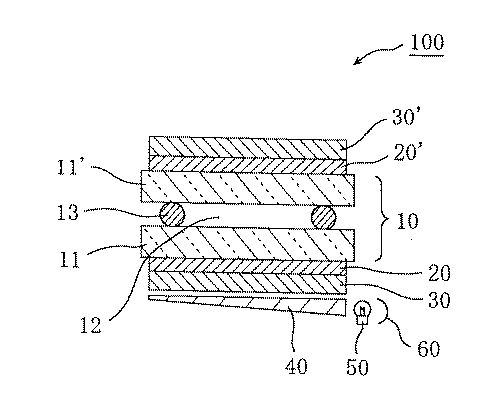
11、11´ ガラス基板
12 液晶層
13 スペーサー
20、20´ 位相差フィルム
30、30´ 偏光板
31 偏光子
32 接着剤層
33 易接着層
34 偏光子保護フィルム
35 接着剤層
36 偏光子保護フィルム
40 導光板
50 光源
60 リフレクター
100 液晶表示装置
〔偏光子保護フィルム〕
本発明の偏光子保護フィルムは、ラクトン環構造を有する(メタ)アクリル系樹脂と特定構造のコアシェル型ナノ粒子とを含む。
ラクトン環構造を有する(メタ)アクリル系樹脂は、好ましくは、下記一般式(1)で表されるラクトン環構造を有する。
ラクトン環構造を有する(メタ)アクリル系樹脂の構造中の一般式(1)で表されるラクトン環構造の含有割合は、好ましくは5〜90重量%、より好ましくは10〜70重量%、さらに好ましくは10〜60重量%、特に好ましくは10〜50重量%である。ラクトン環構造を有する(メタ)アクリル系樹脂の構造中の一般式(1)で表されるラクトン環構造の含有割合が5重量%よりも少ないと、耐熱性、耐溶剤性、表面硬度が不十分になるおそれがある。ラクトン環構造を有する(メタ)アクリル系樹脂の構造中の一般式(1)で表されるラクトン環構造の含有割合が90重量%よりも多いと、成形加工性に乏しくなるおそれがある。
本発明の偏光子保護フィルムは、ASTM−D−1003に準じた方法で測定される全光線透過率が、高ければ高いほど好ましく、好ましくは85%以上、より好ましくは88%以上、さらに好ましくは90%以上である。全光線透過率が85%未満であると、透明性が低下し、本来目的とする用途に使用できないおそれがある。
押出し成形は、ドライラミネーション法のように、加工時に使用される接着剤中の溶媒、例えば、ドライラミネーション用の接着剤中の有機溶剤を乾燥、飛散させる必要がなく、溶媒乾燥工程が不要であり、生産性に優れる。具体的には、Tダイに連結した押出し機に原料となる樹脂組成物を供給し、溶融混練後、押出し、水冷して引き取るかまたは冷却ロールに接触させた後に巻き取り、フィルムを成形する方法を例示できる。押出し機のスクリュータイプは単軸または2軸であってもよく、可塑剤または酸化防止剤などの添加剤を添加してもよい。
本発明の偏光板は、ポリビニルアルコール系樹脂から形成される偏光子と本発明の偏光子保護フィルムとを含む偏光板である。本発明の偏光板の好ましい実施形態の1つは、図1に示すように、偏光子31の一方の面が、接着剤層32および易接着層33を介して本発明の偏光子保護フィルム34に接着されてなり、偏光子31のもう一方の面が、接着剤層35を介して偏光子保護フィルム36に接着されてなる形態である。偏光子保護フィルム36は本発明の偏光子保護フィルムであってもよいし、別の任意の適切な偏光子保護フィルムであってもよい。
昭和電工(株)製のShodex GPC system−21Hを用い、ポリスチレン換算で測定した。
重合体を一旦テトラヒドロフランに溶解し、過剰のヘキサンもしくはトルエンへ投入して再沈殿を行い、ろ過して取り出した沈殿物を減圧乾燥(80℃/1mmHg(1.33hPa)、3時間以上)することによって揮発成分を除去し、得られた樹脂についてDSC装置(リガク(株)製、DSC8230)を用いて測定した。
まず、重合で得られた重合体組成から全ての水酸基がメタノールとして脱アルコールした際に起こる重量減少量を基準にし、ダイナミックTG測定において重量減少が始まる前の150℃から重合体の分解が始まる前の300℃までの脱アルコール反応による重量減少から、脱アルコール反応率を求めた。
すなわち、ラクトン環構造を有した重合体のダイナミックTG測定において150℃から300℃までの間の重量減少率の測定を行い、得られた実測重量減少率を(X)とする。他方、当該重合体の組成から、その重合体組成に含まれる全ての水酸基がラクトン環の形成に関与するためアルコールになり脱アルコールすると仮定した時の理論重量減少率(すなわち、その組成上において100%脱アルコール反応が起きたと仮定して算出した重量減少率)を(Y)とする。なお、理論重量減少率(Y)は、より具体的には、重合体中の脱アルコール反応に関与する構造(水酸基)を有する原料単量体のモル比、すなわち当該重合体組成における前記原料単量体の含有率から算出することができる。これらの値(X、Y)を脱アルコール計算式:
1−(実測重量減少率(X)/理論重量減少率(Y))
に代入してその値を求め、%で表記すると、脱アルコール反応率が得られる。
例として、後述の製造例3で得られるペレットにおいてラクトン環構造の占める割合を計算する。この重合体の理論重量減少率(Y)を求めてみると、メタノールの分子量は32であり、2−(ヒドロキシメチル)アクリル酸メチルの分子量は116であり、2−(ヒドロキシメチル)アクリル酸メチルの重合体中の含有率(重量比)は組成上20重量%であるから、(32/116)×20≒5.52重量%となる。他方、ダイナミックTG測定による実測重量減少率(X)は0.18重量%であった。これらの値を上記の脱アルコール計算式に当てはめると、1−(0.18/5.52)≒0.967となるので、脱アルコール反応率は96.7重量%である。
そして、この脱アルコール反応率の分だけ所定のラクトン環化が行われたものとして、ラクトン環化に関与する構造(ヒドロキシ基)を有する原料単量体の当該共重合体組成における含有率(重量比)に、脱アルコール反応率を乗じ、ラクトン環単位の構造の含有率(重量比)に換算することで、当該共重合体におけるラクトン環構造の含有割合を算出することができる。製造例3の場合、2−(ヒドロキシメチル)アクリル酸メチルの当該共重合体における含有率が20.0重量%、算出した脱アルコール反応率が96.7重量%、分子量が116の2−(ヒドロキシメチル)アクリル酸メチルがメタクリル酸メチルと縮合した場合に生成するラクトン環化構造単位の式量が170であることから、当該共重合体中におけるラクトン環の含有割合は28.3重量%((20.0×0.967×170/116)重量%)となる。
メルトフローレートは、JIS−K6874に基づき、試験温度240℃、荷重10kgで測定した。
作製した保護フィルムサンプルを3cm角に裁断し、(株)島津製作所製の「UV−VIS−NIR−SPECTROMETER UV3150」にて、全光線透過率を測定した。
JIS K 7136 (プラスチック−透明材料のへイズの求め方)に従って、へイズメーター(村上色彩研究所製のHM−150)を用いて測定した。
偏光板(100mm×100mm)に手でひねりを加えてねじ切ったときの状態を以下の基準で評価した。
○:偏光子と偏光子保護フィルムとが一体化して剥がれが生じない。
△:偏光子と偏光子保護フィルムと端部に剥がれが認められる。
×:偏光子と偏光子保護フィルムとの間に剥がれが認められる。
得られた偏光板の外観を評価した。評価は、50mm×50mmの偏光板に対して下記基準で目視により行った。
○:浮きやスジなどが一ヶ所もない。
×:浮きやスジが見られない。
浮きとは偏光子−偏光子保護フィルム間が密着していない状態であり、スジとは偏光子保護フィルム、または偏光子がごく少量面積ではあるが、自身で接着していることを意味する。
厚さ80μmのポリビニルアルコールフィルムを、5重量%(重量比:ヨウ素/ヨウ化カリウム=1/10)のヨウ素水溶液中で染色した。次いで、3重量%のホウ酸および2重量%ヨウ化カリウムを含む水溶液に浸漬し、さらに4重量%のホウ酸および3重量%のヨウ化カリウムを含む水溶液中で5.5倍まで延伸した後、5重量%のヨウ化カリウム水溶液に浸漬した。その後、40℃のオーブンで3分間乾燥を行い、厚さ30μmの偏光子を得た。
撹拌装置、温度センサー、冷却管、窒素導入管を備えた30L反応釜に、9000gのメタクリル酸メチル(MMA)、1000gの2−(ヒドロキシメチル)アクリル酸メチル(MHMA)、10000gの4−メチル−2−ペンタノン(メチルイソブチルケトン、MIBK)、5.0gのn−ドデシルメルカプタンを仕込み、これに窒素を通じつつ105℃まで昇温し、還流したところで、開始剤として5.0gのターシャリブチルパーオキシイソプロピルカーボネート(化薬アクゾ製、商品名:カヤカルボンBIC−75)を添加すると同時に、10.0gのターシャリブチルパーオキシイソプロピルカーボネートと230gのMIBKからなる溶液を4時間かけて滴下しながら、還流下(約105〜120℃)で溶液重合を行い、さらに4時間かけて熟成を行った。
得られた重合体溶液に、30gのリン酸ステアリル/リン酸ジステアリル混合物(堺化学製、商品名:Phoslex A−18)を加え、還流下(約90〜120℃)で5時間、環化縮合反応を行った。次いで、上記環化縮合反応で得られた重合体溶液を、バレル温度260℃、回転数100rpm、減圧度13.3〜400hPa(10〜300mmHg)、リアベント数1個、フォアベント数4個のベントタイプスクリュー二軸押出し機(Φ=29.75mm、L/D=30)に、樹脂量換算で2.0kg/時間の処理速度で導入し、該押出し機内で環化縮合反応と脱揮を行い、押出すことにより、透明なラクトン環含有アクリル系樹脂のペレット(1A)を得た。
ラクトン環含有アクリル系樹脂のペレット(1A)のラクトン環化率は96.7%、質量平均分子量は146000、メルトフローレートは7.1g/10分、Tg(ガラス転移温度)は124℃であった。
撹拌装置、温度センサー、冷却管、窒素導入管を備えた30L反応釜に、8000gのメタクリル酸メチル(MMA)、2000gの2−(ヒドロキシメチル)アクリル酸メチル(MHMA)、10000gのトルエンを仕込み、これに窒素を通じつつ105℃まで昇温し、還流したところで、開始剤として10.0gのターシャリーアミルパーオキシイソノナノエート(アルケマ吉富製、商品名:ルパゾール570)を添加すると同時に、20.0gの開始剤と100gのトルエンからなる溶液を4時間かけて滴下しながら、還流下(約105〜110℃)で溶液重合を行い、さらに4時間かけて熟成を行った。
得られた重合体溶液に、10gのリン酸ステアリル/リン酸ジステアリル混合物(堺化学製、商品名:Phoslex A−18)を加え、還流下(約90〜110℃)で5時間、環化縮合反応を行った。次いで、上記環化縮合反応で得られた重合体溶液を、バレル温度260℃、回転数100rpm、減圧度13.3〜400hPa(10〜300mmHg)、リアベント数1個、フォアベント数4個のベントタイプスクリュー二軸押出し機(Φ=29.75mm、L/D=30)に、樹脂量換算で2.0kg/時間の処理速度で導入し、該押出し機内で環化縮合反応と脱揮を行い、押出すことにより、透明なラクトン環含有アクリル系樹脂のペレット(1B)を得た。
ラクトン環含有アクリル系樹脂のペレット(1B)のラクトン環化率は96.7%、質量平均分子量は147700、メルトフローレートは11.0g/10分、Tg(ガラス転移温度)は130℃であった。
(偏光子保護フィルムの作製)
ラクトン環含有アクリル系樹脂のペレット(1A)100部に対し、ガンツ化成株式会社製のスタフィロイドIM−701(コアシェル型ナノ粒子、コア層がゴム状重合体、シェル層がガラス状重合体)5部を混合し、単軸押出機にてダイス温度260℃でTダイから押出し、120μmのフィルムを得た。このフィルムを縦方向に140℃で2.0倍延伸したのち、横方向に140℃で2.0倍延伸し、60μm厚のフィルムを得た。この後、フィルムの片面に放電量70w・min/m2にてコロナ処理を施した。
シランカップリング剤APZ−6601(東レ・ダウコーニング・シリコーン株式会社製)100部に対しイソプロピルアルコールを66.7部加えることにより調製した溶液を、上記で得られたフィルムのコロナ処理面にワイヤーバー♯5で塗布し揮発分を蒸発させた。
アセトアセチル基変性したポリビニルアルコール樹脂100重量部(アセチル化度13%)に対してメチロールメラミン20重量部を含む水溶液を、濃度0.5重量%になるように調整したポリビニルアルコール系接着剤水溶液を調製した。
偏光子の片面に上記偏光子保護フィルムの易接着層面が、もう一方の面にはけん化処理されたトリアセチルセルロース(富士写真フィルム社製、商品名:T−40UZ)が接するように、上記で調製したポリビニルアルコール系接着剤水溶液を用いて貼り合わせた。ポリビニルアルコール系接着剤水溶液は、それぞれ偏光子保護フィルムの易接着層面側、トリアセチルセルロース側に塗布し、70℃で10分間乾燥させて偏光板を得た。
ベースポリマーとして、ブチルアクリレート:アクリル酸:2−ヒドロキシエチルアクリレート=100:5:0.1(重量比)の共重合体からなる重量平均分子量200万のアクリル系ポリマーを含有する溶液(固形分30%)を用いた。上記アクリル系ポリマー溶液にイソシアネート系多官能性化合物である日本ポリウレタン社製コロネートLをポリマー固形分100部に対して4部、および添加剤(KBM403、信越シリコーン製)を0.5部、粘度調整のための溶剤(酢酸エチル)を加え、粘着剤溶液(固形分12%)を調製した。当該粘着剤溶液を、乾燥後の厚みが25μmとなるように、離型フィルム(ポリエチレンテレフタレート基材:ダイヤホイルMRF38、三菱化学ポリエステル製)上に塗布した後、熱風循環式オーブンで乾燥して、粘着剤層を形成した。
ポリアクリル酸エステルのポリエチレンイミン付加物(日本触媒社製、商品名ポリメントNK380)をメチルイソブチルケトンで50倍に希釈した。これを偏光板の片面に、ワイヤーバー(#5)を用いて乾燥後の厚みが50nmとなるように塗布乾燥した。
上記偏光板のアンカー層に、上記粘着剤層を形成した離型フィルムを貼り合わせ、粘着剤型偏光板を作製した。
得られた偏光子保護フィルムについて、全光線透過率、ヘイズを測定した。結果を表1に示す。
得られた偏光板における偏光子保護フィルムと偏光子の接着性、および外観を評価した。結果を表2に示す。
ラクトン環含有アクリル系樹脂のペレット(1A)100部に対し、ガンツ化成株式会社製のスタフィロイドIM−701(コアシェル型ナノ粒子)20部を混合した以外は実施例1と同様に行った。
得られた偏光子保護フィルムについて、全光線透過率、ヘイズを測定した。結果を表1に示す。
得られた偏光板における偏光子保護フィルムと偏光子の接着性、および外観を評価した。結果を表2に示す。
ラクトン環含有アクリル系樹脂のペレット(1A)100部に対し、ガンツ化成株式会社製のスタフィロイドIM−701(コアシェル型ナノ粒子)30部を混合した以外は実施例1と同様に行った。
得られた偏光子保護フィルムについて、全光線透過率、ヘイズを測定した。結果を表1に示す。
得られた偏光板における偏光子保護フィルムと偏光子の接着性、および外観を評価した。結果を表2に示す。
ラクトン環含有アクリル系樹脂のペレット(1B)100部に対し、ガンツ化成株式会社製のスタフィロイドIM−701(コアシェル型ナノ粒子)5部を混合した以外は実施例1と同様に行った。
得られた偏光子保護フィルムについて、全光線透過率、ヘイズを測定した。結果を表1に示す。
得られた偏光板における偏光子保護フィルムと偏光子の接着性、および外観を評価した。結果を表2に示す。
ラクトン環含有アクリル系樹脂のペレット(1B)100部に対し、ガンツ化成株式会社製のスタフィロイドIM−701(コアシェル型ナノ粒子)20部を混合した以外は実施例1と同様に行った。
得られた偏光子保護フィルムについて、全光線透過率、ヘイズを測定した。結果を表1に示す。
得られた偏光板における偏光子保護フィルムと偏光子の接着性、および外観を評価した。結果を表2に示す。
ラクトン環含有アクリル系樹脂のペレット(1B)100部に対し、ガンツ化成株式会社製のスタフィロイドIM−701(コアシェル型ナノ粒子)30部を混合した以外は実施例1と同様に行った。
得られた偏光子保護フィルムについて、全光線透過率、ヘイズを測定した。結果を表1に示す。
得られた偏光板における偏光子保護フィルムと偏光子の接着性、および外観を評価した。結果を表2に示す。
ラクトン環含有アクリル系樹脂のペレット(1A)100部に対し、ガンツ化成株式会社製のスタフィロイドIM−701(コアシェル型ナノ粒子)を混合しなかった以外は実施例1と同様に行った。
得られた偏光子保護フィルムについて、全光線透過率、ヘイズを測定した。結果を表1に示す。
得られた偏光板における偏光子保護フィルムと偏光子の接着性、および外観を評価した。結果を表2に示す。
ラクトン環含有アクリル系樹脂のペレット(1B)100部に対し、ガンツ化成株式会社製のスタフィロイドIM−701(コアシェル型ナノ粒子)を混合しなかった以外は実施例1と同様に行った。
得られた偏光子保護フィルムについて、全光線透過率、ヘイズを測定した。結果を表1に示す。
得られた偏光板における偏光子保護フィルムと偏光子の接着性、および外観を評価した。結果を表2に示す。
表2に示すように、コアシェル型ナノ粒子を用いた実施例1〜3、実施例4〜6では、得られた偏光板における接着性評価はいずれも高い評価であり、外観評価はいずれも高い評価であることが判る。
Claims (7)
- 前記ラクトン環構造を有する(メタ)アクリル系樹脂100重量部に対して前記コアシェル型ナノ粒子を1〜40重量部含む、請求項1に記載の偏光板。
- 前記コアシェル型ナノ粒子の粒子径が1〜1000nmである、請求項1または2に記載の偏光板。
- 前記接着剤層が、ポリビニルアルコール系接着剤から形成される層である、請求項1から3までのいずれかに記載の偏光板。
- 前記偏光子の前記偏光子保護フィルムと反対側にセルロース系樹脂フィルムを有する、請求項1から4までのいずれかに記載の偏光板。
- 最外層の少なくとも一方として粘着剤層をさらに有する、請求項1から5までのいずれかに記載の偏光板。
- 請求項1から6までのいずれかに記載の偏光板を少なくとも1枚含む、画像表示装置。
Priority Applications (1)
| Application Number | Priority Date | Filing Date | Title |
|---|---|---|---|
| JP2008505042A JP5075813B2 (ja) | 2006-03-10 | 2007-02-27 | 偏光子保護フィルム、偏光板、および画像表示装置 |
Applications Claiming Priority (4)
| Application Number | Priority Date | Filing Date | Title |
|---|---|---|---|
| JP2006065064 | 2006-03-10 | ||
| JP2006065064 | 2006-03-10 | ||
| JP2008505042A JP5075813B2 (ja) | 2006-03-10 | 2007-02-27 | 偏光子保護フィルム、偏光板、および画像表示装置 |
| PCT/JP2007/053668 WO2007105485A1 (ja) | 2006-03-10 | 2007-02-27 | 偏光子保護フィルム、偏光板、および画像表示装置 |
Publications (2)
| Publication Number | Publication Date |
|---|---|
| JPWO2007105485A1 JPWO2007105485A1 (ja) | 2009-07-30 |
| JP5075813B2 true JP5075813B2 (ja) | 2012-11-21 |
Family
ID=38509321
Family Applications (1)
| Application Number | Title | Priority Date | Filing Date |
|---|---|---|---|
| JP2008505042A Active JP5075813B2 (ja) | 2006-03-10 | 2007-02-27 | 偏光子保護フィルム、偏光板、および画像表示装置 |
Country Status (6)
| Country | Link |
|---|---|
| US (1) | US9297932B2 (ja) |
| JP (1) | JP5075813B2 (ja) |
| KR (1) | KR101344996B1 (ja) |
| CN (1) | CN101401015B (ja) |
| TW (1) | TW200739150A (ja) |
| WO (1) | WO2007105485A1 (ja) |
Cited By (1)
| Publication number | Priority date | Publication date | Assignee | Title |
|---|---|---|---|---|
| WO2018190176A1 (ja) * | 2017-04-10 | 2018-10-18 | 日東電工株式会社 | 偏光板および画像表示装置 |
Families Citing this family (30)
| Publication number | Priority date | Publication date | Assignee | Title |
|---|---|---|---|---|
| CN101334558B (zh) * | 2007-06-29 | 2011-04-20 | 群康科技(深圳)有限公司 | 背光模组及液晶显示器 |
| KR101009734B1 (ko) * | 2007-09-21 | 2011-01-19 | 주식회사 엘지화학 | 광학필름 및 이의 제조방법 |
| JP5149583B2 (ja) * | 2007-09-28 | 2013-02-20 | 株式会社日本触媒 | 光学用フィルムの製造方法 |
| KR100994976B1 (ko) * | 2007-10-02 | 2010-11-18 | 주식회사 엘지화학 | 광학필름 및 이의 제조방법 |
| WO2009054375A1 (ja) * | 2007-10-22 | 2009-04-30 | Nitto Denko Corporation | 偏光板、その製造方法、光学フィルムおよび画像表示装置 |
| KR101065199B1 (ko) | 2007-10-23 | 2011-09-19 | 주식회사 엘지화학 | 광학필름 및 이의 제조방법 |
| JP5231158B2 (ja) * | 2007-10-24 | 2013-07-10 | 日東電工株式会社 | 偏光板、光学フィルムおよび画像表示装置 |
| WO2009072470A1 (ja) * | 2007-12-06 | 2009-06-11 | Nitto Denko Corporation | 画像表示装置の製造方法 |
| WO2009096090A1 (ja) | 2008-01-31 | 2009-08-06 | Nitto Denko Corporation | 偏光子保護フィルム、偏光板および画像表示装置 |
| JP5454862B2 (ja) * | 2008-03-10 | 2014-03-26 | 住友化学株式会社 | 偏光板、光学部材および液晶表示装置 |
| JP4928529B2 (ja) * | 2008-11-12 | 2012-05-09 | 日東電工株式会社 | 偏光板の製造方法、偏光板、光学フィルムおよび画像表示装置 |
| JP5439895B2 (ja) * | 2009-03-27 | 2014-03-12 | 住友化学株式会社 | 偏光子保護フィルム、偏光板及び液晶表示装置 |
| JP6039168B2 (ja) * | 2010-09-30 | 2016-12-07 | 恵和株式会社 | 保護シート、保護シートの製造方法及び偏光板 |
| JP6297247B2 (ja) * | 2010-09-30 | 2018-03-20 | 恵和株式会社 | 保護シート、保護シートの製造方法及び偏光板 |
| JP6042059B2 (ja) * | 2010-09-30 | 2016-12-14 | 恵和株式会社 | 保護シートの製造方法及び偏光板の製造方法 |
| JP6363322B2 (ja) * | 2012-06-08 | 2018-07-25 | 住友化学株式会社 | 偏光板の製造方法 |
| KR101640631B1 (ko) * | 2012-12-12 | 2016-07-18 | 제일모직주식회사 | 편광판용 접착 필름, 이를 위한 접착제 조성물, 이를 포함하는 편광판 및 이를 포함하는 광학 표시 장치 |
| US20140322554A1 (en) * | 2013-04-26 | 2014-10-30 | Fujifilm Corporation | Optical film, polarizing plate and liquid crystal display device |
| CN104297835B (zh) * | 2014-10-17 | 2017-03-08 | 京东方科技集团股份有限公司 | 一种线栅偏振片的制作方法 |
| CN104483733B (zh) | 2014-12-30 | 2017-11-21 | 京东方科技集团股份有限公司 | 一种线栅偏振片及其制作方法、显示装置 |
| CN104459865A (zh) * | 2014-12-30 | 2015-03-25 | 京东方科技集团股份有限公司 | 一种线栅偏振片及其制作方法、显示装置 |
| JP6456710B2 (ja) * | 2015-02-16 | 2019-01-23 | 住友化学株式会社 | 積層偏光板の製造方法および偏光板の製造方法 |
| JP6402064B2 (ja) * | 2015-03-31 | 2018-10-10 | 富士フイルム株式会社 | 光学フィルム、光学フィルムの製造方法、光学フィルムを用いた偏光板、及び画像表示装置 |
| KR101892336B1 (ko) * | 2015-07-29 | 2018-08-27 | 삼성에스디아이 주식회사 | 편광판 |
| JP6610078B2 (ja) * | 2015-08-18 | 2019-11-27 | 凸版印刷株式会社 | 化粧シート及び金属化粧材 |
| KR101955765B1 (ko) * | 2016-08-31 | 2019-03-07 | 삼성에스디아이 주식회사 | 편광판 및 이를 포함하는 광학표시장치 |
| KR102580443B1 (ko) * | 2017-02-28 | 2023-09-20 | 닛토덴코 가부시키가이샤 | 화상 표시 장치 및 해당 화상 표시 장치의 제조 방법 |
| US20200164623A1 (en) * | 2017-05-12 | 2020-05-28 | Daicel Corporation | Sheet, method for producing sheet, and method for laminating sheet |
| CN109031498B (zh) * | 2018-08-20 | 2020-10-13 | 武汉华星光电半导体显示技术有限公司 | 自组装法制备超薄偏光片的方法、超薄偏光片及显示面板 |
| KR102259745B1 (ko) | 2018-12-07 | 2021-06-02 | 주식회사 엘지화학 | 점착 수지 및 이를 포함하는 광학부재용 점착제 조성물 |
Citations (10)
| Publication number | Priority date | Publication date | Assignee | Title |
|---|---|---|---|---|
| JPH09113728A (ja) * | 1995-08-11 | 1997-05-02 | Konica Corp | 偏光板用保護フィルム |
| JPH09325329A (ja) * | 1996-06-07 | 1997-12-16 | Konica Corp | 液晶表示用部材の作製方法 |
| JP2003121646A (ja) * | 2001-10-12 | 2003-04-23 | Nitto Denko Corp | 粘着型偏光板の製造方法、粘着型偏光板および液晶表示装置 |
| JP2004285297A (ja) * | 2003-03-25 | 2004-10-14 | Nitto Denko Corp | 粘着型光学フィルムおよび画像表示装置 |
| JP2005162835A (ja) * | 2003-12-01 | 2005-06-23 | Nippon Shokubai Co Ltd | 熱可塑性樹脂成形材 |
| JP2005281589A (ja) * | 2004-03-30 | 2005-10-13 | Nippon Shokubai Co Ltd | 熱可塑性樹脂組成物 |
| JP2005294552A (ja) * | 2004-03-31 | 2005-10-20 | Tdk Corp | 有機質正特性サーミスタ素体形成用組成物及び有機質正特性サーミスタ |
| WO2005105918A1 (ja) * | 2004-04-28 | 2005-11-10 | Toray Industries, Inc. | アクリル樹脂フィルムおよび製造方法 |
| JP2006013378A (ja) * | 2004-06-29 | 2006-01-12 | Tdk Corp | サーミスタ素体形成用樹脂組成物及びサーミスタ |
| WO2006025445A1 (ja) * | 2004-08-31 | 2006-03-09 | Nippon Shokubai Co., Ltd. | 光学用面状熱可塑性樹脂組成物 |
Family Cites Families (14)
| Publication number | Priority date | Publication date | Assignee | Title |
|---|---|---|---|---|
| US5063259A (en) * | 1990-07-03 | 1991-11-05 | Rohm And Haas Company | Clear, impact-resistant plastics |
| JP3322406B2 (ja) | 1991-10-23 | 2002-09-09 | 鐘淵化学工業株式会社 | 偏光膜保護用フィルム |
| JP3396240B2 (ja) * | 1992-05-25 | 2003-04-14 | 住友化学工業株式会社 | メタアクリル樹脂組成物 |
| US5914073A (en) * | 1995-08-11 | 1999-06-22 | Konica Corporation | Protective film for polarizing plate |
| JP4769348B2 (ja) | 1999-11-26 | 2011-09-07 | 株式会社日本触媒 | 透明性耐熱樹脂の製造方法 |
| WO2001048519A1 (fr) * | 1999-12-28 | 2001-07-05 | Gunze Co., Ltd | Plaque de polarisation |
| CN1315663A (zh) | 2000-03-31 | 2001-10-03 | 富士胶片株式会社 | 偏振光片保护膜 |
| FR2809741B1 (fr) * | 2000-05-31 | 2002-08-16 | Atofina | Materiaux thermodurs a tenue au choc amelioree |
| US6912029B2 (en) * | 2000-12-18 | 2005-06-28 | Nippon Kayaku Kabushiki Kaisha | Optical film and polarizing film using the same, and method for improving view angle of the polarizing film |
| US20020192397A1 (en) * | 2001-02-20 | 2002-12-19 | Fuji Photo Film Co., Ltd. | Polarizing plate protection film |
| JP2002303725A (ja) * | 2001-04-06 | 2002-10-18 | Nitto Denko Corp | 偏光フィルム、偏光フィルムを用いた光学フィルムおよび液晶表示装置 |
| JP2003201381A (ja) * | 2001-12-28 | 2003-07-18 | Nippon Shokubai Co Ltd | 硬化性樹脂およびその用途 |
| KR100888777B1 (ko) * | 2002-09-14 | 2009-03-13 | 삼성전자주식회사 | 액정 표시 장치 |
| TWI287025B (en) * | 2004-08-31 | 2007-09-21 | Nippon Catalytic Chem Ind | Optical sheet form thermoplastic resin molded product |
-
2007
- 2007-02-27 CN CN2007800086477A patent/CN101401015B/zh active Active
- 2007-02-27 JP JP2008505042A patent/JP5075813B2/ja active Active
- 2007-02-27 WO PCT/JP2007/053668 patent/WO2007105485A1/ja not_active Ceased
- 2007-02-27 US US12/282,310 patent/US9297932B2/en not_active Expired - Fee Related
- 2007-03-06 TW TW096107701A patent/TW200739150A/zh unknown
-
2008
- 2008-09-09 KR KR1020087022090A patent/KR101344996B1/ko active Active
Patent Citations (10)
| Publication number | Priority date | Publication date | Assignee | Title |
|---|---|---|---|---|
| JPH09113728A (ja) * | 1995-08-11 | 1997-05-02 | Konica Corp | 偏光板用保護フィルム |
| JPH09325329A (ja) * | 1996-06-07 | 1997-12-16 | Konica Corp | 液晶表示用部材の作製方法 |
| JP2003121646A (ja) * | 2001-10-12 | 2003-04-23 | Nitto Denko Corp | 粘着型偏光板の製造方法、粘着型偏光板および液晶表示装置 |
| JP2004285297A (ja) * | 2003-03-25 | 2004-10-14 | Nitto Denko Corp | 粘着型光学フィルムおよび画像表示装置 |
| JP2005162835A (ja) * | 2003-12-01 | 2005-06-23 | Nippon Shokubai Co Ltd | 熱可塑性樹脂成形材 |
| JP2005281589A (ja) * | 2004-03-30 | 2005-10-13 | Nippon Shokubai Co Ltd | 熱可塑性樹脂組成物 |
| JP2005294552A (ja) * | 2004-03-31 | 2005-10-20 | Tdk Corp | 有機質正特性サーミスタ素体形成用組成物及び有機質正特性サーミスタ |
| WO2005105918A1 (ja) * | 2004-04-28 | 2005-11-10 | Toray Industries, Inc. | アクリル樹脂フィルムおよび製造方法 |
| JP2006013378A (ja) * | 2004-06-29 | 2006-01-12 | Tdk Corp | サーミスタ素体形成用樹脂組成物及びサーミスタ |
| WO2006025445A1 (ja) * | 2004-08-31 | 2006-03-09 | Nippon Shokubai Co., Ltd. | 光学用面状熱可塑性樹脂組成物 |
Cited By (2)
| Publication number | Priority date | Publication date | Assignee | Title |
|---|---|---|---|---|
| WO2018190176A1 (ja) * | 2017-04-10 | 2018-10-18 | 日東電工株式会社 | 偏光板および画像表示装置 |
| JPWO2018190176A1 (ja) * | 2017-04-10 | 2020-02-20 | 日東電工株式会社 | 偏光板および画像表示装置 |
Also Published As
| Publication number | Publication date |
|---|---|
| CN101401015A (zh) | 2009-04-01 |
| US20090067047A1 (en) | 2009-03-12 |
| KR101344996B1 (ko) | 2013-12-24 |
| KR20080106237A (ko) | 2008-12-04 |
| CN101401015B (zh) | 2011-03-23 |
| TWI335448B (ja) | 2011-01-01 |
| WO2007105485A1 (ja) | 2007-09-20 |
| TW200739150A (en) | 2007-10-16 |
| JPWO2007105485A1 (ja) | 2009-07-30 |
| US9297932B2 (en) | 2016-03-29 |
Similar Documents
| Publication | Publication Date | Title |
|---|---|---|
| JP5075813B2 (ja) | 偏光子保護フィルム、偏光板、および画像表示装置 | |
| JP5470336B2 (ja) | 偏光子保護フィルム、偏光板、および画像表示装置 | |
| CN101206275B (zh) | 光学膜、偏振片和图像显示装置 | |
| JPWO2006112207A1 (ja) | 偏光子保護フィルム、偏光板、および画像表示装置 | |
| JP5268083B2 (ja) | 偏光子保護フィルム、偏光板、および画像表示装置 | |
| JP2007316366A (ja) | 偏光子保護フィルム、偏光板、および画像表示装置 | |
| JPWO2008050573A1 (ja) | 偏光子保護フィルム、偏光板、および画像表示装置 | |
| JP4849665B2 (ja) | 偏光子保護フィルム、偏光板、および画像表示装置 | |
| CN101228462A (zh) | 偏光板及图像显示装置 | |
| JP4570042B2 (ja) | 偏光子保護フィルム、偏光板、および画像表示装置 | |
| JP4570043B2 (ja) | 偏光子保護フィルム、偏光板、および画像表示装置 | |
| JP2012133377A (ja) | 偏光子保護フィルム、偏光板、および画像表示装置 | |
| JP2009025762A (ja) | 光学フィルム、偏光板、および画像表示装置 | |
| JP4881105B2 (ja) | 光学フィルム、偏光板、および画像表示装置 | |
| JP2006215465A (ja) | 偏光子保護フィルム、偏光板、および画像表示装置 | |
| JP4859038B2 (ja) | 偏光板、および画像表示装置 | |
| JP2008076764A (ja) | 光学フィルム、偏光板、および画像表示装置 | |
| JP2012230397A (ja) | 光学フィルム、偏光板、および画像表示装置 | |
| JP2006215463A (ja) | 偏光子保護フィルム、偏光板、および画像表示装置 | |
| JP2007041563A (ja) | 光学フィルム、偏光板、および画像表示装置 | |
| JP2007010756A (ja) | 偏光板および画像表示装置 |
Legal Events
| Date | Code | Title | Description |
|---|---|---|---|
| A621 | Written request for application examination |
Free format text: JAPANESE INTERMEDIATE CODE: A621 Effective date: 20100122 |
|
| A131 | Notification of reasons for refusal |
Free format text: JAPANESE INTERMEDIATE CODE: A131 Effective date: 20120229 |
|
| A521 | Request for written amendment filed |
Free format text: JAPANESE INTERMEDIATE CODE: A523 Effective date: 20120416 |
|
| A131 | Notification of reasons for refusal |
Free format text: JAPANESE INTERMEDIATE CODE: A131 Effective date: 20120523 |
|
| A521 | Request for written amendment filed |
Free format text: JAPANESE INTERMEDIATE CODE: A523 Effective date: 20120717 |
|
| TRDD | Decision of grant or rejection written | ||
| A01 | Written decision to grant a patent or to grant a registration (utility model) |
Free format text: JAPANESE INTERMEDIATE CODE: A01 Effective date: 20120815 |
|
| A01 | Written decision to grant a patent or to grant a registration (utility model) |
Free format text: JAPANESE INTERMEDIATE CODE: A01 |
|
| A61 | First payment of annual fees (during grant procedure) |
Free format text: JAPANESE INTERMEDIATE CODE: A61 Effective date: 20120827 |
|
| R150 | Certificate of patent or registration of utility model |
Ref document number: 5075813 Country of ref document: JP Free format text: JAPANESE INTERMEDIATE CODE: R150 Free format text: JAPANESE INTERMEDIATE CODE: R150 |
|
| FPAY | Renewal fee payment (event date is renewal date of database) |
Free format text: PAYMENT UNTIL: 20150831 Year of fee payment: 3 |
|
| R250 | Receipt of annual fees |
Free format text: JAPANESE INTERMEDIATE CODE: R250 |
|
| R250 | Receipt of annual fees |
Free format text: JAPANESE INTERMEDIATE CODE: R250 |
|
| R250 | Receipt of annual fees |
Free format text: JAPANESE INTERMEDIATE CODE: R250 |
|
| R250 | Receipt of annual fees |
Free format text: JAPANESE INTERMEDIATE CODE: R250 |
|
| R250 | Receipt of annual fees |
Free format text: JAPANESE INTERMEDIATE CODE: R250 |
|
| R250 | Receipt of annual fees |
Free format text: JAPANESE INTERMEDIATE CODE: R250 |
|
| R250 | Receipt of annual fees |
Free format text: JAPANESE INTERMEDIATE CODE: R250 |
|
| R250 | Receipt of annual fees |
Free format text: JAPANESE INTERMEDIATE CODE: R250 |
|
| R250 | Receipt of annual fees |
Free format text: JAPANESE INTERMEDIATE CODE: R250 |
|
| R250 | Receipt of annual fees |
Free format text: JAPANESE INTERMEDIATE CODE: R250 |
