JP2005294552A - 有機質正特性サーミスタ素体形成用組成物及び有機質正特性サーミスタ - Google Patents
有機質正特性サーミスタ素体形成用組成物及び有機質正特性サーミスタ Download PDFInfo
- Publication number
- JP2005294552A JP2005294552A JP2004107887A JP2004107887A JP2005294552A JP 2005294552 A JP2005294552 A JP 2005294552A JP 2004107887 A JP2004107887 A JP 2004107887A JP 2004107887 A JP2004107887 A JP 2004107887A JP 2005294552 A JP2005294552 A JP 2005294552A
- Authority
- JP
- Japan
- Prior art keywords
- core
- thermistor
- organic positive
- temperature coefficient
- positive temperature
- Prior art date
- Legal status (The legal status is an assumption and is not a legal conclusion. Google has not performed a legal analysis and makes no representation as to the accuracy of the status listed.)
- Pending
Links
- 239000000203 mixture Substances 0.000 title claims abstract description 64
- 239000002245 particle Substances 0.000 claims abstract description 143
- 229920005989 resin Polymers 0.000 claims abstract description 110
- 239000011347 resin Substances 0.000 claims abstract description 110
- 229920000642 polymer Polymers 0.000 claims abstract description 104
- 239000011258 core-shell material Substances 0.000 claims abstract description 82
- 229920001187 thermosetting polymer Polymers 0.000 claims abstract description 80
- 239000010410 layer Substances 0.000 claims description 39
- 229920005992 thermoplastic resin Polymers 0.000 claims description 36
- 239000003822 epoxy resin Substances 0.000 claims description 33
- 229920000647 polyepoxide Polymers 0.000 claims description 33
- 239000012792 core layer Substances 0.000 claims description 26
- -1 acrylate compound Chemical class 0.000 claims description 13
- 238000006116 polymerization reaction Methods 0.000 claims description 7
- 239000012044 organic layer Substances 0.000 claims 1
- 230000001747 exhibiting effect Effects 0.000 abstract 2
- 230000008859 change Effects 0.000 description 62
- 238000000034 method Methods 0.000 description 37
- 239000011159 matrix material Substances 0.000 description 30
- 239000011248 coating agent Substances 0.000 description 21
- 238000000576 coating method Methods 0.000 description 21
- 238000010438 heat treatment Methods 0.000 description 21
- PXHVJJICTQNCMI-UHFFFAOYSA-N nickel Substances [Ni] PXHVJJICTQNCMI-UHFFFAOYSA-N 0.000 description 16
- 230000008569 process Effects 0.000 description 12
- 238000002156 mixing Methods 0.000 description 11
- 150000008065 acid anhydrides Chemical class 0.000 description 10
- 239000003795 chemical substances by application Substances 0.000 description 10
- 230000000694 effects Effects 0.000 description 10
- 239000011888 foil Substances 0.000 description 10
- 239000000463 material Substances 0.000 description 10
- 229920001577 copolymer Polymers 0.000 description 9
- RAXXELZNTBOGNW-UHFFFAOYSA-N imidazole Natural products C1=CNC=N1 RAXXELZNTBOGNW-UHFFFAOYSA-N 0.000 description 9
- PEDCQBHIVMGVHV-UHFFFAOYSA-N Glycerine Chemical compound OCC(O)CO PEDCQBHIVMGVHV-UHFFFAOYSA-N 0.000 description 8
- 238000001816 cooling Methods 0.000 description 8
- 238000001879 gelation Methods 0.000 description 8
- 238000004519 manufacturing process Methods 0.000 description 8
- 229910052751 metal Inorganic materials 0.000 description 8
- 239000002184 metal Substances 0.000 description 8
- 125000004432 carbon atom Chemical group C* 0.000 description 7
- 150000001875 compounds Chemical class 0.000 description 7
- 238000000465 moulding Methods 0.000 description 7
- LYCAIKOWRPUZTN-UHFFFAOYSA-N Ethylene glycol Chemical compound OCCO LYCAIKOWRPUZTN-UHFFFAOYSA-N 0.000 description 6
- NIXOWILDQLNWCW-UHFFFAOYSA-M Acrylate Chemical compound [O-]C(=O)C=C NIXOWILDQLNWCW-UHFFFAOYSA-M 0.000 description 5
- PPBRXRYQALVLMV-UHFFFAOYSA-N Styrene Chemical compound C=CC1=CC=CC=C1 PPBRXRYQALVLMV-UHFFFAOYSA-N 0.000 description 5
- IISBACLAFKSPIT-UHFFFAOYSA-N bisphenol A Chemical compound C=1C=C(O)C=CC=1C(C)(C)C1=CC=C(O)C=C1 IISBACLAFKSPIT-UHFFFAOYSA-N 0.000 description 5
- 230000000052 comparative effect Effects 0.000 description 5
- NPURPEXKKDAKIH-UHFFFAOYSA-N iodoimino(oxo)methane Chemical compound IN=C=O NPURPEXKKDAKIH-UHFFFAOYSA-N 0.000 description 5
- 239000002923 metal particle Substances 0.000 description 5
- 239000000178 monomer Substances 0.000 description 5
- 125000000962 organic group Chemical group 0.000 description 5
- 238000004080 punching Methods 0.000 description 5
- 230000035939 shock Effects 0.000 description 5
- 239000000126 substance Substances 0.000 description 5
- RTZKZFJDLAIYFH-UHFFFAOYSA-N Diethyl ether Chemical compound CCOCC RTZKZFJDLAIYFH-UHFFFAOYSA-N 0.000 description 4
- 239000000654 additive Substances 0.000 description 4
- 230000007423 decrease Effects 0.000 description 4
- 125000004185 ester group Chemical group 0.000 description 4
- 229910052736 halogen Inorganic materials 0.000 description 4
- 150000002367 halogens Chemical class 0.000 description 4
- 238000000691 measurement method Methods 0.000 description 4
- 229910052759 nickel Inorganic materials 0.000 description 4
- 125000002560 nitrile group Chemical group 0.000 description 4
- 238000005191 phase separation Methods 0.000 description 4
- 239000004925 Acrylic resin Substances 0.000 description 3
- 229920000178 Acrylic resin Polymers 0.000 description 3
- IJGRMHOSHXDMSA-UHFFFAOYSA-N Atomic nitrogen Chemical group N#N IJGRMHOSHXDMSA-UHFFFAOYSA-N 0.000 description 3
- OKTJSMMVPCPJKN-UHFFFAOYSA-N Carbon Chemical compound [C] OKTJSMMVPCPJKN-UHFFFAOYSA-N 0.000 description 3
- 125000003545 alkoxy group Chemical group 0.000 description 3
- 150000008064 anhydrides Chemical class 0.000 description 3
- 230000015572 biosynthetic process Effects 0.000 description 3
- 125000003178 carboxy group Chemical group [H]OC(*)=O 0.000 description 3
- 238000004132 cross linking Methods 0.000 description 3
- 125000000524 functional group Chemical group 0.000 description 3
- 235000011187 glycerol Nutrition 0.000 description 3
- 239000007788 liquid Substances 0.000 description 3
- 239000011164 primary particle Substances 0.000 description 3
- 125000001424 substituent group Chemical group 0.000 description 3
- 230000008961 swelling Effects 0.000 description 3
- 125000005591 trimellitate group Chemical group 0.000 description 3
- MYRTYDVEIRVNKP-UHFFFAOYSA-N 1,2-Divinylbenzene Chemical compound C=CC1=CC=CC=C1C=C MYRTYDVEIRVNKP-UHFFFAOYSA-N 0.000 description 2
- KUDUQBURMYMBIJ-UHFFFAOYSA-N 2-prop-2-enoyloxyethyl prop-2-enoate Chemical compound C=CC(=O)OCCOC(=O)C=C KUDUQBURMYMBIJ-UHFFFAOYSA-N 0.000 description 2
- WVRNUXJQQFPNMN-VAWYXSNFSA-N 3-[(e)-dodec-1-enyl]oxolane-2,5-dione Chemical compound CCCCCCCCCC\C=C\C1CC(=O)OC1=O WVRNUXJQQFPNMN-VAWYXSNFSA-N 0.000 description 2
- FJKROLUGYXJWQN-UHFFFAOYSA-N 4-hydroxybenzoic acid Chemical compound OC(=O)C1=CC=C(O)C=C1 FJKROLUGYXJWQN-UHFFFAOYSA-N 0.000 description 2
- MWSKJDNQKGCKPA-UHFFFAOYSA-N 6-methyl-3a,4,5,7a-tetrahydro-2-benzofuran-1,3-dione Chemical compound C1CC(C)=CC2C(=O)OC(=O)C12 MWSKJDNQKGCKPA-UHFFFAOYSA-N 0.000 description 2
- CSCPPACGZOOCGX-UHFFFAOYSA-N Acetone Chemical compound CC(C)=O CSCPPACGZOOCGX-UHFFFAOYSA-N 0.000 description 2
- NLHHRLWOUZZQLW-UHFFFAOYSA-N Acrylonitrile Chemical compound C=CC#N NLHHRLWOUZZQLW-UHFFFAOYSA-N 0.000 description 2
- KAKZBPTYRLMSJV-UHFFFAOYSA-N Butadiene Chemical compound C=CC=C KAKZBPTYRLMSJV-UHFFFAOYSA-N 0.000 description 2
- RYGMFSIKBFXOCR-UHFFFAOYSA-N Copper Chemical compound [Cu] RYGMFSIKBFXOCR-UHFFFAOYSA-N 0.000 description 2
- 239000004593 Epoxy Substances 0.000 description 2
- 239000002841 Lewis acid Substances 0.000 description 2
- CERQOIWHTDAKMF-UHFFFAOYSA-M Methacrylate Chemical compound CC(=C)C([O-])=O CERQOIWHTDAKMF-UHFFFAOYSA-M 0.000 description 2
- ISWSIDIOOBJBQZ-UHFFFAOYSA-N Phenol Chemical compound OC1=CC=CC=C1 ISWSIDIOOBJBQZ-UHFFFAOYSA-N 0.000 description 2
- KKEYFWRCBNTPAC-UHFFFAOYSA-N Terephthalic acid Chemical compound OC(=O)C1=CC=C(C(O)=O)C=C1 KKEYFWRCBNTPAC-UHFFFAOYSA-N 0.000 description 2
- 239000002253 acid Substances 0.000 description 2
- 150000001252 acrylic acid derivatives Chemical class 0.000 description 2
- 125000002947 alkylene group Chemical group 0.000 description 2
- 125000003277 amino group Chemical group 0.000 description 2
- 125000004429 atom Chemical group 0.000 description 2
- 238000005452 bending Methods 0.000 description 2
- PXKLMJQFEQBVLD-UHFFFAOYSA-N bisphenol F Chemical compound C1=CC(O)=CC=C1CC1=CC=C(O)C=C1 PXKLMJQFEQBVLD-UHFFFAOYSA-N 0.000 description 2
- 229910052799 carbon Inorganic materials 0.000 description 2
- YCIMNLLNPGFGHC-UHFFFAOYSA-N catechol Chemical compound OC1=CC=CC=C1O YCIMNLLNPGFGHC-UHFFFAOYSA-N 0.000 description 2
- 239000000919 ceramic Substances 0.000 description 2
- 229910010293 ceramic material Inorganic materials 0.000 description 2
- 238000006243 chemical reaction Methods 0.000 description 2
- 238000005336 cracking Methods 0.000 description 2
- 230000003247 decreasing effect Effects 0.000 description 2
- 125000002485 formyl group Chemical group [H]C(*)=O 0.000 description 2
- 230000009477 glass transition Effects 0.000 description 2
- LNEPOXFFQSENCJ-UHFFFAOYSA-N haloperidol Chemical compound C1CC(O)(C=2C=CC(Cl)=CC=2)CCN1CCCC(=O)C1=CC=C(F)C=C1 LNEPOXFFQSENCJ-UHFFFAOYSA-N 0.000 description 2
- 150000002430 hydrocarbons Chemical group 0.000 description 2
- 125000002887 hydroxy group Chemical group [H]O* 0.000 description 2
- 238000007373 indentation Methods 0.000 description 2
- 150000007517 lewis acids Chemical class 0.000 description 2
- 125000000449 nitro group Chemical group [O-][N+](*)=O 0.000 description 2
- 229920003986 novolac Polymers 0.000 description 2
- 239000005011 phenolic resin Substances 0.000 description 2
- XNGIFLGASWRNHJ-UHFFFAOYSA-N phthalic acid Chemical compound OC(=O)C1=CC=CC=C1C(O)=O XNGIFLGASWRNHJ-UHFFFAOYSA-N 0.000 description 2
- 238000007747 plating Methods 0.000 description 2
- 229920000768 polyamine Polymers 0.000 description 2
- 229920001721 polyimide Polymers 0.000 description 2
- 239000009719 polyimide resin Substances 0.000 description 2
- 229920005749 polyurethane resin Polymers 0.000 description 2
- GHMLBKRAJCXXBS-UHFFFAOYSA-N resorcinol Chemical compound OC1=CC=CC(O)=C1 GHMLBKRAJCXXBS-UHFFFAOYSA-N 0.000 description 2
- 239000011163 secondary particle Substances 0.000 description 2
- 238000004062 sedimentation Methods 0.000 description 2
- 229920002050 silicone resin Polymers 0.000 description 2
- 239000007787 solid Substances 0.000 description 2
- 150000005846 sugar alcohols Polymers 0.000 description 2
- 150000003512 tertiary amines Chemical class 0.000 description 2
- 229920006337 unsaturated polyester resin Polymers 0.000 description 2
- LTVUCOSIZFEASK-MPXCPUAZSA-N (3ar,4s,7r,7as)-3a-methyl-3a,4,7,7a-tetrahydro-4,7-methano-2-benzofuran-1,3-dione Chemical compound C([C@H]1C=C2)[C@H]2[C@H]2[C@]1(C)C(=O)OC2=O LTVUCOSIZFEASK-MPXCPUAZSA-N 0.000 description 1
- MUTGBJKUEZFXGO-OLQVQODUSA-N (3as,7ar)-3a,4,5,6,7,7a-hexahydro-2-benzofuran-1,3-dione Chemical compound C1CCC[C@@H]2C(=O)OC(=O)[C@@H]21 MUTGBJKUEZFXGO-OLQVQODUSA-N 0.000 description 1
- KMOUUZVZFBCRAM-OLQVQODUSA-N (3as,7ar)-3a,4,7,7a-tetrahydro-2-benzofuran-1,3-dione Chemical compound C1C=CC[C@@H]2C(=O)OC(=O)[C@@H]21 KMOUUZVZFBCRAM-OLQVQODUSA-N 0.000 description 1
- HECLRDQVFMWTQS-RGOKHQFPSA-N 1755-01-7 Chemical compound C1[C@H]2[C@@H]3CC=C[C@@H]3[C@@H]1C=C2 HECLRDQVFMWTQS-RGOKHQFPSA-N 0.000 description 1
- FALRKNHUBBKYCC-UHFFFAOYSA-N 2-(chloromethyl)pyridine-3-carbonitrile Chemical compound ClCC1=NC=CC=C1C#N FALRKNHUBBKYCC-UHFFFAOYSA-N 0.000 description 1
- QTWJRLJHJPIABL-UHFFFAOYSA-N 2-methylphenol;3-methylphenol;4-methylphenol Chemical compound CC1=CC=C(O)C=C1.CC1=CC=CC(O)=C1.CC1=CC=CC=C1O QTWJRLJHJPIABL-UHFFFAOYSA-N 0.000 description 1
- PZYAFUQTVNDJQU-UHFFFAOYSA-N 2-phenylhexadecanedioic acid Chemical compound OC(=O)CCCCCCCCCCCCCC(C(O)=O)C1=CC=CC=C1 PZYAFUQTVNDJQU-UHFFFAOYSA-N 0.000 description 1
- 125000003903 2-propenyl group Chemical group [H]C([*])([H])C([H])=C([H])[H] 0.000 description 1
- PUMIRPCJLHGLOT-UHFFFAOYSA-N 3,5-diethyloxane-2,6-dione Chemical compound CCC1CC(CC)C(=O)OC1=O PUMIRPCJLHGLOT-UHFFFAOYSA-N 0.000 description 1
- ALKYHXVLJMQRLQ-UHFFFAOYSA-N 3-Hydroxy-2-naphthoate Chemical compound C1=CC=C2C=C(O)C(C(=O)O)=CC2=C1 ALKYHXVLJMQRLQ-UHFFFAOYSA-N 0.000 description 1
- BLBSJBOFNFNGLV-UHFFFAOYSA-N 3-ethyl-oxacyclononadecane-2,19-dione Chemical compound CCC1CCCCCCCCCCCCCCCC(=O)OC1=O BLBSJBOFNFNGLV-UHFFFAOYSA-N 0.000 description 1
- XOJWAAUYNWGQAU-UHFFFAOYSA-N 4-(2-methylprop-2-enoyloxy)butyl 2-methylprop-2-enoate Chemical compound CC(=C)C(=O)OCCCCOC(=O)C(C)=C XOJWAAUYNWGQAU-UHFFFAOYSA-N 0.000 description 1
- 229940090248 4-hydroxybenzoic acid Drugs 0.000 description 1
- VQVIHDPBMFABCQ-UHFFFAOYSA-N 5-(1,3-dioxo-2-benzofuran-5-carbonyl)-2-benzofuran-1,3-dione Chemical compound C1=C2C(=O)OC(=O)C2=CC(C(C=2C=C3C(=O)OC(=O)C3=CC=2)=O)=C1 VQVIHDPBMFABCQ-UHFFFAOYSA-N 0.000 description 1
- GOYGTBXFJBGGLI-UHFFFAOYSA-N 7a-but-1-enyl-3a-methyl-4,5-dihydro-2-benzofuran-1,3-dione Chemical compound C1=CCCC2(C)C(=O)OC(=O)C21C=CCC GOYGTBXFJBGGLI-UHFFFAOYSA-N 0.000 description 1
- CSHJJWDAZSZQBT-UHFFFAOYSA-N 7a-methyl-4,5-dihydro-3ah-2-benzofuran-1,3-dione Chemical compound C1=CCCC2C(=O)OC(=O)C21C CSHJJWDAZSZQBT-UHFFFAOYSA-N 0.000 description 1
- KNDQHSIWLOJIGP-UHFFFAOYSA-N 826-62-0 Chemical compound C1C2C3C(=O)OC(=O)C3C1C=C2 KNDQHSIWLOJIGP-UHFFFAOYSA-N 0.000 description 1
- 229930185605 Bisphenol Natural products 0.000 description 1
- 229920002799 BoPET Polymers 0.000 description 1
- LFQSCWFLJHTTHZ-UHFFFAOYSA-N Ethanol Chemical compound CCO LFQSCWFLJHTTHZ-UHFFFAOYSA-N 0.000 description 1
- CERQOIWHTDAKMF-UHFFFAOYSA-N Methacrylic acid Chemical compound CC(=C)C(O)=O CERQOIWHTDAKMF-UHFFFAOYSA-N 0.000 description 1
- VVQNEPGJFQJSBK-UHFFFAOYSA-N Methyl methacrylate Chemical compound COC(=O)C(C)=C VVQNEPGJFQJSBK-UHFFFAOYSA-N 0.000 description 1
- ZOKXTWBITQBERF-UHFFFAOYSA-N Molybdenum Chemical compound [Mo] ZOKXTWBITQBERF-UHFFFAOYSA-N 0.000 description 1
- LGRFSURHDFAFJT-UHFFFAOYSA-N Phthalic anhydride Natural products C1=CC=C2C(=O)OC(=O)C2=C1 LGRFSURHDFAFJT-UHFFFAOYSA-N 0.000 description 1
- 239000004952 Polyamide Substances 0.000 description 1
- 239000002202 Polyethylene glycol Substances 0.000 description 1
- 241000135309 Processus Species 0.000 description 1
- BQCADISMDOOEFD-UHFFFAOYSA-N Silver Chemical compound [Ag] BQCADISMDOOEFD-UHFFFAOYSA-N 0.000 description 1
- NINIDFKCEFEMDL-UHFFFAOYSA-N Sulfur Chemical group [S] NINIDFKCEFEMDL-UHFFFAOYSA-N 0.000 description 1
- QHWKHLYUUZGSCW-UHFFFAOYSA-N Tetrabromophthalic anhydride Chemical compound BrC1=C(Br)C(Br)=C2C(=O)OC(=O)C2=C1Br QHWKHLYUUZGSCW-UHFFFAOYSA-N 0.000 description 1
- 239000007983 Tris buffer Substances 0.000 description 1
- BZHJMEDXRYGGRV-UHFFFAOYSA-N Vinyl chloride Chemical compound ClC=C BZHJMEDXRYGGRV-UHFFFAOYSA-N 0.000 description 1
- HCHKCACWOHOZIP-UHFFFAOYSA-N Zinc Chemical compound [Zn] HCHKCACWOHOZIP-UHFFFAOYSA-N 0.000 description 1
- 230000009471 action Effects 0.000 description 1
- 230000000996 additive effect Effects 0.000 description 1
- 125000001931 aliphatic group Chemical group 0.000 description 1
- AZDRQVAHHNSJOQ-UHFFFAOYSA-N alumane Chemical compound [AlH3] AZDRQVAHHNSJOQ-UHFFFAOYSA-N 0.000 description 1
- 229910052782 aluminium Inorganic materials 0.000 description 1
- 150000001412 amines Chemical class 0.000 description 1
- 125000003118 aryl group Chemical group 0.000 description 1
- QVGXLLKOCUKJST-UHFFFAOYSA-N atomic oxygen Chemical group [O] QVGXLLKOCUKJST-UHFFFAOYSA-N 0.000 description 1
- 230000001588 bifunctional effect Effects 0.000 description 1
- ZPOLOEWJWXZUSP-WAYWQWQTSA-N bis(prop-2-enyl) (z)-but-2-enedioate Chemical compound C=CCOC(=O)\C=C/C(=O)OCC=C ZPOLOEWJWXZUSP-WAYWQWQTSA-N 0.000 description 1
- 239000004327 boric acid Substances 0.000 description 1
- JHIWVOJDXOSYLW-UHFFFAOYSA-N butyl 2,2-difluorocyclopropane-1-carboxylate Chemical compound CCCCOC(=O)C1CC1(F)F JHIWVOJDXOSYLW-UHFFFAOYSA-N 0.000 description 1
- CQEYYJKEWSMYFG-UHFFFAOYSA-N butyl acrylate Chemical compound CCCCOC(=O)C=C CQEYYJKEWSMYFG-UHFFFAOYSA-N 0.000 description 1
- 239000006229 carbon black Substances 0.000 description 1
- BVKZGUZCCUSVTD-UHFFFAOYSA-N carbonic acid Chemical compound OC(O)=O BVKZGUZCCUSVTD-UHFFFAOYSA-N 0.000 description 1
- 229910017052 cobalt Inorganic materials 0.000 description 1
- 239000010941 cobalt Substances 0.000 description 1
- GSOLWAFGMNOBSY-UHFFFAOYSA-N cobalt Chemical compound [Co][Co][Co][Co][Co][Co][Co][Co] GSOLWAFGMNOBSY-UHFFFAOYSA-N 0.000 description 1
- 238000013329 compounding Methods 0.000 description 1
- 239000000470 constituent Substances 0.000 description 1
- 238000007334 copolymerization reaction Methods 0.000 description 1
- 229910052802 copper Inorganic materials 0.000 description 1
- 239000010949 copper Substances 0.000 description 1
- 229930003836 cresol Natural products 0.000 description 1
- 125000004122 cyclic group Chemical group 0.000 description 1
- 239000003085 diluting agent Substances 0.000 description 1
- 229910001873 dinitrogen Inorganic materials 0.000 description 1
- 238000007599 discharging Methods 0.000 description 1
- 238000007606 doctor blade method Methods 0.000 description 1
- 125000003700 epoxy group Chemical group 0.000 description 1
- 150000002148 esters Chemical class 0.000 description 1
- 239000000835 fiber Substances 0.000 description 1
- ANSXAPJVJOKRDJ-UHFFFAOYSA-N furo[3,4-f][2]benzofuran-1,3,5,7-tetrone Chemical compound C1=C2C(=O)OC(=O)C2=CC2=C1C(=O)OC2=O ANSXAPJVJOKRDJ-UHFFFAOYSA-N 0.000 description 1
- 239000000499 gel Substances 0.000 description 1
- 229910002804 graphite Inorganic materials 0.000 description 1
- 239000010439 graphite Substances 0.000 description 1
- 230000020169 heat generation Effects 0.000 description 1
- FLBJFXNAEMSXGL-UHFFFAOYSA-N het anhydride Chemical compound O=C1OC(=O)C2C1C1(Cl)C(Cl)=C(Cl)C2(Cl)C1(Cl)Cl FLBJFXNAEMSXGL-UHFFFAOYSA-N 0.000 description 1
- 125000005842 heteroatom Chemical group 0.000 description 1
- 238000010030 laminating Methods 0.000 description 1
- FPYJFEHAWHCUMM-UHFFFAOYSA-N maleic anhydride Chemical compound O=C1OC(=O)C=C1 FPYJFEHAWHCUMM-UHFFFAOYSA-N 0.000 description 1
- 239000007769 metal material Substances 0.000 description 1
- VYKXQOYUCMREIS-UHFFFAOYSA-N methylhexahydrophthalic anhydride Chemical compound C1CCCC2C(=O)OC(=O)C21C VYKXQOYUCMREIS-UHFFFAOYSA-N 0.000 description 1
- 229910052750 molybdenum Inorganic materials 0.000 description 1
- 239000011733 molybdenum Substances 0.000 description 1
- 229910052757 nitrogen Chemical group 0.000 description 1
- 150000002902 organometallic compounds Chemical class 0.000 description 1
- 229910052760 oxygen Inorganic materials 0.000 description 1
- 239000001301 oxygen Substances 0.000 description 1
- DBSDMAPJGHBWAL-UHFFFAOYSA-N penta-1,4-dien-3-ylbenzene Chemical compound C=CC(C=C)C1=CC=CC=C1 DBSDMAPJGHBWAL-UHFFFAOYSA-N 0.000 description 1
- 150000002989 phenols Chemical class 0.000 description 1
- 229920005586 poly(adipic acid) Polymers 0.000 description 1
- 229920002647 polyamide Polymers 0.000 description 1
- 229920001223 polyethylene glycol Polymers 0.000 description 1
- 239000000843 powder Substances 0.000 description 1
- 238000007639 printing Methods 0.000 description 1
- 150000003839 salts Chemical class 0.000 description 1
- 229930195734 saturated hydrocarbon Natural products 0.000 description 1
- 238000007652 sheet-forming process Methods 0.000 description 1
- 229910052709 silver Inorganic materials 0.000 description 1
- 239000004332 silver Substances 0.000 description 1
- 239000000243 solution Substances 0.000 description 1
- 239000002904 solvent Substances 0.000 description 1
- 238000001179 sorption measurement Methods 0.000 description 1
- 239000012798 spherical particle Substances 0.000 description 1
- 238000003756 stirring Methods 0.000 description 1
- 229940014800 succinic anhydride Drugs 0.000 description 1
- 229910052717 sulfur Inorganic materials 0.000 description 1
- 239000011593 sulfur Chemical group 0.000 description 1
- SJMYWORNLPSJQO-UHFFFAOYSA-N tert-butyl 2-methylprop-2-enoate Chemical compound CC(=C)C(=O)OC(C)(C)C SJMYWORNLPSJQO-UHFFFAOYSA-N 0.000 description 1
- 229910052721 tungsten Inorganic materials 0.000 description 1
- 239000010937 tungsten Substances 0.000 description 1
- UDKYUQZDRMRDOR-UHFFFAOYSA-N tungsten Chemical compound [W][W][W][W][W][W][W][W][W][W][W][W][W][W][W][W][W][W][W][W][W][W][W][W][W][W][W][W][W][W][W][W][W][W][W][W][W][W][W][W][W][W][W][W][W][W][W][W] UDKYUQZDRMRDOR-UHFFFAOYSA-N 0.000 description 1
- 229930195735 unsaturated hydrocarbon Natural products 0.000 description 1
- 229910052725 zinc Inorganic materials 0.000 description 1
- 239000011701 zinc Substances 0.000 description 1
Images
Landscapes
- Compositions Of Macromolecular Compounds (AREA)
- Thermistors And Varistors (AREA)
Abstract
【課題】 所望の室温抵抗値と、所望のPTC特性における抵抗値の変化率とを有し、かつ十分優れた信頼性を有する有機質正特性サーミスタを提供すること、及び、かかる有機質正特性サーミスタを容易にかつ安定して得ることができる、生産性に十分優れた有機質正特性サーミスタ素体形成用組成物を提供すること。
【解決手段】 上記課題を解決する本発明の有機質正特性サーミスタ素体形成用組成物は、熱硬化性樹脂と、コアシェル型ポリマー粒子と、導電性粒子と、を含有するものである。
【選択図】 なし
【解決手段】 上記課題を解決する本発明の有機質正特性サーミスタ素体形成用組成物は、熱硬化性樹脂と、コアシェル型ポリマー粒子と、導電性粒子と、を含有するものである。
【選択図】 なし
Description
本発明は、温度上昇とともに抵抗値が急激に増大するPTC(Positive Temperature Coefficient:正温度係数)特性を有する有機質正特性サーミスタに関する。
正特性(Positive Temperature Coefficient;PTC)サーミスタは、互いに対向した状態で配置された1対の電極と、当該1対の電極の間に配置されたサーミスタ素体を少なくとも備える構成を有している。そして、上記サーミスタ素体は、その抵抗値が、一定の温度範囲において、温度の上昇とともに急激に増大する「正の抵抗−温度特性」を有している。
正特性サーミスタ(以下、必要に応じて「PTCサーミスタ」という。)は、上記の特性を利用して、例えば、自己制御型発熱体、温度センサ、限流素子或いは過電流保護素子等として使用される。このPTCサーミスタには、特に過電流保護素子の用途に使用する観点から、非動作時の室温抵抗値が低く、非動作時の室温抵抗値と動作時の抵抗値との変化率(以下、必要に応じて「抵抗変化率」という。)が大きいこと、繰り返し動作させた場合における抵抗値の変化量(使用初期の抵抗値と繰り返し動作させた後の抵抗値との差)が小さいこと、遮断特性に優れること、及び、素子の発熱温度が低いこと、並びに、小型化、軽量化及び低コスト化が図れることが要求される。
従来のPTCサーミスタは、セラミックス材料からなるサーミスタ素体を搭載するタイプのものが一般的であったが、このタイプのPTCサーミスタは、室温抵抗が高く、サーミスタ素体の発熱温度が高く、小型化、軽量化、低コスト化が困難であった。
そこで、上述の動作温度の低温化及び室温抵抗の低減等の要求に応えるために、高分子マトリックスと導電性粒子とからなる成形体をサーミスタ素体として備えるタイプの有機質正特性サーミスタ(以下、必要に応じて「P−PTCサーミスタ」という。)の検討がなされている。
従来、高分子マトリックスの材料としては、熱可塑性樹脂が広く知られている。これは、熱可塑性樹脂からなるマトリックスは、温度変化に伴う体積変化がセラミックス材料からなるものよりも大きいため、サーミスタの抵抗変化率が得られやすいからである。しかしながら、熱可塑性樹脂を用いる場合、耐熱性を得るための架橋処理や不燃化処理が必要であり、サーミスタ素体の製造工程が複雑になっていた。そこで、かかる処理を省略し、製造工程を簡略化できるマトリックス材料として、熱硬化性樹脂が注目されてきた。
熱硬化性樹脂を用いたP−PTCサーミスタとしては、例えば、熱硬化性樹脂と導電性粒子とを用いたP−PTCサーミスタが開示されている(例えば、特許文献1、2、及び3参照。)。また、さらなる性能の向上を意図して熱硬化性樹脂と導電性粒子と、さらに熱可塑性樹脂とを用いたP−PTCサーミスタも開示されている(例えば、特許文献4参照。)。
しかしながら、特許文献1〜3に記載のP−PTCサーミスタを始めとする従来のP−PTCサーミスタは、室温抵抗値と抵抗値の変化率とを実用レベルで両立させようとすると、P−PTCサーミスタの特性として重要な、加熱冷却した際の室温抵抗値の復帰性、及び繰り返し動作させた場合における抵抗値の復帰性(断続負荷特性)などの信頼性を十分に満足させることができなかった。
また、特許文献4に記載されているP−PTCサーミスタを始めとする従来のP−PTCサーミスタであっても、室温抵抗値と抵抗値の変化率とを実用レベルで両立させようとすると、信頼性を十分に満足させることができなかった。
ところで、上記のP−PTCサーミスタの製造方法としては、樹脂マトリックスを形成する樹脂材料と、導電性粒子とを含む組成物を電極間に挟んでプレス成形し、これを加熱して熱硬化性樹脂の硬化を行った後、所定の形状に打ち抜いてP−PTCサーミスタを作製する方法が一般的である。
しかしながら、上記の方法で特許文献1〜4に記載のP−PTCサーミスタを始めとする従来のP−PTCサーミスタを製造すると、P−PTCサーミスタが所望の室温抵抗率及び抵抗変化率を有していないことを本発明者らは見出した。つまり、所定の割合で樹脂材料や導電性粒子を配合したにもかかわらず、得られたP−PTCサーミスタの抵抗変化率が不十分となるなどの、所望の特性(小さい室温抵抗値及び大きい抵抗変化率)を有するP−PTCサーミスタを安定して得られないことを見出した。
本発明は、上記従来技術の有する課題に鑑みてなされたものであり、所望の室温抵抗値と、所望のPTC特性における抵抗値の変化率とを有し、かつ十分優れた信頼性を有する有機質正特性サーミスタを提供することを目的とする。また、かかる有機質正特性サーミスタを容易にかつ安定して得ることができる、生産性に十分優れた有機質正特性サーミスタ素体形成用組成物を提供することを目的とする。
本発明者らは、上記目的を達成すべく鋭意研究を重ねた結果、特定の構造を有する粒子と、熱硬化性樹脂と、導電性粒子とを含む混合物を用いてサーミスタ素体を形成することにより、得られる有機質正特性サーミスタの電気的特性にばらつきが少ないことを見出し、本発明に到達した。
すなわち、本発明の有機質正特性サーミスタ素体形成用組成物は、熱硬化性樹脂と、コアシェル型ポリマー粒子と、導電性粒子と、を含有することを特徴とする。
上記熱硬化性樹脂としては、特に限定されないが、エポキシ樹脂、不飽和ポリエステル樹脂、ポリイミド樹脂、ポリウレタン樹脂、フェノール樹脂、及びシリコーン樹脂などが挙げられる。
また、本発明において「コアシェル型ポリマー粒子」とは、コア層と、コア層を被覆するシェア層とからなる多層構造を有する重合体の固体粒子を意味する。
本発明の有機質正特性サーミスタ素体形成用組成物は、上記の特徴を有することによって、所望の室温抵抗値と抵抗変化率を有し、かつ信頼性に十分優れた有機質正特性サーミスタを提供することができる。また、本発明の有機質正特性サーミスタ素体形成用組成物は、かかる有機質正特性サーミスタを容易にかつ安定して得ることができるため生産性に十分優れている。
また、本発明では、コアシェル型ポリマー粒子のシェル層を構成する重合体が、極性基を有する熱可塑性樹脂であることが好ましい。
ここで、極性基としては、ハロゲン類、水酸基、アミノ基、ニトロ基、カルボキシル基、ホルミル基、アルコキシ基、エステル基、ニトリル基等が挙げられる。極性基の種類については、特に限定されないが、用いる熱硬化性樹脂の官能基と反応して結合しない極性基であることが好ましい。例えば、熱硬化性樹脂がエポキシ樹脂の場合には、極性基として、ハロゲン類、エステル基、ニトリル基等が好ましい。
上記のようなコアシェル型ポリマー粒子を用いることにより、上記本発明の効果をより確実かつ容易に得ることができる。この要因としては、本発明者らは以下のように考えている。但し、要因はこれに限定されない。
上記の有機質正特性サーミスタ素体形成用組成物から得られるサーミスタ素体は、熱硬化性樹脂と、コアシェル型ポリマー粒子とから形成される樹脂マトリックスに導電性粒子が分散した状態となっている。
ここで、上記の有機質正特性サーミスタ素体形成用組成物が、以下の問題を抑制する作用を有していることにより、上記の特性を有する有機質正特性サーミスタをより容易にかつより安定して得ることができると考えている。
第一に、エポキシ樹脂のような熱硬化性樹脂は加熱されると流動性が上昇する。そのため、従来の有機質正特性サーミスタ素体形成用組成物では、塗布してから硬化反応が十分に進行するまでの間に一部の熱硬化性樹脂がサーミスタ素体からしみ出してしまい、サーミスタ素体中における各成分の含有割合が変化する。熱硬化性樹脂の割合が減少すると、相対的に導電性粒子の割合が増加することになるため、結果として所望の抵抗変化率が得られなくなると考えられる。また、熱硬化性樹脂が加熱されて流動性が上昇すると導電性粒子の沈降が起こり、サーミスタの特性にばらつきが生じて所望の室温抵抗値と抵抗変化率が得られないと考えられる。
一方、上記の有機質正特性サーミスタ素体形成用組成物を用いると、コアシェル型ポリマー粒子のシェル層を構成する極性基を有する熱可塑性樹脂が熱硬化性樹脂と相溶して膨潤し、すなわち、マトリクス樹脂全体がゲル化し、熱硬化性樹脂の流動性が低下することにより、熱硬化性樹脂のしみ出しが抑制され、所望の抵抗変化率が得られなくなるという問題をより確実に低減できると考えている。また、コアシェル型ポリマー粒子のシェル層を構成する極性基を有する熱可塑性樹脂が熱硬化性樹脂へ膨潤することにより、マトリクス樹脂全体のゲル化が生じ、導電性粒子の沈降が抑制されるため、熱硬化性樹脂の硬化が完了するまでの時間を長くとる場合(例えば、サーミスタ素体のBステージ化を図る場合)であっても、所望の室温抵抗値と抵抗変化率がより確実に得られると考えている。
第二に、従来、サーミスタ素体が、熱硬化性樹脂と熱可塑性樹脂とを含む樹脂マトリックスからなるものであると、それぞれの樹脂の熱膨張係数の違いから、通常、加熱時の熱衝撃によってサーミスタ素体にクラックが生じることが考えられる。これによって、所望の室温抵抗値と抵抗変化率が得られない、あるいは信頼性が不十分になると考えられる。
しかしながら、上記の有機質正特性サーミスタ素体形成用組成物を用いると、樹脂マトリックスが、熱硬化性樹脂と上記コアシェル型ポリマー粒子とから形成される。このとき、コアシェル型ポリマー粒子のシェル層を構成する極性基を有する熱可塑性樹脂が熱硬化性樹脂へ膨潤することにより、形成された樹脂マトリクスにおいて熱可塑性樹脂と熱硬化性樹脂との密着性が向上していると考えられる。これにより、クラックの問題が低減されるため、所望の室温抵抗値と抵抗変化率とを有する有機質正特性サーミスタがより安定して得られ、十分優れた信頼性を有する有機質正特性サーミスタがより確実に得られると考えている。
第三に、熱可塑性樹脂と、熱硬化性樹脂とを混合し、この混合物を加熱して樹脂マトリックスを形成した場合、マトリックス中において熱可塑性樹脂の連続相が拡大することが考えられる。これにより、樹脂マトリックスに相分離が生じ、加熱時の熱衝撃によってサーミスタ素体にクラックが発生するなど、所望のサーミスタ素子の作成が困難となり、安定した特性が得られないと考えられる。つまり、特性に大きなばらつきが発生したりして、所望の室温抵抗値と抵抗変化率が得られない、あるいは信頼性が不十分になると考えられる。
しかしながら、上記の有機質正特性サーミスタ素体形成用組成物を用いると、樹脂マトリックスが、熱硬化性樹脂と上記コアシェル型ポリマー粒子とから形成される。このとき、コアシェル型ポリマー粒子のシェル層を構成する極性基を有する熱可塑性樹脂が熱硬化性樹脂に膨潤することにより、熱可塑性樹脂と熱硬化性樹脂との親和性が増し、樹脂マトリックスにおいて熱硬化性樹脂部分と熱可塑性樹脂部分との密着性(親和性)を高めることができ、大きな相分離を防ぐことができると考えられる。これにより、所望の室温抵抗値と抵抗変化率とを有する有機質正特性サーミスタがより安定して得られ、十分優れた信頼性を有する有機質正特性サーミスタがより確実に得られると考えている。
また、上記の有機質正特性サーミスタ素体形成用組成物では、熱可塑性樹脂が上記コアシェル型ポリマー粒子であり、上記コアシェル型ポリマー粒子のシェル層を構成する極性基を有する熱可塑性樹脂が熱硬化性樹脂へ膨潤することによって、コアシェル型ポリマー粒子が熱硬化性樹脂へ均一に分散した状態となり、サーミスタの室温抵抗値の上昇が抑制されていると考えられる。これにより、所望の室温抵抗値と抵抗変化率とを有する有機質正特性サーミスタがより安定して得られると考えられる。
以上のことから、上記の有機質正特性サーミスタ素体形成用組成物が、所望の室温抵抗値と抵抗変化率を有し、かつ信頼性に十分優れた有機質正特性サーミスタをより確実かつ容易に提供することができ、さらに、かかる有機質正特性サーミスタを容易にかつ安定して得ることができる、生産性に十分優れる効果をより確実に有することができると本発明者らは推察している。
また、本発明の有機質正特性サーミスタ素体形成用組成物において、コアシェル型ポリマー粒子のコア層が、コアシェル型ポリマー粒子のシェル層よりも軟らかい、すなわち硬さの程度が低いことが好ましい。
用いる硬さとしては、ひっかき硬さ、押込み硬さ、反発硬さ等が挙げられ、同じ測定方法を用いるのであれば、特に測定方法については限定されない。また、硬さを測定する温度も特に限定されないが、例えば、室温(25℃)で測定することが挙げられる。
また、硬さの比較は、コア層を構成する重合体の硬さとシェル層を構成する重合体の硬さとを比較することによっても可能である。
かかるコアシェル型ポリマー粒子を用いることによって、所望の室温抵抗値と抵抗変化率とを有する有機質正特性サーミスタがより安定して得られ、十分優れた信頼性を有する有機質正特性サーミスタがより確実に得られる。
このような効果が得られる要因としては、シェル層よりも軟らかいコア層の存在によって、樹脂マトリクスの内部応力の緩和が可能となり、上記サーミスタ素体にクラックが生じる問題を低減できるためと考えられる。
また、上記のコア層の存在により、より大きな抵抗変化率を確保することができるためとも考えられる。
また、本発明では、コアシェル型ポリマー粒子のコア層の弾性率が、コアシェル型ポリマー粒子のシェル層の弾性率よりも小さいことが好ましい。
用いる弾性率としては、曲げ弾性率、引張弾性率、圧縮弾性率等が挙げられ、同じ測定方法を用いるのであれば、特に測定方法については限定されない。また、弾性率を測定する温度も特に限定されないが、例えば、室温(25℃)で測定することが挙げられる。
また、弾性率の比較は、コア層を構成する重合体の弾性率とシェル層を構成する重合体の弾性率とを比較することによっても可能である。
かかるコアシェル型ポリマー粒子を用いることによって、有機質正特性サーミスタの室温抵抗値と抵抗値の変化率とを実用レベルで両立させると共に、加熱冷却した際の室温抵抗値の復帰性、及び繰り返し動作させた場合における抵抗値の復帰性(断続負荷特性)などの信頼性を十分に満足させることがより確実にできる。
これは、コアシェル型ポリマー粒子のコア層によって、樹脂マトリックスに適度な可とう性が付与されるためと考えられる。
本発明の有機質正特性サーミスタ素体形成用組成物においては、コアシェル型ポリマー粒子のシェル層が、シェル層を構成する重合体の重合成分としてアクリレート化合物又はメタクリレート化合物を含有することが好ましい。
かかるコアシェル型ポリマー粒子を用いることにより、本発明の効果をより確実かつ容易に得ることができる。
また、熱硬化性樹脂が、可とう性を有するエポキシ樹脂を含むことが好ましい。
可とう性を有するエポキシ樹脂を含む熱硬化性樹脂を用いることにより、サーミスタ素体に一層適度な可とう性が付与され、有機質正特性サーミスタの室温抵抗値を下げると共により大きな抵抗変化率を得ることができると共に、信頼性をより向上させることができる。
本発明の有機質正特性サーミスタは、互いに対向して配置された1対の電極と、1対の電極間に配置された正の抵抗−温度特性を有するサーミスタ素体とを備え、サーミスタ素体が、上記の本発明の有機質正特性サーミスタ素体形成用組成物を用いて形成される硬化体からなることを特徴とする。
本発明の有機質正特性サーミスタは、本発明の有機質正特性サーミスタ素体形成用組成物を用いて形成されたサーミスタ素体を有することにより、所望の室温抵抗値及び抵抗変化率を有し、かつ信頼性に十分優れている。
本発明によれば、所望の室温抵抗値と、所望のPTC特性における抵抗値の変化率とを有し、かつ十分優れた信頼性を有する有機質正特性サーミスタを提供することできる。また、かかる有機質正特性サーミスタを容易にかつ安定して得ることができる生産性に十分優れた有機質正特性サーミスタ素体形成用組成物を提供することができる。
以下、図面を参照しながら本発明の実施形態について詳細に説明する。なお、以下の説明では、同一または相当部分には同一符号を付し、重複する説明は省略する。
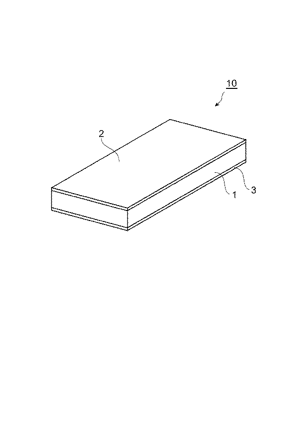
図1は、本発明の有機質正特性サーミスタの好適な一実施形態を模式的に示す斜視図である。
図1に示す有機質正特性サーミスタ(以下、場合によって「サーミスタ」ともいう。)10は、互いに対向した状態で配置された1対の電極2及び電極3と、電極2と電極3との間に配置された正の抵抗−温度特性を有するサーミスタ素体(以下、場合によって「サーミスタ素体」ともいう。)1と、必要に応じて電極2に電気的に接続されたリード(図示せず)と、電極3に電気的に接続されたリード(図示せず)とから構成されている。
電極2及び電極3は、サーミスタの電極として機能する電子伝導性を有するものであれば、その形状や材質について特に限定されない。また、リードは、それぞれ電極2及び電極3から外部に電荷を放出又は注入することが可能な電子伝導性を有していれば、その形状や材質について特に限定されない。
サーミスタ素体1は、熱硬化性樹脂と、コアシェル型ポリマー粒子と、導電性粒子と、を含有する有機質正特性サーミスタ素体形成用組成物を加熱して得られる硬化体から形成されている。また、導電性粒子は、サーミスタ素体1中に分散しており、熱硬化性樹脂と、コアシェル型ポリマー粒子とから形成されたマトリックスにより保持されている。
始めに、本発明の有機質正特性サーミスタ素体形成用組成物の実施形態について詳細に説明する。上記のように、本実施形態の有機質正特性サーミスタ素体形成用組成物(以下、場合によって「サーミスタ素体形成用組成物」ともいう。)は、熱硬化性樹脂と、コアシェル型ポリマー粒子と、導電性粒子と、を含有している。
本実施形態のサーミスタ素体形成用組成物に用いられる熱硬化性樹脂は、特に限定されないが、例えば、エポキシ樹脂、不飽和ポリエステル樹脂、ポリイミド樹脂、ポリウレタン樹脂、フェノール樹脂、及びシリコーン樹脂等が挙げられる。
本実施形態においては、エポキシ樹脂を用いることが好ましい。熱膨張係数の高いエポキシ樹脂を用いることにより、有機質正特性サーミスタ10の抵抗変化率を大きくすることがより容易となる。
エポキシ樹脂としては、具体的には、ビスフェノールA、ビスフェノールF、ビスフェノールAD、カテコール及びレゾルシノール等の多価フェノール、若しくは、グリセリン及びポリエチレングリコール等の多価アルコールと、エピクリルヒドリンとを反応させて得られるポリグリシジルエーテル、p−ヒドロキシ安息香酸及びβ−ヒドロキシナフトエ酸等のヒドロキシカルボン酸と、エピクリルヒドリンとを反応させて得られるグリシジルエーテルエステル、フタル酸及びテレフタル酸等のポリカルボン酸と、エピクリルヒドリンとを反応させて得られるポリグリシジルエステル、エポキシ化フェノールノボラック樹脂、エポキシ化クレゾールノボラック樹脂、並びに、ジシクロペンタジエン型エポキシ樹脂等が挙げられる。
さらに、本実施形態のサーミスタ素体形成用組成物に用いられる熱硬化性樹脂は、可とう性を有するエポキシ樹脂を含んでいることが好ましい。かかるエポキシ樹脂が含まれることにより、サーミスタ素体1に一層適度な可とう性が付与され、所望の室温抵抗値と所望の抵抗変化率とを有する有機質正特性サーミスタをより確実かつ容易に得ることができ、また、有機質正特性サーミスタを加熱冷却した際の室温抵抗値の復帰性、及び繰り返し動作させた場合における抵抗値の復帰性(断続負荷特性)などの信頼性がより向上する。
ここで、可とう性を有するエポキシ樹脂としては、下記一般式(1)で表される化合物が挙げられる。
式(1)中、R1、R2及びR3は、それぞれ2価の有機基を示し、かつ、R2及びR3のうちの少なくとも一つは、置換基を有していてもよい、炭素数1以上の2価の鎖式基を示す。
ここで、「鎖式基」とは、主鎖に環式構造を含まず、主鎖を構成する原子が線状に配列した鎖状構造を有する基を意味し、枝分かれ構造を有していてもよい。また、飽和炭化水素基あるいは不飽和炭化水素基のように、主鎖を構成する原子が炭素のみであるものでもよく、酸素、硫黄又は窒素等のヘテロ原子が主鎖骨格に含まれているものであってもよい。
また、「炭素数1以上の2価の鎖式基」という場合は、主鎖を構成している炭素の数が2以上である2価の鎖式基を意味する。
ここで、炭素数1以上の2価の鎖式基としては、例えば、下記一般式(2)〜(5)で示される2価の有機基が挙げられる。
−(CH2)a− …(2)
ここで、aは、1〜20の整数を示す。
ここで、aは、1〜20の整数を示す。
−(CH2CH2O)b− …(3)
ここで、bは、1〜20の整数を示す。
ここで、bは、1〜20の整数を示す。
−(CH2CH(CH3)O)c− …(4)
又は、−(CH(CH3)CH2O)c− …(5)
ここで、cは、1〜20の整数を示す。
又は、−(CH(CH3)CH2O)c− …(5)
ここで、cは、1〜20の整数を示す。
また、上記一般式(1)において、−R2−R1−R3−として、下記一般式(6)で示される有機基が挙げられる。
−L1− …(6)
式(6)中、L1は、置換基を有していてもよい、炭素数4以上のアルキレン基を示す。
−L1− …(6)
式(6)中、L1は、置換基を有していてもよい、炭素数4以上のアルキレン基を示す。
さらに、上記一般式(1)において、−R2−R1−R3−として、下記一般式(7)で示される有機基が挙げられる。
−(L2−O)n−C4H6−R1−C4H6−(O−L2)n− …(7)
式(7)中、R1は、−CH2−、−CH(CH3)−、又は−C(CH3)2−を示し、L2は、置換基を有していてもよい、炭素数2以上のアルキレン基を示し、nは1〜10の整数を示す。
−(L2−O)n−C4H6−R1−C4H6−(O−L2)n− …(7)
式(7)中、R1は、−CH2−、−CH(CH3)−、又は−C(CH3)2−を示し、L2は、置換基を有していてもよい、炭素数2以上のアルキレン基を示し、nは1〜10の整数を示す。
このような化合物を用いることにより、上記の効果が得られると共に、耐熱性に優れた有機質正特性サーミスタをより確実に得ることができる。
また、上記一般式(1)において、R1は置換基を有していてもよい、炭素数1〜20の2価の鎖式基を示し、R2及びR3は単結合又は2価の有機基を示し、かつ、R2及びR3の少なくとも一方が、−CH2CH2O−、−CH2CH(CH3)O−、−CH(CH3)CH2O−、−SiO−、−CH=CH−、−CH=C(CN)−、−CH2O−、−CH2S−、−NH−CO−、−CO−O−、及び、−CH=N−からなる群より選択される1種以上の構造単位を含む化合物も可とう性を有するエポキシ樹脂として用いることができる。
このような化合物を用いる場合も、サーミスタ素体1に一層適度な可とう性が付与され、所望の室温抵抗値と所望の抵抗変化率とを有する有機質正特性サーミスタをより確実かつ容易に得ることができ、さらには、有機質正特性サーミスタを加熱冷却した際の室温抵抗値の復帰性、及び繰り返し動作させた場合における抵抗値の復帰性(断続負荷特性)などの信頼性がより向上する。
上記の可とう性を有するエポキシ樹脂は、公知のものであれば特に制限されない。それらのうち、商業的に入手可能なものとしては、例えば、上記一般式(1)中、R2及びR3の少なくとも一方が−CH2CH(CH3)O−、又は−CH(CH3)CH2O−の構造単位を有するエポキシ樹脂である「リカレジンBPO20E」(新日本理化社製、商品名)、「EP4005」(旭電化工業社製、商品名)、「EP4000」(旭電化工業社製、商品名)、及び「YD−716」(東都化成(株)社製、商品名)等が挙げられる。
式(1)中、R2及びR3の少なくとも一方が−CO−O−、又は−O−CO−の構造単位を有するエポキシ樹脂として「YD−171」(東都化成(株)社製、商品名)等が挙げられる。
式(1)中、R2及びR3の少なくとも一方が−CH2O−、−OCH2−、−CH2S−、又は−SCH2−の構造単位を有するエポキシ樹脂として「リカレジンBPO60E」(新日本理化社製、商品名)、「YH−300」(東都化成(株)社製、商品名)、「PG202」(東都化成(株)社製、商品名)、「EP4085」(旭電化工業社製、商品名)、「リカレジンDME100」(新日本理化社製、商品名)、及び「リカレジンDME200」(新日本理化社製、商品名)等が挙げられる。
本実施形態のサーミスタ素体形成用組成物には、必要に応じてさらに硬化剤を加えることが好ましい。
例えば、熱硬化性樹脂としてエポキシ樹脂を用いる場合には、酸無水物、脂肪族ポリアミン、芳香族ポリアミン、ポリアミド、フェノール、ポリメルカプタン、第三アミン及びルイス酸錯体等の公知の硬化剤を用いることができる。これらのうち、酸無水物を用いることが好ましく、具体的には、ヘキサヒドロ無水フタル酸、メチルヘキサヒドロ無水フタル酸、テトラヒドロ無水フタル酸、メチルテトラヒドロ無水フタル酸、無水フタル酸、無水コハク酸、無水トリメット酸、無水ピロメリット酸、無水メチルナジック酸、無水マレイン酸、無水ベンゾフェノンテトラカルボン酸、エチレングリコールビストリメリテート、グリセロールトリストリメリテート、エンドメチレンテトラヒドロ無水フタル酸、メチルエンドメチレンテトラヒドロ無水フタル酸、メチルブテニルテトラヒドロ無水フタル酸、ドデセニル無水コハク酸、メチルシクロヘキセンジカルボン酸無水物アルキルスチレン−無水マレイン酸共重合体、クロレンド酸無水物、テトラブロム無水フタル酸、及びポリアゼライン酸無水物等が挙げられる。
さらに、熱硬化性樹脂としてエポキシ樹脂を用いる場合には、硬化体に可とう性を付与する酸無水物を用いることが好ましい。可とう性を付与する酸無水物としては、例えば、ドデセニル無水コハク酸、ポリアジピン酸無水物、ポリアゼライン酸無水物、ポリセバシン酸無水物、ポリ(エチルオクタデカン二酸)無水物、ポリ(フェニルヘキサデカン二酸)無水物、2,4−ジエチルグルタル酸無水物、エチレングリコールビスアンヒドロトリメリテート、及びグリセロールトリストリメリテート等が挙げられる。これらの酸無水物を用いることにより、所望の室温抵抗値と所望の抵抗変化率とを有する有機質正特性サーミスタをより確実かつ容易に得ることができ、また、信頼性に優れる有機質正特性サーミスタをより確実かつ容易に得ることができる。これは、有機質正特性サーミスタの抵抗変化率及び加熱冷却した際の室温抵抗値の復帰性に影響を与えるサーミスタ素体の可とう性が、より好ましい程度になるためと考えられる。
熱硬化性樹脂としてエポキシ樹脂を用いる場合の硬化剤の配合割合としては、エポキシ樹脂の全量に対して当量比で、0.5〜1.5が好ましく、0.8〜1.2がより好ましい。硬化剤の当量比がエポキシ樹脂に対して0.5未満、あるいは1.5を超えると、未反応のエポキシ基や酸無水物硬化剤由来のカルボキシル基が増加することにより、サーミスタ素体の機械的強度が低下したり、サーミスタのPTC特性における抵抗変化率が低下したりする傾向にある。
本実施形態のサーミスタ素体形成用組成物に用いる導電性粒子は、電子伝導性を有していれば特に限定されず、例えば、カーボンブラック、グラファイト、各形状の金属粒子若しくはセラミック系導電性粒子を用いることができる。金属粒子の金属材料としては、銅、アルミニウム、ニッケル、タングステン、モリブデン、銀、亜鉛、コバルト、及び銅紛にニッケルめっきを施したもの等が挙げられる。セラミック系導電性粒子の材料としては、TiC及びWC等が挙げられる。これらは、1種を単独で又は2種以上を組み合わせて用いることができる。
本実施形態では、上記の導電性粒子のうち金属粒子を用いることが好ましい。導電性粒子として金属粒子を用いると、サーミスタの抵抗変化率を十分に確保したまま、室温抵抗値をより低下させることができ、例えば、本実施形態のサーミスタを過電流保護素子として用いる場合に好適である。また、金属粒子の構成材料としてニッケルを用いることが酸化されにくい等の化学的安定性の観点から好ましい。
導電性粒子の形状としては特に限定されず、球状、フレーク状、繊維状及び棒状等が挙げられるが、粒子の表面にスパイク状の突起を有するものが好ましい。スパイク状の突起を有する導電性粒子を用いることにより、サーミスタ素体1中で隣接する粒子間におけるトンネル電流が流れやすくなるため、サーミスタの抵抗変化率を十分に確保したまま、室温抵抗値をより低くすることができる。また、スパイク状の突起を有する導電性粒子は、真球状の粒子に比べて、粒子同士の中心間距離を大きくすることができるため、PTC特性においてより大きな抵抗変化率を得ることができる。さらに、繊維状の粒子を用いた場合に比べて、サーミスタの室温抵抗値のばらつきを低減することができる。
スパイク状の突起を有する導電性粒子は、一つ一つの粒子(一次粒子)が個別に存在する粉体であってもよいが、10〜1000個程度の一次粒子が鎖状に連なりフィラメント状の二次粒子を形成しているものが好ましい。かかるフィラメント状の二次粒子を形成しているものを用いることにより、より低い室温抵抗を得ることができ、なおかつばらつきの少ない、安定した値を得ることができる。また、その材質は、化学的安定性の観点から金属が好ましく、ニッケルを主成分とするものがより好ましい。さらに、その比表面積が0.3〜3.0m2/gであって、見かけ密度が3.0g/cm3以下であると好ましい。ここで、「比表面積」とは、BET一点法に基づく窒素ガス吸着法により求められる比表面積を示す。
また、一次粒子の平均粒径は、0.1〜7.0μmであると好ましく、0.5〜5.0μmであるとより好ましい。なお、平均粒径はフィッシャー・サブシーブ法で測定したものである。
商業的に入手可能なスパイク状の突起を有する導電性粒子としては、例えば、「INCO Type210」、「INCO Type255」、「INCO Type270」、「INCO Type287」(いずれもINCO社製、商品名)等が挙げられる。
本実施形態のサーミスタ素体形成用組成物に含有される導電性粒子の配合割合としては、サーミスタ素体1中で50〜90質量%となるように配合することが好ましく、60〜80質量%となるように配合することがより好ましい。導電性粒子の配合割合が、50質量%未満であると、低い室温抵抗値が得られ難くなる傾向にあり、90質量%を超えると、PTC特性においてより大きな抵抗変化率を得ることが困難になる傾向にある。
本実施形態において「コアシェル型ポリマー粒子」とは、コア層と、コア層を被覆するシェア層とからなる多層構造を有する重合体の固体粒子を意味する。
本実施形態の有機質正特性サーミスタ素体形成用組成物は、上記の特徴を有するコアシェル型ポリマー粒子と、上記熱硬化性樹脂と、上記導電性粒子とを含有することによって、所望の室温抵抗値と抵抗変化率を有し、かつ信頼性に十分優れた有機質正特性サーミスタを提供することができる。また、本実施形態の有機質正特性サーミスタ素体形成用組成物は、かかる有機質正特性サーミスタを容易にかつ安定して得ることができるため生産性に十分優れている。
また、本実施形態では、コアシェル型ポリマー粒子のシェル層を構成する重合体が、極性基を有する熱可塑性樹脂であることが好ましい。
ここで、極性基としては、ハロゲン類、水酸基、アミノ基、ニトロ基、カルボキシル基、ホルミル基、アルコキシ基、エステル基、ニトリル基等が挙げられる。極性基の種類については、特に限定されないが、用いる熱硬化性樹脂の官能基と反応して結合しない極性基であることが好ましい。例えば、熱硬化性樹脂がエポキシ樹脂の場合には、極性基として、ハロゲン類、エステル基、ニトリル基等が好ましい。
また、本実施形態では、コアシェル型ポリマー粒子のコア層が、コアシェル型ポリマー粒子のシェル層よりも軟らかい、すなわち硬さの程度が低いことが好ましい。
用いる硬さとしては、ひっかき硬さ、押込み硬さ、反発硬さ等が挙げられ、同じ測定方法を用いるのであれば、特に測定方法については限定されない。また、硬さを測定する温度も特に限定されないが、例えば、室温(25℃)で測定することが挙げられる。
また、硬さの比較は、コア層を構成する重合体の硬さとシェル層を構成する重合体の硬さとを比較することによっても可能である。
また、本発明では、コアシェル型ポリマー粒子のコア層の弾性率が、コアシェル型ポリマー粒子のシェル層の弾性率よりも小さいことが好ましい。
用いる弾性率としては、曲げ弾性率、引張弾性率、圧縮弾性率等が挙げられ、同じ測定方法を用いるのであれば、特に測定方法については限定されない。また、弾性率を測定する温度も特に限定されないが、例えば、室温(25℃)で測定することが挙げられる。
また、弾性率の比較は、コア層を構成する重合体の弾性率とシェル層を構成する重合体の弾性率とを比較することによっても可能である。
本実施形態のサーミスタ素体形成用組成物に用いる上記コアシェル型ポリマー粒子としては、例えば、コア層が室温でゴム状の熱可塑性樹脂からなり、コア層を被覆するシェル層が室温でガラス状の熱可塑性樹脂からなる粒子が挙げられる。
このようなコアシェル型ポリマー粒子としては、例えば、コア層が、ガラス転移温度(Tg)が−20℃以下、好ましくは−30℃以下のアクリレート又はメタクリレート系重合体(共重合体も含む)からなり、シェル層が、ガラス転移温度が60℃以上、好ましくは80℃以上のアクリレート又はメタクリレート系重合体(共重合体も含む)からなる粉末状共重合体が挙げられる。
コア層を形成する重合体としては、具体的には、炭素数4〜8のアルコキシ基をもつ単官能の(メタ)アクリレート化合物、エチレングリコールジアクリレート、ブチレングリコールジメタアクリレート等のジ(メタ)アクリレート多価アルコール(メタ)アクリレート化合物又はジビニルベンゼン等の芳香族ジビニル化合物等の重合性単量体(モノマー)、及びシェル層を形成する成分とコアとを架橋させるための一分子内に異なる重合速度の官能基を持つ二官能モノマー、例えばアリル(メタ)アクリレート、ジアリルマレエート等との共重合体が挙げられる。また、共重合可能な他のモノマー、例えば、スチレン、アクリロニトリル等のモノマーと共重合させてもよい。
また、上記コア層を被覆してシェル層を形成するための重合成分としては、具体的には、ブチルアクリレート等のアクリレート化合物、メチルメタクリレート、t−ブチルメタクリレート等のメタクリレート化合物、アクリロニトリル、及び塩化ビニル等、並びに、それらの共重合体等が挙げられる。また、これらの重合成分と共重合させる成分として、スチレン及びジビニルトルエン等を用いることができる。
本実施形態においては、コアシェル型ポリマー粒子のシェル層が、シェル層を構成する重合体の重合成分としてアクリレート化合物又はメタクリレート化合物を含有することが好ましい。
また、本実施形態においては、同種の上記材料を用いてコア層とシェル層とを形成する場合、コア層を構成する重合体の架橋度が、シェル層を構成する重合体の架橋度よりも大きくなるようしたコアシェル型ポリマー粒子を用いても、本発明の効果を得ることができる。
上記のコアシェル型ポリマー粒子は、公知の方法、例えば、米国特許第4,419,496号公報、ヨーロッパ特許第45,357号公報、特開昭55−94917号公報に開示された方法を用いて得ることができる。また、市販品を使用することもできる。
商業的に入手可能なコアシェル型ポリマー粒子としては、例えば、ブタジエン・メタクリル酸アルキル・スチレン共重合物からなる「パラロイドEXL−2655」(呉羽化学工業社製、商品名)、アクリル酸エステル・メタクリル酸エステル共重合体からなる「スタフィロイドAC−3355」、「スタフィロイドTR−2105」、「スタフィロイドTR−2102」、「スタフィロイドTR−2122」、「スタフィロイドIM−101」、「スタフィロイドIM−203」、「スタフィロイドIM−301」及び「スタフィロイドIM−401」(武田薬品工業社製、商品名)、「パラロイドEXL−2314」(呉羽化学工業社製、商品名)、「PALALOID EXL−2611」及び「PALALOID EXL−3387」(Rohm&Haas社製、商品名)、「ゼオンアクリルレジンF−351」(日本ゼオン社製、商品名)、アクリル酸エステル・アクリロニトリル・スチレン共重合体からなる「スタフィロイドIM−601」(ガンツ化成株式会社製、商品名)等を使用することが出来る。これらは、1種を単独で又は2種以上を組み合わせて用いることができる。
本実施形態では、サーミスタ素体1が、上記熱硬化性樹脂と、上記導電性粒子と、上記コアシェル型ポリマー粒子とを含むサーミスタ素体形成用組成物を加熱して得られる硬化体であることにより、本実施形態のサーミスタは、室温抵抗値と抵抗値の変化率とを実用レベルで両立させると共に、加熱冷却した際の室温抵抗値の復帰性、及び繰り返し動作させた場合における抵抗値の復帰性(断続負荷特性)などの信頼性を十分に満足させることがより確実にできる。
また、上記コアシェル型ポリマー粒子を含む本実施形態のサーミスタ素体形成用組成物を用いてサーミスタを作製すると、上記の特性を有するサーミスタをより容易にかつより安定して得られる。このような効果が得られる要因としては、以下の問題を抑制する作用によるものと考えている。
第一に、エポキシ樹脂のような熱硬化性樹脂は加熱されると流動性が上昇する。そのため、従来の有機質正特性サーミスタ素体形成用組成物では、塗布してから硬化反応が十分に進行するまでの間に一部の熱硬化性樹脂がサーミスタ素体からしみ出してしまい、サーミスタ素体中における各成分の含有割合が変化する。熱硬化性樹脂の割合が減少すると、相対的に導電性粒子の割合が増加することになるため、結果として所望の抵抗変化率が得られなくなると考えられる。また、熱硬化性樹脂が加熱されて流動性が上昇すると導電性粒子の沈降が起こり、サーミスタの特性にばらつきが生じて所望の室温抵抗値と抵抗変化率が得られないと考えられる。
一方、本実施形態のサーミスタ素体形成用組成物を用いると、上記コアシェル型ポリマー粒子のシェル層を構成する極性基を有する熱可塑性樹脂が熱硬化性樹脂と相溶して膨潤し、すなわち、マトリクス樹脂全体がゲル化し、熱硬化性樹脂の流動性が低下することにより、熱硬化性樹脂のしみ出しが抑制され、所望の抵抗変化率が得られなくなるという問題をより確実に低減できると考えている。また、コアシェル型ポリマー粒子のシェル層を構成する極性基を有する熱可塑性樹脂が熱硬化性樹脂へ膨潤することにより、マトリクス樹脂全体のゲル化が生じ、導電性粒子の沈降が抑制されるため、硬化が完了するまでの時間を長くとる場合(例えば、サーミスタ素体のBステージ化を図る場合)であっても、所望の室温抵抗値と抵抗変化率がより確実に得られると考えている。
第二に、従来、サーミスタ素体が、熱硬化性樹脂と熱可塑性樹脂とを含む樹脂マトリックスからなるものであると、それぞれの樹脂の熱膨張係数の違いから、通常、加熱時の熱衝撃によってサーミスタ素体にクラックが生じると考えられる。これにより、所望の室温抵抗値と抵抗変化率が得られない、あるいは信頼性が不十分になると考えられる。
しかしながら、本実施形態のサーミスタ素体形成用組成物を用いると、樹脂マトリックスが、熱硬化性樹脂と上記コアシェル型ポリマー粒子とから形成される。このとき、上記コアシェル型ポリマー粒子のシェル層を構成する極性基を有する熱可塑性樹脂が熱硬化性樹脂へ膨潤することにより、形成された樹脂マトリクスにおいて熱可塑性樹脂と熱硬化性樹脂との密着性が向上していると考えられる。また、コア層のゴム状成分の存在により内部応力の緩和が可能となると考えられる。これにより、クラックの問題が低減されるため、所望の室温抵抗値と抵抗変化率とを有する有機質正特性サーミスタがより安定して得られ、十分優れた信頼性を有する有機質正特性サーミスタがより確実に得られると考えている。
第三に、熱可塑性樹脂と、熱硬化性樹脂とを混合し、この混合物を加熱して樹脂マトリックスを形成した場合、マトリックス中において熱可塑性樹脂の連続相が拡大することが考えられる。これにより、樹脂マトリックスに相分離が生じ、加熱時の熱衝撃によってサーミスタ素体にクラックが発生するなど、所望の素子作成が困難となり、安定した特性が得られないと考えられる。つまり、特性に大きなばらつきが発生したりして、所望の室温抵抗値と抵抗変化率が得られない、あるいは信頼性が不十分になると考えられる。
しかしながら、本実施形態のサーミスタ素体形成用組成物を用いると、樹脂マトリックスが、熱硬化性樹脂と上記コアシェル型ポリマー粒子とから形成される。このとき、上記コアシェル型ポリマー粒子のシェル層を構成する極性基を有する熱可塑性樹脂が熱硬化性樹脂に膨潤することにより、熱可塑性樹脂と熱硬化性樹脂との親和性が増し、樹脂マトリックスにおいて熱硬化性樹脂部分と熱可塑性樹脂部分との密着性(親和性)を高めることができ、大きな相分離を防ぐことができると考えられる。これにより、所望の室温抵抗値と抵抗変化率とを有する有機質正特性サーミスタがより安定して得られ、十分優れた信頼性を有する有機質正特性サーミスタがより確実に得られると考えている。
また、本実施形態のサーミスタ素体形成用組成物を用いると、熱可塑性樹脂が上記コアシェル型ポリマー粒子であることによって、上記コアシェル型ポリマー粒子のシェル層を構成する極性基を有する熱可塑性樹脂が熱硬化性樹脂へ膨潤するため、コアシェル型ポリマー粒子が熱硬化性樹脂へ均一に分散した状態となり、サーミスタの室温抵抗値の上昇が抑制されていると考えられる。これにより、所望の室温抵抗値と抵抗変化率とを有する有機質正特性サーミスタがより安定して得られると考えられる。
また、本実施形態のサーミスタ素体形成用組成物を用いると、熱可塑性樹脂が上記コアシェル型ポリマー粒子であることによって、コアシェル型ポリマー粒子のコア層によって、樹脂マトリックスに適度な可とう性が付与されるため、所望の室温抵抗値と抵抗変化率とを有する有機質正特性サーミスタがより安定して得られ、十分優れた信頼性を有する有機質正特性サーミスタがより確実に得られると考えている。
本実施形態のサーミスタ素体形成用組成物に用いるコアシェル型ポリマー粒子及び導電性粒子は、コアシェル型ポリマー粒子の平均粒径P1と、導電性粒子の平均粒径P2とが、下記一般式(1)で表わされる条件を満たしていることが好ましい。
0.01≦(P1/P2)≦10 …(1)
0.01≦(P1/P2)≦10 …(1)
コアシェル型ポリマー粒子の平均粒径と導電性粒子の平均粒径とが上記の条件を満たしていることにより、有機質正特性サーミスタの抵抗変化率を確保すると共に室温抵抗値をより確実かつ容易に低下させることができる。これは、上記一般式(1)の関係を満たすコアシェル型ポリマー粒子と導電性粒子を用いることにより、導電性粒子による導電パスが熱可塑性樹脂のマトリックスによって切断されて低下する電子伝導性の程度を、より小さくできるためと考えられる。
また、コアシェル型ポリマー粒子の平均粒径P1が、0.1〜15μmの範囲内にあることが好ましい。
かかる平均粒径のコアシェル型ポリマー粒子を用いることにより、加熱時の熱衝撃によってサーミスタ素体にクラックが生じることや、導電性粒子による導電パスが切断されることをより確実に抑制することができ、有機質正特性サーミスタの抵抗変化率を確保すると共に室温抵抗値をより確実かつ容易に低下させることができる。
コアシェル型ポリマー粒子の配合割合としては、熱硬化性樹脂100質量部に対して、3〜30質量部であることが好ましく、5〜20質量部であることがより好ましい。コアシェル型ポリマー粒子の配合割合が、3質量部未満であると、コアシェル型ポリマー粒子の量が少ないため、熱硬化性樹脂に膨潤して熱硬化性樹脂の染み出しを防ぐ効果が得られ難くなる傾向にある。また、30質量部を超えると、熱硬化性樹脂とコアシェル型ポリマー粒子とを十分に混合できなくなる傾向にあり、また、得られるサーミスタの室温抵抗値の上昇が見られたり、耐熱性が低下したりする傾向にある。
本実施形態のサーミスタ素体形成用組成物には、さらに硬化促進剤等の添加剤を加えてもよい。硬化促進剤を加えることにより、混合物を硬化させる際の硬化温度を下げることや硬化に要する時間を短縮することが可能となる。
硬化促進剤としては、例えば、熱硬化性樹脂としてエポキシ樹脂を用いた場合には、第三アミン、アミンアダクト化合物、イミダゾールアダクト化合物、ほう酸エステル、ルイス酸、有機金属化合物、有機酸金属塩、及びイミダゾール等の一般に用いられているものを用いることができる。
添加剤の配合量については、本発明の効果を損なわない範囲であれば特に限定されない。
次に、本実施形態のサーミスタ素体形成用組成物を用いる本発明の有機質正特性サーミスタの製造方法について説明する。
まず、所定量の熱硬化性樹脂、コアシェル型ポリマー粒子、導電性粒子、並びに、必要に応じて硬化剤及び硬化促進剤などの添加剤を含む本実施形態のサーミスタ素体形成用組成物を用意し、これを混合して塗工液を調製する(混合工程)。この混合工程の際に用いられる装置は、各種撹拌機、分散機、ミル等の公知のものが挙げられる。また、粘度調節のために、アルコールやアセトンなどの汎用的な溶媒や、反応性希釈剤を用いてもよい。
混合時間は、特に限定されないが、通常、10〜30分間混合することで、各成分を分散させることができる。また、温度条件についても特に限定されないが、100〜150℃が好ましい。
また、混合中に気泡が混入した場合は、真空脱泡を行うことが好ましい。
次に、得られた塗工液を電極としての金属箔上に塗布し塗膜を形成し(塗膜形成工程)、さらに、コアシェル型ポリマー粒子によって塗膜がゲル化するまで所定の温度で所定時間加熱する(ゲル化工程)。
ここで、塗膜をゲル化させるの条件は、特に限定されず、用いる熱硬化性樹脂及びコアシェル型ポリマー粒子の種類、並びに、配合割合等に応じて設定することが好ましい。例えば、温度条件については、用いるコアシェル型ポリマー粒子のシェル層が膨潤する温度以上であり、かつ、用いる熱硬化性樹脂の硬化が開始する温度未満である温度が挙げられる。具体的には、例えば、エポキシ樹脂とアクリレート・メタクリレート共重合体からなるコアシェル型ポリマー粒子との組み合わせの場合には、80〜120℃で30秒〜5分加熱することによりゲル化を行うことができる。
次に、ゲル化した塗膜の表面にもう一方の電極となる金属箔を積層して、これをプレス成形する(プレス成形工程)。なお、ここで得られた成形体は、含有されるコアシェル型ポリマー粒子によりゲル化しているため形状安定性に優れ、Bステージ化を図る場合にも好適に用いることができる。
次に、プレス成形工程で得られた成形体を、熱硬化性樹脂が十分に硬化するまで所定の温度で所定時間加熱する(硬化工程)。
硬化工程における加熱の条件は、用いる熱硬化性樹脂や、必要に応じて用いる添加物によって適宜設定することができる。
硬化工程で得られた硬化体を所望の形状(例えば、3.6mm×9mm)に打ち抜くことにより、サーミスタを得ることができる(打ち抜き工程)。打ち抜き方法としては、通常の有機質正特性サーミスタを打ち抜く方法であれば特に限定されることなく用いることができる。
また、必要に応じて、打ち抜き工程によって得られたサーミスタの電極の表面に、それぞれリードを接合することにより、リードを有するサーミスタを作製できる。リード接合方法としては、通常の有機質正特性サーミスタの製造方法において用いられるものであれば特に限定されることなく用いることができる。
以上、本発明の有機質正特性サーミスタ及び有機質正特性サーミスタ素体形成用組成物の好適な実施形態、並びに本発明の有機質正特性サーミスタの製造方法について説明したが、本発明は上記実施形態に限定されるものではない。
有機性特性サーミスタについては、例えば、複数のサーミスタ素体を積層して構成されていてもよい。
また、有機質正特性サーミスタの製造方法については、例えば、以下の方法が挙げられる。
上述の塗膜形成工程、ゲル化工程、プレス成形工程、硬化工程の順に行う方法の代わりに、上記サーミスタ素体形成用組成物を含有する塗工液を電極としての金属箔上に塗布して塗膜を形成し(塗膜形成工程)、さらに塗膜の表面にもう一方の電極となる金属箔を積層して、これをプレス成形し(プレス成形工程)、プレス成形で得られた成形体を、塗膜がゲル化するまで所定の温度で所定時間加熱し(ゲル化工程)、次いで、熱硬化性樹脂が十分に硬化するまで所定の温度で所定時間加熱する(硬化工程)という順序で硬化体を作製してもよい。
また、別の方法として、上記サーミスタ素体形成用組成物を含有する塗工液を、印刷法あるいはドクターブレード法等を用いてPETフィルム上に塗布して塗膜を形成し(塗膜形成工程)、塗膜がゲル化するまで所定の温度で所定時間加熱し(ゲル化工程)、塗膜をシート状に成形し(シート成形工程)、得られたシートを、熱硬化性樹脂が十分に硬化するまで所定の温度で所定時間加熱する(硬化工程)方法により硬化体を作製する。次に、この硬化体の両面に電極を設けることによりサーミスタを得ることができる。電極を形成する方法としては、特に限定されないが、例えば、金属めっきを施す、あるいは金属ペーストを塗布するなどの方法を用いることができる。
本発明の有機質正特性サーミスタは、過電流・加熱保護素子、自己制御型発熱体、温度センサ等に利用することができる。
以下、実施例及び比較例を挙げて本発明について更に詳しく説明するが、本発明はこれらの実施例に何ら限定されない。
(実施例1)
熱硬化性樹脂として可とう性を有するエポキシ樹脂(新日本理化社製、商品名「BPO20E」、エポキシ当量314g/eq)100質量部と、硬化剤としてメチルテトラヒドロ無水フタル酸(大日本インキ化学工業社製、商品名「B570」、酸無水物当量168g/eq)54質量部(エポキシ樹脂と硬化剤との当量比で1:1)と、硬化促進剤としてイミダゾールアダクト化合物(味の素ファインテクノ(株)製、商品名「PN−40J」)1質量部と、コアシェル型ポリマー粒子としてゼオンアクリルレジンF351(日本ゼオン社製、商品名、平均粒径:0.3μm)10質量部とを攪拌機を用いて攪拌混合した。さらに、導電性粒子としてフィラメント状ニッケルパウダ(INCO社製、商品名「Type255ニッケルパウダ」、平均粒径2.2〜2.8μm、見かけ密度0.5〜0.65g/cm3、比表面積0.68m2/g)を、混合物中で75質量%となるように添加して、25℃で30分間攪拌混合し、混合物を調製した。
熱硬化性樹脂として可とう性を有するエポキシ樹脂(新日本理化社製、商品名「BPO20E」、エポキシ当量314g/eq)100質量部と、硬化剤としてメチルテトラヒドロ無水フタル酸(大日本インキ化学工業社製、商品名「B570」、酸無水物当量168g/eq)54質量部(エポキシ樹脂と硬化剤との当量比で1:1)と、硬化促進剤としてイミダゾールアダクト化合物(味の素ファインテクノ(株)製、商品名「PN−40J」)1質量部と、コアシェル型ポリマー粒子としてゼオンアクリルレジンF351(日本ゼオン社製、商品名、平均粒径:0.3μm)10質量部とを攪拌機を用いて攪拌混合した。さらに、導電性粒子としてフィラメント状ニッケルパウダ(INCO社製、商品名「Type255ニッケルパウダ」、平均粒径2.2〜2.8μm、見かけ密度0.5〜0.65g/cm3、比表面積0.68m2/g)を、混合物中で75質量%となるように添加して、25℃で30分間攪拌混合し、混合物を調製した。
次に、得られた混合物を、Ni箔(厚さ:25μm)上に塗布して、膜厚が0.2mmの塗膜を形成した。さらに、塗膜をオーブンで、100℃で5分間加熱することによりゲル化した(ゲル化工程)。次に、もう一枚のNi箔で塗膜を挟みプレス成形した(プレス成形工程)。得られた成形体をオーブンに入れ、温度130℃で10時間保持して硬化処理を行い(硬化工程)、Ni箔の電極で挟まれたシート状の硬化体を得た。
得られたシート状の硬化体を3.6×9.0mmの形状に打ち抜き、有機質正特性サーミスタを得た。
得られたサーミスタを恒温槽内で室温(25℃)から200℃まで3℃/分で加熱、冷却し、4端子法により所定の温度で抵抗値の測定を行い、温度−抵抗曲線を得た。
初期室温抵抗は2.0×10−3Ω(3.2×10−2Ω・cm)であった。また、130℃付近で抵抗が急激に増加し、抵抗変化率は10桁(1010)以上であった。さらに、加熱冷却後の室温抵抗値は1.0×10−2Ω(1.6×10−1Ω・cm)であった。また、10秒オン−360秒オフを1サイクル(6V−10A負荷)とする断続負荷試験を10サイクル行なった後の室温抵抗値は1.5×10−2Ω(2.4×10−1Ω・cm)であった。これらの結果を表1にまとめる。
また、サーミスタを約200℃の高温中に放置した後、室温雰囲気に取り出したところ、Ni電極箔表面に歪みはなく、また、打ち抜き側面への素体のはみ出しも見られず、サーミスタの変形は確認されなかった。
(実施例2)
コアシェル型ポリマー粒子として、「ゼフィアックF351」の代わりに「スタフィロイドAC−3355」(ガンツ化成株式会社製、商品名、平均粒径:0.5μm)を使用したこと以外は実施例1と同様にして有機質正特性サーミスタを得た。
コアシェル型ポリマー粒子として、「ゼフィアックF351」の代わりに「スタフィロイドAC−3355」(ガンツ化成株式会社製、商品名、平均粒径:0.5μm)を使用したこと以外は実施例1と同様にして有機質正特性サーミスタを得た。
得られたサーミスタについて、実施例1と同様の方法で、温度−抵抗曲線を得た。初期室温抵抗値は2.0×10−3Ω(3.2×10−2Ω・cm)であった。また、130℃付近で抵抗が急激に増加し、抵抗変化率は10桁(1010)以上であった。さらに、加熱冷却後の室温抵抗値は1.0×10−2Ω(1.6×10−1Ω・cm)であった。また、10秒オン−360秒オフを1サイクル(6V−10A負荷)とする断続負荷試験を10サイクル行なった後の室温抵抗値は2.0×10−2Ω(3.2×10−1Ω・cm)であった。これらの結果を表1にまとめる。
また、サーミスタを約200℃の高温中に放置した後、室温雰囲気に取り出したところ、Ni電極箔表面に歪みはなく、また、打ち抜き側面への素体のはみ出しも見られず、サーミスタの変形は確認されなかった。
(実施例3)
熱硬化性樹脂として、「BPO20E」の代わりにビスフェノールAタイプ樹脂(大日本インキ化学工業社製、商品名「EPICLON850」、エポキシ当量190g/eq)を用い、このエポキシ樹脂100質量部に対して硬化剤を88質量部(エポキシ樹脂と硬化剤との当量比で1:1)用いたこと以外は実施例1と同様にして有機質正特性サーミスタを得た。
熱硬化性樹脂として、「BPO20E」の代わりにビスフェノールAタイプ樹脂(大日本インキ化学工業社製、商品名「EPICLON850」、エポキシ当量190g/eq)を用い、このエポキシ樹脂100質量部に対して硬化剤を88質量部(エポキシ樹脂と硬化剤との当量比で1:1)用いたこと以外は実施例1と同様にして有機質正特性サーミスタを得た。
得られたサーミスタについて、実施例1と同様の方法で、温度−抵抗曲線を得た。初期室温抵抗は2.0×10−3Ω(3.2×10−2Ω・cm)であった。また、130℃付近で抵抗が急激に増加し、抵抗変化率は10桁(1010)であった。さらに、加熱冷却後の室温抵抗値は1.5×10−2Ω(2.4×10−1Ω・cm)であった。また、10秒オン−360秒オフを1サイクル(6V−10A負荷)とする断続負荷試験を10サイクル行なった後の室温抵抗値は5.0×10−2Ω(8.1×10−1Ω・cm)であった。これらの結果を表1にまとめる。
また、サーミスタを約200℃の高温中に放置した後、室温雰囲気に取り出したところ、Ni電極箔表面に歪みはなく、また、打ち抜き側面への素体のはみ出しも見られず、サーミスタの変形は確認されなかった。
(比較例1)
コアシェル型ポリマー粒子である「ゼフィアックF351」の代わりにアクリル樹脂(ガンツ化成株式会社製、商品名「ガンツパールGM−2001」、平均粒径:20μm)を用いたこと以外は実施例3と同様にして有機質正特性サーミスタを得た。
コアシェル型ポリマー粒子である「ゼフィアックF351」の代わりにアクリル樹脂(ガンツ化成株式会社製、商品名「ガンツパールGM−2001」、平均粒径:20μm)を用いたこと以外は実施例3と同様にして有機質正特性サーミスタを得た。
得られたサーミスタについて、実施例1と同様の方法で、温度−抵抗曲線を得た。初期室温抵抗は3.0×10−2Ω(4.8×10−1Ω・cm)であった。また、130℃付近で抵抗が急激に増加し、抵抗変化率は7桁(107)であった。さらに、加熱冷却後の室温抵抗値は2.0×10−1Ω(3.2Ω・cm)であった。また、10秒オン−360秒オフを1サイクル(6V−10A負荷)とする断続負荷試験を10サイクル行なった後の室温抵抗値は1.0Ω(16.2Ω・cm)であった。これらの結果を表1にまとめる。
(比較例2)
コアシェル型ポリマー粒子である「ゼフィアックF351」を用いなかったこと、塗膜をゲル化するゲル化工程を省いたこと、以外は実施例3と同様にして有機質正特性サーミスタを得た。なお、サーミスタ作製時において、サーミスタの電極や外部へのエポキシ樹脂のしみ出しが確認された。
コアシェル型ポリマー粒子である「ゼフィアックF351」を用いなかったこと、塗膜をゲル化するゲル化工程を省いたこと、以外は実施例3と同様にして有機質正特性サーミスタを得た。なお、サーミスタ作製時において、サーミスタの電極や外部へのエポキシ樹脂のしみ出しが確認された。
得られたサーミスタについて、実施例1と同様の方法で、温度−抵抗曲線を得た。初期室温抵抗は1.0×10−3Ω(1.6×10−2Ω・cm)であった。また、130℃付近における急激な抵抗変化は認められず、抵抗変化率は1桁程度であった。さらに、加熱冷却後の室温抵抗値は1.0×10−3Ω(1.6×10−2Ω・cm)であった。また、10秒オン−360秒オフを1サイクル(6V−10A負荷)とする断続負荷試験を10サイクル行なったところ、サーミスタが短絡(ショート)した。これらの結果を表1にまとめる。
表1に示されるように、実施例1〜3の有機質正特性サーミスタは、十分低い室温抵抗値と十分大きな抵抗変化率とを同時に有しており、さらに加熱冷却後の室温抵抗値の復帰性、及び断続負荷試験後の室温抵抗値の復帰性も良好であり、信頼性に十分優れていることが確認された。一方、コアシェル構造を有していない熱可塑性樹脂を用いた比較例1の有機質正特性サーミスタは、低い室温抵抗値を確保することが困難であり、また、加熱冷却後の抵抗値の復帰性も悪く、所望のPTC特性を得ることができなかった。また、コアシェル型ポリマー粒子を用いない比較例2の有機質正特性サーミスタは、より大きな抵抗変化率を得ることが困難であり、より低い室温抵抗値とより大きな抵抗変化率との両立ができなかった。
1…サーミスタ素体、2…電極、3…電極、10…有機質正特性サーミスタ。
Claims (7)
- 熱硬化性樹脂と、コアシェル型ポリマー粒子と、導電性粒子と、を含有することを特徴とする有機質正特性サーミスタ素体形成用組成物。
- 前記コアシェル型ポリマー粒子のシェル層を構成する重合体が、極性基を有する熱可塑性樹脂であることを特徴とする請求項1に記載の有機質正特性サーミスタ素体形成用組成物。
- 前記コアシェル型ポリマー粒子のコア層が、前記コアシェル型ポリマー粒子のシェル層よりも軟らかいことを特徴とする請求項1又は2に記載の有機質正特性サーミスタ素体形成用組成物。
- 前記コアシェル型ポリマー粒子のコア層の弾性率が、前記コアシェル型ポリマー粒子のシェル層の弾性率よりも小さいことを特徴とする請求項1〜3のいずれか一項に記載の有機質正特性サーミスタ素体形成用組成物。
- 前記コアシェル型ポリマー粒子のシェル層が、当該シェル層を構成する重合体の重合成分としてアクリレート化合物又はメタクリレート化合物を含有することを特徴とする請求項1〜4のいずれか一項に記載の有機質正特性サーミスタ素体形成用組成物。
- 前記熱硬化性樹脂が、可とう性を有するエポキシ樹脂を含むことを特徴とする請求項1〜5のいずれか一項に記載の有機質正特性サーミスタ素体形成用組成物。
- 互いに対向して配置された1対の電極と、前記1対の電極間に配置された正の抵抗−温度特性を有するサーミスタ素体と、を備え、
前記サーミスタ素体が、請求項1〜6のいずれか一項に記載の有機質正特性サーミスタ素体形成用組成物を用いて形成される硬化体からなることを特徴とする有機質正特性サーミスタ。
Priority Applications (1)
| Application Number | Priority Date | Filing Date | Title |
|---|---|---|---|
| JP2004107887A JP2005294552A (ja) | 2004-03-31 | 2004-03-31 | 有機質正特性サーミスタ素体形成用組成物及び有機質正特性サーミスタ |
Applications Claiming Priority (1)
| Application Number | Priority Date | Filing Date | Title |
|---|---|---|---|
| JP2004107887A JP2005294552A (ja) | 2004-03-31 | 2004-03-31 | 有機質正特性サーミスタ素体形成用組成物及び有機質正特性サーミスタ |
Publications (1)
| Publication Number | Publication Date |
|---|---|
| JP2005294552A true JP2005294552A (ja) | 2005-10-20 |
Family
ID=35327141
Family Applications (1)
| Application Number | Title | Priority Date | Filing Date |
|---|---|---|---|
| JP2004107887A Pending JP2005294552A (ja) | 2004-03-31 | 2004-03-31 | 有機質正特性サーミスタ素体形成用組成物及び有機質正特性サーミスタ |
Country Status (1)
| Country | Link |
|---|---|
| JP (1) | JP2005294552A (ja) |
Cited By (3)
| Publication number | Priority date | Publication date | Assignee | Title |
|---|---|---|---|---|
| WO2007105485A1 (ja) * | 2006-03-10 | 2007-09-20 | Nippon Shokubai Co., Ltd. | 偏光子保護フィルム、偏光板、および画像表示装置 |
| WO2007125806A1 (ja) * | 2006-04-28 | 2007-11-08 | Showa Denko K.K. | 熱硬化性樹脂組成物およびその用途 |
| JP2016169301A (ja) * | 2015-03-12 | 2016-09-23 | 京セラ株式会社 | サーミスタセンサ注形用樹脂組成物およびサーミスタセンサ |
-
2004
- 2004-03-31 JP JP2004107887A patent/JP2005294552A/ja active Pending
Cited By (6)
| Publication number | Priority date | Publication date | Assignee | Title |
|---|---|---|---|---|
| WO2007105485A1 (ja) * | 2006-03-10 | 2007-09-20 | Nippon Shokubai Co., Ltd. | 偏光子保護フィルム、偏光板、および画像表示装置 |
| JP5075813B2 (ja) * | 2006-03-10 | 2012-11-21 | 株式会社日本触媒 | 偏光子保護フィルム、偏光板、および画像表示装置 |
| US9297932B2 (en) | 2006-03-10 | 2016-03-29 | Nippon Shokubai Co., Ltd | Polarizer protective film, polarizing plate, and image display apparatus |
| WO2007125806A1 (ja) * | 2006-04-28 | 2007-11-08 | Showa Denko K.K. | 熱硬化性樹脂組成物およびその用途 |
| JPWO2007125806A1 (ja) * | 2006-04-28 | 2009-09-10 | 昭和電工株式会社 | 熱硬化性樹脂組成物およびその用途 |
| JP2016169301A (ja) * | 2015-03-12 | 2016-09-23 | 京セラ株式会社 | サーミスタセンサ注形用樹脂組成物およびサーミスタセンサ |
Similar Documents
| Publication | Publication Date | Title |
|---|---|---|
| EP1944346B1 (en) | Anisotropic conductive adhesive | |
| CN103975009B (zh) | 聚合物ptc热敏电阻 | |
| WO2010073885A1 (ja) | フィルム状接着剤及び異方導電性接着剤 | |
| US7270776B2 (en) | Resin composition for forming thermistor body, and thermistor | |
| TW200908166A (en) | Adhesive for electronic component, semiconductor chip stacking method, and semiconductor device | |
| US20130175485A1 (en) | Electroconductive liquid resin composition and an electronic part | |
| US7314583B2 (en) | Organic positive temperature coefficient thermistor device | |
| TWI883087B (zh) | 接著劑組合物、接著膜及連接構造體 | |
| JP2005294552A (ja) | 有機質正特性サーミスタ素体形成用組成物及び有機質正特性サーミスタ | |
| JP4872220B2 (ja) | 導電性接着剤 | |
| JP2017071707A (ja) | 液状熱伝導性樹脂組成物及び電子部品 | |
| JP2005294550A (ja) | 有機質正特性サーミスタ | |
| JP6540590B2 (ja) | 液状導電性樹脂組成物および電子部品 | |
| EP1585145B1 (en) | Organic positive temperature coefficient thermistor | |
| JP4261407B2 (ja) | 有機質正特性サーミスタ | |
| JPH1112346A (ja) | 組成物及びこれを用いたフィルム | |
| JP2011184528A (ja) | 回路接続材料 | |
| JP2007042667A (ja) | 有機質正特性サーミスタ | |
| JP2007277384A (ja) | 導電性接着剤 | |
| JP4220428B2 (ja) | 有機質正特性サーミスタ | |
| JP4262152B2 (ja) | サーミスタ | |
| TW202444838A (zh) | 導電性塗料 | |
| CN118667302A (zh) | 液态树脂组合物 | |
| JP2025104774A (ja) | 導電性接着剤 | |
| JP2013199610A (ja) | 導電性接着剤組成物及びそれを用いた電子素子 |
Legal Events
| Date | Code | Title | Description |
|---|---|---|---|
| A621 | Written request for application examination |
Free format text: JAPANESE INTERMEDIATE CODE: A621 Effective date: 20070118 |
|
| A977 | Report on retrieval |
Free format text: JAPANESE INTERMEDIATE CODE: A971007 Effective date: 20090409 |
|
| A131 | Notification of reasons for refusal |
Free format text: JAPANESE INTERMEDIATE CODE: A131 Effective date: 20090421 |
|
| A02 | Decision of refusal |
Free format text: JAPANESE INTERMEDIATE CODE: A02 Effective date: 20090818 |
