JP2005294550A - 有機質正特性サーミスタ - Google Patents
有機質正特性サーミスタ Download PDFInfo
- Publication number
- JP2005294550A JP2005294550A JP2004107862A JP2004107862A JP2005294550A JP 2005294550 A JP2005294550 A JP 2005294550A JP 2004107862 A JP2004107862 A JP 2004107862A JP 2004107862 A JP2004107862 A JP 2004107862A JP 2005294550 A JP2005294550 A JP 2005294550A
- Authority
- JP
- Japan
- Prior art keywords
- thermistor
- resin
- organic positive
- thermoplastic resin
- temperature coefficient
- Prior art date
- Legal status (The legal status is an assumption and is not a legal conclusion. Google has not performed a legal analysis and makes no representation as to the accuracy of the status listed.)
- Pending
Links
- 229920005989 resin Polymers 0.000 claims abstract description 91
- 239000011347 resin Substances 0.000 claims abstract description 91
- 239000002245 particle Substances 0.000 claims abstract description 74
- 229920001187 thermosetting polymer Polymers 0.000 claims abstract description 74
- 229920005992 thermoplastic resin Polymers 0.000 claims abstract description 69
- 239000000203 mixture Substances 0.000 claims abstract description 28
- 238000010438 heat treatment Methods 0.000 claims abstract description 24
- 239000003822 epoxy resin Substances 0.000 claims description 31
- 229920000647 polyepoxide Polymers 0.000 claims description 31
- 229920000178 Acrylic resin Polymers 0.000 claims description 18
- 239000004925 Acrylic resin Substances 0.000 claims description 18
- BZHJMEDXRYGGRV-UHFFFAOYSA-N Vinyl chloride Chemical compound ClC=C BZHJMEDXRYGGRV-UHFFFAOYSA-N 0.000 claims description 8
- 239000000113 methacrylic resin Substances 0.000 claims description 3
- 230000001747 exhibiting effect Effects 0.000 abstract 1
- 238000000034 method Methods 0.000 description 34
- 239000011248 coating agent Substances 0.000 description 21
- 238000000576 coating method Methods 0.000 description 21
- 239000011159 matrix material Substances 0.000 description 19
- PXHVJJICTQNCMI-UHFFFAOYSA-N nickel Substances [Ni] PXHVJJICTQNCMI-UHFFFAOYSA-N 0.000 description 15
- 239000003795 chemical substances by application Substances 0.000 description 12
- 238000002156 mixing Methods 0.000 description 11
- 150000008065 acid anhydrides Chemical class 0.000 description 10
- 238000001879 gelation Methods 0.000 description 10
- 239000011888 foil Substances 0.000 description 9
- RAXXELZNTBOGNW-UHFFFAOYSA-N imidazole Natural products C1=CNC=N1 RAXXELZNTBOGNW-UHFFFAOYSA-N 0.000 description 9
- PEDCQBHIVMGVHV-UHFFFAOYSA-N Glycerine Chemical compound OCC(O)CO PEDCQBHIVMGVHV-UHFFFAOYSA-N 0.000 description 8
- 238000004519 manufacturing process Methods 0.000 description 8
- 239000000463 material Substances 0.000 description 8
- 229910052751 metal Inorganic materials 0.000 description 8
- 239000002184 metal Substances 0.000 description 8
- 150000001875 compounds Chemical class 0.000 description 7
- 238000001816 cooling Methods 0.000 description 7
- 239000010419 fine particle Substances 0.000 description 7
- 238000000465 moulding Methods 0.000 description 7
- LYCAIKOWRPUZTN-UHFFFAOYSA-N Ethylene glycol Chemical compound OCCO LYCAIKOWRPUZTN-UHFFFAOYSA-N 0.000 description 6
- 125000004432 carbon atom Chemical group C* 0.000 description 6
- 230000000694 effects Effects 0.000 description 6
- IISBACLAFKSPIT-UHFFFAOYSA-N bisphenol A Chemical compound C=1C=C(O)C=CC=1C(C)(C)C1=CC=C(O)C=C1 IISBACLAFKSPIT-UHFFFAOYSA-N 0.000 description 5
- 230000000052 comparative effect Effects 0.000 description 5
- 239000000499 gel Substances 0.000 description 5
- -1 glycidyl ether ester Chemical class 0.000 description 5
- NPURPEXKKDAKIH-UHFFFAOYSA-N iodoimino(oxo)methane Chemical compound IN=C=O NPURPEXKKDAKIH-UHFFFAOYSA-N 0.000 description 5
- 239000002923 metal particle Substances 0.000 description 5
- 125000000962 organic group Chemical group 0.000 description 5
- 238000004080 punching Methods 0.000 description 5
- RTZKZFJDLAIYFH-UHFFFAOYSA-N Diethyl ether Chemical compound CCOCC RTZKZFJDLAIYFH-UHFFFAOYSA-N 0.000 description 4
- 229910052759 nickel Inorganic materials 0.000 description 4
- 238000005191 phase separation Methods 0.000 description 4
- 230000035939 shock Effects 0.000 description 4
- 239000000126 substance Substances 0.000 description 4
- IJGRMHOSHXDMSA-UHFFFAOYSA-N Atomic nitrogen Chemical group N#N IJGRMHOSHXDMSA-UHFFFAOYSA-N 0.000 description 3
- OKTJSMMVPCPJKN-UHFFFAOYSA-N Carbon Chemical compound [C] OKTJSMMVPCPJKN-UHFFFAOYSA-N 0.000 description 3
- 239000004593 Epoxy Substances 0.000 description 3
- 239000000654 additive Substances 0.000 description 3
- 150000008064 anhydrides Chemical class 0.000 description 3
- 229920001577 copolymer Polymers 0.000 description 3
- 235000011187 glycerol Nutrition 0.000 description 3
- 239000007788 liquid Substances 0.000 description 3
- 239000011164 primary particle Substances 0.000 description 3
- 125000001424 substituent group Chemical group 0.000 description 3
- 125000005591 trimellitate group Chemical group 0.000 description 3
- WVRNUXJQQFPNMN-VAWYXSNFSA-N 3-[(e)-dodec-1-enyl]oxolane-2,5-dione Chemical compound CCCCCCCCCC\C=C\C1CC(=O)OC1=O WVRNUXJQQFPNMN-VAWYXSNFSA-N 0.000 description 2
- FJKROLUGYXJWQN-UHFFFAOYSA-N 4-hydroxybenzoic acid Chemical compound OC(=O)C1=CC=C(O)C=C1 FJKROLUGYXJWQN-UHFFFAOYSA-N 0.000 description 2
- MWSKJDNQKGCKPA-UHFFFAOYSA-N 6-methyl-3a,4,5,7a-tetrahydro-2-benzofuran-1,3-dione Chemical compound C1CC(C)=CC2C(=O)OC(=O)C12 MWSKJDNQKGCKPA-UHFFFAOYSA-N 0.000 description 2
- RYGMFSIKBFXOCR-UHFFFAOYSA-N Copper Chemical compound [Cu] RYGMFSIKBFXOCR-UHFFFAOYSA-N 0.000 description 2
- 239000002841 Lewis acid Substances 0.000 description 2
- ISWSIDIOOBJBQZ-UHFFFAOYSA-N Phenol Chemical compound OC1=CC=CC=C1 ISWSIDIOOBJBQZ-UHFFFAOYSA-N 0.000 description 2
- KKEYFWRCBNTPAC-UHFFFAOYSA-N Terephthalic acid Chemical compound OC(=O)C1=CC=C(C(O)=O)C=C1 KKEYFWRCBNTPAC-UHFFFAOYSA-N 0.000 description 2
- 239000002253 acid Substances 0.000 description 2
- 125000002947 alkylene group Chemical group 0.000 description 2
- 125000004429 atom Chemical group 0.000 description 2
- 230000015572 biosynthetic process Effects 0.000 description 2
- PXKLMJQFEQBVLD-UHFFFAOYSA-N bisphenol F Chemical compound C1=CC(O)=CC=C1CC1=CC=C(O)C=C1 PXKLMJQFEQBVLD-UHFFFAOYSA-N 0.000 description 2
- 229910052799 carbon Inorganic materials 0.000 description 2
- 125000003178 carboxy group Chemical group [H]OC(*)=O 0.000 description 2
- YCIMNLLNPGFGHC-UHFFFAOYSA-N catechol Chemical compound OC1=CC=CC=C1O YCIMNLLNPGFGHC-UHFFFAOYSA-N 0.000 description 2
- 239000000919 ceramic Substances 0.000 description 2
- 229910010293 ceramic material Inorganic materials 0.000 description 2
- 238000005520 cutting process Methods 0.000 description 2
- 230000003247 decreasing effect Effects 0.000 description 2
- 150000002430 hydrocarbons Chemical group 0.000 description 2
- 150000007517 lewis acids Chemical class 0.000 description 2
- 229920003986 novolac Polymers 0.000 description 2
- XNGIFLGASWRNHJ-UHFFFAOYSA-N phthalic acid Chemical compound OC(=O)C1=CC=CC=C1C(O)=O XNGIFLGASWRNHJ-UHFFFAOYSA-N 0.000 description 2
- 238000007747 plating Methods 0.000 description 2
- 229920006122 polyamide resin Polymers 0.000 description 2
- 229920000768 polyamine Polymers 0.000 description 2
- 229920000642 polymer Polymers 0.000 description 2
- GHMLBKRAJCXXBS-UHFFFAOYSA-N resorcinol Chemical compound OC1=CC=CC(O)=C1 GHMLBKRAJCXXBS-UHFFFAOYSA-N 0.000 description 2
- 239000011163 secondary particle Substances 0.000 description 2
- 230000008961 swelling Effects 0.000 description 2
- 150000003512 tertiary amines Chemical class 0.000 description 2
- 229920001169 thermoplastic Polymers 0.000 description 2
- 239000004416 thermosoftening plastic Substances 0.000 description 2
- LTVUCOSIZFEASK-MPXCPUAZSA-N (3ar,4s,7r,7as)-3a-methyl-3a,4,7,7a-tetrahydro-4,7-methano-2-benzofuran-1,3-dione Chemical compound C([C@H]1C=C2)[C@H]2[C@H]2[C@]1(C)C(=O)OC2=O LTVUCOSIZFEASK-MPXCPUAZSA-N 0.000 description 1
- MUTGBJKUEZFXGO-OLQVQODUSA-N (3as,7ar)-3a,4,5,6,7,7a-hexahydro-2-benzofuran-1,3-dione Chemical compound C1CCC[C@@H]2C(=O)OC(=O)[C@@H]21 MUTGBJKUEZFXGO-OLQVQODUSA-N 0.000 description 1
- KMOUUZVZFBCRAM-OLQVQODUSA-N (3as,7ar)-3a,4,7,7a-tetrahydro-2-benzofuran-1,3-dione Chemical compound C1C=CC[C@@H]2C(=O)OC(=O)[C@@H]21 KMOUUZVZFBCRAM-OLQVQODUSA-N 0.000 description 1
- HECLRDQVFMWTQS-RGOKHQFPSA-N 1755-01-7 Chemical compound C1[C@H]2[C@@H]3CC=C[C@@H]3[C@@H]1C=C2 HECLRDQVFMWTQS-RGOKHQFPSA-N 0.000 description 1
- FALRKNHUBBKYCC-UHFFFAOYSA-N 2-(chloromethyl)pyridine-3-carbonitrile Chemical compound ClCC1=NC=CC=C1C#N FALRKNHUBBKYCC-UHFFFAOYSA-N 0.000 description 1
- QTWJRLJHJPIABL-UHFFFAOYSA-N 2-methylphenol;3-methylphenol;4-methylphenol Chemical compound CC1=CC=C(O)C=C1.CC1=CC=CC(O)=C1.CC1=CC=CC=C1O QTWJRLJHJPIABL-UHFFFAOYSA-N 0.000 description 1
- PZYAFUQTVNDJQU-UHFFFAOYSA-N 2-phenylhexadecanedioic acid Chemical compound OC(=O)CCCCCCCCCCCCCC(C(O)=O)C1=CC=CC=C1 PZYAFUQTVNDJQU-UHFFFAOYSA-N 0.000 description 1
- PUMIRPCJLHGLOT-UHFFFAOYSA-N 3,5-diethyloxane-2,6-dione Chemical compound CCC1CC(CC)C(=O)OC1=O PUMIRPCJLHGLOT-UHFFFAOYSA-N 0.000 description 1
- ALKYHXVLJMQRLQ-UHFFFAOYSA-N 3-Hydroxy-2-naphthoate Chemical compound C1=CC=C2C=C(O)C(C(=O)O)=CC2=C1 ALKYHXVLJMQRLQ-UHFFFAOYSA-N 0.000 description 1
- BLBSJBOFNFNGLV-UHFFFAOYSA-N 3-ethyl-oxacyclononadecane-2,19-dione Chemical compound CCC1CCCCCCCCCCCCCCCC(=O)OC1=O BLBSJBOFNFNGLV-UHFFFAOYSA-N 0.000 description 1
- 229940090248 4-hydroxybenzoic acid Drugs 0.000 description 1
- VQVIHDPBMFABCQ-UHFFFAOYSA-N 5-(1,3-dioxo-2-benzofuran-5-carbonyl)-2-benzofuran-1,3-dione Chemical compound C1=C2C(=O)OC(=O)C2=CC(C(C=2C=C3C(=O)OC(=O)C3=CC=2)=O)=C1 VQVIHDPBMFABCQ-UHFFFAOYSA-N 0.000 description 1
- GOYGTBXFJBGGLI-UHFFFAOYSA-N 7a-but-1-enyl-3a-methyl-4,5-dihydro-2-benzofuran-1,3-dione Chemical compound C1=CCCC2(C)C(=O)OC(=O)C21C=CCC GOYGTBXFJBGGLI-UHFFFAOYSA-N 0.000 description 1
- CSHJJWDAZSZQBT-UHFFFAOYSA-N 7a-methyl-4,5-dihydro-3ah-2-benzofuran-1,3-dione Chemical compound C1=CCCC2C(=O)OC(=O)C21C CSHJJWDAZSZQBT-UHFFFAOYSA-N 0.000 description 1
- KNDQHSIWLOJIGP-UHFFFAOYSA-N 826-62-0 Chemical compound C1C2C3C(=O)OC(=O)C3C1C=C2 KNDQHSIWLOJIGP-UHFFFAOYSA-N 0.000 description 1
- NLHHRLWOUZZQLW-UHFFFAOYSA-N Acrylonitrile Chemical compound C=CC#N NLHHRLWOUZZQLW-UHFFFAOYSA-N 0.000 description 1
- 229930185605 Bisphenol Natural products 0.000 description 1
- 229920002799 BoPET Polymers 0.000 description 1
- LFQSCWFLJHTTHZ-UHFFFAOYSA-N Ethanol Chemical compound CCO LFQSCWFLJHTTHZ-UHFFFAOYSA-N 0.000 description 1
- ZOKXTWBITQBERF-UHFFFAOYSA-N Molybdenum Chemical compound [Mo] ZOKXTWBITQBERF-UHFFFAOYSA-N 0.000 description 1
- LGRFSURHDFAFJT-UHFFFAOYSA-N Phthalic anhydride Natural products C1=CC=C2C(=O)OC(=O)C2=C1 LGRFSURHDFAFJT-UHFFFAOYSA-N 0.000 description 1
- 239000004952 Polyamide Substances 0.000 description 1
- 239000004698 Polyethylene Substances 0.000 description 1
- 239000002202 Polyethylene glycol Substances 0.000 description 1
- 239000004743 Polypropylene Substances 0.000 description 1
- 241000135309 Processus Species 0.000 description 1
- BQCADISMDOOEFD-UHFFFAOYSA-N Silver Chemical compound [Ag] BQCADISMDOOEFD-UHFFFAOYSA-N 0.000 description 1
- PPBRXRYQALVLMV-UHFFFAOYSA-N Styrene Natural products C=CC1=CC=CC=C1 PPBRXRYQALVLMV-UHFFFAOYSA-N 0.000 description 1
- NINIDFKCEFEMDL-UHFFFAOYSA-N Sulfur Chemical group [S] NINIDFKCEFEMDL-UHFFFAOYSA-N 0.000 description 1
- QHWKHLYUUZGSCW-UHFFFAOYSA-N Tetrabromophthalic anhydride Chemical compound BrC1=C(Br)C(Br)=C2C(=O)OC(=O)C2=C1Br QHWKHLYUUZGSCW-UHFFFAOYSA-N 0.000 description 1
- 239000007983 Tris buffer Substances 0.000 description 1
- HCHKCACWOHOZIP-UHFFFAOYSA-N Zinc Chemical compound [Zn] HCHKCACWOHOZIP-UHFFFAOYSA-N 0.000 description 1
- NIXOWILDQLNWCW-UHFFFAOYSA-N acrylic acid group Chemical group C(C=C)(=O)O NIXOWILDQLNWCW-UHFFFAOYSA-N 0.000 description 1
- 230000000996 additive effect Effects 0.000 description 1
- 125000001931 aliphatic group Chemical group 0.000 description 1
- AZDRQVAHHNSJOQ-UHFFFAOYSA-N alumane Chemical compound [AlH3] AZDRQVAHHNSJOQ-UHFFFAOYSA-N 0.000 description 1
- 229910052782 aluminium Inorganic materials 0.000 description 1
- 150000001412 amines Chemical class 0.000 description 1
- 125000003118 aryl group Chemical group 0.000 description 1
- QVGXLLKOCUKJST-UHFFFAOYSA-N atomic oxygen Chemical group [O] QVGXLLKOCUKJST-UHFFFAOYSA-N 0.000 description 1
- 239000004327 boric acid Substances 0.000 description 1
- JHIWVOJDXOSYLW-UHFFFAOYSA-N butyl 2,2-difluorocyclopropane-1-carboxylate Chemical compound CCCCOC(=O)C1CC1(F)F JHIWVOJDXOSYLW-UHFFFAOYSA-N 0.000 description 1
- 239000006229 carbon black Substances 0.000 description 1
- BVKZGUZCCUSVTD-UHFFFAOYSA-N carbonic acid Chemical compound OC(O)=O BVKZGUZCCUSVTD-UHFFFAOYSA-N 0.000 description 1
- 238000007385 chemical modification Methods 0.000 description 1
- 229910017052 cobalt Inorganic materials 0.000 description 1
- 239000010941 cobalt Substances 0.000 description 1
- GSOLWAFGMNOBSY-UHFFFAOYSA-N cobalt Chemical compound [Co][Co][Co][Co][Co][Co][Co][Co] GSOLWAFGMNOBSY-UHFFFAOYSA-N 0.000 description 1
- 238000013329 compounding Methods 0.000 description 1
- 239000000470 constituent Substances 0.000 description 1
- 229910052802 copper Inorganic materials 0.000 description 1
- 239000010949 copper Substances 0.000 description 1
- 239000011258 core-shell material Substances 0.000 description 1
- 229930003836 cresol Natural products 0.000 description 1
- 238000004132 cross linking Methods 0.000 description 1
- 125000004122 cyclic group Chemical group 0.000 description 1
- 239000003085 diluting agent Substances 0.000 description 1
- 229910001873 dinitrogen Inorganic materials 0.000 description 1
- 238000007599 discharging Methods 0.000 description 1
- 238000007606 doctor blade method Methods 0.000 description 1
- 125000003700 epoxy group Chemical group 0.000 description 1
- 150000002148 esters Chemical class 0.000 description 1
- 238000001125 extrusion Methods 0.000 description 1
- 239000000835 fiber Substances 0.000 description 1
- ANSXAPJVJOKRDJ-UHFFFAOYSA-N furo[3,4-f][2]benzofuran-1,3,5,7-tetrone Chemical compound C1=C2C(=O)OC(=O)C2=CC2=C1C(=O)OC2=O ANSXAPJVJOKRDJ-UHFFFAOYSA-N 0.000 description 1
- 229910002804 graphite Inorganic materials 0.000 description 1
- 239000010439 graphite Substances 0.000 description 1
- LNEPOXFFQSENCJ-UHFFFAOYSA-N haloperidol Chemical compound C1CC(O)(C=2C=CC(Cl)=CC=2)CCN1CCCC(=O)C1=CC=C(F)C=C1 LNEPOXFFQSENCJ-UHFFFAOYSA-N 0.000 description 1
- 230000020169 heat generation Effects 0.000 description 1
- FLBJFXNAEMSXGL-UHFFFAOYSA-N het anhydride Chemical compound O=C1OC(=O)C2C1C1(Cl)C(Cl)=C(Cl)C2(Cl)C1(Cl)Cl FLBJFXNAEMSXGL-UHFFFAOYSA-N 0.000 description 1
- 125000005842 heteroatom Chemical group 0.000 description 1
- 238000010030 laminating Methods 0.000 description 1
- FPYJFEHAWHCUMM-UHFFFAOYSA-N maleic anhydride Chemical compound O=C1OC(=O)C=C1 FPYJFEHAWHCUMM-UHFFFAOYSA-N 0.000 description 1
- 239000007769 metal material Substances 0.000 description 1
- VYKXQOYUCMREIS-UHFFFAOYSA-N methylhexahydrophthalic anhydride Chemical compound C1CCCC2C(=O)OC(=O)C21C VYKXQOYUCMREIS-UHFFFAOYSA-N 0.000 description 1
- 230000004048 modification Effects 0.000 description 1
- 238000012986 modification Methods 0.000 description 1
- 229910052750 molybdenum Inorganic materials 0.000 description 1
- 239000011733 molybdenum Substances 0.000 description 1
- 229910052757 nitrogen Chemical group 0.000 description 1
- 150000002902 organometallic compounds Chemical class 0.000 description 1
- 229910052760 oxygen Inorganic materials 0.000 description 1
- 239000001301 oxygen Substances 0.000 description 1
- 239000005011 phenolic resin Substances 0.000 description 1
- 150000002989 phenols Chemical class 0.000 description 1
- 229920005586 poly(adipic acid) Polymers 0.000 description 1
- 229920002647 polyamide Polymers 0.000 description 1
- 229920000573 polyethylene Polymers 0.000 description 1
- 229920001223 polyethylene glycol Polymers 0.000 description 1
- 229920001721 polyimide Polymers 0.000 description 1
- 239000009719 polyimide resin Substances 0.000 description 1
- 229920005672 polyolefin resin Polymers 0.000 description 1
- 229920001155 polypropylene Polymers 0.000 description 1
- 229920005749 polyurethane resin Polymers 0.000 description 1
- 239000000843 powder Substances 0.000 description 1
- 238000007639 printing Methods 0.000 description 1
- 150000003839 salts Chemical class 0.000 description 1
- 229930195734 saturated hydrocarbon Natural products 0.000 description 1
- 238000007650 screen-printing Methods 0.000 description 1
- 238000007652 sheet-forming process Methods 0.000 description 1
- 229920002050 silicone resin Polymers 0.000 description 1
- 229910052709 silver Inorganic materials 0.000 description 1
- 239000004332 silver Substances 0.000 description 1
- 239000007787 solid Substances 0.000 description 1
- 239000000243 solution Substances 0.000 description 1
- 239000002904 solvent Substances 0.000 description 1
- 238000001179 sorption measurement Methods 0.000 description 1
- 239000012798 spherical particle Substances 0.000 description 1
- 238000003756 stirring Methods 0.000 description 1
- 229940014800 succinic anhydride Drugs 0.000 description 1
- 150000005846 sugar alcohols Polymers 0.000 description 1
- 239000011593 sulfur Chemical group 0.000 description 1
- 229910052717 sulfur Inorganic materials 0.000 description 1
- 230000001629 suppression Effects 0.000 description 1
- 229910052721 tungsten Inorganic materials 0.000 description 1
- 239000010937 tungsten Substances 0.000 description 1
- UDKYUQZDRMRDOR-UHFFFAOYSA-N tungsten Chemical compound [W][W][W][W][W][W][W][W][W][W][W][W][W][W][W][W][W][W][W][W][W][W][W][W][W][W][W][W][W][W][W][W][W][W][W][W][W][W][W][W][W][W][W][W][W][W][W][W] UDKYUQZDRMRDOR-UHFFFAOYSA-N 0.000 description 1
- 229930195735 unsaturated hydrocarbon Natural products 0.000 description 1
- 229920006337 unsaturated polyester resin Polymers 0.000 description 1
- 229910052725 zinc Inorganic materials 0.000 description 1
- 239000011701 zinc Substances 0.000 description 1
Images
Landscapes
- Thermistors And Varistors (AREA)
Abstract
【課題】 所望の室温抵抗値と、所望のPTC特性における抵抗値の変化率とを容易にかつ安定して得られる、生産性に十分優れた有機質正特性サーミスタを提供すること。
【解決手段】 上記課題を解決する本発明の有機質正特性サーミスタ10は、互いに対向して配置された1対の電極2、3と、1対の電極2、3間に配置された正の抵抗−温度特性を有するサーミスタ素体1とを備え、サーミスタ素体1が、熱硬化性樹脂と、微粒子状の熱可塑性樹脂と、導電性粒子と、を含有する混合物を加熱して得られる硬化体である。
【選択図】 図1
【解決手段】 上記課題を解決する本発明の有機質正特性サーミスタ10は、互いに対向して配置された1対の電極2、3と、1対の電極2、3間に配置された正の抵抗−温度特性を有するサーミスタ素体1とを備え、サーミスタ素体1が、熱硬化性樹脂と、微粒子状の熱可塑性樹脂と、導電性粒子と、を含有する混合物を加熱して得られる硬化体である。
【選択図】 図1
Description
本発明は、温度上昇とともに抵抗値が急激に増大するPTC(Positive Temperature Coefficient:正温度係数)特性を有する有機質正特性サーミスタに関する。
正特性(Positive Temperature Coefficient;PTC)サーミスタは、互いに対向した状態で配置された1対の電極と、当該1対の電極の間に配置されたサーミスタ素体を少なくとも備える構成を有している。そして、上記サーミスタ素体は、その抵抗値が、一定の温度範囲において、温度の上昇とともに急激に増大する「正の抵抗−温度特性」を有している。
正特性サーミスタ(以下、必要に応じて「PTCサーミスタ」という。)は、上記の特性を利用して、例えば、自己制御型発熱体、温度センサ、限流素子或いは過電流保護素子等として使用される。このPTCサーミスタには、特に過電流保護素子の用途に使用する観点から、非動作時の室温抵抗値が低く、非動作時の室温抵抗値と動作時の抵抗値との変化率(以下、必要に応じて「抵抗変化率」という。)が大きいこと、繰り返し動作させた場合における抵抗値の変化量(使用初期の抵抗値と繰り返し動作させた後の抵抗値との差)が小さいこと、遮断特性に優れること、及び、素子の発熱温度が低いこと、並びに、小型化、軽量化及び低コスト化が図れることが要求される。
従来のPTCサーミスタは、セラミックス材料からなるサーミスタ素体を搭載するタイプのものが一般的であったが、このタイプのPTCサーミスタは、室温抵抗が高く、サーミスタ素体の発熱温度が高く、小型化、軽量化、低コスト化が困難であった。
そこで、上述の動作温度の低温化及び室温抵抗の低減等の要求に応えるために、高分子マトリックスと導電性粒子とからなる成形体をサーミスタ素体として備えるタイプの有機質正特性サーミスタ(以下、必要に応じて「P−PTCサーミスタ」という。)の検討がなされている。
従来、高分子マトリックスの材料としては、熱可塑性樹脂が広く知られている。これは、熱可塑性樹脂からなるマトリックスは、温度変化に伴う体積変化がセラミックス材料からなるものよりも大きいため、サーミスタの抵抗変化率が得られやすいからである。しかしながら、熱可塑性樹脂を用いる場合、耐熱性を得るための架橋処理や不燃化処理が必要であり、サーミスタ素体の製造工程が複雑になっていた。そこで、かかる処理を省略し、製造工程を簡略化できるマトリックス材料として、熱硬化性樹脂が注目されてきた。
これまでに、熱硬化性樹脂と導電性粒子とを含むP−PTCサーミスタが開示されている(例えば、特許文献1、2、及び3参照。)。また、このようなP−PTCサーミスタの製造方法として、例えば特許文献2及び3には、樹脂マトリックスを形成する樹脂材料と導電性粒子とを含む混合物を電極間に挟んでプレス成形し、これを加熱して熱硬化性樹脂の硬化を行った後、所定の形状に打ち抜いてP−PTCサーミスタを得る方法が開示されている。
しかしながら、本発明者らは、従来のP−PTCサーミスタについて詳細に検討を行ったところ、上記の方法で製造したP−PTCサーミスタが、所望の室温抵抗率及び抵抗変化率を有していないことを見出した。つまり、所定の割合で熱硬化性樹脂や導電性粒子を配合したにもかかわらず、得られたP−PTCサーミスタの抵抗変化率が不十分となるなどの、所望の特性(小さい室温抵抗値及び大きい抵抗変化率)を有するP−PTCサーミスタを安定して得られないことを見出した。
本発明は、上記従来技術の有する課題に鑑みてなされたものであり、所望の室温抵抗値と、所望の抵抗変化率とを容易にかつ安定して得られる、生産性に十分優れた有機質正特性サーミスタを提供することを目的とする。
本発明者らは、上記目的を達成すべく鋭意研究を重ねた結果、特定の熱可塑性樹脂と熱硬化性樹脂を含む混合物を用い、混合物中において特定の熱可塑性樹脂が熱硬化性樹脂に膨潤しゲル化してから、この混合物を硬化させてサーミスタ素体を形成することにより、得られる有機質正特性サーミスタの電気的特性にばらつきが少ないことを見出し、本発明に到達した。
すなわち、本発明の有機質正特性サーミスタは、互いに対向して配置された1対の電極と、1対の電極間に配置された正の抵抗−温度特性を有するサーミスタ素体とを備え、サーミスタ素体が、熱硬化性樹脂と、微粒子状の熱可塑性樹脂と、導電性粒子とを含有する混合物を加熱して得られる硬化体であることを特徴とする。
ここで、本発明において「微粒子状」とは、平均粒子径が0.1〜15μm程度の範囲にある固体粒子のことを意味する。
また、本発明において「熱硬化性樹脂」とは、硬化する前のものをいう。
本発明の有機質正特性サーミスタは、加熱により上記混合物を硬化させて形成する成形体をサーミスタ素体として備えることによって、所望の室温抵抗値と所望の抵抗変化率とを有し、生産性に優れるものとなっている。このような効果が得られる要因としては、以下のように本発明者らは考えている。
第一に、従来の有機質正特性サーミスタが有する問題として次のことが考えられる。エポキシ樹脂のような熱硬化性樹脂は加熱されると流動性が上昇する。そのため、上記従来の有機質正特性サーミスタでは、硬化反応が十分に進行する前に一部の熱硬化性樹脂がサーミスタ素体からしみ出してしまい、サーミスタ素体中における各成分の含有割合が変化する。熱硬化性樹脂の割合が減少すると、相対的に導電性粒子の割合が増加することになるため、結果として所望の抵抗変化率が得られなくなると考えられる。また、熱硬化性樹脂が加熱されて流動性が上昇すると導電性粒子の沈降が起こり、サーミスタの特性にばらつきが生じて所望の室温抵抗値と抵抗変化率とが得られないと考えられる。
一方、本発明の有機質正特性サーミスタでは、上記微粒子状の熱可塑性樹脂が熱硬化性樹脂と相溶もしくは熱硬化性樹脂に膨潤してゲル化することにより、熱硬化性樹脂のしみ出しが抑制され、所望の抵抗変化率が得られなくなるという問題が低減されていると考えている。また、ゲル化により導電性粒子の沈降が抑制されるため、硬化が完了するまでの時間を長くとる場合(例えば、サーミスタ素体のBステージ化を図る場合)であっても、所望の室温抵抗値と抵抗変化率とが得られると考えている。
第二に、次の問題が考えられる。従来、熱硬化性樹脂は、熱可塑性樹脂に比べて耐熱性に優れるが、膨張率が小さい。そのため、熱硬化性樹脂のみをマトリックスとした場合、熱可塑性樹脂をマトリクスに用いた場合よりも大きな抵抗変化率を確保することが難しい。
一方、本発明の有機質正特性サーミスタでは、熱硬化性樹脂に微粒子状の熱可塑性樹脂を添加することで、熱硬化性樹脂のみをマトリクスとして用いた場合よりも、動作時の抵抗変化率を大きく確保することができると考えられる。
第三に、次の問題が考えられる。熱可塑性樹脂と、熱硬化性樹脂とを混合し、この混合物を加熱して樹脂マトリックスを形成した場合、これにより、樹脂マトリックスに大きな相分離が生じ、加熱時の熱衝撃によってサーミスタ素体にクラックが発生するなど、所望の素子作成が困難となり、安定した特性が得られないと考えられる。つまり、特性に大きなばらつきが発生したりして、所望の室温抵抗値と抵抗変化率とが得られないと考えられる。
しかしながら、本発明の有機質正特性サーミスタでは、サーミスタ素体が、熱硬化性樹脂と微粒子状の熱可塑性樹脂との混合物を用いて形成される。微粒子状の熱可塑性樹脂を用いることによって、熱硬化性樹脂に微粒子状の熱可塑性樹脂を均一に分散させることが可能となり、大きな相分離が抑制されることにより、所望の室温抵抗値と抵抗変化率とが安定して得られると考えている。
また、本発明の有機質正特性サーミスタでは、熱可塑性樹脂が微粒子状であることによって、導電性粒子の形成する導電パスを切断することなく、熱可塑性樹脂を分散させることができ、サーミスタの室温抵抗値の上昇が抑制されていると考えられる。これにより、所望の室温抵抗値と抵抗変化率とが安定して得られると考えている。
以上のことから、本発明の有機質正特性サーミスタが、室温抵抗値とPTC特性における抵抗値の変化率とを所望の値に容易に設定できるものとなり、また生産性に優れるものとなっていると本発明者らは推察している。
本発明の有機質正特性サーミスタにおいては、微粒子状の熱可塑性樹脂の平均粒径P1と、導電性粒子の平均粒径P2とが、下記一般式(I)で表わされる条件を満たしていることが好ましい。
0.01≦(P1/P2)≦10 …(I)
0.01≦(P1/P2)≦10 …(I)
微粒子状の熱可塑性樹脂の平均粒径と導電性粒子の平均粒径とが上記の条件を満たしていることにより、有機質正特性サーミスタの抵抗変化率を確保すると共に室温抵抗値をより確実かつ容易に低下させることができる。これは、上記一般式(I)の関係を満たす熱可塑性樹脂と導電性粒子を用いることにより、導電性粒子による導電パスが熱可塑性樹脂のマトリックスによって切断されて低下する電子伝導性の程度を、より小さくできるためと考えられる。
また、微粒子状の熱可塑性樹脂の平均粒径P1が、0.1〜15μmの範囲内にあることが好ましい。
かかる範囲内にある平均粒径の熱可塑性樹脂を用いることにより、加熱時の熱衝撃によってサーミスタ素体にクラックが生じることや、導電性粒子による導電パスが切断されることをより確実に抑制することができ、有機質正特性サーミスタの抵抗変化率を確保すると共に室温抵抗値をより確実かつ容易に低下させることができ、特性ばらつきの小さな有機質正特性サーミスタを得ることができる。
さらに、熱可塑性樹脂が、アクリル樹脂、塩化ビニル樹脂、及びメタクリル樹脂からなる群より選択される1種以上であることが好ましい。
かかる樹脂を用いることにより、有機質正特性サーミスタの室温抵抗値とPTC特性における抵抗値の変化率とを、より確実かつ容易に所望の値に調節することができ、また、より安定して所望の値を得ることができる。これは、上記の熱可塑性樹脂が、熱硬化性樹脂に親和性があり、熱硬化性樹脂と相溶もしくは熱硬化性樹脂に膨潤しやすいため、より確実に熱硬化性樹脂のしみ出しを抑制できるからであると考えられる。
また、熱硬化性樹脂が、可とう性を有するエポキシ樹脂を含むことが好ましい。
可とう性を有するエポキシ樹脂を含む熱硬化性樹脂を用いることにより、サーミスタ素体に適度な可とう性が付与され、有機質正特性サーミスタの室温抵抗値を下げると共により大きな抵抗変化率を得ることができ、有機質正特性サーミスタの室温抵抗値とPTC特性における抵抗値の変化率とを、より確実かつ容易に所望の値に調節することができる。
本発明によれば、所望の室温抵抗値と、所望のPTC特性における抵抗値の変化率とを容易にかつ安定して得られる、生産性に十分優れた有機質正特性サーミスタを提供することができる。
以下、図面を参照しながら本発明の有機質正特性サーミスタについて詳細に説明する。なお、以下の説明では、同一または相当部分には同一符号を付し、重複する説明は省略する。
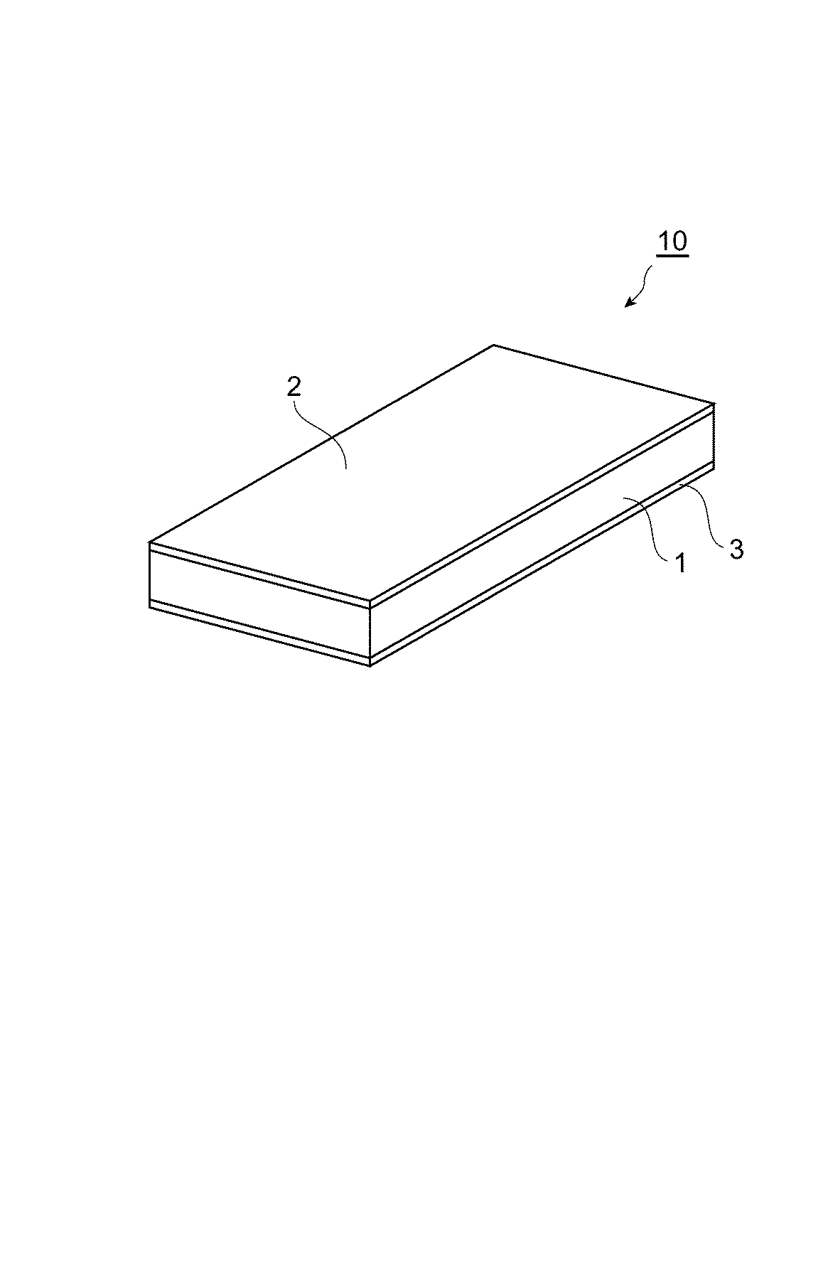
図1は、本発明の有機質正特性サーミスタの好適な一実施形態を模式的に示す斜視図である。
図1に示す有機質正特性サーミスタ(以下、場合によって「サーミスタ」ともいう。)10は、互いに対向した状態で配置された1対の電極2及び電極3と、電極2と電極3との間に配置された正の抵抗−温度特性を有するサーミスタ素体(以下、場合によって「サーミスタ素体」ともいう。)1と、必要に応じて電極2に電気的に接続されたリード(図示せず)と、電極3に電気的に接続されたリード(図示せず)とから構成されている。
電極2及び電極3は、サーミスタの電極として機能する電子伝導性を有するものであれば、その形状や材質について特に限定されない。また、リードは、それぞれ電極2及び電極3から外部に電荷を放出又は注入することが可能な電子伝導性を有していれば、その形状や材質について特に限定されない。
サーミスタ素体1は、熱硬化性樹脂と、微粒子状の熱可塑性樹脂と、導電性粒子と、を含有する混合物(サーミスタ素体形成用組成物)を加熱して得られる硬化体から形成されている。ここで、上記混合物は、微粒子状の熱可塑性樹脂と導電性粒子とが、硬化する前の熱硬化性樹脂に十分に分散された状態となっている。従って、導電性粒子は、サーミスタ素体1中に分散しており、熱硬化性樹脂と、微粒子状の熱可塑性樹脂とから形成されたマトリックスにより保持されている。
本実施形態で使用される熱硬化性樹脂は、特に限定されないが、例えば、エポキシ樹脂、不飽和ポリエステル樹脂、ポリイミド樹脂、ポリウレタン樹脂、フェノール樹脂、及びシリコーン樹脂等が挙げられる。
本実施形態の有機質正特性サーミスタにおいては、エポキシ樹脂を用いることが好ましい。熱膨張係数の高いエポキシ樹脂を用いることにより、有機質正特性サーミスタの抵抗変化率を大きくすることがより容易となる。
エポキシ樹脂としては、具体的には、ビスフェノールA、ビスフェノールF、ビスフェノールAD、カテコール及びレゾルシノール等の多価フェノール、若しくは、グリセリン及びポリエチレングリコール等の多価アルコールと、エピクリルヒドリンとを反応させて得られるポリグリシジルエーテル、p−ヒドロキシ安息香酸及びβ−ヒドロキシナフトエ酸等のヒドロキシカルボン酸と、エピクリルヒドリンとを反応させて得られるグリシジルエーテルエステル、フタル酸及びテレフタル酸等のポリカルボン酸と、エピクリルヒドリンとを反応させて得られるポリグリシジルエステル、エポキシ化フェノールノボラック樹脂、エポキシ化クレゾールノボラック樹脂、並びに、ジシクロペンタジエン型エポキシ樹脂等が挙げられる。
さらに、本実施形態の有機質正特性サーミスタにおいては、可とう性を有するエポキシ樹脂を用いることが好ましい。かかるエポキシ樹脂を用いることにより、サーミスタ素体1に一層適度な可とう性が付与され、所望の室温抵抗値と所望の抵抗変化率とを有する有機質正特性サーミスタをより確実かつ容易に得ることができ、さらには、有機質正特性サーミスタを加熱冷却した際の室温抵抗値の復帰性、及び繰り返し動作させた場合における抵抗値の復帰性(断続負荷特性)などの信頼性が向上する。
ここで、可とう性を有するエポキシ樹脂としては、下記一般式(1)で表される化合物が挙げられる。
式(1)中、R1、R2及びR3は、それぞれ2価の有機基を示し、かつ、R2及びR3のうちの少なくとも一つは、置換基を有していてもよい、炭素数1以上の2価の鎖式基を示す。
ここで、「鎖式基」とは、主鎖に環式構造を含まず、主鎖を構成する原子が線状に配列した鎖状構造を有する基を意味し、枝分かれ構造を有していてもよい。また、飽和炭化水素基あるいは不飽和炭化水素基のように、主鎖を構成する原子が炭素のみであるものでもよく、酸素、硫黄又は窒素等のヘテロ原子が主鎖骨格に含まれているものであってもよい。
また、「炭素数1以上の2価の鎖式基」という場合は、主鎖を構成している炭素の数が1以上である2価の鎖式基を意味する。
ここで、炭素数1以上の2価の鎖式基としては、例えば、下記一般式(2)〜(5)で示される2価の有機基が挙げられる。
−(CH2)a− …(2)
ここで、aは、1〜20の整数を示す。
ここで、aは、1〜20の整数を示す。
−(CH2CH2O)b− …(3)
ここで、bは、1〜20の整数を示す。
ここで、bは、1〜20の整数を示す。
−(CH2CH(CH3)O)c− …(4)
又は、−(CH(CH3)CH2O)c− …(5)
ここで、cは、1〜20の整数を示す。
又は、−(CH(CH3)CH2O)c− …(5)
ここで、cは、1〜20の整数を示す。
また、上記一般式(1)において、−R2−R1−R3−として、下記一般式(6)で示される有機基が挙げられる。
−L1− …(6)
式(6)中、L1は、置換基を有していてもよい、炭素数4以上のアルキレン基を示す。
−L1− …(6)
式(6)中、L1は、置換基を有していてもよい、炭素数4以上のアルキレン基を示す。
さらに、上記一般式(1)において、−R2−R1−R3−として、下記一般式(7)で示される有機基が挙げられる。
−(L2−O)n−C4H6−R1−C4H6−(O−L2)n− …(7)
式(7)中、R1は、−CH2−、−CH(CH3)−、又は−C(CH3)2−を示し、L2は、置換基を有していてもよい、炭素数2以上のアルキレン基を示し、nは1〜10の整数を示す。
−(L2−O)n−C4H6−R1−C4H6−(O−L2)n− …(7)
式(7)中、R1は、−CH2−、−CH(CH3)−、又は−C(CH3)2−を示し、L2は、置換基を有していてもよい、炭素数2以上のアルキレン基を示し、nは1〜10の整数を示す。
このような化合物を用いることにより、上記の効果が得られると共に、耐熱性に優れた有機質正特性サーミスタをより確実に得ることができる。
また、上記一般式(1)において、R1は置換基を有していてもよい、炭素数1〜20の2価の鎖式基を示し、R2及びR3は単結合又は2価の有機基を示し、かつ、R2及びR3の少なくとも一方が、−CH2CH2O−、−CH2CH(CH3)O−、−CH(CH3)CH2O−、−SiO−、−CH=CH−、−CH=C(CN)−、−CH2O−、−CH2S−、−NH−CO−、−CO−O−、及び、−CH=N−からなる群より選択される1種以上の構造単位を含む化合物も可とう性を有するエポキシ樹脂として用いることができる。
このような化合物を用いる場合も、サーミスタ素体1に一層適度な可とう性が付与され、所望の室温抵抗値と所望の抵抗変化率とを有する有機質正特性サーミスタをより確実かつ容易に得ることができ、さらには、有機質正特性サーミスタを加熱冷却した際の室温抵抗値の復帰性、及び繰り返し動作させた場合における抵抗値の復帰性(断続負荷特性)などの信頼性が向上する。
上記の可とう性を有するエポキシ樹脂は、公知のものであれば特に制限されない。それらのうち、商業的に入手可能なものとしては、例えば、上記一般式(1)中、R2及びR3の少なくとも一方が−CH2CH(CH3)O−、又は−CH(CH3)CH2O−の構造単位を有するエポキシ樹脂である「リカレジンBPO20E」(新日本理化社製、商品名)、「EP4005」(旭電化工業社製、商品名)、「EP4000」(旭電化工業社製、商品名)、及び「YD−716」(東都化成(株)社製、商品名)等が挙げられる。
式(1)中、R2及びR3の少なくとも一方が−CO−O−、又は−O−CO−の構造単位を有するエポキシ樹脂として「YD−171」(東都化成(株)社製、商品名)等が挙げられる。
式(1)中、R2及びR3の少なくとも一方が−CH2O−、−OCH2−、−CH2S−、又は−SCH2−の構造単位を有するエポキシ樹脂として「リカレジンBPO60E」(新日本理化社製、商品名)、「YH−300」(東都化成(株)社製、商品名)、「PG202」(東都化成(株)社製、商品名)、「EP4085」(旭電化工業社製、商品名)、「リカレジンDME100」(新日本理化社製、商品名)、及び「リカレジンDME200」(新日本理化社製、商品名)等が挙げられる。
本実施形態では、上記サーミスタ素体形成用組成物に、必要に応じてさらに硬化剤を加えることが好ましい。
例えば、熱硬化性樹脂としてエポキシ樹脂を用いる場合には、酸無水物、脂肪族ポリアミン、芳香族ポリアミン、ポリアミド、フェノール、ポリメルカプタン、第三アミン及びルイス酸錯体等の公知の硬化剤を用いることができる。これらのうち、酸無水物を用いることが好ましく、具体的には、ヘキサヒドロ無水フタル酸、メチルヘキサヒドロ無水フタル酸、テトラヒドロ無水フタル酸、メチルテトラヒドロ無水フタル酸、無水フタル酸、無水コハク酸、無水トリメット酸、無水ピロメリット酸、無水メチルナジック酸、無水マレイン酸、無水ベンゾフェノンテトラカルボン酸、エチレングリコールビストリメリテート、グリセロールトリストリメリテート、エンドメチレンテトラヒドロ無水フタル酸、メチルエンドメチレンテトラヒドロ無水フタル酸、メチルブテニルテトラヒドロ無水フタル酸、ドデセニル無水コハク酸、メチルシクロヘキセンジカルボン酸無水物アルキルスチレン−無水マレイン酸共重合体、クロレンド酸無水物、テトラブロム無水フタル酸、及びポリアゼライン酸無水物等が挙げられる。
さらに、熱硬化性樹脂としてエポキシ樹脂を用いる場合には、硬化体に可とう性を付与する酸無水物を用いることが好ましい。可とう性を付与する酸無水物としては、例えば、ドデセニル無水コハク酸、ポリアジピン酸無水物、ポリアゼライン酸無水物、ポリセバシン酸無水物、ポリ(エチルオクタデカン二酸)無水物、ポリ(フェニルヘキサデカン二酸)無水物、2,4−ジエチルグルタル酸無水物、エチレングリコールビスアンヒドロトリメリテート、及びグリセロールトリストリメリテート等が挙げられる。これらの酸無水物を用いることにより、所望の室温抵抗値と所望の抵抗変化率とを有する有機質正特性サーミスタをより確実かつ容易に得ることができ、また、信頼性に優れる有機質正特性サーミスタを得ることができる。これは、有機質正特性サーミスタの抵抗変化率及び加熱冷却した際の室温抵抗値の復帰性に影響を与えるサーミスタ素体の可とう性が、より好ましい程度になるためと考えられる。
熱硬化性樹脂としてエポキシ樹脂を用いる場合の硬化剤の配合割合としては、エポキシ樹脂の全量に対して当量比で、0.5〜1.5が好ましく、0.8〜1.2がより好ましい。硬化剤の当量比がエポキシ樹脂に対して0.5未満、あるいは1.5を超えると、未反応のエポキシ基や酸無水物硬化剤由来のカルボキシル基が増加することにより、サーミスタ素体の機械的強度が低下したり、サーミスタのPTC特性における抵抗変化率が低下したりする傾向にある。
上記サーミスタ素体形成用組成物に含有される導電性粒子は、電子伝導性を有していれば特に限定されず、例えば、カーボンブラック、グラファイト、各形状の金属粒子若しくはセラミック系導電性粒子を用いることができる。金属粒子の金属材料としては、銅、アルミニウム、ニッケル、タングステン、モリブデン、銀、亜鉛、コバルト、及び銅紛にニッケルめっきを施したもの等が挙げられる。セラミック系導電性粒子の材料としては、TiC及びWC等が挙げられる。これらは、1種を単独で又は2種以上を組み合わせて用いることができる。
本実施形態の有機質正特性サーミスタでは、金属粒子を用いることが好ましい。導電性粒子として金属粒子を用いると、サーミスタの抵抗変化率を十分に確保したまま、室温抵抗値をより低下させることができ、例えば、本発明のサーミスタを過電流保護素子として用いる場合に好適である。また、金属粒子の構成材料としてニッケルを用いることが酸化されにくい等の化学的安定性の観点から好ましい。
導電性粒子の形状としては特に限定されず、球状、フレーク状、繊維状及び棒状等が挙げられるが、粒子の表面にスパイク状の突起を有するものが好ましい。スパイク状の突起を有する導電性粒子を用いることにより、サーミスタ素体1中で隣接する粒子間におけるトンネル電流が流れやすくなるため、サーミスタの抵抗変化率を十分に確保したまま、室温抵抗値をより低くすることができる。また、スパイク状の突起を有する導電性粒子は、真球状の粒子に比べて、粒子同士の中心間距離を大きくすることができるため、PTC特性においてより大きな抵抗変化率を得ることができる。さらに、繊維状の粒子を用いた場合に比べて、サーミスタの室温抵抗値のばらつきを低減することができる。
スパイク状の突起を有する導電性粒子は、一つ一つの粒子(一次粒子)が個別に存在する粉体であってもよいが、10〜1000個程度の一次粒子が鎖状に連なりフィラメント状の二次粒子を形成しているものが好ましい。かかるフィラメント状の二次粒子を形成しているものを用いることにより、より低い室温抵抗を得ることができ、なおかつばらつきの少ない、安定した値を得ることができる。また、その材質は、化学的安定性の観点から金属が好ましく、ニッケルを主成分とするものがより好ましい。さらに、その比表面積が0.3〜3.0m2/gであって、見かけ密度が3.0g/cm3以下であることが好ましい。ここで、「比表面積」とは、BET一点法に基づく窒素ガス吸着法により求められる比表面積を示す。
また、一次粒子の平均粒径は、0.1〜7.0μmであると好ましく、0.5〜5.0μmであるとより好ましい。なお、平均粒径はフィッシャー・サブシーブ法で測定したものである。
商業的に入手可能なスパイク状の突起を有する導電性粒子としては、例えば、「INCO Type210」、「INCO Type255」、「INCO Type270」、「INCO Type287」(いずれもINCO社製、商品名)等が挙げられる。
上記サーミスタ素体形成用組成物に含有される導電性粒子の配合割合としては、サーミスタ素体1中で50〜90質量%となるように配合することが好ましく、60〜80質量%となるように配合することがより好ましい。導電性粒子の配合割合が、50質量%未満であると、低い室温抵抗値が得られ難くなる傾向にあり、90質量%を超えると、PTC特性においてより大きな抵抗変化率を得ることが困難になる傾向にある。
本実施形態で使用される微粒子状の熱可塑性樹脂は、平均粒子径が0.1〜15μm程度の範囲にあり、熱硬化性樹脂と相溶もしくは熱硬化性樹脂に膨潤してゲル化するものであれば、特に限定されない。
本実施形態で好ましく用いることができる熱可塑性樹脂としては、例えば、ポリエチレン及びポリプロピレンなどのポリオレフィン樹脂、アクリル樹脂、塩化ビニル樹脂、及びポリアミド樹脂等が挙げられる。
さらに、熱硬化性樹脂の種類に応じて、微粒子状の熱可塑性樹脂の種類を選択することが好ましく、例えば、熱硬化性樹脂としてエポキシ樹脂を用いた場合には、アクリル樹脂、塩化ビニル樹脂、メタクリル樹脂などを用いることが好ましい。また、用いる熱硬化性樹脂との相溶性を高くするために、微粒子状の熱可塑性樹脂が化学修飾されていることが好ましい。化学修飾としては、例えばカルボキシル基修飾などが挙げられる。
また、微粒子状の熱可塑性樹脂の分子量についても、特に限定されないが、高いゲル化効果が得られるという観点から、数平均分子量で10000〜10000000であることが好ましく、100000〜5000000であることがより好ましい。
上記の微粒子状の熱可塑性樹脂は、商業的に入手することができ、アクリル樹脂としては、例えば、「ゼオンアクリルレジンF−301」、「ゼオンアクリルレジンF−351」、「ゼオンアクリルレジンF−320」、「ゼオンアクリルレジンF−325」、「ゼオンアクリルレジンF−340」及び「ゼオンアクリルレジンF−345」(以上、日本ゼオン社製、商品名)などが挙げられる。また、塩化ビニル樹脂としては、例えば、「塩化ビニル系G151」、「塩化ビニル系G351」及び「塩化ビニル系G576」(以上、日本ゼオン社製、商品名)などが挙げられる。また、ポリアミド樹脂としては、例えば、「SUNMIDE#15」、「SUNMIDE#15K−5」及び「SUNMIDE#HT−170」(以上、三和化学工業(株)製、商品名)などが挙げられる。
また、微粒子状の熱可塑性樹脂として、例えば、アクリル酸エステル・アクリロニトリル・スチレン共重合体等のコアシェル構造を有する共重合体を用いることができる。商業的に入手可能なものとしては、例えば、「スタフィロイドIM−601」(ガンツ化成(株)製、商品名)などが挙げられる。
上記微粒子状の熱可塑性樹脂は、1種を単独で又は2種以上を組み合わせて用いることができる。
本実施形態では、サーミスタ素体1が、上記熱硬化性樹脂と、上記導電性粒子と、さらに、上記微粒子状の熱可塑性樹脂とを含むサーミスタ素体形成用組成物を加熱して得られる硬化体であることにより、本実施形態のサーミスタは、所望の室温抵抗値と抵抗変化率とを有することができ、生産性に優れたものとなっている。このような効果が得られる要因としては、以下のように本発明者らは考えている。
第一に、従来の有機質正特性サーミスタが有する問題として次のことが考えられる。エポキシ樹脂のような熱硬化性樹脂は加熱されると流動性が上昇する。そのため、上記従来の有機質正特性サーミスタでは、硬化反応が十分に進行する前に一部の熱硬化性樹脂がサーミスタ素体からしみ出してしまい、サーミスタ素体中における各成分の含有割合が変化する。熱硬化性樹脂の割合が減少すると、相対的に導電性粒子の割合が増加することになるため、結果として所望の抵抗変化率が得られなくなると考えられる。また、熱硬化性樹脂が加熱されて流動性が上昇すると導電性粒子の沈降が起こり、サーミスタの特性にばらつきが生じて所望の室温抵抗値と抵抗変化率とが得られないと考えられる。
一方、本実施形態の有機質正特性サーミスタでは、上記微粒子状の熱可塑性樹脂が熱硬化性樹脂と相溶もしくは熱硬化性樹脂に膨潤してしてゲル化することにより、熱硬化性樹脂のしみ出しが抑制され、所望の抵抗変化率が得られなくなるという問題が低減されていると考えている。また、ゲル化により導電性粒子の沈降が抑制されるため、硬化が完了するまでの時間を長くとる場合(例えば、サーミスタ素体のBステージ化を図る場合)であっても、所望の室温抵抗値と抵抗変化率とが得られると考えている。
第二に、次の問題が考えられる。従来、熱硬化性樹脂は、熱可塑性樹脂に比べて耐熱性に優れるが、膨張率が小さい。そのため、熱硬化性樹脂のみをマトリックスとした場合、熱可塑性樹脂をマトリクスに用いた場合よりも大きな抵抗変化率を確保することが難しい。
一方、本実施形態の有機質正特性サーミスタでは、熱硬化性樹脂に熱可塑性微粒子を添加することで、熱硬化性樹脂のみをマトリクスとして用いた場合よりも、動作時の抵抗変化率を大きく確保することができると考えられる。
第三に、次の問題が考えられる。熱可塑性樹脂と、熱硬化性樹脂とを混合し、この混合物を加熱して樹脂マトリックスを形成した場合、マトリックス中において熱可塑性樹脂相の連続相が拡大することが考えられる。これにより、樹脂マトリックスに大きな相分離が生じ、加熱時の熱衝撃によってサーミスタ素体にクラックが発生したり、特性のばらつきが発生したりして、所望の室温抵抗値と抵抗変化率とが得られないと考えられる。
しかしながら、本実施形態の有機質正特性サーミスタでは、サーミスタ素体が、熱硬化性樹脂と微粒子状の熱可塑性樹脂との混合物を用いて形成される。これによって、熱硬化性樹脂に微粒子状の熱可塑性樹脂を均一に分散させることが可能となり、大きな相分離が抑制されることにより、所望の室温抵抗値と抵抗変化率とが安定して得られると考えている。
また、本実施形態の有機質正特性サーミスタでは、熱可塑性樹脂が微粒子状であることによって、導電性粒子の形成する導電パスを切断することなく、熱可塑性樹脂を分散させることができ、サーミスタの室温抵抗値の上昇が抑制されていると考えられる。これにより、所望の室温抵抗値と抵抗変化率とが安定して得られると考えている。
本実施形態の有機質正特性サーミスタにおいては、微粒子状の熱可塑性樹脂の平均粒径P1と、導電性粒子の平均粒径P2とが、下記一般式(I)で表わされる条件を満たしていることが好ましい。
0.1≦(P1/P2)≦10 …(I)
0.1≦(P1/P2)≦10 …(I)
微粒子状の熱可塑性樹脂の平均粒径と導電性粒子の平均粒径とが上記の条件を満たしていることにより、有機質正特性サーミスタの抵抗変化率を確保すると共に室温抵抗値をより確実かつ容易に低下させることができる。これは、上記一般式(I)の関係を満たす熱可塑性樹脂と導電性粒子を用いることにより、導電性粒子による導電パスが熱可塑性樹脂のマトリックスによって切断されて低下する電子伝導性の程度を、より小さくできるためと考えられる。
また、微粒子状の熱可塑性樹脂の平均粒径P1が、0.1〜15μmの範囲内にあることが好ましい。
かかる範囲内にある平均粒径の熱可塑性樹脂を用いることにより、加熱時の熱衝撃によってサーミスタ素体にクラックが生じることや、導電性粒子による導電パスが切断されることをより確実に抑制することができ、有機質正特性サーミスタの抵抗変化率を確保すると共に室温抵抗値をより確実かつ容易に低下させることができ、特性ばらつきの小さな有機質正特性サーミスタを得ることができる。
微粒子状の熱可塑性樹脂の配合割合としては、熱硬化性樹脂100質量部に対して、5〜30質量部であることが好ましく、10〜20質量部であることがより好ましい。微粒子状の熱可塑性樹脂の配合割合が、5質量部未満であると、熱可塑性粒子の量が少ないため、熱硬化性樹脂に膨潤して熱硬化性樹脂の染み出しを防ぐ効果が得られ難くなる傾向にある。また、30質量部を超えると、熱硬化性樹脂と微粒子状の熱可塑性樹脂とを十分に混合できなくなる傾向にあり、また、得られるサーミスタの室温抵抗値の上昇が見られたり、耐熱性が低下したりする傾向にある。
本実施形態では、熱硬化性樹脂と、微粒子状の熱可塑性樹脂と、導電性粒子と、必要に応じて硬化剤とを含有するサーミスタ素体形成用組成物に、さらに硬化促進剤等の添加剤を加えてもよい。硬化促進剤を加えることにより、サーミスタ素体形成用組成物を硬化させる際の硬化温度を下げることや硬化に要する時間を短縮することが可能となる。
硬化促進剤としては、例えば、熱硬化性樹脂としてエポキシ樹脂を用いた場合には、第三アミン、アミンアダクト化合物、イミダゾールアダクト化合物、ほう酸エステル、ルイス酸、有機金属化合物、有機酸金属塩、及びイミダゾール等の一般に用いられているものを用いることができる。
添加剤の配合量については、本発明の効果を損なわない範囲であれば特に限定されない。
次に、本実施形態の有機質正特性サーミスタの製造方法について説明する。
まず、所定量の熱硬化性樹脂、導電性粒子、微粒子状の熱可塑性樹脂、並びに、必要に応じて硬化剤及び硬化促進剤などの添加剤を含む上述のサーミスタ素体形成用組成物を用意し、これを混合して塗工液を調製する(混合工程)。この混合工程の際に用いられる装置は、各種撹拌機、分散機、ミル等の公知のものが挙げられる。また、粘度調節のために、アルコールや反応性希釈剤などの溶媒を用いてもよい。
混合時間は、特に限定されないが、通常、10〜60分間混合することで、各成分を分散させることができる。また、温度条件についても特に限定されない。
また、混合中に気泡が混入した場合は、真空脱泡を行うことが好ましい。
次に、得られた塗工液をスクリーン印刷等の方法により電極としての金属箔上に塗布し塗膜を形成し(塗膜形成工程)、さらに、塗膜がゲル化するまで所定の温度で所定時間加熱する(ゲル化工程)。
ここで、ゲル化の条件は、特に限定されず、用いる熱硬化性樹脂及び微粒子状の熱可塑性樹脂の種類、並びに、配合割合等に応じて設定することが好ましい。例えば、温度条件については、用いる熱可塑性樹脂が膨潤する温度以上であり、かつ、用いる熱硬化性樹脂の硬化が開始する温度未満である温度が挙げられる。具体的には、例えば、エポキシ樹脂とアクリル樹脂との組み合わせの場合には、80〜120℃で30秒〜5分加熱することによりゲル化を行うことができる。
次に、ゲル化した塗膜の表面にもう一方の電極となる金属箔を積層して、これをプレス成形する(プレス成形工程)。なお、ここで得られた成形体は、含有される熱硬化性樹脂がゲル化されているため形状安定性に優れ、Bステージ化を図る場合にも好適に用いることができる。
次に、プレス成形工程で得られた成形体を、熱硬化性樹脂が十分に硬化するまで所定の温度で所定時間加熱する(硬化工程)。
硬化工程における加熱の条件は、用いる熱硬化性樹脂や、必要に応じて用いる添加物によって適宜設定することができる。
硬化工程で得られた硬化体を所望の形状(例えば、3.6mm×9mm)に打ち抜くことにより、サーミスタを得ることができる(打ち抜き工程)。打ち抜き方法としては、通常の有機質正特性サーミスタを打ち抜く方法であれば特に限定されることなく用いることができる。
また、必要に応じて、打ち抜き工程によって得られたサーミスタの電極の表面に、それぞれリードを接合することにより、リードを有するサーミスタを作製できる。リード接合方法としては、通常の有機質正特性サーミスタの製造方法において用いられるものであれば特に限定されることなく用いることができる。
以上、本発明の有機質正特性サーミスタの好適な実施形態及びその製造方法について説明したが、本発明は上記実施形態に限定されるものではない。
有機性特性サーミスタについては、例えば、複数のサーミスタ素体を積層して構成されていてもよい。
また、有機質正特性サーミスタの製造方法については、例えば、以下の方法が挙げられる。
上述の塗膜形成工程、ゲル化工程、プレス成形工程、硬化工程の順に行う方法の代わりに、上記サーミスタ素体形成用組成物を含有する塗工液を電極としての金属箔上に塗布して塗膜を形成し(塗膜形成工程)、さらに塗膜の表面にもう一方の電極となる金属箔を積層して、これをプレス成形し(プレス成形工程)、プレス成形で得られた成形体を、塗膜がゲル化するまで所定の温度で所定時間加熱し(ゲル化工程)、次いで、熱硬化性樹脂が十分に硬化するまで所定の温度で所定時間加熱する(硬化工程)という順序で硬化体を作製してもよい。
また、別の方法として、上記サーミスタ素体形成用組成物を含有する塗工液を、印刷法あるいはドクターブレード法等を用いてPETフィルム上に塗布して塗膜を形成し(塗膜形成工程)、塗膜がゲル化するまで所定の温度で所定時間加熱し(ゲル化工程)、塗膜をシート状に成形し(シート成形工程)、得られたシートを、熱硬化性樹脂が十分に硬化するまで所定の温度で所定時間加熱する(硬化工程)方法により硬化体を作製する。次に、この硬化体の両面に電極を設けることによりサーミスタを得ることができる。電極を形成する方法は、特に限定されないが、例えば金属めっきを施す、あるいは金属ペーストを塗布するなどの方法を用いることができる。
本発明の有機質正特性サーミスタは、過電流・加熱保護素子、自己制御型発熱体、温度センサ等に利用することができる。
以下、実施例及び比較例を挙げて本発明について更に詳しく説明するが、本発明はこれらの実施例に何ら限定されない。
(実施例1)
熱硬化性樹脂として可とう性を有するエポキシ樹脂(新日本理化社製、商品名「BPO20E」、エポキシ当量314g/eq)100質量部と、硬化剤としてメチルテトラヒドロ無水フタル酸(大日本インキ化学工業社製、商品名「B570」、酸無水物当量168g/eq)54質量部(エポキシ樹脂と硬化剤との当量比で1:1)と、硬化促進剤としてイミダゾールアダクトエポキシ化合物(味の素ファインテクノ(株)製、商品名「PN−40J」)1質量部と、微粒子状の熱可塑性樹脂としてアクリル微粒子(日本ゼオン社製、商品名「ゼオンアクリルレジンF320」、平均粒径:1μm)10質量部とを攪拌機を用いて攪拌混合した。さらに、導電性粒子としてフィラメント状ニッケルパウダ(INCO社製、商品名「Type255ニッケルパウダ」、平均粒径2.2〜2.8μm、見かけ密度0.5〜0.65g/cm3、比表面積0.68m2/g)を、混合物中で75質量%となるように添加して、室温(25)℃で30分間攪拌混合し、混合物を調製した。
熱硬化性樹脂として可とう性を有するエポキシ樹脂(新日本理化社製、商品名「BPO20E」、エポキシ当量314g/eq)100質量部と、硬化剤としてメチルテトラヒドロ無水フタル酸(大日本インキ化学工業社製、商品名「B570」、酸無水物当量168g/eq)54質量部(エポキシ樹脂と硬化剤との当量比で1:1)と、硬化促進剤としてイミダゾールアダクトエポキシ化合物(味の素ファインテクノ(株)製、商品名「PN−40J」)1質量部と、微粒子状の熱可塑性樹脂としてアクリル微粒子(日本ゼオン社製、商品名「ゼオンアクリルレジンF320」、平均粒径:1μm)10質量部とを攪拌機を用いて攪拌混合した。さらに、導電性粒子としてフィラメント状ニッケルパウダ(INCO社製、商品名「Type255ニッケルパウダ」、平均粒径2.2〜2.8μm、見かけ密度0.5〜0.65g/cm3、比表面積0.68m2/g)を、混合物中で75質量%となるように添加して、室温(25)℃で30分間攪拌混合し、混合物を調製した。
次に、得られた混合物を、Ni箔(厚さ:25μm)上に塗布して、膜厚が0.2mmの塗膜を形成した(塗膜形成工程)。さらに、塗膜を、オーブンにより、温度100℃で5分間加熱することでゲル化した(ゲル化工程)。次に、もう一枚のNi箔で塗膜を挟みプレス成形した(プレス成形工程)。得られた成形体をオーブンに入れ、温度130℃で10時間保持して硬化処理を行い(硬化工程)、Ni箔の電極で挟まれたシート状の硬化体を得た。
得られたシート状の硬化体を3.6×9.0mmの形状に打ち抜き、有機質正特性サーミスタを得た。
得られたサーミスタを恒温槽内で室温(25℃)から200℃まで3℃/分で加熱、冷却し、4端子法により所定の温度で抵抗値の測定を行い、温度−抵抗曲線を得た。
初期室温抵抗は2.0×10−3Ω(3.2×10−2Ω・cm)であった。また、130℃付近で抵抗が急激に増加し、抵抗変化率は10桁(1010)以上であった。さらに、加熱冷却後の室温抵抗値は1.0×10−2Ω(1.6×10−1Ω・cm)であった。これらの結果を表1にまとめる。
また、サーミスタを約200℃の高温中に放置した後、室温雰囲気に取り出したところ、Ni電極箔表面に歪みはなく、また、打ち抜き側面への素体のはみ出しも見られず、サーミスタの変形は確認されなかった。
(実施例2)
微粒子状の熱可塑性樹脂として、「ゼオンアクリルレジンF320」の代わりに「ゼオンアクリルレジンF301」(日本ゼオン社製、商品名、平均粒径:2μm)を使用したこと以外は実施例1と同様にして有機質正特性サーミスタを得た。
微粒子状の熱可塑性樹脂として、「ゼオンアクリルレジンF320」の代わりに「ゼオンアクリルレジンF301」(日本ゼオン社製、商品名、平均粒径:2μm)を使用したこと以外は実施例1と同様にして有機質正特性サーミスタを得た。
得られたサーミスタについて、実施例1と同様の方法で、温度−抵抗曲線を得た。初期室温抵抗値は4.0×10−3Ω(6.5×10−2Ω・cm)であった。また、130℃付近で抵抗が急激に増加し、抵抗変化率は10桁(1010)以上であった。さらに、加熱冷却後の室温抵抗値は1.0×10−2Ω(1.6×10−1Ω・cm)であった。これらの結果を表1にまとめる。
また、サーミスタを約200℃の高温中に放置した後、室温雰囲気に取り出したところ、Ni電極箔表面に歪みはなく、また、打ち抜き側面への素体のはみ出しも見られず、でサーミスタの変形は確認されなかった。
(実施例3)
熱硬化性樹脂として、「BPO20E」の代わりにビスフェノールAタイプ樹脂(大日本インキ化学工業社製、商品名「EPICLON850」、エポキシ当量190g/eq)を用い、このエポキシ樹脂100質量部に対して硬化剤を88質量部(エポキシ樹脂と硬化剤との当量比で1:1)用いたこと以外は実施例1と同様にして有機質正特性サーミスタを得た。
熱硬化性樹脂として、「BPO20E」の代わりにビスフェノールAタイプ樹脂(大日本インキ化学工業社製、商品名「EPICLON850」、エポキシ当量190g/eq)を用い、このエポキシ樹脂100質量部に対して硬化剤を88質量部(エポキシ樹脂と硬化剤との当量比で1:1)用いたこと以外は実施例1と同様にして有機質正特性サーミスタを得た。
得られたサーミスタについて、実施例1と同様の方法で、温度−抵抗曲線を得た。初期室温抵抗は2.0×10−3Ω(3.2×10−2Ω・cm)であった。また、130℃付近で抵抗が急激に増加し、抵抗変化率は7桁(107)以上であった。さらに、加熱冷却後の室温抵抗値は1.5×10−2Ω(2.4×10−1Ω・cm)であった。これらの結果を表1にまとめる。
(比較例1)
微粒子状の熱可塑性樹脂である「ゼオンアクリルレジンF320」の代わりにアクリル樹脂(ガンツ化成株式会社製、商品名「ガンツパールGM−2001」、平均粒径:20μm)を用いたこと以外は実施例3と同様にして有機質正特性サーミスタを得た。
微粒子状の熱可塑性樹脂である「ゼオンアクリルレジンF320」の代わりにアクリル樹脂(ガンツ化成株式会社製、商品名「ガンツパールGM−2001」、平均粒径:20μm)を用いたこと以外は実施例3と同様にして有機質正特性サーミスタを得た。
得られたサーミスタについて、実施例1と同様の方法で、温度−抵抗曲線を得た。初期室温抵抗は3.0×10−2Ω(4.8×10−1Ω・cm)であった。また、130℃付近で抵抗が急激に増加し、抵抗変化率は7桁(107)であった。さらに、加熱冷却後の室温抵抗値は2.0×10−1Ω(3.2Ω・cm)であった。これらの結果を表1にまとめる。
(比較例2)
微粒子状の熱可塑性樹脂である「ゼオンアクリルレジンF320」を用いなかったこと、塗膜をゲル化するゲル化工程を省いたこと、以外は実施例3と同様にして有機質正特性サーミスタを得た。なお、サーミスタ作製時において、サーミスタの電極や外部へのエポキシ樹脂のしみ出しが確認された。
微粒子状の熱可塑性樹脂である「ゼオンアクリルレジンF320」を用いなかったこと、塗膜をゲル化するゲル化工程を省いたこと、以外は実施例3と同様にして有機質正特性サーミスタを得た。なお、サーミスタ作製時において、サーミスタの電極や外部へのエポキシ樹脂のしみ出しが確認された。
得られたサーミスタについて、実施例1と同様の方法で、温度−抵抗曲線を得た。初期室温抵抗は1.0×10−3Ω(1.6×10−2Ω・cm)であった。また、130℃付近における急激な抵抗変化は認められず、抵抗変化率は1桁程度であった。さらに、加熱冷却後の室温抵抗値は1.0×10−3Ω(1.6×10−2Ω・cm)であった。これらの結果を表1にまとめる。
表1に示されるように、実施例1〜3の有機質正特性サーミスタは、十分低い室温抵抗値と十分大きな抵抗変化率とを同時に有しており、生産性に優れていることが確認された。さらに、加熱冷却後の室温抵抗値の復帰性にも優れていることが確認された。一方、微粒子状ではない熱可塑性樹脂を用いた比較例1の有機質正特性サーミスタは、低い室温抵抗値を確保することが困難であり、また、加熱冷却後の抵抗値の復帰性も悪く、所望のPTC特性を得ることができなかった。また、微粒子状の熱可塑性樹脂を用いない比較例2の有機質正特性サーミスタは、より大きな抵抗変化率を得ることが困難であり、より低い室温抵抗値とより大きな抵抗変化率確保の両立ができなかった。
1…サーミスタ素体、2…電極、3…電極、10…有機質正特性サーミスタ。
Claims (5)
- 互いに対向して配置された1対の電極と、前記1対の電極間に配置された正の抵抗−温度特性を有するサーミスタ素体と、を備え、
前記サーミスタ素体が、熱硬化性樹脂と、微粒子状の熱可塑性樹脂と、導電性粒子と、を含有する混合物を加熱して得られる硬化体であることを特徴とする有機質正特性サーミスタ。 - 微粒子状の前記熱可塑性樹脂の平均粒径P1と、前記導電性粒子の平均粒径P2とが、下記一般式(I)で表わされる条件を満たしていることを特徴とする請求項1に記載の有機質正特性サーミスタ。
0.01≦(P1/P2)≦10 …(I) - 微粒子状の前記熱可塑性樹脂の平均粒径P1が、0.1〜15μmであることを特徴とする請求項1又は2に記載の有機質正特性サーミスタ。
- 前記熱可塑性樹脂が、アクリル樹脂、塩化ビニル樹脂、及びメタクリル樹脂からなる群より選択される1種以上のものであることを特徴とする請求項1〜3のいずれか一項に記載の有機質正特性サーミスタ。
- 前記熱硬化性樹脂が、可とう性を有するエポキシ樹脂を含有することを特徴とする請求項1〜4のいずれか一項に記載の有機質正特性サーミスタ。
Priority Applications (1)
| Application Number | Priority Date | Filing Date | Title |
|---|---|---|---|
| JP2004107862A JP2005294550A (ja) | 2004-03-31 | 2004-03-31 | 有機質正特性サーミスタ |
Applications Claiming Priority (1)
| Application Number | Priority Date | Filing Date | Title |
|---|---|---|---|
| JP2004107862A JP2005294550A (ja) | 2004-03-31 | 2004-03-31 | 有機質正特性サーミスタ |
Publications (1)
| Publication Number | Publication Date |
|---|---|
| JP2005294550A true JP2005294550A (ja) | 2005-10-20 |
Family
ID=35327139
Family Applications (1)
| Application Number | Title | Priority Date | Filing Date |
|---|---|---|---|
| JP2004107862A Pending JP2005294550A (ja) | 2004-03-31 | 2004-03-31 | 有機質正特性サーミスタ |
Country Status (1)
| Country | Link |
|---|---|
| JP (1) | JP2005294550A (ja) |
Cited By (3)
| Publication number | Priority date | Publication date | Assignee | Title |
|---|---|---|---|---|
| CN102660106A (zh) * | 2012-05-18 | 2012-09-12 | 上海神沃电子有限公司 | Ptc复合材料及由其制备的ptc芯片和制备方法 |
| CN103589110A (zh) * | 2012-08-13 | 2014-02-19 | 上海微聚电子科技有限公司 | 一种高分子ptc复合材料及由所述材料制作高分子ptc芯片的方法 |
| CN103602093A (zh) * | 2013-10-25 | 2014-02-26 | 安徽工贸职业技术学院 | 一种耐高温ptc复合材料 |
-
2004
- 2004-03-31 JP JP2004107862A patent/JP2005294550A/ja active Pending
Cited By (3)
| Publication number | Priority date | Publication date | Assignee | Title |
|---|---|---|---|---|
| CN102660106A (zh) * | 2012-05-18 | 2012-09-12 | 上海神沃电子有限公司 | Ptc复合材料及由其制备的ptc芯片和制备方法 |
| CN103589110A (zh) * | 2012-08-13 | 2014-02-19 | 上海微聚电子科技有限公司 | 一种高分子ptc复合材料及由所述材料制作高分子ptc芯片的方法 |
| CN103602093A (zh) * | 2013-10-25 | 2014-02-26 | 安徽工贸职业技术学院 | 一种耐高温ptc复合材料 |
Similar Documents
| Publication | Publication Date | Title |
|---|---|---|
| US7632373B2 (en) | Method of making electrical devices having an oxygen barrier coating | |
| US20110140162A1 (en) | Conductive adhesive and led substrate using the same | |
| CN103975009B (zh) | 聚合物ptc热敏电阻 | |
| EP1612811B1 (en) | Resin composition for forming a thermistor body, and thermistor | |
| CN106165024A (zh) | 导电性浆料 | |
| US7314583B2 (en) | Organic positive temperature coefficient thermistor device | |
| JP2018165344A (ja) | 窒化ホウ素粒子含有シート | |
| US7403092B2 (en) | Thermistor | |
| JP2005294550A (ja) | 有機質正特性サーミスタ | |
| JP4261407B2 (ja) | 有機質正特性サーミスタ | |
| EP1585145B1 (en) | Organic positive temperature coefficient thermistor | |
| JP2005294552A (ja) | 有機質正特性サーミスタ素体形成用組成物及び有機質正特性サーミスタ | |
| JP2007042667A (ja) | 有機質正特性サーミスタ | |
| JP4220428B2 (ja) | 有機質正特性サーミスタ | |
| JP2001085824A (ja) | 電子部品実装用接合剤およびこれを用いた電子部品の実装方法 | |
| JP4262152B2 (ja) | サーミスタ | |
| JP2006019432A (ja) | サーミスタ | |
| JP6607402B2 (ja) | 自己温度調整型樹脂抵抗体形成用組成物シートおよび自己温度調整型樹脂抵抗体シート | |
| JP2017220517A (ja) | 自己温度調整型樹脂抵抗体ペースト組成物および自己温度調整型樹脂抵抗体 | |
| JP2006186268A (ja) | サーミスタ | |
| JP2007103397A (ja) | Ptcサーミスタの製造方法 | |
| JP2007096219A (ja) | Ptcサーミスタ |
Legal Events
| Date | Code | Title | Description |
|---|---|---|---|
| A621 | Written request for application examination |
Free format text: JAPANESE INTERMEDIATE CODE: A621 Effective date: 20070118 |
|
| A977 | Report on retrieval |
Free format text: JAPANESE INTERMEDIATE CODE: A971007 Effective date: 20090409 |
|
| A131 | Notification of reasons for refusal |
Effective date: 20090421 Free format text: JAPANESE INTERMEDIATE CODE: A131 |
|
| A02 | Decision of refusal |
Effective date: 20090818 Free format text: JAPANESE INTERMEDIATE CODE: A02 |
