JP4923948B2 - ガスセンサ素子 - Google Patents

ガスセンサ素子 Download PDF

Info

Publication number
JP4923948B2
JP4923948B2 JP2006290092A JP2006290092A JP4923948B2 JP 4923948 B2 JP4923948 B2 JP 4923948B2 JP 2006290092 A JP2006290092 A JP 2006290092A JP 2006290092 A JP2006290092 A JP 2006290092A JP 4923948 B2 JP4923948 B2 JP 4923948B2
Authority
JP
Japan
Prior art keywords
catalyst
gas
gas sensor
sensor element
layer
Prior art date
Legal status (The legal status is an assumption and is not a legal conclusion. Google has not performed a legal analysis and makes no representation as to the accuracy of the status listed.)
Expired - Fee Related
Application number
JP2006290092A
Other languages
English (en)
Other versions
JP2007206055A (ja
Inventor
章夫 田中
伸幸 辻
Current Assignee (The listed assignees may be inaccurate. Google has not performed a legal analysis and makes no representation or warranty as to the accuracy of the list.)
Denso Corp
Original Assignee
Denso Corp
Priority date (The priority date is an assumption and is not a legal conclusion. Google has not performed a legal analysis and makes no representation as to the accuracy of the date listed.)
Filing date
Publication date
Application filed by Denso Corp filed Critical Denso Corp
Priority to JP2006290092A priority Critical patent/JP4923948B2/ja
Priority to US11/646,246 priority patent/US20070151851A1/en
Priority to DE102007001110.7A priority patent/DE102007001110B4/de
Publication of JP2007206055A publication Critical patent/JP2007206055A/ja
Application granted granted Critical
Publication of JP4923948B2 publication Critical patent/JP4923948B2/ja
Expired - Fee Related legal-status Critical Current
Anticipated expiration legal-status Critical

Links

Images

Classifications

    • GPHYSICS
    • G01MEASURING; TESTING
    • G01NINVESTIGATING OR ANALYSING MATERIALS BY DETERMINING THEIR CHEMICAL OR PHYSICAL PROPERTIES
    • G01N27/00Investigating or analysing materials by the use of electric, electrochemical, or magnetic means
    • G01N27/26Investigating or analysing materials by the use of electric, electrochemical, or magnetic means by investigating electrochemical variables; by using electrolysis or electrophoresis
    • G01N27/403Cells and electrode assemblies
    • G01N27/406Cells and probes with solid electrolytes
    • G01N27/407Cells and probes with solid electrolytes for investigating or analysing gases
    • G01N27/4071Cells and probes with solid electrolytes for investigating or analysing gases using sensor elements of laminated structure

Landscapes

  • Chemical & Material Sciences (AREA)
  • Life Sciences & Earth Sciences (AREA)
  • Health & Medical Sciences (AREA)
  • Physics & Mathematics (AREA)
  • Chemical Kinetics & Catalysis (AREA)
  • Electrochemistry (AREA)
  • Molecular Biology (AREA)
  • Analytical Chemistry (AREA)
  • Biochemistry (AREA)
  • General Health & Medical Sciences (AREA)
  • General Physics & Mathematics (AREA)
  • Immunology (AREA)
  • Pathology (AREA)
  • Measuring Oxygen Concentration In Cells (AREA)

Description

本発明は、車両用エンジン等の内燃機関の燃焼制御等に用いることができるガスセンサ素子に関する。
近年、地球環境保全の観点から、燃費向上によるガソリン直噴システムやCNG(圧縮天然ガス)等の代替燃料仕様エンジンの適用が検討されるようになってきており、該代替燃料仕様エンジンの内燃機関の燃焼制御のためのガスセンサも同様に注目されている。
ところが、上記代替燃料仕様エンジンにおいては、エンジンの始動時を含め、従来のガソリンポート噴射に比べて排ガス中の水素ガスの発生量が増加する傾向にある。それ故、水素ガスに起因するガスセンサの出力ズレが問題となってきている。
この問題は、被測定ガスの導入量を制限する拡散抵抗層を通過する酸素ガスと水素ガスとの速度に差があることにより生じる。即ち、水素ガスは酸素ガスよりも分子量が小さいため、水素ガスの方が酸素ガスよりも速く被測定ガス側電極に到達し、酸素ガスの分圧が被測定ガスにおける実際の酸素ガスの分圧よりも小さくなる。これにより、ガスセンサは出力ズレを起こすこととなる。
特に限界電流によって空燃比を検出するA/Fセンサでは、この出力ズレが顕著となり易い。即ち、A/Fセンサは拡散抵抗層の拡散距離が長いため、水素ガスと酸素ガスとの拡散抵抗層の通過速度の差が大きくなる。その結果、出力ズレが大きくなり易い。
また、エンジン始動時の燃料の燃焼が安定しないときには、水素ガスはより多く発生する傾向にあり、ガスセンサの出力ズレは、より一層重要な問題となってきている。
また、排ガスを浄化するために排管内に取り付けてある触媒コンバータ(三元触媒)は、エンジン始動直後においては温度が低いため充分な浄化能力が得られず、いち早くガスセンサを活性化して正常な出力を得ることがより重要となっている。
そこで、図18〜図20に示すごとく、触媒担持トラップ層92を有するガスセンサ素子9が提案されている(例えば、特許文献1参照)。
該ガスセンサ素子9は、図18、図19、図20(a)に示すごとく、酸素イオン伝導性の固体電解質体913と、該固体電解質体913の一方の面と他方の面とにそれぞれ設けた被測定ガス側電極914及び基準ガス側電極915と、上記被測定ガス側電極914を覆うと共に被測定ガスを透過させる拡散抵抗層912と、該拡散抵抗層912の外側面920において触媒922を担持した触媒担持トラップ層92とを有する。そして、該触媒担持トラップ層92に担持した触媒922によって水素ガスを燃焼させることにより、水素ガスが被測定ガス側電極914へと到達することを抑制することができる。
しかしながら、上記触媒担持トラップ層92においては、図20(b)に示すごとく、上記触媒922同士が、高温雰囲気下において互いに凝集して触媒能が低下してしまうおそれがある。そして、この場合には、図18(a)、(b)に示すごとく、水素ガスが酸素ガスよりも速く拡散抵抗層912を通過して、結果的に出力ズレを引き起こすおそれがある。
この問題に対して、上記触媒922の凝集による触媒能の低下分を考慮して、予め触媒担持量を増加させておくことが考えられる。
ところが、この場合においては、触媒担持トラップ層92における水素ガスや酸素ガス等の被測定ガスの吸着が過剰となるため、酸素ガスが被測定ガス側電極914へと到達するまでの時間が長くなり、その結果、ガスセンサの応答性が悪化するおそれがある。また、触媒922の貴金属粒子同士が接近することとなるため、触媒922の貴金属粒子が互いに凝集し易くなるおそれがある。
特許第3488818号公報
本発明は、かかる従来の問題点に鑑みてなされたもので、応答性の悪化及び出力ズレを防ぐと共に、触媒能の耐久劣化を抑制することができるガスセンサ素子を提供しようとするものである。
本発明は、酸素イオン伝導性の固体電解質体と、該固体電解質体の一方の面と他方の面とにそれぞれ設けた被測定ガス側電極及び基準ガス側電極と、上記被測定ガス側電極を覆うと共に上記被測定ガスを透過させる拡散抵抗層と、該拡散抵抗層の外側面に形成され触媒を担持した触媒担持トラップ層とを有するガスセンサ素子であって、
上記触媒担持トラップ層は、多数の金属酸化物粒子と、該金属酸化物粒子に担持した上記触媒とによって構成されており、平均膜厚が60〜200μmであると共に、
上記触媒担持トラップ層の総重量に対する上記触媒の担持量が0.1〜2重量%であり、
該触媒の分散度が0.005〜0.1個/μm2であることを特徴とするガスセンサ素子にある(請求項1)。
次に、本発明の作用効果につき説明する。
上記ガスセンサ素子は、上記触媒を担持した触媒担持トラップ層を有する。それ故、該触媒担持トラップ層により被測定ガス中の水素ガスを充分に燃焼させることができるため、被測定ガス側電極に到達する水素ガスの量を充分に減らすことができ、その結果、水素ガスに起因するガスセンサの出力ズレを防ぐことができる。
また、上記触媒担持トラップ層は、平均膜厚が60〜200μmであると共に、上記触媒の担持量が0.1〜2重量%である。即ち、上記触媒担持トラップ層は、充分に大きい平均膜厚を有すると共に、上記触媒の担持濃度が充分に小さくなるよう構成されている。そのため、応答性の悪化及び出力ズレを防ぐことができると共に、上記触媒の耐久劣化を抑制することができるガスセンサ素子を得ることができる。
即ち、上記構成によれば、上記触媒の貴金属粒子同士が極端に接近することを抑制することができるため、ガスセンサ使用時の高温雰囲気下においても、上記貴金属粒子が互いに凝集することを防ぐことができる。そのため、ガスセンサ使用後の触媒能の耐久劣化を抑制することができ、耐久後においても、上記触媒により水素ガスを充分に燃焼させることができる。
また、上記触媒の担持量が0.1〜2重量%と小さいため、上記触媒担持トラップ層において被測定ガスを過剰に吸着することを防ぐことができる。これにより、酸素ガスの上記被測定ガス側電極への到達時間が長くなることをも防ぐことができ、ガスセンサの応答性の悪化を防ぐことができる。
また、上記触媒担持トラップ層の平均膜厚は200μm以下であるため、上記触媒担持トラップ層が拡散抵抗層の外側面から剥離することをも防止することができる。また、過剰な量の触媒を担持させる必要がないため、上記ガスセンサ素子の生産コストが高くなることをも抑制することができる。
そのため、応答性の悪化及び出力ズレを防ぐと共に、触媒能の耐久劣化を抑制することができるガスセンサ素子を提供することができる。
特に、本発明においては、上記触媒の分散度が0.005〜0.1個/μm2であ
即ち、上記ガスセンサ素子は、上記のように上記触媒を担持した触媒担持トラップ層を有する。それ故、該触媒担持トラップ層により、水素ガスを充分に燃焼させることができるため、被測定ガス側電極に到達する水素ガスの量を充分に減らすことができ、その結果、水素ガスに起因するガスセンサの出力ズレを防ぐことができる。
そして、上記触媒の分散度0.005〜0.1個/μm2であり、上記触媒担持トラップ層における単位面積あたりの上記触媒の数量である分散度の値が充分に小さくなるよう構成されている。そのため、応答性の悪化及び出力ズレを防ぐことができると共に、上記触媒の耐久劣化を抑制することができるガスセンサ素子を得ることができる。
即ち、上記構成によれば、上記触媒の貴金属粒子同士が極端に接近することを抑制することができるため、ガスセンサ使用時の高温雰囲気下においても、上記貴金属粒子が互いに凝集することを防ぐことができる。そのため、ガスセンサ使用後の触媒能の耐久劣化を抑制することができ、耐久後においても、上記触媒により水素ガスを充分に燃焼させることができる。
また、上記触媒の分散度の値が充分に小さいため、上記触媒担持トラップ層において被測定ガスを過剰に吸着することを防ぐことができる。これにより、酸素ガスの上記被測定ガス側電極への到達時間が長くなることをも防ぐことができる。その結果、ガスセンサの応答性の悪化を防ぐことができる。また、過剰な量の触媒を担持させる必要がないため、上記ガスセンサ素子の生産コストが高くなることをも抑制することができる。
以上のごとく、本発明によれば、応答性の悪化及び出力ズレを防ぐと共に、触媒能の耐久劣化を抑制することができるガスセンサ素子を提供することができる。
なお、参考発明として、酸素イオン伝導性の固体電解質体と、該固体電解質体の一方の面と他方の面とにそれぞれ設けた被測定ガス側電極及び基準ガス側電極と、上記被測定ガス側電極を覆うと共に上記被測定ガスを透過させる拡散抵抗層とを有するガスセンサ素子であって、上記拡散抵抗層の外側面において、多数の共材と多数の触媒とを混合してなる触媒層を有し、上記触媒の貴金属粒子は、平均粒径が0.5〜5μmであることを特徴とするガスセンサ素子る。
上記ガスセンサ素子は、上記共材と上記触媒とを混合してなる上記触媒層を有する。それ故、該触媒層により、水素ガスを充分に燃焼させることができるため、被測定ガス側電極に到達する水素ガスの量を充分に減らすことができる。
その結果、水素ガスに起因するガスセンサの出力ズレを防ぐことができる。
また、上記触媒の貴金属粒子は、平均粒径が0.5〜5μmである。即ち、上記触媒の貴金属粒子は比較的大きい平均粒径を有する。これにより、応答性の悪化及び出力ズレを防ぐことができると共に、上記触媒の耐久劣化を抑制することができるガスセンサ素子を得ることができる。
つまり、例えば車輌が高速移動するとき等のような高温雰囲気下においては、燃費向上を目的としてA/Fがリッチとなるよう内燃機関等がフィードバック制御される。このとき、触媒の貴金属粒子の平均粒径が小さい場合には、かかる貴金属粒子が蒸散又は凝集して触媒能が低下してしまうおそれがある。
これに対して、参考発明のように触媒の貴金属粒子の平均粒径が0.5〜5μmと大きい場合には、上記のような高温雰囲気下等の厳しい使用環境下においても、上記触媒の貴金属粒子が蒸散したり凝集したりすることを防ぐことができる。その結果、触媒能の低下を抑制することができ、ガスセンサ素子の応答性の悪化及び出力ズレを防ぐと共に、触媒能の耐久劣化を抑制することができる。
以上のごとく、参考発明によれば、応答性の悪化及び出力ズレを防ぐと共に、触媒能の耐久劣化を抑制することができるガスセンサ素子を提供することができる。
上記本発明、参考発明において、上記ガスセンサ素子として、A/Fセンサ、NOxセンサ、及び酸素センサ等に内蔵されるガスセンサ素子があるが、本発明は、特にA/Fセンサのガスセンサ素子に適用することが好ましい。
記触媒担持トラップ層の平均膜厚が20μm未満である場合には、上記触媒同士が極端に接近する場合があり、これにより、高温雰囲気下において凝集してしまうおそれがある。
一方、上記平均膜厚が200μmを超える場合には、上記触媒担持トラップ層と上記拡散抵抗層の外側面とが剥離し易くなるおそれがあると共に、生産コストが高くなってしまうおそれがある。
本発明において、上記平均膜厚は、耐久性の観点から、60〜200μmである。
また、上記本発明において、上記触媒の分散度が0.005個/μm2未満である場合には、水素ガスを充分に燃焼させることが困難となるおそれがある。
一方、上記触媒の分散度が0.1個/μm2を超える場合には、上記触媒の貴金属粒子同士が極端に接近する場合があり、これにより、高温雰囲気下において互いに凝集してしまうおそれがある。
また、上記触媒の分散度は、例えば、上記触媒担持トラップ層の断面のSEM画像を画像処理して単位面積あたりの上記触媒の数量を計測することにより得ることができる。
また、参考発明において、触媒の貴金属粒子の平均粒径が0.5μm未満である場合には、高温雰囲気等の厳しい使用環境下において、貴金属粒子同士が蒸散したり互いに凝集したりするおそれがある。その結果、触媒の耐久劣化を防ぐことが困難となるおそれがある。
一方、触媒の貴金属粒子の平均粒径が5μmを超える場合には、触媒の貴金属粒子の総表面積が小さくなってしまう。かかる場合には、触媒能が低下し、応答性の悪化及び出力ズレを防ぐことが困難となるおそれがある。
また、本発明において、上記金属酸化物粒子は、γ又はθの結晶構造を有するアルミナ粒子からなることが好ましい(請求項)。
この場合には、表面積が充分に大きいアルミナ粒子により上記触媒担持トラップ層を構成することとなるため、上記金属酸化物粒子の表面に、所望の量の上記触媒を互いに近接させることなく分散して配設することができる。
また、上記金属酸化物粒子は、粒径が1〜50μmであり、上記触媒担持トラップ層は、気孔率が40〜70%、かつ平均細孔径が0.1〜10μmであることが好ましい(請求項)。
この場合には、上記金属酸化物粒子は、上記触媒を担持するために充分な表面積を有すると共に、上記触媒担持トラップ層は、充分な量の被測定ガスを通過させることができる。また、上記触媒担持トラップ層により、上記被測定ガス側電極及び上記基準ガス側電極の電極材料にとって有害な物質(例えば、Pb、P、S等の被毒物質)が上記被測定ガス側電極及び上記基準ガス側電極へと到達することを充分に防ぐことができる。
一方、上記金属酸化物粒子の粒径が1μm未満である場合、上記触媒担持トラップ層の気孔率が40%未満である場合、又は平均細孔径が0.1μm未満である場合には、被測定ガスの導入量が不充分となるおそれがある。
また、上記金属酸化物の粒径が50μmを超える場合、上記触媒担持トラップ層の気孔率が70%を超える場合、又は平均細孔径が10μmを超える場合には、被毒物質が上記被測定ガス側電極及び上記基準ガス側電極へと到達することを防ぐことが困難となるおそれがある。
また、上記触媒担持トラップ層は、上記拡散抵抗層の外側面に加え、該外側面から20〜200μm離れた位置まで形成されていることが好ましい(請求項)。
この場合には、被測定ガスが確実に上記触媒担持トラップ層を充分な長さ分通るようにすることができ、被測定ガス中の水素ガスの上記被測定ガス側電極への到達を充分に防ぐことができる。また、上記ガスセンサ素子の生産コストが高くなってしまうことを抑制することができる。
一方、上記触媒担持トラップ層が、上記外側面から20μm離れた位置まで形成されていない場合には、一部の被測定ガスが、上記触媒担持トラップ層を充分な長さ分通らずに上記被測定ガス側電極に到達するおそれがある。
また、上記触媒担持トラップ層が、上記外側面から200μmを超えた位置まで形成された場合には、上記ガスセンサ素子の生産コストが高くなってしまうおそれがある。
また、上記触媒の貴金属粒子は、平均粒径が0.05〜0.5μmであることが好ましい(請求項)。
この場合には、上記触媒担持トラップ層の活性が低下することを防ぐことができると共に、高温雰囲気下においても上記触媒の貴金属粒子が互いに凝集することを充分に防ぐことができる。
一方、上記平均粒径が0.05μm未満の場合には、上記触媒の貴金属粒子が移動し易くなるため、高温雰囲気下において貴金属粒子同士が互いに凝集し易くなる場合がある。
また、上記平均粒径が0.5μmを超える場合には、総表面積が小さくなり、上記触媒担持トラップ層の活性が低下してしまうおそれがある。
上記触媒担持トラップ層の金属酸化物粒子の単位表面積あたりの上記触媒の担持量は、7×10-6〜2.9×10-4g/m2であることが好ましい(請求項)。
この場合には、本発明の効果を充分に発揮することができる。
一方、上記触媒の担持量が、7×10-6g/m2未満である場合には、上記触媒の担持量が過少であるため、水素ガス等を充分に燃焼させることが困難となるおそれがある。
また、上記触媒の担持量が、2.9×10-4g/m2を超える場合には、上記触媒の貴金属粒子同士の距離が小さくなり、互いに凝集してしまうおそれがある。
上記参考発明において、上記触媒層は、平均膜厚が5〜50μmであることが好ましい。
この場合には、均一な膜厚を有する触媒層を形成することができるため、ガスセンサの応答性の悪化及び出力ズレを充分に防ぐことができる。また、触媒層の位置ズレや剥離等の不具合をも防ぐことができる。
一方、平均膜厚が5μm未満である場合には、触媒層の下地となる拡散抵抗層の表面粗度の影響を受けてしまい、均一な膜厚を有する触媒層を形成することが困難となる。そして、被測定ガスが触媒層の膜厚の薄い部分を通過することにより、出力ズレが生ずるおそれがある。
また、平均膜厚が50μmを超える場合には、所望の膜厚とするまでの製造工数(例えば、ペースト印刷回数等)が多くなるため、触媒層の配設位置がずれたり触媒層が剥離したりする等の不具合が生じるおそれがある。また、平均膜厚が上記のように大きい場合には、応答性が悪化してしまうおそれがある。
また、上記触媒層は、上記触媒層の総重量に対する上記触媒の貴金属粒子の総重量が10〜80重量%であることが好ましい。
この場合には、上記触媒層の触媒能を充分に発揮することができ、応答性の悪化及び出力ズレを充分に防ぐことができる。また、触媒層の亀裂や剥離等の不具合を防ぐことができる。
一方、上記触媒の総重量の割合が10重量%未満である場合は、触媒能が不充分となり、被測定ガス中の水素ガスを充分に燃焼させることが困難となって出力ズレが生じるおそれがある。すなわち、第3の発明においては触媒の平均粒径が0.5〜5μmと比較的大きいために、その比表面積が小さくなる。これに加えて触媒の総重量の割合が10重量%未満である場合には、触媒の貴金属粒子の総表面積が小さくなり、触媒の貴金属粒子において水素を燃焼させる部分の面積も減少する。
また、上記触媒の総重量の割合が80重量%を超える場合において、冷熱サイクルが繰り返されると、拡散抵抗層と共材との熱膨張係数差により、触媒層と拡散抵抗層との間で亀裂や剥離等が生じてしまうおそれがある。また、触媒能が低下して応答性が悪化してしまうおそれがある。
また、上記触媒層は、気孔率が15〜50%であることが好ましい。
この場合には、応答性の悪化及び出力ズレを充分に防ぐことができる。また、触媒層の亀裂や剥離等の不具合をも防ぐことができる。
一方、上記触媒層の気孔率が15%未満である場合には、被測定ガスを触媒層内で充分に拡散させることができなくなり、応答性が悪化してしまうおそれがある。
また、上記触媒層の気孔率が50%を超える場合には、触媒層の拡散抵抗層に対する付着力、及び触媒層の強度が低下して亀裂や剥離等の不具合が生じてしまうおそれがある。また、被測定ガスが触媒層内で拡散し過ぎて触媒能が追随できず、出力ズレが生じるおそれがある。
また、上記共材は、少なくともアルミナ粒子、ジルコニア粒子、及びガラスから選ばれる一種以上からなることが好ましい。
この場合には、拡散抵抗層等の触媒層の下地と触媒層との熱膨張係数差を充分に小さくすることができる。そのため、冷熱サイクルが繰り返されても、拡散抵抗層等と触媒層との間における亀裂や剥離等の発生を充分に抑制することができる。
なお、上記ガラスとして、例えば、硼珪酸ガラス等が挙げられる。
また、上記触媒層は、上記拡散抵抗層の外側面にペーストを印刷した後、該ペーストを900℃以上の温度にて熱処理することにより形成されたものであることが好ましい。
この場合には、上記触媒層を容易かつ確実に形成することができる。そして、触媒能の低下を充分に防ぎ、上記触媒の耐久性及び応答性を充分に向上させることができる。
また、本発明において、上記触媒は、少なくともPt、Rh、Pdから選ばれるいずれか一種類以上からなることが好ましい(請求項)。
この場合には、本発明の効果を充分に発揮することができる触媒を有するガスセンサ素子を得ることができる。
また、上記拡散抵抗層は、少なくともアルミナ又はジルコニアから選ばれるいずれか一種類以上の多孔質体からなり、上記拡散抵抗層の外側面と上記被測定ガス側電極とを結ぶ直線が上記拡散抵抗層を通過する長さである拡散距離は0.2mm以上であることが好ましい(請求項)。
この場合には、本発明の作用効果を充分に発揮することができる。
即ち、上記拡散距離が0.2mm以上の場合には、仮に本発明に係る上記触媒担持トラップ層又は上記触媒層を採用しないと、酸素ガスが上記被測定ガス側電極に到達するまでに要する時間と、水素ガスが上記被測定ガス側電極に到達するまでに要する時間との差が大きくなり、ガスセンサの出力ズレが生じるおそれがある。従って、上記拡散距離が0.2mm以上であるガスセンサ素子に上記第1〜3の発明の構成を適用する場合には、本発明の作用効果を充分に発揮することができる。
一方、上記拡散距離が0.2mm未満である場合には、拡散距離が比較的小さいため、酸素ガスが上記被測定ガス側電極に到達するまでに要する時間と、水素ガスが上記被測定ガス側電極に到達するまでに要する時間との差が比較的小さくなる。それ故、本発明を適用しなくとも比較的ガスセンサの出力ズレの問題は少ない。
上記ガスセンサ素子は、活性時間が5秒以下であることが好ましい。
この場合には、特に被測定ガス中の特定ガス濃度の正確な測定が重要となるエンジン始動直後の早い時間において、正常なセンサ出力を得ることができる。
また、ガスセンサを早期に活性させるためには、ガスセンサ素子の熱容量を小さくすると共にガスセンサ素子の小型化が要求されるが、この場合、該ガスセンサ素子が高温の排ガスに曝されたとき、触媒担持トラップ層又は触媒層は、より一層熱害を受け易くなる。かかる観点からも活性時間が5秒以下というガスセンサ素子に本発明を適用して耐熱性を向上させるという点にも重要な意義がある。
一方、上記活性時間が5秒を超える場合には、エンジン始動直後の早い時間で正常なセンサ出力を得ることが困難となるおそれがある。
(実施例1)
本発明の実施例にかかるガスセンサ素子につき、図1〜図4を用いて説明する。
本例のガスセンサ素子1は、図1、図3に示すごとく、酸素イオン伝導性の固体電解質体13と、該固体電解質体13の一方の面と他方の面とにそれぞれ設けた被測定ガス側電極14及び基準ガス側電極15と、被測定ガス側電極14を覆うと共に被測定ガスを透過させる拡散抵抗層12と、該拡散抵抗層12の外側面120に形成され触媒22を担持した触媒担持トラップ層2とを有する。
そして、触媒担持トラップ層2は、図1、図2に示すごとく、多数の金属酸化物粒子21と、該金属酸化物粒子21に担持した触媒22とによって構成されており、平均膜厚dが20〜200μmであると共に、触媒担持トラップ層2の総重量に対する触媒22の担持量が0.1〜2重量%となるように構成されている。
また、触媒22の分散度は、0.005〜0.1個/μm2である。尚、本例において、触媒22の分散度とは、触媒担持トラップ層2の断面のSEM画像(本例では5000倍の反射電子像)を画像処理して単位面積あたりの触媒22の数量を計測することにより得られる値のことを示すものとする。
次に、本例のガスセンサ素子1につき詳細に説明する。
本例は、A/Fセンサに内蔵されているガスセンサ素子1である。
また、ガスセンサ素子1は、図3に示すごとく、ジルコニアよりなる酸素イオン伝導性の固体電解質体13の表面に白金よりなる被測定ガス側電極14が設けてある。
また、被測定ガス側電極14が配置された側とは反対側の固体電解質体13の面に、白金よりなる基準ガス側電極15が設けられている。
そして、このような固体電解質体13に対し、電気的絶縁性を有し、かつ緻密でガスを透過させないアルミナセラミックスよりなる基準ガス室形成層16が積層されている。また、該基準ガス室形成層16には基準ガス室150として機能する溝部160が設けてあり、基準ガス室150には、基準ガスとして大気が導入されるように構成されている。
また、基準ガス室形成層16には、ヒータ基板17が積層されている。
該ヒータ基板17には、通電により発熱する発熱体18が基準ガス室形成層16と対面するよう設けてある。そして、上記発熱体18により、ガスセンサ素子1は活性温度となるように加熱される。
また、固体電解質体13の被測定ガス側電極14側には、アルミナよりなる緻密でガスを透過しない遮蔽層11が積層されており、該遮蔽層11と固体電解質体13との間には、開口部121を有する拡散抵抗層12が配設されている。そして、遮蔽層11と拡散抵抗層12の開口部121と固体電解質体13とにより覆われた状態で被測定ガス室140が形成されている。
また、上述したごとく、拡散抵抗層12の外側面120には、図1、図3に示すような触媒22を担持させた触媒担持トラップ層2が形成されている。
本例の触媒担持トラップ層2の金属酸化物粒子21は、γ又はθの結晶構造を有するアルミナ粒子からなる。
また、金属酸化物粒子21は、平均粒径が1〜50μmであり、触媒担持トラップ層2は、気孔率が40〜70%、かつ平均細孔径が0.1〜10μmである。
触媒担持トラップ層2は、図3に示すごとく、拡散抵抗層12の外側面120に加え、該外側面120から20〜200μm離れた位置まで形成されている。
また、触媒担持トラップ層2の金属酸化物粒子21の単位表面積あたりの触媒22の担持量は、7×10-6〜2.9×10-4g/m2である。
また、本例の触媒22は、PtとRhとからなる。
また、触媒22の貴金属粒子は、平均粒径が0.05〜0.5μmである。
本例の拡散抵抗層12は、アルミナ又はジルコニアから選ばれるいずれか一種類以上の多孔質体からなる。
また、図3に示すごとく、拡散抵抗層12の外側面120と被測定ガス側電極14とを結ぶ直線が拡散抵抗層12を通過する長さである拡散距離Lは0.2mm以上である。本例では、拡散距離Lは、上記外側面120から拡散抵抗層の開口部121までの距離となる。
また、本例のガスセンサ素子1は、活性時間が5秒以下となるように構成されている。
尚、本例のガスセンサ素子1には、触媒担持トラップ層2の更に外側において、アルミナ粒子よりなる保護トラップ層3が形成されている。また、該保護トラップ層3のアルミナ粒子の粒径は10〜50μmであり、保護トラップ層3の気孔率は40〜70%、かつ平均細孔径は1〜10μmである。また、保護トラップ層3は、触媒を担持していないが、触媒担持トラップ層の触媒のより一層の耐久安定性を求める場合には、触媒を担持させることもできる。
そして、触媒担持トラップ層2と保護トラップ層3とにより、拡散抵抗層12や被測定ガス側電極14にP、Ca、Pb等の被毒物質が付着して被毒劣化することを防ぐことができる。
また、保護トラップ層3によって触媒担持トラップ層2を覆うことにより、触媒22の貴金属粒子の飛散を防ぐことができる。
本例のガスセンサ素子1において、酸素ガスが被測定ガス側電極14に到達するまでの経路につき、以下に説明する。尚、以下では、水素(H2)ガスと酸素(O2)ガスとについて記載することとする。
図4に示すごとく、被測定ガス中に含まれる水素ガスと酸素ガスとは、保護トラップ層3を通過して、触媒担持トラップ層2へと到達する。
触媒担持トラップ層2には、PtとRhとからなる触媒22が担持されているため、該触媒22により、水素ガスと酸素ガスとが反応して水となる。そのため、水素ガスの殆どはこの触媒担持トラップ層2において燃焼し、被測定ガス室140に多量の水素ガスが導入されることを防ぐことができる。
そして、触媒担持トラップ層2を通過した酸素ガスは、図3、図4に示すごとく、拡散抵抗層12を介して被測定ガス側電極14へと到達する。
次に、本例の作用効果につき説明する。
本例のガスセンサ素子1は、図1〜図4に示すごとく、触媒22を担持した触媒担持トラップ層2を有する。それ故、触媒担持トラップ層2により、被測定ガス中の水素ガスを充分に燃焼させることができるため、被測定ガス側電極14に到達する水素ガスの量を充分に減らすことができ、その結果、水素ガスに起因するガスセンサの出力ズレを防ぐことができる。
また、触媒担持トラップ層2は、平均膜厚dが20〜200μmであると共に、触媒22の担持量が0.1〜2重量%である。即ち、触媒担持トラップ層2は、充分に大きい平均膜厚dを有すると共に、触媒22の担持濃度が充分に小さくなるよう構成されている。更に、触媒22の分散度は、0.005〜0.1個/μm2である。即ち、触媒担持トラップ層2の触媒22は、触媒担持トラップ層2における単位面積あたりの触媒22の数量である分散度の値が充分に小さい。上記構成を採用することにより、ガスセンサの応答性の悪化及び出力ズレを防ぐことができると共に触媒22の耐久劣化を抑制することができる。
即ち、上記構成によれば、触媒22の貴金属粒子同士が極端に接近することを抑制することができるため、ガスセンサ使用時の高温雰囲気下においても、貴金属粒子が互いに凝集することを防ぐことができる。そのため、ガスセンサの使用による触媒能の耐久劣化を抑制することができ、耐久後においても、触媒22により水素ガスを充分に燃焼させることができる。
また、上記のごとく、触媒22の担持量及び分散度の値が充分に小さいため、触媒担持トラップ層2において被測定ガスが過剰に吸着することを防ぐことができる。これにより、酸素ガスの被測定ガス側電極14への到達時間が長くなることをも防ぐことができ、ガスセンサの応答性の悪化を防ぐことができる。
また、触媒担持トラップ層2の平均膜厚dは、200μm以下であるため、触媒担持トラップ層2が拡散抵抗層12の外側面120から剥離することをも防止することができる。
また、過剰な量の触媒を担持させる必要がないため、ガスセンサ素子1の生産コストが高くなることをも抑制することができる。
金属酸化物粒子21は、γ又はθの結晶構造を有するアルミナ粒子からなるため、表面積が充分に大きいアルミナ粒子により触媒担持トラップ層2を構成することとなる。そのため、金属酸化物粒子21の表面に、所望の量の触媒22を互いに近接させることなく分散して配設することができる。
また、金属酸化物粒子21は、粒径が1〜50μmであり、触媒担持トラップ層2は、気孔率が40〜70%、かつ平均細孔径が0.1〜10μmである。これにより、金属酸化物粒子21は、触媒22を担持するために充分な表面積を有すると共に、触媒担持トラップ層2は、充分な量の被測定ガスを通過させることができる。また、被測定ガス側電極14及び基準ガス側電極15の電極材料にとって有害な物質(Pb、P、S等の被毒物質)が被測定ガス側電極14及び基準ガス側電極15へと到達することを充分に防ぐことができる。
また、触媒担持トラップ層2は、図3に示すごとく、拡散抵抗層12の外側面120に加え、該外側面120から20〜200μm離れた位置まで形成されている。これにより、被測定ガスが確実に触媒担持トラップ層2を充分な長さ分通るようにすることができ、被測定ガス中の水素ガスの被測定ガス側電極14への到達を充分に防ぐことができると共に、ガスセンサ素子1の生産コストが高くなってしまうことを抑制することができる。
また、触媒22は、少なくともPt、Rh、Pdから選ばれるいずれか一種類以上からなるため、本発明の効果を充分に発揮することができる触媒22を有するガスセンサ素子1を得ることができる。
また、拡散抵抗層12は、アルミナ又はジルコニアよりなる多孔質体であり、上記拡散距離Lは0.2mm以上であるため、本発明の作用効果を充分に発揮することができる。即ち、酸素ガスが被測定ガス側電極14に到達するまでに要する時間と、水素ガスが被測定ガス側電極14に到達するまでに要する時間との差が大きくなる本構成においても、本例の触媒担持トラップ層2を採用することにより、ガスセンサの出力ズレが生じることを充分に防ぐことができる。
また、触媒22の貴金属粒子は、平均粒径が0.05〜0.5μmであるため、触媒担持トラップ層2の活性が低下することを防ぐことができると共に、高温雰囲気下においても触媒22の貴金属粒子が互いに凝集することを充分に防ぐことができる。
触媒担持トラップ層2の金属酸化物粒子21の単位表面積あたりの触媒22の担持量は、7×10-6〜2.9×10-4g/m2であるため、本発明の効果を充分に発揮することができる。
ガスセンサ素子1は、活性時間が5秒以下であるため、特に被測定ガス中の特定ガス濃度の正確な測定が重要となるエンジン始動直後の早い時間において、正常なセンサ出力を得ることができる。
また、ガスセンサを早期に活性させるためには、ガスセンサ素子1の熱容量を小さくすると共にガスセンサ素子の小型化が要求されるが、この場合、該ガスセンサ素子が高温の排ガスに曝されたとき、触媒担持トラップ層2は、より一層熱害を受け易くなる。かかる観点からも活性時間が5秒以下というガスセンサ素子に本発明を適用して耐熱性を向上させるという点にも重要な意義がある。
以上のごとく、本例によれば、応答性の悪化及び出力ズレを防ぐと共に、触媒能の耐久劣化を抑制することができるガスセンサ素子を提供することができる。
尚、拡散抵抗層12にも触媒を担持させることができるが、被測定ガスの過剰な吸着を防ぐためにその担持量は0.1重量%以下であることが好ましい。
また、該保護トラップ層3にも触媒を担持させることはできるが、被測定ガスの過剰な吸着防止及び生産効率の観点から担持させないことが好ましい。
また、本例では保護トラップ層3が設けられているが、設けなくても良い。
(実施例2)
本例は、図5に示すごとく、触媒担持トラップ層2を、より広い領域にわたって形成したガスセンサ素子1の例である。即ち、触媒担持トラップ層2は、拡散抵抗層12の外側面120だけではなく、遮蔽層11における、拡散抵抗層12が積層された面と反対側の面の一部から基準ガス質形成層16の側面の一部にわたって形成されている。
その他は、実施例1と同様である。
本例の場合には、被測定ガスが確実に触媒担持トラップ層2を充分な長さ分通るようにすることができ、被測定ガス中の水素ガスの被測定ガス側電極14への到達を充分に防ぐことができる。
その他、実施例1と同様の作用効果を有する。
尚、触媒担持トラップ層2は、ガスセンサ素子1の全面に形成しても良い。
(実施例3)
本例は、図6に示すごとく、有底筒状のコップ型のガスセンサ素子1の例である。
ガスセンサ素子1は、図6に示すごとく、有底筒状の固体電解質体13と、該固体電解質体13の内側表面に設けた基準ガス側電極15と、外側表面に設けた被測定ガス側電極14とを有する。また、固体電解質体13の内側には、基準ガス空間150が形成され、該基準ガス空間150にヒータ170が挿入配置されている。
また、固体電解質体13の外側面全体にわたって、拡散抵抗層12が配設されており、更に、該拡散抵抗層12の外側面120を覆うように触媒担持トラップ層2が設けられている。
その他は、実施例1と同様の構成及び作用効果を有する。
(実施例4)
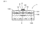
本例は、図7に示すごとく、第1固体電解質体131と第2固体電解質体132との間に拡散抵抗層12が積層されると共に、第1固体電解質体131と拡散抵抗層12とには、導通孔4が形成されたガスセンサ素子1の例である。
そして、上記導通孔4の開口部40を覆うように触媒担持トラップ層2及び保護トラップ層3が配設されている。
被測定ガスは、保護トラップ層3及び触媒担持トラップ層2を通過し、導通孔4を介して拡散抵抗層12を通過して、拡散抵抗層12の両側方にある被測定ガス室140に導入される。
その他は、実施例1と同様の構成及び作用効果を有する。
(実施例5)
本例のガスセンサ素子1は、図8に示すごとく、第1固体電解質体131と第2固体電解質体132との間に拡散抵抗層12が配置されており、スペーサ(図示略)によって第1固体電解質体131と第2固体電解質体132との間の距離が確保されている。そして、スペーサと拡散抵抗層12とによって囲まれた空間として、被測定ガス室140が形成されている。また、拡散抵抗層12の外側面120に触媒担持トラップ層2と保護トラップ層3とが配設されている。
その他は、実施例1と同様の構成及び作用効果を有する。
(実施例6)
本例は、図9〜図11に示すごとく、上記実施例1に示したガスセンサ素子1と比較試料として作製したガスセンサ素子につき、ガスセンサ素子1の耐久前後のストイキズレΔλ(理論空燃比と実測値とのズレ)及びガスセンサ素子1の初期の応答性と、触媒担持トラップ層2の平均膜厚dとの関係を、触媒担持トラップ層2の総重量に対する触媒22の担持量を変化させて調べた例である。
なお、本例において使用した符号は、図1において使用した符号に準ずる。
本例では、試料1として、触媒担持トラップ層の総重量に対する触媒の担持量が1重量%であるガスセンサ素子を作製し、試料2として、上記担持量が2重量%であるガスセンサ素子を作製した。
また、比較試料1として、上記担持量が5重量%であるガスセンサ素子を作製し、比較試料2として、触媒を担持させていないガスセンサ素子を作製した。
尚、上記耐久試験は、900℃の大気雰囲気とした電気炉内に、ガスセンサを500時間放置することにより行った。これは、実際に自動車を15万マイル走行させて耐久させた後の状態に相当することを確認している。
図9は、ガスセンサ素子の耐久前の試験結果であり、図10は、ガスセンサ素子の応答性の試験結果であり、図11は、ガスセンサ素子の耐久後の試験結果である。
図9、図11からわかるように、ガスセンサ素子の耐久前後において触媒の担持量が大きければ大きいほどストイキズレΔλが小さいことがわかる。
そして、触媒担持トラップ層の平均膜厚dが20μm以上である場合には、試料1、試料2及び比較試料1のいずれについても、ストイキズレΔλを0.04以下とすることができる。
一方、触媒を担持させていない比較試料2においては、他の試料と比較してストイキズレΔλが極めて大きい。
即ち、触媒を担持させることにより、ガスセンサ素子のストイキズレΔλを低減させることができ、触媒担持トラップ層の平均膜厚を20μm以上とすることにより、耐久後においてもストイキズレΔλを充分に抑制することができる。
また、図10からわかるように、触媒の担持量が5重量%である比較試料1においては、応答時間が400m秒を超えて長くなっており、試料1及び試料2と比較して応答性が低下している。これに対し、試料1、試料2は、応答時間を400m秒以下にすることができる。
即ち、ガスセンサ素子の初期の応答性を考慮した場合、触媒の担持量は2重量%以下であることが好ましいといえる。
以上の結果により、触媒機能の耐久性、ガスセンサの応答性の観点から触媒担持トラップ層の平均膜厚を20μm以上、触媒の担持量を2重量%以下とすると良いことがわかる。
(実施例7)
本例は、図12に示すごとく、触媒の貴金属粒子の絶対量を変化させず、触媒担持トラップ層の平均膜厚dを変化させることにより、触媒の濃度及び分散度を変化させてガスセンサ素子の初期のストイキズレΔλ及び応答性を調べた例である。
尚、プロット線L1は、ガスセンサ素子の初期の応答時間を示し、プロット線L2は、ガスセンサ素子の初期のストイキズレΔλを示すものである。
また、図12中の括弧内は、触媒の分散度(個/μm2)を表している。
また、本例において使用した符号は、図1において使用した符号に準ずる。
プロット線L1からわかるように、触媒担持トラップ層の平均膜厚dが20μm未満である場合には、応答時間が約400m秒以上と大きくなる。これに対して、上記平均膜厚dを20μm以上とすることにより、応答性は良くなっていくことがわかる。
また、プロット線L2からわかるように、ガスセンサ素子の耐久前におけるストイキズレΔλについては、0.04を下回って充分に抑制されている。
(実施例8)
本例は、図13に示すごとく、拡散抵抗層12の外側面120において、多数の共材51と多数の触媒52とを混合してなる触媒層5を有するガスセンサ素子1の例である。
そして、触媒52の貴金属粒子は、平均粒径が0.5〜5μmである。
また、共材51の平均粒径は、例えば、0.2〜5μmとすることができる。
触媒層5は、平均膜厚Dが5〜50μm、触媒層5の総重量に対する触媒52の貴金属粒子の総重量が10〜80重量%、かつ、気孔率が15〜50%である。
そして、触媒層5は、拡散抵抗層12の外側面120に触媒層5用のペーストを印刷した後、該ペーストを900℃以上の温度にて熱処理することにより形成されたものである。
また、共材51は、アルミナ粒子からなり、触媒52は、白金(Pt)及びロジウム(Rh)のいずれか一種以上からなる。
本例のガスセンサ素子1は、図13に示すごとく、触媒層5のさらに外側にγ結晶構造のアルミナよりなる第1トラップ層61を有する。そして、さらにその外側には、第1トラップ層61のアルミナ粒子よりも粒径の大きいアルミナ粒子よりなる第2トラップ層62が配設されている。
その他は、実施例1と同様である。
次に、本例の作用効果につき説明する。
ガスセンサ素子1は、図13に示すごとく、共材51と触媒52とを混合してなる触媒層5を有する。それ故、該触媒層5により、水素ガスを充分に燃焼させることができるため、被測定ガス側電極14に到達する水素ガスの量を充分に減らすことができる。
その結果、水素ガスに起因するガスセンサの出力ズレを防ぐことができる。
また、触媒52の貴金属粒子は、平均粒径が0.5〜5μmである。即ち、触媒52の貴金属粒子は比較的大きい平均粒径を有する。これにより、応答性の悪化及び出力ズレを防ぐことができると共に、触媒の耐久劣化を抑制することができるガスセンサ素子1を得ることができる。
つまり、例えば車輌が高速移動するとき等のような高温雰囲気下においては、燃費向上を目的としてA/Fがリッチとなるよう内燃機関等がフィードバック制御される。そして、触媒52の貴金属粒子の平均粒径が小さい場合には、触媒52が蒸散又は凝集して触媒能が低下してしまうおそれがある。
これに対して、本発明のように触媒52の貴金属粒子の平均粒径が0.5〜5μmと大きい場合には、上記のような高温雰囲気下等の厳しい使用環境下においても、触媒52の貴金属粒子が蒸散したり凝集したりすることを防ぐことができる。その結果、触媒能の低下を抑制することができ、ガスセンサ素子1の応答性の悪化及び出力ズレを防ぐと共に、触媒能の耐久劣化を抑制することができる。
触媒層5は、平均膜厚が5〜50μmであり、該触媒層5の総重量に対する触媒52の貴金属粒子の総重量が10〜80重量%であり、かつ、気孔率が15〜50%である。これにより、応答性の悪化及び出力ズレをより一層防ぐことができる。
また、共材51は、アルミナ粒子からなる。これにより、拡散抵抗層12と触媒層5との熱膨張係数差を充分に小さくすることができる。そのため、冷熱サイクルが繰り返されても、拡散抵抗層12と触媒層5との間における亀裂や剥離等の発生を充分に抑制することができる。また、拡散抵抗層12と略同質の材料で触媒層5を形成することにより、拡散抵抗層12と触媒層5との付着強度を充分に確保することができる。
さらに、触媒層5は、拡散抵抗層12の外側面120にペーストを印刷した後、該ペーストを900℃以上の温度にて熱処理することにより形成されたものである。そのため、触媒能の低下を防ぎ、触媒52の耐久性及び応答性を充分に向上させることができる。
以上のごとく、本例によれば、応答性の悪化及び出力ズレを防ぐと共に、触媒能の耐久劣化を抑制することができるガスセンサ素子を得ることができる。
(実施例9)
本例は、図14に示すごとく、触媒5の貴金属粒子の粒径と、ガスセンサの耐久前後における貴金属粒子の粒径変化率との関係を調べた例である。即ち、各種粒径の触媒52を、900℃、950℃、1000℃の各温度にて200時間の耐久を行ったときの粒径の変化率を測定した。
同図中の◆は900℃において耐久試験を行った後粒径を測定した結果、□は950℃において耐久試験を行った後粒径を測定した結果、△は1000℃において耐久試験を行った後粒径を測定した結果をプロットしたものである。
また、本例において使用した符号は、図13において使用した符号に準ずる。
測定結果を図14に示す。
同図からわかるように、粒径が0.5μm以上の場合には、触媒52の貴金属粒子の粒径変化率が10%を下回り、充分に小さいものとすることができる。これに対して、粒径が0.5μm未満である場合には、950℃以上の高温耐久を行うことにより、粒径変化率が10%を超え、大きくなってしまう。
以上からわかるように、触媒52の貴金属粒子の粒径が0.5μm以上であれば、1000℃という高温雰囲気下の厳しい使用環境下においても、貴金属粒子が互いに凝集したりするなどして粒径が変化することを防ぐことができる。
(実施例10)
本例は、図15に示すごとく、平均膜厚Dが10μmの触媒層5を有するガスセンサ素子について、触媒52の貴金属粒子の粒径を0.1〜1μmの範囲で種々変化させて初期ストイキズレΔλを調べた例である。
なお、本例において使用した符号は、図13において使用した符号に準ずる。
また、同図中の◆は触媒層5の総重量に対する触媒52の貴金属粒子の総重量が1重量%であるガスセンサ素子、□は触媒52の総重量の割合が10重量%であるガスセンサ素子、△は触媒52の総重量の割合が80重量%であるガスセンサ素子についてそれぞれ初期ストイキズレΔλを測定した結果をプロットしたものである。
測定結果を図15に示す。
同図からわかるように、触媒52の総重量の割合が10重量%以上である場合には、貴金属粒子の粒径を大きくしていっても初期ストイキズレΔλを0.04以下と、充分に小さいものとすることができる。
これに対して、触媒52の総重量の割合が1重量%である場合には、貴金属粒子の粒径を1μmと大きくすると、初期ストイキズレΔλが0.04を上回り、大きいものとなってしまう。
以上からわかるように、触媒52の貴金属粒子の粒径を大きくする場合には、初期ストイキズレΔλを低減するという観点から触媒52の総重量の割合を10重量%以上とすることが好ましい。
(実施例11)
本例は、図16に示すごとく、触媒52の貴金属粒子の粒径を種々変化させて、初期応答時間を調べた例である。
なお、本例において使用した符号は、図13において使用した符号に準ずる。
また、◆は触媒層5の総重量に対する触媒52の貴金属粒子の総重量が1重量%であるガスセンサ素子、□は触媒52の総重量の割合が10重量%であるガスセンサ素子、△は触媒52の総重量の割合が80重量%であるガスセンサ素子についてそれぞれ初期応答時間を測定した結果をプロットしたものである。
また、触媒層の平均膜厚は10μm以下とした。
測定結果を、図16に示す。
同図からわかるように、触媒52の総重量の割合が80重量%以下であり、かつ、貴金属粒子の粒径が0.5μm以上である場合には、初期応答時間を400m秒以下と、充分に小さいものとすることができる。これに対して、触媒52の総重量の割合が80重量%であり、かつ、貴金属粒子の粒径が0.5μm未満である場合には、初期応答時間が400m秒を超えており、充分に早期活性を図ることができていないことがわかる。
以上からわかるように、ガスセンサの早期活性化という観点からも、貴金属粒子の粒径が0.5μm以上であり、かつ、触媒52の総重量の割合が80重量%以下であることが好ましい。
(実施例12)
本例は、図17に示すごとく、触媒52の貴金属粒子の粒径、触媒層5の総重量に対する触媒52の貴金属粒子の総重量、及び平均膜厚Dを種々変更させて作製した試料について耐久前後のλ値の変化量Δλを調べた例である。
なお、本例において使用した符号は、図13において使用した符号に準ずる。
本例では、試料1として、触媒52の貴金属粒子の粒径が0.1μm、触媒層5の総重量に対する触媒52の貴金属粒子の総重量が5重量%、平均膜厚Dが10μmの触媒層5を有するガスセンサ素子を作製した。試料2として、触媒52の貴金属粒子の粒径が0.1μm、触媒5の総重量の割合が1重量%、平均膜厚Dが60μmの触媒層5を有するガスセンサ素子を作製した。試料3として、触媒52の貴金属粒子の粒径が0.7μm、触媒5の総重量の割合が80重量%、平均膜厚Dが10μmの触媒層5を有するガスセンサ素子を作製した。
そして、上記三つの試料を1000℃の高温の排ガスに200時間曝した後、耐久後の試料を用いて所定の被測定ガスの空燃比を測定した。得られた測定結果と耐久前の測定結果とをもとに、耐久前後のλ値の変化量Δλを算出した。
測定結果を図17に示す。
同図からわかるように、試料1及び試料2については、変化量Δλが0.04を超え、大きいものとなってしまう。これに対して、試料3については、変化量Δλを0.04以下と、充分に小さくすることができる。即ち、触媒5の粒径を充分大きく、かつ、触媒5の混合割合を充分大きくすることにより、触媒層5の耐久性が向上することがわかる。
上記実施例9〜12の結果からわかるように、耐久後の変化量Δλを低減するという観点から、触媒52の貴金属粒子の粒径が0.5μm以上であり、貴金属粒子の総重量が10〜80重量%の範囲にあり、かつ、平均膜厚Dが5〜50μmの範囲にあることが好ましい。
実施例1における、拡散抵抗層の外側面に触媒担持トラップ層を形成した状態を示す説明図。 実施例1における、触媒担持トラップ層の構成要素を示す説明図。 実施例1における、ガスセンサの軸方向に直交する方向のガスセンサ素子の断面説明図。 実施例1における、被測定ガスの導入経路を示す断面説明図。 実施例2における、ガスセンサの軸方向に直交する方向のガスセンサ素子の断面説明図。 実施例3における、有底筒状のコップ型ガスセンサ素子の先端部の断面説明図。 実施例4における、ガスセンサの軸方向に直交する方向のガスセンサ素子の断面説明図。 実施例5における、ガスセンサの軸方向に直交する方向のガスセンサ素子の断面説明図。 実施例6における、初期のストイキズレと触媒担持トラップ層の平均膜厚と触媒の担持量との関係を示す線図。 実施例6における、ガスセンサ素子の応答時間と触媒担持トラップ層の平均膜厚と触媒の担持量との関係を示す線図。 実施例6における、耐久後のストイキズレと触媒担持トラップ層の平均膜厚と触媒の担持量との関係を示す線図。 実施例7における、初期のストイキズレと触媒担持トラップ層の平均膜厚、及びガスセンサ素子の応答性と触媒担持トラップ層の平均膜厚との関係を示す線図。 実施例8における、拡散抵抗層の外側面に触媒層を形成した状態を示す説明図。 実施例9における、触媒の貴金属粒子の粒径と粒径変化率との関係を示す線図。 実施例10における、触媒の貴金属粒子の粒径と初期ストイキズレとの関係を示す線図。 実施例11における、触媒の貴金属粒子の粒径と耐久前の初期応答時間との関係を示す線図。 実施例12における、触媒層の属性を種々変更させた場合の耐久前後のλ値の変化量を示す測定結果。 従来例における、(a)被測定ガスが触媒担持トラップ層を通過する状態を示す断面説明図、(b)被測定ガスが被測定ガス室へと到達する状態を示す断面説明図。 従来例における、拡散抵抗層の外側面に触媒担持トラップ層を形成した状態を示す説明図。 従来例における、(a)ガスセンサ素子の耐久前の触媒担持トラップ層の構成要素を示す説明図、(b)ガスセンサ素子の耐久後の触媒担持トラップ層の構成要素を示す説明図。
符号の説明
1 ガスセンサ素子
12 拡散抵抗層
120 外側面
2 触媒担持トラップ層
21 金属酸化物粒子
22 触媒

Claims (8)

  1. 酸素イオン伝導性の固体電解質体と、該固体電解質体の一方の面と他方の面とにそれぞれ設けた被測定ガス側電極及び基準ガス側電極と、上記被測定ガス側電極を覆うと共に上記被測定ガスを透過させる拡散抵抗層と、該拡散抵抗層の外側面に形成され触媒を担持した触媒担持トラップ層とを有するガスセンサ素子であって、
    上記触媒担持トラップ層は、多数の金属酸化物粒子と、該金属酸化物粒子に担持した上記触媒とによって構成されており、平均膜厚が60〜200μmであると共に、
    上記触媒担持トラップ層の総重量に対する上記触媒の担持量が0.1〜2重量%であり、
    該触媒の分散度が0.005〜0.1個/μm2であることを特徴とするガスセンサ素子。
  2. 請求項1において、上記金属酸化物粒子は、γ又はθの結晶構造を有するアルミナ粒子からなることを特徴とするガスセンサ素子。
  3. 請求項1又は2において、上記金属酸化物粒子は、平均粒径が1〜50μmであり、上記触媒担持トラップ層は、気孔率が40〜70%、かつ平均細孔径が0.1〜10μmであることを特徴とするガスセンサ素子。
  4. 請求項1〜3のいずれか一項において、上記触媒担持トラップ層は、上記拡散抵抗層の外側面に加え、該外側面から20〜200μm離れた位置まで形成されていることを特徴とするガスセンサ素子。
  5. 請求項1〜4のいずれか一項において、上記触媒の貴金属粒子は、平均粒径が0.05〜0.5μmであることを特徴とするガスセンサ素子。
  6. 請求項1〜5のいずれか一項において、上記触媒担持トラップ層の金属酸化物粒子の単位表面積あたりの上記触媒の担持量は、7×10-6〜2.9×10-4g/m2であることを特徴とするガスセンサ素子。
  7. 請求項1〜6のいずれか一項において、上記触媒は、少なくともPt、Rh、Pdから選ばれるいずれか一種類以上からなることを特徴とするガスセンサ素子。
  8. 請求項1〜7のいずれか一項において、上記拡散抵抗層は、少なくともアルミナ又はジルコニアから選ばれるいずれか一種類以上の多孔質体からなり、上記拡散抵抗層の外側面と上記被測定ガス側電極とを結ぶ直線が上記拡散抵抗層を通過する長さである拡散距離は0.2mm以上であることを特徴とするガスセンサ素子。
JP2006290092A 2006-01-05 2006-10-25 ガスセンサ素子 Expired - Fee Related JP4923948B2 (ja)

Priority Applications (3)

Application Number Priority Date Filing Date Title
JP2006290092A JP4923948B2 (ja) 2006-01-05 2006-10-25 ガスセンサ素子
US11/646,246 US20070151851A1 (en) 2006-01-05 2006-12-28 Gas sensor element
DE102007001110.7A DE102007001110B4 (de) 2006-01-05 2007-01-04 Gassensorelement

Applications Claiming Priority (3)

Application Number Priority Date Filing Date Title
JP2006000515 2006-01-05
JP2006000515 2006-01-05
JP2006290092A JP4923948B2 (ja) 2006-01-05 2006-10-25 ガスセンサ素子

Publications (2)

Publication Number Publication Date
JP2007206055A JP2007206055A (ja) 2007-08-16
JP4923948B2 true JP4923948B2 (ja) 2012-04-25

Family

ID=38223242

Family Applications (1)

Application Number Title Priority Date Filing Date
JP2006290092A Expired - Fee Related JP4923948B2 (ja) 2006-01-05 2006-10-25 ガスセンサ素子

Country Status (3)

Country Link
US (1) US20070151851A1 (ja)
JP (1) JP4923948B2 (ja)
DE (1) DE102007001110B4 (ja)

Families Citing this family (32)

* Cited by examiner, † Cited by third party
Publication number Priority date Publication date Assignee Title
US6863825B2 (en) 2003-01-29 2005-03-08 Union Oil Company Of California Process for removing arsenic from aqueous streams
US8349764B2 (en) 2007-10-31 2013-01-08 Molycorp Minerals, Llc Composition for treating a fluid
US20090107925A1 (en) * 2007-10-31 2009-04-30 Chevron U.S.A. Inc. Apparatus and process for treating an aqueous solution containing biological contaminants
JP5051660B2 (ja) * 2008-01-08 2012-10-17 日本特殊陶業株式会社 ガスセンサ素子及びガスセンサ
JP2010038600A (ja) * 2008-08-01 2010-02-18 Nippon Soken Inc ガスセンサ素子
JP5124500B2 (ja) * 2009-02-04 2013-01-23 株式会社日本自動車部品総合研究所 ガスセンサ用触媒粉末、その製造方法、それを用いたガスセンサ素子、及びそれを用いたガスセンサ
TW201038510A (en) * 2009-03-16 2010-11-01 Molycorp Minerals Llc Porous and durable ceramic filter monolith coated with a rare earth for removing contaminates from water
JP5186472B2 (ja) * 2009-03-26 2013-04-17 株式会社日本自動車部品総合研究所 水素ガス濃度検出システム、及びこれを有するガスセンサ素子
JP2010256111A (ja) * 2009-04-23 2010-11-11 Denso Corp ガスセンサ素子、及びこれを内蔵したガスセンサ、並びにガスセンサ素子の製造方法
JP4797082B2 (ja) * 2009-04-23 2011-10-19 株式会社デンソー ガスセンサ素子、及びそれを内蔵したガスセンサ、並びにガスセンサ素子の製造方法
JP5114453B2 (ja) * 2009-05-29 2013-01-09 トヨタ自動車株式会社 空燃比センサ
JP2011089796A (ja) * 2009-10-20 2011-05-06 Denso Corp ガスセンサ素子及びその製造方法、並びにガスセンサ
JP5287807B2 (ja) 2009-10-28 2013-09-11 株式会社デンソー ガスセンサ素子
JP4982552B2 (ja) * 2009-12-14 2012-07-25 株式会社日本自動車部品総合研究所 貴金属触媒粉末及びそれを用いたガスセンサ素子、ガスセンサ
JP2012127672A (ja) * 2010-12-13 2012-07-05 Toyota Motor Corp ガスセンサ素子とガスセンサ
US9233863B2 (en) 2011-04-13 2016-01-12 Molycorp Minerals, Llc Rare earth removal of hydrated and hydroxyl species
JP5218602B2 (ja) 2011-05-27 2013-06-26 株式会社デンソー ガスセンサ素子及びその製造方法、並びにガスセンサ
JP5278499B2 (ja) 2011-06-03 2013-09-04 株式会社デンソー ガスセンサ素子及びそれを用いたガスセンサ
JP5858682B2 (ja) * 2011-08-12 2016-02-10 山田 菊夫 ウェットティッシュ包装体
JP5747801B2 (ja) * 2011-12-01 2015-07-15 株式会社デンソー 積層セラミック排気ガスセンサ素子とそれを用いた排気ガスセンサおよび積層セラミック排気ガスセンサ素子の製造方法
JP5773220B2 (ja) * 2012-08-07 2015-09-02 トヨタ自動車株式会社 排ガスセンサ
CN102798652B (zh) * 2012-08-26 2014-07-30 无锡隆盛科技股份有限公司 氮氧化物传感器用铂铑电极浆料及其制备方法
JP5938307B2 (ja) * 2012-09-10 2016-06-22 日本特殊陶業株式会社 ガスセンサ素子およびガスセンサ
US9975787B2 (en) 2014-03-07 2018-05-22 Secure Natural Resources Llc Removal of arsenic from aqueous streams with cerium (IV) oxide compositions
JP6533140B2 (ja) * 2015-09-29 2019-06-19 日本特殊陶業株式会社 センサ素子、センサ、センサ素子の製造方法
JP6776013B2 (ja) * 2016-06-14 2020-10-28 日本特殊陶業株式会社 ガスセンサ素子およびガスセンサ
JP6809361B2 (ja) * 2017-04-26 2021-01-06 株式会社デンソー ガスセンサ
JP6907687B2 (ja) * 2017-05-12 2021-07-21 株式会社デンソー ガスセンサ
US12158443B2 (en) * 2017-12-28 2024-12-03 Niterra Co., Ltd. Gas sensor element, and gas sensor
WO2020067318A1 (ja) * 2018-09-28 2020-04-02 日本碍子株式会社 セラミックス構造体およびガスセンサのセンサ素子
JP7183910B2 (ja) * 2019-03-28 2022-12-06 株式会社デンソー ガスセンサ
KR20240121261A (ko) 2021-12-08 2024-08-08 트웰브 베네핏 코포레이션 에틸렌 제조를 위한 시스템 및 방법

Family Cites Families (12)

* Cited by examiner, † Cited by third party
Publication number Priority date Publication date Assignee Title
US4297192A (en) * 1979-12-18 1981-10-27 Toyota Jidosha Kogyo Kabushiki Kaisha Catalyst supported oxygen sensor element and a method of manufacturing same
DE4004172C2 (de) * 1989-02-14 1998-06-04 Ngk Spark Plug Co Sauerstoffsensor zur Luft-Brennstoffgemisch-Kontrolle mit einer Schutzschicht, die eine Sauerstoff einschließende Substanz umfaßt, und Verfahren zur Herstellung des Sensors
JP3443962B2 (ja) * 1993-09-14 2003-09-08 株式会社デンソー 酸素濃度検出器およびその製造方法
US5593558A (en) * 1994-06-09 1997-01-14 Nippondenso Co., Ltd. Oxygen concentration detector
JP3539031B2 (ja) * 1996-01-18 2004-06-14 株式会社デンソー 空燃比センサ
JP3773014B2 (ja) * 1997-12-22 2006-05-10 株式会社日本自動車部品総合研究所 天然ガスエンジン用ガスセンサ
JP3488818B2 (ja) 1997-11-25 2004-01-19 日本特殊陶業株式会社 酸素センサ
JPH11237361A (ja) * 1997-12-15 1999-08-31 Nippon Soken Inc ガスセンサ
JP2002031618A (ja) * 2000-05-12 2002-01-31 Denso Corp ガスセンサ
JP2002071632A (ja) * 2000-06-12 2002-03-12 Denso Corp ガスセンサ素子
JP4595264B2 (ja) * 2000-10-05 2010-12-08 株式会社デンソー 酸素センサ素子及びその製造方法
DE10247144A1 (de) * 2001-10-09 2003-05-22 Riken Tokio Tokyo Kk Gasdetektorelement und diese enthaltendes Gasdetektorgerät

Also Published As

Publication number Publication date
US20070151851A1 (en) 2007-07-05
DE102007001110A1 (de) 2007-08-02
JP2007206055A (ja) 2007-08-16
DE102007001110B4 (de) 2017-03-30

Similar Documents

Publication Publication Date Title
JP4923948B2 (ja) ガスセンサ素子
JP3553073B2 (ja) 混合気中のガス成分の濃度を測定するためのセンサ
JP2514701B2 (ja) 酸素センサ
US20110089032A1 (en) Gas sensor element and its manufacturing method, and gas sensor employing the gas sensor element
JP4595264B2 (ja) 酸素センサ素子及びその製造方法
JP4800853B2 (ja) ガスセンサ素子
JP2002048758A (ja) ガスセンサ素子及びその製造方法
US20020108854A1 (en) Gas sensor
JP2003232769A (ja) ガスセンサ素子及びその製造方法
US20070095662A1 (en) Structure of gas element ensuring high catalytic activity and conductivity and production method thereof
JP2002116172A (ja) 湿度センサ
JPH0442625B2 (ja)
EP0610884B1 (en) Oxygen concentration sensor
WO2019054255A1 (ja) ガスセンサ素子およびガスセンサ
JPH11237361A (ja) ガスセンサ
JP2000310610A (ja) ガスセンサ素子及びその製造方法
JPH0122899B2 (ja)
JP4797082B2 (ja) ガスセンサ素子、及びそれを内蔵したガスセンサ、並びにガスセンサ素子の製造方法
US8828206B2 (en) Gas sensor element and gas sensor employing the gas sensor element
JP2011123004A (ja) 貴金属触媒粉末及びそれを用いたガスセンサ素子、ガスセンサ
JPS6366448A (ja) 酸素ガス検出器
JP2851632B2 (ja) 電気化学的素子
US20100270154A1 (en) Gas sensor element, gas sensor equipped with gas sensor element, and method of producing gas sensor element
JP4615788B2 (ja) 抵抗変化式ガスセンサのクリーニング方法
JP5692162B2 (ja) ガスセンサ素子、及び当該ガスセンサ素子を備えるガスセンサ

Legal Events

Date Code Title Description
A621 Written request for application examination

Free format text: JAPANESE INTERMEDIATE CODE: A621

Effective date: 20081225

A977 Report on retrieval

Free format text: JAPANESE INTERMEDIATE CODE: A971007

Effective date: 20110208

A131 Notification of reasons for refusal

Free format text: JAPANESE INTERMEDIATE CODE: A131

Effective date: 20110315

A521 Request for written amendment filed

Free format text: JAPANESE INTERMEDIATE CODE: A523

Effective date: 20110509

A131 Notification of reasons for refusal

Free format text: JAPANESE INTERMEDIATE CODE: A131

Effective date: 20110830

A521 Request for written amendment filed

Free format text: JAPANESE INTERMEDIATE CODE: A523

Effective date: 20111025

TRDD Decision of grant or rejection written
A01 Written decision to grant a patent or to grant a registration (utility model)

Free format text: JAPANESE INTERMEDIATE CODE: A01

Effective date: 20120110

A01 Written decision to grant a patent or to grant a registration (utility model)

Free format text: JAPANESE INTERMEDIATE CODE: A01

A61 First payment of annual fees (during grant procedure)

Free format text: JAPANESE INTERMEDIATE CODE: A61

Effective date: 20120123

FPAY Renewal fee payment (event date is renewal date of database)

Free format text: PAYMENT UNTIL: 20150217

Year of fee payment: 3

R151 Written notification of patent or utility model registration

Ref document number: 4923948

Country of ref document: JP

Free format text: JAPANESE INTERMEDIATE CODE: R151

FPAY Renewal fee payment (event date is renewal date of database)

Free format text: PAYMENT UNTIL: 20150217

Year of fee payment: 3

R250 Receipt of annual fees

Free format text: JAPANESE INTERMEDIATE CODE: R250

R250 Receipt of annual fees

Free format text: JAPANESE INTERMEDIATE CODE: R250

R250 Receipt of annual fees

Free format text: JAPANESE INTERMEDIATE CODE: R250

R250 Receipt of annual fees

Free format text: JAPANESE INTERMEDIATE CODE: R250

R250 Receipt of annual fees

Free format text: JAPANESE INTERMEDIATE CODE: R250

R250 Receipt of annual fees

Free format text: JAPANESE INTERMEDIATE CODE: R250

R250 Receipt of annual fees

Free format text: JAPANESE INTERMEDIATE CODE: R250

LAPS Cancellation because of no payment of annual fees