JP4736883B2 - 自動演奏装置 - Google Patents

自動演奏装置 Download PDF

Info

Publication number
JP4736883B2
JP4736883B2 JP2006079756A JP2006079756A JP4736883B2 JP 4736883 B2 JP4736883 B2 JP 4736883B2 JP 2006079756 A JP2006079756 A JP 2006079756A JP 2006079756 A JP2006079756 A JP 2006079756A JP 4736883 B2 JP4736883 B2 JP 4736883B2
Authority
JP
Japan
Prior art keywords
automatic performance
volume
key
keyboard instrument
learning
Prior art date
Legal status (The legal status is an assumption and is not a legal conclusion. Google has not performed a legal analysis and makes no representation as to the accuracy of the status listed.)
Expired - Fee Related
Application number
JP2006079756A
Other languages
English (en)
Other versions
JP2007256538A (ja
Inventor
繁 村松
Current Assignee (The listed assignees may be inaccurate. Google has not performed a legal analysis and makes no representation or warranty as to the accuracy of the list.)
Yamaha Corp
Original Assignee
Yamaha Corp
Priority date (The priority date is an assumption and is not a legal conclusion. Google has not performed a legal analysis and makes no representation as to the accuracy of the date listed.)
Filing date
Publication date
Application filed by Yamaha Corp filed Critical Yamaha Corp
Priority to JP2006079756A priority Critical patent/JP4736883B2/ja
Priority to US11/620,741 priority patent/US7435895B2/en
Priority to EP07000549A priority patent/EP1837856A1/en
Priority to CN2007100062597A priority patent/CN101042861B/zh
Publication of JP2007256538A publication Critical patent/JP2007256538A/ja
Application granted granted Critical
Publication of JP4736883B2 publication Critical patent/JP4736883B2/ja
Anticipated expiration legal-status Critical
Expired - Fee Related legal-status Critical Current

Links

Images

Classifications

    • GPHYSICS
    • G10MUSICAL INSTRUMENTS; ACOUSTICS
    • G10FAUTOMATIC MUSICAL INSTRUMENTS
    • G10F1/00Automatic musical instruments
    • G10F1/02Pianofortes with keyboard

Landscapes

  • Physics & Mathematics (AREA)
  • Engineering & Computer Science (AREA)
  • Acoustics & Sound (AREA)
  • Multimedia (AREA)
  • Electrophonic Musical Instruments (AREA)

Description

この発明は、アコースティックのグランドピアノやアップライトピアノ等の鍵盤楽器を自動演奏するための自動演奏装置に関する。
周知の通り、アコースティックピアノにおいては、鍵の押鍵操作に応じてアクション機構が作動し、該アクション機構の作動によりハンマが対応する弦を打撃する。そして、該ハンマにより打撃(打弦)された弦の振動が響板において共鳴・拡大することで、打弦された弦の音高に対応する楽音が発音される。演奏者は、鍵の押し込みの強さ(タッチ、押鍵速度)に応じてハンマに与える速度(打弦速度)を加減して、楽音の発音音量を制御できる。すなわち、楽音の発音音量(つまり打弦速度の強弱)は押鍵速度に対応する。
また、従来から知られる自動演奏ピアノ(自動演奏機能を有するアコースティックピアノ)においては、鍵盤の各鍵を自動的に駆動するための駆動手段として、例えば電磁ソレノイドにより構成される駆動手段が各鍵毎に具わる。各電磁ソレノイドはそれぞれ対応する鍵の下面側後端部に配備され、再生すべき演奏情報に基づき特定の鍵に対応するソレノイドに電流信号を与えて駆動(励磁)することで、プランジャの突き上げ動作により当該鍵が自動的に押鍵される。ここで、ソレノイドに与える電流信号は、鍵の押鍵速度に対応する値であり、従って、発生すべき楽音の発音音量(打弦速度)に対応する値である。
また、従来から、自動演奏機能を持たないアコースティックのグランドピアノやアップライトピアノ等の鍵盤楽器に自動演奏装置を外付けして、該自動演奏装置により鍵盤楽器を自動演奏することが行われている(例えば、下記特許文献1参照)。この種の外付けタイプの自動演奏装置は、大別して、鍵盤楽器の鍵盤を打鍵するための打鍵駆動部と、ペダルを駆動するペダル駆動部と、該打鍵駆動部及び該ペダル駆動部を制御する制御部から構成される。打鍵駆動部は鍵盤の各鍵に対応する配列でユニット化された電磁ソレノイド群によって構成される。打鍵駆動部は、電磁ソレノイドのプランジャを下向きに突出させる向きで当該鍵盤楽器の鍵盤の前方上側に組み付けられ、該ソレノイドのプランジャが対応する鍵の前端を押し下げることで、当該鍵を自動的に押鍵する。
特開2005−309024号公報
上記従来から知られる自動演奏ピアノにおいて、ソレノイドの打鍵駆動開始に対する実際の発音タイミング(打弦タイミング)の遅れ時間や、或いは、ソレノイドに与える電流信号と該電流信号に応じて実際に発音された音量値(実際のハンマ打弦速度)との対応関係等のような自動演奏の再生に関する動特性は、鍵盤楽器のサイズ、機種、更には楽器個体差等、種々の要素に影響され、個々のピアノ毎に異なる。
キーセンサやハンマセンサを内蔵するモデルでは、自機に実装されたセンサを用いて発音タイミング(打弦タイミング)や音量(打弦速度)といった打弦情報を検出し、該検出した打弦情報に基づき、発音タイミングとソレノイドの打鍵駆動開始タイミングとの対応関係や、ソレノイド駆動信号(電流信号)と実際に発音される音量との対応関係などをテーブル化して、これを自動演奏再生時に利用している。この明細書において、発音タイミングとソレノイドの打鍵駆動開始タイミングとの対応関係、或いは、ソレノイド駆動信号(電流信号)と実際に発音される音量との対応関係など、打弦再生に関するパラメータを定義してテーブル化することを「打弦再生学習」と呼ぶ。また、打弦再生に関するパラメータを定義したテーブルを総称して「再生テーブル」と言う。上記キーセンサやハンマセンサを内蔵するモデルでは、自機の自動演奏の再生に関する動特性に基づく打弦再生学習を行なうことで、自動演奏の再生性能を高めることができた。
一方、キーセンサやハンマセンサを持たない再生専用モデルの自動演奏ピアノでは、自機で実行された打弦情報を取得することができないので、自機で打弦再生学習を行なうことができなかった。このため、再生専用モデルでは、基準となる別のピアノにおいて作成された再生テーブルを予め用意しておき、これを自動演奏再生時に利用していた。
また、上記特許文献1に示す従来の外付けタイプの自動演奏装置においては、該装置を取り付けた該鍵盤楽器において実行された打弦情報を取得することができなかった。このため、従来から知られる自動演奏装置においては、上記再生専用モデルの場合と同様に、基準となる特定のピアノにおいて作成された再生テーブルを予め用意しておき、これを自動演奏の再生に利用していた。このため、従来から知られる外付けタイプの自動演奏装置においては、個々の鍵盤楽器毎の動特性に鑑みて自動演奏の再生性能を向上させることはできなかった。
この発明は、上述の点に鑑みてなされたもので、アコースティックのグランドピアノやアップライトピアノ等の鍵盤楽器を自動演奏する自動演奏装置において、自動演奏の再生性能を向上させることを目的とする。
この発明は、複数の鍵を有する鍵盤楽器に対して着脱可能に外付けされる自動演奏装置であって、駆動信号に基づき前記鍵を個別に駆動するための鍵駆動手段であり、前記鍵盤楽器が有する複数の鍵に対応する配列で複数の前記鍵駆動手段をユニット化したものと、前記鍵盤楽器から発音された楽音の音量を検出する検出手段と、MIDIベロシティ値と音量値の対応付けの基準となる鍵盤楽器において測定されたデータに基づき作成されたMIDIベロシティ値と音量値とを対応付けたテーブルを記憶しており、該テーブルに基づいて、前記検出手段により検出された音量値をMIDIベロシティ値に変換する変換手段と、学習の開始を指示するための指示手段と、前記指示手段からの指示に応じて、所定の駆動信号を出力して前記鍵駆動手段に鍵を駆動させ、該駆動に応じて発音された楽音の音量値を前記検出手段により検出し、該検出された音量値を前記変換手段によりMIDIベロシティ値に変換し、当該駆動信号と該変換手段により得たMIDIベロシティ値との対応関係を学習する学習手段と、自動演奏を行うときに、前記学習手段における学習結果に基づいて、当該自動演奏に用いる前記駆動信号を修正する修正手を備えることを特徴とする自動演奏装置である。
また、この発明に係る自動演奏装置は、前記学習手段が、更に、前記指示手段からの指示に応じて、前記所定の駆動信号と前記検出手段により検出された音量に基づき決定される楽音の発音タイミングとの対応関係を学習するよう構成してもよい。
また、この発明に係る自動演奏装置において前記検出手段は、前記鍵盤楽器に具備される響板の振動及びの少なくともいずれか一方の振動を、直接又は間接的に検出する振動検出手段であってよい。
この発明によれば、自動演奏装置が、鍵駆動手段として、鍵盤楽器が有する複数の鍵に対応する配列で複数の鍵駆動手段をユニット化したものを備え、鍵盤楽器に対して着脱可能に外付けされるタイプ(いわゆるボルセッサータイプ)の自動演奏装置であり、かかる自動演奏装置において、ユーザが学習の開始を指示したとき、所定の駆動信号に基づく鍵の駆動により発音された楽音の音量値を検出し、検出された音量値を変換手段によりMIDIベロシティ値に変換して、当該所定の駆動信号と該変換手段により得たMIDIベロシティ値との対応関係を学習できる。ここで、変換手段が、基準となる鍵盤楽器にて測定された音量値とMIDIベロシティ値とを対応付けたテーブルに基づいて、音量値をMIDIベロシティ値に変換するものであるため、この学習を行うことにより、駆動信号とMIDIベロシティ値の対応関係を、当該自動演奏装置が外付けされた鍵盤楽器に固有の動特性に基づき定義できる。そして、自動演奏を行うときに、その学習結果に基づいて当該自動演奏に用いる駆動信号を修正することにより、適切な音量(基準となる鍵盤楽器で測定された音量値とMIDIベロシティ値の対応関係に応じた音量)で楽音を発音できる。すなわち、自動演奏装置に外付けされた種々の鍵盤楽器で、当該外付けされた鍵盤楽器とは別の基準となる鍵盤楽器で測定された音量値とMIDIベロシティ値の対応関係に応じた適切な音量で楽音を発音できるよう、自動演奏に用いる駆動信号を修正する構成により、自動演奏装置に外付けされた鍵盤楽器毎の固有の動特性に応じた最適な音量で自動演奏を行うことができ、以て自動演奏の再生性能を向上させるという優れた効果を奏する。更に、駆動信号と測定された音量に基づき決定される楽音の発音タイミングとの対応関係を学習するよう構成することで、発音タイミングに関しても、自動演奏装置に外付けされた鍵盤楽器毎の固有の動特性に応じた最適な自動演奏を行うことができ、以て自動演奏の再生性能を向上させるという優れた効果を奏する
以下、添付図面を参照してこの発明の一実施例について説明する。
図1は、この発明の一実施例に係る自動演奏装置1の概略構成を示すブロック図であって、自動演奏装置1と該自動演奏装置1を取り付ける鍵盤楽器2(アコースティックピアノ)の主要な構成要素を模式的に示している。自動演奏装置1は、鍵盤楽器2に対して着脱可能に外付けされ、該鍵盤楽器2を自動演奏するための装置である。
当該自動演奏装置1を取り付ける鍵盤楽器2は、通常の(つまり自動演奏機能を持たない)アコースティックピアノであって、鍵20と、鍵20の運動をハンマ22に伝達するアクション機構21と、ハンマ22により打撃される弦23と、弦23の振動に応じた楽音を発生させる響板24と、弦23の振動を止めるためのダンパ25とを含む。鍵20は典型的には88個具備されており、88個の鍵20を集合的に鍵盤と呼ぶ。鍵20の押鍵操作(図において鍵の右側を押し下げる操作)すると、この動きがアクション機構21を介してハンマ22に伝達されると共に、ダンパ25が弦23から上に離れて、弦23を解放する。そして、ハンマ22が該解放された弦23を打弦することで、弦23が振動して響板24から当該押鍵操作された鍵20に対応する音高の楽音が発音される。なお、図1において鍵盤楽器2としては、弦23や響板24が水平向きに配置されるグランドピアノを想定している。
この実施例に係る自動演奏装置1は、装置各部の動作制御や各種信号処理を行なうための制御部10と、詳しくは後述する各種再生テーブルを記憶するためのメモリ11と、打鍵駆動部12と、鍵盤楽器2において発生された楽音の音量を示す情報を検出するための音量検出センサ13、14及び15を含んで構成される。なお、図においては、点線で囲んだ部分が自動演奏装置1の構成要素を示している。図示の都合上、音量検出センサ13、14及び15は、該点線の囲み部分から外れて描かれてしまっているが、これらは自動演奏装置1の構成要素であり、鍵盤楽器2に対して自動演奏装置1と共に着脱される。
制御部10は、CPU、ROM及びRAMを含むマイクロコンピュータにより構成され、ROM又はRAMに記憶されたソフトウェアプログラムを実行し、当該ミキサの全体的な動作制御や、自動演奏処理即ち演奏情報の再生処理を行なうと共に、この実施例に係る「打弦再生学習」の処理を行なう。メモリ11は、データの書き換え可能な適宜のメモリであって、RAMや不揮発性の書き換え可能なメモリ(フラッシュメモリ)などにより構成してよい。メモリ11は後述する「打弦再生学習」において作成した各種再生テーブル群の記憶に利用する。
打鍵駆動部12は、ピアノ鍵盤の各鍵(白鍵と黒鍵)に対応する配列でユニット化された電磁ソレノイド群、典型的には88個の各鍵にそれぞれ対応する88個の電磁ソレノイド群によって構成される。打鍵駆動部12は、図示しないフレーム部材により鍵盤(図1において鍵20)に対する取り付け高さの調節自在に支持されており、各電磁ソレノイドのプランジャを下向きに突出させる向きで、鍵盤の前方上側に組み付けられようになっている(例えば上記特許文献1を参照)。PWMドライバ16は、制御部10において生成されるソレノイド駆動信号をPWM形式の電流信号(PWM信号)に変換し、打鍵駆動部12に供給する。打鍵駆動部12は、供給されたPWM信号により前記特定の鍵に対応するソレノイドを駆動(励磁)することで、該ソレノイドのプランジャを該PWM信号に応じた推力で突出せしめ、対応する鍵の前端を押し下げて当該鍵を自動的に押鍵することができる。
自動演奏に使用する演奏情報は適宜のデータ形式で記述されたデータであってよく、この実施例では一例としてSMF(スタンダードMIDIファイル)形式のデータとする。演奏情報(MIDIデータ)はピアノ演奏内容を表すMIDIイベント(打鍵イベント)群により構成される。各打鍵イベントはノートオンイベントデータ、ノートオフイベントデータ及びノートオン/オフの発生タイミングを直前イベントから当該イベントの間の相対的時間間隔を示すデルタタイムデータから構成される。ノートオンイベント及びノートオフイベントデータは、各々、メッセージ種類の識別子(ここではノートオン又はノートオフ)とMIDIチャンネル番号からなるステータスバイト(チャンネルメッセージ)と、ノート番号(音高)を表すデータバイトと、ベロシティ値を表すデータバイトとから構成される。ベロシティ値は、ハンマ打弦速度(つまり発音音量)に対応する値であり、周知のとおり8ビット(すなわち128段階)の分解能で記述されている。また、周知の通り、鍵盤楽器2に具わる88鍵の各鍵にそれぞれ固有の番号(キーナンバ)を割り当てられており、該キーナンバがノート番号(音高)に対応している。
なお、図示は省略したが、図1に示す自動演奏装置1には、演奏情報を供給するための外部記憶装置(例えば、ハードディスク、フレキシブルディスク又はフロッピー(登録商標)ディスク、コンパクトディスク(CD‐ROM)、光磁気ディスク(MO)、メモリカード等、適宜の着脱可能な記録媒体)や、演奏情報の再生や各種動作設定に関する指示をユーザが行うための操作部や該操作子部を駆動・検出するための機構、その機構を制御するためのソフトウェアや、表示パネル、その他の外部機器(コンピュータやMIDI機器など)との接続やインターネット接続等に使用される通信インターフェース等が必要に応じて具備されてよい。
図1に示す通り、自動演奏装置1には、鍵盤楽器2で発生した楽音の音量を検出するための音量検出センサとして、響板24の振動を検出する響板センサ13と、弦23の振動を検出する弦振動センサ14と、響板24から発生した楽音を検出するマイクロフォン15とが具備されている。
響板センサ13は、例えば圧電素子からなる振動センサであって、鍵盤楽器2に具わる響板24の板面上に設置され、該響板24の振動に応じた電気信号(アナログ信号)を出力する。響板センサ13の取り付け構成としては、例えば適宜の接着手段(例えば所謂「両面テープ」等)を用いて響板24の裏面側に貼り付ける等、着脱簡易な取り付け構成を適用してよい。響板センサ13は、単価が比較的低廉であり、楽器に対して1つのセンサを配備するだけでよいので、非常に低コストな音量検出センサとして有用である。
弦振動センサ14は、例えば、弦23の振動を電気信号に変換する電磁ピックアップにより構成され、弦23の近傍の適宜の位置に配置される。弦振動センサ(電磁ピックアップ)14は、例えば、ピアノ音域を低音域、中音域、高音域の3つに分け、各音域毎の弦23群の近傍に、該3つの音域にそれぞれ対応させた3つの弦振動センサ14を分散して設置するようにしてよい。
また、マイクロフォン15は、響板24から発生した楽音(空気振動)を検出するためのもので、響板24の近傍の適宜の位置に配置していよい。図においては、響板24の上方にマイクロフォン15が配置されるかのように描かれているが、マイクロフォン15の配置位置は是に限定されない。外部雑音を可及的回避するには、響板24の裏面側に配置することが効果的である。
音量検出センサ13、14及び15から出力される各アナログ信号は、アンプ17を介して適宜増幅された後、AD変換器18においてそれぞれディジタル信号に変換される。ディジタル信号に変換された音量検出センサ13、14及び15の出力信号は制御部10に供給される。制御部10は、供給された各出力信号を適宜を分析・処理することで、鍵盤楽器2において実行された打弦情報(発音音量や発音タイミング等)を取得することができる。なお、この実施例では音量検出センサとして響板センサ13、弦振動センサ14及びマイクロフォン15の3つのセンサを具備する例を示しているため、制御部10はこれら3つの音量検出センサ13、14及び15の各出力信号を適宜1本化して、ピアノ演奏音の音量を示す情報を取得するものとするが、これに限らず、制御部10はこれら3つの音量検出センサ13、14及び15の出力信号を適宜選択して採用する構成としてもよい。
図2は打鍵駆動に応じた各部の動作と音量検出センサ13、14及び15の出力信号の関係を説明するタイミングチャートである。(a)は当該打鍵駆動に対応するノートオンタイミングとノートオフタイミングを示す。(b)は(a)に応じた鍵20の打鍵軌道を示す。(c)は該(b)の打鍵軌道により駆動されたハンマ22の打弦運動を示す。(b)及び(c)に示す通り、鍵20とハンマ22は、レスト位置からエンド位置まで変位した後、該エンド位置にて所定時間保持されてから、リリースされる。また、(d)は(c)の打弦運動に応じて鍵盤楽器2にて発生した楽音の音量を検出した音量検出センサ13、14及び15の出力信号、すなわち鍵盤楽器2にて発生した楽音の音量エンベロープを示す。また、(e)は当該打鍵駆動を実現するために打鍵駆動部12に供給されるソレノイド駆動信号(PWM信号)を示しており、その振幅(図において斜線で示す部分)は打鍵推力すなわちソレノイドに与える電流値に対応する。
(e)に示すソレノイド駆動信号においては、信号の立ち上がり部(touch)にて、MIDIデータのベロシティ値すなわち打弦速度に対応する打鍵推力が生成され、(a)に示すノートオンタイミングにおいてハンマ22が打弦点に到るよう、鍵20の押鍵動作が制御される。これにより、ノートオンタイミングにてベロシティ値に対応する音量の楽音が発生する。また、該立ち上がり部の開始時点付近にて突出した打鍵推力を与えることで、鍵の自重キャンセルと押鍵安定化を計っている。立ち上がり部に続く持続部(still)では、(b)に示す離鍵開始時点まで鍵20をエンド位置に保持して、弦23の振動を持続させる。そして、ソレノイド駆動信号のリリース部では、ノートオフタイミングに基づき鍵20の離鍵動作が制御される。リリース部での離鍵動作制御により、ノートオフタイミングに合わせてダンパ25を弦23に当接させて止音動作を行なわせる。
ハンマ22により弦23が打弦され楽音が発生すると、(d)に示す通り、該楽音の音量に応じた音量検出センサ13、14及び15から出力信号が出力される。図2(c)及び(d)に示す通り、音量検出センサ13、14及び15の出力信号の立ち上がりタイミングは、ハンマ22の打弦タイミング(ノートオンタイミング)に対応している。また、音量検出センサ13、14及び15の出力信号はダンパ25による止音タイミング(ノートオフタイミング)にて急速に減衰する。従って、制御部10は、音量検出センサ13、14及び15の出力信号の最大レベルをホールド(ピークホールド)して、該最大レベルに対応する音量値(ピークホールド値)volのデータを得ることができ、また、該出力信号に基づき発音タイミング及び止音タイミングのデータを得ることができる。
図3は自動演奏装置1はメイン処理の手順の概要を示すフローチャートである。図3の処理は電源投入に応じて起動するものとする。自動演奏装置1の電源が投入されると、適宜の初期化処理等が行なわれた後、ユーザによる各種指示を受け付ける(ステップS1)。ユーザは、図示しない表示器(液晶パネル等)、入力操作子等の操作インターフェースを用いて、各種指示・入力操作を自動演奏装置1に対して行なうことができる。ここで、ユーザから受け付ける指示には、自動演奏機能の開始すなわち演奏情報の再生指示(ステップS2)や、この実施例に係る「打弦再生学習」指示(ステップS3)が含まれる。制御部10は、ユーザからの指示に応じて、自動演奏処理(ステップS4)や、打弦再生学習処理(ステップS5)或いはその他の処理(ステップS6)を実行する。
再生指示が行なわれた場合(ステップS2)、制御部10は自動演奏処理を行なう(ステップS3)。この実施例に係る自動演奏装置1における自動演奏機能(演奏情報の再生動作)自体は従来と同様であり、その概要は次の通りである。
ユーザによって自動演奏、つまり演奏情報の再生の指示が行なわれると、制御部10は、図示しない適宜の記録媒体やリアルタイム通信装置等から供給される演奏情報に基づき、特定の鍵に与える打鍵力(押鍵タイミングや押鍵速度、離鍵タイミングや離鍵速度等)としてソレノイド駆動信号を生成する。該ソレノイド駆動信号はPWMドライバ16においてPWM形式の電流信号(以下PWM信号と略称)に変換された後、打鍵駆動部12に供給される。打鍵駆動部12は、供給されたPWM信号に基づき前記特定の鍵に対応するソレノイドを駆動(励磁)することで、該ソレノイドのプランジャが突出し、対応する鍵の前端を押し下げて当該鍵を自動的に押鍵する。これにより、自動演奏装置1は、当該自動演奏装置1を取り付けたアコースティックピアノに演奏情報に基づくピアノ演奏を自動的に行なわせることができる。自動演奏処理はユーザからの終了指示により終了する(ステップS7のyes)。なお、図3に示すフローチャートでは、当該メイン処理はユーザによる適宜の終了操作(例えば電源オフ等)に応じて所定の終了動作(ステップS8)を行なった後に終了するものとする。
ユーザによって「打弦再生学習」指示が行なわれた場合(ステップS3)、制御部10は、図4、図5及び図6に示す打弦再生学習に係る各処理を実行する。図4は自動演奏装置1における最小音量と最大音量の音量幅(ダイナミックレンジ)を定義する「音量幅学習処理」の手順の一例を示すフローチャートである。また、図5はソレノイドの駆動信号と該ソレノイド駆動信号により実際に発音された音量との対応関係を記述した再生テーブルを作成する「音量学習処理」の手順の一例を示すフローチャートである。また、図6はソレノイドの駆動開始タイミングと実際の発音タイミング(ハンマの打弦タイミング)との対応関係を記述した再生テーブルを作成する「タイミング学習処理」の手順の一例を示すフローチャートである。なお、図4〜図6において「TD」はソレノイド駆動信号を表す。なお、「TD」は「タッチデータ(TouchData)」の略称である。
まず、図4に示す音量幅学習処理について説明する。この処理では、自動演奏装置1が鍵盤楽器2に発音させる最小音量(音量検出センサ13、14及び15の検出下限)に対応するソレノイド駆動信号と、同最大音量に対応するソレノイド駆動信号をMIDIデータ(ベロシティ値)に割り当てて音量幅(ダイナミックレンジ)を定義する。
ステップS10において、キーナンバのパラメータKn=1にセットして、以下、キーナンバKn=1についてダイナミックレンジの定義を行なう。ステップS11〜S15では最小音量の定義を行なう。ステップS11において、ソレノイド駆動信号TDとしてMIDIデータ(ベロシティ値)の最小値に対応する値をセットする。先に述べた通り、MIDIデータのベロシティ値は128段階の分解能(MIDI値0〜128)により音量を記述したデータである。ここで、与えられたベロシティ値すなわち打弦速度に対応する打鍵力(ソレノイド駆動信号)を決定する方法としては、従来から知られる適宜の方法を適用してよい。例えば、基準となる所定の鍵盤楽器2にて予め作成された「MIDI/TD変換基準テーブル」を当該自動演奏装置1の設計時に組み込んでおき、これを利用する方法を適用することができる。
ステップS12では前記ステップS11にてセットされたソレノイド駆動信号TDにより打鍵駆動部12(キーナンバKn=1に対応するソレノイド)を駆動することで、対応する鍵を打鍵駆動する。そして、ステップS13において、音量検出センサ13、14及び15が検出した音量値volに基づき、鍵盤楽器2における発音の有無を調べる。発音が無ければ(ステップS13のno)、ステップS14にて、ソレノイド駆動信号TDの値を増加させる。すなわち、1段階大きいベロシティ値に対応するソレノイド駆動信号を新規TDとする。
上記ステップS12〜S14により発音の有無を調べながらソレノイド駆動信号TDの値を漸増させてゆき、鍵盤楽器2にて発音が行なわれるまで、即ち音量検出センサ13、14及び15により発音音量を検知するまで、ステップS12〜S14のループを繰り返す。そして、初めて発音が検出されたTD(ステップS13、S14のyes)の値、即ち当該鍵盤楽器2にて最小音量を発音させるソレノイド駆動信号TDをTDminとして記憶する(ステップS16)。
続いて、最大音量に対応するソレノイド駆動信号TDの定義を行う。すなわち、ステップS12〜S14のループを繰り返して、ソレノイド駆動信号TDの値を最大値TDmaxまで増加させる(ステップS17のyes)。最大値TDmaxについては、自動演奏装置1の打鍵駆動部12を構成する電磁ソレノイドの仕様等に応じて供給可能な最大電流値が規定されているので、この最大電流値に準じる値となる。そして、ステップS18においてTDmaxの値を記憶する。
前記ステップS16で記憶したTDminが当該自動演奏装置1が鍵盤楽器2に発音させる最小音量に対応するソレノイド駆動信号、前記ステップS18で記憶したTDmaxが同最大音量に対応するソレノイド駆動信号となる。ステップS19ではTDmin,TDmaxにより規定された音量幅を128段階に補正することで、TDmin,TDmaxにより規定された音量幅をMIDIデータのベロシティ値(MIDI値)の128段階の数値範囲に対応づける。これにより、鍵盤楽器2の動特性に基づき音量幅(ダイナミックレンジ)を定義することができる。言い換えれば、前記「TD/MIDI変換基準テーブル」を当該鍵盤楽器2に固有の動特性に基づき補正する。
そして、ステップS20,S21により、キーナンバのパラメータKnを順次インクリメントして、上記のステップS11〜S19の処理を88個の鍵の全てについて行なう。以上により、キーナンバKn=1〜88の全ての鍵について図4に示す音量幅学習処理を行なうことができる。
次ぎに、図5に示す音量学習処理について説明する。この処理は、ソレノイド駆動信号TDと該ソレノイド駆動信号TDに基づく打鍵駆動により鍵盤楽器2において実際に発音されるべき音量値volとの対応関係を、音量検出センサ13、14及び15の実測値に基づき学習する処理である。
ステップS22において、キーナンバのパラメータKn=1にセットして、以下、当該キーナンバKn=1について音量学習処理の定義を実行する。ステップS23において、ソレノイド駆動信号TDとして前記図4の処理で求めたレノイド駆動信号の最小値TDminの値をセットする。ステップS24では、前記ステップS23でセットしたソレノイド駆動信号TDminにより打鍵駆動部12(キーナンバKn=1に対応するソレノイド)を駆動して、対応する鍵を打鍵駆動する。そして、ステップS25において、前記ステップS24の打鍵駆動に応じて鍵盤楽器2から発音された楽音の音量に対応する音量検出センサ13、14及び15からの出力信号を取り込み、音量検出センサ13、14及び15から供給された出力信号のピークホールド値に対応する音量値volを取得する。
ステップS26において、制御部10は、図7(a)に示す「音量/MIDIテーブル」を参照して、前記音量値volに対応するMIDIデータ(ベロシティ値)を得る。図7(a)に示す「音量/MIDIテーブル」は、MIDIデータのベロシティ値(128段階のMIDI値)と音量値volとを対応付けたテーブルであって、基準となる所定の鍵盤楽器2にてハンマセンサ等の高度なセンサを用いて測定したデータに基づき作成され、当該自動演奏装置1の設計時に予め組み込まれるものとする。ステップS27では、前記ステップS24にてソレノイド駆動に使用したTDと、前記ステップS26で求めたベロシティ値のペアーを記憶する。
そして、ステップS28,S29により、ソレノイド駆動信号TDの値を順次インクリメントすることで、前記図4の処理で定義したレノイド駆動信号の最小値TDminから最大値TDmaxまでの128段階の全てのTDについて、ソレノイド駆動信号TDと、当該TDによる打鍵駆動に応じて実測した音量値volに対応するMIDIデータ(ベロシティ値)とのペアーを記憶する。これにより、TDminからTDmaxまでの範囲のTDについて、ソレノイド駆動信号TDと鍵盤楽器2にて実際に発音された音量値volに対応するベロシティ値(128段階のMIDI値)との対応関係を記述した再生テーブル(「TD/MIDIテーブル」)を作成することができる。「TD/MIDIテーブル」の一例を図7(b)に示す。この「TD/MIDIテーブル」は、当該鍵盤楽器2において実測された音量値volに基づき作成されるので、TDとMIDIデータ(ベロシティ値)の対応関係を該鍵盤楽器2に固有の動特性に基づき定義したものとなる。
そして、ステップS30,S31により、キーナンバパラメータKnを順次インクリメントして、上記のステップS23〜S29の処理を88個の鍵の全てについて行なう。以上により、キーナンバKn=1〜88の全ての鍵について、図7(b)に示す「TD/MIDIテーブル」を作成することができる。この音量学習処理により作成された各鍵毎の「TD/MIDIテーブル」はメモリ11に記憶される。
次ぎに、図6に示すタイミング学習処理について説明する。この処理は、ソレノイド駆動信号TDと、ソレノイド駆動開始タイミングに対する実際の打弦タイミングの遅延時間(時間差)との対応関係を、音量検出センサ13、14及び15の実測値に基づき学習する処理である。
ステップS32において、キーナンバのパラメータKn=1にセットして、以下、当該キーナンバKn=1についてタイミング学習処理を実行する。ステップS33において、ソレノイド駆動信号TDとして前記図4の処理で求めたレノイド駆動信号の最小値TDminの値をセットする。ステップS34では、前記ステップS33でセットしたソレノイド駆動信号TDminにより打鍵駆動部(キーナンバKn=1に対応するソレノイド)12を駆動して、対応する鍵を打鍵駆動する。そして、ステップS35において、前記ステップS33の打鍵駆動に応じて鍵盤楽器2から発音された楽音の音量に応じた音量検出センサ13、14及び15の出力信号を取り込み、該取り込んだ出力信号に基づく発音タイミングのデータを取得する。発音タイミングは前記図2に示す通りハンマ22の打弦タイミングに相当する。
ステップS36では、前記ステップS34におけるソレノイド駆動信号TDの駆動開始タイミングと、前記出力信号に基づく発音タイミング(打弦タイミング)の時間差を測定する。ここで測定する時間差は、前記図2に示す通り、ソレノイド駆動信号TDの駆動開始タイミングTDonに対する発音タイミング(打弦タイミング)の遅延時間である。そして、ステップS37では、前記ステップS34にてソレノイド駆動に使用したTDと、前記ステップS36にて測定した時間差のペアーを記憶する。
そして、ステップS38,S39により、ソレノイド駆動信号TDの値を順次インクリメントすることで、前記図4の処理で定義したレノイド駆動信号の最小値TDminから最大値TDmaxまでの128段階の全てのTDについて、ソレノイド駆動信号TDと、当該TDの駆動開始と発音タイミングとの時間差とのペアーを記憶する。
これにより、TDminからTDmaxまでの範囲のTDについて、ソレノイド駆動信号(駆動開始タイミング)に対する実際の発音タイミング(打弦タイミング)の時間差を記述した再生テーブル(「TD/時間差テーブル」)を作成することができる。「TD/時間差テーブル」の一例を図7(c)に示す。この「TD/時間差テーブル」は、当該鍵盤楽器2において実測された発音タイミングに基づき作成されるので、ソレノイド駆動信号TDと、ソレノイド駆動信号(駆動開始タイミング)に対する実際の発音タイミングの時間差との対応関係を該鍵盤楽器2に固有の動特性に基づき定義したものとなる。
そして、ステップS40,S41により、キーナンバパラメータKnを順次インクリメントして、上記のステップS33〜S39の処理を88個の鍵の全てについて行なう。以上により、キーナンバKn=1〜88の全ての鍵について、図7(c)に示す「TD/時間差テーブル」を作成することができる。このタイミング学習処理により作成された各鍵毎の「TD/時間差テーブル」はメモリ11に記憶される。
前記図3のステップS3における自動演奏処理において、制御部10は、再生すべき演奏情報として与えられたMIDIベロシティ値に対応するソレノイド駆動信号TDを、当該演奏情報が指示する音高の鍵に対応する「TD/MIDIテーブル」(図7(b)参照)から読み出す。これにより、前記音量学習処理の結果により、当該再生に使用する鍵盤楽器2に固有の動特性に基づき修正されたソレノイド駆動信号TDを得ることができる。また、制御部10は、「TD/時間差テーブル」(図7(c)参照)から前記ソレノイド駆動信号TDに対応する時間差(発音タイミング(打弦タイミング)の遅延時間)を読み出して、前記再生すべき演奏情報として与えられたMIDIデータの発生タイミング(ノートオンタイミング)と該読み出した時間差とに基づき、ソレノイド駆動開始タイミングを設定できる。これにより、前記タイミング学習処理の結果により、当該再生に使用する鍵盤楽器2に固有の動特性に基づき修正されたソレノイド駆動開始タイミングを得ることができる。このように、演奏情報の再生時において、打鍵駆動部12を駆動するためのソレノイド駆動信号を音量学習処理及びタイミング学習処理の結果に基づき修正して、再生に使用する鍵盤楽器2に固有の動特性に基づく最適な自動演奏制御を行なうことができる。
以上説明した通り、この実施例に係る自動演奏装置1によれば、音量検出センサ13、14及び15を用いて鍵盤楽器2にて発生した楽音の音量(打弦情報)を検出し、図5に示す音量学習処理により、ソレノイド駆動信号TDと、該TDに応じて鍵盤楽器2において実際に発音される楽音の音量値volとの対応関係をテーブル化(「TD/MIDIテーブル」)することで該鍵盤楽器2に固有の動特性に基づく音量学習を行ない、また、図6に示すタイミング学習処理により、ソレノイド駆動信号TDに対する鍵盤楽器2での実際の発音タイミング(打弦タイミング)の時間差をテーブル化(「TD/時間差テーブル」)することで該鍵盤楽器2に固有の動特性に基づくタイミング学習を行なうことができる。従って、演奏情報の再生時においては、打鍵駆動部12を駆動するためのソレノイド駆動信号を音量学習処理及びタイミング学習処理の結果に基づき適切に修正して、鍵盤楽器2毎の動特性に最適な自動演奏を行なうことができる。よって、鍵盤楽器2に外付けされる自動演奏装置1において自動演奏の再生性能・精度を向上させることができるという優れた効果を奏する。
また、自動演奏装置1は、不特定多数の鍵盤楽器に対して組み付けられる可能性があり、それら鍵盤楽器のサイズ、機種等は多様である。上記実施例に係る自動演奏装置1において、ユーザは任意に「打弦再生学習」の動作の開始を指示できる(図3のステップS3)ので、自動演奏装置1を新規の鍵盤楽器2に取り付けた際に、当該鍵盤楽器2について「打弦再生学習」を行なわせることができるようになる。従って、自動演奏装置1を取り付けた鍵盤楽器毎に、最適な自動演奏の再生を行なうことができるようになる。また、音量検出センサ13、14及び15の取り付け構成は簡易であり、更には個々のセンサ単価が低廉であるため、低コスト且つ簡単な構成で自動演奏装置1を実現することができる。
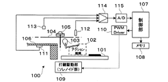
上記実施例においては、鍵盤楽器2を自動演奏するための自動演奏装置1において、音量検出センサ13、14及び15を具備することで、鍵盤楽器2にて発音された楽音の音量に基づき図4〜図6に示す打弦再生学習を行なえるようにする構成を示した。しかしながら、この発明に係る音量検出センサ13、14及び15により検出した音量に基づき打弦再生学習を行なうという技術思想は、上記の自動演奏装置1に適用する構成のみならず、例えば、自動演奏ピアノであって、キーセンサやハンマセンサを持たない再生専用モデルに適用する構成においても有効である。図8はこの発明の別の実施形態として、キーセンサやハンマセンサを実装しない再生専用モデルの自動演奏ピアノにおいて音量検出センサを具備する構成を説明するための図である。
図8において、自動演奏ピアノ100には、鍵101と、アクション機構102と、ハンマ103と、弦104と、ダンパ105と、弦104の振動に応じた楽音を発生させる響板106を含む発音機構と、マイクロコンピュータを含む制御部107と、メモリ108と、打鍵駆動部109と、該打鍵駆動部109に電流信号を与えるPWMドライバ110と、響板106から発生する楽音の音量を検出するための音量検出センサである響板センサ111、弦振動センサ(電磁ピックアップ)112及びマイクロフォン113とを含む自動演奏機構とが内蔵されている。響板センサ111、弦振動センサ112及びマイクロフォン113の出力信号はアンプ114を介して適宜増幅され、AD変換器115にてディジタル信号に変換された後、制御部107に供給される。これら各構成要素の動作は図1〜図7を参照して既に説明したものと同様である。
ここに示す再生専用モデルの自動演奏ピアノとは、比較的価格低廉且つ構成簡易な点に特長がある。図8に示す音量検出センサ、特に響板センサ111やマイクロフォン113は、楽器1台あたり1つだけ設置すればよく、また、センサの取り付け構成が簡易であり、更には個々のセンサ単価が低廉であるという点で有利である。従って、再生専用モデルの自動演奏ピアノの音量検出センサとして、響板センサ111、弦振動センサ112或いはマイクロフォン113の少なくとも何れか1つを具備すれば、低コスト且つ簡易な構成でありながら、当該自動演奏ピアノにて実測した音量値に基づく打弦情報を取得して、該取得した打弦情報に基づく打弦再生学習を行なうことができるようになる。すなわち、ハンマセンサやキーセンサを実装しない再生専用モデルの自動演奏ピアノにおいて、自機に固有の動特性に基づく打弦再生学習を行い、自動演奏の再生性能を向上させることができるようになる。
なお、上記実施例においては、音量検出センサとして響板センサ13、弦振動センサ14及びマイクロフォン15の3つのセンサを具備する構成を示したが、音量検出センサとして。これら3つのセンサのうち少なくとも1つ具備されていれば、この発明の実施に差し支えない。また、音量検出センサとしては、上記実施例に示した形式のセンサに限らず、発音された楽音の音量を検出できるセンサでさえあれば、従来から知られるどのような形式のセンサを適用してもよい。
また、上記実施例においては、打弦再生学習として、図5に示す音量学習と図6のタイミング学習との双方を行なう例について説明したが、何れか一方の処理のみを実行する実施態様であってもよく、また、ユーザにおいて実行する打弦再生学習の内容(音量学習を行なうかタイミング学習を行なうか)を選択できてもよい。
また、打弦再生学習の実行時に、外部の基準音量測定器(音圧計)を用いて測定した音量値と、自動演奏装置1(又は自動演奏ピアノ100)に具備された音量検出センサにより実測した音量値とを対比させることで、個々のピアノにおいてばらつきが生じうる絶対音量とMIDI値との補正を行なうことも可能となる。
また、上記実施例においては、学習結果に基づきソレノイド駆動信号TDを修正することで図5に示す音量学習と図6のタイミング学習を自動演奏に反映させるようにしたが、これに限らず、学習結果を自動演奏制御に反映させる方法としては、どのような方法を適用してもよい。例えば、ソレノイド駆動信号TDをPWN信号(電流信号)に変換する際のデューティ比を学習結果に基づき修正するようにしてもよい。また、演奏情報記録機能と、ハンマの打弦速度や鍵の押鍵速度を検出する手段とを更に有するものにおいては、演奏情報記録時に検出したハンマの打弦速度や鍵の押鍵速度を学習結果に基づき修正するようにしてもよい。学習結果を自動演奏に反映させる方法としては他にも種々のバリエーションが考えられる。
また、上記実施例に示す自動演奏装置1において更にペダル駆動部を具備する構成を適用してもよい。また、上記実施例においては、この実施例に係る自動演奏装置1を取り付ける鍵盤楽器2としてグランドピアノ型のアコースティックピアノを例に挙げたが、これはアップライトピアノであってもよい。また、これに限らず、鍵盤を打鍵駆動することで楽音の発音を行なう鍵盤楽器であれば、アコースティックピアノに限らず、所謂電子ピアノ等の電子鍵盤楽器にこの実施例に係る自動演奏装置1を取り付けて使用することも可能である。
この発明の一実施例に係る自動演奏装置と該自動演奏装置を取り付けた鍵盤楽器の概略構成を示すブロック図。 同実施例に係る自動演奏装置による打鍵駆動に応じた各部の動作と音量検出センサの出力信号の関係を説明するタイミングチャートであって、(a)は当該打鍵駆動に対応するノートオンタイミングとノートオフタイミング、(b)は打鍵軌道、(c)はハンマ打弦運動の軌道、(d)は(c)の打弦運動に応じた音量検出センサの出力信号、(e)はソレノイド駆動信号(電流信号の波形。 同実施例に係る自動演奏装置におけるメイン処理の手順の一例を示すフローチャート。 同実施例に係る自動演奏装置における音量幅学習処理の手順の一例を示すフローチャート。 同実施例に係る自動演奏装置における音量学習処理の手順の一例を示すフローチャート。 同実施例に係る自動演奏装置におけるタイミング学習処理の手順の一例を示すフローチャート。 同実施例に係る自動演奏装置において作成乃至利用される再生テーブルの構成例であって、(a)は所与の再生テーブルであって音量とMIDIデータ(ベロシティ値)の対応関係を示し、(b)は音量学習により作成される再生テーブルであって、ソレノイド駆動信号とMIDIデータ(ベロシティ値)の対応関係を示し、(c)はタイミング学習により作成される再生テーブルであって、ソノイド駆動信号と駆動開始タイミングに対する実際の発音タイミングの時間差との対応関係を示す。 この発明の別の実施例として、キーセンサ乃至ハンマセンサを実装しない自動演奏ピアノにこの発明を適用する構成を説明するためのブロック図。
符号の説明
1 自動演奏装置、2 鍵盤楽器、10 制御装置、11 メモリ、12 打鍵駆動部、13 響板センサ(検出手段)、14 弦振動センサ(検出手段)、15 マイクロフォン、16 PWMドライバ、17 アンプ、18 AD変換器、20 鍵、21 アクション機構、22 ハンマ、23 弦、24 響板、25 ダンパ

Claims (3)

  1. 複数の鍵を有する鍵盤楽器に対して着脱可能に外付けされる自動演奏装置であって、
    駆動信号に基づき前記鍵を個別に駆動するための鍵駆動手段であり、前記鍵盤楽器が有する複数の鍵に対応する配列で複数の前記鍵駆動手段をユニット化したものと、
    前記鍵盤楽器から発音された楽音の音量を検出する検出手段と、
    MIDIベロシティ値と音量値の対応付けの基準となる鍵盤楽器において測定されたデータに基づき作成されたMIDIベロシティ値と音量値とを対応付けたテーブルを記憶しており、該テーブルに基づいて、前記検出手段により検出された音量値をMIDIベロシティ値に変換する変換手段と
    学習の開始を指示するための指示手段と、
    前記指示手段からの指示に応じて、所定の駆動信号を出力して前記鍵駆動手段に鍵を駆動させ、該駆動に応じて発音された楽音の音量値を前記検出手段により検出し、該検出された音量値を前記変換手段によりMIDIベロシティ値に変換し、当該駆動信号と該変換手段により得たMIDIベロシティ値との対応関係を学習する学習手段と、
    自動演奏を行うときに、前記学習手段にる学習結果に基づいて、当該自動演奏に用いる前記駆動信号を修正する修正手
    を備えることを特徴とする自動演奏装置。
  2. 前記学習手段が、更に、前記指示手段からの指示に応じて、前記所定の駆動信号と前記検出手段により検出された音量値に基づき決定される楽音の発音タイミングとの対応関係を学習するものであることを特徴とする請求項1に記載の自動演奏装置。
  3. 前記検出手段は、前記鍵盤楽器に具備される響板の振動及びの少なくともいずれか一方の振動を、直接又は間接的に検出する振動検出手段であることを特徴とする請求項1又は2に記載の自動演奏装置。
JP2006079756A 2006-03-22 2006-03-22 自動演奏装置 Expired - Fee Related JP4736883B2 (ja)

Priority Applications (4)

Application Number Priority Date Filing Date Title
JP2006079756A JP4736883B2 (ja) 2006-03-22 2006-03-22 自動演奏装置
US11/620,741 US7435895B2 (en) 2006-03-22 2007-01-08 Automatic playing system used for musical instruments and computer program used therein for self-teaching
EP07000549A EP1837856A1 (en) 2006-03-22 2007-01-11 Automatic playing system used for musical instruments and computer program used therein for self-teaching
CN2007100062597A CN101042861B (zh) 2006-03-22 2007-02-07 用于乐器的自动演奏系统和方法

Applications Claiming Priority (1)

Application Number Priority Date Filing Date Title
JP2006079756A JP4736883B2 (ja) 2006-03-22 2006-03-22 自動演奏装置

Publications (2)

Publication Number Publication Date
JP2007256538A JP2007256538A (ja) 2007-10-04
JP4736883B2 true JP4736883B2 (ja) 2011-07-27

Family

ID=38015459

Family Applications (1)

Application Number Title Priority Date Filing Date
JP2006079756A Expired - Fee Related JP4736883B2 (ja) 2006-03-22 2006-03-22 自動演奏装置

Country Status (4)

Country Link
US (1) US7435895B2 (ja)
EP (1) EP1837856A1 (ja)
JP (1) JP4736883B2 (ja)
CN (1) CN101042861B (ja)

Families Citing this family (23)

* Cited by examiner, † Cited by third party
Publication number Priority date Publication date Assignee Title
JP4736883B2 (ja) * 2006-03-22 2011-07-27 ヤマハ株式会社 自動演奏装置
US7718871B1 (en) * 2008-01-15 2010-05-18 Wayne Lee Stahnke System and method for actuating keys with different lever advantages
US7825312B2 (en) 2008-02-27 2010-11-02 Steinway Musical Instruments, Inc. Pianos playable in acoustic and silent modes
JP5509574B2 (ja) * 2008-10-29 2014-06-04 ヤマハ株式会社 ソレノイド制御装置および自動演奏装置
JP5338401B2 (ja) * 2009-03-13 2013-11-13 ヤマハ株式会社 鍵駆動装置、アップライト型自動演奏ピアノ及びプログラム
JP5560777B2 (ja) * 2009-03-13 2014-07-30 ヤマハ株式会社 鍵盤楽器
US8541673B2 (en) 2009-04-24 2013-09-24 Steinway Musical Instruments, Inc. Hammer stoppers for pianos having acoustic and silent modes
US8148620B2 (en) * 2009-04-24 2012-04-03 Steinway Musical Instruments, Inc. Hammer stoppers and use thereof in pianos playable in acoustic and silent modes
US20130092007A1 (en) * 2011-09-14 2013-04-18 Yamaha Corporation Keyboard instrument
ITAN20120023A1 (it) * 2012-03-13 2013-09-14 Viscount Internat S P A Sistema per riprodurre il suono di uno strumento a corde.
JP6135497B2 (ja) 2013-12-24 2017-05-31 ヤマハ株式会社 楽器の振動検出機構及び楽器用の振動センサユニット
CN103729062B (zh) * 2014-01-19 2017-02-08 浙江大学 一种多功能乐器同步互动系统和方法
JP6176132B2 (ja) * 2014-01-31 2017-08-09 ヤマハ株式会社 共鳴音生成装置及び共鳴音生成プログラム
JP6391265B2 (ja) * 2014-03-21 2018-09-19 株式会社河合楽器製作所 電子鍵盤楽器
WO2017185844A1 (en) * 2016-04-26 2017-11-02 Findpiano Information Technology (Shanghai) Co., Ltd. Systems and methods for automatic calibration of musical devices
WO2017121049A1 (en) * 2016-01-15 2017-07-20 Findpiano Information Technology (Shanghai) Co., Ltd. Piano system and operating method thereof
JP6477511B2 (ja) * 2016-01-18 2019-03-06 ヤマハ株式会社 鍵盤楽器およびプログラム
JP6601303B2 (ja) * 2016-04-20 2019-11-06 ヤマハ株式会社 収音装置および音響処理装置
CN106098038B (zh) * 2016-08-03 2019-07-26 杭州电子科技大学 一种自动钢琴演奏系统中多音轨midi文件的演奏方法
JP6805060B2 (ja) * 2017-04-17 2020-12-23 株式会社河合楽器製作所 共鳴音制御装置及び共鳴音の定位制御方法
JP6729517B2 (ja) 2017-08-02 2020-07-22 ヤマハ株式会社 学習モデル生成方法、学習モデル生成装置、プログラムおよび自動演奏ロボット
CN108831426A (zh) * 2018-05-24 2018-11-16 解韬 一种免安装钢琴自动演奏系统及自动演奏方法
CN110491357B (zh) * 2019-09-06 2022-07-15 湖南卡罗德钢琴有限公司 一种钢琴采集力度校准系统及校准方法

Family Cites Families (65)

* Cited by examiner, † Cited by third party
Publication number Priority date Publication date Assignee Title
US2488170A (en) * 1949-11-15 Automatic player mechanism for
US1504531A (en) * 1920-11-18 1924-08-12 Thomson Piano player
US1530123A (en) * 1922-03-03 1925-03-17 Henry A Jones Mechanical instrument player
US1724140A (en) * 1926-10-14 1929-08-13 Mills Novelty Co Individual expression device for mechanically-played musical instruments
US2953957A (en) * 1955-12-12 1960-09-27 Lee B Skinner Piano player
US3195389A (en) * 1963-05-27 1965-07-20 Percy Tom Musical instrument with audio signal to force translator
US3709085A (en) * 1970-06-26 1973-01-09 Castillo J Del Teaching device for attachment to a keyboard instrument
JPS5891568A (ja) * 1981-11-26 1983-05-31 Nippon Gakki Seizo Kk ピアノ自動演奏装置におけるソレノイド駆動方法
US4450749A (en) * 1982-04-23 1984-05-29 Stahnke Wayne L Method and apparatus for recording and reproducing pedalling effects in a piano performance
US4592262A (en) * 1983-09-09 1986-06-03 Yang Tai Her Remote control system for a musical instrument or instruments
JPS63135998A (ja) * 1986-11-26 1988-06-08 ヤマハ株式会社 自動演奏ピアノのコントロ−ラ装置
US4843936A (en) * 1986-11-26 1989-07-04 Yamaha Corporation Automatic music player system
JPS644497A (en) * 1987-06-24 1989-01-09 Nippon Steel Corp Composite electroplated steel sheet excellent in corrosion resistance
US4909126A (en) * 1987-12-04 1990-03-20 Transperformance, Inc. Automatic musical instrument tuning system
US4791849A (en) * 1988-01-19 1988-12-20 Kelley Rory R Motorized string tuning apparatus
GB2202075B (en) * 1988-02-19 1991-07-17 Harder Reginald Bruce Tuning apparatus for stringed instruments
JPH0368999A (ja) * 1989-08-08 1991-03-25 Yamaha Corp 自動演奏ピアノの打鍵状態検出装置
JP2611452B2 (ja) * 1989-09-11 1997-05-21 ヤマハ株式会社 自動演奏ピアノの打鍵力および打鍵タイミング補正装置
JP2890557B2 (ja) 1989-11-30 1999-05-17 ヤマハ株式会社 鍵盤楽器の自動演奏装置
US5065660A (en) * 1990-05-29 1991-11-19 Buda Eric De Piano tuning system
GB9014140D0 (en) * 1990-06-25 1990-08-15 Burgon Harold S Improvement in or relating to the tuning of musical instruments
US5042353A (en) * 1990-08-23 1991-08-27 Stahnke Wayne L Method and apparatus for producing variable intensity in a piano performance
US5164532A (en) * 1990-11-01 1992-11-17 Yamaha Corporation Performance state detecting unit of player piano system
US5083491A (en) * 1991-05-31 1992-01-28 Burgett, Inc. Method and apparatus for re-creating expression effects on solenoid actuated music producing instruments
JP2979732B2 (ja) * 1991-06-26 1999-11-15 ヤマハ株式会社 自動演奏ピアノの演奏データ変換方法
JPH0527749A (ja) * 1991-07-22 1993-02-05 Kawai Musical Instr Mfg Co Ltd 自動演奏ピアノ及びその補正情報作成装置
JP2989360B2 (ja) * 1991-12-25 1999-12-13 株式会社河合楽器製作所 ピアノの自動演奏装置
JP2728606B2 (ja) * 1992-07-28 1998-03-18 株式会社河合楽器製作所 自動演奏ピアノの自動音量調整装置
JP3325926B2 (ja) * 1992-09-11 2002-09-17 株式会社河合楽器製作所 アンサンブル演奏システム
US5343793A (en) * 1992-10-06 1994-09-06 Michael Pattie Automatically tuned musical instrument
JP2699249B2 (ja) * 1993-01-14 1998-01-19 株式会社河合楽器製作所 鍵盤楽器演奏データ収録装置
JPH06236177A (ja) * 1993-02-10 1994-08-23 Kawai Musical Instr Mfg Co Ltd 自動演奏ピアノの鍵駆動量補正装置
JPH0726893U (ja) * 1993-10-08 1995-05-19 ヤマハ株式会社 自動演奏装置
JP2737669B2 (ja) * 1993-12-10 1998-04-08 ヤマハ株式会社 自動演奏ピアノの鍵盤駆動装置
US5614688A (en) * 1994-12-01 1997-03-25 Donnell; Kenneth D. Transducer system for acoustic instruments
US5756910A (en) * 1996-08-28 1998-05-26 Burgett, Inc. Method and apparatus for actuating solenoids in a player piano
US5756913A (en) * 1996-09-30 1998-05-26 Gilmore; Don A. Automatic piano tuner
JP3890649B2 (ja) 1997-02-21 2007-03-07 ヤマハ株式会社 自動ピアノの演奏データ変換装置
US6888052B2 (en) * 1998-09-04 2005-05-03 David Meisel Key actuation systems for keyboard instruments
US6271447B1 (en) * 1998-10-05 2001-08-07 Yamaha Corporation Velocity calculating system for moving object widely varied in velocity method for correcting velocity and keyboard musical instrument equipped with the velocity calculating system for accurately determining loudness of sounds
US6166307A (en) * 1998-11-16 2000-12-26 Caulkins; Kenneth B. Apparatus for automating a stringed instrument
US6153819A (en) * 1999-04-19 2000-11-28 Burgett, Inc. Note release control method for solenoid actuated piano actions
US6288313B1 (en) * 1999-09-10 2001-09-11 Yamaha Corporation Keyboard musical instrument having split rear top board and/or visual display unit
JP2001215965A (ja) * 1999-11-26 2001-08-10 Kawai Musical Instr Mfg Co Ltd タッチ制御装置及びタッチ制御方法
JP4608718B2 (ja) * 2000-01-12 2011-01-12 ヤマハ株式会社 楽器
WO2001067431A1 (en) * 2000-03-07 2001-09-13 Viking Technologies, Inc. Method and system for automatically tuning a stringed instrument
US6479738B1 (en) * 2001-06-27 2002-11-12 Donald A. Gilmore Piano tuner
US6559369B1 (en) * 2002-01-14 2003-05-06 Donald A. Gilmore Apparatus and method for self-tuning a piano
US7015390B1 (en) * 2003-01-15 2006-03-21 Rogers Wayne A Triad pickup
JP4075771B2 (ja) * 2003-11-04 2008-04-16 ヤマハ株式会社 推定装置、自動楽器およびプログラム
JP4222210B2 (ja) * 2004-01-06 2009-02-12 ヤマハ株式会社 演奏システム
EP1575026A2 (en) * 2004-03-12 2005-09-14 Yamaha Corporation Automatic player musical instrument, for exactly controlling the keys
JP4192828B2 (ja) * 2004-04-21 2008-12-10 ヤマハ株式会社 自動演奏装置
JP4193752B2 (ja) * 2004-05-07 2008-12-10 ヤマハ株式会社 自動演奏ピアノ
JP4214966B2 (ja) 2004-08-06 2009-01-28 ヤマハ株式会社 楽器の自己診断プログラム
JP4548053B2 (ja) * 2004-09-07 2010-09-22 ヤマハ株式会社 楽器の演奏駆動装置及び楽器の演奏操作子をフィードバック制御によって駆動するための方法及び該方法をコンピュータにより実行する制御プログラム。
JP4784057B2 (ja) * 2004-09-15 2011-09-28 ヤマハ株式会社 楽器の物理量検出装置、楽器の物理量検出方法、楽器の物理量検出プログラム及び鍵盤楽器
US20060101978A1 (en) * 2004-11-17 2006-05-18 Burgett, Inc. Apparatus and method for enhanced dynamics on MIDI-enabled reproducing player pianos
US7247789B2 (en) * 2005-01-18 2007-07-24 Fishman Transducers, Inc. Soundhole accessible musical instrument control platform
US7217880B2 (en) * 2005-01-20 2007-05-15 Burgett, Inc. Previous event feedback system for electronic player piano systems
JP4479554B2 (ja) * 2005-03-23 2010-06-09 ヤマハ株式会社 鍵盤楽器
US7285709B2 (en) * 2005-12-09 2007-10-23 Christina Kay White Modular automated assistive guitar
JP4736883B2 (ja) * 2006-03-22 2011-07-27 ヤマハ株式会社 自動演奏装置
JP4967406B2 (ja) * 2006-03-27 2012-07-04 ヤマハ株式会社 鍵盤楽器
JP5028849B2 (ja) * 2006-04-24 2012-09-19 ヤマハ株式会社 鍵盤楽器のペダルのハーフポイント特定方法及び装置

Also Published As

Publication number Publication date
EP1837856A1 (en) 2007-09-26
US7435895B2 (en) 2008-10-14
US20070221035A1 (en) 2007-09-27
JP2007256538A (ja) 2007-10-04
CN101042861B (zh) 2013-03-06
CN101042861A (zh) 2007-09-26

Similar Documents

Publication Publication Date Title
JP4736883B2 (ja) 自動演奏装置
CN110431617B (zh) 信号供给装置、键盘装置及程序
US7429699B2 (en) Electronic musical instrument and recording medium that stores processing program for the electronic musical instrument
US9245509B2 (en) Recording and reproduction of waveform based on sound board vibrations
EP2757554B1 (en) Keyboard musical instrument
JP4193752B2 (ja) 自動演奏ピアノ
JP6536115B2 (ja) 発音装置および鍵盤楽器
CN110291579A (zh) 信号供给装置、键盘装置以及程序
CN103514870B (zh) 电子键盘乐器及方法
US20230252960A1 (en) Keyboard device and sound generation control method
JP2014112221A (ja) 発音機構における打撃部材のための駆動制御装置
JP5104928B2 (ja) 演奏情報再生装置
JPH0962255A (ja) 自動演奏鍵盤楽器
JP5320786B2 (ja) 電子楽器
JP2001005447A (ja) 鍵盤楽器
JP5842799B2 (ja) ピアノ
JPH05313656A (ja) 鍵盤楽器
JP4046226B2 (ja) 電子ピアノ
JP5657868B2 (ja) 楽音制御方法及び楽音制御装置
JP4677800B2 (ja) 演奏情報再生装置
US20240029692A1 (en) Sound output system
JP2009265650A (ja) 楽音制御方法及び楽音制御装置
JP4692287B2 (ja) 鍵盤楽器及び消音ユニット
JP2012208381A (ja) ピアノの音量制御装置
JP2009282163A (ja) 共鳴音発生装置

Legal Events

Date Code Title Description
A621 Written request for application examination

Free format text: JAPANESE INTERMEDIATE CODE: A621

Effective date: 20090120

A977 Report on retrieval

Free format text: JAPANESE INTERMEDIATE CODE: A971007

Effective date: 20100813

A131 Notification of reasons for refusal

Free format text: JAPANESE INTERMEDIATE CODE: A131

Effective date: 20100907

A521 Request for written amendment filed

Free format text: JAPANESE INTERMEDIATE CODE: A523

Effective date: 20101108

A01 Written decision to grant a patent or to grant a registration (utility model)

Free format text: JAPANESE INTERMEDIATE CODE: A01

Effective date: 20110405

A61 First payment of annual fees (during grant procedure)

Free format text: JAPANESE INTERMEDIATE CODE: A61

Effective date: 20110418

R150 Certificate of patent or registration of utility model

Free format text: JAPANESE INTERMEDIATE CODE: R150

FPAY Renewal fee payment (event date is renewal date of database)

Free format text: PAYMENT UNTIL: 20140513

Year of fee payment: 3

LAPS Cancellation because of no payment of annual fees