JP4570811B2 - 半導体装置 - Google Patents
半導体装置 Download PDFInfo
- Publication number
- JP4570811B2 JP4570811B2 JP2001131542A JP2001131542A JP4570811B2 JP 4570811 B2 JP4570811 B2 JP 4570811B2 JP 2001131542 A JP2001131542 A JP 2001131542A JP 2001131542 A JP2001131542 A JP 2001131542A JP 4570811 B2 JP4570811 B2 JP 4570811B2
- Authority
- JP
- Japan
- Prior art keywords
- region
- film
- gate electrode
- transistor
- contact
- Prior art date
- Legal status (The legal status is an assumption and is not a legal conclusion. Google has not performed a legal analysis and makes no representation as to the accuracy of the status listed.)
- Expired - Fee Related
Links
Images
Classifications
-
- H—ELECTRICITY
- H10—SEMICONDUCTOR DEVICES; ELECTRIC SOLID-STATE DEVICES NOT OTHERWISE PROVIDED FOR
- H10B—ELECTRONIC MEMORY DEVICES
- H10B10/00—Static random access memory [SRAM] devices
-
- H—ELECTRICITY
- H10—SEMICONDUCTOR DEVICES; ELECTRIC SOLID-STATE DEVICES NOT OTHERWISE PROVIDED FOR
- H10D—INORGANIC ELECTRIC SEMICONDUCTOR DEVICES
- H10D84/00—Integrated devices formed in or on semiconductor substrates that comprise only semiconducting layers, e.g. on Si wafers or on GaAs-on-Si wafers
- H10D84/01—Manufacture or treatment
- H10D84/0123—Integrating together multiple components covered by H10D12/00 or H10D30/00, e.g. integrating multiple IGBTs
- H10D84/0126—Integrating together multiple components covered by H10D12/00 or H10D30/00, e.g. integrating multiple IGBTs the components including insulated gates, e.g. IGFETs
- H10D84/0165—Integrating together multiple components covered by H10D12/00 or H10D30/00, e.g. integrating multiple IGBTs the components including insulated gates, e.g. IGFETs the components including complementary IGFETs, e.g. CMOS devices
- H10D84/017—Manufacturing their source or drain regions, e.g. silicided source or drain regions
-
- H—ELECTRICITY
- H10—SEMICONDUCTOR DEVICES; ELECTRIC SOLID-STATE DEVICES NOT OTHERWISE PROVIDED FOR
- H10B—ELECTRONIC MEMORY DEVICES
- H10B99/00—Subject matter not provided for in other groups of this subclass
-
- H—ELECTRICITY
- H10—SEMICONDUCTOR DEVICES; ELECTRIC SOLID-STATE DEVICES NOT OTHERWISE PROVIDED FOR
- H10D—INORGANIC ELECTRIC SEMICONDUCTOR DEVICES
- H10D84/00—Integrated devices formed in or on semiconductor substrates that comprise only semiconducting layers, e.g. on Si wafers or on GaAs-on-Si wafers
- H10D84/01—Manufacture or treatment
- H10D84/02—Manufacture or treatment characterised by using material-based technologies
- H10D84/03—Manufacture or treatment characterised by using material-based technologies using Group IV technology, e.g. silicon technology or silicon-carbide [SiC] technology
- H10D84/038—Manufacture or treatment characterised by using material-based technologies using Group IV technology, e.g. silicon technology or silicon-carbide [SiC] technology using silicon technology, e.g. SiGe
-
- H—ELECTRICITY
- H10—SEMICONDUCTOR DEVICES; ELECTRIC SOLID-STATE DEVICES NOT OTHERWISE PROVIDED FOR
- H10D—INORGANIC ELECTRIC SEMICONDUCTOR DEVICES
- H10D84/00—Integrated devices formed in or on semiconductor substrates that comprise only semiconducting layers, e.g. on Si wafers or on GaAs-on-Si wafers
- H10D84/80—Integrated devices formed in or on semiconductor substrates that comprise only semiconducting layers, e.g. on Si wafers or on GaAs-on-Si wafers characterised by the integration of at least one component covered by groups H10D12/00 or H10D30/00, e.g. integration of IGFETs
- H10D84/82—Integrated devices formed in or on semiconductor substrates that comprise only semiconducting layers, e.g. on Si wafers or on GaAs-on-Si wafers characterised by the integration of at least one component covered by groups H10D12/00 or H10D30/00, e.g. integration of IGFETs of only field-effect components
- H10D84/83—Integrated devices formed in or on semiconductor substrates that comprise only semiconducting layers, e.g. on Si wafers or on GaAs-on-Si wafers characterised by the integration of at least one component covered by groups H10D12/00 or H10D30/00, e.g. integration of IGFETs of only field-effect components of only insulated-gate FETs [IGFET]
- H10D84/85—Complementary IGFETs, e.g. CMOS
-
- Y—GENERAL TAGGING OF NEW TECHNOLOGICAL DEVELOPMENTS; GENERAL TAGGING OF CROSS-SECTIONAL TECHNOLOGIES SPANNING OVER SEVERAL SECTIONS OF THE IPC; TECHNICAL SUBJECTS COVERED BY FORMER USPC CROSS-REFERENCE ART COLLECTIONS [XRACs] AND DIGESTS
- Y10—TECHNICAL SUBJECTS COVERED BY FORMER USPC
- Y10S—TECHNICAL SUBJECTS COVERED BY FORMER USPC CROSS-REFERENCE ART COLLECTIONS [XRACs] AND DIGESTS
- Y10S257/00—Active solid-state devices, e.g. transistors, solid-state diodes
- Y10S257/903—FET configuration adapted for use as static memory cell
-
- Y—GENERAL TAGGING OF NEW TECHNOLOGICAL DEVELOPMENTS; GENERAL TAGGING OF CROSS-SECTIONAL TECHNOLOGIES SPANNING OVER SEVERAL SECTIONS OF THE IPC; TECHNICAL SUBJECTS COVERED BY FORMER USPC CROSS-REFERENCE ART COLLECTIONS [XRACs] AND DIGESTS
- Y10—TECHNICAL SUBJECTS COVERED BY FORMER USPC
- Y10S—TECHNICAL SUBJECTS COVERED BY FORMER USPC CROSS-REFERENCE ART COLLECTIONS [XRACs] AND DIGESTS
- Y10S257/00—Active solid-state devices, e.g. transistors, solid-state diodes
- Y10S257/903—FET configuration adapted for use as static memory cell
- Y10S257/904—FET configuration adapted for use as static memory cell with passive components,, e.g. polysilicon resistors
Landscapes
- Semiconductor Memories (AREA)
- Static Random-Access Memory (AREA)
- Insulated Gate Type Field-Effect Transistor (AREA)
Description
【発明の属する技術分野】
本発明は、SRAM(スタティックランダムアクセスメモリ:Static Random Access Memory)を有する半導体装置に関する。
【0002】
【従来の技術】
半導体記憶素子であるSRAMセルの基本的な構造について図面を用いて説明する。
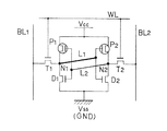
【0003】
SRAMセルは、図1の回路図に示すように、情報蓄積部としてのフリップフロップ回路、及び情報の書き込み・読み出しを行うデータ線(ビット線BL1、BL2)とフリップフロップ回路との導通を制御する一対の転送トランジスタT1、T2で構成されている。そして、フリップフロップ回路は、例えば一対のCMOSインバータで構成され、それぞれのCMOSインバータは、一つの駆動トランジスタD1(D2)と一つの負荷トランジスタP1(P2)で構成される。
【0004】
転送トランジスタT1(T2)のソース/ドレイン領域の一方は、負荷トランジスタP1(P2)及び駆動トランジスタD1(D2)のドレインに接続され、他方はビット線BL1(BL2)に接続されている。また、一対の転送トランジスタT1、T2のゲートはそれぞれワード線WLの一部を構成し、互いに接続されている。
【0005】
CMOSインバータの一方を構成する駆動トランジスタD1及び負荷トランジスタP1のゲートは、他方のCMOSインバータを構成する駆動トランジスタD2及び負荷トランジスタP2のドレイン(蓄積ノードN2)に接続されている。また、この他方のCMOSインバータを構成する駆動トランジスタD2及び負荷トランジスタP2のゲートは、前記一方のCMOSインバータを構成する駆動トランジスタD1及び負荷トランジスタP1のドレイン(蓄積ノードN1)に接続されている。このように、一対のCMOSインバータ間において、一方のCMOSインバータの入出力部と他方のCMOSインバータのゲートとが互いにローカル配線(局所配線)と呼ばれる一対の配線L1、L2を介してクロスカップル(交差結合)されている。
【0006】
そして、駆動トランジスタD1、D2のソース領域には、基準電圧(Vss、例えばGND)が供給され、負荷トランジスタP1、P2のソース領域には、電源電圧(Vcc)が供給される。
【0007】
図2に、図1の回路図に相応する従来の一般的なSRAMセルのレイアウト図を示す。
【0008】
図中のARは活性領域を示し、各トランジスタを構成する不純物拡散領域が形成される。また、図中の一点鎖線で示す範囲が1メモリセルの範囲であり、各メモリセルはワード線WLの長手方向に沿って隣接配置され、この長手方向に垂直な方向にも繰り返し配置される。
【0009】
符号117及び118はそれぞれビット線BL1及びBL2へのコンタクトを示し、符号121及び122はそれぞれ電源電圧線へのコンタクトを示し、符号123及び124はそれぞれ基準電圧線(グランド線)へのコンタクトを示す。コンタクト116と111と113とは図示していないローカル配線L1で接続され、コンタクト115と112と114とは図示していないローカル配線L2で接続されている。コンタクト113と117との間のワード線WLの一部とその両側の拡散領域とで転送トランジスタT1が形成され、コンタクト114と118との間のワード線WLの一部とその両側の拡散領域とで転送トランジスタT2が形成される。コンタクト113と123との間の配線131の一部とその両側の拡散領域とで駆動トランジスタD1が形成され、コンタクト114と124との間の配線132の一部とその両側の拡散領域とで駆動トランジスタD2が形成される。コンタクト111と121との間の配線131の一部とその両側の拡散領域とで負荷トランジスタP1が形成され、コンタクト112と122との間の配線132の一部とその両側の拡散領域とで負荷トランジスタP2が形成される。
【0010】
以上に説明したSRAMセルは、ノイズに強く、待機時の消費電力が小さい等の優れた素子特性を有する。また、従来、この種のSRAMセルは、素子特性の点から、できるだけ素子構造の対称性を損なわないように(すなわち、アンバランス性を抑えるように)材料の選択やレイアウトがなされている。
【0011】
しかし、このようなSRAMは、1メモリセルに6トランジスタが必要なこと、多数の配線が必要なこと、及び同一セル内にp型MOSFETとn型MOSFETの素子分離が必要であること等から、セル面積が大きくなりやすいという問題を有している。
【0012】
そのため、このようなSRAMを有する半導体記憶装置においては、特に集積度の向上が重要な課題である。メモリセルについてのわずかな縮小であっても高集積度の半導体記憶装置全体としてはその集積度を大きく向上することができるため、メモリセルの面積を可能な限り小さくすることが重要である。そのため、近年の製造技術の進歩とあいまって、加工サイズの微細化やレイアウトの工夫とともに、配線同士の間隔や配線とコンタクトとの間隔の一層の縮小化が図られている。
【0013】
【発明が解決しようとする課題】
しかしながら、トランジスタのゲート電極と不純物拡散領域上のコンタクトとの間隔を小さくしすぎると、リークが発生するという問題が生じる。この現象は、負荷トランジスタP1、P2を構成するp型MOSFETにおいて顕著であり、リークの発生によりメモリセルのスタンバイ電流(待機時電流)が増大する。このような現象は、特に低消費電力(Low Power)型のSRAMにおいて問題となる。
【0014】
リークの発生は、ソース/ドレイン領域へのコンタクトがLDD(Lightly Doped Drain)領域に接している場合に顕著であり、その一つの要因として、LDD領域中の不純物がコンタクト側に吸収されることが考えられる。LDD領域は、高濃度の不純物拡散層であるソース/ドレイン領域に比べて不純物濃度が低いため、不純物の吸収の影響を受けやすく容易に不純物濃度が変化し、所望の接合が形成できなくなると考えられる。
【0015】
また、p型MOSFETにおいてリークが顕著である理由は、p型不純物として用いられたボロンが吸収されやすいためと考えられ、特にコンタクトを構成するバリア膜にチタン系金属膜を用いたときにリークが顕著であった。これは、チタン系金属膜とシリコン基板との接触界面において製造時の熱処理の影響によりチタンシリサイド層が形成され、主にこのチタンシリサイド層によりボロンの吸収が行われるためと考えられる。
【0016】
一方、シート抵抗やコンタクトとの接続抵抗を低減する目的で、ソース/ドレイン領域を構成する不純物拡散領域上には高融点金属シリサイド層が設けられる。特開平6−177067号公報には、このような構成、特に不純物イオンとしてボロンイオンが注入された不純物拡散層上にチタンシリサイド層が形成された構成において、不純物拡散層中のボロンがチタンシリサイド層に吸収され低濃度層が形成される問題が記載されている。同公報には、再度の不純物イオン注入を行って低濃度層における不純物濃度の低下分を補足し、非オーミックな特性や寄生抵抗の増大を抑制している。
【0017】
しかし、不純物濃度が低く且つ浅い接合を形成するLDD領域に対して、予め予測した不純物濃度の低下分を再度のイオン注入により精度よく補足することは困難である。また、このようなLDD領域の形成に際して、不純物濃度の低下分を見越した高い濃度設定を精度良く行うことも困難である。さらに、前記公報にも記載されているように、不純物の吸収により形成される低濃度層は接触界面近傍に発生するため、接合部分では高い濃度のままであり、このような濃度分布をもつLDD領域が形成されるとLDD構造本来の機能の発現が困難となり素子特性が低下する。
【0018】
そこで本発明の目的は、リークの発生を抑えながらメモリセル面積を低減可能な技術を実現し、素子特性に優れた高集積度の半導体記憶装置を提供することにある。
【0019】
【課題を解決するための手段】
本発明は、半導体基板の第1導電型ウェル上にゲート絶縁膜を介して形成されたゲート電極と、前記ゲート電極の両側にそれぞれ形成された、低濃度の第2導電型不純物拡散領域であるLDD領域および高濃度の第2導電型不純物拡散領域であるソース/ドレイン領域からなるLDD構造と、前記のゲート電極およびLDD構造部を覆う層間絶縁膜と、前記層間絶縁膜に形成された開口に導電性材料が埋め込まれてなるコンタクトを有する半導体装置において、
前記第1導電型ウェルと等電位となる一方のソース/ドレイン領域に接続するコンタクトが、このソース/ドレイン領域側のLDD領域に接し、且つ
前記第1導電型ウェルと異なる電位となる他方のソース/ドレイン領域に接続するコンタクトが、このソース/ドレイン領域側のLDD領域に接しないように配置されていることを特徴とする半導体装置に関する。
【0020】
また本発明は、一対の駆動トランジスタ及び一対の負荷トランジスタからなるフリップフロップ回路と一対の転送トランジスタとでメモリセルを構成するSRAMを有する半導体装置において、
前記負荷トランジスタは、半導体基板上にゲート絶縁膜を介して形成されたゲート電極と、前記ゲート電極の両側にそれぞれ形成された、低濃度の不純物拡散領域であるLDD領域および高濃度の不純物拡散領域であるソース/ドレイン領域からなるLDD構造を有し、
ソース領域に接続するコンタクトとゲート電極とのゲート長方向の間隔が、ゲート電極とソース領域間のゲート長方向のLDD領域幅より小さく、且つ
ドレイン領域に接続するコンタクトがドレイン領域側のLDD領域に接しないように配置されていることを特徴とする半導体装置に関する。
【0021】
また本発明は、一対の駆動トランジスタ及び一対の負荷トランジスタからなるフリップフロップ回路と一対の転送トランジスタとでメモリセルを構成するSRAMを有する半導体装置において、
前記負荷トランジスタ及び前記駆動トランジスタは、半導体基板上にゲート絶縁膜を介して形成されたゲート電極と、前記ゲート電極の両側にそれぞれ形成された、低濃度の不純物拡散領域であるLDD領域および高濃度の不純物拡散領域であるソース/ドレイン領域からなるLDD構造を有し、
ソース領域に接続するコンタクトとゲート電極とのゲート長方向の間隔が、ゲート電極とソース領域間のゲート長方向のLDD領域幅より小さく、且つ
ドレイン領域に接続するコンタクトがドレイン領域側のLDD領域に接しないように配置されていることを特徴とする半導体装置に関する。
【0022】
また本発明は、前記転送トランジスタが、半導体基板上にゲート絶縁膜を介して形成されたゲート電極と、前記ゲート電極の両側にそれぞれ形成された、低濃度の不純物拡散領域であるLDD領域および高濃度の不純物拡散領域であるソース/ドレイン領域からなるLDD構造を有し、
ソース/ドレイン領域に接続するコンタクトが、そのソース/ドレイン領域側のLDD領域に接しないように配置されている上記の半導体装置に関する。
【0023】
また本発明は、前記コンタクトが少なくともその底部がチタン或いはチタン含有材料で構成されている上記の半導体装置に関する。
【0024】
また本発明は、前記負荷トランジスタの不純物拡散領域がボロンを含有する上記の半導体装置に関する。
【0025】
また本発明は、前記の負荷トランジスタ、駆動トランジスタ及び転送トランジスタのそれぞれのソース/ドレイン領域の表面に高融点金属シリサイド層が形成されている上記の半導体装置に関する。
【0026】
また本発明は、前記一対の負荷トランジスタの一方の第1負荷トランジスタのドレイン領域に接続するコンタクトが、この第1負荷トランジスタのゲート電極と共通の第1導電膜配線Aで構成されるゲート電極を持つ第1駆動トランジスタのドレイン領域に接続するコンタクトと一体に形成され、層間絶縁膜である第1絶縁膜に設けられた埋込溝配線であり、
前記埋込溝配線は、前記フリップフロップ回路の一対の入出力端子間を交差結合する一対のローカル配線の一方を構成し、
前記第1絶縁膜上に第2絶縁膜を介して設けられた第2導電膜で形成された第2導電膜配線で、前記一対のローカル配線の他方が構成されていることを特徴とする上記の半導体装置に関する。
【0027】
また本発明は、前記第2導電膜配線が、前記埋込溝配線の上面の少なくとも一部と前記第2絶縁膜を介して重なるように配置され、前記埋込溝配線と前記第2導電膜配線とそれらの間に介在する前記第2絶縁膜とで容量素子が構成されている上記の半導体装置に関する。
【0028】
また本発明は、前記埋込溝配線が、前記一対の駆動トランジスタのうちの一方の前記第1駆動トランジスタのドレイン領域と、前記一対の負荷トランジスタのうちの一方の前記第1負荷トランジスタのドレイン領域と、他方の第2駆動トランジスタ及び他方の第2負荷トランジスタのゲート電極を構成する第1導電膜配線Bとに接続するように配置され、
前記第2導電膜配線が、前記第1駆動トランジスタ及び前記第1負荷トランジスタのゲート電極を構成する前記第1導電膜配線Aに接続するコンタクトと、前記第2駆動トランジスタのドレイン領域に接続するコンタクトと、前記第2負荷トランジスタのドレイン領域に接続するコンタクトとに接している上記の半導体装置に関する。
【0029】
【発明の実施の形態】
本発明の主な特徴の一つは、LDD構造を持つMOS型電界効果トランジスタ(MOSFET)におけるソース/ドレイン領域に接続するコンタクトとゲート電極とのゲート長方向の間隔に関わる特定のレイアウト構造にある。このような構造を有するMOSFETは、SRAMをはじめとする高集積度の半導体装置を構成するトランジスタとして好適である。
【0030】
以下、本発明の好適な実施の形態として、本発明をSRAMに適用した例を説明する。
【0031】
本実施形態のSRAMのメモリセルは、前述の図1に示すように、ワード線WLと一対のビット線BL1、BL2との交差部に配置され、一対の駆動トランジスタD1、D2と一対の負荷トランジスタP1、P2と一対の転送トランジスタT1、T2で構成されている。ここで、一対の駆動トランジスタD1、D2と一対の転送トランジスタT1、T2はnチャネル型で構成され、一対の負荷トランジスタP1、P2はpチャネル型で構成されている。
【0032】
一対の駆動トランジスタD1、D2と一対の負荷トランジスタP1、P2は、1ビットの情報を記憶する情報蓄積部としてのフリップフロップ回路を構成している。このフリップフロップ回路は、一対のCMOSインバータで構成され、それぞれのCMOSインバータは、一つの駆動トランジスタD1(D2)と一つの負荷トランジスタP1(P2)で構成される。
【0033】
転送トランジスタT1(T2)のソース/ドレイン領域の一方は、負荷トランジスタP1(P2)及び駆動トランジスタD1(D2)のドレインに接続され、他方はビット線BL1(BL2)に接続されている。また、一対の転送トランジスタT1、T2のゲートはそれぞれワード線WLの一部を構成し、互いに接続されている。
【0034】
CMOSインバータの一方を構成する駆動トランジスタD1及び負荷トランジスタP1のゲートは、他方のCMOSインバータを構成する駆動トランジスタD2及び負荷トランジスタP2のドレイン(蓄積ノードN2)に接続されている。また、この他方のCMOSインバータを構成する駆動トランジスタD2及び負荷トランジスタP2のゲートは、前記一方のCMOSインバータを構成する駆動トランジスタD1及び負荷トランジスタP1のドレイン(蓄積ノードN1)に接続されている。このように、一対のCMOSインバータ間において、一方のCMOSインバータの入出力部(蓄積ノード)と他方のCMOSインバータのゲートとが互いにローカル配線(局所配線)と呼ばれる一対の配線L1、L2を介してクロスカップル(交差結合)されている。
【0035】
そして、駆動トランジスタD1、D2のソース領域には、基準電圧(Vss、例えばGND)が供給され、負荷トランジスタP1、P2のソース領域には、電源電圧(Vcc)が供給される。
【0036】
次に、図3及び図4を用いて、LDD構造を持つMOSFETにおけるソース/ドレイン領域に接続するコンタクトとゲート電極とのゲート長方向の間隔に関わる特定のレイアウト構造の一実施形態について説明する。
【0037】
図3に、本実施形態のSRAMセルを構成する駆動トランジスタ及び負荷トランジスタの模式的な断面構造を示し、図4にSRAMセルのレイアウト図を示す。なお、図4中、前述の図2と同じ箇所については同じ符号を用いている。
【0038】
素子分離絶縁膜(不図示)により分離されたシリコン半導体基板200の活性領域上にゲート絶縁膜203を介してゲート電極205が形成されており、その両側にサイドウォール絶縁膜204が形成されている。
【0039】
また、ゲート電極205の両側の半導体基板中にはそれぞれ不純物を低濃度に含有する不純物拡散領域であるLDD領域201と高濃度に含有する不純物拡散領域であるソース/ドレイン領域202が形成され、LDD構造が設けられている。p型不純物としてはホウ素が含有され、n型不純物としてはリンやヒ素が含有される。ソース/ドレイン領域の不純物のドース量は、1×1015〜8×1015 atoms/cm2 に設定でき、LDD領域の不純物のドース量は、1×1013〜2×1014 atoms/cm2 に設定することができる。特にLDD領域の不純物のドース量は、不純物拡散領域の接合界面での電界上昇によるオフ時電流の上昇を抑制する点から前記の範囲に設定することが好ましい。また、ソース/ドレイン領域の接合深さは0.1〜0.2μmに設定することができる。LDD領域の接合深さは、n型MOSFETにおいては0.02〜0.05μm、p型MOSFETにおいては0.03〜0.06μmに設定することができる。
【0040】
ゲート電極205のゲート長は0.18〜0.20μmに設定することができ、サイドウォール絶縁膜204の幅W5(ゲート長方向の長さ)は0.09〜0.13μmに設定することができる。サイドウォール絶縁膜の幅W5が狭すぎると製造上LDD領域が小さくなりLDD構造の電界抑制効果が低下する。サイドウォール絶縁膜の幅W5が大き過ぎると、LDD領域が長くなり抵抗が大きくなるためトランジスタ特性が低下する。以上の構成でMOSFETが形成されている。
【0041】
上記MOSFETにおいて、ソース/ドレイン領域202及びゲート電極205上には抵抗値を下げるために高融点金属シリサイド層210が形成されている。この高融点金属シリサイド層としては、チタンシリサイド層やコバルトシリサイド層を用いることができるが、シリサイド層の抵抗およびボロン吸収性の点から、コバルトシリサイド層が好ましい。なお、ゲート電極上にキャップ絶縁層を設けた場合は、このキャップ絶縁層上には高融点シリサイド層210は形成されない。
【0042】
以上のMOSFETは例えば次のようにして製造することができる。
【0043】
まず、シリコン半導体基板にトレンチ分離法により素子分離絶縁膜を形成し、この素子分離絶縁膜が形成されていない活性領域上にゲート絶縁膜およびゲート電極を形成する。
【0044】
次に、低いドース量の不純物イオン注入を行って低濃度不純物層を形成し、続いて、絶縁膜を形成した後にエッチバックしてゲート電極の両側部にサイドウォール絶縁膜を形成する。次いで、高いドース量の不純物イオン注入を行って高濃度不純物層を形成した後、熱処理によって低濃度不純物層および高濃度不純物層の活性化を行いLDD領域およびソース/ドレイン領域を形成する。
【0045】
次に、シリコン半導体基板上にスパッタリング法によりCo等の高融点金属膜を形成し、その後、熱処理を行って高融点金属膜とシリコンとを反応させ、ゲート電極、ソース/ドレイン領域上に高融点金属シリサイド膜を形成する。未反応の高融点金属膜はウェットエッチングにより除去される。
【0046】
以上のようにして作製されたMOSFET上には、図3に示すように、層間絶縁膜206が形成され、ソース/ドレイン領域202上の高融点金属シリサイド層210に接するコンタクト207が形成される。このコンタクトは207は、層間絶縁膜206にソース/ドレイン領域202上の高融点金属シリサイド層210に達するコンタクトホールが形成され、このコンタクトホール内にチタンや窒化チタン等のチタン含有材料からなるバリア膜207bを形成した後にアルミニウムやタングステン等の導電性材料(埋込導電部207a)を埋め込んで形成される。バリア膜207bとしては、チタン膜と窒化チタン膜がこの順で形成された積層膜を用いることが好ましい。この積層膜において、窒化チタン膜は主にバリア性を高めるため、チタン膜は主に接触抵抗を低減するために設けられる。
なお、コンタクトホール内をチタン含有材料で埋め込んでコンタクトを形成することも可能である。
【0047】
本発明の半導体装置における重要な構成の一つは、前記第1導電型ウェルと等電位でない一方のソース/ドレイン領域に接続するコンタクトが、このソース/ドレイン領域側のLDD領域に接しないように配置されていることである。このような配置にすることより、コンタクトとLDD領域の接触に起因するリークの発生等の素子特性の低下を防止することができる。また、第1導電型ウェルと等電位の他方のソース/ドレイン領域に接続するコンタクトについては、このコンタクトとゲート電極とのゲート長方向の間隔が、ゲート電極とそのソース/ドレイン領域間のゲート長方向のLDD領域幅より小さくなるように配置される。このような配置にすることにより、コンタクトがLDD領域に接してもリークの発生等の素子特性の低下が起きにくく、且つコンタクトとゲート電極との間隔を狭めることができ、半導体装置の集積度を向上させることが可能となる。
【0048】
本実施形態のSRAMセルにおいては、負荷トランジスタP1、P2を、前述の図3に示すように、LDD構造を有するp型MOSFETで構成し、ドレイン領域に接続するコンタクトをそのドレイン領域側のLDD領域に接しないように配置する。すなわち、ドレイン領域に接続するコンタクトとゲート電極とのゲート長方向の間隔W1(図4中のB1、B2に相当)を、ゲート電極とドレイン領域間のゲート長方向のLDD領域幅W3より大きくする。さらには、コンタクトを直接不純物拡散領域に接しないようにシリサイド領域上に設けることが好ましい。
このようにコンタクトがLDD領域に接しない配置にすることにより、LDD領域中のボロンの吸い上げが抑制でき、結果、リークの発生を防止できる。この間隔W1(B1、B2)は、コンタクトがLDD領域に接しなければ適宜設定することができるが、0.08μm以上に設定することが好ましく、メモリサイズが大きくなりすぎない程度のサイズとして、かつ量産設備の能力との兼ね合いで現状では0.16μm程度に設定することができる。
【0049】
一方、負荷トランジスタP1、P2において、ソース領域に接続するコンタクトとゲート電極とのゲート長方向の間隔W2(図4中のA1、A2に相当)は、ゲート電極とソース領域間のゲート長方向のLDD領域幅W4より小さくする。この場合、コンタクトがLDD領域と接しても、ソース領域側では不純物拡散領域の接合部にバイアスがかからないため、ボロンの吸い上げによりソース領域側のLDD領域の不純物濃度が多少変化してもリークは発生しない。この間隔W2(A1、A2)は、十分な絶縁性を確保する点から0.01μm以上が好ましく、メモリサイズが大きくなりすぎない程度のサイズとして0.13μm程度に設定することができる。
【0050】
また、LDD構造を有するn型MOSFETで構成される駆動トランジスタD1、D2においても、負荷トランジスタと同様に、ドレイン領域に接続するコンタクトをそのドレイン領域側のLDD領域に接しないように配置することが好ましい。すなわち、ドレイン領域に接続するコンタクトとゲート電極とのゲート長方向の間隔W1(図4中のF1、F2に相当)を、ゲート電極とドレイン領域間のゲート長方向のLDD領域幅W3より大きくすることが望ましい。さらには、コンタクトを直接不純物拡散領域に接しないようにシリサイド領域上に設けることが好ましい。このようにコンタクトがLDD領域に接しない配置にすることにより、その接触による素子特性への影響を防止することができる。この間隔W1(F1、F2)は、コンタクトがLDD領域に接しなければ適宜設定することができるが、0.06μm以上に設定することが好ましく、メモリサイズが大きくなりすぎない程度のサイズとして0.16μm程度に設定することができる。
【0051】
一方、駆動トランジスタD1、D2において、ソース領域に接続コンタクトとゲート電極とのゲート長方向の間隔W2(図4中のE1、E2に相当)は、ゲート電極とソース領域間のゲート長方向のLDD領域幅W4より小さくすることが好ましい。この場合、コンタクトがLDD領域と接しても、ソース領域側では不純物拡散領域の接合部にバイアスがかからないため、この接触による素子特性への影響を受けにくい。この間隔W2(E1、E2)は、十分な絶縁性を確保する点から0.01μm以上が好ましく、メモリサイズが大きくなりすぎない程度のサイズとして0.13μm程度に設定することができる。
【0052】
負荷トランジスタ及び駆動トランジスタにおける上記の図3中の間隔W2の設定は、図4において間隔A1、A2、E1、E2を狭めるものであり、ワード線長手方向のメモリセル幅を縮小することができる。
【0053】
本実施形態のSRAMセルにおいては、さらに、転送トランジスタT1、T2のソース/ドレイン領域に接続するコンタクトをそのソース/ドレイン領域側のLDD領域に接しないように配置することが好ましい。この場合、メモリセル外周側のソース/ドレイン領域に接続するコンタクトとゲート電極とのゲート長方向の間隔(図4中のG1、G2に相当)は、ゲート電極と前記ソース/ドレイン領域間のゲート長方向のLDD領域幅より大きい配置となる。さらには、コンタクトを直接不純物拡散領域に接しないようにシリサイド領域上に設けることが好ましい。この間隔G1、G2は、十分な絶縁性を確保する点から0.06μm以上が好ましく、一方、メモリサイズが大きくなりすぎない程度のサイズとして0.13μm程度に設定することができる。なお、他方のソース/ドレイン領域に接続するコンタクト(駆動トランジスタのドレイン領域に接続するコンタクトと共通するコンタクト)についても、そのソース/ドレイン領域側のLDD領域に接しないことが好ましい。
【0054】
以上に説明した構成は、本発明者が、コンタクトとゲート電極との間隔は、ウェル電位と等電位となる不純物拡散領域においてはLDD領域より小さく、ウェル電位と異なる電位となる不純物拡散領域においてはLDD領域より大きくすることが好ましく、特にp型MOSFETについては、ウェル電位と異なる電位となる不純物拡散領域においてLDD領域より大きく、かつコンタクトをシリサイド領域上に設けることが好ましいことを見いだしたことに基づくものである。
【0055】
以上により、リークの発生等の素子特性の低下を抑えるとともに、メモリセルを縮小することができるが、さらに、上述のソース/ドレイン領域上のコンタクトとゲート電極との間隔に関わる特定のレイアウト構造を、図5及び図6に示す構造に適用することにより、一層のメモリセルの縮小が可能となる。
【0056】
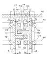
図5及び図6に示す実施形態では、一対のローカル配線L1、L2を異なる層に配置し、下層のローカル配線を埋込溝配線で構成し、上層のローカル配線をプレート状の導電膜で構成し、基板上面(平面)から見て、上層のローカル配線(プレート状配線)の一部が下層のローカル配線(埋込溝配線)の上面の少なくとも一部と絶縁膜を介して重なるように配置する。
【0057】
ローカル配線の一方を構成する上記埋込溝配線は、負荷トランジスタP1のドレイン領域上のコンタクトと駆動トランジスタD1のドレイン領域上のコンタクトとが一体に形成されたものである。本実施形態のSRAMセルにおいては、この埋込溝配線を、負荷トランジスタP1及び駆動トランジスタD1のいずれにおいてもドレイン領域側のLDD領域に接しないように配置する。すなわち、少なくとも活性領域上において、この埋込溝配線とゲート電極との間隔を、ゲート電極とドレイン領域間のゲート長方向のLDD領域幅より大きく設定する。
【0058】
その他の、ソース/ドレイン領域上のコンタクトとゲート電極との間隔に関わるレイアウト構造は、前述の実施形態と同様に設定することができる。但し、図5に示す構造においては、負荷トランジスタP1、P2のソース領域に接続する各コンタクト22、23は、コンタクトとゲート電極とのゲート長方向の間隔がゲート電極とソース領域間のゲート長方向のLDD領域幅より小さい場合であってもソース領域側のLDD領域に接しないレイアウトをとることができる。
【0059】
上記の構造では、リーク発生の防止およびメモリセル面積の一層の縮小化に加えて、下層のローカル配線(埋込溝配線)と上層のローカル配線(プレート状配線)とこれらの間に介在する絶縁膜とで容量素子が構成されるため、メモリセルサイズの微細化や動作電圧の低下に伴うα線ソフトエラー耐性の低下を防ぐことができる。
【0060】
また、この構造によれば、下層に設ける一方のローカル配線を埋込溝配線で構成することにより、この下層のローカル配線の形成と同時に接続プラグを形成することができるため、少ない工程数で製造することができる。
【0061】
上記SRAMセルの具体的な構造をさらに図面を用いて説明する。
【0062】
図5はメモリセルの平面図、図6(a)は図5のa−a’線断面図、図6(b)は図5のb−b’線断面図である。なお、平面図においては、絶縁膜、ビット線およびビット線に接続するプラグを省略している。
【0063】
メモリセルを構成する6個のトランジスタは、単結晶シリコンからなる半導体基板上の素子分離5によって周囲を囲まれた活性領域ARに形成されている。nチャネル型の駆動トランジスタD1、D2及び転送トランジスタT1、T2はp型ウェル領域に形成されており、pチャネル型の負荷トランジスタP1、P2はn型ウェル領域に形成されている。
【0064】
一対の転送トランジスタT1、T2のそれぞれは、p型ウェルの活性領域に形成されたn型ソース/ドレイン領域13aと、この活性領域の表面に形成されたゲート酸化膜7と、このゲート酸化膜7上に形成されたゲート電極8で構成されている。このゲート電極8は、例えば、不純物導入多結晶シリコン膜とコバルトシリサイド膜等の高融点金属シリサイド膜の積層構造を有し、ワード線WLと一体に構成されている。ワード線WLは、第1方向(図5中では左右方向)に延在して設けられ、一対の転送トランジスタはこの第1方向に沿って互いに隣接して配置されている。また、一対の転送トランジスタはそのゲート長方向が第1方向と直交する第2方向(図5中では上下方向)と一致するように配置されている。
【0065】
一対の駆動トランジスタD1、D2のそれぞれは、p型ウェルの活性領域に形成されたn型ソース/ドレイン領域13aと、この活性領域の表面に形成されたゲート酸化膜7と、このゲート酸化膜7上に形成されたゲート電極9、10で構成されている。このゲート電極9、10は、例えば、不純物導入多結晶シリコン膜とコバルトシリサイド膜等の高融点金属シリサイド膜の積層構造を有している。
駆動用トランジスタD1のドレイン領域は、転送トランジスタT1のソース/ドレイン領域の一方と共通の活性領域に形成され、駆動用トランジスタD2のドレイン領域は、転送トランジスタT2のソース/ドレイン領域の一方と共通の活性領域に形成されている。
【0066】
一対の負荷トランジスタP1、P2のそれぞれは、n型ウェルの活性領域に形成されたp型ソース/ドレイン領域13bと、この活性領域の表面に形成されたゲート酸化膜7と、このゲート酸化膜7上に形成されたゲート電極9、10で構成されている。負荷トランジスタP1のゲート電極9は駆動トランジスタD1のゲート電極と一体に構成されており、負荷トランジスタP2のゲート電極10は駆動トランジスタD2のゲート電極と一体に構成されている。
【0067】
一対の駆動トランジスタ、一対の負荷トランジスタ及び一対の転送トランジスタのそれぞれのソース/ドレイン領域の表面には、シート抵抗や接続プラグとの接続抵抗を低減する目的でコバルトシリサイド等の高融点金属シリサイド層(不図示)を設けていることが好ましい。
【0068】
一対の駆動トランジスタ、一対の負荷トランジスタ及び一対の転送トランジスタのそれぞれを構成するゲート電極の側壁にはサイドウォール12が形成されている。
【0069】
6個のトランジスタの上部には、シリコン窒化膜14が形成されており、このシリコン窒化膜14の上部には厚さ300〜1000nm程度のPSGやBPSG等からなる第1層間絶縁膜15が形成されている。
【0070】
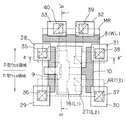
この第1層間絶縁膜15には、一対のローカル配線の一方である埋込溝配線16(L1)が形成されている。この埋込溝配線16(L1)は、第1層間絶縁膜15を開孔して形成された溝にW等の導電性金属が埋め込まれてなる。この埋込溝配線16(L1)の一端部は、駆動トランジスタD1のドレイン領域と電気的に接続され、他端部は、負荷トランジスタP1のドレイン領域と電気的に接続されている。さらに、埋込溝配線16(L1)の中央部は、駆動トランジスタD2と負荷トランジスタP2に共通のゲート電極10と電気的に接続されている。このゲート電極10は、駆動トランジスタD2のドレイン領域と負荷トランジスタP2のドレイン領域との間でトランジスタD1、P1方向へ分岐し、この分岐した部分が前記埋込溝配線16の中央部と接触している。
【0071】
埋込溝配線16(L1)が形成された第1層間絶縁膜15上には、シリコン酸化膜等からなる厚さ10nm〜150nm程度の第2層間絶縁膜17が形成されている。そして、この第2層間絶縁膜17及び第1層間絶縁膜15に開孔された接続孔にW等の導電性金属が埋め込まれてなる接続プラグが設けられている。これらの接続プラグは、6個のトランジスタのソース/ドレイン領域にそれぞれ接続するプラグ19〜26と、駆動トランジスタD1と負荷トランジスタP1に共通のゲート電極9に接続するプラグ18である。
【0072】
第2層間絶縁膜17の上部には、厚さ100〜200nm程度のTiN等からなるローカル配線27(L2)が形成されている。ローカル配線27(L2)は、駆動トランジスタD1と負荷トランジスタP1に共通のゲート電極9に接続するプラグ18、駆動トランジスタD2のドレイン領域に接続するプラグ19、負荷トランジスタP2のドレイン領域に接続するプラグ20に電気的に接続するように設けられている。また、ローカル配線27(L2)の一部が、他方のローカル配線である前記埋込溝配線16(L1)の上面の少なくとも一部と第2層間絶縁膜17を介して重なるように配置される。ローカル配線27(L2)と埋込溝配線16(L1)とそれらの間に介在する第2層間絶縁膜とで容量素子が構成される。容量素子を設ける点からは、
ローカル配線27(L2)が、埋込溝配線16(L1)の上面をできるだけ覆うことが好ましく、図5に示す構成ではローカル配線27(L2)が、埋込溝配線16(L1)の上面全体を覆っている。
【0073】
なお、接続プラグ21〜26上にはそれぞれ、上層からのビアプラグとの接続を容易にするために、ローカル配線27(L2)と同時にパターニング形成された矩形の導電膜パターン28〜33が形成されている。
【0074】
ローカル配線27(L2)が形成された第2層間絶縁膜17の上部には、シリコン酸化膜等からなる第3層間絶縁膜34が形成され、その上部には、電源電圧Vccが印加される電源電圧線41、及び基準電圧Vssが印加される基準電圧線42が前記第1方向に沿って形成されている。電源電圧線41は、第3層間絶縁膜34に設けられた接続プラグ(ビアプラグ)36、37と第1及び第2層間絶縁膜に設けられた接続プラグ22、23を介して、それぞれ負荷トランジスタP1、P2のソース領域に電気的に接続されている。基準電圧線42は、第3層間絶縁膜34に設けられた接続プラグ(ビアプラグ)35、38と第1及び第2層間絶縁膜に設けられた接続プラグ21、24を介して、それぞれ駆動トランジスタD1、D2のソース領域に電気的に接続されている。これらの配線は、例えば、パターニングされたアルミ膜や、アルミ膜の上部には反射防止膜として下部にはバリアメタル膜としてTiN等からなる膜が配置された積層膜で構成することができる。
【0075】
なお、転送トランジスタT1、T2のソース/ドレイン領域の一方に電気的に接続されるように第3層間絶縁膜34に設けたプラグ39、40の上部にはそれぞれ、上層からのビアプラグとの接続を容易にするために、電源電圧線41及び基準電圧線42と同時にパターニング形成された矩形の導電膜パターン43、44が形成されている。
【0076】
電源電圧線41及び基準電圧線42が形成された第3層間絶縁膜34の上部には、シリコン酸化膜等からなる第4層間絶縁膜(不図示)が形成され、その上部には、前記第2方向に沿って一対のビット線BL1、BL2(不図示)が形成されている。一方のビット線BL1は、第4層間絶縁膜に設けられた接続プラグ(ビアプラグ)と第3層間絶縁膜に設けられた接続プラグ40と第1及び第2層間絶縁膜に設けられた接続プラグ26を介して転送トランジスタT1のソース/ドレイン領域の一方に電気的に接続されている。他方のビット線BL2は、第4層間絶縁膜に設けられた接続プラグ(ビアプラグ)と第3層間絶縁膜に設けられた接続プラグ39と第1及び第2層間絶縁膜並びに第3層間絶縁膜に設けられた接続プラグ25を介して転送トランジスタT2のソース/ドレイン領域の一方に電気的に接続されている。これらの配線は、例えば、パターニングされたアルミ膜や、アルミ膜の上部には反射防止膜として下部にはバリアメタル膜としてTiN等からなる膜が配置された積層膜で構成することができる。
【0077】
次に、本発明の半導体記憶装置のSRAMセルの製造方法を図面を用いて説明する。なお、平面図においては絶縁膜を適宜省略して表記する。
【0078】
まず、p型単結晶シリコンからなる半導体基板1の主面に常法によりシリコン酸化膜2及びシリコン窒化膜3を順次形成する。続いて、常法により形成した所定のパターン形状をもつフォトレジストをマスクにしてドライエッチングを行い、シリコン窒化膜3及びシリコン酸化膜2をパターニングする。その後、残ったシリコン窒化膜3とシリコン酸化膜2をマスクにして半導体基板1をドライエッチングし、素子分離用の溝(トレンチ)4を形成する(図7、図8)。なお、図中、ARで示される領域は活性領域であり、この工程においてはAR以外の領域に素子分離用のトレンチ4が形成される。また、MRで示される点線で囲まれた領域は1つのメモリセル領域を示す。複数のメモリセルは、隣合うメモリセル間で、MRで示される長方形の前記第1方向(図7中では左右方向)に沿う各辺を対象軸としてARの形状が線対称(ミラー反転)になるように配置され、且つ、MRで示される長方形の前記第2方向(図7中では上下方向)に沿う各辺を基準線として前記第1方向に平行移動(シフト)した関係となるように配置される。
なお、MRで示される長方形の各辺を対称軸としてARの形状が線対称になるように基板上に配置することも可能である。
【0079】
次に、図9に示すように、トレンチ4の内部にシリコン酸化膜を埋め込んで素子分離5を形成する。この素子分離5の形成は、トレンチ4を含む半導体基板1上にCVD法によりシリコン酸化膜をトレンチ4内が完全に埋め込まれるように厚く形成した後、シリコン窒化膜3をストッパとして利用し、厚く形成したシリコン酸化膜に対してエッチバックあるいは化学的機械的研磨(CMP)を行いトレンチ4内部以外のシリコン酸化膜を除去して形成することができる。
【0080】
次に、半導体基板1上のシリコン窒化膜3及びシリコン酸化膜2をエッチングにより除去した後、図10及び図11に示すように、厚さ10〜30nm程度の薄いシリコン酸化膜(犠牲酸化膜)2aを形成し、続いて負荷トランジスタP1、P2を形成する領域にレジスト6を形成する。このレジスト6をマスクとし、前記酸化膜2aをスルー膜としてp型不純物(例えばホウ素、BF2)をイオン注入して、駆動トランジスタD1、D2及び転送トランジスタT1、T2を後に設けるp型ウェル領域を形成する。次いで、レジスト6を除去した後、p型ウェル領域上にレジストを形成し、このレジストをマスクとし、前記酸化膜2aをスルー膜としてn型不純物(例えばリン又はヒ素)をイオン注入して、負荷トランジスタP1、P2を後に設けるn型ウェル領域を形成する。
【0081】
次に、半導体基板上のシリコン酸化膜(犠牲酸化膜)2aを除去した後、熱酸化法によりゲート酸化膜を形成し、続いて不純物導入多結晶シリコン膜を形成する。その際、不純物導入多結晶シリコン膜上にWシリサイド膜等の高融点金属シリサイド膜を形成し、その上にキャップ層形成用のシリコン酸化膜を形成してもよい。次いで、所定パターンに形成したフォトレジストをマスクにしてドライエッチングを行い、不純物導入多結晶シリコン膜およびゲート酸化膜を同時にパターニングして、図12及び図13に示すように、転送トランジスタT1、T2のゲート電極(ワード線WL)8、駆動トランジスタD1、D2及び負荷トランジスタP1、P2のゲート電極9、10を形成する。
【0082】
次に、図14及び図15に示すトランジスタ構造を下記のようにして形成する。n型ウェル領域上に形成したレジストをマスクにして、比較的少ない注入量でn型不純物(例えばリン又はヒ素)をイオン注入し、p型ウェル領域にLDD領域11を形成する。このレジストを除去した後、同様に、p型ウェル領域上に形成したレジストをマスクにしてp型不純物(例えばホウ素、BF2)をイオン注入し、n型ウェル領域にLDD領域11を形成する。次いで、このレジストを除去した後、CVD法でシリコン酸化膜を基板上に形成し、このシリコン酸化膜をエッチバックすることにより、ゲート電極の側面にサイドウォール12を形成する。その後、n型ウェル領域上に形成したレジストをマスクにして、比較的多い注入量でn型不純物をイオン注入し、p型ウェル領域にn型ソース/ドレイン領域13aを形成する。続いて、このレジストを除去した後、同様に、p型ウェル領域上に形成したレジストをマスクにしてp型不純物(例えばホウ素、BF2)をイオン注入し、n型ウェル領域にp型ソース/ドレイン領域13bを形成する。
【0083】
この工程後において、好ましくは、ソース/ドレイン領域上に高融点シリサイド膜を形成する。まず、半導体基板上にスパッタリング法等でCo等の高融点金属膜を形成する。次に、熱処理(アニール)を行って、高融点金属膜とソース/ドレイン領域とを反応させた後、未反応の高融点金属をエッチングにより除去する。これによりソース/ドレイン領域上に高融点金属シリサイド膜が形成される。このとき、前述の工程においてゲート電極上にWシリサイド膜およびシリコン酸化膜を設けていない場合は、ゲート電極上にも高融点金属シリサイド膜が形成される。
【0084】
次に、半導体基板上にCVD法でシリコン窒化膜14を形成した後、PSGやBPSG等からなる層間絶縁膜15を形成する。次いで、所定パターンに形成したフォトレジストをマスクにしてドライエッチングを行い第1層間絶縁膜15及びシリコン窒化膜14を開孔して基板表面およびゲート電極に達する溝を形成する。この溝をW等の導電性金属で埋め込むことにより、図16及び図17に示すように、埋込溝配線からなるローカル配線16(L1)を形成する。その際、溝への導電性金属の埋込は、例えば、スパッタリング法等でTi/TiN積層膜等からなるバリア金属膜を溝内部を含む基板上に形成した後、その溝を埋め込むようにW等からなる導電性金属膜をCVD法等により形成し、その後、これら金属膜に対してCMPを行って溝内以外の導電性金属膜とバリア金属膜を除去することにより行うことができる。
【0085】
次に、CVD法によりシリコン酸化膜等からなる第2層間絶縁膜17を形成した後、フォトレジストをマスクにしたドライエッチングを行いゲート電極9に達する接続孔と、ソース/ドレイン領域に達する接続孔(コンタクトホール)を同時に形成する。接続孔内部を含む基板表面に、Ti/TiN積層膜等からなるバリア金属膜を形成した後、CVD法等でこれらの接続孔を埋め込むようにW等の導電性金属膜を形成し、これら金属膜に対してCMPを行って接続孔内以外の導電性金属膜とバリア金属膜を除去する。これにより、ゲート電極9に達する接続プラグ18、ソース/ドレイン領域に達する接続プラグ19〜26が同時に形成される。
【0086】
次に、スパッタリング法またはCVD法等によりTiN膜等の導電膜を形成し、この導電膜をフォトレジストをマスクにしてパターニングを行う。これにより、図20及び図21に示すように、接続プラグ18、19、20に接触するローカル配線(L2)27が形成される。その際、ローカル配線(L2)27は、上面からみて、その一部が第2層間絶縁膜17を介して下層のローカル配線(L1)16の少なくとも一部と重なるように形成される。図においては、ローカル配線(L2)27は、下層のローカル配線(L1)16の上面全体と重なるように形成されている。
【0087】
なお、ローカル配線(L2)27を形成するためのパターニングの際、後に上層に形成される接続プラグ(ビアプラグ)と、各接続プラグ(コンタクトプラグ)21〜26との接続を容易にするために、各接続プラグ21〜26上に、接触し且つその上面を覆う矩形の導電膜パターン28〜33を同時に形成する。
【0088】
次に、CVD法によりシリコン酸化膜等からなる第3の層間絶縁膜34を形成した後、フォトレジストをマスクにしてドライエッチングを行い、各導電膜パターン28〜33に達する接続孔(ビアホール)を形成する。接続孔内部を含む基板表面にバリア金属膜を形成した後、CVD法等でこれらの接続孔を埋め込むようにW等からなる導電性金属膜を形成し、これらの金属膜に対してCMPを行い接続孔以外の導電性金属膜とバリア金属を除去する。これにより、図22及び図23に示すように、各導電膜パターン28〜33に達する接続プラグ(ビアプラグ)が形成される。
【0089】
次に、第3層間絶縁膜34上に、図5及び図6に示すように、電源電圧Vccが印加される電源電圧線41、及び基準電圧Vssが印加される基準電圧線42を形成する。これらの配線は、第3層間絶縁膜34上にスパッタリング法等でAl膜を形成した後、フォトレジストをマスクにしてドライエッチングを行い、Al膜をパターニングして形成することができる。その際、Al膜に代えて、バリアメタル膜(TiN膜等)、Al膜、反射防止膜(TiN膜等)を順次形成してなる積層膜を設けてもよい。電源電圧線41は、接続プラグ36、37に接触し、負荷トランジスタP1、P2のそれぞれのソース領域に電気的に接続される。基準電圧線42は、接続プラグ35、38に接触し、駆動トランジスタD1、D2のそれぞれのソース領域に電気的に接続される。
【0090】
なお、電源電圧線41及び基準電圧線42を形成するためのパターニングの際、転送トランジスタのソース/ドレイン領域の一方に通じる接続プラグ39、40のそれぞれと、後に形成するビット線BL1、BL2に通じる接続プラグとの接続を容易にするために、各接続プラグ39、40上に、それぞれと接接し且つその上面を覆う矩形の導電膜パターン43、44を形成する。
【0091】
次に、電源電圧線41、基準電圧線42等が形成された第3層間絶縁膜34上に、CVD法により酸化シリコン等からなる第4層間絶縁膜を形成する。次いで、フォトレジストをマスクにしたドライエッチングを行って、接続プラグ39、40のそれぞれの上に形成された各導電膜パターン43、44に達する接続孔を形成する。続いて、これらの接続孔の内部を含む第4層間絶縁膜上にバリア金属膜を形成した後、CVD法等によりW等からなる導電性金属膜をこれらの接続孔が埋め込まれるように形成する。次いで、CMPを行って接続孔内部以外のこれら金属膜を除去して接続プラグを形成する。
【0092】
次に、これらの接続プラグが形成された第4層間絶縁膜上に、ビット線BL1、BL2を形成する。これらのビット線は、第4層間絶縁膜上にスパッタリング法等でAl膜を形成した後、フォトレジストをマスクにしてドライエッチングを行い、Al膜をパターニングして形成することができる。その際、Al膜に代えて、バリアメタル膜(TiN膜等)、Al膜、反射防止膜(TiN膜等)を順次形成してなる積層膜を設けてもよい。各ビット線は、第4層間絶縁膜に形成された接続プラグのいずれかに接触し、転送トランジスタT1、T2のいずれかのソース/ドレイン領域の一方に電気的に接続される。
【0093】
以上の工程により、本実施形態のメモリセルが完成する。なお、この後、例えば、ビット線が形成された第4層間絶縁膜上にパッシベーション膜を形成するなど、適宜、所望の工程を実施することができる。
【0094】
【発明の効果】
本発明によれば、リークの発生を抑えながらメモリセル面積を低減する技術を実現でき、スタンバイ電流の低い素子特性に優れた高集積度の半導体記憶装置を提供することができる。
【図面の簡単な説明】
【図1】本発明を適用するSRAMセルの回路図である。
【図2】従来のSRAMセルのレイアウト図である。
【図3】本発明におけるSRAMセルを構成するトランジスタの模式的断面図である。
【図4】本発明のSRAMセルのレイアウト図である。
【図5】本発明の半導体記憶装置のSRAMセルの一実施形態を説明するための平面図である。
【図6】本発明の半導体記憶装置のSRAMセルの一実施形態を説明するための断面図である。
【図7】本発明の半導体記憶装置のSRAMセルの製造方法を説明するための平面図である。
【図8】本発明の半導体記憶装置のSRAMセルの製造方法を説明するための断面図である。
【図9】本発明の半導体記憶装置のSRAMセルの製造方法を説明するための断面図である。
【図10】本発明の半導体記憶装置のSRAMセルの製造方法を説明するための平面図である。
【図11】本発明の半導体記憶装置のSRAMセルの製造方法を説明するための断面図である。
【図12】本発明の半導体記憶装置のSRAMセルの製造方法を説明するための平面図である。
【図13】本発明の半導体記憶装置のSRAMセルの製造方法を説明するための断面図である。
【図14】本発明の半導体記憶装置のSRAMセルの製造方法を説明するための平面図である。
【図15】本発明の半導体記憶装置のSRAMセルの製造方法を説明するための断面図である。
【図16】本発明の半導体記憶装置のSRAMセルの製造方法を説明するための平面図である。
【図17】本発明の半導体記憶装置のSRAMセルの製造方法を説明するための断面図である。
【図18】本発明の半導体記憶装置のSRAMセルの製造方法を説明するための平面図である。
【図19】本発明の半導体記憶装置のSRAMセルの製造方法を説明するための断面図である。
【図20】本発明の半導体記憶装置のSRAMセルの製造方法を説明するための平面図である。
【図21】本発明の半導体記憶装置のSRAMセルの製造方法を説明するための断面図である。
【図22】本発明の半導体記憶装置のSRAMセルの製造方法を説明するための平面図である。
【図23】本発明の半導体記憶装置のSRAMセルの製造方法を説明するための断面図である。
【符号の説明】
T1、T2 転送トランジスタ
D1、D2 駆動トランジスタ
P1、P2 負荷トランジスタ
BL1、BL2 ビット線
WL ワード線
L1、L2 ローカル配線
N1、N2 蓄積ノード
Vcc 電源電圧
Vss 基準電圧
AR 活性領域
MR 一つのメモリセル領域
1 半導体基板
2 シリコン酸化膜
2a シリコン酸化膜(犠牲酸化膜)
3 シリコン窒化膜
4 トレンチ(溝)
5 素子分離
6 レジスト
7 ゲート酸化膜
8 ゲート電極(ワード線WL)
9、10 ゲート電極
11 LDD領域
12 サイドウォール
13 ソース/ドレイン領域
13a n型ソース/ドレイン領域
13b p型ソース/ドレイン領域
14 シリコン窒化膜
15 第1層間絶縁膜
16 ローカル配線(L1)
17 第2層間絶縁膜
18〜26 接続プラグ
27 ローカル配線(L2)
28〜33、43、44 導電膜パターン
34 第3層間絶縁膜
35〜40 接続プラグ(ビアプラグ)
41 電源電圧線
42 基準電圧線
111、113、116 ローカル配線L1に接続されるコンタクト
112、114、115 ローカル配線L2に接続されるコンタクト
117、118 ビット線へのコンタクト
121 電源電圧線へのコンタクト
122 電源電圧線へのコンタクト
123 基準電圧線(グランド線)へのコンタクト
124 基準電圧線(グランド線)へのコンタクト
131、132 ゲート配線
200 半導体基板
201 LDD領域
202 ソース/ドレイン領域
203 ゲート絶縁膜
204 サイドウォール絶縁膜
205 ゲート電極
206 層間絶縁膜
207 コンタクト
207a 埋込導電部
207b バリア膜
210 高融点金属シリサイド層
Claims (9)
- 一対の駆動トランジスタ及び一対の負荷トランジスタからなるフリップフロップ回路と一対の転送トランジスタとでメモリセルを構成するSRAMを有する半導体装置において、
前記負荷トランジスタ及び前記駆動トランジスタは、半導体基板上にゲート絶縁膜を介して形成されたゲート電極と、前記ゲート電極の両側にそれぞれ形成された、低濃度の不純物拡散領域であるLDD領域および高濃度の不純物拡散領域であるソース/ドレイン領域からなるLDD構造を有し、
ソース領域に接続するコンタクトとゲート電極とのゲート長方向の間隔が、ゲート電極とソース領域間のゲート長方向のLDD領域幅より小さく、且つドレイン領域に接続するコンタクトがドレイン領域側のLDD領域に接しないように配置され、
前記一対の負荷トランジスタの一方の第1負荷トランジスタのドレイン領域に接続するコンタクトは、この第1負荷トランジスタのゲート電極と共通の第1導電膜配線Aで構成されるゲート電極を持つ第1駆動トランジスタのドレイン領域に接続するコンタクトと一体に形成され、層間絶縁膜である第1絶縁膜に設けられた埋込溝配線であり、
前記埋込溝配線は、前記フリップフロップ回路の一対の入出力端子間を交差結合する一対のローカル配線の一方を構成し、
前記第1絶縁膜上に第2絶縁膜を介して設けられた第2導電膜で形成された第2導電膜配線で、前記一対のローカル配線の他方が構成されていることを特徴とする半導体装置。 - 前記転送トランジスタは、半導体基板上にゲート絶縁膜を介して形成されたゲート電極と、前記ゲート電極の両側にそれぞれ形成された、低濃度の不純物拡散領域であるLDD領域および高濃度の不純物拡散領域であるソース/ドレイン領域からなるLDD構造を有し、
ソース/ドレイン領域に接続するコンタクトが、そのソース/ドレイン領域側のLDD領域に接しないように配置されている請求項1に記載の半導体装置。 - 前記コンタクトは少なくともその底部がチタン或いはチタン含有材料で構成されている請求項1又は2に記載の半導体装置。
- 前記コンタクトは、コンタクトホール内にチタン含有バリア膜を形成した後に導電性材料が埋め込まれて形成されたものである請求項1から3のいずれか一項に記載の半導体装置。
- 前記チタン含有バリア膜として、チタン膜と窒化チタン膜をこの順で形成した積層膜を設けた請求項4に記載の半導体装置。
- 前記負荷トランジスタの不純物拡散領域はボロンを含有する請求項1から5のいずれか一項に記載の半導体装置。
- 前記の負荷トランジスタ、駆動トランジスタ及び転送トランジスタのそれぞれのソース/ドレイン領域の表面に高融点金属シリサイド層が形成されている請求項1から6のいずれか一項に記載の半導体装置。
- 前記第2導電膜配線が、前記埋込溝配線の上面の少なくとも一部と前記第2絶縁膜を介して重なるように配置され、前記埋込溝配線と前記第2導電膜配線とそれらの間に介在する前記第2絶縁膜とで容量素子が構成されている請求項1から7のいずれか一項に記載の半導体装置。
- 前記埋込溝配線は、前記一対の駆動トランジスタのうちの一方の前記第1駆動トランジスタのドレイン領域と、前記一対の負荷トランジスタのうちの一方の前記第1負荷トランジスタのドレイン領域と、他方の第2駆動トランジスタ及び他方の第2負荷トランジスタのゲート電極を構成する第1導電膜配線Bとに接続するように配置され、
前記第2導電膜配線は、前記第1駆動トランジスタ及び前記第1負荷トランジスタのゲート電極を構成する前記第1導電膜配線Aに接続するコンタクトと、前記第2駆動トランジスタのドレイン領域に接続するコンタクトと、前記第2負荷トランジスタのドレイン領域に接続するコンタクトとに接している請求項1から8のいずれか一項に記載の半導体装置。
Priority Applications (4)
| Application Number | Priority Date | Filing Date | Title |
|---|---|---|---|
| JP2001131542A JP4570811B2 (ja) | 2001-04-27 | 2001-04-27 | 半導体装置 |
| TW091107725A TW543087B (en) | 2001-04-27 | 2002-04-16 | Semiconductor device |
| US10/131,206 US6765272B2 (en) | 2001-04-27 | 2002-04-25 | Semiconductor device |
| KR1020020023240A KR20020083513A (ko) | 2001-04-27 | 2002-04-27 | 반도체 장치 |
Applications Claiming Priority (1)
| Application Number | Priority Date | Filing Date | Title |
|---|---|---|---|
| JP2001131542A JP4570811B2 (ja) | 2001-04-27 | 2001-04-27 | 半導体装置 |
Publications (2)
| Publication Number | Publication Date |
|---|---|
| JP2002329798A JP2002329798A (ja) | 2002-11-15 |
| JP4570811B2 true JP4570811B2 (ja) | 2010-10-27 |
Family
ID=18979710
Family Applications (1)
| Application Number | Title | Priority Date | Filing Date |
|---|---|---|---|
| JP2001131542A Expired - Fee Related JP4570811B2 (ja) | 2001-04-27 | 2001-04-27 | 半導体装置 |
Country Status (4)
| Country | Link |
|---|---|
| US (1) | US6765272B2 (ja) |
| JP (1) | JP4570811B2 (ja) |
| KR (1) | KR20020083513A (ja) |
| TW (1) | TW543087B (ja) |
Families Citing this family (34)
| Publication number | Priority date | Publication date | Assignee | Title |
|---|---|---|---|---|
| US6897477B2 (en) * | 2001-06-01 | 2005-05-24 | Semiconductor Energy Laboratory Co., Ltd. | Semiconductor device, manufacturing method thereof, and display device |
| KR100421048B1 (ko) * | 2001-09-07 | 2004-03-04 | 삼성전자주식회사 | 국부배선층을 갖는 반도체 소자 및 그 제조방법 |
| JP2005072185A (ja) * | 2003-08-22 | 2005-03-17 | Fujitsu Ltd | 半導体装置及びその製造方法 |
| US8212315B2 (en) | 2004-01-29 | 2012-07-03 | Enpirion, Inc. | Integrated circuit with a laterally diffused metal oxide semiconductor device and method of forming the same |
| US8212317B2 (en) | 2004-01-29 | 2012-07-03 | Enpirion, Inc. | Integrated circuit with a laterally diffused metal oxide semiconductor device and method of forming the same |
| US7230302B2 (en) * | 2004-01-29 | 2007-06-12 | Enpirion, Inc. | Laterally diffused metal oxide semiconductor device and method of forming the same |
| US8253195B2 (en) * | 2004-01-29 | 2012-08-28 | Enpirion, Inc. | Integrated circuit with a laterally diffused metal oxide semiconductor device and method of forming the same |
| US8253197B2 (en) * | 2004-01-29 | 2012-08-28 | Enpirion, Inc. | Integrated circuit with a laterally diffused metal oxide semiconductor device and method of forming the same |
| US8212316B2 (en) * | 2004-01-29 | 2012-07-03 | Enpirion, Inc. | Integrated circuit with a laterally diffused metal oxide semiconductor device and method of forming the same |
| US8253196B2 (en) | 2004-01-29 | 2012-08-28 | Enpirion, Inc. | Integrated circuit with a laterally diffused metal oxide semiconductor device and method of forming the same |
| US20050275043A1 (en) * | 2004-06-10 | 2005-12-15 | Chien-Chao Huang | Novel semiconductor device design |
| KR101039471B1 (ko) * | 2004-06-11 | 2011-06-07 | 엘지디스플레이 주식회사 | 액정 표시 장치용 어레이 기판 및 그 제조 방법 |
| US7232733B2 (en) * | 2004-08-23 | 2007-06-19 | Enpirion, Inc. | Method of forming an integrated circuit incorporating higher voltage devices and low voltage devices therein |
| US7195981B2 (en) | 2004-08-23 | 2007-03-27 | Enpirion, Inc. | Method of forming an integrated circuit employable with a power converter |
| US7335948B2 (en) * | 2004-08-23 | 2008-02-26 | Enpirion, Inc. | Integrated circuit incorporating higher voltage devices and low voltage devices therein |
| US7214985B2 (en) * | 2004-08-23 | 2007-05-08 | Enpirion, Inc. | Integrated circuit incorporating higher voltage devices and low voltage devices therein |
| US7229886B2 (en) * | 2004-08-23 | 2007-06-12 | Enpirion, Inc. | Method of forming an integrated circuit incorporating higher voltage devices and low voltage devices therein |
| US7190026B2 (en) * | 2004-08-23 | 2007-03-13 | Enpirion, Inc. | Integrated circuit employable with a power converter |
| US7186606B2 (en) * | 2004-08-23 | 2007-03-06 | Enpirion, Inc. | Method of forming an integrated circuit employable with a power converter |
| KR100704784B1 (ko) | 2005-03-07 | 2007-04-10 | 삼성전자주식회사 | 적층된 반도체 장치 및 그 제조방법 |
| JP5090671B2 (ja) * | 2005-08-01 | 2012-12-05 | ルネサスエレクトロニクス株式会社 | 半導体装置 |
| KR100760910B1 (ko) * | 2005-12-29 | 2007-09-21 | 동부일렉트로닉스 주식회사 | 공통 컨택을 갖는 에스램 메모리 소자 |
| JP2008147340A (ja) * | 2006-12-08 | 2008-06-26 | Nec Electronics Corp | 半導体装置、半導体装置の製造方法、及びsramセル |
| JP5109403B2 (ja) | 2007-02-22 | 2012-12-26 | 富士通セミコンダクター株式会社 | 半導体記憶装置およびその製造方法 |
| KR100919215B1 (ko) * | 2007-09-06 | 2009-09-28 | 세메스 주식회사 | 엔드 이펙터 및 이를 갖는 로봇 암 장치 |
| JP2011018692A (ja) * | 2009-07-07 | 2011-01-27 | Fujitsu Semiconductor Ltd | 半導体装置とその製造方法 |
| EP2738806A3 (en) | 2012-11-30 | 2017-01-11 | Enpirion, Inc. | Semiconductor device including a redistribution layer and metallic pillars coupled thereto |
| US10020739B2 (en) | 2014-03-27 | 2018-07-10 | Altera Corporation | Integrated current replicator and method of operating the same |
| US9536938B1 (en) | 2013-11-27 | 2017-01-03 | Altera Corporation | Semiconductor device including a resistor metallic layer and method of forming the same |
| US9673192B1 (en) | 2013-11-27 | 2017-06-06 | Altera Corporation | Semiconductor device including a resistor metallic layer and method of forming the same |
| US10103627B2 (en) | 2015-02-26 | 2018-10-16 | Altera Corporation | Packaged integrated circuit including a switch-mode regulator and method of forming the same |
| US9484431B1 (en) * | 2015-07-29 | 2016-11-01 | International Business Machines Corporation | Pure boron for silicide contact |
| JP7097952B2 (ja) * | 2017-08-29 | 2022-07-08 | マイクロン テクノロジー,インク. | 高バンド・ギャップ材料を含むストリング・ドライバを備えたデバイス及びシステム、並びに形成の方法 |
| JP2021141185A (ja) * | 2020-03-05 | 2021-09-16 | キオクシア株式会社 | 半導体記憶装置 |
Family Cites Families (20)
| Publication number | Priority date | Publication date | Assignee | Title |
|---|---|---|---|---|
| JP2927463B2 (ja) * | 1989-09-28 | 1999-07-28 | 株式会社日立製作所 | 半導体記憶装置 |
| JP3057268B2 (ja) * | 1991-06-27 | 2000-06-26 | ソニー株式会社 | 半導体メモリ装置及びその製法 |
| JP3058956B2 (ja) | 1991-09-30 | 2000-07-04 | 株式会社東芝 | 半導体装置およびその製造方法 |
| KR940009608B1 (ko) * | 1991-11-30 | 1994-10-15 | 삼성전자 주식회사 | 반도체 메모리장치 및 그 제조방법 |
| GB9219268D0 (en) * | 1992-09-11 | 1992-10-28 | Inmos Ltd | Semiconductor device incorporating a contact and manufacture thereof |
| JPH06177067A (ja) | 1992-12-04 | 1994-06-24 | Nec Corp | 半導体集積回路装置の製造方法 |
| JP2684979B2 (ja) * | 1993-12-22 | 1997-12-03 | 日本電気株式会社 | 半導体集積回路装置及びその製造方法 |
| US5612552A (en) * | 1994-03-31 | 1997-03-18 | Lsi Logic Corporation | Multilevel gate array integrated circuit structure with perpendicular access to all active device regions |
| US5670395A (en) * | 1996-04-29 | 1997-09-23 | Chartered Semiconductor Manufacturing Pte. Ltd. | Process for self-aligned twin wells without N-well and P-well height difference |
| JPH10163344A (ja) * | 1996-12-05 | 1998-06-19 | Hitachi Ltd | 半導体集積回路装置およびその製造方法 |
| US5804477A (en) * | 1997-02-24 | 1998-09-08 | Integrated Device Technology, Inc. | Method of making a 6-transistor compact static ram cell |
| JP3807836B2 (ja) * | 1997-11-28 | 2006-08-09 | 株式会社ルネサステクノロジ | 半導体装置および半導体装置の製造方法 |
| US6271542B1 (en) * | 1997-12-08 | 2001-08-07 | International Business Machines Corporation | Merged logic and memory combining thin film and bulk Si transistors |
| US6184073B1 (en) * | 1997-12-23 | 2001-02-06 | Motorola, Inc. | Process for forming a semiconductor device having an interconnect or conductive film electrically insulated from a conductive member or region |
| JP3467416B2 (ja) | 1998-04-20 | 2003-11-17 | Necエレクトロニクス株式会社 | 半導体記憶装置及びその製造方法 |
| US6239491B1 (en) * | 1998-05-18 | 2001-05-29 | Lsi Logic Corporation | Integrated circuit structure with thin dielectric between at least local interconnect level and first metal interconnect level, and process for making same |
| JP2000200838A (ja) | 1998-10-30 | 2000-07-18 | Seiko Epson Corp | 半導体記憶装置およびその製造方法 |
| JP2000188340A (ja) * | 1998-12-21 | 2000-07-04 | Mitsubishi Electric Corp | スタティック型半導体記憶装置およびその製造方法 |
| JP2000200886A (ja) * | 1999-01-07 | 2000-07-18 | Hitachi Ltd | 半導体集積回路装置およびその製造方法 |
| JP2000208436A (ja) | 1999-01-12 | 2000-07-28 | Sony Corp | 半導体装置およびその製造方法 |
-
2001
- 2001-04-27 JP JP2001131542A patent/JP4570811B2/ja not_active Expired - Fee Related
-
2002
- 2002-04-16 TW TW091107725A patent/TW543087B/zh not_active IP Right Cessation
- 2002-04-25 US US10/131,206 patent/US6765272B2/en not_active Expired - Fee Related
- 2002-04-27 KR KR1020020023240A patent/KR20020083513A/ko not_active Ceased
Also Published As
| Publication number | Publication date |
|---|---|
| TW543087B (en) | 2003-07-21 |
| US20020158272A1 (en) | 2002-10-31 |
| KR20020083513A (ko) | 2002-11-02 |
| JP2002329798A (ja) | 2002-11-15 |
| US6765272B2 (en) | 2004-07-20 |
Similar Documents
| Publication | Publication Date | Title |
|---|---|---|
| JP4570811B2 (ja) | 半導体装置 | |
| JP4044721B2 (ja) | 半導体集積回路装置の製造方法 | |
| US5025301A (en) | DRAM which uses MISFETS in the peripheral circuit | |
| US20080179676A1 (en) | Semiconductor memory device | |
| JP2002289703A (ja) | 半導体記憶装置およびその製造方法 | |
| KR100306931B1 (ko) | 반도체 집적회로장치 및 그 제조방법 | |
| US7045864B2 (en) | Semiconductor integrated circuit device | |
| US6900513B2 (en) | Semiconductor memory device and manufacturing method thereof | |
| JP3270250B2 (ja) | 半導体記憶装置及びその製造方法 | |
| US7410843B2 (en) | Methods for fabricating reduced floating body effect static random access memory cells | |
| JP5507287B2 (ja) | 半導体装置及びその製造方法 | |
| JP2689923B2 (ja) | 半導体装置およびその製造方法 | |
| JP2000174225A (ja) | 半導体集積回路装置およびその製造方法 | |
| JP3974789B2 (ja) | 半導体構造およびその処理方法 | |
| JP3307612B2 (ja) | 半導体装置の製造方法 | |
| US7332390B2 (en) | Semiconductor memory device and fabrication thereof | |
| JP3751796B2 (ja) | 半導体集積回路装置の製造方法 | |
| JP2959129B2 (ja) | Sram装置およびその製造方法 | |
| JP3070537B2 (ja) | 半導体装置およびその製造方法 | |
| JP2003046087A (ja) | 半導体集積回路 | |
| JPWO1997005652A1 (ja) | Sram装置およびその製造方法 | |
| KR20050024099A (ko) | 에스램 소자의 제조방법 및 그에 의해 제조된 에스램 소자 | |
| JP2621824B2 (ja) | 半導体装置の製造方法 | |
| KR100525900B1 (ko) | 스태틱 랜덤 액세스 메모리 셀 및 그 제조 방법 | |
| JP2003031697A (ja) | スタティック型ランダムアクセスメモリ装置及びその製造方法 |
Legal Events
| Date | Code | Title | Description |
|---|---|---|---|
| RD03 | Notification of appointment of power of attorney |
Free format text: JAPANESE INTERMEDIATE CODE: A7423 Effective date: 20041126 |
|
| RD04 | Notification of resignation of power of attorney |
Free format text: JAPANESE INTERMEDIATE CODE: A7424 Effective date: 20041126 |
|
| RD04 | Notification of resignation of power of attorney |
Free format text: JAPANESE INTERMEDIATE CODE: A7424 Effective date: 20060125 |
|
| A621 | Written request for application examination |
Free format text: JAPANESE INTERMEDIATE CODE: A621 Effective date: 20080319 |
|
| A131 | Notification of reasons for refusal |
Free format text: JAPANESE INTERMEDIATE CODE: A131 Effective date: 20100511 |
|
| A977 | Report on retrieval |
Free format text: JAPANESE INTERMEDIATE CODE: A971007 Effective date: 20100513 |
|
| A521 | Request for written amendment filed |
Free format text: JAPANESE INTERMEDIATE CODE: A523 Effective date: 20100702 |
|
| TRDD | Decision of grant or rejection written | ||
| A01 | Written decision to grant a patent or to grant a registration (utility model) |
Free format text: JAPANESE INTERMEDIATE CODE: A01 Effective date: 20100804 |
|
| A01 | Written decision to grant a patent or to grant a registration (utility model) |
Free format text: JAPANESE INTERMEDIATE CODE: A01 |
|
| A61 | First payment of annual fees (during grant procedure) |
Free format text: JAPANESE INTERMEDIATE CODE: A61 Effective date: 20100811 |
|
| FPAY | Renewal fee payment (event date is renewal date of database) |
Free format text: PAYMENT UNTIL: 20130820 Year of fee payment: 3 |
|
| R150 | Certificate of patent or registration of utility model |
Free format text: JAPANESE INTERMEDIATE CODE: R150 |
|
| LAPS | Cancellation because of no payment of annual fees |