JP2010143532A - 空気入りタイヤ - Google Patents
空気入りタイヤ Download PDFInfo
- Publication number
- JP2010143532A JP2010143532A JP2008325970A JP2008325970A JP2010143532A JP 2010143532 A JP2010143532 A JP 2010143532A JP 2008325970 A JP2008325970 A JP 2008325970A JP 2008325970 A JP2008325970 A JP 2008325970A JP 2010143532 A JP2010143532 A JP 2010143532A
- Authority
- JP
- Japan
- Prior art keywords
- zigzag
- side region
- siping
- tire
- axial direction
- Prior art date
- Legal status (The legal status is an assumption and is not a legal conclusion. Google has not performed a legal analysis and makes no representation as to the accuracy of the status listed.)
- Granted
Links
Images
Classifications
-
- B—PERFORMING OPERATIONS; TRANSPORTING
- B60—VEHICLES IN GENERAL
- B60C—VEHICLE TYRES; TYRE INFLATION; TYRE CHANGING; CONNECTING VALVES TO INFLATABLE ELASTIC BODIES IN GENERAL; DEVICES OR ARRANGEMENTS RELATED TO TYRES
- B60C11/00—Tyre tread bands; Tread patterns; Anti-skid inserts
- B60C11/03—Tread patterns
- B60C11/12—Tread patterns characterised by the use of narrow slits or incisions, e.g. sipes
- B60C11/1236—Tread patterns characterised by the use of narrow slits or incisions, e.g. sipes with special arrangements in the tread pattern
-
- B—PERFORMING OPERATIONS; TRANSPORTING
- B60—VEHICLES IN GENERAL
- B60C—VEHICLE TYRES; TYRE INFLATION; TYRE CHANGING; CONNECTING VALVES TO INFLATABLE ELASTIC BODIES IN GENERAL; DEVICES OR ARRANGEMENTS RELATED TO TYRES
- B60C11/00—Tyre tread bands; Tread patterns; Anti-skid inserts
- B60C11/03—Tread patterns
- B60C11/0304—Asymmetric patterns
-
- B—PERFORMING OPERATIONS; TRANSPORTING
- B60—VEHICLES IN GENERAL
- B60C—VEHICLE TYRES; TYRE INFLATION; TYRE CHANGING; CONNECTING VALVES TO INFLATABLE ELASTIC BODIES IN GENERAL; DEVICES OR ARRANGEMENTS RELATED TO TYRES
- B60C11/00—Tyre tread bands; Tread patterns; Anti-skid inserts
- B60C11/03—Tread patterns
- B60C11/12—Tread patterns characterised by the use of narrow slits or incisions, e.g. sipes
-
- B—PERFORMING OPERATIONS; TRANSPORTING
- B60—VEHICLES IN GENERAL
- B60C—VEHICLE TYRES; TYRE INFLATION; TYRE CHANGING; CONNECTING VALVES TO INFLATABLE ELASTIC BODIES IN GENERAL; DEVICES OR ARRANGEMENTS RELATED TO TYRES
- B60C11/00—Tyre tread bands; Tread patterns; Anti-skid inserts
- B60C11/03—Tread patterns
- B60C11/12—Tread patterns characterised by the use of narrow slits or incisions, e.g. sipes
- B60C11/1204—Tread patterns characterised by the use of narrow slits or incisions, e.g. sipes with special shape of the sipe
- B60C2011/1213—Tread patterns characterised by the use of narrow slits or incisions, e.g. sipes with special shape of the sipe sinusoidal or zigzag at the tread surface
-
- B—PERFORMING OPERATIONS; TRANSPORTING
- B60—VEHICLES IN GENERAL
- B60C—VEHICLE TYRES; TYRE INFLATION; TYRE CHANGING; CONNECTING VALVES TO INFLATABLE ELASTIC BODIES IN GENERAL; DEVICES OR ARRANGEMENTS RELATED TO TYRES
- B60C11/00—Tyre tread bands; Tread patterns; Anti-skid inserts
- B60C11/03—Tread patterns
- B60C11/12—Tread patterns characterised by the use of narrow slits or incisions, e.g. sipes
- B60C11/1204—Tread patterns characterised by the use of narrow slits or incisions, e.g. sipes with special shape of the sipe
- B60C2011/1227—Tread patterns characterised by the use of narrow slits or incisions, e.g. sipes with special shape of the sipe having different shape within the pattern
-
- B—PERFORMING OPERATIONS; TRANSPORTING
- B60—VEHICLES IN GENERAL
- B60C—VEHICLE TYRES; TYRE INFLATION; TYRE CHANGING; CONNECTING VALVES TO INFLATABLE ELASTIC BODIES IN GENERAL; DEVICES OR ARRANGEMENTS RELATED TO TYRES
- B60C11/00—Tyre tread bands; Tread patterns; Anti-skid inserts
- B60C11/03—Tread patterns
- B60C11/12—Tread patterns characterised by the use of narrow slits or incisions, e.g. sipes
- B60C11/1272—Width of the sipe
- B60C2011/1286—Width of the sipe being different from sipe to sipe
Landscapes
- Engineering & Computer Science (AREA)
- Mechanical Engineering (AREA)
- Tires In General (AREA)
Abstract
【解決手段】ラウンドショルダのタイヤであって、トレッド部2が、縦主溝3と横溝4とによりブロック5に区分され、かつブロック5にジグザグ部8を有するサイピング6が形成される。トレッド部2を、タイヤ軸方向最外側の外の縦主溝3oによりショルダー側領域Yshと、クラウン側領域Ycrとに区分したとき、ショルダー側領域に配されるサイピング6のジグザグ部8におけるジグザグの振幅およびジグザグのピッチは、クラウン側領域Ycrに配されるサイピング6におけるジグザグの振幅およびジグザグのピッチよりも大である。前記ショルダー側領域に配されるサイピング6のタイヤ軸方向に対する角度は、Ycrに配されるサイピング6の角度よりも小である。
【選択図】図2
Description
(1)ジグザグの振幅及びピッチが大きい場合、ジグザグの噛み合わせが強固となってブロック剛性が相対的に高まり、逆に振幅及びピッチが小さいとブロック剛性が緩和されること:及び
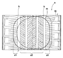
(2)図7に示すように、トレッド部aを、タイヤ軸方向最外側に配される外の縦主溝b、bによって、ショルダー側領域a1とクラウン側領域a2とに区分したとき、雪上走行においては、接地面積が大きいクラウン側領域a2の影響が大きく、逆に旋回時には、タイヤ軸方向の横力が強く作用するショルダー側領域a1の影響が大きいこと:が判明した。図中の符号f1は、雪上走行時の接地面形状を示し、符号f2は、ドライ路面での旋回時の接地面形状を示す。
前記目的を達成するために、本願請求項1の発明は、トレッド部に、タイヤ周方向に連続してのびかつタイヤ軸方向最外側に配される一対の外の縦主溝を含む縦主溝と、この縦主溝に交わる向きの横溝とを設けることにより、前記トレッド部をブロックに区分し、かつ該ブロックにサイピングを形成した空気入りタイヤであって、
トレッド接地端を含むタイヤショルダは、タイヤ子午断面における輪郭線が曲率半径25mm以上の円弧曲線からなるラウンドショルダ形状をなし、
かつ前記サイピングは、そのサイプ長さ方向にジグザグ状にのびるジグザグ部を有し、
しかも前記外の縦主溝は、トレッド部を、該外の縦主溝よりもタイヤ軸方向外側のショルダー側領域と、外の縦主溝間のクラウン側領域とに区分するとともに、
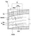
前記サイピングのうちで、前記ショルダー側領域に配されるサイピングのジグザグ部におけるジグザグの振幅WshおよびジグザグのピッチPshは、前記クラウン側領域に配されるサイピングのジグザグ部におけるジグザグの振幅WcrおよびジグザグのピッチPcrよりも大であり、
しかも前記ショルダー側領域に配されるサイピングのタイヤ軸方向に対する角度θshは、前記クラウン側領域に配されるサイピングのタイヤ軸方向に対する角度θcrより小であることを特徴としている。
前記内のクラウン側領域部分に配されるサイピングのタイヤ軸方向に対する傾斜の向きは、前記外のクラウン側領域部分に配されるサイピングのタイヤ軸方向に対する傾斜の向きと相違することを特徴としている。
かつ前記ジグザグ部は、前記ジグザグ中心線との交差角度が大な第1のジグザグ辺と、ジグザグ中心線との交差角度が小な第2のジグザグ辺とが交互に連なる鋸歯状をなすとともに、
前記第1のジグザグ辺のタイヤ軸方向に対する傾斜の向きは、ジグザグ中心線のタイヤ軸方向に対する傾斜の向きと相違し、第2のジグザグ辺のタイヤ軸方向に対する傾斜の向きは、ジグザグ中心線のタイヤ軸方向に対する傾斜の向きと同方向であることを特徴としている。
外のクラウン側領域部分Ycr2においては、サイピング6cr2のジグザグ中心線iは右上りに傾斜し、又横溝4mは左上りに傾斜している。特に本例では、サイピング6cr1のジグザグ中心線iと横溝4cとが30°以上の角度で交差し、又サイピング6cr2のジグザグ中心線iと横溝4mとが30°以上の角度で交差している。このような構成とすることで、クラウン側領域Ycrのブロック剛性を、バランス良く緩和でき、雪上性能にとって有利となる。
外の交差部Koから内の交差部Kiに向かって、滑らかに、及び/又は段階的に増加している。
(1)ドライ操縦安定性:
下記の条件にて全輪に供試タイヤを装着した車両を使用し、ドライアスファルト路面のタイヤテストコースを走行した時の操縦安定性(レーンチェンジ時の安定性、及び旋回性)を、ドライバーによる官能により、比較例1を100とする指数にて評価した。指数の大なほど良好である。
内圧:200kPa
車両:乗用車(2000ccのFR車)
(2)雪上性能:
上記のテスト車両を用い、雪路タイヤテストコースを走行した時の操縦安定性(トラクション性、レーンチェンジ時の安定性、旋回性)を、ドライバーによる官能により、比較例1を100とする指数にて評価した。指数の大なほど良好である。
3 縦主溝
3i 内の縦主溝
3o 外の縦主溝
4 横溝
5 ブロック
6 サイピング
6sh サイピング
6cr サイピング
6cr1 サイピング
6cr2 サイピング
8 ジグザグ部
8a 第1のジグザグ辺
8b 第2のジグザグ辺
i ジグザグ中心線
K 交差部
SH タイヤショルダ
Te トレッド接地端
Ysh ショルダー側領域
Ycr クラウン側領域
Ycr1 外のクラウン側領域部分
Ycr2 内のクラウン側領域部分
Claims (7)
- トレッド部に、タイヤ周方向に連続してのびかつタイヤ軸方向最外側に配される一対の外の縦主溝を含む縦主溝と、この縦主溝に交わる向きの横溝とを設けることにより、前記トレッド部をブロックに区分し、かつ該ブロックにサイピングを形成した空気入りタイヤであって、
トレッド接地端を含むタイヤショルダは、タイヤ子午断面における輪郭線が曲率半径25mm以上の円弧曲線からなるラウンドショルダ形状をなし、
かつ前記サイピングは、そのサイプ長さ方向にジグザグ状にのびるジグザグ部を有し、
しかも前記外の縦主溝は、トレッド部を、該外の縦主溝よりもタイヤ軸方向外側のショルダー側領域と、外の縦主溝間のクラウン側領域とに区分するとともに、
前記サイピングのうちで、前記ショルダー側領域に配されるサイピングのジグザグ部におけるジグザグの振幅WshおよびジグザグのピッチPshは、前記クラウン側領域に配されるサイピングのジグザグ部におけるジグザグの振幅WcrおよびジグザグのピッチPcrよりも大であり、
しかも前記ショルダー側領域に配されるサイピングのタイヤ軸方向に対する角度θshは、前記クラウン側領域に配されるサイピングのタイヤ軸方向に対する角度θcrより小であることを特徴とする空気入りタイヤ。 - 前記ショルダー側領域に配されるサイピングの前記ジグザグの振幅Wshと、前記クラウン側領域に配されるサイピングの前記ジグザグの振幅Wcrとの比(Wsh/Wcr)は1.2〜2.0、かつ前記ショルダー側領域に配されるサイピングのジグザグのピッチPshと、前記クラウン側領域に配されるサイピングの前記ジグザグのピッチPcrとの比(Psh/Pcr)は1.2〜3.0であることを特徴とする請求項1記載の空気入りタイヤ。
- 前記ショルダー側領域に配されるサイピングの前記角度θshは30°以下、前記クラウン側領域に配されるサイピングの前記角度θcrは15〜60°であることを特徴とする請求項1又は2記載の空気入りタイヤ。
- 前記縦主溝は、前記クラウン側領域に配される2本以上の内の縦主溝を含み、しかも該クラウン側領域は前記内の縦主溝間の内のクラウン側領域部分と、内の縦主溝と外の縦主溝との間の外のクラウン側領域部分とに区分されるとともに、
前記内のクラウン側領域部分に配されるサイピングのタイヤ軸方向に対する傾斜の向きは、前記外のクラウン側領域部分に配されるサイピングのタイヤ軸方向に対する傾斜の向きと相違することを特徴とする請求項1〜3記載の空気入りタイヤ。 - 前記ショルダー側領域に配されるサイピングの前記ジグザグ部は、そのジグザグ中心線のタイヤ軸方向に対する傾斜の向きが、前記ショルダー側領域に配される横溝のタイヤ軸方向に対する傾斜の向きと同方向であり、
かつ前記ジグザグ部は、前記ジグザグ中心線との交差角度が大な第1のジグザグ辺と、ジグザグ中心線との交差角度が小な第2のジグザグ辺とが交互に連なる鋸歯状をなすとともに、
前記第1のジグザグ辺のタイヤ軸方向に対する傾斜の向きは、ジグザグ中心線のタイヤ軸方向に対する傾斜の向きと相違し、第2のジグザグ辺のタイヤ軸方向に対する傾斜の向きは、ジグザグ中心線のタイヤ軸方向に対する傾斜の向きと同方向であることを特徴とする請求項1〜4記載の空気入りタイヤ。 - 前記トレッド部は、車両装着時にタイヤ赤道よりも車両外側となる外のトレッド半部分におけるランド比Loが、車両内側となる内のトレッド半部分におけるランド比Liよりも大であることを特徴とする請求項1〜5記載の空気入りタイヤ。
- 前記クラウン側領域に配される横溝は、そのタイヤ軸方向両端に、前記縦主溝と交差する交差部を有するとともに、車両装着時に車両外側となる外の交差部における前記横溝の溝巾Wyoは、車両内側となる内の交差部における前記横溝の溝巾Wyiよりも小であることを特徴とする請求項1〜6記載の空気入りタイヤ。
Priority Applications (6)
| Application Number | Priority Date | Filing Date | Title |
|---|---|---|---|
| JP2008325970A JP4759044B2 (ja) | 2008-12-22 | 2008-12-22 | 空気入りタイヤ |
| US12/612,721 US8578985B2 (en) | 2008-12-22 | 2009-11-05 | Pneumatic tire with sipes |
| EP09014498.1A EP2199111B1 (en) | 2008-12-22 | 2009-11-20 | Pneumatic tire with sipes |
| KR1020090114608A KR101581960B1 (ko) | 2008-12-22 | 2009-11-25 | 공기 타이어 |
| CN200910225699.0A CN101758745B (zh) | 2008-12-22 | 2009-11-27 | 充气轮胎 |
| RU2009147155/11A RU2508204C2 (ru) | 2008-12-22 | 2009-12-21 | Пневматическая шина со щелевидными дренажными канавками |
Applications Claiming Priority (1)
| Application Number | Priority Date | Filing Date | Title |
|---|---|---|---|
| JP2008325970A JP4759044B2 (ja) | 2008-12-22 | 2008-12-22 | 空気入りタイヤ |
Publications (2)
| Publication Number | Publication Date |
|---|---|
| JP2010143532A true JP2010143532A (ja) | 2010-07-01 |
| JP4759044B2 JP4759044B2 (ja) | 2011-08-31 |
Family
ID=42083926
Family Applications (1)
| Application Number | Title | Priority Date | Filing Date |
|---|---|---|---|
| JP2008325970A Expired - Fee Related JP4759044B2 (ja) | 2008-12-22 | 2008-12-22 | 空気入りタイヤ |
Country Status (6)
| Country | Link |
|---|---|
| US (1) | US8578985B2 (ja) |
| EP (1) | EP2199111B1 (ja) |
| JP (1) | JP4759044B2 (ja) |
| KR (1) | KR101581960B1 (ja) |
| CN (1) | CN101758745B (ja) |
| RU (1) | RU2508204C2 (ja) |
Cited By (8)
| Publication number | Priority date | Publication date | Assignee | Title |
|---|---|---|---|---|
| JP4905599B1 (ja) * | 2011-04-27 | 2012-03-28 | 横浜ゴム株式会社 | 空気入りタイヤ |
| JP2012218596A (ja) * | 2011-04-08 | 2012-11-12 | Toyo Tire & Rubber Co Ltd | 空気入りタイヤ |
| JP2012250610A (ja) * | 2011-06-02 | 2012-12-20 | Yokohama Rubber Co Ltd:The | 空気入りタイヤ |
| JP2013028314A (ja) * | 2011-07-29 | 2013-02-07 | Sumitomo Rubber Ind Ltd | 空気入りタイヤ |
| WO2013099675A1 (ja) * | 2011-12-28 | 2013-07-04 | 住友ゴム工業株式会社 | 空気入りタイヤ |
| KR20130127922A (ko) * | 2012-05-15 | 2013-11-25 | 스미토모 고무 고교 가부시키가이샤 | 공기 타이어 |
| JP2015131642A (ja) * | 2015-04-20 | 2015-07-23 | 株式会社ブリヂストン | 空気入りタイヤ |
| JP2021094922A (ja) * | 2019-12-13 | 2021-06-24 | Toyo Tire株式会社 | 空気入りタイヤ |
Families Citing this family (19)
| Publication number | Priority date | Publication date | Assignee | Title |
|---|---|---|---|---|
| JP5012357B2 (ja) * | 2007-09-20 | 2012-08-29 | 横浜ゴム株式会社 | 空気入りタイヤ |
| DE102011000813A1 (de) * | 2011-02-18 | 2012-08-23 | Continental Reifen Deutschland Gmbh | Laufstreifenprofil eines Fahrzeugluftreifens |
| DE102011055915A1 (de) * | 2011-12-01 | 2013-06-06 | Continental Reifen Deutschland Gmbh | Fahrzeugluftreifen |
| JP6329010B2 (ja) * | 2014-06-13 | 2018-05-23 | 株式会社ブリヂストン | 空気入りタイヤ |
| DE102014226449A1 (de) * | 2014-12-18 | 2016-06-23 | Continental Reifen Deutschland Gmbh | Fahrzeugluftreifen |
| FR3042738B1 (fr) * | 2015-10-27 | 2017-11-24 | Michelin & Cie | Pneumatique a couches de travail comprenant des monofilaments et a bande de roulement rainuree |
| JP6701919B2 (ja) * | 2016-04-26 | 2020-05-27 | 横浜ゴム株式会社 | 空気入りタイヤ |
| JP6885170B2 (ja) * | 2017-04-10 | 2021-06-09 | 住友ゴム工業株式会社 | 空気入りタイヤ |
| JP6859175B2 (ja) * | 2017-04-27 | 2021-04-14 | Toyo Tire株式会社 | 空気入りタイヤ |
| US20200156417A1 (en) * | 2017-06-12 | 2020-05-21 | Pirelli Tyre S.P.A. | Tyre for vehicle wheels |
| JP2019104415A (ja) * | 2017-12-13 | 2019-06-27 | Toyo Tire株式会社 | 空気入りタイヤ |
| JP7035740B2 (ja) * | 2018-04-06 | 2022-03-15 | 住友ゴム工業株式会社 | タイヤ |
| CN108482019B (zh) * | 2018-05-30 | 2023-10-17 | 万达集团股份有限公司 | 一种高排水性的花纹轮胎 |
| EP3744537B1 (en) * | 2019-05-31 | 2021-12-08 | Sumitomo Rubber Industries, Ltd. | Tire |
| DE102019220135A1 (de) * | 2019-12-19 | 2021-06-24 | Continental Reifen Deutschland Gmbh | Fahrzeugluftreifen |
| CN111216497B (zh) * | 2020-02-28 | 2022-05-31 | 安徽佳通乘用子午线轮胎有限公司 | 一种具有锯齿形胎面花纹的冬季轮胎 |
| DE102020208125A1 (de) * | 2020-06-30 | 2021-12-30 | Continental Reifen Deutschland Gmbh | Fahrzeugluftreifen |
| JP7610971B2 (ja) * | 2020-12-21 | 2025-01-09 | Toyo Tire株式会社 | 空気入りタイヤ |
| JP2023066314A (ja) * | 2021-10-28 | 2023-05-15 | 株式会社ブリヂストン | タイヤ |
Citations (4)
| Publication number | Priority date | Publication date | Assignee | Title |
|---|---|---|---|---|
| JPH11310013A (ja) * | 1998-04-28 | 1999-11-09 | Toyo Tire & Rubber Co Ltd | 空気入りラジアルタイヤ |
| JP2005297880A (ja) * | 2004-04-15 | 2005-10-27 | Bridgestone Corp | 空気入りタイヤ |
| JP2008155685A (ja) * | 2006-12-21 | 2008-07-10 | Toyo Tire & Rubber Co Ltd | 空気入りタイヤ |
| JP2008201319A (ja) * | 2007-02-21 | 2008-09-04 | Sumitomo Rubber Ind Ltd | スタッドレスタイヤ |
Family Cites Families (11)
| Publication number | Priority date | Publication date | Assignee | Title |
|---|---|---|---|---|
| DE3540668C2 (de) * | 1985-11-16 | 1994-09-22 | Continental Ag | Fahrzeugluftreifen |
| JPS62265006A (ja) * | 1986-05-14 | 1987-11-17 | Bridgestone Corp | 空気入りタイヤ |
| JPS63305009A (ja) * | 1987-06-03 | 1988-12-13 | Yokohama Rubber Co Ltd:The | トレツドパタ−ン |
| JP2973024B2 (ja) | 1990-10-22 | 1999-11-08 | 横浜ゴム株式会社 | 空気入りタイヤ |
| JPH06239110A (ja) * | 1993-02-19 | 1994-08-30 | Ohtsu Tire & Rubber Co Ltd :The | 自動車用空気入りタイヤ |
| JP3878751B2 (ja) * | 1998-09-22 | 2007-02-07 | 横浜ゴム株式会社 | 氷雪路用空気入りタイヤ |
| JP2005041393A (ja) | 2003-07-24 | 2005-02-17 | Bridgestone Corp | 空気入りタイヤ |
| DE10352149A1 (de) | 2003-11-04 | 2005-06-02 | Continental Aktiengesellschaft | Fahrzeugluftreifen |
| JP4294532B2 (ja) * | 2004-04-09 | 2009-07-15 | 株式会社ブリヂストン | 空気入りタイヤ |
| WO2006022120A1 (ja) | 2004-08-25 | 2006-03-02 | Bridgestone Corporation | 空気入りタイヤ |
| DE102005058363A1 (de) | 2005-12-06 | 2007-06-14 | Continental Aktiengesellschaft | Laufstreifenprofil |
-
2008
- 2008-12-22 JP JP2008325970A patent/JP4759044B2/ja not_active Expired - Fee Related
-
2009
- 2009-11-05 US US12/612,721 patent/US8578985B2/en not_active Expired - Fee Related
- 2009-11-20 EP EP09014498.1A patent/EP2199111B1/en not_active Not-in-force
- 2009-11-25 KR KR1020090114608A patent/KR101581960B1/ko not_active Expired - Fee Related
- 2009-11-27 CN CN200910225699.0A patent/CN101758745B/zh not_active Expired - Fee Related
- 2009-12-21 RU RU2009147155/11A patent/RU2508204C2/ru active
Patent Citations (4)
| Publication number | Priority date | Publication date | Assignee | Title |
|---|---|---|---|---|
| JPH11310013A (ja) * | 1998-04-28 | 1999-11-09 | Toyo Tire & Rubber Co Ltd | 空気入りラジアルタイヤ |
| JP2005297880A (ja) * | 2004-04-15 | 2005-10-27 | Bridgestone Corp | 空気入りタイヤ |
| JP2008155685A (ja) * | 2006-12-21 | 2008-07-10 | Toyo Tire & Rubber Co Ltd | 空気入りタイヤ |
| JP2008201319A (ja) * | 2007-02-21 | 2008-09-04 | Sumitomo Rubber Ind Ltd | スタッドレスタイヤ |
Cited By (14)
| Publication number | Priority date | Publication date | Assignee | Title |
|---|---|---|---|---|
| JP2012218596A (ja) * | 2011-04-08 | 2012-11-12 | Toyo Tire & Rubber Co Ltd | 空気入りタイヤ |
| US9016338B2 (en) | 2011-04-27 | 2015-04-28 | The Yokohama Rubber Co., Ltd. | Pneumatic tire |
| JP4905599B1 (ja) * | 2011-04-27 | 2012-03-28 | 横浜ゴム株式会社 | 空気入りタイヤ |
| JP2012250610A (ja) * | 2011-06-02 | 2012-12-20 | Yokohama Rubber Co Ltd:The | 空気入りタイヤ |
| JP2013028314A (ja) * | 2011-07-29 | 2013-02-07 | Sumitomo Rubber Ind Ltd | 空気入りタイヤ |
| WO2013099675A1 (ja) * | 2011-12-28 | 2013-07-04 | 住友ゴム工業株式会社 | 空気入りタイヤ |
| JP2013139168A (ja) * | 2011-12-28 | 2013-07-18 | Sumitomo Rubber Ind Ltd | 空気入りタイヤ |
| US9809060B2 (en) | 2011-12-28 | 2017-11-07 | Sumitomo Rubber Industries, Ltd. | Pneumatic tire |
| KR20130127922A (ko) * | 2012-05-15 | 2013-11-25 | 스미토모 고무 고교 가부시키가이샤 | 공기 타이어 |
| JP2013237360A (ja) * | 2012-05-15 | 2013-11-28 | Sumitomo Rubber Ind Ltd | 空気入りタイヤ |
| KR101857830B1 (ko) * | 2012-05-15 | 2018-06-20 | 스미토모 고무 고교 가부시키가이샤 | 공기 타이어 |
| JP2015131642A (ja) * | 2015-04-20 | 2015-07-23 | 株式会社ブリヂストン | 空気入りタイヤ |
| JP2021094922A (ja) * | 2019-12-13 | 2021-06-24 | Toyo Tire株式会社 | 空気入りタイヤ |
| JP7474046B2 (ja) | 2019-12-13 | 2024-04-24 | Toyo Tire株式会社 | 空気入りタイヤ |
Also Published As
| Publication number | Publication date |
|---|---|
| KR20100073983A (ko) | 2010-07-01 |
| US8578985B2 (en) | 2013-11-12 |
| EP2199111B1 (en) | 2014-04-02 |
| KR101581960B1 (ko) | 2015-12-31 |
| RU2508204C2 (ru) | 2014-02-27 |
| JP4759044B2 (ja) | 2011-08-31 |
| RU2009147155A (ru) | 2011-06-27 |
| US20100154952A1 (en) | 2010-06-24 |
| CN101758745B (zh) | 2014-03-05 |
| EP2199111A2 (en) | 2010-06-23 |
| CN101758745A (zh) | 2010-06-30 |
| EP2199111A3 (en) | 2013-03-06 |
Similar Documents
| Publication | Publication Date | Title |
|---|---|---|
| JP4759044B2 (ja) | 空気入りタイヤ | |
| JP6346630B2 (ja) | 空気入りタイヤ | |
| US10894446B2 (en) | Tire | |
| KR101793632B1 (ko) | 공기 타이어 | |
| JP6852408B2 (ja) | タイヤ | |
| JP7081229B2 (ja) | タイヤ | |
| JP6724379B2 (ja) | 空気入りタイヤ | |
| JP2017190123A (ja) | 空気入りタイヤ | |
| JP5932761B2 (ja) | 空気入りタイヤ | |
| CN108688411B (zh) | 充气轮胎 | |
| JP6790495B2 (ja) | タイヤ | |
| JP6558297B2 (ja) | 空気入りタイヤ | |
| KR20140090064A (ko) | 공기 타이어 | |
| KR20130046366A (ko) | 공기 타이어 | |
| JP2016113066A (ja) | 空気入りタイヤ | |
| JP7081277B2 (ja) | タイヤ | |
| EP3078505B1 (en) | Tire for winter | |
| JP2014177262A (ja) | 空気入りタイヤ | |
| CN107878120B (zh) | 充气轮胎 | |
| JP4025120B2 (ja) | 空気入りタイヤ | |
| CN106255604B (zh) | 充气轮胎 | |
| JP5282479B2 (ja) | 空気入りタイヤ | |
| JP6551028B2 (ja) | 空気入りタイヤ | |
| JP2013103567A (ja) | 空気入りタイヤ | |
| JP6565208B2 (ja) | 空気入りタイヤ |
Legal Events
| Date | Code | Title | Description |
|---|---|---|---|
| A977 | Report on retrieval |
Free format text: JAPANESE INTERMEDIATE CODE: A971007 Effective date: 20101111 |
|
| A131 | Notification of reasons for refusal |
Free format text: JAPANESE INTERMEDIATE CODE: A131 Effective date: 20101130 |
|
| A521 | Request for written amendment filed |
Free format text: JAPANESE INTERMEDIATE CODE: A523 Effective date: 20110126 |
|
| A131 | Notification of reasons for refusal |
Free format text: JAPANESE INTERMEDIATE CODE: A131 Effective date: 20110301 |
|
| A521 | Request for written amendment filed |
Free format text: JAPANESE INTERMEDIATE CODE: A523 Effective date: 20110304 |
|
| TRDD | Decision of grant or rejection written | ||
| A01 | Written decision to grant a patent or to grant a registration (utility model) |
Free format text: JAPANESE INTERMEDIATE CODE: A01 Effective date: 20110524 |
|
| A01 | Written decision to grant a patent or to grant a registration (utility model) |
Free format text: JAPANESE INTERMEDIATE CODE: A01 |
|
| A61 | First payment of annual fees (during grant procedure) |
Free format text: JAPANESE INTERMEDIATE CODE: A61 Effective date: 20110603 |
|
| R150 | Certificate of patent or registration of utility model |
Ref document number: 4759044 Country of ref document: JP Free format text: JAPANESE INTERMEDIATE CODE: R150 Free format text: JAPANESE INTERMEDIATE CODE: R150 |
|
| FPAY | Renewal fee payment (event date is renewal date of database) |
Free format text: PAYMENT UNTIL: 20140610 Year of fee payment: 3 |
|
| R250 | Receipt of annual fees |
Free format text: JAPANESE INTERMEDIATE CODE: R250 |
|
| R250 | Receipt of annual fees |
Free format text: JAPANESE INTERMEDIATE CODE: R250 |
|
| R250 | Receipt of annual fees |
Free format text: JAPANESE INTERMEDIATE CODE: R250 |
|
| R250 | Receipt of annual fees |
Free format text: JAPANESE INTERMEDIATE CODE: R250 |
|
| R250 | Receipt of annual fees |
Free format text: JAPANESE INTERMEDIATE CODE: R250 |
|
| R250 | Receipt of annual fees |
Free format text: JAPANESE INTERMEDIATE CODE: R250 |
|
| R250 | Receipt of annual fees |
Free format text: JAPANESE INTERMEDIATE CODE: R250 |
|
| R250 | Receipt of annual fees |
Free format text: JAPANESE INTERMEDIATE CODE: R250 |
|
| R250 | Receipt of annual fees |
Free format text: JAPANESE INTERMEDIATE CODE: R250 |
|
| LAPS | Cancellation because of no payment of annual fees |
