JP2010021563A - 気密封止用キャップおよびその製造方法 - Google Patents

気密封止用キャップおよびその製造方法 Download PDF

Info

Publication number
JP2010021563A
JP2010021563A JP2009214707A JP2009214707A JP2010021563A JP 2010021563 A JP2010021563 A JP 2010021563A JP 2009214707 A JP2009214707 A JP 2009214707A JP 2009214707 A JP2009214707 A JP 2009214707A JP 2010021563 A JP2010021563 A JP 2010021563A
Authority
JP
Japan
Prior art keywords
plating layer
sealing cap
hermetic sealing
sealing
cap member
Prior art date
Legal status (The legal status is an assumption and is not a legal conclusion. Google has not performed a legal analysis and makes no representation as to the accuracy of the status listed.)
Granted
Application number
JP2009214707A
Other languages
English (en)
Other versions
JP5378921B2 (ja
Inventor
Shigeji Matsubara
茂次 松原
Masaharu Yamamoto
雅春 山本
Toshiaki Fukusako
俊昭 福迫
Yoshito Tagashira
良人 田頭
Current Assignee (The listed assignees may be inaccurate. Google has not performed a legal analysis and makes no representation or warranty as to the accuracy of the list.)
Proterial Metals Ltd
Original Assignee
Neomax Materials Co Ltd
Priority date (The priority date is an assumption and is not a legal conclusion. Google has not performed a legal analysis and makes no representation as to the accuracy of the date listed.)
Filing date
Publication date
Application filed by Neomax Materials Co Ltd filed Critical Neomax Materials Co Ltd
Priority to JP2009214707A priority Critical patent/JP5378921B2/ja
Publication of JP2010021563A publication Critical patent/JP2010021563A/ja
Application granted granted Critical
Publication of JP5378921B2 publication Critical patent/JP5378921B2/ja
Anticipated expiration legal-status Critical
Expired - Lifetime legal-status Critical Current

Links

Images

Classifications

    • H10W76/10
    • H10W95/00
    • H10W76/12
    • H10W76/15
    • H10W76/60
    • H10W72/07251
    • H10W72/20
    • YGENERAL TAGGING OF NEW TECHNOLOGICAL DEVELOPMENTS; GENERAL TAGGING OF CROSS-SECTIONAL TECHNOLOGIES SPANNING OVER SEVERAL SECTIONS OF THE IPC; TECHNICAL SUBJECTS COVERED BY FORMER USPC CROSS-REFERENCE ART COLLECTIONS [XRACs] AND DIGESTS
    • Y10TECHNICAL SUBJECTS COVERED BY FORMER USPC
    • Y10STECHNICAL SUBJECTS COVERED BY FORMER USPC CROSS-REFERENCE ART COLLECTIONS [XRACs] AND DIGESTS
    • Y10S257/00Active solid-state devices, e.g. transistors, solid-state diodes
    • Y10S257/924Active solid-state devices, e.g. transistors, solid-state diodes with passive device, e.g. capacitor, or battery, as integral part of housing or housing element, e.g. cap

Landscapes

  • Piezo-Electric Or Mechanical Vibrators, Or Delay Or Filter Circuits (AREA)

Abstract

【課題】封止性を向上させることができるとともに、小型化を図ることが可能な気密封止用キャップを提供する。
【解決手段】この気密封止用キャップは、電子部品34を収納するための電子部品収納用パッケージに用いられる気密封止用キャップであって、キャビティ部(凹部)と、キャビティ部の両端部に設けられたフランジ部41aとを備え、フランジ部41aの封止側内面コーナ部41bの曲率半径が0mmよりも大きく、かつ、0.1mm以下である。
【選択図】図5

Description

この発明は、気密封止用キャップおよびその製造方法に関し、特に、電子部品を収納するための電子部品収納用パッケージに用いられる気密封止用キャップおよびその製造方法に関する。
従来、携帯電話の雑音除去などに用いられるSAWフィルタ(表面弾性波フィルタ)や水晶振動子などの電子部品の気密封止に用いるSMD(Surface Mount Device)パッケージ(表面実装型デバイスパッケージ)などの電子部品収納用パッケージが知られている(たとえば、特許文献1参照)。そして、このような電子部品収納用パッケージを気密封止する際には、気密封止用キャップが用いられる。
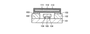
図17は、従来の一例による電子部品を収納するための電子部品収納用パッケージの全体構成を示した断面図である。図17を参照して、従来の一例による電子部品収納用パッケージでは、絶縁性のセラミック基板101の端部表面上に、収納空間を構成するように、絶縁性のセラミック枠体102が形成されている。また、セラミック枠体102によって囲まれた収納空間内に位置するセラミック基板101上には、バンプ104を介して、水晶振動子などの電子部品105が取り付けられている。また、セラミック枠体102上には、封止材としての半田層103を介して、気密封止用キャップ部材111が接合されている。
気密封止用キャップ部材111の表面の全体を覆うように、ニッケルメッキ層112が形成されている。また、ニッケルメッキ層112の表面の全体を覆うように金メッキ層113が形成されている。金メッキ層113は、金−錫半田からなる半田層103との接合性をよくするために設けられており、ニッケルメッキ層112は、金メッキ層113の下地メッキ層として設けられている。
次に、図18および図19を参照して、図17に示した電子部品収納用パッケージに用いられる気密封止用パッケージの製造プロセスについて説明する。
まず、図18に示すように、プレス加工によって板状の鉄−ニッケル−コバルト(Fe−Ni−Co)合金からなる気密封止用キャップ部材111を形成する。そして、気密封止用キャップ部材111の表面全体に、ニッケルメッキ層112を下地メッキ層として形成した後、ニッケルメッキ層112の表面全体を覆うように金メッキ層113を形成する。
次に、図19に示すように、気密封止用キャップ部材111の金メッキ層113の表面のうち、セラミック枠体102と接合される部分に、金−錫(Au−Sn)半田からなる半田層103を仮ろう付けする。そして、図17に示したように、バンプ104を介して電子部品105が取り付けられたセラミック基板101上のセラミック枠体102の上面に接触するように、気密封止用キャップ部材111に仮ろう付けされた半田層103を配置する。その後、半田層103を溶融することによって、気密封止用キャップ部材111をセラミック枠体102の上面に接合する。このようにして、図17に示した従来の電子部品収納用パッケージが形成される。
しかしながら、図17に示した従来の電子部品収納用パッケージでは、基板側がセラミック基板101とセラミック枠体102との2層構造になっているため、部品点数が増加するという不都合があった。
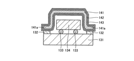
そこで、従来では、基板側を単層にするとともに、気密封止用キャップをキャビティ部(凹部)を有する構造にすることにより部品点数を削減した他の例による電子部品収納用パッケージが提案されている。図20は、その従来の他の例による電子部品収納用パッケージを示した断面図である。図20を参照して、この従来の他の例による電子部品収納用パッケージでは、基板側が単層の絶縁性のセラミック基板131により構成されている。また、セラミック基板131上の所定領域には、バンプ133を介して、水晶振動子などの電子部品134が取り付けられている。また、セラミック基板131を密封するように、金−錫(Au−Sn)半田からなる半田層132を介して、キャビティ部(凹部)を有する気密封止用キャップ部材141が取り付けられている。気密封止用キャップ部材141の表面全体を覆うように、下地メッキ層としてのニッケルメッキ層142が形成されている。そして、そのニッケルメッキ層142の表面全体を覆うように、金メッキ層143が形成されている。
図20に示した従来の他の例による電子部品収納用パッケージの製造プロセスとしては、まず、図21に示す第1絞り工程において、フランジ部141aとキャビティ部(凹部)160とを有する気密封止用キャップ部材141の概略的な構造を形成する。そして、図22に示した第2絞り工程および図23に示した第3絞り工程を行うことによって、図23に示すような平坦部141cを有するフランジ部141aを含む気密封止用キャップ部材141が形成される。
次に、図24に示すように、気密封止用キャップ部材141の表面全面を覆うように、下地メッキ層としてのニッケルメッキ層142を形成する。そして、ニッケルメッキ層142の表面全面を覆うように、金メッキ層143を形成する。
そして、図25に示すように、気密封止用キャップ部材141のフランジ部141aに対応する金メッキ層143上に、金−錫半田からなる半田層132を仮ろう付けする。そして、図20に示したように、バンプ133を介して電子部品134が取り付けられたセラミック基板131の上面に接触するように、気密封止用キャップ部材141に仮ろう付けされた半田層132を配置する。その後、半田層132を溶融することによって、気密封止用キャップ部材141をセラミック基板131の上面に接合する。このようにして、図20に示した従来の他の例による電子部品収納用パッケージが形成される。
特開2000−150687号公報
しかしながら、図17に示した従来の一例による電子部品収納用パッケージに用いる気密封止用キャップおよび図20に示した従来の他の例による電子部品収納用パッケージに用いる気密封止用キャップでは、それぞれ、図26および図27に示すような問題点があった。
まず、図17に示した従来の一例による気密封止用キャップ部材111では、気密封止用キャップ部材111の全表面上に下地メッキ層としてのニッケルメッキ層112を介して金メッキ層113が形成されている。この金メッキ層113は、金−錫半田からなる半田層103とのぬれ性が良好であるため、図26に示すように、半田層103が、電子部品105が収納されている側に流れ込むという不都合が生じる。このように半田層103が内面側に流れ込むと、その流れ込んだ半田層103が電子部品105側に飛散して電子部品105と半田層103とが接触する場合があった。その場合には、電子部品105の素子特性が劣化するという問題点があった。
また、図20に示した従来の他の例によるキャビティ部を有する気密封止用キャップ部材141も、全表面に、下地メッキ層としてのニッケルメッキ層142を介して金メッキ層143が形成されているため、気密封止用キャップ部材141をセラミック基板131に半田層132によって封止する際に、図27に示すように、半田層132が気密封止用キャップ部材141の内面に這い上がる。このように半田層132が気密封止用キャップ部材141の内面に這い上がると、その這い上がった半田層132が電子部品134側に飛散して半田層132と電子部品134とが接触する場合があった。その場合には、電子部品134の素子特性が低下するという問題点があった。
また、図20に示した従来の他の例によるキャビティ部を有する気密封止用キャップ部材141では、図21〜図23に示した従来の一般的な絞り工程によってフランジ部141aを形成しているため、フランジ部141aの封止側内面コーナ部141bが丸みを持った形状になる。つまり、フランジ部141aの封止側内面コーナ部141bの曲率半径が大きくなるため、フランジ部141aの平坦部141cの長さが短くなるという不都合があった。フランジ部141aの平坦部141cの長さが短くなると、封止面の長さが小さくなるので、封止性が悪化するという問題点がある。また、この場合に、封止性を改善するために、フランジ部141aの平坦部141cの長さを大きくしようとすると、気密封止用キャップ部材141の外形寸法が大きくなり、その結果、小型化を図るのが困難になるという問題点があった。
この発明の1つの目的は、半田などの封止材がパッケージ内の電子部品に接触することに起因する電子部品の特性の劣化を抑制することが可能な気密封止用キャップを提供することである。
この発明のもう1つの目的は、封止性を向上させることができるとともに、小型化を図ることが可能な気密封止用キャップを提供することである。
この発明のさらにもう1つの目的は、封止材がパッケージ内の電子部品に接触することに起因する電子部品の特性の劣化を抑制することが可能な気密封止用キャップを容易に製造し得る気密封止用キャップの製造方法を提供することである。
この発明のさらにもう1つの目的は、封止性を向上させることができるとともに、小型化を図ることが可能な気密封止用キャップを容易に製造し得る気密封止用キャップの製造方法を提供することである。
課題を解決するための手段および発明の効果
この発明の第1の局面による気密封止用キャップは、電子部品を収納するための電子部品収納用パッケージに用いられる気密封止用キャップであって、凹部と、凹部の両端部に設けられたフランジ部とを備え、フランジ部の封止側内面コーナ部の曲率半径が0mmよりも大きく、かつ、0.1mm以下である。
この第1の局面による気密封止用キャップでは、上記のように、フランジ部の封止側内面コーナ部の曲率半径を0mmよりも大きく、かつ、0.1mm以下にすることによって、フランジ部の封止面(平坦部)の長さが大きくなるので、封止性を向上させることができる。また、従来の封止側内面コーナ部が大きい曲率半径を有する形状のフランジ部と同じ平坦部(封止面)の長さで、本発明の0mmよりも大きく、かつ、0.1mm以下の小さい曲率半径を有する封止側内面コーナ部を含むフランジ部を形成した場合には、凹部の内容積を従来よりも大きくすることができる。これにより、従来と同じ電子部品を収納する場合には、従来よりも気密封止用キャップ部材の外形寸法を小さくすることができるので、パッケージの小型化を図ることができる。
上記第1の局面による気密封止用キャップにおいて、好ましくは、凹部とフランジ部とが設けられた気密封止用キャップ部材と、少なくとも気密封止用キャップ部材の封止材が形成される領域以外の領域に形成された第1メッキ層と、気密封止用キャップ部材の封止材が配置される領域に形成され、第1メッキ層よりも封止材とのぬれ性が良好な材料を含む第2メッキ層とをさらに備えた。このように構成すれば、気密封止用キャップを封止材により封止する際に、半田などの封止材は、封止材が配置される領域以外の領域に配置された第2メッキ層よりもぬれ性が悪い第1メッキ層側には流れ込みにくくなるので、封止材がパッケージ内に流れ込むのを抑制することができる。これにより、封止材がパッケージ内に流れ込むことに起因して封止材がパッケージ内の電子部品に接触するという不都合が発生するのを抑制することができる。その結果、封止材がパッケージ内の電子部品に接触することに起因する電子部品の特性の劣化を抑制することができる。また、封止材が封止面以外の領域に流れ出すのが抑制されるので、封止材の量を減少させることができる。
この場合、好ましくは、電子部品収納用パッケージは、セラミック基板を含み、セラミック基板の表面上に、封止材を介して、気密封止用キャップ部材が取り付けられる。このように構成すれば、セラミック基板に凹部を有する気密封止用キャップ部材が取り付けられる構造において、封止材がパッケージ内に流れ込むのを容易に抑制することができる。
上記第1メッキ層と第2メッキ層とを備えた気密封止用キャップにおいて、好ましくは、第1メッキ層は、ニッケルメッキ層であり、第2メッキ層は、金メッキ層である。このように構成すれば、容易に、気密封止用キャップを封止材により封止する際に、金メッキ層よりもぬれ性の悪いニッケルメッキ層により封止材がパッケージ内に流れ込むのを抑制することができる。
上記第1メッキ層と第2メッキ層とを備えた気密封止用キャップにおいて、第1メッキ層は、第2メッキ層よりも大きい厚みを有していてもよい。
上記第1メッキ層と第2メッキ層とを備えた気密封止用キャップにおいて、好ましくは、封止材は、金−錫半田を含む。このように構成すれば、金メッキ層に対してはぬれ性がよく、かつ、ニッケルメッキ層に対してはぬれ性が悪い封止材を容易に得ることができる。
上記第1メッキ層と第2メッキ層とを備えた気密封止用キャップにおいて、気密封止用キャップは、Fe−Ni−Co合金からなっていてもよい。
この発明の第2の局面による気密封止用キャップは、電子部品を収納するための電子部品収納用パッケージに用いられる気密封止用キャップであって、凹部と、凹部の両端部に設けられたフランジ部とを備え、フランジ部の封止側内面コーナ部が実質的に直角になっている。
この第2の局面による気密封止用キャップでは、上記のように、封止側内面コーナ部を実質的に直角にすることにより、封止材の這い上がりをより抑制することができる。また、封止側内面コーナ部を実質的に直角にすることにより、フランジ部の平坦部の長さを最大にすることができる。これにより、封止性の良好な小型キャップ部材を提供することができる。
上記第2の局面による気密封止用キャップにおいて、好ましくは、凹部とフランジ部とが設けられた気密封止用キャップ部材と、少なくとも気密封止用キャップ部材の封止材が形成される領域以外の領域に形成された第1メッキ層と、気密封止用キャップ部材の封止材が配置される領域に形成され、第1メッキ層よりも封止材とのぬれ性が良好な材料を含む第2メッキ層とをさらに備えた。このように構成すれば、気密封止用キャップを封止材により封止する際に、半田などの封止材は、封止材が配置される領域以外の領域に配置された第2メッキ層よりもぬれ性が悪い第1メッキ層側には流れ込みにくくなるので、封止材がパッケージ内に流れ込むのを抑制することができる。これにより、封止材がパッケージ内に流れ込むことに起因して封止材がパッケージ内の電子部品に接触するという不都合が発生するのを抑制することができる。その結果、封止材がパッケージ内の電子部品に接触することに起因する電子部品の特性の劣化を抑制することができる。また、封止材が封止面以外の領域に流れ出すのが抑制されるので、封止材の量を減少させることができる。
この発明の第3の局面による気密封止用キャップの製造方法は、電子部品を収納するための電子部品収納用パッケージに用いられる気密封止用キャップの製造方法であって、板状の気密封止用キャップ部材にフランジ部が形成されないように、凹部を形成する第1絞り工程と、凹部の両端部をコイニング加工することによって、凹部の両端部にフランジ部を形成するとともに、フランジ部の封止側内面コーナ部の曲率半径を0mmよりも大きく、かつ、0.1mm以下にする第2絞り工程とを備えた。
この第3の局面による気密封止用キャップの製造方法では、上記したような第1および第2絞り工程を行うことによって、容易に、封止面の長さが大きいフランジ部を有する気密封止用キャップ部材を形成することができるので、封止性を向上させることができる。また、従来の封止側内面コーナ部が大きい曲率半径を有する形状のフランジ部と同じ平坦部(封止面)の長さで、本発明の0mmよりも大きく、かつ、0.1mm以下の小さい曲率半径を有する封止側内面コーナ部を含むフランジ部を形成した場合には、凹部の内容積を従来よりも大きくすることができる。これにより、従来と同じ電子部品を収納する場合には、従来よりも気密封止用キャップ部材の外形寸法を小さくすることができるので、パッケージの小型化を図ることができる。
上記第3の局面による気密封止用キャップの製造方法において、好ましくは、フランジ部を形成した気密封止用キャップ部材の表面の実質的に全面に、第1メッキ層と、第1メッキ層よりも封止材に対するぬれ性が良好な材料を含む第2メッキ層とを形成する工程と、第2メッキ層のうち、封止材が配置される領域以外の領域に位置する部分を除去する工程とをさらに備えた。このように構成すれば、気密封止用キャップ部材の封止材が配置される領域に第2メッキ層を形成することができるとともに、気密封止用キャップ部材の第2メッキ層が形成される領域以外の領域に、第2メッキ層よりも封止材に対するぬれ性が悪い材料を含む第1メッキ層を形成することができる。これにより、気密封止用キャップを封止材により封止する際に、封止材は封止材が配置される領域以外の領域に配置されたぬれ性が悪い第1メッキ層側には流れ込みにくくなるので、封止材がパッケージ内に流れ込むのを抑制することができる。このため、封止材がパッケージ内に流れ込むことに起因して封止材がパッケージ内の電子部品に接触するという不都合が発生するのを抑制することができる。その結果、封止材がパッケージ内の電子部品に接触することに起因する電子部品の特性の劣化を抑制することができる。また、封止材が封止面以外の領域に流れ出すのが抑制されるので、封止材の量を減少させることができる。
上記第3の局面による気密封止用キャップの製造方法において、好ましくは、フランジ部を形成した気密封止用キャップ部材の表面の実質的に全面に、第1メッキ層を形成する工程と、気密封止用キャップ部材の封止材が配置される領域に、第1メッキ層よりも封止材に対するぬれ性が良好な材料を含む第2メッキ層を形成する工程とをさらに備えた。このように構成すれば、気密封止用キャップ部材の封止材が配置される領域にぬれ性の良好な第2メッキ層を形成することができるとともに、気密封止用キャップ部材の第2メッキ層が形成される領域以外の領域に、第2メッキ層よりも封止材に対するぬれ性が悪い材料を含む第1メッキ層を形成することができる。これにより、気密封止用キャップを封止材により封止する際に、封止材は封止材が配置される領域以外の領域に配置されたぬれ性が悪い材料を含む第1メッキ層側には流れ込みにくくなるので、封止材がパッケージ内に流れ込むのを抑制することができる。このため、封止材がパッケージ内に流れ込むことに起因して封止材がパッケージ内の電子部品に接触するという不都合が発生するのを抑制することができる。その結果、封止材がパッケージ内の電子部品に接触することに起因する電子部品の特性の劣化を抑制することができる。また、封止材が封止面以外の領域に流れ出すのが抑制されるので、封止材の量を減少させることができる。
上記第1メッキ層を形成する工程と第2メッキ層を形成する工程とを備える気密封止用キャップの製造方法において、好ましくは、第1メッキ層は、ニッケルメッキ層であり、第2メッキ層は、金メッキ層である。このように構成すれば、容易に、気密封止用キャップを封止材により封止する際に、金メッキ層よりもぬれ性の悪いニッケルメッキ層により封止材がパッケージ内に流れ込むのを抑制することができる。
上記第1メッキ層を形成する工程と第2メッキ層を形成する工程とを備える気密封止用キャップの製造方法において、好ましくは、封止材は、金−錫半田を含む。このように構成すれば、金メッキ層に対してはぬれ性がよく、かつ、ニッケルメッキ層に対してはぬれ性が悪い封止材を容易に得ることができる。
上記第3の局面による気密封止用キャップの製造方法において、気密封止用キャップは、Fe−Ni−Co合金からなっていてもよい。
この発明の第4の局面による気密封止用キャップの製造方法は、電子部品を収納するための電子部品収納用パッケージに用いられる気密封止用キャップの製造方法であって、板状の気密封止用キャップ部材にフランジ部が形成されないように、凹部を形成する第1絞り工程と、凹部の両端部をコイニング加工することによって、凹部の両端部にフランジ部を形成するとともに、フランジ部の封止側内面コーナ部をつぶすようにコイニング加工することによりフランジ部の封止側内面コーナ部を実質的に直角にする第2絞り工程とを備えた。
この第4の局面による気密封止用キャップの製造方法では、封止側内面コーナ部を実質的に直角にすることにより、封止材の這い上がりをより抑制することができる。また、封止側内面コーナ部を実質的に直角にすることにより、フランジ部の平坦部の長さを最大にすることができる。これにより、封止性の良好な小型キャップ部材を提供することができる。
本発明の参考例による電子部品収納用パッケージの全体構成を示した断面図である。 図1に示した参考例による電子部品収納用パッケージの製造プロセスを説明するための断面図である。 図1に示した参考例による電子部品収納用パッケージの製造プロセスを説明するための断面図である。 図1に示した参考例による電子部品収納用パッケージの製造プロセスを説明するための断面図である。 本発明の実施形態による電子部品収納用パッケージの全体構成を示した断面図である。 図5に示した本発明の一実施形態による電子部品収納用パッケージの製造プロセスの一例を説明するための断面図である。 図5に示した本発明の一実施形態による電子部品収納用パッケージの製造プロセスの一例を説明するための断面図である。 図5に示した本発明の一実施形態による電子部品収納用パッケージの製造プロセスの一例を説明するための断面図である。 図5に示した本発明の一実施形態による電子部品収納用パッケージの製造プロセスの一例を説明するための断面図である。 図5に示した本発明の一実施形態による電子部品収納用パッケージの製造プロセスの一例を説明するための断面図である。 図5に示した本発明の一実施形態による電子部品収納用パッケージの製造プロセスの一例を説明するための断面図である。 図5に示した本発明の一実施形態による電子部品収納用パッケージの製造プロセスの一例を説明するための断面図である。 図5に示した本発明の一実施形態による電子部品収納用パッケージの製造プロセスの他の例を説明するための断面図である。 図5に示した本発明の一実施形態による電子部品収納用パッケージの製造プロセスの他の例を説明するための断面図である。 図5に示した本発明の一実施形態による電子部品収納用パッケージの製造プロセスの他の例を説明するための断面図である。 図5に示した本発明の一実施形態による電子部品収納用パッケージの製造プロセスの他の例を説明するための断面図である。 従来の一例による電子部品収納用パッケージの全体構成を示した断面図である。 図17に示した従来の一例による電子部品収納用パッケージの製造プロセスを説明するための断面図である。 図17に示した従来の一例による電子部品収納用パッケージの製造プロセスを説明するための断面図である。 従来の他の例による電子部品収納用パッケージの全体構成を示した断面図である。 図20に示した従来の他の例による電子部品収納用パッケージの製造プロセスを説明するための断面図である。 図20に示した従来の他の例による電子部品収納用パッケージの製造プロセスを説明するための断面図である。 図20に示した従来の他の例による電子部品収納用パッケージの製造プロセスを説明するための断面図である。 図20に示した従来の他の例による電子部品収納用パッケージの製造プロセスを説明するための断面図である。 図20に示した従来の他の例による電子部品収納用パッケージの製造プロセスを説明するための断面図である。 図17に示した従来の一例による電子部品収納用パッケージの問題点を説明するための断面図である。 図20に示した従来の他の例による電子部品収納用パッケージの問題点を説明するための断面図である。
以下、本発明の参考例および本発明を具体化した実施形態を図面に基づいて説明する。
参考例
図1を参照して、この本発明の参考例による電子部品収納用パッケージでは、アルミナなどの絶縁性材料からなるセラミック基板1の表面の所定領域上に、収納空間を構成するように、アルミナなどの絶縁性材料からなるセラミック枠体2が形成されている。また、セラミック枠体2によって囲まれた収納空間内に位置するセラミック基板1上には、バンプ4を介して水晶振動子などの電子部品5が取り付けられている。また、セラミック枠体2上には、金−錫半田(たとえば、20Au−Sn半田)からなる半田層3を介して、気密封止用キャップ部材11が接合されている。この気密封止用キャップ部材11は、Fe−Ni−Co(鉄−ニッケル−コバルト)合金からなる。
ここで、参考例では、気密封止用キャップ部材11の表面の全面を覆うように、ニッケルメッキ層12が約2μmの厚みで形成されている。また、ニッケルメッキ層12の表面のうち、半田層3が配置される領域上のみに、約0.05μmの厚みを有する金メッキ層13が形成されている。なお、金メッキ層13は、金−錫半田からなる半田層3とのぬれ性が良好であり、ニッケルメッキ層12は、金メッキ層13と比較して、金−錫半田からなる半田層3とのぬれ性が悪い。このニッケルメッキ層12は、本発明の参考例における「第1メッキ層」の一例であり、金メッキ層13は、本発明の参考例における「第2メッキ層」の一例である。また、半田層3は、本発明の参考例における「封止材」の一例である。なお、第1メッキ層の他の例としては、ニッケル−リンメッキなどがある。第2メッキ層の他の例としては、金−コバルトメッキ、金−ニッケルメッキなどがある。封止材の他の例としては、Sn−Ag、Sn−Cu、Sn−Ag−Cuなどの鉛フリー半田や、Sn−Pb半田などがある。また、メッキ層の形成は電解メッキ法であってもよいし、無電解メッキ法であってもよい。
次に、図1〜図4を参照して、本発明の参考例による電子部品収納用パッケージの製造プロセスについて説明する。
まず、図2に示すように、鉄−ニッケル−コバルト合金からなる板状コイルをプレス加工によって打ち抜くことにより、鉄−ニッケル−コバルト合金からなる気密封止用キャップ部材11を形成する。この気密封止用キャップ部材11の表面全面に、ニッケルメッキ層を約2μmの厚みで形成する。そして、ニッケルメッキ層12の全面を覆うように約0.05μmの厚みを有する金メッキ層13を形成する。
次に、図3に示すように、金メッキ層13の表面上の所定領域に、金−錫半田(たとえば、20Au−Sn半田)からなる半田層3を配置する。その後、約280℃以上で半田層3を気密封止用キャップ部材11に対して仮ろう付けする。その後、半田層3をマスクとして、Au剥離液を用いて、半田層3が形成された領域以外の領域に位置する金メッキ層13を除去する。これにより、図4に示されるような形状が得られる。このようにして、本発明の参考例による気密封止用キャップが得られる。
この後、図1に示したように、バンプ4を介して電子部品5が取り付けられたセラミック基板1上のセラミック枠体2の上面に接触するように、気密封止用キャップ部材11に仮ろう付けされた半田層3を配置する。その後、約280℃以上の温度で半田層3を溶融することによって、気密封止用キャップ部材11をセラミック枠体2の上面に接合する。このようにして、図1に示した参考例による電子部品収納用パッケージが形成される。
本発明の参考例では、上記のように、気密封止用キャップ部材11の金−錫半田からなる半田層3が配置される領域に、半田層3とのぬれ性が良好な金メッキ層13を形成するとともに、半田層3が配置される領域以外の領域には、金メッキ層13よりも半田層3とのぬれ性の悪いニッケルメッキ層12が表面に露出するように形成することによって、金−錫半田からなる半田層3により気密封止用キャップ部材11を封止する際に、半田層3は、金メッキ層13よりもぬれ性が悪いニッケルメッキ層12側には流れ込みにくくなる。これにより、半田層3がパッケージ内に流れ込むのを抑制することができるので、半田層3がパッケージ内に流れ込むことに起因して半田層3がパッケージ内の電子部品5に接触するという不都合が発生するのを抑制することができる。その結果、半田層3がパッケージ内の電子部品5に接触することに起因する電子部品5の特性の劣化を抑制することができる。
また、参考例では、上記のように、半田層3が封止面以外の領域に流れ出すのが抑制されるので、半田層3の量を減少させることができる。
本発明の一実施形態)
図5を参照して、この本発明の一実施形態では、キャビティ部(凹部)を有する気密封止用キャップに本発明を適用した場合の例について説明する。
具体的には、この本発明の一実施形態による電子部品収納用パッケージでは、アルミナなどの絶縁性材料からなるセラミック基板31上に、金−錫半田(たとえば、20Au−Sn半田)からなる半田層32を介して、キャビティ部を有する気密封止用キャップ部材41が接合されている。パッケージ内のセラミック基板31の表面上には、バンプ33を介して、水晶振動子などの電子部品34が取り付けられている。
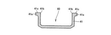
ここで、実施形態では、キャビティ部を有する気密封止用キャップ部材41の表面の全面に、約2μmの厚みを有するニッケルメッキ層42が形成されている。また、ニッケルメッキ層42の表面のうち、半田層32が配置される領域には、約0.05μmの厚みを有する金メッキ層43が形成されている。なお、金メッキ層43は、金−錫半田からなる半田層32とのぬれ性が良好であり、ニッケルメッキ層42は、金メッキ層43と比較して、金−錫半田からなる半田層32とのぬれ性が悪い。このニッケルメッキ層42は、本発明の「第1メッキ層」の一例であり、金メッキ層43は、本発明の「第2メッキ層」の一例である。また、半田層32は、本発明の「封止材」の一例である。
また、実施形態では、気密封止用キャップ部材41のフランジ部41aの封止側内面コーナ部41bが、約0mmよりも大きく、かつ、約0.1mm以下のきわめて小さい曲率半径を有するように形成されている。
実施形態では、上記のように、気密封止用キャップ部材41の金−錫半田からなる半田層32が配置される領域に金メッキ層43を形成するとともに、それ以外の領域には金メッキ層43よりも半田層32に対するぬれ性が悪いニッケルメッキ層42を形成することによって、気密封止用キャップ部材41を金−錫半田からなる半田層32を用いて封止する際に、金−錫半田からなる半田層32がぬれ性の悪いニッケルメッキ層42側に流れ込みにくくなる。これにより、半田層32がパッケージ内に流れ込むのを抑制することができるので、半田層32がパッケージ内に流れ込むことに起因して半田層32がパッケージ内の電子部品34に接触するという不都合が発生するのを抑制することができる。その結果、半田層32がパッケージ内の電子部品34に接触することに起因する電子部品34の特性の劣化を抑制することができる。
また、実施形態では、上記のように、半田層32が封止面以外の領域に流れ出すのを抑制することができるので、半田層32の量を減少させることができる。
また、実施形態では、気密封止用キャップ部材41のフランジ部41aの封止側内面コーナ部41bの曲率半径を、0mmよりも大きく、かつ、約0.1mm以下にすることによって、図20に示した従来の構造に比べて、フランジ部41aの平坦部(封止面)41cの長さが大きくなるので、封止性を向上させることができる。
次に、図5〜図12を参照して、本発明の一実施形態による電子部品収納用パッケージの製造プロセスの一例について説明する。
まず、図6に示すように、第1絞り工程として、フランジ部が形成されずにキャビティ部(凹部)60が形成されるように、気密封止用キャップ部材41を構成する鉄−ニッケル−コバルト合金からなる板状コイルをプレス加工する。
次に、図7に示すように、第2絞り工程として、コイニング加工を行うことによって、キャビティ部60の両端部にフランジ部41aを形成する。図6に示す第1絞り工程および図7に示す第2絞り工程によって、0mmよりも大きく、かつ、約0.1mm以下の極めて小さい曲率半径を有する封止側内面コーナ部41bを形成することができる。
ここで、封止側内面コーナ部41bの曲率半径が約0.1mm以下と極めて小さいので、上述したように、平坦部(封止面)41cの長さが従来の構造と比べて長くなる。この場合、平坦部41cの長さを、たとえば、図23に示した従来のフランジ部141aの平坦部141cの長さと同じ長さで実施形態のフランジ部41aの平坦部41cを形成すると、図8に示すように、キャビティ部60の内容積が大きくなる。このため、図23に示した従来のキャビティ部160を有する気密封止用キャップ部材141と同じ外形寸法で図8に示した実施形態による気密封止用キャップ部材41を形成すれば、キャビティ部60の内容積を図23に示したキャビティ部160の内容積よりも大きくすることができる。したがって、従来と同じ電子部品を収納する場合には、小さい外形寸法の気密封止用キャップを用いることができるので、パッケージの小型化を図ることができる。
図7に示した第2絞り工程の後、図9に示すように、気密封止用キャップ部材41の全面に、ニッケル層42を約2μmの厚みで形成した後、約0.05μmの厚みで金メッキ層43を形成する。
次に、図10に示すように、金メッキ層43の半田層32が形成される領域に、レジスト44を形成する。そして、レジスト44をマスクとして、Au剥離液を用いて、半田層32が配置される領域以外の金メッキ層43を除去する。これにより、図11に示される形状が得られる。この後、レジスト44を除去する。
次に、図12に示すように、金メッキ層43上に、金−錫半田(たとえば、Au−Sn半田)からなる半田層32を配置した後、約280℃以上で半田層32を金メッキ層43に対して仮ろう付けする。
この後、図5に示したように、バンプ33を介して電子部品34が取り付けられたセラミック基板31の上面に接触するように、気密封止用キャップ部材41の金メッキ層43に仮ろう付けされた半田層32を配置する。その後、約280℃以上の温度で半田層32を溶融することによって、気密封止用キャップ部材41をセラミック基板31の上面に接合する。このようにして、図5に示した実施形態による電子部品収納用パッケージが形成される。
図13〜図16は、図5に示した本発明の一実施形態による電子部品収納用パッケージの製造プロセスの他の例を説明するための断面図である。次に、図13〜図16を参照して、本発明の一実施形態による気密封止用キャップの製造プロセスの他の例について説明する。
まず、図6および図7に示した第1絞り工程および第2絞り工程によって、図7に示したような形状の気密封止用キャップ部材41を形成した後、図13に示すように、気密封止用キャップ部材41の全面に、約2μmの厚みを有するニッケルメッキ層42を形成する。
次に、図14に示すように、半田層32が配置される領域以外のニッケルメッキ層42を覆うように、レジスト51を形成する。
次に、図15に示すように、レジスト51を形成した状態で、半田層32が配置される領域に、約0.05μmの厚みを有する金メッキ層43を形成する。この後、レジスト51を除去することによって、図16に示されるような形状が得られる。その後、図12に示した工程と同様、金メッキ層43上に金−錫半田(たとえば、20Au−Sn半田)からなる半田層32を配置した後、約280℃以上で半田層32を金メッキ層43に対して仮ろう付けする。その後、図5に示したように、セラミック基板31を封止するように気密封止用キャップ部材41および半田層32を配置した後、再び約280℃以上の温度で半田層32を溶融することによって、気密封止を行う。
なお、今回開示された実施形態は、すべての点で例示であって制限的なものではないと考えられるべきである。本発明の範囲は、上記した実施形態の説明ではなく特許請求の範囲によって示され、さらに特許請求の範囲と均等の意味および範囲内でのすべての変更が含まれる。
たとえば、上記実施形態では、封止材として、金−錫(Au−Sn)半田からなる半田層を用いるとともに、メッキ層としてニッケルメッキ層と金メッキ層を用いたが、本発明はこれに限らず、他の半田またはろう材からなる封止材を用いるとともに、他のメッキ層を用いてもよい。その場合、少なくとも気密封止用キャップ部材の封止材が形成される領域以外の領域に第1メッキ層を設けるとともに、気密封止用キャップ部材の封止材が配置される領域に、第1メッキ層よりも封止材とのぬれ性が良好な材料を含む第2メッキ層を設けるようにすれば、上記実施形態と同様の効果を得ることができる。
また、上記実施形態では、封止側内面コーナ部41bを0mmよりも大きく、かつ、0.1mm以下の曲率半径を有するようにしたが、本発明はこれに限らず、封止側内面コーナ部41bを実質的に直角(90°)になるように形成してもよい。このように、コーナ部41bを実質的に直角(90°)にすることにより、図27に示したような従来の半田層の這い上がりを防止することができる。また、コーナ部41bを実質的に直角(90°)にすることにより、フランジ部の平坦部の長さを最大にすることができる。これにより、封止性の良好な小型キャップ部材を提供することができる。なお、コーナ部41bを実質的に直角(90°)になるように形成するには、第2絞り工程でフランジ部の封止側内面コーナをつぶすようにコイニング加工することにより形成すればよい。
31 セラミック基板
32 半田層(封止材)
41 気密封止用キャップ部材
41a フランジ部
41b 封止側内面コーナ部
42 ニッケルメッキ層(第1メッキ層)
43 金メッキ層(第2メッキ層)
60 キャビティ部(凹部)

Claims (16)

  1. 電子部品を収納するための電子部品収納用パッケージに用いられる気密封止用キャップであって、
    部と
    前記凹部の両端部に設けられたフランジ部とを備え、
    前記フランジ部の封止側内面コーナ部の曲率半径が0mmよりも大きく、かつ、0.1mm以下である、気密封止用キャップ。
  2. 前記凹部と前記フランジ部とが設けられた気密封止用キャップ部材と
    少なくとも前記気密封止用キャップ部材の封止材が形成される領域以外の領域に形成された第1メッキ層と
    前記気密封止用キャップ部材の前記封止材が配置される領域に形成され、前記第1メッキ層よりも前記封止材とのぬれ性が良好な材料を含む第2メッキ層とさらに備えた、請求項1に記載の気密封止用キャップ。
  3. 前記電子部品収納用パッケージは、セラミック基板を含み、
    前記セラミック基板の表面上に、前記封止材を介して、前記気密封止用キャップ部材が取り付けられる、請求項に記載の気密封止用キャップ。
  4. 前記第1メッキ層は、ニッケルメッキ層であり、
    前記第2メッキ層は、金メッキ層である、請求項2または3に記載の気密封止用キャップ。
  5. 前記第1メッキ層は、前記第2メッキ層よりも大きい厚みを有する、請求項2〜4のいずれか1項に記載の気密封止用キャップ。
  6. 前記封止材は、金−錫半田を含む、請求項2〜5のいずれか1項に記載の気密封止用キャップ。
  7. 前記気密封止用キャップ部材は、Fe−Ni−Co合金からなる、請求項2〜6のいずれか1項に記載の気密封止用キャップ。
  8. 電子部品を収納するための電子部品収納用パッケージに用いられる気密封止用キャップであって、
    凹部と、
    前記凹部の両端部に設けられたフランジ部とを備え、
    前記フランジ部の封止側内面コーナ部が実質的に直角になっている、気密封止用キャップ。
  9. 前記凹部と前記フランジ部とが設けられた気密封止用キャップ部材と
    少なくとも前記気密封止用キャップ部材の封止材が形成される領域以外の領域に形成された第1メッキ層と
    前記気密封止用キャップ部材の封止材が配置される領域に形成され、前記第1メッキ層よりも前記封止材とのぬれ性が良好な材料を含む第2メッキ層とさらに備えた、請求項8に記載の気密封止用キャップ。
  10. 電子部品を収納するための電子部品収納用パッケージに用いられる気密封止用キャップの製造方法であって、
    板状の気密封止用キャップ部材にフランジ部が形成されないように、凹部を形成する第1絞り工程と、
    前記凹部の両端部をコイニング加工することによって、前記凹部の両端部に前記フランジ部を形成するとともに、前記フランジ部の封止側内面コーナ部の曲率半径を0mmよりも大きく、かつ、0.1mm以下にする第2絞り工程とを備えた、気密封止用キャップの製造方法。
  11. 前記フランジ部を形成した前記気密封止用キャップ部材の表面の実質的に全面に、第1メッキ層と、前記第1メッキ層よりも前記封止材に対するぬれ性が良好な材料を含む第2メッキ層とを形成する工程と、
    前記第2メッキ層のうち、前記封止材が配置される領域以外の領域に位置する部分を除去する工程とをさらに備えた、請求項10に記載の気密封止用キャップの製造方法。
  12. 前記フランジ部を形成した前記気密封止用キャップ部材の表面の実質的に全面に、第1メッキ層を形成する工程と、
    前記気密封止用キャップ部材の前記封止材が配置される領域に、前記第1メッキ層よりも前記封止材に対するぬれ性が良好な材料を含む第2メッキ層を形成する工程とをさらに備えた、請求項10に記載の気密封止用キャップの製造方法。
  13. 前記第1メッキ層は、ニッケルメッキ層であり、
    前記第2メッキ層は、金メッキ層である、請求項11または12に記載の気密封止用キャップの製造方法。
  14. 前記封止材は、金−錫半田を含む、請求項11〜13のいずれか1項に記載の気密封止用キャップ。
  15. 前記気密封止用キャップ部材は、Fe−Ni−Co合金からなる、請求項10〜14のいずれか1項に記載の気密封止用キャップ。
  16. 電子部品を収納するための電子部品収納用パッケージに用いられる気密封止用キャップの製造方法であって、
    板状の気密封止用キャップ部材にフランジ部が形成されないように、凹部を形成する第1絞り工程と、
    前記凹部の両端部をコイニング加工することによって、前記凹部の両端部に前記フランジ部を形成するとともに、前記フランジ部の封止側内面コーナ部をつぶすようにコイニング加工することにより前記フランジ部の封止側内面コーナ部を実質的に直角にする第2絞り工程とを備えた、気密封止用キャップの製造方法。
JP2009214707A 2003-02-06 2009-09-16 気密封止用キャップの製造方法 Expired - Lifetime JP5378921B2 (ja)

Priority Applications (1)

Application Number Priority Date Filing Date Title
JP2009214707A JP5378921B2 (ja) 2003-02-06 2009-09-16 気密封止用キャップの製造方法

Applications Claiming Priority (3)

Application Number Priority Date Filing Date Title
JP2003029131 2003-02-06
JP2003029131 2003-02-06
JP2009214707A JP5378921B2 (ja) 2003-02-06 2009-09-16 気密封止用キャップの製造方法

Related Parent Applications (1)

Application Number Title Priority Date Filing Date
JP2005504815A Division JPWO2004070836A1 (ja) 2003-02-06 2004-02-02 気密封止用キャップおよびその製造方法

Publications (2)

Publication Number Publication Date
JP2010021563A true JP2010021563A (ja) 2010-01-28
JP5378921B2 JP5378921B2 (ja) 2013-12-25

Family

ID=32844225

Family Applications (2)

Application Number Title Priority Date Filing Date
JP2005504815A Pending JPWO2004070836A1 (ja) 2003-02-06 2004-02-02 気密封止用キャップおよびその製造方法
JP2009214707A Expired - Lifetime JP5378921B2 (ja) 2003-02-06 2009-09-16 気密封止用キャップの製造方法

Family Applications Before (1)

Application Number Title Priority Date Filing Date
JP2005504815A Pending JPWO2004070836A1 (ja) 2003-02-06 2004-02-02 気密封止用キャップおよびその製造方法

Country Status (5)

Country Link
US (1) US7173331B2 (ja)
JP (2) JPWO2004070836A1 (ja)
KR (1) KR101117049B1 (ja)
CN (1) CN100365803C (ja)
WO (1) WO2004070836A1 (ja)

Cited By (5)

* Cited by examiner, † Cited by third party
Publication number Priority date Publication date Assignee Title
WO2012011410A1 (ja) * 2010-07-20 2012-01-26 千住金属工業株式会社 機能部品の製造方法及び機能部品
WO2013172442A1 (ja) * 2012-05-18 2013-11-21 株式会社村田製作所 水晶振動子
JP2015023052A (ja) * 2013-07-16 2015-02-02 セイコーインスツル株式会社 蓋体部、この蓋体部を用いた電子デバイス用パッケージ及び電子デバイス
JP2016171143A (ja) * 2015-03-11 2016-09-23 田中貴金属工業株式会社 電子部品封止用キャップ
JP2017120865A (ja) * 2015-12-29 2017-07-06 日立金属株式会社 気密封止用キャップ

Families Citing this family (24)

* Cited by examiner, † Cited by third party
Publication number Priority date Publication date Assignee Title
CN100452365C (zh) * 2004-11-05 2009-01-14 株式会社新王材料 气体密封用盖子及其制造方法、电子部件收容用封装件
KR100657945B1 (ko) * 2005-01-21 2006-12-14 삼성전자주식회사 발열 댐을 구비한 광스캐너 패키지
JP2006245098A (ja) * 2005-03-01 2006-09-14 Seiko Epson Corp 電子部品及びその製造方法、並びに電子機器
US8124172B2 (en) * 2006-03-02 2012-02-28 E.I. Du Pont De Nemours And Company Process for making contained layers and devices made with same
WO2007106101A2 (en) * 2006-03-02 2007-09-20 E. I. Du Pont De Nemours And Company Process for making contained layers and devices made with same
US7906845B1 (en) 2008-04-23 2011-03-15 Amkor Technology, Inc. Semiconductor device having reduced thermal interface material (TIM) degradation and method therefor
JP5517922B2 (ja) * 2008-05-02 2014-06-11 株式会社Neomaxマテリアル 気密封止用キャップ
JP5439950B2 (ja) * 2009-05-22 2014-03-12 千住金属工業株式会社 はんだコート部品、その製造方法及びその実装方法
JP5310309B2 (ja) * 2009-06-26 2013-10-09 千住金属工業株式会社 はんだコートリッド
FR2953679B1 (fr) * 2009-12-04 2012-06-01 Thales Sa Boitier electronique hermetique et procede d'assemblage hermetique d'un boitier
KR101594231B1 (ko) * 2011-02-07 2016-02-15 히타치 긴조쿠 가부시키가이샤 기밀 밀봉용 덮개재, 전자 부품 수납용 패키지 및 기밀 밀봉용 덮개재의 제조 방법
CN102254875A (zh) * 2011-07-11 2011-11-23 中国电子科技集团公司第五十五研究所 一种陶瓷外壳及其制造方法
ITTO20110876A1 (it) 2011-09-30 2013-03-31 Stmicroelectronics Malta Ltd Metodo di saldatura di un cappuccio ad uno strato di supporto
US9402118B2 (en) * 2012-07-27 2016-07-26 Knowles Electronics, Llc Housing and method to control solder creep on housing
JP6314406B2 (ja) * 2013-10-03 2018-04-25 日立金属株式会社 気密封止用キャップ、電子部品収納用パッケージおよび気密封止用キャップの製造方法
JP6387818B2 (ja) * 2014-12-11 2018-09-12 日立金属株式会社 気密封止用蓋材の製造方法
JP2017011249A (ja) * 2015-06-17 2017-01-12 株式会社ソーデナガノ 電子部品用パッケージの金属カバー
TWI570854B (zh) 2015-08-10 2017-02-11 頎邦科技股份有限公司 具中空腔室之半導體封裝結構及其下基板及製程
WO2017061374A1 (ja) * 2015-10-06 2017-04-13 住友電工プリントサーキット株式会社 プリント配線板及び電子部品
JP6774626B2 (ja) * 2016-10-31 2020-10-28 日立金属株式会社 気密封止用リッドの製造方法
US12018710B2 (en) * 2018-09-03 2024-06-25 Hitachi Astemo, Ltd. Electronic control unit
JP2020053554A (ja) * 2018-09-27 2020-04-02 日立金属株式会社 気密封止用キャップおよびその製造方法
US20210398871A1 (en) * 2020-06-18 2021-12-23 Intel Corporation Integrated circuit heat spreader including sealant interface material
CN114696777B (zh) * 2020-12-25 2024-11-19 Ngk电子器件株式会社 封装体及其制造方法

Citations (3)

* Cited by examiner, † Cited by third party
Publication number Priority date Publication date Assignee Title
US4577056A (en) * 1984-04-09 1986-03-18 Olin Corporation Hermetically sealed metal package
JPH09199622A (ja) * 1996-01-18 1997-07-31 Ngk Spark Plug Co Ltd 電子部品パッケージ用金属製リッド基板、金属製リッド及びその製造方法
JP2000133734A (ja) * 1998-10-27 2000-05-12 Tanaka Kikinzoku Kogyo Kk クラッドリングの製造方法、封止キャップ及びその製造方法

Family Cites Families (13)

* Cited by examiner, † Cited by third party
Publication number Priority date Publication date Assignee Title
JPS5546558A (en) 1978-09-29 1980-04-01 Fujitsu Ltd Metallic cover plate for semiconductor package
JPS5736846A (en) 1980-08-13 1982-02-27 Nippon Denso Co Ltd Metallic package for semiconductor element
JPS5796555A (en) 1980-12-08 1982-06-15 Fujitsu Ltd Metallic cap for semiconductor and manufacture thereof
JPS61253836A (ja) 1985-05-07 1986-11-11 Hitachi Ltd ハ−メチツクシ−ル
JPS63122250A (ja) 1986-11-12 1988-05-26 Nec Corp 半導体装置
JPH0496256A (ja) 1990-08-03 1992-03-27 Mitsubishi Materials Corp 金属製ハーメチックシール蓋
JP2962924B2 (ja) 1992-03-30 1999-10-12 京セラ株式会社 電子部品収納用パッケージ
US5578869A (en) * 1994-03-29 1996-11-26 Olin Corporation Components for housing an integrated circuit device
JPH11312758A (ja) 1998-02-27 1999-11-09 Sumitomo Special Metals Co Ltd はんだバンプシート製造方法およびicパッケージ部品製造方法
US6229404B1 (en) * 1998-08-31 2001-05-08 Kyocera Corporation Crystal oscillator
JP2000150687A (ja) 1998-11-18 2000-05-30 Matsushita Electric Ind Co Ltd 電子部品とその製造方法
DE10039646A1 (de) * 1999-08-18 2001-03-08 Murata Manufacturing Co Leitende Abdeckung, Elektronisches Bauelement und Verfahren zur Bildung einer isolierenden Schicht der leitenden Abdeckung
KR100443399B1 (ko) * 2001-10-25 2004-08-09 삼성전자주식회사 보이드가 형성된 열 매개 물질을 갖는 반도체 패키지

Patent Citations (3)

* Cited by examiner, † Cited by third party
Publication number Priority date Publication date Assignee Title
US4577056A (en) * 1984-04-09 1986-03-18 Olin Corporation Hermetically sealed metal package
JPH09199622A (ja) * 1996-01-18 1997-07-31 Ngk Spark Plug Co Ltd 電子部品パッケージ用金属製リッド基板、金属製リッド及びその製造方法
JP2000133734A (ja) * 1998-10-27 2000-05-12 Tanaka Kikinzoku Kogyo Kk クラッドリングの製造方法、封止キャップ及びその製造方法

Cited By (8)

* Cited by examiner, † Cited by third party
Publication number Priority date Publication date Assignee Title
WO2012011410A1 (ja) * 2010-07-20 2012-01-26 千住金属工業株式会社 機能部品の製造方法及び機能部品
JP2012028414A (ja) * 2010-07-20 2012-02-09 Senju Metal Ind Co Ltd 機能部品の製造方法及び機能部品
WO2013172442A1 (ja) * 2012-05-18 2013-11-21 株式会社村田製作所 水晶振動子
JPWO2013172442A1 (ja) * 2012-05-18 2016-01-12 株式会社村田製作所 水晶振動子
US9627603B2 (en) 2012-05-18 2017-04-18 Murata Manufacturing Co., Ltd. Quartz vibrator having a dome-shaped cap
JP2015023052A (ja) * 2013-07-16 2015-02-02 セイコーインスツル株式会社 蓋体部、この蓋体部を用いた電子デバイス用パッケージ及び電子デバイス
JP2016171143A (ja) * 2015-03-11 2016-09-23 田中貴金属工業株式会社 電子部品封止用キャップ
JP2017120865A (ja) * 2015-12-29 2017-07-06 日立金属株式会社 気密封止用キャップ

Also Published As

Publication number Publication date
JP5378921B2 (ja) 2013-12-25
CN1698195A (zh) 2005-11-16
US20050023661A1 (en) 2005-02-03
KR101117049B1 (ko) 2012-03-15
US7173331B2 (en) 2007-02-06
KR20050092339A (ko) 2005-09-21
WO2004070836A1 (ja) 2004-08-19
JPWO2004070836A1 (ja) 2006-06-01
CN100365803C (zh) 2008-01-30

Similar Documents

Publication Publication Date Title
JP5378921B2 (ja) 気密封止用キャップの製造方法
CN101322242B (zh) 气密密封用盖、电子器件收纳用封装体和气密密封用盖的制造方法
JP2002367862A (ja) 固体電解コンデンサおよびその製造方法
CN101622706B (zh) 气密密封用盖、电子部件容纳用封装和电子部件容纳用封装的制造方法
JPWO2006048982A1 (ja) 気密封止用キャップ、気密封止用キャップの製造方法および電子部品収納用パッケージ
JP6360678B2 (ja) モジュールおよびその製造方法
TW201543811A (zh) 水晶震盪裝置及其製造方法
JP2009077341A (ja) 圧電デバイスおよび圧電振動子
JPWO2017122491A1 (ja) 半導体モジュール
JP4737664B2 (ja) 面実装型固体電解コンデンサとその製造方法
JP3968782B2 (ja) 電子部品用パッケージおよび当該パッケージを用いた圧電振動デバイスおよび圧電振動デバイスの製造方法
JP4864728B2 (ja) 封着板およびその製造方法
JP2013251743A (ja) 弾性表面波デバイスとその製造方法
JP2006019465A (ja) 半導体パッケージおよびその製造方法
JP2008186917A (ja) 電子部品収納用パッケージ、電子装置、およびその製造方法
JP2010213134A (ja) 圧電振動デバイス
JP3777608B2 (ja) 電子部品のリード端子構造
JPH0341751A (ja) 半導体装置用容器
JP2005192179A (ja) 圧電発振器、及びこれを利用した携帯電話装置、電子機器
JP2018101660A (ja) 蓋体、電子部品収納用パッケージおよび電子装置
JP5573532B2 (ja) 圧電振動子
JP2007109941A (ja) 回路装置
CN1536765A (zh) 紧凑式电子器件及用于其的封装
JP2006179808A (ja) 電子部品の製造方法
JP2005175654A (ja) 水晶振動子

Legal Events

Date Code Title Description
A977 Report on retrieval

Free format text: JAPANESE INTERMEDIATE CODE: A971007

Effective date: 20120927

A131 Notification of reasons for refusal

Free format text: JAPANESE INTERMEDIATE CODE: A131

Effective date: 20121002

A521 Request for written amendment filed

Free format text: JAPANESE INTERMEDIATE CODE: A523

Effective date: 20121115

A131 Notification of reasons for refusal

Free format text: JAPANESE INTERMEDIATE CODE: A131

Effective date: 20130115

A521 Request for written amendment filed

Free format text: JAPANESE INTERMEDIATE CODE: A523

Effective date: 20130306

A02 Decision of refusal

Free format text: JAPANESE INTERMEDIATE CODE: A02

Effective date: 20130611

A521 Request for written amendment filed

Free format text: JAPANESE INTERMEDIATE CODE: A523

Effective date: 20130902

A911 Transfer to examiner for re-examination before appeal (zenchi)

Free format text: JAPANESE INTERMEDIATE CODE: A911

Effective date: 20130909

TRDD Decision of grant or rejection written
A01 Written decision to grant a patent or to grant a registration (utility model)

Free format text: JAPANESE INTERMEDIATE CODE: A01

Effective date: 20130924

A61 First payment of annual fees (during grant procedure)

Free format text: JAPANESE INTERMEDIATE CODE: A61

Effective date: 20130926

R150 Certificate of patent or registration of utility model

Ref document number: 5378921

Country of ref document: JP

Free format text: JAPANESE INTERMEDIATE CODE: R150

Free format text: JAPANESE INTERMEDIATE CODE: R150

S111 Request for change of ownership or part of ownership

Free format text: JAPANESE INTERMEDIATE CODE: R313113

R350 Written notification of registration of transfer

Free format text: JAPANESE INTERMEDIATE CODE: R350

EXPY Cancellation because of completion of term