JP2010010707A - リソグラフィ装置 - Google Patents

リソグラフィ装置 Download PDF

Info

Publication number
JP2010010707A
JP2010010707A JP2009234094A JP2009234094A JP2010010707A JP 2010010707 A JP2010010707 A JP 2010010707A JP 2009234094 A JP2009234094 A JP 2009234094A JP 2009234094 A JP2009234094 A JP 2009234094A JP 2010010707 A JP2010010707 A JP 2010010707A
Authority
JP
Japan
Prior art keywords
substrate
lithographic apparatus
liquid
evaporation
air
Prior art date
Legal status (The legal status is an assumption and is not a legal conclusion. Google has not performed a legal analysis and makes no representation as to the accuracy of the status listed.)
Granted
Application number
JP2009234094A
Other languages
English (en)
Other versions
JP5033854B2 (ja
Inventor
Johannes Henricus Wilhelmus Jacobs
ヘンリクス ヴィルヘルムス ヤコブス ヨハネス
Kate Nicolaas Ten
テン ケイト ニコラース
Martinus Hendrikus Antonius Leenders
ヘンドリクス アントニウス レーンデルス マルティヌス
Erik Roelof Loopstra
ロエロフ ロープシュトラ エリック
Martinus Cornelis Maria Verhagen
コーネリス マリア フェルハーゲン マルティヌス
Herman Boom
ブーム ヘルマン
Franciscus Johannes Joseph Janssen
ヨハネス ヨーゼフ ヤンセン フランシスクス
Igor Petrus Maria Bouchoms
ペトルス マリア ボウチョムス イゴール
Nicolaas R Kemper
ルドルフ ケンパー ニコラース
Joost Jeroen Ottens
ジェローン オッテンス ヨースト
Yuecel Koek
ケーク ヨーセル
Es Johannes Van
ファン エス ヨハネス
Current Assignee (The listed assignees may be inaccurate. Google has not performed a legal analysis and makes no representation or warranty as to the accuracy of the list.)
ASML Netherlands BV
Original Assignee
ASML Netherlands BV
Priority date (The priority date is an assumption and is not a legal conclusion. Google has not performed a legal analysis and makes no representation as to the accuracy of the date listed.)
Filing date
Publication date
Application filed by ASML Netherlands BV filed Critical ASML Netherlands BV
Publication of JP2010010707A publication Critical patent/JP2010010707A/ja
Application granted granted Critical
Publication of JP5033854B2 publication Critical patent/JP5033854B2/ja
Expired - Fee Related legal-status Critical Current
Anticipated expiration legal-status Critical

Links

Images

Classifications

    • GPHYSICS
    • G03PHOTOGRAPHY; CINEMATOGRAPHY; ANALOGOUS TECHNIQUES USING WAVES OTHER THAN OPTICAL WAVES; ELECTROGRAPHY; HOLOGRAPHY
    • G03FPHOTOMECHANICAL PRODUCTION OF TEXTURED OR PATTERNED SURFACES, e.g. FOR PRINTING, FOR PROCESSING OF SEMICONDUCTOR DEVICES; MATERIALS THEREFOR; ORIGINALS THEREFOR; APPARATUS SPECIALLY ADAPTED THEREFOR
    • G03F7/00Photomechanical, e.g. photolithographic, production of textured or patterned surfaces, e.g. printing surfaces; Materials therefor, e.g. comprising photoresists; Apparatus specially adapted therefor
    • G03F7/70Microphotolithographic exposure; Apparatus therefor
    • G03F7/70216Mask projection systems
    • G03F7/70341Details of immersion lithography aspects, e.g. exposure media or control of immersion liquid supply
    • GPHYSICS
    • G03PHOTOGRAPHY; CINEMATOGRAPHY; ANALOGOUS TECHNIQUES USING WAVES OTHER THAN OPTICAL WAVES; ELECTROGRAPHY; HOLOGRAPHY
    • G03FPHOTOMECHANICAL PRODUCTION OF TEXTURED OR PATTERNED SURFACES, e.g. FOR PRINTING, FOR PROCESSING OF SEMICONDUCTOR DEVICES; MATERIALS THEREFOR; ORIGINALS THEREFOR; APPARATUS SPECIALLY ADAPTED THEREFOR
    • G03F7/00Photomechanical, e.g. photolithographic, production of textured or patterned surfaces, e.g. printing surfaces; Materials therefor, e.g. comprising photoresists; Apparatus specially adapted therefor
    • G03F7/20Exposure; Apparatus therefor
    • G03F7/2041Exposure; Apparatus therefor in the presence of a fluid, e.g. immersion; using fluid cooling means
    • GPHYSICS
    • G03PHOTOGRAPHY; CINEMATOGRAPHY; ANALOGOUS TECHNIQUES USING WAVES OTHER THAN OPTICAL WAVES; ELECTROGRAPHY; HOLOGRAPHY
    • G03FPHOTOMECHANICAL PRODUCTION OF TEXTURED OR PATTERNED SURFACES, e.g. FOR PRINTING, FOR PROCESSING OF SEMICONDUCTOR DEVICES; MATERIALS THEREFOR; ORIGINALS THEREFOR; APPARATUS SPECIALLY ADAPTED THEREFOR
    • G03F7/00Photomechanical, e.g. photolithographic, production of textured or patterned surfaces, e.g. printing surfaces; Materials therefor, e.g. comprising photoresists; Apparatus specially adapted therefor
    • G03F7/70Microphotolithographic exposure; Apparatus therefor
    • G03F7/70691Handling of masks or workpieces
    • G03F7/70716Stages
    • GPHYSICS
    • G03PHOTOGRAPHY; CINEMATOGRAPHY; ANALOGOUS TECHNIQUES USING WAVES OTHER THAN OPTICAL WAVES; ELECTROGRAPHY; HOLOGRAPHY
    • G03FPHOTOMECHANICAL PRODUCTION OF TEXTURED OR PATTERNED SURFACES, e.g. FOR PRINTING, FOR PROCESSING OF SEMICONDUCTOR DEVICES; MATERIALS THEREFOR; ORIGINALS THEREFOR; APPARATUS SPECIALLY ADAPTED THEREFOR
    • G03F7/00Photomechanical, e.g. photolithographic, production of textured or patterned surfaces, e.g. printing surfaces; Materials therefor, e.g. comprising photoresists; Apparatus specially adapted therefor
    • G03F7/70Microphotolithographic exposure; Apparatus therefor
    • G03F7/708Construction of apparatus, e.g. environment aspects, hygiene aspects or materials
    • G03F7/70858Environment aspects, e.g. pressure of beam-path gas, temperature
    • G03F7/70866Environment aspects, e.g. pressure of beam-path gas, temperature of mask or workpiece
    • G03F7/70875Temperature, e.g. temperature control of masks or workpieces via control of stage temperature
    • HELECTRICITY
    • H10SEMICONDUCTOR DEVICES; ELECTRIC SOLID-STATE DEVICES NOT OTHERWISE PROVIDED FOR
    • H10PGENERIC PROCESSES OR APPARATUS FOR THE MANUFACTURE OR TREATMENT OF DEVICES COVERED BY CLASS H10
    • H10P72/00Handling or holding of wafers, substrates or devices during manufacture or treatment thereof
    • H10P72/06Apparatus for monitoring, sorting, marking, testing or measuring
    • H10P72/0602Temperature monitoring

Landscapes

  • Physics & Mathematics (AREA)
  • General Physics & Mathematics (AREA)
  • Health & Medical Sciences (AREA)
  • Life Sciences & Earth Sciences (AREA)
  • Atmospheric Sciences (AREA)
  • Toxicology (AREA)
  • Engineering & Computer Science (AREA)
  • Environmental & Geological Engineering (AREA)
  • Epidemiology (AREA)
  • Public Health (AREA)
  • Exposure And Positioning Against Photoresist Photosensitive Materials (AREA)
  • Exposure Of Semiconductors, Excluding Electron Or Ion Beam Exposure (AREA)

Abstract

【課題】開口数を増やすために投影システムと基板の間を浸漬液で満たす浸漬リソグラフィでは、供給した液の蒸発によって関連する部品が局部冷却され、その変形・変質でピンぼけやレンズ収差を生じることがある。この様なリソグラフィ装置内のエネルギー損失を効率的且つ効果的に無くするシステムを提供する。
【解決手段】供給した液体11の蒸発が最も起りそうな時刻、基板Wの位置、速度および加速度等に関する情報をもった予定表34を用意し、液体蒸発制御装置30によってこの予定表34に従って基板Wの少なくとも一部をヒータで加熱しまたは加湿空気を送って局部蒸発を防ぐ。
【選択図】図6

Description

本発明は、リソグラフィ装置およびデバイスを製造するための方法に関する。特に、本発明は、投影システムとリソグラフィ装置内のこの投影システムによってパターン化すべき基板との間に液体を閉込めるための液体閉込めシステムを含むリソグラフィ装置に関する。
リソグラフィ装置は、基板上に、通常は基板の目標部分上に、所望のパターンを付ける機械である。リソグラフィ装置は、例えば、集積回路(IC)の製造に使うことができる。その場合、マスクまたはレチクルとも呼ぶ、パターニング装置を使ってこのICの個々の層上に作るべき回路パターンを創成してもよい。このパターンを基板(例えば、シリコンウエハ)上の目標部分(例えば、一つまたは幾つかのダイの一部を含む)に転写することができる。このパターンの転写は、典型的には基板上に設けた放射線感応材料(レジスト)の層への結像による。一般的に、単一基板が、順次パターン化する隣接目標部分のネットワークを含む。既知のリソグラフィ装置には、全パターンをこの目標部分上に一度に露光することによって各目標部分を照射する、ステッパと、このパターンを放射線ビームによって、与えられた方向(“走査”方向)に走査することによって各目標部分を照射し、一方、この基板をこの方向と平行または逆平行に同期して走査する、所謂スキャナがある。このパターンを基板上に印写することによってこのパターンをパターニング装置から基板へ転写することも可能である。
この基板をリソグラフィ投影装置で、この投影システムの最終素子と基板の間のスペースを埋めるように、比較的高屈折率の液体、例えば、水に浸漬することが提案されている。この趣旨は、露光放射線が液体の中では波長が短いので、小さい形態の結像を可能にすることである。(この液体の効果は、このシステムの有効NAを増し且つ焦点深度も増すとも見做してもよい。)中に固体粒子(例えば、石英)を懸濁した水を含む、他の浸漬液が提案されている。
しかし、基板または基板と基板テーブルを液体浴に沈めることは(例えば、その全体を参考までにここに援用する米国特許第4,509,852号明細書参照)、走査露光中加速しなければならない液体の塊があることを意味する。これは、追加のまたはより強力なモータを要し、この液体中の乱流が望ましくなく且つ予測できない影響に繋がるかも知れない。
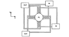
提案された解決策の一つは、液体供給システムが液体閉込めシステムを使って液体を基板の局部領域にのみおよび投影システムの最終素子と基板の間に提供することである(基板は、一般的に投影システムの最終素子より表面積が大きい)。これを準備するために提案されている一つの方法は、WO99/49504に開示してあり、その全体をここに参考までに援用する。図2および図3に示すように、液体を少なくとも一つの入口INによって、好ましくは最終素子に対する基板の運動方向に沿って、基板上に供給し、投影システムの下を通過してから少なくとも一つの出口OUTによって除去する。即ち、基板をこの素子の下で−X方向に走査するとき、液体をこの素子の+X側に供給し、−X側で吸収する。図2は、この装置を概略的に示し、そこでは液体を入口INから供給し、この素子の反対側で低圧源に結合した出口OUTによって吸収する。図2の例では、液体を最終素子に対する基板の運動方向に沿って供給するが、これは、そうである必要はない。最終素子の周りに位置する種々の方位並びに種々の数の入口および出口が可能であり、一例を図3に示し、そこでは両側に出口のある4組の入口が最終素子の周りに規則的パターンで設けてある。
提案されているもう一つの解決策は、投影システムの最終素子と基板テーブルの間のスペースの境界の少なくとも一部に沿って伸びるシール部材を備える、液体供給システムを設けることである。そのような解決策を図4に示す。このシール部材は、投影システムに対してZ方向に(光軸方向に)幾らかの相対運動をしてもよいが、XY平面では実質的に固定である。このシール部材と基板表面の間にシールができる。このシールは、ガスシールのように無接触シールであるのが好ましい。
ヨーロッパ特許出願第03257072.3号に二連または二段浸漬リソグラフィ装置のアイデアが開示してある。そのような装置は、基板を支持するために二つの段を備える。水準測定を、浸漬液なしに、ある段の第1位置で行い、露光を、浸漬液のある、ある段の第2位置で行う。その代りとしては、この装置が一段だけを有する。
上に説明したような浸漬システムに液体があることの問題は、この浸漬液の蒸発のリスクがあることである。この浸漬液の蒸発には、幾つかの結果がある。最初は、基板冷却の局所化の問題で、基板の収縮、従って基板と基板テーブルの間の熱膨張係数の差によって生じるバイメタル的曲げからのオーバレイおよび焦点合せ誤差という結果になる。この基板と基板テーブルの熱膨張係数が同じでも、Z平面での温度勾配が曲げを生じ、それによって焦点合せ誤差を持込むことがある。第2は、基板表面上に乾燥しみが存在することである。第3の結果は、液体閉込めシステムの冷却で、それが投影システムのレンズを間接的に冷却し、投影したビームに球面収差を生じる。更に、蒸発によって生じた温度変化が基板テーブルまたは基板ホルダのサイズおよび形状を変えることがある。基板テーブル上のセンサの位置安定性および信号は、この基板テーブルが形状を変えるなら、ドリフトしがちかも知れない。最後に、冷却した液体閉込めシステムによる浸漬液の間接冷却は、この液体の屈折率変動を生じ、それが次に投影した露光ビーム、従ってパターンに焦点合せオフセットおよび歪みを生じる。
リソグラフィ装置の運転は、概して状態依存性で、それでこのシステムの何処かの部分にエネルギー変動があれば、基板上のレジスト層の露光の誤差に繋がる。この基板、基板テーブル、基板ホルダおよびセンサの直ぐ上の相対湿度の濃度差が水膜の水を蒸発させ、上に略述した問題を起す。
浸漬システムに浸漬液の蒸発が起る場所が幾つかある。それらは:
1.液体閉込めシステムと基板の間;
2.液体閉込めシステムによって濡らした後の基板の表面上;
3.液体閉込めシステム内部の排気チャンネル内;および
4.基板ホルダとこの基板ホルダを具備する基板テーブルとの間の側溝または隙間内である。
これらの場所での蒸発は、温度低下に、従って投影レンズ、浸漬液、液体閉込めシステム、センサ、基板、基板ホルダ並びにこの基板ホルダおよび基板を具備する基板テーブルのエネルギー損失に繋がる。この基板テーブルは、時には“ミラーブロック”と呼び、この基板ホルダは、基板を支持するために屡々その表面を覆う突起のために、時には“突起板”と呼ぶ。この基板テーブルは、基板ホルダを支持し、それは次に基板をこの基板テーブルの表面から離して保持する。
何故正味蒸発が正味凝縮より大きくて、このシステムに正味エネルギー損失を生じるか幾つかの理由がある。第1の理由は、基板を浸漬システムに出し入れするときに水膜を基板の後に押込み且つそれを前方に引出すために使うエアナイフの使用である。このエアナイフは、これを加圧空気ジェットを使って行う。蒸発は、水膜の移動の有り得る副作用である。基板の表面からの水損失が大き過ぎれば、このエアナイフによって押される水膜は、大き過ぎ、このエアナイフが潰れる。これが起ると、水膜がこの周囲環境で浸漬システムの外部で蒸発する。
第2の理由は、エアナイフを使わないか完全に有効でないとき、基板および基板テーブルの一部をこのリソグラフィ装置を囲む大気に露出するように、この基板および基板テーブルをシール部材に対して動かす。この基板または基板テーブルに残っているあらゆる液体がこの大気中に蒸発しそうであり、それでこのシステムのエネルギーを減らす。この液体供給または排気システムからの液体の蒸発は、この全液体閉込めシステムを冷却し、それが浸漬液を冷却し、それでこのシステムのエネルギーを減らし、上に説明した問題を起す。
予て、この温度低下およびエネルギー損失を補償するために、三つの有り得る解決策がある。
第1の解決策は、浸漬システム内部の大気とエアナイフ内の空気の相対湿度差を減少することによって浸漬液の寄生蒸発を減少するために、例えば、このエアナイフを介してこの浸漬システムに加湿した圧縮清浄空気を供給することである。この先行技術によれば、オーバレイ誤差並びに浸漬液およびシール部材12の存在にリンクしたその他の問題に、基板の領域での浸漬液の蒸発速度を対象とし且つ制御する、液体蒸発制御装置によって取組んだ。液体の分子が蒸発するために周囲からエネルギーを吸収し、および、特にポンプで汲出すなら、生じる冷却が、基板Wのような重要部品の温度に重要ではあるが不均一な変動を生じることがある。熱的に誘発した歪みが基板に最終的に書込む像の誤差に繋がることがある。例えば、シール部材12を通過した後に基板上の残された浸漬液の蒸発は、3Kまでの局部温度低下を生じることがある。この結果として、少なくとも20nmの単一機械オーバレイ誤差が典型的に生じるかも知れない。
この解決策は、エアナイフのためにこの液体閉込めシステム内に必要な空気の過圧は、この圧縮した空気の膨張後100%相対湿度を達成できないことを意味するので、すごく有効ではない。これは、それにも拘らずこの解決策で蒸発が起る理由である。
第2の解決策は、この基板ホルダまたは基板テーブルの方への水流による基板の熱的状態調節(即ち、正味エネルギー損失を減らすための基板テーブルへのエネルギー供給)である。この意図は、理想的システムに比べて出来るだけ小さい温度変化で蒸発エネルギーを供給し、それによってこの浸漬システムに蒸発によるエネルギー損失を補償するためのエネルギーを供給し、例えば、熱機械的変形を生じる熱的影響を最小にすることである。言換えれば、熱的状態調節によって達成する狙いは、このシステムに(特に基板に)蒸発プロセス中に損失したエネルギーを供給し、それによって浸漬液および/またはその周囲の温度低下を制限することである。基板テーブルWTは、このシステム基準温度に留まるべきである。全基板を冷却し、局部温度変動を抑制しない点に於いて、この解決策で同じ問題が起る。
蒸発する浸漬液の冷却効果によって生じる誤差に、シール部材12に対する基板テーブルWTの位置、速度、加速度および所定の経路の少なくとも一つおよびこの局部基板Wおよび/または基板テーブルWTの温度に従って基板Wの少なくとも一部を加熱するように構成した、基板ヒータを設けることによって取組む、第3の解決策を設けてもよい。このヒータ特性が依存する他のパラメータは、レジスト特性;特に、この表面上の液体の接触角、このレジスト上の照射線量およびこのレジストに使った物質である。この基板ヒータは、多数の機構によって加熱を提供してもよい。これには、以下の一つ以上を含んでもよい、赤外線放射源、グロー線電気抵抗ヒータおよび高温ガスジェット。どの種のヒータを使うかを決めるときに重要な要因には、如何に微細且つ迅速に加熱力を調整する必要があるか、並びに如何に効果的にこのヒータを小型で生産できるかがある。後者の要因は、温度を調整しようとする材料の中に若しくは近くにこのヒータを埋込む必要があるかどうか(例えば、基板ホルダに若しくは基板テーブルWTに埋込んだグロー線のように)、またはこのヒータがある程度離れて作動するかどうか(放射線放出源若しくは温度制御ガスジェット源のように)に依って多かれ少なかれ重要になってくる。放射線放出源の場合、この放射線の波長分布は、基板W上のレジスト組成物と反応しないように選ぶべきである(赤外放射線は、これに関して、問題の大抵のレジストに対して安全であろう)。放射線強度の選択は、このレジストの光学的性質(その反射性のような)に依る。この加熱システムは、或るプロセス用に調整するか、または適当な温度感知機構を有する必要がある。両方に利点欠点があり;調整は、簡単な設計でよいが、一方温度感知は、調整より大きいシステム可用性をもたらす。
リソグラフィ装置の液体閉込めシステムで正味エネルギーの減少を効率的且つ効果的に無くするシステムを提供することが望ましい。
本発明の一態様によれば、リソグラフィ装置であって:基板を保持するために基板ホルダを含むように構築した基板テーブル;パターン化した放射線ビームをこの基板の目標部分上に投影するように構成した投影システム;上記投影システムの最終素子と上記基板の間のスペースを少なくとも部分的に液体で満たすように構成した液体供給システム;上記液体をこの投影システムの上記最終素子と上記基板の間の上記スペース内に実質的に封じ込めるように準備したシール部材;上記基板テーブルを上記シール部材に対して所定の経路に沿って動かし、それによって上記基板の表面上の上記目標部分を動かすように準備した基板テーブル変位システム;この基板が局部冷却を受けそうな、この基板変位システムの位置およびタイミングを含む予定表;並びに上記液体供給システムによって供給した液体の蒸発によるエネルギー損失の正味速度を、蒸発制御技術を上記予定表と同期させることによって、制御するように準備した液体蒸発制御装置を含むリソグラフィ装置が提供される。液体蒸発制御装置とは、液体の蒸発を直接抑制するシステムだけでなく、例えば、凝縮が起らないようにこのシステム全体を加熱するか、またはこの液体が蒸発するのを防ぐか若しくは蒸発の影響を補償するようにこの液体若しくはこの液体供給システムの特性を調整することによって、このシステムの望ましくないエネルギー伝達を間接的に減少させるシステムも意味する。
本発明の更なる態様によれば、デバイス製造方法であって:基板を保持するために基板ホルダを含むように構築した基板テーブルを設ける工程;パターン化した放射線ビームをこの基板の目標部分上に投影するように構成した投影システムを設ける工程;上記投影システムの最終素子と上記基板の間のスペースを少なくとも部分的に液体で満たすように構成した液体供給システムを設ける工程;上記液体をこの投影システムの上記最終素子と上記基板の間の上記スペース内に実質的に封じ込めるように準備したシール部材を設ける工程;上記液体供給システムによって供給した液体の蒸発速度を制御する工程;上記基板テーブルを上記シール部材に対して所定の経路に沿って動かし、それによって上記基板の表面上の上記目標部分を動かすように準備した基板テーブル変位システムを設ける工程;上記シール部材に対する上記基板テーブルの位置、速度、加速度および所定の経路の少なくとも一つ、この局部基板温度、並びにこの基板テーブル温度に従って上記基板の少なくとも一部を加熱する工程;並びに加熱と蒸発速度の制御の間を同時に切替える工程を含む方法が提供される。
本発明の更なる態様は、蒸発エネルギー補償技術の方法として凝縮原理、吸着原理および相変化物質原理を含む。凝縮原理は、表面上に凝縮するために利用できる上記の量を制御し;この量が多ければ多いほど、多くの熱エネルギーが凝縮の起る表面へ伝達される。吸着原理は;物質が冷えるとき、この物質にガスを吸着するので、物質の冷却および加熱中に起る。このガスの脱着は、後の基板サイクルで、この吸着プロセスが再び始るように、基板の取出し中に起る。冷却中、物質の状態が変り、エネルギーを放出する。この相変化物質の再生は、次の基板サイクルで、このプロセスが再び始るように、基板の取出し中に必要である。
この発明の実施例によるリソグラフィ装置を示す。 先行技術のリソグラフィ投影装置で使用する液体供給システムを示す。 先行技術のリソグラフィ投影装置で使用する液体供給システムを示す。 別の先行技術のリソグラフィ投影装置による液体供給システムを示す。 本発明の実施例による液体閉込めシステムを示す。 本発明の第1実施例による液体閉込めシステムを示す。 本発明の第2実施例による液体蒸発制御システムを示す。 本発明の第3実施例によるエネルギー調整システムを示す。 本発明の第4実施例による液体蒸発制御システムを示す。 本発明の第4実施例による液体蒸発制御システムを示す。 本発明の第5実施例によるエネルギー調整システムを示す。 本発明の第6実施例によるエネルギー調整システムを示す。 本発明の第7実施例による温度センサを示す。 本発明の第4実施例による温度センサの代替位置を示す。
次に、本発明の実施例を、例としてだけ、添付の概略図を参照して説明し、それらの図面で対応する参照記号は対応する部品を指す。
図1は、本発明の一実施例によるリソグラフィ装置を概略的に描く。この装置は:
放射線ビームB(例えば、UV放射線またはDUV放射線)を調整するように構成した照明システム(照明器)IL;
パターニング装置(例えば、マスク)MAを支持するように構築し、且つこのパターニング装置をあるパラメータに従って正確に位置決めするように構成した第1位置決め装置PMに結合した支持構造体(例えば、マスクテーブル)MT;
基板(例えば、レジストを塗被したウエハ)Wを保持するように構築し、且つこの基板をあるパラメータに従って正確に位置決めするように構成した第2位置決め装置PWに結合した基板テーブル(例えば、ウエハテーブル)WT;および
パターニング装置MAによって放射線ビームBに与えたパターンを基板Wの目標部分C(例えば、一つ以上のダイを含む)上に投影するように構成した投影システム(例えば、屈折性投影レンズシステム)PSを含む。
この照明システムは、放射線を指向し、成形し、または制御するための、屈折式、反射式、磁気式、電磁式、静電式若しくはその他の種類の光学部品、またはその任意の組合せのような、種々の型式の光学部品も包含してよい。
この支持構造体は、パターニング装置を支持し、即ち、その重量を坦持する。それは、パターニング装置を、その向き、リソグラフィ装置の設計、および、例えば、パターニング装置が真空環境に保持されているかどうかのような、その他の条件に依る方法で保持する。この支持構造体は、機械、真空、静電またはその他のクランプ手法を使ってパターニング装置を保持することができる。この支持構造体は、例えば、フレームまたはテーブルでもよく、それらは必要に応じて固定または可動でもよい。この支持構造体は、パターニング装置が、例えば投影システムに関して、所望の位置にあることを保証してもよい。ここで使う“レチクル”または“マスク”という用語のどれも、より一般的な用語“パターニング装置”と同義と考えてもよい。
ここで使う“パターニング装置”という用語は、放射線ビームの断面に、この基板の目標部分に創るようなパターンを与えるために使うことができる手段を指すと広く解釈すべきである。この放射線ビームに与えたパターンは、例えば、もしこのパターンが位相シフト形態または所謂補助形態を含むならば、基板の目標部分の所望のパターンと厳密には対応しないかも知れないことに注目すべきである。一般的に、放射線ビームに与えたパターンは、集積回路のような、この目標部分に創るデバイスの特別の機能層に対応するだろう。
このパターニング装置は、透過性でも反射性でもよい。パターニング装置の例には、マスク、プログラム可能ミラーアレイ、およびプログラム可能LCDパネルがある。マスクは、リソグラフィでよく知られ、二値、交互位相シフト、および減衰位相シフトのようなマスク型、並びに種々のハイブリッドマスク型がある。プログラム可能ミラーアレイの一例は、小型ミラーのマトリックス配置を使用し、入射放射線ビームを異なる方向に反射するようにその各々を個々に傾斜することができる。これらの傾斜したミラーが、このミラーマトリックスによって反射した放射線ビームにパターンを与える。
ここで使う“投影システム”という用語は、使用する露光放射線に対して、または浸漬液の使用または真空の使用のような他の要因に対して適宜、屈折式、反射式、反射屈折式、磁気式、電磁式および静電式光学システム、またはその任意の組合せを含む、あらゆる型式の投影システムを包含するように広く解釈すべきである。ここで使う“投影レンズ”という用語のどれも、より一般的な用語“投影システム”と同義と考えてもよい。
ここに描くように、この装置は、透過型(例えば、透過性のマスクを使用する)である。その代りに、この装置は、反射型(例えば、上に参照するような種類のプログラム可能ミラーアレイを使用する、または反射性マスクを使用する)でもよい。
このリソグラフィ装置は、二つ(二段)以上の基板テーブル(および/または二つ以上のマスクテーブル)を有する型式でもよい。そのような“多段”機械では、追加のテーブルを並列に使ってもよく、または準備工程を一つ以上のテーブルで行い、一方他の一つ以上のテーブルを露光用に使ってもよい。
図1を参照して、照明器ILは、放射線源SOから放射線ビームを受ける。この線源とリソグラフィ装置は、例えば、線源がエキシマレーザであるとき、別々の存在であってもよい。そのような場合、この線源がリソグラフィ装置の一部を形成するとは考えられず、放射線は、線源SOから、例えば適当な指向ミラーおよび/またはビーム拡大器を含むビーム送出システムBDを使って、照明器ILへ送られる。他の場合、例えば、線源が水銀灯であるとき、線源がこの装置の一部分であってもよい。この線源SOと照明器ILは、もし必要ならビーム送出システムBDと共に、放射線システムと呼んでもよい。
照明器ILは、放射線ビームの角強度分布を調整するように構成した調整装置ADを含んでもよい。一般的に、この照明器の瞳面での強度分布の少なくとも外側および/または内側半径方向範囲(普通、それぞれ、σ外側およびσ内側と呼ぶ)を調整できる。その上、照明器ILは、インテグレータINおよびコンデンサCOのような、種々の他の部品を含んでもよい。この照明器は、その断面に所望の均一性および強度分布を有するように、この放射線ビームを調節するために使ってもよい。
放射線ビームBは、支持構造体(例えば、マスクテーブルMT)上に保持されたパターニング装置(例えば、マスクMA)に入射し、このパターニング装置によってパターン化される。マスクMAを横断してから、放射線ビームBは、投影システムPSを通過し、それがこのビームを基板Wの目標部分C上に集束する。第2位置決め装置PWおよび位置センサIF(例えば、干渉計測装置、線形エンコーダまたは容量式センサ)を使って、基板テーブルWTを、例えば、異なる目標部分CをビームBの経路に配置するように、正確に動かすことができる。同様に、例えば、マスクライブラリから機械的に検索してから、または走査中に、第1位置決め装置PMおよびもう一つの位置センサIF(図1にはっきりとは示さず)を使ってマスクMAを放射線ビームBの経路に関して正確に配置することができる。一般的に、マスクテーブルMTの移動は、第1位置決め装置PMの一部を形成する、長ストロークモジュール(粗位置決め)および短ストロークモジュール(微細位置決め)を使って実現してもよい。同様に、基板テーブルWTの移動は、第2位置決め装置PWの一部を形成する、長ストロークモジュールおよび短ストロークモジュールを使って実現してもよい。ステッパの場合は、スキャナと違って、マスクテーブルMTを短ストロークアクチュエータに結合するだけでもよく、または固定してもよい。マスクMAおよび基板Wは、マスク整列マークM1、M2および基板整列マークP1、P2を使って整列してもよい。図示する基板整列マークは、専用の目標部分を占めるが、それらは目標部分の間のスペースにあってもよい(それらは、スクライブレーン整列マークとして知られる)。同様に、マスクMA上に二つ以上のダイが設けてある場合は、マスク整列マークがダイ間にあってもよい。
図示する装置は、以下のモードの少なくとも一つで使うことができる。
ステップモードでは、放射線ビームに与えた全パターンを目標部分C上に一度に(即ち、単一静的露光で)投影しながら、マスクテーブルMTおよび基板テーブルWTを本質的に固定して保持する。次に基板テーブルWTをXおよび/またはY方向に移動して異なる目標部分Cを露光できるようにする。ステップモードでは、露光領域の最大サイズが単一静的露光で結像する目標部分Cのサイズを制限する。
走査モードでは、放射線ビームの与えたパターンを目標部分C上に投影(即ち、単一動的露光)しながら、マスクテーブルMTおよび基板テーブルWTを同期して走査する。マスクテーブルMTに対する基板テーブルWTの速度および方向は、投影システムPSの(縮)倍率および像反転特性によって決る。走査モードでは、露光領域の最大サイズが単一動的露光での目標部分の幅(非走査方向の)を制限し、一方走査運動の長さが目標部分の高さ(走査方向の)を決める。
もう一つのモードでは、プログラム可能パターニング装置を保持するマスクテーブルMTを本質的に固定し、放射線ビームに与えたパターンを目標部分C上に投影しながら、基板テーブルWTを動かしまたは走査する。このモードでは、一般的にパルス化した放射線源を使用し、プログラム可能パターニング装置を基板テーブルWTの各運動後または走査中の連続する放射線パルスの間に必要に応じて更新する。この作動モードは、上に言及した型式のプログラム可能ミラーアレイのような、プログラム可能パターニング装置を利用するマスクレス・リソグラフィに容易に適用できる。
上に説明した使用モードの組合せおよび/または変形または全く異なった使用モードも使ってよい。
図5は、この浸漬システムの浸漬液を保持するための溜めを含む液体閉込めシステムを示す。
溜め10は、液体を閉込めて基板表面と投影システムの最終素子の間のスペースを満たすように、この投影システムの像界の周りに基板に対する無接触シールを形成する。この溜めは、投影システムPSの最終素子の下にその周りに配置されたシール部材12によって形成する。液体をこの投影システムの下のシール部材12内のスペースに持込む。シール部材12は、この投影システムの最終素子の少し上へ伸び、液体のバッファとなるように液体レベルがこの最終素子の上へ上昇する。シール部材12の内周は、上端がこの投影システムまたはその最終素子の形状とぴったり一致するのが好ましく且つ、例えば、丸くてもよい。下端で、この内周は、この像界の形状とぴったりと一致し、例えば、長方形であるが、そうである必要はない。
この液体は、シール部材12の下端と基板Wの表面の間にガスシール16によって溜めに閉込められる。このガスシールは、圧力を掛けて入口15からシール部材12と基板の間の隙間へ供給し且つ第1出口14から引出す、ガス、例えば、空気または合成空気、好ましくは、N2または別の不活性ガスによって形成される。ガス入口15のこの過圧、第1出口14の真空レベルおよびこの隙間の形状寸法は、この液体を閉込める内方への高速空気流があるように決めてある。
基板Wの下面と、基板テーブルWTの窪み内に保持する基板ホルダ(バール板または突起板としても知られる)の上面との間に、基板Wの下にも隙間がある。この隙間も基板Wの下面を乾かしておき且つ上に議論したエネルギー損失問題が無いようにする種類のガスシールを含んでもよい。
正味エネルギー損失は、凝縮するより蒸発する浸漬液11が多いときに生じる(例えば、凝縮によってこのシステムにエネルギーを戻す前に、蒸発した液をこのシステムから除去するときに)。局所化したエネルギー変動は、基板または基板上のレジスト層の歪みを生じる。本発明は、蒸発速度を減らすか、凝縮速度を上げることによって局所化したエネルギー変動を防ぐことを追求する。
(実施例1)
上に議論したように、凝縮するより多くの液体が蒸発する理由の一つは、それが、例えば、基板Wのまたは基板テーブルWTの上面上で、大気条件に曝されることである。図6は、シール部材12に関連する基板テーブルWTを示し、矢印32は、基板テーブルWTが移動する方向、即ち、シール部材12に関する横方向を示す。どの場所で蒸発が最も多く起りそうであるかを知るために、時刻並びにシール部材12に関する基板テーブルWTの位置、速度、加速度および所定の経路、局部基板温度、局部基板テーブル温度および露光レイアウトの少なくとも一つを含む予定表34を創る。液体蒸発制御装置30を予定表34に関連して使ってもよい。この液体蒸発制御装置30は、蒸発による正味エネルギー抽出を制御する限り(蒸発それ自体を制御するのではなく)、幾つかの形を採ることができる。言換えれば、この液体蒸発制御装置の目的は、その熱エネルギーの一部を含む液体の蒸発によるこのシステムからの熱エネルギー損失を防ぐことである。例えば、液体蒸発制御装置30は、基板をシール部材の下から運び出してもこのシステムの熱平衡が一定のままであるように、入口15から供給し且つ出口14によって取出す空気16を加熱してもよい。その代りに、この蒸発制御装置30は、入口15および出口14から圧縮した加湿空気16を供給してもよい。“空気”という語によって、窒素のような、何か適当なガスを意図する。これは、特に、空気に曝せない浸漬システムで液体を使うとき真である。これは、基板Wの上面からの蒸発を減少し、それで蒸発と凝縮を釣合わせ、それによってこの浸漬システムにエネルギー平衡を創り出す。加湿空気で、抑えられるのは、基板から空気(またはこのシールに使う他のガス)への熱エネルギーの伝達ではなく、蒸発である。
(実施例2)
代替蒸発制御装置を図7に示す。この場合、加湿したまたは加熱した空気16をまだシール部材12から導入してもよい。その上、温度状態調節した液体および/または液体蒸気流を基板ホルダに供給する。これは、基板テーブルWTの中の基板Wの下の温度を制御し、それでそれを冷却するとき蒸気が液体に凝縮するので、基板Wの下面上の低温点での凝縮速度を上げる。すると蒸気からのエネルギーを液体の凝縮した基板(およびその他の表面)へ伝達する。この基板の底面での凝縮の増加および基板の上面での蒸発の減少は、この基板を、シール部材12の保護範囲から運び出しても、その熱的平衡を維持することを保証するために微妙に釣合わせるかも知れない。
安定な基準温度は、基板Wの下の、基板ホルダWHの中にヒートパイプ48を導入することによって容易に達成する。このヒートパイプ48を貫流する水(または何か他の適当な液体)を温度および/または圧力センサ並びにヒータを使って状態調節し、このパイプの中を一定温度に維持してもよい。ヒートパイプ48の中でこの水から来る水蒸気は、この基板テーブルの低温点で凝縮するだけで、この蒸気から低温点へ潜熱を伝達する。従って、複雑な制御機構は必要なく、温度オーバシュートは、有り得ない。圧力センサは、例えば、水蒸気の圧力が高過ぎないことを保証する。この水蒸気の圧力は、20mKの凝縮温度安定性に対して4Paよりよい公差に制御する必要がある。
ヒートパイプ48内の、あらゆる空気、または作動流体以外の他の流体は、水および水蒸気から基板ホルダの低温点への熱伝達を最適化するために、このシステムを閉じる前に汲出さねばならない。この水を加熱するヒータをこの水の中に直接または基板テーブルの下に置くことができ、それによってこの基板テーブルの底部を安定な温度に加熱しておき、次にそれが閉込めた水を安定な温度に保つ。
更に、ヒートパイプ48は、幾つかのチャンネルで構成することができ、これらのチャンネルの中の水の温度が基板Wの温度に最も直接的に影響するように、これらのチャンネルを基板ホルダWHの表面にできるだけ近くに配置することができる。基板の下で、この基板ホルダWHに中空突起または窪みがあってもよく、これらの突起または窪みは、水蒸気を基板の下側へ通過させて、丁度基板ホルダの低温点にではなく、基板の低温点上に直接凝縮させる、通路を含むことができる。この様にして、熱伝達がより直接的であり、熱を伝達するためにとる時間が減少し、温度変動の機会を減らす。
多くの基板テーブルは、コンダクタンスが低く、膨張係数が低い、“ゼロジュール”またはコージライトのような材料で作ってある。これは、温度の変動に迅速に反応する熱平衡システムを作ることを困難にすることがある。更に、基板表面と冷却媒体(水のような)の間の熱抵抗は、基板に温度低下が起ると、それが上に説明したように基板変形を生じるほど大きい。これだけでなく、基板の上を通る液体供給システムの中の液体の流れが非常に大きく、この液体の中に乱流を持込むことがある。この第2実施例で説明したシステムは、これらの問題によって制限されない利点がある。流体に、例えば、22°Cで基板の底面上に凝縮させることによって、非常に有効な熱伝達係数および結果として起る基板の熱的状態調節を可能にする。この流体は、2300Pa(または23mbar)のような低圧の水、エーテル若しくはアセトン、または何か類似のものでもよい。この流体の圧力を調節することによって、その流体の凝縮温度をこの特定のシステムおよび基板用の正しい値に調整することができる。
この流体の供給および温度制御は、リソグラフィ装置の固定構成部分で行ってもよいが、凝縮プロセスそれ自体は、熱をこのシステムから抽出したところだけで起る。流体供給管路で凝縮が起るのを防ぐために、ガスと液体の二相混合物を基板テーブルのチャンネルに圧送し、この流体を最適温度に保つことができる。下の第4実施例で説明するようなマイクロ篩を、この二相混合物の中のガスと液体を分離するために基板テーブルに導入してもよい。
(実施例3)
基板の上面に導入した加湿空気は、エアナイフが基板の上を通過した後膨張しがちである。これは、100%未満の相対湿度を生じる。このエアナイフとエアナイフ抽出導管との間の領域で、この加湿した空気が冷却し、冷たい空気は、暖かい空気より湿度収容力が低いので、その湿度が再び上昇する。従って、暖かい、加湿した空気をエアナイフの後に供給してもよい。このエアナイフの通過中の0.4barの低下に対して、100%相対湿度で22°Cのエアナイフ後空気を供給するために、約28°Cの水飽和空気を使ってもよい。この暖かい空気の中の蒸発した水を膨張後に再び凝縮し尽して基板上にゼロのエネルギー結果を残す。
図8は、基板Wの表面からの蒸発を補償するために使ってもよい、代替実施例を示す。基板Wが右方に、矢印の方向に動くので、浸漬液11と接触していた、基板Wの上面は、エアナイフ40による乾燥を受ける。このエアナイフは、シール部材12を離れた後に基板上に残る浸漬液11の最終薄膜を除去するために、この基板の表面に空気の楔を供給する。これは、基板が冷え、それによってエネルギーを損失する共通の時間である。このエアナイフによって生じる局部冷却力の典型的損失は、親水性表面上で20Wのオーダである(例えば、60°の接触角で)。
このエアナイフを使う蒸発エネルギー損失を補償するための二つの方法がある。最初は、このエアナイフから高圧加湿空気を供給することである。代案は、例えば、LEDのような放射線源38または状態調節管と共にマイクロ波空洞を使って、このエアナイフ内で空気を加熱することである。
図8に示す実施例は、温度センサ22を有し、それが情報を、予定表情報34と共に制御装置(CPUのような)36へ入力する。基板Wがエアナイフ40によって生じる蒸発によって最もエネルギーを損失しそうなときに、CPU36は、エネルギーを損失しそうな点で基板Wの局部表面温度を増すために放射線源38を制御し、それによって熱平衡を回復する。
この放射線源の波長範囲は、それがこの基板の表面上のレジストを露光しないように、および光を全てのプロセス層で同じ量だけ吸収するように選ばねばならない。後に“蒸発跡”が残る基板の部分を効果的に補償できるように、複数の放射線源をエアナイフの周囲全体に亘って配置してもよい。この予定表(早送り表としても知られるかも知れない)に入れてもよい更なる情報には、仕事割付データ、走査速度およびレジスト特性がある。この制御装置が線源に供給する情報は、この基板の表面温度を更に精密に制御するために、この放射線源がその放射線を伝達する方向も操縦してよい。
(実施例4)
図9aおよび9bは、液体蒸発制御装置の代替実施例を示す。第3実施例のように、基板の表面から蒸発のおそれのある液体を一掃し、且つこのシステムの熱エネルギーを減らしまたはこの基板の使用法に影響するマークを乾いたままにしておくために、この基板の表面に空気を供給するエアナイフAKがある。両実施例は、このエアナイフAKによって持込んだ空気を除去するためのエアナイフ抽出装置(図示せず)もある。この第4実施例は、空気52を抽出せずに水11を抽出する目的を持つ、マイクロ篩MSも含む。空気52と水11を分離したままにしておくことは、混合物ができないことを意味し、それで水11を再利用でき、空気52を再利用するか、捨てる。空気と水の混合物を避けることは、この空気が基板の表面を完全に乾燥することを保証もする。
エアナイフAKが液体11(例えば、水)で覆われた基板Wの表面上に空気を吹付けるとき、空気52と水11の間に、図9bに示すように、メニスカスができる。マイクロ篩MSの両側に水11がある場合、このエアナイフ抽出装置が水11を孔56を通してマイクロ篩MSから引出させる。しかし、マイクロ篩MSの片側に空気があり、他の側に水がある場合、水11の表面張力54が空気52をマイクロ篩MSの片側に保持する。この様にして、水だけがマイクロ篩MSの片側に置かれた抽出システムによって抽出される。このマイクロ篩MSは、ストーク・ベコのマイクロ篩でもよい。
マイクロ篩MSと基板Wの間の隙間が小さければ小さいほど、空気と水の間のメニスカスが強く、この基板Wの全面に亘るエアナイフAKの大きな走査速度ででもこの水と空気を分離して保持するので、よい。このマイクロ篩MSと基板Wの間の距離の下限は、隙間が小さければ小さいほど増す、衝突のリスクによって決る。
このマイクロ篩とエアナイフは、特定の最適相対位置に配置しなければならない。このエアナイフは、基板Wの表面上に十分な圧力を提供するために比較的低くあることが必要である。図9aは、最高速度を有するエアナイフAKが吹付ける空気の形である円錐形50を示す。この空気が周囲空気と混合するのでその速度を減らし始める境界50がある。理想的には、最高空気速度の円錐が基板に触り始めねばならず、更に理想的なのは、この円錐の先端が基板に接触する。しかし、このエアナイフは、基板に近過ぎてはならず、さもなければ基板の表面の上を実際に通過する空気の速度が高過ぎて、基板の表面上の液体が抽出器の中へ“押しのけ”られるのではなく、蒸発する危険がある。
このマイクロ篩は、直径約3mmでよい。マイクロ篩MSの上の水11と基板W付近の水11(これは、メニスカスを越えるマイクロ篩の孔の中の表面張力の強さによって制限される)の間の与えられた圧力差に対して、このマイクロ篩の適当な部分が両側に水を有するようにメニスカスを位置決めすることによって、水11の流量を調整することができる。
マイクロ篩MSとエアナイフAKは、それらを基板に対して異なる高さに配置できるように、別々に取付けてある。それらは、一般的に、それらが基板の表面を同時に走査するように、この液体供給システムの壁に固定してある。
この実施例の利点は、大抵の熱損失が一般的にエアナイフと基板上のエアナイフ抽出装置の間に起ることであり、この実施例は、この特定の領域を扱う。このエアナイフとこの抽出装置との間の基板上の水11の量は、この基板上のマイクロ篩の高さに依る。エアナイフと抽出装置の間に残った水が多ければ多いほど、より多くの水がこのエアナイフによって後に残されそうで且つ基板表面上に残される。このため、マイクロ篩をできるだけ低くするのが好ましい。他方、エアナイフの高さが重要であることも分った。100μmから125μmへの高さの増加がウエハでの熱損失を20%だけ減少する。このエアナイフは、200μmまでの高さで最も良く機能することを示している。上に議論したように、熱損失の減少は、基板上のオーバレイ誤差のリスクを減少する。
(実施例5)
図10は、基板の底への凝縮を増やし、それによって上面を加熱するのとは異なる方法で熱的平衡を回復するための、もう一つの代替実施例を示す。これら二つの実施例は、勿論、組合わせて熱的平衡の精度を高めてもよい。
基板Wと基板ホルダWHの間の真空42に含水飽和ガス44(例えば、約24mbarまたは60mbarの飽和エタノール)を供給することは、この基板Wの低温点での水の凝縮に繋がるだろう。凝縮によるこのエネルギー損失は、この基板を気温に加熱するだろう。飽和空気44を供給する限り、基板Wの下の凝縮した水は、蒸発しないだろう。基板W上面での平均エネルギー損失を補償するためには、基板Wの底面に凝縮するために厚さ数マイクロメートルの水膜があるだけでよい。
基板Wの下側のこの水は、後に、基板の最後の露光後、基板を取外す前に、乾燥空気を供給することによって除去する。圧力を掛けた水の蒸発は、非常に速い。エネルギー調整のこの方法の利点は、何も能動的制御なしに、エネルギー損失が起る基板Wの正確な場所にエネルギーを供給できることである。付加的利点は、温度オーバシュートが有り得ないことである。これは、基板Wの熱容量だけが水の過渡挙動に関与し、それでエネルギー調整が最短可能時間で行われるからである。言換えれば、基板がその上面でのエネルギー損失によって冷えるので、水がその底面に凝縮し、それでエネルギーをそれが逃げるのと同じ速さで伝達し戻す。
(実施例6)
図11は、基板を交換する間、シール部材12の底面を埋め合せる閉鎖板46を示す。この閉鎖板の位置、速度、加速度およびタイミングも予定表34の情報に加えてもよい。この閉鎖板の状態調節は、浸漬液をより容易に同じ温度/エネルギーに維持することを可能にする。
この閉鎖板だけでなく、この液体供給システムの液体と接触するようになるあらゆる部分のように、基板と間接的にでも接触するようになる、このリソグラフィ装置のあらゆる部分も、その温度が安定したままであるように、状態調節してもよい。この投影システムの最終素子および液体供給システムは、共にこの液体と接触し且つ共に、特に基板の交換中、閉鎖板が然るべき位置にありまたは然るべき位置に移ろうとしているとき、この液体が蒸発するかも知れない面を含む。注意深く制御した温度の流体を運ぶ水路をこの液体供給システムにまたはこの液体供給システムの外部の周りに組込んでもよい。この過熱器の利点は、余分なヒータおよび制御器が必要ないことである。この基板と投影システムの間のスペースの中と同じ浸漬液をこの水路を通して使うなら、この液体供給システムを通る熱勾配は、ヒータまたはグロー線または類似のものを使うよりは、より均一だろう。
その代りに、電気ヒータをこの液体供給システムに提供してもよい。これらのヒータは、以下に第7実施例で説明するような温度センサに接続したフィードバック制御器によって制御してもよい。この実施例は、余分な部品を有するが、特に、例えば、閉鎖板の除去中に、大きな温度変動に対処できる利点を有する。
(実施例7)
本発明の代替実施例では、基板の温度低下を検出したとき、蒸発制御法を積極的に適用する。温度変化は、図12に示すように浸漬液それ自体の中で検出器22で検出してもよく;または温度センサが、図13に示す位置のように、基板Wそれ自体の周りの種々の位置にあってもよい。温度センサ22aは、基板Wの上を浮遊し、図13は、この温度センサを、図8に示すような(CPU36)、CPUに接続するリード線24を示す。温度センサ22bは、基板Wの内部にあり、センサ22cは、基板Wと基板ホルダWHの間の真空42中にある。基板Wおよび基板ホルダWHに関する真空42の尺度は、説明目的で誇張してある。センサは、この液体供給システムの中にも置いてよい。温度センサは、これらの一つまたは複数の位置に、その位置のエネルギー損失のありそうな原因に依って、この基板の温度を異なる場所で検知するために配置してもよい。基板の熱的平衡が失われれば損害を受けるのはこの基板であるから、更に、一つのセンサを、できるだけ基板テーブルの表面および/または基板Wの表面に近いように、図13に示し且つ22cと表示するような位置に置いても感知できるだろうが、基板テーブルそれ自体に置いてもよい。
加熱素子を、例えば、図6に関して説明したような、加湿圧縮清浄空気の使用と同時に切替えてもよい。この様にして、蒸発プロセスを、温度制御システムの必要なしに、ヒータのエネルギー消散によって時の経つにつれて補償する。基板上の水膜の蒸発は、液体閉込めシステムが動くとき起る(例えば、基板が静止しているときのエネルギー損失5Wに比べて、それが動くときのエネルギー損失25W)。この移動速度は、エネルギー損失率に影響する。この水膜は、基板上にエアナイフの前ではなく、後に残され、それで移動パターンおよびこの浸漬システムに関する基板の速度についての情報を使って補償の力とこの浸漬システムの中の液体閉込めシステムに関する基板位置の両方を切替える。レジストパラメータ(例えば、浸漬液による濡れ性)およびエアナイフガス・パラメータ(例えば、マランゴニ効果)が必要な加熱力を決める。
温度センサ22なしに、図10に関して説明したような、受動システムを使うとき、制御ループがなく、それで電子装置が殆ど必要ない。従って、勿論、一体型温度補償システムのある新しい機械を造ってもよいが、もし必要なら既存の機械を改作することが容易である。
この本文では、ICの製造でリソグラフィ装置を使用することを具体的に参照するかも知れないが、ここで説明するリソグラフィ装置は、集積光学システム、磁区メモリ用誘導検出パターン、フラットパネルディスプレイ、液晶ディスプレイ(LCD)、薄膜磁気ヘッド等の製造のような、他の用途があることを理解すべきである。当業者は、そのような代替用途の関係で、ここで使う“ウエハ”または“ダイ”という用語のどれも、それぞれ、より一般的な用語“基板”または“目標部分”と同義と考えてもよいことが分るだろう。ここで言及する基板は、露光の前または後に、例えば、トラック(典型的には基板にレジストの層を付け且つ露光したレジストを現像する器具)、計測器具および/または検査器具で処理してもよい。該当すれば、この開示をそのようなおよび他の基板処理器具に適用してもよい。更に、この基板を、例えば、多層ICを創るために、一度を超えて処理してもよく、それでここで使う基板という用語は既に多重処理した層を含む基板も指すかも知れない。
ここで使用する“放射線”および“ビーム”という用語は、紫外(UV)放射線(例えば、365、248、193、157または126nmの波長を有する)を含むあらゆる種類の電磁放射線を包含する。
“レンズ”という用語は、事情が許せば、屈折式、反射式光学部品を含む、種々の型式の光学部品の何れか一つまたは組合せを指してもよい。
この発明の特定の実施例を上に説明したが、この発明を説明したのと別の方法で実施してもよいことが分るだろう。例えば、この発明は、上に開示した方法を記述する機械可読命令の一つ以上のシーケンスを含むコンピュータプログラム、またはそのようなコンピュータプログラムを記憶したデータ記憶媒体(例えば、半導体メモリ、磁気若しくは光ディスク)を含んでもよい。
本発明は、任意の浸漬リソグラフィ装置に、特に、しかし排他的にではなく、上に述べた種類のものに適用できる。
上記の説明は、例示を意図し、限定を意図しない。従って、当業者は、説明したこの発明に以下に示す請求項の範囲から逸脱することなく修正を施すことができることが分るだろう。
11 液体
12 シール部材
22 温度センサ
22a 温度センサ
22c 温度センサ
30 液体蒸発および凝縮制御装置
34 予定表
38 発光ダイオード
40 エアナイフ
46 閉鎖円板
48 パイプ
52 空気
AK エアナイフ
C 目標部分
MS マイクロ篩
PS 投影システム
W 基板
WH 基板ホルダ
WT 基板テーブル

Claims (65)

  1. パターン化した放射線ビームを基板テーブル上の窪みの中の基板ホルダ上に保持した基板の目標部分上に投影するように構成したリソグラフィ装置であって、
    投影システムの最終素子と前記基板の間のスペースを少なくとも部分的に液体で満たすように構成した液体供給システム、
    上記液体を上記スペース内に実質的に封じ込めるように準備したシール部材、
    上記基板テーブルを前記シール部材に対して所定の経路に沿って動かし、それによって前記基板の表面上の上記目標部分を動かすように準備した基板テーブル変位システム、
    この基板が局部冷却を受けそうな、この基板変位システムの位置およびタイミングを含む予定表、および
    前記液体供給システムによって供給した液体の蒸発または凝縮によるエネルギー損失の正味速度を、蒸発または凝縮制御技術を前記予定表と同期させることによって、制御するように準備した液体蒸発および凝縮制御装置を含むリソグラフィ装置。
  2. 請求項1に記載のリソグラフィ装置に於いて、前記蒸発制御装置が、前記シール部材に対する前記基板テーブルの位置、速度、加速度および所定の経路の少なくとも一つ、この局部基板温度、並びにこの基板テーブル温度に従って上記基板の少なくとも一部を加熱するように構成した基板ヒータを含む装置。
  3. 請求項1に記載のリソグラフィ装置に於いて、前記蒸発制御装置が、前記シール部材に対する前記基板テーブルの位置、速度、加速度および所定の経路の少なくとも一つ、この局部基板温度、並びにこの基板テーブル温度に従って前記基板テーブルの少なくとも一部を加熱するように構成した基板テーブルヒータを含む装置。
  4. 請求項1に記載のリソグラフィ装置に於いて、前記蒸発制御装置が、前記シール部材に対する前記基板テーブルの位置、速度、加速度および所定の経路の少なくとも一つ、局部基板温度、並びにこの基板テーブル温度に従って前記液体供給システムの少なくとも一部を加熱するように構成した液体供給システムヒータを含む装置。
  5. 請求項4に記載のリソグラフィ装置に於いて、前記液体供給システムヒータが液体供給システムの壁に組込んだ二つの電気ヒータおよび基板と投影システムの最終素子との間のスペースに温度センサを含み、これらのヒータは、この温度センサが測定したこの液体の温度変動に応じてこの液体供給システムの中の液体を加熱するように構成してある装置。
  6. 請求項1に記載のリソグラフィ装置であって、前記投影システムによる投影の間に基板表面へ空気の流れを供給するためのエアナイフをさらに含み、そこで前記蒸発制御技術がこのエアナイフに圧縮した加湿空気を供給することを含む装置。
  7. 請求項1に記載のリソグラフィ装置に於いて、前記蒸発制御技術がこの液体閉込めシステムに圧縮した加湿空気を供給することを含む装置。
  8. 請求項1に記載のリソグラフィ装置であって、前記投影システムによる投影の間に基板表面へ空気の流れを供給するためのエアナイフをさらに含み、そこで前記蒸発制御技術が前記エアナイフの中の空気を加熱することを含む装置。
  9. 請求項8に記載のリソグラフィ装置に於いて、前記エアナイフの中の空気を発光ダイオードを使って加熱する装置。
  10. 請求項8に記載のリソグラフィ装置に於いて、前記エアナイフとエアナイフ抽出導管との間の領域に暖かい加湿空気を供給する装置。
  11. 請求項8に記載のリソグラフィ装置であって、前記液体閉込めシステムの上流で暖かい加湿空気から復水を分離するための復水分離器をさらに含む装置。
  12. 請求項1に記載のリソグラフィ装置であって、この投影システムによる投影の間にこの基板表面へ空気の流れを供給するためのエアナイフ、この基板の表面からこの空気流を除去するためのエアナイフ抽出システムおよびこの空気とは別にこの基板の表面から液体を除去するためにこの基板の上に吊したマイクロ篩を含み、そこでこの蒸発制御技術がこのエアナイフとこのマイクロ篩の相対高さを、液体と空気の両方を、この液体、この空気およびこの基板の間のエネルギーがこの基板を最適温度に保つような速度および比率で除去するように最適化することを含む装置。
  13. 請求項12に記載のリソグラフィ装置に於いて、この基板の上のこのエアナイフの高さが200μm未満である装置。
  14. 請求項12に記載のリソグラフィ装置に於いて、この基板の上のこのエアナイフの高さが約125μmである装置。
  15. 請求項12に記載のリソグラフィ装置に於いて、この基板の上のこのマイクロ篩の高さが約50μmである装置。
  16. 請求項12に記載のリソグラフィ装置に於いて、前記基板の上のエアナイフの高さが基板の上のこのマイクロ篩の高さより約50ないし100μm高い装置。
  17. 請求項1に記載のリソグラフィ装置に於いて、前記予定表は、前記基板が冷されそうで、従って基板からの液体の蒸発が起りそうな時刻、並びに時間の関数としての蒸発力およびこの基板テーブルまたは基板上の位置を含む装置。
  18. 請求項17に記載のリソグラフィ装置であって、更に、前記投影システムによる投影の間にこの基板表面へ空気の流れを供給するためのエアナイフをさらに含み、そこでこの予定表は、この基板が冷されそうなときとしての時刻およびこの基板上のエアナイフの位置を含む装置。
  19. 請求項17に記載のリソグラフィ装置であって、前記予定表が、一連の基板の中の本基板のシーケンス番号をさらに含む装置。
  20. 請求項17に記載のリソグラフィ装置であって、この予定表が、更に、実際の基板タイミングを予備計算した最適タイミングと比較する、センサからの入力を含む装置。
  21. 請求項17に記載のリソグラフィ装置であって、前記予定表が、更に、この基板を照射する放射線のパラメータに関する入力を含む装置。
  22. 請求項17に記載のリソグラフィ装置であって、前記液体閉込めシステムがこの基板の上にないとき、この液体を液体閉込めシステム内に保つための閉鎖円板をさらに含み、そこでこの予定表は、この基板が冷されそうなときとして、この閉鎖円板がこの液体を閉込めないときの時刻を含む装置。
  23. 請求項1に記載のリソグラフィ装置に於いて、前記予定表は、この基板が冷されそうで、従ってこの基板からの液体の蒸発が起りそうな基板上の位置を含む装置。
  24. 請求項23に記載のリソグラフィ装置に於いて、前記予定表は、更に、時間の関数としての蒸発力およびこの基板および基板テーブル上の位置を含む装置。
  25. 請求項23に記載のリソグラフィ装置に於いて、前記予定表は、この液体閉込めシステムに関するこの基板の相対位置を含む装置。
  26. 請求項23に記載のリソグラフィ装置に於いて、前記予定表は、この基板の上面の位置を含む装置。
  27. 請求項23に記載のリソグラフィ装置に於いて、前記予定表は、この基板の底面の位置を含む装置。
  28. 請求項23に記載のリソグラフィ装置に於いて、予定表は、この液体閉込めシステムの排気チャンネルの位置を含む装置。
  29. 請求項1に記載のリソグラフィ装置に於いて、液体蒸発制御装置が温度センサを含む装置。
  30. 請求項29に記載のリソグラフィ装置に於いて、温度センサがこの液体閉込めシステム内にある装置。
  31. 請求項29に記載のリソグラフィ装置に於いて、温度センサがこの基板の上を浮遊する装置。
  32. 請求項29に記載のリソグラフィ装置に於いて、温度センサが基板と基板テーブルの間にある装置。
  33. 請求項29に記載のリソグラフィ装置に於いて、前記温度センサがこの基板テーブルの中にある装置。
  34. 請求項1に記載のリソグラフィ装置に於いて、前記液体供給システムは、投影システムの最終素子とこの基板との間の液体を一定の温度に保つように、この液体供給システムの温度を安定化するために、加熱または冷却した流体を含む少なくとも一つの水路を含む装置。
  35. 請求項34に記載のリソグラフィ装置に於いて、前記水路は、この投影システムの最終素子とこの基板の間のスペースを少なくとも部分的に満たすのと同じ液体がこの水路を少なくとも部分的に満たすように、この液体供給システムに接続してある装置。
  36. 請求項34に記載のリソグラフィ装置に於いて、前記水路は、この水路の中の液体が、この投影システムの最終素子とこの基板の間のスペースを少なくとも部分的に満たす液体と同じでないように、この液体供給システムの供給源から切離してある装置。
  37. パターン化した放射線ビームを基板テーブル上の窪みの中の基板ホルダ上に保持した基板の目標部分上に投影するように構成したリソグラフィ装置であって、
    投影システムの最終素子と前記基板の間のスペースを少なくとも部分的に液体で満たすように構成した液体供給システム、
    前記液体を上記スペース内に実質的に封じ込めるように準備したシール部材、
    前記基板テーブルを前記シール部材に対して所定の経路に沿って動かし、それによって前記基板の表面上の前記目標部分を動かすように配置した基板テーブル変位システム、および
    前記液体供給システムによって供給した液体の蒸発または凝縮によるエネルギー損失の正味速度を、蒸発または凝縮制御技術を同期させることによって、制御するように準備した液体蒸発および凝縮制御装置を含むリソグラフィ装置。
  38. 請求項37に記載のリソグラフィ装置に於いて、上記蒸発制御装置がこの基板ホルダの方への水流によってこの基板を熱的に状態調節することを含む装置。
  39. 請求項37によるリソグラフィ装置に於いて、上記蒸発制御装置がこの基板テーブルの方への水流によってこの基板テーブルを熱的に状態調節することを含む装置。
  40. 請求項37によるリソグラフィ装置に於いて、上記蒸発制御装置がこの液体封じ込めスペースから最も遠い基板の表面に流体を持込むことによるこの基板テーブルを熱的に状態調節することを含み、この流体は、このリソグラフィ装置の通常の運転温度で凝縮するようである装置。
  41. 請求項40に記載のリソグラフィ装置に於いて、前記流体は、液体供給システムの中の液体より低圧、好ましくは約2300Paの水である装置。
  42. 請求項40に記載のリソグラフィ装置に於いて、流体は、アセトン、エーテルおよびアルコールの少なくとも一つを含むガスである装置。
  43. 請求項40に記載のリソグラフィ装置に於いて、流体をこの基板テーブルの中の導管を介してこの基板の表面にポンプで出し入れする装置。
  44. 請求項43に記載のリソグラフィ装置に於いて、前記流体を二相混合物の形で注入する装置。
  45. 請求項37に記載のリソグラフィ装置に於いて、前記蒸発制御装置は、前記基板ホルダの中に液体および蒸気の入った或る容積を組込むことによりこの基板テーブルの温度を制御することを含む装置。
  46. 請求項45に記載のリソグラフィ装置に於いて、前記容積がパイプである装置。
  47. 請求項45に記載のリソグラフィ装置に於いて、前記液体が水であり、この蒸気が水蒸気である装置。
  48. 請求項45に記載のリソグラフィ装置に於いて、液体が炭化水素含有冷媒であり、この蒸気が炭化水素蒸気である装置。
  49. 請求項45に記載のリソグラフィ装置に於いて、液体がR134a,1,1,1,2-テトラフルオロエタンである装置。
  50. 請求項45に記載のリソグラフィ装置に於いて、液体が炭化水素含有冷媒の混合物であり、この蒸気が炭化水素蒸気の混合物である装置。
  51. 請求項50に記載のリソグラフィ装置に於いて、液体がR401aである装置。
  52. 請求項45に記載のリソグラフィ装置に於いて、液体がアンモニアであり、この蒸気がアンモニア蒸気である装置。
  53. 請求項45に記載のリソグラフィ装置であって、前記液体を加熱するためのヒータを含む装置。
  54. 請求項53に記載のリソグラフィ装置に於いて、前記ヒータがこの液体の中に配置してある装置。
  55. 請求項53に記載のリソグラフィ装置に於いて、前記ヒータが基板テーブルの下に配置してある装置。
  56. 請求項53に記載のリソグラフィ装置であって、前記ヒータのための入力パラメータを提供するために温度および/または圧力センサをさらに含む装置。
  57. 請求項45に記載のリソグラフィ装置に於いて、この容積は、空気がなく且つ非凝縮性流体であり、および大気から封止してある装置。
  58. 請求項45に記載のリソグラフィ装置に於いて、前記容積は、前記基板に向いたこの基板ホルダ表面にできるだけ近い、複数のチャンネルを含む装置。
  59. 請求項45に記載のリソグラフィ装置であって、前記基板に向いたこの基板ホルダの表面に中空窪みを含む装置。
  60. 請求項59に記載のリソグラフィ装置に於いて、前記中空窪みは、この容積からこの基板の底面まで蒸気を通すように、前記容積と基板の間に通路を含む装置。
  61. 請求項45に記載のリソグラフィ装置であって、基板テーブルにスポンジ状材料をさらに含む装置。
  62. 請求項37に記載のリソグラフィ装置であって、前記基板ホルダと前記基板の間に真空をさらに含み、そこで液体蒸発技術が前記真空の中へ水飽和空気を供給することを含む装置。
  63. 請求項37に記載のリソグラフィ装置であって、前液体供給システムとの接触中に吸着したこの基板テーブルからガスを脱着するために脱着装置をさらに含むリソグラフィ装置。
  64. 請求項37に記載のリソグラフィ装置であって、前液体供給システムとの接触中に相を変えたこの基板テーブルのあらゆる部分をその元の相に戻すために再生装置をさらに含むリソグラフィ装置。
  65. デバイス製造方法であって、
    基板を保持するように構築した基板テーブルを設ける工程、
    パターン化した放射線ビームをこの基板の目標部分上に投影するように構成した投影システムを設ける工程、
    前記投影システムの最終素子と前記基板の間のスペースを少なくとも部分的に液体で満たすように構成した液体供給システムを設ける工程、
    前記液体を投影システムの前記最終素子と前記基板の間の前記スペース内に実質的に封じ込めるように準備したシール部材を設ける工程、
    前記液体供給システムによって供給した液体の蒸発によるエネルギー損失の速度を制御する工程、
    前記基板テーブルを前記シール部材に対して所定の経路に沿って動かし、それによって前記基板の表面上の前記目標部分を動かすように準備した基板テーブル変位システムを設ける工程、
    前記シール部材に対する前記基板テーブルの位置、速度、加速度および所定の経路の少なくとも一つ、局部基板温度、この基板テーブル温度に従って前記基板の少なくとも一部を加熱する工程、および
    加熱と蒸発速度の制御の間を同時に切替える工程を含む方法。
JP2009234094A 2005-06-21 2009-10-08 リソグラフィ装置 Expired - Fee Related JP5033854B2 (ja)

Applications Claiming Priority (4)

Application Number Priority Date Filing Date Title
US69223405P 2005-06-21 2005-06-21
US60/692,234 2005-06-21
US11/319,217 2005-12-28
US11/319,217 US7652746B2 (en) 2005-06-21 2005-12-28 Lithographic apparatus and device manufacturing method

Related Parent Applications (1)

Application Number Title Priority Date Filing Date
JP2006168236A Division JP4417349B2 (ja) 2005-06-21 2006-06-19 リソグラフィ装置およびデバイス製造方法

Related Child Applications (1)

Application Number Title Priority Date Filing Date
JP2012071249A Division JP5536818B2 (ja) 2005-06-21 2012-03-27 リソグラフィ装置

Publications (2)

Publication Number Publication Date
JP2010010707A true JP2010010707A (ja) 2010-01-14
JP5033854B2 JP5033854B2 (ja) 2012-09-26

Family

ID=37027705

Family Applications (3)

Application Number Title Priority Date Filing Date
JP2006168236A Expired - Fee Related JP4417349B2 (ja) 2005-06-21 2006-06-19 リソグラフィ装置およびデバイス製造方法
JP2009234094A Expired - Fee Related JP5033854B2 (ja) 2005-06-21 2009-10-08 リソグラフィ装置
JP2012071249A Expired - Fee Related JP5536818B2 (ja) 2005-06-21 2012-03-27 リソグラフィ装置

Family Applications Before (1)

Application Number Title Priority Date Filing Date
JP2006168236A Expired - Fee Related JP4417349B2 (ja) 2005-06-21 2006-06-19 リソグラフィ装置およびデバイス製造方法

Family Applications After (1)

Application Number Title Priority Date Filing Date
JP2012071249A Expired - Fee Related JP5536818B2 (ja) 2005-06-21 2012-03-27 リソグラフィ装置

Country Status (7)

Country Link
US (2) US7652746B2 (ja)
EP (1) EP1736831A1 (ja)
JP (3) JP4417349B2 (ja)
KR (1) KR100797084B1 (ja)
CN (2) CN101819388B (ja)
SG (1) SG128601A1 (ja)
TW (2) TWI338198B (ja)

Cited By (1)

* Cited by examiner, † Cited by third party
Publication number Priority date Publication date Assignee Title
DE102016116841A1 (de) 2015-09-08 2017-03-09 Suzuki Motor Corporation Fahrzeug mit Motoreinheit

Families Citing this family (48)

* Cited by examiner, † Cited by third party
Publication number Priority date Publication date Assignee Title
JPH0826803B2 (ja) 1984-11-30 1996-03-21 スズキ株式会社 内燃機関の空燃比制御装置
JPH0672564B2 (ja) 1984-11-30 1994-09-14 スズキ株式会社 内燃機関の空燃比制御装置
KR101345474B1 (ko) * 2003-03-25 2013-12-27 가부시키가이샤 니콘 노광 장치 및 디바이스 제조 방법
US7304715B2 (en) * 2004-08-13 2007-12-04 Asml Netherlands B.V. Lithographic apparatus and device manufacturing method
US7433016B2 (en) 2005-05-03 2008-10-07 Asml Netherlands B.V. Lithographic apparatus and device manufacturing method
US7652746B2 (en) * 2005-06-21 2010-01-26 Asml Netherlands B.V. Lithographic apparatus and device manufacturing method
WO2007002833A2 (en) * 2005-06-29 2007-01-04 Blaise Corbett Introduction of an intermediary refractive layer for immersion lithography
KR20080071552A (ko) * 2005-12-06 2008-08-04 가부시키가이샤 니콘 노광 방법, 노광 장치 및 디바이스 제조 방법
JP4899473B2 (ja) * 2005-12-28 2012-03-21 株式会社ニコン 結像光学系、露光装置及びデバイスの製造方法
US7649611B2 (en) 2005-12-30 2010-01-19 Asml Netherlands B.V. Lithographic apparatus and device manufacturing method
US20080073596A1 (en) * 2006-08-24 2008-03-27 Asml Netherlands B.V. Lithographic apparatus and method
US7866637B2 (en) * 2007-01-26 2011-01-11 Asml Netherlands B.V. Humidifying apparatus, lithographic apparatus and humidifying method
KR100843709B1 (ko) * 2007-02-05 2008-07-04 삼성전자주식회사 액체 실링 유니트 및 이를 갖는 이멀젼 포토리소그래피장치
US8514365B2 (en) * 2007-06-01 2013-08-20 Asml Netherlands B.V. Lithographic apparatus and device manufacturing method
TWI450047B (zh) 2007-07-13 2014-08-21 瑪波微影Ip公司 微影系統、夾緊方法及晶圓台
US8705010B2 (en) 2007-07-13 2014-04-22 Mapper Lithography Ip B.V. Lithography system, method of clamping and wafer table
NL1035757A1 (nl) * 2007-08-02 2009-02-03 Asml Netherlands Bv Lithographic apparatus and device manufacturing method.
KR101408783B1 (ko) * 2007-12-07 2014-06-17 삼성전자주식회사 반도체 소자의 제조장치 및 이를 이용한 반도체 소자의제조방법
JP5369443B2 (ja) 2008-02-05 2013-12-18 株式会社ニコン ステージ装置、露光装置、露光方法、及びデバイス製造方法
JP2009260264A (ja) * 2008-03-24 2009-11-05 Canon Inc 露光装置およびデバイス製造方法
NL2002998A1 (nl) * 2008-06-18 2009-12-22 Asml Netherlands Bv Lithographic apparatus.
KR20110052697A (ko) * 2008-08-08 2011-05-18 에이에스엠엘 네델란즈 비.브이. 리소그래피 장치 및 디바이스 제조 방법
NL2003339A (en) * 2008-09-08 2010-03-15 Asml Netherlands Bv Lithographic apparatus and alignment method.
NL2003392A (en) 2008-09-17 2010-03-18 Asml Netherlands Bv Lithographic apparatus and a method of operating the apparatus.
JP5279553B2 (ja) * 2009-03-04 2013-09-04 キヤノン株式会社 レンズ装置及びカメラシステム
US8953143B2 (en) * 2009-04-24 2015-02-10 Nikon Corporation Liquid immersion member
NL2004497A (en) 2009-05-01 2010-11-02 Asml Netherlands Bv Lithographic apparatus and a method of operating the apparatus.
NL2005207A (en) 2009-09-28 2011-03-29 Asml Netherlands Bv Heat pipe, lithographic apparatus and device manufacturing method.
NL2005208A (en) * 2009-09-28 2011-03-29 Asml Netherlands Bv Heat pipe, lithographic apparatus and device manufacturing method.
NL2005449A (en) * 2009-11-16 2012-04-05 Asml Netherlands Bv Lithographic method and apparatus.
JP5269128B2 (ja) * 2010-03-12 2013-08-21 エーエスエムエル ネザーランズ ビー.ブイ. リソグラフィ装置および方法
CN102338987A (zh) * 2010-07-16 2012-02-01 中芯国际集成电路制造(上海)有限公司 光刻设备
EP2515170B1 (en) 2011-04-20 2020-02-19 ASML Netherlands BV Thermal conditioning system for thermal conditioning a part of a lithographic apparatus and a thermal conditioning method
NL2009272A (en) 2011-08-31 2013-03-04 Asml Netherlands Bv A fluid handling structure, a lithographic apparatus and a device manufacturing method.
CN103163746B8 (zh) * 2011-12-08 2016-07-13 上海微电子装备有限公司 一种具有温度探测功能的掩模对准探测器、光刻装置及对准探测方法
JP6006406B2 (ja) 2012-05-29 2016-10-12 エーエスエムエル ネザーランズ ビー.ブイ. オブジェクトホルダ及びリソグラフィ装置
EP2856262B1 (en) 2012-05-29 2019-09-25 ASML Netherlands B.V. Support apparatus, lithographic apparatus and device manufacturing method
JP6111964B2 (ja) * 2013-10-03 2017-04-12 富士ゼロックス株式会社 基板装置の製造方法及び露光装置の製造方法
JP6525567B2 (ja) * 2014-12-02 2019-06-05 キヤノン株式会社 インプリント装置及び物品の製造方法
CN107168015B (zh) * 2016-02-29 2019-01-04 上海微电子装备(集团)股份有限公司 一种浸液限制机构及温度补偿方法
CN110658683A (zh) * 2018-06-28 2020-01-07 上海微电子装备(集团)股份有限公司 晶片承载系统和浸没光刻设备
CN110966916B (zh) * 2018-09-30 2021-10-15 上海微电子装备(集团)股份有限公司 一种气浴装置及光刻机
US10788762B2 (en) * 2019-02-25 2020-09-29 Applied Materials, Inc. Dynamic cooling control for thermal stabilization for lithography system
DE102019215340A1 (de) * 2019-10-07 2021-04-08 Carl Zeiss Smt Gmbh Vorrichtung und Verfahren zum Abschirmen von thermisch zu isolierenden Komponenten in mikrolithographischen Projektionsbelichtungsanlagen
EP3832391A1 (en) 2019-12-03 2021-06-09 ASML Netherlands B.V. Clamp assembly
JP7414276B2 (ja) 2020-06-29 2024-01-16 株式会社ブイ・テクノロジー 集束エネルギービーム装置
CN112255135B (zh) * 2020-09-30 2022-01-18 华中科技大学 一种液膜蒸发功率的测试装置及方法
CN115586710B (zh) * 2022-11-09 2025-09-02 浙江大学 基于pcm隔绝内部温度波动的温控装置和控制方法

Citations (5)

* Cited by examiner, † Cited by third party
Publication number Priority date Publication date Assignee Title
WO2004086470A1 (ja) * 2003-03-25 2004-10-07 Nikon Corporation 露光装置及びデバイス製造方法
JP2005252247A (ja) * 2004-02-04 2005-09-15 Nikon Corp 露光装置、露光方法及びデバイス製造方法
JP2006054468A (ja) * 2004-08-13 2006-02-23 Asml Netherlands Bv リソグラフィ装置及びデバイス製造方法
WO2006101120A1 (ja) * 2005-03-23 2006-09-28 Nikon Corporation 露光装置及び露光方法、並びにデバイス製造方法
JP2007005362A (ja) * 2005-06-21 2007-01-11 Canon Inc 液浸露光装置

Family Cites Families (124)

* Cited by examiner, † Cited by third party
Publication number Priority date Publication date Assignee Title
DE242880C (ja)
DE224448C (ja)
DE206607C (ja)
DE221563C (ja)
GB1242527A (en) * 1967-10-20 1971-08-11 Kodak Ltd Optical instruments
US3573975A (en) * 1968-07-10 1971-04-06 Ibm Photochemical fabrication process
ATE1462T1 (de) 1979-07-27 1982-08-15 Werner W. Dr. Tabarelli Optisches lithographieverfahren und einrichtung zum kopieren eines musters auf eine halbleiterscheibe.
FR2474708B1 (fr) 1980-01-24 1987-02-20 Dme Procede de microphotolithographie a haute resolution de traits
JPS5754317A (en) * 1980-09-19 1982-03-31 Hitachi Ltd Method and device for forming pattern
US4346164A (en) * 1980-10-06 1982-08-24 Werner Tabarelli Photolithographic method for the manufacture of integrated circuits
US4509852A (en) * 1980-10-06 1985-04-09 Werner Tabarelli Apparatus for the photolithographic manufacture of integrated circuit elements
US4390273A (en) * 1981-02-17 1983-06-28 Censor Patent-Und Versuchsanstalt Projection mask as well as a method and apparatus for the embedding thereof and projection printing system
JPS57153433A (en) * 1981-03-18 1982-09-22 Hitachi Ltd Manufacturing device for semiconductor
JPS58202448A (ja) 1982-05-21 1983-11-25 Hitachi Ltd 露光装置
DD206607A1 (de) 1982-06-16 1984-02-01 Mikroelektronik Zt Forsch Tech Verfahren und vorrichtung zur beseitigung von interferenzeffekten
DD242880A1 (de) 1983-01-31 1987-02-11 Kuch Karl Heinz Einrichtung zur fotolithografischen strukturuebertragung
DD221563A1 (de) 1983-09-14 1985-04-24 Mikroelektronik Zt Forsch Tech Immersionsobjektiv fuer die schrittweise projektionsabbildung einer maskenstruktur
DD224448A1 (de) 1984-03-01 1985-07-03 Zeiss Jena Veb Carl Einrichtung zur fotolithografischen strukturuebertragung
JPS6265326A (ja) 1985-09-18 1987-03-24 Hitachi Ltd 露光装置
JPS62121417A (ja) 1985-11-22 1987-06-02 Hitachi Ltd 液浸対物レンズ装置
JPS63157419A (ja) 1986-12-22 1988-06-30 Toshiba Corp 微細パタ−ン転写装置
US5040020A (en) * 1988-03-31 1991-08-13 Cornell Research Foundation, Inc. Self-aligned, high resolution resonant dielectric lithography
JPH03209479A (ja) 1989-09-06 1991-09-12 Sanee Giken Kk 露光方法
DE69118315T2 (de) * 1990-11-01 1996-08-14 Canon Kk Waferhaltebefestigung für Belichtungsgerät
US5121256A (en) * 1991-03-14 1992-06-09 The Board Of Trustees Of The Leland Stanford Junior University Lithography system employing a solid immersion lens
JPH04305915A (ja) 1991-04-02 1992-10-28 Nikon Corp 密着型露光装置
JPH04305917A (ja) 1991-04-02 1992-10-28 Nikon Corp 密着型露光装置
JPH06124873A (ja) 1992-10-09 1994-05-06 Canon Inc 液浸式投影露光装置
JP2753930B2 (ja) * 1992-11-27 1998-05-20 キヤノン株式会社 液浸式投影露光装置
JP2520833B2 (ja) 1992-12-21 1996-07-31 東京エレクトロン株式会社 浸漬式の液処理装置
JPH07220990A (ja) 1994-01-28 1995-08-18 Hitachi Ltd パターン形成方法及びその露光装置
WO1998009278A1 (en) * 1996-08-26 1998-03-05 Digital Papyrus Technologies Method and apparatus for coupling an optical lens to a disk through a coupling medium having a relatively high index of refraction
US5825043A (en) * 1996-10-07 1998-10-20 Nikon Precision Inc. Focusing and tilting adjustment system for lithography aligner, manufacturing apparatus or inspection apparatus
JP3612920B2 (ja) 1997-02-14 2005-01-26 ソニー株式会社 光学記録媒体の原盤作製用露光装置
JPH10255319A (ja) 1997-03-12 1998-09-25 Hitachi Maxell Ltd 原盤露光装置及び方法
JP3747566B2 (ja) 1997-04-23 2006-02-22 株式会社ニコン 液浸型露光装置
JP3817836B2 (ja) 1997-06-10 2006-09-06 株式会社ニコン 露光装置及びその製造方法並びに露光方法及びデバイス製造方法
US5900354A (en) * 1997-07-03 1999-05-04 Batchelder; John Samuel Method for optical inspection and lithography
JPH11176727A (ja) 1997-12-11 1999-07-02 Nikon Corp 投影露光装置
AU1505699A (en) 1997-12-12 1999-07-05 Nikon Corporation Projection exposure method and projection aligner
WO1999049504A1 (fr) 1998-03-26 1999-09-30 Nikon Corporation Procede et systeme d'exposition par projection
JP2000058436A (ja) 1998-08-11 2000-02-25 Nikon Corp 投影露光装置及び露光方法
TWI242111B (en) * 1999-04-19 2005-10-21 Asml Netherlands Bv Gas bearings for use in vacuum chambers and their application in lithographic projection apparatus
JP4504479B2 (ja) 1999-09-21 2010-07-14 オリンパス株式会社 顕微鏡用液浸対物レンズ
TW484039B (en) * 1999-10-12 2002-04-21 Asm Lithography Bv Lithographic projection apparatus and method
TW591653B (en) * 2000-08-08 2004-06-11 Koninkl Philips Electronics Nv Method of manufacturing an optically scannable information carrier
WO2002091078A1 (en) * 2001-05-07 2002-11-14 Massachusetts Institute Of Technology Methods and apparatus employing an index matching medium
US6600547B2 (en) * 2001-09-24 2003-07-29 Nikon Corporation Sliding seal
WO2003040830A2 (en) * 2001-11-07 2003-05-15 Applied Materials, Inc. Optical spot grid array printer
DE10229818A1 (de) * 2002-06-28 2004-01-15 Carl Zeiss Smt Ag Verfahren zur Fokusdetektion und Abbildungssystem mit Fokusdetektionssystem
US6788477B2 (en) * 2002-10-22 2004-09-07 Taiwan Semiconductor Manufacturing Co., Ltd. Apparatus for method for immersion lithography
SG121822A1 (en) * 2002-11-12 2006-05-26 Asml Netherlands Bv Lithographic apparatus and device manufacturing method
SG121819A1 (en) * 2002-11-12 2006-05-26 Asml Netherlands Bv Lithographic apparatus and device manufacturing method
SG135052A1 (en) * 2002-11-12 2007-09-28 Asml Netherlands Bv Lithographic apparatus and device manufacturing method
CN101470360B (zh) * 2002-11-12 2013-07-24 Asml荷兰有限公司 光刻装置和器件制造方法
EP1420300B1 (en) 2002-11-12 2015-07-29 ASML Netherlands B.V. Lithographic apparatus and device manufacturing method
DE60335595D1 (de) * 2002-11-12 2011-02-17 Asml Netherlands Bv Lithographischer Apparat mit Immersion und Verfahren zur Herstellung einer Vorrichtung
SG131766A1 (en) * 2002-11-18 2007-05-28 Asml Netherlands Bv Lithographic apparatus and device manufacturing method
KR20050085026A (ko) 2002-12-10 2005-08-29 가부시키가이샤 니콘 광학 소자 및 그 광학 소자를 사용한 투영 노광 장치
WO2004053957A1 (ja) 2002-12-10 2004-06-24 Nikon Corporation 面位置検出装置、露光方法、及びデバイス製造方法
US7242455B2 (en) * 2002-12-10 2007-07-10 Nikon Corporation Exposure apparatus and method for producing device
DE10257766A1 (de) 2002-12-10 2004-07-15 Carl Zeiss Smt Ag Verfahren zur Einstellung einer gewünschten optischen Eigenschaft eines Projektionsobjektivs sowie mikrolithografische Projektionsbelichtungsanlage
WO2004053954A1 (ja) 2002-12-10 2004-06-24 Nikon Corporation 露光装置及びデバイス製造方法
AU2003302831A1 (en) 2002-12-10 2004-06-30 Nikon Corporation Exposure method, exposure apparatus and method for manufacturing device
EP1571697A4 (en) 2002-12-10 2007-07-04 Nikon Corp EXPOSURE SYSTEM AND COMPONENT MANUFACTURING METHOD
KR101101737B1 (ko) 2002-12-10 2012-01-05 가부시키가이샤 니콘 노광장치 및 노광방법, 디바이스 제조방법
JP4232449B2 (ja) 2002-12-10 2009-03-04 株式会社ニコン 露光方法、露光装置、及びデバイス製造方法
SG157962A1 (en) 2002-12-10 2010-01-29 Nikon Corp Exposure apparatus and method for producing device
WO2004053952A1 (ja) 2002-12-10 2004-06-24 Nikon Corporation 露光装置及びデバイス製造方法
JP4352874B2 (ja) 2002-12-10 2009-10-28 株式会社ニコン 露光装置及びデバイス製造方法
KR20050085236A (ko) 2002-12-10 2005-08-29 가부시키가이샤 니콘 노광 장치 및 디바이스 제조 방법
CN100370533C (zh) 2002-12-13 2008-02-20 皇家飞利浦电子股份有限公司 用于照射层的方法和用于将辐射导向层的装置
ATE365962T1 (de) 2002-12-19 2007-07-15 Koninkl Philips Electronics Nv Verfahren und anordnung zum bestrahlen einer schicht mittels eines lichtpunkts
EP1584089B1 (en) 2002-12-19 2006-08-02 Koninklijke Philips Electronics N.V. Method and device for irradiating spots on a layer
JP4604452B2 (ja) 2003-02-26 2011-01-05 株式会社ニコン 露光装置、露光方法、及びデバイス製造方法
KR20110104084A (ko) 2003-04-09 2011-09-21 가부시키가이샤 니콘 액침 리소그래피 유체 제어 시스템
JP4656057B2 (ja) 2003-04-10 2011-03-23 株式会社ニコン 液浸リソグラフィ装置用電気浸透素子
SG141426A1 (en) 2003-04-10 2008-04-28 Nikon Corp Environmental system including vacuum scavange for an immersion lithography apparatus
KR101431938B1 (ko) 2003-04-10 2014-08-19 가부시키가이샤 니콘 액침 리소그래피 장치용 운반 영역을 포함하는 환경 시스템
EP3352010A1 (en) 2003-04-10 2018-07-25 Nikon Corporation Run-off path to collect liquid for an immersion lithography apparatus
SG139733A1 (en) 2003-04-11 2008-02-29 Nikon Corp Apparatus having an immersion fluid system configured to maintain immersion fluid in a gap adjacent an optical assembly
KR101289959B1 (ko) 2003-04-11 2013-07-26 가부시키가이샤 니콘 액침 리소그래피에 의한 광학기기의 세정방법
JP4582089B2 (ja) 2003-04-11 2010-11-17 株式会社ニコン 液浸リソグラフィ用の液体噴射回収システム
KR20050122269A (ko) 2003-04-17 2005-12-28 가부시키가이샤 니콘 액침 리소그래피를 이용하기 위한 오토포커스 소자의광학적 배열
TWI295414B (en) * 2003-05-13 2008-04-01 Asml Netherlands Bv Lithographic apparatus and device manufacturing method
WO2004102646A1 (ja) 2003-05-15 2004-11-25 Nikon Corporation 露光装置及びデバイス製造方法
US7274472B2 (en) * 2003-05-28 2007-09-25 Timbre Technologies, Inc. Resolution enhanced optical metrology
DE10324477A1 (de) * 2003-05-30 2004-12-30 Carl Zeiss Smt Ag Mikrolithographische Projektionsbelichtungsanlage
EP1486827B1 (en) * 2003-06-11 2011-11-02 ASML Netherlands B.V. Lithographic apparatus and device manufacturing method
US6867844B2 (en) * 2003-06-19 2005-03-15 Asml Holding N.V. Immersion photolithography system and method using microchannel nozzles
JP4343597B2 (ja) * 2003-06-25 2009-10-14 キヤノン株式会社 露光装置及びデバイス製造方法
JP2005019616A (ja) * 2003-06-25 2005-01-20 Canon Inc 液浸式露光装置
EP1498778A1 (en) * 2003-06-27 2005-01-19 ASML Netherlands B.V. Lithographic apparatus and device manufacturing method
JP3862678B2 (ja) * 2003-06-27 2006-12-27 キヤノン株式会社 露光装置及びデバイス製造方法
EP2843472B1 (en) 2003-07-08 2016-12-07 Nikon Corporation Wafer table for immersion lithography
US7738074B2 (en) * 2003-07-16 2010-06-15 Asml Netherlands B.V. Lithographic apparatus and device manufacturing method
US7070915B2 (en) * 2003-08-29 2006-07-04 Tokyo Electron Limited Method and system for drying a substrate
TWI245163B (en) * 2003-08-29 2005-12-11 Asml Netherlands Bv Lithographic apparatus and device manufacturing method
US6954256B2 (en) * 2003-08-29 2005-10-11 Asml Netherlands B.V. Gradient immersion lithography
EP1660925B1 (en) 2003-09-03 2015-04-29 Nikon Corporation Apparatus and method for providing fluid for immersion lithography
JP4378136B2 (ja) * 2003-09-04 2009-12-02 キヤノン株式会社 露光装置及びデバイス製造方法
JP3870182B2 (ja) * 2003-09-09 2007-01-17 キヤノン株式会社 露光装置及びデバイス製造方法
KR20060071430A (ko) * 2003-10-22 2006-06-26 가부시키가이샤 니콘 노광 장치, 노광 방법, 디바이스의 제조 방법
JP2005159322A (ja) * 2003-10-31 2005-06-16 Nikon Corp 定盤、ステージ装置及び露光装置並びに露光方法
JP2005175016A (ja) * 2003-12-08 2005-06-30 Canon Inc 基板保持装置およびそれを用いた露光装置ならびにデバイス製造方法
JP2005175034A (ja) * 2003-12-09 2005-06-30 Canon Inc 露光装置
US7106416B2 (en) * 2003-12-10 2006-09-12 Asml Netherlands B.V. Lithographic apparatus and device manufacturing method
US7589818B2 (en) * 2003-12-23 2009-09-15 Asml Netherlands B.V. Lithographic apparatus, alignment apparatus, device manufacturing method, and a method of converting an apparatus
JP2005191393A (ja) * 2003-12-26 2005-07-14 Canon Inc 露光方法及び装置
JP2005191381A (ja) * 2003-12-26 2005-07-14 Canon Inc 露光方法及び装置
JP4429023B2 (ja) * 2004-01-07 2010-03-10 キヤノン株式会社 露光装置及びデバイス製造方法
EP3093873B1 (en) * 2004-02-04 2017-10-11 Nikon Corporation Exposure apparatus, exposure method, and method for producing a device
JP4018647B2 (ja) * 2004-02-09 2007-12-05 キヤノン株式会社 投影露光装置およびデバイス製造方法
JP4479269B2 (ja) 2004-02-20 2010-06-09 株式会社ニコン 露光装置及びデバイス製造方法
JP4510494B2 (ja) * 2004-03-29 2010-07-21 キヤノン株式会社 露光装置
JP2005286068A (ja) * 2004-03-29 2005-10-13 Canon Inc 露光装置及び方法
JP2005353762A (ja) 2004-06-09 2005-12-22 Matsushita Electric Ind Co Ltd 半導体製造装置及びパターン形成方法
US20060001851A1 (en) 2004-07-01 2006-01-05 Grant Robert B Immersion photolithography system
US7532310B2 (en) * 2004-10-22 2009-05-12 Asml Netherlands B.V. Apparatus, method for supporting and/or thermally conditioning a substrate, a support table, and a chuck
DE602006012746D1 (de) 2005-01-14 2010-04-22 Asml Netherlands Bv Lithografische Vorrichtung und Herstellungsverfahren
KR20180125636A (ko) 2005-01-31 2018-11-23 가부시키가이샤 니콘 노광 장치 및 디바이스 제조 방법
JP4262252B2 (ja) 2005-03-02 2009-05-13 キヤノン株式会社 露光装置
US7751027B2 (en) 2005-06-21 2010-07-06 Asml Netherlands B.V. Lithographic apparatus and device manufacturing method
US7652746B2 (en) 2005-06-21 2010-01-26 Asml Netherlands B.V. Lithographic apparatus and device manufacturing method

Patent Citations (5)

* Cited by examiner, † Cited by third party
Publication number Priority date Publication date Assignee Title
WO2004086470A1 (ja) * 2003-03-25 2004-10-07 Nikon Corporation 露光装置及びデバイス製造方法
JP2005252247A (ja) * 2004-02-04 2005-09-15 Nikon Corp 露光装置、露光方法及びデバイス製造方法
JP2006054468A (ja) * 2004-08-13 2006-02-23 Asml Netherlands Bv リソグラフィ装置及びデバイス製造方法
WO2006101120A1 (ja) * 2005-03-23 2006-09-28 Nikon Corporation 露光装置及び露光方法、並びにデバイス製造方法
JP2007005362A (ja) * 2005-06-21 2007-01-11 Canon Inc 液浸露光装置

Cited By (1)

* Cited by examiner, † Cited by third party
Publication number Priority date Publication date Assignee Title
DE102016116841A1 (de) 2015-09-08 2017-03-09 Suzuki Motor Corporation Fahrzeug mit Motoreinheit

Also Published As

Publication number Publication date
US9268236B2 (en) 2016-02-23
JP2007005795A (ja) 2007-01-11
US20060285096A1 (en) 2006-12-21
JP4417349B2 (ja) 2010-02-17
US20100245791A1 (en) 2010-09-30
KR20060133917A (ko) 2006-12-27
TWI338198B (en) 2011-03-01
CN1885171B (zh) 2010-07-07
TWI420258B (zh) 2013-12-21
JP2012124539A (ja) 2012-06-28
US7652746B2 (en) 2010-01-26
JP5536818B2 (ja) 2014-07-02
CN101819388B (zh) 2012-08-08
CN101819388A (zh) 2010-09-01
TW200715064A (en) 2007-04-16
TW201109864A (en) 2011-03-16
CN1885171A (zh) 2006-12-27
JP5033854B2 (ja) 2012-09-26
KR100797084B1 (ko) 2008-01-22
SG128601A1 (en) 2007-01-30
EP1736831A1 (en) 2006-12-27

Similar Documents

Publication Publication Date Title
JP4417349B2 (ja) リソグラフィ装置およびデバイス製造方法
US11378893B2 (en) Lithographic apparatus and device manufacturing method involving a heater
US7751027B2 (en) Lithographic apparatus and device manufacturing method
JP5529865B2 (ja) 温度安定化システム、リソグラフィ投影装置、および温度制御方法
US20100302518A1 (en) Lithographic apparatus

Legal Events

Date Code Title Description
A521 Request for written amendment filed

Free format text: JAPANESE INTERMEDIATE CODE: A523

Effective date: 20091020

A621 Written request for application examination

Free format text: JAPANESE INTERMEDIATE CODE: A621

Effective date: 20091020

A131 Notification of reasons for refusal

Free format text: JAPANESE INTERMEDIATE CODE: A131

Effective date: 20111227

A521 Request for written amendment filed

Free format text: JAPANESE INTERMEDIATE CODE: A523

Effective date: 20120327

TRDD Decision of grant or rejection written
A01 Written decision to grant a patent or to grant a registration (utility model)

Free format text: JAPANESE INTERMEDIATE CODE: A01

Effective date: 20120604

A01 Written decision to grant a patent or to grant a registration (utility model)

Free format text: JAPANESE INTERMEDIATE CODE: A01

A61 First payment of annual fees (during grant procedure)

Free format text: JAPANESE INTERMEDIATE CODE: A61

Effective date: 20120702

R150 Certificate of patent or registration of utility model

Ref document number: 5033854

Country of ref document: JP

Free format text: JAPANESE INTERMEDIATE CODE: R150

Free format text: JAPANESE INTERMEDIATE CODE: R150

FPAY Renewal fee payment (event date is renewal date of database)

Free format text: PAYMENT UNTIL: 20150706

Year of fee payment: 3

R250 Receipt of annual fees

Free format text: JAPANESE INTERMEDIATE CODE: R250

R250 Receipt of annual fees

Free format text: JAPANESE INTERMEDIATE CODE: R250

R250 Receipt of annual fees

Free format text: JAPANESE INTERMEDIATE CODE: R250

R250 Receipt of annual fees

Free format text: JAPANESE INTERMEDIATE CODE: R250

R250 Receipt of annual fees

Free format text: JAPANESE INTERMEDIATE CODE: R250

R250 Receipt of annual fees

Free format text: JAPANESE INTERMEDIATE CODE: R250

R250 Receipt of annual fees

Free format text: JAPANESE INTERMEDIATE CODE: R250

R250 Receipt of annual fees

Free format text: JAPANESE INTERMEDIATE CODE: R250

R250 Receipt of annual fees

Free format text: JAPANESE INTERMEDIATE CODE: R250

R250 Receipt of annual fees

Free format text: JAPANESE INTERMEDIATE CODE: R250

LAPS Cancellation because of no payment of annual fees