JP2010010122A - 有機発光表示装置およびその製造方法 - Google Patents
有機発光表示装置およびその製造方法 Download PDFInfo
- Publication number
- JP2010010122A JP2010010122A JP2008319978A JP2008319978A JP2010010122A JP 2010010122 A JP2010010122 A JP 2010010122A JP 2008319978 A JP2008319978 A JP 2008319978A JP 2008319978 A JP2008319978 A JP 2008319978A JP 2010010122 A JP2010010122 A JP 2010010122A
- Authority
- JP
- Japan
- Prior art keywords
- substrate
- light emitting
- organic light
- cover window
- panel assembly
- Prior art date
- Legal status (The legal status is an assumption and is not a legal conclusion. Google has not performed a legal analysis and makes no representation as to the accuracy of the status listed.)
- Granted
Links
Images
Classifications
-
- H—ELECTRICITY
- H10—SEMICONDUCTOR DEVICES; ELECTRIC SOLID-STATE DEVICES NOT OTHERWISE PROVIDED FOR
- H10K—ORGANIC ELECTRIC SOLID-STATE DEVICES
- H10K59/00—Integrated devices, or assemblies of multiple devices, comprising at least one organic light-emitting element covered by group H10K50/00
- H10K59/80—Constructional details
- H10K59/87—Passivation; Containers; Encapsulations
-
- H—ELECTRICITY
- H05—ELECTRIC TECHNIQUES NOT OTHERWISE PROVIDED FOR
- H05B—ELECTRIC HEATING; ELECTRIC LIGHT SOURCES NOT OTHERWISE PROVIDED FOR; CIRCUIT ARRANGEMENTS FOR ELECTRIC LIGHT SOURCES, IN GENERAL
- H05B33/00—Electroluminescent light sources
- H05B33/02—Details
- H05B33/04—Sealing arrangements, e.g. against humidity
-
- H—ELECTRICITY
- H10—SEMICONDUCTOR DEVICES; ELECTRIC SOLID-STATE DEVICES NOT OTHERWISE PROVIDED FOR
- H10K—ORGANIC ELECTRIC SOLID-STATE DEVICES
- H10K50/00—Organic light-emitting devices
- H10K50/80—Constructional details
- H10K50/84—Passivation; Containers; Encapsulations
- H10K50/841—Self-supporting sealing arrangements
-
- H—ELECTRICITY
- H10—SEMICONDUCTOR DEVICES; ELECTRIC SOLID-STATE DEVICES NOT OTHERWISE PROVIDED FOR
- H10K—ORGANIC ELECTRIC SOLID-STATE DEVICES
- H10K59/00—Integrated devices, or assemblies of multiple devices, comprising at least one organic light-emitting element covered by group H10K50/00
- H10K59/80—Constructional details
- H10K59/87—Passivation; Containers; Encapsulations
- H10K59/871—Self-supporting sealing arrangements
-
- H—ELECTRICITY
- H10—SEMICONDUCTOR DEVICES; ELECTRIC SOLID-STATE DEVICES NOT OTHERWISE PROVIDED FOR
- H10K—ORGANIC ELECTRIC SOLID-STATE DEVICES
- H10K71/00—Manufacture or treatment specially adapted for the organic devices covered by this subclass
-
- H—ELECTRICITY
- H10—SEMICONDUCTOR DEVICES; ELECTRIC SOLID-STATE DEVICES NOT OTHERWISE PROVIDED FOR
- H10K—ORGANIC ELECTRIC SOLID-STATE DEVICES
- H10K77/00—Constructional details of devices covered by this subclass and not covered by groups H10K10/80, H10K30/80, H10K50/80 or H10K59/80
- H10K77/10—Substrates, e.g. flexible substrates
-
- Y—GENERAL TAGGING OF NEW TECHNOLOGICAL DEVELOPMENTS; GENERAL TAGGING OF CROSS-SECTIONAL TECHNOLOGIES SPANNING OVER SEVERAL SECTIONS OF THE IPC; TECHNICAL SUBJECTS COVERED BY FORMER USPC CROSS-REFERENCE ART COLLECTIONS [XRACs] AND DIGESTS
- Y02—TECHNOLOGIES OR APPLICATIONS FOR MITIGATION OR ADAPTATION AGAINST CLIMATE CHANGE
- Y02E—REDUCTION OF GREENHOUSE GAS [GHG] EMISSIONS, RELATED TO ENERGY GENERATION, TRANSMISSION OR DISTRIBUTION
- Y02E10/00—Energy generation through renewable energy sources
- Y02E10/50—Photovoltaic [PV] energy
- Y02E10/549—Organic PV cells
-
- Y—GENERAL TAGGING OF NEW TECHNOLOGICAL DEVELOPMENTS; GENERAL TAGGING OF CROSS-SECTIONAL TECHNOLOGIES SPANNING OVER SEVERAL SECTIONS OF THE IPC; TECHNICAL SUBJECTS COVERED BY FORMER USPC CROSS-REFERENCE ART COLLECTIONS [XRACs] AND DIGESTS
- Y02—TECHNOLOGIES OR APPLICATIONS FOR MITIGATION OR ADAPTATION AGAINST CLIMATE CHANGE
- Y02P—CLIMATE CHANGE MITIGATION TECHNOLOGIES IN THE PRODUCTION OR PROCESSING OF GOODS
- Y02P70/00—Climate change mitigation technologies in the production process for final industrial or consumer products
- Y02P70/50—Manufacturing or production processes characterised by the final manufactured product
Landscapes
- Engineering & Computer Science (AREA)
- Manufacturing & Machinery (AREA)
- Physics & Mathematics (AREA)
- Optics & Photonics (AREA)
- Electroluminescent Light Sources (AREA)
- Devices For Indicating Variable Information By Combining Individual Elements (AREA)
Abstract
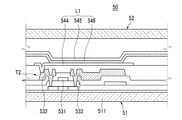
【解決手段】本発明による有機発光表示装置100は、表示領域と実装領域を有する第1基板51と、第1基板51の表示領域に合着された第2基板52と、第1基板51の実装領域に実装された集積回路チップ40とを含む表示パネルアセンブリ50と、第2基板52および集積回路チップ40と対向配置されて表示パネルアセンブリ50をカバーするカバーウィンド10と、第2基板52とカバーウィンド10との間の空間、および第1基板51の実装領域とカバーウィンド10との間の空間を埋める接着層20と、を含む。
【選択図】図3
Description
10 カバーウィンド、
20 接着層、
25 接着物質、
30 印刷回路基板、
35 フレキシブル回路基板、
40 集積回路チップ、
50 表示パネルアセンブリ、
51,52 基板、
58 偏光板、
511 基板部材、
532 ドレイン電極、
544 アノード電極、
545 有機発光層、
546 カソード電極、
70 支持部材、
71 底部、
72 側壁部、
725 開口部、
BA 遮光部、
C1 保存キャパシタ、
DL1 データライン、
IOELD 出力電流、
L1 有機発光素子、
T1,T2,C1 駆動回路部、
SL1 スキャンライン、
VDD 電源ライン。
Claims (13)
- 表示領域と実装領域を有する第1基板と、前記第1基板の表示領域に合着された第2基板と、前記第1基板の実装領域に実装された集積回路チップとを含む表示パネルアセンブリと、
前記第2基板および前記集積回路チップと対向配置され、前記表示パネルアセンブリをカバーするカバーウィンドと、
前記第2基板と前記カバーウィンドとの間の空間、および前記第1基板の実装領域と前記カバーウィンドとの間の空間を埋める接着層と、
を含むことを特徴とする有機発光表示装置。 - 前記接着層は、アクリル系樹脂を含み、前記集積回路チップを覆うことを特徴とする請求項1に記載の有機発光表示装置。
- 前記カバーウィンドは、透明であることを特徴とする請求項1に記載の有機発光表示装置。
- 前記カバーウィンドは、前記表示領域の中央部に対応する透光部と、前記表示領域の周縁部および前記実装領域に対応する遮光部とを含むことを特徴とする請求項1に記載の有機発光表示装置。
- 前記表示パネルアセンブリを収納支持する支持部材をさらに含み、
前記支持部材は、前記第1基板と平行に形成された底部と、前記底部から伸びて前記第1基板および前記第2基板の側面を囲む側壁部とを含むことを特徴とする請求項1〜4のいずれか1項に記載の有機発光表示装置。 - 前記側壁部は、前記第1基板および前記第2基板の周縁部から予め設定された距離をおいて離隔形成され、
前記接着層は、前記第1基板および前記第2基板の周縁部と前記側壁部との間の空間も埋めることを特徴とする請求項5に記載の有機発光表示装置。 - 前記予め設定された距離は、200μmよりも大きいことを特徴とする請求項6に記載の有機発光表示装置。
- 表示領域と実装領域を有する第1基板と、前記第1基板の表示領域に合着された第2基板と、前記第1基板の実装領域に実装された集積回路チップとを含む表示パネルアセンブリを準備する段階と、
カバーウィンドを準備する段階と、
前記カバーウィンドの一の面上に接着物質を備える段階と、
前記接着物質が備えられた一の面が前記第2基板および前記集積回路チップと対向するように、前記カバーウィンドを前記表示パネルアセンブリに合着させる段階と、
前記接着物質が前記第2基板と前記カバーウィンドとの間の空間、および前記第1基板の実装領域と前記カバーウィンドとの間の空間を埋めるように、前記接着物質を移動させる段階と、
前記接着物質を硬化して接着層を形成する段階と、
を含むことを特徴とする有機発光表示装置の製造方法。 - 前記接着物質は、アクリル系樹脂を含み、
前記接着層は、前記接着物質に紫外線を照射して、または熱を加えて硬化されることにより形成されることを特徴とする請求項8に記載の有機発光表示装置の製造方法。 - 前記カバーウィンド上に備えた接着物質の一部が流れて前記表示パネルアセンブリと接触した後、前記カバーウィンドと前記表示パネルアセンブリとを互いに合着させることを特徴とする請求項8に記載の有機発光表示装置の製造方法。
- 前記表示パネルアセンブリを支持部材に収納する段階をさらに含み、
前記支持部材は、前記第1基板と平行に形成された底部と、前記底部から伸びて前記第1基板および前記第2基板の側面を囲む側壁部とを含み、
前記側壁部は、前記第1基板および前記第2基板の周縁部から予め設定された距離をおいて離隔配置されることを特徴とする請求項8に記載の有機発光表示装置の製造方法。 - 前記接着物質は、前記第1基板および前記第2基板の周縁部と前記側壁部との間の空間にも埋められて硬化されることにより前記接着層を形成することを特徴とする請求項11に記載の有機発光表示装置の製造方法。
- 前記予め設定された距離は、200μmよりも大きいことを特徴とする請求項11に記載の有機発光表示装置の製造方法。
Applications Claiming Priority (2)
| Application Number | Priority Date | Filing Date | Title |
|---|---|---|---|
| KR10-2008-0061125 | 2008-06-26 | ||
| KR1020080061125A KR100953654B1 (ko) | 2008-06-26 | 2008-06-26 | 유기 발광 표시 장치 및 그 제조 방법 |
Publications (2)
| Publication Number | Publication Date |
|---|---|
| JP2010010122A true JP2010010122A (ja) | 2010-01-14 |
| JP5419435B2 JP5419435B2 (ja) | 2014-02-19 |
Family
ID=41110969
Family Applications (1)
| Application Number | Title | Priority Date | Filing Date |
|---|---|---|---|
| JP2008319978A Active JP5419435B2 (ja) | 2008-06-26 | 2008-12-16 | 有機発光表示装置の製造方法 |
Country Status (6)
| Country | Link |
|---|---|
| US (2) | US8492969B2 (ja) |
| EP (1) | EP2139055B1 (ja) |
| JP (1) | JP5419435B2 (ja) |
| KR (1) | KR100953654B1 (ja) |
| CN (1) | CN101615610B (ja) |
| TW (1) | TWI413442B (ja) |
Cited By (8)
| Publication number | Priority date | Publication date | Assignee | Title |
|---|---|---|---|---|
| JP2010079006A (ja) * | 2008-09-26 | 2010-04-08 | Casio Computer Co Ltd | 保護板一体型液晶表示パネル |
| JP2011118047A (ja) * | 2009-12-01 | 2011-06-16 | Canon Inc | 表示モジュール |
| JP2012093738A (ja) * | 2010-10-22 | 2012-05-17 | Samsung Mobile Display Co Ltd | 有機発光表示装置及びこれを具備した電子機器 |
| KR20150011927A (ko) * | 2013-07-24 | 2015-02-03 | 삼성디스플레이 주식회사 | 표시 장치 및 그 제조 방법 |
| KR20150071532A (ko) * | 2013-12-18 | 2015-06-26 | 삼성디스플레이 주식회사 | 간격 유지부를 가지는 디스플레이 장치 |
| JP2015524146A (ja) * | 2012-05-31 | 2015-08-20 | エルジー・ケム・リミテッド | 有機電子装置の製造方法 |
| JP2019028284A (ja) * | 2017-07-31 | 2019-02-21 | 京セラ株式会社 | 表示装置 |
| JP2020042269A (ja) * | 2018-09-06 | 2020-03-19 | 三星ディスプレイ株式會社Samsung Display Co.,Ltd. | 湾入した形状の表示部を含む表示装置 |
Families Citing this family (65)
| Publication number | Priority date | Publication date | Assignee | Title |
|---|---|---|---|---|
| JP5550357B2 (ja) * | 2010-01-15 | 2014-07-16 | 株式会社ジャパンディスプレイ | フロントウインドウ付き表示装置 |
| KR101049807B1 (ko) | 2010-02-03 | 2011-07-19 | 삼성모바일디스플레이주식회사 | 표시 장치 및 이의 형성 방법 |
| US20120325536A1 (en) * | 2010-03-02 | 2012-12-27 | Sharp Kabushiki Kaisha | Display device and method for fabricating same |
| KR20110108697A (ko) * | 2010-03-29 | 2011-10-06 | 삼성전자주식회사 | 유기 발광 소자 및 이에 채용되는 편광 구조 장치 |
| US8785241B2 (en) | 2010-07-16 | 2014-07-22 | Semiconductor Energy Laboratory Co., Ltd. | Semiconductor device and manufacturing method thereof |
| KR101614876B1 (ko) | 2010-09-07 | 2016-04-25 | 삼성디스플레이 주식회사 | 유기 발광 표시 장치 |
| KR101521114B1 (ko) | 2010-12-03 | 2015-05-19 | 엘지디스플레이 주식회사 | 유기전계발광 표시장치 및 그 제조 방법 |
| KR101944915B1 (ko) | 2010-12-28 | 2019-02-08 | 삼성디스플레이 주식회사 | 평판 디스플레이 장치 |
| US8780579B2 (en) * | 2011-01-05 | 2014-07-15 | Samsung Display Co., Ltd. | Organic light emitting diode display |
| US8773068B2 (en) | 2011-01-20 | 2014-07-08 | Valence Technology, Inc. | Rechargeable battery systems and rechargeable battery system operational methods |
| KR101781532B1 (ko) * | 2011-03-14 | 2017-10-24 | 삼성디스플레이 주식회사 | 유기 발광 표시 장치와 그 제조방법 |
| KR101835109B1 (ko) | 2011-05-30 | 2018-03-07 | 삼성디스플레이 주식회사 | 평판 디스플레이 장치 |
| KR101886302B1 (ko) * | 2011-11-11 | 2018-09-06 | 엘지디스플레이 주식회사 | 평판표시장치 및 이의 제조방법 |
| KR101888441B1 (ko) * | 2011-12-29 | 2018-08-17 | 엘지디스플레이 주식회사 | 플렉서블 유기 발광 표시 장치 |
| US9419065B2 (en) | 2012-08-07 | 2016-08-16 | Apple Inc. | Flexible displays |
| KR101910111B1 (ko) | 2012-08-28 | 2018-10-22 | 삼성디스플레이 주식회사 | 접이식 표시 장치 |
| JP2014056222A (ja) * | 2012-09-14 | 2014-03-27 | Japan Display Inc | 表示装置及びカバー部材 |
| CN102903732A (zh) * | 2012-10-12 | 2013-01-30 | 深圳市华星光电技术有限公司 | 有机发光二极管器件及相应的显示装置 |
| KR20140056548A (ko) * | 2012-10-29 | 2014-05-12 | 삼성디스플레이 주식회사 | 유기 발광 표시 장치와 이의 제조 방법 |
| JP6077279B2 (ja) * | 2012-11-20 | 2017-02-08 | 株式会社ジャパンディスプレイ | 表示装置 |
| KR20140067500A (ko) * | 2012-11-26 | 2014-06-05 | 삼성디스플레이 주식회사 | 평면 표시 장치 |
| US9504124B2 (en) * | 2013-01-03 | 2016-11-22 | Apple Inc. | Narrow border displays for electronic devices |
| KR101989056B1 (ko) * | 2013-01-03 | 2019-06-14 | 삼성디스플레이 주식회사 | 유기 발광 표시 장치 |
| KR20140095851A (ko) * | 2013-01-25 | 2014-08-04 | 삼성디스플레이 주식회사 | 유기 발광 표시 장치 |
| US9516743B2 (en) | 2013-02-27 | 2016-12-06 | Apple Inc. | Electronic device with reduced-stress flexible display |
| KR102048467B1 (ko) * | 2013-04-03 | 2019-11-26 | 삼성디스플레이 주식회사 | 유기발광 표시장치 |
| KR102079095B1 (ko) * | 2013-04-11 | 2020-02-20 | 삼성디스플레이 주식회사 | 표시 장치 |
| KR102037284B1 (ko) | 2013-07-11 | 2019-10-29 | 삼성디스플레이 주식회사 | 표시 장치 |
| WO2015072380A1 (ja) * | 2013-11-15 | 2015-05-21 | 旭硝子株式会社 | 粘着層付き透明面材および表示装置 |
| KR102307432B1 (ko) * | 2013-12-09 | 2021-09-30 | 삼성디스플레이 주식회사 | 표시 장치 |
| CN103682157A (zh) * | 2013-12-10 | 2014-03-26 | 京东方科技集团股份有限公司 | 一种有机电致发光显示器件、其制作方法及显示装置 |
| TWI514565B (zh) * | 2013-12-16 | 2015-12-21 | Au Optronics Corp | 有機發光裝置及其製作方法 |
| KR102207842B1 (ko) * | 2014-01-07 | 2021-01-26 | 삼성디스플레이 주식회사 | 표시 장치 및 그 제조 방법 |
| CN105225628B (zh) | 2014-06-19 | 2017-10-24 | 元太科技工业股份有限公司 | 显示装置、显示模块及其像素结构 |
| KR102397800B1 (ko) * | 2014-07-25 | 2022-05-16 | 엘지디스플레이 주식회사 | 측변 구부림 구조를 갖는 표시 장치 및 그 제조 방법 |
| KR102250046B1 (ko) * | 2014-09-03 | 2021-05-11 | 삼성디스플레이 주식회사 | 디스플레이 장치 |
| KR102249768B1 (ko) * | 2014-09-10 | 2021-05-11 | 삼성디스플레이 주식회사 | 유기발광표시장치 |
| CN105632339B (zh) * | 2014-10-27 | 2018-08-10 | 群创光电股份有限公司 | 显示设备 |
| KR102253530B1 (ko) * | 2014-11-21 | 2021-05-18 | 삼성디스플레이 주식회사 | 터치 스크린 패널을 구비한 표시 장치 |
| KR102257987B1 (ko) * | 2014-12-16 | 2021-05-31 | 삼성디스플레이 주식회사 | 광학용 투명 점착 조성물 및 이를 포함하는 표시장치 |
| KR102332623B1 (ko) * | 2015-01-05 | 2021-11-30 | 삼성디스플레이 주식회사 | 표시장치의 제조방법 및 그에 의해 제조된 표시장치 |
| US9614168B2 (en) | 2015-01-12 | 2017-04-04 | Apple Inc. | Flexible display panel with bent substrate |
| KR102254650B1 (ko) * | 2015-01-28 | 2021-05-24 | 삼성디스플레이 주식회사 | 표시장치 |
| KR102287710B1 (ko) * | 2015-06-30 | 2021-08-06 | 엘지디스플레이 주식회사 | 표시 패널 및 그 제조방법 |
| KR102483690B1 (ko) * | 2016-09-02 | 2023-01-03 | 삼성전자주식회사 | 디스플레이 장치 및 그를 포함하는 전자 장치 |
| CN106251789A (zh) * | 2016-09-22 | 2016-12-21 | 上海传英信息技术有限公司 | 一种屏幕结构及移动终端 |
| KR102648021B1 (ko) * | 2016-09-23 | 2024-03-15 | 삼성디스플레이 주식회사 | 표시 장치 및 이의 제조 방법 |
| CN107146533A (zh) * | 2017-05-22 | 2017-09-08 | 深圳天珑无线科技有限公司 | 一种显示面板组件和电子设备 |
| KR101911049B1 (ko) * | 2017-06-26 | 2018-10-24 | 삼성디스플레이 주식회사 | 표시 장치의 제조 장치 |
| KR102343283B1 (ko) * | 2017-08-21 | 2021-12-27 | 삼성디스플레이 주식회사 | 표시 장치 |
| US10477691B2 (en) | 2017-12-13 | 2019-11-12 | E Ink Holdings Inc. | Flexible display device and manufacturing method thereof |
| KR102680593B1 (ko) * | 2017-12-13 | 2024-07-01 | 엘지디스플레이 주식회사 | 폴더블 표시 장치 |
| TWI659679B (zh) * | 2018-02-13 | 2019-05-11 | 元太科技工業股份有限公司 | 軟性顯示裝置及其製造方法 |
| KR102112870B1 (ko) | 2017-12-21 | 2020-05-19 | 삼성에스디아이 주식회사 | 광학표시장치 |
| CN110010659B (zh) | 2018-01-04 | 2025-06-03 | 三星显示有限公司 | 显示设备 |
| KR102560948B1 (ko) | 2018-01-04 | 2023-08-01 | 삼성디스플레이 주식회사 | 표시 장치 |
| US11506363B2 (en) | 2018-01-09 | 2022-11-22 | OLEDWorks LLC | Ultrathin OLED lighting panel |
| CN110164302B (zh) * | 2018-02-13 | 2021-08-06 | 元太科技工业股份有限公司 | 软性显示装置及其制造方法 |
| KR102482666B1 (ko) * | 2018-06-15 | 2022-12-29 | 삼성전자주식회사 | 디스플레이 장치 및 그를 포함하는 전자 장치 |
| KR102552930B1 (ko) | 2018-06-27 | 2023-07-07 | 삼성디스플레이 주식회사 | 패널 하부 부재 및 이를 포함하는 표시 장치 |
| TWI701489B (zh) | 2019-03-12 | 2020-08-11 | 友達光電股份有限公司 | 顯示裝置 |
| KR102116499B1 (ko) * | 2019-05-31 | 2020-05-29 | 삼성디스플레이 주식회사 | 유기 발광 표시 장치 |
| KR20210086002A (ko) * | 2019-12-31 | 2021-07-08 | 엘지디스플레이 주식회사 | 표시장치 |
| WO2022065814A1 (ko) * | 2020-09-22 | 2022-03-31 | 삼성전자 주식회사 | 디스플레이 모듈을 포함하는 전자 장치 |
| KR20220045478A (ko) | 2020-10-05 | 2022-04-12 | 삼성전자주식회사 | 마이크로 발광 디스플레이 장치 및 그 제조 방법 |
Citations (13)
| Publication number | Priority date | Publication date | Assignee | Title |
|---|---|---|---|---|
| JPH05333359A (ja) * | 1992-05-29 | 1993-12-17 | Sharp Corp | パネルの実装構造 |
| JPH1173140A (ja) * | 1997-08-28 | 1999-03-16 | Denso Corp | フラットパネルディスプレイ |
| JPH11143385A (ja) * | 1997-11-14 | 1999-05-28 | Sony Corp | カラー液晶表示パネルの構造及びカラー液晶表示パネルの実装方法 |
| JP2000040586A (ja) * | 1998-07-21 | 2000-02-08 | Tdk Corp | 有機el素子モジュール |
| JP2002032037A (ja) * | 2000-05-12 | 2002-01-31 | Semiconductor Energy Lab Co Ltd | 表示装置 |
| JP2003178876A (ja) * | 2001-12-07 | 2003-06-27 | Sony Corp | 自発光型表示装置 |
| JP2004240412A (ja) * | 2003-01-15 | 2004-08-26 | Semiconductor Energy Lab Co Ltd | 液晶表示装置及び液晶表示装置の作製方法 |
| JP2005018051A (ja) * | 2003-06-06 | 2005-01-20 | Canon Inc | 面状ケーブル部材の接続部の補強方法及び画像表示装置の製造方法 |
| JP2005116339A (ja) * | 2003-10-08 | 2005-04-28 | Sony Corp | 表示装置 |
| JP2007080711A (ja) * | 2005-09-15 | 2007-03-29 | Pioneer Electronic Corp | 有機el素子の封止方法 |
| WO2007066424A1 (ja) * | 2005-12-05 | 2007-06-14 | Sharp Kabushiki Kaisha | 表示装置 |
| JP2008059945A (ja) * | 2006-08-31 | 2008-03-13 | Nagase Chemtex Corp | 電子デバイスの製造方法 |
| JP2008090053A (ja) * | 2006-10-03 | 2008-04-17 | Hitachi Displays Ltd | 表示装置および携帯機器 |
Family Cites Families (24)
| Publication number | Priority date | Publication date | Assignee | Title |
|---|---|---|---|---|
| JP3485107B2 (ja) * | 2000-06-13 | 2004-01-13 | セイコーエプソン株式会社 | 電気光学装置、電気光学装置の製造方法、及び、電子機器 |
| JP4210423B2 (ja) | 2000-11-01 | 2009-01-21 | 三菱電機株式会社 | 表示装置および該表示装置を用いた画像端末装置 |
| US6537688B2 (en) * | 2000-12-01 | 2003-03-25 | Universal Display Corporation | Adhesive sealed organic optoelectronic structures |
| KR100477745B1 (ko) * | 2002-05-23 | 2005-03-18 | 삼성에스디아이 주식회사 | 유기 전계발광 소자의 봉지방법 및 이를 이용하는 유기전계발광 패널 |
| US7154570B2 (en) * | 2002-09-28 | 2006-12-26 | Samsung Electronics Co., Ltd. | Back light assembly, liquid crystal display apparatus and manufacturing method thereof |
| US7259505B2 (en) * | 2002-10-15 | 2007-08-21 | Eastman Kodak Company | OLED display with circular polarizer |
| US6879319B2 (en) * | 2002-10-25 | 2005-04-12 | Eastman Kodak Company | Integrated OLED display and touch screen |
| TWI351566B (en) | 2003-01-15 | 2011-11-01 | Semiconductor Energy Lab | Liquid crystal display device |
| JP4526771B2 (ja) * | 2003-03-14 | 2010-08-18 | 株式会社半導体エネルギー研究所 | 半導体装置の作製方法 |
| JP4059153B2 (ja) * | 2003-06-23 | 2008-03-12 | ソニー株式会社 | 表示装置の製造方法 |
| JP4428050B2 (ja) | 2003-12-26 | 2010-03-10 | カシオ計算機株式会社 | 表示パネルの収納保持構造 |
| US7279063B2 (en) | 2004-01-16 | 2007-10-09 | Eastman Kodak Company | Method of making an OLED display device with enhanced optical and mechanical properties |
| JP3992001B2 (ja) * | 2004-03-01 | 2007-10-17 | セイコーエプソン株式会社 | 有機エレクトロルミネッセンス装置及び電子機器 |
| JP3841087B2 (ja) | 2004-03-17 | 2006-11-01 | セイコーエプソン株式会社 | 電気光学装置用パネル及びその製造方法、電気光学装置、並びに電子機器 |
| JP2005293946A (ja) * | 2004-03-31 | 2005-10-20 | Sanyo Electric Co Ltd | 有機el表示装置 |
| US7205718B2 (en) * | 2004-06-24 | 2007-04-17 | Eastman Kodak Company | OLED display having thermally conductive adhesive |
| KR100637189B1 (ko) * | 2004-11-18 | 2006-10-23 | 삼성에스디아이 주식회사 | 평판표시장치 |
| TWI405496B (zh) * | 2004-12-13 | 2013-08-11 | 三洋電機股份有限公司 | 有機電場發光元件之封裝方法,及發光面板以及顯示面板之製造方法 |
| KR20060104088A (ko) * | 2005-03-29 | 2006-10-09 | 삼성전자주식회사 | 표시 장치의 회로 기판 및 이를 포함하는 표시 장치 |
| JP2007059128A (ja) * | 2005-08-23 | 2007-03-08 | Canon Inc | 有機el表示装置およびその製造方法 |
| KR20070095030A (ko) * | 2006-03-20 | 2007-09-28 | 삼성전자주식회사 | 유기 발광 표시 장치 |
| KR100824902B1 (ko) | 2006-12-13 | 2008-04-23 | 삼성에스디아이 주식회사 | 유기 전계 발광 표시 장치 및 그 제조 방법 |
| TWI444942B (zh) * | 2007-04-20 | 2014-07-11 | Via Optronics Gmbh | 無框架顯示系統以及建構其之方法 |
| KR101378852B1 (ko) * | 2007-09-12 | 2014-03-27 | 엘지디스플레이 주식회사 | 표시장치 |
-
2008
- 2008-06-26 KR KR1020080061125A patent/KR100953654B1/ko not_active Expired - Fee Related
- 2008-12-16 JP JP2008319978A patent/JP5419435B2/ja active Active
-
2009
- 2009-02-27 US US12/379,777 patent/US8492969B2/en not_active Expired - Fee Related
- 2009-05-13 CN CN200910138439XA patent/CN101615610B/zh active Active
- 2009-06-12 TW TW098119685A patent/TWI413442B/zh active
- 2009-06-23 EP EP09251628.5A patent/EP2139055B1/en active Active
-
2013
- 2013-07-03 US US13/935,269 patent/US8851952B2/en active Active
Patent Citations (13)
| Publication number | Priority date | Publication date | Assignee | Title |
|---|---|---|---|---|
| JPH05333359A (ja) * | 1992-05-29 | 1993-12-17 | Sharp Corp | パネルの実装構造 |
| JPH1173140A (ja) * | 1997-08-28 | 1999-03-16 | Denso Corp | フラットパネルディスプレイ |
| JPH11143385A (ja) * | 1997-11-14 | 1999-05-28 | Sony Corp | カラー液晶表示パネルの構造及びカラー液晶表示パネルの実装方法 |
| JP2000040586A (ja) * | 1998-07-21 | 2000-02-08 | Tdk Corp | 有機el素子モジュール |
| JP2002032037A (ja) * | 2000-05-12 | 2002-01-31 | Semiconductor Energy Lab Co Ltd | 表示装置 |
| JP2003178876A (ja) * | 2001-12-07 | 2003-06-27 | Sony Corp | 自発光型表示装置 |
| JP2004240412A (ja) * | 2003-01-15 | 2004-08-26 | Semiconductor Energy Lab Co Ltd | 液晶表示装置及び液晶表示装置の作製方法 |
| JP2005018051A (ja) * | 2003-06-06 | 2005-01-20 | Canon Inc | 面状ケーブル部材の接続部の補強方法及び画像表示装置の製造方法 |
| JP2005116339A (ja) * | 2003-10-08 | 2005-04-28 | Sony Corp | 表示装置 |
| JP2007080711A (ja) * | 2005-09-15 | 2007-03-29 | Pioneer Electronic Corp | 有機el素子の封止方法 |
| WO2007066424A1 (ja) * | 2005-12-05 | 2007-06-14 | Sharp Kabushiki Kaisha | 表示装置 |
| JP2008059945A (ja) * | 2006-08-31 | 2008-03-13 | Nagase Chemtex Corp | 電子デバイスの製造方法 |
| JP2008090053A (ja) * | 2006-10-03 | 2008-04-17 | Hitachi Displays Ltd | 表示装置および携帯機器 |
Cited By (11)
| Publication number | Priority date | Publication date | Assignee | Title |
|---|---|---|---|---|
| JP2010079006A (ja) * | 2008-09-26 | 2010-04-08 | Casio Computer Co Ltd | 保護板一体型液晶表示パネル |
| JP2011118047A (ja) * | 2009-12-01 | 2011-06-16 | Canon Inc | 表示モジュール |
| JP2012093738A (ja) * | 2010-10-22 | 2012-05-17 | Samsung Mobile Display Co Ltd | 有機発光表示装置及びこれを具備した電子機器 |
| JP2015524146A (ja) * | 2012-05-31 | 2015-08-20 | エルジー・ケム・リミテッド | 有機電子装置の製造方法 |
| KR20150011927A (ko) * | 2013-07-24 | 2015-02-03 | 삼성디스플레이 주식회사 | 표시 장치 및 그 제조 방법 |
| KR102110839B1 (ko) * | 2013-07-24 | 2020-05-15 | 삼성디스플레이 주식회사 | 표시 장치 및 그 제조 방법 |
| KR20150071532A (ko) * | 2013-12-18 | 2015-06-26 | 삼성디스플레이 주식회사 | 간격 유지부를 가지는 디스플레이 장치 |
| KR102173048B1 (ko) * | 2013-12-18 | 2020-11-03 | 삼성디스플레이 주식회사 | 간격 유지부를 가지는 디스플레이 장치 |
| JP2019028284A (ja) * | 2017-07-31 | 2019-02-21 | 京セラ株式会社 | 表示装置 |
| JP2020042269A (ja) * | 2018-09-06 | 2020-03-19 | 三星ディスプレイ株式會社Samsung Display Co.,Ltd. | 湾入した形状の表示部を含む表示装置 |
| JP7541436B2 (ja) | 2018-09-06 | 2024-08-28 | 三星ディスプレイ株式會社 | 湾入した形状の表示部を含む表示装置 |
Also Published As
| Publication number | Publication date |
|---|---|
| EP2139055B1 (en) | 2017-01-04 |
| US20090322214A1 (en) | 2009-12-31 |
| US8851952B2 (en) | 2014-10-07 |
| TWI413442B (zh) | 2013-10-21 |
| KR20100001275A (ko) | 2010-01-06 |
| KR100953654B1 (ko) | 2010-04-20 |
| US8492969B2 (en) | 2013-07-23 |
| EP2139055A2 (en) | 2009-12-30 |
| CN101615610A (zh) | 2009-12-30 |
| US20130295816A1 (en) | 2013-11-07 |
| EP2139055A3 (en) | 2012-07-04 |
| JP5419435B2 (ja) | 2014-02-19 |
| TW201002125A (en) | 2010-01-01 |
| CN101615610B (zh) | 2011-09-07 |
Similar Documents
| Publication | Publication Date | Title |
|---|---|---|
| JP5419435B2 (ja) | 有機発光表示装置の製造方法 | |
| JP7299049B2 (ja) | 有機発光表示装置 | |
| US8369107B2 (en) | Organic light emitting diode display and method for manufacturing the same | |
| US10691163B2 (en) | Display device | |
| US10840476B2 (en) | Organic light emitting display device | |
| EP2180536B1 (en) | Organic light emitting diode display | |
| CN112863375B (zh) | 显示装置 | |
| KR20200000510A (ko) | 연성 기판 및 이를 포함하는 표시 장치 | |
| KR102769277B1 (ko) | 표시 장치 및 이의 제조 방법 | |
| KR101811341B1 (ko) | 유기 발광 표시 장치 | |
| JP2010055918A (ja) | 電気光学装置、電気光学装置の製造方法、及び電子機器 | |
| KR102055194B1 (ko) | 표시 장치 | |
| KR101023129B1 (ko) | 유기 발광 표시 장치 및 그 제조 방법 | |
| KR102623375B1 (ko) | 표시장치 및 이의 제조 방법 | |
| JP2018205486A (ja) | 表示装置および表示装置の製造方法 | |
| EP3772669B1 (en) | Display device | |
| KR100922354B1 (ko) | 유기 발광 표시 장치 | |
| KR102150260B1 (ko) | 구동칩, 회로기판 어셈블리 및 이를 포함하는 표시 장치 | |
| KR20120079677A (ko) | 유기 발광 표시 장치 | |
| KR100913183B1 (ko) | 유기 발광 표시 장치 | |
| JP2018205487A (ja) | 表示装置および表示装置の製造方法 | |
| KR20170079335A (ko) | 유기 발광 표시 장치 및 그의 제조 방법 |
Legal Events
| Date | Code | Title | Description |
|---|---|---|---|
| A131 | Notification of reasons for refusal |
Free format text: JAPANESE INTERMEDIATE CODE: A131 Effective date: 20110705 |
|
| A521 | Request for written amendment filed |
Free format text: JAPANESE INTERMEDIATE CODE: A523 Effective date: 20111004 |
|
| A131 | Notification of reasons for refusal |
Free format text: JAPANESE INTERMEDIATE CODE: A131 Effective date: 20111129 |
|
| A521 | Request for written amendment filed |
Free format text: JAPANESE INTERMEDIATE CODE: A523 Effective date: 20120228 |
|
| A131 | Notification of reasons for refusal |
Free format text: JAPANESE INTERMEDIATE CODE: A131 Effective date: 20120717 |
|
| A711 | Notification of change in applicant |
Free format text: JAPANESE INTERMEDIATE CODE: A712 Effective date: 20120912 |
|
| A521 | Request for written amendment filed |
Free format text: JAPANESE INTERMEDIATE CODE: A523 Effective date: 20121012 |
|
| A521 | Request for written amendment filed |
Free format text: JAPANESE INTERMEDIATE CODE: A523 Effective date: 20121107 |
|
| A02 | Decision of refusal |
Free format text: JAPANESE INTERMEDIATE CODE: A02 Effective date: 20130702 |
|
| A521 | Request for written amendment filed |
Free format text: JAPANESE INTERMEDIATE CODE: A523 Effective date: 20130807 |
|
| A911 | Transfer to examiner for re-examination before appeal (zenchi) |
Free format text: JAPANESE INTERMEDIATE CODE: A911 Effective date: 20131004 |
|
| TRDD | Decision of grant or rejection written | ||
| A01 | Written decision to grant a patent or to grant a registration (utility model) |
Free format text: JAPANESE INTERMEDIATE CODE: A01 Effective date: 20131022 |
|
| A61 | First payment of annual fees (during grant procedure) |
Free format text: JAPANESE INTERMEDIATE CODE: A61 Effective date: 20131119 |
|
| R150 | Certificate of patent or registration of utility model |
Ref document number: 5419435 Country of ref document: JP Free format text: JAPANESE INTERMEDIATE CODE: R150 |
|
| R250 | Receipt of annual fees |
Free format text: JAPANESE INTERMEDIATE CODE: R250 |
|
| R250 | Receipt of annual fees |
Free format text: JAPANESE INTERMEDIATE CODE: R250 |
|
| R250 | Receipt of annual fees |
Free format text: JAPANESE INTERMEDIATE CODE: R250 |
|
| R250 | Receipt of annual fees |
Free format text: JAPANESE INTERMEDIATE CODE: R250 |
|
| R250 | Receipt of annual fees |
Free format text: JAPANESE INTERMEDIATE CODE: R250 |
|
| R250 | Receipt of annual fees |
Free format text: JAPANESE INTERMEDIATE CODE: R250 |
|
| R250 | Receipt of annual fees |
Free format text: JAPANESE INTERMEDIATE CODE: R250 |
|
| R250 | Receipt of annual fees |
Free format text: JAPANESE INTERMEDIATE CODE: R250 |
|
| R250 | Receipt of annual fees |
Free format text: JAPANESE INTERMEDIATE CODE: R250 |
