JP2005293946A - 有機el表示装置 - Google Patents
有機el表示装置 Download PDFInfo
- Publication number
- JP2005293946A JP2005293946A JP2004105134A JP2004105134A JP2005293946A JP 2005293946 A JP2005293946 A JP 2005293946A JP 2004105134 A JP2004105134 A JP 2004105134A JP 2004105134 A JP2004105134 A JP 2004105134A JP 2005293946 A JP2005293946 A JP 2005293946A
- Authority
- JP
- Japan
- Prior art keywords
- light emitting
- organic light
- display device
- color
- organic
- Prior art date
- Legal status (The legal status is an assumption and is not a legal conclusion. Google has not performed a legal analysis and makes no representation as to the accuracy of the status listed.)
- Withdrawn
Links
- 239000000758 substrate Substances 0.000 claims abstract description 64
- 239000011159 matrix material Substances 0.000 claims abstract description 43
- 239000012790 adhesive layer Substances 0.000 claims abstract description 37
- 239000010410 layer Substances 0.000 claims description 62
- 239000000463 material Substances 0.000 claims description 17
- 238000006243 chemical reaction Methods 0.000 claims description 14
- 239000003086 colorant Substances 0.000 claims description 13
- 238000010030 laminating Methods 0.000 claims description 3
- 238000007789 sealing Methods 0.000 claims description 2
- XLYOFNOQVPJJNP-UHFFFAOYSA-N water Substances O XLYOFNOQVPJJNP-UHFFFAOYSA-N 0.000 abstract description 9
- 230000001747 exhibiting effect Effects 0.000 abstract description 3
- 239000010408 film Substances 0.000 description 46
- 230000000694 effects Effects 0.000 description 19
- 238000002347 injection Methods 0.000 description 13
- 239000007924 injection Substances 0.000 description 13
- 230000000052 comparative effect Effects 0.000 description 10
- 230000004888 barrier function Effects 0.000 description 8
- 238000000034 method Methods 0.000 description 8
- 238000000926 separation method Methods 0.000 description 8
- 238000002474 experimental method Methods 0.000 description 7
- 239000003990 capacitor Substances 0.000 description 6
- 230000001681 protective effect Effects 0.000 description 6
- 230000003111 delayed effect Effects 0.000 description 5
- 238000005401 electroluminescence Methods 0.000 description 5
- 230000035515 penetration Effects 0.000 description 5
- 238000010586 diagram Methods 0.000 description 4
- 239000000853 adhesive Substances 0.000 description 3
- 230000001070 adhesive effect Effects 0.000 description 3
- 239000011810 insulating material Substances 0.000 description 3
- 238000005259 measurement Methods 0.000 description 3
- 239000007769 metal material Substances 0.000 description 3
- 238000012545 processing Methods 0.000 description 3
- 238000007740 vapor deposition Methods 0.000 description 3
- 239000003822 epoxy resin Substances 0.000 description 2
- 239000011521 glass Substances 0.000 description 2
- 238000001764 infiltration Methods 0.000 description 2
- 230000008595 infiltration Effects 0.000 description 2
- 239000012528 membrane Substances 0.000 description 2
- 229920000647 polyepoxide Polymers 0.000 description 2
- 239000004925 Acrylic resin Substances 0.000 description 1
- 229920000178 Acrylic resin Polymers 0.000 description 1
- 229910017107 AlOx Inorganic materials 0.000 description 1
- OAICVXFJPJFONN-UHFFFAOYSA-N Phosphorus Chemical compound [P] OAICVXFJPJFONN-UHFFFAOYSA-N 0.000 description 1
- 229910004205 SiNX Inorganic materials 0.000 description 1
- VYPSYNLAJGMNEJ-UHFFFAOYSA-N Silicium dioxide Chemical compound O=[Si]=O VYPSYNLAJGMNEJ-UHFFFAOYSA-N 0.000 description 1
- NIXOWILDQLNWCW-UHFFFAOYSA-N acrylic acid group Chemical group C(C=C)(=O)O NIXOWILDQLNWCW-UHFFFAOYSA-N 0.000 description 1
- 230000002411 adverse Effects 0.000 description 1
- 230000004075 alteration Effects 0.000 description 1
- QVGXLLKOCUKJST-UHFFFAOYSA-N atomic oxygen Chemical compound [O] QVGXLLKOCUKJST-UHFFFAOYSA-N 0.000 description 1
- 230000008901 benefit Effects 0.000 description 1
- 230000015572 biosynthetic process Effects 0.000 description 1
- 230000008859 change Effects 0.000 description 1
- 230000000295 complement effect Effects 0.000 description 1
- 230000006866 deterioration Effects 0.000 description 1
- 150000004985 diamines Chemical class 0.000 description 1
- 238000010292 electrical insulation Methods 0.000 description 1
- 239000007772 electrode material Substances 0.000 description 1
- 238000011156 evaluation Methods 0.000 description 1
- 230000002349 favourable effect Effects 0.000 description 1
- 150000002222 fluorine compounds Chemical class 0.000 description 1
- 230000005525 hole transport Effects 0.000 description 1
- 229910010272 inorganic material Inorganic materials 0.000 description 1
- 239000011147 inorganic material Substances 0.000 description 1
- 238000011835 investigation Methods 0.000 description 1
- 239000004973 liquid crystal related substance Substances 0.000 description 1
- 230000007774 longterm Effects 0.000 description 1
- 239000002184 metal Substances 0.000 description 1
- 229910052751 metal Inorganic materials 0.000 description 1
- 239000011368 organic material Substances 0.000 description 1
- 229910052760 oxygen Inorganic materials 0.000 description 1
- 239000001301 oxygen Substances 0.000 description 1
- 230000002093 peripheral effect Effects 0.000 description 1
- 238000001259 photo etching Methods 0.000 description 1
- 229910021420 polycrystalline silicon Inorganic materials 0.000 description 1
- 229920001296 polysiloxane Polymers 0.000 description 1
- 239000004810 polytetrafluoroethylene Substances 0.000 description 1
- 229920001343 polytetrafluoroethylene Polymers 0.000 description 1
- 230000008569 process Effects 0.000 description 1
- 230000009467 reduction Effects 0.000 description 1
- 238000012827 research and development Methods 0.000 description 1
- 229920005989 resin Polymers 0.000 description 1
- 239000011347 resin Substances 0.000 description 1
- 229910052814 silicon oxide Inorganic materials 0.000 description 1
- 229920002379 silicone rubber Polymers 0.000 description 1
- 239000004945 silicone rubber Substances 0.000 description 1
- 239000005361 soda-lime glass Substances 0.000 description 1
- 238000000638 solvent extraction Methods 0.000 description 1
- 238000004544 sputter deposition Methods 0.000 description 1
- 239000000126 substance Substances 0.000 description 1
- 229920001187 thermosetting polymer Polymers 0.000 description 1
- 239000010409 thin film Substances 0.000 description 1
- 238000002834 transmittance Methods 0.000 description 1
- 125000006617 triphenylamine group Chemical group 0.000 description 1
Images
Classifications
-
- H—ELECTRICITY
- H10—SEMICONDUCTOR DEVICES; ELECTRIC SOLID-STATE DEVICES NOT OTHERWISE PROVIDED FOR
- H10K—ORGANIC ELECTRIC SOLID-STATE DEVICES
- H10K2102/00—Constructional details relating to the organic devices covered by this subclass
- H10K2102/301—Details of OLEDs
- H10K2102/302—Details of OLEDs of OLED structures
- H10K2102/3023—Direction of light emission
- H10K2102/3026—Top emission
-
- H—ELECTRICITY
- H10—SEMICONDUCTOR DEVICES; ELECTRIC SOLID-STATE DEVICES NOT OTHERWISE PROVIDED FOR
- H10K—ORGANIC ELECTRIC SOLID-STATE DEVICES
- H10K59/00—Integrated devices, or assemblies of multiple devices, comprising at least one organic light-emitting element covered by group H10K50/00
- H10K59/30—Devices specially adapted for multicolour light emission
- H10K59/38—Devices specially adapted for multicolour light emission comprising colour filters or colour changing media [CCM]
-
- H—ELECTRICITY
- H10—SEMICONDUCTOR DEVICES; ELECTRIC SOLID-STATE DEVICES NOT OTHERWISE PROVIDED FOR
- H10K—ORGANIC ELECTRIC SOLID-STATE DEVICES
- H10K59/00—Integrated devices, or assemblies of multiple devices, comprising at least one organic light-emitting element covered by group H10K50/00
- H10K59/80—Constructional details
- H10K59/87—Passivation; Containers; Encapsulations
- H10K59/871—Self-supporting sealing arrangements
- H10K59/8722—Peripheral sealing arrangements, e.g. adhesives, sealants
-
- H—ELECTRICITY
- H10—SEMICONDUCTOR DEVICES; ELECTRIC SOLID-STATE DEVICES NOT OTHERWISE PROVIDED FOR
- H10K—ORGANIC ELECTRIC SOLID-STATE DEVICES
- H10K59/00—Integrated devices, or assemblies of multiple devices, comprising at least one organic light-emitting element covered by group H10K50/00
- H10K59/80—Constructional details
- H10K59/87—Passivation; Containers; Encapsulations
- H10K59/873—Encapsulations
-
- H—ELECTRICITY
- H10—SEMICONDUCTOR DEVICES; ELECTRIC SOLID-STATE DEVICES NOT OTHERWISE PROVIDED FOR
- H10K—ORGANIC ELECTRIC SOLID-STATE DEVICES
- H10K59/00—Integrated devices, or assemblies of multiple devices, comprising at least one organic light-emitting element covered by group H10K50/00
- H10K59/80—Constructional details
- H10K59/8791—Arrangements for improving contrast, e.g. preventing reflection of ambient light
- H10K59/8792—Arrangements for improving contrast, e.g. preventing reflection of ambient light comprising light absorbing layers, e.g. black layers
Landscapes
- Electroluminescent Light Sources (AREA)
Abstract
【課題】 第一の目的として、特にカラーフィルターが配された透明基板付近において高い防湿性を発揮することで、良好な表示性能の実現が可能な有機EL表示装置を提供する。また第二の目的として、従来に比べて色再現の良い有機EL表示装置を提供する。
【解決手段】 フロントパネルFPの透明基板6の表面において、カラーフィルター61R、61G、61Bのそれぞれが接着層5に対して直接接触するように配設することで水の浸入速度を遅延させる。
また上記構成に加え、カラーフィルター61R、61G、61Bよりも膜厚が厚くなるようにブラックマトリクスBMを配設することで、視野角が増大しても混色の発生を防止できるようにする。
【選択図】 図2
【解決手段】 フロントパネルFPの透明基板6の表面において、カラーフィルター61R、61G、61Bのそれぞれが接着層5に対して直接接触するように配設することで水の浸入速度を遅延させる。
また上記構成に加え、カラーフィルター61R、61G、61Bよりも膜厚が厚くなるようにブラックマトリクスBMを配設することで、視野角が増大しても混色の発生を防止できるようにする。
【選択図】 図2
Description
本発明は、有機EL素子を用いた表示装置に関し、特に発光層の防湿性向上の技術に関する。
現在、次世代型ディスプレイとして、既存のCRT等に比べ、省スペース・省電力性等に優れるフラットパネルディスプレイ(FPD)が注目されている。
このFPDの一種として、有機エレクトロルミネッセンス素子(以下「有機EL素子」とする。)を発光セルとして集積してなる有機EL表示装置の研究開発が盛んに行われている。
このFPDの一種として、有機エレクトロルミネッセンス素子(以下「有機EL素子」とする。)を発光セルとして集積してなる有機EL表示装置の研究開発が盛んに行われている。
有機EL表示装置の構成は図7の従来構成を示す部分断面図に示す通りである。すなわち複数の有機EL素子10は、それぞれ例えば白色の光を発光可能な発光層102を、ホール注入電極(「陽極」または「アノード」とも称する)101と電子注入電極(「陰極」または「カソード」とも称する)11で挟んだ構成を有する。トップエミッション(TE)型と呼ばれる有機EL素子は、当図に示すように、それぞれ基板上にパターニングされた金属材料からなるホール注入電極101の上に前記発光層102を重ね、これにITO、IZO或いは薄膜金属等の透明電極、或いは半透明電極で構成した電子注入電極11を積層した構成を有する。これにより、駆動時において発光層102からの発光が基板に遮られることなく、当該電極注入電極11が配された側を前面として取り出せる特徴を持つ。前記金属材料からなる前記ホール注入電極は、発光層102における発光を前面に反射させ、発光効率を向上させる役目もなす。
なお、上記構成のように各有機EL素子10がすべて同色(白色)発光をなす構成の場合は、それぞれ複数の有機EL素子に跨って設けることが可能である。この際、発光層102及び電子注入電極11は蒸着法等によって配設できる。
前記基板には、例えばアクティブマトリクス型TFT基板30等が利用される。前記発光層102は、例えば青色発光層とオレンジ色発光層を積層することで構成できる。そして、各有機EL素子10の配置位置に合わせ、三原色のカラーフィルター61R、61G、61Bのいずれか或いは色変換層(不図示)を積層した透明基板を対向させて設けることで、基板全体でマルチカラー或いはフルカラーで画像表示がなされる。カラーフィルターを用いる方法は、各発光層102に蛍光体材料を混入したり、素子の塗り分け操作などが不要であるほか、プロセスが簡単化されるのでコスト削減および高精細ディスプレイとしても好適な技術である。
前記基板には、例えばアクティブマトリクス型TFT基板30等が利用される。前記発光層102は、例えば青色発光層とオレンジ色発光層を積層することで構成できる。そして、各有機EL素子10の配置位置に合わせ、三原色のカラーフィルター61R、61G、61Bのいずれか或いは色変換層(不図示)を積層した透明基板を対向させて設けることで、基板全体でマルチカラー或いはフルカラーで画像表示がなされる。カラーフィルターを用いる方法は、各発光層102に蛍光体材料を混入したり、素子の塗り分け操作などが不要であるほか、プロセスが簡単化されるのでコスト削減および高精細ディスプレイとしても好適な技術である。
カラーフィルター61R、61G、61Bの間隙には視認性を改善するためのブラックマトリクスBMが配設されることがある。
なお一般には、色毎に対応するカラーフィルター61R、61G、61Bの厚みが異なるため、全体的に前記厚みの凹凸をなくす目的で、例えば特許文献1のごとく、カラーフィルター61R、61G、61Bをアクリル系樹脂、エポキシ系樹脂等からなる平坦膜60でオーバーコートするようになっている。
なお一般には、色毎に対応するカラーフィルター61R、61G、61Bの厚みが異なるため、全体的に前記厚みの凹凸をなくす目的で、例えば特許文献1のごとく、カラーフィルター61R、61G、61Bをアクリル系樹脂、エポキシ系樹脂等からなる平坦膜60でオーバーコートするようになっている。
ここで、有機EL素子10中の発光層102は水分に弱いという性質を持つ。このため発光層102が水に触れると変質してしまい、発光強度の低下や寿命劣化など、表示性能に悪影響を及ぼす恐れがある。したがって有機EL表示装置では、外界の水分からできるだけ発光層102を隔離する必要がある。
特開2003-248440号公報
しかしながら、上記構成を有する有機EL表示装置では、次のような問題が存在する。
第一に、現在の有機EL表示装置では、非点灯領域(いわゆるダークスポット)の発生をなくす程度に発光層102の防湿対策が十分図られているとは言い難い。その原因を本願発明者が鋭意検討したところ、発光層102までの水分の主な浸入経路としては、TFT基板30と接着層5の界面の他、平坦膜60と接着層5の界面が考えられる。
第一に、現在の有機EL表示装置では、非点灯領域(いわゆるダークスポット)の発生をなくす程度に発光層102の防湿対策が十分図られているとは言い難い。その原因を本願発明者が鋭意検討したところ、発光層102までの水分の主な浸入経路としては、TFT基板30と接着層5の界面の他、平坦膜60と接着層5の界面が考えられる。
このうち図7の従来図に示すように、平坦膜60と接着層5の界面(L5+L6)は、特に注意すべき箇所である。当該界面に水分が浸入すると、水分はディスプレイ全体にわたり広く拡散してしまい、非点灯領域(いわゆるダークスポット)の発生を招き、著しく表示性能を低下させる原因となる。
さらに第二に、現在の有機EL表示装置ではディスプレイの視認性に関する問題が挙げられる。現在のディスプレイでは、視野角が増すにつれて隣接素子同士での混色が発生することがあり、望みの色再現が良好になされない場合がある。このような視認性の問題は、特にフルカラー表示をなす構成の場合には特に解決すべき課題となる。
さらに第二に、現在の有機EL表示装置ではディスプレイの視認性に関する問題が挙げられる。現在のディスプレイでは、視野角が増すにつれて隣接素子同士での混色が発生することがあり、望みの色再現が良好になされない場合がある。このような視認性の問題は、特にフルカラー表示をなす構成の場合には特に解決すべき課題となる。
本発明は以上の課題に鑑みて為されたものであって、第一の目的は、特にカラーフィルターが配された透明基板付近において高い防湿性を発揮することで、良好な表示性能の実現が可能な有機EL表示装置を提供することにある。また第二の目的は、従来に比べて色再現の良い有機EL表示装置を提供することにある。
上記課題を解決するために、本発明は、TFT基板表面に複数の有機発光素子が配設されてなるバックパネルが、フロントパネルと対向配置されてなる有機発光表示装置であって、前記フロントパネルは、透明基板表面に複数箇所にわたり、前記TFT基板上の有機発光素子に対向するようにカラーフィルター或いは色変換層が積層されてなり、フロントパネルとバックパネルの間には、前記カラーフィルター或いは色変換層を直接被覆するように、両パネルを接着する単一の接着層が配設されているものとした。
ここで、前記複数の有機発光素子はTFT基板表面においてマトリクス状に配設され、当該マトリクスの行列いずれかの方向に沿って、異なる色表示をなすように、各表示色に対応したカラーフィルターが配設されたものとすることができる。
さらに前記複数の有機発光素子はマトリクスの行列いずれかの方向に沿って、三原色に対応するように繰り返し配列されており、カラーフィルターは、前記三原色に対応する素子ごと、或いは同色表示をなす行列いずれかの方向で隣接する素子グループに対応して設けられているものとした。
さらに前記複数の有機発光素子はマトリクスの行列いずれかの方向に沿って、三原色に対応するように繰り返し配列されており、カラーフィルターは、前記三原色に対応する素子ごと、或いは同色表示をなす行列いずれかの方向で隣接する素子グループに対応して設けられているものとした。
また本発明は、前記複数の有機発光素子のマトリクス周囲を囲繞するように、TFT基板と透明基板の間において、前記接着層材料と異なる材料からなる封止部材が配設されているものとした。
また本発明は、前記透明基板に形成されたカラーフィルター或いはこれに加えて色変換層には、さらに積層厚みを調整するための膜厚調整層が積層することができる。
また本発明は、前記透明基板に形成されたカラーフィルター或いはこれに加えて色変換層には、さらに積層厚みを調整するための膜厚調整層が積層することができる。
さらに前記透明基板には、隣接するカラーフィルターの間隙に合わせて黒色層が形成されており、当該黒色層の厚みが、前記カラーフィルターの最大厚み以上になるように設定することができる。
以上のように本発明の有機発光表示装置では、フロントパネルにおいて透明基板に設けられたカラーフィルターを従来構成のように平坦化膜で被覆せず、直接単一の接着層で被覆する構成としている。
このため本発明では、フロントパネルにおいては、透明基板上に設けられたカラーフィルター、および場合によっては前記カラーフィルターに加えて色変換層や黒色層(ブラックマトリクス)の各厚みに相当する凹凸が存在するので、接着層がこの凹凸に入り込むように充填して配設することで、上記図7の従来例に比べて接着層とフロントパネルとの界面の比表面積(平面視したときの面積に対する界面の面積)が増大し、パネル平面上の一定距離に対応する前記界面に沿った距離(以降、「界面距離」と言う。)が長く設定される。この界面距離が長いほど水分がディスプレイ内部に浸入する速度が遅くできるので、本発明では前記界面を浸入経路として水分が装置内部まで浸入する速度が従来より遅延され、結果的に良好な防湿対策が発揮されることとなり、装置の長寿命化が実現される。
このため本発明では、フロントパネルにおいては、透明基板上に設けられたカラーフィルター、および場合によっては前記カラーフィルターに加えて色変換層や黒色層(ブラックマトリクス)の各厚みに相当する凹凸が存在するので、接着層がこの凹凸に入り込むように充填して配設することで、上記図7の従来例に比べて接着層とフロントパネルとの界面の比表面積(平面視したときの面積に対する界面の面積)が増大し、パネル平面上の一定距離に対応する前記界面に沿った距離(以降、「界面距離」と言う。)が長く設定される。この界面距離が長いほど水分がディスプレイ内部に浸入する速度が遅くできるので、本発明では前記界面を浸入経路として水分が装置内部まで浸入する速度が従来より遅延され、結果的に良好な防湿対策が発揮されることとなり、装置の長寿命化が実現される。
特に、有機EL表示装置においてRGB三原色により色表示をなす場合には、各色に対応した複数のフィルターをマトリクスの行列いずれかの方向で隣接するセル毎に配設することになる。このような構成の場合、カラーフィルターの配設数に比例して、前記界面距離が長く確保され、本発明の防湿効果を良好に得ることができる。
なお、本発明の接着層を単一のものとしたのは、複数の接着層を例えば積層構造として用いた場合、異なる接着層同士の間に新たな界面が発生し、水分浸入経路となる可能性があるため、これを排除する目的で設定したものである。
なお、本発明の接着層を単一のものとしたのは、複数の接着層を例えば積層構造として用いた場合、異なる接着層同士の間に新たな界面が発生し、水分浸入経路となる可能性があるため、これを排除する目的で設定したものである。
また、本発明は三原色やフルカラー表示に限らず、前記透明基板の表面で複数箇所にわたりカラーフィルターを配設すればよいので、例えば単色表示をなす構成の場合であっても同様の効果が期待できる。
さらに本発明では、カラーフィルター等に膜厚変換層を積層することで、さらに前記界面の表面積を増大させ、水分の浸入を遅延して効果的な防湿対策を図ることができる。
さらに本発明では、カラーフィルター等に膜厚変換層を積層することで、さらに前記界面の表面積を増大させ、水分の浸入を遅延して効果的な防湿対策を図ることができる。
また本発明では、カラーフィルターよりも膜厚が厚くなるようにブラックマトリクスを配設することによっても、フロントパネルの表面積を増大させて上記防湿効果を得ることができる。一方、厚膜に形成されたブラックマトリクスによって隣接素子同士を確実に区画することで、視野角が増大しても混色の発生を防ぎ、優れた表示性能を発揮することが可能になっている。
(実施の形態1)
1-1.TFT型有機EL表示装置の全体構成
図1は、本発明の実施の形態1におけるTFT型有機EL表示装置の部分的な構成を示す上面図である。また、図2は当該有機EL表示装置の部分的な断面図である。
まず図1および図2に示すように、本有機EL表示装置1は、フロントパネルFPとバックパネルBP、および両基板FP、BPの間に配設した接着層5等で構成されており、フロントパネルFP(図1では紙面上方)側から発光を取り出すトップエミッション構造としている。
1-1.TFT型有機EL表示装置の全体構成
図1は、本発明の実施の形態1におけるTFT型有機EL表示装置の部分的な構成を示す上面図である。また、図2は当該有機EL表示装置の部分的な断面図である。
まず図1および図2に示すように、本有機EL表示装置1は、フロントパネルFPとバックパネルBP、および両基板FP、BPの間に配設した接着層5等で構成されており、フロントパネルFP(図1では紙面上方)側から発光を取り出すトップエミッション構造としている。
バックパネルBPは、TFT基板30と、複数の有機EL素子10、セル分離膜15、保護膜4等で構成される。
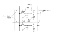
TFT基板30はLCD(液晶ディスプレイ)にも利用される多結晶シリコン等からなる能動層を有するTFTを備えた公知のものであって、ガラス等の無機材料からなるメイン基板2に、例えば図3の回路図に示すように所定の配線パターンで電源ライン103、共通ゲートライン1002、コンデンサC、TFT1、2等が形成されている。このうちコンデンサC、TFT1、2は、各有機EL素子10に対応する位置ごとにそれぞれ設けられる。共通ゲートライン1002、電源ライン103、および後述する共通カソード11等には、それぞれ公知のラインドライバが接続されており、外部より入力される映像信号に基づいた所定のパルスが印加されるようになっている。
TFT基板30はLCD(液晶ディスプレイ)にも利用される多結晶シリコン等からなる能動層を有するTFTを備えた公知のものであって、ガラス等の無機材料からなるメイン基板2に、例えば図3の回路図に示すように所定の配線パターンで電源ライン103、共通ゲートライン1002、コンデンサC、TFT1、2等が形成されている。このうちコンデンサC、TFT1、2は、各有機EL素子10に対応する位置ごとにそれぞれ設けられる。共通ゲートライン1002、電源ライン103、および後述する共通カソード11等には、それぞれ公知のラインドライバが接続されており、外部より入力される映像信号に基づいた所定のパルスが印加されるようになっている。
このTFT基板30のメイン基板2の表面に、前記配線パターンを埋設するように、絶縁性材料からなる平坦化膜3が形成される。当該平坦化膜3は、当該膜上に載置されるデバイスに対して平坦性を呈することで、位置決め時や接合時などに安定性を発揮する役割をなす。このような平坦化膜3には部分的に間隙があり、当該間隙に合わせて前記配線パターンを露出する領域が設けられ、これによって図2に示すように、前記配線パターンとの各種接続、例えば各有機EL素子10のアノード101と電源ライン103との接続、或いはTFT2と共通カソード11との接続がなされるようになっている。
各有機EL素子10は、TFT基板30側から、第一電極としてアノード(ホール注入電極)101、発光層102、第二電極として共通カソード11(電子注入電極)がそれぞれ同順に積層された構成からなる。
アノード101は、例えばMo、Cr等金属材料を厚さ100nm程度に加工したものであって、図1中のX線に沿った素子下層領域に示すように、列方向を長手方向として、行方向に複数にわたりストライプ状に併設されている。これによりアノード101のいずれかは、列方向に並ぶ1ラインごとの複数の有機EL素子10に対して共通電極となっている。
アノード101は、例えばMo、Cr等金属材料を厚さ100nm程度に加工したものであって、図1中のX線に沿った素子下層領域に示すように、列方向を長手方向として、行方向に複数にわたりストライプ状に併設されている。これによりアノード101のいずれかは、列方向に並ぶ1ラインごとの複数の有機EL素子10に対して共通電極となっている。
共通カソード11はITO、IZO等の透明電極材料を厚み10nm〜20nmの範囲で加工して構成されており、全ての有機EL素子10に対して全面的に配設されている(図2を参照)。図1では内部説明のため、共通カソード11の図示を省略している。
発光層102は、例えば青色発光する発光層と、青色と補色の関係にあるオレンジ色で発光する発光層とを積層させて白色発光をなすように構成される。なお、図1、2には図示していないが、より詳細には、発光層102の下にはTFT基板30側から、厚み100nmのトリフェニルアミン誘導体からなるホール注入層、厚さ20nmのジアミン誘導体からなるホール輸送層が順次積層されている。このような発光層102の構成例では、5〜10Vの駆動電圧を印加することにより1000〜3000cd/m2程度の輝度を発揮することができる。
発光層102は、例えば青色発光する発光層と、青色と補色の関係にあるオレンジ色で発光する発光層とを積層させて白色発光をなすように構成される。なお、図1、2には図示していないが、より詳細には、発光層102の下にはTFT基板30側から、厚み100nmのトリフェニルアミン誘導体からなるホール注入層、厚さ20nmのジアミン誘導体からなるホール輸送層が順次積層されている。このような発光層102の構成例では、5〜10Vの駆動電圧を印加することにより1000〜3000cd/m2程度の輝度を発揮することができる。
なお本発明では、上記図1および図2のように、各有機EL素子10がすべて同色(白色)発光をなす構成の場合は、複数の有機EL素子10に跨って、蒸着法等により、発光層102及び共通カソード11(電子注入電極)を設けることが可能である。
また、駆動時の発光表示色は、後述のカラーフィルター61R、61G、61Bを配設することによって調整される。
また、駆動時の発光表示色は、後述のカラーフィルター61R、61G、61Bを配設することによって調整される。
さらにTFT基板30では、前記構成を持つ有機EL素子10をそれぞれ挟むように、各素子10を分離区画するための格子状のセル分離膜15が形成されている。当該セル分離膜15は、絶縁性材料を台形断面形状で構成され、図2に示すように、前記有機EL素子10の下より露出する各アノード101のエッジ部1010を被覆するように形成されている。これはエッジ部1010における形状がフォトエッチング等の加工処理によって作製されることで比較的鋭利になっているため、部分的に異極性部分と接触してショートを発生しないように、これを被覆して保護する目的でなされたものである。また、隣り合う有機EL素子10間で混色を生じる問題を防ぐ目的でも配設する。
保護膜4は、絶縁性材料(可視域における透明性が高く、電気絶縁性を有し、水分、酸素等に対するバリア性を有する材料、例えば、SiOx、SiNx、AlOx等)を、スパッタ法、蒸着法、CVD法などで成膜して構成されており、前記マトリクス配列をなす有機EL素子10とセル分離膜15をともに被覆し封止するように配される。当該保護膜4は、有機EL素子10を包含することで皮膜保護の役目を果たし、さらに装置外部より水分が浸入し、発光層102が変質するのを防ぐ等の目的で設けられる。
接着層5は、可視光透過率を有し、1.3〜2.5の屈折率とを有する材料、例えば、透明シリコーンゴム、透明シリコーンゲル、エポキシ樹脂、アクリル樹脂のような有機材料などを利用した透明性に優れる材料からなり、接着層5全体として単一の構成となっている。そして、バックパネルBPに対しては前記保護膜4の上からTFT基板30の片主面を被覆するように設けられ、フロントパネルFPには透明基板6の表面からカラーフィルター61R、61G、61BおよびブラックマトリクスBMを直接被覆するように設けられる。当該接着層5は、前記保護膜4とともに、発光層102を外界の水分より隔離して維持する役目もなす。
接着層5の形成方法としては、フロントパネルFPとバックパネルBPを対向配置させた後、減圧条件下で両パネルFP、BP間に充填する方法の他、厚膜形成法などの印刷法を利用して両パネル表面、或いはどちらか一方のパネル表面にそれぞれ塗布し、減圧下で貼り合わせて形成する方法も挙げられる。
なお、本発明における「接着層5」は、単一構成からなるものであって、例えば複数の異なる材料からなる積層構造の接着層は含まれない。さらに、従来フロントパネルFP表面に被覆するように形成されていた「平坦膜」など、材料の異なるものも含まないものとする。これは、接着層5自体の内部で異なる材料が存在することで、水分浸入経路となりうる界面が形成されるのを防ぐ理由による。
なお、本発明における「接着層5」は、単一構成からなるものであって、例えば複数の異なる材料からなる積層構造の接着層は含まれない。さらに、従来フロントパネルFP表面に被覆するように形成されていた「平坦膜」など、材料の異なるものも含まないものとする。これは、接着層5自体の内部で異なる材料が存在することで、水分浸入経路となりうる界面が形成されるのを防ぐ理由による。
一方、フロントパネルFPは、透明基板6、カラーフィルター61R、61G、61B、ブラックマトリクスBM等で構成される。
透明基板6は、例えば透明性の高いソーダライムガラス材料や無アルカリガラス材料から構成することができる。
カラーフィルター61R、61G、61Bは、前記透明基板6の表面において、バックパネルBPに設けられた有機EL素子10の各位置に対応するように、セル分離膜15の間隙位置に合わせて個別に設けられる。本実施の形態1では、カラーフィルター61R、61G、61Bは前記マトリクスの列方向に沿って帯状に形成されており、当該列方向に配列する白色の有機EL素子10のグループで共有する構成となっている。
透明基板6は、例えば透明性の高いソーダライムガラス材料や無アルカリガラス材料から構成することができる。
カラーフィルター61R、61G、61Bは、前記透明基板6の表面において、バックパネルBPに設けられた有機EL素子10の各位置に対応するように、セル分離膜15の間隙位置に合わせて個別に設けられる。本実施の形態1では、カラーフィルター61R、61G、61Bは前記マトリクスの列方向に沿って帯状に形成されており、当該列方向に配列する白色の有機EL素子10のグループで共有する構成となっている。
なお、カラーフィルター61R、61G、61Bの配設の仕方としては、この他に、セル毎に一つずつ設けるようにしてもよい。
さらに、図2では示していないが、当該カラーフィルター61R、61G、61Bの上下いずれかに色変換層を積層して設ける場合もあるし、或いは色変換層を単独で用いる場合もある。当該色変換層は、駆動時の発光色を調整するためのものである。
さらに、図2では示していないが、当該カラーフィルター61R、61G、61Bの上下いずれかに色変換層を積層して設ける場合もあるし、或いは色変換層を単独で用いる場合もある。当該色変換層は、駆動時の発光色を調整するためのものである。
ブラックマトリクスBMはいわゆる黒色層であって、カラーフィルター61R、61G、61Bの間隙に合わせ、ディスプレイ正面から見て各有機EL素子10の周囲を囲むように設けられる。なお、この構成例ではブラックマトリクスBMはカラーフィルター61R、61G、61Bよりも薄膜で形成されている。
以上の構成を有する有機EL表示装置1によれば、駆動時には図3の回路図に示すように、まず個別の電源ライン103のいずれか及び共通ゲートライン1002に対して給電がなされると、TFT1においてスイッチングが行われ、これに接続されたコンデンサCへデータが書き込まれる。その後は、電源ライン103を介してアノード101と共通カソード11に給電することにより、前記データが書き込まれたコンデンサCの位置に対応する有機EL素子10において発光がなされる。このとき、データが書き込まれた前記コンデンサCからの出力は、当該コンデンサCに接続されたTFT2を介して任意の有機EL素子10側に送られるようになっているので、TFT2において出力調整を行うことで素子の発光強度の調整がなされることとなる。
以上の構成を有する有機EL表示装置1によれば、駆動時には図3の回路図に示すように、まず個別の電源ライン103のいずれか及び共通ゲートライン1002に対して給電がなされると、TFT1においてスイッチングが行われ、これに接続されたコンデンサCへデータが書き込まれる。その後は、電源ライン103を介してアノード101と共通カソード11に給電することにより、前記データが書き込まれたコンデンサCの位置に対応する有機EL素子10において発光がなされる。このとき、データが書き込まれた前記コンデンサCからの出力は、当該コンデンサCに接続されたTFT2を介して任意の有機EL素子10側に送られるようになっているので、TFT2において出力調整を行うことで素子の発光強度の調整がなされることとなる。
1-2.本実施の形態の特徴について
本実施の形態1特徴は、フロントパネルFPの透明基板6の表面において、カラーフィルター61R、61G、61Bのそれぞれが接着層5に対して直接接触するように配設されている点にある。表示装置1ではこのような工夫を行うことによって、接着層5と対向するフロントパネルFPの表面積を広く確保し、装置外部からフロントパネルFPと接着層5との接触界面を経路とする水の浸入を遅延させ、結果として比較的長期にわたり高い防湿性が発揮されるように図られている。
本実施の形態1特徴は、フロントパネルFPの透明基板6の表面において、カラーフィルター61R、61G、61Bのそれぞれが接着層5に対して直接接触するように配設されている点にある。表示装置1ではこのような工夫を行うことによって、接着層5と対向するフロントパネルFPの表面積を広く確保し、装置外部からフロントパネルFPと接着層5との接触界面を経路とする水の浸入を遅延させ、結果として比較的長期にわたり高い防湿性が発揮されるように図られている。
具体的には、各色に対応するカラーフィルター61R、61G、61BとブラックマトリクスBMを配設した透明基板6の表面は、従来ではこれらをオーバーコートするようにフラットな表面を持つ平坦膜60が形成されていたので(図7を参照)、接着層5と平坦膜60の界面がフラットである。したがって、この界面を浸入経路(L5+L6)として装置外部より水分が浸入すると、比較的速い時期にディスプレイの中央部まで浸透し、前記界面からバックパネルBPとのギャップGR、GB、GGを介してバックパネルBPの発光層102に水分が混入してダークスポット(不点灯領域)を形成することがあった。これに対し、本実施の形態1では各カラーフィルター61R、61G、61BとブラックマトリクスBMの層厚みの差分によって形成される壁面の面積だけフロントパネルFPの表面積が増大しているので、例え前記界面を浸入経路として水分が浸入したとしても水分の浸入速度が遅延される。発光層102は本来水に弱いという化学的性質を有しているが、本実施の形態1では上記水分浸入の遅延効果によって、高い防湿性のもとに発光層102の変質が抑制され、ダークスポットの多発を防止して、比較的長期にわたり安定した発光性能および表示性能が実現されることとなる。
なお、本発明はこのようにフロントパネルFPの表面積が平坦膜を用いる従来構成のものより増大させる点に特徴があるが、カラーフィルター61R、61G、61BとブラックマトリクスBMのパターン形状、積層厚み等の設定は従来と同様であっても、平坦膜60を形成しなければフロントパネルFPの表面積は増大する。しかしながら上記図2の構成ならびに他の実施の形態でも説明するように、カラーフィルター61R、61G、61BとブラックマトリクスBMの少なくともいずれかの厚みを増大させ、結果としてフロントパネルFPの表面積をさらに増大させるようにすれば、水分浸入の速度をより遅延させることができるので望ましい。また、カラーフィルター61R、61G、61BとブラックマトリクスBMの膜厚が同じでも、平坦膜60を用いなければフロントパネルFPの表面積は多少増大する。
以下、その他の実施の形態について、実施の形態1との差違を中心に説明する。
(実施の形態2)
図4は、本発明の実施の形態2における有機EL表示装置の構成を示す装置断面図である。
実施の形態1との違いは、色の異なるカラーフィルターにおいて厚みのばらつきがある場合、その厚みの薄いカラーフィルター(ここでは61Rと62G)に厚膜調整層62R、62Gを積層し、全てのカラーフィルターの見かけ上の厚みが同様になるように調整した点にある。膜厚調整層62R、62Gは透明性に優れる材料から構成される。
(実施の形態2)
図4は、本発明の実施の形態2における有機EL表示装置の構成を示す装置断面図である。
実施の形態1との違いは、色の異なるカラーフィルターにおいて厚みのばらつきがある場合、その厚みの薄いカラーフィルター(ここでは61Rと62G)に厚膜調整層62R、62Gを積層し、全てのカラーフィルターの見かけ上の厚みが同様になるように調整した点にある。膜厚調整層62R、62Gは透明性に優れる材料から構成される。
このような構成によっても、上記実施の形態1と同様の効果が奏される。特に、膜厚調整層62R、62Gを設けたことによって、フロントパネルFP表面の凹凸がさらに大きくなり、その表面積も増大するので、接着層5との界面L2を伝って装置外部より水分が浸入した場合は、その浸入速度が実施の形態1よりも効果的に遅延され、長期にわたって安定した駆動が可能となる。
また、本実施の形態2では、、膜厚調整層62R、62Gを設けたことによって、各カラーフィルター61R、61G、61BとバックパネルBPとのギャップGR、GG、GBを一定距離に調整されるため、RGB各色の視野角依存性を揃えることができ、優れた発光色特性も発揮されるというメリットもある。
(実施の形態3)
図5は、本発明の実施の形態3における有機EL表示装置の構成を示す装置断面図である。
(実施の形態3)
図5は、本発明の実施の形態3における有機EL表示装置の構成を示す装置断面図である。
本実施の形態3の構成は、基本的には実施の形態1と同様であるが、ブラックマトリクスBMの厚みをカラーフィルター61R、61G、61Bの最大厚み(ここでは61B)よりも厚くなるように設定した点にある。
このような構成によれば、ブラックマトリクスBMが膜厚になった分、フロントパネルFPの表面積が増大するので、実施の形態1と同様の効果がさらに有効に発揮され、高い防湿効果のもとに品質の信頼性が確保される。特に本実施の形態1では、ブラックマトリクスBMが透明基板6表面より大きく突出しているため、接着層5との界面L3に外部より浸入した水分はこのブラックマトリクスBMの障壁によって有効に遮断される。したがって、前記水分はブラックマトリクスBMとバックパネルBPとのギャップGBMを伝い、バックパネルBP側へ浸入するのが困難となっている。
このような構成によれば、ブラックマトリクスBMが膜厚になった分、フロントパネルFPの表面積が増大するので、実施の形態1と同様の効果がさらに有効に発揮され、高い防湿効果のもとに品質の信頼性が確保される。特に本実施の形態1では、ブラックマトリクスBMが透明基板6表面より大きく突出しているため、接着層5との界面L3に外部より浸入した水分はこのブラックマトリクスBMの障壁によって有効に遮断される。したがって、前記水分はブラックマトリクスBMとバックパネルBPとのギャップGBMを伝い、バックパネルBP側へ浸入するのが困難となっている。
また、本実施の形態3では各カラーフィルター61R、61G、61Bが厚膜のブラックマトリクスBMによって囲繞された構成となっているため、広い視野角にわたり隣接する異なる色間での混色が防止され、良好な発光色特性を発揮することも可能である。
なお、本実施の形態3では、ブラックマトリクスBMの厚みをカラーフィルター61R、61G、61Bの最大厚みよりも厚くする例について説明したが、ブラックマトリクスBMの厚みは必ずしもカラーフィルター61R、61G、61Bの最大厚みより厚くする必要はなく、若干薄く形成してもそれなりの効果は望める。
なお、本実施の形態3では、ブラックマトリクスBMの厚みをカラーフィルター61R、61G、61Bの最大厚みよりも厚くする例について説明したが、ブラックマトリクスBMの厚みは必ずしもカラーフィルター61R、61G、61Bの最大厚みより厚くする必要はなく、若干薄く形成してもそれなりの効果は望める。
(実施の形態4)
図6は、本発明の実施の形態4における有機EL表示装置の構成を示す装置断面図である。
本実施の形態4は、内部構造は実施の形態1と同様であるが、これに加えてパネル周縁(最外周)の接着層5の側面に対し、これを囲繞するように防湿材料からなる封止部材として防湿壁7を設けた点に特徴を有する。
図6は、本発明の実施の形態4における有機EL表示装置の構成を示す装置断面図である。
本実施の形態4は、内部構造は実施の形態1と同様であるが、これに加えてパネル周縁(最外周)の接着層5の側面に対し、これを囲繞するように防湿材料からなる封止部材として防湿壁7を設けた点に特徴を有する。
防湿壁7の材料としては、例えば可視光硬化型接着剤、熱硬化型接着剤、もしくは紫外線硬化型接着剤の他、PTFEなど撥水性を持つフッ素化合物からなる材料を用いることで、さらに防湿性を高めるようにしてもよい。
このような構成を持つ本実施の形態4によれば、実施の形態1よりもさらに水分浸入を抑制させることが可能である。特に、図6に示す本実施の形態4では、透明基板6とTFT基板30とのギャップに嵌り込むように防湿壁7を設けているので、フロントパネルFPと接着層5の界面L4に加え、接着層5とTFT基板30との界面に対しても防湿効果が発揮される。このため、より安定した駆動と長期安定性が実現されるようになっている。
このような構成を持つ本実施の形態4によれば、実施の形態1よりもさらに水分浸入を抑制させることが可能である。特に、図6に示す本実施の形態4では、透明基板6とTFT基板30とのギャップに嵌り込むように防湿壁7を設けているので、フロントパネルFPと接着層5の界面L4に加え、接着層5とTFT基板30との界面に対しても防湿効果が発揮される。このため、より安定した駆動と長期安定性が実現されるようになっている。
なお、防湿壁7は、パネル周囲を完全に囲繞する必要はなく、一部領域に設けてもある程度の効果は期待できる。
(実施例)
ここでは本発明の効果を確認すべく、実施例と比較例の有機EL表示装置をそれぞれ作製し、駆動させて性能評価を行った。
(実施例)
ここでは本発明の効果を確認すべく、実施例と比較例の有機EL表示装置をそれぞれ作製し、駆動させて性能評価を行った。
<測定実験1>
上記実施の形態1〜4の有機EL表示装置をそれぞれ実施例1〜4として作製した。また、図7に示す構成を比較例1とし、これに実施の形態4と同様の防湿壁7を設けた構成を比較例2としてそれぞれ作製した。
実験項目は高温耐湿実験(85℃/85%RH、経過時間 の条件)と、ディスプレイの視野角依存性における測定である。
上記実施の形態1〜4の有機EL表示装置をそれぞれ実施例1〜4として作製した。また、図7に示す構成を比較例1とし、これに実施の形態4と同様の防湿壁7を設けた構成を比較例2としてそれぞれ作製した。
実験項目は高温耐湿実験(85℃/85%RH、経過時間 の条件)と、ディスプレイの視野角依存性における測定である。
実験結果を以下の表1に示す。なお、記載した数値は比較例1のデータを基準とした場合の相対値である。
次に、上記実施の形態1の有機EL表示装置について、カラーフィルタの膜厚と水分浸入速度について調査実験を行った。カラーフィルタの膜厚は、当該実験では実際の有機EL表示装置に形成されるフィルタ膜厚に相当する0.5μm〜20μmの範囲で変化させ、実施例5〜14を作製した。
また、フロントパネルFPに平坦膜をオーバーコートし、これを分離膜を備えないアクティブマトリクス型のバックパネルBPと組み合わせた有機EL表示装置を比較例3として作製した。
さらに、フロントパネルFPに平坦膜をオーバーコートし、これをTFT基板を用いたバックパネルBPと組み合わせた有機EL表示装置を比較例4として作製した。
さらに、フロントパネルFPに平坦膜をオーバーコートし、これをTFT基板を用いたバックパネルBPと組み合わせた有機EL表示装置を比較例4として作製した。
パネルサイズは2.4インチQVGA規格(320×240×RGB)とし、表示部のサイズは3.6cm×4.8cm(対角6.0cm)とした。使用するTFT基板の表面には、各有機EL素子が構成するセル毎に厚み1.0μmの平坦化膜があるものを使用した。ここでは前記TFT基板の平坦化膜が矩形状断面を持つものと仮定して計算を行った。
実験結果を以下の表2に示す。
実験結果を以下の表2に示す。
なお、R-CF、G-CF、B-CFはそれぞれ赤、緑、青の各カラーフィルタを示す。
また表2中の「距離比(TFT/CF)」とは、パネル横方向に沿った断面において、TFT基板表面に沿った長さ(TFT)、およびフロントパネルFPの界面に沿った長さ(CF)の比を表したものである。
また、表2中の「発光中心までの距離」とは、パネル横方向端部から前記フロントパネルFPと接着層の界面に沿って、中央部に達するまでの距離を表す。
また表2中の「距離比(TFT/CF)」とは、パネル横方向に沿った断面において、TFT基板表面に沿った長さ(TFT)、およびフロントパネルFPの界面に沿った長さ(CF)の比を表したものである。
また、表2中の「発光中心までの距離」とは、パネル横方向端部から前記フロントパネルFPと接着層の界面に沿って、中央部に達するまでの距離を表す。
さらに表2中の「水蒸気の到達時間」とは、前記パネルの中央部に水蒸気が達するまでの時間を表す。また実施例12以降のかっこ内の数値は、実施例5〜11の時間との差分を表す。
まず表1に示すデータから、耐湿性において、本発明の実施例1〜4の有機EL表示装置のいずれもが、従来構成の比較例1および2の有機EL表示装置より優れた特性を持つことが明らかになった。高温高湿実験を行った結果、本発明の有機EL表示装置では水分の浸入が効果的に抑制され、高い耐性が発揮されたものと推測される。
一方、比較例2のデータからは、従来構成に対して単にパネル周囲に防湿壁を設けても、それほど耐湿性は向上しないことが分かった。したがって、効果的な防湿対策を行うためには、基本的に本発明において、少なくとも実施例1のようにフロントパネルFPの表面積を増大させることが必要であって、こうすることで例えフロントパネルFPと接着層5の界面端部に水分が浸入したとしても、その浸入速度が遅延されるので、パネル全体にわたり安定した駆動が期待できる。
また視野角についての性能も、実施例1〜4では従来の比較例1および2に劣らない性能を有していることが分かった。特に実施例3ではブラックマトリクスをカラーフィルターより厚膜になるように形成しているため、混色などの問題の発生が防止されることで、高い表示性能が発揮されることが分かった。このように本発明は、有機EL表示装置の表示性能の向上対策としても有効なものである。
次に表2のデータからは、実施例12〜14のように、カラーフィルターの厚みが0.5μm〜1μmの小さい値の範囲であっても、結果的に「発光中心までの距離」に示すように、フロントパネルFPの表面積が増大するので、比較例3または4に比べて防湿効果が高くなっている。
なお実施例では、カラーフィルターの厚みが増すにつれて防湿効果は高まるが、当該実験では実施例5〜11のデータに示すように、各カラーフィルターの厚みが全て1.0μmを超え、分離膜の厚みを超えると、有機EL表示装置の防湿効果はTFT基板と接着層との間の浸入経路における防湿効果に依存するようになり、見かけ上の本発明の効果による水分浸入速度は一定となる。このため、より高い防湿効果を得るためには、例えば実施の形態4(実施例4)に示すように、TFT基板付近からの防湿効果も合わせて得られるように防湿壁を設ける等の工夫を行う必要がある。実施の形態4の構成は、実施の形態1の構成を基本とし、パネル周囲を防湿材料で囲繞するだけで実現できるので、比較的簡単な構成で高い防湿効果が期待できるため好適である。
なお実施例では、カラーフィルターの厚みが増すにつれて防湿効果は高まるが、当該実験では実施例5〜11のデータに示すように、各カラーフィルターの厚みが全て1.0μmを超え、分離膜の厚みを超えると、有機EL表示装置の防湿効果はTFT基板と接着層との間の浸入経路における防湿効果に依存するようになり、見かけ上の本発明の効果による水分浸入速度は一定となる。このため、より高い防湿効果を得るためには、例えば実施の形態4(実施例4)に示すように、TFT基板付近からの防湿効果も合わせて得られるように防湿壁を設ける等の工夫を行う必要がある。実施の形態4の構成は、実施の形態1の構成を基本とし、パネル周囲を防湿材料で囲繞するだけで実現できるので、比較的簡単な構成で高い防湿効果が期待できるため好適である。
表2に示す実施例のデータから、次の関係が成立する。
すなわち、透明基板表面に積層したカラーフィルターの厚みが0.5μm以上20μm以下の範囲であるとともに、前記TFT基板に形成された平坦膜の厚みが0.5μm以上2.0μm以下の範囲であって、前記有機発光表示装置の一断面部分におけるフロントパネルと接着層との界面長さをa、当該一断面部分におけるバックパネルと接着層との界面長さをbとするとき、
0.57≦b/a≦1.02
の関係が存在するように設定することが高い防湿効果を得るために望ましいと考えられる。b/aが1.02より大きい場合、もしくはb/aが0.57未満である場合のいずれでも、好ましい効果は得られにくい。しかしながら、この数値範囲はカラーフィルターおよびTFT基板の平坦膜の厚みに依存するものであって、これらのサイズが変われば最適範囲も変化する。
すなわち、透明基板表面に積層したカラーフィルターの厚みが0.5μm以上20μm以下の範囲であるとともに、前記TFT基板に形成された平坦膜の厚みが0.5μm以上2.0μm以下の範囲であって、前記有機発光表示装置の一断面部分におけるフロントパネルと接着層との界面長さをa、当該一断面部分におけるバックパネルと接着層との界面長さをbとするとき、
0.57≦b/a≦1.02
の関係が存在するように設定することが高い防湿効果を得るために望ましいと考えられる。b/aが1.02より大きい場合、もしくはb/aが0.57未満である場合のいずれでも、好ましい効果は得られにくい。しかしながら、この数値範囲はカラーフィルターおよびTFT基板の平坦膜の厚みに依存するものであって、これらのサイズが変われば最適範囲も変化する。
本発明の有機EL表示装置は、携帯電子機器のディスプレイや、フルカラーテレビジョンなどに利用することができる。
1 アクティブマトリクス型有機EL表示装置
2 メイン基板
3 平坦化膜
4 保護膜
5 接着層
6 透明基板
10 有機EL素子
11 カソード、共通カソード(電子注入電極)
15 セル分離膜
61R、61G、61B カラーフィルター
101 アノード(ホール注入電極)
102 発光層
1010 エッジ部分
2 メイン基板
3 平坦化膜
4 保護膜
5 接着層
6 透明基板
10 有機EL素子
11 カソード、共通カソード(電子注入電極)
15 セル分離膜
61R、61G、61B カラーフィルター
101 アノード(ホール注入電極)
102 発光層
1010 エッジ部分
Claims (7)
- TFT基板表面に複数の有機発光素子が配設されてなるバックパネルが、フロントパネルと対向配置されてなる有機発光表示装置であって、
前記フロントパネルは、透明基板表面に複数箇所にわたり、前記TFT基板上の有機発光素子に対向するようにカラーフィルター或いは色変換層が積層されてなり、
フロントパネルとバックパネルの間には、前記カラーフィルター或いは色変換層を直接被覆するように、両パネルを接着する単一の接着層が配設されている
ことを特徴とする有機発光表示装置。 - バックパネルにおいて前記複数の有機発光素子はTFT基板表面にマトリクス状に配設され、
フロントパネルでは前記マトリクスの行列いずれかの方向に沿って異なる色表示をなすように、透明基板表面に表示色ごとに対応するカラーフィルターが配設されていることを特徴とする請求項1に記載の有機発光表示装置。 - 前記複数の有機発光素子はTFT基板表面において、前記マトリクスの行列いずれかの方向に沿って三原色のそれぞれに対応するように繰り返し配列されており、
カラーフィルターは透明基板表面において、前記三原色のそれぞれに対応する有機発光素子ごと、或いは同色表示をなす前記マトリクスの行列いずれかの方向に沿った有機発光素子のグループごとに対応して設けられている
ことを特徴とする請求項2に記載の有機発光表示装置。 - 前記フロントパネルと前記バックパネルの間には、
前記TFT基板表面上に配設された複数の有機発光素子の最外周を囲繞するように、前記接着層と異なる材料からなる封止部材が配設されていることを特徴とする請求項1〜3のいずれかに記載の有機発光表示装置。 - 前記透明基板に形成されたカラーフィルター或いは色変換層には、さらに膜厚調整層が積層されていることを特徴とする1〜4のいずれかに記載の有機発光表示装置。
- 前記透明基板には、隣接するカラーフィルターの間隙に合わせて黒色層が形成されており、
当該黒色層の厚みが、前記カラーフィルターの最大厚み以上になるように設定されていることを特徴とする請求項1〜5のいずれかに記載の有機発光表示装置。 - 透明基板表面から前記カラーフィルター或いは色変換層までの厚みが0.5μm以上20μm以下の範囲であるとともに、前記カラーフィルター或いは色変換層が直接前記接着層に被覆されており、
前記TFT基板に形成された平坦膜の厚みが0.5μm以上2.0μm以下の範囲であって、
前記有機発光表示装置の一断面部分におけるフロントパネルと接着層との界面長さをa、当該一断面部分におけるバックパネルと接着層との界面長さをbとするとき、0.57≦b/a≦1.02
の関係が存在する
ことを特徴とする請求項1〜6のいずれかに記載の有機発光表示装置。
Priority Applications (1)
| Application Number | Priority Date | Filing Date | Title |
|---|---|---|---|
| JP2004105134A JP2005293946A (ja) | 2004-03-31 | 2004-03-31 | 有機el表示装置 |
Applications Claiming Priority (1)
| Application Number | Priority Date | Filing Date | Title |
|---|---|---|---|
| JP2004105134A JP2005293946A (ja) | 2004-03-31 | 2004-03-31 | 有機el表示装置 |
Publications (1)
| Publication Number | Publication Date |
|---|---|
| JP2005293946A true JP2005293946A (ja) | 2005-10-20 |
Family
ID=35326666
Family Applications (1)
| Application Number | Title | Priority Date | Filing Date |
|---|---|---|---|
| JP2004105134A Withdrawn JP2005293946A (ja) | 2004-03-31 | 2004-03-31 | 有機el表示装置 |
Country Status (1)
| Country | Link |
|---|---|
| JP (1) | JP2005293946A (ja) |
Cited By (32)
| Publication number | Priority date | Publication date | Assignee | Title |
|---|---|---|---|---|
| JP2007335403A (ja) * | 2006-06-14 | 2007-12-27 | Samsung Electronics Co Ltd | 表示装置とその製造方法 |
| JP2008147161A (ja) * | 2006-12-06 | 2008-06-26 | Samsung Sdi Co Ltd | 有機発光表示装置 |
| JP2008226747A (ja) * | 2007-03-15 | 2008-09-25 | Sony Corp | 表示装置および電子機器 |
| JP2009251560A (ja) * | 2008-04-11 | 2009-10-29 | Dainippon Printing Co Ltd | カラーフィルタ積層用接着性組成物 |
| KR100953654B1 (ko) * | 2008-06-26 | 2010-04-20 | 삼성모바일디스플레이주식회사 | 유기 발광 표시 장치 및 그 제조 방법 |
| US7781967B2 (en) | 2006-08-30 | 2010-08-24 | Seiko Epson Corporation | Organic electroluminescence device having an improved barrier structure, and manufacturing method therefore and electronic apparatus |
| JP2010287421A (ja) * | 2009-06-11 | 2010-12-24 | Toppan Printing Co Ltd | 有機el装置及びその製造方法 |
| JP2011040352A (ja) * | 2009-08-18 | 2011-02-24 | Sony Corp | 表示装置 |
| US7898175B2 (en) | 2007-02-06 | 2011-03-01 | Samsung Mobile Display Co., Ltd. | Organic light emitting display apparatus with an enhanced viewing angle |
| US7902751B2 (en) | 2007-11-02 | 2011-03-08 | Seiko Epson Corporation | Organic electroluminescent device, method for producing the same, and electronic apparatus |
| CN102597822A (zh) * | 2010-06-16 | 2012-07-18 | 松下电器产业株式会社 | El显示面板、包含el显示面板的el显示装置、有机el显示装置、以及el显示面板的制造方法 |
| WO2013001583A1 (ja) * | 2011-06-30 | 2013-01-03 | パナソニック株式会社 | 表示パネル及び表示パネルの製造方法 |
| KR20140013854A (ko) * | 2012-07-27 | 2014-02-05 | 삼성디스플레이 주식회사 | 유기 발광 표시 장치 |
| WO2014049993A1 (en) * | 2012-09-26 | 2014-04-03 | Sony Corporation | Display unit and electronic apparatus |
| WO2014103708A1 (ja) * | 2012-12-27 | 2014-07-03 | 大日本印刷株式会社 | カラーフィルタ形成基板および有機el表示装置 |
| JP2015011140A (ja) * | 2013-06-28 | 2015-01-19 | 大日本印刷株式会社 | カラーフィルタ形成基板および有機el表示装置 |
| CN104681590A (zh) * | 2013-12-02 | 2015-06-03 | 乐金显示有限公司 | 有机发光显示器件 |
| JP2015103476A (ja) * | 2013-11-27 | 2015-06-04 | 株式会社Joled | 表示パネルおよびその製造方法 |
| KR20150069364A (ko) * | 2013-12-13 | 2015-06-23 | 엘지디스플레이 주식회사 | 유기전계발광표시장치 및 그 제조방법 |
| WO2015089884A1 (zh) * | 2013-12-18 | 2015-06-25 | 深圳市华星光电技术有限公司 | 波长选择型彩色滤光片及使用该波长选择型彩色滤光片的显示结构 |
| KR20150077292A (ko) | 2013-12-27 | 2015-07-07 | 소니 주식회사 | 표시장치 및 전자기기 |
| WO2016059497A1 (en) * | 2014-10-17 | 2016-04-21 | Semiconductor Energy Laboratory Co., Ltd. | Light-emitting device, module, electronic device, and method for manufacturing light-emitting device |
| CN105576003A (zh) * | 2016-02-03 | 2016-05-11 | 昆山工研院新型平板显示技术中心有限公司 | 亮度均匀的显示屏体 |
| US20170062528A1 (en) * | 2015-08-28 | 2017-03-02 | Semiconductor Energy Laboratory Co., Ltd. | Display device |
| WO2017081575A1 (en) * | 2015-11-11 | 2017-05-18 | Semiconductor Energy Laboratory Co., Ltd. | Display device and method for manufacturing the same |
| US9917282B2 (en) | 2015-07-30 | 2018-03-13 | Semiconductor Energy Laboratory Co., Ltd. | Manufacturing method of light-emitting device, light-emitting device, module, and electronic device |
| JP2018085340A (ja) * | 2011-03-02 | 2018-05-31 | 株式会社半導体エネルギー研究所 | 表示装置 |
| CN109148718A (zh) * | 2018-08-20 | 2019-01-04 | 武汉华星光电半导体显示技术有限公司 | 有机发光显示面板及其制造方法 |
| JP2019169480A (ja) * | 2012-07-31 | 2019-10-03 | 株式会社Joled | 表示装置および電子機器 |
| CN111430444A (zh) * | 2020-04-30 | 2020-07-17 | 武汉华星光电半导体显示技术有限公司 | 量子点显示面板及其制备方法 |
| CN113113454A (zh) * | 2021-03-26 | 2021-07-13 | 武汉华星光电半导体显示技术有限公司 | 显示面板及显示装置 |
| CN113644222A (zh) * | 2021-08-13 | 2021-11-12 | 武汉天马微电子有限公司 | 一种显示面板及显示装置 |
-
2004
- 2004-03-31 JP JP2004105134A patent/JP2005293946A/ja not_active Withdrawn
Cited By (103)
| Publication number | Priority date | Publication date | Assignee | Title |
|---|---|---|---|---|
| JP2007335403A (ja) * | 2006-06-14 | 2007-12-27 | Samsung Electronics Co Ltd | 表示装置とその製造方法 |
| US7781967B2 (en) | 2006-08-30 | 2010-08-24 | Seiko Epson Corporation | Organic electroluminescence device having an improved barrier structure, and manufacturing method therefore and electronic apparatus |
| JP2008147161A (ja) * | 2006-12-06 | 2008-06-26 | Samsung Sdi Co Ltd | 有機発光表示装置 |
| US8022616B2 (en) | 2006-12-06 | 2011-09-20 | Samsung Mobile Display Co., Ltd. | Organic light emitting display apparatus |
| US7898175B2 (en) | 2007-02-06 | 2011-03-01 | Samsung Mobile Display Co., Ltd. | Organic light emitting display apparatus with an enhanced viewing angle |
| US8773016B2 (en) | 2007-03-15 | 2014-07-08 | Sony Corporation | Display apparatus including light emitting elements and a light shielding portion disposed on the light emitting elements and an electronic device including same |
| JP2008226747A (ja) * | 2007-03-15 | 2008-09-25 | Sony Corp | 表示装置および電子機器 |
| US8198805B2 (en) | 2007-03-15 | 2012-06-12 | Sony Corporation | Display apparatus and electronic device |
| CN102931212A (zh) * | 2007-03-15 | 2013-02-13 | 索尼株式会社 | 显示装置和电子设备 |
| CN102931212B (zh) * | 2007-03-15 | 2015-10-07 | 株式会社日本有机雷特显示器 | 显示装置和电子设备 |
| US7902751B2 (en) | 2007-11-02 | 2011-03-08 | Seiko Epson Corporation | Organic electroluminescent device, method for producing the same, and electronic apparatus |
| US8324805B2 (en) | 2007-11-02 | 2012-12-04 | Seiko Epson Corporation | Organic electroluminescent device, method for producing the same, and electronic apparatus |
| JP2009251560A (ja) * | 2008-04-11 | 2009-10-29 | Dainippon Printing Co Ltd | カラーフィルタ積層用接着性組成物 |
| KR100953654B1 (ko) * | 2008-06-26 | 2010-04-20 | 삼성모바일디스플레이주식회사 | 유기 발광 표시 장치 및 그 제조 방법 |
| US8851952B2 (en) | 2008-06-26 | 2014-10-07 | Samsung Display Co., Ltd. | Method of manufacturing an organic light emitting diode display device |
| US8492969B2 (en) | 2008-06-26 | 2013-07-23 | Samsung Display Co., Ltd. | Organic light emitting diode display and method of manufacturing the same |
| JP2010287421A (ja) * | 2009-06-11 | 2010-12-24 | Toppan Printing Co Ltd | 有機el装置及びその製造方法 |
| JP2011040352A (ja) * | 2009-08-18 | 2011-02-24 | Sony Corp | 表示装置 |
| CN102597822A (zh) * | 2010-06-16 | 2012-07-18 | 松下电器产业株式会社 | El显示面板、包含el显示面板的el显示装置、有机el显示装置、以及el显示面板的制造方法 |
| CN102597822B (zh) * | 2010-06-16 | 2014-09-03 | 松下电器产业株式会社 | El显示面板、包含el显示面板的el显示装置、有机el显示装置、以及el显示面板的制造方法 |
| JP2018085340A (ja) * | 2011-03-02 | 2018-05-31 | 株式会社半導体エネルギー研究所 | 表示装置 |
| KR20140030018A (ko) * | 2011-06-30 | 2014-03-11 | 파나소닉 주식회사 | 표시 패널 및 표시 패널의 제조 방법 |
| CN102959707B (zh) * | 2011-06-30 | 2016-09-28 | 株式会社日本有机雷特显示器 | 显示面板以及显示面板的制造方法 |
| US8624481B2 (en) | 2011-06-30 | 2014-01-07 | Panasonic Corporation | Display panel and display panel manufacturing method |
| CN102959707A (zh) * | 2011-06-30 | 2013-03-06 | 松下电器产业株式会社 | 显示面板以及显示面板的制造方法 |
| KR101689920B1 (ko) | 2011-06-30 | 2016-12-26 | 가부시키가이샤 제이올레드 | 표시 패널 및 표시 패널의 제조 방법 |
| WO2013001583A1 (ja) * | 2011-06-30 | 2013-01-03 | パナソニック株式会社 | 表示パネル及び表示パネルの製造方法 |
| JPWO2013001583A1 (ja) * | 2011-06-30 | 2015-02-23 | パナソニック株式会社 | 表示パネル及び表示パネルの製造方法 |
| KR20140013854A (ko) * | 2012-07-27 | 2014-02-05 | 삼성디스플레이 주식회사 | 유기 발광 표시 장치 |
| KR101931173B1 (ko) * | 2012-07-27 | 2018-12-21 | 삼성디스플레이 주식회사 | 유기 발광 표시 장치 |
| JP2022071025A (ja) * | 2012-07-31 | 2022-05-13 | 株式会社Joled | 表示装置および電子機器 |
| JP2019169480A (ja) * | 2012-07-31 | 2019-10-03 | 株式会社Joled | 表示装置および電子機器 |
| JP7208679B2 (ja) | 2012-07-31 | 2023-01-19 | 株式会社Joled | 表示装置および電子機器 |
| KR20200108503A (ko) * | 2012-09-26 | 2020-09-18 | 소니 주식회사 | 표시장치 및 전자기기 |
| CN104508853B (zh) * | 2012-09-26 | 2017-02-22 | 索尼公司 | 显示单元和电子装置 |
| CN104508853A (zh) * | 2012-09-26 | 2015-04-08 | 索尼公司 | 显示单元和电子装置 |
| US10325973B2 (en) | 2012-09-26 | 2019-06-18 | Sony Corporation | Display unit and electronic apparatus |
| KR20150063313A (ko) * | 2012-09-26 | 2015-06-09 | 소니 주식회사 | 표시장치 및 전자기기 |
| WO2014049993A1 (en) * | 2012-09-26 | 2014-04-03 | Sony Corporation | Display unit and electronic apparatus |
| US20150155346A1 (en) * | 2012-09-26 | 2015-06-04 | Sony Corporation | Display unit and electronic apparatus |
| JP2014067576A (ja) * | 2012-09-26 | 2014-04-17 | Sony Corp | 表示装置および電子機器 |
| KR102376135B1 (ko) | 2012-09-26 | 2022-03-18 | 소니그룹주식회사 | 표시장치 및 전자기기 |
| US9343516B2 (en) | 2012-09-26 | 2016-05-17 | Sony Corporation | Display unit and electronic apparatus |
| US10658447B2 (en) | 2012-09-26 | 2020-05-19 | Sony Corporation | Display unit and electronic apparatus device |
| US9711584B2 (en) | 2012-09-26 | 2017-07-18 | Sony Corporation | Display unit and electronic apparatus |
| US11056554B2 (en) | 2012-09-26 | 2021-07-06 | Sony Corporation | Display device |
| KR102156948B1 (ko) * | 2012-09-26 | 2020-09-16 | 소니 주식회사 | 표시장치 및 전자기기 |
| WO2014103708A1 (ja) * | 2012-12-27 | 2014-07-03 | 大日本印刷株式会社 | カラーフィルタ形成基板および有機el表示装置 |
| US9673263B2 (en) | 2012-12-27 | 2017-06-06 | Dai Nippon Printing Co., Ltd. | Color filter forming substrate and organic EL display device |
| JP2014142610A (ja) * | 2012-12-27 | 2014-08-07 | Dainippon Printing Co Ltd | カラーフィルタ形成基板および有機el表示装置 |
| JP2015011140A (ja) * | 2013-06-28 | 2015-01-19 | 大日本印刷株式会社 | カラーフィルタ形成基板および有機el表示装置 |
| JP2015103476A (ja) * | 2013-11-27 | 2015-06-04 | 株式会社Joled | 表示パネルおよびその製造方法 |
| KR102255809B1 (ko) * | 2013-12-02 | 2021-05-24 | 엘지디스플레이 주식회사 | 유기 발광 표시장치 |
| CN104681590A (zh) * | 2013-12-02 | 2015-06-03 | 乐金显示有限公司 | 有机发光显示器件 |
| KR20150063862A (ko) * | 2013-12-02 | 2015-06-10 | 엘지디스플레이 주식회사 | 유기 발광 표시장치 |
| KR102196889B1 (ko) * | 2013-12-13 | 2020-12-30 | 엘지디스플레이 주식회사 | 유기전계발광표시장치 및 그 제조방법 |
| KR20150069364A (ko) * | 2013-12-13 | 2015-06-23 | 엘지디스플레이 주식회사 | 유기전계발광표시장치 및 그 제조방법 |
| WO2015089884A1 (zh) * | 2013-12-18 | 2015-06-25 | 深圳市华星光电技术有限公司 | 波长选择型彩色滤光片及使用该波长选择型彩色滤光片的显示结构 |
| KR20190126037A (ko) | 2013-12-27 | 2019-11-08 | 소니 주식회사 | 표시장치 및 전자기기 |
| KR20200096201A (ko) | 2013-12-27 | 2020-08-11 | 소니 주식회사 | 표시장치 및 전자기기 |
| US12207505B2 (en) | 2013-12-27 | 2025-01-21 | Sony Group Corporation | Display unit and electronic apparatus |
| US9991325B2 (en) | 2013-12-27 | 2018-06-05 | Sony Corporation | Display unit and electronic apparatus |
| US11937468B2 (en) | 2013-12-27 | 2024-03-19 | Sony Group Corporation | Display unit and electronic apparatus |
| US10263061B2 (en) | 2013-12-27 | 2019-04-16 | Sony Corporation | Display unit and electronic apparatus |
| US11659739B2 (en) | 2013-12-27 | 2023-05-23 | Sony Group Corporation | Display unit and electronic apparatus |
| KR20150077292A (ko) | 2013-12-27 | 2015-07-07 | 소니 주식회사 | 표시장치 및 전자기기 |
| KR20220099521A (ko) | 2013-12-27 | 2022-07-13 | 소니그룹주식회사 | 표시장치 및 전자기기 |
| US9577018B2 (en) | 2013-12-27 | 2017-02-21 | Sony Corporation | Display unit and electronic apparatus |
| US11024694B2 (en) | 2013-12-27 | 2021-06-01 | Sony Corporation | Display unit and electronic apparatus |
| KR20210056308A (ko) | 2013-12-27 | 2021-05-18 | 소니 주식회사 | 표시장치 및 전자기기 |
| US9847505B2 (en) | 2014-10-17 | 2017-12-19 | Semiconductor Energy Laboratory Co., Ltd. | Light-emitting device, module, electronic device, and method for manufacturing light-emitting device |
| US11778850B2 (en) | 2014-10-17 | 2023-10-03 | Semiconductor Energy Laboratory Co., Ltd. | Light-emitting device, module, electronic device, and method for manufacturing light-emitting device |
| CN111710794B (zh) * | 2014-10-17 | 2024-06-28 | 株式会社半导体能源研究所 | 发光装置、模块、电子设备以及发光装置的制造方法 |
| CN106797684B (zh) * | 2014-10-17 | 2020-06-05 | 株式会社半导体能源研究所 | 发光装置、模块、电子设备以及发光装置的制造方法 |
| CN106797684A (zh) * | 2014-10-17 | 2017-05-31 | 株式会社半导体能源研究所 | 发光装置、模块、电子设备以及发光装置的制造方法 |
| US10270057B2 (en) | 2014-10-17 | 2019-04-23 | Semiconductor Energy Laboratory Co., Ltd. | Light-emitting device, module, electronic device, and method for manufacturing light-emitting device |
| CN111710794A (zh) * | 2014-10-17 | 2020-09-25 | 株式会社半导体能源研究所 | 发光装置、模块、电子设备以及发光装置的制造方法 |
| WO2016059497A1 (en) * | 2014-10-17 | 2016-04-21 | Semiconductor Energy Laboratory Co., Ltd. | Light-emitting device, module, electronic device, and method for manufacturing light-emitting device |
| US11189817B2 (en) | 2014-10-17 | 2021-11-30 | Semiconductor Energy Laboratory Co., Ltd. | Light-emitting device, module, electronic device, and method for manufacturing light-emitting device |
| US10629843B2 (en) | 2014-10-17 | 2020-04-21 | Semiconductor Energy Laboratory Co., Ltd. | Light-emitting device, module, electronic device, and method for manufacturing light-emitting device |
| US9917282B2 (en) | 2015-07-30 | 2018-03-13 | Semiconductor Energy Laboratory Co., Ltd. | Manufacturing method of light-emitting device, light-emitting device, module, and electronic device |
| US11411208B2 (en) | 2015-07-30 | 2022-08-09 | Semiconductor Energy Laboratory Co., Ltd. | Manufacturing method of light-emitting device, light-emitting device, module, and electronic device |
| US10804503B2 (en) | 2015-07-30 | 2020-10-13 | Semiconductor Energy Laboratory Co., Ltd. | Manufacturing method of light-emitting device, light-emitting device, module, and electronic device |
| US10135037B2 (en) | 2015-07-30 | 2018-11-20 | Semiconductor Energy Laboratory Co., Ltd. | Manufacturing method of light-emitting device, light-emitting device, module, and electronic device |
| JP2017227858A (ja) * | 2015-08-28 | 2017-12-28 | 株式会社半導体エネルギー研究所 | 表示装置 |
| US12048223B2 (en) | 2015-08-28 | 2024-07-23 | Semiconductor Energy Laboratory Co., Ltd. | Display device |
| WO2017037560A1 (en) * | 2015-08-28 | 2017-03-09 | Semiconductor Energy Laboratory Co., Ltd. | Display device |
| US11706966B2 (en) | 2015-08-28 | 2023-07-18 | Semiconductor Energy Laboratory Co., Ltd. | Display device |
| US11018201B2 (en) | 2015-08-28 | 2021-05-25 | Semiconductor Energy Laboratory Co., Ltd. | Display device |
| US10374018B2 (en) | 2015-08-28 | 2019-08-06 | Semiconductor Energy Laboratory Co., Ltd. | Display device |
| US20170062528A1 (en) * | 2015-08-28 | 2017-03-02 | Semiconductor Energy Laboratory Co., Ltd. | Display device |
| WO2017081575A1 (en) * | 2015-11-11 | 2017-05-18 | Semiconductor Energy Laboratory Co., Ltd. | Display device and method for manufacturing the same |
| US9964800B2 (en) | 2015-11-11 | 2018-05-08 | Semiconductor Energy Laboratory Co., Ltd. | Display device and method for manufacturing the same |
| CN105576003B (zh) * | 2016-02-03 | 2018-08-07 | 昆山工研院新型平板显示技术中心有限公司 | 亮度均匀的显示屏体 |
| CN105576003A (zh) * | 2016-02-03 | 2016-05-11 | 昆山工研院新型平板显示技术中心有限公司 | 亮度均匀的显示屏体 |
| US10811466B2 (en) | 2018-08-20 | 2020-10-20 | Wuhan China Star Optoelectronics Semiconductor Display Technology Co., Ltd. | Organic light emitting display panel and method for manufacturing the same |
| CN109148718A (zh) * | 2018-08-20 | 2019-01-04 | 武汉华星光电半导体显示技术有限公司 | 有机发光显示面板及其制造方法 |
| US11785823B2 (en) | 2020-04-30 | 2023-10-10 | Wuhan China Star Optoelectronics Semiconductor Display Technology Co., Ltd. | Quantum dot display panel and manufacturing method thereof |
| CN111430444A (zh) * | 2020-04-30 | 2020-07-17 | 武汉华星光电半导体显示技术有限公司 | 量子点显示面板及其制备方法 |
| US12029098B2 (en) | 2021-03-26 | 2024-07-02 | Wuhan China Star Optoelectronics Semiconductr Display Technology Co., Ltd | Display panel and display device |
| CN113113454A (zh) * | 2021-03-26 | 2021-07-13 | 武汉华星光电半导体显示技术有限公司 | 显示面板及显示装置 |
| CN113644222B (zh) * | 2021-08-13 | 2024-02-27 | 武汉天马微电子有限公司 | 一种显示面板及显示装置 |
| CN113644222A (zh) * | 2021-08-13 | 2021-11-12 | 武汉天马微电子有限公司 | 一种显示面板及显示装置 |
Similar Documents
| Publication | Publication Date | Title |
|---|---|---|
| JP2005293946A (ja) | 有機el表示装置 | |
| US11825716B2 (en) | Display device | |
| US11271062B2 (en) | Double-sided display panel and preparation method thereof | |
| KR102614612B1 (ko) | 관통홀을 통해 기판의 앞면과 배면을 연결한 평판 표시장치 | |
| EP3016167B1 (en) | Organic light-emitting display device | |
| EP2280435B1 (en) | Organic light emitting diode display device | |
| KR20170003768A (ko) | 플렉서블 유기발광다이오드 표시장치 및 그 제조 방법 | |
| US9704933B2 (en) | Organic electroluminescent device | |
| CN101764144A (zh) | El装置、el装置的制造方法及电子设备 | |
| CN107768411B (zh) | 显示装置及其制作方法 | |
| KR20210057522A (ko) | 디스플레이 장치 | |
| JP2012209215A (ja) | 有機el装置の製造方法、電子機器 | |
| JP2017182892A (ja) | 発光素子、発光装置、及び電子機器 | |
| KR101957145B1 (ko) | 유기발광소자표시장치 및 그 제조방법 | |
| KR100553247B1 (ko) | 듀얼패널타입 유기전계발광 소자 및 그 제조방법 | |
| TWI222049B (en) | Color display unit | |
| JP4572561B2 (ja) | 自発光型表示装置 | |
| KR102615664B1 (ko) | 유기 발광 표시 장치 | |
| JP2009109883A (ja) | 電場発光表示装置 | |
| KR102066086B1 (ko) | 양면표시장치 및 그의 제조방법 | |
| KR102585853B1 (ko) | 표시 장치용 기판과 그를 포함하는 표시 장치 | |
| KR101694408B1 (ko) | 유기전계발광소자 및 그 제조방법 | |
| KR101274699B1 (ko) | 유기 발광 소자 | |
| JP2010218719A (ja) | 有機el装置及び電子機器 | |
| KR20230102611A (ko) | 전계 발광 표시장치 |
Legal Events
| Date | Code | Title | Description |
|---|---|---|---|
| A621 | Written request for application examination |
Free format text: JAPANESE INTERMEDIATE CODE: A621 Effective date: 20060703 |
|
| A761 | Written withdrawal of application |
Free format text: JAPANESE INTERMEDIATE CODE: A761 Effective date: 20090427 |
