EP0906461B1 - Gebergreifer für eine greiferwebmaschine - Google Patents

Gebergreifer für eine greiferwebmaschine Download PDF

Info

Publication number
EP0906461B1
EP0906461B1 EP97928158A EP97928158A EP0906461B1 EP 0906461 B1 EP0906461 B1 EP 0906461B1 EP 97928158 A EP97928158 A EP 97928158A EP 97928158 A EP97928158 A EP 97928158A EP 0906461 B1 EP0906461 B1 EP 0906461B1
Authority
EP
European Patent Office
Prior art keywords
carrying gripper
accordance
gripper means
positioning
gripper
Prior art date
Legal status (The legal status is an assumption and is not a legal conclusion. Google has not performed a legal analysis and makes no representation as to the accuracy of the status listed.)
Expired - Lifetime
Application number
EP97928158A
Other languages
English (en)
French (fr)
Other versions
EP0906461A1 (de
Inventor
Henry Shaw
Current Assignee (The listed assignees may be inaccurate. Google has not performed a legal analysis and makes no representation or warranty as to the accuracy of the list.)
Picanol NV
Original Assignee
Picanol NV
Priority date (The priority date is an assumption and is not a legal conclusion. Google has not performed a legal analysis and makes no representation as to the accuracy of the date listed.)
Filing date
Publication date
Family has litigation
First worldwide family litigation filed litigation Critical https://patents.darts-ip.com/?family=25663044&utm_source=google_patent&utm_medium=platform_link&utm_campaign=public_patent_search&patent=EP0906461(B1) "Global patent litigation dataset” by Darts-ip is licensed under a Creative Commons Attribution 4.0 International License.
Priority claimed from BE9600520A external-priority patent/BE1010334A3/nl
Priority claimed from BE9700210A external-priority patent/BE1011038A6/nl
Application filed by Picanol NV filed Critical Picanol NV
Publication of EP0906461A1 publication Critical patent/EP0906461A1/de
Application granted granted Critical
Publication of EP0906461B1 publication Critical patent/EP0906461B1/de
Anticipated expiration legal-status Critical
Expired - Lifetime legal-status Critical Current

Links

Images

Classifications

    • DTEXTILES; PAPER
    • D03WEAVING
    • D03DWOVEN FABRICS; METHODS OF WEAVING; LOOMS
    • D03D47/00Looms in which bulk supply of weft does not pass through shed, e.g. shuttleless looms, gripper shuttle looms, dummy shuttle looms
    • D03D47/12Looms in which bulk supply of weft does not pass through shed, e.g. shuttleless looms, gripper shuttle looms, dummy shuttle looms wherein single picks of weft thread are inserted, i.e. with shedding between each pick
    • D03D47/20Constructional features of the thread-engaging device on the inserters
    • D03D47/23Thread grippers
    • D03D47/233Carrying grippers
    • DTEXTILES; PAPER
    • D03WEAVING
    • D03DWOVEN FABRICS; METHODS OF WEAVING; LOOMS
    • D03D47/00Looms in which bulk supply of weft does not pass through shed, e.g. shuttleless looms, gripper shuttle looms, dummy shuttle looms
    • D03D47/12Looms in which bulk supply of weft does not pass through shed, e.g. shuttleless looms, gripper shuttle looms, dummy shuttle looms wherein single picks of weft thread are inserted, i.e. with shedding between each pick
    • D03D47/20Constructional features of the thread-engaging device on the inserters

Definitions

  • the invention relates to a sensor rapier for a rapier weaving machine, with means for picking up and positioning a weft thread is provided on a deflecting guide is kept on hand.
  • a weft thread is usually used Help from a donor gripper and a slave gripper Loom passed through.
  • the encoder gripper takes on the entry side of the shed on a weft, which means a thread feeder is kept ready. If the encoder gripper is inserted into the shed, the weft picked up, positioned within the encoder gripper and clamped by means of a clamp. Approximately in the middle of the shed the weft thread is taken over by a slave gripper, clamped by a clamp of the slave gripper and by that Take gripper to the other side of the shed. The The encoder gripper moves back in empty during this time its starting position in front of the entry page of the shed.
  • the invention has for its object a donor gripper of the type mentioned in such a way that a ready Weft is taken safely, however, the danger gripping a warp thread is significantly reduced.
  • the encoder gripper according to the invention can have one ready Grip the weft well because of the deflection guide of a possible running direction of a warp thread clearly has different course, record safely. On the other hand the risk is relatively small that the encoder gripper catches incorrectly running warp thread. Furthermore there are no dimensional restrictions of a weft thread to be picked up.
  • the means for picking up a weft thread in different walls the hollow chamber are arranged. This ensures that the Tension of the weft thread when carried by the donor gripper is gradually increased so that the risk of weft breaks is limited.
  • the means for positioning in two different walls of the Hollow chamber are arranged and face each other at a distance. This ensures that the encoder gripper a Holds piece of the weft freely in its hollow chamber, so that it very well from a slave gripper or even from a slave hook can be taken over.
  • the means for receiving and / or the means for positioning in the direction of movement of the gripper with respect to the position the weft thread held ready to each other are. This ensures that the tension of the weft thread gradually increased when carried by the encoder gripper is, so that the risk of weft breakage is further limited is.
  • the agent to position the the edge of the goods to be woven Tissue is assigned as a means of picking up one after is assigned to the inside protruding tab in the encoder gripper a guide surface leading to the positioning means forms.
  • the facing the fabric edge of a fabric to be woven The gripper side is more vulnerable regarding an unwanted picking up of a warp thread. Because the means to pick up, namely the tab protrudes into the encoder gripper, there is a possible contact of this tab with a Warp thread largely excluded.
  • a thread clamp is accommodated in the encoder gripper regarding the means for positioning on the edge of the goods facing side is arranged.
  • the encoder gripper from a substantially U-shaped plate is formed, - in the direction of movement of the encoder gripper seen - a leg located above the deflection guide and one on the side next to the deflection guide Owns thigh. It is advantageous if the funds to pick up - seen in the direction of movement of the gripper - on opposite sides of the deflection guide are located.
  • the encoder gripper is provided with a sliding surface
  • the guide means is assigned in which a holder for the encoder gripper and / or are guided for a gripper belt.
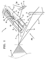
  • the device 1 shown in Fig. 1 for entering a Weft thread 2 for a rapier weaving machine contains a donor rapier 3 and a deflection guide 4.
  • the one to be fed Weft thread 2 extends from the edge of a fabric 8 through a thread guide eyelet 6 of a thread feeder 5 to a weft supply, not shown.
  • the Weft 2 runs in the direction of B from the weft supply the thread feeder 5.
  • the deflection guide 4 is in the illustrated embodiment Part of a guide profile 9, which is a gripper belt 17 leads, on which a holder 16 is attached which the encoder gripper 3 is mounted (Fig. 4). Furthermore 1 are warp threads 10, 11 of a warp thread family and Shed formation means 12, 13 indicated that a shed 14 form the warp threads 10, 11. For the sake of clarity a sley with a reed not shown, which itself is located between the fabric 8 and the shedding means 12, 13.
  • FIG. 2 shows the position of the encoder gripper to the deflection guide 4.
  • the weft thread 2 runs from the thread guide eyelet 6 over the deflection edge 7 of the deflection guide 4 to the Goods edge of the fabric 8 with which the previously fed Weft connected after striking with the help of the reed remains.
  • Fig. 1 to 5 there is the encoder gripper 3 essentially from a curved plate 15, in particular from a stainless steel plate or aluminum plate, which means a holder 16 is connected to a gripper belt 17.
  • the Plate 15 is bent into a U-shaped cross section so that it extends in the longitudinal direction of the master gripper 3 Hollow chamber 31 forms.
  • This hollow chamber 31 is at the front and rear end of the gripper 3 and to the deflection guide 4 open as can be seen from the further description still results.
  • Fig. 1 has the U-shaped Plate 15 a long leg that over the deflection guide 4 is arranged, and a short leg that is to the side of the deflection guide 4.
  • the donor gripper with means for picking up the weft thread 2, with means for positioning of the weft thread 2 within the donor gripper 3 and with Means to take away or pinch the picked weft equipped.
  • the front end of the encoder gripper 3, the essentially only from the crossbar connecting the legs 32 is wedge-shaped to a point 20, as can be seen in particular from FIG. 4.
  • the sloping one Bottom of the crosspiece 32 forms together with the at a distance to the beginning of 20 short legs one as Guide designed receptacle 18 for the weft.
  • the weft 2 slides down on this receptacle 18 (FIG.
  • a tab 25 is cut out and bent inwards, which forms a second means for receiving the weft thread 2.
  • This tab 25 extends obliquely to the front and then forms an approximately wedge-shaped Tip 26 has a guide surface 21 which slants the weft up into the plane of the longer leg 24 to one recess 22 provided there leads as a second means is used for positioning.
  • FIGS. 2 and 7 detects this serving as a means for receiving tab 25 the Section 2B of the weft thread, which is between the deflecting edge 7 and the edge of the fabric 8 is located.
  • the of the Tip 26 of the tab 25 forms an edge 27 running downwards an oblique guide that is flush with a web 28 of the holder 16 connects, which is inclined to the foot part 29 of the holder 16 runs out, which is arranged in the extension of the gripper belt 17 is.
  • the encoder gripper 3 contains a thread clamp 30, attached to the longer leg 24 of the plate 15 inside is.
  • the thread clamp 30 is located at a point between the guide surface 21 of the tab 25 and the tissue 8 lies.
  • the thread clamp 30 is in the embodiment from a leaf spring, which is in the direction of movement A of The gripper runs at the bottom of the plate 15 is attached inside.
  • the thread clamp 30 acts on the inside the plate 15 together.
  • the tab 25 as a means for picking up, guides the weft section 2B also the thread clamp 30.
  • the encoder gripper 3 is such designed that its height starting from the top towards to the gripper belt 17 increases steadily so that there are none Places where warp threads 10, 11 can be detected.
  • the tip 26 of the tab 25 projects into the Hollow chamber 31 into it, but only with a size that is less than half the height of the web is 32.
  • the distance C according to FIG. 2 is between the inside of the longer leg 24 of the plate 15 and the deflection edge 7 of the deflection part 4 at least 2 mm, preferably between 3 and 5mm.
  • the deflection edge protrudes 7 of the deflection guide 4 of the weft thread 2 in the the plate 15 formed hollow chamber 31 in such a way that the Means for picking up the weft thread 2, i.e. that of the Tip 20 of the web 32 outgoing guide 18 and the Tip 26 of the tab 25 outgoing guide 21 each on opposite Sides of the deflection edge 7 are. Since the Hollow chamber 31 is open at the front and back, the encoder gripper can 3 move freely along the deflection guide 4.
  • the ready weft thread obliquely from the fabric edge of the fabric 8 to the thread feeder 5 via the deflection edge 7, i.e. obliquely to the direction of movement A of the encoder gripper 3 of the Tissue 8 away.
  • the deflection edge 7 which in Direction of movement A must be correspondingly long.
  • the weft 2 successively taken up by the guide surfaces 18 and 21 and also one after the other in the recesses 19 and 22 positioned and also inserted into the weft clamp 30 is a gradual increase in the voltage in the Weft so that the risk of weft breakage is reduced is.
  • An increase in the tension of the weft thread 2 takes place if the weft 2 due to guiding along the Guide surfaces 18 and 21 and / or extended on the deflection edge becomes.
  • FIGS. 1 to 11 Deviating from the embodiment of FIGS. 1 to 11 must of course the weft thread 2 is not between a thread feeder 5 and the tissue 8 are kept ready.
  • FIG 12 shows an exemplary embodiment, in which a weft thread 2 by means of a thread guide 33 is provided, which is described in a US 4,840,203 disclosed manner on a weaving loom of a weaving machine is appropriate.
  • the weft thread is in the area of the fabric 8 2 fed by means of a feed clamp 34, which via a Mechanism according to US 4,840,203 is moved.
  • weft thread 2 is also such a deflection edge 7 guided a deflection guide 4 that he is already in the described manner in the region of the hollow chamber 31 of the Giver gripper 3 is located, so that it gradually increases Voltage can be picked up by the encoder gripper 3 when it moves in direction A towards the shed.
  • the weft thread by means of the thread clamp 30 is not directly clamped to the underside of the plate 15. Rather is a Intermediate piece 36 made of metal provided by means of a or more elastic elements 37 attached to the plate 15 is.
  • the elastic elements 37 are, for example made of a rubber-like elastic liner and insulating material.
  • the deflection guide 4 with the deflection edge 7 not in one piece the guide profile 9, but rather as its own Component manufactured and by means of screws 42 or the like. to the Guide profile 9 is attached.
  • a U-shaped plate 15 is provided, which one located above the deflection edge 7 of the deflection guide 4 long legs and one on the side next to the deflection guide has short legs located and a hollow chamber 31 forms, in which the deflection edge 7 of the deflection guide 4th protrudes such that the weft thread 2 on both sides of the deflection guide 4 is added.
  • the web 32 of the U-shaped plate is shorter than the upper one Leg, so that the guide surface serving as a means for receiving 39 essentially at the upper edge of the web begins and then to one that serves as a means of positioning Recess 19 of the short leg runs.
  • the upper Leg forms a tip 40 that faces inwards to the hollow chamber something is bent towards the detection of warp threads to avoid.
  • One of the longer legs is on the inside Tab 25 bent, which forms a tip 26, one of which serving as a means for receiving the weft thread guide surface 21 leads to a recess 22 which as a means for Positioning the weft serves.
  • the clamp also exists with this Embodiment from a leaf spring strip, which on the Attached inside the longer leg of the plate 15 is.
  • the slopes 53 form a point directed to the stop line 51.
  • the plane 50 runs in which the Guide surfaces 48 of the guide elements 43 lie somewhat below the stop edge 51, i.e. the edge of a fabric, against which the Webblatt 47 a registered Weft thread.
  • the encoder gripper 3 of the embodiment 1 to 13 or the encoder gripper 3 'of FIGS. 14 to 16 is provided with a sliding surface 46 with which it is outside is guided on an outer surface 45 of the guide elements 43.
  • the sliding surface 46 is a section of the short leg of the U-shaped plate that extends towards the shed towards the one used for positioning Recess 19 connects, for example in FIG. 5 and 16 can be seen.
  • the approach 44 of the guide elements 43 protrudes into the hollow chamber 31 of the master gripper 3.
  • the forms the sliding surface 46 with a slide bar or Coating is provided, which consists of a well lubricated, wear-resistant material.
  • the Approaches 44 of the guide elements 43 none of the top of the Gripper belt 17 and the foot part 29 of the holder 16 assigned Guide surface 52.

Landscapes

  • Engineering & Computer Science (AREA)
  • Textile Engineering (AREA)
  • Looms (AREA)

Description

Die Erfindung betrifft einen Gebergreifer für eine Greiferwebmaschine, der mit Mitteln zum Aufnehmen und Positionieren eines Schußfadens versehen ist, der auf einer Umlenkführung aufliegend bereitgehalten ist.
Bei Greiferwebmaschinen wird üblicherweise ein Schußfaden mit Hilfe eines Gebergreifers und eines Nehmergreifers durch das Webfach hindurchgeführt. Der Gebergreifer nimmt an der Eintragsseite des Webfaches einen Schußfaden auf, der mittels eines Fadenzubringers bereitgehalten wird. Wenn der Gebergreifer in das Webfach eingeführt wird, wird der Schußfaden aufgenommen, innerhalb des Gebergreifers positioniert und mittels einer Klemme geklemmt. In etwa in der Mitte des Webfaches wird der Schußfaden von einem Nehmergreifer übernommen, von einer Klemme des Nehmergreifers geklemmt und von dem Nehmergreifer zur anderen Seite des Webfaches gebracht. Der Gebergreifer bewegt sich während dieser Zeit leer zurück in seine Ausgangsstellung vor der Eintragsseite des Webfaches.
Es ist auch bekannt, bei Greiferwebmaschinen einen Schußfaden nur mit Hilfe eines Gebergreifers durch das Webfach hindurch zu transportieren. Der Gebergreifer, der den Schußfaden an der Eintragsseite des Webfaches aufnimmt, bewegt sich dann zu der gegenüberliegenden Seite des Webfaches, wo der Schußfaden von dem Gebergreifer freigegeben und von einem Nehmerhaken o.dgl. übernommen wird.
Es ist bekannt (US 4.653.544), daß der Fadenzubringer den Schußfaden auf eine Umlenkführung auflegt, so daß dieser Schußfaden in einer definierten Position bereitgehalten ist, in welcher er sicher von dem Gebergreifer aufgenommen werden kann, wenn dieser sich zum Webfach hin bewegt.
Es ist bekannt (EP 0 509 255 A1), einen Gebergreifer ausgehend von seiner Spitze mit einer Führungsfläche zu versehen, die zu einem querverlaufenden Schlitz führt, in welchen der aufzunehmende Schußfaden hineinfällt. Nachdem der Schußfaden in diesen Schlitz hineingefallen ist, kann er nicht mehr aus dem Gebergreifer herausrutschen. Es können jedoch nur Schußfäden verwoben werden, die leicht durch den Schlitz hindurch gehen, so daß dicke Schußfäden oder Schußfäden mit Verdickungen nur schwer oder gar nicht verwoben werden können. Ein weiterer Nachteil besteht darin, daß der aufzunehmende Schußfaden beim Hineinfallen in den Schlitz seine Spannung verliert und danach völlig schlaff liegt. Wenn der Schußfaden, der innerhalb des Gebergreifers positioniert wird, anschließend durch die Bewegung des Gebergreifers gespannt wird, wird er ruckartig belastet. Dies führt zu einer Erhöhung der Gefahr von Schußfadenbrüchen.
Es ist auch bekannt (EP 0 441 099 A1), als Gebergreifer eine im wesentlichen U-förmige Platte vorzusehen. Der Quersteg dieser U-förmigen Platte ist als eine Gleitfläche für die Kettfäden eines Unterfaches ausgebildet. Der dem Warenrand des Gewebes zugewandte Schenkel bildet eine Führungsfläche für den aufzunehmenden Schußfaden, mittels der der Schußfaden direkt zu einer Klemme geführt wird, in die der Schußfaden einläuft. An dem anderen Schenkel ist ebenfalls eine Führungsfläche und eine als Positioniermittel dienende Aussparung vorgesehen. Bei dieser Bauart besteht die Gefahr, daß die Führungsfläche des dem Warenrand zugewandten Stegs einen nicht ganz korrekt verlaufenden Kettfaden erfaßt und der Klemme des Greifers zuführt. Dies führt dann unvermeidlich zu einem Kettfadenbruch.
Der Erfindung liegt die Aufgabe zugrunde, einen Gebergreifer der eingangs genannten Art so auszubilden, daß ein bereitgelegter Schußfaden sicher ergriffen wird, jedoch die Gefahr des Ergreifens eines Kettfadens wesentlich verringert ist.
Diese Aufgabe wird dadurch gelöst, daß der Gebergreifer eine sich in Längsrichtung erstreckende, vorne und hinten sowie auf der der Umlenkführung zugewandten Seite offene, die Umlenkführung umgreifende Hohlkammer bildet.
Der erfindungsgemäße Gebergreifer kann einen bereitgehaltenen Schußfaden gut ergreifen, der aufgrund der Umlenkführung einen von einer möglichen Laufrichtung eines Kettfadens deutlich verschiedenen Verlauf hat, sicher aufnehmen. Andererseits ist der Gefahr relativ gering, daß der Gebergreifer einen nicht korrekt verlaufenden Kettfaden fängt. Darüber hinaus bestehen keine Beschränkungen bezüglich der Abmessungen eines aufzunehmenden Schußfadens.
In Ausgestaltung der Erfindung wird vorgesehen, daß die Mittel zum Aufnehmen eines Schußfadens in verschiedenen Wänden der Hohlkammer angeordnet sind. Damit wird erreicht, daß die Spannung des Schußfadens bei der Mitnahme durch den Gebergreifer stufenweise erhöht wird, so daß die Gefahr von Schußfadenbrüchen begrenzt wird.
In weiterer Ausgestaltung der Erfindung wird vorgesehen, daß die Mittel zum Positionieren in zwei verschiedenen Wänden der Hohlkammer angeordnet sind und einander mit Abstand gegenüberliegen. Damit wird erreicht, daß der Gebergreifer ein Stück des Schußfadens frei in seiner Hohlkammer hält, so daß es sehr gut von einem Nehmergreifer oder auch von einem Nehmerhaken übernommen werden kann.
In weiterer Ausgestaltung der Erfindung wird vorgesehen, daß die Mittel zum Aufnehmen und/oder die Mittel zum Positionieren in Bewegungsrichtung des Gebergreifers bezüglich der Position des bereitgehaltenen Schußfadens zueinander versetzt sind. Damit wird erreicht, daß die Spannung des Schußfadens bei der Mitnahme durch den Gebergreifer stufenweise erhöht wird, so daß die Gefahr von Schußfadenbrüchen weiter begrenzt ist.
In Ausgestaltung der Erfindung wird vorgesehen, daß dem Mittel zum Positionieren, das dem Warenrand eines zu webenden Gewebes zugeordnet ist, als Mittel zum Aufnehmen eine nach innen in den Gebergreifer ragende Lasche zugeordnet ist, die eine zu dem Mittel zum Positionieren führende Führungsfläche bildet. Die dem Warenrand eines zu webenden Gewebes zugewandte Seite des Gebergreifers ist stärker gefährdet bezüglich einer ungewollten Aufnahme eines Kettfadens. Da das Mittel zum Aufnehmen, nämlich die Lasche in den Gebergreifer hineinragt, wird ein möglicher Kontakt dieser Lasche mit einem Kettfaden weitgehend ausgeschlossen.
In weiterer Ausgestaltung der Erfindung wird vorgesehen, daß in dem Gebergreifer eine Fadenklemme untergebracht ist, die bezüglich der Mittel zum Positionieren auf der dem Warenrand zugewandten Seite angeordnet ist. Mit dieser Ausbildung wird erreicht, daß die Fadenklemme nur zum Klemmen des aufgenommenen Schußfadens dient, jedoch nicht zum Positionieren. Damit ist die Position des Schußfadens nur durch die Mittel zum Positionieren definiert, so daß er sich immer an der gleichen Stelle befindet und deshalb sicher von einem Nehmergreifer oder Nehmerhaken übernommen werden kann.
In weiterer Ausgestaltung der Erfindung wird vorgesehen, daß der Gebergreifer aus einer im wesentlichen U-förmigen Platte gebildet ist, die - in Bewegungsrichtung des Gebergreifers gesehen - einen über der Umlenkführung befindlichen Schenkel und einen seitlich neben der Umlenkführung befindlichen Schenkel besitzt. Dabei ist es vorteilhaft, wenn die Mittel zum Aufnehmen - gesehen in der Bewegungsrichtung des Gebergreifers - sich auf gegenüberliegenden Seiten der Umlenkführung befinden.
In weiterer Ausgestaltung der Erfindung wird vorgesehen, daß der Gebergreifer mit einer Gleitfläche versehen ist, die Führungsmitteln zugeordnet ist, in denen ein Halter für den Gebergreifer und/oder für ein Greiferband geführt sind. Dadurch ist es möglich, den Gebergreifer innerhalb des Webfaches direkt zu führen und abzustützen.
Weitere Merkmale und Vorteile der Erfindung ergeben sich aus der nachfolgenden Beschreibung der in den Zeichnungen dargestellten Ausführungsbeispielen.
Fig. 1
zeigt eine perspektivische Ansicht eines Ausschnittes einer Greiferwebmaschine mit einem erfindungsgemäßen Gebergreifer,
Fig. 2
eine Ansicht der Fig. 1 in Richtung des Pfeiles F2 der Fig. 1,
Fig. 3
eine Draufsicht des Ausschnittes der Fig. 1 und 2 in Richtung des Pfeiles F3 der Fig. 2,
Fig. 4
einen Schnitt entlang der Linie IV-IV der Fig. 2,
Fig. 5
eine Ansicht von unten des Ausschnittes der Fig. 2 in Richtung des Pfeiles F5,
Fig. 6
eine Ansicht ähnlich Fig. 1 in einer vorgeschobenen Position des Gebergreifers,
Fig. 7
eine Ansicht des Ausschnittes der Fig. 6 in Richtung des Pfeiles F7 der Fig. 6,
Fig. 8
eine perspektivische Ansicht ähnlich Fig. 1 und 6 in einer noch weiter vorgeschobenen Position des Gebergreifers,
Fig. 9
eine Ansicht in Richtung des Pfeiles F9 der Fig. 8,
Fig. 10
eine perspektivische Ansicht des Ausschnittes nach Fig. 1, 6 und 8 in einer noch weiter vorgeschobenen Position des Gebergreifers,
Fig. 11
eine Ansicht in Richtung des Pfeiles F11 der Fig. 10,
Fig. 12
eine Ansicht ähnlich Fig. 2 auf eine abgewandelte Ausführungsform,
Fig. 13
eine vergrößerte Darstellung des Ausschnittes F13 der Fig. 12,
Fig. 14
eine perspektivische Ansicht ähnlich Fig. 1 einer weiteren abgewandelten Ausführungsform,
Fig. 15
eine Ansicht in Richtung des Pfeiles F15 der Fig. 14,
Fig. 16
eine Ansicht von unten in Richtung des Pfeiles F16 der Fig. 15,
Fig. 17
eine Ansicht ähnlich Fig. 2 einer abgewandelten Ausführungsform während sich der Gebergreifer bereits in einem Webfach befindet,
Fig. 18
eine Ansicht in Richtung des Pfeiles F18 der Fig. 17 und
Fig. 19
eine Ansicht ähnlich Fig. 17 einer abgewandelten Ausführungsform.
Die in Fig. 1 dargestellte Vorrichtung 1 zum Eintragen eines Schußfadens 2 für eine Greiferwebmaschine enthält einen Gebergreifer 3 und eine Umlenkführung 4. Der zuzuführende Schußfaden 2 erstreckt sich von dem Warenrand eines Gewebes 8 durch eine Fadenführungsöse 6 eines Fadenzubringers 5 hindurch zu einem nicht dargestellten Schußfadenvorrat. Der Schußfaden 2 läuft von dem Schußfadenvorrat in Richtung B zu dem Fadenzubringer 5. Der Fadenzubringer 5, der beispielsweise ein Bestandteil einer Fadenzuführeinrichtung entsprechend dem US-Patent 5 400 834 ist, legt den Schußfaden 2 derart auf die Umlenkführung 4 auf, daß er von dem Gebergreifer 3, der sich in seiner Bewegungsrichtung A bewegt aufgenommen wird, innerhalb des Gebergreifers positioniert und geklemmt wird und anschließend mitgenommen wird.
Die Umlenkführung 4 ist bei dem dargestellten Ausführungsbeispiel Bestandteil eines Führungsprofils 9, das ein Greiferband 17 führt, an welchem ein Halter 16 angebracht ist, auf dem der Gebergreifer 3 montiert ist (Fig. 4). Des weiteren sind in Fig. 1 Kettfäden 10, 11 einer Kettfadenschar und Fachbildungsmittel 12, 13 angedeutet, die ein Webfach 14 aus den Kettfäden 10, 11 bilden. Aus Gründen der Deutlichkeit ist eine Weblade mit einem Webblatt nicht dargestellt, die sich zwischen dem Gewebe 8 und den Fachbildungsmitteln 12, 13 befindet.
Die Ansicht nach Fig. 2 zeigt die Position des Gebergreifers zur Umlenkführung 4. Der Schußfaden 2 läuft von der Fadenführungsöse 6 über die Umlenkkante 7 der Umlenkführung 4 zu dem Warenrand des Gewebes 8, mit welchem der zuvor zugeführte Schußfaden nach dem Anschlagen mit Hilfe des Webblattes verbunden bleibt.
Wie aus Fig. 1 bis 5 zu ersehen ist, besteht der Gebergreifer 3 im wesentlichen aus einer gebogenen Platte 15, insbesondere aus einer Edelstahlplatte oder Aluminiumplatte, die mittels eines Halters 16 mit einem Greiferband 17 verbunden ist. Die Platte 15 ist zu einem U-förmigen Querschnitt gebogen, so daß sie eine sich in Längsrichtung des Gebergreifers 3 erstrekkende Hohlkammer 31 bildet. Diese Hohlkammer 31 ist am vorderen und hinteren Ende des Gebergreifers 3 und zu der Umlenkführung 4 hin offen, wie sich aus der weiteren Beschreibung noch ergibt. Wie aus Fig. 1 zu ersehen ist, besitzt die U-förmige Platte 15 einen langen Schenkel, der über der Umlenkführung 4 angeordnet ist, und einen kurzen Schenkel, der seitlich von der Umlenkführung 4 liegt. Wie im nachstehenden noch erläutert werden wird, ist der Gebergreifer mit Mitteln zum Aufnehmen des Schußfadens 2, mit Mitteln zum Positionieren des Schußfadens 2 innerhalb des Gebergreifers 3 und mit Mitteln zum Mitnehmen oder Klemmen des aufgenommenen Schußfadens ausgerüstet. Das vordere Ende des Gebergreifers 3, das im wesentlichen nur aus dem die Schenkel verbindenden Quersteg 32 besteht, ist keilförmig zu einer Spitze 20 angespitzt, wie insbesondere aus Fig. 4 zu ersehen ist. Der längere Schenkel 24 beginnt kurz nach der Spitze 20, wobei seine Größe ausgehend von der Spitze zunimmt. Die schräg verlaufende Unterseite des Querstegs 32 bildet zusammen mit dem in Abstand zu der Spitze 20 beginnenden, kurzen Schenkel eine als Führung gestaltete Aufnahme 18 für den Schußfaden. Der Schußfaden 2 gleitet auf dieser Aufnahme 18 nach unten (Fig. 2) und erreicht dann eine als Mittel zum Positionieren dienende Aussparung 19 des kurzen Schenkels. Wenn der Gebergreifer 3 in seiner Bewegungsrichtung A in Richtung zu dem Webfach 14 bewegt wird, so läuft zuerst die Aufnahme 18 gegen den Schußfaden 2 und führt diesen Schußfaden in die als Mittel zum Positionieren dienende Aussparung 19. Wie aus Fig. 2 zu ersehen ist, läuft die unterhalb der Spitze 20 beginnende, als Aufnahme 18 dienende Führungsfläche als erstes gegen den Abschnitt 2A des Schußfadens 2 an, der sich von der Umlenkkante 7 zu dem Fadenzubringer 5 erstreckt. Dieser Teil 2A des Schußfadens wird somit als erstes kontaktiert und in die als Mittel zum Positionieren dienende Aussparung 19 überführt.
Aus dem längeren Schenkel 24 der U-förmig gebogenen Platte ist eine Lasche 25 ausgeschnitten und nach innen abgebogen, die ein zweites Mittel zum Aufnehmen des Schußfadens 2 bildet. Diese Lasche 25 erstreckt sich schräg nach vorne und bildet anschließend an eine in etwa keilförmig gestaltete Spitze 26 eine Führungsfläche 21, die den Schußfaden schräg nach oben in die Ebene des längeren Schenkels 24 bis zu einer dort vorgesehenen Aussparung 22 führt, die als zweites Mittel zum Positionieren dient. Wie aus Fig. 2 und 7 zu ersehen ist, erfaßt diese als Mittel zum Aufnehmen diendende Lasche 25 den Abschnitt 2B des Schußfadens, der sich zwischen der Umlenkkante 7 und dem Warenrand des Gewebes 8 befindet. Die von der Spitze 26 der Lasche 25 nach unten laufende Kante 27 bildet eine schräge Führung, die bündig an einen Steg 28 des Halters 16 anschließt, der schräg zu dem Fußteil 29 des Halters 16 ausläuft, das in Verlängerung des Greiferbandes 17 angeordnet ist.
Des weiteren enthält der Gebergreifer 3 eine Fadenklemme 30, die innen an dem längeren Schenkel 24 der Platte 15 angebracht ist. Die Fadenklemme 30 befindet sich an einer Stelle, die zwischen der Führungsfläche 21 der Lasche 25 und dem Gewebe 8 liegt. Die Fadenklemme 30 besteht bei dem Ausführungsbeispiel aus einer Blattfeder, die in Bewegungsrichtung A des Gebergreifers verläuft und die an der Unterseite der Platte 15 innen angebracht ist. Die Fadenklemme 30 wirkt mit der Innenseite der Platte 15 zusammen. Die Lasche 25, die als Mittel zum Aufnehmen dient, führt den Schußfadenabschnitt 2B auch der Fadenklemme 30 zu.
Wie aus Fig. 4 zu ersehen ist, ist der Gebergreifer 3 derart gestaltet, daß seine Höhe ausgehend von der Spitze in Richtung zu dem Greiferband 17 stetig zunimmt, so daß es keine Stellen gibt, an denen Kettfäden 10, 11 erfaßt werden können.
Ausgehend von der Spitze erstreckt sich neben der Aufnahme 18 eine Führungsfläche 23 zu dem oberen Schenkel 24 der Platte 15. Ebenso können keine Kettfäden 10, 11 zwischen der Fadenklemme 30 und der Platte 15 geklemmt werden. Die Spitze 26 der Lasche 25 befindet sich in Bewegungsrichtung A in einem sicheren Abstand von der Spitze 20 des Gebergreifers 3, die von dem Quersteg 32 der U-förmig gebogenen Platte 15 gebildet ist. Der Quersteg 32 weist im Bereich der Spitze 26 der Lasche 25 eine derart große Höhe auf, daß die von dem Steg getrennten Kettfäden von der Lasche 25 nicht erfaßt werden können. Sofern sie überhaupt in diesen Bereich gelangen, werden sie von den Führungskanten 27 und 28 in Richtung zu dem Fußteil 29 des Halters 16 abgelenkt. Wie insbesondere aus Fig. 4 zu ersehen ist, ragt die Spitze 26 der Lasche 25 zwar in die Hohlkammer 31 hinein, jedoch nur mit einer Größe, die weniger als die Hälfte der Höhe des Steges 32 beträgt.
Um das Verweben von Schußfäden 2 mit nahezu beliebiger Stärke zu erleichtern, beträgt der Abstand C gemäß Fig. 2 zwischen der Innenseite des längeren Schenkels 24 der Platte 15 und der Umlenkkante 7 des Umlenkteils 4 wenigstens 2mm, vorzugsweise zwischen 3 und 5mm.
Wie beispielsweise aus Fig. 2 zu ersehen ist, ragt die Umlenkkante 7 der Umlenkführung 4 des Schußfadens 2 in die von der Platte 15 gebildete Hohlkammer 31 derart hinein, daß die Mittel zum Aufnehmen des Schußfadens 2, d.h. die von der Spitze 20 des Steges 32 ausgehende Führung 18 und die von der Spitze 26 der Lasche 25 ausgehende Führung 21 jeweils auf gegenüberliegenden Seiten der Umlenkkante 7 liegen. Da die Hohlkammer 31 vorne und hinten offen ist, kann sich der Gebergreifer 3 unbehindert entlang der Umlenkführung 4 bewegen.
Wie aus Fig. 6 bis 11 zu ersehen ist, erfaßt zunächst die an die Spitze 20 des Steges anschließende, als Aufnahme 18 dienende Führungsfläche den Abschnitt 2A des bereitgehaltenen Schußfadens 2, der sich von der Umlenkkante 7 bis zu der Führungsöse 6 des Fadenzubringers 5 erstreckt. Dieser wird nach unten ausgelenkt, bis er in die als Mittel zum Positionieren dienende Aussparung 19 des kurzen Steges gelangt. Danach erfaßt die als Aufnahme dienende Lasche 25 oberhalb ihrer Spitze 26 mit der Führungsfläche 21 den Abschnitt 2B des Schußfadens 2, der sich von dem Warenrand des Gewebes 8 bis zur Umlenkkante 7 erstreckt.
Wie aus Fig. 8 bis 11 zu ersehen ist, wird dabei bei dem weiter Vorwärtsbewegen des Gebergreifers 3 in Richtung A der Schußfaden 2 von der Umlenkkante 7 abgehoben, wobei er in die als Mittel zum Positionieren dienende Aussparung 22 und auch in die Fadenklemme 30 gelangt. Danach wird der Schußfaden mit einer Schlagschere 35, die in Fig. 10 und 11 schematisch dargestellt ist, in dem Bereich zwischen der Fadenklemme 30 und dem Gewebe 8 abgeschnitten. Wie aus Fig. 11 zu ersehen ist, liegt dann ein Abschnitt 2C des Schußfadens 2 frei innerhalb der Hohlkammer 31 zwischen den das Positionieren bestimmenden Aussparungen 19, 22, so daß dieser Schußfadenabschnitt 2C an einer definierten Stelle liegt und sicher von einem Nehmergreifer oder einem Nehmerhaken übernommen werden kann.
Wie beispielsweise aus Fig. 1 zu ersehen ist, verläuft der bereitgehaltene Schußfaden schräg von dem Warenrand des Gewebes 8 zu dem Fadenzubringer 5 über die Umlenkkante 7, d.h. schräg zu der Bewegungsrichtung A des Gebergreifers 3 von dem Gewebe 8 hinweg. Bei dem Aufnehmen und Positionieren des Schußfadens 2 innerhalb des Gebergreifers wird dieser in Bewegungsrichtung A entlang der Umlenkkante 7 bewegt, die in Bewegungsrichtung A entsprechend lang sein muß. Da der Schußfaden 2 nacheinander von den Führungsflächen 18 und 21 aufgenommen und auch nacheinander in den Aussparungen 19 und 22 positioniert und auch in die Schußfadenklemme 30 eingebracht wird, erfolgt eine stufenweise Erhöhung der Spannung in dem Schußfaden, so daß die Gefahr von Schußfadenbrüchen verringert ist. Eine Erhöhung der Spannung des Schußfadens 2 erfolgt, wenn der Schußfaden 2 aufgrund des Führens entlang der Führungsflächen 18 und 21 und/oder auf der Umlenkkante verlängert wird.
In der Praxis werden mehrere Fadenzubringer 5 vorgesehen, die jeweils einen Schußfaden 2 des gleichen Typs oder auch verschiedener Typen auf der Umlenkführung 4 zur Aufnahme und Mitnahme durch den Gebergreifer 3 bereithalten können. An sich wäre es günstig, wenn die Fadenzubringer den betreffenden Schußfaden jeweils in der gleichen Position auf der Umlenkführung 4 ablegen. Aufgrund der Konstruktion des Gebergreifers sind aber auch Abweichungen in der Richtung zulässig, in welcher die verschiedenen Schußfäden 2 ausgehend von dem Warenrand des Gewebes 8 zu dem Fadenzubringer 5 hin auf der Umlenkkante 7 abgelegt werden. Es muß lediglich darauf geachtet werden, daß der Fadenzubringer 5 in eine Höhenposition gebracht wird, in welcher der Abschnitt 2A des Schußfadens unterhalb der Spitze 20 des Steges 32 der U-förmig gebogenen Platte 15 und der Abschnitt 2B des Schußfadens 2 oberhalb der Spitze 26 der Lasche 25 liegen. Es erfolgt eine stufenweise Erhöhung der Spannung in dem jeweiligen Schußfaden 2.
Abweichend von dem Ausführungsbeispiel nach Fig. 1 bis 11 muß selbstverständlich der Schußfaden 2 nicht zwischen einem Fadenzubringer 5 und dem Gewebe 8 bereitgehalten werden. In Fig. 12 ist beispielsweise ein Ausführungsbeispiel dargestellt, bei welcher ein Schußfaden 2 mittels eines Fadenführers 33 bereitgehalten wird, der in einer der Beschreibung US 4 840 203 offenbarten Weise an einer Weblade einer Webmaschine angebracht ist. Im Bereich des Gewebes 8 wird der Schußfaden 2 mittels einer Zuführklemme 34 zugeführt, die über einen Mechanismus entsprechend der US 4 840 203 bewegt wird. Der Schußfaden 2 wird jedoch ebenfalls derart über eine Umlenkkante 7 einer Umlenkführung 4 geführt, daß er sich in der bereits beschriebenen Weise im Bereich der Hohlkammer 31 des Gebergreifers 3 befindet, so daß er unter stufenweise zunehmender Spannung vom Gebergreifer 3 aufgenommen werden kann, wenn dieser sich in Richtung A zu dem Webfach hin bewegt.
Bei dem Ausführungsbeispiel nach Fig. 12 und 13 wird darüber hinaus der Schußfaden mittels der Fadenklemme 30 nicht direkt an der Unterseite der Platte 15 geklemmt. Vielmehr ist ein Zwischenstück 36 aus Metall vorgesehen, das mittels eines oder mehrerer elastischer Elemente 37 an der Platte 15 befestigt ist. Die elastischen Elemente 37 bestehen beispielsweise aus einer gummiartigen elastischen Zwischenlage und Dämmaterial. Bei dieser Ausführungsform ist ferner vorgesehen, daß die Umlenkführung 4 mit der Umlenkkante 7 nicht einteilig mit dem Führungsprofil 9 ist, sondern vielmehr als ein eigenes Bauteil hergestellt und mittels Schrauben 42 o.dgl. an dem Führungsprofil 9 befestigt ist.
Das Ausführungsbeispiel des Gebergreifers 3' nach Fig. 14 bis 16 arbeitet zwar nach dem gleichen Prinzip wie der anhand von Fig. 1 bis 13 erläuterte Gebergreifer 3, jedoch weicht er von diesem konstruktiv ab. Auch bei diesem Ausführungsbeispiel ist eine U-förmig gebogene Platte 15 vorgesehen, die einen oberhalb der Umlenkkante 7 der Umlenkführung 4 befindlichen langen Schenkel und einen seitlich neben der Umlenkführung befindlichen kurzen Schenkel aufweist und die eine Hohlkammer 31 bildet, in welche die Umlenkkante 7 der Umlenkführung 4 derart hineinragt, daß der Schußfaden 2 beidseits der Umlenkführung 4 aufgenommen wird. Bei diesem Ausführungsbeispiel ist der Steg 32 der U-förmigen Platte kürzer als der obere Schenkel, so daß die als Mittel zum Aufnehmen dienende Führungsfläche 39 im wesentlichen an der Oberkante des Steges beginnt und dann zu einer als Mittel zum Positionieren dienenden Aussparung 19 der kurzen Schenkels läuft. Der obere Schenkel bildet eine Spitze 40, die nach innen zu der Hohlkammer hin etwas abgebogen ist, um das Erfassen von Kettfäden zu vermeiden. Von dem längeren Schenkel ist nach innen eine Lasche 25 abgebogen, die eine Spitze 26 bildet, von der eine als Mittel zum Aufnehmen des Schußfadens dienende Führungsfläche 21 zu einer Aussparung 22 führt, die als Mittel zum Positionieren des Schußfadens dient. Ferner ist bei der Ausführungsform nach Fig. 14 bis 16 vorgesehen, daß die Fadenklemme den Schußfaden im Bereich der zum Positionieren dienenden Aussparung 22 gegen die Unterseite des längeren Schenkels der Platte 15 klemmt. Die Klemme besteht auch bei diesem Ausführungsbeispiel aus einem Blattfederstreifen, der an der Innenseite des längeren Schenkels der Platte 15 befestigt ist.
Es ist bekannt (US 5 413 151), das den Gebergreifer 3 antreibende Greiferband 17 und ggf. zusätzlich auch den den Gebergreifer 3 mit dem Greiferband 17 verbindenden Halter 16 innerhalb des Webfaches 14 mittels einzelner Führungselemente zu führen. Derartige Führungselemente 43 sind in Fig. 17 und 18 als Beispiel dargestellt. Diese Führungselemente, die an einer Weblade angebracht sind, die auch das Webblatt 47 trägt, sind in regelmäßigen Abständen verteilt über die Webbreite angeordnet und können durch die Kettfadenschar 11 des Unterfaches hindurch in das Webfach 14 hineinbewegt werden. Bei dem Ausführungsbeispiel weisen die Führungselemente 43 eine der Unterseite des Fußteils 29 des Halters 16 und der Unterseite des Greiferbandes 17 zugeordnete Führungsfläche 48 auf, die sich über die gesamte Unterseite erstreckt. Ferner besitzen sie einen hakenartigen Ansatz 44, der eine Führungsfläche 49 für die dem Webblatt 47 zugewandte Seitenkante des Fußteils 29 des Halters 16 und/oder das Greiferband 17 sowie eine Führungsfläche 52 für den an die betreffende Seitenfläche anschließende Oberseite des Fußteils 29 und/oder des Greiferbandes 17 bilden. Wie insbesondere aus Fig. 17 und 18 zu ersehen ist, sind die Führungselemente im Bereich der schneidenartigen Führungsfläche 48 mit Schrägen 53 und im Bereich des hakenförmigen Ansatzes 44 mit schrägen Flächen 54 angespitzt, um das Eindringen in das Webfach 14 durch die Kettfadenschar 11 hindurch zu erleichtern. Die Schrägen 53 bilden eine zur Anschlaglinie 51 gerichtete Spitze. Wie aus Fig. 17 zu ersehen ist, verläuft die Ebene 50, in welcher die Führungsflächen 48 der Führungselemente 43 liegen, etwas unterhalb der Anschlagkante 51, d.h. des Warenrandes eines Gewebes, gegen welchen das Webblatt 47 einen eingetragenen Schußfaden anschlägt.
Bei dem Ausführungsbeispiel nach Fig. 17 und 18 ist vorgesehen, daß der Gebergreifer 3 des Ausführungsbeispiels nach Fig. 1 bis 13 oder der Gebergreifer 3' nach Fig. 14 bis 16 mit einer Gleitfläche 46 versehen ist, mit welcher er außen an einer Außenfläche 45 der Führungselemente 43 geführt ist. Bei dem Ausführungsbeispiel ist die Gleitfläche 46 ein Abschnitt des kurzen Schenkels der U-förmigen Platte, der sich in Richtung zum Webfach hin nach der zum Positionieren dienenden Aussparung 19 anschließt, der beispielsweise in Fig. 5 und 16 zu sehen ist. Wie insbesondere aus Fig. 17 zu ersehen ist, liegt diese Gleitfläche 46 der Seitenkante des Greiferbandes 17 und/oder des Fußteils 29 des Halters 16 gegenüber, so daß im Bereich des Gebergreifers 3 das Greiferband weitgehend formschlüssig geführt ist. Der Ansatz 44 der Führungselemente 43 ragt in die Hohlkammer 31 des Gebergreifers 3.
Um einen möglichen Verschleiß zwischen der Gleitfläche 46 des Gebergreifers 3 und der Außenfläche 45 der Führungselemente gering zu halten, wird bei einer abgewandelten Ausführungsform vorgesehen, daß der kurze Schenkel der Platte 15, der die Gleitfläche 46 bildet, mit einer Gleitleiste oder einer Beschichtung versehen ist, die aus einem gut gleitfähigen, verschleißfesten Material besteht.
Bei der abgewandelten Ausführungsform nach Fig. 19 weisen die Ansätze 44 der Führungselemente 43 keine der Oberseite des Greiferbandes 17 und des Fußteils 29 des Halters 16 zugeordnete Führungsfläche 52 auf.
Die Erfindung ist nicht auf die dargestellten und erläuterten Ausführungsbeispiele beschränkt. Abwandlungen und insbesondere Kombinationen der einzelnen Ausführungsbeispiele untereinander sind ohne weiteres möglich. Der Schutzumfang wird ausschließlich durch die Patentansprüche bestimmt.

Claims (15)

  1. Gebergreifer (3, 3') für eine Greiferwebmaschine, der mit Mitteln zum Aufnehmen und Positionieren eines Schußfadens (2) versehen ist, der auf einer Umlenkführung (4, 7) aufliegend bereitgehalten ist,
    dadurch gekennzeichnet, daβ der Gebergreifer (3, 3') eine sich in Längsrichtung erstreckende, vorne und hinten sowie auf der der Umlenkführung (4, 7) zugewandten Seite offene, die Umlenkführung (4, 7) umgreifende Hohlkammer (31) bildet.
  2. Gebergreifer nach Anspruch 1, dadurch gekennzeichnet, daß die Mittel (18, 21, 39) zum Aufnehmen eines Schußfadens (2) an zwei verschiedenen Wänden (24, 32) der Hohlkammer (31) angeordnet sind.
  3. Gebergreifer nach Anspruch 1 oder 2, dadurch gekennzeichnet, daß die Mittel (19, 22) zum Positionieren in zwei verschiedenen Wänden (24, 32) der Hohlkammer (31) angeordnet sind und einander mit Abstand gegenüberliegen.
  4. Gebergreifer nach einem der Ansprüche 1 bis 3, dadurch gekennzeichnet, daß die Mittel (18, 21; 39) zum Aufnehmen und/oder die Mittel (19, 22) zum Positionieren in Bewegungsrichtung des Gebergreifers bezüglich der Position des bereitgehaltenen Schußfadens (2) zueinander versetzt sind.
  5. Gebergreifer nach einem der Ansprüche 1 bis 4, dadurch gekennzeichnet, daß dem Mittel (22) zum Positionieren, das dem Warenrand eines zu webenden Gewebes (8) zugewandt ist, als Mittel zum Aufnehmen eine nach innen in den Gebergreifer ragende Lasche (25) zugeordnet ist, die eine zu dem Mittel (22) zum Positionieren führende Führungsfläche (21) bildet.
  6. Gebergreifer nach einem der Ansprüche 1 bis 5, dadurch gekennzeichnet, daß in dem Gebergreifer (3, 3') eine Fadenklemme (30, 41) untergebracht ist, die bezüglich der Mittel (22) zum Positionieren auf der dem Warenrand zugewandten Seite angeordnet ist.
  7. Gebergreifer nach einem der Ansprüche 1 bis 6, dadurch gekennzeichnet, daß er aus einer im wesentlichen U-förmigen Platte (15) gebildet ist, die - in Bewegungsrichtung des Gebergreifers (3) gesehen - einen über der Umlenkführung (4, 7) befindlichen Schenkel (24) und einen seitlich neben der Umlenkführung befindlichen Schenkel besitzt.
  8. Gebergreifer nach Anspruch 7, dadurch gekennzeichnet, daß die Mittel (18, 21; 39) zum Aufnehmen - gesehen in der Bewegungsrichtung des Gebergreifers - sich auf gegenüberliegenden Seiten der Umlenkführung (4, 7) befinden.
  9. Gebergreifer nach Anspruch 7 oder 8, dadurch gekennzeichnet, daß an dem oberen Schenkel (24) ein Mittel (22) zum Positionieren und eine Fadenklemme (30, 41) angeordnet sind, und an dem seitlichen Schenkel ein weiteres Mittel (19) zum Positionieren angeordnet ist.
  10. Gebergreifer nach einem der Ansprüche 7 bis 9, dadurch gekennzeichnet, daß als Mittel zum Aufnehmen aus dem oberen Schenkel (24) eine Lasche (25) herausgebogen ist, die nach innen in den Gebergreifer (3) ragt und die eine zu einer als Mittel zum Positionieren dienende Aussparung (22) führende Führungsfläche (21) bildet.
  11. Gebergreifer nach einem der Ansprüche 7 bis 10, dadurch gekennzeichnet, daß die Platte (15) im Bereich des vorderen Endes keilförmig derart angespitzt ist, daß eine im wesentlichen nur aus dem Quersteg (32) gebildete Spitze (20) vorhanden ist.
  12. Gebergreifer nach Anspruch 11, dadurch gekennzeichnet, daß der Quersteg (32) ausgehend von der Spitze (20) als Mittel zum Aufnehmen dient und eine Führungsfläche (18) bildet, die zu einer als Mittel zum Positionieren dienenden Aussparung (19) des seitlichen Schenkels führt.
  13. Gebergreifer nach einem der Ansprüche 1 bis 12, dadurch gekennzeichnet, daß der Gebergreifer (3) mit einer Gleitfläche (46) versehen ist, die Führungselementen (43) zugeordnet ist, in denen ein Halter (16) für den Gebergreifer (3) und/oder ein Greiferband (17) innerhalb eines Webfaches (14) geführt sind.
  14. Gebergreifer nach Anspruch 13, dadurch gekennzeichnet, daß die Gleitfläche (46) an dem seitlichen Schenkel der Platte (15) - in Bewegungsrichtung in das Webfach (14) hinein - nach der zum Positionieren dienenden Aussparung (19) vorgesehen ist.
  15. Gebergreifer nach einem der Ansprüche 1 bis 14, dadurch gekennzeichnet, daß die Umlenkführung (4, 7) an einem stationären Führungselement (9) angeordnet ist, in welchem das Greiferband (17) und/oder der Halter (16) des Gebergreifers (3) geführt sind.
EP97928158A 1996-06-07 1997-06-07 Gebergreifer für eine greiferwebmaschine Expired - Lifetime EP0906461B1 (de)

Applications Claiming Priority (5)

Application Number Priority Date Filing Date Title
BE9600520 1996-06-07
BE9600520A BE1010334A3 (nl) 1996-06-07 1996-06-07 Inrichting voor het inbrengen van een inslagdraad bij een grijperweefmachine.
BE9700210A BE1011038A6 (nl) 1997-03-11 1997-03-11 Inrichting voor het inbrengen van een inslagdraad bij een grijperweefmachine en gevergrijper.
BE9700210 1997-03-11
PCT/EP1997/002973 WO1997047792A1 (de) 1996-06-07 1997-06-07 Gebergreifer für eine greiferwebmaschine

Publications (2)

Publication Number Publication Date
EP0906461A1 EP0906461A1 (de) 1999-04-07
EP0906461B1 true EP0906461B1 (de) 2001-11-28

Family

ID=25663044

Family Applications (1)

Application Number Title Priority Date Filing Date
EP97928158A Expired - Lifetime EP0906461B1 (de) 1996-06-07 1997-06-07 Gebergreifer für eine greiferwebmaschine

Country Status (4)

Country Link
US (1) US6179014B1 (de)
EP (1) EP0906461B1 (de)
DE (1) DE59705563D1 (de)
WO (1) WO1997047792A1 (de)

Cited By (2)

* Cited by examiner, † Cited by third party
Publication number Priority date Publication date Assignee Title
WO2005047584A1 (de) * 2003-10-21 2005-05-26 Picanol N.V. Verfahren zum auswählen und zustellen von schussfäden und greiferwebmaschine mit einer vorrichtung zum auswählen und zustellen von schussfäden
WO2008104355A1 (en) * 2007-02-26 2008-09-04 Picanol N.V. A gripper weaving machine provided with a bringer gripper and a deflecting guide

Families Citing this family (7)

* Cited by examiner, † Cited by third party
Publication number Priority date Publication date Assignee Title
IT1303764B1 (it) * 1998-11-17 2001-02-23 S M I T S R L Societa Macchine Pinza di condotti per telai senza navetta particolarmente adatta perl'introduzione contemporanea di piu' trame nella bocca di ordito
ATE447059T1 (de) * 2002-09-20 2009-11-15 Picanol Nv Gebergreifer für eine greiferwebmaschine
DE10349644A1 (de) * 2003-10-21 2005-06-02 Picanol N.V. Vorrichtung zum Auswählen und Zustellen von Schussfäden zu einem Greifer einer Greiferwebmaschine
EP1724383B1 (de) * 2005-05-17 2008-12-31 Promatech S.p.A. Bringergreifer für Webmaschinen mit einer (Anti-Schlingen-)Vorrichtung zur Vermeidung von vorzeitigem Greifen des Schussfadens
EP1918437A1 (de) * 2006-11-02 2008-05-07 Sultex AG Verfahren und Vorrichtung zum Eintragen eines Schussfadens
EP2037023A1 (de) * 2007-09-12 2009-03-18 Sultex AG Fadenklemme für einen Greiferkopf und Verfahren zum Betreiben derselben
BE1026412B1 (nl) * 2018-06-21 2020-01-30 Nv Michel Van De Wiele Gevergrijperkop

Family Cites Families (9)

* Cited by examiner, † Cited by third party
Publication number Priority date Publication date Assignee Title
JPS5922128Y2 (ja) * 1979-07-10 1984-07-02 株式会社豊田自動織機製作所 無杼織機における緯入れ装置
DE3565132D1 (en) * 1984-04-06 1988-10-27 Picanol Nv Weft cancellation mechanism for gripper looms
NL8600857A (nl) * 1986-04-03 1987-11-02 Picanol Nv Werkwijze voor het klemmen, vasthouden en presenteren van inslagdraden bij grijperweefmachines en inrichting hiertoe aangewend.
IT1238606B (it) * 1990-01-26 1993-08-18 Nuovo Pignone Spa Dispositivo perfezionato di pinzatura del filo di trama in un telaio tessile senza navetta
EP0441099B1 (de) * 1990-02-05 1996-01-31 Sulzer RàœTi Ag Bringergreifer für Greiferwebmaschinen
IT1245579B (it) * 1991-03-22 1994-09-29 Somet Soc Mec Tessile Pinza portante per telai di tessitura senza navetta
BE1006347A3 (nl) * 1992-11-16 1994-07-26 Picanol Nv Inrichting voor het presenteren van inslagdraden bij weefmachines.
IT1290838B1 (it) * 1996-02-27 1998-12-14 Nuovo Pignone Spa Pinza di condotta perfezionata per telaio tessile a pinze
DE59606723D1 (de) * 1996-06-14 2001-05-10 Rueti Ag Maschf Tragkörper für eine Fadenklemme und Bringergreifer für eine Greiferwebmaschine, mit Tragkörper

Cited By (3)

* Cited by examiner, † Cited by third party
Publication number Priority date Publication date Assignee Title
WO2005047584A1 (de) * 2003-10-21 2005-05-26 Picanol N.V. Verfahren zum auswählen und zustellen von schussfäden und greiferwebmaschine mit einer vorrichtung zum auswählen und zustellen von schussfäden
WO2008104355A1 (en) * 2007-02-26 2008-09-04 Picanol N.V. A gripper weaving machine provided with a bringer gripper and a deflecting guide
BE1017477A3 (nl) * 2007-02-26 2008-10-07 Picanol Nv Een grijperweefmachine voorzien van een gevergrijper en een ombuiggeleiding.

Also Published As

Publication number Publication date
WO1997047792A1 (de) 1997-12-18
US6179014B1 (en) 2001-01-30
EP0906461A1 (de) 1999-04-07
DE59705563D1 (de) 2002-01-10

Similar Documents

Publication Publication Date Title
DE3136615C2 (de) Zubring- und Abnehmgreifer für den Schußfaden einer schützenlosen Webmaschine
DE2845299C2 (de) Schützenlose Greifer-Webmaschine
EP0906461B1 (de) Gebergreifer für eine greiferwebmaschine
DE1785385B2 (de) Zubringergreifer fuer webmaschinen mit kontinuierlicher schussfadenzufuhr
EP0468916B1 (de) Greiferwebmaschine mit Führungszähnen für die Greifer
EP0441099B1 (de) Bringergreifer für Greiferwebmaschinen
DE68916602T2 (de) Vorrichtung zur Steuerung der Bewegung der Schusseintragsgreifer im Fach von schützenlosen Webmaschinen.
DE2643627C2 (de) Bringergreifer für Webmaschinen mit Entnahme des Schußfadens von ortsfesten Spulen
DE2907540C2 (de) Nehmergreifer für Webmaschinen mit Entnahme des Schußfadens von ortsfesten Spulen
DE3926637A1 (de) Schussfadeneintragsgreiferstange fuer einen schuetzenlosen webstuhl
CH660043A5 (de) Vorrichtung an einer schuetzenlosen webmaschine zum bilden einer gewebekante.
DE3003105C2 (de)
DE2642809A1 (de) Nehmergreifer fuer webmaschinen mit entnahme des schussfadens von ortsfesten spulen
EP0624671B1 (de) Fadenhalter für einen Bringergreifer und Greiferwebmaschine mit Fadenhalter
DE3421638C2 (de) Webblatt mit integriertem Eintragkanal für eine schützenlose Webmaschine mit pneumatischem Schußfadeneintrag
WO1998044180A1 (de) Greiferwebmaschine
DE69703711T2 (de) Bringergreifer für eine Greiferwebmaschine
EP0457718B1 (de) Greiferklemme für Webmaschinen
DE2622397A1 (de) Schussfaden-nehmertraeger fuer webmaschinen
DE60220788T2 (de) Verbesserungen an Schussfadengreifern für Webmaschinen und an Webmaschinen mit Führungsmitteln dafür
DE69211392T2 (de) Mitnehmergreifer für schützenlose Webmaschinen, insbesondere zum Weben von synthetischen Fäden
EP0963469B1 (de) Greiferwebmaschine
EP0811712B1 (de) Fadenklemme für einen Bringergreifer und Bringergreifer mit Fadenklemme
DE2330117A1 (de) Schuetzenloser webstuhl mit einer schussfadengreiferfuehrung
CH635624A5 (de) Vorrichtung an schuetzenloser webmaschine zur uebergabe der schussfadenspitze.

Legal Events

Date Code Title Description
PUAI Public reference made under article 153(3) epc to a published international application that has entered the european phase

Free format text: ORIGINAL CODE: 0009012

17P Request for examination filed

Effective date: 19980929

AK Designated contracting states

Kind code of ref document: A1

Designated state(s): BE CH DE FR GB IT LI

GRAG Despatch of communication of intention to grant

Free format text: ORIGINAL CODE: EPIDOS AGRA

17Q First examination report despatched

Effective date: 20010228

GRAG Despatch of communication of intention to grant

Free format text: ORIGINAL CODE: EPIDOS AGRA

GRAH Despatch of communication of intention to grant a patent

Free format text: ORIGINAL CODE: EPIDOS IGRA

GRAH Despatch of communication of intention to grant a patent

Free format text: ORIGINAL CODE: EPIDOS IGRA

GRAA (expected) grant

Free format text: ORIGINAL CODE: 0009210

AK Designated contracting states

Kind code of ref document: B1

Designated state(s): BE CH DE FR GB IT LI

PG25 Lapsed in a contracting state [announced via postgrant information from national office to epo]

Ref country code: GB

Free format text: LAPSE BECAUSE OF FAILURE TO SUBMIT A TRANSLATION OF THE DESCRIPTION OR TO PAY THE FEE WITHIN THE PRESCRIBED TIME-LIMIT

Effective date: 20011128

REG Reference to a national code

Ref country code: CH

Ref legal event code: NV

Representative=s name: PATENTANWALTSBUERO G. PETSCHNER

Ref country code: CH

Ref legal event code: EP

REG Reference to a national code

Ref country code: GB

Ref legal event code: IF02

REF Corresponds to:

Ref document number: 59705563

Country of ref document: DE

Date of ref document: 20020110

ET Fr: translation filed
GBV Gb: ep patent (uk) treated as always having been void in accordance with gb section 77(7)/1977 [no translation filed]

Effective date: 20011128

PLBQ Unpublished change to opponent data

Free format text: ORIGINAL CODE: EPIDOS OPPO

PLBI Opposition filed

Free format text: ORIGINAL CODE: 0009260

PLBF Reply of patent proprietor to notice(s) of opposition

Free format text: ORIGINAL CODE: EPIDOS OBSO

26 Opposition filed

Opponent name: PROMATECH S.P.A.

Effective date: 20020821

PLBF Reply of patent proprietor to notice(s) of opposition

Free format text: ORIGINAL CODE: EPIDOS OBSO

PLAY Examination report in opposition despatched + time limit

Free format text: ORIGINAL CODE: EPIDOSNORE2

PLBD Termination of opposition procedure: decision despatched

Free format text: ORIGINAL CODE: EPIDOSNOPC1

PLBM Termination of opposition procedure: date of legal effect published

Free format text: ORIGINAL CODE: 0009276

STAA Information on the status of an ep patent application or granted ep patent

Free format text: STATUS: OPPOSITION PROCEDURE CLOSED

27C Opposition proceedings terminated

Effective date: 20041210

REG Reference to a national code

Ref country code: CH

Ref legal event code: NV

Representative=s name: ZIMMERLI, WAGNER & PARTNER AG

REG Reference to a national code

Ref country code: CH

Ref legal event code: PFA

Owner name: PICANOL N.V.

Free format text: PICANOL N.V.#POLENLAAN 3-7#8900 IEPER (BE) -TRANSFER TO- PICANOL N.V.#POLENLAAN 3-7#8900 IEPER (BE)

REG Reference to a national code

Ref country code: DE

Ref legal event code: R082

Ref document number: 59705563

Country of ref document: DE

Representative=s name: PATENTANWAELTE RUFF, WILHELM, BEIER, DAUSTER &, DE

REG Reference to a national code

Ref country code: DE

Ref legal event code: R082

Ref document number: 59705563

Country of ref document: DE

Representative=s name: PATENTANWAELTE RUFF, WILHELM, BEIER, DAUSTER &, DE

Effective date: 20120814

Ref country code: DE

Ref legal event code: R081

Ref document number: 59705563

Country of ref document: DE

Owner name: PICANOL, BE

Free format text: FORMER OWNER: PICANOL N.V., IEPER, BE

Effective date: 20120814

REG Reference to a national code

Ref country code: CH

Ref legal event code: NV

Representative=s name: WAGNER PATENT AG, CH

REG Reference to a national code

Ref country code: FR

Ref legal event code: PLFP

Year of fee payment: 20

PGFP Annual fee paid to national office [announced via postgrant information from national office to epo]

Ref country code: DE

Payment date: 20160617

Year of fee payment: 20

Ref country code: CH

Payment date: 20160621

Year of fee payment: 20

PGFP Annual fee paid to national office [announced via postgrant information from national office to epo]

Ref country code: BE

Payment date: 20160621

Year of fee payment: 20

Ref country code: FR

Payment date: 20160621

Year of fee payment: 20

PGFP Annual fee paid to national office [announced via postgrant information from national office to epo]

Ref country code: IT

Payment date: 20160621

Year of fee payment: 20

REG Reference to a national code

Ref country code: DE

Ref legal event code: R071

Ref document number: 59705563

Country of ref document: DE

REG Reference to a national code

Ref country code: CH

Ref legal event code: PL