CN100594955C - 符合人类工程学的可调整的带通风孔罩的呼吸面具组件 - Google Patents
符合人类工程学的可调整的带通风孔罩的呼吸面具组件 Download PDFInfo
- Publication number
- CN100594955C CN100594955C CN03133029A CN03133029A CN100594955C CN 100594955 C CN100594955 C CN 100594955C CN 03133029 A CN03133029 A CN 03133029A CN 03133029 A CN03133029 A CN 03133029A CN 100594955 C CN100594955 C CN 100594955C
- Authority
- CN
- China
- Prior art keywords
- support
- liner
- assembly
- mask
- winding pipe
- Prior art date
- Legal status (The legal status is an assumption and is not a legal conclusion. Google has not performed a legal analysis and makes no representation as to the accuracy of the status listed.)
- Expired - Fee Related
Links
- 230000000241 respiratory effect Effects 0.000 title claims abstract description 31
- 238000004804 winding Methods 0.000 claims description 52
- 230000000694 effects Effects 0.000 claims description 6
- 238000003780 insertion Methods 0.000 claims description 6
- 230000037431 insertion Effects 0.000 claims description 6
- 230000013011 mating Effects 0.000 claims 8
- 239000013536 elastomeric material Substances 0.000 claims 2
- 210000001331 nose Anatomy 0.000 description 103
- 239000010408 film Substances 0.000 description 70
- 238000007789 sealing Methods 0.000 description 40
- 210000003128 head Anatomy 0.000 description 36
- 239000000463 material Substances 0.000 description 27
- 238000011282 treatment Methods 0.000 description 26
- 239000007789 gas Substances 0.000 description 21
- 238000000034 method Methods 0.000 description 18
- 238000013461 design Methods 0.000 description 17
- 238000005452 bending Methods 0.000 description 15
- 230000008859 change Effects 0.000 description 12
- 238000010276 construction Methods 0.000 description 12
- 210000001061 forehead Anatomy 0.000 description 12
- 230000007704 transition Effects 0.000 description 12
- 210000000845 cartilage Anatomy 0.000 description 11
- 238000012423 maintenance Methods 0.000 description 11
- 229910052751 metal Inorganic materials 0.000 description 11
- 239000002184 metal Substances 0.000 description 11
- 230000005484 gravity Effects 0.000 description 10
- 230000008569 process Effects 0.000 description 10
- 230000007246 mechanism Effects 0.000 description 9
- 238000004519 manufacturing process Methods 0.000 description 8
- 210000003928 nasal cavity Anatomy 0.000 description 7
- 229920003023 plastic Polymers 0.000 description 7
- VYPSYNLAJGMNEJ-UHFFFAOYSA-N Silicium dioxide Chemical compound O=[Si]=O VYPSYNLAJGMNEJ-UHFFFAOYSA-N 0.000 description 6
- 230000008878 coupling Effects 0.000 description 6
- 238000010168 coupling process Methods 0.000 description 6
- 238000005859 coupling reaction Methods 0.000 description 6
- 239000004033 plastic Substances 0.000 description 6
- 230000029058 respiratory gaseous exchange Effects 0.000 description 6
- 239000000741 silica gel Substances 0.000 description 6
- 229910002027 silica gel Inorganic materials 0.000 description 6
- 230000008901 benefit Effects 0.000 description 5
- 238000000465 moulding Methods 0.000 description 5
- 230000000007 visual effect Effects 0.000 description 5
- CURLTUGMZLYLDI-UHFFFAOYSA-N Carbon dioxide Chemical compound O=C=O CURLTUGMZLYLDI-UHFFFAOYSA-N 0.000 description 4
- 230000015572 biosynthetic process Effects 0.000 description 4
- 230000006835 compression Effects 0.000 description 4
- 238000007906 compression Methods 0.000 description 4
- 230000001815 facial effect Effects 0.000 description 4
- 230000000712 assembly Effects 0.000 description 3
- 238000000429 assembly Methods 0.000 description 3
- 230000004888 barrier function Effects 0.000 description 3
- 239000011230 binding agent Substances 0.000 description 3
- 238000009826 distribution Methods 0.000 description 3
- 229920001971 elastomer Polymers 0.000 description 3
- 239000000806 elastomer Substances 0.000 description 3
- 210000001508 eye Anatomy 0.000 description 3
- 230000002349 favourable effect Effects 0.000 description 3
- 238000002372 labelling Methods 0.000 description 3
- 239000000203 mixture Substances 0.000 description 3
- -1 polypropylene Polymers 0.000 description 3
- 230000009467 reduction Effects 0.000 description 3
- 230000001105 regulatory effect Effects 0.000 description 3
- 230000007958 sleep Effects 0.000 description 3
- 210000004894 snout Anatomy 0.000 description 3
- 239000007787 solid Substances 0.000 description 3
- 238000002560 therapeutic procedure Methods 0.000 description 3
- CWYNVVGOOAEACU-UHFFFAOYSA-N Fe2+ Chemical compound [Fe+2] CWYNVVGOOAEACU-UHFFFAOYSA-N 0.000 description 2
- 208000030984 MIRAGE syndrome Diseases 0.000 description 2
- 239000004743 Polypropylene Substances 0.000 description 2
- 230000003321 amplification Effects 0.000 description 2
- 210000003484 anatomy Anatomy 0.000 description 2
- QVGXLLKOCUKJST-UHFFFAOYSA-N atomic oxygen Chemical compound [O] QVGXLLKOCUKJST-UHFFFAOYSA-N 0.000 description 2
- 229910002092 carbon dioxide Inorganic materials 0.000 description 2
- 238000004140 cleaning Methods 0.000 description 2
- 230000000295 complement effect Effects 0.000 description 2
- 239000007799 cork Substances 0.000 description 2
- 230000000994 depressogenic effect Effects 0.000 description 2
- 238000010586 diagram Methods 0.000 description 2
- 230000008034 disappearance Effects 0.000 description 2
- 239000004744 fabric Substances 0.000 description 2
- 239000012530 fluid Substances 0.000 description 2
- 239000006260 foam Substances 0.000 description 2
- 239000003292 glue Substances 0.000 description 2
- 210000004247 hand Anatomy 0.000 description 2
- 238000002347 injection Methods 0.000 description 2
- 239000007924 injection Substances 0.000 description 2
- 239000010410 layer Substances 0.000 description 2
- 239000012528 membrane Substances 0.000 description 2
- 230000004899 motility Effects 0.000 description 2
- 238000003199 nucleic acid amplification method Methods 0.000 description 2
- 229910052760 oxygen Inorganic materials 0.000 description 2
- 239000001301 oxygen Substances 0.000 description 2
- 238000005192 partition Methods 0.000 description 2
- 230000002093 peripheral effect Effects 0.000 description 2
- 229920001155 polypropylene Polymers 0.000 description 2
- TVLSRXXIMLFWEO-UHFFFAOYSA-N prochloraz Chemical compound C1=CN=CN1C(=O)N(CCC)CCOC1=C(Cl)C=C(Cl)C=C1Cl TVLSRXXIMLFWEO-UHFFFAOYSA-N 0.000 description 2
- 239000012858 resilient material Substances 0.000 description 2
- 238000000926 separation method Methods 0.000 description 2
- 201000002859 sleep apnea Diseases 0.000 description 2
- 230000000638 stimulation Effects 0.000 description 2
- 238000012360 testing method Methods 0.000 description 2
- 229920002725 thermoplastic elastomer Polymers 0.000 description 2
- 208000019901 Anxiety disease Diseases 0.000 description 1
- 206010009244 Claustrophobia Diseases 0.000 description 1
- PIJDIPDQQMXWEM-UHFFFAOYSA-N N-methyl-4,6,7-trihydroxy-1,2,3,4-tetrahydroisoquinoline Chemical compound OC1=C(O)C=C2CN(C)CC(O)C2=C1 PIJDIPDQQMXWEM-UHFFFAOYSA-N 0.000 description 1
- 229910052779 Neodymium Inorganic materials 0.000 description 1
- 239000004677 Nylon Substances 0.000 description 1
- 229920000571 Nylon 11 Polymers 0.000 description 1
- 229910000831 Steel Inorganic materials 0.000 description 1
- DHKHKXVYLBGOIT-UHFFFAOYSA-N acetaldehyde Diethyl Acetal Natural products CCOC(C)OCC DHKHKXVYLBGOIT-UHFFFAOYSA-N 0.000 description 1
- 125000002777 acetyl group Chemical class [H]C([H])([H])C(*)=O 0.000 description 1
- 230000009471 action Effects 0.000 description 1
- 230000004913 activation Effects 0.000 description 1
- 230000006978 adaptation Effects 0.000 description 1
- 239000000853 adhesive Substances 0.000 description 1
- 230000001070 adhesive effect Effects 0.000 description 1
- 230000036506 anxiety Effects 0.000 description 1
- 230000006399 behavior Effects 0.000 description 1
- 230000000903 blocking effect Effects 0.000 description 1
- 239000001569 carbon dioxide Substances 0.000 description 1
- 238000006243 chemical reaction Methods 0.000 description 1
- 239000002131 composite material Substances 0.000 description 1
- 150000001875 compounds Chemical class 0.000 description 1
- 238000012937 correction Methods 0.000 description 1
- 238000000354 decomposition reaction Methods 0.000 description 1
- 230000002950 deficient Effects 0.000 description 1
- 238000007599 discharging Methods 0.000 description 1
- 238000005516 engineering process Methods 0.000 description 1
- 239000003344 environmental pollutant Substances 0.000 description 1
- 238000000605 extraction Methods 0.000 description 1
- 210000000887 face Anatomy 0.000 description 1
- 239000012467 final product Substances 0.000 description 1
- 210000003811 finger Anatomy 0.000 description 1
- 238000009434 installation Methods 0.000 description 1
- 238000004898 kneading Methods 0.000 description 1
- 238000005259 measurement Methods 0.000 description 1
- 210000000214 mouth Anatomy 0.000 description 1
- 210000000537 nasal bone Anatomy 0.000 description 1
- QEFYFXOXNSNQGX-UHFFFAOYSA-N neodymium atom Chemical compound [Nd] QEFYFXOXNSNQGX-UHFFFAOYSA-N 0.000 description 1
- 229920001778 nylon Polymers 0.000 description 1
- 230000003287 optical effect Effects 0.000 description 1
- 238000005457 optimization Methods 0.000 description 1
- 238000012856 packing Methods 0.000 description 1
- 208000019899 phobic disease Diseases 0.000 description 1
- 238000003825 pressing Methods 0.000 description 1
- 239000000047 product Substances 0.000 description 1
- 230000002035 prolonged effect Effects 0.000 description 1
- 210000000697 sensory organ Anatomy 0.000 description 1
- 238000009958 sewing Methods 0.000 description 1
- 238000007493 shaping process Methods 0.000 description 1
- 229920000260 silastic Polymers 0.000 description 1
- 239000002356 single layer Substances 0.000 description 1
- 239000007779 soft material Substances 0.000 description 1
- 230000005477 standard model Effects 0.000 description 1
- 238000013179 statistical model Methods 0.000 description 1
- 239000010959 steel Substances 0.000 description 1
- 239000000126 substance Substances 0.000 description 1
- 239000000725 suspension Substances 0.000 description 1
- 229920002994 synthetic fiber Polymers 0.000 description 1
- 239000010409 thin film Substances 0.000 description 1
- 210000003813 thumb Anatomy 0.000 description 1
- 238000011269 treatment regimen Methods 0.000 description 1
- 208000029257 vision disease Diseases 0.000 description 1
- XLYOFNOQVPJJNP-UHFFFAOYSA-N water Substances O XLYOFNOQVPJJNP-UHFFFAOYSA-N 0.000 description 1
Images
Classifications
-
- A—HUMAN NECESSITIES
- A61—MEDICAL OR VETERINARY SCIENCE; HYGIENE
- A61M—DEVICES FOR INTRODUCING MEDIA INTO, OR ONTO, THE BODY; DEVICES FOR TRANSDUCING BODY MEDIA OR FOR TAKING MEDIA FROM THE BODY; DEVICES FOR PRODUCING OR ENDING SLEEP OR STUPOR
- A61M16/00—Devices for influencing the respiratory system of patients by gas treatment, e.g. ventilators; Tracheal tubes
- A61M16/08—Bellows; Connecting tubes ; Water traps; Patient circuits
- A61M16/0816—Joints or connectors
-
- A—HUMAN NECESSITIES
- A61—MEDICAL OR VETERINARY SCIENCE; HYGIENE
- A61M—DEVICES FOR INTRODUCING MEDIA INTO, OR ONTO, THE BODY; DEVICES FOR TRANSDUCING BODY MEDIA OR FOR TAKING MEDIA FROM THE BODY; DEVICES FOR PRODUCING OR ENDING SLEEP OR STUPOR
- A61M16/00—Devices for influencing the respiratory system of patients by gas treatment, e.g. ventilators; Tracheal tubes
- A61M16/0057—Pumps therefor
-
- A—HUMAN NECESSITIES
- A61—MEDICAL OR VETERINARY SCIENCE; HYGIENE
- A61M—DEVICES FOR INTRODUCING MEDIA INTO, OR ONTO, THE BODY; DEVICES FOR TRANSDUCING BODY MEDIA OR FOR TAKING MEDIA FROM THE BODY; DEVICES FOR PRODUCING OR ENDING SLEEP OR STUPOR
- A61M16/00—Devices for influencing the respiratory system of patients by gas treatment, e.g. ventilators; Tracheal tubes
- A61M16/0057—Pumps therefor
- A61M16/0066—Blowers or centrifugal pumps
-
- A—HUMAN NECESSITIES
- A61—MEDICAL OR VETERINARY SCIENCE; HYGIENE
- A61M—DEVICES FOR INTRODUCING MEDIA INTO, OR ONTO, THE BODY; DEVICES FOR TRANSDUCING BODY MEDIA OR FOR TAKING MEDIA FROM THE BODY; DEVICES FOR PRODUCING OR ENDING SLEEP OR STUPOR
- A61M16/00—Devices for influencing the respiratory system of patients by gas treatment, e.g. ventilators; Tracheal tubes
- A61M16/06—Respiratory or anaesthetic masks
-
- A—HUMAN NECESSITIES
- A61—MEDICAL OR VETERINARY SCIENCE; HYGIENE
- A61M—DEVICES FOR INTRODUCING MEDIA INTO, OR ONTO, THE BODY; DEVICES FOR TRANSDUCING BODY MEDIA OR FOR TAKING MEDIA FROM THE BODY; DEVICES FOR PRODUCING OR ENDING SLEEP OR STUPOR
- A61M16/00—Devices for influencing the respiratory system of patients by gas treatment, e.g. ventilators; Tracheal tubes
- A61M16/06—Respiratory or anaesthetic masks
- A61M16/0605—Means for improving the adaptation of the mask to the patient
-
- A—HUMAN NECESSITIES
- A61—MEDICAL OR VETERINARY SCIENCE; HYGIENE
- A61M—DEVICES FOR INTRODUCING MEDIA INTO, OR ONTO, THE BODY; DEVICES FOR TRANSDUCING BODY MEDIA OR FOR TAKING MEDIA FROM THE BODY; DEVICES FOR PRODUCING OR ENDING SLEEP OR STUPOR
- A61M16/00—Devices for influencing the respiratory system of patients by gas treatment, e.g. ventilators; Tracheal tubes
- A61M16/06—Respiratory or anaesthetic masks
- A61M16/0605—Means for improving the adaptation of the mask to the patient
- A61M16/0616—Means for improving the adaptation of the mask to the patient with face sealing means comprising a flap or membrane projecting inwards, such that sealing increases with increasing inhalation gas pressure
-
- A—HUMAN NECESSITIES
- A61—MEDICAL OR VETERINARY SCIENCE; HYGIENE
- A61M—DEVICES FOR INTRODUCING MEDIA INTO, OR ONTO, THE BODY; DEVICES FOR TRANSDUCING BODY MEDIA OR FOR TAKING MEDIA FROM THE BODY; DEVICES FOR PRODUCING OR ENDING SLEEP OR STUPOR
- A61M16/00—Devices for influencing the respiratory system of patients by gas treatment, e.g. ventilators; Tracheal tubes
- A61M16/06—Respiratory or anaesthetic masks
- A61M16/0605—Means for improving the adaptation of the mask to the patient
- A61M16/0616—Means for improving the adaptation of the mask to the patient with face sealing means comprising a flap or membrane projecting inwards, such that sealing increases with increasing inhalation gas pressure
- A61M16/0622—Means for improving the adaptation of the mask to the patient with face sealing means comprising a flap or membrane projecting inwards, such that sealing increases with increasing inhalation gas pressure having an underlying cushion
-
- A—HUMAN NECESSITIES
- A61—MEDICAL OR VETERINARY SCIENCE; HYGIENE
- A61M—DEVICES FOR INTRODUCING MEDIA INTO, OR ONTO, THE BODY; DEVICES FOR TRANSDUCING BODY MEDIA OR FOR TAKING MEDIA FROM THE BODY; DEVICES FOR PRODUCING OR ENDING SLEEP OR STUPOR
- A61M16/00—Devices for influencing the respiratory system of patients by gas treatment, e.g. ventilators; Tracheal tubes
- A61M16/06—Respiratory or anaesthetic masks
- A61M16/0666—Nasal cannulas or tubing
-
- A—HUMAN NECESSITIES
- A61—MEDICAL OR VETERINARY SCIENCE; HYGIENE
- A61M—DEVICES FOR INTRODUCING MEDIA INTO, OR ONTO, THE BODY; DEVICES FOR TRANSDUCING BODY MEDIA OR FOR TAKING MEDIA FROM THE BODY; DEVICES FOR PRODUCING OR ENDING SLEEP OR STUPOR
- A61M16/00—Devices for influencing the respiratory system of patients by gas treatment, e.g. ventilators; Tracheal tubes
- A61M16/06—Respiratory or anaesthetic masks
- A61M16/0683—Holding devices therefor
-
- A—HUMAN NECESSITIES
- A61—MEDICAL OR VETERINARY SCIENCE; HYGIENE
- A61M—DEVICES FOR INTRODUCING MEDIA INTO, OR ONTO, THE BODY; DEVICES FOR TRANSDUCING BODY MEDIA OR FOR TAKING MEDIA FROM THE BODY; DEVICES FOR PRODUCING OR ENDING SLEEP OR STUPOR
- A61M16/00—Devices for influencing the respiratory system of patients by gas treatment, e.g. ventilators; Tracheal tubes
- A61M16/08—Bellows; Connecting tubes ; Water traps; Patient circuits
- A61M16/0816—Joints or connectors
- A61M16/0825—Joints or connectors with ball-sockets
-
- A—HUMAN NECESSITIES
- A61—MEDICAL OR VETERINARY SCIENCE; HYGIENE
- A61M—DEVICES FOR INTRODUCING MEDIA INTO, OR ONTO, THE BODY; DEVICES FOR TRANSDUCING BODY MEDIA OR FOR TAKING MEDIA FROM THE BODY; DEVICES FOR PRODUCING OR ENDING SLEEP OR STUPOR
- A61M16/00—Devices for influencing the respiratory system of patients by gas treatment, e.g. ventilators; Tracheal tubes
- A61M16/08—Bellows; Connecting tubes ; Water traps; Patient circuits
- A61M16/0875—Connecting tubes
-
- A—HUMAN NECESSITIES
- A61—MEDICAL OR VETERINARY SCIENCE; HYGIENE
- A61M—DEVICES FOR INTRODUCING MEDIA INTO, OR ONTO, THE BODY; DEVICES FOR TRANSDUCING BODY MEDIA OR FOR TAKING MEDIA FROM THE BODY; DEVICES FOR PRODUCING OR ENDING SLEEP OR STUPOR
- A61M16/00—Devices for influencing the respiratory system of patients by gas treatment, e.g. ventilators; Tracheal tubes
- A61M16/22—Carbon dioxide-absorbing devices ; Other means for removing carbon dioxide
-
- A—HUMAN NECESSITIES
- A62—LIFE-SAVING; FIRE-FIGHTING
- A62B—DEVICES, APPARATUS OR METHODS FOR LIFE-SAVING
- A62B18/00—Breathing masks or helmets, e.g. affording protection against chemical agents or for use at high altitudes or incorporating a pump or compressor for reducing the inhalation effort
- A62B18/08—Component parts for gas-masks or gas-helmets, e.g. windows, straps, speech transmitters, signal-devices
- A62B18/084—Means for fastening gas-masks to heads or helmets
-
- A—HUMAN NECESSITIES
- A61—MEDICAL OR VETERINARY SCIENCE; HYGIENE
- A61M—DEVICES FOR INTRODUCING MEDIA INTO, OR ONTO, THE BODY; DEVICES FOR TRANSDUCING BODY MEDIA OR FOR TAKING MEDIA FROM THE BODY; DEVICES FOR PRODUCING OR ENDING SLEEP OR STUPOR
- A61M16/00—Devices for influencing the respiratory system of patients by gas treatment, e.g. ventilators; Tracheal tubes
- A61M16/06—Respiratory or anaesthetic masks
- A61M16/0605—Means for improving the adaptation of the mask to the patient
- A61M16/0633—Means for improving the adaptation of the mask to the patient with forehead support
-
- A—HUMAN NECESSITIES
- A61—MEDICAL OR VETERINARY SCIENCE; HYGIENE
- A61M—DEVICES FOR INTRODUCING MEDIA INTO, OR ONTO, THE BODY; DEVICES FOR TRANSDUCING BODY MEDIA OR FOR TAKING MEDIA FROM THE BODY; DEVICES FOR PRODUCING OR ENDING SLEEP OR STUPOR
- A61M16/00—Devices for influencing the respiratory system of patients by gas treatment, e.g. ventilators; Tracheal tubes
- A61M16/06—Respiratory or anaesthetic masks
- A61M16/0683—Holding devices therefor
- A61M16/0694—Chin straps
-
- A—HUMAN NECESSITIES
- A61—MEDICAL OR VETERINARY SCIENCE; HYGIENE
- A61M—DEVICES FOR INTRODUCING MEDIA INTO, OR ONTO, THE BODY; DEVICES FOR TRANSDUCING BODY MEDIA OR FOR TAKING MEDIA FROM THE BODY; DEVICES FOR PRODUCING OR ENDING SLEEP OR STUPOR
- A61M2206/00—Characteristics of a physical parameter; associated device therefor
- A61M2206/10—Flow characteristics
- A61M2206/14—Static flow deviators in tubes disturbing laminar flow in tubes, e.g. archimedes screws
-
- A—HUMAN NECESSITIES
- A61—MEDICAL OR VETERINARY SCIENCE; HYGIENE
- A61M—DEVICES FOR INTRODUCING MEDIA INTO, OR ONTO, THE BODY; DEVICES FOR TRANSDUCING BODY MEDIA OR FOR TAKING MEDIA FROM THE BODY; DEVICES FOR PRODUCING OR ENDING SLEEP OR STUPOR
- A61M2210/00—Anatomical parts of the body
- A61M2210/06—Head
- A61M2210/0618—Nose
-
- Y—GENERAL TAGGING OF NEW TECHNOLOGICAL DEVELOPMENTS; GENERAL TAGGING OF CROSS-SECTIONAL TECHNOLOGIES SPANNING OVER SEVERAL SECTIONS OF THE IPC; TECHNICAL SUBJECTS COVERED BY FORMER USPC CROSS-REFERENCE ART COLLECTIONS [XRACs] AND DIGESTS
- Y10—TECHNICAL SUBJECTS COVERED BY FORMER USPC
- Y10T—TECHNICAL SUBJECTS COVERED BY FORMER US CLASSIFICATION
- Y10T24/00—Buckles, buttons, clasps, etc.
- Y10T24/19—Necktie fastener
- Y10T24/1959—Magnetic, adhesive, or snap type fastener connects tie to shirt
-
- Y—GENERAL TAGGING OF NEW TECHNOLOGICAL DEVELOPMENTS; GENERAL TAGGING OF CROSS-SECTIONAL TECHNOLOGIES SPANNING OVER SEVERAL SECTIONS OF THE IPC; TECHNICAL SUBJECTS COVERED BY FORMER USPC CROSS-REFERENCE ART COLLECTIONS [XRACs] AND DIGESTS
- Y10—TECHNICAL SUBJECTS COVERED BY FORMER USPC
- Y10T—TECHNICAL SUBJECTS COVERED BY FORMER US CLASSIFICATION
- Y10T24/00—Buckles, buttons, clasps, etc.
- Y10T24/32—Buckles, buttons, clasps, etc. having magnetic fastener
Landscapes
- Health & Medical Sciences (AREA)
- Pulmonology (AREA)
- General Health & Medical Sciences (AREA)
- Life Sciences & Earth Sciences (AREA)
- Emergency Medicine (AREA)
- Biomedical Technology (AREA)
- Heart & Thoracic Surgery (AREA)
- Hematology (AREA)
- Engineering & Computer Science (AREA)
- Animal Behavior & Ethology (AREA)
- Anesthesiology (AREA)
- Public Health (AREA)
- Veterinary Medicine (AREA)
- Business, Economics & Management (AREA)
- Emergency Management (AREA)
- Otolaryngology (AREA)
- Respiratory Apparatuses And Protective Means (AREA)
- Pharmaceuticals Containing Other Organic And Inorganic Compounds (AREA)
Applications Claiming Priority (11)
| Application Number | Priority Date | Filing Date | Title |
|---|---|---|---|
| AUPS1926 | 2002-04-23 | ||
| AUPS1926A AUPS192602A0 (en) | 2002-04-23 | 2002-04-23 | Nasal mask |
| US37725402P | 2002-05-03 | 2002-05-03 | |
| US60/377,254 | 2002-05-03 | ||
| US39719502P | 2002-07-22 | 2002-07-22 | |
| US60/397,195 | 2002-07-22 | ||
| US40250902P | 2002-08-12 | 2002-08-12 | |
| US60/402,509 | 2002-08-12 | ||
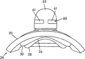
| US10/390,720 US7487772B2 (en) | 2002-04-23 | 2003-03-19 | Ergonomic and adjustable respiratory mask assembly with elbow assembly |
| US10/390,826 US7597100B2 (en) | 2002-04-23 | 2003-03-19 | Ergonomic and adjustable respiratory mask assembly with vent cover |
| US10/390,826 | 2003-03-19 |
Publications (2)
| Publication Number | Publication Date |
|---|---|
| CN1623609A CN1623609A (zh) | 2005-06-08 |
| CN100594955C true CN100594955C (zh) | 2010-03-24 |
Family
ID=40720354
Family Applications (7)
| Application Number | Title | Priority Date | Filing Date |
|---|---|---|---|
| CN03133029A Expired - Fee Related CN100594955C (zh) | 2002-04-23 | 2003-04-22 | 符合人类工程学的可调整的带通风孔罩的呼吸面具组件 |
| CN202111535530.2A Withdrawn CN114225176A (zh) | 2002-04-23 | 2003-04-22 | 符合人类工程学的和可调整的带衬垫的呼吸面具组件 |
| CN201910906605.XA Expired - Lifetime CN110478589B (zh) | 2002-04-23 | 2003-04-22 | 符合人类工程学的和可调整的带衬垫的呼吸面具组件 |
| CN03133033A Expired - Fee Related CN100581611C (zh) | 2002-04-23 | 2003-04-22 | 符合人类工程学的可调整的带支架的呼吸面具组件 |
| CN031330304A Expired - Fee Related CN1623610B (zh) | 2002-04-23 | 2003-04-22 | 符合人类工程学的和可调整的带头架组件的呼吸面具组件 |
| CNA031330312A Pending CN1628869A (zh) | 2002-04-23 | 2003-04-22 | 符合人类工程学的和可调整的带衬垫的呼吸面具组件 |
| CN03133032A Ceased CN100584405C (zh) | 2002-04-23 | 2003-04-22 | 符合人类工程学的可调整的带弯管组件的呼吸面具组件 |
Family Applications After (6)
| Application Number | Title | Priority Date | Filing Date |
|---|---|---|---|
| CN202111535530.2A Withdrawn CN114225176A (zh) | 2002-04-23 | 2003-04-22 | 符合人类工程学的和可调整的带衬垫的呼吸面具组件 |
| CN201910906605.XA Expired - Lifetime CN110478589B (zh) | 2002-04-23 | 2003-04-22 | 符合人类工程学的和可调整的带衬垫的呼吸面具组件 |
| CN03133033A Expired - Fee Related CN100581611C (zh) | 2002-04-23 | 2003-04-22 | 符合人类工程学的可调整的带支架的呼吸面具组件 |
| CN031330304A Expired - Fee Related CN1623610B (zh) | 2002-04-23 | 2003-04-22 | 符合人类工程学的和可调整的带头架组件的呼吸面具组件 |
| CNA031330312A Pending CN1628869A (zh) | 2002-04-23 | 2003-04-22 | 符合人类工程学的和可调整的带衬垫的呼吸面具组件 |
| CN03133032A Ceased CN100584405C (zh) | 2002-04-23 | 2003-04-22 | 符合人类工程学的可调整的带弯管组件的呼吸面具组件 |
Country Status (9)
| Country | Link |
|---|---|
| US (13) | US7597100B2 (enExample) |
| EP (8) | EP1721630B1 (enExample) |
| JP (5) | JP4544830B2 (enExample) |
| CN (7) | CN100594955C (enExample) |
| AT (4) | ATE405313T1 (enExample) |
| AU (8) | AUPS192602A0 (enExample) |
| DE (7) | DE20321470U1 (enExample) |
| NZ (7) | NZ553825A (enExample) |
| WO (1) | WO2003090827A1 (enExample) |
Families Citing this family (442)
| Publication number | Priority date | Publication date | Assignee | Title |
|---|---|---|---|---|
| AUPQ104099A0 (en) | 1999-06-18 | 1999-07-08 | Resmed Limited | Forehead support for facial mask |
| AUPQ102999A0 (en) | 1999-06-18 | 1999-07-08 | Resmed Limited | A connector for a respiratory mask and a respiratory mask |
| US6374826B1 (en) * | 1999-03-18 | 2002-04-23 | Resmed Limited | Mask and headgear connector |
| DE50013613D1 (de) | 1999-08-05 | 2006-11-23 | Map Medizin Technologie Gmbh | Vorrichtung zur zufuhr eines atemgases und befeuchtungsvorrichtung |
| DE10035946C2 (de) * | 2000-07-21 | 2002-06-27 | Map Gmbh | Halterung für eine Atemmaske |
| DE20017940U1 (de) | 2000-10-19 | 2000-12-28 | MAP Medizintechnik für Arzt und Patient GmbH & Co KG, 82152 Planegg | Atemmaske zur Zufuhr eines Atemgases zu einem Maskenanwender sowie Ableitungseinrichtung zur Ableitung von Atemgas |
| ATE532548T1 (de) | 2000-12-22 | 2011-11-15 | Resmed Ltd | Entlüftungsventil zur strömungsregulierung |
| US7753050B2 (en) | 2001-09-07 | 2010-07-13 | Resmed Limited | Headgear connection assembly for a respiratory mask assembly |
| ATE390945T1 (de) * | 2001-09-07 | 2008-04-15 | Resmed Ltd | Maskenanordnung |
| US7523754B2 (en) | 2001-09-07 | 2009-04-28 | Resmed Limited | Cushion for a respiratory mask assembly |
| DE10201682A1 (de) | 2002-01-17 | 2003-07-31 | Map Medizin Technologie Gmbh | Atemmaskenanordnung |
| DE10151984C5 (de) | 2001-10-22 | 2008-07-17 | Map Medizin-Technologie Gmbh | Applikationsvorrichtung für eine Atemmaskenanordnung |
| DE50214539D1 (de) | 2001-10-22 | 2010-08-26 | Map Medizin Technologie Gmbh | Medizinische Maske |
| US6892729B2 (en) | 2001-11-20 | 2005-05-17 | Fisher & Paykel Healthcare Limited | Patient interfaces |
| USD639417S1 (en) | 2001-12-12 | 2011-06-07 | Resmed Limited | Front face of a headgear for a respiratory mask |
| AU150091S (en) | 2002-01-17 | 2002-12-06 | Resmed R&D Germany Gmbh | Modular breathing mask |
| US8042542B2 (en) * | 2002-04-23 | 2011-10-25 | Resmed Limited | Respiratory mask assembly with magnetic coupling to headgear assembly |
| AUPS192602A0 (en) * | 2002-04-23 | 2002-05-30 | Resmed Limited | Nasal mask |
| US7743767B2 (en) | 2002-04-23 | 2010-06-29 | Resmed Limited | Ergonomic and adjustable respiratory mask assembly with frame |
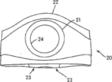
| US8997742B2 (en) * | 2002-04-23 | 2015-04-07 | Resmed Limited | Ergonomic and adjustable respiratory mask assembly with cushion |
| USD552731S1 (en) | 2002-08-09 | 2007-10-09 | Resmed Limited | Portion of a yoked headgear |
| USD485905S1 (en) | 2002-08-09 | 2004-01-27 | Resmed Limited | Nasal mask |
| US7066179B2 (en) * | 2002-08-09 | 2006-06-27 | Ric Investments, Llc. | Patient interface and headgear connector |
| US7931025B2 (en) * | 2002-08-09 | 2011-04-26 | Ric Investments, Llc | Patient interface and headgear connector |
| USD540941S1 (en) * | 2002-08-09 | 2007-04-17 | Resmed Limited | Elbow for mask |
| EP3009159B1 (en) * | 2002-09-06 | 2020-02-19 | ResMed Pty Ltd | Forehead pad for respiratory mask |
| NZ573226A (en) | 2002-09-06 | 2010-07-30 | Resmed Ltd | Elbow for respiratory mask assembly |
| WO2004026381A1 (en) * | 2002-09-18 | 2004-04-01 | Unomedical A/S | A pressure reducing device |
| EP1549373A1 (en) * | 2002-10-02 | 2005-07-06 | Fisher & Paykel Healthcare Limited | Release mechanism for masks |
| NZ553302A (en) | 2002-11-06 | 2008-10-31 | Resmed Ltd | Mask assembly with frame that can be flexed about longitudinal axis |
| USD496098S1 (en) * | 2002-11-08 | 2004-09-14 | Resmed Limited | Swivel elbow for mask assembly |
| WO2004041341A1 (en) * | 2002-11-08 | 2004-05-21 | Resmed Limited | Headgear assembly for a respiratory mask assembly |
| USD556897S1 (en) | 2002-11-08 | 2007-12-04 | Resmed Limited | Portion of a swivel elbow for a mask |
| USD561332S1 (en) | 2002-11-08 | 2008-02-05 | Resmed Limited | Portion of a front face of headgear for respiratory mask |
| USD496726S1 (en) | 2002-11-08 | 2004-09-28 | Resmed Limited | Front face of headgear for respiratory mask |
| US9155855B2 (en) * | 2002-12-06 | 2015-10-13 | Fisher & Paykel Healthcare Limited | Mouthpiece |
| US8042538B2 (en) * | 2003-02-21 | 2011-10-25 | Resmed Limited | Nasal mask assembly |
| NZ589793A (en) | 2003-02-21 | 2011-12-22 | Resmed Ltd | Nozzle configuration of nasal cushion for respiratory assistance mask |
| WO2004096332A1 (en) | 2003-05-02 | 2004-11-11 | Resmed Limited | A mask system |
| DE10337138A1 (de) * | 2003-08-11 | 2005-03-17 | Freitag, Lutz, Dr. | Verfahren und Anordnung zur Atmungsunterstützung eines Patienten sowie Luftröhrenprothese und Katheter |
| US7588033B2 (en) | 2003-06-18 | 2009-09-15 | Breathe Technologies, Inc. | Methods, systems and devices for improving ventilation in a lung area |
| CN104353165B (zh) | 2003-06-20 | 2017-08-22 | 瑞思迈有限公司 | 带有加湿器的可吸入气体设备 |
| AU2003903139A0 (en) | 2003-06-20 | 2003-07-03 | Resmed Limited | Breathable gas apparatus with humidifier |
| US7047977B2 (en) * | 2003-06-30 | 2006-05-23 | Simon Frank | Medical device for overcoming airway obstruction |
| CA2536090C (en) | 2003-08-18 | 2014-07-22 | Anthony D. Wondka | Method and device for non-invasive ventilation with nasal interface |
| US8714157B2 (en) * | 2003-09-03 | 2014-05-06 | Fisher & Paykel Healthcare Limited | Mask |
| AU2004277844C1 (en) * | 2003-10-08 | 2011-01-20 | Fisher & Paykel Healthcare Limited | Breathing assistance apparatus |
| NZ546926A (en) | 2003-11-11 | 2010-02-26 | Map Medizin Technologie Gmbh | Headband device for an oxygen mask, and method for the production thereof |
| EP1720593B1 (en) | 2003-12-08 | 2012-02-22 | Fisher & Paykel Healthcare Limited | Breathing assistance apparatus |
| US7819120B2 (en) * | 2003-12-30 | 2010-10-26 | 3M Innovative Properties Company | Respiratory component mounting assembly |
| WO2005063326A1 (en) | 2003-12-31 | 2005-07-14 | Resmed Limited | Mask system |
| CN1901961B (zh) | 2003-12-31 | 2010-12-22 | 雷斯梅德有限公司 | 小型口鼻病人接口 |
| JP4787174B2 (ja) | 2004-01-16 | 2011-10-05 | レスメド・リミテッド | 呼吸用マスクアセンブリのためのヘッドギア連結アセンブリ |
| WO2005079726A1 (en) | 2004-02-23 | 2005-09-01 | Fisher & Paykel Healthcare Limited | Breathing assistance apparatus |
| US9072852B2 (en) * | 2004-04-02 | 2015-07-07 | Fisher & Paykel Healthcare Limited | Breathing assistance apparatus |
| WO2005094928A1 (en) | 2004-04-02 | 2005-10-13 | Fisher & Paykel Healthcare Limited | Breathing assistance apparatus |
| CN1988930B (zh) | 2004-04-09 | 2010-10-27 | 雷斯梅德有限公司 | 鼻部组件 |
| JP2007532205A (ja) | 2004-04-15 | 2007-11-15 | レスメド リミテッド | 陽圧呼吸装置の導管 |
| USD537523S1 (en) | 2004-05-17 | 2007-02-27 | Resmed Limited | Mask shell |
| USD561893S1 (en) | 2004-05-28 | 2008-02-12 | Resmed Limited | Portion of a right side headgear strap and yoke |
| USD562976S1 (en) | 2004-05-28 | 2008-02-26 | Resmed Limited | Portion of a mask cushion |
| USD542912S1 (en) | 2004-05-28 | 2007-05-15 | Resmed Limited | Mask |
| US8807135B2 (en) | 2004-06-03 | 2014-08-19 | Resmed Limited | Cushion for a patient interface |
| ATE480284T1 (de) * | 2004-06-03 | 2010-09-15 | Compumedics Ltd | Anpassbare atemmaske |
| CN106110464B (zh) | 2004-06-16 | 2019-03-12 | 瑞思迈有限公司 | 呼吸面罩组件的软垫 |
| AU2005263206A1 (en) * | 2004-07-23 | 2006-01-26 | Resmed Limited | A swivel elbow for a patient interface |
| US8496004B2 (en) * | 2004-08-02 | 2013-07-30 | Resmed R&D Germany Gmbh | Device for evacuating breathing gas from the interior of a breathing mask, and breathing mask arrangement comprising said device |
| USD550834S1 (en) | 2004-08-05 | 2007-09-11 | Map Medizin-Technologie Gmbh | Headgear for mask assembly |
| US7624735B2 (en) * | 2004-09-21 | 2009-12-01 | Respironics Respiratory Drug Delivery (Uk) Ltd | Cheek-mounted patient interface |
| US7819119B2 (en) * | 2004-10-08 | 2010-10-26 | Ric Investments, Llc | User interface having a pivotable coupling |
| USD535023S1 (en) | 2004-11-08 | 2007-01-09 | Resmed Limited | Elbow of a full face mask |
| US20060096597A1 (en) * | 2004-11-09 | 2006-05-11 | Home Health Medical Equipment Incorporated, D/B/A Ag Industries | Swivel filter for use with sleep apnea and other respiratory equipment including associated interface systems |
| USD532512S1 (en) | 2005-01-03 | 2006-11-21 | Resmed Limited | Headgear for respiratory mask assembly |
| USD532511S1 (en) | 2005-01-03 | 2006-11-21 | Resmed Limited | Headgear for respiratory mask assembly |
| US7246384B2 (en) * | 2005-01-07 | 2007-07-24 | William George Bentz | Headgear and chin strap with magnetic fastener |
| EP1841484A4 (en) | 2005-01-12 | 2009-12-02 | Resmed Ltd | GAS REFRIGERATION BREATHING MASK AND METHOD OF MANUFACTURING THE MASK |
| ES2556590T3 (es) | 2005-01-12 | 2016-01-19 | Resmed Limited | Cojín para interfaz de paciente |
| NZ560486A (en) | 2005-03-01 | 2009-09-25 | Resmed Ltd | Recognition system for an apparatus that delivers breathable gas to a patient |
| EP1883455A4 (en) * | 2005-05-20 | 2011-03-02 | Resmed Ltd | BOW PIECE FOR A MASK SYSTEM |
| TWM283275U (en) * | 2005-05-20 | 2005-12-11 | Agon Tech Corp | Waterproof heat dissipating structure of electronic signboards |
| US20060266365A1 (en) * | 2005-05-31 | 2006-11-30 | Resmed Limited | Vent cover for a mask assembly |
| EP1890755B1 (en) | 2005-06-06 | 2019-12-25 | ResMed Pty Ltd | Mask system |
| EP1893267B1 (en) * | 2005-06-14 | 2016-09-28 | ResMed Limited | Apparatus for controlling mask leak in cpap treatment |
| US7849855B2 (en) * | 2005-06-17 | 2010-12-14 | Nellcor Puritan Bennett Llc | Gas exhaust system for a gas delivery mask |
| US7900630B2 (en) | 2005-06-17 | 2011-03-08 | Nellcor Puritan Bennett Llc | Gas delivery mask with flexible bellows |
| US7490608B2 (en) * | 2005-06-17 | 2009-02-17 | Nellcorr Puritan Bennett Llc | System and method for adjusting a gas delivery mask |
| US7827987B2 (en) | 2005-06-17 | 2010-11-09 | Nellcor Puritan Bennett Llc | Ball joint for providing flexibility to a gas delivery pathway |
| DE102005033648B4 (de) | 2005-07-19 | 2016-05-04 | Resmed R&D Germany Gmbh | Atemmaskeneinrichtung und Verfahren zur Herstellung derselben |
| US8316848B2 (en) | 2005-08-15 | 2012-11-27 | Resmed Limited | CPAP systems |
| JP4773775B2 (ja) * | 2005-08-26 | 2011-09-14 | ジーイー・メディカル・システムズ・グローバル・テクノロジー・カンパニー・エルエルシー | クッションおよびx線ct装置 |
| CN101252965B (zh) * | 2005-08-29 | 2013-11-13 | 雷斯梅德有限公司 | 用于鼻面罩系统的嘴部密封组件 |
| CN101454041B (zh) | 2005-09-20 | 2012-12-12 | 呼吸科技公司 | 对患者进行呼吸支持的系统、方法和装置 |
| ES2455995T3 (es) * | 2005-10-10 | 2014-04-21 | Carefusion Germany 234 Gmbh | Cabezal de medición para instrumentos de diagnóstico y método |
| US8701668B2 (en) * | 2005-10-14 | 2014-04-22 | Resmed Limited | Nasal assembly |
| NZ565507A (en) | 2005-10-14 | 2011-06-30 | Resmed Ltd | Mask with cushion having lip which in use deflects against frame of mask |
| WO2007045008A1 (en) * | 2005-10-17 | 2007-04-26 | Resmed Limited | Anti-asphyxia valve assembly for respiratory mask |
| NZ612787A (en) | 2005-10-25 | 2015-01-30 | Resmed Ltd | Interchangeable mask assembly |
| WO2007053878A1 (en) | 2005-11-08 | 2007-05-18 | Resmed Ltd | Nasal assembly |
| USD587800S1 (en) | 2006-04-14 | 2009-03-03 | Resmed Limited | Respiratory mask cushion frame |
| EP1800705B1 (en) * | 2005-12-21 | 2018-01-24 | ResMed Limited | Identification system and method for mask and ventilator components |
| USD558333S1 (en) | 2006-01-12 | 2007-12-25 | Resmed Limited | Elbow for a respiratory mask |
| US20080142015A1 (en) * | 2006-01-27 | 2008-06-19 | David Groll | Apparatus to provide continuous positive airway pressure |
| CA2647733A1 (en) * | 2006-03-29 | 2007-10-11 | Teijin Pharma Limited | Nasal respiratory mask system and connection/disconnection means used therein |
| US20080053446A1 (en) * | 2006-03-31 | 2008-03-06 | Tiara Medical Systems, Inc. | Adjustable cpap mask assembly |
| USD619701S1 (en) | 2006-04-06 | 2010-07-13 | Resmed Limited | Respiratory mask |
| CN101466429A (zh) | 2006-04-10 | 2009-06-24 | 艾伊欧麦德有限公司 | 用于进行气道正压治疗的设备和方法 |
| USD588258S1 (en) | 2006-04-14 | 2009-03-10 | Resmed Limited | Respiratory mask cushion |
| USD586907S1 (en) | 2006-04-14 | 2009-02-17 | Resmed Limited | Respiratory mask assembly |
| USD597199S1 (en) * | 2006-04-28 | 2009-07-28 | Resmed Limited | Respiratory mask frame |
| JP5191005B2 (ja) | 2006-05-18 | 2013-04-24 | ブリーズ テクノロジーズ, インコーポレイテッド | 気管切開の方法およびデバイス |
| US7726309B2 (en) * | 2006-06-05 | 2010-06-01 | Ric Investments, Llc | Flexible connector |
| US8479726B2 (en) * | 2006-06-16 | 2013-07-09 | Fisher & Paykel Healthcare Limited | Breathing assistance apparatus |
| USD637283S1 (en) | 2006-06-16 | 2011-05-03 | Resmed Limited | Elbow assembly for patient interface |
| WO2007143792A1 (en) | 2006-06-16 | 2007-12-21 | Resmed Ltd | Elbow assembly |
| DE202007019687U1 (de) | 2006-07-14 | 2015-07-14 | Fisher & Paykel Healthcare Ltd. | Atemhilfsgerät |
| NZ612086A (en) | 2006-07-28 | 2014-12-24 | Resmed Ltd | Delivery of respiratory therapy |
| EP2046430B1 (en) | 2006-07-28 | 2016-04-20 | ResMed Ltd. | Delivery of respiratory therapy |
| JP2009545384A (ja) * | 2006-08-03 | 2009-12-24 | ブリーズ テクノロジーズ, インコーポレイテッド | 最小侵襲性呼吸補助のための方法および装置 |
| DE102006057763A1 (de) * | 2006-08-18 | 2008-02-21 | Weinmann Geräte für Medizin GmbH + Co. KG | Atemmaske mit Löseeinrichtung |
| AU313748S (en) * | 2006-09-01 | 2007-04-23 | Ric Invest | Chin mounted patient interface |
| EP2063945B1 (en) * | 2006-09-07 | 2019-07-03 | ResMed Ltd. | Mask and flow generator system |
| US8109271B2 (en) * | 2006-09-07 | 2012-02-07 | Nellcor Puritan Bennett Llc | Method and apparatus for securing a patient interface to a patient's face |
| US20110072553A1 (en) * | 2006-09-07 | 2011-03-31 | Peter Chi Fai Ho | Headgear Assembly |
| US8272382B2 (en) * | 2006-09-07 | 2012-09-25 | Resmed Limited | Headgear connection assembly |
| USD586909S1 (en) | 2006-11-13 | 2009-02-17 | Resmed Limited | Anti-asphyxia valve clip for respiratory mask |
| US8490624B2 (en) * | 2006-11-13 | 2013-07-23 | Ric Investments, Llc | Patient interface with variable footprint |
| WO2008058330A1 (en) | 2006-11-14 | 2008-05-22 | Resmed Ltd | Frame and vent assembly for mask assembly |
| MY149663A (en) * | 2006-12-08 | 2013-09-30 | Teijin Pharma Ltd | Headgear and its manufacturing method |
| ES2569880T3 (es) | 2006-12-15 | 2016-05-12 | Resmed Ltd. | Administración de terapia respiratoria |
| EP2101855B1 (en) | 2006-12-15 | 2013-08-21 | ResMed Limited | Respiratory Mask |
| US8312875B2 (en) * | 2007-01-11 | 2012-11-20 | Resmed Limited | Fastenable conduit for breathable gas delivery |
| US8517023B2 (en) | 2007-01-30 | 2013-08-27 | Resmed Limited | Mask system with interchangeable headgear connectors |
| EP3560538B1 (en) | 2007-03-02 | 2023-04-26 | ResMed Pty Ltd | Respiratory mask |
| US7931021B2 (en) * | 2007-03-26 | 2011-04-26 | Braebon Medical Corporation | Support device for respiratory interface |
| NZ567460A (en) | 2007-04-19 | 2010-02-26 | Resmed Ltd | Cushion and cushion to frame assembly mechanism for patient interface |
| US8875709B2 (en) * | 2007-05-10 | 2014-11-04 | Resmed Limited | Mask assembly |
| WO2008144589A1 (en) | 2007-05-18 | 2008-11-27 | Breathe Technologies, Inc. | Methods and devices for sensing respiration and providing ventilation therapy |
| KR100966464B1 (ko) | 2007-06-05 | 2010-06-28 | 박재철 | 착용이 용이하고 기밀성이 향상된 방독 마스크 |
| NZ582624A (en) | 2007-06-22 | 2011-08-26 | Resmed Ltd | Forehead support for a facial mask |
| US8677993B2 (en) | 2007-07-18 | 2014-03-25 | Vapotherm, Inc. | Humidifier for breathing gas heating and humidification system |
| EP2452715B1 (en) | 2007-07-30 | 2021-12-29 | ResMed Pty Ltd | Patient interface |
| US8757157B2 (en) | 2007-08-02 | 2014-06-24 | Resmed Limited | Mask for delivery of respiratory therapy to a patient |
| US20090032018A1 (en) * | 2007-08-03 | 2009-02-05 | Eaton Jason P | System Adapted to Provide a Flow of Gas to an Airway of a Patient |
| EP3858411B1 (en) * | 2007-08-24 | 2024-05-29 | ResMed Pty Ltd | Mask vent |
| EP2203206A4 (en) * | 2007-09-26 | 2017-12-06 | Breathe Technologies, Inc. | Methods and devices for treating sleep apnea |
| US8567399B2 (en) | 2007-09-26 | 2013-10-29 | Breathe Technologies, Inc. | Methods and devices for providing inspiratory and expiratory flow relief during ventilation therapy |
| US8905023B2 (en) | 2007-10-05 | 2014-12-09 | Vapotherm, Inc. | Hyperthermic humidification system |
| WO2011014931A1 (en) * | 2009-08-07 | 2011-02-10 | Resmed Ltd | Patient interface systems |
| US8561613B2 (en) * | 2007-10-31 | 2013-10-22 | Resmed Limited | Respiratory mask assembly for stabilizing patient interface |
| US8800563B2 (en) | 2007-11-05 | 2014-08-12 | Resmed Limited | Headgear for a respiratory mask and a method for donning a respiratory mask |
| JP5509088B2 (ja) * | 2007-11-15 | 2014-06-04 | レスメド・リミテッド | 緩衝構造 |
| AU320813S (en) | 2007-11-26 | 2008-08-21 | Resmed Ltd | Frame component of a respiratory mask |
| USD586911S1 (en) * | 2007-11-29 | 2009-02-17 | Fisher & Paykel Healthcare Limited | Nasal interface |
| USD637279S1 (en) | 2008-01-11 | 2011-05-03 | Resmed Limited | Strap and yoke for mask |
| CA2712481A1 (en) * | 2008-01-18 | 2009-07-23 | Breathe Technologies, Inc. | Methods and devices for improving efficacy of non-invasive ventilation |
| US9308343B2 (en) | 2008-02-19 | 2016-04-12 | Circadiance, Llc | Respiratory mask with disposable cloth body |
| US9981104B1 (en) | 2008-02-19 | 2018-05-29 | Circadiance, Llc | Full face cloth respiratory mask |
| WO2009108994A1 (en) | 2008-03-04 | 2009-09-11 | Resmed Ltd | A foam respiratory mask |
| WO2009109004A1 (en) | 2008-03-04 | 2009-09-11 | Resmed Ltd | An interface including a foam cushioning element |
| EP2837398B1 (en) * | 2008-03-04 | 2018-08-22 | ResMed Limited | Mask system |
| US11331447B2 (en) | 2008-03-04 | 2022-05-17 | ResMed Pty Ltd | Mask system with snap-fit shroud |
| NZ623338A (en) * | 2008-03-04 | 2015-12-24 | Resmed Ltd | Unobtrusive interface systems |
| WO2009125348A1 (en) * | 2008-04-11 | 2009-10-15 | Koninklijke Philips Electronics, N.V. | Patient interface system |
| US8776793B2 (en) | 2008-04-18 | 2014-07-15 | Breathe Technologies, Inc. | Methods and devices for sensing respiration and controlling ventilator functions |
| US8770193B2 (en) | 2008-04-18 | 2014-07-08 | Breathe Technologies, Inc. | Methods and devices for sensing respiration and controlling ventilator functions |
| USD652505S1 (en) | 2008-05-02 | 2012-01-17 | Resmed Limited | Left and right side strap and yoke for a mask |
| US10792451B2 (en) | 2008-05-12 | 2020-10-06 | Fisher & Paykel Healthcare Limited | Patient interface and aspects thereof |
| US10258757B2 (en) | 2008-05-12 | 2019-04-16 | Fisher & Paykel Healthcare Limited | Patient interface and aspects thereof |
| US9108014B2 (en) * | 2008-05-29 | 2015-08-18 | Resmed Limited | Flexible structure for mask, and method and apparatus for evaluating performance of a mask in use |
| NZ720223A (en) * | 2008-05-29 | 2017-12-22 | Resmed Ltd | Medical headgear |
| CN106039505A (zh) | 2008-06-04 | 2016-10-26 | 瑞思迈有限公司 | 患者接口系统 |
| US8905031B2 (en) | 2008-06-04 | 2014-12-09 | Resmed Limited | Patient interface systems |
| EP3053623B1 (en) | 2008-06-05 | 2019-08-14 | ResMed Pty Ltd | Treatment of respiratory conditions |
| US11660413B2 (en) | 2008-07-18 | 2023-05-30 | Fisher & Paykel Healthcare Limited | Breathing assistance apparatus |
| USD594113S1 (en) | 2008-08-07 | 2009-06-09 | Resmed Limited | Vent for a respiratory mask |
| US8677999B2 (en) | 2008-08-22 | 2014-03-25 | Breathe Technologies, Inc. | Methods and devices for providing mechanical ventilation with an open airway interface |
| USD597202S1 (en) | 2008-09-08 | 2009-07-28 | Resmed Limited | Respiratory mask |
| NZ770159A (en) | 2008-09-12 | 2022-07-01 | ResMed Pty Ltd | A foam-based interfacing structure method and apparatus |
| US10252020B2 (en) | 2008-10-01 | 2019-04-09 | Breathe Technologies, Inc. | Ventilator with biofeedback monitoring and control for improving patient activity and health |
| USD612934S1 (en) | 2008-10-10 | 2010-03-30 | Fisher & Paykel Healthcare Limited | Body of a nasal pillow |
| USD639418S1 (en) | 2008-10-10 | 2011-06-07 | Fisher & Paykel Healthcare Limited | Nasal pillow |
| USD612933S1 (en) | 2008-10-10 | 2010-03-30 | Fisher & Paykel Healthcare Limited | Nasal pillow |
| EP2349428B1 (en) | 2008-10-10 | 2017-09-20 | Fisher & Paykel Healthcare Limited | Nasal pillows for a patient interface |
| USD597661S1 (en) | 2008-10-20 | 2009-08-04 | Resmed Limited | Respiratory mask |
| JP4604135B2 (ja) | 2008-11-27 | 2010-12-22 | 帝人ファーマ株式会社 | 呼吸用マスクの装着具、及び呼吸用マスク |
| EP3085405B1 (en) * | 2008-12-10 | 2021-09-15 | ResMed Pty Ltd | Headgear for masks |
| US9095673B2 (en) * | 2008-12-15 | 2015-08-04 | Resmed Limited | Unobtrusive nasal mask |
| US9265909B2 (en) * | 2008-12-23 | 2016-02-23 | Koninklijke Philips N.V. | Adjustable headgear |
| USD629891S1 (en) | 2009-01-12 | 2010-12-28 | Resmed Limited | Cuff for air delivery tube |
| WO2010115169A1 (en) * | 2009-04-02 | 2010-10-07 | Breathe Technologies, Inc. | Methods, systems and devices for non-invasive open ventilation for providing ventilation support |
| US9132250B2 (en) * | 2009-09-03 | 2015-09-15 | Breathe Technologies, Inc. | Methods, systems and devices for non-invasive ventilation including a non-sealing ventilation interface with an entrainment port and/or pressure feature |
| USD628288S1 (en) * | 2009-01-22 | 2010-11-30 | Resmed Limited | Cuff for air delivery tube |
| EP2213324B1 (en) | 2009-01-30 | 2016-07-27 | ResMed R&D Germany GmbH | Patient interface structure and method/tool for manufacturing same |
| USD629892S1 (en) | 2009-03-05 | 2010-12-28 | Resmed Limited | Cuff for air delivery tube |
| US9962512B2 (en) | 2009-04-02 | 2018-05-08 | Breathe Technologies, Inc. | Methods, systems and devices for non-invasive ventilation including a non-sealing ventilation interface with a free space nozzle feature |
| US20100282264A1 (en) * | 2009-05-05 | 2010-11-11 | Hsiner Company, Ltd. | Respiratory mask having a damping ring |
| EP4406579B1 (en) * | 2009-05-12 | 2025-12-10 | Fisher & Paykel Healthcare Limited | Patient interface and aspects thereof |
| CN105944209B (zh) * | 2009-05-29 | 2019-04-19 | 瑞思迈有限公司 | 鼻面罩系统 |
| ES2767176T3 (es) * | 2009-07-17 | 2020-06-16 | CleanSpace IP Pty Ltd | Respirador |
| EP2473221B1 (en) | 2009-09-03 | 2020-11-11 | Breathe Technologies, Inc. | Systems for non-invasive ventilation including a non-sealing ventilation interface with an entrainment port and/or pressure feature |
| USD660413S1 (en) * | 2009-09-11 | 2012-05-22 | Resmed Limited | Headgear pad for a respiratory mask |
| USD641467S1 (en) | 2009-09-14 | 2011-07-12 | Home Health Medical Equipment Incorporated | Hose cuff |
| US10137271B2 (en) | 2009-11-18 | 2018-11-27 | Fisher & Paykel Healthcare Limited | Nasal interface |
| US9427545B2 (en) * | 2009-11-20 | 2016-08-30 | Resmed Limited | Mask system |
| US12194240B2 (en) | 2009-12-23 | 2025-01-14 | Fisher & Paykel Healthcare Limited | Flexible exoskeleton mask with inflating seal member |
| GB2534305A (en) | 2009-12-23 | 2016-07-20 | Fisher & Paykel Healthcare Ltd | Patient interface and headgear |
| US20110209708A1 (en) * | 2010-02-26 | 2011-09-01 | New York University | Ventilation Interface Device |
| US8839785B2 (en) * | 2010-03-10 | 2014-09-23 | 3M Innovative Properties Company | Respirator harness having collapsible head cradle |
| AU333368S (en) | 2010-03-12 | 2010-10-25 | Teijin Ltd | Mask for respirator |
| USD648845S1 (en) | 2010-03-12 | 2011-11-15 | Teijin Pharma Limited | Mask body for respirator |
| AU333371S (en) | 2010-03-12 | 2010-10-25 | Teijin Ltd | Ear plug for respiratory mask |
| USD673262S1 (en) | 2010-03-12 | 2012-12-25 | Teijin Pharma Limited | Ear hook for respiratory mask |
| US8707950B1 (en) * | 2010-08-04 | 2014-04-29 | Darren Rubin | Universal medical gas delivery system |
| US11628267B2 (en) | 2010-08-04 | 2023-04-18 | Medline Industries, Lp | Universal medical gas delivery system |
| EP2605836A4 (en) | 2010-08-16 | 2016-06-01 | Breathe Technologies Inc | METHODS, SYSTEMS AND DEVICES USING LIQUID OXYGEN TO PROVIDE VENTILATORY ASSISTANCE |
| USD691257S1 (en) | 2010-08-23 | 2013-10-08 | Fisher & Paykel Healthcare Limited | Seal for a patient interface |
| EP2608835A4 (en) * | 2010-08-27 | 2018-03-28 | ResMed Limited | Pap system |
| BR112013004374B1 (pt) * | 2010-08-30 | 2020-11-03 | Koninklijke Philips N.V | dispositivo de interface de paciente e conjunto de armação para um dispositivo de interface de paciente |
| CN103079623B (zh) | 2010-08-30 | 2016-03-30 | 皇家飞利浦电子股份有限公司 | 具有自动调节衬垫的患者界面装置 |
| AU2011308548B2 (en) | 2010-09-30 | 2014-10-23 | Breathe Technologies, Inc. | Methods, systems and devices for humidifying a respiratory tract |
| NZ713055A (en) | 2010-09-30 | 2017-04-28 | Resmed Ltd | Mask system |
| EP2621572B1 (en) | 2010-09-30 | 2019-11-06 | ResMed Pty Ltd | Patient interface systems |
| EP3928820B1 (en) | 2010-10-08 | 2023-12-20 | ResMed Pty Ltd | Headgear with first and second adjustment device |
| EP2624903B1 (en) | 2010-10-08 | 2018-05-16 | Fisher & Paykel Healthcare Limited | Breathing assistance apparatus |
| MX2013004578A (es) * | 2010-10-25 | 2013-10-25 | Insleep Technologies Llc | Mascara nasal de mariposa. |
| CA2814785A1 (en) * | 2010-12-01 | 2012-07-19 | Southmedic Incorporated | Gas delivery mask for medical use |
| USD683446S1 (en) | 2010-12-01 | 2013-05-28 | Resmed Limited | Cushion for respiratory mask |
| AU337371S (en) * | 2010-12-02 | 2011-06-28 | Koninl Philips Electronics Nv | Elbow connector with sealing port for respiratory therapy |
| US10086160B2 (en) | 2011-02-16 | 2018-10-02 | Resmed Limited | Mask vent |
| EP2489409B1 (de) | 2011-02-17 | 2019-04-10 | Löwenstein Medical Technology S.A. | Befestigungsvorrichtung für eine Bänderung |
| US10603456B2 (en) | 2011-04-15 | 2020-03-31 | Fisher & Paykel Healthcare Limited | Interface comprising a nasal sealing portion |
| DE112012007300B4 (de) | 2011-04-15 | 2024-04-25 | Fisher & Paykel Healthcare Ltd. | Interface mit einem beweglichen Nasenrückenteil |
| US9339625B2 (en) | 2011-04-18 | 2016-05-17 | Koninklijke Philips N.V. | Over-molded rotationally coupled assemblies |
| USD685463S1 (en) | 2011-05-05 | 2013-07-02 | ResMed Limitd | Respiratory mask |
| US9504800B2 (en) | 2011-05-20 | 2016-11-29 | Koninklijke Philips N.V. | Headgear attachment mechanism for a patient interface device |
| US9211388B2 (en) * | 2011-05-31 | 2015-12-15 | Resmed Limited | Mask assembly supporting arrangements |
| GB2557124B (en) | 2011-06-03 | 2018-12-12 | Fisher & Paykel Healthcare Ltd | Medical tubes and methods of manufacture |
| TWI608850B (zh) * | 2011-06-23 | 2017-12-21 | Fisher & Paykel Healthcare Ltd | 包括面罩組件的界面組件 |
| AU2012283744B2 (en) | 2011-07-08 | 2015-07-02 | Resmed Limited | Swivel elbow and connector assembly for patient interface systems |
| EP3718586B1 (en) | 2011-07-12 | 2023-11-29 | ResMed Pty Ltd | Textile mask systems |
| US10022263B2 (en) | 2011-07-14 | 2018-07-17 | Cook Medical Technologies Llc | Sling-based treatment of obstructive sleep apnea |
| US9072856B2 (en) | 2011-08-08 | 2015-07-07 | Paula Reynolds | CPAP stabilizing hat |
| GB2507926B (en) | 2011-08-10 | 2018-02-28 | Fisher & Paykel Healthcare Ltd | Conduit connector for a patient breathing device |
| CN103906545B (zh) | 2011-08-22 | 2016-12-28 | 瑞思迈有限公司 | 制成的成形头带及面罩 |
| USD692554S1 (en) | 2011-09-08 | 2013-10-29 | Fisher & Paykel Healthcare Limited | Patient interface assembly |
| US9687620B2 (en) | 2011-11-07 | 2017-06-27 | Koninklijke Philips N.V. | Patient interface with snap-fit connector |
| CN107261287B (zh) | 2011-11-15 | 2020-09-11 | 瑞思迈私人有限公司 | 鼻罩系统 |
| WO2013088293A1 (en) * | 2011-12-13 | 2013-06-20 | Koninklijke Philips Electronics N.V. | Parametric approach to mask customization |
| EP2800600A1 (en) * | 2012-01-03 | 2014-11-12 | Koninklijke Philips N.V. | Headgear assembly with improved stabilization |
| US9403843B2 (en) * | 2012-02-01 | 2016-08-02 | The Trustees Of Columbia University In The City Of New York | Cysteine protease inhibitors and uses thereof |
| EP2825237B1 (en) | 2012-03-15 | 2020-06-10 | Fisher & Paykel Healthcare Limited | Respiratory gas humidification system |
| US9492086B2 (en) | 2012-03-21 | 2016-11-15 | Fresca Medical, Inc. | Apparatus, systems, and methods for treating obstructive sleep apnea |
| US9333318B2 (en) | 2012-04-13 | 2016-05-10 | Fresca Medical, Inc. | Sleep apnea device |
| NZ627433A (en) | 2012-03-30 | 2016-03-31 | Resmed Ltd | Patient interface |
| GB2575895B (en) | 2012-04-27 | 2020-06-03 | Fisher & Paykel Healthcare Ltd | Humidification apparatus including a port cap |
| WO2013168041A1 (en) | 2012-05-08 | 2013-11-14 | Koninklijke Philips N.V. | Motion limiting coupling assembly for a patient interface |
| JP6647041B2 (ja) * | 2012-05-18 | 2020-02-14 | レスメド・プロプライエタリー・リミテッド | 鼻マスクシステム |
| RU2648025C2 (ru) * | 2012-06-01 | 2018-03-21 | Конинклейке Филипс Н.В. | Респираторное интерфейсное устройство для доставки газа пользователю |
| CN104582775B (zh) * | 2012-06-12 | 2017-06-09 | 皇家飞利浦有限公司 | 用于将气体输送给用户的患者界面 |
| WO2014006533A1 (en) * | 2012-07-03 | 2014-01-09 | Koninklijke Philips N.V. | Fixation control for a patient interface |
| US12390612B2 (en) | 2012-07-27 | 2025-08-19 | ResMed Pty Ltd | Patient interface with elastic headgear |
| US9974915B2 (en) | 2012-07-27 | 2018-05-22 | Resmed Limited | Elastic headgear |
| US9889267B2 (en) | 2012-07-27 | 2018-02-13 | Resmed Limited | Patient interface |
| EP2882482B1 (en) | 2012-08-08 | 2017-10-11 | Fisher & Paykel Healthcare Limited | Breathing tube assemblies with adjustable elbow |
| GB2553475B8 (en) | 2012-08-08 | 2019-01-02 | Fisher & Paykel Healthcare Ltd | Headgear for patient interface |
| EP2892596B1 (en) | 2012-09-04 | 2023-07-26 | Fisher&Paykel Healthcare Limited | Valsalva mask |
| US10617837B2 (en) * | 2012-09-21 | 2020-04-14 | Koninklijke Philips N.V. | Respiratory mask having a magnetically supported cushion |
| WO2014189540A1 (en) | 2012-10-16 | 2014-11-27 | Catalano Peter J | Method and apparatus for treating obstructive sleep apnea (osa) |
| CA2888566C (en) | 2012-10-17 | 2025-11-04 | Fisher & Paykel Healthcare Limited | INTERFACE COMPRISING A NASAL SEAL AND A MOVABLE HINGE |
| DE102012020917A1 (de) * | 2012-10-25 | 2014-04-30 | Dräger Medical GmbH | Winkelstück für eine Beatmungsmaske |
| CN107441601B (zh) | 2012-11-14 | 2022-03-11 | 费雪派克医疗保健有限公司 | 用于呼吸回路的分区加热 |
| BR112015011162B1 (pt) | 2012-11-16 | 2021-03-30 | Fisher & Paykel Healthcare Limited | Vedação nasal e interface respiratória |
| EP2737921B1 (de) | 2012-11-29 | 2019-01-09 | Löwenstein Medical Technology S.A. | Maskenwulst für ein Patienteninterface |
| CA2892398C (en) | 2012-12-04 | 2023-02-14 | Ino Therapeutics Llc | Cannula for minimizing dilution of dosing during nitric oxide delivery |
| US9795756B2 (en) | 2012-12-04 | 2017-10-24 | Mallinckrodt Hospital Products IP Limited | Cannula for minimizing dilution of dosing during nitric oxide delivery |
| JP6412879B2 (ja) | 2012-12-04 | 2018-10-24 | フィッシャー アンド ペイケル ヘルスケア リミテッド | 医療用チューブおよびその製造方法 |
| CN118807059A (zh) | 2013-01-16 | 2024-10-22 | 瑞思迈私人有限公司 | 患者接口及其制作方法 |
| US10987477B2 (en) * | 2013-02-04 | 2021-04-27 | ResMed Pty Ltd | Respiratory apparatus |
| WO2014117227A1 (en) | 2013-02-04 | 2014-08-07 | Resmed Limited | Respiratory apparatus |
| EP4414015B1 (en) | 2013-02-21 | 2025-11-05 | Fisher & Paykel Healthcare Limited | Patient interface with venting |
| USD749205S1 (en) | 2013-03-08 | 2016-02-09 | Fresca Medical, Inc. | Sleep apnea device |
| CA2844454C (en) | 2013-03-08 | 2017-07-11 | Teleflex Medical Incorporated | Exhalation scavenging therapy mask |
| WO2014141029A1 (en) * | 2013-03-13 | 2014-09-18 | Koninklijke Philips N.V. | Subnasal sealing cushion and patient interface device employing same cross-reference to related applications |
| GB2526974B (en) | 2013-03-15 | 2020-10-28 | Fisher & Paykel Healthcare Ltd | Nasal cannula assemblies and related parts |
| NZ731995A (en) * | 2013-04-12 | 2018-11-30 | ResMed Pty Ltd | Neck strap, crown strap assembly and headgear for a breathing mask |
| USD757252S1 (en) * | 2013-04-12 | 2016-05-24 | Resmed Limited | Patient interface |
| EP3607987B1 (en) | 2013-04-24 | 2022-06-01 | Fisher & Paykel Healthcare Limited | Automatically adjusting headgear for patient interface |
| GB2527994B (en) * | 2013-04-26 | 2020-06-17 | Fisher & Paykel Healthcare Ltd | Headgear for breathing mask |
| US10406311B2 (en) * | 2013-05-07 | 2019-09-10 | Fisher & Paykel Healthcare Limited | Patient interface and headgear for a respiratory apparatus |
| TWI803000B (zh) | 2013-05-14 | 2023-05-21 | 澳大利亞商瑞思邁私人股份有限公司 | 口鼻患者介面 |
| EP2996752B1 (en) * | 2013-05-14 | 2019-02-13 | ResMed Limited | Oro-nasal patient interface |
| CN104225749B (zh) * | 2013-06-14 | 2016-05-04 | 新广业股份有限公司 | 呼吸面罩 |
| EP2818193B1 (en) | 2013-06-27 | 2018-04-18 | Air Liquide Medical Systems | Respiratory mask with detachable holding arm |
| CA3154964A1 (en) | 2013-07-17 | 2015-01-22 | Fisher & Paykel Healthcare Limited | Patient interface for supplying a pressurized gas and nasal seal therefor |
| USD743021S1 (en) | 2013-07-18 | 2015-11-10 | Fresca Medical, Inc. | Sleep apnea device |
| USD742502S1 (en) | 2013-07-18 | 2015-11-03 | Fresca Medical, Inc. | Sleep apnea device |
| USD742501S1 (en) | 2013-07-18 | 2015-11-03 | Fresca Medical, Inc. | Sleep apnea device |
| USD737953S1 (en) | 2013-07-26 | 2015-09-01 | Resmed Limited | Patient interface |
| USD743535S1 (en) | 2013-07-26 | 2015-11-17 | Resmed Limited | Headgear for patient interface |
| WO2015017749A1 (en) | 2013-08-01 | 2015-02-05 | Mohan P Arun | Tissue adjustment implant |
| AU2014305231B2 (en) | 2013-08-05 | 2019-04-18 | Fisher & Paykel Healthcare Limited | Seal for a patient interface, interface assemblies and aspects thereof |
| US10166017B2 (en) | 2013-08-05 | 2019-01-01 | Cook Medical Technologies Llc | Medical devices having a releasable tubular member and methods of using the same |
| PL4035714T3 (pl) | 2013-08-09 | 2026-02-16 | Fisher & Paykel Healthcare Limited | Asymetryczne elementy podawania donosowego i łączniki dla interfejsów nosowych |
| USD745139S1 (en) | 2013-08-16 | 2015-12-08 | Fresca Medical, Inc. | Sleep apnea device |
| GB2584025B (en) | 2013-09-13 | 2021-03-10 | Fisher & Paykel Healthcare Ltd | Heater plate for a humidification system |
| GB2580554B (en) | 2013-09-13 | 2020-12-30 | Fisher & Paykel Healthcare Ltd | Connections for humidification system |
| NZ631446A (en) | 2013-10-03 | 2016-05-27 | Resmed Ltd | Mask vent with side wall |
| US10576234B2 (en) | 2013-10-18 | 2020-03-03 | Fisher & Paykel Healthcare Limited | Headgear |
| WO2015060731A1 (en) | 2013-10-24 | 2015-04-30 | Fisher & Paykel Healthcare Limited | Delivery of respiratory gases |
| JP6629726B2 (ja) * | 2013-11-15 | 2020-01-15 | レスメド・プロプライエタリー・リミテッド | 患者インタフェース及び患者インタフェースを形成するための方法 |
| SG11201604700WA (en) | 2013-12-11 | 2016-07-28 | Fisher & Paykel Healthcare Ltd | Respiratory interface |
| USD740935S1 (en) | 2013-12-12 | 2015-10-13 | Resmed Limited | Frame for patient interface |
| BR112016014317B1 (pt) | 2013-12-20 | 2022-07-19 | Fisher & Paykel Healthcare Limited | Conector de circuito para sistema de umidificação |
| US9675493B2 (en) * | 2013-12-20 | 2017-06-13 | James D. Castillo | Goggle breathing system |
| US9956384B2 (en) | 2014-01-24 | 2018-05-01 | Cook Medical Technologies Llc | Articulating balloon catheter and method for using the same |
| WO2015119515A1 (en) | 2014-02-07 | 2015-08-13 | Fisher & Paykel Healthcare Limited | Respiratory humidification system |
| TWI672158B (zh) * | 2014-03-14 | 2019-09-21 | 澳大利亞商瑞思邁私人股份有限公司 | 治療呼吸障礙之患者介面系統 |
| WO2015142192A1 (en) | 2014-03-17 | 2015-09-24 | Fisher & Paykel Healthcare Limited | Medical tubes for respiratory systems |
| TWM490327U (en) * | 2014-04-15 | 2014-11-21 | Besmed Health Business Corp | Buckle and mask device |
| NZ630742A (en) * | 2014-05-01 | 2016-02-26 | Resmed Ltd | A patient interface |
| WO2015167347A1 (en) | 2014-05-02 | 2015-11-05 | Fisher & Paykel Healthcare Limited | Gas humidification arrangement |
| CN110124173A (zh) | 2014-05-13 | 2019-08-16 | 费雪派克医疗保健有限公司 | 用于呼吸增湿系统的可用性特征 |
| US9974563B2 (en) | 2014-05-28 | 2018-05-22 | Cook Medical Technologies Llc | Medical devices having a releasable member and methods of using the same |
| USD759230S1 (en) | 2014-05-30 | 2016-06-14 | Fresca Medical, Inc. | Airflow generator for a sleep apnea system |
| CN112370630A (zh) | 2014-06-03 | 2021-02-19 | 费雪派克医疗保健有限公司 | 用于呼吸治疗系统的流动混合器 |
| CA3169186A1 (en) | 2014-06-04 | 2015-12-10 | Revolutionary Medical Devices, Inc. | Combined nasal and mouth ventilation mask |
| US11701486B2 (en) | 2014-06-17 | 2023-07-18 | Fisher & Paykel Healthcare Limited | Patient interfaces |
| DE112015002892T5 (de) | 2014-06-18 | 2017-03-02 | Fisher & Paykel Healthcare Limited | Patientenschnittstelle und Bauteile |
| EP3903867B1 (en) | 2014-07-02 | 2025-11-05 | ResMed Pty Ltd | Custom patient interface |
| WO2016009393A1 (en) | 2014-07-18 | 2016-01-21 | Fisher & Paykel Healthcare Limited | Headgear clip arrangement |
| US9913661B2 (en) | 2014-08-04 | 2018-03-13 | Cook Medical Technologies Llc | Medical devices having a releasable tubular member and methods of using the same |
| SG11201701253UA (en) | 2014-08-20 | 2017-03-30 | Revolutionary Medical Devices Inc | Ventilation mask |
| CN111939417B (zh) | 2014-08-25 | 2023-07-04 | 费雪派克医疗保健有限公司 | 呼吸面罩及其相关部分、部件或子组件 |
| CN113398408A (zh) | 2014-09-16 | 2021-09-17 | 费雪派克医疗保健有限公司 | 头帽组件和具有头帽的接口组件 |
| TWI898160B (zh) | 2014-09-16 | 2025-09-21 | 紐西蘭商費雪 & 佩凱爾關心健康有限公司 | 用於呼吸介面之頭帽組件之綁帶 |
| US10646680B2 (en) | 2014-09-19 | 2020-05-12 | Fisher & Paykel Healthcare Limited | Headgear assemblies and interface assemblies with headgear |
| CN107106803B (zh) * | 2014-10-30 | 2020-11-06 | 皇家飞利浦有限公司 | 互连组件和包括互连组件的支撑组件 |
| JP6732745B2 (ja) * | 2014-11-07 | 2020-07-29 | フィッシャー アンド ペイケル ヘルスケア リミテッド | 呼吸装置 |
| SG11201703928QA (en) | 2014-11-14 | 2017-06-29 | Fisher & Paykel Healthcare Ltd | Patient interface |
| WO2016080847A1 (en) | 2014-11-17 | 2016-05-26 | Fisher & Paykel Healthcare Limited | Humidification of respiratory gases |
| CN113855972B (zh) | 2014-11-26 | 2024-02-09 | 瑞思迈私人有限公司 | 纺织品患者接口 |
| USD825740S1 (en) | 2014-12-12 | 2018-08-14 | Revolutionary Medical Devices | Surgical mask |
| US10596345B2 (en) | 2014-12-31 | 2020-03-24 | Vapotherm, Inc. | Systems and methods for humidity control |
| CN104587580B (zh) * | 2015-02-05 | 2018-03-02 | 深圳瑞之谷医疗科技有限公司 | 面罩 |
| CN104623784B (zh) * | 2015-02-05 | 2018-06-12 | 深圳瑞之谷医疗科技有限公司 | 鼻罩 |
| US11173270B2 (en) | 2015-03-04 | 2021-11-16 | Fisher & Paykel Healthcare Limited | Mask system headgear |
| US10898668B2 (en) | 2015-03-04 | 2021-01-26 | ResMed Pty Ltd | Plastic to textile coupling for a patient interface and methods of manufacturing same |
| USD757930S1 (en) | 2015-03-19 | 2016-05-31 | Insleep Technologies, Llc | Nasal pillow |
| US10639444B2 (en) | 2015-03-31 | 2020-05-05 | Breas Medical, Inc. | Facial mask with internal intermediate maxilla support for use with ventilation and positive air pressure systems |
| US11446462B2 (en) | 2015-03-31 | 2022-09-20 | Fisher & Paykel Healthcare Limited | Apparatus for use in a respiratory support system |
| JP6480598B2 (ja) | 2015-04-02 | 2019-03-13 | ヒル−ロム サービシーズ プライヴェート リミテッド | 呼吸装置用マニホールド |
| USD768287S1 (en) | 2015-04-03 | 2016-10-04 | Insleep Technologies, Llc | Nasal interface base |
| CN107635614A (zh) | 2015-06-11 | 2018-01-26 | 革新医疗器械有限公司 | 通气面罩 |
| US10828451B2 (en) | 2015-06-18 | 2020-11-10 | Koninklijke Philips N.V. | Passive nose bridge pressure distributing insert |
| KR102073783B1 (ko) | 2015-08-20 | 2020-02-05 | 쓰리엠 이노베이티브 프로퍼티즈 캄파니 | 호흡기 마스크의 착용을 위한 해드 밴드 부재 및 이를 포함하는 헤드 크래들 |
| GB2589035B (en) * | 2015-09-04 | 2021-10-13 | Fisher & Paykel Healthcare Ltd | Connectors for conduits |
| EP3943138A1 (en) | 2015-09-04 | 2022-01-26 | Fisher & Paykel Healthcare Limited | Patient interfaces |
| JP7014717B2 (ja) | 2015-09-09 | 2022-02-01 | フィッシャー アンド ペイケル ヘルスケア リミテッド | 呼吸回路用の区域加熱 |
| EP4659784A3 (en) * | 2015-09-11 | 2026-02-18 | Fisher & Paykel Healthcare Limited | Nasal seal, mask and respiratory interface assembly |
| US10675430B2 (en) | 2015-09-23 | 2020-06-09 | ResMed Pty Ltd | Elbow assembly |
| EP3865166B1 (en) | 2015-09-23 | 2024-04-03 | ResMed Pty Ltd | Patient interface |
| CN117442829A (zh) | 2015-09-23 | 2024-01-26 | 瑞思迈私人有限公司 | 具有泡沫密封形成结构的患者接口 |
| WO2017049360A1 (en) * | 2015-09-23 | 2017-03-30 | Resmed Limited | Patient interface with a seal-forming structure having varying thickness |
| US12427280B2 (en) | 2015-09-23 | 2025-09-30 | ResMed Pty Ltd | Patient interface with a seal-forming structure having varying thickness |
| EP4218875B1 (en) * | 2016-03-02 | 2025-08-27 | Fisher & Paykel Healthcare Limited | Nasal respiratory interface and adjustable headgear |
| SG11201807938YA (en) | 2016-03-15 | 2018-10-30 | Fisher & Paykel Healthcare Ltd | Respiratory mask system |
| EP3430284B1 (en) | 2016-03-16 | 2021-07-14 | Fisher & Paykel Healthcare Limited | Directional lock for interface headgear arrangement |
| EP4173665A1 (en) | 2016-03-16 | 2023-05-03 | Fisher&Paykel Healthcare Limited | Method for manufacturing a headgear assembly for a respiratory interface |
| EP4005620B1 (en) | 2016-03-16 | 2025-04-23 | Fisher & Paykel Healthcare Limited | Strap assembly |
| WO2017158474A2 (en) * | 2016-03-18 | 2017-09-21 | Fisher & Paykel Healthcare Limited | Frame and headgear for respiratory mask system |
| USD882066S1 (en) | 2016-05-13 | 2020-04-21 | Fisher & Paykel Healthcare Limited | Frame for a breathing mask |
| USD809656S1 (en) | 2016-06-10 | 2018-02-06 | Fisher & Paykel Healthcare Limited | Connector for a breathing circuit |
| CN105852283B (zh) * | 2016-06-17 | 2018-02-09 | 冯晶晶 | 封闭式医用口罩的制造方法 |
| CN105852284B (zh) * | 2016-06-17 | 2018-02-09 | 冯晶晶 | 封闭式医用口罩 |
| EP4400140A3 (en) * | 2016-07-08 | 2024-09-11 | Fisher & Paykel Healthcare Limited | A vent for a component of a respiratory therapy system |
| US10912910B1 (en) | 2016-08-04 | 2021-02-09 | Tennessee Dental Anesthesia Supplies, LLC | Combination anesthesia circuit holder and patient protection device and method of use |
| US9629975B1 (en) | 2016-09-14 | 2017-04-25 | Revolutionary Medical Devices, Inc. | Ventilation mask |
| EP3988018B1 (en) | 2016-09-14 | 2024-07-24 | SunMed Group Holdings, LLC | Ventilation mask |
| USD870269S1 (en) | 2016-09-14 | 2019-12-17 | Fisher & Paykel Healthcare Limited | Nasal cannula assembly |
| WO2018063009A1 (en) * | 2016-09-28 | 2018-04-05 | Fisher & Paykel Healthcare Limited | A yoke for headgear |
| WO2018065926A1 (en) | 2016-10-05 | 2018-04-12 | Fisher & Paykel Healthcare Limited | Patient interfaces |
| USD848606S1 (en) | 2016-11-07 | 2019-05-14 | Revolutionary Medical Devices, Inc. | Surgical mask |
| USD863545S1 (en) | 2016-11-30 | 2019-10-15 | ResMed Pty Ltd | Air delivery adapter for respiratory mask |
| EP4063811A1 (en) | 2016-12-07 | 2022-09-28 | Fisher & Paykel Healthcare Limited | Seal/cover for use with a sensing arrangement of a medical device |
| LT3544662T (lt) | 2016-12-22 | 2025-02-10 | Fisher & Paykel Healthcare Limited | Medicinos vamzdeliai ir gamybos būdai |
| KR101898799B1 (ko) | 2017-01-19 | 2018-09-13 | 쓰리엠 이노베이티브 프로퍼티즈 캄파니 | 가요성이 우수한 헤드 밴드 부재를 포함하는 헤드 크래들 |
| USD823455S1 (en) | 2017-02-23 | 2018-07-17 | Fisher & Paykel Healthcare Limited | Cushion assembly for breathing mask assembly |
| USD823454S1 (en) | 2017-02-23 | 2018-07-17 | Fisher & Paykel Healthcare Limited | Cushion assembly for breathing mask assembly |
| USD824020S1 (en) | 2017-02-23 | 2018-07-24 | Fisher & Paykel Healthcare Limited | Cushion assembly for breathing mask assembly |
| USD874646S1 (en) | 2017-03-09 | 2020-02-04 | Fisher & Paykel Healthcare Limited | Headgear component for a nasal mask assembly |
| USD901673S1 (en) | 2017-03-09 | 2020-11-10 | Fisher & Paykel Healthcare Limited | Frame and breathing tube assembly for a nasal mask |
| CN107080904A (zh) * | 2017-05-15 | 2017-08-22 | 北京机械设备研究所 | 一种自救呼吸装置 |
| US12102764B2 (en) | 2017-06-26 | 2024-10-01 | Fisher & Paykel Healthcare Limited | Respiratory mask system |
| US11357660B2 (en) | 2017-06-29 | 2022-06-14 | Cook Medical Technologies, LLC | Implantable medical devices for tissue repositioning |
| CN109276787B (zh) * | 2017-07-21 | 2021-05-28 | 深圳市美好创亿医疗科技股份有限公司 | 固定装置及具有该固定装置的面罩 |
| USD855793S1 (en) | 2017-09-20 | 2019-08-06 | Fisher & Paykel Healthcare Limited | Frame for a nasal mask |
| USD875242S1 (en) | 2017-09-20 | 2020-02-11 | Fisher & Paykel Healthcare Limited | Nasal mask and breathing tube set |
| US10792449B2 (en) | 2017-10-03 | 2020-10-06 | Breathe Technologies, Inc. | Patient interface with integrated jet pump |
| USD898188S1 (en) | 2017-11-17 | 2020-10-06 | Revolutionary Medical Devices, Inc. | Surgical mask |
| WO2019123348A1 (en) | 2017-12-21 | 2019-06-27 | Fisher & Paykel Healthcare Limited | Respiratory mask system |
| EP4378510B1 (en) * | 2018-02-02 | 2025-12-10 | ResMed Pty Ltd | Connector assembly |
| AU2019235660B2 (en) | 2018-03-16 | 2024-11-21 | Fisher & Paykel Healthcare Limited | Headgear with lock disengagement mechanism |
| KR20250117472A (ko) * | 2018-03-27 | 2025-08-04 | 나터스 디자인 인크 | 호흡 마스크, 호흡 마스크에 사용하기 위한 유지 부재 및 호흡 마스크에 사용하기 위한 키트 |
| US10953180B2 (en) | 2018-03-29 | 2021-03-23 | ResMed Pty Ltd | Conduit with magnetic connector |
| USD884153S1 (en) | 2018-04-04 | 2020-05-12 | Fisher & Paykel Healthcare Limited | Frame for a mask assembly |
| USD894376S1 (en) * | 2018-05-23 | 2020-08-25 | Fisher & Paykel Healthcare Limited | Insufflation circuit assembly |
| USD894379S1 (en) * | 2018-05-23 | 2020-08-25 | Fisher & Paykel Healthcare Limited | Insufflation circuit and filter |
| JP6755278B2 (ja) * | 2018-05-30 | 2020-09-16 | エア・ウォーター防災株式会社 | 背負い具および呼吸器 |
| US12558510B2 (en) | 2018-08-13 | 2026-02-24 | Fisher & Paykel Healthcare Limited | Apparatus for use in a respiratory support system |
| CN119185722A (zh) | 2018-08-20 | 2024-12-27 | 瑞思迈私人有限公司 | 患者接口 |
| CN119258353A (zh) * | 2018-09-12 | 2025-01-07 | 费雪派克医疗保健有限公司 | 用于呼吸患者接口的鼻部密封件 |
| US20200197650A1 (en) * | 2018-12-21 | 2020-06-25 | Koninklijke Philips N.V. | Flexible airway and seal and patient interface device including same |
| US11554236B2 (en) * | 2018-12-24 | 2023-01-17 | Koninklijke Philips N.V. | Patient interface device having magnetic coupling features |
| KR20250065931A (ko) | 2019-07-22 | 2025-05-13 | 레스메드 피티와이 엘티디 | 환자 인터페이스 |
| EP4667038A3 (en) | 2019-07-31 | 2026-02-25 | ResMed Pty Ltd | Patient interface having seal-forming structure with varying construction |
| USD937411S1 (en) | 2019-08-30 | 2021-11-30 | Fisher & Paykel Healthcare Limited | Unit end connector |
| USD1006981S1 (en) | 2019-09-06 | 2023-12-05 | Fisher & Paykel Healthcare Limited | Breathing conduit |
| USD948027S1 (en) | 2019-09-10 | 2022-04-05 | Fisher & Paykel Healthcare Limited | Connector for a breathing conduit |
| US20220379061A1 (en) * | 2019-09-10 | 2022-12-01 | ResMed Pty Ltd | A therapy system for respiratory-related disorders, and patient interface and headgear for use in same |
| US11819612B2 (en) | 2019-10-10 | 2023-11-21 | Fisher & Paykel Healthcare Limited | Respiratory mask system |
| JP7689951B2 (ja) | 2019-10-14 | 2025-06-09 | フィッシャー アンド ペイケル ヘルスケア リミテッド | 呼吸インタフェースアセンブリ |
| USD1061868S1 (en) * | 2019-10-16 | 2025-02-11 | Fisher & Paykel Healthcare Limited | Headgear |
| US20210121719A1 (en) * | 2019-10-24 | 2021-04-29 | Rpb Safety, Llc | Mounting system for respiratory device |
| US12017004B2 (en) * | 2019-12-17 | 2024-06-25 | Koninklijke Philips N.V. | Dual slider headgear adjustment system with easy pull tabs and patient interface device including same |
| CA3172534A1 (en) | 2020-03-21 | 2021-09-30 | Stuart Heatherington | Respiratory mask assembly for use with continuous positive airway pressure (cpap) equipment |
| US10966471B1 (en) * | 2020-05-19 | 2021-04-06 | Aslan Medical Equipment, Llc | Soft silicon edged cushion for face masks |
| CN111480915B (zh) * | 2020-05-21 | 2023-06-30 | 中国人民解放军总医院第五医学中心 | 新发性传染病长时防压痕口罩架及应用该口罩架的口罩 |
| CN111773638A (zh) * | 2020-07-21 | 2020-10-16 | 叶镇宽 | 一种可调式反馈式呼吸功能康复训练装置及使用方法 |
| GB2597515A (en) * | 2020-07-24 | 2022-02-02 | Flexicare Group Ltd | Nasal Cannula |
| USD974551S1 (en) | 2020-12-09 | 2023-01-03 | Fisher & Paykel Healthcare Limited | Connector assembly and connector |
| US12465711B2 (en) | 2020-12-21 | 2025-11-11 | Koninklijke Philips N.V. | Mask with quick release frame and headgear |
| USD1060658S1 (en) | 2020-12-28 | 2025-02-04 | ResMed Asia Pte. Ltd. | Patient interface |
| US20220288340A1 (en) * | 2021-03-11 | 2022-09-15 | Airway Innovations LLC | Medical tube holder system and related methods |
| WO2022216956A1 (en) * | 2021-04-07 | 2022-10-13 | Octo Safety Devices, Llc | Facemask assemblies |
| USD1118899S1 (en) | 2021-04-13 | 2026-03-17 | Fisher & Paykel Healthcare Limited | Nasal mask |
| USD1073919S1 (en) | 2021-05-17 | 2025-05-06 | Fisher & Paykel Healthcare Limited | Respiratory system conduit with connector |
| USD995758S1 (en) | 2021-06-11 | 2023-08-15 | Fisher & Paykel Healthcare Limited | Tube assembly and connector |
| WO2023000013A1 (en) * | 2021-07-22 | 2023-01-26 | ResMed Pty Ltd | Magnetic connector |
| CN113616950B (zh) * | 2021-10-11 | 2022-02-08 | 南通林安安全设备科技有限公司 | 一种具有内部空气调节装置的防护面罩 |
| USD1087328S1 (en) * | 2022-07-27 | 2025-08-05 | Dcstar Inc | Frame set |
| CN118593216B (zh) * | 2024-08-08 | 2024-10-01 | 南方医科大学南方医院 | 一种用于磁共振胸腹部检查的屏气鼻夹装置 |
| USD1085551S1 (en) * | 2024-11-11 | 2025-07-22 | Yonggen WANG | Visor |
Citations (4)
| Publication number | Priority date | Publication date | Assignee | Title |
|---|---|---|---|---|
| WO1997000092A1 (en) * | 1995-06-14 | 1997-01-03 | Apotheus Laboratories, Ltd. | Scavanging method and apparatus for post anesthesia care |
| US5937851A (en) * | 1997-02-27 | 1999-08-17 | Respironics, Inc. | Swivel device utilizing bearing clearance to allow carbon dioxide laden exhaust |
| WO2000078381A1 (en) * | 1999-06-18 | 2000-12-28 | Resmed Limited | A connector for a respiratory mask and a respiratory mask |
| US20010032648A1 (en) * | 2000-03-03 | 2001-10-25 | Bernadette Jestrabek-Hart | Exhaust airway for nasal continuous positive airway pressure mask |
Family Cites Families (267)
| Publication number | Priority date | Publication date | Assignee | Title |
|---|---|---|---|---|
| US160793A (en) * | 1875-03-16 | Improvement in chafing-irons for vehicles | ||
| US144684A (en) * | 1873-11-18 | Improvement in storm-window fastenings | ||
| US108613A (en) * | 1870-10-25 | Improvement in nut-locks | ||
| US20474A (en) * | 1858-06-08 | Machine eob measuring | ||
| US1192186A (en) | 1910-09-20 | 1916-07-25 | Samuel Ward Greene | Respirator. |
| US1081745A (en) | 1912-05-03 | 1913-12-16 | White S Dental Mfg Co | Nasal inhaler. |
| US1084596A (en) * | 1913-03-08 | 1914-01-20 | Carl Alexander | Perspiration-band for head-gear. |
| US1706601A (en) * | 1924-12-24 | 1929-03-26 | Drager Alexander Bernhard | Harness for respirating appliances such as masks, respirators, and the like |
| US1610793A (en) | 1926-04-30 | 1926-12-14 | Kaufman Leo | Respirator |
| US2016210A (en) | 1934-12-04 | 1935-10-01 | Earl L Mann | Perspiration absorber |
| US2154198A (en) | 1937-04-08 | 1939-04-11 | Meyercord Co | Decalcomania |
| US2154101A (en) | 1937-11-19 | 1939-04-11 | Jr John F Maurer | Bottle crate |
| US2259817A (en) | 1939-02-27 | 1941-10-21 | Eva M Hawkins | Adjustable head attachment for oxygen tubes |
| US2353643A (en) | 1942-07-29 | 1944-07-18 | Arthur H Bulbulian | Head harness for masks |
| DE956195C (de) * | 1952-04-19 | 1957-01-17 | Draegerwerk Ag | Baenderung fuer Atemschutzmasken |
| DE1102976B (de) | 1954-01-16 | 1961-03-23 | Chirana Praha Np | Fuer Narkotisiergeraete oder Geraete fuer kuenstliche Beatmung bestimmtes Ventilstueck mit einem Einatmungsventil und einem Ausatmungsventil |
| US2783474A (en) | 1954-06-22 | 1957-03-05 | American Felt Co | Fibrous and absorbent perspiration pads |
| US2837090A (en) * | 1955-07-06 | 1958-06-03 | Bloom Aaron | Universal aviators oxygen breathing mask |
| GB792377A (en) * | 1955-07-13 | 1958-03-26 | Airmed Ltd | Improvements in harness clips |
| US2939458A (en) * | 1957-04-29 | 1960-06-07 | Bendix Aviat Corp | Respiratory masks |
| US2931356A (en) * | 1958-08-25 | 1960-04-05 | Puritan Compressed Gas Corp | Oxygen mask having detachable face seal cushion |
| US3040741A (en) | 1958-12-15 | 1962-06-26 | Puritan Compressed Gas Corp | Quick donning harness for oxygen masks |
| US3056402A (en) | 1959-05-26 | 1962-10-02 | Airmed Ltd | Respiratory masks |
| GB880942A (en) | 1960-02-29 | 1961-10-25 | Sierra Eng Co | Breathing mask assembly |
| US3027617A (en) | 1960-11-18 | 1962-04-03 | Norman T Gray | Quick-release magnetic buckle |
| US3234940A (en) * | 1962-09-17 | 1966-02-15 | Sierra Eng Co | Retention for quick donning mask |
| US3362403A (en) * | 1963-12-11 | 1968-01-09 | Robertshaw Controls Co | Unified helmet and oxygen breathing assembly |
| GB1045066A (en) | 1964-10-06 | 1966-10-05 | Westland Aircraft Ltd | Improvements in or relating to breathing attachment |
| US3330273A (en) | 1964-10-15 | 1967-07-11 | Puritan Compressed Gas Corp | Oro-nasal face mask with improved sealing cuff |
| DE1708110A1 (de) * | 1968-01-11 | 1971-04-22 | Medizintechnik Leipzig Veb | Baenderung fuer Atemschutzhalbmaske |
| US3599635A (en) * | 1969-03-12 | 1971-08-17 | Sierra Eng Co | Hanging quick donning mask suspension |
| US3752157A (en) | 1971-11-08 | 1973-08-14 | O Malmin | Disposable headband and filter |
| US3792702A (en) | 1972-04-10 | 1974-02-19 | Ulmer & Co Soc | Harness for rapidly placing in position a device such as a respirator mask |
| US3796216A (en) | 1972-04-24 | 1974-03-12 | K Schwarz | Resuscitator |
| US3815596A (en) | 1973-01-26 | 1974-06-11 | Automation Ind Inc | Disposable face mask |
| US3972702A (en) | 1973-07-30 | 1976-08-03 | Owens-Corning Fiberglas Corporation | Method and apparatus for producing fibers from heat-softenable materials |
| US3874378A (en) * | 1973-09-06 | 1975-04-01 | Globe Safety Products Inc | Combined resuscitator and inhalator apparatus |
| US4015094A (en) * | 1974-02-05 | 1977-03-29 | Irvin Industries, Inc. | Safety seat belt buckle switch with coil spring contact |
| US3897776A (en) | 1974-03-22 | 1975-08-05 | Medical Specialties Inc | Clavicle splint |
| FR2278357A1 (fr) | 1974-07-18 | 1976-02-13 | Laguerre Rene | Combinaisons etanches a fermeture magnetique |
| US4018221A (en) | 1975-09-29 | 1977-04-19 | Thomas Rennie | Support for anesthetic gas delivery hoses and endotracheal tubes |
| DE2549979C3 (de) | 1975-11-07 | 1978-05-24 | Draegerwerk Ag, 2400 Luebeck | Schutzhelm kombiniert mit Atemschutzmaske |
| US3990727A (en) | 1976-01-26 | 1976-11-09 | Stephen Franics Gallagher | Quick detachable coupler |
| US4075714A (en) | 1976-11-15 | 1978-02-28 | Sierra Engineering Co. | Helmet characterized by negative lift |
| DE2705348C2 (de) | 1977-02-09 | 1983-07-14 | OPTAC Verwaltung Wilfrid Weltin, 6074 Rödermark | Vorrichtung zum Befestigen eines Teiles am Rand eines Schutzhelmes |
| IT1207216B (it) | 1979-07-27 | 1989-05-17 | Nava Pier Luigi | Dispositivo per azionare visiere di caschi, particolarmente per motociclisti. |
| US4274406A (en) | 1979-09-04 | 1981-06-23 | Bartholomew Victor L | Tracheotomy mask |
| US4405212A (en) * | 1979-12-26 | 1983-09-20 | Cooper Leonard B | Spectacle frame and conversion accessories therefor |
| IT1201936B (it) | 1980-07-11 | 1989-02-02 | Pier Luigi Nava | Dispositivo per il sollevamento controllato delle visiere di caschi e simili |
| US4414973A (en) * | 1981-03-10 | 1983-11-15 | U.S.D. Corp. | Respirator face mask |
| WO1982003548A1 (en) | 1981-04-24 | 1982-10-28 | Sullivan Colin Edward | Device for treating snoring sickness |
| US4803981A (en) | 1981-09-22 | 1989-02-14 | Vickery Ian M | Anaesthesia mask |
| US4454880A (en) | 1982-05-12 | 1984-06-19 | Rudolph Muto | Nasal hood with open-bottom mixing chamber |
| FR2532552B1 (fr) | 1982-09-03 | 1986-01-24 | Galet Adrien | Casque de protection, notamment utilisable avec un masque respiratoire |
| SE450620B (sv) | 1982-11-01 | 1987-07-13 | Frosta Fritid Ab | Skyddshjelm med storleksjustering, spec for ishockey- och bandyspelare |
| US4774946A (en) | 1983-11-28 | 1988-10-04 | Ackrad Laboratories, Inc. | Nasal and endotracheal tube apparatus |
| US4744358A (en) | 1984-01-18 | 1988-05-17 | Mcginnis Gerald E | Endotracheal tube holder |
| US5015251A (en) | 1984-11-30 | 1991-05-14 | Alimed, Inc. | Medical fastener strap |
| US4657752A (en) * | 1985-04-16 | 1987-04-14 | Phillips Petroleum Company | Process for preparing ferrous carbonate |
| GB8523795D0 (en) | 1985-09-26 | 1985-10-30 | Protector Safety Ltd | Respirator |
| US4665566A (en) | 1986-01-21 | 1987-05-19 | Garrow Geraldine E | Adjustable strap with fasteners for attachment of medical tubing |
| FR2597349B1 (fr) | 1986-04-21 | 1990-01-12 | Caille Dechaume Serge | Moyen de fixation d'un masque de ventilation respiratoire en anesthesie et reanimation. |
| US4739755A (en) | 1986-10-17 | 1988-04-26 | American Cyanamid Company | Respirator |
| JPS6389843U (enExample) * | 1986-12-01 | 1988-06-10 | ||
| SE461705B (sv) | 1986-12-11 | 1990-03-19 | Sport Exclusive E H Ab | Huvudskydd i form av ett pannband |
| US4960121A (en) * | 1987-03-18 | 1990-10-02 | Figgie International, Inc. | Half-face mask assembly |
| US4934362A (en) | 1987-03-26 | 1990-06-19 | Minnesota Mining And Manufacturing Company | Unidirectional fluid valve |
| US5199424A (en) | 1987-06-26 | 1993-04-06 | Sullivan Colin E | Device for monitoring breathing during sleep and control of CPAP treatment that is patient controlled |
| FR2618340B1 (fr) | 1987-07-23 | 1991-03-29 | Fernez Sa | Perfectionnement a la fixation des masques respiratoires |
| US4782832A (en) | 1987-07-30 | 1988-11-08 | Puritan-Bennett Corporation | Nasal puff with adjustable sealing means |
| US4879995A (en) * | 1987-10-13 | 1989-11-14 | Tony Christianson | Snorkel for skin divers |
| US4907584A (en) | 1988-03-03 | 1990-03-13 | Mcginnis Gerald E | Respiratory mask |
| US4821736A (en) | 1988-03-22 | 1989-04-18 | Dale Medical Products, Inc. | Head-mounted device for supporting breathing circuit tubes and sensor |
| US4919128A (en) | 1988-08-26 | 1990-04-24 | University Technologies International Inc. | Nasal adaptor device and seal |
| US5514117A (en) | 1988-09-06 | 1996-05-07 | Lynn; Lawrence A. | Connector having a medical cannula |
| US5311862A (en) * | 1988-11-14 | 1994-05-17 | Blasdell Richard J | Inhalation apparatus |
| USH1039H (en) | 1988-11-14 | 1992-04-07 | The United States Of America As Represented By The Secretary Of The Air Force | Intrusion-free physiological condition monitoring |
| US4938209A (en) | 1989-01-12 | 1990-07-03 | Fry William J | Mask for a nebulizer |
| JP2700490B2 (ja) | 1989-06-02 | 1998-01-21 | 伊藤精機株式会社 | 顔面保護具用シール装置及び顔面保護具並びにシール装置の成形方法 |
| US5033128A (en) | 1990-01-08 | 1991-07-23 | Torres Telesford E A | Goggles |
| DE4004157C1 (en) | 1990-02-10 | 1991-04-11 | Draegerwerk Ag, 2400 Luebeck, De | Respiratory nose-mouth half mask - has body with peripheral seal bead to define separate compartments |
| US5069205A (en) * | 1990-04-20 | 1991-12-03 | Figgie International, Inc. | Quick-donning head harness assembly |
| US5243971A (en) * | 1990-05-21 | 1993-09-14 | The University Of Sydney | Nasal mask for CPAP having ballooning/moulding seal with wearer's nose and facial contours |
| US5291880A (en) * | 1990-08-16 | 1994-03-08 | Cairns & Brother Inc. | Protective helmet with protective facepiece connection and adjustment provision |
| JPH04122250U (ja) * | 1991-04-17 | 1992-11-02 | 三ツ星ベルト株式会社 | 自動車内装品のインサート部材と付属部材の締結構造 |
| FR2682043A1 (fr) * | 1991-10-03 | 1993-04-09 | Intertechnique Sa | Equipement respiratoire a masque oro-nasal. |
| US5687715A (en) | 1991-10-29 | 1997-11-18 | Airways Ltd Inc | Nasal positive airway pressure apparatus and method |
| EP0549299B1 (en) * | 1991-12-20 | 2002-03-13 | Resmed Limited | Ventilator for continuous positive airway pressure breathing (CPAP) |
| GB2264646A (en) | 1992-02-12 | 1993-09-08 | Sabre Safety Ltd | Breathing apparatus |
| US5490502A (en) * | 1992-05-07 | 1996-02-13 | New York University | Method and apparatus for optimizing the continuous positive airway pressure for treating obstructive sleep apnea |
| US5394568A (en) * | 1993-01-28 | 1995-03-07 | Minnesota Mining And Manufacturing Company | Molded head harness |
| US5295478A (en) * | 1993-02-16 | 1994-03-22 | Baldwin Gene R | Mouth-to-mask resuscitator |
| US5542128A (en) * | 1993-04-20 | 1996-08-06 | Lomas; Christiane | Headwear for supporting a breathing apparatus |
| US5432986A (en) * | 1993-06-15 | 1995-07-18 | Sexton; Jason | Magnetic fastener |
| EP0634186B1 (en) | 1993-06-18 | 2000-08-23 | Resmed Limited | Facial breathing mask |
| FR2707504B1 (fr) | 1993-07-13 | 1995-09-29 | Jacobelli Chantal Michele Andr | Masque respiratoire buccal. |
| US5323516A (en) | 1993-07-14 | 1994-06-28 | Hartmann Gyoergy | Watch band or bracelet closure with magnetically biased keeper |
| US5517986A (en) | 1993-09-28 | 1996-05-21 | Respironics, Inc. | Two-point/four-point adjustable headgear for gas delivery mask |
| US5441046A (en) * | 1993-09-29 | 1995-08-15 | Respironics, Inc. | Quick release mechanism for nasal and/or oral gas delivery mask |
| US5570689A (en) | 1993-09-30 | 1996-11-05 | Respironics, Inc. | Respiratory mask having a vertically adjustable spacer element that limits seal deformation on a wearer's face |
| US5647355A (en) * | 1993-09-30 | 1997-07-15 | Respironics, Inc. | Automatic safety valve for respiratory equipment which is counter-balanced and self-adjusting |
| SE9303486L (sv) | 1993-10-22 | 1995-04-23 | Siemens Elema Ab | Metod vid bestämning av den funktionella residualkapaciteten för lungor samt en ventilatoranordning för bestämning av den funktionella residualkapaciteten |
| EP1900324B1 (en) | 1993-11-05 | 2009-06-03 | ResMed Limited | Apparatus for determining patency of the airway |
| US5438737A (en) * | 1994-04-14 | 1995-08-08 | National Molding Corporation | Snap closure type buckle with quick release |
| US5542161A (en) * | 1994-05-11 | 1996-08-06 | National Molding Corp. | Buckle which is releasable by depression of a hinged member |
| FR2720280B1 (fr) | 1994-05-27 | 1996-08-09 | Mitouard Anne Le | Masque respiratoire. |
| JP3571081B2 (ja) | 1994-08-19 | 2004-09-29 | 住友ベークライト株式会社 | フェイスマスクの固定用ストラップ |
| JP3539578B2 (ja) | 1994-08-19 | 2004-07-07 | 住友ベークライト株式会社 | 人工呼吸用フェイスマスク |
| CN2204616Y (zh) * | 1994-11-22 | 1995-08-09 | 李速 | 密封式无纺布防尘口罩 |
| AUPM997394A0 (en) | 1994-12-09 | 1995-01-12 | University Of Sydney, The | Gas delivery mask |
| US5533506A (en) | 1995-01-13 | 1996-07-09 | Medlife, Inc. | Nasal tube assembly |
| US5724965A (en) | 1995-06-06 | 1998-03-10 | Respironics Inc. | Nasal mask |
| FR2735030B1 (fr) | 1995-06-09 | 1998-01-02 | Peters | Masque nasal et installation d'assistance respiratoire utilisant un tel masque |
| US5572887A (en) | 1995-06-09 | 1996-11-12 | Ultimate Trading Corporation | Magnetic jewelry chain closure |
| US6397847B1 (en) | 1995-09-08 | 2002-06-04 | Respironics, Inc. | Customizable seal, mask with customizable seal and method of using such a seal |
| US5647357A (en) | 1995-09-08 | 1997-07-15 | Respironics, Inc. | Respiratory mask facial seal |
| US5662101A (en) | 1995-12-07 | 1997-09-02 | Respironics, Inc. | Respiratory facial mask |
| US5724677A (en) | 1996-03-08 | 1998-03-10 | Minnesota Mining And Manufacturing Company | Multi-part headband and respirator mask assembly and process for making same |
| US5657752A (en) * | 1996-03-28 | 1997-08-19 | Airways Associates | Nasal positive airway pressure mask and method |
| US5697363A (en) | 1996-04-12 | 1997-12-16 | Albert Einstein Healthcare Network | Inhalation and monitoring mask with headset |
| US6289814B1 (en) * | 1996-04-15 | 2001-09-18 | Autoliv Asp, Inc. | Heat source for airbag inflation gas generation via a dissociating material |
| US5664298A (en) | 1996-04-30 | 1997-09-09 | Nessar-Ivanovic; Lori J. | Jewelry clasp |
| DE19625337C2 (de) | 1996-06-25 | 1998-08-06 | Auergesellschaft Gmbh | Bänderung mit einer Vierpunktaufhängung für eine Helm-Masken Kombination |
| AUPO126596A0 (en) | 1996-07-26 | 1996-08-22 | Resmed Limited | A nasal mask and mask cushion therefor |
| US6513526B2 (en) * | 1996-07-26 | 2003-02-04 | Resmed Limited | Full-face mask and mask cushion therefor |
| US5806526A (en) | 1996-08-07 | 1998-09-15 | Rhoad; Don F. | Ear plugs |
| AUPO247496A0 (en) | 1996-09-23 | 1996-10-17 | Resmed Limited | Assisted ventilation to match patient respiratory need |
| US5727940A (en) | 1996-10-08 | 1998-03-17 | Fildan Accessories Corporation | Dental head gear |
| US6192886B1 (en) | 1996-10-17 | 2001-02-27 | Hans Rudolph, Inc. | Nasal mask |
| US6019101A (en) | 1996-10-31 | 2000-02-01 | Sleepnet Corporation | Nasal air mask |
| US5709204A (en) * | 1996-11-04 | 1998-01-20 | Lester; Richard | Aircraft passenger oxygen, survival and escape mask |
| US6012455A (en) | 1996-11-14 | 2000-01-11 | Goldstein; Joseph | Nasal air delivery apparatus |
| AUPO399596A0 (en) | 1996-12-02 | 1997-01-02 | Resmed Limited | A harness assembly for a nasal mask |
| AUPO400296A0 (en) | 1996-12-02 | 1997-01-02 | Resmed Limited | A mask and harness apparatus |
| US5921239A (en) * | 1997-01-07 | 1999-07-13 | Sunrise Medical Hhg Inc. | Face mask for patient breathing |
| US6412487B1 (en) | 1997-01-31 | 2002-07-02 | Resmed Limited | Mask cushion and frame assembly |
| AUPP855099A0 (en) * | 1999-02-09 | 1999-03-04 | Resmed Limited | Gas delivery connection assembly |
| AUPQ104099A0 (en) | 1999-06-18 | 1999-07-08 | Resmed Limited | Forehead support for facial mask |
| AUPO504597A0 (en) | 1997-02-10 | 1997-03-06 | Resmed Limited | A mask and a vent assembly therefor |
| US6561191B1 (en) * | 1997-02-10 | 2003-05-13 | Resmed Limited | Mask and a vent assembly therefor |
| DE19817332C2 (de) | 1997-04-29 | 2002-11-14 | Georg Haushalter | Atemmaske |
| US5815235A (en) | 1997-07-09 | 1998-09-29 | John L. Runckel Trust | Ski goggles with pivotal frame members for interchanging lenses |
| US5979133A (en) * | 1997-07-18 | 1999-11-09 | Funkhouser; Philip L. | Reinforced waterproofing system for porous decks |
| US6119694A (en) * | 1997-07-24 | 2000-09-19 | Respironics Georgia, Inc. | Nasal mask and headgear |
| DE69728441T2 (de) | 1997-08-04 | 2004-08-12 | Minnesota Mining And Mfg. Co., Saint Paul | Atemschutzmaske mit einem oder zwei haltebändern |
| US6062221A (en) | 1997-10-03 | 2000-05-16 | 3M Innovative Properties Company | Drop-down face mask assembly |
| US6732733B1 (en) | 1997-10-03 | 2004-05-11 | 3M Innovative Properties Company | Half-mask respirator with head harness assembly |
| JP3459764B2 (ja) * | 1997-11-20 | 2003-10-27 | 帝人株式会社 | 呼吸用鼻マスク |
| IT1297007B1 (it) * | 1997-12-22 | 1999-08-03 | Sama S P A | Chiusura magnetica ad innesto reciproco per borse, zaini, capi di abbigliamento e simili |
| US6119693A (en) * | 1998-01-16 | 2000-09-19 | Resmed Limited | Forehead support for facial mask |
| FR2775905B1 (fr) | 1998-03-16 | 2000-08-11 | Assist Publ Hopitaux De Paris | Masque de ventilation nasale et procede de fabrication |
| JPH11266908A (ja) * | 1998-03-20 | 1999-10-05 | Ykk Corp | バックル |
| US5918598A (en) | 1998-04-10 | 1999-07-06 | Belfer; William A. | Strapless respiratory facial mask for customizing to the wearer's face |
| US6196223B1 (en) | 1998-04-10 | 2001-03-06 | William A. Belfer | Strapless respiratory facial mask for customizing to the wearer's face |
| JPH11309004A (ja) * | 1998-04-30 | 1999-11-09 | Ykk Corp | バックル |
| DE19822308B4 (de) * | 1998-05-18 | 2015-02-12 | Resmed R&D Germany Gmbh | Beatmungsmaske |
| US6490737B1 (en) | 1998-05-19 | 2002-12-10 | Dupaco, Inc | Protective cushion and cooperatively engageable helmet casing for anesthetized patient |
| AUPP366398A0 (en) | 1998-05-22 | 1998-06-18 | Resmed Limited | Ventilatory assistance for treatment of cardiac failure and cheyne-stokes breathing |
| DE29810846U1 (de) | 1998-06-17 | 1998-08-20 | MPV - Truma Gesellschaft für Medizintechnische Produkte mbH, 85640 Putzbrunn | Nasale Beatmungsmaske |
| US6786593B2 (en) | 1998-11-02 | 2004-09-07 | Gary M. Zelman | Removable lens frame mounted to an eyewear platform |
| US6565461B1 (en) | 1998-11-25 | 2003-05-20 | Stuart E. Zatlin | Method and apparatus for reducing the likelihood of head injury from heading a soccer ball |
| US6796308B2 (en) | 1998-12-09 | 2004-09-28 | Resmed Limited | Mask cushion and frame assembly |
| AUPP812199A0 (en) * | 1999-01-12 | 1999-02-04 | Resmed Limited | Headgear |
| US6338342B1 (en) | 1999-02-22 | 2002-01-15 | Cabot Safety Intermediate Corporation | Respirator headpiece and release mechanism |
| US6776162B2 (en) | 2000-03-13 | 2004-08-17 | Innomed Technologies, Inc. | Ventilation interface for sleep apnea therapy |
| US6478026B1 (en) | 1999-03-13 | 2002-11-12 | Thomas J. Wood | Nasal ventilation interface |
| US6595215B2 (en) | 2000-03-13 | 2003-07-22 | Innomed Technologies, Inc. | Ventilation interface for sleep apnea therapy |
| US6374826B1 (en) * | 1999-03-18 | 2002-04-23 | Resmed Limited | Mask and headgear connector |
| US6470886B1 (en) | 1999-03-23 | 2002-10-29 | Creations By B J H, Llc | Continuous positive airway pressure headgear |
| US6347631B1 (en) | 1999-11-09 | 2002-02-19 | Mallinckrodt, Inc. | Cantilever device and method for breathing devices and the like |
| EP1204440B1 (en) | 1999-03-26 | 2005-06-01 | Mallinckrodt Inc. | Cantilever device for breathing devices |
| US6412488B1 (en) | 1999-05-12 | 2002-07-02 | Respironics, Inc. | Low contact nasal mask and system using same |
| US6341606B1 (en) * | 1999-05-19 | 2002-01-29 | Mallinckrodt, Inc. | Disposable respiratory mask with adhesive skin interface |
| JP2000325481A (ja) | 1999-05-25 | 2000-11-28 | Fujisawa Pharmaceut Co Ltd | 呼吸用マスク |
| US6332465B1 (en) | 1999-06-02 | 2001-12-25 | 3M Innovative Properties Company | Face masks having an elastic and polyolefin thermoplastic band attached thereto by heat and pressure |
| US7219669B1 (en) | 1999-06-08 | 2007-05-22 | Sleepnet Corporation | Nose mask |
| US6631718B1 (en) * | 1999-06-08 | 2003-10-14 | Sleepnet Corporation | Air mask with seal |
| US6644315B2 (en) * | 1999-06-18 | 2003-11-11 | Saeed Ziaee | Nasal mask |
| US6269814B1 (en) * | 1999-06-18 | 2001-08-07 | Accu-Med Technologies, Inc. | Sleep apnea headgear |
| EP1637175B1 (en) | 1999-06-18 | 2012-08-01 | ResMed Ltd. | Mask and headgear with connector |
| US6439230B1 (en) | 1999-06-18 | 2002-08-27 | Resmed Limited | Mask with recess including at least one mask port |
| US6615832B1 (en) * | 1999-06-22 | 2003-09-09 | Bragel International, Inc. | Wear article with detachable interface assembly |
| US6467483B1 (en) * | 1999-07-28 | 2002-10-22 | Respironics, Inc. | Respiratory mask |
| USD448473S1 (en) | 1999-08-10 | 2001-09-25 | Respironics, Inc. | Nasal mask |
| USD464428S1 (en) | 1999-08-10 | 2002-10-15 | Respironics, Inc. | Nasal mask cushion |
| US6610032B1 (en) | 1999-08-20 | 2003-08-26 | Dale Medical, Inc. | Surgical drainage device |
| US6435181B1 (en) * | 1999-08-30 | 2002-08-20 | Sunrise Medical Hhg Inc. | Respiratory mask with adjustable exhaust vent |
| DE19962515C2 (de) | 1999-10-05 | 2002-06-20 | Map Gmbh | Halterung für eine Atemmaske |
| US6536436B1 (en) | 1999-10-26 | 2003-03-25 | Mcglothen Roberta | Strap for nasal cannula |
| AUPQ382299A0 (en) | 1999-11-03 | 1999-11-25 | Australian Centre For Advanced Medical Technology Ltd | Mask |
| DE19954517C2 (de) * | 1999-11-12 | 2002-01-31 | Map Gmbh | Atemmaske und Verfahren zur Herstellung derselben |
| US6668830B1 (en) * | 1999-11-19 | 2003-12-30 | Mallinckrodt Inc. | Low noise exhalation port for a respiratory mask |
| DE19962110C2 (de) * | 1999-12-22 | 2003-06-12 | Pari Gmbh | Inhalationsvernebler mit einstückigem Ventilelement |
| US6253388B1 (en) | 1999-12-31 | 2001-07-03 | Ronald Lando | Eye wear with snap-together bridge |
| DE20001040U1 (de) * | 2000-01-21 | 2000-04-06 | MPV-Truma Gesellschaft für Medizintechnische Produkte mbH, 85640 Putzbrunn | Nasale Beatmungsmaske und Maskenkissen für eine nasale Beatmungsmaske |
| EP1118346A3 (de) * | 2000-01-21 | 2003-06-18 | MPV-Truma Gesellschaft Für Medizintechnische Produkte mbH | Nasale Beatmungsmaske und Maskenkissen für eine nasale Beatmungsmaske |
| CN2412562Y (zh) * | 2000-02-25 | 2001-01-03 | 哈尔滨飞机工业(集团)有限责任公司 | 可调整头部姿态的输氧面罩固定装置 |
| US7827990B1 (en) | 2000-02-25 | 2010-11-09 | Map Medizin-Technologie Gmbh | Sealing lip device for a respiratory mask, respiratory mask and a method and a mould for producing the same |
| WO2001066174A1 (en) | 2000-03-03 | 2001-09-13 | The Penn State Research Foundation | Nasal oral respiratory interface |
| US20060150982A1 (en) | 2003-08-05 | 2006-07-13 | Wood Thomas J | Nasal ventilation interface and system |
| US6581594B1 (en) | 2000-05-15 | 2003-06-24 | Resmed Limited | Respiratory mask having gas washout vent and gas washout vent for respiratory mask |
| CA2413938C (en) * | 2000-06-14 | 2007-05-15 | Lewis George Gradon | Breathing assistance apparatus |
| AUPQ821500A0 (en) | 2000-06-19 | 2000-07-13 | Australian Centre For Advanced Medical Technology Ltd | Mask |
| US6986352B2 (en) * | 2000-06-22 | 2006-01-17 | Resmed Limited | Mask with gusset |
| DE10035946C2 (de) | 2000-07-21 | 2002-06-27 | Map Gmbh | Halterung für eine Atemmaske |
| US6530373B1 (en) | 2000-08-04 | 2003-03-11 | Mallinckrodt Inc. | Respirator mask |
| US6679261B2 (en) * | 2000-08-24 | 2004-01-20 | Resmed Limited | Forehead support for facial mask |
| FI20002064A7 (fi) * | 2000-09-19 | 2002-03-20 | Nokia Corp | Yhteyden käsittelymenetelmä kommunikaatiojärjestelmässä |
| US6508249B2 (en) * | 2000-10-05 | 2003-01-21 | Vital Signs, Inc. | Connecting apparatus for placing fluid flow paths in fluid communication |
| US6694972B2 (en) | 2000-10-13 | 2004-02-24 | Government Specialty Products | Gas canister protection system |
| US6619288B2 (en) | 2000-11-15 | 2003-09-16 | Deka Products Limited Partnership | Breathing mask with incomplete headband |
| DE20122945U1 (de) | 2000-12-12 | 2011-05-12 | ResMed Ltd., Bella Vista | Kopfband |
| JP2002199908A (ja) | 2001-01-01 | 2002-07-16 | Yamato Shoji Nire:Kk | 止め具 |
| DE10103154C1 (de) * | 2001-01-24 | 2002-05-23 | Draeger Safety Ag & Co Kgaa | Atemschutzmaske mit schnell lösbarer Bänderung |
| ES2599753T3 (es) | 2001-02-16 | 2017-02-03 | Resmed Limited | Humidificador con estructura para impedir reflujo de líquido a través de la entrada del humidificador |
| CN2464353Y (zh) * | 2001-02-28 | 2001-12-12 | 张地利 | 兼顾环保及卫生的麻醉呼吸面罩 |
| US20020144684A1 (en) * | 2001-04-06 | 2002-10-10 | Moone Samuel Joseph | BI/PAP mask for sleep apnea and other related clinical uses |
| US7007696B2 (en) | 2001-05-18 | 2006-03-07 | Tiara Medical Systems, Inc. | Mask cushion and method of using same |
| US6851425B2 (en) * | 2001-05-25 | 2005-02-08 | Respironics, Inc. | Exhaust port assembly for a pressure support system |
| GB0114368D0 (en) | 2001-06-07 | 2001-08-08 | Smiths Industries Plc | Face masks |
| DE10128994A1 (de) | 2001-06-15 | 2002-12-19 | Weinmann G Geraete Med | Vorrichtung zur Abstützung |
| US6606767B2 (en) | 2001-07-09 | 2003-08-19 | Sheung Chung Wong | Magnetic strap fastener |
| ATE390945T1 (de) | 2001-09-07 | 2008-04-15 | Resmed Ltd | Maskenanordnung |
| DE10151984C5 (de) * | 2001-10-22 | 2008-07-17 | Map Medizin-Technologie Gmbh | Applikationsvorrichtung für eine Atemmaskenanordnung |
| US6805117B1 (en) * | 2001-11-07 | 2004-10-19 | Ric Investments, Llc | Universal fitting headgear |
| DE10158066A1 (de) | 2001-11-27 | 2003-06-05 | Weinmann G Geraete Med | Beatmungsmaske |
| US6860268B2 (en) | 2002-02-06 | 2005-03-01 | Shelly Bohn | Pediatric ventilation mask and headgear system |
| NZ533321A (en) * | 2002-03-22 | 2007-05-31 | Invacare Corp | Nasal mask |
| US7743767B2 (en) | 2002-04-23 | 2010-06-29 | Resmed Limited | Ergonomic and adjustable respiratory mask assembly with frame |
| US8042542B2 (en) | 2002-04-23 | 2011-10-25 | Resmed Limited | Respiratory mask assembly with magnetic coupling to headgear assembly |
| AUPS192602A0 (en) | 2002-04-23 | 2002-05-30 | Resmed Limited | Nasal mask |
| US8997742B2 (en) | 2002-04-23 | 2015-04-07 | Resmed Limited | Ergonomic and adjustable respiratory mask assembly with cushion |
| EP2308537A1 (de) | 2002-06-14 | 2011-04-13 | MAP Medizin-Technologie GmbH | Maskenkissen für eine Atemmaske |
| US7089941B2 (en) | 2002-08-20 | 2006-08-15 | Bordewick Steven S | Face mask support |
| US7814911B2 (en) | 2004-10-15 | 2010-10-19 | Aeiomed, Inc. | Nares seal |
| US7069932B2 (en) * | 2002-09-06 | 2006-07-04 | Ric Investments, Llc. | Patient interface with forehead support system |
| NZ573226A (en) * | 2002-09-06 | 2010-07-30 | Resmed Ltd | Elbow for respiratory mask assembly |
| US6691314B1 (en) * | 2002-10-07 | 2004-02-17 | Morning Pride Manufacturing, L.L.C. | Face mask, head harness, and protective hood for firefighter |
| USD486907S1 (en) * | 2002-11-08 | 2004-02-17 | Resmed Limited | Frame for mask assembly |
| WO2004041341A1 (en) | 2002-11-08 | 2004-05-21 | Resmed Limited | Headgear assembly for a respiratory mask assembly |
| US6857169B2 (en) * | 2002-12-10 | 2005-02-22 | Taiwan Industrial Fastener Corporation | Structure of magnetic buckle |
| US8042538B2 (en) | 2003-02-21 | 2011-10-25 | Resmed Limited | Nasal mask assembly |
| NZ589793A (en) | 2003-02-21 | 2011-12-22 | Resmed Ltd | Nozzle configuration of nasal cushion for respiratory assistance mask |
| US20040182397A1 (en) | 2003-03-21 | 2004-09-23 | Innomed Technologies, Inc. | Nasal interface including ventilation insert |
| US7406965B2 (en) | 2003-05-05 | 2008-08-05 | Resmed Limited | Forehead support for facial mask |
| US7000613B2 (en) | 2003-08-06 | 2006-02-21 | Innomed Technologies, Inc. | Nasal interface and system including ventilation insert |
| US7472707B2 (en) | 2003-08-06 | 2009-01-06 | Innomed Technologies, Inc. | Nasal interface and system including ventilation insert |
| US6997187B2 (en) | 2003-09-10 | 2006-02-14 | Innomed Technologies, Inc. | Nasal interface and system including ventilation insert |
| US20050121037A1 (en) | 2003-08-08 | 2005-06-09 | Wood Thomas J. | Nasal ventilation interface |
| US7353826B2 (en) | 2003-08-08 | 2008-04-08 | Cardinal Health 205, Inc. | Sealing nasal cannula |
| US7357136B2 (en) | 2003-08-18 | 2008-04-15 | Ric Investments, Llc | Patient interface assembly and system using same |
| CN1901961B (zh) | 2003-12-31 | 2010-12-22 | 雷斯梅德有限公司 | 小型口鼻病人接口 |
| WO2005079239A2 (en) * | 2004-02-13 | 2005-09-01 | Meeker R & D, Inc. | Infant carrier and receiving base |
| WO2005079726A1 (en) | 2004-02-23 | 2005-09-01 | Fisher & Paykel Healthcare Limited | Breathing assistance apparatus |
| US20050199663A1 (en) | 2004-03-05 | 2005-09-15 | Lockheed Martin Corporation | Safety system for a portable data collection device |
| CN1988930B (zh) | 2004-04-09 | 2010-10-27 | 雷斯梅德有限公司 | 鼻部组件 |
| WO2006074273A2 (en) | 2005-01-05 | 2006-07-13 | Sleepnet Corporation | Apparatus for magnetically connecting a head gear to an air mask |
| US7152599B2 (en) | 2005-05-20 | 2006-12-26 | Thomas Wendell A | Nasal mask for delivering gas |
| EP1890755B1 (en) | 2005-06-06 | 2019-12-25 | ResMed Pty Ltd | Mask system |
| US20070062537A1 (en) | 2005-09-14 | 2007-03-22 | Paul Chiesa | Forehead support for a respiratory mask |
| US7600302B2 (en) * | 2006-07-17 | 2009-10-13 | James Michael Dillner | Safety buckle for child seat and the like |
| US20090094802A1 (en) * | 2007-10-10 | 2009-04-16 | Kata Vitec I Ltd. | Buckle system |
| WO2010020201A1 (de) | 2008-08-20 | 2010-02-25 | Kottke, Ulrich | Verfahren zur sensitiven erfassung breitbandiger schallereignisse |
| EP3175877B1 (en) | 2011-10-31 | 2019-05-29 | Fisher & Paykel Healthcare Limited | Interface comprising a nasal sealing portion |
| US20140305439A1 (en) | 2011-11-03 | 2014-10-16 | Koninklijke Philips N.V. | Multiple-material, single-plane-headgear |
| US9482718B2 (en) | 2014-01-13 | 2016-11-01 | Texas Instruments Incorporated | Integrated circuit |
| US9504220B2 (en) | 2014-03-06 | 2016-11-29 | Pioneer Hi-Bred International, Inc. | Maize hybrid X03F652 |
-
2002
- 2002-04-23 AU AUPS1926A patent/AUPS192602A0/en not_active Abandoned
-
2003
- 2003-03-19 US US10/390,826 patent/US7597100B2/en active Active
- 2003-03-19 US US10/390,681 patent/US6907882B2/en not_active Expired - Lifetime
- 2003-03-19 US US10/390,720 patent/US7487772B2/en not_active Expired - Lifetime
- 2003-04-17 NZ NZ553825A patent/NZ553825A/en not_active IP Right Cessation
- 2003-04-17 NZ NZ553824A patent/NZ553824A/en not_active IP Right Cessation
- 2003-04-17 AU AU2003218898A patent/AU2003218898A1/en not_active Abandoned
- 2003-04-17 NZ NZ536545A patent/NZ536545A/en not_active IP Right Cessation
- 2003-04-17 NZ NZ553823A patent/NZ553823A/en not_active IP Right Cessation
- 2003-04-17 NZ NZ553756A patent/NZ553756A/en not_active IP Right Cessation
- 2003-04-17 WO PCT/AU2003/000458 patent/WO2003090827A1/en not_active Ceased
- 2003-04-17 NZ NZ553822A patent/NZ553822A/en not_active IP Right Cessation
- 2003-04-17 NZ NZ553757A patent/NZ553757A/en not_active IP Right Cessation
- 2003-04-22 CN CN03133029A patent/CN100594955C/zh not_active Expired - Fee Related
- 2003-04-22 CN CN202111535530.2A patent/CN114225176A/zh not_active Withdrawn
- 2003-04-22 CN CN201910906605.XA patent/CN110478589B/zh not_active Expired - Lifetime
- 2003-04-22 CN CN03133033A patent/CN100581611C/zh not_active Expired - Fee Related
- 2003-04-22 CN CN031330304A patent/CN1623610B/zh not_active Expired - Fee Related
- 2003-04-22 CN CNA031330312A patent/CN1628869A/zh active Pending
- 2003-04-22 CN CN03133032A patent/CN100584405C/zh not_active Ceased
- 2003-04-23 AU AU2003203833A patent/AU2003203833B2/en not_active Expired
- 2003-04-23 AT AT03252552T patent/ATE405313T1/de not_active IP Right Cessation
- 2003-04-23 AT AT06018065T patent/ATE457183T1/de not_active IP Right Cessation
- 2003-04-23 EP EP06018065A patent/EP1721630B1/en not_active Expired - Lifetime
- 2003-04-23 EP EP10153114A patent/EP2221081A1/en not_active Withdrawn
- 2003-04-23 AT AT03252555T patent/ATE435676T1/de not_active IP Right Cessation
- 2003-04-23 EP EP03252554.5A patent/EP1356841B2/en not_active Expired - Lifetime
- 2003-04-23 JP JP2003117861A patent/JP4544830B2/ja not_active Expired - Lifetime
- 2003-04-23 AU AU2003203830A patent/AU2003203830A1/en not_active Abandoned
- 2003-04-23 EP EP10184937.0A patent/EP2301614B1/en not_active Expired - Lifetime
- 2003-04-23 EP EP03252555A patent/EP1356842B1/en not_active Expired - Lifetime
- 2003-04-23 DE DE20321470U patent/DE20321470U1/de not_active Expired - Lifetime
- 2003-04-23 DE DE20321472U patent/DE20321472U1/de not_active Expired - Lifetime
- 2003-04-23 EP EP03252572A patent/EP1356843B1/en not_active Expired - Lifetime
- 2003-04-23 AU AU2003203832A patent/AU2003203832B2/en not_active Expired
- 2003-04-23 AU AU2003203835A patent/AU2003203835B2/en not_active Expired
- 2003-04-23 DE DE20321468U patent/DE20321468U1/de not_active Expired - Lifetime
- 2003-04-23 EP EP10184931A patent/EP2319571A3/en not_active Withdrawn
- 2003-04-23 AT AT03252572T patent/ATE453425T1/de not_active IP Right Cessation
- 2003-04-23 DE DE20321471U patent/DE20321471U1/de not_active Expired - Lifetime
- 2003-04-23 DE DE60323001T patent/DE60323001D1/de not_active Expired - Lifetime
- 2003-04-23 JP JP2003117911A patent/JP4468652B2/ja not_active Expired - Fee Related
- 2003-04-23 JP JP2003117836A patent/JP4593084B2/ja not_active Expired - Lifetime
- 2003-04-23 EP EP03252552A patent/EP1360971B1/en not_active Expired - Lifetime
- 2003-04-23 DE DE20321469U patent/DE20321469U1/de not_active Expired - Lifetime
- 2003-04-23 DE DE60330728T patent/DE60330728D1/de not_active Expired - Lifetime
- 2003-04-23 JP JP2003117889A patent/JP4694105B2/ja not_active Expired - Fee Related
- 2003-04-23 JP JP2003117806A patent/JP4485143B2/ja not_active Expired - Fee Related
- 2003-04-23 AU AU2003203836A patent/AU2003203836B2/en not_active Expired
-
2006
- 2006-03-28 US US11/390,239 patent/US7938116B2/en not_active Expired - Lifetime
- 2006-08-09 US US11/501,071 patent/US7874291B2/en not_active Expired - Lifetime
-
2007
- 2007-01-26 US US11/698,066 patent/US7341060B2/en not_active Expired - Lifetime
-
2008
- 2008-01-25 US US12/010,475 patent/US8025057B2/en not_active Expired - Lifetime
-
2009
- 2009-02-10 US US12/368,545 patent/US7997267B2/en not_active Expired - Lifetime
-
2010
- 2010-05-26 AU AU2010202144A patent/AU2010202144B2/en not_active Expired
-
2011
- 2011-07-15 US US13/183,889 patent/US8387616B2/en not_active Expired - Fee Related
-
2013
- 2013-03-04 US US13/784,213 patent/US9669180B2/en not_active Expired - Fee Related
-
2017
- 2017-05-22 US US15/601,123 patent/US10675429B2/en not_active Expired - Fee Related
-
2019
- 2019-10-23 US US16/660,905 patent/US11110244B2/en not_active Expired - Fee Related
-
2021
- 2021-09-03 US US17/466,402 patent/US11266804B2/en not_active Expired - Lifetime
Patent Citations (4)
| Publication number | Priority date | Publication date | Assignee | Title |
|---|---|---|---|---|
| WO1997000092A1 (en) * | 1995-06-14 | 1997-01-03 | Apotheus Laboratories, Ltd. | Scavanging method and apparatus for post anesthesia care |
| US5937851A (en) * | 1997-02-27 | 1999-08-17 | Respironics, Inc. | Swivel device utilizing bearing clearance to allow carbon dioxide laden exhaust |
| WO2000078381A1 (en) * | 1999-06-18 | 2000-12-28 | Resmed Limited | A connector for a respiratory mask and a respiratory mask |
| US20010032648A1 (en) * | 2000-03-03 | 2001-10-25 | Bernadette Jestrabek-Hart | Exhaust airway for nasal continuous positive airway pressure mask |
Also Published As
Similar Documents
| Publication | Publication Date | Title |
|---|---|---|
| CN100594955C (zh) | 符合人类工程学的可调整的带通风孔罩的呼吸面具组件 | |
| CN107050611B (zh) | 符合人类工程学的和可调整的带衬垫的呼吸面具组件 | |
| JP6807360B2 (ja) | フレームを有する人間工学に基づいた調節可能な呼吸用マスクアセンブリ | |
| CN101991897B (zh) | 符合人类工程学的和可调整的带衬垫的呼吸面具组件 | |
| CN101229410A (zh) | 符合人类工程学的可调整的带弯管组件的呼吸面具组件 | |
| AU2007100084B4 (en) | Ergonomic and adjustable respiratory mask assembly with headgear assembly |
Legal Events
| Date | Code | Title | Description |
|---|---|---|---|
| C06 | Publication | ||
| PB01 | Publication | ||
| C10 | Entry into substantive examination | ||
| SE01 | Entry into force of request for substantive examination | ||
| C14 | Grant of patent or utility model | ||
| GR01 | Patent grant | ||
| CF01 | Termination of patent right due to non-payment of annual fee | ||
| CF01 | Termination of patent right due to non-payment of annual fee |
Granted publication date: 20100324 Termination date: 20190422 |