WO2018235760A1 - 建物の壁構造、取付装置及び板材の施工方法 - Google Patents

建物の壁構造、取付装置及び板材の施工方法 Download PDF

Info

Publication number
WO2018235760A1
WO2018235760A1 PCT/JP2018/023060 JP2018023060W WO2018235760A1 WO 2018235760 A1 WO2018235760 A1 WO 2018235760A1 JP 2018023060 W JP2018023060 W JP 2018023060W WO 2018235760 A1 WO2018235760 A1 WO 2018235760A1
Authority
WO
WIPO (PCT)
Prior art keywords
extension
wall
mounting
joint
side wall
Prior art date
Legal status (The legal status is an assumption and is not a legal conclusion. Google has not performed a legal analysis and makes no representation as to the accuracy of the status listed.)
Ceased
Application number
PCT/JP2018/023060
Other languages
English (en)
French (fr)
Japanese (ja)
Inventor
督夫 越智
Current Assignee (The listed assignees may be inaccurate. Google has not performed a legal analysis and makes no representation or warranty as to the accuracy of the list.)
Nichiha Corp
Original Assignee
Nichiha Corp
Priority date (The priority date is an assumption and is not a legal conclusion. Google has not performed a legal analysis and makes no representation as to the accuracy of the date listed.)
Filing date
Publication date
Application filed by Nichiha Corp filed Critical Nichiha Corp
Priority to CN201880013379.6A priority Critical patent/CN110352282B/zh
Priority to EP18819733.9A priority patent/EP3569792B1/en
Priority to CA3054647A priority patent/CA3054647C/en
Priority to KR1020197024124A priority patent/KR102579498B1/ko
Priority to AU2018289851A priority patent/AU2018289851B2/en
Priority to RU2019127986A priority patent/RU2754407C2/ru
Priority to US16/487,412 priority patent/US10851548B2/en
Publication of WO2018235760A1 publication Critical patent/WO2018235760A1/ja
Anticipated expiration legal-status Critical
Ceased legal-status Critical Current

Links

Images

Classifications

    • EFIXED CONSTRUCTIONS
    • E04BUILDING
    • E04FFINISHING WORK ON BUILDINGS, e.g. STAIRS, FLOORS
    • E04F13/00Coverings or linings, e.g. for walls or ceilings
    • E04F13/07Coverings or linings, e.g. for walls or ceilings composed of covering or lining elements; Sub-structures therefor; Fastening means therefor
    • E04F13/08Coverings or linings, e.g. for walls or ceilings composed of covering or lining elements; Sub-structures therefor; Fastening means therefor composed of a plurality of similar covering or lining elements
    • E04F13/0801Separate fastening elements
    • E04F13/0803Separate fastening elements with load-supporting elongated furring elements between wall and covering elements
    • E04F13/081Separate fastening elements with load-supporting elongated furring elements between wall and covering elements with additional fastening elements between furring elements and covering elements
    • EFIXED CONSTRUCTIONS
    • E04BUILDING
    • E04FFINISHING WORK ON BUILDINGS, e.g. STAIRS, FLOORS
    • E04F13/00Coverings or linings, e.g. for walls or ceilings
    • E04F13/07Coverings or linings, e.g. for walls or ceilings composed of covering or lining elements; Sub-structures therefor; Fastening means therefor
    • E04F13/08Coverings or linings, e.g. for walls or ceilings composed of covering or lining elements; Sub-structures therefor; Fastening means therefor composed of a plurality of similar covering or lining elements
    • E04F13/0801Separate fastening elements
    • E04F13/0803Separate fastening elements with load-supporting elongated furring elements between wall and covering elements
    • E04F13/0805Separate fastening elements with load-supporting elongated furring elements between wall and covering elements with additional fastening elements between furring elements and the wall
    • E04F13/0807Separate fastening elements with load-supporting elongated furring elements between wall and covering elements with additional fastening elements between furring elements and the wall adjustable perpendicular to the wall
    • EFIXED CONSTRUCTIONS
    • E04BUILDING
    • E04BGENERAL BUILDING CONSTRUCTIONS; WALLS, e.g. PARTITIONS; ROOFS; FLOORS; CEILINGS; INSULATION OR OTHER PROTECTION OF BUILDINGS
    • E04B2/00Walls, e.g. partitions, for buildings; Wall construction with regard to insulation; Connections specially adapted to walls
    • E04B2/56Load-bearing walls of framework or pillarwork; Walls incorporating load-bearing elongated members
    • EFIXED CONSTRUCTIONS
    • E04BUILDING
    • E04FFINISHING WORK ON BUILDINGS, e.g. STAIRS, FLOORS
    • E04F13/00Coverings or linings, e.g. for walls or ceilings
    • E04F13/07Coverings or linings, e.g. for walls or ceilings composed of covering or lining elements; Sub-structures therefor; Fastening means therefor
    • E04F13/08Coverings or linings, e.g. for walls or ceilings composed of covering or lining elements; Sub-structures therefor; Fastening means therefor composed of a plurality of similar covering or lining elements
    • E04F13/0801Separate fastening elements
    • E04F13/0803Separate fastening elements with load-supporting elongated furring elements between wall and covering elements
    • E04F13/081Separate fastening elements with load-supporting elongated furring elements between wall and covering elements with additional fastening elements between furring elements and covering elements
    • E04F13/0816Separate fastening elements with load-supporting elongated furring elements between wall and covering elements with additional fastening elements between furring elements and covering elements the additional fastening elements extending into the back side of the covering elements
    • E04F13/0819Separate fastening elements with load-supporting elongated furring elements between wall and covering elements with additional fastening elements between furring elements and covering elements the additional fastening elements extending into the back side of the covering elements inserted into grooves in the back side of the covering elements
    • EFIXED CONSTRUCTIONS
    • E04BUILDING
    • E04FFINISHING WORK ON BUILDINGS, e.g. STAIRS, FLOORS
    • E04F13/00Coverings or linings, e.g. for walls or ceilings
    • E04F13/07Coverings or linings, e.g. for walls or ceilings composed of covering or lining elements; Sub-structures therefor; Fastening means therefor
    • E04F13/08Coverings or linings, e.g. for walls or ceilings composed of covering or lining elements; Sub-structures therefor; Fastening means therefor composed of a plurality of similar covering or lining elements
    • E04F13/0801Separate fastening elements
    • E04F13/0803Separate fastening elements with load-supporting elongated furring elements between wall and covering elements
    • E04F13/081Separate fastening elements with load-supporting elongated furring elements between wall and covering elements with additional fastening elements between furring elements and covering elements
    • E04F13/0821Separate fastening elements with load-supporting elongated furring elements between wall and covering elements with additional fastening elements between furring elements and covering elements the additional fastening elements located in-between two adjacent covering elements
    • E04F13/0826Separate fastening elements with load-supporting elongated furring elements between wall and covering elements with additional fastening elements between furring elements and covering elements the additional fastening elements located in-between two adjacent covering elements engaging side grooves running along the whole length of the covering elements
    • EFIXED CONSTRUCTIONS
    • E04BUILDING
    • E04FFINISHING WORK ON BUILDINGS, e.g. STAIRS, FLOORS
    • E04F13/00Coverings or linings, e.g. for walls or ceilings
    • E04F13/07Coverings or linings, e.g. for walls or ceilings composed of covering or lining elements; Sub-structures therefor; Fastening means therefor
    • E04F13/08Coverings or linings, e.g. for walls or ceilings composed of covering or lining elements; Sub-structures therefor; Fastening means therefor composed of a plurality of similar covering or lining elements
    • E04F13/0875Coverings or linings, e.g. for walls or ceilings composed of covering or lining elements; Sub-structures therefor; Fastening means therefor composed of a plurality of similar covering or lining elements having a basic insulating layer and at least one covering layer

Definitions

  • the present invention relates to the wall structure of a building.
  • Patent documents 1 to 3 disclose the wall structure of a conventional building.
  • a plurality of bracket base materials extending in the left-right direction are disposed on the wall surface of the structure.
  • a plurality of brackets are fixed to the bracket base material.
  • a plurality of longitudinal trunk edges extending in the vertical direction along the wall surface are disposed across the plurality of brackets.
  • a plurality of plate members are attached to the vertical trunk edge, and the plate members cover the wall surface. In such a wall structure, if the wall surface is not landed, it is necessary to take measures to prevent the lands of the plate members attached to the structure from being landed.
  • a bolt fixing hole is provided through the mounting portion of the base member, and an elongated hole is provided through the slide portion of the slide member.
  • a bolt fixing hole is provided through the standing portion of the first bracket member, and an elongated hole is provided through the slide portion of the second bracket member. Then, when the bolt is inserted into the bolt fixing hole and the elongated hole and screwed into the nut, the unevenness of the wall surface can be adjusted by shifting the slide portion with respect to the standing portion.
  • the present invention has been made in view of the above-mentioned conventional circumstances, and it is an object of the present invention to provide a wall structure of a building capable of stably supporting a plate material as well as an installation method and a plate material construction method. It should be an issue to be done.
  • a wall structure of a building includes a structure forming a wall surface, a plurality of brackets disposed on the wall surface, and a first wall extending along the wall surface and extending over at least two of the brackets
  • a plurality of first supports arranged in parallel, a fastening member for fastening the bracket and the first support, and / or directly or indirectly on at least two of the first supports opposite to the wall surface.
  • a first side wall portion projecting toward a narrow angle side of an angle formed by the first portion and the second portion; and at least a portion of the other side edge of the first portion from the other of the second portion
  • a second side wall extending continuously to at least a part of the side edge of the second side and protruding toward the narrow angle side; and the first side wall and the second side wall provided on the second portion;
  • a mounting portion including a mounting surface facing the opposite side to the protruding side, the first support body, a first joint portion mounted on the mounting surface, and the plate material being directly attached
  • the second joint portion disposed in the second or the second joint portion, wherein the fastening member is a first drill screw for fastening the first seat portion and the placement portion in a direction orthogonal to the placement surface.
  • the wall structure of the building according to the first aspect of the present invention has the first and second side wall portions extending continuously from at least a portion of both side edges of the first portion to at least a portion of both side edges of the second portion.
  • a rigid bracket is used. For this reason, when mounting the first joint portion of the first support on the mounting surface, the unevenness of the wall surface of the structure is adjusted, and the mounting portion of the bracket is formed using the first drill screw at that position. And the first joint of the first support can be fastened.
  • the bracket reinforced by the first and second side wall portions can withstand the load it can. For this reason, in this wall structure, since the unevenness adjustment of the wall surface and the arrangement of the first support can be performed in the same process, the construction becomes easy and fast.
  • the construction is easy and fast, and the plate material can be stably supported.
  • the plate material is directly attached to the side opposite to the wall surface of at least two first supports, and the plate material is directly disposed at the second joint portion of the first support”.
  • the plate member is disposed at the second joint without interposing a support different from the first support, and is directly attached to the first support by a fastening member such as a screw or a fixture. Means. According to this configuration, it is possible to realize the reduction of the number of parts and the simplification of the work by the reduction of the number of steps by not using a support other than the first support for attaching the plate material.
  • the plate material is indirectly attached to the side opposite to the wall surface of at least two first supports, and the plate material is indirectly disposed at the second joint portion of the first support
  • the plate member is disposed at the second joint in a state in which the plate member is interposed with a support different from the first support, and the other support is attached to the first support by a fastening member such as a screw.
  • the plate material is attached to the other support by a fastening member such as a screw or a fixture.
  • the further support is at least one. According to this configuration, by using a support different from the first support, the uneven adjustment of the wall surface can be further suitably performed, and the plate material can be supported more stably.
  • the wall structure of the building extends in a second direction intersecting the first support and along the wall, and a plurality of second supports disposed across the at least two first supports. It is desirable to have a body.
  • the second support is preferably arranged at the second joint.
  • the plate is attached to at least two second supports.
  • the uneven adjustment of the wall surface can be more suitably performed, and the plate material can be supported more stably.
  • the bracket is provided between the first side wall and the second side wall, and extends continuously from at least a portion of the first portion to at least a portion of the second portion, and It is desirable to have a protruding portion that protrudes toward the narrow angle side.
  • the projection can reinforce the first and second parts of the bracket and the connecting parts of both. For this reason, the projection length of the first side wall and the second side wall can be kept short. Therefore, when a heat insulating material is arrange
  • the projection extends substantially to the center of the second portion.
  • the mounting surface is preferably a flat surface formed in a range farther from the first portion than the protruding portion in the second portion.
  • the mounting surface is formed in a range where there is no protrusion in the second portion and becomes flat, the first joint portion of the first support can be reliably mounted on the mounting surface, and the first drill screw Thus, the mounting portion and the first joint portion can be securely fastened.
  • the first height at which the protrusion protrudes with respect to the mounting surface is equal to or less than the second height at which the first side wall and the second side wall protrude with respect to the mounting surface. It is desirable that it is set.
  • the second height can be reduced according to the reinforcing effect of the bracket by the protruding portion, and the first and second side wall portions and the protruding portion are constructed. It can control that it gets in the way of Further, when the heat insulating material is disposed around the bracket, it is effective that a gap is generated between the heat insulating material and the bracket in the vicinity of the first and second side wall portions on the narrow angle side of the second portion of the bracket. It can be suppressed.
  • the mounting portion be provided with a main elongated hole extending away from the fixing portion.
  • the first drill screw when fastening the mounting portion of the bracket and the first joint portion of the first support, the first drill screw is inserted into the main elongated hole of the mounting portion and then screwed into the first joint portion in a shallow manner.
  • the first support can be temporarily fixed to the mounting portion. Then, in this state, after positioning the first support in a direction away from the fixed portion or in the opposite direction thereof, the first drill screw is completely screwed into the first joint portion, thereby placing the mounting portion and the first 1) It is possible to securely fasten the joint. As a result, it is possible to accurately and easily position the first support for uneven adjustment of the wall surface, and simplification of the operation can be realized.
  • the mounting portion is provided with at least one main round hole disposed at a position separated from the main long hole in the direction intersecting the longitudinal direction of the main long hole. desirable.
  • the first drill screw is inserted into the main elongated hole of the mounting portion, and after the positioning adjustment of the first support is performed, the mounting portion and the first joint portion are securely fastened, and then another By inserting the first drill screw into the main round hole of the mounting portion and screwing it into the first joint portion, the mounting portion and the first joint portion can be more securely fastened. At this time, since it is not necessary for another first drill screw to make a pilot hole in the mounting portion, it is possible to easily perform a fastening operation using another first drill screw.
  • the wall structure of the building includes an extension member disposed between the mounting portion of the bracket and the first joint portion of the first support.
  • the extension member is placed on the placement surface, extends away from the first portion, and includes the extension placement surface facing the same side as the placement surface such that the first joint portion is placed.
  • a first extension sidewall projecting from the one side edge of the extension placement portion in the same direction as the first side wall portion and adjacent to the first sidewall portion, and secondly from the other side edge of the extension placement portion It is desirable to have the 2nd extension side wall part which protrudes in the same direction as a side wall part, and is adjacent to the 2nd side wall part.
  • the fastening member is a second drill screw for fastening the mounting portion and the extension mounting portion in the direction orthogonal to the mounting surface, and the extension mounting portion and the first joint in the direction orthogonal to the extension mounting surface. It is desirable to include the 3rd drill screw which fastens with a part.
  • the bracket and the first support can be fastened after adjusting the amount of unevenness using the extension member. Therefore, arranging the first support straight in the first direction can be reliably realized, and as a result, the plate can be arranged on the structure with high accuracy.
  • the extension member slides in a direction toward or away from the wall, and the second drill screw extends with the placement portion When fastening with a mounting part, the side gap with respect to the mounting part of an extension member can be suppressed.
  • the extension member reinforced by the first and second extension side wall portions bears the load. be able to.
  • the extension member reinforced by the first and second extension side wall portions is a load Can withstand.
  • the extension placement portion be provided with an auxiliary elongated hole extending away from the first portion.
  • the third drill screw is inserted into the auxiliary elongated hole of the extension placement portion and then the first joint portion
  • the first support can be temporarily fixed to the extension placement portion.
  • the extension mounting portion is obtained by completely screwing the third drill screw into the first joint portion.
  • the first joint can be securely fastened.
  • the extension placement portion is provided with at least one auxiliary round hole arranged at a position separated from the auxiliary long hole in the direction intersecting the longitudinal direction of the auxiliary long hole. Is desirable.
  • the third drill screw is inserted into the auxiliary elongated hole of the extension placement portion, and after the positioning adjustment of the first support is performed, the extension placement portion and the first joint portion are securely fastened, By inserting another third drill screw into the auxiliary round hole of the extension placement portion and screwing it into the first joint portion, the extension placement portion and the first junction portion can be more securely fastened. At this time, since the other third drill screw does not have to make the lower mounting hole in the extension mounting portion, the fastening operation by the other third drill screw can be easily performed.
  • the auxiliary elongated hole and the auxiliary round hole be disposed at a position shifted with respect to the main elongated hole.
  • the second drill screw when fastening the mounting portion of the bracket and the extension mounting portion of the extension member, the second drill screw is inserted into the main elongated hole of the mounting portion and then screwed into the extension mounting portion in a shallow manner.
  • the extension member can be temporarily fixed to the mounting portion.
  • the second drill screw is completely screwed into the extension placement portion, thereby placing the placement portion and the extension placement Can be securely fastened
  • another second drill screw is inserted into the main round hole of the mounting portion and screwed into the extension mounting portion, whereby the mounting portion and the extension mounting portion can be more securely fastened.
  • the fastening operation utilizing the auxiliary elongated hole and the auxiliary round hole by the third drill screw is as described in the ninth and tenth aspects of the present invention.
  • the auxiliary elongated hole and the auxiliary round hole are disposed at a position shifted with respect to the main elongated hole, and the auxiliary elongated hole and the auxiliary round hole are disposed at a shifted position with respect to the main circular hole. , They do not inhibit each other's effects.
  • the positioning of the first support for adjusting the unevenness of the wall surface can be performed more accurately and easily, and the operation can be further simplified.
  • the first support extends horizontally, that is, when the first direction is horizontal
  • the following work procedure can be taken in consideration of the ease of work. . That is, when fastening the mounting portion of the bracket and the extended mounting portion of the extension member overlapping the mounting portion from above, the second drill screw is inserted into the auxiliary elongated hole of the extended mounting portion, and then mounted.
  • the extension member can be temporarily fixed to the mounting portion by screwing into the portion shallowly.
  • the second drill screw is completely screwed into the mounting portion, thereby placing the mounting portion and the extension mounting. You can securely connect with the department.
  • another second drill screw is inserted into the auxiliary round hole of the extension placement portion and screwed into the placement portion, whereby the placement portion and the extension placement portion can be more securely fastened.
  • the plate has a quadrilateral shape having first to fourth four end portions. It is desirable that the first end of the plate has a first joint joint which is recessed from the back surface of the plate toward the front surface and extends along the first end. It is desirable that the second end of the plate facing the first end has a second jointed portion which is recessed from the surface to the back of the plate and extends along the second end. The third end of the plate intersecting the first end and the second end is recessed from the surface to the back of the plate and has a third joint joint extending along the third end. Is desirable. And the 4th end of the board material which counters the 3rd end is dented toward the surface from the back to the surface of the board, and has the 4th joining joint extended along the 4th end. desirable.
  • the plate material has a so-called "four-way joint structure", and the first joint joint and the second joint joint overlap to form a joint in one direction, for example, a joint in the vertical direction. Also, the third joint and the fourth joint overlap each other to form a joint in the other direction, for example, a joint in the horizontal direction.
  • the crevices of board material which adjoins the perpendicular direction and the horizontal direction.
  • the appearance quality of the joint portion of the plate material is also improved. Thus, it is possible to provide a high quality wall structure that is easy to install.
  • a mounting device includes a bracket locatable on a wall surface configured by a structure, the bracket including: a first portion including a fixing portion for fixing to the structure; A second portion bent substantially at right angles from one portion and extending away from the fixed portion; at least a portion of one side edge of the first portion to at least a portion of one side edge of the second portion From the at least a portion of the other side edge of the first portion, and a first side wall portion extending toward the narrow angle side of the angle formed by the first portion and the second portion continuously extending up to A second side wall portion continuously extending to at least a portion of the other side edge of the second portion and protruding toward the narrow angle side; provided on the second portion, the first side wall portion and Opposite to the side where the second side wall projects And a main long hole extending away from the fixing part, and the main long hole in a direction intersecting the longitudinal direction of the main long hole. At least one main round hole disposed at a position distant from the long
  • the same function and effect as the wall structure of the building of the first, second, sixth and seventh aspects of the present invention can be exhibited.
  • the bracket is provided between the first side wall portion and the second side wall portion, and extends continuously from at least a portion of the first portion to at least a portion of the second portion, and It is desirable to have a protruding portion that protrudes toward the narrow angle side.
  • the mounting device preferably includes an extension member for use with the bracket.
  • the extension member has an extension placement surface, and includes an extension placement portion to be placed on the placement surface, a first extension side wall portion projecting from one side edge of the extension placement portion, and the extension placement. It is desirable to have the 2nd extension side wall part projected from the other side edge of a holder.
  • the extension mounting portion includes an auxiliary elongated hole extending in the longitudinal direction of the extended mounting surface, and at least one auxiliary round hole disposed at a position away from the auxiliary elongated hole in a direction intersecting the longitudinal direction of the auxiliary elongated hole. It is desirable to be provided.
  • the extension placement surface faces the same side as the placement surface
  • the first extension side wall portion faces the first side wall portion.
  • Adjacent, the second extension side wall portion is adjacent to the second side wall portion, the auxiliary elongated hole and the auxiliary round hole are respectively disposed at a position shifted with respect to the main elongated hole, and the auxiliary elongated hole and the auxiliary round hole are It is desirable that each be disposed at a position offset with respect to the main round hole.
  • a construction method of a plate material according to a sixteenth aspect of the present invention is a construction method of a plate material for attaching a plate material using a bracket, a first support, and a fastening member to a structure constituting a wall surface, A first step of disposing a bracket on the wall, and a second step of extending the plurality of first supports along a first direction along the wall and being disposed across at least two of the brackets; A third step of fastening the bracket and the first support by the fastening member; and a plurality of the plate members directly or indirectly on the side opposite to the wall surface of at least two of the first supports.
  • a fourth step of attaching and covering the wall surface wherein the bracket includes a first portion including a fixing portion fixed to the structure in the first step; and the first portion A second portion that is bent at a right angle and extends away from the fixed portion; and at least a portion of one side edge of the first portion to at least a portion of one side edge of the second portion.
  • a first side wall portion extending toward the narrow angle side of the angle formed by the first portion and the second portion; and at least a portion of the other side edge of the first portion from the second portion
  • a second side wall portion continuously extending to at least a part of the other side edge of the second side wall and protruding toward the narrow angle side, and provided on the second portion, the first side wall portion and the second side wall
  • a mounting portion including a mounting surface facing the side opposite to the side where the portion protrudes, and the first support is a first bonding portion mounted on the mounting surface in the second step.
  • the plate material is disposed directly or indirectly in the fourth step (2) a joint portion
  • the fastening member includes a first drill screw for fastening the mounting portion and the first joint portion in a direction orthogonal to the mounting surface in the third step .
  • the construction is easy and fast, and the plate material can be stably supported.
  • the four steps cross the first support and extend in the second direction along the wall surface and arrange the plurality of second supports across at least two first supports. It is desirable to include a fifth step and a sixth step of attaching the plate material to at least two second supports. Then, in the fifth step, the second support is preferably disposed at the second joint portion of the first support.
  • the mounting portion be provided with a main elongated hole extending away from the fixing portion. Then, in the third step, after inserting the first drill screw into the main long hole, screw in shallowly into the first joint, and then shift the first support away from the fixed part or in the opposite direction It is desirable to position and then fully screw the first drill screw into the first joint.
  • an extension member be disposed between the mounting portion of the bracket and the first joint portion of the first support.
  • the extension member is placed on the placement surface, extends away from the first portion, and faces the same side as the placement surface, the extension placement portion including the extension placement surface on which the first joint portion is placed
  • a first extension sidewall projecting from the one side edge of the extension placement portion in the same direction as the first sidewall portion and adjacent to the first sidewall portion, and a second sidewall from the other side edge of the extension placement portion
  • the fastening member fastens the placement portion and the extension placement portion in the direction orthogonal to the placement surface by the second drill screw, and the extension placement surface by the third drill screw. It is desirable to fasten the extension placement portion and the first joint portion in the direction orthogonal to the direction.
  • the first support can be easily attached to the bracket while adjusting the unevenness of the wall by the extension member and the second and third drill screws. Can be tightened firmly.
  • the extension placement portion be provided with an auxiliary elongated hole extending away from the first portion. Then, in the third step, after inserting the third drill screw into the auxiliary elongated hole, screw in shallowly into the first joint, and then shift the first support away from the first portion or in the opposite direction. It is desirable to position and then fully screw the third drill screw into the first joint.
  • the mounting device According to the wall structure of the building, the mounting device, and the method of installing a plate material of the present invention, while the installation is easy and fast, the plate material can be stably supported.
  • FIG. 1 is a perspective view of a wall structure of a building according to the first embodiment.
  • FIG. 2 is a perspective view of the outer wall plate of the first embodiment.
  • FIG. 3 is a partial perspective view according to the first embodiment.
  • FIG. 4 is a partial cross-sectional view of the wall structure of the first embodiment.
  • FIG. 5 is a perspective view according to the first embodiment.
  • FIG. 6 is a front view of a bracket according to the first embodiment.
  • FIG. 7 is a cross-sectional view showing a VII-VII cross section of FIG.
  • FIG. 8 is a partial perspective view according to the first embodiment.
  • FIG. 9 is a perspective view of the first attachment according to the first embodiment.
  • FIG. 10 is a partial cross-sectional view of the wall structure of the second embodiment.
  • FIG. 11 is a perspective view according to the second embodiment.
  • FIG. 12 is a front view according to the second embodiment.
  • FIG. 13 is a partial cross-sectional view of the wall structure of the third embodiment.
  • FIG. 14 is a partial perspective view according to the third embodiment.
  • FIG. 15 relates to the third embodiment and is a perspective view of a second fixture.
  • FIG. 16 is a perspective view of a wall structure of a building according to a fourth embodiment.
  • FIG. 17 is a partial cross-sectional view of the wall structure of the fourth embodiment.
  • FIG. 18 is a cross-sectional view showing a cross section XVIII-XVIII in FIG.
  • FIG. 19 is a perspective view of a bracket and a first support according to a fourth embodiment.
  • FIG. 19 is a perspective view of a bracket and a first support according to a fourth embodiment.
  • FIG. 20 is a perspective view of the extension member according to the fifth embodiment.
  • FIG. 21 is a partial cross-sectional view of the wall structure of the fifth embodiment.
  • FIG. 22 is a perspective view of the bracket, the extension member, and the first support according to the fifth embodiment.
  • FIG. 23 is a perspective view for explaining an assembling procedure of the bracket, the extension member, and the first support according to the sixth embodiment.
  • FIG. 24 is a perspective view of a bracket, an extension member, and a first support according to a sixth embodiment.
  • FIG. 25 is a perspective view showing a modified example of the bracket.
  • FIG. 1 the vertical upper direction is indicated as upper, and the vertical lower direction is indicated as lower. Further, in the direction from the outdoor to the indoor in FIG. 1, the horizontal left direction is displayed as the left, and the horizontal right direction is displayed as the right. And each direction shown to each figure after FIG. 2 is made to respond
  • the wall structure of the first embodiment is an example of a specific aspect of a wall structure of a building.
  • This wall structure is obtained by attaching a plurality of outer wall panels 2 to a structure 8 constituting a building such as a house, a facility, or a warehouse.
  • the structure 8 may constitute a new building or may constitute an existing building on which an exterior renovation work is to be carried out.
  • the outer wall plate 2 is an example of a plate material.
  • the outer wall board 2 is a board
  • the outer wall panel 2 may be used for a newly-built building, or may be for remodeling which covers the wall surface of an existing building to improve the design.
  • plate material is not limited to an outer wall board,
  • the decorative board which exteriors a building, the structural panel for indoors, an interior board etc. may be sufficient.
  • the structure 8 is a strong frame made of reinforced concrete, brick or the like, and mortar 8M is applied to the surface layer on the outdoor side of the frame.
  • the structure 8 has a wall surface 9 facing the outdoor direction.
  • a structure is not limited to this Embodiment,
  • mortar 8M of the structure 8 may be abbreviate
  • the structure may constitute a wooden building constructed by a wooden frame construction method, a wooden frame construction method, or the like.
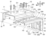
  • a bracket 100 Between the structure 8 and the outer wall plate 2, a bracket 100, a heat insulating material 5, a waterproof sheet 6, a horizontal support 30, a vertical support 40 and a first fixture 50 are disposed.
  • the lateral support 30 is an example of a first support.
  • the vertical support 40 is an example of a second support.
  • the plurality of brackets 100 are disposed on the wall surface 9 in a state of being separated from each other at predetermined intervals in the vertical direction and the horizontal direction.
  • a spacer 3 shown in FIG. 1 is disposed between the bracket 100 and the wall surface 9 as necessary.
  • the spacer 3 is a substantially rectangular plate in which a U-shaped groove is cut out.
  • the bracket 100 is manufactured by bending and pressing a metal plate material.
  • the bracket 100 is formed into a three-dimensional shape without partial welding by bending a steel plate having a thickness of about 2 mm and pressing.
  • the material and manufacturing method of the bracket 100 are not limited above, Various materials and a manufacturing method can be selected suitably.
  • the attached ends of two separately bent projecting pieces may be welded to make the projecting pieces continuous.
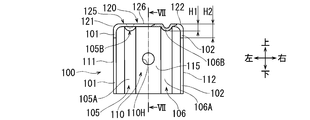
  • the posture of the bracket 100 in a state of being disposed on the wall surface 9 is used as a reference in the vertical direction, the horizontal direction, and the indoor / outdoor direction as shown in FIG.
  • the bracket 100 includes a first portion 110, a second portion 120, a first side wall portion 101, a second side wall portion 102, protrusions 105 and 106, and a placement portion 125. There is.
  • the first portion 110 has a substantially square shape, and a circular hole 110H is provided substantially at the center thereof.
  • the first portion 110 includes the fixing portion 115.
  • the fixing portion 115 forms a plane surrounding the round hole 110H. As shown in FIG. 4, the fixing portion 115 is in contact with the wall surface 9 in a state of extending in the vertical and horizontal directions, the anchor bolt 100B is inserted into the round hole 110H, and the anchor bolt 100B is fastened to the wall 9 . Thus, the fixing portion 115 is fixed to the wall surface 9.
  • the second portion 120 has a substantially rectangular shape and is connected to the upper end edge of the first portion 110.
  • the second portion 120 is bent in the outdoor direction from the first portion 110 and extends away from the fixing portion 115.
  • the narrow angle is ⁇ 1.
  • the narrow angle ⁇ 1 is set substantially at right angles.
  • the indoor / outdoor length L120 of the second portion 120 is set to, for example, about twice the length L110 of the first portion 110 in the vertical direction, but is limited to this configuration. Alternatively, it may be larger or smaller than its length. For example, the length L120 can be set equal to the length L110.
  • the first side wall portion 101 is connected to the entire range of the left end edge 111 of the first portion 110 and is a plate-like portion bent substantially at right angles toward the outdoor direction; A plate-like portion connected to the entire range of the left end edge 121 of the portion 120 and bent downward at a substantially right angle is connected to form a substantially L shape. That is, the first side wall portion 101 extends continuously from the lower end of the left end edge 111 of the first portion 110 to the end of the left end edge 121 of the second portion 120, and protrudes toward the narrow angle ⁇ 1.
  • the second side wall portion 102 is connected to the entire range of the right side edge 112 of the first portion 110 and has a plate-like portion bent substantially at a right angle toward the outdoor direction, and the entire range of the right side edge 122 of the second portion 120 And a plate-like portion which is bent downward substantially at right angles is connected to form a substantially L-shape. That is, the second side wall portion 102 extends continuously from the lower end of the right end edge 112 of the first portion 110 to the tip of the right end edge 122 of the second portion 120, and protrudes toward the narrow angle ⁇ 1.
  • the corner portion C1 formed by the first portion 110, the second portion 120 and the first side wall portion 101 is formed seamlessly by pressing.
  • the corner C2 formed by the first portion 110, the second portion 120, and the second side wall portion 102 is also formed seamlessly by pressing.
  • a rib 105 ⁇ / b> A having a U-shaped cross section protrudes toward the outdoor direction between the first side wall portion 101 and the round hole 110 ⁇ / b> H and extends vertically. It is formed as.
  • a rib 105B having a U-shaped cross section connected to the rib 105A is formed so as to protrude downward and extend in the indoor / outdoor direction.
  • the ribs 105A and 105B constitute a left projecting portion 105.
  • a rib 106A having a U-shaped cross section is formed between the second side wall portion 102 and the round hole 110H so as to protrude toward the outdoor direction and extend in the vertical direction.
  • a rib 106B having a U-shaped cross section connected to the rib 106A is formed to project downward and to extend in the indoor / outdoor direction.
  • the ribs 106A and 106B constitute a rightward projecting portion 106.
  • the protrusions 105 and 106 respectively extend upward from the lower end edge of the first portion 110, bend toward the outdoor direction at the upper end edge of the first portion 110, and extend toward the outdoor direction to substantially center the second portion 120. It is interrupted by
  • the projecting portions 105 and 106 are provided between the first side wall portion 101 and the second side wall portion 102, extend continuously from the lower end edge of the first portion 110 to substantially the center of the second portion 120, and are narrow. It protrudes toward the angle ⁇ 1 side.
  • the placement unit 125 is provided on the tip end side of the second portion 120.
  • the placement unit 125 includes a placement surface 126.
  • the mounting surface 126 is surrounded by the tip edge of the second portion 120, the left edge 121, the right edge 122, and the tips of the protrusions 105 and 106, and is opposite to the first side wall 101 and the second side wall 102. It is a plane facing the side. That is, the mounting surface 126 is an upward flat surface formed in a range farther from the first portion 110 than the tips of the protrusions 105 and 106 in the second portion 120.
  • the first side wall portion 101 and the second side wall portion 102 with respect to the mounting surface 126 have a first height H1 at which the projecting portions 105 and 106 protrude downward with respect to the mounting surface 126. It is set to the second height H2 or less projecting downward.
  • the heat insulating material 5 is disposed along the wall surface 9 of the structure 8.
  • the heat insulating material 5 is, for example, a fibrous heat insulating material such as rock wool or glass wool, or a foamed plastic heat insulating material such as foamed polyurethane, foamed phenol, or foamed polystyrene.
  • the heat insulating material 5 is disposed so that the portion that interferes with the bracket 100 is removed and the tip edge side of the mounting portion 125 of the bracket 100 is exposed. Note that the heat insulating material 5 can be omitted depending on the construction condition of the structure 8 or the like.
  • the waterproof sheet 6 is laid on the surface of the heat insulating material 5.
  • the waterproof sheet 6 is made of a waterproof paper, a film, a non-woven fabric, etc., and there are also waterproof ones having moisture permeability. In addition, the waterproof sheet 6 can also be omitted depending on the construction situation of the structure 8 or the like.
  • the waterproof sheet 6 is cut at a position corresponding to the second portion 120 of the bracket 100, and is disposed so that the tip end side of the mounting portion 125 of the bracket 100 protrudes.
  • the horizontal support 30 is a plate material having a long L-shaped cross section.
  • the lateral support 30 includes a first joint 31 and a second joint 32.
  • the second bonding portion 32 is connected to one end edge of the flat first bonding portion 31 and extends in a flat plate shape in a direction substantially perpendicular to the first bonding portion 31.
  • the lateral support 30 is manufactured, for example, by bending a steel plate.
  • the material and manufacturing method of the horizontal support body 30 are not limited above, Various materials including resin, a wood, etc., and a manufacturing method can be selected suitably.
  • a plurality of lateral supports 30 are separated from each other at predetermined intervals in the vertical direction on the outdoor side with respect to the waterproof sheet 6, and extend in the lateral direction along the wall surface 9. Is located in The lateral support 30 is disposed across the at least two brackets 100. As shown in FIGS. 4 and 5, the bracket 100 and the lateral support 30 are fastened by a first drill screw 91.
  • the left and right direction is an example of a first direction.
  • the first drill screw 91 is an example of a fastening member.
  • the first joint 31 is placed on the mounting surface 126 of the bracket 100, and the second joint 32 is on the opposite side of the wall 9 to the first joint 31. It is considered to be located at
  • the first drill screw 91 a drill such as a cutting edge portion or a pointed portion is formed at the tip of the screw, and a well-known drill screw that performs drilling, tapping and tightening with the screw itself is used.
  • the first drill screw 91 has a screw portion 91B, a cutting blade portion 91C formed at the tip of the screw portion 91B, and a head portion 91A connected to the root of the screw portion 91B. .
  • the unevenness of the wall surface 9 is adjusted by shifting the position of the first joint portion 31 of the horizontal support 30 placed on the mounting surface 126 in the indoor and outdoor direction according to the unevenness of the wall surface 9 of the structure 8 Do.
  • the first drill screw 91 is held by the electric driver (not shown) by fitting the tip of the electric driver (not shown) into the groove recessed in the head portion 91A of the first drill screw 91.
  • the cutting blade portion 91C of the first drill screw 91 is brought into contact with the first joint portion 31 from above to determine the fastening position. Then, while the downward load F1 is applied to the first drill screw 91, an electric driver (not shown) is operated.
  • the cutting blade portion 91C rotates while being pressed against the first bonding portion 31 and the placement portion 125, so that cutting waste is discharged while cutting the first bonding portion 31 and the placement portion 125, and the first bonding is performed.
  • a pilot hole is made in the part 31 and the placement part 125.
  • the screw portion 91B performs tapping by a portion adjacent to the cutting blade portion 91C, and performs tightening on the first bonding portion 31 and the placement portion 125 by a portion positioned closer to the head portion 91A than the portion.
  • the downward load F1 is the largest when the cutting blade 91C pierces the first joint portion 31 and the placement portion 125.
  • the present invention also includes a configuration in which a pilot hole is made in advance at a location corresponding to the fastening position of the first bonding portion 31.
  • the vertical support 40 is a plate material having a long hat-shaped cross section.
  • the vertical support 40 includes a central plate portion 41 and a pair of side plate portions 42.
  • the pair of side plate portions 42 is connected to the opposite side edges of the flat plate-like central plate portion 41 with a level difference and extends in a flat plate shape in a direction away from each other.
  • the vertical support 40 is manufactured, for example, by bending a steel plate.
  • the material and manufacturing method of the vertical support body 40 are not limited above, Various materials including resin, a wood, etc., and a manufacturing method can be selected suitably.
  • the plurality of vertical supports 40 are spaced apart from each other by a predetermined distance in the left-right direction on the outdoor side with respect to the second joint portion 32 of the horizontal support 30, and vertically along the wall surface 9.
  • a longitudinal support 40 is arranged across at least two transverse supports 30.
  • the pair of side plate part 42 of the vertical support body 40 and the 2nd junction part 32 of the horizontal support body 30 are fastened by the screw 40B.
  • the vertical direction is an example of a second direction.
  • the screw 40B illustrated in FIG. 4 is also a drill screw.
  • the side plate portion 42 and the second joint portion are performed before the work of fastening the pair of side plate portions 42 of the vertical support body 40 and the second joint portion 32 of the horizontal support body 30 by the screw 40B. It is necessary to work to make a pilot hole at 32.
  • the first fixture 50 includes a first fixing portion 55, a first upper abutment portion 56, a first lower abutment portion 57, a first support portion 51, a first upper locking portion 52, a first 1 lower locking portion 53 and standing piece 59 are included.
  • the first fixing portion 55 forms a flat surface that can be in contact with the central plate portion 41 of the vertical support 40.
  • the first upper contact portion 56 bulges in the outdoor direction so as to be separated from the first fixed portion 55.
  • the first lower contact portion 57 bulges in the outdoor direction so as to be separated from the first fixed portion 55 at a position lower than the first upper contact portion 56.
  • the first support portion 51 protrudes from the first fixed portion 55 in the outdoor direction between the first upper contact portion 56 and the first lower contact portion 57 and extends in the left-right direction.
  • the first upper locking portion 52 protrudes upward from the tip of the first support portion 51.
  • the first lower locking portion 53 protrudes downward from the tip of the first support portion 51.
  • the erecting piece 59 protrudes from the first fixing portion 55 in the outdoor direction below the first lower contact portion 57 and extends in the vertical direction.
  • the wall surfaces of the plurality of first fixtures 50 are separated from each other at predetermined intervals in the vertical and horizontal directions on the outdoor side with respect to the center plate portion 41 of the vertical support 40. It is arranged in nine.
  • the first fixing member 55 is attached to the central plate portion 41 of the vertical support 40 at a position corresponding to the four corner portions of the plurality of outer wall plates 2 which are put together. It will be in the state made to contact
  • fixed part 55 of the 1st fixture 50 and the center plate part 41 of the vertical support body 40 are fastened by the screw 50B.
  • the fixture of the structure which removed the standing installation piece 59 from the 1st fixture 50 is arrange
  • the outer wall plate 2 is a quadrilateral, more specifically, a substantially rectangular plate material long in the left-right direction.
  • the outer wall plate 2 is made of a ceramic material containing cement.
  • the material and shape of the outer wall plate 2 are not limited to the above.
  • a metal-based material, a wood-based material, a resin-based material, and the like can be appropriately selected as the material of the outer wall plate 2.
  • the shape of the outer wall board 2 can select suitably the board
  • the surface 2F of the outer wall plate 2 is, for example, an exterior surface to which a design such as a brick pattern is applied.
  • front side left and right joint portions 21 are formed.
  • back side left and right joint 22 is formed.
  • front side upper and lower joint portions 23 are formed.
  • a back side upper and lower joint portion 24 is formed at the upper end portion of the outer wall plate 2.
  • the front side upper and lower joint portion 23 is an example of a first combined joint portion of plate members.
  • the back side upper and lower joint portion 24 is an example of a second joint portion of the plate material.
  • the back side left and right joint portion 22 is an example of a third joint portion of the plate material.
  • the front side left and right joint portion 21 is an example of a fourth joint portion of the plate material.
  • the sizes of the front side left and right joints 21, the back side left and right joints 22, the front side upper and lower joints 23, and the back side upper and lower joints 24 are exaggerated relative to the size of the outer wall plate 2. .
  • the front side left and right joints 21 are recessed from the back surface 2B to the front surface 2F of the outer wall plate 2 and extend in the vertical direction, that is, along the left end of the outer wall plate 2.
  • the back side left and right joints 22 are recessed from the front surface 2F to the back surface 2B of the outer wall plate 2 and extend in the vertical direction, that is, along the right end portion of the outer wall plate 2.
  • a caulking 22S is provided on a flat surface of the back side left and right joint portion 22 facing the outdoor direction.
  • the caulking 22S is disposed linearly along the back side left and right joint 22. Coking is not essential, and coking 22S can be omitted.
  • the front-side upper and lower joints 23 are recessed from the back surface 2B to the front surface 2F of the outer wall plate 2 and extend in the left-right direction, that is, along the lower end portion of the outer wall plate 2.
  • an engagement concave portion 23A which is concaved upward substantially in a tapered shape is formed.
  • the back side upper and lower joints 24 are recessed from the front surface 2F to the back surface 2B of the outer wall plate 2 and extend in the left-right direction, that is, along the upper end portion of the outer wall plate 2.
  • a caulking 24S is provided on the flat surface facing the outdoor direction in the back side upper and lower joint portion 24.
  • the coking 24S is disposed linearly along the back side upper and lower joints 24. Coking is not essential, and coking 24S can be omitted.
  • the back side upper and lower joint portion 24 is formed with an engagement convex portion 24A that protrudes substantially in a tapered shape upward above the coking 24S.
  • the outer wall plates 2 are overlapping the back side upper and lower joint portion 24 of the lower outer wall plate 2 and the front side upper and lower joint portion 23 of the upper outer wall plate 2, the outer wall plates 2 adjacent to each other in the vertical direction
  • the upper and lower joint portions (vertical joint portions) extending in the left-right direction are formed between the two.
  • the front side left and right joint 21 of the right outer wall plate 2 and the back left and right joint 22 of the left outer wall plate 2 overlap with each other between the outer wall plates 2 adjacent in the left and right direction.
  • a left and right joint portion (horizontal joint portion) extending in the vertical direction is formed. That is, the outer wall plate 2 is a plate material having a so-called “four-way joint structure” including the front side left and right joint portions 21, the back side left and right joint portions 22, the front side vertical joint portion 23 and the rear side vertical joint portion 24.
  • FIG. 1 As shown in FIG. 1, FIG. 4 and FIG. 8, with the plurality of outer wall plates 2 adjacent to each other in the vertical direction and the horizontal direction, It is attached to the opposite side, ie, to the central plate portion 41 and covers the wall 9.
  • the outer wall plate 2 is indirectly attached on the side opposite to the wall surface 9 of the at least two lateral supports 30 and indirectly disposed at the second joint 32 of the lateral supports 30.
  • the first lower locking portion 53 of the first mounting tool 50 locks the engagement convex portion 24A of the lower outer wall plate 2.
  • the first upper locking portion 52 locks the engagement recess 23A of the upper outer wall plate 2.
  • the first support portion 51 supports the lower end portion of the upper outer wall plate 2.
  • the first upper abutment portion 56 and the first lower abutment portion 57 abut on the back surface 2B of the upper and lower outer wall plate 2 to secure a ventilation space between the wall surface 9 of the structure 8 and the back surface 2B of the outer wall plate 2
  • the standing pieces 59 are arranged between the mutually opposing side end faces of the outer wall plate 2 adjacent in the left-right direction, thereby preventing lateral displacement of the outer wall plate 2.
  • the first fixture 50 is adapted to support the outer wall plate 2 at the corner portions of the plurality of outer wall plates 2 which are put together.
  • another fixture without the erecting piece 59 supports the upper and lower joint portion of the outer wall plate 2 adjacent in the vertical direction between the first fixtures 50.
  • the outer wall plates 2 are supported by the structure 8 adjacent to each other in the vertical direction and the horizontal direction, and cover the wall surfaces 9.
  • the plurality of brackets 100 are arranged on the wall surface 9 by fixing the fixing portion 115 to the structure 8 with the anchor bolt 100B.
  • the plurality of lateral supports 30 extend in the left-right direction along the wall surface 9 and are disposed across at least two brackets 100. At this time, the first joint portion 31 of the lateral support 30 is placed on the mounting surface 126 of the bracket 100.
  • the bracket 100 and the lateral support 30 are fastened by the first drill screw 91.
  • the first drill screw 91 held by the electric driver (not shown) is pressed against the first joint portion 31 and the mounting portion 125 to operate the electric driver while applying the load F1.
  • the first drill screw 91 penetrates the mounting portion 125 and the first joint portion 31 in the vertical direction orthogonal to the mounting surface 126, and the mounting portion 125 and the first joint portion It is assumed that 31 is concluded.
  • the fourth step includes a fifth step and a sixth step.
  • a plurality of vertical supports 40 intersect the horizontal support 30 and extend in the vertical direction along the wall surface 9 so as to extend over at least two horizontal supports 30. Let it be placed. Then, the pair of side plate portions 42 of the vertical support 40 and the second joint portion 32 of the horizontal support 30 are fastened by the screw 40 B, whereby the vertical support 40 is engaged with the second joint 32 of the horizontal support 30. Be placed.
  • the plurality of outer wall plates 2 are attached to the side opposite to the wall surface 9 with respect to the at least two vertical supports 40 by the first fixture 50 fastened to the central plate portion 41 of the vertical supports 40; The wall surface 9 is covered.
  • the bracket 100 having the first and second side wall portions 101 and 102 continuously extending from the first portion 110 to the second portion 120 is used to form the first cross support 30.
  • the unevenness of the wall surface 9 can be adjusted, and the bracket 100 and the horizontal support 30 can be fastened using the first drill screw 91 at that position. .
  • the configuration in which the first drill screw 91 fastens the placement portion 125 and the first joint portion 31 does not use a long hole or the like, a slack or a gap is generated between the bracket 100 and the horizontal support 30. It is hard to occur. Furthermore, the deformation due to the bracket 100 supporting the weight of the outer wall plate 2 for a long time can be suppressed by the first and second side wall portions 101 and 102.
  • the installation is easy and fast, and the outer wall panel 2 can be stably supported.
  • the projecting portions 105 and 106 shown in FIGS. 5 to 7 can reinforce the first portion 110 and the second portion 120 of the bracket 100 and the connecting portions of the both.
  • the heat insulating material 5 is disposed around the bracket 100, but the first and second side wall portions 101 and 102 are provided by bearing the role of enhancing the rigidity by the protruding portions 105 and 106.
  • the height can be kept short. For this reason, on the side where the first and second side wall portions 101 and 102 of the bracket 100 are formed, the first and second side wall portions 101 and 102 suppress the formation of a gap between the heat insulating material 5 and the bracket 100 it can.
  • the first side wall portion 101 and the second side wall portion 102 with respect to the mounting surface 126 have a first height H1 at which the projecting portions 105 and 106 project relative to the mounting surface 126. It is set to the 2nd height H2 or less which protrudes.
  • the second height H2 can be reduced according to the reinforcing effect of the bracket 100 by the projecting portions 105 and 106, and the first and second side wall portions 101 and 102 and the projecting portions 105 and 106 are prevented from being an obstacle for construction. it can.
  • the heat insulating material 5 is arrange
  • the protrusions 105 and 106 extend only to the approximate center of the second portion 120 in the longitudinal direction. For this reason, the mounting surface 126 is flat in the range in which the protrusions 105 and 106 in the second portion 120 do not exist. Therefore, the first joint portion 31 of the horizontal support 30 can be reliably mounted on the mounting surface 126, and the mounting portion 125 and the first joint portion 31 can be reliably fastened by the first drill screw 91.
  • the outer wall plate 2 has a so-called "four-sided joint structure", and the front and rear joints 23 and the rear upper and lower joints 24 overlap to form an upper and lower joint, and the front left and right joints 21 and the rear left and right joints The portions 22 overlap to form a left and right combined portion.
  • the crevice between wall plates 2 comrades which adjoins the up-down direction and the horizontal direction.
  • the appearance quality of the joint portion of the outer wall plate 2 is also improved.
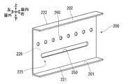
  • the wall structure of the horizontal support 30 with respect to the mounting surface 126 of the bracket 100 shows a case where the incompatibility of the wall surface 9 is so large that the unevenness of the wall surface 9 can not be adjusted.
  • the extension member 200 is disposed between the mounting portion 125 of the bracket 100 and the first joint portion 31 of the lateral support 30, and the large unevenness is adjusted.
  • the protrusions 105, 106 are extended until reaching the leading end edge of the second portion 120.
  • the mounting surface 126 is a flat surface divided into a plurality of portions in the width direction by the protruding portions 105 and 106.
  • the other configuration of the second embodiment is the same as that of the first embodiment. Therefore, the same components as those of the first embodiment will be assigned the same reference numerals and descriptions thereof will be omitted or simplified.
  • the extension member 200 is manufactured by bending a metal plate material or the like.
  • a steel plate material having a thickness of about 2 mm is bent or the like to be formed into a substantially C-shaped cross section.
  • the material and manufacturing method of the extension member 200 are not limited above, Various materials and a manufacturing method can be selected suitably.
  • the extension member 200 in a state of being disposed between the mounting portion 125 of the bracket 100 and the first joint portion 31 of the horizontal support 30. Based on attitude.
  • the extension member 200 includes an extension placement portion 225, a first extension side wall portion 201, and a second extension side wall portion 202.
  • the extension placement portion 225 has a substantially rectangular shape.
  • the indoor / outdoor length L225 of the extension placement portion 225 is set to, for example, substantially the same size as the indoor / outdoor length L120 of the second portion 120, but it may be longer or shorter than that. Good.
  • the extension placement portion 225 includes an extension placement surface 226.
  • the extension placement surface 226 is an upper surface of the extension placement part 225.
  • the first extension side wall portion 201 is formed continuously from one end of the left end edge 221 of the extension placement portion 225 to the other end.
  • the first extension side wall portion 201 protrudes downward from the left end edge 221 and extends in the indoor and outdoor direction.
  • the second extension side wall portion 202 is formed at the right side edge 222 of the extension placement portion 225 in the same manner as the first extension side wall portion 201.
  • the inner width W2 of the first extension side wall portion 201 and the second extension side wall portion 202 in the extension member 200 is slightly longer than the outer width W1 of the first side wall portion 101 and the second side wall portion 102 in the bracket 100. It is set.
  • the extension member 200 is disposed between the mounting portion 125 of the bracket 100 and the first joint portion 31 of the lateral support 30 as described below, and the extension mounting portion 225 is formed by the second drill screw 92.
  • the mounting portion 125 is fastened, and the extension mounting portion 225 and the first joint portion 31 are fastened by the third drill screw 93.
  • the second drill screw 92 and the third drill screw 93 are an example of fastening means.
  • the configuration of the second drill screw 92 and the third drill screw 93 is the same as the first drill screw 91, and thus the description is simplified.
  • the operation of arranging the extension member 200 between the mounting portion 125 and the first joint portion 31 is included in the above-described second process.
  • the extension placement portion 225 is placed on the placement surface 126 of the bracket 100 and extends outward from the first portion 110 of the bracket 100, and the extension placement surface 226 is a placement surface It is in the state of turning to the same side as 126.
  • the first extension side wall portion 201 protrudes downward in the same manner as the first side wall portion 101 and is adjacent to the first side wall portion 101.
  • the second extension side wall portion 202 protrudes downward in the same manner as the second side wall portion 102 and is adjacent to the second side wall portion 102.
  • the displacement of the wall surface 9 can be adjusted by shifting the position of the extension placement portion 225 placed on the placement surface 126 in the indoor / outdoor direction.
  • the same operation as the fastening operation by the first drill screw 91 is performed on the second drill screw 92.
  • the second drill screw 92 drills, taps, and tightens the extension placement portion 225 and the placement portion 125.
  • the second drill screw 92 penetrates the mounting portion 125 and the extension mounting portion 225 in the vertical direction orthogonal to the mounting surface 126, and fastens the mounting portion 125 and the extension mounting portion 225.
  • the present invention also includes a configuration in which a pilot hole is made in advance at a location corresponding to the fastening position of the extension placement portion 225.
  • the first joint 31 is placed on the extension mounting surface 226 of the extension member 200, and the second joint 32 is opposite to the wall 9 with respect to the first joint 31. It is in the state of connecting on the side.
  • the unevenness of the wall surface 9 is also adjusted by shifting the position of the first joint portion 31 of the horizontal support 30 placed on the extended mounting surface 226 in accordance with the unevenness of the wall surface 9 in the indoor and outdoor directions. be able to.
  • the third drill screw 93 drills, taps, and tightens the extension placement portion 225 and the first joint portion 31.
  • the present invention also includes a configuration in which a pilot hole is made in advance at a location corresponding to the fastening position of the first bonding portion 31.
  • the bracket 100 and the lateral support are adjusted after adjusting the land surface using the extension member 200.
  • the body 30 can be fastened. Therefore, the horizontal support 30 can be reliably disposed straight in the lateral direction, and as a result, the outer wall plate 2 can be disposed on the structure 8 with high accuracy.
  • the outer wall plate 2 can be stably supported while the installation is easy and fast.
  • the first and second extending side walls 201 and 202 sandwich the first and second side walls 101 and 102 so that the extending member 200 slides in a direction toward or away from the wall surface 9.
  • the second drill screw 92 fastens the placement portion 125 and the extension placement portion 225, lateral displacement of the extension member 200 with respect to the placement portion 125 can be suppressed.
  • the first and second extension The extension member 200 reinforced by the side wall portions 201 and 202 can bear the load F2.
  • the third drill screw 93 fastens the extension placement portion 225 and the first joint portion 31 even if a large load F3 acts on the extension member 200, the first and second extension side wall portions 201 and 202 can be used.
  • the reinforced extension member 200 can bear the load F3.
  • the lateral support 30 can be easily and firmly fastened to the bracket 100 by adjusting the unevenness of the wall surface 9 by the extension member 200 and the second and third drill screws 92 and 93.
  • the left and right ends of the outer wall plate 2 according to the first embodiment are changed to flat side end faces without the front side left and right joint portions 21 and the rear side left and right joint portions 22.
  • the left and right joint support 340, the second fixture 350, and The outer wall plate 2 is attached to the wall surface 9 using a joiner 360.
  • the other configuration of the third embodiment is the same as that of the first embodiment. Therefore, the same components as those of the first embodiment will be assigned the same reference numerals and descriptions thereof will be omitted or simplified.
  • the left and right joint support 340 is a plate material having a long cross-sectional reverse hat shape.
  • the left and right joint support 340 includes a mounting plate 341, a first support plate 342 and a second support plate 343.
  • the first support plate portion 342 is connected to the one side end edge of the flat mounting plate portion 341 with a level difference and extends in a flat shape in a direction away from the mounting plate portion 341.
  • the second support plate portion 343 is connected to the other side edge of the flat mounting plate portion 341 with a level difference and extends in the direction away from the mounting plate portion 341 and the first support plate portion 342 in a flat plate shape ing.
  • the second support plate portion 343 is wider than the first support plate portion 342.
  • the left and right joint support 340 is an example of a second support.
  • a plurality of left and right joint support members 340 are disposed on the wall surface 9 so as to extend vertically along the wall surface 9 on the outdoor side with respect to the second joint portion 32 of the horizontal support 30.
  • the left and right joint support members 340 are disposed at positions corresponding to the left end of the outer wall plate 2 and at positions corresponding to the right end of the outer wall plate 2. Then, as shown in FIG. 13, the mounting plate portion 341 of the left and right joint support 340 and the second joint 32 of the horizontal support 30 are fastened by the screw 340B.
  • the first support plate portions 342 of the two left and right joint support members 340 located at positions corresponding to the left end portion and the right end portion of the outer wall plate 2 are adjacent to each other.
  • Joiners 360 are fastened to the first support plate portions 342 by screws 360B.
  • the joiner 360 is a plate material having a long hat-shaped cross section.
  • the joiner 360 includes a convex portion 361 having a substantially C-shaped cross section that protrudes in the outdoor direction.
  • the second support plate portion 343 of the left and right joint support 340 at a position corresponding to the left end portion of the outer wall plate 2 is separated leftward with respect to the joiner 360.
  • the second support plate portion 343 of the left and right joint support 340 at a position corresponding to the right end of the outer wall plate 2 is separated to the right with respect to the joiner 360.
  • Second fixtures 350 are fastened to the second support plate portions 343 by screws 350B.
  • the second fixture 350 includes a second fixed portion 355, a second upper contact portion 356, a second lower contact portion 357, a second support portion 351, a second upper locking portion 352, and a second 2 includes the lower locking portion 353.
  • the second fixed portion 355 forms a flat surface that can be in contact with the second support plate portion 343 of the left and right joint support 340.
  • the second upper contact portion 356 bulges in the outdoor direction so as to be separated from the second fixed portion 355.
  • the second lower contact portion 357 bulges in the outdoor direction so as to be separated from the second fixed portion 355 at a position lower than the second upper contact portion 356.
  • the second support portion 351 protrudes from the second fixed portion 355 in the outdoor direction between the second upper contact portion 356 and the second lower contact portion 357 and extends in the left-right direction. Both end portions of the second upper contact portion 356 and both end portions of the second lower contact portion 357 are connected so as to surround the second support portion 351.
  • the second upper locking portion 352 protrudes upward from the tip of the second support 351.
  • the second lower locking portion 353 protrudes downward from the tip of the second support 351.
  • the second fixture 350 has the same configuration as the first fixture 50 except that the second fixture 350 does not have the one equivalent to the standing piece 59 of the first fixture 50 according to the first embodiment. ing. For this reason, although the description will be simplified, as shown in FIG. 13, the second fixture 350 supports the upper and lower joint parts of the outer wall plate 2 adjacent in the vertical direction in the same manner as the first fixture 50. It has become.
  • the convex portion 361 of the joiner 360 is disposed between the mutually opposing side end faces of the outer wall plates 2 adjacent in the left-right direction of the outer wall plate 2, and the sealing material S1 is in a space surrounded by the side end surfaces and the convex portions 361. Be filled.
  • the convex portion 361 of the joiner 360 also prevents lateral displacement of the outer wall plate 2.
  • the outer wall plate 2 can be fixed one by one, so that the outer wall plate 2 can be stably supported while the installation is easy and fast.
  • a plurality of vertical supports 430 are spaced apart from each other by a predetermined distance in the left-right direction and along the wall surface 9. It is arrange
  • the longitudinal supports 430 are disposed across the at least two brackets 100.
  • the outer wall plate 2 is directly attached on the side opposite to the wall surface 9 in the at least two vertical supports 430 and is directly disposed at the second joint portion 432 of the vertical supports 430.
  • the vertical support 430 is an example of a first support.
  • the first direction is the vertical direction.
  • the other configuration of the fourth embodiment is the same as that of the first embodiment and the like. Therefore, the same components as those of the first embodiment and the like will be assigned the same reference numerals and descriptions thereof will be omitted or simplified.
  • the vertical support 430 is a mold having a long rectangular cross section.
  • the vertical support 430 is a square steel pipe.
  • the material and manufacturing method of the vertical support 430 are not limited to the above, and various materials including resin, wood and the like, and manufacturing method can be appropriately selected.
  • the longitudinal support 430 includes a first joint 431 and a second joint 432.
  • the vertical support 430 includes a pair of plate-like portions extending in the indoor / outdoor direction and the vertical direction, and a plate-like portion positioned on the right side of the pair of plate-like portions serves as a first joint portion 431.
  • the vertical support 430 includes a pair of plate-like portions extending in the left-right direction and the up-down direction, and the plate-like portion located on the opposite side to the wall surface 9 among them is the second joint portion 432. That is, the second bonding portion 432 is connected to one end edge of the flat first bonding portion 431 and extends in a flat plate shape in a direction substantially perpendicular to the first bonding portion 431.
  • the direction of the bracket 100 according to the first embodiment is changed and used. That is, in the fourth embodiment, the fixing portion 115 of the bracket 100 is the wall surface 9 in a state where the mounting portion 125 of the bracket 100 extends in the indoor / outdoor direction and the vertical direction and the mounting surface 126 becomes a left facing plane. It is fixed to
  • the round hole 110H according to the first embodiment is changed to the long hole 410H.
  • the fixing portion 115 can be fixed to the wall surface 9 while adjusting the position of the bracket 100 in the left-right direction.
  • the mounting portion 125 is provided with a main elongated hole 150 and a plurality of main round holes 160.
  • the bracket 100 according to the fourth embodiment is an example of a mounting device.
  • the main elongated hole 150 extends in the outdoor direction away from the fixing portion 115.
  • the longitudinal direction of the main elongated hole 150 is the indoor / outdoor direction.
  • the main elongated hole 150 is disposed on the extension of the rib 106B.
  • Each main round hole 160 is disposed in a direction intersecting with the longitudinal direction of the main elongated hole 150, that is, at a position away from the main elongated hole 150 in the vertical direction.
  • the respective main round holes 160 are aligned in the indoor and outdoor directions.
  • each main round hole 160 is disposed on the extension of the rib 105B.
  • the method of installing the outer wall plate 2 of the fourth embodiment is implemented by the first to fourth steps.
  • a plurality of brackets are fixed by fixing the fixing portion 115 to the structure 8 with the anchor bolt 100B in a state in which the mounting surface 126 is a left facing plane. Place 100 on the wall 9
  • the plurality of vertical supports 430 extend in the vertical direction along the wall surface 9 and are disposed across at least two brackets 100. At this time, the first joint portion 431 of the vertical support 430 is placed on the left of the mounting surface 126 of the bracket 100.
  • the mounting portion 125 of the bracket 100 and the first joint portion 431 of the vertical support 430 are fastened by the first drill screw 91.
  • the direction in which the first drill screw 91 is fastened is changed to the left.
  • the vertical support body 430 is mounted by screwing shallowly in the 1st junction part 431 shallowly. It can be temporarily fixed to the part 125. Then, in this state, after the vertical support 430 is positioned by being shifted in the indoor / outdoor direction, the first drill screw 91 is completely screwed into the first joint portion 431, whereby the mounting portion 125 and the first joint portion It can be concluded securely with 431. As a result, it is possible to accurately and easily position the vertical support 430 for the adjustment of the wall surface 9 on uneven lands, and the simplification of the operation can be realized.
  • Another first drill screw 91 is inserted into the main round hole 160 of the mounting portion 125 and screwed into the first joint portion 431, thereby further securing the mounting portion 125 and the first joint portion 431. Can be concluded. Under the present circumstances, since it is not necessary to make another first drill screw 91 make a pilot hole in the mounting part 125, the fastening operation by another first drill screw 91 can be performed easily.
  • the second fixture 350 according to the third embodiment is fastened to the second joint portion 432 of the vertical support 430 with the screw 350 B, and the second fixture 350 is used.
  • the plurality of outer wall plates 2 are attached to the side opposite to the wall surface 9 with respect to the at least two vertical supports 430 so as to cover the wall surface 9.
  • the installation is easy and fast, and the outer wall panel 2 can be stably supported.
  • the wall structure of the vertical support 430 with respect to the mounting surface 126 of the bracket 100 is The alignment of the first joint portion 431 shows a case where the incompatibility of the wall surface 9 is so large that the unevenness of the wall surface 9 can not be adjusted.
  • the extension member 200 is disposed between the mounting portion 125 of the bracket 100 according to the fourth embodiment and the first joint portion 431 of the vertical support 430 to adjust the large unevenness.
  • the direction of the extension member 200 according to the second embodiment is changed and used. That is, in the fifth embodiment, the extension member 200 has the main length in the bracket 100 in a state where the extension placement portion 225 extends in the indoor / outdoor direction and the up-down direction and the extension placement surface 226 becomes a left facing plane. It mounts on the left of the mounting part 125 in which the hole 150 and the main round hole 160 were provided.
  • the extension placement portion 225 is provided with an auxiliary elongated hole 250 and a plurality of auxiliary round holes 260.
  • the bracket 100 and the extension member 200 according to the fifth embodiment are an example of a mounting device.
  • the auxiliary elongated hole 250 extends in the outdoor direction away from the first portion 110 of the bracket 100.
  • the longitudinal direction of the auxiliary elongated hole 250 is the indoor / outdoor direction.
  • Each auxiliary round hole 260 is disposed in a direction intersecting the longitudinal direction of the auxiliary elongated hole 250, that is, at a position away from the auxiliary elongated hole 250 in the vertical direction.
  • the respective auxiliary round holes 260 are aligned in the indoor and outdoor directions.
  • the auxiliary elongated hole 250 and the auxiliary round hole 260 are disposed at a position below the main elongated hole 150 of the mounting portion 125. Further, the auxiliary elongated hole 250 and the auxiliary round hole 260 are disposed at a position shifted upward with respect to the main round hole 160 of the mounting portion 125.
  • the auxiliary elongated holes 250 and the auxiliary round holes 260 are disposed at positions not overlapping the main elongated holes 150 of the mounting portion 125. Further, the auxiliary elongated holes 250 and the auxiliary round holes 260 are arranged at positions not overlapping the main round holes 160 of the mounting portion 125.
  • the mounting portion 125 of the bracket 100 and the extension mounting portion 225 of the extension member 200 are fastened by the second drill screw 92.
  • the direction in which the second drill screw 92 is fastened is changed to the left.
  • the extension member 200 is mounted by carrying out shallow screwing in the extension mounting part 225 shallowly. It can be temporarily fixed at 125. Then, in this state, after positioning the extension member 200 in the indoor / outdoor direction, the second drill screw 92 is completely screwed into the extension placement portion 225, whereby the placement portion 125 and the extension placement portion 225 Can be securely concluded.
  • another second drill screw 92 is inserted into the main round hole 160 of the placement unit 125 and screwed into the extension placement unit 225, thereby further securing the placement unit 125 and the extension placement unit 225. Can be concluded. At this time, since it is not necessary to make another second drill screw 92 make a pilot hole in the mounting portion 125, it is possible to easily perform a fastening operation by another second drill screw 92.
  • the extension placement portion 225 of the extension member 200 and the first joint portion 431 of the vertical support 430 are fastened by the third drill screw 93.
  • the direction in which the third drill screw 93 is fastened is also changed to the left.
  • the vertical support 430 is temporarily fixed to the extension placement portion 225 by screwing shallowly into the first joint portion 431. it can. Then, in this state, after the vertical support 430 is shifted and positioned in the indoor / outdoor direction, the third mounting screw 93 is completely screwed into the first joint portion 431, whereby the extension mounting portion 225 and the first joint are formed.
  • the part 431 can be securely fastened. As a result, it is possible to accurately and easily position the vertical support 430 for the adjustment of the wall surface 9 on uneven lands, and the simplification of the operation can be realized.
  • another third drill screw 93 is inserted into the auxiliary round hole 260 of the extension placement portion 225 and screwed into the first joint portion 431, whereby the extension placement portion 225 and the first junction portion 431 are made. It can be concluded more securely. At this time, since the other third drill screw 93 does not have to make a pilot hole in the extension placement portion 225, the fastening operation by the other third drill screw 93 can be easily performed.
  • the auxiliary elongated holes 250 and the auxiliary round holes 260 are arranged at positions shifted with respect to the main elongated holes 150 of the mounting portion 125. Further, the auxiliary elongated holes 250 and the auxiliary round holes 260 are arranged at positions shifted with respect to the main round holes 160 of the mounting portion 125.
  • the main elongated holes 150 and the main round holes 160, and the auxiliary long holes 250 and the auxiliary round holes 260 do not inhibit each other's effects.
  • the vertical support 430 can be positioned more accurately and easily for the adjustment of the wall surface 9 for uneven alignment, and the operation can be further simplified.
  • the outer wall plate 2 can be stably supported while the installation is easy and fast.
  • a lateral support 30 according to the first embodiment using the bracket 100 and the extension member 200 according to the fifth embodiment is supposed to support.
  • the first direction is the left-right direction.
  • the directions of the bracket 100 and the extension member 200 according to the fifth embodiment are changed to the same direction as the bracket 100 and the extension member 200 according to the second embodiment. That is, the extension placement portion 225 of the extension member 200 is placed on the placement portion 125 of the bracket 100.
  • the first joint portion 31 of the lateral support 30 is placed on the extension placement portion 225 of the extension member 200. Further, the direction in which the second drill screw 92 is tightened and the direction in which the third drill screw 93 is tightened are downward.
  • the extension member 200 is placed by being screwed into the placement portion 125 shallowly. It can be temporarily fixed at 125. Then, in this state, after positioning the extension member 200 in the indoor / outdoor direction, the second drill screw 92 is completely screwed into the placement portion 125, whereby the placement portion 125 and the extension placement portion 225 Can be securely fastened.
  • extension mounting portion 225 of the extension member 200 and the extension mounting portion 225 are positioned on the extension mounting portion 225 at positions not overlapping the auxiliary long holes 250 and the auxiliary round holes 260 of the extension mounting portion 225 by the third drill screw 93. And the first joint portion 31 of the lateral support 30 to be overlapped.
  • the outer wall plate 2 can be stably supported while the installation is easy and fast.
  • FIG. 25 As shown in FIG. 25, as a modified example of the bracket 100 according to the fourth to sixth embodiments, that is, the bracket 100 provided with the main elongated hole 150 and the main round hole 160 in the mounting portion 125.
  • the configuration in which the protruding portions 105 and 106 are eliminated is also included in the present invention.
  • a configuration in which the main elongated hole 150 and the main round hole 160 are eliminated from the bracket 100 of the modification shown in FIG. 25 is also included in the present invention.
  • the embodiment of the present invention has been described according to the first to sixth embodiments.
  • the embodiment of the present invention is not limited to the above first to sixth embodiments, and the present invention is not limited to the above embodiments. It can not be overemphasized that it can change and apply.
  • the first direction is the left and right direction.
  • the present invention is not limited to this configuration, and the first direction may be vertical as in the fourth and fifth embodiments. .
  • the configuration in which the first side wall portion 101 according to the first embodiment is changed as follows is also included in the present invention. That is, from the position shifted upward from the lower end of the left end edge 111 of the first portion 110 to the position shifted to the fixed portion 115 side from the end of the left end edge 121 of the second portion 120 It may be changed to a configuration which extends continuously and protrudes toward the narrow angle ⁇ 1 side. The same applies to the second side wall portion 102.
  • a configuration in which the outer wall plate 2 is directly fixed to the vertical support 40 by screws, nails or the like without using the first fixture 50 according to the first embodiment and the second fixture 350 according to the second embodiment is also included in the present invention. included.
  • Wall surface 8 Structure 100: Bracket 30: First support (horizontal support) 91, 92, 93: Fastening member (91: first drill screw, 92: second drill screw, 93: third Screws for drill 40, 340 ... second support (40 ... vertical support, 340 ... left and right joint support) 2 ... plate material (exterior wall plate) 115 ... fixed part 110 ... first part 120 ... second part 111 ... One side edge of the first part (left side edge of the first part) 121 ... one side edge of the second part (left side edge of the second part) ⁇ 1 ... formed by the first part and the second part Narrow angle of angle 101 ... first side wall 112 ...
  • first part right side edge of first part
  • second side wall portion 126
  • mounting surface 125 mounting portion 31 ... first joint portion 2.
  • 2nd joint part 105, 106 Protrusion part H1 ... 1st height H 2 ... 2nd height 200 ...
  • Extension member 226 ... Extension mounting surface 225 ... Extension mounting part 221 ...
  • extension mounting part Edge left side edge of extended mounting portion
  • first extended side wall portion 222 other side edge of extended mounting portion (right side edge of extended mounting portion)
  • second extended side wall portion 2B Back surface of plate material (back surface of outer wall plate)
  • 2F surface of plate material (front surface of outer wall plate)
  • 24 second joint portion of plate member (back side upper and lower joint)
  • Part 22 22 third joint of plate material (back side left and right joint)
  • 21 fourth joint of plate material (front side left and right joint)
  • main long hole 160 main round hole 250: auxiliary long hole 260 ...

Landscapes

  • Engineering & Computer Science (AREA)
  • Architecture (AREA)
  • Civil Engineering (AREA)
  • Structural Engineering (AREA)
  • Physics & Mathematics (AREA)
  • Electromagnetism (AREA)
  • Finishing Walls (AREA)
  • Building Environments (AREA)
  • Load-Bearing And Curtain Walls (AREA)
  • Working Measures On Existing Buildindgs (AREA)
PCT/JP2018/023060 2017-06-21 2018-06-18 建物の壁構造、取付装置及び板材の施工方法 Ceased WO2018235760A1 (ja)

Priority Applications (7)

Application Number Priority Date Filing Date Title
CN201880013379.6A CN110352282B (zh) 2017-06-21 2018-06-18 建筑物的墙壁结构、安装装置及板材的施工方法
EP18819733.9A EP3569792B1 (en) 2017-06-21 2018-06-18 Wall structure for building, installation device, and board construction method
CA3054647A CA3054647C (en) 2017-06-21 2018-06-18 Wall structure for building, attachment apparatus, and board material construction method
KR1020197024124A KR102579498B1 (ko) 2017-06-21 2018-06-18 건물의 벽 구조, 부착 장치 및 판재의 시공 방법
AU2018289851A AU2018289851B2 (en) 2017-06-21 2018-06-18 Wall structure for building, attachment apparatus, and board material construction method
RU2019127986A RU2754407C2 (ru) 2017-06-21 2018-06-18 Стеновая конструкция для здания, прикрепляющее устройство и способ выполнения строительных работ с листовым материалом
US16/487,412 US10851548B2 (en) 2017-06-21 2018-06-18 Wall structure for building, attachment apparatus, and board material construction method

Applications Claiming Priority (4)

Application Number Priority Date Filing Date Title
JP2017121125 2017-06-21
JP2017-121125 2017-06-21
JP2017-251901 2017-12-27
JP2017251901A JP7236212B2 (ja) 2017-06-21 2017-12-27 建物の壁構造、取付装置及び板材の施工方法

Publications (1)

Publication Number Publication Date
WO2018235760A1 true WO2018235760A1 (ja) 2018-12-27

Family

ID=64735592

Family Applications (1)

Application Number Title Priority Date Filing Date
PCT/JP2018/023060 Ceased WO2018235760A1 (ja) 2017-06-21 2018-06-18 建物の壁構造、取付装置及び板材の施工方法

Country Status (10)

Country Link
US (1) US10851548B2 (enExample)
EP (1) EP3569792B1 (enExample)
JP (2) JP7236212B2 (enExample)
KR (1) KR102579498B1 (enExample)
CN (1) CN110352282B (enExample)
AU (1) AU2018289851B2 (enExample)
CA (1) CA3054647C (enExample)
RU (1) RU2754407C2 (enExample)
TW (1) TWI768065B (enExample)
WO (1) WO2018235760A1 (enExample)

Cited By (4)

* Cited by examiner, † Cited by third party
Publication number Priority date Publication date Assignee Title
USD906788S1 (en) 2018-12-07 2021-01-05 Nichiha Corporation Construction furring strip support
CN113818598A (zh) * 2020-06-19 2021-12-21 昆山固特美钢建筑产品有限公司 装配式墙体的安装方法
CN115279980A (zh) * 2020-05-27 2022-11-01 爱吉工业株式会社 装饰结构、板材、以及装饰结构的施工方法
EP3933136A4 (en) * 2019-09-12 2022-11-30 Nichiha Corporation ARCHITECTURAL BRACKETS, BUILDING WALL STRUCTURE AND CONSTRUCTION PROCESS WITH SHEET MATERIAL

Families Citing this family (9)

* Cited by examiner, † Cited by third party
Publication number Priority date Publication date Assignee Title
JP1639513S (enExample) * 2018-12-07 2019-08-19
ES2956372T3 (es) * 2019-02-01 2023-12-20 Renson Sunprotection Screens Nv Revestimiento de pared a prueba de incendios
JP7716186B2 (ja) * 2019-12-16 2025-07-31 ニチハ株式会社 壁材および壁材施工構造
EP4234834A3 (en) * 2020-08-18 2023-10-25 Siemonsen & Simonsen ApS Fire protected building structures and methods for fire protecting building structures
AU2021385459A1 (en) * 2020-11-27 2023-06-29 Välinge Innovation AB A set for assembling building elements and connecting device therefore
JP7613984B2 (ja) 2021-03-31 2025-01-15 ホシザキ株式会社 洗浄機
CN113863600A (zh) * 2021-09-01 2021-12-31 广东玛格家居有限公司 一种装配式饰面墙板结构及其安装方法
CN115075506B (zh) * 2022-07-21 2024-09-03 广州欧派集成家居有限公司 连接机构及固定装置
FR3162234A1 (fr) * 2024-05-17 2025-11-21 Pieces Et Accessoires Industriels - P.A.I.- Ensemble de structure réglable

Citations (7)

* Cited by examiner, † Cited by third party
Publication number Priority date Publication date Assignee Title
JPH0622038Y2 (ja) * 1989-07-19 1994-06-08 株式会社イナックス 長尺タイル乾式施工構造
JP2000336768A (ja) * 1999-03-19 2000-12-05 Misawa Homes Co Ltd 外壁パネル取付用ブラケットおよび外壁パネル取付用ブラケットの製造方法
JP2002339473A (ja) 2001-05-12 2002-11-27 Masataka Hashi 外側断熱ブラケット付パネル
WO2005090706A1 (ja) * 2004-03-18 2005-09-29 Co-Max Co. Ltd. 外壁取付具および外壁材の施工方法
JP2007211511A (ja) 2006-02-10 2007-08-23 Kyowa:Kk 外壁材固定具
JP3137086U (ja) 2007-05-31 2007-11-15 ニチハ株式会社 外壁施工構造
JP2007321510A (ja) * 2006-06-02 2007-12-13 Asahi Tostem Gaiso Kk 留付金具及び外壁構造

Family Cites Families (41)

* Cited by examiner, † Cited by third party
Publication number Priority date Publication date Assignee Title
DE8501840U1 (de) * 1985-04-25 Wagner, Peter, Dipl.-Ing., 3303 Vechelde Befestigungswinkel für eine Fassadenunterkonstruktion
JPS484077Y1 (enExample) * 1967-07-20 1973-02-01
JPS5322972A (en) 1976-08-13 1978-03-02 Mitsubishi Electric Corp Control apparatus using computer
FR2435568A1 (fr) 1978-08-07 1980-04-04 Safama Dispositif pour l'accrochage, a distance d'une paroi, d'un revetement constitue d'une pluralite de panneaux
JP3160179B2 (ja) * 1995-03-16 2001-04-23 株式会社ノザワ パネル連結部の取付構造
JPH08254992A (ja) * 1995-03-17 1996-10-01 Fujitsu Ltd 話速変換装置
DK36895A (da) 1995-04-03 1996-10-25 Fiberline Composites A S Beslagsserie til samling af I- eller U-bjælker
JPH0932167A (ja) 1995-07-25 1997-02-04 Sumitomo Metal Mining Co Ltd パネル取付金具
US5755416A (en) 1996-04-15 1998-05-26 Simpson Strong-Tie Company, Inc. L-shaped shelf bracket with a frictionally engaging strut member
JPH10205100A (ja) 1996-11-22 1998-08-04 Sumitomo Metal Mining Co Ltd 外壁パネルの取付用金具
JPH11324157A (ja) 1998-05-21 1999-11-26 Sekisui Plastics Co Ltd 断熱壁の構築方法及び取り付け治具並びに断熱壁構造
KR200214426Y1 (ko) * 1998-12-22 2001-03-02 이재업 석재 벽판 지지용 앵글
RU2146323C1 (ru) * 1999-09-15 2000-03-10 Цыкановский Евгений Юльевич Комплект фасадной подвески
DE29920358U1 (de) * 1999-11-15 2000-02-03 BRF Bau Holding Friedrichshain GmbH, 10247 Berlin Stoßfugenelement für Fassadenplatten
US6484465B2 (en) * 1999-12-14 2002-11-26 Architectural Facades, Inc. Open joint wall panel system
JP3380522B2 (ja) * 2000-05-29 2003-02-24 ニチハ株式会社 留め付け金具
JP2002038631A (ja) 2000-07-24 2002-02-06 Inax Corp 外壁構造
US6612087B2 (en) 2000-11-29 2003-09-02 The Steel Network, Inc. Building member connector allowing bi-directional relative movement
JP3543796B2 (ja) * 2001-08-28 2004-07-21 ニチハ株式会社 留め付けシール金具及び外壁施工構造
JP3647838B2 (ja) 2002-10-31 2005-05-18 河野 隆明 建築物等の補強装置
JP4116505B2 (ja) 2003-07-03 2008-07-09 ミサワホーム株式会社 柱の支持構造
US7104024B1 (en) 2003-10-20 2006-09-12 The Steel Network, Inc. Connector for connecting two building members together that permits relative movement between the building members
US7503150B1 (en) 2003-10-20 2009-03-17 The Steel Network, Inc. Connector assembly for allowing relative movement between two building members
JP2006052582A (ja) 2004-08-11 2006-02-23 Tanakku:Kk 建築用ブラケット
RU74686U1 (ru) 2007-05-31 2008-07-10 Нитиха Ко., Лтд. Внешнестеновой кронштейн и внешнестеновая конструкция, в которой он использован
JP4960166B2 (ja) 2007-07-31 2012-06-27 住友林業株式会社 引き寄せ金物
JP5405182B2 (ja) 2009-04-23 2014-02-05 ケイミュー株式会社 壁材留具
IT1395903B1 (it) * 2009-10-12 2012-10-26 Grupo It Al Co Italia S R L Sistema di ancoraggio per pareti ventilate.
US8555592B2 (en) 2011-03-28 2013-10-15 Larry Randall Daudet Steel stud clip
DE202011100168U1 (de) * 2011-05-03 2012-08-06 Kalzip Gmbh Befestigungswinkel für die Unterkonstruktion von vorgehängten Fassaden und Montagesystem umfassend wenigstens einen solchen Befestigungswinkel
JP5868632B2 (ja) * 2011-08-11 2016-02-24 ケイミュー株式会社 壁材
KR101341846B1 (ko) * 2013-09-09 2014-01-03 김성주 지하 건축 구조물의 차수벽
FR3012489B1 (fr) * 2013-10-31 2017-10-13 Ateliers Lr Etanco Moyen de fixation d'une ossature a une paroi
JP6456594B2 (ja) 2014-03-10 2019-01-23 三井住友建設株式会社 内装壁の取付構造及び取付方法
JP1551096S (enExample) 2015-09-24 2016-06-06
JP1568631S (enExample) 2016-06-09 2017-02-06
CN106013454B (zh) * 2016-06-24 2018-08-21 东南大学 基于大空间结构体和独立式外围护结构的建筑及建造方法
JP1586221S (enExample) 2017-03-15 2017-09-19
JP1598491S (enExample) 2017-06-30 2018-02-26
CN207436429U (zh) * 2017-11-22 2018-06-01 嘉兴友邦集成木作家居有限公司 一种装饰面板安装结构
CN108086620A (zh) * 2017-12-30 2018-05-29 浙江亚厦装饰股份有限公司 用于墙体的装饰组件及装饰方法

Patent Citations (7)

* Cited by examiner, † Cited by third party
Publication number Priority date Publication date Assignee Title
JPH0622038Y2 (ja) * 1989-07-19 1994-06-08 株式会社イナックス 長尺タイル乾式施工構造
JP2000336768A (ja) * 1999-03-19 2000-12-05 Misawa Homes Co Ltd 外壁パネル取付用ブラケットおよび外壁パネル取付用ブラケットの製造方法
JP2002339473A (ja) 2001-05-12 2002-11-27 Masataka Hashi 外側断熱ブラケット付パネル
WO2005090706A1 (ja) * 2004-03-18 2005-09-29 Co-Max Co. Ltd. 外壁取付具および外壁材の施工方法
JP2007211511A (ja) 2006-02-10 2007-08-23 Kyowa:Kk 外壁材固定具
JP2007321510A (ja) * 2006-06-02 2007-12-13 Asahi Tostem Gaiso Kk 留付金具及び外壁構造
JP3137086U (ja) 2007-05-31 2007-11-15 ニチハ株式会社 外壁施工構造

Cited By (7)

* Cited by examiner, † Cited by third party
Publication number Priority date Publication date Assignee Title
USD906788S1 (en) 2018-12-07 2021-01-05 Nichiha Corporation Construction furring strip support
EP3933136A4 (en) * 2019-09-12 2022-11-30 Nichiha Corporation ARCHITECTURAL BRACKETS, BUILDING WALL STRUCTURE AND CONSTRUCTION PROCESS WITH SHEET MATERIAL
TWI860397B (zh) * 2019-09-12 2024-11-01 日商日吉華股份有限公司 建築用托架、建築壁構造、以及板材施工方法
AU2020344324B2 (en) * 2019-09-12 2025-10-16 Nichiha Corporation Architectural bracket, building wall structure, and plank member construction method
CN115279980A (zh) * 2020-05-27 2022-11-01 爱吉工业株式会社 装饰结构、板材、以及装饰结构的施工方法
CN113818598A (zh) * 2020-06-19 2021-12-21 昆山固特美钢建筑产品有限公司 装配式墙体的安装方法
CN113818598B (zh) * 2020-06-19 2023-02-28 阳地钢装配式建筑(张家港)有限公司 装配式墙体的安装方法

Also Published As

Publication number Publication date
US10851548B2 (en) 2020-12-01
EP3569792A4 (en) 2020-11-04
KR20200021443A (ko) 2020-02-28
TW201920818A (zh) 2019-06-01
TWI768065B (zh) 2022-06-21
CN110352282B (zh) 2021-08-31
CA3054647A1 (en) 2018-12-27
KR102579498B1 (ko) 2023-09-19
US20200071934A1 (en) 2020-03-05
CA3054647C (en) 2023-03-28
EP3569792B1 (en) 2024-08-07
JP7236212B2 (ja) 2023-03-09
RU2019127986A (ru) 2021-07-21
CN110352282A (zh) 2019-10-18
AU2018289851A1 (en) 2019-08-29
JP7710429B2 (ja) 2025-07-18
JP2019007327A (ja) 2019-01-17
RU2019127986A3 (enExample) 2021-07-21
AU2018289851B2 (en) 2022-05-19
RU2754407C2 (ru) 2021-09-02
JP2023024657A (ja) 2023-02-16
EP3569792A1 (en) 2019-11-20

Similar Documents

Publication Publication Date Title
JP7710429B2 (ja) 建物の壁構造、ブラケット及び板材の施工方法
JP7573699B2 (ja) 建物壁構造
KR101781378B1 (ko) 슬라브 옥상 스틸방수 시스템
US10907361B2 (en) Fixture and wall structure for buildings
JP2018066151A (ja) 板材の端面取付具、壁構造及び板材の施工方法
JP2009084896A (ja) 外壁施工構造
JP7053206B2 (ja) 取付具及び建物の壁構造
JP7515312B2 (ja) 取付具及び壁構造
JP7045132B2 (ja) 板材の取付具及び板材の施工方法
JPH083563Y2 (ja) パネル取り付け金具

Legal Events

Date Code Title Description
121 Ep: the epo has been informed by wipo that ep was designated in this application

Ref document number: 18819733

Country of ref document: EP

Kind code of ref document: A1

ENP Entry into the national phase

Ref document number: 20197024124

Country of ref document: KR

Kind code of ref document: A

ENP Entry into the national phase

Ref document number: 2018819733

Country of ref document: EP

Effective date: 20190816

ENP Entry into the national phase

Ref document number: 3054647

Country of ref document: CA

ENP Entry into the national phase

Ref document number: 2018289851

Country of ref document: AU

Date of ref document: 20180618

Kind code of ref document: A

NENP Non-entry into the national phase

Ref country code: DE