WO2012011749A2 - Light emitting diode - Google Patents
Light emitting diode Download PDFInfo
- Publication number
- WO2012011749A2 WO2012011749A2 PCT/KR2011/005372 KR2011005372W WO2012011749A2 WO 2012011749 A2 WO2012011749 A2 WO 2012011749A2 KR 2011005372 W KR2011005372 W KR 2011005372W WO 2012011749 A2 WO2012011749 A2 WO 2012011749A2
- Authority
- WO
- WIPO (PCT)
- Prior art keywords
- light emitting
- electrode pad
- region
- layer
- emitting diode
- Prior art date
- Legal status (The legal status is an assumption and is not a legal conclusion. Google has not performed a legal analysis and makes no representation as to the accuracy of the status listed.)
- Ceased
Links
Images
Classifications
-
- H—ELECTRICITY
- H10—SEMICONDUCTOR DEVICES; ELECTRIC SOLID-STATE DEVICES NOT OTHERWISE PROVIDED FOR
- H10H—INORGANIC LIGHT-EMITTING SEMICONDUCTOR DEVICES HAVING POTENTIAL BARRIERS
- H10H20/00—Individual inorganic light-emitting semiconductor devices having potential barriers, e.g. light-emitting diodes [LED]
- H10H20/80—Constructional details
- H10H20/81—Bodies
- H10H20/813—Bodies having a plurality of light-emitting regions, e.g. multi-junction LEDs or light-emitting devices having photoluminescent regions within the bodies
-
- H—ELECTRICITY
- H10—SEMICONDUCTOR DEVICES; ELECTRIC SOLID-STATE DEVICES NOT OTHERWISE PROVIDED FOR
- H10H—INORGANIC LIGHT-EMITTING SEMICONDUCTOR DEVICES HAVING POTENTIAL BARRIERS
- H10H20/00—Individual inorganic light-emitting semiconductor devices having potential barriers, e.g. light-emitting diodes [LED]
- H10H20/80—Constructional details
- H10H20/85—Packages
- H10H20/855—Optical field-shaping means, e.g. lenses
-
- H—ELECTRICITY
- H10—SEMICONDUCTOR DEVICES; ELECTRIC SOLID-STATE DEVICES NOT OTHERWISE PROVIDED FOR
- H10H—INORGANIC LIGHT-EMITTING SEMICONDUCTOR DEVICES HAVING POTENTIAL BARRIERS
- H10H29/00—Integrated devices, or assemblies of multiple devices, comprising at least one light-emitting semiconductor element covered by group H10H20/00
- H10H29/10—Integrated devices comprising at least one light-emitting semiconductor component covered by group H10H20/00
- H10H29/14—Integrated devices comprising at least one light-emitting semiconductor component covered by group H10H20/00 comprising multiple light-emitting semiconductor components
- H10H29/142—Two-dimensional arrangements, e.g. asymmetric LED layout
-
- H—ELECTRICITY
- H01—ELECTRIC ELEMENTS
- H01L—SEMICONDUCTOR DEVICES NOT COVERED BY CLASS H10
- H01L2924/00—Indexing scheme for arrangements or methods for connecting or disconnecting semiconductor or solid-state bodies as covered by H01L24/00
- H01L2924/0001—Technical content checked by a classifier
- H01L2924/0002—Not covered by any one of groups H01L24/00, H01L24/00 and H01L2224/00
-
- H—ELECTRICITY
- H10—SEMICONDUCTOR DEVICES; ELECTRIC SOLID-STATE DEVICES NOT OTHERWISE PROVIDED FOR
- H10H—INORGANIC LIGHT-EMITTING SEMICONDUCTOR DEVICES HAVING POTENTIAL BARRIERS
- H10H20/00—Individual inorganic light-emitting semiconductor devices having potential barriers, e.g. light-emitting diodes [LED]
- H10H20/80—Constructional details
- H10H20/81—Bodies
- H10H20/816—Bodies having carrier transport control structures, e.g. highly-doped semiconductor layers or current-blocking structures
- H10H20/8162—Current-blocking structures
-
- H—ELECTRICITY
- H10—SEMICONDUCTOR DEVICES; ELECTRIC SOLID-STATE DEVICES NOT OTHERWISE PROVIDED FOR
- H10H—INORGANIC LIGHT-EMITTING SEMICONDUCTOR DEVICES HAVING POTENTIAL BARRIERS
- H10H20/00—Individual inorganic light-emitting semiconductor devices having potential barriers, e.g. light-emitting diodes [LED]
- H10H20/80—Constructional details
- H10H20/81—Bodies
- H10H20/819—Bodies characterised by their shape, e.g. curved or truncated substrates
-
- H—ELECTRICITY
- H10—SEMICONDUCTOR DEVICES; ELECTRIC SOLID-STATE DEVICES NOT OTHERWISE PROVIDED FOR
- H10H—INORGANIC LIGHT-EMITTING SEMICONDUCTOR DEVICES HAVING POTENTIAL BARRIERS
- H10H20/00—Individual inorganic light-emitting semiconductor devices having potential barriers, e.g. light-emitting diodes [LED]
- H10H20/80—Constructional details
- H10H20/83—Electrodes
- H10H20/831—Electrodes characterised by their shape
-
- H—ELECTRICITY
- H10—SEMICONDUCTOR DEVICES; ELECTRIC SOLID-STATE DEVICES NOT OTHERWISE PROVIDED FOR
- H10H—INORGANIC LIGHT-EMITTING SEMICONDUCTOR DEVICES HAVING POTENTIAL BARRIERS
- H10H20/00—Individual inorganic light-emitting semiconductor devices having potential barriers, e.g. light-emitting diodes [LED]
- H10H20/80—Constructional details
- H10H20/85—Packages
- H10H20/857—Interconnections, e.g. lead-frames, bond wires or solder balls
Definitions
- Exemplary embodiments of the present invention relate to light emitting diodes including compound semiconductors and to light emitting diodes suitable for AC operation.
- LEDs Light emitting diodes
- LEDs can be made of compound semiconductors including, for example, Group III nitride-based compound semiconductors which have been used in a wide range of applications including display devices and backlight units and also as light sources for general lighting as a replacement to existing incandescent lamps and fluorescent lamps.
- an LED is repeatedly turned on/off depending on the direction of electric current applied by an AC power source.
- the LED does not continuously emit light and is liable to be damaged by the reverse current.
- International Publication No. WO 2004/023568 (A1) entitled “Light-emitting device having light-emitting elements" by Sakai et. al proposes an LED that is directly connected to a high voltage AC power source.
- FIG. 1 illustrates a conventional AC light emitting diode 1.
- the AC light emitting diode 1 includes a plurality of rectangular light emitting cells 4, which are formed on an insulation substrate 2. Further, bonding pads 3a, 3b are formed on the substrate 2.
- the conventional light emitting diode 1 includes an n-type electrode pad 6 and a p-type electrode pad 8 on each of the light emitting cells 4.
- the light emitting cell 4 is partially removed to a predetermined depth to expose part of a middle layer in the light emitting cell 4.
- the exposed layer is typically an n-type semiconductor layer, and the n-type electrode pad 6 is formed on a region of the exposed n-type semiconductor layer.
- the p-type electrode pad 8 is formed on a p-side region at the top of the light emitting cell 4.
- the bonding pads 3a, 3b and the light emitting cells 4 between the bonding pads 3a, 3b are connected to one another in series by wires 5.
- the p-type electrode pad 8 and the n-type electrode pad 6 of adjacent light emitting cells are connected to each other by the wire 5.
- an n-type electrode pad and a p-type electrode pad may be diagonally disposed to face each other at opposite corners of a light emitting cell.
- brightness is high only near the p-type electrode pad 8, thereby causing non-uniform light emitting.
- Exemplary embodiments of the invention provide a light emitting diode which has improved current spreading characteristics between electrode pads of light emitting cells having different polarities to provide uniform light emitting.
- Exemplary embodiments of the present invention disclose a light emitting diode including a substrate, a plurality of light emitting cells, a first electrode pad, a second electrode pad, and a wire.
- the plurality of light emitting cells is disposed on the substrate.
- Each light emitting cell includes a first region at a boundary of the light emitting cell and a second region opposite to the first region.
- the first electrode pad is disposed at the first region.
- the second electrode pad has a linear shape and is disposed to face the first electrode pad.
- the second electrode pad defines a peripheral region together with a boundary of the second region.
- the wire connects the first electrode pad of a first light emitting cell to the second electrode pad of a second light emitting cell.
- Exemplary embodiments of the present invention disclose a light emitting diode including a light emitting cell, a first electrode pad, and a second electrode pad.
- the first electrode pad is disposed at the first region.
- the second electrode pad has a linear shape and is disposed to face the first electrode pad.
- the second electron pad defines a peripheral region together with a boundary of the second region.
- Exemplary embodiments of the present invention disclose a light emitting diode including a substrate, a plurality of light emitting cells, a wire layer, an insulation layer, and micro-lenses.
- the plurality of light emitting cells is separated from each other on the substrate.
- Each light emitting cell includes a lower semiconductor layer, an active layer disposed on at least a portion of the lower semiconductor layer, an upper semiconductor layer, and a transparent electrode layer.
- the wire layer electrically connects lower semiconductor layers of a first light emitting cell to upper semiconductor layers of a second light emitting cell adjacent to the first light emitting cell.
- the insulation layer is disposed between the wire layer and the plurality of light emitting cells to prevent short circuit in the plurality of light emitting cells due to the wire layer.
- the micro-lenses are formed on the plurality of light emitting cells.
- Exemplary embodiments of the present invention disclose a light emitting diode including a substrate, a plurality of light emitting cells, a wire layer, and an insulation layer.
- the plurality of light emitting cells is separated from each other on the substrate.
- Each light emitting cell includes a lower semiconductor layer, an active layer disposed on at least a portion of the lower semiconductor layer, an upper semiconductor layer, and a transparent electrode layer.
- the wire layer electrically connects lower semiconductor layers of a first light emitting cell to upper semiconductor layers of a second light emitting cell adjacent to the first light emitting cell.
- the insulation layer is disposed between the wire layer and the plurality of light emitting cells to prevent short circuit in the plurality of light emitting cells due to the wire layer.
- Each of the light emitting cells includes a current shield under the wire layer.
- FIG. 1 is a plan view of a conventional light emitting diode including a plurality of light emitting cells according to exemplary embodiments of the invention.
- FIG. 2 is a plan view of a light emitting diode according to exemplary embodiments of the invention.
- FIG. 3 is an enlarged plan view of a light emitting cell of the light emitting diode shown in FIG. 2 according to exemplary embodiments of the invention.
- FIG. 4, FIG. 5, FIG. 6, FIG. 7, FIG. 8, FIG. 9, and FIG. 10 are plan views of light emitting cells according to exemplary embodiments of the invention.
- FIG. 11A and FIG. 11B are pictures showing test results of luminous uniformity of light emitting diodes of an Example and a Comparative Example, respectively, according to exemplary embodiments of the invention.
- FIG. 12 is a cross-sectional view taken along line I-I of the light emitting diode in FIG. 2, according to the exemplary embodiments of the invention.
- FIG. 13, FIG. 14, FIG. 15, and FIG. 16 are sectional views illustrating a method of manufacturing the light emitting diode of FIG. 12, according to exemplary embodiments of the invention.
- FIG. 17 shows plan views of various micro-lenses according to exemplary embodiments of the present invention.
- FIG. 18 and FIG. 19 are pictures of various micro-lenses according to exemplary embodiments of the invention.
- first, second, third etc. may be used herein to describe various elements, components, regions, layers and/or sections, these elements, components, regions, layers and/or sections should not be limited by these terms. These terms are only used to distinguish one element, component, region, layer or section from another region, layer or section. Thus, a first element, component, region, layer or section discussed below could be termed a second element, component, region, layer or section without departing from the teachings of the present invention.
- spatially relative terms such as “beneath”, “below”, “lower”, “above”, “upper” and the like, may be used herein for ease of description to describe one element or feature's relationship to another element(s) or feature(s) as illustrated in the figures. It will be understood that the spatially relative terms are intended to encompass different orientations of the device in use or operation in addition to the orientation depicted in the figures. For example, if the device in the figures is turned over, elements described as “below” or “beneath” other elements or features would then be oriented “above” the other elements or features. Thus, the exemplary term “below” can encompass both an orientation of above and below. The device may be otherwise oriented (rotated 90 degrees or at other orientations) and the spatially relative descriptors used herein interpreted accordingly.
- Embodiments of the invention are described herein with reference to cross-section illustrations that are schematic illustrations of idealized embodiments (and intermediate structures) of the invention. As such, variations from the shapes of the illustrations as a result, for example, of manufacturing techniques and/or tolerances, are to be expected. Thus, embodiments of the invention should not be construed as limited to the particular shapes of regions illustrated herein but are to include deviations in shapes that result, for example, from manufacturing. For example, an implanted region illustrated as a rectangle will, typically, have rounded or curved features and/or a gradient of implant concentration at its edges rather than a binary change from implanted to non-implanted region.
- a buried region formed by implantation may result in some implantation in the region between the buried region and the surface through which the implantation takes place.
- the regions illustrated in the figures are schematic in nature and their shapes are not intended to illustrate the actual shape of a region of a device and are not intended to limit the scope of the invention.
- FIG. 2 is a plan view of a light emitting diode 100 according to exemplary embodiments of the invention.
- the light emitting diode 100 may include a substrate 20 and a plurality of light emitting cells 40.
- the light emitting diode may include a first electrode pad 60 (hereinafter, referred to as an "n-type electrode pad” and a second electrode pad 80 (hereinafter, referred to as a "p-type electrode pad” on each of the light emitting cells 40.
- the light emitting diode 100 may include a first bonding pad 32 and a second bonding pad 34 formed on the substrate 20.
- the plurality of light emitting cells 40 may be formed on a single substrate 20 and connected in series to each other via wires 52 to form an array.
- Each of the wires 52 may connect the n-type electrode pad 60 of one light emitting cell 40 to the p-type electrode pad 80 of another light emitting cell adjacent to the n-type electrode pad 60.
- the first bonding pad 32 is connected in series to the p-type electrode pad 80 of a light emitting cell at one end of the array via a wire 54a
- the second bonding pad 34 is connected in series to the n-type electrode pad 60 of another light emitting cell at another end of the array via a wire 54b.
- the wires 52, the n-type electrode pad 60, and the p-type electrode pad 80 may be parts of a wire layer formed by a step cover process. Namely, the wires 52, the n-type electrode pad 60, and the p-type electrode pad 80 may be formed simultaneously and may be included in a single wire layer, in which corresponding parts of the wire layer are divided into the wires 52, the n-type electrode pad 60, and the p-type electrode pad 80 according to the positions and functions describe above.
- Arrays of the light emitting cells 40 may be connected in reverse parallel to each other between the bonding pads 32, 34 to be driven by an AC power source.
- the wires 52 may be formed by a step cover process that includes forming an insulation layer to cover the substrate 20 and the light emitting cells 40, forming openings in the insulation layer to expose the electrode pads 60, 80, and forming a conductive material layer in a line shape on the insulation layer such that the conductive material layer connects electrode pads of adjacent light emitting cells to each other.
- the conductive material layer may substantially act as the wires 52 which may connect the light emitting cells to each other.
- the conductive material layer may be made of any suitable conductive material.
- the substrate 20 may be an insulation substrate which can electrically insulate the light emitting cells 40 from each other.
- a sapphire substrate may be used as a growth substrate for growing nitride semiconductor layers for the light emitting cells 40.
- Each of the light emitting cells 40 may be configured to have the same area or different areas.
- Each of the light emitting cells 40 may include an n-type semiconductor layer, an active layer, and a p-type semiconductor layer, which are sequentially formed on the substrate 20.
- Each of the light emitting cells 40 may further include a transparent electrode layer, such as an indium tin oxide (ITO) layer, on the p-type semiconductor layer.
- ITO indium tin oxide
- the n-type semiconductor layer may be formed at an upper portion of the light emitting cell 40 and the p-type semiconductor layer may be formed a lower portion, with reference to the active layer, of the light emitting cell 40.
- FIG. 3 is an enlarged plan view of a light emitting cell 40 of the light emitting diode shown in FIG. 2.
- the light emitting cell 40 may include a substantially square boundary and may be formed with the n-type electrode pad 60 at one corner along a boundary of the light emitting cell 40.
- the n-type electrode pad 60 may include two linear portions 62, 64, which are parallel to two sides S1, S2 of the one corner of the light emitting cell 40, and meet each other at a right angle (i.e., 90 degrees) near a vertex V1 of the one corner.
- the one corner of the light emitting cell 40 may correspond to a region of the light emitting cell on which the p-type semiconductor layer and the active layer are removed to expose the n-type semiconductor layer.
- the p-type electrode pad 80 may be formed such that a central region of the p-type electrode pad 80 is at a determined distance from an opposite corner that is opposite to the one corner of the light emitting cell 40, and both ends of the p-type electrode pad 80 may be adjacent to the boundary of the light emitting cell 40.
- the p-type electrode pad 80 may surround a peripheral region A of the opposite corner together with boundaries of the opposite corner, that is, two sides S3, S4 of the light emitting cell 40.
- the p-type electrode pad 80 may include two linear portions 82 and 84, which may extend from both ends of the p-type electrode pad 80 adjacent to the two sides S3, S4 towards the n-type electrode pad 60 and may meet each other at the middle of the p-type electrode pad 80.
- the distance between the p-type electrode pad 80 and the n-type electrode pad 60 can be sufficiently reduced without significantly increasing the area of a region behind the p-type electrode pad 80, that is, the area of the peripheral region A of the opposite corner.
- This configuration substantially prevents non-uniform light emission induced by current crowding near the p-type electrode pad 80.
- the peripheral region A may be divided into two regions by an imaginary diagonal line (indicated by a dash-dot dotted line in FIG. 3) connecting vertices V1, V2 at both corners of the light emitting cell 40. Since these two regions are adjacent to both ends of the p-type electrode pad 80, reduction in brightness may not be severe. An angle defined between the two linear portions 82, 84 of the p-type electrode pad 80 may be greater than 90 degrees.
- the shapes of the light emitting cell 40 and the electrode pads 60, 80 in plan view, and arrangement of the electrode pads 60, 80 on the light emitting cell may be modified in various ways without departing from the scope and sprit of the invention.
- the shape of the light emitting cells 40 is not limited to a square or rectangle, and other shapes, such as circular, parallelogram, or trapezoidal shapes may be used.
- n-type electrode pad 60 and p-type electrode pad 80 may be made of one or more suitable electrode materials.
- FIG. 4, FIG.5, FIG.6, FIG.7, FIG.8, FIG.9, FIG.10 and FIG. 11 show various shapes and arrangement of the light emitting cell 40 and the electrode pads 60, 80 according to exemplary embodiments of the invention.
- an n-type electrode pad 60 and a p-type electrode pad 80 may be arranged on a substantially square (or rectangular) light emitting cell 40 as shown in FIG. 3.
- an angle defined between two linear portions 82, 84 of the p-type electrode pad 80 may be the same as the angle defined between two linear portions 62, 64 of the n-type electrode pad 60.
- the angle between the two linear portions 82, 84 of the p-type electrode pad 80 may be 90 degrees.
- a p-type electrode pad 80 may be composed of a single linear portion.
- the p-type electrode pad 80 may include two ends disposed adjacent to two sides S3, S4 of the opposite corner with respect to an n-type electrode pad 60.
- the p-type electrode pad 80 may be defined to surround a peripheral region A of the opposite corner together with sides S3, S4 of the opposite corner. Further, since both ends of the p-type electrode pad 80 are adjacent to sides S3, S4 of the opposite corner, and the central region of the p-type electrode pad 80 is in proximity to the n-type electrode pad 60, the light emitting device of FIG. 5 also has improved luminous uniformity.
- FIG. 6 shows a modification of the light emitting device shown in FIG. 5, wherein both ends of a linear portion of the p-type electrode pad 80 are bent to form extended arms 85a, 85b, which are closer to both sides S3, S4 of the opposite corner compared to the light emitting device of FIG. 5.
- Extended arms 85a, 85b may be perpendicularly oriented towards sides S3, S4.
- the extended arms 85a, 85b may form an obtuse angle with a central portion of the p-type electrode pad 80.
- FIG. 7 shows a light emitting cell 40 having a parallelogram shape.
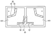
- FIG. 8 shows two adjacent light emitting cells 420, 430 wherein a single n-type electrode pad 60 is commonly included in the two adjacent light emitting cells 420, 430.
- one linear portion 64 of the n-type electrode pad 60 is commonly included in two adjacent light emitting cells 420, 430 and another linear portion 62 of the n-type electrode pad 60 in one light emitting cell 420 may be connected to the linear portion 66 of the n-type electrode pad 60 in the other light emitting cell 430 adjacent to the first light emitting cell 420 to form a straight line.
- FIG. 9 shows a light emitting cell 40 having a circular shape
- a n-type electrode pad 60 may have an arc shape formed along a portion of the circumference of the light emitting cell 40
- a p-type electrode pad 80 may be formed on an upper surface of the light emitting cell 40 parallel to the n-type electrode pad 60 such that a peripheral region A of the light emitting cell 40 may be surrounded and defined by the p-type electrode pad 80 together with an arcuate boundary of the light emitting cell 40.
- Both ends of the p-type electrode pad 80 may be located near a boundary or circumference of the light emitting cell 40, and a central region of the p-type electrode pad 80 facing the n-type electrode pad 60 may be situated closer to the n-type electrode pad 60 than both ends of the p-type electrode pad 80.
- a light emitting cell 40 may have an elliptical shape or any other suitable geometrical shapes including a curved line.
- FIG. 10 shows a light emitting cell 40 having an octagonal shape.
- This light emitting cell 40 may be formed by removing regions indicated by dash-dot dotted lines from a quadrangular-shaped light emitting cell to form an octagon.
- the n-type electrode pad 60 is disposed at one corner of the octagonal light emitting cell 40.
- the n-type electrode pad 60 may have a shape corresponding to one corner of the light emitting cell 40.
- two short linear portions may be connected to both ends of a single elongated linear portion at the center of the n-type electrode pad 60, and the p-type electrode pad 80 may have the same shape as that of the n-type electrode pad 60 and may be disposed parallel to the n-type electrode pad 60.
- the p-type electrode pad 80 may surround a peripheral region A of an opposite corner of the octagonal light emitting device 40 together with boundaries of the opposite corner. Both ends of the p-type electrode pad 80 may be orthogonal to and/or closer to the boundary of the light emitting cell 40 than the central region thereof.
- FIG. 11A and FIG. 11B are images showing luminosity test results of light emitting diodes.
- FIG. 11A is an example ("Example” of the luminosity test results of light emitting diodes according to exemplary embodiments of the invention, for example, according to the light emitting diodes of FIG. 2.
- FIG. 11b is an example ("Comparative Example” of the luminosity test results of light emitting diodes according to conventional light emitting diodes, for example, according to the light emitting diodes of FIG. 1.
- TABLE 1 shows electrical characteristics of the Example in FIG. 11A and the Comparative Example in FIG. 11B.
- Each of the light emitting cells may include an ITO layer having a thickness of 1200 angstroms ( ⁇ ) formed at an upper side of each light emitting cell.
- the light emitting cells have uniform brightness.
- the light emitting diode of Comparative Example shown in FIG. 11B there is a difference in brightness between a region near the p-type electrode pad and a region distant from the p-type electrode pad. Relatively dark regions in FIG. 11A and FIG. 11B emit brighter light than other regions.
- the light emitting diode of Example in FIG. 11A has a better power efficiency than that of Comparative Example. Further, the light emitting diode of Example has a lower forward voltage, higher power, and higher power efficiency than that of Comparative Example.
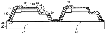
- FIG. 12 is a cross-sectional view taken along line I-I of the light emitting diode 100 of FIG. 2, according to exemplary embodiments of the invention.
- the light emitting diode 100 may include a single substrate 20, and a plurality of light emitting cells 40 formed on the single substrate 20 as described above.
- Each of the light emitting cells 40 may include an n-type lower semiconductor layer 42, a p-type upper semiconductor layer 44 may be formed on at least a portion of the n-type lower semiconductor layer 42, and an active layer 43 interposed between the lower semiconductor layer 42 and the upper semiconductor layer 44.
- the lower semiconductor layer 42 may be disposed on the substrate 20 or, optionally, in some cases, on a buffer layer 41 disposed on the substrate 20.
- the light emitting diode 100 may include a transparent electrode layer 46 in each of the light emitting cells 40.
- the light emitting diode 100 may include an insulation layer 99, a wire layer 100, micro-lenses 110, and a protective insulation film 120.
- the wire layer 100 may be formed by a step-cover process and may integrally include the n-type electrode pad 60, the p-type electrode pad 80, and the wires 52, as shown in FIG. 2.
- the lower semiconductor layer 42, the active layer 43 and the upper semiconductor layer 44 may be formed of a gallium nitride-based semiconductor material, such as Boron (B), Aluminum (Al), Indium (In), or Gallium (Ga) nitride.
- the material and composition of the active layer 43 may be selected depending on a desired luminescence wavelength, for example, ultraviolet or blue light.
- the lower semiconductor layer 42 and the upper semiconductor layer 44 may be formed of a material having a higher band gap energy than a band gap energy of the active layer 43.
- the lower semiconductor layer 42 and/or the upper semiconductor layer 44 may have a single layer structure or a multiple-layer structure. Further, the active layer 43 may have a single quantum-well structure or a multi-quantum well structure.
- the lower semiconductor layer 42 may have a stepped portion formed along a sidewall of the light emitting diode 100.
- a region of the light emitting cell 40 above the stepped portion of the lower semiconductor layer 42 may be defined as a mesa.
- the mesa sidewall may be inclined such that the mesa may have a width that gradually decreases away from the substrate 20.
- An inclined angle of the mesa sidewall with respect to an upper surface of the substrate 20 may be in the range of 15 to 80 degrees.
- a region of the lower semiconductor layer 42 under the mesa may also have a sidewall, which is inclined to have a width that gradually decreases away from the substrate 20.
- An inclined angle of the sidewall of the lower semiconductor layer 42 with respect to the upper surface of the substrate 20 may be in the range of 15 to 80 degrees.
- This inclined configuration of the lower semiconductor layer 42 may assist in conformal deposition of other layers, for example, the insulation layer 99 and the wire layer 100, to be formed on the light emitting cells 40.
- the inclined angle of the mesa sidewall may be the same as the inclined angle of the sidewall of the lower semiconductor layer 42 under the mesa sidewall.
- exemplary embodiments of the invention are not limited thereto, and these inclined angles may be adjusted to any different and suitable angle.
- the inclined angle of the mesa sidewall may be smaller than the inclined angle of the sidewall of the lower semiconductor layer 42.
- Each of the light emitting cells 40 may include a current shield 48 below at least a portion of the wire layer 130, particularly, below the p-type electrode pad 60.
- the current shield 48 may be provided to the lower semiconductor layer 42, the active layer 43 and/or upper semiconductor layer 44 of each of the light emitting cells 40.
- the current shield 48 may shield direct flow of electric current from the wire layer 130 formed on the upper semiconductor layer 44 to allow wide current spreading on the transparent electrode layer 46.
- the current shield 48 may be formed of an insulation material, for example, silicon dioxide (SiO 2 ,) aluminum oxide (Al 2 O 3 ), silicon nitride (Si 3 N 4 ), or titanium dioxide (TiO 2 ), and may be a distributed Bragg reflector (DBR), which may be formed by alternately stacking materials having different refractive indexes.
- the DBR may have a structure wherein a relatively low refractive index layer and a relatively high refractive index layer may repeatedly be stacked above each other.
- the relatively low refractive index layer may be formed of SiO 2 or Al 2 O 3
- the relatively high refractive index layer may be formed of Si 3 N 4 or TiO 2 .
- the buffer layer 41 may be employed to relieve lattice mismatch between the substrate 20 and the lower semiconductor layer 42.
- lattice mismatch may occur if the substrate 20 is a growth substrate, particularly, a sapphire substrate.
- the transparent electrode layer 46 may be located on an upper surface of the upper semiconductor layer 44 and may have a smaller area than the upper semiconductor layer 44.
- the transparent electrode layer 46 may be recessed from an edge of the upper semiconductor layer 44. Accordingly, current crowding at the edge of the transparent electrode layer 46 through the sidewall of the light emitting cell 40 can be prevented.
- the insulation layer 99 covers the light emitting cells 40.
- the insulation layer 99 may have openings formed on the lower semiconductor layers 42, and openings formed on the upper semiconductor layers 44 or the transparent electrode layer 46.
- the sidewalls of the light emitting cells 40 may be covered by the insulation layer 99.
- the insulation layer 99 may also cover the substrate 20 in regions between the light emitting cells 40.
- the insulation layer 99 may be formed of any suitable material, including, for example, silicon dioxide (SiO 2 ) or silicon nitride.
- the wire layer 130 may be formed on the insulation layer 99.
- the wire layer 100 may be formed on the lower semiconductor layer 42, the upper semiconductor layer 44, the current shield 48, and/or the transparent electrode layer 46, in part, through the openings.
- the parts of the wire layer 130 formed on the lower semiconductor layer 42 and the upper semiconductor layer 44 through the openings may be the n-type electrode pad 60 and the p-type electrode pad 80, and parts of the wire layer 130 connecting the electrode pads of adjacent light emitting cells on the insulation layer 99 may be wires 52.
- the wire layer 130 may be electrically connected to the upper semiconductor layer 44 via the transparent electrode layer 46.
- the wire layer 130 may electrically connect the lower semiconductor layers 42 of a light emitting cell 40 to the upper semiconductor layers 44 of adjacent light emitting cells to form a serial array of the light emitting cells 40.
- the light emitting diode 100 may have a plurality of serial arrays, which are connected in reverse parallel to each other and driven by an AC power source.
- a bridge rectifier (not shown) may be connected to the serial array of light emitting cells to allow the light emitting cells to be driven by an AC power source.
- the bridge rectifier may be formed by connecting light emitting cells, which have the same configuration as that of the light emitting cells 40, via a wire layer or wires.
- the wire layer or wires may be formed of any suitable conductive material, a doped semiconductor material (e.g., poly-crystalline silicon), or metal.
- Micro-lenses 110 may be formed on the wire layer 130 and the insulation layer 99.
- the micro-lenses 110 may have a semi-spherical convex surface to act as convex lenses.
- the micro-lenses 110 may have a micrometer scale horizontal diameter of, for example, 9 micrometers ( ⁇ m).
- the micro-lenses 110 may be formed of a material having a lower index of refraction than the transparent electrode layer 46.
- the micro-lenses 110 may be formed of a polymer. Examples of the polymer include polyimide (PI), epoxy resin (SU-8), spin-on-glass (SOG) poly methylmethacrylate (PMMA), poly dimethylsioxane (PDMS), poly carbonate (PC), silicone gel, and resin.
- the refractive index and/or indexes of the transparent electrode layer 46 and/or micro-lenses 110 may vary depending on the refractive index of a material adjacent to the electrode layer 46 and/or the micro-lenses 110. For example, if a gallium nitride semiconductor layer having a refractive index of 2.45 is used as the upper semiconductor layer 44, an ITO layer having a refractive index of 2.04 may be used as the transparent electrode layer 46.
- the micro-lenses 110 may have a refractive index in the range of 1.67 ⁇ 1.8, which is a refractive index between the refractive indices of the transparent electrode layer 46 and the protective insulation layer 120. Accordingly, the micro-lenses may have insulating properties. However, in some cases, the micro-lenses may be conductive.
- the protective insulation layer 120 may be formed to cover the micro-lenses 110.
- the protective insulation layer 120 may prevent the micro-lenses 110 and the wire layer 130 from being contaminated for example, by moisture, and prevents the wire layer 130 from being damaged by external force.
- the protective insulation layer 120 may be formed of a light-transmitting material, such as, for example, silicon oxide film (SiO 2 ) or silicon nitride film.
- FIG. 13, FIG. 14, FIG. 15, and FIG. 16 are sectional views illustrating a method of manufacturing a light emitting diode, as shown in FIG. 12.
- a lower semiconductor layer 42, an active layer 43, and an upper semiconductor layer 44 may be formed on a substrate 20.
- a buffer layer 21 may be formed on the substrate 20 before forming the lower semiconductor layer 42.
- the substrate 20 may be a sapphire (Al 2 O 3 ), silicon carbide (SiC), zinc oxide (ZnO), silicon (Si), gallium arsenic (GaAs), gallium phosphorous (GaP), lithium-alumina (LiAl 2 O 3 ), boron nitride (BN), aluminum nitride (AlN) or gallium nitride (GaN) substrate, or any suitable material.
- the substrate 20 may be selected from various materials depending on the material forming the semiconductor layers 42, 43, 44.
- the buffer layer 41 may be formed to relieve lattice mismatch between the substrate 20 and the lower semiconductor layer 42.
- the buffer layer 41 may be formed of gallium nitride (GaN) or aluminum nitride (AlN).
- GaN gallium nitride
- AlN aluminum nitride
- the buffer layer 41 may be an insulation layer or a semi-insulation layer.
- the buffer layer 41 may be formed of AlN or semi insulated GaN.
- the lower semiconductor layer 42, the active layer 43, and the upper semiconductor layer 44 may be formed of a GaN-based compound semiconductor material, such as, for example B, Al, In, or Ga nitride.
- the lower and upper semiconductor layers 42, 44, and the active layer 43 may be intermittently or continuously formed by metal organic chemical vapor deposition (MOCVD), molecular beam epitaxy or hydride vapor phase epitaxy (HVPE).
- the upper and lower semiconductor layers 42, 44 may be n-type and p-type semiconductor layers or vice versa, respectively.
- the n-type semiconductor layer may be formed by doping an n-type impurity, for example silicon (Si), into a GaN-based compound semiconductor layer
- the p-type semiconductor layer may be formed by doping a p-type impurity, for example magnesium (Mg), into the GaN-based compound semiconductor layer.
- a current shield 48 may be formed on a portion of the upper semiconductor layer 44 below the wire layer 130, for example, below the p-type electrode pad 80 (see FIG. 2). In some cases, the current shield 48 may be formed on a region of the lower semiconductor layer 42, the active layer 43, and/or the upper semiconductor layer 44.
- the current shield 48 may be formed of an insulation material, for example, SiO 2 , Al 2 O 3 , Si 3 N 4 or TiO 2 , and may be a distributed Bragg reflector (DBR), which may be formed by alternately stacking materials having different indexes of refraction one above another.
- DBR distributed Bragg reflector
- a transparent electrode layer 46 may be formed on the current shield 48 and the upper semiconductor layer 44.
- the transparent electrode layer 46 may be formed of any suitable conductive oxide, such as, for example, indium tin oxide (ITO).
- ITO indium tin oxide
- Some of the transparent electrode layer 46, the upper semiconductor layer 44, the active layer 43, and the lower semiconductor layer 42 may be etched using a photoresist pattern (not shown) as an etching mask. As a result, the shape of the photoresist pattern may be transferred to the semiconductor layers 42, 43, 44 to form mesas with inclined sidewalls.
- the transparent electrode layer 46 may be recessed by wet etching.
- the transparent electrode layer 46 may be recessed from an edge of the upper semiconductor layer 44 on the mesa using an etchant by regulating etching time followed by removal of the photoresist pattern.
- the lower semiconductor layer 42 may be etched to form divided light emitting cells 40 using a photoresist pattern (not shown), which may cover the plurality of mesas while defining light emitting cell regions, as an etching mask.
- the buffer layer 41 may also be etched to expose an upper surface of the substrate 20.
- the mesas While etching the lower semiconductor layer 42 through the photoresist pattern, the mesas may be covered by the photoresist pattern. Accordingly, the mesas may be prevented from being damaged during an isolation process. Further, a stepped portion may be formed on the lower semiconductor layer 42, as shown in the figures, by the isolation process. Then, the photoresist pattern may be removed.
- a continuous insulation layer 99 may be formed on the light emitting cells 40.
- the insulation layer 99 may cover sidewalls and upper surfaces of the light emitting cells 40 and the upper surface of the substrate 20 in a region between the light emitting cells 40.
- the insulation layer 99 may be formed of silicon oxide or silicon nitride by chemical vapor deposition (CVD).
- the insulation layer 99 may easily cover the sidewalls of the light emitting cells 40.
- the insulation layer 99 may be patterned by photolithography and etching to have openings, which may expose the lower semiconductor layers 42, and openings, which expose the transparent electrode layer 46. The openings further may expose the upper semiconductor layers 44.
- a wire layer 130 may be formed on the insulation layer 99 having the openings. Part of the wire layer 130 may be electrically connected to the lower semiconductor layers 42 and the upper semiconductor layers 44 through the openings, such that the lower semiconductor layers 42 of adjacent light emitting cells may be electrically connected to the upper semiconductor layers 44 of a light emitting cell 40 through the wire layer 130.
- the wire layer 130 may be formed by plating or vapor deposition such as electron beam deposition. Since the stepped portion may be formed on the sidewall of each of the light emitting cells 40 (e.g., on the sidewall of the lower semiconductor layer 42), the wire layer 130 may be stably formed on the sidewall of the light emitting cell 40, thus preventing disconnection and/or short circuit of wires. The light emitting cells 40 may be wired to each other on the substrate by the wire layer 130.
- the micro-lenses 110 may be formed on the light emitting cells 40.
- the micro-lenses 110 may be formed by wet etching after a polymer layer is formed on the wire layer 130 on the substrate 20.
- the micro-lenses 110 may cover the mesa sidewall and some regions of the lower semiconductor layer 42 exposed by mesa etching.
- a photoresist pattern (not shown) may be formed into a lens shape by a reflow technique and the polymer layer may then be subjected to dry etching using the photoresist pattern as an etching mask to form the micro-lenses 110.
- FIG. 17 shows plan views of various micro-lenses according to exemplary embodiments of the present invention.
- the micro-lenses 110 may have a circular or elliptical shape in plan view.
- the horizontal cross-section of a micro-lens 110 may be in a circular or elliptical shape.
- the horizontal cross-section of the micro-lens 110 may not be limited to a circular or elliptical shape, and may have any suitable shape including, for example, a hexagonal shape, a triangular shape or a quadrangle shape, as shown in FIG. 17(b) and FIG. 17(c).
- the horizontal cross-section of the micro-lens has a hexagonal shape or a triangular shape
- the micro-lenses 110 may be disposed in a more dense arrangement.
- the shapes of the micro-lenses 110 may be any suitable combination of horizontal cross-sectional shapes and vertical cross-sectional shapes and may be selected based on various factors such as, fabrication and light extraction efficiency. For example, when the micro-lenses 110 have a vertical cross-section of a triangular shape as shown in FIG. 17(c) and a horizontal cross-section of a triangular shape as shown in FIG. 17(c), the micro-lenses 110 may have a tetrahedral shape. As a result, light entering the micro-lenses 110 may easily be emitted externally.
- micro-lens 110 may have a smooth surface as shown in FIG. 18, or may have an uneven surface as shown in FIG. 19.
- micro-lenses 110 having various shapes are disposed on the transparent electrode layer 46 and the mesa sidewalls, light generated in the active layer 43 can be emitted through the micro-lenses 110, thereby improving light extraction efficiency.
- a protective insulation film 120 may be formed on the micro-lenses 110
- the protective insulation film 120 may be formed of a light-transmitting material, for example, silicon oxide or silicon nitride, by chemical vapor deposition.
- the light emitting diode 100 has significantly improved luminous uniformity and power efficiency through improved current spreading characteristics between a first electrode pad and a second electrode pad in a light emitting cell.
- a light emitting diode including a plurality of light emitting cells on a single substrate, such as an AC light emitting diode allows the light emitting cells to emit uniform light and has significantly improved power efficiency.
Landscapes
- Led Devices (AREA)
Priority Applications (1)
| Application Number | Priority Date | Filing Date | Title |
|---|---|---|---|
| CN201180035911.2A CN103026516B (zh) | 2010-07-22 | 2011-07-21 | 发光二极管 |
Applications Claiming Priority (4)
| Application Number | Priority Date | Filing Date | Title |
|---|---|---|---|
| KR10-2010-0070840 | 2010-07-22 | ||
| KR1020100070840A KR101158080B1 (ko) | 2010-07-22 | 2010-07-22 | 발광다이오드 |
| KR1020100106172A KR101272708B1 (ko) | 2010-10-28 | 2010-10-28 | 개선된 발광 효율을 갖는 발광다이오드 및 제조방법 |
| KR10-2010-0106172 | 2010-10-28 |
Publications (2)
| Publication Number | Publication Date |
|---|---|
| WO2012011749A2 true WO2012011749A2 (en) | 2012-01-26 |
| WO2012011749A3 WO2012011749A3 (en) | 2012-04-26 |
Family
ID=45497303
Family Applications (1)
| Application Number | Title | Priority Date | Filing Date |
|---|---|---|---|
| PCT/KR2011/005372 Ceased WO2012011749A2 (en) | 2010-07-22 | 2011-07-21 | Light emitting diode |
Country Status (5)
| Country | Link |
|---|---|
| US (2) | US8629471B2 (enExample) |
| JP (2) | JP2012028749A (enExample) |
| CN (3) | CN105529343B (enExample) |
| TW (1) | TWI535076B (enExample) |
| WO (1) | WO2012011749A2 (enExample) |
Cited By (4)
| Publication number | Priority date | Publication date | Assignee | Title |
|---|---|---|---|---|
| EP2824692A4 (en) * | 2012-03-05 | 2015-03-04 | Enraytek Optoelectronics Co | METHOD FOR PRODUCING AN INSULATED LOW DRAW AND HIGH VOLTAGE LED CHIP |
| CN104885236A (zh) * | 2012-12-21 | 2015-09-02 | 首尔伟傲世有限公司 | 发光二极管及其制造方法 |
| EP2750193A3 (en) * | 2012-12-27 | 2016-01-06 | LG Innotek Co., Ltd. | Light emitting diode device |
| CN115966642A (zh) * | 2022-12-29 | 2023-04-14 | 淮安澳洋顺昌光电技术有限公司 | 一种高压发光二极管芯片 |
Families Citing this family (43)
| Publication number | Priority date | Publication date | Assignee | Title |
|---|---|---|---|---|
| KR101888604B1 (ko) * | 2011-10-28 | 2018-08-14 | 엘지이노텍 주식회사 | 발광 소자 및 발광 소자 패키지 |
| KR101871372B1 (ko) * | 2011-10-28 | 2018-08-02 | 엘지이노텍 주식회사 | 발광 소자 |
| TWI572068B (zh) | 2012-12-07 | 2017-02-21 | 晶元光電股份有限公司 | 發光元件 |
| KR102087933B1 (ko) * | 2012-11-05 | 2020-04-14 | 엘지이노텍 주식회사 | 발광 소자 및 이를 포함하는 발광 소자 어레이 |
| KR20140059985A (ko) * | 2012-11-09 | 2014-05-19 | 엘지이노텍 주식회사 | 발광소자 |
| CN104813489B (zh) * | 2012-11-23 | 2018-01-02 | 首尔伟傲世有限公司 | 发光二极管及其制造方法 |
| KR20140073351A (ko) * | 2012-12-06 | 2014-06-16 | 엘지이노텍 주식회사 | 발광 소자 |
| US9356212B2 (en) | 2012-12-21 | 2016-05-31 | Seoul Viosys Co., Ltd. | Light emitting diode and method of fabricating the same |
| KR102087935B1 (ko) * | 2012-12-27 | 2020-03-11 | 엘지이노텍 주식회사 | 발광 소자 |
| CN106910758B (zh) * | 2013-01-09 | 2020-05-15 | 新世纪光电股份有限公司 | 发光装置 |
| WO2014141009A1 (en) * | 2013-03-15 | 2014-09-18 | Koninklijke Philips N.V. | Light emitting structure and mount |
| JP6391917B2 (ja) * | 2013-07-03 | 2018-09-19 | 株式会社ジャパンディスプレイ | 発光素子表示装置及びその製造方法 |
| DE102014011893B4 (de) * | 2013-08-16 | 2020-10-01 | Seoul Viosys Co., Ltd. | Leuchtdiode |
| USD709841S1 (en) * | 2013-08-22 | 2014-07-29 | Epistar Corporation | Light-emitting diode array |
| KR102100286B1 (ko) * | 2013-10-10 | 2020-04-14 | 엘지디스플레이 주식회사 | 발광다이오드 구조 |
| TW201517298A (zh) * | 2013-10-17 | 2015-05-01 | Lextar Electronics Corp | 發光結構的製造方法 |
| US9780276B2 (en) * | 2014-01-23 | 2017-10-03 | Suzhou Institute of Nano-tech and Nano-bionics, Chinese Academy of Sciences | Wafer-level semiconductor device and manufacturing method thereof |
| TWI614920B (zh) | 2014-05-19 | 2018-02-11 | 晶元光電股份有限公司 | 光電元件及其製造方法 |
| CN107155373B (zh) * | 2014-06-18 | 2019-01-15 | 艾克斯瑟乐普林特有限公司 | 微组装led显示器 |
| KR102231646B1 (ko) * | 2014-10-17 | 2021-03-24 | 엘지이노텍 주식회사 | 발광 소자 |
| KR101888608B1 (ko) * | 2014-10-17 | 2018-09-20 | 엘지이노텍 주식회사 | 발광 소자 패키지 및 조명 장치 |
| CN110061027B (zh) * | 2015-02-13 | 2024-01-19 | 首尔伟傲世有限公司 | 发光元件 |
| TWD175295S (zh) | 2015-02-16 | 2016-05-01 | 晶元光電股份有限公司 | 發光二極體陣列之部分 |
| US9905729B2 (en) * | 2015-03-27 | 2018-02-27 | Seoul Viosys Co., Ltd. | Light emitting diode |
| JP6428467B2 (ja) * | 2015-04-24 | 2018-11-28 | 日亜化学工業株式会社 | 発光素子 |
| JP6176298B2 (ja) | 2015-09-03 | 2017-08-09 | 富士ゼロックス株式会社 | 面発光型半導体レーザアレイ及び面発光型半導体レーザアレイの製造方法 |
| US10782002B2 (en) | 2016-10-28 | 2020-09-22 | X Display Company Technology Limited | LED optical components |
| CN108183157B (zh) * | 2017-11-30 | 2019-11-12 | 华灿光电(浙江)有限公司 | 一种发光二极管及制备方法 |
| JP2019149480A (ja) * | 2018-02-27 | 2019-09-05 | 豊田合成株式会社 | 半導体素子、発光装置、および発光装置の製造方法 |
| CN108987425B (zh) * | 2018-07-19 | 2020-09-18 | 豪威半导体(上海)有限责任公司 | 微led显示器及其制造方法 |
| JP7398818B2 (ja) * | 2018-08-10 | 2023-12-15 | ビジョンラボ コーポレーション | 流体トランスファーシステムおよびマイクロled装置の製造方法 |
| CN109765472A (zh) * | 2018-12-29 | 2019-05-17 | 江西兆驰半导体有限公司 | 一种非直接电接触式的发光二极管器件的电致发光量测方法 |
| CN109768126B (zh) * | 2019-01-07 | 2020-05-19 | 华灿光电(浙江)有限公司 | 一种发光二极管外延片的制造方法 |
| CN211629110U (zh) * | 2019-05-14 | 2020-10-02 | 首尔伟傲世有限公司 | 发光封装件 |
| US12199215B2 (en) | 2019-08-21 | 2025-01-14 | Industrial Technology Research Institute | Light-emitting device and display apparatus |
| US20210057611A1 (en) * | 2019-08-21 | 2021-02-25 | Industrial Technology Research Institute | Light-emitting device and display apparatus |
| EP4139956A4 (en) * | 2020-04-21 | 2024-07-17 | Jade Bird Display (Shanghai) Limited | LED CHIP STRUCTURES WITH REFLECTIVE ELEMENTS |
| AU2021259592A1 (en) * | 2020-04-21 | 2022-12-08 | Jade Bird Display (shanghai) Limited | Light-emitting diode chip structures with reflective elements |
| KR20220014388A (ko) * | 2020-07-24 | 2022-02-07 | 삼성디스플레이 주식회사 | 발광 소자, 이의 제조 방법 및 표시 장치 |
| JP7339559B2 (ja) * | 2021-05-20 | 2023-09-06 | 日亜化学工業株式会社 | 発光素子 |
| CN114586184A (zh) * | 2021-07-06 | 2022-06-03 | 泉州三安半导体科技有限公司 | 一种高压发光二极管 |
| US20230207543A1 (en) * | 2021-12-23 | 2023-06-29 | Samsung Display Co., Ltd. | Display device |
| DE102023135556A1 (de) * | 2023-12-18 | 2025-06-18 | Ams-Osram International Gmbh | Optoelektronisches halbleiterbauelement und vorrichtung zur reinigung eines fluids |
Family Cites Families (41)
| Publication number | Priority date | Publication date | Assignee | Title |
|---|---|---|---|---|
| JP3960636B2 (ja) * | 1995-09-29 | 2007-08-15 | 三洋電機株式会社 | 発光素子 |
| JPH1093136A (ja) * | 1996-09-11 | 1998-04-10 | Sanken Electric Co Ltd | 半導体発光素子 |
| JPH10107316A (ja) | 1996-10-01 | 1998-04-24 | Toyoda Gosei Co Ltd | 3族窒化物半導体発光素子 |
| US5893562A (en) * | 1997-06-16 | 1999-04-13 | Spector; Donald | Shooter and target water gun game |
| US6504180B1 (en) * | 1998-07-28 | 2003-01-07 | Imec Vzw And Vrije Universiteit | Method of manufacturing surface textured high-efficiency radiating devices and devices obtained therefrom |
| US6280523B1 (en) | 1999-02-05 | 2001-08-28 | Lumileds Lighting, U.S., Llc | Thickness tailoring of wafer bonded AlxGayInzN structures by laser melting |
| EP1107316A3 (en) * | 1999-12-02 | 2004-05-19 | Nikon Corporation | Solid-state image sensor, production method of the same and digital camera |
| JP4810746B2 (ja) * | 2000-03-31 | 2011-11-09 | 豊田合成株式会社 | Iii族窒化物系化合物半導体素子 |
| US6630689B2 (en) * | 2001-05-09 | 2003-10-07 | Lumileds Lighting, U.S. Llc | Semiconductor LED flip-chip with high reflectivity dielectric coating on the mesa |
| TW200401462A (en) * | 2002-06-17 | 2004-01-16 | Kopin Corp | Light-emitting diode device geometry |
| KR100697803B1 (ko) | 2002-08-29 | 2007-03-20 | 시로 사카이 | 복수의 발광 소자를 갖는 발광 장치 |
| TW200414556A (en) * | 2003-01-17 | 2004-08-01 | Epitech Corp Ltd | Light emitting diode having distributed electrodes |
| JP4415575B2 (ja) * | 2003-06-25 | 2010-02-17 | 日亜化学工業株式会社 | 半導体発光素子及びそれを用いた発光装置 |
| US7535028B2 (en) * | 2005-02-03 | 2009-05-19 | Ac Led Lighting, L.Lc. | Micro-LED based high voltage AC/DC indicator lamp |
| WO2006137711A1 (en) * | 2005-06-22 | 2006-12-28 | Seoul Opto-Device Co., Ltd. | Light emitting device and method of manufacturing the same |
| JP2007096117A (ja) * | 2005-09-29 | 2007-04-12 | Toyoda Gosei Co Ltd | 発光素子 |
| KR100640496B1 (ko) | 2005-11-23 | 2006-11-01 | 삼성전기주식회사 | 수직구조 질화갈륨계 발광다이오드 소자 |
| KR100968843B1 (ko) * | 2005-12-16 | 2010-07-09 | 서울옵토디바이스주식회사 | 다수의 발광셀이 어레이된 발광소자 |
| JP4861437B2 (ja) * | 2006-01-09 | 2012-01-25 | ソウル オプト デバイス カンパニー リミテッド | Ito層を有する発光ダイオード及びその製造方法 |
| KR100721515B1 (ko) * | 2006-01-09 | 2007-05-23 | 서울옵토디바이스주식회사 | Ⅰto층을 갖는 발광다이오드 및 그 제조방법 |
| KR100833309B1 (ko) * | 2006-04-04 | 2008-05-28 | 삼성전기주식회사 | 질화물계 반도체 발광소자 |
| JP5486759B2 (ja) * | 2006-04-14 | 2014-05-07 | 日亜化学工業株式会社 | 半導体発光素子の製造方法 |
| SG140473A1 (en) * | 2006-08-16 | 2008-03-28 | Tinggi Tech Private Ltd | Improvements in external light efficiency of light emitting diodes |
| US7737636B2 (en) * | 2006-11-09 | 2010-06-15 | Intematix Corporation | LED assembly with an LED and adjacent lens and method of making same |
| US7535646B2 (en) * | 2006-11-17 | 2009-05-19 | Eastman Kodak Company | Light emitting device with microlens array |
| JP4899825B2 (ja) * | 2006-11-28 | 2012-03-21 | 日亜化学工業株式会社 | 半導体発光素子、発光装置 |
| WO2008133756A1 (en) * | 2006-12-24 | 2008-11-06 | Lehigh University | Efficient light extraction method and device |
| KR20110110867A (ko) | 2007-03-13 | 2011-10-07 | 서울옵토디바이스주식회사 | 교류용 발광 다이오드 |
| KR100886359B1 (ko) | 2007-03-19 | 2009-03-03 | 전남대학교산학협력단 | 마이크로 렌즈가 구비된 발광 다이오드 |
| JP2009059969A (ja) * | 2007-08-31 | 2009-03-19 | Seiwa Electric Mfg Co Ltd | 半導体発光素子、発光装置、照明装置、表示装置及び半導体発光素子の製造方法 |
| TWI363435B (en) * | 2007-09-13 | 2012-05-01 | Delta Electronics Inc | Light-emitting diode apparatus and its manufacturing method |
| JP5178360B2 (ja) * | 2007-09-14 | 2013-04-10 | シャープ株式会社 | 窒化物半導体発光素子 |
| KR101393353B1 (ko) * | 2007-10-29 | 2014-05-13 | 서울바이오시스 주식회사 | 발광다이오드 |
| KR100930195B1 (ko) * | 2007-12-20 | 2009-12-07 | 삼성전기주식회사 | 전극 패턴을 구비한 질화물 반도체 발광소자 |
| JP5402143B2 (ja) | 2008-03-28 | 2014-01-29 | 住友化学株式会社 | 有機エレクトロルミネッセンス素子 |
| TW201005994A (en) * | 2008-07-23 | 2010-02-01 | Walsin Lihwa Corp | Light emitting diode and the method for manufacturing the same |
| TWI493748B (zh) * | 2008-08-29 | 2015-07-21 | 日亞化學工業股份有限公司 | Semiconductor light emitting elements and semiconductor light emitting devices |
| KR20100042795A (ko) * | 2008-10-17 | 2010-04-27 | 삼성에스디아이 주식회사 | 플라즈마 디스플레이 패널 및 그의 제조 방법 |
| US20110089447A1 (en) * | 2009-10-19 | 2011-04-21 | Wu-Cheng Kuo | Light-emiting device chip with micro-lenses and method for fabricating the same |
| WO2011083923A2 (en) * | 2010-01-07 | 2011-07-14 | Seoul Opto Device Co., Ltd. | Light emitting diode having electrode pads |
| US8242684B2 (en) * | 2010-09-27 | 2012-08-14 | Osram Sylvania Inc. | LED wavelength-converting plate with microlenses |
-
2011
- 2011-06-16 JP JP2011134171A patent/JP2012028749A/ja not_active Withdrawn
- 2011-07-20 US US13/187,010 patent/US8629471B2/en active Active
- 2011-07-21 CN CN201510958319.XA patent/CN105529343B/zh active Active
- 2011-07-21 WO PCT/KR2011/005372 patent/WO2012011749A2/en not_active Ceased
- 2011-07-21 TW TW100125790A patent/TWI535076B/zh active
- 2011-07-21 CN CN201510957553.0A patent/CN105449086B/zh active Active
- 2011-07-21 CN CN201180035911.2A patent/CN103026516B/zh active Active
-
2013
- 2013-12-06 US US14/099,423 patent/US9202973B2/en not_active Expired - Fee Related
-
2015
- 2015-07-17 JP JP2015142774A patent/JP6081536B2/ja not_active Expired - Fee Related
Cited By (8)
| Publication number | Priority date | Publication date | Assignee | Title |
|---|---|---|---|---|
| EP2824692A4 (en) * | 2012-03-05 | 2015-03-04 | Enraytek Optoelectronics Co | METHOD FOR PRODUCING AN INSULATED LOW DRAW AND HIGH VOLTAGE LED CHIP |
| CN104885236A (zh) * | 2012-12-21 | 2015-09-02 | 首尔伟傲世有限公司 | 发光二极管及其制造方法 |
| CN104885236B (zh) * | 2012-12-21 | 2017-12-19 | 首尔伟傲世有限公司 | 发光二极管 |
| EP2750193A3 (en) * | 2012-12-27 | 2016-01-06 | LG Innotek Co., Ltd. | Light emitting diode device |
| US9397259B2 (en) | 2012-12-27 | 2016-07-19 | Lg Innotek Co., Ltd. | Light emitting device |
| US9812626B2 (en) | 2012-12-27 | 2017-11-07 | Lg Innotek Co., Ltd. | Light emitting device |
| CN115966642A (zh) * | 2022-12-29 | 2023-04-14 | 淮安澳洋顺昌光电技术有限公司 | 一种高压发光二极管芯片 |
| CN115966642B (zh) * | 2022-12-29 | 2024-03-12 | 淮安澳洋顺昌光电技术有限公司 | 一种高压发光二极管芯片 |
Also Published As
| Publication number | Publication date |
|---|---|
| WO2012011749A3 (en) | 2012-04-26 |
| CN105449086B (zh) | 2018-03-27 |
| JP2012028749A (ja) | 2012-02-09 |
| CN105449086A (zh) | 2016-03-30 |
| CN105529343A (zh) | 2016-04-27 |
| US20120187424A1 (en) | 2012-07-26 |
| US9202973B2 (en) | 2015-12-01 |
| CN103026516B (zh) | 2016-07-06 |
| US20140091338A1 (en) | 2014-04-03 |
| US8629471B2 (en) | 2014-01-14 |
| JP6081536B2 (ja) | 2017-02-15 |
| TW201214806A (en) | 2012-04-01 |
| CN105529343B (zh) | 2018-10-19 |
| JP2015222826A (ja) | 2015-12-10 |
| CN103026516A (zh) | 2013-04-03 |
| TWI535076B (zh) | 2016-05-21 |
Similar Documents
| Publication | Publication Date | Title |
|---|---|---|
| WO2012011749A2 (en) | Light emitting diode | |
| US9379282B1 (en) | Light emitting diode and method of fabricating the same | |
| US10256387B2 (en) | Light emitting diode | |
| CN104377218B (zh) | 发光二极管 | |
| WO2012026695A2 (en) | Light emitting diode with improved luminous efficiency | |
| WO2012039555A2 (en) | Wafer-level light emitting diode package and method of fabricating the same | |
| WO2017014512A1 (ko) | 발광 소자 | |
| WO2017057978A1 (ko) | 발광소자 | |
| WO2018097649A1 (ko) | 반도체 소자 및 이를 포함하는 반도체 소자 패키지 | |
| WO2016003205A1 (ko) | 발광 소자 | |
| WO2013165127A1 (ko) | 발광 다이오드 소자 및 그의 제조 방법 | |
| WO2016052929A1 (en) | Light emitting diode comprising porous transparent electrode | |
| WO2016036067A1 (en) | Light emitting diode | |
| WO2009136770A2 (ko) | 발광 소자 및 그 제조방법 | |
| WO2017057977A1 (ko) | 발광소자 | |
| WO2014204271A1 (en) | Light emitting diode chip | |
| WO2016144026A1 (ko) | 발광 소자 및 이를 포함하는 조명 장치 | |
| WO2024085689A1 (ko) | 발광다이오드 패키지 | |
| WO2017052258A1 (ko) | 발광 소자 및 이를 포함하는 발광 장치 | |
| WO2018139769A1 (ko) | 발광 셀들을 포함하는 발광 다이오드 |
Legal Events
| Date | Code | Title | Description |
|---|---|---|---|
| WWE | Wipo information: entry into national phase |
Ref document number: 201180035911.2 Country of ref document: CN |
|
| 121 | Ep: the epo has been informed by wipo that ep was designated in this application |
Ref document number: 11809876 Country of ref document: EP Kind code of ref document: A2 |
|
| NENP | Non-entry into the national phase |
Ref country code: DE |
|
| 122 | Ep: pct application non-entry in european phase |
Ref document number: 11809876 Country of ref document: EP Kind code of ref document: A2 |