WO2011155276A1 - 紙幣処理装置 - Google Patents

紙幣処理装置 Download PDF

Info

Publication number
WO2011155276A1
WO2011155276A1 PCT/JP2011/060177 JP2011060177W WO2011155276A1 WO 2011155276 A1 WO2011155276 A1 WO 2011155276A1 JP 2011060177 W JP2011060177 W JP 2011060177W WO 2011155276 A1 WO2011155276 A1 WO 2011155276A1
Authority
WO
WIPO (PCT)
Prior art keywords
banknote
unit
customer
banknotes
bank note
Prior art date
Legal status (The legal status is an assumption and is not a legal conclusion. Google has not performed a legal analysis and makes no representation as to the accuracy of the status listed.)
Ceased
Application number
PCT/JP2011/060177
Other languages
English (en)
French (fr)
Japanese (ja)
Inventor
一吉 伊藤
Current Assignee (The listed assignees may be inaccurate. Google has not performed a legal analysis and makes no representation or warranty as to the accuracy of the list.)
Oki Electric Industry Co Ltd
Original Assignee
Oki Electric Industry Co Ltd
Priority date (The priority date is an assumption and is not a legal conclusion. Google has not performed a legal analysis and makes no representation as to the accuracy of the date listed.)
Filing date
Publication date
Application filed by Oki Electric Industry Co Ltd filed Critical Oki Electric Industry Co Ltd
Priority to CN201180004332.1A priority Critical patent/CN102667875B/zh
Priority to US13/504,942 priority patent/US8857596B2/en
Publication of WO2011155276A1 publication Critical patent/WO2011155276A1/ja
Anticipated expiration legal-status Critical
Ceased legal-status Critical Current

Links

Images

Classifications

    • GPHYSICS
    • G07CHECKING-DEVICES
    • G07DHANDLING OF COINS OR VALUABLE PAPERS, e.g. TESTING, SORTING BY DENOMINATIONS, COUNTING, DISPENSING, CHANGING OR DEPOSITING
    • G07D11/00Devices accepting coins; Devices accepting, dispensing, sorting or counting valuable papers
    • G07D11/50Sorting or counting valuable papers
    • GPHYSICS
    • G07CHECKING-DEVICES
    • G07FCOIN-FREED OR LIKE APPARATUS
    • G07F19/00Complete banking systems; Coded card-freed arrangements adapted for dispensing or receiving monies or the like and posting such transactions to existing accounts, e.g. automatic teller machines
    • G07F19/20Automatic teller machines [ATMs]
    • G07F19/203Dispensing operations within ATMs

Definitions

  • the present invention relates to a banknote processing apparatus which is incorporated in an automatic transaction apparatus installed in a store such as a financial institution and performs banknote depositing / withdrawing processing.
  • the banknote handling apparatus stores a large amount of banknotes prepared for depositing and withdrawing money inside the apparatus. Therefore, from the viewpoint of crime prevention, the storage unit for storing banknotes has a robust safe housing with a lock that functions as a safe. This safe box also stores banknotes that the customer has forgotten, rejected banknotes, and the like.
  • FIG. 2 is a perspective view showing an external appearance of the automatic transaction apparatus.
  • 1 is an automatic transaction apparatus (hereinafter ATM).
  • ATM 1 is installed in a financial institution's business store, convenience store, gas station, supermarket, etc., and is connected via a communication line to a host computer (not shown) managed and maintained by the financial institution.
  • the host computer has a storage device (customer database: not shown) in which customer information such as a user's account number, name and deposit / savings balance information is stored.
  • ATM1 performs transactions such as deposits and withdrawals while exchanging data with the host computer.
  • the customer operation display unit 2 is a customer operation display unit provided at the upper front of the apparatus.
  • the customer operation display unit 2 includes a display unit and a touch panel.
  • the display unit displays a transaction selection screen, a screen for guiding a customer's transaction operation, and the like.
  • the touch panel is used to input information necessary for transaction selection or transaction according to the display on the display unit.
  • a card insertion / return port 3 provided on the lower side of the customer operation display unit 2 is a part where a customer identification card (hereinafter referred to as a cash card) is inserted at the start of a transaction and the cash card is returned at the end of the transaction. .
  • the card insertion / return port 3 is connected to a card processing unit provided inside the apparatus.
  • the card processing unit reads customer information such as a code (number) for each financial institution stored in the cash card, a user account number, and a name.
  • the numeric keypad 4 is a part where the customer inputs a password, for example, according to the transaction guidance display displayed on the customer operation display 2.
  • the ten key unit 4 may be displayed as an operation key on the customer operation display unit 2.
  • the customer operation display unit 2 is inclined so as to stand up, so that it is difficult for a third party behind to read the personal identification number, so that the customer's body in the substantially horizontal portion in front of the apparatus is displayed. It is provided at a position hidden behind.
  • the receipt issuing port 5 is a receipt issuing port provided at a position below the card insertion return port.
  • the receipt issuing port 5 is connected to a receipt processing unit provided inside the apparatus, and this receipt processing unit prints transaction details and discharges a receipt issued to a customer.
  • the approach detector 6 is an approach detector provided at a predetermined position in front of the apparatus.
  • the approach detector 6 is a sensor that detects that the customer has approached the ATM 1.
  • the customer operation display unit 2 displays a transaction selection screen.
  • Reference numeral 7 denotes an external shutter provided in a bill insertion / removal operation port located in the lower central portion of the customer operation display unit 2.
  • Reference numeral 8 denotes a conventional banknote processing apparatus incorporated in the ATM 1 and has a banknote deposit processing function and a withdrawal function. The banknote handling apparatus 8 will be described later in detail.
  • the control unit 9 is a control unit that controls the entire ATM 1.
  • the control unit 9 includes a memory unit 10 as a storage unit configured by a RAM, a ROM, a hard disk, or the like in which a control program is stored.
  • the control unit 9 further includes an interface unit (not shown) that is a connection port with the host computer.
  • ATM1 is provided with many functions and structures including a power supply unit that supplies power to each unit, but the description thereof is omitted.
  • FIG. 3 is a schematic side view showing the internal configuration of the conventional banknote handling apparatus 8.
  • the configuration of the banknote handling apparatus 8 will be described with reference to FIG.
  • Reference numeral 11 denotes an internal shutter equipped in the banknote handling apparatus 8.
  • the internal shutter 11 is provided so as to be located inside the external shutter 7.
  • the external shutter 7 can be opened and closed by rotating in the direction of arrow A by a motor or the like (not shown).
  • the internal shutter 11 can be opened and closed by moving substantially horizontally in the direction of arrow B by a motor (not shown) or the like.
  • the external shutter 7 and the internal shutter 11 are provided with sensors (not shown) that detect the open / close positions of the external shutter 7 and the internal shutter 11, respectively.
  • the deposit / withdrawal port 12 is a deposit / withdrawal port.
  • the deposit / withdrawal port 12 functions as a part that receives banknotes inserted by customers during deposit transactions, separates them into the apparatus, collects the banknotes during payment transactions, and pays them to the customers.
  • the external shutter 7 and the internal shutter 11 described above are in an open state.
  • Reference numeral 14 denotes a temporary storage unit for temporarily storing banknotes during deposit / withdrawal processing.
  • Reference numeral 15 is a plurality of denomination cassettes for storing banknotes in denominations.
  • Reference numeral 16 denotes a reject ticket cassette for storing reject banknotes.
  • Reference numeral 17 denotes a forgotten banknote storage unit for storing forgotten banknotes.
  • Reference numeral 18 denotes a safe housing, and a plurality of denomination cassettes 15, reject ticket cassettes 16, and forgotten banknote storage units 17 are built in the safe housing 18.
  • the safe housing 18 is formed of a thick metal plate or the like and includes a lock, and has a function as a robust safe.
  • a switching portion (not shown) for switching the bill conveyance direction is provided at the branch point of the conveyance path 19.
  • the banknote handling apparatus 8 having such a configuration closes the external shutter 7 and the internal shutter 11 when the customer selects, for example, a deposit transaction on the customer operation display unit 2 of the ATM 1 and inserts a banknote into the deposit / withdrawal port 12.
  • the bills are separated one by one and conveyed to the discrimination unit 13.
  • the banknote processing apparatus 8 performs discrimination and counting of banknotes, denominations, and the like in the discrimination unit 13, and after counting, conveys the banknotes to the temporary holding unit 14 and temporarily holds them.
  • the banknote handling apparatus 8 discriminates, counts and temporarily holds all the banknotes inserted into the deposit / withdrawal port 12, the count result is displayed on the customer operation display unit 2.
  • the banknote processing device 8 feeds the temporarily held banknote from the temporary storage unit 14 and conveys it to the discrimination unit 13.
  • the banknote processing apparatus 8 discriminates denominations again, conveys them to the denomination cassette 15 according to the denominations, and stores them in denominations.
  • the banknote processing device 8 pays out the banknote from the denomination cassette 15 and transports it to the discrimination unit 13.
  • the banknotes whose denominations are found are counted and then conveyed to the deposit / withdrawal port 12 for accumulation.
  • the banknote handling apparatus 8 opens the external shutter 7 and the internal shutter 11 and pays the customer.
  • banknotes identified as being of unknown denomination by the discrimination unit 13 and banknotes in which a conveyance abnormality has been detected are conveyed to the temporary storage unit 14 as reject banknotes and temporarily held.
  • the banknote processing apparatus 8 pays a normal banknote to the customer, and then conveys and stores the banknote from the temporary holding unit 14 to the reject ticket cassette 16.
  • a sensor (not shown) provided in the deposit / withdrawal port 12 when the banknotes are not removed even after a lapse of a certain period of time after opening the external shutter 7 and the internal shutter 11 in the above withdrawal.
  • the control unit 9 determines that the customer has forgotten the banknote and closes the external shutter 7 and the internal shutter 11. Thereafter, the control unit 9 separates the banknotes one by one, transports the banknotes to the banknote storage unit 17 to be removed, and stores and stores them (see, for example, JP-A-2006-58939).
  • the authority to open the safe cabinet is provided for the purpose of ensuring the security of banknotes in the safe cabinet, especially banknotes stored in a large amount in denomination cassettes.
  • operators, convenience stores, etc. are divided by managers and other general managers.
  • the lower staff cannot normally handle the key for unlocking and locking the safe cabinet, and cannot take out the banknotes in the safe cabinet. .
  • the subordinate staff cannot normally handle the key for unlocking and locking the safe cabinet, and cannot take out the banknotes in the safe cabinet.
  • forgotten banknotes stored in the forgotten banknote storage section need to be returned according to the customer's request, and when there is no higher level staff (higher level operator or responsible person), the lower level staff will respond. May be required. Therefore, in such a case, it is desired that a subordinate staff member can take out banknotes that are forgotten.
  • This invention makes it a subject to solve the above.
  • the first aspect of the present invention has a safe housing incorporating a denomination cassette for storing banknotes in denominations, and distinguishes and counts banknotes fed out from denomination cassettes during withdrawal transactions, and receives customers from customer service outlets.
  • the banknote storage section for storing banknotes that the customer forgot to store is provided in a unit separate from the safe case, and the unit can be pulled out from the apparatus.
  • the banknote handling apparatus of the present invention thus configured can withdraw the unit and remove the forgotten banknotes from the forgotten banknote storage unit without opening the safe housing for storing and storing a large amount of banknotes, so that the safe housing can be accessed. Even when the authority is divided by the clerk, it becomes possible for the subordinate clerk to take out a forgotten banknote. At the same time, the banknote handling apparatus of the present invention can also prevent the banknotes from being taken out from the denomination cassette by the subordinate staff. Therefore, the banknote processing apparatus of the present invention improves convenience while ensuring high security for a large amount of banknotes.
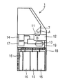
  • FIG. 1 is a schematic side view showing the internal configuration of an exemplary embodiment of the present invention.
  • the forgotten banknote storage unit 17 is provided in a unit above the safe housing 18.
  • a deposit / withdrawal port 12 In this unit, a discrimination unit 13, a temporary storage unit 14, and a conveyance path 19 are provided.
  • the forgotten banknote storage part 17 is arrange
  • Other configurations are the same as those of the conventional apparatus.
  • the banknote processing apparatus having such a configuration can perform deposit / withdrawal processing as in the conventional case. That is, when the customer selects, for example, a deposit transaction on the customer operation display unit 2 of the ATM 1 and inserts a bill into the deposit / withdrawal port 12, the external shutter 7 and the internal shutter 11 are closed. Next, the banknote handling apparatus separates the inserted banknotes one by one and conveys them to the discrimination unit 13, where the discrimination unit 13 performs discrimination and counting of banknotes, denominations, and the like. Next, a banknote processing apparatus conveys a banknote to the temporary storage part 14, and temporarily hold
  • the bill processing apparatus displays the counting result on the customer operation display unit 2.
  • the banknote handling apparatus pays out the temporarily held banknote from the temporary holding section 14 and conveys it to the discrimination section 13 to perform discrimination such as denomination again.
  • a banknote processing apparatus conveys to the money type cassette 15 according to a money type, and accommodates in a money type.
  • the banknote handling apparatus pays out the banknote from the denomination cassette 15 and transports it to the discrimination unit 13. Discriminating and counting the denominations, etc.
  • a banknote processing apparatus conveys and accumulate
  • the banknote handling apparatus opens the external shutter 7 and the internal shutter 11 and pays the customer.
  • the banknote discriminated from the reject banknote whose denomination is unknown by the discrimination unit 13 is conveyed to the temporary storage unit 14 and temporarily held.
  • the banknote handling apparatus pays a normal banknote to the customer, and then conveys and stores the banknote from the temporary holding unit 14 to the reject ticket cassette 16.
  • the control unit 9 determines that the customer has forgotten the banknote and closes the external shutter 7 and the internal shutter 11. Thereafter, the banknote handling apparatus separates the banknotes one by one and transports them to the forgotten banknote storage unit 17. In this case, the banknotes are conveyed to the forgotten banknote storage unit 17 through the discrimination unit 13 and stored and stored in the forgotten banknote storage unit 17.
  • the forgotten banknote storage unit 17 for storing and storing banknotes forgotten by the customer in the withdrawal transaction is provided in the unit above the safe housing 18. .
  • the banknote handling apparatus 18 that stores and stores a large amount of banknotes is opened.
  • the forgotten banknote can be taken out from the forgotten banknote storage unit 17 by pulling out the unit.
  • the banknote processing apparatus of this exemplary embodiment can take out a forgotten banknote by a subordinate staff even when the authority to access the safe 18 is divided by the staff.
  • the banknote handling apparatus of the present exemplary embodiment can also prevent the banknotes from being taken out from the denomination cassette by a subordinate staff member. Therefore, the banknote processing apparatus of this exemplary embodiment can improve convenience while ensuring high security for a large amount of banknotes.

Landscapes

  • Physics & Mathematics (AREA)
  • General Physics & Mathematics (AREA)
  • Business, Economics & Management (AREA)
  • Accounting & Taxation (AREA)
  • Finance (AREA)
  • Financial Or Insurance-Related Operations Such As Payment And Settlement (AREA)
PCT/JP2011/060177 2010-06-11 2011-04-26 紙幣処理装置 Ceased WO2011155276A1 (ja)

Priority Applications (2)

Application Number Priority Date Filing Date Title
CN201180004332.1A CN102667875B (zh) 2010-06-11 2011-04-26 纸币处理装置
US13/504,942 US8857596B2 (en) 2010-06-11 2011-04-26 Banknote processing apparatus

Applications Claiming Priority (2)

Application Number Priority Date Filing Date Title
JP2010-134285 2010-06-11
JP2010134285A JP5387514B2 (ja) 2010-06-11 2010-06-11 紙幣処理装置

Publications (1)

Publication Number Publication Date
WO2011155276A1 true WO2011155276A1 (ja) 2011-12-15

Family

ID=45097890

Family Applications (1)

Application Number Title Priority Date Filing Date
PCT/JP2011/060177 Ceased WO2011155276A1 (ja) 2010-06-11 2011-04-26 紙幣処理装置

Country Status (4)

Country Link
US (1) US8857596B2 (enExample)
JP (1) JP5387514B2 (enExample)
CN (1) CN102667875B (enExample)
WO (1) WO2011155276A1 (enExample)

Families Citing this family (10)

* Cited by examiner, † Cited by third party
Publication number Priority date Publication date Assignee Title
CN102682517B (zh) * 2012-05-10 2014-04-16 广州广电运通金融电子股份有限公司 一种保障自助终端用户资金安全的装置和方法
CN103198557A (zh) * 2013-03-19 2013-07-10 广州广电运通金融电子股份有限公司 一种纸币回收方法及装置
ITMI20131901A1 (it) * 2013-11-15 2015-05-16 M I B S R L Distributore automatico di banconote con verifica zona di prelievo banconote
EP2940662B1 (de) * 2014-04-30 2019-10-30 Wincor Nixdorf International GmbH Verfahren zum Betreiben eines Geldautomaten bei Mehrfachabzügen
CN104464080B (zh) * 2014-12-25 2017-07-14 新达通科技股份有限公司 一种出钞钞斗和自助设备
JP6930820B2 (ja) * 2015-05-26 2021-09-01 沖電気工業株式会社 媒体搬送装置及び媒体取引装置
CN105023346B (zh) * 2015-08-03 2018-01-12 昆山古鳌电子机械有限公司 纸张类处理装置
JP2018081568A (ja) * 2016-11-17 2018-05-24 グローリー株式会社 紙幣収納装置および紙幣処理機
US10364122B2 (en) * 2017-02-21 2019-07-30 Ncr Corporation Ejecting windowed and non-windowed media
JP7166835B2 (ja) * 2018-08-09 2022-11-08 日立チャネルソリューションズ株式会社 紙幣取扱装置

Citations (2)

* Cited by examiner, † Cited by third party
Publication number Priority date Publication date Assignee Title
JPH11328495A (ja) * 1998-05-19 1999-11-30 Laurel Bank Mach Co Ltd 紙幣処理機
JP2009048664A (ja) * 2008-11-19 2009-03-05 Hitachi Omron Terminal Solutions Corp 自動取引装置

Family Cites Families (15)

* Cited by examiner, † Cited by third party
Publication number Priority date Publication date Assignee Title
JP3313472B2 (ja) * 1993-09-21 2002-08-12 株式会社東芝 現金処理システム
DE69841172D1 (de) * 1997-10-06 2009-11-05 Hitachi Omron Terminal Solutions Corp Gerät zum Behandeln von Blättern
JP4135238B2 (ja) * 1998-12-08 2008-08-20 日立オムロンターミナルソリューションズ株式会社 紙幣入出金機
JP2001297319A (ja) * 2000-04-13 2001-10-26 Omron Corp 紙葉類処理装置および取引処理装置
AU2002328498A1 (en) * 2002-08-26 2004-03-11 Fujitsu Frontech Limited Paper sheet processing device and paper sheet storage
US20050139447A1 (en) * 2002-08-26 2005-06-30 Fujitsu Limited Paper-processing unit and paper-storage unit
JP4166133B2 (ja) * 2003-09-16 2008-10-15 日立オムロンターミナルソリューションズ株式会社 紙幣取扱装置
JP4408373B2 (ja) * 2004-01-23 2010-02-03 日立オムロンターミナルソリューションズ株式会社 紙幣入出金装置
JP4346474B2 (ja) * 2004-03-02 2009-10-21 日立オムロンターミナルソリューションズ株式会社 紙幣処理装置
US8348043B2 (en) * 2004-07-30 2013-01-08 Fire King Security Products, Llc Apparatus having a bill validator and a method of servicing the apparatus
JP4569219B2 (ja) 2004-08-17 2010-10-27 沖電気工業株式会社 自動取引装置
JP4631391B2 (ja) * 2004-10-27 2011-02-16 沖電気工業株式会社 紙幣入出金装置
CA2594282A1 (en) * 2004-12-24 2006-06-29 Glory Ltd. Currency receiving/dispensing machine
JP4936827B2 (ja) * 2006-09-06 2012-05-23 沖電気工業株式会社 自動取引装置
JP5087957B2 (ja) * 2007-03-05 2012-12-05 沖電気工業株式会社 自動取引装置

Patent Citations (2)

* Cited by examiner, † Cited by third party
Publication number Priority date Publication date Assignee Title
JPH11328495A (ja) * 1998-05-19 1999-11-30 Laurel Bank Mach Co Ltd 紙幣処理機
JP2009048664A (ja) * 2008-11-19 2009-03-05 Hitachi Omron Terminal Solutions Corp 自動取引装置

Also Published As

Publication number Publication date
JP5387514B2 (ja) 2014-01-15
US20120211328A1 (en) 2012-08-23
US8857596B2 (en) 2014-10-14
JP2011258133A (ja) 2011-12-22
CN102667875A (zh) 2012-09-12
CN102667875B (zh) 2015-03-25

Similar Documents

Publication Publication Date Title
JP5387514B2 (ja) 紙幣処理装置
JP5365344B2 (ja) 自動取引装置
WO2013146114A1 (ja) 紙幣処理装置
WO2006067858A1 (ja) 貨幣入出金機
JP6005546B2 (ja) 現金管理装置
JP2009104678A (ja) 現金自動取引装置
JP4387372B2 (ja) 紙幣処理装置
JP5247578B2 (ja) 紙幣処理装置
JP2015230673A (ja) 貨幣処理装置、貨幣処理システム及び貨幣処理装置における解錠方法
JP4387456B1 (ja) 現金自動取引装置
JP5728362B2 (ja) 重要物管理システム
JP4894322B2 (ja) 現金処理装置
JP6726002B2 (ja) 貨幣処理装置および貨幣処理方法
JP6778057B2 (ja) 貨幣処理システム及び貨幣処理方法
JP2006155326A (ja) 現金管理装置及び現金管理システム
JP5464253B2 (ja) 現金入出金機
JP5194413B2 (ja) 現金入出金機
JP5728363B2 (ja) 重要物管理装置
JP4517832B2 (ja) 現金管理装置
JP6435954B2 (ja) 現金処理装置
JP3195292B2 (ja) 金庫用ロッカー
JP6550608B2 (ja) 重要物管理システム
JP4894408B2 (ja) 現金処理装置
JP2839694B2 (ja) 自動取引装置
JP4330701B2 (ja) 紙幣入出金自動取引機

Legal Events

Date Code Title Description
121 Ep: the epo has been informed by wipo that ep was designated in this application

Ref document number: 11792234

Country of ref document: EP

Kind code of ref document: A1

WWE Wipo information: entry into national phase

Ref document number: 13504942

Country of ref document: US

NENP Non-entry into the national phase

Ref country code: DE

122 Ep: pct application non-entry in european phase

Ref document number: 11792234

Country of ref document: EP

Kind code of ref document: A1