WO2009128190A1 - インサート部品溶着成形方法 - Google Patents
インサート部品溶着成形方法 Download PDFInfo
- Publication number
- WO2009128190A1 WO2009128190A1 PCT/JP2009/000523 JP2009000523W WO2009128190A1 WO 2009128190 A1 WO2009128190 A1 WO 2009128190A1 JP 2009000523 W JP2009000523 W JP 2009000523W WO 2009128190 A1 WO2009128190 A1 WO 2009128190A1
- Authority
- WO
- WIPO (PCT)
- Prior art keywords
- insert part
- parison
- thickness direction
- molding method
- insert
- Prior art date
- Legal status (The legal status is an assumption and is not a legal conclusion. Google has not performed a legal analysis and makes no representation as to the accuracy of the status listed.)
- Ceased
Links
Images
Classifications
-
- B—PERFORMING OPERATIONS; TRANSPORTING
- B29—WORKING OF PLASTICS; WORKING OF SUBSTANCES IN A PLASTIC STATE IN GENERAL
- B29C—SHAPING OR JOINING OF PLASTICS; SHAPING OF MATERIAL IN A PLASTIC STATE, NOT OTHERWISE PROVIDED FOR; AFTER-TREATMENT OF THE SHAPED PRODUCTS, e.g. REPAIRING
- B29C49/00—Blow-moulding, i.e. blowing a preform or parison to a desired shape within a mould; Apparatus therefor
- B29C49/20—Blow-moulding, i.e. blowing a preform or parison to a desired shape within a mould; Apparatus therefor of articles having inserts or reinforcements ; Handling of inserts or reinforcements
-
- B—PERFORMING OPERATIONS; TRANSPORTING
- B29—WORKING OF PLASTICS; WORKING OF SUBSTANCES IN A PLASTIC STATE IN GENERAL
- B29C—SHAPING OR JOINING OF PLASTICS; SHAPING OF MATERIAL IN A PLASTIC STATE, NOT OTHERWISE PROVIDED FOR; AFTER-TREATMENT OF THE SHAPED PRODUCTS, e.g. REPAIRING
- B29C49/00—Blow-moulding, i.e. blowing a preform or parison to a desired shape within a mould; Apparatus therefor
- B29C49/20—Blow-moulding, i.e. blowing a preform or parison to a desired shape within a mould; Apparatus therefor of articles having inserts or reinforcements ; Handling of inserts or reinforcements
- B29C2049/2017—Blow-moulding, i.e. blowing a preform or parison to a desired shape within a mould; Apparatus therefor of articles having inserts or reinforcements ; Handling of inserts or reinforcements outside the article
-
- B—PERFORMING OPERATIONS; TRANSPORTING
- B29—WORKING OF PLASTICS; WORKING OF SUBSTANCES IN A PLASTIC STATE IN GENERAL
- B29C—SHAPING OR JOINING OF PLASTICS; SHAPING OF MATERIAL IN A PLASTIC STATE, NOT OTHERWISE PROVIDED FOR; AFTER-TREATMENT OF THE SHAPED PRODUCTS, e.g. REPAIRING
- B29C49/00—Blow-moulding, i.e. blowing a preform or parison to a desired shape within a mould; Apparatus therefor
- B29C49/20—Blow-moulding, i.e. blowing a preform or parison to a desired shape within a mould; Apparatus therefor of articles having inserts or reinforcements ; Handling of inserts or reinforcements
- B29C2049/2021—Inserts characterised by the material or type
- B29C2049/2026—Neck portions
-
- B—PERFORMING OPERATIONS; TRANSPORTING
- B29—WORKING OF PLASTICS; WORKING OF SUBSTANCES IN A PLASTIC STATE IN GENERAL
- B29C—SHAPING OR JOINING OF PLASTICS; SHAPING OF MATERIAL IN A PLASTIC STATE, NOT OTHERWISE PROVIDED FOR; AFTER-TREATMENT OF THE SHAPED PRODUCTS, e.g. REPAIRING
- B29C49/00—Blow-moulding, i.e. blowing a preform or parison to a desired shape within a mould; Apparatus therefor
- B29C49/20—Blow-moulding, i.e. blowing a preform or parison to a desired shape within a mould; Apparatus therefor of articles having inserts or reinforcements ; Handling of inserts or reinforcements
- B29C2049/2095—Means for preparing or treating the inserts, e.g. cutting, deforming, heating, cooling or applying adhesives
-
- B—PERFORMING OPERATIONS; TRANSPORTING
- B29—WORKING OF PLASTICS; WORKING OF SUBSTANCES IN A PLASTIC STATE IN GENERAL
- B29L—INDEXING SCHEME ASSOCIATED WITH SUBCLASS B29C, RELATING TO PARTICULAR ARTICLES
- B29L2031/00—Other particular articles
- B29L2031/712—Containers; Packaging elements or accessories, Packages
- B29L2031/7172—Fuel tanks, jerry cans
Definitions
- the present invention relates to an insert part welding molding method for welding various insert parts to a blow molded body such as a fuel tank of a motorcycle.
- Conventional insert part welding molding methods include chamfering the peripheral edge of the weld seat provided in a bowl shape at the welded part of the insert part at an inclined angle, so that the weld seat is deployed when molding the blow molded body (fuel tank).
- a method of closely contacting and welding the inner parison for example, see Patent Document 1.
- the insert part is set in the mold when the fuel tank is blow-molded, and the parison is brought into close contact with the insert part welding seat when the mold is closed.
- FIG. 7 there is a case where there is a standing wall 101 at the peripheral edge in the thickness direction of the insert part 100 and there is a portion 103 that is not welded to the parison 102.
- the insert part melts and defective molding occurs.
- the present invention has been made in view of such problems of the prior art, and the object of the present invention is to provide a blow-molded body without generating an unwelded portion in the peripheral portion in the thickness direction of the insert part. It is an object of the present invention to provide an insert part welding molding method in which an insert part is reliably welded.
- the invention according to claim 1 is an insert part welding molding method in which a blow molded body is welded to an insert part set in a mold, the molding surface of the mold being covered with the insert part.
- the height is higher than the surface of the welded portion, and the entire surface of the peripheral part in the thickness direction of the insert part and the parison of the blow-molded product are welded without a gap.
- the parison is welded in an overhang (cover) state with respect to a peripheral edge portion in the thickness direction of the insert part.
- the insert part welding molding method according to the first or second aspect, wherein a molding surface of the mold is disposed in the vicinity of the welded portion between the parison and the peripheral edge in the thickness direction of the insert part.
- a preheating plate made of a high heat conductive material to be a part is disposed, and a heat insulating plate is provided between the preheating plate and the mold.
- the preheating plate is formed with a step due to an inclined surface, and the step due to the inclined surface causes the parison to have a circumferential edge in the thickness direction of the insert component. Is overhanging.
- the first aspect of the present invention it is possible to reliably weld the peripheral portion in the thickness direction of the insert part to the blow molded body without generating an unwelded portion with the blow molded body in the peripheral portion of the insert part in the thickness direction. it can.
- the blow molded body wraps around the peripheral edge of the insert part. Can be reliably welded.
- FIG. 1 The perspective view of the fuel tank for motorcycles which applied the insert parts welding molding method concerning the present invention
- Side view of the filler port body 1 is a schematic cross-sectional view of a mold structure for carrying out a first embodiment of an insert part welding molding method according to the present invention.
- Action explanatory diagram of the first embodiment Outline sectional drawing of the metal mold
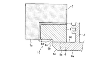
- SYMBOLS 1 ... motorcycle fuel tank, 2 ... Tank main body (blow molding), 3 ... Fuel supply port main body (insert part), 3a ... Screw part, 4 ... Cap, 6 ... Gutter part, 6a ... Back surface, 6b ... Thickness direction Peripheral part, 6c ... taper part, 6d ... surface, 7 ... mold, 7a ... molding surface, 8 ... preheating plate, 8a ... inclined surface, 9 ... heat insulating plate, 10 ... step, 11 ... parison, 11a ... cover part, 12 ... Air.
- FIG. 1 is a perspective view of a motorcycle fuel tank to which an insert component welding molding method according to the present invention is applied
- FIG. 2 is a side view of a fuel filler body
- FIG. 3 is an insert component welding molding method according to the present invention.
- 4 is a schematic sectional view of a mold structure for carrying out the first embodiment
- FIG. 4 is an operation explanatory view of the first embodiment
- FIG. 5 is a second embodiment of an insert component welding molding method according to the present invention.
- FIG. 6 is a schematic sectional view of the mold structure
- FIG. 6 is an explanatory diagram of the operation of the second embodiment.
- a motorcycle fuel tank 1 to which an insert part welding molding method according to the present invention is applied has a fuel filler body 3 as an insert part welded to the top of a tank body 2.
- a cap 4 is detachably screwed into the fuel filler body 3.
- Reference numeral 5 denotes a bracket for attaching the tank main body 2 to the vehicle body frame, and is welded to a parison that becomes the tank main body 2 when the tank main body 2 is blow-molded, like the fuel filler main body 3.
- the fuel filler main body 3 is a substantially cylindrical resin product.
- a flange portion 6 is formed at the base end portion, and a screw portion 3 a that is screwed with the cap 4 is formed on the outer peripheral surface.
- the taper part 6c is formed in the back surface 6a of the collar part 6 so that it may become thin as it approaches the thickness direction peripheral part 6b.
- the fuel filler body 3 is set on a preheating plate 8 disposed as a part of the molding surface 7 a of the mold 7.
- the preheating plate 8 is disposed so as to be in close contact with the surface 6 d of the flange portion 6.
- a heat insulating plate 9 is provided between the mold 7 and the preheating plate 8 to suppress a temperature drop.
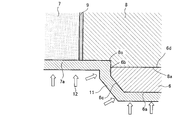
- the parison 11 which is a thermoplastic resin preform is pushed into the cavity of the mold 7, and air 12 having a predetermined pressure is blown into the parison 11 (blow molding). Then, the parison 11 swells and is pressed against the molding surface 7 a of the mold 7, the inclined surface 8 a of the preheating plate 8, the back surface 6 a of the flange 6, and the like. And the parison 11 used as the tank main body 2 and the collar part 6 will be in a perfect welding state from the thickness direction peripheral part 6b of the collar part 6 to the taper part 6c and the back surface 6a.
- the parison 11 is in a completely welded state without forming the unwelded portion with the thickness direction peripheral edge portion 6b of the flange portion 6, the weld strength (tensile strength) is improved and the impact strength (low temperature drop impact) is improved. Improvements can be made.
- the fuel filler body 3 is set on a preheating plate 8 disposed as a part of the molding surface 7 a of the mold 7.
- the preheating plate 8 is disposed so as to be in close contact with the surface 6 d of the flange portion 6.
- the preheating plate 8 is formed with a step 10 having a height H due to an inclined surface 8a having an angle ⁇ , and the inclined surface 8a rises from the central axis side of the fuel filler main body 3 by a distance D from the peripheral edge 6b in the thickness direction of the flange portion 6.
- angle ⁇ 45 °
- step height H 1 mm
- distance D 0.5 mm
- a heat insulating plate 9 is provided between the mold 7 and the preheating plate 8 to suppress a temperature drop.
- the parison 11 which is a thermoplastic resin preform, is pushed into the cavity of the mold 7, and air 12 having a predetermined pressure is blown into the parison 11 (blow molding). Then, the parison 11 swells and is pressed against the molding surface 7 a of the mold 7, the inclined surface 8 a of the preheating plate 8, the back surface 6 a of the flange 6, and the like. Then, the parison 11 is overhanged with respect to the peripheral edge 6b in the thickness direction of the flange 6 to form a covering portion 11a. The surface 6d in the vicinity of the peripheral edge 6b in the thickness direction of the flange 6 is tapered from the peripheral edge 6b in the thickness direction. 6 c and the back surface 6 a, the parison 11 that becomes the tank body 2 and the flange portion 6 are completely welded.
- the parison 11 is overhanged with respect to the thickness direction peripheral portion 6b of the flange portion 6 to form the covering portion 11a, and the thickness direction peripheral portion 6b of the flange portion 6 and the parison 11 serve as unwelded portions. Since it is in a completely welded state without being formed, it is possible to improve the welding strength (tensile strength), the impact strength (low temperature drop impact), and the like.
- an insert component welding molding method capable of reliably welding an insert component to a blow molded body without causing an unwelded portion with the blow molded body at a peripheral edge portion in the thickness direction of the insert component. be able to.
Landscapes
- Engineering & Computer Science (AREA)
- Manufacturing & Machinery (AREA)
- Mechanical Engineering (AREA)
- Blow-Moulding Or Thermoforming Of Plastics Or The Like (AREA)
Priority Applications (2)
| Application Number | Priority Date | Filing Date | Title |
|---|---|---|---|
| CN200980113751.1A CN102006983B (zh) | 2008-04-16 | 2009-02-10 | 燃料箱的嵌入部件熔敷成形方法及燃料箱 |
| US12/988,214 US8652383B2 (en) | 2008-04-16 | 2009-02-10 | Insert part weld molding method |
Applications Claiming Priority (4)
| Application Number | Priority Date | Filing Date | Title |
|---|---|---|---|
| JP2008-106286 | 2008-04-16 | ||
| JP2008106286 | 2008-04-16 | ||
| JP2008-176964 | 2008-07-07 | ||
| JP2008176964A JP4837707B2 (ja) | 2008-04-16 | 2008-07-07 | 燃料タンクのインサート部品溶着成形方法および燃料タンク |
Publications (1)
| Publication Number | Publication Date |
|---|---|
| WO2009128190A1 true WO2009128190A1 (ja) | 2009-10-22 |
Family
ID=41198902
Family Applications (1)
| Application Number | Title | Priority Date | Filing Date |
|---|---|---|---|
| PCT/JP2009/000523 Ceased WO2009128190A1 (ja) | 2008-04-16 | 2009-02-10 | インサート部品溶着成形方法 |
Country Status (4)
| Country | Link |
|---|---|
| US (1) | US8652383B2 (enExample) |
| JP (1) | JP4837707B2 (enExample) |
| CN (1) | CN102006983B (enExample) |
| WO (1) | WO2009128190A1 (enExample) |
Cited By (2)
| Publication number | Priority date | Publication date | Assignee | Title |
|---|---|---|---|---|
| CN109515426A (zh) * | 2018-12-25 | 2019-03-26 | 浙江乔士智能工业股份有限公司 | 一种三节式制动油壶 |
| JP2021127129A (ja) * | 2020-02-12 | 2021-09-02 | 東洋製罐株式会社 | ブロー成形ボトル |
Families Citing this family (5)
| Publication number | Priority date | Publication date | Assignee | Title |
|---|---|---|---|---|
| WO2015015618A1 (ja) * | 2013-08-01 | 2015-02-05 | 株式会社利川プラスチック | 合成樹脂容器製造方法及び合成樹脂容器 |
| USD737192S1 (en) * | 2014-01-28 | 2015-08-25 | Paul Yaffe | Motorcycle fuel tank |
| USD755086S1 (en) * | 2014-02-17 | 2016-05-03 | Harley-Davidson Motor Company Group, LLC | Motorcycle body panel |
| EP3000583A1 (en) * | 2014-09-29 | 2016-03-30 | Inergy Automotive Systems Research (Société Anonyme) | Vehicle component with heat shield and method for manufacturing the same |
| US10220553B2 (en) | 2016-10-20 | 2019-03-05 | Bose Corporation | Method of making an item and item |
Citations (5)
| Publication number | Priority date | Publication date | Assignee | Title |
|---|---|---|---|---|
| JPS59143714U (ja) * | 1983-03-17 | 1984-09-26 | 日産自動車株式会社 | ブロ−成形の金型構造 |
| JPS62126923U (enExample) * | 1986-02-03 | 1987-08-12 | ||
| JPH07178765A (ja) * | 1993-12-22 | 1995-07-18 | Asahi Chem Ind Co Ltd | インサート成形法 |
| JPH08268057A (ja) * | 1995-03-28 | 1996-10-15 | Hayashi Gijutsu Kenkyusho:Kk | 鏡付サンバイザーの成形方法およびサンバイザー |
| JPH11138620A (ja) * | 1997-11-05 | 1999-05-25 | Inoac Corporation:Kk | ブロー成形品およびその製造方法 |
Family Cites Families (22)
| Publication number | Priority date | Publication date | Assignee | Title |
|---|---|---|---|---|
| US3334771A (en) * | 1964-07-06 | 1967-08-08 | Phillips Petroleum Co | Plastic container with metal reinforced inlet and process of making same |
| DE2825097C2 (de) * | 1978-06-08 | 1982-06-09 | K. Kurz Hessental KG, 7170 Schwäbisch Hall | Verfahren zum Einformen eines Anschlußringes in die Wand eines Behälters aus thermoplastischem Kunststoff |
| WO1980000326A1 (fr) * | 1978-07-28 | 1980-03-06 | Transformat Mat Plastiques | Procede d'obtention d'un corps creux monobloc par soufflage |
| JPS5957724A (ja) * | 1982-09-29 | 1984-04-03 | Hashimoto Forming Co Ltd | 識別部分を有するモ−ルデイングの製造方法 |
| JPS59143714A (ja) * | 1983-02-07 | 1984-08-17 | Nippon Denso Co Ltd | ダンパ駆動装置 |
| JPS60234823A (ja) * | 1984-05-08 | 1985-11-21 | Ishikawajima Harima Heavy Ind Co Ltd | ブロ−成形における内部インサ−トの装着方法 |
| JPS62126923A (ja) * | 1985-11-28 | 1987-06-09 | 図師 和彦 | 養鰻池の堆積泥の浄化方法 |
| JP2621071B2 (ja) * | 1988-06-15 | 1997-06-18 | 株式会社イノアックコーポレーション | ブロー成形品およびその製造方法 |
| JPH03143616A (ja) * | 1989-10-31 | 1991-06-19 | Toyoda Gosei Co Ltd | ブロー製品の製造方法 |
| US5103865A (en) * | 1991-07-15 | 1992-04-14 | Ford Motor Company | Integrally molded vapor vent valve |
| RO117437B1 (ro) * | 1993-11-19 | 2002-03-29 | S.C. "Moldoplast" S.A. | Procedeu de realizare a subansamblurilor pentru echiparea rezervoarelor de combustibil şi a altor rezervoare cu destinaţie specială |
| JPH09290814A (ja) * | 1996-04-24 | 1997-11-11 | Kioritz Corp | ニップル付液体タンク |
| US6415941B1 (en) * | 1998-10-09 | 2002-07-09 | Moeller Marine Products | Method of making a fuel tank assembly |
| JP2000108196A (ja) * | 1998-10-09 | 2000-04-18 | Nippon Dennetsu Co Ltd | ブロー成形タンクの成形方法 |
| JP2003225941A (ja) * | 2002-02-05 | 2003-08-12 | Yazaki:Kk | 成形時の溶着インサート部品保持治具 |
| JP2003236920A (ja) | 2002-02-13 | 2003-08-26 | Yazaki:Kk | ブロー成形体へのインサート部品溶着成形方法 |
| JP2004189235A (ja) * | 2002-12-06 | 2004-07-08 | Yachiyo Industry Co Ltd | 燃料タンクの蓋体取付構造 |
| JP2005335464A (ja) * | 2004-05-25 | 2005-12-08 | Honda Motor Co Ltd | 車両の燃料供給構造 |
| JP2006022900A (ja) * | 2004-07-08 | 2006-01-26 | Nhk Spring Co Ltd | ガスケット材、ガスケット材の製造方法およびガスケットの取り付け方法 |
| US7476354B2 (en) * | 2004-09-22 | 2009-01-13 | Clack Corporation | Method and apparatus for making a blow molded article with integral insert |
| US20090218845A1 (en) * | 2006-01-06 | 2009-09-03 | Johnson Controls Technology Company | Visor and method of making a visor |
| JP5110508B2 (ja) * | 2007-05-16 | 2012-12-26 | 本田技研工業株式会社 | ブロー成形装置 |
-
2008
- 2008-07-07 JP JP2008176964A patent/JP4837707B2/ja not_active Expired - Fee Related
-
2009
- 2009-02-10 CN CN200980113751.1A patent/CN102006983B/zh not_active Expired - Fee Related
- 2009-02-10 US US12/988,214 patent/US8652383B2/en active Active
- 2009-02-10 WO PCT/JP2009/000523 patent/WO2009128190A1/ja not_active Ceased
Patent Citations (5)
| Publication number | Priority date | Publication date | Assignee | Title |
|---|---|---|---|---|
| JPS59143714U (ja) * | 1983-03-17 | 1984-09-26 | 日産自動車株式会社 | ブロ−成形の金型構造 |
| JPS62126923U (enExample) * | 1986-02-03 | 1987-08-12 | ||
| JPH07178765A (ja) * | 1993-12-22 | 1995-07-18 | Asahi Chem Ind Co Ltd | インサート成形法 |
| JPH08268057A (ja) * | 1995-03-28 | 1996-10-15 | Hayashi Gijutsu Kenkyusho:Kk | 鏡付サンバイザーの成形方法およびサンバイザー |
| JPH11138620A (ja) * | 1997-11-05 | 1999-05-25 | Inoac Corporation:Kk | ブロー成形品およびその製造方法 |
Cited By (4)
| Publication number | Priority date | Publication date | Assignee | Title |
|---|---|---|---|---|
| CN109515426A (zh) * | 2018-12-25 | 2019-03-26 | 浙江乔士智能工业股份有限公司 | 一种三节式制动油壶 |
| CN109515426B (zh) * | 2018-12-25 | 2023-10-03 | 浙江乔士智能工业股份有限公司 | 一种三节式制动油壶 |
| JP2021127129A (ja) * | 2020-02-12 | 2021-09-02 | 東洋製罐株式会社 | ブロー成形ボトル |
| JP7537092B2 (ja) | 2020-02-12 | 2024-08-21 | 東洋製罐株式会社 | ブロー成形ボトル |
Also Published As
| Publication number | Publication date |
|---|---|
| US8652383B2 (en) | 2014-02-18 |
| JP2009274429A (ja) | 2009-11-26 |
| US20110037203A1 (en) | 2011-02-17 |
| JP4837707B2 (ja) | 2011-12-14 |
| CN102006983A (zh) | 2011-04-06 |
| CN102006983B (zh) | 2015-01-14 |
Similar Documents
| Publication | Publication Date | Title |
|---|---|---|
| WO2009128190A1 (ja) | インサート部品溶着成形方法 | |
| JP2009274429A5 (enExample) | ||
| US9399327B2 (en) | Method for fastening an accessory in a plastic fuel tank | |
| JP5877460B2 (ja) | 樹脂部品の溶着装置及び樹脂部品の溶着方法 | |
| JP2006192919A (ja) | 自動車用燃料タンクおよびその製造方法 | |
| JP5179916B2 (ja) | 車両における樹脂製燃料タンク構造 | |
| JP2010167695A (ja) | 圧力容器の製造方法 | |
| US20090250161A1 (en) | Method for connecting a tubular part made of plastic to a neck of a fuel tank also made of plastic | |
| TW202140245A (zh) | 複合預成形體及其製造方法、複合容器及其製造方法、以及熱收縮性塑膠製構件 | |
| JP2008524014A (ja) | 少なくとも1つの溶着部を含む多層中空本体の製造方法 | |
| JP4959380B2 (ja) | インサート付きブロー成形スポイラーの製造方法及びインサート付きブロー成形スポイラー | |
| JP6859290B2 (ja) | 燃料タンクの製造方法 | |
| CN207725214U (zh) | 用于车辆的塑料挡板 | |
| JP7373065B2 (ja) | 液体用プラスチック容器及びプラスチック容器の製造方法 | |
| JP4870994B2 (ja) | 自動二輪車の燃料タンク | |
| KR101961118B1 (ko) | 차량용 플라스틱 연료탱크 | |
| JP7215712B2 (ja) | マンホール付きタンクの製造方法及びマンホール体 | |
| JP5260102B2 (ja) | チューブ容器成形用の金型、チューブ容器の成形方法、およびチューブ容器 | |
| JP2016020061A (ja) | ブロー成形品 | |
| JP2015174253A (ja) | 燃料タンクの部品溶着装置 | |
| JP2020203591A (ja) | 自動車用燃料タンクの支柱部品 | |
| CN119642083A (zh) | 一种储气结构、储气瓶以及储气结构的制造方法 | |
| TWI735602B (zh) | 複合預成形體及其製造方法、複合容器及其製造方法、以及熱收縮性塑膠製構件 | |
| US7261854B2 (en) | Insert molding technique | |
| JP2017057890A (ja) | ライナー |
Legal Events
| Date | Code | Title | Description |
|---|---|---|---|
| WWE | Wipo information: entry into national phase |
Ref document number: 200980113751.1 Country of ref document: CN |
|
| 121 | Ep: the epo has been informed by wipo that ep was designated in this application |
Ref document number: 09731684 Country of ref document: EP Kind code of ref document: A1 |
|
| WWE | Wipo information: entry into national phase |
Ref document number: 12988214 Country of ref document: US |
|
| NENP | Non-entry into the national phase |
Ref country code: DE |
|
| 122 | Ep: pct application non-entry in european phase |
Ref document number: 09731684 Country of ref document: EP Kind code of ref document: A1 |