JP7584593B2 - インプリントリソグラフィ - Google Patents

インプリントリソグラフィ Download PDF

Info

Publication number
JP7584593B2
JP7584593B2 JP2023132384A JP2023132384A JP7584593B2 JP 7584593 B2 JP7584593 B2 JP 7584593B2 JP 2023132384 A JP2023132384 A JP 2023132384A JP 2023132384 A JP2023132384 A JP 2023132384A JP 7584593 B2 JP7584593 B2 JP 7584593B2
Authority
JP
Japan
Prior art keywords
imprint lithography
lithography template
substrate
imprint
arrangement
Prior art date
Legal status (The legal status is an assumption and is not a legal conclusion. Google has not performed a legal analysis and makes no representation as to the accuracy of the status listed.)
Active
Application number
JP2023132384A
Other languages
English (en)
Other versions
JP2023153252A (ja
Inventor
スチフファート,キャサリヌス デ
レンケンズ,マイケル,ヨセフ,マティス
ジェラルド ヴァン,スホトホルスト
ヘウニンク,アンドレ,ベルナルダス
バース,グレゴール,エドワード ヴァン
ウイスター,サンダー,フレデリック
クルイト-ステージマン,イボンヌ,ウェンデラ
ヤンセン,ノルベルト,アーウィン,セレンゾ
ハーデマン,トーン
フォッカート,ジョージ,アリー,ヤン デ
ディクスマン,ヨハン,フレデリック
Current Assignee (The listed assignees may be inaccurate. Google has not performed a legal analysis and makes no representation or warranty as to the accuracy of the list.)
ASML Netherlands BV
Original Assignee
ASML Netherlands BV
Priority date (The priority date is an assumption and is not a legal conclusion. Google has not performed a legal analysis and makes no representation as to the accuracy of the date listed.)
Filing date
Publication date
Application filed by ASML Netherlands BV filed Critical ASML Netherlands BV
Publication of JP2023153252A publication Critical patent/JP2023153252A/ja
Application granted granted Critical
Publication of JP7584593B2 publication Critical patent/JP7584593B2/ja
Active legal-status Critical Current
Anticipated expiration legal-status Critical

Links

Images

Classifications

    • GPHYSICS
    • G03PHOTOGRAPHY; CINEMATOGRAPHY; ANALOGOUS TECHNIQUES USING WAVES OTHER THAN OPTICAL WAVES; ELECTROGRAPHY; HOLOGRAPHY
    • G03FPHOTOMECHANICAL PRODUCTION OF TEXTURED OR PATTERNED SURFACES, e.g. FOR PRINTING, FOR PROCESSING OF SEMICONDUCTOR DEVICES; MATERIALS THEREFOR; ORIGINALS THEREFOR; APPARATUS SPECIALLY ADAPTED THEREFOR
    • G03F7/00Photomechanical, e.g. photolithographic, production of textured or patterned surfaces, e.g. printing surfaces; Materials therefor, e.g. comprising photoresists; Apparatus specially adapted therefor
    • G03F7/70Microphotolithographic exposure; Apparatus therefor
    • G03F7/70216Mask projection systems
    • G03F7/7035Proximity or contact printers
    • BPERFORMING OPERATIONS; TRANSPORTING
    • B29WORKING OF PLASTICS; WORKING OF SUBSTANCES IN A PLASTIC STATE IN GENERAL
    • B29CSHAPING OR JOINING OF PLASTICS; SHAPING OF MATERIAL IN A PLASTIC STATE, NOT OTHERWISE PROVIDED FOR; AFTER-TREATMENT OF THE SHAPED PRODUCTS, e.g. REPAIRING
    • B29C43/00Compression moulding, i.e. applying external pressure to flow the moulding material; Apparatus therefor
    • B29C43/02Compression moulding, i.e. applying external pressure to flow the moulding material; Apparatus therefor of articles of definite length, i.e. discrete articles
    • B29C43/021Compression moulding, i.e. applying external pressure to flow the moulding material; Apparatus therefor of articles of definite length, i.e. discrete articles characterised by the shape of the surface
    • BPERFORMING OPERATIONS; TRANSPORTING
    • B29WORKING OF PLASTICS; WORKING OF SUBSTANCES IN A PLASTIC STATE IN GENERAL
    • B29CSHAPING OR JOINING OF PLASTICS; SHAPING OF MATERIAL IN A PLASTIC STATE, NOT OTHERWISE PROVIDED FOR; AFTER-TREATMENT OF THE SHAPED PRODUCTS, e.g. REPAIRING
    • B29C43/00Compression moulding, i.e. applying external pressure to flow the moulding material; Apparatus therefor
    • B29C43/02Compression moulding, i.e. applying external pressure to flow the moulding material; Apparatus therefor of articles of definite length, i.e. discrete articles
    • B29C43/14Compression moulding, i.e. applying external pressure to flow the moulding material; Apparatus therefor of articles of definite length, i.e. discrete articles in several steps
    • BPERFORMING OPERATIONS; TRANSPORTING
    • B82NANOTECHNOLOGY
    • B82YSPECIFIC USES OR APPLICATIONS OF NANOSTRUCTURES; MEASUREMENT OR ANALYSIS OF NANOSTRUCTURES; MANUFACTURE OR TREATMENT OF NANOSTRUCTURES
    • B82Y10/00Nanotechnology for information processing, storage or transmission, e.g. quantum computing or single electron logic
    • BPERFORMING OPERATIONS; TRANSPORTING
    • B82NANOTECHNOLOGY
    • B82YSPECIFIC USES OR APPLICATIONS OF NANOSTRUCTURES; MEASUREMENT OR ANALYSIS OF NANOSTRUCTURES; MANUFACTURE OR TREATMENT OF NANOSTRUCTURES
    • B82Y40/00Manufacture or treatment of nanostructures
    • GPHYSICS
    • G03PHOTOGRAPHY; CINEMATOGRAPHY; ANALOGOUS TECHNIQUES USING WAVES OTHER THAN OPTICAL WAVES; ELECTROGRAPHY; HOLOGRAPHY
    • G03FPHOTOMECHANICAL PRODUCTION OF TEXTURED OR PATTERNED SURFACES, e.g. FOR PRINTING, FOR PROCESSING OF SEMICONDUCTOR DEVICES; MATERIALS THEREFOR; ORIGINALS THEREFOR; APPARATUS SPECIALLY ADAPTED THEREFOR
    • G03F7/00Photomechanical, e.g. photolithographic, production of textured or patterned surfaces, e.g. printing surfaces; Materials therefor, e.g. comprising photoresists; Apparatus specially adapted therefor
    • G03F7/0002Lithographic processes using patterning methods other than those involving the exposure to radiation, e.g. by stamping
    • GPHYSICS
    • G03PHOTOGRAPHY; CINEMATOGRAPHY; ANALOGOUS TECHNIQUES USING WAVES OTHER THAN OPTICAL WAVES; ELECTROGRAPHY; HOLOGRAPHY
    • G03FPHOTOMECHANICAL PRODUCTION OF TEXTURED OR PATTERNED SURFACES, e.g. FOR PRINTING, FOR PROCESSING OF SEMICONDUCTOR DEVICES; MATERIALS THEREFOR; ORIGINALS THEREFOR; APPARATUS SPECIALLY ADAPTED THEREFOR
    • G03F7/00Photomechanical, e.g. photolithographic, production of textured or patterned surfaces, e.g. printing surfaces; Materials therefor, e.g. comprising photoresists; Apparatus specially adapted therefor
    • G03F7/70Microphotolithographic exposure; Apparatus therefor
    • G03F7/70691Handling of masks or workpieces
    • G03F7/70775Position control, e.g. interferometers or encoders for determining the stage position
    • GPHYSICS
    • G03PHOTOGRAPHY; CINEMATOGRAPHY; ANALOGOUS TECHNIQUES USING WAVES OTHER THAN OPTICAL WAVES; ELECTROGRAPHY; HOLOGRAPHY
    • G03FPHOTOMECHANICAL PRODUCTION OF TEXTURED OR PATTERNED SURFACES, e.g. FOR PRINTING, FOR PROCESSING OF SEMICONDUCTOR DEVICES; MATERIALS THEREFOR; ORIGINALS THEREFOR; APPARATUS SPECIALLY ADAPTED THEREFOR
    • G03F7/00Photomechanical, e.g. photolithographic, production of textured or patterned surfaces, e.g. printing surfaces; Materials therefor, e.g. comprising photoresists; Apparatus specially adapted therefor
    • G03F7/70Microphotolithographic exposure; Apparatus therefor
    • G03F7/708Construction of apparatus, e.g. environment aspects, hygiene aspects or materials
    • G03F7/70808Construction details, e.g. housing, load-lock, seals or windows for passing light in or out of apparatus
    • G03F7/70825Mounting of individual elements, e.g. mounts, holders or supports
    • GPHYSICS
    • G03PHOTOGRAPHY; CINEMATOGRAPHY; ANALOGOUS TECHNIQUES USING WAVES OTHER THAN OPTICAL WAVES; ELECTROGRAPHY; HOLOGRAPHY
    • G03FPHOTOMECHANICAL PRODUCTION OF TEXTURED OR PATTERNED SURFACES, e.g. FOR PRINTING, FOR PROCESSING OF SEMICONDUCTOR DEVICES; MATERIALS THEREFOR; ORIGINALS THEREFOR; APPARATUS SPECIALLY ADAPTED THEREFOR
    • G03F7/00Photomechanical, e.g. photolithographic, production of textured or patterned surfaces, e.g. printing surfaces; Materials therefor, e.g. comprising photoresists; Apparatus specially adapted therefor
    • G03F7/70Microphotolithographic exposure; Apparatus therefor
    • G03F7/708Construction of apparatus, e.g. environment aspects, hygiene aspects or materials
    • G03F7/7085Detection arrangement, e.g. detectors of apparatus alignment possibly mounted on wafers, exposure dose, photo-cleaning flux, stray light, thermal load
    • GPHYSICS
    • G03PHOTOGRAPHY; CINEMATOGRAPHY; ANALOGOUS TECHNIQUES USING WAVES OTHER THAN OPTICAL WAVES; ELECTROGRAPHY; HOLOGRAPHY
    • G03FPHOTOMECHANICAL PRODUCTION OF TEXTURED OR PATTERNED SURFACES, e.g. FOR PRINTING, FOR PROCESSING OF SEMICONDUCTOR DEVICES; MATERIALS THEREFOR; ORIGINALS THEREFOR; APPARATUS SPECIALLY ADAPTED THEREFOR
    • G03F7/00Photomechanical, e.g. photolithographic, production of textured or patterned surfaces, e.g. printing surfaces; Materials therefor, e.g. comprising photoresists; Apparatus specially adapted therefor
    • G03F7/70Microphotolithographic exposure; Apparatus therefor
    • G03F7/708Construction of apparatus, e.g. environment aspects, hygiene aspects or materials
    • G03F7/70858Environment aspects, e.g. pressure of beam-path gas, temperature
    • G03F7/709Vibration, e.g. vibration detection, compensation, suppression or isolation
    • GPHYSICS
    • G03PHOTOGRAPHY; CINEMATOGRAPHY; ANALOGOUS TECHNIQUES USING WAVES OTHER THAN OPTICAL WAVES; ELECTROGRAPHY; HOLOGRAPHY
    • G03FPHOTOMECHANICAL PRODUCTION OF TEXTURED OR PATTERNED SURFACES, e.g. FOR PRINTING, FOR PROCESSING OF SEMICONDUCTOR DEVICES; MATERIALS THEREFOR; ORIGINALS THEREFOR; APPARATUS SPECIALLY ADAPTED THEREFOR
    • G03F9/00Registration or positioning of originals, masks, frames, photographic sheets or textured or patterned surfaces, e.g. automatically
    • G03F9/70Registration or positioning of originals, masks, frames, photographic sheets or textured or patterned surfaces, e.g. automatically for microlithography
    • G03F9/7003Alignment type or strategy, e.g. leveling, global alignment
    • G03F9/7042Alignment for lithographic apparatus using patterning methods other than those involving the exposure to radiation, e.g. by stamping or imprinting
    • BPERFORMING OPERATIONS; TRANSPORTING
    • B29WORKING OF PLASTICS; WORKING OF SUBSTANCES IN A PLASTIC STATE IN GENERAL
    • B29CSHAPING OR JOINING OF PLASTICS; SHAPING OF MATERIAL IN A PLASTIC STATE, NOT OTHERWISE PROVIDED FOR; AFTER-TREATMENT OF THE SHAPED PRODUCTS, e.g. REPAIRING
    • B29C43/00Compression moulding, i.e. applying external pressure to flow the moulding material; Apparatus therefor
    • B29C43/02Compression moulding, i.e. applying external pressure to flow the moulding material; Apparatus therefor of articles of definite length, i.e. discrete articles
    • B29C43/14Compression moulding, i.e. applying external pressure to flow the moulding material; Apparatus therefor of articles of definite length, i.e. discrete articles in several steps
    • B29C2043/141Compression moulding, i.e. applying external pressure to flow the moulding material; Apparatus therefor of articles of definite length, i.e. discrete articles in several steps for making single layer articles
    • B29C2043/142Compression moulding, i.e. applying external pressure to flow the moulding material; Apparatus therefor of articles of definite length, i.e. discrete articles in several steps for making single layer articles by moving a single mould or the article progressively, i.e. portionwise
    • BPERFORMING OPERATIONS; TRANSPORTING
    • B29WORKING OF PLASTICS; WORKING OF SUBSTANCES IN A PLASTIC STATE IN GENERAL
    • B29CSHAPING OR JOINING OF PLASTICS; SHAPING OF MATERIAL IN A PLASTIC STATE, NOT OTHERWISE PROVIDED FOR; AFTER-TREATMENT OF THE SHAPED PRODUCTS, e.g. REPAIRING
    • B29C43/00Compression moulding, i.e. applying external pressure to flow the moulding material; Apparatus therefor
    • B29C43/02Compression moulding, i.e. applying external pressure to flow the moulding material; Apparatus therefor of articles of definite length, i.e. discrete articles
    • B29C43/04Compression moulding, i.e. applying external pressure to flow the moulding material; Apparatus therefor of articles of definite length, i.e. discrete articles using movable moulds

Landscapes

  • Engineering & Computer Science (AREA)
  • Physics & Mathematics (AREA)
  • General Physics & Mathematics (AREA)
  • Health & Medical Sciences (AREA)
  • Nanotechnology (AREA)
  • Chemical & Material Sciences (AREA)
  • Public Health (AREA)
  • Epidemiology (AREA)
  • Environmental & Geological Engineering (AREA)
  • Mechanical Engineering (AREA)
  • Crystallography & Structural Chemistry (AREA)
  • Life Sciences & Earth Sciences (AREA)
  • Atmospheric Sciences (AREA)
  • Toxicology (AREA)
  • Condensed Matter Physics & Semiconductors (AREA)
  • Mathematical Physics (AREA)
  • Theoretical Computer Science (AREA)
  • Manufacturing & Machinery (AREA)
  • Shaping Of Tube Ends By Bending Or Straightening (AREA)
  • Exposure Of Semiconductors, Excluding Electron Or Ion Beam Exposure (AREA)
  • Manufacturing Of Magnetic Record Carriers (AREA)

Description

(関連出願への相互参照)
[0001] 本発明は、参照によりその全体を本明細書に組み込むものとする2010年8月5日出願の米国仮出願第61/370,940号の利益を主張する。また、参照によりその全体を本明細書に組み込むものとする2010年9月13日出願の米国仮出願第61/382,151号の利益を主張する。また、参照によりその全体を本明細書に組み込むものとする2010年11月30日出願の米国仮出願第61/418,214号の利益を主張する。また、参照によりその全体を本明細書に組み込むものとする2010年12月22日出願の米国仮出願第61/426,275号の利益を主張する。
[0002] 本発明は、インプリントリソグラフィに関し、特に、インプリントリソグラフィ装置(又は関連装置)及び/又はインプリントリソグラフィ方法又はプロセス(又は関連方法若しくはプロセス)に関する。
[0003] リソグラフィ分野では、所与の基板区域上のフィーチャの密度を増大するために、リソグラフィパターン内のフィーチャのサイズを低減するという従来からの要望がある。フォトリソグラフィ分野では、小さいフィーチャへの努力によってコスト高ではあるが液浸リソグラフィ及び極端紫外線(EUV)リソグラフィなどの技術が開発されてきた。
[0004] ますます関心が寄せられている潜在的にコスト高でない小さいフィーチャ(例えば、ナノメートルサイズのフィーチャ)を得る方法が、一般に「スタンプ」(多くの場合、インプリントテンプレート又はインプリントリソグラフィテンプレートと呼ばれる)を用いて基板上にパターンを転写するいわゆるインプリントリソグラフィである。インプリントリソグラフィの利点は、フィーチャの解像度が、例えば、放射源の放射波長又は投影システムの開口数によって制限されないということである。逆に、解像度は、主としてインプリントリソグラフィテンプレート上のパターンの密度によって制限される。
[0005] インプリントリソグラフィは、パターン形成する基板の表面上のインプリント可能な媒体のパターン形成工程を含む。パターン形成は、インプリント可能な媒体がパターン形成された表面の凹部に流入し、パターン形成された表面上の突起によって脇に押しのけられるように、(例えば、インプリントリソグラフィテンプレートをインプリント可能な媒体に近づけるか、又はインプリント可能な媒体をインプリントリソグラフィテンプレートに近づけるか、あるいはその両方を互いに近づけることで)インプリントリソグラフィテンプレートのパターン形成された表面とインプリント可能な媒体の層とを貼り合わせるステップを含んでいてもよい。突起は、インプリントテンプレートのパターン形成された表面のパターンフィーチャを画定する。通常、パターン形成された表面とインプリント可能な媒体とが貼り合わされたときにインプリント可能な媒体は流動可能である。インプリント可能な媒体のパターン形成に続けて、例えば、インプリント可能な媒体をUV放射などの化学線に照明することで、インプリント可能な媒体は、適切に非流動可能な状態又は凍結状態(すなわち固定状態)に置かれる。インプリントリソグラフィは、パターン形成する基板の表面上のインプリント可能な媒体のパターン形成工程を含むテンプレートのパターン形成された表面とパターン形成されたインプリント可能な媒体は分離される。次に、通常、基板とパターン形成されたインプリント可能な媒体は、さらに処理されて基板のパターン形成又は別のパターン形成が実行される。インプリント可能な媒体は、通常、パターン形成する基板の表面上に液滴の形態で提供されるが、代わりに、スピンコーティングなどを用いて提供してもよい。
[0006] リソグラフィの形態を問わず、基板にパターンを高精度で一貫した方法で塗布できることが望ましい。場合によっては、すでに塗布されている(及び/又は処理済の)パターンに加えて、上記パターンに対してパターンの塗布を整列させる必要がある。これは、オーバレイ要件として知られている。基板のターゲット部分(区域、領域などを含む)に対するインプリントリソグラフィテンプレートの位置の誤差がある場合、又はその測定において位置の誤差がある場合、上記パターンの塗布要件及び/又はオーバレイ要件を満たすことはますます困難になっている。
[0007] インプリントリソグラフィ装置は、上記の位置誤差を引き起こしやすい。したがって、例えば、そのような位置誤差の大きさ及び/又は頻度を低減するインプリントリソグラフィ装置を提供することが望ましい。最新技術のインプリントリソグラフィ装置及び/又は方法は、とりわけ、解像度、オーバレイ、生産性、焦点、製品コスト、ハードウェアコスト、スループット、不良に関連付けられたか又は関連する1つ以上の問題又は欠点を有している場合がある。例えば、本明細書と別の文献のいずれに記載しているか否かを問わず、当業の1つ以上の問題又は欠点を防止するか又は軽減し、及び/又は最新技術のリソグラフィ装置及び/又は方法の代替策を提供するインプリントリソグラフィ関連の装置及び/又は方法を提供することが望ましい。
[0008] 一態様によれば、床に装着する第1のフレームと、キネマティックカップリングを介して第1のフレーム上に装着された第2のフレームと、インプリントリソグラフィテンプレートアレンジメントを基板のターゲット位置に整列させる第2のフレーム上に装着されたアライメントセンサと、第2のフレームに対するインプリントリソグラフィテンプレートアレンジメント及び/又は基板ステージの位置を測定する1つ以上の位置センサと、を有するインプリントリソグラフィ装置が提供される。
[0009] 第1のフレームは、1つ以上の防振システムにより床に装着できる。
[00010] 第2のフレームの一部は、第1のフレームの外側から第1のフレーム内に位置する領域内に延在してもよく、したがって、位置の測定は第2のフレームのその部分に対して又はそれを用いて実行できる。
[00011] 一態様によれば、床に装着する第1のフレームと、防振システムを介して第1のフレーム上に装着された第2のフレームと、少なくとも使用時にキネマティックカップリングを介して第2のフレーム上に装着されるように構成されたインプリントリソグラフィテンプレートアレンジメントと、インプリントリソグラフィテンプレートアレンジメントを基板のターゲット位置に整列させる第2のフレーム上に装着されたアライメントセンサと、第2のフレームに対する基板ステージの位置を測定する1つ以上の位置センサとを有するインプリントリソグラフィ装置が提供される。
[00012] 第2のフレームは、実質的に第1のフレーム内に位置してもよい。
[00013] この装置は、第1のフレームとインプリントリソグラフィテンプレートアレンジメントとの間に接続された1つ以上のリリース補償アクチュエータをさらに備える。
[00014] 1つ以上のリリース補償アクチュエータの1つ以上の接続点は、インプリントリソグラフィテンプレートアレンジメントを第2のフレームに装着するためのキネマティックカップリングの接続点に(例えば、近接又はその他の空間的関係によって)リンクされていてもよい。
[00015] 1つ以上のリリース補償アクチュエータの1つ以上の接続点は、インプリントリソグラフィテンプレートアレンジメントを第2のフレームに装着するためのキネマティックカップリングの接続点とはインプリントリソグラフィテンプレートアレンジメントの逆の側にあってもよい。
[00016] 1つ以上のリリース補償アクチュエータは、第2のフレームを通して延在してもよい。
[00017] 本発明の第1又は第2の態様によれば、上記の特徴に加えて、又はそれに代えて、以下の特徴を使用できる。
[00018] 基板ステージは、5自由度の(6自由度以上を含む)ショートストローク基板ステージであってもよい。基板ステージは、5自由度の(6自由度以上を含む)隔離(例えば、空間的に隔離又は分離された)ショートストローク基板ステージであってもよい。さらに、基板ステージは、3自由度のロングストローク基板ステージであってもよく、又はそれを含んでもよい。
[00019] 基板ステージは、基板の平面に平行な2つの軸(x軸及びy軸)に沿った、また上記平面に垂直な軸(z軸)に沿った平行移動のロングストローク運動を実行できてもよい。
[00020] 基板ステージは、基板の平面に平行な2つの軸周りの回転運動(x軸及びy軸周りの回転)を実行できてもよい。
[00021] 基板ステージは、基板の平面に平行な2つの軸周りの回転運動(x軸及びy軸周りの回転)、及び上記平面に垂直な軸周りの回転運動(z軸周りの回転)を実行できてもよい。基板ステージは、基板の平面に平行な2つの軸(x軸及びy軸)に沿った平行移動のショートストローク運動を実行できてもよい。
[00022] インプリントリソグラフィテンプレートアレンジメントは、基板の平面に平行な2つの軸(x軸及びy軸)に沿った平行移動のショートストローク運動を実行できてもよく、インプリントリソグラフィテンプレートアレンジメントは、上記平面に垂直な軸周りの回転運動(z軸周りの回転)を実行できてもよい。
[00023] 基板ステージは、基板の平面に平行な2つの軸(x軸及びy軸)に沿った平行移動のロングストローク運動を実行できてもよい。
[00024] 基板ステージは、基板の平面に平行な2つの軸周りの回転運動(x軸及びy軸周りの回転)を実行できてもよい。
[00025] 基板ステージは、基板の平面に平行な2つの軸周りの回転運動(x軸及びy軸周りの回転)、及び上記平面に垂直な軸周りの回転運動(z軸周りの回転)を実行できてもよく、基板ステージは、基板の平面に平行な2つの軸(x軸及びy軸)に沿った平行移動のショートストローク運動を実行できてもよい。
[00026] インプリントリソグラフィテンプレートアレンジメントは、基板の平面に垂直な軸(z軸)に沿ったロングストローク運動を実行できてもよい。
[00027] インプリントリソグラフィテンプレートアレンジメントは、基板の平面に平行な2つの軸(x軸及びy軸)に沿った平行移動のショートストローク運動を実行できてもよく、インプリントリソグラフィテンプレートアレンジメントは、上記平面に垂直な軸周りの回転運動(z軸周りの回転)を実行できてもよい。
[00028] 本明細書で運動又は回転が可能と記載されたオブジェクトは、何らかの固有の駆動手段による運動又は回転と、別の(すなわち、独立した)駆動手段による運動又は回転と、の両方を包含すると理解されたい。
[00029] この装置は、第2のフレームを遮蔽する1つ以上の熱シールドをさらに含んでもよい。
[00030] 第2のフレームは、例えば、1μm/m.Kに実質的に等しいか又はそれ以下の低い熱膨張係数、及び/又は、例えば、20W/(m.K)より大きい高い熱伝導率を有する材料から形成されてもよい。この装置は、代替的に又は追加的に、第2のフレームを冷却又は熱調節する冷却又は熱調節システムを含んでもよい。第2のフレームは、好ましくはアルミニウム製であってもよい。
[00031] 第2のフレームは、高周波数(例えば、通常100Hz以上)の内部動的モードを有するように構築され、及び/又は配置されてもよい。
[00032] 基板ステージは、例えば、第1のフレームとの直接的又は(例えば中間構造を介した)間接的な接続によって第1のフレームに結合してもよい。
[00033] 基板ステージは、基板ホルダ、基板のポジショナ、基板ホルダのポジショナの1つ以上であってもよく、それを含んでもよく、又はその一部を形成してもよい。
[00034] 第1のフレームはベースフレームであってもベースフレームと呼んでもよく、及び/又は、第2のフレームはメトロロジーフレームであってもメトロロジーフレームと呼んでもよい。
[00035] 一態様によれば、ベースフレームと、メトロロジーフレームと、1つ以上のキネマティックカップリング及び1つ以上のリリース補償アクチュエータを介してベースフレーム又はメトロロジーフレームに接続するインプリントリソグラフィテンプレートアレンジメントと、を備えるインプリントリソグラフィ装置が提供される。
[00036] 1つ以上のキネマティックカップリングは、1つ以上のリリース補償アクチュエータと直列に配置されてもよい。
[00037] 1つ以上のリリース補償アクチュエータの1つ以上の接続点は、キネマティックカップリングの接続点とはインプリントリソグラフィテンプレートアレンジメントの逆の側にあってもよい。
[00038] 一態様によれば、インプリントリソグラフィ装置を使用するインプリントリソグラフィ方法であって、上記装置は、ベースフレームと、メトロロジーフレームと、インプリントリソグラフィテンプレートアレンジメントと、を備え、上記方法は、インプリントリソグラフィアレンジメントがメトロロジーフレームに接続されているときに、インプリントリソグラフィアレンジメントを用いて基板上に提供されたインプリント可能な媒体の層内にパターンをインプリントするステップと、インプリント可能な媒体内に提供されたパターンを凝固させるステップと、インプリントリソグラフィテンプレートアレンジメントを移動させてメトロロジーフレームからインプリントリソグラフィアレンジメントを切り離し、インプリントリソグラフィテンプレートアレンジメントをベースフレームに接続するステップと、基板からインプリントリソグラフィテンプレートアレンジメントをリリースするステップとを含む方法が提供される。
[00039] インプリントリソグラフィテンプレートアレンジメントは、基板を保持する基板ステージの運動によって動かすことができる。
[00040] 基板の移動は、インプリントリソグラフィテンプレートアレンジメントの移動を引き起こす。何故なら、これは、パターンの凝固によってインプリントリソグラフィテンプレートアレンジメントが少なくとも部分的に凝固したパターンを介して基板に取り付けられるからである。移動は、インプリントリソグラフィテンプレートアレンジメントへ向かってあってもよく、それによって、インプリントリソグラフィテンプレートアレンジメントの移動を容易にすることができる(例えば、インプリントリソグラフィテンプレートアレンジメントから基板を引き離すと、基板が少なくとも部分的にインプリントリソグラフィテンプレートアレンジメントからリリースされるが、これは少なくとも方法のこの段階では望ましくない)。
[00041] インプリントリソグラフィテンプレートアレンジメントをリリースするステップは、ベースフレームに接続されたアクチュエータを用いてインプリントリソグラフィテンプレートアレンジメントを保持するステップと、基板を保持する基板ステージの移動を介してインプリントリソグラフィテンプレートアレンジメントから基板を引き離すステップと、を含んでもよい。
[00042] インプリントリソグラフィテンプレートアレンジメントは、メトロロジーフレームとの接続の方へ(例えば、接続するように)付勢されてもよい。インプリントリソグラフィテンプレートアレンジメントの上記の移動は、少なくとも部分的にこの付勢に打ち勝つことができる。
[00043] アクチュエータを用いて、(追加的に)インプリントリソグラフィテンプレートアレンジメントをメトロロジーフレームとの接続の方へ(例えば、接続するように)付勢してもよい。
[00044] 一態様によれば、ベースフレームと、ベースフレームに接続されたメトロロジーフレームと、インプリントリソグラフィテンプレートアレンジメントと、を備え、インプリントリソグラフィテンプレートアレンジメントが第1の構成と第2の構成との間で可動であり、第1の構成が、メトロロジーフレームに接続されたインプリントリソグラフィテンプレートアレンジメントによって定義され、第2の構成が、メトロロジーフレームから切断されベースフレームに接続されるインプリントリソグラフィテンプレートアレンジメントによって定義される、インプリントリソグラフィ装置が提供される。
[00045] 一態様によれば、インプリントリソグラフィテンプレートアレンジメント(例えば、インプリントリソグラフィテンプレート)圧着構成であって、上記圧着構成が、ベース領域と、ベース領域から延在し使用時にインプリントリソグラフィテンプレートアレンジメントに接触するように構成されたバールと、バールを取り囲む空間と、ベース領域から延在しバールを取り囲む空間を取り囲む1つ以上のシール壁であって、上記バールがベース領域から上記1つ以上のシール壁よりも先へ延在するシール壁と、を備える少なくとも1つのクランプを含み、上記1つ以上のシール壁が、使用時に、空間が周囲圧力よりも低い圧力のときにインプリントリソグラフィテンプレートアレンジメントに少なくとも部分的なシールを提供するように構成され、バールが、インプリントリソグラフィテンプレートアレンジメントの平面に平行な方向に(すなわち、バールの長手方向に対して垂直又は直交する方向に)少なくとも部分的に柔軟であり、インプリントリソグラフィテンプレートアレンジメントに対してバールが滑ることなく、インプリントリソグラフィテンプレートアレンジメントの移動、膨張又は圧縮が可能である、インプリントリソグラフィテンプレートアレンジメント圧着構成が提供される。
[00046] バールは、少なくとも全長1mm、少なくとも全長5mm、少なくとも全長5~10mm、少なくとも全長10mm、及び/又は全長100mm未満であってもよい。そのような長さのバールによって、バールが長手方向に対して垂直又は直交方向に十分に柔軟であることが確実にされる。
[00047] バールは、ベース領域から1つ以上のシール壁よりも1~10μm先へ、又はベース領域から1つ以上のシール壁よりも3~5μm先へ、延在できる。これによって、そうでなければ、汚染、摩擦及び/又は変形を引き起こす可能性があるインプリントリソグラフィテンプレートアレンジメントとの接触を防止しながら同時に、封止を確立又は維持するのに十分なシール壁とインプリントリソグラフィテンプレートアレンジメントとの間の同様なサイズのギャップを提供できる。
[00048] クランプは、インプリントリソグラフィテンプレートアレンジメントの周縁部の周囲に分散可能なように(すなわち使用時に)構築され配置された複数のバールを含んでもよい。
[00049] 上記1つ以上のシール壁は、上記1つ以上のバールを含む領域の外縁部の周囲に延在する外側シール壁と、上記1つ以上のバールを含む領域の内縁部の周囲に延在する内側シール壁と、を含んでもよい。
[00050] 圧着構成は、インプリントリソグラフィテンプレートアレンジメントの周縁部の周囲に配置可能なように(すなわち使用時に)構築され配置された複数の上記クランプを含んでもよい。
[00051] クランプ又は圧着構成は、別のインプリントリソグラフィテンプレートアレンジメント(例えば、インプリントリソグラフィテンプレートホルダ)であってもよく、又はその一部を形成してもよい。
[00052] 一態様によれば、基板ステージ上に保持された基板からインプリントリソグラフィテンプレートをリリースする方法であって、基板とインプリントリソグラフィテンプレートとを互いに引き離すステップ(基板とインプリントリソグラフィテンプレートの一方又は両方を、例えば、それぞれの保持ステージ又はホルダを移動させるステップを含んでもよい)と、インプリントリソグラフィテンプレートと基板の他方に向けてインプリントリソグラフィテンプレートと基板の一方又は両方に回転モーメントを加えて、インプリントリソグラフィテンプレートと基板との間の界面の半径方向末端で基板を基板ステージに保持する基板上に作用する累積力を得るステップと、を含む方法が提供される。これは、半径方向末端の基板への押圧力が存在するような回転として説明できる。
[00053] 引き離し及び回転モーメントの印加ステップ(すなわち、回転ステップ)は同時に実行できる。引き離し及び回転ステップは、同じ装置を用いて実行できる。引き離し及び回転ステップは、同じプロセス内で実行できる。引き離しの結果として回転が得られる。回転の結果として引き離しが可能になる。
[00054] インプリントリソグラフィテンプレートの中央部を通って作用する引張力又はその成分と、回転に関連付けられたモーメントと、の関係は、F<M/bと定義され、ここで、Fはインプリントリソグラフィテンプレートの中央部を通って作用する引張力又はその成分、Mは回転によって引き起こされるモーメント、bはインプリントリソグラフィテンプレートの中央部からインプリントリソグラフィテンプレートと基板との間の界面の半径方向末端までの半径方向距離である。
[00055] この方法は、基板ステージによって提供される保持力が、例えば、基板のより中央の領域におけるよりも小さい基板の周縁領域で実行できる。
[00056] 一態様によれば、インプリントリソグラフィテンプレートを保持するインプリントリソグラフィテンプレートホルダと、基板を保持する基板ステージと、を備えるインプリントリソグラフィ装置であって、基板からのインプリントリソグラフィテンプレートのリリース中に、インプリントリソグラフィテンプレートホルダと基板の一方又は両方が、基板とインプリントリソグラフィテンプレートとを互いに引き離し、インプリントリソグラフィテンプレートと基板の他方に向けてインプリントリソグラフィテンプレートと基板の一方又は両方に回転モーメントを加えて、インプリントリソグラフィテンプレートと基板との間の界面の半径方向末端で基板を基板ステージに保持する基板上に作用する累積力を得るように構築され配置されたインプリントリソグラフィ装置が提供される。
[00057] 一態様によれば、インプリントリソグラフィテンプレートアレンジメントを位置決めし及び/又は変形させる作動装置であって、使用時に、インプリントリソグラフィテンプレートアレンジメントの第1の側に配置可能な第1のアクチュエータと、使用時に、インプリントリソグラフィテンプレートアレンジメントの第2の反対の側に配置可能な第2のアクチュエータと、第1のアクチュエータと第2のアクチュエータの両方に印加可能な制御信号を増幅する信号増幅器と、を備える作動装置が提供される。
[00058] 第1のアクチュエータは、第2のアクチュエータと直接対向する位置に配置してもよい。
[00059] 作動装置は、使用時に、インプリントリソグラフィテンプレートアレンジメントの第1の側に配置可能な複数の第1のアクチュエータと、使用時に、インプリントリソグラフィテンプレートアレンジメントの第2の反対の側に配置可能な複数の第2のアクチュエータと、複数のアクチュエータのうち直接対向するアクチュエータに印加可能な制御信号を増幅するか、又はインプリントリソグラフィテンプレートアレンジメントの反対側に配置可能なアクチュエータのグループに印加可能な制御信号を増幅する信号増幅器と、を備えてもよい。
[00060] 各アクチュエータは、圧電アクチュエータ又はローレンツアクチュエータであってもよい。
[00061] 作動装置は、インプリントリソグラフィテンプレートホルダ(又はより一般的にはインプリントリソグラフィテンプレートアレンジメント)である作動装置を含むインプリントリソグラフィテンプレートホルダ(又はより一般的にはインプリントリソグラフィテンプレートアレンジメント)の一部を形成してもよい。
[00062] アクチュエータの位置を説明するために使用する「配置可能な」という用語は、「配置された」という用語を含んでもよい。例えば、幾つかの実施形態では、インプリントリソグラフィテンプレートアレンジメント(例えば、インプリントリソグラフィテンプレートホルダ)は、作動装置であってもよく又は作動装置を含んでもよく、このインプリントリソグラフィテンプレートアレンジメントは、インプリントリソグラフィテンプレートと永久的に又は長期間接続されてもよい。各アクチュエータは、インプリントリソグラフィテンプレートの1つ以上の辺に配置できる。
[00063] 一態様によれば、基板上に提供されたインプリント可能な媒体の層内にインプリントリソグラフィテンプレートをインプリントしてそのインプリント可能な媒体の層内にパターンを形成するステップと、インプリントリソグラフィテンプレートがインプリント可能な媒体内にインプリントされるときに基板(例えば、そのターゲット部分)に対するインプリントリソグラフィテンプレートの位置(配向を含む)又は変形を制御するステップと、インプリント可能な媒体の層内に提供されたパターンを凝固させるステップと、を含むインプリントリソグラフィ方法であって、基板に対するインプリントリソグラフィテンプレートの位置又は変形を制御するステップが,i)インプリント可能な媒体が非凝固の、実質的に液状の、及び/又は流動可能な状態にあるときに第1のレベルで比較的高い帯域幅の制御を実行するステップと、それに続けて、ii)インプリント可能な媒体が非凝固の、実質的に液状の、及び/又は流動可能な状態と凝固の、実質的に固体状態の間の中間状態にあるときに、第1のレベルよりも高い第2のレベルでより高い帯域幅の制御を実行するステップと、それに続けて、iii)インプリント可能な媒体が凝固の、実質的に固体状態にあるときの比較的低い帯域幅の制御を行うステップと、を含むインプリントリソグラフィ方法が提供される。
[00064] 第2のレベルでのより高い帯域幅の制御と比較的低い帯域幅の制御との間の遷移は、インプリント可能な媒体が中間状態にあるときに生起する。
[00065] また、より高い帯域幅の制御とさらに高い帯域幅の制御との間の遷移も、インプリント可能な媒体が中間状態にあるときに生じることがある。
[00066] 基板に対するインプリントリソグラフィテンプレートの位置又は変形を制御するステップは、1つ以上のサーボ機構の制御を含んでもよい。
[00067] インプリントリソグラフィテンプレートがインプリント可能な媒体内にインプリントされるときに基板に対するインプリントリソグラフィテンプレートの位置を制御するステップは、基板のターゲット部分に対するインプリントリソグラフィテンプレートアレンジメントの整列ステップ又はアライメントの維持ステップを含んでもよい。
[00068] 基板に対するインプリントリソグラフィテンプレートの位置又は変形を制御するステップは、インプリントリソグラフィテンプレート、又は基板、又はインプリントリソグラフィテンプレートと基板の両方(直列又は並列)の位置又は変形を制御するステップを含んでもよい。
[00069] 一態様によれば、インプリントリソグラフィテンプレートアレンジメントを位置決めし及び/又は変形させる作動装置であって、使用時に、インプリントリソグラフィテンプレートアレンジメントの周囲に配置可能な1つ以上のアクチュエータと、インプリントリソグラフィテンプレートアレンジメントの3自由度を固定する固定当接点と、を備え、上記3自由度が、インプリントリソグラフィテンプレートアレンジメントの平面に平行な第1の軸に沿った平行移動と、第1の軸に垂直でインプリントリソグラフィテンプレートアレンジメントの平面に平行な第2の軸に沿った平行移動と、第1及び第2の軸に垂直な第3の軸を中心とする回転と、であり、上記作動装置が、1つ以上のアクチュエータによってインプリントリソグラフィテンプレートアレンジメントに提供される力を制御するコントローラであって、提供される力が、第1の軸、第2の軸に沿ってまた第3の軸周りに作用する累積力が最小限になるような力であることを確実にするように構成されたコントローラをさらに備える、作動装置が提供される。
[00070] 作動装置は、使用時に、インプリントリソグラフィテンプレートアレンジメントを付勢して固定当接点に接触させる(すなわち、上記の3自由度を固定し、又は固定を容易にする)ように構成された付勢部材をさらに含んでもよい。
[00071] 上記の累積力は、1つ以上の、又はすべての固定当接点に(又は上記軸に沿って、又は上記軸周りに)印加される力が、インプリントリソグラフィテンプレートアレンジメントに印加される力の総計の5%未満であるか、又はインプリントリソグラフィテンプレートアレンジメントに印加される力の総計の4%未満であるか、又はインプリントリソグラフィテンプレートアレンジメントに印加される力の総計の3%未満であるか、又はインプリントリソグラフィテンプレートアレンジメントに印加される力の総計の2%未満であるか、又はインプリントリソグラフィテンプレートアレンジメントに印加される力の総計の1%未満であるか、又はインプリントリソグラフィテンプレートアレンジメントに印加される力の総計の実質的に1%(すなわち、±0.5%)であるか、又はインプリントリソグラフィテンプレートアレンジメントに印加される力の総計の実質的に0%(最大0.5%)であるという点で最小限であると記述できる。
[00072] インプリントリソグラフィテンプレートアレンジメントは実質的に矩形(実質的に四角形を含む)であり、作動装置は、2つの固定当接点がインプリントリソグラフィテンプレートアレンジメントの一辺に沿って配置可能で、1つの固定当接点がインプリントリソグラフィテンプレートアレンジメントの隣接する辺に沿って配置可能であるように配置される3つの固定当接点を含んでもよい。
[00073] コントローラは、提供される力が、第1の軸、第2の軸に沿ってまた第3の軸周りに作用する累積力が変形制御モード(すなわち、インプリントリソグラフィテンプレートアレンジメントの変形が実行されるモード)で最小限になるような力であることを確実にするように構成できる。
[00074] 作動装置は、インプリントリソグラフィテンプレートホルダの一部を形成してもよい。
[00075] 上記のインプリントリソグラフィテンプレートアレンジメントは、インプリントリソグラフィテンプレート又はそのようなテンプレートを保持するインプリントリソグラフィテンプレートホルダであってもよい。
[00076] 一態様によれば、インプリントリソグラフィテンプレートアレンジメントの位置及び/又は変形を制御する方法であって、インプリントリソグラフィテンプレートアレンジメントの3自由度を固定するステップであって、3自由度が、インプリントリソグラフィテンプレートアレンジメントの平面に平行な第1の軸に沿った平行移動と、第1の軸に垂直でインプリントリソグラフィテンプレートアレンジメントの平面に平行な第2の軸に沿った平行移動と、第1及び第2の軸に垂直な第3の軸を中心とする回転と、である、ステップと、インプリントリソグラフィテンプレートアレンジメントに提供される力を制御してインプリントリソグラフィテンプレートアレンジメントの位置又は変形を制御し、提供される力が第1の軸、第2の軸に沿って、また第3の軸周りに作用する累積力が最小限になるような力であることを確実にするステップと、を含む方法が提供される。
[00077] アクチュエータの位置を説明するために使用する「配置可能な」という用語は、「配置された」という用語を含んでもよい。例えば、幾つかの実施形態では、インプリントリソグラフィテンプレートアレンジメント(例えば、インプリントリソグラフィテンプレートホルダ)は、作動装置であってもよく又は作動装置を含んでもよく、このインプリントリソグラフィテンプレートアレンジメントは、インプリントリソグラフィテンプレートと永久的に又は長期間接続されてもよい。アクチュエータは、インプリントリソグラフィテンプレートの1つ以上の辺に配置できる。
[00078] 一態様によれば、基板上に提供されたインプリント可能な媒体の層内にパターンをインプリントする際に使用するインプリントリソグラフィテンプレートアレンジメントと、インプリントリソグラフィテンプレートアレンジメントを位置決めし及び/又は変形させる1つ以上のアクチュエータと、基板を保持する基板ステージと、インプリントリソグラフィテンプレートアレンジメントを基板のターゲット部分に整列させる第1の検出帯域幅を有するアライメントセンサと、インプリントリソグラフィテンプレートアレンジメントと基板との相対位置を測定する、アライメントセンサの第1の検出帯域幅よりも大きい第2の検出帯域幅を有する相対位置センサと、を備えるインプリントリソグラフィ装置が提供される。
[00079] アライメントセンサは、10Hz未満又は5Hz未満の検出帯域幅を有してもよい。
[00080] 相対位置センサは、100Hzを超える又は200Hzを超える検出帯域幅を有してもよい。
[00081] 1つ以上のアクチュエータは、1つ以上のアクチュエータによって印加される力を直接的又は間接的に測定する力センサを備えるか又はそれに接続されてもよい。
[00082] 力センサは、アライメントセンサの第1の検出帯域幅よりも大きい第3の検出帯域幅を有してもよい。
[00083] 力センサは、位置センサ又は電流センサであってもよい。
[00084] 一態様によれば、基板に対するインプリントリソグラフィテンプレートの位置と変形とを制御して実質的に意図した位置及び変形を達成するステップと、インプリントリソグラフィテンプレートが実質的に意図した通りに位置決めされ変形したときに、インプリントリソグラフィテンプレートの変形に関連する制御帯域幅を低減するステップと、を含むインプリントリソグラフィ方法が提供される。これによって、変形における高周波変動が確実に生起しない。このことは有利である。何故なら、低帯域幅アライメントセンサは、そうでなければパターン塗布の精度を低下させるそのような高周波変動に起因する位置の変化を検出できない可能性があるからである。
[00085] 制御帯域幅は、インプリントリソグラフィテンプレートの変形の実施に関連する実施帯域幅(例えば、変形力を提供するアクチュエータがその一部を形成する制御ループ)である
[00086] 帯域幅は、100Hz未満、50Hz未満、10Hz未満、5Hz未満まで低減でき、及び/又は、より一般的には、インプリントリソグラフィテンプレートアレンジメントと基板のターゲット部分との整列に使用されるアライメントセンサの検出帯域幅内の帯域幅まで低減できる。
[00087] この方法は、インプリントリソグラフィテンプレートを基板上に提供されたインプリント可能な媒体の層内にインプリントしてそのインプリント可能な媒体の層内にパターンを形成するステップをさらに含んでもよく、位置及び変形の制御ステップが、インプリントの前又はインプリント中、パターンが実質的に固形状態に凝固される前に、又はインプリントの前とインプリント中、パターンが実質的に固形状態に凝固される前に実行される。
[00088] 一態様によれば、基板上に提供されたインプリント可能な媒体の層内にパターンをインプリントする際に使用するインプリントリソグラフィテンプレートアレンジメントと、インプリントリソグラフィテンプレートアレンジメントを位置決めし、及び/又は変形させる1つ以上のアクチュエータと、基板を保持する基板ステージと、インプリントリソグラフィテンプレートアレンジメントを基板のターゲット部分に整列させる第1の検出帯域幅を有するアライメントセンサと、を備えるインプリントリソグラフィ装置であって、1つ以上のアクチュエータが、1つ以上のアクチュエータによって印加される力を直接的又は間接的に測定する力センサを備えるか又はそれに接続され、力センサが、アライメントセンサの第1の検出帯域幅よりも大きい第2の検出帯域幅を有するインプリントリソグラフィ装置が提供される。
[00089] この装置は、力センサからの出力を受信するように構成され、この出力をインプリントリソグラフィテンプレートアレンジメントの位置(例えば、(例えばメトロロジーフレームなどの装置の固定部分に対する)相対又は絶対位置、又は位置の変化又は移動)に変換するように構成された制御機構をさらに備えてもよい。
[00090] アライメントセンサは、10Hz未満、又は5Hz未満の検出帯域幅を有してもよい。
[00091] 上記又は各力センサは、50Hzを超える、又は100Hzを超える、又は200Hzを超える検出帯域幅を有してもよい。
[00092] 各アクチュエータは、力センサを備えるか又はそれに接続されてもよい。
[00093] 上記又は各力センサは、位置センサ又は電流センサであってもよい。
[00094] 検出帯域幅は、(例えば位置の)変化を実施可能な周波数と理解すべきである実施帯域幅とは異なり、(例えば位置の)変化を検出可能な周波数と理解すべきである。制御帯域幅は、その用語を使用する文脈に応じて、検出帯域幅及び/又は実施帯域幅を含むものと理解してもよい。
[00095] 一態様によれば、インプリントリソグラフィテンプレートアレンジメントを基板のターゲット部分に整列させる方法であって、第1の検出帯域幅を有するアライメントセンサを用いてインプリントリソグラフィテンプレートアレンジメントを基板のターゲット部分に整列させるステップと、アライメントセンサの第1の検出帯域幅よりも大きい第2の検出帯域幅を有する、1つ以上のアクチュエータの一部を構成するか又はそれに接続された1つ以上の力センサを用いて1つ以上のアクチュエータによってインプリントリソグラフィテンプレートアレンジメントに印加される力を決定するステップと、力の決定からインプリントリソグラフィテンプレートアレンジメントの位置又は位置の変化を決定するステップと、その位置又は位置の変化をインプリントリソグラフィテンプレートアレンジメントのアライメントに使用するステップと、を含む方法が提供される。
[00096] アライメントセンサの使用と力センサの使用は連続して、又は並列に実行できる。
[00097] アライメントセンサを用いて位置の(例えば基準又はメトロロジーフレームなどのインプリントリソグラフィ装置の固定点又は部分に対する)絶対的変化を決定でき、一方、力センサからの情報を用いて(例えばインプリントリソグラフィテンプレートなどのインプリントリソグラフィテンプレートアレンジメントの)相対的な位置又は位置の変化を決定することができる。
[00098] 一態様によれば、基板上に提供されたインプリント可能な媒体の層内にパターンをインプリントする際に使用するインプリントリソグラフィテンプレートアレンジメントと、基板を保持する基板ステージと、パターンのインプリントが実行されるガス雰囲気を提供するガス分配装置であって、ガス雰囲気の提供の際に非対称的な方法でガスを分配するように構成されたガス分配装置と、を備えるインプリントリソグラフィ装置が提供される。
[00099] ガス分配装置は、インプリントリソグラフィテンプレートアレンジメントと基板ホルダ及び/又は基板との間に位置する領域内で、又は領域内へ非対称的な方法でガスを分配するように構成してもよい。
[000100] ガス分配装置は、インプリントリソグラフィテンプレートアレンジメントの周囲に非対称的に分散した、又は非対照的に分散可能な複数の出口を有してもよい。
[000101] ガス分配装置は、インプリントリソグラフィテンプレートアレンジメントの周囲に分散した又は分散可能な複数の出口を有し、ガス分配装置は、異なる出口で異なる圧力でガスを分配して、ガス雰囲気の提供の際に非対称的な方法でガスを分配するように構成してもよい。
[000102] ガス分配装置は、インプリントリソグラフィテンプレートアレンジメントの周囲に分散した又は分散可能な複数の出口を有し、ガス分配装置は、異なる出口で異なる時間にガスを分配して、ガス雰囲気の提供の際に非対称的な方法でガスを分配するように構成してもよい。
[000103] ガス分配装置は、ヘリウムを分配するように構成してもよい。
[000104] 一態様によれば、基板上に提供されたインプリント可能な媒体の層内へのパターンのインプリントが実行されるガス雰囲気を提供するステップを含むインプリントリソグラフィ方法であって、ガス雰囲気を構成するガスが非対称的な方法で分配されるインプリントリソグラフィ方法が提供される。
[000105] 一態様によれば、基板上に提供されたインプリント可能な媒体の層内にパターンをインプリントする際に使用するインプリントリソグラフィテンプレートアレンジメントを備えるインプリントリソグラフィ装置であって、上記インプリントリソグラフィテンプレートアレンジメントが、少なくとも使用時に、パターンを提供するパターン付領域を有するインプリントリソグラフィテンプレートと、基板を保持する基板ステージと、装置を少なくとも以下の2つの領域、すなわち、i)可動要素が位置する第1の比較的清潔でない領域と、ii)基板ステージが位置し、基板を保持している場合、基板それ自体と、インプリントリソグラフィテンプレートのパターン付領域とが位置する第2の比較的清潔な領域と、に分割する汚染バリアと、を備えるインプリントリソグラフィ装置が提供される。
[000106] 第1の領域は一般に装置の上側の領域であってもよく、第2の領域は一般に装置の下側の領域であってもよい。
[000107] パターン付領域が提供された側とは反対のインプリントリソグラフィテンプレートの逆の側の少なくとも一部は第2の領域内に配置されてもよく、又は配置できる。
[000108] インプリントリソグラフィテンプレートの裏側の少なくとも一部の付近に、化学線を実質的に透過する材料から形成されてもよい汚染バリアを形成できる。
[000109] 汚染バリアは、インプリントリソグラフィ装置の固定部分の間に位置して汚染を捕捉するトレイ又は容器を備えてもよい。
[000110] 汚染バリアは、インプリントリソグラフィ装置の可動部分の間、及び/又はインプリントリソグラフィ装置の固定部分と可動部分との間に位置する柔軟な部材を有してもよい。
[000111] 汚染バリアの少なくとも一部は、インプリントリソグラフィテンプレートアレンジメントを実質的に取り囲んでもよい。
[000112] 汚染バリアは、インプリントリソグラフィ装置の全体にわたって延在してもよい。
[000113] 可動要素は、インプリント可能な媒体の層内にパターンを提供する際にインプリントリソグラフィテンプレートと併用するように構成できる。
[000114] 可動要素は、インプリントリソグラフィホルダ及び/又はインプリントリソグラフィテンプレートポジショナなどのインプリントリソグラフィテンプレートアレンジメントの部品、インプリントリソグラフィテンプレートホルダ、インプリントリソグラフィテンプレートポジショナ、カメラ、センサ、及び/又は放射源から選択される1つ以上、又は1つ以上のためのアクチュエータを備えてもよい。
[000115] 本発明の一態様によれば、基板上に提供されたインプリント可能な媒体の層内にパターンをインプリントする際に使用するインプリントリソグラフィテンプレートアレンジメントが位置するインプリントコンパートメントと、基板を保持する基板ステージと、封止された又は封止可能なアクセスポートを介してインプリントコンパートメントに接続する印字ヘッドコンパートメントと、を備えるインプリントリソグラフィ装置であって、上記印字ヘッドコンパートメントがインプリントコンパートメントから印字ヘッドコンパートメント内へ印字ヘッドを移動させ及び/又は印字ヘッドコンパートメントからインプリントコンパートメント内へ印字ヘッドを移動させるアクチュエータを備えるインプリントリソグラフィ装置が提供される。
[000116] アクチュエータは、印字ヘッドを保持するように構成されたアームを移動させるように構成できる。
[000117] アクチュエータは、アームの下に位置してもよい。
[000118] アームは、印字ヘッドコンパートメント内に完全に配置可能であってもよい。
[000119] 印字ヘッドコンパートメントは、アクセスポートに隣接した位置にあるガスシャワーを備えてもよい。
[000120] 印字ヘッドコンパートメントは、印字ヘッドコンパートメント内に配置された、又は配置可能な印字ヘッドへのアクセスを提供する封止可能なアクセスポートをさらに有してもよい。
[000121] 少なくとも使用時に、インプリントコンパートメントは、印字ヘッドコンパートメントのガス圧よりも高いガス圧に維持されてもよい。
[000122] 一態様によれば、その上にインプリント可能な媒体の層を提供する基板を保持し及び/又は移動させる基板ハンドリングシステムを備えるインプリントリソグラフィ装置であって、基板ハンドリングシステムがインプリントリソグラフィテンプレートハンドリングシステムとしても機能するように構成されたインプリントリソグラフィ装置が提供される。
[000123] 基板ハンドリングシステムは、基板ステージ上に基板を搭載する基板ハンドラ及び/又は基板ステージを備えてもよい。
[000124] 基板ハンドリングシステムは、使用時に、標準基板を含むダミー基板と、標準基板に関連して、使用時に、標準基板の上面に位置するインプリントリソグラフィテンプレートを収容する装置とを取り扱ってもよい。
[000125] 一態様によれば、インプリントリソグラフィテンプレートを取り扱う際に使用するダミー基板であって、上記ダミー基板が、標準基板と、標準基板に関連して、使用時に、標準基板の上面に位置する、インプリントリソグラフィテンプレートを収容する装置と、を有するダミー基板が提供される。
[000126] インプリントリソグラフィテンプレートを収容する装置は、当接面と、インプリントリソグラフィテンプレートを当接面に接触させるよう付勢する付勢要素と、を備えてもよい。
[000127] 当接面及び/又は付勢要素は、インプリントリソグラフィテンプレートのベース領域(例えば、パターン付領域又はパターン付領域が提供されるメサ領域とは対照的に)に接触するように配置されてもよい。
[000128] 一態様によれば、インプリントリソグラフィ装置内で、基板ハンドリングシステムを用いて直接的又は間接的にインプリントリソグラフィテンプレートを取り扱うステップを含むインプリントリソグラフィ方法が提供される。
[000129] 基板ハンドリングシステムは、インプリントリソグラフィテンプレートを収容するように構成されたダミー基板を取り扱うことでインプリントリソグラフィテンプレートを取り扱ってもよい。
[000130] インプリントリソグラフィテンプレートは、インプリントリソグラフィテンプレートのパターン付領域がダミー基板の方を向いた状態でダミー基板上に搭載してもよい。
[000131] 本発明の1つ以上の態様に関連する上述の特徴は、本発明の別の1つ以上の態様に関連して説明する特徴に加えて、それと組み合わせて、その代わりに、又はその代替物として使用できる。本発明の1つの態様の1つ以上の特徴に関して提供された定義又は工夫は、本発明の別の態様の同じ又は同様の特徴(名前又は機能が)に適用できる。
[000132] インプリントリソグラフィテンプレートアレンジメントは、例えば、インプリントリソグラフィテンプレートホルダ、インプリントリソグラフィテンプレートを保持するインプリントリソグラフィテンプレートホルダ、インプリントリソグラフィテンプレートそれ自体、又はインプリントリソグラフィテンプレートホルダ及び/又はインプリントリソグラフィテンプレートを保持するか又はそれに接続されたフレームであってもよい。
[000133] 本発明の特定の実施形態について添付図面に関連して説明する。
[000134]ホットインプリントリソグラフィの例を概略的に示す。 [000134]UVインプリントリソグラフィの例を概略的に示す。 [000135]インプリントリソグラフィ装置の構成を概略的に示す。 [000136]本発明のある実施形態によるインプリントリソグラフィ装置の構成を概略的に示す。 [000137]本発明の別の実施形態によるインプリントリソグラフィ装置の構成を概略的に示す。 [000138]本発明の別の実施形態によるインプリントリソグラフィ装置の構成を概略的に示す。 [000139]本発明の別の実施形態による第1の構成のインプリントリソグラフィ装置を概略的に示す。 [000139]本発明の別の実施形態による第2の構成のインプリントリソグラフィ装置を概略的に示す。 [000140]インプリントリソグラフィテンプレートアレンジメントを保持する際に使用するクランプを概略的に示す。 [000141]本発明のある実施形態によるインプリントリソグラフィテンプレートアレンジメントを保持する際に使用するクランプを概略的に示す。 [000142]図9のクランプの下面図を概略的に示す。 [000143]追加の固定当接点を有する図8及び図9に示すインプリントリソグラフィテンプレートアレンジメントの下面図を概略的に示す。 [000144]基板からのテンプレートのリリースの前の基板に対するインプリントリソグラフィテンプレートを概略的に示す。 [000145]図12の基板からのインプリントリソグラフィテンプレートの試行されたリリースを概略的に示す。 [000146]本発明のある実施形態による図12の基板からのインプリントリソグラフィテンプレートのリリースに関連付けられた原理を概略的に示す。 [000147]本発明のある実施形態による図12の基板からのインプリントリソグラフィテンプレートのリリースに含まれる力を概略的に示す。 [000148]図12の基板からのインプリントリソグラフィテンプレートのリリース中の基板の回転を概略的に示す。 [000148]図12の基板からのインプリントリソグラフィテンプレートのリリース中のインプリントリソグラフィテンプレートの回転を概略的に示す。 [000149]インプリントリソグラフィテンプレートアレンジメントのインプリントリソグラフィテンプレートを位置決めし及び/又は変形させる作動装置を含むインプリントリソグラフィテンプレートアレンジメントの下面図を概略的に示す。 [000150]信号増幅器と作動装置のアクチュエータとの接続の概略図と一緒に、図18のインプリントリソグラフィテンプレートアレンジメントの側面図を概略的に示す。 [000151]本発明のある実施形態による図18のインプリントリソグラフィテンプレートアレンジメントの概略側面図と、信号増幅器と作動装置のアクチュエータ間の接続の概略図である。 [000152]凝固プロセスが実行される時間にわたってインプリント可能な媒体の剛性を概略的に示すグラフである。 [000153]図21に関連して述べた凝固プロセスの間にインプリント可能な媒体内にインプリントされたときのインプリントリソグラフィテンプレートの位置及び/又は変形の制御の帯域幅を概略的に示すグラフである。 [000154]凝固プロセスが実行される時間にわたってインプリント可能な媒体の剛性を概略的に示すグラフである。 [000155]本発明のある実施形態による図23に関連して述べた凝固プロセスの間にインプリント可能な媒体内にインプリントされたときのインプリントリソグラフィテンプレートの位置及び/又は変形の制御の帯域幅を概略的に示すグラフである。 [000156]インプリントリソグラフィテンプレートアレンジメントのインプリントリソグラフィテンプレートを位置決めし、及び/又は変形させる作動装置を含むインプリントリソグラフィテンプレートアレンジメントの下面図を概略的に示す。 [000157]本発明のある実施形態によるインプリントリソグラフィテンプレートアレンジメントのインプリントリソグラフィテンプレートを位置決めし、及び/又は変形させる作動装置を含むインプリントリソグラフィテンプレートアレンジメントの下面図を概略的に示す。 [000158]インプリントリソグラフィ方法で使用される装置を概略的に示す。 [000159]本発明のある実施形態によるインプリントリソグラフィ方法で使用される装置を概略的に示す。 [000160]本発明の別の実施形態によるインプリントリソグラフィ方法で使用される装置を概略的に示す。 [000161]本発明のある実施形態によるガス分配装置を含むインプリントリソグラフィ装置の一部を概略的に示す。 [000162]本発明のある実施形態によるガス分配装置を含むインプリントリソグラフィ装置の一部を概略的に示す。 [000163]本発明のある実施形態によるガス分配装置を含むインプリントリソグラフィ装置の一部を概略的に示す。 [000164]本発明のある実施形態による汚染バリアを含むインプリントリソグラフィ装置の一部を概略的に示す。 [000165]図33のインプリントリソグラフィ装置の同じ部分であるが、汚染バリアによって画定され分離された領域の概略図を含む。 [000166]本発明のある実施形態による、第1の構成の印字ヘッドコンパートメントを備えたインプリントリソグラフィ装置を概略的に示す。 [000167]第2の構成の図35のインプリントリソグラフィ装置を概略的に示す。 [000168]本発明のある実施形態による、基板ハンドリングシステムを用いてインプリントリソグラフィテンプレートが取り扱われるインプリントリソグラフィ装置及び方法を概略的に示す。 [000168]本発明のある実施形態による、基板ハンドリングシステムを用いてインプリントリソグラフィテンプレートが取り扱われるインプリントリソグラフィ装置及び方法を概略的に示す。 [000168]本発明のある実施形態による、基板ハンドリングシステムを用いてインプリントリソグラフィテンプレートが取り扱われるインプリントリソグラフィ装置及び方法を概略的に示す。 [000168]本発明のある実施形態による、基板ハンドリングシステムを用いてインプリントリソグラフィテンプレートが取り扱われるインプリントリソグラフィ装置及び方法を概略的に示す。 [000169]基板ハンドリングシステムを用いて基板が取り扱われる図37a~図37dに関連して図示し説明したインプリントリソグラフィ装置及び方法を概略的に示す。 [000169]基板ハンドリングシステムを用いて基板が取り扱われる図37a~図37dに関連して図示し説明したインプリントリソグラフィ装置及び方法を概略的に示す。 [000169]基板ハンドリングシステムを用いて基板が取り扱われる図37a~図37dに関連して図示し説明したインプリントリソグラフィ装置及び方法を概略的に示す。 [000169]基板ハンドリングシステムを用いて基板が取り扱われる図37a~図37dに関連して図示し説明したインプリントリソグラフィ装置及び方法を概略的に示す。 [000170]インプリントリソグラフィテンプレートを支持するダミー基板の一例を概略的に示す。
[000171] インプリントリソグラフィへの2つの既知の方法の例を図1a~図1bに概略的に示す。
[000172] 図1aは、いわゆるホットインプリントリソグラフィ(追加的に又は代替的に、ホットエンボス加工と呼ばれることもある)の一例を示す。通常のホットインプリントリソグラフィプロセス又は方法では、インプリントリソグラフィテンプレート2が基板6の表面上に提供された熱硬化性又は熱可塑性インプリント可能な媒体4内にインプリントされる。インプリント可能な媒体4は、例えば、樹脂であってもよく、樹脂を含んでもよい。インプリント可能な媒体4は、例えば、スピンコートされて基板表面上にベークされてもよく、又は図示の例のように、基板6の平面化及び転写層8上にベークされてもよい。熱硬化性ポリマー樹脂4を使用する場合、樹脂4は、インプリントリソグラフィテンプレート2に接触すると、樹脂4が十分に流動化してインプリントリソグラフィテンプレート2上に画定されたパターン内及び/又は周囲に流入する温度まで加熱される。樹脂4の温度は、樹脂4を熱で硬化させて(架橋して)樹脂4が固化して不可逆的に所望のパターン(当然、インプリントリソグラフィテンプレート2のパターンフィーチャに関連する)を採用する。次に、インプリントリソグラフィテンプレート2を除去して樹脂4を冷却できる。熱可塑性ポリマー樹脂の層を使用するホットインプリントリソグラフィでは、熱可塑性樹脂は、インプリントリソグラフィテンプレートによるインプリントの直前に自由な流動可能状態になるように加熱される。熱可塑性樹脂を樹脂のガラス遷移温度よりかなり高い温度まで加熱する必要がある。インプリントリソグラフィテンプレートは、流動可能樹脂と合体し、所定位置のインプリントリソグラフィテンプレートにガラス遷移温度より低い温度まで冷却されてパターンを硬化させる。その後、テンプレートが除去される。パターンは樹脂の残留層の浮き彫りのフィーチャから構成され、この残留層は適当なエッチングプロセスによって除去されてパターンフィーチャだけが残される。ホットインプリントリソグラフィプロセスで使用される熱可塑性樹脂の例は、ポリ(メチルメタクリレート)、ポリスチレン、ポリ(ベンジルメタクリレート)又はポリ(シクロヘキサルメタクリレート)である。ホットインプリントの詳細情報については、米国特許第4,731,155号及び米国特許第5,772,905号を参照されたい。
[000173] 図1bは、UV放射を透過する透明又は半透明のインプリントリソグラフィテンプレート10とインプリント可能な媒体12としてのUV硬化性液体(「UV」という用語を便宜上本明細書で使用しているが、インプリント可能な媒体を硬化させる任意の好適な化学線を含むと解釈すべきである)の使用を含むUVインプリントリソグラフィの一例を示す。UV硬化性液体は、ホットインプリントリソグラフィで使用される熱硬化性及び/又は熱可塑性樹脂のよりも粘性が低い場合が多く、したがって、はるかに迅速に流動してインプリントリソグラフィテンプレートパターンフィーチャを充填する。図1aのプロセスと同様の方法で石英テンプレート10がインプリント可能な媒体12としてのUV硬化性樹脂に塗布される。しかし、ホットインプリントリソグラフィにおける熱又は温度サイクル法を使用する代わりに、パターンはインプリント可能な媒体12上に石英インプリントリソグラフィテンプレート10を通して印加されるUV放射14によってインプリント可能な媒体12を硬化させることでパターンが凝固される。インプリントリソグラフィテンプレート10を除去した後で、インプリント可能な媒体12がエッチングされ(及び/又は、さらに別の処理を施され)、例えば、基板6内にパターンフィーチャが提供される。UVインプリントリソグラフィによって基板をパターン形成する特定の方法は、いわゆるステップアンドフラッシュインプリントリソグラフィ(SFIL)である。ステップアンドフラッシュインプリントリソグラフィは、従来、IC製造で使用されている光ステッパと類似の方法で基板を細かいステップでパターン形成するために使用することができる。UVインプリントの詳細情報については、例えば、米国特許出願公開第2004-0124566号、米国特許第6,334,960号、PCT特許出願公開WO02/067055号、及び「Mold-assisted nanolithography: A process for reliable pattern replication」、J. Vac. Sci. Technol. B14(6), Nov/Dec 1996と題されたJ. Haisma氏の論文を参照されたい。
[000174] また、上記インプリント技術の組合せも可能である。例えば、インプリント可能な媒体の加熱及びUV硬化の組合せを記述する米国特許出願公開第2005-0274693号を参照されたい。
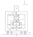
インプリントリソグラフィ装置の構成
[000175] 図2は、インプリントリソグラフィ装置の構成を概略的に示す。インプリントリソグラフィ装置は、ベースフレームとも呼ばれる第1のフレーム20を備える。第1のフレーム20は、1つ以上のガス(例えば、空気)マウント24を介して床22に装着されている。ガスマウント24を用いて床22から第1のフレーム20に伝わる振動が阻止又は低減される。
[000176] 第1のフレーム20には、アライメントセンサ28が装着されている。アライメントセンサ28から第1のフレーム20を通してアライメントを容易にする導管30が延在する。導管30の反対の端部の第1のフレーム20の反対側に(第1のフレーム20によって画定された領域に)、インプリントリソグラフィテンプレートホルダ32が装着されている。インプリントリソグラフィテンプレートホルダ32は、インプリントリソグラフィテンプレート34を所定位置に保持する。アライメントセンサ28を用いてインプリントリソグラフィテンプレート34が基板36又はそのターゲット部分に整列される。
[000177] 基板36は、基板ステージ38の第1の部分上に位置する(またそれによって保持されている)。基板ステージ38の第1の部分は、1つ以上の第1のアクチュエータ40によって、基板36の平面に平行なx軸及びy軸周りに回転可能である。第1のアクチュエータ40は、基板ステージ42の第2の部分に接続されている。基板の平面に垂直なz軸に沿った基板ステージ42の第2の部分の回転は、1つ以上の第2のアクチュエータ44の適当な使用によって達成できる。第2のアクチュエータ44は、例えば、基板ステージ42の第2の部分と基板ステージ46の囲繞する第3の部分との間に配置できる。x軸及びy軸に沿った基板ステージ46の第3の部分の平行移動とz軸周りの回転は、1つ以上の第3のアクチュエータ48の適当な使用によって達成できる。第3のアクチュエータ48は、基板ステージ46の第3の部分と第1のフレーム20との間に配置されている。したがって、基板ステージは、全体として第1のフレーム20に接続され、すなわち、結合されている。
[000178] 上記説明及び図2から、基板36は、6自由度(すなわち、x、y及びz軸に沿って、またx、y及びz軸周りの回転による)内で、又は6自由度で移動可能であることが理解されよう。
[000179] インプリントリソグラフィテンプレート34に対して基板36を正確に移動させ又は位置決めするために、例えば、第1のフレーム20に対するインプリントリソグラフィテンプレートホルダ32又はテンプレート34の位置、インプリントリソグラフィテンプレートホルダ32又はテンプレート34に対する基板36の位置、及び/又は第1のフレーム20に対する基板ステージ(又は、例えば、その第3、第2又は第1の部分)の位置を決定するために行われる1回以上の測定50が実行される。
[000180] インプリントリソグラフィテンプレートへのパターンの高精度の塗布が必要でない(例えば、マイクロメートルレベルの位置精度が要求される)状況では、図2に示すインプリントリソグラフィ装置の構成は満足がいくものではない。しかし、インプリントリソグラフィは、基板に塗布されるパターンフィーチャと、パターン間又はそのフィーチャ間のアライメントがナノメートル程度、数十ナノメートル程度、及びおそらくは10、5、3、2又は1ナノメートル未満の解像度を有するか又は要求する分野で用途があると考えられる。これに対応する位置及び/又はアライメント精度が必要であり、図2に示す高次ではこれを達成できない可能性がある。例えば、フレーム20の変形は位置尺度の精度及び/又は一貫性に影響し、パターニングの精度及び/又はオーバレイ性能を低下させることがある。フレーム20の変形は、例えば、基板36上に提供されたインプリント可能な媒体からインプリントリソグラフィテンプレート34がリリースされる(一般に基板36からのテンプレート34のリリースと呼ばれる)ときに第1のフレーム20上に付与されるリリース力、熱外乱、床の振動、及び/又は基板ステージ若しくはその一部の移動などの幾つかの要因のいずれかによって引き起こされることがある。
[000181] 上記の又はその他の問題を防止又は軽減するインプリントリソグラフィ装置の構成又はインプリントリソグラフィ装置のための構成を提供することが望ましい。
[000182] 上記の又はその他の問題の1つ以上は、本発明のある実施形態によるインプリントリソグラフィ装置のための1つ以上の構成によって防止又は軽減することができる。
[000183] 本発明のある実施形態によれば、床に装着される第1のフレームを備えたインプリントリソグラフィ装置が提供される。第2のフレームを提供され、この第2のフレームは、キネマティックカップリングによって第1のフレーム上に装着される。第2のフレーム上に装着されたアライメントセンサが提供され、インプリントリソグラフィテンプレートアレンジメント(例えば、インプリントリソグラフィテンプレート、又はインプリントリソグラフィテンプレートを保持するか又は保持していないインプリントリソグラフィテンプレートホルダ)を基板のターゲット部分に整列させるために使用される。また、第2のフレームに対するインプリントリソグラフィテンプレートアレンジメント及び/又は基板ステージの位置を測定する1つ以上の位置センサも提供される。
[000184] 第1のフレームにキネマティックカップリングされた第2のフレーム(ベースフレームと呼ばれる第1のフレームに対してメトロロジーフレームと呼ばれる)を使用することで、第1のフレームに変形が第2のフレームに与える影響が低減し、位置測定精度がより向上する。
[000185] 関連する実施形態によれば、床に装着された第1のフレームを備えたインプリントリソグラフィ装置が提供される。第2のフレームが防振システムを介して第1のフレーム上に装着されている。防振システムは、床及び第1のフレームから第2のフレームへの低周波及び高周波振動の伝達を防止するか少なくとも阻止する。装置は、少なくとも使用時に、キネマティックカップリングを介して第2のフレーム上に装着されたインプリントリソグラフィテンプレートアレンジメントをさらに備える。キネマティックカップリングは、第2のフレームへ伝達されているインプリントリソグラフィテンプレートアレンジメントの変形を防止又は低減する。装置は、インプリントテンプレートアレンジメントを基板のターゲット部分に整列させる第2のフレーム上に装着されたアライメントセンサをさらに備える。第2のフレームに対する基板ステージの位置を測定する1つ以上の位置センサも提供される。
[000186] 防振システムとキネマティックカップリングとを組み合わせて使用することで位置測定をより高精度に且つ一貫して実行でき、これによって、より高精度に且つ一貫してパターンを基板に塗布することができる。第2のフレーム上へのアライメントセンサの(この実施形態又は他の任意の実施形態での)装着によって、そのような高精度で一貫した位置測定、ひいては高精度で一貫したパターンの塗布が容易になる。
[000187] 本発明の実施形態を図3及び図4を参照しながら説明するが、これは単に例示としてのものにすぎない。一貫性を保つために、これらの図(又は既出の図)に現れる特徴には同じ参照番号が付与されている。
[000188] 図3は、図2に関連して示した特徴の多くを有するインプリントリソグラフィ装置を示す。しかし、図2とは対照的に、図3のインプリントリソグラフィ装置は、1つ以上のキネマティックカップリング52を介して第1のフレーム20上に装着された第2のフレーム51を含む。
[000189] 第2のフレーム51の少なくとも1つの部分54が第1のフレーム20の外側から第1のフレーム20内に位置する(例えば、インプリントリソグラフィテンプレート34及び/又はホルダ32が配置される)領域内に延在する。したがって、基板ステージ38、42、46、及び/又はインプリントリソグラフィテンプレート34及び/又はホルダ32の位置測定を第2のフレーム51の上記部分54に対して、又はそれを用いて実行できる。
[000190] さらに、図2の構成と比較して、基板ステージ38、42、46は、例えば、基板ステージ38の第1の部分と基板ステージ42の第2の部分との間に位置できる別の部分56を含んでもよい。別の部分56は、適当なアクチュエータ58によって、基板36の移動及び/又は位置を制御する追加及び/又は代替の機能を提供できる。例えば、追加及び/又は代替の機能はショートストローク又はロングストローク運動であってもよく、又はそれを含んでもよい。1つ以上の基準面又は点59を、2つの可動基板ステージ部分、例えば、第3又は第2の部分42、46と別の部分56との相対位置の測定に使用できる。
[000191] 1つ以上の位置センサを、第2のフレーム51上の、例えば、第1のフレーム20内へ(またおそらくは貫通して)延在する部分54上に装着して、基板ステージ38、42、46、56(又はその一部)及びインプリントリソグラフィテンプレートホルダ32又はインプリントリソグラフィテンプレート34の位置測定を容易にできる。さらに、図2の場合と同様、アライメントセンサ28は、第1のフレーム20ではなく第2のフレーム51上に装着されている。
[000192] 図3の第2のフレーム51と第1のフレーム20との間のキネマティックカップリング52によって、第1のフレーム20の変形は第2のフレーム51の変形を引き起こさないはずである。したがって、より高精度で一貫した位置測定を実行できる。
[000193] それにもかかわらず、第1のフレーム20の変位が第2のフレーム51の変位を引き起こし、位置測定に影響することがある。追加的に又は代替的に、第2のフレーム51の変形は、第2のフレーム51が装着された第1のフレーム20の変形以外の理由で発生することがある。例えば、変形は、第2のフレーム51上への熱負荷の結果であってもよい。
[000194] 第2のフレーム51上への熱負荷に関連付けられた変形は、第2のフレーム51をそのような熱負荷から遮蔽する熱シールドを用いて防止又は軽減することができる。代替的に又は追加的に、第2のフレーム51は、低い熱膨張係数(例えば、1μm/m.K以下)、及び/又は望ましくは高い熱伝導率(例えば、20W/(m.K)より大きい材料、例えば、200W/(m.K)の熱伝導率を有するアルミニウム)から少なくとも部分的に形成できる。熱膨張係数が十分に低い材料は、Zerodur(商標)又はInvar(商標)などのセラミック材料、又はC/SiC、SiC、SiSiC若しくはAlなどのセラミック材料であってもよい。代替的に又は追加的に、第2のフレーム51を冷却する冷却システム(又はより一般的には、熱調節システム)を提供できる。
[000195] 例えば、第1のフレーム20の変位又は振動などの結果としての第2のフレーム51の変形は克服又は低減できる。この問題を克服又は低減する1つの方法は、第1のフレーム20を床22に適当に装着することで第1のフレーム20の変位又は振動を低減することであろう。例えば、適当な装着は、上記のように、1つ以上のガスマウント24であるが、これによって、床22から第1のフレーム20への低周波及び高周波振動の両方の伝達を少なくとも部分的に阻止し、振動の第2のフレーム51への伝達を阻止又は低減することができる。追加の、又は別の例では、第2のフレーム51は、高周波、例えば、100Hz以上の内部動的モードを有するように構築され配置されてもよい(例えば、第2のフレームは、剛性で軽量なデザインを有するように構築され配置されてもよい)。
[000196] 図4は、本発明の別の実施形態によるインプリントリソグラフィ装置の構成を概略的に示す。また、図4にインプリントリソグラフィ装置の特徴の多くは、図2及び図3に関連して(少なくとも一般的に)図示し及び/又は説明されている。一貫性を保つために、図4では、それらの特徴には同じ参照番号が付与されている。
[000197] 図4は、図3に示すインプリントリソグラフィ装置の特徴の多くを共有する。図3に示す装置とは対照的に、図4に示す装置は、1つ以上のガスマウント62を介して第1のフレーム20上に装着された第2のフレーム60を有する。第2のフレーム60は、第1のフレーム20の実質的に内部に(又は完全に内部に)位置し、例えば、第1のフレーム20のリップ又はレッジなど上に装着できる。
[000198] また、この実施形態では、インプリントリソグラフィテンプレートホルダ32は第2のフレーム60に装着されているが、今回は1つ以上のキネマティックカップリング66を介して第2のフレームに装着されている。この実施形態では、第1のフレーム20は、1つ以上の固定マウント68(例えば、ボルトなど)によって床22に固定できる。
[000199] 図4に示すインプリントリソグラフィ装置の構成は、図3に示すインプリントリソグラフィ装置の構成よりも有利である。1つの利点は、インプリントリソグラフィテンプレート34又はインプリントリソグラフィテンプレートホルダ32と第2のフレーム60との相対位置を測定する必要がないことである。何故なら、これは、インプリントリソグラフィテンプレートホルダ32(さらに、適当な保持によって、インプリントリソグラフィテンプレート34)がキネマティックカップリング66によって第2のフレーム60に安定して接続されているからである。図4に示すこの装置の別の利点は、基板ステージ38、42、46、56の移動が第2のフレーム60を直接励起する(例えば、変位又は振動を介して外乱する)ことがないという点である。何故なら、これは、第2のフレーム60がガスマウント62によって第1のフレーム20(基板ステージが少なくとも間接的に接続された)の振動などから効果的に隔離されているからである。
[000200] しかし、図4に示す装置に関連付けられた(少なくとも図3の装置に対する)欠点もある。1つの欠点は、基板36上に提供されたインプリント可能な媒体からのインプリントリソグラフィテンプレート34がリリースされるときに(より一般的には、基板36からのテンプレート34のリリース時に)、リリース力が第2のフレーム60上に作用して第2のフレーム60を変位させ、及び/又は変形させることがある。この第2の(言い換えれば、メトロロジー)フレームに関する測定が実行されるので、これは望ましくない。この問題を克服する、又は少なくとも部分的に克服する方法が図4に示されている。1つ以上のリリース補償アクチュエータ70が第1のフレーム20とインプリントリソグラフィテンプレートホルダ32との間に接続されている。リリース補償アクチュエータ70は、ローレンツアクチュエータであってもよい。何故なら、ローレンツアクチュエータは、変形又は変位を第2のフレームに伝達しないからである。リリース補償アクチュエータ70は、第2のフレーム60を通して(例えば、1つ以上の導管又は通路などを通して)延在してもよい。さらに、1つ以上のリリース補償アクチュエータの1つ以上の接続点がインプリントリソグラフィテンプレートホルダ32が第2のフレーム60に装着されるキネマティックカップリング66の接続点にリンクされている(例えば、空間又は構造的な関係で)ことを確実にすることによって、第2のフレーム60の変形は低減されるか又は最小限にされる。1つ以上のリリース補償アクチュエータ70の1つ以上の接続点は、インプリントリソグラフィテンプレートホルダ32が第2のフレーム60に装着されるキネマティックカップリング66の1つ以上の接続点とはインプリントリソグラフィテンプレートホルダ32の逆の側にあってもよい。言い換えれば、リリース補償アクチュエータの力は、望ましくはキネマティックカップリング66の1つ以上の接続点を通して又は介して伝わるので、第2のフレーム60は屈曲せず又はその他の形に変形しない。
[000201] 図示しない一実施形態では、リリース力だけでなく、力の移動(すなわち、リリース力は動的である)を補償するために、3つのリリース補償アクチュエータを使用してもよい。ある実施形態では、リリース力の測定がリリース補償アクチュエータによって実行でき、及び/又は反力の測定がリリース補償アクチュエータによって提供できる。
[000202] 図4に示す実施形態では、ガスマウントを介して床22に第1のフレーム20を装着することは可能でもなく又は実際的でもない。これは、この構成の第2のフレーム60と第1のフレーム20との間にガスマウントがすでに存在しているからである。直列のガスマウントは不安定性を引き起こし、これは望ましくなく、実際、測定位置誤差を増大させる原因になる。したがって、比較的固定的で不撓性の形で第1のフレーム20を床22に固定できる。しかし、これは、基板ステージ38、42、46、56が床22から隔離されない(振動などに関して)ということを意味する。その結果、基板の位置は、位置測定精度が低下し、例えば、オーバレイ不良を引き起こす程度にまで悪影響を受ける。この問題は、比較的厳密な形で第1のフレーム20が床22に結合されているにもかかわらず、位置精度を維持できるように、基板を保持する隔離されたショートストロークアクチュエータを有する基板ステージ又はその基板ステージの1つ以上の部分を提供することで克服できる。「隔離された」という用語は、ステージが(例えば磁力及び/又は静電力を介して)非接触の形で移動するか又は移動可能であるということを意味する。実際、5自由度のローレンツショートストローク基板ステージはこれらの要件を満足する。図3では、第1のフレームがガスマウントの使用によって床の振動から隔離されているため、図3に示す実施形態では、5自由度のローレンツショートストローク基板ステージは必要ない。
[000203] 図3及び図4は、インプリントリソグラフィ装置のレイアウトの概略構成を示す。この装置は、本発明の原理を具体化しながら基板ステージの例えば異なる構成などの異なるレイアウトを有してもよいことを理解されたい。
[000204] インプリントリソグラフィ装置の適当な構成を決定する際に、その装置の異なる部分の任意の移動要件(例えば、自由度)を考慮することは有用である。一例では、インプリントリソグラフィテンプレートアレンジメント又は基板或いはその両方の、各図に示すx、y及びz軸に沿ったロングストローク運動を提供できることが望ましい。そのようなロングストローク運動を用いて基板に対してテンプレートを粗く位置決めでき、ナノメートルスケールでは低精度であってもよい。同時に、各図に示すx軸及びy軸に沿った高精度のショートストローク運動及びx、y及びz軸に沿った回転を提供できることが望ましい。そのような移動は、基板に対するテンプレートのより微細な最終アライメントに必要である。また、そのような移動は、インプリントリソグラフィテンプレートアレンジメント又は基板或いはその両方を介して提供できる。基板に対するインプリントテンプレートのアライメントは、アライメントセンサとインプリントテンプレートとの間のx及びy方向の固定位置関係を確立することによって達成できる。これは、テンプレートのx及びy方向の移動が不要であり、テンプレート付近の装置の構造を簡単化できる可能性がある。装置内のそのような簡単化によって、インプリントテンプレートアレンジメントの加熱及び/又は振動を低減でき(すなわち、インプリントテンプレートアレンジメントの安定性が増加する)、これは、例えば、オーバレイ要件を満足するために望ましい。以下の4つのシステム構成が明らかになる。
1)基板ステージは、基板の平面に平行な2つの軸(x軸及びy軸)に沿った、また平面に垂直な軸(z軸)に沿った平行移動のロングストローク運動を実行できる。基板ステージは、基板の平面に平行な2つの軸周りの回転運動(x軸及びy軸周りの回転)を実行できる。インプリントリソグラフィテンプレートアレンジメントは、基板の平面に平行な2つの軸(x軸及びy軸)に沿った平行移動のショートストローク運動を実行でき、インプリントリソグラフィテンプレートアレンジメントはその平面に垂直な軸に沿った回転運動(z軸周りの回転)を実行できる。
2)基板ステージは、基板の平面に平行な2つの軸(x軸及びy軸)に沿った、また平面に垂直な軸(z軸)に沿った平行移動のロングストローク運動を実行できる。基板ステージは、基板の平面に平行な2つの軸周りの回転運動(x軸及びy軸周りの回転)と、その平面に垂直な軸周りの回転運動(z軸周りの回転)とを実行でき、基板ステージは、基板の平面に平行な2つの軸(x軸及びy軸)に沿った平行移動のショートストローク運動を実行できる。基板ステージは、5自由度のショートストローク基板ステージである。例えば、基板ステージは、5自由度の隔離された(例えば、空間的に隔離されたか又は分離された)ショートストローク基板ステージである。基板ステージはさらに、3自由度のロングストローク基板ステージを備えるか又はそれであってもよい。
3)基板ステージは、基板の平面に平行な2つの軸(x軸及びy軸)に沿った平行移動のロングストローク運動を実行できる。基板ステージは、基板の平面に平行な2つの軸周りの回転運動(x軸及びy軸周りの回転)を実行できる。インプリントリソグラフィテンプレートアレンジメントは、基板の平面に垂直な軸(z軸)に沿った平行移動のロングストローク運動を実行できる。インプリントリソグラフィテンプレートアレンジメントは、基板の平面に平行な2つの軸(x軸及びy軸)に沿った平行移動のショートストローク運動を実行でき、インプリントリソグラフィテンプレートアレンジメントはその平面に垂直な軸周りの回転運動(z軸周りの回転)を実行できる。
4)基板ステージは、基板の平面に平行な2つの軸(x軸及びy軸)に沿った平行移動のロングストローク運動を実行できる。基板ステージは、基板の平面に平行な2つの軸周りの回転運動(x軸及びy軸周りの回転)と、その平面に垂直な軸周りの回転運動(z軸周りの回転)とを実行でき、基板ステージは、基板の平面に平行な2つの軸(x軸及びy軸)に沿った平行移動のショートストローク運動を実行できる。基板ステージは、5自由度のショートストローク基板ステージである。例えば、基板ステージは、5自由度の隔離された(例えば、空間的に隔離されたか又は分離された)ショートストローク基板ステージである。インプリントリソグラフィテンプレートアレンジメントは、基板の平面に垂直な軸(z軸)に沿ったロングストローク運動を実行できる。基板ステージはさらに、3自由度のロングストローク基板ステージを備えるか又はそれであってもよい。
[000205] 回転運動は普通、ショートストロークの性質である。
[000206] 本明細書に記載する実施形態では、「ロングストローク」及び「ショートストローク」という用語が使用されている。「ロングストローク」は、1μmから1m以上の範囲の移動を包含してもよく、又はそれによって定義されてもよい。「ショートストローク」は、0.1nm以下から約1μmまでの範囲の移動、及び/又は、1μrad以下から10mradまでの範囲の回転運動を包含してもよく、又はそれによって定義されてもよい。
[000207] 本明細書に記載する基板ステージは、基板ホルダ、基板のポジショナ、及び/又は基板ホルダのポジショナの1つ以上であってもよく、それを含んでもよく、又はそれを形成してもよい。
[000208] 本明細書に記載する第1のフレームは、ベースフレームと呼ばれる。ベースフレームは通常、力フレームとして使用される。基板ステージ(など)及びプロセス力は、ベースフレームに対抗して作用し、及び/又はそれに吸収される。本明細書に記載する第2のフレームは、メトロロジーフレームと呼ばれる。メトロロジーフレームは、位置測定(又はより高精度の位置測定)が実行される対象又は起点のフレームである。したがって、メトロロジーフレームは、外部振動及び変形などからできる限り遠くへ隔離され、メトロロジーフレームとそれに関連付けられた位置測定とを可能な限り安定させることが多い。ベースフレームは、他の装置、例えば、メトロロジーフレームを装着又は接続するためのベースを提供する。ベースフレームも振動及び変形から隔離されるが、多くの場合、メトロロジーフレームと同じ程度ではない。
[000209] 本明細書で装置の1つ以上の移動について説明してきた。「移動」という用語は、そのような移動の駆動及び/又は案内を含んでもよい。
[000210] 本明細書に記載する実施形態で、ガスマウントについて説明してきた。フレームが普通、1つのタイプ又は別のタイプの3つのマウントによって支持されるため、少なくとも3つのガスマウントの使用が望ましい。
[000211] 本明細書に記載する実施形態で、「ガスマウント」という用語を使用してきた。これを避けて、より一般的に、「ガスマウント」の代わりに「防振システム」という用語を使用してもよい。ガスマウントは、そのような防振システムの一例である。別の防振システムは、ゴム支持体であってもよく、又はそれを含んでもよい。
インプリントテンプレートリリース中の第2のフレームの変形限度
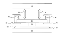
[000212] リリース補償アクチュエータ(すなわち、基板からのインプリントリソグラフィテンプレートアレンジメントのリリース中に対抗又は補償力を提供するアクチュエータ)については、図4を参照しながらすでに説明した。図4では、リリース補償アクチュエータは第1の(ベース)フレームに接続され、第2の(メトロロジー)フレームを通して延在していた。より一般的な態様では、ベースフレームとメトロロジーフレームとを備えたインプリントリソグラフィ装置が提供される。インプリントリソグラフィテンプレートアレンジメントは、1つ以上のキネマティックカップリングと1つ以上のリリース補償アクチュエータとを介してベースフレーム又はメトロロジーフレームに接続している。特に、このより一般的な態様は、メトロロジーフレームを通してベースフレームへ延在する1つ以上のリリース補償アクチュエータに限定されない。
[000213] 図5は、この態様の一例を示す。図5は、すでに図4に示し言及した多数の特徴を共有し示している。しかし、図4とは対照的に、図5では、リリース補償アクチュエータ70は、インプリントリソグラフィテンプレートホルダ32とメトロロジーフレーム60との間に延在する。リリース補償アクチュエータ70は、インプリントリソグラフィテンプレート34が基板36からリリースされるときにメトロロジーフレーム60の変形又は歪を制限するか又は防止する。
[000214] 図5で、1つ以上のリリース補償アクチュエータ70の1つ以上の接続点は、キネマティックカップリング66の1つ以上の接続点とはインプリントリソグラフィテンプレートアレンジメント(この例では、インプリントリソグラフィテンプレートホルダ32)の逆の側に位置する。これは、そうでなければキネマティックカップリング66を通してメトロロジーフレーム60へ通過したはずのインプリントリソグラフィテンプレートホルダ32上に掛かるリリース力により容易に対抗しこれを補償できるということを確実にする助けになる。代替のおそらくは有利な構成(図示せず)は、1つ以上のキネマティックカップリングが1つ以上のリリース補償アクチュエータに直列に位置する構成である。例えば、キネマティックカップリングとリリース補償アクチュエータとを互いに接続でき、両者は共にインプリントリソグラフィテンプレートアレンジメントとメトロロジーフレーム(又は別の実施形態ではベースフレーム)との間に延在してもよい。この構成は、キネマティックカップリングとリリース補償アクチュエータに必要な接続点の数を低減し、キネマティックカップリングとリリース補償アクチュエータが互いに確実に整列するようにしているため、リリース力への対抗及び/又は補償力をより容易且つ高精度に提供できるため、この構成は有利である。
[000215] 図4及び図5は、基板からのインプリントリソグラフィテンプレートアレンジメントのリリース中にメトロロジーフレームに印加される力を制御し制限しようと試行する装置を示す。変形形態は、リリース中にメトロロジーフレームに接続されていないインプリントリソグラフィテンプレートアレンジメントを有する形態を含むため、リリース力はメトロロジーフレームへ、又はメトロロジーフレームを通して伝達できない。図6及び図7は、これを実際に実施する方法を示す。
[000216] 図6は、ベースフレーム80及びメトロロジーフレーム82を概略的に示す。メトロロジーフレーム82は、1つ以上のキネマティックカップリング、及び/又はガスマウントなど(図示せず)によってベースフレーム80に装着するか又は接続できる。この装置は、インプリントリソグラフィテンプレート86を保持するインプリントリソグラフィテンプレートホルダ84の形態のインプリントリソグラフィテンプレートアレンジメントをさらに備える。1つ以上のアクチュエータ88(例えば、ローレンツアクチュエータ)がインプリントリソグラフィテンプレートアレンジメント(例えば、インプリントリソグラフィテンプレートホルダ84)をベースフレーム80に接続する(又は接続するために使用される)。インプリントリソグラフィテンプレートホルダは、メトロロジーフレーム82に接続された(例えば、取り付けられた)1つ以上のばね90(例えば、極めて柔軟な事前収納ばね)によってメトロロジーフレーム82との接続(例えば、接触)の方へ(向かって)付勢される。別の実施形態では、アクチュエータ88はこの付勢を提供できる。
[000217] 図6では、インプリントリソグラフィテンプレートアレンジメントは、インプリントリソグラフィテンプレートアレンジメントがメトロロジーフレーム82に接続されている(例えば、接触している)ときに第1の構成であるように示されている。この第1の構成で、インプリントリソグラフィテンプレートアレンジメント(及び特に、そのインプリントリソグラフィテンプレート86)を用いて基板94上に提供されたインプリント可能な媒体92の層内にパターンをインプリントすることができる。基板94は、所定位置に保持され、基板ステージ96によって移動又は配置できる。インプリントリソグラフィテンプレートアレンジメントはメトロロジーフレームに接触しているので、インプリントリソグラフィテンプレートアレンジメントの位置は正確に決定でき、基板に対してパターンを高精度に配置し、及び/又は整列させることができる。
[000218] 次に、インプリント可能な媒体内に提供されたパターンは、適当な照射、加熱などによって凝固(硬化)される。基板94が図6に示す構成のときにインプリントリソグラフィテンプレート86からリリースされた場合、リリース力がメトロロジーフレーム82上に付与されるであろう。これは、メトロロジーフレーム82の変形、歪及び/又は変位を引き起こし、メトロロジーフレームを用いて、又はそれに対して実行中の位置測定に影響することがある。これは、パターン又はその後塗布されたパターンの位置決定又は配置に悪影響があるため望ましくない。図7は、この問題を克服する方法を示す。
[000219] 図7では、またパターンがインプリント可能な媒体92内で凝固された後では、インプリントリソグラフィテンプレートアレンジメントは、第2の構成に移行した様子で示されている。第2の構成では、インプリントリソグラフィテンプレートアレンジメントは、メトロロジーフレーム82から切り離され(すなわち、アンロードされる状態の柔軟なばね90を用いず、メトロロジーフレーム82に接触しておらず)、ベースフレーム80に接続されている。この構成によって、基板からのインプリントリソグラフィテンプレートアレンジメントのリリース中に生成される(また、例えば、本明細書に記載する任意のリリース補償アクチュエータによって補償される)リリース力がメトロロジーフレーム82ではなくベースフレーム80に確実に付与されるのを助ける。
[000220] インプリントリソグラフィテンプレートアレンジメントは、任意の適当な方法で移動させることができる。図7で、インプリントリソグラフィテンプレートアレンジメントは、基板94を保持する基板ステージ96によって移動する。例えば、基板の移動は、ベースフレーム80へ向かってであり、その結果、インプリントリソグラフィテンプレートアレンジメントは、ベースフレーム80の方へ移動する。ベースフレーム80の方へのインプリントリソグラフィテンプレートアレンジメントの移動は、ばね90によって提供されるバイアスを少なくとも部分的に克服し、したがってインプリントリソグラフィテンプレートアレンジメントをメトロロジーフレーム82との接続からリリースする。次に、アクチュエータ88を用いてインプリントリソグラフィテンプレートアレンジメントを保持し、インプリントリソグラフィテンプレートアレンジメントをベースフレーム80に効果的に接続し、インプリントリソグラフィテンプレートアレンジメントをメトロロジーフレーム82から切断された状態に保つ。基板94(及びその基板94によって担持されるインプリント可能な媒体の凝固パターン)は、ベースフレーム80とインプリントリソグラフィテンプレート86からの基板ステージ96の適当な移動によって、インプリントリソグラフィテンプレート86から引き離される(基板94の剥離とも呼ばれる)。
[000221] リリース中、インプリントリソグラフィテンプレートアレンジメントは、メトロロジーフレーム82に(堅固に)接続されていない。したがって、リリース中に付与される力によるメトロロジーフレームの変位及び/又は歪は制限又は回避される。
[000222] メトロロジーフレームから切断さえるインプリントリソグラフィテンプレートアレンジメントの移動とベースフレームへのインプリントリソグラフィテンプレートアレンジメントの接続は、同じプロセスで、及び/又は同時に実行できる。例えば、移動と接続とは、実質的に同時の1つ以上のアクチュエータの適当な係合と基板ステージの移動とによって実行できる。
[000223] 変形形態では、インプリントリソグラフィテンプレートアレンジメントをメトロロジーフレームとの接続に付勢するばねなどの形態の独立した付勢要素は必要ない。その代わりに、上記アクチュエータは、インプリントリソグラフィテンプレートアレンジメントをメトロロジーフレームとの接続に付勢できてもよい。これは、例えば、インプリント可能な媒体の層内へのパターンの凝固の前及び/又は最中の第1の期間中の第1の動作モードで実行される。第2の後続モードでは、アクチュエータを制御してインプリントリソグラフィテンプレートアレンジメントを後退させてアレンジメントをメトロロジーフレームから切り離し、(同時に、又は後で)装置を所定位置に保持してインプリントリソグラフィテンプレートアレンジメントをベースフレームに接続することができる。
インプリントリソグラフィテンプレートアレンジメントの圧着のための長いバール
[000224] インプリントリソグラフィ装置及び方法では、多くの場合、インプリントリソグラフィテンプレートアレンジメントを所定位置に圧着(言い換えれば保持)できることが望まれる。圧着構成は、圧着又は保持が永続的でないリリース可能な圧着構成であってもよい。圧着は、例えば、インプリントリソグラフィテンプレートを保持するように構成されたインプリントリソグラフィテンプレートホルダを所定位置に保持するため、又はインプリントリソグラフィテンプレートを所定位置に隔離して保持するために必要である。永続的な接続とは異なって、クランプは異なるインプリントリソグラフィテンプレートアレンジメントの交換が可能である点で有利である。
[000225] 1つ以上の例では、圧着構成(1つ以上のクランプを含んでもよい)は、インプリントリソグラフィテンプレートアレンジメントの少なくとも一部、例えば、インプリントリソグラフィテンプレートを保持するのに好適なインプリントリソグラフィテンプレートホルダであってもよく、それを形成してもよい。
[000226] 図8は、インプリントリソグラフィテンプレートアレンジメント及び圧着構成を概略的に示す。この例では、インプリントリソグラフィテンプレートアレンジメントは、インプリントリソグラフィテンプレート100を備える。インプリントリソグラフィテンプレート100は、インプリント可能な媒体の層内にパターンをインプリントする際に使用するパターンフィーチャがその上に提供されるメサ104が突き出るベース領域102を備える。メサ領域104とベース領域102は一体に形成されてもよい。
[000227] 1つ以上のアクチュエータ106は、ベース領域102の周縁部の周囲に分散してもよい。アクチュエータ106を用いてインプリントリソグラフィテンプレート100を位置決めし、及び/又は選択的に変形させることができる。
[000228] この実施形態では、圧着構成は、メサ104とは反対側の、インプリントリソグラフィテンプレート100の裏面又は背面に位置する。この実施形態では、圧着構成は、インプリントリソグラフィテンプレート100の裏面の周縁部の周囲に延在する封止フレーム108を備える。圧着構成は、カバー110をさらに備える。カバー110は、フレーム108全体にわたって延在し、カバー110と封止フレーム108とインプリントリソグラフィテンプレート100の裏面との間の空間112を取り囲む。カバー110は、インプリント方法でインプリントリソグラフィテンプレート100のメサ104によってインプリント可能な媒体の層内に提供されたパターンを凝固させるために使用できる化学線を少なくとも部分的に透過する。
[000229] 封止フレーム108は、ベース領域102から延在し、インプリントリソグラフィテンプレート100の裏面に直接物理的に接触する(例えば長さが1mm未満の)短いバール114を備える。短いバール114は、x、y及びz方向に(すなわち、バール114の長手方向に、また長手方向に対して垂直に)剛性であり、短いバール114は、x、y及びz方向に(すなわち、バール114の長手方向に、また長手方向に対して垂直に)柔軟でない。短いバール114の間の空間内に、短いバール114の間の空間内と封止フレーム108の周囲、したがって、インプリントリソグラフィテンプレート100の裏面の周縁部の周囲に延在するシール116(例えば、Oリングシールなど)が位置する。短いバール114及び/又は封止フレーム108は、同様に、及び/又はそれなりにx、y及びz方向に実質的に不撓性である真空クランプとして当分野で知られている構成の一部を形成してもよい。
[000230] 使用時に、空間112は、空間112外の圧力に対して(すなわち、周囲圧力に対して)低下した圧力状態に置かれる。封止フレーム108と短いバール114とシール116との組合せの存在が空間112内の低下した圧力状態を確実に維持する助けになる。空間112内の低下した圧力状態によって、圧着力がインプリントリソグラフィテンプレート100に印加されてテンプレート100を所定位置に保持する。
[000231] 図8に示す圧着構成を用いてインプリントリソグラフィテンプレートアレンジメントを保持できるが、この圧着構成の構造に関連付けられた1つ以上の欠点がある。上記のように、アクチュエータ106を用いてインプリントリソグラフィテンプレート100を位置決めし又は変形させることができる。変形は、例えば、インプリントリソグラフィテンプレート100の収縮を含んでもよい。しかし、インプリントリソグラフィテンプレート100の裏面に接触する短い不撓性のバール114は、アクチュエータ106によって印加されるあらゆる力に対して対抗する摩擦力を提供できる。アクチュエータ106によって印加される力と短い不撓性のバール114によって印加される対抗する摩擦力との間の相互作用の結果、圧着構成に対するインプリントリソグラフィテンプレート100の滑り(おそらくは予測不能な滑り)及び/又は予測不能な変形が発生し、インプリントリソグラフィテンプレートアレンジメントを高精度に変形させることが困難になるおそれがある。代替の又は追加の問題は、シール116が、バール114と比べて、比較的柔軟であるということである。
[000232] 図9は、図8に示す圧着構成に関連付けられた問題の1つ以上を少なくとも部分的に克服できる圧着構成を概略的に示す。図9を参照すると、圧着構成は1つ以上のクランプ120を備える。一実施形態では、例えば、インプリントリソグラフィテンプレートのベース領域102の周縁部の周囲に延在する、及び/又は分散した複数のクランプを提供してもよい。別の例では、図9に示すように、1つのクランプ120をインプリントリソグラフィテンプレートのベース領域102の周縁部の周囲に延在するように形成し構成してもよい。クランプ120は、SiSiC、SiC、Alなどのセラミック又は鋼、アルミニウム及びInvar(商標)(FeNi36)などの金属から形成されてもよい。
[000233] クランプ120は、ベース領域122を備える。1つ以上のバール124がベース領域122から延在し、使用時に、インプリントリソグラフィテンプレートのベース領域102に接触する。空間126がバール124を取り囲む。同様にベース領域122から延在し、バール124を取り囲む空間126を取り囲む1つ以上のシール壁128が提供される。バール124はベース領域122からシール壁128より先に延在するので、シール壁128はインプリントリソグラフィテンプレートアレンジメント100に接触しない。その代わりに、シール壁128は、シール壁128の遠端部とインプリントリソグラフィテンプレート100との間に小さいギャップが画定される長さを有する。例えば、バール124はシール壁128より1~10μmだけベース領域122から延在してもよく、又はおそらくはシール壁128より3~5μmだけベース領域122から延在してもよい。この結果、シール壁128の遠端部とインプリントリソグラフィテンプレート100との間に約1~10μm、又は約3~5μmのギャップが形成される。このギャップは、使用時に、空間126が周囲圧力(すなわち、周囲の圧力、例えば、空間126の外側の圧力)よりも低い圧力になるように配置されているときに、シール壁128がインプリントリソグラフィテンプレート100と少なくとも部分的なシールを提供するように構成されるような大きさである。そのような低下した圧力は、インプリントリソグラフィテンプレート100への圧着構成を圧着するのに十分な力を提供する。
[000234] 追加的に又は代替的に、シール壁128とインプリントリソグラフィテンプレート100との間のギャップは、そうでなければシール壁128とインプリントリソグラフィテンプレート100との間の(例えば、移動可能な)接触に起因する汚染、摩擦及び/又は変形を低減できる。
[000235] この実施形態では、バール124は、バール124がインプリントリソグラフィテンプレート100の平面(例えば、x-y平面、又は言い換えればバール124の長手方向に直交するか又は垂直な平面)に平行な方向に少なくとも部分的に柔軟であるような長さ及び/又は形状である。上記方向のこの少なくとも部分的な柔軟性によって、インプリントリソグラフィテンプレート100に対してバール124が滑ることなくインプリントリソグラフィテンプレート100の予測可能な移動、非変形の膨張及び/又は圧縮が可能になり、その結果、インプリントリソグラフィテンプレート100の位置精度と圧縮が向上する。同時に、バール124は長手方向(すなわち、z方向)に比較的剛性であり、この方向の自由度を固定する。これによって、インプリントリソグラフィテンプレート100の位置及び/又は変形を変化させる精度が増加する。
[000236] 上記の柔軟性を達成するために、バールの各々は、例えば、少なくとも1mmの長さ、少なくとも5mmの長さ、少なくとも5~10mmの長さ、少なくとも10mmの長さ、及び/又は100mm未満の長さであってもよい。
[000237] 使用時に、バール124を取り囲む空間126は少なくとも部分的に(外部の周囲温度に対して)圧力が低下してもよい。シール壁128とインプリントリソグラフィテンプレート100との間の小さいギャップは、低下した圧力の空間126がインプリントリソグラフィテンプレート100に圧着力を提供するように少なくとも部分的なシールを提供できるだけ十分小さい。圧力の低下によって、シール壁は真空のシール壁と呼んでもよく、及び/又はシールを真空シールと呼んでもよい。
[000238] クランプ120を横切って延在するカバー130をオプションとして提供できる。カバー130は、インプリントリソグラフィテンプレート100のメサ104によってインプリント可能な媒体の層内に提供されるパターンを凝固させるためにインプリント方法で使用される化学線を少なくとも部分的に透過してもよい。
[000239] 図10は、図9の圧着構成の下面図を示す。圧着構成132は、インプリントリソグラフィテンプレートの周縁部の周囲に分散されるように構築され配置された複数のバール124を備える。圧着構成132は、バール124を含む領域の外周部の周囲に延在する外側シール壁134と、バール124を含む領域の内周部の周囲に延在する内側シール壁136とを有する。
[000240] バール124の上記の柔軟性のために、圧縮力(及びその結果の、又はそれに関連付けられた倍率補正など)ははるかに予測可能且つ一貫して提供できる。さらに、柔軟性のために、図8の装置に関連する上記の摩擦力は存在せず、インプリントリソグラフィテンプレートに対するバールの関連する滑りは発生しない。
[000241] これらの長いバールの固有の柔軟性のために、例えば、x及び/又はy方向の(したがって、z軸周りの回転)インプリントリソグラフィテンプレートの自由度を固定する追加の機構を提供する必要があってもよい。図11は、図9に示すインプリントリソグラフィテンプレート100の下面図を示す。図11を参照すると、インプリントリソグラフィテンプレート100を位置決めするか又は圧縮する1つ以上のアクチュエータ106がインプリントリソグラフィテンプレート100のベース領域102の周縁部の周囲に分散した様子で示されている。インプリントリソグラフィテンプレート100のx及び/又はy方向の、したがって、z軸周りの回転の自由度を固定するために、固定当接点140が提供される。これらの当接点140のうち2つは、インプリントリソグラフィテンプレートアレンジメント100の一辺に沿って配置され、もう1つの(3つのうち)当接点140はインプリントリソグラフィテンプレート100の隣接する辺に沿って配置される。当接点140のこの配置によって、インプリントリソグラフィテンプレート100のx及びy方向の自由度が確実に固定できるようにする助けになり、インプリントリソグラフィテンプレート100の高精度の位置決め及び/又は変形の提供を支援する。これは、上記圧着構成が自由度のこの固定を提供する必要がなく、バールが本来柔軟であってもよいということを意味する。
指向性剥離による基板のリリース
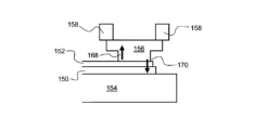
[000242] インプリントリソグラフィテンプレートがインプリント可能な媒体の層内にインプリントされた後で、インプリント可能な媒体の層内に提供されたパターンは、例えば、熱又は化学線の印加によって凝固する。パターンが凝固すると、インプリントリソグラフィテンプレートは、少なくともある程度、インプリント可能な媒体が提供された基板に固定される。基板からインプリントリソグラフィテンプレートをリリースする(これは基板上に提供された材料からインプリントリソグラフィテンプレートをリリースするステップを含む)ために、インプリントリソグラフィテンプレートと基板との一方又は両方に引張力が印加される。しかし、場合によっては、そのような引張力の提供によって1つ以上の問題が発生することがある。図12及び図13は、そのような問題が発生する様子及び理由を概略的に示す。
[000243] 図12は、インプリント可能な媒体152の層を備えた基板150の側面図である。基板150は、基板ステージ154によって所定位置に保持されている。インプリントリソグラフィテンプレートホルダ158によって保持されたインプリントリソグラフィテンプレート156は、インプリント可能な媒体152の層に接触しインプリントされる。インプリント可能な媒体152の層内に提供されたパターンは凝固しており、インプリントリソグラフィテンプレート156は、少なくともある程度、インプリント可能な媒体152の層を介して基板150に固定される。
[000244] 図13は、基板150からインプリントリソグラフィテンプレート156をリリースするために、この例では、基板ステージ154の適当な(例えば、下方への)移動によって引張力が基板150に印加される。基板150が基板ステージ154によってその上に十分な力で保持されていたならば、基板150及びインプリントリソグラフィテンプレート156は容易に互いにリリースされるであろう。しかし、基板150が基板ステージ154上に保持される機構(例えば、真空圧着、又は静電圧着など)によって、保持力又は圧着力が基板150全体に不均等に分散される。幾つかの例では、この保持力は半径方向に低減することがあり、例えば、基板150の周縁(例えば、縁部)領域よりも基板150の中央部へ向かって増大する。
[000245] 図13は、基板150の周縁領域からインプリントリソグラフィテンプレート156をリリースする試みがなされたときに、基板ステージ154の移動によって提供される引張力160が(インプリントリソグラフィテンプレート156とインプリント可能な媒体152との間のあらゆる固定力と共に)そうでなければ基板150又は基板ステージ154上の基板150の周縁領域を保持するであろう保持力を超える。この保持力を超過したために、図13では、基板150の周縁領域が基板ステージ154から剥離されて分離している(162)。基板ステージ154からの基板150の周縁領域の剥離は不利である。例えば、基板150とその上に提供されたインプリント可能な媒体152の層の屈曲を招くそのような剥離によって、基板150又はインプリント可能な媒体152の層が損傷し、又はインプリント可能な媒体152の層内又は層上に提供されたパターンが損傷するおそれがある。したがって、上記又はその他の問題を防止又は軽減する基板からインプリントリソグラフィテンプレートをリリースする装置及び方法を提供することが望ましい。
[000246] 図14は、図13に示し同図に関連して説明したものと同じ基板ステージ154と、基板150と、インプリント可能な媒体152の層と、インプリントリソグラフィテンプレート156と、インプリントリソグラフィテンプレートホルダ158とを示す。しかし、図13に示し同図に関連して説明した装置とは対照的に、図14は、基板150からインプリントリソグラフィテンプレート156をリリースする別の方法に関連付けられた原理を示す。
[000247] インプリントリソグラフィテンプレート156及び基板150は、基板150とインプリントリソグラフィテンプレート156とを互いに引き離すことで互いにリリースされる。図14では、これは、基板150を保持する基板ステージ154の一般に下向きの移動を示す矢印164で示されている。別の実施形態では、インプリントリソグラフィテンプレート156は、インプリントリソグラフィテンプレートホルダ158の適当な移動によって上方へ移動できる。別の実施形態では、インプリントリソグラフィテンプレート156を上方へ移動させ、基板150を下方へ移動させることができる。
[000248] 図14を再度参照して、図13に関連して説明したリリース方法と区別するため、インプリントリソグラフィテンプレート156からの基板150の剥離164に加えて、このリリース方法は、インプリントリソグラフィテンプレート156及び/又は基板150の他方へ向かってインプリントリソグラフィテンプレート156及び/又は基板150の一方又は両方を回転させるステップ166をさらに含む。この回転(例えば、多くの場合、回転モーメント又はモーメントと呼ばれるそのような回転に関連付けられた任意の力の方向及び/又は大きさ)によって、インプリントリソグラフィテンプレート156と基板150との間の界面(例えば、インプリントリソグラフィテンプレート156と基板150又はその上に提供された材料との間の接触区域又は領域)の半径方向末端で、基板を基板ステージ上に保持させる(又は、より具体的には、その半径方向末端の基板150のその部分を基板ステージ154上に保持させる)基板150上に作用する累積力が存在する。代替的に又は追加的に、この回転によって界面の半径方向末端の基板の領域に加圧力が印加されると説明できる。この加圧によって、界面の半径方向末端がリリース中に固定され、基板150のその部分が基板ステージ154から剥離されて分離することを防止する助けになる。
[000249] 引張力164及び回転モーメント166は同じ戦術で、又は同時に、及び/又は同じ装置によって、例えば、インプリントリソグラフィテンプレートホルダ158及び/又は基板ステージ154の適当な移動によって実行できる。
[000250] 図15は、上記の方法による基板のリリース中に含まれる力の幾つかを(矢印によって)概略的に示す。基板150からインプリントリソグラフィテンプレート156をリリースする引張力168(又は言い換えれば分離力)が印加される。同時に、回転モーメントによって、インプリントリソグラフィテンプレート156と基板150との間の界面の半径方向末端170で、加圧力が基板150に印加され、基板150のその部分を基板ステージ154に固定した状態に確実に保つようにされる。回転モーメントのために、引張力168は界面の半径方向末端と反対側又は末端に印加され、これによって、インプリントリソグラフィテンプレート156は、基板150から剥離される(又は基板150がインプリントリソグラフィテンプレート156から剥離される)。
[000251] 図16は、基板150からのインプリントリソグラフィテンプレート156のその結果のリリースを示す。回転モーメントが、インプリントリソグラフィテンプレート156が効果的に基板150から剥離されるようなモーメントであることが分かる。剥離は、基板の中央部から始まり、インプリントリソグラフィテンプレート156と基板150との間の界面の半径方向末端で基板150の固定方向に向かって実行されるという点で指向性である。
[000252] 図17は、基板150が回転する代わりにインプリントリソグラフィテンプレート156がリリース中に回転するやや異なる実施形態を概略的に示す。
[000253] 別の実施形態(図示せず)では、基板とインプリントリソグラフィテンプレートの両方を回転させてもよい。
[000254] 基板からのインプリントリソグラフィテンプレートのリリースに含まれる引張力と回転力は数学的に定義できる。例えば、インプリントリソグラフィテンプレートの中央を通って作用する引張力又はその成分(インプリントリソグラフィテンプレートの引張り及び/又は基板の引張りによる)と回転に関連付けられたモーメントとの関係は、
F<M/b
と定義され、ここで、Fはインプリントリソグラフィテンプレートの中央部を通って作用する引張力又はその成分、Mは回転によって引き起こされるモーメント、bはインプリントリソグラフィテンプレートの中央部(又は、より具体的には、インプリントリソグラフィテンプレートと基板との間の界面の中央部)から界面の半径方向末端までの半径方向距離である。
[000255] 上記の条件が満たされると、界面の半径方向末端の基板の部分は固定され、基板ステージ154から剥離して分離されない。したがって、基板はほとんど又は全く屈曲せず、このことは、リリース中にインプリントリソグラフィテンプレート又は基板が全く回転しないときの上記の損傷を回避し又は少なくとも制限する助けになる。
[000256] 上記の方法は、基板上の任意の特定の場所で実行できる。しかし、この方法は、インプリントリソグラフィテンプレートが基板の周縁領域に係合しているときに基板からインプリントリソグラフィテンプレートをリリースするステップに適用可能である。この領域で、上記のように、基板に印加される1つ以上の保持力又は圧着力は、例えば、基板のより中央部分で基板に印加される力と比較して大きさが低減する。したがって、上記の方法を用いて基板の周縁領域でインプリントを実行でき(この方法はこの領域でのリリースを容易にするため)、及び/又は基板のその周縁領域のための改良された(及びより複雑で高価になる可能性がある)圧着方法を提供する必要がなくなる。
[000257] 上記の方法を実施するために、a)基板とインプリントリソグラフィテンプレートとを互いに引き離し、b)インプリントリソグラフィテンプレートと基板の他方に向けてインプリントリソグラフィテンプレートと基板の一方又は両方を回転して、インプリントリソグラフィテンプレートと基板の間の界面の半径方向末端で基板を基板ステージに保持する基板上に作用する累積力を得るために、インプリントリソグラフィホルダと基板ステージの一方又は両方は移動可能であるように構築され配置される。
対向するアクチュエータの制御のための同じ増幅器
[000258] 図18は、インプリントリソグラフィテンプレート180の下面図を概略的に示す。インプリントリソグラフィテンプレート180は、メサ領域184がそこから延在するベース領域182を備える。メサ領域184は、インプリント可能な媒体の層内にインプリントしてその媒体内に対応するパターンを形成できる1つ以上のパターンフィーチャを備える。
[000259] 幾つかのアクチュエータ186がインプリントリソグラフィテンプレート180の1つ以上の辺に沿って分散されている。アクチュエータを用いてインプリントリソグラフィテンプレート180を位置決めし、及び/又は変形させることができる。インプリントリソグラフィテンプレート180の位置決めは、例えば、インプリント可能な媒体の層内又は層上に提供されたパターンを高精度に配置し又は整列させるために必要である。インプリントリソグラフィテンプレート180の変形は、例えば、1つ以上の倍率誤差などを補正するために必要である。アクチュエータ186は、例えば、適当な制御によって、インプリントリソグラフィテンプレート180の位置決め及び/又は変形におけるナノメートルレベルの精度を可能にする圧電アクチュエータであってもよい。
[000260] 図19は、図18のインプリントリソグラフィテンプレート180とアクチュエータ186の側面図を概略的に示す。点線の輪郭内にはアクチュエータ186に適用可能な信号(すなわち、制御信号)の制御に使用するコンポーネントが含まれる。このコンポーネントは、図19に示す位置にコンポーネントが配置されていないことを示すために点線の輪郭内に示されている。したがって、点線の輪郭は、コンポーネントとアクチュエータ186の接続を概略的に示す。
[000261] アクチュエータ186に適用可能な(例えば、使用時に提供される)信号の制御に使用するコンポーネントの1つが制御ユニット188である。制御ユニット188は、各アクチュエータ186に印加される力を制御する制御信号を提供する。各アクチュエータ186は、制御ユニット188によって提供され、アクチュエータ186を制御するために使用される関連付けられた信号増幅器190、192を有する。
[000262] 信号増幅器190、192の各々が「完璧」であったならば、制御信号の増幅はまさに意図した通りになろう。しかし、実際には、信号増幅器190、192は完璧ではない。例えば、各信号増幅器190、192は、制御信号の増幅中にその信号内に雑音成分を導入する。この雑音は一定ではなく、時間と共に変動し、ランダムに変動する可能性が高い。制御信号内のそのような雑音によって、アクチュエータ186は異なる時間に異なる力をインプリントリソグラフィテンプレート180に送達する。例えば、ある動作モードでは、各アクチュエータ186が20Nの力を提供することが望まれる。ある時点では、信号増幅器190、192の固有雑音のせいで、印加された力は20.002Nになり、別の時点では、19.997Nになることがある。この例で使用する力の実際の値は幾分偶然であることを理解されたい。重要なのはこれらの力の変動である。さらに、制御信号の増幅は異なるアクチュエータ186について異なる増幅器190、192によって実行されるため、印加された力の変動はアクチュエータの複数のグループで、又はインプリントリソグラフィテンプレート180の1つ以上の辺に沿って配置された全アクチュエータ186で一定でないことがある(その可能性が高い)。異なる信号増幅器190、192によって制御信号の増幅中に引き起こされる制御信号内の雑音は1つ以上の問題を引き起こすことがある。
[000263] 第1の問題では、インプリントリソグラフィテンプレート180の1つの辺に印加される総計の力がインプリントリソグラフィテンプレート180の反対側の第2の辺に印加される(例えば、対向するアクチュエータによって)力に等しくない場合、インプリントリソグラフィテンプレートは、意図した位置ではなくやや異なるオフセットされた位置に配置される。その位置は、インプリントリソグラフィテンプレート180の異なる辺に印加される力の差分に関連する。
[000264] 第2の上記の関連する問題では、インプリントリソグラフィテンプレートの異なる辺への異なる力の印加によって、インプリントリソグラフィテンプレートの変形又は変形の程度が意図した通りにならないことがある。例えば、変形の大きさと方向が大きすぎたり小さすぎたりする。
[000265] 図20は、上記の制御方法及び装置の1つ以上の問題を防止又は軽減する方法を示す。図20は、図19と実質的に同じインプリントリソグラフィテンプレート180及びアクチュエータ186の側面図である。図20は、インプリントリソグラフィテンプレート180の第1の位置(例えば、辺)に位置する複数のアクチュエータ186と、インプリントリソグラフィテンプレート180の反対側の第2の位置(例えば、辺)に位置する複数のアクチュエータ186と、を示す。同じ制御ユニット188も示されている。
[000266] 図19に示す装置とは対照的に、図20では、インプリントリソグラフィテンプレート180の第1の位置にあるアクチュエータ186と、インプリントリソグラフィテンプレート180の反対側の第2の位置に位置するアクチュエータ(例えば、対向するアクチュエータ)とに適用可能な制御信号を増幅する1つの信号増幅器194が提供される。
[000267] 対向するアクチュエータに印加される制御信号を増幅する1つの信号増幅器を提供することで、信号増幅器によって導入されるあらゆる雑音は対向するアクチュエータの両方に印加される制御信号内で固有になる。これは、対向するアクチュエータに印加される制御信号には何も差がないということ、すなわち、両方のアクチュエータによって印加される力も同じであるということ(これらのアクチュエータの適当にまた実質的に同様のアクチュエータ特性を前提として)を意味する。印加される力は実質的に同じであるため、これは、インプリントリソグラフィテンプレートの位置を意図した通りにすべきであるということを意味する。
[000268] 固有雑音の結果、依然として印加される力は同じであるが、その大きさは意図した通りではない。したがって、インプリントリソグラフィテンプレートの変形は、依然として意図した通りにならないことがある。しかし、対向するアクチュエータによってインプリントリソグラフィテンプレートの両辺に印加される力は実質的に同じであるため、印加される力の補正の適用はより容易である。
[000269] ある実施形態では、信号増幅器は直接対向する(また、例えば、インプリントリソグラフィテンプレートの対向する辺上にあるだけではない)アクチュエータに印加される信号を増幅する。これによって、インプリントリソグラフィテンプレートの異なる対向する地点(例えば、辺又は辺上の地点)に実質的に同じ力を印加する処理が容易になり、又は以前より容易になる。1つの信号増幅器は、インプリントリソグラフィテンプレートの辺全体に沿って位置する対向する対のアクチュエータ、対向するアクチュエータのグループ、又は対向するアクチュエータに関連付けられていてもよい。各々がインプリントリソグラフィテンプレートの辺全体に沿って位置する対向する対のアクチュエータ、対向するアクチュエータのグループ、又は対向するアクチュエータに関連付けられた2つ以上の増幅器を提供してもよい。
[000270] アクチュエータは、所与の入力信号に提供する力に少量の雑音(例えば、信号増幅器によって生成される任意の雑音又はその他の制御電子回路の任意の雑音と比較して小さい)しか導入しない圧電又はローレンツアクチュエータであってもよい。
[000271] 上記のアクチュエータは、インプリントリソグラフィテンプレートの位置(配向を含む)及び/又は変形(又は変形の程度)を制御する作動装置を形成する。一例では、この作動装置は、インプリントリソグラフィテンプレートと固定接続されてもよい。一例では、この作動装置は、インプリントリソグラフィテンプレートに接続されるか、又は接触するインプリントリソグラフィテンプレートホルダと固定接続されてもよい。別の例では、作動装置は、インプリントリソグラフィテンプレートホルダとインプリントリソグラフィテンプレートとの間に配置できる。最も実用的な実施形態では、一般的に、作動装置は、インプリントリソグラフィテンプレートホルダの一部を形成する。
インプリント可能な媒体の固化の直前にインプリントリソグラフィテンプレートの位置及び/又は変形制御の帯域幅を増加させる
[000272] インプリントリソグラフィテンプレートは、普通、インプリント可能な媒体の層が実質的に液状の、及び/又は流動可能な状態のときにインプリント可能な媒体の層内にインプリントされる。そのようなインプリントは、そのインプリント可能な媒体の層内にパターンを提供する。次に、パターンは、例えば、化学線、又は熱などの適当な使用によって凝固する(言い換えれば、固まる)。パターンの凝固によって、インプリント可能な媒体は凝固した、実質的に固体の状態になる。インプリント可能な媒体は、凝固プロセスの最後に、例えば、化学線による照射プロセスの最後に、又は加熱プロセスの最後などに、凝固した、実質的に固体の状態になる。インプリント可能な媒体がその間又はそれにわたって実質的に液状の、流動可能な状態又は凝固した、実質的に固体の状態のいずれでもない期間がある。逆に、この中間的な期間にわたって、又はその間、インプリント可能な媒体はその剛性(例えば、ヤング率Eで表される)が時間と共に増加する中間状態にある。
[000273] 図21は、期間Tにわたるインプリント可能な媒体の剛性(ヤング率Eのログプロットで表される)の変化を概略的に示すグラフである。
[000274] 第1の時間200で、インプリント可能な媒体の凝固は、例えば、インプリント可能な媒体の化学線への露出によって開始する。第2のその後の時間202で、インプリント可能媒体の剛性は急速に増加し始めるが、瞬間的に増加するわけではない。例えば、増加は、1秒未満、500ミリ秒未満、250ミリ秒未満、100ミリ秒未満、又は50ミリ秒未満、又は10ミリ秒未満、又は5ミリ秒未満の期間にわたる。増加の速度と継続時間は、インプリント可能な媒体のタイプ、化学線の強度、熱源の温度、などの幾つかの条件によって異なる。第3の時間204で、剛性の増加は停止し、最大剛性に達する。この時点で、インプリント可能な媒体は凝固した、実質的に固体の状態に達している。
[000275] このグラフは、3つの比較的別個の領域に分割される。すなわち、非凝固の、実質的に液状の、及び/又は流動可能な状態にあるときの第1の領域206と、インプリント可能な媒体が非凝固の、実質的に液状の、及び/又は流動可能な状態206の間の剛性を増加させている中間状態にあるときの第2の領域208と、インプリント可能な媒体が凝固の、実質的に固体状態にあるときの第3の領域210と、である。
[000276] 図22は、インプリント可能な媒体の層内にインプリントされるときのインプリントリソグラフィテンプレートの位置(配向を含む)又は変形の制御の例示的な帯域幅Bを概略的に示すグラフである。制御帯域幅は、図21の3つの時間区間に対して示されている。
[000277] 図21及び図22を組み合わせて説明する。インプリント可能な媒体が第1の実質的に液状の又は流動可能な状態206にあるときに基板に対するインプリントリソグラフィテンプレートの位置又は変形の比較的高い帯域幅の制御が実行される。この比較的高い帯域幅の制御は、インプリント可能な媒体が第2の中間状態208(すなわち、実質的に流動可能な状態と実質的に凝固した状態との間)にある期間に継続する。この第2の中間状態208で、インプリント可能な媒体の剛性が増加して実質的に凝固した固体状態210に達するにつれて、制御の帯域幅は比較的低い帯域幅まで低減される。低い帯域幅の制御は、インプリント可能な媒体が実質的に凝固した固体状態210にある期間に継続する。
[000278] 比較的高い帯域幅の制御は、第1の(実質的に流体の)状態と第2の(中間)状態で実行される。これは、これらの状態が存在する期間の間、インプリント可能な媒体はまだ固化していないからである。したがって、高い帯域幅の制御は、インプリント可能な媒体上又は内及び/又はインプリント可能な媒体が提供された基板上に大きい力を印加又は誘導しないか又はできない。しかし、実質的に凝固した状態へ向けてインプリント可能な媒体の剛性が増加するにつれて、制御帯域幅はそれに応じて低い帯域幅の制御へ低減して、インプリント可能な媒体上又は内及び/又は基板それ自体の上への大きい力の印加又は誘導を回避しなければならない。大きい力の印加又は誘導を回避は幾つかの理由から、例えば、インプリント可能な媒体の層の損傷又はインプリント可能な媒体の層及び/又は基板の変位を回避するために望ましい。
[000279] 高い帯域幅の制御と低い帯域幅の制御との間の、特にインプリント可能な媒体の中間状態の間の遷移相は重要である。これは、この状態が存在する期間の間に引き起こされるか又は誘導される位置又は変形誤差がインプリント可能な媒体の層内に固定されるか又は固定されることがあるからである。そのような誤差は、パターン配置オーバレイに影響する。
[000280] 本発明のある実施形態によれば、基板に対するインプリントリソグラフィテンプレートのより厳格な(例えば、より高精度の又はより厳密な)位置及び/又は変形制御は、インプリント可能な媒体が中間状態、すなわち、液体状態と固体状態の間の期間中に実行される。この厳格な(例えば、より高精度の又はより厳密な)位置及び/又は変形制御は、インプリント可能な媒体が凝固する直前に、すなわち、インプリント可能な媒体が中間状態にあるときに、制御が比較的低い帯域幅へ低減する前に、第1の高いレベルから第2の高いレベルへ帯域幅を増加させることで達成される。そのような制御方法によって、インプリント可能な媒体に塗布される任意のパターンが、そうでなければ達成不可能な場合よりも高精度に且つ一貫して位置決め(配向を含む)されるか又は変形される(例えば、倍率補正を有する)。
[000281] 図23は、図21に示し同図に関連して説明したものと同じグラフを示す。図24は、図21、したがって、図23に関連して説明した期間中の基板に対するインプリントリソグラフィテンプレートの位置及び/又は変形の制御の帯域幅を示す。図24で、制御帯域幅は、図22示し同図に関連して説明したものと同様である。しかし、図24では、高い帯域幅の制御の初期期間の後で、帯域幅が比較的低いレベルへ低減する前に、インプリント可能な媒体が中間状態208(実質的に流動可能/流体の状態206でもなく実質的に凝固した状態でもない)にある期間中に、さらに高い帯域幅の制御212が実行される。基板に対するインプリントリソグラフィテンプレートの位置及び/又は変形の制御は、おそらくは以下を含むものとしてより一般的に説明できるであろう。
i)インプリント可能な媒体が非凝固の、実質的に液状の、及び/又は流動可能な状態206にあるときに第1のレベルで比較的高い帯域幅の制御を実行するステップと、それに続けて、
ii)インプリント可能な媒体が非凝固の、実質的に液状の、及び/又は流動可能な状態206と凝固の、実質的に固体状態210の間の中間状態208にあるときに、第1のレベルよりも高い第2のレベルでより高い帯域幅の制御を実行するステップと、それに続けて、
iii)インプリント可能な媒体が凝固の、実質的に固体状態210にあるときに比較的低い帯域幅の制御実行するステップ。
[000282] 第2のレベルでのより高い帯域幅の制御とより低い帯域幅の制御との間の遷移は、(又は望ましくは)インプリント可能な媒体が中間状態208にあるときに発生する。
[000283] より高い帯域幅の制御間の遷移は、インプリント可能な媒体が中間状態208にあるときに発生する。
[000284] 上記の基板に対するインプリントリソグラフィテンプレートの位置又は変形の制御は、基板に対するインプリントリソグラフィテンプレートの位置決め又は変形で使用する1つ以上のサーボ機構の制御によって実行されてもよい。
[000285] より高い(例えば、第2の)レベルの帯域幅の制御の可能な結果は、例えば、上記の制御を実行するために使用するサーボ機構などの潜在的な不安定性であってもよい。より高い(例えば、第2の)レベルの帯域幅の制御の設定を一定のしきい値未満に調整又は選択してもよい。調整又は選択においては、より高いレベルの帯域幅の制御が実行される期間を超える時間に、又はその後に、あらゆる不安定性が生起する(又は生起する傾向が高まる)。これによって、そうでなければそのような不安定性に関連付けられたはずのあらゆる問題が防止又は軽減される。
[000286] 基板に対するインプリントリソグラフィテンプレートの位置又は変形の制御は、インプリントリソグラフィテンプレート、基板、又はインプリントリソグラフィテンプレートと基板の位置及び/又は変形の組合せ(直列又は並列の)の制御を含んでもよい。
[000287] インプリント可能な媒体の層内にパターンをインプリントするときには、多くの場合、これらのパターンをそのインプリント可能な媒体の層の下にある以前に提供された、又は蒸着された、又は処理されたパターンに高精度に整列できることが望ましい(オーバレイ、又はオーバレイ要件と呼ばれることが多い)。これは、リソグラフィプロセスを用いてデバイスを成功裏に形成又は製造するために満足すべき重要な用件であることが多い。したがって、上記の制御は、例えば、上記オーバレイ要件などを満足し、又はより高精度に満足するために、基板のターゲット部分に対してインプリントリソグラフィテンプレートアレンジメントを整列させるか又はその整列を維持するステップを含むか又はそのステップに含まれてもよい。
位置支持体に付与されるインプリントリソグラフィテンプレートに印加される増幅力の低減
[000288] 図25は、インプリントリソグラフィテンプレート220の下面図を概略的に示す。インプリントリソグラフィテンプレート220は、メサ領域224がそこから延在するベース領域222を備える。メサ領域224は、インプリント可能な媒体の層内に対応するパターンをインプリントする際に使用する1つ以上のパターンを備える。インプリントリソグラフィテンプレート220をアクチュエータ226が取り囲む。アクチュエータ226は、インプリントリソグラフィテンプレート220を位置決めし及び/又は変形させる好適な力を提供できる。代替的に、位置支持体とも呼ばれる固定当接点228も提供される。固定当接点228は、インプリントリソグラフィテンプレート220の3自由度を固定するために提供される。3自由度は、インプリントリソグラフィテンプレート220の平面に平行な第1の軸に沿った(すなわち、x軸に沿った)平行移動と、第1の軸に垂直でインプリントリソグラフィテンプレート220の平面に平行な第2の軸に沿った(すなわち、y軸に沿った)平行移動と、第1及び第2の軸に垂直な第3の軸周りの(すなわち、z軸周りの)回転と、である。
[000289] アクチュエータ226及び当接点228は、作動装置の一部を形成する。
[000290] 使用時に、例えばインプリントリソグラフィテンプレート220を変形して、例えば、インプリントリソグラフィテンプレート220を圧縮して倍率補正などを実施することが望ましい場合がある。インプリントリソグラフィテンプレート220の通常の圧縮は、テンプレート220の長さの5ppm(パートパーミリオン)であってもよい。そのような圧縮は、例えば、インプリントリソグラフィテンプレート220の1辺当たり最大200Nの変形力の印加を含んでもよい。
[000291] インプリントリソグラフィテンプレート220の剛性は通常、4×10N/mであってもよい。固定当接点228の剛性は、2×10N/m程度であってもよい。しかし、これと対照的に、接触点、又はインプリントリソグラフィテンプレート220と固定当接点228との間の区域又は領域の剛性ははるかに小さい剛性で、例えば、2×10~3×10N/mの範囲内であってもよい。このはるかに小さい接触剛性は、一般の機構の剛性を圧し、インプリントリソグラフィテンプレートを高精度に位置決めしようと試みるときには弱点になることがある。
[000292] インプリントリソグラフィテンプレートの精度は0.2nmより高くなければならないと仮定する。アクチュエータ226によって提供される対応する力の外乱(例えば、力の内部の雑音)は、4mN未満でなければならない。前記のように、印加される圧縮力は最大200Nで、アクチュエータ226の信号対雑音比は5×10より良くなくてはならない。アクチュエータにそのような信号対雑音比を提供することは些細なことではない。そのような高い信号対雑音比を有するアクチュエータの必要性を回避することが望ましい。
[000293] 本発明のある実施形態によれば、1つ以上のアクチュエータ226によって提供される力を制御するためのコントローラ(図示せず)は、提供される力が、すべて上記の、第1の軸、第2の軸に沿った、また第3の軸周り(すなわち、x軸、y軸に沿った、またz軸周り)に作用する累積力が最小限になる程度のものであることを確実にする助けになるように構成されている。これは、代替的に又は追加的に、インプリントリソグラフィテンプレート220上に作用する(例えば、圧縮)力が実質的に平衡状態にあることを確実にするという記述が可能である。もちろん、対向するアクチュエータ226の異なる対が依然として異なる全体の力を提供してインプリントリソグラフィテンプレート220の適当な変形を可能にすることもできる。
[000294] 固定当接点228に、及び、例えば、固定当接点228とインプリントリソグラフィテンプレート220との間の接触点の間の、又はそれを通して印加される力の低減によって、その力を提供するアクチュエータ226の設計の自由が増大する。これは、固定当接点228とインプリントリソグラフィテンプレート220との間の接触点の比較的低い剛性がこれらの点に作用する力が低減されるときにはより重要でないからであり、これによって、アクチュエータ226の信号対雑音比を低下させ、例えば、圧電又はローレンツアクチュエータを用いてより容易に達成できる。
[000295] この文脈での「最小限」という用語は、1つの、複数の、又はすべての固定当接点226に印加されている(それを通過してでもよい)力によって、インプリントリソグラフィテンプレート220に印加される力の総計の5%未満、インプリントリソグラフィテンプレート220に印加される力の総計の4%未満、3%未満、2%未満、1%未満、実質的に1%、又は実質的に0%として定義できる。望ましくは、1つの、複数の、又はすべての固定当接点226に印加される(それを通過してでもよい)力は、インプリントリソグラフィテンプレート220に印加される力の総計の2%以下である。この力は、アクチュエータ226の制御の適当な累積(又は全体としての)考慮によって最小限に制御できる。
[000296] 上記のように、第1の軸、第2の軸に沿った、また第3の軸周りに作用する累積力が最小限であるため、インプリントリソグラフィテンプレート220を付勢して固定当接点に接触させて自由度を固定する必要がある。図26は、事前収納された付勢部材230を概略的に示す。付勢部材230は、ばね又はその他の付勢要素に取り付けられた当接表面又は面を含んでもよい。
[000297] 代替的に又は追加的に、インプリントリソグラフィテンプレートを付勢して固定当接点に接触させるステップは、非ゼロの変形力(すなわち、上記の「最小限」の力が非ゼロである)の存在によって達成できるが、追加の位置アクチュエータを提供してもよい。
[000298] 上記のように、固定当接点228上に作用する非ゼロ圧縮力があってもよい。この力は、例えば、インプリントリソグラフィテンプレート220に提供される圧縮力の総計の1%であってもよい。上記の値から、各アクチュエータ226の信号対雑音比は、5×10であることが示される。しかし、インプリントリソグラフィテンプレート220の圧縮又は変形は、1nmより大きくなければならない。変形精度は、0.2nm以下であってもよい。この場合、圧縮又は変形力の外乱(すなわち、提供される力の内部の雑音)は40mN未満でなければならない。信号対雑音比は5×10になる。これは容易に達成でき、上記の信号対雑音比よりもはるかに小さい。
[000299] 一般に、本発明のある実施形態はテンプレートの変形と位置決めとを分けるが、これで位置決めに影響する力の変形での雑音の可能性が低減する。
[000300] インプリントリソグラフィテンプレートは、幾つかの異なる形状の1つを有してもよい。しかし、提案された既存のインプリントリソグラフィテンプレートは、通常、矩形(四角形を含む)である。上記の3自由度を固定するために、3つの固定当接点が必要である。2つの固定当接点は、インプリントリソグラフィテンプレートの1辺に沿って配置でき、別の固定当接点は、インプリントリソグラフィテンプレートの隣接する辺に沿って配置できる。
[000301] 上記のアクチュエータは、インプリントリソグラフィテンプレートの位置(配向を含む)及び/又は変形(又は変形の程度)を制御する作動装置を形成する。一例では、この作動装置は、インプリントリソグラフィテンプレートと固定接続されてもよい。一例では、この作動装置は、インプリントリソグラフィテンプレートに接続されるか、又は接触するインプリントリソグラフィテンプレートホルダと固定接続されてもよい。別の例では、作動装置は、インプリントリソグラフィテンプレートホルダとインプリントリソグラフィテンプレートとの間に配置できる。最も実用的な実施形態では、作動装置は、一般的に、インプリントリソグラフィテンプレートホルダの一部を形成する。
インプリントリソグラフィテンプレートに印加される圧縮力を検知して位置決めを改善する
[000302] 図27は、インプリントリソグラフィ装置の側面図を概略的に示す。この装置は、アライメントセンサ240を備える。インプリントリソグラフィテンプレート242の位置決め及び/又は変形で使用する1つ以上のアクチュエータ244と組み合わせて、インプリントリソグラフィテンプレート242も提供される。インプリント可能な媒体246の層が基板248上に提供される。基板248は、基板ステージ250上に保持されている。
[000303] アライメントセンサ240を用いて、例えば、インプリントプロセスの前及び/又はその最中に、基板248(その上に提供されたインプリント可能な媒体246を含む)のターゲット部分に対してインプリントリソグラフィテンプレート242を整列させることができる。
[000304] 図27に示す装置の使用に関連付けられた問題がある。アクチュエータ244を用いて、圧縮によって、インプリントリソグラフィテンプレート242を変形させることができる。そのような変形によって位置もわずかに変化する。アクチュエータ244は、100Hzを超える帯域幅を有してもよい。これは、印加された圧縮力の変化と位置の意図しない変化をこの周波数で実施できるという意味である。しかし、アライメントセンサ240は、通常10Hz未満又は5Hz未満の検出帯域幅(すなわち、変化を検出できる周波数)を有する。アライメントセンサは、アクチュエータ244の(実施)制御帯域幅よりも低い検出帯域幅を有するため、アクチュエータ244によって印加される圧縮力の変化に起因する高周波数位置変化はアライメントセンサ240によって検出できない。アライメントセンサ240はこれらの変化(又は少なくともこれらの変化のすべて)を検出することはできないので、アライメントセンサ240によって検出されないインプリントリソグラフィテンプレート242に位置の変化はインプリント中に考慮されないか又は考慮できない。その結果、インプリントリソグラフィプロセス中にパターンが不正確に印加されることがある。この問題を制限又は回避することが望ましい。
[000305] 図28は、図27に示し同図に関連して説明したものと実質的に同じインプリントリソグラフィ装置を概略的に示す。しかし、図27に示す装置に加えて、図28では、相対位置センサ252が示されている。相対位置センサ252は、インプリントリソグラフィテンプレート242と基板248との相対位置を測定するように構築され配置されている。相対位置センサ252は、アライメントセンサ240の検出帯域幅よりも大きい検出帯域幅を有する。したがって、相対位置センサ252を用いてアライメントセンサ240の性能の任意の欠点、特にアライメントセンサ240の低い検出帯域幅を説明することができる。
[000306] アライメントセンサ240は、例えば、装置(図示せず)のメトロロジーフレームに対する、又は基板248とインプリントリソグラフィテンプレート242上の基準マークなどとの間の絶対位置測定を提供できるが、相対位置センサ252は、基板248に対するインプリントリソグラフィテンプレート242の位置決めに使用できる相対位置測定を提供できる。これらを組み合わせることで、アライメントセンサ240のみを使用する場合と比較して、インプリントリソグラフィテンプレート242を基板248に対してより高精度に整列させる(すなわち、それに対して位置決めする)ことができる。
[000307] 上記のように、アライメントセンサは、10Hz未満、5Hz未満、例えば、数ヘルツの通常の検出帯域幅を有してもよい。これとは対照的に、相対位置センサは、50Hzを超える、100Hzを超える、又は200Hzを超える検出帯域幅を有してもよい。
[000308] 図28には示していないが、アクチュエータ244の一部を構成するか又はそれに接続された1つ以上の力センサの形態で追加の測定機能を提供できる。力センサを用いて、直接的又は間接的に、アクチュエータ244に印加される力を測定できる。また、力センサは、上記のアライメントセンサ240の検出帯域幅よりも大きい検出帯域幅を有してもよい。力センサは、例えば、位置センサ、又は電流センサ、又はインプリントリソグラフィテンプレート242に印加される力を決定するために使用可能な他の任意の形態のセンサであってもよい。装置のコントローラを用いて、それぞれのアクチュエータ244によって、インプリントリソグラフィテンプレート242に印加される力をインプリントリソグラフィテンプレート242の位置(例えば、相対位置)に変換でき、基板248に対するインプリントリソグラフィテンプレート242の絶対位置の決定及び/又は位置決めにこれを使用できる。
[000309] 追加の又は代替実施形態では、上記の1つ以上の問題又はその他の問題は、インプリントリソグラフィテンプレートの変形に関連する制御帯域幅を低減することで防止又は軽減できる。
[000310] この追加の又は代替実施形態では、ある方法は、実質的に意図した通りに位置及び変形を達成するために、基板(例えば、基板のターゲット部分)に対するインプリントリソグラフィテンプレートの位置及び変形を制御するステップを含んでもよい。インプリントリソグラフィテンプレートが実質的に意図した通りに位置決めされ変形すると、インプリントリソグラフィテンプレートの変形に関連付けられた制御帯域幅を低減できる。インプリントリソグラフィテンプレートの変形に関連付けられた制御帯域幅を低減することで、アライメントセンサは、インプリントリソグラフィテンプレートの変形で使用するアクチュエータによって印加される圧縮力の変化によって引き起こされるインプリントリソグラフィテンプレートの位置の変化をより容易に検出できる。したがって、この実施形態の制御帯域幅は、インプリントリソグラフィテンプレートの変形の実施(例えば、アクチュエータ又はアクチュエータのコントローラに印加される信号を介して)に関連する実施帯域幅であってもよい。
[000311] 帯域幅は、100Hz未満、50Hz未満、10Hz未満、5Hz未満まで低減でき、及び/又は、より一般的には、インプリントリソグラフィテンプレートと基板のターゲット部分との整列に使用されるアライメントセンサの検出帯域幅内の帯域幅まで低減できる。
[000312] インプリントリソグラフィテンプレートの変形に関連する制御帯域幅の低減は、インプリント中の、又はインプリントの前とインプリント中の両方でインプリント可能な媒体内にインプリントリソグラフィテンプレートを実施する前に実施できる。
[000313] 力センサの使用については上述した。本発明の追加又は代替実施形態では、力センサの使用は、上記の1つ以上の概念の代わりに、又はそれに加えて使用される。図29は、図27に示し同図に関連して説明したものと実質的に同じインプリントリソグラフィ装置を概略的に示す。しかし、図27に示す装置とは対照的に、図29は、アクチュエータ244の一部を構成するか又は少なくともそれと接続された1つ以上の力センサ254を示す。
[000314] 上記のように、力センサ254は、アライメントセンサ240の検出帯域幅よりも大きい検出帯域幅を有してもよい。これによって、アライメントセンサ240だけではどうしても(その比較的低い検出帯域幅のために)提供できなかったであろうインプリントリソグラフィテンプレートの高精度の(又はより高精度の)位置測定及び/又は位置制御が容易にできる。
[000315] この装置は、力センサ254からの出力を受信するように構成され、この出力をインプリントリソグラフィテンプレート242の位置に変換するようにさらに構成された制御機構(図示せず)をさらに含んでもよい。この位置は、インプリントリソグラフィテンプレートの相対又は絶対位置、又はそのような位置の変化又は移動であってもよい。実際、位置が相対位置又はそのような相対位置の移動であることが多いが、アライメントセンサは絶対位置測定を提供できる。
[000316] 各力センサは、50Hzを超える、又は100Hzを超える、又は200Hzを超える検出帯域幅を有してもよい。これは、10Hz未満、又は5Hz未満の検出帯域幅を有してもよいアライメントセンサと対照的である。
[000317] 各アクチュエータ244は、力センサ254を備えるか、又はそれに接続されてもよい。各力センサ254は、位置センサ又は電流センサ、又はインプリントリソグラフィテンプレート242に印加される力を決定するためのその他の任意の形態のセンサであってもよい。
[000318] 力センサ254を介したインプリントリソグラフィテンプレート242の位置又は位置の変化の決定はアライメントセンサ240を用いて、又はそれによって実行される位置測定と並列又は直列に実行できる。実際、低い帯域幅の検出測定だけが実行され、位置の制度不良が発生する可能性がある時間がないように、測定は並列で実行されることが多い。
ガスの非対称的な形の分配
[000319] インプリントリソグラフィ方法では、インプリントリソグラフィテンプレートはインプリント可能な媒体に接触する。このインプリント可能な媒体は、複数の液滴の形で提供できる。液滴が基板上に提供されると、液滴は広がって連続的な層が形成される。第1相では、液滴は、液滴同士が接触するまで表面張力と粘性の抵抗力との平衡によって駆動されて自由に広がる。液滴が互いに接触し始めると、インプリントリソグラフィ方法が実行されるガス雰囲気内の、又はそれを形成するガス(例えば、空気)が液滴、基板、及びインプリントリソグラフィテンプレートの間に捕捉される。ガスのこれらの捕捉されたポケットは、介在物又はガス介在物と呼ばれることがある。第2相では、これらのガス介在物は溶解する。ガス介在物は、介在物内のガスのインプリント可能な媒体それ自体、基板及び/又はインプリントリソグラフィテンプレートの1つ以上を通した、及び/又はその内部への拡散によって溶解する。理想的には、ガス介在物のすべてはできる限り迅速に溶解するはずであり、したがって、インプリントリソグラフィプロセスの次のステップは、できる限り早く実行される。ガス介在物が全く溶解しないと、介在物は印加されたパターンないに欠陥を形成することがある。
[000320] 空気中での(例えば、ガス雰囲気が空気を含むときの)インプリントリソグラフィ方法の実行時に遭遇する1つの問題は、空気がインプリントリソグラフィテンプレート及び/又は基板及び/又はインプリント可能な媒体内に拡散するのに長い時間がかかるという点である。少なくとも部分的にこの問題を克服する試みで、空気以外のガスを用いてパターンのインプリントを実行するガス雰囲気を形成できる。ガス雰囲気を形成するために用いるガスは、インプリントリソグラフィテンプレート、基板、及び/又はインプリント可能な媒体それ自体の1つ以上に迅速に(又は少なくとも空気よりも速く)拡散する能力によって特別に選択される。より速い拡散はより高速のインプリントリソグラフィ方法を可能にする。このように使用されることが提案されているガスは、インプリントリソグラフィテンプレート(例えば、石英又は溶融シリカ製のテンプレート)内に空気よりも速く拡散する能力を有するヘリウムである。
[000321] 図30は、基板(基板は図示していない)上に提供されたインプリント可能な媒体の層内にパターンをインプリントする際に使用するインプリントリソグラフィテンプレートアレンジメントの下面図を概略的に示す。この例では、インプリントリソグラフィテンプレートアレンジメントは、インプリントリソグラフィテンプレートを備える。インプリントリソグラフィテンプレートは、上に提供されたインプリント可能な媒体の層内にパターンをインプリントする際に使用するパターンフィーチャをその上に提供できるメサ262がそこから延在するベース領域260を備える。メサ262及びベース領域260は一体形成できる。
[000322] その雰囲気内でパターンのインプリントが実行されるガス雰囲気を提供するガス分配装置264がインプリントリソグラフィテンプレートを取り囲む。ガス分配装置264は、例えば、インプリントリソグラフィテンプレートの保持(及びその移動など)に使用するインプリントリソグラフィテンプレートホルダの一部を形成するか又はそれに取り付けられてもよい。別の例では、ガス分配装置264は、インプリントリソグラフィテンプレートホルダから独立していてもよい。ガス分配装置264は、インプリントリソグラフィテンプレートの周囲に分散した1つ以上のガス出口266を備える。別の実施形態では、1つ以上のガス出口266は、例えば、出口を適当に移動させるなどの方法で、インプリントリソグラフィテンプレートの周囲に分散できる。ある実施形態では、ガス出口266は、例えば、インプリントリソグラフィテンプレートのメサ262の中央部に対してインプリントリソグラフィテンプレートの中央部周りに対称に分散されている。例えば、メサ262の対向する辺上の出口266は、メサ262の中央部に整列している。
[000323] ガス分配装置264は、使用時に、インプリントリソグラフィテンプレートと基板の間に位置する領域を少なくとも部分的に取り囲むか又は包むなどしてガス分配装置264によって分配されたガスを保持し、又は少なくともその保持を促進するスカート等267をさらに含んでもよい。
[000324] 使用時に、ガス(例えば、ヘリウム)が出口266から分配されて、インプリントリソグラフィテンプレートアレンジメントと基板ホルダ及び/又はその上に保持された基板との間に位置する領域から空気などをパージする。これは、この処理によって、インプリントが実行されるガス雰囲気を空気ではなくヘリウムが形成するということを意図する。しかし、インプリントリソグラフィテンプレートの周囲のガス出口266の対称的な分散のために、インプリントリソグラフィテンプレートの中央部の(例えば、メサ262の中央にある)空気は容易にパージ(例えば、除去)できない。これは、ガス圧力が対称的に提供されるからである。ガス分配装置264によって提供されるガス圧力はメサ262の中央部周辺でどこでも同じなため(例えば、メサ262の中央部に対してガス圧力がガス分配装置264の4つの辺から等しく対称的に印加される)ので、空気は捕捉される。空気が捕捉されると、空気を含む介在物はすべてヘリウムを含む介在物よりも溶解に時間がかかる。これは、インプリントリソグラフィプロセスを遅らせることがある。
[000325] ある実施形態によれば、上記の問題は、ガスを非対称的に分配することで少なくとも部分的に克服できる。非対称的なガスの分配は、インプリントリソグラフィテンプレートアレンジメントの中央部を取り囲むガス圧力が同じである可能性を低減又は解消する。非対称性のために、ガス分配装置(例えば、ヘリウム)によって導入されるガスによって追い出されるあらゆるガスなど(例えば、空気)は、インプリントリソグラフィテンプレートアレンジメントの中央部からより容易に逃れ又は移動することができる。
[000326] 図31及び図32を用いて本発明の実施形態を説明する。図31及び図32に示し、図30に示し、同図に関連して説明した特徴には図の見やすさと一貫性のために同じ参照番号が付与されている。
[000327] 図31は、ガスを非対称的に分配するために、ガス出口266をインプリントリソグラフィテンプレートの中央部(例えば、そのメサ262)に対して非対称的に分散できる(ガス出口266の位置が固定されている場合)、又は分散可能である(ガス出口266が可動式の場合)ことを示す。例えば、ガス分配装置264の対向する辺上のガス出口266は直接対向して配置されておらず、及び/又はインプリントリソグラフィテンプレートの中央部に整列していないことが分かる。
[000328] 例えば、図31に示し同図に関連して説明したように、ガスは適当に分散したガス出口266によって非対称的に分配し導入できる。代替的に及び/又は追加的に、ガス分配の非対称性は、ガス出口266がインプリントリソグラフィテンプレートの周囲に対照的に分散されていても、幾つかの異なる方法の1つで達成できる。
[000329] 図32は、ガス出口がインプリントリソグラフィテンプレートのメサ262の周囲に対照的に分散された状況を示す。ガス出口266がこの対称的な形で分散されているとき、ガス分配の非対称的な性質は2つの(少なくとも)異なる方法を用いて達成できる。第1の方法では、ガス分配装置264は、異なるガス出口266で異なる圧力でガスを分配してガスを非対称的に分配する。第2の、代替又は追加の方法では、ガス分配装置264は、異なる出口で異なる時間にガスを分配してガスを非対称的に分配するように構成できる(例えば、適当に制御される)。
[000330] 図31及び図32に示し同図に関連して説明する実施形態の1つ以上又はその組合せを用いて、インプリントリソグラフィテンプレートアレンジメントの中央部からパージすべき、またそうでなければ介在物内に捕捉されるか、又はより容易に捕捉されるであろうガス(例えば、空気)は、より容易にパージされ、ガス分配装置(例えば、ヘリウム)によって提供されるガスと交換される。この結果、あらゆる(例えばインプリントリソグラフィテンプレートアレンジメントの中央部の)ガス介在物が溶解するのにかかる時間が低減され、インプリントリソグラフィ方法を実行するのにかかる時間が低減される。
比較的清潔な領域から比較的汚れた領域を分離する汚染バリア
[000331] リソグラフィ装置(光又はインプリントベースの)内で生成された汚染の量を制限して、そのようなあらゆる汚染が基板へのパターンの塗布に与える影響を制限することが望ましい。汚染は、例えば、装置内に侵入する埃又は微粒子などの形態で外部で生成される。しかし、汚染がリソグラフィ装置の内部で生成されることもある。汚染は、例えば、アクチュエータ又はアクチュエータが制御する装置の部分、例えば、クランプ、ポジショナ、ホルダ、カメラなどの移動などによって内部で生成されることがある。
[000332] 光リソグラフィの分野では、内部で生成された汚染の影響はそのような汚染を生成する可能性があるあらゆる(又は大半の)可動要素を基板の高さより下に配置することで低減できる。生成された汚染は、重力及び/又はあらゆる提供されたガスの下方へのフローの影響を受けて、一般に基板の高さより下まで落下し、汚染が基板上に落下する可能性を低減又は解消する。光リソグラフィの分野では、可動部品の全部とは言わずとも大半が基板の高さより下にある光リソグラフィ装置を設計し製造することは容易に可能であるため、これは容易に達成できる。しかし、インプリントリソグラフィの分野では、インプリントリソグラフィプロセスで使用する1つ以上の可動要素、又はこれらの可動要素のための1つ以上のアクチュエータを基板の高さより上に提供する必要があるため、これは容易に達成できない。そのような可動要素及び/又はアクチュエータは、基板上にパターンをインプリントするために使用するインプリントリソグラフィテンプレートの高さに、又はその上に配置してもよい。そのような可動要素は、例えば、インプリントリソグラフィテンプレートアレンジメント、インプリントリソグラフィテンプレートホルダ、インプリントリソグラフィテンプレートポジショナ(インプリントリソグラフィテンプレートホルダであるか又はそれの一部を構成する)、カメラ、センサ、又は放射源を備えてもよい。一般に、インプリント可能な媒体の層内にパターンを提供する際にインプリントリソグラフィテンプレートと併用されるように構成された1つ以上の可動要素を提供してもよい。
[000333] 上記のように、基板の高さより上に、又は幾つかの例では、インプリントリソグラフィテンプレートの高さより上に配置された可動要素は、重力によって、インプリントリソグラフィテンプレート(特に、そのテンプレートのパターン形成された領域)及び/又は基板上に落下する汚染を生成する可能性がある。可動要素及び/又はそのアクチュエータの形態の汚染源に起因する基板及び/又はインプリントリソグラフィテンプレートの汚染を低減又は解消することが望ましい。
[000334] 本発明のある実施形態によれば、上記の問題は、リソグラフィ装置を少なくとも2つの領域(例えば、その少なくとも2つの異なる領域は汚染バリアで分離されている)に分割する汚染バリアを提供することで少なくとも部分的に防止するか又は軽減することができる。2つの領域は、1つ以上の可動要素が位置する第1の比較的清潔でない領域を含む。1つ以上の可動要素は、一般的に、インプリント可能な媒体の層内にパターンを提供する際に使用するインプリントリソグラフィテンプレートと併用する(テンプレートの結像、移動、変形など)ように構成される可能性がある。第1の比較的清潔でない領域から分離された第2の比較的清潔な領域は、基板ステージと、基板を保持している場合、基板それ自体と、インプリントリソグラフィテンプレートのパターン付領域(インプリントリソグラフィテンプレートのメサ上に提供できる)と、を含む。汚染バリアの目的は、第1の領域内の可動要素によって生成される汚染が、放置すれば基板、基板ホルダ、及び/又はインプリントリソグラフィテンプレートのパターン付領域の汚染が発生する可能性がある第2の領域に侵入することを防止することである。第1の領域は、普通、インプリントリソグラフィ装置の上側の領域であり、第2の領域は、普通、インプリントリソグラフィ装置の下側の領域である。インプリントリソグラフィ装置の下側の領域を清潔に(できるだけ清潔に)保つことが望ましい。何故なら、これは、上記領域が、基板と、使用時に、インプリントリソグラフィテンプレートとが(共にパターンのインプリントの重要なコンポーネントである)配置される領域だからである。上側の領域は、インプリントリソグラフィに関して上述したように、普通、インプリントプロセス又は方法と併用する1つ以上の可動要素を含む。
[000335] 図33は、本発明のある実施形態によるインプリントリソグラフィ装置を示す。インプリントリソグラフィ装置は、基板276上に提供されたインプリント可能な媒体274の層内にパターンをインプリントする際に使用するパターン付領域272を備えたインプリントリソグラフィテンプレート270を備える。この装置は、基板276を保持し、及び/又は移動させる基板ステージ278をさらに備える。基板ステージ278は、基板ステージ278の下の、隣接し又は周囲にある、基板276の高さより下の位置の1つ以上のアクチュエータ280を用いて移動、位置決めなどが可能である。アクチュエータ280は基板276の高さの下にあるため、アクチュエータ280によって生成される汚染は一般に重力で落下し、基板276の高さより下のいかなる下方へのガスフローも基板276又はその上に提供されたインプリント可能な媒体274を汚染しない。
[000336] 1つ以上のアクチュエータ284によって作動されるインプリントリソグラフィテンプレートホルダ282も提供される。アクチュエータ284とインプリントリソグラフィテンプレートホルダ282は両方共基板276の上方にあり、インプリントリソグラフィテンプレート270のパターン付領域272の上方にあってもよい。したがって、アクチュエータ284及び/又はインプリントリソグラフィテンプレートホルダ282によって生成される汚染は下方向へ落下し、基板276、インプリント可能な媒体274及び/又はインプリントリソグラフィテンプレート270のパターン付領域272に接触することがある。そのような汚染がそのような接触をするのを防止する助けとして、インプリントリソグラフィ装置を少なくとも2つの領域に分割する(すなわち、分離する)汚染バリアが提供される。
[000337] 図34は、図33に示すものと同じ装置を示すが、さらに、第1の比較的清潔でない領域288と第2の比較的清潔な領域290との間の汚染バリアによって提供される分離286(又は言い換えれば分割又は輪郭)を示す。
[000338] 図33及び図34を組み合わせて説明する。第1の領域288は、一般にインプリントリソグラフィ装置の上側の領域であり、第2の領域は、一般にインプリントリソグラフィ装置の下側の領域である。第1の領域288には、インプリントリソグラフィテンプレートホルダ282のためのアクチュエータ284が配置されている。第2の領域には、インプリントリソグラフィテンプレート270のパターン付領域272、基板276、及び基板上に提供されたインプリント可能な媒体274の層が配置されている。汚染バリアが2つの領域288、290を分割又は分離している。
[000339] インプリントリソグラフィ装置の固定部品(例えば、ベースフレーム292など、及び、例えば、2次フレーム294などの部品)の間には、汚染バリアの一部を形成する1つ以上のトレイ又は容器296がある。トレイ又は容器296は、例えば、アクチュエータ284の移動によって生成される汚染を捕捉し、アクチュエータ284によって生成される汚染が第2の比較的清潔な領域290に達するのを防止するために提供される。
[000340] インプリントリソグラフィ装置の可動部品の間に、又はインプリントリソグラフィ装置の固定部品と可動部品との間に位置する汚染バリアの部品は、1つ以上の柔軟な部材から形成して装置の可動部品の移動を可能にすることができる。例えば、柔軟な部材298は、可動であるインプリントリソグラフィテンプレートホルダ282のある部品と、1つ以上の比較的固定された構造、例えば、2次フレーム294及び/又は別の固定構造300と、の間に配置できる。柔軟な部材は、例えば、インプリントリソグラフィ装置の可動部品の移動に対応するために、本質的に拡張可能、収縮可能、及び/又は伸縮可能である。
[000341] トレイ又は容器296と柔軟な部材298は共に(これらのコンポーネントが取り付けられた装置の部品と共に)、インプリントリソグラフィテンプレート270の周囲に、また一般的にインプリントリソグラフィ装置の少なくとも一部にわたって延在して、2つの領域288、290を画定し、分割し、又は少なくとも分離するバリアを形成する。
[000342] 図33及び図34は、インプリントリソグラフィテンプレート270の裏側の少なくとも一部を第2の領域290内に配置するか又は配置できる(例えば、インプリントリソグラフィテンプレート270がインプリントリソグラフィ装置内に収納されたときに)別の有利な特徴を示す。これは、汚染バリアの適当な構成によって達成できる。例えば、図に示すように、インプリントリソグラフィテンプレート270の裏側の少なくとも一部の付近に、汚染バリアはインプリントリソグラフィテンプレート270の裏側の上記部分を効果的に第1の比較的清潔でない領域から分離する(又は少なくとも汚染バリアの一部がそれから形成できる)材料302を含んでもよい。この材料は、化学線を実質的に透過してもよい。化学線は放射源304によって提供でき、汚染バリアが存在するときであっても、インプリント中にインプリント可能な媒体274の層内に提供されたパターンを凝固させるか又は固めるために使用できる。
[000343] 上記の方法で汚染バリアを構成することで、汚染バリアは、インプリントリソグラフィ装置の全体にわたって、インプリントリソグラフィテンプレート270が使用時に搭載される位置の上方で、多少連続的に延在する。これは、インプリントリソグラフィテンプレート270がインプリントリソグラフィ装置内に搭載されていない時でも、汚染バリアの完全性が維持され、2つの領域288、290の分割、又は分離、又は輪郭がそれに応じて維持されるということを意味する。
[000344] 別の実施形態(図示せず)では、インプリントリソグラフィ装置の全体にわたる汚染バリアを別の形で、例えば、化学線を透過する材料を使用せずに維持することができる。例えば、汚染バリアは、例えば、インプリントリソグラフィ装置内にインプリントリソグラフィテンプレートが存在しないときにバリア位置へ移動する1つ以上の可動コンポーネントによって維持され、又は維持可能である。
[000345] インプリントリソグラフィ装置から汚染を抽出する必要がある。汚染は、例えば、第1の領域に接続して汚染が第2の領域内に引き込まれるのを制限又は回避する出口によって抽出できる。汚染は、適当なガスフロー、又は低減した抽出圧力を用いて除去できる。ある実施形態では、汚染抽出は、1つ以上のトレイ又は容器をインプリントリソグラフィ装置から、例えば、第1の領域に接続する上記の出口を通して除去することで達成できる。
[000346] 汚染バリアの存在によって、インプリントリソグラフィ装置の基板ステージ及び/又はパターン付領域が使用時に存在するインプリントリソグラフィ装置の下側領域を通して通過する可能性がある汚染の量を制限又は低減できる。したがって、このバリアは、上記コンポーネントの1つ以上が汚染される機会を制限する。そのような汚染の回避又は制限は、パターン塗布の精度、又は一貫性、又は歩留まりを改善でき、したがって、明らかに望ましい。
インプリントコンパートメントから印字ヘッドを出し入れする
[000347] インプリントリソグラフィ装置は、1つ以上の印字ヘッドを備えてもよい。印字ヘッドは、基板上にインプリント可能な媒体を提供する。インプリント可能な媒体はインプリントが実行される直前に基板上(又はその一定のターゲット部分上)に提供しなければならないため、印字ヘッドはインプリントリソグラフィ装置内に配置され、又は配置できる。
[000348] そのような印字ヘッドの保守、交換又は点検のために、インプリントリソグラフィ装置を開けて、例えば、外部環境にさらすことがある。これは、インプリントリソグラフィ装置のオペレータにとって時間がかかり厄介な仕事であり、おそらくより重要なことには、外部環境の汚染がインプリントリソグラフィ装置内に侵入する機会が生まれることがある。例えば、コスト、浪費時間を低減し、インプリントリソグラフィ装置に影響する人的エラーのリスクを回避するため、オペレータの手作業の関与を減らすことが望ましい。また、インプリントリソグラフィ装置内に侵入するおそれがある汚染の量を制限することが望ましい。これは、そのような汚染がパターンのインプリントに悪影響を与えかねないからである。
[000349] ある実施形態によれば、上記の問題の1つ以上を防止又は軽減できる。ある実施形態によれば、インプリントリソグラフィ装置は、インプリントが実行され、基板上に提供されたインプリント可能な媒体の層内にパターンをインプリントする際に使用するインプリントリソグラフィテンプレートアレンジメントが内部にあるインプリントコンパートメントを備える。基板を保持する(また、例えば、移動させる)基板ステージも提供される。1つの(例えば、独立した別個の)印字ヘッドコンパートメントも提供される。印字ヘッドコンパートメントは、封止された又は封止可能なアクセスポートを介してインプリントコンパートメントに接続する。印字ヘッドコンパートメントは、インプリントコンパートメントから印字ヘッドコンパートメント内へ印字ヘッドを移動させ、及び/又は印字ヘッドコンパートメントからインプリントコンパートメント内へ印字ヘッドを移動させるアクチュエータを備える。この装置は、そのようなインプリントリソグラフィ装置のそれぞれ第1及び第2の構成を示す図35及び図36に関連して以下に詳述するように、1つ以上の利点を有する。
[000350] 図35は、本発明のある実施形態による、第1の構成のインプリントリソグラフィ装置を示す図である。インプリントリソグラフィ装置は、インプリントコンパートメント310を備える。インプリントコンパートメント310内には、基板316上に提供されたインプリント可能な媒体の層内にパターンをインプリントする際に使用する装置312が配置されている。装置312は、例えば、インプリントリソグラフィテンプレートアレンジメント(例えば、インプリントリソグラフィテンプレートホルダ及び/又はインプリントリソグラフィテンプレート)を備えてもよい。インプリントコンパートメント310は、使用時に、上にインプリント可能な媒体が提供されたか又は印字ヘッドによって提供される基板316を保持する基板ステージ314をさらに備える。
[000351] インプリントリソグラフィ装置は、印字ヘッドコンパートメント318をさらに備える。印字ヘッドコンパートメント318はインプリントコンパートメント310の外側に位置する。印字ヘッドコンパートメント318は、封止された又は封止可能なアクセスポート320を介してインプリントコンパートメント310に接続する。
[000352] 印字ヘッドコンパートメント318は、アクセスポート320を介して印字ヘッドコンパートメント318からインプリントコンパートメント310内へ印字ヘッド324を移動させるアクチュエータ322を備える。また、アクチュエータは、アクセスポート320を介してインプリントコンパートメント310から印字ヘッドコンパートメント318内へ印字ヘッド324を移動させるためにも使用される。図35は、印字ヘッド324が印字ヘッドコンパートメント318内に位置する第1の構成のインプリントリソグラフィ装置を示す図である。図36は、例えば、基板316上にインプリント可能な媒体などを提供するために、印字ヘッド324が印字ヘッドコンパートメント318からインプリントコンパートメント310内へ移動した第2の構成のインプリントリソグラフィ装置を示す図である。図35及び図36について組み合わせて説明する。
[000353] アクチュエータ322を用いてインプリントコンパートメント310から印字ヘッド324を出し入れすることで、そのような移動を自動化できる。これは、オペレータがこの作業を手作業で実行する必要性を制限又は否定する。さらに、おそらくはより重要なことに、印字ヘッド324は、封止された又は封止可能なアクセスポート320を介してインプリントコンパートメント310から出し入れされるので、インプリントコンパートメント310に侵入する汚染は制限される。
[000354] アクチュエータ322は、アーム326に接続し、アーム326を移動させるように配置されている。アーム326は、印字ヘッド324を(適当な静電、磁気、又は機械保持構成などを介して)保持するように配置されている。アーム326の適当な移動及び/又は位置決めによって、印字ヘッド324の適当な位置決め及び/又は、例えば、基板のターゲット部分にインプリント可能な媒体をインプリントするための適当な場所へ印字ヘッドを移動させるための、インプリントコンパートメント310内の印字ヘッド324の移動が可能になる。使用時に、図36から分かるように、アームがアクセスポート320を通して延在するときに、封止された又は封止可能なアクセスポート320はアーム326の周囲にシールを提供する。そのような封止は、アームがアクセスポート320を通して延在するときに汚染がインプリントコンパートメント310に侵入するのを防止する。
[000355] アクチュエータ322は、アーム326の下に位置するように示されている。アクチュエータによって生成される汚染は、普通、重力によって、下方へ落下する。アクチュエータ322はアーム326の下に位置するので、アクチュエータ322からアーム326上へ落下できる汚染の量は限られている。さらに、一般にアクチュエータ322はインプリントコンパートメント310の外側に配置されるので、インプリントコンパートメント310に侵入して汚染することなく、アクチュエータ322の動作によって生成される汚染は印字ヘッドコンパートメント318内に確実に保持される。
[000356] 図35に示すように、アーム326は、印字ヘッドコンパートメント318内に完全に配置できる(例えば、アクチュエータ322によって後退可能である)。これによって、例えば、インプリント実行時に、アクセスポート320を完全に閉めることができ、インプリントコンパートメント310内への汚染の侵入が低減される。これによって、印字ヘッドコンパートメント318は、インプリントコンパートメント310とは別に製造、販売及び流通できる別個の独立したモジュールとなる。印字ヘッドコンパートメントは、インプリントコンパートメントにレトロフィットできる。
[000357] インプリントリソグラフィ装置は、印字ヘッドコンパートメント318内に位置しアクセスポート320に隣接して位置するガスシャワー328をさらに備える。ガスシャワー328は常時使用でき、又は印字ヘッド324が印字ヘッドコンパートメント310に出し入れされるときにだけ使用できる(例えば、エアフロー又は別のガスのフローを提供するように配置できる)。ガスシャワー328を使用することで、インプリントコンパートメント310内の汚染低減レベルが向上する。これは、ガスシャワーが印字ヘッド324及び/又はガスシャワー328によって提供されるガスフローの領域内を通過するアーム326の部分から粒子状物質による汚染などを除去して、汚染が印字ヘッドコンパートメント310内に侵入するリスクを防止又は低減するからである。
[000358] 印字ヘッドコンパートメント318は、別の封止可能なアクセスポートを有してもよい。このアクセスポートは、ドア332などで選択的に閉鎖できる開口330を有する。この別のアクセスポートは、点検、交換及び/又は保守などのために、例えば、印字ヘッド324へのアクセスを提供する。
[000359] 少なくとも使用時に、インプリントコンパートメント310は、印字ヘッドコンパートメント318内のガス圧よりも高いガス圧に維持されてもよい。インプリントコンパートメント310内のこの比較的過剰な圧力は、ガスから生まれた汚染の全部とは言わずとも大半が印字ヘッドコンパートメント318からインプリントコンパートメント310へ通過することを防止して、したがってより高いレベルの汚染低減又は阻止を提供する。
[000360] 図示しないある実施形態では、印字ヘッドコンパートメントは、1つ以上の印字ヘッドのための保管庫を含んでもよい。上記のアクチュエータ、又は別のアクチュエータは、印字ヘッドをアームから保管庫へ、及び/又は保管庫からアームへ搬送してどの印字ヘッドがインプリントコンパートメント内に移動可能かを選択的に制御できるように構成可能である。これは、保守目的などにとって、又は別の印字ヘッド、例えば、異なる解像度の印字を提供できる印字ヘッドが必要なときに有利である。
[000361] 図示しないある実施形態では、インプリントリソグラフィ装置は、複数の印字ヘッドコンパートメントを備えてもよい。複数の印字ヘッドコンパートメントを用いて、1つ以上の印字ヘッドを保守、点検などのための第1の印字ヘッドコンパートメント内に配置できる。同時に、基板へのインプリント可能材料の提供の際に使用する印字ヘッドコンパートメント内に印字ヘッドが移動しているような構成であってもよい。そのような構成は、全体としてインプリントリソグラフィ装置がインプリントに使用可能な時間を低減でき、装置のスループットを増大させるために使用できる。
基板ハンドリングシステムを用いたインプリントリソグラフィテンプレートの少なくとも間接的なハンドリング
[000362] インプリントリソグラフィ装置及び方法では、基板が保持され、インプリントリソグラフィ装置の周囲を移動する(すなわち、基板が取り扱われる)。さらに、例えば、光リソグラフィとは異なり、パターニングデバイス自体(例えば、インプリントリソグラフィテンプレート)をインプリントが実行されるインプリントチャンバの周囲で(例えば、出し入れして)移動させることができる。そのような移動は、異なるインプリントリソグラフィテンプレート、例えば、異なるパターンを有するテンプレートを提供するために必要である。基板を取り扱う基板ハンドリングシステムと、インプリントリソグラフィテンプレートを取り扱うインプリントリソグラフィテンプレートハンドリングシステムとを備えるインプリントリソグラフィ装置を提供することが現在提案されている。それぞれ基板とインプリントリソグラフィテンプレートのための独立した別個のハンドリングシステムを提供することで、インプリントリソグラフィ装置の設置面積及び/又はインプリントリソグラフィ装置のコストが増加する。
[000363] ある実施形態によれば、上記の問題を防止するか又は軽減することができる。ある実施形態によれば、基板を取り扱う(例えば、基板を保持し、及び/又は移動させる)基板ハンドリングシステムがインプリントリソグラフィテンプレートハンドリングシステムとしても機能する(すなわち、基板ハンドリングシステムが、使用時に、インプリントリソグラフィテンプレートハンドリングシステムとしても使用される)ように構成されたインプリントリソグラフィ装置及び/又は方法が提供される。このように基板ハンドリングシステムを使用することで、独立した別個のインプリントリソグラフィテンプレートハンドリングシステムの必要はなくなる。これは、例えば、独立した別個のインプリントリソグラフィテンプレートハンドリングシステムが提供されたインプリントリソグラフィ装置と比較して、インプリントリソグラフィ装置のコスト及び/又は設置面積の低減につながる。
[000364] 図37a~図37d、及び図38a~図38dを用いて、本発明のある実施形態によるインプリントリソグラフィ装置及び方法を説明する。一貫性を保つために、これらの図(又は既出の図)に現れる特徴には同じ参照番号が付与されている。異なる図に出現する同じ特徴には、一貫性と図の見やすさのために同じ参照番号が付与されている。
[000365] 図37aは、インプリントリソグラフィ装置を概略的に示す。この装置は、2つのコンパートメントに分割されている。すなわち、インプリントが実行されるインプリントコンパートメント340と、1つ以上の基板344及び/又は1つ以上のダミー基板346の保管が実行される保管コンパートメント342と、である。ダミー基板346は、インプリントリソグラフィテンプレート348を収容できる。基板344及びダミー基板346は、1つ以上の保管ラック350などに保管できる。
[000366] インプリントコンパートメント340内には、1つ以上のインプリントリソグラフィテンプレート348を保持するインプリントリソグラフィテンプレートホルダ350がある。インプリントコンパートメント340内には、基板ステージ352の形態の基板ハンドリングシステムのコンポーネントが配置されている。基板ステージは、インプリントコンパートメント340内で可動であってもよい。また、インプリントコンパートメント340は、その上にパターンがインプリントされる基板344上にインプリント可能な媒体を提供する印字ヘッド354を備える。
[000367] 基板ハンドリングシステムの別のコンポーネントは、1つ以上のロボットアームなどを備える基板ハンドラ356である。基板ハンドラ356は、インプリントコンパートメント340又は保管コンパートメント342内に配置されてもよい。この実施形態では、基板ハンドラ356は、保管コンパートメント342内に配置されている。
[000368] 基板ハンドリングシステム352、356は、基板344及びダミー基板346を取り扱い、インプリントリソグラフィ装置の周囲でそれらを移動させるために提供される。普通は、基板ハンドリングシステムはその上にパターンがインプリントされ、又はその上にパターンがインプリントされている基板344のハンドリングのためにだけ使用されるであろう。しかし、本発明のある実施形態によれば、基板ハンドリングシステム352、356は、ダミー基板346を取り扱うためにも使用される。ダミー基板346は、インプリントリソグラフィテンプレート348を収容する(例えば、保持し、又は所定位置に係留する)ように構成されている。したがって、基板ハンドリングシステム352、356を用いてインプリントリソグラフィテンプレート348を(この実施形態では間接的に)取り扱うために使用でき、独立したインプリントリソグラフィテンプレートハンドリングシステムを提供する必要が回避される。
[000369] 図37bは、基板ハンドラ356を用いて、インプリントリソグラフィテンプレート348を上に収容した状態でダミー基板346を保管ラック350からインプリントコンパートメント340内へ移動させた様子を示す。基板ステージ352は基板ハンドラ356の付近へ移動しており、したがって、基板ハンドラ356はダミー基板346を基板ステージ352上に搭載できる。
[000370] 図37cは、基板ステージ352を移動させてインプリントリソグラフィテンプレートホルダ350に整列又はほぼ整列させることが可能であることを示す。
[000371] 図37dは、基板ステージ352とインプリントリソグラフィテンプレートホルダ350の一方又は両方を適当に移動させることで、ダミー基板346に収容されたインプリントリソグラフィテンプレート348がインプリントリソグラフィテンプレートホルダ350に係合する様子を示す。次に、インプリントリソグラフィテンプレートホルダ350の適当な作動を用いてインプリントリソグラフィテンプレート348を保持し、ダミー基板348をインプリントリソグラフィテンプレート348から分離することができる。
[000372] 図37a~図37dは、基板ハンドリングシステム352、356を用いてインプリントリソグラフィテンプレート348を取り扱う(例えば、間接的に)方法を示す。
[000373] インプリントリソグラフィテンプレート348がインプリントリソグラフィテンプレートホルダ350によって保持され、ダミー基板346がインプリントリソグラフィテンプレート348から分離されると、ダミー基板346を、例えば、保管コンパートメント342内に戻すことができる。これは、(その上にダミー基板346が保持されている)基板ステージ352の適当な移動と基板ハンドラ356の適当な使用とによって実行できる。インプリントリソグラフィ装置のそのような動作によって、装置は、実質的に図38aに示す構成になる。図38aで、現在、ダミー基板346は保管ラック350内にあるが、ダミー基板は(テンプレート348がインプリントリソグラフィテンプレートホルダ350によって保持されているため)インプリントリソグラフィテンプレートを収容していないことが分かる。
[000374] 図38bは、その後、基板ハンドラ356を用いて基板344を取り扱い、基板344を保管ラック350からインプリントコンパートメント340内へ移動させて基板ステージ352上への搭載に備える方法を示す。
[000375] 図38cは、基板ステージ352上に搭載されると、1つ以上の支持体358、又は基板ステージ352自体を基板344を印字ヘッド354の付近まで移動させることができる。次に、インプリント可能な媒体360を印字ヘッド354によって、又はそれを介して基板344上に堆積できる。
[000376] 図38dは、インプリント可能な媒体360が基板344上に提供された後で、基板ステージ352をインプリントリソグラフィテンプレートホルダ350及び/又はインプリントリソグラフィテンプレートホルダ350に保持されたインプリントリソグラフィテンプレート348にほぼ整列させることができることを示す。基板ステージ352上に提供されたインプリント可能な媒体360内へのパターンのインプリントを、例えば、既知の方法で実行できる。
[000377] 図39は、上記のダミー基板346の一例を概略的に示す。ダミー基板346は、標準の基板370を備える。この文脈では、「標準」という用語は、基板370を従来の未修正の基板ハンドリングシステムで取り扱うことができるということを意味する。例えば、基板370の設置面積(例えば、区域及び/又は寸法及び/又は一般形状)は、例えば、基板ハンドリングシステムが当初取り扱うように設計された標準ウェーハなどの設置面積に合致する。
[000378] 標準の基板370はインプリントリソグラフィテンプレート348を収容する構成を備え、標準の基板370の適当な取り扱いによってインプリントリソグラフィテンプレート348を取り扱うことができる。この構成は、使用時に、基板370の上面に位置し、インプリントリソグラフィテンプレート348の1つの、複数の、又はすべての辺に沿って実質的に延在し、テンプレート348の実質的な移動を防止する1つ以上の当接面372を備える。例えば、当接面372は、使用時に、インプリントリソグラフィテンプレート348を取り囲むフレームなどを形成できる。
[000379] 使用時に、1つ以上の付勢要素374(例えば、1つ以上のばねなど)が当接面372の1つ以上から延在してインプリントリソグラフィテンプレート348に接触する。付勢要素374は、インプリントリソグラフィテンプレート348を付勢して、例えば、別の当接面372又はそれに関連して提供された付勢要素に接触させて、ハンドリング又は保管中などのインプリントリソグラフィテンプレート348の移動又は実質的な移動を防止する。その上にインプリント可能な媒体の層内にパターンをインプリントする際に使用する1つ以上のパターンフィーチャが提供された潜在的により繊細で損傷を受けやすいメサ領域376とは対照的に、付勢要素374は望ましくはインプリントリソグラフィテンプレート348のベース領域に接触するように配置されている。
[000380] 図39は、通常、インプリントリソグラフィテンプレート348がダミー基板上に搭載され、(その上にパターンフィーチャ又はパターン付領域が提供される)メサ領域376がダミー基板346の方を向いた状態で、又は、より具体的には、標準基板370の面がダミー基板346の一部を構成する様子を示す。これは、メサ領域376上に提供されたパターン付領域の保護を提供し、インプリントリソグラフィテンプレート348のより直接的なハンドリング、及び/又はインプリントリソグラフィテンプレートホルダによるインプリントリソグラフィテンプレート348のその後の保持を容易にする。
[000381] 本明細書に記載する実施形態では、インプリントリソグラフィテンプレートアレンジメントの位置決め及び/又は変形という用語が記述されている。例えば、位置決めは、インプリントリソグラフィテンプレートアレンジメントの保持を含んでもよい。例えば、テンプレートホルダによって保持されたインプリントリソグラフィテンプレートの変形は、(例えばテンプレートの直接の変形によって)直接又は(例えばテンプレートの変形を引き起こすホルダの変形によって)間接的に実行できる。
[000382] インプリントリソグラフィテンプレートの位置(配向を含む)及び/又は変形(又は変形の程度)は、一般にインプリントリソグラフィテンプレートの1つの、又は特定の構成と呼ぶことができる。
[000383] 追加的に又は代替的に、本発明のある実施形態に関連する上記の特徴の1つ以上を別の実施形態に関連して記載した特徴と組み合わせて、又はその代わりに適宜使用できる。
[000384] 本発明は、インプリントリソグラフィ方法又はプロセスを実行又は実施するのに好適なインプリントリソグラフィ装置に関する。このインプリントリソグラフィ装置及び/又は方法を、電子デバイス及び集積回路などのデバイスの製造に使用でき、又は装置及び/又は方法をインプリントリソグラフィ装置及び/又は方法を、集積光学システム、磁気ドメインメモリの案内及び検出パターン、フラットパネルディスプレイ、液晶ディスプレイ(LCD)、薄膜磁気ヘッド、有機発光ダイオードなどの製造を含むその他の用途に使用できる。インプリントリソグラフィ装置によって使用されるか又はその一部を形成するインプリントリソグラフィテンプレートは、マイクロメートル又はナノメートル程度の1つ以上の寸法を有するパターンフィーチャを備えてもよい。
[000385] 本明細書においては、「基板」という用語は、基板の一部を形成するか、又は平坦化層又は反射防止コーティング層のような他の基板上に提供される任意の表面層を含むことを意味する。
[000386] 使用時に、インプリントリソグラフィテンプレートをインプリントリソグラフィテンプレートホルダによって保持できる。インプリントリソグラフィテンプレートホルダは、幾つかの異なる機構の1つを用いて、例えば、静電及び/又は磁気力、(例えば1つ以上の圧電要素などの使用を介した)機械力及び/又は真空力によってインプリントリソグラフィテンプレートを保持できる。インプリントリソグラフィテンプレートは、インプリントリソグラフィテンプレートホルダの適当な移動によって移動させることができる。使用時に、基板は基板ホルダによって保持できる。基板ホルダは、幾つかの異なる機構の1つを用いて、例えば、静電力及び/又は磁気力、(例えば、クランプなどの)機械力及び/又は真空力によって基板を保持できる。基板は、基板ホルダの適当な移動によって移動させることができる。
[000387] 上記実施形態では、例えば1つのチャンバなど内に1つのインプリントリソグラフィテンプレート、1つのインプリントリソグラフィテンプレートホルダ、1つの基板ホルダ及び1つの基板が提供される。別の実施形態では、例えばインプリントをより効率的又は迅速に(例えば、並列に)実行するために、1つ以上のチャンバ内に2つ以上のインプリントリソグラフィテンプレート、2つ以上のインプリントリソグラフィテンプレートホルダ、2つ以上の基板ホルダ、及び/又は2つ以上の基板を提供してもよい。例えば、ある実施形態では、複数の(例えば、2つ、3つ、又は4つの)基板ホルダを含む装置が提供される。ある実施形態では、複数の(例えば、2つ、3つ、又は4つの)インプリントリソグラフィテンプレートホルダ及び/又はインプリントリソグラフィテンプレートを含む装置が提供される。ある実施形態では、基板ホルダ当たり1つのインプリントリソグラフィテンプレートホルダ及び/又は1つのインプリントリソグラフィテンプレートを使用するように構成された装置が提供される。ある実施形態では、基板ホルダ当たり2つ以上のインプリントリソグラフィテンプレートホルダ及び/又はインプリントリソグラフィテンプレートを使用するように構成された装置が提供される。ある実施形態では、複数の(例えば、2つ、3つ、又は4つの)インプリント可能な媒体のディスペンサを含む装置が提供される。ある実施形態では、基板ホルダ当たり1つのインプリント可能な媒体のディスペンサを使用するように構成された装置が提供される。ある実施形態では、インプリントリソグラフィテンプレート当たり1つのインプリント可能な媒体のディスペンサを使用するように構成された装置が提供される。ある実施形態では、複数の基板ホルダを含む装置が提供された場合、基板ホルダは装置内の機能を共用できる。例えば、基板ホルダは、基板ハンドラ、基板カセット、(例えばインプリント中にヘリウム環境を生成するための)ガス供給システム、インプリント可能な媒体のディスペンサ、及び/又は、(インプリント可能な媒体を硬化させるための)放射源を共用することができる。ある実施形態では、2つ以上の基板ホルダ(例えば、3つ又は4つの)が装置の1つ以上の機能(例えば、1つ、2つ、3つ、4つ、又は5つの機能)を共用する。ある実施形態では、装置の1つ以上の(例えば、1つ、2つ、3つ、4つ、又は5つの)機能がすべての基板ホルダ間で共用される。
[000388] 上述し図示した実施形態は、その性質が例示的なものであって制限するものではない。好ましい実施形態だけが図示され説明されており、特許請求の範囲に記載する本発明の範囲を逸脱することなく、すべての変更及び修正が望ましくは保護されることを理解されたい。説明内の「好適な」、「好適には」、「好ましい」又は「より好ましい」などの用語の使用は、そのように記載された特徴が望ましいことを示すが、必ずしも必要ではなく、そのような特徴を有さない実施形態も添付の特許請求の範囲に定義する本発明の範囲内に含まれることを理解されたい。特許請求の範囲に関して、「ある」、「少なくとも1つの」、又は「少なくとも一部」などの用語は、添付の特許請求の範囲で、特に断りのない限り、特許請求の範囲をそのような特徴に限定する意図がない特徴に先行するものである。「少なくとも一部」及び/又は「一部」といった言語が使用される場合には、その要素は、特に断りのない限り、一部及び/又は要素全体を含むことができる。
[000389] 本発明による別の実施形態は以下の番号が付いた条項で提供される。
1.床に装着する第1のフレームと、
キネマティックカップリングを介して前記第1のフレーム上に装着された第2のフレームと、
インプリントリソグラフィテンプレートアレンジメントを基板のターゲット位置に整列させる、前記第2のフレーム上に装着されたアライメントセンサと、
前記第2のフレームに対する前記インプリントリソグラフィテンプレートアレンジメント及び/又は基板ステージの位置を測定する位置センサと、
を備える、インプリントリソグラフィ装置。
2.前記第1のフレームは、防振システムによって床に装着される、条項1に記載の装置。
3.前記第2のフレームの一部は、前記第1のフレームの外側から前記第1のフレーム内に位置する領域内に延在し、したがって、位置の測定は、前記第2のフレームのその部分に対して、又はそれを用いて実行できる、条項1又は2に記載の装置。
4.床に装着する第1のフレームと、
防振システムを介して前記第1のフレーム上に装着された第2のフレームと、
少なくとも使用時に、キネマティックカップリングを介して前記第2のフレーム上に装着されるように構成されたインプリントリソグラフィテンプレートアレンジメントと、
前記インプリントリソグラフィテンプレートアレンジメントを基板のターゲット部分に整列させる前記第2のフレーム上に装着されたアライメントセンサと、
前記第2のフレームに対する基板ステージの位置を測定する位置センサと
を備える、インプリントリソグラフィ装置。
5.前記第2のフレームは、実質的に前記第1のフレーム内に位置する、条項4に記載の装置。
6.前記第1のフレームと前記インプリントリソグラフィテンプレートアレンジメントとの間に接続されたリリース補償アクチュエータをさらに備える、条項4又は5に記載の装置。
7.前記リリース補償アクチュエータの接続点は、前記インプリントリソグラフィテンプレートアレンジメントを前記第2のフレームに装着するための前記キネマティックカップリングの接続点にリンクされている、条項6に記載の装置。
8.前記リリース補償アクチュエータの接続点は、前記インプリントリソグラフィテンプレートアレンジメントを前記第2のフレームに装着するための前記キネマティックカップリングの前記接続点とは前記インプリントリソグラフィテンプレートアレンジメントの逆の側にある、条項7に記載の装置。
9.前記リリース補償アクチュエータは、前記第2のフレームを通して延在する、条項6~8のいずれかに記載の装置。
10.前記基板ステージは、5自由度のショートストローク基板ステージである、条項1~9のいずれかに記載の装置。
11.前記基板ステージは、前記基板の平面に平行な2つの軸(x軸及びy軸)に沿った、また前記平面に垂直な軸(z軸)に沿った平行移動のロングストローク運動を実行できる、条項1~10のいずれかに記載の装置。
12.前記基板ステージは、前記基板の平面に平行な前記2つの軸周りの回転運動(x軸及びy軸周りの回転)を実行できる、条項11に記載の装置。
13.前記基板ステージは、前記基板の平面に平行な前記2つの軸周りの回転運動(x軸及びy軸周りの回転)、及び前記平面に垂直な軸周りの回転運動(z軸周りの回転)を実行でき、前記基板ステージは、前記基板の平面に平行な前記2つの軸(x軸及びy軸)に沿った平行移動のショートストローク運動を実行できる、条項11に記載の装置。
14.前記インプリントリソグラフィテンプレートアレンジメントは、前記基板の平面に平行な前記2つの軸(x軸及びy軸)に沿った平行移動のショートストローク運動を実行でき、前記インプリントリソグラフィテンプレートアレンジメントは、前記平面に垂直な前記軸周りの回転運動(z軸周りの回転)を実行できる、条項12に記載の装置。
15.前記基板ステージは、前記基板の平面に平行な2つの軸(x軸及びy軸)に沿った平行移動のロングストローク運動を実行できる、条項1~10のいずれかに記載の装置。
16.前記基板ステージは、前記基板の平面に平行な前記2つの軸周りの回転運動(x軸及びy軸周りの回転)を実行できる、条項15に記載の装置。
17.前記基板ステージは、前記基板の平面に平行な前記2つの軸周りの回転運動(x軸及びy軸周りの回転)、及び前記平面に垂直な前記軸周りの回転運動(z軸周りの回転)を実行でき、前記基板ステージは、前記基板の平面に平行な前記2つの軸(x軸及びy軸)に沿った平行移動のショートストローク運動を実行できる、条項15に記載の装置。
18.前記インプリントリソグラフィテンプレートアレンジメントは、前記基板の平面に垂直な軸(z軸)に沿ったロングストローク運動を実行できる、条項16又は17に記載の装置。
19.前記インプリントリソグラフィテンプレートアレンジメントは、前記基板の平面に平行な前記2つの軸(x軸及びy軸)に沿った平行移動のショートストローク運動を実行でき、前記インプリントリソグラフィテンプレートアレンジメントは、前記平面に垂直な前記軸周りの回転運動(z軸周りの回転)を実行できる、条項18に記載の装置。
20.前記第2のフレームを遮蔽する熱シールドをさらに備える、条項1~19のいずれかに記載の装置。
21.前記第2のフレームは、低い熱膨張係数及び/又は高い熱伝導率を有する材料から形成される、条項1~20のいずれかに記載の装置。
22.前記第2のフレームを冷却又は熱調節する冷却又は熱調節システムをさらに備える、条項1~21のいずれかに記載の装置。
23.前記第2のフレームは、高周波数の内部動的モードを有するように形成され、及び/又は構成される、条項1~22のいずれかに記載の装置。
24.前記基板ステージは、前記第1のフレームに結合される、条項1~23のいずれかに記載の装置。
25.前記基板ステージは、
基板ホルダと、
前記基板のポジショナと、
基板ホルダのポジショナ
から選択される1つ以上であるか、又はそれを備えるか、又はその一部を形成する、条項1~24のいずれかに記載の装置。
26.前記第1のフレームはベースフレームであり、及び/又は、前記第2のフレームはメトロロジーフレームである、条項1~25のいずれかに記載の装置。
27.ベースフレームと、
メトロロジーフレームと、
キネマティックカップリング及びリリース補償アクチュエータを介して前記ベースフレーム又は前記メトロロジーフレームに接続するインプリントリソグラフィテンプレートアレンジメントと、
を備える、インプリントリソグラフィ装置。
28.前記キネマティックカップリングは、前記リリース補償アクチュエータと直列に配置される、条項27に記載の装置。
29.前記リリース補償アクチュエータの接続点は、前記キネマティックカップリングの接続点とは前記インプリントリソグラフィテンプレートアレンジメントの逆の側にある、条項27に記載の装置。
30.インプリントリソグラフィ装置を使用するインプリントリソグラフィ方法であって、前記装置は、ベースフレームと、メトロロジーフレームと、インプリントリソグラフィテンプレートアレンジメントと、を備え、前記方法は、
前記インプリントリソグラフィテンプレートアレンジメントが前記メトロロジーフレームに接続されているときに、前記インプリントリソグラフィテンプレートアレンジメントを用いて基板上に提供されたインプリント可能な媒体の層内にパターンをインプリントするステップと、
前記インプリント可能な媒体内に提供された前記パターンを凝固させるステップと、
前記インプリントリソグラフィテンプレートアレンジメントを移動させて前記メトロロジーフレームから前記インプリントリソグラフィテンプレートアレンジメントを切り離し、前記インプリントリソグラフィテンプレートアレンジメントを前記ベースフレームに接続するステップと、
前記基板から前記インプリントリソグラフィテンプレートアレンジメントをリリースするステップと、
を含む方法。
31.前記基板を保持する基板ステージの移動によって前記インプリントリソグラフィテンプレートアレンジメントを移動させるステップを含む、条項30に記載の方法。
32.前記インプリントリソグラフィテンプレートアレンジメントのリリースステップは、前記ベースフレームに接続されたアクチュエータを用いて前記インプリントリソグラフィテンプレートアレンジメントを保持するステップと、前記基板を保持する前記基板ステージの移動を介して前記インプリントリソグラフィテンプレートアレンジメントから前記基板を引き離すステップと、を含む、条項30又は31に記載の方法。
33.前記インプリントリソグラフィテンプレートアレンジメントは、前記メトロロジーフレームとの接続の方へ付勢され、前記インプリントリソグラフィテンプレートアレンジメントのこの移動は付勢に打ち勝つ、条項30~32のいずれかに記載の方法。
34.前記アクチュエータは、前記インプリントリソグラフィテンプレートアレンジメントを前記メトロロジーフレームとの接続の方へ付勢できる、条項32及び33に記載の方法
35.ベースフレームと、
ベースフレームに接続されたメトロロジーフレームと、
インプリントリソグラフィテンプレートアレンジメントであって、前記インプリントリソグラフィテンプレートアレンジメントが第1の構成と第2の構成との間で可動であり、前記第1の構成が、前記メトロロジーフレームに接続された前記インプリントリソグラフィテンプレートアレンジメントによって定義され、前記第2の構成が、前記メトロロジーフレームから切断され前記ベースフレームに接続される前記インプリントリソグラフィテンプレートアレンジメントによって定義される、インプリントリソグラフィテンプレートアレンジメントと、
を備える、インプリントリソグラフィ装置。
36.インプリントリソグラフィテンプレートアレンジメント圧着構成であって、前記圧着構成はクランプを含み、前記クランプは、
ベース領域と、
ベース領域から延在して、使用時に前記インプリントリソグラフィテンプレートアレンジメントに接触するように構成されたバールであって、前記バールが前記インプリントリソグラフィテンプレートアレンジメントの平面の平行な方向に少なくとも部分的に柔軟であって、前記インプリントリソグラフィテンプレートアレンジメントに対して前記バールが滑ることなく、前記インプリントリソグラフィテンプレートアレンジメントの移動、膨張又は圧縮が可能である、バールと、
前記バールを取り囲む空間と、
前記ベース領域から延在し前記バールを取り囲む前記空間を取り囲むシール壁であって、前記バールが前記ベース領域から前記シール壁よりも先へ延在し、使用時に、前記空間が周囲圧力よりも低い圧力のときに前記インプリントリソグラフィテンプレートアレンジメントに少なくとも部分的な封止を提供するように構成されたシール壁と、
を備える、インプリントリソグラフィテンプレートアレンジメント圧着構成。
37.前記バールは、
少なくとも全長1mm、少なくとも全長5mm、少なくとも全長5~10mm、少なくとも全長10mm、及び/又は、全長100mm未満である、条項36に記載の圧着構成。
38.前記バールは、
前記ベース領域から前記シール壁よりも1~10μm先へ、又は
前記ベース領域から前記シール壁よりも3~5μm先へ延在する、条項36又は37に記載の圧着構成。
39.前記クランプは、前記インプリントリソグラフィテンプレートアレンジメントの周縁部の周囲に分散可能なように構築され配置された複数のバールを備える、条項36~38のいずれかに記載の圧着構成。
40.前記シール壁は、
前記1つ以上のバールを含む領域の外縁部の周囲に延在する外側シール壁と、
前記1つ以上のバールを含む前記領域の内縁部の周囲に延在する内側シール壁と、
を備える、条項36~39のいずれかに記載の圧着構成。
41.前記インプリントリソグラフィテンプレートアレンジメントの周縁部の周囲に配置可能なように構築され配置された複数のクランプを備える、条項36~40のいずれかに記載の圧着構成。
42.前記クランプ又は圧着構成は、別のインプリントリソグラフィテンプレートアレンジメントであるか、又はその一部を形成する、条項36~41のいずれかに記載の圧着構成。
43.基板ステージ上に保持された基板からインプリントリソグラフィテンプレートをリリースする方法であって、
前記基板と前記インプリントリソグラフィテンプレートとを互いに引き離すステップと、
前記インプリントリソグラフィテンプレートと前記基板の他方に向けて、前記インプリントリソグラフィテンプレートと前記基板の一方又は両方に回転モーメントを加えて、前記インプリントリソグラフィテンプレートと前記基板との間の界面の半径方向末端で前記基板を前記基板ステージに保持する基板上に作用する累積力を得るステップと、
を含む、方法。
44.前記インプリントリソグラフィテンプレートの中央部を通って作用する引張力又はその成分と回転に関連付けられたモーメントとの関係は、
F<M/b
と定義され、ここで、Fは前記インプリントリソグラフィテンプレートの中央部を通って作用する引張力又はその成分、Mは前記回転によって引き起こされるモーメント、bは前記インプリントリソグラフィテンプレートの中央部から前記インプリントリソグラフィテンプレートと前記基板との間の前記界面の半径方向末端までの半径方向距離である、条項43に記載の方法。
45.前記方法は、前記基板の周縁領域で実行される、条項43又は44に記載の方法。
46.インプリントリソグラフィテンプレートを保持するインプリントリソグラフィテンプレートホルダと、
基板を保持する基板ステージと、を備え、
基板からのインプリントリソグラフィテンプレートのリリース中に、前記インプリントリソグラフィテンプレートホルダと前記基板ステージの一方又は両方は、
前記基板と前記インプリントリソグラフィテンプレートとを互いに引き離し、
前記インプリントリソグラフィテンプレートと前記基板の他方に向けて、前記インプリントリソグラフィテンプレートと前記基板の一方又は両方に回転モーメントを加えて、前記インプリントリソグラフィテンプレートと前記基板との間の界面の半径方向末端で前記基板を前記基板ステージに保持する前記基板上に作用する累積力を得るように可動式に構築され配置される、インプリントリソグラフィ装置。
47.インプリントリソグラフィテンプレートアレンジメントを位置決めし及び/又は変形させる作動装置であって、
使用時に、前記インプリントリソグラフィテンプレートアレンジメントの第1の側に配置可能な第1のアクチュエータと、
使用時に、前記インプリントリソグラフィテンプレートアレンジメントの第2の反対の側に配置可能な第2のアクチュエータと、
前記第1のアクチュエータと前記第2のアクチュエータの両方に印加可能な制御信号を増幅する信号増幅器と、
を備える、作動装置。
48.前記第1のアクチュエータは、前記第2のアクチュエータと直接対向する位置に配置できる、条項47に記載の作動装置。
49.前記作動装置は、
使用時に、前記インプリントリソグラフィテンプレートアレンジメントの第1の側に配置可能な複数の第1のアクチュエータと、
前記インプリントリソグラフィテンプレートアレンジメントの第2の反対の側に配置可能な複数の第2のアクチュエータと、
前記複数のアクチュエータのうち直接対向するアクチュエータに印加可能な制御信号を増幅するか、又は、前記インプリントリソグラフィテンプレートアレンジメントの反対側に配置可能なアクチュエータのグループに印加可能な制御信号を増幅する信号増幅器と、
を備える、条項47に記載の作動装置。
50.各アクチュエータは、圧電アクチュエータ又はローレンツアクチュエータである、条項47~49のいずれかに記載の作動装置。
51.インプリントリソグラフィテンプレートホルダの一部を形成する、条項47~50のいずれかに記載の作動装置。
52.基板上に提供されたインプリント可能な媒体の層内にインプリントリソグラフィテンプレートをインプリントしてそのインプリント可能な媒体の層内にパターンを形成するステップと、
前記インプリントリソグラフィテンプレートが前記インプリント可能な媒体内にインプリントされるときに前記基板に対する前記インプリントリソグラフィテンプレートの位置又は変形を制御するステップと、
インプリント可能な媒体の層内に提供されたパターンを凝固させるステップと、を含み、
前記基板に対する前記インプリントリソグラフィテンプレートの位置又は変形を制御するステップは,
前記インプリント可能な媒体が、非凝固の状態、実質的に液状、及び/又は、流動可能な状態、にあるときに第1のレベルで比較的高い帯域幅の制御を実行することと、
前記インプリント可能な媒体が、非凝固の状態、実質的に液状、及び/又は、流動可能な状態と凝固の実質的に固体状態の間の中間状態、にあるときに、前記第1のレベルよりも高い第2のレベルでより高い帯域幅の制御を実行することと、
前記インプリント可能な媒体が凝固の実質的に固体状態にあるときに比較的低い帯域幅の制御を実行することと、
を含む、インプリントリソグラフィ方法。
53.前記基板に対する前記インプリントリソグラフィテンプレートの位置又は変形を制御するステップは、サーボ機構の制御を含む、条項52に記載の方法。
54.前記インプリントリソグラフィテンプレートが前記インプリント可能な媒体内にインプリントされるときに前記基板に対する前記インプリントリソグラフィテンプレートの位置を制御するステップは、前記基板のターゲット部分に対する前記インプリントリソグラフィテンプレートアレンジメントの整列ステップ又はアライメントの維持ステップを含む、条項52又は53に記載の方法。
55.インプリントリソグラフィテンプレートアレンジメントを位置決めし及び/又は変形させる作動装置であって、
使用時に、前記インプリントリソグラフィテンプレートアレンジメントの周囲に配置可能なアクチュエータと、
前記インプリントリソグラフィテンプレートアレンジメントの3自由度を固定する固定当接点であって、前記3自由度が、前記インプリントリソグラフィテンプレートアレンジメントの平面に平行な第1の軸に沿った平行移動と、前記第1の軸に垂直でインプリントリソグラフィテンプレートアレンジメントの平面に平行な第2の軸に沿った平行移動と、前記第1及び第2の軸に垂直な第3の軸を中心とする回転と、である、固定当接点と、
前記アクチュエータによって前記インプリントリソグラフィテンプレートアレンジメントに提供される力を制御するコントローラであって、前記提供される力が、前記第1の軸、第2の軸に沿ってまた前記第3の軸周りに作用する累積力が最小限になるような力であることを確実にするように構成されたコントローラと、
を備える、作動装置。
56.使用時に、前記インプリントリソグラフィテンプレートアレンジメントを付勢して前記固定当接点に接触させるように構成された付勢部材をさらに備える、条項55に記載の作動装置。
57.前記累積力は、1つ以上の、又はすべての固定当接点に印加される力が、
前記インプリントリソグラフィテンプレートアレンジメントに印加される力の総計の5%未満であるか、又は、
前記インプリントリソグラフィテンプレートアレンジメントに印加される力の総計の4%未満であるか、又は、
前記インプリントリソグラフィテンプレートアレンジメントに印加される力の総計の3%未満であるか、又は、
前記インプリントリソグラフィテンプレートアレンジメントに印加される力の総計の2%未満であるか、又は、
前記インプリントリソグラフィテンプレートアレンジメントに印加される力の総計の1%未満であるか、又は、
前記インプリントリソグラフィテンプレートアレンジメントに印加される力の総計の実質的に1%であるか、又は、
前記インプリントリソグラフィテンプレートアレンジメントに印加される力の総計の実質的に0%である
という点で最小限である、条項55又は56に記載の作動装置。
58.前記インプリントリソグラフィテンプレートアレンジメントは、実質的に矩形であり、前記作動装置は、
2つの固定当接点が前記インプリントリソグラフィテンプレートアレンジメントの一辺に沿って配置可能であり、
1つの固定当接点が前記インプリントリソグラフィテンプレートアレンジメントの隣接する辺に沿って配置可能である
ように配置される3つの固定当接点を備える、条項55~57のいずれかに記載の作動装置。
59.前記コントローラは、前記提供される力が、前記第1の軸、第2の軸に沿ってまた前記第3の軸周りに作用する前記累積力が変形制御モードで最小限になるような力であることを確実にするように構成された、条項55~58のいずれかに記載の作動装置。
60.前記作動装置は、インプリントリソグラフィテンプレートホルダの一部を形成する、条項55~59のいずれかに記載の作動装置。
61.インプリントリソグラフィテンプレートアレンジメントの位置及び/又は変形を制御する方法であって、
前記インプリントリソグラフィテンプレートアレンジメントの3自由度を固定するステップであって、前記3自由度が、前記インプリントリソグラフィテンプレートアレンジメントの平面に平行な第1の軸に沿った平行移動と、前記第1の軸に垂直で前記インプリントリソグラフィテンプレートアレンジメントの平面に平行な第2の軸に沿った平行移動と、前記第1及び第2の軸に垂直な第3の軸を中心とする回転と、である、ステップと、
前記インプリントリソグラフィテンプレートアレンジメントに提供される力を制御して前記インプリントリソグラフィテンプレートアレンジメントの位置又は変形を制御し、前記提供される力が、前記第1の軸、第2の軸に沿ってまた前記第3の軸周りに作用する累積力が最小限になるような力であることを確実にするステップと、
を含む、方法。
62.基板上に提供されたインプリント可能な媒体の層内にパターンをインプリントする際に使用するインプリントリソグラフィテンプレートアレンジメントと、
前記インプリントリソグラフィテンプレートアレンジメントを位置決めし及び/又は変形させるアクチュエータと、
前記基板を保持する基板ステージと、
前記インプリントリソグラフィテンプレートアレンジメントを前記基板のターゲット部分に整列させる第1の検出帯域幅を有するアライメントセンサと、
前記インプリントリソグラフィテンプレートアレンジメントと前記基板との相対位置を測定する相対位置センサであって、前記アライメントセンサの前記第1の検出帯域幅よりも大きい第2の検出帯域幅を有する、相対位置センサと、
を備える、インプリントリソグラフィ装置。
63.前記アライメントセンサは、
10Hz未満又は5Hz未満の検出帯域幅を有する、条項62に記載の装置。
64.前記相対位置センサは、
100Hzを超える又は200Hzを超える検出帯域幅を有する、条項62又は63に記載の装置。
65.前記アクチュエータは、前記アクチュエータによって印加される力を直接的又は間接的に測定する力センサを備えるか又はそれに接続される、条項62~64のいずれかに記載の装置。
66.前記力センサは、前記アライメントセンサの前記第1の検出帯域幅よりも大きい第3の検出帯域幅を有する、条項65に記載の装置。
67.前記力センサは、位置センサ又は電流センサである、条項65又は66に記載の装置。
68.前記基板に対する前記インプリントリソグラフィテンプレートの位置及び変形を制御して実質的に意図した通りに位置及び変形を達成するステップと、
前記インプリントリソグラフィテンプレートが実質的に意図した通りに位置決めされ変形すると、前記インプリントリソグラフィテンプレートの変形に関連する制御帯域幅を低減するステップと、
を含む、インプリントリソグラフィ方法。
69.前記制御帯域幅は、前記インプリントリソグラフィテンプレートの変形の実施に関連する実施帯域幅である、条項68に記載の方法。
70.前記帯域幅は、
100Hz未満、50Hz未満、10Hz未満、5Hz未満、数Hz、まで低減される、及び/又は、
前記インプリントリソグラフィテンプレートアレンジメントと前記基板のターゲット部分との整列に使用されるアライメントセンサの検出帯域幅内の帯域幅まで低減される、
条項68又は69に記載の方法。
71.前記インプリントリソグラフィテンプレートを基板上に提供されたインプリント可能な媒体の層内にインプリントしてそのインプリント可能な媒体の層内にパターンを形成するステップをさらに含み、位置及び変形の制御ステップは、
前記インプリントの前に、又は
前記インプリント中、前記パターンが実質的に固形状態に凝固される前に、又は、
前記インプリントの前とインプリント中、前記パターンが実質的に固形状態に凝固される前に、
実行される、条項68~70のいずれかに記載の方法。
72.基板上に提供されたインプリント可能な媒体の層内にパターンをインプリントする際に使用するインプリントリソグラフィテンプレートアレンジメントと、
前記インプリントリソグラフィテンプレートアレンジメントを位置決めし及び/又は変形させるアクチュエータであって、前記アクチュエータによって印加される力を直接的又は間接的に測定する第1の検出帯域幅を有する力センサを備えるか又はそれに接続された、アクチュエータと、
前記基板を保持する基板ステージと、
前記インプリントリソグラフィテンプレートアレンジメントを前記基板のターゲット部分に整列させる、前記第1の検出帯域幅よりも大きい第2の検出帯域幅を有するアライメントセンサと、
を備える、インプリントリソグラフィ装置。
73.前記力センサからの出力を受信するように構成され、この出力を前記インプリントリソグラフィテンプレートアレンジメントの位置に変換するように構成された制御機構をさらに備える、条項72に記載の装置。
74.第2の検出帯域幅は、
10Hz未満又は5Hz未満である、条項72又は73に記載の装置。
75.前記第1の検出帯域幅は、
50Hzを超える又は100Hzを超える又は200Hzを超える、条項72~74のいずれかに記載の装置。
76.複数のアクチュエータの各々は、力センサを備えるか又はそれに接続される、条項72~75のいずれかに記載の装置。
77.前記又は各力センサは、位置センサ又は電流センサである、条項72~76のいずれかに記載の装置。
78.インプリントリソグラフィテンプレートアレンジメントを基板のターゲット部分に整列させる方法であって、
第1の検出帯域幅を有するアライメントセンサを用いて前記インプリントリソグラフィテンプレートアレンジメントを前記基板のターゲット部分に整列させるステップと、
前記アライメントセンサの前記第1の検出帯域幅よりも大きい第2の検出帯域幅を有する、アクチュエータの一部を構成するか又はそれに接続された力センサを用いて、前記アクチュエータによって前記インプリントリソグラフィテンプレートアレンジメントに印加される力を決定するステップと、
前記力の決定から前記インプリントリソグラフィテンプレートアレンジメントの位置又は位置の変化を決定し、その位置又は位置の変化を前記インプリントリソグラフィテンプレートアレンジメントのアライメントに使用するステップと、
を含む、方法。
79.基板上に提供されたインプリント可能な媒体の層内にパターンをインプリントする際に使用するインプリントリソグラフィテンプレートアレンジメントと、
前記基板を保持する基板ステージと、
パターンのインプリントが実行されるガス雰囲気を提供するガス分配装置であって、前記ガス雰囲気の提供の際に非対称的な方法でガスを分配するように構成されたガス分配装置と、
を備える、インプリントリソグラフィ装置。
80.前記ガス分配装置は、前記インプリントリソグラフィテンプレートアレンジメントと前記基板ホルダ及び/又は基板との間に位置する領域内で、又は領域内へ非対称的な方法でガスを分配するように構成される、条項79に記載の装置。
81.前記ガス分配装置は、前記インプリントリソグラフィテンプレートアレンジメントの周囲に非対称的に分散した、又は非対照的に分散可能な複数の出口を有する、条項79又は80に記載の装置。
82.前記ガス分配装置は、前記インプリントリソグラフィテンプレートアレンジメントの周囲に非対称的に分散した、又は非対照的に分散可能な複数の出口を有し、前記ガス分配装置は、異なる出口で異なる圧力でガスを分配して、ガス雰囲気の提供の際に非対称的な方法でガスを分配するように構成された、条項79~81のいずれかに記載の装置。
83.前記ガス分配装置は、前記インプリントリソグラフィテンプレートアレンジメントの周囲に非対称的に分散した、又は非対照的に分散可能な複数の出口を有し、前記ガス分配装置は、異なる出口で異なる時間にガスを分配して、ガス雰囲気の提供の際に非対称的な方法でガスを分配するように構成される、条項79~82のいずれかに記載の装置。
84.前記ガス分配装置は、ヘリウムを分配するように構成される、条項79~83のいずれかに記載の装置。
85.基板上に提供されたインプリント可能な媒体の層内へのパターンのインプリントが実行されるガス雰囲気を提供するステップを含み、
前記ガス雰囲気を構成するガスは、非対称的な方法で分配される、インプリントリソグラフィ方法。
86.インプリントリソグラフィ装置であって、
基板上に提供されたインプリント可能な媒体の層内にパターンをインプリントする際に使用するインプリントリソグラフィテンプレートアレンジメントであって、少なくとも使用時にパターンを提供するパターン付領域を有するインプリントリソグラフィテンプレートを備える、インプリントリソグラフィテンプレートアレンジメントと、
前記基板を保持する基板ステージと、
前記装置を少なくとも以下の2つの領域、すなわち、
i)可動要素が位置する第1の比較的清潔でない領域と、
ii)基板ステージが位置し、前記基板を保持している場合、前記基板それ自体と、前記インプリントリソグラフィテンプレートのパターン付領域と、が位置する第2の比較的清潔な領域と、に分割する汚染バリアと、
を備える、インプリントリソグラフィ装置。
87.前記第1の領域は、一般に前記装置の上側の領域であり、前記第2の領域は、一般に前記装置の下側の領域である、条項86に記載の装置。
88.前記パターン付領域が提供された側と反対の前記インプリントリソグラフィテンプレートの逆の側の少なくとも一部は、前記第2の領域内に配置される、又は配置可能である、条項86又は87に記載の装置。
89.前記インプリントリソグラフィテンプレートの裏側の少なくとも一部の付近に、前記汚染バリアが化学線を実質的に透過する材料から形成される、条項88に記載の装置。
90.前記汚染バリアは、前記インプリントリソグラフィ装置の固定部分の間に位置して汚染を捕捉するトレイ又は容器を備える、条項86~89のいずれかに記載の装置。
91.前記汚染バリアは、前記インプリントリソグラフィ装置の可動部分の間、及び/又は前記インプリントリソグラフィ装置の固定部分と可動部分との間に位置する柔軟な部材を有する、条項86~90のいずれかに記載の装置。
92.前記汚染バリアの少なくとも一部は、前記インプリントリソグラフィテンプレートアレンジメントを実質的に取り囲む、条項86~91のいずれかに記載の装置。
93.前記汚染バリアは、前記インプリントリソグラフィ装置の全体にわたって延在する、条項86~92のいずれかに記載の装置。
94.前記可動要素は、前記インプリント可能な媒体の層内にパターンを提供する際に前記インプリントリソグラフィテンプレートと併用するように構成される、条項86~93のいずれかに記載の装置。
95.前記可動要素は、
インプリントリソグラフィホルダ及び/又はインプリントリソグラフィテンプレートポジショナなどの前記インプリントリソグラフィテンプレートアレンジメントの部品、
インプリントリソグラフィテンプレートホルダ、
インプリントリソグラフィテンプレートポジショナ、
カメラ、
センサ、及び/又は、
放射源
から選択される1つ以上、又は1つ以上のためのアクチュエータを備える、条項86~94のいずれかに記載の装置。
96.インプリントリソグラフィ装置であって、
インプリントコンパートメントであって、その内部に、基板上に提供されたインプリント可能な媒体の層内にパターンをインプリントする際に使用するインプリントリソグラフィテンプレートアレンジメントと、前記基板を保持する基板ステージと、が位置する、インプリントコンパートメントと、
封止された又は封止可能なアクセスポートを介して前記インプリントコンパートメントに接続する印字ヘッドコンパートメントであって、前記印字ヘッドコンパートメントが、前記インプリントコンパートメントから前記印字ヘッドコンパートメント内へ印字ヘッドを移動させ、及び/又は前記印字ヘッドコンパートメントから前記インプリントコンパートメント内へ印字ヘッドを移動させるアクチュエータを有する、印字ヘッドコンパートメントと、
を備える、インプリントリソグラフィ装置。
97.前記アクチュエータは、印字ヘッドを保持するように構成されたアームを移動させるように配置される、条項96に記載の装置。
98.前記アクチュエータは、前記アームの下に位置する、条項97に記載の装置。
99.前記アームは、前記印字ヘッドコンパートメント内に完全に配置可能である、条項97又は98に記載の装置。
100.前記印字ヘッドコンパートメントは、前記アクセスポートに隣接した位置にあるガスシャワーを備える、条項96~99のいずれかに記載の装置。
101.前記印字ヘッドコンパートメントは、前記印字ヘッドコンパートメント内に配置された、又は配置可能な印字ヘッドへのアクセスを提供する封止可能なアクセスポートをさらに備える、条項96~100のいずれかに記載の装置。
102.少なくとも使用時に、前記インプリントコンパートメントは、前記印字ヘッドコンパートメントのガス圧よりも高いガス圧に維持される、条項96~102のいずれかに記載の装置。
103.インプリントリソグラフィ装置であって、
その上にインプリント可能な媒体の層を提供する基板を保持し及び/又は移動させる基板ハンドリングシステムを備え、
前記基板ハンドリングシステムは、インプリントリソグラフィテンプレートハンドリングシステムとしても機能するように構成される、インプリントリソグラフィ装置。
104.前記基板ハンドリングシステムは、基板ステージ上に基板を搭載する基板ハンドラ及び/又は基板ステージを備える、条項103に記載の装置。
105.前記基板ハンドリングシステムは、使用時に、ダミー基板を取り扱い、前記ダミー基板は、標準基板と、前記標準基板に関連して使用時に前記標準基板の上面に位置する、インプリントリソグラフィテンプレートを収容する装置と、を含む、条項103又は104に記載の装置。
106.インプリントリソグラフィテンプレートを取り扱う際に使用するダミー基板であって、
標準基板と、
前記標準基板に関連して、使用時に前記標準基板の上面に位置する、インプリントリソグラフィテンプレートを収容する装置と、
を有する、ダミー基板。
107.インプリントリソグラフィテンプレートを収容する装置は、当接面と、前記インプリントリソグラフィテンプレートを前記当接面に接触させるよう付勢する付勢要素とを備える、条項106に記載のダミー基板。
108.前記当接面及び/又は前記付勢要素は、前記インプリントリソグラフィテンプレートのベース領域に接触するように構成される、条項107に記載のダミー基板。
109.インプリントリソグラフィ装置内で、基板ハンドリングシステムを用いて直接的又は間接的にインプリントリソグラフィテンプレートを取り扱うステップを含む、インプリントリソグラフィ方法。
110.前記基板ハンドリングシステムは、前記インプリントリソグラフィテンプレートを収容するように構成されたダミー基板を取り扱うことで前記インプリントリソグラフィテンプレートを取り扱う、条項109に記載の方法。
111.前記インプリントリソグラフィテンプレートは、前記インプリントリソグラフィテンプレートのパターン付領域が前記ダミー基板の方を向いた状態で前記ダミー基板上に搭載される、条項110に記載の方法。

Claims (7)

  1. 基板上に提供されたインプリント可能な媒体の層内にインプリントリソグラフィテンプレートをインプリントしてそのインプリント可能な媒体の層内にパターンを形成するステップと、
    前記インプリントリソグラフィテンプレートが前記インプリント可能な媒体内にインプリントされるときに前記基板に対する前記インプリントリソグラフィテンプレートの位置又は変形を制御するステップと、
    インプリント可能な媒体の層内に提供されたパターンを凝固させるステップと、を含み、
    前記基板に対する前記インプリントリソグラフィテンプレートの位置又は変形を制御するステップは、
    前記インプリント可能な媒体が、非凝固の状態、実質的に液状、及び/又は、流動可能な状態、にあるときに第1のレベルで比較的高い帯域幅の制御を実行することと、
    前記インプリント可能な媒体が、非凝固の状態、実質的に液状、及び/又は、流動可能な状態と凝固の実質的に固体状態の間の中間状態、にあるときに、前記第1のレベルよりも高い第2のレベルでより高い帯域幅の制御を実行することと、
    前記インプリント可能な媒体が凝固の実質的に固体状態にあるときに比較的低い帯域幅の制御を実行することと、
    を含む、インプリントリソグラフィ方法。
  2. 前記基板に対する前記インプリントリソグラフィテンプレートの位置又は変形を制御するステップは、サーボ機構の制御を含む、請求項1に記載の方法。
  3. 前記インプリントリソグラフィテンプレートが前記インプリント可能な媒体内にインプリントされるときに前記基板に対する前記インプリントリソグラフィテンプレートの位置を制御するステップは、前記基板のターゲット部分に対するインプリントリソグラフィテンプレートアレンジメントの整列ステップ又はアライメントの維持ステップを含む、請求項1又は2に記載の方法。
  4. 基板上に提供されたインプリント可能な媒体の層内にインプリントリソグラフィテンプレートがインプリントされるときに前記基板に対する前記インプリントリソグラフィテンプレートの位置又は変形を制御するように構成された作動装置であって、
    前記作動装置は、
    前記インプリント可能な媒体が、非凝固の状態、実質的に液状、及び/又は、流動可能な状態、にあるときに第1のレベルで比較的高い帯域幅の制御を実行し、
    前記インプリント可能な媒体が、非凝固の状態、実質的に液状、及び/又は、流動可能な状態と凝固の実質的に固体状態の間の中間状態、にあるときに、前記第1のレベルよりも高い第2のレベルでより高い帯域幅の制御を実行し、かつ、
    前記インプリント可能な媒体が凝固の実質的に固体状態にあるときに比較的低い帯域幅の制御を実行するように構成されている、作動装置。
  5. 前記作動装置は、前記基板に対する前記インプリントリソグラフィテンプレートの位置又は変形を制御するサーボ機構を含む、請求項に記載の作動装置。
  6. 前記作動装置は、さらに、前記基板のターゲット部分に対するインプリントリソグラフィテンプレートアレンジメントの整列又はアライメントの維持を実行するように構成されている、請求項4又は5に記載の作動装置。
  7. 請求項4~6の何れか一項に記載の作動装置を備える、インプリントリソグラフィ装置。
JP2023132384A 2010-08-05 2023-08-15 インプリントリソグラフィ Active JP7584593B2 (ja)

Applications Claiming Priority (10)

Application Number Priority Date Filing Date Title
US37094010P 2010-08-05 2010-08-05
US61/370,940 2010-08-05
US38215110P 2010-09-13 2010-09-13
US61/382,151 2010-09-13
US41821410P 2010-11-30 2010-11-30
US61/418,214 2010-11-30
US201061426275P 2010-12-22 2010-12-22
US61/426,275 2010-12-22
JP2019088253A JP7231475B2 (ja) 2010-08-05 2019-05-08 インプリントリソグラフィ
JP2021175266A JP7595549B2 (ja) 2010-08-05 2021-10-27 インプリントリソグラフィ

Related Parent Applications (1)

Application Number Title Priority Date Filing Date
JP2021175266A Division JP7595549B2 (ja) 2010-08-05 2021-10-27 インプリントリソグラフィ

Publications (2)

Publication Number Publication Date
JP2023153252A JP2023153252A (ja) 2023-10-17
JP7584593B2 true JP7584593B2 (ja) 2024-11-15

Family

ID=44226005

Family Applications (7)

Application Number Title Priority Date Filing Date
JP2013522153A Pending JP2013538447A (ja) 2010-08-05 2011-06-14 インプリントリソグラフィ
JP2014257622A Active JP5891291B2 (ja) 2010-08-05 2014-12-19 インプリントリソグラフィ
JP2015172297A Active JP6158877B2 (ja) 2010-08-05 2015-09-01 インプリントリソグラフィ
JP2017079364A Active JP6526734B2 (ja) 2010-08-05 2017-04-13 インプリントリソグラフィ
JP2019088253A Active JP7231475B2 (ja) 2010-08-05 2019-05-08 インプリントリソグラフィ
JP2021175266A Active JP7595549B2 (ja) 2010-08-05 2021-10-27 インプリントリソグラフィ
JP2023132384A Active JP7584593B2 (ja) 2010-08-05 2023-08-15 インプリントリソグラフィ

Family Applications Before (6)

Application Number Title Priority Date Filing Date
JP2013522153A Pending JP2013538447A (ja) 2010-08-05 2011-06-14 インプリントリソグラフィ
JP2014257622A Active JP5891291B2 (ja) 2010-08-05 2014-12-19 インプリントリソグラフィ
JP2015172297A Active JP6158877B2 (ja) 2010-08-05 2015-09-01 インプリントリソグラフィ
JP2017079364A Active JP6526734B2 (ja) 2010-08-05 2017-04-13 インプリントリソグラフィ
JP2019088253A Active JP7231475B2 (ja) 2010-08-05 2019-05-08 インプリントリソグラフィ
JP2021175266A Active JP7595549B2 (ja) 2010-08-05 2021-10-27 インプリントリソグラフィ

Country Status (5)

Country Link
US (5) US9864279B2 (ja)
JP (7) JP2013538447A (ja)
NL (1) NL2006929A (ja)
TW (1) TWI448832B (ja)
WO (1) WO2012016744A1 (ja)

Families Citing this family (24)

* Cited by examiner, † Cited by third party
Publication number Priority date Publication date Assignee Title
US9864279B2 (en) 2010-08-05 2018-01-09 Asml Netherlands B.V. Imprint lithography
JP5864929B2 (ja) * 2011-07-15 2016-02-17 キヤノン株式会社 インプリント装置および物品の製造方法
JP6060796B2 (ja) * 2013-04-22 2017-01-18 大日本印刷株式会社 インプリントモールド及びダミーパターン設計方法
CN103529661B (zh) * 2013-10-30 2015-09-09 苏州光舵微纳科技有限公司 纳米压印对准装置
JP6526653B2 (ja) * 2013-11-08 2019-06-05 キャノン・ナノテクノロジーズ・インコーポレーテッド 改善されたオーバレイ補正のための低接触インプリントリソグラフィテンプレート用チャックシステム
WO2015069279A1 (en) * 2013-11-08 2015-05-14 Empire Technology Development Llc Apparatus and methods for detecting substrate alignment during a printing process
JP6313591B2 (ja) * 2013-12-20 2018-04-18 キヤノン株式会社 インプリント装置、異物除去方法及び物品の製造方法
JP6465577B2 (ja) * 2014-07-11 2019-02-06 キヤノン株式会社 インプリント装置及び物品の製造方法
DE102015201249A1 (de) * 2015-01-26 2016-07-28 Carl Zeiss Smt Gmbh Beweglich gelagertes Bauteil einer Projektionsbelichtungsanlage sowie Vorrichtung und Verfahren zur Bewegungsbegrenzung hierfür
JP6562795B2 (ja) * 2015-02-12 2019-08-21 キヤノン株式会社 インプリント装置、および物品の製造方法
JP6609158B2 (ja) * 2015-10-19 2019-11-20 キヤノン株式会社 調整装置、インプリント装置および物品製造方法
JP6677495B2 (ja) * 2015-12-04 2020-04-08 キヤノン株式会社 インプリント装置、及び物品の製造方法
JP6726987B2 (ja) * 2016-03-17 2020-07-22 キヤノン株式会社 インプリント装置および物品製造方法
EP3989269B1 (en) 2016-11-03 2023-09-27 Molecular Imprints, Inc. Substrate loading system
US10303049B2 (en) * 2017-03-22 2019-05-28 Canon Kabushiki Kaisha Reducing electric charge in imprint lithography
US10534259B2 (en) * 2017-03-28 2020-01-14 Canon Kabushiki Kaisha Method and system for imprint force control
US11249393B2 (en) 2018-05-09 2022-02-15 Facebook Technologies, Llc Nanoimprint lithography processes for switching mechanical properties of imprint materials
JP6808684B2 (ja) * 2018-06-14 2021-01-06 キヤノン株式会社 情報処理装置、判定方法、プログラム、リソグラフィシステム、および物品の製造方法
US11054739B2 (en) * 2018-07-26 2021-07-06 Canon Kabushiki Kaisha Imprint apparatus, control method, imprint method and manufacturing method
US11073758B2 (en) * 2018-10-31 2021-07-27 Canon Kabushiki Kaisha Imprint apparatus control, control method and manufacturing method
JP7401396B2 (ja) * 2020-06-04 2023-12-19 キヤノン株式会社 インプリント装置、物品の製造方法、及びインプリント装置のための測定方法
KR102441428B1 (ko) * 2020-11-27 2022-09-08 주식회사 기가레인 디몰더 장치 및 이를 이용한 패턴 기판 생산 방법
JP2023088471A (ja) * 2021-12-15 2023-06-27 キヤノン株式会社 インプリント装置、及び物品の製造方法
WO2024061736A1 (en) * 2022-09-23 2024-03-28 Asml Netherlands B.V. Positioning system for an optical element of a metrology apparatus

Citations (3)

* Cited by examiner, † Cited by third party
Publication number Priority date Publication date Assignee Title
JP2006344969A (ja) 2005-06-08 2006-12-21 Asml Netherlands Bv リソグラフィ装置及び基板ステージ補償を利用したデバイス製造方法
JP2008244441A (ja) 2007-02-06 2008-10-09 Canon Inc インプリント方法及びインプリント装置、インプリント方法を用いた部材の製造方法
JP2010272860A (ja) 2009-05-19 2010-12-02 Asml Netherlands Bv インプリントリソグラフィ装置

Family Cites Families (98)

* Cited by examiner, † Cited by third party
Publication number Priority date Publication date Assignee Title
US4360266A (en) * 1979-08-24 1982-11-23 Dai Nippon Insatsu Kabushiki Kaisha Contact printing method and apparatus
JPS5891291A (ja) 1981-11-27 1983-05-31 川崎重工業株式会社 マンガン団塊集鉱装置
US4731155A (en) 1987-04-15 1988-03-15 General Electric Company Process for forming a lithographic mask
JPH0356965A (ja) 1989-07-26 1991-03-12 Mitsumura Genshiyokuban Insatsujiyo:Kk 露光装置
JP2958914B2 (ja) 1990-10-19 1999-10-06 キヤノン株式会社 X線マスク構造体およびその位置決め保持方法
JP3254704B2 (ja) 1991-12-18 2002-02-12 株式会社ニコン 露光装置および露光方法
JPH0876102A (ja) 1994-09-02 1996-03-22 Nikon Corp 基板保持装置
US6134981A (en) 1999-12-03 2000-10-24 Nikon Research Corporation Of America Precision scanning apparatus and method with fixed and movable guide members
US5772905A (en) 1995-11-15 1998-06-30 Regents Of The University Of Minnesota Nanoimprint lithography
JP3689949B2 (ja) * 1995-12-19 2005-08-31 株式会社ニコン 投影露光装置、及び該投影露光装置を用いたパターン形成方法
JPH09289155A (ja) * 1996-04-19 1997-11-04 Nikon Corp 走査型露光装置
JPH10291251A (ja) * 1997-02-24 1998-11-04 Idemitsu Petrochem Co Ltd 熱可塑性樹脂のシート加工装置、シート加工方法、およびそのシート
JP3890136B2 (ja) 1997-03-25 2007-03-07 キヤノン株式会社 露光装置とこれを用いたデバイス製造方法、ならびにステージ装置
JPH1197327A (ja) 1997-09-17 1999-04-09 Rohm Co Ltd 露光装置のマスク取付機構
US6459088B1 (en) * 1998-01-16 2002-10-01 Canon Kabushiki Kaisha Drive stage and scanning probe microscope and information recording/reproducing apparatus using the same
US6334960B1 (en) 1999-03-11 2002-01-01 Board Of Regents, The University Of Texas System Step and flash imprint lithography
JP2001023896A (ja) * 1999-07-13 2001-01-26 Nikon Corp ステージ装置及び露光装置
JP2001044264A (ja) * 1999-07-28 2001-02-16 Nikon Corp ステージ装置及び露光装置
JP3678079B2 (ja) * 1999-10-26 2005-08-03 ウシオ電機株式会社 マスクとワークの間隔設定手段を備えたコンタクト露光装置
TWI238292B (en) * 2000-02-10 2005-08-21 Asml Netherlands Bv Lithographic projection apparatus having a temperature controlled heat shield
JP2001260218A (ja) * 2000-03-14 2001-09-25 Idemitsu Petrochem Co Ltd マイクロエンボス版
US8016277B2 (en) 2000-08-21 2011-09-13 Board Of Regents, The University Of Texas System Flexure based macro motion translation stage
EP2306242A3 (en) 2000-10-12 2011-11-02 Board of Regents, The University of Texas System Method of forming a pattern on a substrate
US6847433B2 (en) 2001-06-01 2005-01-25 Agere Systems, Inc. Holder, system, and process for improving overlay in lithography
JP3679767B2 (ja) 2002-02-26 2005-08-03 キヤノン株式会社 ステージ位置決め装置及びその制御方法、露光装置、半導体デバイスの製造方法
US6906786B2 (en) * 2002-06-07 2005-06-14 Asml Netherlands B.V. Lithographic apparatus and device manufacturing method
US7077992B2 (en) 2002-07-11 2006-07-18 Molecular Imprints, Inc. Step and repeat imprint lithography processes
US6900881B2 (en) * 2002-07-11 2005-05-31 Molecular Imprints, Inc. Step and repeat imprint lithography systems
JP3862639B2 (ja) * 2002-08-30 2006-12-27 キヤノン株式会社 露光装置
JP2004235354A (ja) 2003-01-29 2004-08-19 Canon Inc 露光装置
TW570290U (en) * 2003-05-02 2004-01-01 Ind Tech Res Inst Uniform pressing device for nanometer transfer-print
EP1510867A1 (en) * 2003-08-29 2005-03-02 ASML Netherlands B.V. Lithographic apparatus and device manufacturing method
JP2005101201A (ja) 2003-09-24 2005-04-14 Canon Inc ナノインプリント装置
JP2005167166A (ja) * 2003-12-01 2005-06-23 Bussan Nanotech Research Institute Inc 位置制御可能なパターン形成装置及び位置制御方法
JP2005228978A (ja) 2004-02-13 2005-08-25 Canon Inc 露光装置及び半導体デバイスの製造方法
US7730834B2 (en) 2004-03-04 2010-06-08 Asml Netherlands B.V. Printing apparatus and device manufacturing method
EP1594001B1 (en) 2004-05-07 2015-12-30 Obducat AB Device and method for imprint lithography
JP2008501244A (ja) 2004-05-28 2008-01-17 ボード・オブ・リージエンツ,ザ・ユニバーシテイ・オブ・テキサス・システム 基板支持システム及び方法
US7768624B2 (en) 2004-06-03 2010-08-03 Board Of Regents, The University Of Texas System Method for obtaining force combinations for template deformation using nullspace and methods optimization techniques
JP4574240B2 (ja) * 2004-06-11 2010-11-04 キヤノン株式会社 加工装置、加工方法、デバイス製造方法
JP2006013402A (ja) 2004-06-29 2006-01-12 Canon Inc 露光装置
JP2006027081A (ja) 2004-07-16 2006-02-02 Towa Corp 樹脂封止方法及びシート状部材
US7927090B2 (en) 2004-08-10 2011-04-19 Asml Netherlands B.V. Imprint lithographic apparatus, device manufacturing method and device manufactured thereby
US7333179B2 (en) 2004-08-13 2008-02-19 Nikon Corporation Moving mechanism with high bandwidth response and low force transmissibility
JP2006140366A (ja) 2004-11-15 2006-06-01 Nikon Corp 投影光学系及び露光装置
US7180571B2 (en) 2004-12-08 2007-02-20 Asml Netherlands B.V. Lithographic projection apparatus and actuator
US7331283B2 (en) 2004-12-16 2008-02-19 Asml Holding N.V. Method and apparatus for imprint pattern replication
US7676088B2 (en) 2004-12-23 2010-03-09 Asml Netherlands B.V. Imprint lithography
US7922474B2 (en) 2005-02-17 2011-04-12 Asml Netherlands B.V. Imprint lithography
JP4773729B2 (ja) * 2005-02-28 2011-09-14 キヤノン株式会社 転写装置およびデバイス製造方法
US7161659B2 (en) 2005-04-08 2007-01-09 Asml Netherlands B.V. Dual stage lithographic apparatus and device manufacturing method
US7611348B2 (en) 2005-04-19 2009-11-03 Asml Netherlands B.V. Imprint lithography
JP4787993B2 (ja) 2005-04-22 2011-10-05 株式会社日立製作所 インプリント方式の転写印刷方法、および転写印刷版
US7442029B2 (en) 2005-05-16 2008-10-28 Asml Netherlands B.V. Imprint lithography
US20060267231A1 (en) 2005-05-27 2006-11-30 Asml Netherlands B.V. Imprint lithography
JP2006339347A (ja) 2005-06-01 2006-12-14 Canon Inc レチクルチャック
JP2007122544A (ja) 2005-10-31 2007-05-17 Omron Corp 基板の回転機構及び基板処理装置
US8011915B2 (en) 2005-11-04 2011-09-06 Asml Netherlands B.V. Imprint lithography
JP4923924B2 (ja) * 2005-11-22 2012-04-25 コニカミノルタホールディングス株式会社 インプリント装置及びインプリント方法
KR101293059B1 (ko) 2005-12-08 2013-08-05 몰레큘러 임프린츠 인코퍼레이티드 기판과 몰드 사이에 위치되는 기체를 축출하기 위한 방법
JP4856941B2 (ja) * 2005-12-09 2012-01-18 東芝機械株式会社 ジンバル機構を備えた転写装置及び同装置を用いる転写方法
US7517211B2 (en) 2005-12-21 2009-04-14 Asml Netherlands B.V. Imprint lithography
US20070138699A1 (en) 2005-12-21 2007-06-21 Asml Netherlands B.V. Imprint lithography
US7943080B2 (en) 2005-12-23 2011-05-17 Asml Netherlands B.V. Alignment for imprint lithography
WO2007077920A1 (ja) * 2005-12-28 2007-07-12 Nikon Corporation 露光装置及びその製造方法
US20070200276A1 (en) 2006-02-24 2007-08-30 Micron Technology, Inc. Method for rapid printing of near-field and imprint lithographic features
US8001924B2 (en) 2006-03-31 2011-08-23 Asml Netherlands B.V. Imprint lithography
JP4795300B2 (ja) * 2006-04-18 2011-10-19 キヤノン株式会社 位置合わせ方法、インプリント方法、位置合わせ装置、インプリント装置、及び位置計測方法
US8215946B2 (en) 2006-05-18 2012-07-10 Molecular Imprints, Inc. Imprint lithography system and method
JP2008034766A (ja) 2006-08-01 2008-02-14 Allied Material Corp 吸着部材
JP2008110610A (ja) * 2006-09-13 2008-05-15 Seikoh Giken Co Ltd 微細加工方法および微細加工基板
US7946837B2 (en) 2006-10-06 2011-05-24 Asml Netherlands B.V. Imprint lithography
JP5043468B2 (ja) 2007-02-23 2012-10-10 キヤノン株式会社 保持装置
US7641467B2 (en) 2007-05-02 2010-01-05 Asml Netherlands B.V. Imprint lithography
NL1036034A1 (nl) 2007-10-11 2009-04-15 Asml Netherlands Bv Imprint lithography.
NL1036618A1 (nl) 2008-03-24 2009-09-25 Asml Netherlands Bv Encoder-type measurement system, lithograpic apparatus and method to detect an error on or in a grid or grating of an encoder-type measurement system.
JP5235506B2 (ja) 2008-06-02 2013-07-10 キヤノン株式会社 パターン転写装置及びデバイス製造方法
JP5279397B2 (ja) * 2008-08-06 2013-09-04 キヤノン株式会社 インプリント装置、インプリント方法、およびデバイス製造方法
US8043085B2 (en) 2008-08-19 2011-10-25 Asml Netherlands B.V. Imprint lithography
JP5517423B2 (ja) * 2008-08-26 2014-06-11 キヤノン株式会社 インプリント装置及びインプリント方法
JP5371349B2 (ja) 2008-09-19 2013-12-18 キヤノン株式会社 インプリント装置、および物品の製造方法
JP2010080630A (ja) 2008-09-25 2010-04-08 Canon Inc 押印装置および物品の製造方法
JP2010080631A (ja) 2008-09-25 2010-04-08 Canon Inc 押印装置および物品の製造方法
JP2010080713A (ja) * 2008-09-26 2010-04-08 Canon Inc 押印装置および物品の製造方法
NL2003470A (en) 2008-10-07 2010-04-08 Asml Netherlands Bv Lithographic apparatus and device manufacturing method.
US8284815B2 (en) 2008-10-21 2012-10-09 Cymer, Inc. Very high power laser chamber optical improvements
US8529778B2 (en) 2008-11-13 2013-09-10 Molecular Imprints, Inc. Large area patterning of nano-sized shapes
NL2003772A (en) 2008-12-11 2010-06-14 Asml Netherlands Bv Lithographic apparatus and a method to compensate for the effect of disturbances on the projection system of a lithographic apparatus.
NL2003871A (en) 2009-02-04 2010-08-05 Asml Netherlands Bv Imprint lithography.
NL2004680A (en) * 2009-07-06 2011-01-10 Asml Netherlands Bv Imprint lithography apparatus.
NL2004735A (en) 2009-07-06 2011-01-10 Asml Netherlands Bv Imprint lithography apparatus and method.
NL2004681A (en) 2009-07-06 2011-01-10 Asml Netherlands Bv Imprint lithography apparatus.
US8691124B2 (en) 2009-11-24 2014-04-08 Asml Netherlands B.V. Alignment and imprint lithography
NL2005735A (en) * 2009-12-23 2011-06-27 Asml Netherlands Bv Imprint lithographic apparatus and imprint lithographic method.
NL2005975A (en) 2010-03-03 2011-09-06 Asml Netherlands Bv Imprint lithography.
TW201200877A (en) 2010-04-27 2012-01-01 Nanoink Inc Ball-spacer method for planar object leveling
US9864279B2 (en) 2010-08-05 2018-01-09 Asml Netherlands B.V. Imprint lithography
JP2013098497A (ja) * 2011-11-04 2013-05-20 Canon Inc インプリント装置及び物品の製造方法

Patent Citations (3)

* Cited by examiner, † Cited by third party
Publication number Priority date Publication date Assignee Title
JP2006344969A (ja) 2005-06-08 2006-12-21 Asml Netherlands Bv リソグラフィ装置及び基板ステージ補償を利用したデバイス製造方法
JP2008244441A (ja) 2007-02-06 2008-10-09 Canon Inc インプリント方法及びインプリント装置、インプリント方法を用いた部材の製造方法
JP2010272860A (ja) 2009-05-19 2010-12-02 Asml Netherlands Bv インプリントリソグラフィ装置

Also Published As

Publication number Publication date
JP6158877B2 (ja) 2017-07-05
JP2023153252A (ja) 2023-10-17
US11635696B2 (en) 2023-04-25
TWI448832B (zh) 2014-08-11
JP2019135791A (ja) 2019-08-15
US20180088468A1 (en) 2018-03-29
JP2015228520A (ja) 2015-12-17
JP7595549B2 (ja) 2024-12-06
US20230221651A1 (en) 2023-07-13
JP2015065475A (ja) 2015-04-09
US20130182236A1 (en) 2013-07-18
WO2012016744A1 (en) 2012-02-09
US20210096468A1 (en) 2021-04-01
JP2022019730A (ja) 2022-01-27
JP7231475B2 (ja) 2023-03-01
JP5891291B2 (ja) 2016-03-22
JP2013538447A (ja) 2013-10-10
US10908510B2 (en) 2021-02-02
NL2006929A (en) 2012-02-13
JP6526734B2 (ja) 2019-06-05
US9864279B2 (en) 2018-01-09
JP2017143295A (ja) 2017-08-17
US10890851B2 (en) 2021-01-12
US20190377265A1 (en) 2019-12-12
TW201211702A (en) 2012-03-16
US12147162B2 (en) 2024-11-19

Similar Documents

Publication Publication Date Title
JP7584593B2 (ja) インプリントリソグラフィ
KR101669389B1 (ko) 임프린트 방법
JP4574240B2 (ja) 加工装置、加工方法、デバイス製造方法
US12449726B2 (en) Apparatus for assembly of a reticle assembly
CN1531668A (zh) 用于室温下低压微刻痕和毫微刻痕光刻的模板
KR102456532B1 (ko) 기판 홀더, 기판 지지체, 및 기판을 클램핑 시스템에 클램핑시키는 방법
US20230382019A1 (en) Forming apparatus, forming method, and article manufacturing method
JP7714110B2 (ja) インプリント装置
US12276908B2 (en) Imprint method and article manufacturing method
KR20250099658A (ko) 성형 장치, 성형 방법 및 물품 제조 방법

Legal Events

Date Code Title Description
A521 Request for written amendment filed

Free format text: JAPANESE INTERMEDIATE CODE: A523

Effective date: 20230901

A621 Written request for application examination

Free format text: JAPANESE INTERMEDIATE CODE: A621

Effective date: 20230901

A977 Report on retrieval

Free format text: JAPANESE INTERMEDIATE CODE: A971007

Effective date: 20240520

A131 Notification of reasons for refusal

Free format text: JAPANESE INTERMEDIATE CODE: A131

Effective date: 20240611

A521 Request for written amendment filed

Free format text: JAPANESE INTERMEDIATE CODE: A523

Effective date: 20240830

TRDD Decision of grant or rejection written
A01 Written decision to grant a patent or to grant a registration (utility model)

Free format text: JAPANESE INTERMEDIATE CODE: A01

Effective date: 20241008

A61 First payment of annual fees (during grant procedure)

Free format text: JAPANESE INTERMEDIATE CODE: A61

Effective date: 20241105

R150 Certificate of patent or registration of utility model

Ref document number: 7584593

Country of ref document: JP

Free format text: JAPANESE INTERMEDIATE CODE: R150