JP6909552B6 - 電子喫煙装置 - Google Patents

電子喫煙装置 Download PDF

Info

Publication number
JP6909552B6
JP6909552B6 JP2019190672A JP2019190672A JP6909552B6 JP 6909552 B6 JP6909552 B6 JP 6909552B6 JP 2019190672 A JP2019190672 A JP 2019190672A JP 2019190672 A JP2019190672 A JP 2019190672A JP 6909552 B6 JP6909552 B6 JP 6909552B6
Authority
JP
Japan
Prior art keywords
heater
electronic smoking
sensor
time
smoking device
Prior art date
Legal status (The legal status is an assumption and is not a legal conclusion. Google has not performed a legal analysis and makes no representation as to the accuracy of the status listed.)
Active
Application number
JP2019190672A
Other languages
English (en)
Other versions
JP2020022485A5 (ja
JP2020022485A (ja
JP6909552B2 (ja
Inventor
アラルコン、ラモン
ジェイソン ヒーリー
ジェイソン ヒーリー
Original Assignee
フォンテム ホールディングス フォー ビー.ブイ.
フォンテム ホールディングス フォー ビー.ブイ.
Priority date (The priority date is an assumption and is not a legal conclusion. Google has not performed a legal analysis and makes no representation as to the accuracy of the date listed.)
Filing date
Publication date
Family has litigation
First worldwide family litigation filed litigation Critical https://patents.darts-ip.com/?family=44857282&utm_source=google_patent&utm_medium=platform_link&utm_campaign=public_patent_search&patent=JP6909552(B6) "Global patent litigation dataset” by Darts-ip is licensed under a Creative Commons Attribution 4.0 International License.
Application filed by フォンテム ホールディングス フォー ビー.ブイ., フォンテム ホールディングス フォー ビー.ブイ. filed Critical フォンテム ホールディングス フォー ビー.ブイ.
Publication of JP2020022485A publication Critical patent/JP2020022485A/ja
Publication of JP2020022485A5 publication Critical patent/JP2020022485A5/ja
Application granted granted Critical
Publication of JP6909552B2 publication Critical patent/JP6909552B2/ja
Publication of JP6909552B6 publication Critical patent/JP6909552B6/ja
Active legal-status Critical Current
Anticipated expiration legal-status Critical

Links

Images

Classifications

    • AHUMAN NECESSITIES
    • A24TOBACCO; CIGARS; CIGARETTES; SIMULATED SMOKING DEVICES; SMOKERS' REQUISITES
    • A24FSMOKERS' REQUISITES; MATCH BOXES; SIMULATED SMOKING DEVICES
    • A24F40/00Electrically operated smoking devices; Component parts thereof; Manufacture thereof; Maintenance or testing thereof; Charging means specially adapted therefor
    • A24F40/90Arrangements or methods specially adapted for charging batteries thereof
    • A24F40/95Arrangements or methods specially adapted for charging batteries thereof structurally associated with cases
    • AHUMAN NECESSITIES
    • A24TOBACCO; CIGARS; CIGARETTES; SIMULATED SMOKING DEVICES; SMOKERS' REQUISITES
    • A24FSMOKERS' REQUISITES; MATCH BOXES; SIMULATED SMOKING DEVICES
    • A24F40/00Electrically operated smoking devices; Component parts thereof; Manufacture thereof; Maintenance or testing thereof; Charging means specially adapted therefor
    • A24F40/40Constructional details, e.g. connection of cartridges and battery parts
    • A24F40/48Fluid transfer means, e.g. pumps
    • A24F40/485Valves; Apertures
    • AHUMAN NECESSITIES
    • A24TOBACCO; CIGARS; CIGARETTES; SIMULATED SMOKING DEVICES; SMOKERS' REQUISITES
    • A24FSMOKERS' REQUISITES; MATCH BOXES; SIMULATED SMOKING DEVICES
    • A24F40/00Electrically operated smoking devices; Component parts thereof; Manufacture thereof; Maintenance or testing thereof; Charging means specially adapted therefor
    • A24F40/50Control or monitoring
    • AHUMAN NECESSITIES
    • A24TOBACCO; CIGARS; CIGARETTES; SIMULATED SMOKING DEVICES; SMOKERS' REQUISITES
    • A24FSMOKERS' REQUISITES; MATCH BOXES; SIMULATED SMOKING DEVICES
    • A24F40/00Electrically operated smoking devices; Component parts thereof; Manufacture thereof; Maintenance or testing thereof; Charging means specially adapted therefor
    • A24F40/50Control or monitoring
    • A24F40/51Arrangement of sensors
    • AHUMAN NECESSITIES
    • A24TOBACCO; CIGARS; CIGARETTES; SIMULATED SMOKING DEVICES; SMOKERS' REQUISITES
    • A24FSMOKERS' REQUISITES; MATCH BOXES; SIMULATED SMOKING DEVICES
    • A24F40/00Electrically operated smoking devices; Component parts thereof; Manufacture thereof; Maintenance or testing thereof; Charging means specially adapted therefor
    • A24F40/65Devices with integrated communication means, e.g. wireless communication means
    • AHUMAN NECESSITIES
    • A24TOBACCO; CIGARS; CIGARETTES; SIMULATED SMOKING DEVICES; SMOKERS' REQUISITES
    • A24FSMOKERS' REQUISITES; MATCH BOXES; SIMULATED SMOKING DEVICES
    • A24F40/00Electrically operated smoking devices; Component parts thereof; Manufacture thereof; Maintenance or testing thereof; Charging means specially adapted therefor
    • A24F40/90Arrangements or methods specially adapted for charging batteries thereof
    • AHUMAN NECESSITIES
    • A24TOBACCO; CIGARS; CIGARETTES; SIMULATED SMOKING DEVICES; SMOKERS' REQUISITES
    • A24FSMOKERS' REQUISITES; MATCH BOXES; SIMULATED SMOKING DEVICES
    • A24F47/00Smokers' requisites not otherwise provided for
    • BPERFORMING OPERATIONS; TRANSPORTING
    • B05SPRAYING OR ATOMISING IN GENERAL; APPLYING FLUENT MATERIALS TO SURFACES, IN GENERAL
    • B05BSPRAYING APPARATUS; ATOMISING APPARATUS; NOZZLES
    • B05B1/00Nozzles, spray heads or other outlets, with or without auxiliary devices such as valves, heating means
    • B05B1/30Nozzles, spray heads or other outlets, with or without auxiliary devices such as valves, heating means designed to control volume of flow, e.g. with adjustable passages
    • HELECTRICITY
    • H02GENERATION; CONVERSION OR DISTRIBUTION OF ELECTRIC POWER
    • H02JELECTRIC POWER NETWORKS; CIRCUIT ARRANGEMENTS OR SYSTEMS FOR SUPPLYING OR DISTRIBUTING ELECTRIC POWER; SYSTEMS FOR STORING ELECTRIC ENERGY
    • H02J7/00Circuit arrangements for charging or discharging batteries or for supplying loads from batteries
    • H02J7/80Circuit arrangements for charging or discharging batteries or for supplying loads from batteries including monitoring or indicating arrangements
    • AHUMAN NECESSITIES
    • A24TOBACCO; CIGARS; CIGARETTES; SIMULATED SMOKING DEVICES; SMOKERS' REQUISITES
    • A24FSMOKERS' REQUISITES; MATCH BOXES; SIMULATED SMOKING DEVICES
    • A24F40/00Electrically operated smoking devices; Component parts thereof; Manufacture thereof; Maintenance or testing thereof; Charging means specially adapted therefor
    • A24F40/10Devices using liquid inhalable precursors
    • AHUMAN NECESSITIES
    • A24TOBACCO; CIGARS; CIGARETTES; SIMULATED SMOKING DEVICES; SMOKERS' REQUISITES
    • A24FSMOKERS' REQUISITES; MATCH BOXES; SIMULATED SMOKING DEVICES
    • A24F40/00Electrically operated smoking devices; Component parts thereof; Manufacture thereof; Maintenance or testing thereof; Charging means specially adapted therefor
    • A24F40/40Constructional details, e.g. connection of cartridges and battery parts
    • A24F40/46Shape or structure of electric heating means

Landscapes

  • Engineering & Computer Science (AREA)
  • Computer Networks & Wireless Communication (AREA)
  • Power Engineering (AREA)
  • Investigating Or Analyzing Materials By The Use Of Fluid Adsorption Or Reactions (AREA)
  • Catching Or Destruction (AREA)
  • Disinfection, Sterilisation Or Deodorisation Of Air (AREA)
  • Charge And Discharge Circuits For Batteries Or The Like (AREA)
  • Infusion, Injection, And Reservoir Apparatuses (AREA)

Description

本願は、2010年4月30日付で出願された米国仮特許出願第61/330,140号に対して優先権を主張するものであり、この参照によりその全体が本明細書に組み込まれ、本明細書にその完全な記載がなされたかのように全ての目的にかなうものである。
本開示は、電子喫煙装置に関し、特に、使用上の機能および機能性を向上させた電子喫煙装置およびそれに関連するパッケージに関する。
電子タバコは、吸入する煙を生成するために燃焼させなければならない従来のタバコをベースとした紙巻タバコの代用品として人気がある。電子タバコは吸入される蒸気を提供するが、この蒸気は人間の健康に有害となるような、燃焼に伴う特定の副産物を含んでいない。しかし、電子タバコは比較的新しい発明品であり、この現行のシステムは従来の紙巻タバコと同様の体験の「質」を提供しない。例えば、電子タバコの気化速度は、比較的ゆっくりしており、このことは一貫性のない蒸気の質をもたらす傾向にある。これは、使い捨てカートリッジから気化素子まで液体を運ぶ芯の使用に起因するのかもしれない。流体移送の「ウィッキング(芯材)」法は比較的ゆっくりした移送方法であり、それ故、ユーザーが紙巻タバコを吸うことができる速度を制限する。さらに、前記芯により、前記ユーザーに提供されるニコチンの量を制御し監視する能力が限定される。最後に、前記芯構造は、組み立ておよび製造の自動化が比較的難しく、質も劣り、さらに汚染されている可能性がある。
さらに、初期の電子タバコのユーザーインターフェースは、前記ユーザーに明瞭で直観的な情報を提供しない。例えば、従来の紙巻タバコは喫煙製品が消費し尽される視覚的な徴候を提供するが、電子タバコは同様の明瞭な徴候を提供しない。
ユーザーによっては、禁煙プログラムの一環として電子タバコを吸うことを選んでいる。しかし、往々にして、製品の消費されている正確な量を前記ユーザーが見つけ出すのは難しく、それ故このような禁煙プログラムの進捗を測定することが困難となっている。従って、改善された電子タバコが必要とされている。
本開示の観点によれば、電子喫煙装置は、ユーザーの喫煙行為を検出する第1のセンサーと、給気口と、前記給気口から延長する送風路と、喫煙液を貯蔵する液体隔室と、前記液体隔室から前記喫煙液を選択的に分与するように構成された分与量制御装置と、前記液体隔室および前記送風路に連通する気化隔室と、前記気化隔室に配置された加熱器と、前記第1のセンサーによって前記ユーザーの喫煙行為が検出されると前記加熱器を作動させて前記液体隔室から分与された前記喫煙液を気化させるように構成されたコントローラーと、前記気化隔室に接続する煙出口とを含み、前記分与量制御装置によって分与された前記喫煙液の量は、気化隔室に流入する空気の量に対応する。
前記液体隔室は、前記気化隔室に連通する開口部を含んでいてもよく、前記分与量制御装置は、前記液体隔室の開口部を覆っていてもよい。
前記第1のセンサーは、風量センサー、音響センサー、圧力センサー、タッチセンサー、容量性センサー、光センサー、ホール効果センサー、および電磁界センサーのうちの少なくとも1つを含んでいてもよい。
前記コントローラーは、前記加熱器が気化する前記喫煙液の所定時間当たりの量を制限するように構成してもよい。前記コントローラーは、前記加熱器の累積作動時間が所定値に達したときに前記電子喫煙装置の動作を停止させるように構成してもよい。
前記電子喫煙装置は、さらに、前記加熱器の内部電圧および内部電流のうちの少なくとも1つを検出する第2のセンサーを含んでいてもよく、前記コントローラーは前記内部電圧および前記内部電流のうちの少なくとも1つに基づいて前記加熱器の加熱動作を調節するように構成してもよい。
前記電子喫煙装置は、さらに、前記電子喫煙装置に電力を供給する充電式電池と該充電式電池用の充電/放電保護回路とを含んでいてもよい。前記加熱器は半導体ヒーターを含んでいてもよい。
本開示の別の観点によれば、電子喫煙装置は、ユーザーの喫煙行為を検出する第1のセンサーと、給気口と、該給気口から延長する送風路と、喫煙液を貯蔵する液体隔室と、前記送風路に連通する気化隔室と、前記液体隔室から前記気化隔室に前記喫煙液を選択的に分与するために前記液体隔室に接続する微細液体ろ過網と、前記気化隔室内に配置された加熱器と、前記ユーザーの喫煙行為が前記第1のセンサーによって検出されると前記加熱器を作動させて前記液体隔室から分与された前記喫煙液を気化させるように構成されたコントローラーと、前記気化隔室に接続する煙出口とを含んでいる。
前記微細液体ろ過網は微細開口パターンを含んでいてもよく、前記気化室内を流れる空気が前記微細開口パターン内に形成された前記喫煙液の表面張力を破壊すると、前記微細開口パターンを通って前記喫煙液を分与することができる。
前記液体隔室は、前記気化隔室に連通する開口部を含んでいてもよく、前記微細液体ろ過網は、前記液体隔室の開口部を覆ってもよい。
前記第1のセンサーは、風量センサー、音響センサー、圧力センサー、タッチセンサー、容量性センサー、光センサー、ホール効果センサー、および電磁界センサーのうちの少なくとも1つを含んでいてもよい。
前記コントローラーは、前記加熱器によって気化した前記喫煙液の所定時間当たりの量を制限するように構成してもよい。前記コントローラーは、前記加熱器の累積作動時間が所定値に達すると前記電子喫煙装置の動作を停止させるように構成してもよい。
前記電子喫煙装置は、さらに、前記加熱器の内部電圧および内部電流のうちの少なくとも1つを検出する第2のセンサーを含んでいてもよく、前記コントローラーは前記加熱器の加熱動作を調節するように構成してもよい。
前記電子喫煙装置は、さらに、前記電子喫煙装置に電力を供給する充電式電池と前記充電式電池用の充電/放電保護回路とを含んでいてもよい。前記加熱器は半導体ヒーターを有している。
本開示の別の観点によれば、電子喫煙装置のパッケージは、該パッケージに電力を供給する充電式電池と、外部電源から電力を受け取って前記充電式電池を充電するように構成された電源インターフェースと、第1の外部装置とデータを交換するように構成された通信インターフェースと、前記電子喫煙装置と係合して該電子喫煙装置に電力を提供するように構成された喫煙装置コネクターとを含んでいる。
前記喫煙装置コネクターは、さらに、前記電子喫煙装置とデータを交換するように構成してもよく、前記パッケージは、さらに、ユーザーインターフェースと、前記電子喫煙装置から前記喫煙装置コネクターを介して受け取ったデータに応答して前記ユーザーインターフェースを操作するように構成されたコントローラーとを含んでいてもよい。
前記パッケージは、さらに、ユーザーインターフェースを含んでいてもよく、該ユーザーインターフェースは、LEDランプ、振動モーター、ディスプレイ、および音響装置のうちの少なくとも1つを含んでいてもよい。
前記パッケージは、さらに、通信インターフェースを含んでいてもよく、該通信インターフェースは、有線通信インターフェースおよび無線通信インターフェースのうちの少なくとも1つを含んでいてもよい。前記無線通信インターフェースは、無線通信ネットワークに前記パッケージを接続し、前記無線通信ネットワーク内の第2の外部装置でデータを交換するように構成してもよい。
本開示の追加の機能、利点、および実施形態が記載され、また以下の詳細な説明、図面、および請求項からそれらは明らかであろう。更に、本開示の前述の発明の概要および以下の詳細な説明は共に例示的なものであり、請求されている本開示の範囲を限定せずにより詳しい説明を提供することを意図するものであることは理解されるべきである。
本開示のさらなる理解を提供するために含まれ、本明細書に組み込まれてその一部を構成する添付の図面は、本開示の実施形態を図示し、本発明の詳細な説明と共に本開示の原理を説明している。本開示の構造上の詳細について、本開示の基本的な理解および実施する上においての様々な方法に必要と思われる以上の詳細な説明の試みはなされていない。図面は以下のとおりである。
図1Aは、本開示の原理に従って構成された電子喫煙装置の構造の全体図である。 図1Bは、本開示の原理に従って構成された電子喫煙装置の別の観点の図式的な全体図である。 図2Aは、本開示の原理に従って構成された図1Aおよび1Bに示す電子喫煙装置の例示的な設計の断面図である。 図2Bは、図2Aに示す電子喫煙装置の分解立体図である。 図3は、図2Aに示す、本開示の原理に従って構成された電子喫煙装置の送風路、容器、ハウジング、およびマイクロメッシュ網の部分斜視図である。 図4は、図3に示す、本開示の原理に従って構成されたマイクロメッシュ網の拡大図である。 図5は、図2Aに示す、本開示の原理に従って構成された電子喫煙装置の半導体ヒーターの斜視図である。 図6は、図4に示すマイクロメッシュ網に関連付けて配置された、図5に示す半導体ヒーターの図である。 図7Aは、本開示の原理に従って構成された、電子喫煙装置のパッケージの斜視図である。 図7Bは、本開示の原理に従って構成された、電子喫煙装置の別のパッケージの斜視図である。 図7Cは、図7に示すパッケージの底面斜視図である。 図8は、本開示の原理に従って構成された、図7に示すパッケージの図式的な全体図である。 図9は、本開示の原理に従って構成された、図7に示すパッケージを使用して様々な通信チャネル上でデータを交換する装置の全体概念図である。 図10および11は、本開示の原理に従って構成された、電子喫煙装置のセンサーの模型図である。 図10および11は、本開示の原理に従って構成された、電子喫煙装置のセンサーの模型図である。 図12および13は、本開示の原理に従って構成された、電子喫煙装置の別のセンサーの模型図である。 図12および13は、本開示の原理に従って構成された、電子喫煙装置の別のセンサーの模型図である。 図14および15は、本開示の原理に従って構成された、電子喫煙装置のさらに別のセンサーの模型図である。 図14および15は、本開示の原理に従って構成された、電子喫煙装置のさらに別のセンサーの模型図である。 図16、17、18、19、20、および21は、本開示の原理による電子喫煙装置のいくつかの高度な機能性を実行する様々な工程のフローチャートである。 図16、17、18、19、20、および21は、本開示の原理による電子喫煙装置のいくつかの高度な機能性を実行する様々な工程のフローチャートである。 図16、17、18、19、20、および21は、本開示の原理による電子喫煙装置のいくつかの高度な機能性を実行する様々な工程のフローチャートである。 図16、17、18、19、20、および21は、本開示の原理による電子喫煙装置のいくつかの高度な機能性を実行する様々な工程のフローチャートである。 図16、17、18、19、20、および21は、本開示の原理による電子喫煙装置のいくつかの高度な機能性を実行する様々な工程のフローチャートである。 図16、17、18、19、20、および21は、本開示の原理による電子喫煙装置のいくつかの高度な機能性を実行する様々な工程のフローチャートである。
本開示の実施形態ならびにその様々な特徴および利点を、添付の図面の中で説明および/または図示され、かつ以下の記載の中で詳述される限定されない実施形態および実施例を参照しながらより詳細に説明する。図面に図示された特徴は必ずしも縮尺に忠実ではなく、また、例え本明細書内で明示的に述べられていなくとも当業者であれば認識するであろうように、一実施形態の特徴を他の実施形態に用いられることができることには注意すべきである。周知の構成要素および加工技術の説明は、本開示の実施形態を不必要に分かり難くしないために省略されることがある。本明細書内で使用される実施例は単に、本開示が実施される方法についての理解を容易にし、さらに当業者が本開示の実施形態を実施できるようにすることを目的とする。従って、本明細書の実施例および実施形態は本開示の範囲を限定するものと解釈するべきではなく、添付の請求項および準拠法によってのみ定義されるものである。尚、類似の参照番号が図面のうちのいくつかの図を通じて同様の部品を表わしている。
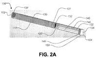
図1Aは、本開示の原理に従って構成された電子喫煙装置(electronic smoking device:ESD)100の構造の全体図である。前記ESDは使い捨てでもよく、または再使用可能であってもよい。前記ESD 100は、2若しくはそれ以上の本体を含むマルチボディ構造を有していてもよい。例えば、前記ESD 100は、特殊工具を一切使用せずに任意の時点で相互に容易に結合でき分離できる第1の本体部100Aおよび第2の本体部100Bなどを含む再使用可能なESDであってもよい。例えば、各本体部がねじ切り部位を含んでいてもよい。各本体部が異なるハウジングによって覆われていてもよい。前記第2の本体部100Bは、例えば喫煙液などの消耗材料を収納することができる。前記消耗材料が完全に消費されると、前記第2の本体部100Bを前記第1の本体部100Aから分離し、新しいものと取り替えることができる。また、前記第2の本体部100Bは、異なる風味、濃度、種類などの別のものと取り替えることもできる。あるいは、前記ESD 100は、図2Aに示すように単一の本体構造であってもよい。前記構造の種類に拘わらず、前記ESD 100は、図2Aに示すように第1の端部102および第2の端部104を備えた細長い形状を有してもよく、即ち従来の紙巻タバコに似た形状であってもよい。その他の非従来的な紙巻タバコの形状も考えられる。例えば、前記ESD 100は、喫煙パイプの形状などであってもよい。
前記ESD 100は、給気口120と、送風路122と、気化室124と、煙出口126と、電源ユニット130と、センサー132と、容器140と、分与量制御装置141と、加熱器146と、などを含んでいてもよい。さらに、前記ESD 100は、例えばマイクロコントローラー、マイクロプロセッサー、カスタムアナログ回路、特定用途向けIC(application−specific integrated circuit:ASIC)、プログラム可能論理回路(programmable logic device:PLD)(例えば、フィールドプログラマブルゲートアレイ(field programmable gate array:FPGA)など)などのコントローラー、ならびに基本的なデジタル回路およびアナログ回路によるその等価物を含んでいてもよいが、これについては図1Bを参照しながら下記に説明する。前記給気口120は、例えば図2Aに示す前記ハウジング110の外表面から延長していてもよい。前記送風路122は、前記給気口120に接続し、前記気化室124まで延長していてもよい。前記煙出口126は、前記気化室124に接続していてもよい。前記煙出口126は、前記ESD 100の前記第2の端部104に形成され、前記気化室124に接続していてもよい。ユーザーが前記ESD 100の前記第2の端部104を吸うと、図1に示す破線矢印によって表示されるように、前記給気口120の外側の空気を引き込み、前記送風路122を通って気化室124に移動させることができる。前記加熱器146は、図5に示す半導体ヒーターなどであってもよく、前記気化室124に位置してもよい。前記容器140は前記喫煙液を収納し、前記気化室124に接続していてもよい。前記容器140は、前記気化室124に連通する開口部を有していてもよい。前記容器140は単一の容器でもよく、または例えば容器140A、140Bなどのように相互に接続し、若しくは相互から分離した一群の容器であってもよい。
前記分与量制御装置141は前記容器140に接続して、前記容器140から前記気化室124までの喫煙液の流れを制御してもよい。前記ユーザーが前記ESD 100を喫煙していない場合、前記分与量制御装置141は前記容器140からの喫煙液を分与できないが、これについては図3および4を参照しながら下記に詳述する。前記分与量制御装置141の動作には、例えば前記電源ユニット130などからの電力を一切必要としない場合もある。
一態様において、前記分与量制御装置141は、例えば微細エッチング加工された網、マイクロメッシュ網などの微細液体ろ過網141であってもよい。図4に示すように、前記微細液体ろ過網141は微細開口パターン141'を有していてもよく、この微細開口パターン141'は、前記ESD 100が使用されていない場合に、または前記気化室124内の空気流量がごくわずかである場合に、前記喫煙液の前記微細液体ろ過網141からの漏出を表面張力などによって防止できる。外力が加えられると、前記喫煙液は前記微細液体ろ過網141を通って流れることができる。例えば、前記ユーザーが前記ESD 100の第2の端部104を吸うと、前記送風路122から前記煙出口126に向かう空気流を気化室124に形成することができ、微細液体ろ過網141内の微細開口パターン141'に形成された前記喫煙液の表面張力を一時的に破壊することができる。前記空気流が中断されると、前記微細液体ろ過網141の微細開口パターン141'で前記表面張力が回復でき、前記喫煙液はこの微細開口パターンを通って引き込まれることを停止することができる。前記微細液体ろ過網141は、前記容器140よりも大きな直径を備えた円形形状を有していてもよい。前記微細液体ろ過網141の一方の側面は前記容器140の開口部および前記送風路122に面していてもよく、反対側面は前記気化室124および前記加熱器141に面していてもよい。
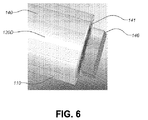
前記微細液体ろ過網141は、電力および制御信号を必要としない受動素子であってもよい。前記分与量制御装置141として、その他の受動的または能動的なろ過/遮蔽装置もまた考えられる。例えば、前記分与量制御装置は、例として電界が印加されない限り液体を通さない電界式透過膜などの半能動的な分与装置であってもよい。さらに、または別な方法として、前記容器140に能動的分与装置142を接続して、毎回一貫して実質的に同量の喫煙液を前記気化室124に分与してもよい。前記喫煙液を効率的に気化させるためには、図6に示すように前記分与量制御装置141と前記加熱器146との間に非常に小さな間隙をあけて両者を隣接配置してもよい。
電源ユニット130は、電源バス160を介して、例えば前記センサー132、前記能動的分与装置142、前記加熱器146などの電力を必要とする1若しくはそれ以上の構成要素に接続してもよい。前記電源ユニット130は、例えば充電式電池、使い捨て電池などの電池(図示せず)を含んでいてもよい。前記電源ユニット130は、さらに、前記電池の充電、前記電池の充電状況の検出、節電動作の実行などを行う電源制御論理回路(図示せず)を含んでいてもよい。外部電源に物理的に接続せずに前記ESD 100を充電できるように、前記電源ユニット130は非接触型誘導充電システムを含んでいてもよい。接触型充電システムもまた考えられる。
前記センサー132を、前記ESD 100の第2の端部104からの吸引、前記ESD 100の特定部位への接触など、前記ユーザーの喫煙行為を検出するように構成してもよい。前記ユーザーの喫煙行為が検出されると、センサー132はデータバス144を介して他の構成要素に信号を送ることができる。例えば、前記センサー132は、前記加熱器146を作動させる信号を送ることができる。また、気化室124に喫煙液の所定量を分配するために、前記センサー132は能動的分与装置142(利用している場合)に信号を送って前記気化室124に所定量の前記喫煙液を分与できる。前記喫煙液が前記容器140から分与され、前記加熱器146が作動すると、前記喫煙液は前記送風路122からの空気と混じり合って、前記気化室124内の前記加熱器146からの熱によって気化することができる。図1内の実線矢印によって表示されるように、その結果として生じた蒸気(即ち煙)は、前記ユーザーの経口吸入のための前記排煙口126を通して気化室144から引き出すことができる。前記気化室144で生成された煙が前記給気口120の方へ流れるのを防ぐために、前記送風路122は逆流防止用の網またはフィルター138を含んでいてもよい。
前記ユーザーの喫煙行為が中断されると、前記センサー132は別の信号を送って前記加熱器146、前記能動的分与装置142などを作動停止させ、前記喫煙液の気化および/または分与を直ちに停止することができる。代替の実施形態では、前記センサー132を前記電源ユニット130にのみ接続してもよい。前記ユーザーの喫煙行為が検出されると、前記センサー132は前記電源ユニット130に信号を送ることができる。前記信号に応じて、前記電源ユニット130は、例えば前記加熱器146などの他の構成要素を作動させて前記喫煙液を気化させることができる。
ある実施形態において、前記センサー132は風量センサーであってもよい。例えば図1に示されるように、前記センサー132は前記給気口120、前記送風路122などに接続していてもよい。前記ユーザーが前記ESD 100の第2の端部104を吸うと、前記給気口120から引き入れられた空気のうちの一部は前記センサー132の方へ移動でき、前記センサー132によって検出することができる。さらに、または別の方法として、容量性センサー148を使用して前記ユーザーが前記ハウジング100の特定部位に触れるのを検出してもよい。例えば、前記容量性センサー148を前記ESD 100の第2の端部104に形成してもよい。前記ESD 100が前記ユーザーの口に運ばれ、前記ユーザーの口唇が前記第2の端部104に触れると、前記容量性センサー148によって静電容量の変化を検出することができ、前記容量性センサー148が信号を送って前記加熱器146などを作動させることができる。前記ユーザーの喫煙行為の検出のために、例えば、音響センサー、圧力センサー、タッチセンサー、光センサー、ホール効果センサー、電磁界センサーなどを含む他の種類のセンサーもまた考えられる。
前記ESD 100は、さらに、例えば前記ESD 100用パッケージ200(図7に示す)、コンピューター320A、320B(図9に示す)などの他の装置との有線通信(例えば、シリアル周辺インターフェース(serial peripheral interface:SPI)など)および/または無線通信用の通信ユニット136を含んでいてもよい。また、前記通信ユニット136は、有線ネットワーク(例えば、LAN、WAN、インターネット、イントラネットなど)および/または無線ネットワーク(例えば、Wi−Fiネットワーク、ブルートゥース(登録商標)ネットワーク、モバイルデータ通信ネットワークなど)に前記ESD 100を接続してもよい。例えば、前記通信ユニット136は、前記パッケージ200、前記コンピューター320などに使用量データ、システム診断データ、システム・エラー・データなどを送ることもできる。無線通信を設定するために、前記通信ユニット136はアンテナなどを含んでいてもよい。前記ESD 100は、有線通信用の端子162を含んでいてもよい。前記端子162を、例えば前記パッケージ200の紙巻タバコ用コネクター216(図8に示す)などの別の端子に接続してデータを交換してもよい。また、前記端子140を使用して、前記パッケージ200または他の外部電源から電力を受け取り、前記電源ユニット130内の電池を再充電することもできる。
前記ESD 100がマルチボディ構造を有している場合、前記ESD 100は、それらの間に電源接続および/またはデータ接続を設定するための2若しくはそれ以上の端子162を含んでいてもよい。例えば、図1において、前記第1の本体部100Aは第1のターミナルの162Aを含んでいてもよく、前記第2の本体部100Bは第2の端子162Bを含んでいてもよい。前記第1のターミナル162Aを、第1の電源バス160Aおよび第1のデータバス144Aに接続してもよい。前記第2の端子162Bを、第2の電源バス160Bおよび第2のデータバス144Bに接続してもよい。前記第1および第2の本体部100Aおよび100Bが相互に結合されている場合、前記第1および第2の端子162Aおよび162Bを相互に接続してもよい。また、前記第1の電源バス160Aおよび前記第1のデータバス144Aは、前記第2の電源バス160Bおよび前記第2のデータバス144Bにそれぞれ接続している。前記電源ユニット130内の電池の充電、データ交換などを行うために、前記第1の本体部100Aを前記第2の本体部100Bから分離して前記パッケージ200などに接続してもよく、その結果として前記パッケージ200の紙巻タバコ用コネクター216などに前記第1の端子162Aを接続してもよい。あるいは、外部装置の充電および/またはそれとの有線通信のための別個の端子(図示せず)を、前記ESD 100に提供してもよい。
前記ESD 100は、さらに、例えばLEDユニット134、音発生装置(図示せず)、振動モーター(図示せず)などの1若しくはそれ以上のユーザーインターフェース装置を含んでいてもよい。前記LEDユニット134を、それぞれ前記電源バス160Aおよび前記データバス144Aを介して電源ユニット130に接続してもよい。前記ESD 100の動作中、前記LEDユニット134は視覚表示を提供してもよい。さらに、前記ESD 100の内に問題がある場合、前記センサー/コントローラー統合回路132は、前記LEDユニット134を制御して異なる視覚表示を生成することもできる。例えば、前記容器140がほとんど空か、前記電池の充電レベルが低い場合、前記LEDユニット134は、一定のパターンで(例えば、より長い間隔で30秒間)明滅してもよい。前記加熱器146が誤動作している場合、前記加熱器146を使用不能とし、LEDユニット134を制御して異なるパターンで(例えば、より短い間隔で1分間)明滅させてもよい。他のユーザーインターフェース装置を使用してテキスト、画像などを表示し、かつ/または音、振動などを発生させてもよい。
図1Aに示す前記ESD 100において、前記センサー132単独では前記ユーザーインターフェース装置、前記通信ユニット136、前記センサー132および148などを制御できない場合がある。さらには、前記センサー132単独ではより複雑で精巧な動作を実行できない場合がある。したがって、上述のように、例えばマイクロコントローラー、マイクロプロセッサー、カスタムアナログ回路、特定用途向けIC(application−specific integrated circuit:ASIC)、プログラマブル論理回路(programmable logic device:PLD)(例えば、フィールド・プログラマブル・ゲートアレイ(field programmable gate array:FPGA)など)のようなコントローラー、および基本的なデジタル回路およびアナログ回路によるその等価物を前記ESD 100に含めてもよい。例えば、図1Bは、本開示の原理に従って構成された別のESD 100'の構造の全体図を示している。前記ESD 100'は、コントローラー170と、信号発生装置172と、信号電力変換回路174と、電圧センサー176と、電流センサー178と、メモリー180と、などを含んでいてもよい。さらに、前記ESD 100'は、図1Aに示す前記ESD 100の構成要素と同様の、電源インターフェース130A'と、充電/放電保護回路130B'と、電池130C'と、1若しくはそれ以上のセンサー(例えば、センサー132A、センサー132Bなど)と、ユーザーインターフェース134'と、通信インターフェース136'と、加熱器146'と、などを含んでいてもよい。2若しくはそれ以上の構成要素が、サイズを縮小し、製造原価を低減し、かつその製造工程を簡素化するために単一チップ、論理モジュール、PCBなどとして統合されていてもよい。例えば、前記コントローラー170およびセンサー132Aが単一半導体チップとして統合されていてもよい。
前記コントローラー170は、例えば加熱器の校正、加熱パラメーターの調節/制御、用量制御、データ処理、有線通信/無線通信、より包括的なユーザーとの対話処理などの種々の動作を行うことができる。前記メモリー180は、前記ESD 100'を操作し、様々な基本的な動作および高度な動作を実行するためにコントローラー170によって実行される命令を格納できる。さらに、前記メモリー180は、例えば使用量データ、参照データ、診断データ、エラーデータのように前記コントローラー170によって蓄積されたデータを格納することができる。過充電、過放電、過剰電力による破損などから前記電池130C'を保護するために、前記充電/放電保護回路130B'を提供してもよい。電源インターフェース130A'が受け取った電力を、前記充電/放電保護回路130B'を介して前記電池130C'に提供することができる。あるいは、前記充電/放電保護回路130B'が利用可能でない場合は、前記コントローラー170が前記充電/放電保護動作を行なってもよい。この場合、前記電源インターフェース130A'が受け取った電力を前記コントローラー170を介して前記電池130C'に提供してもよい。
前記信号発生装置172を、前記コントローラー170、前記電池130C'などに接続してもよく、例えば電流レベル信号、電圧レベル信号、パルス幅変調(pulse−width modulation:PWM)信号などの電力制御信号を生成して前記加熱器146'に供給される電源を制御するように構成してもよい。あるいは、前記電力制御信号を前記コントローラー170によって生成してもよい。前記コンバーター174を前記信号発生装置172または前記コントローラー170に接続して、前記信号発生装置172からの電力制御信号を前記加熱器146に提供する電力に変換してもよい。この構成では、前記電池130C'からの電力を、前記信号発生装置172を介して、または前記信号発生装置172および前記変換回路174を介して前記加熱器146'に転送できる。あるいは、前記電池130C'からの電力を前記コントローラー170を介して前記信号発生装置172に転送し、前記加熱器146に直接または前記信号電力変換回路174を介して転送してもよい。
加熱器の校正、加熱パラメーター制御などのために、前記電圧センサー176および前記電流センサー178を提供し、前記加熱器146'の内部電圧および内部電流をそれぞれ検出してもよい。例えば、各加熱器146は、抵抗の小さな偏差によって生じるわずかに異なる加熱温度を有している場合がある。ユニット間でより一貫した加熱温度を出力するために、前記センサー/コントローラー統合回路132は、前記加熱器146の抵抗を測定し、加熱パラメーター(例えば、入力電流レベル、加熱持続時間、電圧レベルなど)を適宜調節できる。また、前記加熱器146の作動中に前記加熱器146の加熱温度が変化する場合もある。前記加熱器146の作動中、前記センサー132/コントローラー170統合回路が抵抗値変化を監視し、前記加熱温度を実質的に一定に保つためにリアルタイムで電流レベルを調節できる。さらに、前記センサー132/コントローラー170統合回路は、前記加熱器146が過熱状態にあるかどうか、および/または誤動作しているかどうかを監視し、前記加熱温度が所定の温度範囲よりも高い場合および/または前記加熱器146若しくはその他の構成要素が誤動作している場合には、安全のために前記加熱器146の動作を停止させることもできる。
例えば、図16、17、18、19、20、および21は、本開示の原理による前記ESD 100またはESD 100'の高度な機能性を実行する各種工程を示している。図16は、本開示の原理による加熱器の特徴づけに基づいた熱制御の微調整工程1600にのフローチャートを示している。前記工程1600の(1610からの)開始にあたって、(1620での)「時間」は0に設定してもよい。前記センサー132(即ち風量センサー)がオンでない(1630で「いいえ」である)場合、前記工程1600は(1620に)戻って「時間」を0に設定してもよい。前記センサーがオン(1630で「はい」)の場合、前記コントローラー170は、(1640で)空気流量を読み取ることができる。次に、前記コントローラー170は、特徴づけの式(例えば、温度曲線に対する1若しくはそれ以上の時間など)または前記空気流量および前記時間のうちの少なくとも1つに基づいた表(例えば、ルックアップテーブル)を調べて、(1650で)任意の時点における前記加熱器146の値として前記コントローラー170が決定する「指令値」を取得してもよい。次に、前記「指令値」を前記加熱器146に適用してもよく、前記加熱器146は、(1660で)前記「指令値」に基づいて熱を発生させる。次に、前記コントローラー170は(1670で)期間「時間ステップ」(例えば、1秒)を待ってもよく、この「時間ステップ」は、(1640での)空気流量の読み取り工程間の時間間隔を規定し、(1680で)前記「時間ステップ」が現行の「時間」に加算され、前記工程1600は(1630に)戻って前記センサー132がオンとなっているかを確認してもよい。
図17は、本開示の原理による加熱器自己校正制御の工程1700のフローチャートを示している。工程1700の(1710からの)開始にあたって、前記加熱器146に「参照コマンド」を適用してもよい。前記「参照コマンド」は、前記加熱器146の抵抗を検査するためにそのメーカーによって設定された加熱器指令値であってもよい。次に、前記電圧センサー176が、(1730で)前記加熱器146の内部電圧(即ち「加熱器電圧」)を読み取ってもよい。次に、前記「加熱器電圧」を「参照電圧」と比較してもよく、この「参照電圧」は、前記メーカーで前記加熱器の電熱線の特徴づけに基づいて前記加熱器146全体に亘って測定されるはずの通常電圧降下であってよい。前記「加熱器電圧」が前記「参照電圧」よりも大きい(1740で「はい」の)場合、(1750で)前記「加熱器電圧」を前記「参照電圧」で除した値を「補償係数」として設定してもよく、この「補償係数」は、前記加熱器間の加熱器抵抗値のバラツキを補償するために将来の加熱器コマンドに乗じられる値であってもよい。前記「補償係数」は、当初は1に設定してもよい。前記「加熱器電圧」が前記「参照電圧」よりも小さい(1740で「いいえ」、1760で「はい」の)場合、(1770で)前記「加熱器電圧」を前記「参照電圧」で除した値を前記「補償係数」として設定してもよい。前記「加熱器電圧」が前記「参照電圧」以下(1740で「いいえ」)であり、前記「参照電圧」以上(1760で「いいえ」)である場合、前記「補償係数」は変更しなくてもよく、前記工程1700を(1780で)終了してもよい。
図18は、本開示の原理による電流監視に基づいたヒーター制御の工程1800のフローチャートを示している。(1810からの)工程の開始にあたって、(1820で)「目標コマンド」を「指令値」として設定してもよい。前記「目標コマンド」は、通常前記メーカーで加熱器の電熱線の特徴づけに基づいた加熱器146の目標熱コマンドを設定する定数であってもよい。前記「指令値」は前記コントローラー170が前記加熱器146に送ることのできる値であってもよい。前記「指令値」は、前記コントローラー170が任意の時点で前記加熱器コマンドであるべきだと考える値であってよい。前記センサー132(例えば、吸入センサー)が作動していない(1830で「いいえ」である)場合、前記工程1800はステップ1820に戻ってもよい。前記センサー132が作動している(1830で「はい」である)場合、(1840で)前記「指令値」に基づいて加熱器制御信号を生成してもよく、前記電流センサー178は、(1850で)加熱器146の内部電流を読み取り、それを「センサー電流」として格納してもよい。次に、(1860および1870で)前記「センサー電流」を前記「目標コマンド」と比較してもよい。前記「センサー電流」が前記「目標コマンド」よりも大きい(1860で「はい」である)場合、(1865で)「指令値」−(「指令値」−「目標コマンド」)の絶対値を新たな「指令値」として設定してもよく、前記工程1800はステップ1830に進んでもよい。前記「センサー電流」が前記「目標コマンド」よりも小さい(1860で「いいえ」、1870で「はい」である)場合、(1875で)「指令値」+(「指令値」−「目標コマンド」)の絶対値を前記新たな「指令値」として設定してもよく、前記工程1800はステップ1830に進んでもよい。前記「センサー電流」が前記「目標コマンド」よりも小さくも大きくもない(1860で「いいえ」、1870で「いいえ」である)場合、前記「指令値」を変更しなくてもよく、前記工程1800はステップ1830に進んでもよい。
図19は、本開示の原理による1回目の使用後に喫煙液の劣化および汚染を制限する工程1900のフローチャートを示している。前記工程1900の(1910からの)開始にあたって、前記コントローラーは、前記センサー132がオンとなっているかどうかを確認するために(1920で)前記センサー132を読み取ってもよい。前記センサー132がオンでない(1930で「いいえ」である)場合、前記工程1900は(1920に)戻って前記センサー132を読み取ってもよい。前記センサー132がオン(1930で「はい」)である場合、前記コントローラー170は、(1940で)所定時間「時間ステップ」を待ち、(1950で)前記「時間ステップ」の分、「累積時間」を増加させてもよい。前記「累積時間」は、前記ESD 100'の有効期間中に前記加熱器146を初めて作動させて以降の時間の合計を表示するカウント値であってもよい。次に、前記「累積時間」を「総時間制限」と比較してもよく、この「総時間制限」は、前記ESD 100'の最初の使用と最後の使用の間に経過してもよい時間の合計の上限を設定する定数である。前記「累積時間」が前記「総時間制限」に達していない(1960で「いいえ」である)場合、前記工程1900はステップ1940に戻ってもよい。前記「累積時間」が前記「総時間制限」に達した(1960で「はい」である)場合、前記ESD 100'を恒久的に(1970に)使用不能としてもよく、前記工程1900は1980で終了してもよい。
図20は、本開示の原理に従って単純化された用量および/または加熱器制御の工程2000のフローチャートを示している。前記工程2000の開始にあたって、前記コントローラー170は(2020で)前記センサー132を読み取ってもよい。前記センサー132がオンでない(2030で「いいえ」である)場合、前記コントローラー170は(2020で)前記センサー132を読み取り続けてもよい。前記センサー132がオン(2030で「はい」)の場合、前記コントローラー170は「加熱器作動時間」と「最近の時間」を比較してもよい。前記「加熱器作動時間」は、前記加熱器146を最後に停止して以降、前記加熱器146が継続作動している時間を表示してもよい。前記「最近の時間」は、前記加熱器146が任意の一定期間中に作動していてもよい時間の限度を設定する定数であってもよく、この定数によって単位時間当たりに供給してもよい用量の限度が設定される。前記「加熱器作動時間」が前記「最近の時間」よりも大きい(2040で「はい」である)場合、前記工程2000は(2020での)前記センサー132の読み取りに進んでもよい。前記「加熱器作動時間」が前記「最近の時間」よりも小さい(2040で「いいえ」である)場合、(2050で)「累積作動時間」を「合計時間」と比較してもよい。前記「累積作動時間」は、前記ESD 100'の製品寿命期間中に前記加熱器を作動せた合計時間を表示するカウント値であってもよい。前記「合計時間」は、前記加熱器146が前記ESD 100'の製品寿命期間中に作動していてもよい時間の合計を設定する定数であってもよい。前記「累積作動時間」が前記「合計時間」に達していない(2050で「いいえ」である)場合、(2055で)前記加熱器146を作動させてもよく、前記工程2000はステップ2020に戻ってもよい。前記「累積作動時間」が前記「合計時間」に達した(2050で「はい」である)場合、前記ESD 100'を恒久的に使用不能としてもよく、前記工程2000は(2070で)終了してもよい。
図21は、本開示の原理に従って故障センサーの点検、加熱器温度制御、およびシステムの強制停止の工程2100のフローチャートを示している。前記工程2110の開始にあたって、前記コントローラー170は、(2112で)故障センサーの値「故障センサー」およびセンサーの状態「センサーの状態」の双方を偽値(2112の)として表示することによって初期化し、(2114で)前記センサー132の入力を読み取ってもよい。前記「センサーの状態」が正(2120で「はい」)の場合、前記コントローラー170は前記「センサーの状態」を真値として設定し、(2124で)故障カウンターの値「故障カウンター」を1だけ増加させてもよい。前記「故障カウンター」が故障カウンター限度値「故障カウンター限度」以上(2130で「はい」)である場合、前記コントローラー170は(2132で)「故障センサー」を真値として設定してもよい。前記「故障カウンター」が前記「故障カウンター限度」以上ではない(2130で「いいえ」である)場合、前記コントローラー170は(2134で)前記「故障センサー」を偽値として設定してもよい。前記「センサーの状態」が負(2120で「いいえ」)の場合、前記コントローラー170は(2126で)前記「センサーの状態」を偽値として設定し、(2128で)「故障カウント」を0に初期化してもよく、それによって故障センサーの点検を完了できる。
前記「故障センサー」を(2132で)真値として設定した後に、前記コントローラー170は(2152で)前記加熱器146を作動停止してもよい。あるいは、(2134で)前記「故障センサー」を偽値として設定した後、前記コントローラー170は(2140で)前記センサー132がオンとなっているかどうかを確認してもよい。前記センサー132がオン(2140で「はい」)の場合、(2142で)「立ち上がり速度」を「時間ステップ」に乗じた値を移動平均値「移動平均」に加算してもよい。前記センサー132がオンでない(2140で「いいえ」)の場合、(2144で)「立ち上がり速度」を「時間ステップ」に乗じた値を前記「移動平均」から減じてもよい。次に、前記コントローラー170は、(2150で)前記センサー132がオンかどうかを確認してもよい。前記センサー132がオンでない(2150で「いいえ」である)場合、前記コントローラー170は(2152で)前記加熱器146を作動停止とし、(2170で)前記「時間ステップ」を待ってもよく、前記工程2100は(2114に)戻ってセンサー入力を読み込んでもよい。前記センサー132がオン(2150で「はい」)の場合、前記コントローラー170は(2160で)前記「移動平均」が加熱時間限度値「加熱時間限度」以上かどうかを確認してもよい。前記「移動平均」が前記「加熱時間限度」以上ではない(2160で「いいえ」である)場合、前記コントローラー170は前記加熱器146を作動させてもよく、前記工程2100はステップ2170に進んでもよい。前記「移動平均」が前記「加熱時間限度」以上(2160で「はい」)である場合、前記コントローラー170は(2164で)前記加熱器146を作動停止し、(2166で)前記ESD 100'を「強制停止時間」期間の間強制的に停止させてもよい。次に、(2168で)前記「立ち下がり速度」を「偽値停止時間」に乗じた値を「移動平均」から減じてもよく、前記工程2100はステップ2170に進んでもよい。このように、前記コントローラー170はこの工程を実行して、前記センサーが故障しているという問題を回避しながら前記加熱器146の温度を制御することができる。
図2Aは、図1に示す、本開示の原理に従って構成された前記ESD 100の例示的な設計の断面図を示している。図2Bは、図2Aに示す前記ESD 100の分解立体図である。上述ように、図2Aおよび2Bに示す前記ESD 100は、前記ESD 100が誤ってバラバラに分解されたり壊れたりしないように、単一本体構造でかつ単一のハウジング110によって覆われていてもよい。さらに、前記単一本体構造は設計製造がより容易でより安価である場合がある。したがって、前記単一本体構造は使い捨てのESDに、より適しているかもしれない。
図2Aおよび2Bを同時に参照して、前記ハウジング100は、前記第1の端部102に形成された前記LEDユニット134、および前記第2の端部104に形成された前記煙出口126を備えた細長い管状の形状を有してもよい。給気口120は、前記ハウジング110から内部に延長し、前記送風路122に連通していてもよい。前記ESD 100は、さらに、相互から各区画内の構成要素を安全に密封し、相互から該構成要素の機能を隔離できるように、前記給気口120、前記送風路122、前記容器140などから前記電池130を収納している隔室を完全に分離するために外壁構造体131を含んでいてもよい。末口部品150に前記煙出口126を形成してもよい。前記ハウジング110の第2の端部104の開口部に前記末口部品150を押し込むことによって、前記加熱器146を固定してもよい。
一態様において、前記容器140は前記送風路122を囲んでもよい。より具体的には、図3に示すように、前記容器140は細長い管状の形状を有していてもよく、前記ハウジング110によって囲まれていてもよい。前記送風路122は前記容器140の中心に沿って延長してもよい。また、前記送風路122は、より小さな直径を備えた細長い管状の形状を有していてもよい。前記ハウジング110、前記容器140、および前記送風路122は同心であってもよい。上述のように、前記送風路122の一端を前記給気口120に接続し、他端を前記気化室124に接続してもよい。前記容器140もまた、前記気化室124に接続してよい。前記容器140から前記気化室124への前記喫煙液の分与量を制御するために、前記容器140と前記気化室124との間に前記分与量制御装置141を形成してもよい。
図7Aは、本開示の原理に従って構成された、ESDのパッケージ200の斜視図である。前記パッケージ200は従来の紙巻きタバコのパッケージの形状を有していてもよいが、他の形状もまた考えられる。図7Bは、別のパッケージ200'の斜視図を示しており、図7Cは、図7Bに示す前記パッケージ200'の底面斜視図を示している。図8は、本開示の原理に従って構成された、図7Aのパッケージ200、ならびに図7Bおよび7Cのパッケージ200'の構造の全体図を示している。図7A、7B、7Cおよび8を同時に参照して、前記パッケージ200は、本体202と、蓋204と、1若しくはそれ以上のユーザーインターフェース装置(例えば、表示灯206(図7A)ならびに206Aおよび206B(図7B)、スイッチ208、振動モーター234(図8に示す)、追加のディスプレイ(図示せず)、音響装置(図示せず)など)と、1若しくはそれ以上のコネクター(例えば、紙巻タバコ用コネクター216、電源コネクター222、データコネクター224など)と、などを含んでいてもよい。前記パッケージ200は、また、コントローラー210と、メモリー212と、通信用プロセッサー214と、アンテナ218と、電池220と、蓋スイッチ232と、蓋スイッチプランジャー232'と、などを含んでいてもよい。前記蓋スイッチ232に前記蓋スイッチプランジャー232'を接続し、前記蓋204の開閉を検出するように構成してもよい。
上述のように、前記電源ユニット130内の電池の充電、前記センサー/コントローラー統合回路132とのデータ交換などのために前記ESD 100の端子162に前記紙巻タバコ用コネクター216を接続してもよい。ねじ込み式接続によって前記端子162および前記紙巻タバコ用コネクター216を接続してもよい。例えば非ねじ込み式接続、固定接続、差込み(圧締)接続などを含む他の接続形式もまた考えられる。前記電池220を充電するために外部電源(USB、変圧器など)に前記電源コネクター222を接続してもよい。さらに、又は別の方法として、一切の外部電源に物理的に接続せずに、前記パッケージ200を充電できるように、前記パッケージ200は非接触型誘導充電システムを含んでいてもよい。前記電池220および前記ESD 100内の電池130を異なる電圧で充電してもよい。したがって、前記パッケージ200は複数の内部電圧網(図示せず)を含んでいてもよい。前記データコネクター224を例えば前記ユーザーのコンピューター320A、320B(図9に示す)などに接続して、前記パッケージ200と前記コンピューター320A、320Bとの間でデータを交換してもよい。前記電源コネクター222および前記データコネクター224を組み合わせてもよい。例えば、前記パッケージ200'は前記電源コネクター222および前記データコネクター224の両方として機能できるUSBコネクター221(図7Cに示す)、ファイヤーワイヤー(FireWire)コネクターなどを含んでいてもよい。
1若しくはそれ以上の上述の構成要素を含む前記パッケージ200の全体的な動作を制御するように前記コントローラー210を構成してもよい。例えば、外部電源から前記電源コネクター222が分離され、前記蓋204が所定時間の間開けられなかった場合、前記コントローラー210は、例えば節電モードに入るなどによって節電スキームを実行してもよい。前記蓋204の開閉は、前記蓋スイッチ232によって検出できる。また、前記パッケージ200に前記ESD 100が接続している場合、前記コントローラー210は、前記パッケージ200内の電池220および前記ESD 100内の電池の電池充電レベルを検出できる。さらに、前記コントローラー210は、前記ユーザーインターフェース装置を操作して前記ESD 100および前記パッケージ200の状態を表示してもよい。例えば、前記ESD 100を前記紙巻タバコ用コネクター216に接続し、前記電池220または外部電源によって充電している場合には、前記コントローラー210は、前記LEDインジケーター206を操作してより長い間隔で明滅させてもよい。前記ESD 100または前記パッケージ200に問題がある場合、前記コントローラー210は前記ディスプレイ(図示せず)上に警告メッセージまたはエラーメッセージを表示したり、警告音を発生させたりなどしてもよい。例えば、前記容器140が空であったり、前記ESD 100の電池充電レベルが低い場合、前記コントローラー210は、前記ディスプレイ上にメッセージを表示したり、前記振動モーター234を作動させたりなどしてもよい。さらに、前記加熱器146が過熱状態にあるか誤動作している場合、前記コントローラー210は、前記LEDインジケーター206を制御してより短い間隔で明滅させたり、前記ディスプレイ上に加熱器エラーメッセージを表示したり、警告音を発生したりなどしてもよい。換言すれば、前記ESD 100内で検出された任意のエラーを前記パッケージ200に送信してもよい。さらに、前記パッケージ200を、例えばコンピューターなどの外部装置に接続する場合、前記外部装置にエラーメッセージを表示してもよい。
前記通信用プロセッサー214は、前記データコネクター224経由の有線通信および/または前記アンテナ218経由の無線通信を実行してもよいが、これについては図9を参照しながら下記に詳述する。前記メモリー212は、各種動作を実行するために前記コントローラー210が実行する命令を含んでいてもよい。前記メモリー212は、さらに、使用量情報(例えば、前記容器140内の喫煙液レベル、何個の前記容器140を消費したか、消費したニコチンの量など)、製品情報(例えば、型番、製造番号など)、ユーザー情報(例えば、ユーザー名、性別、年齢、住所、職業、学歴、職業、職歴、興味のある事柄、趣味、好き嫌いなど)などを含んでいてもよい。前記データコネクター224経由で、または前記アンテナ218を介して無線で前記ユーザーのコンピューター320A、320Bから前記ユーザー情報を受け取り、前記メモリー212に格納してもよい。あるいは、前記データコネクター224経由で、または前記アンテナ218を介して無線で、例えばフェイスブック(Facebook(商標))、リンクトイン(LinkedIn(商標))イーハーモニー(Eharmony(商標))などのソーシャル・ネットワーク・ウェブサイトによって前記ユーザー情報を受け取ってもよい。
前記パッケージ200に格納された前記データ(例えば、前記使用量情報、前記製品情報、前記ユーザー情報など)を、他の装置および/または存在(例えば、供給業者、医療サービス提供者、ソーシャルネットワークなど)と共有してもよい。例えば、図9は、本開示の原理に従って構成された、前記パッケージ200のデータを様々な通信チャネル上で交換するシステム300の全体概念図を示している。前記システム300は、様々な有線および/または無線通信チャネル360(例えば、LAN、WAN、インターネット、イントラネット、Wi−Fiネットワーク、ブルートゥースネットワーク、セルラーネットワークなど)を介して相互に接続した、例えば1若しくはそれ以上のパッケージ200(例えば、第1のユーザー310Aが所有する第1のパッケージ200A、第2のユーザー310Bが所有する第2のパッケージ200Bなど)、1若しくはそれ以上のコンピューター320(例えば、デスクトップPC 320A、ラップトップPC 320B、携帯電話(図示せず)、個人用携帯情報端末(personal data assistant:PDA)(図示せず)、タブレットPC(図示せず)など)のような複数の通信装置のネットワークであってもよい。前記ユーザー310のコンピューター320および前記パッケージ200が相互にデータを交換できるように、前記ユーザー310は、前記コンピューター320内にソフトウェアアプリケーションをダウンロードしインストールしてもよい。さらに、前記ユーザーのスマートフォンにアプリをインストールしてもよく、次いでそれを前記パッケージ200に直接または前記通信チャネル360を介して接続してもよい。
図9に示すように、前記パッケージ200Aおよび200Bは、前記通信用プロセッサー214および前記アンテナ218を介して相互に直接通信してもよい。例えば、前記パッケージ200Aおよび200Bはユーザー情報を相互に交換してもよい。前記ユーザー310Aおよび310Bが同じ趣味を有しているか、または同じ学校を卒業している場合、前記パッケージ200Aおよび200Bの各々の中の前記コントローラー210は、前記ユーザーインターフェース装置を操作してその一致を通知することができる。例えば、前記パッケージ200Aは、音を出したり、かつ/または同じ学校を卒業した前記ユーザー310Bが前記ユーザー310Aの近くにいるというメッセージを前記ディスプレイ上に表示することができる。さらに、上述のアプリを実行するスマートフォンまたはタブレット型コンピューターを使用して他のユーザーと対話することもできる。このように、前記パッケージ200Aおよび200Bをソーシャルネットワーキング装置に使用することもできる。
さらに、前記パッケージ200Aおよび200Bを、それぞれ前記有線および/または無線通信チャネル360に直接、または前記コンピューター320Aおよび320Bを介して間接的に接続してもよい。前記ユーザー310Aが追加の使い捨てESDまたは前記第2の本体部100Bの新しい補給品を必要とする場合、前記パッケージ200Aは、前記使用量データに基づいて注文依頼を前記供給業者340のもとへ自動的に送ることができる。さらに、医師、看護師、病院の職員らがユーザー310Bによるニコチンの消費量をトラッキングして解析できるように、前記パッケージ200Bは、例えば医院、病院などの医療サービス提供者330に使用量データを送ることもできる。また、ユーザー310Bは使用量データを使用して、彼女若しくは彼がどのくらい喫煙しているかを監視し、または彼女若しくは彼の一定期間内の喫煙が減っているのか増えているのかを確認してもよい。
さらに、前記ESD 100は、一定期間後に細菌が増殖しやすい場合がある。どのくらいの間前記ESD 100が使用されたのかを決定し、前記ESD 100が一定期間使用されかつ/または使用量が多い場合には、前記ESD 100を自動的に使用不能とするために、前記使用量データを利用してもよい。
図10および11は、本開示の原理に従って構成された、電子喫煙装置のセンサーの模型図を示している。図10および11に示すように、前記センサーは(赤外線または可視の)発光体1006と、検出器1004と、窓を備えた回転円板1002と、固定子1010と、ホルダー1012を含んでいてもよい。前記円板1002は、空気流を回転推力に変換するための傾斜した窓を有していてもよい。空気流によって前記円板1002が回転する。その回転速度は空気流に対応する。検出器1004が受け取る前記発光体装置1006からの光パルスの周波数によって前記回転速度を検出してもよい。円板が反射面を有する他の実施形態もある。前記発光体1006および前記検出器1004は前記円板1002の同じ側面に配置されている。前記円板1002が回転すると、前記検出器1004はその円板面から反射するパルスを探す。水車のように、円板の軸が前記空気流に対して90°回転している他の実施形態もある。
図12および13は、本開示の原理に従って構成された、電子喫煙装置の別のセンサーの模型図を示している。図12および13に示すように、ハウジング1212は空気流を回転推力に変換するための傾斜した窓を有してもよい固定子1210および円板1202を含んでいる。空気流によって円板1202が回転する。その回転速度は空気流に対応する。前記回転速度は、ホール効果センサー1206が受け取る磁石1208からのパルスの周波数によって検出できる。ホール効果センサー1206および磁石1208の代わりに、容量感知部位または物理的接触を使用した他の実施形態もある。電磁石(図示せず)に電界を印加できる他の実施形態もある。前記電磁石が、前記円板が回転するのを防止する。用量を制御するために所望であれば、これにより空気流を中断する能力が提供される。
図14および15は、本開示の原理に従って構成された、電子喫煙装置のさらに別のセンサーの模型図を示している。図14および15に示すように、前記センサーは、ハウジング1402と、空気流を可能とする穴部を備えたプランジャー1404と、ホルダー1406と、バネ1407と、発光体(赤外線または可視)1408と、検出器1410と、前記プランジャー1404内の窓1412とを含んでいる。空気流によってプランジャー1404が1406を圧縮する。前記プランジャー1404内の窓1412によって、検出器1410によって読み取ることができる「光有り/光なし」状態が発生する。窓の数は空気流量に対応する。この構成は、光センサー、容量性センサー、ホール効果センサーなどに使用できる。
本開示は例示的な実施形態の面から説明してきたが、当業者であれば、本開示を添付の請求項の趣旨および範囲内での変更を伴って実施が可能なことは認識するであろう。上記のこれらの実施例は単に事例的なものであり、本開示の可能なすべての設計、実施形態、適用、または修正の包括的なリストを意味するものではない。

Claims (9)

  1. 電子喫煙装置であって、
    送風路の少なくとも一部が延在する本体と、
    前記送風路に流体接続された前記本体の給気口と、
    前記本体内に液体を貯蔵する液体隔室と、
    ユーザの喫煙行為を検出して当該ユーザーの喫煙行為を示す信号を出力するように構成されたセンサーと、
    前記本体内に配置され前記液体隔室からの液体と前記送風路からの空気とを受け入れて前記液体を気化させる加熱器と、
    ユーザーが前記加熱器から気化された物質を受け取るための出口と、
    前記加熱器と前記センサーとに接続された回路であって、前記センサーがユーザーの喫煙行為を検出したときに前記センサーから出力された前記信号を受信し前記加熱器を作動させるように構成されており、
    この回路は、ユーザーの喫煙行為を示す前記信号が停止したとき前記加熱器の作動を停止させるように構成されており
    この回路は、所定時間設定により、気化される物質の量を制限するように構成されているものである
    前記回路と
    を有する電子喫煙装置。
  2. 請求項1に記載の電子喫煙装置において、前記回路はさらに、前記加熱器が作動していた合計時間に基づいて前記電子喫煙装置を恒久的に使用不能にするように構成されているものである電子喫煙装置。
  3. 請求項1または2に記載の電子喫煙装置において、前記回路はさらに、前記加熱器を初めて作動させたとき以降の時間の合計が上限に達すると、前記電子喫煙装置を恒久的に使用不能にするように構成されているものである電子喫煙装置。
  4. 請求項1−3のいずれかに記載の電子喫煙装置において、前記回路は、
    前記加熱器作動していた合計時間を把握し、
    前記加熱器が作動していた合計時間が既定の総時間制限と同じかそれを越えた場合に前記電子喫煙装置を恒久的不能にする
    命令を実行するように構成されているものである電子喫煙装置。
  5. 請求項4に記載の電子喫煙装置において、前記既定の総時間制限は前記加熱器が作動できる時間の合計を設定する所定値からなる電子喫煙装置。
  6. 請求項4または5のいずれかに記載の電子喫煙装置において、前記加熱器が作動していた合計時間は前記加熱器が作動していた時間を示すカウント値からなる電子喫煙装置。
  7. 請求項1−6のいずれかに記載の電子喫煙装置において、前記回路は、
    一定期間中における前記加熱器が作動している時間を把握し、
    前記一定期間中における前記加熱器作動している時間が既定の最近の時間制限と同じかそれを越えた場合に前記加熱器を作動させない
    命令を実行するように構成されているものである電子喫煙装置。
  8. 請求項7に記載の電子喫煙装置において、前記一定期間中における前記加熱器が作動している時間は、前記加熱器が最後に停止したとき以降の前記加熱器が作動している時間からなる電子喫煙装置。
  9. 請求項7または8のいずれかに記載の電子喫煙装置において前記既定の最近の時間制限は任意の一定期間中に前記加熱器が作していてもよい時間を設定する所定値である電子喫煙装置。
JP2019190672A 2010-04-30 2019-10-18 電子喫煙装置 Active JP6909552B6 (ja)

Applications Claiming Priority (3)

Application Number Priority Date Filing Date Title
US33014010P 2010-04-30 2010-04-30
US61/330,140 2010-04-30
JP2016154099A JP6877911B2 (ja) 2010-04-30 2016-08-05 電子喫煙装置

Related Parent Applications (1)

Application Number Title Priority Date Filing Date
JP2016154099A Division JP6877911B2 (ja) 2010-04-30 2016-08-05 電子喫煙装置

Publications (4)

Publication Number Publication Date
JP2020022485A JP2020022485A (ja) 2020-02-13
JP2020022485A5 JP2020022485A5 (ja) 2021-04-30
JP6909552B2 JP6909552B2 (ja) 2021-07-28
JP6909552B6 true JP6909552B6 (ja) 2021-08-25

Family

ID=44857282

Family Applications (3)

Application Number Title Priority Date Filing Date
JP2013508092A Active JP6326188B2 (ja) 2010-04-30 2011-05-02 電子喫煙装置
JP2016154099A Active JP6877911B2 (ja) 2010-04-30 2016-08-05 電子喫煙装置
JP2019190672A Active JP6909552B6 (ja) 2010-04-30 2019-10-18 電子喫煙装置

Family Applications Before (2)

Application Number Title Priority Date Filing Date
JP2013508092A Active JP6326188B2 (ja) 2010-04-30 2011-05-02 電子喫煙装置
JP2016154099A Active JP6877911B2 (ja) 2010-04-30 2016-08-05 電子喫煙装置

Country Status (8)

Country Link
US (17) US9439455B2 (ja)
EP (1) EP2563172B2 (ja)
JP (3) JP6326188B2 (ja)
CN (2) CN104839892B (ja)
AU (1) AU2011245104B8 (ja)
CA (3) CA3047478C (ja)
PL (1) PL2563172T5 (ja)
WO (1) WO2011137453A2 (ja)

Families Citing this family (759)

* Cited by examiner, † Cited by third party
Publication number Priority date Publication date Assignee Title
US20160345631A1 (en) 2005-07-19 2016-12-01 James Monsees Portable devices for generating an inhalable vapor
US7726320B2 (en) 2006-10-18 2010-06-01 R. J. Reynolds Tobacco Company Tobacco-containing smoking article
US20090283103A1 (en) * 2008-05-13 2009-11-19 Nielsen Michael D Electronic vaporizing devices and docking stations
AT507187B1 (de) 2008-10-23 2010-03-15 Helmut Dr Buchberger Inhalator
US10420374B2 (en) 2009-09-18 2019-09-24 Altria Client Services Llc Electronic smoke apparatus
EP2563172B2 (en) 2010-04-30 2022-05-04 Fontem Holdings 4 B.V. Electronic smoking device
US9999250B2 (en) 2010-05-15 2018-06-19 Rai Strategic Holdings, Inc. Vaporizer related systems, methods, and apparatus
US11344683B2 (en) 2010-05-15 2022-05-31 Rai Strategic Holdings, Inc. Vaporizer related systems, methods, and apparatus
US10159278B2 (en) 2010-05-15 2018-12-25 Rai Strategic Holdings, Inc. Assembly directed airflow
US8757147B2 (en) 2010-05-15 2014-06-24 Minusa Holdings Llc Personal vaporizing inhaler with internal light source
US9259035B2 (en) 2010-05-15 2016-02-16 R. J. Reynolds Tobacco Company Solderless personal vaporizing inhaler
US9743691B2 (en) 2010-05-15 2017-08-29 Rai Strategic Holdings, Inc. Vaporizer configuration, control, and reporting
US10136672B2 (en) 2010-05-15 2018-11-27 Rai Strategic Holdings, Inc. Solderless directly written heating elements
US9861772B2 (en) 2010-05-15 2018-01-09 Rai Strategic Holdings, Inc. Personal vaporizing inhaler cartridge
US9095175B2 (en) 2010-05-15 2015-08-04 R. J. Reynolds Tobacco Company Data logging personal vaporizing inhaler
US11247003B2 (en) 2010-08-23 2022-02-15 Darren Rubin Systems and methods of aerosol delivery with airflow regulation
EP3508085B1 (en) 2010-08-24 2022-04-06 JT International S.A. Inhalation device including substance usage controls
EP2654864B1 (en) 2010-12-22 2020-10-28 Syqe Medical Ltd. System for drug delivery
EP2468118A1 (en) 2010-12-24 2012-06-27 Philip Morris Products S.A. An aerosol generating system with means for disabling a consumable
EP2468117A1 (en) * 2010-12-24 2012-06-27 Philip Morris Products S.A. An aerosol generating system having means for determining depletion of a liquid substrate
JP6030580B2 (ja) 2011-02-09 2016-11-24 エスアイエス・リソーシズ・リミテッド 可変出力制御電子タバコ
AT510837B1 (de) 2011-07-27 2012-07-15 Helmut Dr Buchberger Inhalatorkomponente
AU2012214085B2 (en) 2011-02-11 2015-07-09 Nicoventures Trading Limited Inhaler component
GB201109174D0 (en) * 2011-06-01 2011-07-13 British American Tobacco Co Smoking article
US20130298921A1 (en) * 2011-06-23 2013-11-14 Rock Creek Pharmaceuticals, Inc. Inhaler for smoking cessation
US20120325228A1 (en) * 2011-06-23 2012-12-27 Williams Jonnie R Alkaloid composition for e-cigarette
US8528569B1 (en) 2011-06-28 2013-09-10 Kyle D. Newton Electronic cigarette with liquid reservoir
US9078473B2 (en) 2011-08-09 2015-07-14 R.J. Reynolds Tobacco Company Smoking articles and use thereof for yielding inhalation materials
ES2586141T3 (es) 2011-08-16 2016-10-11 Pax Labs, Inc. Dispositivo de vaporización electrónica a baja temperatura
US20140107815A1 (en) * 2011-09-14 2014-04-17 The Safe Cig, Llc Electronically augmented container for storing and interfacing with vapor delivery devices
AT511344B1 (de) 2011-10-21 2012-11-15 Helmut Dr Buchberger Inhalatorkomponente
US8820330B2 (en) * 2011-10-28 2014-09-02 Evolv, Llc Electronic vaporizer that simulates smoking with power control
TW201340894A (zh) * 2011-12-20 2013-10-16 British American Tobacco Co 吸煙物件及其他氣流輸送物件(二)
EP2609820A1 (en) * 2011-12-30 2013-07-03 Philip Morris Products S.A. Detection of aerosol-forming substrate in an aerosol generating device
RU2618436C2 (ru) * 2011-12-30 2017-05-03 Филип Моррис Продактс С.А. Система генерирования аэрозоля с контролем потребления и обратной связью
WO2013098397A2 (en) * 2011-12-30 2013-07-04 Philip Morris Products S.A. Aerosol generating device with air flow detection
CN104135880B (zh) 2012-01-03 2017-05-03 菲利普莫里斯生产公司 气雾产生装置和系统
US9078474B2 (en) 2012-01-30 2015-07-14 Spencer Thompson Cartomizer for electronic cigarettes
US9854839B2 (en) 2012-01-31 2018-01-02 Altria Client Services Llc Electronic vaping device and method
MY172044A (en) 2012-02-22 2019-11-12 Altria Client Services Llc Electronic smoking article and improved heater element
RU2611489C2 (ru) 2012-02-22 2017-02-27 Олтриа Клайент Сервисиз Инк. Электронное курительное изделие
WO2013138384A2 (en) 2012-03-12 2013-09-19 Uptoke Llc Electronic vaporizing device and methods for use
US20130248385A1 (en) 2012-03-23 2013-09-26 Njoy, Inc. Electronic cigarette container
US20140261494A1 (en) * 2013-03-15 2014-09-18 Mark Scatterday Single-use electronic cigar
US20130255702A1 (en) 2012-03-28 2013-10-03 R.J. Reynolds Tobacco Company Smoking article incorporating a conductive substrate
PL3466282T3 (pl) 2012-04-12 2021-12-27 Jt International Sa Urządzenia generujące aerozol
RU2597540C2 (ru) * 2012-04-18 2016-09-10 Фонтем Холдингз 1 Б.В. Электронная сигарета
US20130284192A1 (en) * 2012-04-25 2013-10-31 Eyal Peleg Electronic cigarette with communication enhancements
US11517042B2 (en) * 2012-04-25 2022-12-06 Altria Client Services Llc Digital marketing applications for electronic cigarette users
US20130340775A1 (en) * 2012-04-25 2013-12-26 Bernard Juster Application development for a network with an electronic cigarette
GB2502162B (en) * 2012-05-14 2014-08-06 Nicoventures Holdings Ltd Electronic smoking device
GB2502054A (en) * 2012-05-14 2013-11-20 Nicoventures Holdings Ltd Electronic smoking device
GB2502164B (en) * 2012-05-14 2014-05-07 Nicoventures Holdings Ltd Electronic smoking device
GB2502055A (en) * 2012-05-14 2013-11-20 Nicoventures Holdings Ltd Modular electronic smoking device
GB2502053B (en) 2012-05-14 2014-09-24 Nicoventures Holdings Ltd Electronic smoking device
GB2502163B (en) * 2012-05-14 2014-06-25 Nicoventures Holdings Ltd Electronic smoking device
WO2013185357A1 (zh) * 2012-06-16 2013-12-19 Liu Qiuming 电子烟及其电子烟装置
US10004259B2 (en) 2012-06-28 2018-06-26 Rai Strategic Holdings, Inc. Reservoir and heater system for controllable delivery of multiple aerosolizable materials in an electronic smoking article
US9814262B2 (en) * 2012-07-11 2017-11-14 Sis Resources, Ltd. Hot-wire control for an electronic cigarette
GB2504075A (en) 2012-07-16 2014-01-22 Nicoventures Holdings Ltd Electronic smoking device
GB2504076A (en) 2012-07-16 2014-01-22 Nicoventures Holdings Ltd Electronic smoking device
US9054818B2 (en) * 2012-08-21 2015-06-09 Anheuser-Busch Inbev Gesture based polling using an intelligent beverage container
US10517530B2 (en) 2012-08-28 2019-12-31 Juul Labs, Inc. Methods and devices for delivering and monitoring of tobacco, nicotine, or other substances
US8881737B2 (en) * 2012-09-04 2014-11-11 R.J. Reynolds Tobacco Company Electronic smoking article comprising one or more microheaters
US8910639B2 (en) 2012-09-05 2014-12-16 R. J. Reynolds Tobacco Company Single-use connector and cartridge for a smoking article and related method
US20150181930A1 (en) * 2012-09-17 2015-07-02 Qiuming Liu Electronic Hookah
WO2014047953A1 (zh) * 2012-09-29 2014-04-03 Wu Changming 一种电子吸烟装置
US9854841B2 (en) * 2012-10-08 2018-01-02 Rai Strategic Holdings, Inc. Electronic smoking article and associated method
US10117460B2 (en) 2012-10-08 2018-11-06 Rai Strategic Holdings, Inc. Electronic smoking article and associated method
GB2507102B (en) * 2012-10-19 2015-12-30 Nicoventures Holdings Ltd Electronic inhalation device
GB2507103A (en) * 2012-10-19 2014-04-23 Nicoventures Holdings Ltd Electronic inhalation device
GB2507104A (en) * 2012-10-19 2014-04-23 Nicoventures Holdings Ltd Electronic inhalation device
WO2014066730A1 (en) * 2012-10-25 2014-05-01 Lbs Imports, Llc. Electronic cigarette
US9675114B2 (en) 2012-11-08 2017-06-13 Ludovicus Josephine Felicien Timmermans Real time variable voltage programmable electronic cigarette and method
CN102940313B (zh) 2012-11-13 2015-04-01 卓尔悦(常州)电子科技有限公司 电子烟的智能控制器及方法
US10034988B2 (en) 2012-11-28 2018-07-31 Fontem Holdings I B.V. Methods and devices for compound delivery
US20150351455A1 (en) * 2012-12-11 2015-12-10 Kimree Hi-Tech Inc. Electronic cigarette and electronic cigarette device thereof
US20140174459A1 (en) * 2012-12-21 2014-06-26 Vapor Innovations, LLC Smart Electronic Cigarette
JP6220892B2 (ja) * 2013-01-05 2017-10-25 フイジョウ キムリー テクノロジー シーオー.、エルティーディー.シェンジェン ブランチ 電子タバコ
USD695449S1 (en) 2013-01-14 2013-12-10 Altria Client Services Inc. Electronic smoking article
USD849993S1 (en) 2013-01-14 2019-05-28 Altria Client Services Electronic smoking article
USD691766S1 (en) 2013-01-14 2013-10-15 Altria Client Services Inc. Mouthpiece of a smoking article
USD841231S1 (en) 2013-01-14 2019-02-19 Altria Client Services, Llc Electronic vaping device mouthpiece
USD691765S1 (en) 2013-01-14 2013-10-15 Altria Client Services Inc. Electronic smoking article
WO2014110712A1 (zh) * 2013-01-15 2014-07-24 Liu Qiuming 电子烟
US9185937B2 (en) * 2013-01-15 2015-11-17 Huizhou Kimree Technology Co., Ltd., Shenzhen Branch Electronic cigarette
US9480286B2 (en) * 2013-01-16 2016-11-01 Huizhou Kimree Technology Co., Ltd., Shenzhen Branch Electronic cigarette device and electronic cigarette thereof
US8794245B1 (en) 2013-01-17 2014-08-05 Njoy, Inc. Aroma pack for an electronic cigarette
CN103271446B (zh) * 2013-01-17 2015-07-08 深圳市合元科技有限公司 一种多功能电子烟
US8910640B2 (en) 2013-01-30 2014-12-16 R.J. Reynolds Tobacco Company Wick suitable for use in an electronic smoking article
GB2519317A (en) * 2013-10-16 2015-04-22 Roni Shabat Electronic smoking device
US20140230835A1 (en) * 2013-02-21 2014-08-21 Sarmad Saliman Disposable electronic cigarette with power shut off protection
MA38434A1 (fr) 2013-02-22 2016-01-29 Altria Client Services Llc Article à fumer électronique
US9986760B2 (en) 2013-02-22 2018-06-05 Altria Client Services Llc Electronic smoking article
USD725821S1 (en) 2013-02-26 2015-03-31 UpToke, LLC Electronic vaporizing device
USD776337S1 (en) 2013-02-26 2017-01-10 UpToke, LLC Electronic vaporizing device assembly
CN104037720B (zh) * 2013-03-05 2018-09-07 惠州市吉瑞科技有限公司 电子烟中防止微控制器电源电压跌落的保护装置和方法
CN104026743A (zh) * 2013-03-05 2014-09-10 向智勇 具有长时间加热保护功能的电子烟及其保护方法
US10031183B2 (en) 2013-03-07 2018-07-24 Rai Strategic Holdings, Inc. Spent cartridge detection method and system for an electronic smoking article
US20140261486A1 (en) 2013-03-12 2014-09-18 R.J. Reynolds Tobacco Company Electronic smoking article having a vapor-enhancing apparatus and associated method
US9918495B2 (en) 2014-02-28 2018-03-20 Rai Strategic Holdings, Inc. Atomizer for an aerosol delivery device and related input, aerosol production assembly, cartridge, and method
US9277770B2 (en) 2013-03-14 2016-03-08 R. J. Reynolds Tobacco Company Atomizer for an aerosol delivery device formed from a continuously extending wire and related input, cartridge, and method
US20140261487A1 (en) 2013-03-14 2014-09-18 R. J. Reynolds Tobacco Company Electronic smoking article with improved storage and transport of aerosol precursor compositions
US10279934B2 (en) 2013-03-15 2019-05-07 Juul Labs, Inc. Fillable vaporizer cartridge and method of filling
US9491974B2 (en) 2013-03-15 2016-11-15 Rai Strategic Holdings, Inc. Heating elements formed from a sheet of a material and inputs and methods for the production of atomizers
US9538788B2 (en) * 2013-03-15 2017-01-10 Vapor Corp. Electronic cigarette
EP2967153B1 (en) 2013-03-15 2018-05-09 Altria Client Services LLC Accessory for electronic cigarette
US9220302B2 (en) 2013-03-15 2015-12-29 R.J. Reynolds Tobacco Company Cartridge for an aerosol delivery device and method for assembling a cartridge for a smoking article
US9423152B2 (en) * 2013-03-15 2016-08-23 R. J. Reynolds Tobacco Company Heating control arrangement for an electronic smoking article and associated system and method
PL2967145T3 (pl) * 2013-03-15 2019-09-30 Altria Client Services Llc System i sposób uzyskiwania danych topografii palenia
US9609893B2 (en) 2013-03-15 2017-04-04 Rai Strategic Holdings, Inc. Cartridge and control body of an aerosol delivery device including anti-rotation mechanism and related method
CN203152492U (zh) * 2013-04-01 2013-08-28 向智勇 具有杀菌功能的电子烟盒
US20140299137A1 (en) * 2013-04-05 2014-10-09 Johnson Creek Enterprises, LLC Electronic cigarette and method and apparatus for controlling the same
WO2014166037A1 (zh) * 2013-04-07 2014-10-16 吉瑞高新科技股份有限公司 雾化温度可控的电子烟
WO2014166041A1 (zh) * 2013-04-08 2014-10-16 吉瑞高新科技股份有限公司 电子烟及其电路
CN104106841A (zh) * 2013-04-15 2014-10-22 惠州市吉瑞科技有限公司 一种电子香烟烟盒
GB2513638A (en) 2013-05-02 2014-11-05 Nicoventures Holdings Ltd Electronic cigarette
GB2513639A (en) 2013-05-02 2014-11-05 Nicoventures Holdings Ltd Electronic cigarette
GB2513637A (en) 2013-05-02 2014-11-05 Nicoventures Holdings Ltd Electronic cigarette
RU2659887C2 (ru) 2013-05-06 2018-07-04 Джуул Лэбз, Инк. Составы на основе солей никотина для аэрозольных устройств и способы их применения
ES2670574T3 (es) 2013-05-20 2018-05-31 Nu Mark Innovations Ltd Desarrollo de aplicaciones para una red asociada a un cigarrillo electrónico
US20140338685A1 (en) * 2013-05-20 2014-11-20 Sis Resources, Ltd. Burning prediction and communications for an electronic cigarette
WO2014190079A2 (en) 2013-05-22 2014-11-27 Njoy, Inc. Compositions, devices, and methods for nicotine aerosol delivery
RU2655596C2 (ru) * 2013-05-23 2018-05-28 Сис Рисорсез, Лтд. Приложение для цифрового маркетинга, предназначенное для пользователей электронных сигарет
WO2014190502A1 (zh) * 2013-05-29 2014-12-04 吉瑞高新科技股份有限公司 电子烟
GB2514893B (en) 2013-06-04 2017-12-06 Nicoventures Holdings Ltd Container
CN105246360B (zh) 2013-06-04 2019-02-15 尼科创业控股有限公司 用于电子尼古丁输送系统的容器
CN105473012B (zh) 2013-06-14 2020-06-19 尤尔实验室有限公司 电子汽化设备中的具有单独的可汽化材料的多个加热元件
RU2763434C2 (ru) * 2013-06-19 2021-12-29 ФОНТЕМ ХОЛДИНГС 4 Би.Ви. Устройство и способ измерения массового расхода воздуха
EP3010570A4 (en) * 2013-06-21 2016-12-21 Fontem Holdings 4 Bv CLINICAL INTERFACE
WO2014205694A1 (zh) * 2013-06-26 2014-12-31 吉瑞高新科技股份有限公司 电子烟及电子烟恒定功率输出方法
US11229239B2 (en) * 2013-07-19 2022-01-25 Rai Strategic Holdings, Inc. Electronic smoking article with haptic feedback
CN104348192B (zh) * 2013-07-23 2018-04-27 惠州市吉瑞科技有限公司 一种电子烟usb充电器
US9848645B2 (en) 2013-07-24 2017-12-26 Sis Resources Ltd. Cartomizer structure for automated assembly
US20150027468A1 (en) * 2013-07-25 2015-01-29 Altria Client Services Inc. Electronic smoking article
KR101357574B1 (ko) 2013-07-27 2014-02-04 이충언 휴대폰 충전기로 충전이 가능한 전자담배
EP3027072B1 (en) * 2013-07-30 2019-10-09 Altria Client Services LLC Flavoured vapour generating apparatus and electronic smoking apparatus
WO2015013913A1 (zh) * 2013-07-31 2015-02-05 吉瑞高新科技股份有限公司 一种用于电子烟的过流过压保护电路及方法
CN203337806U (zh) * 2013-08-01 2013-12-11 向智勇 电量查询装置
WO2015023996A2 (en) * 2013-08-15 2015-02-19 Loec, Inc. Method, system and device for switchless detection and charging
EP4233587A1 (en) * 2013-08-20 2023-08-30 VMR Products, LLC Vaporizer
US10172387B2 (en) 2013-08-28 2019-01-08 Rai Strategic Holdings, Inc. Carbon conductive substrate for electronic smoking article
PL3038686T3 (pl) * 2013-08-29 2019-09-30 Fontem Holdings 4 B.V. Elektroniczne urządzenie dla palaczy, skonfigurowane do automatycznego montażu
GB2518598B (en) * 2013-08-30 2016-06-01 Nicoventures Holdings Ltd Apparatus with battery power control
CN203434706U (zh) * 2013-08-30 2014-02-12 向智勇 一种电子烟充放电电路、电池组件以及电子烟
US10251423B2 (en) * 2013-09-13 2019-04-09 Nicodart, Inc. Programmable electronic vaporizing apparatus and smoking cessation system
US10194693B2 (en) 2013-09-20 2019-02-05 Fontem Holdings 1 B.V. Aerosol generating device
WO2015042589A1 (en) * 2013-09-23 2015-03-26 Verso PV, LLC Personal vaporizer liquid for emulsifying oil-soluble compounds and resins
CN105578914B (zh) * 2013-09-27 2018-10-16 奥驰亚客户服务有限责任公司 电子吸烟器具
EP2856893B2 (en) 2013-10-02 2023-10-04 Fontem Holdings 1 B.V. Electronic smoking device
US20150100441A1 (en) * 2013-10-04 2015-04-09 Loec, Inc. Retail engine for electronic smoking device
US9806549B2 (en) * 2013-10-04 2017-10-31 Rai Strategic Holdings, Inc. Accessory for an aerosol delivery device and related method and computer program product
GB2519101A (en) * 2013-10-09 2015-04-15 Nicoventures Holdings Ltd Electronic vapour provision system
US9820509B2 (en) 2013-10-10 2017-11-21 Kyle D. Newton Electronic cigarette with encoded cartridge
FR3011718A1 (fr) * 2013-10-14 2015-04-17 Coast Holdings Ltd Dispositif d’inhalation par voie orale d’un gaz, tel qu’une cigarette electronique
BR302014001648S1 (pt) 2013-10-14 2015-06-09 Altria Client Services Inc Configuração aplicada em artigo de fumo
WO2015054845A1 (zh) * 2013-10-16 2015-04-23 吉瑞高新科技股份有限公司 电子烟及其熄烟方法
US20150108903A1 (en) * 2013-10-18 2015-04-23 Zippy Technology Corp. Light sensing keyboard and a light emission control method thereof
CN106535673B (zh) * 2013-10-29 2020-09-04 吸烟观察者公司 戒烟装置
PT3685690T (pt) 2013-10-29 2022-07-05 Nicoventures Trading Ltd Aparelho para aquecer material fumável
US10292424B2 (en) * 2013-10-31 2019-05-21 Rai Strategic Holdings, Inc. Aerosol delivery device including a pressure-based aerosol delivery mechanism
US10039321B2 (en) * 2013-11-12 2018-08-07 Vmr Products Llc Vaporizer
US10973258B2 (en) 2013-11-21 2021-04-13 Fontem Holdings 4 B.V. Device, method and system for logging smoking data
USD721577S1 (en) 2013-11-21 2015-01-27 Njoy, Inc. Packaging assembly
US9839237B2 (en) 2013-11-22 2017-12-12 Rai Strategic Holdings, Inc. Reservoir housing for an electronic smoking article
WO2015074308A1 (zh) * 2013-11-25 2015-05-28 吉瑞高新科技股份有限公司 电子烟及信号发射器
CN203646503U (zh) * 2013-11-29 2014-06-18 刘秋明 一种电子烟装置
WO2015078010A1 (zh) * 2013-11-29 2015-06-04 吉瑞高新科技股份有限公司 电池杆、电子烟及其供电方法
CN203563693U (zh) * 2013-12-04 2014-04-30 林光榕 一种无棉电子烟的储液装置
ES3030435T3 (en) 2013-12-05 2025-06-30 Juul Labs Inc Nicotine liquid formulations for aerosol devices and methods thereof
US9549573B2 (en) 2013-12-23 2017-01-24 Pax Labs, Inc. Vaporization device systems and methods
US10076139B2 (en) 2013-12-23 2018-09-18 Juul Labs, Inc. Vaporizer apparatus
US10058129B2 (en) * 2013-12-23 2018-08-28 Juul Labs, Inc. Vaporization device systems and methods
US20160366947A1 (en) 2013-12-23 2016-12-22 James Monsees Vaporizer apparatus
CN110638107B (zh) 2013-12-23 2022-11-08 尤尔实验室有限公司 蒸发装置系统和方法
USD842536S1 (en) 2016-07-28 2019-03-05 Juul Labs, Inc. Vaporizer cartridge
USD825102S1 (en) 2016-07-28 2018-08-07 Juul Labs, Inc. Vaporizer device with cartridge
US10159282B2 (en) 2013-12-23 2018-12-25 Juul Labs, Inc. Cartridge for use with a vaporizer device
US20150181945A1 (en) * 2013-12-31 2015-07-02 Martin Tremblay Electronic vaping device
CN105916396B (zh) * 2014-01-10 2019-06-28 吉瑞高新科技股份有限公司 电子烟盒、电子烟盒信息管理方法及系统
US9974334B2 (en) 2014-01-17 2018-05-22 Rai Strategic Holdings, Inc. Electronic smoking article with improved storage of aerosol precursor compositions
CN203618788U (zh) * 2014-01-24 2014-06-04 惠州市吉瑞科技有限公司 一种电子烟的烟盒以及电子烟
EA201691523A1 (ru) 2014-01-27 2016-12-30 Сис Рисорсез Лтд. Проводная связь в электронном устройстве для курения
US11996720B2 (en) * 2014-01-29 2024-05-28 Steven Stanimirovic Electronic cigarette charging and management system
US10575558B2 (en) 2014-02-03 2020-03-03 Rai Strategic Holdings, Inc. Aerosol delivery device comprising multiple outer bodies and related assembly method
US9451791B2 (en) 2014-02-05 2016-09-27 Rai Strategic Holdings, Inc. Aerosol delivery device with an illuminated outer surface and related method
US10709173B2 (en) 2014-02-06 2020-07-14 Juul Labs, Inc. Vaporizer apparatus
US12279646B2 (en) 2014-02-06 2025-04-22 Juul Labs, Inc. Cartridge of vaporization device systems having unequal transverse cartridge dimensions
TWI684414B (zh) * 2014-02-06 2020-02-11 美商尤爾實驗室有限公司 汽化裝置系統及方法
US20150223521A1 (en) * 2014-02-07 2015-08-13 Alan Menting Flavor dial vapor device
US20150224268A1 (en) 2014-02-07 2015-08-13 R.J. Reynolds Tobacco Company Charging Accessory Device for an Aerosol Delivery Device and Related System, Method, Apparatus, and Computer Program Product for Providing Interactive Services for Aerosol Delivery Devices
ES2721256T3 (es) * 2014-02-10 2019-07-30 Philip Morris Products Sa Sistema generador de aerosol con una unidad de calentamiento y un cartucho para un sistema generador de aerosol con una unidad de calentamiento permeable al fluido
MY181294A (en) 2014-02-10 2020-12-21 Philip Morris Products Sa Fluid permeable heater assembly for an aerosol-generating system and method for assembling a fluid permeable heater for an aerosol-generating system
KR20230167768A (ko) 2014-02-10 2023-12-11 필립모리스 프로덕츠 에스.에이. 히터 조립체를 포함하고 있는 에어로졸 발생 시스템용 카트리지
AU2014381789B2 (en) 2014-02-10 2019-03-14 Philip Morris Products S.A. Cartridge for an aerosol-generating system
US9833019B2 (en) * 2014-02-13 2017-12-05 Rai Strategic Holdings, Inc. Method for assembling a cartridge for a smoking article
US10202274B2 (en) 2014-02-28 2019-02-12 Beyond Twenty Ltd. Electronic vaporiser system
US12295411B2 (en) 2014-02-28 2025-05-13 Ayr Ltd. Electronic vaporizer system
US20170045994A1 (en) * 2014-02-28 2017-02-16 Beyond Twenty Ltd. Electronic vaporiser system
US10588176B2 (en) 2014-02-28 2020-03-10 Ayr Ltd. Electronic vaporiser system
US10136674B2 (en) 2014-02-28 2018-11-27 Beyond Twenty Ltd. Electronic vaporiser system
US11085550B2 (en) 2014-02-28 2021-08-10 Ayr Ltd. Electronic vaporiser system
US10285430B2 (en) 2014-02-28 2019-05-14 Ayr Ltd. Electronic vaporiser system
US9839238B2 (en) 2014-02-28 2017-12-12 Rai Strategic Holdings, Inc. Control body for an electronic smoking article
GB201413036D0 (en) * 2014-02-28 2014-09-03 Beyond Twenty Ltd Beyond 9
US10091839B2 (en) * 2014-02-28 2018-10-02 Beyond Twenty Ltd. Electronic vaporiser system
EP2915443B1 (en) * 2014-03-03 2019-08-14 Fontem Holdings 1 B.V. Electronic smoking device
US9597466B2 (en) * 2014-03-12 2017-03-21 R. J. Reynolds Tobacco Company Aerosol delivery system and related method, apparatus, and computer program product for providing control information to an aerosol delivery device via a cartridge
US11696604B2 (en) 2014-03-13 2023-07-11 Rai Strategic Holdings, Inc. Aerosol delivery device and related method and computer program product for controlling an aerosol delivery device based on input characteristics
US9820508B2 (en) 2014-03-24 2017-11-21 Scott M. Arnel Wearable electronic simulated smoking device
US10111467B1 (en) 2014-03-24 2018-10-30 Scott M. Arnel Wearable electronic simulated smoking device with interchangeable vaporization cartridges
US20150272220A1 (en) * 2014-03-25 2015-10-01 Nicotech, LLC Nicotine dosage sensor
EP3123186A2 (en) * 2014-03-28 2017-02-01 SIS Resources Ltd. Systems and methods for providing battery charge level indication in an electronic vapor device
GB2524736B (en) * 2014-03-31 2021-02-24 Nicoventures Holdings Ltd Re-charging pack for an e-cigarette
CN104939318B (zh) * 2014-03-31 2019-08-06 惠州市吉瑞科技有限公司 具有肺活量检测功能的电子烟及控制方法
GB2524735B (en) 2014-03-31 2017-10-25 Nicoventures Holdings Ltd Re-charging pack for an e-cigarette
GB2587745B (en) * 2014-03-31 2021-08-11 Nicoventures Trading Ltd Re-charging pack for an e-cigarette
CN104980284A (zh) * 2014-04-03 2015-10-14 惠州市吉瑞科技有限公司 应用于电子烟的信息交互方法及系统
FR3019442A1 (fr) 2014-04-04 2015-10-09 Agece Ecole Centrale D Electronique Dispositif d'ajustement d'une quantite de nicotine inhalee par un utilisateur et terminal portable communiquant
US9877510B2 (en) 2014-04-04 2018-01-30 Rai Strategic Holdings, Inc. Sensor for an aerosol delivery device
CN204048025U (zh) * 2014-04-09 2014-12-31 曼弗雷德·彼得·豪 一种定时控制电子烟
WO2015161485A1 (zh) * 2014-04-24 2015-10-29 吉瑞高新科技股份有限公司 一种搜寻同类型电子烟的方法和系统
WO2015161486A1 (zh) * 2014-04-24 2015-10-29 吉瑞高新科技股份有限公司 一种电子烟的个人信息交换方法及系统
PH12016501163B1 (en) 2014-04-30 2022-09-02 Philip Morris Products Sa Aerosol generating device with battery indication
US10080272B2 (en) * 2014-04-30 2018-09-18 Shenzhen Kimsen Technology Co., Ltd Electronic cigarette and electronic cigarette light emission control method
TWI681691B (zh) 2014-04-30 2020-01-01 瑞士商菲利浦莫里斯製品股份有限公司 電熱式氣溶膠產生系統、裝置及其控制方法
SG11201606434YA (en) * 2014-04-30 2016-09-29 Philip Morris Products Sa A container having a heater for an aerosol-generating device, and aerosol-generating device
US20150313282A1 (en) * 2014-05-01 2015-11-05 R.J. Reynolds Tobacco Company Electronic smoking article
JP6167228B2 (ja) * 2014-05-02 2017-07-19 日本たばこ産業株式会社 非燃焼型香味吸引器及びコンピュータ読取り可能媒体
US9924741B2 (en) 2014-05-05 2018-03-27 Rai Strategic Holdings, Inc. Method of preparing an aerosol delivery device
US9089166B1 (en) 2014-05-09 2015-07-28 Njoy, Inc. Packaging for vaporizing device
US20150320114A1 (en) * 2014-05-12 2015-11-12 Hao Wu Touch control electronic cigarette
EP3398461B1 (en) 2014-05-13 2019-10-30 Fontem Holdings 4 B.V. Method, system and device for controlling charging of batteries in electronic cigarettes
US9010335B1 (en) 2014-05-13 2015-04-21 Njoy, Inc. Mechanisms for vaporizing devices
CN106463982A (zh) 2014-05-13 2017-02-22 富特姆4有限公司 电子烟的特性描述和智能充电
CN106463980A (zh) * 2014-05-13 2017-02-22 富特姆4有限公司 用于感应地对电子香烟中的电池进行充电的方法、系统和装置
DE202015009690U1 (de) * 2014-05-13 2019-03-14 Fontem Holdings 4 B.V. Elektronische Rauchvorrichtung und Datenaustauschanwendungen
US11478021B2 (en) 2014-05-16 2022-10-25 Juul Labs, Inc. Systems and methods for aerosolizing a vaporizable material
TWI661782B (zh) 2014-05-21 2019-06-11 Philip Morris Products S. A. 電熱式氣溶膠產生系統、電熱式氣溶膠產生裝置及產生氣溶膠之方法
TWI666992B (zh) 2014-05-21 2019-08-01 瑞士商菲利浦莫里斯製品股份有限公司 氣溶膠產生系統及用在氣溶膠產生系統中之料匣
TWI660685B (zh) 2014-05-21 2019-06-01 瑞士商菲利浦莫里斯製品股份有限公司 電熱式氣溶膠產生系統及用於此系統中之匣筒
EP3145350B1 (en) * 2014-05-22 2020-09-09 Nuryan Holdings Limited Handheld vaporizing device
US11178914B2 (en) * 2014-05-23 2021-11-23 Revolutionary Electronic Design, LLC Vaping liquid dispensing and vending
US9955726B2 (en) 2014-05-23 2018-05-01 Rai Strategic Holdings, Inc. Sealed cartridge for an aerosol delivery device and related assembly method
GB201410171D0 (en) 2014-06-09 2014-07-23 Nicoventures Holdings Ltd Electronic vapour provision system
EP3154382B1 (en) * 2014-06-14 2021-12-01 Evolv, LLC Electronic vaporizer having temperature sensing and limit
CN106793828B (zh) 2014-06-19 2020-01-03 吉瑞高新科技股份有限公司 一种数据通信方法以及数据通信系统
CN104116139A (zh) * 2014-06-26 2014-10-29 深圳市麦克韦尔科技有限公司 电子烟
US11298477B2 (en) 2014-06-30 2022-04-12 Syqe Medical Ltd. Methods, devices and systems for pulmonary delivery of active agents
AU2015283590B2 (en) 2014-06-30 2020-04-16 Syqe Medical Ltd. Methods, devices and systems for pulmonary delivery of active agents
IL294077A (en) 2014-06-30 2022-08-01 Syqe Medical Ltd Method and device for vaporizing and inhaling substances
CA2953082C (en) 2014-06-30 2023-07-11 Syqe Medical Ltd. Flow regulating inhaler device
KR102462897B1 (ko) 2014-06-30 2022-11-03 사이키 메디컬 엘티디. 흡입기 장치용 약물 투약 카트리지
CN106573123B (zh) 2014-06-30 2021-08-31 Syqe医药有限公司 用于活性剂的肺部递送的方法、装置及系统
US10888119B2 (en) 2014-07-10 2021-01-12 Rai Strategic Holdings, Inc. System and related methods, apparatuses, and computer program products for controlling operation of a device based on a read request
US10058123B2 (en) 2014-07-11 2018-08-28 R. J. Reynolds Tobacco Company Heater for an aerosol delivery device and methods of formation thereof
GB2528710B (en) 2014-07-24 2018-12-26 Nicoventures Holdings Ltd E-cigarette re-charging system
RS58459B1 (sr) * 2014-07-24 2019-04-30 Nicoventures Holdings Ltd Ponovno punjivo pakovanje za e-cigarete
GB2528673B (en) 2014-07-25 2020-07-01 Nicoventures Holdings Ltd Aerosol provision system
GB2559281B (en) 2014-07-29 2019-05-15 Nicoventures Holdings Ltd E-cigarette and re-charging pack
GB2528711B (en) 2014-07-29 2019-02-20 Nicoventures Holdings Ltd E-cigarette and re-charging pack
CN204599331U (zh) * 2014-08-07 2015-09-02 惠州市吉瑞科技有限公司 一种电子烟
US9609895B2 (en) 2014-08-21 2017-04-04 Rai Strategic Holdings, Inc. System and related methods, apparatuses, and computer program products for testing components of an aerosol delivery device
US10765144B2 (en) 2014-08-21 2020-09-08 Rai Strategic Holdings, Inc. Aerosol delivery device including a moveable cartridge and related assembly method
US9913493B2 (en) 2014-08-21 2018-03-13 Rai Strategic Holdings, Inc. Aerosol delivery device including a moveable cartridge and related assembly method
EP4327680A3 (en) * 2014-08-22 2024-06-12 Fontem Ventures B.V. Method, system and device for controlling a heating element
US11350669B2 (en) * 2014-08-22 2022-06-07 Njoy, Llc Heating control for vaporizing device
WO2016030521A1 (en) * 2014-08-28 2016-03-03 Norton (Waterford) Limited Compliance-assisting module for an inhaler
US20160089508A1 (en) * 2014-09-25 2016-03-31 ALTR, Inc. Vapor inhalation device
WO2016050247A1 (en) * 2014-10-03 2016-04-07 Fertin Pharma A/S Electronic nicotine delivery system
TWI680726B (zh) * 2014-10-13 2020-01-01 瑞士商菲利浦莫里斯製品股份有限公司 控制電熱式吸煙系統中之電加熱器的方法及電熱式吸煙系統
CN104366695B (zh) 2014-10-29 2017-12-08 深圳麦克韦尔股份有限公司 雾化器、雾化组件及吸入器
WO2016075747A1 (ja) * 2014-11-10 2016-05-19 日本たばこ産業株式会社 非燃焼型香味吸引器及びパッケージ
US11051554B2 (en) 2014-11-12 2021-07-06 Rai Strategic Holdings, Inc. MEMS-based sensor for an aerosol delivery device
US10188148B2 (en) 2014-11-17 2019-01-29 Mcneil Ab Electronic nicotine delivery system
RU2692831C2 (ru) * 2014-11-17 2019-06-28 Макнейл Аб Одноразовая кассета для применения в электронной системе доставки никотина
CN107205480A (zh) * 2014-11-19 2017-09-26 富特姆4有限公司 用于使来自非可燃吸烟制品的气溶胶功能化的方法、组合物和装置
US11013264B2 (en) 2014-11-19 2021-05-25 Fontem Holdings 4 B.V. Method, composition and apparatus for functionalization of aerosols from non combustible smoking articles
US10295173B1 (en) * 2014-12-04 2019-05-21 Matthew Isaac Most Implementation of aerogel insulation in a portable vaporizer
AU2015357509B2 (en) 2014-12-05 2021-05-20 Juul Labs, Inc. Calibrated dose control
US10500600B2 (en) 2014-12-09 2019-12-10 Rai Strategic Holdings, Inc. Gesture recognition user interface for an aerosol delivery device
GB2533137A (en) * 2014-12-11 2016-06-15 Nicoventures Holdings Ltd Electronic vapour provision system
GB2533135B (en) 2014-12-11 2020-11-11 Nicoventures Holdings Ltd Aerosol provision systems
WO2016094885A1 (en) * 2014-12-12 2016-06-16 Arash Sabet Method and apparatus for electronic cigarette modules suitable for integration into various modular smartphones and modular tablets
AR103016A1 (es) 2014-12-15 2017-04-12 Philip Morris Products Sa Sistemas generadores de aerosol y métodos para dirigir un flujo de aire hacia dentro de un sistema generador de aerosol calentado eléctricamente
TWI674071B (zh) 2014-12-15 2019-10-11 瑞士商菲利浦莫里斯製品股份有限公司 氣溶膠產生系統及用於在電熱式氣溶膠產生系統內導引氣流的方法
US10398176B2 (en) 2014-12-25 2019-09-03 Fontem Holdings I B.V. Dynamic output power management for electronic smoking device
CN107105772B (zh) * 2014-12-25 2020-12-22 富特姆控股第一有限公司 带气溶胶测量的电子吸烟设备
CN107087820B (zh) * 2015-01-14 2021-12-31 东莞市石开科技有限公司 电子烟及其工作方法
US10321711B2 (en) 2015-01-29 2019-06-18 Rai Strategic Holdings, Inc. Proximity detection for an aerosol delivery device
KR101750459B1 (ko) 2015-02-06 2017-06-26 다원식품(주) 원두 배전 장치
GB2535239A (en) * 2015-02-13 2016-08-17 Nerudia Ltd System and apparatus
US10471052B2 (en) 2015-02-19 2019-11-12 Mymd Pharmaceuticals, Inc. Method of treating addictions to opioids
CN105982360A (zh) * 2015-02-26 2016-10-05 上海烟草集团有限责任公司 一种电子烟
US10027016B2 (en) * 2015-03-04 2018-07-17 Rai Strategic Holdings Inc. Antenna for an aerosol delivery device
WO2016139813A1 (ja) * 2015-03-05 2016-09-09 日本たばこ産業株式会社 非燃焼型香味吸引器用の充電装置
US9980516B2 (en) 2015-03-09 2018-05-29 Rai Strategic Holdings, Inc. Aerosol delivery device including a wave guide and related method
US10172388B2 (en) 2015-03-10 2019-01-08 Rai Strategic Holdings, Inc. Aerosol delivery device with microfluidic delivery component
EP3273809B1 (en) 2015-03-26 2021-02-17 Philip Morris Products S.a.s. Heater management
CN104783332B (zh) * 2015-03-29 2018-04-03 昆山祥维电子科技有限公司 一种能够自动控温的电子烟
GB201505597D0 (en) 2015-03-31 2015-05-13 British American Tobacco Co Article for use with apparatus for heating smokable material
GB201505595D0 (en) 2015-03-31 2015-05-13 British American Tobacco Co Cartridge for use with apparatus for heating smokeable material
EP3278509B1 (en) * 2015-04-02 2022-03-09 Philip Morris Products S.A. Kit comprising a module and an electrically operated aerosol-generating system
US10064432B2 (en) 2015-04-22 2018-09-04 Altria Client Services Llc Pod assembly, dispensing body, and E-vapor apparatus including the same
USD874720S1 (en) 2015-04-22 2020-02-04 Altria Client Services, Llc Pod for an electronic vaping device
US10104913B2 (en) 2015-04-22 2018-10-23 Altria Client Services Llc Pod assembly, dispensing body, and E-vapor apparatus including the same
USD1052163S1 (en) 2015-04-22 2024-11-19 Altria Client Services Llc Electronic vaping device
US10671031B2 (en) 2015-04-22 2020-06-02 Altria Client Services Llc Body gesture control system for button-less vaping
CN107750129B (zh) 2015-04-22 2020-09-25 奥驰亚客户服务有限责任公司 荚体组件、分配主体和包括它们的电子烟设备
USD874059S1 (en) 2015-04-22 2020-01-28 Altria Client Servies Llc Electronic vaping device
USD980507S1 (en) 2015-04-22 2023-03-07 Altria Client Services Llc Electronic vaping device
WO2016172441A1 (en) * 2015-04-23 2016-10-27 Altria Client Services Llc Unitary heating element and heater assemblies, cartridges, and e-vapor devices including a unitary heating element
US11882878B2 (en) 2015-04-23 2024-01-30 Altria Client Services Llc Heating element and heater assemblies, cartridges, and e-vapor devices including a heating element
UA125169C2 (uk) * 2015-04-23 2022-01-26 Олтріа Клайєнт Сервісиз Ллк Єдиний нагрівальний елемент і нагрівач, картридж і електронний випаровувальний пристрій з єдиним нагрівальним елементом
JP6752220B2 (ja) * 2015-04-30 2020-09-09 フィリップ・モーリス・プロダクツ・ソシエテ・アノニム 電気的に動作する喫煙装置用の不良診断器具
MX2017013628A (es) 2015-04-30 2018-03-08 Philip Morris Products Sa Cartucho para un sistema generador de aerosol.
WO2016183002A1 (en) * 2015-05-12 2016-11-17 John Cameron Electrical power supply for an electronic vapor device
US11000069B2 (en) 2015-05-15 2021-05-11 Rai Strategic Holdings, Inc. Aerosol delivery device and methods of formation thereof
CN104856238A (zh) * 2015-05-15 2015-08-26 深圳市杰仕博科技有限公司 间接加热型雾化器
US10238145B2 (en) 2015-05-19 2019-03-26 Rai Strategic Holdings, Inc. Assembly substation for assembling a cartridge for a smoking article
PL3297462T3 (pl) 2015-05-21 2020-06-01 Philip Morris Products S.A. Sposób i przyrząd do wytwarzania indukcyjnie ogrzewanych wyrobów tytoniowych
ES2740810T3 (es) * 2015-05-26 2020-02-06 Philip Morris Products Sa Control de un sistema generador de aerosol
US9723877B2 (en) * 2015-05-29 2017-08-08 Shanghai Green Vaper Technology Co., Ltd. Electronic cigarette
NL2014943B1 (en) * 2015-06-09 2017-02-15 Sluis Cigar Machinery Bv Testing apparatus and testing method of vaporizers electronic cigarettes.
US10362803B2 (en) 2015-06-10 2019-07-30 Evolv, Llc Electronic vaporizer having reduced particle size
JP6924154B2 (ja) 2015-06-10 2021-08-25 フィリップ・モーリス・プロダクツ・ソシエテ・アノニム 電気的なエアロゾル発生システム
CN106307616B (zh) * 2015-06-17 2023-09-05 深圳市新宜康科技股份有限公司 负压吸引型电子烟雾化芯结构
WO2016210242A1 (en) 2015-06-25 2016-12-29 Altria Client Services Llc Electronic vaping device having pressure sensor
GB2540135B (en) * 2015-07-01 2021-03-03 Nicoventures Holdings Ltd Electronic aerosol provision system
US10251425B2 (en) 2015-07-06 2019-04-09 Njoy, Llc Vaporizing device with power component
US10874139B2 (en) * 2015-07-07 2020-12-29 Altria Client Services Llc E-vapor device including capsule containing pre-vapor formulation
HUE062909T2 (hu) 2015-07-09 2023-12-28 Philip Morris Products Sa Fûtõelrendezés egy aeroszolképzõ rendszerhez
USD809190S1 (en) 2015-07-13 2018-01-30 Njoy, Llc Vaporizer
CN106617312B (zh) * 2015-07-13 2023-10-10 深圳市新宜康科技股份有限公司 抽吸供液电子烟雾化芯
CN106339026B (zh) * 2015-07-15 2019-02-12 深圳市新宜康科技股份有限公司 电子烟加热功率稳定控制电路
US10039323B2 (en) 2015-07-16 2018-08-07 Njoy, Llc Vaporizer tank with atomizer
US11504489B2 (en) 2015-07-17 2022-11-22 Rai Strategic Holdings, Inc. Contained liquid system for refilling aerosol delivery devices
US10966460B2 (en) 2015-07-17 2021-04-06 Rai Strategic Holdings, Inc. Load-based detection of an aerosol delivery device in an assembled arrangement
US20170020188A1 (en) * 2015-07-21 2017-01-26 Lunatech, Llc Skinning For Electronic Vapor Devices
CN105077598B (zh) * 2015-07-21 2018-05-29 深圳睿思奇科技开发有限公司 一种智能电子烟
US10206429B2 (en) 2015-07-24 2019-02-19 Rai Strategic Holdings, Inc. Aerosol delivery device with radiant heating
US11134544B2 (en) 2015-07-24 2021-09-28 Rai Strategic Holdings, Inc. Aerosol delivery device with radiant heating
US11033054B2 (en) 2015-07-24 2021-06-15 Rai Strategic Holdings, Inc. Radio-frequency identification (RFID) authentication system for aerosol delivery devices
US10015987B2 (en) 2015-07-24 2018-07-10 Rai Strategic Holdings Inc. Trigger-based wireless broadcasting for aerosol delivery devices
US10524505B2 (en) 2015-08-06 2020-01-07 Altria Client Services Llc. Method for measuring a vapor precursor level in a cartomizer of an electronic vaping device and/or an electronic vaping device configured to perform the method
EP3331388B1 (en) 2015-08-07 2020-07-08 Philip Morris Products S.a.s. An aerosol-generating system with enhanced airflow management
KR102708336B1 (ko) 2015-08-07 2024-09-24 필립모리스 프로덕츠 에스.에이. 기류 관리가 강화된 에어로졸 발생 시스템
US20170046357A1 (en) * 2015-08-10 2017-02-16 Lunatech, Llc Collecting And Providing Data For Electronic Vaporizers
US10492528B2 (en) 2015-08-11 2019-12-03 Altria Client Services Llc Power supply section configuration for an electronic vaping device and electronic vaping device
EP3135136B1 (en) * 2015-08-28 2018-07-11 Fontem Holdings 1 B.V. Liquid reservoir with two storage volumes and atomizer/liquid reservoir portion as well as electronic smoking device with liquid reservoir
KR20240131475A (ko) 2015-09-01 2024-08-30 에이와이알 리미티드 전자 기화기 시스템
US10034494B2 (en) 2015-09-15 2018-07-31 Rai Strategic Holdings, Inc. Reservoir for aerosol delivery devices
US11602019B2 (en) 2015-09-16 2023-03-07 Altria Client Services Llc Cartridge with a capacity sensor
JP6847926B2 (ja) 2015-09-16 2021-03-24 フィリップ・モーリス・プロダクツ・ソシエテ・アノニム 可撓性の壁を有する液体貯蔵部分を有するカートリッジ
GB201516674D0 (en) 2015-09-21 2015-11-04 Nicoventures Holdings Ltd Topology
GB201516673D0 (en) 2015-09-21 2015-11-04 Nicoventures Holdings Ltd Topology
US9936736B2 (en) * 2015-09-24 2018-04-10 Lunatech, Llc Battery system for electronic vapor communication device
GB201517092D0 (en) 2015-09-28 2015-11-11 Nicoventures Holdings Ltd Feature synchronisation system and method for electronic vapour provision systems
GB201517086D0 (en) 2015-09-28 2015-11-11 Nicoventures Holdings Ltd Electronic vapour provision system
GB201517089D0 (en) 2015-09-28 2015-11-11 Nicoventures Holdings Ltd Vaping heat map system and method for electronic vapour provision systems
GB201517091D0 (en) * 2015-09-28 2015-11-11 Nicoventures Holdings Ltd Policy notification system and method for electronic vapour provision systems
GB201517087D0 (en) 2015-09-28 2015-11-11 Nicoventures Holdings Ltd Vaping policy alert system and method
GB201517094D0 (en) 2015-09-28 2015-11-11 Nicoventures Holdings Ltd Feature synchronisation system and method for electronic vapour provision systems
WO2017056282A1 (ja) * 2015-09-30 2017-04-06 日本たばこ産業株式会社 非燃焼型香味吸引器及び霧化ユニット
GB2542838B (en) 2015-10-01 2022-01-12 Nicoventures Trading Ltd Aerosol provision system
CN108366621B (zh) * 2015-10-08 2020-10-27 富特姆控股第一有限公司 电子吸烟装置的液体供应器
US10058125B2 (en) 2015-10-13 2018-08-28 Rai Strategic Holdings, Inc. Method for assembling an aerosol delivery device
US20170112194A1 (en) 2015-10-21 2017-04-27 Rai Strategic Holdings, Inc. Rechargeable lithium-ion capacitor for an aerosol delivery device
US10918134B2 (en) 2015-10-21 2021-02-16 Rai Strategic Holdings, Inc. Power supply for an aerosol delivery device
US10582726B2 (en) 2015-10-21 2020-03-10 Rai Strategic Holdings, Inc. Induction charging for an aerosol delivery device
US12011049B2 (en) * 2015-10-22 2024-06-18 Philip Morris Products S.A. Aerosol generating article, aerosol-generating system and method for manufacturing an aerosol-generating article
CN113387028B (zh) * 2015-10-27 2023-06-02 Lyd有限责任公司 智能饮料容器
US20170119052A1 (en) * 2015-10-30 2017-05-04 R.J. Reynolds Tobacco Company Application specific integrated circuit (asic) for an aerosol delivery device
US10201187B2 (en) 2015-11-02 2019-02-12 Rai Strategic Holdings, Inc. User interface for an aerosol delivery device
US10820630B2 (en) 2015-11-06 2020-11-03 Rai Strategic Holdings, Inc. Aerosol delivery device including a wirelessly-heated atomizer and related method
US10165799B2 (en) 2015-11-17 2019-01-01 Altria Client Services Llc Aerosol-generating system with self-activated electric heater
US10440992B2 (en) 2015-12-07 2019-10-15 Rai Strategic Holdings, Inc. Motion sensing for an aerosol delivery device
US10772358B2 (en) 2015-12-07 2020-09-15 Indose Inc Inhalation device having security features
US9955733B2 (en) 2015-12-07 2018-05-01 Rai Strategic Holdings, Inc. Camera for an aerosol delivery device
US10595562B2 (en) 2015-12-07 2020-03-24 Indose Inc Inhalation device with metering
US11291252B2 (en) 2015-12-18 2022-04-05 Rai Strategic Holdings, Inc. Proximity sensing for an aerosol delivery device
LT3386323T (lt) * 2015-12-18 2021-03-25 Jt International S.A. Asmeninis garinimo prietaisas
US10092036B2 (en) 2015-12-28 2018-10-09 Rai Strategic Holdings, Inc. Aerosol delivery device including a housing and a coupler
CN108289516A (zh) 2015-12-31 2018-07-17 菲利普莫里斯生产公司 具有多个加热元件的气溶胶生成系统
US10051891B2 (en) * 2016-01-05 2018-08-21 Rai Strategic Holdings, Inc. Capacitive sensing input device for an aerosol delivery device
US10194694B2 (en) 2016-01-05 2019-02-05 Rai Strategic Holdings, Inc. Aerosol delivery device with improved fluid transport
US11806331B2 (en) 2016-01-06 2023-11-07 Syqe Medical Ltd. Low dose therapeutic treatment
WO2017118557A1 (en) 2016-01-08 2017-07-13 Philip Morris Products S.A. A component for an aerosol-generating system comprising disabling means
US10258086B2 (en) * 2016-01-12 2019-04-16 Rai Strategic Holdings, Inc. Hall effect current sensor for an aerosol delivery device
US10104912B2 (en) 2016-01-20 2018-10-23 Rai Strategic Holdings, Inc. Control for an induction-based aerosol delivery device
CN105717812B (zh) * 2016-01-25 2019-03-29 深圳市合元科技有限公司 一种基于电子烟的智能化控制方法、控制系统及电子烟
US10015989B2 (en) 2016-01-27 2018-07-10 Rai Strategic Holdings, Inc. One-way valve for refilling an aerosol delivery device
US12356507B2 (en) 2016-02-01 2025-07-08 Altria Client Services Llc Aerosol-generating device having multiple power supplies
USD858868S1 (en) 2016-02-08 2019-09-03 Juul Labs, Inc. Vaporizer cartridge
USD861975S1 (en) 2016-02-08 2019-10-01 Juul Labs, Inc. Vaporizer device with cartridges
US11064741B2 (en) * 2016-02-09 2021-07-20 Altria Client Services Llc Element for an electrically operated aerosol-generating system having a dual function
WO2017139675A1 (en) 2016-02-11 2017-08-17 Pax Labs, Inc. Securely attaching cartridges for vaporizer devices
SG11201806793TA (en) 2016-02-11 2018-09-27 Juul Labs Inc Fillable vaporizer cartridge and method of filling
US11412781B2 (en) 2016-02-12 2022-08-16 Rai Strategic Holdings, Inc. Adapters for refilling an aerosol delivery device
RU2721088C2 (ru) 2016-02-19 2020-05-15 Филип Моррис Продактс С.А. Система, генерирующая аэрозоль, с определением частоты использования
EP3777573A1 (en) 2016-02-25 2021-02-17 Juul Labs, Inc. Vaporization device
MX2018009960A (es) 2016-02-25 2018-11-29 Philip Morris Products Sa Sistema generador de aerosol operado electricamente con sensor de temperatura.
US10932495B2 (en) 2016-02-25 2021-03-02 Altria Client Services Llc Electrically operated aerosol-generating system with temperature sensor
US11006669B2 (en) 2016-02-25 2021-05-18 Altria Client Services Llc Aerosol-generating systems with liquid level determination and methods of determining liquid level in aerosol-generating systems
WO2017144380A1 (en) 2016-02-25 2017-08-31 Philip Morris Products S.A. Electrically operated aerosol-generating system with tilt sensor
US10506829B2 (en) 2016-02-26 2019-12-17 Freelander Innovations USA, LLC System and method for a vaporizer
US10455863B2 (en) 2016-03-03 2019-10-29 Altria Client Services Llc Cartridge for electronic vaping device
US10433580B2 (en) 2016-03-03 2019-10-08 Altria Client Services Llc Methods to add menthol, botanic materials, and/or non-botanic materials to a cartridge, and/or an electronic vaping device including the cartridge
DE102016002665A1 (de) * 2016-03-08 2017-09-14 Hauni Maschinenbau Gmbh Elektronisches Zigarettenprodukt und Kartusche für ein elektronisches Zigarettenprodukt
US10368580B2 (en) 2016-03-08 2019-08-06 Altria Client Services Llc Combined cartridge for electronic vaping device
US9936733B2 (en) 2016-03-09 2018-04-10 Rai Strategic Holdings, Inc. Accessory configured to charge an aerosol delivery device and related method
US10405582B2 (en) 2016-03-10 2019-09-10 Pax Labs, Inc. Vaporization device with lip sensing
US10258087B2 (en) * 2016-03-10 2019-04-16 Altria Client Services Llc E-vaping cartridge and device
US10357060B2 (en) 2016-03-11 2019-07-23 Altria Client Services Llc E-vaping device cartridge holder
US12501928B2 (en) 2016-03-11 2025-12-23 Altria Client Services Llc Multiple dispersion generating e-vaping device having a dual piston cylinder, configured to reduce a transmission of a pressure force from a carbon dioxide capsule to a tank configured to store a pre-aerosol formulation
US10368581B2 (en) 2016-03-11 2019-08-06 Altria Client Services Llc Multiple dispersion generator e-vaping device
WO2017165413A1 (en) * 2016-03-21 2017-09-28 Advanced Grow Labs Technologies, Llc Vaporizing device system and method
US11207478B2 (en) 2016-03-25 2021-12-28 Rai Strategic Holdings, Inc. Aerosol production assembly including surface with micro-pattern
US10334880B2 (en) 2016-03-25 2019-07-02 Rai Strategic Holdings, Inc. Aerosol delivery device including connector comprising extension and receptacle
US10098387B2 (en) * 2016-03-31 2018-10-16 Altria Client Services Llc Vaporizing assembly comprising a viewable heating element and delivery device for an aerosol-generating system
CN109068732B (zh) 2016-03-31 2022-05-13 菲利普莫里斯生产公司 包括可视加热元件和液体传递装置的用于气溶胶生成系统的蒸发组件
MA44627A (fr) 2016-04-04 2019-02-13 Nexvap Sa Inhalateur mobile et récipient s'utilisant conjointement
US10945462B2 (en) 2016-04-12 2021-03-16 Rai Strategic Holdings, Inc. Detachable power source for an aerosol delivery device
US10333339B2 (en) 2016-04-12 2019-06-25 Rai Strategic Holdings, Inc. Charger for an aerosol delivery device
US10028534B2 (en) 2016-04-20 2018-07-24 Rai Strategic Holdings, Inc. Aerosol delivery device, and associated apparatus and method of formation thereof
EP4649980A3 (en) 2016-04-22 2026-01-07 Juul Labs, Inc. Aerosol devices having compartmentalized materials
PL3448186T3 (pl) 2016-04-27 2024-07-08 Nicoventures Trading Limited Elektroniczny system zapewniania aerozolu i przeznaczony dla niego odparowywacz
MX2018012723A (es) 2016-04-29 2019-01-31 Philip Morris Products Sa Dispositivo generador de aerosol con dispositivo de retroalimentacion visual.
US10405579B2 (en) 2016-04-29 2019-09-10 Rai Strategic Holdings, Inc. Methods for assembling a cartridge for an aerosol delivery device, and associated systems and apparatuses
US10849360B2 (en) 2016-04-29 2020-12-01 Altria Client Services Llc Aerosol-generating device with visual feedback device
EP3456149B1 (en) 2016-05-13 2023-08-02 Nicoventures Trading Limited Apparatus arranged to heat smokable material and method of forming a heater
TW201742554A (zh) 2016-05-13 2017-12-16 英美煙草(投資)有限公司 用於容收可吸菸材料之裝置
MX2018014354A (es) * 2016-05-25 2019-04-11 Juul Labs Inc Control de vaporizador electronico.
CN116712646A (zh) 2016-05-27 2023-09-08 普罗沃锐斯科学有限公司 用于使用药剂装置的装置和方法
CN105901773A (zh) * 2016-05-27 2016-08-31 深圳市合元科技有限公司 电子烟及其吸烟方法
WO2017207418A1 (en) * 2016-05-31 2017-12-07 Philip Morris Products S.A. Aerosol generating device with multiple heaters
GB201610220D0 (en) * 2016-06-13 2016-07-27 Nicoventures Holdings Ltd Aerosol delivery device
USD849996S1 (en) 2016-06-16 2019-05-28 Pax Labs, Inc. Vaporizer cartridge
US10959458B2 (en) 2016-06-20 2021-03-30 Rai Strategic Holdings, Inc. Aerosol delivery device including an electrical generator assembly
USD836541S1 (en) 2016-06-23 2018-12-25 Pax Labs, Inc. Charging device
USD851830S1 (en) 2016-06-23 2019-06-18 Pax Labs, Inc. Combined vaporizer tamp and pick tool
USD848057S1 (en) 2016-06-23 2019-05-07 Pax Labs, Inc. Lid for a vaporizer
US10085485B2 (en) 2016-07-06 2018-10-02 Rai Strategic Holdings, Inc. Aerosol delivery device with a reservoir housing and a vaporizer assembly
US10231485B2 (en) 2016-07-08 2019-03-19 Rai Strategic Holdings, Inc. Radio frequency to direct current converter for an aerosol delivery device
US10463078B2 (en) 2016-07-08 2019-11-05 Rai Strategic Holdings, Inc. Aerosol delivery device with condensing and non-condensing vaporization
US10405581B2 (en) 2016-07-08 2019-09-10 Rai Strategic Holdings, Inc. Gas sensing for an aerosol delivery device
US10602775B2 (en) 2016-07-21 2020-03-31 Rai Strategic Holdings, Inc. Aerosol delivery device with a unitary reservoir and liquid transport element comprising a porous monolith and related method
US10617151B2 (en) 2016-07-21 2020-04-14 Rai Strategic Holdings, Inc. Aerosol delivery device with a liquid transport element comprising a porous monolith and related method
EP3272236B1 (en) * 2016-07-22 2021-06-16 Fontem Holdings 1 B.V. Electronic smoking device
KR20240126878A (ko) 2016-07-25 2024-08-21 필립모리스 프로덕츠 에스.에이. 히터 관리
US9974338B2 (en) 2016-07-25 2018-05-22 Fontem Holdings 1 B.V. Electronic cigarette with illuminated tip
US10051893B2 (en) * 2016-07-25 2018-08-21 Fontem Holdings 1 B.V. Apparatus and method for communication and negotiation of charge rate between electronic smoking device and charger
US11019847B2 (en) 2016-07-28 2021-06-01 Rai Strategic Holdings, Inc. Aerosol delivery devices including a selector and related methods
US10729177B2 (en) * 2016-07-31 2020-08-04 Altria Client Services Llc Electronic vaping device, battery section, and charger
CN120531201A (zh) 2016-08-05 2025-08-26 尤尔实验室有限公司 蒸发器的风速辅助控制
CN106263035A (zh) * 2016-08-08 2017-01-04 深圳市海派特光伏科技有限公司 电子烟及尼古丁检测方法
US10765146B2 (en) 2016-08-08 2020-09-08 Rai Strategic Holdings, Inc. Boost converter for an aerosol delivery device
US20180055090A1 (en) * 2016-08-31 2018-03-01 Altria Client Services Llc Methods and systems for cartridge identification
US12472316B2 (en) 2016-09-09 2025-11-18 Rai Strategic Holdings, Inc. Analog control component for an aerosol delivery device
US11937647B2 (en) 2016-09-09 2024-03-26 Rai Strategic Holdings, Inc. Fluidic control for an aerosol delivery device
CN106263040A (zh) * 2016-09-14 2017-01-04 深圳市合元科技有限公司 电子烟具
GB201616036D0 (en) 2016-09-21 2016-11-02 Nicoventures Holdings Ltd Device with liquid flow restriction
US11660403B2 (en) 2016-09-22 2023-05-30 Juul Labs, Inc. Leak-resistant vaporizer device
US10080387B2 (en) 2016-09-23 2018-09-25 Rai Strategic Holdings, Inc. Aerosol delivery device with replaceable wick and heater assembly
RU2748728C2 (ru) * 2016-09-28 2021-05-31 Филип Моррис Продактс С.А. Системы, устройства и способы для перехода на потребление генерирующего аэрозоль изделия другого типа
US10477896B2 (en) 2016-10-12 2019-11-19 Rai Strategic Holdings, Inc. Photodetector for measuring aerosol precursor composition in an aerosol delivery device
US10130122B2 (en) * 2016-10-28 2018-11-20 Funai Electric Co., Ltd. Supply item for vapor generating device
US9864947B1 (en) * 2016-11-15 2018-01-09 Rai Strategic Holdings, Inc. Near field communication for a tobacco-based article or package therefor
US10524508B2 (en) 2016-11-15 2020-01-07 Rai Strategic Holdings, Inc. Induction-based aerosol delivery device
US10492530B2 (en) 2016-11-15 2019-12-03 Rai Strategic Holdings, Inc. Two-wire authentication system for an aerosol delivery device
US11103012B2 (en) 2016-11-17 2021-08-31 Rai Strategic Holdings, Inc. Satellite navigation for an aerosol delivery device
US10653183B2 (en) 2016-11-18 2020-05-19 Rai Strategic Holdings, Inc. Power source for an aerosol delivery device
US10172392B2 (en) 2016-11-18 2019-01-08 Rai Strategic Holdings, Inc. Humidity sensing for an aerosol delivery device
US10524509B2 (en) 2016-11-18 2020-01-07 Rai Strategic Holdings, Inc. Pressure sensing for an aerosol delivery device
US10206431B2 (en) 2016-11-18 2019-02-19 Rai Strategic Holdings, Inc. Charger for an aerosol delivery device
US10537137B2 (en) 2016-11-22 2020-01-21 Rai Strategic Holdings, Inc. Rechargeable lithium-ion battery for an aerosol delivery device
US11013266B2 (en) 2016-12-09 2021-05-25 Rai Strategic Holdings, Inc. Aerosol delivery device sensory system including an infrared sensor and related method
US10701976B2 (en) 2016-12-12 2020-07-07 VMR Products, LLC Vaporizer cartridge
PH12022551913A1 (en) * 2016-12-16 2023-05-08 Kt & G Corp Aerosol generation method and apparatus
CN110446435B (zh) * 2017-01-24 2023-07-11 日本烟草产业株式会社 吸引装置和使其进行动作的方法及程序
US10517326B2 (en) 2017-01-27 2019-12-31 Rai Strategic Holdings, Inc. Secondary battery for an aerosol delivery device
WO2018153732A1 (en) * 2017-02-24 2018-08-30 Philip Morris Products S.A. Moulded mounting for an aerosol-generating element in an aerosol-generating system
US11696368B2 (en) 2017-02-24 2023-07-04 Altria Client Services Llc Aerosol-generating system and a cartridge for an aerosol-generating system having a two-part liquid storage compartment
WO2018153608A1 (en) 2017-02-24 2018-08-30 Philip Morris Products S.A. An aerosol-generating system and a cartridge for an aerosol generating system having a two-part liquid storage compartment
US10827783B2 (en) 2017-02-27 2020-11-10 Rai Strategic Holdings, Inc. Digital compass for an aerosol delivery device
CN110430767B (zh) * 2017-03-13 2022-09-20 日本烟草产业株式会社 吸烟系统、供电控制方法、程序、初级装置以及次级装置
EP3595464B1 (en) * 2017-03-16 2022-11-16 Philip Morris Products S.A. Aerosol-generating device and aerosol-generating system
US11298473B2 (en) * 2017-03-17 2022-04-12 Potbotics, Inc. Electronic vaporizer with remote control capability
US10674765B2 (en) 2017-03-29 2020-06-09 Rai Strategic Holdings, Inc. Aerosol delivery device with improved atomizer
US10440995B2 (en) 2017-03-29 2019-10-15 Rai Strategic Holdings, Inc. Aerosol delivery device including substrate with improved absorbency properties
GB201704999D0 (en) * 2017-03-29 2017-05-10 British American Tobacco Investments Ltd Aerosol delivery system
US12274294B2 (en) 2017-03-30 2025-04-15 Kt&G Corporation Aerosol generating apparatus and cradle capable of receiving same
JP7180947B2 (ja) 2017-04-11 2022-11-30 ケーティー アンド ジー コーポレイション エアロゾル生成装置、及びエアロゾル生成装置で喫煙制限機能を提供する方法
US12102131B2 (en) 2017-04-11 2024-10-01 Kt&G Corporation Aerosol generating device and method for providing adaptive feedback through puff recognition
US11622582B2 (en) 2017-04-11 2023-04-11 Kt&G Corporation Aerosol generating device and method for providing adaptive feedback through puff recognition
US10314340B2 (en) 2017-04-21 2019-06-11 Rai Strategic Holdings, Inc. Refillable aerosol delivery device and related method
US10285444B2 (en) 2017-04-27 2019-05-14 Rai Strategic Holdings, Inc. Aerosol delivery device including a ceramic wicking element
GB201707050D0 (en) * 2017-05-03 2017-06-14 British American Tobacco Investments Ltd Data communication
KR20180124739A (ko) 2017-05-11 2018-11-21 주식회사 케이티앤지 궐련의 종류별로 에어로졸 생성장치에 포함된 히터의 온도를 제어하는 방법 및 궐련의 종류별로 히터의 온도를 제어하는 에어로졸 생성장치
US11178910B2 (en) 2017-05-11 2021-11-23 Kt&G Corporation Vaporizer and aerosol generation device including same
EP3583859A4 (en) * 2017-05-12 2020-12-16 Japan Tobacco Inc. BATTERY UNIT INSPECTION DEVICE AND BATTERY UNIT INSPECTION SYSTEM
US11297876B2 (en) 2017-05-17 2022-04-12 Rai Strategic Holdings, Inc. Aerosol delivery device
US11589621B2 (en) 2017-05-23 2023-02-28 Rai Strategic Holdings, Inc. Heart rate monitor for an aerosol delivery device
US10517330B2 (en) 2017-05-23 2019-12-31 RAI Stategic Holdings, Inc. Heart rate monitor for an aerosol delivery device
KR102035313B1 (ko) 2017-05-26 2019-10-22 주식회사 케이티앤지 히터 조립체 및 이를 구비한 에어로졸 생성 장치
CN110944534B (zh) * 2017-06-01 2023-02-28 富特姆投资有限公司 电子烟流体泵
GB201709201D0 (en) 2017-06-09 2017-07-26 Nicoventures Holdings Ltd Electronic aerosol provision system
CN107280072A (zh) 2017-06-19 2017-10-24 深圳市合元科技有限公司 电子烟及其控制方法
US10939705B2 (en) 2017-06-19 2021-03-09 Tma Labs Llc Portable aerosol devices and methods thereof
RU2724853C1 (ru) * 2017-07-07 2020-06-25 Филип Моррис Продактс С.А. Система, генерирующая аэрозоль, с четырьмя контактами
US10842197B2 (en) 2017-07-12 2020-11-24 Rai Strategic Holdings, Inc. Detachable container for aerosol delivery having pierceable membrane
US10349674B2 (en) 2017-07-17 2019-07-16 Rai Strategic Holdings, Inc. No-heat, no-burn smoking article
US11337456B2 (en) 2017-07-17 2022-05-24 Rai Strategic Holdings, Inc. Video analytics camera system for an aerosol delivery device
US11399575B2 (en) 2017-08-02 2022-08-02 Glaxosmithkline Consumer Healthcare Holdings (Us) Llc Wearable device and application for behavioral support
JP6940218B2 (ja) 2017-08-09 2021-09-22 ケーティー・アンド・ジー・コーポレーション 電子タバコ制御方法及び装置
EP3666095A4 (en) 2017-08-09 2021-11-24 KT&G Corporation AEROSOL GENERATION DEVICE AND REGULATION PROCESS FOR AEROSOL GENERATION DEVICE
KR20190049391A (ko) 2017-10-30 2019-05-09 주식회사 케이티앤지 히터를 구비한 에어로졸 생성 장치
US11647785B2 (en) 2017-09-06 2023-05-16 Kt&G Corporation Aerosol generation device having structure for preventing liquid leakage
CN109491278A (zh) * 2017-09-12 2019-03-19 常州市派腾电子技术服务有限公司 提示尼古丁吸入量的方法及电子烟
USD887632S1 (en) 2017-09-14 2020-06-16 Pax Labs, Inc. Vaporizer cartridge
PL4176741T3 (pl) 2017-09-18 2024-09-23 Philip Morris Products S.A. Wkład dla układu wytwarzania aerozolu
US10505383B2 (en) 2017-09-19 2019-12-10 Rai Strategic Holdings, Inc. Intelligent charger for an aerosol delivery device
US11039645B2 (en) 2017-09-19 2021-06-22 Rai Strategic Holdings, Inc. Differential pressure sensor for an aerosol delivery device
US12326794B2 (en) * 2017-09-20 2025-06-10 Rai Strategic Holdings, Inc. Product use and behavior monitoring instrument
US10856577B2 (en) 2017-09-20 2020-12-08 Rai Strategic Holdings, Inc. Product use and behavior monitoring instrument
US10157265B1 (en) 2017-09-21 2018-12-18 Rai Strategic Holdings, Inc. Clinical study product dispensing device
WO2019068821A1 (en) * 2017-10-05 2019-04-11 Philip Morris Products S.A. AEROSOL GENERATION DEVICE WITH ELECTRICAL CONTROL WITH CONTINUOUS POWER CONTROL
US12396482B2 (en) 2017-10-11 2025-08-26 Altria Client Services Llc Electronic vaping device including transfer pad with oriented fibers
USD870375S1 (en) 2017-10-11 2019-12-17 Altria Client Services Llc Battery for an electronic vaping device
US12232224B2 (en) 2017-10-11 2025-02-18 Altria Client Services Llc Folded heater for electronic vaping device
US10772356B2 (en) 2017-10-11 2020-09-15 Altria Client Services Llc Electronic vaping device including transfer pad with oriented fibers
US10660370B2 (en) 2017-10-12 2020-05-26 Rai Strategic Holdings, Inc. Aerosol delivery device including a control body, an atomizer body, and a cartridge and related methods
EA039503B1 (ru) 2017-10-18 2022-02-03 Джапан Тобакко Инк. Устройство, генерирующее компонент для вдыхания, способ управления устройством, генерирующим компонент для вдыхания, и программа
JP6752375B2 (ja) * 2017-10-18 2020-09-09 日本たばこ産業株式会社 吸引成分生成装置、吸引成分生成装置を制御する方法、吸引成分生成システム、及びプログラム
CN111246757B (zh) 2017-10-18 2024-05-07 日本烟草产业株式会社 吸引成分生成装置、控制吸引成分生成装置的方法
KR102322385B1 (ko) * 2017-10-24 2021-11-04 니뽄 다바코 산교 가부시키가이샤 에어로졸 생성 장치, 에어로졸 생성 장치의 제어 방법, 에어로졸원 또는 향미원의 잔량 추정 방법, 및 이 방법들을 프로세서에 실행시키기 위한 프로그램
JP6840291B2 (ja) 2017-10-30 2021-03-10 ケイティー アンド ジー コーポレイション エアロゾル生成装置
KR102057216B1 (ko) 2017-10-30 2019-12-18 주식회사 케이티앤지 에어로졸 생성 장치 및 에어로졸 생성 장치용 히터 조립체
KR102138245B1 (ko) 2017-10-30 2020-07-28 주식회사 케이티앤지 에어로졸 생성 장치
EP4008204A1 (en) 2017-10-30 2022-06-08 KT&G Corporation Aerosol generation device and method for controlling same
US11528936B2 (en) 2017-10-30 2022-12-20 Kt&G Corporation Aerosol generating device
KR102138246B1 (ko) 2017-10-30 2020-07-28 주식회사 케이티앤지 증기화기 및 이를 구비하는 에어로졸 생성 장치
US11369145B2 (en) 2017-10-30 2022-06-28 Kt&G Corporation Aerosol generating device including detachable vaporizer
CN110996693B (zh) 2017-10-30 2023-01-24 韩国烟草人参公社 气溶胶生成装置、加热器及制作气溶胶生成装置用加热器的方法
WO2019088577A2 (ko) 2017-10-30 2019-05-09 주식회사 케이티앤지 광학 모듈 및 이를 포함하는 에어로졸 생성 장치
KR102057215B1 (ko) 2017-10-30 2019-12-18 주식회사 케이티앤지 에어로졸 생성 장치 및 생성 방법
KR102180421B1 (ko) 2017-10-30 2020-11-18 주식회사 케이티앤지 에어로졸 생성 장치
US10517332B2 (en) 2017-10-31 2019-12-31 Rai Strategic Holdings, Inc. Induction heated aerosol delivery device
CN112512612B (zh) 2017-11-22 2023-08-08 尤尔实验室有限公司 用于蒸发器装置的用户界面和用户体验
UA128367C2 (uk) * 2017-11-22 2024-06-26 Джуул Лебз, Інк. Керування сеансами електронного вапорайзера
IL263217B (en) * 2017-11-24 2022-06-01 Juul Labs Inc Puff sensing and power circuitry for vaporizer devices
US10806181B2 (en) 2017-12-08 2020-10-20 Rai Strategic Holdings, Inc. Quasi-resonant flyback converter for an induction-based aerosol delivery device
US10786010B2 (en) 2017-12-15 2020-09-29 Rai Strategic Holdings, Inc. Aerosol delivery device with multiple aerosol delivery pathways
EP3729311B1 (en) 2017-12-21 2025-05-14 Juul Labs, Inc. Vaporizer controls
GB201721821D0 (en) 2017-12-22 2018-02-07 Nicoventures Holdings Ltd Electronic aerosol provision system
GB201721765D0 (en) * 2017-12-22 2018-02-07 Nicoventures Holdings Ltd Vapour provisions systems
GB201722278D0 (en) 2017-12-29 2018-02-14 British American Tobacco Investments Ltd Device identification and method
US10687557B2 (en) 2017-12-29 2020-06-23 Altria Client Services Llc Electronic vaping device with outlet-end illumination
GB201722241D0 (en) 2017-12-29 2018-02-14 British American Tobacco Investments Ltd Data capture across devices
US10555558B2 (en) 2017-12-29 2020-02-11 Rai Strategic Holdings, Inc. Aerosol delivery device providing flavor control
US10750787B2 (en) * 2018-01-03 2020-08-25 Cqens Technologies Inc. Heat-not-burn device and method
US12201154B2 (en) 2018-01-03 2025-01-21 Cqens Technologies Inc. Heat-not-burn device and method
CN108143006B (zh) * 2018-01-12 2023-12-29 深圳市康泓威科技有限公司 自动控制的加热不燃型电子烟具及其控制方法
US11896052B2 (en) * 2018-01-12 2024-02-13 Philip Morris Products S.A. Aerosol-generating device comprising a plasmonic heating element
GB201801146D0 (en) 2018-01-24 2018-03-07 Nicoventures Trading Ltd Aerosol source for a vapour provision system
CN120732216A (zh) 2018-01-26 2025-10-03 尤尔实验室有限公司 充电盒组件
USD889035S1 (en) 2018-01-26 2020-06-30 Juul Labs, Inc. Case
USD889739S1 (en) 2018-07-12 2020-07-07 Juul Labs, Inc. Case
KR102500895B1 (ko) * 2018-01-26 2023-02-17 니뽄 다바코 산교 가부시키가이샤 에어로졸 생성 장치 및 이것을 동작시키는 방법 및 프로그램
CN207821117U (zh) * 2018-02-06 2018-09-07 王孝骞 一种具有多动力源的原料可调式智能电子烟
GB201803024D0 (en) 2018-02-26 2018-04-11 Nerudia Ltd Smoking substitute device
US11019850B2 (en) 2018-02-26 2021-06-01 Rai Strategic Holdings, Inc. Heat conducting substrate for electrically heated aerosol delivery device
EP4670541A3 (en) * 2018-02-26 2026-03-04 Imperial Tobacco Limited A system for managing a smoking substitute device
USD860523S1 (en) 2018-02-28 2019-09-17 Juul Labs, Inc. Case
JP1638846S (ja) 2018-02-28 2019-08-13
GB201803648D0 (en) 2018-03-07 2018-04-25 Nicoventures Trading Ltd Electronic aerosol provision system
US10813385B2 (en) 2018-03-09 2020-10-27 Rai Strategic Holdings, Inc. Buck regulator with operational amplifier feedback for an aerosol delivery device
US12102118B2 (en) 2018-03-09 2024-10-01 Rai Strategic Holdings, Inc. Electronically heated heat-not-burn smoking article
US10945465B2 (en) 2018-03-15 2021-03-16 Rai Strategic Holdings, Inc. Induction heated susceptor and aerosol delivery device
US10798969B2 (en) 2018-03-16 2020-10-13 R. J. Reynolds Tobacco Company Smoking article with heat transfer component
US11382356B2 (en) 2018-03-20 2022-07-12 Rai Strategic Holdings, Inc. Aerosol delivery device with indexing movement
US11206864B2 (en) 2018-03-26 2021-12-28 Rai Strategic Holdings, Inc. Aerosol delivery device providing flavor control
GB201805234D0 (en) 2018-03-29 2018-05-16 Nicoventures Trading Ltd Aerosol generating device
US20230397660A1 (en) * 2018-04-12 2023-12-14 Evolv, Llc Electronic vaping device with pre-heater
JP7250003B2 (ja) * 2018-04-13 2023-03-31 日本たばこ産業株式会社 充電装置、及び情報処理システム
CN112739401B (zh) * 2018-04-21 2024-06-25 凯瓦尔实验室公司 用于浓缩剂产品的智能蒸发器和系统
WO2019207526A1 (en) * 2018-04-26 2019-10-31 Philip Morris Products S.A. Automatic consumption detection for use in conversion of consumption of aerosol-generating articles
US10959459B2 (en) 2018-05-16 2021-03-30 Rai Strategic Holdings, Inc. Voltage regulator for an aerosol delivery device
US10932490B2 (en) 2018-05-16 2021-03-02 Rai Strategic Holdings, Inc. Atomizer and aerosol delivery device
EP3574779A3 (de) * 2018-05-28 2020-03-04 Hauni Maschinenbau GmbH Anordnung für einen inhalator
DE102018127927A1 (de) 2018-05-28 2019-11-28 Hauni Maschinenbau Gmbh Anordnung und Basisteil für einen Inhalator, und Inhalator
EP3801091A1 (en) 2018-05-29 2021-04-14 Juul Labs, Inc. Vaporizer device with cartridge
TWI668021B (zh) * 2018-06-06 2019-08-11 國立臺灣大學 無使用方向限制之霧化器
WO2019239548A1 (ja) * 2018-06-14 2019-12-19 日本たばこ産業株式会社 電源ユニット、香味生成装置、方法及びプログラム
US11191298B2 (en) 2018-06-22 2021-12-07 Rai Strategic Holdings, Inc. Aerosol source member having combined susceptor and aerosol precursor material
KR102148827B1 (ko) * 2018-06-26 2020-08-27 주식회사 이엠텍 미세 입자 발생 장치의 예열완료 시간 제어 방법 및 미세 입자 발생 장치
AU2019295713B2 (en) 2018-06-26 2024-06-13 Juul Labs, Inc. Devices and methods for cessation of nicotine addiction
CN110742312A (zh) * 2018-07-05 2020-02-04 深圳市艾维普思科技有限公司 电子烟的供电装置及电子烟
CN209807128U (zh) * 2018-07-05 2019-12-20 深圳市艾维普思科技有限公司 电子烟的供电组件及电子烟
US11896058B2 (en) 2018-07-10 2024-02-13 Philip Morris Products S.A. Aerosol-generating system with air quality sensor
TW202007294A (zh) * 2018-07-24 2020-02-16 瑞士商傑太日煙國際股份有限公司 個人用汽化裝置之溫度調節
KR102773887B1 (ko) * 2018-07-26 2025-02-27 필립모리스 프로덕츠 에스.에이. 개선된 전력 공급 컨트롤러를 갖는 에어로졸 발생 장치
EP3831227B1 (en) 2018-07-30 2025-02-19 Japan Tobacco Inc. Aerosol generating device and method and program for operating this
WO2020026288A1 (ja) * 2018-07-30 2020-02-06 日本たばこ産業株式会社 エアロゾル生成装置並びにこれを動作させる方法及びプログラム
US12431568B2 (en) 2018-07-30 2025-09-30 Altria Client Services Llc Electronic vaping device
CN112514193B (zh) 2018-07-31 2025-03-14 日本烟草产业株式会社 充电装置以及信息处理系统
US11094993B2 (en) 2018-08-10 2021-08-17 Rai Strategic Holdings, Inc. Charge circuitry for an aerosol delivery device
US11382354B2 (en) * 2018-08-17 2022-07-12 Shenzhen Relx Technology Co., Ltd. Vaporization device having air inlet and outlet channels structures
EP3829370A4 (en) 2018-08-22 2022-04-27 Respira Technologies, Inc. ELECTRONIC DEVICE FOR GENERATION OF AN AEROSOL FOR INHALATION BY A PERSON
US11690963B2 (en) 2018-08-22 2023-07-04 Qnovia, Inc. Electronic device for producing an aerosol for inhalation by a person
US12501929B2 (en) 2018-08-22 2025-12-23 Qnovia, Inc. Electronic device for producing an aerosol for inhalation by a person
US11517685B2 (en) 2019-01-18 2022-12-06 Qnovia, Inc. Electronic device for producing an aerosol for inhalation by a person
US11484898B2 (en) * 2018-08-23 2022-11-01 Gofire, Inc. System and method for vaporizing cartridge system with diffuser
GB2576711A (en) * 2018-08-23 2020-03-04 All Vape Ltd A Vaporiser
US10939707B2 (en) 2018-08-23 2021-03-09 Rai Strategic Holdings, Inc. Aerosol delivery device with segmented electrical heater
CN109283867A (zh) * 2018-08-24 2019-01-29 深圳市合元科技有限公司 一种开关控制电路、开关控制方法及电子烟
US11265974B2 (en) 2018-08-27 2022-03-01 Rai Strategic Holdings, Inc. Aerosol delivery device with integrated thermal conductor
US11103013B2 (en) * 2018-09-07 2021-08-31 Fontem Holdings 1 B.V. Pivotable charging case for electronic smoking device
US12245629B2 (en) 2018-09-14 2025-03-11 Rai Strategic Holdings, Inc. Product use and behavior monitoring instrument
US11247005B2 (en) * 2018-09-26 2022-02-15 Rai Strategic Holdings, Inc. Aerosol delivery device with conductive inserts
CN209090066U (zh) * 2018-09-30 2019-07-12 常州市派腾电子技术服务有限公司 电子烟充电装置及电子烟系统
JP7128709B2 (ja) 2018-10-04 2022-08-31 日本たばこ産業株式会社 吸引成分生成装置
US11974603B2 (en) 2018-10-12 2024-05-07 Rai Strategic Holdings, Inc. Aerosol delivery device with visible indicator
US11588287B2 (en) 2018-10-12 2023-02-21 Rai Strategic Holdings, Inc. Aerosol delivery device with improved connectivity, airflow, and aerosol paths
US12342860B2 (en) 2018-10-12 2025-07-01 Rai Strategic Holdings, Inc. Heater and liquid transport for an aerosol delivery system
US12171261B2 (en) 2018-10-12 2024-12-24 Rai Strategic Holdings, Inc. Vaporization system
US10939702B2 (en) 2018-10-12 2021-03-09 Rai Strategic Holdings, Inc. Connectors for forming electrical and mechanical connections between interchangeable units in an aerosol delivery system
US11291249B2 (en) 2018-10-12 2022-04-05 Rai Strategic Holdings, Inc. Aerosol delivery device with visible indicator
US12232526B2 (en) 2018-10-12 2025-02-25 Rai Strategic Holdings, Inc. Connectors for forming electrical and mechanical connections between interchangeable units in an aerosol delivery system
US10791767B2 (en) 2018-10-12 2020-10-06 Rai Strategic Holdings, Inc. Connectors for forming electrical and mechanical connections between interchangeable units in an aerosol delivery system
US11678700B2 (en) 2018-10-12 2023-06-20 Rai Strategic Holdings, Inc. Aerosol delivery device with visible indicator
GB201816831D0 (en) * 2018-10-16 2018-11-28 Nicoventures Trading Ltd Aerosol provision device
WO2020081874A1 (en) 2018-10-18 2020-04-23 Respira Technologies, Inc. Electronic device for producing an aerosol for inhalation by a person
MX2021004359A (es) 2018-10-19 2021-05-31 Juul Labs Inc Sistema de alimentacion de vaporizador.
US11882438B2 (en) * 2018-10-29 2024-01-23 Zorday IP, LLC Network-enabled electronic cigarette
EP3874982A4 (en) * 2018-10-30 2022-07-27 Japan Tobacco Inc. AEROSOL GENERATION DEVICE POWER SUPPLY UNIT, AEROSOL GENERATION DEVICE POWER SUPPLY UNIT CONTROL METHOD, AND AEROSOL GENERATION DEVICE POWER SUPPLY UNIT PROGRAM
JP6636117B1 (ja) * 2018-10-30 2020-01-29 日本たばこ産業株式会社 エアロゾル生成装置の電源ユニット、エアロゾル生成装置の電源ユニットの制御方法、およびエアロゾル生成装置の電源ユニット用プログラム
JP6522220B1 (ja) * 2018-10-30 2019-05-29 日本たばこ産業株式会社 エアロゾル生成装置の電源ユニット、エアロゾル生成装置の電源ユニットの制御方法、およびエアロゾル生成装置の電源ユニット用プログラム
US12478112B2 (en) 2018-10-30 2025-11-25 R.J. Reynolds Tobacco Company Smoking article cartridge
WO2020090375A1 (ja) * 2018-10-30 2020-05-07 日本たばこ産業株式会社 エアロゾル生成装置の電源ユニット、エアロゾル生成装置の電源ユニットの制御方法、およびエアロゾル生成装置の電源ユニット用プログラム
JP6617189B1 (ja) * 2018-10-31 2019-12-11 日本たばこ産業株式会社 エアロゾル吸引器用の電源ユニット、エアロゾル吸引器、エアロゾル吸引器の電源制御方法、及びエアロゾル吸引器の電源制御プログラム
US12543799B2 (en) 2018-11-02 2026-02-10 Juul Labs, Inc. Vaporizer device with charging and reverse-charging capability
ES2932748T3 (es) 2018-11-05 2023-01-25 Juul Labs Inc Cartuchos para dispositivos vaporizadores
KR20250107299A (ko) 2018-11-08 2025-07-11 쥴 랩스, 인크. 카트리지 및 이를 포함하는 증발기 장치
GB201818743D0 (en) 2018-11-16 2019-01-02 Nicoventures Trading Ltd System and method of consumption control
US11372153B2 (en) 2018-11-19 2022-06-28 Rai Strategic Holdings, Inc. Cartridge orientation for selection of a control function in a vaporization system
US12066654B2 (en) 2018-11-19 2024-08-20 Rai Strategic Holdings, Inc. Charging control for an aerosol delivery device
US11156766B2 (en) 2018-11-19 2021-10-26 Rai Strategic Holdings, Inc. Aerosol delivery device
US11592793B2 (en) 2018-11-19 2023-02-28 Rai Strategic Holdings, Inc. Power control for an aerosol delivery device
US11614720B2 (en) 2018-11-19 2023-03-28 Rai Strategic Holdings, Inc. Temperature control in an aerosol delivery device
US11753750B2 (en) 2018-11-20 2023-09-12 R.J. Reynolds Tobacco Company Conductive aerosol generating composite substrate for aerosol source member
US11342764B2 (en) * 2018-11-28 2022-05-24 Shenzhen Innokin Technology Co., Ltd. Low voltage charging control and protection circuit for electronic cigarette and method of charging the electronic cigarette using the circuit
US11547816B2 (en) 2018-11-28 2023-01-10 Rai Strategic Holdings, Inc. Micropump for an aerosol delivery device
GB201820558D0 (en) 2018-12-17 2019-01-30 Nicoventures Trading Ltd Embedded connectivity
CN109596975B (zh) * 2018-12-24 2021-03-30 深圳瀚星翔科技有限公司 电子烟电路板检测系统及方法
US11576435B2 (en) * 2019-01-18 2023-02-14 Hava Health, inc. Smoking cessation system
GB201900827D0 (en) 2019-01-21 2019-03-13 British American Tobacco Investments Ltd Tobacco industy product and methods relating to tobacco industry products
US11096419B2 (en) 2019-01-29 2021-08-24 Rai Strategic Holdings, Inc. Air pressure sensor for an aerosol delivery device
US11456480B2 (en) 2019-02-07 2022-09-27 Rai Strategic Holdings, Inc. Non-inverting amplifier circuit for an aerosol delivery device
USD1083619S1 (en) 2019-02-14 2025-07-15 Glas, Inc. Packaging for cartridges for use with a vaporization device
US10531693B1 (en) 2019-02-14 2020-01-14 Glas, Inc. Vaporization device having remotely controllable operational modes
WO2020174629A1 (ja) * 2019-02-27 2020-09-03 日本たばこ産業株式会社 香味成分生成制御装置、香味成分生成装置、制御方法及びプログラム
US12140978B2 (en) 2019-03-01 2024-11-12 Rai Strategic Holdings, Inc. Temperature control circuitry for an aerosol delivery device
US11602164B2 (en) 2019-03-14 2023-03-14 Rai Strategic Holdings, Inc. Aerosol delivery device with graded porosity from inner to outer wall surfaces
CN114269181A (zh) * 2019-03-24 2022-04-01 欧米伽生命科学公司 电子烟
GB201905425D0 (en) * 2019-04-17 2019-05-29 Nicoventures Trading Ltd Electronic aerosol provision device
US11690405B2 (en) 2019-04-25 2023-07-04 Rai Strategic Holdings, Inc. Artificial intelligence in an aerosol delivery device
CN110132339B (zh) * 2019-05-06 2021-04-13 深圳雷炎科技有限公司 一种电子烟气流感应器的检测装置
US11119083B2 (en) 2019-05-09 2021-09-14 Rai Strategic Holdings, Inc. Adaptor for use with non-cylindrical vapor products
US11191306B2 (en) 2019-05-09 2021-12-07 Rai Strategic Holdings, Inc. Adaptor for use with non-cylindrical vapor products
US11517688B2 (en) 2019-05-10 2022-12-06 Rai Strategic Holdings, Inc. Flavor article for an aerosol delivery device
KR102271274B1 (ko) * 2019-05-16 2021-06-30 주식회사 케이티앤지 에어로졸 생성 장치 및 이를 제어하는 방법
US12082611B2 (en) * 2019-05-24 2024-09-10 Imperial Tobacco Limited Aerosol delivery device
US11589425B2 (en) 2019-05-24 2023-02-21 Rai Strategic Holdings, Inc. Shape memory material for controlled liquid delivery in an aerosol delivery device
KR102213838B1 (ko) * 2019-06-14 2021-02-08 주식회사 케이티앤지 광학 모듈 및 이를 포함하는 에어로졸 생성 장치
WO2020260529A1 (en) * 2019-06-28 2020-12-30 Nerudia Limited Charging device, smoking substitute kit, and method of charging a smoking substitute system
CN112167726A (zh) * 2019-07-03 2021-01-05 惠州市沛格斯科技有限公司 电子烟具
JP6683866B1 (ja) * 2019-07-17 2020-04-22 日本たばこ産業株式会社 エアロゾル吸引器用の電源ユニット、エアロゾル吸引器の電源診断方法、及びエアロゾル吸引器の電源診断プログラム
KR102397449B1 (ko) * 2019-07-23 2022-05-12 주식회사 케이티앤지 에어로졸 생성 장치
EP4445784A3 (en) * 2019-08-29 2025-01-22 Imperial Tobacco Limited Smoking substitute device
US10737041B1 (en) 2019-09-26 2020-08-11 Jesse David Adelaar Secure electronic vaporizer and nebulizer systems
US11785991B2 (en) 2019-10-04 2023-10-17 Rai Strategic Holdings, Inc. Use of infrared temperature detection in an aerosol delivery device
WO2021072660A1 (zh) * 2019-10-15 2021-04-22 深圳市汇顶科技股份有限公司 烟具和烟弹
US20210113783A1 (en) 2019-10-20 2021-04-22 Respira Technologies, Inc. Electronic devices and liquids for aerosolizing and inhaling therewith
DE102019128730B4 (de) * 2019-10-24 2022-04-21 Infineon Technologies Ag Inhalationseinrichtung, substanzspeicher, inhalationssystem und verfahren zum betreiben einer inhalationseinrichtung
US11470689B2 (en) 2019-10-25 2022-10-11 Rai Strategic Holdings, Inc. Soft switching in an aerosol delivery device
GB201915511D0 (en) 2019-10-25 2019-12-11 Nicoventures Trading Ltd Battery charging
CN110693088A (zh) * 2019-10-29 2020-01-17 福建中烟工业有限责任公司 电子烟雾化器以及电子烟
JP6682033B1 (ja) 2019-11-05 2020-04-15 日本たばこ産業株式会社 エアロゾル吸引器用の電源ユニット
JP6706712B1 (ja) 2019-11-05 2020-06-10 日本たばこ産業株式会社 エアロゾル吸引器用の電源ユニット
JP6868077B1 (ja) * 2019-11-05 2021-05-12 日本たばこ産業株式会社 エアロゾル吸引器用の電源ユニット、エアロゾル吸引器、及びエアロゾル吸引器用の充電ユニット
JP6957577B2 (ja) 2019-11-05 2021-11-02 日本たばこ産業株式会社 エアロゾル吸引器用の電源ユニット
CN112841752B (zh) * 2019-11-12 2023-08-22 上海合元深蓝科技有限公司 气溶胶产生装置及其控制方法
USD943158S1 (en) 2019-11-14 2022-02-08 Juul Labs, Inc. Vaporizer cartridge
USD943160S1 (en) 2019-11-14 2022-02-08 Juul Labs, Inc. Vaporizer device
USD943161S1 (en) 2019-11-14 2022-02-08 Juul Labs, Inc. Vaporizer device
USD943159S1 (en) 2019-11-14 2022-02-08 Juul Labs, Inc. Component for a vaporizer cartridge
WO2021097133A1 (en) 2019-11-15 2021-05-20 Pax Labs, Inc. Machine for laser etching and tag writing a vaporizer cartridge
WO2021113533A1 (en) 2019-12-04 2021-06-10 Juul Labs, Inc. High-power drive circuit for a vaporizer heater
JP7245359B2 (ja) * 2019-12-05 2023-03-23 日本たばこ産業株式会社 制御装置、制御方法、及びプログラム
GB201918091D0 (en) * 2019-12-10 2020-01-22 Nicoventures Trading Ltd Power level indication in a device for an electronic aerosol provision system
US11259569B2 (en) 2019-12-10 2022-03-01 Rai Strategic Holdings, Inc. Aerosol delivery device with downstream flavor cartridge
WO2021138833A1 (zh) * 2020-01-08 2021-07-15 深圳雾芯科技有限公司 用于收纳雾化装置的收纳盒
US11607511B2 (en) 2020-01-08 2023-03-21 Nicoventures Trading Limited Inductively-heated substrate tablet for aerosol delivery device
CN111035063A (zh) * 2020-01-08 2020-04-21 深圳雾芯科技有限公司 用于收纳雾化装置的收纳盒
CN111035062A (zh) * 2020-01-08 2020-04-21 深圳雾芯科技有限公司 用于收纳雾化装置的收纳盒
CN212279901U (zh) * 2020-01-11 2021-01-05 深圳市合元科技有限公司 烟具控制电路和烟具
US11771139B2 (en) * 2020-01-13 2023-10-03 Altria Client Services Llc Non-nicotine electronic vaping device with memory module
US11666100B2 (en) 2020-01-13 2023-06-06 Altria Client Services Llc Nicotine electronic vaping device
US11457665B2 (en) 2020-01-16 2022-10-04 Nicoventures Trading Limited Susceptor arrangement for an inductively-heated aerosol delivery device
JP7242770B2 (ja) * 2020-02-06 2023-03-20 日本たばこ産業株式会社 カートリッジ及び非燃焼型香味吸引器
KR102354965B1 (ko) 2020-02-13 2022-01-24 주식회사 케이티앤지 에어로졸 생성 장치 및 그의 동작 방법
KR102333681B1 (ko) * 2020-02-26 2021-12-01 주식회사 케이티앤지 에어로졸 생성 장치의 오류를 분석하는 장치 및 그 시스템
WO2021181993A1 (ja) * 2020-03-12 2021-09-16 日本たばこ産業株式会社 吸引器と吸引器の製造方法
KR102432917B1 (ko) * 2020-03-30 2022-08-16 주식회사 케이티앤지 사용자의 접촉을 감지하여 히터를 활성화하는 에어로졸 생성 장치 및 작동 방법
US12484610B2 (en) 2020-04-16 2025-12-02 R.J. Reynolds Tobacco Company Aerosol delivery device including a segregated substrate
US11439189B2 (en) 2020-04-28 2022-09-13 Rai Strategic Holdings, Inc. Mesh network charging for aerosol delivery devices
US11839240B2 (en) 2020-04-29 2023-12-12 Rai Strategic Holdings, Inc. Piezo sensor for a power source
JP6744515B2 (ja) * 2020-04-30 2020-08-19 日本たばこ産業株式会社 非燃焼型香味吸引器
JP6735946B2 (ja) * 2020-04-30 2020-08-05 日本たばこ産業株式会社 非燃焼型香味吸引器
KR102480478B1 (ko) * 2020-05-19 2022-12-22 주식회사 케이티앤지 에어로졸 생성 장치 및 이를 제어하는 방법
GB2597636A (en) 2020-05-29 2022-02-09 Nicoventures Trading Ltd Aerosol provision systems
WO2021247664A1 (en) 2020-06-02 2021-12-09 Windsong Brands Dual cartridge vaporization device and substance cartridge for use therewith
US20210401052A1 (en) * 2020-06-24 2021-12-30 Vuber Technologies, Llc Vaporization device using frustal porous vaporization media
US12514294B2 (en) 2020-07-01 2026-01-06 Nicoventures Trading Limited 3D-printed substrate for aerosol delivery device
WO2022043420A1 (en) * 2020-08-28 2022-03-03 Jt International S.A. An aerosolization module for an aerosol generating system having an optimized air path configuration
JP6952851B1 (ja) * 2020-09-07 2021-10-27 日本たばこ産業株式会社 吸引器用コントローラ
JP6905134B1 (ja) * 2020-09-07 2021-07-21 日本たばこ産業株式会社 エアロゾル生成装置の電源ユニット
JP6856810B1 (ja) * 2020-09-07 2021-04-14 日本たばこ産業株式会社 エアロゾル生成装置の電源ユニット
JP6856811B1 (ja) 2020-09-07 2021-04-14 日本たばこ産業株式会社 エアロゾル生成装置の電源ユニット
JP6869411B1 (ja) * 2020-09-07 2021-05-12 日本たばこ産業株式会社 吸引器用コントローラ
CN116322393A (zh) * 2020-09-24 2023-06-23 日本烟草国际股份有限公司 消耗品与装置之间的气流通道
US11707088B2 (en) 2020-09-25 2023-07-25 Rai Strategic Holdings, Inc. Aroma delivery system for aerosol delivery device
US11856986B2 (en) 2020-10-19 2024-01-02 Rai Strategic Holdings, Inc. Customizable panel for aerosol delivery device
US12471625B2 (en) 2020-11-01 2025-11-18 Qnovia, Inc. Electronic devices and liquids for aerosolizing and inhaling therewith
US11889869B2 (en) 2020-11-16 2024-02-06 Rai Strategic Holdings, Inc. Closed-loop control of temperature and pressure sensing for an aerosol provision device
GB202019674D0 (en) * 2020-12-14 2021-01-27 Nicoventures Trading Ltd Case
CN115484841A (zh) * 2020-12-14 2022-12-16 日本烟草产业株式会社 抽吸装置以及程序
US12543784B2 (en) 2021-03-24 2026-02-10 Rai Strategic Holdings, Inc. Aerosol delivery device
CN117241685A (zh) 2021-03-24 2023-12-15 莱克斯莱维有限公司 可组合和可定向的电子烟设备
GB202104639D0 (en) * 2021-03-31 2021-05-12 Nicoventures Trading Ltd Aerosol provision system
KR102621761B1 (ko) * 2021-04-01 2024-01-05 주식회사 케이티앤지 에어로졸 생성 물품이 과습 상태인지 여부를 판단하는 에어로졸 생성 장치
CN112841748B (zh) * 2021-04-14 2023-11-28 深圳市讴可电子科技有限公司 一种用于电子烟的控制方法及电子烟
WO2022239279A1 (ja) * 2021-05-10 2022-11-17 日本たばこ産業株式会社 エアロゾル生成装置の電源ユニット
WO2022239280A1 (ja) * 2021-05-10 2022-11-17 日本たばこ産業株式会社 エアロゾル生成装置の電源ユニット
US12144377B2 (en) 2021-10-01 2024-11-19 Rai Strategic Holdings, Inc. Absorbent containing mouthpiece for aerosol delivery device
US20230141797A1 (en) * 2021-11-05 2023-05-11 Nicoventures Trading Limited Aerosol provision system
US20230146798A1 (en) * 2021-11-05 2023-05-11 Nicoventures Trading Limited Aerosol provision system
KR102753582B1 (ko) * 2021-11-18 2025-01-14 주식회사 케이티앤지 배터리 충전 중 사용자 입력을 처리하는 방법 및 장치
KR102776894B1 (ko) * 2021-11-22 2025-03-10 주식회사 케이티앤지 충전 정보를 출력하는 방법 및 장치
CN118541051A (zh) * 2021-12-28 2024-08-23 日本烟草产业株式会社 气溶胶生成装置、方法、以及程序
KR102878828B1 (ko) * 2021-12-31 2025-10-29 주식회사 케이티앤지 에어로졸 생성장치
US12484618B2 (en) * 2022-04-22 2025-12-02 Qnovia, Inc. Electronic devices for aerosolizing and inhaling liquid having diaphragm and a pressure sensor
US12514286B2 (en) * 2022-04-22 2026-01-06 Qnovia, Inc. Electronic devices for aerosolizing and inhaling liquid having diaphragm and a pressure sensor
US12550942B2 (en) * 2022-09-19 2026-02-17 Altria Client Services Llc Session control system
AU2023358545B2 (en) 2022-10-14 2025-08-14 Airo Brands Inc. A dispensing device with an electromechanical feedback system and methods of use
CN121358359A (zh) 2023-07-07 2026-01-16 艾柔品牌公司 具有机电反馈系统的分配装置及其使用方法
CN121586521A (zh) * 2024-06-10 2026-02-27 深圳市绎柏科技有限公司 汽化器装置
WO2026013649A1 (en) * 2024-07-12 2026-01-15 Itc Limited An improved aerosol generating device

Family Cites Families (90)

* Cited by examiner, † Cited by third party
Publication number Priority date Publication date Assignee Title
US3200819A (en) * 1963-04-17 1965-08-17 Herbert A Gilbert Smokeless non-tobacco cigarette
US3338476A (en) * 1965-10-24 1967-08-29 Texas Instruments Inc Heating device for use with aerosol containers
US4917128A (en) * 1985-10-28 1990-04-17 R. J. Reynolds Tobacco Co. Cigarette
US4765347A (en) * 1986-05-09 1988-08-23 R. J. Reynolds Tobacco Company Aerosol flavor delivery system
US4765346A (en) 1986-11-24 1988-08-23 General Motors Corporation Ashtray assembly
US4819665A (en) * 1987-01-23 1989-04-11 R. J. Reynolds Tobacco Company Aerosol delivery article
US5144962A (en) * 1989-12-01 1992-09-08 Philip Morris Incorporated Flavor-delivery article
JPH0453062A (ja) * 1990-06-20 1992-02-20 Tokyo Electric Co Ltd ディスク駆動装置
US5505214A (en) 1991-03-11 1996-04-09 Philip Morris Incorporated Electrical smoking article and method for making same
US5261424A (en) * 1991-05-31 1993-11-16 Philip Morris Incorporated Control device for flavor-generating article
US5498850A (en) 1992-09-11 1996-03-12 Philip Morris Incorporated Semiconductor electrical heater and method for making same
US5743250A (en) * 1993-01-29 1998-04-28 Aradigm Corporation Insulin delivery enhanced by coached breathing
US5372148A (en) 1993-02-24 1994-12-13 Philip Morris Incorporated Method and apparatus for controlling the supply of energy to a heating load in a smoking article
US5293990A (en) * 1993-02-26 1994-03-15 Masakayan Jose P S Box protection apparatus
JP2849300B2 (ja) * 1993-03-15 1999-01-20 ローム株式会社 コードレス電話機
US5666977A (en) 1993-06-10 1997-09-16 Philip Morris Incorporated Electrical smoking article using liquid tobacco flavor medium delivery system
US5894841A (en) 1993-06-29 1999-04-20 Ponwell Enterprises Limited Dispenser
JP3325028B2 (ja) * 1996-06-17 2002-09-17 日本たばこ産業株式会社 香味生成物品
US6089857A (en) * 1996-06-21 2000-07-18 Japan Tobacco, Inc. Heater for generating flavor and flavor generation appliance
US6040560A (en) * 1996-10-22 2000-03-21 Philip Morris Incorporated Power controller and method of operating an electrical smoking system
US5934289A (en) 1996-10-22 1999-08-10 Philip Morris Incorporated Electronic smoking system
JP2984657B2 (ja) * 1997-07-23 1999-11-29 日本たばこ産業株式会社 香味発生装置
KR100289448B1 (ko) 1997-07-23 2001-05-02 미즈노 마사루 향미발생장치
JP2949114B1 (ja) 1998-08-04 1999-09-13 日本たばこ産業株式会社 電気式香味生成物品加熱制御装置
US6053176A (en) * 1999-02-23 2000-04-25 Philip Morris Incorporated Heater and method for efficiently generating an aerosol from an indexing substrate
US6196218B1 (en) 1999-02-24 2001-03-06 Ponwell Enterprises Ltd Piezo inhaler
US6255800B1 (en) * 2000-01-03 2001-07-03 Texas Instruments Incorporated Bluetooth enabled mobile device charging cradle and system
KR100831535B1 (ko) * 2000-03-23 2008-05-22 필립모리스 프로덕츠 인코포레이티드 전기흡연장치와 그 방법
US6637430B1 (en) * 2000-06-16 2003-10-28 Ponwell Enterprises Limited Respiratory delivery system with power/medicament recharge assembly
GB0108228D0 (en) * 2001-04-02 2001-05-23 Glaxo Group Ltd Medicament dispenser
JP3843880B2 (ja) * 2001-05-31 2006-11-08 株式会社デンソー ガス濃度センサのヒータ制御装置
US6803545B2 (en) * 2002-06-05 2004-10-12 Philip Morris Incorporated Electrically heated smoking system and methods for supplying electrical power from a lithium ion power source
US20050172976A1 (en) * 2002-10-31 2005-08-11 Newman Deborah J. Electrically heated cigarette including controlled-release flavoring
US6810883B2 (en) * 2002-11-08 2004-11-02 Philip Morris Usa Inc. Electrically heated cigarette smoking system with internal manifolding for puff detection
CN100381083C (zh) * 2003-04-29 2008-04-16 韩力 一种非可燃性电子喷雾香烟
JP2005034021A (ja) * 2003-07-17 2005-02-10 Seiko Epson Corp 電子タバコ
JP4411901B2 (ja) 2003-08-11 2010-02-10 セイコーエプソン株式会社 霧化装置
JP2005150598A (ja) * 2003-11-19 2005-06-09 Hitachi Kokusai Electric Inc 基板処理装置
CN2719043Y (zh) 2004-04-14 2005-08-24 韩力 雾化电子烟
US20050253554A1 (en) * 2004-05-14 2005-11-17 Interdigital Technology Corporation Apparatus for backing up data stored in a portable device
US7167776B2 (en) 2004-09-02 2007-01-23 Philip Morris Usa Inc. Method and system for controlling a vapor generator
US9675109B2 (en) * 2005-07-19 2017-06-13 J. T. International Sa Method and system for vaporization of a substance
JP4563887B2 (ja) 2005-07-29 2010-10-13 アイコム株式会社 充電システム
US7186958B1 (en) 2005-09-01 2007-03-06 Zhao Wei, Llc Inhaler
US20070057394A1 (en) * 2005-09-14 2007-03-15 Thomas Linehan Apparatus and method for temperature control
US20070074734A1 (en) * 2005-09-30 2007-04-05 Philip Morris Usa Inc. Smokeless cigarette system
CA2634926A1 (en) * 2005-12-27 2007-07-05 Shanklin Corporation Improved hot wire control apparatus and method
US8371310B2 (en) * 2006-02-17 2013-02-12 Jake Brenneise Portable vaporizing device and method for inhalation and/or aromatherapy without combustion
US8013572B2 (en) * 2006-04-11 2011-09-06 Andrew Rodgers Recharging device for use with portable electronic devices
CN201067079Y (zh) * 2006-05-16 2008-06-04 韩力 仿真气溶胶吸入器
JP2008104362A (ja) 2006-10-23 2008-05-08 Takano Foods Kk 目詰まりしない液垂れ防止手段およびそれを備えたノズル
JP4867577B2 (ja) * 2006-10-27 2012-02-01 東洋製罐株式会社 充填ノズル
US20080128527A1 (en) * 2006-12-05 2008-06-05 The Hong Kong Polytechnic University Liquid dispensing apparatus based on piezoelectrically driven hollow horn
US7843167B2 (en) * 2007-01-22 2010-11-30 Snap-on Incorporated, Inc. Battery charger with charge indicator
US8342172B2 (en) * 2007-02-05 2013-01-01 The Brigham And Women's Hospital, Inc. Instrumented metered-dose inhaler and methods for predicting disease exacerbations
DE102007010421B4 (de) 2007-03-01 2011-02-17 Grohmann Engineering Gmbh Verfahren und Vorrichtung zum Anbringen von Dichtungsprofilen
DE102007011120A1 (de) 2007-03-07 2008-09-11 Bel Air International Corp., Nashville Rauchfreie Zigarette sowie Kombination aus einer rauchfreien Zigarette und einem Ladegerät für diese
US20080257367A1 (en) * 2007-04-23 2008-10-23 Greg Paterno Electronic evaporable substance delivery device and method
EP1989946A1 (en) 2007-05-11 2008-11-12 Rauchless Inc. Smoking device, charging means and method of using it
US7844303B2 (en) * 2007-09-07 2010-11-30 Microsoft Corporation Cable management in an FM transmitter
JP2009069519A (ja) * 2007-09-13 2009-04-02 Epson Toyocom Corp 波長フィルタ及び光学装置
US8044636B2 (en) * 2007-09-25 2011-10-25 PrincetonTectonics, Inc. Battery operated LED lamp and control
CN101883833B (zh) 2007-11-30 2014-02-26 日本烟草产业株式会社 气溶胶抽吸器用气溶胶产生液
US9550031B2 (en) * 2008-02-01 2017-01-24 Reciprocal Labs Corporation Device and method to monitor, track, map, and analyze usage of metered-dose inhalers in real-time
CN101228969A (zh) * 2008-02-02 2008-07-30 龙功运 电子香烟
US20090284225A1 (en) * 2008-03-03 2009-11-19 Panasonic Corporation Information processing equipment and the integrated circuit
JP5188211B2 (ja) * 2008-03-07 2013-04-24 キヤノン株式会社 給電装置及び給電方法
EP2100525A1 (en) * 2008-03-14 2009-09-16 Philip Morris Products S.A. Electrically heated aerosol generating system and method
EP2110034A1 (en) * 2008-04-17 2009-10-21 Philip Morris Products S.A. An electrically heated smoking system
EP2113178A1 (en) 2008-04-30 2009-11-04 Philip Morris Products S.A. An electrically heated smoking system having a liquid storage portion
US20090283103A1 (en) 2008-05-13 2009-11-19 Nielsen Michael D Electronic vaporizing devices and docking stations
WO2010035545A1 (ja) 2008-09-26 2010-04-01 株式会社村田製作所 無接点充電システム
AT507187B1 (de) 2008-10-23 2010-03-15 Helmut Dr Buchberger Inhalator
US20100141839A1 (en) * 2008-11-03 2010-06-10 Dana Innovations Portable Charger With Additional Functionality
CN201294864Y (zh) 2008-11-18 2009-08-26 华健 网络电子香烟
CN201341434Y (zh) 2008-12-02 2009-11-11 陈文兴 电子雾化烟充电用电子烟盒
US20100200008A1 (en) * 2009-02-09 2010-08-12 Eli Taieb E-Cigarette With Vitamin Infusion
CN201393548Y (zh) * 2009-02-18 2010-02-03 夏浩然 一种环保型电子香烟
CN101518361B (zh) * 2009-03-24 2010-10-06 北京格林世界科技发展有限公司 高仿真电子烟
US8851068B2 (en) * 2009-04-21 2014-10-07 Aj Marketing Llc Personal inhalation devices
CN101606758B (zh) * 2009-07-14 2011-04-13 方晓林 电子烟
US8013570B2 (en) * 2009-07-23 2011-09-06 Coulomb Technologies, Inc. Electrical circuit sharing for electric vehicle charging stations
EP2563172B2 (en) 2010-04-30 2022-05-04 Fontem Holdings 4 B.V. Electronic smoking device
US9999250B2 (en) * 2010-05-15 2018-06-19 Rai Strategic Holdings, Inc. Vaporizer related systems, methods, and apparatus
EP3508085B1 (en) * 2010-08-24 2022-04-06 JT International S.A. Inhalation device including substance usage controls
US8774446B2 (en) 2012-03-30 2014-07-08 Hybrid Skillz Inc. Retractable storage system for handheld electronic device
US11517042B2 (en) 2012-04-25 2022-12-06 Altria Client Services Llc Digital marketing applications for electronic cigarette users
US20130340775A1 (en) 2012-04-25 2013-12-26 Bernard Juster Application development for a network with an electronic cigarette
US10034988B2 (en) * 2012-11-28 2018-07-31 Fontem Holdings I B.V. Methods and devices for compound delivery
KR102886728B1 (ko) 2019-10-31 2025-11-14 주식회사 삼양홀딩스 분말형 지혈제 조성물 및 이의 제조 방법

Also Published As

Publication number Publication date
AU2011245104A1 (en) 2012-11-08
PL2563172T3 (pl) 2017-10-31
HK1183211A1 (en) 2013-12-20
US9907338B2 (en) 2018-03-06
EP2563172B2 (en) 2022-05-04
US20150053214A1 (en) 2015-02-26
PL2563172T5 (pl) 2022-08-29
US20110265806A1 (en) 2011-11-03
CN104839892A (zh) 2015-08-19
US11712067B2 (en) 2023-08-01
US10980276B2 (en) 2021-04-20
US12232541B2 (en) 2025-02-25
CA3047478C (en) 2022-06-14
US20210138490A1 (en) 2021-05-13
US20250160440A1 (en) 2025-05-22
US11406139B2 (en) 2022-08-09
WO2011137453A3 (en) 2012-04-05
US9439455B2 (en) 2016-09-13
JP2020022485A (ja) 2020-02-13
US20180146712A1 (en) 2018-05-31
US10638795B2 (en) 2020-05-05
AU2011245104A8 (en) 2013-07-11
JP6326188B2 (ja) 2018-05-16
US20210307410A1 (en) 2021-10-07
US20210337880A1 (en) 2021-11-04
US12150490B2 (en) 2024-11-26
US20150059779A1 (en) 2015-03-05
CN102970885B (zh) 2015-05-20
JP2016214258A (ja) 2016-12-22
EP2563172A4 (en) 2015-02-25
CA2959909A1 (en) 2011-11-03
US20200275711A9 (en) 2020-09-03
US11154095B2 (en) 2021-10-26
WO2011137453A2 (en) 2011-11-03
AU2011245104B2 (en) 2013-07-04
CN102970885A (zh) 2013-03-13
EP2563172A2 (en) 2013-03-06
JP2013524835A (ja) 2013-06-20
US10966462B2 (en) 2021-04-06
US20240180260A1 (en) 2024-06-06
JP6877911B2 (ja) 2021-05-26
CA3047478A1 (en) 2011-11-03
US20200196670A1 (en) 2020-06-25
AU2011245104B8 (en) 2013-07-11
US20180140021A1 (en) 2018-05-24
CA2797975C (en) 2017-06-06
CA2797975A1 (en) 2011-11-03
US11013269B2 (en) 2021-05-25
JP6909552B2 (ja) 2021-07-28
US20180271156A1 (en) 2018-09-27
EP2563172B1 (en) 2017-03-08
US9907337B2 (en) 2018-03-06
US20250194696A1 (en) 2025-06-19
US20180192709A1 (en) 2018-07-12
US20210212384A1 (en) 2021-07-15
CA2959909C (en) 2019-10-29
US12342872B2 (en) 2025-07-01
US20180242645A1 (en) 2018-08-30
US20220256935A1 (en) 2022-08-18
CN104839892B (zh) 2020-01-21
US11026450B2 (en) 2021-06-08

Similar Documents

Publication Publication Date Title
JP6909552B6 (ja) 電子喫煙装置
AU2019203395B2 (en) Electronic smoking device

Legal Events

Date Code Title Description
A521 Request for written amendment filed

Free format text: JAPANESE INTERMEDIATE CODE: A523

Effective date: 20191028

A621 Written request for application examination

Free format text: JAPANESE INTERMEDIATE CODE: A621

Effective date: 20191028

A131 Notification of reasons for refusal

Free format text: JAPANESE INTERMEDIATE CODE: A131

Effective date: 20201222

A521 Request for written amendment filed

Free format text: JAPANESE INTERMEDIATE CODE: A523

Effective date: 20210320

A524 Written submission of copy of amendment under article 19 pct

Free format text: JAPANESE INTERMEDIATE CODE: A524

Effective date: 20210320

TRDD Decision of grant or rejection written
A01 Written decision to grant a patent or to grant a registration (utility model)

Free format text: JAPANESE INTERMEDIATE CODE: A01

Effective date: 20210608

A61 First payment of annual fees (during grant procedure)

Free format text: JAPANESE INTERMEDIATE CODE: A61

Effective date: 20210703

R150 Certificate of patent or registration of utility model

Ref document number: 6909552

Country of ref document: JP

Free format text: JAPANESE INTERMEDIATE CODE: R150

S111 Request for change of ownership or part of ownership

Free format text: JAPANESE INTERMEDIATE CODE: R313111

R371 Transfer withdrawn

Free format text: JAPANESE INTERMEDIATE CODE: R371

S111 Request for change of ownership or part of ownership

Free format text: JAPANESE INTERMEDIATE CODE: R313111

S531 Written request for registration of change of domicile

Free format text: JAPANESE INTERMEDIATE CODE: R313531

R370 Written measure of declining of transfer procedure

Free format text: JAPANESE INTERMEDIATE CODE: R370

R350 Written notification of registration of transfer

Free format text: JAPANESE INTERMEDIATE CODE: R350

R250 Receipt of annual fees

Free format text: JAPANESE INTERMEDIATE CODE: R250

R250 Receipt of annual fees

Free format text: JAPANESE INTERMEDIATE CODE: R250