JP6000641B2 - マニピュレータシステム - Google Patents

マニピュレータシステム Download PDF

Info

Publication number
JP6000641B2
JP6000641B2 JP2012116740A JP2012116740A JP6000641B2 JP 6000641 B2 JP6000641 B2 JP 6000641B2 JP 2012116740 A JP2012116740 A JP 2012116740A JP 2012116740 A JP2012116740 A JP 2012116740A JP 6000641 B2 JP6000641 B2 JP 6000641B2
Authority
JP
Japan
Prior art keywords
opening
unit
closing
master
input
Prior art date
Legal status (The legal status is an assumption and is not a legal conclusion. Google has not performed a legal analysis and makes no representation as to the accuracy of the status listed.)
Active
Application number
JP2012116740A
Other languages
English (en)
Other versions
JP2013034851A (ja
Inventor
量平 小川
量平 小川
勝 柳原
勝 柳原
Current Assignee (The listed assignees may be inaccurate. Google has not performed a legal analysis and makes no representation or warranty as to the accuracy of the list.)
Olympus Corp
Original Assignee
Olympus Corp
Priority date (The priority date is an assumption and is not a legal conclusion. Google has not performed a legal analysis and makes no representation as to the accuracy of the date listed.)
Filing date
Publication date
Application filed by Olympus Corp filed Critical Olympus Corp
Priority to JP2012116740A priority Critical patent/JP6000641B2/ja
Priority to PCT/JP2012/070417 priority patent/WO2013018933A1/en
Priority to EP12819398.4A priority patent/EP2739230B1/en
Priority to CN201280038298.4A priority patent/CN103747759B/zh
Publication of JP2013034851A publication Critical patent/JP2013034851A/ja
Priority to US14/169,321 priority patent/US9244523B2/en
Application granted granted Critical
Publication of JP6000641B2 publication Critical patent/JP6000641B2/ja
Active legal-status Critical Current
Anticipated expiration legal-status Critical

Links

Images

Classifications

    • BPERFORMING OPERATIONS; TRANSPORTING
    • B25HAND TOOLS; PORTABLE POWER-DRIVEN TOOLS; MANIPULATORS
    • B25JMANIPULATORS; CHAMBERS PROVIDED WITH MANIPULATION DEVICES
    • B25J13/00Controls for manipulators
    • B25J13/02Hand grip control means
    • GPHYSICS
    • G06COMPUTING OR CALCULATING; COUNTING
    • G06FELECTRIC DIGITAL DATA PROCESSING
    • G06F3/00Input arrangements for transferring data to be processed into a form capable of being handled by the computer; Output arrangements for transferring data from processing unit to output unit, e.g. interface arrangements
    • G06F3/01Input arrangements or combined input and output arrangements for interaction between user and computer
    • AHUMAN NECESSITIES
    • A61MEDICAL OR VETERINARY SCIENCE; HYGIENE
    • A61BDIAGNOSIS; SURGERY; IDENTIFICATION
    • A61B17/00Surgical instruments, devices or methods
    • A61B17/28Surgical forceps
    • A61B17/29Forceps for use in minimally invasive surgery
    • AHUMAN NECESSITIES
    • A61MEDICAL OR VETERINARY SCIENCE; HYGIENE
    • A61BDIAGNOSIS; SURGERY; IDENTIFICATION
    • A61B17/00Surgical instruments, devices or methods
    • A61B17/32Surgical cutting instruments
    • A61B17/320016Endoscopic cutting instruments, e.g. arthroscopes, resectoscopes
    • A61B17/32002Endoscopic cutting instruments, e.g. arthroscopes, resectoscopes with continuously rotating, oscillating or reciprocating cutting instruments
    • AHUMAN NECESSITIES
    • A61MEDICAL OR VETERINARY SCIENCE; HYGIENE
    • A61BDIAGNOSIS; SURGERY; IDENTIFICATION
    • A61B18/00Surgical instruments, devices or methods for transferring non-mechanical forms of energy to or from the body
    • A61B18/04Surgical instruments, devices or methods for transferring non-mechanical forms of energy to or from the body by heating
    • A61B18/12Surgical instruments, devices or methods for transferring non-mechanical forms of energy to or from the body by heating by passing a current through the tissue to be heated, e.g. high-frequency current
    • A61B18/14Probes or electrodes therefor
    • A61B18/1402Probes for open surgery
    • AHUMAN NECESSITIES
    • A61MEDICAL OR VETERINARY SCIENCE; HYGIENE
    • A61BDIAGNOSIS; SURGERY; IDENTIFICATION
    • A61B34/00Computer-aided surgery; Manipulators or robots specially adapted for use in surgery
    • A61B34/30Surgical robots
    • AHUMAN NECESSITIES
    • A61MEDICAL OR VETERINARY SCIENCE; HYGIENE
    • A61BDIAGNOSIS; SURGERY; IDENTIFICATION
    • A61B34/00Computer-aided surgery; Manipulators or robots specially adapted for use in surgery
    • A61B34/30Surgical robots
    • A61B34/37Leader-follower robots
    • AHUMAN NECESSITIES
    • A61MEDICAL OR VETERINARY SCIENCE; HYGIENE
    • A61BDIAGNOSIS; SURGERY; IDENTIFICATION
    • A61B34/00Computer-aided surgery; Manipulators or robots specially adapted for use in surgery
    • A61B34/70Manipulators specially adapted for use in surgery
    • A61B34/74Manipulators with manual electric input means
    • AHUMAN NECESSITIES
    • A61MEDICAL OR VETERINARY SCIENCE; HYGIENE
    • A61BDIAGNOSIS; SURGERY; IDENTIFICATION
    • A61B34/00Computer-aided surgery; Manipulators or robots specially adapted for use in surgery
    • A61B34/70Manipulators specially adapted for use in surgery
    • A61B34/76Manipulators having means for providing feel, e.g. force or tactile feedback
    • AHUMAN NECESSITIES
    • A61MEDICAL OR VETERINARY SCIENCE; HYGIENE
    • A61BDIAGNOSIS; SURGERY; IDENTIFICATION
    • A61B46/00Surgical drapes
    • A61B46/10Surgical drapes specially adapted for instruments, e.g. microscopes
    • BPERFORMING OPERATIONS; TRANSPORTING
    • B25HAND TOOLS; PORTABLE POWER-DRIVEN TOOLS; MANIPULATORS
    • B25JMANIPULATORS; CHAMBERS PROVIDED WITH MANIPULATION DEVICES
    • B25J3/00Manipulators of leader-follower type, i.e. both controlling unit and controlled unit perform corresponding spatial movements
    • B25J3/04Manipulators of leader-follower type, i.e. both controlling unit and controlled unit perform corresponding spatial movements involving servo mechanisms
    • BPERFORMING OPERATIONS; TRANSPORTING
    • B25HAND TOOLS; PORTABLE POWER-DRIVEN TOOLS; MANIPULATORS
    • B25JMANIPULATORS; CHAMBERS PROVIDED WITH MANIPULATION DEVICES
    • B25J9/00Program-controlled manipulators
    • B25J9/16Program controls
    • B25J9/1679Program controls characterised by the tasks executed
    • B25J9/1689Teleoperation
    • AHUMAN NECESSITIES
    • A61MEDICAL OR VETERINARY SCIENCE; HYGIENE
    • A61BDIAGNOSIS; SURGERY; IDENTIFICATION
    • A61B17/00Surgical instruments, devices or methods
    • A61B17/068Surgical staplers, e.g. containing multiple staples or clamps
    • AHUMAN NECESSITIES
    • A61MEDICAL OR VETERINARY SCIENCE; HYGIENE
    • A61BDIAGNOSIS; SURGERY; IDENTIFICATION
    • A61B17/00Surgical instruments, devices or methods
    • A61B2017/00017Electrical control of surgical instruments
    • A61B2017/00115Electrical control of surgical instruments with audible or visual output
    • A61B2017/00119Electrical control of surgical instruments with audible or visual output alarm; indicating an abnormal situation
    • AHUMAN NECESSITIES
    • A61MEDICAL OR VETERINARY SCIENCE; HYGIENE
    • A61BDIAGNOSIS; SURGERY; IDENTIFICATION
    • A61B17/00Surgical instruments, devices or methods
    • A61B2017/00477Coupling
    • AHUMAN NECESSITIES
    • A61MEDICAL OR VETERINARY SCIENCE; HYGIENE
    • A61BDIAGNOSIS; SURGERY; IDENTIFICATION
    • A61B17/00Surgical instruments, devices or methods
    • A61B2017/00477Coupling
    • A61B2017/00482Coupling with a code
    • AHUMAN NECESSITIES
    • A61MEDICAL OR VETERINARY SCIENCE; HYGIENE
    • A61BDIAGNOSIS; SURGERY; IDENTIFICATION
    • A61B46/00Surgical drapes
    • A61B46/20Surgical drapes specially adapted for patients
    • A61B46/23Surgical drapes specially adapted for patients with means to retain or hold surgical implements
    • YGENERAL TAGGING OF NEW TECHNOLOGICAL DEVELOPMENTS; GENERAL TAGGING OF CROSS-SECTIONAL TECHNOLOGIES SPANNING OVER SEVERAL SECTIONS OF THE IPC; TECHNICAL SUBJECTS COVERED BY FORMER USPC CROSS-REFERENCE ART COLLECTIONS [XRACs] AND DIGESTS
    • Y10TECHNICAL SUBJECTS COVERED BY FORMER USPC
    • Y10STECHNICAL SUBJECTS COVERED BY FORMER USPC CROSS-REFERENCE ART COLLECTIONS [XRACs] AND DIGESTS
    • Y10S901/00Robots
    • Y10S901/02Arm motion controller
    • Y10S901/06Communication with another machine
    • Y10S901/08Robot
    • YGENERAL TAGGING OF NEW TECHNOLOGICAL DEVELOPMENTS; GENERAL TAGGING OF CROSS-SECTIONAL TECHNOLOGIES SPANNING OVER SEVERAL SECTIONS OF THE IPC; TECHNICAL SUBJECTS COVERED BY FORMER USPC CROSS-REFERENCE ART COLLECTIONS [XRACs] AND DIGESTS
    • Y10TECHNICAL SUBJECTS COVERED BY FORMER USPC
    • Y10STECHNICAL SUBJECTS COVERED BY FORMER USPC CROSS-REFERENCE ART COLLECTIONS [XRACs] AND DIGESTS
    • Y10S901/00Robots
    • Y10S901/02Arm motion controller
    • Y10S901/09Closed loop, sensor feedback controls arm movement
    • YGENERAL TAGGING OF NEW TECHNOLOGICAL DEVELOPMENTS; GENERAL TAGGING OF CROSS-SECTIONAL TECHNOLOGIES SPANNING OVER SEVERAL SECTIONS OF THE IPC; TECHNICAL SUBJECTS COVERED BY FORMER USPC CROSS-REFERENCE ART COLLECTIONS [XRACs] AND DIGESTS
    • Y10TECHNICAL SUBJECTS COVERED BY FORMER USPC
    • Y10STECHNICAL SUBJECTS COVERED BY FORMER USPC CROSS-REFERENCE ART COLLECTIONS [XRACs] AND DIGESTS
    • Y10S901/00Robots
    • Y10S901/30End effector
    • YGENERAL TAGGING OF NEW TECHNOLOGICAL DEVELOPMENTS; GENERAL TAGGING OF CROSS-SECTIONAL TECHNOLOGIES SPANNING OVER SEVERAL SECTIONS OF THE IPC; TECHNICAL SUBJECTS COVERED BY FORMER USPC CROSS-REFERENCE ART COLLECTIONS [XRACs] AND DIGESTS
    • Y10TECHNICAL SUBJECTS COVERED BY FORMER USPC
    • Y10TTECHNICAL SUBJECTS COVERED BY FORMER US CLASSIFICATION
    • Y10T29/00Metal working
    • Y10T29/49Method of mechanical manufacture
    • Y10T29/49826Assembling or joining
    • YGENERAL TAGGING OF NEW TECHNOLOGICAL DEVELOPMENTS; GENERAL TAGGING OF CROSS-SECTIONAL TECHNOLOGIES SPANNING OVER SEVERAL SECTIONS OF THE IPC; TECHNICAL SUBJECTS COVERED BY FORMER USPC CROSS-REFERENCE ART COLLECTIONS [XRACs] AND DIGESTS
    • Y10TECHNICAL SUBJECTS COVERED BY FORMER USPC
    • Y10TTECHNICAL SUBJECTS COVERED BY FORMER US CLASSIFICATION
    • Y10T74/00Machine element or mechanism
    • Y10T74/18Mechanical movements
    • Y10T74/18056Rotary to or from reciprocating or oscillating

Landscapes

  • Health & Medical Sciences (AREA)
  • Engineering & Computer Science (AREA)
  • Surgery (AREA)
  • Life Sciences & Earth Sciences (AREA)
  • Robotics (AREA)
  • General Health & Medical Sciences (AREA)
  • Veterinary Medicine (AREA)
  • Biomedical Technology (AREA)
  • Heart & Thoracic Surgery (AREA)
  • Medical Informatics (AREA)
  • Molecular Biology (AREA)
  • Animal Behavior & Ethology (AREA)
  • Public Health (AREA)
  • Nuclear Medicine, Radiotherapy & Molecular Imaging (AREA)
  • Mechanical Engineering (AREA)
  • Physics & Mathematics (AREA)
  • General Engineering & Computer Science (AREA)
  • Theoretical Computer Science (AREA)
  • Plasma & Fusion (AREA)
  • Otolaryngology (AREA)
  • Ophthalmology & Optometry (AREA)
  • Orthopedic Medicine & Surgery (AREA)
  • Human Computer Interaction (AREA)
  • General Physics & Mathematics (AREA)
  • Manipulator (AREA)

Description

本発明は、マニピュレータシステムに関する。例えば、マスタスレーブ方式の医療用のマニピュレータシステムに関する。
従来、外科手術の手術支援を行うための医療用マニピュレータとして、マスタスレーブ方式のマニピュレータシステムが知られている。このような医療用マニピュレータでは、スレーブマニピュレータに装着された手術に用いる器具(スレーブ動作部)、例えば、鉗子や持針器などの動作を操作入力するマスタグリップ(マスタ操作部)を備え、操作者である外科医がマスタグリップを操作することにより、マスタグリップの動きをこの器具に伝達する。
このようなマニピュレータシステムとして、例えば、特許文献1には、入力ハンドルを開閉することにより、エンドエフェクタの開閉動作を制御する医療用ロボットシステムが記載されている。
米国特許第7778733号明細書
しかしながら、上記のような従来のマニピュレータシステムには、以下のような問題があった。
例えば、スレーブ動作部が、鉗子などからなり、生体組織や術具などを把持する場合、これら被把持物の大きさや硬さは様々である。
一方、マスタ操作部を操作する操作者は、画像情報などの限られた情報から、被把持物の大きさや硬さを判断するため、マスタ操作部の操作入力が実際の被把持物に適合しない場合がある。例えば、操作者が操作入力する開閉角が把持に必要な開閉角に比べて小さすぎる場合、スレーブ動作部は被把持物を把持してからも指令値通りに閉じようとする。このとき、被把持物が硬いとそれ以上閉じることができなくなり、開閉角がマスタ操作部の操作入力に応じた開閉角とずれてしまう。
このとき、一時的に連動制御が停止状態になる。その後、閉じ操作ができないことに気がついた操作者が開く操作を行うと、スレーブ動作部の開閉角がマスタ操作部の操作入力に応じた開閉角に一致した瞬間に、連動制御が再開されることになる。
この場合、操作者は、いつ連動制御が再開されるか把握できないため、予期できない動作が起こってしまうおそれがある。このため、適正な作業が行えず、作業に支障をきたすおそれがあるという問題がある。例えば、被把持物の把持状態が急に解除されて被把持物を落としてしまったり、スレーブ動作部が予期しない動きをして外科手術に支障を来したりするおそれがある。
本発明は、上記のような問題に鑑みてなされたものであり、スレーブ動作部の動作がマスタ操作部の操作入力に応じた動作からずれた場合に、作業に支障を来すことなくスレーブ動作部の連動を再開できるマニピュレータシステムを提供することを目的とする。
上記の課題を解決するために、本発明のマニピュレータシステムは、操作者が操作入力を行うマスタ操作部と、前記操作入力に対応して動作可能なスレーブ動作部と、前記操作入力を解析し、該操作入力に連動して前記スレーブ動作部を動作させる制御を行う連動制御部と、を有するマニピュレータシステムであって、前記操作者が操作可能であり、操作されたときに、前記マスタ操作部の前記操作入力に基づく前記スレーブ動作部の連動を許可するモードに入る連動許可モード信号を前記連動制御部に送出する連動許可入力部を備え、前記マスタ操作部は、前記操作入力を行うため、開閉可能に設けられた操作部材と、該操作部材の開閉角を検出し、前記操作部材の開閉角の検出値を前記連動制御部に送出するマスタ角度検出部と、を備え、前記スレーブ動作部は、開閉可能に設けられた開閉動作部と、該開閉動作部の開閉角を検出し、前記開閉動作部の開閉角の検出値を前記連動制御部に送出するスレーブ角度検出部と、を備え、前記連動許可入力部は、前記操作部材が最大限開く位置に移動したことを検出して、前記連動許可モード信号を発生する位置検出スイッチを備え、前記連動制御部は、前記スレーブ動作部の動作が前記操作入力に応じた動作からずれた場合に、連動制御を停止して、前記マスタ操作部の前記操作入力と前記スレーブ動作部の動作状態とを監視し、前記位置検出スイッチが発生した前記連動許可モード信号を受信後であって、前記操作部材の開閉角の検出値と前記開閉動作部の開閉角の検出値とが対応したことによって前記操作入力が前記動作状態に合致したことを検知したとき、かつ前記操作部材の開閉角の検出値が前記操作部材の閉じ方向に変化している場合に、前記スレーブ動作部の動作を前記操作入力に応じた動作に連動させる構成とする。
また、本発明のマニピュレータシステムでは、前記連動許可入力部は、前記操作部材が最大限開く位置に移動したことを検出して、前記連動許可モード信号を発生する位置検出スイッチからなることが好ましい。
また、本発明のマニピュレータシステムでは、前記連動許可入力部は、前記マスタ操作部の表面に設けられた入力スイッチからなることが好ましい。
また、本発明のマニピュレータシステムでは、前記連動許可入力部は、前記マスタ操作部と別体に設けられた入力スイッチからなることが好ましい。
また、本発明のマニピュレータシステムでは、前記入力スイッチは、フットスイッチからなることが好ましい。
また、本発明のマニピュレータシステムでは、記連動制御部は、前記連動許可モード信号の受信後であって、前記操作部材の開閉角の検出値と前記開閉動作部の開閉角の検出値とが対応したとき、かつ前記操作部材の開閉角の検出値が前記操作部材の開き方向に変化している場合に、前記スレーブ動作部を前記操作入力に応じた動作に連動させることが可能であり、前記開き方向に変化している場合に連動させるか、前記閉じ方向に変化している場合に連動させるかを選択可能であることが好ましい。
本発明のマニピュレータシステムによれば、操作者が操作可能な連動許可入力部を備えるため、予期しないタイミングで連動動作が起こることを防止でき、スレーブ動作部の動作がマスタ操作部の操作入力に応じた動作からずれた場合に、作業に支障を来すことなくスレーブ動作部の連動を再開できるという効果を奏する。
本発明の実施形態のマニピュレータシステムの概略構成を示す模式的な斜視図である。 図1におけるマニピュレータシステムに含まれる他のマスタ操作部を示す模式的な斜視図である。 本発明の実施形態のマニピュレータシステムの主要部のシステム構成を示す模式的なシステム構成図である。 本発明の実施形態のマニピュレータシステムの動作の一例を説明する模式的なグラフである。 本発明の実施形態のマニピュレータシステムの動作説明図である。 本発明の実施形態のマニピュレータシステムの図5に続く動作説明図である。 本発明の実施形態のマニピュレータシステムの表示場面の一例を示す模式図である。 本発明の実施形態の第1変形例のマニピュレータシステムのマスタ操作部を示す模式的な断面図である。 本発明の実施形態の第2変形例のマニピュレータシステムの主要部を示す模式的な構成図である。 本発明の実施形態の第3変形例のマニピュレータシステムの主要部を示す模式的な斜視図である。 本発明の実施形態の第4変形例のマニピュレータシステムのマスタ操作部を示す模式的な断面図である。 本発明の実施形態および各変形例に適用可能なばねの変形例(第5変形例)を示すマスタ操作部を示す模式的な構成図である。
以下では、本発明の実施形態について添付図面を参照して説明する。
まず、本実施形態のマニピュレータシステムについて説明する。
図1は、本発明の実施形態のマニピュレータシステムの概略構成を示す模式的な斜視図である。図2は、図1におけるマニピュレータシステムに含まれる他のマスタ操作部を示す模式的な斜視図である。図3は、本発明の実施形態のマニピュレータシステムの主要部のシステム構成を示す模式的なシステム構成図である。
図1(一部の構成は図2、3)に示すように、本実施形態のマスタスレーブマニピュレータ500(マニピュレータシステム)は、例えば、外科手術を行うための医療用マニピュレータであり、スレーブマニピュレータ300と、操作者Opによる操作入力を受けてスレーブマニピュレータ300の動作を遠隔操作する操作入力装置100とを備える。
スレーブマニピュレータ300は、処置具302と、処置具302を患者Pの周囲で可動支持するスレーブアーム301と、処置具302およびスレーブアーム301の可動部の動作を制御するスレーブ制御部303と、処置具302およびスレーブアーム301を支持する支持体304とを備える。
なお、図1は模式図のため、処置具302、スレーブアーム301は、それぞれ1台ずつ設けられている場合の例が図示されているが、処置具302、スレーブアーム301はそれぞれ複数設けられていてもよい。複数設けられている場合には、操作者Opは、そのうちの2台を選択し、右手と左手を用いて、2台を同時に操作することが可能である。
また機能ブロック図の一部の信号の図示も省略している。
処置具302は、外科手術に用いる種々の術具や処置具を採用することができるが、以下では、一例として、図3に示すように、軸状部312の先端(患者Pの体腔に向かう側の端部)に設けられて開閉動作を行う開閉部311(スレーブ動作部、開閉動作部)と、開閉部311を開閉する開閉駆動部313とを備える場合の例で説明する。
このような処置具302の例としては、例えば、鉗子や持針器などを挙げることができる。
開閉部311は、回動支軸311cを中心として開閉中心軸線O311に対して左右対称に開閉する一対の処置具片311bを備える。
なお、図3では、開閉中心軸線O311が軸状部312の中心軸線と整列しているように描いている。ただし、開閉部311は、図示略の関節を介して軸状部312と連結されていてもよく、この場合には、開閉中心軸線O311は、軸状部312の中心軸線に対して傾斜する姿勢を取ることも可能である。
以下では、開閉部311の開閉角として、開閉中心軸線O311と各処置具片311bの把持面311a同士のなす角度θを用いることにする。すなわち、角度θは、各把持面311aのなす角の半分である。
このため、処置具片311bが開き方向に移動すると角度θは増大する。処置具片311bが閉じ方向に移動すると、角度θは減少する。
ただし、この開閉角の定義は、一例であって、例えば、各把持面311aのなす角である角度2θを採用してもよい。
開閉駆動部313は、その動作が、制御部400から送出される駆動指令値403に基づいてスレーブ制御部303から送出される駆動信号313aにより制御される。このため、開閉駆動部313は、後述するスレーブ制御部303を介して、制御部400と電気的に接続されている。
開閉駆動部313の構成としては、開閉部311を開閉させる適宜のアクチュエータを採用することができる。
また、開閉駆動部313は、開閉駆動部313の開閉角を検出するエンコーダ314(スレーブ角度検出部)を備えている。
エンコーダ314は、検出された開閉角に対応する出力信号314aを生成し、スレーブ制御部303に送出できるようになっている。
エンコーダ314の構成は特に限定されず、例えば、開閉部311の回動量を直接的に検出するロータリエンコーダであってもよいし、開閉部311の開閉動作に連動する直動部材の移動量を検出するリニアエンコーダやこの直動移動を回動量に変換して検出するロータリエンコーダであってもよい。
また、エンコーダ314は、アブソリュート型でもよいし、インクリメント型でもよい。
インクリメント型を採用する場合には、適宜の位置校正手段を設け、この位置校正手段により、処置具片311bが一定の校正位置に達したかどうかを監視し、処置具片311bが校正位置に達したときに、エンコーダ314の出力信号314aをリセットする構成とすることが好ましい。このような構成によれば、校正位置を通過するたびに出力信号314aを校正することができるため、インクリメント型であっても、開閉部311の開閉角を正確に検出することができる。
スレーブアーム301は、処置具302を適宜の位置および姿勢で保持する多関節アームからなり、スレーブ制御部303に電気的に接続され、スレーブ制御部303からの制御信号に応じて動作が制御されるようになっている。
スレーブ制御部303は、図1に示すように、後述するマニピュレータ制御部402からの制御信号に基づいて、スレーブマニピュレータ300の制御を行うとともに、スレーブマニピュレータ300から送信される各可動部の位置情報や制御に必要な検知信号等をマニピュレータ制御部402に送出するものである。このため、スレーブ制御部303は、後述する制御部400のマニピュレータ制御部402およびスレーブマニピュレータ300の各可動部と電気的に接続されている。
例えば、スレーブ制御部303は、処置具302の開閉部311に対して、駆動指令値403に基づいて開閉部311の開閉を行うための駆動信号313aを送出して、開閉制御を行う。
また、スレーブ制御部303は、エンコーダ314から出力信号314aを取得し、マニピュレータ制御部402に転送する。
操作入力装置100は、図1に示すように、マスタ入力部200と、制御部400(連動制御部)とを備える。
マスタ入力部200は、操作者Opによる操作をスレーブマニピュレータ300に伝達するマスタとして機能するものであって、表示部201(情報表示部)と、マスタアーム202と、マスタグリップ203L、203R(マスタ操作部)とを有している。
表示部201は、図示略のカメラおよび制御部400と電気的に接続されており、カメラや制御部400からの情報を表示して、操作者Opが見られるようにするものである。
表示部201の表示の種類としては、例えば、カメラによって撮影される患者Pの術部およびその近傍の映像、例えば、フットスイッチ等の不図示の入力手段による操作入力を行う操作入力画面、操作者Opに対する種々の情報、ガイダンス、警告メッセージなどの文字や画像などを挙げることができる。
マスタアーム202は、スレーブマニピュレータ300におけるスレーブアーム301の位置および姿勢を操作するための操作者Opの操作をスレーブマニピュレータ300に伝達するものであり、制御部400と通信可能に接続されている。
本実施形態のマスタアーム202は、アーム基端部202bが、例えば、表示部201の下部等のマスタ入力部200内の定位置に連結された2本の多関節アーム202L(図1参照)および多関節アーム202R(図2参照)からなる。
多関節アーム202L、202Rは、それぞれ操作者Opが表示部201を見ながら操作できるように表示部201の前側に配置されている。
また、多関節アーム202L、202Rは、それぞれ、操作者Opの左手、右手による操作入力に対応している。
多関節アーム202L、202Rにおいて操作者Op側となるアーム先端部202aには、操作者Opが把持して操作入力を行うマスタグリップ203L、203Rが設けられている。
多関節アーム202L、202Rは、それぞれ、関節ごとに関節の動作量を検知するエンコーダを備えており、各エンコーダの出力を関節ごとの操作信号として制御部400に送出できるようになっている。
マスタグリップ203L、203Rは、それぞれ操作者Opの左手、右手の操作により、それぞれ、多関節アーム202L、202Rに対応するスレーブアーム301と、このスレーブアーム301に設けられた処置具302とに対する操作入力を行うものである。
マスタグリップ203L、203Rは、それぞれ左手、右手で把持や操作が容易となるように互いに面対称となる形状に設けることができるが、以下では、一例として、いずれも同一形状のマスタグリップ1(図3参照)からなるものとして説明する。
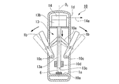
マスタグリップ1の概略構成は、図3に示すように、グリップ部1a、筐体部1d、操作ハンドル1b(操作部材)、ばね3、エンコーダ4(マスタ角度検出部)、および位置検出スイッチ6(連動許可入力部)を備える。
なお、図3は、図2におけるA視の平面図として描かれているが、図3は模式図のため、例えば、図2に示された筐体部1dの図示は省略している。
グリップ部1aは、図2に示すように、操作者Opが片手で把持する筒状体であり、一方の端部に、アーム先端部202aに向かって延出された筐体部1dを備える。
筐体部1dは、その先端部において、アーム先端部202aと連結されている。
また、グリップ部1aの端部には、一対の操作ハンドル1bが筐体部1dを挟んで可動支持され、操作ハンドル1bをV字状に開いた状態の開閉角を変えられるようになっている。
本実施形態では、図3に示すように、各操作ハンドル1bの一端部が、グリップ部1aの内部に設けられた回動支軸1cによって回動可能に支持されている。
各操作ハンドル1bは、操作者Opの指を係止することによって、開閉動作を行うことができれば、棒状、板状等の適宜の形状を採用することができる。例えば、操作者Opの把持位置を特定できるように、凹凸部が形成されていてもよい。また、図示は省略するが、操作者Opの指のうごきに操作ハンドル1bが追従しやすいように、例えば、操作を行う指を開閉方向において係止する突起部や、指を挿入する指挿入部などを設けた構成としてもよい。
ばね3は、一対の操作ハンドル1bを開き方向に付勢するばね部材であり、操作ハンドル1bの先端部(グリップ部1aと反対側の端部)寄りの位置において、操作ハンドル1bの間に装着されている。
ただし、ばね3のばね種類や取り付け位置は、一対の操作ハンドル1bに対して、各操作ハンドル1bが開く方向に付勢できれば、特に限定されない。図3には、圧縮コイルばねの両端部が、各操作ハンドル1bの互いに対向する側面に装着されている場合の例を示している。
ばね3の長さは、操作を行わない場合に、操作ハンドル1bの開閉角が最大の開閉角よりも小さい一定値となるように設定されている。
このような構成により、操作ハンドル1bに外力が作用しない場合(以下、自然状態と称する)には、マスタグリップ1は、図3に実線で示すように、ばね3の付勢力により、一定の開閉角でV字状に開いた状態になっている。
また、操作者Opがグリップ部1aを手で握って、例えば、親指と人差し指とでそれぞれの操作ハンドル1bを把持して、各操作ハンドル1bを移動させると、各操作ハンドル1bが回動支軸1cを中心として回動するため、開閉角が変化する。
以下では、マスタグリップ1における操作ハンドル1bの開閉角として、開閉中心軸線Oと各操作ハンドル1bとのなす角度θを用いることにする。すなわち、角度θは、各操作ハンドル1bのなす角の半分である。
ただし、この開閉角の定義は、一例であって、例えば、各把持面311aのなす角である角度2θを採用してもよい。
このように操作ハンドル1bを開閉すると、ばね3の伸縮量に応じて、ばね3からの反力が発生するため、操作者Opは操作抵抗を感じることになる。例えば、操作ハンドル1bを閉じていくと、開閉角が小さくなるにつれて操作抵抗が増大する。このため、一対の操作ハンドル1bによって、操作者Opが被把持物を実際に把持しているかのような感覚を持つことが可能となる。
また、本実施形態では、操作者Opは、操作ハンドル1bを自然状態からさらに開く操作を行うことが可能である。以下ではこの最大の開閉角を角度θMAで表す。
このような操作ハンドル1bを自然状態からさらに開く操作では、ばね3の引っ張りによる弾性復元力による操作抵抗が発生する。この操作抵抗は最大の開閉角に近づくにつれて増大する。
エンコーダ4は、各操作ハンドル1bの開閉角を検出し、開閉角に対応する検出値を出力信号4aとして、制御部400に送出するものである。本実施形態では、エンコーダ4は、グリップ部1aの内部に設けられ、制御部400と電気的に接続されている。
エンコーダ4の構成は、本実施形態では、操作ハンドル1bの回動量を直接的に検出するロータリエンコーダを採用している。ただし、操作ハンドル1bの開閉動作に連動する直動部材の移動量を検出するリニアエンコーダやこの直動移動を回動量に変換してロータリエンコーダで検出する構成としてもよい。
また、エンコーダ4は、アブソリュート型でもよいし、インクリメント型でもよい。
インクリメント型を採用する場合には、適宜の位置校正手段を設け、この位置校正手段により、操作ハンドル1bが一定の校正位置に達したかどうかを監視し、操作ハンドル1bが校正位置に達したときに、エンコーダ4の出力信号4aをリセットする構成とすることが好ましい。このような構成によれば、校正位置を通過するたびに出力信号4aを校正することができるため、インクリメント型であっても、操作ハンドル1bの開閉角を正確に検出することができる。
位置検出スイッチ6は、一方の操作ハンドル1bの位置を検出することにより操作ハンドル1bが最大の開閉角まで開いたことを検出して、連動許可モード信号6aを発生し、連動許可モード信号6aを制御部400に送出する位置検出器であり、制御部400と電気的に接続されている。
連動許可モード信号6aは、制御部400によって、マスタグリップ1の操作入力に基づく開閉部311の連動を許可するモード(以下、連動許可モード)に入るために用いられる信号である。
位置検出スイッチ6の種類としては、操作ハンドル1bと機械的に当接したことを検知する接点スイッチや、操作ハンドル1bの移動位置を電気的、磁気的、光学的に検出する位置検知センサや、速度検知センサなどを採用することができる。
本実施形態では、位置検出スイッチ6は、グリップ部1aに一端部が固定された支持アーム部材5において、操作ハンドル1bが最大限開いたときの一方の操作ハンドル1bに、開き方向側で面するように装着されている。
支持アーム部材5は、図3に二点鎖線で示すように、最大限開いたときの一方の操作ハンドル1bに対して、開閉中心軸線Oと反対側で対向する位置関係となるように、グリップ部1aから延ばされている。
制御部400の機能構成は、図1に示すように、マスタ制御部401と、マニピュレータ制御部402と、を有している。
マスタ制御部401は、マスタ入力部200から送出される信号を受信し、この信号に基づいた動作を実現するため、スレーブマニピュレータ300の制御対象となる可動部の駆動量を解析し、可動部選択信号404と、可動部選択信号404で選択される可動部への駆動指令値403と、をマニピュレータ制御部402に送出するものである。
ここで、可動部選択信号404は、スレーブアーム301の関節などの各可動部と、スレーブアーム301に保持される処置具302の開閉部311とに、それぞれ独立に割り当てられている。
マスタ制御部401は、マスタアーム202からの各関節からの信号を解析して、マスタグリップ203L、203Rの位置および姿勢を算出し、これに合わせてスレーブアーム301に支持された処置具302の先端の位置および姿勢を制御するために必要なスレーブアーム301の各可動部の駆動指令値403を生成することができる。駆動指令値403は、各可動部に対応する可動部選択信号404とともに、スレーブ制御部303に送出されるようになっている。
また、マスタ制御部401は、マスタ制御部401に送出されたマスタグリップ203L、203Rに対応する各エンコーダ4からの出力信号4aに基づいて、開閉部311に送出する駆動指令値403も生成して、マニピュレータ制御部402に送出することができる。この駆動指令値403を、以下では、特に開閉指令値403Aと称する。
出力信号4aと開閉指令値403Aとの対応関係は、マスタ制御部401の不図示の記憶部に、例えば、テーブルや変換式データなどとして記憶されている。この対応関係は、必要に応じて設定することができる。
例えば、操作ハンドル1bの開閉角θと開閉部311の開閉角θとが、一致する対応でもよいし、適宜倍率による線形の対応でもよいし、線形性を有しない対応でもよい。
また、マスタ制御部401は、マニピュレータ制御部402に制御信号405を送出することで、「連動モード」と「連動停止モード」とを選択的に切り換えることができるようになっている。
ここで、「連動モード」とは、マニピュレータ制御部402とスレーブ制御部303との間で通信を行って開閉指令値403Aをスレーブ制御部303に送出し、これにより、開閉部311の動作を開閉指令値403Aに基づく動作に連動させるモードである。
また、「連動停止モード」とは、マニピュレータ制御部402からスレーブ制御部303への通信を停止して、開閉指令値403Aがスレーブ制御部303に送出されない状態とし、これにより、開閉指令値403Aに基づく連動動作を停止するモードである。
ただし、連動停止モードでは、エンコーダ314からは、出力信号314aが送出され続けており、この出力信号314aは、スレーブ制御部303およびマニピュレータ制御部402を介して、マスタ制御部401に送出され続ける。
連動モードが開始されるのは、マスタ制御部401が連動許可モード信号6aの受信した後であって、出力信号4aで検出される操作ハンドル1bの開閉角と、出力信号314aで検出される開閉部311の開閉角とが対応したとき、かつ出力信号4aで検出される操作ハンドル1bの開閉角が操作ハンドル1bの閉じ方向に変化している場合である。
ここで、操作ハンドル1bの開閉角が開閉部311の開閉角に「対応」するとは、予め設定された上記対応関係に基づいて、出力信号4aから生成された開閉指令値403Aの表す開閉角が、出力信号314aで検出される開閉部311の開閉角が一致することを意味する。すなわち、上記対応関係を関数fで表すと、θ=f(θ)の関係にあることを意味する。
このような対応関係にあるとき、操作ハンドル1bによる操作入力と、開閉部311の動作状態とは対応関係に基づいて合致している。
連動停止モードは、開閉部311の動作が、開閉指令値403Aに基づく動作から許容値以上ずれてしまった場合に、マスタ制御部401がマニピュレータ制御部402に制御信号405を送出することによって開始される。
このため、マスタ制御部401は、スレーブ制御部303およびマニピュレータ制御部402を介してエンコーダ314から送出される出力信号314aを取得して、開閉部311が開閉指令値403Aに従って連動しているかどうかを常時監視している。
マニピュレータ制御部402は、マスタ制御部401から送出される駆動指令値403の動作を実現するため、スレーブ制御部303を介して、可動部選択信号404で選択されたスレーブマニピュレータ300の各可動部と通信を行って、各可動部の動作制御を行うものである。
特に、マニピュレータ制御部402は、制御信号405によって連動停止モードに切り換えられるまでは、スレーブ制御部303に開閉指令値403Aを送出している。これにより、スレーブ制御部303は、開閉部311の開閉動作をマスタグリップ1の操作入力に対応した開閉動作に制御する。
また、制御信号405によって連動停止モードに切り換えられると、開閉指令値403Aの送出が停止されるため、制御信号405によって連動モードに切り換えられるまでは、開閉部311の動作制御は行われない。
制御部400の装置構成は、本実施形態では、CPU、メモリ、入出力インターフェース、外部記憶装置などからなるコンピュータを採用しており、このコンピュータによって上記の制御機能を実現する制御プログラムを実行する構成としている。
次に、本実施形態のマスタスレーブマニピュレータ500の動作について、マスタグリップ1による開閉部311の制御動作を中心として説明する。
図4は、本発明の実施形態のマニピュレータシステムの動作の一例を説明する模式的なグラフである。横軸は時間t、縦軸はエンコーダ出力θである。図5は、本発明の実施形態のマニピュレータシステムの動作説明図である。図6は、本発明の実施形態のマニピュレータシステムの図5に続く動作説明図である。ただし、図5、6において(a−1)、(a−2)、(a−3)はマスタ操作部の動作を、(b−1)、(b−2)、(b−3)はこれに対応する開閉部311の動作を示す。図7(a)、(b)、(c)は、本発明の実施形態のマニピュレータシステムの表示場面の一例を示す模式図である。
まず、マスタスレーブマニピュレータ500の正常時の動作について、簡単に説明する。
マスタスレーブマニピュレータ500によれば、図1に示すように、マスタグリップ203L、203Rを把持した操作者Opが、表示部201を見ながら、マスタグリップ203L、203Rの位置または姿勢を変化させる操作を行うことができる。これに伴って、マスタアーム202の各可動部からのエンコーダの出力信号が、マスタ制御部401に送出される。
マスタ制御部401は、これらの出力信号を解析して、マスタグリップ203L、203Rのそれぞれの位置および姿勢に対応してスレーブマニピュレータ300を駆動するためのスレーブアーム301の各可動部の駆動指令値403を生成し、マニピュレータ制御部402に送出する。
マニピュレータ制御部402は、送出された駆動指令値403を、スレーブアーム301の駆動信号に変換して、スレーブ制御部303に送出する。これにより、スレーブアーム301が駆動制御されて、処置具302の先端の位置および姿勢が、マスタグリップ203L、203Rのそれぞれの位置および姿勢に対応して制御される。
一方、これと並行して、操作者Opは、必要に応じて、マスタグリップ203L、203Rの操作ハンドル1bを操作して、その開閉角を変える。このとき、マスタグリップ203L、203Rには、ばね3が設けられているため、操作ハンドル1bを閉じるとばね3が変形し、変形量に応じて弾性復元力が発生する。このため、操作ハンドル1bを操作する操作者Opの手に操作抵抗が感じられる。
このような操作ハンドル1bの操作により、マスタグリップ203L、203Rの各エンコーダ4の出力信号4aがマスタ制御部401に送出される。
マスタ制御部401は、この各エンコーダ4からの出力信号4aに基づいて、処置具302の先端に設けられた開閉部311の開閉を行う可動部である開閉駆動部313の駆動信号に対応する開閉指令値403Aを生成し、開閉駆動部313に対応する可動部選択信号404とともに、スレーブ制御部303に送出する。これにより、開閉駆動部313が駆動制御されて、処置具302の開閉部311の開閉角が、各操作ハンドル1bの開閉角に対応して制御される。
このため、開閉部311は被把持物を把持したり把持解除したりすることが可能となる。
このようにして、操作者Opは、マスタ入力部200を通して、スレーブマニピュレータ300を遠隔操作して外科手術を行うことができる。
次に、開閉部311の開閉動作がマスタグリップ203L、203Rに基づいて適正に制御できなくなった場合に動作ついて説明する。
マスタグリップ203L、203Rは、いずれもマスタグリップ1からなるため、以下では、マスタグリップ1と開閉部311との関係を説明する。
また、簡単のため、操作ハンドル1bの開閉角θと開閉部311の開閉角θとが同一角度となる対応関係の制御を行う場合の例で説明する。
エンコーダ4、314の出力信号4a、314aは、開閉角の大きさを表すものとする。すなわち、エンコーダ4、314のエンコーダ出力θは、操作ハンドル1b、開閉部311の開閉角がθになっていることを示すものとする。
開閉部311の開閉動作が、マスタグリップ1の開閉動作と連動しなくなる原因は種々考えられるが、操作入力とずれた動作を続けると正確な開閉が行われず、開閉部311を用いた作業に支障が生じる。このため、マスタ制御部401は、開閉部311の開閉動作を常時監視して、許容値以上に開閉角がずれると、制御信号405によって、連動停止モードに切り換える。
このような状況は、特に、被把持物を把持したときに発生することが多い。例えば、操作者Opは、遠隔操作を行っているため、被把持物の大きさや硬さについて十分な情報を有している訳ではない。例えば、被把持物が十分硬いにも関わらず被把持物の大きさよりも開閉角を閉じてしまうと、開閉部311は開閉指令値403Aに対応する開閉角に閉じることができなくなり、操作ハンドル1bの開閉角と開閉部311の開閉角が相違してしまう。また、被把持物が変形可能であっても抵抗が大きかったり、閉じ速度が速すぎたりすると、やはり開閉部311は開閉指令値403Aに対応する開閉角に閉じることができない。
時刻t(以下、時刻tの添字nは、時間的な順序を示し、添字が大きい方が時間的に後であることを表す。)において操作ハンドル1bおよび開閉部311の開閉角がθ(ただし、θ<θMA)に開いている状態から、操作ハンドル1bを閉じて、図5(a−2)に示すような柔軟性を有する被把持物W(図5(a−2)参照)を把持するものとする。
このとき、エンコーダ4、314のエンコーダ出力θは、図4に示すように、時間とともに、折れ線90、91のように、θから減少していく。ここで、操作ハンドル1bと開閉部311とは連動状態にあるため、折れ線90、91は重なっている。
なお、エンコーダ出力の変化を折れ線で表しているのは一例であり、操作ハンドル1bの操作の仕方によっては、適宜の曲線状の変化を示す操作入力を行うことが可能である。
図4に示すように、時刻tにおいて、例えば、開閉部311が被把持物Wを把持した状態で、操作入力に合わせて閉じることができなくなった(θ=θ、ただし、θ<θ)ものとする(図5(a−1)、(a−2)参照)。
この場合、図4の点aで折れ線90、91に分岐する時刻t以後は、エンコーダ4のエンコーダ出力θは折れ線90のように低下するのに対して、エンコーダ314のエンコーダ出力θは、折れ線91(図示太破線参照)のように、θ=θのままである。
マスタ制御部401は、時刻tの直後に、開閉角が許容値以上ずれていることを検出すると、制御信号405をマニピュレータ制御部402に送出して、連動停止モードに切り換える。これにより、操作者Opが操作ハンドル1bをさらに開閉しても、これに対応する開閉指令値403Aは、マニピュレータ制御部402からスレーブ制御部303に送出されることはない。
このため、開閉駆動部313は、連動停止モートに入った際の開閉角のままで停止する。
また、マスタ制御部401は、連動停止モードに切り換えると、図7(a)に示すように、表示部201の表示画面201aに連動障害が発生したことを知らせる警告表示M1(例えば「連動障害発生」)と、操作者Opの対処方法を説明するガイダンス表示M2(例えば「グリップを全開にしてください」)とを表示させる。
操作者Opがガイダンス表示M2を見て、図4に示すように、時刻tから操作ハンドル1bを開いていくと(図5(b−1)参照)、エンコーダ4のエンコーダ出力θは、θ(ただし、θ<θ)からθMAに向かって増大していく。
その際、時刻tにおいて、エンコーダ4のエンコーダ出力がθ(点c参照)となって、エンコーダ314のエンコーダ出力と一致する状態になる。
このとき、位置検出スイッチ6は操作ハンドル1bを検知しておらず、連動許可モード信号6aは未発生であるため、連動許可モードになっていない。また、マスタ制御部401は、出力信号4aの変化から、操作ハンドル1bの開閉角が開き方向に変化していることを検出している。
このため、本実施形態では、マスタ制御部401は、連動モードに切り換えず、エンコーダ4のエンコーダ出力が増大しても、開閉部311は連動せず、エンコーダ314のエンコーダ出力はθ=θのままである。すなわち、開閉部311は操作ハンドル1bの操作入力によって開かれることはない(図5(a−2)参照)。
時刻tになると、操作者Opは操作ハンドル1bを最大の開閉角まで開く(図4の点d参照)。このとき、図5(c−1)に示すように、一方の操作ハンドル1bが、位置検出スイッチ6の位置検出位置に位置するため、位置検出スイッチ6は、連動許可モード信号6aをマスタ制御部401に送出する。これにより、連動許可モードが開始される。
マスタ制御部401は、図7(b)に示すように、連動許可モードに入り、連動障害を解消することが可能になったことを操作者Opに知らせるため、表示部201の表示画面201aに情報表示M3(例えば「連動準備」)と、操作者Opの対処方法を説明するガイダンス表示M4(例えば「グリップを閉じてください」)とを表示させる。
操作者Opは、表示部201に図7(b)の表示によって、これからの操作によって連動が開始されることが分かるため、連動開始した際の操作について予め準備しておくことができる。
操作者Opは、ガイダンス表示M4を見て、操作ハンドル1bを閉じていく。これにより、エンコーダ4のエンコーダ出力θは、θMAからθに向かって減少していく。
その際、時刻tにおいて、エンコーダ4のエンコーダ出力がθ(点e参照)となって、エンコーダ314のエンコーダ出力と一致する(図6(a−1)、(a−2)参照)。
このとき、連動許可モードになっており、マスタ制御部401は、出力信号4aの変化から、操作ハンドル1bの開閉角が閉じ方向に変化していることを検出している。
このため、マスタ制御部401は、マニピュレータ制御部402に制御信号405を送出して、連動停止モードを連動モードに切り換える。
また、マスタ制御部401は、図7(c)に示すように、連動モードに入り、連動障害が解消されたことを操作者Opに知らせるために、表示部201に情報表示M5(例えば「連動OK」)と、詳細情報表示M6(例えば「スレーブは連動します」)とを表示させる。
これにより、開閉部311の連動が再開され、以後、開閉部311の開閉角が操作ハンドル1bの開閉角と同様に変化する。
そこで、操作者Opは、時刻tから行う予定であった操作、例えば、被把持物Wをさらに強く把持するように閉じる、といった操作を継続することができる(図6(b−1)、(b−2)、図4の直線ef参照)。
また、必要に応じて、操作ハンドル1bを開いて、被把持物Wの把持解除を行うことも可能である(図6(c−1)、(c−2)参照)。この場合、操作者Opは連動が再開されたことを了解した上で、操作ハンドル1bを開いていくため、被把持物Wが突然落下したりすることがないように、開く速さを調整したり、マスタグリップ1を移動してマスタアーム202を操作し、例えば、把持解除を行うのが適切な場所に開閉部311を移動した後に把持解除を行う、といった対処が可能となる。
このように、マスタスレーブマニピュレータ500によれば、操作者Opが操作可能な連動許可入力部として、位置検出スイッチ6を備えるため、予期しないタイミングで連動動作が起こることを防止できる。このため、開閉部311の動作がマスタグリップ1の操作入力に応じた動作からずれた場合に、開閉部311による作業性を向上することができる。
[第1変形例]
次に、本実施形態の第1変形例について説明する。
図8は、本発明の実施形態の第1変形例のマニピュレータシステムのマスタ操作部を示す模式的な断面図である。
上記実施形態のマスタグリップ1が、位置検出スイッチ6により操作ハンドル1bの位置検出を行うことで連動許可モード信号6aを発生する構成であるのに対して、図8に示す本変形例のマスタグリップ10(マスタ操作部)は、操作ハンドル1bと連動して直動する部材(後述の移動軸13a)の位置を検出するものであり、位置検出スイッチ6はグリップ部1aに内蔵されている。
本変形例のマスタグリップ10は、上記実施形態のマスタグリップ1と同様に、マスタスレーブマニピュレータ500におけるマスタグリップ203L、203Rとして使用することが可能である。
以下、上記実施形態と異なる点を中心に説明する。
本変形例のマスタグリップ10は、上記実施形態のマスタグリップ1の回動支軸1c、ばね3、エンコーダ4に代えて、回動支軸10c、アクチュエータ13、エンコーダ14(マスタ角度検出部)を備える。
回動支軸10cは、上記実施形態の回動支軸1cに代えて、操作ハンドル1bの一端部を回動可能に支持するものである。回動支軸10cは、グリップ部1aの内部において開閉中心軸線Oを挟み、開閉中心軸線Oに関して対称な2位置に配置され、この2位置で各操作ハンドル1bの一端部をそれぞれ支持している。
アクチュエータ13は、各操作ハンドル1bを開閉中心軸線Oに関して対称に開閉動作できるようにするとともに、操作ハンドル1bの操作に伴って操作抵抗を発生させるためのものである。
アクチュエータ13の概略構成は、開閉中心軸線Oに沿って直動移動する移動軸13aと、移動軸13aの一端部を移動可能に支持するとともに移動方向と逆方向に抵抗力を発生させる抵抗発生部13bとを備える。
移動軸13aの他端部は、筐体部1dの基端側(グリップ部1aに近い側)の内部に設けられたスライドガイド10dによって直動移動可能に支持されている。
移動軸13aの他端部における先端13cは、スライドガイド10dから筐体部1dの基端側に向いて突出されている。
また、移動軸13aの中間部と、各操作ハンドル1bとの間には、回動支軸10c回りの各操作ハンドル1bの回動運動を移動軸13aに伝達して移動軸13aを直動運動させるリンク10eが連結されている。これにより、操作ハンドル1bの開閉角と、移動軸13aとの移動量とは、一対一の関係にあり、移動軸13aの移動量から操作ハンドル1bの開閉角を検出することができる。
グリップ部1aにおいて、移動軸13aの先端13cの前方には、先端13cの移動範囲よりも離れた位置には、位置検出スイッチ6を配置するための支持板10aが設けられている。
支持板10a上の位置検出スイッチ6は、移動軸13aの先端13cの位置検出を行い、操作ハンドル1bの最大の開閉角に対応する位置に先端13cが到達したかどうかを検知することができる位置に配置されている。
抵抗発生部13bは、移動軸13aの移動に抗する弾性部材、例えば、スプリングなどのばね部材、空気ばねなどを備え、筐体部1dの先端側(グリップ部1aと反対側)の内部に固定されている。
エンコーダ14は、アクチュエータ13の移動軸13aの移動量を検出して、この検出値の出力信号14aをマスタ制御部401に送出するものであり、図示略の配線により、マスタ制御部401と電気的に接続されている。
マスタ制御部401に送出された出力信号14aは、マスタ制御部401に予め記憶された変換テーブルなどにより、操作ハンドル1bの開閉角に換算される。
本変形例のマスタグリップ10によれば、上記実施形態のマスタグリップ1と同様に、操作ハンドル1bを最大の開閉角に開く操作者Opの操作により、位置検出スイッチ6から、マスタ制御部401に連動許可モード信号6aを送出することができる。
したがって、上記実施形態と同様にして、予期しないタイミングで連動動作が起こることを防止できるため、開閉部311の動作がマスタグリップ10の操作入力に応じた動作からずれた場合に、開閉部311による作業性を向上することができる。
[第2変形例]
次に、本実施形態の第2変形例について説明する。
図9は、本発明の実施形態の第2変形例のマニピュレータシステムの主要部を示す模式的な構成図である。
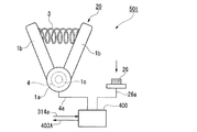
図9に示すように、本変形例のマスタスレーブマニピュレータ501(マニピュレータシステム)は、上記実施形態のマスタスレーブマニピュレータ500のマスタグリップ1に代えて、マスタグリップ20を備え、入力スイッチ26(連動許可入力部)を追加したものである。
以下、上記実施形態と異なる点を中心に説明する。
本変形例のマスタグリップ20は、上記実施形態のマスタグリップ1の支持アーム部材5、位置検出スイッチ6を削除したものである。
入力スイッチ26は、マスタグリップ20と別体に設けられ、操作者Opが適宜のタイミングで操作することにより、連動許可モードに入るための連動許可モード信号26aを発生させ、この連動許可モード信号26aをマスタ制御部401に送出するものである。このため、入力スイッチ26は、マスタ制御部401と電気的に接続されている。
入力スイッチ26の構成は、操作者Opが操作可能な入力スイッチであれば、特に限定されない。例えば、操作者Opが手で操作することができる押しボタンスイッチや、操作者Opが足で操作することができるフットスイッチなどを好適に採用することができる。
本変形例のマスタスレーブマニピュレータ501によれば、連動許可モード信号26aを、操作者Opの操作により適宜のタイミングで発生させることができるため、マスタ制御部401が連動障害を検出すると、上記実施形態と同様にして、連動停止モードに切り換えるとともに、図7(a)におけるガイダンス表示M2に代えて、例えば「連動を再開する準備ができたら、入力スイッチを操作してください」のように、操作者Opが入力スイッチ26を操作することを促すメッセージを表示させる。
これにより、操作者Opは、警告表示M1とこのようなガイダンス表示によって連動障害が発生したことが理解されるため、操作者Opは、連動再開の準備をした上で、入力スイッチ26を操作し、連動許可モードに入ることができる。
連動許可モードに入ると、マスタ制御部401は、図7(b)とほぼ同様な画面表示を行うが、ガイダンス表示M4は、例えば「グリップを障害発生時より開いてからゆっくり閉じてください」と言ったメッセージを表示させる。
これにより、操作者Opは、操作ハンドル1bを図4におけるエンコーダ出力θよりもわずかに開いて、点cを超えた適宜の開閉角から、操作ハンドル1bを閉じる操作を行うことができる。この操作により、閉じ方向において出力信号4aのエンコーダ出力がθに一致すると、上記実施形態と同様にして、マスタ制御部401によって連動停止モードから連動モードに切り換えられ、連動が再開される。
このようにして、本変形例では、操作者Opは、操作ハンドル1bの開閉角を最大の開閉角まで開くことなく、迅速に連動の修復を図ることができる。
また、連動障害発生時の開閉角からわずかに開いて閉じるだけで、連動を再開することができるため、連動障害発生時とほぼ同じ操作状態から連動を開始することができるため、開閉部311を用いた作業を、円滑に継続することができる。
特に、入力スイッチ26として、フットスイッチを採用すれば、操作者Opがマスタグリップ20からまったく手を離すことなく操作を行うことができるため、さらに円滑に作業を継続することできる。
[第3変形例]
次に、本実施形態の第3変形例について説明する。
図10は、本発明の実施形態の第3変形例のマニピュレータシステムの主要部を示す模式的な断面図である。
図10に示すように、本変形例のマスタスレーブマニピュレータ502(マニピュレータシステム)は、上記実施形態のマスタスレーブマニピュレータ500のマスタグリップ1に代えて、マスタグリップ30を備える。
以下、上記実施形態と異なる点を中心に説明する。
本変形例のマスタグリップ30は、上記実施形態のマスタグリップ1の支持アーム部材5、位置検出スイッチ6を削除し、入力スイッチ36(連動許可入力部)を、筐体部1dの表面に配置したものである。すなわち、マスタグリップ30は、上記第2変形例のマスタグリップ20に入力スイッチ36を追加した構成になっている。
入力スイッチ36は、操作者Opが適宜のタイミングで操作することにより、連動許可モードに入るため、上記第2変形例と同様の連動許可モード信号26aを発生させ、この連動許可モード信号26aをマスタ制御部401(図10では図示略)に送出するものである。このため、入力スイッチ36は、マスタ制御部401と電気的に接続されている。
入力スイッチ36の配置は、筐体部1dの表面であって、操作者Opが操作可能な位置であればどこでもよいが、本変形例では、操作者Opが操作入力を行うためにグリップ部1aを把持して状態で、いずれかの指で、操作できる位置に設けることが好ましい。
好ましい配置の一例としては、図10に示すように、グリップ部1aを握ったときに、上側となる、筐体部1dの上面1eを挙げることができる。この場合、例えば、操作者Opの人差し指を上方に移動させることで、入力スイッチ36を操作することが可能となる。このとき、他方の操作ハンドル1bは、操作者Opの親指で操作することが可能であり、人差し指を離しても、操作ハンドル1bの開閉角は、連動障害発生時と同じ角度に保つことができる。
入力スイッチ36の構成は、操作者Opが操作可能な入力スイッチであれば、特に限定されない。例えば、操作者Opが手で操作することができる押しボタンスイッチを好適に採用することができる。
本変形例のマスタスレーブマニピュレータ502によれば、上記第2変形例のマスタスレーブマニピュレータ501と同様に、操作者Opが、操作ハンドル1bの開閉角を最大の開閉角まで開くことなく、迅速に連動の修復を図ることができ、連動障害発生時とほぼ同じ操作状態から連動を開始することができるため、開閉部311を用いた作業を、円滑に継続することができる。
特に、入力スイッチ36が筐体部1dの表面に設けられているため、グリップ部1aを把持した状態でも容易に入力スイッチ36を操作することができるため、さらに円滑に作業を継続することできる。
[第4変形例]
次に、本実施形態の第4変形例について説明する。
図11は、本発明の実施形態の第4変形例のマニピュレータシステムのマスタ操作部を示す模式的な断面図である。
図11に示すように、本変形例のマスタグリップ40は、上記第1変形例のマスタグリップ10から位置検出スイッチ6を削除し、筐体部1dの側面1fに上記第3変形例の入力スイッチ36を配置したものである。
本変形例のマスタグリップ40は、上記実施形態のマスタグリップ1と同様に、マスタスレーブマニピュレータ500におけるマスタグリップ203L、203Rとして使用することが可能である。
以下、上記実施形態および上記第1変形例と異なる点を中心に説明する。
本変形例における入力スイッチ36の配置位置は、操作者Opがグリップ部1aを握ったとき、人差し指で操作する側の操作ハンドル1bが設けられた側面1fであって、操作ハンドル1bの先端よりもわずかに筐体部1dの先端側となる位置としている。
このため、操作者Opの人差し指を筐体部1dの先端側に移動させることで、入力スイッチ36を操作することが可能となる。このとき、本変形例においても、他方の操作ハンドル1bは、操作者Opの親指で操作することが可能であり、人差し指を離しても、操作ハンドル1bの開閉角は、連動障害発生時と同じ角度に保つことができる。
本変形例のマスタグリップ40によれば、操作者Opが、操作ハンドル1bの開閉角を最大の開閉角まで開くことなく、迅速に連動の修復を図ることができ、連動障害発生時とほぼ同じ操作状態から連動を開始することができるため、上記第3変形例と同様に、開閉部311を用いた作業を、円滑に継続することができる。
なお、上記実施形態および各変形例の説明では、マスタ操作部がスレーブ動作部の開閉操作を行う場合の例で説明したが、マスタ操作部の操作入力は、開閉操作には限定されない。例えば、スレーブ動作部が直動動作を行って対象物を押圧するような場合に、直動動作の操作入力を行う構成としてもよい。
また、上記の実施形態および各変形例の説明では、マスタ操作部がスレーブ動作部の開閉操作を行う場合に、開閉中心軸線に対して左右対称に開閉する場合の例で説明したが、適宜の軸線に対して非対称に開閉してもよい。また、一対の操作部材、または一対の処置具片の一方に対して他方のみが移動して開閉動作するようにしてもよい。
また、上記実施形態および各変形例の説明では、連動制御部は、連動許可モード信号の受信後であって、操作部材の開閉角の検出値と開閉動作部の開閉角の検出値とが対応したとき、かつ操作部材の開閉角の検出値が操作部材の閉じ方向に変化している場合に、スレーブ動作部を操作入力に応じた動作に連動させる場合の例で説明した。
このような構成とすれば、連動が再開されたとき、操作部材が閉じる方向に移動しているため、誤って被把持物を落としたりすることがない。
ただし、連動許可モードは、操作者Opの操作によって連動許可入力部で発生する連動許可モード信号によって開始されるため、操作者Opは連動再開のタイミングを予期することができ、連動再開時の操作入力を準備できる状態にある。このため、連動を予期できず、連動再開の準備もできない場合に比べると、開閉部311が連動開始後に開いて行く場合にも、誤って把持物を落としたりするおそれは格段に少ない。
したがって、連動制御部は、連動許可モード信号の受信後であって、操作部材の開閉角の検出値と開閉動作部の開閉角の検出値とが対応したとき、かつ操作部材の開閉角の検出値が操作部材の開く方向に変化している場合に、スレーブ動作部を操作入力に応じた動作に連動させるようにすることが可能である。
この場合、連動再開直後は、開閉部311が開く方向に移動するため、被把持物に押圧力を作用しない。したがって、被把持物の変形を防止することができる。
また、連動制御部は、連動許可モード信号の受信後であって、操作部材の開閉角の検出値と開閉動作部の開閉角の検出値とが対応したとき、かつ操作部材の開閉角の検出値が操作部材の開き方向または閉じ方向に変化している場合に、スレーブ動作部を操作入力に応じた動作に連動させることが可能であり、開き方向に変化している場合に連動させるか、閉じ方向に変化している場合に連動させるかを選択可能である構成とすることも可能である。
この場合、作業開始前に、操作者Opが、被把持物の種類や特性に合わせて、連動開始条件を、操作部材の開き方向とするか、閉じ方向とするか選択することができるため、被把持物の種類や特性に合わせて連動を再開させることができるため、連動障害が発生した場合でも、作業性を向上することができる。
また、上記の実施形態および各変形例の説明では、マスタ制御部401が、表示部201に表示を行うことで、操作者Opに、連動障害の発生、連動許可モードへの移行、連動再開などを通知する場合の例で説明したが、音や音声で通知する構成とすることも可能である。
また、上記の実施形態および各変形例の説明では、ばね3が自然状態のときに操作部材は最大開閉角に開いておらず、自然状態からさらに延ばされたときに位置検出スイッチ6を押圧する構成の場合の例で説明したが、ばね3の設置形態はこのような形態には限定されない。
例えば、ばね3が自然状態のときにちょうど最大開閉角に開くとともに、位置検出スイッチ6に押圧される構成とすることが可能である。
また、図12(a)、(b)に示す構成も可能である。図12(a)、(b)は、本発明の実施形態および各変形例に適用可能なばねの変形例(第5変形例)を示すマスタ操作部を示す模式的な構成図である。
この変形例(第5変形例)のマスタグリップ1A(マスタ操作部)は、上記実施形態のマスタグリップ1のばね3に代えてばね3Aを備える。ばね3Aの一端部(図示右側)は一方(図示右側)の操作ハンドル1bの内側に固定され、他端部(図示左側)は他方の操作ハンドル1bと接離可能に対向されている。
これにより、図12(b)に示すように、操作ハンドル1bが、ばね3Aが自然状態の長さ以下となる開閉角まで閉じられると、ばね3Aの弾性復元力が発生して操作抵抗が生じる。また、図12(a)に示すように、操作ハンドル1bが、ばね3Aの自然状態の長さ以上に間隔があく開閉角まで開かれると、ばね3Aによる操作抵抗は発生しない。
このような構成によれば、位置検出スイッチ6を押圧する際に、操作抵抗が発生しないため、軽い力で迅速に位置検出スイッチ6を押圧することができる。
また、上記の実施形態、および各変形例に説明したすべての構成要素は、本発明の技術的思想の範囲で適宜組み合わせを代えたり、削除したりして実施することができる。
1、1A、10、20、30、40、203L、203R マスタグリップ(マスタ操作部)
1a グリップ部
1b 操作ハンドル(操作部材)
1d 筐体部
1e 上面(マスタ操作部の表面)
1f 側面(マスタ操作部の表面)
4、14 エンコーダ(マスタ角度検出部)
4a、14a、314a 出力信号
6 位置検出スイッチ(連動許可入力部)
6a、26a 連動許可モード信号
13 アクチュエータ
13a 移動軸
13b 抵抗発生部
26、36 入力スイッチ(連動許可入力部)
201 表示部(情報表示部)
300 スレーブマニピュレータ
311 開閉部(開閉動作部)
313 開閉駆動部
313a 駆動信号
314 エンコーダ(スレーブ角度検出部)
400 制御部(連動制御部)
401 マスタ制御部
402 マニピュレータ制御部
403 駆動指令値
403A 開閉指令値
405 制御信号
500、501、502 マスタスレーブマニピュレータ(マニピュレータシステム)
M1 警告表示
M2 ガイダンス表示
M3 情報表示
M4 ガイダンス表示
M5 情報表示
M6 詳細情報表示
Op 操作者
W 被把持物

Claims (6)

  1. 操作者が操作入力を行うマスタ操作部と、前記操作入力に対応して動作可能なスレーブ動作部と、前記操作入力を解析し、該操作入力に連動して前記スレーブ動作部を動作させる制御を行う連動制御部と、を有するマニピュレータシステムであって、
    前記操作者が操作可能であり、操作されたときに、前記マスタ操作部の前記操作入力に基づく前記スレーブ動作部の連動を許可するモードに入る連動許可モード信号を前記連動制御部に送出する連動許可入力部を備え、
    前記マスタ操作部は、
    前記操作入力を行うため、開閉可能に設けられた操作部材と、
    該操作部材の開閉角を検出し、前記操作部材の開閉角の検出値を前記連動制御部に送出するマスタ角度検出部と、
    を備え、
    前記スレーブ動作部は、
    開閉可能に設けられた開閉動作部と、
    該開閉動作部の開閉角を検出し、前記開閉動作部の開閉角の検出値を前記連動制御部に送出するスレーブ角度検出部と、
    を備え、
    前記連動許可入力部は、
    前記操作部材が最大限開く位置に移動したことを検出して、前記連動許可モード信号を発生する位置検出スイッチを備え、
    前記連動制御部は、
    前記スレーブ動作部の動作が前記操作入力に応じた動作からずれた場合に、連動制御を停止して、前記マスタ操作部の前記操作入力と前記スレーブ動作部の動作状態とを監視し、
    前記位置検出スイッチが発生した前記連動許可モード信号を受信後であって、前記操作部材の開閉角の検出値と前記開閉動作部の開閉角の検出値とが対応したことによって前記操作入力が前記動作状態に合致したことを検知したとき、かつ前記操作部材の開閉角の検出値が前記操作部材の閉じ方向に変化している場合に、前記スレーブ動作部の動作を前記操作入力に応じた動作に連動させる
    ことを特徴とするマニピュレータシステム。
  2. 前記連動制御部から送出される情報を表示する情報表示部を備え、
    前記連動制御部は、
    前記連動許可モード信号の受信後であって、前記スレーブ動作部が前記操作入力に応じた動作に連動したことを検出したとき、前記情報表示部に連動が再開されたことを表示させる
    ことを特徴とする請求項1に記載のマニピュレータシステム。
  3. 前記連動許可入力部は、
    前記マスタ操作部の表面に設けられた入力スイッチからなる
    ことを特徴とする請求項1に記載のマニピュレータシステム。
  4. 前記連動許可入力部は、
    前記マスタ操作部と別体に設けられた入力スイッチからなる
    ことを特徴とする請求項に記載のマニピュレータシステム。
  5. 前記入力スイッチは、
    フットスイッチからなる
    ことを特徴とする請求項に記載のマニピュレータシステム。
  6. 記連動制御部は、
    前記連動許可モード信号の受信後であって、前記操作部材の開閉角の検出値と前記開閉動作部の開閉角の検出値とが対応したとき、かつ前記操作部材の開閉角の検出値が前記操作部材の開き方向に変化している場合に、前記スレーブ動作部を前記操作入力に応じた動作に連動させることが可能であり、
    前記開き方向に変化している場合に連動させるか、前記閉じ方向に変化している場合に連動させるかを選択可能である
    ことを特徴とする請求項1に記載のマニピュレータシステム。
JP2012116740A 2011-08-04 2012-05-22 マニピュレータシステム Active JP6000641B2 (ja)

Priority Applications (5)

Application Number Priority Date Filing Date Title
JP2012116740A JP6000641B2 (ja) 2011-08-04 2012-05-22 マニピュレータシステム
PCT/JP2012/070417 WO2013018933A1 (en) 2011-08-04 2012-08-03 Manipulator system
EP12819398.4A EP2739230B1 (en) 2011-08-04 2012-08-03 Manipulator system
CN201280038298.4A CN103747759B (zh) 2011-08-04 2012-08-03 操纵器系统
US14/169,321 US9244523B2 (en) 2011-08-04 2014-01-31 Manipulator system

Applications Claiming Priority (4)

Application Number Priority Date Filing Date Title
US201161515203P 2011-08-04 2011-08-04
US61/515,203 2011-08-04
JP2012116740A JP6000641B2 (ja) 2011-08-04 2012-05-22 マニピュレータシステム
PCT/JP2012/070417 WO2013018933A1 (en) 2011-08-04 2012-08-03 Manipulator system

Publications (2)

Publication Number Publication Date
JP2013034851A JP2013034851A (ja) 2013-02-21
JP6000641B2 true JP6000641B2 (ja) 2016-10-05

Family

ID=47629436

Family Applications (1)

Application Number Title Priority Date Filing Date
JP2012116740A Active JP6000641B2 (ja) 2011-08-04 2012-05-22 マニピュレータシステム

Country Status (5)

Country Link
US (1) US9244523B2 (ja)
EP (1) EP2739230B1 (ja)
JP (1) JP6000641B2 (ja)
CN (1) CN103747759B (ja)
WO (1) WO2013018933A1 (ja)

Cited By (1)

* Cited by examiner, † Cited by third party
Publication number Priority date Publication date Assignee Title
EP4609812A1 (en) 2024-03-01 2025-09-03 Kawasaki Jukogyo Kabushiki Kaisha Robotic surgical system

Families Citing this family (44)

* Cited by examiner, † Cited by third party
Publication number Priority date Publication date Assignee Title
CN107174341B (zh) * 2012-02-15 2020-05-05 直观外科手术操作公司 使用模式区分操作员动作的机器人系统操作模式的用户选择
KR20140102465A (ko) * 2013-02-14 2014-08-22 삼성전자주식회사 수술 로봇 및 그 제어방법
US9387045B2 (en) * 2013-05-14 2016-07-12 Intuitive Surgical Operations, Inc. Grip force normalization for surgical instrument
JP6296236B2 (ja) * 2013-05-27 2018-03-20 パナソニックIpマネジメント株式会社 マスタースレーブ装置用マスター装置及びその制御方法、及び、マスタースレーブ装置
CN105611893B (zh) 2013-08-15 2018-09-28 直观外科手术操作公司 预加载外科手术器械接口
WO2015023840A1 (en) 2013-08-15 2015-02-19 Intuitive Surgical Operations, Inc. Instrument sterile adapter drive interface
JP6719376B2 (ja) * 2013-08-15 2020-07-08 インテュイティブ サージカル オペレーションズ, インコーポレイテッド ロボット器具の被駆動要素
KR102312595B1 (ko) 2013-08-15 2021-10-15 인튜어티브 서지컬 오퍼레이션즈 인코포레이티드 기구 살균 어댑터 구동 피처
US9283048B2 (en) * 2013-10-04 2016-03-15 KB Medical SA Apparatus and systems for precise guidance of surgical tools
JP6358463B2 (ja) * 2013-11-13 2018-07-18 パナソニックIpマネジメント株式会社 マスタースレーブ装置用マスター装置及びその制御方法、及び、マスタースレーブ装置
CN109512516B (zh) * 2014-04-24 2021-12-14 柯惠Lp公司 机器人接口定位确定系统及方法
JP2016016238A (ja) * 2014-07-10 2016-02-01 オリンパス株式会社 マニピュレータ
EP3254638A4 (en) * 2015-02-03 2018-10-03 Olympus Corporation Medical manipulator system and control method therefor
US9486927B1 (en) * 2015-05-20 2016-11-08 Google Inc. Robotic gripper with multiple pairs of gripping fingers
JP6147459B2 (ja) * 2015-05-29 2017-06-14 オリンパス株式会社 医療用マニピュレータシステム
WO2017031132A1 (en) 2015-08-17 2017-02-23 Intuitive Surgical Operations, Inc. Unground master control devices and methods of use
JP2019500914A (ja) * 2015-10-22 2019-01-17 コヴィディエン リミテッド パートナーシップ 入力デバイス用可変走査
WO2017210501A1 (en) * 2016-06-03 2017-12-07 Covidien Lp Control arm assemblies for robotic surgical systems
GB2554363B (en) 2016-09-21 2021-12-08 Cmr Surgical Ltd User interface device
WO2018109851A1 (ja) 2016-12-14 2018-06-21 オリンパス株式会社 医療用マニピュレータシステム
WO2018112227A2 (en) * 2016-12-15 2018-06-21 Intuitive Surgical Operations, Inc. Actuated grips for controller
US10251716B2 (en) * 2016-12-19 2019-04-09 Ethicon Llc Robotic surgical system with selective motion control decoupling
GB2606080B (en) * 2017-03-10 2023-02-15 Cmr Surgical Ltd Controlling a surgical instrument
GB2560384B (en) * 2017-03-10 2022-07-20 Cmr Surgical Ltd Controlling a surgical instrument
WO2018179323A1 (ja) 2017-03-31 2018-10-04 オリンパス株式会社 マニピュレータ
WO2019026654A1 (ja) * 2017-07-31 2019-02-07 株式会社メディカロイド マスタ操作入力装置およびマスタスレーブマニピュレータ
EP4663151A3 (en) 2017-10-02 2026-03-04 Intuitive Surgical Operations, Inc. End effector force feedback to master controller
EP3709924A4 (en) 2017-11-15 2021-12-15 Intuitive Surgical Operations, Inc. MASTER CONTROL DEVICE AND PROCEDURE FOR IT
US12419715B2 (en) 2017-11-15 2025-09-23 Intuitive Surgical Operations, Inc. Master control device with multi-finger grip and methods therefor
US12329487B2 (en) 2018-05-11 2025-06-17 Intuitive Surgical Operations, Inc. Master control device with finger grip sensing and methods therefor
CN110664583A (zh) * 2018-07-03 2020-01-10 中国科学院沈阳自动化研究所 一种八自由度局部力反馈仿生上肢外骨骼主手
CN110666821B (zh) * 2018-07-03 2023-06-27 中国科学院沈阳自动化研究所 一种单自由度力反馈手柄
WO2020042148A1 (zh) * 2018-08-31 2020-03-05 天津大学 基于磁导航传感的微创手术机器人主操作手及系统
CN111012513B (zh) * 2018-10-09 2021-07-27 成都博恩思医学机器人有限公司 一种腹腔镜手术机器人的手术器械控制方法
US11478312B2 (en) * 2019-05-10 2022-10-25 Verb Surgical Inc. Unmatching/matching UID to robot grasper for engaging teleoperation
GB2588410B (en) * 2019-10-22 2024-05-29 Cmr Surgical Ltd Controlling a surgical instrument
GB2590593B (en) 2019-10-28 2023-09-13 Cmr Surgical Ltd Controlling a surgical instrument
GB2630725B (en) 2020-03-26 2025-10-08 Intuitive Surgical Operations Curved gimbal link geometry
GB2596543B (en) 2020-06-30 2025-02-19 Cmr Surgical Ltd Controlling a surgical instrument
USD1104267S1 (en) 2021-03-24 2025-12-02 Intuitive Surgical Operations, Inc. Surgeon control apparatus
JP2025522838A (ja) * 2022-06-29 2025-07-17 オーリス ヘルス インコーポレイテッド ロボットクリップアプライヤのための安全モード及び発射モード
US11844585B1 (en) 2023-02-10 2023-12-19 Distalmotion Sa Surgical robotics systems and devices having a sterile restart, and methods thereof
CN118787396A (zh) * 2023-04-13 2024-10-18 江苏风和医疗器材股份有限公司 外科器械
WO2025086205A1 (en) * 2023-10-26 2025-05-01 Abb Schweiz Ag Method and apparatus for target tuning of robot

Family Cites Families (212)

* Cited by examiner, † Cited by third party
Publication number Priority date Publication date Assignee Title
US3139990A (en) 1961-12-11 1964-07-07 Central Res Lab Inc Rugged-duty master-slave manipulator
JPH0789293B2 (ja) 1986-07-23 1995-09-27 松下電器産業株式会社 ア−ム制御装置
SE462645B (sv) 1987-03-31 1990-08-06 Asea Ab Anordning vid industrirobotar avseende verktygsbyte
JPS6434688A (en) 1987-07-29 1989-02-06 Kubota Ltd Master/slave manipulator
JPH0796182B2 (ja) 1988-03-16 1995-10-18 ニッタ株式会社 工具の自重による影響を除去する装置
JPH01271185A (ja) * 1988-04-20 1989-10-30 Fujitsu Ltd 遠隔ロボット操縦システム
JP3088004B2 (ja) 1989-04-28 2000-09-18 株式会社東芝 操作指令装置
JP2610956B2 (ja) * 1988-09-05 1997-05-14 株式会社日立製作所 マスタスレーブマニピュレータ
JPH0741560B2 (ja) 1989-11-16 1995-05-10 工業技術院長 マスター・スレーブロボットの制御方法
US5214969A (en) 1991-02-19 1993-06-01 Philip Morris Incorporated Automatic testing of a plurality of smoking articles
JPH0596477A (ja) * 1991-10-03 1993-04-20 Mitsubishi Heavy Ind Ltd マスタスレーブマニピユレータの制御方法
US5631973A (en) 1994-05-05 1997-05-20 Sri International Method for telemanipulation with telepresence
US6963792B1 (en) 1992-01-21 2005-11-08 Sri International Surgical method
JPH05329784A (ja) 1992-05-28 1993-12-14 Yaskawa Electric Corp マスタ・スレーブロボットの制御方式
US5762458A (en) * 1996-02-20 1998-06-09 Computer Motion, Inc. Method and apparatus for performing minimally invasive cardiac procedures
JP2610094B2 (ja) * 1993-05-13 1997-05-14 株式会社明電舎 産業用マニプレータの制御装置
US5656903A (en) 1993-10-01 1997-08-12 The Ohio State University Research Foundation Master-slave position and motion control system
JP3339953B2 (ja) 1993-12-29 2002-10-28 オリンパス光学工業株式会社 医療用マスタースレーブ式マニピュレータ
JPH07241300A (ja) 1994-03-04 1995-09-19 Olympus Optical Co Ltd 医療器具の保持装置
JPH07246578A (ja) 1994-03-11 1995-09-26 Yaskawa Electric Corp マスターハンド装置
DE4412605B4 (de) 1994-04-13 2005-10-20 Zeiss Carl Verfahren zum Betrieb eines stereotaktischen Adapters
JP2991403B2 (ja) 1994-08-29 1999-12-20 株式会社アイチコーポレーション マニピュレータのグリッパ制御装置
US5836869A (en) 1994-12-13 1998-11-17 Olympus Optical Co., Ltd. Image tracking endoscope system
US5632432A (en) 1994-12-19 1997-05-27 Ethicon Endo-Surgery, Inc. Surgical instrument
US5603723A (en) 1995-01-11 1997-02-18 United States Surgical Corporation Surgical instrument configured to be disassembled for cleaning
JPH08215204A (ja) * 1995-02-08 1996-08-27 Olympus Optical Co Ltd 医療用マニピュレータ
JPH08243080A (ja) 1995-03-07 1996-09-24 Olympus Optical Co Ltd 内視鏡洗浄消毒装置
US5814038A (en) 1995-06-07 1998-09-29 Sri International Surgical manipulator for a telerobotic system
US5649956A (en) 1995-06-07 1997-07-22 Sri International System and method for releasably holding a surgical instrument
US5871493A (en) 1995-10-31 1999-02-16 Smith & Nephew Endoscopy Inc. Surgical instrument handpiece and system
US5712543A (en) 1995-10-31 1998-01-27 Smith & Nephew Endoscopy Inc. Magnetic switching element for controlling a surgical device
JP4176126B2 (ja) 1996-02-20 2008-11-05 コンピュータ・モーション・インコーポレーテッド 侵襲を最小に抑えた心臓手術を施術するための方法および装置
US6063095A (en) 1996-02-20 2000-05-16 Computer Motion, Inc. Method and apparatus for performing minimally invasive surgical procedures
US6436107B1 (en) 1996-02-20 2002-08-20 Computer Motion, Inc. Method and apparatus for performing minimally invasive surgical procedures
US6699177B1 (en) 1996-02-20 2004-03-02 Computer Motion, Inc. Method and apparatus for performing minimally invasive surgical procedures
US5855583A (en) 1996-02-20 1999-01-05 Computer Motion, Inc. Method and apparatus for performing minimally invasive cardiac procedures
US5792135A (en) 1996-05-20 1998-08-11 Intuitive Surgical, Inc. Articulated surgical instrument for performing minimally invasive surgery with enhanced dexterity and sensitivity
US6364888B1 (en) 1996-09-09 2002-04-02 Intuitive Surgical, Inc. Alignment of master and slave in a minimally invasive surgical apparatus
JPH10128538A (ja) 1996-10-29 1998-05-19 Hitachi Constr Mach Co Ltd 溶接ロボットとそのセンサアダプタ
US6132441A (en) 1996-11-22 2000-10-17 Computer Motion, Inc. Rigidly-linked articulating wrist with decoupled motion transmission
US6331181B1 (en) 1998-12-08 2001-12-18 Intuitive Surgical, Inc. Surgical robotic tools, data architecture, and use
US8206406B2 (en) 1996-12-12 2012-06-26 Intuitive Surgical Operations, Inc. Disposable sterile surgical adaptor
US7666191B2 (en) 1996-12-12 2010-02-23 Intuitive Surgical, Inc. Robotic surgical system with sterile surgical adaptor
US7699855B2 (en) 1996-12-12 2010-04-20 Intuitive Surgical Operations, Inc. Sterile surgical adaptor
US6132368A (en) 1996-12-12 2000-10-17 Intuitive Surgical, Inc. Multi-component telepresence system and method
EP2362283B1 (en) 1997-09-19 2015-11-25 Massachusetts Institute Of Technology Robotic apparatus
US20080177285A1 (en) * 1998-02-24 2008-07-24 Hansen Medical, Inc. Surgical instrument
JPH11300662A (ja) 1998-04-27 1999-11-02 Yokogawa Electric Corp マイクロ・ピンセット
JP4129313B2 (ja) 1998-05-19 2008-08-06 オリンパス株式会社 医療システムの制御装置
DE69940850D1 (de) 1998-08-04 2009-06-18 Intuitive Surgical Inc Gelenkvorrichtung zur Positionierung eines Manipulators für Robotik-Chirurgie
US6659939B2 (en) 1998-11-20 2003-12-09 Intuitive Surgical, Inc. Cooperative minimally invasive telesurgical system
US6459926B1 (en) * 1998-11-20 2002-10-01 Intuitive Surgical, Inc. Repositioning and reorientation of master/slave relationship in minimally invasive telesurgery
US8600551B2 (en) * 1998-11-20 2013-12-03 Intuitive Surgical Operations, Inc. Medical robotic system with operatively couplable simulator unit for surgeon training
US6602185B1 (en) 1999-02-18 2003-08-05 Olympus Optical Co., Ltd. Remote surgery support system
US6594552B1 (en) 1999-04-07 2003-07-15 Intuitive Surgical, Inc. Grip strength with tactile feedback for robotic surgery
JP4354042B2 (ja) 1999-04-30 2009-10-28 オリンパス株式会社 医療用マニピュレータ装置
JP3608448B2 (ja) 1999-08-31 2005-01-12 株式会社日立製作所 治療装置
ATE363235T1 (de) 1999-09-09 2007-06-15 Tuebingen Scient Medical Gmbh Chirurgisches instrument für minimal invasive eingriffe
US7594912B2 (en) 2004-09-30 2009-09-29 Intuitive Surgical, Inc. Offset remote center manipulator for robotic surgery
US8004229B2 (en) 2005-05-19 2011-08-23 Intuitive Surgical Operations, Inc. Software center and highly configurable robotic systems for surgery and other uses
JP2001087281A (ja) 1999-09-20 2001-04-03 Olympus Optical Co Ltd 多機能マニピュレータ
US6206903B1 (en) 1999-10-08 2001-03-27 Intuitive Surgical, Inc. Surgical tool with mechanical advantage
JP3188953B2 (ja) 1999-10-13 2001-07-16 経済産業省産業技術総合研究所長 パワーアシスト装置およびその制御方法
US6666876B2 (en) 2000-02-24 2003-12-23 Hitachi, Ltd. Forceps and manipulator with using thereof
JP2001309920A (ja) 2000-02-24 2001-11-06 Hitachi Ltd 鉗子及びそれを用いたマニピュレータ
JP3613551B2 (ja) 2000-03-31 2005-01-26 株式会社東芝 医療用マニピュレータ
US8888688B2 (en) 2000-04-03 2014-11-18 Intuitive Surgical Operations, Inc. Connector device for a controllable instrument
US20010055062A1 (en) 2000-04-20 2001-12-27 Keiji Shioda Operation microscope
JP4716545B2 (ja) 2000-06-28 2011-07-06 オリンパス株式会社 手術用顕微鏡装置
US6645196B1 (en) 2000-06-16 2003-11-11 Intuitive Surgical, Inc. Guided tool change
US6746443B1 (en) 2000-07-27 2004-06-08 Intuitive Surgical Inc. Roll-pitch-roll surgical tool
JP2002059380A (ja) 2000-08-22 2002-02-26 Olympus Optical Co Ltd マスタースレーブ装置
JP4014792B2 (ja) 2000-09-29 2007-11-28 株式会社東芝 マニピュレータ
US6840938B1 (en) 2000-12-29 2005-01-11 Intuitive Surgical, Inc. Bipolar cauterizing instrument
US20030135204A1 (en) 2001-02-15 2003-07-17 Endo Via Medical, Inc. Robotically controlled medical instrument with a flexible section
AU2002244016A1 (en) 2001-02-15 2002-10-03 Cunningham, Robert Flexible surgical instrument
US7699835B2 (en) 2001-02-15 2010-04-20 Hansen Medical, Inc. Robotically controlled surgical instruments
JP3660887B2 (ja) 2001-03-19 2005-06-15 株式会社日立製作所 手術支援装置
US6994708B2 (en) 2001-04-19 2006-02-07 Intuitive Surgical Robotic tool with monopolar electro-surgical scissors
US6783524B2 (en) 2001-04-19 2004-08-31 Intuitive Surgical, Inc. Robotic surgical tool with ultrasound cauterizing and cutting instrument
US20040243147A1 (en) 2001-07-03 2004-12-02 Lipow Kenneth I. Surgical robot and robotic controller
JP2003024336A (ja) 2001-07-16 2003-01-28 Hitachi Ltd 術具装置
JP3926119B2 (ja) * 2001-08-10 2007-06-06 株式会社東芝 医療用マニピュレータ
US6676684B1 (en) 2001-09-04 2004-01-13 Intuitive Surgical, Inc. Roll-pitch-roll-yaw surgical tool
JP4832679B2 (ja) 2001-09-11 2011-12-07 オリンパス株式会社 顕微鏡システム
US6587750B2 (en) 2001-09-25 2003-07-01 Intuitive Surgical, Inc. Removable infinite roll master grip handle and touch sensor for robotic surgery
US6839612B2 (en) 2001-12-07 2005-01-04 Institute Surgical, Inc. Microwrist system for surgical procedures
JP4098535B2 (ja) 2002-02-28 2008-06-11 オリンパス株式会社 医療用立体表示装置
JP3766805B2 (ja) 2002-03-15 2006-04-19 株式会社日立製作所 手術支援装置
JP4073249B2 (ja) 2002-05-17 2008-04-09 オリンパス株式会社 手術システム
JP3712693B2 (ja) 2002-05-21 2005-11-02 株式会社東芝 医療用マニピュレータ
US7331967B2 (en) 2002-09-09 2008-02-19 Hansen Medical, Inc. Surgical instrument coupling mechanism
JP3680050B2 (ja) 2002-09-18 2005-08-10 株式会社東芝 医療用マニピュレータ及びその制御方法
JP3912251B2 (ja) 2002-10-02 2007-05-09 株式会社日立製作所 マニピュレータ
US7443115B2 (en) 2002-10-29 2008-10-28 Matsushita Electric Industrial Co., Ltd. Apparatus and method for robot handling control
JP3686947B2 (ja) 2002-12-09 2005-08-24 国立大学法人 東京大学 能動鉗子用高剛性鉗子先端部構体およびそれを具える能動鉗子
JP3805310B2 (ja) 2003-01-30 2006-08-02 ファナック株式会社 ワーク取出し装置
US7476237B2 (en) 2003-02-27 2009-01-13 Olympus Corporation Surgical instrument
US7295893B2 (en) * 2003-03-31 2007-11-13 Kabushiki Kaisha Toshiba Manipulator and its control apparatus and method
DE10324844A1 (de) 2003-04-01 2004-12-23 Tuebingen Scientific Surgical Products Gmbh Chirurgisches Instrument mit Instrumentengriff und Nullpunkteinstellung
JPWO2004106009A1 (ja) 2003-06-02 2006-07-20 松下電器産業株式会社 物品取扱いシステムおよび物品取扱いサーバ
US20050033117A1 (en) 2003-06-02 2005-02-10 Olympus Corporation Object observation system and method of controlling object observation system
US9002518B2 (en) * 2003-06-30 2015-04-07 Intuitive Surgical Operations, Inc. Maximum torque driving of robotic surgical tools in robotic surgical systems
DE10357105B3 (de) 2003-12-06 2005-04-07 Richard Wolf Gmbh Medizinisches Instrument
JP4472361B2 (ja) 2004-01-06 2010-06-02 オリンパス株式会社 医療器具保持装置及び医療器具保持システム。
JP2005261827A (ja) 2004-03-22 2005-09-29 Olympus Corp 内視鏡用処置具
US7862579B2 (en) 2004-07-28 2011-01-04 Ethicon Endo-Surgery, Inc. Electroactive polymer-based articulation mechanism for grasper
JP2006061272A (ja) 2004-08-25 2006-03-09 Olympus Corp 医療器具保持装置
US9261172B2 (en) 2004-09-30 2016-02-16 Intuitive Surgical Operations, Inc. Multi-ply strap drive trains for surgical robotic arms
US20060087746A1 (en) 2004-10-22 2006-04-27 Kenneth Lipow Remote augmented motor-sensory interface for surgery
JP2006167867A (ja) 2004-12-16 2006-06-29 Fuji Heavy Ind Ltd 遠隔操作装置
JP4528136B2 (ja) 2005-01-11 2010-08-18 株式会社日立製作所 手術装置
US7559450B2 (en) 2005-02-18 2009-07-14 Ethicon Endo-Surgery, Inc. Surgical instrument incorporating a fluid transfer controlled articulation mechanism
US7654431B2 (en) 2005-02-18 2010-02-02 Ethicon Endo-Surgery, Inc. Surgical instrument with guided laterally moving articulation member
US8496647B2 (en) 2007-12-18 2013-07-30 Intuitive Surgical Operations, Inc. Ribbed force sensor
JP5160025B2 (ja) 2005-04-14 2013-03-13 オリンパスメディカルシステムズ株式会社 手術システム
EP2181645B1 (en) 2005-04-18 2014-09-03 M.S.T. Medical Surgery Technologies Ltd Device of improving laparoscopic surgery
US8147503B2 (en) 2007-09-30 2012-04-03 Intuitive Surgical Operations Inc. Methods of locating and tracking robotic instruments in robotic surgical systems
US9492240B2 (en) 2009-06-16 2016-11-15 Intuitive Surgical Operations, Inc. Virtual measurement tool for minimally invasive surgery
US8108072B2 (en) 2007-09-30 2012-01-31 Intuitive Surgical Operations, Inc. Methods and systems for robotic instrument tool tracking with adaptive fusion of kinematics information and image information
US8073528B2 (en) 2007-09-30 2011-12-06 Intuitive Surgical Operations, Inc. Tool tracking systems, methods and computer products for image guided surgery
JP2006321027A (ja) 2005-05-20 2006-11-30 Hitachi Ltd マスタ・スレーブ式マニピュレータシステム及びその操作入力装置
US7717312B2 (en) 2005-06-03 2010-05-18 Tyco Healthcare Group Lp Surgical instruments employing sensors
US8398541B2 (en) 2006-06-06 2013-03-19 Intuitive Surgical Operations, Inc. Interactive user interfaces for robotic minimally invasive surgical systems
JP4488312B2 (ja) 2005-07-08 2010-06-23 オリンパス株式会社 医療用マニピュレータシステム
JP2007029274A (ja) 2005-07-25 2007-02-08 Hitachi Ltd 術具装置
US7959050B2 (en) 2005-07-26 2011-06-14 Ethicon Endo-Surgery, Inc Electrically self-powered surgical instrument with manual release
JP2007038315A (ja) 2005-08-01 2007-02-15 Toyota Motor Corp 操作装置と操作子の動作調節方法とそのためのプログラム
JP2007098507A (ja) 2005-10-04 2007-04-19 Nagoya Institute Of Technology 作業補助装置
WO2007047782A2 (en) 2005-10-20 2007-04-26 Intuitive Surgical, Inc Auxiliary image display and manipulation on a computer display in a medical robotic system
US8190238B2 (en) 2005-12-09 2012-05-29 Hansen Medical, Inc. Robotic catheter system and methods
US7453227B2 (en) 2005-12-20 2008-11-18 Intuitive Surgical, Inc. Medical robotic system with sliding mode control
WO2007075844A1 (en) 2005-12-20 2007-07-05 Intuitive Surgical, Inc. Telescoping insertion axis of a robotic surgical system
CN101340852B (zh) 2005-12-20 2011-12-28 直观外科手术操作公司 机器人外科系统的器械对接装置
US9241767B2 (en) 2005-12-20 2016-01-26 Intuitive Surgical Operations, Inc. Method for handling an operator command exceeding a medical device state limitation in a medical robotic system
JP5043414B2 (ja) 2005-12-20 2012-10-10 インテュイティブ サージカル インコーポレイテッド 無菌外科手術アダプタ
US7907166B2 (en) 2005-12-30 2011-03-15 Intuitive Surgical Operations, Inc. Stereo telestration for robotic surgery
US8628518B2 (en) 2005-12-30 2014-01-14 Intuitive Surgical Operations, Inc. Wireless force sensor on a distal portion of a surgical instrument and method
US8617054B2 (en) 2006-01-13 2013-12-31 Olympus Medical Systems Corp. Medical treatment endoscope
US8021293B2 (en) 2006-01-13 2011-09-20 Olympus Medical Systems Corp. Medical treatment endoscope
US8439828B2 (en) 2006-01-13 2013-05-14 Olympus Medical Systems Corp. Treatment endoscope
US9173550B2 (en) 2006-01-13 2015-11-03 Olympus Corporation Medical apparatus
US8092371B2 (en) 2006-01-13 2012-01-10 Olympus Medical Systems Corp. Medical treatment endoscope
US9289112B2 (en) 2006-01-13 2016-03-22 Olympus Corporation Medical treatment endoscope having an operation stick formed to allow a procedure instrument to pass
US20070208375A1 (en) 2006-02-23 2007-09-06 Kouji Nishizawa Surgical device
JP4908020B2 (ja) 2006-03-02 2012-04-04 本田技研工業株式会社 ハンド制御システム
US9636188B2 (en) 2006-03-24 2017-05-02 Stryker Corporation System and method for 3-D tracking of surgical instrument in relation to patient body
WO2007138674A1 (ja) 2006-05-30 2007-12-06 Olympus Medical Systems Corp. 内視鏡処置システム
JP2008000282A (ja) 2006-06-21 2008-01-10 Olympus Medical Systems Corp 手技画像記録制御システム及び手術システム
JP4755047B2 (ja) 2006-08-08 2011-08-24 テルモ株式会社 作業機構及びマニピュレータ
US7920124B2 (en) 2006-08-29 2011-04-05 Canon Kabushiki Kaisha Force sense presentation device, mixed reality system, information processing method, and information processing apparatus
US7313464B1 (en) 2006-09-05 2007-12-25 Adept Technology Inc. Bin-picking system for randomly positioned objects
RU2009115691A (ru) 2006-09-25 2010-11-10 Конинклейке Филипс Электроникс Н.В. (Nl) Способы и системы медицинского сканирования с тактильной обратной связью
JP4680164B2 (ja) 2006-10-13 2011-05-11 テルモ株式会社 マニピュレータ
JP5085996B2 (ja) 2006-10-25 2012-11-28 テルモ株式会社 マニピュレータシステム
US8834170B2 (en) 2006-11-06 2014-09-16 University Of Florida Research Foundation, Inc. Devices and methods for utilizing mechanical surgical devices in a virtual environment
JP4911701B2 (ja) 2007-01-19 2012-04-04 株式会社日立製作所 マスタ・スレーブ式マニピュレータシステム
WO2008103383A1 (en) 2007-02-20 2008-08-28 Gildenberg Philip L Videotactic and audiotactic assisted surgical methods and procedures
JP4930100B2 (ja) 2007-02-27 2012-05-09 ソニー株式会社 力触覚ディスプレイ、力触覚ディスプレイの制御方法、並びにコンピュータ・プログラム
WO2008108289A1 (ja) 2007-03-01 2008-09-12 Tokyo Institute Of Technology 力覚提示機能を有する操縦システム
JP4916011B2 (ja) 2007-03-20 2012-04-11 株式会社日立製作所 マスタ・スレーブ式マニピュレータシステム
WO2009034477A2 (en) 2007-04-16 2009-03-19 The Governors Of The University Of Calgary Frame mapping and force feedback methods, devices and systems
JP5335201B2 (ja) 2007-05-08 2013-11-06 キヤノン株式会社 画像診断装置
US8620473B2 (en) 2007-06-13 2013-12-31 Intuitive Surgical Operations, Inc. Medical robotic system with coupled control modes
US9089256B2 (en) 2008-06-27 2015-07-28 Intuitive Surgical Operations, Inc. Medical robotic system providing an auxiliary view including range of motion limitations for articulatable instruments extending out of a distal end of an entry guide
JP5319188B2 (ja) 2007-07-18 2013-10-16 株式会社東芝 X線診断装置
JP2009028157A (ja) 2007-07-25 2009-02-12 Terumo Corp 医療用マニピュレータシステム
US20090046146A1 (en) 2007-08-13 2009-02-19 Jonathan Hoyt Surgical communication and control system
JP2009056164A (ja) 2007-08-31 2009-03-19 Terumo Corp 医療用マニピュレータシステム
JP5017076B2 (ja) 2007-12-21 2012-09-05 テルモ株式会社 マニピュレータシステム及びマニピュレータの制御方法
US20090171147A1 (en) 2007-12-31 2009-07-02 Woojin Lee Surgical instrument
US8771169B2 (en) 2008-01-10 2014-07-08 Covidien Lp Imaging system for a surgical device
US20110046637A1 (en) 2008-01-14 2011-02-24 The University Of Western Ontario Sensorized medical instrument
US20090193299A1 (en) 2008-01-29 2009-07-30 Kiyoshi Sekiguchi Medical support control system
JP5154961B2 (ja) 2008-01-29 2013-02-27 テルモ株式会社 手術システム
JP2009178541A (ja) 2008-01-29 2009-08-13 Olympus Medical Systems Corp 医療支援制御システム
US20090204911A1 (en) 2008-02-12 2009-08-13 Kiyoshi Sekiguchi Medical support control system
KR100975047B1 (ko) 2008-02-15 2010-08-11 (주)미래컴퍼니 수술용 인스트루먼트의 커플링 구조
JP5148335B2 (ja) 2008-03-25 2013-02-20 テルモ株式会社 動作治具
US8155479B2 (en) 2008-03-28 2012-04-10 Intuitive Surgical Operations Inc. Automated panning and digital zooming for robotic surgical systems
JP5198118B2 (ja) 2008-03-28 2013-05-15 富士フイルム株式会社 アダプタ装置及び超音波検査システム
JP2009269127A (ja) 2008-05-08 2009-11-19 Sony Corp 把持装置及びその制御方法
EP2127604A1 (en) 2008-05-30 2009-12-02 Nederlandse Organisatie voor toegepast- natuurwetenschappelijk onderzoek TNO An instrument for minimally invasive surgery
WO2009151205A1 (ko) 2008-06-11 2009-12-17 (주)미래컴퍼니 수술용 로봇 암의 인스트루먼트
US8540748B2 (en) 2008-07-07 2013-09-24 Intuitive Surgical Operations, Inc. Surgical instrument wrist
CA2730240A1 (en) 2008-07-08 2010-01-14 Tyco Healthcare Group Lp Surgical attachment for use with a robotic surgical system
CN101959653B (zh) 2008-07-09 2012-10-24 松下电器产业株式会社 路径危险性评价装置
US9842192B2 (en) 2008-07-11 2017-12-12 Intouch Technologies, Inc. Tele-presence robot system with multi-cast features
US20100013767A1 (en) 2008-07-18 2010-01-21 Wei Gu Methods for Controlling Computers and Devices
JP5139194B2 (ja) 2008-08-06 2013-02-06 オリンパスメディカルシステムズ株式会社 能動医療機器システム
DE102008041867B4 (de) 2008-09-08 2015-09-10 Deutsches Zentrum für Luft- und Raumfahrt e.V. Medizinischer Arbeitsplatz und Bedienvorrichtung zum manuellen Bewegen eines Roboterarms
JP2010076012A (ja) 2008-09-24 2010-04-08 Toshiba Corp マニピュレータシステムおよびその制御方法
US20110230894A1 (en) 2008-10-07 2011-09-22 The Trustees Of Columbia University In The City Of New York Systems, devices, and methods for providing insertable robotic sensory and manipulation platforms for single port surgery
US8918207B2 (en) 2009-03-09 2014-12-23 Intuitive Surgical Operations, Inc. Operator input device for a robotic surgical system
US8423182B2 (en) 2009-03-09 2013-04-16 Intuitive Surgical Operations, Inc. Adaptable integrated energy control system for electrosurgical tools in robotic surgical systems
EP2305144B1 (en) 2009-03-24 2012-10-31 Olympus Medical Systems Corp. Robot system for endoscope treatment
US9155592B2 (en) 2009-06-16 2015-10-13 Intuitive Surgical Operations, Inc. Virtual measurement tool for minimally invasive surgery
US8423186B2 (en) * 2009-06-30 2013-04-16 Intuitive Surgical Operations, Inc. Ratcheting for master alignment of a teleoperated minimally-invasive surgical instrument
WO2011025786A1 (en) 2009-08-24 2011-03-03 Board Of Regents Automated needle insertion mechanism
US8521331B2 (en) * 2009-11-13 2013-08-27 Intuitive Surgical Operations, Inc. Patient-side surgeon interface for a minimally invasive, teleoperated surgical instrument
US8543240B2 (en) 2009-11-13 2013-09-24 Intuitive Surgical Operations, Inc. Master finger tracking device and method of use in a minimally invasive surgical system
US20110118708A1 (en) 2009-11-13 2011-05-19 Intuitive Surgical Operations, Inc. Double universal joint
US8935003B2 (en) 2010-09-21 2015-01-13 Intuitive Surgical Operations Method and system for hand presence detection in a minimally invasive surgical system
EP2642371A1 (en) 2010-01-14 2013-09-25 BrainLAB AG Controlling a surgical navigation system
US20110238079A1 (en) 2010-03-18 2011-09-29 SPI Surgical, Inc. Surgical Cockpit Comprising Multisensory and Multimodal Interfaces for Robotic Surgery and Methods Related Thereto
JP2011206213A (ja) 2010-03-29 2011-10-20 Terumo Corp 医療用マニピュレータ
EP2377477B1 (en) 2010-04-14 2012-05-30 Tuebingen Scientific Medical GmbH Surgical instrument with elastically moveable instrument head
JP5726441B2 (ja) 2010-05-18 2015-06-03 オリンパス株式会社 マニピュレータ
WO2012029227A1 (ja) 2010-08-31 2012-03-08 パナソニック株式会社 マスタースレーブロボットの制御装置及び制御方法、マスタースレーブロボット、制御プログラム、並びに、集積電子回路
US20120071894A1 (en) 2010-09-17 2012-03-22 Tanner Neal A Robotic medical systems and methods
JP5835906B2 (ja) 2010-09-30 2015-12-24 オリンパス株式会社 屈曲関節機構並びにその屈曲関節機構を有する術具及びその屈曲関節機構を有するマニピュレータ
US9241766B2 (en) 2010-12-22 2016-01-26 Intuitive Surgical Operations, Inc. Alternate instrument removal

Cited By (1)

* Cited by examiner, † Cited by third party
Publication number Priority date Publication date Assignee Title
EP4609812A1 (en) 2024-03-01 2025-09-03 Kawasaki Jukogyo Kabushiki Kaisha Robotic surgical system

Also Published As

Publication number Publication date
US9244523B2 (en) 2016-01-26
US20140148950A1 (en) 2014-05-29
CN103747759B (zh) 2016-08-24
EP2739230A4 (en) 2015-04-15
EP2739230A1 (en) 2014-06-11
JP2013034851A (ja) 2013-02-21
WO2013018933A1 (en) 2013-02-07
EP2739230B1 (en) 2018-06-20
CN103747759A (zh) 2014-04-23

Similar Documents

Publication Publication Date Title
JP6000641B2 (ja) マニピュレータシステム
US12213755B2 (en) Actuated grips for controller
US6587750B2 (en) Removable infinite roll master grip handle and touch sensor for robotic surgery
US20050222587A1 (en) Manipulator apparatus
JP6227200B1 (ja) 医療用マニピュレータシステム及び医療用マニピュレータの制御方法
CN107206586A (zh) 操作输入装置和医疗用机械手系统
US10143361B2 (en) Endoscope system having rotatable elongated part and bending part controlled to bend based on rotation of elongated part
KR102199910B1 (ko) 탈부착형 로봇 수술 도구를 이용한 다자유도 복강경 수술 장치
CN113194870B (zh) 使用者界面装置、手术机器人装置的主控制台及其操作方法
JP2007130485A (ja) マニピュレータ装置
CN210301212U (zh) 手柄及主操作台
WO2016006623A1 (ja) マニピュレータ
JP2023010761A (ja) カメラ制御装置
JP5800610B2 (ja) 医療用マスタスレーブマニピュレータ
JP2023030101A (ja) ロボットマニピュレータを制御するためのコンソール
JP2005312919A (ja) マニピュレータ装置
JP6177477B2 (ja) マニピュレータシステム
CN110772325B (zh) 手柄及主操作台
US20250114936A1 (en) Operation input device and operation console device
JP4346615B2 (ja) 医療用マニピュレータ
WO2025205060A1 (ja) 入力装置、操作コンソール装置、並びに手術支援ロボットシステム

Legal Events

Date Code Title Description
A621 Written request for application examination

Free format text: JAPANESE INTERMEDIATE CODE: A621

Effective date: 20150319

A131 Notification of reasons for refusal

Free format text: JAPANESE INTERMEDIATE CODE: A131

Effective date: 20160301

A521 Request for written amendment filed

Free format text: JAPANESE INTERMEDIATE CODE: A523

Effective date: 20160426

A521 Request for written amendment filed

Free format text: JAPANESE INTERMEDIATE CODE: A821

Effective date: 20160427

TRDD Decision of grant or rejection written
A01 Written decision to grant a patent or to grant a registration (utility model)

Free format text: JAPANESE INTERMEDIATE CODE: A01

Effective date: 20160809

A61 First payment of annual fees (during grant procedure)

Free format text: JAPANESE INTERMEDIATE CODE: A61

Effective date: 20160831

R151 Written notification of patent or utility model registration

Ref document number: 6000641

Country of ref document: JP

Free format text: JAPANESE INTERMEDIATE CODE: R151

R250 Receipt of annual fees

Free format text: JAPANESE INTERMEDIATE CODE: R250

R250 Receipt of annual fees

Free format text: JAPANESE INTERMEDIATE CODE: R250

R250 Receipt of annual fees

Free format text: JAPANESE INTERMEDIATE CODE: R250

R250 Receipt of annual fees

Free format text: JAPANESE INTERMEDIATE CODE: R250

R250 Receipt of annual fees

Free format text: JAPANESE INTERMEDIATE CODE: R250

R250 Receipt of annual fees

Free format text: JAPANESE INTERMEDIATE CODE: R250

R250 Receipt of annual fees

Free format text: JAPANESE INTERMEDIATE CODE: R250