JP5368639B2 - 内視鏡装置用インラインガスアダプタ - Google Patents

内視鏡装置用インラインガスアダプタ Download PDF

Info

Publication number
JP5368639B2
JP5368639B2 JP2012526984A JP2012526984A JP5368639B2 JP 5368639 B2 JP5368639 B2 JP 5368639B2 JP 2012526984 A JP2012526984 A JP 2012526984A JP 2012526984 A JP2012526984 A JP 2012526984A JP 5368639 B2 JP5368639 B2 JP 5368639B2
Authority
JP
Japan
Prior art keywords
adapter
fluid transfer
transfer element
flow path
gas
Prior art date
Legal status (The legal status is an assumption and is not a legal conclusion. Google has not performed a legal analysis and makes no representation as to the accuracy of the status listed.)
Active
Application number
JP2012526984A
Other languages
English (en)
Other versions
JP2013503004A (ja
Inventor
クッシュナー,ジェフリー・ビー
ロック,ケネス・ダブリュー
ステビンス,クリストファー・アール
ウォルコット,ケネス・イー
Original Assignee
ブラッコ・ダイアグノスティクス・インコーポレーテッド
Priority date (The priority date is an assumption and is not a legal conclusion. Google has not performed a legal analysis and makes no representation as to the accuracy of the date listed.)
Filing date
Publication date
Application filed by ブラッコ・ダイアグノスティクス・インコーポレーテッド filed Critical ブラッコ・ダイアグノスティクス・インコーポレーテッド
Publication of JP2013503004A publication Critical patent/JP2013503004A/ja
Application granted granted Critical
Publication of JP5368639B2 publication Critical patent/JP5368639B2/ja
Active legal-status Critical Current
Anticipated expiration legal-status Critical

Links

Images

Classifications

    • AHUMAN NECESSITIES
    • A61MEDICAL OR VETERINARY SCIENCE; HYGIENE
    • A61MDEVICES FOR INTRODUCING MEDIA INTO, OR ONTO, THE BODY; DEVICES FOR TRANSDUCING BODY MEDIA OR FOR TAKING MEDIA FROM THE BODY; DEVICES FOR PRODUCING OR ENDING SLEEP OR STUPOR
    • A61M39/00Tubes, tube connectors, tube couplings, valves, access sites or the like, specially adapted for medical use
    • A61M39/10Tube connectors; Tube couplings
    • AHUMAN NECESSITIES
    • A61MEDICAL OR VETERINARY SCIENCE; HYGIENE
    • A61BDIAGNOSIS; SURGERY; IDENTIFICATION
    • A61B1/00Instruments for performing medical examinations of the interior of cavities or tubes of the body by visual or photographical inspection, e.g. endoscopes; Illuminating arrangements therefor
    • A61B1/00112Connection or coupling means
    • A61B1/00119Tubes or pipes in or with an endoscope
    • AHUMAN NECESSITIES
    • A61MEDICAL OR VETERINARY SCIENCE; HYGIENE
    • A61BDIAGNOSIS; SURGERY; IDENTIFICATION
    • A61B1/00Instruments for performing medical examinations of the interior of cavities or tubes of the body by visual or photographical inspection, e.g. endoscopes; Illuminating arrangements therefor
    • A61B1/00064Constructional details of the endoscope body
    • A61B1/00066Proximal part of endoscope body, e.g. handles
    • A61B1/00068Valve switch arrangements
    • AHUMAN NECESSITIES
    • A61MEDICAL OR VETERINARY SCIENCE; HYGIENE
    • A61BDIAGNOSIS; SURGERY; IDENTIFICATION
    • A61B1/00Instruments for performing medical examinations of the interior of cavities or tubes of the body by visual or photographical inspection, e.g. endoscopes; Illuminating arrangements therefor
    • A61B1/00112Connection or coupling means
    • A61B1/00121Connectors, fasteners and adapters, e.g. on the endoscope handle
    • A61B1/00128Connectors, fasteners and adapters, e.g. on the endoscope handle mechanical, e.g. for tubes or pipes
    • AHUMAN NECESSITIES
    • A61MEDICAL OR VETERINARY SCIENCE; HYGIENE
    • A61MDEVICES FOR INTRODUCING MEDIA INTO, OR ONTO, THE BODY; DEVICES FOR TRANSDUCING BODY MEDIA OR FOR TAKING MEDIA FROM THE BODY; DEVICES FOR PRODUCING OR ENDING SLEEP OR STUPOR
    • A61M39/00Tubes, tube connectors, tube couplings, valves, access sites or the like, specially adapted for medical use
    • A61M39/10Tube connectors; Tube couplings
    • A61M2039/1077Adapters, e.g. couplings adapting a connector to one or several other connectors
    • AHUMAN NECESSITIES
    • A61MEDICAL OR VETERINARY SCIENCE; HYGIENE
    • A61MDEVICES FOR INTRODUCING MEDIA INTO, OR ONTO, THE BODY; DEVICES FOR TRANSDUCING BODY MEDIA OR FOR TAKING MEDIA FROM THE BODY; DEVICES FOR PRODUCING OR ENDING SLEEP OR STUPOR
    • A61M39/00Tubes, tube connectors, tube couplings, valves, access sites or the like, specially adapted for medical use
    • A61M39/10Tube connectors; Tube couplings
    • A61M2039/1083Tube connectors; Tube couplings having a plurality of female connectors, e.g. Luer connectors
    • AHUMAN NECESSITIES
    • A61MEDICAL OR VETERINARY SCIENCE; HYGIENE
    • A61MDEVICES FOR INTRODUCING MEDIA INTO, OR ONTO, THE BODY; DEVICES FOR TRANSDUCING BODY MEDIA OR FOR TAKING MEDIA FROM THE BODY; DEVICES FOR PRODUCING OR ENDING SLEEP OR STUPOR
    • A61M39/00Tubes, tube connectors, tube couplings, valves, access sites or the like, specially adapted for medical use
    • A61M39/10Tube connectors; Tube couplings
    • A61M2039/1088Tube connectors; Tube couplings having a plurality of male connectors, e.g. Luer connectors
    • AHUMAN NECESSITIES
    • A61MEDICAL OR VETERINARY SCIENCE; HYGIENE
    • A61MDEVICES FOR INTRODUCING MEDIA INTO, OR ONTO, THE BODY; DEVICES FOR TRANSDUCING BODY MEDIA OR FOR TAKING MEDIA FROM THE BODY; DEVICES FOR PRODUCING OR ENDING SLEEP OR STUPOR
    • A61M39/00Tubes, tube connectors, tube couplings, valves, access sites or the like, specially adapted for medical use
    • A61M39/10Tube connectors; Tube couplings
    • A61M39/105Multi-channel connectors or couplings, e.g. for connecting multi-lumen tubes

Landscapes

  • Health & Medical Sciences (AREA)
  • Life Sciences & Earth Sciences (AREA)
  • Surgery (AREA)
  • Engineering & Computer Science (AREA)
  • Heart & Thoracic Surgery (AREA)
  • Animal Behavior & Ethology (AREA)
  • Biomedical Technology (AREA)
  • Veterinary Medicine (AREA)
  • Public Health (AREA)
  • General Health & Medical Sciences (AREA)
  • Biophysics (AREA)
  • Nuclear Medicine, Radiotherapy & Molecular Imaging (AREA)
  • Physics & Mathematics (AREA)
  • Medical Informatics (AREA)
  • Molecular Biology (AREA)
  • Radiology & Medical Imaging (AREA)
  • Pathology (AREA)
  • Optics & Photonics (AREA)
  • Mechanical Engineering (AREA)
  • Pulmonology (AREA)
  • Anesthesiology (AREA)
  • Hematology (AREA)
  • Endoscopes (AREA)

Description

本願は、内視鏡手術のような外科手術に用いられる装置に関し、さらに詳細には、二次ガス源を内視鏡装置のような装置に接続するのに用いられる装置に関する。
これまでは大手術を必要としていた多くの侵襲性医学手術は、現在では、内視鏡機器を用いて行われている。このような機器は、侵襲性手術を必要とすることなく、特定の臓器、器官、または導管の内視をもたらすことができる。一般的に、内視鏡機器は、小型の柔軟性器具を挿通かつ前進させることができる1つまたは複数の通路を備えている。内視鏡は、典型的には、細長の柔軟ケーブルを備えている。この柔軟ケーブルは、一端に接眼レンズまたは他の観察手段を備えており、他端に光学ヘッドを備えている。この光学ヘッドのみが、外部から該器具に直接接続されている。ケーブルによって、画像または画像生成信号が、照射された手術部位から観察手段に伝達され、これによって、機器のオペレータに機器の作用端において行われた動作の十分な映像をもたらすことができる。外科医が機器の先端または顎部の動作を視覚的に確認できるように、コヒーレント光ファイバ束が、ヘッドから柔軟ケーブルおよび接眼レンズ内に延在している。照明手段は、手術領域を照らすために、ケーブルを貫通する光伝達導波管の形態にあるとよい。導波管は、その近位端が適切な高輝度光源に接続されている。
内視鏡のケーブルは、灌注または他の目的のために、流体(例えば、液体またはガス)を送達するための流路も備えている。典型的には、流路手段および照明手段が、コヒーレント画像伝達導波管の両側に配置されている。従来のやり方では、光学ヘッド上に材料(例えば、手術破片および体液)が堆積するのを防ぐために、光学ヘッドを横切るように無菌水を流す必要がある、この水の流れは、ある意味では、フロントガラスのワイパ/ウォッシャーアセンブリのような動作である。
一般的な設計において、内視鏡機器は、典型的には、操作本体を有しており、操作本体は、光ガイドチューブによって光ガイドコネクタに接続されている。光ガイドコネクタは、実際には、種々の取付具を適切に受け入れる複数のコネクタを備えることができる。例えば、光ガイドコネクタは、接地ラグを受け入れるコネクタオリフィスと、吸引ポートと、空気吸込口と、水吸込口とを備えることができる。これによって、空気および水は、光ガイドコネクタおよび光ガイドチューブを通って操作本体内に送達されることになる。代替的に、操作本体は、水が操作本体に直接供給されることを可能にするために、水ポートを備えていてもよい。操作本体を通って機器の光学ヘッドを超えた先まで流れる水流を制御するために、適切な弁が操作本体に設けられている。
例えば、図1は、改良されていない(すなわち、二次ガス供給手段を備えていない)内視鏡システムを示している。図には、操作本体に接続されたシャフト(挿入チューブ)を備えている内視鏡が示されている。操作本体は、生検ポートと、空気−水弁および吸引弁と、アングル操作装置とを備えている。操作本体は、導管(光ガイド接続チューブ)に接続されており、該導管は、電気ピンユニットにさらに接続されている。電気ピンユニットは、光源に直接接続されており、ビデオ接続リード(およびプラグ)を介してビデオプロセッサに接続されている。内視鏡によって生じた画像は、電荷結合装置(CCD)チップから、光ファイバ束を介してまたは電子的に伝達されるようになっている。図1は、画像を観察し、かつ指令を入力するためのビデオモニタおよび該ビデオモニタに取り付けられたキーボードを示している。電気ピンユニットは、灌注をもたらすための水ボトルに接続された水ボトルコネクタ用のポートを備えている。
内視鏡のいくらか複雑な内部構造が、図2にさらに示されている。この図は、図1の内視鏡の詳細を示している。図2に示されているように、シャフトは、入口となる生検ポートから機器の先端に延在している計装流路を含んでいる。流路の大きさは、約1mmから約5mmの間で異ならせることができる。ここでも、内視鏡は、二次ガス供給用のどのような手段も備えていない。
図1に示されているように、周知の手法では、チューブが貫通しているキャップの付いた水ボトルが用いられている。このチューブは、典型的には、(図1に示されているような電気ピンユニットの)光ガイドコネクタの空気/水接続ポートまたは内視鏡操作本体のポートへの接続を可能とするために、ボトルに対して遠位側のチューブ端に取付具を有している。典型的には、水ボトルを内視鏡に接続するチューブは、内側チューブと、外側チューブとから形成されている。外側チューブは、水ボトル内に延び、水ボトルのキャップに接続されている。通常の手法では、水ボトルの内部を加圧し、水を所望の流量で強制的にチューブを通して内視鏡内に流入させるために、空気が内側チューブと外側チューブとの間の領域を通して送達されるようになっている。
周知の内視鏡アセンブリは、ガス源の供給に関して、種々の制限を有している。例えば、多くの場合、水ボトルに給気するために、周囲の空気がポンプによってシステム内に供給されるようになっている。しかし、周囲の空気に代わって、二次ガス源を用いることが望ましい場合がある。二次ガス源との切換えを可能にする周知の装置は、著しく高価である。さらに、周知の装置は、各使用後の殺菌に関連する問題を抱えている。実際には、使用後、内視鏡装置と関連するどのような取付具も、例えば、グルタルアルデヒドによる殺菌および/またはオートクレーブ処理によって、殺菌されるようになっている。これによって、種々の部品および取付具の殺菌に関連するかなりの労費を含むかなりの出費を病院にもたらすことになる。また、このような部品に関連する前述の費用のために一回使用した後に種々の内視鏡取付具を簡単に廃棄することは、通常、行われていない。
さらに、二次ガス源の供給は、周知の内視鏡装置が、汎用性のある標準化された接続具を有していないという点において、問題が複雑になっている。例えば、内視鏡装置の3つの主要製造業者(オリンパス光学工業(株)(Olympus Optical Company, Ltd.)、富士フィルムメディカルシステム(Fujifilm Medical Systems)またはその子会社であるフジノン(Fujinon Inc.)、およびホーヤコーポレーション(Hoya Corporation)またはその子会社であるペンタックス(Pentax))は、各々、自社の製品ラインナップには汎用性を有しているが、品種間の部品の相互交換には適していない内視鏡本体を有する装置を製造している。特に、製造業者ごとの水ボトルコネクタは、種々の形式の接続具を介して、内視鏡本体に接続されている。従って、当技術分野において、経済的かつ使い易い方法によって、二次ガス源を供給することを可能にするアダプタが依然として必要とされている。
本発明は、内視鏡検査における二次ガス源の供給および使用の容易さを改良するアダプタを提供している。本発明のアダプタは、一般的には、内視鏡装置と共に機能するように設計され、かつ形作られるようになっており、または内視鏡装置の単一の製造業者に特有の特別の構造を有する内視鏡装置と共に機能するように設計され、かつ形作られるようになっている。本発明のアダプタは、その経済的な特質(および一回使い捨ての選択肢)という点から見ると、高価な専用機器、例えば、特別に設計されたキャップ付きの水ボトルまたは初期コストが著しく高く、使用するごとに殺菌しなければならない再利用可能なアダプタを必要とすることなく、内視鏡手術において二次ガスを供給することができる。本発明のこれらおよび他の利得は、本明細書においてさらに十分説明する。
いくつかの実施形態では、本発明は、内視鏡装置と共に用いられるアダプタを提供している。具体的には、このアダプタは、内視鏡装置と水源コネクタとの間にインライン配置されることによって、二次ガスを内視鏡装置に供給することができる。
一実施形態では、本発明によるアダプタは、特定の構造を有するアダプタ本体を備えることができる。例えば、アダプタ本体は、第2の流体移送要素に接続された第1の流体移送要素を備えていてもよい。好ましくは、これらの2つの要素間の接続は、非流体接続である。第1および第2の流体移送要素は、外面を有するものとして、該要素内に延在して内面を形成する個別の流路を有するものとして、フレア端部を有するものとして、およびテーパ端部を有するものとして、特徴付けられてもよい。他の実施形態では、これらの要素は、流路を形成する内面および要素の外側境界を形成する外面を有する壁から形成されるものとして、特徴付けられてもよい。さらに他の実施形態では、アダプタ本体は、第1および第2の流体移送要素の1つの外面から外方に延在する注入ポートを備えることができる。好ましくは、注入ポートは、該注入ポートが延在する要素と流体接続している。他の実施形態では、注入ポートは、開口を形成するように要素の1つの壁と交差するものとして、特徴付けられてもよい。
いくつかの実施形態では、アダプタは、1つまたは複数のシール部材をさらに備えることができる。例えば、シール部材は、第1および第2の流体移送要素のフレア端部の一方または両方の内面に配置されているとよい。いくつかの実施形態では、流体移送要素の一方または両方の壁には、シール部材、例えば、Oリングまたはガスケットを受け入れるための溝などが形成されていてもよい。勿論、シール部材が流体移送要素に形成された流路内に少なくとも部分的に延在するように、該シール部材を位置決めするのに有用などのような他の手段が用いられてもよい。例えば、シール部材が流体移送要素のフレア端部を通って離脱するのを防ぐために、ワッシャーまたは他の保持部材がシール部材の下方に配置されてもよい。
好ましい実施形態では、本発明の注入ポートは、ルアーコネクタまたはバーブコネクタを備えていてもよい。このようなコネクタについては、以下にさらに詳細に説明する。特定の実施形態では、ルアーコネクタは、ISO594−2:1998に準じるものであるとよい。
注入ポートのアダプタ本体の残りの要素に対する配列は、種々異なっていてもよい。具体的には、注入ポートは、注入ポートへの二次ガス源の取付けの容易さを促進するのに有用などのような長さまたは幾何学的形状(すなわち、実質的に直線形状、L字形状、湾曲形状、など)を有していてもよい。特定の実施形態では、注入ポートは、流体移送要素の外面に対して実質的に直交している。従って、流体移送要素への注入ポートの取付けは、要素の壁の外面に対して約90°になっているとよい。勿論、このような角度は、有効と考えられるなら、異なっていてもよい。いくつかの実施形態では、この角度は、約10°から約90°の間、約20°から約90°の間、約30°から約90°の間、約40°から約90°の間、約45°から約90°の間、約50°から約90°の間、または約60°から約90°の間とすることができる。特定の実施形態では、注入ポートの長さは、約1cmから約5cmの間、約1.5cmから約4.5cmの間、約1.5cmから約4cmの間、または約1.5cmから約3cmの間にあるとよい。好ましくは、注入ポートの配列、形状、および長さは、アダプタが内視鏡操作本体と水源コネクタとの間にインラインで挿入されている間に、注入ポートの接続準備をもたらすようになっている。また、要素の幾何学的形状は、アダプタ本体の流体移送要素にも関連している。例えば、第1および第2の流体移送要素は、実質的に互いに平行に配置されているものとして、特徴付けられてもよい。さらに、これらの要素は、側部同士が接続されているものとして、特徴付けられてもよい。本明細書におけるさらなる開示から明らかなように、このような配列は、特定形式の内視鏡装置との使用を容易にするので特に有益であり、このような配列または構造を有していないどのようなアダプタも、明らかに、この特定形式の内視鏡装置と関連して用いることができないだろう。具体的には、いくつかの実施形態では、本発明のアダプタは、特にオリンパス製内視鏡装置に取り付けられるように、設計され、かつ形作られている。このような特殊性は、(例えば、水ボトルから)内視鏡内に流体を送達させるためのオリンパス製内視鏡装置の部品の特別の構造および特別の配置から生じるものである。本発明のアダプタは、明らかに、オリンパス製内視鏡と水ボトルコネクタとのアセンブリ内にインラインで挿入させるように、構成することができる。
特定の実施形態では、流体移送要素は、移送されることになる特定種類の流体に関して、特徴付けられてもよい。例えば、第1の流体移送要素は、液体移送要素と呼ばれてもよい。従って、この液体移送要素内に形成された流路は、液体流路と呼ばれてもよい。同様に、第2の流体移送要素は、ガス移送要素と呼ばれてもよい。従って、このガス移送要素内に形成された流路は、ガス流路と呼ばれてもよい。好ましくは、アダプタ内に設けられた注入ポートは、ガス移送要素から外方に延在し、該ガス移送要素と流体接続している。従って、ガス注入ポート内に形成された流路は、ガス移送要素内のガス流路に流体接続している。
いくつかの実施形態では、アダプタ本体の種々の要素が特定の形状または寸法を有していると有利である。例えば、いくつかの実施形態では、ガス流路のテーパ端部におけるガス流路の内径は、液体流路のテーパ端部における液体流路の内径よりも大きくすることができる。同様に、いくつかの実施形態では、液体流路のフレア端部における液体流路の外径は、ガス流路のフレア端部におけるガス流路の外径よりも大きくすることができる。
本発明のアダプタの特定の要素の大きさおよび寸法は、特定の装置と共に用いられるように、特別に決定されてもよい。例えば、オリンパス光学工業(株)によって製造されている内視鏡操作本体は、2つのピンを備えていることが知られているが、これらのピンは、水ボトルコネクタ内に形成されたレセプタクルに取り付けることによって、流体を水ボトルに移送し、かつ流体を該水ボトルから移送するためのものである。いくつかの実施形態では、本発明のアダプタは、このようなピンおよびレセプタクルと特に相互作用するように形成されていてもよい。例えば、一実施形態では、本発明のアダプタの第1および第2の流体移送要素のフレア端部は、オリンパス装置におけるような内視鏡装置の一部から延在している流体移送部品またはピンに係合するように、形作られていてもよい。さらに具体的には、フレア端部は、二次係合手段を用いることなく、内視鏡装置の流体移送部品に対する圧入による密封係合を容易にするように、形作られていてもよい。これは、圧入式アダプタの使用の容易さによって、およびエンドユーザへの費用節約をもたらす極めて費用効果の高い方法によってこのようなアダプタを作製する能力によって、特に有益である。さらに、圧入式アダプタは、流体損失を回避するので、内視鏡装置と共に用いると有益である。何故なら、周知のインライン装置は、典型的には、装置を固定するための二次手段、例えば、ネジカラーなどを備えているからである。
前述したのと同様に、他の実施形態では、第1および第2の流体移送要素のテーパ端部は、水源コネクタ内のレセプタクルに係合するように、形作られていてもよい。ここでも、テーパ端部は、二次係合手段を用いることなく、水源コネクタのレセプタクルに対する圧入による密封係合を容易にするように、形作られることが可能である。
いくつかの実施形態では、本発明は、アダプタの全般的な構造に基づく技術とは別に実施されてもよい。例えば、前述したように、アダプタ本体は、第1の流体移送要素、第2の流体移送要素、および注入ポートから構成され、これらの要素が、単一の一体構造に組み合わされてもよい。具体的には、アダプタ本体は、個別の要素をもたらすように形作られた単一の部品として形成されてもよい。本発明のアダプタのこのような特質は、アダプタを形成する方法およびアダプタを形成するのに用いられる材料によって、もたらされる。具体的には、アダプタ本体は、ポリマー材料から形成されてもよい。従って、アダプタ本体は、ポリマー材料から形成されるものとして、特徴付けられてもよい。いくつかの実施形態では、本発明によるアダプタ本体を作製するのに用いられるポリマー材料は、耐化学薬品性、耐熱性、または耐化学薬品性および耐熱性を有する材料であるとよい。本発明によるアダプタに用いられる他の要素(例えば、保持部材)も、同様に、このようなポリマー材料から構成されていてもよく、好ましくは、アダプタ本体と同じ材料から形成されているとよい。
一実施形態では、アダプタ本体は、内部に形成された2つの流路を有するポリマー材料の単一片として、特徴付けられてもよい。好ましくは、2つの流路は、交差せず、流体接続しないようになっている。1つの流路は、液体流路であるとよく、他の流路は、ガス流路であるとよい。両方の流路は、好ましくは、線状であり、実質的にまたは完全に直線状であるとよい(しかし、流路壁は、いくらかの抜き角度、例えば、約5°以下、約4°以下、約3°以下、約2°以下、または約1°以下の抜き角度を有していてもよい)。ガス流路は、分岐していてもよく、実質的にT字状になっているものとして、特徴付けられてもよい。具体的には、1つのラインがアダプタの長さ方向に(すなわち、テーパ端部からフレア端部の方向に)延在し、他のラインが注入ポート内に延在しているとよく、例えば、第2のラインが第1のラインから実質的に直交して延在しているとよい。
付加的な態様では、アダプタは、付加的な剛性をもたらすためのシュラウドを備えている。シュラウドは、第1および第2の流体移送要素の外面から半径方向外方に延在していると共に、第1および/または第2の流体移送要素のテーパ端部を少なくとも部分的に包囲するように第1および第2の流体移送要素に対して軸方向に延在しているとよい。シュラウドは、第1および/または第2の流体移送要素のテーパ端部を少なくとも部分的に収容するための開口を画定するように第1および第2の流体移送要素の周りを周方向に延在する壁を備えていてもよい。一実施形態では、シュラウドは、第2の流体移送要素のテーパ端部がシュラウドによって完全に包囲されるように軸方向に延在しており、第1の流体移送要素のテーパ端部は、シュラウドによって完全には包囲されないようになっている。
前述の説明を考慮すれば、本発明のアダプタが製造の方法に関して特徴付けられてもよいことは、明らかである。例えば、アダプタ、特に、アダプタ本体は、成形部品として特徴付けられてもよい。
従って、いくつかの実施形態では、本発明は、内視鏡検査において二次ガスを供給するアダプタを作製する方法も提供することができる。この方法は、内部に形成された2つの流路を有するポリマー材料の単一の一体品であるアダプタ本体を形成するように形作られた型を設けることと、ポリマーを型内に注入することと、ポリマーを硬化させることと、を含むことができる。好ましくは、成形プロセスの後、アダプタ本体がバリおよび斑点を有しないようになっている。さらに、好ましくは、成形プロセスは、成形部品がどのような離型剤も有しないように、どのような離型剤も用いないようになっている。さらに、好ましくは、成形プロセスは、仕上げ部品が成形工具に用いられるどのようなグリースまたは他の潤滑剤も有しないように、調整されている。
他の態様では、本発明は、内視鏡手術を実施する方法を提供することができる。一実施形態では、本発明による方法は、内視鏡装置と、水源と、ガス源と、ここに開示されたいずれかの実施形態によるアダプタと、を備えるアセンブリを用いることを含むことができる。
特定の実施形態では、内視鏡手術において二次ガスを供給するための方法は、以下のステップ、すなわち、コネクタ付きの水源が取り付けられた内視鏡装置を用いるステップと、水源コネクタと内視鏡装置との間に本発明によるアダプタを固定するステップと、二次ガスをアダプタのガス注入ポートを介して内視鏡装置に供給するステップと、を含むことができる。特に、このアダプタは、ガス移送要素と非流体接続している液体移送要素であって、これらの移送要素は、各々、外面を有しており、該要素内を延在して内面を形成する個別の流路を有しており、かつフレア端部およびテーパ端部を有している、液体移送要素と;ガス移送要素の外面から外方に延在して、該要素と流体接続しているガス注入ポートと;を有するアダプタ本体を備えることができる。好ましくは、二次ガスは、二酸化炭素から構成されているが、他のガスまたはガスの組合せが用いられてもよい。
本発明を一般的な用語によって説明してきたが、以下、添付の図面について説明する。なお、これらの図面は、必ずしも縮尺通りには描かれていない。
二次ガスを供給する手段を備えていない改良されていない内視鏡システムを示す図である。 図1に示されているシステムの内視鏡の詳細図である。 本発明の一実施形態によるアダプタの斜視図である。 本発明の一実施形態によるアダプタの正面図である。 本発明の一実施形態によるアダプタの上面図である。 本発明の一実施形態によるアダプタの底面図である。 本発明の一実施形態によるアダプタの分解図である。 本発明の一実施形態によるアダプタの断面図である。 内視鏡装置の水源コネクタと操作本体との間にインライン配置させるために適所に位置している本発明の一実施形態によるアダプタを示す分解図である。 内視鏡装置の水源コネクタと操作本体との間にインライン配置された本発明の一実施形態によるアダプタを示す図である。 内視鏡装置の水源コネクタと操作本体との間に配置された本発明の一実施形態によるアダプタの圧入によるインライン取付けを示す断面図である。 本発明の他の実施形態によるアダプタの斜視図である。 本発明の一実施形態によるアダプタの正面図である。 本発明の一実施形態によるアダプタの上面図である。 本発明の一実施形態によるアダプタの底面図である。 本発明の一実施形態によるアダプタの分解図である。 本発明の一実施形態によるアダプタの断面図である。 内視鏡装置の水源コネクタと操作本体との間にインライン配置させるために適所に位置している本発明の一実施形態によるアダプタの分解図である。 内視鏡装置の水源コネクタと操作本体との間にインライン配置された本発明の一実施形態によるアダプタを示す図である。 内視鏡装置の水源コネクタと操作本体との間に配置された本発明の一実施形態によるアダプタの圧入によるインライン取付けを示す断面図である。
以下、種々の実施形態を参照して、本発明をさらに十分に説明する。これらの実施形態は、この開示内容が綿密かつ完全であり、かつ本発明の範囲を当業者に十分に知らしめるように提示されている。実際、本発明は、多くの異なる形態で実施されてもよく、ここに記載されている実施形態に制限されると解釈されるべきではない。むしろ、これらの実施形態は、この開示内容が適用される法的要件を満たすように提示されている。本明細書および添付の請求項に用いられる単数形の“a”、“an”、および“the”は、文脈が別のことを明らかに示していない限り、複数形を含んでいる。
本発明は、内視鏡手術中に任意の二次ガスの使用を可能にするアダプタを提供するものである。内視鏡アセンブリは、典型的には、水ボトルのような水源を備えている。これらの水ボトルは、多くの場合、水ボトルに給気するために1つの管腔を通して空気を供給する二重管腔チューブを有するキャップを備えている。この給気は、一次ガスと見なされる。本発明によれば、内視鏡手術中に、この給気に加えてまたは代わって供給されるどのようなガスも、二次ガスと見なされる。
体腔内へのガスの導入は、胃腸の内視鏡手術における一般的な方法である。これまで、内視鏡手術中にガスを導入することが望まれるとき、標準的な室内空気が、(例えば、光源から)単純に導入されていた。さらに最近になって、二酸化炭素(CO)がより容易に体に吸収されることから、CO注入法を用いることによって、術後の患者の快適さを改良することができることが見出されてきている。例えば、COの使用は、内視鏡的逆行性胆膵管造影法(ERCP)、直腸検鏡法、および結腸検鏡法のような長時間の内視鏡検査に特に有用であり、ガスは、内視鏡超音波検査(EUS)および食道、胃、十二指腸の内視鏡検査(EGD)のような他の内視鏡手術にも用いられることがある。しかし、二次ガス源の供与には課題があることが分かっている。例えば、内視鏡手術におけるCOの付与は、これまで、煩雑な外部調節器、流量計、および専用弁を用いることが必要とされていた。内視鏡手術において二次ガスを供給するための専用機器、例えば、(ニュージャージー州、プリンストンのブラッコ・ダイアグノスティクス・インコーポレーション(Bracco Diagnostics, Inc.)から市販されている)COEFFICIENTTM(商標)内視鏡ガス注入器の出現によって、二次ガスの供給が簡素化されてきている。にもかかわらず、種々の製造業者によって製造されている内視鏡装置が標準化されていないことによって、様々な内視鏡装置に対応させて二次ガスを供給することは、依然として困難である。例えば、ペンタックスは、自社の内視鏡装置専用に設計されたガスアダプタを市販している。しかし、ペンタックスのアダプタは、比較的高価であり、複数の用途に向けて設計されており、用いるのが困難な場合がある(例えば、ネジカラーを介して取り付ける必要がある)。この設計は、再利用可能な部品の洗浄に関連するコストおよび患者の安全の問題を提起している。オリンパスおよびフジノンは、各々、ガス源を取り付けるためのなんらかの手段を備えるボトルキャップ付き水ボトルをもたらすことによって、自社の内視鏡装置を用いるときの二次ガスの供給に対処している。ここでも、これらの部品のコストは、法外に高く、使用ごとの殺菌が依然として必要である。対照的に、本発明によれば、使い易く、医学的に安全であり、かつ経済的な方法によって、二次ガスを付与することが可能である。
本発明による最適な二次ガスを用いる能力は、内視鏡装置と「インライン(in-line)」で用いられるアダプタを提供することによって、達成可能である。前述したように、内視鏡装置は、典型的には、多数の異なるコード、チューブ、またはラインが取り付けられた本体を備えている。これによって、光、流体、および器具を患者の体内に導入することができる。本明細書に用いられる「インライン」という用語は、アダプタが、内視鏡装置の2つ以上の要素間に配置されることによって内視鏡装置と共に機能するように設計されている、ことを意味すると理解されたい。従って、「インライン」は、アダプタが、本体、コード、チューブ、ライン、コネクタ、などの2つ以上の間に配置されることを意味している。当業者であれば、本発明によるアダプタが(本明細書に記載される機能をもたらすように配置され得る)内視鏡装置の種々の部分を、容易に思い描くことができるだろう。特定の実施形態では、本発明によるアダプタは、内視鏡装置の本体と水源に繋がれるコード、チューブ、またはラインとの間にインラインに配置されるように、設計されている。特に、アダプタは、一端において内視鏡装置の本体に接続され、他端において水ボトルコネクタに接続されるようになっているとよい。
一態様では、本発明は、内視鏡装置用のアダプタを提供している。アダプタは、内視鏡装置の既存の要素とインラインで配置されるように、特に設計されている。このような設計は、以下に述べる開示から明らかになる。
いくつかの実施形態では、アダプタは、一般的に、アダプタ本体を備えている。アダプタ本体は、アダプタ全体の大部分を含んでいるとよい。換言すれば、アダプタ本体は、実質的に単一の一体化された要素であるとよい。勿論、以下に述べるように、さらに他の要素が含まれていてもよい。しかし、アダプタ本体は、その単一の一体化特性によって、例えば、アダプタを内視鏡装置の残りの要素に固定するのに必要などのような可動部品も明らかに含んでいないという特性によって、特徴付けられてもよい。特定の実施形態では、アダプタ本体は、一緒になって単一の一体構造をなす第1の流体移送要素、第2の流体移送要素、および注入ポートから形成されるものとして、特徴付けられている。「一体構造(monolithic)」という用語は、アダプタ本体の全体が、構成部品を切断するような破壊手段を用いない限り、個々の要素に分離されない途切れのない構成を有する単一構造体である、ことを意味すると理解されたい。
アダプタ本体は、好ましくは、単一の一体化構造を呈しているが、アダプタのこの構造は、アダプタの種々の要素または種々の領域の機能および形状に関連して、特徴付けられてもよい。例えば、いくつかの実施形態では、アダプタ本体は、第1の流体移送要素および第2の流体移送要素を有するものとして、特徴付けられてもよい。本明細書に用いられる「流体」という用語は、流れに関して記述されるどのような材料、例えば、気体または流体を含むことが意図されている。ここで、気体または液体は、溶液または(気体または液体の流れを妨げない溶解、懸濁、またはそれ以外の混合状態においていくらかの濃度の固体材料を含む)気体または液体の他の物理的形態を含んでいる。アダプタは、第1および第2の流体移送要素に関して検討され、かつ図示されることになるが、このような2つの要素のみに制限されるものではない。むしろ、アダプタは、3種以上の流体(例えば、液体および2種以上の気体、気体および2種以上の液体、または2種以上の気体および2種以上の液体)が共通のキャリアを通して移送される装置と共に用いられるさらに他の流体移送要素を備えていてもよい。
アダプタ本体は、単一の構成部品なので、第1および第2の流体移送要素は、互いに取り付けられているかまたは接続されていると好ましい。しかし、特定の実施形態では、第1および第2の流体移送要素は、互いに「非流体接続(non-fluid connection)」されているとよい。「非流体接続」は、個別の流体移送要素の壁は、互いに接続されているかまたは取り付けられているが、各要素の流体移送手段は、互いに分離して維持されており、第1の要素を通って移送されるどのような流体も第2の要素を通って移送される流体と混合されない、ことを意味すると理解されたい。他の実施形態では、必要に応じて、流体移送要素は、互いに流体接続されていてもよい。
第1および第2の流体移送要素は、外面および内面を有するものとして、特徴付けられていてもよい。外面は、アダプタ本体の外部構造(例えば、形状および寸法)を含むことができ、以下にさらに詳細に述べるように、外部構造は、他の装置に対するアダプタの相互接続を容易にするようになっていてもよい。外面および内面は、アダプタの壁(すなわち、一般的には、アダプタ本体の壁、または特定の要素の壁、例えば、流路を形成する壁、流体移送要素を画定する壁、および注入ポートを形成する壁)に関連して、特徴付けられていてもよい。
第1および第2の流体移送要素のそれぞれの内面は、それぞれの流体移送要素内に延在して流体をアダプタの一端からアダプタの他端に移動させるのを容易にする流路を含むことができる。好ましくは、第1の流体移送要素内に延在する流路は、第2の流体移送要素内に延在する流路から分離している。以下にさらに詳細に述べるように、流体移送要素の内面は、他の装置に対するアダプタの相互接続を容易にする領域を含んでいてもよい。
また、流体移送要素は、アダプタの端部の形状および寸法に関して、特徴付けられてもよい。例えば、流体移送要素は、各々、フレア端部およびテーパ端部を有していてもよい。同様に、アダプタは、一般的に、フレア端部およびテーパ端部を有するものとして、特徴付けられてもよい。図面から分かるように、フレア端部およびテーパ端部は、内視鏡装置または内視鏡アセンブリのいくつかの部品に対するアダプタの相互接続を容易にするように、特別に設計されていてもよい。いくつかの実施形態では、フレア端部の内部は、流体移送要素内に延在する流路の一部と見なされてもよい。他の実施形態では、フレア端部の内部は、流路から分離していると見なされてもよい。例えば、フレア端部の内部は、他の装置から延在しているコネクタまたは他の流体移送部品を受け入れるための受入部品と見なされてもよい。
流体移送要素に加えて、アダプタ本体は、注入ポートを備えることもできる。注入ポートは、流体移送要素の外面から外方に延在して該要素と流体接続している任意の要素とすることができる。注入ポートは、実質的に管状要素として、特徴付けられてもよいし、および/またはアダプタ本体、特に、前述した流体移送要素の1つの内部に形成された前述の流路の1つと交差する流路を形成するものとして、特徴付けられてもよい。注入ポートは、特に、以下にさらに詳細に述べるように、二次ガスの導入を可能にする要素とすることができる。
本発明のアダプタの構造および機能について、種々の図面に関連付けて、さらに説明する。例えば、図3は、本発明によるアダプタ10を示している。アダプタ本体15は、第1の流体移送要素20および第2の流体移送要素30を備えている。「第1(first)」および「第2(second)」という用語は、分かりやすくするためのものであり、本発明を制限するものではないことを理解されたい。例えば、図3では、アダプタの左側が、第1の流体移送要素として記載されている。他の実施形態では、アダプタの右側が、第1の流体移送要素として記載されてもよい。
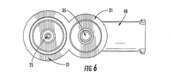
図3において、第1の流体移送要素20は、第1の中心体23によって互いに分離されたフレア端部21およびテーパ端部22を備えている。第1の流体移送要素20は、該要素20内に延在している流路25も備えている(テーパ端部22における開口のみが見えている)。また、図3において、第2の流体移送要素30は、第2の中心体33によって互いに分離されたフレア端部31およびテーパ端部32を備えている。第2の流体移送要素30は、該要素30内に延在している流路35も備えている(テーパ端部32における開口のみが見えている)。
また、本発明のアダプタ10の本体15は、注入ポート40も備えている。注入ポートは、特に、ガス注入ポートとすることができる。従って、ガス注入ポート40が接続された流体移送要素は、ガス移送要素と呼ぶことができる。図3に示されているように、第2の流体移送要素30は、ガス移送要素30と呼ばれてもよい。同様に、流路35は、ガス流路35と呼ばれてもよい。従って、この実施形態では、第1の流体移送要素20は、液体移送要素20と呼ばれてもよい。同様に、流路25は、液体流路と呼ばれてもよい。
ガス注入ポート40は、種々の構造を呈していてもよく、かつ二次ガスを装置内に流入させるためのポートをもたらすように意図された機能を実施するのに適するどのような機構を有していてもよいし、またはどのような形態を呈していてもよい。実際には、多くの場合、二次ガスは、ある種の配管を介して、供給されるようになっている。この配管は、専用の接続ユニット(例えば、ネジ式(screw-on)接続具または差込み式(plug-in)接続具)を備えていることもあるし、または備えていないこともある。例えば、ガス注入ポート40は、バーブ(barb)嵌合接続具、ネジ嵌合接続具、またはスナップ嵌合接続具を備えていることがある。従って、ガス注入ポート40は、このような専用接続具に適合するように設計されているとよい。一実施形態では、配管は、ガス注入ポート40と二次ガスを流入させる注入器ユニットとの間に連結されるようになっている。ガス注入ポート40に適合されることになる接続具の種類に関わらず、ガス注入ポート40は、ガス移送要素30の壁内に延在してガス移送要素30の内面に開口する中心通路42を備えることができる。このような中心通路42は、二次ガスの通過のみを目的としてもよいし、またはガス接続具の挿入用の注入ポートをなすものであってもよい。例えば、もしガスが専用の差込み式コネクタを有する装置を介して供給されるようになっているなら、通路42は、プラグに適合するように形成されていてもよい。従って、通路42は、プラグを受け入れるための専用の要素(例えば、溝またはネジ)が形成された壁を有する環状通路として、特徴付けられてもよい。これらの要素は、特に、ガスを送達するためのプラグの離脱可能な取付けを可能にするようになっているとよい。
特定の実施形態では、ガス注入ポート40は、ガス移送要素30の外面から実質的に外方に延在しているとよい。このような構造は、ネジ式接続具を有するガスラインの取付けに適合し、またはポート40の延長部の周りに単に押し込まれることによって取り付けられるガスライン(例えば、標準的な柔軟ホースまたは柔軟チューブ)の取付けに適合するので、特に有用である。
一実施形態では、ガス注入ポート40は、ルアーコネクタまたは同様の任意の構造を備えていてもよい。ルア接続システムは、通常、注射器、カテーテル、ハブ付き注射針、IVチューブなどの相互接続に関連付けて用いられるものである。ルア接続システムは、円断面の雄型連結管および円断面の雌型連結管によって構成されている。これらの管には、ごく簡単な圧入/ネジ嵌合によって良好に互いに保持されるように、いくらかのテーパが付されているとよい。図3に示されているように、このルアーコネクタは、雌型の要素である。使用時に、雄側ルアーコネクタが、図示されている雌型の要素の内側に簡単に滑入し、確実な接続をもたらすことができる。図示されている実施形態では、(一条ネジ部として機能する)付加的な外側リム44を設けることによって、さらに一層確実な嵌合が得られるようになっている。図示されているように、リム44は、2つの個別の「翼(wings)」から形成されている。使用に際して、ネジ部を有する外側リムを備える雄型ルアーコネクタによって、「係止(lock)」接続をもたらすことができる。
本発明のいくつかの実施形態によるアダプタは、図4にも示されている。図4は、正面図(すなわち、ガス注入ポート40を真っ直ぐに見ている図)である。この実施形態から分かるように、ガス注入ポート40は、流体移送要素20,30の外面と実質的に直交するように形成されている。また、この実施形態から分かるように、第1の流体移送要素20および第2の流体移送要素30は、実質的に互いに平行に配列され、側部同士が接続されている。このような配列は、内視鏡装置の要素へのアダプタ10の取付けを容易にするので、有益である。ガス注入ポート40とガス移送要素30との間の流体接続も、図4に示されている。具体的には、この図は、ガス注入ポート40の中心通路42が、ガス移送要素30内のガス流路35内に開口している状態を示している。従って、中心通路42は、ガス流路35から分かれているように、すなわち、ガス流路35の分岐路をなすものとして示されている。
図4の実施形態から分かるように、アダプタ10の流体移送要素の外面は、種々の相対的な寸法を有していてもよい。例えば、第1の流体移送要素20のフレア部21は、第2の流体移送要素30のフレア部31の外径よりも大きい外径を有していてもよい。他の実施形態では、第1の流体移送要素20のフレア部21は、第2の流体移送要素30のフレア部31の外径よりも小さい外径を有していてもよいし、またはこれらの寸法は、実質的に等しくてもよい。同様に、第1の流体移送要素20の全長は、第2の流体移送要素30の全長よりも大きくてもよい。他の実施形態では、第1の流体移送要素20の全長は、第2の流体移送要素30の全長よりも小さくてもよいし、またはこれらの全長は、実質的に等しくてもよい。同様に、第1の流体移送要素20のフレア部21の全長は、第2の流体移送要素30のフレア部31の全長よりも大きくてもよい。他の実施形態では、第1の流体移送要素20のフレア部21の全長は、第2の流体移送要素30のフレア部31の全長よりも小さくてもよいし、またはこれらの全長は、実質的に等しくてもよい。さらに、第1の流体移送要素20の中心体23の長さは、第2の流体移送要素30の中心体33の長さより大きくてもよいし、小さくてもよいし、または実質的に等しくてもよい。さらに、第1の流体移送要素20のテーパ端部22の長さは、第2の流体移送要素30のテーパ端部32の長さよりも大きくてもよい。他の実施形態では、第1の流体移送要素20のテーパ端部22の長さは、第2の流体移送要素30のテーパ端部32の長さより小さくてもよいし、またはこれらの長さは、実質的に等しくてもよい。
本発明によるアダプタ10の上面図および底面図が、それぞれ、図5,6に示されている。図5から特に分かるように、テーパ端部32におけるガス流路35の内径は、テーパ端部22における液体流路25の内径よりも大きくすることができる。
本発明のアダプタは、前述した要素に加えて、さらに他の要素を備えていてもよい。このようなさらに他の要素は、アダプタ本体の一体構造とは別になっているとよい。このようなさらに他の要素は、アダプタ本体の一体構造とは別に形成されているとよいが、効果的に全体構造の一体部分になるように、アダプタ本体と組み合わされているとよい。
図7に示されるようないくつかの実施形態では、アダプタ10は、1つまたは複数のシール部材をさらに備えているとよい。図示されているように、Oリング26が第1の流体移送要素20のフレア端部21に備えられており、第2のOリング36が第2の流体移送要素30のフレア端部31内に備えられている。勿論、他の種類のシール部材、例えば、ガスケットなども、本発明に含まれるものとする。以下にさらに述べるように、シール部材は、アダプタと該アダプタが取り付けられる装置との間の液密接続をもたらすのに有用である。
アダプタ10は、シール部材を流体移送要素のフレア端部内に保持するための保持部材を備えることもできる。図7に示されているように、アダプタ10は、第1の流体移送要素20のフレア端部21内においてOリング26の外側に設けられる第1のワッシャー27、および第2の流体移送要素30のフレア端部31内において第2のOリング36の外側に設けられる第2のワッシャー37を備えている。ワッシャーが図示されているが、本発明は、そのように制限されるべきではない。むしろ、シール部材を適所に保持するのに有用などのような手段が用いられてもよい。例えば、フレア端部は、シール部材が達し得るフレア端部の内面に形成されたリップまたは同様の他の部材を備えていてもよい。同様に、シール部材は、アダプタ本体の壁に形成された溝内に配置されるようになっていてもよい。この場合、前記溝は、シール部材を適所に保持するように機能することになる。
ワッシャーまたは同様の要素が用いられるとき、ワッシャーを流体移送要素のフレア端部内に位置決めするための手段は、種々異なっていてもよい。例えば、ワッシャーは、適所に接着されてもよいし、または溶着されてもよい。保持部材の形成は、アダプタ本体の形成中に該部材を形成する能力だけに制限されることになる。
本発明の一実施形態によるアダプタ10の全体構造が、特に、図8の断面に示されている。この図に示されているように、アダプタ本体は、多数の流路が内部に形成された単一の一体構造として、特徴付けられている。第1の流体移送要素20が第2の流体移送要素30と一体に形成されていることが分かるだろう。従って、これらの2つの要素は、互いに接続されているが、この接続は、1つの要素からの流体が他の要素からの流体と混合するどのような経路または通路も存在しない非流体的な接続である。
図8から特に明らかなように、アダプタ本体の内部は、前述したように、さらに他の要素を受け入れるように、特に設計されていてもよい。例えば、2つの要素20,30のフレア端部21,31の領域において、アダプタ本体の内部は、段差構造を有していてもよい。この実施形態では、開領域29が、第1の流体移送要素20のフレア端部21内に設けられている。この領域は、特に、以下にさらに述べるように、内視鏡装置の一部から延在している流体移送部品への取付けを容易にするために、設けられているとよい。図示されている実施形態では、このような開領域は、第2の流体移送要素30のフレア端部31内には設けられていない。何故なら、第2の流体移送要素が取り付けられることになる内視鏡装置の流体移送部品は、このような開口を必要とする広い領域を備えていないからである。勿論、他の実施形態では、同様の開領域が、第2の流体移送要素に設けられていてもよい。同様に、開領域は、第1の流体移送要素に設けられていなくてもよいし、または両方の要素に設けられていなくてもよい。
図8の断面は、一連の流路を形成するように相互接続された壁の存在をさらに示している。具体的には、アダプタ本体の壁は、液体流路25、ガス流路35、および二次ガス注入流路42を形成している。他の実施形態では、二次ガス注入流路は、単純にガス流路35の分岐とすることができ、アダプタの壁は、2つの流路、すなわち、1つの線状流路および1つの分岐流路を形成するものと見なされてもよい。
本発明のアダプタは、種々の異なる材料から作製されてもよいが、これらの材料は、アダプタを形成する方法に影響を与えることになる。いくつかの実施形態では、アダプタは、機械加工された部品であってもよい。従って、アダプタは、特に、個別に機械加工されて最終的なアダプタアセンブリを形成するように組み合わされた複数の部品から構成されていてもよい。このような組合せは、当技術分野において有用と認められているどのような手段、例えば、接着、溶着などによって、またはリベットのようなさらに他の取付要素を用いることによって行うことができる。
好ましい実施形態では、本発明のアダプタは、成形部品であってもよい。これは、単一の一体構造としてアダプタ本体をもたらすので、特に有利である。例えば、アダプタ本体は、流体移送要素および注入ポートからなる単一の一体構造として形成されていてもよい。これによって、途切れのない構造が得られる。アダプタが再利用可能である実施形態では、これによって、洗浄が簡素化され、アダプタを形成するように組合せされた多数の部分間に存在する継目内に汚染物が存在しないことが確実になる。このような構造が成形方法によって得られるとき、保持部材または同様の要素(例えば、保持リップまたは保持棚)をアダプタのフレア端部の内面内に成形することができる。他の実施形態では、アダプタ本体は、単一の一体構造として形成されてもよく、ワッシャーは、別に設けられてもよい。最終的なアダプタは、シール部材を挿入し、保持部材を挿入し、保持部材をフレア端部に取り付けることによって、得られる。このようにして、最終的なアダプタは、可動部品を有しないように、形成されることになる。
また、本発明のアダプタは、使い捨て式アダプタとして設けられてもよいし、または再利用可能アダプタとして設けられてもよいという点において、有益である。いくつかの実施形態では、本発明のアダプタは、エンドユーザが、一回使用後にアダプタを廃棄するかまたはアダプタを殺菌して再利用するかの選択枝を有するという点において、使い捨て式であると共に、再利用可能式でもある。これは、具体的には、アダプタを種々の方法を用いて種々の材料から形成する能力によって、達成可能である。従って、アダプタは、殺菌の必要性を回避するために使い捨て式としてのみ作製することができるので、十分に経済的なものとすることができる。同時に、アダプタは、多数回の殺菌手順に耐えるのに十分頑丈なものとすることができる。
アダプタ本体および保持部材は、種々の異なる材料から形成されてもよい。いくつかの実施形態では、アダプタは、金属材料から構成されている、好ましくは、金属は、非腐食性である(例えば、ステンレス鋼またはアルミニウム)。他の実施形態では、アダプタは、ポリマー材料から構成されている。ポリマー材料は、好ましくは、耐薬品性、耐熱性、または耐薬品性および耐熱性である。医学等級プラスチック材料の使用が特に望ましい。特定の一実施形態では、ポリマー材料は、ポリスルフォン(例えば、ポリフェニルスルフォン)または同様の材料である。本発明のアダプタの1つまたは複数の要素を形成するのに用いられるさらに他のポリマー材料の非制限的な例として、ポリエチレン(例えば、UHME−PE)、ポリプロピレン、ポリメチルメタクリレート(PMMA)、アセタールコポリマー、ポリサーミド、ポリカーボネート、およびポリエーテルエーテルケトン(PEEK)が挙げられる。シール部材は、このような要素の形成に有用と認められているどのような材料、例えば、天然ゴムまたは合成ゴムから形成することができる。
一実施形態では、本発明のアダプタは、3つのプラスチック要素および2つのOリングを備えることができる。これらのプラスチック要素は、液体流路およびガス流路であって、各流路がアダプタ本体内に延在し、アダプタ本体の両端で外部に開口する、液体流路およびガス流路を備えるアダプタ本体をなすことができる。アダプタ本体は、ガス流路と交差して、好ましくは、液体流路およびガス流路と実質的に直交するガス注入口を備えることができる。従って、ガス流路は、3箇所において外部に開口することになる。残りのプラスチック要素として、2つのワッシャーが挙げられる。Oリングおよびワッシャーは、アダプタ本体の一端に配置されるものである。好ましくは、アダプタ本体は、アダプタ本体の一端に2つのフレア部を備えており、Oリングおよびワッシャーは、これらのフレア部に配置されている。フレア部は、アダプタ本体の2つの個別の流路に対応している。ワッシャーは、アダプタを破壊しない限りOリングの除去を永久的に阻止するように、適所に溶着されているとよい。
本発明のアダプタは、該アダプタを周知の内視鏡装置とインラインで挿入することができるように特別に設計されているという点において、特に有用である。これは、図9,10,11に特に示されている。
さらに詳細には、本発明のアダプタは、特定の製造業者による内視鏡装置に対して専用に用いられるように、形成することができる。前述したように、典型的な内視鏡装置は、種々の要素に接続される操作本体を備えているが、接続手段は、製造業者によって異なっている。
従って、一実施形態では、本発明によるアダプタは、オリンパス製内視鏡装置に取付けるように、特に設計され、かつ形作られている。さらに詳細には、アダプタは、オリンパスOEM内視鏡(すなわち、オリンパス光学工業(株)によって製造された相手先ブランド製造による内視鏡)の水源コネクタと操作本体との間にインライン挿入されるように、設計され、かつ形作られている。
既存の内視鏡装置とインラインで用いられるアダプタの能力が、図9に示されている。この図では、本発明のアダプタ10は、一端が内視鏡操作本体100に取り付けられ、他端が水源コネクタ200に取り付けられるように、配置されている。操作本体100は、その一部から延在している2つの流体移送部品またはピン110,120を備えている。通常の使用では、流体移送ピン110,120は、水源コネクタ200内のレセプタクル210,220に係合するようになっている。アダプタ10のフレア端部21,22は、流体移送ピン110,120に係合するように、設計され、かつ形作られているとよい。具体的には、流体移送ピン110,120の少なくとも一部が、フレア端部の一方または両方の開領域に係合するようになっていてもよいし、流体移送要素20,30内に形成された流路25,35の一方または両方に係合するようになっていてもよいし、またはフレア端部の一方または両方の開領域および流路25,35の一方または両方のいずれにも係合するようになっていてもよい。内視鏡の操作本体100の流体移送ピン110,120は、水源コネクタ200内のレセプタクルに係合するように形作られているので、本発明のアダプタ10は、水源コネクタ内に形成されたレセプタクルと実質的に同じ形状および寸法を有するレセプタクルを備えるものとして、特徴付けられてもよい。特に、アダプタのフレア端部内に形成された任意の開領域および/またはアダプタ内に形成された流路は、水源コネクタ内に形成されたレセプタクルと実質的に同じ形状および寸法となるように、設計され、かつ形作られているとよい。
同様に、アダプタ10のテーパ端部22,32は、水源コネクタ200内のレセプタクルに係合するように、設計され、かつ形作られているとよい。水源コネクタ200内のレセプタクルの形状に依存して、アダプタ10は、第1および第2の中心体23,33の一方または両方の少なくとも一部が水源コネクタ200内のレセプタクルに係合するように、形成されているとよい。水源コネクタ200のレセプタクルは、内視鏡操作本体100の流体移送ピン110,120を受け入れるように形作られているので、本発明のアダプタ10は、水源コネクタへの取付けのために、内視鏡操作本体に形成されたピンと実質的に同じ形状および寸法を有するピンを備えるものとして、特徴付けられてもよい。具体的には、アダプタのテーパ端部および/またはアダプタの中心体は、内視鏡操作本体に形成されたピンと実質的に同じ形状および寸法を有するように、設計され、かつ形作られているとよい。
本発明のアダプタは、圧入装置として単純に用いられるという点において、特に有利である。具体的には、アダプタは、前述したように、圧入によって残りの要素に係合することができるものとして設計されている。例えば、アダプタのフレア端部は、内視鏡装置の流体移送ピンに対する圧入による密封係合を容易にするように、形作られているとよい。好ましくは、この係合は、どのような二次係合手段を用いることなく、(例えば、ネジカラーなどが明らかに存在することなく)、達成されるようになっている。同様に、アダプタのテーパ端部は、どのような二次係合手段も必要とすることなく、水源コネクタのレセプタクルに対する圧入による密封係合を容易にするように、形作られているとよい。
内視鏡操作本体100および水源コネクタ200に完全に係合している本発明のアダプタ10が、図10に示されている。図10に示されているように、アダプタ10のフレア端部は、内視鏡操作本体100の流体移送ピンに係合しており、アダプタ10のテーパ端部は、水源コネクタ200内のレセプタクルに係合している。さらに、アダプタ10のガス注入口40は、この係合によって、二次ガス源、例えば、COEFFICIENT内視鏡ガス吸入器への取付けに備えて配置されている。内視鏡操作本体および水源コネクタに対する本発明のアダプタの係合は、図11の断面においてさらに一層明らかにされている。
図12−20は、本発明の他の実施形態によるアダプタ300を示している。アダプタ300は、いくつかの改良を除けば、前述したアダプタ10の実施形態と同様である。以下にさらに詳細に述べるように、アダプタ300の改良は、付加的な剛性をもたらし、水源コネクタ200とのさらに確実な圧入を容易にするものである。具体的には、アダプタ300は、第1の中心体23およびテーパ端部32の周りから半径方向外方に延在するシュラウド310を備えている。従って、中心体23およびテーパ端部32は、シュラウド310の壁314によって画定された開口312内に少なくとも部分的に配置され、閉端316から開口312を通って軸方向に延在している。図12,17に示されているように、シュラウド310の壁314は、第1および第2の流体要素20,30の周囲に延在するように、軸方向かつ第1および第2の流体移送要素20,30の中心軸と実質的に平行に延在しているとよい。壁314は、閉端316から軸方向に延在し、中心体23およびテーパ端部32がシュラウド300によって全体的に包囲されて開口312内に配置されるような高さを有しているとよく、その一方、テーパ端部22は、壁の高さを超えて軸方向に延在しているとよい。しかし、壁314は、流体移送要素20,30を少なくとも部分的に包囲し、水源コネクタ200との係合を容易にするために、流体移送要素20,30に対してどのような所望の高さに延在していてもよいことを理解されたい。加えて、シュラウド300は、略楕円形状の断面を有しているとよいが、水源コネクタ200との係合を容易にするために、種々の形状を有していてもよい。図14,15は、シュラウド300がテーパ端部22,23およびフレア端部21,31よりも大きい断面積を有しているとよいことを示している。さらに、シュラウド300は、水源コネクタ200との液密接続を容易にするために種々の許容差を有するように、寸法決めされていてもよい。シュラウド300は、種々の材料、例えば、剛性を高める堅い材料または液密シールを容易にする軟質/柔軟材料から形成されていてもよい。
図12は、構造安定性および水源コネクタ200との係合を高めるために、中心体23が代替的な形状および構成を有していてもよいことも示している。例えば、中心体23は、シュラウド300の開口312内に延在するキー状端を備えていてもよい。このキー状端は、水源アダプタ内の対応するキー溝に係合するように構成されている。従って、中心体23は、水源コネクタ200との係合を容易にするために、その長さに沿って種々の形状(例えば、開口312内ではキー形状およびフレア端部21と壁316との間では円筒形状)を有していてもよい。
前述したように、アダプタは、種々の材料から形成されていてもよい。一実施形態では、アダプタ300は、種々の材料から形成された要素を備えている。例えば、テーパ端部22は、金属材料から形成されていてもよく、アダプタ300の残りの部分は、ポリマー材料から一体的に形成されていてもよい。すなわち、テーパ端部22は、水源コネクタ200にさらに確実に係合するために、アダプタ300の残り部分よりも耐久性がありかつ剛性のある材料から形成されているとよい。一実施形態では、テーパ端部22は、金属材料であるとよく、第1の中心体23は、適切な成形または他の技術によって要素に確実に取り付けられるために、テーパ端部の周囲に成形されるプラスチック材料であるとよい。他の要素が金属材料および/またはポリマー材料から形成されていてもよいことを理解されたい。例えば、テーパ端部32は、代替的に金属材料から形成されていてもよい。
他の態様では、本発明は、本発明のアダプタを使用する種々の方法も提供している。例えば、本発明は、内視鏡手術を行う方法に向けられている。一実施形態では、この方法は、内視鏡装置と、水源と、ガス源と、本明細書に記載されている実施形態のいずれかに記載されているアダプタとを備えるアセンブリを用いることを含んでいる。換言すれば、本発明のアダプタは、使用時に、OEM内視鏡、特に、水源コネクタ内のレセプタクルに係合する流体移送ピンを有する内視鏡、例えば、オリンパス製内視鏡と組み合わされるようになっているとよい。
前述したように、本発明は、内視鏡への二次ガスの容易かつ効率的な送達を可能にする点において、特に有益である。従って、他の態様では、本発明は、二次ガスを内視鏡手術に供給するための方法にも向けられている。いくつかの実施形態では、この方法は、コネクタの付いた水源が取り付けられている内視鏡装置を用いることを含んでいる。特に、内視鏡装置は、水源コネクタ内のレセプタクルに係合する流体移送ピンを有するものであるとよい。この方法は、本発明のいずれかの実施形態によるアダプタを用いることをさらに含んでいる。特に、本方法は、水源コネクタと内視鏡装置との間に本発明によるアダプタを固定し、二次ガスをアダプタのガス注入ポートを介して内視鏡装置に供給することを含んでいる。医学手術または獣医手術に用いられるのに適するどのようなガスが供給されてもよいが、特定の実施形態では、二次ガスは、二酸化炭素とすることができる。
前述の説明に提示された示唆の利得を受けるこれらの発明が属する技術分野における当業者であれば、ここに述べた本発明の多くの修正形態および他の実施形態を思いつくことができるだろう。従って、本発明は、開示されている特定の実施形態に制限されるものではなく、修正形態および他の実施形態は、添付の請求項の範囲内に含まれることが意図されていることを理解されたい。本明細書において、特定の用語は、包括的かつ記述的な意味でのみ用いられており、限定する目的で用いられるものではない。

Claims (20)

  1. アダプタ本体を備えた内視鏡装置用アダプタであって、前記アダプタ本体は、
    第2の流体移送要素に非流体接続している第1の流体移送要素であって、前記第1および第2の流体移送要素の各々が、外面と内面とを備えた壁を有し、前記各内面は対応する前記壁内に延在する第1および第2の流路を画定し、かつ、前記各流体移送要素は、フレア端部およびテーパ端部を有し、前記第1および第2の流路の各々は、前記フレア端部と前記テーパ端部との間に延在している第1の流体移送要素と、
    前記第2の流体移送要素の前記外面から外方に延在し、前記第2の流路と流体接続する中心通路を有する注入ポートと、
    を有しており、
    前記アダプタは、前記第1および第2の流路が内視鏡装置および水源コネクタに流体接続されるように、前記内視鏡装置と前記水源コネクタとの間にインラインで取り付け可能に構成されており、
    前記第1の流体移送要素内の前記流路は液体流路であり、前記第2の流体移送要素内の前記流路はガス流路であり、前記注入ポートは、前記注入ポートの前記中心通路が前記ガス流路と流体接続するように、前記第2の流体移送要素から外方に延在しており、
    前記注入ポートは、前記内視鏡装置に供給するための二次ガス源を受容可能に構成されている、アダプタ。
  2. 前記第1および第2の流体移送要素の前記フレア端部の一方または両方の前記内面に配置されたシール部材をさらに備えている、請求項1に記載のアダプタ。
  3. 前記注入ポートは、ルアーコネクタまたはバーブコネクタを備えている、請求項1に記載のアダプタ。
  4. 前記注入ポートは、前記流体移送要素の前記外面と実質的に直交している、請求項1に記載のアダプタ。
  5. 前記アダプタ本体は、単一の一体構造である、請求項1に記載のアダプタ。
  6. 前記ガス流路の前記テーパ端部における前記ガス流路の内径は、前記液体流路の前記テーパ端部における前記液体流路の内径よりも大きくなっている、請求項1に記載のアダプタ。
  7. 前記第1の流体移送要素の前記フレア端部の外径は、前記第2の流体移送要素の前記フレア端部の外径よりも大きくなっている、請求項1に記載のアダプタ。
  8. 前記フレア端部は、二次係合手段を用いることなく、前記内視鏡装置の流体移送部品に対する圧入による密封係合を容易にするように、形作られている、請求項1に記載のアダプタ。
  9. 前記テーパ端部は、二次係合手段を用いることなく、水源コネクタレセプタクルに対する圧入による密封係合を容易にするように、形作られている、請求項11に記載のアダプタ。
  10. 前記第1および第2の流体移送要素は、実質的に互いに平行に配置されており、側部同士が接続されている、請求項1に記載のアダプタ。
  11. 前記アダプタ本体は、ポリマー材料から構成されている、請求項1に記載のアダプタ。
  12. 二次ガス源を前記第2の流体移送流路に供給するために、前記注入ポートとガス注入器ユニットとの間に連結された配管をさらに備えている、請求項1に記載のアダプタ。
  13. 前記第1の流体移送要素は、前記第2の流体移送要素よりも大きい長さを有している、請求項1に記載のアダプタ。
  14. 前記第1および第2の流体移送要素の各々は、前記テーパ端部と前記フレア端部との間に中心体を備えている、請求項1に記載のアダプタ。
  15. 前記中心体の前記外径は、前記第1および第2の流体移送要素の前記テーパ端部の各々の外径よりも大きくなっており、前記中心体の前記外径は、前記第1および第2の流体移送要素の前記フレア端部の各々の外径よりも小さくなっている、請求項14に記載のアダプタ。
  16. 前記第1および第2の流体移送要素の前記フレア端部の各々の外径は、前記第1および第2の流体移送要素の前記テーパ端部の各々の外径よりも大きくなっている、請求項1に記載のアダプタ。
  17. 前記第1および第2の流体移送要素の前記フレア端部は、金属材料から構成されており、前記アダプタ本体の残りの部分は、ポリマー材料から構成されている、請求項1に記載のアダプタ。
  18. 前記第1および第2の流体移送要素の前記外面から半径方向外方に延在しているシュラウドをさらに備えており、前記シュラウドは、前記第1および/または第2の流体移送要素の前記テーパ端部を少なくとも部分的に包囲するように前記第1および第2の流体移送要素に対して軸方向にさらに延在している、請求項1に記載のアダプタ。
  19. 前記シュラウドは、前記第1および/または第2の流体移送要素の前記テーパ端部を少なくとも部分的に収容するための開口を画定するように前記第1および第2の流体移送要素の周りに周方向に延在する壁を備えている、請求項18に記載のアダプタ。
  20. 前記シュラウドは、前記第2の流体移送要素の前記テーパ端部が前記シュラウドによって完全に包囲されるように軸方向に延在しており、前記第1の流体移送要素の前記テーパ端部は、前記シュラウドによって完全に包囲されていない、請求項18に記載のアダプタ。
JP2012526984A 2009-08-31 2010-08-26 内視鏡装置用インラインガスアダプタ Active JP5368639B2 (ja)

Applications Claiming Priority (3)

Application Number Priority Date Filing Date Title
US23833209P 2009-08-31 2009-08-31
US61/238,332 2009-08-31
PCT/US2010/046805 WO2011025879A1 (en) 2009-08-31 2010-08-26 In-line gas adaptor for endoscopic apparatus

Publications (2)

Publication Number Publication Date
JP2013503004A JP2013503004A (ja) 2013-01-31
JP5368639B2 true JP5368639B2 (ja) 2013-12-18

Family

ID=43064367

Family Applications (1)

Application Number Title Priority Date Filing Date
JP2012526984A Active JP5368639B2 (ja) 2009-08-31 2010-08-26 内視鏡装置用インラインガスアダプタ

Country Status (7)

Country Link
US (3) US8454498B2 (ja)
EP (1) EP2473088B1 (ja)
JP (1) JP5368639B2 (ja)
CN (1) CN102686142B (ja)
BR (1) BR112012004514A8 (ja)
CA (1) CA2772341A1 (ja)
WO (1) WO2011025879A1 (ja)

Families Citing this family (48)

* Cited by examiner, † Cited by third party
Publication number Priority date Publication date Assignee Title
JP2011518000A (ja) 2008-04-16 2011-06-23 ブラッコ・ダイアグノスティクス・インコーポレーテッド 内視鏡の水ボトル用アダプタ
US11547275B2 (en) 2009-06-18 2023-01-10 Endochoice, Inc. Compact multi-viewing element endoscope system
US9706903B2 (en) 2009-06-18 2017-07-18 Endochoice, Inc. Multiple viewing elements endoscope system with modular imaging units
US9713417B2 (en) 2009-06-18 2017-07-25 Endochoice, Inc. Image capture assembly for use in a multi-viewing elements endoscope
US12137873B2 (en) 2009-06-18 2024-11-12 Endochoice, Inc. Compact multi-viewing element endoscope system
US11278190B2 (en) 2009-06-18 2022-03-22 Endochoice, Inc. Multi-viewing element endoscope
US9642513B2 (en) 2009-06-18 2017-05-09 Endochoice Inc. Compact multi-viewing element endoscope system
US9554692B2 (en) 2009-06-18 2017-01-31 EndoChoice Innovation Ctr. Ltd. Multi-camera endoscope
US9901244B2 (en) 2009-06-18 2018-02-27 Endochoice, Inc. Circuit board assembly of a multiple viewing elements endoscope
US9872609B2 (en) 2009-06-18 2018-01-23 Endochoice Innovation Center Ltd. Multi-camera endoscope
US10165929B2 (en) 2009-06-18 2019-01-01 Endochoice, Inc. Compact multi-viewing element endoscope system
US9492063B2 (en) 2009-06-18 2016-11-15 Endochoice Innovation Center Ltd. Multi-viewing element endoscope
US9101268B2 (en) 2009-06-18 2015-08-11 Endochoice Innovation Center Ltd. Multi-camera endoscope
US11864734B2 (en) 2009-06-18 2024-01-09 Endochoice, Inc. Multi-camera endoscope
US9101287B2 (en) 2011-03-07 2015-08-11 Endochoice Innovation Center Ltd. Multi camera endoscope assembly having multiple working channels
US8926502B2 (en) 2011-03-07 2015-01-06 Endochoice, Inc. Multi camera endoscope having a side service channel
US9402533B2 (en) 2011-03-07 2016-08-02 Endochoice Innovation Center Ltd. Endoscope circuit board assembly
JP5368639B2 (ja) 2009-08-31 2013-12-18 ブラッコ・ダイアグノスティクス・インコーポレーテッド 内視鏡装置用インラインガスアダプタ
WO2011032067A1 (en) 2009-09-14 2011-03-17 Bracco Diagnostics Inc. In-line gas adaptor for endoscopic apparatus
US12220105B2 (en) 2010-06-16 2025-02-11 Endochoice, Inc. Circuit board assembly of a multiple viewing elements endoscope
US9560953B2 (en) 2010-09-20 2017-02-07 Endochoice, Inc. Operational interface in a multi-viewing element endoscope
EP4233680B1 (en) 2010-09-20 2025-06-18 EndoChoice, Inc. Endoscope distal section comprising a unitary fluid channeling component
US12204087B2 (en) 2010-10-28 2025-01-21 Endochoice, Inc. Optical systems for multi-sensor endoscopes
US20130296649A1 (en) 2010-10-28 2013-11-07 Peer Medical Ltd. Optical Systems for Multi-Sensor Endoscopes
EP2649648A4 (en) 2010-12-09 2014-05-21 Endochoice Innovation Ct Ltd FLEXIBLE ELECTRONIC CIRCUIT BOARD FOR A MULTI-CAMERA ENDOSCOPE
EP3420886B8 (en) 2010-12-09 2020-07-15 EndoChoice, Inc. Flexible electronic circuit board multi-camera endoscope
US11889986B2 (en) 2010-12-09 2024-02-06 Endochoice, Inc. Flexible electronic circuit board for a multi-camera endoscope
EP3228236A1 (en) 2011-02-07 2017-10-11 Endochoice Innovation Center Ltd. Multi-element cover for a multi-camera endoscope
EP2604172B1 (en) 2011-12-13 2015-08-12 EndoChoice Innovation Center Ltd. Rotatable connector for an endoscope
EP3659491A1 (en) 2011-12-13 2020-06-03 EndoChoice Innovation Center Ltd. Removable tip endoscope
USD693465S1 (en) * 2011-12-23 2013-11-12 Karl Storz Gmbh & Co. Kg Endoscope connector
WO2013148311A1 (en) 2012-03-30 2013-10-03 Bracco Diagnostics Inc. Water bottle cap assemblies for an endoscopic device
US9560954B2 (en) * 2012-07-24 2017-02-07 Endochoice, Inc. Connector for use with endoscope
CN102853248A (zh) * 2012-08-07 2013-01-02 李兆申 消化内镜用注气瓶
US9993142B2 (en) 2013-03-28 2018-06-12 Endochoice, Inc. Fluid distribution device for a multiple viewing elements endoscope
US9986899B2 (en) 2013-03-28 2018-06-05 Endochoice, Inc. Manifold for a multiple viewing elements endoscope
US10499794B2 (en) 2013-05-09 2019-12-10 Endochoice, Inc. Operational interface in a multi-viewing element endoscope
GB2517397A (en) * 2013-05-17 2015-02-25 Partners For Endoscopy Ltd A gas and liquid supply system for an endoscope
JP5838189B2 (ja) * 2013-09-06 2016-01-06 富士フイルム株式会社 内視鏡システム
US9161680B2 (en) 2013-11-26 2015-10-20 Bracco Diagnostics Inc. Disposable air/water valve for an endoscopic device
GB2538535B (en) * 2015-05-20 2020-02-26 Keymed Medical & Ind Equipment Ltd Endoscope valve
JP7123080B2 (ja) * 2018-02-06 2022-08-22 オリンパス株式会社 気腹器、気腹器用コネクタおよび気腹装置
GB201816769D0 (en) * 2018-10-15 2018-11-28 Meditech Endoscopy Ltd Connector
KR102864973B1 (ko) * 2018-11-02 2025-09-29 보스톤 싸이언티픽 리미티드 생검 캡 및 하우징을 위한 디바이스, 시스템 및 방법
US11865072B2 (en) * 2020-07-29 2024-01-09 Boston Scientific Scimed, Inc. Universal fluid container adapter
US12134099B2 (en) 2021-06-01 2024-11-05 Invetech Ip Llc Needle-less access vial and cap for the aseptic sampling and storage of liquids
JP2025528445A (ja) * 2022-09-01 2025-08-28 ボストン サイエンティフィック サイムド,インコーポレイテッド 内視鏡システムのための漏れ防止装置、システム、および方法
US20240172924A1 (en) * 2022-11-30 2024-05-30 Boston Scientific Scimed, Inc. Air/water connector to prevent water leaking

Family Cites Families (182)

* Cited by examiner, † Cited by third party
Publication number Priority date Publication date Assignee Title
US1034170A (en) 1912-05-08 1912-07-30 George P Vanier Potash-bulb.
US3135412A (en) 1962-03-08 1964-06-02 Cornelius Co Fluid coupling
US3222135A (en) 1962-11-27 1965-12-07 F & M Scient Corp Apparatus for the preparation of fluid samples
US3390897A (en) 1965-08-13 1968-07-02 Esquire Inc Connector
JPS5943477B2 (ja) 1974-12-05 1984-10-22 大日本製薬株式会社 セフアロスポリン類の製造法
JPS5220103A (en) 1975-08-08 1977-02-15 Gakken Co Ltd Method of making plate for silk screen printing
US4108172A (en) 1975-09-25 1978-08-22 Moore Jr George B Carbon dioxide absorption canister for use with analgesia equipment
JPS5337074A (en) 1977-06-20 1978-04-05 Seiko Epson Corp Digital display chronograph watch
FR2415451A1 (fr) 1978-01-26 1979-08-24 Bernard Parent Hysteroscope de diagnostic a vision panoramique
US4325362A (en) 1978-03-28 1982-04-20 Kabushiki Kaisha Medos Kenkyusho Endoscope
US4261343A (en) 1978-03-28 1981-04-14 Kabushiki Kaisha Medos Kenkyusho Endoscope
US4311134A (en) 1978-05-19 1982-01-19 Olympus Optical Co., Ltd. Fluid feeding device for an endoscope
JPS5568350A (en) 1978-11-20 1980-05-23 Olympus Optical Co Connector for endoscope
US4262671A (en) * 1979-10-31 1981-04-21 Baxter Travenol Laboratories, Inc. Airway connector
US4416268A (en) * 1980-07-10 1983-11-22 Olympus Optical Co., Ltd. Endoscope having two detachable armour tubes
USD267743S (en) 1980-12-15 1983-01-25 Ivac Corporation Pressure diaphragm
USD271618S (en) 1981-03-13 1983-11-29 Olympus Optical Co., Ltd. Adaptor for endoscope
US4350647A (en) 1981-06-19 1982-09-21 Respiratory Care, Inc. Permanent adapter for a medical humidifier
JPS5846930A (ja) 1981-09-17 1983-03-18 オリンパス光学工業株式会社 内視鏡の送気送液装置
JPS5886133A (ja) 1981-11-19 1983-05-23 オリンパス光学工業株式会社 内視鏡用送液装置
JPS5889232A (ja) 1981-11-20 1983-05-27 オリンパス光学工業株式会社 内視鏡
US4474574A (en) 1982-01-11 1984-10-02 Alza Corporation Formulation dispenser for use with a parenteral delivery system
USD280206S (en) 1982-04-14 1985-08-20 Olympus Optical Company, Ltd. Connector for endoscope
JPS5915017U (ja) 1982-07-19 1984-01-30 株式会社町田製作所 内視鏡の接続構造
US4464316A (en) 1982-07-23 1984-08-07 Baxter Travenol Laboratories, Inc. Non-refillable humidifier container
JPS59105102U (ja) 1982-12-28 1984-07-14 オリンパス光学工業株式会社 気密内視鏡用漏洩検査装置
JPS59160431A (ja) 1983-03-01 1984-09-11 オリンパス光学工業株式会社 内視鏡の送気送液装置
US4548197A (en) 1983-03-22 1985-10-22 Olympus Optical Co., Ltd. Air and liquid supplying device for endoscope
JPS59203532A (ja) 1983-04-30 1984-11-17 オリンパス光学工業株式会社 内視鏡用送液装置
US4494252A (en) 1983-08-22 1985-01-22 Bear Medical Systems, Inc. Laryngeal prosthesis
US4539586A (en) 1983-10-07 1985-09-03 Welch Allyn Inc. Connector module for video endoscopic system
US4637378A (en) * 1984-11-01 1987-01-20 Olympus Optical Co., Ltd. Cleaning apparatus for endoscope
US4701159A (en) * 1984-12-05 1987-10-20 I-Flow Corporation Multilumen catheter set
US4667655A (en) 1985-01-21 1987-05-26 Olympus Optical Co., Ltd. Endoscope apparatus
USD299538S (en) 1985-05-01 1989-01-24 Vi-Tal Hospital Products, Ltd. Pressure responsive chamber for monitoring pressure in an infusion set
JPS6234525A (ja) 1985-08-09 1987-02-14 オリンパス光学工業株式会社 内視鏡装置
JPS62125501U (ja) 1986-01-30 1987-08-10
US4748970A (en) 1986-05-30 1988-06-07 Olympus Optical Co., Ltd. Endoscope systems
JPH0446721Y2 (ja) 1986-06-12 1992-11-04
US4691701A (en) 1986-07-28 1987-09-08 Tudor Williams R Carbon dioxide detector
SE453801B (sv) * 1986-08-06 1988-03-07 Ingvar Andersson Koppling for medicinskt bruk
US4800869A (en) 1987-02-13 1989-01-31 Olympus Optical Co. Ltd. Endoscope
JP2602823B2 (ja) 1987-03-11 1997-04-23 株式会社東芝 内視鏡の送液送気装置
JPH0698120B2 (ja) 1987-03-23 1994-12-07 オリンパス光学工業株式会社 ビデオスコープシステム
CA1330285C (en) 1987-12-22 1994-06-21 Geoffrey S. Martin Triple lumen catheter
DE3831661C1 (ja) 1988-09-17 1990-02-22 Richard Wolf Gmbh, 7134 Knittlingen, De
US5027791A (en) 1988-12-22 1991-07-02 Asahi Kogaku Kogyo Kabushiki Kaisha Air and water supply apparatus for endoscope
US5083549A (en) 1989-02-06 1992-01-28 Candela Laser Corporation Endoscope with tapered shaft
JPH01280437A (ja) 1989-03-24 1989-11-10 Olympus Optical Co Ltd 内視鏡用送液装置
US4905852A (en) 1989-05-26 1990-03-06 Zapata Industries, Inc. Plastic closure with improved seal
DE4000410C2 (de) 1990-01-09 1998-05-14 Baeuerle Dieter Endoskop mit einem Instrumentierkanal
US5125915A (en) 1990-03-02 1992-06-30 Cardiopulmonics, Inc. Locking y-connector for selective attachment to exterior of medical tubing
JPH0422327A (ja) 1990-05-18 1992-01-27 Olympus Optical Co Ltd 内視鏡用管路制御装置
US5054481A (en) 1990-08-29 1991-10-08 Shin Hae Ryun Infusion apparatus to supply compressed air into an industrial mask
US5133336A (en) * 1990-10-22 1992-07-28 Endoscopy Support Services, Inc. Disposable liquid supply system for use in an endoscope
US5163576A (en) 1991-06-21 1992-11-17 Galer Herbert W Lid and container assembly incorporating camming lid application structure
DE4220701C2 (de) 1991-08-02 2001-02-08 Olympus Optical Co Reinigungsvorrichtung für ein Endoskop
AU656628B2 (en) 1991-10-18 1995-02-09 United States Surgical Corporation Endoscopic surgical instrument for aspiration and irrigation
AU1978192A (en) 1992-01-24 1993-09-01 Frantz Medical Development Ltd. Endoscope sterile liquid supply system
US5192439A (en) 1992-02-03 1993-03-09 Electromedics, Inc. Blood collection reservoir and filter device
US5309906A (en) * 1992-10-28 1994-05-10 Smiths Industries Medical Systems, Inc. Endobronchial tube assembly
JPH079301U (ja) 1993-07-20 1995-02-10 旭光学工業株式会社 内視鏡の送気送水切換装置
IL112387A (en) 1994-02-01 1997-07-13 Crown Cork Ag Screwable closure cap with security against over- tightening
AUPM413594A0 (en) * 1994-02-28 1994-03-24 Psk Connectors Pty. Ltd. Endoscope cleaning system
US5697888A (en) 1994-04-21 1997-12-16 Olympus Optical Co., Ltd. Endoscope apparatus having valve device for supplying water and gas
JPH08106052A (ja) 1994-10-05 1996-04-23 Asahi Optical Co Ltd 内視鏡の給水装置
JP3512485B2 (ja) 1994-10-14 2004-03-29 オリンパス株式会社 内視鏡システム
JP3318921B2 (ja) * 1995-02-21 2002-08-26 ニプロ株式会社 スタイレットおよびスタイレット用コネクター
US5634880A (en) 1995-05-22 1997-06-03 Johnson & Johnson Medical, Inc. Endoscope pressure equalization system and method
JP3627344B2 (ja) 1996-01-09 2005-03-09 フジノン株式会社 体腔内検査装置の送液装置
US5902264A (en) 1996-04-26 1999-05-11 United States Surgical Corporation Endoscopic surgical instrument for aspiration and irrigation
JP2905152B2 (ja) 1996-09-02 1999-06-14 株式会社東芝 内視鏡の送気送液装置
JPH1099558A (ja) 1996-09-30 1998-04-21 Sony Corp 対戦装置及びロボツト装置
JP3720487B2 (ja) 1996-10-02 2005-11-30 オリンパス株式会社 注液装置
USD392046S (en) 1996-11-08 1998-03-10 Bracco Diagnostics, Inc. Medicament container closure with integral spike access means
US5810718A (en) 1997-02-14 1998-09-22 Fuji Photo Optical Co., Ltd. Coupler structure for tube units of endoscopes
JP3850097B2 (ja) 1997-04-04 2006-11-29 オリンパス株式会社 内視鏡コネクタ装置
US6189870B1 (en) 1997-07-01 2001-02-20 Gordon Withall Dual port medical oxygen humidifier
CA2212430A1 (en) 1997-08-07 1999-02-07 George Volgyesi Inhalation device
US20040173556A1 (en) 1997-09-19 2004-09-09 Smolko Daniel D. Vented closures for containers
IL122111A (en) 1997-11-04 2004-06-01 Sightline Techn Ltd Rectoscope video
US6210322B1 (en) 1998-02-09 2001-04-03 Donny M. Byrne Adapter for the connection of a water bottle to an endoscope
US6309347B1 (en) 1998-03-17 2001-10-30 Fuji Photo Optical Co., Ltd. Air and water supply system for endoscopes
US6485412B1 (en) 1998-10-05 2002-11-26 Donny M. Byrne Adapter for the connection of a water bottle to an endoscope
DE19907594B4 (de) 1999-02-22 2005-02-10 Richard Wolf Gmbh Einrichtung zur Versorgung eines medizinischen Instrumentes mit Spülflüssigkeit
US6220482B1 (en) 1999-04-06 2001-04-24 Link Research And Development Inc. Controlled product dispensing system
US6485684B1 (en) 2000-02-07 2002-11-26 Steris Inc. Fluid connection system for endoscope reprocessing with controlled leakage
JP2001299685A (ja) 2000-04-18 2001-10-30 Asahi Optical Co Ltd 体腔内洗浄用送水装置
JP4554808B2 (ja) 2000-12-14 2010-09-29 Hoya株式会社 内視鏡用給水装置
US6582395B1 (en) * 2000-12-14 2003-06-24 J & R Medical Devices, Inc. Feeding tube device and method
US6575946B2 (en) 2001-04-16 2003-06-10 Andrew I. Sealfon Portable aspirating device with anti-splash baffle
US6855109B2 (en) 2001-07-18 2005-02-15 Pentax Corporation Portable endoscope
JP3845275B2 (ja) 2001-07-18 2006-11-15 ペンタックス株式会社 携帯内視鏡
US6764442B2 (en) 2001-08-10 2004-07-20 Pentax Corporation Liquid and gas supply apparatus and portable endoscope with the same
JP3820121B2 (ja) 2001-08-21 2006-09-13 ペンタックス株式会社 携帯内視鏡
JP3898921B2 (ja) 2001-08-31 2007-03-28 ペンタックス株式会社 送気、送液用のボトルを備えた携帯用内視鏡
JP4199445B2 (ja) 2001-09-06 2008-12-17 Hoya株式会社 内視鏡用送気・送液装置およびそれを含む携帯用内視鏡
JP2003111721A (ja) 2001-10-04 2003-04-15 Pentax Corp 内視鏡用送液装置及び内視鏡の送液装置用液体貯留タンクホルダー
US20030073971A1 (en) 2001-10-17 2003-04-17 Saker Gordon Mark Universal connector and method for securing flexible tube assemblies
US6845412B1 (en) * 2001-11-07 2005-01-18 Lsi Logic Corporation Method and system for a host processor to broadcast data to instruction or data memories of several processors in a multi-processor integrated circuit
US6860516B2 (en) 2001-12-07 2005-03-01 Pentax Corporation Channel tube coupling structure for anti-pollution type endoscope
US6698424B2 (en) * 2001-12-21 2004-03-02 Kimberly-Clark Worldwide, Inc. Medical connector for a respiratory assembly
JP4056792B2 (ja) 2002-05-27 2008-03-05 ペンタックス株式会社 内視鏡
JP4324758B2 (ja) 2002-10-23 2009-09-02 フジノン株式会社 内視鏡の送液装置
JP4190252B2 (ja) 2002-10-30 2008-12-03 Hoya株式会社 内視鏡の送気管路通水用アダプタ
US8100879B2 (en) 2002-11-18 2012-01-24 Nestec S.A. Connector device for enteral administration set
JP2004242877A (ja) 2003-02-13 2004-09-02 Olympus Corp 内視鏡装置
US20040199052A1 (en) 2003-04-01 2004-10-07 Scimed Life Systems, Inc. Endoscopic imaging system
JP2004337311A (ja) 2003-05-14 2004-12-02 Olympus Corp 内視鏡システム
JP4144444B2 (ja) 2003-06-20 2008-09-03 フジノン株式会社 内視鏡の送液装置
CA2532652C (en) 2003-07-22 2008-04-29 Olympus Corporation Method for high-temperature high-pressure steam sterilization treatment of endoscope and endoscope
DE10334562B4 (de) 2003-07-29 2005-06-09 Erbe Elektromedizin Gmbh Chirurgisches Instrument
GB0317801D0 (en) 2003-07-30 2003-09-03 Intersurgical Ltd Improvements relating to exhalation valves
JP4555014B2 (ja) 2003-08-22 2010-09-29 Hoya株式会社 接合方法、医療機器用ユニット部品接合体および内視鏡
WO2005077249A1 (ja) 2004-02-16 2005-08-25 Olympus Corporation 内視鏡システム
WO2005082228A1 (ja) 2004-02-26 2005-09-09 Olympus Corporation 内視鏡および内視鏡システム
JP2005245668A (ja) 2004-03-03 2005-09-15 Pentax Corp 内視鏡の送水管路洗浄用コネクタ
JP3804806B2 (ja) 2004-03-16 2006-08-02 有限会社エスアールジェイ 内視鏡装置
JP2005304780A (ja) 2004-04-21 2005-11-04 Olympus Corp 医療用ベッド
JP4472414B2 (ja) 2004-04-26 2010-06-02 オリンパス株式会社 内視鏡
JP3917987B2 (ja) 2004-05-11 2007-05-23 オリンパス株式会社 送水タンク構造
US7766898B2 (en) 2004-05-24 2010-08-03 Merit Medical Systems, Inc. Non-circular side port bore for introducer sheath
JP4528051B2 (ja) 2004-07-30 2010-08-18 富士フイルム株式会社 内視鏡
CA2578537A1 (en) 2004-09-03 2006-03-09 Stryker Gi Ltd. Control system for supplying fluid medium to endoscope
JP2005021710A (ja) 2004-09-06 2005-01-27 Olympus Corp 注液装置
US20060068360A1 (en) 2004-09-30 2006-03-30 Scimed Life Systems, Inc. Single use fluid reservoir for an endoscope
US7597662B2 (en) 2004-09-30 2009-10-06 Boston Scientific Scimed, Inc. Multi-fluid delivery system
US8083671B2 (en) 2004-09-30 2011-12-27 Boston Scientific Scimed, Inc. Fluid delivery system for use with an endoscope
JP4531521B2 (ja) 2004-10-18 2010-08-25 Hoya株式会社 内視鏡用給水ボトル装置
JP4531523B2 (ja) 2004-10-20 2010-08-25 Hoya株式会社 内視鏡用の液体貯溜装置
JP4661190B2 (ja) 2004-11-30 2011-03-30 富士フイルム株式会社 洗浄アダプタ
WO2006066023A2 (en) 2004-12-14 2006-06-22 C. R. Bard, Inc. Fast clear port
WO2006064713A1 (ja) 2004-12-15 2006-06-22 Olympus Medical Systems Corp. 送気装置、送気装置の制御方法、送気システム、及び内視鏡システム
JP2006167064A (ja) 2004-12-15 2006-06-29 Pentax Corp 内視鏡の給水接続アダプタ
JP2006280536A (ja) 2005-03-31 2006-10-19 Fujinon Corp 内視鏡
JP4674383B2 (ja) 2005-03-31 2011-04-20 富士フイルム株式会社 内視鏡
JP4730587B2 (ja) 2005-03-31 2011-07-20 富士フイルム株式会社 携帯内視鏡
WO2006109351A1 (ja) 2005-04-05 2006-10-19 Olympus Medical Systems Corp. 流体供給装置用コネクタ、流体供給装置
US20060266423A1 (en) 2005-05-25 2006-11-30 Fujinon Corporation Water feeding device for endoscope
US7914519B2 (en) 2005-06-23 2011-03-29 Elcam Medical Agricultural Cooperative Association, Ltd. Catheter device
US20070043262A1 (en) 2005-08-18 2007-02-22 Sightline Technologies Ltd. Fluid supply for endoscope
US8152716B2 (en) * 2005-08-18 2012-04-10 Stryker Gi Ltd. Versatile control system for supplying fluid medium to endoscope
JP2007054125A (ja) 2005-08-22 2007-03-08 Olympus Medical Systems Corp 内視鏡
JP2007089623A (ja) 2005-09-27 2007-04-12 Pentax Corp 内視鏡用送水装置
US7806850B2 (en) 2005-10-24 2010-10-05 Bracco Diagnostics Inc. Insufflating system, method, and computer program product for controlling the supply of a distending media to an endoscopic device
US8852167B2 (en) 2005-12-01 2014-10-07 Bayer Medical Care Inc. Medical connector
US7578294B2 (en) 2005-12-02 2009-08-25 Allegiance Corporation Nasal continuous positive airway pressure device and system
JP2007252673A (ja) 2006-03-24 2007-10-04 Fujinon Corp 内視鏡の観察窓洗浄機構
JP2007252834A (ja) 2006-03-27 2007-10-04 Pentax Corp 内視鏡装置
JP4812515B2 (ja) 2006-05-26 2011-11-09 富士フイルム株式会社 洗浄アダプタ
US20090032533A1 (en) 2006-07-06 2009-02-05 Axial Technologies Ltd. Flow switch and container
JP2008029742A (ja) 2006-07-31 2008-02-14 Pentax Corp 内視鏡
US20080132763A1 (en) 2006-12-04 2008-06-05 Isaacson Keith B Apparatus And Method For An Endoscope Pump
US8591453B2 (en) 2006-12-20 2013-11-26 Linvatec Corporation Dual pump arthroscopic irrigation/aspiration system with outflow control
US8770198B2 (en) 2006-12-21 2014-07-08 Resmed Limited Connector
DE602008005001D1 (ja) 2007-03-01 2011-03-31 Jorge A Campos
WO2008122969A1 (en) 2007-04-10 2008-10-16 Stryker Gi Ltd. Versatile control system for supplying fluid medium to endoscope
JP2008272108A (ja) 2007-04-26 2008-11-13 Olympus Medical Systems Corp 医療装置
WO2009036102A2 (en) * 2007-09-10 2009-03-19 Medfilters, Llc Filter for a medical instrument assembly
JP5519520B2 (ja) 2007-11-06 2014-06-11 エイオーティーアイ,インコーポレイテッド 高圧創傷治療装置
US7837769B2 (en) 2007-11-27 2010-11-23 Rhone Daniel Lahr Method and apparatus for degassing fluid in enclosed containers
JP5364273B2 (ja) 2008-01-28 2013-12-11 サーパス工業株式会社 プラグ構造
JP2009189637A (ja) * 2008-02-15 2009-08-27 Fujinon Corp 内視鏡の流体供給装置
JP2011518000A (ja) 2008-04-16 2011-06-23 ブラッコ・ダイアグノスティクス・インコーポレーテッド 内視鏡の水ボトル用アダプタ
US8967139B2 (en) 2008-04-29 2015-03-03 Carefusion Corporation Respiratory connector and arrangement for connecting an inspiratory tube and an expiratory tube to a medical apparatus
DE102008026457A1 (de) * 2008-06-03 2009-12-10 Karl Storz Gmbh & Co. Kg Medizinisches Instrument
ES2791026T3 (es) 2008-06-30 2020-10-30 Saban Ventures Pty Ltd Un recipiente con un acceso sellado frangible y un orificio de ventilación permeable al vapor
USD612496S1 (en) 2008-07-15 2010-03-23 Keymed (Medical & Industrial Equipment) Ltd. Endoscope instrument channel adaptor
US8221313B2 (en) 2008-07-28 2012-07-17 Olympus Medical Systems Corp. Endoscope apparatus
JP2010057728A (ja) 2008-09-04 2010-03-18 Fujinon Corp 配管接続アダプタ
MX2008014203A (es) 2008-11-06 2010-05-06 Jorge Alberto Campos Castellanos Sistema de endoscopio intuitivo, ergonomico, multifuncional, con vaina de diferentes elasticidades y punta complementaria a los orificios naturales.
USD639940S1 (en) 2009-04-15 2011-06-14 Bracco Diagnostics Inc. Gas water bottle adaptor
JP5368639B2 (ja) 2009-08-31 2013-12-18 ブラッコ・ダイアグノスティクス・インコーポレーテッド 内視鏡装置用インラインガスアダプタ
WO2011032067A1 (en) 2009-09-14 2011-03-17 Bracco Diagnostics Inc. In-line gas adaptor for endoscopic apparatus
CN101732082B (zh) 2009-11-06 2011-06-22 广州宝胆医疗器械科技有限公司 软、硬子母胆囊、胆管镜系统
US9144373B2 (en) 2010-04-26 2015-09-29 United States Endoscopy Group, Inc. Water bottle adapter for coupling an endoscope to a water bottle
US20120277536A1 (en) 2010-04-26 2012-11-01 Kaye Christopher J Water bottle adapter for coupling an endoscope to a water bottle
US8827317B2 (en) 2010-05-07 2014-09-09 Welch Allyn, Inc. Medical device adaptor
USD652923S1 (en) 2010-10-01 2012-01-24 Viking Systems, Inc. Endoscope
US8764642B2 (en) 2010-10-14 2014-07-01 Medivators Inc. Combined irrigation and rinsing tube set
WO2013148311A1 (en) 2012-03-30 2013-10-03 Bracco Diagnostics Inc. Water bottle cap assemblies for an endoscopic device
US20140316204A1 (en) 2013-03-28 2014-10-23 Endochoice Inc. Removably Attachable Endoscopic Water Bottle Assembly and A Flushing Adaptor Thereof

Also Published As

Publication number Publication date
US10966593B2 (en) 2021-04-06
EP2473088B1 (en) 2017-12-13
US20210290043A1 (en) 2021-09-23
US8454498B2 (en) 2013-06-04
CN102686142B (zh) 2014-10-29
US20110054256A1 (en) 2011-03-03
BR112012004514A8 (pt) 2016-10-04
CA2772341A1 (en) 2011-03-03
CN102686142A (zh) 2012-09-19
EP2473088A1 (en) 2012-07-11
US20130237761A1 (en) 2013-09-12
JP2013503004A (ja) 2013-01-31
BR112012004514A2 (pt) 2016-03-29
WO2011025879A1 (en) 2011-03-03

Similar Documents

Publication Publication Date Title
JP5368639B2 (ja) 内視鏡装置用インラインガスアダプタ
US10548463B2 (en) In-line gas adaptor for endoscopic apparatus
US9049984B2 (en) Gas water bottle adaptor
US20200054197A1 (en) Water bottle cap assemblies for an endoscopic device
US9144373B2 (en) Water bottle adapter for coupling an endoscope to a water bottle
US20140316204A1 (en) Removably Attachable Endoscopic Water Bottle Assembly and A Flushing Adaptor Thereof
US20150080661A1 (en) Water bottle adapter for coupling an endoscope to a water bottle
US20190110665A1 (en) Water bottle cap assemblies for an endoscopic device
US12098005B2 (en) Water bottle cap assemblies
JP4528051B2 (ja) 内視鏡
US20240172924A1 (en) Air/water connector to prevent water leaking
JP2025537972A (ja) マルチ内視鏡プラットフォームカップリング

Legal Events

Date Code Title Description
A977 Report on retrieval

Free format text: JAPANESE INTERMEDIATE CODE: A971007

Effective date: 20130530

A131 Notification of reasons for refusal

Free format text: JAPANESE INTERMEDIATE CODE: A131

Effective date: 20130531

A521 Request for written amendment filed

Free format text: JAPANESE INTERMEDIATE CODE: A523

Effective date: 20130808

TRDD Decision of grant or rejection written
A01 Written decision to grant a patent or to grant a registration (utility model)

Free format text: JAPANESE INTERMEDIATE CODE: A01

Effective date: 20130830

A61 First payment of annual fees (during grant procedure)

Free format text: JAPANESE INTERMEDIATE CODE: A61

Effective date: 20130912

R150 Certificate of patent or registration of utility model

Ref document number: 5368639

Country of ref document: JP

Free format text: JAPANESE INTERMEDIATE CODE: R150

Free format text: JAPANESE INTERMEDIATE CODE: R150

R250 Receipt of annual fees

Free format text: JAPANESE INTERMEDIATE CODE: R250

R250 Receipt of annual fees

Free format text: JAPANESE INTERMEDIATE CODE: R250

R250 Receipt of annual fees

Free format text: JAPANESE INTERMEDIATE CODE: R250

S111 Request for change of ownership or part of ownership

Free format text: JAPANESE INTERMEDIATE CODE: R313113

S531 Written request for registration of change of domicile

Free format text: JAPANESE INTERMEDIATE CODE: R313531

R350 Written notification of registration of transfer

Free format text: JAPANESE INTERMEDIATE CODE: R350

R250 Receipt of annual fees

Free format text: JAPANESE INTERMEDIATE CODE: R250

R250 Receipt of annual fees

Free format text: JAPANESE INTERMEDIATE CODE: R250

R250 Receipt of annual fees

Free format text: JAPANESE INTERMEDIATE CODE: R250

R250 Receipt of annual fees

Free format text: JAPANESE INTERMEDIATE CODE: R250

R250 Receipt of annual fees

Free format text: JAPANESE INTERMEDIATE CODE: R250

R250 Receipt of annual fees

Free format text: JAPANESE INTERMEDIATE CODE: R250

R250 Receipt of annual fees

Free format text: JAPANESE INTERMEDIATE CODE: R250