JP5267901B2 - ダイレクトブロー成形法による合成樹脂製二重容器 - Google Patents

ダイレクトブロー成形法による合成樹脂製二重容器 Download PDF

Info

Publication number
JP5267901B2
JP5267901B2 JP2007172672A JP2007172672A JP5267901B2 JP 5267901 B2 JP5267901 B2 JP 5267901B2 JP 2007172672 A JP2007172672 A JP 2007172672A JP 2007172672 A JP2007172672 A JP 2007172672A JP 5267901 B2 JP5267901 B2 JP 5267901B2
Authority
JP
Japan
Prior art keywords
inner layer
outer layer
container
layer
blow molding
Prior art date
Legal status (The legal status is an assumption and is not a legal conclusion. Google has not performed a legal analysis and makes no representation as to the accuracy of the status listed.)
Active
Application number
JP2007172672A
Other languages
English (en)
Other versions
JP2009007060A (ja
Inventor
古澤  光夫
Current Assignee (The listed assignees may be inaccurate. Google has not performed a legal analysis and makes no representation or warranty as to the accuracy of the list.)
Yoshino Kogyosho Co Ltd
Original Assignee
Yoshino Kogyosho Co Ltd
Priority date (The priority date is an assumption and is not a legal conclusion. Google has not performed a legal analysis and makes no representation as to the accuracy of the date listed.)
Filing date
Publication date
Priority to JP2007172672A priority Critical patent/JP5267901B2/ja
Application filed by Yoshino Kogyosho Co Ltd filed Critical Yoshino Kogyosho Co Ltd
Priority to CA2692461A priority patent/CA2692461C/en
Priority to CN2008800007747A priority patent/CN101547836B/zh
Priority to PCT/JP2008/061189 priority patent/WO2009004927A1/ja
Priority to US12/452,272 priority patent/US9067709B2/en
Priority to KR1020097006902A priority patent/KR101493534B1/ko
Priority to EP08765744.1A priority patent/EP2172400B1/en
Priority to AU2008272244A priority patent/AU2008272244B2/en
Publication of JP2009007060A publication Critical patent/JP2009007060A/ja
Application granted granted Critical
Publication of JP5267901B2 publication Critical patent/JP5267901B2/ja
Active legal-status Critical Current
Anticipated expiration legal-status Critical

Links

Images

Classifications

    • BPERFORMING OPERATIONS; TRANSPORTING
    • B65CONVEYING; PACKING; STORING; HANDLING THIN OR FILAMENTARY MATERIAL
    • B65DCONTAINERS FOR STORAGE OR TRANSPORT OF ARTICLES OR MATERIALS, e.g. BAGS, BARRELS, BOTTLES, BOXES, CANS, CARTONS, CRATES, DRUMS, JARS, TANKS, HOPPERS, FORWARDING CONTAINERS; ACCESSORIES, CLOSURES, OR FITTINGS THEREFOR; PACKAGING ELEMENTS; PACKAGES
    • B65D23/00Details of bottles or jars not otherwise provided for
    • B65D23/02Linings or internal coatings
    • BPERFORMING OPERATIONS; TRANSPORTING
    • B29WORKING OF PLASTICS; WORKING OF SUBSTANCES IN A PLASTIC STATE IN GENERAL
    • B29CSHAPING OR JOINING OF PLASTICS; SHAPING OF MATERIAL IN A PLASTIC STATE, NOT OTHERWISE PROVIDED FOR; AFTER-TREATMENT OF THE SHAPED PRODUCTS, e.g. REPAIRING
    • B29C49/00Blow-moulding, i.e. blowing a preform or parison to a desired shape within a mould; Apparatus therefor
    • B29C49/22Blow-moulding, i.e. blowing a preform or parison to a desired shape within a mould; Apparatus therefor using multilayered preforms or parisons
    • BPERFORMING OPERATIONS; TRANSPORTING
    • B29WORKING OF PLASTICS; WORKING OF SUBSTANCES IN A PLASTIC STATE IN GENERAL
    • B29CSHAPING OR JOINING OF PLASTICS; SHAPING OF MATERIAL IN A PLASTIC STATE, NOT OTHERWISE PROVIDED FOR; AFTER-TREATMENT OF THE SHAPED PRODUCTS, e.g. REPAIRING
    • B29C49/00Blow-moulding, i.e. blowing a preform or parison to a desired shape within a mould; Apparatus therefor
    • B29C49/42Component parts, details or accessories; Auxiliary operations
    • B29C49/48Moulds
    • B29C49/4802Moulds with means for locally compressing part(s) of the parison in the main blowing cavity
    • B29C49/4817Moulds with means for locally compressing part(s) of the parison in the main blowing cavity with means for closing off parison ends
    • BPERFORMING OPERATIONS; TRANSPORTING
    • B32LAYERED PRODUCTS
    • B32BLAYERED PRODUCTS, i.e. PRODUCTS BUILT-UP OF STRATA OF FLAT OR NON-FLAT, e.g. CELLULAR OR HONEYCOMB, FORM
    • B32B27/00Layered products comprising a layer of synthetic resin
    • B32B27/32Layered products comprising a layer of synthetic resin comprising polyolefins
    • BPERFORMING OPERATIONS; TRANSPORTING
    • B32LAYERED PRODUCTS
    • B32BLAYERED PRODUCTS, i.e. PRODUCTS BUILT-UP OF STRATA OF FLAT OR NON-FLAT, e.g. CELLULAR OR HONEYCOMB, FORM
    • B32B27/00Layered products comprising a layer of synthetic resin
    • B32B27/36Layered products comprising a layer of synthetic resin comprising polyesters
    • BPERFORMING OPERATIONS; TRANSPORTING
    • B32LAYERED PRODUCTS
    • B32BLAYERED PRODUCTS, i.e. PRODUCTS BUILT-UP OF STRATA OF FLAT OR NON-FLAT, e.g. CELLULAR OR HONEYCOMB, FORM
    • B32B7/00Layered products characterised by the relation between layers; Layered products characterised by the relative orientation of features between layers, or by the relative values of a measurable parameter between layers, i.e. products comprising layers having different physical, chemical or physicochemical properties; Layered products characterised by the interconnection of layers
    • B32B7/04Interconnection of layers
    • B32B7/06Interconnection of layers permitting easy separation
    • BPERFORMING OPERATIONS; TRANSPORTING
    • B65CONVEYING; PACKING; STORING; HANDLING THIN OR FILAMENTARY MATERIAL
    • B65DCONTAINERS FOR STORAGE OR TRANSPORT OF ARTICLES OR MATERIALS, e.g. BAGS, BARRELS, BOTTLES, BOXES, CANS, CARTONS, CRATES, DRUMS, JARS, TANKS, HOPPERS, FORWARDING CONTAINERS; ACCESSORIES, CLOSURES, OR FITTINGS THEREFOR; PACKAGING ELEMENTS; PACKAGES
    • B65D1/00Rigid or semi-rigid containers having bodies formed in one piece, e.g. by casting metallic material, by moulding plastics, by blowing vitreous material, by throwing ceramic material, by moulding pulped fibrous material or by deep-drawing operations performed on sheet material
    • B65D1/02Bottles or similar containers with necks or like restricted apertures, designed for pouring contents
    • B65D1/0207Bottles or similar containers with necks or like restricted apertures, designed for pouring contents characterised by material, e.g. composition, physical features
    • B65D1/0215Bottles or similar containers with necks or like restricted apertures, designed for pouring contents characterised by material, e.g. composition, physical features multilayered
    • BPERFORMING OPERATIONS; TRANSPORTING
    • B65CONVEYING; PACKING; STORING; HANDLING THIN OR FILAMENTARY MATERIAL
    • B65DCONTAINERS FOR STORAGE OR TRANSPORT OF ARTICLES OR MATERIALS, e.g. BAGS, BARRELS, BOTTLES, BOXES, CANS, CARTONS, CRATES, DRUMS, JARS, TANKS, HOPPERS, FORWARDING CONTAINERS; ACCESSORIES, CLOSURES, OR FITTINGS THEREFOR; PACKAGING ELEMENTS; PACKAGES
    • B65D77/00Packages formed by enclosing articles or materials in preformed containers, e.g. boxes, cartons, sacks or bags
    • B65D77/04Articles or materials enclosed in two or more containers disposed one within another
    • B65D77/06Liquids or semi-liquids or other materials or articles enclosed in flexible containers disposed within rigid containers
    • BPERFORMING OPERATIONS; TRANSPORTING
    • B29WORKING OF PLASTICS; WORKING OF SUBSTANCES IN A PLASTIC STATE IN GENERAL
    • B29CSHAPING OR JOINING OF PLASTICS; SHAPING OF MATERIAL IN A PLASTIC STATE, NOT OTHERWISE PROVIDED FOR; AFTER-TREATMENT OF THE SHAPED PRODUCTS, e.g. REPAIRING
    • B29C2949/00Indexing scheme relating to blow-moulding
    • B29C2949/30Preforms or parisons made of several components
    • B29C2949/3086Interaction between two or more components, e.g. type of or lack of bonding
    • B29C2949/3094Interaction between two or more components, e.g. type of or lack of bonding preform having at least partially loose components, e.g. at least partially loose layers
    • BPERFORMING OPERATIONS; TRANSPORTING
    • B29WORKING OF PLASTICS; WORKING OF SUBSTANCES IN A PLASTIC STATE IN GENERAL
    • B29CSHAPING OR JOINING OF PLASTICS; SHAPING OF MATERIAL IN A PLASTIC STATE, NOT OTHERWISE PROVIDED FOR; AFTER-TREATMENT OF THE SHAPED PRODUCTS, e.g. REPAIRING
    • B29C49/00Blow-moulding, i.e. blowing a preform or parison to a desired shape within a mould; Apparatus therefor
    • B29C49/02Combined blow-moulding and manufacture of the preform or the parison
    • B29C49/04Extrusion blow-moulding
    • BPERFORMING OPERATIONS; TRANSPORTING
    • B29WORKING OF PLASTICS; WORKING OF SUBSTANCES IN A PLASTIC STATE IN GENERAL
    • B29KINDEXING SCHEME ASSOCIATED WITH SUBCLASSES B29B, B29C OR B29D, RELATING TO MOULDING MATERIALS OR TO MATERIALS FOR MOULDS, REINFORCEMENTS, FILLERS OR PREFORMED PARTS, e.g. INSERTS
    • B29K2023/00Use of polyalkenes or derivatives thereof as moulding material
    • B29K2023/10Polymers of propylene
    • B29K2023/12PP, i.e. polypropylene
    • BPERFORMING OPERATIONS; TRANSPORTING
    • B29WORKING OF PLASTICS; WORKING OF SUBSTANCES IN A PLASTIC STATE IN GENERAL
    • B29KINDEXING SCHEME ASSOCIATED WITH SUBCLASSES B29B, B29C OR B29D, RELATING TO MOULDING MATERIALS OR TO MATERIALS FOR MOULDS, REINFORCEMENTS, FILLERS OR PREFORMED PARTS, e.g. INSERTS
    • B29K2067/00Use of polyesters or derivatives thereof, as moulding material
    • BPERFORMING OPERATIONS; TRANSPORTING
    • B29WORKING OF PLASTICS; WORKING OF SUBSTANCES IN A PLASTIC STATE IN GENERAL
    • B29LINDEXING SCHEME ASSOCIATED WITH SUBCLASS B29C, RELATING TO PARTICULAR ARTICLES
    • B29L2009/00Layered products
    • B29L2009/001Layered products the layers being loose

Landscapes

  • Engineering & Computer Science (AREA)
  • Mechanical Engineering (AREA)
  • Manufacturing & Machinery (AREA)
  • Ceramic Engineering (AREA)
  • Containers Having Bodies Formed In One Piece (AREA)
  • Blow-Moulding Or Thermoforming Of Plastics Or The Like (AREA)
  • Packages (AREA)
  • Details Of Rigid Or Semi-Rigid Containers (AREA)

Description

本発明は、ダイレクトブロー成形で外層と内層の間に空隙を形成した合成樹脂製の二重容器に関する。
特許文献1には円筒状の外容体と内容体を組付きキャップで組付け固定した二重容器に関する発明が記載されている。このような二重容器は、たとえば二重壁を利用した断熱容器、あるいは化粧料容器等の分野では外容体を透明性のものとし、外容体の中に内容体が浮いたような加飾性を付与した容器として使用されている。
特開2004−352327号公報
ここで、特許文献1に記載される二重容器は外容体に内容体を挿入し、組付きキャップで組付け固定するもので、内容体を外容体に挿入する必要があるので、口筒部の口径を大きくする必要がある等の形状面の制約があり、また2つの容器を組み付けるための、部位や部材、あるいは組み付け工程が必要になる等の問題がある。
本発明は上述のごとき二重容器に係る問題を解決しようとするものであって、形状面の制約が少なく、簡単な工程で成形可能な合成樹脂製二重容器の創出を課題とするものである。
上記課題を解決するための本発明の主たる手段は、ダイレクトブロー成形法による口筒部、胴部、そして底部を有する壜体状の二重容器であって、
相互に非接着性の合成樹脂からなる外層と内層を有し、内層の成形収縮を外層の成形収縮よりも大きくなるように材料選定し、
口筒部の直下から底部に至る全範囲において、外層と内層の間に、ダイレクトブロー成形に伴う外層と内層の成形収縮の差により空隙が剥離形成され、この空隙を挟んだ二重壁構造を有する構成とするものである。
本願発明者らは、多層押出し成形により外層と内層を積層した多層パリソンを成形し、この溶融状態の多層パリソンをブロー成形するダイレクトブロー成形方法を検討するなかで、外層と内層に使用する合成樹脂の組み合わせによって、離型後の成形収縮に起因して外層と内層が剥離し、空隙が形成されることを見出し、この知見を基に本発明を創出するに至った。
そして、上記構成の外層と内層の間に空隙を有する二重容器は、特に内容体を外容体に挿入し組付け固定する必要もなく、外層と内層の成形収縮の差を利用して、通常のダイレクトブロー成形方法により成形することができる。
ここで、外層と内層をダイレクトブロー成形に伴なう成形収縮により剥離するための基本的な要件は、外層に比較して内層の成形収縮を大きくすることにあるが、一方で、外層と内層が非接着性であってもブロー成形直後では両層はかなり密着した状態にあるので、この密着状に積層した外層と内層の密着力を低くすることも外層と内層を剥離するための主たる要件となる。
すなわち、成形収縮の差に起因して外層と内層の界面に作用する剥離力が、外層と内層の密着力に係る剥離強度より大きくなるように外層と内層にそれぞれ使用する合成樹脂とブロー成形の成形条件を選択することにより、ダイレクトブロー成形に伴なう成形収縮により外層と内層の間に効果的に空隙を形成することができる。
さらに言及すると、外層用あるいは内層用に選択する合成樹脂は、単独で所定の合成樹脂を使用するだけでなく、主成分である合成樹脂にたとえばエラストマー成分をブレンドしたり、顔料やフィラーを分散させたりすることもでき、このような他成分のブレンド、分散によってもたとえば内層の成形収縮を大きくし、外層と内層の密着力を小さくして両層の剥離をよりスムーズに進行させることが可能となる。
また、たとえば内層を成形収縮の異なる2つの層を接着積層したものとし、この内層をバイメタル状に撓み変形させて、外層から剥離させるような構成も可能である。
また、成形条件の面からは、パリソンの成形温度や、ブローエアの温度により、外層と内層のブロー成形における変形態様や、冷却速度に差をつけて両層の成形収縮の差を大きくすることも可能である。
また、たとえば口筒部を有する壜体状の容器では、口筒部は積層プリフォームの形状のままで、ブロー成形による変形は小さく、この口筒部で外層と内層を組み付き固定した状態とすることができる。
本発明の他の手段は、上記基本的な構成に加えて、
底部の底面にブロー割り金型のピンチオフ部により形成された底シール部の外層部分に、ダイレクトブロー成形に伴なう成形収縮により形成された底割れ部を有する構成としたものである。
底シール部は、金型のピンチオフ部により押圧状の大きな力を作用させて成形した部分であるので残留歪みが大きく、ダイレクトブロー成形に伴なう成形収縮により変形しやすく、外層と内層が非接着性であることと相俟って、外層部分に、部分的に外層が内層から剥離した底割れ部を容易に形成することができる。
そして、底割れ部の形成は、上述した外層と内層の成形収縮による、界面に作用する剥離力の発生と略同時になるので、この底割れ部の外層と内層の剥離部分を起点として、すなわちこの底割れ部が外層と内層の間への謂わば外気導入部としての機能を発揮し、容器全体に外層と内層の剥離をスムーズに進展させて、空隙を容易に形成することができる。
本発明のさらに他の手段は、内層が、内圧の減少により内方に萎み変形自在に減容変形する内容体を形成している構成とすること、にある。
上記構成は、柔軟性のある合成樹脂を薄肉成形した内層で内容体を形成することにより、内容物の注出により内容体が減圧状態になると、内層が外層から剥離して内容体が減容変形し、内容物の残量が少なくなってもその注出がスムーズにできるような構成とした、所謂、デラミ容器に係るものである。
デラミ容器は、多層押出し成形により成形した積層パリソンをブロー成形することにより成形するが、ブロー成形した状態では外層と内層は密着状に積層しており、内容液を充填する前に、通常、真空吸着装置等で内側から内層を吸引し、さらには内容体内部を減圧状態にする等して容器の略全領域に亘って外層から内層を剥離し、その後、圧空により内容体を外層で形成される外容体に沿った形状に戻して使用する。
そこで、上記構成によればダイレクトブロー成形に伴なう成形収縮により、外層と内層の間に空隙を剥離形成できるので、上記のような一端内層を剥離するための工程を省略することが可能となる。
本発明は上記した方法および構成となっているので、以下の効果を奏する。
本発明の主たる構成の外層と内層の間に空隙を有する二重容器は、特に内容体を外容体に挿入し組付け固定する必要もなく、外層と内層の成形収縮の差を利用して、通常のダイレクトブロー成形方法により容易に成形することができる。
底シール部の外層部分に底割れ部を有するものにあっては、成形収縮による底割れ部の形成は、成形収縮による外層と内層の界面に作用する剥離力の発生と略同時になるので、この底割れ部の外層と内層の剥離部分を起点として、容器全体に剥離をスムーズに進展させて、空隙を容易に形成することができる。
内層が、内圧の減少により内方に萎み変形自在に減容変形する内容体を形成する構成としたものにあっては、所謂、デラミ容器に係るものであり、ダイレクトブロー成形に伴なう成形収縮により、外層と内層の間に空隙を剥離形成できるので、従来のデラミ容器で必要であった、一端内層を剥離するための工程を省略することができる。
以下、本発明の実施の形態を実施例に沿って、図面を参照しながら説明する。図1は本発明の二重容器の第1実施例を部分的に縦断して示す正面図である。
この二重容器1は、ダイレクトブロー成形法により成形されたのもので、口筒部2、円筒状の胴部3、そして底部4を有する壜体である。
また、この二重容器1はポリエチレンテレフタレート(PET)系樹脂製の外層11からなる外容体11aとポリプロピレン(PP)系樹脂製の内層12からなる内容体12aから形成されており、口筒部2直下から底部5までの範囲では、外層11と内層12の間に空隙13が形成され、空隙13を挟んだ二重壁構造を有する。
次に、図1の二重容器1の成形方法について説明する。
この二重容器1は、多層押出し成形により相互に非接着性の外層と内層を積層した多層パリソンを成形し、この溶融状態の多層パリソンをブロー成形する、ダイレクトブロー成形方により成形することができる。
ここで、ブロー成形した成形品を金型から離型すると、全体的に成形収縮が開始、進行するが、特に、底部4の底面の底シール部5は金型のピンチオフ部により、大きな力で押圧状に形成された部分であるので、残留歪みが大きく、また比較的厚肉部分でもあるので、成形収縮の進行に伴ない、図1に示されるように、
外層11部分が内層12から部分的に剥離し、外層11部分に底割れ部6が形成される。
一方、本実施例のように外層11をPET系樹脂製、内層12をPP樹脂製として、内層12の成形収縮を外層11の成形収縮よりも大きくなるように材料選定すると、成形収縮の進行に伴なって、外層11と内層12の界面に両層を剥離するような力、すなわち剥離力が作用する。
そして、上記の底割れ部6、すなわち外層11と内層12が部分的に剥離した部分を起点として、この底割れ部6から外気を導入しながら、上記の剥離力の作用により剥離が容器全体に進展して図1に示すように口筒部2を除く領域で空隙13が形成され、この空隙13を挟んだ二重壁状態となる。
口筒部2はブロー成形の際に大きく変形することなく形成される部分であるので、成形収縮後も剥離は進行せずに密着状態が保持されている。
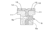
ここで、図2は底シール部5の参考例であり、構造底割れ部が形成されないようにしたものである。このように底シール部5を高さ幅を有する突条状として、底シール部5における外層11と内層12との圧着面積を大きくし、また複数の食い込み部5aを設けることにより、外層11と内層12との圧着面積をさらに増大させるばかりでなく、圧着面に平行する剪断力に対する抗力を飛躍的に高め、これにより底シール部5を底割れ部の発生し難い、機械的強度の高いものとすることができる。
そして、このような底シール部5を採用すると、底シール部5を前述したような剥離の起点として利用できないが、このような場合にでも、内層12の成形収縮を外層11の成形収縮にたいして十分大きくし、外層11と内層12の密着力を低くすること、
すなわち、界面に作用する剥離力が剥離強度より十分大きくなるように外層11と内層12に使用する合成樹脂材料と、ブロー成形条件を選択し、さらには外層11と内層12を比較的厚肉にして面剛性を大きくすること等により外層11と内層12の剥離の開始と進展は可能であり、略真空状の空隙13を形成できる。
次に、図3は、本発明の二重容器の第2実施例である容器本体1aの口筒部2に手動押下げ式のポンプPを組付け固定したポンプ付容器40を部分的に縦断して示す正面図である。
このポンプ付容器40の容器本体1aは、第1実施例の二重容器と略同様な構成であるが、比較的薄肉の内層12で、内圧の減少により内方に萎み変形自在に減容変形する内容体12aを形成しており、デラミボトルとしての機能を発揮する。
ただし、この容器本体1aは第1実施例の容器で説明したように、成形収縮により外層11部分の底割れ部6を起点として外層11と内層12の間に空隙13が形成された二重容器であり、従来のデラミボトルと違って成形後内容体12aを減圧状態にし、減容変形させて外層11と内層12を剥離し、またこの内容体12aを元の形状に戻すと云う工程を省略することができる。
そして、内容液を内容体12aに充填した状態で、ポンプPを押し下げると内容液がポンプPの注出路を経て先端ノズルから注出される。そして、この注出量分だけ、内容体12aは萎み状に減容変形する。(図3中の2点鎖線で描いた状態を参照)
また、内容液の注出を終わって、ポンプPの押下げ状態を解除すると、内容体12aが減容変形した分、底割れ部6から外層11と内層12の間に外気が導入される。
次に、図4は、本発明の二重容器の第3実施例である容器本体1aの上端部に櫛体25を組付け固定した櫛付き容器20を部分的に縦断して示す正面図である。この容器本体1aも第1実施例の二重容器と略同様な構成で、比較的薄肉の内層12で、内圧の減少により内方に萎み変形自在に減容変形する内容体12aを形成しており、スクイズタイプのデラミボトルとしての機能を発揮する。
容器本体1aの口筒部2にはキャップ体21がオーリング23を利用して密外嵌し、このキャップ体21を介して櫛体25が組付き固定しており、また、キャップ体21の頂壁には第1逆止弁体22が配設されている。
一方、底部5には有底円筒状のベースキャップ31が密外嵌している。このベースキャップ31の底壁には第2逆止弁体32が配設されている。
内容液を内容体12aに充填した状態で、手で押圧状にスクイズすると、第1逆止弁体22が開放して、内容液が櫛体25の注出流路26を上昇し、注出孔26aから櫛歯片27の間に注出される。そして、この注出量分だけ、内容体12aは萎み状に減容変形する。(図4中の2点鎖線で描いた状態を参照)
内容液の注出を終わって、押圧状態を解除すると外層11からなる外容体11aが弾性的な復元力により元の形状に復元するが、この際、第2逆止弁体32が開放して、内容体12aが減容変形した分、底割れ部6から外層11と内層12の間に外気が導入される。
そして、再度、内容液の注出のために胴部4をスクイズする際には、第2逆止弁体32が閉状態となり、ベースキャップ31の密閉機能が機能して外層11と内層12の間の空気は密閉状態となるので、容易にスクイズ操作を繰り返すことができる。
なお、上記第3実施例の櫛付き容器20では、底割れ部6から空気導入する構成として、第2逆止弁体32を有するベースキャップ31で底部4をシールする構成としているが、底シール部5を図2に示したような底割れのないタイプのものとし、口筒部2の外層11に、外層11と内層12の間に空気導入するための吸気孔を形成すると共に、キャップ体21の周壁を利用してこの吸気孔からの空気の流出を止める機能を有する第2逆止弁体を配設するような構成とすることもできる。
以上、実施に沿って本発明の実施の形態を説明したが、本発明はこれら実施例に限定されるものではない。
たとえば、必要に応じて外層の外側や、内層の内側に他の層を積層することもできる。また、外層と内層に使用する合成樹脂の組み合わせは、両層の成形収縮と密着力を考慮してさまざまな組み合わせ態様とすることができる。また、主成分となる合成樹脂に他の合成樹脂をブレンドしたり、顔料やフィラーを分散させることにより、両層の成形収縮や密着力を調整することもできる。
本発明の合成樹脂製二重容器は特に内容体を外容体に挿入し組付け固定する必要もなく、通常のダイレクトブロー成形方法により容易に成形することができるものであり、デラミボトルとして、また二重壁を利用して加飾した容器として幅広い使用展開が期待される。
本発明の二重容器の第1実施例を部分的に縦断して示す正面図である。 底シール部の参考例を示す縦断面図である。 本発明の二重容器の第2実施例である容器本体を利用したポンプ付き容器を部分的に縦断して示す正面図である。 本発明の二重容器の第3実施例である容器本体を利用した櫛付き容器を部分的に縦断して示す正面図である。
符号の説明
1 ;二重容器
1a;容器本体
2 ;口筒部
3 ;胴部
4 ;底部
5 ;底シール部
5a;食い込み部
6;底割れ部
11;外層
11a;外容体
12;内層
12a;内容体
13;空隙
20;櫛付き容器
21;キャップ体
22;第1逆止弁体
23;オーリング
25;櫛体
26;注出流路
26a;注出孔
27;櫛歯片
31;ベースキャップ
32;第2逆止弁体
P ;ポンプ

Claims (2)

  1. ダイレクトブロー成形法による口筒部(2)、胴部(3)、そして底部(4)を有する壜体状の二重容器であって、
    相互に非接着性の合成樹脂からなる外層(11)と内層(12)を有し、
    前記内層(12)の成形収縮を外層(11)の成形収縮よりも大きくなるように材料選定し、
    前記内層(12)が、内圧の減少により内方に萎み変形自在に減容変形する内容体(12a)を形成しており、
    底部(4)の底面にブロー割り金型のピンチオフ部により形成された底シール部(5)の外層(11)部分に、ダイレクトブロー成形に伴なう成形収縮により形成された底割れ部(6)を有し、
    前記口筒部(2)の直下から底部(5)に至る全範囲において、前記外層(11)と内層(12)の間に、ダイレクトブロー成形に伴う該外層(11)と内層(12)の成形収縮の差により空隙(13)が剥離形成され、該空隙(13)を挟んだ二重壁構造を有することを特徴とする合成樹脂製二重容器。
  2. 外層(11)をポリエチレンテレフタレート系樹脂製とし、内層(12)をポリプロピレン系樹脂製とした請求項1記載の合成樹脂製二重容器。
JP2007172672A 2007-06-29 2007-06-29 ダイレクトブロー成形法による合成樹脂製二重容器 Active JP5267901B2 (ja)

Priority Applications (8)

Application Number Priority Date Filing Date Title
JP2007172672A JP5267901B2 (ja) 2007-06-29 2007-06-29 ダイレクトブロー成形法による合成樹脂製二重容器
CN2008800007747A CN101547836B (zh) 2007-06-29 2008-06-19 利用直接吹塑成形法形成的合成树脂制双层容器
PCT/JP2008/061189 WO2009004927A1 (ja) 2007-06-29 2008-06-19 ダイレクトブロー成形法による合成樹脂製二重容器
US12/452,272 US9067709B2 (en) 2007-06-29 2008-06-19 Synthetic resin double container molded by direct blow molding process
CA2692461A CA2692461C (en) 2007-06-29 2008-06-19 Synthetic resin double container molded by direct blow molding process
KR1020097006902A KR101493534B1 (ko) 2007-06-29 2008-06-19 다이렉트 블로우 성형방법에 의한 합성수지제 이중 용기
EP08765744.1A EP2172400B1 (en) 2007-06-29 2008-06-19 A direct blow molding process for forming a double container of synthetic resin
AU2008272244A AU2008272244B2 (en) 2007-06-29 2008-06-19 Synthetic resin double container molded by direct blow molding process

Applications Claiming Priority (1)

Application Number Priority Date Filing Date Title
JP2007172672A JP5267901B2 (ja) 2007-06-29 2007-06-29 ダイレクトブロー成形法による合成樹脂製二重容器

Publications (2)

Publication Number Publication Date
JP2009007060A JP2009007060A (ja) 2009-01-15
JP5267901B2 true JP5267901B2 (ja) 2013-08-21

Family

ID=40225978

Family Applications (1)

Application Number Title Priority Date Filing Date
JP2007172672A Active JP5267901B2 (ja) 2007-06-29 2007-06-29 ダイレクトブロー成形法による合成樹脂製二重容器

Country Status (8)

Country Link
US (1) US9067709B2 (ja)
EP (1) EP2172400B1 (ja)
JP (1) JP5267901B2 (ja)
KR (1) KR101493534B1 (ja)
CN (1) CN101547836B (ja)
AU (1) AU2008272244B2 (ja)
CA (1) CA2692461C (ja)
WO (1) WO2009004927A1 (ja)

Cited By (7)

* Cited by examiner, † Cited by third party
Publication number Priority date Publication date Assignee Title
KR20170008783A (ko) * 2014-05-29 2017-01-24 교라꾸 가부시끼가이샤 적층박리용기 및 그 제조방법
WO2020262595A1 (ja) 2019-06-28 2020-12-30 日精エー・エス・ビー機械株式会社 樹脂製成形品の製造装置、樹脂製成形品の製造方法、及び樹脂製成形品
WO2021060459A1 (ja) 2019-09-26 2021-04-01 日精エー・エス・ビー機械株式会社 剥離容器の製造方法および剥離容器の製造装置
WO2021206088A1 (ja) 2020-04-06 2021-10-14 日精エー・エス・ビー機械株式会社 剥離容器および剥離容器の製造方法
WO2021206082A1 (ja) 2020-04-06 2021-10-14 日精エー・エス・ビー機械株式会社 剥離容器の製造方法および製造装置
WO2021206083A1 (ja) 2020-04-06 2021-10-14 日精エー・エス・ビー機械株式会社 剥離容器の製造方法および製造装置
WO2022030461A1 (ja) 2020-08-03 2022-02-10 日精エー・エス・ビー機械株式会社 樹脂製容器の製造方法、金型ユニットおよびブロー成形装置

Families Citing this family (35)

* Cited by examiner, † Cited by third party
Publication number Priority date Publication date Assignee Title
JP5267901B2 (ja) 2007-06-29 2013-08-21 株式会社吉野工業所 ダイレクトブロー成形法による合成樹脂製二重容器
KR200454300Y1 (ko) * 2009-03-16 2011-06-27 (주)영진팩 브로우 다중 성형용기
CN104627536A (zh) 2009-07-09 2015-05-20 先进技术材料股份有限公司 基于衬里的存储系统
WO2012071370A2 (en) 2010-11-23 2012-05-31 Advanced Technology Materials, Inc. Liner-based dispenser
CN103648920B (zh) 2011-03-01 2016-10-05 高级技术材料公司 嵌套的吹塑内衬和外包装及其制造方法
JP6011929B2 (ja) * 2012-10-31 2016-10-25 株式会社吉野工業所 2軸延伸ブロー成形容器及びその製造方法
US9296544B2 (en) 2012-10-31 2016-03-29 Yoshino Kogyosho Co., Ltd. Double container
JP6345062B2 (ja) * 2013-09-30 2018-06-20 株式会社吉野工業所 積層剥離容器
KR102279763B1 (ko) * 2013-11-27 2021-07-19 교라꾸 가부시끼가이샤 적층박리용기
MX370105B (es) * 2014-02-06 2019-12-02 Alpla Werke Alwin Lehner Gmbh & Co Kg Recipiente de plastico producido en metodo de moldeo de soplado de extrusion, en particular, botella de plastico.
JP6407649B2 (ja) * 2014-09-30 2018-10-17 株式会社吉野工業所 積層剥離容器
WO2016056385A1 (ja) * 2014-10-07 2016-04-14 キョーラク株式会社 積層剥離容器の製造方法、積層剥離容器のエアリーク検査方法
KR101655989B1 (ko) * 2014-10-20 2016-09-09 (주)아모레퍼시픽 이중구조를 갖는 용기본체를 구비한 잔량 방지 펌프용기
JP2016097978A (ja) * 2014-11-18 2016-05-30 株式会社平和化学工業所 高粘性液体用二重容器
KR101611211B1 (ko) * 2015-04-24 2016-04-26 허재영 전량 사용 가능한 구조를 갖는 용기
KR200481312Y1 (ko) * 2015-07-14 2016-09-09 마루니 코리아 주식회사 플라스틱 이중 용기
TW201716297A (zh) * 2015-11-06 2017-05-16 Well Max Beauty Lab Co Ltd 雙層容器及其製法
CN105398637A (zh) * 2015-12-03 2016-03-16 中山汇伟塑胶工业有限公司 一种结构强度高的塑料瓶体
JP6737590B2 (ja) * 2015-12-09 2020-08-12 株式会社平和化学工業所 二重容器及びその製造方法
JP6594771B2 (ja) * 2015-12-25 2019-10-23 株式会社吉野工業所 二重容器
TWI766751B (zh) * 2016-06-17 2022-06-01 日商大日本印刷股份有限公司 複合預成形體及其製造方法、複合容器及其製造方法
PL3299144T3 (pl) 2016-09-26 2020-05-18 Boehringer Ingelheim International Gmbh Sposób sprawdzania szczelności torebki w przestrzeni wewnętrznej pojemnika
JP6959498B2 (ja) * 2017-01-26 2021-11-02 キョーラク株式会社 積層剥離容器
US10974885B2 (en) * 2017-03-15 2021-04-13 Kyoraku Co., Ltd. Delaminatable container
KR20200006042A (ko) * 2017-04-05 2020-01-17 기꼬만 가부시키가이샤 토출 용기
WO2019213605A1 (en) * 2018-05-04 2019-11-07 Maxro Llc Liquid dispensing hairbrush systems and associated devices
CN113272233A (zh) * 2019-11-22 2021-08-17 深圳市德昌裕塑胶制品有限公司 由多层共挤压一次成形的软管容器
CN112263476B (zh) * 2020-10-14 2024-09-20 台州市祥珑食品容器科技股份有限公司 容器和容器制造方法
CN112674578B (zh) * 2020-12-06 2022-08-26 东莞合发包装制品有限公司 一种吹塑设备及吹塑方法
DE102021116278B4 (de) * 2021-06-23 2024-02-29 Gaplast Gmbh Verfahren und Vorrichtung zur Herstellung eines Behälters bestehend aus einem steifen Außenbehälter und einem leicht verformbaren Innenbeutel
IT202100017447A1 (it) * 2021-07-02 2023-01-02 Lumson Spa Metodo di realizzazione di un contenitore per un dispositivo di erogazione di una sostanza fluida, e dispositivo di erogazione di tale sostanza fluida
TWI777788B (zh) * 2021-09-27 2022-09-11 宏全國際股份有限公司 雙層胚、雙層瓶和氣控逆止蓋
TWI777789B (zh) * 2021-09-27 2022-09-11 宏全國際股份有限公司 雙壁胚管、雙壁容器和氣控逆止掀蓋
CN115891107A (zh) * 2021-12-16 2023-04-04 常熟市沈氏塑业有限公司 一种双层瓶及其吹塑成型方法
CN115256873A (zh) * 2022-08-17 2022-11-01 深圳润芳包装科技有限公司 一次性吹塑成型双层真空吹瓶及其制作方法

Family Cites Families (28)

* Cited by examiner, † Cited by third party
Publication number Priority date Publication date Assignee Title
US4071597A (en) * 1974-09-13 1978-01-31 Owens-Illinois, Inc. Container with improved heat-shrunk cellular sleeve
US4261473A (en) * 1975-12-17 1981-04-14 Toyo Seikan Kaisha Limited Molded container having wall composed of oriented resin blend
US4182457A (en) * 1976-08-10 1980-01-08 Toyo Seikan Kaisha Limited Multilayer container
JPS57151314A (en) * 1981-03-17 1982-09-18 Yoshino Kogyosho Co Ltd Synthetic resin made bottle and method for molding the same
CA1191006A (en) * 1982-01-14 1985-07-30 Sekisui Kaseihin Kogyo Kabushiki Kaisha Sheet for forming sleeve and process for producing the same
DE8433745U1 (de) * 1984-11-17 1985-03-28 Kautex Werke Reinold Hagen AG, 5300 Bonn Mit einer verschliessbaren oeffnung versehenen Verpackung
US4816305A (en) * 1987-05-20 1989-03-28 Mcneilab Inc. Multi-walled tamper-proof container and method for enhancing tamper evidence
JPH0613099Y2 (ja) * 1988-02-18 1994-04-06 キョーラク株式会社 絞り出し容器
JPH0748519Y2 (ja) * 1989-12-25 1995-11-08 大成化工株式会社 二重容器
JP2586294B2 (ja) * 1993-06-14 1997-02-26 東洋製罐株式会社 積層剥離ボトル及びその製造方法
JP3401519B2 (ja) * 1995-02-16 2003-04-28 株式会社吉野工業所 ブロー成形容器およびその成形用金型
JPH09286084A (ja) * 1996-04-22 1997-11-04 Tonen Chem Corp ポリエチレン系樹脂積層体およびそれからなる大型クリーン容器
EP0865898B1 (en) * 1996-05-30 2004-01-07 Yoshino Kogyosho Co., Ltd. Bottom shape of extrusion blow molded containers
CA2230768C (en) * 1997-02-28 2007-02-13 John W. Safian Multilayer container package
DE19719252C2 (de) * 1997-05-07 2002-10-31 Valeo Klimatech Gmbh & Co Kg Zweiflutiger und in Luftrichtung einreihiger hartverlöteter Flachrohrverdampfer für eine Kraftfahrzeugklimaanlage
US6413600B1 (en) * 1997-05-22 2002-07-02 Plastipak Packaging, Inc. Multi-layer container and preform and process for obtaining same
EP0893356A1 (en) * 1997-07-23 1999-01-27 The Procter & Gamble Company Multilayer pressure resistant container
EP1301330B1 (en) * 2000-06-27 2006-03-29 Graham Packaging Company, L.P. Method for manufacturing a multi-layer, blown finish container
JP3817600B2 (ja) * 2000-07-31 2006-09-06 株式会社吉野工業所 合成樹脂製壜体
US6461699B1 (en) * 2000-10-06 2002-10-08 Plastipak Packaging, Inc. Plastic container having a carbon-treated internal surface for non-carbonated food products
CA2432061C (en) * 2001-10-31 2009-12-29 Yoshino Kogyosho Co., Ltd. Blow-molded container
US6719173B2 (en) * 2002-03-25 2004-04-13 Owens-Brockway Plastic Products Inc. Multilayer container package for dispensing a liquid product
KR100921133B1 (ko) * 2002-04-30 2009-10-12 가부시키가이샤 요시노 고교쇼 주출용기
JP4107585B2 (ja) 2003-05-30 2008-06-25 株式会社吉野工業所 付け替え型二重容器
JP4416081B2 (ja) * 2004-01-30 2010-02-17 ホーユー株式会社 デラミボトル
FR2866321B1 (fr) * 2004-02-13 2007-05-18 Lablabo Poche souple deformable et dispositif pour le conditionnement et la distribution de produits fluides.
JP4535259B2 (ja) * 2004-09-30 2010-09-01 株式会社吉野工業所 ブロー成形容器
JP5267901B2 (ja) 2007-06-29 2013-08-21 株式会社吉野工業所 ダイレクトブロー成形法による合成樹脂製二重容器

Cited By (14)

* Cited by examiner, † Cited by third party
Publication number Priority date Publication date Assignee Title
KR20170008783A (ko) * 2014-05-29 2017-01-24 교라꾸 가부시끼가이샤 적층박리용기 및 그 제조방법
KR101884721B1 (ko) * 2014-05-29 2018-08-02 교라꾸 가부시끼가이샤 적층박리용기 및 그 제조방법
WO2020262595A1 (ja) 2019-06-28 2020-12-30 日精エー・エス・ビー機械株式会社 樹脂製成形品の製造装置、樹脂製成形品の製造方法、及び樹脂製成形品
US12290970B2 (en) 2019-06-28 2025-05-06 Nissei Asb Machine Co., Ltd. Apparatus for producing resin molded article, method for producing resin molded article, and resin molded article
WO2021060459A1 (ja) 2019-09-26 2021-04-01 日精エー・エス・ビー機械株式会社 剥離容器の製造方法および剥離容器の製造装置
US12325172B2 (en) 2019-09-26 2025-06-10 Nissei Asb Machine Co., Ltd. Method for producing delamination container and apparatus for producing delamination container
WO2021206083A1 (ja) 2020-04-06 2021-10-14 日精エー・エス・ビー機械株式会社 剥離容器の製造方法および製造装置
JP2024051121A (ja) * 2020-04-06 2024-04-10 日精エー・エス・ビー機械株式会社 剥離容器の製造方法および製造装置
US12208558B2 (en) 2020-04-06 2025-01-28 Nissei Asb Machine Co., Ltd. Manufacturing method and manufacturing apparatus for delamination container
JP7642892B2 (ja) 2020-04-06 2025-03-10 日精エー・エス・ビー機械株式会社 剥離容器の製造方法および製造装置
WO2021206082A1 (ja) 2020-04-06 2021-10-14 日精エー・エス・ビー機械株式会社 剥離容器の製造方法および製造装置
US12304131B2 (en) 2020-04-06 2025-05-20 Nissei Asb Machine Co., Ltd. Manufacturing method and manufacturing apparatus for delamination container
WO2021206088A1 (ja) 2020-04-06 2021-10-14 日精エー・エス・ビー機械株式会社 剥離容器および剥離容器の製造方法
WO2022030461A1 (ja) 2020-08-03 2022-02-10 日精エー・エス・ビー機械株式会社 樹脂製容器の製造方法、金型ユニットおよびブロー成形装置

Also Published As

Publication number Publication date
EP2172400A4 (en) 2010-07-14
WO2009004927A1 (ja) 2009-01-08
AU2008272244A1 (en) 2009-01-08
US9067709B2 (en) 2015-06-30
EP2172400B1 (en) 2013-08-28
AU2008272244B2 (en) 2013-06-20
KR101493534B1 (ko) 2015-02-13
KR20100027088A (ko) 2010-03-10
CN101547836A (zh) 2009-09-30
JP2009007060A (ja) 2009-01-15
CA2692461A1 (en) 2009-01-08
CA2692461C (en) 2015-11-10
CN101547836B (zh) 2013-07-31
EP2172400A1 (en) 2010-04-07
US20100200586A1 (en) 2010-08-12

Similar Documents

Publication Publication Date Title
JP5267901B2 (ja) ダイレクトブロー成形法による合成樹脂製二重容器
JP4228362B2 (ja) 合成樹脂製容器
JP5440949B2 (ja) ブロー成形容器
JP6407649B2 (ja) 積層剥離容器
EP3251960B1 (en) Double-walled container
JPH04267727A (ja) 多層成形容器及びその製造方法
JPH06239332A (ja) 多層容器
US9919847B2 (en) Integrated squeezable dispensing container
CN107207113A (zh) 双重容器
JP6025040B2 (ja) ブロー成形容器及びブロー成形方法
JP5034452B2 (ja) 逆止弁付きチューブ
JP2020001804A (ja) 二重容器用キャップ、及び二重容器用キャップの製造方法
JP2013249112A (ja) ブロー成形容器
JP6553363B2 (ja) 二重容器
JP7058919B2 (ja) 二重容器用キャップ
JP2018108824A (ja) 二重容器
JP6641719B2 (ja) 逆流防止弁付き口栓、および、該口栓を取り付けた容器
JP2019172347A (ja) 二重容器
JP6746206B2 (ja) 二重容器
CN105800050A (zh) 便于挤压的塑料瓶和瓶盖组合
JP6476699B2 (ja) 注出用容器
JP2018002241A (ja) 二重容器

Legal Events

Date Code Title Description
A621 Written request for application examination

Free format text: JAPANESE INTERMEDIATE CODE: A621

Effective date: 20100129

A131 Notification of reasons for refusal

Free format text: JAPANESE INTERMEDIATE CODE: A131

Effective date: 20120515

A521 Request for written amendment filed

Free format text: JAPANESE INTERMEDIATE CODE: A523

Effective date: 20120713

A131 Notification of reasons for refusal

Free format text: JAPANESE INTERMEDIATE CODE: A131

Effective date: 20121030

A521 Request for written amendment filed

Free format text: JAPANESE INTERMEDIATE CODE: A523

Effective date: 20121226

TRDD Decision of grant or rejection written
A01 Written decision to grant a patent or to grant a registration (utility model)

Free format text: JAPANESE INTERMEDIATE CODE: A01

Effective date: 20130423

A61 First payment of annual fees (during grant procedure)

Free format text: JAPANESE INTERMEDIATE CODE: A61

Effective date: 20130425

R150 Certificate of patent or registration of utility model

Free format text: JAPANESE INTERMEDIATE CODE: R150

Ref document number: 5267901

Country of ref document: JP

Free format text: JAPANESE INTERMEDIATE CODE: R150