JP4772001B2 - 遮熱ゴムカバー付き防振装置 - Google Patents

遮熱ゴムカバー付き防振装置 Download PDF

Info

Publication number
JP4772001B2
JP4772001B2 JP2007184971A JP2007184971A JP4772001B2 JP 4772001 B2 JP4772001 B2 JP 4772001B2 JP 2007184971 A JP2007184971 A JP 2007184971A JP 2007184971 A JP2007184971 A JP 2007184971A JP 4772001 B2 JP4772001 B2 JP 4772001B2
Authority
JP
Japan
Prior art keywords
rubber cover
stopper
central
plate portion
heat insulating
Prior art date
Legal status (The legal status is an assumption and is not a legal conclusion. Google has not performed a legal analysis and makes no representation as to the accuracy of the status listed.)
Active
Application number
JP2007184971A
Other languages
English (en)
Other versions
JP2009019752A (ja
Inventor
知宏 金谷
圭 奥村
Current Assignee (The listed assignees may be inaccurate. Google has not performed a legal analysis and makes no representation or warranty as to the accuracy of the list.)
Sumitomo Riko Co Ltd
Original Assignee
Sumitomo Riko Co Ltd
Priority date (The priority date is an assumption and is not a legal conclusion. Google has not performed a legal analysis and makes no representation as to the accuracy of the date listed.)
Filing date
Publication date
Application filed by Sumitomo Riko Co Ltd filed Critical Sumitomo Riko Co Ltd
Priority to JP2007184971A priority Critical patent/JP4772001B2/ja
Priority to US12/216,880 priority patent/US8083216B2/en
Publication of JP2009019752A publication Critical patent/JP2009019752A/ja
Application granted granted Critical
Publication of JP4772001B2 publication Critical patent/JP4772001B2/ja
Active legal-status Critical Current
Anticipated expiration legal-status Critical

Links

Images

Classifications

    • FMECHANICAL ENGINEERING; LIGHTING; HEATING; WEAPONS; BLASTING
    • F16ENGINEERING ELEMENTS AND UNITS; GENERAL MEASURES FOR PRODUCING AND MAINTAINING EFFECTIVE FUNCTIONING OF MACHINES OR INSTALLATIONS; THERMAL INSULATION IN GENERAL
    • F16FSPRINGS; SHOCK-ABSORBERS; MEANS FOR DAMPING VIBRATION
    • F16F1/00Springs
    • F16F1/36Springs made of rubber or other material having high internal friction, e.g. thermoplastic elastomers
    • F16F1/371Springs made of rubber or other material having high internal friction, e.g. thermoplastic elastomers characterised by inserts or auxiliary extension or exterior elements, e.g. for rigidification
    • F16F1/3713Springs made of rubber or other material having high internal friction, e.g. thermoplastic elastomers characterised by inserts or auxiliary extension or exterior elements, e.g. for rigidification with external elements passively influencing spring stiffness, e.g. rings or hoops
    • FMECHANICAL ENGINEERING; LIGHTING; HEATING; WEAPONS; BLASTING
    • F16ENGINEERING ELEMENTS AND UNITS; GENERAL MEASURES FOR PRODUCING AND MAINTAINING EFFECTIVE FUNCTIONING OF MACHINES OR INSTALLATIONS; THERMAL INSULATION IN GENERAL
    • F16FSPRINGS; SHOCK-ABSORBERS; MEANS FOR DAMPING VIBRATION
    • F16F2230/00Purpose; Design features
    • F16F2230/0052Physically guiding or influencing
    • F16F2230/007Physically guiding or influencing with, or used as an end stop or buffer; Limiting excessive axial separation
    • FMECHANICAL ENGINEERING; LIGHTING; HEATING; WEAPONS; BLASTING
    • F16ENGINEERING ELEMENTS AND UNITS; GENERAL MEASURES FOR PRODUCING AND MAINTAINING EFFECTIVE FUNCTIONING OF MACHINES OR INSTALLATIONS; THERMAL INSULATION IN GENERAL
    • F16FSPRINGS; SHOCK-ABSORBERS; MEANS FOR DAMPING VIBRATION
    • F16F2230/00Purpose; Design features
    • F16F2230/48Thermal insulation

Landscapes

  • Engineering & Computer Science (AREA)
  • General Engineering & Computer Science (AREA)
  • Mechanical Engineering (AREA)
  • Combined Devices Of Dampers And Springs (AREA)
  • Arrangement Or Mounting Of Propulsion Units For Vehicles (AREA)
  • Vibration Prevention Devices (AREA)

Description

本発明は、防振連結される一方の部材に取り付けられる第一の取付部材と他方の部材に取り付けられる第二の取付部材を本体ゴム弾性体で弾性連結した防振装置に係り、特に、第一の取付部材と第二の取付部材が相互に離隔する方向の変位量を制限するリバウンドストッパ機構と、本体ゴム弾性体への熱の影響を抑える遮熱ゴムカバーとを備えた、新規な構造の遮熱ゴムカバー付き防振装置に関するものである。
従来から、振動伝達系を構成する部材間に介装される防振連結体や防振支持体等の防振装置の一種として、防振連結される一方の部材に取り付けられる第一の取付部材と他方の部材に取り付けられる第二の取付部材を本体ゴム弾性体で連結した構造のものが知られている。かかる構造の防振装置では、例えば、自動車用のエンジンマウントやボデーマウント、サスペンションブッシュ等への適用が検討されている。
ところで、防振装置において良好な振動絶縁効果を得るには、ばね特性が十分に柔らかいことが望ましい。一方、大きな振動荷重が入力された際に、防振連結される一方の部材と他方の部材の大きな変位を抑えることが必要となる。そこで、防振装置には、第一の取付部材と第二の取付部材に対して相対的な変位量を制限するストッパ機構を設けることが多い。
このようなストッパ機構の一種として、特許文献1(特開2005−172202号公報)にも示されているように、門形のストッパ部材の両脚部分を第一の取付部材を軸直角方向に跨いで第二の取付部材に固定せしめ、ストッパ部材の中央部分と第一の取付部材を軸方向で対向位置せしめたリバウンド型のストッパ機構がある。これによれば、大荷重入力により第一の取付部材と第二の取付部材が相互に離隔する方向(リバウンド方向)に大きく変位して、ストッパ部材が第一の取付部材に打ち当たることで、第一及び第二の取付部材のリバウンド方向の変位量が制限されるようになっている。
ところで、上述のストッパ機構を備えた防振装置は、例えば大振幅振動が入力される自動車用エンジンマウント等に適用される場合が多い。そこで、本体ゴム弾性体が内燃機関の輻射熱や熱気等に直接に晒されると、耐久性能の低下により、ゴム弾性体本来の弾性による防振効果が十分に得られ難い問題があった。
かかる問題に対処するための方策の一つとして、本体ゴム弾性体の外面を離隔して覆うように遮熱カバー(遮熱板)を配設し、本体ゴム弾性体の外部熱の影響を抑えるようにした、遮熱カバー付きの防振装置が知られている。例えば、特許文献2(特開2004−276764号公報)に示されるものが、それである。
しかしながら、特許文献2に示される防振装置では、遮熱カバーの中央部分が本体ゴム弾性体とストッパ部材の間を通って第一の取付部材に支持されていると共に、遮熱カバーの外周部分が、ストッパ部材の外周部分が固定されたのと同じ第二の取付部材側のブラケットに支持された構造を呈していることから、遮熱カバーを防振装置本体に位置決めして固定する組み付け作業が複雑になり、また組み付け工数の削減が図られ難いこともあって、製造効率の向上が達成され難い問題を内在していた。
特開2005−172202号公報 特開2004−276764号公報
本発明は上述の如き事情を背景として為されたものであって、その解決課題とするところは、ストッパ機構を備えた防振装置において、遮熱ゴムカバーが防振装置本体に速やかに且つ確実に組み付けられることによって、目的とする遮熱効果が安定して得られると共に、製造効率が有利に向上され得る、新規な構造の遮熱ゴムカバー付き防振装置を提供することにある。
以下、このような課題を解決するために為された本発明の態様を記載する。なお、以下に記載の各態様において採用される構成要素は、可能な限り任意の組み合わせで採用可能である。また、本発明の態様乃至は技術的特徴は、以下に記載のものに限定されることなく、明細書全体および図面に記載され、或いはそれらの記載から当業者が把握することの出来る発明思想に基づいて認識されるものであることが理解されるべきである。
すなわち、本発明の特徴とするところは、防振連結される一方の部材に取り付けられる第一の取付部材と防振連結される他方の部材に取り付けられる第二の取付部材を本体ゴム弾性体で連結する一方、軸直角方向に延びる当接板部の両端に一対の脚部を備えた門形状のストッパ部材を用いて、一対の脚部の下端を第二の取付部材に固定して第一の取付部材から外方に突出するようにしてストッパ部材を組み付けることにより当接板部と第一の取付部材を対向位置せしめて、当接板部と第一の取付部材が当接することによって第一の取付部材と第二の取付部材の互いに離隔する方向の変位量を制限するリバウンドストッパ機構を構成すると共に、本体ゴム弾性体の外面を離隔して覆う遮熱ゴムカバーを第一の取付部材側から本体ゴム弾性体に被せるように配設した遮熱ゴムカバー付き防振装置において、ストッパ部材における当接板部と一対の脚部に、それぞれ外方に開口する係止凹溝を形成すると共に、当接板部の係止凹溝の両側壁部には高さ方向先端部分に切欠状の段差部を設ける一方、遮熱ゴムカバーの中央部分の外面に中央爪部を一体形成すると共に遮熱ゴムカバーの周壁部分の外面に外側爪部を一体形成して、当接板部における係止凹溝の両側壁部に中央爪部を係止すると共に、一対の脚部における係止凹溝の両側壁部に外側爪部を係止し、更に、当接板部における係止凹溝の両側壁部に設けた段差部の両端段差面に対して中央爪部の両端面を当接させることにより遮熱ゴムカバーの中央部分をストッパ部材の当接板部に対して係止凹溝の長手方向で位置決めして、遮熱ゴムカバーをストッパ部材に固定した遮熱ゴムカバー付き防振装置にある。
このような本発明に従う構造とされた遮熱ゴムカバー付き防振装置においては、遮熱ゴムカバーの中央爪部がストッパ部材における当接板部の係止凹溝の両側壁部に係止されることで、遮熱ゴムカバーの中央部分が、門形のストッパ部材の当接板部が設けられた中央部分に支持される。また、遮熱ゴムカバーの外側爪部がストッパ部材における各脚部の係止凹溝の両側壁部に係止されることで、遮熱ゴムカバーの周壁部分が、ストッパ部材の各脚部が設けられた外周部分に支持される。それによって、遮熱ゴムカバーが、ストッパ部材を介して、第一及び第二の取付部材が本体ゴム弾性体で弾性連結されてなる防振装置本体に固定されるようになっている。
ここで、ストッパ部材と遮熱ゴムカバーが互いに別体形成されていることにより、ストッパ部材と遮熱ゴムカバーの形状や大きさ、配置等の設計自由度が互いに大きく干渉することが抑えられる。その結果、要求される遮熱効果に応じて、遮熱ゴムカバーの設計変更が有利に為される。
また、中央爪部や外側爪部が遮熱ゴムカバーと一体形成されていることによって、これらの爪部を弾性変形させつつ、ストッパ部材の係止凹溝に係止することが可能となり、組み付け作業が容易となる。
特に、中央爪部の当接板部への位置決めは、当接板部の係止凹溝の両側壁部に設けられた段差部に中央爪部が入り込んだ状態とされて、係止凹溝の長手方向の両側において、中央爪部の両端面が段差部の両端段差面に対して対向位置せしめられる。そして、中央爪部の両端面が段差部の両端段差面に当接することによって、中央爪部の当接板部に対する相対変位が、係止凹溝の長手方向で拘束されることとなって位置決め効果が発揮される。かかる中央爪部の位置決めに伴い、遮熱ゴムカバーの外側爪部も固定すべきストッパ部材の脚部に対して安定して位置決めされることとなる。これにより、遮熱ゴムカバーのストッパ部材を介した防振装置本体に対する位置決めが、簡単な構造で効果的に実現されることとなり、位置ずれに起因する遮熱ゴムカバーのストッパ部材からの外れも防止される。
なお、中央爪部の両端面における段差部の両端段差面に対する当接状態は、遮熱ゴムカバーのストッパ部材への装着状態下で常時設定されている必要はなく、例えば、係止凹溝の長手方向において中央爪部の長さ寸法を段差部の長さ寸法よりも小さく設定して、該中央爪部の一方の端面又は両方の端面が段差部の端部段差面に対して所定の距離を隔てて対向位置せしめ、遮熱ゴムカバーがストッパ部材に対して係止凹溝の長手方向で所定距離だけ相対変位した場合にだけ、中央爪部の端面が段差部の端部段差面に当接してそれ以上の変位を阻止し得るようになっていても良い。尤も、常時、中央爪部の両端面が段差部の両端段差面に対して当接した状態で組み付けられることにより、遮熱ゴムカバーのストッパ部材に対する位置決め効果が一層確実に発揮されることとなる。そして、ゴム弾性体からなる中央爪部と外側爪部でストッパ部材に確実に係止されていることに加えて、かくの如く中央爪部の端面と係止凹溝の壁部の段差面の当接状態が保持されることによって、遮熱ゴムカバーの防振装置本体に対する位置ずれが一層効果的に抑えられる。
従って、本構造の遮熱ゴムカバー付き防振装置においては、遮熱ゴムカバーがストッパ部材を利用して、部品点数の増加を伴うことなく、防振装置本体に容易に組み付けられることから、製造効率の向上や低コスト化が有利に達成され得るのであり、しかも、遮熱ゴムカバーの防振装置本体に対する位置決めが確実とされ且つ安定して保持されることによって、遮熱ゴムカバーと本体ゴム弾性体の外面との離隔距離が高度に設定、保持されて、所期の遮熱効果が有利に発揮され得るのである。
また、本発明に係る遮熱ゴムカバー付き防振装置では、遮熱ゴムカバーが逆カップ形状を有しており、遮熱ゴムカバーの外面には底部から両周壁部に亘って延びる嵌入凹所を形成して、嵌入凹所の中央部分の壁部に中央爪部を形成すると共に、嵌入凹所の中央部分から端部側に偏倚した壁部に外側爪部を形成して、嵌入凹所にストッパ部材を嵌め込んだ構造が、採用されても良い。このような構造によれば、嵌入凹所による嵌合構造を利用して、遮熱ゴムカバーがストッパ部材に一層安定して支持されると共に、高度な位置決めが実現される。
また、本発明に係る遮熱ゴムカバー付き防振装置では、中央爪部や外側爪部を、嵌入凹所の壁部上端から幅方向内側に延びる横壁部と横壁部の内側端部から嵌入凹所の底部に向かって延びる縦壁部を含んで構成して、ストッパ部材の係止凹溝の上端部分を横壁部および縦壁部の内側に嵌め込むことで、中央爪部や外側爪部を係止凹溝の両壁部に係止した構造が、採用されても良い。このような構造によれば、爪部が係止凹溝の壁部に巻き込まれるようにして係止されることとなり、係止構造の安定が一層有利に図られ得る。
さらに、上述の本発明に係る遮熱ゴムカバー付き防振装置では、縦壁部を横壁部に比して厚肉とした構造が、好適に採用される。このような構造によれば、係止凹溝の壁部を縦壁部で軸直角方向に挟み込む力が好適に得られて、遮熱ゴムカバーの支持安定性が有利に向上され得る。また、遮熱ゴムカバーの加硫成形時や爪部を係止凹溝の壁部に組み付けた際に、縦壁部のめくれ上がりが好適に抑えられる。また、横壁部は縦壁部に比して薄肉とされているため、爪部の弾性変形作用が好適に確保され、縦壁部の厚肉化に起因する遮熱ゴムカバーのストッパ部材への組み付け作業の悪化が有利に防止され得る。
更にまた、上述の本発明に係る遮熱ゴムカバー付き防振装置では、縦壁部の先端部分を嵌入凹所の底部に向かって薄肉となる先細り形状とした構造が、好適に採用される。このような構造によれば、縦壁部の先端部分が、ストッパ部材の係止凹溝の壁部における当接板部や脚部の基端部分に当たることが軽減乃至は回避され、組み付け作業の容易化や組み付け状態の安定性の更なる向上が図られ得る。
また、本発明に係る遮熱ゴムカバー付き防振装置では、遮熱ゴムカバーにおける中央爪部と外側爪部の間に肉抜き孔を形成し、肉抜き孔にストッパ部材の当接板部と脚部の連結部位を位置せしめるようにした構造が、採用されても良い。このような構造によれば、連結部位の表面を中央爪部と外側爪部の間の外周面に重ね合わせる必要がなくなり、連結部位の表面と両爪部の外周面が互いに異なる形状である場合に強引に重ね合わせられることに起因して当接板部と中央爪部の係止状態や脚部と外側爪部の係止状態に不具合が生じることが解消される。その結果、ヒートインシュレータのストッパ金具への組み付け安定性が向上される。また、連結部位の表面が、中央爪部と外側爪部の間の外周面にぴったりと重ね合わせられるように特別に厳密に設計されなくともよくなり、製造作業が容易になる。
また、本発明に係る遮熱ゴムカバー付き防振装置では、第一の取付部材と当接板部の対向面間において、遮熱ゴムカバーの当接板部と重ね合わせられる部分に緩衝ゴムを一体形成した構造が、採用されても良い。このような構造によれば、ストッパ部材の当接板部と第一の取付部材が緩衝ゴムを介して打ち当たることにより、第一の取付部材と第二の取付部材の相対的な変位量が緩衝的に制限される。特に、緩衝ゴムと遮熱ゴムカバーが一体形成されていることから、緩衝ゴムを遮熱ゴムカバーと別にストッパ部材に組み付ける手間が省かれて、組み付け作業の容易化や製造コストの削減化が有利に図られ得る。
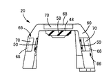
以下、本発明を更に具体的に明らかにするために、本発明の実施形態について説明する。先ず、図1には、本発明の遮熱ゴムカバー付き防振装置に係る一実施形態としての自動車用エンジンマウント10が示されている。このエンジンマウント10は、第一の取付部材としての第一の取付金具12と第二の取付部材としての第二の取付金具14が本体ゴム弾性体16を介して弾性連結されていると共に、第一の取付金具12や本体ゴム弾性体16の周りにストッパ部材としてのストッパ金具18や遮熱ゴムカバーとしてのヒートインシュレータ20が離隔して配設された構造を呈している。この第一の取付金具12がパワーユニット側に取り付けられると共に、第二の取付金具14が車両ボデー側に取り付けられることにより、パワーユニットがボデーに対して防振支持されるようになっている。
なお、図1では、自動車に装着する前のエンジンマウント10の単体での状態が示されているが、本実施形態では、装着状態において、パワーユニットの分担支持荷重がマウント軸方向(図1中、上下)に入力される。従って、マウント装着状態下では、本体ゴム弾性体16の弾性変形に基づき第一の取付金具12と第二の取付金具14が軸方向で互いに接近する方向に変位する。また、かかる装着状態下、防振すべき主たる振動は、略マウント軸方向に入力されることとなる。以下の説明中、特に断りのない限り、上下方向は、マウント軸方向となる図1中の上下方向をいう。
ここで、本実施形態に係るエンジンマウント10は、内部に非圧縮性流体が封入された流体封入式の防振装置とされており、例えば特許文献1(特開2005−172202号公報)等に示されるような公知の構造が採用されることから、その詳細な説明を省略するが、筒状を有する第二の取付金具14の一方(図1中、上)の開口部側に略円板形状乃至は円柱形状の第一の取付金具12が離隔配置されて、それら両金具12,14の間に裁頭円錐台形状の本体ゴム弾性体16が配設されている。第一の取付金具12の外周面が本体ゴム弾性体16の小径側端面に加硫接着されていると共に、第二の取付金具14の内周面が本体ゴム弾性体16の大径側端部外周面に加硫接着されていることによって、第一の取付金具12と第二の取付金具14が弾性連結されていると共に、第二の取付金具14の一方の開口部が本体ゴム弾性体16で流体密に覆蓋されている。また、図面に明示されていないが、第二の取付金具14の他方の開口部に蓋部材が配設されて、かかる開口部が蓋部材で流体密に覆蓋せしめられている。
これにより、本体ゴム弾性体16と蓋部材で覆蓋された第二の取付金具14の内側には、壁部の一部が本体ゴム弾性体16で構成されて、本体ゴム弾性体16の弾性変形に基づき圧力変動が生ぜしめられる受圧室が形成されている。なお、特許文献1に示されているように、蓋部材の一部がゴム膜で構成されて、ゴム膜自体の弾性変形により受圧室の圧力変動を調節したり、電磁式アクチュエータ等を用いてゴム膜を強制的に加振変位させて、受圧室の圧力変動を能動的に制御することも可能である。
また、本体ゴム弾性体16の外側を覆うようにして、可撓性膜としての弾性変形容易なダイヤフラム22が配設されていることによって、本体ゴム弾性体16を挟んで受圧室と反対側には、ダイヤフラム22の弾性変形に基づき容積変化が容易に許容される平衡室が形成されている。即ち、ダイヤフラム22が、マウント本体の外部に露呈している。これら受圧室と平衡室には、水やアルキレングリコール、ポリアルキレングリコール等の非圧縮性流体が封入されている。また、受圧室と平衡室の間には、それらを相互に連通せしめるオリフィス通路が形成されている。このオリフィス通路を通じて流動せしめられる流体の共振周波数が、防振すべき振動にチューニングされている。
特に、第一の取付金具12の上端部分には、取付片24が一体形成されており、取付片24に貫設された挿通孔26に固定用ボルトが挿通されて、パワーユニット側の取付部材に螺着固定されるようになっている。また、第二の取付金具14の他方(図1中、下)の開口部側に、筒状の取付ブラケット28が固定されており、取付ブラケット28が車両ボデー側の取付部材にボルト等で固定されるようになっている。これにより、自動車用エンジンマウント10が、パワーユニットと車両ボデーの間に介装されるようにして自動車に装着されて、パワーユニットを車両ボデーに対して防振支持せしめるようになっている。
かかる装着状態下、第一の取付金具12と第二の取付金具14の間に振動が入力されて、受圧室と平衡室の間に相対的な圧力変動が生ぜしめられて、オリフィス通路を通じての流体の流動量が確保されることとなり、かかる流体の共振作用等の流動作用に基づいて防振効果が発揮されるようになっている。
そこにおいて、第二の取付金具14の一方(図1中、上)の端部には、軸直角方向外方に広がる鍔状部30が一体形成されており、この鍔状部30に対してストッパ金具18が固定されている。
詳細には、ストッパ金具18は、図2〜4にも示されているように、軸直角方向に延びる略矩形平板形状の当接板部32を備えていると共に、当接板部32の両端から下方に向かって延びる略矩形板状の脚部34の一対を備えていて、全体として門形状を呈している。この当接板部32の各端部と脚部34の上端部が一体形成されてなる当接板部32と脚部34の連結部位は、滑らかに湾曲している。
また、脚部34の下端部が屈曲して、当接板部32と略平行に延びる矩形平板形状を有していると共に、その下端部に挿通孔36が貫設されている。一対の脚部34,34の対向面間距離が、ダイヤフラム22の外形寸法よりも大きくされている。脚部34の高さ寸法が、マウント本体の第二の取付金具14の鍔状部30から第一の取付金具12に至る高さ寸法に比して十分に大きくされている。
さらに、ストッパ金具18の幅方向(図3中、上下または図4中、左右)の両端部には、支持板部38がそれぞれ一体形成されている。支持板部38は、ストッパ金具18の幅方向端部から上方に延びる平板形状を有しており、幅方向端部の全体に亘って略一定の高さ寸法で延びている。即ち、ストッパ金具18には、幅方向で対向位置せしめられた一対の支持板部38,38と当接板部32および一対の脚部34,34が協働して、ストッパ金具18の外方に向かって開口する略一定の凹状断面で、一対の脚部34,34およびその間の当接板部32を連続して延びる係止凹溝40が形成されている。
特に、当接板部32の幅方向(図3中、上下)の両端縁部から立ち上がって、当接板部32と略平行に延びる支持板部38の先端面の中央には、切欠状の段差部としての位置決め用溝33が形成されている。位置決め用溝33は支持板部38の先端面を所定の深さ寸法だけ切り欠くように形成されて、位置決め用溝33の底面が当接板部32と略平行に延びており、その長手方向(図2,3中、左右)に延びる両端面が当接板部32における脚部34との連結部分に至らない幅方向縁部の上方に位置せしめられている。このような位置決め用溝33が支持板部38に形成されていることにより、支持板部38の先端面には、位置決め用溝33の長手方向両端面で構成された段差面35,35が形成されている。かかる段差面35は、位置決め用溝33の底面から上方に向かって位置決め用溝33の長手方向外方に傾斜している。
このような構造とされたストッパ金具18の一対の脚部34,34の間に、マウント本体の第一の取付金具12およびダイヤフラム22が挟み込まれるようにして、脚部34の下端部が第二の取付金具14の鍔状部30に重ね合わせられると共に、鍔状部30に突設された固定用ボルト42が脚部34の挿通孔36に挿通されて固定用ナットを用いて螺着固定されている。これにより、ストッパ金具18が第一の取付金具12およびダイヤフラム22の外方に離隔位置せしめられて、第一の取付金具12の上方にストッパ金具18の当接板部32が所定距離を隔てて対向位置せしめれた形態で、ストッパ金具18が第二の取付金具14の鍔状部30に固定されている。
一方、ヒートインシュレータ20は、図5〜15にも示されているように、ゴム弾性材を用いて形成されており、第一膜部44や第二膜部46、中央連結板部48、一対の外側連結板部50,50を含んで構成されて、全体として下方に向かって開口する略逆カップ形状を有している。
第一膜部44は、空洞の略四半球形状を有していると共に、周壁部分の適当な箇所に、複数の窓部52が形成されている。
第二膜部46は、第一膜部44に比して幅寸法の小さな袋形状を有していると共に、中央部分に大きな切り欠き状の窓部54が形成されている。また、第二膜部46の周壁部分には、板状を有する放熱板部56が外方に向かって突設されている。
これら第一膜部44と第二膜部46が、幅方向(図6,7中、上下)に所定距離を隔てて対向位置せしめられていると共に、それらの対向面間に略矩形平板形状を有する中央連結板部48と一対の外側連結板部50,50が配されて、各連結板部48,50の幅方向端部が第一膜部44の内周縁部分と第二膜部46の内周縁部分に一体形成されていることにより、第一膜部44と第二膜部46が中央および外側連結板部48,50を介して相互に連結された構造を呈している。
特に本実施形態では、中央連結板部48が、第一膜部44と第二膜部46の対向方向に直交する方向(図6,7中、左右)の中央部分に位置せしめられていることで、ヒートインシュレータ20の底部中央として構成されている。また、各外側連結板部50が、中央連結板部48から当該直交方向に離隔した外方に位置せしめられていることによって、それぞれヒートインシュレータ20の周壁部分の一部として構成されている。また、中央連結板部48は、その長手寸法がストッパ金具18の当接板部32の長手寸法よりも小さな略矩形平板形状を有していると共に、外側連結板部50は、その長手寸法が中央連結板部48の長手寸法よりも小さな矩形平板形状を有している。
また、中央連結板部48には、下方に向かって突出するストッパゴム58が一体形成されている。この緩衝ゴムとしてのストッパゴム58は、矩形平板形状の板部が軸方向に複数重ね合わせられると共に、突出方向の先端部分に向かって外形寸法が次第に小さくなる形態を有している。また、ストッパゴム58が、ヒートインシュレータ20の底部中央の幅方向一方(図6中、上)の第二膜部46側に偏倚して設けられている。
また、ヒートインシュレータ20における第一膜部44および第二膜部46の内周縁部には、全体に亘って略一定の高さ寸法で外方に突出する平板形状の係止板部60が設けられている。これら一対の係止板部60,60が、第一膜部44および第二膜部46の対向方向に所定距離を隔てて対向位置せしめられていることで、ヒートインシュレータ20には、一対の係止板部60,60と一対の係止板部60,60の間に延びる中央連結板部48および一対の外側連結板部50,50が協働して、ヒートインシュレータ20の外方に開口する略一定の凹状断面で中央部分から両側の周縁部分に至る領域を連続して延びる嵌入凹所62が形成されている。このことからも明らかなように、一対の係止板部60,60は、中央連結板部48や一対の外側連結板部50,50によって相互に連結されている。また、嵌入凹所62の幅寸法や長手寸法は、一対の支持板部38,38を備えたストッパ金具18の幅寸法や長手寸法よりも僅かに大きくされている。
各係止板部60において、中央連結板部48と連結された部分には、中央爪部64が設けられていると共に、外側連結板部50と連結された部分には、外側爪部66が設けられている。換言すると、一対の中央爪部64,64が、ヒートインシュレータ20の底部中央において、中央連結板部48の幅方向に離隔して対向位置せしめられている。更に、各一対の外側爪部66,66が、ヒートインシュレータ20の各周壁部分において、外側連結板部50の幅方向に離隔して対向位置せしめられていると共に、ヒートインシュレータ20の中心を挟んだ軸直角方向一方向で対向位置せしめられている。
中央爪部64や外側爪部66は、何れも、係止板部60の上端部分から幅方向内側に延びる矩形平板形状の横壁部68と横壁部68の内側端縁部から下方又は内方に向かって略矩形平板形状に延びる縦壁部70を含んで構成されている。中央爪部64や外側爪部66の長手寸法が、中央連結板部48や外周連結板部50の長手寸法と略同じ大きさに設定されているため、中央爪部64の長手寸法が、外側爪部66の長手寸法よりも大きくされている。
特に本実施形態では、中央爪部64において、横壁部68の厚さ寸法が係止板部60の厚さ寸法と同じかそれよりも僅かに小さくされていると共に、縦壁部70の厚さ寸法が係止板部60の厚さ寸法に比して十分に大きくされていることによって、中央爪部64の縦壁部70の厚さ寸法が、横壁部68の厚さ寸法に比して十分に大きくされている。一方、外側爪部66の横壁部68の厚さ寸法と縦壁部70の厚さ寸法は、ともに係止板部60の厚さ寸法と略同じとされている。
また、中央爪部64の縦壁部70が、係止板部60と横壁部68の幅寸法分だけ幅方向に離隔して対向位置せしめられていると共に、係止板部60と平行に延びている。また、縦壁部70の高さ寸法が、係止板部60の上端部分と同じ高さ位置にある横壁部68の内側端部から各連結板部48,50に向かって延びて、突出先端部分が連結板部48,50と当接しない大きさとされている。特に本実施形態では、縦壁部70の係止板部60と対向位置せしめられる側の内側端部が、軸方向中間部分から突出先端部分に行くに従って幅寸法が小さくなる先細り形状とされている。また、中央爪部64の長手方向(図7,8中、左右)の寸法が、ストッパ金具18の支持板部38に形成された位置決め用溝33の長手方向(図2,3中、左右)の寸法、換言すると一対の段差面35,35の間の離隔距離よりも僅かに小さくされている。
さらに、上述の説明からも明らかなように、ヒートインシュレータ20において、中央爪部64が一体形成された中央連結板部48と外側爪部66が一体形成された外側連結板部50とが、連結板部48,50の幅方向に直交する方向(長手方向)に離隔して設けられていることによって、各係止板部60に形成された中央爪部64と各外側爪部66が、該長手方向に所定距離を隔てて対向位置せしめられていると共に、それら中央爪部64と各外側爪部66の間には、中央連結板部48と各外側連結板部50の間に位置せしめられる矩形状の肉抜き孔72が形成されている。
このような構造とされたヒートインシュレータ20が、ストッパ金具18が固定されたマウント本体に対して、門形状のストッパ金具18の内側と第一の取付金具12およびダイヤフラム22の間に差し入れられて、ヒートインシュレータ20の嵌入凹所62に対してストッパ金具18が嵌め込まれている。そして、ヒートインシュレータ20の中央連結板部48にストッパ金具18の当接板部32が重ね合わせられていると共に、ヒートインシュレータ20の各外側連結板部50にストッパ金具18の各脚部34の中間部分が重ね合わせられている。
さらに、ヒートインシュレータ20の中央爪部64と外側爪部66の各縦壁部70と係止板部60の間の離隔距離を広げるようにして、爪部64,66を弾性変形させて、縦壁部70が、ストッパ金具18の支持板部38の幅方向外方乃至は軸方向外方から支持板部38を超えて、支持板部38の内側の係止凹溝40に位置せしめられている。更に、ストッパ金具18の当接板部32に突設された支持板部38が、中央爪部64の縦壁部70と係止板部60の間に挟み込まれていると共に、支持板部38の上端部分が横壁部68と対向せしめられている。更にまた、ストッパ金具18の各脚部34に突設された支持板部38が、外側爪部66の縦壁部70と係止板部60の間に挟み込まれていると共に、支持板部38の上端部分が横壁部68と対向せしめられている。なお、各爪部64,66の横壁部68と支持板部38の上端部分が当接しているか離隔しているかは特に限定されるものでない。ヒートインシュレータ20の各連結板部48,50がストッパ金具18に重ね合わせられていると共に、各爪部64,66の縦壁部70と係止板部60の間に支持板部が38挟み込まれていることによって、ヒートインシュレータ20がストッパ金具18に固定的に支持されているのである。
ここで、中央爪部64が支持板部38の位置決め用溝33に嵌め込まれて、中央爪部64の横壁部68と位置決め用溝33の底面が対向せしめられて当接または離隔していると共に、中央爪部64の長手方向の両端面がストッパ金具18の各段差面35とそれぞれ対向せしめられている。中央爪部64の長手寸法が一対の段差面35,35の離隔距離よりも僅かに小さくされていることで、中央爪部64の中央部分が一対の段差面35,35の対向面間の中央に位置せしめられると、中央爪部64の端面と段差面35が厳密には離隔されているが、それら端面と段差面35の離隔距離は無視できるほどに小さくされていることによって、中央爪部64の各端面が各段差面35に実質的に当接している。
なお、本実施形態に係る自動車用エンジンマウント10では、例示の如き形態に限定されるものでなく、例えば中央爪部64の長手寸法を一対の段差面35,35の離隔距離よりも大きくして、中央爪部64の位置決め用溝33への嵌め込みに際して、中央爪部64を圧縮変形させつつ、中央爪部64の端面を段差面35に当接させることも可能である。
これにより、ストッパ金具18の当接板部32に対する中央爪部64の長手方向の変位が制限されており、ヒートインシュレータ20の中央部分が、ストッパ金具18の中央部分の当接板部32に位置決めされて、中央爪部64の支持板部38の挟み込みにより固定的に支持されている。また、ヒートインシュレータ20の中央部分の位置決めに伴い、ヒートインシュレータ20の周壁部分がストッパ金具18の外周側の一対の脚部34,34に位置決めされて、外側爪部66の支持板部38の挟み込みにより固定的に支持せしめられている。その結果、ヒートインシュレータ20が、第一の取付金具12およびダイヤフラム22の外方に所定の距離を隔てて位置せしめられた状態が保持されつつ、それら第一の取付金具12およびダイヤフラム22側から被せられるように配設されて、ストッパ金具18を介してマウント本体に固定されている。
また、かかる固定状態下、ヒートインシュレータ20の中央連結板部48がストッパ金具18の当接板部32に重ね合わせられていることに基づき、中央連結板部48に突設されたストッパゴム58が、当接板部32と第一の取付金具12の軸方向対向面間に位置せしめられて、ストッパ金具18側から第一の取付金具12に向かって突出せしめられている。また、特に本実施形態では、ストッパ金具18における当接板部32と脚部34の連結部分が、ヒートインシュレータ20の肉抜き孔72に位置せしめられている。
なお、ヒートインシュレータ20のマウント本体への組付けは、マウント本体に固定されたストッパ金具18に対して固定することにより実現されても良いし、またマウント本体に固定される前のストッパ金具18にヒートインシュレータ20を固定して、ストッパ金具18がマウント本体に固定されることによって実現されても良い。
このような構造とされたヒートインシュレータ20付きの自動車用エンジンマウント10においては、第一の取付金具12と第二の取付金具14の間にリバウンド方向の大荷重が入力されて、両金具12,14の一方が他方に対して大きく離隔変位することとなっても、ストッパ金具18の当接板部32と第一の取付金具12が、ヒートインシュレータ20に一体形成されたストッパゴム58を介して打ち当たることによって、両金具12,14のリバウンド方向の変位が緩衝的に制限される。その結果、本体ゴム弾性体16の過大な変形が抑えられて、耐久性が向上され得る。なお、上述の説明からも明らかなように、本実施形態に係る第一の取付金具12と第二の取付金具14のリバウンドストッパ機構が、ストッパ金具18やストッパゴム58を含んで構成されている。
また、このような自動車用エンジンマウント10は、内燃機関の輻射熱等が晒されやすい場所に配されることとなるが、第一の取付金具12およびダイヤフラム22の外面を離隔して覆うようにヒートインシュレータ20が配されていることから、マウント本体の内部に設けられる本体ゴム弾性体16は勿論、ダイヤフラム22もヒートインシュレータ20で好適に保護されることとなり、ダイヤフラム22や本体ゴム弾性体16の耐久性が有利に向上され得る。
そこにおいて、ヒートインシュレータ20が、中央爪部64と外側爪部66を利用して、所定の面積を備え且つ剛体のストッパ金具18に支持されていることにより、ヒートインシュレータ20のマウント本体への支持状態が安定する。その結果、ヒートインシュレータ20がダイヤフラム22等に過度に当接することが抑えられて、当接による不具合が有利に解消され得る。
特に、ヒートインシュレータ20のストッパ金具18、延いてはマウント本体に対する位置決めが、中央爪部64の端面が支持板部38の段差面35に当接することで実現されることから、位置決め構造が簡単となる。しかも、自動車への装着状態下、中央爪部64の端面と支持板部38の段差面35の当接状態が保持されていることによって、ヒートインシュレータ20のマウント本体に対する位置ずれが好適に抑えられる。
また、ヒートインシュレータ20と一体形成された中央爪部64や外側爪部66を用いてストッパ金具18に固定されていることにより、ボルト等を用いて固定する場合に比して、固定構造が簡単となるのであり、それによって、前述の位置決め構造を含む全体構造の複雑化が有利に解消され得る。
さらに、ヒートインシュレータ20の中央部分と外周部分の両方がストッパ金具18に支持されるようになっていることから、組み付け作業が容易になることに加えて、例えばヒートインシュレータ20の中央部分が第一の取付金具12側に支持されると共に、ヒートインシュレータ20の外周部分が第二の取付金具14側に支持されることに起因して、第一の取付金具12と第二の取付金具14の相対変位による応力集中がヒートインシュレータ20に生じることが回避されることとなり、ヒートインシュレータ20の耐久性が向上され得る。
更にまた、ストッパ金具18とヒートインシュレータ20が互いに別体形成されていることにより、ヒートインシュレータ20の形状や大きさ等をストッパ金具18の形態で大きく制限されることなく、設計変更することが出来、それによって、ヒートインシュレータ20ならびにストッパ金具18の設計自由度が十分に確保され得る。
それ故、製造効率の向上や低コスト化が有利に達成され得ることに加え、ヒートインシュレータ20における設計変更や、マウント本体との離隔保持が高度に実現されることにより、所期の遮熱効果が安定して得られるのである。
特に本実施形態では、ストッパゴム58がヒートインシュレータ20と一体形成されていることにより、部品点数の増大が抑えられて、組み付け作業が一層容易になる。
また、本実施形態では、ヒートインシュレータ20の係止板部60やストッパ金具18の支持板部38が、ぞれぞれ一方の周縁部(端部)から中央部分を経て他方の周縁部(端部)にまで連続して延びて、それら支持板部38と係止板部60が全体に亘って幅方向で重ね合わせられている。これにより、ヒートインシュレータ20のストッパ金具18に対する支持状態が一層安定する。
以上、本発明の一実施形態について詳述してきたが、これはあくまでも例示であり、かかる実施形態における具体的な記載によって、本発明は、何等限定されるものでなく、当業者の知識に基づいて種々なる変更、修正、改良等を加えた態様で実施可能であり、また、そのような実施態様が、本発明の趣旨を逸脱しない限り、何れも、本発明の範囲内に含まれるものであることは、言うまでもない。
例えば、ストッパ金具18やヒートインシュレータ20、マウント本体等における形状や大きさ、構造、数、配置等の形態は、例示の如きものに限定されない。以下の説明において前記実施形態と実質的に同一の構造とされた部材および部位については、図中に同一の符号を付することにより、それらの詳細な説明を省略する。
すなわち、前記実施形態では、ヒートインシュレータ20が一対の袋状の第一膜部44および第二膜部46を含んで構成されていたが、要求される遮熱効果や製作性等に応じて、例えば図16〜18にも示されているように、第二膜部46がストッパ金具18の係止板部60に沿って重ね合わせられる板形状とされていても良い。
また、前記実施形態では、ヒートインシュレータ20の周壁部分が、ストッパ金具18の両脚部34,34に対して、それぞれ一対の外側爪部66,66を介して固定されるようになっていたが、一方の脚部34のみに対して外側爪部66を利用して固定することも可能である。
また、ストッパゴム58がヒートインシュレータ20と一体形成される必要は必ずしもなく、例えばストッパゴム58を設けずに、第一の取付金具とストッパ金具の当接板部をヒートインシュレータの中央連結板部を介して打ち当たらせることも可能であり、或いはストッパ金具の当接板部の底面にストッパゴムを突設すると共に、ストッパゴムをヒートインシュレータの中央連結板部に重ね合わせたり、中央連結板部に貫設した孔にストッパゴムを挿通することも可能である。
また、前記実施形態では、支持板部38の段差面35が、支持板部38の先端部分において切り欠き状に設けられた位置決め用溝33の長手方向の端面によって構成されていたが、例えば支持板部の先端部分に突設された突部の端面で構成しても良い。
また、段差面35を各支持板部38にそれぞれ一対設ける必要は必ずしもなく、各支持板部38における一対の段差面35,35をそれぞれ一つにして、それら段差面を当接板部の中央を挟んで互いに異なる方向に配して、一方の中央爪部の長手方向一方の端面に一方の段差面を当接させると共に、他方の中央爪部の長手方向他方の端面に他方の段差面を当接させることによって、一方の支持板部の段差面と他方の支持板部の段差面が協働してヒートインシュレータの中央部分の変位を制限して、ストッパ金具の当接板部に位置決めすることも可能である。
さらに、前記実施形態では、内部に受圧室や平衡室、オリフィス通路を形成して、内部に非圧縮性流体が封入されたリキッド式のエンジンマウント10に対して本発明が適用されていたが、これに限定されるものでなく、例えば第一の取付金具と第二の取付金具が本体ゴム弾性体で連結されただけのソリッド式の防振装置に対して適用することも勿論可能である。
加えて、前記実施形態では、自動車用エンジンマウントに本発明を適用したものの一具体例について例示されていたが、その他ストッパ機構およびヒートインシュレータの配設が要求される各種の防振装置に対して適用可能であることは無論である。
本発明の一実施形態としての自動車用エンジンマウントの正面と側面を一体的に示す外形説明図。 同自動車用エンジンマウントの一部を構成するストッパ金具の正面図。 同ストッパ金具の平面図。 同ストッパ金具の一側面図。 同自動車用エンジンマウントの一部を構成するヒートインシュレータの斜視図。 同ヒートインシュレータの底面図。 同ヒートインシュレータの平面図。 図7のVIII−VIII断面図。 図7のIX−IX断面図。 図7のX−X断面図。 図7のXI−XI断面図。 同ヒートインシュレータの一側面図。 同ヒートインシュレータの正面図。 図13のXIIII−XIIII断面図。 図13のXV−XV断面図。 本発明の別の一具体例としての自動車用エンジンマウントの一部を構成するヒートインシュレータをストッパ金具に組み付けた状態の斜視図。 同組み付け状態の平面図。 図17のXVIII−XVIII断面図。
符号の説明
10:自動車用エンジンマウント、12:第一の取付金具、14:第二の取付金具、16:本体ゴム弾性体、18:ストッパ金具、20:ヒートインシュレータ、32:当接板部、34:脚部、35:段差面、40:係止凹溝、58:ストッパゴム、64:中央爪部、66:外側爪部

Claims (7)

  1. 防振連結される一方の部材に取り付けられる第一の取付部材と防振連結される他方の部材に取り付けられる第二の取付部材を本体ゴム弾性体で連結する一方、軸直角方向に延びる当接板部の両端に一対の脚部を備えた門形状のストッパ部材を用いて、該一対の脚部の下端を該第二の取付部材に固定して該第一の取付部材から外方に突出するようにして該ストッパ部材を組み付けることにより該当接板部と該第一の取付部材を対向位置せしめて、該当接板部と該第一の取付部材が当接することによって該第一の取付部材と該第二の取付部材の互いに離隔する方向の変位量を制限するリバウンドストッパ機構を構成すると共に、該本体ゴム弾性体の外面を離隔して覆う遮熱ゴムカバーを該第一の取付部材側から該本体ゴム弾性体に被せるように配設した遮熱ゴムカバー付き防振装置において、
    前記ストッパ部材における前記当接板部と前記一対の脚部に、それぞれ外方に開口する係止凹溝を形成すると共に、該当接板部の該係止凹溝の両側壁部には高さ方向先端部分に切欠状の段差部を設ける一方、前記遮熱ゴムカバーの中央部分の外面に中央爪部を一体形成すると共に該遮熱ゴムカバーの周壁部分の外面に外側爪部を一体形成して、該当接板部における該係止凹溝の両側壁部に該中央爪部を係止すると共に、該一対の脚部における該係止凹溝の両側壁部に該外側爪部を係止し、更に、該当接板部における該係止凹溝の両側壁部に設けた該段差部の両端段差面に対して該中央爪部の両端面を当接させることにより該遮熱ゴムカバーの中央部分を該ストッパ部材の該当接板部に対して該係止凹溝の長手方向で位置決めして、該遮熱ゴムカバーを該ストッパ部材に固定したことを特徴とする遮熱ゴムカバー付き防振装置。
  2. 前記遮熱ゴムカバーが逆カップ形状を有しており、該遮熱ゴムカバーの外面には底部から両周壁部に亘って延びる嵌入凹所を形成して、該嵌入凹所の中央部分の壁部に前記中央爪部を形成すると共に、該嵌入凹所の中央部分から端部側に偏倚した壁部に前記外側爪部を形成して、該嵌入凹所に前記ストッパ部材を嵌め込んだ請求項1に記載の遮熱ゴムカバー付き防振装置。
  3. 前記中央爪部や前記外側爪部を、前記嵌入凹所の壁部上端から幅方向内側に延びる横壁部と該横壁部の内側端部から該嵌入凹所の底部に向かって延びる縦壁部を含んで構成して、前記ストッパ部材の前記係止凹溝の上端部分を該横壁部および該縦壁部の内側に嵌め込むことで、該中央爪部や該外側爪部を該係止凹溝の両壁部に係止した請求項2に記載の遮熱ゴムカバー付き防振装置。
  4. 前記縦壁部を前記横壁部に比して厚肉とした請求項3に記載の遮熱ゴムカバー付き防振装置。
  5. 前記縦壁部の先端部分を前記嵌入凹所の底部に向かって薄肉となる先細り形状とした請求項3又は4に記載の遮熱ゴムカバー付き防振装置。
  6. 前記遮熱ゴムカバーにおける前記中央爪部と前記外側爪部の間に肉抜き孔を形成し、該肉抜き孔に前記ストッパ部材の前記当接板部と前記脚部の連結部位を位置せしめるようにした請求項1乃至5の何れか一項に記載の遮熱ゴムカバー付き防振装置。
  7. 前記第一の取付部材と前記当接板部の対向面間において、前記遮熱ゴムカバーの該当接板部と重ね合わせられる部分に緩衝ゴムを一体形成した請求項1乃至6の何れか一項に記載の遮熱ゴムカバー付き防振装置。
JP2007184971A 2007-07-13 2007-07-13 遮熱ゴムカバー付き防振装置 Active JP4772001B2 (ja)

Priority Applications (2)

Application Number Priority Date Filing Date Title
JP2007184971A JP4772001B2 (ja) 2007-07-13 2007-07-13 遮熱ゴムカバー付き防振装置
US12/216,880 US8083216B2 (en) 2007-07-13 2008-07-11 Vibration damping device equipped with rubber heat-insulating cover

Applications Claiming Priority (1)

Application Number Priority Date Filing Date Title
JP2007184971A JP4772001B2 (ja) 2007-07-13 2007-07-13 遮熱ゴムカバー付き防振装置

Publications (2)

Publication Number Publication Date
JP2009019752A JP2009019752A (ja) 2009-01-29
JP4772001B2 true JP4772001B2 (ja) 2011-09-14

Family

ID=40294571

Family Applications (1)

Application Number Title Priority Date Filing Date
JP2007184971A Active JP4772001B2 (ja) 2007-07-13 2007-07-13 遮熱ゴムカバー付き防振装置

Country Status (2)

Country Link
US (1) US8083216B2 (ja)
JP (1) JP4772001B2 (ja)

Families Citing this family (11)

* Cited by examiner, † Cited by third party
Publication number Priority date Publication date Assignee Title
BRPI0621437A2 (pt) 2006-03-21 2012-07-10 Tmms Co Ltd dispositivos de transporte da eletricidade através do vácuo e de materiais dielétricos
JP4759539B2 (ja) * 2007-07-13 2011-08-31 東海ゴム工業株式会社 遮熱ゴムカバー付き防振装置
FR2930614B1 (fr) * 2008-04-29 2010-05-14 Hutchinson Dispositif antivibratoire, systeme antivibratoire comprenant un tel dispositif et procede de fabrication
GB2480494B (en) * 2010-05-21 2017-03-15 Gm Global Tech Operations Llc Heat protection for load bearing component
GB2514837B (en) * 2013-06-07 2019-04-17 Bentley Motors Ltd A heat shield arrangement
JP6456341B2 (ja) * 2016-11-17 2019-01-23 東洋ゴム工業株式会社 防振装置
JP6456340B2 (ja) 2016-11-17 2019-01-23 東洋ゴム工業株式会社 防振装置
JP6456339B2 (ja) 2016-11-17 2019-01-23 東洋ゴム工業株式会社 防振装置
US10295010B2 (en) * 2017-10-18 2019-05-21 Hyundai Motor Company Fluid-filled engine mounting apparatus
CN111341192A (zh) * 2020-03-03 2020-06-26 浙江工贸职业技术学院 一种焊接机械手教学实训装置
CN112277617A (zh) * 2020-10-29 2021-01-29 东风汽车股份有限公司 一种轻型商用车用动力总成悬置结构及其装配方法

Family Cites Families (17)

* Cited by examiner, † Cited by third party
Publication number Priority date Publication date Assignee Title
US2162714A (en) * 1937-10-08 1939-06-20 Clyde M Hamblin Vibration dampening fitting
JPH0571491A (ja) 1991-06-14 1993-03-23 Mitsui Constr Co Ltd ピツト用ポンプ
JP3675872B2 (ja) * 1995-02-27 2005-07-27 倉敷化工株式会社 防振ブッシュ用部品
JPH08296681A (ja) * 1995-04-25 1996-11-12 Bridgestone Corp 防振装置
JP2000057664A (ja) 1998-08-06 2000-02-25 Alpine Electronics Inc ディスク装置
JP3581924B2 (ja) * 2001-03-09 2004-10-27 東洋ゴム工業株式会社 防振装置
JP3767403B2 (ja) * 2001-03-30 2006-04-19 東海ゴム工業株式会社 流体封入式防振装置
FR2825128B1 (fr) * 2001-05-25 2003-08-15 Hutchinson Support antivibratoire et procede de fabrication d'un tel support
JP2003056636A (ja) 2001-08-22 2003-02-26 Toyo Tire & Rubber Co Ltd 防振装置
FR2851312B1 (fr) * 2003-02-13 2006-06-23 Hutchinson Support antivibratoire hydraulique
JP2004276764A (ja) 2003-03-17 2004-10-07 Honda Motor Co Ltd 車両用エンジン懸架装置
JP4401756B2 (ja) 2003-12-15 2010-01-20 山下ゴム株式会社 防振装置及びその製法
US7055811B2 (en) * 2004-05-03 2006-06-06 Toyo Tire And Rubber Co., Ltd. Vibration isolating device
JP4135719B2 (ja) * 2004-08-31 2008-08-20 東海ゴム工業株式会社 エンジンマウント
FR2880581B1 (fr) * 2005-01-12 2007-04-13 Hutchinson Sa Procede de fabrication d'un dispositif antivibratoire et dispositif antivibratoire pouvant etre obtenu par ce procede
US7581720B2 (en) * 2005-07-11 2009-09-01 Honda Motor Co., Ltd. Vibration isolation system and method for engine, and control system and method for active vibration isolation support system
JP4759539B2 (ja) * 2007-07-13 2011-08-31 東海ゴム工業株式会社 遮熱ゴムカバー付き防振装置

Also Published As

Publication number Publication date
JP2009019752A (ja) 2009-01-29
US20090026675A1 (en) 2009-01-29
US8083216B2 (en) 2011-12-27

Similar Documents

Publication Publication Date Title
JP4772001B2 (ja) 遮熱ゴムカバー付き防振装置
JP4759539B2 (ja) 遮熱ゴムカバー付き防振装置
JP5209339B2 (ja) ブラケット付きエンジンマウント
JP7000243B2 (ja) 防振装置
JP5535958B2 (ja) 液封入式防振装置
CN102168737B (zh) 流体封入式隔振装置
JP4802164B2 (ja) 防振装置
WO2015145672A1 (ja) 防振装置
CN107250600B (zh) 防振装置及缓冲装置
JP6595371B2 (ja) 防振装置
JP5829156B2 (ja) 防振装置
JP2012002328A (ja) 防振装置
JP5829135B2 (ja) 流体封入式防振装置
CN107683378B (zh) 一种液封防振装置
JP4379920B2 (ja) 流体封入式防振装置
JP2013181639A (ja) 防振装置
JPH0438117Y2 (ja)
JP6329870B2 (ja) 防振装置
CN113728177B (zh) 防振装置
JP5986515B2 (ja) 流体封入式防振装置
JP3978781B2 (ja) 流体封入式防振装置
JP5119195B2 (ja) 流体封入式防振装置
JP2007032745A (ja) 流体封入式防振装置
JP4103804B2 (ja) 液体封入式防振装置
JP2002206587A (ja) 液封入式防振装置

Legal Events

Date Code Title Description
A621 Written request for application examination

Free format text: JAPANESE INTERMEDIATE CODE: A621

Effective date: 20100526

TRDD Decision of grant or rejection written
A01 Written decision to grant a patent or to grant a registration (utility model)

Free format text: JAPANESE INTERMEDIATE CODE: A01

Effective date: 20110606

A01 Written decision to grant a patent or to grant a registration (utility model)

Free format text: JAPANESE INTERMEDIATE CODE: A01

A977 Report on retrieval

Free format text: JAPANESE INTERMEDIATE CODE: A971007

Effective date: 20110609

A61 First payment of annual fees (during grant procedure)

Free format text: JAPANESE INTERMEDIATE CODE: A61

Effective date: 20110621

FPAY Renewal fee payment (event date is renewal date of database)

Free format text: PAYMENT UNTIL: 20140701

Year of fee payment: 3

R150 Certificate of patent or registration of utility model

Ref document number: 4772001

Country of ref document: JP

Free format text: JAPANESE INTERMEDIATE CODE: R150

Free format text: JAPANESE INTERMEDIATE CODE: R150

S533 Written request for registration of change of name

Free format text: JAPANESE INTERMEDIATE CODE: R313533

R350 Written notification of registration of transfer

Free format text: JAPANESE INTERMEDIATE CODE: R350