JP4602869B2 - 複合成形品の成形方法とそれに用いる型締装置 - Google Patents

複合成形品の成形方法とそれに用いる型締装置 Download PDF

Info

Publication number
JP4602869B2
JP4602869B2 JP2005236668A JP2005236668A JP4602869B2 JP 4602869 B2 JP4602869 B2 JP 4602869B2 JP 2005236668 A JP2005236668 A JP 2005236668A JP 2005236668 A JP2005236668 A JP 2005236668A JP 4602869 B2 JP4602869 B2 JP 4602869B2
Authority
JP
Japan
Prior art keywords
mold part
molding
mold
movable
cavity
Prior art date
Legal status (The legal status is an assumption and is not a legal conclusion. Google has not performed a legal analysis and makes no representation as to the accuracy of the status listed.)
Expired - Lifetime
Application number
JP2005236668A
Other languages
English (en)
Other versions
JP2007050585A (ja
JP2007050585A5 (ja
Inventor
健二 福本
鎮緒 神野
淳 塚本
寿昌 帆高
史崇 近藤
康宏 杉原
一真 久木
Current Assignee (The listed assignees may be inaccurate. Google has not performed a legal analysis and makes no representation or warranty as to the accuracy of the list.)
Teijin Ltd
Original Assignee
Teijin Chemicals Ltd
Priority date (The priority date is an assumption and is not a legal conclusion. Google has not performed a legal analysis and makes no representation as to the accuracy of the date listed.)
Filing date
Publication date
Priority to JP2005236668A priority Critical patent/JP4602869B2/ja
Application filed by Teijin Chemicals Ltd filed Critical Teijin Chemicals Ltd
Priority to CN2006800296574A priority patent/CN101242942B/zh
Priority to PCT/JP2006/315720 priority patent/WO2007020844A1/ja
Priority to EP06782536.4A priority patent/EP1916082B1/en
Priority to US11/990,398 priority patent/US8408890B2/en
Priority to CN201210465011.8A priority patent/CN103009549B/zh
Publication of JP2007050585A publication Critical patent/JP2007050585A/ja
Publication of JP2007050585A5 publication Critical patent/JP2007050585A5/ja
Application granted granted Critical
Publication of JP4602869B2 publication Critical patent/JP4602869B2/ja
Priority to US13/749,964 priority patent/US9321196B2/en
Anticipated expiration legal-status Critical
Expired - Lifetime legal-status Critical Current

Links

Images

Classifications

    • BPERFORMING OPERATIONS; TRANSPORTING
    • B29WORKING OF PLASTICS; WORKING OF SUBSTANCES IN A PLASTIC STATE IN GENERAL
    • B29CSHAPING OR JOINING OF PLASTICS; SHAPING OF MATERIAL IN A PLASTIC STATE, NOT OTHERWISE PROVIDED FOR; AFTER-TREATMENT OF THE SHAPED PRODUCTS, e.g. REPAIRING
    • B29C43/00Compression moulding, i.e. applying external pressure to flow the moulding material; Apparatus therefor
    • B29C43/02Compression moulding, i.e. applying external pressure to flow the moulding material; Apparatus therefor of articles of definite length, i.e. discrete articles
    • B29C43/04Compression moulding, i.e. applying external pressure to flow the moulding material; Apparatus therefor of articles of definite length, i.e. discrete articles using movable moulds
    • BPERFORMING OPERATIONS; TRANSPORTING
    • B29WORKING OF PLASTICS; WORKING OF SUBSTANCES IN A PLASTIC STATE IN GENERAL
    • B29CSHAPING OR JOINING OF PLASTICS; SHAPING OF MATERIAL IN A PLASTIC STATE, NOT OTHERWISE PROVIDED FOR; AFTER-TREATMENT OF THE SHAPED PRODUCTS, e.g. REPAIRING
    • B29C45/00Injection moulding, i.e. forcing the required volume of moulding material through a nozzle into a closed mould; Apparatus therefor
    • B29C45/03Injection moulding apparatus
    • B29C45/04Injection moulding apparatus using movable moulds or mould halves
    • B29C45/0441Injection moulding apparatus using movable moulds or mould halves involving a rotational movement
    • B29C45/045Injection moulding apparatus using movable moulds or mould halves involving a rotational movement mounted on the circumference of a rotating support having a rotating axis perpendicular to the mould opening, closing or clamping direction
    • BPERFORMING OPERATIONS; TRANSPORTING
    • B29WORKING OF PLASTICS; WORKING OF SUBSTANCES IN A PLASTIC STATE IN GENERAL
    • B29CSHAPING OR JOINING OF PLASTICS; SHAPING OF MATERIAL IN A PLASTIC STATE, NOT OTHERWISE PROVIDED FOR; AFTER-TREATMENT OF THE SHAPED PRODUCTS, e.g. REPAIRING
    • B29C45/00Injection moulding, i.e. forcing the required volume of moulding material through a nozzle into a closed mould; Apparatus therefor
    • B29C45/16Making multilayered or multicoloured articles
    • B29C45/1615The materials being injected at different moulding stations
    • B29C45/1628The materials being injected at different moulding stations using a mould carrier rotatable about an axis perpendicular to the opening and closing axis of the moulding stations
    • BPERFORMING OPERATIONS; TRANSPORTING
    • B29WORKING OF PLASTICS; WORKING OF SUBSTANCES IN A PLASTIC STATE IN GENERAL
    • B29CSHAPING OR JOINING OF PLASTICS; SHAPING OF MATERIAL IN A PLASTIC STATE, NOT OTHERWISE PROVIDED FOR; AFTER-TREATMENT OF THE SHAPED PRODUCTS, e.g. REPAIRING
    • B29C45/00Injection moulding, i.e. forcing the required volume of moulding material through a nozzle into a closed mould; Apparatus therefor
    • B29C45/17Component parts, details or accessories; Auxiliary operations
    • B29C45/46Means for plasticising or homogenising the moulding material or forcing it into the mould
    • B29C45/56Means for plasticising or homogenising the moulding material or forcing it into the mould using mould parts movable during or after injection, e.g. injection-compression moulding
    • B29C45/561Injection-compression moulding
    • BPERFORMING OPERATIONS; TRANSPORTING
    • B29WORKING OF PLASTICS; WORKING OF SUBSTANCES IN A PLASTIC STATE IN GENERAL
    • B29LINDEXING SCHEME ASSOCIATED WITH SUBCLASS B29C, RELATING TO PARTICULAR ARTICLES
    • B29L2011/00Optical elements, e.g. lenses, prisms
    • BPERFORMING OPERATIONS; TRANSPORTING
    • B29WORKING OF PLASTICS; WORKING OF SUBSTANCES IN A PLASTIC STATE IN GENERAL
    • B29LINDEXING SCHEME ASSOCIATED WITH SUBCLASS B29C, RELATING TO PARTICULAR ARTICLES
    • B29L2031/00Other particular articles
    • B29L2031/30Vehicles, e.g. ships or aircraft, or body parts thereof
    • B29L2031/3055Cars
    • BPERFORMING OPERATIONS; TRANSPORTING
    • B29WORKING OF PLASTICS; WORKING OF SUBSTANCES IN A PLASTIC STATE IN GENERAL
    • B29LINDEXING SCHEME ASSOCIATED WITH SUBCLASS B29C, RELATING TO PARTICULAR ARTICLES
    • B29L2031/00Other particular articles
    • B29L2031/778Windows
    • B29L2031/7782Glazing

Landscapes

  • Engineering & Computer Science (AREA)
  • Mechanical Engineering (AREA)
  • Manufacturing & Machinery (AREA)
  • Moulds For Moulding Plastics Or The Like (AREA)
  • Injection Moulding Of Plastics Or The Like (AREA)

Description

本発明は、第1型部、第2型部及び可動型部からなる金型装置を備える型締装置を用いて複合成形品を圧縮成形する成形方法に関する。
異材質樹脂による複合製品を射出成形する方法と金型装置に関するものとしては、複合製品の射出成形方法と複合製品の射出成型用金型装置がある(例えば、特許文献1参照)。前記特許文献1は、一次金型部により一次成形部を一次成形し、前記一次成形部を保持した可動型を二次金型部の可動型と入替えることにより、前記一次成形部をインサートした二次金型部により二次成形部を二次成形し、一次成形と二次成形は同時に進行するというものである。
前記特許文献1の射出成形方法と金型装置によれば、金型を固定盤と可動盤に並設するので、大型の固定盤と可動盤が必要となり、射出成形機の形状もより大きくなって大型成形品の成形には適さない。さらに、車輛用透明部材等の大型で薄板状の成形品をその板厚が偏差なく高精度となるように成形するには圧縮成形で行う必要がある。しかしながら、前記特許文献1の技術によれば、一次成形と二次成形の型締は同時にしかも同一条件下でのみ実施可能とするものであるから、圧縮成形を各々の金型装置で個別に実施することは実質的に不可能である。特に、車輛用透明部材等のように一次成形となる薄板の窓部の成形には圧縮成形が必須であるが、二次成形となる窓部外周の枠部の成形には圧縮成形を必要としないという複合成形には、前記特許文献1の成形方法は適用できない。
また、少なくとも2つのプラスチック溶融物から成る射出成形品を製造するための装置がある(例えば、特許文献2参照)。前記特許文献2は、定置に機械フレームに取り付けられた不動の型緊定プレートと、不動の型緊定プレートと定置に機械フレームに取り付けられた対向圧力プレートとの間に配置されてほぼ水平に延びる少なくとも4つの横桁に沿って移動可能な型緊定プレートとの間に、型緊定プレートに対して移動可能なかつ横桁の縦軸線に対して垂直に向けられた回転軸を中心として旋回可能な別の型緊定装置を有しており、型緊定装置が、互いに間隔を置いてかつ前記回転軸線に対して平行に向けられた少なくとも2つの側面に、型緊定プレートの型半部と協働する別の型半部を保持しており、各型緊定プレートが少なくとも1つの開口を備えており、該開口を介して塑性変形及び射出ユニットが型緊定プレートによって保持された型半部内の1つ若しくは複数の注入通路に接続されるようになっている形式のものである。そして前記両型半部へはそれぞれの型半部に接続される射出ユニットから同時に若しくは直接連続して順次に1つ若しくは複数のプラスチック溶融物が負荷される。したがって、前記特許文献2によれば、型半部は同一軸上に配設されるので、前記特許文献1における射出成形機の大型化の課題は解決されるものの、圧縮成形が不可能であるという課題は解決されないのである。
特開2002−225078公報 特開平11−105072号公報
本発明は上記の課題を解決するためになされたものであり、大型の射出成形機を要せずに圧縮成形が実施可能な複合成形品の成形方法とそれに用いる型締装置を提供することを目的とする。
すなわち、請求項1の発明は、固定盤に取付けられた第1型部と可動盤に取付けられた第2型部との間に回転・移動装置により回転かつ型開閉方向に移動可能な可動型部が設けられ、前記第1型部または前記第2型部のいずれか一方により1次成形品を1次成形し、前記1次成形品を保持した前記可動型部を回転させて前記1次成形した前記第1型部または前記第2型部とは異なる前記第2型部または前記第1型部のいずれか他方に型合わせされていた前記可動型部と入替え前記1次成形品をインサートした後、前記1次成形品インサートされ前記第2型部または前記第1型部のいずれか他方により2次成形品を2次成形する複合成形品の成形方法であって前記可動盤及び前記可動型部が移動して前記第1型部または前記第2型部のいずれか一方と前記可動型部との間に第1キャビティが形成され前記可動型部と前記第1キャビティを形成した前記第2型部または前記第1型部のいずれか他方との間に第2キャビティが形成されて型閉じが完了した後に、前記1次成形は第1射出装置から溶融材料を前記第1キャビティへ射出する成形であるとともに前記2次成形は第2射出装置から溶融材料を前記第2キャビティへ射出する成形であり、前記1次成形及び前記2次成形は、互いに異なった時点の連続しない別個の工程で実行され、前記1次成形または前記2次成形の少なくとも一方は、前記第1キャビティまたは前記第2キャビティのいずれかの該当するキャビティの容積を縮小させる圧縮成形で行われることを特徴とする複合成形品の成形方法に係る。
請求項の発明は、請求項において、前記圧縮成形を行うとき、複数の圧締装置を制御して前記可動型部と前記第1型部または前記第2型部とを平行に保って圧縮制御する複合成形品の成形方法に係る。
請求項の発明は、固定盤に取付けられた第1型部と可動盤に取付けられた第2型部との間に回転・移動装置により回転かつ型開閉方向に移動可能な可動型部が設けられ、前記第1型部または前記第2型部のいずれか一方により1次成形品を1次成形し、前記1次成形品を保持した前記可動型部を回転させて前記1次成形した前記第1型部または前記第2型部とは異なる前記第2型部または前記第1型部のいずれか他方に型合わせされていた前記可動型部と入替え前記1次成形品をインサートした後、前記1次成形品インサートされ前記第2型部または前記第1型部のいずれか他方により2次成形品を2次成形する複合成形品の型締装置であって前記可動盤及び前記可動型部が移動して前記第1型部または前記第2型部のいずれか一方と前記可動型部との間に第1キャビティが形成され前記可動型部と前記第1キャビティを形成した前記第2型部または前記第1型部のいずれか他方との間に第2キャビティが形成されて型閉じが完了した後に、前記1次成形は第1射出装置から溶融材料を前記第1キャビティへ射出する成形であるとともに前記2次成形は第2射出装置から溶融材料を前記第2キャビティへ射出する成形であり、前記1次成形及び前記2次成形は、互いに異なった時点の連続しない別個の工程で実行され、前記1次成形または前記2次成形の少なくとも一方は、前記第1キャビティまたは前記第2キャビティのいずれかの該当するキャビティの容積を縮小させる圧縮成形を行うことを特徴とする複合成形品の型締装置に係る。
請求項の発明は、請求項において、前記圧縮成形を行うとき、複数の圧締装置を制御して前記可動型部と前記第1型部または前記第2型部とを平行に保って圧縮制御する複合成形品の型締装置に係る。
請求項1の発明は、固定盤に取付けられた第1型部と可動盤に取付けられた第2型部との間に回転・移動装置により回転かつ型開閉方向に移動可能な可動型部が設けられ、前記第1型部または前記第2型部のいずれか一方により1次成形品を1次成形し、前記1次成形品を保持した前記可動型部を回転させて前記1次成形した前記第1型部または前記第2型部とは異なる前記第2型部または前記第1型部のいずれか他方に型合わせされていた前記可動型部と入替え前記1次成形品をインサートした後、前記1次成形品インサートされ前記第2型部または前記第1型部のいずれか他方により2次成形品を2次成形する複合成形品の成形方法であって前記可動盤及び前記可動型部が移動して前記第1型部または前記第2型部のいずれか一方と前記可動型部との間に第1キャビティが形成され前記可動型部と前記第1キャビティを形成した前記第2型部または前記第1型部のいずれか他方との間に第2キャビティが形成されて型閉じが完了した後に、前記1次成形は第1射出装置から溶融材料を前記第1キャビティへ射出する成形であるとともに前記2次成形は第2射出装置から溶融材料を前記第2キャビティへ射出する成形であり、前記1次成形及び前記2次成形は、互いに異なった時点の連続しない別個の工程で実行され、前記1次成形または前記2次成形の少なくとも一方は、前記第1キャビティまたは前記第2キャビティのいずれかの該当するキャビティの容積を縮小させる圧縮成形で行われるので、複合成形における圧縮成形を効果的に実施することができ、かつ低歪みの複合成形品を成形できる
請求項の発明は、前記圧縮成形を行うとき、複数の圧締装置を制御して前記可動型部と前記第1型部または前記第2型部とを平行に保って圧縮制御するので、板厚が均一かつ高精度な複合成形品を成形することができる。
請求項の発明は、固定盤に取付けられた第1型部と可動盤に取付けられた第2型部との間に回転・移動装置により回転かつ型開閉方向に移動可能な可動型部が設けられ、前記第1型部または前記第2型部のいずれか一方により1次成形品を1次成形し、前記1次成形品を保持した前記可動型部を回転させて前記1次成形した前記第1型部または前記第2型部とは異なる前記第2型部または前記第1型部のいずれか他方に型合わせされていた前記可動型部と入替え前記1次成形品をインサートした後、前記1次成形品インサートされ前記第2型部または前記第1型部のいずれか他方により2次成形品を2次成形する複合成形品の型締装置であって前記可動盤及び前記可動型部が移動して前記第1型部または前記第2型部のいずれか一方と前記可動型部との間に第1キャビティが形成され前記可動型部と前記第1キャビティを形成した前記第2型部または前記第1型部のいずれか他方との間に第2キャビティが形成されて型閉じが完了した後に、前記1次成形は第1射出装置から溶融材料を前記第1キャビティへ射出する成形であるとともに前記2次成形は第2射出装置から溶融材料を前記第2キャビティへ射出する成形であり、前記1次成形及び前記2次成形は、互いに異なった時点の連続しない別個の工程で実行され、前記1次成形または前記2次成形の少なくとも一方は、前記第1キャビティまたは前記第2キャビティのいずれかの該当するキャビティの容積を縮小させる圧縮成形を行うので、大型の射出成形機を要せずに複合成形における圧縮成形を効果的に実施することができ、かつ低歪みの複合成形品を成形できる。
請求項の発明は、前記圧縮成形を行うとき、複数の圧締装置を制御して前記可動型部と前記第1型部または前記第2型部とを平行に保って圧縮制御するので、板厚が均一かつ高精度な複合成形品を成形することができる。
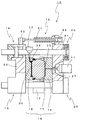
本発明の実施の形態を図面に基づいて詳細に説明する。図1は1次成形後可動型が回転して2次成形を開始する際の状態を示す型締装置の縦断面図、図2は2次成形のために型閉じしている状態を示す型締装置の縦断面図、図3は型閉じが完了し金型圧締の準備をしている状態を示す型締装置の縦断面図、図4は金型を圧締し2次成形の射出をしている状態を示す型締装置の縦断面図、図5は1次成形のため金型を開いて圧縮成形の準備をしている状態を示す型締装置の縦断面図、図6は1次成形の射出をしている状態を示す型締装置の縦断面図、図7は1次成形の圧縮成形をしている状態を示す型締装置の縦断面図、図8は1次成形の離型をしている状態を示す型締装置の縦断面図、図9は2次成形の離型をしている状態を示す型締装置の縦断面図、図10は型開きしている状態を示す型締装置の縦断面図、図11は2次成形品を取出ししている状態を示す型締装置の縦断面図、図12は1次成形と2次成形が終了し可動型部が回転する前の状態を示す型締装置の縦断面図、図13はクランプされた状態を示す金型装置の側面図、図14は他の金型装置を他の型締装置に取付けた複合成形の他の実施形態を示す横断面図である。
型締装置10は、第1射出装置11と第2射出装置12とともに射出成形機を構成する。型締装置10は、第1型部13を取付ける固定盤21と、第2型部15を取付け固定盤21と対向する可動盤22と、第1型部13と第2型部15との間で回転・移動装置17により回転かつ型開閉方向に移動可能な可動型部14と、可動盤22の四隅近傍に設けられ油圧シリンダ装置等からなる圧締装置19と、圧締装置19の油圧シリンダ装置のロッドが延長されて形成されるタイバ23と、タイバ23の延長上の固定盤21の四隅に設けられタイバ23の固定盤21側端部を遊貫する貫通孔の開口部に設けられた係合装置20と、固定盤21の上下面又は表裏側面に一対で設けられ可動盤22を固定盤21に対し接近・離隔させる油圧シリンダ装置等からなる型開閉装置18とから構成される。
第1型部13、可動型部14及び第2型部15により金型装置16が構成される。図13に示すように、金型装置16は、第1クランパ25と第2クランパ26を有している。第1クランパ25は、第1型部13の可動型部14との型合わせ面に第1型部13から可動型部14側に張出して固着された取付座44と、取付座44の貫通角孔に摺動自在な楔41と、可動型部14の上下端面に楔41と係合するように設けられた溝40と、楔41の溝40と係合する端部とは反対の端部に固着された連結棒43と、連結棒43の両端と取付座44との間に設けられた二の油圧シリンダ装置42とからなる。第1クランパ25は、油圧シリンダ装置42を作動させて楔41が溝40と係合したとき、第1型部13と可動型部14との型合わせ面に間隙Gが生ずるように設計されている。また、第2クランパ26は、第2型部15の可動型部14との型合わせ面に第2型部15から可動型部14側に張出して固着された取付座45と、取付座45の貫通角孔に摺動自在な楔41と、可動型部14の上下端面に楔41と係合するように設けられた溝40と、楔41の溝40と係合する端部とは反対の端部に固着された連結棒43と、連結棒43の両端と取付座44との間に設けられた二の油圧シリンダ装置42とからなる。第2クランパ26は、油圧シリンダ装置42を作動させて楔41が溝40と係合したとき、第2型部15と可動型部14との型合わせ面が密着するように設計されている。なお、金型装置16では、第1型部13において圧縮成形を行うようにするため、第1クランパ25と第2クランパ26は上記のように配設したが、第2型部15において圧縮成形を行うようにすることも可能である。その場合、第1クランパと第2クランパの配設位置は、上記とは反対になる。
ここで、金型装置16により成形される複合成形品について説明する。複合成形品は、例えば建築物、車両(自動車・鉄道など)・船舶および航空機などの輸送機の樹脂製窓ガラスやヘッドランプレンズおよびメーターカバーなどの車輛用透明部材、照明灯カバー、太陽電池カバーまたは太陽電池基材、液晶・プラズマ・有機ELなどのディスプレイパネル部品(拡散板、拡散フィルム、レンズフィルム、カバーフィルム、導光板、プリズムレンズ、フレネルレンズなど)、および遊技機(パチンコ機など)用部品などが挙げられる。車輛用透明部材としては、樹脂窓ガラス(フロント窓、リア窓、バックドア窓、フロント・リアサイド窓、フロント・リアクオーター窓など)、ヘッドランプレンズ、リアランプレンズ、フロントバンパー・フロントグリル、ガーニッシュ、および樹脂ボディ(フェンダー類、ドア類、テールゲートなど)、並びにサンルーフ、パノラミックルーフ、デタッチャブルトップ、ウインドーリフレクター、ウインカーランプレンズなどの外装部材、メーターカバー、ルームランプレンズ、およびディスプレー表示用前面板などの内装部品などが例示される。ここで、車輛用透明部材は、透明な熱可塑性樹脂、例えば透明なポリカーボネート樹脂等からなる薄板状の窓部と窓部の車輛への取付け部や意匠部・遮蔽部・照明部および機構部材や照灯部材などとのモジュール化等を形成するため、窓部と接合成形される有色の熱可塑性樹脂、例えば有色のポリカーボネート樹脂やポリカーボネート樹脂と他樹脂(ポリエステル樹脂など)とのアロイ系樹脂や熱可塑性エラストマー等の枠部とからなる。車輛用透明部材以外の部品等に関しても、熱可塑性樹脂、例えばポリカーボネート樹脂等からなる薄板状の表層部位と表層部位との取付け部や意匠部・遮蔽部・照明部および機構部材や照灯部材などとのモジュール化等を形成するため、上述の部位と接合成形される熱可塑性樹脂、例えば光学的に透明なポリカーボネート樹脂や光拡散系ポリカーボネート樹脂、ポリカーボネート樹脂と他樹脂(ポリエステル樹脂やABS樹脂など)とのアロイ系樹脂や熱可塑性エラストマー等の裏層部位とからなる。このように複合成形品は、多くは異材質のものの組合わせで構成されるが、それに拘らず、成形品の容積や面積を拡大する等のため同材質のもので構成することもある。そして、例えば車輛用透明部材の窓部に代表されるように薄板状で歪みを嫌う成形品の成形は、圧縮成形を適用することが好ましいのである。
次に、図1〜図12に基づいて複合成形品である2次成形品30の成形方法について型締装置10の作動説明を交えて工程順に詳述する。なお、図1〜図12に記載した第1クランパ25と第2クランパ26は、図13で説明したものとは異なる形状で示している。図1〜図12に記載した第1クランパ25と第2クランパ26の形状は、機能が理解し易いように象徴的に表しており、さらに、クランパが係合状態のときは、その内部を黒く塗りつぶして表示している。図1は、前の成形サイクルにおいて第1型部13で成形された1次成形品29が、可動型部14の回転に伴って第2型部15へ入替わってインサートされる前の状態を示すものであり、成形サイクルの開始時点である。この工程では、全てのアクチュエータは中立であり、作動していない。
図2においては、型締装置10が型閉じ中の工程を示し、回転・移動装置17により可動型部14が第1型部13に接近して、可動型部14の1次成形品29が保持されていない側のコア部が第1型部13と型合わせされ第1キャビティ35が形成される。またそれと同時に、型開閉装置18の型閉室31に圧油が供給され可動盤22を固定盤21に接近させる。この状況の理解を容易にするため、図2に示すように、型閉室31に網掛けを施して表示する。以降、他の油圧シリンダ装置の作動についても同様にして表す。
図3においては、型開閉装置18により可動盤22が移動して、第2型部15可動型部14の1次成形品29が保持された側のコア部と型合わせされ、1次成形品29が第2型部15へインサートされるとともに、第2型部15の1次成形品29がインサートされて占められた領域以外の空間が第2キャビティ36として形成される。このとき、金型装置16の第2クランパ26の油圧シリンダ装置42を作動させ楔41を溝40に係合させて、可動型部14と第2型部15を密着・固着させる。さらにこのとき、四本のタイバ23は固定盤21の貫通孔を挿通して、タイバ23の先端部に設けた係合溝24が係合装置20の突出しピンと係合する。
図4においては、四の圧締装置19の圧締室33に圧油を供給して金型装置16を圧締する。そして、第2射出装置12を前進させてそのノズルを第2型部15の第2キャビティ36に連通する第2スプルブッシュ28に当接させた後、第2キャビティ36へ第2射出装置12から溶融材料を射出・充填する。この工程が2次成形である。
図5においては、型開閉装置18の型閉室31への圧油の供給を停止し、圧締装置19の開放室34に圧油を供給して可動盤22を固定盤21から離隔させる工程を示す。これにより、可動型部14は第2クランパ26で第2型部15に固着されているので、可動型部14は第1型部13から所定距離離隔し、第1キャビティ35はその容積が拡大される。このとき、可動型部14の移動は、可動型部14と第1型部13との型合わせ面に平行に行われることが、薄板状の成形品の圧縮成形を良好に実施するで好ましい。このような平行制御を実現するための手段は、図示はしないが次のとおりである。すなわち、各圧締装置19の圧締室33と開放室34にはサーボ弁が接続され、各圧締装置19の近傍には固定盤21と可動盤22との距離を測定するセンサが設けられ、各センサの計測値が設定した所定値に一致するよう各サーボ弁がフィードバック制御される。
図6においては、第1射出装置11を前進させてそのノズルを第1型部13の第1キャビティ35に連通する第1スプルブッシュ27に当接させた後、前記平行制御により所定量拡大して位置決め保持された第1キャビティ35へ、第1射出装置11から溶融材料を射出する。この工程が1次成形であり、前記2次成形とは異なる時点であって、1次成形に連続しない別個の工程において実行される。
図7においては、1次成形の継続した工程としての圧縮成形が行われる。圧縮成形は、図6において拡大された第1キャビティ35に射出された溶融材料を四の圧締装置19により第1キャビティ35の容積を縮小させるように圧縮し、溶融材料を第1キャビティ35内で展延させて第1キャビティ35を充填して行われる。そして、1次成形品29が成形される。このとき、可動型部14は第2型部15に第2クランパ26で固着され一体となっているので、四の圧締装置19による前記の平行制御は第1型部13に対し直接的かつ効果的に作用する。その結果、溶融材料が第1キャビティ35内を高速かつ均一に流動するので、第1成形品29は圧縮成形の効果として低歪みとなるとともに、平行制御の効果として板厚が均一かつ高精度となる。
図8においては、図5におけると同様の作動により、1次成形品29の第1型部13からの離型工程が行われる。
図9においては、第1クランパ25を作動させて、第1型部13と可動型部14とを間隙Gを隔てて係合させるとともに、第2クランパ26の係合を解除する。そして、圧締装置19の開放室34に圧油を供給することにより型開閉装置18によるよりも大きな型開き力を発生させて、2次成形品30を可動型部14から離型させる。
図10においては、第1クランパ25の係合を解除するとともに、係合装置20の突出した突出ピンを後退させてタイバ23と固定盤21との係合を解除する。そして、開放室34への圧油の供給を停止するとともに、型開閉装置18の型開室32への圧油の供給を開始する。これにより、可動盤22は所定位置まで型開きする。また同時に、回転・移動装置17により、可動型部14を第1型部13から離隔させる。
図11においては、可動盤22の型開き工程が終了して、可動盤22が所定位置で停止後、可動盤22に設けられた図示しないエジェクタ装置により2次成形品30は第2型部15から突き出されて、2次成形品30の取出し工程が行われる。
図12においては、1次成形と2次成形が終了し可動型部14が回転する前の状態であって、一成形サイクルが終了した状態を示す。この後、可動型部14が180度回転して成形サイクルの開始時点である図1につづく。
次に、図14に基づいて他の金型装置と他の型締装置60により複合成形を行う他の実施形態について説明する。可動型部52、第1型部53及び第2型部54からなる金型装置は、固定盤50及び可動盤51に取付けられ、第1型部53と第2型部54が並設される。可動型部52は、第1型部53と第2型部54に型合わせされていないとき、第1キャビティ58で成形した1次成形品を第2型部54にインサートするために回転駆動部55により回転可能に構成されている。第1キャビティ58には第1射出装置56が、第2キャビティ59には第2射出装置57がそれぞれ溶融材料の通路を連通させて当接する。そして、図1〜図12により説明した実施の形態と同様に、1次成形として第1キャビティ58で成形した1次成形品を第2型部54にインサートした後、2次成形として第2キャビティ59で2次成形品を成形する。このとき、2次成形においては、圧縮成形は行わず可動型部52と第2型部54は十分型合わせされ略密着して成形される。他方、1次成形においては、第2キャビティ59に2次成形品を保持したまま、第1キャビティ58の容積を拡大して第1射出装置56から溶融材料を射出し、その後第1キャビティ58の容積を縮小することにより圧縮成形を実行する。この際、固定盤50と可動盤51間で発生する圧縮力は、第1型部53側に大きく偏よるが、前記の平行制御を実施することにより問題なく効果的に圧縮成形ができる。図14の型締装置60は、第1型部53と第2型部54を固定盤50及び可動盤51に並設するので、金型装置にクランパを設けなくてもよいという利点がある。
なお、本発明は、当業者の知識に基づいて様々な変更、修正、改良等を加えた態様において実施され得るものを含む。また、前記変更等を加えた実施態様が、本発明の趣旨を逸脱しない限りいずれも本発明の範囲内に含まれるものであることは言うまでもない。例えば、可動型部は回転するものとして例示したが、可動型部が上下又は左右に摺動して第1型部又は第2型部と入替わるように構成してもよい。特に、固定盤と可動盤に第1型部と第2型部を並設する型締装置においてはこれを容易に実現できる。また、第1型部で1次成形し第2型部で2次成形をするように説明したが、第2型部で1次成形し第1型部で2次成形をすることができるのは明らかである。またさらに、1次成形を圧縮成形で行い2次成形を圧縮成形ではない射出成形で行う実施形態を説明したが、1次成形を圧縮成形ではない射出成形で行い2次成形を圧縮成形で行うようにすることもできる。勿論、一次成形で圧縮を行い、二次成形で型内圧縮装置などを用いて圧縮成形でき、また、一次成形で型内圧縮装置などを用いて圧縮成形を行い、二次成形を圧縮成形で行うようにすることができることは言うまでもない。
1次成形後可動型が回転して2次成形を開始する際の状態を示す型締装置の縦断面図である。 2次成形のために型閉じしている状態を示す型締装置の縦断面図である。 型閉じが完了し金型圧締の準備をしている状態を示す型締装置の縦断面図である。 金型を圧締し2次成形の射出をしている状態を示す型締装置の縦断面図である。 1次成形のため金型を開いて圧縮成形の準備をしている状態を示す型締装置の縦断面図である。 1次成形の射出をしている状態を示す型締装置の縦断面図である。 1次成形の圧縮成形をしている状態を示す型締装置の縦断面図である。 1次成形の離型をしている状態を示す型締装置の縦断面図である。 2次成形の離型をしている状態を示す型締装置の縦断面図である。 型開きしている状態を示す型締装置の縦断面図である。 2次成形品を取出ししている状態を示す型締装置の縦断面図である。 1次成形と2次成形が終了し可動型部が回転する前の状態を示す型締装置の縦断面図である。 クランプされた状態を示す金型装置の側面図である。 他の金型装置を他の型締装置に取付けた複合成形の他の実施形態を示す横断面図である。
10 型締装置
11 第1射出装置
12 第2射出装置
13 第1型部
14 可動型部
15 第2型部
16 金型
18 型開閉装置
19 圧締装置
21 固定盤
22 可動盤
25 第1クランパ
26 第2クランパ
29 1次成形品
30 2次成形品
35 第1キャビティ
36 第2キャビティ
G 間隙

Claims (4)

  1. 固定盤に取付けられた第1型部と可動盤に取付けられた第2型部との間に回転・移動装置により回転かつ型開閉方向に移動可能な可動型部が設けられ、
    前記第1型部または前記第2型部のいずれか一方により1次成形品を1次成形し、前記1次成形品を保持した前記可動型部を回転させて前記1次成形した前記第1型部または前記第2型部とは異なる前記第2型部または前記第1型部のいずれか他方に型合わせされていた前記可動型部と入替え前記1次成形品をインサートした後、前記1次成形品インサートされ前記第2型部または前記第1型部のいずれか他方により2次成形品を2次成形する複合成形品の成形方法であって
    前記可動盤及び前記可動型部が移動して前記第1型部または前記第2型部のいずれか一方と前記可動型部との間に第1キャビティが形成され前記可動型部と前記第1キャビティを形成した前記第2型部または前記第1型部のいずれか他方との間に第2キャビティが形成されて型閉じが完了した後に、前記1次成形は第1射出装置から溶融材料を前記第1キャビティへ射出する成形であるとともに前記2次成形は第2射出装置から溶融材料を前記第2キャビティへ射出する成形であり、前記1次成形及び前記2次成形は、互いに異なった時点の連続しない別個の工程で実行され、
    前記1次成形または前記2次成形の少なくとも一方は、前記第1キャビティまたは前記第2キャビティのいずれかの該当するキャビティの容積を縮小させる圧縮成形で行われる
    ことを特徴とする複合成形品の成形方法。
  2. 前記圧縮成形を行うとき、複数の圧締装置を制御して前記可動型部と前記第1型部または前記第2型部とを平行に保って圧縮制御する請求項に記載の複合成形品の成形方法。
  3. 固定盤に取付けられた第1型部と可動盤に取付けられた第2型部との間に回転・移動装置により回転かつ型開閉方向に移動可能な可動型部が設けられ、
    前記第1型部または前記第2型部のいずれか一方により1次成形品を1次成形し、前記1次成形品を保持した前記可動型部を回転させて前記1次成形した前記第1型部または前記第2型部とは異なる前記第2型部または前記第1型部のいずれか他方に型合わせされていた前記可動型部と入替え前記1次成形品をインサートした後、前記1次成形品インサートされ前記第2型部または前記第1型部のいずれか他方により2次成形品を2次成形する複合成形品の型締装置であって
    前記可動盤及び前記可動型部が移動して前記第1型部または前記第2型部のいずれか一方と前記可動型部との間に第1キャビティが形成され前記可動型部と前記第1キャビティを形成した前記第2型部または前記第1型部のいずれか他方との間に第2キャビティが形成されて型閉じが完了した後に、前記1次成形は第1射出装置から溶融材料を前記第1キャビティへ射出する成形であるとともに前記2次成形は第2射出装置から溶融材料を前記第2キャビティへ射出する成形であり、前記1次成形及び前記2次成形は、互いに異なった時点の連続しない別個の工程で実行され、
    前記1次成形または前記2次成形の少なくとも一方は、前記第1キャビティまたは前記第2キャビティのいずれかの該当するキャビティの容積を縮小させる圧縮成形を行う
    ことを特徴とする複合成形品の型締装置。
  4. 前記圧縮成形を行うとき、複数の圧締装置を制御して前記可動型部と前記第1型部または前記第2型部とを平行に保って圧縮制御する請求項に記載の複合成形品の型締装置。
JP2005236668A 2005-08-17 2005-08-17 複合成形品の成形方法とそれに用いる型締装置 Expired - Lifetime JP4602869B2 (ja)

Priority Applications (7)

Application Number Priority Date Filing Date Title
JP2005236668A JP4602869B2 (ja) 2005-08-17 2005-08-17 複合成形品の成形方法とそれに用いる型締装置
PCT/JP2006/315720 WO2007020844A1 (ja) 2005-08-17 2006-08-09 複合成形品の成形方法とそれに用いる金型装置
EP06782536.4A EP1916082B1 (en) 2005-08-17 2006-08-09 Method of molding composite molded article
US11/990,398 US8408890B2 (en) 2005-08-17 2006-08-09 Mold system for composite molding
CN2006800296574A CN101242942B (zh) 2005-08-17 2006-08-09 复合成形品的成形方法及其所使用的模具装置
CN201210465011.8A CN103009549B (zh) 2005-08-17 2006-08-09 复合成形品的成形方法
US13/749,964 US9321196B2 (en) 2005-08-17 2013-01-25 Method of molding composite molded article

Applications Claiming Priority (1)

Application Number Priority Date Filing Date Title
JP2005236668A JP4602869B2 (ja) 2005-08-17 2005-08-17 複合成形品の成形方法とそれに用いる型締装置

Related Child Applications (1)

Application Number Title Priority Date Filing Date
JP2010018539A Division JP4880045B2 (ja) 2010-01-29 2010-01-29 複合成形用の型締装置及び複合成形品の成形方法

Publications (3)

Publication Number Publication Date
JP2007050585A JP2007050585A (ja) 2007-03-01
JP2007050585A5 JP2007050585A5 (ja) 2010-03-18
JP4602869B2 true JP4602869B2 (ja) 2010-12-22

Family

ID=37757506

Family Applications (1)

Application Number Title Priority Date Filing Date
JP2005236668A Expired - Lifetime JP4602869B2 (ja) 2005-08-17 2005-08-17 複合成形品の成形方法とそれに用いる型締装置

Country Status (5)

Country Link
US (2) US8408890B2 (ja)
EP (1) EP1916082B1 (ja)
JP (1) JP4602869B2 (ja)
CN (2) CN103009549B (ja)
WO (1) WO2007020844A1 (ja)

Families Citing this family (27)

* Cited by examiner, † Cited by third party
Publication number Priority date Publication date Assignee Title
JP4410192B2 (ja) * 2005-12-07 2010-02-03 株式会社名機製作所 射出成形機
WO2010115954A1 (en) * 2009-04-08 2010-10-14 Photon B.V. Method for producing a cover plate for a photovoltaic device
KR101355419B1 (ko) * 2009-05-28 2014-01-27 우베 고산 기카이 가부시키가이샤 적층 성형장치 및 적층 성형방법
JP5440046B2 (ja) * 2009-09-09 2014-03-12 宇部興産機械株式会社 積層成形装置
CN102211408A (zh) * 2011-05-24 2011-10-12 常熟市汽车饰件有限公司 汽车内饰件pu喷涂二次成型方法
US9242418B2 (en) * 2011-11-16 2016-01-26 Essilor International Ophthalmic lens containing a fresnel surface and method for manufacturing same
JP5613720B2 (ja) * 2012-05-08 2014-10-29 日精樹脂工業株式会社 液状樹脂材料用成形設備
TWI489179B (zh) * 2012-12-14 2015-06-21 Wistron Corp 製造導光板的方法、治具以及相關的導光板
DE102012025132A1 (de) * 2012-12-21 2014-06-26 Ferromatik Milacron Gmbh Verfahren zum Herstellen eines Kunststoff-Formteils sowie Spritzgießmaschine
ITAN20130073A1 (it) * 2013-04-10 2014-10-11 Fintema S R L Struttura integrata di stampo di formatura, in multi-iniezione, di manufatti plastici.
ITAN20130072A1 (it) * 2013-04-10 2014-10-11 Fintema S R L Struttura di stampo di formatura, in multi-iniezione, di manufatti plastici
DE102013216008A1 (de) * 2013-08-13 2015-02-19 Otto Männer Innovation GmbH Spritzgießmaschine für mehrere Spritzgießvorgänge
CN104552747B (zh) * 2013-10-14 2017-02-01 玉晶光电(厦门)有限公司 光学组件的制造方法
JP6300510B2 (ja) * 2013-12-18 2018-03-28 キヤノン株式会社 トランスファ成形方法および成形金型
US10946570B2 (en) 2014-06-06 2021-03-16 Mitsubishi Heavy Industries Plastic Technology Co., Ltd. Injection molding method and injection molding machine
FR3028796B1 (fr) * 2014-11-24 2017-05-19 Jp Grosfilley Moule d’injection rotatif et procede d’injection relatif audit moule d’injection rotatif
KR101568701B1 (ko) * 2015-05-13 2015-11-12 주식회사 제이피씨오토모티브 R2k 사출 금형 및 방법
WO2017051383A1 (en) * 2015-09-25 2017-03-30 Sabic Global Technologies B.V. Method of molding using mold inserts and apparatus therefor
DE102015117266B4 (de) * 2015-10-09 2017-07-13 Trw Automotive Electronics & Components Gmbh Linsenbauteil eines Regensensors sowie Baukastensystem, Verfahren und Werkzeug zur Herstellung
CN106217897B (zh) * 2016-09-19 2018-09-28 福州福耀模具科技有限公司 通过压注复合工艺来成型纤维板产品的装置和方法
CN106945244B (zh) * 2017-04-13 2023-04-21 厦门捷信达精密科技股份有限公司 双色模利用牛顿力学摆钩控制开模顺序模具
CN109483800A (zh) * 2019-01-09 2019-03-19 青岛佳友模具科技有限公司 一种超厚透明双色包覆件注塑成型方法
CN112045925A (zh) * 2019-06-06 2020-12-08 苏州汉扬精密电子有限公司 一种仿金属质感塑胶制品的制造方法及塑胶制品
KR102726701B1 (ko) * 2019-12-13 2024-11-07 현대자동차주식회사 도광판 일체형 차량용 트림 패널 및 그 제조방법
JP7341112B2 (ja) * 2020-10-06 2023-09-08 Towa株式会社 樹脂成形品の製造方法
JP7328395B1 (ja) * 2022-04-21 2023-08-16 株式会社ソディック 射出成形機、射出成形機の制御方法及びプログラム
CN115319999A (zh) * 2022-10-14 2022-11-11 赫比(成都)精密塑胶制品有限公司 立方体注塑模具及注塑方法

Family Cites Families (29)

* Cited by examiner, † Cited by third party
Publication number Priority date Publication date Assignee Title
US3319300A (en) * 1963-11-02 1967-05-16 Hehl & Soehne Arburg Masch Injection molding machine for producing two-color or two-material molded products
CA978712A (en) * 1971-06-15 1975-12-02 Katashi Aoki Multicolor injection molding machine
JPS60110415A (ja) * 1983-11-22 1985-06-15 Nippon Sekisoo Kogyo Kk グロメットの製造法
GB8517073D0 (en) * 1985-07-05 1985-08-14 Hepworth Iron Co Ltd Pipe pipe couplings &c
JPH0615186B2 (ja) * 1987-01-30 1994-03-02 株式会社高橋精機工業所 合成樹脂製品の成形法
JPH069850Y2 (ja) * 1987-06-15 1994-03-16 日本板硝子株式会社 車両用窓ガラス
KR960007863B1 (ko) * 1987-08-28 1996-06-13 스미도모쥬기가이고오교오 가부시기가이샤 사출 성형기
US5049343A (en) * 1990-06-18 1991-09-17 Sorensen Jens Ole Sequentially injected multi-component core-back injection molding
US5030406A (en) * 1989-08-14 1991-07-09 Sorensen Jens Ole Sequentially injected multi-component shuttle-stack-molding
JP2661432B2 (ja) * 1991-09-06 1997-10-08 ヤマハ株式会社 複合成形品の製法
US5863479A (en) * 1991-09-06 1999-01-26 Yamaha Corporation Production method for a composite molded article
JP3189394B2 (ja) 1992-07-01 2001-07-16 井関農機株式会社 籾摺ロ−ルの間隙調節装置
JP2908176B2 (ja) * 1993-05-18 1999-06-21 株式会社小糸製作所 車輌用灯具の合成樹脂製積層レンズ及びその成形方法
AR002773A1 (es) * 1995-07-07 1998-04-29 Continental Pet Technologies Metodo para el moldeado por inyeccion de un articulo plastico y aparato para llevarlo a cabo.
JPH09280345A (ja) * 1996-02-15 1997-10-28 Bridgestone Corp プーリー及びその製造方法
JPH09220745A (ja) * 1996-02-16 1997-08-26 Mitsubishi Heavy Ind Ltd 射出圧縮成形機
JPH1016002A (ja) * 1996-07-05 1998-01-20 Shin Etsu Polymer Co Ltd 複合成形品の成形装置および製造方法
DE69824650T2 (de) * 1997-01-22 2005-08-11 Chisso Corp. Verfahren zur Herstellung eines Verbundformgegenstandes aus thermoplastischen Harzen
DE19733667C2 (de) 1997-08-04 2002-02-07 Ferromatik Milacron Maschb Gmb Vorrichtung zur Herstellung von Spritzgießartikeln aus mindestens zwei Kunststoffschmelzen
JP3944984B2 (ja) * 1998-01-05 2007-07-18 住友化学株式会社 樹脂成形体製造用金型
US6468458B1 (en) * 1998-10-23 2002-10-22 Textron Automotive Company Inc, Method for forming a composite product
SE520529C2 (sv) * 2000-12-27 2003-07-22 Ericsson Telefon Ab L M Metod för tillverkning av avskärmningslåda och avskärmningslåda
EP1226916A1 (de) * 2001-01-29 2002-07-31 FOBOHA GmbH Vorrichtung und Verfahren zur Herstellung von Objekten aus Kunststoff
JP3783201B2 (ja) 2001-01-31 2006-06-07 日精樹脂工業株式会社 異材質樹脂による複合製品の射出成形方法及び金型装置
FR2821288B1 (fr) * 2001-02-26 2004-01-16 Cebal Procede de fabrication d'assemblages de pieces en matiere plastique
AT5360U1 (de) 2001-05-08 2002-06-25 Engel Gmbh Maschbau Spritzgiesseinrichtung
CN2678879Y (zh) * 2003-12-16 2005-02-16 魏小兵 一种用于生产改性玻璃钢内衬复合管的成型设备
ITTO20040696A1 (it) * 2004-10-11 2005-01-11 Incos Spa Apparecchiatura e metodo per lo stampaggio mediante iniezione-compressione di articoli di materia plastica a due componenti
ITTO20040701A1 (it) * 2004-10-11 2005-01-11 Incos Spa Procedimento per la produzione di lastre di materiale plastico con parti sovrastampate mediante inietto-compressione

Also Published As

Publication number Publication date
CN101242942A (zh) 2008-08-13
US8408890B2 (en) 2013-04-02
JP2007050585A (ja) 2007-03-01
US20130140735A1 (en) 2013-06-06
CN103009549B (zh) 2016-06-29
CN103009549A (zh) 2013-04-03
WO2007020844A1 (ja) 2007-02-22
US20100019411A1 (en) 2010-01-28
EP1916082B1 (en) 2020-01-08
US9321196B2 (en) 2016-04-26
EP1916082A4 (en) 2010-09-22
EP1916082A1 (en) 2008-04-30
CN101242942B (zh) 2013-01-02

Similar Documents

Publication Publication Date Title
JP4602869B2 (ja) 複合成形品の成形方法とそれに用いる型締装置
JP2007050585A5 (ja)
JP3942945B2 (ja) 射出圧縮成形装置、射出圧縮成形方法およびその方法による射出圧縮成形品
US6780365B2 (en) Process for preparing composite molded articles by multicomponent injection molding
US20090085235A1 (en) Method and apparatus for making a microstructured or nanostructured article
JP2007521158A (ja) 多色射出成形方法及びその成形装置
US7458794B2 (en) Injection moulding machine
CN1820102B (zh) 用于制造车辆部件的方法和装置
KR20010104220A (ko) 열가소성 재료로 제작된 물품의 열간 성형 장치 및 방법
JP4880045B2 (ja) 複合成形用の型締装置及び複合成形品の成形方法
JP2010105168A (ja) 多材射出成形装置および多材射出成形方法ならびに多材射出成形金型
KR20130102753A (ko) 멀티사출 및 멀티취출이 동시 가능한 큐브 사출 금형 및 그 제조방법
JPH07290485A (ja) 樹脂成形品の成形方法及び成形用金型装置
JP7173861B2 (ja) 自動車用インパネの成形方法、及び自動車用インパネ
JP2025127300A (ja) 車両用モジュールの製造方法、車両用モジュール、射出成形装置
JP2005329544A (ja) 2色成形品及びその成形方法
KR100636803B1 (ko) 휴대폰의 이형부재 사출성형장치
JP7173860B2 (ja) 射出成形品の製造方法、及び射出成形金型
KR20000071757A (ko) 사출성형기
JP7173862B2 (ja) 射出成形品の製造方法
JP5172157B2 (ja) 成形装置
JP2000229518A (ja) 車両ルーフの可動プレート、この可動プレートの製造装置及び製造方法
WO2025197473A1 (ja) 成形型及び樹脂製品の製造方法
JPH0615682A (ja) 射出成形方法及び装置
JP2013233779A (ja) 金型内塗装用金型、射出成形装置及び積層成形品の金型内塗装方法

Legal Events

Date Code Title Description
A621 Written request for application examination

Free format text: JAPANESE INTERMEDIATE CODE: A621

Effective date: 20080509

A521 Request for written amendment filed

Free format text: JAPANESE INTERMEDIATE CODE: A523

Effective date: 20100129

A131 Notification of reasons for refusal

Free format text: JAPANESE INTERMEDIATE CODE: A131

Effective date: 20100629

A521 Request for written amendment filed

Free format text: JAPANESE INTERMEDIATE CODE: A523

Effective date: 20100826

TRDD Decision of grant or rejection written
A01 Written decision to grant a patent or to grant a registration (utility model)

Free format text: JAPANESE INTERMEDIATE CODE: A01

Effective date: 20100928

A01 Written decision to grant a patent or to grant a registration (utility model)

Free format text: JAPANESE INTERMEDIATE CODE: A01

A61 First payment of annual fees (during grant procedure)

Free format text: JAPANESE INTERMEDIATE CODE: A61

Effective date: 20100930

FPAY Renewal fee payment (event date is renewal date of database)

Free format text: PAYMENT UNTIL: 20131008

Year of fee payment: 3

R150 Certificate of patent or registration of utility model

Ref document number: 4602869

Country of ref document: JP

Free format text: JAPANESE INTERMEDIATE CODE: R150

Free format text: JAPANESE INTERMEDIATE CODE: R150

R250 Receipt of annual fees

Free format text: JAPANESE INTERMEDIATE CODE: R250

R250 Receipt of annual fees

Free format text: JAPANESE INTERMEDIATE CODE: R250

R250 Receipt of annual fees

Free format text: JAPANESE INTERMEDIATE CODE: R250

S111 Request for change of ownership or part of ownership

Free format text: JAPANESE INTERMEDIATE CODE: R313115

R350 Written notification of registration of transfer

Free format text: JAPANESE INTERMEDIATE CODE: R350

R250 Receipt of annual fees

Free format text: JAPANESE INTERMEDIATE CODE: R250

EXPY Cancellation because of completion of term