JP4282853B2 - 小型滑走艇の吸気装置 - Google Patents
小型滑走艇の吸気装置 Download PDFInfo
- Publication number
- JP4282853B2 JP4282853B2 JP34968399A JP34968399A JP4282853B2 JP 4282853 B2 JP4282853 B2 JP 4282853B2 JP 34968399 A JP34968399 A JP 34968399A JP 34968399 A JP34968399 A JP 34968399A JP 4282853 B2 JP4282853 B2 JP 4282853B2
- Authority
- JP
- Japan
- Prior art keywords
- intake
- hull
- engine
- outside air
- pipe
- Prior art date
- Legal status (The legal status is an assumption and is not a legal conclusion. Google has not performed a legal analysis and makes no representation as to the accuracy of the status listed.)
- Expired - Fee Related
Links
- 239000002828 fuel tank Substances 0.000 claims description 31
- 238000005192 partition Methods 0.000 claims description 7
- 239000003570 air Substances 0.000 description 69
- XLYOFNOQVPJJNP-UHFFFAOYSA-N water Substances O XLYOFNOQVPJJNP-UHFFFAOYSA-N 0.000 description 61
- 238000000926 separation method Methods 0.000 description 17
- 230000000694 effects Effects 0.000 description 3
- 239000012080 ambient air Substances 0.000 description 2
- 238000010276 construction Methods 0.000 description 2
- 239000011347 resin Substances 0.000 description 2
- 229920005989 resin Polymers 0.000 description 2
- 238000009529 body temperature measurement Methods 0.000 description 1
- 238000002474 experimental method Methods 0.000 description 1
- 230000002093 peripheral effect Effects 0.000 description 1
- 230000002265 prevention Effects 0.000 description 1
- 230000001141 propulsive effect Effects 0.000 description 1
- 238000011144 upstream manufacturing Methods 0.000 description 1
Images
Classifications
-
- F—MECHANICAL ENGINEERING; LIGHTING; HEATING; WEAPONS; BLASTING
- F02—COMBUSTION ENGINES; HOT-GAS OR COMBUSTION-PRODUCT ENGINE PLANTS
- F02M—SUPPLYING COMBUSTION ENGINES IN GENERAL WITH COMBUSTIBLE MIXTURES OR CONSTITUENTS THEREOF
- F02M35/00—Combustion-air cleaners, air intakes, intake silencers, or induction systems specially adapted for, or arranged on, internal-combustion engines
- F02M35/16—Combustion-air cleaners, air intakes, intake silencers, or induction systems specially adapted for, or arranged on, internal-combustion engines characterised by use in vehicles
- F02M35/165—Marine vessels; Ships; Boats
- F02M35/167—Marine vessels; Ships; Boats having outboard engines; Jet-skis
-
- B—PERFORMING OPERATIONS; TRANSPORTING
- B63—SHIPS OR OTHER WATERBORNE VESSELS; RELATED EQUIPMENT
- B63B—SHIPS OR OTHER WATERBORNE VESSELS; EQUIPMENT FOR SHIPPING
- B63B34/00—Vessels specially adapted for water sports or leisure; Body-supporting devices specially adapted for water sports or leisure
- B63B34/10—Power-driven personal watercraft, e.g. water scooters; Accessories therefor
-
- B—PERFORMING OPERATIONS; TRANSPORTING
- B63—SHIPS OR OTHER WATERBORNE VESSELS; RELATED EQUIPMENT
- B63J—AUXILIARIES ON VESSELS
- B63J2/00—Arrangements of ventilation, heating, cooling, or air-conditioning
- B63J2/02—Ventilation; Air-conditioning
- B63J2/06—Ventilation; Air-conditioning of engine rooms
-
- F—MECHANICAL ENGINEERING; LIGHTING; HEATING; WEAPONS; BLASTING
- F02—COMBUSTION ENGINES; HOT-GAS OR COMBUSTION-PRODUCT ENGINE PLANTS
- F02M—SUPPLYING COMBUSTION ENGINES IN GENERAL WITH COMBUSTIBLE MIXTURES OR CONSTITUENTS THEREOF
- F02M35/00—Combustion-air cleaners, air intakes, intake silencers, or induction systems specially adapted for, or arranged on, internal-combustion engines
- F02M35/16—Combustion-air cleaners, air intakes, intake silencers, or induction systems specially adapted for, or arranged on, internal-combustion engines characterised by use in vehicles
- F02M35/165—Marine vessels; Ships; Boats
- F02M35/167—Marine vessels; Ships; Boats having outboard engines; Jet-skis
- F02M35/168—Marine vessels; Ships; Boats having outboard engines; Jet-skis with means, e.g. valves, to prevent water entry
-
- B—PERFORMING OPERATIONS; TRANSPORTING
- B63—SHIPS OR OTHER WATERBORNE VESSELS; RELATED EQUIPMENT
- B63H—MARINE PROPULSION OR STEERING
- B63H21/00—Use of propulsion power plant or units on vessels
- B63H21/24—Use of propulsion power plant or units on vessels the vessels being small craft, e.g. racing boats
Landscapes
- Engineering & Computer Science (AREA)
- Ocean & Marine Engineering (AREA)
- Chemical & Material Sciences (AREA)
- Combustion & Propulsion (AREA)
- Mechanical Engineering (AREA)
- General Engineering & Computer Science (AREA)
- Exhaust Silencers (AREA)
Description
【発明の属する技術分野】
この発明は、ジェットポンプより船尾後方へジェット水流を噴射して推進する小型滑走艇において、この小型滑走艇のエンジンへ吸気を導入するための吸気装置に関するものである。
【0002】
【従来の技術】
従来から、この種の吸気装置には、船内にエンジンの吸気導入口を設けたものと船外にエンジンの吸気導入口を設けたものとがあった。
【0003】
船内に吸気導入口を設けたものにあっては、船内空間が狭い関係で、吸気導入口がエンジンに近接しがちであった。
【0004】
他方、船外に吸気導入口を設けたものとしては、船体のほぼ中央部分で且つ操作ハンドル取付部の近傍に、船外から外気をエンジンに直接導入するための外気導入口を配設したものがあった。
【0005】
【発明が解決しようとする課題】
ところが、船内に吸気導入口を設けたものにあっては、吸気導入口がエンジンに近接しがちであるため、エンジンによって暖められた空気を吸い込んでしまうという問題があった。
【0006】
また、船外に吸気導入口を設けたものにあっては、走行中の水飛沫を外気と一緒に吸い込んでしまい、エンジンに水が入ってしまうという問題があった。
【0007】
そこで、この発明は、以上のような従来の吸気装置の問題を解消するために、エンジンに吸い込む空気温度を低く保つと共に、エンジンへ送る空気中に水分を含まないようにすることができる吸気装置を提供することを課題としている。
【0008】
【課題を解決するための手段】
かかる課題を達成するために、請求項1に記載の発明は、船体内部にエンジンと燃料タンクとが設置された小型滑走艇において、前記燃料タンクは前記エンジンよりも前方に配置され、前記船体内部に外気を導入する外気導入手段が設けられると共に、前記エンジンから延びる第1の吸入管が前記燃料タンク上面まで延長されて、該第1の吸入管は前記燃料タンクの上面に固定され、該第1の吸入管の吸入口が該燃料タンク上面近傍において開口すると共に、該第1の吸入管の、前記燃料タンクへの固定部よりも前記エンジン側となる中間部に可撓性管が介在していることを特徴としている。
【0009】
請求項2に記載の発明は、請求項1に記載の構成に加えて、前記外気導入手段は外気導入管を有し、該外気導入管は、その入口が船体外部に臨み、出口が前記船体内部に開口し、該出口は、前記第1の吸入管の前記吸入口よりも低い位置に開口することを特徴としている。
【0012】
請求項3に記載の発明は、請求項1又は2に記載の構成に加えて、前記船体内部に仕切壁が設けられて、前記エンジン及び燃料タンクが設置された船体内前部と、ジェットポンプが設置された船体内後部とが仕切られ、該船体内後部に外気を導入する外気導入手段が設けられると共に、前記エンジンの吸気ボックスから第2の吸入管が後方に向けて延長されて、該第2の吸入管が前記仕切壁を貫通して該第2の吸入管の吸入口が前記船体内後部で開口していることを特徴としている。
【0013】
【発明の実施の形態】
この発明の実施の形態の構成について、図1乃び図2によって説明する。
【0014】
図1は、この発明の実施の形態に係る吸気装置を採用した小型滑走艇の一部破断の側面図である。
【0015】
図2は、この発明の実施の形態に係る吸気装置を採用した小型滑走艇の内部構造を示した平面図である。
【0016】
この発明の実施の形態に係る小型滑走艇の外観について説明すると、船体1と、船体1のほぼ中央に装備されたハンドル2と、船体1の中央から後方部分にかけて装備されたシート3で構成されている。
【0017】
船体内部の構造としては、エンジン4と燃料タンク5とが設置されている船体内前部6と、推進力を発生するジェットポンプ7が設置されている船体内後部8とが仕切壁9によって遮蔽され、それぞれ独立した空間を形成している。
【0018】
エンジン4は、船体1のほぼ中央の下部に配置されているため、シート3の下の位置に来ることになる。エンジン4の前方には、燃料タンク5が配置されている。したがって、第2図に示したように、船体前方から後方に向かって燃料タンク5とエンジン4とジェットポンプ7とが縦一列に並んだ配置となっている。
【0019】
船体内部に外気を導入するための手段として、外気導入管10,36を設けている。第1の外気導入管10は、その入口11を船首部12に当たる船体1の外表面上部に臨ませ、その出口13を船体内前部6の燃料タンク5の前方付近に開口させている。
【0020】
エンジン4には、各気筒に連なる吸気ポートが開口しており、この吸気ポートに接続された吸気管が吸気ボックス14に連結されている。そして、吸気ボックス14の前方からは、第1の吸入管15が燃料タンク5の上面まで延長されて、この第1の吸入管15の吸入口16が燃料タンク5の上面において開口されている。
【0021】
吸入口16は、前方に向けてラッパ状に拡開させて船体内前部6の空気を導入するに際してその吸入抵抗を減らすようにしている。吸入口16の近傍は、燃料タンク5の上面に設けたブラケット17に配管バンド等にて支持固定されている。なお、図1から明らかなように、船体内部における外気導入管10の出口13は、第1の吸入管15の吸入口16よりも低い位置に開口している。
【0022】
第1の吸入管15の中間部には、可撓性管18を介在させて、ジャンプ等で船体1に衝撃が加わった際の船体1に対するエンジン4の位置変化に対応するようにしている。
【0023】
他方、吸気ボックス14の後方からは、第2の吸入管19が後方に向けて延長されて、この第2の吸入管19が仕切壁9を貫通してその吸入口20が船体内後部8で開口している。
【0024】
第2の吸入管19によってエンジン4の吸気ボックス14へ吸気する場合には、船体内後部8の独立空間にある空気を吸入することになるが、この船体内後部8に外気を導入するための手段として、第2の外気導入管36を設けている。
【0025】
第2の外気導入管36は、その入口37を船尾部38に当たる船体1の外表面上部に臨ませ、その出口39を船体内後部8のジェットポンプ7近傍に開口させている。
【0026】
船体内後部8から第2の吸入管19を介して外気を吸入する場合には、船体内後部8が独立した空間を形成した部屋であるため、この船体内後部8が共鳴箱として作用する結果、吸気音を効果的に消すことができる。
【0027】
次に、この発明の実施の形態の作用について説明する。
【0028】
小型滑走艇の船体1の外部から外気導入管10の入口11から入った外気は外気導入管10を介して、船体内前部6の燃料タンク5の前方付近に取り込まれる。
【0029】
ところで、発明者が行った船体内部の温度測定実験の結果では、4サイクルエンジンを搭載した小型滑走艇にあっては、走行中のエンジン4近傍の周囲空気温度が外気温度より20℃〜30℃程度高くなるのに対して、同じ船体内前部6に収められている燃料タンク5上部近傍の周囲空気温度は、外気温度より5℃〜10℃程度と僅かに高いだけで、高温になっているエンジン4の熱の影響を受け難い状態にあることが確認できている。
【0030】
したがって、吸入口16が燃料タンク5の上面に開口しているため、船体内部の空気のうち比較的低温である空気が第1の吸入管15を介して、エンジン4に連通している吸気ボックス14に取り込まれることになる。
【0031】
また、エンジン4には、第1の吸入管15に加え、第2の吸入管19からも空気が供給されるが、第2の吸入管19は吸気ボックス14から後方に向けて延長され、その吸入口20が高温のエンジン4を配置した船体内前部6とは完全に遮蔽された船体内後部8に開口されているため、吸入口20から吸い込まれる空気はエンジン4の熱の影響を受けることのない比較的低温の空気が第2の吸入管19を介して、エンジン4に連通している吸気ボックス14に取り込まれることになる。
【0032】
さらに、ジェットポンプ7が配置されている船体内後部8は、独立空間を形成しているため共鳴箱の役目を果たすため、第2の吸入管19から外気を吸入する際の吸気音を消すことができる。
【0033】
次に、2つの参考例について図3乃至図10によって説明する。なお、これらの参考例は本発明を構成するものではない。
【0034】
[参考例1]
図3は、参考例1に係る吸気装置を採用した小型滑走艇の一部破断の側面図である。
【0035】
図4は、参考例1に係る吸気装置を採用した小型滑走艇の内部構造を示した平面図である。
【0036】
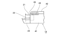
エンジン4の吸気ボックス14の前面から短い吸入管21が前方に向けて延長され、この吸入管21の吸入口22が燃料タンク5後部で開口するようにしている。図3及び図4に示したように、位置関係としては、燃料タンク5の後部とエンジン4の前部との空間に吸入口22が開口するようになっている。
【0037】
図5は、参考例1に係る吸気装置の水避け部材の平面図である。
【0038】
図6は、参考例1に係る吸気装置の水避け部材の側面図である。
【0039】
吸入口22の下側には、この吸入口22からの水の流入を防ぐために水避け部材23を設けている。
【0040】
具体的には、水避け部材23は、平面から見て略矩形をした溜め皿を半分にした形状のものであって、吸入口22に下前方、左右下方及び下方から来る水飛沫25が入らないように吸入口22の外形から十分な空間を保って前面、左右面、下面の4面の壁を形成し、その後面部が吸気ボックス14に固定されている。
【0041】
図6に示したように、水避け部材23の前面、左右面の3面の壁の高さは、側面から見て吸入口22の直径の下半分位を覆う寸法としている。
【0042】
転覆した後の船体1を建て直した状態では、水避け部材23の溜め皿状の部分に水が溜まってしまうため、その底面に排水用の水抜き孔24を穿設している。
【0043】
吸気ボックス14は、樹脂製のボックス本体41と樹脂製の蓋体42とから構成され、ボックス本体41の前方下部に水避け部材23を一体に形成し、ボックス本体41の前壁43に吸入管21を貫通し、固定している。
【0044】
ボックス本体41と蓋体42とは、スライドロック44により分離不能に組み立てられるものである。
【0045】
次に、参考例1の作用を説明する。
【0046】
小型滑走艇は、その自由な操縦性を楽しむため転覆等も多く発生し、ひっくり返った船体1を立て直した場合に、船体1の外表面上部に臨ませられている外気導入管10の入口11から船体内部に水40が入ってしまうことがある。
【0047】
船体内部に入った水は、図示しないビルジ装置によって船外に排出されるが、排出しきれない分が船体内部に溜まってしまう。そして、その状態で小型滑走艇を走行させた場合には、船体内部に入っている水40が燃料タンク5の外周面に当たって、エンジン4のある後部(船尾側)上方へ水飛沫25を跳ね上げることになる。
【0048】
燃料タンク5によって跳ね上げられた水飛沫25は、水避け部材23の前面、左右面、下面の4面の壁に当たって跳ね返されるため、吸入管21の吸入口22に入ることはない。
【0049】
船体1の転覆等により、水避け部材23の溜め皿状の部分に水が溜まった場合にあっては、その底面に設けた水抜き孔24を通って外へ排水される。
【0050】
したがって、吸入管21からは水分を含まない空気が吸気ボックッス14に吸入され、エンジン4に供給されることになる。
【0051】
その他の構成及び作用は、実施の形態と同様であるため説明を省略する。
【0052】
[参考例2]
次に、参考例2について図7乃至図10によって説明する。
【0053】
図7は、参考例2に係る吸気装置を採用した小型滑走艇の一部破断の側面図である。
【0054】
図8は、参考例2に係る吸気装置を採用した小型滑走艇の内部構造を示した平面図である。
【0055】
図9は、参考例2に係る吸気装置の吸気水分離装置の平面図である。
【0056】
図10は、参考例2に係る吸気装置の吸気水分離装置の一部を断面した側面図である。
【0057】
エンジン4に連通した吸気ボックス14から吸入管26が前方に延長され、この吸入管26の吸入口27が燃料タンク5の前方に設けた吸気水分離装置28に接続している。
【0058】
図7に示したように、吸入管26の吸入口27は、吸入管26のエンジン側端部、すなわち吸気ボックス14への開口部(図7中のA)よりも低い位置に配置され、吸入管26の吸気水分離装置28との接続部(吸入口27)より、吸入管26の吸気ボックス14との接続部の方が高くなるようにしている。
【0059】
なお、吸入管26のエンジン側端部とは、吸入管26の上流端がエンジン4の吸気ポートに直接接続されている場合は、吸入管26の吸気ポート側端部を、また、吸入管26の下流端が吸気ボックス14に接続されている場合は、吸入管26の吸気ボックス側端部を指すものとする。
【0060】
また、吸気水分離装置28と吸気ボックス14とを繋ぐ吸入管26における吸気水分離装置28近くの位置に、吸気レゾネータ29を設けている。この吸気レゾネータ29は、吸気騒音を低減するのに最適な容積を有している。
【0061】
吸気レゾネータ29は吸入管26と連通口41で繋がっており、この連通口41の位置は、吸入管26の吸気水分離装置28との接続部(吸入口27)より高く、かつ吸入管26の吸気ボックス14との接続部上端B(図7参照のこと)より低く設定されている。
【0062】
吸気水分離装置28は、外形が直方体をしたケース30と、このケース30の内部中央に納められた円筒形の水分離フィルタ31とから構成されている。
【0063】
水分離フィルタ31は空気のみ通過を許し、水は通過させない構造となっている。
【0064】
ケース30は、水分離フィルタ31の底面で空気室Cと排水室Dとに区画されており、水分離フィルタ31を通過した空気は、空気室Cに導かれた後、吸入管26を通ってエンジン4に供給される。
【0065】
ケース30の底面には、排水孔32が形成されており、水分離フィルタ31を通過できなかった水は、排水室Dに溜まった後、排水孔32を通って吸気水分離装置28の外へ排出される。
【0066】
排水孔32には、逆流防止弁を組み込んでおき、船体1が転覆して船体内に入った水が排水孔32から吸気水分離装置28へ入らないようにしている。
【0067】
吸気水分離装置28からは、外気導入管33が上方に向かって延長され、この外気導入管33の先には船体1の船首部12を貫通し船体1の上面外部に突出した外気導入体34を設けている。外気導入体34には、前方に向けてラッパ状に拡開させた外気導入口35が設けられている。これにより、外気を導入するに際してその吸入抵抗を減らすようにしている。
【0068】
次に、参考例2の作用を説明する。
【0069】
この参考例2にあっては、積極的に低い温度の外気を導入するために、外気導入口35を船体1の外部に露出しているので、走行中に空気と一緒に水を取り込んでしまうことがある。しかし、空気と一緒に取り込まれた水は、外気導入管33の後方経路に設けてある吸気水分離装置28に入って、水分離フィルタ31を通過することで空気と完全に分離され、排出孔32から吸気水分離装置28の外へ排出されることになる。
【0070】
また、小型滑走艇が転覆すると、外気導入体34の外気導入口35から外気導入管33を介して多量の水が吸気水分離装置28に入ってくる。この場合にあっては、吸気水分離装置28に入った水の一部は水分離フィルタ31を通過して吸入管26に侵入するが、この水は吸入管26を伝わって連通口41から吸気レゾネータ29へ流入することで、これより後方の経路にある吸気ボックス14への水分の流入が防止される。
【0071】
そこで、ひっくり返った船体1を立て直した場合には、吸気レゾネータ29に入っていた水が連通口41から吸入管26へ吐き出される。この場合に、吸入管26と吸気ボックス14との接続部が吸入管26と吸気水分離装置28との接続部(吸入口27)より高く、かつ吸入管26の吸気ボックス14との接続部上端Bより低いため、吸気レゾネータ29から吸入管26へ吐き出された水は、吸入管26の傾斜に沿って吸気水分離装置28側へ流れていき、その後排水孔32から排出されるため、吸気ボックス14へ水分が吸い込まれることはない。
【0072】
なお、通常の走行時においては、船体1の船首部12の上面の高い位置にある外気導入体34の外気導入口35から外気導入管33を介して、比較的温度の低い空気が吸気水分離装置28、吸入管26を経て吸気ボックス14へ導入されるが、途中の吸気水分離装置28と吸気レゾネータ29とが共鳴箱として作用し、吸気音を効果的に消すこととなる。
【0073】
その他の構成及び作用は、実施の形態と同様であるため説明を省略する。
【0074】
【発明の効果】
以上説明してきたように、請求項1及び2に記載された発明によれば、エンジンに吸い込む空気温度を低く保つと共に、エンジンへ送る空気中に水分を含まないようにすることでエンジンの性能低下や故障を防止し得る吸気装置を提供することができる(以下、第1の効果という)。
【0078】
請求項3に記載の発明によれば、第1の効果に加え、船体内後部の独立空間の共鳴箱としての作用により吸気音を効果的に消すことができる。
【図面の簡単な説明】
【図1】図1は、この発明の実施の形態に係る吸気装置を採用した小型滑走艇の一部破断の側面図である。
【図2】図2は、この発明の実施の形態に係る吸気装置を採用した小型滑走艇の内部構造を示した平面図である。
【図3】図3は、参考例1に係る吸気装置を採用した小型滑走艇の一部破断の側面図である。
【図4】図4は、参考例1に係る吸気装置を採用した小型滑走艇の内部構造を示した平面図である。
【図5】図5は、参考例1に係る吸気装置の水避け部材の平面図である。
【図6】図6は、参考例1に係る吸気装置の水避け部材の正面図である。
【図7】図7は、参考例2に係る吸気装置を採用した小型滑走艇の一部破断の側面図である。
【図8】図8は、参考例2に係る吸気装置を採用した小型滑走艇の内部構造を示した平面図である。
【図9】図9は、参考例2に係る吸気装置の吸気水分離装置の平面図である。
【図10】図10は、参考例2に係る吸気装置の吸気水分離装置の一部を断面した側面図である。
【符号の説明】
1 船体
4 エンジン
5 燃料タンク
6 船体内前部
7 ジェットポンプ
8 船体内後部
9 仕切壁
10,36 外気導入管
11 入口
13 出口
14 吸気ボックス
15 第1の吸入管
16,20 吸入口
17 吸入管の燃料タンクへの固定部であるブラケット
18 可撓性管
19 第2の吸入管
21,26 吸入管
Claims (3)
- 船体内部にエンジンと燃料タンクとが設置された小型滑走艇において、前記燃料タンクは前記エンジンよりも前方に配置され、前記船体内部に外気を導入する外気導入手段が設けられると共に、前記エンジンから延びる第1の吸入管が前記燃料タンク上面まで延長されて、該第1の吸入管は前記燃料タンクの上面に固定され、該第1の吸入管の吸入口が該燃料タンク上面近傍において開口すると共に、該第1の吸入管の、前記燃料タンクへの固定部よりも前記エンジン側となる中間部に可撓性管が介在していることを特徴とする小型滑走艇の吸気装置。
- 前記外気導入手段は外気導入管を有し、該外気導入管は、その入口が船体外部に臨み、出口が前記船体内部に開口し、該出口は、前記第1の吸入管の前記吸入口よりも低い位置に開口することを特徴とする請求項1に記載の小型滑走艇の吸気装置。
- 前記船体内部に仕切壁が設けられて、前記エンジン及び燃料タンクが設置された船体内前部と、ジェットポンプが設置された船体内後部とが仕切られ、該船体内後部に外気を導入する外気導入手段が設けられると共に、前記エンジンの吸気ボックスから第2の吸入管が後方に向けて延長されて、該第2の吸入管が前記仕切壁を貫通して該第2の吸入管の吸入口が前記船体内後部で開口していることを特徴とする請求項1又は2に記載の小型滑走艇の吸気装置。
Priority Applications (3)
| Application Number | Priority Date | Filing Date | Title |
|---|---|---|---|
| JP34968399A JP4282853B2 (ja) | 1999-12-09 | 1999-12-09 | 小型滑走艇の吸気装置 |
| US09/734,954 US6435924B2 (en) | 1999-12-09 | 2000-12-11 | Air induction system for small watercraft |
| US10/212,635 US6623321B2 (en) | 1999-12-09 | 2002-08-02 | Air induction system for small watercraft |
Applications Claiming Priority (1)
| Application Number | Priority Date | Filing Date | Title |
|---|---|---|---|
| JP34968399A JP4282853B2 (ja) | 1999-12-09 | 1999-12-09 | 小型滑走艇の吸気装置 |
Related Child Applications (2)
| Application Number | Title | Priority Date | Filing Date |
|---|---|---|---|
| JP2009022051A Division JP2009173281A (ja) | 2009-02-02 | 2009-02-02 | 小型滑走艇の吸気装置 |
| JP2009022052A Division JP2009154866A (ja) | 2009-02-02 | 2009-02-02 | 小型滑走艇の吸気装置 |
Publications (2)
| Publication Number | Publication Date |
|---|---|
| JP2001163298A JP2001163298A (ja) | 2001-06-19 |
| JP4282853B2 true JP4282853B2 (ja) | 2009-06-24 |
Family
ID=18405406
Family Applications (1)
| Application Number | Title | Priority Date | Filing Date |
|---|---|---|---|
| JP34968399A Expired - Fee Related JP4282853B2 (ja) | 1999-12-09 | 1999-12-09 | 小型滑走艇の吸気装置 |
Country Status (2)
| Country | Link |
|---|---|
| US (2) | US6435924B2 (ja) |
| JP (1) | JP4282853B2 (ja) |
Families Citing this family (12)
| Publication number | Priority date | Publication date | Assignee | Title |
|---|---|---|---|---|
| JP4282853B2 (ja) * | 1999-12-09 | 2009-06-24 | ヤマハ発動機株式会社 | 小型滑走艇の吸気装置 |
| US6769942B2 (en) | 2000-08-11 | 2004-08-03 | Bombardier Recreational Products Inc. | Watercraft having air/water separating device |
| JP4357881B2 (ja) | 2003-06-12 | 2009-11-04 | ヤマハ発動機株式会社 | 小型船舶 |
| US6863582B1 (en) * | 2003-07-15 | 2005-03-08 | Polaris Industries Inc. | Air ventilation system for a watercraft |
| JP2006002633A (ja) | 2004-06-16 | 2006-01-05 | Yamaha Marine Co Ltd | 水ジェット推進艇 |
| JP2006037730A (ja) | 2004-07-22 | 2006-02-09 | Yamaha Marine Co Ltd | 過給式エンジンの吸気装置 |
| JP2006083713A (ja) | 2004-09-14 | 2006-03-30 | Yamaha Marine Co Ltd | 過給装置の潤滑構造 |
| JP2007062432A (ja) | 2005-08-29 | 2007-03-15 | Yamaha Marine Co Ltd | 小型滑走艇 |
| JP4614853B2 (ja) | 2005-09-26 | 2011-01-19 | ヤマハ発動機株式会社 | 過給機の取付構造 |
| JP2018031319A (ja) * | 2016-08-25 | 2018-03-01 | ヤマハ発動機株式会社 | 船舶 |
| US10793228B2 (en) | 2016-12-02 | 2020-10-06 | Polaris Industries Inc. | Structure and assembly for recessed deck portion in pontoon boat |
| US11192610B2 (en) | 2019-10-30 | 2021-12-07 | Polaris Industies Inc. | Multiple chine pontoon boat |
Family Cites Families (45)
| Publication number | Priority date | Publication date | Assignee | Title |
|---|---|---|---|---|
| US4084531A (en) * | 1974-02-26 | 1978-04-18 | Kawasaki Jukogyo Kabushiki Kaisha | Fuel tank breathing means for small size boats |
| JPS60115199U (ja) * | 1984-01-12 | 1985-08-03 | 川崎重工業株式会社 | 小型舟艇の空気取入装置 |
| JPS6117000U (ja) * | 1984-07-05 | 1986-01-31 | 川崎重工業株式会社 | 小型舟艇の冷却水切れ感知装置 |
| JPS6118590A (ja) * | 1984-07-05 | 1986-01-27 | Kawasaki Heavy Ind Ltd | 小型舟艇の沈没防止装置 |
| JPS61136158U (ja) * | 1985-02-13 | 1986-08-25 | ||
| JP2683773B2 (ja) * | 1988-04-12 | 1997-12-03 | 三信工業株式会社 | 小型艇の排気装置 |
| JP2970871B2 (ja) | 1988-09-08 | 1999-11-02 | ヤマハ発動機株式会社 | 小型ジェット推進艇 |
| JPH02147491A (ja) * | 1988-11-28 | 1990-06-06 | Yamaha Motor Co Ltd | 小型ジェット推進艇の排水装置 |
| DE3908572A1 (de) | 1989-03-16 | 1990-12-20 | Laukien Guenther | Verfahren und vorrichtung zur verminderung der schallemission getauchter unterseeboote |
| US4991532A (en) | 1989-06-02 | 1991-02-12 | Boat Safe Products, Inc. | Automatic control of engine compartment ventilation |
| JPH03164394A (ja) | 1989-11-21 | 1991-07-16 | Yamaha Motor Co Ltd | ジェット推進艇の推進機部の構造 |
| JP3066648B2 (ja) | 1990-04-12 | 2000-07-17 | 三信工業株式会社 | 小型滑走艇の排気装置 |
| JP2998340B2 (ja) | 1991-10-09 | 2000-01-11 | ヤマハ発動機株式会社 | 水ジェット推進艇 |
| US5390621A (en) | 1991-11-01 | 1995-02-21 | Yamaha Hatsudoki Kabushiki Kaisha | Watercraft |
| JPH05178280A (ja) | 1991-12-28 | 1993-07-20 | Yamaha Motor Co Ltd | ウォータビークル |
| JP3239955B2 (ja) | 1992-02-17 | 2001-12-17 | 三信工業株式会社 | ジェット推進装置 |
| JP3362868B2 (ja) | 1992-04-30 | 2003-01-07 | 三信工業株式会社 | 吸気装置 |
| JPH06144353A (ja) | 1992-11-16 | 1994-05-24 | Sanshin Ind Co Ltd | 小型ジェット推進艇 |
| US5490474A (en) | 1993-04-27 | 1996-02-13 | Yamaha Hatsudoki Kabushiki Kaisha | Watercraft |
| JPH07267184A (ja) * | 1994-03-29 | 1995-10-17 | Yamaha Motor Co Ltd | 水ジェット推進艇 |
| JP3465239B2 (ja) | 1994-05-31 | 2003-11-10 | ヤマハマリン株式会社 | 水ジェット推進艇の吸気装置 |
| JP2766619B2 (ja) | 1994-10-04 | 1998-06-18 | 川崎重工業株式会社 | 小型滑走艇 |
| JP2826273B2 (ja) | 1994-10-04 | 1998-11-18 | 川崎重工業株式会社 | 小型滑走艇 |
| JP3290037B2 (ja) | 1994-10-21 | 2002-06-10 | 三信工業株式会社 | 小型船舶のエンジンの排気構造 |
| JP3165338B2 (ja) | 1994-11-09 | 2001-05-14 | 三信工業株式会社 | 小型船舶のエンジンの排気構造 |
| US5632660A (en) * | 1995-02-27 | 1997-05-27 | Sanshin Kogyo Kabushiki Kaisha | Watercraft catalytic exhaust system |
| US5647779A (en) | 1995-07-19 | 1997-07-15 | Sanshin Kogyo Kabushiki Kaisha | Manifold and water trap system for marine engine |
| JP3398529B2 (ja) * | 1995-08-15 | 2003-04-21 | ヤマハ発動機株式会社 | 水上走行船 |
| JPH0986491A (ja) | 1995-09-26 | 1997-03-31 | Yamaha Motor Co Ltd | 水ジェット推進艇の座席シートの構造 |
| JPH09216598A (ja) | 1996-02-14 | 1997-08-19 | Yamaha Motor Co Ltd | 水ジェット推進艇の点検口の構造 |
| JPH09301286A (ja) | 1996-03-15 | 1997-11-25 | Yamaha Motor Co Ltd | ウォータビークルのオイルフィルタ配置構造 |
| JP3698800B2 (ja) | 1996-03-19 | 2005-09-21 | ヤマハ発動機株式会社 | ウォータビークルのエンジン搭載構造 |
| JP2754371B2 (ja) | 1996-05-16 | 1998-05-20 | 川崎重工業株式会社 | 小型滑走艇用エンジンの吸気装置 |
| JPH1067390A (ja) | 1996-08-29 | 1998-03-10 | Yamaha Motor Co Ltd | 小型船舶 |
| JP3524289B2 (ja) | 1996-08-30 | 2004-05-10 | ヤマハ発動機株式会社 | 船艇推進装置の吸気系の水吸入防止構造 |
| US5846102A (en) | 1996-09-11 | 1998-12-08 | Kawasaki Jukogyo Kabushiki Kaisha | Four-cycle engine for a small jet boat |
| US5735229A (en) | 1996-12-12 | 1998-04-07 | Brunswick Corporation | Personal watercraft seat having air intake silencer |
| JPH10196394A (ja) | 1996-12-28 | 1998-07-28 | Yamaha Motor Co Ltd | 小型船舶 |
| JP3960648B2 (ja) | 1997-01-16 | 2007-08-15 | ヤマハ発動機株式会社 | 小型船艇の推進装置 |
| US5882236A (en) * | 1997-01-27 | 1999-03-16 | Yamaha Hatsudoki Kabushiki Kaisha | Exhaust system for small watercraft |
| US5954555A (en) | 1997-12-29 | 1999-09-21 | Yamaha Hatsudoki Kabushiki Kaisha | Oil supply system for personal watercraft |
| JP4010470B2 (ja) | 1998-03-27 | 2007-11-21 | ヤマハ発動機株式会社 | 跨座式船艇の船体構造 |
| JP3601975B2 (ja) | 1998-06-12 | 2004-12-15 | 川崎重工業株式会社 | 小型滑走艇のデッキ構造 |
| JP2000170612A (ja) | 1998-12-10 | 2000-06-20 | Yamaha Motor Co Ltd | 小型船舶用エンジンの吸気装置 |
| JP4282853B2 (ja) * | 1999-12-09 | 2009-06-24 | ヤマハ発動機株式会社 | 小型滑走艇の吸気装置 |
-
1999
- 1999-12-09 JP JP34968399A patent/JP4282853B2/ja not_active Expired - Fee Related
-
2000
- 2000-12-11 US US09/734,954 patent/US6435924B2/en not_active Expired - Lifetime
-
2002
- 2002-08-02 US US10/212,635 patent/US6623321B2/en not_active Expired - Fee Related
Also Published As
| Publication number | Publication date |
|---|---|
| US20010004570A1 (en) | 2001-06-21 |
| US6623321B2 (en) | 2003-09-23 |
| JP2001163298A (ja) | 2001-06-19 |
| US6435924B2 (en) | 2002-08-20 |
| US20020187692A1 (en) | 2002-12-12 |
Similar Documents
| Publication | Publication Date | Title |
|---|---|---|
| JP4282853B2 (ja) | 小型滑走艇の吸気装置 | |
| JP3362868B2 (ja) | 吸気装置 | |
| US5007870A (en) | Jet propulsion craft provided with exhaust noise eliminating apparatus | |
| JPH02147491A (ja) | 小型ジェット推進艇の排水装置 | |
| JPH08133187A (ja) | 小型船舶のエンジンの排気構造 | |
| JP3524289B2 (ja) | 船艇推進装置の吸気系の水吸入防止構造 | |
| JP4005717B2 (ja) | 小型滑走艇 | |
| JP3510745B2 (ja) | 水噴射推進艇の船底構造 | |
| JP4057412B2 (ja) | 小型滑走艇 | |
| JPH07332183A (ja) | 水ジェット推進艇の吸気装置 | |
| JP2002002593A (ja) | 小型滑走艇のウォータロック構造 | |
| JP2009173281A (ja) | 小型滑走艇の吸気装置 | |
| JP3395335B2 (ja) | 船舶エンジン用吸気装置 | |
| JP2009154866A (ja) | 小型滑走艇の吸気装置 | |
| JP2002227732A (ja) | 水上艇の吸気装置 | |
| JP3821671B2 (ja) | 小型滑走艇用エンジンのセンサ配置構造 | |
| JP3225727B2 (ja) | 船舶用排水装置 | |
| US6918348B2 (en) | Personal watercraft | |
| JPH03295791A (ja) | 小型滑走艇の排気装置 | |
| JP2006273213A (ja) | 船艇の排気装置 | |
| US7458869B2 (en) | Personal watercraft | |
| US6939185B2 (en) | Exhaust system for small watercraft and personal watercraft | |
| JP3992986B2 (ja) | 小型滑走艇 | |
| US20030022565A1 (en) | Jet-propulsion watercraft | |
| JP3384918B2 (ja) | 小型水上走行艇用エンジンの冷却構造 |
Legal Events
| Date | Code | Title | Description |
|---|---|---|---|
| A621 | Written request for application examination |
Free format text: JAPANESE INTERMEDIATE CODE: A621 Effective date: 20061011 |
|
| A131 | Notification of reasons for refusal |
Free format text: JAPANESE INTERMEDIATE CODE: A131 Effective date: 20081202 |
|
| A711 | Notification of change in applicant |
Free format text: JAPANESE INTERMEDIATE CODE: A712 Effective date: 20090116 |
|
| A521 | Written amendment |
Free format text: JAPANESE INTERMEDIATE CODE: A523 Effective date: 20090202 |
|
| TRDD | Decision of grant or rejection written | ||
| A01 | Written decision to grant a patent or to grant a registration (utility model) |
Free format text: JAPANESE INTERMEDIATE CODE: A01 Effective date: 20090317 |
|
| A01 | Written decision to grant a patent or to grant a registration (utility model) |
Free format text: JAPANESE INTERMEDIATE CODE: A01 |
|
| A61 | First payment of annual fees (during grant procedure) |
Free format text: JAPANESE INTERMEDIATE CODE: A61 Effective date: 20090318 |
|
| R150 | Certificate of patent or registration of utility model |
Free format text: JAPANESE INTERMEDIATE CODE: R150 |
|
| FPAY | Renewal fee payment (event date is renewal date of database) |
Free format text: PAYMENT UNTIL: 20120327 Year of fee payment: 3 |
|
| LAPS | Cancellation because of no payment of annual fees |