JP3762002B2 - 薄膜トランジスタ、及び液晶表示装置 - Google Patents

薄膜トランジスタ、及び液晶表示装置 Download PDF

Info

Publication number
JP3762002B2
JP3762002B2 JP31895796A JP31895796A JP3762002B2 JP 3762002 B2 JP3762002 B2 JP 3762002B2 JP 31895796 A JP31895796 A JP 31895796A JP 31895796 A JP31895796 A JP 31895796A JP 3762002 B2 JP3762002 B2 JP 3762002B2
Authority
JP
Japan
Prior art keywords
sidewall
thin film
film transistor
region
gate electrode
Prior art date
Legal status (The legal status is an assumption and is not a legal conclusion. Google has not performed a legal analysis and makes no representation as to the accuracy of the status listed.)
Expired - Fee Related
Application number
JP31895796A
Other languages
English (en)
Other versions
JPH10163498A (ja
Inventor
加一 福田
勉 上本
秀雄 平山
真一 河村
重隆 鳥山
Current Assignee (The listed assignees may be inaccurate. Google has not performed a legal analysis and makes no representation or warranty as to the accuracy of the list.)
Toshiba Corp
Original Assignee
Toshiba Corp
Priority date (The priority date is an assumption and is not a legal conclusion. Google has not performed a legal analysis and makes no representation as to the accuracy of the date listed.)
Filing date
Publication date
Application filed by Toshiba Corp filed Critical Toshiba Corp
Priority to JP31895796A priority Critical patent/JP3762002B2/ja
Priority to TW086117940A priority patent/TW362165B/zh
Priority to KR1019970063635A priority patent/KR100292922B1/ko
Priority to US08/980,797 priority patent/US6096585A/en
Publication of JPH10163498A publication Critical patent/JPH10163498A/ja
Priority to US09/574,067 priority patent/US6670641B1/en
Application granted granted Critical
Publication of JP3762002B2 publication Critical patent/JP3762002B2/ja
Anticipated expiration legal-status Critical
Expired - Fee Related legal-status Critical Current

Links

Images

Classifications

    • HELECTRICITY
    • H10SEMICONDUCTOR DEVICES; ELECTRIC SOLID-STATE DEVICES NOT OTHERWISE PROVIDED FOR
    • H10DINORGANIC ELECTRIC SEMICONDUCTOR DEVICES
    • H10D86/00Integrated devices formed in or on insulating or conducting substrates, e.g. formed in silicon-on-insulator [SOI] substrates or on stainless steel or glass substrates
    • H10D86/01Manufacture or treatment
    • H10D86/021Manufacture or treatment of multiple TFTs
    • H10D86/0221Manufacture or treatment of multiple TFTs comprising manufacture, treatment or patterning of TFT semiconductor bodies
    • HELECTRICITY
    • H10SEMICONDUCTOR DEVICES; ELECTRIC SOLID-STATE DEVICES NOT OTHERWISE PROVIDED FOR
    • H10DINORGANIC ELECTRIC SEMICONDUCTOR DEVICES
    • H10D30/00Field-effect transistors [FET]
    • H10D30/60Insulated-gate field-effect transistors [IGFET]
    • H10D30/67Thin-film transistors [TFT]
    • H10D30/6704Thin-film transistors [TFT] having supplementary regions or layers in the thin films or in the insulated bulk substrates for controlling properties of the device
    • H10D30/6713Thin-film transistors [TFT] having supplementary regions or layers in the thin films or in the insulated bulk substrates for controlling properties of the device characterised by the properties of the source or drain regions, e.g. compositions or sectional shapes
    • H10D30/6715Thin-film transistors [TFT] having supplementary regions or layers in the thin films or in the insulated bulk substrates for controlling properties of the device characterised by the properties of the source or drain regions, e.g. compositions or sectional shapes characterised by the doping profiles, e.g. having lightly-doped source or drain extensions
    • GPHYSICS
    • G02OPTICS
    • G02FOPTICAL DEVICES OR ARRANGEMENTS FOR THE CONTROL OF LIGHT BY MODIFICATION OF THE OPTICAL PROPERTIES OF THE MEDIA OF THE ELEMENTS INVOLVED THEREIN; NON-LINEAR OPTICS; FREQUENCY-CHANGING OF LIGHT; OPTICAL LOGIC ELEMENTS; OPTICAL ANALOGUE/DIGITAL CONVERTERS
    • G02F1/00Devices or arrangements for the control of the intensity, colour, phase, polarisation or direction of light arriving from an independent light source, e.g. switching, gating or modulating; Non-linear optics
    • G02F1/01Devices or arrangements for the control of the intensity, colour, phase, polarisation or direction of light arriving from an independent light source, e.g. switching, gating or modulating; Non-linear optics for the control of the intensity, phase, polarisation or colour 
    • G02F1/13Devices or arrangements for the control of the intensity, colour, phase, polarisation or direction of light arriving from an independent light source, e.g. switching, gating or modulating; Non-linear optics for the control of the intensity, phase, polarisation or colour  based on liquid crystals, e.g. single liquid crystal display cells
    • G02F1/133Constructional arrangements; Operation of liquid crystal cells; Circuit arrangements
    • G02F1/136Liquid crystal cells structurally associated with a semi-conducting layer or substrate, e.g. cells forming part of an integrated circuit
    • G02F1/1362Active matrix addressed cells
    • G02F1/1368Active matrix addressed cells in which the switching element is a three-electrode device
    • HELECTRICITY
    • H10SEMICONDUCTOR DEVICES; ELECTRIC SOLID-STATE DEVICES NOT OTHERWISE PROVIDED FOR
    • H10DINORGANIC ELECTRIC SEMICONDUCTOR DEVICES
    • H10D30/00Field-effect transistors [FET]
    • H10D30/01Manufacture or treatment
    • H10D30/021Manufacture or treatment of FETs having insulated gates [IGFET]
    • H10D30/031Manufacture or treatment of FETs having insulated gates [IGFET] of thin-film transistors [TFT]
    • H10D30/0312Manufacture or treatment of FETs having insulated gates [IGFET] of thin-film transistors [TFT] characterised by the gate electrodes
    • H10D30/0314Manufacture or treatment of FETs having insulated gates [IGFET] of thin-film transistors [TFT] characterised by the gate electrodes of lateral top-gate TFTs comprising only a single gate
    • HELECTRICITY
    • H10SEMICONDUCTOR DEVICES; ELECTRIC SOLID-STATE DEVICES NOT OTHERWISE PROVIDED FOR
    • H10DINORGANIC ELECTRIC SEMICONDUCTOR DEVICES
    • H10D30/00Field-effect transistors [FET]
    • H10D30/01Manufacture or treatment
    • H10D30/021Manufacture or treatment of FETs having insulated gates [IGFET]
    • H10D30/031Manufacture or treatment of FETs having insulated gates [IGFET] of thin-film transistors [TFT]
    • H10D30/0312Manufacture or treatment of FETs having insulated gates [IGFET] of thin-film transistors [TFT] characterised by the gate electrodes
    • H10D30/0316Manufacture or treatment of FETs having insulated gates [IGFET] of thin-film transistors [TFT] characterised by the gate electrodes of lateral bottom-gate TFTs comprising only a single gate
    • HELECTRICITY
    • H10SEMICONDUCTOR DEVICES; ELECTRIC SOLID-STATE DEVICES NOT OTHERWISE PROVIDED FOR
    • H10DINORGANIC ELECTRIC SEMICONDUCTOR DEVICES
    • H10D30/00Field-effect transistors [FET]
    • H10D30/01Manufacture or treatment
    • H10D30/021Manufacture or treatment of FETs having insulated gates [IGFET]
    • H10D30/031Manufacture or treatment of FETs having insulated gates [IGFET] of thin-film transistors [TFT]
    • H10D30/0321Manufacture or treatment of FETs having insulated gates [IGFET] of thin-film transistors [TFT] comprising silicon, e.g. amorphous silicon or polysilicon
    • HELECTRICITY
    • H10SEMICONDUCTOR DEVICES; ELECTRIC SOLID-STATE DEVICES NOT OTHERWISE PROVIDED FOR
    • H10DINORGANIC ELECTRIC SEMICONDUCTOR DEVICES
    • H10D30/00Field-effect transistors [FET]
    • H10D30/60Insulated-gate field-effect transistors [IGFET]
    • H10D30/67Thin-film transistors [TFT]
    • H10D30/6704Thin-film transistors [TFT] having supplementary regions or layers in the thin films or in the insulated bulk substrates for controlling properties of the device
    • H10D30/6713Thin-film transistors [TFT] having supplementary regions or layers in the thin films or in the insulated bulk substrates for controlling properties of the device characterised by the properties of the source or drain regions, e.g. compositions or sectional shapes
    • H10D30/6715Thin-film transistors [TFT] having supplementary regions or layers in the thin films or in the insulated bulk substrates for controlling properties of the device characterised by the properties of the source or drain regions, e.g. compositions or sectional shapes characterised by the doping profiles, e.g. having lightly-doped source or drain extensions
    • H10D30/6719Thin-film transistors [TFT] having supplementary regions or layers in the thin films or in the insulated bulk substrates for controlling properties of the device characterised by the properties of the source or drain regions, e.g. compositions or sectional shapes characterised by the doping profiles, e.g. having lightly-doped source or drain extensions having significant overlap between the lightly-doped drains and the gate electrodes, e.g. gate-overlapped LDD [GOLDD] TFTs
    • HELECTRICITY
    • H10SEMICONDUCTOR DEVICES; ELECTRIC SOLID-STATE DEVICES NOT OTHERWISE PROVIDED FOR
    • H10DINORGANIC ELECTRIC SEMICONDUCTOR DEVICES
    • H10D30/00Field-effect transistors [FET]
    • H10D30/60Insulated-gate field-effect transistors [IGFET]
    • H10D30/67Thin-film transistors [TFT]
    • H10D30/6729Thin-film transistors [TFT] characterised by the electrodes
    • H10D30/6737Thin-film transistors [TFT] characterised by the electrodes characterised by the electrode materials
    • H10D30/6739Conductor-insulator-semiconductor electrodes
    • HELECTRICITY
    • H10SEMICONDUCTOR DEVICES; ELECTRIC SOLID-STATE DEVICES NOT OTHERWISE PROVIDED FOR
    • H10DINORGANIC ELECTRIC SEMICONDUCTOR DEVICES
    • H10D86/00Integrated devices formed in or on insulating or conducting substrates, e.g. formed in silicon-on-insulator [SOI] substrates or on stainless steel or glass substrates
    • H10D86/40Integrated devices formed in or on insulating or conducting substrates, e.g. formed in silicon-on-insulator [SOI] substrates or on stainless steel or glass substrates characterised by multiple TFTs
    • HELECTRICITY
    • H10SEMICONDUCTOR DEVICES; ELECTRIC SOLID-STATE DEVICES NOT OTHERWISE PROVIDED FOR
    • H10DINORGANIC ELECTRIC SEMICONDUCTOR DEVICES
    • H10D86/00Integrated devices formed in or on insulating or conducting substrates, e.g. formed in silicon-on-insulator [SOI] substrates or on stainless steel or glass substrates
    • H10D86/40Integrated devices formed in or on insulating or conducting substrates, e.g. formed in silicon-on-insulator [SOI] substrates or on stainless steel or glass substrates characterised by multiple TFTs
    • H10D86/60Integrated devices formed in or on insulating or conducting substrates, e.g. formed in silicon-on-insulator [SOI] substrates or on stainless steel or glass substrates characterised by multiple TFTs wherein the TFTs are in active matrices
    • GPHYSICS
    • G02OPTICS
    • G02FOPTICAL DEVICES OR ARRANGEMENTS FOR THE CONTROL OF LIGHT BY MODIFICATION OF THE OPTICAL PROPERTIES OF THE MEDIA OF THE ELEMENTS INVOLVED THEREIN; NON-LINEAR OPTICS; FREQUENCY-CHANGING OF LIGHT; OPTICAL LOGIC ELEMENTS; OPTICAL ANALOGUE/DIGITAL CONVERTERS
    • G02F1/00Devices or arrangements for the control of the intensity, colour, phase, polarisation or direction of light arriving from an independent light source, e.g. switching, gating or modulating; Non-linear optics
    • G02F1/01Devices or arrangements for the control of the intensity, colour, phase, polarisation or direction of light arriving from an independent light source, e.g. switching, gating or modulating; Non-linear optics for the control of the intensity, phase, polarisation or colour 
    • G02F1/13Devices or arrangements for the control of the intensity, colour, phase, polarisation or direction of light arriving from an independent light source, e.g. switching, gating or modulating; Non-linear optics for the control of the intensity, phase, polarisation or colour  based on liquid crystals, e.g. single liquid crystal display cells
    • G02F1/133Constructional arrangements; Operation of liquid crystal cells; Circuit arrangements
    • G02F1/1333Constructional arrangements; Manufacturing methods
    • G02F1/1345Conductors connecting electrodes to cell terminals
    • G02F1/13454Drivers integrated on the active matrix substrate

Landscapes

  • Physics & Mathematics (AREA)
  • Nonlinear Science (AREA)
  • Engineering & Computer Science (AREA)
  • Microelectronics & Electronic Packaging (AREA)
  • Mathematical Physics (AREA)
  • Chemical & Material Sciences (AREA)
  • Crystallography & Structural Chemistry (AREA)
  • General Physics & Mathematics (AREA)
  • Optics & Photonics (AREA)
  • Thin Film Transistor (AREA)
  • Liquid Crystal (AREA)

Description

【0001】
【発明の属する技術分野】
本発明は薄膜トランジスタ、薄膜トランジスタの製造方法、及び液晶表示装置に係り、詳しくはLDD(Lightly Doped Drain)構造を有する薄膜トランジスタに関する。
【0002】
【従来の技術】
現在、液晶表示装置は駆動回路をアレイ基板上に一体に作り込むという要求に応えるべく、多結晶シリコン(p−Si)系の半導体層を用いた薄膜トランジスタ(TFT)の研究開発が進められている。
【0003】
このp−SiTFTは、単結晶シリコン薄膜トランジスタと同様にソース・ドレイン間に大きな電圧を印加すると、ブレークダウンやTFT特性の劣化を引き起こすことが知られている。これらの現象はドレイン近傍への電界の集中により、ホットキャリアが発生することなどが主要因と考えられ、TFTの微細化が進むにつれ、益々大きな問題となっていく。
【0004】
この問題を解決するためにLDD構造が有効であり、単結晶シリコンTFTでは盛んに使われている。
しかしながら液晶表示装置のように、大型のガラス基板等の上ではエッチングの異方性や、低温プロセスの要求等から、単結晶シリコンTFTのプロセスをそのまま用いることができない。
【0005】
そこで単結晶シリコンのプロセスとは異なる手法でLDD構造のTFTを形成するアイデアが検討され、例えば、特開平6−104279号公報にはゲート電極の陽極酸化を利用してサイドウォールを形成する方法、特開平5−175230、特開平5−275450号公報にはゲート電極のサイドエッチングを利用する方法、特開平7−307477号公報には斜め方向からのドーピングを利用する方法、等が開示されている。
【0006】
【発明が解決しようとする課題】
しかしながら、これらの方法は、サイドウォール幅の制御が充分でなかったり、工程が複雑になるなど、必ずしも満足のいく手法とは言えなかった。
本発明は上記問題点に鑑みなされたもので、簡単に作成でき精度のよいLDD構造を有する薄膜トランジスタ、薄膜膜トランジスタの製造方法、及び液晶表示装置を提供することを目的とする。
【0007】
【課題を解決するための手段】
本発明は、LDD領域上にサイドウォールを備えたLDD構造を有する薄膜トランジスタにおいて、LDD領域とサイドウォールとの間にエッチングストッパ層を有し、エッチングストッパ層は金属材料であり、ゲート電極と電気的に接続されていることを特徴とする薄膜トランジスタである。
【0008】
また、本発明は、上記した薄膜トランジスタを画素スイッチング、または駆動回路に用いた液晶表示装置である。
【0009】
【発明の実施の形態】
以下に、本発明の実施例を図面を参照して詳細に説明する。
(実施例1)
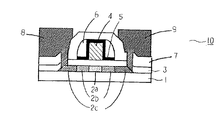
図1にトップゲート型の薄膜トランジスタ10の構成を示す。絶縁性基板1上に、島状に加工された半導体層2が形成されている。この半導体層2は、中央部にノンドープのチャネル領域2a、チャネル領域2aに隣接して不純物が低濃度にドーピングされた低不純物濃度(LDD:Lightly Doped Drain)領域2b、さらにLDD領域2bに隣接して不純物が高濃度にドーピングされた低抵抗領域(ソース・ドレイン領域)2c、を有している。そしてその半導体層2を覆うようにゲート絶縁膜3が全面に形成されている。さらにゲート絶縁膜3上には、チャネル領域2aに対応する領域にゲート電極4が形成されており、LDD領域2bに対応する領域とゲート電極4を覆うようにエッチングストッパ層5が形成されている。そして、ゲート電極4の側方にエッチングストッパ層5を介してサイドウォール6が形成されている。さらに、この上全面に層間絶縁膜7が形成され、ソース電極8、ドレイン電極9が形成されている。ソース電極8とドレイン電極9は、層間絶縁膜7とゲート絶縁膜3に形成されたコンタクトホールを介して低抵抗領域2cにそれぞれ接続されている。
【0010】
次に、この薄膜トランジスタの製造方法を図2を参照しながら工程を追って順に説明する。
まず、ガラス等からなる絶縁性基板1の一主面上に非晶質シリコン(a−Si)をプラズマCVD(Chemical Vapour Deposition)法により0.05μmの厚さに成膜する。このa−Si膜にレーザを照射して多結晶化し、多結晶シリコン(p−Si)膜とする。次にこのp−Si膜をフォトリソグラフィによって島状に加工し、半導体層2とする。
【0011】
そして、この半導体層2を覆うように酸化シリコンを0.1μmの厚さに成膜し、ゲート絶縁膜3とする。同図(a)
続いて、スパッタリング法によりMoW合金を0.3μmの厚さに成膜し、フォトリソグラフィによりエッチング加工してゲート電極4を形成する。このエッチング加工には垂直エッチングができるように例えば反応性イオンを用いた異方性ドライエッチングを用いる。
【0012】
そして、このゲート電極4をマスクとして例えばPの低濃度ドーピングを行う。ドーピングにはイオン注入を用い、ドーズ量1×1013/cm2 、加速電圧65kV程度が適当である。同図(b)
次に、ゲート電極4を覆うように、膜厚0.05μmのTiをスパッタリング法で成膜し、さらに膜厚0.4μmの酸化シリコンをプラズマCVD法により成膜する。同図(c)
そして、例えばRIE(Reactive Ion Etching)によって酸化シリコンを異方性エッチングし、Tiの表面でエッチングを停止させ、サイドウオール6を形成する。このときエッチングガスとしてCHF3 等を用いるとTiに対してエッチング選択比10以上を確保することができる。同図(d)さらに、Tiを異方性エッチングし、ゲート絶縁膜3の表面でエッチングを停止させ、エッチングストッパ層5を形成する。このときエッチングガスとしてCF4 等を用いるとゲート絶縁膜3を構成している酸化シリコンに対しエッチング選択比5以上を確保することができる。
【0013】
そして、ゲート電極4、エッチングストッパ層5、サイドウォール6をマスクとして、例えばPの高濃度ドーピングを行う。ドーピングにはイオン注入を用い、ドーズ量1×1016/cm2 、加速電圧65kV程度が適当である。同図(e)
次に全面に酸化シリコンなどの層間絶縁膜7を成膜する。
【0014】
そして、低抵抗領域2cのうちの一部領域上のゲート絶縁膜3と層間絶縁膜7とをフォトリソグラフィによってエッチング除去しコンタクトホールを形成する。
【0015】
そして、スパッタリング法によってAlを0.5μmの膜厚に成膜する。このときAl膜はコンタクトホールを介して低抵抗領域2cに接続されている。そしてフォトリソグラフィによってパターニングしソース電極8、ドレイン電極9を形成する。同図(f)
このようにして所望の薄膜トランジスタ10を得ることができる。
【0016】
本発明の薄膜トランジスタ10はサイドウォールを形成するためにゲート絶縁膜3とサイドウォール6を形成する膜との間にサイドウォール6と異なる膜質のエッチングストッパ層5を設けることで、サイドウォール6を形成する際の異方性エッチングの際にゲート絶縁膜3へのダメージを抑えることができる。ここで、「異なる膜質」とは、あるエッチング条件でエッチング選択比が異なることを意味し、たとえ膜を構成する材質が同じであっても、組成、不純物の濃度、その他成膜条件等によりエッチング選択比が異なるものであれば、「異なる膜質」の範中にはいる。
【0017】
また、本実施例のようにエッチングストッパ層5に導電材料を用いゲート電極4に接続すると、エッチングストッパ層5が実効的にゲート電極の一部となり、LDD領域2bにゲート電極4がオーバーラップする構造とすることができる。この構造では、通常のLDD構造と同様にドレイン端での電界強度が緩和されると共に、LDD領域2bでのシリーズ抵抗によるオン電流低下を軽減することができる。またエッチングストッパ層5は半導体材料でも同様の効果を得られるが、そのときは不純物をドーピングする等によって抵抗を下げた材料を用いると良い。
【0018】
さらに、サイドウォール6の材料としては酸化シリコン、窒化シリコン、酸窒化シリコン等の中から、エッチングストッパ層5はTi、Mo、W、Ta、Al等の中から選ばれた材料を用いるとエッチングの選択比、形状制御、TFT特性、等の面で良好である。さらに言えば、サイドウォール6の材料としては窒化シリコンよりも酸化シリコン、酸窒化シリコン等の方がより優れている。これらの膜はラジカルでの等方的なエッチング速度が、イオンを用いた異方性エッチングの速度に比べて遅い傾向にあるからである。特に有機シラン、例えばテトラエトキシシラン(TEOS)を用いて形成した酸化シリコン膜はゲート電極への等方的な被覆性に優れており、サイドウォールの形状制御性に優れている。
【0019】
本実施例においては薄膜トランジスタの特性上、ゲート絶縁膜3にシリコン酸化膜を用いているが、本発明のエッチングストッパ層を介在させることで、サイドウォール6にも酸化シリコン膜を用いることが可能になるわけである。つまり、本発明によって、ゲート絶縁膜3に使われている材料と同じ材料もしくは選択比の小さい材料もサイドウォール6の材料として選定することが可能になる。
【0020】
また、有機シランを用いて形成した酸化シリコン膜はCを含有することが特徴である。本発明のサイドウォールにこの膜を用いる場合、Cの濃度が低いと被覆性が悪化する問題があり、Cの濃度が高いと充分な絶縁性が得られないと言う問題がある。充分な被覆性と絶縁性を有するCの濃度は体積密度で1×1018/cm3 以上1×1021/cm3 以下の範囲が好適であることを見出した。
なお、本実施例ではチャネル領域の両側にLDD領域を形成したが、チャネル領域の片側(ドレイン側)のみにLDD領域を形成することもある。
【0021】
(実施例2)
次に、ボトムゲート型の薄膜トランジスタ60の構成を図3(e)を参照して説明する。絶縁性基板61上にゲート電極62がパターン形成されており、このゲート電極62を覆うようにゲート絶縁膜63が形成されている。
【0022】
そしてゲート絶縁膜63上に半導体層64がパターン形成されている。この半導体層64中央部にチャネル領域64a、チャネル領域64aに隣接して不純物が低濃度にドーピングされたLDD領域64b、さらにLDD領域64bに隣接して不純物が高濃度にドーピングされた低抵抗領域64cを有している。
【0023】
そしてこの低抵抗領域にソース電極65、ドレイン電極66が接続されている。
また、半導体層のチャネル領域64a上にはマスク材67が形成され、さらにLDD領域64b上にはエッチングストッパ層68、及びサイドウォール69が形成されている。
【0024】
次にこの薄膜トランジスタの製造方法を図3を参照して説明する。
まず、ガラス等からなる絶縁性基板61の一主面上に例えばMoW、MoTa、Cr、Al等の金属膜を成膜し、パターニングしてゲート電極62とする。
【0025】
さらにこのゲート電極62を覆うように例えば窒化シリコンを全面に成膜してゲート絶縁膜63とする。
さらに、ゲート絶縁膜63上に半導体層64として多結晶シリコンをパターン形成する。多結晶シリコンは、非晶質シリコンを成膜した後に熱、及びエネルギービーム等により多結晶化する方法、又は元々多結晶シリコンを成膜する方法、等様々な方法がある。
【0026】
次に、マスク材67を均一に成膜し、半導体層のチャネル領域64aに対応する領域を残すようにパターニングを行う。このパターニングは垂直に近い方が好ましい。
【0027】
次にこのマスク材67をマスクとして半導体層64中に不純物をドーピングする。同図(a)
そして、マスク材67を覆うようにエッチングストッパ層68を成膜し、さらにその上から例えば酸化シリコンを成膜する。同図(b)
次に、例えばRIEによって酸化シリコンを異方性エッチングし、エッチングストッパ層の表面でエッチングを停止させ、サイドウォール69を形成する。同図(c)
さらに、エッチングガスを変えることにより、サイドウォール69をマスクとしてエッチングストッパ層68をエッチング除去する。
【0028】
そして、マスク材67、エッチングストッパ層68、サイドウォール69をマスクとして再び不純物をドーピングし、低抵抗領域64cを形成する。同図(d)
さらに低抵抗領域64cに接続するようにソース電極65、ドレイン電極66を形成して所望の薄膜トランジスタ60を得る。同図(e)
本実施例の薄膜トランジスタ60においては、マスク材67、エッチングストッパ層68、サイドウォール69等は低抵抗領域64c形成のための不純物ドーピングを終えたら、取り除いてもかまわない。取り除かない場合には、これらの材質は絶縁体であることが好ましい。
【0029】
また、本実施例は半導体層64の上に直接マスク材67を形成したが、半導体層64の上に絶縁膜を介してマスク材67を形成しても良い。
【0030】
(実施例3)
次に本発明の液晶表示装置を図4、及び図5を用いて詳細に説明する。
【0031】
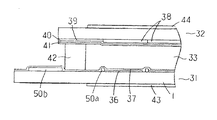
図4は本実施例の液晶表示装置の断面図である。液晶表示装置はアレイ基板31と、このアレイ基板31に対向配置された対向基板32と、アレイ基板31と対向基板32とに挟持された液晶33とを備えている。
【0032】
アレイ基板31には、表示領域に画素スイッチング用の薄膜トランジスタ50aと、それに接続して画素電極36が形成されている。さらに非表示領域には駆動回路用の薄膜トランジスタ50b群が形成されている。そしてそれらを覆うように配向膜37が形成されている。
【0033】
また、対向基板32には、表示領域にカラーフィルタ38が、表示領域の外周を囲むように遮光膜39が形成され、全面に対向電極40、配向膜41が形成されている。
【0034】
そして、アレイ基板31と対向基板32とをそれぞれの電極が形成された面を対向させて、シール材42によって貼り合わせている。
さらに、アレイ基板31と対向基板32とのそれぞれの外側の面には偏光板43、44が設けられている。
【0035】
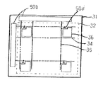
また、図5は本実施例の液晶表示装置の平面図である。アレイ基板31の表示領域には、走査線34と信号線35がマトリクス状に配列され、その交点部近傍に上述した画素スイッチング用の薄膜トランジスタ50aが配置されている。そして走査線34と信号線35とで形成されるマトリクス状の開口部に対応して画素電極36が形成されている。
【0036】
また、アレイ基板31の非表示領域には駆動回路用の薄膜トランジスタ50b群が作り込まれている。
上記した画素スイッチング用の薄膜トランジスタ50aと駆動回路用の薄膜トランジスタ50bに(実施例1、2)で詳述した薄膜トランジスタ10、または60を用いている。なお、駆動回路用の薄膜トランジスタ50bにはp型とn型の薄膜トランジスタを用いてC−MOS回路を採ることが一般的であり、電界集中に起因する劣化現象はn型に比べてp型の方が程度が軽いので、n型の薄膜トランジスタのみに上述したLDD構造を採用することもできる。
【0037】
また、本発明は、薄膜トランジスタの上に絶縁膜を介して画素電極を設ける、いわゆる画素上置き構造のアレイ基板や、カラーフィルタ、遮光膜等が形成されたアレイ基板を用いる液晶表示装置にも適用できる。
【0038】
【発明の効果】
本発明によれば、サイドウォールを形成する際のエッチングでサイドウォールの下層となる層にダメージを与えることなく、LDD領域を有する薄膜トランジスタを作成することができる。
【0039】
また、本発明によれば、使用することのできるサイドウォール材料のバリエーションが増え、構造、プロセス等の条件により好適なサイドウォール材料を選ぶことが可能になる。
【図面の簡単な説明】
【図1】本発明の実施例1における薄膜トランジスタの断面図である。
【図2】本発明の実施例1における薄膜トランジスタの製造工程を示す図である。
【図3】本発明の実施例2における薄膜トランジスタの製造工程を示す図である。
【図4】本発明の実施例3における液晶表示装置の断面図である。
【図5】本発明の実施例3における液晶表示装置の平面図である。
【符号の説明】
1、61…絶縁性基板
2、64…半導体層
3、63…ゲート絶縁膜
4、62…ゲート電極
5、68…エッチングストッパ層
6、69…サイドウォール
10、60…薄膜トランジスタ
31…アレイ基板
32…対向基板
33…液晶
34…走査線
35…信号線
36…画素電極
67…マスク材

Claims (12)

  1. チャネル領域と、チャネル領域の両側に形成されたソース領域及びドレイン領域と、前記チャネル領域と前記ソース領域との間、前記チャネル領域と前記ドレイン領域との間の少なくとも一方に形成された低不純物濃度領域と、を有する半導体層と、
    前記チャネル領域上にゲート絶縁膜を介して形成されたゲート電極と、
    を備えた薄膜トランジスタにおいて、
    前記ゲート電極の側方で前記低不純物濃度領域上の少なくとも一部に形成されたサイドウォールと、
    前記ゲート絶縁膜と前記サイドウォールとの間に形成されたエッチングストッパ層とを備え、前記エッチングストッパ層は金属材料であり前記ゲート電極と電気的に接続されていることを特徴とする薄膜トランジスタ。
  2. 前記サイドウォールは、前記ゲート電極に対して自己整合的に形成され、且つ前記エッチングストッパ層は前記サイドウォールに対して自己整合的に形成されていることを特徴とする請求項1記載の薄膜トランジスタ。
  3. 前記金属材料は、Ti、Mo、W、Ta、Alのいずれか、もしくはそれらの合金からなることを特徴とする請求項1記載の薄膜トランジスタ。
  4. 前記半導体層は、多結晶シリコンからなり、前記ゲート絶縁膜と前記サイドウォールがともに酸化シリコンであることを特徴とする請求項記載の薄膜トランジスタ。
  5. 前記サイドウォールは、体積密度で1×10 18 /cm 以上1×10 1/cm 以下のCを含有する酸化シリコンからなることを特徴とする請求項1記載の薄膜トランジスタ。
  6. 前記サイドウォールは、前記ゲート電極の側面に前記エッチングストッパ層を介して形成されていることを特徴とする請求項1記載の薄膜トランジスタ。
  7. 絶縁性基板上にマトリクス状に形成された走査線、及び信号線と、前記走査線と信号線との交点部近傍に形成された薄膜トランジスタと、前記薄膜トランジスタに接続された画素電極と、
    を有するアレイ基板と、
    前記アレイ基板に対向して配置された対向基板と、
    前記アレイ基板と前記対向基板との間隙に挟持された液晶と、
    を備えた液晶表示装置において、
    前記薄膜トランジスタは、チャネル領域と、チャネル領域の両側に形成されたソース領域及びドレイン領域と、前記チャネル領域と前記ソース領域との間、前記チャネル領域と前記ドレイン領域との間の少なくとも一方に形成された低不純物濃度領域と、を有する半導体層と、
    前記チャネル領域上にゲート絶縁膜を介して形成されたゲート電極と、
    前記ゲート電極の側方で前記低不純物濃度領域上の少なくとも一部に形成されたサイドウォールと、
    前記ゲート絶縁膜と前記サイドウォールとの間に形成されたエッチングストッパ層を備え、前記エッチングストッパ層は金属材料であり前記ゲート電極と電気的に接続されていることを特徴とする液晶表示装置
  8. 前記サイドウォールは、前記ゲート電極に対して自己整合的に形成され、且つ前記エッチングストッパ層は前記サイドウォールに対して自己整合的に形成されていることを特徴とする請求項7記載の液晶表示装置
  9. 前記金属材料は、Ti、Mo、W、Ta、Alのいずれか、もしくはそれらの合金からなることを特徴とする請求項7記載の液晶表示装置
  10. 前記半導体層は、多結晶シリコンからなり、前記ゲート絶縁膜と前記サイドウォールがともに酸化シリコンであることを特徴とする請求項7記載の液晶表示装置
  11. 前記サイドウォールは、体積密度で1×10 18 /cm 以上1×10 21 /cm 以下のCを含有する酸化シリコンからなることを特徴とする請求項7記載の液晶表示装置
  12. 前記サイドウォールは、前記ゲート電極の側面に前記エッチングストッパ層を介して形成されていることを特徴とする請求項7記載の液晶表示装置
JP31895796A 1996-11-29 1996-11-29 薄膜トランジスタ、及び液晶表示装置 Expired - Fee Related JP3762002B2 (ja)

Priority Applications (5)

Application Number Priority Date Filing Date Title
JP31895796A JP3762002B2 (ja) 1996-11-29 1996-11-29 薄膜トランジスタ、及び液晶表示装置
TW086117940A TW362165B (en) 1996-11-29 1997-11-28 TFT, manufacturing method thereof, and the liquid crystal display
KR1019970063635A KR100292922B1 (ko) 1996-11-29 1997-11-28 박막트랜지스터,박막트랜지스터의제조방법및액정표시장치
US08/980,797 US6096585A (en) 1996-11-29 1997-12-01 Method of manufacturing thin film transistor
US09/574,067 US6670641B1 (en) 1996-11-29 2000-05-18 Thin film transistor, method of manufacturing the same and thin film transistor liquid crystal display device

Applications Claiming Priority (1)

Application Number Priority Date Filing Date Title
JP31895796A JP3762002B2 (ja) 1996-11-29 1996-11-29 薄膜トランジスタ、及び液晶表示装置

Publications (2)

Publication Number Publication Date
JPH10163498A JPH10163498A (ja) 1998-06-19
JP3762002B2 true JP3762002B2 (ja) 2006-03-29

Family

ID=18104886

Family Applications (1)

Application Number Title Priority Date Filing Date
JP31895796A Expired - Fee Related JP3762002B2 (ja) 1996-11-29 1996-11-29 薄膜トランジスタ、及び液晶表示装置

Country Status (4)

Country Link
US (2) US6096585A (ja)
JP (1) JP3762002B2 (ja)
KR (1) KR100292922B1 (ja)
TW (1) TW362165B (ja)

Families Citing this family (30)

* Cited by examiner, † Cited by third party
Publication number Priority date Publication date Assignee Title
KR100331844B1 (ko) 1998-02-12 2002-05-10 박종섭 씨모스소자
JP4030193B2 (ja) 1998-07-16 2008-01-09 株式会社半導体エネルギー研究所 半導体装置の作製方法
US6617644B1 (en) 1998-11-09 2003-09-09 Semiconductor Energy Laboratory Co., Ltd. Semiconductor device and method of manufacturing the same
JP4583529B2 (ja) * 1998-11-09 2010-11-17 株式会社半導体エネルギー研究所 半導体装置およびその作製方法
US6518594B1 (en) 1998-11-16 2003-02-11 Semiconductor Energy Laboratory Co., Ltd. Semiconductor devices
JP4583716B2 (ja) * 1998-11-16 2010-11-17 株式会社半導体エネルギー研究所 半導体装置
JP4536187B2 (ja) * 1998-11-17 2010-09-01 株式会社半導体エネルギー研究所 半導体装置およびその作製方法
US6277679B1 (en) 1998-11-25 2001-08-21 Semiconductor Energy Laboratory Co., Ltd. Method of manufacturing thin film transistor
US6576924B1 (en) * 1999-02-12 2003-06-10 Semiconductor Energy Laboratory Co., Ltd. Semiconductor device having at least a pixel unit and a driver circuit unit over a same substrate
KR100653298B1 (ko) * 1999-03-16 2006-12-04 산요덴키가부시키가이샤 박막 트랜지스터의 제조 방법
US6777254B1 (en) * 1999-07-06 2004-08-17 Semiconductor Energy Laboratory Co., Ltd. Semiconductor device and fabrication method thereof
US6384427B1 (en) * 1999-10-29 2002-05-07 Semiconductor Energy Laboratory Co., Ltd. Electronic device
TW495854B (en) 2000-03-06 2002-07-21 Semiconductor Energy Lab Semiconductor device and manufacturing method thereof
SG138468A1 (en) 2001-02-28 2008-01-28 Semiconductor Energy Lab A method of manufacturing a semiconductor device
JP4030758B2 (ja) 2001-12-28 2008-01-09 株式会社半導体エネルギー研究所 半導体装置の作製方法
JP4683817B2 (ja) * 2002-09-27 2011-05-18 株式会社半導体エネルギー研究所 半導体装置の作製方法
GB0225205D0 (en) * 2002-10-30 2002-12-11 Koninkl Philips Electronics Nv Thin film transistors and methods of manufacture thereof
KR100623232B1 (ko) * 2003-11-29 2006-09-18 삼성에스디아이 주식회사 평판표시장치 및 그의 제조방법
JP4737366B2 (ja) * 2004-02-25 2011-07-27 セイコーエプソン株式会社 半導体装置の製造方法
US7241655B2 (en) * 2004-08-30 2007-07-10 Micron Technology, Inc. Method of fabricating a vertical wrap-around-gate field-effect-transistor for high density, low voltage logic and memory array
US7736964B2 (en) 2004-11-22 2010-06-15 Semiconductor Energy Laboratory Co., Ltd. Semiconductor device, and method for manufacturing the same
KR100793278B1 (ko) * 2005-02-25 2008-01-10 재단법인서울대학교산학협력재단 다결정 실리콘 박막트랜지스터의 제조 방법
TWI271868B (en) * 2005-07-08 2007-01-21 Au Optronics Corp A pixel circuit of the display panel
JP5230899B2 (ja) * 2005-07-12 2013-07-10 日本電気株式会社 半導体装置の製造方法
KR100811997B1 (ko) * 2006-12-04 2008-03-10 삼성에스디아이 주식회사 박막트랜지스터 및 그 제조방법과 이를 포함한평판표시장치
JP2008281671A (ja) * 2007-05-09 2008-11-20 Sony Corp 画素回路および表示装置
EP2348531B1 (en) * 2010-01-26 2021-05-26 Samsung Electronics Co., Ltd. Thin film transistor and method of manufacturing the same
US8878177B2 (en) * 2011-11-11 2014-11-04 Semiconductor Energy Laboratory Co., Ltd. Semiconductor device and method for manufacturing semiconductor device
KR101353284B1 (ko) * 2012-04-25 2014-01-21 엘지디스플레이 주식회사 액정 디스플레이 장치와 이의 제조방법
JP6428146B2 (ja) * 2014-10-22 2018-11-28 日本電気株式会社 光導波路デバイス及びその製造方法

Family Cites Families (15)

* Cited by examiner, † Cited by third party
Publication number Priority date Publication date Assignee Title
JPS60136376A (ja) * 1983-12-26 1985-07-19 Hitachi Ltd 半導体装置の製造方法
JP2537940B2 (ja) * 1988-01-08 1996-09-25 松下電器産業株式会社 Mos型半導体装置の製造方法
US4868617A (en) * 1988-04-25 1989-09-19 Elite Semiconductor & Sytems International, Inc. Gate controllable lightly doped drain mosfet devices
US4946799A (en) * 1988-07-08 1990-08-07 Texas Instruments, Incorporated Process for making high performance silicon-on-insulator transistor with body node to source node connection
JPH03147334A (ja) * 1989-11-01 1991-06-24 Seiko Epson Corp 半導体装置
KR940005293B1 (ko) * 1991-05-23 1994-06-15 삼성전자 주식회사 게이트와 드레인이 중첩된 모오스 트랜지스터의 제조방법 및 그 구조
JP3214091B2 (ja) * 1992-09-18 2001-10-02 松下電器産業株式会社 薄膜トランジスタの製造方法
EP0588370A3 (en) * 1992-09-18 1994-06-08 Matsushita Electric Industrial Co Ltd Manufacturing method of thin film transistor and semiconductor device utilized for liquid crystal display
JP2513402B2 (ja) * 1993-05-01 1996-07-03 日本電気株式会社 半導体装置の構造及び製造方法
DE4417154C2 (de) * 1993-05-20 1998-07-02 Gold Star Electronics Dünnfilmtransistor und Verfahren zu deren Herstellung
JP3375681B2 (ja) * 1993-06-04 2003-02-10 株式会社半導体エネルギー研究所 半導体装置の作製方法
JPH08201853A (ja) * 1994-11-24 1996-08-09 Toshiba Electron Eng Corp 電極基板および平面表示装置
JP3514912B2 (ja) * 1995-08-31 2004-04-05 東芝電子エンジニアリング株式会社 薄膜トランジスタの製造方法
JP3147334B2 (ja) 1996-01-31 2001-03-19 住友ベークライト株式会社 半導体装置の製造方法
US5753543A (en) * 1996-03-25 1998-05-19 Micron Technology, Inc. Method of forming a thin film transistor

Also Published As

Publication number Publication date
US6096585A (en) 2000-08-01
TW362165B (en) 1999-06-21
JPH10163498A (ja) 1998-06-19
KR19980042862A (ko) 1998-08-17
KR100292922B1 (ko) 2001-08-07
US6670641B1 (en) 2003-12-30

Similar Documents

Publication Publication Date Title
JP3762002B2 (ja) 薄膜トランジスタ、及び液晶表示装置
CN1157772C (zh) 在液晶显示器中形成薄膜晶体管的方法
US6329672B1 (en) Thin film transistor having a second gate metal layer preventing formation of hillocks
KR100927383B1 (ko) 박막 트랜지스터, 그것을 사용한 표시장치 및 그것들의제조 방법
JPH05129608A (ja) 半導体装置
KR100532082B1 (ko) 다결정 박막트랜지스터 및 그 제조방법
US5658808A (en) Method of fabricating polycrystalline silicon thin-film transistor having symmetrical lateral resistors
JP3587040B2 (ja) 薄膜半導体装置及び表示装置
KR0175390B1 (ko) 다결정 규소 박막 트랜지스터 및 그 제조 방법
KR100343307B1 (ko) 박막 트랜지스터의 제조방법
JPH0682826A (ja) アクティブマトリクス基板およびその製造方法
US7173675B2 (en) LCD display with contact hole and insulation layer above pixel electrode
US6534350B2 (en) Method for fabricating a low temperature polysilicon thin film transistor incorporating channel passivation step
CN100481491C (zh) 薄膜晶体管及其制造方法
JPH09263974A (ja) Cr膜のエッチング方法
JPH098314A (ja) 薄膜トランジスタ
JPH06169086A (ja) 多結晶シリコン薄膜トランジスタ
JP2007311453A (ja) 薄膜トランジスタ及びその製造方法
JPH1197699A (ja) 薄膜トランジスタ
JPH07263698A (ja) 薄膜トランジスタ及びその製造方法
JP4100655B2 (ja) 薄膜トランジスタの製造方法
JPH1065177A (ja) 薄膜トランジスタ装置及び薄膜トランジスタ装置の製造方法並びに液晶表示装置
JP2006209130A (ja) 薄膜トランジスタ表示板、該表示板を有する液晶表示装置及びその製造方法
JPH10200125A (ja) 薄膜トランジスタ及びその製造方法
JPH10135474A (ja) 絶縁ゲイト型電界効果トランジスタ及びその作製方法

Legal Events

Date Code Title Description
A977 Report on retrieval

Free format text: JAPANESE INTERMEDIATE CODE: A971007

Effective date: 20040401

RD02 Notification of acceptance of power of attorney

Free format text: JAPANESE INTERMEDIATE CODE: A7422

Effective date: 20050414

RD04 Notification of resignation of power of attorney

Free format text: JAPANESE INTERMEDIATE CODE: A7424

Effective date: 20050606

A131 Notification of reasons for refusal

Free format text: JAPANESE INTERMEDIATE CODE: A131

Effective date: 20050909

A521 Request for written amendment filed

Free format text: JAPANESE INTERMEDIATE CODE: A523

Effective date: 20051108

RD03 Notification of appointment of power of attorney

Free format text: JAPANESE INTERMEDIATE CODE: A7423

Effective date: 20051108

A521 Request for written amendment filed

Free format text: JAPANESE INTERMEDIATE CODE: A821

Effective date: 20051108

TRDD Decision of grant or rejection written
A01 Written decision to grant a patent or to grant a registration (utility model)

Free format text: JAPANESE INTERMEDIATE CODE: A01

Effective date: 20060110

A61 First payment of annual fees (during grant procedure)

Free format text: JAPANESE INTERMEDIATE CODE: A61

Effective date: 20060112

S111 Request for change of ownership or part of ownership

Free format text: JAPANESE INTERMEDIATE CODE: R313113

R350 Written notification of registration of transfer

Free format text: JAPANESE INTERMEDIATE CODE: R350

FPAY Renewal fee payment (event date is renewal date of database)

Free format text: PAYMENT UNTIL: 20100120

Year of fee payment: 4

S533 Written request for registration of change of name

Free format text: JAPANESE INTERMEDIATE CODE: R313533

FPAY Renewal fee payment (event date is renewal date of database)

Free format text: PAYMENT UNTIL: 20100120

Year of fee payment: 4

R350 Written notification of registration of transfer

Free format text: JAPANESE INTERMEDIATE CODE: R350

LAPS Cancellation because of no payment of annual fees