JP2024536282A - プライバシーディスプレイ用の標識 - Google Patents
プライバシーディスプレイ用の標識 Download PDFInfo
- Publication number
- JP2024536282A JP2024536282A JP2024519865A JP2024519865A JP2024536282A JP 2024536282 A JP2024536282 A JP 2024536282A JP 2024519865 A JP2024519865 A JP 2024519865A JP 2024519865 A JP2024519865 A JP 2024519865A JP 2024536282 A JP2024536282 A JP 2024536282A
- Authority
- JP
- Japan
- Prior art keywords
- polarizer
- display
- liquid crystal
- display device
- region
- Prior art date
- Legal status (The legal status is an assumption and is not a legal conclusion. Google has not performed a legal analysis and makes no representation as to the accuracy of the status listed.)
- Pending
Links
Images
Classifications
-
- G—PHYSICS
- G02—OPTICS
- G02F—OPTICAL DEVICES OR ARRANGEMENTS FOR THE CONTROL OF LIGHT BY MODIFICATION OF THE OPTICAL PROPERTIES OF THE MEDIA OF THE ELEMENTS INVOLVED THEREIN; NON-LINEAR OPTICS; FREQUENCY-CHANGING OF LIGHT; OPTICAL LOGIC ELEMENTS; OPTICAL ANALOGUE/DIGITAL CONVERTERS
- G02F1/00—Devices or arrangements for the control of the intensity, colour, phase, polarisation or direction of light arriving from an independent light source, e.g. switching, gating or modulating; Non-linear optics
- G02F1/01—Devices or arrangements for the control of the intensity, colour, phase, polarisation or direction of light arriving from an independent light source, e.g. switching, gating or modulating; Non-linear optics for the control of the intensity, phase, polarisation or colour
- G02F1/0136—Devices or arrangements for the control of the intensity, colour, phase, polarisation or direction of light arriving from an independent light source, e.g. switching, gating or modulating; Non-linear optics for the control of the intensity, phase, polarisation or colour for the control of polarisation, e.g. state of polarisation [SOP] control, polarisation scrambling, TE-TM mode conversion or separation
-
- G—PHYSICS
- G02—OPTICS
- G02F—OPTICAL DEVICES OR ARRANGEMENTS FOR THE CONTROL OF LIGHT BY MODIFICATION OF THE OPTICAL PROPERTIES OF THE MEDIA OF THE ELEMENTS INVOLVED THEREIN; NON-LINEAR OPTICS; FREQUENCY-CHANGING OF LIGHT; OPTICAL LOGIC ELEMENTS; OPTICAL ANALOGUE/DIGITAL CONVERTERS
- G02F1/00—Devices or arrangements for the control of the intensity, colour, phase, polarisation or direction of light arriving from an independent light source, e.g. switching, gating or modulating; Non-linear optics
- G02F1/01—Devices or arrangements for the control of the intensity, colour, phase, polarisation or direction of light arriving from an independent light source, e.g. switching, gating or modulating; Non-linear optics for the control of the intensity, phase, polarisation or colour
- G02F1/13—Devices or arrangements for the control of the intensity, colour, phase, polarisation or direction of light arriving from an independent light source, e.g. switching, gating or modulating; Non-linear optics for the control of the intensity, phase, polarisation or colour based on liquid crystals, e.g. single liquid crystal display cells
- G02F1/1323—Arrangements for providing a switchable viewing angle
-
- G—PHYSICS
- G02—OPTICS
- G02F—OPTICAL DEVICES OR ARRANGEMENTS FOR THE CONTROL OF LIGHT BY MODIFICATION OF THE OPTICAL PROPERTIES OF THE MEDIA OF THE ELEMENTS INVOLVED THEREIN; NON-LINEAR OPTICS; FREQUENCY-CHANGING OF LIGHT; OPTICAL LOGIC ELEMENTS; OPTICAL ANALOGUE/DIGITAL CONVERTERS
- G02F1/00—Devices or arrangements for the control of the intensity, colour, phase, polarisation or direction of light arriving from an independent light source, e.g. switching, gating or modulating; Non-linear optics
- G02F1/01—Devices or arrangements for the control of the intensity, colour, phase, polarisation or direction of light arriving from an independent light source, e.g. switching, gating or modulating; Non-linear optics for the control of the intensity, phase, polarisation or colour
- G02F1/13—Devices or arrangements for the control of the intensity, colour, phase, polarisation or direction of light arriving from an independent light source, e.g. switching, gating or modulating; Non-linear optics for the control of the intensity, phase, polarisation or colour based on liquid crystals, e.g. single liquid crystal display cells
- G02F1/133—Constructional arrangements; Operation of liquid crystal cells; Circuit arrangements
- G02F1/1333—Constructional arrangements; Manufacturing methods
- G02F1/133374—Constructional arrangements; Manufacturing methods for displaying permanent signs or marks
-
- G—PHYSICS
- G02—OPTICS
- G02F—OPTICAL DEVICES OR ARRANGEMENTS FOR THE CONTROL OF LIGHT BY MODIFICATION OF THE OPTICAL PROPERTIES OF THE MEDIA OF THE ELEMENTS INVOLVED THEREIN; NON-LINEAR OPTICS; FREQUENCY-CHANGING OF LIGHT; OPTICAL LOGIC ELEMENTS; OPTICAL ANALOGUE/DIGITAL CONVERTERS
- G02F1/00—Devices or arrangements for the control of the intensity, colour, phase, polarisation or direction of light arriving from an independent light source, e.g. switching, gating or modulating; Non-linear optics
- G02F1/01—Devices or arrangements for the control of the intensity, colour, phase, polarisation or direction of light arriving from an independent light source, e.g. switching, gating or modulating; Non-linear optics for the control of the intensity, phase, polarisation or colour
- G02F1/13—Devices or arrangements for the control of the intensity, colour, phase, polarisation or direction of light arriving from an independent light source, e.g. switching, gating or modulating; Non-linear optics for the control of the intensity, phase, polarisation or colour based on liquid crystals, e.g. single liquid crystal display cells
- G02F1/133—Constructional arrangements; Operation of liquid crystal cells; Circuit arrangements
- G02F1/1333—Constructional arrangements; Manufacturing methods
- G02F1/1335—Structural association of cells with optical devices, e.g. polarisers or reflectors
- G02F1/133528—Polarisers
- G02F1/133536—Reflective polarizers
-
- G—PHYSICS
- G02—OPTICS
- G02F—OPTICAL DEVICES OR ARRANGEMENTS FOR THE CONTROL OF LIGHT BY MODIFICATION OF THE OPTICAL PROPERTIES OF THE MEDIA OF THE ELEMENTS INVOLVED THEREIN; NON-LINEAR OPTICS; FREQUENCY-CHANGING OF LIGHT; OPTICAL LOGIC ELEMENTS; OPTICAL ANALOGUE/DIGITAL CONVERTERS
- G02F1/00—Devices or arrangements for the control of the intensity, colour, phase, polarisation or direction of light arriving from an independent light source, e.g. switching, gating or modulating; Non-linear optics
- G02F1/01—Devices or arrangements for the control of the intensity, colour, phase, polarisation or direction of light arriving from an independent light source, e.g. switching, gating or modulating; Non-linear optics for the control of the intensity, phase, polarisation or colour
- G02F1/13—Devices or arrangements for the control of the intensity, colour, phase, polarisation or direction of light arriving from an independent light source, e.g. switching, gating or modulating; Non-linear optics for the control of the intensity, phase, polarisation or colour based on liquid crystals, e.g. single liquid crystal display cells
- G02F1/133—Constructional arrangements; Operation of liquid crystal cells; Circuit arrangements
- G02F1/1333—Constructional arrangements; Manufacturing methods
- G02F1/1335—Structural association of cells with optical devices, e.g. polarisers or reflectors
- G02F1/1336—Illuminating devices
- G02F1/133618—Illuminating devices for ambient light
-
- G—PHYSICS
- G02—OPTICS
- G02F—OPTICAL DEVICES OR ARRANGEMENTS FOR THE CONTROL OF LIGHT BY MODIFICATION OF THE OPTICAL PROPERTIES OF THE MEDIA OF THE ELEMENTS INVOLVED THEREIN; NON-LINEAR OPTICS; FREQUENCY-CHANGING OF LIGHT; OPTICAL LOGIC ELEMENTS; OPTICAL ANALOGUE/DIGITAL CONVERTERS
- G02F1/00—Devices or arrangements for the control of the intensity, colour, phase, polarisation or direction of light arriving from an independent light source, e.g. switching, gating or modulating; Non-linear optics
- G02F1/01—Devices or arrangements for the control of the intensity, colour, phase, polarisation or direction of light arriving from an independent light source, e.g. switching, gating or modulating; Non-linear optics for the control of the intensity, phase, polarisation or colour
- G02F1/13—Devices or arrangements for the control of the intensity, colour, phase, polarisation or direction of light arriving from an independent light source, e.g. switching, gating or modulating; Non-linear optics for the control of the intensity, phase, polarisation or colour based on liquid crystals, e.g. single liquid crystal display cells
- G02F1/133—Constructional arrangements; Operation of liquid crystal cells; Circuit arrangements
- G02F1/1333—Constructional arrangements; Manufacturing methods
- G02F1/1335—Structural association of cells with optical devices, e.g. polarisers or reflectors
- G02F1/13363—Birefringent elements, e.g. for optical compensation
-
- G—PHYSICS
- G02—OPTICS
- G02F—OPTICAL DEVICES OR ARRANGEMENTS FOR THE CONTROL OF LIGHT BY MODIFICATION OF THE OPTICAL PROPERTIES OF THE MEDIA OF THE ELEMENTS INVOLVED THEREIN; NON-LINEAR OPTICS; FREQUENCY-CHANGING OF LIGHT; OPTICAL LOGIC ELEMENTS; OPTICAL ANALOGUE/DIGITAL CONVERTERS
- G02F1/00—Devices or arrangements for the control of the intensity, colour, phase, polarisation or direction of light arriving from an independent light source, e.g. switching, gating or modulating; Non-linear optics
- G02F1/01—Devices or arrangements for the control of the intensity, colour, phase, polarisation or direction of light arriving from an independent light source, e.g. switching, gating or modulating; Non-linear optics for the control of the intensity, phase, polarisation or colour
- G02F1/13—Devices or arrangements for the control of the intensity, colour, phase, polarisation or direction of light arriving from an independent light source, e.g. switching, gating or modulating; Non-linear optics for the control of the intensity, phase, polarisation or colour based on liquid crystals, e.g. single liquid crystal display cells
- G02F1/133—Constructional arrangements; Operation of liquid crystal cells; Circuit arrangements
- G02F1/1333—Constructional arrangements; Manufacturing methods
- G02F1/1337—Surface-induced orientation of the liquid crystal molecules, e.g. by alignment layers
-
- G—PHYSICS
- G02—OPTICS
- G02F—OPTICAL DEVICES OR ARRANGEMENTS FOR THE CONTROL OF LIGHT BY MODIFICATION OF THE OPTICAL PROPERTIES OF THE MEDIA OF THE ELEMENTS INVOLVED THEREIN; NON-LINEAR OPTICS; FREQUENCY-CHANGING OF LIGHT; OPTICAL LOGIC ELEMENTS; OPTICAL ANALOGUE/DIGITAL CONVERTERS
- G02F1/00—Devices or arrangements for the control of the intensity, colour, phase, polarisation or direction of light arriving from an independent light source, e.g. switching, gating or modulating; Non-linear optics
- G02F1/01—Devices or arrangements for the control of the intensity, colour, phase, polarisation or direction of light arriving from an independent light source, e.g. switching, gating or modulating; Non-linear optics for the control of the intensity, phase, polarisation or colour
- G02F1/13—Devices or arrangements for the control of the intensity, colour, phase, polarisation or direction of light arriving from an independent light source, e.g. switching, gating or modulating; Non-linear optics for the control of the intensity, phase, polarisation or colour based on liquid crystals, e.g. single liquid crystal display cells
- G02F1/133—Constructional arrangements; Operation of liquid crystal cells; Circuit arrangements
- G02F1/1333—Constructional arrangements; Manufacturing methods
- G02F1/1343—Electrodes
- G02F1/134309—Electrodes characterised by their geometrical arrangement
-
- G—PHYSICS
- G02—OPTICS
- G02F—OPTICAL DEVICES OR ARRANGEMENTS FOR THE CONTROL OF LIGHT BY MODIFICATION OF THE OPTICAL PROPERTIES OF THE MEDIA OF THE ELEMENTS INVOLVED THEREIN; NON-LINEAR OPTICS; FREQUENCY-CHANGING OF LIGHT; OPTICAL LOGIC ELEMENTS; OPTICAL ANALOGUE/DIGITAL CONVERTERS
- G02F1/00—Devices or arrangements for the control of the intensity, colour, phase, polarisation or direction of light arriving from an independent light source, e.g. switching, gating or modulating; Non-linear optics
- G02F1/01—Devices or arrangements for the control of the intensity, colour, phase, polarisation or direction of light arriving from an independent light source, e.g. switching, gating or modulating; Non-linear optics for the control of the intensity, phase, polarisation or colour
- G02F1/13—Devices or arrangements for the control of the intensity, colour, phase, polarisation or direction of light arriving from an independent light source, e.g. switching, gating or modulating; Non-linear optics for the control of the intensity, phase, polarisation or colour based on liquid crystals, e.g. single liquid crystal display cells
- G02F1/133—Constructional arrangements; Operation of liquid crystal cells; Circuit arrangements
- G02F1/1333—Constructional arrangements; Manufacturing methods
- G02F1/1343—Electrodes
- G02F1/134309—Electrodes characterised by their geometrical arrangement
- G02F1/134318—Electrodes characterised by their geometrical arrangement having a patterned common electrode
-
- G—PHYSICS
- G02—OPTICS
- G02F—OPTICAL DEVICES OR ARRANGEMENTS FOR THE CONTROL OF LIGHT BY MODIFICATION OF THE OPTICAL PROPERTIES OF THE MEDIA OF THE ELEMENTS INVOLVED THEREIN; NON-LINEAR OPTICS; FREQUENCY-CHANGING OF LIGHT; OPTICAL LOGIC ELEMENTS; OPTICAL ANALOGUE/DIGITAL CONVERTERS
- G02F1/00—Devices or arrangements for the control of the intensity, colour, phase, polarisation or direction of light arriving from an independent light source, e.g. switching, gating or modulating; Non-linear optics
- G02F1/01—Devices or arrangements for the control of the intensity, colour, phase, polarisation or direction of light arriving from an independent light source, e.g. switching, gating or modulating; Non-linear optics for the control of the intensity, phase, polarisation or colour
- G02F1/13—Devices or arrangements for the control of the intensity, colour, phase, polarisation or direction of light arriving from an independent light source, e.g. switching, gating or modulating; Non-linear optics for the control of the intensity, phase, polarisation or colour based on liquid crystals, e.g. single liquid crystal display cells
- G02F1/133—Constructional arrangements; Operation of liquid crystal cells; Circuit arrangements
- G02F1/1333—Constructional arrangements; Manufacturing methods
- G02F1/1343—Electrodes
- G02F1/134309—Electrodes characterised by their geometrical arrangement
- G02F1/134327—Segmented, e.g. alpha numeric display
-
- G—PHYSICS
- G02—OPTICS
- G02F—OPTICAL DEVICES OR ARRANGEMENTS FOR THE CONTROL OF LIGHT BY MODIFICATION OF THE OPTICAL PROPERTIES OF THE MEDIA OF THE ELEMENTS INVOLVED THEREIN; NON-LINEAR OPTICS; FREQUENCY-CHANGING OF LIGHT; OPTICAL LOGIC ELEMENTS; OPTICAL ANALOGUE/DIGITAL CONVERTERS
- G02F1/00—Devices or arrangements for the control of the intensity, colour, phase, polarisation or direction of light arriving from an independent light source, e.g. switching, gating or modulating; Non-linear optics
- G02F1/01—Devices or arrangements for the control of the intensity, colour, phase, polarisation or direction of light arriving from an independent light source, e.g. switching, gating or modulating; Non-linear optics for the control of the intensity, phase, polarisation or colour
- G02F1/13—Devices or arrangements for the control of the intensity, colour, phase, polarisation or direction of light arriving from an independent light source, e.g. switching, gating or modulating; Non-linear optics for the control of the intensity, phase, polarisation or colour based on liquid crystals, e.g. single liquid crystal display cells
- G02F1/133—Constructional arrangements; Operation of liquid crystal cells; Circuit arrangements
- G02F1/1333—Constructional arrangements; Manufacturing methods
- G02F1/1343—Electrodes
- G02F1/13439—Electrodes characterised by their electrical, optical, physical properties; materials therefor; method of making
-
- G—PHYSICS
- G02—OPTICS
- G02F—OPTICAL DEVICES OR ARRANGEMENTS FOR THE CONTROL OF LIGHT BY MODIFICATION OF THE OPTICAL PROPERTIES OF THE MEDIA OF THE ELEMENTS INVOLVED THEREIN; NON-LINEAR OPTICS; FREQUENCY-CHANGING OF LIGHT; OPTICAL LOGIC ELEMENTS; OPTICAL ANALOGUE/DIGITAL CONVERTERS
- G02F1/00—Devices or arrangements for the control of the intensity, colour, phase, polarisation or direction of light arriving from an independent light source, e.g. switching, gating or modulating; Non-linear optics
- G02F1/01—Devices or arrangements for the control of the intensity, colour, phase, polarisation or direction of light arriving from an independent light source, e.g. switching, gating or modulating; Non-linear optics for the control of the intensity, phase, polarisation or colour
- G02F1/13—Devices or arrangements for the control of the intensity, colour, phase, polarisation or direction of light arriving from an independent light source, e.g. switching, gating or modulating; Non-linear optics for the control of the intensity, phase, polarisation or colour based on liquid crystals, e.g. single liquid crystal display cells
- G02F1/133—Constructional arrangements; Operation of liquid crystal cells; Circuit arrangements
- G02F1/1333—Constructional arrangements; Manufacturing methods
- G02F1/1347—Arrangement of liquid crystal layers or cells in which the final condition of one light beam is achieved by the addition of the effects of two or more layers or cells
- G02F1/13471—Arrangement of liquid crystal layers or cells in which the final condition of one light beam is achieved by the addition of the effects of two or more layers or cells in which all the liquid crystal cells or layers remain transparent, e.g. FLC, ECB, DAP, HAN, TN, STN, SBE-LC cells
-
- G—PHYSICS
- G09—EDUCATION; CRYPTOGRAPHY; DISPLAY; ADVERTISING; SEALS
- G09G—ARRANGEMENTS OR CIRCUITS FOR CONTROL OF INDICATING DEVICES USING STATIC MEANS TO PRESENT VARIABLE INFORMATION
- G09G3/00—Control arrangements or circuits, of interest only in connection with visual indicators other than cathode-ray tubes
- G09G3/20—Control arrangements or circuits, of interest only in connection with visual indicators other than cathode-ray tubes for presentation of an assembly of a number of characters, e.g. a page, by composing the assembly by combination of individual elements arranged in a matrix no fixed position being assigned to or needed to be assigned to the individual characters or partial characters
- G09G3/34—Control arrangements or circuits, of interest only in connection with visual indicators other than cathode-ray tubes for presentation of an assembly of a number of characters, e.g. a page, by composing the assembly by combination of individual elements arranged in a matrix no fixed position being assigned to or needed to be assigned to the individual characters or partial characters by control of light from an independent source
- G09G3/3406—Control of illumination source
-
- G—PHYSICS
- G09—EDUCATION; CRYPTOGRAPHY; DISPLAY; ADVERTISING; SEALS
- G09G—ARRANGEMENTS OR CIRCUITS FOR CONTROL OF INDICATING DEVICES USING STATIC MEANS TO PRESENT VARIABLE INFORMATION
- G09G3/00—Control arrangements or circuits, of interest only in connection with visual indicators other than cathode-ray tubes
- G09G3/20—Control arrangements or circuits, of interest only in connection with visual indicators other than cathode-ray tubes for presentation of an assembly of a number of characters, e.g. a page, by composing the assembly by combination of individual elements arranged in a matrix no fixed position being assigned to or needed to be assigned to the individual characters or partial characters
- G09G3/34—Control arrangements or circuits, of interest only in connection with visual indicators other than cathode-ray tubes for presentation of an assembly of a number of characters, e.g. a page, by composing the assembly by combination of individual elements arranged in a matrix no fixed position being assigned to or needed to be assigned to the individual characters or partial characters by control of light from an independent source
- G09G3/36—Control arrangements or circuits, of interest only in connection with visual indicators other than cathode-ray tubes for presentation of an assembly of a number of characters, e.g. a page, by composing the assembly by combination of individual elements arranged in a matrix no fixed position being assigned to or needed to be assigned to the individual characters or partial characters by control of light from an independent source using liquid crystals
-
- G—PHYSICS
- G02—OPTICS
- G02F—OPTICAL DEVICES OR ARRANGEMENTS FOR THE CONTROL OF LIGHT BY MODIFICATION OF THE OPTICAL PROPERTIES OF THE MEDIA OF THE ELEMENTS INVOLVED THEREIN; NON-LINEAR OPTICS; FREQUENCY-CHANGING OF LIGHT; OPTICAL LOGIC ELEMENTS; OPTICAL ANALOGUE/DIGITAL CONVERTERS
- G02F2203/00—Function characteristic
- G02F2203/62—Switchable arrangements whereby the element being usually not switchable
-
- G—PHYSICS
- G09—EDUCATION; CRYPTOGRAPHY; DISPLAY; ADVERTISING; SEALS
- G09G—ARRANGEMENTS OR CIRCUITS FOR CONTROL OF INDICATING DEVICES USING STATIC MEANS TO PRESENT VARIABLE INFORMATION
- G09G2300/00—Aspects of the constitution of display devices
- G09G2300/04—Structural and physical details of display devices
- G09G2300/0439—Pixel structures
- G09G2300/0456—Pixel structures with a reflective area and a transmissive area combined in one pixel, such as in transflectance pixels
-
- G—PHYSICS
- G09—EDUCATION; CRYPTOGRAPHY; DISPLAY; ADVERTISING; SEALS
- G09G—ARRANGEMENTS OR CIRCUITS FOR CONTROL OF INDICATING DEVICES USING STATIC MEANS TO PRESENT VARIABLE INFORMATION
- G09G2310/00—Command of the display device
- G09G2310/02—Addressing, scanning or driving the display screen or processing steps related thereto
- G09G2310/0264—Details of driving circuits
- G09G2310/0297—Special arrangements with multiplexing or demultiplexing of display data in the drivers for data electrodes, in a pre-processing circuitry delivering display data to said drivers or in the matrix panel, e.g. multiplexing plural data signals to one D/A converter or demultiplexing the D/A converter output to multiple columns
-
- G—PHYSICS
- G09—EDUCATION; CRYPTOGRAPHY; DISPLAY; ADVERTISING; SEALS
- G09G—ARRANGEMENTS OR CIRCUITS FOR CONTROL OF INDICATING DEVICES USING STATIC MEANS TO PRESENT VARIABLE INFORMATION
- G09G2320/00—Control of display operating conditions
- G09G2320/06—Adjustment of display parameters
- G09G2320/068—Adjustment of display parameters for control of viewing angle adjustment
-
- G—PHYSICS
- G09—EDUCATION; CRYPTOGRAPHY; DISPLAY; ADVERTISING; SEALS
- G09G—ARRANGEMENTS OR CIRCUITS FOR CONTROL OF INDICATING DEVICES USING STATIC MEANS TO PRESENT VARIABLE INFORMATION
- G09G2330/00—Aspects of power supply; Aspects of display protection and defect management
- G09G2330/02—Details of power systems and of start or stop of display operation
- G09G2330/021—Power management, e.g. power saving
-
- G—PHYSICS
- G09—EDUCATION; CRYPTOGRAPHY; DISPLAY; ADVERTISING; SEALS
- G09G—ARRANGEMENTS OR CIRCUITS FOR CONTROL OF INDICATING DEVICES USING STATIC MEANS TO PRESENT VARIABLE INFORMATION
- G09G2358/00—Arrangements for display data security
-
- G—PHYSICS
- G09—EDUCATION; CRYPTOGRAPHY; DISPLAY; ADVERTISING; SEALS
- G09G—ARRANGEMENTS OR CIRCUITS FOR CONTROL OF INDICATING DEVICES USING STATIC MEANS TO PRESENT VARIABLE INFORMATION
- G09G2360/00—Aspects of the architecture of display systems
- G09G2360/16—Calculation or use of calculated indices related to luminance levels in display data
-
- G—PHYSICS
- G09—EDUCATION; CRYPTOGRAPHY; DISPLAY; ADVERTISING; SEALS
- G09G—ARRANGEMENTS OR CIRCUITS FOR CONTROL OF INDICATING DEVICES USING STATIC MEANS TO PRESENT VARIABLE INFORMATION
- G09G2380/00—Specific applications
- G09G2380/10—Automotive applications
Landscapes
- Physics & Mathematics (AREA)
- Nonlinear Science (AREA)
- General Physics & Mathematics (AREA)
- Chemical & Material Sciences (AREA)
- Crystallography & Structural Chemistry (AREA)
- Optics & Photonics (AREA)
- Mathematical Physics (AREA)
- Engineering & Computer Science (AREA)
- Geometry (AREA)
- Computer Hardware Design (AREA)
- Theoretical Computer Science (AREA)
- Spectroscopy & Molecular Physics (AREA)
- Liquid Crystal (AREA)
Abstract
Description
本開示は、一般に、光変調デバイスからの照明に関し、より具体的には、プライバシーディスプレイの制御に関する。
プライバシーディスプレイは、通常軸上位置にいる主なユーザには画像視認性をもたらし、通常軸外位置にいる覗き見者に対する画像内容の視認性を低減する。プライバシー機能は、軸上方向のディスプレイからの一部の光を透過し、軸外位置では低輝度である、マイクロルーバー光学フィルムによってもたらされる場合がある。しかしながら、このようなフィルムは、正面からの照明に対して高損失であり、マイクロルーバーは、空間光変調器の画素のビートを原因とするモアレを生じさせる場合がある。マイクロルーバーのピッチは、パネル解像度の選択に応じて選択する必要があり、在庫及びコストを増加させる場合がある。
切替式プライバシーディスプレイは、軸外光出力の制御によってもたらされる場合がある。
制御は、例えば、液晶ディスプレイ(LCD)空間光変調器の切替式バックライトによる輝度の低下によってもたらされてもよい。ディスプレイのバックライトは、一般に、導波路及び端部発光源を用いる。特定の結像指向性バックライトは、ディスプレイパネルを通して照明を視野窓に方向付ける追加の機能を有する。結像システムは、複数の光源とそれぞれの窓画像との間に形成されてもよい。結像指向性バックライトの1つの例として、折りたたみ式光学システムを用い得る光弁が挙げられ、したがって、これは、折りたたみ式結像指向性バックライトの一例でもあってもよい。光は、実質的に、光弁を通して一方向に損失を伴わずに伝搬し得るが、同時に、対向伝搬光は、参照によりその全体が本明細書に組み込まれる、米国特許第9,519,153号に記述されるように、反射傾斜ファセットによって抽出されてもよい。
周知のプライバシーディスプレイでは、プライバシーモードは、スリーエム株式会社(3M Corporation)によって市販されているような取り外し可能なルーバーフィルムの追加によって提供されるが、これは、ユーザによって確実に取り付けられたり取り外されたりされ得ず、したがって、実際には、ユーザがオフィスを離れる度に、ユーザによって苦労して取り付けられるわけではない。別の周知のプライバシーディスプレイでは、プライバシーモードの制御は、電子的にアクティブ化されるが、プライバシーモードに入るためにはキーストロークを実行しなければならないユーザに、制御が課せられる。
本開示の第1の態様によれば、周囲照明で使用するためのディスプレイデバイスが提供されるが、これは、光を出力するように構成された空間光変調器であって、当該空間光変調器が、当該空間光変調器の出力側に配置された出力偏光子を備え、当該出力偏光子が直線偏光子である、空間光変調器と、視野角制御構成体であって、出力偏光子の出力側に配置された追加の偏光子であって、当該追加の偏光子が直線偏光子である、追加の偏光子と、出力偏光子と追加の偏光子との間に配置された反射偏光子であって、当該反射偏光が直線偏光子である、反射偏光子と、反射偏光子と追加の偏光子との間に配置された少なくとも1つの極性制御リターダであって、少なくとも1つの極性制御リターダが、液晶材料の層と、液晶材料の層の両側の第1の透過性電極及び第2の透過性電極と、を備える、切替可能液晶リターダを含み、第1の透過性電極及び第2の透過性電極の少なくとも一方が、間隙によって分離された領域にパターン化されて、液晶材料の層の複数のアドレス指定可能な領域を提供し、複数の領域の少なくとも1つが、観察者に表示するための標識の形状である、少なくとも1つの極性制御リターダと、空間光変調器を制御し、液晶材料の層を駆動するために、第1の透過性電極及び第2の透過性電極にわたって電圧を印加するように構成された、制御システムであって、当該制御システムが、複数の動作モードで動作されるように構成されており、複数の動作モードが、広角動作表示モードであって、当該制御システムが、動作画像が広角及び狭角で視認可能であり、標識が、狭角又は広角では視認不可能であるように、異なる領域において、液晶材料の層を同じ状態に駆動する電圧を、第1の透過性電極と第2の透過性電極との間にわたって印加してする、広角動作表示モードと、少なくとも1つの狭角動作ディスプレイモードであって、制御システムが、動作画像を表示するように空間光変調器を制御し、動作画像が、狭角では視認可能であるが、広角では視認不可能であり、標識が、狭角では視認不可能であるように、液晶材料の層を異なる領域における状態に駆動する電圧を、第1の透過性電極及び第2の透過性電極に印加する、少なくとも1つの狭角動作ディスプレイモードと、少なくとも1つの標識ディスプレイモードであって、制御システムが、標識が視認可能であるように、液晶材料の層を異なる領域において異なる状態に駆動する電圧を、第1の透過性電極及び第2の透過性電極に印加する、少なくとも1つの標識ディスプレイモードと、を含む、制御システムと、を備える。
ディスプレイデバイスは、高い画像視認性及び高い画像均一性で、複数の観察者によってディスプレイが観察され得る、共有モードを、更に備えてもよい。ディスプレイデバイスは、プライバシーモードを更に備えてもよく、プライバシーモードでは、ディスプレイは、ディスプレイユーザによって高い均一性を有する高い画像視認性で観察されてもよく、有利には、高いセキュリティ関数を有する画像を、ディスプレイの覗き見者(スヌーパ(傍受盗聴者)、自動車車両においては、車両の運転者であってもよい)に、提供してもよい。ディスプレイデバイスのプライバシーモードは、覗き見者が標識を観察し得るが表示された画像データが見えず、ユーザが標識を観察し得ないが表示された画像データがはっきり見える、プライバシー標識モードとして、更に提供されてもよい。ディスプレイデバイスは、空間光変調器が光を出力していない場合に、標識がいくつかの観察位置から見えるスリープモードを備えてもよい。標識は、アイコン又はテキストであるなど、ディスプレイに関する望ましい情報を提供してもよい。アイコン又はテキストは、少なくともブランドを宣伝し、有用な情報を示し、及び/又はディスプレイの改善された審美的外観を提供するために使用されてもよい。
少なくとも1つの標識ディスプレイモードは、制御システムが、画像を表示しないように空間光変調器を制御し、標識が広角で見えるが狭角では見えないように、液晶材料の層を異なる領域において異なる状態に駆動する電圧を、第1の透過性電極及び第2の透過性電極に印加する、標識ディスプレイモードを含んでもよい。有利には、標識ディスプレイモードの電力消費は、標識が表示され得る間、著しく低減する場合がある。
少なくとも1つの標識ディスプレイモードは、標識を照明するための照明画像を表示するように、制御システムが空間光変調器を制御し、標識が広角及び狭角で視認可能であるように、液晶材料の層を異なる領域において異なる状態に駆動する電圧を、第1の透過性電極及び第2の透過性電極に印加する、標識ディスプレイモードを含んでもよい。照明画像は、依然として画像であってもよい。照明画像は、標識と位置合わせされてもよい。有利には、複数のユーザが標識を観察し得るが、標識は、所望の色を有してもよい。
少なくとも1つの狭角動作ディスプレイモードは、制御システムが空間光変調器を制御して動作画像を表示し、標識が広角で視認不可能であるように、液晶材料の層を異なる領域において同じ状態に駆動する電圧を、第1の透過性電極及び第2の透過性電極に印加する、狭角動作ディスプレイモードを含んでもよい。有利には、ディスプレイ全体にわたるセキュリティ関数の高い均一性が、覗き見者に提供されてもよい。
少なくとも1つの狭角動作ディスプレイモードは、制御システムが、動作画像を表示するように空間光変調器を制御し、標識が、広角で視認可能であるように、液晶材料の層を異なる領域において異なる状態に駆動する電圧を、第1の透過性電極及び第2の透過性電極に印加する、狭角動作ディスプレイモードを含んでもよい。
有利には、覗き見者には、標識は視認可能であるが、画像は視認不可能である。
間隙は、最大で液晶材料の層の厚さの2倍、好ましくは、最大で液晶材料の層の厚さの幅を有してもよい。有利には、間隙の視認性は、ディスプレイ観察者にとって低減されてもよい。
第1の透過性電極及び第2の透過性電極のそれぞれは、間隙によって分離された複数の領域を提供するように、パターン化されてもよい。有利には、遠位標識は、接続電極が見えないように設けられてもよい。
液晶材料の層にわたって位置合わせされる間隙は、オフセットされてもよい。オフセットは、少なくとも液晶材料の層の厚さであってもよく、好ましくは、液晶材料の層の厚さの少なくとも2倍であってもよい。有利には、複数の領域間の間隙の視認性を、低減してもよい。
複数の領域は、少なくとも1つのアイランド領域と、アイランド領域の周りに延在する少なくとも1つの周辺領域と、を含んでもよく、少なくとも1つの周辺領域と位置合わせされた第1の透過性電極及び第2の透過性電極の領域は、液晶材料の層にわたって位置合わせされてもよく、少なくとも1つのアイランド領域と位置合わせされた第1の透過性電極及び第2の透過性電極の領域に接続されたブリッジングトラックが、そこを通って延在し得る、ブリッジングスリットを、有してもよい。有利には、アイランド領域を有する遠位標識は、接続電極の視認性を低減して設けられてもよい。
複数の領域は、第1の透過性電極及び第2の透過性電極の外縁に隣接し得ない少なくとも1つの遠位領域と、第1の透過性電極及び第2の透過性電極の外縁に隣接し得る少なくとも1つの近位領域と、を含んでもよく、少なくとも1つの近位領域と位置合わせされた第1の透過性電極及び第2の透過性電極の領域は、少なくとも1つの遠位領域と位置合わせされた第1の透過性電極及び第2の透過性電極の領域に接続された、少なくとも1つの接続トラックが延在する、少なくとも1つの接続スリットを有してもよく、少なくとも1つの接続トラックは、第1の透過性電極及び第2の透過性電極の外縁まで延在し、制御システムは、少なくとも1つの遠位領域に電圧を印加するために、外縁において少なくとも1つの接続トラックに接続される。有利には、遠位領域は、所望の電圧で駆動されてもよい。
少なくとも1つの遠位領域と位置合わせされた第1の透過性電極及び第2の透過性電極の領域に接続された、少なくとも1つの接続トラックは、液晶材料の層にわたって、互いに位置合わせされなくてもよい。接続トラックの視認性は、有利には、遠位領域が、遠位標識領域への視認可能接続を伴わずに、電極の縁部から離れて見え得るように、低減されてもよい。
制御システムは、少なくとも1つの遠位領域、少なくとも1つの接続トラックと位置合わせされた少なくとも1つの近位領域の部分、及び近位領域の残りの部分それぞれにおける動作モードに従って、液晶材料の層の複数の領域を所望の状態に駆動する第1の透過性電極及び第2の透過性電極にわたって、電圧を印加するように選択され得る、振幅及び位相を有する、それぞれの電圧信号を、少なくとも1つの接続トラック及び少なくとも1つの近位領域に印加するように構成されていてもよい。標識領域における液晶材料の層は、標識領域の反転である背景領域における液晶材料の層とは異なって、駆動されてもよい。電極は、液晶材料の層の第1の状態を提供するために、標識領域内の領域とオーバーラップしてもよい。電極は、第1の状態とは異なる液晶材料の層の第2の状態を提供するために、背景領域内の領域とオーバーラップしてもよい。
少なくとも1つの接続トラックは、それが接続され得る少なくとも1つの遠位領域に隣接して、低減された幅のネックを有してもよい。有利には、接続電極の抵抗を低減してもよく、遠位領域付近の接続電極の少なくとも一部の視認性を低減してもよい。第1の電極と第2の電極との間の配向公差を緩和してもよく、コストを有利に低減してもよい。
第1の透過性電極及び第2の透過性電極の一方は、間隙によって分離された複数の領域を提供するようにパターン化されてもよく、第1の透過性電極及び第2の透過性電極の他方は、パターン化されなくてもよい。有利には、コスト及び複雑性を、低減してもよい。
複数の領域は、第1の透過性電極及び第2の透過性電極の外縁に隣接し得ない、少なくとも1つの遠位領域と、第1の透過性電極及び第2の透過性電極の外縁に隣接し得る、少なくとも1つの近位領域と、を含んでもよく、少なくとも1つの遠位領域と位置合わせされた第1の透過性電極及び第2の透過性電極の少なくとも1つの領域は、接続された領域間に抵抗を提供するように構成され得るコネクタによって、少なくとも1つの近位領域と位置合わせされた同じ透過性電極の領域に接続されてもよい。有利には、第1の電極及び第2の電極のうちの少なくとも1つのコスト及び複雑性が低減されてもよい。
本開示の第2の態様によれば、周囲照明で使用するためのディスプレイデバイスが提供されるが、これは、光を出力するように構成された空間光変調器であって、当該空間光変調器が、当該空間光変調器の一方の側に配置されたディスプレイ偏光子を備え、当該ディスプレイ偏光子が直線偏光子である、空間光変調器と、視野角制御構成体であって、当該視野角制御構成体が、ディスプレイ偏光子の外側のディスプレイ偏光子として空間光変調器の同じ側に配置された追加の偏光子であって、当該追加の偏光子が直線偏光子である、追加の偏光子と、ディスプレイ偏光子と追加の偏光子との間に配置された少なくとも1つの極性制御リターダであって、当該少なくとも1つの極性制御リターダが、液晶材料の層と、当該液晶材料の層の両側の第1の透過性電極及び第2の透過性電極と、を備える、切替可能液晶リターダを含み、当該第1の透過性電極及び当該第2の透過性電極のうちの少なくとも1つが、間隙によって分離された領域にパターン化されて、液晶材料の層の複数のアドレス指定可能な領域を提供し、複数の領域のうちの少なくとも1つが、観察者に表示するための標識の形状である、少なくとも1つの極性制御リターダと、空間光変調器を制御し、液晶材料の層を駆動するために、第1の透過性電極と第2の透過性電極との間に電圧を印加するように構成された、制御システムであって、当該制御システムが、複数の動作モードで動作可能であるように構成されており、複数の動作モードは、広角動作表示モードであって、制御システムが、動作画像を表示するように空間光変調器を制御し、動作画像が広角及び狭角では視認可能であり、標識が、狭角又は広角では視認不可能であるように、液晶材料の層を異なる領域において同じ状態に駆動する電圧を、第1の透過性電極と第2の透過性電極との間に印加する、広角動作表示モードと、少なくとも1つの狭角動作ディスプレイモードであって、制御システムが、動作画像を表示するおように空間光変調器を制御し、動作画像が狭角では視認可能であるが、広角では視認不可能であり、標識が狭角では視認不可能であるが、広角では視認可能であるように、液晶材料の層を異なる領域の異なる状態に駆動する電圧を、第1の透過性電極と第2の透過性電極との間に印加する、狭角動作ディスプレイモードと、を備える、視野角制御構成体と、を備える。
標識は、プライバシーモードの動作において、覗き見者にとって視認可能であってもよい。覗き見者にとっては、ディスプレイがユーザによって使用されていることを示すロゴ又はテキストなどの、所望の画像は視認可能であるが、ディスプレイユーザによって視認可能な画像は、有利には視認不可能である。ディスプレイの美観を、向上させてもよい。
ディスプレイ偏光子は、空間光変調器の入力側に配置された入力偏光子であってもよく、追加の偏光子は、ディスプレイ偏光子の入力側に配置されてもよい。
ディスプレイの前面反射率を低減し得るが、有利には、より高い美的品質を有するものとして知覚され得る改善された「黒色」画像外観を、達成してもよい。
ディスプレイ偏光子は、空間光変調器の出力側に配置された出力偏光子であってもよく、追加の偏光子は、ディスプレイ偏光子の出力側に配置されてもよい。視野角制御構成体は、出力偏光子と追加の偏光子との間に配置された反射偏光子を更に備えてもよく、反射偏光子は直線偏光子であり、少なくとも1つの極性制御リターダは、反射偏光子と追加の偏光子との間に配置されてもよい。ディスプレイ照度とディスプレイ最大輝度との所与の比に対して、セキュリティ関数を有利に増加させてもよい。覗き見者に対する標識の美的外観及びコントラストを高めてもよい。
問題の角度で定義されたセキュリティ関数Snが、全ての領域で、それぞれ、1.0未満であるか、少なくとも1.0である場合には、動作画像は視認可能の場合もあれば、視認不可能の場合もあり、ここで、セキュリティ関数Snは、次の式によって所与される:
Sn=log10[1+(ρn.α)/(π.Pn)])
式中、ρnは、問題の角度におけるディスプレイデバイスの反射率であり、Pnは、ディスプレイデバイスの最大輝度に対する、問題の角度におけるディスプレイデバイスの輝度の比であり、πは、ステラジアン単位の立体角であり、αは、4.0のステラジアンの値を有する係数である。標識形状の複数の領域のうちの少なくとも1つの領域と、その他の領域とで、問題の角度で定義されるセキュリティ関数Snが異なっていてもよいか、又は同じであってもよい場合には、標識は、視認可能であってもよいか、又は視認不可能であってもよい。広角は、ディスプレイデバイスの法線を中心とした所定の方位角において、ディスプレイデバイスの法線から45°の極角であってもよい。狭角は、所定の方位角における空間光変調器の法線から、0°~20°の極角の範囲内であってもよい。有利には、人的要因測定及び照明測定を使用して、少なくとも標識ディスプレイモード及びプライバシー標識ディスプレイモードの動作において、標識の視認性を提供しながら、覗き見者にとって望ましい画像セキュリティを達成してもよい。
Sn=log10[1+(ρn.α)/(π.Pn)])
式中、ρnは、問題の角度におけるディスプレイデバイスの反射率であり、Pnは、ディスプレイデバイスの最大輝度に対する、問題の角度におけるディスプレイデバイスの輝度の比であり、πは、ステラジアン単位の立体角であり、αは、4.0のステラジアンの値を有する係数である。標識形状の複数の領域のうちの少なくとも1つの領域と、その他の領域とで、問題の角度で定義されるセキュリティ関数Snが異なっていてもよいか、又は同じであってもよい場合には、標識は、視認可能であってもよいか、又は視認不可能であってもよい。広角は、ディスプレイデバイスの法線を中心とした所定の方位角において、ディスプレイデバイスの法線から45°の極角であってもよい。狭角は、所定の方位角における空間光変調器の法線から、0°~20°の極角の範囲内であってもよい。有利には、人的要因測定及び照明測定を使用して、少なくとも標識ディスプレイモード及びプライバシー標識ディスプレイモードの動作において、標識の視認性を提供しながら、覗き見者にとって望ましい画像セキュリティを達成してもよい。
本開示の第3の態様によれば、周囲照明で使用するためのディスプレイデバイスが提供されるが、これは、光を出力するように構成された空間光変調器であって、当該空間光変調器が、当該空間光変調器の一方の側に配置されたディスプレイ偏光子を備え、当該ディスプレイ偏光子が直線偏光子である、空間光変調器と、視野角制御構成体であって、当該視野角制御構成体が、ディスプレイ偏光子の外側に、ディスプレイ偏光子として、空間光変調器の同じ側に配置された追加の偏光子であって、当該追加の偏光子が直線偏光子である、追加の偏光子と、ディスプレイ偏光子と追加の偏光子との間に配置された少なくとも1つの極性制御リターダであって、当該少なくとも1つの極性制御リターダが、液晶材料の層と、当該液晶材料の層の両側の第1の透過性電極及び第2の透過性電極と、を備える、切替可能液晶リターダを含み、当該第1の透過性電極及び当該第2の透過性電極のそれぞれが、間隙によって分離された領域内でパターン化されて、液晶材料の層の複数のアドレス指定可能な領域を提供し、複数の領域のうちの少なくとも1つが、観察者に表示するための標識の形状である、少なくとも1つの極性制御リターダと、を備える、視野角制御構成体と、を備える。有利には、共有モード、プライバシーモード、及びプライバシー標識モードの動作が、上述したように提供されてもよい。更なる遠位標識領域は、接続電極が見えないように設けられてもよい。
本開示の第4の態様によれば、周囲照明で使用するためのディスプレイデバイスが提供されるが、これは、光を出力するように構成された空間光変調器であって、当該空間光変調器が、当該空間光変調器の一方の側に配置されたディスプレイ偏光子を備え、当該ディスプレイ偏光子が直線偏光子である、空間光変調器と、視野角制御構成体であって、当該視野角制御構成体が、ディスプレイ偏光子の外側のディスプレイ偏光子として空間光変調器の同じ側に配置された追加の偏光子であって、当該追加の偏光子が直線偏光子である、追加の偏光子と、ディスプレイ偏光子と追加の偏光子との間に配置された少なくとも1つの極性制御リターダであって、当該少なくとも1つの極性制御リターダが、液晶材料の層と、当該液晶材料の層の両側の第1の透過性電極及び第2の透過性電極と、を備える、切替可能液晶リターダを含み、当該第1の透過性電極及び当該第2の透過性電極のうちの少なくとも1つが、間隙によって分離されたパターン化された領域であり、液晶材料の層の複数のアドレス指定可能な領域を提供し、当該領域のうちの少なくとも1つが、観察者に表示するための標識の形状であり、当該複数の領域が、第1の透過性電極及び第2の透過性電極の外縁に隣接しない少なくとも1つの遠位領域と、外縁に隣接する少なくとも1つの近位領域と、を含み、少なくとも1つの遠位領域に位置合わせされた第1の透過性電極及び第2の透過性電極の少なくとも1つの領域が、接続された領域間に抵抗を提供するように構成されたコネクタによって、少なくとも1つの近位領域に位置合わせされた同じ透過性電極の領域に接続される、少なくとも1つの極性制御リターダと、を備える、視野角制御構成体と、を備える。有利には、第1の透過性電極及び第2の透過性電極のうちの少なくとも1つの複雑性及びコストが、低減されてもよい。
少なくとも1つの極性制御リターダは、受動リターダを更に含んでもよい。有利には、狭角モードにおいて、又は標識領域若しくは背景領域の少なくとも一部において、低減された輝度又は増加された反射率が提供される極性領域のサイズは、増大されてもよい。
空間光変調器は、透過型空間光変調器であってもよく、ディスプレイデバイスは、空間光変調器に光を供給するように構成されたバックライトを更に備えてもよい。有利には、バックライトの極角を有する光度のプロファイルは、軸外輝度が低減され得、セキュリティ関数が増加され得るように、修正されてもよい。
空間光変調器は、発光型空間光変調器であってもよい。有利には、ディスプレイデバイスの厚みを低減してもよい。
本開示の第5の態様によれば、プライバシーディスプレイデバイスが提供されるが、これは、周囲照明で使用するためのディスプレイデバイスであって、当該周囲照明で使用するためのディスプレイデバイスが、光を出力するように構成された空間光変調器であって、当該空間光変調器が、当該空間光変調器の出力側に配置された出力偏光子を備え、当該出力偏光子が直線偏光子である、空間光変調器と、視野角制御構成体であって、出力偏光子の出力側に配置された追加の偏光子であって、当該追加の偏光子が直線偏光子である、追加の偏光子と、出力偏光子と追加の偏光子との間に配置された反射偏光子であって、当該反射偏光が直線偏光子である、反射偏光子と、少なくとも1つの極性制御リターダであって、当該少なくとも1つの極性制御リターダが、当該反射偏光子と追加の偏光子との間に配置され、当該少なくとも1つの極性制御リターダが、液晶材料の層と、液晶材料の層の両側の第1の透過性電極及び第2の透過性電極と、を備える、切替可能液晶リターダを含み、第1の透過性電極及び第2の透過性電極の少なくとも一方がパターン化されて、間隙によって分離された複数の領域を提供し、複数の領域の少なくとも1つが、観察者に表示するための標識の形状である、少なくとも1つの極性制御リターダと、とを備える、視野角制御構成体と、空間光変調器を制御し、液晶材料の層を駆動するために、第1の透過性電極及び第2の透過性電極にわたって電圧を印加するように構成された、制御システムであって、当該制御システムが、複数の動作モードで動作可能であるように構成されており、当該複数のモードは、広角動作表示モードであって、当該制御システムが、動作画像を表示するように空間光変調器を制御し、液晶材料の層を異なる領域において同じ状態に駆動する電圧を第1の透過性電極及び第2の透過性電極にわたって印加する、広角動作表示モードと、狭角動作ディスプレイモードであって、制御システムが、動作画像を表示するように空間光変調器を制御し、液晶材料の層を異なる領域において同じ状態に駆動する電圧を、第1の透過性電極及び第2の透過性電極に印加し、少なくとも1つの狭角動作ディスプレイモードと、少なくとも1つの標識ディスプレイモードであって、制御システムが、標識が視認可能であるように、液晶材料の層を異なる領域において異なる状態に駆動する電圧を、第1の透過性電極及び第2の透過性電極に印加する、少なくとも1つの標識ディスプレイモードと、を含む、制御システムと、を備える。有利には、ディスプレイデバイスは、プライバシーモードを備えてもよく、プライバシーモードでは、ディスプレイは、ユーザによって高い均一性を有する高い画像視認性で観察され、覗き見者に、高い均一性を有する高いセキュリティ関数を有する画像を提供してもよい。ディスプレイデバイスは、高い画像視認性及び高い均一性で、複数の観察者によってディスプレイが観察され得る共有モードを備えてもよい。ディスプレイデバイスは、少なくとも一部の観察者にとって標識を観察できるモードを更に備えてもよい。標識は、アイコン又はテキストであるなど、ディスプレイに関する望ましい情報を提供してもよい。
少なくとも1つの標識ディスプレイモードは、制御システムが、画像を表示しないように空間光変調器を制御し、標識が広角では視認可能だが狭角では視認不可能であるように、液晶材料の層を異なる領域において異なる状態に駆動する電圧を、第1の透過性電極及び第2の透過性電極に印加する、標識ディスプレイモードを含んでもよい。有利には、標識ディスプレイモードの電力消費を、大幅に低減してもよい。
少なくとも1つの標識ディスプレイモードは、標識を照明するための照明画像を表示するように制御システムが空間光変調器を制御し、標識が広角及び狭角で視認可能であるように、液晶材料の層を異なる領域において異なる状態に駆動する電圧を、第1の透過性電極及び第2の透過性電極に印加する、標識ディスプレイモードを含んでもよい。照明画像は、依然として画像であってもよい。照明画像は、標識と位置合わせされてもよい。
有利には、複数のユーザが標識を観察し得るが、標識は、所望の色を有してもよい。
第1の透過性電極及び第2の透過性電極のそれぞれは、間隙によって分離された複数の領域を提供するようにパターン化されてもよく、第1の透過性電極及び第2の透過性電極の複数の領域は、液晶材料の層にわたって位置合わせされる。有利には、遠位標識は、接続電極が見えないように設けられてもよい。
液晶材料の層にわたって位置合わせされた第1の透過性電極及び第2の透過性電極の複数の領域を分離する間隙は、オフセットされてもよい。オフセットは、液晶材料の層の厚さの少なくとも2倍であってもよい。有利には、複数の領域間の間隙の視認性を低減してもよい。
複数の領域は、アイランド領域と、アイランド領域の周りに延在する周辺領域と、を含んでもよく、液晶材料の層にわたって位置合わせされた周辺領域は、位置合わせされ得るブリッジングスリットを有し、このブリッジングスリットを通って、液晶材料の層にわたって位置合わせされ得るアイランド領域に接続されたブリッジングトラックが延在する。有利には、アイランド領域を有する標識は、狭角動作モード及び広角動作モードにおいて高い均一性を達成しながら、好都合に提供されてもよい。
複数の領域は、第1の透過性電極及び第2の透過性電極の縁部に隣接しない少なくとも1つの遠位領域と、第1の透過性電極及び第2の透過性電極の縁部に隣接する少なくとも1つの近位領域と、を含んでもよく、第1の透過性電極及び第2の透過性電極は、少なくとも1つの遠位領域に接続され、第1の透過性電極及び第2の透過性電極の縁部まで延在する少なくとも1つの接続トラックを提供するように、更にパターン化されてもよく、縁部において、制御システムは、少なくとも1つの遠位領域に電圧を印加するために接続トラックに接続されてもよい。液晶材料の層にわたって位置合わせされる第1の透過性電極及び第2の透過性電極の遠位領域に接続された接続トラックは、液晶材料の層にわたって、互いに位置合わせされなくてもよい。制御システムは、第1の透過性電極及び第2の透過性電極の遠位領域に接続された少なくとも1つの接続トラックのそれぞれと、少なくとも1つの近位領域のそれぞれとに、それぞれの電圧信号を印加するように構成されてもよいが、この電圧信号は、遠位領域のそれぞれ、接続トラックとそれぞれの近位領域との間のオーバーラップ、及び近位領域の残りの部分における動作モードに従って、液晶材料の層を所望の状態に駆動する電圧を、第1の透過性電極及び第2の透過性電極に印加するように選択された、振幅及び位相を有する。有利には、遠位標識は、接続電極が見えないように設けられてもよい。接続電極の抵抗を減少させ、動作モードの均一性を向上させてもよい。
少なくとも1つの接続トラックは、それが接続され得る少なくとも1つの遠位領域に隣接して、低減された幅のネックを有してもよい。有利には、接続電極の抵抗を低減してもよく、接続電極の少なくとも一部の視認性を低減してもよい。
第1の透過性電極及び第2の透過性電極の一方は、間隙によって分離された複数の領域を提供するようにパターン化されてもよく、第1の透過性電極及び第2の透過性電極の他方は、パターン化されなくてもよい。有利には、コスト及び複雑性を低減してもよい。
複数の領域は、第1の透過性電極及び第2の透過性電極の縁部に隣接しない少なくとも1つの遠位領域と、第1の透過性電極及び第2の透過性電極の縁部に隣接する少なくとも1つの近位領域と、を含んでもよく、少なくとも1つの遠位領域は、少なくとも1つの遠位領域と少なくとも1つの近位領域との間に抵抗を提供するように構成され得るコネクタによって、少なくとも1つの近位領域に接続されてもよい。有利には、コスト及び複雑性を低減してもよい。
本開示の第6の態様によれば、周囲照明で使用するためのディスプレイデバイスが提供されるが、これは、光を出力するように構成された空間光変調器であって、当該空間光変調器が、当該空間光変調器の出力側に配置された出力偏光子を備え、当該出力偏光子が直線偏光子である、空間光変調器と、視野角制御構成体であって、出力偏光子の出力側に配置された追加の偏光子であって、当該追加の偏光子が直線偏光子である、追加の偏光子と、反射偏光子と追加の偏光子との間に配置され、当該反射偏光子が直線偏光子である、反射偏光子と、反射偏光子と追加の偏光子との間に配置され、切替可能液晶リターダを含む少なくとも1つの極性制御リターダであって、当該切替可能液晶リターダが、液晶材料の層と、液晶材料の層の両側にある第1の透過性電極及び第2の透過性電極を備え、当該第1の透過性電極及び当該第2の透過性電極のそれぞれが、間隙によって分離された複数の領域を提供するようにパターン化され、当該第1の透過性電極及び当該第2の透過性電極の複数の領域が、液晶材料の層にわたって位置合わせされ、複数の領域のうちの少なくとも1つが、観察者に表示するための標識の形状である、少なくとも1つの極性制御リターダと、を備える、視野角制御構成体と、を備える。
複数の領域は、第1の透過性電極及び第2の透過性電極の縁部に隣接しない少なくとも1つの遠位領域と、第1の透過性電極及び第2の透過性電極の縁部に隣接する少なくとも1つの近位領域と、を含んでもよく、第1の透過性電極及び第2の透過性電極は、少なくとも1つの遠位領域に接続され、制御システムへの接続のために、第1の透過性電極及び第2の透過性電極の縁部まで延在する、少なくとも1つの接続トラックを提供するように、更にパターン化されてもよい。
液晶材料の層にわたって位置合わせされた第1の透過性電極及び第2の透過性電極の少なくとも1つの遠位領域に接続された、少なくとも1つの接続トラックは、液晶材料の層にわたって、互いに位置合わせされなくてもよい。
ディスプレイデバイスは、空間光変調器を制御し、液晶材料の層を駆動するために、第1の透過性電極及び第2の透過性電極に電圧を印加するように構成された、制御システムを更に備えてもよく、制御システムは、第1の透過性電極及び第2の透過性電極の遠位領域に接続された少なくとも1つの接続トラックのオーバーラップ、及び少なくとも1つの近位領域の残りの部分における動作モードに従って、液晶材料の層を所望の状態に駆動するために、第1の透過性電極及び第2の透過性電極にわたって電圧を印加するように選択され得る、振幅及び位相を有する、それぞれの電圧信号を、第1の透過性電極及び第2の透過性電極の遠位領域に接続された少なくとも1つの接続トラックのそれぞれ、及び少なくとも1つの近位領域のそれぞれに、印加するように、構成されてもよい。
本開示の第7の態様によれば、周囲照明で使用するためのディスプレイデバイスが提供されるが、これは、光を出力するように構成された空間光変調器であって、当該空間光変調器が、当該空間光変調器の出力側に配置された出力偏光子を備え、当該出力偏光子が直線偏光子である、空間光変調器と、視野角制御構成体であって、出力偏光子の出力側に配置された追加の偏光子であって、当該追加の偏光子が直線偏光子である、追加の偏光子と、出力偏光子と追加の偏光子との間に配置された反射偏光子であって、当該反射偏光子が直線偏光子である、反射偏光子と、当該反射偏光子と追加の偏光子との間に配置された少なくとも1つの極性制御リターダであって、当該少なくとも1つの極性制御リターダが、液晶材料の層と、当該液晶材料の層の両側の第1の透過性電極及び第2の透過性電極と、を備える、切替可能液晶リターダを含み、当該第1の透過性電極及び当該第2の透過性電極のうちの少なくとも1つが、間隙によって分離された複数の領域を提供するようにパターン化されており、当該領域の少なくとも1つが、観察者に表示するための標識の形状であり、当該複数の領域が、当該第1の透過性電極及び当該第2の透過性電極の縁部に隣接しない少なくとも1つの遠位領域と、縁部に隣接する少なくとも1つの近位領域と、を含み、当該少なくとも1つの遠位領域が、少なくとも1つの遠位領域と、少なくとも1つの近位領域と、の間に、抵抗を提供するように構成された、コネクタによって、少なくとも1つの近位領域に接続される、少なくとも1つの極性制御リターダと、を備える、視野角制御構成体と、を備える。
本開示の実施形態は、広範な光学システムで使用されてもよい。いくつかの実施形態は、様々なプロジェクタ、投影システム、光学部品、ディスプレイ、マイクロディスプレイ、コンピュータシステム、プロセッサ、自己内蔵型プロジェクタシステム、ビジュアルシステム及び/又はオーディオビジュアルシステム、並びに電気装置及び/又は光学装置を含んでよいか、又はこれらと共に作動してよい。本開示の態様は、光学装置及び電気装置、光学システム、プレゼンテーションシステム、又は任意のタイプの光学システムを包含し得る任意の装置に関連する、実質的に任意の装置に使用されてもよい。したがって、本開示の実施形態は、視覚的プレゼンテーション及び/又は光学的プレゼンテーション、視覚的な周辺機器などにおいて、並びに多数のコンピュータ環境において使用される、光学システム、光学装置で、採用されてもよい。
詳細に開示する複数の実施形態に進む前に、本開示は、その他の実施形態例が可能であるために、用途又は作製において示す特定の構成の詳細に限定されないことを理解するべきである。更に、本開示の態様は、独自の固有の実施形態を定義するために、様々な組み合わせ及び構成で、述べられてもよい。また、本明細書で使用する用語は、説明の目的のためのものであって、限定するためのものではない。
本開示の前述及びその他の利点並びに特徴は、本開示をその全体にわたって読むことで、当業者に明白となるであろう。
例示のために、実施形態が添付の図面に示されるが、添付の図面において、同様の参照符号は、類似の部分を示す。
ここで、本開示のために、光学リターダに関する用語について説明する。
一軸複屈折材料を含む層では、光学異方性を支配する方向が存在するのに対して、その方向に対して垂直である(又はその方向に対して所与の角度である)全方向は、同等の複屈折性を有する。
光学リターダの光軸とは、複屈折が起きない一軸複屈折材料における光線の伝搬方向を指す。これは、例えば、対称線に平行であってもよいか、又は主光線が伝播する際に沿うディスプレイ表面に対して垂直であってもよい、光学系の光軸とは異なる。
光軸に直交する方向に伝搬する光に関しては、遅軸に平行なベクトル方向を有する直線偏光された光が最も遅い速度で移動する場合に、その光軸は遅軸である。遅軸方向は、設計波長において最高屈折率を有する方向である。同様に、高速軸方向は、設計波長において最低屈折率を有する方向である。
正の誘電異方性一軸複屈折材料では、遅軸方向は、複屈折材料の異常軸である。負の誘電異方性一軸複屈折材料では、高速軸方向は、複屈折材料の異常軸である。
「波長の半分」及び「波長の1/4」という用語は、通常、500nm~570nmであり得る設計波長λ0のリターダの動作を指す。本例示的な実施形態では、例示的なリターダンス値は、特に指定のない限り、550nmの波長に対して提供される。
リターダは、そこに入射する光波の2つの垂直偏光成分間の位相シフトをもたらし、2つの偏光成分に付与する相対位相Γの量によって特徴付けられるが、これは、複屈折Δn及びリターダの厚みdに関連する。
Γ=2.π.Δn.d/λ0 式1
Γ=2.π.Δn.d/λ0 式1
式1において、Δnは、異常屈折率と通常屈折率との間の差として定義される。すなわち、
Δn=ne-no 式2
Δn=ne-no 式2
半波長リターダでは、d、Δn、及びλ0の間の関係は、偏光成分間の位相シフトがΓ=πであるように選択される。1/4波長リターダでは、d、Δn、及びλ0の間の関係は、偏光成分間の位相シフトがΓ=π/2であるように選択される。
本明細書における「半波長リターダ」という用語は、通常は、リターダに対して垂直に、かつ空間光変調器に対して垂直に伝搬する光を指す。
ここで、一対の偏光子間の透明リターダを通る光線の伝搬のいくつかの態様について説明する。
光線の偏光の状態(SOP)は、任意の2つの直交偏光成分間の相対振幅及び位相シフトによって説明される。透明リターダは、これらの直交偏光成分の相対振幅を変更しないが、それらの相対位相のみに作用する。直交偏光成分間の正味の位相シフトを提供することは、SOPを変更する一方、正味の相対位相を維持することで、SOPが維持される。本明細書では、SOPは、偏光状態と呼ばれる場合がある。
直線SOPは、非ゼロの振幅を有する偏光成分と、ゼロ振幅を有する直交偏光成分と、を有する。
直線偏光子は、直線偏光子の電気ベクトル透過方向に平行な直線偏光成分を有する固有の直線SOPを透過し、異なるSOPを用いて、光を減衰させる。「電気ベクトル透過方向」という用語は、透過された「電気ベクトル」が常に瞬間的な方向を有する場合であっても、入射光の電気ベクトルが透過される方向に平行な偏光子の無指向性軸を指す。「方向」という用語は、この軸を説明するために、一般的に使用される。
吸収型偏光子は、入射光の1つの偏光成分を吸収し、第2の直交偏光成分を透過する偏光子である。吸収型直線偏光子の例としては、二色性偏光子が挙げられる。
反射偏光子は、入射光の1つの偏光成分を反射し、第2の直交偏光成分を透過する偏光子である。直線偏光子である反射偏光子の例としては、スリーエム株式会社製のDBEF(商標)若しくはAPF(商標)などの多層ポリマーフィルム積層体、又はモックステック社(Moxtek)社製のProFlux(商標)などのワイヤグリッド偏光子が挙げられる。反射直線偏光子は、コレステリック反射材料及び直列に配置された1/4波長板を更に含んでもよい。
直線偏光子と、相対的な正味位相シフトを導入しない平行な直線分析偏光子との間に配置されたリターダは、直線偏光子内の残留吸収以外の光を完全に透過させる。
直交偏光成分間の相対的な正味位相シフトを提供するリターダは、SOPを変化させ、分析偏光子において減衰させる。
本開示において、「Aプレート」とは、複屈折材料の層を用いて、その光軸が層の面に対して平行である、光学リターダを指す。
「正のAプレート」とは、正の複屈折Aプレート、すなわち、正のΔnを有するAプレートを指す。
本開示において、「Cプレート」とは、複屈折材料の層を用いて、その光軸が層の面に対して垂直である光学リターダを指す。「正のCプレート」とは、正の複屈折Cプレート、すなわち、正のΔnを有する、Cプレートである。「負のCプレート」とは、負の複屈折Cプレート、すなわち、負のΔnを有するCプレートを指す。
「Oプレート」とは、複屈折材料の層を用いて、その光軸が、層の面に対して平行である成分と、層の面に対して垂直である成分と、を有する光学リターダを指す。「正のOプレート」とは、正の複屈折Oプレート、すなわち、正のΔnを有する、Oプレートを指す。
リターダの材料が、以下のように、波長λと共に変動するリターダンスΔn . dを有する、アクロマティックリターダが設けられてもよい。
Δn.d/λ=κ 式3
Δn.d/λ=κ 式3
式中、κは、実質的に一定である。
好適な材料の例としては、帝人フィルム社(Teijin Films)製の改質ポリカーボネートが挙げられる。本実施形態では、アクロマティックリターダが設けられて、以下に記載するように、低い輝度低下を有する極角視野方向と、増大した輝度低下を有する極角視野方向と、の間での変色を、有利に最小化してもよい。
ここで、リターダ及び液晶に関して本開示で使用する様々なその他の用語について説明する。
液晶セルは、Δn.dによって得られるリターダンスを有し、Δnは、液晶セルにおける液晶材料の複屈折性であり、dは、液晶セル内の液晶材料の配向とは無関係の液晶セルの厚みである。
ホモジニアス配向とは、分子が基材に対して実質的に平行に配向される、切替可能な液晶ディスプレイ内での液晶の配向を指す。ホモジニアス配向は、プレーナ配向と称される場合がある。ホモジニアス配向では、通常は、以下に記載するように、液晶セルの配向層の表面にある分子がわずか傾斜しているように、2度などの小さなプレチルトを備えてもよい。プレチルトは、セルの切り替えにおける縮退を最小限に抑えるように構成されている。
本開示において、ホメオトロピック配向は、棒状液晶分子が、基材に対して実質的に垂直に配向される状態である。ディスコティック液晶ホメオトロピック配向では、ディスク様液晶分子によって形成されるカラム構造の軸が、表面に対して垂直に配向される状態として定義される。ホメオトロピック配向では、プレチルトは、配向層に近い分子のチルト角であり、通常は90度近く、例えば、88度であってもよい。
ねじれ液晶層は、ネマティック液晶分子のねじれ構造(螺旋構造又は螺旋としても知られる)を有する。ねじれは、配向層の非平行配向によって、達成されてもよい。更に、コレステリックドーパントを液晶材料に添加して、ねじれ方向(時計回り又は反時計回り)の縮重を破壊し、弛緩した(通常は非駆動)状態でのねじれのピッチを、更に制御してもよい。超ねじれ液晶層は、180度を超えるねじれを有する。空間光変調器で使用されるねじれネマティック層は、通常は、90度のねじれを有する。
正の誘電異方性を有する液晶分子は、印加される電界によって、ホモジニアス配向(Aプレートリターダ配向など)から、ホメオトロピック配向(Cプレート又はOプレートリターダ配向など)に切り替えられる。
負の誘電異方性を有する液晶分子は、印加される電界によって、ホメオトロピック配向(Cプレート又はOプレートリターダ配向など)から、ホモジニアス配向(Aプレートリターダ配向など)に切り替えられる。
棒状分子は正の複屈折を有し、したがって、式2に記載するように、ne>n0である。ディスコティック分子は負の複屈折を有し、したがって、ne<n0である。
Aプレート、正のOプレート、及び正のCプレートなど正のリターダは、通常は、延伸フィルム又は棒状液晶分子によって提供されてもよい。負のCプレートなど負のリターダは、延伸フィルム又はディスコティック液晶分子によって提供されてもよい。
平行液晶セル配向とは、平行であるか、より通常は逆平行である、ホモジニアス配向層の配向方向を指す。プレチルトホメオトロピック配向の場合、配向層は、実質的に平行又は逆平行である成分を有してもよい。ハイブリッド配向液晶セルは、1つのホモジニアス配向層と、1つのホメオトロピック配向層と、を有してもよい。ねじれ液晶セルは、例えば、互いに90度に配向された、平行配向を有さない配向層によって提供されてもよい。
透過型空間光変調器は、例えば、参照によりその全体が本明細書に組み込まれる、米国特許第8,237,876号に開示されているように、入力ディスプレイ偏光子と出力ディスプレイ偏光子との間に、リターダを更に備えてもよい。このようなリターダ(図示せず)は、本実施形態の受動リターダとは異なる場所にある。このようなリターダは、軸外視聴位置のコントラストの劣化を補償するが、これは、本実施形態の軸外視聴位置の輝度低下に、異なる効果を及ぼす。
ディスプレイのプライバシー動作モードとは、観察者にとって画像がはっきりとは視認不可能であるような低いコントラスト感度で視認可能であるモードである。コントラスト感度は、静的画像内の異なるレベルの輝度の間で識別する能力の尺度である。高い視覚的セキュリティレベル(VSL)が、低画像視認性に対応するという点で、逆コントラスト感度を、視覚的セキュリティの尺度として使用してもよい。
観察者に画像を提供するプライバシーディスプレイでは、視覚的セキュリティは、以下のようにして得られ得る。
V=(Y+R)/(Y-K) 式4
V=(Y+R)/(Y-K) 式4
式中、Vは視覚的セキュリティレベル(VSL)であり、Yは、覗き見者の視野角におけるディスプレイの白色状態の輝度であり、Kは、覗き見者視野角におけるディスプレイの黒状態の輝度であり、Rは、ディスプレイからの反射光の輝度である。
パネルコントラスト比は、以下の通りである。
C=Y/i 式5
したがって、視覚的セキュリティレベルは、以下のように更に得ることができる。
V=(P.Ymax+I.ρ/π)/(P.(Ymax-Ymax/C)) 式6
ここで、Ymaxは、ディスプレイの最大輝度であり、Pは、最大輝度Ymaxに対する覗き見者角度における輝度の比として通常定義される、軸外相対輝度であり、Cは、画像コントラスト比であり、ρ 表面反射率;πは、立体角係数であり、単位は、ステラジアンであり、Iは、照度である。Ymaxの単位は、ステラジアンの単位における、立体角で割られたIの単位である。
C=Y/i 式5
したがって、視覚的セキュリティレベルは、以下のように更に得ることができる。
V=(P.Ymax+I.ρ/π)/(P.(Ymax-Ymax/C)) 式6
ここで、Ymaxは、ディスプレイの最大輝度であり、Pは、最大輝度Ymaxに対する覗き見者角度における輝度の比として通常定義される、軸外相対輝度であり、Cは、画像コントラスト比であり、ρ 表面反射率;πは、立体角係数であり、単位は、ステラジアンであり、Iは、照度である。Ymaxの単位は、ステラジアンの単位における、立体角で割られたIの単位である。
ディスプレイの輝度は角度と共に変化するので、ディスプレイの最大輝度Ymaxは、ディスプレイの構成に依存する特定の角度で生じる。
多くのディスプレイにおいて、最大輝度Ymaxは、正面から、すなわち、ディスプレイに対して垂直に生じる。本明細書に開示される任意のディスプレイデバイスは、正面から生じる最大輝度Ymaxを有するように構成されてもよく、その場合、ディスプレイデバイスの最大輝度Ymaxへの言及は、ディスプレイデバイスに垂直な輝度への言及によって置き換えられてもよい。
あるいは、本明細書に記載される任意のディスプレイは、ディスプレイデバイスの法線に対して0°より大きい極角で生じる最大輝度Ymaxを有するように構成されてもよい。例として、最大輝度Ymaxは、最大輝度がディスプレイデバイスを見下ろしている軸上のユーザに対するものであるように、0でない極角において、及び例えば、0の横方向角を有する方位角において生じてもよい。極角は、例えば、10度であってもよく、方位角は、北方向(東方向から反時計回りに90度)であってもよい。したがって、観察者にとって、望ましくは、典型的な非垂直視野角で、高輝度が視認可能である。
軸外相対輝度Pは、プライバシーレベルと称される場合がある。しかしながら、このようなプライバシーレベルPは、正面輝度と比較して、所与の極角におけるディスプレイの相対輝度を説明しており、実際には、プライバシーの外観の尺度ではない。
照度Iは、ディスプレイに入射し、ディスプレイから観察者の位置に向かって反射される単位面積当たりの光束である。ランバート照度の場合、及びランバート前面拡散体を有するディスプレイの場合、照度Iは、極角及び方位角に対して不変である。指向性(非ランバート)周辺光を有する環境に配置された非ランバート前方拡散を有するディスプレイを有する構成では、照度Iは、観察の極角及び方位角と共に変化する。
したがって、完全に暗い環境では、高コントラストディスプレイは、約1.0のVSLを有する。周囲照明が増加するにつれて、知覚される画像コントラストが低下し、VSLが増加し、プライベート画像が知覚される。
典型的な液晶ディスプレイでは、パネルコントラストCは、ほぼ全ての視野角に対して100:1超であり、視覚的セキュリティレベルを、以下に近似させることができるようになる。
V=1+I.ρ/(π.P.Ymax) 式7
V=1+I.ρ/(π.P.Ymax) 式7
本実施形態では、式4の例示的な定義に加えて、視覚的セキュリティレベルVのその他の測定値は、例えば、覗き見者の位置、画像のコントラスト、画像の色及び白色点、並びに範囲を定めた画像特徴サイズの、覗き見者に対する画像の視認可能性に対する影響を含めて提供されてもよい。したがって、視覚的セキュリティレベルは、ディスプレイのプライバシーの程度の尺度であってもよいが、パラメータVに限定されなくてもよい。
知覚画像セキュリティは、セキュリティ関数Sが次式で所与されるように、目の対数応答から決定されてもよい。
S=log10(V) 式8
S=log10(1+α.ρ/(π.P)) 式9
式中、αは、最大輝度Ymaxに対する照度Iの比である。
S=log10(V) 式8
S=log10(1+α.ρ/(π.P)) 式9
式中、αは、最大輝度Ymaxに対する照度Iの比である。
Sの望ましい限界を、以下の方法で決定した。第1の段階において、プライバシーディスプレイデバイスが提供された。極視野角でのディスプレイデバイスのプライバシーレベルの変化P(θ)及び極視野角でのディスプレイデバイスのρ(θ)反射率の変化の測定を、明所視測定装置を使用して行った。実質的に均一な輝度の、ライトボックスなどの光源は、プライバシーディスプレイデバイスを照明するように配置された照明領域から、ディスプレイデバイスの法線に対して0°よりも大きい極角で観察者位置に反射するための入射方向に沿って照明を提供するように配置された。極視野角を有する実質的にランバート発光するライトボックスの照度の変化I(θ)は、反射率の変化を考慮に入れて、極視野角を有する記録された反射輝度の変化を測定することによって、決定されたρ(θ)。P(θ)、ρ(θ)、及びI(θ)の測定値を使用して、仰角ゼロ軸に沿った極視野角によるセキュリティ関数S(θ)の変化を決定した。
第2の段階では、(i)最大フォント高さ3mmの小さいテキスト画像、(ii)最大フォント高さ30mmの大きいテキスト画像、及び(iii)動画を含む一連の高コントラスト画像が、プライバシーディスプレイ上に提供された。
第3の段階では、(適切な場合、1000mmで見るための視力矯正を伴う)各観察者は、1000mmの距離から画像のそれぞれを見て、画像不視認性がディスプレイの中心線又はその近くのディスプレイ上の近くの位置から一方の眼に対して達成されるまで、0仰角で見る極角を調整した。観察者の眼の極位置を、記録した。関係S(θ)から、当該極位置におけるセキュア関数が決定された。様々な画像、様々な表示輝度Ymax、様々なライトボックス照度I(θ=0)、様々な背景照明条件、及び様々な観察者について、測定を繰り返した。
上記の測定値から、S<1.0は、低い視覚的セキュリティを提供する、又は視覚的セキュリティを提供せず、S≧1は、画像を見えなくする。1.0≦S<1.5の範囲では、画像は実用的な目的では見えないが、画像内容のコントラスト、空間周波数、及び時間周波数に依存して、画像のいくつかの特徴が依然として知覚され得るが、1.5≦S<1.8の範囲では、画像はほとんどの画像及びほとんどの観察者にとって見えず、S≧1.8の範囲では、画像は、全ての観察者にとって、画像内容とは無関係に見えない。
実際のディスプレイデバイスでは、これは、S≧Sminの関係を満たす覗き見者である軸外観察者に対して、Sの値を提供することが望ましいことを意味するが、ここで、Sminは、実際には、表示された画像が軸外観察者に見えないという効果を達成するために、1.0以上の値を有する。
問題の観察角度θで、インデックスnによってラベル付けされたディスプレイの領域に対するセキュリティ関数Snは、式8及び式9から所与される。
Sn(θ)=log10[1+(ρn(θ).α(θ))/((π).Pn(θ))]) 式10
式中、αは、問題の角度でディスプレイから反射されるディスプレイ上の照度I(θ)と単位ルクス(ルーメン.m-2)との、最大輝度Ymaxとニット(ルーメン.m-2.sr-1)での比率であり、ここで、αの単位は、ステラジアンであり、πは、ステラジアン単位の立体角であり、ρn(θ)は、それぞれのn番目の領域における、観察方向に沿ったディスプレイデバイスの反射率であり、Pn(θ)は、それぞれのn番目の領域における、観察方向に沿ったディスプレイデバイスの輝度の比である。
Sn(θ)=log10[1+(ρn(θ).α(θ))/((π).Pn(θ))]) 式10
式中、αは、問題の角度でディスプレイから反射されるディスプレイ上の照度I(θ)と単位ルクス(ルーメン.m-2)との、最大輝度Ymaxとニット(ルーメン.m-2.sr-1)での比率であり、ここで、αの単位は、ステラジアンであり、πは、ステラジアン単位の立体角であり、ρn(θ)は、それぞれのn番目の領域における、観察方向に沿ったディスプレイデバイスの反射率であり、Pn(θ)は、それぞれのn番目の領域における、観察方向に沿ったディスプレイデバイスの輝度の比である。
人的要因の測定において、以下に記載する本実施形態の望ましいプライバシーディスプレイは、最大輝度Ymaxに対する照度Iのα比の値が4.0である場合の観察角において、典型的には、セキュリティ関数Sn≧1.0で動作することが見出されている。例えば、ディスプレイを照明し、ディスプレイからの反射後に、観察方向(θ=+45°)における覗き見者に向けられる照度I(θ=-45°)は、1000ルクスであってもよく、ユーザについて提供される最大表示照度Ymaxは、250ニットであってもよい。これは、広い範囲の実用的なディスプレイでは見えない画像を提供する。
より好ましくは、ディスプレイは、比率αが2.0である場合の観察角で、セキュリティ関数Sn≧1.0で動作することによって、反射率ρn(θ=45°)及びプライバシーPn(θ=45°)の特性が、改善され得る。このような構成は、望ましいセキュリティ関数Sn≧1.0を達成しながら、Ymaxの方向に近い一次ユーザに対する、ディスプレイの相対的知覚輝度及びコントラストを、望ましく改善する。最も好ましくは、ディスプレイは、比率αが1.0である場合の観察角で、セキュリティ関数Sn≧1.0で動作することによって、反射率ρn(θ=45°)及びプライバシーPn(θ=45°)の特性が、改善され得る。このような配置は、ディスプレイの周囲の照明された領域の輝度と比較して、Ymaxの方向に近い一次ユーザに対する、ディスプレイの望ましく高い知覚輝度及びコントラストを達成する一方で、観察方向における軸外観察者47に対しては、望ましいセキュリティ関数Sn≧1.0を達成する。
上記の説明は、覗き見者である軸外の観察者に対するディスプレイ画像の視認性を低減することに焦点を当てているが、同様の考慮が、通常は軸上にあるディスプレイデバイスの意図されたユーザに対するディスプレイ画像の視認性に適用される。この場合、視覚的セキュリティレベル(VSL)Vのレベルを下げることは、視聴者に対する画像の視認性を上げることに相当する。観察の間、S<0.2は、表示された画像の許容可能な視認性(知覚されるコントラスト比)を提供してもよく、より望ましくは、S<0.1である。実際のディスプレイデバイスにおいて、これは、ディスプレイデバイスの意図されたユーザである軸上の観察者に対して、関係S≦Smaxを満たすSの値を提供することが望ましいことを意味し、ここで、Smaxは、0.2の値を有する。
本考察では、所望の白色点(uw'、vw')からの出力色(uw'+Δu'、vw'+Δv')の色変動Δεは、CIELUV色差指標によって決定されてもよく、典型的なディスプレイスペクトル光源を想定し、
Δε=(Δu'2+Δv'2)1/2 式11
Δε=(Δu'2+Δv'2)1/2 式11
ここで、様々な指向性ディスプレイデバイスの構造及び動作について、説明する。本説明では、共通の要素は、共通の参照番号を有する。任意の要素に関する開示は、同一又は対応する要素が設けられる各装置に適用されることに、留意されたい。したがって、簡潔にするために、このような開示は、繰り返さないものとする。
図1Aは、周囲光源410によって照明された場合に動作するように構成され、バックライト20によって照明される透過型空間光変調器48と、反射偏光子302と、パッシブリターダ330を備える極性制御リターダ300と、パターン化された電極317F、電極317Rを備える液晶極性制御リターダ301と、を備える、プライバシーディスプレイデバイス100の、正面斜視図を示す、概略図である。
周囲照明410において使用するためのディスプレイデバイス100は、光を出力するように構成された空間光変調器48であって、当該空間光変調器48が、空間光変調器48の出力側に配置された出力偏光子218を備え、出力偏光子218が直線偏光子である、空間光変調器48と、視野角制御構成体であって、当該視野角制御構成体が、出力偏光子218の出力側に配置された追加の偏光子318であって、当該追加の偏光子318が直線偏光子である、追加の偏光子318と、出力偏光子218と追加の偏光子318との間に配置された反射偏光子302であって、当該反射偏光子が直線偏光子である、反射偏光子302と、当該反射偏光子302と当該追加の偏光子318との間に配置された少なくとも1つの極性制御リターダ300であって、当該少なくとも1つの極性制御リターダ300が、液晶材料414の層314と、当該液晶材料414の層314の両側の第1の透過性電極317F及び第2の透過性電極317Rと、を備える、切替可能液晶リターダ301を含む、少なくとも1つの極性制御リターダと、を備える、視野角制御構成体と、を備える。
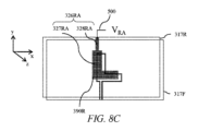
第1の透過性電極317F及び第2の透過性電極317Rのうちの少なくとも1つは、間隙390によって分離された領域327A、327Bにおいて、パターン化されている。図1Aの実施形態では、第1の透過性電極317Fは、領域327FA、327FBでパターン化され、第2の透過性電極317Rは、領域327RA、327RBでパターン化されている。
電極317F、317Rは、液晶材料414の層314の複数のアドレス指定可能領域320A、320Bを提供するが、これらは、軸外観察者47に表示するための標識322の形状の、複数のアドレス指定可能標識領域320A(又は、より一般的な場合には、少なくとも1つのアドレス指定可能標識領域320A)、及び標識322に対する背景の形状の、複数のアドレス指定可能背景領域320B(すなわち、標識322の反転)である。ディスプレイデバイス100の動作モードのうちの少なくとも1つにおいて、領域320A、320Bは、標識領域320A内の液晶材料415の配向方向414Aが、背景領域320B内の液晶材料415の配向方向414Bと異なるように、望ましい駆動方式でアドレス指定されるが、その例示的な例が、以下に記載される。
図1Aの実施形態では、第1の透過性電極317F及び第2の透過性電極317Rの両方は、テキスト「LOGO」を含む標識322の形状である、領域327FA、327FB、327RA、327RBで、パターン化されている。より一般的には、標識322は、アイコン又はテキスト又は、何らかのその他のグラフィカル画像であってもよい。
制御システム500は、空間光変調器48を制御し、液晶材料414の層314を駆動するために、第1の透過性電極317F及び第2の透過性電極317Rにわたって電圧を印加するように、構成されている。
少なくとも1つの極性制御リターダ300は、受動リターダ330を更に備える。
空間光変調器48は、透過型空間光変調器48であり、ディスプレイデバイス100は、空間光変調器48に光を供給するように構成されたバックライト20を、更に備える。
次に、ディスプレイデバイス100の構成について、更に詳細に説明する。
ディスプレイデバイス100は、光400を出力するように構成されたバックライト20と、バックライト20からの出力光を受け取るように構成された透過型空間光変調器48と、を備える。
バックライト装置20は、背面反射体3と、導波路1、光源15、及び光方向転換フィルム又は輝度向上フィルム、並びに拡散体などの光学素子を含み得、かつ導波路1から出て空間光変調器48を通って直接進む光を受け取るように構成された、光制御構成要素5と、を備える。
代替実施形態では、光源15は、ミニLEDアレイを含んでもよく、導波路1は省略されてもよく、色変換フィルム及び光散乱フィルムが、空間光変調器48を照明するために提供されてもよい。有利には、ダイナミックレンジ及び輝度の増大が、達成されてもよい。
図1Aの実施形態では、空間光変調器48は、基材212、216と、赤色、緑色、及び青色の画素220、222、224を有する液晶層214と、を備える、液晶ディスプレイデバイスを備えてよい。空間光変調器48は、入力ディスプレイ偏光子210と、その反対側の出力ディスプレイ偏光子218と、を有する。出力ディスプレイ偏光子218は、空間光変調器48の画素220、222、224からの光に対して高消光率をもたらすように、構成されている。典型的な偏光子210、218は、延伸PVA上のヨウ素偏光子などの二色性偏光子などの、吸収偏光子であってもよい。
所望により、バックライト20からの出力光の効率を改善するために、バックライト20と入力偏光子210との間に、反射偏光子208が設けられてもよい。反射偏光子208は、以下に記載される反射偏光子302とは異なる。反射偏光子208、302は、スリーエム株式会社製のDBEF(商標)又はAPF(商標)などの材料によって、提供されてもよい。
追加の偏光子318は、追加の偏光子318が直線偏光子であるように、空間光変調器48の出力側に配置される。反射偏光子302は、追加の偏光子318と出力偏光子218との間に、配置される。ディスプレイ出力偏光子218、反射偏光子302、及び追加の偏光子318は、入力偏光子218の透過方向に対して、それぞれ平行及び直交する、電気ベクトル透過方向を有する。有利には、透過効率が増大する。
極性制御リターダ300は、反射偏光子302とディスプレイ偏光子218との間に配置され、極性制御リターダ300は、透明電極317F、透明電極317Rが設けられた基板312、基板316の間に配置された液晶材料414の層314を含む、切替可能液晶リターダ301を含む。
切替可能液晶リターダ301の構造は、以下で図15A~図15Cを参照して、更に説明される。
図1Aの極性制御リターダは、少なくとも1つの受動補償リターダ330を、更に備える。このような受動補償リターダ330は、Cプレート、Aプレート、又はそれらの組み合わせを備えてもよく、有利には、以下に記載されるように、低減された輝度及び増加された反射率が達成され得る、極性領域の増大されたサイズを達成する。
ディスプレイデバイス100は、周囲光源410からの光線412によって、照明される。
極性制御リターダ300、追加の偏光子318、及び反射偏光子の構造及び動作は、図21A~図21Dに関して以下で、及び参照によりその全体が本明細書に組み込まれる、米国特許第10,976,578号で、更に説明される。
電極317Fは、間隙390Fによって分離された第1の領域327FA及び第2の領域327FBを含み、電極317Rは、間隙390Rによって分離された第1の領域327RA及び第2の領域327RBを含む。図1Aの実施形態では、電極317Fは、電極317Rと追加の偏光子318との間に、示されている。図1Aの代替実施形態及び以下に記載する実施形態の代替実施形態では、電極317Rは、電極317Fと追加の偏光子318との間に、配置されてもよい。
制御システム500は、以下に記載されるように、電極領域327FA、327FB、327RA、327RBのそれぞれに、電圧を駆動するように構成された、電圧ドライバ501の、制御を提供するように、構成されている。
図1Bは、周囲光源410によって照明された場合に動作するように配置され、発光型空間光変調器48と、反射偏光子302と、パターン化された電極317F、317Rを備える液晶極性制御リターダ301を備え、任意選択のカラーフィルタ層380を更に備える、極性制御リターダ300と、を備える、プライバシーディスプレイデバイス100の、正面斜視図を示す、概略図である。更に詳細に論じられていない図1Bの実施形態の特徴は、特徴の任意の潜在的な変形を含む、上述の同等の参照番号を有する特徴に対応すると、想定されてもよい。
図1Bの代替実施形態は、いくつかの点で、図1Aの構成とは異なる。第1の態様において、空間光変調器48は、発光型空間光変調器48であり、入力偏光子210を有さない。
更なる追加の偏光子318Aが、反射偏光子302と出力偏光子218との間に設けられる。更なる液晶リターダ301A及び受動補償リターダ330Aを備える更なる極性制御リターダ300Aが、更なる追加の偏光子318Aと出力偏光子218との間に設けられる。更なる液晶リターダ301は、透明基板312A、透明基板316Aと、均一電極317FA、均一電極317RAの間の液晶層314Aと、を備える。
図1Aの構成と比較して、空間光変調器48は、セキュリティ関数Sが、指向性バックライト20によって達成可能であり得るものよりも低くなるように、軸外位置においてより高い輝度を有する光円錐を、提供してもよい。追加の極性制御リターダ300Aは、有利には、プライバシーモードにおいて、低減された軸外輝度を達成し、共有モードにおいて、広い視野位置からの画像視認性を達成してもよい。有利には、セキュリティ関数は、プライバシーディスプレイ動作のために増加されてもよい。
図1Bの代替実施形態では、電極317Fは、以下で更に記載するように、それぞれ、セグメント化領域392A~392Dを更に備えてもよい。追加の極性制御リターダ301Aは、標識322を有さなくてもよいが、やはり領域317AA~317ADにセグメント化された電極317AF、392ARのうちの1つを、備えてもよい。セグメント392A~392D及び392AA~392ADは、それぞれ、位置合わせされてもよい。有利には、混合された広角領域及びプライバシー領域を備えるディスプレイデバイスが、設けられてもよい。セグメントは、示されるように四分円であってもよく、線形ストライプであってもよく、又はいくつかのその他の形状を有してもよい。
図1Bの代替実施形態では、カラーフィルタ380が、反射偏光子302と追加の偏光子318との間に設けられる。反射された光線は、カラーフィルタ380を2回通過することによって修正される色を有して、例えば、環境の美観に適合する色、又はブランド色に適合する色を、提供してもよい。カラーフィルタ380を1回通過する空間光変調器48から出力される光の色は、適切な白色点を提供するように、修正されてもよい。
図1Bの代替例は、図1Aの構成に更に適用されてもよい。更なる追加の偏光子318Aは、バックライト20と入力ディスプレイ偏光子210との間に設けられてもよい。極性制御リターダ300Aは、入力ディスプレイ偏光子210と更なる追加の偏光子318Aとの間に、設けられてもよい。有利には、増大した軸外輝度制御が、達成されてもよい。
図1Cは、反射偏光子302と、少なくとも1つの受動リターダ330を備える極性制御リターダ300と、パターン化された電極317F、317Rを備え、カラーフィルタ層380を更に備える液晶極性制御リターダ301と、を備える、視野角制御光学素子101の、正面斜視図を示す、概略図である。更に詳細に論じられていない図1Cの実施形態の特徴は、特徴の任意の潜在的な変形を含む、上述のような同等の参照番号を有する特徴に対応すると、想定されてもよい。
図1Cの代替実施形態では、空間光変調器48と共に使用するために、視野角制御素子101が設けられてもよい。有利には、切替可能プライバシー機能が達成されてもよい。
極性制御リターダ300の例示的な構成は、表1に提供され、(以下で更に記載されるように)逆平行ホモジニアス配向層417F、417Rを有する液晶層314を備える。配向方向は、y軸に平行に配向されている(水平ディスプレイ軸に対して回転されている)。受動制御リターダ330は、交差Aプレート330A、330Bを備え、プライバシーモード電圧よりも約3倍大きい共有モード電圧を有する。電圧信号520は、DC平衡であり、方形波、正弦波、又はその他の形状を有する。通常は、動作中、液晶層314の液晶材料414は、アドレス指定電圧のrms電圧に応答する。
表1の例示的な実施形態では、プライバシーモードのアドレス指定電圧は、望ましくは2.3Vである。共有モードのためのアドレス指定電圧は、通常は>5Vであり、それを超えると、層314の液晶材料414の再配向が、実質的に飽和する。したがって、共有モードのためのプライバシー電圧の3倍のアドレス電圧が、望ましいレベルである。
次に、反射偏光子302を有しない構造について説明する。
図1Dは、バックライト20によって照明される透過型空間光変調器48と、吸収型出力ディスプレイ偏光子218と、パターン化された電極317F、317Rを備える液晶極性制御リターダ301を備える極性制御リターダ300と、を備えるプライバシーディスプレイデバイス100の正面斜視図を示す概略図である。更に詳細に論じられていない図1Dの実施形態の特徴は、特徴の任意の潜在的な変形を含む、上述のような同等の参照番号を有する特徴に対応すると想定されてもよい。
周囲照明410で使用するためのディスプレイデバイス100は、光を出力するように構成された空間光変調器48を備え、空間光変調器48は、空間光変調器48の側に配置されたディスプレイ偏光子を備え、ディスプレイ偏光子は、直線偏光子であり、図1Dでは、空間光変調器48の出力側に配置された出力偏光子218である。視野角制御構成体は、空間光変調器48のディスプレイ偏光子と同じ側に配置された追加の偏光子318を備え、追加の偏光子318は直線偏光子である。少なくとも1つの極性制御リターダ300は、ディスプレイ偏光子218と追加の偏光子318との間に配置され、少なくとも1つの極性制御リターダ300は、液晶材料414の層314を備える切替可能液晶リターダ301と、液晶材料414の層314の両側の第1の透過性電極317F及び第2の透過性電極317Rと、を含み、第1の透過性電極317F及び第2の透過性電極317Rのうちの少なくとも1つは、間隙390F、390Rによって分離された領域327FA、327FB、327RA、327RBにおいてパターン化されて、液晶材料414の層314の複数のアドレス指定可能領域320A、320Bを提供し、複数の領域320A、320Bのうちの少なくとも1つは、観察者47に表示するための標識322の形状である。
図1Dの構成は、空間光変調器48が発光型ディスプレイを備え、バックライト20が省略される代替実施形態によって、更に提供されてもよい。
図1Aの実施形態と比較して、図1Dの代替実施形態は、反射偏光子302が省略され得ることを示す。周囲光源410からの光412は、追加の偏光子318の前面によって反射されるが、前面拡散が提供される場合に、ディスプレイの反射率ρは、フレネル反射によって決定され、表面粗さによって変調される。有利には、積層体の複雑性及びコストが、低減される。ディスプレイデバイス100の反射率は、共有モードにおいて、ディスプレイ観察者45、ディスプレイ観察者47に対して、増大した画像コントラストが達成されるように、また、オフ動作モードにおいて、より黒い外観のディスプレイを提供するように、低減されてもよい。有利には、改善された審美的外観が、達成されてもよい。
以下の図5Dで説明されるように、標識プライバシーモードでの動作において、遠位標識領域320Aによって提供されるセキュリティ関数SAは、近位遠位背景領域320Bによって提供されるセキュリティ関数SBと異なるように提供されてもよく、それによって、標識322は、標識プライバシーモードにおいて、遠位標識領域320Aと近位背景領域320Bとの間の出力された、輝度のコントラストの差として視認可能である。
図1Eは、バックライト20と、パターン化された電極317F、317Rを備える液晶極性制御リターダ301を備える極性制御リターダ300と、吸収型入力ディスプレイ偏光子210を備える透過型空間光変調器48と、を備える、プライバシーディスプレイデバイス100の正面斜視図を示す概略図である。更に詳細に論じられていない図1Eの実施形態の特徴は、特徴の任意の潜在的な変形を含む、上述のような同等の参照番号を有する特徴に対応すると想定されてもよい。
図1Dの実施形態と比較して、図1Eの代替実施形態では、ディスプレイ偏光子は、空間光変調器48の入力側に配置された入力偏光子210である直線偏光子である。追加の偏光子318は、空間光変調器48の入力側に配置される。少なくとも1つの極性制御リターダ300は、入力偏光子210と追加の偏光子318との間に配置される。
図1Dの実施形態と比較して、図1Eの代替実施形態では、ディスプレイ偏光子は、空間光変調器48の入力偏光子210であり、パターン化された電極317F、317Rを備える液晶極性制御リターダ301は、追加の偏光子318と入力偏光子210との間に配置される。
有利には、図1Dの配置において視認可能であり得るパターン化された電極317F、317Rからの残留反射の視認性が、低減されてもよく、ディスプレイデバイス100の改善された黒色外観が達成されてもよい。
図1Fは、電極317F、317Rが、高い軸外反射率のために液晶層314を駆動するように配置される場合の、図1Aの極性制御リターダ300A及び表1の例示的な実施形態の反射率の極性変動を示す概略グラフである。図1Gは、電極317F、317Rが、低い軸外反射率のために液晶層314を駆動するように配置される場合の、図1Aの極性制御リターダ300A及び表1の例示的な実施形態の反射率の極性変動を示す、概略グラフであり、図1Hは、図1Aの例示的なバックライト20の輝度の極性変動を示す概略グラフである。例示的な観察者45、観察者47の、極位置445、極位置447が示されている。
次に、異なる構成に対する、極角によるセキュリティ関数の変動について説明する。
図1Iは、4.0のαルクス/ニット比について、プライバシーモードで動作する図1Hのバックライト20のプロファイルを有する、図1A及び表1のディスプレイについての、セキュリティ関数Sの極座標変動を示す、概略グラフである。図1Jは、1.0のαルクス/ニット比について、プライバシーモードで動作する図1Hのバックライト20のプロファイルを有する、図1A及び表1のディスプレイについての、セキュリティ関数Sの極座標変動を示す、概略グラフである。図1Kは、1.0のαルクス/ニット比について、共有モードで動作する図1Hのバックライト20のプロファイルを有する、図1A及び表1のディスプレイについての、セキュリティ関数Sの極座標変動を示す、概略グラフであり、図1Lは、4.0のαルクス/ニット比について、プライバシーモードで動作する、図1Hのバックライト20のプロファイルを有する図1E及び表1のディスプレイについてのセキュリティ関数Sの極座標変動を示す概略グラフである。更に詳細に論じられていない図1H~図1Kの実施形態の特徴は、特徴の任意の潜在的な変形を含む、上述のような同等の参照番号を有する特徴に対応すると想定されてもよい。
本明細書では、「極角」という用語は、観察者45、観察者47が、ディスプレイを見る方向を指す。以下の説明では、極角は、仰角座標角及び横座標角を有する座標規則を使用して説明される。代替的な座標規則では、極角は、平面に対する法線方向からの傾斜角である極座標角(本明細書で言及される極角とは異なる)と、当該平面内の基準方向からの当該平面内の回転角である方位角と、を有してもよい。
図1H~図1Kを参照すると、軸上観察者45の公称極角は、極角445によって示されており、軸上観察者47の公称極角は、極角447によって示されている。上述した人的要因測定によって確立された様々なレベルの画像セキュリティが達成される、極領域のサイズを示す、ISOセキュリティ関数のプロファイルが示されている。
図1H~図1Iは、異なる照明条件についての、プライバシーモード(光円錐401)のセキュリティ関数Sの変化を示す。狭角動作モードでは、狭角光円錐401のサイズは、極角445の観察者45が画像を見るように、S<0.2である極面積によって示されてもよい。最大表示輝度に対する照度の比α(図1H~図1Kでは、ディスプレイデバイス100の面に対して法線方向である)を減少させると、S≧1である極領域のサイズが減少する。
図1Kは、共有動作モードにおける、すなわち、光円錐402についてのセキュリティ関数Sを示す。共有動作モードにおいて、広角光円錐402は、S<1.0である極領域であってもよい。図1Kの実施形態では、観察者47の極角447におけるセキュリティ関数Sは、0.2に近く、したがって、画像は、おそらく最も望ましいコントラスト比ではないが、はっきりと見える。
図1Iとの比較として、図1Lは、光学積層体から反射偏光子302を除去し、ディスプレイ反射率ρを低減する効果を示す。したがって、観察者47におけるセキュリティ関数Sは、図1Aの光学積層体で達成可能なものほどは高くない。
制御システム500は、以下に記載するように、複数の動作モードで動作可能であるように構成されている。
図2Aは、空間光変調器48から光400が出力されない、パターン化された電極317F、317Rを有する液晶極性制御リターダ301を備える、切替可能プライバシーディスプレイデバイス100を備える周囲光源410によって照明されるラップトップコンピュータ102の、正面斜視図を示す、概略図であり、図2Bは、空間光変調器48から光400が出力されない、パターン化された電極317F、317Rを有する液晶極性制御リターダ301を備える、切替可能プライバシーディスプレイデバイス100を備える周囲光源410によって照明されるラップトップコンピュータ102の見下ろし軸外斜視図を示す概略図である。更に詳細に論じられていない図2A~図2Bの実施形態の特徴は、特徴の任意の潜在的な変形を含む、上述のような同等の参照番号を有する特徴に対応すると想定されてもよい。
図2A~図2Bは、「標識スリープモード」とも呼ばれる場合がある標識ディスプレイモードの動作を示す。ディスプレイデバイス100は、例えば、図1A又は図1Bのディスプレイデバイス100を含んでもよい。制御システム500は、空間光変調器48を制御して画像を表示しないようにし(例えば、空間光変調器48をオフにし、バックライト20が存在する場合には、電圧VF、VRを、第1の透過性電極317F及び第2の透過性電極317Rに印加して、液晶材料414の層314を、異なる領域320A、320Bにおいて異なる状態に駆動して、標識322が、観察者45に対して狭角では見えないが、観察者47に対しては、広角で見えるようにする。
制御システム500は、以下で更に説明されるように、第1の透過性電極317F及び第2の透過性電極317Rにわたって、電圧VF、VRを印加する。それぞれの電圧VF、VRは、液晶材料414の層314を、異なる領域320A、320Bにおいて異なる状態に駆動する、すなわち、電圧VFA、VRAは、標識領域320Aにおいてに提供されてもよく、電圧VFB、VRBは、背景領域320Bにおいて提供されてもよい。
標識322は、遠位標識領域320A及び近位背景領域320Bを含み、通常は、遠位標識領域320Aは、表示される図像、画像、テキスト、又はその他の標識情報を含む。
少なくとも1つの標識ディスプレイモードは、制御システム500が、空間光変調器48を制御して画像336をディスプレイせず、第1の透過性電極317F及び第2の透過性電極317R間に電圧VF、VRを印加して、液晶材料414の層314を、異なる領域320A、320Bにおいて異なる状態に駆動して、標識領域320Aが、軸外観察者47には広角で見えるが、観察者45には狭角では見えないようにする、標識ディスプレイモードを含む。
本実施形態では、観察者45は、通常は(必須ではないが)軸上位置又はその近傍に位置してもよく、通常は、ディスプレイユーザである。観察者47は、通常は、軸外位置に配置されてもよく、画像データの望まれない受信者であるディスプレイの覗き見者であってもよいか、又は車両内では、受信された画像データによって注意が散漫になる可能性がある、車両の運転者であってもよい。
次に、標識ディスプレイモードにおけるディスプレイデバイス100の動作について更に説明する。
図2Aは、空間光変調器48から光が出力されない場合の、ディスプレイ正面の観察者45に対するディスプレイの外観を示す。
視野角制御素子302、300、318を通る透過光を考慮すると、空間光変調器48からの出力はなく、したがって、ディスプレイ出力輝度はない。このような構成は、動作のスリープモードにおいて提供されてもよい。有利には、ディスプレイデバイス100の電力消費は、空間光変調器48又はバックライト20ではなく、極性制御リターダ300のみを駆動するための非常に低い電力である。このような構成は、標識322が、将来の購入者に対するブランド化又はその他の美的アピールを達成するために提供される場合に、販売動作モードにおいても提供されてもよい。
ディスプレイ正面の観察者45によって視認可能である入射周辺光線412を考慮すると、極性制御リターダ300は、液晶層314にわたる電圧VF、VRにかかわらず、両方の領域320A、320Bにおいて、追加の偏光子318によって透過される入射偏光状態に対して位相シフトを提供しないように動作する。反射偏光子302に入射する偏光された周囲光は、反射されるのではなく、透過される。したがって、観察者45は、両方の領域320A、320Bについて、ディスプレイから低い反射率を見て、標識は見えない。
図2Bは、空間光変調器48から光が出力されない場合の、軸外ディスプレイ軸外観察者47に対するディスプレイの外観を示す。
視野角制御素子302、300、318を通る透過光を考慮すると、空間光変調器48からの出力はなく、したがって、ディスプレイ出力輝度はない。
軸外ディスプレイ軸外観察者47によって反射光線413として視認可能である入射周囲光線412を考慮すると、極性制御リターダ300は、第1の駆動電圧VFA、VRAによって駆動される、標識領域320A内の追加の偏光子318によって透過される、入射偏光状態に対する、第1の位相シフトと、第2の駆動電圧VFB、VRBによって駆動される、背景領域320B内の追加の偏光子318によって透過される、入射偏光状態に対する、第2の異なる位相シフトと、を提供するように動作する。
異なる位相シフトは、反射偏光子302に入射する異なる偏光状態を提供し、したがって、反射偏光子302における異なる反射率を提供する。反射光線413は、追加の偏光子318を透過し、軸外観察者47に反射される。
1つの標識領域320Aでは、第1の反射率が提供されてもよく、背景領域320Bでは、異なる反射率が提供されてもよい。例えば、図2Bの例示的な例では、標識領域320Aが反射背景上の暗い標識として、軸外観察者47に見えるように、標識領域320Aは低反射率を有してもよく、背景領域320Bは高反射率を有してもよい。
表1及び図1D~1Eの例示的な実施形態に戻る。標識領域320Aは、図1Gの極反射率プロファイルによって提供され、軸外観察者47は、0仰角で-45度の横方向角度の極位置において低反射率を見る。背景領域320Bは、軸外観察者47が、同じ極位置で、高い反射率を見るように、図1Fの極反射率プロファイルによって提供される。両方の領域320A、320Bにおいて、観察者45は、同じ低反射率を見て、標識は観察されないか低コントラストで観察される。
標識は、例えば、ブランド情報又は安全情報のディスプレイを有利に達成してもよい。
空間光変調器48から光を提供するための電力消費と比較して、極性制御リターダ300の領域320A、320Bを駆動するための電力消費は実質的により低くなり得る。例示的な例では、極性制御リターダ300の電力消費は、250mW未満であってもよいが、動作中の空間光変調器の電力消費は、典型的なラップトップでは5Wであってもよい。標識は、有利に低い電力消費で、軸外観察者47に視認可能であってもよい。
次に、更なる標識ディスプレイモードの動作について、説明する。軸外ディスプレイの軸外観察者47に反射標識領域320Aを提供しながら、ディスプレイ正面の観察者45に標識情報を提供することが望ましい場合がある。
図3Aは、光400が空間光変調器48から出力され、画像336が空間光変調器48上に提供される、パターン化された電極317F、317Rを有する液晶極性制御リターダ301を備える切替可能プライバシーディスプレイデバイス100を備える、周囲光源410によって照明されたラップトップコンピュータ102の正面斜視図を示す概略図であり、図3Bは、光400が空間光変調器48から出力され、画像336が空間光変調器48上に提供される、パターン化された電極317F、317Rを有する液晶極性制御リターダ301を備える、切替可能プライバシーディスプレイデバイス100を備える、周囲光源410によって照明されたラップトップコンピュータ102の正面斜視図を示す概略図である。更に詳細に論じられていない図3A~図3Bの実施形態の特徴は、特徴の任意の潜在的な変形を含む、上述のような同等の参照番号を有する特徴に対応すると想定されてもよい。
図3A~図3Bの代替実施形態は、「標識プライバシーモード(Mark Privacy Mode)」と呼ばれる場合がある狭角動作ディスプレイモードを示し、制御システム500は、動作画像338を表示するように空間光変調器48を制御し、動作背景画像336B、336Cが広角では見えず、狭角で(すなわち、狭角光円錐401内の角度で)見えるように、異なる領域320A、320Bにおいて液晶材料414の層314を異なる状態に駆動する電圧VF、VRを、第1の透過性電極317F及び第2の透過性電極317Rに印加する。照明標識画像336Aによって提供される標識322は、観察者45には狭角で視認可能であり、照明標識画像336A及び極性制御リターダ300の領域320A、320Bによって提供される標識322は、観察者47にとっては広角で視認可能である。
次に、図3A~図3Bの代替標識ディスプレイモードにおけるディスプレイデバイス100の動作について更に説明する。
図3Aは、照明画像が空間光変調器48から出力される場合の、ディスプレイ正面の観察者45に対するディスプレイの外観を示す。観察者45にとっては、背景画像336B上に静止照明画像である、標識照明標識画像336Aが視認可能である。標識照明像336Aは、極性制御リターダ300の標識領域320Aと位置合わせしてもよい。有利には、標識322の視認性は、視野角とは独立した共通位置において提供されてもよい。
画像は、観察者45には見えるが軸外観察者47には非公開であるユーザデータ336C、例えば、娯楽報道情報又は制御情報を更に提供されてもよい。
視野角制御素子302、300、318を透過した光を考慮すると、極性制御リターダ300は、液晶層314にわたる電圧VF、VRに関係なく、領域320A、320Bの両方において、ディスプレイ偏光子218及び反射偏光子302によって透過された入射偏光状態に対して位相シフトを提供しないように動作する。追加の偏光子318に入射する空間光変調器48からの偏光は透過される。したがって、観察者は、画像領域336A、336B、336Cを見る。代替実施形態では、標識照明画像336Aは照明されなくてもよく、観察者45のための画像データが、領域336B、336C内に提供されてもよい。
ディスプレイ正面の観察者45によって視認可能である入射周辺光線412を考慮すると、動作は、図2Aに関して説明されたものと同じである。
図3Bは、画像が空間光変調器48から出力される場合の軸外ディスプレイ軸外観察者47に対するディスプレイの外観を示す。標識領域320Aには、広角光円錐402Aが設けられ、背景領域320Bには、空間光変調器48からの出力光のための狭角光円錐401Bが設けられる。図10Eの実施形態を含む代替実施形態では、標識領域320Aは、狭角光円錐401Aを提供されてもよく、背景領域320Bは、広角光円錐402Bを提供されてもよい。
視野角制御素子302、300、318を通る透過光を考慮すると、極性制御リターダ300は、第1の駆動電圧VFA、VRAによって駆動される標識領域320A内のディスプレイ偏光子218によって透過される入射偏光状態に対して、第1の位相シフトを提供し、第2の駆動電圧VFB、VRBによって駆動される背景領域320B内のディスプレイ偏光子218によって透過される入射偏光状態に対して第2の異なる位相シフトを提供するように動作する。
異なる位相シフトは、追加の偏光子318に入射する異なる偏光状態を提供し、したがって、軸外観察者47に向かう角度での異なる透過を提供する。背景領域320Bでは、軸外観察者47への軸外透過は、狭角光円錐401Bによって示されるように低減される。標識領域320Aと比較すると、より高い透過率が達成されるが、広角光円錐402Aのサイズは、狭角光円錐401Bと比較して増大する。図3Bの例示的な例では、背景領域320Bでは軸外観察者47への低透過率が提供され、標識領域320Aでは高透過率が提供される。
例示的な実施形態では、狭角光円錐401は、画像が狭角動作モードで見える所定の方位角において、空間光変調器の法線から0°~20°の極角の範囲内にある。本モードでは、画像は、セキュリティ関数S<1、望ましくはS<0.2、より望ましくはS<0.1で動作する結果として、狭角光円錐401内の角度で視認可能である。
ディスプレイ観察者45は、例えば、ラップトップコンピュータ102のディスプレイの中心に対して垂直な軸上の公称視野角を有してもよい。代替的に、観察者45は、例えば、自動車車両において、軸外である公称視野角を有してもよく、観察者45は、軸上であってもよいか、又はディスプレイ中心と比較して、例えば、0°~10°の軸外位置の公称位置を有してもよく、更に自動車キャビン内の着座形状に依存してもよい。
例示的な実施形態では、広角光円錐402は、画像が広角動作モードで見える、ディスプレイ中心からの角度範囲である。本モードでは、画像は、セキュリティ関数S<1、望ましくはセキュリティ関数S≦0.2、より望ましくはセキュリティ関数S≦0.1で動作する結果として、広角光円錐402内の角度で視認可能である。
軸外ディスプレイ軸外観察者47によって反射光線413として視認可能である入射周囲光線412を考慮すると、動作は、図2Bに関して説明したものと同じである。
図3Bの例示的な例では、標識領域320Aが、反射背景上の照明標識として軸外観察者47に見えるように、標識領域320Aは低反射率を有してもよく、背景領域320Bは高反射率を有してもよい。更に、画像データを含む領域336Cは、周囲照度、ディスプレイ反射率、及び軸外観察者47の視野角におけるディスプレイ輝度によって決定される、セキュリティ関数で覆い隠される。
本実施形態において、標識又はロゴ領域は、透明導電性電極のない領域ではなく、動作可能な透明電極を有する。これは、領域320A、320Bが一致した透過率を有することを意味するが、これは、非電極領域と比較して、導電性電極を通る透過率がわずかに減少するために起こり得る標識電極領域の視認性を減少させる。第二に、標識領域又はロゴ領域における電極の存在は、ロゴの視認性又はコントラスト、及び電極配線の視認性又はコントラストを、定義された角度から見えるように、かつ異なる角度から見えないように、適切に調整し得る電圧がそれに印加されることを可能にする。標識領域は、図2Aを参照して説明したモードのバックライトよりも低いコントラストであってもよい。
標識領域320Aの色は、有利には、所望のブランドするように有利に修正されてもよく、観察者45は、標識領域336Aを更に観察してもよい。
次に、狭角動作ディスプレイモードについて説明する。
図4Aは、パターン化された電極317F、317Rを有する液晶極性制御リターダ301を備える、プライバシーモードで動作する、切替可能プライバシーディスプレイデバイス100を備える、周囲光源410によって照明されるラップトップコンピュータ102の、正面斜視図を示す、概略図であり、パターン化された電極317F、317Rが、共通電圧で駆動され、光400が空間光変調器48から出力され、画像336が、空間光変調器48上に提供され、図4Bは、パターン化された電極317F、317Rを有する液晶極性制御リターダ301を備える、プライバシーモードで動作する、切替可能プライバシーディスプレイデバイス100を備える、周囲光源410によって照明されるラップトップコンピュータ102の、正面斜視図を示す、概略図であり、パターン化された電極317F、317Rが、共通電圧で駆動され、光400が空間光変調器48から出力され、画像336が、空間光変調器48上に提供される。更に詳細に論じられていない図4A~図4Bの実施形態の特徴は、特徴の任意の潜在的な変形を含む、上述のような同等の参照番号を有する特徴に対応すると想定されてもよい。
図4A~図4Bは、「均一プライバシーモード(Uniform Privacy Mode)」と呼ばれる場合がある狭角動作ディスプレイモードを示し、制御システム500は、空間光変調器48を制御して動作画像338を表示し、異なる領域320A、320Bにおいて液晶材料414の層314を同じ状態に駆動する電圧VF、VRを、第1の透過性電極317F及び第2の透過性電極317Rに印加して、動作画像338が広角では見えず、狭角で(すなわち、狭角光円錐401内の角度で)見えるようにする。標識322は、観察者45に対して狭角で、又は観察者47に対して広角では見えない。
換言すれば、少なくとも1つの狭角動作ディスプレイモードは、制御システム500が、動作画像338を表示するように空間光変調器48を制御し、標識322が広角で見えないように、異なる領域320A、320Bにおいて液晶材料414の層314を同じ状態に駆動する電圧を第1の透過性電極317F及び第2の透過性電極317Rに印加する、狭角動作ディスプレイモードを含む。
図4Aを考慮すると、視野角制御素子302、300、318を透過した光、極性制御リターダ300は、両方の領域320A、320Bにおいて、ディスプレイ偏光子218及び反射偏光子302によって透過された入射偏光状態に対して、位相シフトを提供しないように動作する。追加の偏光子318に入射する空間光変調器48からの偏光は透過される。これにより、観察者45は、動作画像338を視認する。
ディスプレイ正面の観察者45によって視認可能である入射周辺光線412を考慮すると、動作は、図2Aに関して説明されたものと同じであり、ディスプレイデバイス100は、ディスプレイデバイス100にわたって、実質的に低い反射率を有する。
図4Bは、動作画像338が空間光変調器48から出力される場合の、軸外ディスプレイ軸外観察者47に対するディスプレイの外観を示す。
視野角制御素子302、300、318を透過した光を考慮すると、極性制御リターダ300は、第1の駆動電圧VFA、VRAによって駆動される標識領域320A内のディスプレイ偏光子218によって透過された入射偏光状態に対して、位相シフトを提供し、第2の駆動電圧VFB、VRBによって駆動される背景領域320B内のディスプレイ偏光子218によって透過された入射偏光状態に対して、同じ位相シフトを提供するように動作する。
同じ偏光状態が、領域320A、320Bの両方に対して追加の偏光子318に入射し、したがって、空間光変調器48からの狭角光円錐401と比較してサイズが縮小された広角光円錐402によって示されるように、軸外観察者47に向けられた角度で同じ透過が生じる。
軸外ディスプレイ軸外観察者47によって反射光線413として視認可能である入射周囲光線412を考慮すると、極性制御リターダ300は、駆動電圧VFA、VRAによって駆動される、標識領域320A内の追加の偏光子318によって透過される、入射偏光状態に対する、位相シフトと、駆動電圧VFA、VRAと同じであり得る駆動電圧VFB、VRBによって駆動される、背景領域320B内の追加の偏光子318によって透過される、入射偏光状態に対する、同じ位相シフトと、を提供するように動作する。
位相シフトは、反射偏光子302に入射するのと同じ偏光状態、したがって、反射偏光子302における同じ反射率を提供する。反射光線413は、追加の偏光子318を透過し、軸外観察者47に反射される。
同じ高反射率が、軸外観察者47に対して、領域320A、320Bに提供される。画像338からの画像データは、周囲照度、ディスプレイ反射率、及び軸外観察者47の視野角におけるディスプレイ輝度によって決定されるセキュリティ関数で覆い隠される。
ユーザである観察者45は、画像の視認性が高く、不要な覗き見者である軸外観察者47は、画像338与えられるので、画像は識別するのが困難であるか、又は見えない。プライバシーディスプレイ動作モードが、有利に達成される。
次に、広角操作ディスプレイモードについて説明する。
図4Cは、パターン化された電極317F、317Rを有する液晶極性制御リターダ301を備える、共有モードで動作する、切替可能プライバシーディスプレイデバイス100を備える、周囲光源410によって照明されるラップトップコンピュータ102の、正面斜視図を示す、概略図であり、パターン化された電極317F、317Rが、共通電圧で駆動され、光400が空間光変調器48から出力され、画像336が、空間光変調器48上に提供され、図4Dは、パターン化された電極317F、317Rを有する液晶極性制御リターダ301を備える、共有モードで動作する、切替可能プライバシーディスプレイデバイス100を備える、周囲光源410によって照明されるラップトップコンピュータ102の、正面斜視図を示す、概略図であり、パターン化された電極317F、317Rが、共通電圧で駆動され、光400が空間光変調器48から出力され、画像336が、空間光変調器48上に提供される。更に詳細に論じられていない図4C~図4Dの実施形態の特徴は、特徴の任意の潜在的な変形を含む、上述のような同等の参照番号を有する特徴に対応すると想定されてもよい。
図4C~図4Dは、「均一共有モード」と呼ばれる場合がある広角動作ディスプレイモードを示し、制御システム500は、空間光変調器48を制御して動作画像338を表示し、異なる領域320A、320Bにおいて液晶材料414の層314を同じ状態に駆動する電圧VF、VRを、第1の透過性電極317F及び第2の透過性電極317Rに印加して、動作画像338が広角では見え(例えば、すなわち、広角光円錐402内の角度で)、狭角で(すなわち、狭角光円錐401内の角度で)見えるようにする。標識322は、観察者45に対して狭角では見えず、観察者47に対して広角では見えない。
図4C~図4Dの実施形態では、制御システム500は、空間光変調器48を制御して動作画像340を表示し、第1の透過性電極317F及び第2の透過性電極317Rにわたって電圧VF、VRを印加して、液晶材料414の層314を、異なる領域320A、320Bにおいて同じ状態に駆動して、動作画像338が狭角及び広角で見えるようにし、標識が狭角又は広角で見えないようにする。
図4Cを考慮すると、視野角制御素子302、300、318を透過した光、極性制御リターダ300は、両方の領域320A、320Bにおいて、ディスプレイ偏光子218及び反射偏光子302によって透過された入射偏光状態に対して、位相シフトを提供しないように動作する。追加の偏光子318に入射する空間光変調器48からの偏光は透過される。これにより、観察者45は、動作画像340を視認する。
ディスプレイ正面の観察者45によって視認可能である入射周辺光線412を考慮すると、動作は、図4Aに関して説明されたものと同じであり、ディスプレイデバイス100は、ディスプレイデバイス100にわたって実質的に低い反射率を有する。
図4Dは、動作画像340が空間光変調器48から出力される場合の、軸外ディスプレイ軸外観察者47に対するディスプレイの外観を示す。
視野角制御素子302、300、318を通る透過光を考慮すると、極性制御リターダ300は、駆動電圧VFA、VRAによって駆動される標識領域320A内のディスプレイ偏光子218によって透過される入射偏光状態に対して、実質的に位相シフトを提供せず、電圧VFA、VRAと同じであってもよいが、以下で説明するように、図4A~図4Bの駆動電圧とは異なる駆動電圧VFB、VRBによって駆動される背景領域320B内のディスプレイ偏光子218によって透過される入射偏光状態に対して実質的に位相シフトを提供しないように動作する。
同じ偏光状態が、両方の領域320A、320Bに対して追加の偏光子318に入射し、したがって、空間光変調器48からの狭角光円錐401と比較して同じサイズである広角光円錐402によって示されるように軸外観察者47に向けられた角度で同じ透過が生じる。光線416は、ディスプレイデバイス100から軸外観察者47に出力される。
軸外ディスプレイ軸外観察者47によって反射光線413として視認可能である入射周囲光線412を考慮すると、極性制御リターダ300は、駆動電圧VFA、VRAによって駆動される、標識領域320A内の追加の偏光子318によって透過される入射偏光状態に対して、実質的に位相シフトを提供せず、駆動電圧VFA、VRAと同じであり得る駆動電圧VFB、VRBによって駆動される背景領域320B内の追加の偏光子318によって透過される入射偏光状態に対して実質的に位相シフトを提供しないように動作する。
反射偏光子302に入射する偏光状態は、反射偏光子302の電気ベクトル透過方向に位置合わせされ、したがって反射されない。
同じ低反射率が軸外観察者47に対して領域320A、320Bに提供される。画像340からの画像データは、軸外観察者47にとって高い画像視認性で視認可能である。共有ディスプレイ動作モードが有利に達成される。
次に、標識プライバシーモードの動作について説明する。
図5Aは、パターン化された電極317F、301Rが異なる電圧で駆動され、画像データが空間光変調器48上に提供される、パターン化された電極液晶極性制御リターダ317を備える、標識プライバシーモードで動作する切替可能プライバシーディスプレイデバイス100を備えるラップトップコンピュータ102の、正面斜視図を示す、概略図であり、図5Bは、パターン化された電極317F、317Rが異なる電圧で駆動され、画像データが空間光変調器48上に提供される、パターン化された電極液晶極性制御リターダ301を備える、標識プライバシーモードで動作する切替可能プライバシーディスプレイデバイス100を備える周囲光源410によって照明されるラップトップコンピュータ102の見下ろし軸外斜視図を示す概略図である。更に詳細に論じられていない図5A~図5Bの実施形態の特徴は、特徴の任意の潜在的な変形を含む、上述のような同等の参照番号を有する特徴に対応すると想定されてもよい。
図5A~図5Bの代替実施形態は、「標識プライバシーモード」と呼ばれる場合がある狭角動作ディスプレイモードを示し、制御システム500は、動作画像338を表示するように空間光変調器48を制御し、動作画像338が広角では見えず、狭角で(すなわち、狭角光円錐401内の角度で)見えるように、異なる領域320A、320Bにおいて液晶材料414の層314を異なる状態に駆動する電圧VF、VRを、第1の透過性電極317F及び第2の透過性電極317Rに印加する。標識322は、観察者45に対して狭角では見えず、観察者47に対して広角で見える。
図5A~図5Bの代替実施形態は、例えば、図1Aのタイプの周囲照明410で使用するためのディスプレイデバイス100を示し、視野角制御構成体は、反射偏光子302を更に備え、制御システム500は、複数の動作モードで動作可能であるように構成されている。
広角動作ディスプレイモードでは、例えば、図4Bに示すように、制御システム500は、空間光変調器48を制御して動作画像338を表示し、第1の透過性電極317F及び第2の透過性電極317Rに電圧を印加して、液晶材料414の層314を、異なる領域320A、320Bにおいて同じ状態に駆動して、動作画像338が円錐402内の広角及び狭角で見え、標識が狭角又は広角で見えないようにする。
図5Bに示す少なくとも1つの狭角動作ディスプレイモードでは、制御システム500は、空間光変調器48を制御して動作画像338を表示し、第1の透過性電極317F及び第2の透過性電極317Rに電圧を印加して、液晶材料414の層314を、異なる領域320A、320Bにおいて異なる状態に駆動して、動作画像338が、狭角(狭角光円錐401)で見えるが広角(広角光円錐402)では見えず、標識322が狭角では見えないが広角で見えるようにする。
式10及び上記の関連する説明を参照して、セキュリティ関数Snは、以下の式によって所与される。
Sn=log10[1+(ρn.α)/(π.Pn)] 式12
式中、ρnは、問題の角度におけるディスプレイデバイスの反射率でありは、Pnは、ディスプレイデバイスの最大輝度に対する、問題の角度におけるディスプレイデバイスの輝度の比である。πは、ステラジアン単位の立体角であり、αは、4.0のステラジアンの値を有する係数であり、それによって、式12についての測定条件は、問題の角度に向かって反射され、ニットで測定されるピーク表示輝度Ymaxの4倍である、ルクスで測定される、表示照度Iを指す。
Sn=log10[1+(ρn.α)/(π.Pn)] 式12
式中、ρnは、問題の角度におけるディスプレイデバイスの反射率でありは、Pnは、ディスプレイデバイスの最大輝度に対する、問題の角度におけるディスプレイデバイスの輝度の比である。πは、ステラジアン単位の立体角であり、αは、4.0のステラジアンの値を有する係数であり、それによって、式12についての測定条件は、問題の角度に向かって反射され、ニットで測定されるピーク表示輝度Ymaxの4倍である、ルクスで測定される、表示照度Iを指す。
動作画像338は、問題の角度で定義されたセキュリティ係数Snが、全ての領域320A、320Bについて1.0未満である場合に、視認可能である。より望ましくは、ディスプレイユーザとして作業する軸外観察者47のための、高コントラスト画像のために、問題の角度で定義されるセキュリティ関数Snは、全ての領域320A、320Bに対して、望ましくは0.2以下である。0.2より大きく1.0未満のセキュリティ関数Snの値に対して、ディスプレイユーザとして作業する軸外観察者47は、低減されたコントラストを有する画像を見る。
動作画像338は、問題の角度で定義されたセキュリティ関数Snが、全ての領域320A、320Bに対して少なくとも1.0である場合には、見えない。0.2と1.0との間のセキュリティ関数Snの値に対して、ディスプレイの覗き見者として作業する軸外観察者47は、いくらかの画像視認性を経験し、したがって、ディスプレイデバイス100は、問題の角度においてプライベートではないと考えられる場合がある。
また、標識322は、複数標識領域320A(標識320の形状)における問題の角度で定義されるセキュリティ関数S322Aが、その他の領域320Bにおけるセキュリティ関数S320Bと、それぞれ異なる場合に視認可能となる。複数標識領域320Aにおける問題の角度で定義されたセキュリティ関数S320Aが、その他の背景領域320Bにおけるセキュリティ関数S320Bと同じである場合、標識322は視認できない。
本明細書において、広角とは、ディスプレイデバイス100の法線を中心とした所定の方位角における、ディスプレイデバイスの法線から45°の極角であり、狭角とは、空間光変調器の法線から所定の方位角における極角0°~20°の範囲である。
図5Bの実施形態の例示的な例を以下の表3Dに示す。
ディスプレイデバイス100のコスト及び前面反射率を低減することが望ましい場合がある。
図5Cは、フルスクリーン・プライバシーモードで動作する、切替可能プライバシーディスプレイデバイス100を備える、ラップトップコンピュータ102の見下ろし軸外斜視図を示す概略図である。更に詳細に論じられていない図5Cの実施形態の特徴は、特徴の任意の潜在的な変形を含む、上述のような同等の参照番号を有する特徴に対応すると想定されてもよい。
図5Cの代替実施形態は、例えば、図1D又は図1Eに示されるように、ディスプレイデバイス100が反射偏光子302を含まない、実施形態を示す。領域320A、320Bは、液晶材料の層314が、本明細書のその他の箇所で説明したものと同じ状態で駆動されるように駆動される。比較的低い正面反射率を有するプライバシーディスプレイが提供される。有利には、美的外観は、それが望ましいと考えられるいくつかの用途において改善することができ、かつコストを低減してもよい。
図5Dは、パターン化された電極317F、317Rが異なる電圧で駆動され、画像データが空間光変調器48に提供される、反射偏光子を有さないパターン化された電極液晶極性制御リターダ301を備える、標識プライバシーモードで動作する、切替可能プライバシーディスプレイデバイス100を備えるラップトップコンピュータ102の見下ろし軸外斜視図を示す概略図である。更に詳細に論じられていない図5Dの実施形態の特徴は、特徴の任意の潜在的な変形を含む、上述のような同等の参照番号を有する特徴に対応すると想定されてもよい。
図5Dの代替実施形態は、図5Bの実施形態と同様の実施形態を示しており、両方の領域320A、320Bは、1.0以上であるセキュリティ関数S320A、S320Bを含むが、それぞれのセキュリティ関数S320A、S320Bは異なる。
プライバシー標識モードの目的は、標識が見えるように、標識領域320A及び背景領域320Bの両方内に所望のセキュリティ関数を提供し、領域320Aと背景領域320Bとの間に、セキュリティ関数のコントラストS320A、S320Bを提供することである。
本実施形態と比較すると、いくつかのタイプの従来技術のプライバシーディスプレイは、所望のレベルの照度及び最大ディスプレイ輝度で、プライバシー動作モードにおいて広角で画像を見えなくするには不十分なセキュリティ関数を提供する。不十分なセキュリティ関数Sを補償するために、従来技術のカモフラージュ・ディスプレイは、軸外覗き見者によって見られる画像に、画像妨害パターンを追加する妨害構造を提供する。いくつかの実装形態は、妨害パターンを形成するために電極のパターン化を伴い得るが、本目的は、本明細書で説明する技術とは異なり、その結果、パターンの形状及び動作が異なる。通常は、狭角動作ディスプレイモードでは、軸外観察者によって見られる動作画像の部分は、妨害パターンを形成するディスプレイの領域を通して視認可能であるが、妨害パターンの形状は、画像の部分が、それを通して見られる場合に、動作画像の内容が妨害され、したがって、原理的に、動作画像全体が知覚することが困難ではないように選択される。したがって、カモフラージュ・ディスプレイの目的及び機能は、本実施形態の標識モードの目的とは異なり、狭角動作ディスプレイモードでは、カモフラージュ・ディスプレイは、妨害的パターンを通して画像が見えるようにするように動作されるが、これは、本明細書で説明する狭角動作ディスプレイモードでは当てはまらない。
本実施形態のディスプレイデバイス100は、少なくとも、モニタ、ラップトップ、グラフィカル端末(POS(Point Of Sale)端末など)、携帯電話、及び自動車用ディスプレイを含む、その他のディスプレイデバイスに設けられてもよい。次に、車両におけるディスプレイデバイス100の構成について説明する。
図6Aは、均一プライバシーモード、標識スリープモード、又は標識プライバシーモードで動作する、切替可能プライバシー乗員娯楽報道情報ディスプレイデバイス100を備える、自動車車両600の上面図を示す概略図である。図6Bは、第1の均一共有モードで動作する、切替可能プライバシー乗員娯楽報道情報ディスプレイデバイス100を備える、自動車車両600の、上面図を示す、概略図であり、図6Cは、第2の共有モードで動作する、代替の切替可能プライバシー乗員娯楽報道情報ディスプレイデバイス100を備える、自動車車両600の上面図を示す概略図である。更に詳細に論じられていない図6A~図6Cの実施形態の特徴は、特徴の任意の潜在的な変形を含む、上述のような同等の参照番号を有する特徴に対応すると想定されてもよい。
図6A~図6Cのディスプレイデバイス100は、図2A~図2B、図3A~図3B、図4A~図4D、及び図5A~図5Dのラップトップ102に関して説明したモードと少なくとも同じモードを有してもよい。
ラップトップ102と比較して、例えば、乗員娯楽報道情報ディスプレイデバイス100として使用するための、切替可能プライバシーディスプレイデバイス100は、運転者である観察者47の注意が散漫になることを最小限にし、乗員又は交代運転者である観察者45に高い画像視認性を提供するように構成されてもよい。均一プライバシーモード及び標識プライバシーモード動作において、乗員観察者45にとって、娯楽報道情報画像は有利に視認可能である。運転観察者47がディスプレイデバイス100の光軸199に向かって傾き得る角度における、ディスプレイデバイス100上のユーザ画像338の視認性が有利に低減され、運転者の注意散漫が低減され、有利に、ディスプレイデバイス100の動作の安全性が向上する。
また、標識ディスプレイモードは、少なくとも、乗員観察者45がディスプレイデバイス100を見ていない場合に、運転観察者47が標識322を見るように低消費電力の標識スリープモードとして設けられてもよく、車両モデルルームにおいて、当該車両が、優待モードに設定されている場合、あるいは、周囲照明条件及び運転観察者47の位置が、運転者の注意が散漫になることを少なくするためのセキュリティ関数Sの望ましい限界に適さない場合、気を散らさない画像338が、乗員観察者45が見るためにディスプレイデバイス100上に提示されてもよい。
従来技術の非プライベートディスプレイでは、運転者の注意が散漫にならないように、非常に低いディスプレイ反射率を提供することが望ましいと、場合によっては考えられており、例えば、「ピアノブラック」の外観は審美的に心地よいと考えられ得る。プライバシーディスプレイは、通常は、ディスプレイの反射率に依存して、運転者の注意散漫を少なくするための望ましいセキュリティ関数を達成するためにプライバシーディスプレイは、通常はピアノブラックの外観を有さない。有利には、標識322の外観は、ディスプレイのプライバシー性能を向上させるために反射率を使用するディスプレイ、すなわち、画像が提供されない場合にピアノブラックの外観を有さないディスプレイに対して、向上した美的外観を達成してもよい。例えば、運転観察者47は、ディスプレイ表面上のディスプレイ車両ブランドロゴを知覚し得るが、乗員観察者45はロゴを見ない。ブランドロゴ領域は、製造業者又はディスプレイユーザによって選択され得る審美的選好に応じて、背景領域よりも高い反射率を有してもよいか、又はより低い反射率を有してもよい。
更に、例えば、図3A~図3Bの標識ディスプレイモードによって達成され得る、ブランドカラーリングへのマッチングを提供することが望ましい場合がある。更に、標識ディスプレイモードにおける標識320Aの外観は、例えば、以下の図14Bに示すように、ダッシュボードの外観などの車両の美的環境の外観に類似するように構成されてもよい。
更に、ディスプレイの反射率の色は、例えば、図1Bの代替実施形態に示されるように、カラーフィルタ380の挿入によって、修正されてもよい。あるいは、反射率の色は、望ましい透過スペクトルを有する偏光子を選択することによって、修正されてもよい。
次に、車両用プライバシーディスプレイデバイス100の代替構成について説明する。
図6Cの代替実施形態において、共有モードのための照明の代替的な構成が示されている。
図6Bの構成と比較して、2つの光円錐404A、404Bが、それぞれ乗員観察者45及び運転観察者47に向けられて設けられている。光円錐404A、404Bの照明は、指向性バックライト20によって、独立して制御されてもよい。参照によりその全体が本明細書に組み込まれる、米国特許第11,442,316号は、図1AのLEDの単一導波路1及び単一アレイ15の代わりに、第1の導波路1A及び第2の導波路1Bに位置合わせされた、LEDの第1のアレイ15A及び第2のアレイ15Bを備える、イネーブリング・ディスプレイ・バックライト20を示す。動作中、アレイ15A、15Bの一方は、光円錐404Aを照明するように制御され、アレイ15A、15Bの他方は、光円錐404Bを照明するように制御される。光円錐404A、404Bの両方が照明される場合に、ディスプレイデバイス100は、広角光円錐402と同様に動作し、光円錐404Aのみが照明される場合に、ディスプレイデバイス100は、上述のように、狭角光円錐401と同様に動作する。光円錐404Bのみが照明される場合に、ディスプレイデバイス100は、運転観察者47のみの照明のための、より低い電力消費を達成する。
光円錐404A、404Bのこのような配置は、光円錐402と比較して、プライバシーモードにおいて改善された性能を達成し得るが、光円錐404Bに向けられるバックライト20からの迷光は、極性制御リターダ300の透過率及び反射率によって抑制されてもよい。図6Bの構成と比較して、運転観察者47が光軸199に対して傾斜する角度におけるディスプレイデバイス100の視認性が有利に低減され、運転者の注意散漫が低減される。ディスプレイデバイス100の複雑性及びコストが、有利に低減されてもよい。
次に、図6Cの例示的な乗員娯楽報道情報ディスプレイデバイス100の構造及び動作について説明する。
図7Aは、図6Cの自動車用ディスプレイデバイス100で使用するための、プライバシーディスプレイデバイス100の正面斜視図を示す概略図である。更に詳細に論じられていない図7Aの実施形態の特徴は、特徴の任意の潜在的な変形を含む、上述の同等の参照番号を有する特徴に対応すると想定されてもよい。
図1Aの構成と比較して、更なる追加の偏光子318Aが、バックライト20と入力偏光子210との間に設けられる。更なる極性制御リターダ300Aは、切替可能液晶リターダ301及び交差Aプレート受動補償リターダ330A、330Bを備え、更なる追加の偏光子318Aと入力偏光子210との間に設けられる。例示的な実施形態において、極性制御リターダ300及び更なる極性制御リターダ300Aは、表2に記載されるように配置されてもよい。
図1Aのエッジ入力光源15を有する導波路1と比較して、バックライト20は、ミニLED光源15のアレイを備える。光制御構成要素5は、蛍光体又は量子ドットシートなどの色変換層、拡散体、及び輝度向上フィルム、スリーエム株式会社製のBEF(商標)などのプリズムフィルムを含んでもよい。代替実施形態では、光制御構成要素15は、少なくとも1つの導波路又はその他の反射屈折光学要素を更に備えてもよい。
ミニLED光源15のアレイは、コントローラ500によって制御されてもよく、空間光変調器48の画素220、222、224に位置合わせされる画像データが提供されてもよい。有利には、高ダイナミックレンジ動作、電力節約、及び高輝度が達成されてもよい。
光学積層体は、バックライト20と更なる追加の偏光子318Aとの間に配置されたバックライト角度制御素子700を更に備えてもよい。代替実施形態では、更なる追加の偏光子318A、更なる偏光制御リターダ300Aを省略して、コスト及び複雑性の低減を有利に達成してもよい。
次に、バックライト角度制御素子700の動作について説明する。
図7Bは、図7Aのバックライト角度制御素子700の側面図を示す概略図である。更に詳細に論じられていない図7Bの実施形態の特徴は、特徴の任意の潜在的な変形を含む、上述の同等の参照番号を有する特徴に対応すると想定されてもよい。
バックライト制御素子700は、構造化された前面704と、光吸収領域708及び開口領域710のアレイを含む後面706と、を含む、レンズアレイ702を含む。構造化された前面は、二次元であり得る、又はレンチキュラー・レンズなどの一次元であり得る、レンズアレイを備えてもよい。
レンズアレイ704は、それぞれのレンズと位置合わせされた開口領域710を、乗員観察者45に向けて結像し、隣接するレンズと位置合わせされた開口領域710Aを、運転観察者47に向けて結像するように配置される。したがって、図6Cの光円錐404A、404Bには、光線712Lによって形成される、サイズ714Lの中間光円錐716Lが設けられる。
図7Cは、図7Bのバックライト角度制御素子の、透過率の極性変動を示す概略グラフである。名目上の運転観察者47及び乗員観察者45の位置は、ディスプレイ中心への約10度の見下ろし視野角に対して標識される。運転観察者47が乗員に向かって傾斜する限界付近では、光円錐716Lの透過率は最小となる。更に、乗員用窓部に向かう側では、夜間動作における視認性を防止するために、輝度が有利に低減される。
プライバシーモードにおける図7A及び表2の例示的なディスプレイ積層体の性能であって、乗員用娯楽報道情報ディスプレイにおいて運転者注意散漫モードであるプライバシーモードにおける、図6Cの自動車用ディスプレイデバイス100の性能を次に説明する。
図7Dは、図7A及び図7CのミニLEDアレイ及び輝度向上フィルム、並びにバックライト角度制御素子700を備えるバックライト20の輝度の極座標変動を示す概略グラフである。
図7Eは、運転者注意散漫低モードにおける、図7A及び表2の更なる極性制御リターダ300Aの透過率の極性変動を示す概略グラフである。
図7Fは、運転者注意散漫低モードにおける、図7A及び表2の極性制御リターダ300の、透過率の極性変動を示す、概略グラフであり、図7Gは、運転者注意散漫低モードにおける、図7A及び表2の極性制御リターダ300の反射率の極性変動を示す概略グラフである。
図7Hは、ルクスで測定された値Iの照度の半分である、ニットで測定された値Ymaxのディスプレイ正面輝度を有する、図7Dの輝度プロファイル、図7E~図7Fの透過率プロファイル、及び図7Gの反射率プロファイルを有する、図7Aのディスプレイデバイスのプライバシー動作モードにおける、表2の例示的な実施形態のセキュリティ関数Sの極座標変動を示す概略グラフである。有利には、運転観察者47には、大きな角度範囲にわたって、高い画像セキュリティが提供され、一方、乗員観察者45は、高い画像視認性を有する。
プライバシーモードにおける図7A及び表2の例示的なディスプレイ積層体の性能、すなわち、図6Cの自動車用ディスプレイデバイス100が、運転者注意散漫低モードである場合の性能についてここで説明する。
図7Iは、共有モードにおける、図7Aの更なる極性制御リターダ300Aの透過率の極性変動を示す概略グラフである。有利には、乗員観察者45及び運転者45に対して高い透過率が達成される。
図7Jは、共有モードにおける、図7Aの極性制御リターダの、透過率の極性変動を示す、概略グラフであり、図7Kは、共有モードにおける、図7Aの極性制御リターダの反射率の極性変動を示す概略グラフである。
図7Lは、共有モードにおける、図7Aのディスプレイの輝度の極座標変動を示す概略グラフである。有利には、運転観察者47は、許容可能な輝度で、ディスプレイを観察してもよく、一方、乗員観察者45は高輝度画像を見る。
図7Aの極性制御リターダ300を備えるディスプレイデバイス100に関する、図1A及び図2Bの説明に戻ると、軸外観察者47のための高反射率背景領域320Bは、図7Gに示される反射率によって提供されてもよく、軸外観察者47のための低反射率標識領域320Aは、図7Kに示される反射率によって提供されてもよい。当該位置における軸外観察者47の反射率の差は、周囲照明412における高い背景領域320Bの視認性を提供してもよい。
切替可能プライバシーディスプレイデバイス100の制御を提供することが望ましい。制御を提供するいくつかのアプローチは、以下の例において実施される。以下の例では、電極構造及び制御回路の特定の例が示されるが、これは、限定的なものではなく、一般に、本明細書で開示される電極構造及び制御回路のいずれかが、以下の例において代替的に適用されてもよい。同様に、以下の例の様々な特徴を、任意の組み合わせで組み合わせてもよい。
次に、極性制御リターダ300用の例示的な電極317F、317Rの構造及びアドレス指定について説明する。
図8Aは、切替可能液晶極性制御リターダ301の電極317F、317Rの上面斜視図と、電圧VFAによる陰影付き上部電極パターン領域326FAの駆動と、を示す概略図である。図8Bは、切替可能液晶極性制御リターダ301の電極及び電圧VFBによる、陰影付き上部電極パターン領域327FBの駆動の上面斜視図を示す概略図である。図8Cは、切替可能な液晶極性制御リターダ301の電極及び電圧VRAによる、影付き下部電極パターン領域326RAの駆動の、上面斜視図を示す、概略図であり、図8Dは、切替可能な液晶極性制御リターダ301の電極及び電圧VRBによる、影付き下部電極パターン領域327RBの駆動の上面斜視図を示す概略図である。更に詳細に論じられていない図8A~図8Dの実施形態の特徴は、特徴の任意の潜在的な変形を含む、上述のような同等の参照番号を有する特徴に対応すると想定されてもよい。
本明細書では、電極機構が、電極317F、317Rの活性領域の外縁321F、321Rにそれぞれ隣接している場合に、電極機構は、近位と呼ばれる(すなわち、接続点の近くに位置している)。電極機構が、電極317F、317Rの活性領域の外縁321F、321Rから分離されている場合に、電極機構は遠位と呼ばれる(すなわち、接続点から離れて位置している)。
図8Aを考慮すると、第1の透過性電極317Fは、第1の透過性電極326Fの外縁321Fに隣接しない遠位領域327FAと、電極317Fの遠位領域327FAと外縁321Fとの間に延在する接続トラック328FAと、を備える電極317FAを提供するようにパターン化されている。接続電極328FAには、ディスプレイデバイス100の作動領域(視認可能部分)の外側の位置において、電圧VFAが印加される。
図8Bを考慮すると、第1の透過性電極317Fは、第1の透過性電極326Fの外縁321Fに隣接する近位領域327FBを備える電極317FBを提供するようにパターン化されている。領域327FBは近位であるので、接続トラック328FBは省略されてもよく、電極326FBは、近位領域327FBを含む。電圧VFBは、ディスプレイデバイス100の作動領域(視認可能部分)の外側の位置において、近位領域327FBに印加される。
遠位領域327FA及び近位領域327FB、並びに接続トラック328FA及び近位領域327FBは、間隙390Fによって分離され、第2の透過性電極317Rは、間隙390Rによって分離された複数の領域327RA、327RBを提供するように、パターン化されている。
図8Cを考慮すると、第2の透過性電極317Rは、第1の透過性電極326Rの外縁321Rに隣接しない遠位領域327RAと、遠位領域327RAと電極317Rの外縁321Rとの間に延在する接続トラック328RAと、を備える電極317RAを提供するようにパターン化されている。接続電極328RAには、ディスプレイデバイス100の作動領域(視認可能部分)の外側の位置において、電圧VRAが印加される。
図8Dを考慮すると、第1の透過性電極317Rは、第1の透過性電極326Rの外縁321Rに隣接する近位領域327RBを備える電極317RBを提供するようにパターン化されている。領域327RBは近位であるので、接続トラック328RBは省略されてもよく、電極326RBは、近位領域327RBを含む。電圧VRBは、ディスプレイデバイス100の作動領域(視認可能部分)の外側の位置において、近位領域327RBに印加される。
遠位領域327RA及び近位領域327RB、並びに接続トラック328RA及び近位領域327RBは、間隙390Rによって分離され、第2の透過性電極317Rは、間隙390Rによって分離された複数の領域327RA、327RBを提供するようにパターン化されている。
複数の遠位領域327FA、327RAは、それぞれ、例えば、図2Bの軸外観察者47に表示するための標識322Aの形状である。第1の透過性電極327F及び第2の透過性電極327Rの複数の領域317FA、317RAは、液晶材料414の層314にわたって位置合わせされる。
したがって、再び図1Aの例示的な実施形態を参照すると、周囲照明410において使用するためのディスプレイデバイス100は、光を出力するように構成された空間光変調器48であって、当該空間光変調器48が、空間光変調器48の出力側に配置された出力偏光子218を備え、当該出力偏光子218が直線偏光子である、空間光変調器48と、視野角制御構成体であって、当該視野角制御構成体が、出力偏光子218の出力側に配置された追加の偏光子318であって、当該追加の偏光子318が直線偏光子である、追加の偏光子318と、出力偏光子218と追加の偏光子318との間に配置された反射偏光子302であって、当該反射偏光子302が直線偏光子である、反射偏光子302と、反射偏光子302と追加の偏光子318との間に配置された少なくとも1つの極性制御リターダ300であって、当該少なくとも1つの極性制御リターダ300が、液晶材料414の層314と、液晶材料414の層314の両側の第1の透過性電極317F及び第2の透過性電極317Rと、を備える、切替可能液晶リターダ301を含み、当該第1の透過性電極317F及び当該第2の透過性電極317Rのそれぞれが、間隙390によって分離された複数のアドレス指定可能領域327A、327Bを提供するようにパターン化され、当該複数のアドレス指定可能領域327A、327Bのうちの少なくとも1つが、軸外観察者47に表示するための標識領域320Aの形状である、少なくとも1つの極性制御リターダと、を備える、視野角制御構成体を、含む。
複数の領域のそれぞれは、第1の透過性電極317F及び第2の透過性電極317Rの外縁321F、321Rに隣接しない、少なくとも1つの遠位領域327FA、327RAと、第1の透過性電極317F及び第2の透過性電極317Rの外縁321F、321Rに隣接する、少なくとも1つの近位領域327FB、327RBと、を含む。
図8Eは、標識322の遠位領域320A及び近位領域320Bを提供するように配置された、図8A~8Dの位置合わせされた第1の電極及び第2の電極を正面図で示す概略図である。更に詳細に論じられていない図8Eの実施形態の特徴は、特徴の任意の潜在的な変形を含む、上述のような同等の参照番号を有する特徴に対応すると想定されてもよい。
少なくとも1つの遠位標識領域320Aと位置合わせされた第1の透過性電極317F及び第2の透過性電極317Rの領域327FA、327RAに接続された少なくとも1つの接続トラック328FA、328RAは、液晶材料414の層314にわたって互いに位置合わせされない。すなわち、接続トラック328FAは、接続トラック328RAに位置合わせされないが、遠位領域327FAは、遠位領域327RAに位置合わせされる。
少なくとも1つの近位背景領域320Bと位置合わせされる、第1の透過性電極317F及び第2の透過性電極317Rの領域は、少なくとも1つの遠位標識領域320Aと位置合わせされる第1の透過性電極317F及び第2の透過性電極317Rの領域に接続される、少なくとも1つの接続トラック328FA、328RAが延在する、少なくとも1つの接続スリット324F、324Rを有し、少なくとも1つの接続トラック328FA、328RAは、第1の透過性電極317F及び第2の透過性電極317Rの外縁321F、321Rまで延在し、制御システム500は、少なくとも1つの遠位標識領域320Aに、電圧VFA、VRAを印加するために、外縁321F、321Rにおいて少なくとも1つの接続トラック328FA、328RAに、接続される。換言すれば、第1の透過性電極317F及び第2の透過性電極317Rは、少なくとも1つの遠位領域327FA、327RAに接続され、第1の透過性電極317F及び第2の透過性電極317Rの外縁321F、321Rまで延在する接続トラック328FA、328RAを提供するように更にパターン化されている。制御システム500は、電圧VFA、VRAを、遠位領域327FA、327RAに印加するために、それぞれ、外縁321F、321Rにおいて、接続トラック328FA、328RAに接続される。
図8Eは、遠位領域327FA、327RAの整合領域において、第1の標識領域320Aが提供され、そうでなければ、第2の背景領域320Bが提供されることを示す。
複数の領域320A、320Bは、第1の透過性電極317F及び第2の透過性電極317Rの外縁321F、321Rに隣接しない、少なくとも1つの遠位標識領域320Aと、第1の透過性電極317F及び第2の透過性電極317Rの外縁に隣接する、少なくとも1つの近位背景領域320Bと、を含む。
標識322は、有利には、標識320のパターン内の接続トラック328FA、328RAが見えない遠位標識領域322Aを含んでもよい。
図8Eは、以下の図13Bで更に説明されるように接続オーバーラップ領域3202を更に示す。
図8Fは、切替可能液晶極性制御リターダ301のための、代替上部電極317F及び代替底部電極317Rの斜視側面図を示す概略図である。更に詳細に論じられていない図8Fの実施形態の特徴は、特徴の任意の潜在的な変形を含む、上述のような同等の参照番号を有する特徴に対応すると想定されてもよい。
図8Fは、接続電極328FAが、遠位領域327FAとバスバー325Fとの間の接続を提供し得ること、及び接続電極328RAが、遠位領域327RAとバスバー325Rとの間の接続を提供し得ることを示す。領域327FA、327RAのオーバーラップに対応する、標識領域320Aの電気的接続は、複雑性を低減して提供されてもよい。ブリッジングトラック333F、333Rは、以下に記載するように、標識322内のアイランド329への接続のために設けられてもよい。
動作中、電極326FA、326FB、326RA、326RBは、以下に記載するように、表3Aに記載されているように、標識領域320A及び標識背景領域320Bが、電極の領域のオーバーラップ領域にあるように駆動されることが望ましい。
次に、様々な動作モードの例示的な実施形態について説明する。少なくとも表3Bに示すモードの特性を有する反射偏光子302を備える図1A~図1Bの標識322の駆動を提供することが望ましい。
「高ρ&低P」の例示的な実施形態では、方位角θ45度の観察方向における軸外観察者47に対する高いディスプレイ反射率ρ(θ=45°)は、30%であってもよく、低軸外相対輝度、P(θ=45°)は、0.3%であってもよい。
「低ρ&高P」の例示的な実施形態では、方位角θ45度の観察方向における軸外観察者47に対する低いディスプレイ反射率ρ(θ=45°)は、6%であってもよく、高軸外相対輝度、P(θ=45°)は、10%であってもよい。
それぞれ、「高ρB>ρA」の例示的な実施形態では、方位角θ45度の観察方向における軸外観察者47に対する高いディスプレイ反射率ρ(θ=45度)は、25%及び30%であってもよく、「低PB>PA」の例示的な実施形態では、低軸外相対輝度、(P(θ=45°)は、0.4%及び0.3%であってもよい。輝度及び反射率におけるこのような反射率の差は、以下で更に説明されるように、電圧VFA、VFB、VRA、VRBのそれぞれの制御によって、達成されてもよい。
少なくとも表3Cに示すモードの特性を有する、図1D~図1Gの標識322の駆動を提供することが、望ましい。表3Cの実施形態は、反射偏光子302が設けられておらず、したがって、反射率が動作モード間で、又は遠位標識領域320Aと近位標識背景領域320Bとの間で、切り替えられないという点で、表3Bとは異なる。
次に、例示的な動作モードの例示的な実施形態を、表3Dで更に説明する。
図2Bの例示的な実施形態を考慮すると、軸外観察者47は、ディスプレイの照明によって提供される異なる反射率のため、遠位標識領域320A及び近位背景領域320Bのコントラストを見るであろう。有利には、標識322が観察される。
図3Bの例示的な実施形態を考慮すると、軸外観察者47は、照明されたロゴを見るが、近位背景領域320Bに提供された画像データは、高いセキュリティ関数S>1で提供されているので、画像データは観察されない。
図4Bの例示的な実施形態を考慮すると、軸外観察者47は、遠位標識領域320A及び近位背景領域320Bの両方において画像が見えないように、S>1.0を所与される。
図4Dの例示的な実施形態を考慮すると、軸外観察者47は、画像が、遠位標識領域320A及び近位背景領域320Bの両方において望ましく高いコントラストで見えるように、S<0.2を所与される。
図5Bの例示的な実施形態を考慮すると、軸外観察者47は、遠位標識領域320A及び近位背景領域320Bの両方において画像が見えないように、S>1.0を所与される。遠位及び近位標識領域320A、320Bは、標識322のいくらかのコントラストが観察されるように、わずかに異なる反射率及び輝度を所与される。軸上のユーザにとって有利には、ディスプレイ上で見られる反射率及び輝度の変動は小さく、均一な高コントラスト画像が見られる。
次に、電極326の別の構成について説明する。
図9Aは、切替可能液晶極性制御リターダの、代替電極の上面図と、電圧VFAによる上部電極パターン領域Aの駆動と、を示す概略図である。図9Bは、切替可能液晶極性制御リターダの、代替電極の上面図と、電圧VFBによる上部電極パターン領域Bの駆動と、を示す概略図である。図9Cは、切替可能液晶極性制御リターダの代替電極の上面図及び電圧VRAによる下部電極パターン領域Aの駆動を示す概略図であり、図9Dは、切替可能液晶極性制御リターダの代替電極の上面図及び電圧VRBによる下部電極パターン領域Bの駆動を示す概略図である。更に詳細に論じられていない図9A~図9Dの実施形態の特徴は、特徴の任意の潜在的な変形を含む、上述のような同等の参照番号を有する特徴に対応すると想定されてもよい。
図9A~図9Dの代替実施形態では、前側電極317Fのみが、標識322Aの形状を有する遠位領域327FAを含む電極326FAと、接続トラック328FAと、を含む。図8A~図8Bの実施形態と比較すると、後部電極317Rは、標識の形状を有さない領域327RAを有する電極326RAを備える。
図9A~図9Dの実施形態の動作及び駆動は、本明細書のその他の箇所で説明するように、望ましい標識322Aを達成するために、図8A~図8Dの場合と同様又は同じである。
後部電極317Rの複雑性を低減してもよく、有利には、コスト低減を達成してもよい。
更に、図9A~図9Dは、ロゴの文字が、例えば、ロゴから動的に変調されたパターンを達成するために、個々にアドレス指定され得ることを示す。動的変調は、電圧値及び/又は位相値を徐々に調整することによるものであってもよいか、又は段階変化であってもよい。ロゴの文字又は部分は、一緒に又は異なる時間にアドレス指定されてもよい。アドレス指定は、それぞれの異なる接続トラック328FAへの電圧の調整によって提供されてもよく、例えば、VFA1及びVFA2に対して、異なるアドレス指定信号タイミング、電圧、及び/又は位相を提供する。有利には、ロゴの視認性を高めてもよい。このような時間変調されたパターンは、本明細書のその他の箇所で説明されるように、標識のその他のものにおいて提供されてもよく、当該時間変調は、図9A~図9Dの実施形態に限定されない。
図10Aは、図7A~図7B及び図8A~図8Bのパターン化された電極317F、317Rを駆動するための制御システム500の、電気回路を示す、概略図である。更に詳細に説明されない図10Aの実施形態の特徴は、特徴における任意の潜在的な変形を含む、上記で説明されるような同等の参照番号を伴う特徴に対応すると想定され得る。
4つの電圧は、4つの多重変換装置502a~dのそれぞれに信号を供給する入力バス504に形成される。入力バス504上の電圧は、アナログ信号であってもよく、例えば、図10B及び図10Dに示されるように、2つの電圧及びそれらの反転対から成る方形波の例示的形態をとってもよい。各多重変換装置502a~dは、4つの入力電圧のうちの1つを選択し、それを、そのそれぞれの出力部510a~510dに転送する。4つの入力のいずれが出力510aに転送されるかは、2ビットのデジタルアドレス506aによって選択される。簡略化のためにラベル付けされていない、その他の多重変換装置及び出力についても同様である。各多重変換装置502a~dからの4つの2ビットアドレスは、アドレスA0~A7、バイト508を形成する。したがって、電圧VFB、VFA、VRB、VRAのそれぞれは、デジタルアドレスバイト508によって決定されるように、4つの入力電圧504から独立して選択されてもよい。例えば、マイクロプロセッサからアドレスバイト508を制御することは、本明細書のその他の箇所で説明されるように、プライバシーディスプレイデバイス100が、どのモードで動作するかを選択するために使用され得る。
表1の説明に戻ると、アドレス電圧とは、液晶分子414の再配向を達成して、選択されたモードに対して、セルを通って伝搬する光の所望の遅延を達成するために、液晶層314に印加される電圧を指す。
更に、アドレス指定電圧信号520は、出力のDC平衡化を提供する。したがって、プライバシーモードのための表1の例示的な例における、方形波電圧信号520の場合、方形波は、+2.3V及び-2.3Vで出力を提供する。
次に、図8A~図8Dの複数の電極326FA、326FB、326RA、326RBを使用する、図1Aの構成の駆動について説明する。
図10Bは、図8A~図8Dのパターン化された電極317F、317Rのアドレス指定のための時間tに対するそれぞれの電圧VFA、VFB、VRA、VRBについての例示的な電圧信号520FA、520FB、520RA、520RBを示す、概略図であり、図10Cは、パターン化された電極317F、317Rを有する、液晶極性制御リターダ301が、図10Bの電圧信号520FA、520FB、520RA、520RBでアドレス指定される、周囲光源410によって照明されるディスプレイデバイス100の見下ろし軸外斜視図を示す概略図である。更に詳細に論じられていない図10B~図10Cの実施形態の特徴は、特徴の任意の潜在的な変形を含む、上述のような同等の参照番号を有する特徴に対応すると想定されてもよい。
制御システム500は、第1の透過性電極317F及び第2の透過性電極317Rの、遠位領域327FA、327RAに接続された、接続トラック328FA、328RAのそれぞれに、それぞれの電圧信号520FA、520RAを印加するように構成されている。制御システム500は、それぞれの電圧信号520FB、520RBを、近位領域327FB、327RBのそれぞれに印加するように、更に構成される、すなわち、制御システム500は、それぞれの電圧信号520FB、520RBを、少なくとも1つの近位背景領域320Bに印加するように更に構成されている。
電圧信号520FA、520RA、520FB、520RBは、少なくとも1つの遠位標識領域320A、少なくとも1つの接続トラック328FA、328RAと位置合わせされた少なくとも1つの近位背景領域320Bの部分、及び近位背景領域320Bの残りの部分それぞれにおける動作モードに従って、液晶材料414の層314の複数の領域320A、320Bを、所望の状態に駆動する、第1の透過性電極317F及び第2の透過性電極317Rにわたって、電圧を印加するように選択された振幅及び位相を有する。
例示電圧信号の電圧の振幅、VFA、VFB、VRA、VRB、及びそれぞれの位相φFA、φFB、φRA、φRBは、表4の第1のデータ列に提供され、xは、選択された電圧レベルである。DCバランスされたオーバーラップ電圧が更に提供される。
電圧信号520のそれぞれは、(i)遠位領域327FA、327RAのそれぞれのオーバーラップ、(ii)接続トラック328FAと近位領域327RB、327FBのそれぞれの間のオーバーラップ、及び(iii)近位領域327FB、327RBの残りの部分、における、動作モードに従って、液晶材料414の層314を、所望の状態に駆動する、第1の透過性電極317F及び第2の透過性電極317F、317Rに電圧VF、VRを印加するように選択される振幅及び位相を有する。
表1及び図1D~図1Eの例示的な実施形態では、xの値は、1.15Vである。異なる構造の極性制御リターダ300を備える代替実施形態では、xの値は、標識ディスプレイモードにおいて所望の高反射率を達成するように、適宜調整されてもよい。
標識ディスプレイモードにおいて、標識領域320Aは、電圧が6.9Vである電極326RAと電極326FAとのオーバーラップ領域によって提供される。正の誘電異方性液晶分子414は、例えば、図1Gに示すように、軸外観察者47に対して低い反射率を提供する状態に駆動される。
図2A~図2Bの標識ディスプレイモードでは、背景領域320Bは、電極326FAと電極326RBとのオーバーラップ、電極326FBと電極326RBとのオーバーラップ、及び電極326FBと電極326RAとのオーバーラップによって提供され、電圧は、それぞれ、6.9Vである。正の誘電異方性液晶分子414は、例えば、図1Fに示すように、軸外観察者47に対して低い反射率を提供する状態に駆動される。
有利には、接続電極328FA、328RAの視認性が最小化される。接続電極328FA、328RAが、低抵抗で設けられてもよい。電圧の高い均一性が、ディスプレイデバイス100のアパーチャにわたって達成されてもよい。狭角及び広角動作モードにおける透過率及び反射率の均一性が、有利に達成されてもよい。
ディスプレイデバイス100の動作共有モード及び狭角モードでは、電極317FA、317FBは、共通電圧信号で駆動されてもよく、電極317RA、317RBは、例えば、接地に接続されてもよい。有利には、アドレス指定構成の複雑性が低減され、残留標識領域320Aの視認性が低減されてもよい。
反射標識領域320A及び非反射背景領域320Bを設けることが、望ましい場合がある。
図10Dは、図8A~図8Dのパターン化された電極317F、317Rのアドレス指定のための時間tに対するそれぞれの電圧VFA、VFB、VRA、VRBについてのだ代替的な例示的電圧信号520FA、520FB、520RA、520RBを示す、概略図であり、図10Eは、パターン化された電極317F、317Rを有する、液晶極性制御リターダ301が、図10Dの電圧信号520FA、520FB、520RA、520RBでアドレス指定される、周囲光源410によって照明されるディスプレイデバイス100の見下ろし軸外斜視図を示す概略図である。更に詳細に論じられていない図10B~図10Eの実施形態の特徴は、特徴の任意の潜在的な変形を含む、上述のような同等の参照番号を有する特徴に対応すると想定されてもよい。
図10D~図10Eの代替実施形態では、電圧VFA、VFB、VRA、VRBの例示的な振幅及びそれぞれの位相φFA、φFB、φRA、φ電圧信号のRBは、表4の第2のデータ列に提供される。表1及び図1D~図1Eの例示的な実施形態について、DC平衡されたオーバーラップ電圧が更に提供され、xの例示的な値は、1.15Vである。
標識ディスプレイモードでは、標識領域320Aに、2.3Vの電圧が供給される。正の誘電異方性液晶分子414は、例えば、図1Gに示すように、軸外観察者47に対して高い反射率を提供する状態に駆動される。
標識ディスプレイモードにおいて、背景領域320Bは、11.5Vである電極326RBの電圧と電極326FBとのオーバーラップによって、及びそれぞれ6.9Vである電極326RBと電極326FAとのオーバーラップ又は電極326RAと電極326FBとのオーバーラップによって提供される。このような異なる電圧において、正の誘電異方性液晶分子414は、実質的に飽和した配向状態に駆動される、すなわち、配向方向は、2つの異なる電圧に対して事実上同じである。例えば、図1Fに示すような高反射率は、軸外観察者47のための標識領域320Aに有利に提供され、背景領域320Bは低反射率を有する。
電極326FA、326RA及び電極326FB、326RBは、標識領域322A、320Bに関連する静電容量が標識形状に依存するように、標識320の形状に応じて異なる面積を有する。同様に、電極のシート抵抗は、駆動回路によって駆動される2つの領域における電極の直列抵抗もまた、わずかに異なることを意味する。一般に、2つの領域320A、320Bは、駆動回路に対してわずかに異なる、RC(resistance*capacitance、抵抗*静電容量)インピーダンスを示す。この差は、それぞれのRC負荷の駆動回路への配向を改善するために、電極と直列の抵抗器及び/又は一対の電極(例えば、電極326FA及び電極326RA)と並列のコンデンサを追加することによって補正されてもよい。静電容量は、最小の固有静電容量を有する電極対に加えられてもよい。それぞれの駆動信号の位相及び/又は振幅は、ディスプレイの視覚的外観を調整するように調整されてもよい。共有モード、プライバシーモード及び正面使用モードにおけるユーザ47への電極の視認性は有利に低減されてもよい。領域320A、320Bのインピーダンスを平衡させることは、いくつかの動作モードにおいて、わずかに異なる電圧ではなく、同じ電圧で領域を駆動することが可能であることを意味する。代替として、電極電圧及び/又は位相は、2つの領域320A、320Bのインピーダンスの差異を補償するように調節されてもよい。
位相のみによって電圧の制御を提供することが、望ましい場合がある。
図11Aは、位相制御による標識ディスプレイモードにおける、図8A~図8Dの構成の例示的な駆動実施形態のそれぞれの位相の、概略的な位相図であり、図11Bは、一定振幅電圧及び位相シフト制御を含む、図8A~図8Dのパターン化された電極のアドレス指定のための例示的な電圧信号を示す概略図である。更に詳細に論じられていない図11A~図11Bの実施形態の特徴は、特徴の任意の潜在的な変形を含む、上述のような同等の参照番号を有する特徴に対応すると想定されてもよい。
次に、位相制御信号によって駆動される液晶層の動作について説明する。
例えば、図8A~図8Dに示すように、液晶層314にわたる一対の電極317F、317Rを考慮すると、電圧VFが第1の電極317Fに印加され、電圧VRが第2の電極317Rに印加される。振幅A、角周波数についてω及び位相差φ、したがって、時間t依存電圧VF,VRは、以下の式によって所与される。
VF(t)=Asin(ωt) 式13a
VR(t)=Asin(ωt+φ) 式13b
VF(t)=Asin(ωt) 式13a
VR(t)=Asin(ωt+φ) 式13b
液晶層314の液晶材料414は、層にわたって印加されるRMS電圧に応答するが、これは、サイクルにわたる積分によって、以下のように示され得る。
図8A~図8Dの実施形態を考慮すると、信号に一定の正弦波振幅Aが所与され、位相修正が所与され、それぞれの駆動電圧VFA、VFB、VRA、VRBに相対位相φFA、φFB、φRA、φRBが所与される、代替駆動方式が提供されてもよく、式中、
VFA(t)=Asin(ωt+φFA) 式15a
VFB(t)=Asin(ωt+φFB) 式15b
VRA(t)=Asin(ωt+φRA) 式15c
VRB(t)=Asin(ωt+φRB) 式15d
VFA(t)=Asin(ωt+φFA) 式15a
VFB(t)=Asin(ωt+φFB) 式15b
VRA(t)=Asin(ωt+φRA) 式15c
VRB(t)=Asin(ωt+φRB) 式15d
図11Aの例示的な実施形態では、位相φFA、φFB、φRA、φRBのそれぞれ共通の位相差Δを有して示されている。
図11Bの代替実施形態では、信号VFA、VFB、VRA、VRBは、位相シフトに対応するΔ時間シフトの倍数でτ、等しい振幅A及び変化する位相時間シフトを有する。隣接する位相間の等しい位相差φFA、φFB、φRA、φRBは、それらが同じRMS電圧を有し、したがって、液晶セル極性制御リターダ301を、それぞれの電極オーバーラップ領域において同じ光学状態に駆動することを意味する。標識(ロゴ)領域に対応する電極φFA及びφRA間の位相差は、しかしながら、3つのΔであり、その結果、異なるRMS電圧及び液晶セル極性制御リターダ301の異なる光学状態が生じる。
近接標識背景領域320Bに対する望ましいRMSアドレス指定電圧VBについて、位相差Δ関係が、以下の比較式によって所与される。
また、遠位標識領域320Aにおける駆動波の位相差は、3Δであるので、そのRMS電圧VAは、
であり、
電圧駆動RMS比VA/VB=RMSr:
を所与する。
電圧駆動RMS比VA/VB=RMSr:
図11Cは、位相段階Δの関数として正規化されたRMS電圧比RMSrの比を示す、概略グラフである。更に詳細に論じられていない図11Cの実施形態の特徴は、特徴の任意の潜在的な変形を含む、上述のような同等の参照番号を有する特徴に対応すると想定されてもよい。
遠位標識領域320Aを駆動する、正規化されたRMS電圧VAは、近位背景領域320B以上を最大3倍まで駆動するVBよりも小さくあり得る。
プライバシー電圧及び共有電圧が、両方とも非0として示されている表1及び図2A~図2Bの例示的な例を続け、VA電圧とVB電圧との間の差及びそれらの比を使用して動作点を選択し得る。共通の正弦波振幅Aを有する電圧信号VFA、VFB、VRA、VRBのそれぞれの位相シフトΔは、最適な反射率を達成するために、RMS電圧VBが2.3Vであり、非反射遠位標識領域320Aを達成するために、RMS電圧VAが最大6.9Vであり得るように調整されてもよい。換言すれば、それぞれの電極326FA、326FB、326RA、326RBをアドレス指定する振幅Aは同じであり、位相はそれに応じて修正される。有利には、制御システムのコストと複雑さが軽減されてもよい。
正弦波以外の入力電圧、例えば、以下に記載するような方形波に対しても、同様の解析方法を実行してもよい。
図11Dは、図8A~図8Dのパターン化された電極のアドレス指定のための、例示的なデジタル電圧信号を示す、概略図である。図11Eの下のトレースは、図11Eの上のトレースに示されるような2つの位相電圧の配置について、切替可能液晶リターダ301にわたって結果として生じる印加電圧差を示す、概略グラフであり、図11Fは、Δ図11Dの構成についての程度における、位相段階の関数としてボルト単位のRMS電圧を示す概略グラフである。更に詳細に論じられていない11D~図11Fの実施形態の特徴は、特徴の任意の潜在的な変形を含む、上述のような同等の参照番号を有する特徴に対応すると想定されてもよい。
図11Dの代替実施形態では、等しい振幅及び頻度を有するが、位相段階によって分離された4つのデジタル的に位相調整された波形 Δが示されている。プロファイル571、573、575、577は、例えば、図8A~図8Dに示すように、それぞれ、電極領域326FA、326RB、326FB、326RAの駆動のために配置される。
表3Aを参照すると、標識背景領域320Bを提供する3つの電極オーバーラップ領域は、Δそれらの間に、電圧差570、572、574及び共通位相段階を有する。
標識領域320Aは、比較すると、電圧差576によって提供され、VFAとVRAとの間の、3つのΔ段階を有する。方形波の電圧振幅及び周波数が同じであっても、標識背景領域320Bを提供するために3つのオーバーラップ領域が経験するRMS電圧は、異なり得る。
方形波を有する、デジタル的に位相調整された波形のRMS電圧は、図11Cに記載されたものと同様の方法で、計算され得る。
駆動波形571、573、575、577は、液晶セル極性制御リターダ301に印加される電界が異なる故に、単極方形波駆動を達成する共通接地から、任意にオフセットされ得る。上記は、デジタル駆動回路の実装を簡略化する。有利に、駆動回路のコストと複雑さが軽減される。DC平衡は、液晶材料414の層314にわたって達成され、安定した動作を有利に達成する。
図11Eは、振幅V0及び位相オフセット又は位相差Δφ. を有する、2つのデジタル波形プロファイル560及び562を示す。波形プロファイル560が1つの電極(例えば、326FA)に印加され、波形562が、液晶材料414の層314にわたって、対向する電極(例えば、326RA)に印加される場合に、液晶材料414は、プロファイル560と562との間の電圧差に対応する、波形プロファイル564のRMSに応答する。波形560、562の周波数は、通常は、液晶材料414の応答時間よりも速く、それによって、有利には、光学的機能は、目に見えるフリッカを引き起こさない。
図11Fは、表3Aに示される3つのオーバーラップ電極領域を有する背景領域320Bについての、電圧差のプロファイル568を示し、そのそれぞれは、共通の位相差Δを有し、標識領域320Aについての電圧差のプロファイル566は、3つのΔ位相差を有する。
望ましい動作点は、背景領域320Bに対応するプロファイル566と、標識領域320Aに対応するプロファイル568と、の間の、電圧の差が、大きい値Δ、例えば、電圧差567を有する60°、又は電圧差569を有する125°において存在する。
次に、例示的な制御回路について説明する。
図11Gは、図11Dに示されるΔ位相シフトを生成するための、デジタル位相シフト回路の、例示的な実装を示す、例示的な回路ブロック図である。更に詳細に論じられていない図11Gの実施形態の特徴は、特徴の任意の潜在的な変形を含む、上述のような同等の参照番号を有する特徴に対応すると想定されてもよい。
図11Dの例示的な実施形態では、位相シフトは、図11Bの正弦波ではなく、デジタル方形波のものである。この回路は、例示の目的で542a~542nとして示されているN段カウンタにおいてカスケード接続された、D型フリップフロップを使用している。段の数Nは正の整数であってもよく、必要とされる位相シフトに基づいて、選択される(Nはアルファベットの14番目の文字であるために、Nの使用は、14段カウンタを意味するものではない)。カウンタは、各フリップフロップ542aのQ出力546aを、後続のフリップフロップ542bのD入力544bに接続する。フリップフロップ542a~542nは、所望の出力周波数FのN倍である周波数540によってクロックされる。最後のフリップフロップ542nの
出力は、最初のフリップフロップ542aのD入力544aにフィードバックされ、連続的に循環する波形作成ルーチンを生成する。使用されるフリップフロップ段が多ければ多いほど、すなわち、Nが高ければ高いほど、生成される位相の粒度は細かくなり、必要な位相は、必要に応じてQ0からQN-1まで「タップオフ」し得る。この回路は、任意の周波数入力に対して、位相シフトを維持する。位相遅延が、例えば、容量性タイミング構成要素によって代替的に生成された場合、そのタイミングは、所望の動作点から離れたドリフトにつながる、周波数のドリフト又は変動に合わせて調整されない。
この回路は、周波数ドリフト及びデバイス間変動に対してより弾力的であり、有利には、それを、より信頼性のあるものにする。更に、この回路は、集積回路の形態で製造されてもよく、タイミング構成要素として受動コンデンサを使用するものよりもコンパクトにしてもよい。
表5は、図11Gの回路を使用して、32個のフリップフロップを使用して123.75度のΔを生成する、例示的な実施形態である。波形は、360度の角度にわたって繰り返されるので、計算において、角度を360度未満にするために必要とされる360度の倍数を減算する、角度の絶対値が使用される。
選択された位相シフトは、電極326FA、326FB、326RA、326RB間のRC負荷の差を補償するように調整又は修正されてもよい。
標識が狭角光円錐401内で見えることを確実にすることが望ましい場合がある。図1D~図1Eを参照すると、領域320A、320Bの輝度及び反射率は、標識322が、ディスプレイデバイス100の少なくともいくつかの部分上で観察者45に部分的に見えるようになり得るように、狭角光円錐401内で異なって変化してもよい。位相シフト及び/又は電圧は、追加的又は代替的に、それぞれの電極326FA、326FB、326RA、326RBを動作させて、2つの領域320A、320Bの相対コントラストを低減することによって、標識322の視認性を、正面から見る人、観察者45に提供しないように、修正されてもよい。観察者47に対する領域320A、320B間のセキュリティ関数Snの差を、修正してもよく、標識322の視認性を有利に維持してもよい。
表5は、表1の電気光学効果が、プライバシーモードと共有モードの両方で非ゼロ電圧を有するために、電圧間の比が有限である場合に、位相差Δについての動作点が選択されることを示している。
換言すれば、4つの電極326FA、326FB、326RA、326RBの設備、及び標識領域320Aへの前部接続328FA及び後部接続328RAが、前部の背景電極327FB及び後部の背景電極327RBに対してオフセットされているそれらのレイアウトにより、改善された性能が可能になる。特に、電極構造は、標識領域320Aの接続領域328FA、328RAが、標識領域320A自体に対して異なる電圧差を受けることを可能にし、それによって、接続領域328FA、328RAは、背景領域320Bと同様の透過率(及び反射偏光子302が存在する場合には反射率)を示すように構成され得る。これは、以下の例示的な実施形態に示されるように、電極326FA、326FB、326RA、326RBが、どのように駆動され得るか、における柔軟性を達成する。
特に、少なくとも以下のモードが生成され得る。
「均一共有モード」(図4C~図4D等)では、標識322の視認性は、正面及び軸外角度で抑制され、ディスプレイ内容は、それぞれの光円錐401、402において、狭角及び広角の両方から視認され得る。
「均一プライバシーモード」(図4A~図4B及び図5Cなど)では、標識322の視認性は、正面及び軸外角度で抑制され、ディスプレイ内容は、光円錐401内の狭い角度からのみ視認可能であり、均一反射効果は、光円錐402内の軸外角度から見られる。
「標識プライバシーモード」(図5A~図5B及び図5Dなど)では、標識322の視認性は、正面角度に対して抑制されるが、軸外角度に対して視認可能であり、標識領域320Aの背景である反射背景領域320Bによって囲繞される。ディスプレイ内容は、正面の観察者にとって視認可能であるが、軸外の観察者にとっては、標識領域320A及び背景領域320Bの両方においてディスプレイ内容が視認不可能であるが、標識領域320Aと背景領域320Bとの間の輝度及び/又は反射率のコントラストとしては、標識322を視認可能である。あるいは、標識領域320Aは、より暗く及び/又は反射性であってもよく、背景領域320Bは、標識322の向きが逆になるように、より明るく及び/又はより低い反射率を有してもよい。背景領域320Bに対する標識領域320Aのコントラストは、例えば、図10C及び図10Eの例示的な実施形態と比較して、駆動電圧振幅及び位相を調整することによって、狭角光円錐401における、正面から見た観察者45の視認性を最小化するように調整されてもよい。
ディスプレイデバイス100の空間光変調器48及び/又は本バックライト20がオフにされている「標識スリープモード」(図2A~図2Bなど)では、標識322は、正面からの観察者45には見えないが、軸外の観察者47には見える。ディスプレイデバイス100は、極性制御リターダ300以外はオフにされ、それによって、正面から見ている観察者45は画像内容を見ることができず、軸外観察者47は、反射標識領域を有する暗い背景領域を見る。代替的に、標識領域320Aは、より暗く及び/又は反射性であってもよく、背景領域320Bは、明るく及び/又はより低い反射率を有してもよく、それによって標識322の向きは逆になる。
表6は、領域320A、320Bが、液晶材料414の層314の同じ応答を提供するように駆動される、均一動作モードのための、電極電圧(振幅及び/又は位相)の例示的な実施形態を提供する。
表7は、領域320A、320Bが、液晶材料414の層314の異なる応答を提供するように駆動される、均一動作モードのための、電極電圧(振幅及び/又は位相)の例示的な実施形態を提供する。
表7は更に、図2A~図2Bの標識スリープモード及び図5A~図5Bの標識プライバシーモードについての、例示的な電圧駆動条件の違いを示す。このような駆動の差は、例えば、表3Dの例示的な光学性能条件によって示されるように、領域320A、320Bにおける光学性能の差を達成する。
標識スリープモードでは、電圧VFB、VFA、VRB、VRAは、標識領域320Aと背景領域320Bとの間に大きなコントラストを提供するように構成されている。有利には、標識は、高いコントラストで、ディスプレイデバイス100に対する法線方向に近い方向に接近し得る広い角度範囲にわたって視認可能であってもよい。
比較のために、標識プライバシーモードでは、標識322が、正面観察者45に見えないことが望ましい。電圧VFB、VFA、VRB、VRAは、標識322が、狭角光円錐401内で観察者45に見えないように、標識領域320Aと背景領域320Bとの間の液晶材料414の層314の状態の整合の差を低減するように、振幅及び/又は位相が調整される。実用的な目的のために、軸外観察者47によって見られる標識322のコントラストは、スリープモードと比較して低減されるが、標識322は明確に見える。
標識プライバシーモードでは、背景領域320Bと比較して標識領域320A内で達成されるセキュリティ関数Sに、いくらかの差がある場合があるが、表3Dに示されるように、画像全体に対する有効なプライバシー(すなわち、S>1.0)が維持される。観察者45は、標識322を視認することなく、ディスプレイを利用し得るが、ディスプレイデバイス100は、観察者47に、標識322を視認させ得る。
表6~表7の電圧(振幅及び/又は位相)は、標識領域と背景領域との間の容量差及び抵抗差、並びに駆動回路の出力インピーダンスの影響を軽減するように調整され得る。あるいは、2つの領域のインピーダンスは、電極対にわたる並列静電容量及び直列電極抵抗の追加によって平衡化され得る。これは、より単純な駆動回路を可能にし得るが、一般に、電力消費をわずかに増加させる。
次に、ロゴ内のアイランド領域の制御について説明する。
図12Aは、アイランド領域329を有する標識のための、切替可能な液晶極性制御リターダ301の、上部電極317Fの上面図を示す概略図である。図12Bは、アイランド領域329を有する標識のための、切替可能液晶極性制御リターダ301の、下部電極317Rの、上面図を示す、概略図であり、図12Cは、アイランド領域329を有する標識のための、切替可能液晶極性制御リターダ301の、図12A~図12Bの上部電極317F及び下部電極317Rの整合の上面図を示す概略図である。更に詳細に論じられていない図12A~図12Cの実施形態の特徴は、特徴の任意の潜在的な変形を含む、上述のような同等の参照番号を有する特徴に対応すると想定されてもよい。
図12Aを考慮すると、領域327FAは、アイランド領域329FBの周りに延在する周辺領域339FAを含む。外側領域331FBは、ブリッジングトラック333FBによって、アイランド領域329FBに接続される。周辺領域339FAは、ブリッジングトラック333FBが通るブリッジングスリット335FAを有する。接続トラック328FAは、周辺領域339FAに接続されている。
図12Bを考慮すると、領域327RAは、アイランド領域329RBの周りに延在する周辺領域339RAを含む。外側領域331RBは、ブリッジングトラック333RBによって、アイランド領域329RBに接続される。周辺領域339RAは、ブリッジングトラック333RBが通るブリッジングスリット335RAを有する。接続トラック328RAは、周辺領域339RAに接続されている。
図12Cは、第1の透過性電極317F及び第2の透過性電極317Rの整合を示す。周辺領域339FA、339RAは、液晶材料414の層314にわたって位置合わせされ、位置合わせされたブリッジングスリット335FA、335RAを、それぞれ有する。標識ディスプレイモードにおいて、ブリッジングトラックは、標識領域320Aの視認性の損失を提供してもよい。ブリッジングスリットの視認性は、有利に低減される。
複数のアドレス指定可能領域327A、327Bは、少なくとも1つのアイランド領域329と、アイランド領域329の周りに延在する少なくとも1つの周辺領域331と、を含む。少なくとも1つの周辺領域331と位置合わせされた第1の透過性電極317F及び第2の透過性電極317Rの領域は、液晶材料414の層314にわたって位置合わせされたブリッジングスリット335を有し、少なくとも1つのアイランド領域329と位置合わせされた第1の透過性電極317F及び第2の透過性電極317Rの領域に接続されたブリッジングトラック333は、このスリットを通って延在する。
図12Aを参照すると、領域327FBは、アイランド領域329FBと、アイランド領域329FBの周りに延在する周辺領域331FBと、を含む。ブリッジングスリット335Fは、周辺領域331FBとアイランド領域329FBとを接続するように、配置されている。
図12Bを参照すると、領域327RBは、アイランド領域329RBと、アイランド領域329RBの周りに延在する周辺領域331RBと、を含む。ブリッジングスリット335Rは、周辺領域331RBとアイランド領域329RBとを接続するように配置されている。
図12Cを参照すると、液晶材料414の層314にわたって位置合わせされた周辺領域331FB、331RBは、それぞれ、位置合わせされたブリッジングスリット335F、335Rを有する。標識ディスプレイモードにおいて、ブリッジングトラックは、標識領域320Aの視認性の損失を提供してもよい。ブリッジングスリットの視認性は、有利に低減される。図示されていないその他の実施形態では、ブリッジングスリット335F、335Rは位置合わせされなくてもよい。このような配置は、標識322のデザインの改善された美観を達成するために提供されてもよい。
図12Dは、アイランド領域を有する標識のための、切替可能液晶極性制御リターダの下部電極の、上面図を示す、概略図であり、図12Eは、アイランド領域を有する標識のための、切替可能液晶極性制御リターダの、図12A及び図12Dの上部電極及び下部電極の整合の上面図を示す概略図である。更に詳細に論じられていない図12D~図12Eの実施形態の特徴は、特徴の任意の潜在的な変形を含む、上述のような同等の参照番号を有する特徴に対応すると想定されてもよい。
図12Dの代替実施形態では、後部電極317Rは、図12Bに示されるものよりも単純な構造を備え、有利には、複雑性及びコストの低減を達成する。更に、図12Eの電極326RBのサイズは、電極326FAと電極326RAとの間の電極オーバーラップが、遠位標識領域320Aを提供することを示す。
図示しないその他の実施形態では、間隙390Rは、所望の遠位標識領域320Aの形状と整合するように成形され、接続トラック328FAと電極326RAとのオーバーラップである領域3201内の形状誤差を低減してもよい。有利には、標識322の忠実度の向上が、達成されてもよい。
図13Aは、切替可能液晶極性制御リターダのための、上部電極及び底部電極の不整合の上面図を示す概略図である。更に詳細に論じられていない図13Aの実施形態の特徴は、特徴の任意の潜在的な変形を含む、上述の同等の参照番号を有する特徴に対応すると想定されてもよい。
標識ディスプレイモードにおいて、オーバーラップ電極326FA、326FBは、標識領域320Aを提供する。遠位領域327FA、327RAの不整合は、例えば、接続オーバーラップ領域3201、3202において、標識322Aのプロファイルのいくらかの性能低下をもたらす場合がある。当該性能低下を最小限に抑えることが、望ましい。
図13Bは、切替可能液晶極性制御リターダ300のための、代替上部電極317F及び代替底部電極317Rの、上面図を示す、概略図である。更に詳細に論じられていない図13Bの実施形態の特徴は、特徴の任意の潜在的な変形を含む、上述の同等の参照番号を有する特徴に対応すると、想定されてもよい。
接続トラック328FA、328RAは、それが接続される少なくとも1つの遠位領域327FA、327RAに隣接して、幅が縮小された、ネック348FA、348RAを、それぞれ有する。有利には、性能低下領域3202のサイズは、このように低減される。更に、遠位領域327FA、327RAのサイズは、低減された性能低下を更に提供するために異なってもよい、すなわち、オーバーラップ領域3201は、例えば、省略されてもよい。
更に、接続トラック328FA、328RAの幅を増大させて、ネック以外の抵抗を低減してもよい。接続トラック328FA、328RAにわたる電圧降下を低減してもよく、動作広角モード及び動作狭角モードの均一性が、有利に増大する。
次に、接続トラックの別の構成について説明する。
図14Aは、標識322及び接続トラック328の構成の上面図を示す、概略図である。図14Bは、ディスプレイデバイス100が自動車のダッシュボード610内に配置された、標識322及び接続トラック328の配置の、上面図を示す、概略図であり、図14Cは、第1の近位背景領域320B1及び第2の近位背景領域320B2を含む遠位標識領域320Aの配置の上面図を示す概略図である。更に詳細に論じられていない図14A~図14Cの実施形態の特徴は、特徴の任意の潜在的な変形を含む、上述のような同等の参照番号を有する特徴に対応すると想定されてもよい。
図14Aの代替実施形態では、クラウド記号は、本明細書のその他の箇所に示されるロゴテキストの代替として使用され得る記号標識を表す。図8Eと比較して、複数の標識標識領域320Aは、異なるサイズで提供される。標識320Aは、それぞれ、本明細書のその他の箇所に示すように、別個の接続トラック328FA、328RAによって接続される。
図14Bの代替実施形態では、接続トラック328FA、328RAは、標識領域320Aを、グループで一緒にデイジー・チェーン接続するために設けられる。図14Aの実施形態と比較して、いくつかの接続トラック328及び駆動システムが、低減された複雑性及びコストで提供されてもよい。
図14Bは、標識320Aが、ダッシュボード610の表面上に(おそらく印刷によって)設けられた標識シンボル620に一致するように配置されてもよいことを更に示す。有利には、ディスプレイが、図2A~図2Bに示されるような標識モードにある場合に、又は図5A~図5Dに示されるようなプライバシー標識モードにある場合に、軸外の運転者によって見られるディスプレイの美的外観は、自動車の客室の美的外観と調和されてもよい。
図14Cの代替実施形態では、第1の近位背景領域320B1及び第2の近位背景領域320B2において、対応する電極区域327FB1及び327FB2並びに電極区域327RB1、327RB2は、間隙393によって分離される。このような構成は、ディスプレイデバイス100の部分の別個のスイッチングを提供してもよい。ディスプレイデバイス100のいくつかの部分は、ディスプレイデバイス100のその他の部分とは異なるモードで動作してもよい。有利には、観察者45、47は、ディスプレイデバイス100のいくつかの部分において、いくつかの情報を共有してもよく、観察者47にとっては、ディスプレイデバイス100のその他の部分は視認不可能である。
プライバシーモード動作及び共有モード動作を提供するディスプレイデバイスの面積の割合を修正することが望ましい場合がある。
図14Dは、アドレス指定可能電極317FBa~317FBn及び317RBa~317RBnのセグメント化アレイを備える、切替可能液晶極性制御リターダ301の、電極326F、326Rの上面図を示す概略図である。図14Eは、標識322及びタッチスクリーン420を備える、図14Dのアドレス指定可能電極のセグメント化アレイを備える、ディスプレイデバイス100の動作を示す概略図であり、図14Fは、アドレス指定可能電極のセグメント化アレイ及びタッチスクリーン420を備える、ディスプレイデバイス100の動作を示す概略図である。更に詳細に論じられていない図14D~図14Fの実施形態の特徴は、特徴の任意の潜在的な変形を含む、上述のような同等の参照番号を有する特徴に対応すると想定されてもよい。
図14Dの代替実施形態において、電極326FB、326RBは、セグメント化された領域326FBa~326FBn及び326RBa~326RBnを、それぞれ提供するようにセグメント化されている。
図14Dの構成の1つの動作モードが、図14Eに示されている。タッチスクリーン420は、ユーザの指25が、プライバシー動作モードと共有動作モードとの間の分割を決定するように、設けられている。上の図では、指は、右側の3つのセグメント化された背景領域320Ba~320Bcが、背景領域320Bから出力される狭角光円錐401Bを用いて、プライバシーモードで駆動されることを示すように位置している。その他のセグメントでは、広角光円錐402Bが、ディスプレイデバイス100の残りの領域にわたって提供される。中央の図では、指25は、より多くのセグメント320Ba~320Bnが、背景領域320Ba~320Be内に狭角光円錐401Bを提供するように駆動されるように、位置している。標識領域320Aでは、標識322の一部が、広角光円錐402Aで現れる。下の図では、より多くのセグメント320Ba~320Bnが、背景領域320Ba~320Biに狭角光円錐401を提供するように駆動され、標識322の全体が現れるように指25が位置している。観察者45、47によって使用されるディスプレイデバイス100領域の相対的な割合は、制御されてもよい。有利には、ディスプレイ使用の増加した柔軟性が提供されてもよい。このような配置は、超高アスペクト比ディスプレイにおいて、例えば、ピラー・トゥ・ピラー(pillar-to-pillar)型自動車用ディスプレイにおいて使用するために、特に望ましい場合がある。代替的な構成では、相対領域の制御は、例えば、アプリケーション又は画像内容、検出されたユーザ45の存在に応じて、その他の手段によって設定されてもよい。電極326FBa~326FBn、326RBa~326RBnのセグメント化領域は、セグメント化バックライト20、例えば、上記の図7Aに示されるようなミニLEDバックライトと協働して更に配置されていてもよい。
図14Fの代替実施形態では、標識322は、均一なプライバシー又は共有モード動作が達成され得るように駆動されなくてもよい。
図15Aは、0ボルトで動作し、上部電極317F及び下部電極317Rのためのオフセット間隙390F、390Rを備える、切替可能液晶リターダ301の側面図を示す概略図であり、図15Bは、駆動モードで動作し、上部電極317F及び下部電極317Rのためのオフセット間隙390F、390Rを備える、切替可能液晶リターダ301の側面図を示す概略図である。更に詳細に論じられていない図15Bの実施形態の特徴は、特徴の任意の潜在的な変形を含む、上述の同等の参照番号を有する特徴に対応すると想定されてもよい。
図15A~図15Bは、電極317F、電極317Rと液晶層314の材料414との間に配置された配向層417F、417Rを更に示す。例示的な配向層は、上記の表1~表2に記載されている。
第1の透過性電極317F及び第2の透過性電極317Rのそれぞれは、間隙390によって分離された複数のアドレス指定可能領域327A、327Bを提供するようにパターン化され、第1の透過性電極317F及び第2の透過性電極317Rの複数のアドレス指定可能領域327A、327Bは、液晶材料414の層314にわたって位置合わせされる。
狭角動作モード及び広角動作モードでは、液晶材料414が、間隙390F、390Fにわたって実質的に均一な状態に位置合わせすることが望ましい。
間隙390F、390Rの幅、γF、γRは、最大でも、液晶材料414の層314の厚さtの2倍、好ましくは、最大でも液晶材料の層の厚さtであってもよい。このような実施形態では、液晶材料414は、それぞれ、電極317F、電極317Rの領域327FA、327FBと、領域327RA、327RBと、の間の、間隙390の領域における、配向方向415と同様の、間隙390の領域における配向方向419で提供されてもよい。間隙390F、390Rの視認性は、有利に最小化されてもよく、例えば、図4B及び図4Dに示されるように、標識322の残留視認性のない均一な画像が達成される。
液晶層314に電圧が印加されると、材料は、結果として生じるrms電界に従って再位置合わせする。不整合を最小限に抑えることが望ましい。更に、液晶材料414の層314にわたって位置合わせされた第1の透過性電極317F及び第2の透過性電極317Rの複数のアドレス指定可能領域327A、327Bを分離する、間隙390F、390Rは、オフセットされる。オフセット距離δは、少なくとも液晶材料414の層314の厚さtであってもよく、好ましくは、液晶材料414の層314の厚さtの少なくとも2倍であってもよい。液晶材料414の配向方向417の不整合が低減され、間隙視認性が、有利に低減される。
図15Cは、プライバシーモードで動作し、上部電極317F及び下部電極317Rのための位置合わせされた間隙を備える、極性制御リターダの側面図を示す概略図である。更に詳細に論じられていない図15Cの実施形態の特徴は、特徴の任意の潜在的な変形を含む、上述のような同等の参照番号を有する特徴に対応すると想定されてもよい。
図15A~図15Bと比較すると、間隙390F、390Rは、位置合わせされてもよい。電極間隙の視認性は、より小さい領域に限定されてもよい。
次に、表1及び表2に示されたものに対する、極性制御リターダ300の代替の例示的な実施形態について説明する。
図15Dは、負のCプレートリターダを含む受動リターダ330を含む、極性制御リターダ300の配向方向の透視正面図を示す概略図である。図15Eは、交差した正のAプレートリターダ330A、330Bを含む、受動リターダを備える、極性制御リターダ300の配向方向の正面斜視図を示す概略図である。図15Fは、ねじれ液晶層314を含む極性制御リターダ300の配向方向の、透視正面図を示す、概略図であり、図15Gは、回転配向層417F、417R及び受動リターダ330を含む極性制御リターダの配向方向の透視正面図を示す概略図である。更に詳細に論じられていない図15D~図15Fの実施形態の特徴は、特徴の任意の潜在的な変形を含む、上述のような同等の参照番号を有する特徴に対応すると想定されてもよい。
第1の配向層417F及び第2の配向層417Rの面内配向の方向φF、φRは、それぞれ、矢印419F、419Rによって示され、配向層417F、417Rは、表8の例示的な(しかし非網羅的な)実施形態に示されるように、均一又はホメオトロピックであってもよい。
受動リターダ330は、図15Dに示すように、少なくとも1つのCプレートリターダを含んでもよい。あるいは、受動リターダ330は、例えば、図15Eに示すように、方向θFが、135°、方向θRが45°の交差した正のAプレート330A、330Nなどの、リターダの組み合わせであってもよい。代替的に、受動リターダ330は、液晶材料414のねじれ層314の例について図15Fに示されるように、省略されてもよい。
図15Gの代替の例示的な実施形態では、配向層417F、417Rの配向方向φF、φRは、それぞれ、参照によりその全体が本明細書に組み込まれる、米国特許第11,099,448号に記載されているように、図15Dの実施形態と比較して、例えば、10°又は15°、回転してもよい。有利には、動作において、このような構成は、ディスプレイデバイス100の面の法線からオフセットされるピーク輝度を提供してもよい。例えば、図6Aを考慮すると、このようなオフセットは、運転観察者47の方向から離れていてもよく、ディスプレイデバイス100に向かって傾斜している運転者に対して、改善されたセキュリティ関数Sを有利に達成するように構成されてもよい。
本実施形態では、受動リターダ330は、負のCプレート、正のCプレート、正のAプレート、又は0プレートのうちの、少なくとも1つであってもよい。液晶材料414の層314のリターダンス及び受動リターダのリターダンスの値の望ましい範囲は、米国特許第10,976,578号に更に記載されており、参照によりその全体が本明細書に組み込まれる。
液晶リターダ301の位置合わせされた電極326FA、326RAの組立体のコストを低減することが望ましい場合がある。
図16は、切替可能液晶極性制御リターダ301の代替電極の上面図を示す概略図である。更に詳細に論じられていない図16の実施形態の特徴は、特徴の任意の潜在的な変形を含む、上述のような同等の参照番号を有する特徴に対応すると想定されてもよい。
図16の代替実施形態では、第1の透過性電極317F及び第2の透過性電極317Rの一方は、間隙390によって分離された複数のアドレス指定可能領域327A、327Bを提供するようにパターン化され、第1の透過性電極317F及び第2の透過性電極317Rの他方はパターン化されていない。
最も一般的には、複数の領域320A、320Bは、第1の透過性電極317F及び第2の透過性電極317Rの外縁321F、321Rに隣接しない、少なくとも1つの遠位領域320Aと、第1の透過性電極317F及び第2の透過性電極317Rの外縁321F、321Rに隣接する、少なくとも1つの近位領域320Bと、を含み、少なくとも1つの遠位領域327Aと位置合わせされた第1の透過性電極317F及び第2の透過性電極317Rの少なくとも1つの領域320FAは、接続された領域327FA、327FBの間に抵抗を提供するように構成されたコネクタ370Fによって、少なくとも1つの近位領域320Bと位置合わせされた同じ透過性電極317Fの領域327FBに接続される。
換言すれば、電極317F、317Rの複数の領域は、第1の透過性電極317Fの外縁321Fに隣接しない、少なくとも1つの遠位アドレス指定可能領域327A、327Bと、第1の透過性電極317Fの外縁321に隣接する、少なくとも1つの近位領域327FBと、を含む。
図示されていない代替実施形態において、第1の透過性電極317Fの電極構成は、第2の透過性電極317R上に更に設けられてもよく、第2の透過性電極317Rの接続領域327RA、327RB間に抵抗を提供するように構成されている更なるコネクタ370Rが設けられてもよい。
換言すれば、少なくとも1つの遠位領域327Fは、少なくとも1つの遠位領域327FAと、少なくとも1つの近位領域327FBと、の間に、抵抗を提供するように構成された、コネクタ370Fによって、少なくとも1つの近位アドレス指定可能領域327Bに接続される。
図16に示す実施形態では、第2の透過性電極317Rは均一である。有利には、製造及び整合のコストが低減される。
図17A~図17Cは、図16のコネクタ370Fの、上面図を示す、概略図である。更に詳細に論じられていない図17A~図17Cの実施形態の特徴は、特徴の任意の潜在的な変形を含む、上述のような同等の参照番号を有する特徴に対応すると想定されてもよい。高抵抗トラッキングは、例えば、狭い電極チャネル、コネクタ370F内の除去された透明導体材料の領域371を提供することによって、又はジグザグコネクタ370Fプロファイルによって提供されてもよい。
次に、領域320A、320Bの駆動について更に詳細に説明する。
図18は、図16の電極間の電圧の駆動を示す概略回路図である。
電圧VINは、電極317Fの近位電極アドレス指定可能領域327Bを含むシート透明電極に印加される。低いシート抵抗の場合、近位電極アドレス指定可能領域327B内の液晶層314にわたる電圧VBは、VINと実質的に同じであり、コンデンサCBを充電する。コネクタ370Fの抵抗は、領域327FAに電圧降下を所与し、標識領域320Aに、異なる静電容量CAを所与する。コネクタ370の抵抗の設計、及び駆動電圧のアドレス指定周波数の選択によって、領域327FA内の液晶材料にわたって見られる電圧は、領域327FBとは異なる反射率を達成するように制御されてもよい。
有利には、液晶リターダ314の電極317F、317Rの複雑性及びコストを低減してもよい。
換言すれば、周囲照明410において使用するためのディスプレイデバイス100は、光を出力するように構成された空間光変調器48であって、当該空間光変調器48が、空間光変調器48の出力側に配置された出力偏光子218を備え、出力偏光子218が直線偏光子である、空間光変調器48と、視野角制御構成体であって、当該視野角制御構成体が、出力偏光子218の出力側に配置された追加の偏光子318であって、当該追加の偏光子318が直線偏光子である、追加の偏光子318と、出力偏光子218と追加の偏光子318との間に配置された反射偏光子302であって、当該反射偏光子302が直線偏光子である、反射偏光子302と、当該反射偏光子302と当該追加の偏光子318との間に配置された少なくとも1つの極性制御リターダ300であって、当該少なくとも1つの極性制御リターダ300が、液晶材料414の層314と、当該液晶材料414の層314の両側の第1の透過性電極317F及び第2の透過性電極317Rと、を備える、切替可能液晶リターダ301を含み、当該第1の透過性電極317F及び当該第2の透過性電極317Rのうちの少なくとも1つが、間隙390によって分離された複数のアドレス指定可能領域327A、327Bを提供するようにパターン化され、当該領域のうちの少なくとも1つが、軸外観察者47に表示するための標識領域320Aの形状であり、当該複数のアドレス指定可能領域327A、327Bが、当該第1の透過性電極317F及び当該第2の透過性電極317Rの外縁321に隣接しない少なくとも1つの遠位領域と、外縁321に隣接する少なくとも1つの近位領域と、を含み、当該少なくとも1つの遠位アドレス指定可能領域327Aが、少なくとも1つの遠位アドレス指定可能領域327Aと少なくとも1つの近位アドレス指定可能領域327Bと、の間に、抵抗を提供するように構成された、コネクタ370によって、少なくとも1つの近位アドレス指定可能領域327Bに接続される、少なくとも1つの極性制御リターダと、を備える、視野角制御構成体と、を備える。
次に、標識領域320A及び背景領域320Bの代替的な電極配置について、説明する。
図19Aは、切替可能液晶極性制御リターダ300の電極317F、電極317Rの上面図、及び電圧VFAによる上部電極パターン領域Aの駆動を示す、概略図であり、図19Bは、切替可能液晶極性制御リターダの電極の上面図、及び電圧VFBによる上部電極パターン領域Bの駆動を示す概略図である。更に詳細に論じられていない図19A~図19Bの実施形態の特徴は、特徴の任意の潜在的な変形を含む、上述のような同等の参照番号を有する特徴に対応すると想定されてもよい。
図19Aは、電極317Fの外縁321Fの外側にあるコネクタ347FAによって、電圧VFAで駆動される、近位領域327FAを示し、図19Bは、電極317Fの外縁321Fの外側にあるコネクタ347FBによって電圧VFBで駆動される近位領域327FBを示す。液晶層314の反対側には、共通均一電極317Rが配置されている。
図19Cは、反射性背景領域320Bについての図19A~図19Bの電極317F、電極317Rのアドレス指定のための、例示的な電圧信号520FA、520FA、520Rを示す概略図である。更に詳細に論じられていない図19Cの実施形態の特徴は、特徴の任意の潜在的な変形を含む、上述のような同等の参照番号を有する特徴に対応すると想定されてもよい。
図19Cの実施形態では、電極317Rは接地され、電極領域327FAは、低反射率で駆動される標識領域320Aを提供し、電極領域327FBは、標識背景領域320Bを提供する。したがって、例えば、図2Bのディスプレイが、提供されてもよい。アドレス電極317F、317Rの複雑性が、有利に低減され、コストが低減される。
図19Dは、反射標識領域に対する、図19A~図19Bのパターン化された電極のアドレス指定のための例示的な電圧信号を示す概略図である。更に詳細に論じられていない図19Dの実施形態の特徴は、特徴の任意の潜在的な変形を含む、上述のような同等の参照番号を有する特徴に対応すると想定されてもよい。図19Dの代替実施形態では、標識領域320Aは、波形520FAによる電極領域327FAの駆動によって、反射性として提供され、標識背景領域320Bは、波形520FBによる電極アドレス指定可能領域327Bの駆動によって、非反射性として提供される。
図20Aは、切替可能液晶極性制御リターダ301のための代替上部電極317F及び代替底部電極317Rの、斜視側面図を示す、概略図であり、図20Bは、図20Aの切替可能液晶極性制御リターダ301の電極の、上面図を示す概略図である。更に詳細に論じられていない図20A~図20Bの実施形態の特徴は、特徴の任意の潜在的な変形を含む、上述のような同等の参照番号を有する特徴に対応すると想定されてもよい。
第1の透過性電極317F及び第2の透過性電極317Rの一方は、間隙390によって分離された複数のアドレス指定可能領域327A、327Bを提供するようにパターン化され、第1の透過性電極317F及び第2の透過性電極317Rの他方はパターン化されていない。
図20Cは、空間光変調器48から光400が出力されない、図20A及び図20Bのパターン化された電極液晶極性制御リターダ301を備える切替可能プライバシーディスプレイデバイス100を備える、周囲光源410によって照明されたラップトップコンピュータ102の、見下ろし軸外斜視図を示す概略図である。更に詳細に論じられていない図20Cの実施形態の特徴は、特徴の任意の潜在的な変形を含む、上述のような同等の参照番号を有する特徴に対応すると想定されてもよい。
図19Aの構成と比較すると、バスバー接続電極325は、作動領域内に設けられ、軸外観察者47に対して軸外位置に表示される標識領域320Aの一部を形成する。有利には、液晶リターダ301の複雑性及びコストが低減される。
次に、軸上光及び軸外光に対する極性制御リターダの動作について説明する。
図21Aは、共有動作モードにおける、空間光変調器48からの透過光に対する、図2の構成の動作を、側面図で示す概略図である。以下に記載される実施形態では、ディスプレイに垂直な(又は正面方向の)光線445は、極性制御リターダ300A、300B並びに偏光子318A、302、及び318Bによって修正されない偏光状態360で、ディスプレイ偏光子219によって透過される。このような光は、高輝度で透過する。
共有モードでは、法線方向に対して0でない極角を有する光線447もまた、極性制御リターダ300A、300B並びに偏光子318A、302及び318Bによって、実質的に修正されない、同じ偏光状態360で透過される。空間光変調器48からの輝度の極性プロファイルは、実質的に変更されなくてもよい。有利には、ディスプレイは、広範囲の極視野位置から視認可能であり、複数のディスプレイユーザによって視認可能である。
図21Bは、周囲光の高い反射率を有するプライバシー動作モードにおける、空間光変調器48からの透過光に対する、図2Aおよび図2Bの構成の動作を側面図で示す概略図である。正面光線445は、極性制御リターダ300A、300Bによって実質的に修正されない偏光状態360を有する。比較すると、軸外光線447は、一般に、楕円状態362Aを提供するために付与された位相差を有する、第1の偏光制御リターダからの出力を有する。第1の追加の偏光子318Aに入射すると、光線447の輝度は、出力状態360で低減される。当該光線447は、小さな損失で反射偏光子302を透過し、第2の偏光制御リターダ300Bに入射し、そこで、更なる位相変調が提供され、出力偏光状態362Bが達成される。このような状態362Bは、第2の追加の偏光子318Bによって、少なくとも部分的に吸収される。光線447は、したがって、図21Aの光線447と比較して低減された輝度で、軸外極位置において透過される。
次に、反射偏光子302の動作について説明する。
図21Cは、共有動作モードにおける、入射周囲光604に対する図18Aの構成の動作を側面図で示す概略図である。光線404、406は、実質的に偏光されていない状態370で、ディスプレイデバイス100に入射する。偏光子318Bは、第1の偏光制御リターダに入射し、正面光線404及び軸外光線406に対して実質的に修正されない偏光状態360を提供する。したがって、光線は、ディスプレイによって実質的に反射されず、空間光変調器48及びバックライト20(存在する場合)において吸収される。ディスプレイ反射率は、広範囲の視野方向に対して低レベルに維持され、有利には、高コントラスト画像が、複数のディスプレイユーザによって視認可能である。
図21Dは、周囲光の高い反射率を有するプライバシー動作モードにおける、周囲光に対する図18Aの構成の動作を側面図で示す概略図である。正面から入射する周辺光線404は、反射偏光子302から実質的に反射されて透過される。更に詳細に論じられていない図21A~図21Dの実施形態の特徴は、特徴の任意の潜在的な変形を含む、上述のような同等の参照番号を有する特徴に対応すると想定されてもよい。
比較すると、光線406は、状態364が反射偏光子を照明するように、極性制御リターダ300Bにおいて位相変調を受ける。反射偏光子302の電気ベクトル透過方向303に直交する、分解された偏光状態366は、反射され、偏光状態368が第2の追加の偏光子に入射するように極性リターダを通過する。したがって、偏光子318Bの電気ベクトル透過方向に平行な状態368の成分は透過される。軸外の観察者47にとって、ディスプレイは、増加した反射率を有するように見える。当該増大した反射率は、有利には、上述のように増大したセキュリティ関数Sを達成する。
本明細書で使用され得る場合、用語「実質的に(substantially)」及び「およそ(ほぼ)(approximately)」は、それに対応する用語及び/又は項目間の相対性に対して、業界で受け入れられる許容範囲を付与するものである。このような、業界で受け入れられる許容範囲は、0パーセント~10パーセントの範囲であり、成分値、角度などが該当するが、これらに限定されない。このような、項目間の相対性は、約0パーセント~10パーセントの範囲である。
本明細書に開示される原理による様々な実施形態を上述してきたが、それらは限定としてではなく、単なる一例として提示されていることを理解されたい。それ故、本開示の広さ及び範囲は、上述した例示的な実施形態のいずれによっても制限されてはならず、請求項のいずれか、及び本開示に由来するそれらの均等物に従ってのみ定義されるべきである。更に、上述の利点及び特徴が記載された実施形態において提供されるが、このような公開される特許請求の範囲の用途を、上述の利点のいずれか又は全てを達成する方法及び構造に限定するものではない。
なお、本明細書におけるセクションの見出しは、37CFR1.77の定義するところに従って、そうでなければ、編成上の目印として、提供されるものである。これらの見出しは、本開示から生じ得る請求項に定める実施形態を限定したり又は特徴付けたりしないものとする。具体的には、単に例示ではあるが、「技術分野」という見出しがあるが、いわゆる分野を説明するためにこの見出しの下に選択された表現によって、特許請求の範囲が限定されるものではない。更に、「背景技術」に記載された技術に関する記述は、特定の技術が、本開示における任意の実施形態に対する先行技術であることの承認として解釈されるべきではない。「発明の概要」についても、公開される請求項で述べられる実施形態を特徴付けるものとして、考慮されるべきでない。更に、本開示においては、単数形での「発明(invention)」に対するいずれの言及も、本開示における新規な点が1つのみであるということを主張するために使用されるべきではない。複数の実施形態は、本開示により、公開される複数の請求項の限定に従って、述べられる場合があり、したがって、これらの請求項は、当該実施形態及びそれらの均等物を定義することによって、それらを保護している。全ての例において、このような請求項の範囲は、本開示に照らして、固有の利点が考慮されるべきであり、本明細書で定める見出しによって制約されてはならない。
(他の可能な項目)
(項目1)
周囲照明で使用するためのディスプレイデバイスであって、
光を出力するように構成された空間光変調器であって、前記空間光変調器が、前記空間光変調器の出力側に配置された出力偏光子を備え、前記出力偏光子が直線偏光子である、空間光変調器と、
視野角制御構成体であって、
前記出力偏光子の前記出力側に配置された追加の偏光子であって、前記追加の偏光子が直線偏光子である、追加の偏光子と、
前記出力偏光子と前記追加の偏光子との間に配置された反射偏光子であって、前記反射偏光子が直線偏光子である、反射偏光子と、
前記反射偏光子と前記追加の偏光子との間に配置された少なくとも1つの極性制御リターダであって、前記少なくとも1つの極性制御リターダが、液晶材料の層と、前記液晶材料の層の両側の第1の透過性電極及び第2の透過性電極と、を備える、切替可能液晶リターダを含み、前記第1の透過性電極及び前記第2の透過性電極のうちの少なくとも1つが、間隙によって分離された領域内でパターン化されて、前記液晶材料の層の複数のアドレス指定可能な領域を提供し、前記複数のアドレス指定可能な領域のうちの少なくとも1つが、観察者に表示するための標識の形状である、少なくとも1つの極性制御リターダと、を備える、視野角制御構成体と、
前記空間光変調器を制御し、前記液晶材料の層を駆動するために、前記第1の透過性電極及び前記第2の透過性電極にわたって電圧を印加するように構成された、制御システムであって、
前記制御システムが、複数の動作モードで動作可能であるように構成されており、前記複数の動作モードが、
広角動作ディスプレイモードであって、前記制御システムが、動作画像を表示するように前記空間光変調器を制御し、前記動作画像が広角及び狭角では視認可能であり、前記標識が、前記狭角又は前記広角では視認不可能であるように、異なる領域において、前記液晶材料の層を同じ状態に駆動する電圧を、前記第1の透過性電極及び前記第2の透過性電極にわたって印加する、広角動作ディスプレイモードと、
少なくとも1つの狭角動作ディスプレイモードであって、前記制御システムが、動作画像を表示するように前記空間光変調器を制御し、前記動作画像が、前記狭角では視認可能であるが、前記広角では視認不可能であり、前記標識が、前記狭角では視認不可能であるように、前記液晶材料の層を異なる領域における状態に駆動する電圧を、前記第1の透過性電極及び前記第2の透過性電極にわたって印加する、少なくとも1つの狭角動作ディスプレイモードと、
少なくとも1つの標識ディスプレイモードであって、前記制御システムが、前記標識が視認可能であるように、前記液晶材料の層を異なる領域において異なる状態に駆動する電圧を、前記第1の透過性電極及び前記第2の透過性電極にわたって印加する、少なくとも1つの標識ディスプレイモードと、を含む、制御システムと、を備える、ディスプレイデバイス。
(項目2)
前記少なくとも1つの標識ディスプレイモードは、前記制御システムが、画像を表示しないように前記空間光変調器を制御し、前記標識が、前記広角では視認可能であるが、前記狭角では視認不可能であるように、前記液晶材料の層を異なる領域において異なる状態に駆動する電圧を、前記第1の透過性電極及び前記第2の透過性電極にわたって印加する、標識ディスプレイモードを含む、項目1に記載のディスプレイデバイス。
(項目3)
前記少なくとも1つの標識ディスプレイモードは、前記制御システムが、前記標識を照明するための照明画像を表示するように前記空間光変調器を制御し、前記標識が、前記広角及び前記狭角では視認可能であるように、前記液晶材料の層を異なる領域において前記異なる状態に駆動する電圧を、前記第1の透過性電極及び前記第2の透過性電極にわたって印加する、標識ディスプレイモードを含む、項目1又は2に記載のディスプレイデバイス。
(項目4)
前記照明画像が、静止画像である、項目3に記載のディスプレイデバイス。
(項目5)
前記照明画像が、前記標識と位置合わせされている、項目3又は4に記載のディスプレイデバイス。
(項目6)
前記少なくとも1つの狭角動作ディスプレイモードは、前記制御システムが、動作画像を表示するように前記空間光変調器を制御し、前記標識が、前記広角では視認不可能であるように、前記液晶材料の層を異なる領域において同じ状態に駆動する電圧を、前記第1の透過性電極及び前記第2の透過性電極にわたって印加する、狭角動作ディスプレイモードを含む、項目1~5のいずれか一項に記載のディスプレイデバイス。
(項目7)
前記少なくとも1つの狭角動作ディスプレイモードは、前記制御システムが、動作画像を表示するように前記空間光変調器を制御し、前記標識が、前記広角では視認可能であるように、前記液晶材料の層を異なる領域において異なる状態に駆動する電圧を、前記第1の透過性電極及び前記第2の透過性電極にわたって印加する、狭角動作ディスプレイモードを含む、項目1~6のいずれか一項に記載のディスプレイデバイス。
(項目8)
前記標識が、アイコン又はテキストである、項目1~7のいずれか一項に記載のディスプレイデバイス。
(項目9)
前記間隙が、最大で前記液晶材料の層の厚さの2倍、好ましくは、最大で前記液晶材料の層の前記厚さの幅を有する、項目1~8のいずれか一項に記載のディスプレイデバイス。
(項目10)
前記第1の透過性電極及び前記第2の透過性電極のそれぞれが、間隙によって分離された複数の領域を提供するようにパターン化されている、項目1~9のいずれか一項に記載のディスプレイデバイス。
(項目11)
前記液晶材料の層にわたって位置合わせされた前記間隙が、オフセットされている、項目10に記載のディスプレイデバイス。
(項目12)
前記オフセットが、少なくとも前記液晶材料の層の厚さであり、好ましくは、前記液晶材料の層の前記厚さの少なくとも2倍である、項目11に記載のディスプレイデバイス。
(項目13)
前記複数の領域が、少なくとも1つのアイランド領域と、前記アイランド領域の周囲に延在する少なくとも1つの周辺領域と、を含み、
前記少なくとも1つの周辺領域と位置合わせされた前記第1の透過性電極及び前記第2の透過性電極の領域が、前記液晶材料の層にわたって位置合わせされたブリッジングスリットを有し、前記ブリッジングスリットを通って、前記少なくとも1つのアイランド領域と位置合わせされた前記第1の透過性電極及び前記第2の透過性電極の領域に接続されたブリッジングトラックが延在する、項目10~12のいずれか一項に記載のディスプレイデバイス。
(項目14)
前記複数の領域が、前記第1の透過性電極及び前記第2の透過性電極の外縁に隣接しない少なくとも1つの遠位領域と、前記第1の透過性電極及び前記第2の透過性電極の前記外縁に隣接する少なくとも1つの近位領域と、を含み、
前記少なくとも1つの近位領域と位置合わせされた前記第1の透過性電極及び前記第2の透過性電極の領域が、前記少なくとも1つの遠位領域と位置合わせされた前記第1の透過性電極及び前記第2の透過性電極の領域に接続された、少なくとも1つの接続トラックが延在する、少なくとも1つの接続スリットを有し、前記少なくとも1つの接続トラックが、前記第1の透過性電極及び前記第2の透過性電極の前記外縁まで延在し、前記制御システムが、前記少なくとも1つの遠位領域に電圧を印加するために、前記外縁において前記少なくとも1つの接続トラックに接続されている、項目10~13のいずれか一項に記載のディスプレイデバイス。
(項目15)
前記少なくとも1つの遠位領域と位置合わせされた前記第1の透過性電極及び前記第2の透過性電極の前記領域に接続された、前記少なくとも1つの接続トラックが、前記液晶材料の層にわたって、互いに位置合わせされていない、項目14に記載のディスプレイデバイス。
(項目16)
前記制御システムが、前記少なくとも1つの遠位領域、前記少なくとも1つの接続トラックと位置合わせされた前記少なくとも1つの近位領域の部分、及び前記近位領域の残りの部分のそれぞれにおける前記動作モードに従って、前記液晶材料の層の前記複数の領域を所望の状態に駆動する電圧を、前記第1の透過性電極及び前記第2の透過性電極にわたって印加するように選択された、振幅及び位相を有する、それぞれの電圧信号を、前記少なくとも1つの接続トラック及び前記少なくとも1つの近位領域に印加するように構成されている、項目15に記載のディスプレイデバイス。
(項目17)
前記少なくとも1つの接続トラックが、それが接続される前記少なくとも1つの遠位領域に隣接して減少した幅のネックを有する、項目13~16のいずれか一項に記載のディスプレイデバイス。
(項目18)
前記第1の透過性電極及び前記第2の透過性電極の一方が、間隙によって分離された領域にパターン化されており、前記第1の透過性電極及び前記第2の透過性電極の他方が、パターン化されていない、項目1~9のいずれか一項に記載のディスプレイデバイス。
(項目19)
前記複数のアドレス指定可能な領域が、前記第1の透過性電極及び前記第2の透過性電極の外縁に隣接しない少なくとも1つの遠位領域と、前記第1の透過性電極及び前記第2の透過性電極の前記外縁に隣接する少なくとも1つの近位領域と、を含み、前記少なくとも1つの遠位領域と位置合わせされた前記第1の透過性電極及び前記第2の透過性電極のうちの少なくとも1つの領域が、接続された前記領域間に抵抗を提供するように構成されているコネクタによって、前記少なくとも1つの近位領域と位置合わせされた同じ透過性電極の領域に接続される、項目1~18のいずれか一項に記載のディスプレイデバイス。
(項目20)
周囲照明で使用するためのディスプレイデバイスであって、
光を出力するように構成された空間光変調器であって、前記空間光変調器が、前記空間光変調器の一方の側に配置されたディスプレイ偏光子を備え、前記ディスプレイ偏光子が直線偏光子である、空間光変調器と、
視野角制御構成体であって、
前記ディスプレイ偏光子の外側に、前記空間光変調器の前記ディスプレイ偏光子と同じ側に配置された追加の偏光子であって、前記追加の偏光子が直線偏光子である、追加の偏光子と、
前記ディスプレイ偏光子と前記追加の偏光子との間に配置された少なくとも1つの極性制御リターダであって、前記少なくとも1つの極性制御リターダが、液晶材料の層と、前記液晶材料の層の両側の第1の透過性電極及び第2の透過性電極と、を備える、切替可能液晶リターダを含み、前記第1の透過性電極及び前記第2の透過性電極のうちの少なくとも1つが、間隙によって分離された領域内でパターン化されて、前記液晶材料の層の複数のアドレス指定可能な領域を提供し、前記複数のアドレス指定可能な領域のうちの少なくとも1つが、観察者に表示するための標識の形状である、少なくとも1つの極性制御リターダと、を備える、視野角制御構成体と、
前記空間光変調器を制御し、前記液晶材料の層を駆動するために、前記第1の透過性電極及び前記第2の透過性電極にわたって電圧を印加するように構成された、制御システムであって、
前記制御システムが、複数の動作モードで動作可能であるように構成されており、前記複数の動作モードは、
広角動作ディスプレイモードであって、前記制御システムが、動作画像を表示するように前記空間光変調器を制御し、前記動作画像が広角及び狭角では視認可能であり、前記標識が、前記狭角又は前記広角では視認不可能であるように、前記液晶材料の層を異なる領域において同じ状態に駆動する電圧を、前記第1の透過性電極及び前記第2の透過性電極にわたって印加する、広角動作ディスプレイモードと、
少なくとも1つの狭角動作ディスプレイモードであって、前記制御システムが、動作画像を表示するように前記空間光変調器を制御し、前記動作画像が、前記狭角では視認可能であるが、前記広角では視認不可能であり、前記標識が、前記狭角では視認不可能であるが、前記広角では視認可能であるように、前記液晶材料の層を異なる領域において異なる状態に駆動する電圧を、前記第1の透過性電極及び前記第2の透過性電極にわたって印加する、少なくとも1つの狭角動作ディスプレイモードと、を含む、制御システムと、を備える、ディスプレイデバイス。
(項目21)
前記ディスプレイ偏光子が、前記空間光変調器の入力側に配置された入力偏光子であり、前記追加の偏光子が、前記ディスプレイ偏光子の前記入力側に配置されている、項目20に記載のディスプレイデバイス。
(項目22)
前記ディスプレイ偏光子が、前記空間光変調器の出力側に配置された出力偏光子であり、前記追加の偏光子が、前記ディスプレイ偏光子の前記出力側に配置されている、項目20に記載のディスプレイデバイス。
(項目23)
前記視野角制御構成体が、前記出力偏光子と前記追加の偏光子との間に配置された反射偏光子を更に備え、前記反射偏光子が直線偏光子であり、前記少なくとも1つの極性制御リターダが、前記反射偏光子と前記追加の偏光子との間に配置されている、項目22に記載のディスプレイデバイス。
(項目24)
前記動作画像は、問題の角度で定義されるセキュリティ係数Snが、全ての領域について、それぞれ、1.0未満である場合、又は少なくとも1.0である場合に、視認可能であるか、又は視認不可能であり、前記セキュリティ係数Snが、以下の式、
Sn=log10[1+(ρn.α)/(π.Pn)]によって所与され、
式中、
ρnが、問題の前記角度における、前記ディスプレイデバイスの反射率であり、
Pnが、前記ディスプレイデバイスの最大輝度に対する、前記問題の角度における前記ディスプレイデバイスの輝度の比であり、
πが、ステラジアン単位の立体角であり、
αが、4.0のステラジアンの値を有する係数である、項目1~23のいずれか一項に記載のディスプレイデバイス。
(項目25)
標識の形状の前記複数のアドレス指定可能な領域のうちの前記少なくとも1つの領域と、その他の領域とで、前記問題の角度で定義される前記セキュリティ係数Snが異なる場合、又は同一である場合、それぞれ、前記標識が、視認可能であるか、又は視認不可能である、項目24に記載のディスプレイデバイス。
(項目26)
前記広角が、前記ディスプレイデバイスの法線を中心とした予め定められた方位角において、前記ディスプレイデバイスの前記法線から45°の極角である、項目1~25のいずれか一項に記載のディスプレイデバイス。
(項目27)
前記狭角が、前記予め定められた方位角における前記空間光変調器の法線から、0°~20°の極角の範囲内にある、項目26に記載のディスプレイデバイス。
(項目28)
周囲照明で使用するためのディスプレイデバイスであって、
光を出力するように構成された空間光変調器であって、前記空間光変調器が、前記空間光変調器の一方の側に配置されたディスプレイ偏光子を備え、前記ディスプレイ偏光子が直線偏光子である、空間光変調器と、
視野角制御構成体であって、
前記ディスプレイ偏光子の外側に、前記空間光変調器の前記ディスプレイ偏光子と同じ側に配置された追加の偏光子であって、前記追加の偏光子が直線偏光子である、追加の偏光子と、
前記ディスプレイ偏光子と前記追加の偏光子との間に配置された少なくとも1つの極性制御リターダであって、前記少なくとも1つの極性制御リターダが、液晶材料の層と、前記液晶材料の層の両側の第1の透過性電極及び第2の透過性電極と、を備える、切替可能液晶リターダを含み、前記第1の透過性電極及び前記第2の透過性電極のそれぞれが、間隙によって分離された領域内でパターン化されて、前記液晶材料の層の複数のアドレス指定可能な領域を提供し、前記複数のアドレス指定可能な領域のうちの少なくとも1つが、観察者に表示するための標識の形状である、少なくとも1つの極性制御リターダと、を備える、視野角制御構成体と、を備える、ディスプレイデバイス。
(項目29)
前記ディスプレイ偏光子が、前記空間光変調器の入力側に配置された入力偏光子であり、前記追加の偏光子が、前記ディスプレイ偏光子の前記入力側に配置されている、項目28に記載のディスプレイデバイス。
(項目30)
前記ディスプレイ偏光子が、前記空間光変調器の出力側に配置された出力偏光子であり、前記追加の偏光子が、前記ディスプレイ偏光子の前記出力側に配置されている、項目28に記載のディスプレイデバイス。
(項目31)
前記視野角制御構成体が、出力偏光子と前記追加の偏光子との間に配置された反射偏光子を更に備え、前記反射偏光子が直線偏光子であり、前記少なくとも1つの極性制御リターダが、前記反射偏光子と前記追加の偏光子との間に配置されている、項目30に記載のディスプレイデバイス。
(項目32)
前記間隙が、最大で前記液晶材料の層の厚さの2倍、好ましくは、最大で前記液晶材料の層の前記厚さの幅を有する、項目28~31のいずれか一項に記載のディスプレイデバイス。
(項目33)
前記液晶材料の層にわたって位置合わせされた前記間隙が、オフセットされている、項目28~32のいずれか一項に記載のディスプレイデバイス。
(項目34)
前記複数のアドレス指定可能な領域が、少なくとも1つのアイランド領域と、前記アイランド領域の周囲に延在する少なくとも1つの周辺領域と、を含み、
前記少なくとも1つの周辺領域と位置合わせされた前記第1の透過性電極及び前記第2の透過性電極の領域が、前記液晶材料の層にわたって位置合わせされたブリッジングスリットを有し、前記ブリッジングスリットを通って、前記少なくとも1つのアイランド領域と位置合わせされた前記第1の透過性電極及び前記第2の透過性電極の領域に接続されたブリッジングトラックが延在する、項目28~33のいずれか一項に記載のディスプレイデバイス。
(項目35)
前記複数のアドレス指定可能な領域が、前記第1の透過性電極及び前記第2の透過性電極の外縁に隣接しない少なくとも1つの遠位領域と、前記第1の透過性電極及び前記第2の透過性電極の前記外縁に隣接する少なくとも1つの近位領域と、を含み、
前記少なくとも1つの近位領域と位置合わせされた前記第1の透過性電極及び前記第2の透過性電極の領域が、前記少なくとも1つの遠位領域と位置合わせされた前記第1の透過性電極及び前記第2の透過性電極の領域に接続された、少なくとも1つの接続トラックが延在する、少なくとも1つの接続スリットを有し、前記少なくとも1つの接続トラックが、前記第1の透過性電極及び前記第2の透過性電極の前記外縁まで延在し、制御システムが、前記少なくとも1つの遠位領域に電圧を印加するために、前記外縁において前記少なくとも1つの接続トラックに接続されている、項目28~34のいずれか一項に記載のディスプレイデバイス。
(項目36)
前記少なくとも1つの遠位領域と位置合わせされた前記第1の透過性電極及び前記第2の透過性電極の前記領域に接続された、前記少なくとも1つの接続トラックが、前記液晶材料の層にわたって、互いに位置合わせされていない、項目35に記載のディスプレイデバイス。
(項目37)
前記空間光変調器を制御し、前記液晶材料の層を駆動するために前記第1の透過性電極及び前記第2の透過性電極にわたって電圧を印加するように構成された、制御システムを更に備え、前記制御システムが、前記少なくとも1つの遠位領域、前記少なくとも1つの接続トラックと位置合わせされた前記少なくとも1つの近位領域の部分、及び前記近位領域の残りの部分のそれぞれにおける前記動作モードに従って、前記液晶材料の層の前記複数のアドレス指定可能な領域を所望の状態に駆動する電圧を、前記第1の透過性電極及び前記第2の透過性電極にわたって印加するように選択された、振幅及び位相を有する、それぞれの電圧信号を、前記少なくとも1つの接続トラック及び前記少なくとも1つの近位領域に印加するように構成されている、項目36に記載のディスプレイデバイス。
(項目38)
前記少なくとも1つの接続トラックが、それが接続される前記少なくとも1つの遠位領域に隣接して減少した幅のネックを有する、項目35~37のいずれか一項に記載のディスプレイデバイス。
(項目39)
周囲照明で使用するためのディスプレイデバイスであって、
光を出力するように構成された空間光変調器であって、前記空間光変調器が、前記空間光変調器の一方の側に配置されたディスプレイ偏光子を備え、前記ディスプレイ偏光子が直線偏光子である、空間光変調器と、
視野角制御構成体であって、
前記ディスプレイ偏光子の外側に、前記空間光変調器の前記ディスプレイ偏光子と同じ側に配置された追加の偏光子であって、前記追加の偏光子が直線偏光子である、追加の偏光子と、
前記ディスプレイ偏光子と前記追加の偏光子との間に配置された少なくとも1つの極性制御リターダであって、前記少なくとも1つの極性制御リターダが、液晶材料の層と、前記液晶材料の層の両側の第1の透過性電極及び第2の透過性電極と、を備える、切替可能液晶リターダを含み、前記第1の透過性電極及び前記第2の透過性電極のうちの少なくとも1つが、間隙によって分離された領域内でパターン化されて、前記液晶材料の層の複数のアドレス指定可能な領域を提供し、前記複数のアドレス指定可能な領域のうちの少なくとも1つが、観察者に表示するための標識の形状である、少なくとも1つの極性制御リターダと、を備える、視野角制御構成体と、を備え、
前記複数のアドレス指定可能な領域が、前記第1の透過性電極及び前記第2の透過性電極の外縁に隣接しない少なくとも1つの遠位領域と、前記外縁に隣接する少なくとも1つの近位領域と、を含み、前記少なくとも1つの遠位領域と位置合わせされた前記第1の透過性電極及び前記第2の透過性電極のうちの少なくとも1つの領域が、接続された領域間に抵抗を提供するように構成されているコネクタによって、前記少なくとも1つの近位領域と位置合わせされた同じ透過性電極の領域に接続される、ディスプレイデバイス。
(項目40)
前記ディスプレイ偏光子が、前記空間光変調器の入力側に配置された入力偏光子であり、前記追加の偏光子が、前記ディスプレイ偏光子の前記入力側に配置されている、項目39に記載のディスプレイデバイス。
(項目41)
前記ディスプレイ偏光子が、前記空間光変調器の出力側に配置された出力偏光子であり、前記追加の偏光子が、前記ディスプレイ偏光子の前記出力側に配置されている、項目39に記載のディスプレイデバイス。
(項目42)
前記視野角制御構成体が、前記出力偏光子と前記追加の偏光子との間に配置された反射偏光子を更に備え、前記反射偏光子が直線偏光子であり、前記少なくとも1つの極性制御リターダが、前記反射偏光子と前記追加の偏光子との間に配置されている、項目41に記載のディスプレイデバイス。
(項目43)
前記少なくとも1つの極性制御リターダが、受動リターダを更に含む、項目1~42のいずれか一項に記載のディスプレイデバイス。
(項目44)
前記空間光変調器が、透過型空間光変調器であり、前記ディスプレイデバイスが、前記空間光変調器に光を供給するように構成されたバックライトを更に備える、項目1~43のいずれか一項に記載のディスプレイデバイス。
(項目45)
前記空間光変調器が、発光型空間光変調器である、項目1~43のいずれか一項に記載のディスプレイデバイス。
(他の可能な項目)
(項目1)
周囲照明で使用するためのディスプレイデバイスであって、
光を出力するように構成された空間光変調器であって、前記空間光変調器が、前記空間光変調器の出力側に配置された出力偏光子を備え、前記出力偏光子が直線偏光子である、空間光変調器と、
視野角制御構成体であって、
前記出力偏光子の前記出力側に配置された追加の偏光子であって、前記追加の偏光子が直線偏光子である、追加の偏光子と、
前記出力偏光子と前記追加の偏光子との間に配置された反射偏光子であって、前記反射偏光子が直線偏光子である、反射偏光子と、
前記反射偏光子と前記追加の偏光子との間に配置された少なくとも1つの極性制御リターダであって、前記少なくとも1つの極性制御リターダが、液晶材料の層と、前記液晶材料の層の両側の第1の透過性電極及び第2の透過性電極と、を備える、切替可能液晶リターダを含み、前記第1の透過性電極及び前記第2の透過性電極のうちの少なくとも1つが、間隙によって分離された領域内でパターン化されて、前記液晶材料の層の複数のアドレス指定可能な領域を提供し、前記複数のアドレス指定可能な領域のうちの少なくとも1つが、観察者に表示するための標識の形状である、少なくとも1つの極性制御リターダと、を備える、視野角制御構成体と、
前記空間光変調器を制御し、前記液晶材料の層を駆動するために、前記第1の透過性電極及び前記第2の透過性電極にわたって電圧を印加するように構成された、制御システムであって、
前記制御システムが、複数の動作モードで動作可能であるように構成されており、前記複数の動作モードが、
広角動作ディスプレイモードであって、前記制御システムが、動作画像を表示するように前記空間光変調器を制御し、前記動作画像が広角及び狭角では視認可能であり、前記標識が、前記狭角又は前記広角では視認不可能であるように、異なる領域において、前記液晶材料の層を同じ状態に駆動する電圧を、前記第1の透過性電極及び前記第2の透過性電極にわたって印加する、広角動作ディスプレイモードと、
少なくとも1つの狭角動作ディスプレイモードであって、前記制御システムが、動作画像を表示するように前記空間光変調器を制御し、前記動作画像が、前記狭角では視認可能であるが、前記広角では視認不可能であり、前記標識が、前記狭角では視認不可能であるように、前記液晶材料の層を異なる領域における状態に駆動する電圧を、前記第1の透過性電極及び前記第2の透過性電極にわたって印加する、少なくとも1つの狭角動作ディスプレイモードと、
少なくとも1つの標識ディスプレイモードであって、前記制御システムが、前記標識が視認可能であるように、前記液晶材料の層を異なる領域において異なる状態に駆動する電圧を、前記第1の透過性電極及び前記第2の透過性電極にわたって印加する、少なくとも1つの標識ディスプレイモードと、を含む、制御システムと、を備える、ディスプレイデバイス。
(項目2)
前記少なくとも1つの標識ディスプレイモードは、前記制御システムが、画像を表示しないように前記空間光変調器を制御し、前記標識が、前記広角では視認可能であるが、前記狭角では視認不可能であるように、前記液晶材料の層を異なる領域において異なる状態に駆動する電圧を、前記第1の透過性電極及び前記第2の透過性電極にわたって印加する、標識ディスプレイモードを含む、項目1に記載のディスプレイデバイス。
(項目3)
前記少なくとも1つの標識ディスプレイモードは、前記制御システムが、前記標識を照明するための照明画像を表示するように前記空間光変調器を制御し、前記標識が、前記広角及び前記狭角では視認可能であるように、前記液晶材料の層を異なる領域において前記異なる状態に駆動する電圧を、前記第1の透過性電極及び前記第2の透過性電極にわたって印加する、標識ディスプレイモードを含む、項目1又は2に記載のディスプレイデバイス。
(項目4)
前記照明画像が、静止画像である、項目3に記載のディスプレイデバイス。
(項目5)
前記照明画像が、前記標識と位置合わせされている、項目3又は4に記載のディスプレイデバイス。
(項目6)
前記少なくとも1つの狭角動作ディスプレイモードは、前記制御システムが、動作画像を表示するように前記空間光変調器を制御し、前記標識が、前記広角では視認不可能であるように、前記液晶材料の層を異なる領域において同じ状態に駆動する電圧を、前記第1の透過性電極及び前記第2の透過性電極にわたって印加する、狭角動作ディスプレイモードを含む、項目1~5のいずれか一項に記載のディスプレイデバイス。
(項目7)
前記少なくとも1つの狭角動作ディスプレイモードは、前記制御システムが、動作画像を表示するように前記空間光変調器を制御し、前記標識が、前記広角では視認可能であるように、前記液晶材料の層を異なる領域において異なる状態に駆動する電圧を、前記第1の透過性電極及び前記第2の透過性電極にわたって印加する、狭角動作ディスプレイモードを含む、項目1~6のいずれか一項に記載のディスプレイデバイス。
(項目8)
前記標識が、アイコン又はテキストである、項目1~7のいずれか一項に記載のディスプレイデバイス。
(項目9)
前記間隙が、最大で前記液晶材料の層の厚さの2倍、好ましくは、最大で前記液晶材料の層の前記厚さの幅を有する、項目1~8のいずれか一項に記載のディスプレイデバイス。
(項目10)
前記第1の透過性電極及び前記第2の透過性電極のそれぞれが、間隙によって分離された複数の領域を提供するようにパターン化されている、項目1~9のいずれか一項に記載のディスプレイデバイス。
(項目11)
前記液晶材料の層にわたって位置合わせされた前記間隙が、オフセットされている、項目10に記載のディスプレイデバイス。
(項目12)
前記オフセットが、少なくとも前記液晶材料の層の厚さであり、好ましくは、前記液晶材料の層の前記厚さの少なくとも2倍である、項目11に記載のディスプレイデバイス。
(項目13)
前記複数の領域が、少なくとも1つのアイランド領域と、前記アイランド領域の周囲に延在する少なくとも1つの周辺領域と、を含み、
前記少なくとも1つの周辺領域と位置合わせされた前記第1の透過性電極及び前記第2の透過性電極の領域が、前記液晶材料の層にわたって位置合わせされたブリッジングスリットを有し、前記ブリッジングスリットを通って、前記少なくとも1つのアイランド領域と位置合わせされた前記第1の透過性電極及び前記第2の透過性電極の領域に接続されたブリッジングトラックが延在する、項目10~12のいずれか一項に記載のディスプレイデバイス。
(項目14)
前記複数の領域が、前記第1の透過性電極及び前記第2の透過性電極の外縁に隣接しない少なくとも1つの遠位領域と、前記第1の透過性電極及び前記第2の透過性電極の前記外縁に隣接する少なくとも1つの近位領域と、を含み、
前記少なくとも1つの近位領域と位置合わせされた前記第1の透過性電極及び前記第2の透過性電極の領域が、前記少なくとも1つの遠位領域と位置合わせされた前記第1の透過性電極及び前記第2の透過性電極の領域に接続された、少なくとも1つの接続トラックが延在する、少なくとも1つの接続スリットを有し、前記少なくとも1つの接続トラックが、前記第1の透過性電極及び前記第2の透過性電極の前記外縁まで延在し、前記制御システムが、前記少なくとも1つの遠位領域に電圧を印加するために、前記外縁において前記少なくとも1つの接続トラックに接続されている、項目10~13のいずれか一項に記載のディスプレイデバイス。
(項目15)
前記少なくとも1つの遠位領域と位置合わせされた前記第1の透過性電極及び前記第2の透過性電極の前記領域に接続された、前記少なくとも1つの接続トラックが、前記液晶材料の層にわたって、互いに位置合わせされていない、項目14に記載のディスプレイデバイス。
(項目16)
前記制御システムが、前記少なくとも1つの遠位領域、前記少なくとも1つの接続トラックと位置合わせされた前記少なくとも1つの近位領域の部分、及び前記近位領域の残りの部分のそれぞれにおける前記動作モードに従って、前記液晶材料の層の前記複数の領域を所望の状態に駆動する電圧を、前記第1の透過性電極及び前記第2の透過性電極にわたって印加するように選択された、振幅及び位相を有する、それぞれの電圧信号を、前記少なくとも1つの接続トラック及び前記少なくとも1つの近位領域に印加するように構成されている、項目15に記載のディスプレイデバイス。
(項目17)
前記少なくとも1つの接続トラックが、それが接続される前記少なくとも1つの遠位領域に隣接して減少した幅のネックを有する、項目13~16のいずれか一項に記載のディスプレイデバイス。
(項目18)
前記第1の透過性電極及び前記第2の透過性電極の一方が、間隙によって分離された領域にパターン化されており、前記第1の透過性電極及び前記第2の透過性電極の他方が、パターン化されていない、項目1~9のいずれか一項に記載のディスプレイデバイス。
(項目19)
前記複数のアドレス指定可能な領域が、前記第1の透過性電極及び前記第2の透過性電極の外縁に隣接しない少なくとも1つの遠位領域と、前記第1の透過性電極及び前記第2の透過性電極の前記外縁に隣接する少なくとも1つの近位領域と、を含み、前記少なくとも1つの遠位領域と位置合わせされた前記第1の透過性電極及び前記第2の透過性電極のうちの少なくとも1つの領域が、接続された前記領域間に抵抗を提供するように構成されているコネクタによって、前記少なくとも1つの近位領域と位置合わせされた同じ透過性電極の領域に接続される、項目1~18のいずれか一項に記載のディスプレイデバイス。
(項目20)
周囲照明で使用するためのディスプレイデバイスであって、
光を出力するように構成された空間光変調器であって、前記空間光変調器が、前記空間光変調器の一方の側に配置されたディスプレイ偏光子を備え、前記ディスプレイ偏光子が直線偏光子である、空間光変調器と、
視野角制御構成体であって、
前記ディスプレイ偏光子の外側に、前記空間光変調器の前記ディスプレイ偏光子と同じ側に配置された追加の偏光子であって、前記追加の偏光子が直線偏光子である、追加の偏光子と、
前記ディスプレイ偏光子と前記追加の偏光子との間に配置された少なくとも1つの極性制御リターダであって、前記少なくとも1つの極性制御リターダが、液晶材料の層と、前記液晶材料の層の両側の第1の透過性電極及び第2の透過性電極と、を備える、切替可能液晶リターダを含み、前記第1の透過性電極及び前記第2の透過性電極のうちの少なくとも1つが、間隙によって分離された領域内でパターン化されて、前記液晶材料の層の複数のアドレス指定可能な領域を提供し、前記複数のアドレス指定可能な領域のうちの少なくとも1つが、観察者に表示するための標識の形状である、少なくとも1つの極性制御リターダと、を備える、視野角制御構成体と、
前記空間光変調器を制御し、前記液晶材料の層を駆動するために、前記第1の透過性電極及び前記第2の透過性電極にわたって電圧を印加するように構成された、制御システムであって、
前記制御システムが、複数の動作モードで動作可能であるように構成されており、前記複数の動作モードは、
広角動作ディスプレイモードであって、前記制御システムが、動作画像を表示するように前記空間光変調器を制御し、前記動作画像が広角及び狭角では視認可能であり、前記標識が、前記狭角又は前記広角では視認不可能であるように、前記液晶材料の層を異なる領域において同じ状態に駆動する電圧を、前記第1の透過性電極及び前記第2の透過性電極にわたって印加する、広角動作ディスプレイモードと、
少なくとも1つの狭角動作ディスプレイモードであって、前記制御システムが、動作画像を表示するように前記空間光変調器を制御し、前記動作画像が、前記狭角では視認可能であるが、前記広角では視認不可能であり、前記標識が、前記狭角では視認不可能であるが、前記広角では視認可能であるように、前記液晶材料の層を異なる領域において異なる状態に駆動する電圧を、前記第1の透過性電極及び前記第2の透過性電極にわたって印加する、少なくとも1つの狭角動作ディスプレイモードと、を含む、制御システムと、を備える、ディスプレイデバイス。
(項目21)
前記ディスプレイ偏光子が、前記空間光変調器の入力側に配置された入力偏光子であり、前記追加の偏光子が、前記ディスプレイ偏光子の前記入力側に配置されている、項目20に記載のディスプレイデバイス。
(項目22)
前記ディスプレイ偏光子が、前記空間光変調器の出力側に配置された出力偏光子であり、前記追加の偏光子が、前記ディスプレイ偏光子の前記出力側に配置されている、項目20に記載のディスプレイデバイス。
(項目23)
前記視野角制御構成体が、前記出力偏光子と前記追加の偏光子との間に配置された反射偏光子を更に備え、前記反射偏光子が直線偏光子であり、前記少なくとも1つの極性制御リターダが、前記反射偏光子と前記追加の偏光子との間に配置されている、項目22に記載のディスプレイデバイス。
(項目24)
前記動作画像は、問題の角度で定義されるセキュリティ係数Snが、全ての領域について、それぞれ、1.0未満である場合、又は少なくとも1.0である場合に、視認可能であるか、又は視認不可能であり、前記セキュリティ係数Snが、以下の式、
Sn=log10[1+(ρn.α)/(π.Pn)]によって所与され、
式中、
ρnが、問題の前記角度における、前記ディスプレイデバイスの反射率であり、
Pnが、前記ディスプレイデバイスの最大輝度に対する、前記問題の角度における前記ディスプレイデバイスの輝度の比であり、
πが、ステラジアン単位の立体角であり、
αが、4.0のステラジアンの値を有する係数である、項目1~23のいずれか一項に記載のディスプレイデバイス。
(項目25)
標識の形状の前記複数のアドレス指定可能な領域のうちの前記少なくとも1つの領域と、その他の領域とで、前記問題の角度で定義される前記セキュリティ係数Snが異なる場合、又は同一である場合、それぞれ、前記標識が、視認可能であるか、又は視認不可能である、項目24に記載のディスプレイデバイス。
(項目26)
前記広角が、前記ディスプレイデバイスの法線を中心とした予め定められた方位角において、前記ディスプレイデバイスの前記法線から45°の極角である、項目1~25のいずれか一項に記載のディスプレイデバイス。
(項目27)
前記狭角が、前記予め定められた方位角における前記空間光変調器の法線から、0°~20°の極角の範囲内にある、項目26に記載のディスプレイデバイス。
(項目28)
周囲照明で使用するためのディスプレイデバイスであって、
光を出力するように構成された空間光変調器であって、前記空間光変調器が、前記空間光変調器の一方の側に配置されたディスプレイ偏光子を備え、前記ディスプレイ偏光子が直線偏光子である、空間光変調器と、
視野角制御構成体であって、
前記ディスプレイ偏光子の外側に、前記空間光変調器の前記ディスプレイ偏光子と同じ側に配置された追加の偏光子であって、前記追加の偏光子が直線偏光子である、追加の偏光子と、
前記ディスプレイ偏光子と前記追加の偏光子との間に配置された少なくとも1つの極性制御リターダであって、前記少なくとも1つの極性制御リターダが、液晶材料の層と、前記液晶材料の層の両側の第1の透過性電極及び第2の透過性電極と、を備える、切替可能液晶リターダを含み、前記第1の透過性電極及び前記第2の透過性電極のそれぞれが、間隙によって分離された領域内でパターン化されて、前記液晶材料の層の複数のアドレス指定可能な領域を提供し、前記複数のアドレス指定可能な領域のうちの少なくとも1つが、観察者に表示するための標識の形状である、少なくとも1つの極性制御リターダと、を備える、視野角制御構成体と、を備える、ディスプレイデバイス。
(項目29)
前記ディスプレイ偏光子が、前記空間光変調器の入力側に配置された入力偏光子であり、前記追加の偏光子が、前記ディスプレイ偏光子の前記入力側に配置されている、項目28に記載のディスプレイデバイス。
(項目30)
前記ディスプレイ偏光子が、前記空間光変調器の出力側に配置された出力偏光子であり、前記追加の偏光子が、前記ディスプレイ偏光子の前記出力側に配置されている、項目28に記載のディスプレイデバイス。
(項目31)
前記視野角制御構成体が、出力偏光子と前記追加の偏光子との間に配置された反射偏光子を更に備え、前記反射偏光子が直線偏光子であり、前記少なくとも1つの極性制御リターダが、前記反射偏光子と前記追加の偏光子との間に配置されている、項目30に記載のディスプレイデバイス。
(項目32)
前記間隙が、最大で前記液晶材料の層の厚さの2倍、好ましくは、最大で前記液晶材料の層の前記厚さの幅を有する、項目28~31のいずれか一項に記載のディスプレイデバイス。
(項目33)
前記液晶材料の層にわたって位置合わせされた前記間隙が、オフセットされている、項目28~32のいずれか一項に記載のディスプレイデバイス。
(項目34)
前記複数のアドレス指定可能な領域が、少なくとも1つのアイランド領域と、前記アイランド領域の周囲に延在する少なくとも1つの周辺領域と、を含み、
前記少なくとも1つの周辺領域と位置合わせされた前記第1の透過性電極及び前記第2の透過性電極の領域が、前記液晶材料の層にわたって位置合わせされたブリッジングスリットを有し、前記ブリッジングスリットを通って、前記少なくとも1つのアイランド領域と位置合わせされた前記第1の透過性電極及び前記第2の透過性電極の領域に接続されたブリッジングトラックが延在する、項目28~33のいずれか一項に記載のディスプレイデバイス。
(項目35)
前記複数のアドレス指定可能な領域が、前記第1の透過性電極及び前記第2の透過性電極の外縁に隣接しない少なくとも1つの遠位領域と、前記第1の透過性電極及び前記第2の透過性電極の前記外縁に隣接する少なくとも1つの近位領域と、を含み、
前記少なくとも1つの近位領域と位置合わせされた前記第1の透過性電極及び前記第2の透過性電極の領域が、前記少なくとも1つの遠位領域と位置合わせされた前記第1の透過性電極及び前記第2の透過性電極の領域に接続された、少なくとも1つの接続トラックが延在する、少なくとも1つの接続スリットを有し、前記少なくとも1つの接続トラックが、前記第1の透過性電極及び前記第2の透過性電極の前記外縁まで延在し、制御システムが、前記少なくとも1つの遠位領域に電圧を印加するために、前記外縁において前記少なくとも1つの接続トラックに接続されている、項目28~34のいずれか一項に記載のディスプレイデバイス。
(項目36)
前記少なくとも1つの遠位領域と位置合わせされた前記第1の透過性電極及び前記第2の透過性電極の前記領域に接続された、前記少なくとも1つの接続トラックが、前記液晶材料の層にわたって、互いに位置合わせされていない、項目35に記載のディスプレイデバイス。
(項目37)
前記空間光変調器を制御し、前記液晶材料の層を駆動するために前記第1の透過性電極及び前記第2の透過性電極にわたって電圧を印加するように構成された、制御システムを更に備え、前記制御システムが、前記少なくとも1つの遠位領域、前記少なくとも1つの接続トラックと位置合わせされた前記少なくとも1つの近位領域の部分、及び前記近位領域の残りの部分のそれぞれにおける前記動作モードに従って、前記液晶材料の層の前記複数のアドレス指定可能な領域を所望の状態に駆動する電圧を、前記第1の透過性電極及び前記第2の透過性電極にわたって印加するように選択された、振幅及び位相を有する、それぞれの電圧信号を、前記少なくとも1つの接続トラック及び前記少なくとも1つの近位領域に印加するように構成されている、項目36に記載のディスプレイデバイス。
(項目38)
前記少なくとも1つの接続トラックが、それが接続される前記少なくとも1つの遠位領域に隣接して減少した幅のネックを有する、項目35~37のいずれか一項に記載のディスプレイデバイス。
(項目39)
周囲照明で使用するためのディスプレイデバイスであって、
光を出力するように構成された空間光変調器であって、前記空間光変調器が、前記空間光変調器の一方の側に配置されたディスプレイ偏光子を備え、前記ディスプレイ偏光子が直線偏光子である、空間光変調器と、
視野角制御構成体であって、
前記ディスプレイ偏光子の外側に、前記空間光変調器の前記ディスプレイ偏光子と同じ側に配置された追加の偏光子であって、前記追加の偏光子が直線偏光子である、追加の偏光子と、
前記ディスプレイ偏光子と前記追加の偏光子との間に配置された少なくとも1つの極性制御リターダであって、前記少なくとも1つの極性制御リターダが、液晶材料の層と、前記液晶材料の層の両側の第1の透過性電極及び第2の透過性電極と、を備える、切替可能液晶リターダを含み、前記第1の透過性電極及び前記第2の透過性電極のうちの少なくとも1つが、間隙によって分離された領域内でパターン化されて、前記液晶材料の層の複数のアドレス指定可能な領域を提供し、前記複数のアドレス指定可能な領域のうちの少なくとも1つが、観察者に表示するための標識の形状である、少なくとも1つの極性制御リターダと、を備える、視野角制御構成体と、を備え、
前記複数のアドレス指定可能な領域が、前記第1の透過性電極及び前記第2の透過性電極の外縁に隣接しない少なくとも1つの遠位領域と、前記外縁に隣接する少なくとも1つの近位領域と、を含み、前記少なくとも1つの遠位領域と位置合わせされた前記第1の透過性電極及び前記第2の透過性電極のうちの少なくとも1つの領域が、接続された領域間に抵抗を提供するように構成されているコネクタによって、前記少なくとも1つの近位領域と位置合わせされた同じ透過性電極の領域に接続される、ディスプレイデバイス。
(項目40)
前記ディスプレイ偏光子が、前記空間光変調器の入力側に配置された入力偏光子であり、前記追加の偏光子が、前記ディスプレイ偏光子の前記入力側に配置されている、項目39に記載のディスプレイデバイス。
(項目41)
前記ディスプレイ偏光子が、前記空間光変調器の出力側に配置された出力偏光子であり、前記追加の偏光子が、前記ディスプレイ偏光子の前記出力側に配置されている、項目39に記載のディスプレイデバイス。
(項目42)
前記視野角制御構成体が、前記出力偏光子と前記追加の偏光子との間に配置された反射偏光子を更に備え、前記反射偏光子が直線偏光子であり、前記少なくとも1つの極性制御リターダが、前記反射偏光子と前記追加の偏光子との間に配置されている、項目41に記載のディスプレイデバイス。
(項目43)
前記少なくとも1つの極性制御リターダが、受動リターダを更に含む、項目1~42のいずれか一項に記載のディスプレイデバイス。
(項目44)
前記空間光変調器が、透過型空間光変調器であり、前記ディスプレイデバイスが、前記空間光変調器に光を供給するように構成されたバックライトを更に備える、項目1~43のいずれか一項に記載のディスプレイデバイス。
(項目45)
前記空間光変調器が、発光型空間光変調器である、項目1~43のいずれか一項に記載のディスプレイデバイス。
Claims (45)
- 周囲照明で使用するためのディスプレイデバイスであって、
光を出力するように構成された空間光変調器であって、前記空間光変調器が、前記空間光変調器の出力側に配置された出力偏光子を備え、前記出力偏光子が直線偏光子である、空間光変調器と、
視野角制御構成体であって、
前記出力偏光子の前記出力側に配置された追加の偏光子であって、前記追加の偏光子が直線偏光子である、追加の偏光子と、
前記出力偏光子と前記追加の偏光子との間に配置された反射偏光子であって、前記反射偏光子が直線偏光子である、反射偏光子と、
前記反射偏光子と前記追加の偏光子との間に配置された少なくとも1つの極性制御リターダであって、前記少なくとも1つの極性制御リターダが、液晶材料の層と、前記液晶材料の層の両側の第1の透過性電極及び第2の透過性電極と、を備える、切替可能液晶リターダを含み、前記第1の透過性電極及び前記第2の透過性電極のうちの少なくとも1つが、間隙によって分離された領域内でパターン化されて、前記液晶材料の層の複数のアドレス指定可能な領域を提供し、前記複数のアドレス指定可能な領域のうちの少なくとも1つが、観察者に表示するための標識の形状である、少なくとも1つの極性制御リターダと、を備える、視野角制御構成体と、
前記空間光変調器を制御し、前記液晶材料の層を駆動するために、前記第1の透過性電極及び前記第2の透過性電極にわたって電圧を印加するように構成された、制御システムであって、
前記制御システムが、複数の動作モードで動作可能であるように構成されており、前記複数の動作モードが、
広角動作ディスプレイモードであって、前記制御システムが、動作画像を表示するように前記空間光変調器を制御し、前記動作画像が広角及び狭角では視認可能であり、前記標識が、前記狭角又は前記広角では視認不可能であるように、異なる領域において、前記液晶材料の層を同じ状態に駆動する電圧を、前記第1の透過性電極及び前記第2の透過性電極にわたって印加する、広角動作ディスプレイモードと、
少なくとも1つの狭角動作ディスプレイモードであって、前記制御システムが、動作画像を表示するように前記空間光変調器を制御し、前記動作画像が、前記狭角では視認可能であるが、前記広角では視認不可能であり、前記標識が、前記狭角では視認不可能であるように、前記液晶材料の層を異なる領域における状態に駆動する電圧を、前記第1の透過性電極及び前記第2の透過性電極にわたって印加する、少なくとも1つの狭角動作ディスプレイモードと、
少なくとも1つの標識ディスプレイモードであって、前記制御システムが、前記標識が視認可能であるように、前記液晶材料の層を異なる領域において異なる状態に駆動する電圧を、前記第1の透過性電極及び前記第2の透過性電極にわたって印加する、少なくとも1つの標識ディスプレイモードと、を含む、制御システムと、を備える、ディスプレイデバイス。 - 前記少なくとも1つの標識ディスプレイモードは、前記制御システムが、画像を表示しないように前記空間光変調器を制御し、前記標識が、前記広角では視認可能であるが、前記狭角では視認不可能であるように、前記液晶材料の層を異なる領域において異なる状態に駆動する電圧を、前記第1の透過性電極及び前記第2の透過性電極にわたって印加する、標識ディスプレイモードを含む、請求項1に記載のディスプレイデバイス。
- 前記少なくとも1つの標識ディスプレイモードは、前記制御システムが、前記標識を照明するための照明画像を表示するように前記空間光変調器を制御し、前記標識が、前記広角及び前記狭角では視認可能であるように、前記液晶材料の層を異なる領域において前記異なる状態に駆動する電圧を、前記第1の透過性電極及び前記第2の透過性電極にわたって印加する、標識ディスプレイモードを含む、請求項1に記載のディスプレイデバイス。
- 前記照明画像が、静止画像である、請求項3に記載のディスプレイデバイス。
- 前記照明画像が、前記標識と位置合わせされている、請求項3に記載のディスプレイデバイス。
- 前記少なくとも1つの狭角動作ディスプレイモードは、前記制御システムが、動作画像を表示するように前記空間光変調器を制御し、前記標識が、前記広角では視認不可能であるように、前記液晶材料の層を異なる領域において同じ状態に駆動する電圧を、前記第1の透過性電極及び前記第2の透過性電極にわたって印加する、狭角動作ディスプレイモードを含む、請求項1に記載のディスプレイデバイス。
- 前記少なくとも1つの狭角動作ディスプレイモードは、前記制御システムが、動作画像を表示するように前記空間光変調器を制御し、前記標識が、前記広角では視認可能であるように、前記液晶材料の層を異なる領域において異なる状態に駆動する電圧を、前記第1の透過性電極及び前記第2の透過性電極にわたって印加する、狭角動作ディスプレイモードを含む、請求項1に記載のディスプレイデバイス。
- 前記標識が、アイコン又はテキストである、請求項1に記載のディスプレイデバイス。
- 前記間隙が、最大で前記液晶材料の層の厚さの2倍、好ましくは、最大で前記液晶材料の層の前記厚さの幅を有する、請求項1に記載のディスプレイデバイス。
- 前記第1の透過性電極及び前記第2の透過性電極のそれぞれが、間隙によって分離された複数の領域を提供するようにパターン化されている、請求項1に記載のディスプレイデバイス。
- 前記液晶材料の層にわたって位置合わせされた前記間隙が、オフセットされている、請求項10に記載のディスプレイデバイス。
- 前記オフセットが、少なくとも前記液晶材料の層の厚さであり、好ましくは、前記液晶材料の層の前記厚さの少なくとも2倍である、請求項11に記載のディスプレイデバイス。
- 前記複数の領域が、少なくとも1つのアイランド領域と、前記アイランド領域の周囲に延在する少なくとも1つの周辺領域と、を含み、
前記少なくとも1つの周辺領域と位置合わせされた前記第1の透過性電極及び前記第2の透過性電極の領域が、前記液晶材料の層にわたって位置合わせされたブリッジングスリットを有し、前記ブリッジングスリットを通って、前記少なくとも1つのアイランド領域と位置合わせされた前記第1の透過性電極及び前記第2の透過性電極の領域に接続されたブリッジングトラックが延在する、請求項10に記載のディスプレイデバイス。 - 前記複数の領域が、前記第1の透過性電極及び前記第2の透過性電極の外縁に隣接しない少なくとも1つの遠位領域と、前記第1の透過性電極及び前記第2の透過性電極の前記外縁に隣接する少なくとも1つの近位領域と、を含み、
前記少なくとも1つの近位領域と位置合わせされた前記第1の透過性電極及び前記第2の透過性電極の領域が、前記少なくとも1つの遠位領域と位置合わせされた前記第1の透過性電極及び前記第2の透過性電極の領域に接続された、少なくとも1つの接続トラックが延在する、少なくとも1つの接続スリットを有し、前記少なくとも1つの接続トラックが、前記第1の透過性電極及び前記第2の透過性電極の前記外縁まで延在し、前記制御システムが、前記少なくとも1つの遠位領域に電圧を印加するために、前記外縁において前記少なくとも1つの接続トラックに接続されている、請求項10に記載のディスプレイデバイス。 - 前記少なくとも1つの遠位領域と位置合わせされた前記第1の透過性電極及び前記第2の透過性電極の前記領域に接続された、前記少なくとも1つの接続トラックが、前記液晶材料の層にわたって、互いに位置合わせされていない、請求項14に記載のディスプレイデバイス。
- 前記制御システムが、前記少なくとも1つの遠位領域、前記少なくとも1つの接続トラックと位置合わせされた前記少なくとも1つの近位領域の部分、及び前記近位領域の残りの部分のそれぞれにおける前記動作モードに従って、前記液晶材料の層の前記複数の領域を所望の状態に駆動する電圧を、前記第1の透過性電極及び前記第2の透過性電極にわたって印加するように選択された、振幅及び位相を有する、それぞれの電圧信号を、前記少なくとも1つの接続トラック及び前記少なくとも1つの近位領域に印加するように構成されている、請求項15に記載のディスプレイデバイス。
- 前記少なくとも1つの接続トラックが、それが接続される前記少なくとも1つの遠位領域に隣接して減少した幅のネックを有する、請求項13に記載のディスプレイデバイス。
- 前記第1の透過性電極及び前記第2の透過性電極の一方が、間隙によって分離された領域にパターン化されており、前記第1の透過性電極及び前記第2の透過性電極の他方が、パターン化されていない、請求項1に記載のディスプレイデバイス。
- 前記複数のアドレス指定可能な領域が、前記第1の透過性電極及び前記第2の透過性電極の外縁に隣接しない少なくとも1つの遠位領域と、前記第1の透過性電極及び前記第2の透過性電極の前記外縁に隣接する少なくとも1つの近位領域と、を含み、前記少なくとも1つの遠位領域と位置合わせされた前記第1の透過性電極及び前記第2の透過性電極のうちの少なくとも1つの領域が、接続された前記領域間に抵抗を提供するように構成されているコネクタによって、前記少なくとも1つの近位領域と位置合わせされた同じ透過性電極の領域に接続される、請求項1~18のいずれか一項に記載のディスプレイデバイス。
- 周囲照明で使用するためのディスプレイデバイスであって、
光を出力するように構成された空間光変調器であって、前記空間光変調器が、前記空間光変調器の一方の側に配置されたディスプレイ偏光子を備え、前記ディスプレイ偏光子が直線偏光子である、空間光変調器と、
視野角制御構成体であって、
前記ディスプレイ偏光子の外側に、前記空間光変調器の前記ディスプレイ偏光子と同じ側に配置された追加の偏光子であって、前記追加の偏光子が直線偏光子である、追加の偏光子と、
前記ディスプレイ偏光子と前記追加の偏光子との間に配置された少なくとも1つの極性制御リターダであって、前記少なくとも1つの極性制御リターダが、液晶材料の層と、前記液晶材料の層の両側の第1の透過性電極及び第2の透過性電極と、を備える、切替可能液晶リターダを含み、前記第1の透過性電極及び前記第2の透過性電極のうちの少なくとも1つが、間隙によって分離された領域内でパターン化されて、前記液晶材料の層の複数のアドレス指定可能な領域を提供し、前記複数のアドレス指定可能な領域のうちの少なくとも1つが、観察者に表示するための標識の形状である、少なくとも1つの極性制御リターダと、を備える、視野角制御構成体と、
前記空間光変調器を制御し、前記液晶材料の層を駆動するために、前記第1の透過性電極及び前記第2の透過性電極にわたって電圧を印加するように構成された、制御システムであって、
前記制御システムが、複数の動作モードで動作可能であるように構成されており、前記複数の動作モードは、
広角動作ディスプレイモードであって、前記制御システムが、動作画像を表示するように前記空間光変調器を制御し、前記動作画像が広角及び狭角では視認可能であり、前記標識が、前記狭角又は前記広角では視認不可能であるように、前記液晶材料の層を異なる領域において同じ状態に駆動する電圧を、前記第1の透過性電極及び前記第2の透過性電極にわたって印加する、広角動作ディスプレイモードと、
少なくとも1つの狭角動作ディスプレイモードであって、前記制御システムが、動作画像を表示するように前記空間光変調器を制御し、前記動作画像が、前記狭角では視認可能であるが、前記広角では視認不可能であり、前記標識が、前記狭角では視認不可能であるが、前記広角では視認可能であるように、前記液晶材料の層を異なる領域において異なる状態に駆動する電圧を、前記第1の透過性電極及び前記第2の透過性電極にわたって印加する、少なくとも1つの狭角動作ディスプレイモードと、を含む、制御システムと、を備える、ディスプレイデバイス。 - 前記ディスプレイ偏光子が、前記空間光変調器の入力側に配置された入力偏光子であり、前記追加の偏光子が、前記ディスプレイ偏光子の前記入力側に配置されている、請求項20に記載のディスプレイデバイス。
- 前記ディスプレイ偏光子が、前記空間光変調器の出力側に配置された出力偏光子であり、前記追加の偏光子が、前記ディスプレイ偏光子の前記出力側に配置されている、請求項20に記載のディスプレイデバイス。
- 前記視野角制御構成体が、前記出力偏光子と前記追加の偏光子との間に配置された反射偏光子を更に備え、前記反射偏光子が直線偏光子であり、前記少なくとも1つの極性制御リターダが、前記反射偏光子と前記追加の偏光子との間に配置されている、請求項22に記載のディスプレイデバイス。
- 前記動作画像は、問題の角度で定義されるセキュリティ係数Snが、全ての領域について、それぞれ、1.0未満である場合、又は少なくとも1.0である場合に、視認可能であるか、又は視認不可能であり、前記セキュリティ係数Snが、以下の式、
Sn=log10[1+(ρn.α)/(π.Pn)]によって所与され、
式中、
ρnが、問題の前記角度における、前記ディスプレイデバイスの反射率であり、
Pnが、前記ディスプレイデバイスの最大輝度に対する、前記問題の角度における前記ディスプレイデバイスの輝度の比であり、
πが、ステラジアン単位の立体角であり、
αが、4.0のステラジアンの値を有する係数である、請求項1および20および21および22および23のいずれか一項に記載のディスプレイデバイス。 - 標識の形状の前記複数のアドレス指定可能な領域のうちの前記少なくとも1つの領域と、その他の領域とで、前記問題の角度で定義される前記セキュリティ係数Snが異なる場合、又は同一である場合、それぞれ、前記標識が、視認可能であるか、又は視認不可能である、請求項24に記載のディスプレイデバイス。
- 前記広角が、前記ディスプレイデバイスの法線を中心とした予め定められた方位角において、前記ディスプレイデバイスの前記法線から45°の極角である、請求項1または20に記載のディスプレイデバイス。
- 前記狭角が、前記予め定められた方位角における前記空間光変調器の法線から、0°~20°の極角の範囲内にある、請求項26に記載のディスプレイデバイス。
- 周囲照明で使用するためのディスプレイデバイスであって、
光を出力するように構成された空間光変調器であって、前記空間光変調器が、前記空間光変調器の一方の側に配置されたディスプレイ偏光子を備え、前記ディスプレイ偏光子が直線偏光子である、空間光変調器と、
視野角制御構成体であって、
前記ディスプレイ偏光子の外側に、前記空間光変調器の前記ディスプレイ偏光子と同じ側に配置された追加の偏光子であって、前記追加の偏光子が直線偏光子である、追加の偏光子と、
前記ディスプレイ偏光子と前記追加の偏光子との間に配置された少なくとも1つの極性制御リターダであって、前記少なくとも1つの極性制御リターダが、液晶材料の層と、前記液晶材料の層の両側の第1の透過性電極及び第2の透過性電極と、を備える、切替可能液晶リターダを含み、前記第1の透過性電極及び前記第2の透過性電極のそれぞれが、間隙によって分離された領域内でパターン化されて、前記液晶材料の層の複数のアドレス指定可能な領域を提供し、前記複数のアドレス指定可能な領域のうちの少なくとも1つが、観察者に表示するための標識の形状である、少なくとも1つの極性制御リターダと、を備える、視野角制御構成体と、を備える、ディスプレイデバイス。 - 前記ディスプレイ偏光子が、前記空間光変調器の入力側に配置された入力偏光子であり、前記追加の偏光子が、前記ディスプレイ偏光子の前記入力側に配置されている、請求項28に記載のディスプレイデバイス。
- 前記ディスプレイ偏光子が、前記空間光変調器の出力側に配置された出力偏光子であり、前記追加の偏光子が、前記ディスプレイ偏光子の前記出力側に配置されている、請求項28に記載のディスプレイデバイス。
- 前記視野角制御構成体が、出力偏光子と前記追加の偏光子との間に配置された反射偏光子を更に備え、前記反射偏光子が直線偏光子であり、前記少なくとも1つの極性制御リターダが、前記反射偏光子と前記追加の偏光子との間に配置されている、請求項30に記載のディスプレイデバイス。
- 前記間隙が、最大で前記液晶材料の層の厚さの2倍、好ましくは、最大で前記液晶材料の層の前記厚さの幅を有する、請求項28に記載のディスプレイデバイス。
- 前記液晶材料の層にわたって位置合わせされた前記間隙が、オフセットされている、請求項28に記載のディスプレイデバイス。
- 前記複数のアドレス指定可能な領域が、少なくとも1つのアイランド領域と、前記アイランド領域の周囲に延在する少なくとも1つの周辺領域と、を含み、
前記少なくとも1つの周辺領域と位置合わせされた前記第1の透過性電極及び前記第2の透過性電極の領域が、前記液晶材料の層にわたって位置合わせされたブリッジングスリットを有し、前記ブリッジングスリットを通って、前記少なくとも1つのアイランド領域と位置合わせされた前記第1の透過性電極及び前記第2の透過性電極の領域に接続されたブリッジングトラックが延在する、請求項28に記載のディスプレイデバイス。 - 前記複数のアドレス指定可能な領域が、前記第1の透過性電極及び前記第2の透過性電極の外縁に隣接しない少なくとも1つの遠位領域と、前記第1の透過性電極及び前記第2の透過性電極の前記外縁に隣接する少なくとも1つの近位領域と、を含み、
前記少なくとも1つの近位領域と位置合わせされた前記第1の透過性電極及び前記第2の透過性電極の領域が、前記少なくとも1つの遠位領域と位置合わせされた前記第1の透過性電極及び前記第2の透過性電極の領域に接続された、少なくとも1つの接続トラックが延在する、少なくとも1つの接続スリットを有し、前記少なくとも1つの接続トラックが、前記第1の透過性電極及び前記第2の透過性電極の前記外縁まで延在し、制御システムが、前記少なくとも1つの遠位領域に電圧を印加するために、前記外縁において前記少なくとも1つの接続トラックに接続されている、請求項28~34のいずれか一項に記載のディスプレイデバイス。 - 前記少なくとも1つの遠位領域と位置合わせされた前記第1の透過性電極及び前記第2の透過性電極の前記領域に接続された、前記少なくとも1つの接続トラックが、前記液晶材料の層にわたって、互いに位置合わせされていない、請求項35に記載のディスプレイデバイス。
- 前記空間光変調器を制御し、前記液晶材料の層を駆動するために前記第1の透過性電極及び前記第2の透過性電極にわたって電圧を印加するように構成された、制御システムを更に備え、前記制御システムが、前記少なくとも1つの遠位領域、前記少なくとも1つの接続トラックと位置合わせされた前記少なくとも1つの近位領域の部分、及び前記近位領域の残りの部分のそれぞれにおける前記動作モードに従って、前記液晶材料の層の前記複数のアドレス指定可能な領域を所望の状態に駆動する電圧を、前記第1の透過性電極及び前記第2の透過性電極にわたって印加するように選択された、振幅及び位相を有する、それぞれの電圧信号を、前記少なくとも1つの接続トラック及び前記少なくとも1つの近位領域に印加するように構成されている、請求項36に記載のディスプレイデバイス。
- 前記少なくとも1つの接続トラックが、それが接続される前記少なくとも1つの遠位領域に隣接して減少した幅のネックを有する、請求項35に記載のディスプレイデバイス。
- 周囲照明で使用するためのディスプレイデバイスであって、
光を出力するように構成された空間光変調器であって、前記空間光変調器が、前記空間光変調器の一方の側に配置されたディスプレイ偏光子を備え、前記ディスプレイ偏光子が直線偏光子である、空間光変調器と、
視野角制御構成体であって、
前記ディスプレイ偏光子の外側に、前記空間光変調器の前記ディスプレイ偏光子と同じ側に配置された追加の偏光子であって、前記追加の偏光子が直線偏光子である、追加の偏光子と、
前記ディスプレイ偏光子と前記追加の偏光子との間に配置された少なくとも1つの極性制御リターダであって、前記少なくとも1つの極性制御リターダが、液晶材料の層と、前記液晶材料の層の両側の第1の透過性電極及び第2の透過性電極と、を備える、切替可能液晶リターダを含み、前記第1の透過性電極及び前記第2の透過性電極のうちの少なくとも1つが、間隙によって分離された領域内でパターン化されて、前記液晶材料の層の複数のアドレス指定可能な領域を提供し、前記複数のアドレス指定可能な領域のうちの少なくとも1つが、観察者に表示するための標識の形状である、少なくとも1つの極性制御リターダと、を備える、視野角制御構成体と、を備え、
前記複数のアドレス指定可能な領域が、前記第1の透過性電極及び前記第2の透過性電極の外縁に隣接しない少なくとも1つの遠位領域と、前記外縁に隣接する少なくとも1つの近位領域と、を含み、前記少なくとも1つの遠位領域と位置合わせされた前記第1の透過性電極及び前記第2の透過性電極のうちの少なくとも1つの領域が、接続された領域間に抵抗を提供するように構成されているコネクタによって、前記少なくとも1つの近位領域と位置合わせされた同じ透過性電極の領域に接続される、ディスプレイデバイス。 - 前記ディスプレイ偏光子が、前記空間光変調器の入力側に配置された入力偏光子であり、前記追加の偏光子が、前記ディスプレイ偏光子の前記入力側に配置されている、請求項39に記載のディスプレイデバイス。
- 前記ディスプレイ偏光子が、前記空間光変調器の出力側に配置された出力偏光子であり、前記追加の偏光子が、前記ディスプレイ偏光子の前記出力側に配置されている、請求項39に記載のディスプレイデバイス。
- 前記視野角制御構成体が、前記出力偏光子と前記追加の偏光子との間に配置された反射偏光子を更に備え、前記反射偏光子が直線偏光子であり、前記少なくとも1つの極性制御リターダが、前記反射偏光子と前記追加の偏光子との間に配置されている、請求項41に記載のディスプレイデバイス。
- 前記少なくとも1つの極性制御リターダが、受動リターダを更に含む、請求項1および20および28および39のいずれか一項に記載のディスプレイデバイス。
- 前記空間光変調器が、透過型空間光変調器であり、前記ディスプレイデバイスが、前記空間光変調器に光を供給するように構成されたバックライトを更に備える、請求項1および20および28および39のいずれか一項に記載のディスプレイデバイス。
- 前記空間光変調器が、発光型空間光変調器である、請求項1および20および28および39のいずれか一項に記載のディスプレイデバイス。
Applications Claiming Priority (3)
| Application Number | Priority Date | Filing Date | Title |
|---|---|---|---|
| US202163250580P | 2021-09-30 | 2021-09-30 | |
| US63/250,580 | 2021-09-30 | ||
| PCT/US2022/045030 WO2023055795A1 (en) | 2021-09-30 | 2022-09-28 | Marks for privacy display |
Publications (1)
| Publication Number | Publication Date |
|---|---|
| JP2024536282A true JP2024536282A (ja) | 2024-10-04 |
Family
ID=85718680
Family Applications (1)
| Application Number | Title | Priority Date | Filing Date |
|---|---|---|---|
| JP2024519865A Pending JP2024536282A (ja) | 2021-09-30 | 2022-09-28 | プライバシーディスプレイ用の標識 |
Country Status (7)
| Country | Link |
|---|---|
| US (3) | US11892717B2 (ja) |
| EP (1) | EP4409357A4 (ja) |
| JP (1) | JP2024536282A (ja) |
| KR (1) | KR20240099234A (ja) |
| CN (1) | CN118176455A (ja) |
| TW (1) | TW202316151A (ja) |
| WO (1) | WO2023055795A1 (ja) |
Families Citing this family (18)
| Publication number | Priority date | Publication date | Assignee | Title |
|---|---|---|---|---|
| EP3458897B1 (en) | 2016-05-19 | 2025-04-02 | RealD Spark, LLC | Wide angle imaging directional backlights |
| CN110809732B (zh) | 2017-05-08 | 2025-01-10 | 瑞尔D斯帕克有限责任公司 | 用于成像定向背光源的光学叠堆 |
| TWI878209B (zh) | 2017-09-15 | 2025-04-01 | 美商瑞爾D斯帕克有限責任公司 | 顯示裝置及應用於顯示裝置的視角控制光學元件 |
| AU2019211358B2 (en) | 2018-01-25 | 2024-10-10 | Reald Spark, Llc | Reflective optical stack for privacy display |
| JP7353007B2 (ja) | 2018-01-25 | 2023-09-29 | リアルディー スパーク エルエルシー | プライバシー表示用タッチスクリーン |
| WO2020018552A1 (en) | 2018-07-18 | 2020-01-23 | Reald Spark, Llc | Optical stack for switchable directional display |
| WO2020072643A1 (en) | 2018-10-03 | 2020-04-09 | Reald Spark, Llc | Privacy display control apparatus |
| JP7583715B2 (ja) | 2018-11-07 | 2024-11-14 | リアルディー スパーク エルエルシー | 指向性ディスプレイ装置 |
| EP4058830B1 (en) | 2019-11-13 | 2025-01-01 | RealD Spark, LLC | Display device with uniform off-axis luminance reduction |
| CN114761844A (zh) | 2019-12-10 | 2022-07-15 | 瑞尔D斯帕克有限责任公司 | 显示装置的反射的控制 |
| US12321066B2 (en) * | 2021-10-22 | 2025-06-03 | Brilliant Optronics Co., Ltd. | Intelligent window |
| WO2023154217A1 (en) | 2022-02-09 | 2023-08-17 | Reald Spark, Llc | Observer-tracked privacy display |
| WO2024205986A1 (en) * | 2023-03-29 | 2024-10-03 | Reald Spark, Llc | Marks for angular optical filters |
| US20240369869A1 (en) | 2023-04-25 | 2024-11-07 | Reald Spark, Llc | Switchable privacy display |
| CN119105206A (zh) * | 2023-06-09 | 2024-12-10 | 群创光电股份有限公司 | 显示装置 |
| US12393066B2 (en) | 2023-08-03 | 2025-08-19 | Reald Spark, Llc | Privacy displays |
| TWI876656B (zh) * | 2023-11-06 | 2025-03-11 | 新加坡商群豐駿科技股份有限公司 | 顯示裝置 |
| TWI897381B (zh) * | 2024-04-30 | 2025-09-11 | 瀚宇彩晶股份有限公司 | 防窺裝置 |
Family Cites Families (382)
| Publication number | Priority date | Publication date | Assignee | Title |
|---|---|---|---|---|
| US3914022A (en) | 1974-07-02 | 1975-10-21 | Gen Electric | Quasi-homeotropic twisted nematic liquid crystal device |
| US4059916A (en) | 1975-01-30 | 1977-11-29 | Copal Company Limited | Light diffusing device |
| JPS58143305A (ja) | 1982-02-22 | 1983-08-25 | Hitachi Ltd | 表示パネル |
| US4621898A (en) | 1983-03-17 | 1986-11-11 | Allied Corporation | Directional optical filter |
| CA1312320C (en) | 1987-11-12 | 1993-01-05 | Makoto Oe | Plane light source unit |
| JPH06142Y2 (ja) | 1988-02-29 | 1994-01-05 | 株式会社三洋物産 | パチンコ機の遊技盤 |
| US5005108A (en) | 1989-02-10 | 1991-04-02 | Lumitex, Inc. | Thin panel illuminator |
| US4974941A (en) | 1989-03-08 | 1990-12-04 | Hercules Incorporated | Process of aligning and realigning liquid crystal media |
| AU628953B2 (en) | 1989-04-03 | 1992-09-24 | Canon Kabushiki Kaisha | Liquid crystal apparatus |
| US5671994A (en) | 1994-06-08 | 1997-09-30 | Clio Technologies, Inc. | Flat and transparent front-lighting system using microprisms |
| DE19521254A1 (de) | 1994-06-24 | 1996-01-04 | Minnesota Mining & Mfg | Anzeigesystem mit Helligkeitsverstärkungsfilm |
| US5835166A (en) | 1994-08-17 | 1998-11-10 | Hall; Dennis R. | Chiral nematic liquid crystal polarization modulated color display for stereoscopic viewing device |
| US5808784A (en) | 1994-09-06 | 1998-09-15 | Dai Nippon Printing Co., Ltd. | Lens array sheet surface light source, and transmission type display device |
| US5658490A (en) | 1995-04-07 | 1997-08-19 | Board Of Regents Of The University Of Colorado | Liquid crystal achromatic compound retarder |
| US6380997B1 (en) | 1995-04-07 | 2002-04-30 | Colorlink, Inc. | Achromatic polarization inverters for displaying inverse frames in DC balanced liquid crystal displays |
| CA2220519A1 (en) * | 1995-05-09 | 1996-11-21 | James P. Coleman | Conductive font |
| US5579139A (en) | 1995-06-07 | 1996-11-26 | Ois Optical Imaging Systems, Inc. | LCD with reduced canopy reflection having a retarder of 220-320 nm retardation outside a polarizer |
| JPH09113911A (ja) | 1995-10-15 | 1997-05-02 | Semiconductor Energy Lab Co Ltd | 表示装置 |
| TW331593B (en) | 1996-05-13 | 1998-05-11 | Konika Co Ltd | Planer light source device and light guide plate |
| US5914760A (en) | 1996-06-21 | 1999-06-22 | Casio Computer Co., Ltd. | Surface light source device and liquid crystal display device using the same |
| GB2314640A (en) | 1996-06-26 | 1998-01-07 | Sharp Kk | Liquid crystal devices |
| US6046849A (en) | 1996-09-12 | 2000-04-04 | Sharp Kabushiki Kaisha | Parallax barrier, display, passive polarisation modulating optical element and method of making such an element |
| US6642981B1 (en) | 1996-09-30 | 2003-11-04 | Fujitsu Display Technologies Corporation | Liquid crystal display device operating in a vertically aligned mode including at least one retardation film |
| US5854872A (en) | 1996-10-08 | 1998-12-29 | Clio Technologies, Inc. | Divergent angle rotator system and method for collimating light beams |
| GB2318878A (en) | 1996-10-31 | 1998-05-06 | Sharp Kk | Reflective liquid crystal device |
| CA2222313C (en) | 1996-12-12 | 2001-04-03 | Gregory P. Crawford | Liquid crystal display employing dual negative retarders and a brightness enhancing film |
| JPH10268251A (ja) | 1997-03-27 | 1998-10-09 | Advanced Display:Kk | 液晶表示装置の制御方法 |
| US5791757A (en) | 1997-04-01 | 1998-08-11 | Ford Global Technologies, Inc. | Vehicle lighting system utilizing a uniform thickness thin sheet optical element |
| US6280043B1 (en) | 1997-05-14 | 2001-08-28 | Enplas Corporation | Surface light source device of side light type |
| JP3615355B2 (ja) | 1997-06-04 | 2005-02-02 | 株式会社エンプラス | サイドライト型面光源装置及び導光板 |
| US6141070A (en) | 1997-06-13 | 2000-10-31 | Citizen Watch Co., Ltd. | Normally black liquid crystal display with twisted compensator and . .DELTAnd of 1500-1800 nm |
| US6055103A (en) | 1997-06-28 | 2000-04-25 | Sharp Kabushiki Kaisha | Passive polarisation modulating optical element and method of making such an element |
| US6099758A (en) | 1997-09-17 | 2000-08-08 | Merck Patent Gesellschaft Mit Beschrankter Haftung | Broadband reflective polarizer |
| US6411306B1 (en) | 1997-11-14 | 2002-06-25 | Eastman Kodak Company | Automatic luminance and contrast adustment for display device |
| GB2331883A (en) | 1997-11-26 | 1999-06-02 | Sharp Kk | Dual image viewing system |
| JP3322197B2 (ja) | 1997-12-17 | 2002-09-09 | 松下電器産業株式会社 | 液晶表示装置 |
| FI106323B (fi) | 1998-12-30 | 2001-01-15 | Nokia Mobile Phones Ltd | Taustavalaistuksen valonjohdin litteälle näytölle |
| US6256447B1 (en) | 1998-12-31 | 2001-07-03 | Physical Optics Corporation | Backlight for correcting diagonal line distortion |
| US6392727B1 (en) | 1998-12-31 | 2002-05-21 | Honeywell International Inc. | Reduced reflectance polarized display |
| US6752505B2 (en) | 1999-02-23 | 2004-06-22 | Solid State Opto Limited | Light redirecting films and film systems |
| WO2000057241A1 (en) | 1999-03-24 | 2000-09-28 | Lg Chemical Ltd. | A backlight system |
| JP3405972B2 (ja) | 2000-01-11 | 2003-05-12 | 株式会社東芝 | 液晶表示装置 |
| JP2003519817A (ja) | 2000-01-14 | 2003-06-24 | コーニンクレッカ フィリップス エレクトロニクス エヌ ヴィ | 表示装置 |
| US6347874B1 (en) | 2000-02-16 | 2002-02-19 | 3M Innovative Properties Company | Wedge light extractor with risers |
| US6801263B2 (en) | 2000-04-10 | 2004-10-05 | Sony Corporation | Liquid crystal display, liquid crystal device and liquid crystal display system |
| JP2002050219A (ja) | 2000-07-25 | 2002-02-15 | Internatl Business Mach Corp <Ibm> | 面状光源装置、導光板、表示装置 |
| KR100621495B1 (ko) | 2001-02-28 | 2006-09-13 | 가부시키가이샤 히타치 디스프레이즈 | 화상 표시 상태와 거울 상태를 전환 가능한 장치, 및이것을 구비한 기기 |
| JP4148657B2 (ja) | 2001-04-04 | 2008-09-10 | シャープ株式会社 | 液晶表示装置 |
| GB0114998D0 (en) | 2001-06-20 | 2001-08-08 | Secr Defence | Liquid crystal device |
| KR100799156B1 (ko) | 2001-07-13 | 2008-01-29 | 삼성전자주식회사 | 도광판, 이의 제조 방법, 이를 이용한 액정표시장치 |
| GB0119176D0 (en) | 2001-08-06 | 2001-09-26 | Ocuity Ltd | Optical switching apparatus |
| JP2003150073A (ja) | 2001-08-27 | 2003-05-21 | Omron Corp | 画像表示装置及びフロントライト |
| US20030089956A1 (en) | 2001-09-27 | 2003-05-15 | Allen Richard Charles | Polarization rotators, articles containing the polarization rotators, and methods of making and using the same |
| EP2420872A3 (en) | 2001-12-14 | 2012-05-02 | QUALCOMM MEMS Technologies, Inc. | Uniform illumination system |
| US6837588B2 (en) | 2001-12-25 | 2005-01-04 | Minebea Co., Ltd. | Spread illuminating apparatus with means for reflecting light dispersely |
| AU2003216481A1 (en) | 2002-03-01 | 2003-09-16 | Planar Systems, Inc. | Reflection resistant touch screens |
| JP2003262734A (ja) | 2002-03-08 | 2003-09-19 | Citizen Electronics Co Ltd | 導光板 |
| US6831786B2 (en) | 2002-03-11 | 2004-12-14 | Eastman Kodak Company | Surface formed complex multi-layered polymer lenses for light diffusion |
| JP3716934B2 (ja) | 2002-03-14 | 2005-11-16 | 日本電気株式会社 | 光変調表示装置およびその製造方法並びに該光変調表示装置を搭載した表示機器 |
| US6791639B2 (en) | 2002-05-14 | 2004-09-14 | International Business Machines Corporation | Direct view display with lenticular lens for improved brightness and wide viewing angle |
| US7437765B2 (en) | 2002-06-04 | 2008-10-14 | Sap Aktiengesellschaft | Sensitive display system |
| JP4027164B2 (ja) | 2002-06-21 | 2007-12-26 | 株式会社日立製作所 | 表示装置 |
| GB2390172A (en) | 2002-06-28 | 2003-12-31 | Sharp Kk | Polarising optical element and display |
| JP3937945B2 (ja) | 2002-07-04 | 2007-06-27 | セイコーエプソン株式会社 | 表示装置及びこれを備えた電子機器 |
| KR100526402B1 (ko) | 2002-11-22 | 2005-11-08 | 주식회사 엘지화학 | 고리형 올레핀계 부가 중합체를 포함하는 네가티브C-플레이트(negative C-plate)형 광학이방성 필름 및 이의 제조방법 |
| US7125131B2 (en) | 2002-12-06 | 2006-10-24 | General Electric Company | Brightness enhancement film with improved view angle |
| US6779893B2 (en) | 2003-01-24 | 2004-08-24 | Intel Corporation | Non-collinear light engine for color imaging systems |
| KR100462326B1 (ko) | 2003-01-28 | 2004-12-18 | 주식회사 엘지화학 | 네가티브 보상필름을 갖는 수직배향 액정표시장치 |
| GB2398130A (en) | 2003-02-05 | 2004-08-11 | Ocuity Ltd | Switchable active lens for display apparatus |
| EP1623581B1 (en) | 2003-03-31 | 2018-09-12 | Koninklijke Philips N.V. | Display device and method of displaying data thereon |
| JP4294992B2 (ja) | 2003-03-31 | 2009-07-15 | シャープ株式会社 | 反射型液晶表示装置 |
| KR100468860B1 (ko) | 2003-04-15 | 2005-01-29 | 삼성전자주식회사 | 광편향부재를 구비하는 도광판 및 측면 발광형 백라이트장치 |
| US6937310B2 (en) | 2003-05-16 | 2005-08-30 | Eastman Kodak Company | Compensation films for LCDs |
| JP2005017489A (ja) | 2003-06-24 | 2005-01-20 | Olympus Corp | 光アンテナ |
| GB2405519A (en) | 2003-08-30 | 2005-03-02 | Sharp Kk | A multiple-view directional display |
| GB2405542A (en) | 2003-08-30 | 2005-03-02 | Sharp Kk | Multiple view directional display having display layer and parallax optic sandwiched between substrates. |
| KR100677050B1 (ko) | 2003-10-22 | 2007-01-31 | 주식회사 엘지화학 | +a-플레이트와 +c-플레이트를 이용한 시야각보상필름을 포함하는 면상 스위칭 액정 표시장치 |
| DE602004031142D1 (de) | 2003-11-06 | 2011-03-03 | Sumitomo Chemical Co | Dichroitischer guest-host-polarisierer mit einem orientierten polymerfilm |
| US7623105B2 (en) | 2003-11-21 | 2009-11-24 | Sharp Laboratories Of America, Inc. | Liquid crystal display with adaptive color |
| IL165376A0 (en) | 2003-12-02 | 2006-01-15 | Electro Optics Ind Ltd | Vehicle display system |
| US7052168B2 (en) | 2003-12-17 | 2006-05-30 | 3M Innovative Properties Company | Illumination device |
| KR100561066B1 (ko) | 2004-01-08 | 2006-03-15 | 주식회사 엘지화학 | 시야각이 개선된 수직 배향 액정 표시장치 |
| US7307679B2 (en) | 2004-01-16 | 2007-12-11 | Fujifilm Corporation | Liquid-crystal display and polarizing plate |
| GB2410116A (en) | 2004-01-17 | 2005-07-20 | Sharp Kk | Illumination system and display device |
| US8154686B2 (en) | 2004-01-20 | 2012-04-10 | Sharp Kabushiki Kaisha | Directional backlight, a multiple view display and a multi-direction display |
| JP4285350B2 (ja) | 2004-02-26 | 2009-06-24 | セイコーエプソン株式会社 | 視角制御素子およびその製造方法、液晶表示装置、電子機器 |
| US20050219693A1 (en) | 2004-04-02 | 2005-10-06 | David Hartkop | Scanning aperture three dimensional display device |
| GB2413394A (en) | 2004-04-20 | 2005-10-26 | Sharp Kk | Display |
| JP4668549B2 (ja) | 2004-04-21 | 2011-04-13 | 大日本印刷株式会社 | 位相差量可変な光学補償素子およびそれを用いた液晶ディスプレイ |
| JP4717494B2 (ja) | 2004-05-20 | 2011-07-06 | セイコーインスツル株式会社 | 照明装置およびこれを用いた表示装置 |
| EP1759238A4 (en) | 2004-05-24 | 2009-07-22 | Colorlink Inc | VERY PERMANENT AND HIGH-PERFORMANCE POLARIZATION OPTICS WITH AN ORGANIC LAYER OF LOW ELASTICITY |
| JP2005345799A (ja) | 2004-06-03 | 2005-12-15 | Toshiba Electronic Engineering Corp | 視野角制御パネルおよび表示装置 |
| US7160017B2 (en) | 2004-06-03 | 2007-01-09 | Eastman Kodak Company | Brightness enhancement film using a linear arrangement of light concentrators |
| KR100853069B1 (ko) | 2004-08-31 | 2008-08-19 | 샤프 가부시키가이샤 | 표시 소자 및 표시 장치 |
| KR100809231B1 (ko) | 2004-09-07 | 2008-03-05 | 샤프 가부시키가이샤 | 표시 장치, 시야각 제어 장치, 및 전자 기기 |
| JP4704349B2 (ja) | 2004-09-15 | 2011-06-15 | シャープ株式会社 | 表示装置、視野角制御装置、および電子機器 |
| GB2418518A (en) | 2004-09-24 | 2006-03-29 | Sharp Kk | A Display |
| US7450204B1 (en) | 2004-11-02 | 2008-11-11 | University Of Central Florida Research Foundation, Inc. | Multi-film compensated liquid crystal display with initial homogeneous alignment |
| JP4536489B2 (ja) | 2004-11-15 | 2010-09-01 | 株式会社 日立ディスプレイズ | 光学素子及びそれを用いた表示装置 |
| US7170680B2 (en) | 2005-01-06 | 2007-01-30 | E. I. Du Pont De Nemours And Company | Privacy screen for a display |
| JP4225279B2 (ja) | 2005-01-19 | 2009-02-18 | セイコーエプソン株式会社 | 液晶表示装置及び電子機器 |
| TWI255896B (en) | 2005-01-19 | 2006-06-01 | Au Optronics Corp | Backlight module |
| JP2006251050A (ja) | 2005-03-08 | 2006-09-21 | Toshiba Matsushita Display Technology Co Ltd | 液晶表示素子 |
| EP1881266A4 (en) | 2005-03-17 | 2013-06-12 | Fujitsu Ltd | LIGHT AND LIQUID CRYSTAL DISPLAY |
| US8542334B2 (en) | 2005-05-20 | 2013-09-24 | Institut Jozef Stefan | Variable contrast, wide viewing angle LCD light-switching filter |
| US7633583B2 (en) | 2005-05-23 | 2009-12-15 | Ran-Hong Raymond Wang | Controlling polarization for liquid crystal displays |
| DE102006023993A1 (de) | 2005-05-23 | 2007-03-08 | Wang, Ran-Hong, Tustin | Polarisationssteuerung für Flüssigkristallanzeigen |
| US8237876B2 (en) | 2005-05-25 | 2012-08-07 | Kim Leong Tan | Tilted C-plate retarder compensator and display systems incorporating the same |
| GB2427033A (en) | 2005-06-07 | 2006-12-13 | Sharp Kk | A display switchable between public and private modes |
| JP2006350106A (ja) | 2005-06-17 | 2006-12-28 | Casio Comput Co Ltd | 液晶表示装置 |
| US7965268B2 (en) | 2005-07-08 | 2011-06-21 | Sharp Kabushiki Kaisha | Display device and liquid crystal display panel |
| GB2428100A (en) | 2005-07-08 | 2007-01-17 | Sharp Kk | Display device and optical device |
| GB2428345A (en) | 2005-07-13 | 2007-01-24 | Sharp Kk | A display having multiple view and single view modes |
| JP4831729B2 (ja) | 2005-08-05 | 2011-12-07 | Nltテクノロジー株式会社 | 視野角可変液晶表示装置、方法及び端末機 |
| CN101297234B (zh) | 2005-08-27 | 2010-08-11 | 3M创新有限公司 | 照明组件和系统 |
| US7714945B2 (en) | 2005-09-09 | 2010-05-11 | Jds Uniphase Corporation | Optimally clocked trim retarders |
| US7628502B2 (en) | 2005-09-22 | 2009-12-08 | Dai Nippon Printing Co., Ltd. | Light controlling sheet and surface light source device |
| JP2007148279A (ja) | 2005-10-31 | 2007-06-14 | Optrex Corp | 表示装置 |
| US7859753B2 (en) | 2005-12-21 | 2010-12-28 | Chem Image Corporation | Optical birefringence filters with interleaved absorptive and zero degree reflective polarizers |
| CN100498389C (zh) | 2006-03-25 | 2009-06-10 | 鸿富锦精密工业(深圳)有限公司 | 导光板和背光模组 |
| JP4385031B2 (ja) | 2006-03-31 | 2009-12-16 | 日本ライツ株式会社 | 導光板および平面照明装置 |
| JP2007311325A (ja) | 2006-04-17 | 2007-11-29 | Citizen Electronics Co Ltd | 導光板及びその製造方法とその導光板を用いたバックライトユニット |
| US8446548B2 (en) | 2006-05-19 | 2013-05-21 | Nlt Technologies, Ltd. | Light source device, display device, terminal device, and transparent/scattering state switching element |
| KR20070118765A (ko) | 2006-06-13 | 2007-12-18 | 쓰리엠 이노베이티브 프로퍼티즈 컴파니 | 원형 편광기 복합체 및 이를 포함하는 광학 시스템 |
| GB2439563A (en) | 2006-06-13 | 2008-01-02 | Sharp Kk | A thermally re-writeable optical element and a display, reflector and backlight incorporating the same. |
| WO2008001896A1 (en) | 2006-06-30 | 2008-01-03 | Sharp Kabushiki Kaisha | Display and field-of-view angle control device used for the same |
| KR100830340B1 (ko) | 2006-07-04 | 2008-05-16 | 삼성에스디아이 주식회사 | 백라이트 유니트의 도광판 및 이를 구비한 백라이트 유니트 |
| EP2037318A4 (en) | 2006-07-05 | 2011-04-20 | Sharp Kk | LIQUID CRYSTAL DISPLAY AND VISION ANGLE SCREEN |
| WO2008018212A1 (en) | 2006-08-09 | 2008-02-14 | Sharp Kabushiki Kaisha | Liquid crystal display device and viewing angle control module |
| KR101259011B1 (ko) | 2006-09-15 | 2013-04-29 | 삼성전자주식회사 | 고해상도 다시점 입체 영상 디스플레이 장치 |
| GB2443648A (en) | 2006-11-07 | 2008-05-14 | Sharp Kk | LC display having public and private viewing modes arranged to display a first image in the public mode and second and third spatially interlaced images in th |
| GB2443649A (en) | 2006-11-07 | 2008-05-14 | Sharp Kk | Liquid crystal device having splay-twist and splay-bend mode |
| JP4411550B2 (ja) * | 2006-11-15 | 2010-02-10 | ソニー株式会社 | 液晶表示装置の製造方法 |
| JP4986582B2 (ja) | 2006-11-15 | 2012-07-25 | シチズンホールディングス株式会社 | 液晶光変調素子、液晶光変調装置、および液晶光変調素子の駆動方法 |
| WO2008067558A2 (en) | 2006-11-30 | 2008-06-05 | Real D | High performance shutter glasses for multifunctional display |
| TWI427374B (zh) | 2006-12-27 | 2014-02-21 | Fujifilm Corp | 遲延度補償元件、垂直配向向列型液晶顯示裝置、及液晶投影機 |
| TWI340259B (en) | 2006-12-29 | 2011-04-11 | Ind Tech Res Inst | Light guide plate |
| US8169567B2 (en) | 2007-01-31 | 2012-05-01 | Sharp Kabushiki Kaisha | Viewing angle controlling liquid crystal panel and display device |
| JP2008197132A (ja) | 2007-02-08 | 2008-08-28 | Seiko Epson Corp | 指向性表示ディスプレイ |
| EP1956425A3 (en) | 2007-02-09 | 2009-04-29 | JDS Uniphase Corporation | Single-layer birefringent crystal optical retarders |
| JP4148299B1 (ja) | 2007-02-13 | 2008-09-10 | ソニー株式会社 | 光学包装体およびその製造方法、照明装置、ならびに表示装置 |
| US7991257B1 (en) | 2007-05-16 | 2011-08-02 | Fusion Optix, Inc. | Method of manufacturing an optical composite |
| US7780330B2 (en) | 2007-05-16 | 2010-08-24 | Rohm And Haas Electronics Materials Llc | Elongated illuminators configuration for LCD displays |
| US7528893B2 (en) | 2007-05-18 | 2009-05-05 | 3M Innovative Properties Company | Backlight for liquid crystal display |
| KR101464795B1 (ko) | 2007-05-20 | 2014-11-27 | 쓰리엠 이노베이티브 프로퍼티즈 컴파니 | 광 재순환 중공 공동형 디스플레이 백라이트 |
| US8384853B2 (en) | 2007-05-21 | 2013-02-26 | Sharp Kabushiki Kaisha | Display and viewing angle control element used for same |
| GB2449682A (en) | 2007-06-01 | 2008-12-03 | Sharp Kk | Optical system for converting a flat image to a non-flat image |
| JP2008305713A (ja) | 2007-06-08 | 2008-12-18 | Fujifilm Corp | 面状照明装置 |
| JP2008310271A (ja) | 2007-06-18 | 2008-12-25 | Sharp Corp | 液晶表示装置及び視野角制御パネル |
| US20090009894A1 (en) | 2007-07-05 | 2009-01-08 | Chin-Lun Chuang | Combined prismatic condenser board |
| WO2009008406A1 (ja) | 2007-07-09 | 2009-01-15 | Sharp Kabushiki Kaisha | 視野角制御素子およびこれを備えた表示装置 |
| JP2009020293A (ja) | 2007-07-11 | 2009-01-29 | Sharp Corp | ディスプレイおよびそれに用いられる視野角制御装置 |
| WO2009011199A1 (ja) | 2007-07-19 | 2009-01-22 | Sharp Kabushiki Kaisha | ディスプレイおよびそれに用いられる視野角制御素子 |
| JP5066741B2 (ja) | 2007-09-27 | 2012-11-07 | スタンレー電気株式会社 | 面光源用導光板 |
| US8587559B2 (en) | 2007-09-28 | 2013-11-19 | Samsung Electronics Co., Ltd. | Multipoint nanostructure-film touch screen |
| CN104375224A (zh) | 2007-10-16 | 2015-02-25 | 3M创新有限公司 | 透射率更高的光控膜 |
| JP2009104061A (ja) | 2007-10-25 | 2009-05-14 | Seiko Epson Corp | 電気光学装置及び電子機器 |
| JP5299757B2 (ja) | 2007-10-30 | 2013-09-25 | Nltテクノロジー株式会社 | 表示装置および電子機器 |
| TWM332872U (en) | 2007-10-31 | 2008-05-21 | Nano Prec Corp | Light guide plate and side-emitting backlight module having the same |
| US7791683B2 (en) | 2007-11-19 | 2010-09-07 | Honeywell International Inc. | Backlight systems for liquid crystal displays |
| JP4996433B2 (ja) | 2007-11-27 | 2012-08-08 | ミネベア株式会社 | 面状照明装置 |
| CN101458347B (zh) | 2007-12-14 | 2011-12-21 | 鸿富锦精密工业(深圳)有限公司 | 棱镜片及其制备方法,以及采用该棱镜片的液晶显示装置 |
| US8721149B2 (en) | 2008-01-30 | 2014-05-13 | Qualcomm Mems Technologies, Inc. | Illumination device having a tapered light guide |
| TWI494655B (zh) | 2008-02-07 | 2015-08-01 | 3M Innovative Properties Co | 具有結構性薄膜之空孔背光裝置及具有該空孔背光裝置之顯示器 |
| GB2457690A (en) | 2008-02-21 | 2009-08-26 | Sharp Kk | Viewer position tracking display |
| GB2457693A (en) | 2008-02-21 | 2009-08-26 | Sharp Kk | Display comprising a parallax optic for providing private and public viewing modes |
| WO2009105450A1 (en) | 2008-02-22 | 2009-08-27 | 3M Innovative Properties Company | Backlights having selected output light flux distributions and display systems using same |
| GB2457106A (en) | 2008-03-04 | 2009-08-05 | Sharp Kk | LCD device with luminance variations perceivable only by off-axis viewers |
| GB2461907A (en) | 2008-07-17 | 2010-01-20 | Sharp Kk | Angularly restricted display |
| US8621635B2 (en) | 2008-08-18 | 2013-12-31 | Microsoft Corporation | Web page privacy risk detection |
| US7660047B1 (en) | 2008-09-03 | 2010-02-09 | Microsoft Corporation | Flat panel lens |
| KR20110086067A (ko) | 2008-10-22 | 2011-07-27 | 가부시키가이샤 구라레 | 면광원 소자 및 이것을 구비한 화상 표시 장치 |
| JP4817080B2 (ja) | 2008-10-29 | 2011-11-16 | 奇美電子股▲ふん▼有限公司 | 水平駆動型液晶ディスプレイ装置 |
| US10282563B2 (en) | 2009-02-06 | 2019-05-07 | Tobii Ab | Video-based privacy supporting system |
| EP2236074B1 (en) | 2009-04-01 | 2021-05-26 | Tobii AB | Visual display with illuminators for gaze tracking |
| KR101253049B1 (ko) | 2009-05-07 | 2013-04-11 | 엘지디스플레이 주식회사 | 액정표시장치 및 그 제조방법 |
| EP2442006A4 (en) | 2009-06-11 | 2017-11-08 | Zeon Corporation | Surface light source device, lighting equipment, backlight device |
| JP5154695B2 (ja) | 2009-06-30 | 2013-02-27 | シャープ株式会社 | 照明装置、表示装置、及びテレビ受信装置 |
| JP5563250B2 (ja) | 2009-06-30 | 2014-07-30 | 株式会社ジャパンディスプレイ | 立体画像表示装置 |
| EP2282231A3 (en) | 2009-08-07 | 2011-05-04 | JDS Uniphase Corporation | Multi-segment optical retarder for creating 3d images |
| US20110044582A1 (en) | 2009-08-21 | 2011-02-24 | Microsoft Corporation | Efficient collimation of light with optical wedge |
| JP5429625B2 (ja) | 2009-11-11 | 2014-02-26 | 大日本印刷株式会社 | 導光板、面光源装置および表示装置 |
| KR101318497B1 (ko) | 2009-12-02 | 2013-10-16 | 미쓰비시덴키 가부시키가이샤 | 액정 표시 장치 |
| JP4985787B2 (ja) | 2010-01-12 | 2012-07-25 | オムロン株式会社 | 面光源装置及び液晶表示装置 |
| US9285589B2 (en) | 2010-02-28 | 2016-03-15 | Microsoft Technology Licensing, Llc | AR glasses with event and sensor triggered control of AR eyepiece applications |
| US8922480B1 (en) | 2010-03-05 | 2014-12-30 | Amazon Technologies, Inc. | Viewer-based device control |
| US9851479B2 (en) | 2010-03-26 | 2017-12-26 | Ubright Optronics Corporation | Optical substrates having light collimating and diffusion structures |
| US9180609B2 (en) | 2010-03-26 | 2015-11-10 | Ubright Optronics Corporation | Optical substrates having light collimating and diffusion structures |
| US20160067931A1 (en) | 2010-03-26 | 2016-03-10 | Ubright Optronics Corporation | Optical substrates having light collimating and diffusion structures |
| TW201135688A (en) | 2010-04-02 | 2011-10-16 | Wistron Corp | Method of providing privacy for a display apparatus and display apparatus |
| TWI424206B (zh) | 2010-04-06 | 2014-01-21 | Coretronic Corp | 導光板及光源模組 |
| BR112012027037B1 (pt) | 2010-04-23 | 2020-05-26 | Harman Professional Denmark Aps | Dispositivo de iluminação |
| US9182530B2 (en) | 2010-05-31 | 2015-11-10 | Dai Nippon Printing Co., Ltd. | Light guide plate with tapering unit optical elements |
| US8539560B2 (en) | 2010-06-24 | 2013-09-17 | International Business Machines Corporation | Content protection using automatically selectable display surfaces |
| US8848136B2 (en) | 2010-07-12 | 2014-09-30 | Dai Nippon Printing Co., Ltd. | Display device having enlarged viewing angle |
| GB201011829D0 (en) | 2010-07-14 | 2010-09-01 | Two Trees Photonics Ltd | Display system |
| CN101886764A (zh) | 2010-07-26 | 2010-11-17 | 鸿富锦精密工业(深圳)有限公司 | Led面光源装置 |
| KR101198185B1 (ko) | 2010-07-27 | 2012-11-12 | 전북대학교산학협력단 | 액정표시장치 및 그 제조방법 |
| KR101131983B1 (ko) | 2010-07-28 | 2012-03-29 | 안희경 | 차량속도에 따라 가상 영상정보 이미지의 투영위치를 변화시키는 차량용 헤드업 디스플레이 장치 |
| US8820937B2 (en) | 2010-08-17 | 2014-09-02 | Lc-Tec Displays Ab | Optical polarization state modulator assembly for use in stereoscopic three-dimensional image projection system |
| JP5921550B2 (ja) | 2010-09-22 | 2016-05-24 | コーニンクレッカ フィリップス エヌ ヴェKoninklijke Philips N.V. | マルチビュー表示装置 |
| US10176781B2 (en) | 2010-09-30 | 2019-01-08 | Apple Inc. | Ambient display adaptation for privacy screens |
| US9008856B2 (en) | 2011-11-16 | 2015-04-14 | Flextronics Ap, Llc | Configurable vehicle console |
| JP2012108311A (ja) | 2010-11-17 | 2012-06-07 | Toshiba Mobile Display Co Ltd | 液晶表示装置 |
| US9250448B2 (en) | 2010-11-19 | 2016-02-02 | Reald Inc. | Segmented directional backlight and related methods of backlight illumination |
| EP3557310B1 (en) | 2010-11-19 | 2024-09-25 | RealD Spark, LLC | Directional flat illuminators |
| US20130328866A1 (en) | 2010-11-19 | 2013-12-12 | Reald Inc. | Spatially multiplexed imaging directional backlight displays |
| US8801964B2 (en) | 2010-12-22 | 2014-08-12 | Photon Dynamics, Inc. | Encapsulated polymer network liquid crystal material, device and applications |
| US20120162763A1 (en) | 2010-12-28 | 2012-06-28 | Lg Display Co., Ltd. | Image display device |
| TWI421596B (zh) | 2010-12-31 | 2014-01-01 | Au Optronics Corp | 三維顯示裝置及其背光模組 |
| EP2663901B1 (en) | 2011-01-14 | 2019-03-06 | Levent Onural | Apparatus for holographic display |
| TWI442110B (zh) | 2011-01-26 | 2014-06-21 | Coretronic Corp | 導光板及光源模組 |
| KR102014273B1 (ko) | 2011-02-10 | 2019-08-26 | 삼성전자주식회사 | 터치 스크린 디스플레이를 구비한 휴대 기기 및 그 제어 방법 |
| CN103688211B (zh) | 2011-05-12 | 2017-02-15 | 瑞尔D股份有限公司 | 偏振补偿立体系统 |
| US9164216B2 (en) | 2011-07-06 | 2015-10-20 | Sharp Kabushiki Kaisha | Illumination device and display device |
| US8801260B2 (en) | 2011-07-11 | 2014-08-12 | Seiko Epson Corporation | Display device, electronic apparatus and lighting device |
| US8752200B2 (en) | 2011-07-12 | 2014-06-10 | At&T Intellectual Property I, L.P. | Devices, systems and methods for security using magnetic field based identification |
| WO2013008569A1 (ja) | 2011-07-13 | 2013-01-17 | シャープ株式会社 | 照明装置及び表示装置 |
| WO2013048847A2 (en) | 2011-09-30 | 2013-04-04 | 3M Innovative Properties Company | Electronically switchable privacy film and display device having same |
| US9097826B2 (en) | 2011-10-08 | 2015-08-04 | Svv Technology Innovations, Inc. | Collimating illumination systems employing a waveguide |
| US20130100097A1 (en) | 2011-10-21 | 2013-04-25 | Qualcomm Mems Technologies, Inc. | Device and method of controlling lighting of a display based on ambient lighting conditions |
| KR20130046116A (ko) | 2011-10-27 | 2013-05-07 | 삼성디스플레이 주식회사 | 2차원/3차원 전환 가능한 디스플레이 장치 |
| KR101507202B1 (ko) | 2011-11-16 | 2015-04-08 | 엘지디스플레이 주식회사 | 투과형 액정표시패널을 이용한 공간 광 변조 패널 및 이를 이용한 입체 영상 표시장치 |
| US20150268479A1 (en) | 2011-11-18 | 2015-09-24 | Reald Inc. | Directional backlight |
| US20140140091A1 (en) | 2012-11-20 | 2014-05-22 | Sergiy Victorovich Vasylyev | Waveguide illumination system |
| TWI480636B (zh) | 2011-12-06 | 2015-04-11 | Lg化學股份有限公司 | 液晶單元 |
| KR101282125B1 (ko) | 2012-01-18 | 2013-07-04 | 주식회사 지앤씨에스 | 백라이트 어셈블리 및 그를 포함하는 표시 장치 |
| CN107664838B (zh) | 2012-01-26 | 2020-10-02 | 视瑞尔技术公司 | 具有观察者跟踪功能的显示器 |
| JP2015511329A (ja) | 2012-01-31 | 2015-04-16 | アルファマイクロン インコーポレイテッド | 電子的調光可能光学装置 |
| US8937604B2 (en) | 2012-02-28 | 2015-01-20 | Eastman Kodak Company | Touch-responsive capacitor with polarizing dielectric structure |
| CN102645778B (zh) | 2012-03-08 | 2016-01-27 | 北京京东方光电科技有限公司 | 一种液晶显示面板及其制作方法 |
| EP2639498A1 (en) | 2012-03-14 | 2013-09-18 | Samsung Electronics Co., Ltd | Light Guide Panel and Backlight Unit having the same |
| JP5556837B2 (ja) | 2012-03-15 | 2014-07-23 | オムロン株式会社 | 面光源装置及び液晶表示装置 |
| TWI481915B (zh) | 2013-08-20 | 2015-04-21 | Radiant Opto Electronics Corp | 具多向性結構之導光板 |
| TWI485453B (zh) | 2014-01-02 | 2015-05-21 | Radiant Opto Electronics Corp | 導光板 |
| JP5816115B2 (ja) | 2012-03-21 | 2015-11-18 | 株式会社ジャパンディスプレイ | 表示装置、および電子装置 |
| JP5532075B2 (ja) | 2012-04-18 | 2014-06-25 | 凸版印刷株式会社 | 液晶表示装置 |
| TW201346341A (zh) | 2012-05-03 | 2013-11-16 | Ind Tech Res Inst | 顯示裝置及其控制方法 |
| US20130300985A1 (en) | 2012-05-14 | 2013-11-14 | Marcus Bulda | Integrated privacy filter |
| US9188731B2 (en) | 2012-05-18 | 2015-11-17 | Reald Inc. | Directional backlight |
| JP6508832B2 (ja) | 2012-05-18 | 2019-05-08 | リアルディー スパーク エルエルシー | 指向性バックライトの複数の光源の制御 |
| WO2013173732A1 (en) | 2012-05-18 | 2013-11-21 | Reald Inc. | Directionally illuminated waveguide arrangement |
| US9678267B2 (en) | 2012-05-18 | 2017-06-13 | Reald Spark, Llc | Wide angle imaging directional backlights |
| US9235057B2 (en) | 2012-05-18 | 2016-01-12 | Reald Inc. | Polarization recovery in a directional display device |
| CN104185811A (zh) | 2012-05-29 | 2014-12-03 | 夏普株式会社 | 显示装置和电视接收装置 |
| US9581731B2 (en) | 2012-07-09 | 2017-02-28 | Corning Incorporated | Anti-glare and anti-sparkle transparent structures |
| US8917441B2 (en) | 2012-07-23 | 2014-12-23 | Reald Inc. | Observe tracking autostereoscopic display |
| KR20140018742A (ko) | 2012-08-03 | 2014-02-13 | 삼성디스플레이 주식회사 | 백라이트 유닛 및 이를 갖는 표시 장치 |
| US20150338564A1 (en) | 2012-08-21 | 2015-11-26 | Dahai ZHANG | Surface texture of light guide plate, use and manufacturing method thereof |
| JP2015200681A (ja) | 2012-08-27 | 2015-11-12 | シャープ株式会社 | 液晶表示装置 |
| US9057808B2 (en) | 2012-09-11 | 2015-06-16 | Apple Inc. | Textured light guide to reduce friction with film |
| CN104854864B (zh) | 2012-10-02 | 2017-11-17 | 瑞尔D斯帕克有限责任公司 | 具有横向操作模式和纵向操作模式的时间多路复用显示器 |
| TWI496453B (zh) | 2012-10-05 | 2015-08-11 | Zhangjiagang Kangde Xin Optronics Material Co Ltd | A method of displaying a three - dimensional image in both directions |
| JP5532109B2 (ja) | 2012-11-15 | 2014-06-25 | オムロン株式会社 | 導光板及び面光源装置 |
| CN103047581B (zh) | 2012-12-04 | 2015-04-01 | 京东方科技集团股份有限公司 | 背光模组及具有该背光模组的显示装置 |
| JP6237998B2 (ja) | 2012-12-26 | 2017-11-29 | オムロン株式会社 | 導光板及び面光源装置 |
| CN105074552B (zh) | 2012-12-27 | 2018-01-02 | 凸版印刷株式会社 | 液晶显示装置、液晶显示装置用基板及液晶显示装置用基板的制造方法 |
| CN103901526A (zh) | 2012-12-28 | 2014-07-02 | 群创光电股份有限公司 | 导光板、背光模块及显示装置 |
| US8973149B2 (en) | 2013-01-14 | 2015-03-03 | Lookout, Inc. | Detection of and privacy preserving response to observation of display screen |
| JP5915556B2 (ja) | 2013-01-30 | 2016-05-11 | オムロン株式会社 | 導光板 |
| KR20150120456A (ko) | 2013-02-22 | 2015-10-27 | 리얼디 인크. | 지향성 백라이트 |
| US9262648B2 (en) | 2013-02-22 | 2016-02-16 | Fujitsu Limited | Display device with automatic viewing angle control |
| JP6207850B2 (ja) | 2013-03-13 | 2017-10-04 | 株式会社日立エルジーデータストレージ | 虚像表示装置 |
| US9261641B2 (en) | 2013-03-25 | 2016-02-16 | 3M Innovative Properties Company | Dual-sided film with compound prisms |
| US9784902B2 (en) | 2013-03-25 | 2017-10-10 | 3M Innovative Properties Company | Dual-sided film with split light spreading structures |
| CN107264283B (zh) | 2013-03-29 | 2019-07-19 | 株式会社斯巴鲁 | 运输设备用显示装置 |
| US20160054508A1 (en) | 2013-03-29 | 2016-02-25 | Sharp Kabushiki Kaisha | Lighting device and display device |
| CN103473494B (zh) | 2013-09-03 | 2016-08-17 | 小米科技有限责任公司 | 一种运行应用的方法、装置和终端设备 |
| JP6115420B2 (ja) | 2013-09-17 | 2017-04-19 | 株式会社Jvcケンウッド | 画像表示装置 |
| US10012884B2 (en) | 2013-09-23 | 2018-07-03 | Lc-Tec Displays Ab | High contrast electro-optic liquid crystal camera iris providing angle independent transmission for uniform gray shades |
| US20160259115A1 (en) | 2013-09-26 | 2016-09-08 | Dai Nippon Printing Co., Ltd. | Prism sheet, surface light source device, image source unit, and liquid crystal display device |
| CN106068533B (zh) | 2013-10-14 | 2019-01-11 | 瑞尔D斯帕克有限责任公司 | 定向显示器的控制 |
| WO2015072193A1 (ja) * | 2013-11-15 | 2015-05-21 | シャープ株式会社 | 表示装置 |
| US9551825B2 (en) | 2013-11-15 | 2017-01-24 | Reald Spark, Llc | Directional backlights with light emitting element packages |
| US10018883B2 (en) | 2013-12-03 | 2018-07-10 | Essilor International (Compagnie Generale D'optique) | Transparent thin film, process for manufacturing a film, and spatial phase modulator |
| KR102271203B1 (ko) | 2013-12-23 | 2021-06-30 | 삼성디스플레이 주식회사 | 거울 겸용 표시 장치 |
| GB2524233A (en) | 2014-03-04 | 2015-09-23 | Nokia Technologies Oy | A method, apparatus and/or computer program for controlling light output of a display |
| JP2015195181A (ja) | 2014-03-28 | 2015-11-05 | 大日本印刷株式会社 | 面光源装置および表示装置 |
| US10359678B2 (en) | 2014-04-07 | 2019-07-23 | The Regents Of The University Of California | Highly tunable magnetic liquid crystals |
| US9147068B1 (en) | 2014-04-08 | 2015-09-29 | Vysk Communications, Inc. | Internal signal diversion apparatus and method for mobile communication devices |
| KR20150116974A (ko) | 2014-04-08 | 2015-10-19 | 삼성디스플레이 주식회사 | 영상 표시 장치 |
| JP6288442B2 (ja) | 2014-04-09 | 2018-03-07 | オムロン株式会社 | 導光板及び面光源装置 |
| US9638841B2 (en) | 2014-04-10 | 2017-05-02 | Microsoft Technology Licensing, Llc | Laminated diffuser |
| US9494726B2 (en) | 2014-05-27 | 2016-11-15 | Microsoft Technology Licensing, Llc | Switchable backlight unit |
| KR20150137217A (ko) | 2014-05-28 | 2015-12-09 | 삼성디스플레이 주식회사 | 액정표시장치 |
| WO2015183867A1 (en) | 2014-05-30 | 2015-12-03 | 3M Innovative Properties Company | Optical systems having variable viewing angles |
| CN105320314B (zh) | 2014-06-04 | 2019-07-16 | 宸盛光电有限公司 | 触控显示装置 |
| JP6540988B2 (ja) | 2014-06-09 | 2019-07-10 | 日本精機株式会社 | ヘッドアップディスプレイ装置 |
| US11067736B2 (en) | 2014-06-26 | 2021-07-20 | Reald Spark, Llc | Directional privacy display |
| JP6349398B2 (ja) | 2014-07-29 | 2018-06-27 | シャープ株式会社 | 照明装置及び表示装置 |
| US20170269285A1 (en) | 2014-07-29 | 2017-09-21 | Sharp Kabushiki Kaisha | Illumination device and display device |
| US20160109760A1 (en) | 2014-09-05 | 2016-04-21 | Valerie A. Finnemeyer | Methods and apparatus for liquid crystal photoalignment |
| KR20160044145A (ko) | 2014-10-14 | 2016-04-25 | 삼성디스플레이 주식회사 | 백라이트 유닛 및 이를 포함하는 표시 장치 |
| US9727741B2 (en) | 2014-11-11 | 2017-08-08 | International Business Machines Corporation | Confidential content display in flexible display devices |
| CN104597661B (zh) | 2014-11-21 | 2017-06-27 | 深圳市华星光电技术有限公司 | 垂直配向液晶显示器及其制作方法 |
| EP3029519B1 (en) | 2014-12-02 | 2018-03-07 | LG Display Co., Ltd. | Light controlling apparatus and method of fabricating the same |
| WO2016093137A1 (ja) | 2014-12-10 | 2016-06-16 | シャープ株式会社 | 照明装置及び表示装置 |
| KR20160092150A (ko) | 2015-01-26 | 2016-08-04 | 삼성디스플레이 주식회사 | 표시 장치 및 표시장치의 구동 방법 |
| WO2016122671A1 (en) | 2015-01-30 | 2016-08-04 | Hewlett-Packard Development Company, L.P. | Electronic display illumination |
| US20160224106A1 (en) | 2015-02-03 | 2016-08-04 | Kobo Incorporated | Method and system for transitioning to private e-reading mode |
| KR101596848B1 (ko) | 2015-03-02 | 2016-02-23 | 엘지전자 주식회사 | 디스플레이 패널 및 이동 단말기 |
| US10146093B2 (en) | 2015-03-20 | 2018-12-04 | Sharp Kabushiki Kaisha | Mirror display |
| US10061370B2 (en) | 2015-05-15 | 2018-08-28 | Intel Corporation | Micro louvers for active privacy screen |
| WO2016191598A1 (en) | 2015-05-27 | 2016-12-01 | Reald Inc. | Wide angle imaging directional backlights |
| US10247982B2 (en) | 2015-06-03 | 2019-04-02 | Apple Inc. | Electronic device display with switchable film structures |
| WO2016195786A1 (en) | 2015-06-03 | 2016-12-08 | Apple Inc | Electronic device display with switchable film structures |
| US20170168633A1 (en) | 2015-06-24 | 2017-06-15 | Intel Corporation | Touch sensitive active privacy screen |
| US10591767B2 (en) | 2015-07-29 | 2020-03-17 | Sharp Kabushiki Kaisha | Sunlight readable LCD with uniform in-cell retarder |
| KR101721325B1 (ko) | 2015-08-10 | 2017-03-30 | 엘지디스플레이 주식회사 | 편광 스위칭 터치 스크린 패널, 스위처블 렌즈 터치 스크린 패널, 및 그들을 구비한 2d/3d 영상 표시장치 |
| CN105068337B (zh) | 2015-08-26 | 2018-04-20 | 昆山龙腾光电有限公司 | 视角可切换的液晶显示装置 |
| DE102015011933B3 (de) | 2015-09-14 | 2017-02-02 | Sioptica Gmbh | Verfahren und Verwendung eines Bildschirms zur sicheren Darstellung von Information |
| EP3353599A1 (en) | 2015-09-23 | 2018-08-01 | Koninklijke Philips N.V. | Display device and driving method |
| KR102447099B1 (ko) | 2015-09-23 | 2022-09-26 | 삼성전자주식회사 | 광원 디바이스, 이를 포함하는 디스플레이 장치, 디스플레이 방법 |
| US20170090103A1 (en) | 2015-09-25 | 2017-03-30 | Qualcomm Mems Technologies, Inc. | Illumination system with overlapping light guiding units |
| CN106873209B (zh) | 2015-09-30 | 2021-05-11 | 乐金显示有限公司 | 光控制装置、包括其的透明显示装置及其制造方法 |
| JP6801667B2 (ja) | 2015-09-30 | 2020-12-16 | 日本ゼオン株式会社 | 液晶表示装置 |
| KR102069487B1 (ko) | 2015-10-05 | 2020-01-23 | 주식회사 엘지화학 | 광학 필름 |
| US10475418B2 (en) | 2015-10-26 | 2019-11-12 | Reald Spark, Llc | Intelligent privacy system, apparatus, and method thereof |
| CN105372883B (zh) | 2015-11-03 | 2018-05-29 | 昆山龙腾光电有限公司 | 视角可切换的液晶显示装置 |
| KR101990286B1 (ko) | 2015-12-18 | 2019-06-18 | 주식회사 엘지화학 | 수직 배향막 |
| CN105446014B (zh) | 2015-12-24 | 2019-05-14 | 昆山龙腾光电有限公司 | 可实现视角切换的液晶显示装置 |
| US20190025624A1 (en) | 2015-12-31 | 2019-01-24 | Kimberly-Clark Worldwide, Inc. | Two mode electro-optic filter |
| TWI592722B (zh) | 2016-03-16 | 2017-07-21 | 揚昇照明股份有限公司 | 背光模組以及顯示裝置 |
| JP6549335B2 (ja) | 2016-03-28 | 2019-07-24 | エルシー−テック ディスプレイズ アーベーLc−Tec Displays Ab | 広視角を有する電気光学ゲストホスト液晶可変透過フィルタ |
| US20170299941A1 (en) | 2016-04-13 | 2017-10-19 | Boulder Nonlinear Systems, Inc. | Compact liquid crystal beam steering devices including multiple polarization gratings |
| EP3458897B1 (en) | 2016-05-19 | 2025-04-02 | RealD Spark, LLC | Wide angle imaging directional backlights |
| WO2017205183A1 (en) | 2016-05-23 | 2017-11-30 | Reald Spark, Llc | Wide angle imaging directional backlights |
| TWI606286B (zh) | 2016-05-24 | 2017-11-21 | 揚昇照明股份有限公司 | 複合膜以及顯示裝置 |
| CN105867007A (zh) | 2016-05-31 | 2016-08-17 | 京东方科技集团股份有限公司 | 一种显示装置及其控制方法 |
| CN105842909B (zh) | 2016-06-16 | 2019-02-26 | 京东方科技集团股份有限公司 | 液晶显示装置及其制作方法 |
| TWI598669B (zh) | 2016-06-20 | 2017-09-11 | 明基材料股份有限公司 | 液晶裝置 |
| JP6719558B2 (ja) | 2016-06-30 | 2020-07-08 | 富士フイルム株式会社 | 光学装置および表示装置 |
| US11034335B2 (en) | 2016-07-07 | 2021-06-15 | Nio Usa, Inc. | Low-profile imaging system with enhanced viewing angles |
| WO2018035492A1 (en) | 2016-08-18 | 2018-02-22 | Rushline, LLC | Systems and methods for enabling dialog amongst different participant groups with variable and association-based privacy |
| US10496831B2 (en) | 2016-09-20 | 2019-12-03 | Intel Corporation | Dynamic electronic display privacy filter |
| KR102630256B1 (ko) | 2016-09-30 | 2024-01-25 | 엘지디스플레이 주식회사 | 유기 발광 표시 장치 |
| TWM537663U (zh) | 2016-10-25 | 2017-03-01 | 揚昇照明股份有限公司 | 視角控制裝置以及可控制視角顯示裝置 |
| US9955144B2 (en) | 2016-12-11 | 2018-04-24 | Lightscope Media, Llc | 3D display system |
| TWI605287B (zh) | 2016-12-29 | 2017-11-11 | 揚昇照明股份有限公司 | 顯示裝置 |
| CN106483694B (zh) | 2017-01-03 | 2019-09-27 | 京东方科技集团股份有限公司 | 显示屏、显示装置及显示方法 |
| CN110178072B (zh) | 2017-01-04 | 2022-03-11 | 瑞尔D斯帕克有限责任公司 | 用于成像定向背光源的光学叠堆 |
| US10649248B1 (en) | 2017-01-17 | 2020-05-12 | Apple Inc. | Displays with adjustable privacy levels |
| CN107065371B (zh) | 2017-01-23 | 2023-10-10 | 京东方科技集团股份有限公司 | 一种双面多功能装置及其显示方法 |
| CN108345139B (zh) | 2017-01-25 | 2022-04-22 | 中强光电股份有限公司 | 视角可切换显示装置 |
| JP2018147759A (ja) | 2017-03-06 | 2018-09-20 | 恵和株式会社 | 光学シート及びバックライトユニット |
| JP7394625B2 (ja) | 2017-03-31 | 2023-12-08 | スリーエム イノベイティブ プロパティズ カンパニー | 光ガイド |
| EP3607387A4 (en) | 2017-04-03 | 2020-11-25 | RealD Spark, LLC | SEGMENTED DIRECTIONAL IMAGING BACKLIGHT |
| US10488705B2 (en) | 2017-04-19 | 2019-11-26 | Apple Inc. | Electronic devices with backlit displays |
| US10126575B1 (en) | 2017-05-08 | 2018-11-13 | Reald Spark, Llc | Optical stack for privacy display |
| CN116841075A (zh) | 2017-05-08 | 2023-10-03 | 瑞尔D斯帕克有限责任公司 | 用于定向显示器的光学叠堆 |
| CN110809732B (zh) | 2017-05-08 | 2025-01-10 | 瑞尔D斯帕克有限责任公司 | 用于成像定向背光源的光学叠堆 |
| US10303030B2 (en) | 2017-05-08 | 2019-05-28 | Reald Spark, Llc | Reflective optical stack for privacy display |
| WO2018221413A1 (ja) | 2017-05-29 | 2018-12-06 | 富士フイルム株式会社 | 表示装置 |
| CN107102460B (zh) | 2017-07-06 | 2023-02-17 | 京东方科技集团股份有限公司 | 防窥装置、显示器及显示器的驱动方法 |
| TWI878209B (zh) | 2017-09-15 | 2025-04-01 | 美商瑞爾D斯帕克有限責任公司 | 顯示裝置及應用於顯示裝置的視角控制光學元件 |
| US10948648B2 (en) | 2017-09-29 | 2021-03-16 | Reald Spark, Llc | Backlights having stacked waveguide and optical components with different coefficients of friction |
| WO2019067846A1 (en) | 2017-09-29 | 2019-04-04 | Reald Spark, Llc | OPTICAL STACK FOR DIRECTIONAL BACKLIGHTS |
| US11115647B2 (en) | 2017-11-06 | 2021-09-07 | Reald Spark, Llc | Privacy display apparatus |
| KR102461160B1 (ko) | 2017-11-22 | 2022-10-31 | 삼성디스플레이 주식회사 | 표시 장치 |
| US10424232B2 (en) | 2017-12-21 | 2019-09-24 | X Development Llc | Directional light emitters and electronic displays featuring the same |
| CN207650518U (zh) | 2017-12-26 | 2018-07-24 | 扬升照明股份有限公司 | 视角可切换装置以及视角可切换显示模块 |
| JP7067077B2 (ja) | 2018-01-18 | 2022-05-16 | Agc株式会社 | ガラス板及び表示装置 |
| AU2019211358B2 (en) | 2018-01-25 | 2024-10-10 | Reald Spark, Llc | Reflective optical stack for privacy display |
| JP7353007B2 (ja) | 2018-01-25 | 2023-09-29 | リアルディー スパーク エルエルシー | プライバシー表示用タッチスクリーン |
| JP2019158953A (ja) | 2018-03-08 | 2019-09-19 | シャープ株式会社 | 円偏光板、表示装置、及び、積層型位相差板 |
| JP7495027B2 (ja) | 2018-03-22 | 2024-06-04 | リアルディー スパーク エルエルシー | 光導波路、バックライト装置およびディスプレイ装置 |
| US10823990B2 (en) | 2018-05-16 | 2020-11-03 | Sharp Kabushiki Kaisha | Bistable switchable liquid crystal private device |
| WO2020005748A1 (en) | 2018-06-29 | 2020-01-02 | Reald Spark, Llc | Optical stack for privacy display |
| CN209171779U (zh) | 2018-07-27 | 2019-07-30 | 麒盛科技股份有限公司 | 一种用于电动床的风扇装配结构 |
| WO2020072643A1 (en) | 2018-10-03 | 2020-04-09 | Reald Spark, Llc | Privacy display control apparatus |
| JP7583715B2 (ja) | 2018-11-07 | 2024-11-14 | リアルディー スパーク エルエルシー | 指向性ディスプレイ装置 |
| US11233189B2 (en) | 2018-12-11 | 2022-01-25 | Facebook Technologies, Llc | Nanovoided tunable birefringence |
| US11287677B2 (en) | 2019-01-07 | 2022-03-29 | Reald Spark, Llc | Optical stack for privacy display |
| CN111474619B (zh) | 2019-01-23 | 2022-02-18 | 诚屏科技股份有限公司 | 导光板与光源模块 |
| TW202102883A (zh) | 2019-07-02 | 2021-01-16 | 美商瑞爾D斯帕克有限責任公司 | 定向顯示設備 |
| US11099447B2 (en) | 2019-08-02 | 2021-08-24 | Reald Spark, Llc | Optical stack for privacy display |
| EP4028804A4 (en) | 2019-09-11 | 2023-10-25 | RealD Spark, LLC | DEVICE FOR DIRECTIONAL LIGHTING AND VISIBILITY DISPLAY |
| EP4058830B1 (en) | 2019-11-13 | 2025-01-01 | RealD Spark, LLC | Display device with uniform off-axis luminance reduction |
| TWI732476B (zh) | 2020-03-02 | 2021-07-01 | 友達光電股份有限公司 | 顯示裝置 |
| US11237417B2 (en) | 2020-04-30 | 2022-02-01 | Reald Spark, Llc | Directional display apparatus |
| EP4143632A4 (en) | 2020-04-30 | 2024-08-14 | RealD Spark, LLC | DIRECTIONAL DISPLAY DEVICE |
| CN113741084B (zh) | 2020-05-29 | 2024-11-26 | 夏普株式会社 | 液晶显示装置及偏光板 |
-
2022
- 2022-09-27 US US17/954,225 patent/US11892717B2/en active Active
- 2022-09-28 WO PCT/US2022/045030 patent/WO2023055795A1/en not_active Ceased
- 2022-09-28 EP EP22877250.5A patent/EP4409357A4/en active Pending
- 2022-09-28 JP JP2024519865A patent/JP2024536282A/ja active Pending
- 2022-09-28 CN CN202280070308.6A patent/CN118176455A/zh active Pending
- 2022-09-28 TW TW111136695A patent/TW202316151A/zh unknown
- 2022-09-28 KR KR1020247014318A patent/KR20240099234A/ko active Pending
- 2022-10-13 US US17/965,344 patent/US11921367B2/en active Active
-
2024
- 2024-01-09 US US18/407,691 patent/US20240319526A1/en active Pending
Also Published As
| Publication number | Publication date |
|---|---|
| WO2023055795A1 (en) | 2023-04-06 |
| US20230116008A1 (en) | 2023-04-13 |
| EP4409357A4 (en) | 2025-08-13 |
| TW202316151A (zh) | 2023-04-16 |
| US11921367B2 (en) | 2024-03-05 |
| US11892717B2 (en) | 2024-02-06 |
| US20230099000A1 (en) | 2023-03-30 |
| KR20240099234A (ko) | 2024-06-28 |
| EP4409357A1 (en) | 2024-08-07 |
| CN118176455A (zh) | 2024-06-11 |
| US20240319526A1 (en) | 2024-09-26 |
Similar Documents
| Publication | Publication Date | Title |
|---|---|---|
| JP2024536282A (ja) | プライバシーディスプレイ用の標識 | |
| US11454853B2 (en) | Optical stack for privacy display | |
| US12169339B2 (en) | Touch screen for privacy display | |
| US11442316B2 (en) | Directional display apparatus | |
| KR102853103B1 (ko) | 프라이버시 디스플레이를 위한 반사 광학 스택 | |
| US20230254457A1 (en) | Display device with uniform off-axis luminance reduction | |
| US11977286B2 (en) | Observer-tracked privacy display | |
| CN114846393A (zh) | 离轴显示装置 | |
| EP4143631A1 (en) | Directional display apparatus | |
| US11892718B2 (en) | Directional display apparatus | |
| US20250306423A1 (en) | Touch screen for privacy display | |
| TWI902076B (zh) | 用於防窺顯示裝置之反射式光學堆疊物 | |
| TW202441227A (zh) | 角度濾光片標記 |
Legal Events
| Date | Code | Title | Description |
|---|---|---|---|
| A621 | Written request for application examination |
Free format text: JAPANESE INTERMEDIATE CODE: A621 Effective date: 20250924 |
