JP2010096259A - ローラ型ワンウェイクラッチ - Google Patents

ローラ型ワンウェイクラッチ Download PDF

Info

Publication number
JP2010096259A
JP2010096259A JP2008267227A JP2008267227A JP2010096259A JP 2010096259 A JP2010096259 A JP 2010096259A JP 2008267227 A JP2008267227 A JP 2008267227A JP 2008267227 A JP2008267227 A JP 2008267227A JP 2010096259 A JP2010096259 A JP 2010096259A
Authority
JP
Japan
Prior art keywords
outer ring
roller
way clutch
pocket
end surface
Prior art date
Legal status (The legal status is an assumption and is not a legal conclusion. Google has not performed a legal analysis and makes no representation as to the accuracy of the status listed.)
Granted
Application number
JP2008267227A
Other languages
English (en)
Other versions
JP5205207B2 (ja
Inventor
Hirofumi Shirataki
浩文 白瀧
Tomoharu Ando
友春 安藤
Current Assignee (The listed assignees may be inaccurate. Google has not performed a legal analysis and makes no representation or warranty as to the accuracy of the list.)
NSK Warner KK
Original Assignee
NSK Warner KK
Priority date (The priority date is an assumption and is not a legal conclusion. Google has not performed a legal analysis and makes no representation as to the accuracy of the date listed.)
Filing date
Publication date
Application filed by NSK Warner KK filed Critical NSK Warner KK
Priority to JP2008267227A priority Critical patent/JP5205207B2/ja
Priority to US12/580,096 priority patent/US8393453B2/en
Publication of JP2010096259A publication Critical patent/JP2010096259A/ja
Application granted granted Critical
Publication of JP5205207B2 publication Critical patent/JP5205207B2/ja
Expired - Fee Related legal-status Critical Current
Anticipated expiration legal-status Critical

Links

Images

Classifications

    • FMECHANICAL ENGINEERING; LIGHTING; HEATING; WEAPONS; BLASTING
    • F16ENGINEERING ELEMENTS AND UNITS; GENERAL MEASURES FOR PRODUCING AND MAINTAINING EFFECTIVE FUNCTIONING OF MACHINES OR INSTALLATIONS; THERMAL INSULATION IN GENERAL
    • F16DCOUPLINGS FOR TRANSMITTING ROTATION; CLUTCHES; BRAKES
    • F16D41/00Freewheels or freewheel clutches
    • F16D41/06Freewheels or freewheel clutches with intermediate wedging coupling members between an inner and an outer surface
    • F16D41/064Freewheels or freewheel clutches with intermediate wedging coupling members between an inner and an outer surface the intermediate members wedging by rolling and having a circular cross-section, e.g. balls
    • F16D41/066Freewheels or freewheel clutches with intermediate wedging coupling members between an inner and an outer surface the intermediate members wedging by rolling and having a circular cross-section, e.g. balls all members having the same size and only one of the two surfaces being cylindrical
    • F16D41/067Freewheels or freewheel clutches with intermediate wedging coupling members between an inner and an outer surface the intermediate members wedging by rolling and having a circular cross-section, e.g. balls all members having the same size and only one of the two surfaces being cylindrical and the members being distributed by a separate cage encircling the axis of rotation

Landscapes

  • Engineering & Computer Science (AREA)
  • General Engineering & Computer Science (AREA)
  • Mechanical Engineering (AREA)
  • Pulleys (AREA)
  • Rolling Contact Bearings (AREA)

Abstract

【課題】 外輪の両側に側板を設けずに、ローラ及び/又はスプリングの脱落を防止できる構成を設けることによって、低コスト且つ信頼性の向上したローラ型ワンウェイクラッチを提供する。
【解決手段】 ポケット4が形成された外輪1と、外輪1に対して同心状に配置された内輪と、ポケット4に配置され、外輪1と内輪との間でトルクを伝達するローラ3と、円筒部10と、円筒部10から外径方向へ延在するフランジ部を備え、ローラ3を保持する四辺が囲まれた窓18が円筒部10に設けられている、外輪1に対して相対回動自在である保持器6と、ポケット4に配置され、ローラ3をカム面12との係合方向に付勢するスプリング5とを備えるワンウェイクラッチにおいて、外輪1の軸方向端面に、ポケット4の少なくとも一部を覆うカバー部25が設けられていることを特徴とするワンウェイクラッチ。
【選択図】 図1

Description

本発明は、例えば自動車や産業機械などの駆動装置内でトルク伝達、バックストップ等の部品として使用されるローラ型ワンウェイクラッチに関するものである。
一般に、ローラ型ワンウェイクラッチは、内周にカム面を有する少なくとも一つのポケットが形成された外輪と、外輪と同心に配置されており外周軌道面を有する内輪と、ポケット内に配置されて内輪の外周軌道面と外輪の内周カム面との間でトルクを伝達するローラと、ローラの空転側に接するスプリングなどから成っている。
このような構成において、ローラ型ワンウェイクラッチはローラとカム面とで構成されるカム機構により、外輪に対して内輪を一方向のみに回転するようにしている。すなわち内輪は外輪に対して一方向で空転し、その逆方向でのみカム機構を介して外輪に回転トルクを与える構成になっている。
ローラ型ワンウェイクラッチでは、確実な噛み合わせを得るため、トルク伝達部材であるローラや、それを付勢するスプリングなどがポケットから軸方向及び径方向に脱落しないようにする必要がある。
従来の、例えば二輪車用のスタータに使用されているワンウェイクラッチでは、例えば特許文献1に開示のように、ローラ及びスプリングが脱落するのを防止するために、外輪の両側に側板を設けることが提案されている。
この出願の発明に関連する先行技術文献情報としては次のものがある。
特開2007―064475号公報
特許文献1に開示されているように、ローラやスプリングの脱落防止のために外輪の軸方向の両側に側板を設けることが必要であった。また、ワンウェイクラッチが内輪に装着される前の状態では、ローラやスプリングの径方向への脱落防止手段を別に設けることが必要であった。いずれの場合でも、コスト低減の支障となっていた。
従って、ワンウェイクラッチの噛み合い及び空転において従来同様の信頼性を確保でき、従来に比べてコストが低減した、ローラ及びスプリングの脱落防止手段が設けられたローラ型ワンウェイクラッチが望まれている。
そこで本発明は、ローラ型ワンウェイクラッチにおいて、外輪の軸方向端面に、ポケットの少なくとも一部を覆うカバー部を設けることにより、ローラ及びスプリングが脱落することを防止し、噛み合い及び空転において、信頼性が向上したローラ型ワンウェイクラッチを提供することを目的としている。
上記目的を達成するため、本発明のローラ型ワンウェイクラッチは、
カム面を有する凹部として形成された少なくとも一つのポケットを内周に備え、軸方向一端面の内径側に段部が設けられている環状の外輪と、
外輪に対して半径方向内径側に離間され、相対回転自在に同心状に配置され、環状の外周軌道面を有する内輪と、
ポケット内に配置されて内輪の外周軌道面と外輪の内周カム面との間でトルクを伝達するローラと、
円筒部と、外輪の段部に嵌合し円筒部から外径方向へ延在するフランジ部を備え、ローラ径よりも小さい円周方向の窓幅を有すると共に、径方向には貫通しているが、軸方向では両端部とも閉じられている、すなわちローラが着座するように四辺の囲まれたほぼ矩形の窓が円筒部に設けられている、外輪に対して相対回動自在である保持器と、
ポケットに配置され、ローラをカム面との係合方向に付勢するスプリングとから成り、
外輪の軸方向端面に、ポケットの少なくとも一部を覆うカバー部が設けられていることを特徴としている。
また、本発明のローラ型ワンウェイクラッチは、外輪の段部が設けられている軸方向一端面の反対側の端面にカバー部が設けられていることを特徴としている。
また、本発明のローラ型ワンウェイクラッチは、カバー部がポケット部の円周方向でスプリング装着側に設けられていることを特徴としている。
また、本発明のローラ型ワンウェイクラッチは、カバー部がミーリング加工により形成されることを特徴としている。
また、本発明のローラ型ワンウェイクラッチは、カバー部が外輪と一体で設けられていることを特徴としている。
本発明のローラ型ワンウェイクラッチでは、外輪のローラ及びスプリングが配置されるポケットを覆うカバー部を外輪の軸方向端面に設けることにより、ワンウェイクラッチが出入力部材に装着されていない状態であっても、外輪の両側に側板を設けずにローラ及び/またはスプリングの軸方向への脱落を防止できる。またポケットの一部分をカバー部で覆うことにより、開放部よりポケット内のゴミなどの異物を排出することができる。
従って、従来のローラ型ワンウェイクラッチに必要であった側板が廃止でき、部品数の削減によりコストが低減したローラ型ワンウェイクラッチが提供可能である。
加えて、外輪と、ポケットの軸方向片側端部フランジと、円周方向ではローラ径より小さい円周方向の窓幅を持ち、径方向には貫通しているが、軸方向では両端部とも閉じられている、すなわちローラが着座するように四辺の囲まれたほぼ矩形の窓を持った保持器とによりローラの軸方向及び内径方向への保持器からの脱落を防止している。
また、保持器のフランジを外輪端面内径部に設けられた段部に嵌合し、このフランジ側外輪端面にジェネレータなどを固定することにより、保持器の脱落を防止している。
また、保持器が外輪に対して相対回転自在であることにより、径方向のローラの脱落を防止するために、保持器の円周方向の窓幅をローラ径より小さくしても、ワンウェイクラッチ作動の際の、噛み合い時のローラの移動、また空転時のローラの移動において保持器がローラの動きを妨害しないため、スムースな噛み合い及び空転が可能となり、また全てのローラの動きに対し、保持器が同期作用を及ぼし、より噛み合い信頼性が向上したローラ型ワンウェイクラッチが可能となる。
以下、添付図面を参照して本発明の実施例を詳細に説明する。なお、各図面を通して同一符号は同一又は対応部分を示すものである。また、以下に説明する実施例は例示として本発明を示しているに過ぎず、その他の変更が可能なことは言うまでもない。
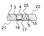
図1は、本発明の一実施例のローラ型ワンウェイクラッチを示すカバー部が設けられている側からの正面図であり、図3は図1の裏側より見た正面図である。また、図2は、図3のA−O−A線に沿った断面図である。
図1乃至図3は、ローラがカム面に噛み合っている状態、すなわちワンウェイクラッチが高負荷の下で噛み合い、ロックしている状態を示している。
図1に示すように、ローラ型ワンウェイクラッチ30は、カム面12を有する凹部として形成された複数のポケット4を内周に備えた環状の外輪1と、外輪1に対して半径方向内径側に離間され、相対回転自在に同心状に配置され、環状の外周軌道面11を有する内輪2(図2において図示)と、ポケット4内に配置されて内輪2の外周軌道面11と外輪1の内周カム面12との間でトルクを伝達するローラ3と、ポケット4内に配置され、ローラ3をカム面12との係合方向に付勢するスプリング5と、ローラ3を保持する保持器6とから成っている。保持器6は、外輪1及び内輪2のいずれにも固定されておらず、外輪1及び内輪2に対して相対回動自在となっている。
本実施例においては、外輪1に設けられるポケット4は、円周方向等配に3箇所設けられている。また、外輪1を不図示の出入力部材などに固定するために用いられ、軸方向に貫通するボルト孔8も円周方向等分に3箇所設けられており、ポケット4とボルト孔8とは等間隔で交互に配置されている。もちろん、ポケット4の数は、トルクの大きさに応じて、例えば3乃至6個などの複数個の設定が可能であることは言うまでもない。
図2及び図3に示すように、ローラ3を保持する保持器6は、円筒部10と、円筒部10の軸方向一端部から外径方向へ延在する環状のフランジ部17を備えている。尚、図3では、フランジ部17は、ポケット4が見えるように一部破断して示している。
また、保持器6は、ローラ3の数に対応して、窓18を有する。窓18は、径方向には貫通しているが、軸方向では、フランジ部17側も、フランジ部17と対向する端部19側でも閉じられている。円周方向では、ローラ径よりも小さな窓幅となっている。すなわち、ローラ3は、四辺の囲まれたほぼ矩形の窓18内に着座しており、ローラ3の内径方向への脱落を防止できると同時にローラ3の軸方向への脱落を防止できる。窓18とローラ3との関係を示すため、図1においては、図中一番上の窓18は、端部19を破断して示している。
図2及び図3に示すように、外輪1の軸方向端面21に環状の段部13が設けられ、段部13に保持器6のフランジ部17が係合している。段部13の軸方向深さは、フランジ部17の厚さよりわずかに大きくしてあり、フランジ部17が段部13に係合すると、外輪1の軸方向端面とフランジ部17の軸方向端面との間にはクリアランスが生じる。
このため、保持器6が外輪1に対して相対回動自在となり、保持器6の軸方向への抜け止めが可能となる。
図1に示すように、外輪1の軸方向端面22に、ポケット4の数に対応して、ポケット4の少なくとも一部を覆うカバー部25が外輪1と一体に設けられている。カバー部25は、ポケット4の円周方向でスプリング5の装着側に設けられている。
図4は、本発明の一実施例のローラ型ワンウェイクラッチを拡大した図3のB−B線に沿った断面図であり、カバー部25の詳細を示している。
図4に示すように、カバー部25は外輪1のポケット4内のスプリング5の端部15を覆うようにポケット4の一部分に設けられており、外輪1の軸方向端面22側へのスプリング5の脱落を防止している。
スプリング5のタブ16は、ローラ3の軸方向の端面と保持器6のフランジ部17との間に挟持されている。このように構成したため、外輪1の軸方向端面21側へのスプリング5の脱落を防止できる。
本実施例では、スプリング5はアコーデオンスプリングであるが、コイルスプリングなど、その他の形状のスプリングを用いることも可能である。
カバー部25は、保持器6のフランジ部17が設けられている外輪1の軸方向端面21側とは反対側の軸方向端面22側に設ける。これは、スプリング5のタブ16、ローラ3が着座している保持器6の窓18、フランジ部17及びカバー部25によって、スプリング5の軸方向への脱落を防止できるからである。
カバー部25は、ミーリング加工などにより形成する。ポケット4のカバー部25を設ける位置においてカバー部25の厚さ分を残し、ミーリング加工により、外輪1のポケット4を切削加工することによりカバー部25を形成することができる。
また、上記実施例ではカバー部25は外輪1と一体に形成したが、外輪1とは別体で形成し、外輪1に固定することも可能である。
図1は、本発明の一実施例のローラ型ワンウェイクラッチを示すカバー部が設けられている側からの正面図であり、高負荷で噛み合っている時の状態を示している。 図2は、図3のA−O−A線に沿った断面図である。 図3は、図1の裏側より見た正面図である。 図4は、本発明の一実施例のローラ型ワンウェイクラッチを拡大した図3のB−B線に沿った断面図である。
符号の説明
1 外輪
2 内輪
3 ローラ
4 ポケット
5 スプリング
6 保持器
8 ボルト孔
10 保持器の円筒部
11 内輪の外周軌道面
12 カム面
13 段部
15 スプリングの一端
16 スプリングのタブ
17 保持器のフランジ部
18 保持器の窓
19 保持器の端部
21 外輪の端面
22 外輪の端面
25 カバー部
30 ローラ型ワンウェイクラッチ

Claims (5)

  1. 内周にカム面を有する少なくとも一つのポケットが形成され、軸方向一端面の内径側に段部が設けられている外輪と、
    前記外輪に対して半径方向内径側に離間され、相対回転自在に同心状に配置された内輪と、
    前記ポケットに配置され、前記カム面に係合し、前記外輪と前記内輪との間でトルクを伝達するローラと、
    円筒部と、前記円筒部から外径方向へ延在し、前記外輪の前記段部に嵌合するフランジ部を備え、前記ローラの径よりも小さい円周方向の窓幅を有し、前記ローラを保持する窓が前記円筒部に設けられている、前記外輪に対して相対回動自在である保持器と、
    前記ポケットに配置され、前記ローラを前記カム面との係合方向に付勢するスプリングとを備えるワンウェイクラッチにおいて、
    前記外輪の軸方向端面に、前記ポケットの少なくとも一部を覆うカバー部が設けられていることを特徴とするワンウェイクラッチ。
  2. 前記カバー部は前記外輪の前記段部が設けられている前記軸方向一端面の反対側の端面に設けられていることを特徴とする請求項1に記載のワンウェイクラッチ。
  3. 前記カバー部は、前記ポケット部の円周方向で前記スプリング装着側に設けられていることを特徴とする請求項1または2に記載のワンウェイクラッチ。
  4. 前記カバー部はミーリング加工により形成されることを特徴とする請求項1乃至3のいずれか1項に記載のワンウェイクラッチ。
  5. 前記カバー部は前記外輪と一体に設けられていることを特徴とする請求項1乃至4のいずれか1項に記載のワンウェイクラッチ。
JP2008267227A 2008-10-16 2008-10-16 ローラ型ワンウェイクラッチ Expired - Fee Related JP5205207B2 (ja)

Priority Applications (2)

Application Number Priority Date Filing Date Title
JP2008267227A JP5205207B2 (ja) 2008-10-16 2008-10-16 ローラ型ワンウェイクラッチ
US12/580,096 US8393453B2 (en) 2008-10-16 2009-10-15 One-way clutch of roller type

Applications Claiming Priority (1)

Application Number Priority Date Filing Date Title
JP2008267227A JP5205207B2 (ja) 2008-10-16 2008-10-16 ローラ型ワンウェイクラッチ

Publications (2)

Publication Number Publication Date
JP2010096259A true JP2010096259A (ja) 2010-04-30
JP5205207B2 JP5205207B2 (ja) 2013-06-05

Family

ID=42107768

Family Applications (1)

Application Number Title Priority Date Filing Date
JP2008267227A Expired - Fee Related JP5205207B2 (ja) 2008-10-16 2008-10-16 ローラ型ワンウェイクラッチ

Country Status (2)

Country Link
US (1) US8393453B2 (ja)
JP (1) JP5205207B2 (ja)

Families Citing this family (10)

* Cited by examiner, † Cited by third party
Publication number Priority date Publication date Assignee Title
JP5274050B2 (ja) * 2008-02-27 2013-08-28 Nskワーナー株式会社 ローラ型ワンウェイクラッチ
JP5175139B2 (ja) * 2008-06-06 2013-04-03 Nskワーナー株式会社 二輪車スタータ用のローラ型ワンウェイクラッチ
JP5133191B2 (ja) * 2008-10-03 2013-01-30 Nskワーナー株式会社 ローラ型ワンウェイクラッチ
JP5133201B2 (ja) * 2008-10-28 2013-01-30 Nskワーナー株式会社 ローラ型ワンウェイクラッチ
JP2010106956A (ja) * 2008-10-30 2010-05-13 Nsk Warner Kk ローラ型ワンウェイクラッチ
JP2011085245A (ja) * 2009-10-19 2011-04-28 Nsk Warner Kk ワンウェイクラッチ
CN104411991B (zh) * 2012-11-26 2017-09-19 Nsk沃纳株式会社 滚子型单向离合器
JP6070300B2 (ja) * 2013-03-12 2017-02-01 株式会社ジェイテクト 発電装置及び一方向クラッチ構造
DE102014226889A1 (de) 2014-01-10 2015-07-16 Borgwarner Inc. Rückschlagschutzkupplung für ein Starterzahnrad
EP3535095B1 (en) * 2016-11-04 2023-12-06 Milwaukee Electric Tool Corporation Clutch mechanism for rotary power tool

Citations (6)

* Cited by examiner, † Cited by third party
Publication number Priority date Publication date Assignee Title
JP2005172181A (ja) * 2003-12-15 2005-06-30 Koyo Seiko Co Ltd 一方向クラッチ付きプーリユニット
JP2007064475A (ja) * 2005-08-05 2007-03-15 Exedy Corp 一方向クラッチ
JP2007278426A (ja) * 2006-04-10 2007-10-25 Nsk Warner Kk ローラ型ワンウェイクラッチ
WO2008047457A1 (en) * 2006-10-16 2008-04-24 Nsk-Warner K.K. Roller-type one-way clutch
JP2008138723A (ja) * 2006-11-30 2008-06-19 Ntn Corp 一方向クラッチ
JP2008138712A (ja) * 2006-11-30 2008-06-19 Ntn Corp 一方向クラッチ

Family Cites Families (53)

* Cited by examiner, † Cited by third party
Publication number Priority date Publication date Assignee Title
US1708215A (en) * 1925-08-27 1929-04-09 Delco Remy Corp Clutch
US2902125A (en) * 1955-08-11 1959-09-01 Gen Motors Corp Engine starting apparatus
US2843238A (en) * 1955-11-23 1958-07-15 Parkersburg Aetna Corp One-way clutch
US3011606A (en) * 1957-07-26 1961-12-05 Borg Warner Roller clutch
US3166169A (en) * 1961-12-22 1965-01-19 Borg Warner One-way roller clutch with plural cage means
US3190417A (en) * 1963-04-05 1965-06-22 Walter H Bacon Over-running clutch
US3547238A (en) * 1969-01-24 1970-12-15 Gen Motors Corp Freewheel device
US3656591A (en) * 1970-09-04 1972-04-18 Marland One Way Clutch Co Inc One-way self-alining torque unit
US3718212A (en) * 1971-12-01 1973-02-27 Borg Warner Phased roller clutch
DE2928587C2 (de) 1979-07-14 1984-11-29 Volkswagenwerk Ag, 3180 Wolfsburg Klemmrollen-Freilaufkupplung
EP0237243A1 (en) 1986-03-13 1987-09-16 Borg-Warner Automotive, Inc. One-way roller clutch accordion spring with stabilizer
US4724940A (en) * 1986-04-07 1988-02-16 General Motors Corporation Overrunning clutch with improved roller retention
DE3620804A1 (de) * 1986-06-20 1987-12-23 Schaeffler Waelzlager Kg Kaefig fuer einen freilauf
JPH0735823B2 (ja) * 1987-03-25 1995-04-19 エヌエスケー・ワーナー株式会社 ロ−ラ同期型一方向クラツチ
US5271486A (en) * 1989-03-13 1993-12-21 Ntn Corporation Torque limiter
JPH02309021A (ja) * 1989-05-19 1990-12-25 Ntn Corp ワンウェイクラッチ・軸受の一体組立構造体
US4932508A (en) * 1989-08-07 1990-06-12 General Motors Corporation Overrunning roller clutch with protected springs
JP2970096B2 (ja) 1991-08-13 1999-11-02 スズキ株式会社 エンジンのスタータクラッチ機構潤滑装置
CA2072444A1 (en) * 1991-08-27 1993-02-28 James W. Warnke Cross groove constant velocity joint having fixed center
DE4219154C2 (de) * 1992-06-11 1995-04-20 Ford Werke Ag Rollen- oder Klemmkörper-Freilauf mit seitlicher zusätzlicher Wälzlagerung
US5279400A (en) * 1992-12-08 1994-01-18 Borg-Warner Automotive Inc. One-way roller clutch
US5328010A (en) * 1993-10-13 1994-07-12 General Motors Corporation Overrunning roller clutch with improved self protecting spring
DE9318556U1 (de) * 1993-12-06 1994-02-10 INA Wälzlager Schaeffler KG, 91074 Herzogenaurach Freilaufkäfig mit Armierungsring
JP3156516B2 (ja) 1994-08-24 2001-04-16 スズキ株式会社 自動二輪車用エンジンの始動装置
US5842548A (en) * 1996-04-25 1998-12-01 Fuji Univance Corporation One-way clutch
JP4064488B2 (ja) 1996-04-25 2008-03-19 株式会社ユニバンス 一方向クラッチ
JPH10227318A (ja) 1996-12-12 1998-08-25 Mitsuba Corp ワンウエイクラッチ
JP3780371B2 (ja) * 1996-12-25 2006-05-31 株式会社ジェイテクト 一方向クラッチ
KR200153576Y1 (ko) * 1997-07-09 1999-08-02 정대인 낚시용리일의 역회전 방지장치
JP4115606B2 (ja) * 1998-11-06 2008-07-09 Nskワーナー株式会社 ローラ式クラッチ機構
JP2003148518A (ja) * 2001-11-07 2003-05-21 Musashi Seimitsu Ind Co Ltd ワンウェイクラッチ
JP2003172377A (ja) 2001-12-07 2003-06-20 Honda Motor Co Ltd 一方向クラッチの製造方法
JP4188143B2 (ja) * 2002-06-03 2008-11-26 株式会社ユタカ技研 一方向クラッチ
JP2004308888A (ja) * 2003-02-18 2004-11-04 Nsk Warner Kk ワンウェイクラッチ装置およびその製造方法
US6848552B2 (en) * 2003-04-16 2005-02-01 Ntn Corporation Starter pulley with integral clutch
JP2004346951A (ja) 2003-05-20 2004-12-09 Toyoda Mach Works Ltd ワンウェイクラッチ
JP4260581B2 (ja) 2003-09-03 2009-04-30 本田技研工業株式会社 一方向クラッチ
JP2006275219A (ja) 2005-03-30 2006-10-12 Origin Electric Co Ltd 一方向ローラクラッチ
WO2006112502A1 (ja) * 2005-04-20 2006-10-26 Ntn Corporation グリース組成物、グリース封入軸受、および、一方向クラッチ内蔵型回転伝達装置
JP4749917B2 (ja) * 2006-04-10 2011-08-17 Nskワーナー株式会社 ローラ型ワンウェイクラッチ
TW200801364A (en) 2006-06-22 2008-01-01 Sanyang Industry Co Ltd Unidirectional clutch
WO2008114468A1 (en) * 2007-03-20 2008-09-25 Nsk-Warner K.K. Roller-type one-way clutch
JP5274050B2 (ja) * 2008-02-27 2013-08-28 Nskワーナー株式会社 ローラ型ワンウェイクラッチ
JP5160269B2 (ja) * 2008-03-06 2013-03-13 Nskワーナー株式会社 ローラ型ワンウェイクラッチ
JP5037399B2 (ja) * 2008-03-25 2012-09-26 Nskワーナー株式会社 ローラ型ワンウェイクラッチ
JP5118550B2 (ja) * 2008-05-09 2013-01-16 Nskワーナー株式会社 二輪車スタータ用のローラ型ワンウェイクラッチ
JP5175139B2 (ja) * 2008-06-06 2013-04-03 Nskワーナー株式会社 二輪車スタータ用のローラ型ワンウェイクラッチ
TWD131482S1 (zh) * 2008-06-13 2009-10-21 Nsk警報器股份有限公司 單向離合器
JP5133191B2 (ja) * 2008-10-03 2013-01-30 Nskワーナー株式会社 ローラ型ワンウェイクラッチ
JP5205211B2 (ja) * 2008-10-20 2013-06-05 Nskワーナー株式会社 ローラ型ワンウェイクラッチ
JP5133201B2 (ja) * 2008-10-28 2013-01-30 Nskワーナー株式会社 ローラ型ワンウェイクラッチ
JP2010106956A (ja) * 2008-10-30 2010-05-13 Nsk Warner Kk ローラ型ワンウェイクラッチ
JP5133213B2 (ja) * 2008-11-13 2013-01-30 Nskワーナー株式会社 ローラ型ワンウェイクラッチ

Patent Citations (6)

* Cited by examiner, † Cited by third party
Publication number Priority date Publication date Assignee Title
JP2005172181A (ja) * 2003-12-15 2005-06-30 Koyo Seiko Co Ltd 一方向クラッチ付きプーリユニット
JP2007064475A (ja) * 2005-08-05 2007-03-15 Exedy Corp 一方向クラッチ
JP2007278426A (ja) * 2006-04-10 2007-10-25 Nsk Warner Kk ローラ型ワンウェイクラッチ
WO2008047457A1 (en) * 2006-10-16 2008-04-24 Nsk-Warner K.K. Roller-type one-way clutch
JP2008138723A (ja) * 2006-11-30 2008-06-19 Ntn Corp 一方向クラッチ
JP2008138712A (ja) * 2006-11-30 2008-06-19 Ntn Corp 一方向クラッチ

Also Published As

Publication number Publication date
US8393453B2 (en) 2013-03-12
US20100096235A1 (en) 2010-04-22
JP5205207B2 (ja) 2013-06-05

Similar Documents

Publication Publication Date Title
JP5205207B2 (ja) ローラ型ワンウェイクラッチ
JP5379295B2 (ja) ローラ型ワンウェイクラッチ
JP5133191B2 (ja) ローラ型ワンウェイクラッチ
JP5274050B2 (ja) ローラ型ワンウェイクラッチ
JP5037399B2 (ja) ローラ型ワンウェイクラッチ
JP5160269B2 (ja) ローラ型ワンウェイクラッチ
JP5133213B2 (ja) ローラ型ワンウェイクラッチ
US7861836B2 (en) Roller-type one-way clutch
US8397888B2 (en) One-way clutch of roller type
JP5205211B2 (ja) ローラ型ワンウェイクラッチ
US8413778B2 (en) One-way clutch of roller type
JP5133201B2 (ja) ローラ型ワンウェイクラッチ
WO2015068318A1 (ja) ローラ型ワンウェイクラッチ及び側板
JP5259428B2 (ja) ローラ型ワンウェイクラッチ
WO2014156506A1 (ja) 一方向クラッチ
JP2012163125A (ja) 一方向クラッチ
HK1137793B (en) Roller-type-way clutch

Legal Events

Date Code Title Description
A621 Written request for application examination

Free format text: JAPANESE INTERMEDIATE CODE: A621

Effective date: 20110816

A977 Report on retrieval

Free format text: JAPANESE INTERMEDIATE CODE: A971007

Effective date: 20120517

A131 Notification of reasons for refusal

Free format text: JAPANESE INTERMEDIATE CODE: A131

Effective date: 20120521

A521 Request for written amendment filed

Free format text: JAPANESE INTERMEDIATE CODE: A523

Effective date: 20120718

A131 Notification of reasons for refusal

Free format text: JAPANESE INTERMEDIATE CODE: A131

Effective date: 20121025

A521 Request for written amendment filed

Free format text: JAPANESE INTERMEDIATE CODE: A523

Effective date: 20121221

TRDD Decision of grant or rejection written
A01 Written decision to grant a patent or to grant a registration (utility model)

Free format text: JAPANESE INTERMEDIATE CODE: A01

Effective date: 20130205

A61 First payment of annual fees (during grant procedure)

Free format text: JAPANESE INTERMEDIATE CODE: A61

Effective date: 20130218

R150 Certificate of patent or registration of utility model

Ref document number: 5205207

Country of ref document: JP

Free format text: JAPANESE INTERMEDIATE CODE: R150

Free format text: JAPANESE INTERMEDIATE CODE: R150

FPAY Renewal fee payment (event date is renewal date of database)

Free format text: PAYMENT UNTIL: 20160222

Year of fee payment: 3

R250 Receipt of annual fees

Free format text: JAPANESE INTERMEDIATE CODE: R250

R250 Receipt of annual fees

Free format text: JAPANESE INTERMEDIATE CODE: R250

R250 Receipt of annual fees

Free format text: JAPANESE INTERMEDIATE CODE: R250

R250 Receipt of annual fees

Free format text: JAPANESE INTERMEDIATE CODE: R250

R250 Receipt of annual fees

Free format text: JAPANESE INTERMEDIATE CODE: R250

R250 Receipt of annual fees

Free format text: JAPANESE INTERMEDIATE CODE: R250

R250 Receipt of annual fees

Free format text: JAPANESE INTERMEDIATE CODE: R250

R250 Receipt of annual fees

Free format text: JAPANESE INTERMEDIATE CODE: R250

LAPS Cancellation because of no payment of annual fees