JP2010057767A - 眼内レンズ挿入器具 - Google Patents

眼内レンズ挿入器具 Download PDF

Info

Publication number
JP2010057767A
JP2010057767A JP2008227641A JP2008227641A JP2010057767A JP 2010057767 A JP2010057767 A JP 2010057767A JP 2008227641 A JP2008227641 A JP 2008227641A JP 2008227641 A JP2008227641 A JP 2008227641A JP 2010057767 A JP2010057767 A JP 2010057767A
Authority
JP
Japan
Prior art keywords
intraocular lens
lens
main body
plunger
operation unit
Prior art date
Legal status (The legal status is an assumption and is not a legal conclusion. Google has not performed a legal analysis and makes no representation as to the accuracy of the status listed.)
Granted
Application number
JP2008227641A
Other languages
English (en)
Other versions
JP5416379B2 (ja
Inventor
Masanobu Inoue
正信 井上
Noriyuki Shoji
典幸 庄司
Current Assignee (The listed assignees may be inaccurate. Google has not performed a legal analysis and makes no representation or warranty as to the accuracy of the list.)
Hoya Corp
Original Assignee
Hoya Corp
Priority date (The priority date is an assumption and is not a legal conclusion. Google has not performed a legal analysis and makes no representation as to the accuracy of the date listed.)
Filing date
Publication date
Application filed by Hoya Corp filed Critical Hoya Corp
Priority to JP2008227641A priority Critical patent/JP5416379B2/ja
Priority to US13/061,143 priority patent/US8470032B2/en
Priority to EP09811445.7A priority patent/EP2332501B1/en
Priority to PCT/JP2009/064976 priority patent/WO2010026919A1/ja
Publication of JP2010057767A publication Critical patent/JP2010057767A/ja
Application granted granted Critical
Publication of JP5416379B2 publication Critical patent/JP5416379B2/ja
Active legal-status Critical Current
Anticipated expiration legal-status Critical

Links

Images

Classifications

    • AHUMAN NECESSITIES
    • A61MEDICAL OR VETERINARY SCIENCE; HYGIENE
    • A61FFILTERS IMPLANTABLE INTO BLOOD VESSELS; PROSTHESES; DEVICES PROVIDING PATENCY TO, OR PREVENTING COLLAPSING OF, TUBULAR STRUCTURES OF THE BODY, e.g. STENTS; ORTHOPAEDIC, NURSING OR CONTRACEPTIVE DEVICES; FOMENTATION; TREATMENT OR PROTECTION OF EYES OR EARS; BANDAGES, DRESSINGS OR ABSORBENT PADS; FIRST-AID KITS
    • A61F2/00Filters implantable into blood vessels; Prostheses, i.e. artificial substitutes or replacements for parts of the body; Appliances for connecting them with the body; Devices providing patency to, or preventing collapsing of, tubular structures of the body, e.g. stents
    • A61F2/02Prostheses implantable into the body
    • A61F2/14Eye parts, e.g. lenses or corneal implants; Artificial eyes
    • A61F2/16Intraocular lenses
    • A61F2/1662Instruments for inserting intraocular lenses into the eye
    • A61F2/1678Instruments for inserting intraocular lenses into the eye with a separate cartridge or other lens setting part for storage of a lens, e.g. preloadable for shipping
    • AHUMAN NECESSITIES
    • A61MEDICAL OR VETERINARY SCIENCE; HYGIENE
    • A61FFILTERS IMPLANTABLE INTO BLOOD VESSELS; PROSTHESES; DEVICES PROVIDING PATENCY TO, OR PREVENTING COLLAPSING OF, TUBULAR STRUCTURES OF THE BODY, e.g. STENTS; ORTHOPAEDIC, NURSING OR CONTRACEPTIVE DEVICES; FOMENTATION; TREATMENT OR PROTECTION OF EYES OR EARS; BANDAGES, DRESSINGS OR ABSORBENT PADS; FIRST-AID KITS
    • A61F2/00Filters implantable into blood vessels; Prostheses, i.e. artificial substitutes or replacements for parts of the body; Appliances for connecting them with the body; Devices providing patency to, or preventing collapsing of, tubular structures of the body, e.g. stents
    • A61F2/02Prostheses implantable into the body
    • A61F2/14Eye parts, e.g. lenses or corneal implants; Artificial eyes
    • A61F2/16Intraocular lenses
    • A61F2/1662Instruments for inserting intraocular lenses into the eye
    • A61F2/1672Instruments for inserting intraocular lenses into the eye with a two-stage plunger, e.g. rotatable and pushable or rotatable at different speeds
    • AHUMAN NECESSITIES
    • A61MEDICAL OR VETERINARY SCIENCE; HYGIENE
    • A61FFILTERS IMPLANTABLE INTO BLOOD VESSELS; PROSTHESES; DEVICES PROVIDING PATENCY TO, OR PREVENTING COLLAPSING OF, TUBULAR STRUCTURES OF THE BODY, e.g. STENTS; ORTHOPAEDIC, NURSING OR CONTRACEPTIVE DEVICES; FOMENTATION; TREATMENT OR PROTECTION OF EYES OR EARS; BANDAGES, DRESSINGS OR ABSORBENT PADS; FIRST-AID KITS
    • A61F2/00Filters implantable into blood vessels; Prostheses, i.e. artificial substitutes or replacements for parts of the body; Appliances for connecting them with the body; Devices providing patency to, or preventing collapsing of, tubular structures of the body, e.g. stents
    • A61F2/02Prostheses implantable into the body
    • A61F2/14Eye parts, e.g. lenses or corneal implants; Artificial eyes
    • A61F2/16Intraocular lenses
    • A61F2/1662Instruments for inserting intraocular lenses into the eye
    • A61F2/167Instruments for inserting intraocular lenses into the eye with pushable plungers

Landscapes

  • Health & Medical Sciences (AREA)
  • Ophthalmology & Optometry (AREA)
  • Cardiology (AREA)
  • Oral & Maxillofacial Surgery (AREA)
  • Transplantation (AREA)
  • Engineering & Computer Science (AREA)
  • Biomedical Technology (AREA)
  • Heart & Thoracic Surgery (AREA)
  • Vascular Medicine (AREA)
  • Life Sciences & Earth Sciences (AREA)
  • Animal Behavior & Ethology (AREA)
  • General Health & Medical Sciences (AREA)
  • Public Health (AREA)
  • Veterinary Medicine (AREA)
  • Prostheses (AREA)

Abstract

【課題】眼内レンズを眼内により容易に挿入することができる眼内レンズ挿入器具を提供することを目的とする。
【解決手段】眼内レンズ挿入器具1は、本体2と、操作部5と、前記本体2に取付けられたカートリッジ4とを備える。操作部5は、操作部5に一体的に設けられた伝達部としてのプランジャー6と、前記プランジャー6の先端に設けられ眼内レンズを押出すロッド7とを有する。さらに制止部10を備え、前記ロッド7が前記眼内レンズ8を押出し始めてから、前記眼内レンズ8をカートリッジ4から外部へ放出するまでの間に、眼内レンズ8を所定距離だけ押出した上で前記ロッド7を一旦停止させ得るように構成されている。
【選択図】図1

Description

本発明は、白内障手術後の無水晶体眼に対して、又は屈折矯正手術における有水晶体眼に対して、眼内レンズを挿入するために使用される眼内レンズ挿入器具に関するものである。
近年、超音波乳化吸引術などの普及にともない、術後乱視と手術侵襲の軽減を目的として、小切開創から挿入可能な眼内レンズ、すなわち、折り畳み可能なシリコン、アクリル樹脂や、ハイドロゲルなどの軟性材料からなる眼内レンズが開発され、臨床に広く使用されている。
一方、これら折り畳み可能な眼内レンズを眼球のより小さい切開創から挿入する眼内レンズ挿入器具として種々の眼内レンズ挿入装置が開発されている。これらの眼内レンズ挿入装置によれば、折り畳まれた眼内レンズを筒状の挿入筒に通して眼内へ押し出すことができるので、従来の鑷子を用いて挿入する場合に比べて格段に小さい切開創から眼内へ眼内レンズを挿入することが可能となった。
眼内レンズ挿入装置の挿入方式としてはスクリュータイプ(ねじ込み式)とプッシュタイプとに大別される。
プッシュタイプは、眼内レンズと挿入筒内壁の摩擦等の抵抗に抗して、術者が感覚的に握力で操作部を押圧し、その圧力を眼内レンズに伝えて眼内レンズを推し進めるタイプの眼内レンズ挿入装置(例えば、特許文献1,2,3)である。これらプッシュタイプの眼内レンズ挿入装置によれば、眼内レンズの挿入操作が単純で、片手で操作することも可能なので、術者は挿入操作中も空いている手で他の操作を行うことができるという利点があるが、眼内レンズと挿入筒内壁との間の摩擦抵抗と、操作部の操作圧力とのバランスをとりながら眼内レンズを前進させる必要があるため、操作部の操作圧力を制御することが比較的難しいという欠点もある。また、通常眼内レンズ挿入装置の先端に設けられたノズルは眼内レンズが通過する挿入筒内で最も細いので、特に当該ノズルから高度数の厚い眼内レンズを放出させる場合や、より小さな切開創口に対応させるためにノズルの内径を小さくした場合には眼内レンズがノズルを通過する際の荷重が大きくなるので、眼内レンズを眼内に突発的に放出させ、眼組織に損傷を与えてしまう可能性もある。
一方、スクリュータイプは、プランジャーと本体とがネジの雄雌の関係にあり、プランジャーの端部にある操作部を回すことにより、プランジャー、又は眼内レンズを押し出すロッドがレンズ進行方向に進み、それにより眼内レンズを推し進めるタイプの眼内レンズ挿入装置(例えば、特許文献4)である。これらスクリュータイプの眼内レンズ挿入装置によれば、プランジャー、又はロッドの移動量を制御し易いので、厚い眼内レンズを放出させる場合や、ノズルの内径を小さくした場合等、眼内レンズがノズルを通過する際の荷重が大きくなる場合にも、眼内レンズを眼内に突発的に放出させる危険性を少なくすることができるという利点があるが、挿入操作を両手で行う必要があるので、プッシュタイプに比べると操作がやや煩雑となるという懸念がある。
特表2000−516487号公報 特開2003−144480号公報 特開2004−351196号公報 特表平11−506357号公報
プッシュタイプの眼内レンズ挿入装置の問題点である「眼内レンズの眼内への突発的な放出」を低減させる方法として挿入筒先端部にスリットを設けたり、バネなどを利用してレンズを押す方向とは反対方向の力をプランジャーに加える方法(例えば特表平11−510711号公報)などがあるが、いずれの方法も突発的な放出を防止する方法としては充分なものではない。
そこで、本発明は上記した問題点に鑑み、眼内レンズを眼内により確実に眼内レンズの放出を制御することができる眼内レンズ挿入器具を提供することを目的とする。
本発明の請求項1に係る発明は、操作部を押圧して眼内レンズを押出す眼内レンズ挿入器具において、前記眼内レンズを押出すレンズ接触部と、前記操作部に加えられた外力を前記レンズ接触部へ伝達する伝達部と、前記レンズ接触部によって押出された前記眼内レンズを外部へ放出する挿入筒と、前記眼内レンズが前記挿入筒の先端部近傍を通過する際に前記レンズ接触部を一旦停止させる停止手段とを備えることを特徴とする。
本発明の請求項2に係る発明は、前記操作部は複数からなり、段階的に前記眼内レンズを押出すことを特徴とする。
本発明の請求項3に係る発明は、前記挿入筒を前方に固定する本体を備え、前記操作部は、前記本体の後方に設けられたことを特徴とする。
本発明の請求項4に係る発明は、前記挿入筒を前方に固定する本体を備え、前記操作部のうち少なくとも1つは、前記本体の後方に設けられたことを特徴とする。
本発明の請求項5に係る発明は、前記停止手段は、前記挿入筒の先端から10mm以内の位置において前記レンズ接触部を一旦停止させることを特徴とする。
本発明の請求項6に係る発明は、前記停止手段は、前記眼内レンズが前記挿入筒の先端に設けられたノズル部内を通過する際に前記レンズ接触部を一旦停止させることを特徴とする。
本発明の眼内レンズ挿入器具によれば、停止手段が前記眼内レンズが前記挿入筒の先端部近傍を通過する際に前記レンズ接触部を一旦停止させることにより、操作部の反力に抗して大きい外力を加えても、眼内レンズが放出される前にレンズ接触部を停止させることができるので、眼内レンズが突発的に眼内へ放出されることを防止できる。従って、眼内レンズ挿入器具は、より小さな外力によって眼内レンズを放出させることができるので、より確実に眼内レンズの放出を制御することができる。
本発明は、レンズ接触部を挿入筒の先端部近傍で一時的に停止させることにより、停止させない場合と比べて、眼内レンズが眼内へ突発的に放出される可能性を低減することができる。
レンズ接触部を一時的に停止させた時に、眼内レンズの多くの部分が挿入筒の先端から眼内に出ている場合には、再度眼内レンズを押さなくても挿入筒部先端部の弾性により、自然と眼内へ出て行くかもしれない。その場合には、眼内の所定位置に眼内レンズを設置させるために、再度操作部に小さな力を加えて、レンズ接触部を前進させることにより、可能性を低減することができる。
また、眼内レンズの多くの部分が挿入筒内に残っている場合でも、レンズ接触部を一時的に停止させることにより、レンズ接触部が前進する勢いを止めることで、眼内レンズが眼内へ突発的に放出される可能性を低減することができる。
一時的に停止させる位置を設定するときには、挿入筒の材質、挿入筒の内腔の形状(非対象、楕円、ひし形、円等)、挿入筒の先端部形状(スリット、切り欠き等)、支持部を含む眼内レンズの形状、眼内レンズの材質や柔軟性や、眼内レンズと挿入筒の摺動抵抗の大きさなど様々な要因を考慮して設定しなければならない。
例えば、挿入筒の先端部にスリットが入っている眼内レンズ挿入装置は、レンズ接触部の一時的な停止位置を、スリットが入っていないものと比べ挿入筒の先端側としてもよい。
また、弾性の大きい眼内レンズと弾性の小さい眼内レンズとでは、最適な設定位置は異なると考えられる。
停止位置の一つの目安として、操作部の押圧抵抗が最大値に達する位置から挿入筒の先端側とすることが考えられる。
他の目安としては、眼内レンズの光学部の大きさに基づいて設定することが考えられる。例えば、光学部の直径が6mmの眼内レンズの場合には、挿入筒の先端(切り欠きのあるノズル部の場合には手前側の縁)から6mmより挿入筒側に一時的な停止位置を設定することなどが考えられる。
上述のように一時的な停止位置は、様々な要因を考慮して設定する必要があるが、挿入筒の先端から内側へ10mmより離れた位置にある場合には、レンズ接触部を一時的に停止させたとしても、再度操作部に力を加えてレンズ接触部を前進させるときに、停止させる前に近い、あるいはそれ以上の力で操作部を押す必要があると考えられるので、眼内レンズの飛び出し制御としての大きな効果は期待できない。
レンズ接触部を一時的に停止させる停止手段としては、機械的に強制的に止める方法や、操作している手又は指と眼内レンズ挿入器具との相互作用により強制的に止める手段などが考えられる。
操作部は、一旦停止させるまで押圧する部分と、一旦停止させた後再度押圧する部分とが、同一でも、異なってもよい。一方、レンズ接触部は、停止する前と停止した後では、同一の部分であることが好ましい。
1.第1実施形態
(1)全体構成
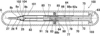
図1に示す眼内レンズ挿入器具1は、本体2と、前記本体2に取付けられたカートリッジ4と、操作部5とを備える。操作部5には、伝達部としてのプランジャー6が接続されている。前記プランジャー6の先端には、眼内レンズ8を押出すロッド7が設けられている。操作部5は、本体2の一端2a側に配置される。これにより、全体として、術者が操作部5を押圧することにより、カートリッジ4内に設置した眼内レンズ8をロッド7により押出し得るように構成されている。なお、使い捨てで使用される挿入筒で、手術時に術者又は助手によりその内部に眼内レンズ8が設置されるタイプの挿入筒は一般的にカートリッジと呼ばれている。
さらに上記構成に加え、本実施形態に係る眼内レンズ挿入器具1は、後述する停止手段を備え、前記ロッド7が前記眼内レンズ8を押出し始めてから、前記眼内レンズ8をカートリッジ4から外部へ放出するまでの間に、眼内レンズ8を所定距離だけ押出した上で前記ロッド7を一旦停止させ得るように構成されている。
尚、以下の説明において、レンズ進行方向(押し出し方向)を「前方」、その逆の方向を「後方」とする。
ここで、本体2、プランジャー6、及びロッド7は、射出成形可能な合成樹脂によって形成されるのが好ましい。これにより、安価に大量生産することができるので、ディスポーザブル(使い捨て)の用途に対しても好適に用いることができる。
また、眼内レンズ8は、シリコン樹脂、アクリル樹脂、ハイドロゲル等の折畳み可能な軟質材料で作製され、眼球内に放出された際に展開される。尚、本図における眼内レンズ8は、折り畳んだ状態を示す。
本体2は、円筒状の部材からなり、一端2aに停止手段としての制止部10が設けられており、操作部5の戻りを防ぐ係止部11と、他端側に設けられたカートリッジ4を取付ける取付溝部12と、指掛部13とを有する。
操作部5は、第1操作部15と、第2操作部16とを有し、前記第1操作部15と前記第2操作部16とは、それぞれの基端に接続された間隔保持体17により、レンズ進行方向に所定の間隔をあけて保持されている。この操作部5は、略矩形状の部材をコ字状に曲げ成形してなり、第1操作部15においてプランジャー6に接続されている。この第1操作部15の一側表面を第1操作面15aと呼ぶ。第1操作部15は、間隔保持体17に接続されていない先端に、係止受け18が設けられている。
プランジャー6は、操作部5に加えられたレンズ進行軸A方向の外力をロッド7に伝達し得るように構成されている。このプランジャー6は、一端20aが第1操作部15の他側表面15bに接続されたコイルバネ装填杆20と、当該コイルバネ装填杆20の他端20bに接続された遊動杆21とを有する。遊動杆21は、本体2内をレンズ進行軸A方向に進退可能に遊動し得るように構成されている。この遊動杆21は、一端21aがコイルバネ装填杆20の他端20bに接続されていると共に、他端21bがロッド7の基端7aに接続されている。
ロッド7は、プランジャー6から伝達された外力により、眼内レンズ8を押出し得るように構成されている。このロッド7の先端には、レンズ接触部22が設けられている。尚、ロッド7の先端にあるレンズ接触部22の形状は、公知の形状を採用することができる。
コイルバネ23は、一端が本体2の一端2aに当接すると共に、他端が第1操作部15の他側表面15bに当接するようにコイルバネ装填杆20に装填される。このコイルバネ23の付勢力により、操作部5は、後方へ付勢される。これにより、遊動杆21は、本体2の一端2aの内壁に当接した位置に保持される。本実施形態において、この遊動杆21が本体2の一端2aの内壁に当接した状態を説明の便宜上、原点と呼ぶ。
カートリッジ4は、レンズ進行軸Aに沿って順に、レンズ設置部25、移行部26、及びノズル部27が設けられており、レンズ設置部25に設置された眼内レンズ8が、ロッド7によって押出されてレンズ設置部25から移動して移行部26を通過することによって小さく折り畳まれ、内径がレンズ進行軸A方向に略一定であるノズル部27から小さく折り畳んだ状態で外部へ放出され得るように構成されている。
また、カートリッジ4の両側には、レンズ進行軸Aに直行する方向に突設された翼部28が設けられている。当該翼部28は、本体2の他端側に設けられた取付溝部12に嵌合し得るように形成されている。尚、通常は動作の開始にあたって、カートリッジ4は、本体2に取付けられる前に、粘弾性物質等の眼内レンズ8をスムーズに移動させ得る液体が内部に注入される。
制止部10は、前記第1操作部5を押圧する術者の指を所定の位置で制止すると共に、前記第1操作部5が没入し得るように形成されている。この制止部10は、図2に示すように、一端が本体2の一端2aに接続されており、没入溝30と、他端に設けられた制止面31とを有する。
制止面31は、レンズ進行軸Aに直交する面で構成されている。没入溝30は、当該制止面31の略中心を通りレンズ進行軸Aに直交する方向に一直線状に伸び、制止部10の一端から他端まで形成されている。
この没入溝30と制止面31とが交差する外縁部分には、係止部11の一端に形成された係止突起32が配置されている。係止部11は、他端側に設けられた接続片33において本体2に接続されており、当該接続片33を回転中心として係止突起32がレンズ進行軸Aに直交する方向へ傾動し得るように形成されている。
(2)動作及び効果
上記の構成において、ノズル部27を眼内に挿入後、操作部5が原点にある状態(図1(a))から第1操作面15aを指で押圧して操作部5に前方向の外力を加える。眼内レンズ挿入器具1は、図3に示すように、この操作部5に加えられた前方向の外力により、第1操作部15の他側表面15bでコイルバネ23を収縮させながら、プランジャー6及びロッド7が共に前方へ移動する。
そうすると、第1操作部15は、図4に示すように、制止部10へ至り、没入溝30に没入する。ここで、第1操作面15aを押圧している術者の指は、第1操作面15aと制止面31とが面一になった時点で制止面31に当接する。これにより、術者は、第1操作面15aを押してこれ以上操作部5を前方へ押し出すことが不可能となる。これにより、眼内レンズ挿入器具1は、レンズ接触部22を、一旦停止させる。
同時に、第1操作部15の先端が係止部11の係止突起32に当接し、第1操作部15がさらに押し込まれることにより当該係止突起32をレンズ進行軸Aに対し直交する方向へ変形させる。第1操作部15の先端が係止突起32を乗り越えると、係止部11は弾性復帰する。そうすると、第1操作部15は、係止受け18が係止突起32に係合する。これにより、操作部5は、後方へ移動することが不可能となる。
上記した一回目の動作により、ロッド7は、先端にあるレンズ接触部22が、カートリッジ4内に設置された眼内レンズ8の光学部8aの周縁に当接し、当該眼内レンズ8を前方へ押出す(図3)。本実施形態では、第1操作面15aと制止面31とが面一になった時点で第1操作面15aを押してもこれ以上操作部5を前方へ押し出すことが不可能とさせることにより、眼内レンズ挿入器具1は、眼内レンズ8がノズル部27内を通過する際にレンズ接触部22を一旦停止させる。これにより眼内レンズ8は、レンズ設置部25から移行部26、ノズル部27へと順に移動し、所定位置で停止する。ここで所定位置とは、眼内レンズ8がカートリッジ4のノズル部27から放出される手前の位置をいう。従って、所定位置にある眼内レンズ8は、あとわずかな力を加えれば完全に外部に放出し得る状態である。
次いで、図5に示すように、術者は、第2操作部16を押圧して操作部5に前方向の外力を加える。この操作部5に加えられた前方向の外力により、第1操作部15は没入溝30内を前方へ移動する(図6)。これにより、第1操作部15の他側表面でコイルバネ23を収縮させながら、プランジャー6及びロッド7が共に前方へさらに移動する。
このように、第2操作部16を押圧することによって、第1操作面15aを押し込むことが不可能となった操作部5を、さらに本体2へ押し込む二回目の動作により、レンズ接触部22が眼内レンズ8をノズル部27から外部へ放出する(図5)。このときレンズ接触部22は、ノズル部27から突出した状態とすることで、眼内に放出した眼内レンズ8の支持部8bや光学部8aの位置を調整することもできる。
本実施形態に係る眼内レンズ挿入器具1では、眼内レンズ8を押出すレンズ接触部22を、眼内レンズ8がノズル部27から放出される前に、一旦停止させる構成とした。これにより、眼内レンズ8が移行部26からノズル部27を通過するに従って増加する操作部5の反力に抗して大きい外力を加えても、眼内レンズ8が放出される前にレンズ接触部22を停止させることができる。これにより、眼内レンズ8が突発的に眼内へ放出されることを防止できる。従って、眼内レンズ挿入器具1は、二回目の動作において、より小さな外力によって眼内レンズ8を放出させることができるので、容易に眼内レンズ8を眼内に挿入することができる。
このレンズ接触部22を一旦停止させる位置は、上述したように種々選択することができる。例えば、操作部5に生じる反力の最大値を超えた時点から眼内レンズ8が完全に放出されるまでの範囲でレンズ接触部22を一旦停止させることにより、二回目の動作時においてより小さい外力で眼内レンズ8を放出することができる。従って、眼内レンズ8を突発的に放出させてしまうことをより確実に防止することができので、容易に眼内レンズ8を眼内に挿入することができる。
また、本実施形態に係る眼内レンズ挿入器具1では、第1操作面15aが制止面31に面一となった時点で、係止部11により操作部5が後方へ戻ることを防止する構成とした。これにより、二回目の動作において、一回目の動作で押し出した位置から確実に押し出すことができるので、より確実に眼内レンズ8をレンズ接触部22でとらえることができる。
また、係止部11が一回目の動作において押し出された位置に操作部5を保持することで、眼内レンズ挿入器具1の操作位置を変えることによりスムーズに二回目の動作に移行できるので、より容易に眼内レンズ8を眼内に挿入することができる。
2.第2実施形態
(1)全体構成
上記第1実施形態では、操作部を押圧する術者の指を停止手段に当接させてレンズ接触部を一旦停止することとしたのに対し、本実施形態では、操作部を停止手段に当接させてレンズ接触部を機械的に一旦停止させる点が異なる。尚、上記構成と同様の構成については、同様の符号を付し、簡略のため説明を省略する。
図7に示す眼内レンズ挿入器具41は、本体42と、操作部43とを備え、前記本体42には、眼内レンズ8が予め設置された挿入筒部44が取付けられている。通常、この眼内レンズ8は、図示しないケースに固定され、眼内レンズ8を内蔵した状態でパッケージ化された上で輸送されるプリロードタイプの眼内レンズ挿入器具41である。尚、本実施形態においては挿入筒部が挿入筒に相当する。
本体42は、円筒状の部材からなり、一端は、レンズ進行軸Aを挟んで一側に停止手段としての第1操作部受面45が設けられ、他側に第2操作部受面46が設けられている。第2操作部受面46は、第1操作部受面45に対し、前方向に所定距離だけ離れた位置に設けられている。
挿入筒部44は、レンズ進行軸Aに沿って順に、レンズ設置部25、移行部26、及びノズル部27が設けられており、予め眼内レンズ8が設置された状態で前記本体42に一体化されている。この挿入筒部44は、基端において、本体42の他端42bに形成された取付部に取付けられ、一体化される。
上記構成に加え、操作部43は、第1操作部50と第2操作部55とを有する。第1操作部50と第2操作部55とは、レンズ進行軸A方向にそれぞれ半割した状態でレンズ進行軸A方向に相対的に移動可能に設けられている。本実施形態では、後述するように、伝達部としてのプランジャーは、第1プランジャーと第2プランジャーとで構成される。
第1操作部50は、図8に示すように、一側表面に第1操作面50aが形成されていると共に、他側表面50bに第1プランジャー51が設けられている。第1プランジャー51には、レンズ進行軸A方向を長手方向とする係合リブ52が半割り面47aに設けられている。また、第1プランジャー51の先端には、レンズ進行軸Aに略垂直な押出面53が形成されている。
第2操作部55は、一側表面に第2操作面55aが形成されていると共に、他側表面55bに第2プランジャー56が設けられており、当該第2プランジャー56の先端にロッド7が接続されている。第2操作部55の半割り面48aには、レンズ進行軸A方向を長手方向とする係合溝部57が設けられている。また、第2プランジャー56の先端には、前記押出面53が当接する当接面58が設けられている。
このように構成された第1操作部50と第2操作部55とは、第1プランジャー51の先端を第2操作面55aに向かってレンズ進行軸Aに沿って前方へ挿入し、係合溝部57に係合リブ52を係合させ、半割り面47a,48a同士が互いに対向した状態で一体化されると共に、半割り面47a,48aにおいて互いに前後方向へ摺動可能に設けられている。このとき、第1操作面50aと第2操作面55aとは、押出面53が当接面58に当接した状態で、面一となる。
(2)動作及び効果
上記構成において、図9(a)に示すように、術者はまず第1操作面50aを押圧して第1操作部50に前方向の外力を加える。この第1操作部50に加えられた前方向の外力により、第1プランジャー51は押出面53で第2プランジャー56の当接面58を押し出し、第1操作部50と第2操作部55とが同時に前方へ移動する。
そうすると、第1操作部50の他側表面50bが本体42の第1操作部受面45に当接する。これにより、術者は第1操作面50aを前方へ押してもこれ以上第1操作部50を前方へ移動させることが不可能となる。このとき、第2操作面55aは、第1操作面50aと面一の状態のままである。
上記した一回目の動作により、ロッド7は、先端にあるレンズ接触部22が、挿入筒部44内に設置された眼内レンズ8の光学部8aの周縁に当接し、当該眼内レンズ8を前方へ押出す。本実施形態では、眼内レンズ挿入器具41は、眼内レンズ8がノズル部27内を通過する際にレンズ接触部22を一旦停止させる。これにより眼内レンズ8は、レンズ設置部25から移行部26、ノズル部27へと順に移動し、所定位置で停止する。
次いで、術者は、図9(b)に示すように、第2操作面55aを押圧して第2操作部55に前方向の外力を加える。第2操作部受面46は第1操作部受面45に対し前方向に所定距離だけ離れた位置に設けられているので、この第2操作部55に加えられた前方向の外力により、第2操作部55は、第1操作部50から独立して単独で前方向へ移動する。
このように第1操作部50を押し込むことが不可能となった状態で、第2操作部55をさらに本体42へ押し込む二回目の動作により、レンズ接触部22が眼内レンズ8をノズル部27から外部へ放出する。このときレンズ接触部22は、ノズル部27から突出した状態とすることで、眼内に放出した眼内レンズ8の支持部8bや光学部8aの位置を調整することもできる。
本実施形態に係る眼内レンズ挿入器具41では、眼内レンズ8を押出すレンズ接触部22を、眼内レンズ8がノズル部27から放出される前に、一旦停止させる構成としたから、上記第1実施形態と同様の効果を得ることができる。
また、二回目の動作の開始時点において、第2操作面55aと第1操作面50aとは面一の状態である構成とした。これにより、第1操作面50aを押圧していた指を第2操作面55aへずらすだけで二回目の動作を開始できる。
また、本実施形態に係る眼内レンズ挿入器具41では、手術時に眼内レンズ8をカートリッジ4へ装填したり、カートリッジ4を本体42へ取り付けたりする作業が不要となるので、取扱いのミスを少なくすることができる。
さらに、本実施形態に係る眼内レンズ挿入器具41は、本体42、眼内レンズ8、及び挿入筒部44の使用を1回限りとするディスポーザブルのシステムとして提供することにより、感染症のリスクを大幅に軽減することができる。
また、本実施形態に係る眼内レンズ挿入器具41では、図示しないケースに固定してパッケージ化することにより、貯蔵及び輸送中において意図せず操作部43が前方へ押し込まれることを防ぐことができる。
(3)変形例
図10に示す眼内レンズ挿入器具41aは、第2実施形態に対し、停止手段が本体42に設けられたレンズ進行軸Aに平行な長円形状のスライド穴59である点において異なる。また、第1プランジャー51には、レンズ進行軸Aに対し直交する方向に突出したストップピン60が設けられている。第1プランジャー51は、ストップピン60がスライド穴59に挿入された状態で本体42に挿入されており、ストップピン60がスライド穴59内を前後方向に移動できる範囲内で第1プランジャー51がピストン運動し得るように構成されている。
本変形例に係る眼内レンズ挿入器具41aにおいても、ストップピン60がスライド穴59の前方端59aに当接することでレンズ接触部22を眼内レンズ8がノズル部27から放出される前に、一旦停止させる構成としたから、上記第1実施形態と同様の効果を得ることができる。
3.第3実施形態
(1)全体構成
本実施形態に係る眼内レンズ挿入器具は、上記第1実施形態に対し、ノック機構を備える点が異なる。尚、上記構成と同様の構成については、同様の符号を付し、簡略のため説明を省略する。
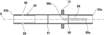
図11に示す眼内レンズ挿入器具61は、本体62と、操作部63と、前記操作部63を前記本体62に対し進退可能とするノック機構64と、前記本体62の他端62bに取付けられたカートリッジ65とを備え、全体として、ノック機構64によって操作部63を繰り返し進退させ、カートリッジ65内に設置した眼内レンズ8を段階的に押出し得るように構成されている。
ノック機構64は、操作部63を前方へ押出すことにより眼内レンズ8を所定距離だけ押出すと共に、前方へ押出された操作部63を自動的に退行方向へ移動させ得るように構成されている。このノック機構64は、操作部63と一体となった伝達部としてのプランジャー70と、ロッド71と、前記プランジャー70を退行方向である後方に付勢する復帰手段としてのコイルバネ72と、本体62の内面に設けられた後述する係合部とを有する。
ここで、本体62、プランジャー70、及びロッド71は、射出成形可能な合成樹脂によって形成されるのが好ましい。これにより、安価に大量生産することができるので、ディスポーザブル(使い捨て)の用途に対しても好適に用いることができる。
プランジャー70は、操作部63の移動範囲を所定範囲に制限すると共に、術者によって操作部63に加えられた外力をロッド71の押出軸82の先端にあるレンズ接触部82aへ伝達する押圧力伝達手段としての機能を有している。このプランジャー70は、一端に操作部63が設けられた軸体75と、当該軸体75の他端に形成された一対の押出片76,76とを有する。操作部63は、軸体75の一端を同心円状に拡径することにより、円盤状に形成され、軸体75と一体化されている。
前記軸体75は、前記コイルバネ72が装填されると共に、前記本体62内に遊挿され得るように構成されている。この軸体75の他端は幅狭の連結部77を介して一対の押出片76,76が設けられている。また、連結部77には、レンズ進行軸Aに対し直交する方向に突出したストップピン79が設けられている。
一対の押出片76,76は、レンズ進行軸Aを挟んで両側に設けられ、レンズ進行軸Aに対し略平行となるように、連結部77の先端を二股に形成してなる。この一対の押出片76,76は、連結部77に接続されている基端76a,76aを回転中心としてレンズ進行軸Aに対し直交する方向に弾性変形可能に設けられている。また、各押出片76の先端76b,76bには、外方に向かって突出した凸部78がそれぞれ形成されている。
ロッド71は、プランジャー70とは独立した別体として構成され、プランジャー70と一体化されておらず、プランジャー70から伝達された外力により、眼内レンズ8を押出し得るように構成されている。このロッド71は、摺動体80と、当該摺動体80の一端に設けられた一対の係止片81,81と、当該摺動体80の他端に設けられた押出軸82とを有する。
摺動体80は、前記本体62内に遊挿される外径を備える円筒状の部材からなり、押出軸82をレンズ進行軸A上に保持し得るように構成されている。また、摺動体80は、一端にレンズ進行軸Aに直交する略平坦な当接面83を有する。
一対の係止片81,81は、レンズ進行軸Aを挟んで両側となる摺動体80の外縁近傍からレンズ進行軸Aに対し略平行に形成されている。係止片81,81は、先端から摺動体80に接続されている基端81aへ行くに従って、先細となるように形成されており、当該基端81aを回転中心としてレンズ進行軸Aに対し直交する方向に弾性変形可能に設けられている。また、各係止片81,81の先端には、内側に前記凸部78が係合する凹部84がそれぞれ設けられており、外側に突起85がそれぞれ形成されている。
尚、カートリッジ65は、両側に、レンズ進行軸Aに直交する方向に弾性変形可能な翼部95がそれぞれ設けられている。この翼部95の後端の内側には、係合突起96がそれぞれ形成されている。カートリッジ65は、翼部95の先端に対し、外側から内側へ外力を加えると翼部95の後端が外側へ弾性変形し得るように構成されている。
本体62は、図12に示すように、円筒状の部材からなり、一端62a側の表面には停止手段としてのレンズ進行軸Aに平行な長円形状のスライド穴88が設けられている。また、本体62の他端62b側の表面には、カートリッジ65の係合突起96が係合する矩形状の受容穴89,89が、レンズ進行軸Aを挟んで両側にそれぞれ設けられている。
さらに、本体62の内周面には、前述した係合部としての、ロッド71を固定しておくための固定凹部90と、ロッド71が後方へ戻ることを規制する規制凸部91とが設けられている。
次いで、コイルバネ72を挿入したプランジャー70を押出片76から本体62の一端62aへ挿入する。このとき、プランジャー70は、押出片76がロッド71の係止片81と係止片81との間を通り、押出片76の先端76bが当接面83へ当接するまで本体62に挿入される(図13)。
また、プランジャー70の連結部77に設けたストップピン79は、本体62のスライド穴88に遊挿される。これにより、プランジャー70は、ストップピン79がスライド穴88の一端88a及び他端88bに当接する範囲内で後方及び前方へ移動し得、これにより、操作部63は、レンズ進行軸Aに平行に進退可能となる。
尚、以下の説明において、ストップピン79がスライド穴88の一端88aに当接している場合の操作部63(プランジャー70)の位置を原点と呼び、ストップピン79がスライド穴88の他端88bに当接している場合の操作部63(プランジャー70)の位置を押出点と呼ぶこととする。
また、コイルバネ72は、本体62の一端62aと、操作部63との間に装填され、操作部63を後方へ付勢し、操作部63が前方へ移動させられた場合、操作部63を操作可能位置に復帰させ得る。
ここで、操作可能位置とは、操作部63を前方へ押し込むことが可能となる位置であって、本実施態様の場合はストップピン79がスライド穴88の他端88bから一端88a側へ離れた位置である。従って、操作可能位置とは、ストップピン79がスライド穴88の一端88aに当接している位置に限定されるものではない。
このようにノック機構64を組付けた本体62に対し、眼内レンズ8を設置したカートリッジ65が取付けられる。カートリッジ65は、翼部95の先端に対し、外側から内側へ外力を加えると翼部95の後端が外側へ弾性変形するので、本体62の他端62bに挿入し得る。この状態で翼部95の先端に加えた外力を除去すると、翼部95は弾性復帰し、係合突起96が受容穴89に係合することによって、カートリッジ65が本体62に取付固定される(図11)。
以上により、眼内レンズ挿入器具61が得られ、ノック機構64により眼内レンズ8を押出して、カートリッジ65から小さく折り畳んだ状態で放出することができる。
(2)動作及び効果
上記の構成において、操作部63が原点にある状態(図11)から本体62に押し込まれる際、操作部63に加えられた前方向の外力により、突起85と本体62の固定凹部90との係合が解除される。そうすると、図14(a)に示すように、コイルバネ72を収縮させながらプランジャー70とロッド71が共に前方へ移動する。
ここで、プランジャー70は、ストップピン79が、本体62に設けられたスライド穴88内を一端88aから他端88bへ向かって移動する。従って、プランジャー70とロッド71は、スライド穴88の一端88aから他端88bまでの長さ分だけ、ストップピン79が自由にピストン運動し得る。こうしてプランジャー70のストップピン79が本体62のスライド穴88の他端88bに到達することにより、プランジャー70及び操作部63は押出点で機械的に一旦停止する。これにより、プランジャー70及び操作部63は、前方へ移動することが不可能となる。
このとき、ロッド71は、前方へ移動しながら、係止片81,81がレンズ進行軸Aに向かって内側へ弾性変形して突起85が本体62の規制凸部91を乗り超える。
次いで、操作部63に加えられていた外力を除去すると、図14(b)に示すように、プランジャー70は、コイルバネ72の付勢力によって、後方へ移動する。ここでも、プランジャー70は、ストップピン79がスライド穴88内を他端88b(押出点)から一端88aへ向かって移動する。
このようにして、操作部63が押出点から一端88aへ向かって移動する際、押出片76は、係止片81,81の内側を後方へ移動する。これに対し、ロッド71は、係止片81,81の突起85が本体62の規制凸部91に係合していることにより、後方への移動が規制され、停止した状態に保持される。そうすると、押出片76の凸部78が係止片81,81の凹部84に係合する。このようにして、プランジャー70及び操作部63は、操作可能位置に復帰する。
上記した一回目の動作により、ロッド71は、押出軸82の先端にあるレンズ接触部82aが、カートリッジ65内に設置された眼内レンズ8の光学部8aの周縁に当接し、当該眼内レンズ8を前方へ押出す。本実施形態では、眼内レンズ挿入器具61は、眼内レンズ8がノズル部27内を通過する際にレンズ接触部82aを一旦停止させる。これにより眼内レンズ8は、レンズ設置部25から移行部26、ノズル部27へと順に移動し、所定位置で停止する。
次いで、図14(c)に示すように、操作可能位置に復帰した操作部63が再び本体62に押し込まれると、押出片76の凸部78が係止片81,81の凹部84に係合しているので、プランジャー70とロッド71とが共に前方へ移動する。
ここでも、プランジャー70は、ストップピン79が、本体62に設けられたスライド穴88内を操作可能位置から他端88bへ向かって移動する。従って、ストップピン79がスライド穴88の他端88bに到達することにより、プランジャー70は押出点で機械的に停止する。
このように、操作可能位置に復帰した操作部63を再び本体62に押し込む二回目の動作により、押出軸82が眼内レンズ8をノズル部27から外部へ放出する。このとき押出軸82のレンズ接触部82aは、ノズル部27から突出した状態とすることで、眼内に放出した眼内レンズ8の支持部8b,8bや眼内レンズ8の位置を調整することもできる。
本実施形態に係る眼内レンズ挿入器具61では、眼内レンズ8を押し出す動作を行わせる操作部63を、自動的に操作可能位置に復帰させるノック機構64を備える構成とした。これにより、術者は、眼内レンズ8を押し出す動作を行うに際し、眼内レンズ8の設置位置から眼内へ放出されるまでの長いストロークを一度に押し込む必要がないため、操作部63の操作圧力の制御が容易となる。また、片手で操作する場合も、1回の押出し動作のストロークを短くすることができるので、片手操作がし易い。
また、本実施形態では、眼内レンズ挿入器具61は、操作部63を前方へ二回押出す動作により眼内レンズ8を外部へ放出する構成とした。これにより、一回の動作で眼内レンズ8を外部へ放出する従来に比べ、操作部63の移動量を少なくすることができるので、術者は、眼内レンズ8の移動量を容易に調整することができる。
さらに、眼内レンズ挿入器具61は、一回目の動作では、カートリッジ65のノズル部27から放出される手前の位置で眼内レンズ8を機械的に一旦停止させるように構成したから、熟練を要せずとも眼内レンズ8を眼内に突発的に放出させてしまうことを防止することができる。特に眼内レンズ8がノズル部27を通過する際は、眼内レンズ8が小さく折り畳まれているので、眼内レンズ8を押し出すには、操作部63を強く前方へ押し込む必要があるが、一回目の動作では、眼内レンズ8がノズル部27から放出される手前の位置でレンズ接触部82aを機械的に一旦停止させるように構成されていることにより、操作部63を押し込む力が強くても突発的に眼内レンズ8が放出されるのを防ぎ、より安全に放出することができる。
また、操作部63を強く押し出す必要がある二回目の動作時においても、眼内レンズ挿入器具61は、操作部63を自動的に操作可能位置に復帰するように構成したことにより、術者が一回目と同様の操作可能位置において操作部63を操作できるので、より容易に眼内レンズ8を眼内に挿入することができる。
また、本実施形態では、操作部63は、本体62の後方に設けたことにより、眼内レンズ8の挿入操作が容易で、片手で操作可能なので、術者は挿入操作中も空いている手で他の操作を行うことができる。
また、本実施形態では、コイルバネ72により操作部63を退行方向に付勢することとしたので、より確実に操作部63を操作可能位置に復帰させることができる。
上記実施形態では、ノック機構64として、操作部63と一体となったプランジャー70と、ロッド71と、前記プランジャー70を退行方向である後方に付勢する付勢手段としてのコイルバネ72と、本体62の内面に設けられた係合部とを有する例について述べたが、本発明はこれに限らず、操作部を操作可能位置に自動的に復帰させることができれば足り、いわゆるシャープペンシルのようなノック機構も利用することもできる。復帰手段としても、コイルバネに限らず、板バネ、弾性ゴムなどであっても良い。
また、上記した実施形態では、操作部を本体に押し込む動作を二回行うことにより眼内レンズを外部へ放出する例について説明したが、本発明はこれに限らず、操作部を自動的に操作可能位置に復帰できれば足り、上記動作を三回、四回、若しくはそれ以上としてもよい。
(3)変形例
図15に示す眼内レンズ挿入器具100は、本体101と、操作部63と、ノック機構64とを備え、前記本体101には、眼内レンズ8が予め設置された挿入筒部102が取付けられている。この眼内レンズ挿入器具100は、ケース103に固定され、眼内レンズ8を内蔵した状態でパッケージ化された上で輸送されるプリロードタイプの眼内レンズ挿入器具である。本体101は、先端に、カートリッジを装着する矩形状の受容穴に換え、挿入筒部102を取付ける取付部104が設けられている。
上記の構成において、本実施形態と同様、二回の動作により、眼内レンズ8を外部へ放出し得る。また、動作中、操作部63は、ノック機構64により自動的に操作可能位置に復帰し得る。
本実施形態に係る眼内レンズ挿入器具100は、眼内レンズ8を押し出す動作を行わせる操作部63を、自動的に操作可能位置に復帰させるノック機構64を備える構成としたことにより、上記第1実施形態と同様の効果を得ることができる。
また、本実施形態に係る眼内レンズ挿入器具100では、ケース103に固定してパッケージ化することにより、貯蔵及び輸送中において意図せずプランジャー70が前方へ押し込まれるのを防ぐことができる。
4.その他の実施形態
上記した実施形態では、眼内レンズを外部へ放出した際、レンズ接触部は、ノズル部から突出した状態とした場合について説明したが、本発明はこれに限らず、レンズ接触部がノズル部内に留まるように構成し、レンズ接触部の前方への動きが止まった後であっても、眼内レンズの有する弾力に起因した自らの形状回復能で、ゆっくりとレンズを眼内へ放出するよう構成してもよい。
また、上記した実施形態では、操作部は、レンズ進行軸に平行に進退可能に設けた場合について説明したが、本発明はこれに限らず、レンズ進行軸に直交する方向に進退可能に設けてもよい。この場合の操作部は、例えば、本体の側面に設けられ、本体の内側方向(進行方向)に押出点を有すると共に、本体の外側方向(退行方向)に原点を有するように構成される。
また、上記した実施形態では、伝達部はプランジャーである場合について説明したが、本発明はこれに限らず、リンク機構やカム機構などでもよく、これにより操作部に加えられた外力をレンズ接触部へ伝達することとしてもよい。
また、上記した実施形態では、挿入筒部は、レンズ設置部を備える場合について説明したが、本発明はこれに限らず、挿入筒部は移行部及びノズル部を備えていれば足り、この場合、本体にレンズ設置部を設けることとしてもよい。
尚、本発明は種々の形態に係る眼内レンズ挿入器具、例えば、特表2008-521535号公報、特表2001-502563号公報、独国特許発明4110278号明細書、特開平4-212350号公報、及び、特開昭63-197453号公報に係る眼内レンズ挿入器具など様々なタイプの眼内レンズ挿入器具に適用することもできる。
本発明の第1実施形態に係る眼内レンズ挿入器具の構成を示す断面図であり、(a)全体構成、(b)カートリッジを取り外した状態を示す図である。 本発明の第1実施形態に係る眼内レンズ挿入器具における操作部の構成を示す斜視図である。 本発明の第1実施形態に係る眼内レンズ挿入器具における使用状態(1)を示す断面図である。 本発明の第1実施形態に係る眼内レンズ挿入器具における使用状態(1)を示す斜視図である。 本発明の第1実施形態に係る眼内レンズ挿入器具における使用状態(2)を示す断面図である。 本発明の第1実施形態に係る眼内レンズ挿入器具における使用状態(2)を示す斜視図である。 本発明の第2実施形態に係る眼内レンズ挿入器具の全体構成を示す断面図である。 本発明の第2実施形態に係る眼内レンズ挿入器具における操作部の構成を示す正面図である。 本発明の第2実施形態に係る眼内レンズ挿入器具における使用状態を段階的に示す断面図であり、(a)使用状態(1)、(b)使用状態(2)を示す図である。 本発明の第2実施形態に係る眼内レンズ挿入器具における変形例を示す断面図であり、(a)部品構成図、(b)使用状態(1)、(c)使用状態(2)を示す図である。 本発明の第3実施形態に係る眼内レンズ挿入器具の全体構成を示す断面図である。 本発明の第3実施形態に係る眼内レンズ挿入器具における本体の構成を示す断面図である。 本発明の第3実施形態に係る眼内レンズ挿入器具における本体にノック機構を組付けた状態を示す断面図である。 本発明の第3実施形態に係る眼内レンズ挿入器具における使用状態を段階的に示す図であり、(a)一回目の押出動作、(b)操作可能位置への復帰、(c)二回目の押出動作を示す断面図である。 本発明の第3実施形態に係る眼内レンズ挿入器具における変形例を示す断面図である。
符号の説明
1 眼内レンズ挿入器具
2 本体
4 カートリッジ(挿入筒)
5 操作部
6 プランジャー(伝達部)
8 眼内レンズ
10 制止部(停止手段)
22 レンズ接触部
27 ノズル部
41 眼内レンズ挿入器具
42 本体
43 操作部
44 挿入筒部(挿入筒)
45 第1操作部受面(停止手段)
51 第1プランジャー(伝達部)
56 第2プランジャー(伝達部)
61 眼内レンズ挿入器具
62 本体
63 操作部
65 カートリッジ(挿入筒)
70 プランジャー(伝達部)
88 スライド穴(停止手段)

Claims (6)

  1. 操作部を押圧して眼内レンズを押出す眼内レンズ挿入器具において、
    前記眼内レンズを押出すレンズ接触部と、
    前記操作部に加えられた外力を前記レンズ接触部へ伝達する伝達部と、
    前記レンズ接触部によって押出された前記眼内レンズを外部へ放出する挿入筒と、
    前記眼内レンズが前記挿入筒の先端部近傍を通過する際に前記レンズ接触部を一旦停止させる停止手段と
    を備えることを特徴とする眼内レンズ挿入器具。
  2. 前記操作部は複数からなり、段階的に前記眼内レンズを押出すことを特徴とする請求項1記載の眼内レンズ挿入器具。
  3. 前記挿入筒を前方に固定する本体を備え、
    前記操作部は、前記本体の後方に設けられたことを特徴とする請求項1記載の眼内レンズ挿入器具。
  4. 前記挿入筒を前方に固定する本体を備え、
    前記操作部のうち少なくとも1つは、前記本体の後方に設けられたことを特徴とする請求項2記載の眼内レンズ挿入器具。
  5. 前記停止手段は、前記挿入筒の先端から10mm以内の位置において前記レンズ接触部を一旦停止させることを特徴とする請求項1〜4のいずれか1項に記載の眼内レンズ挿入器具。
  6. 前記停止手段は、前記眼内レンズが前記挿入筒の先端に設けられたノズル部内を通過する際に前記レンズ接触部を一旦停止させることを特徴とする請求項1〜4のいずれか1項に記載の眼内レンズ挿入器具。
JP2008227641A 2008-09-04 2008-09-04 眼内レンズ挿入器具 Active JP5416379B2 (ja)

Priority Applications (4)

Application Number Priority Date Filing Date Title
JP2008227641A JP5416379B2 (ja) 2008-09-04 2008-09-04 眼内レンズ挿入器具
US13/061,143 US8470032B2 (en) 2008-09-04 2009-08-27 Intraocular lens insertion device
EP09811445.7A EP2332501B1 (en) 2008-09-04 2009-08-27 Intraocular lens inserting instrument
PCT/JP2009/064976 WO2010026919A1 (ja) 2008-09-04 2009-08-27 眼内レンズ挿入器具

Applications Claiming Priority (1)

Application Number Priority Date Filing Date Title
JP2008227641A JP5416379B2 (ja) 2008-09-04 2008-09-04 眼内レンズ挿入器具

Publications (2)

Publication Number Publication Date
JP2010057767A true JP2010057767A (ja) 2010-03-18
JP5416379B2 JP5416379B2 (ja) 2014-02-12

Family

ID=41797087

Family Applications (1)

Application Number Title Priority Date Filing Date
JP2008227641A Active JP5416379B2 (ja) 2008-09-04 2008-09-04 眼内レンズ挿入器具

Country Status (4)

Country Link
US (1) US8470032B2 (ja)
EP (1) EP2332501B1 (ja)
JP (1) JP5416379B2 (ja)
WO (1) WO2010026919A1 (ja)

Cited By (6)

* Cited by examiner, † Cited by third party
Publication number Priority date Publication date Assignee Title
JP2011200469A (ja) * 2010-03-26 2011-10-13 Nidek Co Ltd 眼内レンズ挿入器具
JP2015516206A (ja) * 2012-04-15 2015-06-11 バイオコネクト システムズ インコーポレイテッド 移植可能なフローコネクタの送達システム
JP2016508821A (ja) * 2013-03-07 2016-03-24 ノバルティス アーゲー 眼内レンズを挿入するためのシステム及び過程
KR20170125084A (ko) * 2015-03-04 2017-11-13 노바르티스 아게 안내 렌즈 인젝터
KR20200129801A (ko) * 2019-05-10 2020-11-18 정영택 관류액이 공급되는 안과 수술용 인공수정체 삽입 기구
JP2022511086A (ja) * 2018-12-19 2022-01-28 アルコン インコーポレイティド 液圧減衰を有する折り畳み注入器

Families Citing this family (43)

* Cited by examiner, † Cited by third party
Publication number Priority date Publication date Assignee Title
WO2006070628A1 (ja) 2004-12-27 2006-07-06 Hoya Corporation 眼内レンズ移植装置
WO2006080191A1 (ja) 2005-01-26 2006-08-03 Hoya Corporation 眼内レンズ挿入用器具
JP4836046B2 (ja) 2005-02-24 2011-12-14 Hoya株式会社 眼内レンズ挿入器具
WO2007037223A1 (ja) 2005-09-28 2007-04-05 Hoya Corporation 眼内レンズ挿入用器具
JP4877643B2 (ja) 2005-12-08 2012-02-15 Hoya株式会社 眼内レンズ挿入用器具
WO2008149795A1 (ja) 2007-05-30 2008-12-11 Hoya Corporation 眼内レンズ挿入器具
JP5236637B2 (ja) 2007-05-30 2013-07-17 Hoya株式会社 眼内レンズ挿入器具及び眼内レンズ挿入装置
JP5086713B2 (ja) 2007-07-11 2012-11-28 Hoya株式会社 眼内レンズ挿入器具
JP5254669B2 (ja) 2008-06-05 2013-08-07 Hoya株式会社 眼内レンズ挿入器具及びカートリッジ
JP5470753B2 (ja) 2008-06-17 2014-04-16 Hoya株式会社 眼内レンズ挿入器具
JP5323420B2 (ja) 2008-08-21 2013-10-23 Hoya株式会社 眼内レンズ挿入器具
JP5413918B2 (ja) 2009-01-07 2014-02-12 Hoya株式会社 眼内レンズ挿入器具
SG184032A1 (en) 2010-04-08 2012-10-30 Hoya Corp Ocular implant insertion apparatus and methods
JP5511530B2 (ja) 2010-06-10 2014-06-04 Hoya株式会社 眼内レンズ挿入装置
EP2601996B1 (en) * 2010-08-03 2024-10-30 Hoya Corporation Therapeutic instrument and attachment thereof
WO2013021347A1 (en) * 2011-08-11 2013-02-14 Polymer Technologies International (Eou) Intra-ocular lens injection cartridge
AU2013212271B2 (en) 2012-01-24 2018-01-04 Clarvista Medical, Inc. Modular intraocular lens designs and methods
US9463089B2 (en) 2012-05-21 2016-10-11 Novartis Ag Plunger system for intraocular lens surgery
JP6170142B2 (ja) 2012-06-04 2017-07-26 アルコン ファーマシューティカルズ リミティド 眼内レンズ挿入具
SG11201408220XA (en) 2012-06-12 2015-01-29 Altaviz Llc Intraocular gas injector
AU2014226115B2 (en) * 2013-03-05 2018-08-02 Johnson & Johnson Surgical Vision, Inc. Automated preloaded intraocular lens injector
CA2938966C (en) 2014-02-18 2023-03-14 Clarvista Medical, Inc. Modular intraocular lens designs, tools and methods
JP6599889B2 (ja) 2014-04-04 2019-10-30 アルコン ファーマシューティカルズ リミティド 眼内レンズ挿入器
WO2016122805A1 (en) 2015-01-30 2016-08-04 Clarvista Medical, Inc. Modular intraocular lens designs
JP6646987B2 (ja) 2015-09-16 2020-02-14 Hoya株式会社 眼内レンズ挿入器具
WO2017047714A1 (ja) 2015-09-16 2017-03-23 Hoya株式会社 眼内レンズ挿入器具
US10172706B2 (en) 2015-10-31 2019-01-08 Novartis Ag Intraocular lens inserter
CA3002085A1 (en) 2015-11-04 2017-05-11 The Regents Of The University Of Colorado, A Body Corporate Modular intraocular lens designs, tools and methods
WO2018003853A1 (ja) 2016-06-28 2018-01-04 Hoya株式会社 眼内レンズ挿入器
US11033382B2 (en) 2016-06-28 2021-06-15 Hoya Corporation Intraocular lens injector
US11000367B2 (en) 2017-01-13 2021-05-11 Alcon Inc. Intraocular lens injector
US10568735B2 (en) 2017-01-13 2020-02-25 Alcon Inc. Intraocular lens injector
US11382736B2 (en) 2017-06-27 2022-07-12 Alcon Inc. Injector, intraocular lens system, and related methods
EP3773333B1 (en) * 2018-03-28 2023-10-18 Bausch + Lomb Ireland Limited Injector assembly employing compressed gas and a mechanical brake for presenting an intraocular lens to a patient
JP7162443B2 (ja) 2018-05-16 2022-10-28 Hoya株式会社 容器付き眼内リング挿入器
JP7162445B2 (ja) 2018-05-25 2022-10-28 Hoya株式会社 眼内レンズ挿入器
US11224537B2 (en) 2018-10-19 2022-01-18 Alcon Inc. Intraocular gas injector
US11096779B2 (en) * 2018-12-19 2021-08-24 Alcon Inc. IOL injector having a spring-assisted IOL delivery mechanism
US11439500B2 (en) * 2018-12-20 2022-09-13 Alcon Inc. IOL injector with automatic driver or assisted manual drive force
JP7327956B2 (ja) 2019-03-13 2023-08-16 Hoya株式会社 眼内レンズ挿入器具
DE102021116615B3 (de) * 2021-06-28 2022-07-14 Carl Zeiss Meditec Ag Injektor mit einem ersten Kolben und einem zweiten Kolben
JP2023051283A (ja) * 2021-09-30 2023-04-11 Hoya株式会社 眼内レンズ挿入器具
KR102469016B1 (ko) * 2022-01-24 2022-11-22 재영솔루텍 주식회사 안구내 캡슐러 텐션링 삽입기구

Citations (6)

* Cited by examiner, † Cited by third party
Publication number Priority date Publication date Assignee Title
JPH11506357A (ja) * 1995-03-14 1999-06-08 スター・サージカル・カンパニー,インコーポレイテッド 変形可能な眼内レンズ注入装置
JP2004351196A (ja) * 2003-05-28 2004-12-16 Alcon Inc レンズ送出システム
US20060085013A1 (en) * 2004-10-20 2006-04-20 Vaclav Dusek Intraocular lens inserter
WO2006080191A1 (ja) * 2005-01-26 2006-08-03 Hoya Corporation 眼内レンズ挿入用器具
WO2007037223A1 (ja) * 2005-09-28 2007-04-05 Hoya Corporation 眼内レンズ挿入用器具
JP2008212689A (ja) * 2007-03-06 2008-09-18 Alcon Manufacturing Ltd レンズ送達装置

Family Cites Families (180)

* Cited by examiner, † Cited by third party
Publication number Priority date Publication date Assignee Title
US2761446A (en) 1955-03-30 1956-09-04 Chemical Specialties Co Inc Implanter and cartridge
US4205747A (en) 1978-09-05 1980-06-03 Cilco, Inc. Lens storage device
US4269307A (en) 1979-08-09 1981-05-26 Iolab Corporation Intraocular lens storage assembly
US4573998A (en) 1982-02-05 1986-03-04 Staar Surgical Co. Methods for implantation of deformable intraocular lenses
US4423809A (en) 1982-02-05 1984-01-03 Staar Surgical Company, Inc. Packaging system for intraocular lens structures
US4702244A (en) 1982-02-05 1987-10-27 Staar Surgical Company Surgical device for implantation of a deformable intraocular lens
US4608049A (en) 1982-06-28 1986-08-26 Kelman Charles D Intraocular lens and method of inserting an intraocular lens into an eye
US4634423A (en) 1984-04-30 1987-01-06 Bailey Jr Paul F Ophthalmological method and instrument for implantation of posterior chamber intraocular lens
US4787904A (en) 1984-07-06 1988-11-29 Severin Sanford L Hydrophillic intraocular lens
US4699140A (en) 1985-07-10 1987-10-13 Iolab Corporation Instrument for inserting an intraocular lens
US4681102A (en) 1985-09-11 1987-07-21 Bartell Michael T Apparatus and method for insertion of an intra-ocular lens
US4715373A (en) * 1985-09-27 1987-12-29 Mazzocco Thomas R Devices for implantation of deformable intraocular lens structures
US4750498A (en) 1986-02-21 1988-06-14 Coopervision, Inc. Method and tool for inserting an intraocular lens
DE3610925C2 (de) 1986-03-24 1994-11-03 Michael Ulrich Prof D Dardenne Vorrichtung zum Falten einer insbesondere mit zwei seitlichen Kunststoffhaptikplatten versehenen, implantierbaren Intraokularlinse und zum Einbringen der gefalteten Intraokularlinse in das Auge
US4697697A (en) 1986-08-18 1987-10-06 Coopervision, Inc. Method and apparatus for packaging an intraocular lens
JPS63197453A (ja) 1986-11-07 1988-08-16 ザ・クーパー・カンパニー・インク 圧縮性眼内レンズを眼に挿入する器具および方法
US4919130A (en) 1986-11-07 1990-04-24 Nestle S.A. Tool for inserting compressible intraocular lenses into the eye and method
US4747404A (en) 1986-11-10 1988-05-31 Kresge Eye Institute Of Wayne State University Foldable intraocular lens inserter
US4763650A (en) 1987-01-20 1988-08-16 Hauser Stephen G Instrument for inserting a deformable lens into the eye
US4994028A (en) 1987-03-18 1991-02-19 Endocon, Inc. Injector for inplanting multiple pellet medicaments
US4769034A (en) 1987-03-26 1988-09-06 Poley Brooks J Folded intraocular lens, method of implanting folded intraocular lens
US4819631A (en) 1987-03-26 1989-04-11 Poley Brooks J Folded intraocular lens, method of implanting it, retainer, and apparatus for folding lens
US4988352A (en) 1987-03-26 1991-01-29 Poley Brooks J Method and apparatus for folding, freezing and implanting intraocular lens
US5176686A (en) 1987-03-26 1993-01-05 Poley Brooks J Apparatus for packaging, folding, rigidifying and inserting an intraocular lens
US4781719A (en) 1987-07-28 1988-11-01 Kelman Charles D Method of inserting an intraocular lens into an eye
US4759359A (en) 1987-08-31 1988-07-26 Allergan, Inc. Lens implantation instrument
US4834094A (en) 1987-10-07 1989-05-30 Patton Medical Technologies, Inc. "Canoe" apparatus for inserting intra-ocular lens into the eye
US4765329A (en) 1987-10-19 1988-08-23 Cumming, Redwitz & Wilson, Inc. Intraocular lens insertion instrument
US4934363A (en) 1987-12-15 1990-06-19 Iolab Corporation Lens insertion instrument
US4880000A (en) 1987-12-15 1989-11-14 Iolab Corporation Lens insertion instrument
US4836201A (en) 1988-03-24 1989-06-06 Patton Medical Technologies, Inc. "Envelope" apparatus for inserting intra-ocular lens into the eye
US4862885A (en) 1988-05-25 1989-09-05 Cumming J Stuart Instrument for inserting a deformable intraocular lens into the eye
CA2000287A1 (en) 1988-10-07 1990-04-07 David C. Buboltz Intraocular lens insertion instrument
US5066297A (en) 1989-01-23 1991-11-19 Cumming J Stuart Intraocular lens insertion device
US4976716A (en) 1989-01-23 1990-12-11 Cumming J Stuart Intraocular lens insertion device
US4955889A (en) 1989-02-06 1990-09-11 Allergan, Inc. Apparatus for inserting a lens into an eye and method for using same
US5098439A (en) 1989-04-12 1992-03-24 Allergan, Inc. Small incision intraocular lens insertion apparatus
US5222972A (en) 1989-04-12 1993-06-29 Allergan, Inc. Small incision intraocular lens insertion apparatus
US5171241A (en) 1989-06-09 1992-12-15 Ioptex Research Inc. Device for folding an intraocular lens and holding it in the folded state
DE4030492C1 (ja) 1990-09-26 1991-09-05 Adatomed Pharmazeutische Und Medizintechnische Gesellschaft Mbh, 8000 Muenchen, De
DE4039119C1 (ja) 1990-12-07 1991-09-05 Dieter Dr.Med. 8904 Friedberg De Klaas
DE4108303C2 (de) 1991-03-14 1993-11-04 Adatomed Pharma & Med Verfahren und vorrichtung zum einbringen einer gummielastischen intraokularlinse in ein implantationswerkzeug
DE4110278A1 (de) 1991-03-28 1992-10-01 Geuder Hans Gmbh Augenchirurgisches instrument zum implantieren von hinterkammer-weichlinsen
US5123905A (en) 1991-06-07 1992-06-23 Kelman Charles D Intraocular lens injector
US5178622A (en) * 1991-11-01 1993-01-12 Lehner Ii Robert H Instrument for implanting a soft intraocular lens
US5190552A (en) * 1992-02-04 1993-03-02 Kelman Charles D Slotted tube injector for an intraocular lens
US5242450A (en) 1992-05-18 1993-09-07 Henry H. McDonald Eye implantable lens haptics twist apparatus
US5571113A (en) 1992-05-18 1996-11-05 Henry H. McDonald Surgical probe with tips for plastic lens implantation in the eye
US5395378A (en) 1992-05-18 1995-03-07 Henry H. McDonald Eye implantable lens haptics insertion and twist apparatus
US5304182A (en) 1992-09-23 1994-04-19 Kabi Pharmacia Ophthalmics, Inc. Apparatus and method for curling and inserting flexible intraocular lenses
US5860984A (en) 1992-09-30 1999-01-19 Staar Surgical Company, Inc. Spring biased deformable intraocular injecting apparatus
US6059791A (en) 1992-09-30 2000-05-09 Staar Surgical Company, Inc. Deformable intraocular lens injection system, and method thereof
US5807400A (en) 1992-09-30 1998-09-15 Staar Surgical Company, Inc. Deformable intraocular lens insertion system
US6022358A (en) 1992-09-30 2000-02-08 Staar Surgical Company, Inc. Deformable intraocular lens injecting device
US5772666A (en) 1992-09-30 1998-06-30 Staar Surgical Company, Inc. Deformable intraocular lens injecting apparatus with deformable tip plunger
ES2177550T3 (es) 1992-09-30 2002-12-16 Vladimir Feingold Sistema de insercion de lentes intraoculares.
US6406481B2 (en) 1992-09-30 2002-06-18 Starr Surgical Company, Inc. Method preloading a deformable intraocular lens into injecting apparatus for storage and/or shipment
US5616148A (en) 1992-09-30 1997-04-01 Staar Surgical Company, Inc. Transverse hinged deformable intraocular lens injecting apparatus
US5941886A (en) 1992-09-30 1999-08-24 Staar Surgical Company, Inc. Hingeless lens cartridges for insertion of deformable intraocular lens
US6712848B1 (en) 1992-09-30 2004-03-30 Staar Surgical Company, Inc. Deformable intraocular lens injecting apparatus with transverse hinged lens cartridge
US6001107A (en) 1992-09-30 1999-12-14 Staar Surgical Company, Inc. Deformable intraocular lens injecting apparatus
US6506195B2 (en) 1992-09-30 2003-01-14 Staar Surgical Company, Inc. Deformable intraocular lens insertion system
US6056757A (en) 1992-09-30 2000-05-02 Staar Surgical Company, Inc. Implantation device with deformable nozzle tip for implanting a deformable intraocular lens
US5499987A (en) 1992-09-30 1996-03-19 Staar Surgical Company Deformable intraocular lens cartridge
US5928245A (en) 1992-09-30 1999-07-27 Staar Surgical Company, Inc. Deformable intraocular lens injecting apparatus with transverse hinged lens cartridge
US5620450A (en) 1992-09-30 1997-04-15 Staar Surgical Company, Inc. Transverse hinged deformable intraocular lens injecting apparatus
US5728102A (en) 1992-09-30 1998-03-17 Staar Surgical Company, Inc. Disposable intraocular lens insertion system
US5876440A (en) 1992-09-30 1999-03-02 Staar Surgical Company, Inc. Methods of implantation of deformable intraocular lens
US5281227A (en) 1992-11-09 1994-01-25 Allergan, Inc. Lens case with IOL folding device
US5275604A (en) 1992-12-03 1994-01-04 Kabi Pharmacia Ophthalmics, Inc. Contoured duct apparatus and method for insertion of flexible intraocular lens
US5653715A (en) 1993-03-09 1997-08-05 Chiron Vision Corporation Apparatus for preparing an intraocular lens for insertion
US5468246A (en) 1993-07-02 1995-11-21 Iovision, Inc. Intraocular lens injector
US5425734A (en) 1993-07-02 1995-06-20 Iovision, Inc. Intraocular lens injector
JP3459664B2 (ja) 1993-07-15 2003-10-20 キヤノンスター株式会社 変形可能な眼内レンズの挿入器具
US5582613A (en) 1993-11-18 1996-12-10 Allergan Apparatus and methods for controlled insertion of intraocular lenses
US5702402A (en) 1994-04-29 1997-12-30 Allergal Method and apparatus for folding of intraocular lens
US5584304A (en) 1993-11-18 1996-12-17 Allergan, Inc. Method of inserting an IOL using a forceps inside a folding tube
WO1995013766A1 (en) 1993-11-18 1995-05-26 Allergan, Inc. Deformable lens insertion apparatus
AU1915595A (en) 1994-02-09 1995-08-29 Kabi Pharmacia Ophthalmics, Inc. Rapid implantation of shape transformable optical lenses
US6174315B1 (en) 1994-02-15 2001-01-16 Staar Surgical Company, Inc. Spring biased deformable intraocular injecting apparatus
US5578042A (en) 1994-03-14 1996-11-26 Cumming; J. Stuart Ophthalmic kit and method for lens insertion
JP3412106B2 (ja) 1994-07-07 2003-06-03 キヤノンスター株式会社 変形可能な眼内レンズの挿入器具
US5454818A (en) 1994-07-26 1995-10-03 Alcon Laboratories, Inc. Intraocular lens folder
WO1996003924A1 (en) 1994-08-05 1996-02-15 Chiron Vision Corporation Device for inserting a flexible intraocular lens
DE69531289D1 (de) 1994-11-18 2003-08-21 Vladimir Feingold Einführungssystem für wegwerfbare intraokulare linsen
US5803925A (en) 1995-01-17 1998-09-08 Allergan IOL insertion apparatus with covalently bonded lubricant
EP0830083B1 (en) 1995-05-24 2007-03-07 Staar Surgical Company Injection system for a deformable intraocular lens
US5643276A (en) 1995-10-10 1997-07-01 Allergan Apparatus and method for providing desired rotational orientation to an intraocular lens
US5776138A (en) 1996-01-26 1998-07-07 Allergan Apparatus and methods for IOL insertion
US5735858A (en) 1996-01-26 1998-04-07 Allergan IOL insertion apparatus and method for using same
US6083230A (en) 1997-07-30 2000-07-04 Allergan Method for making IOL insertion apparatus
US6283975B1 (en) 1996-07-10 2001-09-04 Allergan Sales, Inc. IOL insertion apparatus and method for making and using same
US5716364A (en) 1996-07-10 1998-02-10 Allergan IOL insertion apparatus and method for making and using same
US5766181A (en) 1996-08-02 1998-06-16 Staar Surgical Company, Inc. Spring biased deformable intraocular injecting apparatus
US5876406A (en) 1996-08-02 1999-03-02 Staar Surgical Company, Inc. Deformable intraocular lens injecting apparatus with transverse hinged lens cartridge
US5944725A (en) 1996-09-26 1999-08-31 Bausch & Lomb Surgical, Inc. Method and apparatus for inserting a flexible membrane into an eye
US5810834A (en) 1996-10-07 1998-09-22 Chiron Vision Corporation Tip formation for inserting a flexible membrane into an eye
JP3226813B2 (ja) 1996-12-13 2001-11-05 トリンプ・インターナショナル・ジャパン株式会社 女性用衣類
US5947975A (en) 1997-03-07 1999-09-07 Canon Staar Co., Inc. Inserting device for deformable intraocular lens
US5919197A (en) 1997-05-05 1999-07-06 Surgical Concepts, Inc. Insertion of multiple folded lens into the eye
US5947974A (en) 1997-12-09 1999-09-07 Allergan Folding device and method for an intraocular lens
US5921989A (en) 1998-02-12 1999-07-13 Allergan Lens protector for intraocular lens inserter
US6371960B2 (en) 1998-05-19 2002-04-16 Bausch & Lomb Surgical, Inc. Device for inserting a flexible intraocular lens
US6010510A (en) 1998-06-02 2000-01-04 Alcon Laboratories, Inc. Plunger
US6143001A (en) 1998-06-02 2000-11-07 Alcon Laboratories, Inc. Asymmetric intraocular lens injection cartridge
US6447520B1 (en) 2001-03-19 2002-09-10 Advanced Medical Optics, Inc. IOL insertion apparatus with IOL engagement structure and method for using same
DE19904220C2 (de) 1999-02-03 2001-08-30 Helmut Binder Injektor zum Falten und Einbringen einer Intraokularlinse, und Behälter zum Lagern und Transportieren des Injektors
US6129733A (en) 1999-04-15 2000-10-10 Allergan Sales, Inc. Apparatus for holding intraocular lenses and injectors, and methods for using same
US6386357B1 (en) 1999-07-12 2002-05-14 Hoya Healthcare Corporation Soft intraocular lens-folding device and storage case
US6248111B1 (en) 1999-08-06 2001-06-19 Allergan Sales, Inc. IOL insertion apparatus and methods for using same
JP3728155B2 (ja) 1999-10-05 2005-12-21 キヤノンスター株式会社 眼内挿入用レンズの挿入システム
JP3944555B2 (ja) 1999-10-06 2007-07-11 キヤノンスター株式会社 眼内挿入用レンズの挿入システム
US6387101B1 (en) 1999-10-22 2002-05-14 Staar Surgical Company, Inc. Deformable intraocular lens injecting apparatus and method
US6312433B1 (en) 1999-10-22 2001-11-06 Staar Surgical Company, Inc. Deformable intraocular lens injecting apparatus and method
US6251114B1 (en) 1999-10-29 2001-06-26 Allergan Sales, Inc. Rotatable IOL insertion apparatus and method for using same
SE9904338D0 (sv) 1999-11-30 1999-11-30 Pharmacia & Upjohn Ab Intraocular lens implanter
US6283976B1 (en) 2000-05-05 2001-09-04 Allergan Sales Inc. Intraocular lens implanting instrument
GB0011507D0 (en) 2000-05-13 2000-06-28 Duckworth & Kent Ltd Ophthalmic lens injectors
FR2814360B1 (fr) 2000-09-28 2002-12-27 Corneal Ind Injecteur d'implant intraoculaire souple
US6500181B1 (en) 2000-10-17 2002-12-31 Valdemar Portney Instrument for folding and inserting anterior chamber intraocular lenses
US6471708B2 (en) 2000-12-21 2002-10-29 Bausch & Lomb Incorporated Intraocular lens and additive packaging system
US6540754B2 (en) 2001-01-26 2003-04-01 Advanced Medical Optics, Inc. Apparatus and method for multiply folding and inserting an intraocular lens in an eye
US6554839B2 (en) 2001-01-26 2003-04-29 Advanced Medical Optics, Inc. Stepped IOL insertion cartridge for inserting an intraocular lens in an eye
FR2822055B1 (fr) 2001-03-16 2003-09-12 Lab Contactologie Appl Lca Injecteur pour lentille intraoculaire
WO2002096322A1 (en) 2001-05-25 2002-12-05 Hoya Healthcare Corporation Storage container having soft intraocular lens folding function
JP2002355268A (ja) 2001-06-01 2002-12-10 Nidek Co Ltd 眼内レンズ挿入器具
US6537283B2 (en) 2001-08-17 2003-03-25 Alcon, Inc. Intraocular lens shipping case and injection cartridge
DE50115100D1 (de) 2001-08-23 2009-10-22 Meyer & Co Ag Anton Vorrichtung zur Einführung einer Linse in ein Auge
JP3861138B2 (ja) 2001-09-04 2006-12-20 キヤノンスター株式会社 眼内レンズの挿入器具
US7037312B2 (en) 2001-09-07 2006-05-02 Canon-Staar Co., Inc. Insertion device for deformable intraocular lens
FR2833154B1 (fr) 2001-12-12 2004-11-19 Ioltechnologie Production Cassette et injecteur de lentille intraoculaire souple et procede d'injection de telles lentilles
JP3791421B2 (ja) 2002-01-23 2006-06-28 キヤノンスター株式会社 眼内レンズの挿入器具
US6723104B2 (en) 2002-03-13 2004-04-20 Advanced Medical Optics, Inc. IOL insertion apparatus and method for using same
US6733507B2 (en) 2002-04-12 2004-05-11 Advanced Medical Optics, Inc. Intraocular lens insertion apparatus
JP2003325569A (ja) 2002-05-08 2003-11-18 Canon Star Kk 眼内挿入用レンズの挿入システム
US7014641B2 (en) 2002-05-08 2006-03-21 Canon-Staar Co., Inc. Insertion device for intraocular lens
JP3876284B2 (ja) 2002-05-08 2007-01-31 キヤノンスター株式会社 眼内挿入用レンズの挿入器具
US7131976B2 (en) 2002-05-08 2006-11-07 Canon-Staar Co. Inc. Insertion device for intraocular lens
JP2003325570A (ja) 2002-05-08 2003-11-18 Canon Star Kk 眼内挿入用レンズの挿入システム
JP2003325572A (ja) 2002-05-08 2003-11-18 Canon Star Kk 眼内挿入用レンズの挿入システム
US6923815B2 (en) 2002-05-14 2005-08-02 Advanced Medical Optics, Inc. Intraocular lens insertion apparatus
WO2004014259A1 (en) 2002-07-26 2004-02-19 Pharmacia Groningen Bv Method and device for manipulation of an intraocular lens
EP1428484B1 (de) 2002-12-09 2008-04-30 Anton Meyer & Co. AG Kolbennadel für einen intraokularen Linseninjektor
US7074227B2 (en) 2002-12-12 2006-07-11 Valdemar Portney IOL insertion tool with forceps
US20060293694A1 (en) 2003-05-27 2006-12-28 Hoya Corporation Injector
US8403941B2 (en) 2003-06-02 2013-03-26 Abbott Medical Optics Inc. Intraocular lens and cartridge packaging with lens-loading function
US7422604B2 (en) 2003-08-28 2008-09-09 Bausch & Lomb Incorporated Preloaded IOL injector
US7429263B2 (en) 2003-08-28 2008-09-30 Bausch & Lomb Incorporated Preloaded IOL injector
JP4590505B2 (ja) 2003-10-01 2010-12-01 スター・ジャパン株式会社 眼内レンズの挿入器具
WO2005070341A1 (ja) 2004-01-27 2005-08-04 Hoya Corporation 眼内レンズ挿入装置及びそのカートリッジ
US7645300B2 (en) 2004-02-02 2010-01-12 Visiogen, Inc. Injector for intraocular lens system
US7458976B2 (en) 2005-03-02 2008-12-02 Advanced Medical Optics, Inc. Devices and methods for storing, loading, and delivering an intraocular lens
AU2005218601B2 (en) 2004-03-02 2012-01-19 Johnson & Johnson Surgical Vision, Inc. Devices and methods for storing, loading, and delivering an intraocular lens
US7947049B2 (en) 2004-03-31 2011-05-24 Bausch & Lomb Incorporated IOL injector
WO2005102223A1 (de) * 2004-04-22 2005-11-03 Advanced Vision Science, Inc. Vorrichtung zum einsetzen verformbarer intraocularlinsen
CN101068507B (zh) 2004-11-30 2010-05-12 博士伦公司 用于人工晶体植入器的两级柱塞
WO2006070628A1 (ja) 2004-12-27 2006-07-06 Hoya Corporation 眼内レンズ移植装置
JP4766442B2 (ja) 2004-12-28 2011-09-07 Hoya株式会社 眼内レンズ挿入用器具
US20060167466A1 (en) 2005-01-21 2006-07-27 Vaclav Dusek Intraocular lens inserter system components
US8435289B2 (en) 2005-02-11 2013-05-07 Abbott Medical Optics Inc. Rapid exchange IOL insertion apparatus and methods of using
JP4836046B2 (ja) 2005-02-24 2011-12-14 Hoya株式会社 眼内レンズ挿入器具
JP2006333981A (ja) 2005-05-31 2006-12-14 Canon Star Kk 眼内挿入用レンズの挿入器具
JP4481878B2 (ja) 2005-05-31 2010-06-16 株式会社ニデック 眼内レンズ挿入器具
JP4877643B2 (ja) 2005-12-08 2012-02-15 Hoya株式会社 眼内レンズ挿入用器具
JP5041322B2 (ja) 2006-01-10 2012-10-03 Hoya株式会社 眼内レンズ挿入器具
WO2007080869A1 (ja) 2006-01-13 2007-07-19 Hoya Corporation 眼内レンズ挿入用器具
WO2007087641A2 (en) 2006-01-26 2007-08-02 Advanced Medical Optics, Inc. Intraocular lens insertion apparatus and lens case
JP4947484B2 (ja) 2006-02-22 2012-06-06 Hoya株式会社 眼内レンズ挿入器具
JP5103809B2 (ja) 2006-06-30 2012-12-19 ぺんてる株式会社 ボールペン用油性インキ
JP5103808B2 (ja) 2006-06-30 2012-12-19 凸版印刷株式会社 積層体
JP5236637B2 (ja) 2007-05-30 2013-07-17 Hoya株式会社 眼内レンズ挿入器具及び眼内レンズ挿入装置
WO2008149795A1 (ja) 2007-05-30 2008-12-11 Hoya Corporation 眼内レンズ挿入器具
JP5086713B2 (ja) 2007-07-11 2012-11-28 Hoya株式会社 眼内レンズ挿入器具
US8105332B2 (en) 2007-10-30 2012-01-31 Novartis Ag Lens delivery system
JP5254669B2 (ja) 2008-06-05 2013-08-07 Hoya株式会社 眼内レンズ挿入器具及びカートリッジ
JP5470753B2 (ja) 2008-06-17 2014-04-16 Hoya株式会社 眼内レンズ挿入器具
JP5323420B2 (ja) 2008-08-21 2013-10-23 Hoya株式会社 眼内レンズ挿入器具
JP5413918B2 (ja) 2009-01-07 2014-02-12 Hoya株式会社 眼内レンズ挿入器具
SG184032A1 (en) 2010-04-08 2012-10-30 Hoya Corp Ocular implant insertion apparatus and methods
JP5511530B2 (ja) 2010-06-10 2014-06-04 Hoya株式会社 眼内レンズ挿入装置

Patent Citations (6)

* Cited by examiner, † Cited by third party
Publication number Priority date Publication date Assignee Title
JPH11506357A (ja) * 1995-03-14 1999-06-08 スター・サージカル・カンパニー,インコーポレイテッド 変形可能な眼内レンズ注入装置
JP2004351196A (ja) * 2003-05-28 2004-12-16 Alcon Inc レンズ送出システム
US20060085013A1 (en) * 2004-10-20 2006-04-20 Vaclav Dusek Intraocular lens inserter
WO2006080191A1 (ja) * 2005-01-26 2006-08-03 Hoya Corporation 眼内レンズ挿入用器具
WO2007037223A1 (ja) * 2005-09-28 2007-04-05 Hoya Corporation 眼内レンズ挿入用器具
JP2008212689A (ja) * 2007-03-06 2008-09-18 Alcon Manufacturing Ltd レンズ送達装置

Cited By (9)

* Cited by examiner, † Cited by third party
Publication number Priority date Publication date Assignee Title
JP2011200469A (ja) * 2010-03-26 2011-10-13 Nidek Co Ltd 眼内レンズ挿入器具
JP2015516206A (ja) * 2012-04-15 2015-06-11 バイオコネクト システムズ インコーポレイテッド 移植可能なフローコネクタの送達システム
JP2016508821A (ja) * 2013-03-07 2016-03-24 ノバルティス アーゲー 眼内レンズを挿入するためのシステム及び過程
KR20170125084A (ko) * 2015-03-04 2017-11-13 노바르티스 아게 안내 렌즈 인젝터
JP2018505738A (ja) * 2015-03-04 2018-03-01 ノバルティス アーゲー 眼内レンズインジェクタ
KR102102108B1 (ko) * 2015-03-04 2020-04-21 알콘 인코포레이티드 안내 렌즈 인젝터
JP2022511086A (ja) * 2018-12-19 2022-01-28 アルコン インコーポレイティド 液圧減衰を有する折り畳み注入器
KR20200129801A (ko) * 2019-05-10 2020-11-18 정영택 관류액이 공급되는 안과 수술용 인공수정체 삽입 기구
KR102391641B1 (ko) * 2019-05-10 2022-04-29 정영택 관류액이 공급되는 안과 수술용 인공수정체 삽입 기구

Also Published As

Publication number Publication date
US20110264101A1 (en) 2011-10-27
JP5416379B2 (ja) 2014-02-12
EP2332501A4 (en) 2017-11-29
WO2010026919A1 (ja) 2010-03-11
EP2332501A1 (en) 2011-06-15
EP2332501B1 (en) 2025-01-08
US8470032B2 (en) 2013-06-25

Similar Documents

Publication Publication Date Title
JP5416379B2 (ja) 眼内レンズ挿入器具
JP5323420B2 (ja) 眼内レンズ挿入器具
JP6379421B2 (ja) 眼内レンズ用インジェクタ
JP4662978B2 (ja) 変形可能な眼内レンズの挿入装置
WO2007037223A1 (ja) 眼内レンズ挿入用器具
JPWO2007080869A1 (ja) 眼内レンズ挿入用器具
US20060085013A1 (en) Intraocular lens inserter
US20130006259A1 (en) Detailed description of exemplary embodiments
JP2006181269A (ja) 眼内レンズ挿入用器具
WO2014104271A1 (ja) 眼内レンズ用インジェクタ
AU2004229530A1 (en) Novel enhanced system for intraocular lens insertion
WO2009154187A1 (ja) 眼内レンズ挿入器具
KR20110102341A (ko) 강성 및 연성 팁 인공 수정체 주입기 시스템 및 방법
JPWO2018003854A1 (ja) 眼内レンズ挿入器
JP5085119B2 (ja) 眼内レンズ用バネバイアスインジェクタ
JPWO2013137208A1 (ja) 眼内レンズの挿入器具
WO2016195095A1 (ja) 眼内レンズ挿入器具
JP6027536B2 (ja) 眼内レンズの挿入器具
CN112773597B (zh) 预装式囊袋张力环推注器、预装式囊袋张力环以及囊袋张力环预装方法
CN112773596B (zh) 预装式囊袋张力环推注器
JP2019042146A (ja) 眼内レンズ挿入器具
HK40037056B (zh) 注射器、特别是双功能注射器和/或具有止挡元件的注射器

Legal Events

Date Code Title Description
A621 Written request for application examination

Free format text: JAPANESE INTERMEDIATE CODE: A621

Effective date: 20110802

A131 Notification of reasons for refusal

Free format text: JAPANESE INTERMEDIATE CODE: A131

Effective date: 20130205

A521 Request for written amendment filed

Free format text: JAPANESE INTERMEDIATE CODE: A523

Effective date: 20130408

A131 Notification of reasons for refusal

Free format text: JAPANESE INTERMEDIATE CODE: A131

Effective date: 20130716

A521 Request for written amendment filed

Free format text: JAPANESE INTERMEDIATE CODE: A523

Effective date: 20130911

TRDD Decision of grant or rejection written
A01 Written decision to grant a patent or to grant a registration (utility model)

Free format text: JAPANESE INTERMEDIATE CODE: A01

Effective date: 20131105

A61 First payment of annual fees (during grant procedure)

Free format text: JAPANESE INTERMEDIATE CODE: A61

Effective date: 20131115

R150 Certificate of patent or registration of utility model

Ref document number: 5416379

Country of ref document: JP

Free format text: JAPANESE INTERMEDIATE CODE: R150

R250 Receipt of annual fees

Free format text: JAPANESE INTERMEDIATE CODE: R250

R250 Receipt of annual fees

Free format text: JAPANESE INTERMEDIATE CODE: R250

R250 Receipt of annual fees

Free format text: JAPANESE INTERMEDIATE CODE: R250

R250 Receipt of annual fees

Free format text: JAPANESE INTERMEDIATE CODE: R250

R250 Receipt of annual fees

Free format text: JAPANESE INTERMEDIATE CODE: R250

R250 Receipt of annual fees

Free format text: JAPANESE INTERMEDIATE CODE: R250

R250 Receipt of annual fees

Free format text: JAPANESE INTERMEDIATE CODE: R250

R250 Receipt of annual fees

Free format text: JAPANESE INTERMEDIATE CODE: R250

S111 Request for change of ownership or part of ownership

Free format text: JAPANESE INTERMEDIATE CODE: R313113

S531 Written request for registration of change of domicile

Free format text: JAPANESE INTERMEDIATE CODE: R313531

R350 Written notification of registration of transfer

Free format text: JAPANESE INTERMEDIATE CODE: R350

R250 Receipt of annual fees

Free format text: JAPANESE INTERMEDIATE CODE: R250

R250 Receipt of annual fees

Free format text: JAPANESE INTERMEDIATE CODE: R250