JP2010042020A - 微小流体粒子分析システム - Google Patents
微小流体粒子分析システム Download PDFInfo
- Publication number
- JP2010042020A JP2010042020A JP2009236738A JP2009236738A JP2010042020A JP 2010042020 A JP2010042020 A JP 2010042020A JP 2009236738 A JP2009236738 A JP 2009236738A JP 2009236738 A JP2009236738 A JP 2009236738A JP 2010042020 A JP2010042020 A JP 2010042020A
- Authority
- JP
- Japan
- Prior art keywords
- particles
- cells
- cell
- microfluidic
- particle
- Prior art date
- Legal status (The legal status is an assumption and is not a legal conclusion. Google has not performed a legal analysis and makes no representation as to the accuracy of the status listed.)
- Granted
Links
Images
Classifications
-
- C—CHEMISTRY; METALLURGY
- C12—BIOCHEMISTRY; BEER; SPIRITS; WINE; VINEGAR; MICROBIOLOGY; ENZYMOLOGY; MUTATION OR GENETIC ENGINEERING
- C12M—APPARATUS FOR ENZYMOLOGY OR MICROBIOLOGY; APPARATUS FOR CULTURING MICROORGANISMS FOR PRODUCING BIOMASS, FOR GROWING CELLS OR FOR OBTAINING FERMENTATION OR METABOLIC PRODUCTS, i.e. BIOREACTORS OR FERMENTERS
- C12M21/00—Bioreactors or fermenters specially adapted for specific uses
- C12M21/06—Bioreactors or fermenters specially adapted for specific uses for in vitro fertilization
-
- C—CHEMISTRY; METALLURGY
- C12—BIOCHEMISTRY; BEER; SPIRITS; WINE; VINEGAR; MICROBIOLOGY; ENZYMOLOGY; MUTATION OR GENETIC ENGINEERING
- C12M—APPARATUS FOR ENZYMOLOGY OR MICROBIOLOGY; APPARATUS FOR CULTURING MICROORGANISMS FOR PRODUCING BIOMASS, FOR GROWING CELLS OR FOR OBTAINING FERMENTATION OR METABOLIC PRODUCTS, i.e. BIOREACTORS OR FERMENTERS
- C12M1/00—Apparatus for enzymology or microbiology
- C12M1/34—Measuring or testing with condition measuring or sensing means, e.g. colony counters
-
- B—PERFORMING OPERATIONS; TRANSPORTING
- B01—PHYSICAL OR CHEMICAL PROCESSES OR APPARATUS IN GENERAL
- B01L—CHEMICAL OR PHYSICAL LABORATORY APPARATUS FOR GENERAL USE
- B01L3/00—Containers or dishes for laboratory use, e.g. laboratory glassware; Droppers
- B01L3/50—Containers for the purpose of retaining a material to be analysed, e.g. test tubes
- B01L3/502—Containers for the purpose of retaining a material to be analysed, e.g. test tubes with fluid transport, e.g. in multi-compartment structures
- B01L3/5027—Containers for the purpose of retaining a material to be analysed, e.g. test tubes with fluid transport, e.g. in multi-compartment structures by integrated microfluidic structures, i.e. dimensions of channels and chambers are such that surface tension forces are important, e.g. lab-on-a-chip
- B01L3/502738—Containers for the purpose of retaining a material to be analysed, e.g. test tubes with fluid transport, e.g. in multi-compartment structures by integrated microfluidic structures, i.e. dimensions of channels and chambers are such that surface tension forces are important, e.g. lab-on-a-chip characterised by integrated valves
-
- B—PERFORMING OPERATIONS; TRANSPORTING
- B01—PHYSICAL OR CHEMICAL PROCESSES OR APPARATUS IN GENERAL
- B01L—CHEMICAL OR PHYSICAL LABORATORY APPARATUS FOR GENERAL USE
- B01L3/00—Containers or dishes for laboratory use, e.g. laboratory glassware; Droppers
- B01L3/50—Containers for the purpose of retaining a material to be analysed, e.g. test tubes
- B01L3/502—Containers for the purpose of retaining a material to be analysed, e.g. test tubes with fluid transport, e.g. in multi-compartment structures
- B01L3/5027—Containers for the purpose of retaining a material to be analysed, e.g. test tubes with fluid transport, e.g. in multi-compartment structures by integrated microfluidic structures, i.e. dimensions of channels and chambers are such that surface tension forces are important, e.g. lab-on-a-chip
- B01L3/502761—Containers for the purpose of retaining a material to be analysed, e.g. test tubes with fluid transport, e.g. in multi-compartment structures by integrated microfluidic structures, i.e. dimensions of channels and chambers are such that surface tension forces are important, e.g. lab-on-a-chip specially adapted for handling suspended solids or molecules independently from the bulk fluid flow, e.g. for trapping or sorting beads, for physically stretching molecules
-
- C—CHEMISTRY; METALLURGY
- C12—BIOCHEMISTRY; BEER; SPIRITS; WINE; VINEGAR; MICROBIOLOGY; ENZYMOLOGY; MUTATION OR GENETIC ENGINEERING
- C12M—APPARATUS FOR ENZYMOLOGY OR MICROBIOLOGY; APPARATUS FOR CULTURING MICROORGANISMS FOR PRODUCING BIOMASS, FOR GROWING CELLS OR FOR OBTAINING FERMENTATION OR METABOLIC PRODUCTS, i.e. BIOREACTORS OR FERMENTERS
- C12M23/00—Constructional details, e.g. recesses, hinges
- C12M23/02—Form or structure of the vessel
- C12M23/16—Microfluidic devices; Capillary tubes
-
- G—PHYSICS
- G01—MEASURING; TESTING
- G01N—INVESTIGATING OR ANALYSING MATERIALS BY DETERMINING THEIR CHEMICAL OR PHYSICAL PROPERTIES
- G01N33/00—Investigating or analysing materials by specific methods not covered by groups G01N1/00 - G01N31/00
- G01N33/48—Biological material, e.g. blood, urine; Haemocytometers
- G01N33/483—Physical analysis of biological material
- G01N33/4833—Physical analysis of biological material of solid biological material, e.g. tissue samples, cell cultures
-
- G—PHYSICS
- G02—OPTICS
- G02B—OPTICAL ELEMENTS, SYSTEMS OR APPARATUS
- G02B21/00—Microscopes
- G02B21/32—Micromanipulators structurally combined with microscopes
-
- B—PERFORMING OPERATIONS; TRANSPORTING
- B01—PHYSICAL OR CHEMICAL PROCESSES OR APPARATUS IN GENERAL
- B01L—CHEMICAL OR PHYSICAL LABORATORY APPARATUS FOR GENERAL USE
- B01L2200/00—Solutions for specific problems relating to chemical or physical laboratory apparatus
- B01L2200/06—Fluid handling related problems
- B01L2200/0636—Focussing flows, e.g. to laminate flows
-
- B—PERFORMING OPERATIONS; TRANSPORTING
- B01—PHYSICAL OR CHEMICAL PROCESSES OR APPARATUS IN GENERAL
- B01L—CHEMICAL OR PHYSICAL LABORATORY APPARATUS FOR GENERAL USE
- B01L2200/00—Solutions for specific problems relating to chemical or physical laboratory apparatus
- B01L2200/06—Fluid handling related problems
- B01L2200/0647—Handling flowable solids, e.g. microscopic beads, cells, particles
-
- B—PERFORMING OPERATIONS; TRANSPORTING
- B01—PHYSICAL OR CHEMICAL PROCESSES OR APPARATUS IN GENERAL
- B01L—CHEMICAL OR PHYSICAL LABORATORY APPARATUS FOR GENERAL USE
- B01L2200/00—Solutions for specific problems relating to chemical or physical laboratory apparatus
- B01L2200/06—Fluid handling related problems
- B01L2200/0647—Handling flowable solids, e.g. microscopic beads, cells, particles
- B01L2200/0652—Sorting or classification of particles or molecules
-
- B—PERFORMING OPERATIONS; TRANSPORTING
- B01—PHYSICAL OR CHEMICAL PROCESSES OR APPARATUS IN GENERAL
- B01L—CHEMICAL OR PHYSICAL LABORATORY APPARATUS FOR GENERAL USE
- B01L2200/00—Solutions for specific problems relating to chemical or physical laboratory apparatus
- B01L2200/06—Fluid handling related problems
- B01L2200/0647—Handling flowable solids, e.g. microscopic beads, cells, particles
- B01L2200/0668—Trapping microscopic beads
-
- B—PERFORMING OPERATIONS; TRANSPORTING
- B01—PHYSICAL OR CHEMICAL PROCESSES OR APPARATUS IN GENERAL
- B01L—CHEMICAL OR PHYSICAL LABORATORY APPARATUS FOR GENERAL USE
- B01L2200/00—Solutions for specific problems relating to chemical or physical laboratory apparatus
- B01L2200/10—Integrating sample preparation and analysis in single entity, e.g. lab-on-a-chip concept
-
- B—PERFORMING OPERATIONS; TRANSPORTING
- B01—PHYSICAL OR CHEMICAL PROCESSES OR APPARATUS IN GENERAL
- B01L—CHEMICAL OR PHYSICAL LABORATORY APPARATUS FOR GENERAL USE
- B01L2200/00—Solutions for specific problems relating to chemical or physical laboratory apparatus
- B01L2200/12—Specific details about manufacturing devices
-
- B—PERFORMING OPERATIONS; TRANSPORTING
- B01—PHYSICAL OR CHEMICAL PROCESSES OR APPARATUS IN GENERAL
- B01L—CHEMICAL OR PHYSICAL LABORATORY APPARATUS FOR GENERAL USE
- B01L2200/00—Solutions for specific problems relating to chemical or physical laboratory apparatus
- B01L2200/16—Reagents, handling or storing thereof
-
- B—PERFORMING OPERATIONS; TRANSPORTING
- B01—PHYSICAL OR CHEMICAL PROCESSES OR APPARATUS IN GENERAL
- B01L—CHEMICAL OR PHYSICAL LABORATORY APPARATUS FOR GENERAL USE
- B01L2300/00—Additional constructional details
- B01L2300/06—Auxiliary integrated devices, integrated components
-
- B—PERFORMING OPERATIONS; TRANSPORTING
- B01—PHYSICAL OR CHEMICAL PROCESSES OR APPARATUS IN GENERAL
- B01L—CHEMICAL OR PHYSICAL LABORATORY APPARATUS FOR GENERAL USE
- B01L2300/00—Additional constructional details
- B01L2300/06—Auxiliary integrated devices, integrated components
- B01L2300/0627—Sensor or part of a sensor is integrated
- B01L2300/0636—Integrated biosensor, microarrays
-
- B—PERFORMING OPERATIONS; TRANSPORTING
- B01—PHYSICAL OR CHEMICAL PROCESSES OR APPARATUS IN GENERAL
- B01L—CHEMICAL OR PHYSICAL LABORATORY APPARATUS FOR GENERAL USE
- B01L2300/00—Additional constructional details
- B01L2300/06—Auxiliary integrated devices, integrated components
- B01L2300/0627—Sensor or part of a sensor is integrated
- B01L2300/0645—Electrodes
-
- B—PERFORMING OPERATIONS; TRANSPORTING
- B01—PHYSICAL OR CHEMICAL PROCESSES OR APPARATUS IN GENERAL
- B01L—CHEMICAL OR PHYSICAL LABORATORY APPARATUS FOR GENERAL USE
- B01L2300/00—Additional constructional details
- B01L2300/06—Auxiliary integrated devices, integrated components
- B01L2300/0681—Filter
-
- B—PERFORMING OPERATIONS; TRANSPORTING
- B01—PHYSICAL OR CHEMICAL PROCESSES OR APPARATUS IN GENERAL
- B01L—CHEMICAL OR PHYSICAL LABORATORY APPARATUS FOR GENERAL USE
- B01L2300/00—Additional constructional details
- B01L2300/08—Geometry, shape and general structure
- B01L2300/0861—Configuration of multiple channels and/or chambers in a single devices
-
- B—PERFORMING OPERATIONS; TRANSPORTING
- B01—PHYSICAL OR CHEMICAL PROCESSES OR APPARATUS IN GENERAL
- B01L—CHEMICAL OR PHYSICAL LABORATORY APPARATUS FOR GENERAL USE
- B01L2300/00—Additional constructional details
- B01L2300/08—Geometry, shape and general structure
- B01L2300/0861—Configuration of multiple channels and/or chambers in a single devices
- B01L2300/0867—Multiple inlets and one sample wells, e.g. mixing, dilution
-
- B—PERFORMING OPERATIONS; TRANSPORTING
- B01—PHYSICAL OR CHEMICAL PROCESSES OR APPARATUS IN GENERAL
- B01L—CHEMICAL OR PHYSICAL LABORATORY APPARATUS FOR GENERAL USE
- B01L2300/00—Additional constructional details
- B01L2300/08—Geometry, shape and general structure
- B01L2300/0861—Configuration of multiple channels and/or chambers in a single devices
- B01L2300/087—Multiple sequential chambers
-
- B—PERFORMING OPERATIONS; TRANSPORTING
- B01—PHYSICAL OR CHEMICAL PROCESSES OR APPARATUS IN GENERAL
- B01L—CHEMICAL OR PHYSICAL LABORATORY APPARATUS FOR GENERAL USE
- B01L2300/00—Additional constructional details
- B01L2300/08—Geometry, shape and general structure
- B01L2300/0861—Configuration of multiple channels and/or chambers in a single devices
- B01L2300/088—Channel loops
-
- B—PERFORMING OPERATIONS; TRANSPORTING
- B01—PHYSICAL OR CHEMICAL PROCESSES OR APPARATUS IN GENERAL
- B01L—CHEMICAL OR PHYSICAL LABORATORY APPARATUS FOR GENERAL USE
- B01L2300/00—Additional constructional details
- B01L2300/08—Geometry, shape and general structure
- B01L2300/0887—Laminated structure
-
- B—PERFORMING OPERATIONS; TRANSPORTING
- B01—PHYSICAL OR CHEMICAL PROCESSES OR APPARATUS IN GENERAL
- B01L—CHEMICAL OR PHYSICAL LABORATORY APPARATUS FOR GENERAL USE
- B01L2300/00—Additional constructional details
- B01L2300/08—Geometry, shape and general structure
- B01L2300/0893—Geometry, shape and general structure having a very large number of wells, microfabricated wells
-
- B—PERFORMING OPERATIONS; TRANSPORTING
- B01—PHYSICAL OR CHEMICAL PROCESSES OR APPARATUS IN GENERAL
- B01L—CHEMICAL OR PHYSICAL LABORATORY APPARATUS FOR GENERAL USE
- B01L2300/00—Additional constructional details
- B01L2300/12—Specific details about materials
- B01L2300/123—Flexible; Elastomeric
-
- B—PERFORMING OPERATIONS; TRANSPORTING
- B01—PHYSICAL OR CHEMICAL PROCESSES OR APPARATUS IN GENERAL
- B01L—CHEMICAL OR PHYSICAL LABORATORY APPARATUS FOR GENERAL USE
- B01L2400/00—Moving or stopping fluids
- B01L2400/04—Moving fluids with specific forces or mechanical means
- B01L2400/0403—Moving fluids with specific forces or mechanical means specific forces
- B01L2400/0409—Moving fluids with specific forces or mechanical means specific forces centrifugal forces
-
- B—PERFORMING OPERATIONS; TRANSPORTING
- B01—PHYSICAL OR CHEMICAL PROCESSES OR APPARATUS IN GENERAL
- B01L—CHEMICAL OR PHYSICAL LABORATORY APPARATUS FOR GENERAL USE
- B01L2400/00—Moving or stopping fluids
- B01L2400/04—Moving fluids with specific forces or mechanical means
- B01L2400/0403—Moving fluids with specific forces or mechanical means specific forces
- B01L2400/0415—Moving fluids with specific forces or mechanical means specific forces electrical forces, e.g. electrokinetic
-
- B—PERFORMING OPERATIONS; TRANSPORTING
- B01—PHYSICAL OR CHEMICAL PROCESSES OR APPARATUS IN GENERAL
- B01L—CHEMICAL OR PHYSICAL LABORATORY APPARATUS FOR GENERAL USE
- B01L2400/00—Moving or stopping fluids
- B01L2400/04—Moving fluids with specific forces or mechanical means
- B01L2400/0475—Moving fluids with specific forces or mechanical means specific mechanical means and fluid pressure
- B01L2400/0481—Moving fluids with specific forces or mechanical means specific mechanical means and fluid pressure squeezing of channels or chambers
-
- B—PERFORMING OPERATIONS; TRANSPORTING
- B01—PHYSICAL OR CHEMICAL PROCESSES OR APPARATUS IN GENERAL
- B01L—CHEMICAL OR PHYSICAL LABORATORY APPARATUS FOR GENERAL USE
- B01L2400/00—Moving or stopping fluids
- B01L2400/06—Valves, specific forms thereof
- B01L2400/0622—Valves, specific forms thereof distribution valves, valves having multiple inlets and/or outlets, e.g. metering valves, multi-way valves
-
- B—PERFORMING OPERATIONS; TRANSPORTING
- B01—PHYSICAL OR CHEMICAL PROCESSES OR APPARATUS IN GENERAL
- B01L—CHEMICAL OR PHYSICAL LABORATORY APPARATUS FOR GENERAL USE
- B01L2400/00—Moving or stopping fluids
- B01L2400/06—Valves, specific forms thereof
- B01L2400/0633—Valves, specific forms thereof with moving parts
- B01L2400/0655—Valves, specific forms thereof with moving parts pinch valves
-
- B—PERFORMING OPERATIONS; TRANSPORTING
- B01—PHYSICAL OR CHEMICAL PROCESSES OR APPARATUS IN GENERAL
- B01L—CHEMICAL OR PHYSICAL LABORATORY APPARATUS FOR GENERAL USE
- B01L3/00—Containers or dishes for laboratory use, e.g. laboratory glassware; Droppers
- B01L3/50—Containers for the purpose of retaining a material to be analysed, e.g. test tubes
- B01L3/502—Containers for the purpose of retaining a material to be analysed, e.g. test tubes with fluid transport, e.g. in multi-compartment structures
- B01L3/5027—Containers for the purpose of retaining a material to be analysed, e.g. test tubes with fluid transport, e.g. in multi-compartment structures by integrated microfluidic structures, i.e. dimensions of channels and chambers are such that surface tension forces are important, e.g. lab-on-a-chip
- B01L3/502746—Containers for the purpose of retaining a material to be analysed, e.g. test tubes with fluid transport, e.g. in multi-compartment structures by integrated microfluidic structures, i.e. dimensions of channels and chambers are such that surface tension forces are important, e.g. lab-on-a-chip characterised by the means for controlling flow resistance, e.g. flow controllers, baffles
-
- B—PERFORMING OPERATIONS; TRANSPORTING
- B01—PHYSICAL OR CHEMICAL PROCESSES OR APPARATUS IN GENERAL
- B01L—CHEMICAL OR PHYSICAL LABORATORY APPARATUS FOR GENERAL USE
- B01L3/00—Containers or dishes for laboratory use, e.g. laboratory glassware; Droppers
- B01L3/50—Containers for the purpose of retaining a material to be analysed, e.g. test tubes
- B01L3/502—Containers for the purpose of retaining a material to be analysed, e.g. test tubes with fluid transport, e.g. in multi-compartment structures
- B01L3/5027—Containers for the purpose of retaining a material to be analysed, e.g. test tubes with fluid transport, e.g. in multi-compartment structures by integrated microfluidic structures, i.e. dimensions of channels and chambers are such that surface tension forces are important, e.g. lab-on-a-chip
- B01L3/502753—Containers for the purpose of retaining a material to be analysed, e.g. test tubes with fluid transport, e.g. in multi-compartment structures by integrated microfluidic structures, i.e. dimensions of channels and chambers are such that surface tension forces are important, e.g. lab-on-a-chip characterised by bulk separation arrangements on lab-on-a-chip devices, e.g. for filtration or centrifugation
-
- G—PHYSICS
- G01—MEASURING; TESTING
- G01N—INVESTIGATING OR ANALYSING MATERIALS BY DETERMINING THEIR CHEMICAL OR PHYSICAL PROPERTIES
- G01N15/00—Investigating characteristics of particles; Investigating permeability, pore-volume or surface-area of porous materials
- G01N15/10—Investigating individual particles
- G01N15/14—Optical investigation techniques, e.g. flow cytometry
- G01N15/1484—Optical investigation techniques, e.g. flow cytometry microstructural devices
-
- G—PHYSICS
- G01—MEASURING; TESTING
- G01N—INVESTIGATING OR ANALYSING MATERIALS BY DETERMINING THEIR CHEMICAL OR PHYSICAL PROPERTIES
- G01N15/00—Investigating characteristics of particles; Investigating permeability, pore-volume or surface-area of porous materials
- G01N15/10—Investigating individual particles
- G01N15/14—Optical investigation techniques, e.g. flow cytometry
- G01N15/149—Optical investigation techniques, e.g. flow cytometry specially adapted for sorting particles, e.g. by their size or optical properties
-
- G—PHYSICS
- G01—MEASURING; TESTING
- G01N—INVESTIGATING OR ANALYSING MATERIALS BY DETERMINING THEIR CHEMICAL OR PHYSICAL PROPERTIES
- G01N15/00—Investigating characteristics of particles; Investigating permeability, pore-volume or surface-area of porous materials
- G01N15/01—Investigating characteristics of particles; Investigating permeability, pore-volume or surface-area of porous materials specially adapted for biological cells, e.g. blood cells
- G01N2015/016—White blood cells
-
- G—PHYSICS
- G01—MEASURING; TESTING
- G01N—INVESTIGATING OR ANALYSING MATERIALS BY DETERMINING THEIR CHEMICAL OR PHYSICAL PROPERTIES
- G01N15/00—Investigating characteristics of particles; Investigating permeability, pore-volume or surface-area of porous materials
- G01N15/02—Investigating particle size or size distribution
- G01N2015/0288—Sorting the particles
-
- G—PHYSICS
- G01—MEASURING; TESTING
- G01N—INVESTIGATING OR ANALYSING MATERIALS BY DETERMINING THEIR CHEMICAL OR PHYSICAL PROPERTIES
- G01N15/00—Investigating characteristics of particles; Investigating permeability, pore-volume or surface-area of porous materials
- G01N15/10—Investigating individual particles
- G01N15/14—Optical investigation techniques, e.g. flow cytometry
- G01N2015/1493—Particle size
Landscapes
- Health & Medical Sciences (AREA)
- Chemical & Material Sciences (AREA)
- Life Sciences & Earth Sciences (AREA)
- Engineering & Computer Science (AREA)
- Biomedical Technology (AREA)
- Bioinformatics & Cheminformatics (AREA)
- Physics & Mathematics (AREA)
- General Health & Medical Sciences (AREA)
- Organic Chemistry (AREA)
- Wood Science & Technology (AREA)
- Zoology (AREA)
- Analytical Chemistry (AREA)
- Biochemistry (AREA)
- Genetics & Genomics (AREA)
- Biotechnology (AREA)
- Hematology (AREA)
- Clinical Laboratory Science (AREA)
- Dispersion Chemistry (AREA)
- Sustainable Development (AREA)
- General Engineering & Computer Science (AREA)
- Microbiology (AREA)
- Molecular Biology (AREA)
- Chemical Kinetics & Catalysis (AREA)
- General Physics & Mathematics (AREA)
- Optics & Photonics (AREA)
- Medicinal Chemistry (AREA)
- Urology & Nephrology (AREA)
- Biophysics (AREA)
- Food Science & Technology (AREA)
- Fluid Mechanics (AREA)
- Immunology (AREA)
- Pathology (AREA)
- Apparatus Associated With Microorganisms And Enzymes (AREA)
- Measuring Or Testing Involving Enzymes Or Micro-Organisms (AREA)
- Investigating Or Analysing Biological Materials (AREA)
- Micro-Organisms Or Cultivation Processes Thereof (AREA)
Abstract
【解決手段】細胞および/またはビーズの様な粒子の、微小流体操作および/または検出のための装置、方法およびキットを備える。細胞、ウイルス、オルガネラ、ビーズ、および/または小胞のような粒子の微小流体操作および/または分析のための装置、方法およびキットを備え、これらの操作および分析を実行するための微小流体メカニズム。これらのメカニズムは、粒子のコントロールされたインプット、移動/配置、保持/局在化、処理、測定、放出、および/またはアウトプットを可能にする。さらに、これらのメカニズムは、システム中で任意の適切な順序で組み合わされ得、任意の適切な回数利用される。
【選択図】なし
Description
本出願は、米国特許法第119条(e)項に基づいて、米国仮特許出願第60/369,538号(2002年4月1日出願)および同第60/378,464号(2002年5月6日出願)(これらはともに、全ての目的ならびに本明細書中およびその特許出願に記載される目的のために、その全体が本明細書中に参考として援用される)に対する優先権の利益を主張する。本出願はさらに、米国特許法第120条に基づいて、非仮特許出願(Chouらによる2003年3月31日出願の、標題「MicrofluidicParticle−Analysis Systems」(代理人整理番号139F.310US)の一部継続出願(これは、全ての目的のために、本明細書中に参考として援用される)として、優先権を主張する。
本出願は、米国特許出願第09/605,520号(2000年6月27日出願);同第09/724,784号(2000年11月28日出願);同第09/724,967号(2000年11月28日出願);同第09/796,378号(2001年2月28日出願);同第09/796,666号(2001年2月28日出願);同第09/796,871号(2001年2月28日出願);同第09/826,583号(2001年4月6日出願);および同第09/724,784号(2001年11月28日出願、標題「MICROFABRICATEDELASTOMERIC VALVE AND PUMP SYSTEMS」および発明者、Marc A.Unger、Hou−Pu Chou、Todd A. Thorsen、AxelScherer、Stephen R. Quake、Jian Liu、Mark L. Adams、およびCarl L. Hansen)を全ての目的で、その全体を本明細書中に参考として援用する。
本出願は、以下の刊行物を、全ての目的で本明細書中に参考として援用する:Joe SambrookおよびDavid Russell,Molecular Cloning:ALaboratory Manual(第3版、2000);ならびにR.Ian Freshney,Culture of Animal Cells:A Manualof Basic Technique(第4版、2000)。
本発明は、粒子の操作および/または検出のためのシステムに関する。より具体的には、本発明は、粒子(例えば、細胞および/またはビーズ)の操作および/または検出のための微小流体システムに関する。
生物学的システムが分子分析および細胞分析を行う能力は、過去30年間で爆発的に成長した。特に、分子技術および細胞技術(例えば、DNA配列決定、遺伝子クローニング、モノクローナル抗体生成、細胞トランスフェクション、増幅技術(例えば、PCR)、およびトランスジェニック動物の成立)の出現および洗練は、この爆発的な成長を刺激した。これらの技術は、圧倒的多数の同定遺伝子、コードタンパク質、操作された細胞型、ならびにこれらの遺伝子、タンパク質、および細胞型を研究するためのアッセイを生み出した。サンプル、試薬、およびアッセイのあり得る組み合わせの数がほとんど計算できないほどになるにつれて、特に妥当な時間的制限および金銭的制限内で、この複雑性を理解し始めるためにも、新規なアプローチが必要なことがますます明らかになってきている。
本発明は、粒子(例えば、細胞および/またはビーズ)の微小流体操作および/または検出のためのシステム(装置を含む)、方法、およびキットを提供する。
より特定すれば、本願発明は以下の項目に関し得る。
(項目1)
粒子を処理するための微小流体デバイスであって、上記デバイスが、以下:
(a)粒子を含む流体サンプルを導入するためのインプットメカニズム;
(b)上記インプットメカニズムと流体連絡している微小流体通路;
(c)上記微小流体通路と流体連絡している配置メカニズムであって、上記配置メカニズムが、上記流体サンプル中に含まれる上記粒子を上記微小流体通路中に配置させるための配置メカニズム;
(d)配置手段により配置されている上記粒子を保持するための保持メカニズム;
(e)上記保持メカニズム中に保持されている上記粒子を選択的に処理して処理応答を生じるための、上記保持メカニズムと連絡している処理メカニズム;および
(f)上記粒子の処理応答を、存在する場合、測定するための測定メカニズム
を備える、デバイス。
(項目2)
項目1に記載の微小流体デバイスであって、上記デバイスが、上記粒子を上記保持メカニズムから放出するための放出メカニズムをさらに備える、デバイス。
(項目3)
項目2に記載の微小流体デバイスであって、上記デバイスが、上記粒子を上記微小流体デバイスからアウトプットするためのアウトプットメカニズムをさらに備える、デバイス。
(項目4)
項目2に記載の微小流体デバイスであって、上記デバイスが、上記粒子を培養するための培養メカニズムをさらに備える、デバイス。
(項目5)
項目1に記載の微小流体デバイスであって、上記デバイスが、上記サンプル流体または他の流体の流量または流路の局面を決定するためのコントロールメカニズムをさらに備える、デバイス。
(項目6)
項目5に記載の微小流体デバイスであって、上記コントロールメカニズムが、上記微小流体通路と連絡しているバルブである、デバイス。
(項目7)
項目6に記載の微小流体デバイスであって、上記微小流体デバイスが、多層エラストマーブロックから形成され、上記バルブが、上記エラストマーブロック中のエラストマー膜から形成される、デバイス。
(項目8)
項目6に記載の微小流体デバイスであって、上記コントロールメカニズムが、上記微小流体通路と連絡しているポンプである、デバイス。
(項目9)
項目8に記載の微小流体デバイスであって、上記微小流体デバイスが、多層エラストマーブロックから形成され、上記ポンプが、上記エラストマーブロック中のエラストマー膜から形成される、デバイス。
(項目10)
項目1に記載の微小流体デバイスであって、上記微小流体デバイスが、流体層中の上記微小流体通路中に偏向可能なエラストマー膜を有するコントロール層を有する多層エラストマーブロックを備え、上記微小流体通路中の流体の流速または流路を決定する、デバイス。
(項目11)
項目1に記載の微小流体デバイスであって、上記微小流体デバイスが、エラストマー、ポリジメチルシロキサン、プラスチック、ポリスチレン、ポリプロピレン、ポリカーボネート、ガラス、セラミック、シリコン、ゾルゲル、金属、メタロイド、金属酸化物、生物学的ポリマー、これらの混合物、粒子、タンパク質、ゼラチン、ポリリシン、血清アルブミン、コラーゲン、核酸、および微生物からなる群から選択される物質を含む層を含む、デバイス。
(項目12)
項目1に記載の微小流体デバイスであって、上記微小流体通路が、約500マイクロメートル幅未満である、デバイス。
(項目13)
項目1に記載の微小流体デバイスであって、上記微小流体通路が、連結または分岐にて上記微小流体通路に結合する隣接する通路をさらに備え、上記隣接する通路が、入口通路、出口通路、粒子通路、試薬通路、および廃棄物通路からなる群から選択されている、デバイス。
(項目14)
項目13に記載の微小流体デバイスであって、上記隣接する通路が、行き止まりの通路である、デバイス。
(項目15)
項目13に記載の微小流体デバイスであって、上記デバイスが、上記粒子を操作する上記隣接する通路をさらに備える、デバイス。
(項目16)
項目15に記載の微小流体デバイスであって、上記粒子操作が、配置、分類、保持、処理、検出、増殖、蓄積、混合および放出の群から選択される、デバイス。
(項目17)
項目1に記載の微小流体デバイスであって、上記粒子が、細胞、真核生物細胞、原核生物細胞、植物細胞、動物細胞、ハイブリドーマ細胞、細菌細胞、酵母細胞、ウイルス、オルガネラ、ビーズおよび小胞からなる群から選択される、デバイス。
(項目18)
項目17に記載の微小流体デバイスであって、上記粒子が、複数の粒子または粒子の集合体である、デバイス。
(項目19)
項目18に記載の微小流体デバイスであって、上記複数の粒子が、異なる粒子を含む複合体混合物である、デバイス。
(項目20)
項目19に記載の微小流体デバイスであって、上記異なる粒子を含む複合体混合物が、全血または血清または体液である、デバイス。
(項目21)
項目1に記載の微小流体デバイスであって、上記粒子が、卵または胎芽である、デバイス。
(項目22)
項目1に記載の微小流体デバイスであって、上記インプットメカニズムが、上記微小流体通路と流体連絡している、容器または壁である、デバイス。
(項目23)
項目22に記載の微小流体デバイスであって、上記インプットメカニズムが、上記微小流体通路により規定される容積よりも大きな容積を有する、デバイス。
(項目24)
項目1に記載の微小流体デバイスであって、上記デバイスが、上記インプットメカニズムと連絡しているまたは上記インプットメカニズム上で作動している促進メカニズムをさらに備える、デバイス。
(項目25)
項目24に記載の微小流体デバイスであって、上記促進メカニズムが、重力、流体圧、遠心圧、ポンプ圧、および流体陰圧からなる群から選択される、デバイス。
(項目26)
項目1に記載の微小流体デバイスであって、上記配置メカニズムが、直接配置メカニズムまたは間接配置メカニズムである、デバイス。
(項目27)
項目26に記載の微小流体デバイスであって、上記直接配置メカニズムが、光学、電気、磁気および重力からなる群から選択される力である、デバイス。
(項目28)
項目27に記載の微小流体デバイスであって、上記電気的力が、電気泳動、電気浸透、および誘電泳動からなる群から選択される、デバイス。
(項目29)
項目26に記載の微小流体デバイスであって、上記間接配置メカニズムが、縦間接配置メカニズムまたは横間接配置メカニズムである、デバイス。
(項目30)
項目29に記載の微小流体デバイスであって、上記間接配置メカニズムが、上記微小流体デバイスと結合したポンプまたはバルブにより促進される、デバイス。
(項目31)
項目29に記載の微小流体デバイスであって、上記横間接配置メカニズムが、通路連結、減少した流体流の左右に配置される領域、またはチャネル屈曲での流体流により促進される、デバイス。
(項目32)
項目31に記載の微小流体デバイスであって、上記通路連結が、統合または分割している、デバイス。
(項目33)
項目29に記載の微小流体デバイスであって、上記横配置メカニズムが、層流に基づく横配置手段である、デバイス。
(項目34)
項目29に記載の微小流体デバイスであって、上記横間接配置メカニズムが、推計学的横配置メカニズムである、デバイス。
(項目35)
項目34に記載の微小流体デバイスであって、上記推計学的横配置メカニズムが、上記サンプル流体中の上記粒子の主な流れの領域から減少した流れの領域への左右の分離により、粒子の集団から上記粒子を無作為に選択する、デバイス。
(項目36)
項目29に記載の微小流体デバイスであって、上記横間接配置メカニズムが、遠心力に基づく横配置メカニズムである、デバイス。
(項目37)
項目1に記載の微小流体デバイスであって、上記保持メカニズムが、上記微小流体デバイス中の予め選択された領域で上記粒子を選択的に保持する、デバイス。
(項目38)
項目37に記載の微小流体デバイスであって、上記保持メカニズムが、上記配置メカニズムにより引き起こされる力に打ち勝つまたは打ち消すことにより上記粒子を保持する、デバイス。
(項目39)
項目1に記載の微小流体デバイスであって、上記保持メカニズムが、トラップまたは障壁に基づく保持メカニズムである、デバイス。
(項目40)
項目39に記載の微小流体デバイスであって、上記障壁に基づく保持メカニズムが、上記微小流体通路中のまたは上記微小流体通路に隣接する上記粒子の縦移動を制限する、デバイス。
(項目41)
項目38に記載の微小流体デバイスであって、上記保持メカニズムが、固定してまたは一時的に、上記微小流体通路中にまたは上記微小流体通路に隣接して延び、上記粒子の縦移動を制限する突起部である、デバイス。
(項目42)
項目26に記載の微小流体デバイスであって、上記直接配置メカニズムが、化学的保持メカニズムである、デバイス。
(項目43)
項目42に記載の微小流体デバイスであって、上記化学的保持メカニズムが、上記粒子と上記保持メカニズムとの間の特異的な親和力に基づく、デバイス。
(項目44)
項目1に記載の微小流体デバイスであって、上記処理メカニズムが、流体媒介メカニズムまたは非流体媒介メカニズムである、デバイス。
(項目45)
項目1に記載の微小流体デバイスであって、上記処理メカニズムが、上記粒子を試薬または物理的条件に曝す、デバイス。
(項目46)
項目45に記載の微小流体デバイスであって、上記試薬が、化学的変調器、生物学的変調器、アゴニスト、アンタゴニスト、ホルモン、リガンド、低分子、ペプチド、タンパク質、炭水化物、脂質、レセプター、栄養素、毒素、薬物、化学物質、化合物、イオン、ポリマー、核酸、物質、複合体、混合物、集合体、色素、染料、蛍光色素、検出剤、アッセイ剤、基質、基質阻害剤、抗体、標識物質、および生物学的粒子からなる群から選択される、デバイス。
(項目47)
項目46に記載の微小流体デバイスであって、上記試薬が、上記粒子を引きつけるまたは反発する、デバイス。
(項目48)
項目45に記載の微小流体デバイスであって、上記試薬が、細胞粒子増殖を誘発または阻害する、デバイス。
(項目49)
項目45に記載の微小流体デバイスであって、上記試薬が、細胞傷害性である、デバイス。
(項目50)
項目44に記載の微小流体デバイスであって、上記流体媒介メカニズムが、流体処理をさらに備え、そして上記粒子が、上記流体処理に導入される、デバイス。
(項目51)
項目44に記載の微小流体デバイスであって、上記流体媒介メカニズムが、上記配置メカニズムの機能と結合して機能する、デバイス。
(項目52)
項目51に記載の微小流体デバイスであって、上記配置メカニズムが、上記粒子を、上記流体媒介メカニズム中におよび上記流体媒介メカニズム外に移動させ、上記粒子の処理流体への曝露を調節する、横配置メカニズムである、デバイス。
(項目53)
項目45に記載の微小流体デバイスであって、上記物理的条件が、熱、光、放射能、亜原子粒子、電場、磁場、圧力、音波圧、重力、および微重力からなる群から選択される、デバイス。
(項目54)
項目1に記載の微小流体デバイスであって、上記測定メカニズムが、上記粒子の特性または上記粒子により引き起こされる特性を検出する上記微小流体デバイスと結合される検出器である、デバイス。
(項目55)
項目54に記載の微小流体デバイスであって、上記検出器が、分光器、電気的センサー、流体力学的センサー、画像化システム、および光子検出器からなる群から選択される、デバイス。
(項目56)
項目54に記載の微小流体デバイスであって、上記検出器が、複数のバルブを検出する、デバイス。
(項目57)
項目54に記載の微小流体デバイスであって、上記検出器が、時間に依存しない様式、時間依存様式、および平均化様式からなる群から選択される検出様式を使用する、デバイス。
(項目58)
項目54に記載の微小流体デバイスであって、上記検出器が、吸収、ルミネセンス、光ルミネセンス、化学ルミネセンス、エレクトロルミネセンス、磁気共鳴、原子核共鳴、電子スピン共鳴、散乱、電子散乱、光散乱、中性子散乱、回折、円偏光二色性、施光度、蛍光強度、蛍光共鳴エネルギー移動、蛍光極性、蛍光寿命、全内部反射蛍光、蛍光相関分光学、光退色後の蛍光回復、蛍光活性化細胞分類および燐光性からなる群から選択される型の生じるシグナルを検出する、分光学的検出器である、デバイス。
(項目59)
項目54に記載の微小流体デバイスであって、上記検出器が、電流、電圧、抵抗、静電容量、および電力から選択されるシグナルを検出し得る、電気的検出器である、デバイス。
(項目60)
項目54に記載の微小流体デバイスであって、上記検出器は、上記粒子と流体、別の粒子または上記微小流体通路との流体力学的相互作用を検出する、流体力学的検出器である、デバイス。
(項目61)
項目60に記載の微小流体デバイスであって、上記相互作用が、クロマトグラフィー、沈殿、粘度計、電気泳動からなる群から選択される流体力学的相互作用を含んだ、デバイス。
(項目62)
項目54に記載の微小流体デバイスであって、上記検出器が、上記粒子の画像を作り出し、そして分析するための画像化検出器である、デバイス。
(項目63)
項目54に記載の微小流体デバイスであって、上記検出器が、上記粒子により生じる生物学的応答を検出する、デバイス。
(項目64)
項目63に記載の微小流体デバイスであって、上記生物学的応答が、化学走性、細胞間相互作用、老化、アポトーシス、増殖、分化、形態学的変化、pH変化、およびカルシウム摂取からなる群から選択される、デバイス。
(項目65)
項目1に記載の微小流体デバイスであって、上記デバイスが、検出部位をさらに備え、上記粒子または上記粒子の生成物が、上記検出器により検出される、デバイス。
(項目66)
項目65に記載の微小流体デバイスであって、上記検出部位が、上記微小粒体デバイス中にある、デバイス。
(項目67)
項目65に記載の微小流体デバイスであって、上記検出部位が、上記微小流体デバイスに対して外部に位置される、デバイス。
(項目68)
項目54に記載の微小流体デバイスであって、上記検出器が、上記粒子の特性を直接的または間接的に検出し、上記特性が、粒子固有性、粒子数、粒子濃度、組成物、構造、配列、活性、分子特性、形態学、表現型、遺伝子型、増殖、アポトーシス、壊死、溶解、生存率/死亡率、細胞周期での位置、シグナル経路の活性、分化、転写活性、基質結合、細胞−細胞相互作用、翻訳活性、複製活性、形質転換、熱ショック応答、運動性、拡散、膜完全性、化学走性、および神経突起生長からなる群から選択されている、デバイス。
(項目69)
項目2に記載の微小流体デバイスであって、上記放出メカニズムが、上記保持メカニズムにより引き起こされる保持力を除去することにより作動する、デバイス。
(項目70)
項目2に記載の微小流体デバイスであって、上記放出メカニズムが、上記保持メカニズムにより引き起こされる保持力に打ち勝つことにより作動する、デバイス。
(項目71)
項目2に記載の微小流体デバイスであって、上記放出メカニズムが、上記保持メカニズムにより引き起こされる保持力に無力にさせることにより作動する、デバイス。
(項目72)
項目2に記載の微小流体デバイスであって、上記粒子を上記微小流体デバイス内または上記微小流体デバイスの外部の別の領域に向ける工程をさらに包含する、デバイス。
(項目73)
項目72に記載の微小流体デバイスであって、上記別の領域が、第2の配置メカニズム、第2の検出メカニズム、第2の保持メカニズム、およびアウトプットメカニズムからなる群から選択される、デバイス。
(項目74)
項目73に記載の微小流体デバイスであって、上記第2の保持メカニズムが、細胞培養チャンバである、デバイス。
(項目75)
項目3に記載の微小流体デバイスであって、上記微小流体デバイスが、内部シンクおよび外部シンク、廃棄部位、収集部位、細胞増殖チャンバ、ならびに外部細胞培養プレートからなる群から選択される位置に上記粒子をアウトプットする、上記アウトプットメカニズムをさらに備える、デバイス。
(項目76)
細胞を試薬に浸み込ませるための方法であって、上記方法が、以下の工程:
(a)微小流体デバイスを提供する工程であって、上記デバイスが、以下:
(i)細胞増殖チャンバ
細胞入口が上記チャンバと連絡しており、上記細胞入口が上記細胞入口を通り上記チャンバ中への流体流をバルブで調節する上記細胞入口と作動可能に連絡しているバルブを有し、入口バルブが開いている場合、細胞が上記細胞入口を通り上記チャンバ中に通り得、しかし上記入口バルブが閉じている場合、上記細胞が、上記細胞入口を通ることが出来ない、細胞増殖チャンバ;および
(ii)上記チャンバ中に上記試薬をインプットするための試薬入口であって、上記試薬入口が、上記試薬を通り上記チャンバ中への流体流をバルブ調節するための上記試薬入口と作動可能に連絡している試薬バルブを有し、上記入口または上記チャンバが、上記チャンバ中の上記細胞を保持するための保持メカニズムを有する一方、上記試薬バルブが開いている場合、上記試薬の上記チャンバ中への流れを可能にする、試薬入口を有し;
上記細胞が上記チャンバ中に装填される場合、上記細胞バルブが閉まり、上記細胞が上記チャンバ中に保持される一方、上記試薬バルブは、開きおよび閉まっている、工程;
(b)上記細胞入口バルブを開き、かつ上記細胞を上記チャンバ中に導入する工程;
(c)上記細胞入口バルブを閉める工程;
(d)上記試薬バルブを開き、上記試薬を上記チャンバ中に導入する工程;
(e)上記試薬を上記チャンバ中に導入する一方、上記細胞を上記チャンバ内に保持し、それにより上記細胞を上記試薬に浸み込ませる工程
を包含する、方法。
(項目77)
粒子を処理するための方法であって、上記方法が、以下の工程:
(i)微小流体デバイスを提供する工程であって、上記微小流体デバイスが、以下:
(a)粒子を含む流体サンプルを導入するためのインプットメカニズム;
(b)上記インプットメカニズムと流体連絡している微小流体通路;
(c)上記微小流体通路と流体連絡している配置メカニズムであって、上記配置メカニズムが、上記流体サンプル中に含まれる上記粒子を上記微小流体通路中に配置させるための配置メカニズム;
(d)配置手段により配置されている上記粒子を保持するための保持メカニズム;
(e)上記保持メカニズム中に保持されている上記粒子を選択的に処理して処理応答を生じるための上記保持メカニズムと連絡している処理メカニズム;および
(f)上記粒子の処理応答を、存在する場合、測定するための測定メカニズム
を備える、工程;
(ii)上記粒子を含むサンプル流体を上記インプットメカニズム中に導入する工程;
(iii)上記粒子を上記配置メカニズムを用いて配置させ、その結果、上記粒子が、上記保持メカニズムによって保持可能である、工程;
(iv)上記粒子を上記保持メカニズムを用いて保持する、工程;
(v)上記粒子を上記処理メカニズムにより上記処理に曝露する、工程;
(vi)上記処理への曝露の際に上記粒子により直接または間接で引き起こされる上記処理応答を測定する工程
を包含する、方法。
(項目78)
項目77に記載の方法であって、上記微小流体デバイスが、上記粒子を上記保持メカニズムから放出するための放出メカニズムをさらに備え、上記方法が、上記粒子を上記保持メカニズムから放出する工程をさらに包含する、方法。
(項目79)
項目78に記載の方法であって、上記微小流体デバイスが、上記粒子を上記微小流体デバイスからアウトプットするためのアウトプットメカニズムをさらに備え、上記方法が、上記粒子を上記微小流体デバイスから上記アウトプットメカニズムによりアウトプットする工程をさらに包含する、方法。
(項目80)
項目78に記載の方法であって、上記微小流体デバイスが、上記粒子を培養するための細胞培養メカニズムをさらに備え、上記方法が、上記粒子を上記細胞培養メカニズム中で培養する工程をさらに包含する、方法。
(項目81)
項目77に記載の方法であって、上記微小流体デバイスが、上記サンプル流体または他の流体の流量または流路の局面を決定するためのコントロールメカニズムをさらに備え、そして上記方法が、上記サンプル流体または他の流体の流速または流路を上記コントロールメカニズムにより決定する工程をさらに包含する、方法。
(項目82)
項目81に記載の方法であって、上記コントロールメカニズムが、上記微小流体通路と連絡しているバルブであり、そして上記方法が、上記サンプル流体または他の流体を上記バルブで調節する工程をさらに包含する、方法。
(項目83)
項目82に記載の微小流体デバイスであって、上記微小流体デバイスが、多層エラストマーブロックから形成され、そして上記バルブが、上記エラストマーブロック中のエラストマー膜から形成され、そして上記バルブ調節が、上記エラストマー膜を上記微小流体通路中に偏向させることにより起こる、デバイス。
(項目84)
項目82に記載の方法であって、上記コントロールメカニズムが、上記微小流体通路と連絡しているポンプであり、そして上記サンプル流体の流量または流路の上記決定が、上記ポンプの作動により起こる、方法。
(項目85)
項目84に記載の方法であって、上記微小流体デバイスが、多層エラストマーブロックから形成され、上記ポンプが、上記エラストマーブロック中のエラストマー膜から形成され、そして上記ポンプが、一連のエラストマー膜を、選択された配列における上記微小流体通路中に偏向させることにより作動させる、方法。
(項目86)
項目77に記載の方法であって、上記微小流体デバイスが、流体層中の上記微小流体通路中に偏向可能なエラストマー膜を有するコントロール層を有する多層エラストマーブロックを備え、上記微小流体通路中の流体の流速または流路を選択的に決定する、方法。
(項目87)
項目77に記載の方法であって、上記微小流体通路が、連結または分岐にて上記微小流体通路に結合する隣接する通路をさらに備え、上記隣接する通路が、入口通路、出口通路、粒子通路、試薬通路、および廃棄物通路からなる群から選択されており、そして上記方法が、上記隣接する通路に対して上記粒子の通路を選択的に決定する工程をさらに包含する、方法。
(項目88)
項目87に記載の方法であって、上記隣接する通路が、行き止まりの通路であり、そして上記選択的に決定する工程が、上記サンプル流体を上記行き止まりの通路中に導入する工程を包含し、上記サンプル流体が、上記行き止まりの通路における気体(存在する場合)と置換して、上記行き止まりの通路を上記サンプル流体で満たす、方法。
(項目89)
項目87に記載の方法であって、上記方法が、上記粒子を操作する上記隣接する通路をさらに備える、方法。
(項目90)
項目89に記載の方法であって、上記粒子操作が、上記粒子を配置、分類、処理、検出、増殖、蓄積、混合または放出のいずれかに加えて上記粒子を保持する工程を包含する、方法。
(項目91)
項目77に記載の方法であって、上記粒子が、細胞、真核生物細胞、原核生物細胞、植物細胞、動物細胞、ハイブリドーマ細胞、細菌細胞、酵母細胞、ウイルス、オルガネラ、ビーズおよび小胞からなる群から選択され、上記処理工程が、上記粒子を処理する、方法。
(項目92)
項目91に記載の方法であって、上記粒子が、複数の粒子または粒子の集合体であり、上記方法が、所望される粒子を上記複数の粒子から分類および分離または単離する分類工程をさらに包含し、そして上記処理工程が、上記分離されたまたは単離された粒子を処理する、方法。
(項目93)
項目92に記載の方法であって、上記複数の粒子が、異なる粒子を含む複合体混合物であり、そして上記分類工程が、少なくとも1つの型の粒子を上記複合体混合物中の他の異なる粒子から分類する、方法。
(項目94)
項目93に記載の方法であって、上記異なる粒子を含む複合体混合物が、全血または血清または体液であり、上記分類工程が、少なくとも1つの型の細胞を上記全血または血清から選択する、方法。
(項目95)
項目77に記載の方法であって、上記粒子が、卵または胎芽であり、上記処理が、上記卵または胎芽を、それぞれインビトロで受精または操作することに対する工程である、方法。
(項目96)
項目77に記載の方法であって、上記インプットメカニズムが、上記微小流体通路と流体連絡している、容器または壁であり、そして上記方法が、上記流体サンプルを上記容器中に導入する工程をさらに包含する、方法。
本発明は、粒子(例えば、細胞、ウイルス、オルガネラ、ビーズおよび/または小胞)の微小流体操作および/または分析のためのシステム(装置を含む)、方法およびキットを提供する。本発明はまた、これらの操作および分析を実施するための微小流体メカニズムを提供する。これらのメカニズムは、粒子のコントロールされたインプット、運動/位置づけ、保持/配置、処理、測定、放出、および/または排出を可能にし得る。さらに、これらのメカニズムは、任意の適切な順番で組み合わされるか、そして/またはシステム内で任意の適切な回数にわたって採用され得る。従って、これらの組み合わせは、単一の粒子、混合された粒子群、粒子のアレイ、不均質粒子セット、および/または均質粒子セットとして、とりわけ連続してそして/あるいは並行して、とりわけ、粒子のソート、培養、混合、処理、および/またはアッセイを可能にし得る。さらに、これらの組み合わせは、微小流体システムの再使用を可能にし得る。さらに、これらの組み合わせは、処理に対する粒子の応答を、以前に可能であったものより、より短い時間枠で測定することを可能にし得る。さらに、本発明のシステムは、細胞および粒子のアッセイの広い範囲(例えば、とりわけ、薬物スクリーニング、細胞特徴付け、研究、および/または臨床的分析)を、微小流体サイズに縮小することを可能にし得る。このように縮小されたアッセイは、類似の微小流体アッセイよりも、より少ないサンプルおよび試薬を使用し得、あまり労働集約的でなく、そして/またはより有益であり得る。
(定義および概説)
粒子の操作および分析は、微小流体システムにおいて行われる。微小流体システムは、一般に、非常に少量の流体が保存および操作される(概して、約500μl未満、代表的には、約100μl未満、およびより代表的には、約10μl未満)任意のシステムを含む。微小流体システムは、1以上の微小流体経路を通って予め規定された経路に流体を運ぶ。微小流体経路は、最小限の寸法、一般には、約200、100または50μl未満の高さまたは幅を有し得る。経路は、以下の第II節により詳細に記載される。
微小流体システムは、任意の適切な材料または適切な材料の組合せから形成され得る。適切な材料としては、エラストマー(例えば、ポリジメチルシロキサン(PDMS);プラスチック(例えば、ポリスチレン、ポリプロピレン、ポリカーボネートなど);ガラス;セラミック;ゾル−ゲル;シリコンおよび/または他のメタロイド;金属または金属酸化物;生物学的ポリマー、混合物および/または粒子(例えば、タンパク質(ゼラチン、ポリリジン、血清アルブミン、コラーゲンなど)、核酸、微生物など)などが挙げられ得る。
微小流体システム(チップとも呼ばれる)は、任意の適切な構造を有し得る。そのようなシステムは、単一成分から単位構造としてか、または2つ以上の構成成分の多成分構造として、製造され得る。この2つ以上の構成成分は、任意の適切な相対空間的関係を有し得、そして任意の適切な結合メカニズムによって、互いに結合され得る。
(概説)
微小流体システムは、少量の流体の統合した操作(流体、ならびに粒子アッセイにおける使用のためのその流体に関連する粒子の、移動および/または保持を含む)のための任意の適切な構造を備え得る。この構造としては、とりわけ、通路、レザバ、および/またはレギュレーターが挙げられる。
通路は、一般には、その中、その上、またはそれに沿って、物質(例えば、流体、粒子、および/または試薬)が流体システムにおいて通過し得る、任意の適切な経路(path)、チャネル、またはダクトを包含する。まとめて、一般にはチャネルの形態の流体連絡している通路のセットが、微小流体ネットワークと呼ばれ得る。いくつかの場合において、通路は、床(floor)、天井(roof)、および壁を形成する表面を有するものとして記載され得る。通路は、任意の適切な寸法および外形(とりわけ、幅、高さ、長さ、および/または断面プロフィールが挙げられる)を有し得、そして任意の適切な経路(path)(とりわけ、直線形、環状、および/または曲線状を包含する)に従い得る。通路はまた、任意の適切な表面輪郭(凹部、凸部、および/またはアパチャーが挙げられる)を有し得、そしてチャネル内の任意の適切な位置にて任意の適切な表面化学または透過性を有し得る。適切な表面化学は、通路形成の前、その間、および/またはその後に、化学物質および/または試薬を添加することおよび/またはそれらによる処理による、表面改変を包含する。
レザバは、一般には、処理操作(例えば、測定および/または処理)の前、処理操作期間、処理操作の間、および/または処理操作の後に、物質(例えば、流体、粒子、および/または試薬)を保持するための任意の適切な容器またはチャンバを含む。レザバ(ウェルとも呼ばれる)は、インプットレザバ、中間レザバ、および/またはアウトプットレザバを包含し得る。インプットレザバは、物質(例えば、流体、粒子、および/または試薬)をチップの微小流体ネットワーク部分へとインプットする前にその物質を保持し得る。対照的に、中間レザバは、処理操作期間および/または処理操作の間に、物質を保持し得る。最後に、アウトプットレザバは、チップから、例えば、外部プロセッサーまたは廃棄物へと出す前(すなわち、そのチップの廃棄前)に、物質を保持し得る。
レギュレーターは、一般には、物質(例えば、流体、粒子、および/または試薬)の移動を生成および/または調節するための任意の適切なメカニズムを包含する。適切なレギュレーターとしては、とりわけ、バルブ、ポンプ、および/または電極が挙げられ得る。レギュレーターは、流れを能動的に促進すること、および/または能動的流れもしくは受動的流れを制限することによって、作動し得る。レギュレーターによって媒介される適切な機能としては、流体ネットワークの混合、保持、結合(または分離)などが挙げられ得る。
(概説)
微小流体システムは、粒子を操作および/または分析するために使用され得る。粒子は、一般には、流体に関連している微小流体ネットワーク内にインプットされそして操作されるために充分に小さいが、その流体と区別可能であるために充分に大きい、任意の物質を包含する。粒子とは、本明細書中で使用される場合、代表的には、顕微鏡で見える程度またはほぼ顕微鏡で見える程度であり、直径約0.005〜100μm、0.1〜50μm、または約0.5〜30μmを有し得る。あるいは、またはさらに、約10−20〜10−5g、10−16〜10−7g、または10−14〜10−8gの質量を有し得る。例示的な粒子としては、細胞、ウイルス、オルガネラ、ビーズ、および/または小胞、ならびにそれらの凝集物(例えば、二量体、三量体など)が挙げられ得る。
(概説)
細胞とは、本明細書中で使用される場合、一般には、自己複製する膜結合型の任意の生物学的実体、またはその複製しない膜結合型の任意の子孫を包含する。複製しない子孫とは、老いた細胞、最終分化した細胞、細胞キメラ、血清枯渇細胞、感染細胞、非複製変異体、無核細胞などであり得る。
真核生物細胞、すなわち、1つ以上の核を有する細胞、またはその無核誘導物は、任意の適切な供給源(初代細胞、樹立された細胞、および/または患者サンプルが挙げられ得る)から得られ得る。そのような細胞は、任意の細胞型または細胞型の混合物由来、任意の発生段階由来、および/または任意の遺伝的背景由来であり得る。さらに、真核生物細胞は、接着性であっても、そして/または非接着性であってもよい。そのような細胞は、任意の適切な真核生物(動物、植物、真菌、および/または原生生物が挙げられる)由来であり得る。
粒子は、原核生物細胞(すなわち、膜結合型オルガネラを欠く、自己複製する膜結合型微生物)またはその複製しない子孫であり得る。原核生物細胞は、任意の門(とりわけ、Aquificae、Bacteroids、Chlorobia、Chrysogenetes、Cyanobacteria、Fibrobacter、Firmicutes、Flavobacteria、Fusobacteria、Proteobacteria、Sphingobacteria、Spirochaetes、Thermomicrobia、および/またはXenobacteriaが挙げられる)に由来し得る。そのような細菌は、グラム陰性細菌、グラム陽性細菌、有害細菌、有益細菌、および/または病原性細菌であり得る。例示的な原核生物細胞としては、とりわけ、E.coli、S.typhimurium、B.subtilis、S.aureus、C.perfringens、V.parahaemolyticusおよび/またはB.anthracisが挙げられ得る。
ウイルスは、微小流体システムにおいて粒子として操作および/または分析され得る。ウイルスは、一般には、タンパク質および/または膜コートを含み、かつ宿主細胞なしでは複製不可能である、細胞(動物細胞、植物細胞、真菌細胞、原生生物細胞、および/または細菌細胞)の顕微鏡で見える程度/顕微鏡でも見えない程度の任意の寄生生物を包含する。ウイルスは、DNAウイルス、RNAウイルス、レトロウイルス、ビリオン、ビロイド、プリオンなどを包含し得る。例示的なウイルスとしては、HIV、RSV、狂犬病ウイルス、肝炎ウイルス、エプスタイン−バーウイルス、ライノウイルス、バクテリオファージ、種々の疾患(CJD(クロイツフェルト−ヤーコプ病、クールー、GSS(ゲルストマン−シュトロイスラー−シャインカー症候群)、FFI(致死性家族性不眠症)、アルパーズ症候群など)を引き起こすプリオンなどが挙げられ得る。
オルガネラは、微小流体システムにおいて操作および/または分析され得る。オルガネラは、一般には、細胞の任意の粒子状構成成分を包含する。例えば、オルガネラとしては、核、ゴルジ装置、リソソーム、エンドソーム、ミトコンドリア、ペルオキシソーム、小胞体、食胞、小胞、クロロプラストなどが挙げられ得る。
粒子アッセイは、ビーズを用いて実施され得る。ビーズは、一般には、製造された任意の適切な粒子を包含する。ビーズは、無機材料、または化学合成、酵素合成、および/もしくは生物合成された材料から、製造され得る。さらに、ビーズは、任意の適切な孔性を有し得、そして固体またはゲルとして形成され得る。適切なビーズ組成としては、プラスチック(例えば、ポリスチレン)、デキストラン、ガラス、セラミック、ゾル−ゲル、エラストマー、シリコン、金属、および/またはバイオポリマー(タンパク質、核酸など)が挙げられ得る。ビーズは、任意の適切な粒子直径または粒子直径範囲を有し得る。従って、ビーズは、狭い直径範囲を有する実質的に均一な集団であり得るか、またはビーズは、広い直径範囲または2つ以上の別個の直径を有する不均質集団であり得る。
粒子は、小胞であり得る。小胞は、一般的には、脂質エンベロープによって規定される任意の非細胞由来粒子を包含する。小胞は、そのエンベロープまたは内部部分中に任意の適切な構成成分を含み得る。適切な構成成分としては、とりわけ、化合物、ポリマー、複合体、混合物、凝集物、および/または粒子が挙げられ得る。例示的な化合物としては、タンパク質、ペプチド、小さい化合物、薬物候補、レセプター、核酸、リガンドなどが挙げられ得る。
(概説)
微小流体システムは、その微小流体ネットワークと境界を接する、1つ以上のインプットメカニズムを備え得る。インプットメカニズムは、一般には、微小流体チップの微小流体ネットワークへと物質(例えば、粒子、流体、および/または試薬)をインプットするための任意の適切なメカニズム(選択的(すなわち、成分ごとの)メカニズムおよび/またはバルク(bulk)メカニズムが挙げられる)を包含する。
このインプットメカニズムは、内部供給源(すなわち、微小流体チップ中に含まれるレザバ)からの物質および/または外部供給源(すなわち、そのチップとは離れている、すなわち、そのチップの外部にある、レザバ)からの物質を受容し得る。
微小流体システム中に物質をインプットすることは、任意の適切な促進メカニズムを使用して、促進および/または調節され得る。そのような促進メカニズムは、例えば、インプットレザバがアウトプットレザバよりも大きな流体の高さを有する場合に、重力流れを包含し得る。促進メカニズムはまた、物質を流体ネットワークへと押す陽圧(例えば、機械的圧力もしくは気体圧力、または遠心力);流体をアウトプットメカニズムに向かって引き込むアウトプットメカニズムにおける陰圧;および/または流体ネットワーク内で作用する配置(positioning)メカニズムを包含し得る。この配置メカニズムは、ポンプおよび/または動電(electrokinetic)メカニズムを包含し得る。配置メカニズムは、以下の第V節においてさらに記載される。いくつかの実施形態において、この促進メカニズムは、例えば、実施例7に記載されるように、インプットする前に、粒子(例えば、細胞)を懸濁物中に維持するための懸濁メカニズムを包含し得る。
(概説)
微小流体システムは、1つ以上の配置メカニズムを備え得る。配置メカニズムは、一般には、インプット後にチップ上の選択された位置に、例えば、とりわけ、保持、増殖、処理、および/または測定のために、粒子を配置するための任意のメカニズムを包含する。配置メカニズムは、種々の様式で、例えば、その起源および/または操作原理(直接的および/または間接的、流体媒介性および/または非流体媒介性、外部および/または内部などが挙げられる)を反映するように分類され得るが、それに限定されない。これらの分類は、相互排除的ではない。従って、所定の配置メカニズムは、2つ以上の様式で粒子を配置し得る。電場は、粒子を、直接(例えば、電気泳動を介して)および間接的(例えば、電気浸透を介して)配置し得る。
直接的配置メカニズムは、一般には、微小流体ネットワーク内に粒子を配置するようにその粒子に対して直接力が作用する、任意のメカニズムを包含する。直接的配置メカニズムは、任意の適切なメカニズム(とりわけ、光ベースの力、電気ベースの力、磁気ベースの力、および/または重力ベースの力が挙げられる)に基づき得る。光学的配置メカニズムは、粒子の配置を媒介するかまたは少なくとも促進するために、光を使用する。適切な光配置メカニズムとしては、「光ピンセット」が挙げられ、これは、適切に集束された移動可能な光源を使用して、粒子に対して配置力を付与する。電気的配置メカニズムは、粒子を配置するために電気を使用する。適切な電気的メカニズムとしては、「エレクトロキネシス(electrokinesis)」が挙げられ、これはすなわち、微小流体ネットワークのうちのいくらかまたはすべてを通る電圧および/または電流の印加であり、これは、上記のように、荷電した粒子を、直接(例えば、電気泳動を介する)および/または流体におけるイオンの移動を介して間接的に(例えば、電気浸透を介する)移動させ得る。磁気的配置メカニズムは、磁気的相互作用に基づいて、粒子を配置するために磁気を使用する。適切な磁気的メカニズムは、流体ネットワーク中または流体ネットワーク周囲に磁界を印加して、その粒子中または粒子の周囲にある強磁性物質および/または常磁性物質とその磁界との関係を介して、粒子を配置することを包含する。重力ベースの配置メカニズムは、粒子を配置して、例えば、接着細胞を細胞培養物の位置にて基材と接触させるために、重力を使用する。
間接的配置メカニズムは、一般的には、粒子に対して間接的に、例えば流体を介して力が作用して、微小流体ネットワーク内にあるその粒子を、長手方向および/または横方向に移動させる、任意のメカニズムを包含する。
長手方向間接的配置メカニズムは、一般的には、チャネルおよび/または他の通路に沿った流体流れによって、生成および/または調節され得る。従って、長手方向配置メカニズムは、流速および/または通路を調節するバルブおよび/またはポンプによって、促進および/または調節され得る。いくつかの場合、長手方向配置メカニズムは、電気浸透配置メカニズムによって、促進および/または調節され得る。あるいは、またはさらに、長手方向配置メカニズムは、インプットベースであり得る(すなわち、インプットメカニズム(例えば、圧力ベースのメカニズムまたは重力ベースのメカニズム(流体柱の等しくない高さによって生じる圧力水頭を含む))によって促進および/または調節され得る)。
横方向間接的配置メカニズムは、一般的に、チャネル連結部、減少した流体フローの外側に配置された領域、および/またはチャネル湾曲部において、流体フローストリームによって生成および/またはコントロールされ得る。チャネル連結部は、一体化部位または分岐部位であり得、これは、流体をこれらの部位から輸送するチャネルの数に対する、これらの部位へ流体を輸送するチャネルの数に基づく。横方向間接的配置メカニズムは、とりわけ、層流、確率的分離、および/または遠心力に基づき得る。
微小流体システム中の粒子および/または試薬の横方向の配置は、少なくとも部分的に、層流ベースのメカニズムによって媒介され得る。層流ベースのメカニズムは、一般的に、任意の配置メカニズムを含み、ここで、チャネル内の注入フローストリームの位置は、このチャネル内のさらなるフローストリームの存在、非存在および/または相対位置によって決定される。このような層流ベースのメカニズムは、一体化部位であるチャネル連結部によって規定され得、この部位において、2つ、3つまたはそれ以上のチャネルからの、この連結部に向かって流れる注入フローストリームは、一体化して、この連結部から流れるより少数(好ましくは1つ)の流出フローストリームを形成する。微小流体スケールにおけるフローストリームの層流特性に起因して、この一体化部位は、相乗流出フローストリームとして一体化した後に、注入フローストリームの相対分布を維持し得る。従って、粒子および/または試薬は、任意の選択された1つ以上の層流ストリームに局在化されたままであり得、このことに基づいて、注入チャネルは粒子および/または試薬を輸送し、従って、これらの粒子および/または試薬を横方向に配置する。
微小流体システムにおける粒子および/または試薬の横方向配置は、少なくとも部分的に、確率的(または、分配フロー)配置メカニズムによって媒介され得る。確率的横方向配置メカニズムは、一般に、任意の配置メカニズムを含み、ここで、共有された粒子または試薬の少なくとも部分的にランダムに選択されたサブセットは、主要フローストリームからチャネル内の減少した流体フローの領域まで(または、潜在的に、異なるチャネル)横方向に分配される。減少したフローの領域は、粒子の保持、処理、検出を促進し、粒子の損傷を最小限にし、そして/または粒子と基材との接触を促進し得る。確率的配置メカニズムは、とりわけ、フロー部位および/または局所的に幅広いチャネルを分けることによって決定され得る。
粒子および/または試薬の横方向配置はまた、遠心配置メカニズムによって少なくとも部分的に媒介され得る。遠心配置メカニズムにおいて、粒子は、例えば、流体パス中の屈曲部を通って移動することによる速度の変化によって決定される遠心力を受ける。粒子のサイズおよび/または密度は、速度変化の速さを決定し得、異なるサイズおよび/または密度の粒子を異なる横位に分配する。例示的な遠心配置メカニズムは、以下の実施例9でさらに記載される。
(概説)
微小流体システムは、1つ以上の保持メカニズムを含み得る。保持メカニズムは、一般に、粒子を、微小流体ネットワークのあらかじめ選択された位置または領域に保持(または、維持、捕獲、またはトラップ)して、連続しておよび/または並行して作動するための任意の適切なメカニズム(単一または複数のメカニズムを含む)を含む。保持メカニズムは、流体フローによって及ぼされる配置力を超えるように作用し得る。さらに、保持メカニズム(捕獲メカニズムまたはトラップメカニズムとも称される)は、任意の適切な数の粒子(単一の粒子または粒子の群/集団を含む)を保持し得る。適切な保持メカニズムは、とりわけ、フローと関連した物理的バリア、化学的相互作用、真空力、ループ中の流体フロー、重力、遠心力、磁力、電力、および/または必要に応じて発生された力に基づき得る。
保持メカニズムは、少なくとも部分的に、微小流体ネットワークに配置された任意の適切な物理的バリアと接触した粒子に基づき得る。このような粒子−バリアの接触は、一般に、流体フローの方向に沿った長手軸方向の粒子の運動を制限し、フロー補助型制限を生じる。フロー補助型粒子−バリア接触はまた、側面から側面/垂直(横方向)の運動を制限し得る。適切な物理的バリアは、チャネルの任およびの部分または他の通路(例えば、壁、天井および/または床)から内向きに伸びる突出部によって形成され得る。例えば、これらの突出部は、固定され得、そして/または可動であり、これには、とりわけ、カラム、ポスト、ブロック、バンプ、壁および/または部分的/完全に閉じられたバルブが挙げられる。いくつかの物理的バリア(例えば、バルブ)は、移動または調節可能である。あるいは、またはさらに、物理学的バリアは、チャネルまたは他の通路中に形成される凹部、または流体透過性部材によって規定され得る。他の物理的バリアはが、通路断面寸法に基づいて形成され得る。例えば、サイズ選択的チャネルは、チャネルに入るには大きすぎる粒子を保持し得る(サイズ選択的チャネルはまた、フィルターチャネル、マイクロチャネル、または粒子制限チャネルもしくは粒子選択的チャネルとも称される)。
化学的保持メカニズムは、化学的相互作用に基づいて粒子を保持し得る。この化学的相互作用は、共有結合的および/または非供給結合的相互作用であり得、とりわけ、イオン的相互作用、静電的相互作用、疎水性相互作用、ファンデルワールス相互作用および/または金属配位相互作用を含む。化学的相互作用は、選択的および/または非選択的に粒子を保持し得る。選択的または非選択的な保持は、粒子と通路表面との間の特異的および/または非特異的な化学的相互作用に基づき得る。
他の保持メカニズムが、物理的バリアベースの保持および/または化学的相互作用ベースの保持の代替として、またはこれらに加えて使用され得る。これらのメカニズムおよび/または上記のメカニズムのいくつかまたは全ては、少なくとも部分的に、粒子と通路との間の摩擦に依存して、保持を補助し得る。
(概説)
処理メカニズムは一般に粒子を試薬および/または物理的条件に暴露するための任意の適切なメカニズム(流体媒介メカニズムおよび非流体媒介メカニズム)を含む。
粒子は、試薬に暴露され得る。試薬は一般に、とりわけ、任意の化学物質、化合物、イオン、ポリマー、材料、複合体、混合物、凝集物、および/または生物学的粒子を含み、これは微小流体システム中の粒子または粒子集団と接触する。試薬は、粒子分析(化学的/生物学的変調器(相互作用試薬)、検出/アッセイ試薬、溶媒、緩衝液、媒体、洗浄溶液などとしての作用を含む)において役割を果たし得る。
処理メカニズムは、粒子を試薬に暴露する流体媒介メカニズムを使用し得る。例えば、粒子が保持される場合、試薬が粒子と接触され得るか、または例えば、試薬が流体ネットワークの特定の部分に存在する(必要に応じて保持される)場合、粒子が試薬に接触され得る。
微小流体システム中の粒子は、非流体媒介メカニズムを使用して物理的変調器/条件に暴露され得る。しかし、これらの「非流体媒介」メカニズムは、それらの作動を補助する(例えば、熱エネルギーまたは圧力を流体を介して粒子に伝達する)ために流体の性質を使用する。物理的変調器/条件は、微小流体システムの外部および/または内部の供給源からの粒子に適用され得る。例示的な物理的変調器/条件としては、熱エネルギー(熱)、放射線(光)、放射線(粒子)、電場、磁場、圧力(音を含む)、重力場などが挙げられる。
処理メカニズムは、任意の適切な粒子(例えば、上記の第III章に記載される粒子のいずれかを含む)に対して作用し得る。この粒子は、インタクトであり、透過され、そして/または溶解され得る。従って、処理メカニズムは、解放された細胞成分に対して作用し得る。粒子は、アレイ中で、例えば、共通処理メカニズムを使用して連続的に、ならびに/または、例えば、異なるおよび/もしくは共通の処理メカニズムを使用して並行して、処理され得る。
(概説)
微小流体システムによって製造される粒子は、1つ以上の測定部位において1つ以上の測定メカニズムによって分析され得る。この分析メカニズムは、一般的に、あらかじめ選択された粒子または粒子の特性(例えば、とりわけ、粒子、粒子成分および/またはアッセイ産物によって提供される)を検出するための任意の適切な装置または方法を含む。これらの測定部位は、一般に、測定が実施され、システムの内部および/または外部である、任意の適切な粒子位置(単数または複数)を含む。
測定メカニズムは、サンプルを定性的および/または定量的に分析するための任意の適切な検出方法を用い得る。適切な検出方法としては、とりわけ、分光法、電気的方法、水力学的方法、画像化方法および/または生物学的方法、特に、粒子の分析に適合されたかまたは適合可能なものが挙げられ得る。これらの方法は、とりわけ、単一または複数の値、時間依存性または時間非依存性(例えば、定常状態または終点)の値、および/または平均化(時間的におよび/または空間的に)または分布した値の検出を包含し得る。これらの方法は、アナログおよび/またはデジタルの値を測定および/またはアウトプットし得る。
測定メカニズムは、微小流体システムの内部および/または外部の任意の適切な検出部位で、粒子および/または粒子特性を検出するために使用され得る。
測定方法は、粒子の任意の適切な特性を、直接的および/または間接的(例えば、レポーター分子を介して)のいずれかで、検出および/またはモニタリングし得る。適切な特性としては、とりわけ、粒子の同一性、数、濃度、位置(絶対または相対)、組成、構造、配列および/または活性が挙げられ得る。検出される特性としては、分子または超分子の特性(例えば、とりわけ、DNA、RNA、タンパク質、酵素、脂質、糖、イオン、代謝産物、オルガネラ、加えられた試薬(結合)および/またはそれらの複合体の、存在/非存在、濃度、局在化、構造/改変、配置、形態、活性、数および/または運動)が挙げられ得る。これらの検出される特性としてはまた、とりわけ、細胞特性(例えば、任意の安定な細胞遺伝子型または表現型(形態、増殖、アポトーシス、壊死、溶解、生存/死、細胞周期における位置、シグナル伝達経路の活性、分化、転写活性、基質の結合、細胞−細胞相互作用、翻訳活性、複製活性、形質転換、熱ショック応答、運動性、拡散、膜完全性および/または神経突起成長を含む))が挙げられる。
(概説)
微小流体システムは、任意の適切な数の粒子放出メカニズムを含みえる。放出メカニズムは一般に、保持された粒子を、これが保持される予め選択された部位/領域から移動させる(粒子を保持する保持メカニズムを除去し、これに打ち勝ち、そして/または無効にすることを含む)ための任意のメカニズムを含む。適切な放出メカニズムは、少なくとも部分的に、保持力に基づいて選択され得る。解放後、粒子(または粒子成分)は、任意の適切な目的場所を有し得る。
放出メカニズムは、保持力を除去することによって作動し得る。従って、特定のメカニズムによって保持された粒子は、このメカニズムを終了することによって解放され得る。例えば、化学的相互作用/結合によって保持された粒子は、この結合を、例えば、プロテアーゼ(例えば、トリプシン)で切断することによって、または他の場合には、例えば、(例えば、EDTAを用いて)変更されたイオン条件またはpH、あるいは過剰なSBPメンバーとの相互作用を破壊することによって、解放され得る。同様に、物理的バリア(例えば、閉鎖バルブ)によって保持された粒子は、このバリアを移動/除去することによって解放され得る。さらに、流体フロー、真空、光、電場、磁場および/または遠心力によって保持された粒子は、対応するフロー、力、場などを除去/再方向付けすることによって解放され得る。
放出メカニズムは、より大きな力で保持力を克服することによって作動し得る。従って、粒子は、保持力より大きな力を適用する任意の位置付けメカニズムによって放出され得る。例えば、保持される粒子は、放出流によって放出され得る。放出流れは、例えば、粒子が弱く保持される(例えば、重力/摩擦、または弱い化学相互作用によって)場合、バルク流体流の方向に増加した流速であり得る。あるいは、放出流は、保持流に対向して作用し得る(例えば、保持流に対して直角または正反対に)。例えば、放出流は、粒子を、保持物理バリアとの接触から外になるように位置を変え得る(実施例7を参照のこと)。代替的に、または加えて、保持される粒子は、十分な力を発生し得る任意の他の適切な位置付けメカニズム(セクションVにおいて上記される)によって放出され得る。
放出メカニズムは、粒子における保持力を無効化することによって操作し得る。このような放出メカニズムは、粒子の成分を放出することによって操作し得る。例えば、保持される細胞は、細胞内成分を放出するために溶解され得、溶解物を生成し得るか、あるいはビーズが、関連する物質を放出および/またはビーズを断片化/崩壊するように処理され得る。溶解は、一般的に、細胞表面膜の完全性の任意の部分的または完全な破壊を含み、そして温度、界面活性剤、リガンド、化学処理、イオン強度の変化、電場などによって生成され得る。
放出される粒子および/または粒子成分は、任意の適切な目的地を有し得る。適切な直接目的地は、位置付けメカニズムおよび/または粒子を取り囲む流体を含み得る。放出後、粒子は、非選択的または選択的のいずれかで、位置付けメカニズムで位置を変えられ得る。選択的位置付けは、測定される特徴に基づいて粒子を位置付け得る。位置付けは、第2の保持メカニズム(および/または培養チャンバ)へ、検出メカニズム(例えば、流れベースのメカニズム)へ、および/またはアウトプットメカニズムへであり得る。粒子を取り囲む流体は、粒子成分(例えば、細胞溶解物および/またはビーズ成分)が、検出/アッセイ試薬と接触されるための適切な目的地であり得る。あるいは、細胞溶解物および/またはビーズ成分は、インタクトな粒子で位置を変えられ得る。
微小流体システムは、微小流体ネットワークと接する1つ以上のアウトプットメカニズムを備え得る。アウトプットメカニズムは、一般的に、物質(例えば、流体、粒子、および/または試薬)を、微小流体システムまたはその一部(選択的および/またはバルクメカニズムを含む)からアウトプットするための任意の適切なメカニズムを備える。アウトプットメカニズムは、アウトプットされた物質を任意の適切な位置(例えば、内部シンクおよび/または外部シンク)に方向付け得る。シンクは、一般的に、廃棄するため(例えば、廃棄部位)またはさらに研究もしくは操作するため(例えば、収集部位)に、アウトプットされた物質を受容するための任意のレセプタクルまたは他の部位を備える。微小流体システムからの物質のアウトプットは、任意の適切な促進メカニズム(例えば、内圧および/または外部減圧の供給源)を使用して促進および/または調節され得る。アウトプットメカニズムは、選択メカニズム(例えば、フィルター)を備え得、これは、任意の基準(例えば、物質が粒子であるかまたは流体であるか)に基づいてアウトプットされる物質を選択する。
(概説)
細胞は、微小流体システムにおいて細胞培養メカニズムを使用して培養され得る。細胞培養メカニズムは、一般的に、細胞を増殖(growing)させるための任意の適切なメカニズム(維持および/または増殖(propagation)を含む)を備える。
微小流体システムの細胞培養メカニズムは、細胞を培養する1つ以上の培養チャンバを備え得る。培養チャンバは、とりわけ、培養される細胞の数、細胞のサイズ、細胞に実施されるアッセイ、および/または細胞の増殖特性に基づいて、任意の適切なサイズ、形状、組成、および/または微小流体システムの他の局面との関係を有し得る。培養チャンバのサイズは、1つの細胞、数個の細胞またはそれ以上(2〜50)、または多くの細胞(50〜1000以上)の所定の細胞のサイズを保持するのに十分なサイズであり得る。従って、培養チャンバは、通路の選択された部分、通路全体、またはセットの通路によって規定され得る。いくつかの実施形態において、培養チャンバは、実質的に拡大されたチャネルによって形成され得る。培養チャンバは、目的の細胞がチャンバに入り得る任意の適切な高さを有し得る。この高さは、微小流体ネットワークの他の部分より大きい、小さいおよび/または等しくあり得る。培養チャンバの表面のいくらかまたは全て(例えば、壁、屋根、および/または基板)は、細胞培養の局面(特に、とりわけ、特異的または非特異的細胞付着、細胞生存、細胞増殖、および/または細胞分化(またはその欠失))を促進するために処理または改変され得る。通路処理および処理剤の適切な方法は、化学保持メカニズムに関するセクションVIにおいて上記される。
細胞培養メカニズムは、適切な環境コントロールメカニズムを使用して、任意の適切な環境条件下で細胞を培養し得る。適切な環境条件としては、所望のガス組成、温度、培地交換の速度および頻度などが挙げられ得る。環境コントロールメカニズムは、微小流体システムの内部および/または外部で操作し得る。内部メカニズムは、オンボード(on−board)ヒーター、ガス導管、および/または培地レザバを含み得る。外部メカニズムは、大気および/または温度コントロールインキュベーター/熱源、および/またはシステムに対して外部の培地供給源を含み得る。大気コントロールインキュベーターは、システムがガス透過性物質(例えば、PDMS)から少なくとも部分的に形成される場合、より適切であり得る。培地(ガス調整培地を含む)は、任意の適切なインプットメカニズム(手動ピペッティング、自動ピペッティング、非接触スピッティングなどを含む)によって外部供給源から導入され得る。いくつかの実施形態において、チップは、培地で予めインキュベートされ得、次いで、これは、細胞および/または他の生物材料の導入の前に捨てられ得る。
(概説)
微小流体システムは、粒子操作のために使用される。粒子操作は、一般的に、所望の機能またはアッセイを実行するために、任意の適切な配列の単位操作を含む。単位操作は、とりわけ、セクションIV〜Xにおいて上記されるメカニズムのそれぞれによって実行され得る。
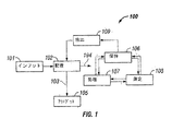
図1は、本発明のシステムを用いる粒子の微小流体操作および分析のための例示的な方法100を示す。方法100の各工程は、適用に基づいて、以下に記載されるように、任意の適切な回数および任意の適切な順序で繰り返され得る。工程の例示的な配列は、矢印で示される。
本発明の微小流体システムは、それぞれ、セクションIII、VI、VII、およびVIIIにおいて上記される、任意の適切な細胞アッセイまたは方法(細胞、細胞選択の任意の組合せを含む)(選択保持による)、処理、および/または測定のために使用され得る。
遺伝型アッセイは、細胞の遺伝的構成を測定するために、微小流体システム内の細胞で実行され得る。遺伝型アッセイは、任意の適切な細胞または細胞集団(例えば、患者サンプル、出生前サンプル(例えば、胚、胎児、絨毛膜絨毛など)など)で実施され得る。このような遺伝型の局面は、核および/またはミトコンドリア遺伝子、ゲノム領域、および/または染色体領域(例えば、テロマー、セントロメア、反復配列など)のコピー数(例えば、複製、欠失、増幅など)および/または構造(例えば、再配置、融合、反復数(例えば、ジヌクレオチド、3重繰り返し、テロメア反復など)、変異、遺伝子/偽遺伝子、特定の対立遺伝子、単一ヌクレオチド多型の存在/非存在/頻度、統合部位、染色体/エピソームなど)が挙げられ得る。遺伝型アッセイのための方法は、インサイチュでの核酸ハイブリダイゼーション(インタクトな細胞/核)または細胞から放出されるDNA(例えば、細胞の溶解による)を含み得る。核酸を用いる核酸ハイブリダイゼーションは、色素標識プローブ、特定の結合対で標識されたプローブ(セクションVIを参照のこと)、エネルギー移動対を有するステム−ループプローブ(例えば、「分子ビーコン」)、および/またはハイブリダイゼーション後に酵素的に標識されたプローブ(例えば、ポリメラーゼを用いたプライマー伸長、末端トランスフェラーゼを用いた改変など)を用いて実行され得る。代替的に、または加えて、遺伝型アッセイのための方法は、例えば、熱サイクリング(PCR)によって、または等温鎖置換法によって、核酸のポリメラーゼ媒介増幅を含み得る。いくつかの実施形態において、ゲノム型アッセイは、核酸の分析を補助するために電気泳動を使用し得る。関連する遺伝子ベースのアッセイは、類似のアッセイ方法、および適切なプローブまたはDNA色素(例えば、ヨウ化プロピジウム、Hoechstなど)を使用して、遺伝子領域、遺伝子、染色体領域、染色体全体、またはゲノムの他の局面を測定し得る。これらの他の局面は、DNA含有量全体(例えば、二倍体、四倍体、または倍数体の遺伝子型および/または細胞周期分布を測定するための2N、4N、8Nなど)、特定の染色体の数または位置、および/または特定の遺伝子の位置(例えば、核膜に隣接、別の核構造など)を含み得る。
表現型アッセイは、遺伝的マークアップおよび/または環境の影響(例えば、修飾因子の存在)に基づいて、微小流体システムにおいて細胞を特徴付けるために実行され得る。これらのアッセイは、細胞全体、細胞オルガネラ、および/または内因性(ネイティブ)もしくは外因性(外来)細胞構成要素/成分を測定し得る。
相互作用は、一般的に、調節因子の細胞または細胞の集団への任意の特異的結合、あるいは、調節因子に応答した特徴的な細胞における任意の検出可能な変化を含む。特異的結合は、主に細胞内、細胞上または細胞の集団にある所定のパートナーである任意の結合である。特異的な結合は、約10−3M以下の所定のパートナーとの結合係数を有し得、約10−4M、10−6M、または10−8M以下が好ましい特異的結合係数である。あるいは、相互作用は、修飾因子に応答して、上記の表現型または遺伝子型における任意の変化であり得る。
細胞および/または集団の微小流体アッセイは、シグナル伝達経路の活性を測定し得る。活性は、活性の任意のレベルに対して、他の細胞および/または集団に対して(以下を参照のこと)、ならびに/あるいは細胞との修飾因子の相互作用の測定として(上記を参照のこと)、測定され得る。
細胞に基づくアッセイは、細胞および/または細胞の集団の遺伝子型、表現型、および/または調節因子相互作用を比較するために使用され得る。細胞および/または集団は、異なる微小流体システム内または同じ微小流体システム内で比較され得る。同じ微小流体システム内での比較は、並んだ構成を使用して並行して(実施例3によって例示される)、単離部位で並行(実施例4によって例示される)、および/または直列して(実施例5によって例示される)実行され得る。
微小流体システムは、単一細胞アッセイを実行するために使用され得、これは、一般的に、好ましくはまたは必ず一度に1つの細胞で実行される任意のアッセイを含む。単一細胞アッセイの例としては、パッチ−クランプ分析、単一細胞PCR、単一細胞蛍光インサイチュハイブリダイゼーション(FISH)、タンパク質の亜細胞分布、および/または分化アッセイ(異なる細胞型への変換)が挙げられる。いくつかの場合において、単一細胞アッセイは、群の1つのメンバーの個々の特徴を測定することによって、2つ以上の細胞の保持された群で実行され得る。他の場合において、単一細胞アッセイは、例えば、細胞がアッセイの前に溶解される場合、単一の細胞の保持を必要とし得る。
微小流体システムは、単一の細胞および/または細胞集団を分類または選択するために使用され得る。分類/選択される細胞または集団は、確率的なメカニズム(実施例2を参照のこと)、サイズ、密度、磁力特性、細胞表面特性(すなわち、基質に付着する能力)、増殖および/または生存能力によって選択され得、ならびに/あるいは細胞または集団の測定された特徴(例えば、リガンド、特定の表現型などに対する応答)に基づき得る。細胞および/または集団は、微小流体システムにおける操作および/または分析の間、1回より多く分類され得る。特に、細胞の異種集団(例えば、血液サンプルまたは臨床生検、特に、トランスフェクトされたかまたは分化した細胞集団、脱凝集した組織、天然サンプル、法医学サンプルあんど)は分類/選択され得る。細胞分類ならびに適切な細胞および細胞集団のさらなる局面は、セクションIIIおよび以下の実施例9、15、23、および26に記載される。
微小流体システムは、細胞の保存および/または維持を実行し得る。従って、細胞は、微小流体システムに導入され得、そして長期間(例えば、1週間、1ヶ月、3ヶ月、および/または1年より長い)培養され得る。細胞の保存および/または維持のために微小流体システムを使用することは、より少ない量の媒体および空間を消費し得、そして他の保存/維持方法よりも生存可能な状態で細胞を維持し得る。微小流体システムにおいて細胞を保存および維持するさらなる局面は、上記セクションXIおよび以下の実施例10に含まれる。
微小流体システムは、任意の適切なウイルスに基づく、細胞オルガネラに基づく、ビーズに基づく、および/または小胞に基づくアッセイおよび/または方法のために使用され得る。これらのアッセイは、これらの他の粒子のいずれかの内/上に存在するか、または関連する1つ以上の物質(化合物、ポリマー、混合物、細胞など)に調節因子(化合物、混合物、ポリマー、生体分子、細胞など)の結合(または効果)を測定し得る。代替的にまたは追加的に、これらのアッセイは、活性(例えば、酵素活性)における変化、光学的特性(例えば、とりわけ、化学発光、蛍光、または吸収)、ならびに/あるいは相互作用によって誘導されるコンフォメーションの変化を測定し得る。
以下の実施例は、本発明の選択された局面および実施形態を記載し、これは、微小流体システムを作製、統合および使用する方法、およびデバイス、ならびに粒子を操作および分析するためのメカニズムを含む。これらの実施例は、説明のために含まれ、本発明の範囲全体を制限または規定することは意図されない。
この実施例は、分岐流体経路に少なくとも一部基づいて単一の粒子または粒子の群を配置および/または保持するための微小流体システムを記載する;図24を参照のこと。
単一細胞または小群の細胞の正確な配置および保持から利益を受けるか、またはそれを必要とする多くの細胞分析がある。特に、配置および保持された細胞は、リアルタイムで処理されるか、または観察され得る。しかし、細胞を配置および保持するための現在利用可能なメカニズムは、高価かつ労働集約的であるか、または不正確および細胞に有害であるかのいずれかである。例えば、マイクロマニピュレーターは、ユーザーが単一細胞を選択かつ正確に配置することを可能にする。しかし、マイクロマニピュレーターは高価であり、そしてユーザーが微小操作の全体で細胞を観察することを要求する。それ故、ユーザーは、一度に1つの細胞を配置し得るのみである。その他の極端な手段では、フィルターが、細胞を配置かつ保持するための粗いがより安価かつ迅速なメカニズムを提供する。しかし、フィルターは多くの欠点を有している。例えば、それらは、詰まり易く、コントロールが困難で(特に、多数の保持された細胞について)、そしてフィルターを横切る圧損に起因して、細胞のような粒子には潜在的に有害である。従って、経済的で、光学的モニタリングなくして自動的に案内され、および/または細胞を実質的に損傷することなくそれらを穏やかに操作し得る細胞配置および保持システムに対する必要性が存在する。
この実施例は、光学的モニタリングを必要とすることなく、細胞および/またはビーズのような粒子を配置および/または保持するためのメカニズムを記載する。一旦保持されると、これら粒子は、特に光学的方法および電気的方法を含む任意の適切な方法によって分析され得る。説明されるメカニズムは、分岐して分岐の位置でほぼ停滞した流体領域を形成する微小流体流路を用いる。微小流体システムからこのほぼ停滞した流体領域に入る粒子は、速度の減少を経験し、これは、適切な保持構造またはトラップでそれらの「軟着陸」を行うことを開発し得る。従って、これら保持された粒子は、損傷されず、そして次の分析に適切である可能性がより高い。
図2Aは、本発明の局面による粒子の微小流体操作および/または分析のためのシステム110を示す。システム110は、(1)インプットレザバ112、(2)3つの流体チャネル116、118、120を有する微小流体ネットワーク114、および(3)2つのアウトプットまたは廃棄レザバ122、124を含む。粒子は、一般に懸濁物としてインプットレザバ中112に装填される。この装填された粒子は、インプットレザバと廃棄レザバとの間の流れストリーム126、128、130として示されるような、正味の流体流れに応答してネットワーク114に侵入し得る。この正味の流体流れは、例えば、それぞれ、ポンプ輸送および/または重力によって仲介される能動的および/または受動的流れによって決定され得る。
図2Bは、本発明の局面による粒子の微小流体操作および/または分析のための別のシステム110’を示す。図2Bのシステム110’の作動原理は、図2Aのシステム110のそれと類似している。しかし、チャネル118’および120’は、システム110におけるそれらの直交する相当物とは対照的に、システム110’ではチャネル116’から90゜未満で分岐している。その結果、粒子のより大きなフラクションが、システム110中の流れストリーム134よりシステム110’中の流れストリーム134’中に配置され得るが、より大きな取り外し力もまた存在し得る。その他の実施形態では、このアウトプットチャネルは、90゜より大きいを含む任意の角度の分岐を有し得、および/またはそれらは等しくない角度の分岐を有し得る。2つの流体経路における分岐の角度および任意の非対象性は改変され得て、トラップおよび/または保持される粒子の数、およびトラップ内のそれらの位置を選択する。
図3は、本発明の局面による、粒子の微小流体操作および/または分析のためのなお別のシステム170を示す。システム170は、(1)チャネル174、176、178の流体ネットワーク172および(2)保持メカニズムまたはトラップ180を含む。流れストリーム181は、インプットサンプルおよび流体を、T継手182にもたらし、そこで、ストリーム181は、直交して方向付けられる一次流れストリーム184、186に分割される。図2Aおよび2Bのシステム110、110’におけるように、減少した速度の配置流れストリーム188は、一次ストリーム184、186間のストリーム181から、対向する壁188に向かって延びる。しかし、システム110および110’とは異なり、システム170はまた、矩形ブロックの形態にある区画192、194(それぞれ「P」および「Q」)を含む。区画192、194は、一次チャネルを分割し、一次チャネル176、178にほぼ平行に延びる第2のチャネル196、198を生成する。これらの第2のチャネルは、配置流れストリーム188を分割し、そしてそれを、二次流れストリーム200、202によって示されるように、反対方向に直角に向ける。二次流れストリームは、流体を、ネットワーク172内のそれらの位置のために、一次ストリーム184、186より遅い速度で輸送する。
この実施例は、単一の粒子または粒子のセットを配置かつ保持し、そして保持された粒子または粒子のセットの試薬を用いた迅速で正確な灌流を可能にする微小流体システムを記載する;図5〜11Cを参照のこと。
多くの細胞研究は、細胞の集団の分析からの利益を受ける。この集団は、集団の個々の細胞からの別個の情報、および全体の集団からの平均化された情報を提供し得る。従って、細胞の集団は、この集団が不均質であるとき、別個のタイプの細胞の、またはこの集団が均質またはクローン性であるとき細胞表現型または応答の範囲の同時分析を可能にし得る。従って、微小流体環境中の細胞の研究は、微小流体チップ上の予備選択された部位にある細胞のセットを自動的に配置および/または保持する微小流体システムからの利益を受け得る。さらに、これらの研究は、保持された細胞のセットが、コントロール可能かつ規定可能な様式で、薬物、試験化合物、または標識のような選択された試薬で灌流されるようにするメカニズムから利益を受け得る。
この実施例は、ユーザーが、細胞保持チャンバ内に複数の細胞を捕捉し、そしてコントロールされた間隔の試薬で捕捉された細胞を灌流することを可能にする微小流体を記載する。これらのシステムは、例えば、以下の実施例13、およびこの詳細な説明のいずれかに、ならびに上記の相互参照の下で列挙され、そして本明細書中に参考として援用された特許出願中に記載のように製作された鋳型を用いるフォトレジストの多層を含む多層ソフトリソグラフィーを含む、任意の適切な方法により形成され得る。従って、いくつかの実施形態では、流体チャネルの断面形状は、流れチャネルにおける矩形と、バルブの位置における弓状との間で変動し得る。
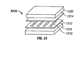
図5〜11は、細胞集団の微小流体分析のためのシステム250を示す。このシステムは、以下に詳細に記載され、(a)システム説明、(b)システム生産、(c)システム操作、および(d)システムプロトコールを含む。
図5は、細胞集団の微小流体分析のためのシステム250の一部分を示す。システム250は、微小流体層252およびコントロール層254を含む。微小流体層252は、青およびオレンジで描写される相互接続チャネルの微小流体ネットワーク256を形成する。コントロール層254は、この微小流体層の上に配置され、かつそれに接しており、そして紫で描写されるバルブおよびポンプを含む(図8もまた参照のこと)。システム250のために以下に提示される例示の寸法は、約8〜12μmの細胞直径に基づいている。
システム250は、任意の適切な方法を用いて形成され得る。例示のアプローチでは、このシステムは、微小流体層252、コントロール層254、および、例えば、カバーガラス(図示せず)により形成される基板層を積層および融合することにより形成される。詳細には、このアプローチでは、微小流体層およびコントロール層がソフトリソグラフィーによって成形され、そして次に融合される。次いで、得られる融合多層構造が、カバーグラス基板層に結合される。最後に、微小流体チャネルが脱イオン水で湿される。
システム250は、任意の適切な方法を用いて、細胞のような粒子を装填、配置、および/または保持するために用いられ得る。例示のアプローチでは、バルブ7、9、10、11は閉鎖され、そしてポンプバルブを含む残りのバルブは開放される。ウェルBおよびFは、集束緩衝液および遮蔽緩衝液でそれぞれ装填され、ウェルDおよびEは試薬で装填され、そしてウェルAは細胞懸濁物で装填される。次いで、廃棄ウェルCが少なくとも部分的に空であり、細胞がウェルCに向かって流れることを可能することを確認した後、バルブ7が開放される。この時点で、ウェルD、E、およびFから流れる液体はない。緩衝液はウェルBからウェルCに流れ、そして細胞はウェルAからウェルCに流れる。ウェルAから流れる細胞は、ウェルBから来る流体ストリームを集めることにより、組み合わせ流れストリーム286の中心に集められ(図7を参照のこと)、それによってウェルAから流れる細胞を隣接させる。集束流れストリーム272、276は、インプット細胞が、集束が生じる近傍に配置される保持チャンバ270に入る可能性を増大する。細胞の集束したストリームは、保持チャンバに隣接する2つのストリームに分割される。各ストリームは、上記のように、集束されたストリームに直交し、そして互いに対向する方向に流れる。トラップが、ストリームが分割する場所の下の流れストリームの点に配置され、その結果、流れの速度は、チャネルの残りにおけるより低くなり、それ故、保持された細胞が生存している可能性を増加する。一旦、十分な数の細胞が捕捉されると、バルブ7は閉鎖され、ウェルAからの細胞の流れを停止する。
システム250は、配置されおよび/または保持された粒子を含む任意の適切なプロトコールまたは手順のために用いられ得る。例示のプロトコールでは、細胞は、以下に記載されるように、ウェルDおよび/またはE中で試薬に曝される。このプロトコールは、それぞれ、死滅/固定細胞に特異的な細胞染色ならびに細胞固定液のような第1および第2の試薬への保持細胞の連続的曝露により例示される;図9〜11を参照のこと。
図11Aおよび11Bは、分離されてはいるが近接する粒子間の相互作用を測定するためのシステム400を示す。このような相互作用は、第1の粒子(または粒子集団)によって放出され、そして第2の分離された粒子(または粒子集団)によって受容される拡散可能な物質によって提供され得る。これらの拡散可能な物質は、細胞が分泌するホルモン、ウイルス粒子、細胞溶解により放出される細胞成分などを含み得る。この拡散可能な物質は、細胞同一性、遺伝子発現、アポトーシス、ホルモン分泌、成長などのような任意の測定可能な粒子または集団特徴に関連する第2の粒子または粒子集団中の変化を生成し得る。あるいは、または、さらに、このような伝達は、軸索および/または樹状突起のような、細胞から延びる長く薄いプロセスを含み得る。例示の粒子特徴は、上記のセクションVIIIおよびXIIでさらに説明されている。
図11Cは、システム250、または保持された粒子の配置された二次元アレイを形成する任意のその他の適切な微小流体システムで用いられ得る保持メカニズム410を示す。メカニズム410は、入口チャネル414からの粒子を受容するよう配向された個々のトラップ412のアレイを含む。トラップ412は、粒子保持部位の二次元アレイを形成する。トラップ412は、本明細書で示されるようなねじれ型の行、直交して配置された行と列、または不規則形態を含む任意の適切な形態を有し得る。(いくつかの実施形態では、トラップ412のいくつかは、代替の平面中(例えば、図面の平面の前および/または後にある)に配置され得、保持された粒子の三次元アレイを形成する)。各トラップ412は、1つまたは複数の粒子を保持する寸法であり得、そしてサイズ選択的チャネルまたは類似の特徴を含み得、流体がこのトラップの一部を通過することを可能にする。トラップ418は、入口チャネルに加えて出口のないチャンバ内、または特に上記に記載の横方向チャネル316のようなチャネル内の、(上記のチャンバ270、または以下の実施例10のチャンバ1970のような)単一または複数の出口チャネル418を有する共通チャンバ416内に配置され得る。
この実施例は、複数の粒子および/または試薬を、別個の横断領域および流路においてチャネルまたはフローストリーム内に配置する、微小流体メカニズムおよびシステムを記載する;図12〜13Kを参照のこと。この配置は、異なる粒子の、不連続ではなく隣接した部位での並行保持、および/またはこれらの部位での粒子の、別個の試薬への並行曝露を可能にし得る。
生物学的分析は、2つ以上の細胞または細胞の群の表現型を、類似の処理レジメンまたは別個の処理レジメンのもとで直接比較する能力から利益を得る。しかし、微視的世界において、このような細胞または細胞の群は、しばしば、不連続な、比較的広く広がった部位(例えば、異なる組織培養ディッシュまたはマイクロタイタープレートのウェル)において処理され、潜在的に、これらの細胞を、処置条件における望ましくない差異に曝露する。従って、このような分析は、意味のある結果を達成するために、多くの実験にわたって平均される必要があり得る。従って、微視的レベルにおいて互いに隣接した粒子または粒子の群を、配置し、処理し、そして分析する微小流体システムを有し、より一貫した、効率的な並列した比較を可能にすることが望ましい。
この実施例に記載される微小流体システムは、複数の粒子(もしくは粒子集団)および/または試薬を、チャネルまたはフローストリーム内の不連続な、横方向に配置された流路または領域に沿って配置する。横方向に配置された流路は、粒子および/または試薬を保有する別個の入口チャネル(または入口フローストリーム)を合わせることによって、粒子および/または試薬を不連続な層流路に沿って、導入することによって、規定され得る。これらの流路は、互いに接し得るか、または1つもしくは複数のスペーサー流体(例えば、緩衝液)によって分離され得る。これらのスペーサー流体は、1つまたは複数の入口チャネルによって形成される、粒子および/または試薬を保有する入口チャネルの間に介在する1つまたは複数の介在する流路を辿り得る。
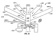
図12および13は、粒子の別々の集団を保持し、そしてこれらの集団を、1つ以上の選択された試薬に曝露するための、微小流体システム420(実施形態1)を示す。
システム420は、多層ソフトリソグラフィーによって、一般に、実施例2において上に(システム250について)および以下の実施例13に記載されるように、作製される。ここで、粒子配置領域422は、赤色の長方形で、インプット/集束チャネル424は青色領域として、そして灌流チャネル426は赤色の線として、示される。各領域もしくはチャネルの寸法、および/またはチャネルの数は、とりわけ、粒子のサイズ、試薬送達体積、および/または保持される別々の集団の数に基づいて、選択され得る。
システム420は、以下のように使用され得る。入口1および2に、粒子の別個の懸濁物(例えば、異なる細胞型)が充填され、そして集束チャネル436、438、440に対応する入口に、集束緩衝液が充填される。集束緩衝液のフローを集束チャネルに通して送達するポンプが始動される。入口1および2からの粒子の流れをコントロールするバルブが開かれる。粒子が合流点444に入るが、集束チャネルまたはスペーサーチャネルからの流れによって、図13に示される、間隔を空けた断続的な層流ストリーム454、456に集束される。保持チャンバのアパチャー458、460は、それぞれ、粒子フローストリーム454、456と整列して、1つ以上の粒子を、対応するフローストリームから受容する。システム420における流体の層流の特性を利用することによって、5つのストリームが一緒に流れるが、実質的に別個のままである。これらの流体の混合は、拡散が制限されており、この拡散は、ビーズまたは細胞のような大きい粒子の拡散の場合には、非常にゆっくりである。
図13A〜Cは、システム420の2つの代替の実施形態である、システム480(実施形態2)および480’(実施形態3)を示す。これらは、粒子を別々であるが隣接する部位で保持および処理するためのものである。上記システム420と同様に、システム480または480’は、1つまたは複数の粒子を、チャネル内での流れの方向を横断する不連続な位置に位置する、複数の保持部位の各々において選択的にインプットおよび保持するために使用され得る。しかし、システム480または480’はまた、保持された粒子を、別個の試薬と、不連続な保持部位において別々に接触させるために使用され得る。
システム480は、インプットメカニズム482、集束または横方向配置メカニズム484、保持メカニズム486、排出メカニズム488、複数の個々にコントロール可能かつ別個の処理メカニズム490、492、および放出メカニズム494を備える。図13Aおよび13Bを参照のこと。
システム480の例示的な作動が、細胞を使用して以下に記載される。システム480は、他の実施例に記載されるように、インプットレザバに、細胞および緩衝液を充填し、そしてチャネルを緩衝液で平衡化することによって、作動の準備がされ得る。
システム480を、以下に記載されるように試験した。微小流体チップを、図13Aのシステム480に従って作製し、そして着色色素および/または蛍光色素を用いて、フローのパターンおよび粒子処理効率の分析のために使用した。
図13Lは、粒子および/または試薬を、粒子トラップのセットに別々にアドレスするために使用され得る、微小流体システム1820の一部を示す。システム1820は、複数の直列に配列された、粒子トラップ1826のセット1822、1824を備える。各セット1822、1824は、流体フローストリーム(この場合、チャネル1828によって規定される)とは不連続な横方向部分に配置される。従って、粒子を運ぶ層流ストリーム(1830、1832)または試薬を運ぶ層流ストリーム(1834、1836)は、チャネル1828の不連続な横方向領域に分離され得、その結果、各セット1822、1824は、個々にアドレスされる。代替の実施形態において、トラップ1826は、横方向チャネル(例えば、チャネル1978)またはチャンバ(例えば、周囲にサイズ選択的チャネルを有する細胞チャンバ)内に配置される。
この実施例は、粒子保持部位の直列して分布されるセットに粒子を充填し、そしてこれらの部位の各々に対して試薬を別個に並行してアドレスする微小流体システムを記載する;図14〜16を参照のこと。
細胞分析は、しばしば、細胞のアレイまたは細胞集団の使用を包含する。これらのアレイは、マイクロタイタープレート内に形成され得、その結果、このアレイ内の個々のウェルは、例えば、異なる試験化合物を用いて、異なって処理され得る。処理の間に、マイクロプレートアレイは、各個々のウェル内の細胞の特性を測定するために、多重に分析される。しかし、このようなアレイは、単細胞または細胞の小さい群が各ウェルに配置される場合、マイクロタイタープレートを用いて再現可能に形成することが困難である。マイクロタイタープレート内に形成される場合でさえも、このようなマイクロタイタープレート中の細胞の迅速な処理、およびこのような処理に短時間で引き続く測定は、かなりの技術的困難を提示する。従って、個々の細胞または細胞の小さい群の、より再現性のあるアレイを、別の位置で形成し、そしてこれらの異なる位置での細胞の分離、迅速な処理および分析を可能にする、微小流体システムが必要とされる。
この実施例は、粒子の小さいセットを、システム内の予め選択された位置に連続的にトラップし、トラップされた粒子の、所望の試薬での並行した処理を可能にする、微小流体システムを記載する。インプットされた粒子の連続したトラップに起因して、1つの入口への粒子の単一の充填が、トラップのアレイ全体に粒子を供給するために使用され得る。従って、この設計は、多数のトラップを単一のシステムに統合するために使用され得る。この微小流体システムはまた、必要とされるコントロールラインの数を減少させる。なぜなら、単一のコントロールラインが、トラップの各々と個々にインターフェースする流体チャネル(例えば、注入チャネル)のセットを調節するからである。従って、単一のコントロールラインが、トラップの各々への流体送達またはトラップの各々からの流体排出の、平行コントロールを提供する。このような並行コントロールは、各トラップによって保持される類似の粒子が、別個の試薬で個々に処理されることを可能にする。さらに、このような並行コントロールは、粒子充填の間、すべてのトラップが流体接続させるが、次いで、粒子の処理および測定の間、これらのトラップを流体的に隔離されることを可能にする。トラップのこの配置は、ハイスループットの薬物発見における使用に適切であり得る、大きな微小流体システムの製造を可能にする。例えば、システム510は、2×4cmのフットプリントを有する。この密度をいくらか増加させ、そしてトラップの数を20倍より大きく増加させることによって、少なくとも128個のトラップが、8×12cmの単一の基板上に配置され得、これらの128個のトラップの各々が、2つの別個の試薬(1つの基板あたり合計245の試薬)によってアドレスされることを可能にする。
システム510の、粒子を充填し、そして粒子を異なる試薬に曝露するための例示的な使用が、以下に記載される。システム510は、この詳細な説明における他の箇所で記載されるように形成され、そして使用について読み取られる。
この実施例は、少量の粒子(例えば、細胞)の列を形成し、分析するための微小流体デバイスを記載する;図17〜20を参照のこと。
多くの適用において、細胞分析チャンバの列(各チャンバは、同じ数の細胞を含む)を形成することが必要である。これらのチャンバにより、複数の実験(例えば、薬物スクリーニング)を、一定かつ比較可能な様式で平行して行うことが可能である。現在、標準的な分析は、細胞チャンバとしてマイクロタイタープレートのウェルを使用し、各ウェルに当量の細胞懸濁液を分配する。これらのチャンバのサイズ、従って分析される細胞の数は、これらの分析における空間、試薬、および細胞の使用を軽減するための努力に応じて、減少してきている。不幸なことに、これらの分析の結果は、ウェルあたりの平均細胞数が減少するにつれて、漸次的に変動しやすくなる。例えば、96ウェルのマイクロタイタープレートを用いる場合、ウェルの底には、一般に、約3000〜5000個の細胞が存在する;384ウェルのマイクロタイタープレートを用いる場合、この数は、約1000個の細胞に減少する;そして、研究者がより小さなアッセイ容量を求めるにつれて(例えば、1536ウェルのプレート)、この数は、さらに約250個の細胞のみにまで減少する。これらの小さな平均細胞数によって、ウェルの間の実際の細胞数には、最大20%の変動が生じ得る。このような変動によって、検出される反応信号に大きな誤差が生じる。従って、ウェルあたりの細胞数が少量である場合、例えば、単一の細胞のアッセイを行う場合、または目的の細胞が限定的な供給状態にある場合には、マイクロタイタープレートは、細胞が、ウェルあたり等しい数で配置されているとみなされない限り、適当な細胞分析チャンバを提供しない。そのような場合でさえ、マイクロタイタープレートは、迅速な実験操作を行うためには欠陥がある。例えば、薬物による処置への初期の応答は、マイクロタイタープレートを用いて検出することが困難である。なぜなら、これは、添加および混合の工程が、非常に急速に行うことができないためである。そのため、多くの細胞分析は、少量の細胞の効率的な充填、迅速な処理、および分析のためのシステムを利用する。
図17は、単一の粒子または粒子の小さなグループの列を形成するための、微小流体デバイス610を示す。デバイス610は、インプットチャネル612、廃棄チャネル614、およびインプットチャネルとチャネルとの間を延びる濾過チャネル616の列を備える。デバイス610はまた、各濾過チャネル616中に形成された一定体積の粒子チャンバ618、およびサンプル操作(下を参照のこと)のためのバルブの集合を備える。デバイス610は、「細胞コーム」と呼ばれ得る。なぜなら、これは、細胞(粒子)フローの経路が、コームの形状(チャンバ614が、コームの歯を示す)を有するためである。
この実施例で記載される細胞コームは、種々の適応において有用であり得る。例えば、細胞コームは、薬物の発見において有用であり得、細胞アッセイにおいてマイクロタイタープレートの代替物として作用し,細胞数のより緻密なコントロールを提供する。現在の技術を用いて、細胞コームデバイス中での各細胞チャンバの製造は、正確に行われ得る。そのために、細胞アッセイは、このデバイスを用いて形成された細胞の列を用いて、単一細胞アッセイと用いた場合でさえ、チャンバからチャンバへの信号の変動が軽減されて、行われ得る。細胞コームは、より一般的には、種々のミクロンサイズの粒子(細胞に加えて、例えば、蛍光的にまたは酵素的にコーティングされたビーズ)と共に使用され得る。このデバイスはまた、目的の粒子のサイズが濾過ユニットのポアサイズよりも大きい限りは、気相でも行われ得る。細胞コームはまた、連結され得、それによって、異なるサイズの物体が異なる段階で濾過される。
この実施例は、対応する基板から間隔を置いた粒子トラップを使用して、粒子を保持するためのメカニズムを記載する;図21〜23を参照のこと。
微小流体システムの1つの目的は、後での処理および分析のために所定の位置で粒子を保持する能力である。このような保持機能を行うトラップは、それらが流体フローに対して最小の効果を有する場合に、最適に機能する;そうでなければ、このトラップの周りのフローのパターンが破壊され得、粒子および試薬のトラップ中への進入が遅れるか、または軽減される。上述の実施例1および2では、単一の粒子または粒子のグループを保持するために使用され得るトラップを記載する。しかし、これらのトラップは、このトラップそのものを通るフローを制限する。例えば、実施例1のトラップ180は、保持される単一の粒子のいずれかの側面上での交差フローを軽減または防止するブロックPおよびQを備える。同様に、実施例2の保持チャンバ270は、流体フローを実質的に制限し得る比較的狭い微小チャネル300を備える。従って、試薬フローの流れまたは洗浄用フローの流れによって、より急速で、より効果的なアクセスを可能にしつつ、フローのパターンを破壊せずに、粒子のインプットフローの流れのより近くに配置され得る代替的なトラップについての必要性が存在する。
この実施例は、改良された粒子フロー特性を有する保持メカニズムを記載する。これらのメカニズムは、粒子フローの流れの下流に配置され、その位置の近くで、粒子フローの流れが、T接合部で分岐する。これらのメカニズムは、単一の粒子を捕捉するように寸法取りされる。しかし、代替的に、それらは2つ以上の粒子を捕捉するように寸法取りされる。例示される各保持メカニズム、特に配置メカニズム264および灌流メカニズム268に関連する微小流体システムが、実施例2で上述されている。この初期の実施例は、適切な流体フロー経路、ならびに配置メカニズムおよび灌流メカニズムの操作を記載する。しかし、この実施例で提供される保持メカニズムは、粒子分析のための任意の他の適切な微小流体メカニズムと組合せられ得る。
図21は、本発明の局面に従う、単一の粒子を配置、保持、および/または灌流するための微小流体システム710を示す。異なるフォトレジスト層から成形されたシステム710の部分は、上述のように(実施例の導入セクションを参照のこと)、異なる色で示される。保持メカニズム712は、遠位壁716から間隔を置いた関係でT−接合部の中央に配置されたトラップ713(青緑色で示される)を備える。ここで、右上のビュー718は、トラップ713の概略的な例示であり、断面図の視点で示されている;右の中間のビュー720は、保持メカニズム712の側部により近い水平断面図である;そして右下のビュー722は、保持メカニズム712の側部により近い垂直断面図である。トラップ713は、U形状ブロック726として、ルーフ724から下方向に延びる。このブロックは、単一の粒子のための保持部位として作用する、くぼみ728を備える。ブロック(この場合においては、ガラスで形成される)は、基材730へと延びるが、間隔を置いた関係のままであり(この場合においては、基材から約5μm離れている)、ブロックの全ての下に延びるフローチャネル732を形成する。従って、ブロック726は、その全体の底部表面734の下をフローが流れる可能性のある、鍾乳石ベースのトラップを形成する。
図22は、本発明の局面に従う、単一の粒子を配置、保持、および/または灌流するための別の微小流体システム740を示す。ビュー742は、システム740の色で標識された概略図を示し、一方、ビュー744は、ビュー742に従って形成された実際の微小流体システムの写真を示すが、水平方向に反転されている。システム740は、T接合部714の中央に配置されたトラップ746を備える。トラップ746は、遠位壁716から間隔を置いており、非常に迅速に試薬に曝露するために、保持された任意の粒子を灌流チャネル748のすぐ近くに配置する(灌流メカニズムのより完全な説明については、実施例2を参照のこと)。トラップ746は、トラップチャネル752の側方に位置し、トラップ746のエッジへと延びる、粒子を保持するための保持部位750(青緑色)を備える。従って、流体は、保持部位750に進入し、トラップチャネルを迂回して流れ得る。ビュー754は、トラップ746の構造を概略的に示す。トラップ746は、基材730へと下方向へ延び(基材730から下方向へ5μm延びる)、チャネル形成部758によって架橋される、3つの長方形のカラム756(ビュー754において破線の輪郭で示される)を備える。断面図762、764、766は、トラップ746の構造をより詳細に示す。
図23は、本発明の局面に従う、単一の粒子を配置、保持、および/または灌流するためのなお別の微小流体システム790を示す。システム790は、遠位壁716に接し、インプットチャネル796の下に集束された粒子の流れ794と並ぶ、粒子保持メカニズムであるトラップ792を備える。トラップ792は、保持部位798を備える。この保持部位798は、高さが20μmで、約5μmで基材730から間隔を置いた保持ブロック800の側方に配置されている。ビュー802は、トラップ792の線表示を示すが、遠位壁716の外の微小流体システムの一部804を含む。断面図806、808は、保持ブロック800が、トラップの全底部表面814の下に延びるトラップチャネル812を形成しない場合に、どのようにして、遠位壁716およびチャネルルーフ810から外方向で、かつ下方向へ延びるのかを示す。従って、トラップ792は、鍾乳石のような構造をしている。
この実施例は、微小流体システムの再利用を促進するメカニズム(粒子の放出、収集、および/または再懸濁のためのメカニズムを含む)を記載する;図24〜28を参照のこと。
微小流体システムは、しばしば、1回の使用のために設計される。このような1回の使用のためのシステムは、単一の細胞または複数の細胞を保持および分析するために使用され得るが、1個または複数個の細胞が、新たに導入される細胞の分析を妨害するので、その後、それらは再利用されないか、またはできない。従って、その後、これらの1回の使用のためのシステムは捨てられ、さらなる1回の使用のためのシステムが、さらなる分析のために初期化されなければならない。このアプローチは、1回の使用のためのシステムの効果的な使用ではない。さらに、このアプローチは、微視的な量の細胞および試薬を浪費し、初期化に時間がかかる。従って、分析の後で保持した粒子を放出し、さらなる分析のためにシステム(または細胞)を解放する、再利用可能な微小流体システムに対する必要性が存在する。
この実施例は、再利用可能な微小流体システムの形成を可能にする微小流体メカニズムを記載する。これらの微小流体メカニズムは、(1)粒子放出メカニズム、(2)粒子収集メカニズム、および(3)粒子懸濁メカニズムを備える。粒子放出メカニズムにより、一般的には、トラップ中での処理および/または分析の後で、粒子がトラップから取り除かれる。放出メカニズムは、任意の選択した時間に粒子をトラップの外へと駆り立てる力を提供する。粒子収集メカニズムは、放出メカニズムによって放出された粒子を収集するために使用され得る。収集された粒子は、培養され、測定され、処理され、および/または捨てられ得る。粒子懸濁メカニズムは、インレットウェルに定着する粒子を減少させ、その結果、インレットウェルの中への粒子の1回の充填により、一定時間にわたるインレットウェルからの比較的一定の粒子フローを生成する。これらの3つのメカニズムは、単独で、または任意の適切な組合せで、粒子分析のための微小流体システムの効率的で、経済的な使用を可能にする。
図24は、本発明の局面に従う、粒子放出メカニズム852および粒子収集メカニズムを有する微小流体システム850を示す。システム850の一般的な設計は、実施例2、およびこの「詳細な説明」の他の箇所に記載したとおりであり、粒子集束メカニズム856、粒子保持メカニズムすなわちトラップ858、および灌流メカニズム860を備える。これらの粒子集束および灌流メカニズムは、それぞれ配置メカニズム264および灌流メカニズム268(実施例2の図5に示される)と少なくとも実質的に等価である。システム850は、この「詳細な説明」の他の箇所に記載されるように形成され得る。システム850の各色付け領域の意味もまた上述されており、そのため、ここでは繰り返さない。
図26は、本発明の局面に従う、粒子のグループを保持および放出するためのシステム880を示す。システム880は、一般的に、システム850と類似するが(図25と比較のこと)、いくつかの例外はある。第1に、トラップ882は、粒子のグループを保持し得る、トラップ858よりもはるかに大きな保持部位884を備える。従って、壁886は、実質的に交差チャネル888内に延び、それぞれの壁は、3つのサイズ選択的チャネル890を備え、トラップ858に存在する1つとは異なる。さらに、トラップ882は、トラップ858よりも広く、そのために、複数の放出チャネル892は、トラップ882中への閉じ込めから粒子を放出するために使用され、これも1つではない。第2に、トラップ882中の全ての粒子に、確実に試薬が効果的に送達されるように、灌流チャネル894は、移動されて、集束チャネル896から少し離れる。
図24はおよび27は、本発明の局面に従う、粒子収集メカニズム854を示す。収集メカニズム854は、インレットチャネル904、保持領域906、濾過チャネル908、およびアウトレット910を備える。インレットチャネル904は、放出の間にバルブV4が開いている場合、放出された粒子を保持領域906に向かって運ぶ。流体は、濾過チャネル908を通過することによって、保持領域906を通って、アウトレット910へと流れ、この濾過チャネル908は、放出された粒子が、アウトレットへと流れるのを防止するサイズ選択的チャネルとして作用する。従って、放出された粒子は、保持領域906に収集される。収集された粒子が細胞である場合、保持領域は、細胞を培養し、細胞の成長、分化、および/または、処理(例えば、灌流メカニズム860による処理)への応答を促進させるために、使用され得る。あるいは、保持領域は、粒子の分析のための測定システムに作動可能に接続され得るか、および/または、粒子の溶解またはさらなる処理の部位であり得る。いくつかの実施形態において、インレットチャネル904は、他のチャネル(示さず)に接続され得、それによって、試薬が、トラップ858での粒子の保持、処理、および分析から分離された保持領域906に導入されることを可能にする。代替的に、または付加的に、試薬は、灌流メカニズム860および/または収束チャネル896によって、導入され得る。保持領域906に収集された粒子は、粒子をインレットチャネル904へと運ぶための逆向きのフローによって、または収集メカニズム854を形成し、その結果、1つまたは複数のバルブが濾過チャネルのいくつかを変位させることによって、放出され得る。
標準的な粒子インプットメカニズム(例えば、図8のインレットウェル330)は、一回の使用のための微小流体システムのために重要である。しかし、これらのメカニズムは、再利用可能なシステムにとって不適切であり得る。再利用可能なシステムでは、分析の開始において、粒子の懸濁液を1つまたは複数のインレットレザバ中に充填し、次いで、その同じ懸濁液を複数の粒子の充填および粒子の分析のための供給源として使用することが、望ましいかもしれない。不幸なことに、このような拡張した分析の間、粒子は、代表的には、懸濁液の外に定着し、その結果、その粒子のインプット濃度は経時的に減少し、粒子を充填するために必要である時間の量が増大する。従って、延長分析の間にインレットレザバに懸濁液の粒子を維持し、この懸濁液からの粒子の充填および分析の繰り返しを可能にするためのメカニズムについての必要性がある。
この実施例は、一定の範囲の試薬濃度(例えば、勾配として)で、試薬が粒子に送達され得るように試薬を調節可能に希釈するためのメカニズムを記載する;図29〜30を参照のこと。
細胞の研究は、細胞が一定の範囲の試薬(例えば、薬物)にどのように応答するのかを決定するために、頻繁に、用量応答分析を伴う。これらの用量応答分析は、種々の定性的情報および/または定量的情報を決定するために使用され得、有効用量、反応用量の半分の最大値、致死用量、より特異的な応答を生じるための用量などが挙げられる。多くの分析において、目的の試薬は、高濃度のストック溶液として調製され、次いで、種々の容量の試薬が調合され、一定の範囲の用量を提供する。しかし、このアプローチは、微小流体システムに適していないかもしれない。なぜなら、微小流体システムにおいて、一定量を調合することは現実的ではないかもしれないためであり、および混合するために混合器が必要であるかもしれず、従って、このような調合された体積が希釈されるかもしれないためである。従って、少数の試薬ストックを用いて、予め混合された試薬を一定の範囲の選択した濃度で調合する、微小流体メカニズムの必要性が存在する。
この節は、独立コントロール(実施形態1)および協働コントロール(実施形態2)を有する、2つの例示的な希釈メカニズムを記載する。
図29は、本発明の局面に従って、第一の試薬および第二の試薬を、ある範囲の濃度で混合するための調節可能な希釈メカニズム960を示す。希釈メカニズム960は、第一および第二の試薬レザバ964、966、ならびにこれらのレザバのための出口として働く、第一および第二のコントロール可能なフローチャネル968、970を有する、微小流体層962を備える。このコントロール可能なフローチャネルは、接合部972において狭くなり、そして合流して、共通の混合チャネル974を形成する。試薬は、混合または拡散チャネル974において、一般に、隣接するフローストリームへの試薬の拡散によって、混合される。従って、混合チャネル974は、フローチャネル968、970よりかなり狭く、一般に、約1〜20μmである。対照的に、フローチャネル968、970は、バルブによってコントロールされるために十分に広く、弓形の断面を有する。ここで、各レザバからの流体フローは、コントロール層976によって、3バルブポンプ978および遮断バルブ980を介して、独立してコントロールされる;しかし、他の実施形態における流体フローは、他のコントロールメカニズムによってコントロールされ得る。
図30は、本発明の局面に従って、第一の試薬および第二の試薬をある範囲の濃度で混合するための、別の調節可能な希釈メカニズム990を示す。希釈メカニズム990は、同じ番号付けを有する構成要素によって示されるように、希釈メカニズム960と同様に構成される。しかし、希釈メカニズム990は、単一のポンプ978(一般に、一定のポンピング速度である)を使用して、両方の試薬のフローを協働して駆動する。さらに、メカニズム990は、遮断バルブではなく、調節バルブ994、996を使用する。調節可能なバルブの閉鎖は、調節可能なバルブを変形させるために使用される圧力を調節することによって、コントロール可能である。従って、各調節可能なバルブは、適切な圧力を用いて独立して調節され、フローチャネル968、970に対する所望の部分的閉塞、ならびに従って、拡散チャネル974における所望の流量および試薬混合を提供し得る。第一の試薬の単純な希釈は、第二の試薬として、適切な溶媒または緩衝液を使用することによって、実施され得る。
上記希釈メカニズムは、任意の適切な適用のために、任意の適切な微小流体デバイスの部品として使用され得る。例えば、希釈メカニズム990は、実施例2の図8における微小流体システム250において使用されて、実験的に決定された圧力をバルブ9および10に提供することによって、粒子の灌流のための試薬の所望の混合物を調製および送達し得る。
この実施例は、粒子を、その質量、密度、および/または他の特性に基づいて選別するためのメカニズムを記載する;図31〜38を参照のこと。
粒子の微小流体分析は、粒子の粗製または不均一のインプット集団を、それらの成分に選別することから利益を得ることができるか、またはこの選別を必要とさえし得る。例えば、インプット集団は、単細胞の混合物、細胞クラスター、および/または細胞細片であり得る。あるいは、またはさらに、インプット集団は、別個の細胞型の混合された集団であり得る。これらの場合に、選別は、クラスターまたは細片から単細胞を分離し得、そして1つの型の細胞を別の型の細胞から分離し得る。光学システムが、個々の粒子を、それらの異なる光学特性(例えば、蛍光強度)に従って能動的に選別するために使用され得る。しかし、これらの光学システムは、インプットされる粒子が一定してモニタリングされ、そして光学特性に基づいて、別個の選別ビンに能動的に方向付けられることを必要とする。従って、別個の粒子を、潜在的に受動的に、別個の粒子の異なる物理的特性に基づいて分離する、微小流体システム選別メカニズムに対する必要性が存在する。
この実施例は、粒子の間の物理的差異(例えば、とりわけ、質量、密度、形状、および/または表面特性)に基づいて、粒子を能動的に選別するためのメカニズムを記載する。これらのメカニズムは、受動的であり、能動的なモニタリングおよび切換えではなく、方向の鋭利な変化の間に流動する粒子に対して付与される遠心力を利用する。これらのメカニズムは、バルブおよび他の機能的メカニズムを欠く、単純化された流体システムの一部として記載および実証される。その代わりに、流体は、これらのシステムを、インプットレザバおよび排出レザバにおいて異なる高さを有する液体カラムによって生じる、圧力差によって移動する。しかし、これらの選別メカニズムは、任意の適切な微小流体システムに統合され得る。
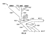
図31および32は、本発明の局面に従って、粒子の間の物理的差異に従って粒子を分離する、選別メカニズム1022を有する微小流体システム1020を示す。ここで、メカニズム1022は、粒子を、入口レザバ1024から、3つの出口または選別チャネル1026へと選別する。これらの選別チャネルは、別個の出口レザバ1028(出口1〜3で示される)に導く。この実施形態の選別チャネルは、約50μmの最小幅および約17〜18μmの高さを有する。しかし、より一般的には、メカニズム1022は、任意の適切な寸法で形成され得る。さらに、メカニズム1022は、粒子を、任意の適切な供給源(例えば、微小流体処理または分析)から、任意の所望の数の出口チャネルおよび/または他の微小流体メカニズムもしくは構造体(例えば、培養チャンバ、保持メカニズム、灌流メカニズムなど)へと選別し得る。
図33は、本発明の局面に従う、改変された選別パラメータを有する選別メカニズム1062を有する、微小流体システム1060を示す。選別メカニズム1062は、選別メカニズム1022の加速領域1042より狭い加速領域1064を有し、潜在的に、粒子に対するより大きい速度、および従って、より良好な集束を与える。さらに、選別メカニズム1062は、選別メカニズム1022の湾曲した領域1044に対して異なる曲率半径を有する、湾曲した領域1066を有する。さらに、選別メカニズム1062は、選別メカニズム1022の分離領域1046より大きい分離角度(対の角度)を有する分離領域1068を有し、3つではなく4つの選別チャネル1070に接続されている。
図34および35は、本発明の局面に従う、改変された選別パラメータを有する選別メカニズム1082を有する、別の微小流体システム1080を示す。選別メカニズム1082は、領域1042または領域1064のいずれよりも狭い加速領域1084を有し、より大きい速度および集束を提供する。さらに、選別メカニズム1082は、図31〜33の湾曲した領域1044および1066より小さい曲率半径を有する、湾曲した領域1086を有する。さらに、選別メカニズム1082は、領域1046および1068と比較して、さらにより大きい角度の分離を有する分離領域1088を有する。
図36〜38は、システム1020および1060が粒子の混合された集団を選別する能力を実証する、実験結果を示す。これらの実験において、混合された粒子の集団が、インプットレザバに充填される前に、2つのサイズ(および型)の粒子(約1μmの平均直径を有するビーズ、および約10μmの平均直径を有するJurkat細胞)を使用して、形成された。これらの2つのサイズの粒子を、異なる蛍光色素で区別可能に標識する:ビーズは、緑色光を発光し、そして細胞は、赤色光を発光する。
この実施例に示されるシステムは、粒子の物理的特性を区別する選別メカニズムに基づいて、粒子を受動的に濃縮する能力を有する。これらのシステムを使用して得られる、およそ2倍の濃縮は、いくつかの微小流体分析を容易にするかまたは改善するために十分であり得る。さらに、これらのシステムの各々は、改変および洗練され得、そして/または所望の粒子の改善された濃縮を改善するために、直列に接続され得る。
この実施例は、比較的大きいチャンバを有する微小流体システムを記載する。このシステムにおいて、より大きい粒子のセット(例えば、癒着性細胞および/または非癒着性細胞)が、保持され得、保存され得、培養され得、処理され得、そして/または放出され得る:図39〜50Dを参照のこと。
微視的/巨視的界面での、微小流体システムへの粒子の導入、および/または微小流体システムからの粒子の除去は、不十分でありそして/または有害であり得る。導入については、粒子は、懸濁液中に配置されなければならず、そしてしばしば、入口レザバを通して導入される。この充填プロセスの間、粒子のかなりの画分か失われ得、このことは、粒子が高価であり、そして/または制限された供給にある場合(例えば、臨床サンプルまたは法医学的サンプル由来の細胞を用いる場合)に、問題であり得る。さらに、導入および/または除去の間、粒子は、例えば、汚染性の微生物への曝露によって汚染され得、そして/または例えば、入口レザバもしくは出口レザバの液体の蒸発によって損傷を受け得る。従って、連続するセットの分析の間、粒子を繰り返し微小流体システムに導入し、そしてこのシステムから除去することを回避することが望ましい。従って、特に、特定の集団の連続的分析のための、粒子(例えば、細胞)を保存し、処理し、維持し、測定し、そして/または特に、増幅(すなわち、培養)するためのチャンバに対する必要性が存在する。このようなチャンバを用いて、これらの連続分析は、集団を分析の間で巨視的環境に移すことなく、実施され得る。
本実施例は、上に記載された問題および課題のいくつかまたは全てに取り組み、そして解決する、種々の微小流体システムを記載する。これらの微小流体システムは、詳細な説明の他の箇所および引用文献に記載されるように、多層ソフトリソグラフィーを使用して形成され得る。粒子の貯蔵、処理、分析、および細胞増殖のためのチャネルまたはチャンバは、実施例13に一般的に記載されるように作製された鋳型を使用して、必要な場合、複数のフォトレジストの層を使用して、形成される。このような鋳型は、細胞が侵入および増殖するために十分に大きいチャネル(例えば、約200μmの幅×約20〜35μmの高さ)を構築するために使用され得る。さらに、以下に記載されるように、このような鋳型は、種々の寸法の粒子チャンバを形成するために使用され得る。これらのチャネルおよび/またはチャンバは、とりわけ、バルブ、ポンプ、回転ミキサ、フィルタ、ソーター、倍増管、灌流メカニズム、および/またはさらなる粒子保持部位を備える微小流体システムに統合されて、粒子の任意の適切な分析を実施し得る。
図39〜43は、本発明の局面に従う、粒子を保持するための比較的大きいチャンバ1132を備える例示的な微小流体ネットワーク1130を示す。これらのネットワークは、多層ソフトリソグラフィーを使用して作製され、ここで、大きいチャンバはつぶれなかった。これらのチャンバは、約36ミクロンの高さを有する。これらのチャンバは、鋳型を使用する改変されたプロセスによって、形成され、このプロセスにおいて、2つの層(各々が約18ミクロン)が基板の頂部に連続的に層状にされ、そして細胞チャンバが形成された位置で選択的に維持された。これらのチャンバは、丸くされた。このプロセスは、ほぼ弓形(弓様)の断面形状を生じ、これは、安定性を増大させ得る。その結果、このプロセスは、幅対高さの比が約10:1未満のチャンバの形成を可能にし、このチャンバは、つぶれなかった。対照的に、標準的なソフトリソグラフィープロセスによって形成される、10:1より大きい幅対高さの比を有する微小流体チャネルは、より頻繁につぶれ得る。
図45は、流体の流れがより融通してコントロールされる微小流体ネットワーク1130を有する、微小流体システム1180を示す。具体的には、チャンバ1132を通って流れる流体が、チャンバ1132の両側に設置される、2つの入れ子状のセットの隣接コントロールバルブ1182、1184によってコントロールされる。平行ポンピング回路1186が、平行な流路1188として配置され、これは、ポンプ1190を有し、そして入れ子状のバルブセット1182、1184の間の中間の入れ子状位置において、細胞チャンバ1132の上流および下流から延びる。
図46は、本発明の局面に従う、ループしたチャネルまたはリング構造体として形成された、細胞チャンバ1212を有する、微小流体システム1210を示す。細胞(または粒子)が、チャンバ1212に導入され、そしてここで、インプットレザバ1214と排出レザバ1216との間の流体高さのバランスをとることによって、あるいは、これらのレザバを相互接続する1つ以上のバルブ1218を閉じることによってのいずれかで、保持される。バルブ1218(特に、チャンバ1212に隣接するかこのチャンバの中のバルブ)の部分的閉鎖は、このバルブを通る細胞の流れを防止しながら、流体の流れを可能にするために使用され得る。一旦、細胞がチャンバ1212に充填されると、4つのバルブ1220が、適切な順序で始動されて、流体をチャンバ1212の周りで移動させ得る。
図47〜49は、本発明の局面に従う、ループしたチャネルまたはリング構造体として形成されたチャンバ1242を有する、別の微小流体システム1240を示す。システム1240は、粒子の流入/流出のため(粒子ネットワーク1244)および試薬の流入/流出のため(試薬ネットワーク1246)の、異なるネットワークを与える。これらの異なるネットワークは、チャンバ1242において重なる。
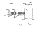
図50Aは、非対称的に配置された流路に基づいて、微小流体チャンバ1912内に細胞(または他の粒子)を配置するためのシステム1910を示す。粒子および流体は、入口チャネル1914からチャンバ1912内へと流れる。粒子および流体は、複数の別個の流路1916、1918を辿って、それぞれ出口チャネル1920、1922に向かい得る。1つ以上のバルブ1924が、これらの流路の一方または両方を選択するために使用され得る。
図50Bは、システム1910に基づくがさらなるメカニズムおよび特徴を備えるシステム1930を示す。システム1930は、インプットメカニズム1932、排出メカニズム1934、および処理メカニズム1936を備える。インプットメカニズム1932は、細胞および/または流体(例えば、緩衝液または培地)を導入するためのインプットレザバ1938を備える。排出メカニズム1934は、それぞれ流路1918および/または1916によって提供される流体を、出口チャネル1942および/または1944から受容し得る、排出レザバ1940を備える。バルブ1924は、通路1918に沿ってフローをブロックするように作動され得、一方で、バルブ1948は、いずれかの流路から出口レザバ1940へのフローをブロックするために作動され得る。処理メカニズム1936は、複数の試薬レザバ1950、バルブ1952(これは、各試薬レザバからのフローを調節する)、およびバルブ1954(処理メカニズム1936全体とチャンバ1912との間の連絡を調節する)を備え得る。
図50Cは、細胞を1つ以上の区画1972、1974内に沈着(および保持)するために使用され得る、細胞チャンバ1970を示す。区画1972、1974は、半径方向に配置されたサイズ選択チャネル1976に接続されて、「スポーク付き車輪」の構造を形成し得る。細胞(または他の粒子)が、第一のインプットチャネル1978からインプットされ得、そして区画1972内に配置され得る。流体は、サイズ選択チャネル1976を通って第二のインプットチャネル1980へと流れ得る。あるいは、またはさらに、第一のインプットチャネル1978の方へと流れる流体を用いて、さらなる細胞(例えば、別個の細胞型)が、第二のインプットチャネル1980からインプットされて、外側の区画1974内に堆積し得る。2つの区画の各々が異なる細胞集団によって占有された状態で、細胞−細胞連絡が、放出された細胞成分(または拡張した細胞構造体)の、2つの区画の間のサイズ選択チャネルの通過によって、分析され得る。代替の実施形態において、第一の区画および第二の区画は、任意の適切な幾何学的形状(例えば、とりわけ、くし型のフィンガーまたは噛み合ったスパイラル)を有して、これらの2つの区画の間の連絡の面積を増加させ得る。さらに、さらなる区画が加えられて、さらなる細胞型の間の相互作用を測定し得る。
細胞チャンバ1990は、オーバーフロー能力を備えるチャンバ1970の改変されたバージョンである。ここで、内側の区画1972は、サイズ選択チャネル1976に加えて、横方向の通路1994によってオーバーフロー区画1992に接続されるチャンバとして働く。従って、インプットチャネル1978は、インプットされた細胞(または他の粒子)の大部分を、入口1996を使用して、内側区画1972内へと方向付けるために使用され得る。しかし、一旦、内側の区画1972が満たされると、さらなる細胞が横方向通路に沿って流れ、オーバーフロー区画1992を通り、そして出口チャネル1998から出得る。
本明細書に記載される微小流体システムは、接着細胞および非接着細胞の操作に用いられ得る。例えば、チャンバへの導入後、NIH3T3細胞は、基板に接着し、チャンバ内に細胞を効率的に保持する。一旦接着すると、これらの細胞は、流体流れがそれらの上に受動的および/または能動的に向かうとき、基板上に接着する。これら細胞は、所定範囲の流速およびバルブ閉鎖圧力で生存して残る。しかし、細胞生存率は、より高いバルブ作動閉鎖圧力が用いられるとき損なわれ得る。なぜなら、より高い圧力は完全バルブ閉鎖に至るからである。細胞の上で閉鎖するバルブは、それをつぶし得る。特に、高いポンプ輸送回数では、リング内側の集団内のすべての細胞がつぶされ得る。なぜなら、それらは、つぶされる高い確率を有するからである。この場合、リングは、細胞残渣で満たされるようになり得、これは、細胞成分に関するアッセイの出発点であり得る。核膜はこの処理によって損なわれるかも知れないし、損なわれないかも知れない。
この実施例は、細胞を配置し、保持し、処理し、および/または測定するため、特に、電気生理学的分析のための微小流体システムを記載する;図51〜58を参照のこと。
細胞表面膜は、すべての細胞の必須部分であり、それらの広がりを規定し、そして細胞内部(細胞質)と細胞外環境との間を分割し、そして差異を維持する。従って、イオンチャネルおよびトランスポーターによって媒介される膜透過性および膜を横切るイオン移動の選択性をコントロールすることは、細胞生存、細胞生理、および信号伝達メカニズム、特に神経伝達の基礎である。従って、多くの細胞表面レセプターは、イオンチャネルおよびトランスポーターとカップルし、膜電流の測定を、非常に迅速に、そして細胞生理学およびレセプター活性の高感度の指標にする。従って、イオン電流からの利益を受けるまたはいくつかの場合、イオン電流に対する薬物の影響の測定を必要とする多くの薬物アッセイは、電気生理学と称される。
この実施例は、イオンチャネル活性の測定を可能にする微小流体デバイスを記載する。これらのデバイスは、アパーチャーと接して単一細胞を、細胞の膜が、アパーチャーの周りに、ギガシールと呼ばれるギガオームの高抵抗性を形成するように配置される。このギガシールは、「全体細胞」パッチ−クランプ記録によって、測定されるべき細胞膜を横切るチャネル電流を可能にする。チャネルとカップルするレセプターのアゴニストまたはアンタゴニストのような、チャネル活性の潜在的な変調器の存在下または非存在下における電流の測定は、これら変調器を試験するための迅速かつ高感度の方法を提供する。チャネル電流における変化はしばしば一過性であるので、このデバイスはまた、潜在的な変調器および洗浄溶液による細胞の迅速な灌流を容易にする。これは、ジュレーターの迅速な曝露および除去を可能にする。このデバイスは、1つより多い単一細胞を同時および/または連続的に分析するシステムとして構成され得る(とりわけ、実施例12を参照のこと)。
図51は、本発明の局面による、イオン電流を測定するための微小デバイス1310を示す。デバイス1310は、ほぼ3つの層:基板層1312、流体層1314、およびベース層1316からなる平坦なパッチクランプ電極を含む。
図52〜58は、本発明の局面による、単一細胞パッチクランプ記録のための微小流体システム1340を示す。システム1340は、流体層ネットワーク1342および流体コントロール層1344を含み、この両方は、例えば、この詳細な説明のいずれに記載のような、多層ソフトリソグラフィーによって形成される。ネットワーク1342およびコントロール層1344は、基板層によって形成されるパッチ可能なオリフィスまたはアパーチャー上に単一細胞を配置する(以下を参照のこと)。単一細胞を配置することは、図51について上記で説明されるように、流体層ネットワーク1342とベース層流体チャンバとの間に適切な緩衝液勾配を確立する。一旦、高抵抗性シールが、オリフィスの周りで、配置された細胞と基板との間に形成されると、システム1340は、この配置された細胞が、薬物、リガンド(リガンドゲートチャネルの場合について)、別個のイオン組成物をもつ緩衝液、および/または洗浄溶液のような試薬の1つ以上のセットで灌流されることを可能にする。これら試薬の灌流は、細胞の電気的活性に対するこれら試薬の影響の迅速測定を可能にする。
この実施例は、単一細胞のセットから、1つ以上の細胞に対する電気生理学的分析を実施するための微小流体システムを記載する;図59〜61を参照のこと。
パッチクランピングは、生物学的膜(例えば、細胞)とアパーチャーとの間のシールの形成に依存する電気生理学的方法である。このシールは、膜を横切るイオンの通過によって生成される小電流の測定を容易にし得る。しかし、このシールは、一般に、緊密であるべきである。なぜなら、シールの周りの電流の漏れは、膜を横切る小電流の測定を妨害、またはさせなくし得るからである。
この実施例は、規定された数(「n」)の個々にコントロール可能なアパーチャーをもつ、単一アパーチャー微小流体デバイスの多重バージョンを提供する。各個々にコントロール可能なアパーチャーは、パッチクランプ法によって単一細胞を分析するために用いられ得る。1つのパッチされた細胞のみが、各実験について有効なシールを形成することを要求されるので、複数アパーチャーの使用は、デバイスとこのシールを形成する確立を増加する。さらに、このデバイスは各アパーチャー、およびその関連する細胞を、分析に含められるようにするか、または分析から排除されるようにする。従って、信号は、各対応するアパーチャーを電気的に絶縁することにより首尾良くシールされている各個々の細胞から得られ得る。あるいは、またはさらに、「平均化された」信号は、2つ以上の個々にコントロール可能なアパーチャーから、別個の測定を平均することによるか、2つ以上のアパーチャーから同時に測定することによるかのいずれかによって得られ得る。平均化された信号は、任意の得られるデータの健全さを改善し得る。
図59は、どのようにnのアパーチャーが構築されるかを示すために、1アパーチャーデバイス1430を示す。デバイス1430は、単一細胞1432をアパーチャー1434と隣接するように向ける。アパーチャー1434は、チャンバ1436、1438を接続する。これらの内部チャンバおよび外部チャンバ、1436および1438は、それぞれ、それらの組成が、細胞1432の内部(細胞質)および外部(細胞外)環境のそれにそれぞれ似る緩衝液を保持する。減圧が、細胞1432をアパーチャー1434に向けて引っ張るために内部チャンバ1436に付与され得、細胞とアパーチャーとの間にシールを形成する。細胞膜のシーリングおよび破壊(全体細胞の占有(entry))は、細胞1432の内側を内部チャンバ1436と電気的に連続にする。その他の実施形態では、膜は非破壊のままにされ得るが、例えば、内部チャンバ1436にチャネル形成剤の添加により穿孔され得るか、または、膜は非破壊および非穿孔のままであり得る。
図60は、本発明の局面による、デバイス1430の多重バージョンである微小流体デバイス1450を示す。デバイス1450は、デバイス1450の周のまわりに延びる共有内部チャンバ1452を含み得る。内部チャンバ1452は、この場合4つの複数のアパーチャー1456を用い、共有外部チャンバ1454に接続され得る。各アパーチャーは、コントロールバルブ1458(VN、VS、VEおよびVW)を用いて、電気的および流体的に、両方で隔離可能であり得る。さらに、各アパーチャーは、保持部位またはトラップ1460のような細胞保持メカニズムにすぐ隣接して配置され得る。トラップ1460は、細胞の単一懸濁物(1つのレザバ)から、または細胞の複数懸濁物(複数レザバ)からの平行装填を容易にするように配置され得る。内部チャンバ1452は、減圧源に接続され得、そして記録電極および接地が、外部チャンバおよび内部チャンバ、1452および1454にそれぞれ接続され得る。
この実施例は、ソフトリソグラフィーにより、微小流体ネットワーク内および/またはそれらの間の断面形状および/または構造の高さが変動する微小流体デバイスを生成する方法を記載する;図62〜71を参照のこと。
微小流体ネットワークは、種々の機能を有する構造を含み得る。例えば、調節可能なチャネルは、偏向可能なバルブを含み得、部分的または完全にチャネルを閉鎖するよう、および/またはチャネルを通じて流体を推進するよう作用する。これらチャネルは、一般に、半円形または弓状の断面形状で形成され、効率的なバルブ閉鎖を可能にする。対照的に、粒子配置チャネルは、主に、流体により保持される粒子のための導管として作用し得る。これらの粒子配置チャネルは、一般に、粒子運動を可能にするに十分な高さを有する。従って、粒子配置チャネルは、矩形断面から利益を受け得、粒子がチャネル内で(横方向に)並んで制限されずに移動することを可能にする。このような制限されない動きは、弓状チャネルでのように、粒子が、中央部分のみよりはむしろ、チャネルの幅のより大きい部分を占領することを可能にし得る。その他のチャネルは、サイズ選択的であるか、または粒子制限的であり得、所定サイズより大きい粒子の侵入を防ぐ。これらの粒子選択的チャネルは、目的の粒子直径より小さい高さを有し得る。さらに、微小流体ネットワークは、実施例10に記載のような、より狭いチャネルより大きい天井高さをもつ細胞/培養チャンバを含み得、チャンバの機能を改善する。従って、これら構造および本詳細な説明のいずれに記載されるその他の構造は、適正に機能するために変動する天井高さから利益を受けるか、またはそれを必要とし得る。
この実施例に記載される方法は、微小ネットワーク内の別個の位置で異なる断面形状および/または高さをもつチャネルを形成するために用いられ得る。鋳型は、各々が個々にパターン化され、このパターンに従って選択的に除去され、そして必要に応じて加熱によって面取りされた複数層のフォトレジストを用いて製作される。従って、複数層の各々は、得られる鋳型のサブセットのみに寄与し得、その結果、鋳型のリリーフパターンは、複数層の各々からの残りの部分の合計である。微小流体ネットワークを形成するために鋳型を用いることは、種々のタイプの形成されるチャネルまたはその他の通路を可能にする。面取りされ/弓状の断面形状をもつチャネルは、バルブが必要とされるネットワークのセクションで形成され得る。これらのセクションは、矩形のプロフィールを有して形成されるネットワークのその他の部分と接続され得、粒子運動を促進し、そして1つ以上の粒子の微小流体ネットワークの特異的領域への正確な送達を可能にする。この特異的領域は、細胞のような、単一粒子の寸法と同じ程小さくあり得る。これらの構造およびその他の適切な微小流体構造は、以下に記載の方法を用いて生成され得る。この方法は、流体層の形成に焦点を当てているが、コントロール層またはベース層を含む、微小流体システムの任意の部分(単数または複数)に適切であり得る(実施例11を参照のこと)。
図70および71は、流体鋳型および、これらの鋳型から形成された対応する微小流体チップの写真画像を示す。ここに示される微小流体ネットワークは、実施例11のシステム1340(図70)、および改変形態として実施例7のシステム850(図71)において示され、記載されている。各鋳型および流体層の異なる領域は、文字A、BおよびCで示される。領域Aは、上記の円形の第2層レリーフ構造1492に対応する。これらの領域は、上記の図の多くにおいて、青で色付けされている。領域Aのチャネルは、約200μmの幅、およそ20μmの高さである。領域Aは、この領域を有するコントロール層からの重複性コントロールラインによって、バルブおよびポンプを形成するために使用され得る(例えば、図71のバルブ1500)。領域Bは、第3層レリーフ構造1496に対応する。これらの領域は、上記の図の多くにおいて、赤で色付けされている。領域Bのチャネルは、長方形プロフィール、およそ100μmの幅および20μmの高さを有する。これらのチャネルは、正確な粒子コントロールを可能とする。これは、壁および/または流体ストリームの中央に続いて、チャネルの幅を越えて、粒子が分布することを可能にするためである。このようなチャネルは、各チップの正確な領域へと粒子を駆動するために使用され得る領域Cは、第1層レリーフ構造1486に対応する。これらの領域は、上記の図のいくつかにおいて、青緑で色付けされている。これらのチャネルは、長方形プロフィール、10μmの幅および5μmの高さを有する。この型の小さなチャネルは、細胞またはビーズを捕捉するために、領域AまたはBのチャネルと組合わせて使用される。流体は、これらのチャネル中を流れ得、細胞またはビーズの進入を制限し得る。
この実施例は、微小流体システム内の粒子を伴う速度論的反応の分析のための、変調/復調方法およびトレーサー材料を含む検出システムを記載する(図71A〜Fを参照のこと)。
微小流体システムは、細胞内代謝の多くの局面の速度論を測定するために使用され得る。しかし、生理学的に重要な代謝プロセスは、実質的に異なる速度で、マイクロ秒(10−6秒)以下〜数日(105秒)以上の範囲であり得る特徴的な時間で起こり得る。そのため、これらの大きく異なる速度で起こる細胞内事象を測定するための検出方法が、必要とされている。
この実施例は、本発明の局面に従う、微小流体アッセイと共に使用するための例示的検出システムを記載する。この検出システムは、変調/復調メカニズムを含む(図71B−71Eを参照のこと)。このメカニズムは、シグナル/ノイズ比を改善し得、より弱い光源の使用を可能とする、および/または光退色を軽減し得、より強い光源の使用を可能とする。この検出システムはまた、粒子との速い速度の反応の開始を検出するためにトレーサー染料を使用する方法を含み得る(図71Fを参照のこと)。
図71Bは、サンプルからの光学的シグナルを検出するための例示的システム2010を示す。システム2010は、光源2012、光学素子2014、検出器2016、デジタル式記憶デバイス2018、および変調/復調メカニズム2020を備え得る。
図71Cは、光源およびシグナルの変調−復調をしない場合(上)とする場合(下)の経時的なシグナル/ノイズ比の比較を示す。この例において、変調−復調メカニズム2020の実施形態が、2000倍以上の係数でシグナル/ノイズ比を上昇させる。従って、より弱い光源が使用され得、発せられる蛍光シグナルがより長い時間経過にわたり測定され得る。
最も迅速な反応または事象は、開始点が正確に定義されない限り、測定することが困難であるか、または不可能である。従って、トレーサー材料(例えば、トレーサー染料)が、トレーサー染料および試薬を含む流体が粒子と接触した時間を示すために、目的の試薬中に含まれ得る。従って、粒子と接触しているトレーサー染料の最初の検出によって、反応または事象が開始した0時点が定義される。
この実施例は、粒子のサイズの相違に基づいて、粒子、特に細胞の不均一な集団を分別および分析するための微小流体デバイスを記載する(図72を参照のこと)。
不均一な細胞集団(例えば、血液)が、迅速な分析にとっての挑戦すべき課題を提供する。血液中の目的の細胞は、一般的に、あまり目的ではない他の細胞から分離して、これらの他の細胞からの妨害を避ける必要がある。従って、血液は、血液内で特定の細胞を選択的に溶解する、凝固させる、ペレット化する、結合させる、および/または改変するなどのために処置/操作される必要がある。訓練された職員、高価な装置、長いインキュベーション、相対的に大量の試薬またはサンプルの繰り返しの移転、および/またはそのようなものを伴うために、このような操作は血液の分析に要する時間と費用を増大させる。さらに、このような操作は、血液中の感染性因子への曝露についてのより高い危険性に職員をさらす。結果として、全血を使用する多くの診断手順が、高価で遅い。そのため、微小流体のスケールで不均一な細胞集団を自動的に分別および分析する一体化システムが、必要とされている。
この実施例は、個々の粒子の直径に従って、血液細胞および他の不均一な粒子集団を分別する微小流体システムを記載する。こららのシステムにおいては、非常に微量の血液が、統計学的に有意な診断または予後判定にとって十分であり得る。このようなシステムは、改良されたスピード、正確性、安全性、および/またはコストなどを有する、患者のサンプルの分析を容易にし得る。
この実施例は、微小流体システムにおける、ビーズ上での特異的な結合対(ビオチンとアビジン)の間の相互作用の検出を記載する;図73〜74を参照のこと。
ビーズは、薬に関する会社およびバイオテクノロジーに関する会社によって、頻繁に、薬物標的、薬物候補、化学合成、免疫アッセイ、クロマトグラフィーのためのキャリアとして使用される。しかし、少しの数のビーズは、操作すること、特に迅速に起きる反応を検出することが困難である。結果として、現在利用可能な技術を使用することによって、ビーズを使用したアッセイは、一般的に、比較的大きなスケールで行われており、高価な試薬を浪費する、および/または価値のあるより初期の反応情報を損なっている反応終点を測定し得る。そのために、少しの数のビーズを使用して、相互作用(迅速な相互作用を含む)を研究するためのシステムが必要とされている。
ビオチン/アビジン相互作用を測定するための材料は、以下の通りであった。微小流体チップを実施例2のシステム250に基づいて製造した。ビーズ(6.7ミクロンのビオチン化ポリスチレン微小球)をSpherotechCorporationから入手した。他のバッファーおよび試薬として、0.5% BSA(滅菌濾過してある)を含有するリン酸緩衝生理食塩水(PBS)、およびストレプトアビジンと結合体化した蛍光発色団(fluorophore)である、ストレプトアビジン−Alexa350、ストレプトアビジン−Alexa488、およびストレプトアビジン−AlexaPE(phycoerythryn)(それぞれ、MolecularProbesから入手)を含んでいた。ビデオカメラに接続した転化(inverted)蛍光顕微鏡によって、結合反応をモニタリングした。
図74は、ストレプトアビジン−Alexa488結合体の保持ビーズへの曝露の間の選択したビデオフレームとしての分析の一部の結果を示す。図74Aでは、ビーズは、チャンバ270に充填されているが、検出可能な量の結合体とは結合しておらず、検出不能である。図74Bでは、ビーズ1550は、バックグラウンドを超えて検出可能である。図74Cは、ビーズを局在化させるための明視野照射の下でのビーズ1550を示し、チャンバ中の全てのビーズが結合体で染色されていることを実証している。
この実施例は、微小流体システムを使用した細胞内イオン濃度(例えば、カルシウムイオン濃度)の分析を記載する;図75を参照のこと。
カルシウムは、非常に重要な細胞内イオンである。それは、細胞膜から細胞質および核へのシグナルの伝達において極めて重要な働きをする。細胞内カルシウムレベルの変化は、その細胞が刺激に対応しているということを示す。多くの刺激は、細胞外の媒体からの流入または細胞内プールからの放出のいずれかのカルシウムの可動化を起こす。蛍光性のカルシウム指示薬は、この可動化を観察することを可能にする。
細胞内カルシウムレベルを測定するために使用した材料は、以下の通りである。微小流体チップは、実施例7のシステム850の改変バージョンに基づいて構築した。Fluo3/AM(蛍光性のCa2+指示染料)をCalbiochemから入手し、5mMストックとして使用した。イオノマイシン(Ionomycin)(遊離酸の形態)もまた、Calbiochemから入手した。細胞は、JurkatT細胞であり、RPMI培地で増殖させた。
図75は、イオノマイシンへのJurkat細胞の曝露の前後の、標識染色を用いてロードした分析の結果を、選択したビデオフレームとして示す。図75Aは、保存部位1572で獲得され、明視野照明下で視覚化された2つの細胞1570を示す。図75Bにおいて、これらの細胞は、イオノマイシン曝露前に蛍光を欠失する。対照的に、図75Cは、イオノマイシン曝露の後にすぐの、細胞1570の蛍光(緑のシグナル)を表す。ネガティブコントロールは、イオノマイシンがこの蛍光のために必要とされたことを明らかにした(これは、示していない)。
本実施例は、標識した抗体を用いて、培養したT細胞上の細胞表面マーカー(例えば、CD4およびCD8)の検出方法について説明する。
CD4分子は、主要組織適合遺伝子複合体(MHC)のクラスII分子と相互作用する抗原を認識し、ヒト免疫不全ウイルス(HIV)に対する一次レセプターである(Dalgleishら、1984;Maddonら、1986)。この抗原の細胞質部分は、プロテインチロシンキナーゼp56lckに関連する(Ruddら、1989)。CD4抗原は、CD3抗原/T細胞抗原レセプター(TCR)複合体の機能を調節し得る(Kurrleら、1989)。CD4抗体は、ヘルパーTリンパ球/インデューサーTリンパ球より小さい抗原密度を有する、単球/マクロファージと反応する(Woodら、1983)。
CD4およびCD8の分析に使用した材料は、以下の通りであった。微小流体チップを、実施例7のシステム850の改変したバージョンに基づいて構築した。JurkatT細胞を、RPMIに培養した。蛍光標識結合抗体(CD4−フルオレセインイソチオシアネート(FITC)およびCD8−フィコエリトリン(PE))を使用した。希釈、集束、洗浄などのための緩衝液は、0.5%BSA含有PBSであった。ビデオカメラを装備している倒立蛍光顕微鏡を用いて、データを集めた。
抗CD8抗体結合体は、Jurkat細胞に結合せず、従って、抗CD4抗体結合体の緑色の蛍光を視覚化するために必要な時間内において、赤色蛍光はほとんどまたは全く目に見えなかった。リアルタイムで抗体の結合を観察するために、連続したUV曝露を用いて、この手段を繰り返し得る。
アクリジンオレンジ(AO)を染色のために使用した。AOは、二量体として一本鎖の核酸に結合(これは、赤色で蛍光を発する)し、そして、単量体として二本鎖の核酸に結合(これは、緑色で蛍光を発する)する。蛍光波長におけるこの差異は、核酸結合部位へのAO分子の異なる接近性によって引き起こされる。また、AO蛍光はまた、酸性の細胞オルガネラ(例えば、リソソーム)をオレンジに染色する、pH感受性である。
溶解を測定するために使用した材料は、以下の通りであった。微小流体チップを、実施例2のシステム250に基づいて構築した。Jurkat T細胞を、RPMIに培養した。アクリジンオレンジを、5μg/mlでPBSに溶解した。溶解細胞に対する溶液または液体は、0.05%過酸化水素含有PBS、脱イオン水、2%TWEEN20(0.2μmのフィルターにかけた)含有PBSおよびWINDEXを含んだ。ビデオカメラを装備している倒立蛍光顕微鏡で、データを集めた。
この実験の最初の試みの際、ペルオキシド、TWEENおよびWINDEXの条件は、この細胞を溶解しなかった。その後、細胞溶解を示すために、水を首尾よく使用した。溶解はおそらく、他の条件下で生じたが、明らかではなかった。Jurkat細胞はかなり強いため、この実験のための良いモデル細胞株ではないかもしれない。
本実施例は、微小流体システムにおける細胞アポトーシスの誘導および検出について説明する;図76を参照のこと。
アポトーシス(プログラム細胞死ともいう)は、正常な発生の一部分として生じる、慎重に調節された細胞死のプロセスである。不適切に調節されたアポトーシスは、疾患状態(例えば、アルツハイマー病および癌)に関係する。アポトーシスは、特徴的な形態学的変化および生化学的変化(核クロマチンのコンパクションおよび断片化、細胞質の収縮ならびに膜非対称の減少を含むl〜5)によって、壊死または偶発的な細胞死と区別される。
本実施例は、微小流体システムにおける細胞アポトーシスの誘導および検出を示す。Jurkat細胞を、微小流体システムに配置し、保持し、次いで、過酸化水素へのこれらの細胞の曝露によって、プログラム細胞死を開始する。外膜小葉状部分へのPSの転位は、アポトーシスを測定するために、アネキシンVを用いてモニターする。同時に、ヨウ化プロピジウムに細胞を曝露する(これは、崩壊した膜を有する細胞を染色し、アポトーシスというよりむしろ壊死の指標である)。
遮蔽緩衝液および試薬ウェルの流動を調節するバルブを、それぞれ閉じた。
図76は、この分析から選択されたビデオフレームを示す。パネルAにおいて、細胞1590は、チャンバ270にトラップされており、明視野照明下で視覚化し得る。パネルBおよびパネルCは、過酸化水素曝露前(B)および過酸化水素曝露後(C)の、アネキシンV結合体を用いた細胞標識を比較する。細胞1590は、過酸化水素曝露前に、アネキシン結合体で標識していない(パネルB)が、弱いアネキシン結合体のシグナルが、過酸化水素曝露後に検出可能であり(パネルC)、これは、少なくともいくつかの細胞がアポトーシスを開始したことを示す。パネルD〜Fは、分析の間の異なる時間において、細胞1590のヨウ化プロピジウム染色を比較する。パネルDおよびパネルEは、過酸化水素曝露によるアポトーシスの誘導前または誘導後のいずれかにおいて、ヨウ化プロピジウム染色がないことを示す。対照的に、パネルFは、細胞の水への曝露後の、検出可能なヨウ化プロピジウム染色を示す(これは、細胞壊死を示す)。
プランクトンは、それらの生活の少しまたは全てを水中で漂流して過ごす、非常に多様な海洋生物および淡水生物群である。プランクトンは、動物界および植物界の両方に位置し、サブミクロンから1センチメートルを超えるまでの様々なサイズを含む。これらの表面上無関心な生物は、他の水生生物の繁栄だけではなく、地球の大気の組成という点で、ポジティブとネガティブの両方において、重要な役割を果たす。例えば、これらの生物は、地球の酸素の大部分を産生すると考えられる。さらに、これらは、世界的な二酸化炭素の交換において重要な役割を果たす(化石燃料を燃焼することによって産生される過剰な二酸化炭素の多くを除去し、この二酸化炭素を海底に送る)。対照的に、経済へのそれらのネガティブな影響において、いくつかのプランクトンは悪名高い。例えば、藻類プランクトンの爆発的な集団増加は、魚介類を毒殺する有毒な「赤潮」を産生する。しかし、赤潮の発生は予測することおよび/または予防することが困難であり、その結果、大規模な魚の死滅およびビーチの閉鎖を生じ、大きい経済影響をもたらす。従って、環境に役立つかまたは悪影響を与える実験室個体群または自然個体群を含むプランクトンを操作し、処理しそして分析するためのシステムが必要とされる。
本実施例は、小さいプランクトン(特に、ピコプランクトン(0〜2μm)、極微プランクトン(2〜5μm)および/またはナノプランクトン(5〜60μm))を操作し、検出し得る微小流体システムを提供する。プランクトンは、統合した微小流体環境で保持され、処置され、そして/または検出され得る。
本実施例は、膜標識色素で処理した細胞における、膜輸送経路の微小流体分析について説明する。
小胞輸送の研究はしばしば、膜を標識する、光学的に検出可能な色素に依存する。このような色素への細胞の短時間の曝露は、これらの細胞の膜表面の標識をもたらす。内部膜へのその後の色素移動(例えば、エンドソーム、ゴルジ装置、リソソームおよび/または小胞体)は、細胞内小胞輸送経路を介して、とりわけ、膜表面、レセプターおよび/またはリガンドの対応する経路を通る。この手法を使用して、細胞エンドサイトーシス、再循環、分解および/または分泌経路を、モニターし得、そして分析し得る。
この分析の目的は、以下を含んだ。I)Jurkat細胞を用いた、2個のFM膜色素(FM 1−43およびFM4−64)のための染色条件の定義。図77および図78は、これらの色素の構造および励起/発光スペクトルを示す。これらの2つFM色素は、実質的に非オーバーラップの発光スペクトルを有する。II)染色の背景濃度を規定するために、PDMSで形成した微小流体チップに対するFM色素の親和性試験。III)微小流体チップにおけるJurkat細胞のトラップおよび2つのFM膜色素を用いた細胞の二重染色の実施。
3つのプロトコルの結果は以下の通りである。
この実施例は、微小流体システム中の単一の細胞または細胞集団の捕捉を記載する;図80〜82を参照のこと。
この実施例は、有機溶媒(メタノール)で細胞を固定し、アクリジンオレンジで細胞を標識するための微小流体システムの使用を記載する;図83を参照のこと。
この実施例は、細胞からの分子、複合体および/または小さい粒子の分泌を測定するための、ソフトリソグラフィーベースの微小流体システムの構造および使用を記載する。
この実施例は、粒子の不均一な集団(例えば、血液サンプル)を、粒子サイズの差異に基づいて選別および分析するための微小流体システムを記載する;図84〜88を参照のこと。実施例26は、上記実施例15の局面についてさらに詳述する。
この実施例は、より大きい粒子およびより小さい粒子の混合物から、より大きい粒子を選択的に保持し、分析する微小流体システム1650を提供する;図84および85を参照のこと。システム1650は、とりわけ、インプットメカニズム1652、配置メカニズム1654、濾過メカニズム1656、保持メカニズム1658、灌流メカニズム1660、放出メカニズム1662、および流れベースの検出メカニズム1664を備える。これらのメカニズムは、サンプルをインプットし、そして、サンプルのサイズを選択するための第1のセットと、サイズ選択されたサンプルを保持し、処理し、測定し、そしてアウトプットするための第2セットとに分類され得る。
以下の記載は、全血のサンプルからの白血球の分離および分析についてのシステム1650の使用を例証する。しかし、システム1650は、粒子の任意の不均質な(または均質な)分布を伴なった使用に適切であり得る。
Claims (1)
- 細胞を試薬で灌流するための方法であって:
(a)以下を有する微小流体デバイスを提供する工程;
(i)細胞成長チャンバであって、該チャンバと細胞入口が連絡し、該細胞入口がそれと作動可能に連絡している入口バルブを有して該チャンバ中への該細胞入口を通る流体流れをコントロールし、該入口バルブが開いているとき該細胞が該細胞入口を通って該チャンバ中に通過し得るが、該入口バルブが閉じているとき該細胞入口を通過し得ない、細胞成長チャンバ;および
(ii)該試薬を該チャンバ中にインプットするための試薬入口であって、該試薬入口を通り該チャンバ中への流体流れをコントロールするために該試薬入口と作動可能に連絡している試薬バルブを有し、該細胞入口および/または該チャンバが、該試薬バルブが開いているとき、該チャンバ中への該試薬の流れを許容しながら、該細胞を該チャンバ中に保持するための保持メカニズムを有する、試薬入口;ここで、該細胞が該チャンバ中に装填され、そして該入口バルブが閉じるとき、該細胞が該チャンバに、該試薬バルブが開きそして閉じている間、該保持メカニズムによって保持される;
(b)該細胞入口バルブを開き、そして該細胞を該チャンバ中に導入する工程;
(c)該細胞入口バルブを閉じる工程;
(d)該試薬を該チャンバ中に導入するために該試薬バルブを開く工程;および
(e)該チャンバの内側に該細胞を保持しながら該チャンバ中に該試薬を導入する工程であって、それによって該細胞を該試薬で灌流する工程、を包含する方法。
Applications Claiming Priority (6)
| Application Number | Priority Date | Filing Date | Title |
|---|---|---|---|
| US36953802P | 2002-04-01 | 2002-04-01 | |
| US60/369,538 | 2002-04-01 | ||
| US37846402P | 2002-05-06 | 2002-05-06 | |
| US60/378,464 | 2002-05-06 | ||
| US40509203A | 2003-03-31 | 2003-03-31 | |
| US10/405,092 | 2003-03-31 |
Related Parent Applications (1)
| Application Number | Title | Priority Date | Filing Date |
|---|---|---|---|
| JP2003582520A Division JP2005521425A (ja) | 2002-04-01 | 2003-04-01 | 微小流体粒子分析システム |
Related Child Applications (1)
| Application Number | Title | Priority Date | Filing Date |
|---|---|---|---|
| JP2012167346A Division JP2012228268A (ja) | 2002-04-01 | 2012-07-27 | 微小流体粒子分析システム |
Publications (2)
| Publication Number | Publication Date |
|---|---|
| JP2010042020A true JP2010042020A (ja) | 2010-02-25 |
| JP5241678B2 JP5241678B2 (ja) | 2013-07-17 |
Family
ID=29740786
Family Applications (4)
| Application Number | Title | Priority Date | Filing Date |
|---|---|---|---|
| JP2003582520A Pending JP2005521425A (ja) | 2002-04-01 | 2003-04-01 | 微小流体粒子分析システム |
| JP2009236738A Expired - Fee Related JP5241678B2 (ja) | 2002-04-01 | 2009-10-13 | 微小流体粒子分析システム |
| JP2012167346A Withdrawn JP2012228268A (ja) | 2002-04-01 | 2012-07-27 | 微小流体粒子分析システム |
| JP2015125332A Withdrawn JP2015171379A (ja) | 2002-04-01 | 2015-06-23 | 微小流体粒子分析システム |
Family Applications Before (1)
| Application Number | Title | Priority Date | Filing Date |
|---|---|---|---|
| JP2003582520A Pending JP2005521425A (ja) | 2002-04-01 | 2003-04-01 | 微小流体粒子分析システム |
Family Applications After (2)
| Application Number | Title | Priority Date | Filing Date |
|---|---|---|---|
| JP2012167346A Withdrawn JP2012228268A (ja) | 2002-04-01 | 2012-07-27 | 微小流体粒子分析システム |
| JP2015125332A Withdrawn JP2015171379A (ja) | 2002-04-01 | 2015-06-23 | 微小流体粒子分析システム |
Country Status (6)
| Country | Link |
|---|---|
| US (4) | US20040229349A1 (ja) |
| EP (2) | EP2666849A3 (ja) |
| JP (4) | JP2005521425A (ja) |
| AU (1) | AU2003224817B2 (ja) |
| CA (1) | CA2480728A1 (ja) |
| WO (1) | WO2003085379A2 (ja) |
Cited By (4)
| Publication number | Priority date | Publication date | Assignee | Title |
|---|---|---|---|---|
| JP2015531488A (ja) * | 2012-10-08 | 2015-11-02 | ゼネラル・エレクトリック・カンパニイ | Lal反応性物質試験のための求心性マイクロ流体プラットフォーム |
| KR101876874B1 (ko) * | 2014-04-08 | 2018-07-10 | 마르코 시스템애널라이즈 운트 엔트비크룽 게엠베하 | 계량밸브 |
| KR102012150B1 (ko) * | 2019-01-31 | 2019-10-21 | 제주대학교 산학협력단 | 장기모사 장치 |
| JPWO2022070841A1 (ja) * | 2020-09-29 | 2022-04-07 |
Families Citing this family (345)
| Publication number | Priority date | Publication date | Assignee | Title |
|---|---|---|---|---|
| US6221654B1 (en) | 1996-09-25 | 2001-04-24 | California Institute Of Technology | Method and apparatus for analysis and sorting of polynucleotides based on size |
| US7214298B2 (en) * | 1997-09-23 | 2007-05-08 | California Institute Of Technology | Microfabricated cell sorter |
| US8052792B2 (en) * | 2001-04-06 | 2011-11-08 | California Institute Of Technology | Microfluidic protein crystallography techniques |
| US7306672B2 (en) | 2001-04-06 | 2007-12-11 | California Institute Of Technology | Microfluidic free interface diffusion techniques |
| US7459022B2 (en) | 2001-04-06 | 2008-12-02 | California Institute Of Technology | Microfluidic protein crystallography |
| US8709153B2 (en) | 1999-06-28 | 2014-04-29 | California Institute Of Technology | Microfludic protein crystallography techniques |
| US7144616B1 (en) * | 1999-06-28 | 2006-12-05 | California Institute Of Technology | Microfabricated elastomeric valve and pump systems |
| EP1065378B1 (en) * | 1999-06-28 | 2002-04-03 | California Institute of Technology | Microfabricated elastomeric valve and pump systems |
| US6432290B1 (en) | 1999-11-26 | 2002-08-13 | The Governors Of The University Of Alberta | Apparatus and method for trapping bead based reagents within microfluidic analysis systems |
| US7485454B1 (en) | 2000-03-10 | 2009-02-03 | Bioprocessors Corp. | Microreactor |
| US20050118073A1 (en) * | 2003-11-26 | 2005-06-02 | Fluidigm Corporation | Devices and methods for holding microfluidic devices |
| US7867763B2 (en) | 2004-01-25 | 2011-01-11 | Fluidigm Corporation | Integrated chip carriers with thermocycler interfaces and methods of using the same |
| US7351376B1 (en) | 2000-06-05 | 2008-04-01 | California Institute Of Technology | Integrated active flux microfluidic devices and methods |
| WO2002023163A1 (en) | 2000-09-15 | 2002-03-21 | California Institute Of Technology | Microfabricated crossflow devices and methods |
| EP2381116A1 (en) * | 2000-11-16 | 2011-10-26 | California Institute of Technology | Apparatus and methods for conducting assays and high throughput screening |
| US6913697B2 (en) | 2001-02-14 | 2005-07-05 | Science & Technology Corporation @ Unm | Nanostructured separation and analysis devices for biological membranes |
| CA2467587A1 (en) | 2001-11-30 | 2003-06-12 | Fluidigm Corporation | Microfluidic device and methods of using same |
| US7691333B2 (en) | 2001-11-30 | 2010-04-06 | Fluidigm Corporation | Microfluidic device and methods of using same |
| WO2003066191A1 (en) | 2002-02-04 | 2003-08-14 | Colorado School Of Mines | Laminar flow-based separations of colloidal and cellular particles |
| EP1490292A1 (en) * | 2002-03-31 | 2004-12-29 | Gyros AB | Efficient mmicrofluidic devices |
| CA2480728A1 (en) | 2002-04-01 | 2003-10-16 | Fluidigm Corporation | Microfluidic particle-analysis systems |
| US11243494B2 (en) * | 2002-07-31 | 2022-02-08 | Abs Global, Inc. | Multiple laminar flow-based particle and cellular separation with laser steering |
| JP2006501056A (ja) | 2002-09-25 | 2006-01-12 | カリフォルニア インスティテュート オブ テクノロジー | ミクロ流体大規模集積 |
| US8220494B2 (en) * | 2002-09-25 | 2012-07-17 | California Institute Of Technology | Microfluidic large scale integration |
| CA2500392C (en) | 2002-09-27 | 2012-11-27 | The General Hospital Corporation | Microfluidic device for cell separation and uses thereof |
| EP1546412B1 (en) * | 2002-10-02 | 2014-05-21 | California Institute Of Technology | Microfluidic nucleic acid analysis |
| US7175810B2 (en) | 2002-11-15 | 2007-02-13 | Eksigent Technologies | Processing of particles |
| US7220592B2 (en) | 2002-11-15 | 2007-05-22 | Eksigent Technologies, Llc | Particulate processing system |
| US7445926B2 (en) | 2002-12-30 | 2008-11-04 | The Regents Of The University Of California | Fluid control structures in microfluidic devices |
| US8828663B2 (en) | 2005-03-18 | 2014-09-09 | Fluidigm Corporation | Thermal reaction device and method for using the same |
| US7604965B2 (en) | 2003-04-03 | 2009-10-20 | Fluidigm Corporation | Thermal reaction device and method for using the same |
| US7695683B2 (en) | 2003-05-20 | 2010-04-13 | Fluidigm Corporation | Method and system for microfluidic device and imaging thereof |
| US6962817B2 (en) * | 2003-10-02 | 2005-11-08 | Beckman Coulter, Inc. | Reference control for optical measurement of nucleated red blood cells of a blood sample |
| FI20031678A0 (fi) * | 2003-11-18 | 2003-11-18 | Teemu Korpimaeki | Näytteen käsittelymenetelmä ja järjestely siihen |
| KR100519672B1 (ko) * | 2003-12-22 | 2005-10-11 | 주식회사 디지탈바이오테크놀러지 | 유체 플로우를 포커싱하기 위한 채널 장치 |
| US7407799B2 (en) | 2004-01-16 | 2008-08-05 | California Institute Of Technology | Microfluidic chemostat |
| JP2005233802A (ja) * | 2004-02-20 | 2005-09-02 | Yokogawa Electric Corp | 物理量計測装置およびその装置を用いて行う物理量校正方法 |
| WO2005089253A2 (en) * | 2004-03-12 | 2005-09-29 | The Regents Of The University Of California | Methods and apparatus for integrated cell handling and measurements |
| US8058056B2 (en) * | 2004-03-12 | 2011-11-15 | The Regents Of The University Of California | Method and apparatus for integrated cell handling and measurements |
| JP4461900B2 (ja) * | 2004-05-10 | 2010-05-12 | 富士ゼロックス株式会社 | 微粒子分散液の送液方法、及び微粒子分散液の送液装置 |
| US7799553B2 (en) | 2004-06-01 | 2010-09-21 | The Regents Of The University Of California | Microfabricated integrated DNA analysis system |
| WO2005121864A2 (en) | 2004-06-07 | 2005-12-22 | Fluidigm Corporation | Optical lens system and method for microfluidic devices |
| JP4461941B2 (ja) * | 2004-07-21 | 2010-05-12 | 富士ゼロックス株式会社 | 微粒子分散液の送液方法、及び微粒子分散液の送液装置 |
| US7820382B2 (en) * | 2004-08-03 | 2010-10-26 | Bauer A Robert | Method for the early detection of breast cancer, lung cancer, pancreatic cancer and colon polyps, growths and cancers as well as other gastrointestinal disease conditions and the preoperative and postoperative monitoring of transplanted organs from the donor and in the recipient and their associated conditions related and unrelated to the organ transplantation |
| US20080280282A1 (en) * | 2004-08-03 | 2008-11-13 | Bauer Jr A Robert | Method for early detection of various cancers and gastrointestinal disease and monitoring of transplanted organs |
| US8080373B2 (en) * | 2004-08-03 | 2011-12-20 | Bauer Jr A Robert | Method for the early detection of pancreatic cancer and other gastrointestinal disease conditions |
| CN102759466A (zh) | 2004-09-15 | 2012-10-31 | 英特基因有限公司 | 微流体装置 |
| US7745207B2 (en) | 2006-02-03 | 2010-06-29 | IntegenX, Inc. | Microfluidic devices |
| US7968287B2 (en) | 2004-10-08 | 2011-06-28 | Medical Research Council Harvard University | In vitro evolution in microfluidic systems |
| US20060177815A1 (en) * | 2004-11-29 | 2006-08-10 | The Regents Of The University Of California | Dielectrophoretic particle sorter |
| JP2008522795A (ja) * | 2004-12-03 | 2008-07-03 | カリフォルニア インスティチュート オブ テクノロジー | 化学反応回路を有するマイクロ流体装置 |
| US20080264863A1 (en) | 2004-12-03 | 2008-10-30 | California Institute Of Technology | Microfluidic Sieve Valves |
| US8158410B2 (en) | 2005-01-18 | 2012-04-17 | Biocept, Inc. | Recovery of rare cells using a microchannel apparatus with patterned posts |
| US20090136982A1 (en) | 2005-01-18 | 2009-05-28 | Biocept, Inc. | Cell separation using microchannel having patterned posts |
| JP2008526251A (ja) | 2005-01-18 | 2008-07-24 | バイオセプト インコーポレイティッド | パターン化されたポストを有するマイクロチャネルを用いた細胞分離 |
| US20060252087A1 (en) * | 2005-01-18 | 2006-11-09 | Biocept, Inc. | Recovery of rare cells using a microchannel apparatus with patterned posts |
| US8354069B2 (en) | 2005-03-08 | 2013-01-15 | Authentix, Inc. | Plug flow system for identification and authentication of markers |
| JP5032303B2 (ja) * | 2005-03-18 | 2012-09-26 | M&Tプロジェクトパートナーズ株式会社 | 細胞観察支援器具 |
| US20060228734A1 (en) * | 2005-03-18 | 2006-10-12 | Applera Corporation | Fluid processing device with captured reagent beads |
| US20070196820A1 (en) | 2005-04-05 | 2007-08-23 | Ravi Kapur | Devices and methods for enrichment and alteration of cells and other particles |
| JP2008538282A (ja) * | 2005-04-05 | 2008-10-23 | セルポイント ダイアグノスティクス, インコーポレイテッド | 装置および循環腫瘍細胞および他の粒子の濃縮および変更のための方法 |
| EP1882189A2 (en) | 2005-04-20 | 2008-01-30 | Fluidigm Corporation | Analysis engine and database for manipulating parameters for fluidic systems on a chip |
| MX2007013985A (es) | 2005-05-09 | 2008-02-22 | Theranos Inc | Sistemas de fluidos de punto de cuidado y usos de los mismos. |
| US20090317798A1 (en) * | 2005-06-02 | 2009-12-24 | Heid Christian A | Analysis using microfluidic partitioning devices |
| EP2508867A1 (en) * | 2005-06-24 | 2012-10-10 | Board Of Regents, The University Of Texas System | Systems and methods including self-contained cartridges with detection systems and fluid delivery systems |
| US9354156B2 (en) | 2007-02-08 | 2016-05-31 | Emd Millipore Corporation | Microfluidic particle analysis method, device and system |
| US8257964B2 (en) | 2006-01-04 | 2012-09-04 | Cell ASIC | Microwell cell-culture device and fabrication method |
| EP1904619A4 (en) | 2005-07-07 | 2012-05-02 | Univ California | METHOD AND DEVICE FOR CELL CULTURE ARRAY |
| US9637715B2 (en) | 2005-07-07 | 2017-05-02 | Emd Millipore Corporation | Cell culture and invasion assay method and system |
| US9388374B2 (en) | 2005-07-07 | 2016-07-12 | Emd Millipore Corporation | Microfluidic cell culture systems |
| US7977108B2 (en) * | 2005-07-25 | 2011-07-12 | Roche Molecular Systems, Inc. | Method for detecting a mutation in a repetitive nucleic acid sequence |
| US8921102B2 (en) | 2005-07-29 | 2014-12-30 | Gpb Scientific, Llc | Devices and methods for enrichment and alteration of circulating tumor cells and other particles |
| US20070054293A1 (en) * | 2005-08-30 | 2007-03-08 | California Institute Of Technology | Microfluidic chaotic mixing systems and methods |
| WO2007033385A2 (en) * | 2005-09-13 | 2007-03-22 | Fluidigm Corporation | Microfluidic assay devices and methods |
| US20070160175A1 (en) * | 2005-09-23 | 2007-07-12 | Lang Matthew J | Systems and methods for force-fluorescence microscopy |
| CN102327738A (zh) * | 2005-11-22 | 2012-01-25 | 迈克罗拉布诊断有限公司 | 流体处理结构、流控装置、插入件、组合和方法 |
| CA2637885A1 (en) * | 2005-11-22 | 2007-05-31 | Mycrolab Pty. Ltd. | Microfluidic structures |
| US9878326B2 (en) | 2007-09-26 | 2018-01-30 | Colorado School Of Mines | Fiber-focused diode-bar optical trapping for microfluidic manipulation |
| US9487812B2 (en) | 2012-02-17 | 2016-11-08 | Colorado School Of Mines | Optical alignment deformation spectroscopy |
| US8119976B2 (en) | 2007-07-03 | 2012-02-21 | Colorado School Of Mines | Optical-based cell deformability |
| US9885644B2 (en) | 2006-01-10 | 2018-02-06 | Colorado School Of Mines | Dynamic viscoelasticity as a rapid single-cell biomarker |
| EP2363205A3 (en) | 2006-01-11 | 2014-06-04 | Raindance Technologies, Inc. | Microfluidic Devices And Methods Of Use In The Formation And Control Of Nanoreactors |
| US7695956B2 (en) * | 2006-01-12 | 2010-04-13 | Biocept, Inc. | Device for cell separation and analysis and method of using |
| US7815868B1 (en) * | 2006-02-28 | 2010-10-19 | Fluidigm Corporation | Microfluidic reaction apparatus for high throughput screening |
| US7766033B2 (en) | 2006-03-22 | 2010-08-03 | The Regents Of The University Of California | Multiplexed latching valves for microfluidic devices and processors |
| US11287421B2 (en) | 2006-03-24 | 2022-03-29 | Labrador Diagnostics Llc | Systems and methods of sample processing and fluid control in a fluidic system |
| US8293524B2 (en) * | 2006-03-31 | 2012-10-23 | Fluxion Biosciences Inc. | Methods and apparatus for the manipulation of particle suspensions and testing thereof |
| US8828661B2 (en) | 2006-04-24 | 2014-09-09 | Fluidigm Corporation | Methods for detection and quantification of nucleic acid or protein targets in a sample |
| US9562837B2 (en) | 2006-05-11 | 2017-02-07 | Raindance Technologies, Inc. | Systems for handling microfludic droplets |
| EP3782722B1 (en) | 2006-05-11 | 2022-07-06 | Bio-Rad Laboratories, Inc. | Microfluidic devices |
| US20080050739A1 (en) | 2006-06-14 | 2008-02-28 | Roland Stoughton | Diagnosis of fetal abnormalities using polymorphisms including short tandem repeats |
| US8372584B2 (en) | 2006-06-14 | 2013-02-12 | The General Hospital Corporation | Rare cell analysis using sample splitting and DNA tags |
| US8055034B2 (en) | 2006-09-13 | 2011-11-08 | Fluidigm Corporation | Methods and systems for image processing of microfluidic devices |
| US10753927B2 (en) | 2006-09-22 | 2020-08-25 | ALERE TECHNOLOGIES GmbH | Methods for detecting an analyte |
| US8008034B2 (en) * | 2006-10-13 | 2011-08-30 | Theranos, Inc. | Reducing optical interference in a fluidic device |
| US8012744B2 (en) | 2006-10-13 | 2011-09-06 | Theranos, Inc. | Reducing optical interference in a fluidic device |
| WO2008052138A2 (en) | 2006-10-25 | 2008-05-02 | The Regents Of The University Of California | Inline-injection microdevice and microfabricated integrated dna analysis system using same |
| WO2008127402A2 (en) * | 2006-11-03 | 2008-10-23 | Trustees Of Tufts College | Biopolymer sensor and method of manufacturing the same |
| US20100046902A1 (en) | 2006-11-03 | 2010-02-25 | Trustees Of Tufts College | Biopolymer photonic crystals and method of manufacturing the same |
| EP2086749B1 (en) | 2006-11-03 | 2013-05-08 | Trustees Of Tufts College | Nanopatterned biopolymer optical device and method of manufacturing the same |
| EP2612751A3 (en) | 2006-11-03 | 2013-11-13 | Trustees Of Tufts College | Method of manufacturing a biopolymer optical waveguide |
| WO2008067552A2 (en) * | 2006-11-30 | 2008-06-05 | Fluidigm Corporation | Method and apparatus for biological sample analysis |
| EP2125219B1 (en) | 2007-01-19 | 2016-08-10 | Fluidigm Corporation | High precision microfluidic devices and methods |
| US8772046B2 (en) | 2007-02-06 | 2014-07-08 | Brandeis University | Manipulation of fluids and reactions in microfluidic systems |
| WO2008131048A2 (en) * | 2007-04-16 | 2008-10-30 | Cellpoint Diagnotics, Inc. | Devices and methods for diagnosing, prognosing, or theranosing a condition by enriching rare cells |
| US8592221B2 (en) | 2007-04-19 | 2013-11-26 | Brandeis University | Manipulation of fluids, fluid components and reactions in microfluidic systems |
| US8921121B2 (en) * | 2007-06-29 | 2014-12-30 | The Trustees Of Columbia University In The City Of New York | Methods, devices, and systems for chemiluminescence-based microfluidic cell counting |
| US8454906B2 (en) | 2007-07-24 | 2013-06-04 | The Regents Of The University Of California | Microfabricated droplet generator for single molecule/cell genetic analysis in engineered monodispersed emulsions |
| CN104307581B (zh) * | 2007-08-09 | 2017-04-12 | 诺思可有限公司 | 关联的多参数单细胞测定及残余生物材料回收的方法和装置 |
| US10722250B2 (en) | 2007-09-04 | 2020-07-28 | Colorado School Of Mines | Magnetic-field driven colloidal microbots, methods for forming and using the same |
| KR101518085B1 (ko) * | 2007-09-07 | 2015-05-07 | 플루이다임 코포레이션 | 카피수 변이 측정, 방법 및 시스템 |
| JP4509167B2 (ja) * | 2007-11-05 | 2010-07-21 | ソニー株式会社 | 流路構造、これを備えた流路基板及び流体制御方法 |
| WO2009061823A1 (en) | 2007-11-05 | 2009-05-14 | Trustees Of Tufts College | Fabrication of silk fibroin photonic structures by nanocontact imprinting |
| CA2705213C (en) * | 2007-11-07 | 2016-10-04 | The University Of British Columbia | Microfluidic device and method of using same |
| ES2882661T3 (es) | 2008-01-03 | 2021-12-02 | Emd Millipore Corp | Sistema de matriz de cultivo celular para ensayos automatizados y métodos de funcionamiento y de fabricación del mismo |
| WO2009108260A2 (en) | 2008-01-22 | 2009-09-03 | Microchip Biotechnologies, Inc. | Universal sample preparation system and use in an integrated analysis system |
| WO2009126352A2 (en) * | 2008-01-24 | 2009-10-15 | Sandia National Laboratories | Novel micropores and methods of making and using thereof |
| EP2087934A1 (de) * | 2008-02-07 | 2009-08-12 | Qiagen GmbH | Verfahren und Vorrichtung zur automatisierten Prozessierung einer Probe |
| US9157116B2 (en) | 2008-02-08 | 2015-10-13 | Fluidigm Corporation | Combinatorial amplification and detection of nucleic acids |
| US8008032B2 (en) | 2008-02-25 | 2011-08-30 | Cellective Dx Corporation | Tagged ligands for enrichment of rare analytes from a mixed sample |
| US8906303B2 (en) * | 2008-03-14 | 2014-12-09 | Clondiag Gmbh | Assays |
| DE102008017765A1 (de) * | 2008-04-03 | 2009-10-15 | Technische Universität Ilmenau | Mikrobioreaktor sowie CellChip-Mikrotiter-Platte |
| EP2280905B1 (en) | 2008-04-11 | 2016-07-06 | Fluidigm Corporation | Multilevel microfluidic systems and methods |
| FR2931141B1 (fr) * | 2008-05-13 | 2011-07-01 | Commissariat Energie Atomique | Systeme microfluidique et procede pour le tri d'amas de cellules et de preference pour leur encapsulation en continu suite a leur tri |
| FR2931085B1 (fr) * | 2008-05-13 | 2011-05-27 | Commissariat Energie Atomique | Procede de tri de particules ou d'amas de particules dans un fluide circulant dans un canal |
| US9068181B2 (en) | 2008-05-23 | 2015-06-30 | The General Hospital Corporation | Microfluidic droplet encapsulation |
| US20090298088A1 (en) * | 2008-05-30 | 2009-12-03 | Belyaev Alexander S | Cleavable catalytic binding and detection system |
| CN102257124B (zh) * | 2008-06-04 | 2014-12-03 | 蒂斯由斯股份有限公司 | 芯片上器官装置 |
| JP2011525254A (ja) * | 2008-06-18 | 2011-09-15 | トラスティーズ オブ タフツ カレッジ | 食用のホログラフィック絹製品 |
| EP2304016B1 (en) * | 2008-07-16 | 2012-06-27 | Cook Medical Technologies LLC | Micro-fluidic cell manipulation and holding device |
| WO2010009365A1 (en) | 2008-07-18 | 2010-01-21 | Raindance Technologies, Inc. | Droplet libraries |
| US12038438B2 (en) | 2008-07-18 | 2024-07-16 | Bio-Rad Laboratories, Inc. | Enzyme quantification |
| SG2014012777A (en) | 2008-07-25 | 2014-06-27 | Fluidigm Corp | Method and system for manufacturing integratedfluidic chips |
| WO2010017210A1 (en) | 2008-08-07 | 2010-02-11 | Fluidigm Corporation | Microfluidic mixing and reaction systems for high efficiency screening |
| US8697363B2 (en) * | 2008-08-26 | 2014-04-15 | Fluidigm Corporation | Methods for detecting multiple target nucleic acids in multiple samples by use nucleotide tags |
| US20110081664A1 (en) * | 2008-10-17 | 2011-04-07 | University Of Massachusetts | Multipurpose microfluidic device for mimicking a microenvironment within a tumor |
| EP2361302A4 (en) * | 2008-11-05 | 2013-10-16 | Nanopoint Inc | ACTIVE MICROFLUID SYSTEM FOR IN VITRO CULTURES |
| EP2384429A1 (en) | 2008-12-31 | 2011-11-09 | Integenx Inc. | Instrument with microfluidic chip |
| CN102348811A (zh) * | 2009-01-13 | 2012-02-08 | 弗卢伊蒂格姆公司 | 单细胞核酸分析 |
| US8058630B2 (en) | 2009-01-16 | 2011-11-15 | Fluidigm Corporation | Microfluidic devices and methods |
| US8162149B1 (en) | 2009-01-21 | 2012-04-24 | Sandia Corporation | Particle sorter comprising a fluid displacer in a closed-loop fluid circuit |
| AU2010242010B2 (en) | 2009-02-12 | 2015-06-18 | Trustees Of Tufts College | Nanoimprinting of silk fibroin structures for biomedical and biophotonic applications |
| JP5487638B2 (ja) | 2009-02-17 | 2014-05-07 | ソニー株式会社 | 微小粒子分取のための装置及びマイクロチップ |
| EP3415235B1 (en) * | 2009-03-23 | 2025-11-12 | Bio-Rad Laboratories, Inc. | Manipulation of microfluidic droplets |
| CA3018687C (en) | 2009-04-02 | 2021-07-13 | Fluidigm Corporation | Multi-primer amplification method for barcoding of target nucleic acids |
| JP2010273655A (ja) * | 2009-05-29 | 2010-12-09 | Canon Inc | 細胞保持方法、細胞試験方法及び細胞処理装置 |
| WO2010141326A1 (en) | 2009-06-02 | 2010-12-09 | Integenx Inc. | Fluidic devices with diaphragm valves |
| WO2010141921A1 (en) | 2009-06-05 | 2010-12-09 | Integenx Inc. | Universal sample preparation system and use in an integrated analysis system |
| US9016875B2 (en) | 2009-07-20 | 2015-04-28 | Tufts University/Trustees Of Tufts College | All-protein implantable, resorbable reflectors |
| US8551787B2 (en) * | 2009-07-23 | 2013-10-08 | Fluidigm Corporation | Microfluidic devices and methods for binary mixing |
| WO2011026101A2 (en) | 2009-08-31 | 2011-03-03 | Trustees Of Tufts College | Silk transistor devices |
| SG169918A1 (en) | 2009-10-02 | 2011-04-29 | Fluidigm Corp | Microfluidic devices with removable cover and methods of fabrication and application |
| EP2490013A1 (en) * | 2009-10-13 | 2012-08-22 | Panasonic Corporation | Measuring device |
| KR20110056168A (ko) * | 2009-11-20 | 2011-05-26 | 삼성전자주식회사 | 미세유동장치, 광조사장치 및 이를 포함하는 미세유동시스템과 그 구동방법 |
| CN102686246B (zh) | 2009-11-30 | 2016-04-06 | 富鲁达公司 | 微流体装置的再生 |
| US8584703B2 (en) | 2009-12-01 | 2013-11-19 | Integenx Inc. | Device with diaphragm valve |
| US8679751B2 (en) | 2009-12-23 | 2014-03-25 | Cytovera Inc. | System and method for particle filtration |
| US9353342B2 (en) | 2010-01-21 | 2016-05-31 | Emd Millipore Corporation | Cell culture and gradient migration assay methods and devices |
| US9399797B2 (en) | 2010-02-12 | 2016-07-26 | Raindance Technologies, Inc. | Digital analyte analysis |
| JP5934657B2 (ja) | 2010-02-12 | 2016-06-15 | レインダンス テクノロジーズ, インコーポレイテッド | デジタル検体分析 |
| US10351905B2 (en) * | 2010-02-12 | 2019-07-16 | Bio-Rad Laboratories, Inc. | Digital analyte analysis |
| JP2011196846A (ja) * | 2010-03-19 | 2011-10-06 | Soka Univ | 検出容器およびそれを使用する微粒子状試料を検出する方法 |
| US8512538B2 (en) | 2010-05-28 | 2013-08-20 | Integenx Inc. | Capillary electrophoresis device |
| US20130115606A1 (en) | 2010-07-07 | 2013-05-09 | The University Of British Columbia | System and method for microfluidic cell culture |
| US10087408B2 (en) * | 2010-07-07 | 2018-10-02 | The University Of British Columbia | System and method for microfluidic cell culture |
| US9188593B2 (en) | 2010-07-16 | 2015-11-17 | The University Of British Columbia | Methods for assaying cellular binding interactions |
| EP2596347B1 (en) | 2010-07-22 | 2017-09-06 | Hach Company | Alkalinity analysis using a lab-on-a-chip |
| US8757871B2 (en) * | 2010-08-16 | 2014-06-24 | The Board Of Trustees Of The University Of Illinois | Particle dynamics microscopy using temperature jump and probe anticorrelation/correlation techniques |
| WO2012024658A2 (en) | 2010-08-20 | 2012-02-23 | IntegenX, Inc. | Integrated analysis system |
| EP2606242A4 (en) | 2010-08-20 | 2016-07-20 | Integenx Inc | MICROFLUIDIC DEVICES WITH MECHANICALLY SEALED MEMBRANE VALVES |
| US9562897B2 (en) | 2010-09-30 | 2017-02-07 | Raindance Technologies, Inc. | Sandwich assays in droplets |
| US10078075B2 (en) | 2011-12-09 | 2018-09-18 | Vanderbilt University | Integrated organ-on-chip systems and applications of the same |
| US9353406B2 (en) | 2010-10-22 | 2016-05-31 | Fluidigm Corporation | Universal probe assay methods |
| US10908066B2 (en) | 2010-11-16 | 2021-02-02 | 1087 Systems, Inc. | Use of vibrational spectroscopy for microfluidic liquid measurement |
| JP5720233B2 (ja) * | 2010-12-17 | 2015-05-20 | ソニー株式会社 | マイクロチップ及び微小粒子分取装置 |
| EP3859011A1 (en) | 2011-02-11 | 2021-08-04 | Bio-Rad Laboratories, Inc. | Methods for forming mixed droplets |
| EP2675819B1 (en) | 2011-02-18 | 2020-04-08 | Bio-Rad Laboratories, Inc. | Compositions and methods for molecular labeling |
| GB201103917D0 (en) * | 2011-03-08 | 2011-04-20 | Univ Leiden | Apparatus for and methods of processing liquids or liquid based substances |
| JP5547120B2 (ja) * | 2011-03-18 | 2014-07-09 | 株式会社神戸製鋼所 | 流路構造体、流体の混合方法、抽出方法及び反応方法 |
| US9168531B2 (en) | 2011-03-24 | 2015-10-27 | Fluidigm Corporation | Method for thermal cycling of microfluidic samples |
| US10526572B2 (en) | 2011-04-01 | 2020-01-07 | EMD Millipore Corporaticn | Cell culture and invasion assay method and system |
| JP5934921B2 (ja) * | 2011-04-08 | 2016-06-15 | パナソニックIpマネジメント株式会社 | 診断キット及びその使用方法 |
| EP3401679A1 (en) * | 2011-04-20 | 2018-11-14 | Life Technologies Corporation | Methods, compositions and systems for sample deposition |
| US9644231B2 (en) | 2011-05-09 | 2017-05-09 | Fluidigm Corporation | Nucleic acid detection using probes |
| CN103635594B (zh) | 2011-05-09 | 2018-02-13 | 富鲁达公司 | 基于探针的核酸检测 |
| EP2710172B1 (en) | 2011-05-20 | 2017-03-29 | Fluidigm Corporation | Nucleic acid encoding reactions |
| EP3216872B1 (en) | 2011-06-02 | 2020-04-01 | Bio-Rad Laboratories, Inc. | Enzyme quantification |
| CN102242055B (zh) * | 2011-06-03 | 2013-08-14 | 博奥生物有限公司 | 一种精子活力评价及筛选的方法及其专用微流控芯片装置 |
| US8658430B2 (en) | 2011-07-20 | 2014-02-25 | Raindance Technologies, Inc. | Manipulating droplet size |
| US10466160B2 (en) | 2011-08-01 | 2019-11-05 | Celsee Diagnostics, Inc. | System and method for retrieving and analyzing particles |
| US9174216B2 (en) | 2013-03-13 | 2015-11-03 | DeNovo Science, Inc. | System for capturing and analyzing cells |
| US9404864B2 (en) | 2013-03-13 | 2016-08-02 | Denovo Sciences, Inc. | System for imaging captured cells |
| WO2013019491A1 (en) | 2011-08-01 | 2013-02-07 | Denovo Sciences | Cell capture system and method of use |
| US8988684B1 (en) | 2011-09-08 | 2015-03-24 | Lawrence Livermore National Security, Llc | System and method for measuring fluorescence of a sample |
| US8808643B1 (en) | 2011-09-08 | 2014-08-19 | Lawrence Livermore National Security, Llc | Fluidics platform and method for sample preparation and analysis |
| US9372135B1 (en) | 2011-09-08 | 2016-06-21 | Lawrence Livermore National Security, Llc | Fluidics platform and method for sample preparation |
| FR2980572B1 (fr) * | 2011-09-28 | 2014-07-04 | Commissariat Energie Atomique | Dispositif de detection massique de particules en milieu fluide et procede de mise en œuvre |
| US11118150B2 (en) | 2011-10-20 | 2021-09-14 | Research Foundation Of The City University Of New York | Layered microfluidic array |
| CA2852950C (en) | 2011-10-20 | 2021-04-20 | Research Foundation Of The City University Of New York | Layered microfluidic living cell array |
| US20150136604A1 (en) | 2011-10-21 | 2015-05-21 | Integenx Inc. | Sample preparation, processing and analysis systems |
| US10865440B2 (en) | 2011-10-21 | 2020-12-15 | IntegenX, Inc. | Sample preparation, processing and analysis systems |
| JP6232383B2 (ja) | 2011-12-03 | 2017-11-15 | イー・エム・デイー・ミリポア・コーポレイシヨン | マイクロ流体の細胞培養のためのマイクロインキュベーションシステムおよび方法 |
| US8951484B2 (en) | 2012-01-31 | 2015-02-10 | The Regents Of The University Of Michigan | Circulating tumor cell capturing techniques and devices |
| AU2013220890B2 (en) * | 2012-02-16 | 2016-03-10 | National Research Council Of Canada | Centrifugal microfluidic mixing apparatus and method |
| EP3285062B1 (en) | 2012-02-29 | 2019-08-07 | Fluidigm Corporation | Methods, systems, and devices for multiple single-cell capturing and processing using microfluidics |
| JPWO2013140846A1 (ja) * | 2012-03-21 | 2015-08-03 | 日本電気株式会社 | 対象物質分析チップ |
| CA2874343C (en) * | 2012-05-21 | 2021-11-09 | Fluidigm Corporation | Single-particle analysis of particle populations |
| US9180449B2 (en) | 2012-06-12 | 2015-11-10 | Hach Company | Mobile water analysis |
| US20140002662A1 (en) * | 2012-06-22 | 2014-01-02 | E. Neil Lewis | Particle characterization |
| WO2014047737A1 (en) * | 2012-09-27 | 2014-04-03 | Nanospeed Diagnostics Inc. | Microfluidic chip for multi-analyte detection |
| WO2014062719A2 (en) | 2012-10-15 | 2014-04-24 | Nanocellect Biomedical, Inc. | Systems, apparatus, and methods for sorting particles |
| US9857333B2 (en) | 2012-10-31 | 2018-01-02 | Berkeley Lights, Inc. | Pens for biological micro-objects |
| USD768872S1 (en) | 2012-12-12 | 2016-10-11 | Hach Company | Cuvette for a water analysis instrument |
| EP2948885B1 (en) | 2013-01-23 | 2021-07-14 | The University of North Carolina At Chapel Hill | Methods, systems, and computer readable media for data analysis and inference of particle diffusion in target materials and target material simulants |
| US9752181B2 (en) | 2013-01-26 | 2017-09-05 | Denovo Sciences, Inc. | System and method for capturing and analyzing cells |
| US9707562B2 (en) | 2013-03-13 | 2017-07-18 | Denovo Sciences, Inc. | System for capturing and analyzing cells |
| WO2014165317A1 (en) * | 2013-03-15 | 2014-10-09 | Ancera, Inc. | Methods and systems for drug discovery and susceptibility assay in using a ferrofluid |
| US20150064153A1 (en) | 2013-03-15 | 2015-03-05 | The Trustees Of Princeton University | High efficiency microfluidic purification of stem cells to improve transplants |
| WO2014144782A2 (en) | 2013-03-15 | 2014-09-18 | Ancera, Inc. | Systems and methods for active particle separation |
| US20160299132A1 (en) | 2013-03-15 | 2016-10-13 | Ancera, Inc. | Systems and methods for bead-based assays in ferrofluids |
| WO2014144810A1 (en) * | 2013-03-15 | 2014-09-18 | Ancera, Inc. | Methods and systems for time-of-flight affinity cytometry |
| SG11201504876TA (en) * | 2013-03-15 | 2015-07-30 | Fluidigm Corp | Methods and devices for analysis of defined multicellular combinations |
| CN113512522A (zh) | 2013-03-15 | 2021-10-19 | 普林斯顿大学理事会 | 用于高通量纯化的方法和设备 |
| CN105264127B (zh) | 2013-03-15 | 2019-04-09 | Gpb科学有限责任公司 | 颗粒的片上微流体处理 |
| EP2972190B1 (en) * | 2013-03-15 | 2020-10-07 | Michael L. Bell | Analysis device |
| WO2014165373A1 (en) * | 2013-04-04 | 2014-10-09 | Surnetics, Llc | Microfluidic products with controlled fluid flow |
| CN105143851B (zh) | 2013-04-12 | 2019-03-01 | 贝克顿·迪金森公司 | 用于细胞分选的自动化设置 |
| US9372143B2 (en) * | 2013-05-15 | 2016-06-21 | Captl Llc | Scanning image flow cytometer |
| CA2913806A1 (en) * | 2013-05-28 | 2014-12-04 | Fluidigm Canada Inc. | Molecular cytometry |
| US10391490B2 (en) | 2013-05-31 | 2019-08-27 | Celsee Diagnostics, Inc. | System and method for isolating and analyzing cells |
| US9856535B2 (en) | 2013-05-31 | 2018-01-02 | Denovo Sciences, Inc. | System for isolating cells |
| DE102013011768B4 (de) | 2013-07-10 | 2015-07-23 | Fraunhofer-Gesellschaft zur Förderung der angewandten Forschung e.V. | Zirkulationssystem sowie Verfahren zur Vitalversorgung von Zellkulturen in einem mikrofluidischen Netzwerk |
| US8961904B2 (en) | 2013-07-16 | 2015-02-24 | Premium Genetics (Uk) Ltd. | Microfluidic chip |
| WO2015006934A1 (zh) * | 2013-07-17 | 2015-01-22 | 国家纳米科学中心 | 一种小分子药物筛选芯片、其构建方法及应用 |
| FR3009084B1 (fr) * | 2013-07-23 | 2015-08-07 | Commissariat Energie Atomique | Procede pour trier des cellules et dispositif associe. |
| GB2516669B (en) * | 2013-07-29 | 2015-09-09 | Atlas Genetics Ltd | A method for processing a liquid sample in a fluidic cartridge |
| US11901041B2 (en) | 2013-10-04 | 2024-02-13 | Bio-Rad Laboratories, Inc. | Digital analysis of nucleic acid modification |
| EP3760703A1 (en) | 2013-10-22 | 2021-01-06 | Berkeley Lights, Inc. | Microfluidic devices having isolation pens and methods of testing biological micro-objects with same |
| KR102546375B1 (ko) * | 2013-10-22 | 2023-06-21 | 버클리 라잇츠, 인크. | 미세-유체 디바이스로부터의 미세-객체들의 선택된 그룹의 유출 |
| KR102113990B1 (ko) | 2013-10-22 | 2020-05-25 | 버클리 라잇츠, 인크. | 생물학적 활성물 분석용 미세 유체 소자 |
| US11796449B2 (en) | 2013-10-30 | 2023-10-24 | Abs Global, Inc. | Microfluidic system and method with focused energy apparatus |
| US10168271B2 (en) | 2013-11-01 | 2019-01-01 | The General Hospital Corporation | Microparticles having reference markers arranged in different concentrations |
| US10191071B2 (en) | 2013-11-18 | 2019-01-29 | IntegenX, Inc. | Cartridges and instruments for sample analysis |
| EP3722001A1 (en) * | 2013-11-22 | 2020-10-14 | The General Hospital Corporation | Microfluidic methods and systems for isolating particle clusters |
| JP2015114102A (ja) * | 2013-12-06 | 2015-06-22 | アズビル株式会社 | 粒子検出装置及び粒子の検出方法 |
| US9944977B2 (en) | 2013-12-12 | 2018-04-17 | Raindance Technologies, Inc. | Distinguishing rare variations in a nucleic acid sequence from a sample |
| US20150166956A1 (en) * | 2013-12-16 | 2015-06-18 | General Electric Company | Devices for separation of particulates, associated methods and systems |
| DE102013114634A1 (de) * | 2013-12-20 | 2015-06-25 | Karlsruher Institut für Technologie | Mikrofluidischer Bioreaktor mit modularem Aufbau zur Synthese von Zellmetaboliten, das Verfahren zur Nutzung sowie dessen Verwendung |
| US8820538B1 (en) * | 2014-03-17 | 2014-09-02 | Namocell LLC | Method and apparatus for particle sorting |
| TW201538719A (zh) * | 2014-04-08 | 2015-10-16 | Nat Univ Tsing Hua | 一種具環狀微流道晶片以供細胞培養之裝置及其使用方法 |
| MX379187B (es) | 2014-04-09 | 2025-03-10 | Nch Corp | Sistema y método para detectar proliferacíon de biopelícula en sistemas hídricos. |
| GB2544198B (en) | 2014-05-21 | 2021-01-13 | Integenx Inc | Fluidic cartridge with valve mechanism |
| EP3149448B1 (en) * | 2014-06-02 | 2020-07-22 | University of Maryland, College Park | Device and methods of using device for separation of bacteria from complex samples |
| BR112017000168B1 (pt) | 2014-07-07 | 2023-04-18 | Astrego Diagnostics Ab | Método e sistema de caracterização de uma biblioteca de uma pluralidade de linhagens de células de diferentes genótipos e possuindo regiões variáveis diferentes |
| JP6322711B2 (ja) * | 2014-07-22 | 2018-05-09 | 株式会社日立ハイテクノロジーズ | 細胞数濃度調整装置およびそれを用いた自動継代培養システム |
| EP3183556B1 (en) * | 2014-08-20 | 2021-02-17 | Bio-rad Laboratories, Inc. | Optofluidic sorter |
| CN113092563B (zh) | 2014-10-22 | 2024-06-07 | 尹特根埃克斯有限公司 | 用于样品制备、处理和分析的系统和方法 |
| CN105624037A (zh) * | 2014-11-06 | 2016-06-01 | 中国科学院大连化学物理研究所 | 一种基于微流控芯片的体外血脑屏障模型建立的方法 |
| WO2016077735A1 (en) * | 2014-11-14 | 2016-05-19 | Yale University | Novel methods and devices for high-throughput quantification, detection and temporal profiling of cellular secretions, and compositions identified using same |
| WO2016094715A2 (en) | 2014-12-10 | 2016-06-16 | Berkeley Lights, Inc. | Movement and selection of micro-objects in a microfluidic apparatus |
| JP6712999B2 (ja) * | 2014-12-16 | 2020-06-24 | セルダイナミクス アイ エス アール エル | 流体中の懸濁粒子のリアルタイム分析装置および該粒子の分析方法 |
| US10900885B2 (en) | 2014-12-19 | 2021-01-26 | Captl Llc | Flow cytometry using hydrodynamically planar flow |
| CN107209098B (zh) | 2015-01-30 | 2020-09-01 | 惠普发展公司,有限责任合伙企业 | 诊断芯片 |
| EP4137798A1 (en) | 2015-02-19 | 2023-02-22 | 1087 Systems, Inc. | Scanning infrared measurement system |
| JP2018512116A (ja) * | 2015-03-04 | 2018-05-17 | バークレー ライツ,インコーポレイテッド | in vitroでの胚の作成及び選択 |
| HK1246623A1 (zh) * | 2015-03-04 | 2018-09-14 | 伯克利之光生命科技公司 | 体外胚胎的生殖和选择 |
| JP2016174578A (ja) * | 2015-03-20 | 2016-10-06 | 東ソー株式会社 | 微小粒子選別装置および前記装置を備えた微小粒子回収装置 |
| US20180071981A1 (en) * | 2015-03-31 | 2018-03-15 | The Regents Of The University Of California | System and method for tunable patterning and assembly of particles via acoustophoresis |
| US10167502B2 (en) | 2015-04-03 | 2019-01-01 | Fluxion Biosciences, Inc. | Molecular characterization of single cells and cell populations for non-invasive diagnostics |
| US9868659B2 (en) | 2015-04-17 | 2018-01-16 | General Electric Company | Subsurface water purification method |
| CA3176115A1 (en) | 2015-04-22 | 2016-10-27 | Berkeley Lights, Inc. | Microfluidic device for culturing biological cells and methods of use thereof |
| CN107615066B (zh) | 2015-05-07 | 2020-06-30 | 技术创新动力基金(以色列)有限合伙公司 | 用于包括精子的生物细胞和生物有机体的干涉系统和方法 |
| US10036698B2 (en) | 2015-06-19 | 2018-07-31 | Captl Llc | Time-sequential cytometry |
| WO2016207320A1 (en) * | 2015-06-26 | 2016-12-29 | Universiteit Twente | Microfluidic device and method for batch adsorption |
| US11285490B2 (en) | 2015-06-26 | 2022-03-29 | Ancera, Llc | Background defocusing and clearing in ferrofluid-based capture assays |
| US9909093B2 (en) * | 2015-08-12 | 2018-03-06 | Lawrence Livermore National Security, Llc | Funnel for localizing biological cell placement and arrangement |
| WO2017027838A1 (en) * | 2015-08-13 | 2017-02-16 | President And Fellows Of Harvard College | Microfluidic devices and systems for cell culture and/or assay |
| US10976232B2 (en) | 2015-08-24 | 2021-04-13 | Gpb Scientific, Inc. | Methods and devices for multi-step cell purification and concentration |
| US10647981B1 (en) | 2015-09-08 | 2020-05-12 | Bio-Rad Laboratories, Inc. | Nucleic acid library generation methods and compositions |
| TWI737631B (zh) | 2015-10-01 | 2021-09-01 | 美商柏克萊燈光有限公司 | 多槽盤培養器 |
| US10914669B2 (en) | 2015-10-22 | 2021-02-09 | Georgia Tech Research Corporation | Electronic sensors for multiplexed detection of particles on microfluidic chips and uses thereof |
| US10799865B2 (en) | 2015-10-27 | 2020-10-13 | Berkeley Lights, Inc. | Microfluidic apparatus having an optimized electrowetting surface and related systems and methods |
| EP3377224A1 (en) | 2015-11-20 | 2018-09-26 | Koninklijke Philips N.V. | Microfluidic device possessing structures enabling differential analysis of a single cell's constituents |
| US10859563B2 (en) * | 2015-12-01 | 2020-12-08 | General Electric Company | Erythrocyte aggregation and leukocyte isolation |
| US20170198303A1 (en) * | 2015-12-04 | 2017-07-13 | Emory University | Methods, Devices and Systems for Enhanced Transduction Efficiency |
| WO2017106777A1 (en) | 2015-12-16 | 2017-06-22 | Fluidigm Corporation | High-level multiplex amplification |
| US11446662B2 (en) | 2016-03-28 | 2022-09-20 | Hitachi, Ltd. | System for capturing single cell-derived biomolecules |
| CN108779427A (zh) * | 2016-03-30 | 2018-11-09 | 索尼公司 | 细胞观察装置、用于评估免疫细胞活性水平的方法以及用于控制免疫细胞品质的方法 |
| AU2017250269A1 (en) | 2016-04-15 | 2018-11-08 | President And Fellows Of Harvard College | Systems and methods for the collection of droplets and/or other entities |
| US10940476B2 (en) | 2016-04-22 | 2021-03-09 | Arizona Board Of Regents On Behalf Of Arizona State University | Device for high-throughput multi-parameter functional profiling of the same cells in multicellular settings and in isolation |
| CA3021753C (en) | 2016-04-29 | 2024-05-21 | University Of Helsinki | Method and device for physicochemical characterization of materials |
| WO2017205304A1 (en) * | 2016-05-22 | 2017-11-30 | Cornell University | Single cell whole genome amplification via micropillar arrays under flow conditions |
| JP7046415B2 (ja) | 2016-05-26 | 2022-04-04 | バークレー ライツ,インコーポレイテッド | 共有結合的に修飾された表面、キット並びに調製及び使用の方法 |
| KR102387723B1 (ko) * | 2016-07-22 | 2022-04-18 | 닛산 가가쿠 가부시키가이샤 | 액상의 배지 조성물의 제조 방법 및 제조 장치 |
| US10228317B1 (en) * | 2016-08-25 | 2019-03-12 | Verily Life Sciences Llc | Multiplexed microfluidic cell sorting using laser induced cavitation bubbles |
| EP3548602B1 (en) | 2016-12-01 | 2024-09-25 | Bruker Cellular Analysis, Inc. | Well-plate incubator |
| EP3579973A4 (en) | 2017-02-07 | 2020-07-29 | Nodexus Inc. | MICROFLUIDIC SYSTEM WITH COMBINED ELECTRICAL AND OPTICAL DETECTION FOR HIGH-PRECISION PARTICLE SORTING AND RELATED PROCESSES |
| TWI614336B (zh) * | 2017-02-13 | 2018-02-11 | 國立清華大學 | 細胞晶片及細胞動態透析染色法 |
| CN106680160B (zh) * | 2017-02-28 | 2023-10-20 | 广西大学 | 一种上升水流法连续水力分析仪及其分析方法 |
| WO2018175411A1 (en) | 2017-03-20 | 2018-09-27 | Nanocellect Biomedical, Inc. | Systems, apparatuses, and methods for cell sorting and flow cytometry |
| US11976316B2 (en) | 2017-03-22 | 2024-05-07 | Astrego Diagnostics Ab | Phenotypic characterization of cells |
| WO2018183744A1 (en) | 2017-03-29 | 2018-10-04 | The Research Foundation For The State University Of New York | Microfluidic device and methods |
| TWI677464B (zh) * | 2017-05-10 | 2019-11-21 | 上準微流體股份有限公司 | 微流體晶片、用於富集細胞的裝置及方法 |
| WO2019046307A1 (en) | 2017-08-29 | 2019-03-07 | Celsee Diagnostics, Inc. | SYSTEM AND METHOD FOR ISOLATING AND ANALYZING CELLS |
| US11022603B2 (en) * | 2017-08-30 | 2021-06-01 | The Charles Stark Draper Laboratory, Inc. | Microfluidic tissue biopsy and immune response drug evaluation devices and systems |
| US11015161B2 (en) * | 2017-09-06 | 2021-05-25 | The Charles Stark Draper Laboratory, Inc. | Electroporation aided biological material delivery system and method |
| CN109697450B (zh) * | 2017-10-20 | 2023-04-07 | 曦医生技股份有限公司 | 细胞分类方法 |
| CN109772480B (zh) * | 2017-11-15 | 2020-11-10 | 中国科学院青岛生物能源与过程研究所 | 单个微粒包裹液滴在微流控芯片中形成并分别导出的方法 |
| EP3746783B1 (en) | 2018-02-01 | 2024-05-29 | Technology Innovation Momentum Fund (Israel) Limited Partnership | Method and system for evaluating fertility of human spermatozoa |
| US11571696B2 (en) * | 2018-03-03 | 2023-02-07 | Applied Cells Inc. | Biological entity separation device and method of use |
| US10449553B2 (en) * | 2018-03-03 | 2019-10-22 | Yuchen Zhou | Magnetic biological entity separation device and method of use |
| WO2019200401A1 (en) | 2018-04-14 | 2019-10-17 | Lifeimmune, Inc. | Rapid individualized test-on-a chip for antibiotic, drug, and food allergies |
| WO2019209347A1 (en) * | 2018-04-27 | 2019-10-31 | Hewlett-Packard Development Company, L.P. | Nonrotating nonuniform electric field object rotation |
| AU2019274469A1 (en) * | 2018-05-21 | 2020-11-26 | The Regents Of The University Of California | Single cell mapping and transcriptome analysis |
| WO2019226790A1 (en) | 2018-05-23 | 2019-11-28 | Abs Global, Inc. | Systems and methods for particle focusing in microchannels |
| CN112703059A (zh) * | 2018-07-12 | 2021-04-23 | 伯克利之光生命科技公司 | 针对抗病性状筛选植物原生质体 |
| KR102181989B1 (ko) * | 2018-08-27 | 2020-11-23 | 이에이트 주식회사 | 복수의 프로세서를 이용한 입자 기반의 유체 시뮬레이션 방법 및 유체 시뮬레이션 장치 |
| KR102412368B1 (ko) * | 2018-08-30 | 2022-06-23 | 주식회사 엘지화학 | 회전식 플랫폼으로 구현되는 다중 중금속 정성 및 정량 분석 디바이스 |
| CN112752964A (zh) | 2018-10-01 | 2021-05-04 | 惠普发展公司,有限责任合伙企业 | 批量颗粒分选 |
| KR20210119437A (ko) * | 2019-01-23 | 2021-10-05 | 하플로믹 테크놀로지즈 피티와이 엘티디 | 미세유체 장치 |
| US10633693B1 (en) | 2019-04-16 | 2020-04-28 | Celsee Diagnostics, Inc. | System and method for leakage control in a particle capture system |
| WO2020215011A1 (en) | 2019-04-18 | 2020-10-22 | Abs Global, Inc. | System and process for continuous addition of cryoprotectant |
| EP3733869A1 (en) * | 2019-05-02 | 2020-11-04 | QIAGEN GmbH | Automated method and system for split pool based barcoding of cellular molecules |
| US11273439B2 (en) | 2019-05-07 | 2022-03-15 | Bio-Rad Laboratories, Inc. | System and method for target material retrieval from microwells |
| EP3966307B1 (en) | 2019-05-07 | 2024-11-20 | Bio-Rad Laboratories, Inc. | System and method for automated single cell processing |
| US10830682B1 (en) | 2019-05-24 | 2020-11-10 | Innovative Health | Test method development for mass flow identification of occluding small particulates in microlumens |
| CN118291246A (zh) | 2019-06-14 | 2024-07-05 | 伯乐实验室有限公司 | 用于自动化单细胞处理和分析的系统和方法 |
| US12491514B2 (en) | 2019-09-26 | 2025-12-09 | University Of Washington | Device, system, and method for trapping tissue samples |
| US11628439B2 (en) | 2020-01-13 | 2023-04-18 | Abs Global, Inc. | Single-sheath microfluidic chip |
| CN111272757B (zh) * | 2020-03-12 | 2022-11-25 | 大连海事大学 | 一种基于微藻电动运动速度判定船舶压载水中微藻活性的装置及方法 |
| US11504719B2 (en) | 2020-03-12 | 2022-11-22 | Bio-Rad Laboratories, Inc. | System and method for receiving and delivering a fluid for sample processing |
| CN111537707B (zh) * | 2020-05-28 | 2023-07-25 | 上海邦先医疗科技有限公司 | 一种化学发光免疫分析仪、分析系统及检测方法 |
| EP4232601A4 (en) | 2020-10-21 | 2024-10-09 | ABS Global, Inc. | METHODS AND SYSTEMS FOR PROCESSING GENETIC SAMPLES TO DETERMINE IDENTITY OR DETECT CONTAMINATION |
| EP4248190A4 (en) | 2020-11-23 | 2024-12-25 | ABS Global, Inc. | MODULAR FLOW CYTOMETRY SYSTEMS AND METHODS FOR PROCESSING SAMPLES |
| US20240053252A1 (en) * | 2021-03-17 | 2024-02-15 | Mgi Tech Co., Ltd. | Sample sorting device and method |
| JP2024516375A (ja) * | 2021-04-16 | 2024-04-15 | プレクシアム・インコーポレイテッド | 組合せライブラリ用分析装置 |
| EP4112170A1 (en) * | 2021-06-29 | 2023-01-04 | ETH Zurich | Microfluidic devices and methods for cell analysis |
| CN117940214A (zh) * | 2021-07-08 | 2024-04-26 | 欧罗科技公司 | 治疗功效预测系统和方法 |
| KR102788594B1 (ko) * | 2021-09-13 | 2025-04-02 | 한국기계연구원 | 순차적 유동 병합을 위한 미세유로소자 |
| US12252678B2 (en) | 2021-12-01 | 2025-03-18 | Microfluidx Ltd | Systems and methods for bioprocessing |
| US12465910B2 (en) | 2021-12-10 | 2025-11-11 | Bio-Rad Laboratories, Inc. | Compositions, methods, and systems for sample processing with morphology-adjustable functionalized particles |
| WO2023137339A1 (en) * | 2022-01-11 | 2023-07-20 | Basf Se | Screening the degradation of polymer microparticles on a chip |
| KR102865506B1 (ko) * | 2022-05-30 | 2025-09-29 | 주식회사 바이오소닉스 | 용액의 흐름 조절이 개선된 진단 카트리지 |
| GB202313199D0 (en) * | 2023-08-30 | 2023-10-11 | Univ Edinburgh | Device for trapping tissues and/or multi-cellular objects |
| WO2025208149A1 (en) * | 2024-03-29 | 2025-10-02 | University Of Utah Research Foundation | Digital microfluidic methods for pharmacotyping |
Citations (4)
| Publication number | Priority date | Publication date | Assignee | Title |
|---|---|---|---|---|
| WO1999055827A1 (en) * | 1998-04-27 | 1999-11-04 | Amersham Pharmacia Biotech Uk Ltd. | Microfabricated apparatus for cell based assays |
| WO1999061888A2 (en) * | 1998-05-22 | 1999-12-02 | California Institute Of Technology | Microfabricated cell sorter |
| US6143247A (en) * | 1996-12-20 | 2000-11-07 | Gamera Bioscience Inc. | Affinity binding-based system for detecting particulates in a fluid |
| WO2001088087A2 (en) * | 2000-05-12 | 2001-11-22 | The Board Of Trustees Of The University Of Illinois | Microfluidic channel embryo and/or oocyte handling, analysis and biological evaluation |
Family Cites Families (390)
| Publication number | Priority date | Publication date | Assignee | Title |
|---|---|---|---|---|
| US2656508A (en) | 1949-08-27 | 1953-10-20 | Wallace H Coulter | Means for counting particles suspended in a fluid |
| US3560754A (en) * | 1965-11-17 | 1971-02-02 | Ibm | Photoelectric particle separator using time delay |
| US3570515A (en) * | 1969-06-19 | 1971-03-16 | Foxboro Co | Aminar stream cross-flow fluid diffusion logic gate |
| NL7102074A (ja) | 1971-02-17 | 1972-08-21 | ||
| US3839176A (en) | 1971-03-08 | 1974-10-01 | North American Rockwell | Method and apparatus for removing contaminants from liquids |
| US3984307A (en) | 1973-03-05 | 1976-10-05 | Bio/Physics Systems, Inc. | Combined particle sorter and segregation indicator |
| US3915652A (en) | 1973-08-16 | 1975-10-28 | Samuel Natelson | Means for transferring a liquid in a capillary open at both ends to an analyzing system |
| FR2287606A1 (fr) | 1974-10-08 | 1976-05-07 | Pegourie Jean Pierre | Circuits logiques pneumatiques et leurs circuits integres |
| US4018565A (en) | 1975-10-17 | 1977-04-19 | The Foxboro Company | Automatic process titration system |
| JPS5941169B2 (ja) | 1975-12-25 | 1984-10-05 | シチズン時計株式会社 | エラストマ−ヒヨウジソウチ |
| US4153855A (en) | 1977-12-16 | 1979-05-08 | The United States Of America As Represented By The Secretary Of The Army | Method of making a plate having a pattern of microchannels |
| US4245673A (en) * | 1978-03-01 | 1981-01-20 | La Telemechanique Electrique | Pneumatic logic circuit |
| US4373527B1 (en) * | 1979-04-27 | 1995-06-27 | Univ Johns Hopkins | Implantable programmable medication infusion system |
| US4344064A (en) | 1979-12-06 | 1982-08-10 | Western Electric Co., Inc. | Article carrying a distinctive mark |
| US4434704A (en) * | 1980-04-14 | 1984-03-06 | Halliburton Company | Hydraulic digital stepper actuator |
| GB2097692B (en) | 1981-01-10 | 1985-05-22 | Shaw Stewart P D | Combining chemical reagents |
| US4399219A (en) | 1981-01-29 | 1983-08-16 | Massachusetts Institute Of Technology | Process for isolating microbiologically active material |
| US5310674A (en) * | 1982-05-10 | 1994-05-10 | Bar-Ilan University | Apertured cell carrier |
| US4707237A (en) | 1982-09-09 | 1987-11-17 | Ciba Corning Diagnostics Corp. | System for identification of cells by electrophoresis |
| US4575681A (en) * | 1982-11-12 | 1986-03-11 | Teleco Oilfield Services Inc. | Insulating and electrode structure for a drill string |
| US4662710A (en) | 1982-12-03 | 1987-05-05 | Amp Incorporated | Method and apparatus for breaking an optical fiber |
| US4585209A (en) * | 1983-10-27 | 1986-04-29 | Harry E. Aine | Miniature valve and method of making same |
| US4581624A (en) * | 1984-03-01 | 1986-04-08 | Allied Corporation | Microminiature semiconductor valve |
| GB8408529D0 (en) | 1984-04-03 | 1984-05-16 | Health Lab Service Board | Concentration of biological particles |
| US6040166A (en) | 1985-03-28 | 2000-03-21 | Roche Molecular Systems, Inc. | Kits for amplifying and detecting nucleic acid sequences, including a probe |
| JPH07104855B2 (ja) * | 1985-03-28 | 1995-11-13 | インターナショナル・ビジネス・マシーンズ・コーポレーション | 数値シミュレーション装置 |
| US4963498A (en) | 1985-08-05 | 1990-10-16 | Biotrack | Capillary flow device |
| US5140161A (en) | 1985-08-05 | 1992-08-18 | Biotrack | Capillary flow device |
| US5164598A (en) | 1985-08-05 | 1992-11-17 | Biotrack | Capillary flow device |
| US4675300A (en) | 1985-09-18 | 1987-06-23 | The Board Of Trustees Of The Leland Stanford Junior University | Laser-excitation fluorescence detection electrokinetic separation |
| US5088515A (en) * | 1989-05-01 | 1992-02-18 | Kamen Dean L | Valve system with removable fluid interface |
| US5242797A (en) | 1986-03-21 | 1993-09-07 | Myron J. Block | Nucleic acid assay method |
| US4786165A (en) | 1986-07-10 | 1988-11-22 | Toa Medical Electronics Co., Ltd. | Flow cytometry and apparatus therefor |
| US5525464A (en) | 1987-04-01 | 1996-06-11 | Hyseq, Inc. | Method of sequencing by hybridization of oligonucleotide probes |
| US4990216A (en) | 1987-10-27 | 1991-02-05 | Fujitsu Limited | Process and apparatus for preparation of single crystal of biopolymer |
| US4936465A (en) | 1987-12-07 | 1990-06-26 | Zoeld Tibor | Method and apparatus for fast, reliable, and environmentally safe dispensing of fluids, gases and individual particles of a suspension through pressure control at well defined parts of a closed flow-through system |
| US5002867A (en) | 1988-04-25 | 1991-03-26 | Macevicz Stephen C | Nucleic acid sequence determination by multiple mixed oligonucleotide probes |
| US5354695A (en) * | 1992-04-08 | 1994-10-11 | Leedy Glenn J | Membrane dielectric isolation IC fabrication |
| US4908112A (en) * | 1988-06-16 | 1990-03-13 | E. I. Du Pont De Nemours & Co. | Silicon semiconductor wafer for analyzing micronic biological samples |
| US4965743A (en) | 1988-07-14 | 1990-10-23 | The United States Of America As Represented By The Administrator Of The National Aeronautics And Space Administration | Discrete event simulation tool for analysis of qualitative models of continuous processing system |
| US4898582A (en) * | 1988-08-09 | 1990-02-06 | Pharmetrix Corporation | Portable infusion device assembly |
| US5032381A (en) | 1988-12-20 | 1991-07-16 | Tropix, Inc. | Chemiluminescence-based static and flow cytometry |
| US4992312A (en) * | 1989-03-13 | 1991-02-12 | Dow Corning Wright Corporation | Methods of forming permeation-resistant, silicone elastomer-containing composite laminates and devices produced thereby |
| CH679555A5 (ja) * | 1989-04-11 | 1992-03-13 | Westonbridge Int Ltd | |
| US5143854A (en) | 1989-06-07 | 1992-09-01 | Affymax Technologies N.V. | Large scale photolithographic solid phase synthesis of polypeptides and receptor binding screening thereof |
| EP0429591B1 (fr) | 1989-06-14 | 1994-08-17 | Westonbridge International Limited | Micropompe perfectionnee |
| US5100627A (en) * | 1989-11-30 | 1992-03-31 | The Regents Of The University Of California | Chamber for the optical manipulation of microscopic particles |
| US5171132A (en) | 1989-12-27 | 1992-12-15 | Seiko Epson Corporation | Two-valve thin plate micropump |
| US5091652A (en) * | 1990-01-12 | 1992-02-25 | The Regents Of The University Of California | Laser excited confocal microscope fluorescence scanner and method |
| JPH03239770A (ja) | 1990-02-16 | 1991-10-25 | Kansai Paint Co Ltd | カチオン電着塗料用樹脂組成物 |
| AU7340891A (en) | 1990-02-24 | 1991-09-18 | Hatfield Polytechnic Higher Education Corporation (U.K.) | Biorheological measurement |
| DE4006152A1 (de) | 1990-02-27 | 1991-08-29 | Fraunhofer Ges Forschung | Mikrominiaturisierte pumpe |
| US5770029A (en) | 1996-07-30 | 1998-06-23 | Soane Biosciences | Integrated electrophoretic microdevices |
| US5126022A (en) | 1990-02-28 | 1992-06-30 | Soane Tecnologies, Inc. | Method and device for moving molecules by the application of a plurality of electrical fields |
| US5858188A (en) | 1990-02-28 | 1999-01-12 | Aclara Biosciences, Inc. | Acrylic microchannels and their use in electrophoretic applications |
| US5750015A (en) | 1990-02-28 | 1998-05-12 | Soane Biosciences | Method and device for moving molecules by the application of a plurality of electrical fields |
| US5096388A (en) * | 1990-03-22 | 1992-03-17 | The Charles Stark Draper Laboratory, Inc. | Microfabricated pump |
| US5867399A (en) * | 1990-04-06 | 1999-02-02 | Lsi Logic Corporation | System and method for creating and validating structural description of electronic system from higher-level and behavior-oriented description |
| GB9008044D0 (en) | 1990-04-09 | 1990-06-06 | Hatfield Polytechnic Higher Ed | Microfabricated device for biological cell sorting |
| SE470347B (sv) | 1990-05-10 | 1994-01-31 | Pharmacia Lkb Biotech | Mikrostruktur för vätskeflödessystem och förfarande för tillverkning av ett sådant system |
| US5259737A (en) | 1990-07-02 | 1993-11-09 | Seiko Epson Corporation | Micropump with valve structure |
| US6074818A (en) | 1990-08-24 | 2000-06-13 | The University Of Tennessee Research Corporation | Fingerprinting of nucleic acids, products and methods |
| JP3111319B2 (ja) | 1990-08-31 | 2000-11-20 | ウエストンブリッジ・インターナショナル・リミテッド | 位置検出器を備えた弁及び前記弁を組み込んだマイクロポンプ |
| WO1992016657A1 (en) | 1991-03-13 | 1992-10-01 | E.I. Du Pont De Nemours And Company | Method of identifying a nucleotide present at a defined position in a nucleic acid |
| WO1992019960A1 (en) | 1991-05-09 | 1992-11-12 | Nanophore, Inc. | Methods for the electrophoretic separation of nucleic acids and other linear macromolecules in gel media with restrictive pore diameters |
| DE4119955C2 (de) | 1991-06-18 | 2000-05-31 | Danfoss As | Miniatur-Betätigungselement |
| US5164558A (en) | 1991-07-05 | 1992-11-17 | Massachusetts Institute Of Technology | Micromachined threshold pressure switch and method of manufacture |
| JP3328300B2 (ja) | 1991-07-18 | 2002-09-24 | アイシン精機株式会社 | 流体制御装置 |
| US5307186A (en) * | 1991-08-09 | 1994-04-26 | Sharp Kabushiki Kaisha | Liquid crystal light valve having capability of providing high-contrast image |
| DE4127405C2 (de) | 1991-08-19 | 1996-02-29 | Fraunhofer Ges Forschung | Verfahren zur Trennung von Gemischen mikroskopisch kleiner, in einer Flüssigkeit oder einem Gel suspendierter dielektrischer Teilchen und Vorrichtung zur Durchführung des Verfahrens |
| DE4135655A1 (de) | 1991-09-11 | 1993-03-18 | Fraunhofer Ges Forschung | Mikrominiaturisierte, elektrostatisch betriebene membranpumpe |
| US5265327A (en) | 1991-09-13 | 1993-11-30 | Faris Sadeg M | Microchannel plate technology |
| DK0534858T4 (da) | 1991-09-24 | 2005-08-08 | Keygene Nv | Selektiv restriktionsfragmentamplifikation: en general fremgangsmåde til DNA-fingeraftryk-dannelse |
| US6569382B1 (en) | 1991-11-07 | 2003-05-27 | Nanogen, Inc. | Methods apparatus for the electronic, homogeneous assembly and fabrication of devices |
| US5846708A (en) | 1991-11-19 | 1998-12-08 | Massachusetts Institiute Of Technology | Optical and electrical methods and apparatus for molecule detection |
| GB2264296B (en) | 1992-02-07 | 1995-06-28 | Zortech Int | Microporous thermal insulation material |
| US5558998A (en) | 1992-02-25 | 1996-09-24 | The Regents Of The Univ. Of California | DNA fragment sizing and sorting by laser-induced fluorescence |
| GB2264496B (en) | 1992-02-25 | 1995-10-25 | Us Energy | Sizing of fragments from a nucleic acid sequence |
| JPH05236997A (ja) | 1992-02-28 | 1993-09-17 | Hitachi Ltd | ポリヌクレオチド捕捉用チップ |
| JP2740705B2 (ja) * | 1992-04-08 | 1998-04-15 | 本田技研工業株式会社 | 流体式トルクコンバータの特性シミュレーション方法および装置 |
| US5304487A (en) * | 1992-05-01 | 1994-04-19 | Trustees Of The University Of Pennsylvania | Fluid handling in mesoscale analytical devices |
| US5498392A (en) * | 1992-05-01 | 1996-03-12 | Trustees Of The University Of Pennsylvania | Mesoscale polynucleotide amplification device and method |
| US5637469A (en) | 1992-05-01 | 1997-06-10 | Trustees Of The University Of Pennsylvania | Methods and apparatus for the detection of an analyte utilizing mesoscale flow systems |
| US5486335A (en) * | 1992-05-01 | 1996-01-23 | Trustees Of The University Of Pennsylvania | Analysis based on flow restriction |
| US5726026A (en) | 1992-05-01 | 1998-03-10 | Trustees Of The University Of Pennsylvania | Mesoscale sample preparation device and systems for determination and processing of analytes |
| DE4220077A1 (de) | 1992-06-19 | 1993-12-23 | Bosch Gmbh Robert | Mikropumpe |
| US5284568A (en) | 1992-07-17 | 1994-02-08 | E. I. Du Pont De Nemours And Company | Disposable cartridge for ion selective electrode sensors |
| US5629147A (en) * | 1992-07-17 | 1997-05-13 | Aprogenex, Inc. | Enriching and identifying fetal cells in maternal blood for in situ hybridization |
| US5639423A (en) | 1992-08-31 | 1997-06-17 | The Regents Of The University Of Calfornia | Microfabricated reactor |
| US5364742A (en) | 1992-09-21 | 1994-11-15 | International Business Machines Corporation | Micro-miniature structures and method of fabrication thereof |
| DE69327389T2 (de) * | 1992-10-29 | 2000-06-15 | Altera Corp., San Jose | Verfahren zum Prüfen von Entwürfen für programmierbare Logikschaltungen |
| US5477474A (en) | 1992-10-29 | 1995-12-19 | Altera Corporation | Computer logic simulation with dynamic modeling |
| JP2812629B2 (ja) | 1992-11-25 | 1998-10-22 | 宇宙開発事業団 | 結晶成長セル |
| AU673245B2 (en) | 1993-02-01 | 1996-10-31 | Seq, Ltd. | Methods and apparatus for DNA sequencing |
| US5290240A (en) * | 1993-02-03 | 1994-03-01 | Pharmetrix Corporation | Electrochemical controlled dispensing assembly and method for selective and controlled delivery of a dispensing fluid |
| US5604098A (en) | 1993-03-24 | 1997-02-18 | Molecular Biology Resources, Inc. | Methods and materials for restriction endonuclease applications |
| WO1994028318A1 (de) | 1993-05-27 | 1994-12-08 | Fraunhofer-Gesellschaft zur Förderung der angewandten Forschung e.V. | Mikroventil |
| US5400741A (en) * | 1993-05-21 | 1995-03-28 | Medical Foundation Of Buffalo, Inc. | Device for growing crystals |
| US5427663A (en) * | 1993-06-08 | 1995-06-27 | British Technology Group Usa Inc. | Microlithographic array for macromolecule and cell fractionation |
| SE501713C2 (sv) * | 1993-09-06 | 1995-05-02 | Pharmacia Biosensor Ab | Ventil av membrantyp, speciellt för vätskehanteringsblock med mikroflödeskanaler |
| US5837832A (en) | 1993-06-25 | 1998-11-17 | Affymetrix, Inc. | Arrays of nucleic acid probes on biological chips |
| US5642015A (en) | 1993-07-14 | 1997-06-24 | The University Of British Columbia | Elastomeric micro electro mechanical systems |
| US5417235A (en) | 1993-07-28 | 1995-05-23 | Regents Of The University Of Michigan | Integrated microvalve structures with monolithic microflow controller |
| US5659171A (en) | 1993-09-22 | 1997-08-19 | Northrop Grumman Corporation | Micro-miniature diaphragm pump for the low pressure pumping of gases |
| EP1129739B1 (en) | 1993-10-04 | 2008-08-13 | Research International, Inc. | Micromachined filters |
| US5512131A (en) * | 1993-10-04 | 1996-04-30 | President And Fellows Of Harvard College | Formation of microstamped patterns on surfaces and derivative articles |
| CH689836A5 (fr) | 1994-01-14 | 1999-12-15 | Westonbridge Int Ltd | Micropompe. |
| EP0670489A3 (de) * | 1994-03-03 | 1996-03-06 | Ciba Geigy Ag | Vorrichtung und Verfahren zur Trennung fluider Substanzen. |
| US5400627A (en) * | 1994-03-16 | 1995-03-28 | Liao; Hsiu-Yun | Automobile steering lock |
| US5580523A (en) | 1994-04-01 | 1996-12-03 | Bard; Allen J. | Integrated chemical synthesizers |
| US5587081A (en) | 1994-04-26 | 1996-12-24 | Jet-Tech, Inc. | Thermophilic aerobic waste treatment process |
| DE69527585T2 (de) | 1994-06-08 | 2003-04-03 | Affymetrix, Inc. | Verfahren und Vorrichtung zum Verpacken von Chips |
| US5807522A (en) | 1994-06-17 | 1998-09-15 | The Board Of Trustees Of The Leland Stanford Junior University | Methods for fabricating microarrays of biological samples |
| US6001229A (en) * | 1994-08-01 | 1999-12-14 | Lockheed Martin Energy Systems, Inc. | Apparatus and method for performing microfluidic manipulations for chemical analysis |
| DE4433894A1 (de) | 1994-09-22 | 1996-03-28 | Fraunhofer Ges Forschung | Verfahren und Vorrichtung zur Ansteuerung einer Mikropumpe |
| ES2203627T3 (es) | 1994-10-07 | 2004-04-16 | Bayer Corporation | Valvula de descarga. |
| US5496009A (en) * | 1994-10-07 | 1996-03-05 | Bayer Corporation | Valve |
| US5695934A (en) * | 1994-10-13 | 1997-12-09 | Lynx Therapeutics, Inc. | Massively parallel sequencing of sorted polynucleotides |
| DE4437274C2 (de) | 1994-10-18 | 1998-11-05 | Inst Chemo Biosensorik | Analytselektiver Sensor |
| US5500071A (en) * | 1994-10-19 | 1996-03-19 | Hewlett-Packard Company | Miniaturized planar columns in novel support media for liquid phase analysis |
| US5571410A (en) | 1994-10-19 | 1996-11-05 | Hewlett Packard Company | Fully integrated miniaturized planar liquid sample handling and analysis device |
| US5641400A (en) | 1994-10-19 | 1997-06-24 | Hewlett-Packard Company | Use of temperature control devices in miniaturized planar column devices and miniaturized total analysis systems |
| DE4438785C2 (de) | 1994-10-24 | 1996-11-07 | Wita Gmbh Wittmann Inst Of Tec | Mikrochemische Reaktions- und Analyseeinheit |
| US5788468A (en) | 1994-11-03 | 1998-08-04 | Memstek Products, Llc | Microfabricated fluidic devices |
| US5585069A (en) | 1994-11-10 | 1996-12-17 | David Sarnoff Research Center, Inc. | Partitioned microelectronic and fluidic device array for clinical diagnostics and chemical synthesis |
| US5632876A (en) | 1995-06-06 | 1997-05-27 | David Sarnoff Research Center, Inc. | Apparatus and methods for controlling fluid flow in microchannels |
| EP0791238B1 (en) | 1994-11-10 | 2004-09-22 | Orchid BioSciences, Inc. | Liquid distribution system |
| US5665070A (en) | 1995-01-19 | 1997-09-09 | I-Flow Corporation | Infusion pump with magnetic bag compression |
| AU5171696A (en) | 1995-02-27 | 1996-09-18 | Ely Michael Rabani | Device, compounds, algorithms, and methods of molecular characterization and manipulation with molecular parallelism |
| JP3094880B2 (ja) | 1995-03-01 | 2000-10-03 | 住友金属工業株式会社 | 有機化合物の結晶化制御方法およびそれに用いる結晶化制御用固体素子 |
| US5775371A (en) | 1995-03-08 | 1998-07-07 | Abbott Laboratories | Valve control |
| US5876187A (en) * | 1995-03-09 | 1999-03-02 | University Of Washington | Micropumps with fixed valves |
| US6227809B1 (en) | 1995-03-09 | 2001-05-08 | University Of Washington | Method for making micropumps |
| US6140045A (en) | 1995-03-10 | 2000-10-31 | Meso Scale Technologies | Multi-array, multi-specific electrochemiluminescence testing |
| US5608519A (en) * | 1995-03-20 | 1997-03-04 | Gourley; Paul L. | Laser apparatus and method for microscopic and spectroscopic analysis and processing of biological cells |
| US5661222A (en) | 1995-04-13 | 1997-08-26 | Dentsply Research & Development Corp. | Polyvinylsiloxane impression material |
| US5757482A (en) | 1995-04-20 | 1998-05-26 | Perseptive Biosystems, Inc. | Module for optical detection in microscale fluidic analyses |
| US5976822A (en) | 1995-05-18 | 1999-11-02 | Coulter International Corp. | Method and reagent for monitoring apoptosis and distinguishing apoptosis from necrosis |
| DE19520298A1 (de) | 1995-06-02 | 1996-12-05 | Bayer Ag | Sortiervorrichtung für biologische Zellen oder Viren |
| US5716852A (en) * | 1996-03-29 | 1998-02-10 | University Of Washington | Microfabricated diffusion-based chemical sensor |
| AU6541596A (en) | 1995-06-16 | 1997-01-15 | University Of Washington | Microfabricated differential extraction device and method |
| US5589136A (en) | 1995-06-20 | 1996-12-31 | Regents Of The University Of California | Silicon-based sleeve devices for chemical reactions |
| US5856174A (en) * | 1995-06-29 | 1999-01-05 | Affymetrix, Inc. | Integrated nucleic acid diagnostic device |
| US6057103A (en) * | 1995-07-18 | 2000-05-02 | Diversa Corporation | Screening for novel bioactivities |
| US5958672A (en) * | 1995-07-18 | 1999-09-28 | Diversa Corporation | Protein activity screening of clones having DNA from uncultivated microorganisms |
| US5812394A (en) | 1995-07-21 | 1998-09-22 | Control Systems International | Object-oriented computer program, system, and method for developing control schemes for facilities |
| US5872010A (en) * | 1995-07-21 | 1999-02-16 | Northeastern University | Microscale fluid handling system |
| JPH0943251A (ja) | 1995-08-03 | 1997-02-14 | Olympus Optical Co Ltd | 分注器 |
| CA2183478C (en) * | 1995-08-17 | 2004-02-24 | Stephen A. Carter | Digital gas metering system using tri-stable and bi-stable solenoids |
| US6130098A (en) | 1995-09-15 | 2000-10-10 | The Regents Of The University Of Michigan | Moving microdroplets |
| US5726751A (en) * | 1995-09-27 | 1998-03-10 | University Of Washington | Silicon microchannel optical flow cytometer |
| US6132580A (en) | 1995-09-28 | 2000-10-17 | The Regents Of The University Of California | Miniature reaction chamber and devices incorporating same |
| US5871697A (en) | 1995-10-24 | 1999-02-16 | Curagen Corporation | Method and apparatus for identifying, classifying, or quantifying DNA sequences in a sample without sequencing |
| US5958344A (en) | 1995-11-09 | 1999-09-28 | Sarnoff Corporation | System for liquid distribution |
| JPH09149799A (ja) | 1995-11-30 | 1997-06-10 | Hitachi Ltd | 核酸の分析方法又は検査方法、及び核酸の分析装置又は検査装置 |
| US5705018A (en) | 1995-12-13 | 1998-01-06 | Hartley; Frank T. | Micromachined peristaltic pump |
| US6709869B2 (en) * | 1995-12-18 | 2004-03-23 | Tecan Trading Ag | Devices and methods for using centripetal acceleration to drive fluid movement in a microfluidics system |
| KR100207410B1 (ko) | 1995-12-19 | 1999-07-15 | 전주범 | 광로 조절 장치의 제조방법 |
| US5863502A (en) * | 1996-01-24 | 1999-01-26 | Sarnoff Corporation | Parallel reaction cassette and associated devices |
| US5660370A (en) | 1996-03-07 | 1997-08-26 | Integrated Fludics, Inc. | Valve with flexible sheet member and two port non-flexing backer member |
| US5942443A (en) | 1996-06-28 | 1999-08-24 | Caliper Technologies Corporation | High throughput screening assay systems in microscale fluidic devices |
| US5885470A (en) * | 1997-04-14 | 1999-03-23 | Caliper Technologies Corporation | Controlled fluid transport in microfabricated polymeric substrates |
| US5867266A (en) * | 1996-04-17 | 1999-02-02 | Cornell Research Foundation, Inc. | Multiple optical channels for chemical analysis |
| US5726404A (en) | 1996-05-31 | 1998-03-10 | University Of Washington | Valveless liquid microswitch |
| FR2749663B1 (fr) * | 1996-06-07 | 1998-07-31 | Bio Merieux | Carte d'analyse a usage unique comprenant un conduit d'ecoul ement de liquides |
| US5863801A (en) * | 1996-06-14 | 1999-01-26 | Sarnoff Corporation | Automated nucleic acid isolation |
| US5763239A (en) | 1996-06-18 | 1998-06-09 | Diversa Corporation | Production and use of normalized DNA libraries |
| BR9710052A (pt) * | 1996-06-28 | 2000-01-11 | Caliper Techn Corp | Sistema microfluido com compensação para polarização eletroforética, eletropipetador, processos para introduzir materiais a partir de uma série de fontes em um sistema microfluido, para distribuir de maneira controlável uma corrente de fluido e para transportar amostras de fluido, sistema de amostragem, emprego de um substrato, emprego de um sistema microfluido, e, substrato. |
| WO1998000231A1 (en) | 1996-06-28 | 1998-01-08 | Caliper Technologies Corporation | High-throughput screening assay systems in microscale fluidic devices |
| US5779868A (en) * | 1996-06-28 | 1998-07-14 | Caliper Technologies Corporation | Electropipettor and compensation means for electrophoretic bias |
| US5800690A (en) | 1996-07-03 | 1998-09-01 | Caliper Technologies Corporation | Variable control of electroosmotic and/or electrophoretic forces within a fluid-containing structure via electrical forces |
| EP0913507A4 (en) * | 1996-07-15 | 2002-03-13 | Sumitomo Metal Ind | PLANT FOR CRYSTAL GROWTH AND THE METHOD FOR CRYSTAL GROWTH USING THIS METHOD |
| US5699157A (en) | 1996-07-16 | 1997-12-16 | Caliper Technologies Corp. | Fourier detection of species migrating in a microchannel |
| JP2000515761A (ja) | 1996-07-26 | 2000-11-28 | ジェンザイム・コーポレーション | 全細胞分析系 |
| US6074827A (en) | 1996-07-30 | 2000-06-13 | Aclara Biosciences, Inc. | Microfluidic method for nucleic acid purification and processing |
| US5802856A (en) | 1996-07-31 | 1998-09-08 | Stanford University | Multizone bake/chill thermal cycling module |
| US6136212A (en) | 1996-08-12 | 2000-10-24 | The Regents Of The University Of Michigan | Polymer-based micromachining for microfluidic devices |
| WO1998008931A1 (en) | 1996-08-26 | 1998-03-05 | Princeton University | Reversibly sealable microstructure sorting devices |
| US5832165A (en) | 1996-08-28 | 1998-11-03 | University Of Utah Research Foundation | Composite waveguide for solid phase binding assays |
| JP2002503334A (ja) | 1996-09-04 | 2002-01-29 | テクニカル ユニバーシティ オブ デンマーク | 粒子の分離と分析用のマイクロフローシステム |
| US5738799A (en) | 1996-09-12 | 1998-04-14 | Xerox Corporation | Method and materials for fabricating an ink-jet printhead |
| US6221654B1 (en) | 1996-09-25 | 2001-04-24 | California Institute Of Technology | Method and apparatus for analysis and sorting of polynucleotides based on size |
| US5854684A (en) | 1996-09-26 | 1998-12-29 | Sarnoff Corporation | Massively parallel detection |
| US5858187A (en) * | 1996-09-26 | 1999-01-12 | Lockheed Martin Energy Systems, Inc. | Apparatus and method for performing electrodynamic focusing on a microchip |
| US6056428A (en) | 1996-11-12 | 2000-05-02 | Invention Machine Corporation | Computer based system for imaging and analyzing an engineering object system and indicating values of specific design changes |
| EP0938674B1 (de) * | 1996-11-16 | 2005-06-01 | NMI Naturwissenschaftliches und Medizinisches Institut an der Universität Tübingen in Reutlingen Stiftung Bürgerlichen Rechts | Mikroelementenanordnung, verfahren zum kontaktieren von in einer flüssigen umgebung befindlichen zellen und verfahren zum herstellen einer mikroelementenanordnung |
| US5839722A (en) | 1996-11-26 | 1998-11-24 | Xerox Corporation | Paper handling system having embedded control structures |
| US5971355A (en) | 1996-11-27 | 1999-10-26 | Xerox Corporation | Microdevice valve structures to fluid control |
| US5804384A (en) | 1996-12-06 | 1998-09-08 | Vysis, Inc. | Devices and methods for detecting multiple analytes in samples |
| US5815306A (en) | 1996-12-24 | 1998-09-29 | Xerox Corporation | "Eggcrate" substrate for a twisting ball display |
| US5994696A (en) | 1997-01-27 | 1999-11-30 | California Institute Of Technology | MEMS electrospray nozzle for mass spectroscopy |
| US6376971B1 (en) * | 1997-02-07 | 2002-04-23 | Sri International | Electroactive polymer electrodes |
| AU762888B2 (en) * | 1997-02-12 | 2003-07-10 | Us Genomics | Methods and products for analyzing polymers |
| US6117634A (en) | 1997-03-05 | 2000-09-12 | The Reagents Of The University Of Michigan | Nucleic acid sequencing and mapping |
| US5904824A (en) | 1997-03-07 | 1999-05-18 | Beckman Instruments, Inc. | Microfluidic electrophoresis device |
| US6235471B1 (en) | 1997-04-04 | 2001-05-22 | Caliper Technologies Corp. | Closed-loop biochemical analyzers |
| EP1959255A3 (en) | 1997-04-04 | 2008-09-24 | Caliper Life Sciences, Inc. | Closed-loop biochemical analyzers |
| AU727083B2 (en) | 1997-04-25 | 2000-11-30 | Caliper Life Sciences, Inc. | Microfluidic devices incorporating improved channel geometries |
| WO1998052691A1 (en) | 1997-05-16 | 1998-11-26 | Alberta Research Council | Microfluidic system and methods of use |
| US6632619B1 (en) | 1997-05-16 | 2003-10-14 | The Governors Of The University Of Alberta | Microfluidic system and methods of use |
| US5876946A (en) * | 1997-06-03 | 1999-03-02 | Pharmacopeia, Inc. | High-throughput assay |
| US5922604A (en) | 1997-06-05 | 1999-07-13 | Gene Tec Corporation | Thin reaction chambers for containing and handling liquid microvolumes |
| US5869004A (en) * | 1997-06-09 | 1999-02-09 | Caliper Technologies Corp. | Methods and apparatus for in situ concentration and/or dilution of materials in microfluidic systems |
| US5888778A (en) * | 1997-06-16 | 1999-03-30 | Exact Laboratories, Inc. | High-throughput screening method for identification of genetic mutations or disease-causing microorganisms using segmented primers |
| US5939709A (en) | 1997-06-19 | 1999-08-17 | Ghislain; Lucien P. | Scanning probe optical microscope using a solid immersion lens |
| EP0991928A2 (en) | 1997-06-27 | 2000-04-12 | Immunetics | Rapid flow-through binding assay apparatus and method |
| WO1999004361A1 (en) | 1997-07-16 | 1999-01-28 | Diversified Scientific, Inc. | Method for acquiring, storing and analyzing crystal images |
| US6073482A (en) | 1997-07-21 | 2000-06-13 | Ysi Incorporated | Fluid flow module |
| US5932799A (en) | 1997-07-21 | 1999-08-03 | Ysi Incorporated | Microfluidic analyzer module |
| US5972639A (en) | 1997-07-24 | 1999-10-26 | Irori | Fluorescence-based assays for measuring cell proliferation |
| US6375871B1 (en) * | 1998-06-18 | 2002-04-23 | 3M Innovative Properties Company | Methods of manufacturing microfluidic articles |
| US5876675A (en) * | 1997-08-05 | 1999-03-02 | Caliper Technologies Corp. | Microfluidic devices and systems |
| US5965410A (en) * | 1997-09-02 | 1999-10-12 | Caliper Technologies Corp. | Electrical current for controlling fluid parameters in microchannels |
| EP1023434A4 (en) | 1997-09-18 | 2004-12-01 | Smithkline Beecham Corp | METHOD FOR SCREENING ANTIMICROBIAL COMPOUNDS |
| TW352471B (en) | 1997-09-20 | 1999-02-11 | United Microelectronics Corp | Method for preventing B-P-Si glass from subsiding |
| US6540895B1 (en) * | 1997-09-23 | 2003-04-01 | California Institute Of Technology | Microfabricated cell sorter for chemical and biological materials |
| US7214298B2 (en) * | 1997-09-23 | 2007-05-08 | California Institute Of Technology | Microfabricated cell sorter |
| US6833242B2 (en) | 1997-09-23 | 2004-12-21 | California Institute Of Technology | Methods for detecting and sorting polynucleotides based on size |
| AU9673198A (en) | 1997-10-02 | 1999-04-27 | Aclara Biosciences, Inc. | Capillary assays involving separation of free and bound species |
| US5836750A (en) | 1997-10-09 | 1998-11-17 | Honeywell Inc. | Electrostatically actuated mesopump having a plurality of elementary cells |
| US5842787A (en) | 1997-10-09 | 1998-12-01 | Caliper Technologies Corporation | Microfluidic systems incorporating varied channel dimensions |
| US5958694A (en) | 1997-10-16 | 1999-09-28 | Caliper Technologies Corp. | Apparatus and methods for sequencing nucleic acids in microfluidic systems |
| WO1999024744A1 (en) * | 1997-11-12 | 1999-05-20 | California Institute Of Technology | Micromachined parylene membrane valve and pump |
| US6174675B1 (en) * | 1997-11-25 | 2001-01-16 | Caliper Technologies Corp. | Electrical current for controlling fluid parameters in microchannels |
| US5948227A (en) | 1997-12-17 | 1999-09-07 | Caliper Technologies Corp. | Methods and systems for performing electrophoretic molecular separations |
| US6089534A (en) | 1998-01-08 | 2000-07-18 | Xerox Corporation | Fast variable flow microelectromechanical valves |
| US6269846B1 (en) | 1998-01-13 | 2001-08-07 | Genetic Microsystems, Inc. | Depositing fluid specimens on substrates, resulting ordered arrays, techniques for deposition of arrays |
| AU2459799A (en) | 1998-01-20 | 1999-08-02 | Triconex, Incorporated | Two out of three voting solenoid arrangement |
| US6167910B1 (en) * | 1998-01-20 | 2001-01-02 | Caliper Technologies Corp. | Multi-layer microfluidic devices |
| US6018616A (en) * | 1998-02-23 | 2000-01-25 | Applied Materials, Inc. | Thermal cycling module and process using radiant heat |
| US5997961A (en) | 1998-03-06 | 1999-12-07 | Battelle Memorial Institute | Method of bonding functional surface materials to substrates and applications in microtechnology and antifouling |
| WO1999052633A1 (en) | 1998-04-14 | 1999-10-21 | Ivd Systems | Test cartridge with a single inlet port |
| US6246330B1 (en) | 1998-05-29 | 2001-06-12 | Wyn Y. Nielsen | Elimination-absorber monitoring system |
| JPH11352409A (ja) | 1998-06-05 | 1999-12-24 | Olympus Optical Co Ltd | 蛍光検出装置 |
| GB9812783D0 (en) * | 1998-06-12 | 1998-08-12 | Cenes Ltd | High throuoghput screen |
| AU4719399A (en) | 1998-06-26 | 2000-01-17 | University Of Washington | Crystallization media |
| US6576478B1 (en) | 1998-07-14 | 2003-06-10 | Zyomyx, Inc. | Microdevices for high-throughput screening of biomolecules |
| US6406921B1 (en) | 1998-07-14 | 2002-06-18 | Zyomyx, Incorporated | Protein arrays for high-throughput screening |
| US6132685A (en) | 1998-08-10 | 2000-10-17 | Caliper Technologies Corporation | High throughput microfluidic systems and methods |
| US6103199A (en) | 1998-09-15 | 2000-08-15 | Aclara Biosciences, Inc. | Capillary electroflow apparatus and method |
| CN100435900C (zh) | 1998-09-17 | 2008-11-26 | 阿德文生物科学公司 | 液相色谱系统,化学分离装置及质谱分析装置和方法 |
| US6146842A (en) | 1998-09-21 | 2000-11-14 | Mitotix, Inc. | High-throughput screening assays utilizing metal-chelate capture |
| US6605472B1 (en) | 1998-10-09 | 2003-08-12 | The Governors Of The University Of Alberta | Microfluidic devices connected to glass capillaries with minimal dead volume |
| US6637463B1 (en) | 1998-10-13 | 2003-10-28 | Biomicro Systems, Inc. | Multi-channel microfluidic system design with balanced fluid flow distribution |
| US6149787A (en) | 1998-10-14 | 2000-11-21 | Caliper Technologies Corp. | External material accession systems and methods |
| RU2143343C1 (ru) | 1998-11-03 | 1999-12-27 | Самсунг Электроникс Ко., Лтд. | Микроинжектор и способ изготовления микроинжектора |
| US6541539B1 (en) | 1998-11-04 | 2003-04-01 | President And Fellows Of Harvard College | Hierarchically ordered porous oxides |
| US6958865B1 (en) | 1998-11-12 | 2005-10-25 | California Institute Of Technology | Microlicensing particles and applications |
| US6062261A (en) | 1998-12-16 | 2000-05-16 | Lockheed Martin Energy Research Corporation | MicrofluIdic circuit designs for performing electrokinetic manipulations that reduce the number of voltage sources and fluid reservoirs |
| US6361671B1 (en) * | 1999-01-11 | 2002-03-26 | The Regents Of The University Of California | Microfabricated capillary electrophoresis chip and method for simultaneously detecting multiple redox labels |
| US6150119A (en) | 1999-01-19 | 2000-11-21 | Caliper Technologies Corp. | Optimized high-throughput analytical system |
| WO2000050172A1 (en) | 1999-02-23 | 2000-08-31 | Caliper Technologies Corp. | Manipulation of microparticles in microfluidic systems |
| US6749814B1 (en) | 1999-03-03 | 2004-06-15 | Symyx Technologies, Inc. | Chemical processing microsystems comprising parallel flow microreactors and methods for using same |
| US6067859A (en) | 1999-03-04 | 2000-05-30 | The Board Of Regents, The University Of Texas System | Optical stretcher |
| AU2900400A (en) | 1999-03-08 | 2000-09-28 | Merck Frosst Canada & Co. | Intact cell assay for protein tyrosine phosphatases |
| US6171850B1 (en) * | 1999-03-08 | 2001-01-09 | Caliper Technologies Corp. | Integrated devices and systems for performing temperature controlled reactions and analyses |
| US6500323B1 (en) | 1999-03-26 | 2002-12-31 | Caliper Technologies Corp. | Methods and software for designing microfluidic devices |
| GB9907665D0 (en) * | 1999-04-01 | 1999-05-26 | Cambridge Molecular Tech | Fluidic devices |
| NZ514732A (en) | 1999-04-06 | 2004-01-30 | Uab Research Foundation | Method for screening crystallization conditions in solution crystal growth |
| US6352838B1 (en) | 1999-04-07 | 2002-03-05 | The Regents Of The Universtiy Of California | Microfluidic DNA sample preparation method and device |
| US6193647B1 (en) * | 1999-04-08 | 2001-02-27 | The Board Of Trustees Of The University Of Illinois | Microfluidic embryo and/or oocyte handling device and method |
| US6346373B1 (en) | 1999-05-05 | 2002-02-12 | Merck Frosst Canada & Co., | Whole cell assay for cathepsin K activity |
| GB9911095D0 (en) | 1999-05-13 | 1999-07-14 | Secr Defence | Microbiological test method and reagents |
| US6225109B1 (en) | 1999-05-27 | 2001-05-01 | Orchid Biosciences, Inc. | Genetic analysis device |
| JP2003501156A (ja) * | 1999-06-08 | 2003-01-14 | メディカル リサーチ グループ インコーポレイテッド | 埋め込み可能な注入デバイスにおける化学反応を利用した液体の注入法およびその装置 |
| US6296673B1 (en) | 1999-06-18 | 2001-10-02 | The Regents Of The University Of California | Methods and apparatus for performing array microcrystallizations |
| US6878540B2 (en) | 1999-06-25 | 2005-04-12 | Cepheid | Device for lysing cells, spores, or microorganisms |
| US7459022B2 (en) | 2001-04-06 | 2008-12-02 | California Institute Of Technology | Microfluidic protein crystallography |
| US7144616B1 (en) | 1999-06-28 | 2006-12-05 | California Institute Of Technology | Microfabricated elastomeric valve and pump systems |
| EP1065378B1 (en) * | 1999-06-28 | 2002-04-03 | California Institute of Technology | Microfabricated elastomeric valve and pump systems |
| US7306672B2 (en) | 2001-04-06 | 2007-12-11 | California Institute Of Technology | Microfluidic free interface diffusion techniques |
| US6899137B2 (en) | 1999-06-28 | 2005-05-31 | California Institute Of Technology | Microfabricated elastomeric valve and pump systems |
| US7052545B2 (en) | 2001-04-06 | 2006-05-30 | California Institute Of Technology | High throughput screening of crystallization of materials |
| US6533914B1 (en) * | 1999-07-08 | 2003-03-18 | Shaorong Liu | Microfabricated injector and capillary array assembly for high-resolution and high throughput separation |
| DE19933614C1 (de) | 1999-07-17 | 2000-11-30 | Moeller Gmbh | Kontaktsystem mit einem zweiarmigen Kontaktarm |
| AU6230800A (en) | 1999-07-20 | 2001-02-05 | Sri International | Improved electroactive polymers |
| KR100677860B1 (ko) | 1999-07-23 | 2007-02-05 | 보드 오브 트러스티스 오브 유니버스티 오브 일리노이즈 | 미세하게 제조되는 장치 및 그의 제조방법 |
| WO2001007061A1 (en) | 1999-07-27 | 2001-02-01 | Smithkline Beecham Corporation | Whole cell assay |
| US6977145B2 (en) | 1999-07-28 | 2005-12-20 | Serono Genetics Institute S.A. | Method for carrying out a biochemical protocol in continuous flow in a microreactor |
| AU6396500A (en) | 1999-08-02 | 2001-02-19 | Emerald Biostructures, Inc. | Method and system for creating a crystallization results database |
| WO2001018246A1 (en) * | 1999-08-26 | 2001-03-15 | The Trustees Of Princeton University | Microfluidic and nanofluidic electronic devices for detecting changes in capacitance of fluids and methods of using |
| US6505125B1 (en) | 1999-09-28 | 2003-01-07 | Affymetrix, Inc. | Methods and computer software products for multiple probe gene expression analysis |
| DE29917313U1 (de) | 1999-10-01 | 2001-02-15 | MWG-BIOTECH AG, 85560 Ebersberg | Vorrichtung zur Durchführung chemischer oder biologischer Reaktionen |
| GB9923324D0 (en) | 1999-10-01 | 1999-12-08 | Pyrosequencing Ab | Separation apparatus and method |
| AU1471001A (en) | 1999-11-04 | 2001-05-14 | California Institute Of Technology | Methods and apparatus for analyzing polynucleotide sequences |
| US6692952B1 (en) * | 1999-11-10 | 2004-02-17 | Massachusetts Institute Of Technology | Cell analysis and sorting apparatus for manipulation of cells |
| US6361958B1 (en) | 1999-11-12 | 2002-03-26 | Motorola, Inc. | Biochannel assay for hybridization with biomaterial |
| WO2001045843A2 (en) | 1999-12-22 | 2001-06-28 | Gene Logic, Inc. | Flow-thru chip cartridge, chip holder, system and method thereof |
| WO2001053794A1 (en) | 2000-01-18 | 2001-07-26 | Northeastern University | Parallel sample loading and injection device for multichannel microfluidic devices |
| US6866785B2 (en) * | 2001-08-13 | 2005-03-15 | The Board Of Trustees Of The Leland Stanford Junior University | Photopolymerized sol-gel column and associated methods |
| US20020012926A1 (en) * | 2000-03-03 | 2002-01-31 | Mycometrix, Inc. | Combinatorial array for nucleic acid analysis |
| US6541071B1 (en) * | 2000-03-23 | 2003-04-01 | Corning Incorporated | Method for fabricating supported bilayer-lipid membranes |
| US6358387B1 (en) * | 2000-03-27 | 2002-03-19 | Caliper Technologies Corporation | Ultra high throughput microfluidic analytical systems and methods |
| AU5121801A (en) | 2000-03-31 | 2001-10-15 | Micronics Inc | Protein crystallization in microfluidic structures |
| US20050118073A1 (en) | 2003-11-26 | 2005-06-02 | Fluidigm Corporation | Devices and methods for holding microfluidic devices |
| US7867763B2 (en) | 2004-01-25 | 2011-01-11 | Fluidigm Corporation | Integrated chip carriers with thermocycler interfaces and methods of using the same |
| SE0001768D0 (sv) * | 2000-05-12 | 2000-05-12 | Helen Andersson | Mikrofluidisk flödescell för manipulering av partiklar |
| DE60124699T2 (de) * | 2000-05-15 | 2007-09-13 | Tecan Trading Ag | Zweirichtungs-durchfluss-zentrifugalmikrofluid-vorrichtungen |
| US6431212B1 (en) | 2000-05-24 | 2002-08-13 | Jon W. Hayenga | Valve for use in microfluidic structures |
| US6645432B1 (en) | 2000-05-25 | 2003-11-11 | President & Fellows Of Harvard College | Microfluidic systems including three-dimensionally arrayed channel networks |
| US7351376B1 (en) | 2000-06-05 | 2008-04-01 | California Institute Of Technology | Integrated active flux microfluidic devices and methods |
| US6885982B2 (en) | 2000-06-27 | 2005-04-26 | Fluidigm Corporation | Object oriented microfluidic design method and system |
| US6829753B2 (en) * | 2000-06-27 | 2004-12-07 | Fluidigm Corporation | Microfluidic design automation method and system |
| US6627159B1 (en) | 2000-06-28 | 2003-09-30 | 3M Innovative Properties Company | Centrifugal filling of sample processing devices |
| JP3542550B2 (ja) | 2000-07-19 | 2004-07-14 | 本田技研工業株式会社 | 燃料電池用シールの成形方法 |
| JP2002060671A (ja) | 2000-08-11 | 2002-02-26 | Mitsubishi Chemicals Corp | 新規コーティング樹脂板 |
| US6301055B1 (en) | 2000-08-16 | 2001-10-09 | California Institute Of Technology | Solid immersion lens structures and methods for producing solid immersion lens structures |
| WO2002023163A1 (en) | 2000-09-15 | 2002-03-21 | California Institute Of Technology | Microfabricated crossflow devices and methods |
| US6787339B1 (en) | 2000-10-02 | 2004-09-07 | Motorola, Inc. | Microfluidic devices having embedded metal conductors and methods of fabricating said devices |
| US6508988B1 (en) * | 2000-10-03 | 2003-01-21 | California Institute Of Technology | Combinatorial synthesis system |
| US7097809B2 (en) | 2000-10-03 | 2006-08-29 | California Institute Of Technology | Combinatorial synthesis system |
| US7678547B2 (en) | 2000-10-03 | 2010-03-16 | California Institute Of Technology | Velocity independent analyte characterization |
| EP1322936A2 (en) | 2000-10-03 | 2003-07-02 | California Institute Of Technology | Microfluidic devices and methods of use |
| US6827095B2 (en) | 2000-10-12 | 2004-12-07 | Nanostream, Inc. | Modular microfluidic systems |
| AU1189702A (en) | 2000-10-13 | 2002-04-22 | Fluidigm Corp | Microfluidic device based sample injection system for analytical devices |
| US7232109B2 (en) | 2000-11-06 | 2007-06-19 | California Institute Of Technology | Electrostatic valves for microfluidic devices |
| DE60103924T2 (de) | 2000-11-06 | 2005-07-14 | Nanostream, Inc., Pasadena | Mikrofluidische durchflussregelvorrichtung |
| EP2381116A1 (en) * | 2000-11-16 | 2011-10-26 | California Institute of Technology | Apparatus and methods for conducting assays and high throughput screening |
| AU2002248149A1 (en) | 2000-11-16 | 2002-08-12 | Fluidigm Corporation | Microfluidic devices for introducing and dispensing fluids from microfluidic systems |
| US6736978B1 (en) | 2000-12-13 | 2004-05-18 | Iowa State University Research Foundation, Inc. | Method and apparatus for magnetoresistive monitoring of analytes in flow streams |
| US20050196785A1 (en) | 2001-03-05 | 2005-09-08 | California Institute Of Technology | Combinational array for nucleic acid analysis |
| WO2002072892A1 (en) | 2001-03-12 | 2002-09-19 | California Institute Of Technology | Methods and apparatus for analyzing polynucleotide sequences by asynchronous base extension |
| WO2002078906A2 (en) | 2001-03-29 | 2002-10-10 | Cellect Technologies Corp. | Methods devices and systems for sorting and separating particles |
| US6752922B2 (en) * | 2001-04-06 | 2004-06-22 | Fluidigm Corporation | Microfluidic chromatography |
| WO2002081729A2 (en) | 2001-04-06 | 2002-10-17 | California Institute Of Technology | Nucleic acid amplification utilizing microfluidic devices |
| US6802342B2 (en) | 2001-04-06 | 2004-10-12 | Fluidigm Corporation | Microfabricated fluidic circuit elements and applications |
| EP2338670A1 (en) | 2001-04-06 | 2011-06-29 | Fluidigm Corporation | Polymer surface modification |
| US20020164816A1 (en) | 2001-04-06 | 2002-11-07 | California Institute Of Technology | Microfluidic sample separation device |
| CA2442914A1 (en) | 2001-04-06 | 2002-10-17 | California Institute Of Technology | High throughput screening of crystallization of materials |
| US6677131B2 (en) * | 2001-05-14 | 2004-01-13 | Corning Incorporated | Well frame including connectors for biological fluids |
| US6847153B1 (en) * | 2001-06-13 | 2005-01-25 | The United States Of America As Represented By The Secretary Of The Navy | Polyurethane electrostriction |
| US6444318B1 (en) * | 2001-07-17 | 2002-09-03 | Surmodics, Inc. | Self assembling monolayer compositions |
| US7169577B2 (en) * | 2001-07-27 | 2007-01-30 | Surface Logix, Inc. | Cell isolation and screening device and method of using same |
| US7075162B2 (en) | 2001-08-30 | 2006-07-11 | Fluidigm Corporation | Electrostatic/electrostrictive actuation of elastomer structures using compliant electrodes |
| JP2005505441A (ja) | 2001-10-08 | 2005-02-24 | カリフォルニア インスティテュート オブ テクノロジー | 微小加工レンズ、その製造の方法および応用 |
| WO2003031066A1 (en) | 2001-10-11 | 2003-04-17 | California Institute Of Technology | Devices utilizing self-assembled gel and method of manufacture |
| US6627076B2 (en) | 2001-10-19 | 2003-09-30 | Sandia National Laboratories | Compact microchannel system |
| US20030175947A1 (en) | 2001-11-05 | 2003-09-18 | Liu Robin Hui | Enhanced mixing in microfluidic devices |
| WO2003044483A2 (en) | 2001-11-15 | 2003-05-30 | Arryx, Inc. | Sample chip |
| CA2467587A1 (en) | 2001-11-30 | 2003-06-12 | Fluidigm Corporation | Microfluidic device and methods of using same |
| US7691333B2 (en) * | 2001-11-30 | 2010-04-06 | Fluidigm Corporation | Microfluidic device and methods of using same |
| US6893613B2 (en) | 2002-01-25 | 2005-05-17 | Bristol-Myers Squibb Company | Parallel chemistry reactor with interchangeable vessel carrying inserts |
| US6581441B1 (en) | 2002-02-01 | 2003-06-24 | Perseptive Biosystems, Inc. | Capillary column chromatography process and system |
| US6662818B2 (en) | 2002-02-01 | 2003-12-16 | Perseptive Biosystems, Inc. | Programmable tracking pressure regulator for control of higher pressures in microfluidic circuits |
| CA2480728A1 (en) | 2002-04-01 | 2003-10-16 | Fluidigm Corporation | Microfluidic particle-analysis systems |
| US7312085B2 (en) | 2002-04-01 | 2007-12-25 | Fluidigm Corporation | Microfluidic particle-analysis systems |
| US7059348B2 (en) | 2002-05-13 | 2006-06-13 | Fluidigm Corporation | Drug delivery system |
| WO2004000721A2 (en) | 2002-06-24 | 2003-12-31 | Fluidigm Corporation | Recirculating fluidic network and methods for using the same |
| JP2006501056A (ja) | 2002-09-25 | 2006-01-12 | カリフォルニア インスティテュート オブ テクノロジー | ミクロ流体大規模集積 |
| US7186383B2 (en) | 2002-09-27 | 2007-03-06 | Ast Management Inc. | Miniaturized fluid delivery and analysis system |
| EP1546412B1 (en) * | 2002-10-02 | 2014-05-21 | California Institute Of Technology | Microfluidic nucleic acid analysis |
| EP1567638A1 (en) | 2002-11-08 | 2005-08-31 | Irm, Llc | Apparatus and methods to process substrate surface features |
| US7445926B2 (en) | 2002-12-30 | 2008-11-04 | The Regents Of The University Of California | Fluid control structures in microfluidic devices |
| GB0302302D0 (en) | 2003-01-31 | 2003-03-05 | Glaxo Group Ltd | Microfluidic apparatus and method |
| US20050145496A1 (en) | 2003-04-03 | 2005-07-07 | Federico Goodsaid | Thermal reaction device and method for using the same |
| US7604965B2 (en) | 2003-04-03 | 2009-10-20 | Fluidigm Corporation | Thermal reaction device and method for using the same |
| US7476363B2 (en) | 2003-04-03 | 2009-01-13 | Fluidigm Corporation | Microfluidic devices and methods of using same |
| JP5419248B2 (ja) | 2003-04-03 | 2014-02-19 | フルイディグム コーポレイション | マイクロ流体装置およびその使用方法 |
| US8828663B2 (en) | 2005-03-18 | 2014-09-09 | Fluidigm Corporation | Thermal reaction device and method for using the same |
| EP1685282A2 (en) | 2003-04-17 | 2006-08-02 | Fluidigm Corporation | Crystal growth devices and systems, and methods for using same |
| US7695683B2 (en) | 2003-05-20 | 2010-04-13 | Fluidigm Corporation | Method and system for microfluidic device and imaging thereof |
| AU2004261655A1 (en) | 2003-07-28 | 2005-02-10 | Fluidigm Corporation | Image processing method and system for microfluidic devices |
| US7042649B2 (en) | 2003-08-11 | 2006-05-09 | California Institute Of Technology | Microfabricated rubber microscope using soft solid immersion lenses |
| US7413712B2 (en) | 2003-08-11 | 2008-08-19 | California Institute Of Technology | Microfluidic rotary flow reactor matrix |
| WO2005054441A2 (en) | 2003-12-01 | 2005-06-16 | California Institute Of Technology | Device for immobilizing chemical and biomedical species and methods of using same |
| US7407799B2 (en) | 2004-01-16 | 2008-08-05 | California Institute Of Technology | Microfluidic chemostat |
| WO2005121864A2 (en) | 2004-06-07 | 2005-12-22 | Fluidigm Corporation | Optical lens system and method for microfluidic devices |
| JP2008522795A (ja) | 2004-12-03 | 2008-07-03 | カリフォルニア インスティチュート オブ テクノロジー | 化学反応回路を有するマイクロ流体装置 |
| US20080264863A1 (en) | 2004-12-03 | 2008-10-30 | California Institute Of Technology | Microfluidic Sieve Valves |
| EP1882189A2 (en) | 2005-04-20 | 2008-01-30 | Fluidigm Corporation | Analysis engine and database for manipulating parameters for fluidic systems on a chip |
| US20090317798A1 (en) | 2005-06-02 | 2009-12-24 | Heid Christian A | Analysis using microfluidic partitioning devices |
| US20070054293A1 (en) | 2005-08-30 | 2007-03-08 | California Institute Of Technology | Microfluidic chaotic mixing systems and methods |
| WO2007033385A2 (en) | 2005-09-13 | 2007-03-22 | Fluidigm Corporation | Microfluidic assay devices and methods |
| US8206975B2 (en) | 2005-10-28 | 2012-06-26 | California Institute Of Technology | Method and device for regulating fluid flow in microfluidic devices |
| WO2007117346A2 (en) | 2006-01-26 | 2007-10-18 | California Institute Of Technology | Programming microfluidic devices with molecular information |
| US20070248971A1 (en) | 2006-01-26 | 2007-10-25 | California Institute Of Technology | Programming microfluidic devices with molecular information |
| US7815868B1 (en) | 2006-02-28 | 2010-10-19 | Fluidigm Corporation | Microfluidic reaction apparatus for high throughput screening |
| US8828661B2 (en) | 2006-04-24 | 2014-09-09 | Fluidigm Corporation | Methods for detection and quantification of nucleic acid or protein targets in a sample |
| US8055034B2 (en) | 2006-09-13 | 2011-11-08 | Fluidigm Corporation | Methods and systems for image processing of microfluidic devices |
| WO2008043046A2 (en) | 2006-10-04 | 2008-04-10 | Fluidigm Corporation | Microfluidic check valves |
| WO2008067552A2 (en) | 2006-11-30 | 2008-06-05 | Fluidigm Corporation | Method and apparatus for biological sample analysis |
| EP2125219B1 (en) | 2007-01-19 | 2016-08-10 | Fluidigm Corporation | High precision microfluidic devices and methods |
| US7974380B2 (en) | 2007-05-09 | 2011-07-05 | Fluidigm Corporation | Method and system for crystallization and X-ray diffraction screening |
| KR101518085B1 (ko) | 2007-09-07 | 2015-05-07 | 플루이다임 코포레이션 | 카피수 변이 측정, 방법 및 시스템 |
| US9157116B2 (en) | 2008-02-08 | 2015-10-13 | Fluidigm Corporation | Combinatorial amplification and detection of nucleic acids |
| US9487822B2 (en) | 2008-03-19 | 2016-11-08 | Fluidigm Corporation | Method and apparatus for determining copy number variation using digital PCR |
| SG2014012777A (en) | 2008-07-25 | 2014-06-27 | Fluidigm Corp | Method and system for manufacturing integratedfluidic chips |
| WO2010017210A1 (en) | 2008-08-07 | 2010-02-11 | Fluidigm Corporation | Microfluidic mixing and reaction systems for high efficiency screening |
| SG10201404685PA (en) | 2008-12-08 | 2014-10-30 | Fluidigm Corp | Programmable microfluidic digital array |
| US8058630B2 (en) | 2009-01-16 | 2011-11-15 | Fluidigm Corporation | Microfluidic devices and methods |
-
2003
- 2003-04-01 CA CA002480728A patent/CA2480728A1/en not_active Abandoned
- 2003-04-01 EP EP13170998.2A patent/EP2666849A3/en not_active Ceased
- 2003-04-01 EP EP03721509A patent/EP1499706A4/en not_active Ceased
- 2003-04-01 JP JP2003582520A patent/JP2005521425A/ja active Pending
- 2003-04-01 WO PCT/US2003/009997 patent/WO2003085379A2/en not_active Ceased
- 2003-04-01 AU AU2003224817A patent/AU2003224817B2/en not_active Ceased
- 2003-08-12 US US10/640,510 patent/US20040229349A1/en not_active Abandoned
-
2009
- 2009-07-13 US US12/501,982 patent/US8658418B2/en not_active Expired - Lifetime
- 2009-10-13 JP JP2009236738A patent/JP5241678B2/ja not_active Expired - Fee Related
-
2012
- 2012-07-27 JP JP2012167346A patent/JP2012228268A/ja not_active Withdrawn
-
2014
- 2014-02-24 US US14/188,660 patent/US9926521B2/en not_active Expired - Lifetime
-
2015
- 2015-06-23 JP JP2015125332A patent/JP2015171379A/ja not_active Withdrawn
-
2016
- 2016-04-21 US US15/135,355 patent/US20160236195A1/en not_active Abandoned
Patent Citations (4)
| Publication number | Priority date | Publication date | Assignee | Title |
|---|---|---|---|---|
| US6143247A (en) * | 1996-12-20 | 2000-11-07 | Gamera Bioscience Inc. | Affinity binding-based system for detecting particulates in a fluid |
| WO1999055827A1 (en) * | 1998-04-27 | 1999-11-04 | Amersham Pharmacia Biotech Uk Ltd. | Microfabricated apparatus for cell based assays |
| WO1999061888A2 (en) * | 1998-05-22 | 1999-12-02 | California Institute Of Technology | Microfabricated cell sorter |
| WO2001088087A2 (en) * | 2000-05-12 | 2001-11-22 | The Board Of Trustees Of The University Of Illinois | Microfluidic channel embryo and/or oocyte handling, analysis and biological evaluation |
Cited By (11)
| Publication number | Priority date | Publication date | Assignee | Title |
|---|---|---|---|---|
| JP2015531488A (ja) * | 2012-10-08 | 2015-11-02 | ゼネラル・エレクトリック・カンパニイ | Lal反応性物質試験のための求心性マイクロ流体プラットフォーム |
| US9880166B2 (en) | 2012-10-08 | 2018-01-30 | General Electric Company | Sensitive and rapid method for detection of low levels of LAL-reactive substances |
| US10082505B2 (en) | 2012-10-08 | 2018-09-25 | General Electric Company | Centripetal microfluidic platform for LAL-reactive substances testing |
| US10302642B2 (en) | 2012-10-08 | 2019-05-28 | General Electric Company | Sensitive and rapid method for detection of low levels of LAL-reactive substances |
| US10352934B2 (en) | 2012-10-08 | 2019-07-16 | General Electric Company | Preloaded test substrates for testing LAL-reactive substances, methods of use, and methods of making |
| US10451622B2 (en) | 2012-10-08 | 2019-10-22 | Bl Technologies, Inc. | Centripetal microfluidic platform for LAL reactive substances testing |
| US11422133B2 (en) | 2012-10-08 | 2022-08-23 | Bl Technologies, Inc. | Centripetal microfluidic platform for LAL reactive substances testing |
| KR101876874B1 (ko) * | 2014-04-08 | 2018-07-10 | 마르코 시스템애널라이즈 운트 엔트비크룽 게엠베하 | 계량밸브 |
| KR102012150B1 (ko) * | 2019-01-31 | 2019-10-21 | 제주대학교 산학협력단 | 장기모사 장치 |
| JPWO2022070841A1 (ja) * | 2020-09-29 | 2022-04-07 | ||
| JP7455339B2 (ja) | 2020-09-29 | 2024-03-26 | Nok株式会社 | 白血球捕捉デバイス |
Also Published As
| Publication number | Publication date |
|---|---|
| US9926521B2 (en) | 2018-03-27 |
| EP1499706A4 (en) | 2010-11-03 |
| US20140378352A1 (en) | 2014-12-25 |
| JP2015171379A (ja) | 2015-10-01 |
| US20040229349A1 (en) | 2004-11-18 |
| WO2003085379A3 (en) | 2003-12-18 |
| WO2003085379A2 (en) | 2003-10-16 |
| US8658418B2 (en) | 2014-02-25 |
| CA2480728A1 (en) | 2003-10-16 |
| EP2666849A2 (en) | 2013-11-27 |
| JP5241678B2 (ja) | 2013-07-17 |
| JP2005521425A (ja) | 2005-07-21 |
| JP2012228268A (ja) | 2012-11-22 |
| US20100120077A1 (en) | 2010-05-13 |
| US20160236195A1 (en) | 2016-08-18 |
| EP1499706A2 (en) | 2005-01-26 |
| EP2666849A3 (en) | 2014-05-28 |
| AU2003224817A1 (en) | 2003-10-20 |
| AU2003224817B2 (en) | 2008-11-06 |
Similar Documents
| Publication | Publication Date | Title |
|---|---|---|
| JP5241678B2 (ja) | 微小流体粒子分析システム | |
| US7452726B2 (en) | Microfluidic particle-analysis systems | |
| JP6169111B2 (ja) | マイクロ流体工学を利用した複数の単一細胞の捕捉及び処理の方法、システム、並びにデバイス | |
| US9535000B2 (en) | On-demand particle dispensing system | |
| US10343165B2 (en) | On-demand particle dispensing system | |
| HK1191669A (en) | Microfluidic particle-analysis systems |
Legal Events
| Date | Code | Title | Description |
|---|---|---|---|
| A521 | Request for written amendment filed |
Free format text: JAPANESE INTERMEDIATE CODE: A523 Effective date: 20101001 |
|
| A131 | Notification of reasons for refusal |
Free format text: JAPANESE INTERMEDIATE CODE: A131 Effective date: 20120130 |
|
| A601 | Written request for extension of time |
Free format text: JAPANESE INTERMEDIATE CODE: A601 Effective date: 20120426 |
|
| A602 | Written permission of extension of time |
Free format text: JAPANESE INTERMEDIATE CODE: A602 Effective date: 20120502 |
|
| A601 | Written request for extension of time |
Free format text: JAPANESE INTERMEDIATE CODE: A601 Effective date: 20120518 |
|
| A602 | Written permission of extension of time |
Free format text: JAPANESE INTERMEDIATE CODE: A602 Effective date: 20120523 |
|
| A601 | Written request for extension of time |
Free format text: JAPANESE INTERMEDIATE CODE: A601 Effective date: 20120628 |
|
| A602 | Written permission of extension of time |
Free format text: JAPANESE INTERMEDIATE CODE: A602 Effective date: 20120703 |
|
| A521 | Request for written amendment filed |
Free format text: JAPANESE INTERMEDIATE CODE: A523 Effective date: 20120727 |
|
| TRDD | Decision of grant or rejection written | ||
| A01 | Written decision to grant a patent or to grant a registration (utility model) |
Free format text: JAPANESE INTERMEDIATE CODE: A01 Effective date: 20130306 |
|
| A61 | First payment of annual fees (during grant procedure) |
Free format text: JAPANESE INTERMEDIATE CODE: A61 Effective date: 20130402 |
|
| FPAY | Renewal fee payment (event date is renewal date of database) |
Free format text: PAYMENT UNTIL: 20160412 Year of fee payment: 3 |
|
| R150 | Certificate of patent or registration of utility model |
Free format text: JAPANESE INTERMEDIATE CODE: R150 Ref document number: 5241678 Country of ref document: JP Free format text: JAPANESE INTERMEDIATE CODE: R150 |
|
| R250 | Receipt of annual fees |
Free format text: JAPANESE INTERMEDIATE CODE: R250 |
|
| R250 | Receipt of annual fees |
Free format text: JAPANESE INTERMEDIATE CODE: R250 |
|
| R250 | Receipt of annual fees |
Free format text: JAPANESE INTERMEDIATE CODE: R250 |
|
| LAPS | Cancellation because of no payment of annual fees |
