JP2010005785A - 半導体装置およびその製造方法 - Google Patents

半導体装置およびその製造方法 Download PDF

Info

Publication number
JP2010005785A
JP2010005785A JP2009225250A JP2009225250A JP2010005785A JP 2010005785 A JP2010005785 A JP 2010005785A JP 2009225250 A JP2009225250 A JP 2009225250A JP 2009225250 A JP2009225250 A JP 2009225250A JP 2010005785 A JP2010005785 A JP 2010005785A
Authority
JP
Japan
Prior art keywords
substrate
cap
semiconductor device
base
region
Prior art date
Legal status (The legal status is an assumption and is not a legal conclusion. Google has not performed a legal analysis and makes no representation as to the accuracy of the status listed.)
Granted
Application number
JP2009225250A
Other languages
English (en)
Other versions
JP5141658B2 (ja
Inventor
Tetsuo Fujii
哲夫 藤井
Kazuhiko Sugiura
和彦 杉浦
Current Assignee (The listed assignees may be inaccurate. Google has not performed a legal analysis and makes no representation or warranty as to the accuracy of the list.)
Denso Corp
Original Assignee
Denso Corp
Priority date (The priority date is an assumption and is not a legal conclusion. Google has not performed a legal analysis and makes no representation as to the accuracy of the date listed.)
Filing date
Publication date
Application filed by Denso Corp filed Critical Denso Corp
Priority to JP2009225250A priority Critical patent/JP5141658B2/ja
Publication of JP2010005785A publication Critical patent/JP2010005785A/ja
Application granted granted Critical
Publication of JP5141658B2 publication Critical patent/JP5141658B2/ja
Expired - Fee Related legal-status Critical Current
Anticipated expiration legal-status Critical

Links

Images

Classifications

    • BPERFORMING OPERATIONS; TRANSPORTING
    • B81MICROSTRUCTURAL TECHNOLOGY
    • B81BMICROSTRUCTURAL DEVICES OR SYSTEMS, e.g. MICROMECHANICAL DEVICES
    • B81B7/00Microstructural systems; Auxiliary parts of microstructural devices or systems
    • B81B7/0032Packages or encapsulation
    • B81B7/007Interconnections between the MEMS and external electrical signals
    • H10W20/023
    • H10W20/20
    • H10W20/217

Landscapes

  • Engineering & Computer Science (AREA)
  • Microelectronics & Electronic Packaging (AREA)
  • Computer Hardware Design (AREA)
  • Pressure Sensors (AREA)
  • Micromachines (AREA)
  • Gyroscopes (AREA)
  • Piezo-Electric Or Mechanical Vibrators, Or Delay Or Filter Circuits (AREA)

Abstract

【課題】ベース基板の素子上に密封キャップが配置されてなる半導体装置およびその製造方法であって、小型で安価に製造することができ、フェースダウンボンディングも可能で実装面での制約が少ない半導体装置およびその製造方法を提供する。
【解決手段】絶縁分離された複数個のベース半導体領域Bsが表層部に形成されてなるベース基板B1と、ベース基板B1に貼り合わされる導電性を有したキャップ基板C1であって、当該キャップ基板C1を貫通する絶縁分離トレンチ31により、複数個のキャップ導電領域Ceが形成されてなるキャップ基板とを有してなり、ベース基板B1における所定領域R1とキャップ基板C1における凹部32とで構成される空間23,32が密封されると共に、所定のキャップ導電領域Ce1,Ce2が、所定のベース半導体領域Bs1,Bs2に電気的に接続されてなる半導体装置100とする。
【選択図】図1

Description

本発明は、半導体からなるベース基板の表層部に形成された各種の素子を保護するために、前記ベース基板の素子上に密封キャップが配置されてなる半導体装置およびその製造方法に関する。
半導体からなるベース基板の表層部に形成された各種の素子を保護するために、前記ベース基板の素子上に密封キャップが配置されてなる半導体装置およびその製造方法が、例えば、特開2004−333133号公報(特許文献1)と米国特許第6,936,491号明細書(特許文献2)に開示されている。
図26(a),(b)は、特許文献1に開示された半導体装置(慣性力センサ)を示す図で、図26(a)は、慣性力センサの平面図であり、図26(b)は、図26(a)に示すA−Aでの断面図である。なお、以下では便宜上、図26(a)及び図26(b)における位置関係における左右方向を「横方向」といい、平面視でこれと垂直な方向を「縦方向」といっている。
図26(a)、(b)に示す慣性力センサには、一体加工により、バネ1と、アンカー2と、梁3と、質量体4と、アイランド電極7a、7bと、枠10とが一体形成されたデバイス層11が設けられている。そして、デバイス層11の下面と上面とには、それぞれ、下面基板12と上面基板13とが接合され、デバイス層11は、両基板12、13により密封されている。
アイランド電極7aは、可動電極5を外部に電気的に接続するためのもの(可動電極用電極部)であり、アイランド電極7bは、固定電極6を外部に電気的に接続するためのもの(固定電極用電極部)である。そして、各アイランド電極7a、7bの上面には、それぞれ、外部機器との電気接続のための電極パッド8が付設されている。なお、上面基板13には、各電極パッド8と対応する位置にそれぞれ貫通穴9が設けられ、各電極パッド8は外部に露出している。図示していないが、各電極パッド8は、貫通穴9を通り抜けるワイヤボンディングを介して外部のIC等に電気的に接続される。
図26(a)、(b)に示す慣性力センサでは、アンカー2は下面基板12に固定(接合)され、アイランド電極7a、7b及び枠10は、両基板12、13に固定(接合)されている。なお、バネ1、梁3及び質量体4は、いずれの基板12、13にも固定されていない。ここで、各梁3は、それぞれ対応するアンカー2によって支持され、質量体4は2つの梁3によって横方向に変位可能に支持されている。また、各バネ1は、それぞれ対応するアンカー2とアイランド電極7aとを連結している。そして、アンカー2とアイランド電極7aとは、対応するバネ1によって電気的に接続されている。
縦方向にみて質量体4の両側にはそれぞれ可動電極5が付設されている。他方、固定電極用の各アイランド電極7bには、それぞれ固定電極6が付設されている。そして、質量体4の両側では、それぞれ、可動電極5と固定電極6とが横方向に対向している。ここで、慣性力センサに横方向の慣性力が作用すると、該慣性力により質量体4が横方向に変位し、可動電極5と固定電極6との横方向の位置関係(間隔)が変化する。これに伴って、可動電極5と固定電極6との間の静電容量が変化するので、この静電容量変化により該慣性力センサに作用する慣性力を検出することができる。
特開2004−333133号公報 米国特許第6,936,491号明細書
図26(a)、(b)に示す慣性力センサにおいては、各アイランド電極7a、7bは、互いに電気的に絶縁されている。そして、質量体4に付設された可動電極5は、順に、梁3と、アンカー2と、ばね1とを介して可動電極用のアイランド電極7aに電気的に接続されている。なお、アイランド電極7aは、その上面の電極パッド8と、貫通穴9を通り抜けるワイヤボンディング(図示せず)とを介して、外部のIC等に電気的に接続されている。他方、固定電極用の各アイランド電極7bに付設された固定電極6は、該各アイランド電極7bと、その上面の電極パッド8と、貫通穴9を通り抜けるワイヤボンディング(図示せず)とを介して、外部のIC等に電気的に接続される。
以上のように、図26(a)、(b)に示す慣性力センサにおいては、上面基板13に形成された貫通穴9を介して、各アイランド電極7a、7b上の電極パッド8にワイヤボンディングし、外部のIC等に電気的接続を行っている。しかしながら、このワイヤボンディングを行うためには、ボンディングツールが上面基板13と接触しないように大きな貫通穴9を形成する必要がある。このため、チップサイズが大きくなり、コスト的な問題がある。また、図26(b)からわかるように、上記構造ではフェースダウンボンディング(ボールボンディング)は困難であり、実装面での制約もある。
そこで本発明は、半導体からなるベース基板の表層部に形成された各種の素子を保護するために、前記ベース基板の素子上に密封キャップが配置されてなる半導体装置およびその製造方法であって、小型で安価に製造することができ、フェースダウンボンディングも可能で実装面での制約が少ない半導体装置およびその製造方法を提供することを目的としている。
請求項1に記載の半導体装置は、半導体からなるベース基板であって、絶縁分離された複数個のベース半導体領域が表層部に形成されてなるベース基板と、前記ベース基板に貼り合わされる導電性を有したキャップ基板であって、当該キャップ基板を貫通する絶縁分離トレンチにより、複数個のキャップ導電領域が形成されてなるキャップ基板とを有してなり、前記キャップ基板が、前記ベース基板の表層部における所定領域に対向して貼り合わされて、前記所定領域とキャップ基板とで構成される空間が、密封されると共に、所定の前記キャップ導電領域が、所定の前記ベース半導体領域に電気的に接続されてなる、引き出し導電領域として機能することを特徴としている。
上記半導体装置においては、ベース基板に貼り合わされる導電性を有したキャップ基板が、ベース基板の表層部の所定領域に形成される各種の素子を保護するための密封キャップとして機能する。
上記キャップ基板には、絶縁分離された複数個のキャップ導電領域が形成されており、所定のキャップ導電領域が、ベース基板に形成された所定の絶縁分離されてなるベース半導体領域に電気的に接続されて、引き出し導電領域として機能する。このため、ベース基板に貼り合わされたキャップ基板の貼り合わせ面と反対側の外部に露出する引き出し導電領域へワイヤボンディング等の電気的な接続を行うことで、引き出し導電領域を介してベース基板の表層部の所定領域に形成される各種の素子への電気的なに接続を行うことができる。従って、上記半導体装置においては、従来の半導体装置のようにワイヤボンディングのための大きな貫通穴をキャップ基板に形成する必要がない。このため、チップサイズを小さくでき、小型で安価な半導体装置とすることができる。また、上記キャップ基板の外部に露出する引き出し導電領域への電気的な接続は、フェースダウンボンディング(ボールボンディング)であってもよく、実装面での制約も少ない。
さらに、上記半導体装置におけるキャップ基板は、ベース基板上に堆積層として形成されたものではなく、一枚の基板を加工して形成されたものである。従って、例えばキャップ基板の厚さを任意に設定できるため、高い強度を確保することができる。また、後述する種々の構造を当該キャップ基板に一般的な基板加工方法を用いて容易に形成することができるため、例えば密封キャップをベース基板上に堆積層として形成する場合に較べて製造コストを低減することができ、安価な半導体装置とすることができる。
以上のようにして、上記半導体装置は、半導体からなるベース基板の表層部に形成された各種の素子を保護するために、前記ベース基板の素子上に密封キャップが配置されてなる半導体装置であって、小型で安価に製造することができ、フェースダウンボンディングも可能で実装面での制約が少ない半導体装置とすることができる。
上記半導体装置は、例えば請求項2に記載のように、前記キャップ基板において、前記ベース基板の前記所定領域に対向して凹部が形成され、前記キャップ基板が、前記凹部の周りで前記ベース基板に貼り合わされてなる構成とするこができる。
この場合、請求項3に記載のように、前記キャップ基板の凹部における所定の領域に、絶縁膜が形成されてなることが好ましい。これによれば、半導体からなるベース基板の所定領域と導電性を有したキャップ基板の凹部とで構成される前記空間内において、前記凹部における所定の領域に形成された絶縁膜により、空間内に残った水分やキャップ凹部内の汚染物質等による短絡(ショート)等の不具合を抑制することができる。
上記半導体装置は、請求項4に記載のように、前記ベース基板において、前記所定領域のベース半導体領域上に導電性を有する凸部が形成され、前記キャップ基板が、前記凸部に貼り合わされてなる構成としてもよい。これによれば、キャップ基板の貼り合わせ面を平坦にすることができる。この場合、例えば請求項5に記載のように、前記凸部は、単結晶シリコン、多結晶シリコンまたは金属のいずれかとすることができる。
上記半導体装置は、請求項6に記載のように、前記キャップ基板において、前記ベース基板の前記所定領域に対向して導電性を有する凸部が形成され、前記キャップ基板が、前記凸部で前記ベース基板に貼り合わされてなる構成としてもよい。この場合、例えば請求項7に記載のように、前記凸部が、絶縁膜を介して前記キャップ導電領域に接続する配線パターンからなる構成とすることができる。さらにこの場合には、請求項8に記載のように、前記配線パターンが、前記キャップ基板の両面に形成され、該キャップ基板が、複数枚積層されて、前記ベース基板に貼り合わされてなる構成とすることが可能である。これによれば、ベース基板と複数枚のキャップ基板で、立体的な回路を構成することが可能である。
上記半導体装置におけるベース基板は、例えば請求項9に記載のように、単結晶シリコン基板とすることができる。この場合には、上記絶縁分離された複数個のベース半導体領域を、例えばPN接合分離で形成することができる。
また、上記半導体装置におけるベース基板は、例えば請求項10に記載のように、埋め込み酸化膜を有するSOI(Silicon On Insulator)基板とすることができ、前記ベース半導体領域を、前記埋め込み酸化膜に達するトレンチにより周囲から絶縁分離された、SOI層からなる領域とすることができる。
上記ベース基板としてSOI基板を用いる場合には、例えば請求項11に記載のように、 上記半導体装置を、以下に示す慣性力を利用した力学量センサ素子を有してなる半導体装置とすることができる。すなわち、前記ベース基板における前記複数個のベース半導体領域のうち、少なくとも一個のベース半導体領域が、前記埋め込み酸化膜の一部を犠牲層エッチングすることにより、変位可能に形成された可動電極を有する可動半導体領域であり、少なくとももう一個のベース半導体領域が、前記可動電極と対向する固定電極を有する固定半導体領域であり、前記可動電極と固定電極の対向面で静電容量が形成され、前記可動電極を覆うようにして、前記キャップ基板の凹部が配置され、前記可動半導体領域と前記固定半導体領域に、それぞれ、前記引き出し導電領域が接続され、前記可動電極が、印加される力学量に応じて前記対向面に対して垂直方向に変位し、前記可動電極と固定電極の間の距離変化に伴う前記静電容量の変化を測定して、前記印加される力学量を検出するように、上記半導体装置を構成する。尚、上記半導体装置における前記力学量は、例えば請求項12に記載のように、加速度または角速度とすることができる。
上記力学量センサ素子を有してなる半導体装置は、半導体からなるベース基板の表層部に形成された力学量センサ素子を保護するために、前記ベース基板の力学量センサ素子上に密封キャップが配置されてなる半導体装置であって、前述したように、小型で安価に製造することができ、フェースダウンボンディングも可能で実装面での制約が少ない半導体装置とすることができる。
また、上記ベース基板としてSOI基板を用いる場合には、請求項13に記載のように、上記半導体装置を、以下に示すMEMS(Micro Electro Mechanical System)共振器を有してなる半導体装置とすることもできる。すなわち、前記ベース基板における前記複数個のベース半導体領域のうち、少なくとも一個のベース半導体領域が、前記埋め込み酸化膜の一部を犠牲層エッチングすることにより、変位可能に形成された共振子を有する共振半導体領域であり、前記共振子を覆うようにして、前記キャップ基板の凹部が配置され、前記引き出し導電領域を用いて給電し、前記共振子を共振させることにより、所定周波数の電圧を発振するように、上記半導体装置を構成する。
上記MEMS共振器を有してなる半導体装置も、半導体からなるベース基板の表層部に形成されたMEMS共振器を保護するために、前記ベース基板のMEMS共振器上に密封キャップが配置されてなる半導体装置であって、前述したように、小型で安価に製造することができ、フェースダウンボンディングも可能で実装面での制約が少ない半導体装置とすることができる。尚、上記MEMS共振器を有してなる半導体装置は、一般的な水晶共振器を有してなる半導体装置に較べて、小型化とコストダウンが可能である。
上記半導体装置は、例えば請求項14に記載のように、以下に示す赤外線センサ素子を有してなる半導体装置としてもよい。すなわち、前記ベース基板の所定領域に、前記赤外線センサ素子が配置されてなり、入射した赤外線による前記赤外線センサ素子の出力電圧を、前記引き出し導電領域を介して検出するように、上記半導体装置を構成する。また、請求項15に記載のように、以下に示す磁気センサ素子を有してなる半導体装置としてもよい。すなわち、前記ベース基板の所定領域に、前記磁気センサ素子が配置されてなり、前記空間内に配置された前記磁気センサ素子の出力電圧を、前記引き出し導電領域を介して検出するように、上記半導体装置を構成する。
上記赤外線センサ素子を有してなる半導体装置も、半導体からなるベース基板の表層部に形成された赤外線センサ素子を保護するために、前記ベース基板の赤外線センサ素子上に密封キャップが配置されてなる半導体装置であって、前述したように、小型で安価に製造することができ、フェースダウンボンディングも可能で実装面での制約が少ない半導体装置とすることができる。
また、上記半導体装置は、請求項16に記載のように、前記ベース基板の所定領域に、IC(Integrated Circuit)回路が形成されてなり、前記IC回路が、前記引き出し導電領域を介して、外部の回路と電気的に接続される半導体装置であってもよい。
前記IC回路が形成されてなる半導体装置も、半導体からなるベース基板の表層部に形成された前記IC回路を保護するために、前記IC回路上に密封キャップが配置されてなる半導体装置であって、前述したように、小型で安価に製造することができ、フェースダウンボンディングも可能で実装面での制約が少ない半導体装置とすることができる。尚、前記IC回路は、前記キャップ基板により、非接触で密封保護される。従って、例えば前記IC回路上に保護膜を形成して保護する場合に較べて、前記IC回路が応力等の影響を受けやすい場合に好適である。
上記半導体装置における前記キャップ基板は、例えば請求項17に記載のように、単結晶シリコン基板からなることが好ましい。これによれば、ベース基板だけでなく、当該キャップ基板にも各種の半導体素子を形成することができる。
キャップ基板として単結晶シリコン基板を用いる場合、前記絶縁分離トレンチにより分離された複数個のキャップ導電領域の全てを単結晶シリコンからなる領域としてもよい。しかしながら、後述する製造方法によって例えば請求項18に記載のように、前記複数個のキャップ導電領域のうち、一方のキャップ導電領域が、単結晶シリコンからなる単結晶導電領域であり、もう一方のキャップ導電領域が、多結晶シリコンからなる多結晶導電領域であり、前記引き出し導電領域が、前記多結晶導電領域からなるように、上記キャップ基板を構成してもよい。これによれば、単結晶シリコン基板(単結晶導電領域)の不純物濃度によらず、例えば高不純物濃度の多結晶シリコンからなる多結晶導電領域を形成することで、当該多結晶導電領域を引き出し導電領域として好適に機能させることができる。
上記半導体装置における前記キャップ基板は、例えば請求項19に記載のように、埋め込み酸化膜を有するSOI基板からなり、前記キャップ導電領域が、前記埋め込み酸化膜に達する絶縁分離トレンチにより、周囲から絶縁分離されてなるように構成してもよい。
この場合にも、例えば請求項20に記載のように、前記複数個のキャップ導電領域のうち、一方のキャップ導電領域が、埋め込み酸化膜上のSOI層からなる単結晶導電領域であり、もう一方のキャップ導電領域が、多結晶シリコンからなる多結晶導電領域であり、前記引き出し導電領域が、前記多結晶導電領域からなるように、上記キャップ基板を構成することができる。
キャップ基板としてSOI基板を用いる場合には、単結晶シリコン基板を用いる場合に較べて、例えば当該キャップ基板に形成する各種の半導体素子の高速化や高密度化を図ることができる。
以上のようにして、キャップ基板として単結晶シリコン基板またはSOI基板を用いる場合には、ベース基板だけでなく、請求項21に記載のように、キャップ基板における前記複数個のキャップ導電領域のうち、所定のキャップ導電領域に、IC回路を形成することが可能である。
また、上記半導体装置においては、請求項22に記載のように、キャップ基板における前記複数個のキャップ導電領域のうち、前記引き出し導電領域を取り囲むキャップ導電領域が、所定電位に設定されてなるように、上記半導体装置を構成することができる。前記所定電位は、例えば請求項23に記載のように、接地電位(GND)とすることができる。これによれば、前記引き出し導電領域を取り囲む接地電位(GND)に設定されたキャップ導電領域を、シールドとして機能させることができる。
上記半導体装置において、前記ベース基板と前記キャップ基板が、シリコン(Si)からなる場合には、例えば請求項24に記載のように、前記ベース基板と前記キャップ基板が、シリコン(Si)直接接合により貼り合わされてなる構成とすることができる。
上記Si直接接合によって、ベース基板とキャップ基板が導電性を確保した状態で強固に貼り合わされると共に、前記ベース基板の所定領域とキャップ基板の凹部とで構成される空間を完全密封することができる。尚、上記Si直接接合は、高温で行われたものであってもよいし、常温で行われたものであってもよい。
また、前記ベース基板と前記キャップ基板が、シリコン(Si)からなる場合には、請求項25に記載のように、前記ベース基板と前記キャップ基板が、金(Au)−シリコン(Si)共晶接合により貼り合わされてなる構成としてもよい。これによって、ベース基板とキャップ基板が導電性を確保した状態で強固に貼り合わされると共に、前記ベース基板の所定領域とキャップ基板の凹部とで構成される空間を完全密封することができる。
尚、上記半導体装置においては、請求項26に記載のように、導電性接着剤により貼り合わされてなる構成であってもよい。
請求項27〜請求項35に記載の発明は、上記半導体装置の製造方法に関する発明である。
請求項27に記載の発明は、半導体からなるベース基板であって、絶縁分離された複数個のベース半導体領域が表層部に形成されてなるベース基板と、前記ベース基板に貼り合わされる導電性を有したキャップ基板であって、当該キャップ基板を貫通する絶縁分離トレンチにより、複数個のキャップ導電領域が形成されてなるキャップ基板とを有してなり、前記キャップ基板が、前記ベース基板の表層部における所定領域に対向して貼り合わされて、前記所定領域とキャップ基板とで構成される空間が、密封されると共に、所定の前記キャップ導電領域が、所定の前記ベース半導体領域に電気的に接続されてなる、引き出し導電領域として機能する半導体装置の製造方法であって、前記絶縁分離された複数個のベース半導体領域が表層部に形成されてなるベース基板を準備するベース基板準備工程と、前記ベース基板に貼り合わされる導電性を有したキャップ基板であって、当該キャップ基板を貫通する絶縁分離トレンチにより、複数個のキャップ導電領域が形成されてなるキャップ基板を準備するキャップ基板準備工程と、前記キャップ基板を、前記ベース基板の所定領域に対向するようにして、前記ベース基板に貼り合わせ、前記空間を密封すると共に、前記引き出し導電領域を前記所定のベース半導体領域に電気的に接続する基板貼り合わせ工程とを有してなることを特徴としている。
これによって、上記請求項1に記載の半導体装置を製造することができる。
上記製造方法においては、例えば請求項28に記載のように、前記キャップ基板準備工程が、前記キャップ基板となる1次基板の一方の面側に、前記ベース基板の表層部における所定領域に対向して凹部を形成する凹部形成工程と、前記1次基板の一方の面側に、前記絶縁分離トレンチとなる所定深さの1次絶縁トレンチを形成する1次絶縁トレンチ形成工程と、前記1次基板のもう一方の面側から研削して、前記1次絶縁トレンチの端部を露出し、前記1次絶縁トレンチを前記絶縁分離トレンチとすると共に、前記1次基板を前記キャップ基板とするキャップ基板形成工程とを有してなる構成とし、前記基板貼り合わせ工程において、前記キャップ基板の凹部を、前記ベース基板の所定領域に対向するようにして、前記キャップ基板を、凹部の周りで前記ベース基板に貼り合わせるようにすることができる。
これによって、上記請求項2に記載の半導体装置を製造することができる。
また、請求項29に記載のように、前記キャップ基板準備工程が、前記キャップ基板となる1次基板の一方の面側に、前記絶縁分離トレンチとなる所定深さの1次絶縁トレンチを形成する1次絶縁トレンチ形成工程と、前記1次基板のもう一方の面側から研削して、前記1次絶縁トレンチの端部を露出し、前記1次絶縁トレンチを前記絶縁分離トレンチとすると共に、前記1次基板を前記キャップ基板とするキャップ基板形成工程と、前記キャップ基板形成工程後、前記キャップ基板のもう一方の面側に、前記ベース基板の表層部における所定領域に対向して凹部を形成する凹部形成工程とを有してなる構成とし、前記基板貼り合わせ工程において、前記キャップ基板の凹部を、前記ベース基板の所定領域に対向するようにして、前記キャップ基板を、凹部の周りで前記ベース基板に貼り合わせるようにしてもよい。
これによっても、上記請求項2に記載の半導体装置を製造することができる。
上記製造方法において、請求項30に記載のように、前記キャップ基板が、単結晶シリコン基板からなる場合には、前記キャップ基板準備工程が、前記キャップ基板となる1次基板の一方の面側に、トレンチを形成し、前記トレンチに側壁酸化膜を形成した後、前記トレンチ内を多結晶シリコンで埋め戻し、前記側壁酸化膜が前記絶縁分離トレンチとなる所定深さの1次絶縁トレンチを形成する1次絶縁トレンチ形成工程と、前記1次基板のもう一方の面側から研削して、前記トレンチ内に埋め込まれた多結晶シリコンの端部を露出し、前記1次絶縁トレンチを前記絶縁分離トレンチとすると共に、前記1次基板を前記キャップ基板とするキャップ基板形成工程と、前記キャップ基板形成工程後、前記キャップ基板のもう一方の面側に、前記ベース基板の表層部における所定領域に対向して凹部を形成する凹部形成工程とを有してなる構成とし、前記基板貼り合わせ工程において、前記キャップ基板の凹部を、前記ベース基板の所定領域に対向するようにして、前記キャップ基板を、凹部の周りで前記ベース基板に貼り合わせるようにしてもよい。
これによれば、上記請求項18に記載の半導体装置を製造することができる。
上記製造方法において、請求項31に記載のように、前記キャップ基板が、埋め込み酸化膜を有するSOI基板からなる場合には、前記キャップ基板準備工程が、前記キャップ基板となる1次基板のSOI層のある一方の面側に、前記埋め込み酸化膜を貫通するトレンチを形成し、前記トレンチに側壁酸化膜を形成した後、前記トレンチ内を多結晶シリコンで埋め戻し、前記側壁酸化膜が前記絶縁分離トレンチとなる所定深さの1次絶縁トレンチを形成する1次絶縁トレンチ形成工程と、前記1次基板のもう一方の面側からエッチングして、前記埋め込み酸化膜および前記側壁酸化膜を露出することにより、前記ベース基板の表層部における所定領域に対向して凹部を形成する凹部形成工程と、前記1次基板のもう一方の面側から研削して、前記トレンチ内に埋め込まれた多結晶シリコンの端部を露出し、前記1次絶縁トレンチを前記絶縁分離トレンチとすると共に、前記1次基板を前記キャップ基板とするキャップ基板形成工程とを有してなる構成とし、前記基板貼り合わせ工程において、前記キャップ基板の凹部を、前記ベース基板の所定領域に対向するようにして、前記キャップ基板を、凹部の周りで前記ベース基板に貼り合わせるようにしてもよい。
これによって、上記請求項20に記載の半導体装置を製造することができる。
上記製造方法においては、例えば請求項32に記載のように、前記ベース基板準備工程が、前記ベース基板となる1次基板の前記表層部における所定領域に導電性を有する凸部を形成する凸部形成工程と、前記1次基板の前記表層部における所定領域に、絶縁分離された複数個のベース半導体領域を形成して、前記1次基板を前記ベース基板とするベース基板形成工程とを有してなる構成とし、前記基板貼り合わせ工程において、前記キャップ基板を、前記凸部に貼り合わせるようにしてもよい。
これによって、上記請求項4に記載の半導体装置を製造することができる。
また、上記製造方法においては、例えば請求項33に記載のように、前記キャップ基板準備工程が、前記キャップ基板となる1次基板の一方の面側に、前記絶縁分離トレンチとなる所定深さの1次絶縁トレンチを形成する1次絶縁トレンチ形成工程と、前記1次基板のもう一方の面側から研削して、前記1次絶縁トレンチの端部を露出し、前記1次絶縁トレンチを前記絶縁分離トレンチとする絶縁分離トレンチ形成工程と、前記1次基板において、前記ベース基板の所定領域に対向するように導電性を有する凸部を形成し、前記1次基板を前記キャップ基板とするキャップ基板形成工程とを有してなる構成とし、前記基板貼り合わせ工程において、前記キャップ基板の凸部を、前記ベース基板に貼り合わせるようにしてもよい。
これによって、上記請求項6に記載の半導体装置を製造することができる。
この場合、例えば請求項34に記載のように、前記凸部を、絶縁膜を介して前記キャップ導電領域に接続する配線パターンで形成することが可能である。
上記半導体装置の製造方法において、前記ベース基板と前記キャップ基板が、シリコン(Si)からなる場合には、請求項35に記載のように、前記基板貼り合わせ工程において、前記ベース基板と前記キャップ基板を、常温で、シリコン(Si)直接接合により貼り合わせることが好ましい。
これによれば、高温のSi直接接合でベース基板とキャップ基板を貼り合わせる場合に較べて、製造プロセスに関する温度制約が少ないため、例えばベース基板とキャップ基板を貼り合わせる前に、ベース基板とキャップ基板に種々の素子を形成しておくことが可能である。
尚、以上の製造方法により製造される半導体装置の効果については、前述したとおりであり、その説明は省略する。
本発明の半導体装置の一例で、半導体装置100の模式的な断面を示す図である。 (a)〜(c)は、ベース基板準備工程を説明する図で、図1の半導体装置100におけるキャップ基板C1と貼り合わせる前のベース基板B1を準備する工程である。 (a)〜(d)は、キャップ基板の準備工程の一例を説明する図で、図1におけるベース基板B1と貼り合わせる前のキャップ基板C1を準備する工程である。 (a)〜(d)は、キャップ基板の準備工程の一例を説明する図で、図1におけるベース基板B1と貼り合わせる前のキャップ基板C1を準備する工程である。 (a)〜(d)は、キャップ基板C1に関する別の準備工程の例を示す図である。 (a),(b)は、基板貼り合わせ工程を説明する図で、先の工程において準備したベース基板B1とキャップ基板C1を互いに貼り合わせる工程を示す図である。 別構成の半導体装置の一例で、(a)は半導体装置110の模式的な断面図であり、(b)は半導体装置110の模式的な上面図である。 半導体装置110のベース基板B10を示す図で、(a)はベース基板B10の断面図であり、(b)はベース基板B10の上面図である。 半導体装置110のキャップ基板C10を示す図で、(a)はキャップ基板C10の断面図であり、(b)はキャップ基板C10の上面図である。 半導体装置110の製造方法の一例を示す工程別の断面図で、(a)〜(d)は、半導体装置110におけるキャップ基板C10と貼り合わせる前のベース基板B10を準備する工程である。 半導体装置110の製造方法の一例を示す工程別の断面図で、(a)〜(c)は、半導体装置110におけるベース基板B10と貼り合わせる前のキャップ基板C10を準備する工程である。 半導体装置110の製造方法の一例を示す工程別の断面図で、(a),(b)に示す基板貼り合わせ工程において、先の工程において準備したベース基板B10とキャップ基板C10を互いに貼り合わせる。 別の半導体装置の例で、半導体装置111の模式的な断面図である。 半導体装置111の製造方法を説明するための図で、キャップ基板C10と貼り合わせる前のベース基板B11を準備する途中の工程を示した断面図である。 別の半導体装置の例で、半導体装置112の模式的な断面図である。 半導体装置112の製造方法を説明するための図で、(a)〜(d)は、ベース基板B1と貼り合わせる前のキャップ基板C11を準備する工程を示した工程別の断面図である。 半導体装置112の製造方法を説明するための図で、(a),(b)は、ベース基板B1とキャップ基板C11の貼り合わせ工程を示した図である。 (a),(b)は、それぞれ、半導体装置112の変形例で、半導体装置113,114の模式的な断面図である。 MEMS共振器を有してなる半導体装置101の模式的な断面を示す図である。 赤外線センサ素子を有してなる半導体装置の例で、(a)は、半導体装置102の模式的な断面を示す図であり、(b)は、(a)中の破線Fで囲った赤外線センサ素子の周りの拡大図であり、(c)は、(b)の要部の配置を示した模式的な上面図である。 別の半導体装置の例で、半導体装置103の模式的な断面を示す図である。 キャップ基板の変形の一例を説明する図で、キャップ基板C5の模式的な断面を示す図である。 キャップ基板の別の変形例を説明する図で、キャップ基板C6を用いた半導体装置104の模式的な断面を示す図である。 キャップ基板の別の変形例を説明する図で、キャップ基板C7を用いた半導体装置105の模式的な断面を示す図である。 キャップ基板の別の変形例を説明する図で、(a)は、キャップ基板C8を用いた半導体装置106の模式的な断面を示す図であり、(b)は、キャップ基板準備工程におけるキャップ基板C8の形成途中状態にある1次基板C8aを示す図である。 従来の半導体装置(慣性力センサ)を示す図で、(a)は、慣性力センサの平面図であり、(b)は、(a)に示すA−Aでの断面図である。
以下、本発明を実施するための形態を、図に基づいて説明する。
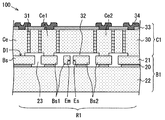
図1は、本発明の半導体装置の一例で、半導体装置100の模式的な断面を示す図である。
図1に示す半導体装置100は、半導体からなるベース基板B1と、ベース基板B1に貼り合わされる導電性を有したキャップ基板C1とを有している。
図1の半導体装置100におけるベース基板B1は、埋め込み酸化膜20を有するSOI(Silicon On Insulator)基板で、埋め込み酸化膜20を挟んで、SOI層21と支持基板22とで構成されている。ベース基板B1には、絶縁分離された複数個のベース半導体領域Bsが表層部に形成されている。図1の半導体装置100におけるベース半導体領域Bsは、埋め込み酸化膜20に達するトレンチ23により周囲から絶縁分離された、SOI層21からなる領域である。
図1に示す半導体装置100は、図26に示した半導体装置(慣性力センサ)と同様の慣性力を利用した力学量センサ素子を有してなる半導体装置で、ベース基板B1の表層部に形成されている複数個のベース半導体領域Bsで、加速度や角速度を測定するための力学量センサ素子が構成されている。すなわち、ベース基板B1における複数個のベース半導体領域Bsのうち、図中に示したベース半導体領域Bs1が、埋め込み酸化膜20の一部を犠牲層エッチングすることにより、変位可能に形成された可動電極Emを有する可動半導体領域となっている。また、図中に示したもう一個のベース半導体領域Bs2が、可動電極Emと対向する固定電極Esを有する固定半導体領域となっている。尚、半導体装置100の力学量センサ素子に関する平面構造は、図26と同様であり図示を省略したが、図1の断面図に示す2個の可動半導体領域Bs1と2個の固定半導体領域Bs2は、それぞれ、平面構造において連結した一体の領域である。半導体装置100においては、可動半導体領域Bs1の可動電極Emと固定半導体領域Bs2の固定電極Esの対向面で静電容量が形成され、可動電極Emが、印加される力学量に応じて前記対向面に対して垂直方向に変位し、可動電極Emと固定電極Esの間の距離変化に伴う静電容量の変化を測定して、印加される力学量を検出するようにしている。
図1の半導体装置100におけるキャップ基板C1は、単結晶シリコン基板30からなり、複数個のキャップ導電領域Ceが形成されている。図1の半導体装置100におけるキャップ導電領域Ceは、当該キャップ基板C1(単結晶シリコン基板30)を貫通する絶縁分離トレンチ31により分割されてなる領域である。また、キャップ基板C1には、ベース基板B1の表層部における所定領域R1に対向して、凹部32が形成されている。尚、キャップ基板C1において、符号33の部分は酸化シリコン(SiO)膜等からなる表面保護層であり、符号34の部分はアルミニウム(Al)等からなる電極パッドである。
図1に示すように、キャップ基板C1は、ベース基板B1の可動電極Emを覆うようにして凹部32が配置され、凹部32の周りでベース基板B1に貼り合わされて、接合面D1が形成されている。ベース基板B1とキャップ基板C1の接合面D1は、ベース基板B1の所定領域R1において環状となるように設定されており、上記ベース基板B1とキャップ基板C1の貼り合わせによって、ベース基板B1における所定領域R1の表面とキャップ基板C1における凹部32の表面とで構成される空間23,32が、高真空状態で密封されている。また、上記貼り合わせによって、図中に例示した所定のキャップ導電領域Ce1,Ce2が、それぞれ、所定のベース半導体領域Bs1,Bs2に電気的に接続されてなる、引き出し導電領域として機能する。すなわち、ベース基板B1における可動半導体領域Bs1と固定半導体領域Bs2に、それぞれ、引き出し導電領域Ce1,Ce2が接続されている。
図1に示す半導体装置100においては、ベース基板B1に貼り合わされる導電性を有したキャップ基板C1が、ベース基板B1の表層部の所定領域R1に形成される力学量センサ素子を保護するための密封キャップとして機能する。
キャップ基板C1には、絶縁分離された複数個のキャップ導電領域Ceが形成されており、所定のキャップ導電領域Ce1,Ce2が、ベース基板B1に形成された所定の絶縁分離されてなるベース半導体領域Bs1,Bs2に電気的に接続されて、引き出し導電領域として機能する。このため、図1の半導体装置100では、図26(b)に示した従来の半導体装置と異なり、ベース基板B1に貼り合わされたキャップ基板C1の貼り合わせ面と反対側の外部に露出する引き出し導電領域Ce1,Ce2(にある電極パッド34)へワイヤボンディング等の電気的な接続を行うことができる。これによって、図1の半導体装置100では、引き出し導電領域Ce1,Ce2を介してベース基板B1の表層部の所定領域R1に形成されている力学量センサ素子への電気的なに接続を行うことができる。従って、図1の半導体装置100においては、図26(b)に示した従来の半導体装置のようにワイヤボンディングのための大きな貫通穴をキャップ基板に形成する必要がない。このため、チップサイズを小さくでき、小型で安価な半導体装置とすることができる。また、上記キャップ基板C1の外部に露出する引き出し導電領域Ce1,Ce2(にある電極パッド34)への電気的な接続は、フェースダウンボンディング(ボールボンディング)であってもよく、実装面での制約も少ない。
さらに、半導体装置100におけるキャップ基板C1は、ベース基板B1上に堆積層として形成されたものではなく、後述するように、一枚の基板を加工して形成されたものである。従って、例えばキャップ基板の厚さを任意に設定できるため、高い強度を確保することができる。また、後述する種々の構造を当該キャップ基板C1に一般的な基板加工方法を用いて容易に形成することができるため、例えば密封キャップをベース基板B1上に堆積層として形成する場合に較べて製造コストを低減することができ、安価な半導体装置とすることができる。
以上のようにして、半導体装置100は、半導体からなるベース基板B1の表層部に形成された力学量センサ素子を保護するために、ベース基板B1の力学量センサ素子上に密封キャップ(基板)C1が配置されてなる半導体装置であって、小型で安価に製造することができ、フェースダウンボンディングも可能で実装面での制約が少ない半導体装置とすることができる。
次に、図1に示す半導体装置100の製造方法について説明する。図2〜図6は、半導体装置100の製造方法の一例を示す工程別の断面図である。
図2(a)〜(c)は、ベース基板準備工程を説明する図で、図1の半導体装置100におけるキャップ基板C1と貼り合わせる前のベース基板B1を準備する工程である。
最初に、図2(a)に示すように、埋め込み酸化膜20を挟んで、SOI層21と支持基板22とで構成されるSOI基板B1aを準備する。SOI基板B1aは、例えば基板貼り合わせ技術により形成し、埋め込み酸化膜20を酸化シリコン(SiO)膜とし、支持基板22を比抵抗0.001〜1Ωcmの単結晶シリコン基板とする。また、各種の素子形成に用いるSOI層21は、厚さが1〜50μmの砒素(As)やリン(P)等を含んだ比抵抗0.001〜1Ωcmの高濃度単結晶シリコン層で、力学量センサ素子を形成する図1の半導体装置100では、SOI層21の厚さを10〜20μmとした。図1のベース半導体領域Bsの一部をそれぞれ可動電極Emや固定電極Esが形成されてなる可動半導体領域Bs1や固定半導体領域Bs2として利用する上では、特に、SOI層21は、不純物濃度ができるだけ高い、すなわち比抵抗の小さいものが好ましい。
次に、図2(b)に示すように、フォトリソグラフィと深堀エッチングにより、ほぼ垂直の壁を持ち埋め込み酸化膜20に達するトレンチ23を形成する。これにより、SOI層21が分割されて、周囲から絶縁分離された複数個のベース半導体領域Bsが、SOI基板B1aの表層部に形成される。
次に、図2(c)に示すように、トレンチ23を介してフッ化水素(HF)ガスによるエッチングにより、SiO膜からなる埋め込み酸化膜20の一部を除去し、可動電極Emを有する可動半導体領域Bs1や固定電極Esを有する固定半導体領域Bs2等を形成する。尚、この際に、可動半導体領域Bs1における可動電極Emが形される部分の下方の埋め込み酸化膜20は、図2(c)に示すように、完全に除去するようにする。
以上の図2に示した工程により、次に示すキャップ基板C1と貼り合わす前のベース基板B1が準備できる。
図3(a)〜(d)と図4(a)〜(d)は、キャップ基板の準備工程の一例を説明する図で、図1におけるベース基板B1と貼り合わせる前のキャップ基板C1を準備する工程である。
最初に、図3(a),(b)に示す凹部形成工程において、キャップ基板C1となる1次基板C1aの一方の面(ベース基板B1との貼り合わせ面)S1側に、図1に示す凹部32を形成する。
図3(a)に示すように、例えば、結晶方位(100)で、砒素(As)やリン(P)を高濃度に含んだ比抵抗0.001〜1Ωcmの単結晶シリコン基板30からなる1次基板C1aを準備する。図1のキャップ導電領域Ceの一部を引き出し導電領域Ce1,Ce2として利用する上では、特に、単結晶シリコン基板30は、不純物濃度ができるだけ高い、すなわち比抵抗の小さいものが好ましい。次に、熱酸化により、酸化シリコン(SiO)膜35を、0.1〜1μmの厚さで形成する。次に、フォトリソグラフィとエッチングにより、部分的にSiO膜35を除去し、所定のパターンに加工する。次に、図3(b)に示すように、所定パターンのSiO膜35をマスクとして、1次基板C1aをドライエッチングし、深さが0.1〜10μmの凹部32を形成する。
次に、図3(c),(d)と図4(a)に示す1次絶縁トレンチ形成工程において、凹部32を形成した1次基板C1aの一方の面S1側に、図1の絶縁分離トレンチ31となる所定深さの1次絶縁トレンチ31aを形成する。
図3(c)に示すように、SiO膜35を除去した後、所定パターンのマスクを1次基板C1aの一方の面S1側に再び形成し、図2(b)に示したSOI基板B1aにおけるトレンチ23の形成と同様にして、フォトリソグラフィと深堀エッチングにより、ほぼ垂直の壁を持つトレンチ36を所定の深さに形成する。次に、図3(d)に示すように、熱酸化により酸化シリコン(SiO)膜37を形成し、トレンチ36内をSiO膜37で埋め込んで、1次絶縁トレンチ31aを形成する。尚、熱酸化の代わりに、CVD(Chemical Vapor Deposition)法等によりトレンチ36内をSiO膜37で埋め込んで、
1次絶縁トレンチ31aを形成するようにしてもよい。
次に、図4(a)に示すように、ドライエッチング法によるエッチバックで、1次絶縁トレンチ31aのSiO膜のみを残すようにして、図3(d)の1次基板C1a上にあるSiO膜37を除去する。
次に、図4(b)に示すキャップ基板形成工程において、1次基板C1aのもう一方の面S2側から研削して、1次絶縁トレンチ31aの端部を露出するまで、1次基板C1aの厚さを薄する。これによって、1次基板C1aを、図1にある所定厚さのキャップ基板C1とすると共に、1次絶縁トレンチ31aを、図1にあるキャップ基板C1を貫通した絶縁分離トレンチ31とする。また、これによって、引き出し導電領域Ce1,Ce2としてベース基板B1との電気的接続に一部利用する、絶縁分離トレンチ31によって絶縁分離された複数個のキャップ導電領域Ceが、キャップ基板C1に同時に形成される。尚、上記1次基板C1aの薄厚化は、研削に限らず、研磨やエッチング等、あるいはこれら組み合わせであってもよい。
次に、図4(c)に示すように、キャップ基板C1のもう一方の面S2側に、図1の表面保護層33となるSiO膜を、CVD法により形成する。尚、SiO膜33は、CVD法によらず、熱酸化等により形成してもよい。尚、熱酸化によりSiO膜33を形成する場合は、キャップ基板C1の一方の面S1側に形成されるSiO膜をエッチバックにより除去する。
次に、図4(d)の上下反転図に示すように、キャップ基板C1のもう一方の面S2側に形成したSiO膜33に、単結晶シリコン基板30と電気的接続をとるためのコンタクト穴を形成し、アルミニウム(Al)膜をスパッタ法等により堆積した後にパターニングして、電極パッド34や配線層(図示せず)を形成する。
以上の図3と図4に示した工程により、ベース基板B1と貼り合わす前の上記一方の面S1側を接合面とするキャップ基板C1が準備できる。
図5(a)〜(d)に、キャップ基板C1に関する別の準備工程の例を示す。
最初に、図5(a)に示す1次絶縁トレンチ形成工程において、キャップ基板C1となる単結晶シリコン基板30からなる1次基板C1aを準備し、1次基板C1aの一方の面S3側に、図1の絶縁分離トレンチ31となる所定深さの1次絶縁トレンチ31aを図3(c),(d)と図4(a)において説明した方法で形成する。
次に、図5(b)に示すように、上記と同じ1次基板C1aの一方の面S3側に、図1の表面保護層33となるSiO膜33と電極パッド34や配線層(図示せず)を、図4(c),(d)において説明した方法で形成する。
次に、図5(c)に示すキャップ基板形成工程において、1次基板C1aのもう一方の面S4側から研削して、1次絶縁トレンチ31aの端部を露出し、1次絶縁トレンチ31aを絶縁分離トレンチ31とすると共に、1次基板C1aをキャップ基板C1とする。これによって、絶縁分離トレンチ31によって絶縁分離された複数個のキャップ導電領域Ceがキャップ基板C1に同時に形成される。
最後に、図5(d)に示す凹部形成工程において、キャップ基板C1のもう一方の面S4側に、凹部32を形成する。
以上の図5に示した工程により、ベース基板B1と貼り合わす前の上記もう一方の面S4側を接合面とするキャップ基板C1が準備できる。
次に、図6(a),(b)に示す基板貼り合わせ工程において、先の工程において準備したベース基板B1とキャップ基板C1を互いに貼り合わせる。
図6(a)に示すように、キャップ基板の凹部32を、ベース基板B1の力学量センサ素子が形成された所定領域R1に対向するようにして位置決めし、これらを積層する。次に、図6(b)に示すように、キャップ基板C1を、凹部32の周りでベース基板B1に貼り合わせる。この貼り合わせには、ベース基板B1とキャップ基板C1がシリコン(Si)からなるため、シリコン(Si)同士の直接接合を用いることができる。このSi直接接合によって、ベース基板B1とキャップ基板C1が接合面D1で導電性を確保した状態で強固に貼り合わされると共に、ベース基板B1における所定領域R1の表面とキャップ基板C1における凹部32の表面とで構成される空間23,32を完全密封することができる。
上記Si直接接合は、800〜1200℃の高温で行ってもよいし常温(室温〜500℃)で行ってもよいが、特に常温で行うことが好ましい。特に、図1に示す半導体装置100のように、微少な量の信号出力を扱う力学量センサ素子が形成されている場合には、対向する電極Em,Es間の変位の基づく容量変化を加速度や角速度の出力としている。従って、高精度の力学量センサ素子を製造するためには、キャップ基板C1の接合によってベース基板B1に発生する熱応力をできるだけ小さくする必要があり、このためには室温近くでの接合が好ましい。また、常温のSi直接接合でベース基板B1とキャップ基板C1を貼り合わせる場合は、高温で貼り合わせる場合に較べて、製造プロセスに関する温度制約が少ない。このため、例えば、ベース基板B1とキャップ基板C1を貼り合わせる前に、ベース基板B1とキャップ基板C1に種々の素子を形成しておくことが可能である。
常温でのSi直接接合による図6(a),(b)に示したベース基板B1とキャップ基板C1の貼り合わせは、具体的には、以下のように実施する。上記工程により準備したベース基板B1とキャップ基板C1を真空チャンバ内に入れ、接合面となるキャップ基板C1の凹部32が形成された面S1,S4側の表面とベース基板B1の力学量センサ素子が形成されている側の表面を、アルゴン等の不活性ガスによるスパッタエッチングやイオンビームエッチングで、軽くエッチングする。これによって、上記表面に形成されている自然酸化膜や吸着している水および有機物分子(汚染物)等を除去する。この結果、各々のシリコン表面には、結合手を持ったSi原子が露出し、他のSi原子との結合力が大きい活性な状態となる。ベース基板B1とキャップ基板C1の上記シリコン表面を図6(a)に示したように位置決めし、真空状態を保ったままでこれら表面を常温で接触させることで、これら表面のシリコン(Si)同士が結合して一体となり、強固な接合を形成することができる。
また、ベース基板とキャップ基板がシリコン(Si)からなる場合には、シリコン(Si)直接接合に限らず、金(Au)−シリコン(Si)共晶接合により貼り合わせるようにしてもよい。これによっても、ベース基板B1とキャップ基板C1が、導電性を確保した状態で接合面D1において強固に貼り合わされると共に、ベース基板B1の所定領域R1とキャップ基板の凹部32とで構成される空間23,32を完全密封することができる。尚、ベース基板B1とキャップ基板C1を、銀(Ag)ペースト等の導電性接着剤により貼り合わせるようにしてもよい。導電性接着剤は、ベース基板とキャップ基板がシリコン(Si)以外の材料からなる場合にも適用することができる。
上記ベース基板B1とキャップ基板C1の強固な貼り合わせによって、ベース基板B1における所定領域R1の表面とキャップ基板C1における凹部32の表面とで構成される空間23,32が密封されると共に、引き出し導電領域Ce1,Ce2が所定のベース半導体領域Bs1,Bs2に電気的に接続する。これによって、キャップ基板C1の表面に形成された電極パッド34から、ベース基板B1に形成された力学量センサ素子の出力を外部に取り出せるようになる。
以上の図2〜図6に示した工程により、図1に示した半導体装置100が製造を製造することができる。尚、上記図2〜図6による説明は、図1の半導体装置100の製造方法を説明するために力学量センサ素子が形成されたベース基板B1の所定領域R1の周りの製造方法を説明したものであるが、ベース基板B1には他の領域に別の素子や回路が形成されていてもよく、また実際の半導体装置100の製造においては、ベース基板B1となる一枚のウエハに半導体装置100が形成されたチップを数百個搭載した状態で製造するものである。
次に、本発明における別構成の半導体装置の例をいくつか説明する。
図7は別構成の半導体装置の一例で、図7(a)は半導体装置110の模式的な断面図であり、図7(b)は半導体装置110の模式的な上面図である。図7(a)の断面図は、図7(b)の一点鎖線B−Bでの断面について、分かり易くするために切断線に沿って任意に伸縮して簡略化して示した図となっている。尚、図7の半導体装置110において、図1の半導体装置100と同様の部分については同じ符号を付した。また、図7(b)においては、半導体装置110の可動電極Emと固定電極Esを簡略化して示しているが、実際には図26に示すように、それぞれ櫛歯状になっている。
図8は、図7の半導体装置110のベース基板B10を示す図で、図8(a)はベース基板B10の断面図であり、図8(b)はベース基板B10の上面図である。また、図9は、図7の半導体装置110のキャップ基板C10を示す図で、図9(a)はキャップ基板C10の断面図であり、図8(b)はキャップ基板C10の上面図である。尚、図7〜図9では、(a)の断面図と(b)の上面図は、各図で対応したものとなっている。また、一点鎖線B−Bで示した切断線も、各図で対応したものとなっている。
図1の半導体装置100では、ベース基板B1の表層部における所定領域R1に対向して、キャップ基板C1に凹部32が形成されていた。そして、このキャップ基板C1が、該凹部32の周りでベース基板B1に貼り合わされて、接合面D1が形成されていた。
一方、図7に示す半導体装置110は、ベース基板B10の所定領域R1のベース半導体領域Bs上に、多結晶シリコンや金属等の導電膜50からなる凸部T1が形成されている。そして、キャップ基板C10が、ベース基板B10の該凸部T1に貼り合わされて、接合面D1が形成されている。
図1の半導体装置100と同様に、図7の半導体装置110においても、ベース基板B10に貼り合わされる導電性を有したキャップ基板C10が、ベース基板B10の表層部の所定領域R1に形成される力学量センサ素子を保護するための密封キャップとして機能する。また、キャップ基板C10に形成されたキャップ導電領域Ce1,Ce2が、ベース基板B10に形成されたベース半導体領域Bs1,Bs2に電気的に接続されて、引き出し導電領域として機能し、ここにある電極パッド34へワイヤボンディング等の電気的な接続を行うことができる。また、フェースダウンボンディング(ボールボンディング)であってもよく、実装面での制約も少ない。さらに、キャップ基板C10は、任意の厚さに設定でき高い強度を確保することができると共に、安価に製造することができる。一方、図7の半導体装置110におけるキャップ基板C10は、図1の半導体装置100におけるキャップ基板C1と異なり、ベース基板B10への貼り合わせ面を平坦にすることができる。このため、キャップ基板C10の製造が、キャップ基板C1に較べて、以下に示すようにさらに容易となる。
以上のようにして、図7の半導体装置110についても、図1の半導体装置100と同様に、半導体からなるベース基板B10の表層部に形成された力学量センサ素子を保護するために、ベース基板B10の力学量センサ素子上に密封キャップ(基板)C10が配置されてなる半導体装置であって、小型で安価に製造することができ、フェースダウンボンディングも可能で実装面での制約が少ない半導体装置とすることができる。
図10〜図12は、半導体装置110の製造方法の一例を示す工程別の断面図である。
図10(a)〜(d)は、ベース基板準備工程を説明する図で、図7の半導体装置110におけるキャップ基板C10と貼り合わせる前のベース基板B10を準備する工程である。
最初に、図10(a)に示すように、図2(a)と同様のSOI基板B1aを準備し、SOI基板B1a上に、多結晶シリコンや金属等からなる導電膜50を堆積する。例えば、N+導電型の単結晶シリコン層からなるSOI層21上に、N+導電型の多結晶シリコン層からなる導電膜50を1〜10μmの厚さでCVD法により形成する。この実施例では、2μmの厚さに形成した。次に、図10(b)に示すように、一般的なフォトリソグラフィを利用して導電膜50をパターニングし、SOI層21上の所定の位置に、部分的に凸部T1を形成する。また、N+導電型の多結晶シリコン層の代わりに、アルミニウム層を2μm程度形成し、同様にフォトリソグラフィによりパターニングして、アルミニウムによなる凸部T1を形成してもよい。次に、図2(b)と同様にして、図10(c)に示すように、埋め込み酸化膜20に達するトレンチ23を形成し、SOI層21を分割して、周囲から絶縁分離された複数個のベース半導体領域Bsを形成する。次に、図2(c)と同様にして、図10(d)に示すように、可動電極Emを有する可動半導体領域Bs1や固定電極Esを有する固定半導体領域Bs2等を形成する。
以上の図10に示した工程により、次に示すキャップ基板C10と貼り合わす前のベース基板B10が準備できる。
図11(a)〜(c)は、キャップ基板の準備工程の一例を説明する図で、図7の半導体装置110におけるベース基板B10と貼り合わせる前のキャップ基板C10を準備する工程である。
図11における(a)〜(c)の各工程は、図5の(a)〜(c)に示した各工程と同様であり、その詳細説明は省略する。図11(a)に示すように、トレンチを形成した後、トレンチ内部に絶縁体であるSiO2等を埋め込み、1次絶縁トレンチ31aを形成する。次に、図11(b)に示すように、SiO膜33とアルミニウムからなる電極パッド34や配線層(図示せず)を形成する。次に、図11(b)に示すように、CMP等により1次基板C1aのもう一方の面S4側から研削して、平坦化を行う。貼り合わせ面が平坦なキャップ基板C10の形成においては、図5(d)に示した凹部32の形成工程を省略することができ、図A(a)〜(c)の工程で、ベース基板B10と貼り合わす前のもう一方の面S4側を接合面とするキャップ基板C10が準備できる。
次に、図12(a),(b)に示す基板貼り合わせ工程において、先の工程において準備したベース基板B10とキャップ基板C10を互いに貼り合わせる。
図12(a)に示すように、キャップ基板C10とベース基板B10を積層し、次に、図12(b)に示すように、キャップ基板C10を、ベース基板B10の凸部T1に貼り合わせる。この貼り合わせには、例えば、高真空中での直接接合を用いることができる。このように、高真空中での直接接合は、シリコン同士(Si−Si)の接合に限らず、シリコン(Si)−金属の接合や、金属−金属の接合にも利用可能である。また、言うまでもなく、導電性接着剤を用いた貼り合わせであってもよい。この貼り合わせによって、ベース基板B10とキャップ基板C10が接合面D1で導電性を確保した状態で強固に貼り合わされると共に、ベース基板B10における所定領域R1の表面とキャップ基板C10とで構成される空間23を完全密封することができる。また、引き出し導電領域Ce1,Ce2が、所定のベース半導体領域Bs1,Bs2に電気的に接続する。これによって、キャップ基板C10の表面に形成された電極パッド34から、ベース基板B10に形成された力学量センサ素子の出力を外部に取り出せるようになる。
図13は、別の半導体装置の例で、半導体装置111の模式的な断面図である。尚、図13の半導体装置111において、図7の半導体装置110と同様の部分については、同じ符号を付した。
図7の半導体装置110では、ベース基板B10の所定領域R1のベース半導体領域Bs上に、多結晶シリコンや金属等の導電膜50からなる凸部T1が形成されていた。そして、キャップ基板C10が、ベース基板B10の該凸部T1に貼り合わされて、接合面D1が形成されていた。
一方、図13に示す半導体装置111は、ベース基板B11の単結晶シリコンからなるSOI層21が加工され、所定領域R1のベース半導体領域Bs上に凸部T2が形成されている。そして、半導体装置110のそれと同じ平坦な貼り合わせ面を持つキャップ基板C10が、ベース基板B11の該凸部T2に貼り合わされて、接合面D1が形成されている。
図13の半導体装置111についても、図7の半導体装置110と同様に、半導体からなるベース基板B11の表層部に形成された力学量センサ素子を保護するために、ベース基板B11の力学量センサ素子上に密封キャップ(基板)C10が配置されてなる半導体装置であって、小型で安価に製造することができ、フェースダウンボンディングも可能で実装面での制約が少ない半導体装置とすることができることは言うまでもない。
図14は、半導体装置111の製造方法を説明するための図で、キャップ基板C10と貼り合わせる前のベース基板B11を準備する途中の工程を示した断面図である。
ベース基板B11についても図2(a)と同様のSOI基板B1aを用いるが、最初に、図14に示すように、SOI層21の表層部をプラズマエッチングやKOH等のウエットエッチングでパターニング加工して、凸部T2を形成する。以降は、図10(c),(d)と同様にして、ベース基板B11を準備できる。また、図11(a)〜(c)に示す工程でキャップ基板C10を準備し、図12(a),(b)と同様にして、ベース基板B11とキャップ基板C10を貼り合わせ、半導体装置111を製造することができる。
図15も、別の半導体装置の例で、半導体装置112の模式的な断面図である。尚、図15の半導体装置112において、図1の半導体装置100と同様の部分については、同じ符号を付した。
図1の半導体装置100では、ベース基板B1の表層部における所定領域R1に対向して、キャップ基板C1に凹部32が形成されていた。そして、このキャップ基板C1が、該凹部32の周りでベース基板B1に貼り合わされて、接合面D1が形成されていた。
一方、図15に示す半導体装置112では、キャップ基板C11において、ベース基板B1の所定領域R1に対向して、導電性を有する凸部T3が形成されている。キャップ基板C11の該凸部T3は、電極パッド34と同様で、アルミニウム(Al)や多結晶シリコン等の導電膜61からなり、絶縁膜60を介してキャップ導電領域Ceに接続されている。言い換えれば、図Cの半導体装置112におけるキャップ基板C11は、単結晶シリコン基板30の両面に、絶縁膜33,60を介して、配線パターン34,61が形成された基板となっている。そして、半導体装置112では、キャップ基板C11が該凸部T3でベース基板B1に貼り合わされて、接合面D1が形成されている。この貼り合わせにも、例えば前述した真空中加熱による直接接合や導電性接着剤を用いることができる。
図15の半導体装置112についても、図1の半導体装置100と同様に、半導体からなるベース基板B1の表層部に形成された力学量センサ素子を保護するために、ベース基板B1の力学量センサ素子上に密封キャップ(基板)C11が配置されてなる半導体装置であって、小型で安価に製造することができ、フェースダウンボンディングも可能で実装面での制約が少ない半導体装置とすることができることは言うまでもない。
図16と図17は、半導体装置112の製造方法を説明するための図である。図16(a)〜(d)は、ベース基板B1と貼り合わせる前のキャップ基板C11を準備する工程を示した工程別の断面図であり、図17(a),(b)は、ベース基板B1とキャップ基板C11の貼り合わせ工程を示した図である。
図16(a)〜(c)の工程は、図11(a)〜(c)に示したキャップ基板C10の準備工程と同様であり、その説明は省略する。キャップ基板C11は、図16(d)に示すように、もう一方の面S4側に、絶縁膜60を介して配線パターン61を形成し、これを貼り合わせのための凸部T3とする。
次に、図2(a)〜(c)の工程により準備したベース基板B1と図17(a)〜(c)の工程により準備したキャップ基板C11を図17(a)に示すように積層し、図17(b)に示すようにキャップ基板C11の凸部T3でベース基板B1に貼り合わせて、接合面D1を形成する。
以上で、半導体装置112が製造される。
図18(a),(b)は、それぞれ、図15に示した半導体装置112の変形例で、半導体装置113,114の模式的な断面図である。
図18(a),(b)に示す半導体装置113,114では、いずれも、配線パターン62,63がキャップ基板C11〜C14の両面に形成され、該キャップ基板C11〜C14が、複数枚積層されて、ベース基板B1に貼り合わされている。尚、図18(a)の半導体装置113では、3枚の同じキャップ基板C11が積層されてベース基板B1に貼り合わされており、図18(b)の半導体装置114では、3枚の異なるキャップ基板C12〜C14が積層されてベース基板B1に貼り合わされている。
図18(b)の半導体装置114のように、異なるキャップ基板を積層することによって、半導体装置の表面に露出する引き出し導電領域のパッド位置を、任意の位置に設定することが可能である。また、図18(a),(b)に示す半導体装置113,114の積層されたキャップ基板C11〜C14において、引き出し導電領域Ce1,Ce2として利用されていないキャップ導電領域Ceについては、後述するように、例えばIC回路を形成することができる。従って、半導体装置113,114では、積層された別のキャップ基板のキャップ導電領域を、上記IC回路が形成されたキャップ導電領域からの引き出し導電領域として利用することも可能である。以上のようにして、ベース基板B1と複数枚のキャップ基板C11〜C14が貼り合わされた半導体装置113,114については、立体的な回路を構成することが可能である。
次に、力学量センサ素子以外の別の素子を有してなる半導体装置の例を示す。
図19は、MEMS(Micro Electro Mechanical System)共振器を有してなる半導体装置101の模式的な断面を示す図である。尚、図19に示す半導体装置101は、図1に示した半導体装置100と類似の構造を有しており、図1の半導体装置100と同様の部分については同じ符号を付して、その説明を省略する。
図19に示すMEMS共振器を有してなる半導体装置101も、埋め込み酸化膜20を挟んでSOI層21と支持基板22とで構成されたSOI基板がベース基板B2として用いられ、MEMS共振器がベース基板B2のSOI層21に形成されている。すなわち、ベース基板B2における複数個のベース半導体領域Bsのうち、少なくとも一個のベース半導体領域が、埋め込み酸化膜20の一部を犠牲層エッチングすることにより、変位可能に形成された共振子K1を有するベース半導体領域Bs3となっている。また、半導体装置101では、共振子K1を覆うようにして、キャップ基板C2の凹部32が配置され、ベース半導体領域Bs4,Bs5に接続するキャップ基板C2の引き出し導電領域Ce4,Ce5を用いて共振子K1に接続する圧電素子(図示省略)等に給電する。これによって、共振子K1を共振させることにより、所定周波数の電圧を発振するようにしている。また可動電極と固定電極間の容量結合で共振させる別タイプのMEMS共振器を使用してもよい。
図19に示すMEMS共振器を有してなる半導体装置101も、半導体からなるベース基板B2の所定領域R2の表層部に形成されたMEMS共振器を保護するために、ベース基板B2のMEMS共振器上に密封キャップ(基板)C2が配置されてなる半導体装置であって、前述したように、小型で安価に製造することができ、フェースダウンボンディングも可能で実装面での制約が少ない半導体装置とすることができる。尚、図19のMEMS共振器を有してなる半導体装置101は、一般的な水晶共振器を有してなる半導体装置に較べて、小型化とコストダウンが可能である。
図20は、赤外線センサ素子を有してなる半導体装置の例である。図20(a)は、半導体装置102の模式的な断面を示す図であり、図20(b)は、図20(a)中の破線Fで囲った赤外線センサ素子の周りの拡大図であり、図20(c)は、図20(b)の要部の配置を示した模式的な上面図である。尚、図20に示す半導体装置102についても、図1に示した半導体装置100と類似の構造を有しており、図1の半導体装置100と同様の部分については同じ符号を付した。
図20(a)に示す赤外線センサ素子を有してなる半導体装置102も、埋め込み酸化膜20を挟んでSOI層21と支持基板22とで構成されたSOI基板が、ベース基板B3として用いられ、破線Fで囲った赤外線センサ素子がベース基板B3のSOI層21に形成されている。赤外線センサ素子は、図20(b),(c)に示すように、ベース半導体領域Bs6に形成されたn導電型(n+)領域N1と多結晶シリコン膜P1が酸化シリコン(SiO)等からなる層間絶縁膜24とアルミニウム(Al)等からなる配線金属25を介して多段に接続された熱電対と、図20(b)に示す金(Au)ブラック等の赤外線吸収体膜26とで構成されている。尚、図20(b),(c)に示すように、赤外線吸収体膜26は上記熱電対の温接点上に形成されており、上記熱電対の温接点と赤外線吸収体膜26は、赤外線吸収による熱が逃げ難いベース半導体領域Bs6の埋め込み酸化膜20が除去された領域上に配置されている。一方、上記熱電対の冷接点は、赤外線吸収による熱が逃げ易いベース半導体領域Bs6の埋め込み酸化膜20が残された領域上に配置されている。また、半導体装置102では、図20(a)に示すように、ベース基板B3の所定領域R3に形成された赤外線センサ素子を覆うようにして、キャップ基板C3の凹部32が配置されている。ベース半導体領域Bs7,Bs8には、キャップ基板C2の引き出し導電領域Ce7,Ce8が接続されており、赤外線吸収体膜26に入射した赤外線による赤外線センサ素子の出力電圧を、引き出し導電領域Ce7,Ce8等を介して検出するようにしている。
上記赤外線センサ素子を有してなる半導体装置も、半導体からなるベース基板の表層部に形成された赤外線センサ素子を保護するために、ベース基板の赤外線センサ素子上に密封キャップが配置されてなる半導体装置であって、前述したように、小型で安価に製造することができ、フェースダウンボンディングも可能で実装面での制約が少ない半導体装置とすることができる。
図21も、別の半導体装置の例で、半導体装置103の模式的な断面を示す図である。
図21の半導体装置103においては、ベース基板B4の所定領域R4に、IC(Integrated Circuit)回路G1〜G4が形成されている。図21の半導体装置103におけるベース基板B4も、先の半導体装置100〜102と同様に、埋め込み酸化膜20を挟んでSOI層21と支持基板22とで構成されたSOI基板が用いられている。一方、先の半導体装置100〜102においては、ベース基板B1〜B3のSOI層21が埋め込み酸化膜20に達するトレンチ23によって分割され、絶縁分離された複数個のベース半導体領域Bsが形成されていた。これに対して、図21のベース基板B4においては、ベース基板B4のSOI層21が埋め込み酸化膜20に達する内部に酸化シリコン(SiO)等が埋め込まれた絶縁分離トレンチ27によって分割され、絶縁分離された複数個のベース半導体領域Bsが形成されている。
図21の半導体装置103におけるキャップ基板C4は、先の半導体装置100〜102と同様に、IC回路G1〜G4が形成されたベース基板B4の所定領域R4に対向して凹部32が配置されている。また、半導体装置103におけるIC回路G1〜G4は、ベース半導体領域Bs9,Bs10に接続する引き出し導電領域Ce9,Ce10を介して、外部の回路と電気的に接続されている。
図21のIC回路が形成されてなる半導体装置103も、先の半導体装置100〜102と同様に、半導体からなるベース基板B4の表層部に形成されたIC回路G1〜G4を保護するために、IC回路G1〜G4上に密封キャップ(基板)C4が配置されてなる半導体装置であって、小型で安価に製造することができ、フェースダウンボンディングも可能で実装面での制約が少ない半導体装置とすることができる。尚、ベース基板B4の表層部に形成されたIC回路G1〜G4は、キャップ基板C4により、非接触で密封保護される。従って、例えばIC回路G1〜G4上に保護膜を形成して保護する場合に較べて、IC回路G1〜G4が応力等の影響を受けやすい場合に好適である。
以上に示した半導体装置100〜103においては、いずれも、ベース基板B1〜B4として、埋め込み酸化膜20を有するSOI基板が用いられていた。また、ベース半導体領域Bsは、埋め込み酸化膜20に達するトレンチ23や絶縁分離トレンチ27により周囲から絶縁分離された、SOI層21からなる領域であった。しかしながら、本発明の半導体装置における半導体からなるベース基板は、SOI基板に限らず、例えば、単結晶シリコン基板とすることができる。この場合には、上記絶縁分離された複数個のベース半導体領域を、例えばPN接合分離で形成することができる。
次に、上記半導体装置100〜103に用いられているキャップ基板C1〜C4の変形例について説明する。
図22は、キャップ基板の変形の一例を説明する図で、キャップ基板C5の模式的な断面を示す図である。
図22に示すキャップ基板C5においては、先のキャップ基板C1〜C4と異なり、キャップ基板C5の凹部32における所定の領域(天井部)に、酸化シリコン(SiO)からなる絶縁膜38が形成されている。このキャップ基板C5を、例えば図1に示すキャップ基板C1に置き換えることで、半導体からなるベース基板B1の所定領域R1と導電性を有したキャップ基板C5の凹部32とで構成される空間23,32内において、凹部32における所定の領域に形成された絶縁膜38により、空間23,32内に残った水分等による短絡(ショート)等の不具合を抑制することができる。尚、絶縁膜38は、SiO膜に限らず、窒化シリコン(Si)膜や酸化アルミニウム(Al)膜等であってもよく、任意に選択することができる。
図23は、キャップ基板の別の変形例を説明する図で、キャップ基板C6を用いた半導体装置104の模式的な断面を示す図である。
図23の半導体装置104では、ベース基板B6のベース半導体領域Bs11,Bs12に、それぞれ、キャップ基板C6のキャップ導電領域Ce11,Ce12が接続している。また、このキャップ導電領域(引き出し導電領域)Ce11,Ce12を取り囲むキャップ導電領域Ce13,Ce14が、どちらも、接地電位(GND)に設定されている。これによって、接地電位(GND)に設定されたキャップ導電領域Ce13,Ce14を、引き出し導電領域Ce11,Ce12のシールドとして機能させることができる。また、引き出し導電領域Ce11,Ce12の間にあるキャップ導電領域Ce15も接地電位(GND)に設定すれば、ベース基板B6のベース半導体領域Bs15に対するシールドをより完全にすることができる。
尚、キャップ基板C6における所定のキャップ導電領域Ceを、接地電位(GND)以外の所定電位に設定するようにしてもよい。例えば、 図23の半導体装置104において、引き出し導電領域Ce11,Ce12の周囲のキャップ導電領域Ce13,Ce14
を所定電位に設定して、電位印加リングを形成することができる。また、複数個のキャップ導電領域Ceにおける幾つかのキャップ導電領域に対して、接地電位(GND)と電源電位を分割する中間の電位をそれぞれ与えることもできる。これによって、隣接するキャップ導電領域Ce間の電位差を小さくして、絶縁分離性を高めることが可能である。勿論、キャップ導電領域Ceに電位を与えず、フローティング状態としてもよい。
図1に示した半導体装置100のキャップ基板C1には、単結晶シリコン基板が用いられていた。しかしながら、本発明の半導体装置における導電性を有したキャップ基板は、単結晶シリコン基板に限らず、例えば、SOI基板や多結晶シリコン基板、あるいは化合物半導体(GaAs,GaN等)基板や金属(Cu,Fe,W,Al等)基板であってもよい。
図24は、キャップ基板の別の変形例を説明する図で、キャップ基板C7を用いた半導体装置105の模式的な断面を示す図である。
図24の半導体装置105においては、キャップ基板C7として単結晶シリコン基板30が用いられ、キャップ基板C7の幾つかのキャップ導電領域Ceにおいて、IC回路G5〜G8が形成されている。IC回路G5〜G8は、バイポーラ回路やCMOS回路等の任意のものであってよい。これらIC回路G5〜G8を形成する単結晶シリコン基板30には、例えば、n導電型で比抵抗が1〜20Ωcmのものを用いる。この場合、ベース基板B7のベース半導体領域Bs16,Bs17に接続するキャップ基板C7の引き出し導電領域Ce16,Ce17は、リン(P)や砒素(As)のイオン注入を行い、高濃度のn導電型(n+)となるようにする。例えば、ベース基板B7に図1の半導体装置100で説明した力学量センサ素子の実体となる部分を形成した場合には、キャップ基板C7のIC回路G5〜G8を、力学量センサ素子からの出力を処理する周辺回路とする。これによって、大面積を有する力学量センサ素子の実体部上にIC回路G5〜G8を配置することで、キャップ基板C7を効率的に利用し、半導体装置105の全体を小型化することができる。尚、この場合、IC回路G5〜G8は、ベース基板B7とキャップ基板C7の接合前に形成してもよいし、接合後に形成してもよい。
このように、キャップ基板として単結晶シリコン基板、SOI基板、あるいは化合物半導体基板を用いる場合には、ベース基板だけでなく、キャップ基板における複数個のキャップ導電領域のうち、所定のキャップ導電領域に、各種の半導体素子やIC回路を形成することが可能である。
図25もキャップ基板の別の変形例を説明する図で、図25(a)は、キャップ基板C8を用いた半導体装置106の模式的な断面を示す図であり、図25(b)は、キャップ基板準備工程におけるキャップ基板C8の形成途中状態にある1次基板C8aを示す図である。
図25(a)に示す半導体装置106のキャップ基板C8は、図25(b)に示す埋め込み酸化膜40を挟んでSOI層41と支持基板42とから構成されたSOI基板を用いて形成されたものである。図25(a)のキャップ基板C8における複数個のキャップ導電領域Ceは、埋め込み酸化膜40に達する絶縁分離トレンチ44により、周囲から絶縁分離されている。キャップ基板C8では、複数個のキャップ導電領域Ceのうち、一方のキャップ導電領域が、埋め込み酸化膜40上のSOI層41からなる単結晶導電領域Cesであり、もう一方のキャップ導電領域が、多結晶シリコン45からなる多結晶導電領域Cepである。ベース基板B8のベース半導体領域Bs18,Bs19に接続するキャップ基板C8の引き出し導電領域Ce18,Ce19は、多結晶導電領域Cepからなっている。
図25(a)に示す半導体装置106のように、キャップ基板C8としてSOI基板を用いる場合には、図24に示した半導体装置105のように、キャップ基板C7として単結晶シリコン基板30を用いる場合に較べて、例えばキャップ基板C8に形成された各種の半導体素子やIC回路G9の高速化や高密度化を図ることができる。
また、図24の半導体装置105におけるキャップ基板C7では、単結晶シリコン基板30が用いられ、絶縁分離トレンチ31により分離された複数個のキャップ導電領域Ceの全てが、単結晶シリコンからなる領域である。このため、引き出し導電領域Ce16,Ce17には、リン(P)や砒素(As)のイオン注入して、当該領域の抵抗値を小さくしていた。これに対して、図24(a)の半導体装置106におけるキャップ基板C8では、単結晶シリコン(SOI層41)からなる単結晶導電領域Cesと多結晶シリコン45からなる多結晶導電領域Cepがあり、引き出し導電領域Ce18,Ce19を多結晶導電領域Cepとしている。これによって、IC回路G9を形成するSOI層41(単結晶導電領域Ces)の不純物濃度によらず、例えば高不純物濃度の多結晶導電領域Cepとすることで、多結晶導電領域Cepを引き出し導電領域Ce18,Ce19として好適に機能させることができる。またこの多結晶シリコン45にかえて金属(例えばアルミニウム、銅、タングステン等)を埋め込んでもよい。
図25(a)に示すキャップ基板C8は、図25(b)に示す1次基板C8aから、以下のようにして形成する。すなわち、図25(b)に示すように、1次基板C8aとして、埋め込み酸化膜40を挟んで、SOI層41と支持基板42とで構成されたSOI基板を準備し、SOI層41のある一方の面S5側に、埋め込み酸化膜40を貫通する所定深さのトレンチ43を形成する。次に、トレンチ43に側壁酸化膜44を形成した後、トレンチ43内を多結晶シリコン45で埋め戻す。側壁酸化膜44は、最終的に、図25(a)の絶縁分離トレンチ44となる。次に、図25(b)に示す1次基板C8aのもう一方の面S6側からエッチングして、埋め込み酸化膜40および側壁酸化膜44の端部を露出する。これによって、支持基板42を除去すると共に、図25(a)に示すキャップ基板C8の凹部32を形成する。次に、1次基板C8aのもう一方の面S6側から研削して、トレンチ43内に埋め込まれた多結晶シリコン45の端部を露出する。
以上の工程によって、図25(a)に示すキャップ基板C8が準備できる。
以下、ベース基板B8とキャップ基板C8の接合工程は、図6で説明したとおりである。
図25(b)では、1次基板C8aとしてSOI基板を用いたキャップ基板C8の準備方法を説明したが、1次基板として単結晶シリコン基板を用い、同様の方法によって、図25(a)に示すキャップ基板C8を準備することもできることは言うまでもない。尚、この場合には、1次基板に埋め込み酸化膜40が形成されていないため、キャップ基板C8の凹部32を形成した後で形成する。
以上示したように、上記した半導体装置およびその製造方法は、いずれも、半導体からなるベース基板の表層部に形成された各種の素子を保護するために、前記ベース基板の素子上に密封キャップが配置されてなる半導体装置およびその製造方法であって、小型で安価に製造することができ、フェースダウンボンディングも可能で実装面での制約が少ない半導体装置およびその製造方法となっている。なお、上記の説明においては分かりやすくするために単独の半導体装置を代表して記載してあるが、実際には単独の半導体装置だけでなく複数個の半導体装置を含んだウエハ単位で製造するのが一般的である。
100〜106,110〜114 半導体装置
B1〜B4,B6〜B8,B10,B11 ベース基板
23 トレンチ
27 絶縁分離トレンチ
Bs,Bs1〜Bs12,Bs15〜Bs19 ベース半導体領域
C1〜C8,C10〜C14 キャップ基板
31,44 絶縁分離トレンチ
Ce,Ce1,Ce2,Ce4,Ce5,Ce7〜Ce19 キャップ導電領域
32 凹部
T1〜T3 凸部
D1 接合面

Claims (35)

  1. 半導体からなるベース基板であって、絶縁分離された複数個のベース半導体領域が表層部に形成されてなるベース基板と、
    前記ベース基板に貼り合わされる導電性を有したキャップ基板であって、当該キャップ基板を貫通する絶縁分離トレンチにより、複数個のキャップ導電領域が形成されてなるキャップ基板とを有してなり、
    前記キャップ基板が、前記ベース基板の表層部における所定領域に対向して貼り合わされて、前記所定領域とキャップ基板とで構成される空間が、密封されると共に、
    所定の前記キャップ導電領域が、所定の前記ベース半導体領域に電気的に接続されてなる、引き出し導電領域として機能することを特徴とする半導体装置。
  2. 前記キャップ基板において、前記ベース基板の前記所定領域に対向して凹部が形成され、
    前記キャップ基板が、前記凹部の周りで前記ベース基板に貼り合わされてなることを特徴とする請求項1に記載の半導体装置。
  3. 前記キャップ基板の凹部における所定の領域に、絶縁膜が形成されてなることを特徴とする請求項2に記載の半導体装置。
  4. 前記ベース基板において、前記所定領域のベース半導体領域上に導電性を有する凸部が形成され、
    前記キャップ基板が、前記凸部に貼り合わされてなることを特徴とする請求項1に記載の半導体装置。
  5. 前記凸部が、単結晶シリコン、多結晶シリコンまたは金属のいずれかからなることを特徴とする請求項4に記載の半導体装置。
  6. 前記キャップ基板において、前記ベース基板の前記所定領域に対向して導電性を有する凸部が形成され、
    前記キャップ基板が、前記凸部で前記ベース基板に貼り合わされてなることを特徴とする請求項1に記載の半導体装置。
  7. 前記凸部が、絶縁膜を介して前記キャップ導電領域に接続する配線パターンからなることを特徴とする請求項6に記載の半導体装置。
  8. 前記配線パターンが、前記キャップ基板の両面に形成され、
    該キャップ基板が、複数枚積層されて、前記ベース基板に貼り合わされてなることを特徴とする請求項7に記載の半導体装置。
  9. 前記ベース基板が、単結晶シリコン基板からなることを特徴とする請求項1乃至8のいずれか一項に記載の半導体装置。
  10. 前記ベース基板が、埋め込み酸化膜を有するSOI基板からなり、
    前記ベース半導体領域が、前記埋め込み酸化膜に達するトレンチにより周囲から絶縁分離された、SOI層からなる領域であることを特徴とする請求項1乃至8のいずれか一項に記載の半導体装置。
  11. 前記半導体装置が、力学量センサ素子を有してなり、
    前記複数個のベース半導体領域のうち、
    少なくとも一個のベース半導体領域が、前記埋め込み酸化膜の一部を犠牲層エッチングすることにより、変位可能に形成された可動電極を有する可動半導体領域であり、
    少なくとももう一個のベース半導体領域が、前記可動電極と対向する固定電極を有する固定半導体領域であり、
    前記可動電極と固定電極の対向面間における前記空間を誘電体層とする静電容量が形成され、
    前記可動半導体領域と前記固定半導体領域に、それぞれ、前記引き出し導電領域が接続され、
    前記可動電極が、印加される力学量に応じて前記対向面に対して垂直方向に変位し、
    前記可動電極と固定電極の間の距離変化に伴う前記静電容量の変化を測定して、前記印加される力学量を検出することを特徴とする請求項10に記載の半導体装置。
  12. 前記力学量が、加速度または角速度であることを特徴とする請求項11に記載の半導体装置。
  13. 前記半導体装置が、MEMS共振器を有してなり、
    前記複数個のベース半導体領域のうち、
    少なくとも一個のベース半導体領域が、前記埋め込み酸化膜の一部を犠牲層エッチングすることにより、変位可能に形成された共振子を有する共振半導体領域であり、
    前記共振子が前記空間内に配置され、
    前記引き出し導電領域を用いて給電し、前記共振子を共振させることにより、所定周波数の電圧を発振することを特徴とする請求項10に記載の半導体装置。
  14. 前記半導体装置が、赤外線センサ素子を有してなり、
    前記ベース基板の所定領域に、前記赤外線センサ素子が配置されてなり、
    入射した赤外線による前記赤外線センサ素子の出力電圧を、前記引き出し導電領域を介して検出することを特徴とする請求項1乃至10のいずれか一項に記載の半導体装置。
  15. 前記半導体装置が、磁気センサ素子を有してなり、
    前記ベース基板の所定領域に、前記磁気センサ素子が配置されてなり、
    前記空間内に配置された前記磁気センサ素子の出力電圧を、
    前記引き出し導電領域を介して検出することを特徴とする請求項1乃至10のいずれか一項に記載の半導体装置。
  16. 前記ベース基板の所定領域に、IC回路が形成されてなり、
    前記IC回路が、前記引き出し導電領域を介して、外部の回路と電気的に接続されることを特徴とする請求項1乃至10のいずれか一項に記載の半導体装置。
  17. 前記キャップ基板が、単結晶シリコン基板からなることを特徴とする請求項1乃至16のいずれか一項に記載の半導体装置。
  18. 前記複数個のキャップ導電領域のうち、
    一方のキャップ導電領域が、単結晶シリコンからなる単結晶導電領域であり、
    もう一方のキャップ導電領域が、多結晶シリコンからなる多結晶導電領域であり、
    前記引き出し導電領域が、前記多結晶導電領域からなることを特徴とする請求項17に記載の半導体装置。
  19. 前記キャップ基板が、埋め込み酸化膜を有するSOI基板からなり、
    前記キャップ導電領域が、前記埋め込み酸化膜に達する絶縁分離トレンチにより、周囲から絶縁分離されてなることを特徴とする請求項1乃至16のいずれか一項に記載の半導体装置。
  20. 前記複数個のキャップ導電領域のうち、
    一方のキャップ導電領域が、埋め込み酸化膜上のSOI層からなる単結晶導電領域であり、
    もう一方のキャップ導電領域が、多結晶シリコンからなる多結晶導電領域であり、
    前記引き出し導電領域が、前記多結晶導電領域からなることを特徴とする請求項19に記載の半導体装置。
  21. 前記複数個のキャップ導電領域のうち、所定のキャップ導電領域に、IC回路が形成されてなることを特徴とする請求項17乃至20のいずれか一項に記載の半導体装置。
  22. 前記複数個のキャップ導電領域のうち、前記引き出し導電領域を取り囲むキャップ導電領域が、所定電位に設定されてなることを特徴とする請求項1乃至21のいずれか一項に記載の半導体装置。
  23. 前記所定電位が、接地電位(GND)であることを特徴とする請求項22に記載の半導体装置。
  24. 前記ベース基板と前記キャップ基板が、シリコン(Si)からなり、
    前記ベース基板と前記キャップ基板が、シリコン(Si)直接接合により貼り合わされてなることを特徴とする請求項1乃至6および請求項9乃至23のいずれか一項に記載の半導体装置。
  25. 前記ベース基板と前記キャップ基板が、シリコン(Si)からなり、
    前記ベース基板と前記キャップ基板が、金(Au)−シリコン(Si)共晶接合により貼り合わされてなることを特徴とする請求項1乃至6および請求項9乃至23のいずれか一項に記載の半導体装置。
  26. 前記ベース基板と前記キャップ基板が、導電性接着剤により貼り合わされてなることを特徴とする請求項1乃至23のいずれか一項に記載の半導体装置。
  27. 半導体からなるベース基板であって、絶縁分離された複数個のベース半導体領域が表層部に形成されてなるベース基板と、
    前記ベース基板に貼り合わされる導電性を有したキャップ基板であって、当該キャップ基板を貫通する絶縁分離トレンチにより、複数個のキャップ導電領域が形成されてなるキャップ基板とを有してなり、
    前記キャップ基板が、前記ベース基板の表層部における所定領域に対向して貼り合わされて、前記所定領域とキャップ基板とで構成される空間が、密封されると共に、
    所定の前記キャップ導電領域が、所定の前記ベース半導体領域に電気的に接続されてなる、引き出し導電領域として機能する半導体装置の製造方法であって、
    前記絶縁分離された複数個のベース半導体領域が表層部に形成されてなるベース基板を準備するベース基板準備工程と、
    前記ベース基板に貼り合わされる導電性を有したキャップ基板であって、当該キャップ基板を貫通する絶縁分離トレンチにより、複数個のキャップ導電領域が形成されてなるキャップ基板を準備するキャップ基板準備工程と、
    前記キャップ基板を、前記ベース基板の所定領域に対向するようにして、前記ベース基板に貼り合わせ、
    前記空間を密封すると共に、前記引き出し導電領域を前記所定のベース半導体領域に電気的に接続する基板貼り合わせ工程とを有してなることを特徴とする半導体装置の製造方法。
  28. 前記キャップ基板準備工程が、
    前記キャップ基板となる1次基板の一方の面側に、前記ベース基板の表層部における所定領域に対向して凹部を形成する凹部形成工程と、
    前記1次基板の一方の面側に、前記絶縁分離トレンチとなる所定深さの1次絶縁トレンチを形成する1次絶縁トレンチ形成工程と、
    前記1次基板のもう一方の面側から研削して、前記1次絶縁トレンチの端部を露出し、前記1次絶縁トレンチを前記絶縁分離トレンチとすると共に、前記1次基板を前記キャップ基板とするキャップ基板形成工程とを有してなり、
    前記基板貼り合わせ工程において、
    前記キャップ基板の凹部を、前記ベース基板の所定領域に対向するようにして、前記キャップ基板を、凹部の周りで前記ベース基板に貼り合わせることを特徴とする請求項27に記載の半導体装置の製造方法。
  29. 前記キャップ基板準備工程が、
    前記キャップ基板となる1次基板の一方の面側に、前記絶縁分離トレンチとなる所定深さの1次絶縁トレンチを形成する1次絶縁トレンチ形成工程と、
    前記1次基板のもう一方の面側から研削して、前記1次絶縁トレンチの端部を露出し、前記1次絶縁トレンチを前記絶縁分離トレンチとすると共に、前記1次基板を前記キャップ基板とするキャップ基板形成工程と、
    前記キャップ基板形成工程後、前記キャップ基板のもう一方の面側に、前記ベース基板の表層部における所定領域に対向して凹部を形成する凹部形成工程とを有してなり、
    前記基板貼り合わせ工程において、
    前記キャップ基板の凹部を、前記ベース基板の所定領域に対向するようにして、前記キャップ基板を、凹部の周りで前記ベース基板に貼り合わせることを特徴とする請求項27に記載の半導体装置の製造方法。
  30. 前記キャップ基板が、単結晶シリコン基板からなり、
    前記キャップ基板準備工程が、
    前記キャップ基板となる1次基板の一方の面側に、トレンチを形成し、前記トレンチに側壁酸化膜を形成した後、前記トレンチ内を多結晶シリコンで埋め戻し、前記側壁酸化膜が前記絶縁分離トレンチとなる所定深さの1次絶縁トレンチを形成する1次絶縁トレンチ形成工程と、
    前記1次基板のもう一方の面側から研削して、前記トレンチ内に埋め込まれた多結晶シリコンの端部を露出し、前記1次絶縁トレンチを前記絶縁分離トレンチとすると共に、前記1次基板を前記キャップ基板とするキャップ基板形成工程と、
    前記キャップ基板形成工程後、前記キャップ基板のもう一方の面側に、前記ベース基板の表層部における所定領域に対向して凹部を形成する凹部形成工程とを有してなり、
    前記基板貼り合わせ工程において、
    前記キャップ基板の凹部を、前記ベース基板の所定領域に対向するようにして、前記キャップ基板を、凹部の周りで前記ベース基板に貼り合わせることを特徴とする請求項27に記載の半導体装置の製造方法。
  31. 前記キャップ基板が、埋め込み酸化膜を有するSOI基板からなり、
    前記キャップ基板準備工程が、
    前記キャップ基板となる1次基板のSOI層のある一方の面側に、前記埋め込み酸化膜を貫通するトレンチを形成し、前記トレンチに側壁酸化膜を形成した後、前記トレンチ内を多結晶シリコンで埋め戻し、前記側壁酸化膜が前記絶縁分離トレンチとなる所定深さの1次絶縁トレンチを形成する1次絶縁トレンチ形成工程と、
    前記1次基板のもう一方の面側からエッチングして、前記埋め込み酸化膜および前記側壁酸化膜を露出することにより、前記ベース基板の表層部における所定領域に対向して凹部を形成する凹部形成工程と、
    前記1次基板のもう一方の面側から研削して、前記トレンチ内に埋め込まれた多結晶シリコンの端部を露出し、前記1次絶縁トレンチを前記絶縁分離トレンチとすると共に、前記1次基板を前記キャップ基板とするキャップ基板形成工程とを有してなり、
    前記基板貼り合わせ工程において、
    前記キャップ基板の凹部を、前記ベース基板の所定領域に対向するようにして、前記キャップ基板を、凹部の周りで前記ベース基板に貼り合わせることを特徴とする請求項27に記載の半導体装置の製造方法。
  32. 前記ベース基板準備工程が、
    前記ベース基板となる1次基板の前記表層部における所定領域に導電性を有する凸部を形成する凸部形成工程と、
    前記1次基板の前記表層部における所定領域に、絶縁分離された複数個のベース半導体領域を形成して、前記1次基板を前記ベース基板とするベース基板形成工程とを有してなり、
    前記基板貼り合わせ工程において、
    前記キャップ基板を、前記凸部に貼り合わせることを特徴とする請求項27に記載の半導体装置の製造方法。
  33. 前記キャップ基板準備工程が、
    前記キャップ基板となる1次基板の一方の面側に、前記絶縁分離トレンチとなる所定深さの1次絶縁トレンチを形成する1次絶縁トレンチ形成工程と、
    前記1次基板のもう一方の面側から研削して、前記1次絶縁トレンチの端部を露出し、前記1次絶縁トレンチを前記絶縁分離トレンチとする絶縁分離トレンチ形成工程と、
    前記1次基板において、前記ベース基板の所定領域に対向するように導電性を有する凸部を形成し、前記1次基板を前記キャップ基板とするキャップ基板形成工程とを有してなり、
    前記基板貼り合わせ工程において、
    前記キャップ基板の凸部を、前記ベース基板に貼り合わせることを特徴とする請求項27に記載の半導体装置の製造方法。
  34. 前記凸部を、絶縁膜を介して前記キャップ導電領域に接続する配線パターンで形成することを特徴とする請求項33に記載の半導体装の製造方法。
  35. 前記ベース基板と前記キャップ基板が、シリコン(Si)からなり、
    前記基板貼り合わせ工程において、前記ベース基板と前記キャップ基板を、常温で、シリコン(Si)直接接合により貼り合わせることを特徴とする請求項27乃至33のいずれか一項に記載の半導体装置の製造方法。
JP2009225250A 2007-02-22 2009-09-29 半導体装置およびその製造方法 Expired - Fee Related JP5141658B2 (ja)

Priority Applications (1)

Application Number Priority Date Filing Date Title
JP2009225250A JP5141658B2 (ja) 2007-02-22 2009-09-29 半導体装置およびその製造方法

Applications Claiming Priority (3)

Application Number Priority Date Filing Date Title
JP2007042619 2007-02-22
JP2007042619 2007-02-22
JP2009225250A JP5141658B2 (ja) 2007-02-22 2009-09-29 半導体装置およびその製造方法

Related Parent Applications (1)

Application Number Title Priority Date Filing Date
JP2007257840A Division JP4792143B2 (ja) 2007-02-22 2007-10-01 半導体装置およびその製造方法

Publications (2)

Publication Number Publication Date
JP2010005785A true JP2010005785A (ja) 2010-01-14
JP5141658B2 JP5141658B2 (ja) 2013-02-13

Family

ID=39903224

Family Applications (2)

Application Number Title Priority Date Filing Date
JP2007257840A Expired - Fee Related JP4792143B2 (ja) 2007-02-22 2007-10-01 半導体装置およびその製造方法
JP2009225250A Expired - Fee Related JP5141658B2 (ja) 2007-02-22 2009-09-29 半導体装置およびその製造方法

Family Applications Before (1)

Application Number Title Priority Date Filing Date
JP2007257840A Expired - Fee Related JP4792143B2 (ja) 2007-02-22 2007-10-01 半導体装置およびその製造方法

Country Status (2)

Country Link
US (2) US7859091B2 (ja)
JP (2) JP4792143B2 (ja)

Cited By (2)

* Cited by examiner, † Cited by third party
Publication number Priority date Publication date Assignee Title
JP2012253082A (ja) * 2011-05-31 2012-12-20 Japan Science & Technology Agency 三次元構造体及びセンサ
JP2013011587A (ja) * 2011-05-27 2013-01-17 Denso Corp 力学量センサ装置およびその製造方法

Families Citing this family (71)

* Cited by examiner, † Cited by third party
Publication number Priority date Publication date Assignee Title
JP5176965B2 (ja) * 2006-12-27 2013-04-03 大日本印刷株式会社 力学量センサの製造方法
US8017451B2 (en) 2008-04-04 2011-09-13 The Charles Stark Draper Laboratory, Inc. Electronic modules and methods for forming the same
US8273603B2 (en) * 2008-04-04 2012-09-25 The Charles Stark Draper Laboratory, Inc. Interposers, electronic modules, and methods for forming the same
JP4636187B2 (ja) * 2008-04-22 2011-02-23 株式会社デンソー 力学量センサの製造方法および力学量センサ
JP5473253B2 (ja) * 2008-06-02 2014-04-16 キヤノン株式会社 複数の導電性領域を有する構造体、及びその製造方法
JP5289830B2 (ja) 2008-06-06 2013-09-11 ルネサスエレクトロニクス株式会社 半導体装置
US8207586B2 (en) * 2008-09-22 2012-06-26 Alps Electric Co., Ltd. Substrate bonded MEMS sensor
JP5314979B2 (ja) * 2008-09-22 2013-10-16 アルプス電気株式会社 Memsセンサ
US8089144B2 (en) 2008-12-17 2012-01-03 Denso Corporation Semiconductor device and method for manufacturing the same
JP4962482B2 (ja) * 2008-12-18 2012-06-27 株式会社デンソー 半導体装置
JP5131180B2 (ja) * 2008-12-23 2013-01-30 株式会社デンソー 半導体装置およびその製造方法
JP4784641B2 (ja) 2008-12-23 2011-10-05 株式会社デンソー 半導体装置およびその製造方法
SE533992C2 (sv) * 2008-12-23 2011-03-22 Silex Microsystems Ab Elektrisk anslutning i en struktur med isolerande och ledande lager
US8426233B1 (en) * 2009-01-09 2013-04-23 Integrated Device Technology, Inc. Methods of packaging microelectromechanical resonators
JP4858547B2 (ja) * 2009-01-09 2012-01-18 株式会社デンソー 半導体装置およびその製造方法
WO2010104064A1 (ja) * 2009-03-13 2010-09-16 アルプス電気株式会社 Memsセンサ
JP2010238921A (ja) * 2009-03-31 2010-10-21 Alps Electric Co Ltd Memsセンサ
US9340414B2 (en) * 2009-07-07 2016-05-17 MCube Inc. Method and structure of monolithically integrated absolute pressure sensor
JP5255536B2 (ja) * 2009-08-10 2013-08-07 アルプス電気株式会社 Memsセンサ
JP5218497B2 (ja) 2009-12-04 2013-06-26 株式会社デンソー 半導体装置およびその製造方法
JP5115618B2 (ja) * 2009-12-17 2013-01-09 株式会社デンソー 半導体装置
TWI434803B (zh) * 2010-06-30 2014-04-21 財團法人工業技術研究院 微機電元件與電路晶片之整合裝置及其製造方法
US20120018827A1 (en) * 2010-07-23 2012-01-26 Maxim Integrated Products, Inc. Multi-sensor integrated circuit device
DE102010039057B4 (de) * 2010-08-09 2018-06-14 Robert Bosch Gmbh Sensormodul
JP5206826B2 (ja) * 2011-03-04 2013-06-12 株式会社デンソー 領域分割基板およびそれを用いた半導体装置ならびにそれらの製造方法
JP5827476B2 (ja) * 2011-03-08 2015-12-02 株式会社東芝 半導体モジュール及びその製造方法
US8673756B2 (en) * 2011-04-14 2014-03-18 Robert Bosch Gmbh Out-of-plane spacer defined electrode
JP5598420B2 (ja) * 2011-05-24 2014-10-01 株式会社デンソー 電子デバイスの製造方法
US20130001710A1 (en) * 2011-06-29 2013-01-03 Invensense, Inc. Process for a sealed mems device with a portion exposed to the environment
FR2977885A1 (fr) * 2011-07-12 2013-01-18 Commissariat Energie Atomique Procede de realisation d'une structure a electrode enterree par report direct et structure ainsi obtenue
US9034764B2 (en) * 2011-11-09 2015-05-19 Robert Bosch Gmbh Method of forming wide trenches using a sacrificial silicon slab
US9466532B2 (en) * 2012-01-31 2016-10-11 Taiwan Semiconductor Manufacturing Company, Ltd. Micro-electro mechanical system (MEMS) structures with through substrate vias and methods of forming the same
JP5874609B2 (ja) * 2012-03-27 2016-03-02 株式会社デンソー 半導体装置およびその製造方法
US9139420B2 (en) * 2012-04-18 2015-09-22 Taiwan Semiconductor Manufacturing Company, Ltd. MEMS device structure and methods of forming same
KR101405561B1 (ko) * 2012-07-19 2014-06-10 현대자동차주식회사 멤스 센서 패키징 방법
JP2014054718A (ja) 2012-09-14 2014-03-27 Seiko Epson Corp 電子装置
DE102012219550B4 (de) * 2012-10-25 2024-04-18 Robert Bosch Gmbh Hybrid integriertes Bauteil
CN103241704B (zh) * 2013-05-14 2015-12-23 清华大学 三维集成传感器及其制备方法
KR101768254B1 (ko) * 2013-06-12 2017-08-16 매그나칩 반도체 유한회사 반도체 기반의 자기 센서 및 그 제조 방법
WO2015013828A1 (en) 2013-08-02 2015-02-05 Motion Engine Inc. Mems motion sensor and method of manufacturing
US9630832B2 (en) * 2013-12-19 2017-04-25 Taiwan Semiconductor Manufacturing Company, Ltd. Semiconductor device and method of manufacturing
JP6590812B2 (ja) * 2014-01-09 2019-10-16 モーション・エンジン・インコーポレーテッド 集積memsシステム
DE102014002824A1 (de) * 2014-02-25 2015-08-27 Northrop Grumman Litef Gmbh Verfahren zur Herstellung eines Bauteils
NO2777050T3 (ja) * 2014-02-25 2018-06-16
US20150262902A1 (en) 2014-03-12 2015-09-17 Invensas Corporation Integrated circuits protected by substrates with cavities, and methods of manufacture
JP6285541B2 (ja) * 2014-04-28 2018-02-28 日立オートモティブシステムズ株式会社 加速度検出装置
JP6369200B2 (ja) * 2014-07-31 2018-08-08 セイコーエプソン株式会社 物理量センサー、電子機器および移動体
CN107431472B (zh) 2015-04-27 2020-05-12 株式会社村田制作所 谐振子以及谐振装置
CN107431476B (zh) 2015-04-27 2020-06-12 株式会社村田制作所 谐振子以及谐振装置
CN107534432B (zh) 2015-04-28 2020-06-05 株式会社村田制作所 谐振子以及谐振装置
CN105036060A (zh) * 2015-06-29 2015-11-11 华东光电集成器件研究所 一种mems器件及其制作方法
EP3153851B1 (en) 2015-10-06 2024-05-01 Carrier Corporation Mems die with sensing structures
CN105621348B (zh) * 2015-12-29 2018-01-05 苏州工业园区纳米产业技术研究院有限公司 一种mems惯性传感器件及其制造方法
US10002844B1 (en) 2016-12-21 2018-06-19 Invensas Bonding Technologies, Inc. Bonded structures
US10508030B2 (en) 2017-03-21 2019-12-17 Invensas Bonding Technologies, Inc. Seal for microelectronic assembly
CN107512699B (zh) * 2017-07-27 2019-10-11 沈阳工业大学 基于键合技术的soi加速度敏感芯片制造方法
CN109467045A (zh) * 2017-09-08 2019-03-15 中国科学院苏州纳米技术与纳米仿生研究所 Mems器件的封装方法及微执行器的制备方法
CN109467042A (zh) * 2017-09-08 2019-03-15 中国科学院苏州纳米技术与纳米仿生研究所 用于封装mems器件的封装结构、mems芯片及微执行器
US10793421B2 (en) * 2017-11-13 2020-10-06 Vanguard International Semiconductor Singapore Pte. Ltd. Wafer level encapsulation for MEMS device
CN107986229B (zh) * 2017-12-04 2020-09-29 成都振芯科技股份有限公司 一种微机电器件的开孔装置及其制备的复用方法
US11380597B2 (en) 2017-12-22 2022-07-05 Invensas Bonding Technologies, Inc. Bonded structures
US10923408B2 (en) 2017-12-22 2021-02-16 Invensas Bonding Technologies, Inc. Cavity packages
US10812046B2 (en) * 2018-02-07 2020-10-20 Murata Manufacturing Co., Ltd. Micromechanical resonator having reduced size
US11004757B2 (en) 2018-05-14 2021-05-11 Invensas Bonding Technologies, Inc. Bonded structures
CN113544840A (zh) * 2019-03-13 2021-10-22 索尼半导体解决方案公司 半导体设备、成像设备和制造半导体设备的方法
US12374641B2 (en) 2019-06-12 2025-07-29 Adeia Semiconductor Bonding Technologies Inc. Sealed bonded structures and methods for forming the same
DE102021200073A1 (de) 2021-01-07 2022-07-07 Robert Bosch Gesellschaft mit beschränkter Haftung Herstellungsverfahren für ein mikromechanisches Bauelement und entsprechendes mikromechanisches Bauelement
WO2023195132A1 (ja) * 2022-04-07 2023-10-12 富士通株式会社 電子装置、電子システム及び電子装置の製造方法
IT202200016536A1 (it) * 2022-08-03 2024-02-03 St Microelectronics Srl Dispositivo mems con cappuccio perfezionato e relativo processo di fabbricazione
CN115585934B (zh) * 2022-12-14 2023-03-10 深圳市长天智能有限公司 一种硅电容式压力传感器及其制造方法
WO2025203957A1 (ja) * 2024-03-27 2025-10-02 パナソニックIpマネジメント株式会社 Memsデバイス

Citations (7)

* Cited by examiner, † Cited by third party
Publication number Priority date Publication date Assignee Title
JP2001121500A (ja) * 1999-10-19 2001-05-08 Toyota Central Res & Dev Lab Inc 密閉型半導体装置及びその製造方法
JP2004160654A (ja) * 2002-11-14 2004-06-10 Samsung Electronics Co Ltd 半導体装置におけるフリップチップ方式の側面接合ボンディング方法及びこれを用いたmems素子のパッケージ並びにパッケージ方法
JP2004209585A (ja) * 2002-12-27 2004-07-29 Shinko Electric Ind Co Ltd 電子デバイス及びその製造方法
WO2004108585A2 (en) * 2003-06-04 2004-12-16 Robert Bosch Gmbh Microelectromechanical systems having trench isolated contacts, and methods for fabricating same
JP2005251898A (ja) * 2004-03-03 2005-09-15 Mitsubishi Electric Corp ウエハレベルパッケージ構造体とその製造方法、及びそのウエハレベルパッケージ構造体から分割された素子
JP2006245396A (ja) * 2005-03-04 2006-09-14 Akita Denshi Systems:Kk 半導体装置及びその製造方法
JP2006270098A (ja) * 2005-03-24 2006-10-05 Memsic Inc 集積回路用ウエハレベルパッケージ

Family Cites Families (27)

* Cited by examiner, † Cited by third party
Publication number Priority date Publication date Assignee Title
JPH0498883A (ja) 1990-08-16 1992-03-31 Nippon Steel Corp シリコンを用いたサーモパイル装置
JP2791429B2 (ja) 1996-09-18 1998-08-27 工業技術院長 シリコンウェハーの常温接合法
DE19700734B4 (de) * 1997-01-11 2006-06-01 Robert Bosch Gmbh Verfahren zur Herstellung von Sensoren sowie nicht-vereinzelter Waferstapel
US6228675B1 (en) 1999-07-23 2001-05-08 Agilent Technologies, Inc. Microcap wafer-level package with vias
DE10055081A1 (de) 2000-11-07 2002-05-16 Bosch Gmbh Robert Mikrostrukturbauelement
US6890834B2 (en) 2001-06-11 2005-05-10 Matsushita Electric Industrial Co., Ltd. Electronic device and method for manufacturing the same
US20030034535A1 (en) * 2001-08-15 2003-02-20 Motorola, Inc. Mems devices suitable for integration with chip having integrated silicon and compound semiconductor devices, and methods for fabricating such devices
KR20030077754A (ko) 2002-03-27 2003-10-04 삼성전기주식회사 마이크로 관성센서 및 그 제조 방법
AU2003255254A1 (en) * 2002-08-08 2004-02-25 Glenn J. Leedy Vertical system integration
US6929974B2 (en) * 2002-10-18 2005-08-16 Motorola, Inc. Feedthrough design and method for a hermetically sealed microdevice
SE526366C3 (sv) 2003-03-21 2005-10-26 Silex Microsystems Ab Elektriska anslutningar i substrat
JP2004333133A (ja) 2003-04-30 2004-11-25 Mitsubishi Electric Corp 慣性力センサ
JP2004333313A (ja) 2003-05-08 2004-11-25 Canon Inc 加速度センサー
US7045868B2 (en) 2003-07-31 2006-05-16 Motorola, Inc. Wafer-level sealed microdevice having trench isolation and methods for making the same
US6777263B1 (en) 2003-08-21 2004-08-17 Agilent Technologies, Inc. Film deposition to enhance sealing yield of microcap wafer-level package with vias
US6892575B2 (en) 2003-10-20 2005-05-17 Invensense Inc. X-Y axis dual-mass tuning fork gyroscope with vertically integrated electronics and wafer-scale hermetic packaging
US7247246B2 (en) 2003-10-20 2007-07-24 Atmel Corporation Vertical integration of a MEMS structure with electronics in a hermetically sealed cavity
US6930367B2 (en) 2003-10-31 2005-08-16 Robert Bosch Gmbh Anti-stiction technique for thin film and wafer-bonded encapsulated microelectromechanical systems
JP3975194B2 (ja) * 2003-12-02 2007-09-12 株式会社フジクラ パッケージの製造方法
US20050170609A1 (en) 2003-12-15 2005-08-04 Alie Susan A. Conductive bond for through-wafer interconnect
JP4371217B2 (ja) 2004-03-12 2009-11-25 日本電気株式会社 半導体デバイスの気密封止構造
US7250322B2 (en) * 2005-03-16 2007-07-31 Delphi Technologies, Inc. Method of making microsensor
US7295029B2 (en) 2005-03-24 2007-11-13 Memsic, Inc. Chip-scale package for integrated circuits
US7495462B2 (en) 2005-03-24 2009-02-24 Memsic, Inc. Method of wafer-level packaging using low-aspect ratio through-wafer holes
JP4670427B2 (ja) * 2005-03-28 2011-04-13 パナソニック電工株式会社 半導体センサおよびその製造方法
JP4799059B2 (ja) * 2005-06-27 2011-10-19 株式会社東芝 半導体装置
JP2007150098A (ja) 2005-11-29 2007-06-14 Denso Corp 半導体装置

Patent Citations (7)

* Cited by examiner, † Cited by third party
Publication number Priority date Publication date Assignee Title
JP2001121500A (ja) * 1999-10-19 2001-05-08 Toyota Central Res & Dev Lab Inc 密閉型半導体装置及びその製造方法
JP2004160654A (ja) * 2002-11-14 2004-06-10 Samsung Electronics Co Ltd 半導体装置におけるフリップチップ方式の側面接合ボンディング方法及びこれを用いたmems素子のパッケージ並びにパッケージ方法
JP2004209585A (ja) * 2002-12-27 2004-07-29 Shinko Electric Ind Co Ltd 電子デバイス及びその製造方法
WO2004108585A2 (en) * 2003-06-04 2004-12-16 Robert Bosch Gmbh Microelectromechanical systems having trench isolated contacts, and methods for fabricating same
JP2005251898A (ja) * 2004-03-03 2005-09-15 Mitsubishi Electric Corp ウエハレベルパッケージ構造体とその製造方法、及びそのウエハレベルパッケージ構造体から分割された素子
JP2006245396A (ja) * 2005-03-04 2006-09-14 Akita Denshi Systems:Kk 半導体装置及びその製造方法
JP2006270098A (ja) * 2005-03-24 2006-10-05 Memsic Inc 集積回路用ウエハレベルパッケージ

Cited By (2)

* Cited by examiner, † Cited by third party
Publication number Priority date Publication date Assignee Title
JP2013011587A (ja) * 2011-05-27 2013-01-17 Denso Corp 力学量センサ装置およびその製造方法
JP2012253082A (ja) * 2011-05-31 2012-12-20 Japan Science & Technology Agency 三次元構造体及びセンサ

Also Published As

Publication number Publication date
JP5141658B2 (ja) 2013-02-13
US8349634B2 (en) 2013-01-08
JP4792143B2 (ja) 2011-10-12
JP2008229833A (ja) 2008-10-02
US7859091B2 (en) 2010-12-28
US20080290490A1 (en) 2008-11-27
US20100270630A1 (en) 2010-10-28

Similar Documents

Publication Publication Date Title
JP4792143B2 (ja) 半導体装置およびその製造方法
US8283738B2 (en) Semiconductor device including sensor member and cap member and method of making the same
TWI533438B (zh) 半導體設備、半導體結構、以及半導體結構之形成方法
JP5206826B2 (ja) 領域分割基板およびそれを用いた半導体装置ならびにそれらの製造方法
JP4793496B2 (ja) 半導体装置およびその製造方法
JP5331678B2 (ja) 単結晶シリコン電極を備えた容量性微小電気機械式センサー
JP5218497B2 (ja) 半導体装置およびその製造方法
US8445304B2 (en) Semi-conductor sensor fabrication
US9450109B2 (en) MEMS devices and fabrication methods thereof
US20110227174A1 (en) Semiconductor physical quantity sensor and method of manufacturing the same
JP5605347B2 (ja) 半導体装置の製造方法
JP6123613B2 (ja) 物理量センサおよびその製造方法
CN118651818A (zh) Mems元件及mems元件的制造方法
JP2015182158A (ja) Memsデバイス
JP5392296B2 (ja) 半導体装置およびその製造方法
US20140252506A1 (en) Semi-conductor sensor fabrication
US12503361B2 (en) MEMS sensor and method of manufacturing MEMS sensor
JP5999027B2 (ja) 物理量センサ
JPH1151966A (ja) 半導体加速度センサおよびその製造方法
WO2024204467A1 (ja) 貫通電極基板、mems装置およびその製造方法ならびに積層型デバイス
JP2018004447A (ja) 半導体装置

Legal Events

Date Code Title Description
A977 Report on retrieval

Free format text: JAPANESE INTERMEDIATE CODE: A971007

Effective date: 20120119

A131 Notification of reasons for refusal

Free format text: JAPANESE INTERMEDIATE CODE: A131

Effective date: 20120214

A521 Request for written amendment filed

Free format text: JAPANESE INTERMEDIATE CODE: A523

Effective date: 20120406

TRDD Decision of grant or rejection written
A01 Written decision to grant a patent or to grant a registration (utility model)

Free format text: JAPANESE INTERMEDIATE CODE: A01

Effective date: 20121023

A01 Written decision to grant a patent or to grant a registration (utility model)

Free format text: JAPANESE INTERMEDIATE CODE: A01

A61 First payment of annual fees (during grant procedure)

Free format text: JAPANESE INTERMEDIATE CODE: A61

Effective date: 20121105

FPAY Renewal fee payment (event date is renewal date of database)

Free format text: PAYMENT UNTIL: 20151130

Year of fee payment: 3

R151 Written notification of patent or utility model registration

Ref document number: 5141658

Country of ref document: JP

Free format text: JAPANESE INTERMEDIATE CODE: R151

R250 Receipt of annual fees

Free format text: JAPANESE INTERMEDIATE CODE: R250

R250 Receipt of annual fees

Free format text: JAPANESE INTERMEDIATE CODE: R250

R250 Receipt of annual fees

Free format text: JAPANESE INTERMEDIATE CODE: R250

R250 Receipt of annual fees

Free format text: JAPANESE INTERMEDIATE CODE: R250

R250 Receipt of annual fees

Free format text: JAPANESE INTERMEDIATE CODE: R250

R250 Receipt of annual fees

Free format text: JAPANESE INTERMEDIATE CODE: R250

R250 Receipt of annual fees

Free format text: JAPANESE INTERMEDIATE CODE: R250

LAPS Cancellation because of no payment of annual fees