JP2010005590A - 排ガス浄化用触媒 - Google Patents

排ガス浄化用触媒 Download PDF

Info

Publication number
JP2010005590A
JP2010005590A JP2008170808A JP2008170808A JP2010005590A JP 2010005590 A JP2010005590 A JP 2010005590A JP 2008170808 A JP2008170808 A JP 2008170808A JP 2008170808 A JP2008170808 A JP 2008170808A JP 2010005590 A JP2010005590 A JP 2010005590A
Authority
JP
Japan
Prior art keywords
catalyst layer
layer
gas flow
length
exhaust gas
Prior art date
Legal status (The legal status is an assumption and is not a legal conclusion. Google has not performed a legal analysis and makes no representation as to the accuracy of the status listed.)
Granted
Application number
JP2008170808A
Other languages
English (en)
Other versions
JP4751917B2 (ja
Inventor
Tomoaki Sunada
智章 砂田
Toshitaka Tanabe
稔貴 田邊
Naoki Takahashi
直樹 高橋
Hirohisa Tanaka
裕久 田中
Mari Uenishi
真里 上西
Masashi Taniguchi
昌司 谷口
Shingo Sakagami
新吾 坂神
Masaaki Kawai
将昭 河合
Hirotaka Ori
浩隆 小里
Current Assignee (The listed assignees may be inaccurate. Google has not performed a legal analysis and makes no representation or warranty as to the accuracy of the list.)
Daihatsu Motor Co Ltd
Cataler Corp
Toyota Motor Corp
Toyota Central R&D Labs Inc
Original Assignee
Daihatsu Motor Co Ltd
Cataler Corp
Toyota Motor Corp
Toyota Central R&D Labs Inc
Priority date (The priority date is an assumption and is not a legal conclusion. Google has not performed a legal analysis and makes no representation as to the accuracy of the date listed.)
Filing date
Publication date
Application filed by Daihatsu Motor Co Ltd, Cataler Corp, Toyota Motor Corp, Toyota Central R&D Labs Inc filed Critical Daihatsu Motor Co Ltd
Priority to JP2008170808A priority Critical patent/JP4751917B2/ja
Priority to PCT/IB2009/006122 priority patent/WO2010001226A1/en
Publication of JP2010005590A publication Critical patent/JP2010005590A/ja
Application granted granted Critical
Publication of JP4751917B2 publication Critical patent/JP4751917B2/ja
Active legal-status Critical Current
Anticipated expiration legal-status Critical

Links

Images

Classifications

    • BPERFORMING OPERATIONS; TRANSPORTING
    • B01PHYSICAL OR CHEMICAL PROCESSES OR APPARATUS IN GENERAL
    • B01JCHEMICAL OR PHYSICAL PROCESSES, e.g. CATALYSIS OR COLLOID CHEMISTRY; THEIR RELEVANT APPARATUS
    • B01J35/00Catalysts, in general, characterised by their form or physical properties
    • B01J35/19Catalysts containing parts with different compositions
    • BPERFORMING OPERATIONS; TRANSPORTING
    • B01PHYSICAL OR CHEMICAL PROCESSES OR APPARATUS IN GENERAL
    • B01DSEPARATION
    • B01D53/00Separation of gases or vapours; Recovering vapours of volatile solvents from gases; Chemical or biological purification of waste gases, e.g. engine exhaust gases, smoke, fumes, flue gases, aerosols
    • B01D53/34Chemical or biological purification of waste gases
    • B01D53/92Chemical or biological purification of waste gases of engine exhaust gases
    • B01D53/94Chemical or biological purification of waste gases of engine exhaust gases by catalytic processes
    • B01D53/9445Simultaneously removing carbon monoxide, hydrocarbons or nitrogen oxides making use of three-way catalysts [TWC] or four-way-catalysts [FWC]
    • B01D53/945Simultaneously removing carbon monoxide, hydrocarbons or nitrogen oxides making use of three-way catalysts [TWC] or four-way-catalysts [FWC] characterised by a specific catalyst
    • BPERFORMING OPERATIONS; TRANSPORTING
    • B01PHYSICAL OR CHEMICAL PROCESSES OR APPARATUS IN GENERAL
    • B01JCHEMICAL OR PHYSICAL PROCESSES, e.g. CATALYSIS OR COLLOID CHEMISTRY; THEIR RELEVANT APPARATUS
    • B01J23/00Catalysts comprising metals or metal oxides or hydroxides, not provided for in group B01J21/00
    • B01J23/002Mixed oxides other than spinels, e.g. perovskite
    • BPERFORMING OPERATIONS; TRANSPORTING
    • B01PHYSICAL OR CHEMICAL PROCESSES OR APPARATUS IN GENERAL
    • B01JCHEMICAL OR PHYSICAL PROCESSES, e.g. CATALYSIS OR COLLOID CHEMISTRY; THEIR RELEVANT APPARATUS
    • B01J23/00Catalysts comprising metals or metal oxides or hydroxides, not provided for in group B01J21/00
    • B01J23/38Catalysts comprising metals or metal oxides or hydroxides, not provided for in group B01J21/00 of noble metals
    • B01J23/40Catalysts comprising metals or metal oxides or hydroxides, not provided for in group B01J21/00 of noble metals of the platinum group metals
    • BPERFORMING OPERATIONS; TRANSPORTING
    • B01PHYSICAL OR CHEMICAL PROCESSES OR APPARATUS IN GENERAL
    • B01JCHEMICAL OR PHYSICAL PROCESSES, e.g. CATALYSIS OR COLLOID CHEMISTRY; THEIR RELEVANT APPARATUS
    • B01J23/00Catalysts comprising metals or metal oxides or hydroxides, not provided for in group B01J21/00
    • B01J23/38Catalysts comprising metals or metal oxides or hydroxides, not provided for in group B01J21/00 of noble metals
    • B01J23/40Catalysts comprising metals or metal oxides or hydroxides, not provided for in group B01J21/00 of noble metals of the platinum group metals
    • B01J23/46Ruthenium, rhodium, osmium or iridium
    • B01J23/464Rhodium
    • BPERFORMING OPERATIONS; TRANSPORTING
    • B01PHYSICAL OR CHEMICAL PROCESSES OR APPARATUS IN GENERAL
    • B01JCHEMICAL OR PHYSICAL PROCESSES, e.g. CATALYSIS OR COLLOID CHEMISTRY; THEIR RELEVANT APPARATUS
    • B01J23/00Catalysts comprising metals or metal oxides or hydroxides, not provided for in group B01J21/00
    • B01J23/38Catalysts comprising metals or metal oxides or hydroxides, not provided for in group B01J21/00 of noble metals
    • B01J23/54Catalysts comprising metals or metal oxides or hydroxides, not provided for in group B01J21/00 of noble metals combined with metals, oxides or hydroxides provided for in groups B01J23/02 - B01J23/36
    • B01J23/56Platinum group metals
    • B01J23/63Platinum group metals with rare earths or actinides
    • BPERFORMING OPERATIONS; TRANSPORTING
    • B01PHYSICAL OR CHEMICAL PROCESSES OR APPARATUS IN GENERAL
    • B01JCHEMICAL OR PHYSICAL PROCESSES, e.g. CATALYSIS OR COLLOID CHEMISTRY; THEIR RELEVANT APPARATUS
    • B01J37/00Processes, in general, for preparing catalysts; Processes, in general, for activation of catalysts
    • B01J37/02Impregnation, coating or precipitation
    • B01J37/024Multiple impregnation or coating
    • B01J37/0244Coatings comprising several layers
    • BPERFORMING OPERATIONS; TRANSPORTING
    • B01PHYSICAL OR CHEMICAL PROCESSES OR APPARATUS IN GENERAL
    • B01JCHEMICAL OR PHYSICAL PROCESSES, e.g. CATALYSIS OR COLLOID CHEMISTRY; THEIR RELEVANT APPARATUS
    • B01J37/00Processes, in general, for preparing catalysts; Processes, in general, for activation of catalysts
    • B01J37/02Impregnation, coating or precipitation
    • B01J37/024Multiple impregnation or coating
    • B01J37/0248Coatings comprising impregnated particles
    • BPERFORMING OPERATIONS; TRANSPORTING
    • B01PHYSICAL OR CHEMICAL PROCESSES OR APPARATUS IN GENERAL
    • B01DSEPARATION
    • B01D2255/00Catalysts
    • B01D2255/10Noble metals or compounds thereof
    • B01D2255/102Platinum group metals
    • B01D2255/1021Platinum
    • BPERFORMING OPERATIONS; TRANSPORTING
    • B01PHYSICAL OR CHEMICAL PROCESSES OR APPARATUS IN GENERAL
    • B01DSEPARATION
    • B01D2255/00Catalysts
    • B01D2255/10Noble metals or compounds thereof
    • B01D2255/102Platinum group metals
    • B01D2255/1023Palladium
    • BPERFORMING OPERATIONS; TRANSPORTING
    • B01PHYSICAL OR CHEMICAL PROCESSES OR APPARATUS IN GENERAL
    • B01DSEPARATION
    • B01D2255/00Catalysts
    • B01D2255/10Noble metals or compounds thereof
    • B01D2255/102Platinum group metals
    • B01D2255/1025Rhodium
    • BPERFORMING OPERATIONS; TRANSPORTING
    • B01PHYSICAL OR CHEMICAL PROCESSES OR APPARATUS IN GENERAL
    • B01DSEPARATION
    • B01D2255/00Catalysts
    • B01D2255/20Metals or compounds thereof
    • B01D2255/204Alkaline earth metals
    • B01D2255/2042Barium
    • BPERFORMING OPERATIONS; TRANSPORTING
    • B01PHYSICAL OR CHEMICAL PROCESSES OR APPARATUS IN GENERAL
    • B01DSEPARATION
    • B01D2255/00Catalysts
    • B01D2255/20Metals or compounds thereof
    • B01D2255/206Rare earth metals
    • BPERFORMING OPERATIONS; TRANSPORTING
    • B01PHYSICAL OR CHEMICAL PROCESSES OR APPARATUS IN GENERAL
    • B01DSEPARATION
    • B01D2255/00Catalysts
    • B01D2255/20Metals or compounds thereof
    • B01D2255/209Other metals
    • B01D2255/2092Aluminium
    • BPERFORMING OPERATIONS; TRANSPORTING
    • B01PHYSICAL OR CHEMICAL PROCESSES OR APPARATUS IN GENERAL
    • B01DSEPARATION
    • B01D2255/00Catalysts
    • B01D2255/40Mixed oxides
    • B01D2255/407Zr-Ce mixed oxides
    • BPERFORMING OPERATIONS; TRANSPORTING
    • B01PHYSICAL OR CHEMICAL PROCESSES OR APPARATUS IN GENERAL
    • B01DSEPARATION
    • B01D2255/00Catalysts
    • B01D2255/90Physical characteristics of catalysts
    • B01D2255/902Multilayered catalyst
    • B01D2255/9022Two layers
    • BPERFORMING OPERATIONS; TRANSPORTING
    • B01PHYSICAL OR CHEMICAL PROCESSES OR APPARATUS IN GENERAL
    • B01DSEPARATION
    • B01D2258/00Sources of waste gases
    • B01D2258/01Engine exhaust gases
    • B01D2258/014Stoichiometric gasoline engines
    • BPERFORMING OPERATIONS; TRANSPORTING
    • B01PHYSICAL OR CHEMICAL PROCESSES OR APPARATUS IN GENERAL
    • B01DSEPARATION
    • B01D53/00Separation of gases or vapours; Recovering vapours of volatile solvents from gases; Chemical or biological purification of waste gases, e.g. engine exhaust gases, smoke, fumes, flue gases, aerosols
    • B01D53/34Chemical or biological purification of waste gases
    • B01D53/92Chemical or biological purification of waste gases of engine exhaust gases
    • B01D53/94Chemical or biological purification of waste gases of engine exhaust gases by catalytic processes
    • B01D53/9459Removing one or more of nitrogen oxides, carbon monoxide, or hydrocarbons by multiple successive catalytic functions; systems with more than one different function, e.g. zone coated catalysts
    • B01D53/9477Removing one or more of nitrogen oxides, carbon monoxide, or hydrocarbons by multiple successive catalytic functions; systems with more than one different function, e.g. zone coated catalysts with catalysts positioned on separate bricks, e.g. exhaust systems
    • BPERFORMING OPERATIONS; TRANSPORTING
    • B01PHYSICAL OR CHEMICAL PROCESSES OR APPARATUS IN GENERAL
    • B01JCHEMICAL OR PHYSICAL PROCESSES, e.g. CATALYSIS OR COLLOID CHEMISTRY; THEIR RELEVANT APPARATUS
    • B01J2523/00Constitutive chemical elements of heterogeneous catalysts
    • YGENERAL TAGGING OF NEW TECHNOLOGICAL DEVELOPMENTS; GENERAL TAGGING OF CROSS-SECTIONAL TECHNOLOGIES SPANNING OVER SEVERAL SECTIONS OF THE IPC; TECHNICAL SUBJECTS COVERED BY FORMER USPC CROSS-REFERENCE ART COLLECTIONS [XRACs] AND DIGESTS
    • Y02TECHNOLOGIES OR APPLICATIONS FOR MITIGATION OR ADAPTATION AGAINST CLIMATE CHANGE
    • Y02CCAPTURE, STORAGE, SEQUESTRATION OR DISPOSAL OF GREENHOUSE GASES [GHG]
    • Y02C20/00Capture or disposal of greenhouse gases
    • Y02C20/10Capture or disposal of greenhouse gases of nitrous oxide (N2O)
    • YGENERAL TAGGING OF NEW TECHNOLOGICAL DEVELOPMENTS; GENERAL TAGGING OF CROSS-SECTIONAL TECHNOLOGIES SPANNING OVER SEVERAL SECTIONS OF THE IPC; TECHNICAL SUBJECTS COVERED BY FORMER USPC CROSS-REFERENCE ART COLLECTIONS [XRACs] AND DIGESTS
    • Y02TECHNOLOGIES OR APPLICATIONS FOR MITIGATION OR ADAPTATION AGAINST CLIMATE CHANGE
    • Y02TCLIMATE CHANGE MITIGATION TECHNOLOGIES RELATED TO TRANSPORTATION
    • Y02T10/00Road transport of goods or passengers
    • Y02T10/10Internal combustion engine [ICE] based vehicles
    • Y02T10/12Improving ICE efficiencies

Landscapes

  • Chemical & Material Sciences (AREA)
  • Engineering & Computer Science (AREA)
  • Chemical Kinetics & Catalysis (AREA)
  • Materials Engineering (AREA)
  • Organic Chemistry (AREA)
  • Health & Medical Sciences (AREA)
  • Analytical Chemistry (AREA)
  • General Chemical & Material Sciences (AREA)
  • Oil, Petroleum & Natural Gas (AREA)
  • Environmental & Geological Engineering (AREA)
  • Biomedical Technology (AREA)
  • Combustion & Propulsion (AREA)
  • Exhaust Gas Treatment By Means Of Catalyst (AREA)
  • Catalysts (AREA)
  • Exhaust Gas After Treatment (AREA)

Abstract

【課題】NOx浄化性能とHC浄化性能を共に有効に発揮することができる排ガス浄化用触媒を提供する。
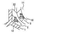
【解決手段】排ガス浄化用触媒は、排ガスが流通するガス流路10を有するハニカム基材1と、ハニカム基材1の表面に形成された下触媒層2と、下触媒層2の表面に形成された上触媒層3とを有する。上触媒層3は、Rhを担持してなり、下触媒層2は、Pdを担持してなるPd担持層21と、Ptを担持してなるPt担持層22とよりなる。上触媒層3のガス流れ方向の長さは、下触媒層2のガス流れ方向の長さよりも短い。
【選択図】図1

Description

本発明は、三元触媒として有用な排ガス浄化用触媒に関する。
自動車の排ガス中のHC、CO及びNOxを浄化する触媒として、三元触媒が広く用いられている。この三元触媒は、例えば、特許文献1(特開昭63−236541号公報)に開示されているように、基材に、Pt(白金)、Pd(パラジウム)、Rh(ロジウム)などの貴金属を担持したものであり、HC及びCOを酸化して浄化すると共に、NOxを還元して浄化する。これらの反応は、酸化成分と還元成分がほぼ同量で存在する雰囲気下で最も効率よく進行する。このため、三元触媒を搭載した車両においては、理論空燃比(ストイキ)近傍で燃焼されるように空燃比の制御が行われる。
ところで、近年、有限資源の節約のため、貴金属の使用の低減が求められている。貴金属の中でもRhは採掘量に限りがあり、高コストである。そのため、特許文献2(特開2004−298813号公報)及び特許文献3(特開2001−79403号公報)に開示されているように、Rhを有効に活用するために、触媒層を2層化し、上層にRhを配置することでRhの活性を高めていた。詳しくは、特許文献2では、上層にRh、下層にPtを配置しており、特許文献3では、上層にRh及びPtの少なくとも一方、下層にPdを配置していた。
Rhは、NOx還元浄化活性が高く、Pt、PdはHC、COの酸化浄化活性が高い。上層にRhを配置することで、NOxの浄化性能が向上する。
しかしながら、特許文献2、3に開示されているように、触媒層を上層と下層で2層化した場合には、下層が上層に被覆されるため、上層に比べて、下層へのガス拡散性が低下し、下層の触媒活性が抑えられる。
特許文献2では、下層にPtが配置されているため、PtのHC浄化性能が抑えられる。特許文献3では、下層にPdが配置されているため、PdのHC浄化性能が抑えられる。特に、特許文献3の実施例1、4では、上層にRhとPtとが共存しているため、RhとPtとが合金化し、PtのHC浄化性能が低下してしまう。
特開昭63−236541号公報 特開2004−298813号公報 特開2001−79403号公報
本発明はかかる事情に鑑みてなされたものであり、NOx浄化性能とHC浄化性能を共に有効に発揮することができる排ガス浄化用触媒を提供することを課題とする。
前記課題を解決するため、請求項1に係る発明は、排ガスが流通するガス流路を有する基材と、該基材の表面に形成された下触媒層と、該下触媒層の表面に形成された上触媒層と、を有する排ガス浄化用触媒において、前記上触媒層は、Rhを担持してなり、前記下触媒層は、Pd又は/及びPtを担持してなり、前記上触媒層の前記ガス流路に沿ったガス流れ方向の長さは、前記下触媒層の前記ガス流れ方向の長さよりも短いことを特徴とする。
請求項2に係る発明は、前記下触媒層の前記ガス流れ方向の長さに対する前記上触媒層の前記ガス流れ方向の長さの比率は50〜90%であることを特徴とする。
請求項3に係る発明は、前記上触媒層は、前記下触媒層の前記ガス流れ方向の下流側端部を含む部分の表面に配設されていることを特徴とする。
請求項4に係る発明は、前記下触媒層は、前記ガス流れ方向の上流側でPdを担持してなるPd担持層と、前記Pd担持層よりも前記ガス流れ方向の下流側でPtを担持してなるPt担持層とからなることを特徴とする。
前記請求項1に係る発明においては、上触媒層でRhを担持し、下触媒層でPd又は/及びPtを担持している。Rhは、Pd又は/及びPtと分層されているため、RhがPd又は/及びPtと合金化することはなく、Pd又は/及びPtのHC浄化性能が低下するおそれもない。
また、上触媒層にはRhが担持されている。RhはNOx浄化性能に優れており、ガス流路に接する上層に配置することで、ガス流路を流れる排ガスの上触媒層への拡散性が高くなり、排ガス中のNOxと接触しやすくなり、RhのNOx浄化性能を有効に発揮することができる。
また、上触媒層のガス流れ方向の長さは、下触媒層の前記ガス流れ方向の長さよりも短い。このため、下触媒層の一部が、上触媒層に被覆されず、ガス流路に露出する。ゆえに、下触媒層へ排ガスが拡散しやすくなり、Pd又は/及びPtのHC浄化性能及びCO浄化性能を有効に発揮することができる。
前記請求項2に係る発明によれば、下触媒層のガス流れ方向の長さに対する上触媒層のガス流れ方向の長さの比率は50〜90%である。このため、上触媒層の長さを保持しつつ、下触媒層もある程度の長さでガス流路に露出させることができる。ゆえに、上触媒層に担持されているRhのNOx浄化性能と、下触媒層に担持されているPd又は/及びPtのHC浄化性能を、共に効果的に発揮させることができる。
また、下触媒層にセリアなどの酸素吸放出材を含む場合には、下触媒層がガス流路に表出することにより、ガス流路を流れる排ガスの空燃比(A/F)の変動が緩和される。ゆえに、下触媒層及び上触媒層が、安定した浄化性能を発揮することができる。
前記請求項3に係る発明によれば、上触媒層は、下触媒層におけるガス流れ方向の下流側端部を含む部分の表面に配設されている。基材の下流側は、上流側に比べて、低温である。このため、下流側に、Rhを担持してなる上触媒層を配設することにより、Rhの高温時の熱劣化を抑制することができる。
前記請求項4に係る発明によれば、下触媒層が、上流側のPd担持層と、下流側のPt担持層とからなる。下触媒層に含まれているPd又は/及びPtは、排ガス中の酸素を消費して、排ガス中のHC及びCOを酸化浄化する。このため、下流側の酸素濃度が、上流側よりも低くなる。そこで、酸素濃度が高い上流側に、酸素濃度が高い雰囲気で高温時の耐久性が高いPd担持層を配設し、下流側にPt担持層を配設している。これにより、Pt担持層が、下流側の酸素濃度が低く比較的低温の雰囲気に配置されるため、Ptの熱劣化が抑制されて、下触媒層全体の耐久性が向上する。
本発明の排ガス浄化用触媒は、ガス流路を有する基材と、基材の表面に形成された下触媒層と、下触媒層の表面に形成された上触媒層とをもつ。基材は、ガス流路を有する構造を備えており、例えば、ハニカム形状、フォーム形状などのものを用いることができる。基材の材質は特に限定されず、コージェライト、SiCなどのセラミックス製のもの、あるいは金属製のものなど公知のものを用いることができる。
下触媒層は、基材の表面に形成されている。ここで、基材がハニカム形状である場合には、複数のガス流路を区画しているハニカム基材の隔壁の表面に下触媒層が形成されている。下触媒層は、基材のガス流れ方向の全体に形成されているとよい。
下触媒層は、担体と、担体に担持され貴金属触媒としてのPd又は/及びPtとからなる。下触媒層は、Pd又は/及びPtは担持しているが、Rhは担持していないことが望ましい。Pd又は/及びPtは、HC及びCOの酸化浄化反応を促進する。
下触媒層は、ガス流れ方向の上流側にPdを担持してなるPd担持層と、Pd担持層よりも下流側でPtを担持してなるPt担持層とからなることが好ましい。この場合には、高温で酸素濃度が高い上流側に、酸素濃度が高い雰囲気下で高温時の耐久性に優れたPdが配置され、Ptの劣化を抑制でき、下触媒相全体の耐久性を向上させることができる。
基材のガス流れ方向の長さに対する、Pd担持層のガス流れ方向の長さの比率は20〜45%であることが好ましい。該比率が20%未満の場合には、高熱時の耐久性が比較的低いPtを担持したPt担持層が、高温の上流側に近接し、Ptが熱劣化するおそれがあり、45%を越える場合には、上流側のPd濃度が低くなるため、暖機性能が低下するおそれがある。
下触媒層のPd担持層のPd担持量は、0.25〜5.0g/L(リットル)であることが好ましい。0.25g/L未満の場合には、HC及びCOの酸化活性が低下するおそれがあり、5.0g/Lを超える場合には、効果が飽和するとともにコストの増加を招く。
下触媒層のPt担持層のPt担持量は、0.25〜5.0g/Lであることが好ましい。0.25g/L未満の場合には、HC及びCOの酸化活性が低下するおそれがあり、5.0g/Lを超える場合には、効果が飽和するとともにコストの増加を招く。
下触媒層のPd担持層の担体は、アルミナ、セリア、セリア−ジルコニア複合酸化物、及び、ランタン、イットリウム、ネオジウム、プラセオジウムの酸化物を前記複合酸化物に添加したものなどを用いることができる。下触媒層のPt担持層の担体は、アルミナ、セリア、セリア−ジルコニア複合酸化物、及び、ランタン、イットリウム、ネオジウム、プラセオジウムの酸化物を前記複合酸化物に添加したものなどを用いることができる。
下触媒層の厚みは、10〜20μmであることが好ましい。10μm未満の場合には、下触媒層に含まれるPd又は/及びPtの触媒活性が低下するおそれがあり、20μmを越える場合には、下触媒層の深部でのPd又は/及びPtへの排ガスの拡散性が低下するおそれがある。
下触媒層を形成するにあたっては、下触媒層用の担体粉末を含むスラリーを基材にウォッシュコートした後に、それにPd又は/及びPtを担持してもよいし、担体粉末に予めPd又は/及びPtを担持させた触媒粉末を含むスラリーを、下触媒層をもつ基材にウォッシュコートしてもよい。
下触媒層が上流側のPd担持層と下流側のPt担持層とに分離されている場合には、Pd担持層を形成するにあたって、Pd担持層用担体粉末を含むスラリーの中に、基材の上流側端部から所定の長さまでの部分を浸漬した後、Pdを担持させる。Pdを担持した触媒粉末を含むスラリーについても同様とする。Pt担持層を形成するに当たっては、Pt担持層用担体粉末を含むスラリーの中に、基材の下流側端部から所定の長さまでの部分を浸漬する。Ptを担持した触媒粉末を含むスラリーについても同様とする。
下触媒層の表面には、上触媒層が形成されている。上触媒層のガス流れ方向の長さは、下触媒層のガス流れ方向の長さよりも短い。下触媒層のガス流れ方向の長さに対する上触媒層のガス流れ方向の長さの比率は100%以下であり、好ましくは50〜90%であり、望ましくは60〜85%である。該比率が50%未満の場合には、上触媒層の長さが下触媒層の長さに比べて短すぎ、上触媒層に担持されているRhのNOx浄化活性が低下するおそれがある。90%を越える場合には、下触媒層の多くの部分が上触媒層で被覆されて、下触媒層へのガス拡散性が低下するおそれがある。
下触媒層のガス流れ方向の長さに対する上触媒層のガス流れ方向の長さの比率が60〜85%であることにより、下触媒層に担持されているPd又は/及びPtのHC酸化活性と、上触媒層に担持されているRhのNOx還元活性とをバランスよく効果的に発揮させることができる。
上触媒層は、下触媒層のガス流れ方向の下流側端部を含む部分の表面に配設されているとよい。この場合、下触媒層における下流側端部を含む部分は上触媒層により被覆され、上流側の部分はガス流路に露出する。
上触媒層は、担体と、担体に担持されている触媒貴金属であるRhとからなる。上触媒層には、Rhが担持されているが、Pd及びPtのいずれも担持していないことが望ましい。上触媒層のRh担持量は、0.1〜1.2g/Lであることが好ましい。0.1g/L未満の場合には、NOxの還元活性が低下するおそれがあり、1.2g/Lを超える場合には、効果が飽和するとともにコストの増加を招く。
上触媒層の担体は、アルミナ、ジルコニア、ジルコニア−セリア複合酸化物、及び、ランタン、イットリウム、ネオジウム、プラセオジウムの酸化物を前記複合酸化物に添加したものなどを用いることができる。
上触媒層の厚みは、10〜20μmであることが好ましい。10μm未満の場合には、上触媒層に含まれるRhの触媒活性が低下するおそれがあり、20μmを越える場合には、下触媒層の上触媒層に被覆されている部分への排ガスの拡散性が低下するおそれがある。
上触媒層を形成するにあたっては、上触媒層用の担体粉末を含むスラリーを下触媒層を形成した基材にウォッシュコートした後に、それに少なくともRhを担持してもよいし、担体粉末に予めRhを担持させた触媒粉末を含むスラリーを、下触媒層を形成した基材にウォッシュコートしてもよい。
上触媒層又は/及び下触媒層に含まれる担体には、ガス流路を流れる排ガス中の酸素を吸放出し得る酸素吸放出材として機能するものがある。酸素吸放出材としては、セリア、セリア−ジルコニア複合酸化物などがあげられる。
本発明の排ガス浄化用触媒は、三元触媒として有用に用いることができる。
本発明について、実施例及び比較例を用いて具体的に説明する。
(実施例1)
本例の排ガス浄化用触媒は、図1に示すように、排ガスが流通するガス流路10を有するハニカム基材1と、ハニカム基材1の表面に形成された下触媒層2と、下触媒層2の表面に形成された上触媒層3とを有している。
図2に示すように、ハニカム基材1は、長さ(L1)105mmの円筒体であり、コーディエライト製である。図3,図4に示すように、ハニカム基材1には、長手方向に延びる多数の六角形断面のセル11が隔壁12で区画されている。各セル11を構成する隔壁12の表面には、下触媒層2及び上触媒層3が形成されており、その表面の空間部にガス流路10が形成されている。
図1に示すように、下触媒層2は、Pdを担持してなるPd担持層21と、Ptを担持してなるPt担持層22とから構成されている。Pd担持層21は、ガス流路10を流れるガスの流れ方向の基材1の上流側端部1aから20mmまでの部分に配置されている。Pt担持層22は、Pd担持層21の下流側端部21bから、基材1の下流側端部1bまでの85mmの部分に配置されている。したがって、図3に示すように、基材1の上流側では、下触媒層2のPd担持層21のみの単層が配設され、図4に示すように、基材1の下流側では、下触媒層2のPt担持層22と上触媒層3の2層が配設されている。
上触媒層3は、Rhを担持している。上触媒層3のガス流れ方向の長さL3は、85mmであり、基材1の下流側端部1bから上流側に向けて85mmまでの部分に配置されている。したがって、下触媒層2の上流側端部2aから20mmまでの部分は、ガス流路10に露出している。
下触媒層2の厚みは15μmであり、上触媒層3の厚みは12μmである。
次に、本例の排ガス浄化用触媒の製造方法について説明する。まず、Pt担持層形成用の担体としてのCeO―ZrO―Y―La複合酸化物粉末(CeO:30質量%、ZrO:60質量%、Y:5質量%、La:5質量%)を用意し、貴金属触媒溶液としてのジニトロジアミンPt溶液を含浸した後、蒸発乾固してPtを1.4質量%担持したPt/担体粉末を調製した。
このPt/担体粉末60質量部と、Al−La複合酸化物(Al:96質量%、La:4質量%)25重量部と、BaSOを15重量部バインダとしてのアルミナゾル(Al:10質量%)3重量部(アルミナの絶対量)と、蒸留水とを混合してPt担持層用スラリーを調製した。これにコージェライト製のハニカム基材1(直径103mm、全長105mm)の下流側端部1bから上流側へ85mmの部分までを浸漬し、引き上げて余分なスラリーを吹き払った後、乾燥、焼成してPt担持層22を形成した。Pt担持層22は、ハニカム基材1の1L当たり103g形成され、Ptはハニカム基材1の1L当たり0.45g担持されている。
次に、Pd担持層形成用の担体として、CeO―ZrO―La―Pr11複合酸化物粉末(CeO:60質量%、ZrO:40質量%、La:3質量%、Pr11:7質量%)を用意し、貴金属触媒溶液としての硝酸Pd水溶液を含浸した後、蒸発乾固して、Pdを担持したPd/担体粉末を調製した。
このPd/担体粉末9質量部と、Al−La複合酸化物(Al:96質量%、La:4質量%)3重量部と、BaSOを3重量部、バインダとしてのアルミナゾル(Al:10質量%)2重量部(アルミナの絶対量)と、蒸留水とを混合してPd担持層用スラリーを調製した。このPd担持層用スラリーに、上記のPt担持層22を形成したハニカム基材1の上流側端部1aから下流側へ20mmの部分までを漬浸し、引き上げて余分なスラリーを吹き払った後、乾燥、焼成してPd担持層21を形成した。Pd担持層21は、ハニカム基材1の1L当たり17g形成され、Pdはハニカム基材1の1L当たり0.9g担持されている。
次に、上触媒層形成用の担体として、CeO―ZrO―Y―Nd複合酸化物粉末(CeO:20質量%、ZrO:60質量%、Y:8質量%、Nd:12質量%)を用意し、貴金属触媒溶液としての硝酸Rh水溶液を含浸した後、蒸発乾固してRhを担持したRh/担体粉末を調製した。
このRh/担体粉末50質量部と、Al−La複合酸化物(Al:96質量%、La:4質量%)25重量部と、バインダとしてのアルミナゾル(Al:10質量%)3重量部(アルミナの絶対量)と、蒸留水とを混合して上触媒層用スラリーを調製した。この上触媒層用スラリーに、上記のハニカム基材1表面のPd担持層21及びPt担持層22の表面の、ハニカム基材1の下流側端部1bから上流側へ85mmの部分までを漬浸し、引き上げて余分なスラリーを吹き払った後、乾燥、焼成して、Rhを担持してなる上触媒層3を形成した。上触媒層3は、ハニカム基材1の1L当たり78g形成され、Rhはハニカム基材1の1L当たり0.13g担持されている。
(実施例2)
本例においては、上触媒層3が、下触媒層2の下流側端部2bから上流側に向けて75mmの長さまでの部分に形成されている点が、実施例1と相違する。その他は、実施例1と同様である。
(実施例3)
本例においては、上触媒層3が、下触媒層2の下流側端部2bから上流側に向けて65mmの長さまでの部分に形成されている点が、実施例1と相違する。その他は、実施例1と同様である。
(実施例4)
本例においては、図5に示すように、上触媒層3が、下触媒層2の下流側端部2bから上流側に向けて55mmの長さまでの部分に形成されている点が、実施例1と相違する。その他は、実施例1と同様である。
(実施例5)
本例においては、上触媒層3が、下触媒層2の下流側端部2bから上流側に向けて95mmの長さまでの部分に形成されている点が、実施例1と相違する。その他は、実施例1と同様である。
(比較例1)
本比較例においては、図6に示すように、上触媒層3が、下触媒層2の下流側端部2bから上流側に向けて105mmの長さの部分に形成されている。即ち、上触媒層3は、下触媒層2の全体を被覆している。
<実験>
前記実施例1〜5及び比較例1の触媒をV型8気筒4.3Lエンジンの排気系にそれぞれ装着し、ガソリンを用いて、定常条件、A/F(空燃比)=14.0とA/F=15.0との間を1Hzで振動させ、触媒の中心温度1000℃の条件にて、50時間の耐久試験を施した。
直列4気筒の2.4Lエンジンの排気系に耐久試験後の各触媒をそれぞれ搭載し、触媒入りガス温度が550℃になるまで理論空燃比(A/F=14.2)で燃焼させ、その間に排出されたNOx量及びHC量を測定した。測定結果を図7に示した。図7には、上触媒層の長さの短い順に測定結果を配列させた。図7の中、E1〜E5及びC1は、実施例1〜5及び比較例1を示す。
図7より、上触媒層の長さを長くするほど、触媒のHC排出量が増加し、一方でNOx排出量が減少した。このことから、上触媒層の長さを長くするほど、上触媒層に担持されているRhのNOx還元浄化活性が高くなることがわかる。これは、上触媒層の長さが長いほど、排ガスの上触媒層に対する空間速度(SV)が小さくなるため、排ガスの上触媒層へのガス拡散性が高くなるからであると考えられる。また、上触媒層の長さが長いほど、下触媒層が上触媒層に被覆される長さが長くなり、下触媒層へのガス拡散性が低く、下触媒層に担持されているPt及びPdのHC酸化浄化活性が低くなることがわかる。
逆に、上触媒層の長さが短いほど、下触媒層に担持されているPt及びPdのHC酸化浄化活性が低くなった。これは、上触媒層の長さが短いほど、下触媒層の露出量が増えて、排ガス中のHCの燃焼活性が高いPtへのガス拡散性が大きくなるためであると考えられる。
また、上触媒層の長さが80mm、即ち下触媒層の長さに対する上触媒層の長さが76%で、HC排出量及びNOx排出量の双方が低くなった。このことから、上触媒層の長さが、50〜90%であり、望ましくは60〜85%の場合に、HC及びNOxの浄化活性をバランスよく発揮させることができることがわかる。
一方、比較例では、下触媒層の長さに対する上触媒層の長さの比率が100%であり、HC排出量は最も多くなったが、NOx排出量は最も低くなった。このことから、上触媒層のRhによるNOx浄化活性は高くなったが、下触媒層のPt及びPdによるHC浄化活性が低く抑えられたことがわかる。
実施例1の排ガス浄化用触媒のガス流れ方向の断面図である。 実施例1の排ガス浄化用触媒の斜視図である。 図2のA−A矢視線断面図である。 図2のB−B矢視線断面図である。 実施例2の排ガス浄化用触媒のガス流れ方向の断面図である。 比較例1の排ガス浄化用触媒のガス流れ方向の断面図である。 上触媒層の長さとHC排出量及びNOx排出量との関係を示す線図である。
符号の説明
1:ハニカム基材、2:下触媒層、3:上触媒層、10:ガス流路、21:Pd担持層、22:Pt担持層。

Claims (4)

  1. 排ガスが流通するガス流路を有する基材と、該基材の表面に形成された下触媒層と、該下触媒層の表面に形成された上触媒層と、を有する排ガス浄化用触媒において、
    前記上触媒層は、Rhを担持してなり、前記下触媒層は、Pd又は/及びPtを担持してなり、
    前記上触媒層の前記ガス流路に沿ったガス流れ方向の長さは、前記下触媒層の前記ガス流れ方向の長さよりも短いことを特徴とする排ガス浄化用触媒。
  2. 前記下触媒層の前記ガス流れ方向の長さに対する前記上触媒層の前記ガス流れ方向の長さの比率は50〜90%であることを特徴とする請求項1記載の排ガス浄化用触媒。
  3. 前記上触媒層は、前記下触媒層の前記ガス流れ方向の下流側端部を含む部分の表面に配設されていることを特徴とする請求項1又は請求項2に記載の排ガス浄化用触媒。
  4. 前記下触媒層は、前記ガス流れ方向の上流側でPdを担持してなるPd担持層と、前記Pd担持層よりも前記ガス流れ方向の下流側でPtを担持してなるPt担持層とからなることを特徴とする請求項1乃至請求項3のいずれか1項に記載の排ガス浄化用触媒。
JP2008170808A 2008-06-30 2008-06-30 排ガス浄化用触媒 Active JP4751917B2 (ja)

Priority Applications (2)

Application Number Priority Date Filing Date Title
JP2008170808A JP4751917B2 (ja) 2008-06-30 2008-06-30 排ガス浄化用触媒
PCT/IB2009/006122 WO2010001226A1 (en) 2008-06-30 2009-06-29 Layered exhaust gas purification catalyst comprising different noble metals

Applications Claiming Priority (1)

Application Number Priority Date Filing Date Title
JP2008170808A JP4751917B2 (ja) 2008-06-30 2008-06-30 排ガス浄化用触媒

Publications (2)

Publication Number Publication Date
JP2010005590A true JP2010005590A (ja) 2010-01-14
JP4751917B2 JP4751917B2 (ja) 2011-08-17

Family

ID=41057369

Family Applications (1)

Application Number Title Priority Date Filing Date
JP2008170808A Active JP4751917B2 (ja) 2008-06-30 2008-06-30 排ガス浄化用触媒

Country Status (2)

Country Link
JP (1) JP4751917B2 (ja)
WO (1) WO2010001226A1 (ja)

Cited By (18)

* Cited by examiner, † Cited by third party
Publication number Priority date Publication date Assignee Title
JP2012152702A (ja) * 2011-01-27 2012-08-16 Toyota Motor Corp 排ガス浄化用触媒
JP2013119075A (ja) * 2011-12-08 2013-06-17 Toyota Motor Corp 排ガス浄化用触媒
JP2016112492A (ja) * 2014-12-12 2016-06-23 トヨタ自動車株式会社 排ガス浄化触媒
JP2016112491A (ja) * 2014-12-12 2016-06-23 トヨタ自動車株式会社 排ガス浄化触媒
JP2016112489A (ja) * 2014-12-12 2016-06-23 トヨタ自動車株式会社 排ガス浄化触媒
US9731275B2 (en) 2013-01-23 2017-08-15 Toyota Jidosha Kabushiki Kaisha Catalytic converter
US9782753B2 (en) 2013-02-13 2017-10-10 Toyota Jidosha Kabushiki Kaisha Catalytic converter
US9782723B2 (en) 2013-04-03 2017-10-10 Toyota Jidosha Kabushiki Kaisha Catalyst converter
US10071365B2 (en) 2013-01-23 2018-09-11 Toyota Jidosha Kabushiki Kaisha Catalytic converter
WO2018199249A1 (ja) 2017-04-28 2018-11-01 ユミコア日本触媒株式会社 排気ガス浄化用触媒およびそれを用いた排気ガス浄化方法
WO2018199248A1 (ja) 2017-04-28 2018-11-01 ユミコア日本触媒株式会社 排気ガス浄化用触媒およびそれを用いた排気ガス浄化方法
WO2018199250A1 (ja) 2017-04-28 2018-11-01 ユミコア日本触媒株式会社 排気ガス浄化用触媒およびそれを用いた排気ガス浄化方法
WO2019131796A1 (ja) 2017-12-28 2019-07-04 ユミコア日本触媒株式会社 リン化合物含有排ガス浄化用触媒
JP2020157262A (ja) * 2019-03-27 2020-10-01 株式会社キャタラー 排ガス浄化用触媒
CN114786811A (zh) * 2019-12-19 2022-07-22 巴斯夫公司 具有富集pgm区的排放控制催化剂制品、用于生产其的方法和装置
CN116419797A (zh) * 2020-11-06 2023-07-11 株式会社 科特拉 排气净化催化剂装置
JP7434489B1 (ja) 2022-10-18 2024-02-20 株式会社キャタラー 排ガス浄化用触媒およびこれを用いた触媒体
JPWO2025121117A1 (ja) * 2023-12-04 2025-06-12

Families Citing this family (8)

* Cited by examiner, † Cited by third party
Publication number Priority date Publication date Assignee Title
WO2011118047A1 (ja) * 2010-03-24 2011-09-29 トヨタ自動車株式会社 排ガス浄化用触媒
US8557204B2 (en) 2010-11-22 2013-10-15 Umicore Ag & Co. Kg Three-way catalyst having an upstream single-layer catalyst
EP2698515A4 (en) * 2011-04-15 2014-09-03 Toyota Motor Co Ltd EXHAUST GAS CLEANER FOR A COMBUSTION ENGINE
WO2018016601A1 (ja) 2016-07-20 2018-01-25 ユミコア日本触媒株式会社 内燃機関の排気ガスの浄化用触媒および該触媒を用いた排気ガスの浄化方法
EP3696382A1 (en) 2016-07-20 2020-08-19 Umicore Shokubai Japan Co., Ltd. Exhaust gas purification catalyst for internal combustion engine, and exhaust gas purifying method using said exhaust gas purification catalyst
EP3721990A4 (en) * 2017-12-08 2021-09-01 Johnson Matthey (Shanghai) Chemicals Limited NEW MULTI-REGION TWC FOR TREATMENT OF EXHAUST GAS FROM A PETROL ENGINE
JP6775052B2 (ja) * 2019-03-27 2020-10-28 株式会社キャタラー 排ガス浄化用触媒
JP6997838B1 (ja) * 2020-08-07 2022-01-18 株式会社キャタラー 排ガス浄化用触媒

Citations (8)

* Cited by examiner, † Cited by third party
Publication number Priority date Publication date Assignee Title
JPS6384635A (ja) * 1986-09-26 1988-04-15 Nissan Motor Co Ltd 排気ガス浄化用触媒
JPS63236541A (ja) * 1987-03-24 1988-10-03 Nissan Motor Co Ltd 排ガス浄化用触媒
JPH05293384A (ja) * 1992-04-15 1993-11-09 Nissan Motor Co Ltd 排ガス浄化用触媒及び排ガス浄化方法
JP2001079403A (ja) * 1999-09-14 2001-03-27 Daihatsu Motor Co Ltd 排気ガス浄化用触媒
JP2001205051A (ja) * 2000-01-27 2001-07-31 Cataler Corp 排気ガス浄化用触媒
JP2001212464A (ja) * 1999-11-26 2001-08-07 Nissan Motor Co Ltd 排気ガス浄化用触媒
JP2004298813A (ja) * 2003-03-31 2004-10-28 Mitsui Mining & Smelting Co Ltd 層状触媒
JP2005530614A (ja) * 2002-06-27 2005-10-13 エンゲルハード・コーポレーシヨン マルチゾーン触媒コンバーター

Family Cites Families (1)

* Cited by examiner, † Cited by third party
Publication number Priority date Publication date Assignee Title
US5376610A (en) * 1992-04-15 1994-12-27 Nissan Motor Co., Ltd. Catalyst for exhaust gas purification and method for exhaust gas purification

Patent Citations (8)

* Cited by examiner, † Cited by third party
Publication number Priority date Publication date Assignee Title
JPS6384635A (ja) * 1986-09-26 1988-04-15 Nissan Motor Co Ltd 排気ガス浄化用触媒
JPS63236541A (ja) * 1987-03-24 1988-10-03 Nissan Motor Co Ltd 排ガス浄化用触媒
JPH05293384A (ja) * 1992-04-15 1993-11-09 Nissan Motor Co Ltd 排ガス浄化用触媒及び排ガス浄化方法
JP2001079403A (ja) * 1999-09-14 2001-03-27 Daihatsu Motor Co Ltd 排気ガス浄化用触媒
JP2001212464A (ja) * 1999-11-26 2001-08-07 Nissan Motor Co Ltd 排気ガス浄化用触媒
JP2001205051A (ja) * 2000-01-27 2001-07-31 Cataler Corp 排気ガス浄化用触媒
JP2005530614A (ja) * 2002-06-27 2005-10-13 エンゲルハード・コーポレーシヨン マルチゾーン触媒コンバーター
JP2004298813A (ja) * 2003-03-31 2004-10-28 Mitsui Mining & Smelting Co Ltd 層状触媒

Cited By (34)

* Cited by examiner, † Cited by third party
Publication number Priority date Publication date Assignee Title
US8853120B2 (en) 2011-01-27 2014-10-07 Toyota Jidosha Kabushiki Kaisha Double layered exhaust gas purification catalyst
JP2012152702A (ja) * 2011-01-27 2012-08-16 Toyota Motor Corp 排ガス浄化用触媒
JP2013119075A (ja) * 2011-12-08 2013-06-17 Toyota Motor Corp 排ガス浄化用触媒
DE112013006490B4 (de) 2013-01-23 2019-02-07 Toyota Jidosha Kabushiki Kaisha Katalytischer Wandler
US10071365B2 (en) 2013-01-23 2018-09-11 Toyota Jidosha Kabushiki Kaisha Catalytic converter
US9731275B2 (en) 2013-01-23 2017-08-15 Toyota Jidosha Kabushiki Kaisha Catalytic converter
US9782753B2 (en) 2013-02-13 2017-10-10 Toyota Jidosha Kabushiki Kaisha Catalytic converter
US9782723B2 (en) 2013-04-03 2017-10-10 Toyota Jidosha Kabushiki Kaisha Catalyst converter
JP2016112491A (ja) * 2014-12-12 2016-06-23 トヨタ自動車株式会社 排ガス浄化触媒
JP2016112489A (ja) * 2014-12-12 2016-06-23 トヨタ自動車株式会社 排ガス浄化触媒
JP2016112492A (ja) * 2014-12-12 2016-06-23 トヨタ自動車株式会社 排ガス浄化触媒
WO2018199249A1 (ja) 2017-04-28 2018-11-01 ユミコア日本触媒株式会社 排気ガス浄化用触媒およびそれを用いた排気ガス浄化方法
WO2018199248A1 (ja) 2017-04-28 2018-11-01 ユミコア日本触媒株式会社 排気ガス浄化用触媒およびそれを用いた排気ガス浄化方法
WO2018199250A1 (ja) 2017-04-28 2018-11-01 ユミコア日本触媒株式会社 排気ガス浄化用触媒およびそれを用いた排気ガス浄化方法
US11141713B2 (en) 2017-04-28 2021-10-12 Umicore Shokubai Japan Co., Ltd. Exhaust gas purification catalyst and exhaust gas purification method using the same
US11149603B2 (en) 2017-04-28 2021-10-19 Umicore Shokubai Japan Co., Ltd. Exhaust gas purification catalyst and exhaust gas purification method using the same
US11143072B2 (en) 2017-04-28 2021-10-12 Umicore Shokubai Japan Co., Ltd. Exhaust gas purification catalyst and exhaust gas purification method using the same
WO2019131796A1 (ja) 2017-12-28 2019-07-04 ユミコア日本触媒株式会社 リン化合物含有排ガス浄化用触媒
US11110436B2 (en) 2017-12-28 2021-09-07 Umicore Shokubai Japan Co., Ltd. Phosphorus compound-containing exhaust gas purifying catalyst
WO2020195777A1 (ja) 2019-03-27 2020-10-01 株式会社キャタラー 排ガス浄化用触媒
US12023652B2 (en) 2019-03-27 2024-07-02 Cataler Corporation Exhaust gas purification catalyst
EP3925701A4 (en) * 2019-03-27 2022-05-04 Cataler Corporation CATALYST FOR PURIFYING AN EXHAUST GAS
US12201965B2 (en) 2019-03-27 2025-01-21 Cataler Corporation Exhaust gas purification catalyst
JP7195995B2 (ja) 2019-03-27 2022-12-26 株式会社キャタラー 排ガス浄化用触媒
JP2020157262A (ja) * 2019-03-27 2020-10-01 株式会社キャタラー 排ガス浄化用触媒
JP2023507581A (ja) * 2019-12-19 2023-02-24 ビーエーエスエフ コーポレーション 濃縮されたpgmゾーンを備えた排気浄化触媒物品、それを製造するための方法および装置
CN114786811A (zh) * 2019-12-19 2022-07-22 巴斯夫公司 具有富集pgm区的排放控制催化剂制品、用于生产其的方法和装置
JP7788381B2 (ja) 2019-12-19 2025-12-18 ビーエーエスエフ モバイル エミッションズ カタリスツ エルエルシー 濃縮されたpgmゾーンを備えた排気浄化触媒物品、それを製造するための方法および装置
CN116419797A (zh) * 2020-11-06 2023-07-11 株式会社 科特拉 排气净化催化剂装置
JP7434489B1 (ja) 2022-10-18 2024-02-20 株式会社キャタラー 排ガス浄化用触媒およびこれを用いた触媒体
WO2024084800A1 (ja) * 2022-10-18 2024-04-25 株式会社キャタラー 排ガス浄化用触媒およびこれを用いた触媒体
JP2024059308A (ja) * 2022-10-18 2024-05-01 株式会社キャタラー 排ガス浄化用触媒およびこれを用いた触媒体
JPWO2025121117A1 (ja) * 2023-12-04 2025-06-12
WO2025121117A1 (ja) * 2023-12-04 2025-06-12 三井金属鉱業株式会社 排ガス浄化触媒

Also Published As

Publication number Publication date
WO2010001226A1 (en) 2010-01-07
JP4751917B2 (ja) 2011-08-17
WO2010001226A8 (en) 2010-03-11

Similar Documents

Publication Publication Date Title
JP4751917B2 (ja) 排ガス浄化用触媒
JP5870981B2 (ja) 触媒コンバーター
JP5807782B2 (ja) 排ガス浄化用触媒
US10010873B2 (en) Catalytic converter
JP6213508B2 (ja) 触媒コンバーター
JP5804004B2 (ja) 触媒コンバーター
CN105983405B (zh) 催化转换器
US20170296968A1 (en) Catalytic converter
JP5218092B2 (ja) 排ガス浄化用触媒
JP3391878B2 (ja) 排気ガス浄化用触媒
WO2008010576A1 (en) Catalyst for exhaust gas purification
JPWO2015079908A1 (ja) 排ガス浄化用触媒
JP2009273988A (ja) 排ガス浄化用触媒
JP5065180B2 (ja) 排ガス浄化用触媒
JP4924500B2 (ja) 排ガス浄化触媒体
JP2009273986A (ja) 排ガス浄化用触媒
JP5114317B2 (ja) 排ガス浄化用触媒
JP2006326495A (ja) 排ガス浄化用触媒
JP5322596B2 (ja) 排ガス浄化用触媒
JP2009000648A (ja) 排ガス浄化用触媒
JP2006224032A (ja) 排ガス浄化用触媒
JP5232258B2 (ja) 内燃機関の排気浄化装置
JP5328133B2 (ja) 排ガス浄化用触媒
JP2005131551A (ja) 排ガス浄化用触媒
JP4980987B2 (ja) 排ガス浄化用触媒

Legal Events

Date Code Title Description
A977 Report on retrieval

Free format text: JAPANESE INTERMEDIATE CODE: A971007

Effective date: 20100623

A131 Notification of reasons for refusal

Free format text: JAPANESE INTERMEDIATE CODE: A131

Effective date: 20100629

A521 Request for written amendment filed

Free format text: JAPANESE INTERMEDIATE CODE: A523

Effective date: 20100827

TRDD Decision of grant or rejection written
A01 Written decision to grant a patent or to grant a registration (utility model)

Free format text: JAPANESE INTERMEDIATE CODE: A01

Effective date: 20110506

A01 Written decision to grant a patent or to grant a registration (utility model)

Free format text: JAPANESE INTERMEDIATE CODE: A01

A61 First payment of annual fees (during grant procedure)

Free format text: JAPANESE INTERMEDIATE CODE: A61

Effective date: 20110523

R151 Written notification of patent or utility model registration

Ref document number: 4751917

Country of ref document: JP

Free format text: JAPANESE INTERMEDIATE CODE: R151

FPAY Renewal fee payment (event date is renewal date of database)

Free format text: PAYMENT UNTIL: 20140527

Year of fee payment: 3

S531 Written request for registration of change of domicile

Free format text: JAPANESE INTERMEDIATE CODE: R313532

FPAY Renewal fee payment (event date is renewal date of database)

Free format text: PAYMENT UNTIL: 20140527

Year of fee payment: 3

R350 Written notification of registration of transfer

Free format text: JAPANESE INTERMEDIATE CODE: R350

R250 Receipt of annual fees

Free format text: JAPANESE INTERMEDIATE CODE: R250

R250 Receipt of annual fees

Free format text: JAPANESE INTERMEDIATE CODE: R250

R250 Receipt of annual fees

Free format text: JAPANESE INTERMEDIATE CODE: R250

R250 Receipt of annual fees

Free format text: JAPANESE INTERMEDIATE CODE: R250

R250 Receipt of annual fees

Free format text: JAPANESE INTERMEDIATE CODE: R250

R250 Receipt of annual fees

Free format text: JAPANESE INTERMEDIATE CODE: R250

R250 Receipt of annual fees

Free format text: JAPANESE INTERMEDIATE CODE: R250

R250 Receipt of annual fees

Free format text: JAPANESE INTERMEDIATE CODE: R250

R250 Receipt of annual fees

Free format text: JAPANESE INTERMEDIATE CODE: R250

R250 Receipt of annual fees

Free format text: JAPANESE INTERMEDIATE CODE: R250

R250 Receipt of annual fees

Free format text: JAPANESE INTERMEDIATE CODE: R250

R250 Receipt of annual fees

Free format text: JAPANESE INTERMEDIATE CODE: R250