JP2005299861A - 液体封入式筒型防振装置 - Google Patents

液体封入式筒型防振装置 Download PDF

Info

Publication number
JP2005299861A
JP2005299861A JP2004119588A JP2004119588A JP2005299861A JP 2005299861 A JP2005299861 A JP 2005299861A JP 2004119588 A JP2004119588 A JP 2004119588A JP 2004119588 A JP2004119588 A JP 2004119588A JP 2005299861 A JP2005299861 A JP 2005299861A
Authority
JP
Japan
Prior art keywords
fitting
pair
peripheral surface
liquid
rubber
Prior art date
Legal status (The legal status is an assumption and is not a legal conclusion. Google has not performed a legal analysis and makes no representation as to the accuracy of the status listed.)
Pending
Application number
JP2004119588A
Other languages
English (en)
Inventor
Tadamitsu Minamizawa
忠光 南沢
Current Assignee (The listed assignees may be inaccurate. Google has not performed a legal analysis and makes no representation or warranty as to the accuracy of the list.)
Sumitomo Riko Co Ltd
Original Assignee
Tokai Rubber Industries Ltd
Priority date (The priority date is an assumption and is not a legal conclusion. Google has not performed a legal analysis and makes no representation as to the accuracy of the date listed.)
Filing date
Publication date
Application filed by Tokai Rubber Industries Ltd filed Critical Tokai Rubber Industries Ltd
Priority to JP2004119588A priority Critical patent/JP2005299861A/ja
Priority to DE102005016860A priority patent/DE102005016860A1/de
Priority to US11/103,463 priority patent/US7275738B2/en
Priority to CNB2005100651963A priority patent/CN100473862C/zh
Publication of JP2005299861A publication Critical patent/JP2005299861A/ja
Pending legal-status Critical Current

Links

Images

Classifications

    • FMECHANICAL ENGINEERING; LIGHTING; HEATING; WEAPONS; BLASTING
    • F16ENGINEERING ELEMENTS AND UNITS; GENERAL MEASURES FOR PRODUCING AND MAINTAINING EFFECTIVE FUNCTIONING OF MACHINES OR INSTALLATIONS; THERMAL INSULATION IN GENERAL
    • F16FSPRINGS; SHOCK-ABSORBERS; MEANS FOR DAMPING VIBRATION
    • F16F13/00Units comprising springs of the non-fluid type as well as vibration-dampers, shock-absorbers, or fluid springs
    • F16F13/04Units comprising springs of the non-fluid type as well as vibration-dampers, shock-absorbers, or fluid springs comprising both a plastics spring and a damper, e.g. a friction damper
    • F16F13/06Units comprising springs of the non-fluid type as well as vibration-dampers, shock-absorbers, or fluid springs comprising both a plastics spring and a damper, e.g. a friction damper the damper being a fluid damper, e.g. the plastics spring not forming a part of the wall of the fluid chamber of the damper
    • F16F13/08Units comprising springs of the non-fluid type as well as vibration-dampers, shock-absorbers, or fluid springs comprising both a plastics spring and a damper, e.g. a friction damper the damper being a fluid damper, e.g. the plastics spring not forming a part of the wall of the fluid chamber of the damper the plastics spring forming at least a part of the wall of the fluid chamber of the damper
    • F16F13/14Units of the bushing type, i.e. loaded predominantly radially
    • F16F13/1418Units of the bushing type, i.e. loaded predominantly radially characterised by the location or shape of the equilibration chamber
    • FMECHANICAL ENGINEERING; LIGHTING; HEATING; WEAPONS; BLASTING
    • F16ENGINEERING ELEMENTS AND UNITS; GENERAL MEASURES FOR PRODUCING AND MAINTAINING EFFECTIVE FUNCTIONING OF MACHINES OR INSTALLATIONS; THERMAL INSULATION IN GENERAL
    • F16FSPRINGS; SHOCK-ABSORBERS; MEANS FOR DAMPING VIBRATION
    • F16F13/00Units comprising springs of the non-fluid type as well as vibration-dampers, shock-absorbers, or fluid springs
    • F16F13/04Units comprising springs of the non-fluid type as well as vibration-dampers, shock-absorbers, or fluid springs comprising both a plastics spring and a damper, e.g. a friction damper
    • F16F13/06Units comprising springs of the non-fluid type as well as vibration-dampers, shock-absorbers, or fluid springs comprising both a plastics spring and a damper, e.g. a friction damper the damper being a fluid damper, e.g. the plastics spring not forming a part of the wall of the fluid chamber of the damper
    • F16F13/08Units comprising springs of the non-fluid type as well as vibration-dampers, shock-absorbers, or fluid springs comprising both a plastics spring and a damper, e.g. a friction damper the damper being a fluid damper, e.g. the plastics spring not forming a part of the wall of the fluid chamber of the damper the plastics spring forming at least a part of the wall of the fluid chamber of the damper
    • F16F13/14Units of the bushing type, i.e. loaded predominantly radially
    • F16F13/1409Units of the bushing type, i.e. loaded predominantly radially characterised by buffering features or stoppers

Landscapes

  • Engineering & Computer Science (AREA)
  • General Engineering & Computer Science (AREA)
  • Mechanical Engineering (AREA)
  • Combined Devices Of Dampers And Springs (AREA)
  • Arrangement Or Mounting Of Propulsion Units For Vehicles (AREA)

Abstract

【課題】 過大な振動入力によりストッパ部材が外筒金具の内周面側に強く当接する際に、外筒金具内周面側とストッパ部材との擦れによるスティックスリップの発生を抑えて、それに伴う異音を効果的に防止できる液体封入式筒型防振装置を提供する。
【解決手段】 液体封入式防振装置10の外筒金具17の内周面には、中間金具20の一対のリング部21間に自己潤滑ゴム製の薄肉の弾性体当接部18が接着形成されている。内筒金具11外周面に取り付けられて径方向に突出するストッパ部材12の上突出部15先端が、弾性体当接部18と隙間を隔てて対向して配置されている。弾性体当接部18は、一対のリング部21外周面に形成されたゴムシール部39位置から外れて、ゴムシール部39に接触しないようになっている。
【選択図】 図1

Description

本発明は、車両のエンジンマウント等に用いられる液体封入式筒型防振装置に関する。
従来、この種の液体封入式筒型防振装置は、内筒金具と、その径方向外方に離間して配設された筒状の中間金具及び外筒金具を設けており、内筒金具の外周面には中間金具の開口部に向けて径方向一方に突出し、先端側が外筒金具内周面と隙間を隔てて対向するストッパ部材が取り付けられている。さらに、ゴム弾性体が、内筒金具と中間金具間を弾性的に連結すると共に、ストッパ部材を囲んで外筒金具側に開口する凹部を形成すると共に凹部の径方向反対側にダイヤフラム部を設けている。この液体封入式防振装置は、外筒金具に閉塞された凹部内に及びダイヤフラム部35との間にそれぞれ液体を封入した主液室及び副液室を設けると共に、外筒金具と中間金具との間に主及び副液室間を連通させて液体を流通させるオリフィス通路を設けている。
この防振装置は、主液室及び副液室を上下に配置して内筒金具及び外筒金具をエンジン側部材と車体側部材に取り付けることにより車両に装着され、エンジンの振動等により内外筒金具との間に振動が入力されると、ゴム弾性体の弾性作用や、主液室と副液室間をオリフィス通路を通して流動する液体の液柱共振作用によりその振動を減衰させることができる。さらに、バウンド側の振動入力が過大になると、ストッパ部材が対向する外筒金具の内周面に当接することにより、内外筒金具間の過大な相対変位を抑えて、振動を迅速に減衰させるようにしている。ところで、上記ストッパ部材は金属あるいは樹脂等の硬質材料で形成されさらにその表面を薄肉のゴム被覆層で被覆した形態となっているもので、上記過大な振動入力の際に、その先端側が外筒金具の金属表面に強く当接して擦れ合うことにより、スティックスリップが発生し易い。このスティックスリップに伴って発生する異音により、車両の乗員に不快感を与えるという問題がある。
これに対して、例えば特許文献1に示すように、インナ軸金具と、アウタ筒金具を本体ゴム弾性体によって連結すると共に、インナ軸金具からアウタ筒金具に向って突出するストッパを設けた筒型ゴムマウントが知られている。この筒型ゴムマウントは、ストッパを硬質のストッパ本体とその突出先端面に被着形成した緩衝ゴム層とによって形成し、さらにストッパが当接するアウタ筒金具の当接面を接着剤が被着されていない面とすることにより、ストッパがアウタ筒金具の当接面に当接したときのスティックスリップの発生を防止している。また、他の防振装置としては、例えば特許文献2に示すように、ゴム弾性体からなるストッパと、ストッパが当接する外筒金具の内周面のいずれかにシボ状の凹凸を設けて、これにより当接面の摩擦係数を低くして、ストッパの当接の際のスティックスリップを抑えるようにしたものが知られている。
特開2002−323085号公報 実公平7−3073号公報
しかし、上記液体封入式筒型防振装置においては、主振動入力の大きさ等によって、スティックスリップを抑えることが必ずしも十分でない場合があり、車両の乗り心地を高めるには車内の異音をさらに抑える必要がある。そのため、液体封入式筒型防振装置に対しては、ストッパのスティックスリップをさらに確実に抑えることが望まれている。
本発明は、上記した問題を解決しようとするもので、過大な振動入力によりストッパ部材が外筒金具の内周面側に強く当接する際に、外筒金具内周面側とストッパ部材との擦れによるスティックスリップの発生を抑えて、それに伴う異音を効果的に防止できる液体封入式筒型防振装置を提供することを目的とする。
上記目的を達成するために、本発明の構成上の特徴は、内筒金具と、内筒金具の径方向外方に離間して配設され、軸方向両端の一対のリング部と、一対のリング部間を一体的に連結する連結部と、リング部及び連結部に囲まれた開口部を有する筒状の中間金具と、内筒金具の外周面に取り付けられて開口部に向けて径方向一方に突出するストッパ部材と、中間金具の一対のリング部と内筒金具間を連結する一対の側壁部と、一対の側壁部間を軸方向に連結すると共に連結部と内筒金具の間を連結する腕部と、一対の側壁部と腕部に囲まれて開口部に対して開口する凹部と、凹部の径方向反対位置にて内筒金具及び腕部と離間して中間金具の一対のリング部間に配設される薄肉のダイヤフラム部と、一対のリング部の径方向外方に配設されるゴムシール部とにより構成されるゴム弾性体と、中間金具の外周側に固定され、中間金具との間をゴムシール部を介して液密的に閉塞して凹部内に液体が封入される主液室を形成すると共にダイヤフラム部によって画定され液体が封入される副液室を形成し、かつ連結部との間に主液室と副液室を連通させるオリフィス通路を形成する外筒金具と、外筒金具の内周面側にてストッパ部材先端と対向して配設された低摩擦係数を有する自己潤滑ゴム製の弾性体当接部とを備えたことにある。なお、自己潤滑ゴムは、摩擦係数が0.1〜0.5と通常のゴム材料(摩擦係数が1.5〜2.0程度)に比べて大幅に低くなっており、例えば、天然ゴム(NR)、スチレン−ブタジエンゴム(SBR)、ブタジエンゴム(BR)等のゴム材料に、例えば脂肪酸アミド、ポリエチレングリコール型界面活性剤等を適量で配合することにより形成される。
上記のように構成した発明においては、エンジンの振動等により内筒金具と外筒金具との間に振動が入力されると、ゴム弾性体の弾性作用や、主液室と副液室間をオリフィス通路を通して流動する液体の液柱共振作用によりその振動を減衰させることができる。さらに、外筒金具の内周面側にてストッパ部材先端と対向して低摩擦係数を有する自己潤滑ゴム製の弾性体当接部が設けられたことにより、振動入力が過大になってストッパ部材が外筒金具の内周面側に強く当接する際に、外筒金具の内周面側とストッパ部材先端との擦れによるスティックスリップの発生が抑えられる。そのため、本発明においては、スティックスリップに伴う異音の発生を効果的に防止できる。
また、本発明において、弾性体当接部を、一対のリング部間にて外筒金具の内周面に接着されたものとすることができる。このように、弾性体当接部が、一対のリング部間にて外筒金具の内周面に接着されたことにより、上記発明の作用効果が得られると共に、外筒金具を中間金具の外周側に固定する際に、弾性体当接部の位置決めが不要になり、その為の手間が省かれる。さらに、リング部外周面にゴムシール部が設けられた場合において、中間金具と外筒金具間のシール性を確保するゴムシール部と低摩擦係数の弾性体当接部との接触を回避できる。そのため、本発明においては、ゴムシール部を介した外筒金具と中間金具との接合が強固に保持され、外筒金具の抜けが確実に防止される。
また、本発明において、凹部に面して外筒金具の内周面側を周方向に沿って延びて周方向両端部側にて連結部に係合すると共に連結部の外側に載置される円弧板状の取付部材を設け、取付部材の内周面に弾性体当接部が接着されたものであってもよい。
このように、内周面に弾性体当接部が接着された取付部材が、一対の側壁部と腕部に囲まれて外筒金具側に開口する凹部に面して、外筒金具の内周面側を周方向に沿って延びて周方向両端部側が連結部に係合すると共にその外側に載置され、弾性体当接部がストッパ部材に対向して配置されている。そのため、本発明においては、過大な振動入力によりストッパ部材が取付部材の内周面に強く当接する際に、弾性体当接部によって取付部材内周面とストッパ部材との擦れによるスティックスリップの発生が抑えられ、それに伴う異音の発生が効果的に防止される。また、弾性体当接部が外筒金具と別体の取付部材に形成されたことにより、外筒金具の中間金具側への挿嵌が弾性体当接部によって邪魔されることなくスムーズに行われる。
本発明によれば、内筒金具から突出したストッパ部材の先端と対向する外筒金具の内面側に、外筒金具に一体で又は外筒金具と別体の取付部材に一体で自己潤滑ゴム製の弾性体当接部を設けたことにより、過大な振動入力によってストッパ部材が外筒金具の内周面側に強く当接する際に、外筒金具の内周面側とストッパ部材との擦れによるスティックスリップの発生が抑えられる。その結果、本発明においては、スティックスリップに伴う異音を効果的に防止でき、車両の乗員の不快感を除くことにより車両の乗り心地を高めることができる。また、本発明においては、摩擦係数の低い自己潤滑ゴム製の弾性体当接部を一対のリング部間にて外筒金具の内周面側に設けることにより、リング部外周面にゴムシール部を設けた場合に、弾性体当接部とゴムシール部との接触を回避でき、ゴムシール部を介して外筒金具のリング部間の接合が強固に保持される。その結果、本発明によれば、外筒金具の中間金具側からの抜けが確実に防止され、液体封入式筒型防振装置の信頼性が高められる。
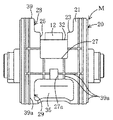
以下、本発明の一実施例について図面を用いて説明する。図1〜図3は、実施例1である自動車用のエンジンマウントとして使用される筒型の液体封入式防振装置10をI−I線方向断面図、左側面図及びIII−III線方向の断面図により示したものである。図4〜図8は、液体封入式防振装置10を構成するゴム加硫成形品を、IV−IV線方向断面図、左側面図、VI−VI線方向断面図、正面図及び脊面図により示したものである。また、図9は、外筒金具を断面図により示したものである。
液体封入式防振装置10は、内筒金具11と、その径方向外方に離間して配設された中間金具20及び外筒金具17と、内筒金具11の外周面に取り付けられて径方向に突出し、先端側が外筒金具17内周面と隙間を隔てて対向するストッパ部材12と、内外筒金具11,17間を弾性的に連結すると共に、ストッパ部材12を囲んで外筒金具17側に開口する凹部34を設けると共に凹部34の径方向反対側にダイヤフラム部35を設けたゴム弾性体30と、外筒金具17の内周面に接着されてストッパ部材12先端と対向して配設された低摩擦係数を有する自己潤滑ゴム製の弾性体当接部18とを主構成部材として備えている。この液体封入式防振装置10は、外筒金具17によって閉塞された凹部34内及びダイヤフラム部35との間に液体を封入した主液室K1及び副液室K2を設けると共に、外筒金具17と中間金具20の連結部との間に両液室K1,K2間を連通させて液体を流通させるオリフィス通路K3を設けている。なお、液体封入式防振装置10の左右、上下及び前後方向については、図1に示す左右、上下及び前後(図1に示す紙面に垂直な方向)に合わせるものとする。
内筒金具11は、厚肉で小径のパイプであり、軸方向長さが中間金具20及び外筒金具17より長く、軸方向両端側が中間金具20及び外筒金具17の両端から外方に突出している。ストッパ部材12は、樹脂製あるいは金属製の筒状部材であって、軸方向中間部分が円筒形で軸方向両側が周方向の略半分(図示上半分)が切り欠かれて半円筒形となっている薄肉の筒部13と、筒部13の半円筒部分から径方向下方に突出した一対の下突出部14と、下突出部14の径方向反対側にて筒部13から径方向上方に突出した上突出部15とを一体で有している。ストッパ部材12は、主振動入力方向である図示上下方向に上突出部15と下突出部14を向けて、筒部13にて内筒金具11外周面に接着等によって固定されている。
中間金具20は、薄肉で大径の金具であり、図7,図8に示すように、軸方向両端の一対のリング部21の略径方向に対向する2箇所(図示前後)から一対の連結部22,23が軸方向に延びて両リング部21間を連結している。連結部22,23は、周方向両縁が軸方向に平行でかつ周方向に幅広であるが、軸方向両側からわずかに内側位置で、上縁側から略長方形状に切り欠かれて凹んだ凹部24,25を設けており、凹部24,25領域において軸方向両側に比べて周方向の幅が略1/2程度になった中間連結部26,27になっている。さらに、一方の中間連結部26(図示前側)の軸方向中央部分が周方向全体で軸心方向に断面略長方形に凹んだ通路形成凹部26aになっている。また、他方の中間連結部27の軸方向中央部分が周方向の下半分が軸心方向に凹んだ凹部27aになっている。これにより、中間金具20は、一対のリング部21と一対の連結部22,23に囲まれて、上下に開口した開口部28,29を形成している。開口部28,29の周方向中間位置が、上記ストッパ部材12の上突出部15と下突出部14の突出方向に対応するようになっている。
ゴム弾性体30は、一対のリング部21の略上側半分と内筒金具11間を連結する厚肉の一対の側壁部31を設けている。一対の側壁部31間でかつ中間金具20内には、軸方向に延びて両側壁部31間を連結すると共に連結部22,23と内筒金具11の間を連結する一対の腕部32が設けられている。腕部32は、内筒金具11を挟んだ径方向両側で上方に向けてわずかに傾斜した略V字状になっている。また、腕部32から延びた薄肉部33がストッパ部材12の表面全体を覆っている。このように、一対の側壁部31と腕部32に囲まれて、凹部34が中間金具20の上側の開口部28に対して開口している。さらに、中間金具20の一対のリング部21内周面及び連結部22,23の下側内縁部間には、薄肉のゴムであるダイヤフラム部35が、内筒金具11及び腕部32から離間して配設されており、両リング部21の内周面及び連結部22,23の下側内縁部に接着されて、下側の開口部29を軸心側で覆っている。
ダイヤフラム部35は、周方向中間部分が下方にU字状に膨らんで中間金具20の下側の開口部29位置まで垂下したU字部36になっており、U字部36を挟んだ周方向両側が軸心方向に凹んだ一対の湾曲凹部37になっている。上記腕部32とダイヤフラム部35の間は軸方向両端間を貫通した略U字状の偏平な空間であるすぐり部38になっている。また、中間金具20の通路形成凹部26a及び凹部27aを除く外周面には、薄肉のゴムシール部39が接着により形成されており、ゴムシール部39の外面には、図7,図8に示すように、リング部21上を周方向全周に沿って延び、連結部22,23上を軸方向に延び、さらに中間連結部26,27の通路形成凹部26a及び凹部27aを挟んだ両側で周方向に延びた線状の突起部39aを設けている。これら、側壁部31、腕部32、ダイヤフラム部35、ゴムシール部39等からなるゴム弾性体30は、図示しない成形型に内筒金具11及び中間金具20をセットした状態で加硫成形を行うことにより、図4〜図8に示すように、内筒金具11及び中間金具20を含む中間品であるゴム加硫成形品Mとして一体的に形成されている。なお、ゴム加硫成形品Mの加硫成形段階では、中間金具20の軸線位置Oは、内筒金具11の軸線位置Iよりわずかに上方にずれて配置されている。
外筒金具17は、薄肉の金具で、軸方向長さが中間金具20と同一であり、内径が中間金具20の外径よりわずかに大きくなっている。図9に示すように、外筒金具17の内周面には、軸方向中間の軸方向長さ略1/3の範囲に、自己潤滑ゴム製の薄肉の弾性体当接部18が帯状に接着形成されている。弾性体当接部18の配設位置は、外筒金具17をゴム加硫成形品M外周側に挿嵌したときに、中間金具20のリング部21外周に設けたゴムシール部39位置から外れており、弾性体当接部18がゴムシール部39に接触することがないようにされている。
上記ゴム加硫成形品Mと外筒金具17を水、アルキレングリコール等の非圧縮性の液体で満たした液槽中に浸漬させ、外筒金具17をゴム加硫成形品Mの中間金具20外周側に同軸的に配設させ、通路形成凹部26a、凹部34、湾曲凹部37内に液体を充填させる。さらに、外筒金具17の外周側に絞り加工を施すことにより、外筒金具17がリング部21の外周に接着されたゴムシール部39を圧縮してゴム加硫成形品Mの外周側に圧着状態で固定され、本実施例1の液体封入式防振装置10が得られる。これにより、ゴム弾性体30の凹部34の開口側は液密的に閉塞され、液体が充填された主液室K1として形成され、またダイヤフラム部35の湾曲凹部37の開口側が液密的に閉塞され、液体が充填された副液室K2として形成される。また、通路形成凹部26aにも液体が封入されて、主液室K1及び副液室K2を連通させるオリフィス通路K3として形成される。さらに、外筒金具17の内周面側に設けた自己潤滑ゴム製の弾性体当接部18が、ストッパ部材12の上突出部15先端と対向して配置されている。
上記液体封入式防振装置10は、例えば車体側の支持部材(図示しない)に内筒金具11が連結されると共に、エンジン側の支持部材(図示しない)に外筒金具17が連結され、エンジンの主振動入力方向である上下方向の上側及び下側にそれぞれ主液室K1と副液室K2とが位置するように配設され、ストッパ部材12の上突出部15及び下突出部14もそれぞれ上下に向けて配置される。このように液体封入式防振装置10が車両に組み付けられることにより、外筒金具17がエンジンの重量によって下方に移動して、その軸線位置Oが内筒金具11の軸線位置Iに略合わせられる。
上記構成の実施例1においては、エンジンの振動等により内筒金具11と外筒金具17との間に振動が入力されると、ゴム弾性体30の弾性作用や、主液室K1及び副液室K2間をオリフィス通路K3を通して流動する液体の液柱共振作用によりその振動が減衰される。また、内筒金具11と外筒金具17との間にバウンド側の過大な振動が入力されると、ストッパ部材12の上突出部15が外筒金具17内周面に設けた弾性体当接部18に当接し、リバウンド側の過大な振動が入力されると、下突出部14がダイヤフラム部35に当接することにより、その変位は所定範囲内に抑えられる。
ここで、外筒金具17の内周面に設けた弾性体当接部18は低摩擦係数を有する自己潤滑ゴム製であるため、上記バウンド側の過大な振動が入力されて上突出部15が外筒金具17の内周面に強く当接したとき、弾性体当接部18と上突出部15との擦れによるスティックスリップの発生が抑えられる。その結果、本実施例1においては、スティックスリップに伴う異音を効果的に防止でき、車両の乗員の不快感を除くことにより車両の乗り心地を高めることができる。
また、弾性体当接部18が、一対のリング部21間にて外筒金具17の内周面に接着されたものであることにより、弾性体当接部18の位置決めが不要になり、その為の手間が省かれる。さらに、摩擦係数の低い自己潤滑ゴム製の弾性体当接部18が、一対のリング部21間に設けられたことにより、リング部21の外周面に設けたゴムシール部39との接触を回避できる。そのため、本実施例1においては、外筒金具17のゴムシール部39を介した中間金具20側との接合が強固に保持され、その結果、外筒金具17の抜けが確実に防止され、液体封入式防振装置10の信頼性が高められる。
つぎに、本発明の実施例2について説明する。
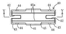
図10、図11は、実施例2である筒型液体封入式防振装置10AをX−X線方向断面図及びXI−XI線方向断面図により示したものである。図12〜図15は、取付部材40を正面図、平面図、Y−Y線方向断面図及びZ−Z線方向の断面図により示したものである。実施例2の筒型液体封入式防振装置10Aは、上記実施例1の防振装置10において、外筒金具17の内周面に弾性体当接部18を設ける代りに、別体の取付部材40を、中間金具20の開口部28に周方向に沿って配設し、周方向端部にて連結部22,23に係合させると共に連結部の外側に載置させたものである。その他、内筒金具11、ストッパ部材12、中間金具20、ゴム弾性体30については、実施例1と同様であり、以下同一符号を用いて説明する。
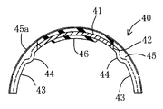
取付部材40は、樹脂製あるいは金属製の薄板で、図12〜図15に示すように、上記中間金具20の軸方向幅の略1/3程度の幅で中間金具20よりわずかに大径の略半円形の円弧板41を有している。円弧板41の幅方向中間略1/3長さの部分が周方向両端から中心角で略45°の範囲で切り欠かれた一対の切欠き部42となっており、その幅方向両側が各一対の円弧片43になっている。また、円弧板41における各円弧片43の付根近傍部分がそれぞれ径方向内方に向けて円弧状に凹んだ係合凹部44になっている。円弧板41は、周方向両側の係合凹部44間の周方向長さが、上記一対の連結部22,23の上側間の周方向長さと略等しくなっている。
さらに、円弧板41の外周面側は、薄肉の自己潤滑ゴム製の上被覆層45により全面が被覆されており、円弧板41の内周面側は、同様に自己潤滑ゴム製の弾性体当接部46が周方向中間略1/3長さの部分にて幅方向両側間に設けられており、両者は円弧版41の幅方向両側を回り込んでつなげられている。上被覆層45には、切欠き部42を挟んだ両側にて周方向に延びた線状の突起部45aが設けられている。上被覆層45及び弾性体当接部46は、円弧板41に加硫成形により一体で形成される。
そして、取付部材40は、図11に示すように、上記ゴム加硫成形品Mの一対の連結部22,23の上縁部に周方向両側の各一対の係合凹部44を係合させ、周方向両側の円弧片43を両連結部22,23外周面側に重ね合せることにより、中間金具20に重ね合わせて取り付けられる。ここで、取付部材40の係合凹部44は軸心方向に突出していることにより、連結部22,23に連結された腕部32の根元部分に圧接している。
このように、取付部材40が中間金具20に取り付けられたゴム加硫成形品Mと外筒金具17を水、アルキレングリコール等の非圧縮性の液体で満たした液槽中に浸漬させ、外筒金具17をゴム加硫成形品Mの中間金具20外周側に同軸的に配設させ、通路形成凹部26a、凹部34、湾曲凹部37内に液体を充填させる。さらに、外筒金具17の外周側に絞り加工を施すことにより、外筒金具17がゴム加硫成形品Mの外周のゴムシール部39を圧縮してゴム加硫成形品Mの外周側に圧着状態で固定され、上記実施例1と同様に、実施例2の液体封入式防振装置10Aが得られる。
上記構成の実施例2においては、エンジンの振動等により内筒金具11と外筒金具17との間に振動が入力されると、ゴム弾性体30の弾性作用や、主液室K1及び副液室K2間をオリフィス通路K3を通して流動する液体の液柱共振作用によりその振動が減衰される。また、内筒金具11と外筒金具17との間にバウンド側の過大な振動が入力されると、ストッパ部材12の上突出部15が外筒金具17に圧着した取付部材40内周面の弾性体当接部46に当接し、リバウンド側の過大な振動が入力されると、下突出部14がダイヤフラム部35に当接することにより、その変位は所定範囲内に抑えられる。
ここで、取付部材40の内周面に接着された弾性体当接部18は低摩擦係数を有する自己潤滑ゴム製であるため、上記バウンド側の過大な振動が入力されて上突出部15が取付部材40の内周面に強く当接したとき、弾性体当接部18と上突出部15との擦れによるスティックスリップの発生が抑えられる。その結果、本実施例2においても、実施例1と同様に、スティックスリップに伴う異音を効果的に防止でき、車両の乗員の不快感を除くことにより車両の乗り心地を高めることができる。さらに、実施例2においては、弾性体当接部46を外筒金具17の軸方向中間に設けて、中間金具20の両リング部21外周面に設けたゴムシール部39との接触を回避したことにより、外筒金具17のゴムシール部39を介した中間金具20との接合が強固に保持される。その結果、外筒金具17の抜けが確実に防止され、液体封入式防振装置10Aの信頼性が高められる。また、実施例2においては、弾性体当接部46が外筒金具17と別体の取付部材40に形成されたことにより、外筒金具17のゴム加硫成形品Mの外周側への挿嵌がスムーズに行われる。
なお、上記各実施例においては、ゴムシール部は一対のリング部外周面に接着されているが、これに代えて、外筒金具のリング部に対応する軸方向両端側の内周面に設けるようにしてもよい。また、中間金具の連結部については、径方向に対向した一対とすると共に連結部とリング部とで囲まれた開口部も一対とする代わりに、一対のリング部間を周方向の半分程度で連結する1つの連結部として開口部も1つとすることもできる。さらに、上記各実施例においては、外筒金具とダイヤフラム部との間に副液室が形成されているが、これに代えて、ダイヤフラム部と中間金具の連結部間に副液室を形成することも可能である。
なお、上記各実施例においては、外筒金具がエンジン側部材に取り付けられ、内筒金具が車体側部材に取り付けられてた場合について説明しているが、内筒金具及び外筒金具の取り付けがこの逆の場合も可能である。その他、上記実施例に示した液体封入式筒型防振装置については一例であり、本発明の主旨を逸脱しない範囲で、種々変更して実施することが可能である。
本発明は、内筒金具から突出したストッパ部材の先端と対向する外筒金具の内面側に、外筒金具と一体又は別体で自己潤滑ゴム製の弾性体当接部を設けたことにより、過大な振動入力によってストッパ部材が外筒金具の内周面側に強く当接する際に、弾性体当接部によってストッパ部材との擦れによるスティックスリップの発生が抑えられ、スティックスリップに伴う異音を効果的に防止でき、また、弾性体当接部を外筒金具の軸方向中間に設けてゴムシール部との接触を回避したことにより、外筒金具の抜けが確実に防止されるので、有用である。
本発明の一実施例である液体封入式防振装置を示す図2のI−I線方向の断面図である。 同液体封入式防振装置を示す左側面図である。 同液体封入式防振装置を示す図1のIII−III線方向の断面図である。 同液体封入式防振装置を構成するゴム加硫成形品Mを示す図5のIV−IV線方向の断面図である。 同ゴム加硫成形品Mを示す左側面図である。 同ゴム加硫成形品Mを示す図4のVI−VI線方向の断面図である。 同ゴム加硫成形品Mを示す正面図である。 同ゴム加硫成形品Mを示す背面図である。 外筒金具を示す軸線位置での断面図である。 実施例2である液体封入式防振装置を示す図11のX−X線方向の断面図である。 同液体封入式防振装置を示す図10のXI−XI線方向の断面図である。 同液体封入式防振装置を構成する取付部材を示す正面図である。 同取付部材を示す平面図である。 同取付部材を示す図13のY−Y線方向の断面図である。 同取付部材を示す図12のZ−Z線方向の断面図である。
符号の説明
10,10A…液体封入式防振装置、11…内筒金具、12…ストッパ部材、17…外筒金具、18…弾性体当接部、20…中間金具、21…リング部、22,23…連結部、24,25…凹部、26,27…中間連結部、26a…通路形成凹部、28,29…開口部、30…ゴム弾性体、31…側壁部、32…腕部、34…凹部、35…ダイヤフラム部、38…すぐり部、39…ゴムシール部、40…取付部材、41…円弧板、43…円弧片、44…係合凹部、45…上被覆層、46…弾性体当接部。

Claims (3)

  1. 内筒金具と、
    該内筒金具の径方向外方に離間して配設され、軸方向両端の一対のリング部と、該一対のリング部間を一体的に連結する連結部と、該リング部及び連結部に囲まれた開口部を有する筒状の中間金具と、
    前記内筒金具の外周面に取り付けられて前記開口部に向けて径方向一方に突出するストッパ部材と、
    該中間金具の一対のリング部と前記内筒金具間を連結する一対の側壁部と、該一対の側壁部間を軸方向に連結すると共に前記連結部と該内筒金具の間を連結する腕部と、前記一対の側壁部と前記腕部に囲まれて前記開口部に対して開口する凹部と、該凹部の径方向反対位置にて前記内筒金具及び前記腕部と離間して前記中間金具の一対のリング部間に配設される薄肉のダイヤフラム部と、前記一対のリング部の径方向外方に配設されるゴムシール部とにより構成されるゴム弾性体と、
    前記中間金具の外周側に固定され、前記中間金具との間を前記ゴムシール部を介して液密的に閉塞して前記凹部内に液体が封入される主液室を形成すると共に前記ダイヤフラム部によって画定され液体が封入される副液室を形成し、かつ前記連結部との間に該主液室と副液室を連通させるオリフィス通路を形成する外筒金具と、
    前記外筒金具の内周面側にて前記ストッパ部材先端と対向して配設された低摩擦係数を有する自己潤滑ゴム製の弾性体当接部と
    を備えたことを特徴とする液体封入式筒型防振装置。
  2. 前記弾性体当接部が、前記一対のリング部間にて前記外筒金具の内周面に接着されたものであることを特徴とする前記請求項1に記載の液体封入式筒型防振装置。
  3. 前記凹部に面して前記外筒金具の内周面側を周方向に沿って延びて周方向両端部側にて前記連結部に係合すると共に該連結部の外側に載置される円弧板状の取付部材を設け、該取付部材の内周面に前記弾性体当接部が接着されたことを特徴とする前記請求項1に記載の液体封入式筒型防振装置。
JP2004119588A 2004-04-14 2004-04-14 液体封入式筒型防振装置 Pending JP2005299861A (ja)

Priority Applications (4)

Application Number Priority Date Filing Date Title
JP2004119588A JP2005299861A (ja) 2004-04-14 2004-04-14 液体封入式筒型防振装置
DE102005016860A DE102005016860A1 (de) 2004-04-14 2005-04-12 Zylindrische, fluidgefüllte Schwingungsdämpfungsvorrichtung
US11/103,463 US7275738B2 (en) 2004-04-14 2005-04-12 Cylindrical fluid-filled vibration damping device
CNB2005100651963A CN100473862C (zh) 2004-04-14 2005-04-14 圆筒形充液减振装置

Applications Claiming Priority (1)

Application Number Priority Date Filing Date Title
JP2004119588A JP2005299861A (ja) 2004-04-14 2004-04-14 液体封入式筒型防振装置

Publications (1)

Publication Number Publication Date
JP2005299861A true JP2005299861A (ja) 2005-10-27

Family

ID=35095482

Family Applications (1)

Application Number Title Priority Date Filing Date
JP2004119588A Pending JP2005299861A (ja) 2004-04-14 2004-04-14 液体封入式筒型防振装置

Country Status (4)

Country Link
US (1) US7275738B2 (ja)
JP (1) JP2005299861A (ja)
CN (1) CN100473862C (ja)
DE (1) DE102005016860A1 (ja)

Cited By (1)

* Cited by examiner, † Cited by third party
Publication number Priority date Publication date Assignee Title
JP2018194097A (ja) * 2017-05-18 2018-12-06 株式会社ブリヂストン 防振装置

Families Citing this family (24)

* Cited by examiner, † Cited by third party
Publication number Priority date Publication date Assignee Title
JP2006022907A (ja) * 2004-07-08 2006-01-26 Tokai Rubber Ind Ltd 液封式防振ブッシュ
KR100809035B1 (ko) * 2006-05-17 2008-03-04 (주)디티알 부시형 유체봉입식 고무 마운트 및 그 제조방법
JP4870981B2 (ja) * 2005-12-15 2012-02-08 本田技研工業株式会社 スタビライザブッシュ
JP4505748B2 (ja) * 2005-12-16 2010-07-21 東海ゴム工業株式会社 防振ゴム装置
JP4238892B2 (ja) * 2006-03-30 2009-03-18 東海ゴム工業株式会社 流体封入式筒型防振装置
KR100788311B1 (ko) * 2006-10-25 2007-12-27 (주)디티알 차량의 파워트레인 마운트
JP4871890B2 (ja) * 2008-01-29 2012-02-08 東海ゴム工業株式会社 流体封入式筒形防振装置
JP5026999B2 (ja) * 2008-02-12 2012-09-19 東海ゴム工業株式会社 流体封入式筒形防振装置
KR101237928B1 (ko) * 2010-09-28 2013-02-28 현대자동차주식회사 3점 지지방식용 부쉬형 하이드로 마운트
JP5577208B2 (ja) * 2010-09-28 2014-08-20 東海ゴム工業株式会社 防振ブッシュ
CN102465989B (zh) * 2010-11-05 2014-03-26 上海骆氏减震件有限公司 筒式隔振装置
CN102465990A (zh) * 2010-11-15 2012-05-23 上海骆氏减震件有限公司 用于控制臂的减震衬套
JP5783858B2 (ja) 2011-09-14 2015-09-24 住友理工株式会社 流体封入式筒形防振装置
JP5879211B2 (ja) * 2012-06-25 2016-03-08 株式会社ブリヂストン 防振装置
DE112014001733T5 (de) * 2013-03-29 2015-12-17 Yamashita Rubber Co., Ltd Flüssigkeitsabgedichtete Vibrationsvermeidungsvorrichtung
KR102083206B1 (ko) * 2013-10-25 2020-03-02 현대모비스 주식회사 부시 조립장치
EP3190309A4 (en) * 2014-09-03 2018-05-30 NOK Corporation Balance shaft friction damper
CN105570375B (zh) * 2015-12-24 2017-12-08 北汽福田汽车股份有限公司 轴套减振器及车辆
JP6877227B2 (ja) 2017-04-17 2021-05-26 株式会社ブリヂストン 防振装置
JP6931553B2 (ja) * 2017-05-17 2021-09-08 株式会社小糸製作所 車両用灯具
DE102018113503A1 (de) * 2018-06-06 2019-12-12 Vibracoustic Gmbh Aggregatelager
US12104670B2 (en) * 2019-11-13 2024-10-01 Prospira Corporation Vibration-damping device
DE102021004366A1 (de) * 2021-08-25 2023-03-02 Sumitomo Riko Company Limited Hydrolager
CN115180268A (zh) * 2022-06-27 2022-10-14 中国华冶科工集团有限公司 工字钢u型卡环压板储放装置

Family Cites Families (14)

* Cited by examiner, † Cited by third party
Publication number Priority date Publication date Assignee Title
JPS5539866Y2 (ja) * 1975-03-19 1980-09-18
JPS6049147A (ja) 1983-08-27 1985-03-18 Tokai Rubber Ind Ltd 流体入りブッシュ
DE3933163A1 (de) 1988-10-27 1990-05-03 Toyoda Gosei Kk Zylindrische daempfungsbuchse
JP2641344B2 (ja) 1991-07-19 1997-08-13 三菱電機株式会社 リモコンリレーの操作回路
JPH06100731A (ja) 1992-08-06 1994-04-12 Bridgestone Corp 防振ゴム組成物
JPH073073A (ja) 1993-06-18 1995-01-06 Bridgestone Corp 熱可塑性エラストマー組成物およびその製造方法
JP2580975B2 (ja) 1993-08-31 1997-02-12 日本電気株式会社 アンテナ角度調整装置
JPH08177940A (ja) 1994-12-21 1996-07-12 Tokai Rubber Ind Ltd サスペンション用アッパサポート
JP3648869B2 (ja) 1996-09-20 2005-05-18 東海ゴム工業株式会社 防振ブッシュ及びその製造方法
ES2155307B1 (es) * 1996-09-26 2001-12-16 Boge Gmbh "cojinete amortiguador hidraulico de caucho".
DE19717210C2 (de) * 1997-04-24 2000-04-27 Mannesmann Boge Gmbh Hydraulisch dämpfendes Elastomerlager
JP3715212B2 (ja) 2001-04-26 2005-11-09 東海ゴム工業株式会社 筒形ゴムマウントおよびその製造方法
JP3580279B2 (ja) * 2001-10-18 2004-10-20 東海ゴム工業株式会社 流体封入式筒型防振装置
JP4196401B2 (ja) * 2003-05-30 2008-12-17 東海ゴム工業株式会社 流体封入式筒形防振装置

Cited By (1)

* Cited by examiner, † Cited by third party
Publication number Priority date Publication date Assignee Title
JP2018194097A (ja) * 2017-05-18 2018-12-06 株式会社ブリヂストン 防振装置

Also Published As

Publication number Publication date
US20050230889A1 (en) 2005-10-20
CN1683806A (zh) 2005-10-19
US7275738B2 (en) 2007-10-02
CN100473862C (zh) 2009-04-01
DE102005016860A1 (de) 2006-02-16

Similar Documents

Publication Publication Date Title
JP2005299861A (ja) 液体封入式筒型防振装置
JP4103008B2 (ja) 流体封入式防振装置
US8087647B2 (en) Fluid filled type cylindrical vibration damping device
JP4802164B2 (ja) 防振装置
WO2015145672A1 (ja) 防振装置
JP2001050333A (ja) 防振装置
JP2003120745A (ja) 防振装置
CN103119323B (zh) 防振装置
JP2008190653A (ja) サスペンション用の流体封入式コンプライアンスブッシュ
JP5654843B2 (ja) 防振装置
JP3744297B2 (ja) 流体封入式筒型マウントおよびその製造方法
JPH0460233A (ja) 防振装置
JP4959390B2 (ja) 流体封入式防振装置
JP4824423B2 (ja) 防振装置
JP2002276723A (ja) 液封入式防振装置の仕切部材
JP4202796B2 (ja) 液封入式防振装置
JPH10141425A (ja) 防振装置
JP3676025B2 (ja) 液体封入式防振マウント
JP4089647B2 (ja) 筒型防振装置
JP5907777B2 (ja) 流体封入式筒形防振装置
JP4018366B2 (ja) 流体封入式マウント
JP2008111558A (ja) 流体封入式トーコレクトブッシュおよびそれを用いたサスペンション機構
JP3777744B2 (ja) 流体封入式筒型マウント
JP3846328B2 (ja) 流体封入式防振装置
JP2009180316A (ja) 流体封入式筒型防振装置及びその製造方法

Legal Events

Date Code Title Description
A621 Written request for application examination

Free format text: JAPANESE INTERMEDIATE CODE: A621

Effective date: 20060823

A977 Report on retrieval

Free format text: JAPANESE INTERMEDIATE CODE: A971007

Effective date: 20071114

A131 Notification of reasons for refusal

Free format text: JAPANESE INTERMEDIATE CODE: A131

Effective date: 20071211

A521 Request for written amendment filed

Free format text: JAPANESE INTERMEDIATE CODE: A523

Effective date: 20080212

A02 Decision of refusal

Free format text: JAPANESE INTERMEDIATE CODE: A02

Effective date: 20080401