JP2005292909A - 商品情報提供方法 - Google Patents

商品情報提供方法 Download PDF

Info

Publication number
JP2005292909A
JP2005292909A JP2004103024A JP2004103024A JP2005292909A JP 2005292909 A JP2005292909 A JP 2005292909A JP 2004103024 A JP2004103024 A JP 2004103024A JP 2004103024 A JP2004103024 A JP 2004103024A JP 2005292909 A JP2005292909 A JP 2005292909A
Authority
JP
Japan
Prior art keywords
customer
information
product
shelf
message
Prior art date
Legal status (The legal status is an assumption and is not a legal conclusion. Google has not performed a legal analysis and makes no representation as to the accuracy of the status listed.)
Granted
Application number
JP2004103024A
Other languages
English (en)
Other versions
JP4330478B2 (ja
Inventor
Takahiro Hasegawa
貴裕 長谷川
Tomotsune Misawa
伴恒 三沢
Current Assignee (The listed assignees may be inaccurate. Google has not performed a legal analysis and makes no representation or warranty as to the accuracy of the list.)
Fujitsu Ltd
Original Assignee
Fujitsu Ltd
Priority date (The priority date is an assumption and is not a legal conclusion. Google has not performed a legal analysis and makes no representation as to the accuracy of the date listed.)
Filing date
Publication date
Application filed by Fujitsu Ltd filed Critical Fujitsu Ltd
Priority to JP2004103024A priority Critical patent/JP4330478B2/ja
Priority to US10/920,714 priority patent/US7152789B2/en
Priority to CN200410064203.3A priority patent/CN1677410A/zh
Publication of JP2005292909A publication Critical patent/JP2005292909A/ja
Application granted granted Critical
Publication of JP4330478B2 publication Critical patent/JP4330478B2/ja
Anticipated expiration legal-status Critical
Expired - Fee Related legal-status Critical Current

Links

Images

Classifications

    • GPHYSICS
    • G06COMPUTING OR CALCULATING; COUNTING
    • G06QINFORMATION AND COMMUNICATION TECHNOLOGY [ICT] SPECIALLY ADAPTED FOR ADMINISTRATIVE, COMMERCIAL, FINANCIAL, MANAGERIAL OR SUPERVISORY PURPOSES; SYSTEMS OR METHODS SPECIALLY ADAPTED FOR ADMINISTRATIVE, COMMERCIAL, FINANCIAL, MANAGERIAL OR SUPERVISORY PURPOSES, NOT OTHERWISE PROVIDED FOR
    • G06Q30/00Commerce
    • G06Q30/06Buying, selling or leasing transactions

Landscapes

  • Business, Economics & Management (AREA)
  • Accounting & Taxation (AREA)
  • Finance (AREA)
  • Development Economics (AREA)
  • Economics (AREA)
  • Marketing (AREA)
  • Strategic Management (AREA)
  • Physics & Mathematics (AREA)
  • General Business, Economics & Management (AREA)
  • General Physics & Mathematics (AREA)
  • Engineering & Computer Science (AREA)
  • Theoretical Computer Science (AREA)
  • Management, Administration, Business Operations System, And Electronic Commerce (AREA)
  • Cash Registers Or Receiving Machines (AREA)

Abstract

【課題】 店内で困っている顧客を検出し、適当な商品の情報を顧客に通知することができるようにする。
【解決手段】 顧客が買い物の際に所持する位置検出装置2が、現在の位置を示す位置情報を送信する。すると、顧客位置情報取得手段1aが、位置検出装置2から位置情報を定期的に取得する。次に、停止判定手段1bにより、位置情報に基づいて顧客の停止の有無が検出される。顧客が停止すると、メッセージ決定手段1cにより、停止位置付近の棚に陳列された商品に応じて、顧客に提示する案内メッセージが決定される。そして、メッセージ送信手段1dにより、決定された案内メッセージが位置検出装置2に対して送信される。
【選択図】 図1

Description

本発明は商品情報提供方法に関し、特に入店した顧客に商品情報を提供するための商品情報提供方法に関する。
スーパーマーケットで買い物をする場合、ショッピングカートが利用される。一般的なショッピングカートは商品の運搬にのみ利用されているが、ショッピングカートに携帯情報位置検出装置を備えることで、顧客に対し、様々な情報を提供することができる。
たとえば、顧客がショッピングカートに備え付けのバーコードリーダで読み取らせた商品の合計金額を表示することができる。また、ショッピングカートの位置に応じて、目玉商品の広告を表示することもできる。この際、特定の時刻に広告の情報を登録することで、タイムサービスの情報を提供することもできる(たとえば、特許文献1参照)。
特開2002−304671号公報
ところで、スーパーマーケットでは、商品の陳列場所が変更されることがある。このとき、以前にその商品を購入したことがある顧客は、変更前の陳列棚の前でその商品を探してしまう。その場合、顧客が商品を見つけるのに時間が掛かってしまう。また、顧客がその商品を見つけられずに購入を諦めてしまう(たとえば、他の店舗での購入を決断する)と、スーパーマーケット側では販売機会の損失となる。
しかし、従来の技術では、顧客が商品の陳列場所が分からずに迷っているとき、その商品の陳列場所を顧客に通知することができなかった。通常、店内の全ての顧客を店員が観察し、その顧客が何かに困っているかどうかを判断するのは困難である。そこで、各顧客が困っているかどうかを自動で判断し、必要な情報を顧客に提示できるシステムが求められている。
本発明はこのような点に鑑みてなされたものであり、店内で困っている顧客を検出し、適当な商品の情報を顧客に通知することができる商品情報提供方法を提供することを目的とする。
本発明では上記課題を解決するために、図1に示すような商品情報提供方法が提供される。本発明に係る商品情報提供方法は、顧客に商品情報を提供するためのものである。この商品情報提供方法では、以下の処理が行われる。
顧客位置情報取得手段1aが、顧客が買い物の際に所持する位置検出装置から位置情報を定期的に取得する。停止判定手段1bが、位置情報に基づいて顧客の停止の有無を検出する。メッセージ決定手段1cが、顧客が停止すると、停止位置付近の棚に陳列された商品に応じて、顧客に提示する案内メッセージを決定する。メッセージ送信手段1dが、決定された案内メッセージを、位置検出装置に対して送信する。
このような商品情報提供方法によれば、顧客位置情報取得手段1aにより、顧客が買い物の際に所持する位置検出装置から位置情報が定期的に取得される。そして、停止判定手段1bにより、位置情報に基づいて顧客の停止の有無が検出される。顧客が停止すると、メッセージ決定手段1cにより、停止位置付近の棚に陳列された商品に応じて、顧客に提示する案内メッセージが決定される。そして、メッセージ送信手段1dにより、決定された案内メッセージが位置検出装置に対して送信される。
また、上記課題を解決するために、顧客が使用する商品運搬用具により商品情報を提供するための商品情報提供方法において、ICタグリーダが、所定範囲内の棚に設けられたICタグから前記棚の識別情報を読み取り、停止判定手段が、前記位置情報に基づいて顧客の停止の有無を検出し、メッセージ決定手段が、前記顧客が停止すると、停止位置付近の棚に陳列された商品に応じて、前記顧客に提示する案内メッセージを決定し、メッセージ表示手段が、決定された前記案内メッセージを表示する、ことを特徴とする商品情報提供方法が提供される。
このような商品情報提供方法によれば、ICタグリーダにより、所定範囲内の棚に設けられたICタグから前記棚の識別情報が読み取られる。そして、停止判定手段により、位置情報に基づいて顧客の停止の有無が検出される。顧客が停止すると、メッセージ決定手段により、停止位置付近の棚に陳列された商品に応じて、顧客に提示する案内メッセージが決定される。そして、メッセージ表示手段により、決定された前記案内メッセージが表示される。
以上説明したように本発明では、顧客が停止したことを検出し、停止位置付近の棚に陳列された商品に応じた案内メッセージを送信するようにしたため、商品を購入すべきかどうかの判断材料が不足しているか、あるいは以前購入した商品が前と同じ棚に無いなどの理由で顧客が困っているとき、その顧客に対して的確な商品情報を案内メッセージとして提示することができる。
以下、本発明の実施の形態を図面を参照して説明する。
まず、実施の形態に適用される発明の概要について説明し、その後、実施の形態の具体的な内容を説明する。
図1は、実施の形態に適用される発明の概念図である。商品情報提供装置1は、顧客位置情報取得手段1a、停止判定手段1b、メッセージ決定手段1c、及びメッセージ送信手段1dを有している。
顧客位置情報取得手段1aは、顧客が買い物の際に所持する位置検出装置2から位置情報を定期的に取得する。位置検出装置2は、たとえば、商品運搬用具(ショッピングカートや買い物かご)である。位置情報としては、商品4が陳列された棚3の位置情報を用いることができる。その場合、位置検出装置2は、棚3に設けられたICタグ5から棚3の識別情報を読み取る。そして、位置検出装置2から顧客位置情報取得手段1aに棚3の識別情報が送信される。顧客位置情報取得手段1aは、予め棚3の位置を認識しており、位置検出装置2から棚3の識別情報が送られることで、顧客が棚3の近辺にいると判断する。
停止判定手段1bは、位置情報に基づいて顧客の停止(同じ場所に所定時間立ち止まった状態)の有無を検出する。たとえば、停止判定手段1bは、位置情報が所定時間変更されない場合に、顧客が停止したと判断する。
メッセージ決定手段1cは、顧客が停止すると、停止位置付近の棚3に陳列された商品4に応じて、顧客に提示する案内メッセージを決定する。たとえば、メッセージ決定手段1cは、棚3に以前陳列されていた商品の移動先の棚の場所を示す情報を、案内メッセージとする。また、メッセージ決定手段1cは、顧客が棚3の前に何度も訪れ、且つ停止している場合、その棚3に陳列されている商品4の購入を迷っていると想定し、その商品4が通常より安く販売されていることを示す情報を、案内メッセージとして決定することもできる。メッセージ送信手段1dは、決定された案内メッセージを、位置検出装置2に対して送信する。
このようなシステムによれば、顧客が位置検出装置2を伴って棚3の近くに到達すると、位置検出装置2から顧客位置情報取得手段1aに位置情報が送られる。顧客がその位置に所定時間以上留まっていると、位置検出装置2から顧客位置情報取得手段1aへは、棚3の位置を示す位置情報が送られることとなる。顧客位置情報取得手段1aが取得した、位置情報は、停止判定手段1bに送られる。
すると、停止判定手段1bにより、位置情報に基づいて顧客の停止の有無が検出される。ここで、所定時間以上同じ位置情報が送られていれば、停止したものと判断される。顧客が停止すると、メッセージ決定手段1cにより、停止位置付近の棚3に陳列された商品4に応じて、顧客に提示する案内メッセージが決定される。そして、メッセージ送信手段1dにより、決定された案内メッセージが位置検出装置2に対して送信される。位置検出装置2では、案内メッセージ6が表示される。顧客がこの案内メッセージ6を確認することで、悩んでいた原因を解消することができる。たとえば、棚3に以前陳列されていた商品の移動先を知ることができる。
このように、顧客が立ち止まったことで、その位置の棚に関連する商品に関して、顧客が情報不足で困っていると推定し、その棚の現在の商品、または以前陳列されていた商品に関する案内メッセージを顧客に提示することができる。その結果、顧客が意図的に要望を入力せずに、必要な情報を入手できる可能性が高くなり、顧客の利便性が向上する。しかも、店舗側では、顧客が購入を検討している商品の販売機会を失わずに済む。
ところで、メッセージ決定手段1cは、顧客の同一場所での停止回数を計数し、停止回数に応じて案内メッセージを決定することもできる。
また、メッセージ決定手段1cは、販売を停止した商品に対する代替商品が登録された代替商品データベースを参照し、顧客が停止した位置付近の棚に陳列されている商品の販売が停止しているとき、代替商品を示す情報を、案内メッセージとして決定することもできる。
また、メッセージ決定手段1cは、新商品と、食べ比べを推奨する他の商品との関係が登録された食べ比べデータベースを参照し、顧客が停止した位置付近の棚に新商品が陳列されている場合、他の商品との食べ比べを提案する情報を、案内メッセージとして決定することもできる。
さらに、メッセージ決定手段1cは、店舗で購買を推奨する商品が登録されたお薦めデータベースを参照し、顧客が停止した位置付近の棚に陳列されている複数の商品の食べ比べを提案する情報を、案内メッセージとして決定することもできる。
次に、本発明の実施の形態について具体的に説明する。
図2は、本発明の実施の形態に係るシステムを導入したスーパーマーケットを示す図である。スーパーマーケットには、店舗サーバ100が設けられている。店舗サーバ100は、ネットワークを介してレジスタ21に接続されている。レジスタ21は、POS(Point Of Sale)端末として機能を有している。
また、店舗サーバ100には、ネットワークを介して無線LAN(Local Area Network)のアクセスポイント22が接続されている。アクセスポイント22は、複数設けられており、店舗内の全ての領域を通信可能範囲としている。
スーパーマーケットの入り口付近には、ショッピングカート200や買い物かご23が配置されている。ショッピングカート200や買い物かご23は、顧客が自由に利用することができる。このショッピングカート200や買い物かご23は、無線LANに接続可能な移動体位置検出装置の機能を備えている。さらに、ショッピングカート200には、ICタグリーダが設けられており、所定の範囲内のICタグに記録された情報を読み取ることができる。
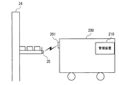
さらに、各商品棚24には、ICタグ25が設けられている。ICタグ25には、少なくとも商品棚24の位置を示す情報が記録されている。すなわち、ICタグ25の情報を、ショッピングカート200に設けられたICタグリーダで読み取ることで、ショッピングカート200の現在地が分かる。
図3は、ICタグの情報の読み取り状況を示す概念図である。商品棚24のICタグ25から所定範囲内にショッピングカート200が近づくと、ICタグリーダ201によって、ICタグ25に記録された情報が読み取られる。読み取られた情報は、ショッピングカート200に設けられた管理装置210に送られる。そして、管理装置210から無線LANを介してICタグ25の情報が店舗サーバ100に送られ、店舗サーバ100からは、ショッピングカート200の位置に応じた情報が返される。
このような情報の送受信を行うためのハードウェア構成例について、以下に説明する。
図4は、店舗サーバのハードウェア構成例を示す図である。店舗サーバ100は、CPU(Central Processing Unit)101によって装置全体が制御されている。CPU101には、バス107を介してRAM(Random Access Memory)102、ハードディスクドライブ(HDD:Hard Disk Drive)103、グラフィック処理装置104、入力インタフェース105、および通信インタフェース106が接続されている。
RAM102には、CPU101に実行させるOS(Operating System)のプログラムやアプリケーションプログラムの少なくとも一部が一時的に格納される。また、RAM102には、CPU101による処理に必要な各種データが格納される。HDD103には、OSやアプリケーションプログラムが格納される。
グラフィック処理装置104には、モニタ11が接続されている。グラフィック処理装置104は、CPU101からの命令に従って、画像をモニタ11の画面に表示させる。入力インタフェース105には、キーボード12とマウス13とが接続されている。入力インタフェース105は、キーボード12やマウス13から送られてくる信号を、バス107を介してCPU101に送信する。
通信インタフェース106は、ネットワーク10に接続されている。通信インタフェース106は、ネットワーク10を介して、他のコンピュータとの間でデータの送受信を行う。
図5は、ショッピングカートのハードウェア構成例を示す図である。ショッピングカート200には、管理装置210、複数のICタグリーダ201,202,203、ディスプレイ204、キーボード205、及びアンテナ206が設けられている。
管理装置210は、CPU211によって装置全体が制御されている。CPU211には、バス216を介してRAM212、不揮発性記録媒体213、入出力インタフェース214、及び無線通信インタフェース215が接続されている。
RAM212には、CPU211に実行させるプログラムの少なくとも一部が一時的に格納される。また、RAM212には、CPU211による処理に必要な各種データが格納される。不揮発性記録媒体213は、フラッシュメモリやHDD等の記録媒体であり、各種データが格納される。
入出力インタフェース214には、ICタグリーダ201,202,203、ディスプレイ204、及びキーボード205が接続されている(図中、接続関係を示す線を省略している)。入出力インタフェース214は、ICタグリーダ201,202,203やキーボード205から送られてくる信号を、バス216を介してCPU211に送信する。また、CPU211から送られている信号を、ディスプレイ204に対して送信する。無線通信インタフェース215には、アンテナ206が接続されている(図中、接続関係を示す線を省略している)。無線通信インタフェース215は、アンテナ206を介してアクセスポイント22と通信し、無線LAN経由の情報通信を行う。
以上のようなハードウェア構成によって、本実施の形態の処理機能を実現することができる。次に、店舗サーバ100とショッピングカート200とが有する処理機能について説明する。
図6は、ショッピングカートにおける情報送受信機能を示す図である。ショッピングカート200には、利用開始通知部220、通過棚情報通知部230、及び案内メッセージ表示部240が設けられている。
利用開始通知部220は、ショッピングカート200が顧客によって利用開始されたことを検出し、その旨を店舗サーバ100に通知する。たとえば、利用開始通知部220は、管理装置210の電源が投入されることで、利用開始されたと判断することができる。また、利用開始通知部220は、利用開始時に顧客コードの入力画面をディスプレイ204に表示する。顧客がキーボード205を用いて顧客コードを入力すると、利用開始通知部220はその顧客コードを店舗サーバ100に対して送信する。
通過棚情報通知部230は、定期的にICタグリーダ201,202,203を介して、近くのICタグを検索する。ICタグが見つかると、通過棚情報通知部230は、そのICタグに登録されている商品棚の位置を示す情報を読み取る。そして、通過棚情報通知部230は、読み取った情報を店舗サーバ100に対して送信する。これにより、店舗サーバ100において、ショッピングカート200の位置を把握できる。
たとえば、たまご、牛肉、魚がそれぞれ陳列された商品棚31、32,33があるとき、各商品棚31,32,33にICタグ25a,25b,25cが取り付けられている。ICタグ25aには、たまごが並べられた商品棚31の位置を示す情報が登録されている。ICタグ25bには、牛肉が並べられた商品棚32の位置を示す情報が登録されている。ICタグ25cには、魚が並べられた商品棚33の位置を示す情報が登録されている。
ここで、ショッピングカート200が商品棚32の前に来ると、通過棚情報通知部230がICタグ25bに記録された情報を読み取り、店舗サーバ100に対して送信する。店舗サーバ100では、受信した情報を解析することで、ショッピングカート200が棚32の前に移動したことを認識する。
案内メッセージ表示部240は、店舗サーバ100から送られる案内メッセージをディスプレイ204に表示する。
なお、買い物かご23もショッピングカート200と同様の機能を有している。すなわち、買い物かご23は複数のICタグリーダ23a,23b、アンテナ23c、ディスプレイ23d等を備えており、ショッピングカート200と同様の処理を実行することができる。
また、店舗サーバ100からの案内メッセージを、顧客の所持する携帯電話機26に送信したり、携帯電話機26案内メッセージを表示したりすることもできる。この場合、顧客の携帯電話機26に電子メールを送信するためのEメールアドレスを、予め店舗サーバ100に登録しておく必要がある。
図7は、店舗サーバの処理機能を示す図である。店舗サーバ100には、情報記憶部110、データ送受信部120、顧客情報管理部130、顧客停止判定部140、及び案内メッセージ決定部150が設けられている。
情報記憶部110には、顧客に対して適当な案内メッセージを提供するために必要な情報が記憶される。具体的には、情報記憶部110には、個人別購買履歴111、棚番DB112、代替商品DB113、比較DB114、食べ比べDB115、お薦めDB116、利用情報DB117、及び案内メッセージDB118が格納される。
個人別購買履歴111は、顧客の個人情報が登録される。棚番DB112には、棚毎に現在の陳列商品、及び過去の陳列商品の移動先等の情報が登録される。代替商品DB113には、販売中止となった商品の代替品に関する情報が登録される。比較DB114には、購入を迷っている顧客に提供する類似商品に関する情報が登録される。食べ比べDB115には、食べ比べを推奨する商品に関する情報登録される。お薦めDB116には、販売を特に推進する商品に関する情報が登録される。利用情報DB117には、顧客の行動状況に関する情報が登録される。案内メッセージDB118には、ショッピングカート200に表示させる案内メッセージが登録される。
データ送受信部120は、ネットワーク10を介してショッピングカート200や買い物かご23の管理装置との間で通信を行う。そして、データ送受信部120は、ショッピングカート200から送られた情報を顧客情報管理部130に渡す。また、案内メッセージ決定部150から送られた情報をショッピングカート200に対して送信する。
顧客情報管理部130は、データ送受信部120から受け取った顧客に関する情報に基づいて、利用情報DB117を更新する。具体的には、顧客情報管理部130は、新たに入店した顧客の顧客コードを受け取ると、その顧客コードを利用情報DB117の新規レコードとして登録する。また、顧客コードが未入力のままショッピングカート200が動かされた場合、そのショッピングカート200を使用している顧客の顧客コードを決定し、その顧客コードを利用情報DB117の新規レコードとして登録する。なお、決定した顧客コードは、データ送受信部120を介してショッピングカート200に送信される。
さらに、顧客情報管理部130は、ショッピングカート200から通過棚番を受け取ると、利用情報DB117の内容を更新する。具体的は、顧客情報管理部130は、受け取った通過棚番を利用情報DB117に登録する。さらに、顧客情報管理部130は、その通過棚番を受け取った時刻を、利用情報DB117に登録する。
顧客停止判定部140は、利用情報DB117に登録されている情報を参照して、何らかの理由でアドバイスが必要な顧客を検出する。たとえば、同じ場所に何度も立ち寄っている顧客は、その棚の商品を購入すべきか否かについて迷っていると想定できる(すなわち、購入の要否を決断するための情報が不足している)。また、顧客が立ち寄った棚に以前置いてあった商品が別の棚に移動した場合、目的の商品を見つけられずに困っていることが想定できる(商品の移動先が分からない)。顧客停止判定部140は、アドバイスが必要な顧客を検出すると、その顧客に対する案内メッセージの送信依頼を、案内メッセージ決定部150に対して行う。
案内メッセージ決定部150は、利用情報DB117の通過棚番によって顧客の現在地を認識し、その位置に応じた通常の案内メッセージを顧客が利用しているショッピングカート200に対して送信する。また、案内メッセージ決定部150は、顧客停止判定部140から案内メッセージの送信依頼を受け取ると、顧客が困っている理由に応じた案内メッセージを、その顧客が利用しているショッピングカート200に対して送信する。
以下、情報記憶部110に格納されるデータを具体的に説明する。
図8は、個人別購買履歴のデータ構造例を示す図である。個人別購買履歴111には、顧客コード、1以上の購入年月日、購入年月日に1対1で対応する購入商品コード、及びEメールアドレスの欄が設けられており、各欄の横方向に並べられた情報同士が互いに関連づけられ個々のレコードを構成している。
顧客コードの欄には、顧客を一意に識別するための識別情報(顧客コード)が設定される。購入年月日の欄には、顧客が右隣欄の商品を購入した日付が設定される。購入商品コードの欄には、顧客が購入した商品の識別情報(商品コード)が設定される。Eメールアドレスの欄には、顧客の電子メール(Eメール)アドレスが設定される。
顧客コードは、顧客が買い物を開始するときに任意に設定できる。なお、過去に顧客コードを入力したことがある顧客であれば、以前に入力した顧客コードを入力することで、過去に購入した商品の傾向に応じた情報提供を受けることができる。
また、顧客は、顧客コードの入力を省略することもできる。顧客コードが未入力の場合、顧客情報管理部130によって採番された顧客コードが新たに設定される。
図9は、棚番DBのデータ構造例を示す図である。棚番DB112には、フロアコード、棚番、展示商品の特売フラグ、展示商品コード、元展示商品コード、元展示商品の特売フラグ、移動先フロアコード、移動先棚番の欄が設けられており、各欄の横方向に並べられた情報同士が互いに関連づけられ個々のレコードを構成している。
フロアコードの欄には、商品が陳列された棚が設置されているフロアの識別情報(フロアコード)が設定される。棚番の欄には、棚の識別情報が設定される。展示商品の特売フラグには、棚に現在展示されている商品が特売品か否かを示すフラグ(特売の場合1、通常の場合0)が設定される。展示商品コードの欄には、棚に陳列されている商品の識別情報(商品コード)が設定される。元展示商品コードの欄には、現在の商品の前に棚に陳列されていた商品の識別情報(商品コード)が設定される。元展示商品の特売フラグの欄には、現在の商品の前に棚に陳列されていた商品が特売品か否かを示すフラグ(特売の場合1、通常の場合0)が設定される。移動先フロアコードの欄には、現在の商品の前に棚に陳列されていた商品の移動先のフロアの識別情報(フロアコード)が設定される。移動先棚番の欄には、現在の商品の前に棚に陳列されていた商品の移動先の棚の棚番が設定される。
なお、元展示商品コード、元展示商品の特売フラグ、移動先フロアコード、及び移動先棚番の各データ(移動商品情報)は、該当する棚の陳列商品が所定期間内に変更された場合に設定される。すなわち、システムの管理者は、商品の移動があったとき、棚番DB112の商品の元の棚のレコードに、移動商品情報等を登録する。そして、管理者は、登録した移動商品情報を、移動から所定期間経過時点で削除する。
図10は、代替商品DBのデータ構造例を示す図である。代替商品DB113には、商品コード、販売停止フラグ、代替商品コード、商品棚番の欄が設けられており、各欄の横方向に並べられた情報同士が互いに関連づけられ個々のレコードを構成している。
商品コードの欄には、他の商品で代替可能な商品の商品コードが設定される。販売停止フラグの欄には、対応する商品の販売が停止したか否かを示すフラグ(停止した場合1、販売中の場合0)が設定される。代替商品コードの欄には、対応する商品の代替商品として提示可能な商品の商品コードが設定される。商品棚番の欄には、代替商品の棚番が設定される。
代替商品DB113を参照すれば、顧客が販売停止の商品を探しているときに、代替商品を提示することができる。たとえば、米国産牛肉の販売が停止されたとき、代替商品として豪州産牛肉を提案することができる。
図11は、比較DBのデータ構造例を示す図である。比較DB114には、フロアコード、棚番、商品コード、売りたいランク、商品名、類似商品棚番、類似商品コード、類似商品名、類似商品売りたいランクの欄が設けられており、各欄の横方向に並べられた情報同士が互いに関連づけられ個々のレコードを構成している。
フロアコードの欄には、比較対象商品が陳列されているフロアの識別情報(フロアコード)が設定される。棚番の欄には、比較対象商品が陳列されている棚の棚番が設定される。商品コードの欄には、比較対象商品の商品コードが設定される。売りたいランクの欄には、比較対象商品を売る意思がどの程度強いのかを示すランク(最も売りたい商品がA、次に売りたい商品がB、その次に売りたい商品がC)が設定される。商品名の欄には、比較対象商品の名称が設定される。類似商品棚番の欄には、比較対象商品に類似する商品の棚番が設定される。類似商品コードの欄には、類似商品の商品コードが設定される。類似商品名の欄には、類似商品の商品名が設定される。類似商品売りたいランクの欄には、類似商品を売る意思がどの程度強いのかを示すランク(最も売りたい商品がA、次に売りたい商品がB、その次に売りたい商品がC)が設定される。
比較DB114を参照することで、商品の購入を迷っている顧客に対して、類似商品の存在を教えることができる。たとえば、牛肉の購入を検討している顧客に対して、豚肉の存在を教えることができる。
図12は、食べ比べDBのデータ構造例を示す図である。食べ比べDB115には、棚番、商品コード、商品名、商品分類コード、商品分類名、新旧区分の欄が設けられており、各欄の横方向に並べられた情報同士が互いに関連づけられ個々のレコードを構成している。
棚番の欄には、食べ比べ対象商品が陳列された棚の棚番が設定される。商品コードの欄には、食べ比べ対象商品の商品コードが設定される。商品分類コードの欄には、食べ比べ対象商品の商品分類が設定される。商品分類名の欄には、食べ比べ対象商品の商品分類名が設定される。新旧区分の欄には、既存の商品(1)か新商品(2)かを示す値が設定される。
食べ比べDB115を参照すれば、同じ棚に陳列された複数の商品の食べ比べを顧客に提案することができる。たとえば、国産の牛肉とオーストラリア産の牛肉との食べ比べを提案する。また、A社からカップ麺の新製品が出たとき、新旧製品の食べ比べを提案することもできる。
図13は、お薦めDBのデータ構造例を示す図である。お薦めDB116には、棚番、商品コード、お薦めランク、在庫数、情報提示可否の欄が設けられており、各欄の横方向に並べられた情報同士が互いに関連づけられ個々のレコードを構成している。
棚番の欄には、店舗でのお薦め商品が陳列されている棚の棚番が設定される。商品コードの欄には、店舗でのお薦め商品の商品コードが設定される。お薦めランクの欄には、お薦め商品を推奨する度合いを示すランク(最もお薦めの商品がA、次にお薦めの商品がB、その次にお薦めの商品がC)が設定される。在庫数の欄には、該当商品の在庫数が設定される。情報提示可否の欄には、対応する商品の情報を顧客に勧めることができるか否か(提示付加であれば2、提示可能であれば1)が設定される。たとえば、在庫が0であれば情報提示不可となる。
図14は、利用情報DBのデータ構造例を示す図である。利用情報DB117には、顧客コード、利用開始時刻、設定時間、設定回数、通過棚番、棚通過時刻、停止棚番、停止時間、停止回数、精算済みフラグの欄が設けられており、各欄の横方向に並べられた情報同士が互いに関連づけられ個々のレコードを構成している。
顧客コードの欄には、入店した顧客の顧客コードが設定される。利用開始時刻の欄には、顧客が入店し、ショッピングカート200の利用を開始した時刻が設定される。設定時間の欄には、棚の前で停止したと判断するための基準となる時間が秒単位で設定される(設定された時間を超えて同一の棚の前に滞在したとき、停止したと判断される)。設定回数の欄には、顧客が商品の購入を迷っていると判断するための基準となる同一の棚の前での停止回数が設定される。通過棚番の欄には、顧客が通過した最新の棚の棚番が設定される。棚通過時刻の欄には、顧客が棚の前に来た時刻が設定される。停止棚番の欄には、入店してから顧客が停止したと判断された棚の棚番が設定される。停止時間の欄には、左隣の欄に設定された棚の前に顧客が停止した時間が秒単位で設定されている。停止回数の欄には、対応する停止棚番で示される棚に顧客が停止した回数が設定される。精算済みフラグは、顧客が商品の代金を支払ったか否かを示すフラグ(精算済みの場合1、未精算の場合0)が設定される。
図15は、案内メッセージDBの例を示す図である。案内メッセージDB118には、メッセージ種別とメッセージ内容の欄が設けられており、各欄の横方向に並べられた情報同士が互いに関連づけられ個々のレコードを構成している。
メッセージ種別の欄には、メッセージの種別が設定される。メッセージ内容の欄には、案内メッセージの本文が設定される。なお、メッセージ内容のうち括弧で囲われている部分については、実際に案内メッセージを送信する際に、必要な情報を情報記憶部110から抽出して、その括弧で示される部分で設定される。
以上のようなシステム構成およびデータベースに基づいて、店舗サーバ100において以下のような処理が行われる。なお、以下の例では、顧客がショッピングカート200を利用するものとして説明する。
図16は、店舗サーバの処理を示す第1の図である。以下、図16に示す処理をステップ番号に沿って説明する。
[ステップS11]顧客情報管理部130は、ショッピングカート200から送られる利用開始を示す情報の入力を待つ。
[ステップS12]顧客情報管理部130は、利用開始の有無を判断する。たとえば、顧客情報管理部130は、ショッピングカート200が動き出した場合、利用開始と判断する。なお、ショッピングカート200が動き出したか否かは、たとえば、ショッピングカート置き場付近に設けられているICタグが検出できなくなることで判断できる。利用が開始されると、処理がステップS13に進められる。利用が開始されなければ、処理がステップS11に進められ利用開示情報の入力待ちとなる。
[ステップS13]顧客情報管理部130は、顧客コードの入力を受け付ける。なお、顧客コードの入力は任意である。
[ステップS14]顧客情報管理部130は、顧客コードが入力された場合、受け取った顧客コードに基づいて個人別購買履歴111を検索し、過去の購入商品の情報を取得する。
[ステップS15]顧客情報管理部130は、情報が見つかったか否かを判断する。見つかった場合、処理がステップS19に進められる。見つからなかった場合、処理がステップS16に進められる。なお、顧客コードが入力されなかった場合も、処理がステップS16に進められる。
[ステップS16]顧客情報管理部130は、個人別購買履歴111に新規のレコードを生成する。
[ステップS17]顧客情報管理部130は、新規の顧客コードを発行し、ステップS16で生成した個人別購買履歴111のレコードに、発行した顧客コードを登録する。また、顧客情報管理部130は利用情報DB117に、生成した顧客コードを新たなレコードとして登録する。
[ステップS18]案内メッセージ決定部150は、顧客コードが生成されたことを検出し、顧客コード通知メッセージを案内メッセージDB118から抽出する。そして、案内メッセージ決定部150は、抽出した案内メッセージに顧客コードや発行日を挿入し、ショッピングカート200に通知する。これにより、ショッピングカート200のディスプレイ204には、発行された顧客コードが表示され、顧客は自己の顧客コードを知ることができる。
図17は、顧客コード通知画面の表示例を示す図である。図17に示すように、顧客コード通知画面41には、顧客コードや発行日が表示される。以下、図16の説明に戻る。
[ステップS19]顧客情報管理部130は、利用情報DB117の新たに生成したレコードに、利用開始時刻を記録する。
[ステップS20]顧客情報管理部130は、ショッピングカート200からの通過棚番を受け取ると、その棚番を利用情報DB117の通過棚番の欄に記録する(既に棚番が設定されている場合、上書きで記録される)。また、顧客情報管理部130は、通過棚番を受け取った時刻を棚通過時刻の欄に記録する(既に時刻が設定されている場合、上書きで記録される)。
[ステップS21]顧客情報管理部130は、精算が済んだか否かを判断する。たとえば、顧客情報管理部130は、レジスタ21から該当顧客の精算済みを示す情報受け取った場合に、精算済みと判断する。精算済みであれば、処理が終了する。未精算であれば、処理がステップS22に進められる。
[ステップS22]顧客停止判定部140は、顧客が利用するショッピングカート200が所定時間(利用情報DB117の設定時間)停止したか否かを判断する。具体的には、顧客停止判定部140は、利用情報DB117の棚通過時刻を監視し、現在時刻と棚通過時刻との差が、設定時間を超えた場合に、所定時間停止したものと判断する。所定時間停止した場合、処理がステップS31に進められる。停止時間が所定時間に満たない場合、処理がステップS20に進められる。
図18は、店舗サーバの処理を示す第2の図である。以下、図18に示す処理をステップ番号に沿って説明する。
[ステップS31]顧客停止判定部140は、利用情報DB117に停止時間及び停止回数を記録する。具体的には、停止回数については、以前の停止回数に1を加算する処理を行う。
[ステップS32]案内メッセージ決定部150は、同一の棚の前での停止回数が所定値(利用情報DB117の設定回数の値)以上か否かを判断する。所定回数以上停止した場合、処理がステップS33に進められる。所定回数未満の場合、処理がステップS61に進められる。
[ステップS33]案内メッセージ決定部150は、停止した棚の棚番により、棚番DB112を検索し、該当するレコードを取得する。
[ステップS34]案内メッセージ決定部150は、停止した棚の陳列商品に変更があったか(陳列商品の棚番変更があるか)否かを判断する。具体的には、案内メッセージ決定部150は、停止した棚番のレコードに元展示商品コード等の移動商品情報が設定されていれば、棚番移動ありと判断する。棚番変更がある場合、処理がステップS66に進められる。棚番変更が無い場合、処理がステップS35に進められる。
[ステップS35]案内メッセージ決定部150は、顧客が停止した棚の棚番によって、比較DB114を検索する。
[ステップS36]案内メッセージ決定部150は、お薦めDB116から、在庫がある商品のうちお薦めランクの最も高いものを検索し、該当するレコードを取得する。
[ステップS37]案内メッセージ決定部150は、顧客が停止した棚に陳列されている商品の商品コードによって、代替商品DB113を検索し該当するレコードを取得する。
[ステップS38]案内メッセージ決定部150は、ステップS36で取得したレコードの在庫数を参照し、その棚の商品が売りきれ(在庫数が0)か否かを判断する。売りきれの場合、処理がステップS39に進められる。在庫がある場合、処理がステップS51に進められる。
[ステップS39]案内メッセージ決定部150は、ステップS37で取得したレコードの販売停止フラグを参照し、該当商品が販売停止か否かを判断する。販売停止の場合、処理がステップS40に進められる。販売停止ではない場合、処理がステップS41に進められる。
[ステップS40]案内メッセージ決定部150は、販売停止情報をショッピングカート200に通知する。具体的には、案内メッセージ決定部150は、案内メッセージDB118から販売停止情報を抽出し、所定の情報を挿入してショッピングカート200に対して送信する。すると、ショッピングカート200のディスプレイ204に、販売停止情報が表示される。
図19は、販売停止情報表示画面の例を示す図である。販売停止情報表示画面42には、販売を停止した商品の商品名や販売を停止した日付(図7には示していない商品のDB情報から取得)を含む販売停止の案内メッセージが表示される。
図19は、顧客が米国産牛肉の棚の前で停止した場合の例である。このとき、代替商品DB113を参照すると、米国産牛肉(商品コード“300112325”)の販売停止フラグが“1”である。そこで、販売停止の案内メッセージが送信されている。
以下、図18の説明に戻る。
[ステップS41]案内メッセージ決定部150は、代替商品情報をショッピングカート200に通知する。具体的には、ショッピングカート200は、案内メッセージDB118から代替商品情報用メッセージを抽出し、ステップS37で取得したレコードの代替商品コードに基づいて決定される代替商品の情報をメッセージに挿入する。そして、そのメッセージを、案内メッセージ決定部150は代替商品情報としてショッピングカート200に対して送信する。すると、ショッピングカート200のディスプレイ204に、代替商品情報が表示される。
図20は、代替商品情報表示画面の例を示す図である。代替商品情報表示画面43には、代替商品を案内するメッセージが表示される。なお、図20の例では、顧客コードや棚番に加え、代替商品の値段(図7には示していない商品のDB情報から取得される)が表示されている。
図20は、顧客が米国産牛肉(商品コード“300112325”)の棚の前で停止した場合の例である。このとき、代替商品DB113を参照すると、豪州産牛肉(商品コード“200112325”)が代替商品として設定されている。そのため、豪州産牛肉を代替商品として提案する案内メッセージが表示されている。
図21は、店舗サーバの処理を示す第3の図である。以下、図21に示す処理をステップ番号に沿って説明する。
[ステップS51]案内メッセージ決定部150は、類似商品が有るか否かを判断する。類似商品がある場合、処理がステップS53に進められる。類似商品がない場合、処理がステップS52に進められる。
[ステップS52]案内メッセージ決定部150は、売りたい商品情報を通知する。具体的には、案内メッセージ決定部150は、案内メッセージDB118から売りたい商品案内メッセージを抽出し、比較DB114の売りたいランクの上位の商品に関する情報を挿入する。そして、案内メッセージ決定部150は、売りたい商品案内メッセージをショッピングカート200に対して送信する。すると、ショッピングカート200のディスプレイ204に、売りたい商品情報画面が表示される。その後、処理がステップS20に進められる。
図22は、売りたい商品情報画面の例を示す図である。売りたい商品情報画面44には、売りたい商品を案内するメッセージが表示される。なお、図22の例では、顧客コードや棚番に加え、代替商品の値段(図7には示していない商品のDB情報から取得される)が表示されている。
たとえば、顧客が米国産牛肉の前で停止したとき、比較DB114を参照すると、類似商品がない。そこで、売りたいランクが上位の豪州産牛肉に関する案内メッセージが表示される。
以下、図21の説明に戻る。
[ステップS53]案内メッセージ決定部150は、商品コードにより食べ比べDB115を検索し、該当するレコードを取得する。
[ステップS54]案内メッセージ決定部150は、同一棚に新商品が出たか否かを判断する。新商品が出た場合、処理がステップS55に進められる。新商品が出ていない場合、処理がステップS56に進められる。
[ステップS55]案内メッセージ決定部150は、食べ比べと称して値引き販売情報を通知する。具体的には、案内メッセージ決定部150は、案内メッセージDB118から食べ比べ情報案内メッセージを抽出し、食べ比べDB115の同じ棚の新製品の情報を挿入する。そして、案内メッセージ決定部150は、食べ比べ情報メッセージをショッピングカート200に対して送信する。すると、ショッピングカート200のディスプレイ204に、食べ比べ情報画面が表示される。その後、処理がステップS20に進められる。
図23は、食べ比べ情報画面の表示例を示す図である。食べ比べ情報画面45には、食べ比べを推奨する商品を案内するメッセージが表示される。なお、図23の例では、顧客コードに加え、食べ比べ対象となる商品(図23の例では国産牛肉とオーストラリア産牛肉)やその食材を用いた料理のレシピ(図7には示していない商品のDB情報から取得される)が表示されている。また、食べ比べ対象の商品をセットで購入すると、値引きがあることを顧客に知らせるメッセージが含まれる。
たとえば、国産牛肉棚の前で顧客が停止した場合、食べ比べDB115を参照すると、同じ棚番の食べ比べ対象として、豪州産牛肉がある。そこで、図23に示すように、豪州産牛肉と国産牛肉との食べ比べが提案される。
以下、図21の説明に戻る。
[ステップS56]案内メッセージ決定部150は、お薦めランクに沿ってお薦め情報を通知する。具体的には、案内メッセージ決定部150は、情報通知可能な商品のうち、お薦めランクが最も高い商品を選択する。次に、案内メッセージ決定部150は、案内メッセージDB118からお薦め情報用メッセージを抽出し、お薦め商品の情報を挿入する。そして、案内メッセージ決定部150は、お薦め情報用メッセージをショッピングカート200に対して送信する。これにより、ショッピングカート200のディスプレイ204には、お薦め情報が表示される。その後、処理がステップS20に進められる。
図24は、お薦め情報表示画面の例を示す図である。お薦め情報表示画面46には、お薦め商品に関する情報が表示される。なお、図24の例では、顧客コードや棚番に加え、代替商品の値段や推薦文(図7には示していない商品のDB情報から取得される)が表示されている。
図25は、店舗サーバの処理を示す第4の図である。以下、図25に示す処理をステップ番号に沿って説明する。
[ステップS61]案内メッセージ決定部150は、顧客が停止した位置の棚番によって棚番DB112を検索し、該当するレコードを取得する。
「ステップS62]案内メッセージ決定部150は、棚番の変更があったか否かを判断する。棚番の変更があった場合、処理がステップS66に進められる。棚番の変更がなければ、処理がステップS63に進められる。
[ステップS63]案内メッセージ決定部150は、棚番の変更がなければ、顧客が停止した位置の棚番によってお薦めDB116を検索し、該当するレコードを取得する。
[ステップS64]案内メッセージ決定部150は、ステップS63で取得したレコードの在庫数を参照し、その棚の商品が売りきれ(在庫数が0)か否かを判断する。売りきれの場合、処理がステップS39に進められる。在庫がある場合、処理がステップS65に進められる。
[ステップS65]案内メッセージ決定部150は、お薦めランクに沿ってお薦め情報を通知する。具体的には、案内メッセージ決定部150は、情報通知可能な商品のうち、お薦めランクが最も高い商品を選択する。次に、案内メッセージ決定部150は、案内メッセージDB118からお薦め情報用メッセージを抽出し、お薦め商品の情報を挿入する。そして、案内メッセージ決定部150は、お薦め情報用メッセージをショッピングカート200に対して送信する。これにより、ショッピングカート200のディスプレイ204には、お薦め情報が表示される(お薦め情報表示画面の例は、図24に示した通りである)。その後、処理がステップS20に進められる。
[ステップS66]ステップS34,S62で棚番変更ありと判断された場合、案内メッセージ決定部150は、棚番DB112から取得したレコードの特売フラグを参照し、特売品か否かを判断する。特売品の場合処理がステップS68に進められる。特売品では無い場合、処理がステップS67に進められる。
[ステップS67]案内メッセージ決定部150は、移動先棚番を通知する。具体的には、案内メッセージ決定部150は、案内メッセージDB118から移動先棚番通知用メッセージを抽出し、棚番DB112から取得したレコードの元展示商品コード、特売フラグ、移動先フロアコード、移動先棚番コードを挿入する。そして、案内メッセージ決定部150は、移動先棚番通知用メッセージをショッピングカート200に対して送信する。すると、ショッピングカート200のディスプレイに移動先棚番が表示される。その後、処理がステップS20に進められる。
図26は、移動先棚番表示画面の例を示す図である。移動先棚番表示画面47には、移動した商品の商品コード、移動先のフロア、棚番等に関する情報が表示される。
以下、図25の説明に戻る。
[ステップS68]案内メッセージ決定部150は、特売品コーナに関する情報を通知する。具体的には、案内メッセージ決定部150は、案内メッセージDB118から特売品移動先棚番通知用メッセージを抽出し、棚番DB112から取得したレコードの元展示商品コード、特売フラグ、移動先フロアコード、移動先棚番コードを挿入する。そして、案内メッセージ決定部150は、特売品移動先棚番通知用メッセージをショッピングカート200に対して送信する。その後、処理がステップS20に進められる。
図27は、特売品移動先棚番表示画面の例を示す図である。特売品移動先棚番表示画面48には、移動した商品の商品コード、移動先のフロア、棚番等に関する情報が表示される。
以上のようにして、顧客の停止位置に応じて顧客が困っている理由等を推定し、適当な案内メッセージを顧客に提示することができる。これにより、顧客が遭遇した場面に応じて、適切なメッセージを顧客に伝えることができる。
なお、上記の例では、棚にICタグを付け、ショッピングカート200や買い物かご23にセンサを付けているが、ICタグとセンサとの関係は逆でもよい。
また、上記の例ではICタグとセンサによって顧客の位置(どの棚の前にいるのか)を判断するようにしたが、他の方法で顧客の位置を判定することもできる。たとえば、ショッピングカート200や買い物かご23が電波を発信し、その電波を複数の基地局で受信する。各基地局での電波の受信時刻の差によって、基地局からショッピングカート200等までの距離を計算し、ショッピングカート200の位置を算出することができる。
なお、上記の例では、ショッピングカート200では顧客停止判定や案内メッセージの決定を店舗サーバ100で実行しているが、これらの機能をショッピングカート200に内蔵することもできる。その場合、図7の情報記憶部110に格納されている各種情報を予めショッピングカート200の管理装置210内の不揮発性記録媒体213に格納しておけばよい。なお、精算が完了したか否かの情報や顧客コードの採番等の情報は、店舗サーバ100からショッピングカート200に対して適宜通知する。
なお、上記の処理機能は、コンピュータによって実現することができる。その場合、店舗サーバ100や管理装置210が有すべき機能の処理内容を記述したプログラムが提供される。そのプログラムをコンピュータで実行することにより、上記処理機能がコンピュータ上で実現される。処理内容を記述したプログラムは、コンピュータで読み取り可能な記録媒体に記録しておくことができる。コンピュータで読み取り可能な記録媒体としては、磁気記録装置、光ディスク、光磁気記録媒体、半導体メモリなどがある。磁気記録装置には、ハードディスク装置(HDD)、フレキシブルディスク(FD)、磁気テープなどがある。光ディスクには、DVD(Digital Versatile Disc)、DVD−RAM(Random Access Memory)、CD−ROM(Compact Disc Read Only Memory)、CD−R(Recordable)/RW(ReWritable)などがある。光磁気記録媒体には、MO(Magneto-Optical disk)などがある。
プログラムを流通させる場合には、たとえば、そのプログラムが記録されたDVD、CD−ROMなどの可搬型記録媒体が販売される。また、プログラムをサーバコンピュータの記憶装置に格納しておき、ネットワークを介して、サーバコンピュータから他のコンピュータにそのプログラムを転送することもできる。
プログラムを実行するコンピュータは、たとえば、可搬型記録媒体に記録されたプログラムもしくはサーバコンピュータから転送されたプログラムを、自己の記憶装置に格納する。そして、コンピュータは、自己の記憶装置からプログラムを読み取り、プログラムに従った処理を実行する。なお、コンピュータは、可搬型記録媒体から直接プログラムを読み取り、そのプログラムに従った処理を実行することもできる。また、コンピュータは、サーバコンピュータからプログラムが転送される毎に、逐次、受け取ったプログラムに従った処理を実行することもできる。
(付記1) 顧客に商品情報を提供するための商品情報提供方法において、
顧客位置情報取得手段が、前記顧客が買い物の際に所持する位置検出装置から位置情報を定期的に取得し、
停止判定手段が、前記位置情報に基づいて顧客の停止の有無を検出し、
メッセージ決定手段が、前記顧客が停止すると、停止位置付近の棚に陳列された商品に応じて、前記顧客に提示する案内メッセージを決定し、
メッセージ送信手段が、決定された前記案内メッセージを、前記位置検出装置に対して送信する、
ことを特徴とする商品情報提供方法。
(付記2) 前記顧客位置情報取得手段は、棚に設けられたICタグから読み取られた前記棚の識別情報を、前記位置情報として受け取ることを特徴とする付記1記載の商品情報提供方法。
(付記3) 前記停止判定手段は、前記位置情報が所定時間変更されないとき、前記顧客が停止していると判断することを特徴とする付記1記載の商品情報提供方法。
(付記4) 前記メッセージ決定手段は、前記顧客の同一場所での停止回数を計数しており、停止回数に応じて前記案内メッセージを決定することを特徴とする付記1記載の商品情報提供方法。
(付記5) 前記メッセージ決定手段は、各棚に以前陳列されていた商品の移動先の棚を示す情報が登録された棚番データベースを有しており、前記顧客が停止した位置付近の棚に以前陳列されていた商品が他の棚に移動している場合、前記棚番データベースを参照し、以前陳列されていた商品の移動先の棚を示す情報を、前記案内メッセージとして決定することを特徴とする付記1記載の商品情報提供方法。
(付記6) 前記メッセージ決定手段は、販売を停止した商品に対する代替商品が登録された代替商品データベースを有しており、前記代替商品データベースを参照し、前記顧客が停止した位置付近の棚に陳列されている商品の販売が停止しているとき、代替商品を示す情報を、前記案内メッセージとして決定することを特徴とする付記1記載の商品情報提供方法。
(付記7) 前記メッセージ決定手段は、新商品と、食べ比べを推奨する他の商品との関係が登録された食べ比べデータベースを有しており、前記食べ比べデータベースを参照し、前記顧客が停止した位置付近の棚に前記新商品が陳列されている場合、前記他の商品との食べ比べを提案する情報を、前記案内メッセージとして決定することを特徴とする付記1記載の商品情報提供方法。
(付記8) 前記メッセージ決定手段は、店舗で購買を推奨する商品が登録されたお薦めデータベースを有しており、前記お薦めデータベースを参照し、前記顧客が停止した位置付近の棚に陳列されている複数の商品の食べ比べを提案する情報を、前記案内メッセージとして決定することを特徴とする付記1記載の商品情報提供方法。
(付記9) 顧客が使用する商品運搬用具により商品情報を提供するための商品情報提供方法において、
ICタグリーダが、所定範囲内の棚に設けられたICタグから前記棚の識別情報を読み取り、
停止判定手段が、前記棚の識別情報に基づいて顧客の停止の有無を検出し、
メッセージ決定手段が、前記顧客が停止すると、停止位置付近の棚に陳列された商品に応じて、前記顧客に提示する案内メッセージを決定し、
メッセージ表示手段が、決定された前記案内メッセージを表示する、
ことを特徴とする商品情報提供方法。
(付記10) 顧客に商品情報を提供するための商品情報提供装置において、
前記顧客が買い物の際に所持する位置検出装置から位置情報を定期的に取得する顧客位置情報取得手段と、
前記位置情報に基づいて顧客の停止の有無を検出する停止判定手段と、
前記顧客が停止すると、停止位置付近の棚に陳列された商品に応じて、前記顧客に提示する案内メッセージを決定するメッセージ決定手段と、
決定された前記案内メッセージを、前記位置検出装置に対して送信するメッセージ送信手段と、
を有することを特徴とする商品情報提供装置。
(付記11) 顧客に商品情報を提供する商品運搬用具において、
所定範囲内の棚に設けられたICタグから前記棚の識別情報を読み取るICタグリーダと、
前記棚の識別情報に基づいて顧客の停止の有無を検出する停止判定手段と、
前記顧客が停止すると、停止位置付近の棚に陳列された商品に応じて、前記顧客に提示する案内メッセージを決定するメッセージ決定手段と、
決定された前記案内メッセージを表示するメッセージ表示手段と、
を有することを特徴とする商品運搬用具。
(付記12) 顧客に商品情報を提供するための商品情報提供プログラムにおいて、
コンピュータを、
前記顧客が買い物の際に所持する位置検出装置から位置情報を定期的に取得する顧客位置情報取得手段、
前記位置情報に基づいて顧客の停止の有無を検出する停止判定手段、
前記顧客が停止すると、停止位置付近の棚に陳列された商品に応じて、前記顧客に提示する案内メッセージを決定するメッセージ決定手段、
決定された前記案内メッセージを、前記位置検出装置に対して送信するメッセージ送信手段、
として機能させることを特徴とする商品情報提供プログラム。
(付記13) 顧客に商品情報を提供するための商品情報提供プログラムを記録したコンピュータ読み取り可能な記録媒体において、
前記コンピュータを、
前記顧客が買い物の際に所持する位置検出装置から位置情報を定期的に取得する顧客位置情報取得手段、
前記位置情報に基づいて顧客の停止の有無を検出する停止判定手段、
前記顧客が停止すると、停止位置付近の棚に陳列された商品に応じて、前記顧客に提示する案内メッセージを決定するメッセージ決定手段、
決定された前記案内メッセージを、前記位置検出装置に対して送信するメッセージ送信手段、
として機能させることを特徴とする商品情報提供プログラムを記録したコンピュータ読み取り可能な記録媒体。
実施の形態に適用される発明の概念図である。 本発明の実施の形態に係るシステムを導入したスーパーマーケットを示す図である。 ICタグの情報の読み取り状況を示す概念図である。 店舗サーバのハードウェア構成例を示す図である。 ショッピングカートのハードウェア構成例を示す図である。 ショッピングカートにおける情報送受信機能を示す図である。 店舗サーバの処理機能を示す図である。 個人別購買履歴のデータ構造例を示す図である。 棚番DBのデータ構造例を示す図である。 代替商品DBのデータ構造例を示す図である。 比較DBのデータ構造例を示す図である。 食べ比べDBのデータ構造例を示す図である。 お薦めDBのデータ構造例を示す図である。 利用情報DBのデータ構造例を示す図である。 案内メッセージDBの例を示す図である。 店舗サーバの処理を示す第1の図である。 顧客コード通知画面の表示例を示す図である。 店舗サーバの処理を示す第2の図である。 販売停止情報表示画面の例を示す図である。 代替商品情報表示画面の例を示す図である。 店舗サーバの処理を示す第3の図である。 売りたい商品情報画面の例を示す図である。 食べ比べ情報画面の表示例を示す図である。 お薦め情報表示画面の例を示す図である。 店舗サーバの処理を示す第4の図である。 移動先棚番表示画面の例を示す図である。 特売品移動先棚番表示画面の例を示す図である。
符号の説明
1 商品情報提供装置
1a 顧客位置情報取得手段
1b 停止判定手段
1c メッセージ決定手段
1d メッセージ送信手段
2 位置検出装置
3 棚
4 商品
5 ICタグ
6 案内メッセージ

Claims (5)

  1. 顧客に商品情報を提供するための商品情報提供方法において、
    顧客位置情報取得手段が、前記顧客が買い物の際に所持する位置検出装置から位置情報を定期的に取得し、
    停止判定手段が、前記位置情報に基づいて顧客の停止の有無を検出し、
    メッセージ決定手段が、前記顧客が停止すると、停止位置付近の棚に陳列された商品に応じて、前記顧客に提示する案内メッセージを決定し、
    メッセージ送信手段が、決定された前記案内メッセージを、前記位置検出装置に対して送信する、
    ことを特徴とする商品情報提供方法。
  2. 前記顧客位置情報取得手段は、棚に設けられたIC(Integrated Circuit)タグから読み取られた前記棚の識別情報を、前記位置情報として受け取ることを特徴とする請求項1記載の商品情報提供方法。
  3. 前記メッセージ決定手段は、前記顧客の同一場所での停止回数を計数しており、停止回数に応じて前記案内メッセージを決定することを特徴とする請求項1記載の商品情報提供方法。
  4. 前記メッセージ決定手段は、各棚に以前陳列されていた商品の移動先の棚を示す情報が登録された棚番データベースを有しており、前記顧客が停止した位置付近の棚に以前陳列されていた商品が他の棚に移動している場合、前記棚番データベースを参照し、以前陳列されていた商品の移動先の棚を示す情報を、前記案内メッセージとして決定することを特徴とする請求項1記載の商品情報提供方法。
  5. 顧客が使用する商品運搬用具により商品情報を提供するための商品情報提供方法において、
    ICタグリーダが、所定範囲内の棚に設けられたICタグから前記棚の識別情報を読み取り、
    停止判定手段が、前記棚の識別情報に基づいて顧客の停止の有無を検出し、
    メッセージ決定手段が、前記顧客が停止すると、停止位置付近の棚に陳列された商品に応じて、前記顧客に提示する案内メッセージを決定し、
    メッセージ表示手段が、決定された前記案内メッセージを表示する、
    ことを特徴とする商品情報提供方法。
JP2004103024A 2004-03-31 2004-03-31 商品情報提供方法および商品情報提供装置 Expired - Fee Related JP4330478B2 (ja)

Priority Applications (3)

Application Number Priority Date Filing Date Title
JP2004103024A JP4330478B2 (ja) 2004-03-31 2004-03-31 商品情報提供方法および商品情報提供装置
US10/920,714 US7152789B2 (en) 2004-03-31 2004-08-18 Commodity information provision method and apparatus
CN200410064203.3A CN1677410A (zh) 2004-03-31 2004-08-19 商品信息提供方法

Applications Claiming Priority (1)

Application Number Priority Date Filing Date Title
JP2004103024A JP4330478B2 (ja) 2004-03-31 2004-03-31 商品情報提供方法および商品情報提供装置

Publications (2)

Publication Number Publication Date
JP2005292909A true JP2005292909A (ja) 2005-10-20
JP4330478B2 JP4330478B2 (ja) 2009-09-16

Family

ID=35049917

Family Applications (1)

Application Number Title Priority Date Filing Date
JP2004103024A Expired - Fee Related JP4330478B2 (ja) 2004-03-31 2004-03-31 商品情報提供方法および商品情報提供装置

Country Status (3)

Country Link
US (1) US7152789B2 (ja)
JP (1) JP4330478B2 (ja)
CN (1) CN1677410A (ja)

Cited By (29)

* Cited by examiner, † Cited by third party
Publication number Priority date Publication date Assignee Title
JP2007109058A (ja) * 2005-10-14 2007-04-26 Seiko Epson Corp 商品選択情報提供装置
JP2007128420A (ja) * 2005-11-07 2007-05-24 Seiko Epson Corp 顧客移動経路情報収集装置
JP2007128346A (ja) * 2005-11-04 2007-05-24 Dainippon Printing Co Ltd 情報提供システム
JP2007193507A (ja) * 2006-01-18 2007-08-02 Hitachi Ltd 情報提供システム及び情報提供方法
WO2007148393A1 (ja) * 2006-06-22 2007-12-27 Fujitsu Limited 施設案内プログラム、施設案内方法および施設案内装置
JP2008059334A (ja) * 2006-08-31 2008-03-13 Fujitsu Ltd 買物支援プログラム、ショッピングカート、および買物支援方法
JP2008145383A (ja) * 2006-12-13 2008-06-26 Fujitsu Ltd 買物経路誘導システム
JP2008217074A (ja) * 2007-02-28 2008-09-18 Fujitsu Component Ltd 動線追跡システム、及び、端末装置、固定通信装置、動線管理装置
WO2008114358A1 (ja) * 2007-03-16 2008-09-25 Fujitsu Limited 商品情報通知システム
JP2008242809A (ja) * 2007-03-27 2008-10-09 Fujitsu Component Ltd 商品管理システム及び商品管理方法
JP2008269519A (ja) * 2007-04-25 2008-11-06 Nec Corp 精算待ち時間提供方法、精算待ち時間提供システム、精算待ち時間提供プログラムおよびプログラム記録媒体。
JP2010277256A (ja) * 2009-05-27 2010-12-09 Nec Corp 販売促進システム及び販売促進処理方法
JP2011197832A (ja) * 2010-03-17 2011-10-06 Japan Research Institute Ltd 農作物販売方法、農作物販売システム及び農作物販売装置
JP2012079033A (ja) * 2010-09-30 2012-04-19 Tamura Seisakusho Co Ltd 店舗情報システム
JP2014029643A (ja) * 2012-07-31 2014-02-13 Sharp Corp 情報提供装置、情報提供方法、情報提供システム、およびプログラム
JP2014507690A (ja) * 2010-07-15 2014-03-27 サンライズ アール アンド ディー ホールディングス,エルエルシー 小売店での買い物客の所在地に基づいた最初の決定的瞬間に買い物客の製品選択に影響を与えるシステム
JP2015520896A (ja) * 2012-05-10 2015-07-23 エスセーアー・ハイジーン・プロダクツ・アーベー 保管場所にある所望のアイテムを見つける際に支援をする方法
JP2016119092A (ja) * 2014-12-19 2016-06-30 イマージョン コーポレーションImmersion Corporation オブジェクトとの触覚対応相互作用のためのシステム及び方法
JP2016122445A (ja) * 2014-12-19 2016-07-07 イマージョン コーポレーションImmersion Corporation 触覚フィードバックを伴うオブジェクト操作のためのシステム及び方法
US9412124B2 (en) 2007-09-23 2016-08-09 Sunrise R&D Holdings, Llc Multi-item scanning systems and methods of items for purchase in a retail environment
US9773268B2 (en) 2008-06-16 2017-09-26 Sunrise R&D Holdings, Llc System of acquiring shopper insights and influencing shopper purchase decisions
JP2018005515A (ja) * 2016-06-30 2018-01-11 株式会社ニコン プログラム、情報処理装置、電子機器、及び情報処理システム
KR20200008659A (ko) * 2017-07-19 2020-01-28 미쓰비시덴키 가부시키가이샤 레커맨드 장치
JP2020047220A (ja) * 2018-09-21 2020-03-26 株式会社Epark 代替商品提案システム、代替商品提案プログラム及び代替商品提案方法
JP2021022410A (ja) * 2020-11-06 2021-02-18 株式会社ニコン プログラム、情報処理装置、電子機器、及び情報処理システム
JP2021047660A (ja) * 2019-09-19 2021-03-25 東芝テック株式会社 商品情報通知システム、商品情報通知方法、プログラム
JP2021086551A (ja) * 2019-11-29 2021-06-03 株式会社サイバーエージェント 制御システム、制御装置、制御方法及びコンピュータプログラム
JP2022027083A (ja) * 2020-07-31 2022-02-10 株式会社Nttドコモ メッセージ生成装置
JP2023028418A (ja) * 2021-08-19 2023-03-03 ヤフー株式会社 情報処理装置、情報処理方法および情報処理プログラム

Families Citing this family (41)

* Cited by examiner, † Cited by third party
Publication number Priority date Publication date Assignee Title
US9818148B2 (en) * 2013-03-05 2017-11-14 Rtc Industries, Inc. In-store item alert architecture
US7882043B2 (en) * 2005-01-07 2011-02-01 International Business Machines Corporation Method and apparatuses for facilitating spontaneous shopping collaboration
US20060200480A1 (en) * 2005-03-01 2006-09-07 Harris David N System and method for using product identifiers
US7443295B2 (en) 2005-06-28 2008-10-28 Media Cart Holdings, Inc. Media enabled advertising shopping cart system
US7660747B2 (en) 2005-06-28 2010-02-09 Media Cart Holdings, Inc. Media enabled shopping cart system with point of sale identification and method
US20070281692A1 (en) * 2006-05-30 2007-12-06 Zing Systems, Inc. Location-specific delivery of promotional content to mobile consumer device
US8207851B2 (en) * 2006-08-16 2012-06-26 James Christopher System and method for tracking shopping behavior
US20080237339A1 (en) 2007-03-26 2008-10-02 Media Cart Holdings, Inc. Integration of customer-stored information with media enabled shopping systems
US7679522B2 (en) 2007-03-26 2010-03-16 Media Cart Holdings, Inc. Media enhanced shopping systems with electronic queuing
US7762458B2 (en) 2007-03-25 2010-07-27 Media Cart Holdings, Inc. Media enabled shopping system user interface
US20080238009A1 (en) 2007-03-26 2008-10-02 Media Cart Holdings, Inc. Voip capabilities for media enhanced shopping systems
US7714723B2 (en) 2007-03-25 2010-05-11 Media Cart Holdings, Inc. RFID dense reader/automatic gain control
US7741808B2 (en) 2007-03-25 2010-06-22 Media Cart Holdings, Inc. Bi-directional charging/integrated power management unit
US7782194B2 (en) 2007-03-25 2010-08-24 Media Cart Holdings, Inc. Cart coordinator/deployment manager
WO2010121356A1 (en) * 2009-04-24 2010-10-28 Storefront.Com Online Inc. Automated battery and data delivery system
US7934647B1 (en) * 2010-01-22 2011-05-03 Darla Mims In-cart grocery tabulation system and associated method
CN102844779A (zh) * 2010-06-30 2012-12-26 乐天株式会社 商品购买支援装置、商品购买支援方法、商品购买支援程序以及记录有商品购买支援程序的计算机可读取的记录介质
JP2012180065A (ja) * 2011-03-02 2012-09-20 Toshiba Tec Corp ショッピングカートおよびプログラム
JP2012183899A (ja) * 2011-03-04 2012-09-27 Toshiba Tec Corp 情報処理装置及びプログラム
JP5929702B2 (ja) * 2012-10-22 2016-06-08 株式会社デンソー 自動評価システム及びナビゲーション装置
US20140257926A1 (en) * 2013-03-11 2014-09-11 Tyco Fire & Security Gmbh Systems and methods for mobile point-of-sale process management
EP2806384A1 (en) * 2013-05-21 2014-11-26 Fonella Oy System for managing locations of items
TWI501176B (zh) * 2013-08-30 2015-09-21 Hsin Yin Ho Single purchase of secondary shopping online shopping method
US9928531B2 (en) 2014-02-24 2018-03-27 Intelligrated Headquarters Llc In store voice picking system
KR102297151B1 (ko) * 2014-08-26 2021-09-02 에스케이플래닛 주식회사 스마트 와치, 이의 제어 방법, 컴퓨터 프로그램이 기록된 기록 매체 및 고객 서비스 제공 시스템
CN105373926B (zh) * 2014-08-26 2018-12-11 北京和顺智视科技有限公司 一种用于门店的销售信息可视化采集系统和方法
TWI587231B (zh) 2015-10-14 2017-06-11 財團法人工業技術研究院 商品推播方法與系統
US9858546B2 (en) * 2015-11-12 2018-01-02 Twyst LLC User-portable container configured to inventory items using multiple readers
JP7038543B2 (ja) * 2017-12-19 2022-03-18 キヤノン株式会社 情報処理装置、システム、情報処理装置の制御方法、及び、プログラム
CN108596701A (zh) * 2017-12-29 2018-09-28 深圳正品创想科技有限公司 一种商品推荐方法和装置
CN108549870B (zh) * 2018-04-16 2022-06-10 图麟信息科技(深圳)有限公司 一种对物品陈列进行鉴别的方法及装置
CN110895747B (zh) * 2018-09-13 2024-04-02 阿里巴巴集团控股有限公司 商品信息识别、显示、信息关联、结算方法及系统
CN109711497B (zh) * 2018-12-26 2022-08-26 秒针信息技术有限公司 一种位置错乱的商品处理方法及装置
CN113396435A (zh) * 2019-03-22 2021-09-14 日本电气株式会社 信息处理设备、信息处理方法和记录介质
CN110472486B (zh) * 2019-07-03 2021-05-11 北京三快在线科技有限公司 一种货架障碍物识别方法、装置、设备及可读存储介质
JP7561489B2 (ja) * 2019-09-13 2024-10-04 東芝テック株式会社 エリア遷移予測装置及びエリア遷移予測プログラム
JP7551416B2 (ja) * 2020-09-18 2024-09-17 東芝テック株式会社 商品管理システム
CN112183691B (zh) * 2020-09-30 2024-03-22 深圳市卖点科技股份有限公司 一种商品展示的方法、装置及存储介质
JP7702891B2 (ja) * 2022-01-24 2025-07-04 東芝テック株式会社 情報処理装置、および位置管理システム
CN114821729B (zh) * 2022-05-05 2024-04-05 无锡八英里电子科技有限公司 商品导购方法、装置、云服务器及存储介质
US12354114B1 (en) 2023-12-21 2025-07-08 Toshiba Global Commerce Solutions, Inc. Shelf input/output device sharing system

Family Cites Families (8)

* Cited by examiner, † Cited by third party
Publication number Priority date Publication date Assignee Title
US6123259A (en) * 1998-04-30 2000-09-26 Fujitsu Limited Electronic shopping system including customer relocation recognition
US6587835B1 (en) * 2000-02-09 2003-07-01 G. Victor Treyz Shopping assistance with handheld computing device
JP3586210B2 (ja) 2001-04-05 2004-11-10 株式会社ケー・アンド・エル・インタラクティブ ショッピング情報提供システム
US6584375B2 (en) * 2001-05-04 2003-06-24 Intellibot, Llc System for a retail environment
US7006982B2 (en) * 2001-05-15 2006-02-28 Sorensen Associates Inc. Purchase selection behavior analysis system and method utilizing a visibility measure
JP2003082300A (ja) 2001-09-10 2003-03-19 Japan Vilene Co Ltd 両面接着性布帛
JP3938364B2 (ja) 2003-03-25 2007-06-27 富士通株式会社 商品情報要求方法、プログラム及びその記録媒体
US7493336B2 (en) * 2003-07-22 2009-02-17 International Business Machines Corporation System and method of updating planogram information using RFID tags and personal shopping device

Cited By (37)

* Cited by examiner, † Cited by third party
Publication number Priority date Publication date Assignee Title
JP2007109058A (ja) * 2005-10-14 2007-04-26 Seiko Epson Corp 商品選択情報提供装置
JP2007128346A (ja) * 2005-11-04 2007-05-24 Dainippon Printing Co Ltd 情報提供システム
JP2007128420A (ja) * 2005-11-07 2007-05-24 Seiko Epson Corp 顧客移動経路情報収集装置
JP2007193507A (ja) * 2006-01-18 2007-08-02 Hitachi Ltd 情報提供システム及び情報提供方法
JP4819891B2 (ja) * 2006-06-22 2011-11-24 富士通株式会社 施設案内プログラム、施設案内方法および施設案内装置
WO2007148393A1 (ja) * 2006-06-22 2007-12-27 Fujitsu Limited 施設案内プログラム、施設案内方法および施設案内装置
JP2008059334A (ja) * 2006-08-31 2008-03-13 Fujitsu Ltd 買物支援プログラム、ショッピングカート、および買物支援方法
JP2008145383A (ja) * 2006-12-13 2008-06-26 Fujitsu Ltd 買物経路誘導システム
JP2008217074A (ja) * 2007-02-28 2008-09-18 Fujitsu Component Ltd 動線追跡システム、及び、端末装置、固定通信装置、動線管理装置
WO2008114358A1 (ja) * 2007-03-16 2008-09-25 Fujitsu Limited 商品情報通知システム
JP2008242809A (ja) * 2007-03-27 2008-10-09 Fujitsu Component Ltd 商品管理システム及び商品管理方法
US8489471B2 (en) 2007-03-27 2013-07-16 Fujitsu Component Limited Product management system and product management method
JP2008269519A (ja) * 2007-04-25 2008-11-06 Nec Corp 精算待ち時間提供方法、精算待ち時間提供システム、精算待ち時間提供プログラムおよびプログラム記録媒体。
US9412124B2 (en) 2007-09-23 2016-08-09 Sunrise R&D Holdings, Llc Multi-item scanning systems and methods of items for purchase in a retail environment
US9773268B2 (en) 2008-06-16 2017-09-26 Sunrise R&D Holdings, Llc System of acquiring shopper insights and influencing shopper purchase decisions
JP2010277256A (ja) * 2009-05-27 2010-12-09 Nec Corp 販売促進システム及び販売促進処理方法
JP2011197832A (ja) * 2010-03-17 2011-10-06 Japan Research Institute Ltd 農作物販売方法、農作物販売システム及び農作物販売装置
JP2014507690A (ja) * 2010-07-15 2014-03-27 サンライズ アール アンド ディー ホールディングス,エルエルシー 小売店での買い物客の所在地に基づいた最初の決定的瞬間に買い物客の製品選択に影響を与えるシステム
JP2012079033A (ja) * 2010-09-30 2012-04-19 Tamura Seisakusho Co Ltd 店舗情報システム
JP2015520896A (ja) * 2012-05-10 2015-07-23 エスセーアー・ハイジーン・プロダクツ・アーベー 保管場所にある所望のアイテムを見つける際に支援をする方法
JP2014029643A (ja) * 2012-07-31 2014-02-13 Sharp Corp 情報提供装置、情報提供方法、情報提供システム、およびプログラム
US10606359B2 (en) 2014-12-19 2020-03-31 Immersion Corporation Systems and methods for haptically-enabled interactions with objects
JP2016119092A (ja) * 2014-12-19 2016-06-30 イマージョン コーポレーションImmersion Corporation オブジェクトとの触覚対応相互作用のためのシステム及び方法
JP2016122445A (ja) * 2014-12-19 2016-07-07 イマージョン コーポレーションImmersion Corporation 触覚フィードバックを伴うオブジェクト操作のためのシステム及び方法
JP2018005515A (ja) * 2016-06-30 2018-01-11 株式会社ニコン プログラム、情報処理装置、電子機器、及び情報処理システム
US11538085B2 (en) 2017-07-19 2022-12-27 Trygle Co., Ltd. Recommendation device
KR102170865B1 (ko) * 2017-07-19 2020-10-28 미쓰비시덴키 가부시키가이샤 레커맨드 장치
KR20200008659A (ko) * 2017-07-19 2020-01-28 미쓰비시덴키 가부시키가이샤 레커맨드 장치
US12373875B2 (en) 2017-07-19 2025-07-29 Trygle Co., Ltd. Recommendation device
JP2020047220A (ja) * 2018-09-21 2020-03-26 株式会社Epark 代替商品提案システム、代替商品提案プログラム及び代替商品提案方法
JP2021047660A (ja) * 2019-09-19 2021-03-25 東芝テック株式会社 商品情報通知システム、商品情報通知方法、プログラム
JP2021086551A (ja) * 2019-11-29 2021-06-03 株式会社サイバーエージェント 制御システム、制御装置、制御方法及びコンピュータプログラム
JP2022027083A (ja) * 2020-07-31 2022-02-10 株式会社Nttドコモ メッセージ生成装置
JP7523276B2 (ja) 2020-07-31 2024-07-26 株式会社Nttドコモ メッセージ生成装置
JP2021022410A (ja) * 2020-11-06 2021-02-18 株式会社ニコン プログラム、情報処理装置、電子機器、及び情報処理システム
JP2023028418A (ja) * 2021-08-19 2023-03-03 ヤフー株式会社 情報処理装置、情報処理方法および情報処理プログラム
JP7582919B2 (ja) 2021-08-19 2024-11-13 Lineヤフー株式会社 情報処理装置、情報処理方法および情報処理プログラム

Also Published As

Publication number Publication date
CN1677410A (zh) 2005-10-05
US20050218217A1 (en) 2005-10-06
JP4330478B2 (ja) 2009-09-16
US7152789B2 (en) 2006-12-26

Similar Documents

Publication Publication Date Title
JP4330478B2 (ja) 商品情報提供方法および商品情報提供装置
CA2853029C (en) Order fulfillment systems and methods with customer location tracking
US9330413B2 (en) Checkout and/or ordering systems and methods
US6854656B2 (en) Self-scanning system with enhanced features
US11475504B2 (en) Dynamic product suggestions and in-store fulfillment
US20020178013A1 (en) Customer guidance system for retail store
US20050049914A1 (en) Systems and methods for a retail system
US20050149414A1 (en) RFID system and method for managing out-of-stock items
US20190078908A1 (en) Recording medium recording information output program, information output method, and information processing apparatus
KR20120014919A (ko) 디스카운트 오퍼들을 협상하기 위한 장치 및 방법
US20080027796A1 (en) Distributed reputation-based recommendation system
US20240094005A1 (en) On-premises positioning determination and analytics system
US20050017072A1 (en) Information providing system and method, information processing apparatus and method, display apparatus and method, and program
JP3938364B2 (ja) 商品情報要求方法、プログラム及びその記録媒体
JP5673006B2 (ja) 商品管理システム、及び商品管理方法
JP7599140B2 (ja) 情報提示システム、情報提示方法、およびプログラム
JP2006039842A (ja) 商品情報管理システム、商品情報管理方法、試用商品管理装置、プログラム
US20070118388A1 (en) System and method for providing data to a wireless device
JP2005108180A (ja) 情報提供装置及び情報提供方法
US20180032991A1 (en) System and method for providing a platform for sensing grocery items and generating a data list of the grocery items
WO2022131196A1 (ja) 情報処理装置、情報処理方法、およびプログラム
US20030004801A1 (en) Method and apparatus for pairing discounts
KR20180101078A (ko) 온라인 상품 구매를 위한 장치 및 방법
JP2004269188A (ja) 在庫情報サービスシステム
JP2020201582A (ja) 広告表示制御装置、広告表示制御方法、及び広告表示制御プログラム

Legal Events

Date Code Title Description
A621 Written request for application examination

Free format text: JAPANESE INTERMEDIATE CODE: A621

Effective date: 20060509

A977 Report on retrieval

Free format text: JAPANESE INTERMEDIATE CODE: A971007

Effective date: 20090122

A131 Notification of reasons for refusal

Free format text: JAPANESE INTERMEDIATE CODE: A131

Effective date: 20090203

A521 Request for written amendment filed

Free format text: JAPANESE INTERMEDIATE CODE: A523

Effective date: 20090406

TRDD Decision of grant or rejection written
A01 Written decision to grant a patent or to grant a registration (utility model)

Free format text: JAPANESE INTERMEDIATE CODE: A01

Effective date: 20090616

A01 Written decision to grant a patent or to grant a registration (utility model)

Free format text: JAPANESE INTERMEDIATE CODE: A01

A61 First payment of annual fees (during grant procedure)

Free format text: JAPANESE INTERMEDIATE CODE: A61

Effective date: 20090616

R150 Certificate of patent or registration of utility model

Free format text: JAPANESE INTERMEDIATE CODE: R150

FPAY Renewal fee payment (event date is renewal date of database)

Free format text: PAYMENT UNTIL: 20120626

Year of fee payment: 3

FPAY Renewal fee payment (event date is renewal date of database)

Free format text: PAYMENT UNTIL: 20120626

Year of fee payment: 3

FPAY Renewal fee payment (event date is renewal date of database)

Free format text: PAYMENT UNTIL: 20130626

Year of fee payment: 4

FPAY Renewal fee payment (event date is renewal date of database)

Free format text: PAYMENT UNTIL: 20130626

Year of fee payment: 4

LAPS Cancellation because of no payment of annual fees