EP2404530A1 - Sitzunterlage - Google Patents
Sitzunterlage Download PDFInfo
- Publication number
- EP2404530A1 EP2404530A1 EP10748481A EP10748481A EP2404530A1 EP 2404530 A1 EP2404530 A1 EP 2404530A1 EP 10748481 A EP10748481 A EP 10748481A EP 10748481 A EP10748481 A EP 10748481A EP 2404530 A1 EP2404530 A1 EP 2404530A1
- Authority
- EP
- European Patent Office
- Prior art keywords
- pad body
- fastener member
- fastener
- ventilation
- mold
- Prior art date
- Legal status (The legal status is an assumption and is not a legal conclusion. Google has not performed a legal analysis and makes no representation as to the accuracy of the status listed.)
- Withdrawn
Links
Images
Classifications
-
- B—PERFORMING OPERATIONS; TRANSPORTING
- B29—WORKING OF PLASTICS; WORKING OF SUBSTANCES IN A PLASTIC STATE IN GENERAL
- B29C—SHAPING OR JOINING OF PLASTICS; SHAPING OF MATERIAL IN A PLASTIC STATE, NOT OTHERWISE PROVIDED FOR; AFTER-TREATMENT OF THE SHAPED PRODUCTS, e.g. REPAIRING
- B29C44/00—Shaping by internal pressure generated in the material, e.g. swelling or foaming ; Producing porous or cellular expanded plastics articles
- B29C44/02—Shaping by internal pressure generated in the material, e.g. swelling or foaming ; Producing porous or cellular expanded plastics articles for articles of definite length, i.e. discrete articles
- B29C44/12—Incorporating or moulding on preformed parts, e.g. inserts or reinforcements
- B29C44/1261—Avoiding impregnation of a preformed part
-
- B—PERFORMING OPERATIONS; TRANSPORTING
- B29—WORKING OF PLASTICS; WORKING OF SUBSTANCES IN A PLASTIC STATE IN GENERAL
- B29C—SHAPING OR JOINING OF PLASTICS; SHAPING OF MATERIAL IN A PLASTIC STATE, NOT OTHERWISE PROVIDED FOR; AFTER-TREATMENT OF THE SHAPED PRODUCTS, e.g. REPAIRING
- B29C33/00—Moulds or cores; Details thereof or accessories therefor
- B29C33/10—Moulds or cores; Details thereof or accessories therefor with incorporated venting means
-
- B—PERFORMING OPERATIONS; TRANSPORTING
- B29—WORKING OF PLASTICS; WORKING OF SUBSTANCES IN A PLASTIC STATE IN GENERAL
- B29C—SHAPING OR JOINING OF PLASTICS; SHAPING OF MATERIAL IN A PLASTIC STATE, NOT OTHERWISE PROVIDED FOR; AFTER-TREATMENT OF THE SHAPED PRODUCTS, e.g. REPAIRING
- B29C44/00—Shaping by internal pressure generated in the material, e.g. swelling or foaming ; Producing porous or cellular expanded plastics articles
- B29C44/02—Shaping by internal pressure generated in the material, e.g. swelling or foaming ; Producing porous or cellular expanded plastics articles for articles of definite length, i.e. discrete articles
- B29C44/12—Incorporating or moulding on preformed parts, e.g. inserts or reinforcements
- B29C44/1285—Incorporating or moulding on preformed parts, e.g. inserts or reinforcements the preformed part being foamed
-
- B—PERFORMING OPERATIONS; TRANSPORTING
- B29—WORKING OF PLASTICS; WORKING OF SUBSTANCES IN A PLASTIC STATE IN GENERAL
- B29C—SHAPING OR JOINING OF PLASTICS; SHAPING OF MATERIAL IN A PLASTIC STATE, NOT OTHERWISE PROVIDED FOR; AFTER-TREATMENT OF THE SHAPED PRODUCTS, e.g. REPAIRING
- B29C44/00—Shaping by internal pressure generated in the material, e.g. swelling or foaming ; Producing porous or cellular expanded plastics articles
- B29C44/34—Auxiliary operations
- B29C44/58—Moulds
- B29C44/588—Moulds with means for venting, e.g. releasing foaming gas
-
- B—PERFORMING OPERATIONS; TRANSPORTING
- B60—VEHICLES IN GENERAL
- B60N—SEATS SPECIALLY ADAPTED FOR VEHICLES; VEHICLE PASSENGER ACCOMMODATION NOT OTHERWISE PROVIDED FOR
- B60N2/00—Seats specially adapted for vehicles; Arrangement or mounting of seats in vehicles
- B60N2/70—Upholstery springs ; Upholstery
- B60N2/7017—Upholstery springs ; Upholstery characterised by the manufacturing process; manufacturing upholstery or upholstery springs not otherwise provided for
-
- B—PERFORMING OPERATIONS; TRANSPORTING
- B29—WORKING OF PLASTICS; WORKING OF SUBSTANCES IN A PLASTIC STATE IN GENERAL
- B29C—SHAPING OR JOINING OF PLASTICS; SHAPING OF MATERIAL IN A PLASTIC STATE, NOT OTHERWISE PROVIDED FOR; AFTER-TREATMENT OF THE SHAPED PRODUCTS, e.g. REPAIRING
- B29C44/00—Shaping by internal pressure generated in the material, e.g. swelling or foaming ; Producing porous or cellular expanded plastics articles
- B29C44/02—Shaping by internal pressure generated in the material, e.g. swelling or foaming ; Producing porous or cellular expanded plastics articles for articles of definite length, i.e. discrete articles
- B29C44/12—Incorporating or moulding on preformed parts, e.g. inserts or reinforcements
- B29C44/14—Incorporating or moulding on preformed parts, e.g. inserts or reinforcements the preformed part being a lining
Definitions
- the present invention relates to a seat pad used in a seat and the like of a vehicle, and in particular, to a seat pad in which occurrence of a void (an air gap) in a pad body made of a foamed resin is prevented.
- a seat pad used in a seat and the like of a vehicle has a fastener member on a front surface side of a pad body made of a foamed resin in order to engage and secure surface skins.
- This seat pad is generally formed such that: the fastener member, a supporter member to be provided on the rear surface side of the pad body and the like are placed in a cavity provided in a mold and having a shape in which a front surface side of the pad body faces downward; and, a resin raw material such as raw solution of urethane foam is foamed and solidified in the cavity, whereby the pad body is foamed and shaped to integrated with the fastener member, the supporter member and the like.
- the resin is likely to trap gas in the vicinity of the fastener, especially, in the vicinity of an end portion of the fastener at the time of foaming and solidifying the resin raw material, and, in the case where an engagement groove is provided on the front surface side of the pad body and the fastener member is placed at the bottom of the groove, the resin is likely to contain gas in the vicinity of an intersecting point of protrusions for forming the engagement groove, whereby voids (air gaps) are likely to occur in the pad body in the vicinity of the fastener member, especially in the vicinity of the end portion of the fastener portion.
- Patent Document 1 describes that an opening is provided in the vicinity of the intersecting point of protrusions of the cavity of the mold, and a groove for discharging the gas is formed at the lower portion thereof.
- Patent Document 2 describes that the gas is discharged by using a nonwoven fabric placed at the upper portion in the cavity of the mold.
- Patent Document 3 describes that the gas is discharged from the gas discharging tube through an insert reinforce member located at the upper and center portion in the cavity of the mold and supported by the upper mold.
- Patent Document 4 describes that a flexible-polyurethane foam layer attached to a surface fastener serving as the fastener member provided to the pad body is covered with an elastomer film in order to prevent containment of the gas occurring due to entry of the resin raw material of the pad body into the flexible-polyurethane foam.
- an extremely large insert reinforce member is required for discharging the gas in the vicinity of the protrusion at the lower portion of the cavity of the mold, and when receiving a large force arising from foaming of the resin raw material of the pad body, the extremely large insert reinforce member falls upon the seat pad, which causing the deterioration of quality of the seat pad.
- the excessive covering of the flexible-polyurethane foam with the elastomer film renders the strength against detachment of the surface fastener undesirably low, whereas the insufficient area covering renders the resin raw material excessively intrude the flexible-polyurethane foam layer, which makes it impossible to prevent the gas from being enclosed. Therefore, in any of the cases describe above, the countermeasures for the voids were not sufficient.
- An object of the present invention is to advantageously solve the problems described above, and the present invention provides a seat pad having a fastener member on a front surface side of a pad body made of foaming resin, which includes a ventilation member, one end portion of the ventilation member being located in the vicinity of the fastener member, and the other end portion of the ventilation member extending on a rear surface side of the pad body.
- the seat pad of the present invention during a time when a resin raw material is being foamed and solidified in a cavity of a mold for expansion molding the pad body, gas moves from the one end portion of the ventilation member located in the vicinity of the fastener member in the pad body where the gas is likely to be trapped, to the other end portion of the ventilation member. Then, the gas passes from the rear surface side of the pad body through a mating surface between the upper and lower molds, a gas discharging hole and the like, and is discharged to the outside of the mold.
- the seat pad of the present invention it is possible to reliably prevent occurrence of the void in the vicinity of the fastener member, especially in the vicinity of the end portion of the fastener member in the pad body without causing clogging of the gas discharging groove of the mold with the resin, a trouble caused by falling of the insert reinforce member, a trouble due to the placement of the film, and the like.
- the pad body can be formed by foaming and solidifying the resin raw material such as polyurethane, polyethylene and polystyrene, and as the fastener member, it may be possible to employ, for example, a surface fastener and hanging wire.
- the ventilation member it may be possible to employ a slab urethane, nonwoven fabric, felt, and resin hose, and it may be possible to support the ventilation member by any of the upper mold and the lower mold of the mold for expansion molding the pad body.
- the fastener member may be formed integrally with urethane foam or nonwoven fabric so as to enhance the strength against detachment from the pad body.
- the gas which is likely to be trapped in the urethane foam or nonwoven fabric, to the outside of the mold, whereby it is possible to reliably prevent the occurrence of the void in the pad body while enhancing the strength against detachment of the fastener member relative to the pad body.
- the fastener member may be disposed at a bottom portion of an engagement groove provided on a front surface side of the pad body.
- end portions of plural fastener members are arranged so as to be gathered in the vicinity of an intersecting portion of the engagement grooves; and, the one end portion of the ventilation member is disposed in the vicinity of the gathered end portions of the fasteners.
- the intersecting portion of the engagement grooves is displaced from the center of the seat pad, and is less likely to contact with a human body at the time of sitting on the seat, whereby a seated person does not feel any discomfort at all, or feels hardly any discomfort even in the case where the fastener member or the ventilation member is relatively hard as compared with the pad body.
- the fastener member and the one end portion of the ventilation member may be arranged so as to be spaced at a distance in the range of 1 mm to 17 mm.
- the resin raw material can enter the space, whereby it is possible to secure the strength of adhering of the fastener member with the pad body, and the strength against detachment of the fastener member from the pad body.
- the ventilation member and the fastener member may be arranged so as not to overlap with each other on a projection surface on which the ventilation member and the fastener member are projected toward the front surface side of the pad body.
- the one end portion of the ventilation member may contact with or integrated with the urethane foam of the fastener member.
- a supporter member having breathability may be provided on a rear surface of the pad body.
- the gas gathering on the rear surface side of the pad body through the ventilation member can be maintained within the supporter member, or can be discharged to the outside of the mold through the mating surface between the upper mold and the lower mold or gas discharging hole while preventing, by the supporter member, the leakage of the resin raw material to the outside of the mold, whereby it is possible to further reliably prevent the occurrence of the void in the vicinity of the engagement groove of the pad body.
- the supporter having the breathability it may be possible to employ, for example, a woven fabric or nonwoven fabric.
- FIG. 1(a) and FIG. 1(b) are respectively a plan view illustrating an example of a seat pad according to the present invention, and a sectional view of the seat pad of the example taken along the line A-A in FIG. 1(a) .
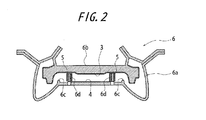
- FIG. 2 is a sectional view of a mold for forming the seat pad of the example at a position corresponding to the line A-A in FIG. 1(a) .
- FIG. 3 is a perspective view illustrating a part of a cavity in a lower mold of the mold.
- a reference number 1 represents a seat pad
- a reference number 2 represents a pad body
- a reference number 3 represents a supporter member
- a reference number 4 represents a fastener member
- a reference number 5 represents a ventilation member
- the seat pad 1 includes: a pad body 2; a supporter member 3 provided integrally with a rear surface (a surface facing upward in FIG. 1(b) ) of the pad body 2; a tape-like (sheet-like) fastener member 4 provided integrally with a seat surface of the pad body 2 surrounded by a vertical engagement groove 2a and a horizontal engagement groove 2b extending in a ladder form on a front surface (a surface facing downward in FIG.
- the fastener member 4 extending so as to be parallel to the horizontal engagement groove 2b; and, ventilation members 5 embedded in the pad body 2 so as to be positioned in the vicinity of the end portions on both sides of the fastener member 4.
- the supporter member 3 is made of a breathable nonwoven fabric having a thickness, for example, in the range of 0.2 mm to 5 mm.
- the fastener member 4 is formed by a surface fastener having a tape-like (sheet-like) urethane foam in an integral manner on a face opposite to an engagement face of a surface fastener body, the tape-like urethane foam being provided for improving the resistance to detachment.
- the ventilation members 5 are formed by a block-like slab urethane foam having, for example, a vertical slit as illustrated on the right side in FIG. 3 and, for example, dimensions of length of 30 mm, width of 30 mm and height in the range of 30 mm to 50 mm.
- each of the ventilation members 5 extends in the pad body 2 between the two end portions.
- the pad body 2 is made mainly of polyhydroxy compound and polyisocyanate compound, and is formed such that a polyurethane foaming raw material obtained by adding auxiliary agents such as foaming agent, foam stabilizer and catalyzer to these compounds depending on applications is supplied into the cavity of the mold 6 as illustrated in FIG. 2 and FIG. 3 , and, the supplied polyurethane foaming raw material is foamed and solidified in the cavity.
- the mold 6 has a lower mold 6a for mainly forming a front surface side of the pad body 2, and an upper mold 6b for mainly forming a rear surface side of the pad body 2.
- the mold 6 further has protrusions 6c formed on the lower mold 6a for forming a vertical and horizontal engagement grooves 2a and 2b on the front surface of the pad body 2, and pins 6d provided for positioning the fastener member 4 and each standing at a side of each of the end portions of a predetermined set position of the fastener member located in a center position surrounded by the protrusions 6c for forming the vertical and horizontal engagement grooves 2a and 2b. Further, a gas discharging hole, which is not shown, is provided at a position where the supporter member is attached on the upper mold 6b.
- the upper mold 6b and the lower mold 6a of the mold 6 are set to be in a mold opening position; the fastener member 4 is set at the predetermined set position in the center portion of the lower mold 6a as illustrated in FIG. 2 and FIG. 3 ; as illustrated in FIG. 2 , the ventilation members 5 are set to the respective pins 6d such that each of the pins 6d is clamped by means of the slip provided to each of the ventilation members 5 as exemplarily illustrated on a right side in FIG. 3 ; the supporter member 3 is set to the upper mold 6b so as to cover the inner surface of the upper mold 6b as illustrated in FIG.
- the polyurethane foaming raw material is supplied into the lower mold 6a, and the upper mold 6b is mold closed to the lower mold 6a to define a cavity corresponding to the seat pad 1 in the mold 6; and, the polyurethane foaming raw material is foamed and solidified in the cavity, thereby expansion molding the pad body 2 integrally with the fastener member 4 and the supporter member 3.
- the upper mold 6b and the lower mold 6a of the mold 6 are mold opened to remove the seat pad 1 from the lower mold 6a, and the seat pad 1 is take off from the upper mold 6b while being expanded.
- the seat pad 1 it is possible to form the seat pad 1 according to this example.
- the gas trapped in the pad body 2 moves from the one end portions of the ventilation members 5 located in the vicinity of the end portions on both sides of the fastener member 4, where the gas is likely to be trapped, through the other end portions of the ventilation members 5, and is discharged from the rear surface side of the pad body 2 through the mating surface between the upper mold 6b and the lower mold 6a or the gas discharging hole to the outside of the mold.
- the seat pad 1 of this example it is possible to reliably prevent the occurrence of the void in the vicinity of the end portions on both sides of the fastener member 4 in the pad body 2 without causing clogging of the gas discharging groove of the mold with the resin, a trouble caused by falling of the insert reinforce member the placement of the film, and the like.
- the fastener member 4 is formed integrally with the urethane foam so as to enhance the strength against detachment from the pad body 2, the gas that is likely to be trapped in the urethane foam can be discharged to the outside of the mold 6, whereby it is possible to reliably prevent the occurrence of the void in the pad body 2 while enhancing the strength of the fastener member 4 against detachment from the pad body 2.
- the resin raw material intrudes the space, whereby it is possible to ensure the strength of adhering the fastener member 4 to the pad body 2, as well as the strength against detachment from the pad body 2.
- the supporter member 3 having breathability is provided on the rear surface of the pad body 2, it is possible to maintain, within the supporter member 3, the gas gathered on the rear surface side of the pad body 2 through the ventilation members 5, or discharge the gathered gas through the mating surface between the upper mold 6b and the lower mold 6a, the gas discharging hole and the like to the outside of the mold 6 while preventing, by the supporter member 3, the leakage of the resin raw material to the outside of the mold 6, whereby the occurrence of the void in the vicinity of the end portions on both sides of the fastener member 4 in the pad body 2 can be further reliably prevented.
- the ventilation member 5 is provided in the vicinity of the end portion of the fastener member 4 in the longitudinal direction, where the void is likely to occur. Further, it is preferable to provided a pair of ventilation members 5 in the vicinity of the respective end portions of the fastener member 4 in the longitudinal direction as exemplarily illustrated in FIG. 1 to suppress the effect of arrangement of the ventilation member 5 on quality of the product seat pad while effectively suppressing the occurrence of the void.
- the ventilation members 5 and the fastener member 4 may be arranged so as not to overlap with each other on a projection surface on which the ventilation member 5 and the fastener member 4 are projected toward the front surface side of the pad body 2. In this case, it is preferable to arrange the ventilation members 5 such that the lower end portions of the ventilation members 5 are located within the thickness of the fastener member 4, and it is more preferable to expose the lower end portions of the ventilation members 5 from the pad body 2 as exemplarily illustrated in the enlarged sectional view of FIG. 4 .
- the fastener member 4 and the ventilation member 5 do not overlap with each other, and, the ventilation member 5 are disposed so as to be exposed from the surface of the pad body 2, and to contact with an end edge 4a of the fastener member 4.
- the end portion of the fastener member is disposed sufficiently near to the ventilation member 5, the gas contained in the vicinity of the end portion of the fastener member is easily discharged through the ventilation member 5 to the outside of the mold, thereby effectively suppressing the occurrence of the void.
- the fastener member 4 and the ventilation member 5 do not overlap with each other, the fastener member 4 is expansion molded integrally with the pad body 2 in a strong manner, whereby it is possible to effectively prevent the detachment of the fastener member 4 from the pad body 2.
- the ventilation member 5 is exposed from the surface of the pad body 2, and is disposed at the right side of the end edge 4a of the fastener member 4 in the drawing so as to be spaced from the end edge 4a of the fastener member 4. It is preferable that the space distance L from the ventilation member 5 to the end edge 4a of the fastener member 4 is set to 17 mm or lower in order to effectively discharge the gas at the end portion of the fastener member 4 through the ventilation member 5 at the time of expansion molding. With such an arrangement, the resin raw material sufficiently intrudes between the end edge 4a of the fastener member 4 and the ventilation member 5, whereby it is possible to further enhance the strength against detachment of the fastener member 4 from the pad body 2.
- the fastener member 4 is formed with a layered structure having plural layers in which a porous layer such as a sheet-like urethane foam, nonwoven fabric and woven fabric, a film, a hair-like layer and the like are combined with the surface fastener, which is not illustrated, the gas accumulated between the layers is pushed out from the end portion of the fastener member 4 at the time when the polyurethane foam raw material is foamed and solidified, whereby the void is likely to occur especially in the vicinity of the end portion of the fastener member 4. In such a case, it is extremely effective to dispose the ventilation member 5 in the vicinity of the end portion of the fastener member 4.
- FIG. 5 is a sectional view of a mold for forming the other example of the seat pad of the present invention, which is taken at the position corresponding to the line A-A in FIG. 1(a) .
- the seat pad 1 according to this example has the same configuration as the previously described example except that, in the seat pad according to this example, both end portions of the ventilation members 5 contact with the fastener member 4 disposed on the front surface side of the seat pad 2 and the breathable supporter member 3 disposed on the rear surface side of the seat pad 2.
- the pad body 2 is expansion molded integrally with the surface fastener 4 and the supporter member 3 such that: the pins 6d (see FIG. 2 ) on the lower mold 6a of the mold 6 for positioning the surface fastener 4 are shortened; instead of setting the ventilation members 5 to the pins 6d, needles 6e penetrating the supporter member 3 and projected into the inside of the cavity are provided on the upper mold 6b of the mold 6; the needles 6e are inserted into the ventilation members 5 to support the ventilation members 5; the ventilation members 5 are set at positions corresponding to the respective end portions of the surface fastener 4 set on the lower mold 6a as illustrated in FIG.
- the upper end portions of the ventilation members 5 contact with the supporter member 3 set on the upper mold 6b; the lower end portions of the ventilation members 5 are disposed so as to contact with the end portions on both sides of the surface fastener 4; and, the polyurethane foaming raw material is foamed and solidified in the cavity of the mold 6.
- the seat pad 1 As is the case with the previously described example, it is possible to reliably prevent the occurrence of the void in the vicinity of the end portions on both sides of the surface fastener 4 in the pad body 2 without causing the clogging of the gas discharging groove of the mold with the resin, a trouble caused by falling of the insert reinforce member, placement of the film, and the like.
- the needle 6e provided to the upper mold 6b in a cylindrical shape so as to penetrate the upper mold 6b, and employ the needle 6e in place of the gas discharging hole of the upper mold 6b.
- the fastener member 4 at the bottom portion of the engagement grooves 2a and 2b, in place of or in addition to in the seat surface surrounded by the engagement grooves 2a and 2b on the front surface side of the pad body 2.
- the end portions of plural fastener members 4 may be gathered in the vicinity of the intersecting portion of the engagement grooves 2a and 2b, and dispose the one end portion of the ventilation member 5 in the vicinity of the gathered end portions of the fastener members 4.
- the intersecting portion of the engagement grooves 2a and 2b is displaced from the center of the seat pad 1, and is less likely to contact with a human body at the time of sitting on the seat, whereby a seated person does not feel any discomfort at all, or feels hardly any discomfort even in the case where the fastener member 4 or the ventilation member 5 is relatively hard as compared with the pad body 2.
- a seat pad of Example 1 was manufactured by using a mold similar to that shown in FIG. 2 , and has a configuration illustrated in FIG. 1 .
- the ventilation members 5 and the fastener member 4 which is a surface fastener made of resin, are overlapped with each other on a projection surface on which the ventilation members 5 and the fastener member 4 are projected toward the front surface side of the pad body 2.
- a length of each space between the end portions on the lower side of the ventilation members 5 and the rear surface of each of the end portions on both sides of the fastener member 4 is set to 0 mm, in other words, no space is provided between them.
- thicknesses of the seat pad 1 at positions of respective end portions of the fastener member 4 formed integrally with the front surface of the seat pad 1 are set to 70 mm.
- Seat pads of Examples 2 to 7 each have the same configuration as the seat pad of Example 1 except that, in these Examples, a length in the vertical direction in the drawing of each space between the end portions on the lower side of the ventilation members 5 and the rear surface of each of the end portions on both sides of the fastener member 4 varies as illustrated in Table 1, and, the end portions on the lower side of the ventilation members 5 are disposed so as to be embedded in the pad body 2.
- a seat pad of Example 8 has the same configuration as the seat pad of Example 1 except that, in Example 8, as illustrated in FIG. 4(a) , the fastener member 4 and the ventilation members 5 do not overlap with each other on a projection surface on which the fastener member 4 and the ventilation members 5 are projected toward the front surface of the pad body 2, and the ventilation members 5 are disposed so as to be exposed from the surface of the pad body 2, and to contact with the end edge 4a of the fastener member 4.
- the seat pad of Example 8 has the same configuration as the seat pad of Example 8 except that, in Example 8, as illustrated in FIG. 4(b) , the space distance L of the ventilation member 5 from the end edge 4a of the fastener member 4 is set to 15 mm. Further, the seat pad of Example 9 has the same configuration as the seat pad of Example 8 except that this space distance L is set to 17 mm.
- a detaching force of 20 N with respect to the pad body 2 is applied to the fastener member 4 while the end portion of the fastener member 4 is being gripped.
- the results thereof are shown in Table 1. Note that, in Table 1, the mark O1 represents that there is no detaching portion; 02 represents that, although the detachment does not grow and the degree of detachment is not a problem, slight detachment occurs in an area where the end portion of the fastener member 4 contacts with the ventilation member 5.
- the length of each of the spaces between the end portions on the lower side of the ventilation members 5 and the rear surface of the end portions on both sides of the fastener member 4 is preferably set in the range of 0 mm to 17 mm from the viewpoint of the discharge of the gas and the strength against the detachment, more preferably, in the range of 1 mm to 17 mm, and yet more preferably, in the range of 1 mm to 15 mm.
- the seat pad of the present invention it is possible to reliably prevent the occurrence of the void in the vicinity of the fastener member of the pad body, without causing the clogging of the gas discharging groove of the mold with the resin, a trouble caused by falling of the insert reinforce member, a trouble occurring at the time of setting the film, and the like.
Landscapes
- Engineering & Computer Science (AREA)
- Mechanical Engineering (AREA)
- Manufacturing & Machinery (AREA)
- Aviation & Aerospace Engineering (AREA)
- Transportation (AREA)
- Mattresses And Other Support Structures For Chairs And Beds (AREA)
- Casting Or Compression Moulding Of Plastics Or The Like (AREA)
- Chair Legs, Seat Parts, And Backrests (AREA)
Applications Claiming Priority (2)
| Application Number | Priority Date | Filing Date | Title |
|---|---|---|---|
| JP2009048476 | 2009-03-02 | ||
| PCT/JP2010/001373 WO2010100880A1 (ja) | 2009-03-02 | 2010-03-01 | シートパッド |
Publications (2)
| Publication Number | Publication Date |
|---|---|
| EP2404530A1 true EP2404530A1 (de) | 2012-01-11 |
| EP2404530A4 EP2404530A4 (de) | 2015-04-22 |
Family
ID=42709449
Family Applications (1)
| Application Number | Title | Priority Date | Filing Date |
|---|---|---|---|
| EP10748481.8A Withdrawn EP2404530A4 (de) | 2009-03-02 | 2010-03-01 | Sitzunterlage |
Country Status (5)
| Country | Link |
|---|---|
| US (1) | US8864238B2 (de) |
| EP (1) | EP2404530A4 (de) |
| JP (1) | JP5567549B2 (de) |
| CN (1) | CN102413738B (de) |
| WO (1) | WO2010100880A1 (de) |
Cited By (3)
| Publication number | Priority date | Publication date | Assignee | Title |
|---|---|---|---|---|
| EP3078541A1 (de) * | 2015-04-10 | 2016-10-12 | Cera TSC | Kopstütze für fahrzeugsitz |
| US9566755B2 (en) | 2011-03-28 | 2017-02-14 | Bridgestone Corporation | Foamed synthetic resin molded body and method for producing same |
| EP4050173A1 (de) * | 2021-02-25 | 2022-08-31 | Steinbach & Vollmann GmbH | Paneelverbinder mit luftkanal |
Families Citing this family (16)
| Publication number | Priority date | Publication date | Assignee | Title |
|---|---|---|---|---|
| JP5951439B2 (ja) * | 2012-10-05 | 2016-07-13 | 東洋ゴム工業株式会社 | シート用バックパッド及びその製造方法 |
| JP6113617B2 (ja) * | 2013-09-26 | 2017-04-12 | 株式会社タチエス | 通気性シート |
| JP6154296B2 (ja) * | 2013-11-19 | 2017-06-28 | 東洋ゴム工業株式会社 | シートパッド及びその製造方法 |
| JP6188218B2 (ja) | 2013-12-11 | 2017-08-30 | 東洋ゴム工業株式会社 | シート用パッドの製造方法 |
| JP2015112231A (ja) * | 2013-12-11 | 2015-06-22 | 東洋ゴム工業株式会社 | シート用パッドの製造方法 |
| JP6251110B2 (ja) * | 2014-04-08 | 2017-12-20 | 株式会社ブリヂストン | シートパッド |
| JP6243292B2 (ja) * | 2014-05-19 | 2017-12-06 | 株式会社ブリヂストン | 目止め部材及び該目止め部材を用いたシートパッドの製造方法 |
| JP6425988B2 (ja) * | 2014-12-15 | 2018-11-21 | 株式会社タチエス | シートパッドおよびシートパッドの製造方法 |
| JP7280043B2 (ja) * | 2016-11-25 | 2023-05-23 | 株式会社アーケム | シートパッド |
| FR3062350B1 (fr) * | 2017-01-31 | 2022-11-04 | Peugeot Citroen Automobiles Sa | Coiffe d’habillage pour garniture d’assise ou de dossier de siege de vehicule automobile. |
| CN110461565B (zh) * | 2017-05-16 | 2021-09-07 | 株式会社普利司通 | 发泡成形模具和发泡成形体的制造方法 |
| US10427719B2 (en) | 2017-09-21 | 2019-10-01 | Faurecia Interior Systems, Inc. | Interior panels for motor vehicles and methods for making the same |
| WO2019116685A1 (ja) * | 2017-12-14 | 2019-06-20 | 株式会社ブリヂストン | シートパッド、車両用シート、車両用シートの制御方法、及び、シートパッドの製造方法 |
| CN109648775A (zh) * | 2019-01-14 | 2019-04-19 | 成都东神汽车零部件有限公司 | 一种汽车座椅发泡模具 |
| CN116869324B (zh) * | 2019-01-22 | 2025-10-17 | 井上株式会社 | 卡扣保持件 |
| CN116252692A (zh) * | 2022-12-07 | 2023-06-13 | 长春一汽富晟李尔汽车座椅系统有限公司 | 一种用于提升舒适性的腰部支撑机构及其制备方法 |
Family Cites Families (31)
| Publication number | Priority date | Publication date | Assignee | Title |
|---|---|---|---|---|
| DE2917739A1 (de) * | 1979-05-02 | 1980-11-06 | Funck Herbert | Verfahren und vorrichtung zum herstellen von formkoerpern aus reaktionsschaum |
| JPS58185235A (ja) * | 1982-04-23 | 1983-10-28 | Toyo Rubber Chem Ind Co Ltd | クツシヨン体の製造方法および成形型 |
| US4853995A (en) * | 1982-09-15 | 1989-08-08 | Sears Manufacturing Company | Molded cushion article |
| JPS59152824A (ja) * | 1983-02-22 | 1984-08-31 | Ikeda Bussan Co Ltd | ヘツドレストの一体発泡成形法 |
| JPS6235810A (ja) * | 1985-08-09 | 1987-02-16 | Inoue Mtp Co Ltd | 発泡成形品の製造方法 |
| US5236243A (en) * | 1992-03-30 | 1993-08-17 | General Motors Corporation | Serge thread loop fastener for trim cover |
| JP2995710B2 (ja) | 1993-09-19 | 1999-12-27 | 難波プレス工業株式会社 | 座り心地良好なクッション体構造 |
| JPH08174575A (ja) | 1994-12-24 | 1996-07-09 | Tokai Kogyo Kk | 発泡成形方法及び発泡成形型 |
| US6540863B2 (en) * | 1995-02-17 | 2003-04-01 | Velcro Industries B.V. | Forming fastener components of multiple streams of resin |
| CN2245908Y (zh) * | 1995-08-31 | 1997-01-29 | 王纯玉 | 胶衣海绵座垫 |
| CN1129669A (zh) * | 1995-09-19 | 1996-08-28 | 黄进发 | 真空发泡成型座垫之制造方法 |
| US5709828A (en) * | 1995-10-26 | 1998-01-20 | Davidson Textron Inc. | Method of fabricating a foamed interior trim product |
| US5766723A (en) * | 1996-11-12 | 1998-06-16 | Woodbridge Foam Corporation | Fastener assembly with peripheral seal |
| WO1998022307A1 (de) * | 1996-11-20 | 1998-05-28 | F.S. Fehrer Gmbh & Co. Kg | Polsterelement mit einer klettverbindung zu seinem bezug |
| DE19801172B4 (de) * | 1998-01-15 | 2004-01-15 | Daimlerchrysler Ag | Sitz, insbesondere Fahrzeugsitz |
| JP2000233414A (ja) | 1999-02-15 | 2000-08-29 | Bridgestone Corp | 合成樹脂発泡成型品の製造方法 |
| JP3699896B2 (ja) * | 2000-06-30 | 2005-09-28 | Ykk株式会社 | シート用面ファスナー |
| DE10049458A1 (de) * | 2000-10-06 | 2002-04-18 | Daimler Chrysler Ag | Polster für einen Fahrzeugsitz |
| JP4289585B2 (ja) | 2001-01-23 | 2009-07-01 | 東洋ゴム工業株式会社 | 係止部材及びシートクッションパッドの製造方法 |
| JP3717421B2 (ja) * | 2001-05-21 | 2005-11-16 | 東洋ゴム工業株式会社 | シートクッションパッド、シート構造とシートクッションパッドの製造方法 |
| DE20112473U1 (de) * | 2001-07-28 | 2002-12-19 | Johnson Controls GmbH, 51399 Burscheid | Klimatisiertes Polsterteil für einen Fahrzeugsitz |
| CN100408299C (zh) * | 2002-08-30 | 2008-08-06 | 郑钦明 | 婴幼儿用汽车座椅主体模制方法及其制成的主体 |
| US6694576B1 (en) * | 2002-10-15 | 2004-02-24 | Ykk Corporation Of America | Fastener strip having vent holes |
| JP2004216731A (ja) * | 2003-01-15 | 2004-08-05 | Bridgestone Corp | ファスナ付き一体発泡成形品の製造方法 |
| DE112004000883D2 (de) * | 2003-03-17 | 2006-02-02 | Wet Automotive Systems Ag | Vorrichtung zur Aufnahme von Funktionselementen |
| JP2006042985A (ja) * | 2004-08-02 | 2006-02-16 | Bridgestone Corp | シートパッド及びシート |
| JP5017816B2 (ja) * | 2005-08-18 | 2012-09-05 | 株式会社ブリヂストン | 車両用シートパッド |
| EP1915927B1 (de) * | 2005-08-18 | 2011-03-30 | Bridgestone Corporation | Fahrzeugsitzunterlage |
| US20070145624A1 (en) * | 2005-10-31 | 2007-06-28 | Woodbridge Foam Corporation | Mold and method for manufacture of molded element |
| DE102006048048B4 (de) * | 2006-10-11 | 2017-09-14 | Bayerische Motoren Werke Aktiengesellschaft | Klimatisierter Fahrzeugsitz |
| JP4884989B2 (ja) | 2007-01-09 | 2012-02-29 | 株式会社イノアックコーポレーション | クッションパッドの成形方法及びクッションパッドの発泡成形型 |
-
2010
- 2010-03-01 JP JP2011502637A patent/JP5567549B2/ja active Active
- 2010-03-01 US US13/254,379 patent/US8864238B2/en active Active
- 2010-03-01 EP EP10748481.8A patent/EP2404530A4/de not_active Withdrawn
- 2010-03-01 WO PCT/JP2010/001373 patent/WO2010100880A1/ja not_active Ceased
- 2010-03-01 CN CN201080019130.XA patent/CN102413738B/zh active Active
Cited By (5)
| Publication number | Priority date | Publication date | Assignee | Title |
|---|---|---|---|---|
| US9566755B2 (en) | 2011-03-28 | 2017-02-14 | Bridgestone Corporation | Foamed synthetic resin molded body and method for producing same |
| EP3078541A1 (de) * | 2015-04-10 | 2016-10-12 | Cera TSC | Kopstütze für fahrzeugsitz |
| FR3034725A1 (fr) * | 2015-04-10 | 2016-10-14 | Cera Tsc | Appui-tete de siege de vehicule automobile |
| EP4050173A1 (de) * | 2021-02-25 | 2022-08-31 | Steinbach & Vollmann GmbH | Paneelverbinder mit luftkanal |
| US12203674B2 (en) | 2021-02-25 | 2025-01-21 | Steinbach & Vollmann | Panel connector with air duct |
Also Published As
| Publication number | Publication date |
|---|---|
| US8864238B2 (en) | 2014-10-21 |
| WO2010100880A1 (ja) | 2010-09-10 |
| CN102413738B (zh) | 2014-09-17 |
| US20120025585A1 (en) | 2012-02-02 |
| JPWO2010100880A1 (ja) | 2012-09-06 |
| CN102413738A (zh) | 2012-04-11 |
| EP2404530A4 (de) | 2015-04-22 |
| JP5567549B2 (ja) | 2014-08-06 |
Similar Documents
| Publication | Publication Date | Title |
|---|---|---|
| EP2404530A1 (de) | Sitzunterlage | |
| CN115461548A (zh) | 模内紧固件 | |
| EP3235404B1 (de) | Sitzkissen und verfahren zur herstellung des sitzkissens | |
| US10099409B2 (en) | Mold, method for manufacturing molded foam body, and molded foam body | |
| US10046488B2 (en) | Method of manufacturing foam molded product, apparatus for manufacturing foam molded product, and foam molded product | |
| US10391686B2 (en) | Mold, method for manufacturing molded foam body, and molded foam body | |
| US9616788B2 (en) | Headrest with headrest stay | |
| CA2868301C (en) | Foamed synthetic resin molded body and method for producing same | |
| CN104708750A (zh) | 座垫的制造方法 | |
| CN107031476B (zh) | 缓冲垫 | |
| JP4884989B2 (ja) | クッションパッドの成形方法及びクッションパッドの発泡成形型 | |
| JP5189298B2 (ja) | シート用パッド及びその製造方法 | |
| US11109649B2 (en) | Fastener | |
| JP5577043B2 (ja) | シートパッド | |
| JP4191620B2 (ja) | クッションパッド | |
| JP2013233680A (ja) | 金型及び発泡成形体の製造方法 | |
| JP4541775B2 (ja) | シート用パッド | |
| JP2024005535A (ja) | シートパッド及び成形型 | |
| JP2005313388A (ja) | シート用パッドの製造方法 | |
| JP4745781B2 (ja) | シート用パッド、並びにその成形型及び製造方法 | |
| JP4920938B2 (ja) | シート用パッドの製造方法 | |
| JPH09174577A (ja) | 発泡成形体の成形方法 | |
| JP4569974B2 (ja) | 発泡成形品に対する面ファスナの取付け方法、及びこの方法で成形した面ファスナ付き発泡成形品 | |
| JPH08309764A (ja) | 自動車のシートバックおよびその発泡成形型 | |
| JPH08230024A (ja) | クロスシートを貼着させた合成樹脂製品の製造方法 |
Legal Events
| Date | Code | Title | Description |
|---|---|---|---|
| PUAI | Public reference made under article 153(3) epc to a published international application that has entered the european phase |
Free format text: ORIGINAL CODE: 0009012 |
|
| 17P | Request for examination filed |
Effective date: 20110906 |
|
| AK | Designated contracting states |
Kind code of ref document: A1 Designated state(s): AT BE BG CH CY CZ DE DK EE ES FI FR GB GR HR HU IE IS IT LI LT LU LV MC MK MT NL NO PL PT RO SE SI SK SM TR |
|
| DAX | Request for extension of the european patent (deleted) | ||
| RA4 | Supplementary search report drawn up and despatched (corrected) |
Effective date: 20150325 |
|
| RIC1 | Information provided on ipc code assigned before grant |
Ipc: B60N 2/44 20060101ALI20150319BHEP Ipc: B29C 33/10 20060101ALI20150319BHEP Ipc: B29L 31/58 20060101ALI20150319BHEP Ipc: B29C 44/58 20060101ALI20150319BHEP Ipc: B60N 2/70 20060101ALI20150319BHEP Ipc: A47C 7/18 20060101ALI20150319BHEP Ipc: B29C 44/12 20060101ALI20150319BHEP Ipc: B29C 39/10 20060101ALI20150319BHEP Ipc: A47C 27/14 20060101AFI20150319BHEP Ipc: B29K 75/00 20060101ALI20150319BHEP |
|
| 17Q | First examination report despatched |
Effective date: 20180404 |
|
| RIC1 | Information provided on ipc code assigned before grant |
Ipc: B29C 44/12 20060101ALI20190717BHEP Ipc: B60N 2/70 20060101ALI20190717BHEP Ipc: B29C 44/58 20060101ALI20190717BHEP Ipc: B29C 33/10 20060101AFI20190717BHEP |
|
| STAA | Information on the status of an ep patent application or granted ep patent |
Free format text: STATUS: THE APPLICATION IS DEEMED TO BE WITHDRAWN |
|
| 18D | Application deemed to be withdrawn |
Effective date: 20200624 |