EP1221900B1 - Minimally invasive mitral valve repair apparatus - Google Patents
Minimally invasive mitral valve repair apparatus Download PDFInfo
- Publication number
- EP1221900B1 EP1221900B1 EP00975324A EP00975324A EP1221900B1 EP 1221900 B1 EP1221900 B1 EP 1221900B1 EP 00975324 A EP00975324 A EP 00975324A EP 00975324 A EP00975324 A EP 00975324A EP 1221900 B1 EP1221900 B1 EP 1221900B1
- Authority
- EP
- European Patent Office
- Prior art keywords
- tissue
- vacuum
- ports
- needles
- leaflets
- Prior art date
- Legal status (The legal status is an assumption and is not a legal conclusion. Google has not performed a legal analysis and makes no representation as to the accuracy of the status listed.)
- Expired - Lifetime
Links
- 0 C*C1C#CC(C)CCC[C@@](C)(CC2)C(C)C(C)C2C1C Chemical compound C*C1C#CC(C)CCC[C@@](C)(CC2)C(C)C(C)C2C1C 0.000 description 2
- GQQMQOPIQRUCPR-UHFFFAOYSA-N CC(C(F)(F)F)=C1CC1 Chemical compound CC(C(F)(F)F)=C1CC1 GQQMQOPIQRUCPR-UHFFFAOYSA-N 0.000 description 1
- GDOPTJXRTPNYNR-UHFFFAOYSA-N CC1CCCC1 Chemical compound CC1CCCC1 GDOPTJXRTPNYNR-UHFFFAOYSA-N 0.000 description 1
Images
Classifications
-
- A—HUMAN NECESSITIES
- A61—MEDICAL OR VETERINARY SCIENCE; HYGIENE
- A61B—DIAGNOSIS; SURGERY; IDENTIFICATION
- A61B17/00—Surgical instruments, devices or methods
- A61B17/04—Surgical instruments, devices or methods for suturing wounds; Holders or packages for needles or suture materials
- A61B17/0401—Suture anchors, buttons or pledgets, i.e. means for attaching sutures to bone, cartilage or soft tissue; Instruments for applying or removing suture anchors
-
- A—HUMAN NECESSITIES
- A61—MEDICAL OR VETERINARY SCIENCE; HYGIENE
- A61B—DIAGNOSIS; SURGERY; IDENTIFICATION
- A61B17/00—Surgical instruments, devices or methods
- A61B17/04—Surgical instruments, devices or methods for suturing wounds; Holders or packages for needles or suture materials
- A61B17/06—Needles ; Sutures; Needle-suture combinations; Holders or packages for needles or suture materials
- A61B17/062—Needle manipulators
-
- A—HUMAN NECESSITIES
- A61—MEDICAL OR VETERINARY SCIENCE; HYGIENE
- A61B—DIAGNOSIS; SURGERY; IDENTIFICATION
- A61B17/00—Surgical instruments, devices or methods
- A61B17/04—Surgical instruments, devices or methods for suturing wounds; Holders or packages for needles or suture materials
- A61B17/0469—Suturing instruments for use in minimally invasive surgery, e.g. endoscopic surgery
-
- A—HUMAN NECESSITIES
- A61—MEDICAL OR VETERINARY SCIENCE; HYGIENE
- A61B—DIAGNOSIS; SURGERY; IDENTIFICATION
- A61B17/00—Surgical instruments, devices or methods
- A61B17/04—Surgical instruments, devices or methods for suturing wounds; Holders or packages for needles or suture materials
- A61B17/0482—Needle or suture guides
-
- A—HUMAN NECESSITIES
- A61—MEDICAL OR VETERINARY SCIENCE; HYGIENE
- A61B—DIAGNOSIS; SURGERY; IDENTIFICATION
- A61B17/00—Surgical instruments, devices or methods
- A61B17/064—Surgical staples, i.e. penetrating the tissue
-
- A—HUMAN NECESSITIES
- A61—MEDICAL OR VETERINARY SCIENCE; HYGIENE
- A61B—DIAGNOSIS; SURGERY; IDENTIFICATION
- A61B17/00—Surgical instruments, devices or methods
- A61B17/068—Surgical staplers, e.g. containing multiple staples or clamps
-
- A—HUMAN NECESSITIES
- A61—MEDICAL OR VETERINARY SCIENCE; HYGIENE
- A61B—DIAGNOSIS; SURGERY; IDENTIFICATION
- A61B17/00—Surgical instruments, devices or methods
- A61B17/12—Surgical instruments, devices or methods for ligaturing or otherwise compressing tubular parts of the body, e.g. blood vessels or umbilical cord
- A61B17/122—Clamps or clips, e.g. for the umbilical cord
-
- A—HUMAN NECESSITIES
- A61—MEDICAL OR VETERINARY SCIENCE; HYGIENE
- A61B—DIAGNOSIS; SURGERY; IDENTIFICATION
- A61B17/00—Surgical instruments, devices or methods
- A61B17/12—Surgical instruments, devices or methods for ligaturing or otherwise compressing tubular parts of the body, e.g. blood vessels or umbilical cord
- A61B17/122—Clamps or clips, e.g. for the umbilical cord
- A61B17/1227—Spring clips
-
- A—HUMAN NECESSITIES
- A61—MEDICAL OR VETERINARY SCIENCE; HYGIENE
- A61B—DIAGNOSIS; SURGERY; IDENTIFICATION
- A61B17/00—Surgical instruments, devices or methods
- A61B17/00234—Surgical instruments, devices or methods for minimally invasive surgery
- A61B2017/00238—Type of minimally invasive operation
- A61B2017/00243—Type of minimally invasive operation cardiac
-
- A—HUMAN NECESSITIES
- A61—MEDICAL OR VETERINARY SCIENCE; HYGIENE
- A61B—DIAGNOSIS; SURGERY; IDENTIFICATION
- A61B17/00—Surgical instruments, devices or methods
- A61B2017/00743—Type of operation; Specification of treatment sites
- A61B2017/00778—Operations on blood vessels
- A61B2017/00783—Valvuloplasty
-
- A—HUMAN NECESSITIES
- A61—MEDICAL OR VETERINARY SCIENCE; HYGIENE
- A61B—DIAGNOSIS; SURGERY; IDENTIFICATION
- A61B17/00—Surgical instruments, devices or methods
- A61B17/04—Surgical instruments, devices or methods for suturing wounds; Holders or packages for needles or suture materials
- A61B17/0401—Suture anchors, buttons or pledgets, i.e. means for attaching sutures to bone, cartilage or soft tissue; Instruments for applying or removing suture anchors
- A61B2017/0417—T-fasteners
-
- A—HUMAN NECESSITIES
- A61—MEDICAL OR VETERINARY SCIENCE; HYGIENE
- A61B—DIAGNOSIS; SURGERY; IDENTIFICATION
- A61B17/00—Surgical instruments, devices or methods
- A61B17/04—Surgical instruments, devices or methods for suturing wounds; Holders or packages for needles or suture materials
- A61B17/0401—Suture anchors, buttons or pledgets, i.e. means for attaching sutures to bone, cartilage or soft tissue; Instruments for applying or removing suture anchors
- A61B2017/0446—Means for attaching and blocking the suture in the suture anchor
- A61B2017/0458—Longitudinal through hole, e.g. suture blocked by a distal suture knot
-
- A—HUMAN NECESSITIES
- A61—MEDICAL OR VETERINARY SCIENCE; HYGIENE
- A61B—DIAGNOSIS; SURGERY; IDENTIFICATION
- A61B17/00—Surgical instruments, devices or methods
- A61B17/04—Surgical instruments, devices or methods for suturing wounds; Holders or packages for needles or suture materials
- A61B17/0401—Suture anchors, buttons or pledgets, i.e. means for attaching sutures to bone, cartilage or soft tissue; Instruments for applying or removing suture anchors
- A61B2017/0464—Suture anchors, buttons or pledgets, i.e. means for attaching sutures to bone, cartilage or soft tissue; Instruments for applying or removing suture anchors for soft tissue
-
- A—HUMAN NECESSITIES
- A61—MEDICAL OR VETERINARY SCIENCE; HYGIENE
- A61B—DIAGNOSIS; SURGERY; IDENTIFICATION
- A61B17/00—Surgical instruments, devices or methods
- A61B17/04—Surgical instruments, devices or methods for suturing wounds; Holders or packages for needles or suture materials
- A61B17/0469—Suturing instruments for use in minimally invasive surgery, e.g. endoscopic surgery
- A61B2017/047—Suturing instruments for use in minimally invasive surgery, e.g. endoscopic surgery having at least one proximally pointing needle located at the distal end of the instrument, e.g. for suturing trocar puncture wounds starting from inside the body
-
- A—HUMAN NECESSITIES
- A61—MEDICAL OR VETERINARY SCIENCE; HYGIENE
- A61B—DIAGNOSIS; SURGERY; IDENTIFICATION
- A61B17/00—Surgical instruments, devices or methods
- A61B17/04—Surgical instruments, devices or methods for suturing wounds; Holders or packages for needles or suture materials
- A61B17/0469—Suturing instruments for use in minimally invasive surgery, e.g. endoscopic surgery
- A61B2017/0472—Multiple-needled, e.g. double-needled, instruments
-
- A—HUMAN NECESSITIES
- A61—MEDICAL OR VETERINARY SCIENCE; HYGIENE
- A61B—DIAGNOSIS; SURGERY; IDENTIFICATION
- A61B17/00—Surgical instruments, devices or methods
- A61B17/04—Surgical instruments, devices or methods for suturing wounds; Holders or packages for needles or suture materials
- A61B17/06—Needles ; Sutures; Needle-suture combinations; Holders or packages for needles or suture materials
- A61B2017/06057—Double-armed sutures, i.e. sutures having a needle attached to each end
-
- A—HUMAN NECESSITIES
- A61—MEDICAL OR VETERINARY SCIENCE; HYGIENE
- A61B—DIAGNOSIS; SURGERY; IDENTIFICATION
- A61B17/00—Surgical instruments, devices or methods
- A61B17/064—Surgical staples, i.e. penetrating the tissue
- A61B2017/0641—Surgical staples, i.e. penetrating the tissue having at least three legs as part of one single body
-
- A—HUMAN NECESSITIES
- A61—MEDICAL OR VETERINARY SCIENCE; HYGIENE
- A61B—DIAGNOSIS; SURGERY; IDENTIFICATION
- A61B17/00—Surgical instruments, devices or methods
- A61B17/30—Surgical pincettes, i.e. surgical tweezers without pivotal connections
- A61B2017/306—Surgical pincettes, i.e. surgical tweezers without pivotal connections holding by means of suction
-
- A—HUMAN NECESSITIES
- A61—MEDICAL OR VETERINARY SCIENCE; HYGIENE
- A61F—FILTERS IMPLANTABLE INTO BLOOD VESSELS; PROSTHESES; DEVICES PROVIDING PATENCY TO, OR PREVENTING COLLAPSING OF, TUBULAR STRUCTURES OF THE BODY, e.g. STENTS; ORTHOPAEDIC, NURSING OR CONTRACEPTIVE DEVICES; FOMENTATION; TREATMENT OR PROTECTION OF EYES OR EARS; BANDAGES, DRESSINGS OR ABSORBENT PADS; FIRST-AID KITS
- A61F2/00—Filters implantable into blood vessels; Prostheses, i.e. artificial substitutes or replacements for parts of the body; Appliances for connecting them with the body; Devices providing patency to, or preventing collapsing of, tubular structures of the body, e.g. stents
- A61F2/02—Prostheses implantable into the body
- A61F2/24—Heart valves ; Vascular valves, e.g. venous valves; Heart implants, e.g. passive devices for improving the function of the native valve or the heart muscle; Transmyocardial revascularisation [TMR] devices; Valves implantable in the body
- A61F2/2442—Annuloplasty rings or inserts for correcting the valve shape; Implants for improving the function of a native heart valve
- A61F2/246—Devices for obstructing a leak through a native valve in a closed condition
Definitions
- the present invention relates to the repair of heart valves, and, more particularly, to apparatuses for the repair of heart valves by fastening the valve leaflets together at their coapting edges.
- the heart is a hollow muscular organ having four pumping chambers: the left and right atria and the left and right ventricles, each provided with its own one-way outflow valve.
- the natural heart valves are identified as the aortic, mitral (or bicuspid), tricuspid and pulmonary valves.
- the valves separate the chambers of the heart, and are each mounted in an annulus therebetween.
- the annuluses comprise dense fibrous rings attached either directly or indirectly to the atrial and ventricular muscle fibers.
- the leaflets are flexible collagenous structures that are attached to and extend inward from the annuluses to meet at coapting edges.
- the aortic and tricuspid valves have three leaflets, while the mitral and pulmonary valves have two.
- Heart valves Various problems can develop with heart valves, for a number of clinical reasons.
- Stenosis in heart valves is a condition in which the valves do not open properly.
- Insufficiency is a condition which a valve does not close properly.
- Repair or replacement of the aortic or mitral valves are most common because they reside in the left side of the heart where pressures and stresses are the greatest.
- the damaged leaflets are excised and the annulus sculpted to receive a replacement prosthetic valve.
- remodeling of the valve annulus is central to many reconstructive valvuloplasty procedures. Remodeling of the valve annulus is typically accomplished by implantation of a prosthetic ring (i.e. "annuloplasty ring”) to stabilize the annulus and to correct or prevent valvular insufficiency that may result from a dysfunction of the valve annulus.
- Annuloplasty rings are typically constructed of a resilient core covered with a fabric sewing ring. Annuloplasty procedures are performed not only to repair damaged or diseased annuli, but also in conjunction with other procedures, such as leaflet repair.
- Mitral valve regurgitation is caused by dysfunction of the mitral valve structure, or direct injury to the mitral valve leaflets.
- a less than perfect understanding of the disease process leading to mitral valve regurgitation complicates selection of the appropriate repair technique.
- implantation of an annuloplasty ring, typically around the posterior aspect of the mitral valve, has proven successful in a number of cases, shaping the surrounding annulus does not always lead to optimum coaptation of the leaflets.
- bow-tie a technique known as a "bow-tie” repair has been advocated.
- the bow-tie technique involves suturing the anterior and posterior leaflets together in the middle, causing blood to flow through the two side openings thus formed.
- This process was originally developed by Dr. Ottavio Alfieri, and involved placing the patient on extracorporeal bypass in order to access and suture the mitral valve leaflets.
- the device consists of a forceps-like grasper device that can be passed through a sealed aperture in the apex of the left ventricle.
- the two mitral valve leaflets meet and curve into the left ventricular cavity at their mating edges, and are thus easy to grasp from inside the ventricle.
- the mating leaflet edges are grasped from the ventricular side and held together, and various devices such as staples are utilized to fasten them together.
- the teeth of the grasper device are linearly slidable with respect to one another so as to align the mitral valve leaflets prior to fastening. As the procedure is done on a beating heart, and the pressures and motions within the left ventricle are severe, the procedure is thus rendered fairly skill-intensive.
- FR-A-2768324 describes an apparatus for the approximation of two pieces of tissue in accordance with the preamble to claim 1.
- the present invention provides an apparatus for the approximation of two pieces of tissue, comprising: a probe with a distal tip having at least one lumen and adapted to approach the tissue pieces to be joined; two or more vacuum ports adjacent the distal tip of the probe for grasping adjacent pieces of tissue, characterised in that the ports are in separate fluid communication with a common vacuum source via the at least one lumen and further characterised by, for each port, an individually controlled valve in fluid communication intermediate the vacuum source and that port (402, 404) so as to enable the probe to differentially stabilize adjacent pieces of tissue by separately and individually grasping adjacent pieces of tissue with each port.
- tissue pieces is to be understood to mean discrete pieces that may be straight, curved, tubular, etc., so long as the pieces are initially disconnected.
- tissue pieces many of the embodiments of the invention disclosed herein are especially useful for joining two leaflets of a heart valve. The coapting edges of the leaflets thus constitute the "tissue pieces.”
- the invention can be used to anastomose two vessels, either end-to-end, in a T-junction, or otherwise.
- the two vessels define the "tissue pieces.”
- One specific application of using the invention to perform an anastomosis is in a coronary artery bypass graft (CABG) procedure.
- Another example of an application of the present invention is in wound closure, wherein the facing edges of the wound are joined.
- CABG coronary artery bypass graft
- the present invention includes a number of devices for both stabilizing the tissue pieces to be joined, and fastening them together. Some embodiments disclose only the stabilizing function, others only the fastening function, and still other show combination stabilizing and fastening devices. It should be understood that certain of the stabilizing devices can be used with certain of the fastening devices, even though they are not explicitly shown in joint operation. In other words, based on the explanation of the particular device, one of skill in the art should have little trouble combining the features of certain of two such devices. Therefore, it should be understood that many of the stabilizing and fastening devices are interchangeable, and the invention covers all permutations thereof.
- fastening devices disclosed herein can be deployed separately from many of the stabilizing devices, and the two can therefore be deployed in parallel.
- the fastening and stabilizing functions are performed with one device.
- the stabilizing and fastening devices of the present invention can be utilized in either standard open surgical procedures, endoscopic procedures, or percutaneous procedures.
- the devices can be delivered through an open chest either transapically or transatrially.
- the stabilizing and fastening devices can be introduced through an incision performed over the roof of the left atrium.
- the devices can be delivered into the left ventricle through the right chest via a thorascope.
- the devices can also be delivered percutaneously, via a catheter or catheters, into the patient's arterial system (e.g. through the femoral or brachial arteries).
- FIG 1 shows a tissue stabilizer 20 of the present invention that uses a vacuum to hold two tissue pieces.
- the tissue pieces are heart valve leaflets 22 and a valve repair procedure using the stabilizer 20 is depicted in Figures 1a and 1b.
- the tissue stabilizer 20 comprises a cylindrical probe 24 with at least one internal lumen (not shown) and having a flat distal end 26, a pair of vacuum ports 28 being disposed in the distal end 26.
- the ports 28 may be in communication with a common vacuum source, may be separately communicable with the source with internal valves (not shown), or may be in communication with different vacuum sources.
- the size of the ports 28 and magnitude of suction applied may vary depending on the application, but the ports 28 are desirably spaced apart a minimum distance to create two distinct suctions.
- the ports 28 have a minimum diameter of about 3.2mm (1/8 inch), and are spaced apart with a wall of at least 0.51mm (0.020 inches) therebetween.
- the probe 24 desirably has a size suitable for minimally invasive surgery.
- probe 24 is part of a catheter based percutaneous delivery system.
- probe 24 is a catheter tube having a lumen or lumens connecting vacuum ports 28 to the vacuum source or sources.
- the catheter would be long enough and have sufficient steerability and maneuverability to reach the heart valve from a peripheral insertion site, such as the femoral or brachial artery.
- One particular advantage of the present invention is the ability to perform valve repair surgery on a beating heart.
- the procedure shown in Figures 1a and 1b is a mitral valve repair with an approach of the probe 24 from the left atrium 30.
- the atrium 30 has lower pressures than the ventricle 31, and thus there is less blood leakage and less turbulence imparted to the probe 24.
- the anatomical structures, including the location of the leaflets 22, can be visualized using echo technology, or other means.
- One leaflet 22 may be stabilized with one of the ports 28, and that leaflet 22 then manipulated toward the other leaflet 22, which is then also stabilized. Again, any of the fasteners disclosed herein may then be used to secure the leaflets 22 together.
- FIG 2 is illustrates another tissue stabilizer 32 similar to that shown in Figure 1 and that also uses a vacuum.
- the tissue stabilizer 32 includes a probe body 34 having at least one internal lumen (not shown) and an angled or tapered nose 36 on a distal end.
- a vacuum port 38 is provided on each face of the tapered nose 36.
- Figure 2a shows a valve repair procedure using the tissue stabilizer 32 of Figure 2, wherein a distal tip 40 of the nose 36 is exposed to the ventricular 31 side of the leaflets 22. Because of this exposure, various leaflet fastening devices can be delivered through the probe 34 to the ventricular side of the leaflets 22, as will be seen below.
- FIGs 3a-3c show three vacuum-based tissue stabilizers having tissue separating walls.
- a tissue stabilizer 40 includes a flat distal face 42 having a pair of distally-directed tissue separating walls 44 extending therefrom, and defining a gap 46 therebetween.
- the stabilizer 40 contains one or more lumens in communication with vacuum ports 48 that open on both sides of the walls 44. There are four such ports 48 shown, one on each side of each wall 44.
- a fastener channel 50 opens at the distal face 42 between the walls 44, and facing the gap 46 therebetween. The fastener channel 50 can be used to deliver tissue fasteners, as described below.
- a tissue stabilizer 52 includes a flat distal face 54 having a single distally-directed tissue separating wall 56 extending therefrom.
- the stabilizer 52 contains one or more lumens in communication with circular vacuum ports 58 that open on both sides of the wall 56. There are two such ports 58 shown, one on each side of each wall 56.
- a tissue stabilizer 60 includes a flat distal face 62 having a single distally-directed tissue separating wall 64 extending therefrom.
- the stabilizer 60 contains one or more lumens in communication with semi-circular vacuum ports 66 that open on both sides of the wall 64. There are two such ports 66 shown, one on each side of each wall 64.
- FIG 3d and 3e show two different vacuum port configurations for the tissue stabilizers 40, 52, or 60 shown in Figures 3a-3c.
- the stabilizers 40, 52, or 60 may have one or more lumens in communication with one or more ports.
- two lumens 68a and 68b provide separate suction control to the associated ports.
- one tissue piece 70a is seen stabilized by the right-hand vacuum port, while the left-hand port is not operated.
- a single lumen 72 in communication with two vacuum ports is seen in Figure 3e, and both tissue pieces 70a, 70b are stabilized simultaneously.
- the tissue separating wall 74 is shown between the tissue pieces to be joined. Fastening devices can thus be delivered via the wall 74, or through a gap formed for that purpose, such as the gap 46 and fastener channel 50 seen in Figure 3a.
- FIGs 4a-4c show a mechanical tissue stabilizer 80 with a four-part, linearly displaceable tissue clamp 82.
- a lower clamp 84 is separated from an upper clamp 86 and inserted between two tissue pieces (in this case valve leaflets 22).
- tissue pieces in this case valve leaflets 22.
- Small teeth 88 on the clamps 84, 86 may be provided for traction.
- the clamps 84 and 86 on each side are individually actuated to enable grasping of one leaflet 22 at a time.
- FIG 5a illustrates a suture-based tissue fastener 90 of the present invention including toggles 92 secured to the end of suture threads 94.
- Figure 5b is a sectional view through a needle 96 used to deliver the tissue fastener 90. Specifically, the toggle 92 and suture thread 94 is seen loaded into the lumen of the needle 96, and a pusher 98 is provided to urge the tissue fastener 90 from the distal end thereof.
- FIG. 6a-6c depict several steps in a valve repair procedure using the tissue fasteners 90 shown in Figure 5a.
- a probe such as the probe 20 seen in Figure 1 having vacuum ports for tissue stabilization, provides lumens for two of the needles 96 of Figure 5b.
- the lumens with the vacuum parts 96 may receive the needles 96 or additional lumens may be provided.
- the sharp ends of the needles 96 pierce the leaflets, and the pushers 98 are displaced (separately or in conjunction) to deploy the tissue fasteners 90.
- the toggles 92 anchor the tissue fasteners 90 on the ventricular 31 side of the leaflets 22.
- the suture threads 94 are then tied off on the atrial 30 side to secure the leaflets 22 together, as seen in Figure 6c.
- FIG 7a is a perspective view of an exemplary tissue stabilizing and fastening device 100 that uses the principles of vacuum stabilization and a suture-based toggle fastener, as seen in Figures 5a and 5b.
- the device 100 includes a probe 102 defining several lumens (not shown) therein that open on a distal face.
- Two lumens 104 open at a proximal end and receive two of the needles 96 for delivering the fasteners.
- Two other lumens communicate through two side arms 106 with sources of vacuum.
- Figure 7b shows the device 100 in use in a valve repair procedure, with the two needles 96 having pierced the leaflets 22 and delivered the fasteners 90.
- the leaflets 22 are held to the probe 102 using the vacuum ports.
- Figure 8 illustrates an alternative tissue stabilizing and fastening device 108 similar to the device 100 of Figure 7a, but having a pointed nose with two concave faces 110 in which the vacuum ports are located.
- the device 108 functions as described above, with a fastener deliver needle shown in phantom having pierced the left leaflet 22.
- FIGS 9a and 9b show a still further tissue stabilizing and fastening device 112 that uses a vacuum and needles to deliver suture-based fasteners having toggles through the tissue.
- the device 112 is quite similar in function to the device 102 of Figure 7a, but has a modified distal end, as best seen in the plan view of Figure 9b.
- a central tissue separating wall 114 is provided with a pair of vacuum ports 116a on one side, and another pair 116b on the other. Again, the port 116 may be separately or commonly supplied with vacuum.
- Fastener delivery lumens 118a and 118b are located on each side of the wall. The aforementioned needles 96 or other such device may be delivered through the lumens 118 to pierce and fasten the tissue pieces.
- Figures 10a-10c are several photographs of tissue being connected with suture-based fasteners having toggles.
- Figure 10a illustrates the toggle 92 being deployed.
- Figure 10b illustrates the needles 96 being retracted, and
- Figure 10c illustrates the sutures 94 being tied.
- FIGS 11a-11c show a tissue stabilizing and/or fastening device 120 having members deployable on a blind side of the tissue being connected.
- blind side means the side of the tissue pieces opposite the side to which the device has direct access.
- the deployable members may be clamps to stabilize the tissue pieces, or fastening devices that contact the tissue pieces on the blind side.
- the device 120 includes a probe 122 with lumens, and a distal tip 123 that is narrower than the probe 122 and defines concave transition faces 124.
- a vacuum port 126 may be provided in each transition face 124 for tissue stabilization, or a clamping mechanism may be stowed in a space 128 in the distal tip 123.
- Figure 11c shows the clamp 129 (or fastener) in a deployed state.
- Figures 12a-12e illustrate a tissue stabilizing and fastening device 130 having needles 132 deployable on a blind side of the tissue being connected.
- the device 130 may be configured like the device 120 of Figure 11a, with the space 128 receiving needles 132.
- a common suture thread 134 connects the needles 132 and is used to secure the tissue pieces 70 together.
- the needles 132 are first advanced to the blind side of the tissue pieces 70 and deployed outboard of the distal tip: The entire device 130 is retracted, as in Figure 12c, to cause the needles 132 to pierce the tissue pieces 70.
- the two needles 132 are then disengaged from the device 130, and each other, as in Figure 12d, and the entire device 130 once again retracted to pull the needles 132 out from the pieces 70, leaving the connected suture joining the two pieces 70 ( Figure 12e).
- the suture 132 can then be tied off, or otherwise secured on the upper side of the tissue pieces 70.
- FIG 13a is a more detailed view of a tissue stabilizing and fastening device 140 similar to that shown in Figures 12a-12e.
- the device 140 features two semi-circular vacuum ports 142 that stabilize the tissue pieces being joined.
- the distal tip includes a centered and distally-directed frame 144 defining a space 146 therein.
- the needles 148 are connected to the frame 144 and reside within the space 146.
- a deployment mechanism is also provided that causes the needles to pivot outward about their distal ends, and also disengages the needles 148 from the frame 144.
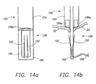
- FIGs 14a-14b illustrate a tissue stabilizing and fastening device 150 having needles 152 deployable on a blind side of the tissue being connected.
- the device 150 includes a probe 154 having two vacuum ports 156a, 156b for stabilizing the tissue pieces 70 being joined.
- a distal tip includes an extension member 158 having a centered and distally-directed frame 160 defining a space 162 therein.
- the extension member 158 may be configured relatively narrow in one direction such that it can enter the ventricle 31 between the leaflets 22 with minimum risk to the chordae (not shown).
- the frame 160 may be extended and retracted within the probe 154.
- the needles 152 are connected to the frame 160 and reside within the space 162.
- a deployment mechanism (not shown) is provided that causes the needles 152 to pivot outward about their distal end, and also disengages the needles 152 from the frame 160.
- a common suture thread 166 which is stored within the probe 154, connects the needles 152 and is used to secure the tissue pieces 70 together.
- the device 150 includes two needles 152 and a single suture 166. Other embodiments may include four needles with separate sutures. Additional needles may be provided if needed.
- Figures 15a-15h illustrate several steps in a tissue joining procedure using the tissue stabilizing and fastening device 150.
- the probe 154 is passed through the atrium 30 via an access cannula or catheter 164.
- the frame 160 is in its retracted position.
- the probe 154 is secured to the atrium 30 with a purse string 166 or any other manner known to one skilled in the art.
- Figures 15b-15d illustrate stabilization of the leaflets 22 being joined. Suction is provided to the first vacuum port 156a, and the probe 154 is manipulated to capture the first leaflet 22. With the first leaflet 22 captured, suction is provided to the second vacuum port 156b, and the second leaflet 22 is captured.
- the frame 160 is advanced into the ventrical 31 by extending the frame 160, and the needles 152 pivot outward about their distal end.
- the frame 160 is returned to its retracted position, and the needles 152 pierce the leaflets 22 and are directed into needle receivers 168, as shown in Figure 15f.
- suction to the vacuum ports 156a, 156b is terminated, and the leaflets 22 are released.
- the needle receivers 168 pull the needles 152 through the leaflets 22, and the suture 166 "pays-out" behind the needles 152.
- the suture 166 trails out as the probe 154, with the needles 152 stored within the probe 154, is withdrawn from the access cannula or catheter 144 (see Figure 15g). The two needles 152 are then disengaged from the probe 154, and the suture 166 can then be tied off, or otherwise secured on the upper side of the leaflets 22.
- FIGS 16a-16c are sectional views of several steps in a tissue joining procedure using a tissue stabilizing device 170 having a fastening device 172 with two needles 174 for delivering a suture-based fastener.
- the stabilizing device 170 includes a distal tip with oppositely-facing concave surfaces 176 for contacting and stabilizing the tissue pieces 70 (with, e.g., vacuum ports).
- the fastening device 172 is stowed in a channel within the stabilizing device 170 and may be linearly deployed through apertures formed in the concave surfaces 176.
- the device 170 further includes a sliding plate 178 with two throughholes 180 in the distal end, as seen in Figure 16d.
- the fastening device 172 has a spring bias that causes the needles 174 to curve inward when permitted. Therefore, as seen in Figure 16b, the fastening device 172 has been freed from the channels past the concave surfaces 176 and the needles 174 have curved inward to be received in the plate holes throughholes 180.
- the needles 174 first pass twice through each respective tissue piece 70.
- the plate 178 is then retracted upward into the device 1170, thus pulling the needles 174 through the tissue pieces 70.
- the fastening device 172 is desirably made of a highly pliable material, such as a superelastic like Nitinol, so that it can be pulled through sharp angles.
- Suture threads 182 are connected to each needle 174 and are also pulled through the tissue pieces 70.
- Figure 16c shows the result, with the suture thread 182 passed through both tissue pieces 70.
- Figures 16e and 16f illustrate two suture ties to complete the procedure.
- FIGs 17a-17c illustrate several steps in a valve repair procedure using a tissue stabilizing and fastening device 190 for delivering a suture-based axial needle fastener 192.
- the device 190 includes a clamping mechanism 194, much like the clamping device 82 seen in Figures 4a-4c. The two sides are independently controllable, so as to grasp and pierce one leaflet 22 and then the other.
- the fastener 192 includes a pair of needles 196 initially mounted in the lower portion of the clamping mechanism 194 and facing upward. The two needles 196 are connected with a suture thread 198.
- the clamping mechanism 194 actuates, the needles 198 pierce the respective leaflet 22.
- the upper portion of each side then pulls the needle 196 completely through the leaflet 22, and the lower portion is retracted from the blind side of the leaflets 22.
- the resulting suture loop is tied off, as seen in Figure 17c.
- Figures 18a-18d illustrate a valve repair procedure using a tissue fastening device 200 and a spiral suture-based leaflet fastener 202.
- the leaflets 22 are stabilized, using one of the means disclosed herein (such as suction from two angled faces 204), and the fastener 202 is deployed.
- the fastener 202 comprises a helical needle 206, a trailing suture thread 208, and a pair of pledget anchoring devices 210.
- Figure 18d is a detailed view of the pledget 210 used with the spiral suture-based leaflet fastener 202.
- FIGS 19a-19d illustrate a tissue stabilizing and fastening device 220 that uses the principles of vacuum stabilization/mechanical clamping and a suture-based toggle fastener.
- the device 220 includes a probe 222 having two vacuum ports for initial tissue stabilization.
- the device 220 includes a mechanical tissue stabilizer 226 with a four-part, rotatable and linearly extendable capture hooks 228.
- the distal tip includes a centered and distally-directed frame 230 defining a space 232 therein.
- the capture hooks 228 are folded flat within the space 232 and are rotatably and slidingly coupled to the probe 222 so that the capture hooks 228 may be rotated about 90 degrees and retracted to a capture position, wherein the leaflets 22 are "pinched" between distal ends of the capture hooks 228 and shoulders 234 of the probe 222.
- the two vacuum ports 224 also provide lumens for two of the needles 96 of Figure 5b. The sharp ends of the needles 96 pierce the leaflets 22, and the pushers 98 are displaced (separately or in conjunction) to deploy the tissue fastener 90. After the needles 96 are retracted, the toggles 92 anchor the tissue fasteners 90 on the ventricular 31 side of the leaflets. The suture threads 94 are then tied off on the atrial 30 side to secure the leaflets 22 together, as seen in Figure 6c.
- FIGs 19a-19d illustrate several steps in a valve repair procedure using the tissue stabilizing and fastening device 220.
- the stabilizing and/or fastening elements of the device 220 is formed relatively narrow in one dimension to enable it to be slipped between the two leaflets 22, wherein the capture hooks 228 are stored in a folded and extended position.
- the two leaflets 22 are initially stabilized by the vacuum ports 224.
- the capture hooks 228 are rotated 90 degrees and retracted, wherein the leaflets 22 are physically clamped against the shoulders 234 of the probe 222 and the distal ends of the capture hooks 228. It is noted that both vacuum stabilization and mechanical clamping do not have to be implemented to stabilize the leaflets 22.
- the needles 96 are driven forward to pierce the leaflets 22.
- the capture hooks 228 reduce the likelihood of losing grasp of the leaflets 22 during the piercing process.
- the pushers 98 are displaced (separately or in conjunction) to deploy the tissue fastener 90.
- the toggles 92 anchor the tissue fasteners 90 on the ventricular 31 side of the leaflets 22.
- the suture threads 94 are then tied off on the atrial 30 side to secure the leaflets 22 together, as shown in Figure 6c.
- Figure 20 shows a mechanical tissue stabilizer 240 that can be used to grasp tissue pieces 70 to be joined.
- the stabilizer 240 includes a probe 242 having a pair of pivoting arms 244 on a distal end.
- the arms 244 each have teeth 246 for added purchase on the tissue.
- Figures 21a and 21b illustrate a valve repair procedure initiated in accordance with the present invention using the tissue stabilizer 240.
- FIGs 22a and 22b illustrate steps in a valve repair procedure using a mechanical tissue stabilizer 250 having preformed hooks 252.
- the hooks 252 are curled into approximately a three-quarter circle and deployed on the blind side of the leaflets 22 to grasp and stabilize them.
- the linear displacement of each hook 252 is separately controllable.
- FIGS 23a-23c illustrate steps in a valve repair procedure using a mechanical tissue stabilizer 260 having spring-biased hooks 262.
- the hooks 262 curl into approximately a three-quarter circle when deployed, and are advanced on the blind side of the leaflets 22 to grasp and stabilize them. Again, the linear displacement of each hook 252 is separately controllable.
- Figures 24a-24d illustrate a valve repair procedure using a mechanical tissue stabilizer 270 similar to both the stabilizers shown in Figures 22 and 23.
- a retainer 274 is slid down link rods 276 of each hook 272 (Figure 24c).
- Figure 24d shows the retainer 274 having reached the curvature of the hooks 272, at which point the link rods 276 are severed using conventional means.
- the link rods 276 may be made of a polymer material, and a cutter deployed adjacent the device 270 to sever them. Again, the link rods 276 are separately displaceable as seen in Figure 24b.
- FIG 25a shows an exemplary tissue staple 280 for joining two tissue pieces in an open configuration.
- the staple 280 includes a bridge portion 282 and four gripping arms 244, two on each side.
- the gripping arms 284 are initially curled in a semi-circle upward from the plane of the bridge portion 282 and terminate in sharp points approximately in the plane of the bridge portion 282.
- Figure 25b shows the staple 280 when closed, with the gripping arms 284 curled underneath the plane of the bridge portion 282 toward each other.
- FIGs 26a-26c illustrate several steps in a valve repair procedure using an exemplary tissue fastening device 290 for delivering the tissue staple 280.
- the device 290 includes a probe 292 with an internal lumen 294 within which a pusher 296 is slidable.
- a stop member 298 is also provided underneath the bridge portion 282 of the staple 280 to prevent displacement of the bridge portion 282 toward the leaflets 22.
- the pusher 296 displaces downward which causes the staple 280 to undergo a plastic deformation from the configuration of Figure 25a to that of Figure 25b.
- the sharp points of the gripping arms 284 pass through the leaflets 22 and anchor the staple 280 therein.
- the stop member 298 is disengaged from under the bridge portion 282, and the device 290 is retracted.
- FIG 27a illustrate the use of a tissue stabilizing and fastening device 300 for deploying the staple 280 of Figure 25.
- the device 300 is quite similar to the device 290 of Figure 26, with an exemplary stabilizing means shown in the form of vacuum chamber(s) 302 on each side of the staple deployment mechanism.
- FIGs 28a and 28b illustrate a further tissue fastening device 310 of the present invention for delivering an alternative "toggle-like" tissue clip 312.
- the clip 312 is shown open, while in Figure 28b the clip 312 is shown closed.
- the clip 312 is plastically deformed from open to close using a clamping mechanism 314 that flattens a ring-shaped head portion 316 of the clip 312. Two pincher arms 318 thus pivot toward each other and grasp and hold tissue therebetween.
- Figures 29a-29c depict steps in a valve repair procedure using the tissue fastening device 310 of Figure 28.
- One method for inserting the device 310, as well as many other devices of the present invention, between the two leaflets 22 is detailed in Figure 29a.
- the stabilizing and/or fastening elements of the devices of the present invention can be formed relatively narrow in one dimension to enable them to be slipped between two tissue pieces so that the pieces can then be fastened together from the blind side.
- the tissue fastening device 310 is seen in Figure 29a rotated to orient the narrow dimension in line with the gap between the leaflets 22.
- FIGS 30a-30b and 31a-31d illustrate an alternative tissue fastening device 320 for delivering another "toggle-like" tissue fastening clip 322.
- the clip 322 pierces the tissue pieces 70 from the front side, and is then deformed to clamp the tissue pieces 70 together.
- Figures 32a-32d illustrate various embodiments of barbed clips 330, 332, 334, 336 used to fasten tissue pieces together using the principles of the present invention.
- the barbed clips include a bridge portion 338, 340, 342, 344 and terminate in sharp points.
- FIGS 33a-33c illustrate several steps in a valve repair procedure using an exemplary barbed clip deployment device 350 for delivering the barbed clip 330.
- the device 350 includes a probe 352 with an internal lumen 354 within which an internal driver 356 is slidable.
- a stop member 358 is provided at the distal end of the probe 352 to spread the two barbs away from each other as it is pushed forward.
- the tips of the barbed clip 330 are displaced towards the leaflets 22 by downwardly sliding the driver 356.
- the clip 330 is disengaged from the device 350 as shown in Figure 33c.
- the clip 330 is disengaged from the device 350, it returns to its retracted position and compresses the leaflets 22 together.
- any of the stabilizers of the present invention can be used in conjunction with the deployment device 350.
- Figures 34a-34f illustrate a spring-loaded clip 360 used to fasten tissue pieces 70 together.
- the clip 360 comprises a spring portion 362 and two arms 364, and the arms 364 include a plurality of barbs 366.
- the distal ends of the arms 364 are tapered to enable the clip 350 to pierce the leaflets 22, and the arms 364 are configured to overlap each other after closure (see Figure 34c).
- Figures 35a-35c illustrate a valve repair procedure using a clip deployment device 370 for delivering the spring-loaded clip 360.
- the device 370 includes a probe 372 with an internal lumen 374, and a pusher 376 is slidably coupled to the internal lumen 374.
- a sleeve 378 is disposed between the pusher 376 and the internal wall of the lumen 374.
- the spring portion 362 of the clip 360 is housed within the sleeve 378 in its open position, wherein the spring portion 362 is compressed by the sleeve 378.
- downward movement of the pusher 376 causes the clip 360 to move downward and pierce the leaflets 22 from the front side.
- the clip 360 is pushed downward at a velocity adequate to insure penetration without dislodging the leaflets 22 from the vacuum source.
- the clip 360 automatically springs to its closed position and compresses the leaflets together.
- FIGS 36a-36c illustrate another embodiment of a spring-loaded clip 380 used to fasten tissue pieces together.
- the clip 380 comprises a spring portion 382 and two arms 384 having distal ends which are tapered and extend inwardly to pierce and lockingly secure the leaflets 22.
- a gap 386 exits between midportions of the arms 384 when the clip 380 is in its closed position.
- FIGS 37a and 37b illustrate a clip deployment device 390 having a probe 392 with an internal lumen 394 and a pusher 396 slidably coupled to the internal lumen 394.
- the spring portion 382 is retained in a compressed state within a housing member 398 such that the clip 380 is held in an open position. Downward movement of the pusher 396 causes the clip 380 to move downward and pierce the leaflets 22 from the front side. As the spring portion 384 exits the housing member 398, the clip 380 automatically springs into its closed position and lockingly secures and compresses the leaflets 22.
- FIGs 38-46 illustrate another exemplary embodiment of an integrated tissue stabilizing and fastening device 400 which captures tissue pieces, such as valve leaflets, with vacuum and fastens the tissue pieces with sutures.
- the device 400 is similar to the devices illustrated in Figures 11-15 in that it comprises a slender distal portion which accesses the heart valve trans-atrially.
- the device 400 is placed through a specialized cannula and it has a proximal handpiece portion which provides user controls.
- the distal portion is approximately 10 mm in diameter and it terminates in vacuum ports and a needle array as depicted in Figures 38 through 41.
- the handpiece portion contains individual vacuum port controls and needle deployment controls as generally depicted in Figure 44.
- the device 400 is connected to a vacuum source via a flexible hose.
- the illustrated device 400 is utilized to grasp the tissue pieces and place the sutures correctly. Remote tying and cutting of the sutures can be accomplished with a separate device.
- the following description of the use of the device 400 will be made with respect to the stabilizing and fastening of the leaflets of a mitral valve. However, those of skill in the art will appreciate that the device can also be used to stabilize and fasten other physiological tissues. A more detailed description of the device 400 follows.
- Figures 38-41 illustrate device 400 in various modes of operation.
- Device 400 comprises vacuum ports 402 and 404 at the distal tip of device 400 which are connected to the vacuum source 418 (shown in Figure 44).
- Needle carrier 406 is centrally disposed at the distal end of device 400 and is configured to be extended from and retracted back into device 400. Needles 408 are mounted on mounting blocks 410 within carrier 406 and mounting blocks 410 are pivotably attached to carrier 406 via pivot pin 412. Needle catchers 414 are retained in ports 402 and 404 to grip and retain needles 408 when needle carrier is retraced back into device 400 upon completion of the procedure.
- Figure 44 illustrates an exemplary handpiece 416 which connects vacuum source 418 to device 400 and delivers vacuum to vacuum ports 402, 404 at the distal tip of the device.
- Pinch valves 420 mounted on the handpiece 416 of the device normally constrict the vacuum lines.
- the operator can differentially control access to the vacuum source.
- the operator permits momentary access by one of the vacuum ports to the vacuum source.
- the operator permits continuous access to the vacuum source.
- the provision of separate, individually controlled valves permits the delivery of differential vacuum to one or the other of ports 402 and 404. This may be very helpful in certain cases of valve prolapse where it is necessary to capture one leaflet and move it laterally with respect to the second leaflet to facilitate final capture.
- the vacuum system has, of necessity, two different operating modes. Initially, it is necessary to capture the leaflets. This requires relatively high flow rates to attract a leaflet to a vacuum port. In an exemplary embodiment the flow rate is approximately 10 cc per second. Since this flow rate is capable of exsanguinating and destabilizing the beating heart, the invention provides for quick and efficient leaflet capture. Efficient capture requires that the vacuum port be close to the leaflet when the vacuum is turned on. Proper placement of device 400 with respect to the leaflets is facilitated by placement of echogenic members at or near vacuum ports 402 and 404 to enhance visualization by echo.
- Echogenicity is enhanced by the proper choice of materials.
- the device being entirely of plastic except for small metal parts in the immediate vicinity of the ports, takes advantage of the relatively high visibility of metal while avoiding the shadowing properties of large masses of metal.
- the metal parts in question are needle catchers 414, needles 408 and pivot pin 412. Since these parts are located near the vacuum ports 402 and 404 in the long axis of the device, they serve to locate ports 402 and 404 axially relative to the valve leaflets prior to vacuum application. Since they are discontinuous and symmetrical about ports 402 and 404 in the short axes, they facilitate the correct radial orientation of the ports relative to the valve leaflets. Echogenicity is further enhanced by a polymer coating which can be wholly or selectively applied to the ports 402 and 404. This coating creates a microscopic boundary layer which effectively separates the ports from the blood under echo visualization.
- the vacuum surfaces of the ports 402 and 404 are angled between zero and ninety degrees relative to a plane normal to the long axis of the device. This is intended to conform somewhat to the shape of the valve leaflets.
- the ports are angled between 15 to 40 degrees relative to a plane normal to the long axis of the device. In yet another embodiment the ports are angled at about 25 degrees relative to that plane.
- the second operating mode of the vacuum system is to hold the leaflets in position for suture application without additional exsanguination.
- These properties are primarily a function of pressure differential, port area and port shape. In one embodiment, adequate holding force is obtained at a maximum differential pressure with port areas in the approximate range of 0.03-0.04 square inch per port.
- a geometrically optimized cylindrical device is shown having two separate "D" shaped ports 404 and 404.
- the illustrated device 400 has about 10 mm in diameter. Since a vacuum port with the highest ratio of area to perimeter (i.e., a circle) will have the highest average peel away strength, some modification of the "D" shaped port is useful for functional optimization.
- Vacuum ports 402 and 404 further have barriers 422 which serve two distinct purposes. Barriers 422 support the valve leaflet to prevent it from being sucked deep into the ports 402 and 404, thereby minimizing tissue trauma. This has the further useful effect of controlling the position of the leaflet relative to the suture needles so that the latter penetrate the leaflet in a predictable way, placing sutures the correct distance from the edge of the leaflet for reliable repair.
- the barriers are recessed below the perimeter of the "D" slot. In an exemplary embodiment the barriers are recessed about 0.02 inches. This slightly distorts the valve tissue and creates resistance to displacement of tissue as it is moved laterally by the device to approximate the leaflets. If the barriers were not recessed, the only resistance to lateral drag would be the coefficient of friction between the port surface and the leaflet which is likely to be low in the bloody environment.
- a pre-evacuated sterile bottle 418 serves as a passive vacuum source for capturing and holding the leaflets.
- the system is designed to minimize total exsanguination to about 200 cc per procedure.
- a standard 2 liter bottle can provide that amount of flow with negligible increase in absolute pressure. This offers a significant advantage over utility vacuum sources in hospital operating rooms and dedicated active pumps. Utility sources are not well controlled and active pumps present cost, convenience and sterility issues.
- FIG. 39 through 42 illustrates two exemplary suture configurations which the system can provide, depending on the way in which the sutures and needles are loaded into the device.
- two lengths of suture are used with a straight needle 408 attached to each suture end.
- Sutures are inserted into a coaxial hole in the end of the needle opposite the point and the body of the needle is crimped to retain the suture using conventional suture technology.
- a groove near the tip of the needle provides a means for grasping and pulling the needle through after it has pierced the valve leaflet.
- Sutures can be monofilament or braided or other types suitable for cardiovascular use.
- a size 4-0 monofilament suture capable of gamma sterilization e.g. Novafil
- the needles will receive a lubricious coating (e.g. silicone) to reduce penetration force and fraction.
- the needles and sutures are an integral part of a single use completely disposable device.
- the needles, sutures and associated hardware may be packaged as a cartridge which plugs into a reusable device. This device can be limited to multiple use in a single procedure, or reusable for multiple procedures.
- Needle carrier 406 further comprises needle driver assembly 424.
- Driver assembly 424 includes blocks 410, axle 412, needle driver 426, and cams 428.
- Needles 408 are slidably mounted in blocks 410 which pivot about axle 412. Blocks 410 may be slotted in the area of the hole which receives the needle so that the needles can be held in place by controlled friction. Sutures (not shown) protruding from the ends of the needles can be routed along the sides of the needle carrier 406 in grooves provided for that purpose.
- the needles are initially recessed into the body of the device 400 by virtue of the recessed position of carrier 406, as shown in Figure 38. The position of the needles in this state is shown in Figure 39.
- the needle mounting blocks 410 are pivoted so that needles 408 lie in a single row within the confines of the needle carrier 406.
- One end of driver element 426 which drives the needle carrier 406 in and out of the distal device tip is positioned just above the needle points so that the needles 408 are retained in their holders 410 against any drag which might tend to dislodge them.
- the other end of the driver element 426 is connected to a control at the proximal end of the device by which the operator manipulates the needles 408.
- needle carrier 406 is advanced from the position shown in Figure 38 to that of Figure 39.
- the needle mechanism at this stage is compactly configured to avoid entangling chordae tendineae or papillary muscles during capture of the leaflets and initial needle deployment.
- Cams 428 are then advanced, pivoting the needle mounting blocks 410 and causing the needles 408 to deploy as shown in Figure 40. Protruding stops on blocks 410 limit the angular deployment of the needles to the proper position for penetrating the valve leaflets. These stops come to rest against the needle carrier 406.
- the individual parts can be seen clearly in Figure 42.
- the needle carrier 406 With the needles deployed, the needle carrier 406 is retracted proximally, causing the needle points to penetrate valve leaflets (not shown) and enter the vacuum ports 402 and 404. As the needles continue to move proximally, the points enter the needle catchers 414 which are essentially one way gripping devices. The needles advance until their grooves engage the jaws of the needle catchers 414. Needle catchers 414 are retained in the ports 402 and 404 by a vacuum adapter 430, shown in Figure 42.
- the needle carrier 406 advances distally pulling the needle mounting blocks 410 away from the needles which are retained by the needle catchers 414.
- the vacuum is disconnected and the device is withdrawn from the heart along with the needles 408 which are firmly held by the catchers 414.
- the sutures which are loosely deployed in the body of the device 400, are pulled through the leaflets 432 and 434 to one of the positions shown in Figures 45a and 45b.
- sutures 436 and 438, or 440 and 442 are cut from the needles and tied remotely using a knot rundown tool with an integral cutter to remove excess suture material.
- the proximal control handpieces 416 shown in Figures 44 and 46 are illustrative of alternate approaches to controlling the system.
- One objective is to permit single handed control of the vacuum ports and suture needles without destabilizing the device. It is useful to locate and hold the device precisely in relation to the beating heart in order to accomplish the surgical procedure with minimal blood loss.
- the surgeon will use one hand to stabilize the distal end of the device via the cannula where it enters the atrium and the other hand to operate the vacuum and suturing controls. Control functions are described below.
- handpiece 416 has a pistol-like configuration which includes a shaft portion 446 and a handle portion 448.
- a pair of vacuum controls 420 are positioned akin to pistol hammers at the back of shaft portion 446 and at the top of handle portion 448.
- vacuum controls 420 are thumb operated.
- Vacuum controls 420 are separately capable of being partially activated or fully activated by a toggle mechanism (not shown). When partially activated, the associated vacuum line is momentarily opened, allowing blood to flow into the vacuum source 418. If one of the controls 420 is released it will return to its normally closed position and flow to the associated line will stop immediately. Once a leaflet has been captured the control 420 can be moved to its extreme position where it will remain due to an internal toggle action. In this case vacuum is applied to retain the leaflet which, in turn, blocks the port, preventing blood flow.
- the pair of vacuum controls 420 are located in the body 416 below the shaft portion 446 and in front of the handle portion 448.
- the vacuum controls 420 function like a pistol trigger, just above the needle control trigger 444, so that they can be operated individually by the index finger.
- the second control 420 is now accessible to the index finger for capture of the second leaflet in similar manner.
- the trigger 444 is pivotably mounted in body 416 to control needle deployment after the leaflets are captured.
- the trigger is connected to needle driver 426 by a linkage internal to the body 416 which establishes the correct direction and stroke.
- the device is supplied with the trigger fully depressed to hold the needle array in the position shown in Figure 38 relative to the vacuum ports 402 and 404.
- An internal latch in 416 retains the trigger. Once the leaflets have been captured the trigger is released, allowing the needles to advance to the position shown in Figure 39.
- needle driver 426 bears on cams 428 which, in turn, bear on blocks 410 causing the needles to deploy outward as in Figure 40.
- Squeezing the trigger 444 moves the needles proximally through the valve leaflets and into the vacuum ports 402 and 404 where they will be trapped as previously described.
- the trigger stroke will be internally limited so that it will not achieve the latched condition in which the cycle began.
- Releasing the trigger moves the needle carrier 406 forward, separating the needles from blocks 410.
- the entire device can now be removed, drawing sutures through the leaflets as previously described.
- the distal tip of the device 400 is rotatable relative to the body 416 for precise angular positioning of the ports 402 while maintaining a comfortable handle position for the user.
Landscapes
- Health & Medical Sciences (AREA)
- Life Sciences & Earth Sciences (AREA)
- Surgery (AREA)
- Molecular Biology (AREA)
- Engineering & Computer Science (AREA)
- Biomedical Technology (AREA)
- Heart & Thoracic Surgery (AREA)
- Medical Informatics (AREA)
- Nuclear Medicine, Radiotherapy & Molecular Imaging (AREA)
- Animal Behavior & Ethology (AREA)
- General Health & Medical Sciences (AREA)
- Public Health (AREA)
- Veterinary Medicine (AREA)
- Rheumatology (AREA)
- Surgical Instruments (AREA)
- Prostheses (AREA)
Priority Applications (1)
| Application Number | Priority Date | Filing Date | Title |
|---|---|---|---|
| EP06110520A EP1674040A3 (en) | 1999-10-21 | 2000-10-20 | Minimally invasive mitral valve repair |
Applications Claiming Priority (5)
| Application Number | Priority Date | Filing Date | Title |
|---|---|---|---|
| US16129699P | 1999-10-21 | 1999-10-21 | |
| US161296P | 1999-10-21 | ||
| US09/562,406 US6626930B1 (en) | 1999-10-21 | 2000-05-01 | Minimally invasive mitral valve repair method and apparatus |
| US562406 | 2000-05-01 | ||
| PCT/US2000/029073 WO2001028432A1 (en) | 1999-10-21 | 2000-10-20 | Minimally invasive mitral valve repair method and apparatus |
Related Child Applications (1)
| Application Number | Title | Priority Date | Filing Date |
|---|---|---|---|
| EP06110520A Division EP1674040A3 (en) | 1999-10-21 | 2000-10-20 | Minimally invasive mitral valve repair |
Publications (2)
| Publication Number | Publication Date |
|---|---|
| EP1221900A1 EP1221900A1 (en) | 2002-07-17 |
| EP1221900B1 true EP1221900B1 (en) | 2006-03-08 |
Family
ID=26857702
Family Applications (1)
| Application Number | Title | Priority Date | Filing Date |
|---|---|---|---|
| EP00975324A Expired - Lifetime EP1221900B1 (en) | 1999-10-21 | 2000-10-20 | Minimally invasive mitral valve repair apparatus |
Country Status (8)
| Country | Link |
|---|---|
| US (6) | US6626930B1 (enExample) |
| EP (1) | EP1221900B1 (enExample) |
| JP (1) | JP4390414B2 (enExample) |
| AT (1) | ATE319375T1 (enExample) |
| AU (1) | AU775796C (enExample) |
| CA (1) | CA2388481C (enExample) |
| DE (1) | DE60026567T2 (enExample) |
| WO (1) | WO2001028432A1 (enExample) |
Families Citing this family (781)
| Publication number | Priority date | Publication date | Assignee | Title |
|---|---|---|---|---|
| US8795332B2 (en) | 2002-09-30 | 2014-08-05 | Ethicon, Inc. | Barbed sutures |
| US6241747B1 (en) | 1993-05-03 | 2001-06-05 | Quill Medical, Inc. | Barbed Bodily tissue connector |
| US6562052B2 (en) * | 1995-08-24 | 2003-05-13 | Sutura, Inc. | Suturing device and method |
| US6050936A (en) | 1997-01-02 | 2000-04-18 | Myocor, Inc. | Heart wall tension reduction apparatus |
| US7883539B2 (en) | 1997-01-02 | 2011-02-08 | Edwards Lifesciences Llc | Heart wall tension reduction apparatus and method |
| US6406420B1 (en) | 1997-01-02 | 2002-06-18 | Myocor, Inc. | Methods and devices for improving cardiac function in hearts |
| US5931855A (en) | 1997-05-21 | 1999-08-03 | Frank Hoffman | Surgical methods using one-way suture |
| JP4162270B2 (ja) | 1997-06-27 | 2008-10-08 | ザ トラスティーズ オブ コロンビア ユニバーシティー イン ザ シティー オブ ニューヨーク | 循環弁修復のための装置 |
| FR2768324B1 (fr) * | 1997-09-12 | 1999-12-10 | Jacques Seguin | Instrument chirurgical permettant, par voie percutanee, de fixer l'une a l'autre deux zones de tissu mou, normalement mutuellement distantes |
| US6332893B1 (en) | 1997-12-17 | 2001-12-25 | Myocor, Inc. | Valve to myocardium tension members device and method |
| US6607541B1 (en) | 1998-06-03 | 2003-08-19 | Coalescent Surgical, Inc. | Tissue connector apparatus and methods |
| US6260552B1 (en) | 1998-07-29 | 2001-07-17 | Myocor, Inc. | Transventricular implant tools and devices |
| CA2620783C (en) | 1999-04-09 | 2011-04-05 | Evalve, Inc. | Methods and apparatus for cardiac valve repair |
| US6752813B2 (en) * | 1999-04-09 | 2004-06-22 | Evalve, Inc. | Methods and devices for capturing and fixing leaflets in valve repair |
| US8216256B2 (en) | 1999-04-09 | 2012-07-10 | Evalve, Inc. | Detachment mechanism for implantable fixation devices |
| US20040044350A1 (en) | 1999-04-09 | 2004-03-04 | Evalve, Inc. | Steerable access sheath and methods of use |
| US7604646B2 (en) | 1999-04-09 | 2009-10-20 | Evalve, Inc. | Locking mechanisms for fixation devices and methods of engaging tissue |
| US7666204B2 (en) | 1999-04-09 | 2010-02-23 | Evalve, Inc. | Multi-catheter steerable guiding system and methods of use |
| US10327743B2 (en) | 1999-04-09 | 2019-06-25 | Evalve, Inc. | Device and methods for endoscopic annuloplasty |
| US7811296B2 (en) * | 1999-04-09 | 2010-10-12 | Evalve, Inc. | Fixation devices for variation in engagement of tissue |
| US6626899B2 (en) * | 1999-06-25 | 2003-09-30 | Nidus Medical, Llc | Apparatus and methods for treating tissue |
| EP1196093B1 (en) | 1999-07-02 | 2006-06-14 | Quickpass, Inc. | Suturing device |
| US7662161B2 (en) | 1999-09-13 | 2010-02-16 | Rex Medical, L.P | Vascular hole closure device |
| US6440164B1 (en) | 1999-10-21 | 2002-08-27 | Scimed Life Systems, Inc. | Implantable prosthetic valve |
| US6626930B1 (en) * | 1999-10-21 | 2003-09-30 | Edwards Lifesciences Corporation | Minimally invasive mitral valve repair method and apparatus |
| US6926730B1 (en) | 2000-10-10 | 2005-08-09 | Medtronic, Inc. | Minimally invasive valve repair procedure and apparatus |
| EP1113497A3 (en) * | 1999-12-29 | 2006-01-25 | Texas Instruments Incorporated | Semiconductor package with conductor impedance selected during assembly |
| US9579091B2 (en) | 2000-01-05 | 2017-02-28 | Integrated Vascular Systems, Inc. | Closure system and methods of use |
| US6461364B1 (en) | 2000-01-05 | 2002-10-08 | Integrated Vascular Systems, Inc. | Vascular sheath with bioabsorbable puncture site closure apparatus and methods of use |
| US6391048B1 (en) | 2000-01-05 | 2002-05-21 | Integrated Vascular Systems, Inc. | Integrated vascular device with puncture site closure component and sealant and methods of use |
| US8758400B2 (en) | 2000-01-05 | 2014-06-24 | Integrated Vascular Systems, Inc. | Closure system and methods of use |
| US7842068B2 (en) | 2000-12-07 | 2010-11-30 | Integrated Vascular Systems, Inc. | Apparatus and methods for providing tactile feedback while delivering a closure device |
| US7399304B2 (en) * | 2000-03-03 | 2008-07-15 | C.R. Bard, Inc. | Endoscopic tissue apposition device with multiple suction ports |
| US6537198B1 (en) | 2000-03-21 | 2003-03-25 | Myocor, Inc. | Splint assembly for improving cardiac function in hearts, and method for implanting the splint assembly |
| US7083628B2 (en) | 2002-09-03 | 2006-08-01 | Edwards Lifesciences Corporation | Single catheter mitral valve repair device and method for use |
| WO2001095809A1 (en) * | 2000-06-14 | 2001-12-20 | Sterilis, Inc. | Suturing method and apparatus |
| SE0002878D0 (sv) * | 2000-08-11 | 2000-08-11 | Kimblad Ola | Device and method for treatment of atrioventricular regurgitation |
| AU8800801A (en) | 2000-09-08 | 2002-03-22 | James E Coleman | Surgical staple |
| US6723038B1 (en) | 2000-10-06 | 2004-04-20 | Myocor, Inc. | Methods and devices for improving mitral valve function |
| US6626918B1 (en) * | 2000-10-06 | 2003-09-30 | Medical Technology Group | Apparatus and methods for positioning a vascular sheath |
| US6616684B1 (en) | 2000-10-06 | 2003-09-09 | Myocor, Inc. | Endovascular splinting devices and methods |
| US6602286B1 (en) | 2000-10-26 | 2003-08-05 | Ernst Peter Strecker | Implantable valve system |
| US6820268B2 (en) * | 2000-10-30 | 2004-11-16 | Next Computer, Inc. | Method for associating data bearing objects with user interface objects |
| US6896682B1 (en) * | 2000-11-14 | 2005-05-24 | Biomedical Engineering Solutions, Inc. | Method and system for internal ligation of tubular structures |
| US6623510B2 (en) | 2000-12-07 | 2003-09-23 | Integrated Vascular Systems, Inc. | Closure device and methods for making and using them |
| US8690910B2 (en) | 2000-12-07 | 2014-04-08 | Integrated Vascular Systems, Inc. | Closure device and methods for making and using them |
| US7905900B2 (en) | 2003-01-30 | 2011-03-15 | Integrated Vascular Systems, Inc. | Clip applier and methods of use |
| US7211101B2 (en) | 2000-12-07 | 2007-05-01 | Abbott Vascular Devices | Methods for manufacturing a clip and clip |
| US6695867B2 (en) | 2002-02-21 | 2004-02-24 | Integrated Vascular Systems, Inc. | Plunger apparatus and methods for delivering a closure device |
| US20020107531A1 (en) * | 2001-02-06 | 2002-08-08 | Schreck Stefan G. | Method and system for tissue repair using dual catheters |
| US8202315B2 (en) | 2001-04-24 | 2012-06-19 | Mitralign, Inc. | Catheter-based annuloplasty using ventricularly positioned catheter |
| US20060069429A1 (en) * | 2001-04-24 | 2006-03-30 | Spence Paul A | Tissue fastening systems and methods utilizing magnetic guidance |
| US7037334B1 (en) | 2001-04-24 | 2006-05-02 | Mitralign, Inc. | Method and apparatus for catheter-based annuloplasty using local plications |
| US20050125011A1 (en) * | 2001-04-24 | 2005-06-09 | Spence Paul A. | Tissue fastening systems and methods utilizing magnetic guidance |
| US7083629B2 (en) * | 2001-05-30 | 2006-08-01 | Satiety, Inc. | Overtube apparatus for insertion into a body |
| US6558400B2 (en) | 2001-05-30 | 2003-05-06 | Satiety, Inc. | Obesity treatment tools and methods |
| IES20010547A2 (en) | 2001-06-07 | 2002-12-11 | Christy Cummins | Surgical Staple |
| US7056331B2 (en) | 2001-06-29 | 2006-06-06 | Quill Medical, Inc. | Suture method |
| US6719764B1 (en) | 2001-08-24 | 2004-04-13 | Scimed Life Systems, Inc. | Forward deploying suturing device and methods of use |
| US6848152B2 (en) | 2001-08-31 | 2005-02-01 | Quill Medical, Inc. | Method of forming barbs on a suture and apparatus for performing same |
| US20060052821A1 (en) | 2001-09-06 | 2006-03-09 | Ovalis, Inc. | Systems and methods for treating septal defects |
| US6702835B2 (en) | 2001-09-07 | 2004-03-09 | Core Medical, Inc. | Needle apparatus for closing septal defects and methods for using such apparatus |
| US6776784B2 (en) | 2001-09-06 | 2004-08-17 | Core Medical, Inc. | Clip apparatus for closing septal defects and methods of use |
| JP4384379B2 (ja) * | 2001-09-20 | 2009-12-16 | 日本トムソン株式会社 | 方向転換路とリターン路とを接続管部で連通した直動案内ユニット |
| US6575971B2 (en) | 2001-11-15 | 2003-06-10 | Quantum Cor, Inc. | Cardiac valve leaflet stapler device and methods thereof |
| US6978176B2 (en) | 2001-12-08 | 2005-12-20 | Lattouf Omar M | Treatment for patient with congestive heart failure |
| US20080249504A1 (en) | 2007-04-06 | 2008-10-09 | Lattouf Omar M | Instrument port |
| US20030120341A1 (en) * | 2001-12-21 | 2003-06-26 | Hani Shennib | Devices and methods of repairing cardiac valves |
| US20030130621A1 (en) * | 2002-01-04 | 2003-07-10 | Bryan Vincent E. | Spinal needle system |
| US6764510B2 (en) | 2002-01-09 | 2004-07-20 | Myocor, Inc. | Devices and methods for heart valve treatment |
| JP2005525843A (ja) * | 2002-01-14 | 2005-09-02 | エヌエムティー メディカル インコーポレイテッド | 卵円孔開存(pfo)閉塞方法および器具 |
| US7048754B2 (en) * | 2002-03-01 | 2006-05-23 | Evalve, Inc. | Suture fasteners and methods of use |
| US6743241B2 (en) * | 2002-03-01 | 2004-06-01 | Intellimed Surgical Solutions Llc | Laparoscopic port site fascial closure device |
| JP2005521447A (ja) | 2002-03-25 | 2005-07-21 | エヌエムティー メディカル インコーポレイテッド | 卵円孔開存(pfo)の閉鎖クリップ |
| US7094244B2 (en) * | 2002-03-26 | 2006-08-22 | Edwards Lifesciences Corporation | Sequential heart valve leaflet repair device and method of use |
| US6752828B2 (en) * | 2002-04-03 | 2004-06-22 | Scimed Life Systems, Inc. | Artificial valve |
| US7976564B2 (en) * | 2002-05-06 | 2011-07-12 | St. Jude Medical, Cardiology Division, Inc. | PFO closure devices and related methods of use |
| US8105342B2 (en) | 2002-05-08 | 2012-01-31 | Apollo Endosurgery, Inc. | Apparatus for ligating/suturing living tissues and system for resecting/suturing living tissues |
| JP2003339719A (ja) * | 2002-05-30 | 2003-12-02 | Pentax Corp | 内視鏡用クリップ装置 |
| DE60325355D1 (de) | 2002-06-04 | 2009-01-29 | Abbott Vascular Inc | Chirurgische klemme und anbringungsvorrichtung zur gefässwundverschliessung |
| EP1538994A4 (en) | 2002-06-05 | 2008-05-07 | Nmt Medical Inc | DEVICE FOR CLOSING A PATENT FORAMS OVALE (PFO) WITH RADIAL AND COMPLEMENTARY SUPPORT |
| US7232447B2 (en) * | 2002-06-12 | 2007-06-19 | Boston Scientific Scimed, Inc. | Suturing instrument with deflectable head |
| US20060122633A1 (en) | 2002-06-13 | 2006-06-08 | John To | Methods and devices for termination |
| US7883538B2 (en) | 2002-06-13 | 2011-02-08 | Guided Delivery Systems Inc. | Methods and devices for termination |
| US9949829B2 (en) | 2002-06-13 | 2018-04-24 | Ancora Heart, Inc. | Delivery devices and methods for heart valve repair |
| US8641727B2 (en) | 2002-06-13 | 2014-02-04 | Guided Delivery Systems, Inc. | Devices and methods for heart valve repair |
| JP2005534361A (ja) | 2002-06-27 | 2005-11-17 | リーバイン,ロバート,エイ. | 房室弁逆流及び心室リモデリング逆転のためのシステム及び方法 |
| EP1545371B1 (en) * | 2002-08-01 | 2016-04-13 | Robert A. Levine | Cardiac devices and methods for minimally invasive repair of ischemic mitral regurgitation |
| US8172856B2 (en) * | 2002-08-02 | 2012-05-08 | Cedars-Sinai Medical Center | Methods and apparatus for atrioventricular valve repair |
| US7041111B2 (en) | 2002-08-02 | 2006-05-09 | Boston Scientific Scimed, Inc. | Placing sutures |
| US6773450B2 (en) | 2002-08-09 | 2004-08-10 | Quill Medical, Inc. | Suture anchor and method |
| EP2319427A2 (en) * | 2002-08-13 | 2011-05-11 | The General Hospital Corporation | Cardiac devices and methods for percutaneous repair of atrioventricular valves |
| CA2503258C (en) | 2002-08-28 | 2011-08-16 | Heart Leaflet Technologies, Inc. | Method and device for treating diseased valve |
| AU2003272289A1 (en) | 2002-09-06 | 2004-03-29 | C.R. Bard, Inc. | Integrated endoscope and accessory treatment device |
| WO2004028349A2 (en) * | 2002-09-24 | 2004-04-08 | Ethicon Endo-Surgery, Inc | Ultrasonic surgical instrument having an increased working length |
| US8100940B2 (en) | 2002-09-30 | 2012-01-24 | Quill Medical, Inc. | Barb configurations for barbed sutures |
| US20040088003A1 (en) | 2002-09-30 | 2004-05-06 | Leung Jeffrey C. | Barbed suture in combination with surgical needle |
| US7087064B1 (en) | 2002-10-15 | 2006-08-08 | Advanced Cardiovascular Systems, Inc. | Apparatuses and methods for heart valve repair |
| US20050119735A1 (en) * | 2002-10-21 | 2005-06-02 | Spence Paul A. | Tissue fastening systems and methods utilizing magnetic guidance |
| BR0315392A (pt) * | 2002-10-21 | 2005-08-23 | Mitralign Inc | Catéteres incrementadores e métodos de realização de anuloplastia |
| JP2006503654A (ja) | 2002-10-24 | 2006-02-02 | ボストン サイエンティフィック リミテッド | 静脈弁装置並びに方法 |
| US7112219B2 (en) | 2002-11-12 | 2006-09-26 | Myocor, Inc. | Devices and methods for heart valve treatment |
| US7247134B2 (en) | 2002-11-12 | 2007-07-24 | Myocor, Inc. | Devices and methods for heart valve treatment |
| US7981152B1 (en) | 2004-12-10 | 2011-07-19 | Advanced Cardiovascular Systems, Inc. | Vascular delivery system for accessing and delivering devices into coronary sinus and other vascular sites |
| US7335213B1 (en) | 2002-11-15 | 2008-02-26 | Abbott Cardiovascular Systems Inc. | Apparatus and methods for heart valve repair |
| US6945978B1 (en) | 2002-11-15 | 2005-09-20 | Advanced Cardiovascular Systems, Inc. | Heart valve catheter |
| US7331972B1 (en) | 2002-11-15 | 2008-02-19 | Abbott Cardiovascular Systems Inc. | Heart valve chord cutter |
| US9149602B2 (en) | 2005-04-22 | 2015-10-06 | Advanced Cardiovascular Systems, Inc. | Dual needle delivery system |
| US8187324B2 (en) | 2002-11-15 | 2012-05-29 | Advanced Cardiovascular Systems, Inc. | Telescoping apparatus for delivering and adjusting a medical device in a vessel |
| US7485143B2 (en) | 2002-11-15 | 2009-02-03 | Abbott Cardiovascular Systems Inc. | Apparatuses and methods for heart valve repair |
| US7404824B1 (en) | 2002-11-15 | 2008-07-29 | Advanced Cardiovascular Systems, Inc. | Valve aptation assist device |
| CA2503666A1 (en) | 2002-12-09 | 2004-06-24 | Nmt Medical, Inc. | Septal closure devices |
| US6945957B2 (en) | 2002-12-30 | 2005-09-20 | Scimed Life Systems, Inc. | Valve treatment catheter and methods |
| US8821534B2 (en) | 2010-12-06 | 2014-09-02 | Integrated Vascular Systems, Inc. | Clip applier having improved hemostasis and methods of use |
| US8202293B2 (en) | 2003-01-30 | 2012-06-19 | Integrated Vascular Systems, Inc. | Clip applier and methods of use |
| US8905937B2 (en) | 2009-02-26 | 2014-12-09 | Integrated Vascular Systems, Inc. | Methods and apparatus for locating a surface of a body lumen |
| US8398656B2 (en) | 2003-01-30 | 2013-03-19 | Integrated Vascular Systems, Inc. | Clip applier and methods of use |
| US8758398B2 (en) | 2006-09-08 | 2014-06-24 | Integrated Vascular Systems, Inc. | Apparatus and method for delivering a closure element |
| US20040176800A1 (en) * | 2003-03-07 | 2004-09-09 | Paraschac Joseph Francis | Barbed closure device |
| US7381210B2 (en) * | 2003-03-14 | 2008-06-03 | Edwards Lifesciences Corporation | Mitral valve repair system and method for use |
| US7624487B2 (en) | 2003-05-13 | 2009-12-01 | Quill Medical, Inc. | Apparatus and method for forming barbs on a suture |
| US10646229B2 (en) | 2003-05-19 | 2020-05-12 | Evalve, Inc. | Fixation devices, systems and methods for engaging tissue |
| US8480706B2 (en) | 2003-07-14 | 2013-07-09 | W.L. Gore & Associates, Inc. | Tubular patent foramen ovale (PFO) closure device with catch system |
| ES2428967T3 (es) | 2003-07-14 | 2013-11-12 | W.L. Gore & Associates, Inc. | Dispositivo tubular de cierre de foramen oval permeable (FOP) con sistema de retención |
| US9861346B2 (en) | 2003-07-14 | 2018-01-09 | W. L. Gore & Associates, Inc. | Patent foramen ovale (PFO) closure device with linearly elongating petals |
| US7998112B2 (en) | 2003-09-30 | 2011-08-16 | Abbott Cardiovascular Systems Inc. | Deflectable catheter assembly and method of making same |
| US20060276684A1 (en) * | 2003-11-07 | 2006-12-07 | Giovanni Speziali | Device and method for treating congestive heart failure |
| US7056286B2 (en) * | 2003-11-12 | 2006-06-06 | Adrian Ravenscroft | Medical device anchor and delivery system |
| US8128681B2 (en) | 2003-12-19 | 2012-03-06 | Boston Scientific Scimed, Inc. | Venous valve apparatus, system, and method |
| US7854761B2 (en) | 2003-12-19 | 2010-12-21 | Boston Scientific Scimed, Inc. | Methods for venous valve replacement with a catheter |
| US8864822B2 (en) | 2003-12-23 | 2014-10-21 | Mitralign, Inc. | Devices and methods for introducing elements into tissue |
| US7166127B2 (en) | 2003-12-23 | 2007-01-23 | Mitralign, Inc. | Tissue fastening systems and methods utilizing magnetic guidance |
| US20050165427A1 (en) * | 2004-01-22 | 2005-07-28 | Jahns Scott E. | Vessel sealing devices |
| EP1713402B1 (en) | 2004-02-13 | 2018-07-04 | Ethicon Endo-Surgery, Inc. | Device for reducing stomach volume |
| CA2557722C (en) | 2004-02-27 | 2013-02-12 | Satiety, Inc. | Methods and devices for reducing hollow organ volume |
| CA2558247A1 (en) | 2004-03-03 | 2005-10-06 | Nmt Medical, Inc. | Delivery/recovery system for septal occluder |
| US7976539B2 (en) | 2004-03-05 | 2011-07-12 | Hansen Medical, Inc. | System and method for denaturing and fixing collagenous tissue |
| US9713465B1 (en) * | 2004-04-19 | 2017-07-25 | Granit Medical Innovation Llc | Surgical closure device and associated method |
| US20050240202A1 (en) * | 2004-04-21 | 2005-10-27 | Hani Shennib | Devices and methods of repairing cardiac valves |
| US7294148B2 (en) | 2004-04-29 | 2007-11-13 | Edwards Lifesciences Corporation | Annuloplasty ring for mitral valve prolapse |
| EP2664283B1 (en) | 2004-05-14 | 2017-06-28 | Ethicon, LLC | Suture devices |
| IES20040368A2 (en) | 2004-05-25 | 2005-11-30 | James E Coleman | Surgical stapler |
| US7556632B2 (en) * | 2004-07-09 | 2009-07-07 | Reza Zadno | Device and method for repairing tissue |
| US8123762B2 (en) | 2004-08-19 | 2012-02-28 | Boston Scientific Scimed, Inc. | Suturing instrument |
| US7566343B2 (en) | 2004-09-02 | 2009-07-28 | Boston Scientific Scimed, Inc. | Cardiac valve, system, and method |
| JP2008513060A (ja) | 2004-09-14 | 2008-05-01 | エドワーズ ライフサイエンシーズ アーゲー | 心臓弁逆流の処置のためのデバイスおよび方法 |
| US8052592B2 (en) | 2005-09-27 | 2011-11-08 | Evalve, Inc. | Methods and devices for tissue grasping and assessment |
| WO2006037073A2 (en) | 2004-09-27 | 2006-04-06 | Evalve, Inc. | Methods and devices for tissue grasping and assessment |
| US8137382B2 (en) | 2004-11-05 | 2012-03-20 | Biomet Sports Medicine, Llc | Method and apparatus for coupling anatomical features |
| US7749250B2 (en) | 2006-02-03 | 2010-07-06 | Biomet Sports Medicine, Llc | Soft tissue repair assembly and associated method |
| US8361113B2 (en) | 2006-02-03 | 2013-01-29 | Biomet Sports Medicine, Llc | Method and apparatus for coupling soft tissue to a bone |
| US9801708B2 (en) | 2004-11-05 | 2017-10-31 | Biomet Sports Medicine, Llc | Method and apparatus for coupling soft tissue to a bone |
| US8303604B2 (en) | 2004-11-05 | 2012-11-06 | Biomet Sports Medicine, Llc | Soft tissue repair device and method |
| US8128658B2 (en) | 2004-11-05 | 2012-03-06 | Biomet Sports Medicine, Llc | Method and apparatus for coupling soft tissue to bone |
| US7658751B2 (en) | 2006-09-29 | 2010-02-09 | Biomet Sports Medicine, Llc | Method for implanting soft tissue |
| US8298262B2 (en) | 2006-02-03 | 2012-10-30 | Biomet Sports Medicine, Llc | Method for tissue fixation |
| US7905904B2 (en) | 2006-02-03 | 2011-03-15 | Biomet Sports Medicine, Llc | Soft tissue repair device and associated methods |
| US9017381B2 (en) | 2007-04-10 | 2015-04-28 | Biomet Sports Medicine, Llc | Adjustable knotless loops |
| US8088130B2 (en) | 2006-02-03 | 2012-01-03 | Biomet Sports Medicine, Llc | Method and apparatus for coupling soft tissue to a bone |
| US7909851B2 (en) | 2006-02-03 | 2011-03-22 | Biomet Sports Medicine, Llc | Soft tissue repair device and associated methods |
| US8118836B2 (en) | 2004-11-05 | 2012-02-21 | Biomet Sports Medicine, Llc | Method and apparatus for coupling soft tissue to a bone |
| US20060106288A1 (en) | 2004-11-17 | 2006-05-18 | Roth Alex T | Remote tissue retraction device |
| US7451765B2 (en) * | 2004-11-18 | 2008-11-18 | Mark Adler | Intra-bronchial apparatus for aspiration and insufflation of lung regions distal to placement or cross communication and deployment and placement system therefor |
| ATE513516T1 (de) | 2005-01-21 | 2011-07-15 | Mayo Foundation | Thoraskopisches herzklappenreparaturvorrichtung |
| US7854755B2 (en) | 2005-02-01 | 2010-12-21 | Boston Scientific Scimed, Inc. | Vascular catheter, system, and method |
| US20060173490A1 (en) | 2005-02-01 | 2006-08-03 | Boston Scientific Scimed, Inc. | Filter system and method |
| US7670368B2 (en) | 2005-02-07 | 2010-03-02 | Boston Scientific Scimed, Inc. | Venous valve apparatus, system, and method |
| EP3967269A3 (en) * | 2005-02-07 | 2022-07-13 | Evalve, Inc. | Systems and devices for cardiac valve repair |
| WO2011034628A1 (en) | 2005-02-07 | 2011-03-24 | Evalve, Inc. | Methods, systems and devices for cardiac valve repair |
| US7780722B2 (en) | 2005-02-07 | 2010-08-24 | Boston Scientific Scimed, Inc. | Venous valve apparatus, system, and method |
| US7867274B2 (en) | 2005-02-23 | 2011-01-11 | Boston Scientific Scimed, Inc. | Valve apparatus, system and method |
| US8608797B2 (en) | 2005-03-17 | 2013-12-17 | Valtech Cardio Ltd. | Mitral valve treatment techniques |
| US7722666B2 (en) | 2005-04-15 | 2010-05-25 | Boston Scientific Scimed, Inc. | Valve apparatus, system and method |
| US8333777B2 (en) | 2005-04-22 | 2012-12-18 | Benvenue Medical, Inc. | Catheter-based tissue remodeling devices and methods |
| US20060247672A1 (en) * | 2005-04-27 | 2006-11-02 | Vidlund Robert M | Devices and methods for pericardial access |
| US8628542B2 (en) | 2005-05-20 | 2014-01-14 | Neotract, Inc. | Median lobe destruction apparatus and method |
| US8945152B2 (en) | 2005-05-20 | 2015-02-03 | Neotract, Inc. | Multi-actuating trigger anchor delivery system |
| US8425535B2 (en) | 2005-05-20 | 2013-04-23 | Neotract, Inc. | Multi-actuating trigger anchor delivery system |
| US9549739B2 (en) | 2005-05-20 | 2017-01-24 | Neotract, Inc. | Devices, systems and methods for treating benign prostatic hyperplasia and other conditions |
| US10195014B2 (en) | 2005-05-20 | 2019-02-05 | Neotract, Inc. | Devices, systems and methods for treating benign prostatic hyperplasia and other conditions |
| US7645286B2 (en) | 2005-05-20 | 2010-01-12 | Neotract, Inc. | Devices, systems and methods for retracting, lifting, compressing, supporting or repositioning tissues or anatomical structures |
| US8668705B2 (en) | 2005-05-20 | 2014-03-11 | Neotract, Inc. | Latching anchor device |
| US7758594B2 (en) | 2005-05-20 | 2010-07-20 | Neotract, Inc. | Devices, systems and methods for treating benign prostatic hyperplasia and other conditions |
| US8603106B2 (en) | 2005-05-20 | 2013-12-10 | Neotract, Inc. | Integrated handle assembly for anchor delivery system |
| US10925587B2 (en) | 2005-05-20 | 2021-02-23 | Neotract, Inc. | Anchor delivery system |
| US9504461B2 (en) | 2005-05-20 | 2016-11-29 | Neotract, Inc. | Anchor delivery system |
| US8083664B2 (en) | 2005-05-25 | 2011-12-27 | Maquet Cardiovascular Llc | Surgical stabilizers and methods for use in reduced-access surgical sites |
| US8012198B2 (en) | 2005-06-10 | 2011-09-06 | Boston Scientific Scimed, Inc. | Venous valve, system, and method |
| EP2510883B1 (en) | 2005-06-20 | 2018-04-11 | Nobles Medical Technologies, Inc. | Apparatus for applying a knot to a suture |
| US8926633B2 (en) | 2005-06-24 | 2015-01-06 | Abbott Laboratories | Apparatus and method for delivering a closure element |
| US20070005079A1 (en) * | 2005-06-30 | 2007-01-04 | David Zarbatany | System, apparatus, and method for repairing septal defects |
| US8252005B2 (en) | 2005-06-30 | 2012-08-28 | Edwards Lifesciences Corporation | System, apparatus, and method for fastening tissue |
| US8313497B2 (en) | 2005-07-01 | 2012-11-20 | Abbott Laboratories | Clip applier and methods of use |
| US8951285B2 (en) | 2005-07-05 | 2015-02-10 | Mitralign, Inc. | Tissue anchor, anchoring system and methods of using the same |
| US8579936B2 (en) | 2005-07-05 | 2013-11-12 | ProMed, Inc. | Centering of delivery devices with respect to a septal defect |
| US8084404B2 (en) * | 2005-07-20 | 2011-12-27 | Chevron Oronite Company Llc | Crankcase lubricating oil composition for protection of silver bearings in locomotive diesel engines |
| US20070162034A1 (en) * | 2005-08-04 | 2007-07-12 | John Kostuik | Annular repair method and device |
| US20070060895A1 (en) * | 2005-08-24 | 2007-03-15 | Sibbitt Wilmer L Jr | Vascular closure methods and apparatuses |
| US20070049952A1 (en) * | 2005-08-30 | 2007-03-01 | Weiss Steven J | Apparatus and method for mitral valve repair without cardiopulmonary bypass, including transmural techniques |
| US7846179B2 (en) | 2005-09-01 | 2010-12-07 | Ovalis, Inc. | Suture-based systems and methods for treating septal defects |
| US20070061010A1 (en) * | 2005-09-09 | 2007-03-15 | Hauser David L | Device and method for reshaping mitral valve annulus |
| US7569071B2 (en) | 2005-09-21 | 2009-08-04 | Boston Scientific Scimed, Inc. | Venous valve, system, and method with sinus pocket |
| US20070083232A1 (en) * | 2005-10-07 | 2007-04-12 | Innovasive, Inc. | Vascular closure device |
| US20070083231A1 (en) * | 2005-10-07 | 2007-04-12 | Benjamin Lee | Vascular closure |
| US20070232941A1 (en) * | 2005-10-27 | 2007-10-04 | Stan Rabinovich | System, apparatus, and method for imaging and treating tissue |
| US7850712B2 (en) * | 2005-11-15 | 2010-12-14 | Ethicon Endo-Surgery, Inc. | Self-shielding suture anchor |
| US20070119461A1 (en) * | 2005-11-18 | 2007-05-31 | Brian Biancucci | Article isolation device and methods |
| US7799038B2 (en) * | 2006-01-20 | 2010-09-21 | Boston Scientific Scimed, Inc. | Translumenal apparatus, system, and method |
| US7628797B2 (en) | 2006-01-31 | 2009-12-08 | Edwards Lifesciences Corporation | System, apparatus, and method for fastening tissue |
| US8968364B2 (en) | 2006-02-03 | 2015-03-03 | Biomet Sports Medicine, Llc | Method and apparatus for fixation of an ACL graft |
| US8652172B2 (en) | 2006-02-03 | 2014-02-18 | Biomet Sports Medicine, Llc | Flexible anchors for tissue fixation |
| US11311287B2 (en) | 2006-02-03 | 2022-04-26 | Biomet Sports Medicine, Llc | Method for tissue fixation |
| US10517587B2 (en) | 2006-02-03 | 2019-12-31 | Biomet Sports Medicine, Llc | Method and apparatus for forming a self-locking adjustable loop |
| US8652171B2 (en) | 2006-02-03 | 2014-02-18 | Biomet Sports Medicine, Llc | Method and apparatus for soft tissue fixation |
| US8936621B2 (en) | 2006-02-03 | 2015-01-20 | Biomet Sports Medicine, Llc | Method and apparatus for forming a self-locking adjustable loop |
| US8562645B2 (en) | 2006-09-29 | 2013-10-22 | Biomet Sports Medicine, Llc | Method and apparatus for forming a self-locking adjustable loop |
| US8801783B2 (en) | 2006-09-29 | 2014-08-12 | Biomet Sports Medicine, Llc | Prosthetic ligament system for knee joint |
| US9149267B2 (en) | 2006-02-03 | 2015-10-06 | Biomet Sports Medicine, Llc | Method and apparatus for coupling soft tissue to a bone |
| US8597327B2 (en) | 2006-02-03 | 2013-12-03 | Biomet Manufacturing, Llc | Method and apparatus for sternal closure |
| US9078644B2 (en) | 2006-09-29 | 2015-07-14 | Biomet Sports Medicine, Llc | Fracture fixation device |
| US11259792B2 (en) | 2006-02-03 | 2022-03-01 | Biomet Sports Medicine, Llc | Method and apparatus for coupling anatomical features |
| US9538998B2 (en) | 2006-02-03 | 2017-01-10 | Biomet Sports Medicine, Llc | Method and apparatus for fracture fixation |
| US8562647B2 (en) | 2006-09-29 | 2013-10-22 | Biomet Sports Medicine, Llc | Method and apparatus for securing soft tissue to bone |
| US9408599B2 (en) | 2006-02-03 | 2016-08-09 | Biomet Sports Medicine, Llc | Method and apparatus for coupling soft tissue to a bone |
| US7749249B2 (en) | 2006-02-21 | 2010-07-06 | Kardium Inc. | Method and device for closing holes in tissue |
| US20070239206A1 (en) * | 2006-03-31 | 2007-10-11 | Shelton Frederick E Iv | Suture with adhesive/sealant delivery mechanism |
| US8808310B2 (en) | 2006-04-20 | 2014-08-19 | Integrated Vascular Systems, Inc. | Resettable clip applier and reset tools |
| WO2007131110A2 (en) | 2006-05-03 | 2007-11-15 | Raptor Ridge, Llc | Systems and methods of tissue closure |
| GB2437921B (en) * | 2006-05-10 | 2011-08-03 | Francis Wells | Heart valve repair |
| US20070270688A1 (en) | 2006-05-19 | 2007-11-22 | Daniel Gelbart | Automatic atherectomy system |
| US7758598B2 (en) * | 2006-05-19 | 2010-07-20 | Ethicon Endo-Surgery, Inc. | Combination knotting element and suture anchor applicator |
| US9119633B2 (en) | 2006-06-28 | 2015-09-01 | Kardium Inc. | Apparatus and method for intra-cardiac mapping and ablation |
| US8449605B2 (en) | 2006-06-28 | 2013-05-28 | Kardium Inc. | Method for anchoring a mitral valve |
| US10028783B2 (en) | 2006-06-28 | 2018-07-24 | Kardium Inc. | Apparatus and method for intra-cardiac mapping and ablation |
| US11389232B2 (en) | 2006-06-28 | 2022-07-19 | Kardium Inc. | Apparatus and method for intra-cardiac mapping and ablation |
| US8556930B2 (en) * | 2006-06-28 | 2013-10-15 | Abbott Laboratories | Vessel closure device |
| US8920411B2 (en) | 2006-06-28 | 2014-12-30 | Kardium Inc. | Apparatus and method for intra-cardiac mapping and ablation |
| WO2008134245A1 (en) * | 2007-04-27 | 2008-11-06 | Cvdevices, Llc | Devices, systems, and methods for promotion of infarct healing and reinforcement of border zone |
| JP2009542338A (ja) | 2006-06-30 | 2009-12-03 | シーヴィ デヴァイシズ,エルエルシー | 心臓組織への経皮的血管内アクセス |
| US20080097585A1 (en) * | 2006-06-30 | 2008-04-24 | Richard Sisken | Valve repair systems and methods |
| US9023075B2 (en) * | 2006-06-30 | 2015-05-05 | Cvdevices, Llc | Devices, systems, and methods for lead delivery |
| US20080126131A1 (en) * | 2006-07-17 | 2008-05-29 | Walgreen Co. | Predictive Modeling And Risk Stratification Of A Medication Therapy Regimen |
| US7837610B2 (en) | 2006-08-02 | 2010-11-23 | Kardium Inc. | System for improving diastolic dysfunction |
| ATE455501T1 (de) * | 2006-08-16 | 2010-02-15 | Wilson Cook Medical Inc | Nahtvorrichtung |
| US20080065156A1 (en) | 2006-09-08 | 2008-03-13 | Hauser David L | Expandable clip for tissue repair |
| US7875053B2 (en) * | 2006-09-15 | 2011-01-25 | Cardica, Inc. | Apparatus and method for closure of patent foramen ovale |
| US11259794B2 (en) | 2006-09-29 | 2022-03-01 | Biomet Sports Medicine, Llc | Method for implanting soft tissue |
| JP4943796B2 (ja) * | 2006-09-29 | 2012-05-30 | テルモ株式会社 | 医療デバイス |
| US8672969B2 (en) | 2006-09-29 | 2014-03-18 | Biomet Sports Medicine, Llc | Fracture fixation device |
| US9918826B2 (en) | 2006-09-29 | 2018-03-20 | Biomet Sports Medicine, Llc | Scaffold for spring ligament repair |
| US8500818B2 (en) | 2006-09-29 | 2013-08-06 | Biomet Manufacturing, Llc | Knee prosthesis assembly with ligament link |
| US7674275B2 (en) * | 2006-10-05 | 2010-03-09 | Ethicon Endo-Surgery, Inc. | Suture anchor |
| US8702729B2 (en) * | 2006-10-13 | 2014-04-22 | Boston Scientific Scimed, Inc. | Placing multiple sutures |
| US8834494B2 (en) * | 2006-10-20 | 2014-09-16 | St. Jude Medical, Cardiology Division, Inc. | Method and device for automated needle deployment |
| US20080103527A1 (en) * | 2006-10-27 | 2008-05-01 | Martin David T | Flexible endoscopic suture anchor applier |
| US8709021B2 (en) | 2006-11-07 | 2014-04-29 | Boston Scientific Scimed, Inc. | Suturing instrument |
| EP2094167B1 (en) * | 2006-11-30 | 2011-06-29 | Wilson-Cook Medical, Inc. | Visceral anchors for purse-string closure of perforations |
| WO2010004546A1 (en) | 2008-06-16 | 2010-01-14 | Valtech Cardio, Ltd. | Annuloplasty devices and methods of delivery therefor |
| US9974653B2 (en) | 2006-12-05 | 2018-05-22 | Valtech Cardio, Ltd. | Implantation of repair devices in the heart |
| CA2671966A1 (en) * | 2006-12-05 | 2008-06-12 | Valtech Cardio, Ltd. | Segmented ring placement |
| US11259924B2 (en) | 2006-12-05 | 2022-03-01 | Valtech Cardio Ltd. | Implantation of repair devices in the heart |
| WO2008091493A1 (en) | 2007-01-08 | 2008-07-31 | California Institute Of Technology | In-situ formation of a valve |
| US20080177288A1 (en) * | 2007-01-19 | 2008-07-24 | Carlson Mark A | Remote Suturing Device |
| JP5313928B2 (ja) | 2007-02-05 | 2013-10-09 | ボストン サイエンティフィック リミテッド | 経皮的な弁およびシステム |
| EP3488794A1 (en) * | 2007-02-06 | 2019-05-29 | Neotract, Inc. | Integrated handle assembly for anchor delivery system |
| EP3345572A1 (en) | 2007-02-14 | 2018-07-11 | Edwards Lifesciences Corporation | Suture and method for repairing heart |
| US20080221614A1 (en) * | 2007-03-09 | 2008-09-11 | Medtronic Vascular, Inc. | Method for Closing an Arteriotomy |
| US8911461B2 (en) | 2007-03-13 | 2014-12-16 | Mitralign, Inc. | Suture cutter and method of cutting suture |
| EP2129301A4 (en) | 2007-03-13 | 2015-03-25 | Peter S Harris | METHOD AND DEVICES FOR REDUCING THE MAGENTAL VOLUME |
| US20080228265A1 (en) | 2007-03-13 | 2008-09-18 | Mitralign, Inc. | Tissue anchors, systems and methods, and devices |
| US8979872B2 (en) * | 2007-03-13 | 2015-03-17 | Longevity Surgical, Inc. | Devices for engaging, approximating and fastening tissue |
| US11660190B2 (en) | 2007-03-13 | 2023-05-30 | Edwards Lifesciences Corporation | Tissue anchors, systems and methods, and devices |
| US8303622B2 (en) * | 2007-03-14 | 2012-11-06 | St. Jude Medical, Inc. | Heart valve chordae replacement methods and apparatus |
| WO2008115922A1 (en) | 2007-03-19 | 2008-09-25 | Michael Brenzel | Methods and apparatus for occlusion of body lumens |
| US8246636B2 (en) | 2007-03-29 | 2012-08-21 | Nobles Medical Technologies, Inc. | Suturing devices and methods for closing a patent foramen ovale |
| US9005242B2 (en) | 2007-04-05 | 2015-04-14 | W.L. Gore & Associates, Inc. | Septal closure device with centering mechanism |
| US8915943B2 (en) | 2007-04-13 | 2014-12-23 | Ethicon, Inc. | Self-retaining systems for surgical procedures |
| WO2008131167A1 (en) | 2007-04-18 | 2008-10-30 | Nmt Medical, Inc. | Flexible catheter system |
| US8540674B2 (en) | 2007-04-27 | 2013-09-24 | Cvdevices, Llc | Devices, systems, and methods for transeptal atrial puncture using an engagement catheter platform |
| US9050064B2 (en) * | 2007-04-27 | 2015-06-09 | Cvdevices, Llc | Systems for engaging a bodily tissue and methods of using the same |
| JP5174891B2 (ja) | 2007-04-27 | 2013-04-03 | シーヴィ デヴァイシズ,エルエルシー | 心臓の心外膜表面にアクセスするための装置、システム、および方法 |
| CA2684079C (en) * | 2007-04-27 | 2016-08-23 | Cvdevices, Llc | Devices, systems, and methods for accessing the epicardial surface of the heart |
| US7875042B2 (en) * | 2007-05-04 | 2011-01-25 | Ethicon Endo-Surgery, Inc. | Suture anchor loader |
| US8821520B2 (en) * | 2007-05-04 | 2014-09-02 | Ethicon Endo-Surgery, Inc. | Loader for knotting element |
| US8753373B2 (en) * | 2007-05-08 | 2014-06-17 | Edwards Lifesciences Corporation | Suture-fastening clip |
| EP2150183B1 (en) | 2007-05-31 | 2013-03-20 | Cook Medical Technologies LLC | Suture lock |
| US7967842B2 (en) * | 2007-06-01 | 2011-06-28 | Ethicon Endo-Surgery, Inc. | Integrated securement and closure apparatus |
| US8828079B2 (en) | 2007-07-26 | 2014-09-09 | Boston Scientific Scimed, Inc. | Circulatory valve, system and method |
| US8257306B2 (en) * | 2007-08-14 | 2012-09-04 | Grathwohl Kurt W | Dual lumen gastrointestinal feeding and aspirating device |
| AU2008289259B2 (en) * | 2007-08-17 | 2013-04-04 | Cook Medical Technologies Llc | Device to open and close a bodily wall |
| US20100191264A1 (en) | 2007-09-21 | 2010-07-29 | Cvd Devices, Llc | Devices, systems and methods for diagnosing and delivering therapeutic interventions in the peritoneal cavity |
| EP2197501B8 (en) | 2007-09-27 | 2012-10-03 | Ethicon, LLC | Self-retaining sutures including tissue retainers having improved strength |
| US20090093826A1 (en) * | 2007-10-05 | 2009-04-09 | Cardica, Inc. | Patent Foramen Ovale Closure System |
| AU2008311754B2 (en) | 2007-10-18 | 2012-10-04 | Neochord Inc. | Minimially invasive repair of a valve leaflet in a beating heart |
| US20090118762A1 (en) | 2007-10-31 | 2009-05-07 | Lawrence Crainch | Disposable cartridge for use in a gastric volume reduction procedure |
| US8496684B2 (en) * | 2007-10-31 | 2013-07-30 | Ethicon Endo-Surgery, Inc. | Method for deploying a device for gastric volume reduction |
| US8906011B2 (en) | 2007-11-16 | 2014-12-09 | Kardium Inc. | Medical device for use in bodily lumens, for example an atrium |
| EP2227177A4 (en) * | 2007-12-02 | 2014-08-06 | Mor Research Applic Ltd | ACCESS TO THE LEFT FORWARD AND REDUCTION OF MITRAL ELEVATOR |
| US8893947B2 (en) | 2007-12-17 | 2014-11-25 | Abbott Laboratories | Clip applier and methods of use |
| US20090157101A1 (en) * | 2007-12-17 | 2009-06-18 | Abbott Laboratories | Tissue closure system and methods of use |
| US7841502B2 (en) | 2007-12-18 | 2010-11-30 | Abbott Laboratories | Modular clip applier |
| US8771313B2 (en) | 2007-12-19 | 2014-07-08 | Ethicon, Inc. | Self-retaining sutures with heat-contact mediated retainers |
| US8916077B1 (en) | 2007-12-19 | 2014-12-23 | Ethicon, Inc. | Self-retaining sutures with retainers formed from molten material |
| US8118834B1 (en) | 2007-12-20 | 2012-02-21 | Angiotech Pharmaceuticals, Inc. | Composite self-retaining sutures and method |
| US7892276B2 (en) | 2007-12-21 | 2011-02-22 | Boston Scientific Scimed, Inc. | Valve with delayed leaflet deployment |
| CA2711300A1 (en) * | 2008-01-03 | 2009-07-16 | Vihar C. Surti | Medical systems, devices and methods for endoscopically suturing perforations |
| US8489172B2 (en) | 2008-01-25 | 2013-07-16 | Kardium Inc. | Liposuction system |
| US8615856B1 (en) | 2008-01-30 | 2013-12-31 | Ethicon, Inc. | Apparatus and method for forming self-retaining sutures |
| EP2242430B1 (en) | 2008-01-30 | 2016-08-17 | Ethicon, LLC | Apparatus and method for forming self-retaining sutures |
| NZ587007A (en) * | 2008-02-05 | 2013-03-28 | Cvdevices Llc | Steering engagement catheter devices, systems and methods |
| US20110029013A1 (en) | 2008-02-15 | 2011-02-03 | Mcguckin James F | Vascular Hole Closure Device |
| US8070772B2 (en) | 2008-02-15 | 2011-12-06 | Rex Medical, L.P. | Vascular hole closure device |
| US8491629B2 (en) | 2008-02-15 | 2013-07-23 | Rex Medical | Vascular hole closure delivery device |
| US9226738B2 (en) | 2008-02-15 | 2016-01-05 | Rex Medical, L.P. | Vascular hole closure delivery device |
| ES2706295T3 (es) | 2008-02-21 | 2019-03-28 | Ethicon Llc | Método y aparato para elevar retenedores en suturas de auto-retención |
| US8216273B1 (en) | 2008-02-25 | 2012-07-10 | Ethicon, Inc. | Self-retainers with supporting structures on a suture |
| US8641732B1 (en) | 2008-02-26 | 2014-02-04 | Ethicon, Inc. | Self-retaining suture with variable dimension filament and method |
| US8998933B2 (en) * | 2008-02-28 | 2015-04-07 | Medtronic, Inc. | Surgical fastening clips, systems and methods for proximating tissue |
| EP2098172B1 (en) | 2008-03-04 | 2017-02-22 | Arthrex, Inc. | System for meniscal repair using suture implant cinch construct |
| US20130165967A1 (en) | 2008-03-07 | 2013-06-27 | W.L. Gore & Associates, Inc. | Heart occlusion devices |
| US8382829B1 (en) | 2008-03-10 | 2013-02-26 | Mitralign, Inc. | Method to reduce mitral regurgitation by cinching the commissure of the mitral valve |
| ES2709687T3 (es) | 2008-04-15 | 2019-04-17 | Ethicon Llc | Suturas de auto-retención con retenedores bidireccionales o retenedores unidireccionales |
| WO2009129369A1 (en) | 2008-04-16 | 2009-10-22 | Children's Medical Center Corporation | Tissue clip |
| WO2009137766A1 (en) * | 2008-05-09 | 2009-11-12 | Sutura, Inc. | Suturing devices and methods for suturing an anatomic valve |
| US20090287304A1 (en) | 2008-05-13 | 2009-11-19 | Kardium Inc. | Medical Device for Constricting Tissue or a Bodily Orifice, for example a mitral valve |
| US9282965B2 (en) | 2008-05-16 | 2016-03-15 | Abbott Laboratories | Apparatus and methods for engaging tissue |
| US8771295B2 (en) | 2008-06-11 | 2014-07-08 | Boston Scientific Scimed, Inc. | Suturing instrument and method for uterine preservation |
| CA2729201C (en) | 2008-06-27 | 2016-06-21 | Davol, Inc. | Endoscopic vacuum controller |
| US20100023118A1 (en) * | 2008-07-24 | 2010-01-28 | Edwards Lifesciences Corporation | Method and apparatus for repairing or replacing chordae tendinae |
| US8778016B2 (en) * | 2008-08-14 | 2014-07-15 | Edwards Lifesciences Corporation | Method and apparatus for repairing or replacing chordae tendinae |
| US8652202B2 (en) | 2008-08-22 | 2014-02-18 | Edwards Lifesciences Corporation | Prosthetic heart valve and delivery apparatus |
| US12245759B2 (en) | 2008-08-22 | 2025-03-11 | Biomet Sports Medicine, Llc | Method and apparatus for coupling soft tissue to bone |
| US12419632B2 (en) | 2008-08-22 | 2025-09-23 | Biomet Sports Medicine, Llc | Method and apparatus for coupling anatomical features |
| US9089320B2 (en) | 2008-09-25 | 2015-07-28 | Ethicon Endo-Surgery, Inc. | Methods and devices for delivering and applying multiple suture anchors |
| US8480686B2 (en) * | 2008-09-25 | 2013-07-09 | Ethicon Endo-Surgery, Inc. | Methods and devices for delivering and applying suture anchors |
| US11298113B2 (en) | 2008-10-01 | 2022-04-12 | Covidien Lp | Device for needle biopsy with integrated needle protection |
| US9186128B2 (en) | 2008-10-01 | 2015-11-17 | Covidien Lp | Needle biopsy device |
| US8968210B2 (en) | 2008-10-01 | 2015-03-03 | Covidien LLP | Device for needle biopsy with integrated needle protection |
| US9332973B2 (en) | 2008-10-01 | 2016-05-10 | Covidien Lp | Needle biopsy device with exchangeable needle and integrated needle protection |
| US9782565B2 (en) | 2008-10-01 | 2017-10-10 | Covidien Lp | Endoscopic ultrasound-guided biliary access system |
| US9023058B2 (en) * | 2008-10-07 | 2015-05-05 | Kardium Inc. | Surgical instrument and method for tensioning and securing a flexible suture |
| US8888791B2 (en) * | 2008-10-07 | 2014-11-18 | Kardium Inc. | Surgical instrument and method for tensioning and securing a flexible suture |
| US20100121349A1 (en) | 2008-10-10 | 2010-05-13 | Meier Stephen C | Termination devices and related methods |
| JP2012505049A (ja) | 2008-10-10 | 2012-03-01 | ガイデッド デリバリー システムズ, インコーポレイテッド | テザー引張デバイスおよび関連方法 |
| US8262675B2 (en) * | 2008-10-29 | 2012-09-11 | Ethicon Endo-Surgery, Inc. | Methods and devices for applying multiple suture anchors |
| US8398676B2 (en) | 2008-10-30 | 2013-03-19 | Abbott Vascular Inc. | Closure device |
| US8932328B2 (en) | 2008-11-03 | 2015-01-13 | Ethicon, Inc. | Length of self-retaining suture and method and device for using the same |
| WO2010065912A1 (en) * | 2008-12-04 | 2010-06-10 | Georgia Tech Research Corporation | Method and apparatus for minimally invasive heart valve procedures |
| JP5441396B2 (ja) * | 2008-12-09 | 2014-03-12 | 国立大学法人 香川大学 | 内視鏡用器具および内視鏡用縫合装置 |
| US8926697B2 (en) | 2011-06-23 | 2015-01-06 | Valtech Cardio, Ltd. | Closed band for percutaneous annuloplasty |
| US8940044B2 (en) | 2011-06-23 | 2015-01-27 | Valtech Cardio, Ltd. | Closure element for use with an annuloplasty structure |
| US8808368B2 (en) | 2008-12-22 | 2014-08-19 | Valtech Cardio, Ltd. | Implantation of repair chords in the heart |
| US10517719B2 (en) | 2008-12-22 | 2019-12-31 | Valtech Cardio, Ltd. | Implantation of repair devices in the heart |
| US8147542B2 (en) | 2008-12-22 | 2012-04-03 | Valtech Cardio, Ltd. | Adjustable repair chords and spool mechanism therefor |
| CN102341063B (zh) | 2008-12-22 | 2015-11-25 | 瓦尔泰克卡迪欧有限公司 | 可调瓣环成形装置及其调节机构 |
| US8715342B2 (en) | 2009-05-07 | 2014-05-06 | Valtech Cardio, Ltd. | Annuloplasty ring with intra-ring anchoring |
| US8241351B2 (en) | 2008-12-22 | 2012-08-14 | Valtech Cardio, Ltd. | Adjustable partial annuloplasty ring and mechanism therefor |
| US8858594B2 (en) | 2008-12-22 | 2014-10-14 | Abbott Laboratories | Curved closure device |
| US8545553B2 (en) | 2009-05-04 | 2013-10-01 | Valtech Cardio, Ltd. | Over-wire rotation tool |
| US8323312B2 (en) | 2008-12-22 | 2012-12-04 | Abbott Laboratories | Closure device |
| US9011530B2 (en) | 2008-12-22 | 2015-04-21 | Valtech Cardio, Ltd. | Partially-adjustable annuloplasty structure |
| US20110011917A1 (en) * | 2008-12-31 | 2011-01-20 | Hansen Medical, Inc. | Methods, devices, and kits for treating valve prolapse |
| US9089311B2 (en) | 2009-01-09 | 2015-07-28 | Abbott Vascular Inc. | Vessel closure devices and methods |
| US20100179567A1 (en) * | 2009-01-09 | 2010-07-15 | Abbott Vascular Inc. | Closure devices, systems, and methods |
| US9173644B2 (en) | 2009-01-09 | 2015-11-03 | Abbott Vascular Inc. | Closure devices, systems, and methods |
| US20110218568A1 (en) * | 2009-01-09 | 2011-09-08 | Voss Laveille K | Vessel closure devices, systems, and methods |
| US9486191B2 (en) | 2009-01-09 | 2016-11-08 | Abbott Vascular, Inc. | Closure devices |
| US9414820B2 (en) | 2009-01-09 | 2016-08-16 | Abbott Vascular Inc. | Closure devices, systems, and methods |
| US20100179589A1 (en) | 2009-01-09 | 2010-07-15 | Abbott Vascular Inc. | Rapidly eroding anchor |
| US20100185234A1 (en) | 2009-01-16 | 2010-07-22 | Abbott Vascular Inc. | Closure devices, systems, and methods |
| JP2012515636A (ja) * | 2009-01-26 | 2012-07-12 | ジンテス ゲゼルシャフト ミット ベシュレンクテル ハフツング | 双方向縫合糸通し具 |
| US8353956B2 (en) | 2009-02-17 | 2013-01-15 | Valtech Cardio, Ltd. | Actively-engageable movement-restriction mechanism for use with an annuloplasty structure |
| EP2405824B1 (en) | 2009-03-14 | 2018-08-08 | Vasostitch, Inc. | Vessel access and closure device |
| JP5619137B2 (ja) | 2009-04-03 | 2014-11-05 | クック メディカル テクノロジーズ エルエルシーCook Medical Technologies Llc | 組織アンカー、及び組織アンカーの迅速な配備のための医療デバイス |
| US8518060B2 (en) | 2009-04-09 | 2013-08-27 | Medtronic, Inc. | Medical clip with radial tines, system and method of using same |
| US8668704B2 (en) | 2009-04-24 | 2014-03-11 | Medtronic, Inc. | Medical clip with tines, system and method of using same |
| US9968452B2 (en) | 2009-05-04 | 2018-05-15 | Valtech Cardio, Ltd. | Annuloplasty ring delivery cathethers |
| WO2013069019A2 (en) | 2011-11-08 | 2013-05-16 | Valtech Cardio, Ltd. | Controlled steering functionality for implant-delivery tool |
| US12485010B2 (en) | 2009-05-07 | 2025-12-02 | Edwards Lifesciences Innovation (Israel) Ltd. | Multiple anchor delivery tool |
| US8523881B2 (en) | 2010-07-26 | 2013-09-03 | Valtech Cardio, Ltd. | Multiple anchor delivery tool |
| US12096928B2 (en) | 2009-05-29 | 2024-09-24 | Biomet Sports Medicine, Llc | Method and apparatus for coupling soft tissue to a bone |
| WO2010141907A1 (en) * | 2009-06-04 | 2010-12-09 | Rotation Medical, Inc. | Apparatus having bowstring-like staple delivery to a target tissue |
| US20120029556A1 (en) | 2009-06-22 | 2012-02-02 | Masters Steven J | Sealing device and delivery system |
| US8956389B2 (en) | 2009-06-22 | 2015-02-17 | W. L. Gore & Associates, Inc. | Sealing device and delivery system |
| JP5532493B2 (ja) * | 2009-07-10 | 2014-06-25 | 学校法人自治医科大学 | 生体管小孔縫合手術システム |
| US20110054492A1 (en) | 2009-08-26 | 2011-03-03 | Abbott Laboratories | Medical device for repairing a fistula |
| EP2633821B1 (en) | 2009-09-15 | 2016-04-06 | Evalve, Inc. | Device for cardiac valve repair |
| EP3777705B1 (en) | 2009-09-25 | 2024-10-30 | Boston Scientific Scimed, Inc. | Devices for approximating tissue |
| US20110082538A1 (en) | 2009-10-01 | 2011-04-07 | Jonathan Dahlgren | Medical device, kit and method for constricting tissue or a bodily orifice, for example, a mitral valve |
| US9295463B2 (en) * | 2009-10-08 | 2016-03-29 | Covidien Lp | Shape memory fasteners and method of use |
| US8690939B2 (en) | 2009-10-29 | 2014-04-08 | Valtech Cardio, Ltd. | Method for guide-wire based advancement of a rotation assembly |
| US9011520B2 (en) | 2009-10-29 | 2015-04-21 | Valtech Cardio, Ltd. | Tissue anchor for annuloplasty device |
| US9180007B2 (en) | 2009-10-29 | 2015-11-10 | Valtech Cardio, Ltd. | Apparatus and method for guide-wire based advancement of an adjustable implant |
| US10098737B2 (en) | 2009-10-29 | 2018-10-16 | Valtech Cardio, Ltd. | Tissue anchor for annuloplasty device |
| WO2011154942A2 (en) | 2010-06-07 | 2011-12-15 | Valtech Cardio, Ltd. | Apparatus and method for guide-wire based advancement of a rotation assembly |
| US8277502B2 (en) | 2009-10-29 | 2012-10-02 | Valtech Cardio, Ltd. | Tissue anchor for annuloplasty device |
| WO2011067770A1 (en) | 2009-12-02 | 2011-06-09 | Valtech Cardio, Ltd. | Delivery tool for implantation of spool assembly coupled to a helical anchor |
| US8449599B2 (en) | 2009-12-04 | 2013-05-28 | Edwards Lifesciences Corporation | Prosthetic valve for replacing mitral valve |
| US8870950B2 (en) | 2009-12-08 | 2014-10-28 | Mitral Tech Ltd. | Rotation-based anchoring of an implant |
| US9468435B2 (en) * | 2009-12-23 | 2016-10-18 | Cook Medical Technologies Llc | Wound closure device |
| WO2011090628A2 (en) | 2009-12-29 | 2011-07-28 | Angiotech Pharmaceuticals, Inc. | Bidirectional self-retaining sutures with laser-marked and/or non-laser marked indicia and methods |
| US8475525B2 (en) | 2010-01-22 | 2013-07-02 | 4Tech Inc. | Tricuspid valve repair using tension |
| US10058323B2 (en) | 2010-01-22 | 2018-08-28 | 4 Tech Inc. | Tricuspid valve repair using tension |
| US9307980B2 (en) | 2010-01-22 | 2016-04-12 | 4Tech Inc. | Tricuspid valve repair using tension |
| US8961596B2 (en) | 2010-01-22 | 2015-02-24 | 4Tech Inc. | Method and apparatus for tricuspid valve repair using tension |
| US8500776B2 (en) | 2010-02-08 | 2013-08-06 | Covidien Lp | Vacuum patch for rapid wound closure |
| US20110224785A1 (en) | 2010-03-10 | 2011-09-15 | Hacohen Gil | Prosthetic mitral valve with tissue anchors |
| US20110224720A1 (en) * | 2010-03-11 | 2011-09-15 | Cvdevices, Llc | Devices, systems, and methods for closing a hole in cardiac tissue |
| CN105212976B (zh) | 2010-05-04 | 2018-12-21 | 伊西康有限责任公司 | 具有激光切割固位刺的自固位系统 |
| AU2011249910A1 (en) * | 2010-05-06 | 2012-11-08 | Synthes Gmbh | Soft tissue defect device and associated method |
| US8790394B2 (en) | 2010-05-24 | 2014-07-29 | Valtech Cardio, Ltd. | Adjustable artificial chordeae tendineae with suture loops |
| US9050066B2 (en) | 2010-06-07 | 2015-06-09 | Kardium Inc. | Closing openings in anatomical tissue |
| EP3305209B1 (en) | 2010-06-09 | 2025-01-08 | C.R. Bard Inc. | Instruments for delivering transfascial sutures and transfascial suture assemblies. |
| JP5897560B2 (ja) | 2010-06-11 | 2016-03-30 | エシコン・エルエルシーEthicon, LLC | 縫合糸ディスペンサー及び縫合糸を送達するためのシステム |
| US8496671B1 (en) * | 2010-06-16 | 2013-07-30 | Cardica, Inc. | Mitral valve treatment |
| WO2011163666A1 (en) | 2010-06-26 | 2011-12-29 | Vasostitch, Inc. | Method and apparatus for transapical access and closure |
| US9132009B2 (en) | 2010-07-21 | 2015-09-15 | Mitraltech Ltd. | Guide wires with commissural anchors to advance a prosthetic valve |
| US11653910B2 (en) | 2010-07-21 | 2023-05-23 | Cardiovalve Ltd. | Helical anchor implantation |
| US9763657B2 (en) | 2010-07-21 | 2017-09-19 | Mitraltech Ltd. | Techniques for percutaneous mitral valve replacement and sealing |
| US8758399B2 (en) | 2010-08-02 | 2014-06-24 | Abbott Cardiovascular Systems, Inc. | Expandable bioabsorbable plug apparatus and method |
| US8603116B2 (en) | 2010-08-04 | 2013-12-10 | Abbott Cardiovascular Systems, Inc. | Closure device with long tines |
| US9370353B2 (en) | 2010-09-01 | 2016-06-21 | Abbott Cardiovascular Systems, Inc. | Suturing devices and methods |
| US8940002B2 (en) | 2010-09-30 | 2015-01-27 | Kardium Inc. | Tissue anchor system |
| KR102236459B1 (ko) | 2010-11-03 | 2021-04-07 | 에티컨, 엘엘씨 | 약물-용출 자가-유지형 봉합재 및 그 관련 방법 |
| US8480710B2 (en) * | 2010-11-04 | 2013-07-09 | Covidien Lp | Wound closure device including suction step sleeve |
| CA2817036C (en) | 2010-11-09 | 2019-01-15 | Ethicon, Llc | Emergency self-retaining sutures and packaging |
| EP2640286A1 (en) | 2010-11-15 | 2013-09-25 | Ethicon Endo-Surgery, Inc. | Laparoscopic suturing instrument with dual-action needle graspers |
| CN103491900B (zh) | 2010-12-23 | 2017-03-01 | 托尔福公司 | 用于二尖瓣修复和替换的系统 |
| EP2658480B1 (en) | 2010-12-29 | 2017-11-01 | Neochord Inc. | Exchangeable system for minimally invasive beating heart repair of heart valve leaflets |
| US8942829B2 (en) | 2011-01-20 | 2015-01-27 | Medtronic, Inc. | Trans-septal lead anchoring |
| US9480525B2 (en) | 2011-01-21 | 2016-11-01 | Kardium, Inc. | High-density electrode-based medical device system |
| US11259867B2 (en) | 2011-01-21 | 2022-03-01 | Kardium Inc. | High-density electrode-based medical device system |
| CA2764494A1 (en) | 2011-01-21 | 2012-07-21 | Kardium Inc. | Enhanced medical device for use in bodily cavities, for example an atrium |
| US9452016B2 (en) | 2011-01-21 | 2016-09-27 | Kardium Inc. | Catheter system |
| US8845717B2 (en) | 2011-01-28 | 2014-09-30 | Middle Park Medical, Inc. | Coaptation enhancement implant, system, and method |
| US8888843B2 (en) | 2011-01-28 | 2014-11-18 | Middle Peak Medical, Inc. | Device, system, and method for transcatheter treatment of valve regurgitation |
| US8777966B2 (en) | 2011-02-01 | 2014-07-15 | St. Jude Medical, Inc. | Apparatus and method for heart valve repair |
| US9149276B2 (en) | 2011-03-21 | 2015-10-06 | Abbott Cardiovascular Systems, Inc. | Clip and deployment apparatus for tissue closure |
| CN103889340B (zh) | 2011-03-23 | 2018-09-28 | 伊西康有限责任公司 | 自固位式可变套环缝合线 |
| US9072511B2 (en) | 2011-03-25 | 2015-07-07 | Kardium Inc. | Medical kit for constricting tissue or a bodily orifice, for example, a mitral valve |
| US9161749B2 (en) | 2011-04-14 | 2015-10-20 | Neotract, Inc. | Method and apparatus for treating sexual dysfunction |
| CN103889345B (zh) | 2011-04-15 | 2016-10-19 | 心脏缝合有限公司 | 用于缝合解剖学瓣的缝合装置和方法 |
| US12329373B2 (en) | 2011-05-02 | 2025-06-17 | Biomet Sports Medicine, Llc | Method and apparatus for soft tissue fixation |
| US8753357B2 (en) * | 2011-05-19 | 2014-06-17 | Abbott Cardiovascular Systems, Inc. | Devices and methods for suturing tissue |
| US20130035757A1 (en) | 2011-06-01 | 2013-02-07 | John Zentgraf | Minimally invasive repair of heart valve leaflets |
| US20130172931A1 (en) | 2011-06-06 | 2013-07-04 | Jeffrey M. Gross | Methods and devices for soft palate tissue elevation procedures |
| EP4623867A3 (en) | 2011-06-21 | 2025-11-05 | Twelve, Inc. | Prosthetic heart valve devices |
| US9918840B2 (en) | 2011-06-23 | 2018-03-20 | Valtech Cardio, Ltd. | Closed band for percutaneous annuloplasty |
| US10792152B2 (en) | 2011-06-23 | 2020-10-06 | Valtech Cardio, Ltd. | Closed band for percutaneous annuloplasty |
| EP3345573B1 (en) | 2011-06-23 | 2020-01-29 | Valtech Cardio, Ltd. | Closure element for use with annuloplasty structure |
| EP2723277B1 (en) | 2011-06-27 | 2018-05-30 | University of Maryland, Baltimore | Transapical mitral valve repair device |
| US9693767B1 (en) * | 2011-07-15 | 2017-07-04 | David Foreman | Suture passer instruments and methods for their use |
| EP2734157B1 (en) | 2011-07-21 | 2018-09-05 | 4Tech Inc. | Apparatus for tricuspid valve repair using tension |
| EP2736435A1 (en) | 2011-07-26 | 2014-06-04 | Amphora Medical, Inc. | Apparatus and methods to modulate pelvic nervous tissue |
| WO2013019415A1 (en) * | 2011-07-29 | 2013-02-07 | St. Jude Medical, Inc. | Clip for repair of cardiac valve |
| WO2013017359A1 (en) * | 2011-08-03 | 2013-02-07 | Aeeg Ab | Delivery device for medical implant and medical procedure |
| US20140324164A1 (en) | 2011-08-05 | 2014-10-30 | Mitraltech Ltd. | Techniques for percutaneous mitral valve replacement and sealing |
| US8852272B2 (en) | 2011-08-05 | 2014-10-07 | Mitraltech Ltd. | Techniques for percutaneous mitral valve replacement and sealing |
| US9668859B2 (en) | 2011-08-05 | 2017-06-06 | California Institute Of Technology | Percutaneous heart valve delivery systems |
| EP3417813B1 (en) | 2011-08-05 | 2020-05-13 | Cardiovalve Ltd | Percutaneous mitral valve replacement |
| WO2013021374A2 (en) | 2011-08-05 | 2013-02-14 | Mitraltech Ltd. | Techniques for percutaneous mitral valve replacement and sealing |
| US9770232B2 (en) | 2011-08-12 | 2017-09-26 | W. L. Gore & Associates, Inc. | Heart occlusion devices |
| US8945177B2 (en) | 2011-09-13 | 2015-02-03 | Abbott Cardiovascular Systems Inc. | Gripper pusher mechanism for tissue apposition systems |
| US9011468B2 (en) | 2011-09-13 | 2015-04-21 | Abbott Cardiovascular Systems Inc. | Independent gripper |
| US9763780B2 (en) | 2011-10-19 | 2017-09-19 | Twelve, Inc. | Devices, systems and methods for heart valve replacement |
| CA2848334C (en) | 2011-10-19 | 2020-10-20 | Twelve, Inc. | Devices, systems and methods for heart valve replacement |
| WO2013059747A1 (en) | 2011-10-19 | 2013-04-25 | Foundry Newco Xii, Inc. | Prosthetic heart valve devices, prosthetic mitral valves and associated systems and methods |
| US9039757B2 (en) | 2011-10-19 | 2015-05-26 | Twelve, Inc. | Prosthetic heart valve devices, prosthetic mitral valves and associated systems and methods |
| US11202704B2 (en) | 2011-10-19 | 2021-12-21 | Twelve, Inc. | Prosthetic heart valve devices, prosthetic mitral valves and associated systems and methods |
| US9655722B2 (en) | 2011-10-19 | 2017-05-23 | Twelve, Inc. | Prosthetic heart valve devices, prosthetic mitral valves and associated systems and methods |
| WO2013062933A1 (en) | 2011-10-24 | 2013-05-02 | C.R. Bard, Inc. | Instruments for delivering transfascial sutures, transfascial suture assemblies and methods of transfascial suturing |
| US9357991B2 (en) | 2011-11-03 | 2016-06-07 | Biomet Sports Medicine, Llc | Method and apparatus for stitching tendons |
| US8858623B2 (en) | 2011-11-04 | 2014-10-14 | Valtech Cardio, Ltd. | Implant having multiple rotational assemblies |
| US9078648B2 (en) | 2011-11-07 | 2015-07-14 | C.R. Bard, Inc. | Instruments for delivering transfascial sutures and methods of transfascial suturing |
| US9924938B2 (en) | 2011-11-07 | 2018-03-27 | C.R. Bard, Inc. | Instruments for delivering transfascial sutures and methods of transfascial suturing |
| US9039721B2 (en) * | 2011-11-07 | 2015-05-26 | C.R. Bard, Inc. | Instruments for delivering transfascial sutures and methods of transfascial suturing |
| US9381013B2 (en) | 2011-11-10 | 2016-07-05 | Biomet Sports Medicine, Llc | Method for coupling soft tissue to a bone |
| US9314241B2 (en) | 2011-11-10 | 2016-04-19 | Biomet Sports Medicine, Llc | Apparatus for coupling soft tissue to a bone |
| US9332976B2 (en) | 2011-11-30 | 2016-05-10 | Abbott Cardiovascular Systems, Inc. | Tissue closure device |
| US8968336B2 (en) | 2011-12-07 | 2015-03-03 | Edwards Lifesciences Corporation | Self-cinching surgical clips and delivery system |
| US10398555B2 (en) | 2011-12-12 | 2019-09-03 | Cardiac Implants Llc | Magnetically coupled cinching of a loop installed in a valve annulus |
| CN105662505B (zh) | 2011-12-12 | 2018-03-30 | 戴维·阿隆 | 用来捆紧心脏瓣膜环的设备 |
| US20130150811A1 (en) * | 2011-12-12 | 2013-06-13 | Angiodynamics, Inc. | High-Flow Port Stem |
| US9113879B2 (en) | 2011-12-15 | 2015-08-25 | Ethicon Endo-Surgery, Inc. | Devices and methods for endoluminal plication |
| US9113867B2 (en) | 2011-12-15 | 2015-08-25 | Ethicon Endo-Surgery, Inc. | Devices and methods for endoluminal plication |
| US9078652B2 (en) | 2011-12-19 | 2015-07-14 | Edwards Lifesciences Corporation | Side-entry knotless suture anchoring clamps and deployment tools |
| US9078645B2 (en) | 2011-12-19 | 2015-07-14 | Edwards Lifesciences Corporation | Knotless suture anchoring devices and tools for implants |
| US9017347B2 (en) | 2011-12-22 | 2015-04-28 | Edwards Lifesciences Corporation | Suture clip deployment devices |
| USD777925S1 (en) | 2012-01-20 | 2017-01-31 | Kardium Inc. | Intra-cardiac procedure device |
| USD777926S1 (en) | 2012-01-20 | 2017-01-31 | Kardium Inc. | Intra-cardiac procedure device |
| EP2806804B1 (en) | 2012-01-25 | 2018-08-29 | St. Jude Medical, LLC | Apparatus for heart valve repair |
| EP2806805B1 (en) | 2012-01-25 | 2016-05-25 | St. Jude Medical, Inc. | Apparatus for heart valve repair |
| ES2631652T3 (es) | 2012-02-02 | 2017-09-01 | St. Jude Medical, Cardiology Division, Inc. | Aparato para la reparación de una válvula cardíaca |
| EP2814428A4 (en) | 2012-02-13 | 2016-05-25 | Mitraspan Inc | METHOD AND APPARATUS FOR REPAIRING MITRAL VALVE |
| US10076414B2 (en) | 2012-02-13 | 2018-09-18 | Mitraspan, Inc. | Method and apparatus for repairing a mitral valve |
| US20130211503A1 (en) * | 2012-02-14 | 2013-08-15 | AFcell Medical | Method of using amnion allograft in congenital heart disease surgery |
| US20130211502A1 (en) * | 2012-02-14 | 2013-08-15 | AFcell Medical | Method of using amnion allograft in coronary artery bypass grafting |
| US9579198B2 (en) | 2012-03-01 | 2017-02-28 | Twelve, Inc. | Hydraulic delivery systems for prosthetic heart valve devices and associated methods |
| US8992547B2 (en) | 2012-03-21 | 2015-03-31 | Ethicon Endo-Surgery, Inc. | Methods and devices for creating tissue plications |
| US10292801B2 (en) | 2012-03-29 | 2019-05-21 | Neotract, Inc. | System for delivering anchors for treating incontinence |
| US8858573B2 (en) * | 2012-04-10 | 2014-10-14 | Abbott Cardiovascular Systems, Inc. | Apparatus and method for suturing body lumens |
| US9706988B2 (en) | 2012-05-11 | 2017-07-18 | Heartstitch, Inc. | Suturing devices and methods for suturing an anatomic structure |
| US9017320B2 (en) | 2012-05-21 | 2015-04-28 | Kardium, Inc. | Systems and methods for activating transducers |
| US10827977B2 (en) | 2012-05-21 | 2020-11-10 | Kardium Inc. | Systems and methods for activating transducers |
| US9198592B2 (en) | 2012-05-21 | 2015-12-01 | Kardium Inc. | Systems and methods for activating transducers |
| US9241707B2 (en) | 2012-05-31 | 2016-01-26 | Abbott Cardiovascular Systems, Inc. | Systems, methods, and devices for closing holes in body lumens |
| US8961594B2 (en) | 2012-05-31 | 2015-02-24 | 4Tech Inc. | Heart valve repair system |
| US10130353B2 (en) | 2012-06-29 | 2018-11-20 | Neotract, Inc. | Flexible system for delivering an anchor |
| US9498202B2 (en) | 2012-07-10 | 2016-11-22 | Edwards Lifesciences Corporation | Suture securement devices |
| US10016193B2 (en) | 2013-11-18 | 2018-07-10 | Edwards Lifesciences Ag | Multiple-firing crimp device and methods for using and manufacturing same |
| US9254141B2 (en) | 2012-08-02 | 2016-02-09 | St. Jude Medical, Inc. | Apparatus and method for heart valve repair |
| US9662205B2 (en) * | 2012-08-02 | 2017-05-30 | St. Jude Medical, Cardiology Division, Inc. | Apparatus and method for heart valve repair |
| US10105219B2 (en) * | 2012-08-02 | 2018-10-23 | St. Jude Medical, Cardiology Division, Inc. | Mitral valve leaflet clip |
| US9125653B2 (en) | 2012-08-02 | 2015-09-08 | St. Jude Medical, Cardiology Division, Inc. | Flexible nosecone for percutaneous device |
| US20140067048A1 (en) | 2012-09-06 | 2014-03-06 | Edwards Lifesciences Corporation | Heart Valve Sealing Devices |
| WO2014052818A1 (en) | 2012-09-29 | 2014-04-03 | Mitralign, Inc. | Plication lock delivery system and method of use thereof |
| US9066710B2 (en) | 2012-10-19 | 2015-06-30 | St. Jude Medical, Cardiology Division, Inc. | Apparatus and method for heart valve repair |
| EP3730066A1 (en) | 2012-10-23 | 2020-10-28 | Valtech Cardio, Ltd. | Percutaneous tissue anchor techniques |
| WO2014064694A2 (en) | 2012-10-23 | 2014-05-01 | Valtech Cardio, Ltd. | Controlled steering functionality for implant-delivery tool |
| US9730793B2 (en) | 2012-12-06 | 2017-08-15 | Valtech Cardio, Ltd. | Techniques for guide-wire based advancement of a tool |
| US9364209B2 (en) | 2012-12-21 | 2016-06-14 | Abbott Cardiovascular Systems, Inc. | Articulating suturing device |
| WO2014108903A1 (en) | 2013-01-09 | 2014-07-17 | 4Tech Inc. | Soft tissue anchors |
| US10828019B2 (en) | 2013-01-18 | 2020-11-10 | W.L. Gore & Associates, Inc. | Sealing device and delivery system |
| WO2014115149A2 (en) | 2013-01-24 | 2014-07-31 | Mitraltech Ltd. | Ventricularly-anchored prosthetic valves |
| US9439763B2 (en) | 2013-02-04 | 2016-09-13 | Edwards Lifesciences Corporation | Prosthetic valve for replacing mitral valve |
| WO2014130882A1 (en) * | 2013-02-22 | 2014-08-28 | Medeon Biodesign, Inc. | Systems for percutaneous suture delivery |
| TWI658807B (zh) * | 2013-02-22 | 2019-05-11 | 美商泰爾茂醫療股份有限公司 | 用於經皮縫線傳遞之系統及方法 |
| WO2014134183A1 (en) | 2013-02-26 | 2014-09-04 | Mitralign, Inc. | Devices and methods for percutaneous tricuspid valve repair |
| US9642706B2 (en) | 2013-03-11 | 2017-05-09 | St. Jude Medical, Llc | Apparatus and method for heart valve repair |
| US10449333B2 (en) | 2013-03-14 | 2019-10-22 | Valtech Cardio, Ltd. | Guidewire feeder |
| US9918827B2 (en) | 2013-03-14 | 2018-03-20 | Biomet Sports Medicine, Llc | Scaffold for spring ligament repair |
| JP6329570B2 (ja) | 2013-03-14 | 2018-05-23 | 4テック インコーポレイテッド | テザーインターフェースを有するステント |
| WO2014144247A1 (en) | 2013-03-15 | 2014-09-18 | Arash Kheradvar | Handle mechanism and functionality for repositioning and retrieval of transcatheter heart valves |
| EP2968847B1 (en) | 2013-03-15 | 2023-03-08 | Edwards Lifesciences Corporation | Translation catheter systems |
| CN105246431B (zh) | 2013-05-20 | 2018-04-06 | 托尔福公司 | 可植入心脏瓣膜装置、二尖瓣修复装置以及相关系统和方法 |
| JP6440694B2 (ja) | 2013-06-06 | 2018-12-19 | デイヴィッド・アロン | 心臓弁の修復および置換 |
| EA039866B1 (ru) | 2013-07-02 | 2022-03-22 | Мед-Венче Инвестментс, Ллс | Сшивающее устройство и способ сшивания анатомической структуры |
| WO2015006575A1 (en) * | 2013-07-10 | 2015-01-15 | Medtronic Inc. | Helical coil mitral valve annuloplasty systems and methods |
| CN105073026B (zh) | 2013-07-11 | 2018-02-02 | 爱德华兹生命科学公司 | 无结缝合线固定器安装系统 |
| US10070857B2 (en) | 2013-08-31 | 2018-09-11 | Mitralign, Inc. | Devices and methods for locating and implanting tissue anchors at mitral valve commissure |
| US10299793B2 (en) | 2013-10-23 | 2019-05-28 | Valtech Cardio, Ltd. | Anchor magazine |
| US10166098B2 (en) | 2013-10-25 | 2019-01-01 | Middle Peak Medical, Inc. | Systems and methods for transcatheter treatment of valve regurgitation |
| US10022114B2 (en) | 2013-10-30 | 2018-07-17 | 4Tech Inc. | Percutaneous tether locking |
| US10052095B2 (en) | 2013-10-30 | 2018-08-21 | 4Tech Inc. | Multiple anchoring-point tension system |
| EP3062709A2 (en) | 2013-10-30 | 2016-09-07 | 4Tech Inc. | Multiple anchoring-point tension system |
| US10485545B2 (en) | 2013-11-19 | 2019-11-26 | Datascope Corp. | Fastener applicator with interlock |
| US9622863B2 (en) | 2013-11-22 | 2017-04-18 | Edwards Lifesciences Corporation | Aortic insufficiency repair device and method |
| JP6469109B2 (ja) | 2013-12-06 | 2019-02-13 | メッド − ベンチャー インベストメンツ、エルエルシー | 縫合方法及び装置 |
| US9610162B2 (en) | 2013-12-26 | 2017-04-04 | Valtech Cardio, Ltd. | Implantation of flexible implant |
| US9681864B1 (en) | 2014-01-03 | 2017-06-20 | Harpoon Medical, Inc. | Method and apparatus for transapical procedures on a mitral valve |
| WO2015120079A1 (en) | 2014-02-04 | 2015-08-13 | Amphora Medical, Inc. | Devices and methods for treating conditions caused by affarent nerve signals |
| US10390943B2 (en) | 2014-03-17 | 2019-08-27 | Evalve, Inc. | Double orifice device for transcatheter mitral valve replacement |
| US9572666B2 (en) | 2014-03-17 | 2017-02-21 | Evalve, Inc. | Mitral valve fixation device removal devices and methods |
| AU2015263874B2 (en) | 2014-05-23 | 2020-01-30 | Hologic, Inc. | Methods and devices for treating pelvic conditions |
| US10786244B2 (en) | 2014-05-30 | 2020-09-29 | Edwards Lifesciences Corporation | Systems for securing sutures |
| ES2876934T3 (es) | 2014-06-02 | 2021-11-15 | Terumo Medical Corp | Sistemas para el suministro de suturas |
| US9808230B2 (en) | 2014-06-06 | 2017-11-07 | W. L. Gore & Associates, Inc. | Sealing device and delivery system |
| US11246583B2 (en) | 2014-06-18 | 2022-02-15 | Boston Scientific Scimed, Inc. | Insertion devices, anchors, and methods for securing an implant |
| US10500048B2 (en) | 2014-06-18 | 2019-12-10 | Polares Medical Inc. | Mitral valve implants for the treatment of valvular regurgitation |
| CN106573129B (zh) | 2014-06-19 | 2019-09-24 | 4科技有限公司 | 心脏组织束紧 |
| CA2958065C (en) | 2014-06-24 | 2023-10-31 | Middle Peak Medical, Inc. | Systems and methods for anchoring an implant |
| US10178993B2 (en) | 2014-07-11 | 2019-01-15 | Cardio Medical Solutions, Inc. | Device and method for assisting end-to-side anastomosis |
| WO2016011275A2 (en) | 2014-07-16 | 2016-01-21 | Edwards Lifesciences Corporation | Devices and methods for suturing a cardiac implant |
| WO2016016899A1 (en) | 2014-07-30 | 2016-02-04 | Mitraltech Ltd. | Articulatable prosthetic valve |
| US9993243B2 (en) | 2014-09-09 | 2018-06-12 | Edwards Lifesciences Corporation | Finger-mounted surgical instruments and methods of use |
| GB2530487B (en) * | 2014-09-17 | 2016-12-28 | Cardiomech As | Device for heart repair |
| US10195030B2 (en) | 2014-10-14 | 2019-02-05 | Valtech Cardio, Ltd. | Leaflet-restraining techniques |
| EP3215026B1 (en) | 2014-11-04 | 2023-10-25 | Rotation Medical, Inc. | Medical implant delivery system |
| US10123796B2 (en) | 2014-11-04 | 2018-11-13 | Rotation Medical, Inc. | Medical implant delivery system and related methods |
| EP3215025B1 (en) | 2014-11-04 | 2020-12-23 | Rotation Medical, Inc. | Medical implant delivery system |
| US10368936B2 (en) | 2014-11-17 | 2019-08-06 | Kardium Inc. | Systems and methods for selecting, activating, or selecting and activating transducers |
| US10722184B2 (en) | 2014-11-17 | 2020-07-28 | Kardium Inc. | Systems and methods for selecting, activating, or selecting and activating transducers |
| US10765705B2 (en) | 2014-11-24 | 2020-09-08 | Prime Merger Sub, Llc | Visco-supplement compositions, and methods of use thereof |
| US9907547B2 (en) | 2014-12-02 | 2018-03-06 | 4Tech Inc. | Off-center tissue anchors |
| JP6700278B2 (ja) * | 2014-12-04 | 2020-05-27 | エドワーズ ライフサイエンシーズ コーポレイションEdwards Lifesciences Corporation | 心臓弁を修復するための経皮的クリップ |
| SG11201704757UA (en) | 2014-12-10 | 2017-07-28 | Edwards Lifesciences Ag | Multiple-firing securing device and methods for using and manufacturing same |
| EP3232941B1 (en) | 2014-12-19 | 2023-11-08 | Meacor, Inc. | Surgical system |
| US10188392B2 (en) | 2014-12-19 | 2019-01-29 | Abbott Cardiovascular Systems, Inc. | Grasping for tissue repair |
| JP6732754B2 (ja) | 2014-12-24 | 2020-07-29 | エドワーズ ライフサイエンシーズ コーポレイションEdwards Lifesciences Corporation | 縫合糸クリップ展開デバイス |
| WO2016110760A1 (en) * | 2015-01-05 | 2016-07-14 | Strait Access Technologies Holdings (Pty) Ltd | Heart valve leaflet capture device |
| EP3242609B2 (en) | 2015-01-05 | 2023-08-09 | Strait Access Technologies Holdings (PTY) LTD | Heart valve leaflet capture device |
| WO2016126699A1 (en) * | 2015-02-02 | 2016-08-11 | On-X Life Technologies, Inc. | Rapid deployment artificial chordae tendinae system |
| ES2978714T3 (es) | 2015-02-05 | 2024-09-18 | Cardiovalve Ltd | Válvula protésica con marcos de deslizamiento axial |
| US9974651B2 (en) | 2015-02-05 | 2018-05-22 | Mitral Tech Ltd. | Prosthetic valve with axially-sliding frames |
| US10231834B2 (en) * | 2015-02-09 | 2019-03-19 | Edwards Lifesciences Corporation | Low profile transseptal catheter and implant system for minimally invasive valve procedure |
| US20160256269A1 (en) | 2015-03-05 | 2016-09-08 | Mitralign, Inc. | Devices for treating paravalvular leakage and methods use thereof |
| US10470759B2 (en) | 2015-03-16 | 2019-11-12 | Edwards Lifesciences Corporation | Suture securement devices |
| EP3277197A4 (en) * | 2015-04-01 | 2018-04-25 | Edwards Lifesciences Corporation | Heart valve repair devices |
| US10524912B2 (en) | 2015-04-02 | 2020-01-07 | Abbott Cardiovascular Systems, Inc. | Tissue fixation devices and methods |
| SG11201708397PA (en) | 2015-04-30 | 2017-11-29 | Valtech Cardio Ltd | Annuloplasty technologies |
| EP4512372A3 (en) | 2015-05-14 | 2025-05-14 | Edwards Lifesciences Corporation | Heart valve sealing devices and delivery devices therefor |
| US11076849B2 (en) | 2015-06-01 | 2021-08-03 | Terumo Medical Corporation | Suture delivery with asynchronous needle capture |
| US10376673B2 (en) | 2015-06-19 | 2019-08-13 | Evalve, Inc. | Catheter guiding system and methods |
| US10238494B2 (en) | 2015-06-29 | 2019-03-26 | Evalve, Inc. | Self-aligning radiopaque ring |
| US10667815B2 (en) | 2015-07-21 | 2020-06-02 | Evalve, Inc. | Tissue grasping devices and related methods |
| US10413408B2 (en) | 2015-08-06 | 2019-09-17 | Evalve, Inc. | Delivery catheter systems, methods, and devices |
| EP3337428B1 (en) | 2015-08-21 | 2024-09-25 | Twelve Inc. | Mitral valve repair devices |
| WO2017059406A1 (en) | 2015-10-01 | 2017-04-06 | Neochord, Inc. | Ringless web for repair of heart valves |
| WO2017059426A1 (en) | 2015-10-02 | 2017-04-06 | Harpoon Medical, Inc. | Distal anchor apparatus and methods for mitral valve repair |
| CN109152573B (zh) | 2015-10-02 | 2021-04-13 | 哈珀恩医疗有限公司 | 用于二尖瓣修复的远侧锚固件设备和方法 |
| US10238495B2 (en) | 2015-10-09 | 2019-03-26 | Evalve, Inc. | Delivery catheter handle and methods of use |
| US9592121B1 (en) | 2015-11-06 | 2017-03-14 | Middle Peak Medical, Inc. | Device, system, and method for transcatheter treatment of valvular regurgitation |
| KR101701066B1 (ko) * | 2015-12-18 | 2017-01-31 | 연세대학교 산학협력단 | 렘버트 봉합을 위한 의료용 음압 스테이플러 |
| US10751182B2 (en) | 2015-12-30 | 2020-08-25 | Edwards Lifesciences Corporation | System and method for reshaping right heart |
| US10828160B2 (en) | 2015-12-30 | 2020-11-10 | Edwards Lifesciences Corporation | System and method for reducing tricuspid regurgitation |
| WO2017117560A1 (en) | 2015-12-30 | 2017-07-06 | Pipeline Medical Technologies, Inc. | Mitral leaflet tethering |
| EP3397175B1 (en) | 2015-12-31 | 2021-11-24 | Rotation Medical, Inc. | Fastener delivery system |
| US10531866B2 (en) | 2016-02-16 | 2020-01-14 | Cardiovalve Ltd. | Techniques for providing a replacement valve and transseptal communication |
| US10687802B2 (en) | 2016-03-02 | 2020-06-23 | Edwards Lifesciences Corporation | Systems and method for deploying surgical suture |
| US10835714B2 (en) | 2016-03-21 | 2020-11-17 | Edwards Lifesciences Corporation | Multi-direction steerable handles for steering catheters |
| US10799677B2 (en) | 2016-03-21 | 2020-10-13 | Edwards Lifesciences Corporation | Multi-direction steerable handles for steering catheters |
| US10799676B2 (en) | 2016-03-21 | 2020-10-13 | Edwards Lifesciences Corporation | Multi-direction steerable handles for steering catheters |
| US11219746B2 (en) | 2016-03-21 | 2022-01-11 | Edwards Lifesciences Corporation | Multi-direction steerable handles for steering catheters |
| US10799675B2 (en) | 2016-03-21 | 2020-10-13 | Edwards Lifesciences Corporation | Cam controlled multi-direction steerable handles |
| US10687801B2 (en) | 2016-04-11 | 2020-06-23 | Nobles Medical Technologies Ii, Inc. | Suture spools for tissue suturing device |
| US10624743B2 (en) | 2016-04-22 | 2020-04-21 | Edwards Lifesciences Corporation | Beating-heart mitral valve chordae replacement |
| US10265172B2 (en) | 2016-04-29 | 2019-04-23 | Medtronic Vascular, Inc. | Prosthetic heart valve devices with tethered anchors and associated systems and methods |
| US10702274B2 (en) | 2016-05-26 | 2020-07-07 | Edwards Lifesciences Corporation | Method and system for closing left atrial appendage |
| WO2017210434A1 (en) | 2016-06-01 | 2017-12-07 | On-X Life Technologies, Inc. | Pull-through chordae tendineae system |
| EP3471628B8 (en) | 2016-06-20 | 2021-04-21 | Evalve, Inc. | Transapical removal device |
| US10736632B2 (en) | 2016-07-06 | 2020-08-11 | Evalve, Inc. | Methods and devices for valve clip excision |
| US10973638B2 (en) | 2016-07-07 | 2021-04-13 | Edwards Lifesciences Corporation | Device and method for treating vascular insufficiency |
| GB201611910D0 (en) | 2016-07-08 | 2016-08-24 | Valtech Cardio Ltd | Adjustable annuloplasty device with alternating peaks and troughs |
| US10478304B2 (en) * | 2016-07-20 | 2019-11-19 | Abbott Cardiovascular Systems Inc. | Independent system for tricuspid valve repair |
| US10058426B2 (en) | 2016-07-20 | 2018-08-28 | Abbott Cardiovascular Systems Inc. | System for tricuspid valve repair |
| KR101864936B1 (ko) * | 2016-07-22 | 2018-06-05 | 연세대학교 산학협력단 | 봉합 장치 |
| GB201613219D0 (en) | 2016-08-01 | 2016-09-14 | Mitraltech Ltd | Minimally-invasive delivery systems |
| USD800908S1 (en) | 2016-08-10 | 2017-10-24 | Mitraltech Ltd. | Prosthetic valve element |
| ES3018641T3 (es) | 2016-08-10 | 2025-05-16 | Cardiovalve Ltd | Válvula protésica con marcos concéntricos |
| US10939905B2 (en) | 2016-08-26 | 2021-03-09 | Edwards Lifesciences Corporation | Suture clips, deployment devices therefor, and methods of use |
| US10786245B2 (en) | 2016-10-04 | 2020-09-29 | Ergosuture Corp. | Rotational driver |
| US11071564B2 (en) | 2016-10-05 | 2021-07-27 | Evalve, Inc. | Cardiac valve cutting device |
| US10653862B2 (en) | 2016-11-07 | 2020-05-19 | Edwards Lifesciences Corporation | Apparatus for the introduction and manipulation of multiple telescoping catheters |
| US10363138B2 (en) | 2016-11-09 | 2019-07-30 | Evalve, Inc. | Devices for adjusting the curvature of cardiac valve structures |
| US10398553B2 (en) | 2016-11-11 | 2019-09-03 | Evalve, Inc. | Opposing disk device for grasping cardiac valve tissue |
| US10398552B2 (en) | 2016-11-15 | 2019-09-03 | Abbott Cardiovascular Systems Inc. | Fixation devices, systems and methods for heart valve leaf repair |
| US10426616B2 (en) | 2016-11-17 | 2019-10-01 | Evalve, Inc. | Cardiac implant delivery system |
| US10420565B2 (en) | 2016-11-29 | 2019-09-24 | Abbott Cardiovascular Systems Inc. | Cinch and post for tricuspid valve repair |
| US10548614B2 (en) | 2016-11-29 | 2020-02-04 | Evalve, Inc. | Tricuspid valve repair system |
| US10779837B2 (en) | 2016-12-08 | 2020-09-22 | Evalve, Inc. | Adjustable arm device for grasping tissues |
| US10314586B2 (en) | 2016-12-13 | 2019-06-11 | Evalve, Inc. | Rotatable device and method for fixing tricuspid valve tissue |
| US10863980B2 (en) | 2016-12-28 | 2020-12-15 | Edwards Lifesciences Corporation | Suture fastener having spaced-apart layers |
| US12472062B2 (en) | 2016-12-30 | 2025-11-18 | Pipeline Medical Technologies, Inc. | Method and apparatus for mitral valve chord repair |
| US10925731B2 (en) | 2016-12-30 | 2021-02-23 | Pipeline Medical Technologies, Inc. | Method and apparatus for transvascular implantation of neo chordae tendinae |
| US9877833B1 (en) | 2016-12-30 | 2018-01-30 | Pipeline Medical Technologies, Inc. | Method and apparatus for transvascular implantation of neo chordae tendinae |
| US11083580B2 (en) | 2016-12-30 | 2021-08-10 | Pipeline Medical Technologies, Inc. | Method of securing a leaflet anchor to a mitral valve leaflet |
| US10905554B2 (en) | 2017-01-05 | 2021-02-02 | Edwards Lifesciences Corporation | Heart valve coaptation device |
| US10675017B2 (en) * | 2017-02-07 | 2020-06-09 | Edwards Lifesciences Corporation | Transcatheter heart valve leaflet plication |
| US10952852B2 (en) | 2017-02-24 | 2021-03-23 | Abbott Cardiovascular Systems Inc. | Double basket assembly for valve repair |
| CN114587711A (zh) | 2017-03-13 | 2022-06-07 | 宝来瑞斯医疗有限公司 | 用于经导管治疗瓣膜返流的装置、系统和方法 |
| US10478303B2 (en) | 2017-03-13 | 2019-11-19 | Polares Medical Inc. | Device, system, and method for transcatheter treatment of valvular regurgitation |
| US10653524B2 (en) | 2017-03-13 | 2020-05-19 | Polares Medical Inc. | Device, system, and method for transcatheter treatment of valvular regurgitation |
| US10213306B2 (en) | 2017-03-31 | 2019-02-26 | Neochord, Inc. | Minimally invasive heart valve repair in a beating heart |
| US10765515B2 (en) | 2017-04-06 | 2020-09-08 | University Of Maryland, Baltimore | Distal anchor apparatus and methods for mitral valve repair |
| DK3558169T3 (da) | 2017-04-18 | 2022-01-31 | Edwards Lifesciences Corp | hjerteklaptætningsindretninger og tilførselsindretninger dertil |
| US11224511B2 (en) | 2017-04-18 | 2022-01-18 | Edwards Lifesciences Corporation | Heart valve sealing devices and delivery devices therefor |
| US11045627B2 (en) | 2017-04-18 | 2021-06-29 | Edwards Lifesciences Corporation | Catheter system with linear actuation control mechanism |
| US10702378B2 (en) | 2017-04-18 | 2020-07-07 | Twelve, Inc. | Prosthetic heart valve device and associated systems and methods |
| US10575950B2 (en) | 2017-04-18 | 2020-03-03 | Twelve, Inc. | Hydraulic systems for delivering prosthetic heart valve devices and associated methods |
| US10433961B2 (en) | 2017-04-18 | 2019-10-08 | Twelve, Inc. | Delivery systems with tethers for prosthetic heart valve devices and associated methods |
| US10799312B2 (en) | 2017-04-28 | 2020-10-13 | Edwards Lifesciences Corporation | Medical device stabilizing apparatus and method of use |
| US10959846B2 (en) | 2017-05-10 | 2021-03-30 | Edwards Lifesciences Corporation | Mitral valve spacer device |
| US10792151B2 (en) | 2017-05-11 | 2020-10-06 | Twelve, Inc. | Delivery systems for delivering prosthetic heart valve devices and associated methods |
| EP3621529A1 (en) | 2017-05-12 | 2020-03-18 | Evalve, Inc. | Long arm valve repair clip |
| US10646338B2 (en) | 2017-06-02 | 2020-05-12 | Twelve, Inc. | Delivery systems with telescoping capsules for deploying prosthetic heart valve devices and associated methods |
| US10709591B2 (en) | 2017-06-06 | 2020-07-14 | Twelve, Inc. | Crimping device and method for loading stents and prosthetic heart valves |
| CN110944600B (zh) | 2017-06-19 | 2022-03-29 | 哈珀恩医疗有限公司 | 加捻机装置 |
| EP3641660B1 (en) | 2017-06-19 | 2024-11-20 | Heartstitch, Inc. | Suturing devices for suturing an opening in the apex of the heart |
| EP3641663B1 (en) | 2017-06-19 | 2022-03-02 | Heartstitch, Inc. | Suturing systems and methods for suturing body tissue |
| US10786352B2 (en) | 2017-07-06 | 2020-09-29 | Twelve, Inc. | Prosthetic heart valve devices and associated systems and methods |
| WO2019010370A1 (en) | 2017-07-06 | 2019-01-10 | Raghuveer Basude | FABRIC PREVENTION DEVICES AND ASSOCIATED METHODS |
| US10729541B2 (en) | 2017-07-06 | 2020-08-04 | Twelve, Inc. | Prosthetic heart valve devices and associated systems and methods |
| EP3658075B1 (en) * | 2017-07-24 | 2024-07-03 | Emory University | Cardiac valve leaflet enhancer devices |
| US12064347B2 (en) | 2017-08-03 | 2024-08-20 | Cardiovalve Ltd. | Prosthetic heart valve |
| US11793633B2 (en) | 2017-08-03 | 2023-10-24 | Cardiovalve Ltd. | Prosthetic heart valve |
| US10537426B2 (en) | 2017-08-03 | 2020-01-21 | Cardiovalve Ltd. | Prosthetic heart valve |
| US10575948B2 (en) | 2017-08-03 | 2020-03-03 | Cardiovalve Ltd. | Prosthetic heart valve |
| US11246704B2 (en) | 2017-08-03 | 2022-02-15 | Cardiovalve Ltd. | Prosthetic heart valve |
| US10888421B2 (en) | 2017-09-19 | 2021-01-12 | Cardiovalve Ltd. | Prosthetic heart valve with pouch |
| CN109394392B (zh) | 2017-08-17 | 2023-11-10 | 杭州德晋医疗科技有限公司 | 人工腱索植入系统 |
| WO2019035095A1 (en) | 2017-08-18 | 2019-02-21 | Nobles Medical Technologies Ii, Inc. | APPARATUS FOR PRACTICE A NODE ON A SUTURE |
| US11051940B2 (en) | 2017-09-07 | 2021-07-06 | Edwards Lifesciences Corporation | Prosthetic spacer device for heart valve |
| US11065117B2 (en) | 2017-09-08 | 2021-07-20 | Edwards Lifesciences Corporation | Axisymmetric adjustable device for treating mitral regurgitation |
| US11040174B2 (en) | 2017-09-19 | 2021-06-22 | Edwards Lifesciences Corporation | Multi-direction steerable handles for steering catheters |
| US12458493B2 (en) | 2017-09-19 | 2025-11-04 | Cardiovalve Ltd. | Prosthetic heart valve and delivery systems and methods |
| US10806579B2 (en) | 2017-10-20 | 2020-10-20 | Boston Scientific Scimed, Inc. | Heart valve repair implant for treating tricuspid regurgitation |
| US11065120B2 (en) | 2017-10-24 | 2021-07-20 | University Of Maryland, Baltimore | Method and apparatus for cardiac procedures |
| US10835221B2 (en) | 2017-11-02 | 2020-11-17 | Valtech Cardio, Ltd. | Implant-cinching devices and systems |
| US11135062B2 (en) | 2017-11-20 | 2021-10-05 | Valtech Cardio Ltd. | Cinching of dilated heart muscle |
| WO2019108286A1 (en) | 2017-11-30 | 2019-06-06 | Boston Scientific Scimed, Inc. | Connected anchor delivery systems and methods for valve repair |
| GB201720803D0 (en) | 2017-12-13 | 2018-01-24 | Mitraltech Ltd | Prosthetic Valve and delivery tool therefor |
| WO2019126718A1 (en) | 2017-12-23 | 2019-06-27 | Neotract, Inc. | Expandable tissue engagement apparatus and method |
| CN109965921B (zh) * | 2017-12-27 | 2023-12-08 | 上海锦葵医疗器械股份有限公司 | 心脏二尖瓣夹 |
| WO2019136162A1 (en) * | 2018-01-03 | 2019-07-11 | Ergosuture Corp. | Threading devices, elongated members, and methods of manufacture and use thereof |
| US10973639B2 (en) | 2018-01-09 | 2021-04-13 | Edwards Lifesciences Corporation | Native valve repair devices and procedures |
| US10245144B1 (en) | 2018-01-09 | 2019-04-02 | Edwards Lifesciences Corporation | Native valve repair devices and procedures |
| US10507109B2 (en) | 2018-01-09 | 2019-12-17 | Edwards Lifesciences Corporation | Native valve repair devices and procedures |
| US10130475B1 (en) | 2018-01-09 | 2018-11-20 | Edwards Lifesciences Corporation | Native valve repair devices and procedures |
| US10231837B1 (en) | 2018-01-09 | 2019-03-19 | Edwards Lifesciences Corporation | Native valve repair devices and procedures |
| US10076415B1 (en) | 2018-01-09 | 2018-09-18 | Edwards Lifesciences Corporation | Native valve repair devices and procedures |
| US10105222B1 (en) | 2018-01-09 | 2018-10-23 | Edwards Lifesciences Corporation | Native valve repair devices and procedures |
| US10111751B1 (en) | 2018-01-09 | 2018-10-30 | Edwards Lifesciences Corporation | Native valve repair devices and procedures |
| US10159570B1 (en) | 2018-01-09 | 2018-12-25 | Edwards Lifesciences Corporation | Native valve repair devices and procedures |
| US10136993B1 (en) | 2018-01-09 | 2018-11-27 | Edwards Lifesciences Corporation | Native valve repair devices and procedures |
| US10123873B1 (en) | 2018-01-09 | 2018-11-13 | Edwards Lifesciences Corporation | Native valve repair devices and procedures |
| JP7343393B2 (ja) | 2018-01-09 | 2023-09-12 | エドワーズ ライフサイエンシーズ コーポレイション | 天然心臓弁修復装置および処置 |
| US10238493B1 (en) | 2018-01-09 | 2019-03-26 | Edwards Lifesciences Corporation | Native valve repair devices and procedures |
| GB201800399D0 (en) | 2018-01-10 | 2018-02-21 | Mitraltech Ltd | Temperature-control during crimping of an implant |
| EP3743015A1 (en) | 2018-01-24 | 2020-12-02 | Valtech Cardio, Ltd. | Contraction of an annuloplasty structure |
| WO2019145941A1 (en) | 2018-01-26 | 2019-08-01 | Valtech Cardio, Ltd. | Techniques for facilitating heart valve tethering and chord replacement |
| EP3749233A1 (en) * | 2018-02-06 | 2020-12-16 | Septulus Ab | Negative pressure-based gripping system and method |
| US11026791B2 (en) | 2018-03-20 | 2021-06-08 | Medtronic Vascular, Inc. | Flexible canopy valve repair systems and methods of use |
| US11285003B2 (en) | 2018-03-20 | 2022-03-29 | Medtronic Vascular, Inc. | Prolapse prevention device and methods of use thereof |
| CA3094990C (en) * | 2018-03-23 | 2023-01-03 | Neochord, Inc. | Device for suture attachment for minimally invasive heart valve repair |
| WO2019191271A1 (en) | 2018-03-28 | 2019-10-03 | Datascope Corp. | Device for atrial appendage exclusion |
| US11389297B2 (en) | 2018-04-12 | 2022-07-19 | Edwards Lifesciences Corporation | Mitral valve spacer device |
| US11207181B2 (en) | 2018-04-18 | 2021-12-28 | Edwards Lifesciences Corporation | Heart valve sealing devices and delivery devices therefor |
| CN119700378A (zh) | 2018-04-24 | 2025-03-28 | 拉古维尔·巴苏德 | 可取回的组织抓取装置、间隔物、人造瓣膜及相关方法 |
| US11517435B2 (en) | 2018-05-04 | 2022-12-06 | Edwards Lifesciences Corporation | Ring-based prosthetic cardiac valve |
| US11253360B2 (en) | 2018-05-09 | 2022-02-22 | Neochord, Inc. | Low profile tissue anchor for minimally invasive heart valve repair |
| US11173030B2 (en) | 2018-05-09 | 2021-11-16 | Neochord, Inc. | Suture length adjustment for minimally invasive heart valve repair |
| AU2019288581B2 (en) | 2018-06-20 | 2025-03-13 | Dynamic Suture, Inc. | Needle drivers for suturing instruments and methods of manufacture |
| US11134937B2 (en) | 2018-07-02 | 2021-10-05 | Edwards Lifesciences Corporation | Suture clip |
| EP3820406B1 (en) | 2018-07-12 | 2023-12-20 | Edwards Lifesciences Innovation (Israel) Ltd. | Annuloplasty systems and locking tools therefor |
| JP7300198B2 (ja) | 2018-09-07 | 2023-06-29 | ネオコード インコーポレイテッド | 低侵襲心臓弁修復のための縫合糸取付装置 |
| US10945844B2 (en) | 2018-10-10 | 2021-03-16 | Edwards Lifesciences Corporation | Heart valve sealing devices and delivery devices therefor |
| US12102531B2 (en) | 2018-10-22 | 2024-10-01 | Evalve, Inc. | Tissue cutting systems, devices and methods |
| US12440301B2 (en) | 2018-11-07 | 2025-10-14 | Teleflex Life Sciences Llc | System for delivery of a fiducial marker |
| SG11202105160XA (en) | 2018-11-20 | 2021-06-29 | Edwards Lifesciences Corp | Deployment tools and methods for delivering a device to a native heart valve |
| CA3118988A1 (en) | 2018-11-21 | 2020-05-28 | Edwards Lifesciences Corporation | Heart valve sealing devices, delivery devices therefor, and retrieval devices |
| EP3886764B1 (en) | 2018-11-29 | 2025-11-05 | Cardiomech AS | Device for heart repair |
| CA3120859A1 (en) | 2018-11-29 | 2020-06-04 | Edwards Lifesciences Corporation | Catheterization method and apparatus |
| CN121129502A (zh) | 2018-12-12 | 2025-12-16 | 管道医疗技术公司 | 用于二尖瓣腱索修复的方法和装置 |
| US11504105B2 (en) | 2019-01-25 | 2022-11-22 | Rex Medical L.P. | Vascular hole closure device |
| CA3127499A1 (en) | 2019-02-12 | 2020-08-20 | Edwards Lifesciences Corporation | Controlled tissue anchor spacing |
| WO2020168081A1 (en) | 2019-02-14 | 2020-08-20 | Edwards Lifesciences Corporation | Heart valve sealing devices and delivery devices therefor |
| CA3131522A1 (en) | 2019-02-25 | 2020-09-03 | Edwards Lifesciences Corporation | Heart valve sealing devices |
| US11376126B2 (en) | 2019-04-16 | 2022-07-05 | Neochord, Inc. | Transverse helical cardiac anchor for minimally invasive heart valve repair |
| US11534303B2 (en) | 2020-04-09 | 2022-12-27 | Evalve, Inc. | Devices and systems for accessing and repairing a heart valve |
| AU2020284630A1 (en) | 2019-05-29 | 2021-11-18 | Edwards Lifesciences Innovation (Israel) Ltd. | Tissue anchor handling systems and methods |
| CA3147413A1 (en) | 2019-07-15 | 2021-01-21 | Ancora Heart, Inc. | Devices and methods for tether cutting |
| JP7566004B2 (ja) | 2019-07-15 | 2024-10-11 | エバルブ,インコーポレイティド | 非変形ウィングを持つワイドクリップ |
| JP7543391B2 (ja) | 2019-07-15 | 2024-09-02 | エバルブ,インコーポレイティド | 個別の近位要素の作動方法 |
| US11850151B2 (en) | 2019-07-15 | 2023-12-26 | Evalve, Inc. | Proximal element actuator fixation and release mechanisms |
| US12364606B2 (en) | 2019-07-23 | 2025-07-22 | Edwards Lifesciences Innovation (Israel) Ltd. | Fluoroscopic visualization of heart valve anatomy |
| CA3143177A1 (en) | 2019-08-28 | 2021-03-04 | Valtech Cardio, Ltd. | Low-profile steerable catheter |
| WO2021038559A1 (en) | 2019-08-30 | 2021-03-04 | Valtech Cardio, Ltd. | Anchor channel tip |
| KR20220066398A (ko) | 2019-09-25 | 2022-05-24 | 카디악 임플란츠 엘엘씨 | 심장 판막 고리 감소 시스템 |
| WO2021062103A1 (en) | 2019-09-26 | 2021-04-01 | Evalve, Inc. | Systems for intra-procedural cardiac pressure monitoring |
| WO2021072209A1 (en) | 2019-10-11 | 2021-04-15 | Evalve, Inc. | Repair clip for variable tissue thickness |
| CA3142906A1 (en) | 2019-10-29 | 2021-05-06 | Valtech Cardio, Ltd. | Annuloplasty and tissue anchor technologies |
| US12102534B2 (en) | 2019-11-06 | 2024-10-01 | Evalve, Inc. | Stabilizer for a medical delivery system |
| US11622859B2 (en) | 2019-11-08 | 2023-04-11 | Evalve, Inc. | Medical device delivery system with locking system |
| WO2021097124A1 (en) | 2019-11-14 | 2021-05-20 | Evalve, Inc. | Catheter assembly with coaptation aid and methods for valve repair |
| US11701229B2 (en) | 2019-11-14 | 2023-07-18 | Evalve, Inc. | Kit with coaptation aid and fixation system and methods for valve repair |
| US12109115B2 (en) | 2019-12-18 | 2024-10-08 | Evalve, Inc. | Wide clip with deformable width |
| US12208007B2 (en) | 2020-01-16 | 2025-01-28 | Neochord, Inc. | Helical cardiac anchors for minimally invasive heart valve repair |
| WO2021194964A1 (en) * | 2020-03-24 | 2021-09-30 | Laminar, Inc. | Devices, systems, and methods for occluding cavities within the body |
| CN115666412A (zh) | 2020-04-22 | 2023-01-31 | 爱德华兹生命科学公司 | 受控缝线张紧 |
| US12414811B2 (en) | 2020-05-06 | 2025-09-16 | Evalve, Inc. | Devices and methods for leaflet cutting |
| US12171486B2 (en) | 2020-05-06 | 2024-12-24 | Evalve, Inc. | Devices and methods for clip separation |
| US12171485B2 (en) | 2020-05-06 | 2024-12-24 | Evalve, Inc. | Systems and methods for leaflet cutting using a hook catheter |
| US12048448B2 (en) | 2020-05-06 | 2024-07-30 | Evalve, Inc. | Leaflet grasping and cutting device |
| US12178444B2 (en) | 2020-05-06 | 2024-12-31 | Evalve, Inc. | Clip removal systems and methods |
| JP2023527304A (ja) | 2020-05-20 | 2023-06-28 | カーディアック・インプランツ・エルエルシー | 心臓弁輪に打ち込まれるアンカそれぞれを独立的に制御することによる心臓弁輪の直径の減少 |
| AU2021292434A1 (en) | 2020-06-17 | 2023-02-02 | Pipeline Medical Technologies, Inc. | Method and apparatus for mitral valve chord repair |
| CA3182316A1 (en) | 2020-06-19 | 2021-12-23 | Edwards Lifesciences Innovation (Israel) Ltd. | Self-stopping tissue anchors |
| EP4275619A3 (en) | 2020-08-03 | 2024-04-10 | Teleflex Life Sciences LLC | Handle and cartridge system for medical interventions |
| US11857417B2 (en) | 2020-08-16 | 2024-01-02 | Trilio Medical Ltd. | Leaflet support |
| WO2022055923A1 (en) | 2020-09-10 | 2022-03-17 | Edwards Lifesciences Corporation | Closing tissue openings |
| US11969166B2 (en) * | 2020-10-07 | 2024-04-30 | Smith & Nephew, Inc. | Hip capsule closure |
| EP4196054A1 (en) | 2020-10-15 | 2023-06-21 | Evalve, Inc. | Biased distal assemblies with locking mechanism |
| US12357459B2 (en) | 2020-12-03 | 2025-07-15 | Cardiovalve Ltd. | Transluminal delivery system |
| US11464634B2 (en) | 2020-12-16 | 2022-10-11 | Polares Medical Inc. | Device, system, and method for transcatheter treatment of valvular regurgitation with secondary anchors |
| US12458498B2 (en) | 2021-02-10 | 2025-11-04 | Edwards Lifesciences Corporation | Implanting grafts to valve leaflets for cardiac procedures |
| EP4082481B1 (en) | 2021-04-30 | 2024-04-17 | Evalve Inc. | Fixation device having a flexure portion |
| US11759321B2 (en) | 2021-06-25 | 2023-09-19 | Polares Medical Inc. | Device, system, and method for transcatheter treatment of valvular regurgitation |
| US12478474B2 (en) | 2023-05-04 | 2025-11-25 | Polares Medical Inc. | Device, system, and method with an adaptive leaflet |
| USD1071198S1 (en) | 2023-06-28 | 2025-04-15 | Edwards Lifesciences Corporation | Cradle |
| US12433749B2 (en) | 2023-08-25 | 2025-10-07 | Emory University | Systems, devices, and methods for reducing heart valve regurgitation |
| US12396855B1 (en) | 2024-07-25 | 2025-08-26 | Nyra Medical, Inc. | Systems, devices, and methods for reducing heart valve regurgitation |
Family Cites Families (93)
| Publication number | Priority date | Publication date | Assignee | Title |
|---|---|---|---|---|
| US3805793A (en) * | 1973-03-21 | 1974-04-23 | S Wright | Anastomotic apparatus |
| SU1088712A1 (ru) | 1979-11-14 | 1984-04-30 | Всесоюзный научно-исследовательский и испытательный институт медицинской техники | Аппарат дл циркул рного сшивани кровеносных сосудов |
| DE3505491A1 (de) * | 1985-02-16 | 1986-08-21 | MTU Motoren- und Turbinen-Union München GmbH, 8000 München | Dichtung fuer eine stroemungsmaschine |
| US4927428A (en) * | 1988-10-07 | 1990-05-22 | Ophthalmic Ventures Limited Partnership | Surgical suturing system and probe assembly |
| US5569182A (en) * | 1990-01-08 | 1996-10-29 | The Curators Of The University Of Missouri | Clot resistant multiple lumen catheter and method |
| US5041129A (en) | 1990-07-02 | 1991-08-20 | Acufex Microsurgical, Inc. | Slotted suture anchor and method of anchoring a suture |
| US5080663A (en) * | 1990-09-26 | 1992-01-14 | Univerity College London | Sewing device |
| US5295958A (en) * | 1991-04-04 | 1994-03-22 | Shturman Cardiology Systems, Inc. | Method and apparatus for in vivo heart valve decalcification |
| US5571215A (en) | 1993-02-22 | 1996-11-05 | Heartport, Inc. | Devices and methods for intracardiac procedures |
| US5766151A (en) * | 1991-07-16 | 1998-06-16 | Heartport, Inc. | Endovascular system for arresting the heart |
| US5584803A (en) | 1991-07-16 | 1996-12-17 | Heartport, Inc. | System for cardiac procedures |
| US6029671A (en) * | 1991-07-16 | 2000-02-29 | Heartport, Inc. | System and methods for performing endovascular procedures |
| US5242456A (en) | 1991-11-21 | 1993-09-07 | Kensey Nash Corporation | Apparatus and methods for clamping tissue and reflecting the same |
| US5267958A (en) * | 1992-03-30 | 1993-12-07 | Medtronic, Inc. | Exchange catheter having exterior guide wire loops |
| US5344059A (en) | 1992-05-19 | 1994-09-06 | United States Surgical Corporation | Surgical apparatus and anvil delivery system therefor |
| JPH0647048A (ja) | 1992-06-04 | 1994-02-22 | Olympus Optical Co Ltd | 結紮縫合装置 |
| US5458131A (en) * | 1992-08-25 | 1995-10-17 | Wilk; Peter J. | Method for use in intra-abdominal surgery |
| US5713910A (en) | 1992-09-04 | 1998-02-03 | Laurus Medical Corporation | Needle guidance system for endoscopic suture device |
| US5578044A (en) | 1992-09-04 | 1996-11-26 | Laurus Medical Corporation | Endoscopic suture system |
| US5540704A (en) | 1992-09-04 | 1996-07-30 | Laurus Medical Corporation | Endoscopic suture system |
| US5364408A (en) | 1992-09-04 | 1994-11-15 | Laurus Medical Corporation | Endoscopic suture system |
| US5342373A (en) | 1992-09-14 | 1994-08-30 | Ethicon, Inc. | Sterile clips and instrument for their placement |
| US5330442A (en) * | 1992-10-09 | 1994-07-19 | United States Surgical Corporation | Suture retaining clip |
| US5814097A (en) * | 1992-12-03 | 1998-09-29 | Heartport, Inc. | Devices and methods for intracardiac procedures |
| US5403326A (en) | 1993-02-01 | 1995-04-04 | The Regents Of The University Of California | Method for performing a gastric wrap of the esophagus for use in the treatment of esophageal reflux |
| JPH06237939A (ja) | 1993-02-17 | 1994-08-30 | Olympus Optical Co Ltd | クリップ装置 |
| US6010531A (en) * | 1993-02-22 | 2000-01-04 | Heartport, Inc. | Less-invasive devices and methods for cardiac valve surgery |
| US5797960A (en) * | 1993-02-22 | 1998-08-25 | Stevens; John H. | Method and apparatus for thoracoscopic intracardiac procedures |
| US5569274A (en) | 1993-02-22 | 1996-10-29 | Heartport, Inc. | Endoscopic vascular clamping system and method |
| US5374275A (en) | 1993-03-25 | 1994-12-20 | Synvasive Technology, Inc. | Surgical suturing device and method of use |
| US5601552A (en) * | 1994-03-18 | 1997-02-11 | Sofamor, S.N.C. | Fixing device for a rigid transverse connection device between rods of a spinal osteosynthesis system |
| GB9405790D0 (en) | 1994-03-23 | 1994-05-11 | Univ London | Sewing device |
| US5573540A (en) | 1994-07-18 | 1996-11-12 | Yoon; Inbae | Apparatus and method for suturing an opening in anatomical tissue |
| US5695457A (en) * | 1994-07-28 | 1997-12-09 | Heartport, Inc. | Cardioplegia catheter system |
| US5474573A (en) | 1994-08-22 | 1995-12-12 | Hatcher; Charles W. | Toggle suture handling means and method |
| US5879366A (en) * | 1996-12-20 | 1999-03-09 | W.L. Gore & Associates, Inc. | Self-expanding defect closure device and method of making and using |
| US5609598A (en) * | 1994-12-30 | 1997-03-11 | Vnus Medical Technologies, Inc. | Method and apparatus for minimally invasive treatment of chronic venous insufficiency |
| US5695504A (en) * | 1995-02-24 | 1997-12-09 | Heartport, Inc. | Devices and methods for performing a vascular anastomosis |
| US5976159A (en) * | 1995-02-24 | 1999-11-02 | Heartport, Inc. | Surgical clips and methods for tissue approximation |
| US5695505A (en) * | 1995-03-09 | 1997-12-09 | Yoon; Inbae | Multifunctional spring clips and cartridges and applicators therefor |
| US5700273A (en) | 1995-07-14 | 1997-12-23 | C.R. Bard, Inc. | Wound closure apparatus and method |
| US5839639A (en) * | 1995-08-17 | 1998-11-24 | Lasersurge, Inc. | Collapsible anvil assembly and applicator instrument |
| JP3293118B2 (ja) * | 1995-10-18 | 2002-06-17 | ニプロ株式会社 | 心腔内縫合手術用カテーテル組立体 |
| US6015417A (en) * | 1996-01-25 | 2000-01-18 | Reynolds, Jr.; Walker | Surgical fastener |
| US5860992A (en) | 1996-01-31 | 1999-01-19 | Heartport, Inc. | Endoscopic suturing devices and methods |
| IL125417A (en) | 1996-02-02 | 2004-03-28 | Transvascular Inc | Apparatus for blocking flow through blood vessels |
| US6162233A (en) | 1996-02-23 | 2000-12-19 | Cardiovascular Technologies, Llc | Wire fasteners for use in minimally invasive surgery and means and methods for handling those fasteners |
| US5891160A (en) | 1996-02-23 | 1999-04-06 | Cardiovascular Technologies, Llc | Fastener delivery and deployment mechanism and method for placing the fastener in minimally invasive surgery |
| US5853422A (en) * | 1996-03-22 | 1998-12-29 | Scimed Life Systems, Inc. | Apparatus and method for closing a septal defect |
| US6149660A (en) | 1996-04-22 | 2000-11-21 | Vnus Medical Technologies, Inc. | Method and apparatus for delivery of an appliance in a vessel |
| US5761367A (en) * | 1996-08-13 | 1998-06-02 | Lanxide Technology Company, Lp | Coated optical devices and methods of making the same |
| US5713911A (en) * | 1996-10-03 | 1998-02-03 | United States Surgical Corporation | Surgical clip |
| US5766183A (en) * | 1996-10-21 | 1998-06-16 | Lasersurge, Inc. | Vascular hole closure |
| US5993466A (en) | 1997-06-17 | 1999-11-30 | Yoon; Inbae | Suturing instrument with multiple rotatably mounted spreadable needle holders |
| US5957879A (en) * | 1997-01-24 | 1999-09-28 | Heartport, Inc. | Methods and devices for maintaining cardiopulmonary bypass and arresting a patient's heart |
| US5928224A (en) | 1997-01-24 | 1999-07-27 | Hearten Medical, Inc. | Device for the treatment of damaged heart valve leaflets and methods of using the device |
| JP3134288B2 (ja) | 1997-01-30 | 2001-02-13 | 株式会社ニッショー | 心腔内縫合手術用具 |
| JP3134287B2 (ja) | 1997-01-30 | 2001-02-13 | 株式会社ニッショー | 心腔内縫合手術用カテーテル組立体 |
| GB2321729B (en) * | 1997-02-04 | 2001-06-13 | Ibm | Data processing system, method, and server |
| US5972020A (en) | 1997-02-14 | 1999-10-26 | Cardiothoracic Systems, Inc. | Surgical instrument for cardiac valve repair on the beating heart |
| US5968059A (en) * | 1997-03-06 | 1999-10-19 | Scimed Life Systems, Inc. | Transmyocardial revascularization catheter and method |
| US5928350A (en) * | 1997-04-11 | 1999-07-27 | Raytheon Company | Wide memory architecture vector processor using nxP bits wide memory bus for transferring P n-bit vector operands in one cycle |
| US5891159A (en) | 1997-05-02 | 1999-04-06 | Cardiothoratic Systems, Inc. | Automatic purse string suture device |
| DE19725739C1 (de) | 1997-06-18 | 1999-04-15 | Aesculap Ag & Co Kg | Instrument zur Handhabung eines Verbindungselementes für zwei rohrförmige Gefäße |
| JP4162270B2 (ja) * | 1997-06-27 | 2008-10-08 | ザ トラスティーズ オブ コロンビア ユニバーシティー イン ザ シティー オブ ニューヨーク | 循環弁修復のための装置 |
| US6015427A (en) | 1997-07-07 | 2000-01-18 | Eclipse Surgical Technologies, Inc. | Heart stabilizer with controllable stay suture and cutting element |
| US6088889A (en) | 1997-09-03 | 2000-07-18 | Edward Elson | Clamp operable as a hemostasis valve |
| FR2768324B1 (fr) * | 1997-09-12 | 1999-12-10 | Jacques Seguin | Instrument chirurgical permettant, par voie percutanee, de fixer l'une a l'autre deux zones de tissu mou, normalement mutuellement distantes |
| WO1999015223A1 (en) | 1997-09-26 | 1999-04-01 | Cardeon Corporation | Multi-function aortic catheterization and bumper instrument |
| US5928181A (en) * | 1997-11-21 | 1999-07-27 | Advanced International Technologies, Inc. | Cardiac bypass catheter system and method of use |
| US6695810B2 (en) * | 1997-11-21 | 2004-02-24 | Advanced Interventional Technologies, Inc. | Endolumenal aortic isolation assembly and method |
| US6234995B1 (en) * | 1998-11-12 | 2001-05-22 | Advanced Interventional Technologies, Inc. | Apparatus and method for selectively isolating a proximal anastomosis site from blood in an aorta |
| US6626919B1 (en) | 1997-12-29 | 2003-09-30 | Lee L. Swanstrom | Method and apparatus for attaching or locking an implant to an anatomic vessel or hollow organ wall |
| US6241667B1 (en) * | 1998-01-15 | 2001-06-05 | Lumend, Inc. | Catheter apparatus for guided transvascular treatment of arterial occlusions |
| US6280460B1 (en) | 1998-02-13 | 2001-08-28 | Heartport, Inc. | Devices and methods for performing vascular anastomosis |
| US5947983A (en) * | 1998-03-16 | 1999-09-07 | Boston Scientific Corporation | Tissue cutting and stitching device and method |
| US6047700A (en) | 1998-03-30 | 2000-04-11 | Arthrocare Corporation | Systems and methods for electrosurgical removal of calcified deposits |
| US6190357B1 (en) * | 1998-04-21 | 2001-02-20 | Cardiothoracic Systems, Inc. | Expandable cannula for performing cardiopulmonary bypass and method for using same |
| US6508777B1 (en) * | 1998-05-08 | 2003-01-21 | Cardeon Corporation | Circulatory support system and method of use for isolated segmental perfusion |
| US7569062B1 (en) | 1998-07-15 | 2009-08-04 | St. Jude Medical, Inc. | Mitral and tricuspid valve repair |
| US6165183A (en) * | 1998-07-15 | 2000-12-26 | St. Jude Medical, Inc. | Mitral and tricuspid valve repair |
| US6210419B1 (en) * | 1998-12-18 | 2001-04-03 | Aesculap Ag & Co. Kg | Surgical clip |
| US6464707B1 (en) * | 1999-04-01 | 2002-10-15 | David B. Bjerken | Vacuum-assisted remote suture placement system |
| CA2620783C (en) * | 1999-04-09 | 2011-04-05 | Evalve, Inc. | Methods and apparatus for cardiac valve repair |
| US6752813B2 (en) * | 1999-04-09 | 2004-06-22 | Evalve, Inc. | Methods and devices for capturing and fixing leaflets in valve repair |
| US6165204A (en) * | 1999-06-11 | 2000-12-26 | Scion International, Inc. | Shaped suture clip, appliance and method therefor |
| US6312447B1 (en) * | 1999-10-13 | 2001-11-06 | The General Hospital Corporation | Devices and methods for percutaneous mitral valve repair |
| US6626930B1 (en) * | 1999-10-21 | 2003-09-30 | Edwards Lifesciences Corporation | Minimally invasive mitral valve repair method and apparatus |
| US7399304B2 (en) | 2000-03-03 | 2008-07-15 | C.R. Bard, Inc. | Endoscopic tissue apposition device with multiple suction ports |
| WO2001095809A1 (en) | 2000-06-14 | 2001-12-20 | Sterilis, Inc. | Suturing method and apparatus |
| US6551330B1 (en) | 2000-09-21 | 2003-04-22 | Opus Medical, Inc. | Linear suturing apparatus and methods |
| US20020107531A1 (en) * | 2001-02-06 | 2002-08-08 | Schreck Stefan G. | Method and system for tissue repair using dual catheters |
| US6978176B2 (en) * | 2001-12-08 | 2005-12-20 | Lattouf Omar M | Treatment for patient with congestive heart failure |
-
2000
- 2000-05-01 US US09/562,406 patent/US6626930B1/en not_active Expired - Lifetime
- 2000-10-20 AU AU13390/01A patent/AU775796C/en not_active Ceased
- 2000-10-20 DE DE60026567T patent/DE60026567T2/de not_active Expired - Lifetime
- 2000-10-20 CA CA2388481A patent/CA2388481C/en not_active Expired - Fee Related
- 2000-10-20 WO PCT/US2000/029073 patent/WO2001028432A1/en not_active Ceased
- 2000-10-20 AT AT00975324T patent/ATE319375T1/de not_active IP Right Cessation
- 2000-10-20 EP EP00975324A patent/EP1221900B1/en not_active Expired - Lifetime
- 2000-10-20 JP JP2001531031A patent/JP4390414B2/ja not_active Expired - Fee Related
-
2003
- 2003-04-24 US US10/423,046 patent/US7112207B2/en not_active Expired - Lifetime
-
2005
- 2005-11-15 US US11/274,877 patent/US7758595B2/en not_active Expired - Fee Related
- 2005-11-15 US US11/273,900 patent/US7744609B2/en not_active Expired - Fee Related
-
2010
- 2010-05-24 US US12/785,963 patent/US8361086B2/en not_active Expired - Fee Related
-
2013
- 2013-01-28 US US13/752,167 patent/US8771292B2/en not_active Expired - Fee Related
Also Published As
| Publication number | Publication date |
|---|---|
| AU775796B2 (en) | 2004-08-12 |
| CA2388481A1 (en) | 2001-04-26 |
| US7758595B2 (en) | 2010-07-20 |
| US6626930B1 (en) | 2003-09-30 |
| DE60026567T2 (de) | 2006-10-05 |
| AU775796C (en) | 2005-02-24 |
| JP2003511187A (ja) | 2003-03-25 |
| US20130138121A1 (en) | 2013-05-30 |
| US20100234813A1 (en) | 2010-09-16 |
| AU1339001A (en) | 2001-04-30 |
| US7112207B2 (en) | 2006-09-26 |
| DE60026567D1 (de) | 2006-05-04 |
| CA2388481C (en) | 2011-03-29 |
| WO2001028432A1 (en) | 2001-04-26 |
| US8361086B2 (en) | 2013-01-29 |
| US20040093023A1 (en) | 2004-05-13 |
| JP4390414B2 (ja) | 2009-12-24 |
| WO2001028432A9 (en) | 2002-08-15 |
| US7744609B2 (en) | 2010-06-29 |
| ATE319375T1 (de) | 2006-03-15 |
| EP1221900A1 (en) | 2002-07-17 |
| US20060064116A1 (en) | 2006-03-23 |
| US20060064115A1 (en) | 2006-03-23 |
| US8771292B2 (en) | 2014-07-08 |
Similar Documents
| Publication | Publication Date | Title |
|---|---|---|
| EP1221900B1 (en) | Minimally invasive mitral valve repair apparatus | |
| EP1674040A2 (en) | Minimally invasive mitral valve repair | |
| AU2003230734B2 (en) | Device and method for heart valve repair | |
| US8226666B2 (en) | Mitral valve repair system and method for use | |
| AU2004229028B2 (en) | Minimally invasive mitral valve repair method and apparatus | |
| AU2007216618A1 (en) | Minimally invasive mitral valve repair method and apparatus |
Legal Events
| Date | Code | Title | Description |
|---|---|---|---|
| PUAI | Public reference made under article 153(3) epc to a published international application that has entered the european phase |
Free format text: ORIGINAL CODE: 0009012 |
|
| 17P | Request for examination filed |
Effective date: 20020402 |
|
| AK | Designated contracting states |
Kind code of ref document: A1 Designated state(s): AT BE CH CY DE DK ES FI FR GB GR IE IT LI LU MC NL PT SE |
|
| AX | Request for extension of the european patent |
Free format text: AL;LT;LV;MK;RO;SI |
|
| RIN1 | Information on inventor provided before grant (corrected) |
Inventor name: ADAMS, RAY Inventor name: BACHMAN, ALAN Inventor name: REED, SCOTT Inventor name: ALLEN, WILLIAM, J. Inventor name: STECKEL, ROBERT, R. |
|
| RIN1 | Information on inventor provided before grant (corrected) |
Inventor name: ADAMS, RAY Inventor name: STECKEL, ROBERT, R. Inventor name: REED, SCOTT Inventor name: ALLEN, WILLIAM, J. Inventor name: BACHMAN, ALAN |
|
| 17Q | First examination report despatched |
Effective date: 20040126 |
|
| GRAP | Despatch of communication of intention to grant a patent |
Free format text: ORIGINAL CODE: EPIDOSNIGR1 |
|
| RTI1 | Title (correction) |
Free format text: MINIMALLY INVASIVE MITRAL VALVE REPAIR APPARATUS |
|
| GRAS | Grant fee paid |
Free format text: ORIGINAL CODE: EPIDOSNIGR3 |
|
| GRAA | (expected) grant |
Free format text: ORIGINAL CODE: 0009210 |
|
| AK | Designated contracting states |
Kind code of ref document: B1 Designated state(s): AT BE CH CY DE DK ES FI FR GB GR IE IT LI LU MC NL PT SE |
|
| PG25 | Lapsed in a contracting state [announced via postgrant information from national office to epo] |
Ref country code: IT Free format text: LAPSE BECAUSE OF FAILURE TO SUBMIT A TRANSLATION OF THE DESCRIPTION OR TO PAY THE FEE WITHIN THE PRESCRIBED TIME-LIMIT;WARNING: LAPSES OF ITALIAN PATENTS WITH EFFECTIVE DATE BEFORE 2007 MAY HAVE OCCURRED AT ANY TIME BEFORE 2007. THE CORRECT EFFECTIVE DATE MAY BE DIFFERENT FROM THE ONE RECORDED. Effective date: 20060308 Ref country code: FI Free format text: LAPSE BECAUSE OF FAILURE TO SUBMIT A TRANSLATION OF THE DESCRIPTION OR TO PAY THE FEE WITHIN THE PRESCRIBED TIME-LIMIT Effective date: 20060308 Ref country code: LI Free format text: LAPSE BECAUSE OF FAILURE TO SUBMIT A TRANSLATION OF THE DESCRIPTION OR TO PAY THE FEE WITHIN THE PRESCRIBED TIME-LIMIT Effective date: 20060308 Ref country code: NL Free format text: LAPSE BECAUSE OF FAILURE TO SUBMIT A TRANSLATION OF THE DESCRIPTION OR TO PAY THE FEE WITHIN THE PRESCRIBED TIME-LIMIT Effective date: 20060308 Ref country code: CH Free format text: LAPSE BECAUSE OF FAILURE TO SUBMIT A TRANSLATION OF THE DESCRIPTION OR TO PAY THE FEE WITHIN THE PRESCRIBED TIME-LIMIT Effective date: 20060308 Ref country code: BE Free format text: LAPSE BECAUSE OF FAILURE TO SUBMIT A TRANSLATION OF THE DESCRIPTION OR TO PAY THE FEE WITHIN THE PRESCRIBED TIME-LIMIT Effective date: 20060308 Ref country code: AT Free format text: LAPSE BECAUSE OF FAILURE TO SUBMIT A TRANSLATION OF THE DESCRIPTION OR TO PAY THE FEE WITHIN THE PRESCRIBED TIME-LIMIT Effective date: 20060308 |
|
| REG | Reference to a national code |
Ref country code: GB Ref legal event code: FG4D |
|
| REG | Reference to a national code |
Ref country code: CH Ref legal event code: EP |
|
| REG | Reference to a national code |
Ref country code: IE Ref legal event code: FG4D |
|
| REF | Corresponds to: |
Ref document number: 60026567 Country of ref document: DE Date of ref document: 20060504 Kind code of ref document: P |
|
| PG25 | Lapsed in a contracting state [announced via postgrant information from national office to epo] |
Ref country code: SE Free format text: LAPSE BECAUSE OF FAILURE TO SUBMIT A TRANSLATION OF THE DESCRIPTION OR TO PAY THE FEE WITHIN THE PRESCRIBED TIME-LIMIT Effective date: 20060608 Ref country code: DK Free format text: LAPSE BECAUSE OF FAILURE TO SUBMIT A TRANSLATION OF THE DESCRIPTION OR TO PAY THE FEE WITHIN THE PRESCRIBED TIME-LIMIT Effective date: 20060608 |
|
| PG25 | Lapsed in a contracting state [announced via postgrant information from national office to epo] |
Ref country code: ES Free format text: LAPSE BECAUSE OF FAILURE TO SUBMIT A TRANSLATION OF THE DESCRIPTION OR TO PAY THE FEE WITHIN THE PRESCRIBED TIME-LIMIT Effective date: 20060619 |
|
| PG25 | Lapsed in a contracting state [announced via postgrant information from national office to epo] |
Ref country code: PT Free format text: LAPSE BECAUSE OF FAILURE TO SUBMIT A TRANSLATION OF THE DESCRIPTION OR TO PAY THE FEE WITHIN THE PRESCRIBED TIME-LIMIT Effective date: 20060808 |
|
| NLV1 | Nl: lapsed or annulled due to failure to fulfill the requirements of art. 29p and 29m of the patents act | ||
| REG | Reference to a national code |
Ref country code: CH Ref legal event code: PL |
|
| ET | Fr: translation filed | ||
| PG25 | Lapsed in a contracting state [announced via postgrant information from national office to epo] |
Ref country code: IE Free format text: LAPSE BECAUSE OF NON-PAYMENT OF DUE FEES Effective date: 20061020 |
|
| PG25 | Lapsed in a contracting state [announced via postgrant information from national office to epo] |
Ref country code: MC Free format text: LAPSE BECAUSE OF NON-PAYMENT OF DUE FEES Effective date: 20061031 |
|
| PLBE | No opposition filed within time limit |
Free format text: ORIGINAL CODE: 0009261 |
|
| STAA | Information on the status of an ep patent application or granted ep patent |
Free format text: STATUS: NO OPPOSITION FILED WITHIN TIME LIMIT |
|
| 26N | No opposition filed |
Effective date: 20061211 |
|
| PG25 | Lapsed in a contracting state [announced via postgrant information from national office to epo] |
Ref country code: GR Free format text: LAPSE BECAUSE OF FAILURE TO SUBMIT A TRANSLATION OF THE DESCRIPTION OR TO PAY THE FEE WITHIN THE PRESCRIBED TIME-LIMIT Effective date: 20060609 |
|
| PG25 | Lapsed in a contracting state [announced via postgrant information from national office to epo] |
Ref country code: LU Free format text: LAPSE BECAUSE OF NON-PAYMENT OF DUE FEES Effective date: 20061020 |
|
| PG25 | Lapsed in a contracting state [announced via postgrant information from national office to epo] |
Ref country code: CY Free format text: LAPSE BECAUSE OF FAILURE TO SUBMIT A TRANSLATION OF THE DESCRIPTION OR TO PAY THE FEE WITHIN THE PRESCRIBED TIME-LIMIT Effective date: 20060308 |
|
| PGFP | Annual fee paid to national office [announced via postgrant information from national office to epo] |
Ref country code: GB Payment date: 20131028 Year of fee payment: 14 Ref country code: FR Payment date: 20131017 Year of fee payment: 14 |
|
| PGFP | Annual fee paid to national office [announced via postgrant information from national office to epo] |
Ref country code: IT Payment date: 20131024 Year of fee payment: 14 |
|
| GBPC | Gb: european patent ceased through non-payment of renewal fee |
Effective date: 20141020 |
|
| PG25 | Lapsed in a contracting state [announced via postgrant information from national office to epo] |
Ref country code: GB Free format text: LAPSE BECAUSE OF NON-PAYMENT OF DUE FEES Effective date: 20141020 |
|
| REG | Reference to a national code |
Ref country code: FR Ref legal event code: ST Effective date: 20150630 |
|
| PG25 | Lapsed in a contracting state [announced via postgrant information from national office to epo] |
Ref country code: FR Free format text: LAPSE BECAUSE OF NON-PAYMENT OF DUE FEES Effective date: 20141031 Ref country code: IT Free format text: LAPSE BECAUSE OF NON-PAYMENT OF DUE FEES Effective date: 20141020 |
|
| PGFP | Annual fee paid to national office [announced via postgrant information from national office to epo] |
Ref country code: DE Payment date: 20190918 Year of fee payment: 20 |
|
| REG | Reference to a national code |
Ref country code: DE Ref legal event code: R071 Ref document number: 60026567 Country of ref document: DE |