WO2017094316A1 - 運転支援装置 - Google Patents

運転支援装置 Download PDF

Info

Publication number
WO2017094316A1
WO2017094316A1 PCT/JP2016/076885 JP2016076885W WO2017094316A1 WO 2017094316 A1 WO2017094316 A1 WO 2017094316A1 JP 2016076885 W JP2016076885 W JP 2016076885W WO 2017094316 A1 WO2017094316 A1 WO 2017094316A1
Authority
WO
WIPO (PCT)
Prior art keywords
vehicle
driver
lane change
lane
unit
Prior art date
Legal status (The legal status is an assumption and is not a legal conclusion. Google has not performed a legal analysis and makes no representation as to the accuracy of the status listed.)
Ceased
Application number
PCT/JP2016/076885
Other languages
English (en)
French (fr)
Japanese (ja)
Inventor
大翔 坂野
整 伊口
Current Assignee (The listed assignees may be inaccurate. Google has not performed a legal analysis and makes no representation or warranty as to the accuracy of the list.)
Denso Corp
Original Assignee
Denso Corp
Priority date (The priority date is an assumption and is not a legal conclusion. Google has not performed a legal analysis and makes no representation as to the accuracy of the date listed.)
Filing date
Publication date
Application filed by Denso Corp filed Critical Denso Corp
Priority to US15/778,421 priority Critical patent/US20180354517A1/en
Publication of WO2017094316A1 publication Critical patent/WO2017094316A1/ja
Anticipated expiration legal-status Critical
Ceased legal-status Critical Current

Links

Images

Classifications

    • GPHYSICS
    • G06COMPUTING OR CALCULATING; COUNTING
    • G06VIMAGE OR VIDEO RECOGNITION OR UNDERSTANDING
    • G06V20/00Scenes; Scene-specific elements
    • G06V20/50Context or environment of the image
    • G06V20/59Context or environment of the image inside of a vehicle, e.g. relating to seat occupancy, driver state or inner lighting conditions
    • G06V20/597Recognising the driver's state or behaviour, e.g. attention or drowsiness
    • BPERFORMING OPERATIONS; TRANSPORTING
    • B60VEHICLES IN GENERAL
    • B60WCONJOINT CONTROL OF VEHICLE SUB-UNITS OF DIFFERENT TYPE OR DIFFERENT FUNCTION; CONTROL SYSTEMS SPECIALLY ADAPTED FOR HYBRID VEHICLES; ROAD VEHICLE DRIVE CONTROL SYSTEMS FOR PURPOSES NOT RELATED TO THE CONTROL OF A PARTICULAR SUB-UNIT
    • B60W30/00Purposes of road vehicle drive control systems not related to the control of a particular sub-unit, e.g. of systems using conjoint control of vehicle sub-units
    • B60W30/18Propelling the vehicle
    • B60W30/18009Propelling the vehicle related to particular drive situations
    • B60W30/18163Lane change; Overtaking manoeuvres
    • BPERFORMING OPERATIONS; TRANSPORTING
    • B60VEHICLES IN GENERAL
    • B60RVEHICLES, VEHICLE FITTINGS, OR VEHICLE PARTS, NOT OTHERWISE PROVIDED FOR
    • B60R21/00Arrangements or fittings on vehicles for protecting or preventing injuries to occupants or pedestrians in case of accidents or other traffic risks
    • BPERFORMING OPERATIONS; TRANSPORTING
    • B60VEHICLES IN GENERAL
    • B60WCONJOINT CONTROL OF VEHICLE SUB-UNITS OF DIFFERENT TYPE OR DIFFERENT FUNCTION; CONTROL SYSTEMS SPECIALLY ADAPTED FOR HYBRID VEHICLES; ROAD VEHICLE DRIVE CONTROL SYSTEMS FOR PURPOSES NOT RELATED TO THE CONTROL OF A PARTICULAR SUB-UNIT
    • B60W30/00Purposes of road vehicle drive control systems not related to the control of a particular sub-unit, e.g. of systems using conjoint control of vehicle sub-units
    • B60W30/14Adaptive cruise control
    • BPERFORMING OPERATIONS; TRANSPORTING
    • B60VEHICLES IN GENERAL
    • B60WCONJOINT CONTROL OF VEHICLE SUB-UNITS OF DIFFERENT TYPE OR DIFFERENT FUNCTION; CONTROL SYSTEMS SPECIALLY ADAPTED FOR HYBRID VEHICLES; ROAD VEHICLE DRIVE CONTROL SYSTEMS FOR PURPOSES NOT RELATED TO THE CONTROL OF A PARTICULAR SUB-UNIT
    • B60W40/00Estimation or calculation of non-directly measurable driving parameters for road vehicle drive control systems not related to the control of a particular sub unit, e.g. by using mathematical models
    • B60W40/08Estimation or calculation of non-directly measurable driving parameters for road vehicle drive control systems not related to the control of a particular sub unit, e.g. by using mathematical models related to drivers or passengers
    • BPERFORMING OPERATIONS; TRANSPORTING
    • B60VEHICLES IN GENERAL
    • B60WCONJOINT CONTROL OF VEHICLE SUB-UNITS OF DIFFERENT TYPE OR DIFFERENT FUNCTION; CONTROL SYSTEMS SPECIALLY ADAPTED FOR HYBRID VEHICLES; ROAD VEHICLE DRIVE CONTROL SYSTEMS FOR PURPOSES NOT RELATED TO THE CONTROL OF A PARTICULAR SUB-UNIT
    • B60W50/00Details of control systems for road vehicle drive control not related to the control of a particular sub-unit, e.g. process diagnostic or vehicle driver interfaces
    • B60W50/08Interaction between the driver and the control system
    • B60W50/10Interpretation of driver requests or demands
    • BPERFORMING OPERATIONS; TRANSPORTING
    • B60VEHICLES IN GENERAL
    • B60WCONJOINT CONTROL OF VEHICLE SUB-UNITS OF DIFFERENT TYPE OR DIFFERENT FUNCTION; CONTROL SYSTEMS SPECIALLY ADAPTED FOR HYBRID VEHICLES; ROAD VEHICLE DRIVE CONTROL SYSTEMS FOR PURPOSES NOT RELATED TO THE CONTROL OF A PARTICULAR SUB-UNIT
    • B60W50/00Details of control systems for road vehicle drive control not related to the control of a particular sub-unit, e.g. process diagnostic or vehicle driver interfaces
    • B60W50/08Interaction between the driver and the control system
    • B60W50/12Limiting control by the driver depending on vehicle state, e.g. interlocking means for the control input for preventing unsafe operation
    • BPERFORMING OPERATIONS; TRANSPORTING
    • B60VEHICLES IN GENERAL
    • B60WCONJOINT CONTROL OF VEHICLE SUB-UNITS OF DIFFERENT TYPE OR DIFFERENT FUNCTION; CONTROL SYSTEMS SPECIALLY ADAPTED FOR HYBRID VEHICLES; ROAD VEHICLE DRIVE CONTROL SYSTEMS FOR PURPOSES NOT RELATED TO THE CONTROL OF A PARTICULAR SUB-UNIT
    • B60W50/00Details of control systems for road vehicle drive control not related to the control of a particular sub-unit, e.g. process diagnostic or vehicle driver interfaces
    • B60W50/08Interaction between the driver and the control system
    • B60W50/14Means for informing the driver, warning the driver or prompting a driver intervention
    • GPHYSICS
    • G08SIGNALLING
    • G08GTRAFFIC CONTROL SYSTEMS
    • G08G1/00Traffic control systems for road vehicles
    • G08G1/16Anti-collision systems
    • G08G1/166Anti-collision systems for active traffic, e.g. moving vehicles, pedestrians, bikes
    • GPHYSICS
    • G08SIGNALLING
    • G08GTRAFFIC CONTROL SYSTEMS
    • G08G1/00Traffic control systems for road vehicles
    • G08G1/16Anti-collision systems
    • G08G1/167Driving aids for lane monitoring, lane changing, e.g. blind spot detection
    • BPERFORMING OPERATIONS; TRANSPORTING
    • B60VEHICLES IN GENERAL
    • B60WCONJOINT CONTROL OF VEHICLE SUB-UNITS OF DIFFERENT TYPE OR DIFFERENT FUNCTION; CONTROL SYSTEMS SPECIALLY ADAPTED FOR HYBRID VEHICLES; ROAD VEHICLE DRIVE CONTROL SYSTEMS FOR PURPOSES NOT RELATED TO THE CONTROL OF A PARTICULAR SUB-UNIT
    • B60W2420/00Indexing codes relating to the type of sensors based on the principle of their operation
    • B60W2420/40Photo, light or radio wave sensitive means, e.g. infrared sensors
    • B60W2420/403Image sensing, e.g. optical camera
    • BPERFORMING OPERATIONS; TRANSPORTING
    • B60VEHICLES IN GENERAL
    • B60WCONJOINT CONTROL OF VEHICLE SUB-UNITS OF DIFFERENT TYPE OR DIFFERENT FUNCTION; CONTROL SYSTEMS SPECIALLY ADAPTED FOR HYBRID VEHICLES; ROAD VEHICLE DRIVE CONTROL SYSTEMS FOR PURPOSES NOT RELATED TO THE CONTROL OF A PARTICULAR SUB-UNIT
    • B60W2540/00Input parameters relating to occupants

Definitions

  • the present disclosure relates to a driving support device that supports driving of a driver.
  • Patent Literature 1 discloses a technique for automatically changing a vehicle to an adjacent lane by operating a driver's blinker lever.
  • the target vehicle When the target vehicle is automatically changed to the adjacent lane, the rear side vehicle traveling in the adjacent lane is monitored by the target vehicle's autonomous sensor to ensure the rear side safety on the target vehicle system side. It is also possible to change lanes automatically. However, at present, it is not preferable to overtrust the vehicle system due to the limit of the detection range of the autonomous sensor, and it is preferable that the driver confirms the safety.
  • An object of the present disclosure is to provide a driving support device that can prompt the driver to perform safety confirmation even when the vehicle lane is automatically changed.
  • the driving support device is provided in a vehicle and includes a lane change unit that automatically changes the lane of the vehicle. Furthermore, an operation determination unit and a change permission unit are provided.
  • the operation determination unit determines whether or not the driver has performed a safety confirmation operation when changing lanes based on information of a sensor used to detect the state of the driver of the vehicle.
  • the change permission section permits automatic lane changes by the lane change section, and if the operation determination section determines that the driver has not performed a safety check operation at the time of lane change, the lane change section automatically Do not allow any lane changes.
  • the permission unit does not permit the lane change by the lane change unit automatically. Therefore, when the lane change of the vehicle is automatically performed, the lane change cannot be performed unless the driver performs a safety confirmation operation at the time of the lane change. Therefore, even when the lane change of the vehicle is automatically performed, the driver performs a safety confirmation operation when changing the lane.
  • a driving assistance system 1 shown in FIG. 1 is mounted on a vehicle, and includes ADAS (Advanced Driver Assistance Systems) locator 2, ITS (Intelligent Transport Systems) communication device 3, peripheral monitoring system 4, HMI (Human Machine Interface).
  • ADAS Advanced Driver Assistance Systems
  • ITS Intelligent Transport Systems
  • peripheral monitoring system 4 HMI (Human Machine Interface).
  • a system 5 a vehicle control system 6, a winker lever 7, a winker switch 8, and a driving support ECU 9 are included.
  • the ADAS locator 2, the ITS communicator 3, the periphery monitoring system 4, the HMI system 5, the vehicle control system 6, the blinker switch 8, and the driving support ECU 9 are connected to, for example, the in-vehicle LAN 10 and exchange information with each other by communication. Can do.
  • a vehicle equipped with the driving support system 1 is referred to as a host vehicle or a subject vehicle.
  • the ADAS locator 2 includes a GNSS receiver, an inertial sensor such as a 3D gyro sensor, and a memory for storing map data.
  • a GNSS (Global Navigation Satellite System) receiver receives positioning signals from a plurality of artificial satellites.
  • the 3D gyro sensor includes, for example, a triaxial gyro sensor and a triaxial acceleration sensor.
  • the ADAS locator 2 measures the position of the vehicle by combining the positioning signal received by the GNSS receiver and the measurement result of the inertial sensor.
  • the ADAS locator 2 reads out map data ahead of the course of the vehicle from the memory, and extracts road information such as road shape, number of lanes, lane width, lane restriction information, speed restriction value, and intersection point position.
  • the ADAS locator 2 outputs the position information of the own vehicle and the road information ahead of the course to the in-vehicle LAN 10.
  • “Information” is used not only as a countable noun but also as a countable noun, and is equivalent to an information item.
  • One information item is equivalent to one information item, and a plurality of information items are equivalent to a plurality of information items.
  • the road information may be obtained by using an in-vehicle communication module used for telematics communication such as DCM (Data Communication Module) mounted on the vehicle.
  • DCM Data Communication Module
  • the ITS communication device 3 performs wireless communication with an in-vehicle communication device installed in a surrounding vehicle of the own vehicle and / or a roadside device installed on the roadside. For example, the ITS communication device 3 acquires the position information, the traveling speed information, and the like of the surrounding vehicle of the host vehicle through vehicle-to-vehicle communication with the in-vehicle communication device and road-to-vehicle communication with the roadside device. The ITS communication device 3 outputs the acquired information to the in-vehicle LAN 10.
  • the periphery monitoring system 4 includes a periphery monitoring sensor such as a periphery monitoring camera 41 and a millimeter wave radar 42, and a periphery monitoring ECU 40.
  • the perimeter monitoring system 4 may be configured to use a perimeter monitoring sensor such as sonar, LIDAR (Light Detection, and Ranging / Laser Imaging, Detection, Detection, and Ranging).
  • LIDAR Light Detection, and Ranging / Laser Imaging, Detection, Detection, and Ranging
  • the surrounding monitoring system 4 detects obstacles such as moving objects such as pedestrians, animals other than humans, bicycles, motorcycles, and other vehicles, and falling objects on the road, guardrails, curbs, and stationary objects such as trees.
  • a travel lane line is detected, a traffic light color, a road sign, and a road sign display are detected.
  • the HMI system 5 includes a plurality of display devices such as a combination meter 53, a CID (Center Information Display) 54, a HUD (Head-Up Display) device 55, and an electronic mirror 56.
  • the HMI system 5 further includes a DSM (Driver Status Monitor) 51, a rear side camera 52, an audio speaker 57, and an operation device 58.
  • the HMI system 5 receives an input operation from the driver of the own vehicle, presents information to the driver of the own vehicle, and monitors the state of the driver of the own vehicle.
  • the vehicle control system 6 includes an accelerator position sensor 61, a brake pedal force sensor 62, a steering angle sensor 63, a steering torque sensor 64, and other detection sensors that detect driving operations, a vehicle speed sensor 65 that detects the traveling state of the host vehicle, and the like. It has.
  • the vehicle control system 6 includes an electronic control throttle 66, a brake actuator 67, a travel control device such as an EPS (Electric Power Steering) motor 68, and a vehicle control ECU 60.
  • the vehicle control system 6 controls the traveling of the host vehicle based on a driving operation by the driver, an instruction from the driving support ECU 9, and the like.
  • the winker lever 7 is an operation member for performing a lamp lighting operation of the direction indicator of the own vehicle.
  • the blinker lever 7 corresponds to a predetermined operation member.
  • the blinker switch 8 is a switch for detecting left and right lamp lighting operations on the blinker lever 7.
  • the blinker switch 8 outputs a blinker signal for turning left or right according to the operation of the blinker lever 7 to the in-vehicle LAN 10.
  • the driving support ECU 9 includes a volatile memory, a non-volatile memory, an I / O, and a bus connecting these, and executes various processes by executing a control program stored in the non-volatile memory.
  • the driving support ECU 9 corresponds to a driving support device. Note that some or all of the functions executed by the driving support ECU 9 may be configured in hardware by one or a plurality of ICs.
  • the driving support ECU 9 controls the vehicle control ECU 60 to execute a plurality of driving support applications (hereinafter referred to as driving support apps) that perform driving operation support or substitutes by the driver.
  • driving support apps a plurality of driving support applications
  • the periphery monitoring system 4 includes a periphery monitoring ECU 40, a periphery monitoring camera 41, and a millimeter wave radar 42.
  • the periphery monitoring camera 41 is a monocular or compound eye camera, and sequentially captures the periphery of the vehicle.
  • a front camera is provided as the periphery monitoring camera 41 will be described as an example.
  • the periphery monitoring camera 41 is installed in, for example, a rearview mirror of the own vehicle with the optical axis directed toward the road surface in front of the own vehicle.
  • the peripheral monitoring camera 41 images a range of about 80 meters from the own vehicle with a horizontal viewing angle of about 45 degrees, for example. Then, the periphery monitoring camera 41 sequentially outputs captured image data to be sequentially captured to the periphery monitoring ECU 40.
  • the millimeter wave radar 42 sequentially transmits millimeter waves or quasi-millimeter waves around the vehicle and sequentially receives the reflected waves reflected by the obstacles.
  • a right rear side millimeter wave radar whose sensing range is the right rear side from the right side of the own vehicle to the rear side and a left rear side from the left side of the own vehicle to the rear side are the sensing range.
  • a case where the left rear side millimeter wave radar is provided will be described as an example.
  • a configuration using a millimeter wave radar 42 having another sensing range such as a millimeter wave radar 42 having a sensing range in front of the host vehicle may be used.
  • the right rear side millimeter wave radar is installed on the right side of the rear part of the vehicle. Then, a quasi-millimeter wave in the 24 GHz band is emitted in a range of about 120 degrees in the horizontal scanning angle from the rear of the vehicle to the right rear side, and the reflected wave is received.
  • the left rear side millimeter wave radar is the same as the right rear side millimeter wave radar except that the left and right sides are reversed.
  • the maximum detection distance of the millimeter wave radar 42 is about 70 to 150 m. Then, the millimeter wave radar 42 sequentially outputs the scanning result based on the received signal to the periphery monitoring ECU 40.
  • the periphery monitoring ECU 40 includes a CPU, a volatile memory, a nonvolatile memory, an I / O, and a bus connecting them, and executes various processes by executing a control program stored in the nonvolatile memory. Note that some or all of the functions executed by the periphery monitoring ECU 40 may be configured in hardware by one or a plurality of ICs.
  • the periphery monitoring ECU 40 detects the distance from the own vehicle, the relative position with respect to the own vehicle, the relative speed with respect to the own vehicle, and the like of the object existing in front of the own vehicle from the data of the captured image acquired from the periphery monitoring camera 41.
  • a vehicle such as an automobile, a bicycle, or a motorcycle, a pedestrian, or the like may be detected by a known image recognition process such as template matching.
  • the relative position of the object relative to the own vehicle, the own vehicle and the object are determined from the installation position of the periphery monitoring camera 41 with respect to the own vehicle, the direction of the optical axis, and the position of the object in the captured image. Can be determined.
  • the distance between the vehicle and the object may be determined based on the parallax amount of the pair of cameras.
  • the relative speed of the object with respect to the own vehicle may be determined from the rate of change of the inter-vehicle distance between the own vehicle and the object. For example, if the detected object is a vehicle and the relative position to the host vehicle is in front of the host vehicle, this object may be treated as a preceding vehicle.
  • the periphery monitoring ECU 40 detects the travel lane line in the traveling direction of the host vehicle, the position of the travel lane line relative to the host vehicle, and the like from the captured image data acquired from the periphery monitoring camera 41.
  • the travel lane marking may be detected by a known image recognition process such as edge detection. What is necessary is just to detect the position of the lane marking with respect to the own vehicle from the installation position of the periphery monitoring camera 41 with respect to the own vehicle, the direction of the optical axis, and the position of the object in the captured image.
  • the periphery monitoring ECU 40 may be configured to detect a signboard indicating lane restrictions, a road installation indicating lane restrictions, and the like by image recognition processing.
  • the surrounding monitoring ECU 40 detects the distance from the own vehicle, the relative position with respect to the own vehicle, the relative speed with respect to the own vehicle, and the like of the object existing behind the own vehicle from the information acquired from the millimeter wave radar 42. .
  • the periphery monitoring ECU 40 detects the object based on the reception intensity of the reflected wave generated by the quasi-millimeter wave transmitted from the millimeter wave radar 42 being reflected on the object. Further, the periphery monitoring ECU 40 detects the distance between the vehicle and the object from the time from when the quasi-millimeter wave is transmitted until the reflected wave is received. Further, the periphery monitoring ECU 40 detects the direction of the object with respect to the own vehicle from the direction in which the quasi-millimeter wave from which the reflected wave is obtained is transmitted. Then, the relative position of the object with respect to the own vehicle is detected from the distance between the own vehicle and the object and the direction of the object with respect to the own vehicle.
  • the periphery monitoring ECU 40 detects the relative speed of the object with respect to the own vehicle by a known method based on the Doppler shift between the transmitted quasi-millimeter wave and the reflected wave. In addition, you may detect the relative speed of the object with respect to the own vehicle from the time change rate of the distance of the own vehicle and an object.
  • the periphery monitoring ECU 40 outputs various types of detected information to the in-vehicle LAN 10 as monitoring information.
  • the surrounding monitoring ECU 40 may detect the presence of the surrounding vehicle, the distance from the own vehicle, the position and the speed with respect to the own vehicle using the position information and traveling speed information of the surrounding vehicle acquired from the ITS communication device 3. Good.
  • the number, type, and combination of types of the peripheral monitoring sensors included in the peripheral monitoring system 4 are not limited to the examples shown in the first embodiment.
  • it may be configured to have a sensing range in which a plurality of types of surrounding monitoring sensors overlap, such as performing sensing in front of the host vehicle in combination with a camera and a millimeter wave radar.
  • a surrounding monitoring sensor it is further equipped with a millimeter-wave radar that has a sensing range in the left and right diagonal front of the vehicle, and a sonar that has a sensing range in the vicinity of the left and right front corners and the left and right rear corners of the vehicle. It is good also as composition to do.
  • the HMI system 5 includes an HCU (Human Machine Interface Control Unit) 50, a DSM 51, a rear side camera 52, a combination meter 53, a CID 54, a HUD device 55, an electronic mirror 56, an audio speaker 57, and an operation device 58.
  • HCU Human Machine Interface Control Unit
  • the DSM 51 includes a near-infrared light source and a near-infrared camera, and a control unit that controls them.
  • the DSM 51 is disposed, for example, on the upper surface of the instrument panel in a posture in which the near-infrared camera faces the driver's seat side of the own vehicle.
  • the DSM 51 images the driver's head irradiated with near-infrared light from a near-infrared light source with a near-infrared camera.
  • the image captured by the near-infrared camera is analyzed by the control unit.
  • the control unit detects, for example, the driver's face direction and / or line-of-sight direction from the captured image.
  • This DSM 51 corresponds to a sensor.
  • the DSM 51 detects parts such as a face outline, eyes, nose, and mouth by image recognition processing from a captured image obtained by capturing the driver's face with a near-infrared camera. Then, the face orientation of the driver is detected from the relative positional relationship of each part. Also, as an example, the DSM 51 detects the driver's pupil and corneal reflection from the captured image obtained by capturing the driver's face with a near-infrared camera, and recognizes the line of sight from the positional relationship between the detected pupil and corneal reflection. Detect the direction of. The DSM 51 outputs information on the detected driver's face direction and line-of-sight direction to the in-vehicle LAN 10.
  • parts such as a face outline, eyes, nose, and mouth by image recognition processing from a captured image obtained by capturing the driver's face with a near-infrared camera. Then, the face orientation of the driver is detected from the relative positional relationship of each part.
  • the DSM 51 detects the driver's
  • the DSM 51 may be configured to detect the face orientation by using the distance between the driver's head or shoulder and the driver's seat or headrest depending on the driver's face orientation.
  • the DSM 51 may be configured to detect the face orientation from changes in the distance to the head or shoulders of the driver, which are detected by a plurality of distance measuring sensors installed on the driver's seat or the headrest, respectively.
  • the rear side camera 52 is, for example, a monocular camera, and sequentially images the rear side of the vehicle.
  • the rear side cameras 52 are respectively installed on the left and right door mirrors of the own vehicle, and respectively image predetermined ranges on the left and right rear sides of the own vehicle.
  • the rear side camera 52 sequentially outputs captured image data to be sequentially captured to the HCU 50.
  • the combination meter 53 is arranged in front of the driver's seat in the passenger compartment of the own vehicle.
  • the CID 54 is arranged above the center cluster in the passenger compartment of the host vehicle.
  • the combination meter 53 and the CID 54 display various images for information notification on the display screen based on the image data acquired from the HCU 50.
  • the HUD device 55 projects the display image formed on the display element based on the image data acquired from the HCU 50 onto the windshield of the host vehicle, thereby converting the virtual image of the display image from Overlapping display is possible.
  • the HUD device 55 presents information to the driver by a display object displayed as a virtual image.
  • the electronic mirror 56 is a display device that sequentially displays captured images of the rear side of the host vehicle sequentially captured by the rear side camera 52, and a display device that displays a captured image of the right rear side of the host vehicle, There is a display device that displays a captured image of the left rear side of the vehicle.
  • the electronic mirror 56 is installed at the base of each pillar located on the left and right sides of the windshield in the vehicle interior of the host vehicle. The electronic mirror 56 sequentially acquires and displays captured images captured sequentially by the rear side camera 52 via the HCU 50.
  • the electronic mirror 56 may superimpose the display object generated by the HCU 50 in addition to the captured image of the rear side of the vehicle taken by the rear side camera 52. Further, the display area of the display object generated by the HCU 50 and the rear side captured image captured by the rear side camera 52 may be displayed separately. The electronic mirror 56 presents information to the driver by a display object displayed in addition to the captured image of the rear side of the host vehicle.
  • the audio speaker 57 is installed, for example, in the lining of the door of the own vehicle, and reproduces sound or sound that can be heard by the driver of the own vehicle. Specifically, synthesized beeps such as mechanical beeps and messages are output from the audio speaker 57. The audio speaker 57 presents information to the driver by using sound and voice to be reproduced.
  • the operation device 58 is a group of switches operated by the driver of the own vehicle.
  • the operation device 58 there is a steering switch provided in a spoke spoke portion of the own vehicle.
  • the steering switch is used for the driver to make various settings including the necessity of starting the driving support application, or for the driver to permit automatic lane change.
  • the HCU 50 includes a CPU, a volatile memory, a non-volatile memory, an I / O, and a bus connecting them, and executes various processes by executing a control program stored in the non-volatile memory. Note that some or all of the functions executed by the HCU 50 may be configured in hardware by one or a plurality of ICs.
  • the HCU 50 provides information to the driver by controlling the combination meter 53, the CID 54, the HUD device 55, the electronic mirror 56, and the audio speaker 57 to present information. Further, the HCU 30 sequentially outputs captured image data of the rear side of the own vehicle sequentially acquired from the rear side camera 52 to the electronic mirror 56. In addition, the HCU 50 outputs a signal corresponding to the detection result of the DSM 51 and the switch operation of the operation device 58 to the in-vehicle LAN 10.
  • the vehicle control system 6 includes a vehicle control ECU 60, an accelerator position sensor 61, a brake pedal force sensor 62, a steering angle sensor 63, a steering torque sensor 64, a vehicle speed sensor 65, an electronic control throttle 66, a brake actuator 67, and an EPS motor 68. Yes.
  • the accelerator position sensor 61 detects the amount of depression of the accelerator pedal by the driver and outputs it to the vehicle control ECU 60.
  • the brake pedaling force sensor 62 detects the pedaling force of the brake pedal by the driver and outputs it to the vehicle control ECU 60.
  • the steering angle sensor 63 detects the steering angle or the turning angle of the host vehicle as the steering angle.
  • the steering torque sensor 64 detects the steering torque applied to the steering wheel by the driver and outputs it to the vehicle control ECU 60.
  • the vehicle speed sensor 65 detects the current traveling speed of the host vehicle by measuring the output shaft of the transmission or the rotational speed of the axle, and outputs it to the vehicle control ECU 60.
  • the electronic control throttle 66 controls the opening of the throttle based on a control signal output from the vehicle control ECU 60.
  • the brake actuator 67 controls the braking force generated on each wheel by generating a brake pressure based on a control signal output from the vehicle control ECU 60.
  • the EPS motor 68 controls the steering force and the steering force applied to the steering mechanism based on the control signal output from the vehicle control ECU 60.
  • the vehicle control ECU 60 is an electronic control device that performs acceleration / deceleration control and / or steering control of the host vehicle.
  • the vehicle control ECU 60 includes a steering ECU that performs steering control, a power unit control ECU that performs acceleration / deceleration control, a brake ECU, and the like.
  • the vehicle control ECU 60 uses an electronic control throttle 66, a brake actuator 67, and an EPS motor based on detection signals output from sensors such as an accelerator position sensor 61, a brake pedal force sensor 62, a rudder angle sensor 63, and a vehicle speed sensor 65.
  • a control signal is output to each traveling control device such as 68.
  • the vehicle control ECU 60 performs acceleration / deceleration control and / or steering control of the host vehicle in accordance with an instruction from the drive support ECU 9 when the drive support application is executed.
  • the vehicle control ECU 60 also outputs detection signals output from the sensors 61 to 65 to the in-vehicle LAN 10.
  • the driving assistance ECU 9 executes a control program stored in the non-volatile memory, whereby an LCA (Lane Change Assist) function unit 90, an ACC (Adaptive Cruise Control) function unit 91, an LKA (Lane Keeping Assist) function unit 92, And AEB (Autonomous Emergency Braking) function unit 93 is constructed as a function block. With these functional blocks, the above-described driving support application is executed.
  • LCA Local Area Change Assist
  • ACC Adaptive Cruise Control
  • LKA Lane Keeping Assist
  • AEB Automatic Emergency Braking
  • the ACC function unit 91 realizes an ACC function of controlling the traveling speed of the host vehicle by causing the vehicle control ECU 60 to adjust the driving force and the braking force based on the monitoring information of the preceding vehicle acquired from the surrounding monitoring ECU 40.
  • the ACC function unit 91 causes the host vehicle to travel at a constant speed, for example, at a target travel speed set by the driver via the operation device 58.
  • the ACC function unit 91 sets the target inter-vehicle distance to the preceding vehicle according to the target traveling speed with the speed of the preceding vehicle as the target traveling speed.
  • the host vehicle is caused to follow the preceding vehicle while performing acceleration / deceleration control so as to be the target inter-vehicle distance.
  • the speed of the preceding vehicle may be obtained from the relative speed of the preceding vehicle with respect to the own vehicle detected by the surrounding monitoring ECU 40 and the vehicle speed indicated by the detection signal of the vehicle speed sensor 65 of the own vehicle.
  • the LKA function unit 92 realizes the LKA function of controlling the steering angle of the steering wheel of the host vehicle by causing the vehicle control ECU 60 to adjust the steering force.
  • the LKA function unit 92 maintains the host vehicle in the host lane by generating a steering force in a direction that prevents the approach to the travel lane line.
  • the driving support that activates both the ACC function and the LKA function to realize automatic driving in the traveling lane of the own vehicle is hereinafter referred to as in-lane driving support.
  • the AEB function unit 93 causes the vehicle control ECU 60 to adjust the braking force on the basis of the monitoring information in front of the host vehicle acquired from the surrounding monitoring ECU 40, thereby forcibly reducing the vehicle speed of the host vehicle. That is, the AEB function is realized.
  • TTC time-to-collision
  • the vehicle speed of the host vehicle is forcibly automatically decelerated.
  • the LCA function unit 90 realizes an LCA function for moving the vehicle from the currently traveling lane to the adjacent lane. Details of the LCA function unit 90 will be described later.
  • the driving assistance ECU 9 is configured to notify the driver of the presence of other vehicles in the left and right rear side areas of the own vehicle based on the monitoring information on the left and right rear sides of the own vehicle acquired from the surrounding monitoring ECU 40. It is good also as a structure which implement
  • the LCA function unit 90 includes, as function blocks, a state transition unit 100, an LC (Lane Change) intention determination unit 101, an intention detection unit 102, an operation determination unit 103, a timeout determination unit 104, a surrounding state determination unit 105, a permission unit 106, Promotion processing unit 107, lane change unit 108, and post-completion processing unit 109 (state transition unit 100, LC (Lane Change) intention determination unit 101, intention detection unit 102, operation determination unit 103, timeout determination unit 104, surrounding situation determination Device 105, permission device 106, acceleration processor 107, lane change device 108, and post-completion processor 109).
  • state transition unit 100 state transition unit 100, an LC (Lane Change) intention determination unit 101, intention detection unit 102, operation determination unit 103, timeout determination unit 104, surrounding situation determination Device 105, permission device 106, acceleration processor 107, lane change device 108, and post-completion processor 109.
  • the state transition unit 100 transitions the state of the LCA function of the own vehicle.
  • the state transition unit 100 sets the LC_OFF state in which the LCA function cannot be executed, for example, when the in-lane travel support is OFF (that is, both the functions of ACC and LKA are inactive).
  • it is set as LC_OFF when the surrounding monitoring ECU 40 cannot detect the adjacent lane of the own vehicle.
  • the case where the adjacent lane of the own vehicle cannot be detected refers to the case where the travel lane between the own lane and the adjacent lane cannot be detected.
  • the state transition unit 100 performs LCA. Transition to the LC_READY state where the function is ready to be executed.
  • the state transition unit 100 determines that the driver's intention to change the lane is determined by the later-described LC intention determination unit 101
  • the state transition unit 100 causes the LCA function unit 90 to transition to the LC_ON state in which the LCA function is executed.
  • the state transition unit 100 transitions to the LC_READY state when the timeout determination unit 104 described later determines that the determination result of the LC intention determination unit 101 or the operation determination unit 103 is invalid.
  • the state transition unit 100 transitions to the LC_READY state when steering in the lane change unit 108 described later is completed.
  • LC intention determination unit 101 determines the driver's intention to change lanes when in the LC_READY state. As an example, when a winker signal at the time of turning left or right is obtained from the winker switch 8, it may be determined that there is an intention to change lanes (hereinafter, there is an LC intention). Further, when a winker signal for a right turn is obtained, it is determined that the right adjacent lane has an LC intention, and when a winker signal for a left turn is obtained, it is determined that the left adjacent lane has an LC intention. If the blinker signal at the time of turning left or right is not obtained, it may be determined that there is no LC intention. In the first embodiment, the blinker lever 7 corresponds to an operation member.
  • the intention detection unit 102 starts counting from the time point when the LC intention determination unit 101 determines that there is an LC intention. That is, the count starting from the time when the blinker lever 7 is operated is started. Then, it is detected that the driver has permitted the lane change (hereinafter referred to as steering start trigger ON) that the count has reached the specified value.
  • the count may be a count of elapsed time or a count of the travel distance of the own vehicle, but the following description will be given by taking an example of counting the elapsed time.
  • the elapsed time may be counted by, for example, a timer circuit. This count corresponds to the measured value.
  • the operation determination unit 103 determines whether or not the driver has performed a safety confirmation operation when changing lanes based on the detection results of the DSM 51 sequentially output from the HCU 50.
  • the determination by the operation determination unit 103 is preferably started after the LC intention determination unit 101 determines that there is an LC intention. This is because the processing load of the driving assistance ECU 9 can be reduced as compared with the configuration in which the determination by the operation determination unit 103 is always performed.
  • the fixed time is a residence time that is considered to be normally required for safety confirmation, and can be arbitrarily set.
  • the line-of-sight direction when detecting to the driver's line-of-sight direction with the DSM 51, for example, when the line-of-sight direction moves in the order of the front of the vehicle, the right door mirror, the right rear side, and the front, it is determined that the safety confirmation operation has been performed. May be. For the right door mirror and the right rear side, the line-of-sight direction may stay for a certain time or longer.
  • the intention to change the lane to the right adjacent lane is excluded except that the left and right are reversed. This is the same as when it is determined that there is.
  • the timeout determination unit 104 determines whether the detection result of the intention detection unit 102 and the determination result of the operation determination unit 103 have expired (that is, timed out).
  • the detection result of the intention detection unit 102 is determined to be a timeout when the elapsed time from the detection of the steering start trigger ON by the intention detection unit 102 is equal to or longer than the first effective time, and valid when the time is less than the first effective time. Is determined.
  • the first valid time mentioned here can be arbitrarily set and may be about several seconds.
  • the elapsed time after determining that the safety determination operation has been performed in the operation determination unit 103 is equal to or longer than the second effective time, it is determined as a timeout, and is less than the second effective time. If it is determined to be valid.
  • the second valid time referred to here is a time at which it is considered highly likely that the situation on the rear side of the adjacent lane will change, and can be arbitrarily set. For example, the second valid time may be about several seconds.
  • the surrounding situation determination unit 105 determines whether or not the surrounding situation of the host vehicle is a surrounding situation in which the lane can be changed to an adjacent lane based on the monitoring information sequentially output from the surrounding monitoring ECU 40 in the LC_ON state. Judge sequentially. As an example, if there is no object approaching the host vehicle in the rear side of the lane to which the lane is changed from the monitoring information on the rear side of the host vehicle detected by the millimeter wave radar 42, the surrounding situation in which the lane can be changed Is determined. On the other hand, if there is an object approaching the host vehicle on the rear side of the lane to which the lane is changed, it is determined that the lane change is impossible.
  • the surrounding situation determination unit 105 determines whether there is another vehicle approaching the host vehicle behind the lane to which the lane is changed, based on the position information and traveling speed information of the surrounding vehicle acquired by the ITS communication device 3. By determining whether or not, it may be determined whether or not the surrounding situation of the host vehicle is a surrounding situation where the lane can be changed to an adjacent lane.
  • the permission unit 106 is also referred to as a change permission unit and a change permission device, and when the state becomes LC_ON, the lane change of the own vehicle is permitted or not permitted depending on whether or not a predetermined condition is satisfied.
  • the predetermined condition is that the intention detection unit 102 detects that the steering start trigger is ON, the operation determination unit 103 determines that the safety check operation has been performed, and the surrounding state determination unit 105 determines that the surrounding situation is lane changeable. This means that the determination result of the LC intention determination unit 101 and the operation determination unit 103 is not determined to be timeout by the timeout determination unit 104.
  • the specified value here is a value that can be arbitrarily set corresponding to a time shorter than the first effective time described above, and may be, for example, 3 seconds.
  • the promotion processing unit 107 outputs, to the HCU 50, an instruction for instructing the driver to perform the safety confirmation operation based on the fact that the operation determination unit 103 determines that the safety confirmation operation is not performed.
  • the driver is notified of the safety confirmation operation. It is sufficient to adopt a configuration that allows
  • the certain time mentioned here can be set arbitrarily, and may be set in consideration of the time required for a driver with a slow safety check operation such as the elderly to complete the safety check operation.
  • the HCU 50 that has received the instruction to perform the notification causes the display device and the audio speaker 57 to notify the driver of the safety confirmation operation.
  • a configuration for performing a safety confirmation operation on a display device such as the electronic mirror 56 may be displayed, or a configuration such as simply turning on a lamp such as an LED may be used.
  • the lane change unit 108 instructs the vehicle control ECU 60 to move the host vehicle to the adjacent lane by generating a steering force in the direction toward the adjacent lane.
  • the post-completion processing unit 109 performs post-steering completion processing when steering in the process of moving the host vehicle to the adjacent lane in the lane change unit 108 is completed.
  • an instruction to perform notification indicating that the lane change has been completed is output to the HCU 50, and notification indicating that the lane change has been completed is performed from the display device or the audio speaker 57.
  • the display indicating that the lane is being changed may be terminated by the post-steering completion processing.
  • an instruction may be output to the electronic control device that operates the winker lever, and the winker lever 7 operated by the driver may be automatically returned to the neutral position.
  • LCA related processing an example of the flow of processing related to the LCA function in the driving support ECU 9 (hereinafter, LCA related processing) will be described using the flowchart of FIG. 3
  • the flowchart of FIG. 3 may be configured to start, for example, when the driving assistance in the lane in the driving assistance ECU 9 is ON (that is, both the functions of ACC and LKA are activated).
  • the described flowchart includes a plurality of sections (or referred to as steps), and each section is expressed as, for example, S1. Further, each section can be divided into a plurality of subsections, while a plurality of sections can be combined into one section.
  • Each section can be referred to as a device, or as a proper name, and with structural modifiers, for example, a motion determination section, as a motion determination device, a motion determiner.
  • the section includes (i) not only a section of software combined with a hardware unit (eg, a computer) but also (ii) a section of hardware (eg, an integrated circuit, a wiring logic circuit) and related devices. It can be realized with or without the function.
  • the hardware section can be included inside the microcomputer.
  • an instruction to perform notification indicating that the operation of the winker lever 7 and the safety confirmation operation are necessary is output to the HCU 50, and the display device and the audio speaker 57 are used. This notification is preferably performed. If it is determined in S7 and S8 that a time-out has occurred, the winker lever 7 that has been operated by the driver is automatically returned to the neutral position, so that the operation of the winker lever 7 and the safety confirmation operation are required again. It is good also as a structure which makes a driver recognize.
  • the lane changing unit 108 instructs the vehicle control ECU 60 to move the host vehicle to the adjacent lane.
  • the process proceeds to S11.
  • the post-completion processing unit 109 performs post-steering post-processing, and the process proceeds to S12.
  • the LCA related process is ended if it is the end timing of the LCA related process (YES in S14). On the other hand, if it is not the end timing of the LCA related process (NO in S14), the process returns to S1 and the process is repeated.
  • the LCA function unit 90 sets the LC_OFF state in at least one of the case where the in-lane driving support is OFF and the case where the surrounding monitoring ECU 40 cannot detect the adjacent lane of the own vehicle. Become.
  • the in-lane travel support is ON in the LC_OFF state and the adjacent monitoring lane of the host vehicle can be detected by the surrounding monitoring ECU 40, the state transitions from the LC_OFF to the LC_READY state.
  • the state transits to the LC_ON state.
  • the timeout determination unit 104 determines that a timeout has occurred, the state transitions to the LC_READY state.
  • the three conditions such as the surrounding situation in which the lane can be changed, the detection of the steering start trigger ON, and the execution of the safety confirmation operation are satisfied, the lane change is permitted and the steering is started. The Then, when the steering is completed and the post-steering completion process is executed and the lane change is completed, the state transitions from the LC_ON state to the LC_READY state.
  • the permission unit 106 automatically performs the lane change unit 108. Do not allow any lane changes. Therefore, even when the lane change of the vehicle is automatically performed by the LCA function, the driver has to perform a safety confirmation operation at the time of the lane change. Further, since the lane change cannot be performed unless the driver performs the safety confirmation operation when changing the lane, the driver can be prompted to perform the safety confirmation operation. As a result, it is possible to make the driver a habit of confirming safety when changing lanes, and to promote the growth of the driver.
  • the driver performs the safety confirmation operation as an indispensable condition for lane change permission. By doing so, it is possible to personally adapt the steering start timing at the time of lane change. Details will be described below with reference to FIG.
  • FIG. 5A shows an example in which the safety confirmation operation by the driver is not an essential condition for permission to change lanes.
  • B and C of FIG. 5 have shown the example in case implementation of the safety confirmation operation
  • FIG. 5B shows an example of a driver whose operation from the operation of the blinker lever 7 to the execution of the safety confirmation operation is early, and FIG. An example is shown.
  • the prescribed value (A Need to be set larger.
  • the execution of the safety confirmation operation by the driver is an indispensable condition for permitting the lane change.
  • the specified count value (see T1 of B and C) can be set smaller than the case of A. Therefore, if the driver is quick from the operation of the blinker lever 7 to the safety confirmation operation, the steering can be started earlier than in the case of A by the amount that the specified count value can be set smaller (T1 of B). reference).
  • T1 of B the amount that the specified count value can be set smaller
  • the steering is not started until the safety confirmation operation is performed (see T2 of C). .
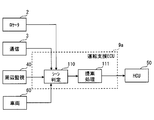
  • the driving support ECU 9a is the same as the driving support ECU 9 of the first embodiment except that the driving support ECU 9a includes a scene determination unit 110 and a proposal processing unit 111 (also referred to as a scene determination unit 110 and a proposal processing unit 111).
  • the scene determination unit 110 and the proposal processing unit 111 may be configured to be included in the LCA function unit 90, or may be configured not to be included in the LCA function unit 90.
  • the scene determination unit 110 determines whether the lane change is a preferable driving scene based on the traveling state of the own vehicle and / or the situation around the own vehicle.
  • the scene determination unit 110 is a driving scene in which the lane change is preferable based on the position of the own vehicle and the position of the crossing point acquired from the ADAS locator 2 and the inter-vehicle distance between the own vehicle and the preceding vehicle acquired from the surrounding monitoring ECU 40. It is determined whether it is. As a specific example, when the own vehicle is a predetermined distance or more away from the intersection and the distance between the own vehicle and the preceding vehicle is not more than a predetermined value, it may be determined that the lane change is a preferable driving scene. .
  • the predetermined distance may be any distance as long as it is longer than the distance that should be prohibited from changing lanes before the crossing point.
  • the predetermined value mentioned here may be approximately the target inter-vehicle distance when it can be said that the speed of the preceding vehicle is significantly lower than the speed regulation value, and can be arbitrarily set.
  • the predetermined value may be sequentially changed according to the speed regulation value included in the map data acquired from the ADAS locator 2, or may be a fixed value regardless of the speed regulation value.
  • the scene determination unit 110 determines whether the lane change of the own vehicle is a preferable driving scene based on the position of the own vehicle and the lane restriction information acquired from the ADAS locator 2. As a specific example, it may be determined that the lane change is a preferable driving scene when the own vehicle is less than a predetermined distance to a point where the lane must be changed due to lane restrictions.
  • the predetermined distance here can be arbitrarily set.
  • the lane restriction information regarding the point where the lane must be changed due to the lane restriction may be obtained from the roadside device via the ITS communication device 3.
  • the driving support ECU 9 can acquire information on a planned route such as a recommended route that is being route-guided by the car navigation device and a planned route that is planned to be driven by automatic driving, the planned route is used. It is good also as a structure which determines the driving scene where a lane change is preferable in the scene determination part 110.
  • FIG. As an example, when a right / left turn is necessary at an intersection ahead of the traveling direction from the planned route, and the lane change is necessary for the right / left turn, the scene determination unit 110 indicates that the lane change is a preferable driving scene. What is necessary is just to judge.
  • the suggestion processing unit 111 When the scene determination unit 110 determines that the lane change is a preferable driving scene, the suggestion processing unit 111 outputs an instruction to the HCU 50 to notify the lane change of the own vehicle.
  • the HCU 50 that has received the instruction to perform the notification causes the display device and the audio speaker 57 to perform notification for proposing the lane change of the own vehicle.
  • the display device such as the electronic mirror 56 may be configured to display a text or icon that suggests a lane change.
  • the determination by the operation determination unit 103 may be started.
  • the timing at which it is determined that the safety confirmation operation has been performed may be earlier than in the case of the first embodiment.
  • the valid time may be set longer than in the case of the first embodiment.
  • the safety confirmation operation is performed before the operation of the blinker lever 7 when the lane is changed. It is also possible to determine the safety confirmation operation of the driver that implements the above. Therefore, it is possible to prevent a situation in which the lane change is not permitted if the safety confirmation operation is not performed even though the safety confirmation operation is performed before the operation of the blinker lever 7.
  • the steering for changing the lane is not automatically started on the condition that only the elapsed time from the operation of the blinker lever 7 is used. Accordingly, there is no problem that the steering for automatically changing the lane is started before the driver who performs the safety confirmation operation after operating the blinker lever 7 completes the safety confirmation operation.
  • the configuration in which the LCA-related processing is started when the in-lane travel support is turned on is shown, but the configuration is not necessarily limited thereto.
  • it may be configured to start when the ACC function is activated without activating the LKA function, or when the vehicle is driven manually without activating the ACC function or the LKA function. It is good also as a structure.
  • the intention detection unit 102 detects that the steering start trigger is ON, the operation determination unit 103 determines that the safety confirmation operation is performed, and the surrounding situation determination unit 105 can change the lane.
  • the timeout determination unit 104 does not determine a timeout, it is not necessarily limited thereto.
  • the intention detection unit 102 may detect the steering start trigger ON as a condition for not allowing the lane change.
  • the intention detection unit 102 detects that the count starting from the time point when the LC intention determination unit 101 determines that there is an LC intention has reached a specified value as the steering start trigger ON.
  • the configuration is shown, it is not necessarily limited to this.
  • the operation device 58 may be configured to detect, as the steering start trigger ON, that the driver of the operation device 58 has operated a button or the like used to communicate the intention of changing the lane.
  • the operation device 58 corresponds to an operation member.
  • it may be configured to detect that the driver has operated the steering wheel as a steering start trigger ON.
  • the steering wheel corresponds to the operation member.
  • the intention detection unit 102 may detect that the driver has operated the steering wheel from the signal of the steering torque sensor 64.
  • a configuration is shown in which the timeout determination unit 104 determines a timeout when the elapsed time after the intention detection unit 102 detects that the steering start trigger is ON is equal to or longer than the first effective time.
  • the timeout determination unit 104 determines a timeout when the elapsed time after the intention detection unit 102 detects that the steering start trigger is ON is equal to or longer than the first effective time.
  • this is not necessarily the case.
  • a configuration may be adopted in which a time-out is determined when the elapsed time since the driver operated the blinker lever 7, that is, when the count in the intention detection unit 102 is equal to or longer than the first valid time.
  • the first effective time may be set to a time longer than the time taken for the driver to operate the blinker lever 7 to complete the safety check. More preferably, the first valid time may be set longer with reference to a driver with a slow safety check so that a timeout is not determined during a safety check operation by a driver with a slow safety check. For example, the first valid time may be about 10 seconds.
  • the timing at which the operation determination unit 103 determines whether the safety confirmation operation has been performed is not necessarily limited to the timing described in the first embodiment and the first modification.
  • the promotion processing unit 107 performs a notification that prompts the driver to perform a safety confirmation operation based on the fact that the operation determination unit 103 determines that the safety confirmation operation is not performed.
  • the present invention is not limited to this.
  • it may be configured to notify the driver of the safety confirmation operation.

Landscapes

  • Engineering & Computer Science (AREA)
  • Automation & Control Theory (AREA)
  • Mechanical Engineering (AREA)
  • Transportation (AREA)
  • Physics & Mathematics (AREA)
  • General Physics & Mathematics (AREA)
  • Human Computer Interaction (AREA)
  • Multimedia (AREA)
  • Theoretical Computer Science (AREA)
  • Mathematical Physics (AREA)
  • Traffic Control Systems (AREA)
  • Control Of Driving Devices And Active Controlling Of Vehicle (AREA)
PCT/JP2016/076885 2015-11-30 2016-09-13 運転支援装置 Ceased WO2017094316A1 (ja)

Priority Applications (1)

Application Number Priority Date Filing Date Title
US15/778,421 US20180354517A1 (en) 2015-11-30 2016-09-13 Driving assistance apparatus

Applications Claiming Priority (2)

Application Number Priority Date Filing Date Title
JP2015-232879 2015-11-30
JP2015232879A JP6617534B2 (ja) 2015-11-30 2015-11-30 運転支援装置

Publications (1)

Publication Number Publication Date
WO2017094316A1 true WO2017094316A1 (ja) 2017-06-08

Family

ID=58796839

Family Applications (1)

Application Number Title Priority Date Filing Date
PCT/JP2016/076885 Ceased WO2017094316A1 (ja) 2015-11-30 2016-09-13 運転支援装置

Country Status (3)

Country Link
US (1) US20180354517A1 (enExample)
JP (1) JP6617534B2 (enExample)
WO (1) WO2017094316A1 (enExample)

Cited By (9)

* Cited by examiner, † Cited by third party
Publication number Priority date Publication date Assignee Title
CN110018570A (zh) * 2017-12-28 2019-07-16 阿尔派株式会社 车载系统
WO2020035897A1 (ja) 2018-08-13 2020-02-20 日産自動車株式会社 車両の走行制御方法及び走行制御装置
WO2020035896A1 (ja) 2018-08-13 2020-02-20 日産自動車株式会社 車両の走行制御方法及び走行制御装置
CN111527013A (zh) * 2017-12-27 2020-08-11 宝马股份公司 车辆变道预测
US20200255058A1 (en) * 2019-02-07 2020-08-13 Denso Corporation Motor control device
RU2756878C1 (ru) * 2018-06-13 2021-10-06 Ниссан Мотор Ко., Лтд. Способ помощи при движении и устройство помощи при движении
JP2022053040A (ja) * 2020-09-24 2022-04-05 トヨタ自動車株式会社 自動運転システム
JP2023023209A (ja) * 2021-08-04 2023-02-16 トヨタ自動車株式会社 走行制御装置、走行制御方法、および走行制御用コンピュータプログラム
DE102019115805B4 (de) 2018-12-13 2023-11-23 GM Global Technology Operations LLC System und verfahren zum einleiten und ausführen eines automatisierten spurwechselmanövers

Families Citing this family (28)

* Cited by examiner, † Cited by third party
Publication number Priority date Publication date Assignee Title
CN108883773B (zh) * 2016-03-29 2021-07-23 本田技研工业株式会社 自动驾驶控制装置
JP6387369B2 (ja) * 2016-05-23 2018-09-05 本田技研工業株式会社 走行制御装置
JP6776968B2 (ja) * 2017-03-23 2020-10-28 いすゞ自動車株式会社 走行制御装置、車両および走行制御方法
JP6791021B2 (ja) * 2017-06-06 2020-11-25 トヨタ自動車株式会社 操舵支援装置
US10549762B2 (en) * 2017-07-31 2020-02-04 GM Global Technology Operations LLC Distinguish between vehicle turn and lane change
JP6634637B2 (ja) * 2017-08-14 2020-01-22 本田技研工業株式会社 車両制御システムおよび車両制御方法
US11396297B2 (en) 2018-02-26 2022-07-26 Honda Motor Co., Ltd. Vehicle control system, vehicle control method, and program
JP7060841B2 (ja) * 2018-03-13 2022-04-27 オムロン株式会社 運転評価装置、運転評価方法、及び運転評価プログラム
CN110298219A (zh) * 2018-03-23 2019-10-01 广州汽车集团股份有限公司 无人驾驶车道保持方法、装置、计算机设备和存储介质
DE102018211447A1 (de) * 2018-07-11 2020-01-16 Robert Bosch Gmbh Steuereinrichtung und Verfahren zur Steuerung eines Überholvorgangs für ein autonomes oder teilautonomes Fahrzeug
JP7087919B2 (ja) * 2018-10-31 2022-06-21 トヨタ自動車株式会社 運転支援装置、車両、運転支援方法およびプログラム
JP7051263B2 (ja) * 2018-11-27 2022-04-11 三菱電機株式会社 運転計画変更指示装置および運転計画変更指示方法
JP7212537B2 (ja) 2019-02-07 2023-01-25 本田技研工業株式会社 車両制御装置、車両及び車両制御方法
JP6892208B2 (ja) * 2019-02-27 2021-06-23 本田技研工業株式会社 車両制御装置
US12030511B2 (en) 2019-05-15 2024-07-09 Nissan Motor Co., Ltd. Display control method and display control device
JP7255438B2 (ja) * 2019-10-01 2023-04-11 トヨタ自動車株式会社 車載インターフェース装置および自動車
KR20210084749A (ko) * 2019-12-27 2021-07-08 현대자동차주식회사 자율주행차량 제어 시스템 및 그를 이용한 자율주행차량 제어 방법
JP7474136B2 (ja) * 2020-06-30 2024-04-24 本田技研工業株式会社 制御装置、制御方法、およびプログラム
US11535253B2 (en) * 2020-09-18 2022-12-27 GM Global Technology Operations LLC Lane change maneuver intention detection systems and methods
JP7415990B2 (ja) * 2021-03-18 2024-01-17 トヨタ自動車株式会社 走行制御装置および走行制御方法
DE102021117921A1 (de) * 2021-07-12 2023-01-12 Valeo Comfort And Driving Assistance Führen eines Fahrzeugs auf der Basis von Blickverfolgungsdaten
JP7582102B2 (ja) 2021-07-13 2024-11-13 トヨタ自動車株式会社 車線変更支援装置
JP7593261B2 (ja) * 2021-08-04 2024-12-03 株式会社デンソー 車載システム及び運転診断プログラム
DE102021128328A1 (de) 2021-10-29 2023-05-04 Bayerische Motoren Werke Aktiengesellschaft Verfahren zum Unterstützen eines Nutzers eines Fahrzeugs beim Manövrieren des Fahrzeugs auf einer mehrspurigen Straße unter Berücksichtigung einer individuellen Reaktionszeit des Nutzers, Fahrerassistenzsystem sowie Fahrzeug
JP7762636B2 (ja) * 2022-09-26 2025-10-30 Astemo株式会社 管制システム、管理方法、および管理プログラム
JP7724253B2 (ja) * 2023-05-17 2025-08-15 本田技研工業株式会社 制御装置
DE102023116509A1 (de) * 2023-06-22 2024-12-24 Bayerische Motoren Werke Aktiengesellschaft Recheneinrichtung für ein Assistenzsystem eines Fahrzeugs zur Durchführung von automatisierten Spurwechselmanövern mit Berücksichtigung einer Spurwechselintention des Fahrers, Assistenzsystem sowie Verfahren
CN120056997B (zh) * 2025-04-28 2025-07-29 吉林大学 一种自适应场景的加减速控制与切换方法

Citations (4)

* Cited by examiner, † Cited by third party
Publication number Priority date Publication date Assignee Title
JP2000142282A (ja) * 1998-11-11 2000-05-23 Nissan Motor Co Ltd 自動車用の安全促進装置
JP2011159217A (ja) * 2010-02-03 2011-08-18 Fuji Heavy Ind Ltd 確認行動支援装置
JP2015515406A (ja) * 2012-03-01 2015-05-28 コンティネンタル・テーベス・アクチエンゲゼルシヤフト・ウント・コンパニー・オッフェネ・ハンデルスゲゼルシヤフト 車両の自立的な縦方向帰還制御、及び/或いは、横方向帰還制御を実施するためのドライバー・アシスタント・システム用の方法
JP2015168406A (ja) * 2014-03-11 2015-09-28 トヨタ自動車株式会社 車線変更支援装置

Family Cites Families (9)

* Cited by examiner, † Cited by third party
Publication number Priority date Publication date Assignee Title
DE10210723A1 (de) * 2002-03-12 2003-09-25 Bosch Gmbh Robert Spurwechselassistent für Kraftfahrzeuge
JP2004157880A (ja) * 2002-11-07 2004-06-03 Toyota Central Res & Dev Lab Inc 確認行動評価装置
JP3966170B2 (ja) * 2002-12-05 2007-08-29 株式会社デンソー 運転支援装置
JP2008097501A (ja) * 2006-10-16 2008-04-24 Nissan Motor Co Ltd 運転支援システム及び案内音声出力方法
JP2010073134A (ja) * 2008-09-22 2010-04-02 Aisin Seiki Co Ltd 車両周辺認知支援システム
JP5806733B2 (ja) * 2011-05-20 2015-11-10 本田技研工業株式会社 車線変更支援情報可視化システム
JP5803274B2 (ja) * 2011-05-25 2015-11-04 富士通株式会社 運転技術判別装置および運転技術判別プログラム
US9751534B2 (en) * 2013-03-15 2017-09-05 Honda Motor Co., Ltd. System and method for responding to driver state
US9653001B2 (en) * 2015-04-10 2017-05-16 GM Global Technology Operations LLC Vehicle driving aids

Patent Citations (4)

* Cited by examiner, † Cited by third party
Publication number Priority date Publication date Assignee Title
JP2000142282A (ja) * 1998-11-11 2000-05-23 Nissan Motor Co Ltd 自動車用の安全促進装置
JP2011159217A (ja) * 2010-02-03 2011-08-18 Fuji Heavy Ind Ltd 確認行動支援装置
JP2015515406A (ja) * 2012-03-01 2015-05-28 コンティネンタル・テーベス・アクチエンゲゼルシヤフト・ウント・コンパニー・オッフェネ・ハンデルスゲゼルシヤフト 車両の自立的な縦方向帰還制御、及び/或いは、横方向帰還制御を実施するためのドライバー・アシスタント・システム用の方法
JP2015168406A (ja) * 2014-03-11 2015-09-28 トヨタ自動車株式会社 車線変更支援装置

Cited By (17)

* Cited by examiner, † Cited by third party
Publication number Priority date Publication date Assignee Title
CN111527013B (zh) * 2017-12-27 2024-02-23 宝马股份公司 车辆变道预测
CN111527013A (zh) * 2017-12-27 2020-08-11 宝马股份公司 车辆变道预测
CN110018570A (zh) * 2017-12-28 2019-07-16 阿尔派株式会社 车载系统
CN110018570B (zh) * 2017-12-28 2022-05-27 阿尔派株式会社 车载系统
RU2756878C1 (ru) * 2018-06-13 2021-10-06 Ниссан Мотор Ко., Лтд. Способ помощи при движении и устройство помощи при движении
US11731632B2 (en) 2018-08-13 2023-08-22 Nissan Motor Co., Ltd. Vehicle travel control method and travel control device
RU2768687C1 (ru) * 2018-08-13 2022-03-24 Ниссан Мотор Ко., Лтд. Способ управления движением и устройство управления движением для транспортного средства
WO2020035896A1 (ja) 2018-08-13 2020-02-20 日産自動車株式会社 車両の走行制御方法及び走行制御装置
WO2020035897A1 (ja) 2018-08-13 2020-02-20 日産自動車株式会社 車両の走行制御方法及び走行制御装置
US11964668B2 (en) 2018-08-13 2024-04-23 Nissan Motor Co., Ltd. Vehicle travel control method and travel control device
DE102019115805B4 (de) 2018-12-13 2023-11-23 GM Global Technology Operations LLC System und verfahren zum einleiten und ausführen eines automatisierten spurwechselmanövers
US20200255058A1 (en) * 2019-02-07 2020-08-13 Denso Corporation Motor control device
US11560172B2 (en) * 2019-02-07 2023-01-24 Jtekt Corporation Motor control device
JP2022053040A (ja) * 2020-09-24 2022-04-05 トヨタ自動車株式会社 自動運転システム
JP7272338B2 (ja) 2020-09-24 2023-05-12 トヨタ自動車株式会社 自動運転システム
JP2023023209A (ja) * 2021-08-04 2023-02-16 トヨタ自動車株式会社 走行制御装置、走行制御方法、および走行制御用コンピュータプログラム
JP7586025B2 (ja) 2021-08-04 2024-11-19 トヨタ自動車株式会社 走行制御装置、走行制御方法、および走行制御用コンピュータプログラム

Also Published As

Publication number Publication date
JP2017102519A (ja) 2017-06-08
JP6617534B2 (ja) 2019-12-11
US20180354517A1 (en) 2018-12-13

Similar Documents

Publication Publication Date Title
JP6617534B2 (ja) 運転支援装置
CN109398359B (zh) 车辆控制系统及车辆控制方法
JP7014214B2 (ja) 運転支援装置
CN111830859B (zh) 车辆远程指示系统
CN109398346B (zh) 车辆控制系统及车辆控制方法
CN109466542B (zh) 车辆控制装置、车辆控制方法及存储介质
CN109421714B (zh) 车辆控制系统、车辆控制方法及存储介质
CN109515434B (zh) 车辆控制装置、车辆控制方法及存储介质
JP6447468B2 (ja) 運転支援装置
CN109421799B (zh) 车辆控制装置、车辆控制方法及存储介质
US11203360B2 (en) Vehicle control system, vehicle control method and program
JP6269606B2 (ja) 車両制御装置
CN109455137B (zh) 驾驶支援装置及驾驶支援方法
US11565713B2 (en) Vehicle control system, vehicle control method, and vehicle control program
US20200172123A1 (en) Vehicle control system, vehicle control method and program
WO2017119170A1 (ja) 運転支援装置
JP6600889B2 (ja) 車両制御装置、車両制御方法、およびプログラム
CN110949389A (zh) 车辆控制装置、车辆控制方法及存储介质
JP2006227811A (ja) 運転支援装置
JP2022140032A (ja) 運転支援装置及び車両
WO2017138343A1 (ja) 運転教示装置
JP6508846B2 (ja) 車両制御システム、車両制御方法、およびプログラム
JP6595647B2 (ja) 走行制御装置、車両および走行制御方法
JP2019011055A (ja) 運転支援装置
JP7720890B2 (ja) 車両用制御装置、車両制御方法、およびプログラム

Legal Events

Date Code Title Description
121 Ep: the epo has been informed by wipo that ep was designated in this application

Ref document number: 16870256

Country of ref document: EP

Kind code of ref document: A1

NENP Non-entry into the national phase

Ref country code: DE

122 Ep: pct application non-entry in european phase

Ref document number: 16870256

Country of ref document: EP

Kind code of ref document: A1