WO2014157068A1 - 蒸着マスク、蒸着マスク準備体、蒸着マスクの製造方法、及び有機半導体素子の製造方法 - Google Patents
蒸着マスク、蒸着マスク準備体、蒸着マスクの製造方法、及び有機半導体素子の製造方法 Download PDFInfo
- Publication number
- WO2014157068A1 WO2014157068A1 PCT/JP2014/058045 JP2014058045W WO2014157068A1 WO 2014157068 A1 WO2014157068 A1 WO 2014157068A1 JP 2014058045 W JP2014058045 W JP 2014058045W WO 2014157068 A1 WO2014157068 A1 WO 2014157068A1
- Authority
- WO
- WIPO (PCT)
- Prior art keywords
- mask
- vapor deposition
- metal
- slit
- resin
- Prior art date
- Legal status (The legal status is an assumption and is not a legal conclusion. Google has not performed a legal analysis and makes no representation as to the accuracy of the status listed.)
- Ceased
Links
Images
Classifications
-
- C—CHEMISTRY; METALLURGY
- C23—COATING METALLIC MATERIAL; COATING MATERIAL WITH METALLIC MATERIAL; CHEMICAL SURFACE TREATMENT; DIFFUSION TREATMENT OF METALLIC MATERIAL; COATING BY VACUUM EVAPORATION, BY SPUTTERING, BY ION IMPLANTATION OR BY CHEMICAL VAPOUR DEPOSITION, IN GENERAL; INHIBITING CORROSION OF METALLIC MATERIAL OR INCRUSTATION IN GENERAL
- C23C—COATING METALLIC MATERIAL; COATING MATERIAL WITH METALLIC MATERIAL; SURFACE TREATMENT OF METALLIC MATERIAL BY DIFFUSION INTO THE SURFACE, BY CHEMICAL CONVERSION OR SUBSTITUTION; COATING BY VACUUM EVAPORATION, BY SPUTTERING, BY ION IMPLANTATION OR BY CHEMICAL VAPOUR DEPOSITION, IN GENERAL
- C23C14/00—Coating by vacuum evaporation, by sputtering or by ion implantation of the coating forming material
- C23C14/04—Coating on selected surface areas, e.g. using masks
- C23C14/042—Coating on selected surface areas, e.g. using masks using masks
-
- B—PERFORMING OPERATIONS; TRANSPORTING
- B05—SPRAYING OR ATOMISING IN GENERAL; APPLYING FLUENT MATERIALS TO SURFACES, IN GENERAL
- B05C—APPARATUS FOR APPLYING FLUENT MATERIALS TO SURFACES, IN GENERAL
- B05C21/00—Accessories or implements for use in connection with applying liquids or other fluent materials to surfaces, not provided for in groups B05C1/00 - B05C19/00
- B05C21/005—Masking devices
-
- C—CHEMISTRY; METALLURGY
- C23—COATING METALLIC MATERIAL; COATING MATERIAL WITH METALLIC MATERIAL; CHEMICAL SURFACE TREATMENT; DIFFUSION TREATMENT OF METALLIC MATERIAL; COATING BY VACUUM EVAPORATION, BY SPUTTERING, BY ION IMPLANTATION OR BY CHEMICAL VAPOUR DEPOSITION, IN GENERAL; INHIBITING CORROSION OF METALLIC MATERIAL OR INCRUSTATION IN GENERAL
- C23C—COATING METALLIC MATERIAL; COATING MATERIAL WITH METALLIC MATERIAL; SURFACE TREATMENT OF METALLIC MATERIAL BY DIFFUSION INTO THE SURFACE, BY CHEMICAL CONVERSION OR SUBSTITUTION; COATING BY VACUUM EVAPORATION, BY SPUTTERING, BY ION IMPLANTATION OR BY CHEMICAL VAPOUR DEPOSITION, IN GENERAL
- C23C14/00—Coating by vacuum evaporation, by sputtering or by ion implantation of the coating forming material
- C23C14/04—Coating on selected surface areas, e.g. using masks
- C23C14/048—Coating on selected surface areas, e.g. using masks using irradiation by energy or particles
-
- H—ELECTRICITY
- H10—SEMICONDUCTOR DEVICES; ELECTRIC SOLID-STATE DEVICES NOT OTHERWISE PROVIDED FOR
- H10K—ORGANIC ELECTRIC SOLID-STATE DEVICES
- H10K71/00—Manufacture or treatment specially adapted for the organic devices covered by this subclass
- H10K71/10—Deposition of organic active material
- H10K71/16—Deposition of organic active material using physical vapour deposition [PVD], e.g. vacuum deposition or sputtering
- H10K71/166—Deposition of organic active material using physical vapour deposition [PVD], e.g. vacuum deposition or sputtering using selective deposition, e.g. using a mask
-
- H—ELECTRICITY
- H10—SEMICONDUCTOR DEVICES; ELECTRIC SOLID-STATE DEVICES NOT OTHERWISE PROVIDED FOR
- H10K—ORGANIC ELECTRIC SOLID-STATE DEVICES
- H10K71/00—Manufacture or treatment specially adapted for the organic devices covered by this subclass
- H10K71/20—Changing the shape of the active layer in the devices, e.g. patterning
- H10K71/231—Changing the shape of the active layer in the devices, e.g. patterning by etching of existing layers
-
- H—ELECTRICITY
- H10—SEMICONDUCTOR DEVICES; ELECTRIC SOLID-STATE DEVICES NOT OTHERWISE PROVIDED FOR
- H10K—ORGANIC ELECTRIC SOLID-STATE DEVICES
- H10K71/00—Manufacture or treatment specially adapted for the organic devices covered by this subclass
Definitions
- the present invention relates to an evaporation mask, an evaporation mask preparation, an evaporation mask manufacturing method, and an organic semiconductor element manufacturing method.
- the organic layer or cathode electrode of the organic EL element is formed of, for example, a metal in which a large number of minute slits are arranged in parallel at minute intervals in a region to be deposited.
- a vapor deposition mask was used.
- the vapor deposition mask is placed on the surface of the substrate to be vapor-deposited and held by a magnet from the back side, but the rigidity of the slit is extremely small, so when holding the vapor deposition mask on the substrate surface In this case, the slits are easily distorted, which has been an obstacle to the increase in the size of products with high definition or a long slit length.
- Patent Document 1 covers a base plate that also serves as a first metal mask having a plurality of openings, and covers the openings.
- the thickness of the vapor deposition mask made of metal it is necessary to reduce the thickness of the vapor deposition mask made of metal in order to reduce the weight of the vapor deposition mask.
- the thickness of the vapor deposition mask made of metal is reduced, the strength of the vapor deposition mask will decrease, and the vapor deposition mask may be deformed or may be difficult to handle. Problems will arise.
- the present invention has been made in view of such a situation, and even when the size is increased, both high definition and light weight can be satisfied, and formation of a high-definition deposition pattern while maintaining strength is achieved.
- a vapor deposition mask capable of producing the vapor deposition mask, a vapor deposition mask preparation capable of easily producing the vapor deposition mask, a method for producing the vapor deposition mask, and an organic semiconductor element with high accuracy An object of the present invention is to provide a method for manufacturing an organic semiconductor element that can be used.
- the present invention for solving the above problems is a vapor deposition mask, in which a metal mask provided with a slit and a resin mask provided with an opening corresponding to a pattern to be vapor deposited at a position overlapping the slit are laminated.
- the metal mask has a general region where the slit is provided and a thick region thicker than the general region.
- the thickness of the general region may be 5 ⁇ m or more and 25 ⁇ m or less.
- the present invention for solving the above-described problems is a vapor deposition obtained by laminating a metal mask provided with a slit and a resin mask provided with an opening corresponding to a pattern to be produced by vapor deposition at a position overlapping the slit.
- a vapor deposition mask preparation for obtaining a mask, which is formed by laminating a metal mask provided with a slit on one surface of a resin plate, and the metal mask includes a general region where the slit is provided; It has a thick region that is thicker than the general region.
- the present invention for solving the above problems is a method for manufacturing a vapor deposition mask, a step of bonding a metal mask provided with a slit and a resin plate, and irradiating a laser from the metal mask side, Forming an opening corresponding to a pattern to be vapor-deposited on the resin plate, and as the metal mask, a general region where the slit is provided, and a thick region thicker than the general region A metal mask having the above is used.
- the metal mask used in the manufacturing method masks a portion of the metal plate that becomes the thick region, and forms the general region by slimming an unmasked region of the metal plate. And a metal mask obtained by the step of forming the slit in the general region.
- a laser is irradiated from the metal mask side, and an opening corresponding to a pattern to be deposited on the resin plate is formed. You may perform the process to form.
- the present invention for solving the above-described problem is a method for manufacturing an organic semiconductor element, including a step of forming a vapor deposition pattern on a vapor deposition object using a vapor deposition mask with a frame in which the vapor deposition mask is fixed to the frame.
- the vapor deposition mask fixed to the frame has a metal mask provided with a slit, and a resin provided with an opening corresponding to the pattern to be vapor deposited at a position overlapping the slit.
- a mask is laminated, and the metal mask has a general region in which the slit is provided and a thick region that is thicker than the general region.
- both high definition and light weight can be satisfied even when the size is increased, and a high definition vapor deposition pattern can be formed while maintaining strength.
- the vapor deposition mask preparation of one Embodiment of this invention and the manufacturing method of a vapor deposition mask the vapor deposition mask of the said characteristic can be manufactured simply.
- an organic semiconductor element can be manufactured accurately.
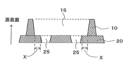
- (A) is the front view which looked at the vapor deposition mask of one Embodiment from the metal mask side
- (b) is a schematic sectional drawing of the vapor deposition mask of one Embodiment.
- (A)-(d) is the front view which looked at the vapor deposition mask of one Embodiment from the metal mask side. It is the front view which looked at the vapor deposition mask of one Embodiment from the metal mask side. It is the front view which looked at the vapor deposition mask of one Embodiment from the metal mask side. It is the front view which looked at the vapor deposition mask of one Embodiment from the metal mask side. It is the front view which looked at the vapor deposition mask of one Embodiment from the metal mask side. It is a partial expanded sectional view of the vapor deposition mask 100 of one Embodiment.
- (A) is a perspective view of another aspect of a resin mask
- (b) is the sectional drawing. It is a schematic sectional drawing which shows the relationship between a shadow and the thickness of a metal mask. It is a partial schematic sectional drawing which shows the relationship between the slit of a metal mask, and the opening part of a resin mask. It is a partial schematic sectional drawing which shows the relationship between the slit of a metal mask, and the opening part of a resin mask. It is the front view which looked at the vapor deposition mask of one Embodiment from the metal mask side. It is the front view which looked at the vapor deposition mask of one Embodiment from the metal mask side.
- FIG. 1A is a front view of a vapor deposition mask according to an embodiment of the present invention as viewed from the metal mask side
- FIG. 1B is a schematic cross-sectional view of FIG. 2 to 4 are front views of the vapor deposition mask of one embodiment as viewed from the metal mask side. 1 (a), 1 (b), and FIGS. 2 to 4, the region indicated by the hatched portion is the thick region 10b, and the metal mask 10 is integrated by the general region 10a and the thick region 10b. There is no.
- the description will focus on the vapor deposition mask of the illustrated form, the present invention is not limited to the illustrated form.
- the vapor deposition mask 100 of one embodiment includes a metal mask 10 provided with slits 15 and a surface of the metal mask 10 (in the case shown in FIG. 1B, a metal A resin mask 20 provided with an opening 25 corresponding to a pattern to be deposited and deposited at a position overlapping with the slit 15 is disposed on the lower surface of the mask 10.
- the mass of the vapor deposition mask 100 of one embodiment compared with the mass of a vapor deposition mask made of only a conventionally known metal, assuming that the thickness of the entire vapor deposition mask is the same, the conventional vapor deposition is known.
- the mass of the vapor deposition mask 100 of the present invention is reduced by the amount that a part of the metal material of the mask is replaced with the resin material.
- the vapor deposition mask is thin, When the size is increased, the vapor deposition mask may be distorted or the durability may be reduced.
- the vapor deposition mask of one embodiment of the present invention even when the thickness of the entire vapor deposition mask is increased in order to satisfy distortion and durability when it is enlarged, the resin mask 20 Therefore, the weight can be reduced as compared with a vapor deposition mask formed only of metal.
- the resin mask 20 is made of resin, and as shown in FIG. 1B, an opening 25 corresponding to a pattern to be deposited is formed at a position overlapping the slit 15.
- the pattern formed by vapor deposition means a pattern to be produced using the vapor deposition mask.
- the vapor deposition mask is used for forming an organic layer of an organic EL element, the organic The shape of the layer.
- the openings are arranged in a plurality of rows in the vertical and horizontal directions is described.
- the opening 25 may be provided at a position overlapping the slit 15, and the slit 15 When only one row is arranged in the vertical direction or the horizontal direction, the opening 25 may be provided at a position overlapping with the slit 15 in the one row.
- a conventionally known resin material can be appropriately selected and used, and the material is not particularly limited.
- a high-definition opening 25 can be formed by laser processing or the like. It is preferable to use a lightweight material having a small dimensional change rate and moisture absorption rate.
- Such materials include polyimide resin, polyamide resin, polyamideimide resin, polyester resin, polyethylene resin, polyvinyl alcohol resin, polypropylene resin, polycarbonate resin, polystyrene resin, polyacrylonitrile resin, ethylene vinyl acetate copolymer resin, ethylene- Examples thereof include vinyl alcohol copolymer resin, ethylene-methacrylic acid copolymer resin, polyvinyl chloride resin, polyvinylidene chloride resin, cellophane, and ionomer resin.
- the resin mask 20 is made of a resin material capable of forming the openings 25 with higher definition than the metal material. Therefore, the vapor deposition mask 100 having the high-definition opening 25 can be obtained.
- the thickness of the resin mask 20 is not particularly limited, but when vapor deposition is performed using the vapor deposition mask 100 of one embodiment of the present invention, a vapor deposition portion that is insufficient for the pattern to be vapor deposited, that is, a target vapor deposition film.
- the resin mask 20 is preferably as thin as possible in order to prevent a vapor deposition portion having a thickness smaller than the thickness, that is, a so-called shadow.
- the thickness of the resin mask 20 is less than 3 ⁇ m, defects such as pinholes are likely to occur, and the risk of deformation and the like increases. On the other hand, if it exceeds 25 ⁇ m, shadows may occur.
- the thickness of the resin mask 20 is preferably 3 ⁇ m or more and 25 ⁇ m or less.
- the thickness of the resin mask 20 is 3 ⁇ m or more and 10 ⁇ m or less, more preferably 4 ⁇ m or more and 8 ⁇ m or less, it is possible to more effectively prevent the influence of shadows when forming a high-definition pattern exceeding 300 ppi. .
- the metal mask 10 and the resin mask 20 may be joined directly, and may be joined through the adhesive layer, it is an adhesive.
- the total thickness of the resin mask 20 and the pressure-sensitive adhesive layer is 3 ⁇ m or more and 25 ⁇ m or less, preferably 3 ⁇ m in consideration of the shadow point.
- the thickness is preferably set to 10 ⁇ m, particularly preferably in the range of 4 ⁇ m to 8 ⁇ m.
- the shape and size of the opening 25 are not particularly limited as long as the shape and size correspond to the pattern to be deposited. Further, as shown in FIG. 1A, the horizontal pitch P1 and the vertical pitch P2 of the adjacent openings 25 can be set as appropriate according to the pattern to be deposited.
- openings 25 there are no particular limitations on the positions where the openings 25 are provided and the number of openings 25, and one may be provided at a position overlapping the slit 15, or a plurality of openings 25 may be provided in the vertical direction or the horizontal direction. For example, as shown in FIG. 5, when the slit extends in the vertical direction, two or more openings 25 overlapping the slit 15 may be provided in the horizontal direction.
- the cross-sectional shape of the opening 25 is not particularly limited, and the end faces facing each other of the resin mask that forms the opening 25 may be substantially parallel to each other.
- FIGS. 25 is preferably a shape whose cross-sectional shape has an extension toward the vapor deposition source. In other words, it is preferable to have a tapered surface that expands toward the metal mask 10 side.
- the taper angle ⁇ can be appropriately set in consideration of the thickness of the resin mask 20 and the like, but the straight line connecting the lower bottom tip in the opening portion of the resin mask and the upper bottom tip in the opening portion of the resin mask.
- the angle ( ⁇ ) formed with the bottom surface of the resin mask in other words, in the cross section in the thickness direction of the inner wall surface constituting the opening portion 25 of the resin mask 20, the inner wall surface of the opening portion 25 is in contact with the metal mask 10 of the resin mask 20.
- the angle ( ⁇ ) formed with the non-side surface is preferably in the range of 5 ° to 85 °, and is preferably in the range of 15 ° to 80 °.
- the end face 25 a forming the opening 25 has a linear shape, but is not limited to this, and has an outwardly convex curved shape. That is, the entire shape of the opening 25 may be a bowl shape.
- the opening 25 having such a cross-sectional shape is, for example, a multi-stage laser that appropriately adjusts the laser irradiation position and laser irradiation energy when the opening 25 is formed, or changes the irradiation position in stages. It can be formed by irradiation.
- FIG. 6 is a partially enlarged cross-sectional view showing an example of the vapor deposition mask 100 of one embodiment of the present invention.
- the opening 25 can be formed regardless of a processing method used in conventional metal processing, for example, an etching method or a processing method such as cutting. That is, the forming method of the opening 25 is not particularly limited, and the opening is made using various processing methods, for example, a laser processing method capable of forming the high-definition opening 25, precision press processing, photolithography processing, or the like.
- the portion 25 can be formed. A method of forming the opening 25 by a laser processing method or the like will be described later.
- Etching methods include, for example, a wet etching method such as a spray etching method in which an etching material is sprayed from a spray nozzle at a predetermined spray pressure, an immersion etching method in an etching solution filled with the etching material, or a spin etching method in which an etching material is dropped.
- a wet etching method such as a spray etching method in which an etching material is sprayed from a spray nozzle at a predetermined spray pressure
- an immersion etching method in an etching solution filled with the etching material or a spin etching method in which an etching material is dropped.
- An etching method or a dry etching method using gas, plasma, or the like can be used.
- the resin mask 20 is used as the configuration of the vapor deposition mask 100, when the vapor deposition is performed using the vapor deposition mask 100, very high heat is applied to the opening 25 of the resin mask 20. Further, gas may be generated from the end face 25a (see FIG. 6) that forms the opening 25 of the resin mask 20, and there is a possibility that the degree of vacuum in the vapor deposition apparatus is reduced. Therefore, in consideration of this point, it is preferable that a barrier layer 26 is provided on the end face 25a forming the opening 25 of the resin mask 20, as shown in FIG. By forming the barrier layer 26, it is possible to prevent gas from being generated from the end face 25 a that forms the opening 25 of the resin mask 20.
- the barrier layer 26 may be an inorganic oxide, an inorganic nitride, a metal thin film layer, or a vapor deposition layer.
- an oxide of aluminum, silicon, indium, tin, or magnesium can be used, and as the metal, aluminum or the like can be used.
- the thickness of the barrier layer 26 is preferably about 0.05 ⁇ m to 1 ⁇ m.
- the barrier layer preferably covers the deposition source side surface of the resin mask 20.
- the barrier property is further improved by covering the deposition source side surface of the resin mask 20 with the barrier layer 26.
- the barrier layer is preferably formed by various PVD (physical vapor deposition) methods or CVD (chemical vapor deposition) methods.
- PVD physical vapor deposition
- CVD chemical vapor deposition
- a metal it is preferably formed by various PVD methods such as sputtering, ion plating, and vacuum deposition, particularly by vacuum deposition.
- the surface on the vapor deposition source side of the resin mask 20 referred to here may be the entire surface on the vapor deposition source side of the resin mask 20, and is exposed from the metal mask on the surface on the vapor deposition source side of the resin mask 20. It may be only the part which is.
- FIG. 7A is a perspective view of another embodiment of the resin mask, and FIG. 7B is a cross-sectional view thereof.
- a groove 28 extending in the vertical direction or the horizontal direction (vertical direction in the case of FIG. 7) of the resin mask 20 is formed on the resin mask 20.
- the resin mask 20 may thermally expand, which may cause a change in the size and position of the opening 25.
- the groove 28 the expansion of the resin mask is absorbed. It is possible to prevent the resin mask 20 from expanding in a predetermined direction as a whole and accumulating the thermal expansion occurring at various portions of the resin mask and changing the size and position of the opening 25.
- the grooves 28 extending in the vertical direction are formed between the openings 25.
- the present invention is not limited to this, and a groove extending in the horizontal direction may be formed between the openings 25.
- a groove extending in the horizontal direction may be formed between the openings 25.
- FIG. Furthermore, it is possible to form the grooves in a combination of these.
- the depth and width of the groove 28 are not particularly limited. However, if the depth of the groove 28 is too deep or too wide, the rigidity of the resin mask 20 tends to decrease. It is necessary to set in consideration of Further, the cross-sectional shape of the groove is not particularly limited, and may be arbitrarily selected in consideration of a processing method such as a U shape or a V shape.
- a magnet or the like is disposed behind the vapor deposition object and the vapor deposition mask 100 in front of the vapor deposition object is attracted by a magnetic force, so that When the vapor deposition mask and the vapor deposition object are brought into close contact with each other, it is preferable to provide a magnetic layer (not shown) made of a magnetic material on the surface of the resin mask 20 that is not in contact with the metal mask 10.
- a magnetic layer made of a magnetic material on the surface of the resin mask 20 that is not in contact with the metal mask 10.
- the metal mask 10 is made of metal, and when viewed from the front of the metal mask 10, the metal mask 10 is vertically positioned at a position where it overlaps with the opening 25, in other words, at a position where all the openings 25 arranged in the resin mask 20 can be seen.
- a plurality of rows of slits 15 extending in the horizontal direction or the horizontal direction are arranged. Note that this does not limit that the slits 15 of the metal mask 10 according to the present invention are disposed at positions where all the openings 25 can be seen, and slits so that a part of the openings 25 cannot be seen. 15 may be arranged. In FIG. 1B and FIGS.
- slits 15 extending in the vertical direction of the metal mask 10 are continuously arranged in the horizontal direction.
- the slit 15 has only one row in the vertical direction or the horizontal direction. It may be arranged.
- a part of the slits 15 arranged in the plurality of rows may be arranged at a position that does not overlap the opening 25 as shown in FIG. .
- FIG. 1 In FIG. 1
- the lateral width of the slit that does not overlap with the opening 25 is narrower than the lateral width of the slit that overlaps with the opening 25, but the lateral direction of the slit 15 that does not overlap with the opening 25.
- the width may be the same as the width in the lateral direction of the slit overlapping the opening 25 or may be wide.
- the slits 15 that do not overlap the openings may be arranged in a plurality of rows as shown in FIG. 15, or only one row may be arranged in the horizontal direction.
- the slit 15 that does not overlap the opening 15 may be provided so as to straddle the boundary between the general region 10a and the thick region 10b. Alternatively, it may be provided in the thick region 10b.
- the relationship between the generation of shadows and the thickness of the metal mask 10 will be specifically described with reference to FIGS. 8A to 8C.
- the vapor deposition material released from the vapor deposition source toward the vapor deposition target is the inner wall surface of the slit 15 of the metal mask 10 or the metal mask. 10 passes through the slit 15 of the metal mask 10 and the opening 25 of the resin mask 20 without colliding with the surface on the side where the resin mask 20 is not provided. Thereby, it becomes possible to form a vapor deposition pattern with a uniform film thickness on the vapor deposition object. That is, the occurrence of shadows can be prevented.
- the thickness of the metal mask 10 when the thickness of the metal mask 10 is thick, for example, when the thickness of the metal mask 10 exceeds 25 ⁇ m, the durability of the metal mask 10 is increased depending on the thickness.
- a part of the vapor deposition material released from the vapor deposition source is contained in the slit 15 of the metal mask 10. It collides with the wall surface or the surface of the metal mask 10 on the side where the resin mask 20 is not formed, and cannot reach the deposition target.
- the thickness of the metal mask 10 is preferably as thin as possible, specifically, preferably 25 ⁇ m or less, and particularly preferably 15 ⁇ m or less.
- the durability of the metal mask, for example, the rigidity is lowered, and the metal mask 10 is liable to be broken or deformed, and handling is difficult. Occurs. In particular, when the vapor deposition mask is enlarged, these problems occur more remarkably.
- the metal mask 10 includes a general region 10a where the slits 15 are formed, and a thicker wall than the general region 10a. It has the area
- slits 15 are formed in the general region 10 a, and a thick region 10 b extending in the vertical direction is provided along the outer edge of the metal mask 10.
- the arrangement location of the thick region 10b is not limited to the illustrated form, and may be appropriately arranged in a location where the influence of the shadow is difficult to occur. Note that the portion where the influence of the shadow is difficult to occur is determined by the positional relationship between the vapor deposition source and the vapor deposition mask, and the arrangement location of the thick region 10b is not limited in any way.
- the thick region 10 b can be arranged at a place other than the vicinity of the end of the metal mask 10.
- the vicinity of the end portion of the metal mask 10 is a region where the slit region is not formed regardless of the positional relationship between the vapor deposition source and the vapor deposition mask 100, and thus is preferable as a location where the thick region 10b is disposed.
- the thick region 10b extending in the vertical direction is disposed along the outer edge of the metal mask 10, but in this form, the thickness is increased as shown in FIG.
- the general region 10a may exist outside the meat region 10b in the lateral direction. That is, the thick region 10b is disposed in the vicinity of the end of the metal mask not only that the thick region 10b is disposed along the outer edge of the metal mask 10, but also in general along the outer edge of the metal mask. It is a concept that includes that the thick region 10b is disposed in the vicinity of the outer periphery of the metal mask 10 so that the region 10a is disposed. The same applies to the metal mask 10 exemplified below.
- FIGS. 2A to 2D are front views showing an example of an arrangement position of the thick region 10b as viewed from the metal mask side.
- a thick region 10b extending in the direction is arranged.
- a thick region 10b extending in the vertical direction and the horizontal direction is arranged along the outer edge of the metal mask 10. That is, the thick region 10 b is arranged along the entire outer periphery of the metal mask 10.
- the durability of the vapor deposition mask 100 can be further improved as compared with the metal mask 10 having the thick region 10b shown in FIG. 1 and FIG. That is, durability of the vapor deposition mask 100 can be improved, so that the area
- a thick region 10b extending in the vertical direction is arranged at the center position in the horizontal direction of the metal mask 10, and in FIG. 2D, in the horizontal direction at the center position in the vertical direction of the metal mask 10.
- a thick wall region 10b extending in the direction is arranged. 2 (c) and 2 (d), the thickness shown in FIG. 2 (b), that is, the outer periphery of the metal mask 10 and the horizontal center position or the vertical center position of the metal mask 10 is thick.
- the meat region 10b is arranged, it can be combined with the forms shown in FIGS. 1 (a) and 2 (b).
- one row of thick regions 10b extending in the horizontal direction or the vertical direction is arranged at the vertical center position or the horizontal center position. There may be a plurality of rows of thick regions extending in the horizontal direction. Moreover, the thick area
- the thick regions 10b can be arranged in a lattice shape.
- the said form is suitable when the vapor deposition mask 100 enlarges.
- slits 15 are provided not only in the general region 10a but also in the thick region 10b.
- a plurality of rows of slits 15 extending in the vertical direction are provided so as to straddle the thick region 10 b extending in the horizontal direction at a substantially central position in the vertical direction of the metal mask 10. That is, in this case, it can be said that the slits 15 are provided in the general region 10a and the thick region 10b.
- the thick region 10b may extend in the vertical direction or the horizontal direction, in other words, may be continuous in a band shape, as shown in FIG. As described above, the columnar thick regions 10b may be arranged at a predetermined interval.
- FIG. 4 shows a modification of the thick region 10b shown in FIG. 1 (a), but it can also be used in various arrangement examples of the thick region 10b.
- the cross-sectional shape of the thick region 10b at the boundary portion with the general region 10a there is no particular limitation on the cross-sectional shape of the thick region 10b at the boundary portion with the general region 10a, and as shown in FIG. 1B, the cross-sectional shape steeply enters the thick region 10b from the general region 10a. As shown in FIGS. 14A and 14B, the cross-sectional shape of the thick region is tapered or stepped, and apparently the difference in thickness at the boundary between the general region 10a and the thick region 10b. You may be calm.
- each of the general region 10a and the thick region 10b is not particularly limited, but the thickness of the general region 10a in which the slits 15 are formed is not affected by shadows and forms a high-definition deposition pattern. Thickness, specifically 25 ⁇ m or less, and more preferably 15 ⁇ m or less. Although there is no limitation in particular about a lower limit, it is preferable that it is 5 micrometers or more from the point of metal processing precision, and it is more preferable that it is 10 micrometers or more. In addition, in the metal mask having no thick region 10b, in order to prevent the influence of shadow, when the thickness of the metal mask is reduced to 15 ⁇ m or less, handling becomes difficult, , The risk of deformation increases.
- the durability of the metal mask 10 is improved due to the presence of the thick region 10b, and as a result, handling performance and prevention of breakage and deformation are achieved. That is, according to the metal mask 10 having the general region 10a and the thick region 10b, both the requirement for preventing the occurrence of shadows and the requirement for improving the durability of the vapor deposition mask are satisfied at the same time. Can be made.
- the thickness of the thick region 10b is not particularly limited, and if the condition that the thickness is larger than the thickness of the general region 10a is satisfied, the thickness of the general region 10a, the size of the metal mask 10, the arrangement position of the thick region 10b, the thick wall It can be appropriately set according to the arrangement pattern of the region 10b. From the viewpoint of improving handling performance and reducing the risk of breakage and deformation, the thickness of the thick region 10b satisfies the condition of “the thickness of the general region 10a + 5 ⁇ m” or more, and is 15 ⁇ m or more, preferably 25 ⁇ m or more. It is preferable to use a thickness.
- the upper limit of the thickness of the thick region 10b is not particularly limited, but is preferably 100 ⁇ m or less, more preferably 50 ⁇ m or less, and particularly preferably 35 ⁇ m or less. Note that the thickness of the thick region 10b means “t” in FIG.
- the method for forming the metal mask 10 having the general region 10a and the thick region 10b there is no particular limitation on the method for forming the metal mask 10 having the general region 10a and the thick region 10b.
- a metal plate provided with a slit or not provided with a slit is prepared.
- a metal mask in which the thick region 10b and the general region 10a are integrated by joining a metal member to a portion to be the thick region 10b using a conventionally known joining method such as welding or adhesion, or An integrated metal plate can be obtained.
- the total thickness of the metal plate and the metal member becomes the thickness of the thick region 10b
- the thickness of the metal plate becomes the thickness of the general region 10a as it is.
- a metal plate not provided with the slit 15 is used to form an integral metal plate in which the thick region 10b and the general region 10a are integrated
- a conventionally known method for example, etching is performed.
- the metal mask 10 in which the general region 10a and the thick region 10b are integrated is obtained. be able to.
- a metal plate provided with slits or not provided with a slit is prepared, and the surface of the metal plate that finally becomes the thick region 10b is masked, and the surface of the unmasked metal plate
- a metal mask in which the thick region 10b and the general region 10a are integrated, or an integrated metal plate can be obtained. Details of the formation of the metal mask by slimming will be described later.
- the thickness of the metal plate is the thickness of the thick region 10b, and the thickness obtained by subtracting the thickness of the slimmed portion from the thickness of the metal plate is the thickness of the general region 10a.
- the cross-sectional shape of the slit 15 is deposited as shown in FIGS. It is preferable to have a shape that expands toward the source. With such a cross-sectional shape, even if the thickness of the entire deposition mask is increased for the purpose of preventing distortion that may occur in the deposition mask 100 or improving durability, it is emitted from the deposition source.
- the deposited material can reach the deposition object without colliding with the surface of the slit 15 or the inner wall surface of the slit 15.
- the angle formed by the inner wall surface of the slit 15 and the surface of the metal mask 10 on the side in contact with the resin mask 20 is It is preferably within the range of 5 ° to 85 °, more preferably within the range of 15 ° to 80 °, and even more preferably within the range of 25 ° to 65 °. In particular, within this range, an angle smaller than the vapor deposition angle of the vapor deposition machine to be used is preferable.
- FIG. 8 is a partial schematic cross-sectional view for explaining the relationship between the generation of shadows and the slits 15 of the metal mask 10.
- the slit 15 of the metal mask 10 has a cross-sectional shape extending toward the vapor deposition source, and the end faces of the resin mask 20 facing the opening 25 are substantially parallel.
- the slits of the metal mask 10 and the opening 25 of the resin mask 20 both have a shape in which the cross-sectional shape expands toward the deposition source side. Preferably it is.
- the width W of the slit 15 it is preferable to design the width so as to be at least shorter than the pitch between the adjacent openings 25. Specifically, as shown in FIG. 1A, when the slit 15 extends in the vertical direction, the horizontal width W of the slit 15 is shorter than the pitch P1 of the openings 25 adjacent in the horizontal direction. It is preferable to do. Similarly, although not illustrated, when the slit 15 extends in the horizontal direction, the width in the vertical direction of the slit 15 is preferably shorter than the pitch P2 of the openings 25 adjacent in the vertical direction.
- the vertical length L when the slit 15 extends in the vertical direction is not particularly limited, and the vertical length of the metal mask 10 and the opening 25 provided in the resin mask 20 are not limited. What is necessary is just to design suitably according to a position.
- FIG. 11 is a front view of the vapor deposition mask 100 as viewed from the metal mask 10 side, and one slit 15 continuously extending in the vertical direction shown in FIG. The example divided
- the width of the bridge 18 is not particularly limited, but is preferably about 5 ⁇ m to 20 ⁇ m.
- the arrangement position of the bridge 18 is not particularly limited, but the bridge 18 is preferably arranged so that the divided slits overlap with the two or more openings 25.
- the cross-sectional shape of the slit 15 formed in the metal mask 10 is not particularly limited, but as with the opening 25 in the resin mask 20, as shown in FIGS. It is preferable that the shape has a broadening direction.
- the material of the metal mask 10 is not particularly limited, and any conventionally known material can be appropriately selected and used in the field of the evaporation mask, and examples thereof include metal materials such as stainless steel, iron-nickel alloy, and aluminum alloy. . Among them, an invar material that is an iron-nickel alloy can be suitably used because it is less deformed by heat.
- the metal mask 10 is preferably formed of a magnetic material.
- the magnetic metal mask 10 include iron-nickel alloy, pure iron, carbon steel, tungsten (W) steel, chromium (Cr) steel, cobalt (Co) steel, and iron alloys including cobalt, tungsten, chromium, and carbon.
- KS steels Some KS steels, MK steels mainly composed of iron, nickel and aluminum, NKS steels with cobalt and titanium added to MK steels, Cu-Ni-Co steels, aluminum (Al) -iron (Fe) alloys, etc. Can do.
- the metal mask 10 may be magnetized by dispersing the magnetic powder in the material.
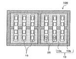
- FIG. 12 is a front view showing another aspect of the vapor deposition mask 100 of one embodiment of the present invention including the metal mask 10 having the general region 10a and the thick region 10b.
- the openings 25 formed in the resin mask 20 visible from the slits 15 of the metal mask may be alternately arranged in the horizontal direction. .
- the openings 25 adjacent in the horizontal direction may be shifted in the vertical direction.
- the opening 25 formed in the resin mask 20 does not need to correspond to one pixel. For example, two to ten pixels may be integrated into one opening 25.
- FIGS. 9A to 9D are partial schematic cross-sectional views showing the relationship between the slit of the metal mask and the opening of the resin mask.
- the slit 15 of the metal mask and the opening of the resin mask are shown.
- the cross-sectional shape of the entire opening formed by the step 25 is stepped. As shown in FIG. 9, generation of shadows can be effectively prevented by making the cross-sectional shape of the entire opening into a stepped shape that expands toward the deposition source side.
- the slits 15 of the metal mask and the cross-sectional shape of the resin mask 20 may have substantially parallel end faces as shown in FIG.
- only one of the slit 15 of the metal mask and the opening of the resin mask may have a cross-sectional shape that expands toward the deposition source side.
- the slit 15 of the metal mask and the opening 25 of the resin mask are formed as shown in FIGS. As shown in d), it is preferable that both have a cross-sectional shape that expands toward the vapor deposition source side.
- the width of the flat portion (reference numeral (X) in FIG. 9) in the step-like cross section is not particularly limited, but when the width of the flat portion (X) is less than 1 ⁇ m, the slit of the metal mask Due to the interference, the effect of preventing shadows tends to be reduced. Therefore, considering this point, the width of the flat portion (X) is preferably 1 ⁇ m or more.
- the preferable upper limit value is not particularly limited, and can be appropriately set in consideration of the size of the opening of the resin mask, the interval between adjacent openings, and the like, and is about 20 ⁇ m as an example.
- FIGS. 9A to 9D show an example in which one opening 25 that overlaps the slit 15 is provided in the horizontal direction when the slit extends in the vertical direction.
- two or more openings 25 overlapping the slit 15 may be provided in the horizontal direction.
- both the slit 15 of the metal mask and the opening 25 of the resin mask have a cross-sectional shape that expands toward the vapor deposition source side, and the opening 25 that overlaps the slit 15 extends in the lateral direction. Two or more are provided.
- the manufacturing method of the vapor deposition mask 100 of one Embodiment of this invention is a process (refer Fig.16 (a)) of bonding the metal mask 10 provided with the slit 15, and the resin board 30, as shown in FIG. Irradiating a laser from the metal mask side (see FIG. 16B) and forming an opening corresponding to the pattern to be deposited on the resin plate 30 (see FIG. 16C).
- a metal mask having a general region 10 a provided with slits 15 and a thick region 10 b thicker than the general region 10 a is used.
- the manufacturing method of the vapor deposition mask of one Embodiment of this invention is demonstrated concretely.
- FIG. 16 is a process diagram for explaining a method of manufacturing a vapor deposition mask.
- FIGS. 16A to 16C and FIGS. 17A to 17H are all cross-sectional views.
- the metal mask 10 prepared here is the metal mask 10 having the general region 10a and the thick region 10b described in the vapor deposition mask 100 of the embodiment of the present invention.
- an example of a preferable method for forming the metal mask 10 provided with the slits 15 and having the general region 10a and the thick region 10b will be described.
- the metal mask 10 is formed by preparing a metal plate 11 as shown in FIG. Next, as shown in FIG. 17B, a part of the surface of the metal plate 11 is masked by the masking member 12. For example, a resist material or a dry film can be used as the masking member 12. This masked portion finally becomes the thick region 10b. Next, as shown in FIG. 17 (c), by removing the unmasked region of the surface of the metal plate 11 within a range not penetrating the unmasked metal plate 11 by the slimming process, A metal plate 11a in which 10a and the thick region 10b are integrated is obtained. If the masking member 12 is resistant to the processing method used for forming the slits 15, it does not need to be removed here.
- a conventionally known method capable of removing the surface of the metal plate up to a thickness that becomes the general region 10a can be appropriately selected and used.
- the etching processing method using the etching material which can etch the metal plate 11 can be mentioned.
- the metal plate 11a in which the general region 10a and the thick region 10b are integrated and the resin plate 30 are bonded together is not particularly limited, and for example, various adhesives may be used, or a resin plate having self-adhesiveness may be used.
- the metal plate 11a and the resin plate 30 may have the same size, but the resin plate 30 is made smaller than the metal plate 11a in consideration of the optional fixing to the frame.
- the outer peripheral portion of the metal plate 11a is preferably exposed.
- a masking member 12 for example, a resist material is applied to the surface of the general region 10a on the side of the metal plate 11a that is not in contact with the resin plate 30.
- the masking member is also applied to the surface of the thick region 10b.
- the masking member 12 described in FIG. 17B and the masking member described here may be the same or different.
- As the resist material used as the masking member a resist material having good processability and desired resolution is used. Thereafter, exposure and development are performed using a mask on which a slit pattern is formed, thereby forming a resist pattern 13 as shown in FIG. Next, as shown in FIG.
- etching is performed by an etching method using this resist pattern as an etching resistant mask. After the etching is completed, the resist pattern is removed by washing. Thereby, as shown in FIG. 17H, the metal mask 10 in which the desired slits 15 are formed in the metal plate 11a having the general region 10a and the thick region 10b is obtained.
- the slit 15 may be formed in the metal plate 11a. In this case, you may use the method of etching from both surfaces of the metal plate 11a simultaneously.
- a method for bonding the resin mask 30 after the metal mask 10 is formed in advance the method described above can be used as it is.
- Step of fixing the metal mask having the resin plate bonded to the frame This step is an optional step in the manufacturing method according to an embodiment of the present invention, but the completed vapor deposition mask is not fixed to the frame, but the opening is formed later on the resin plate fixed to the frame. Therefore, the positional accuracy can be remarkably improved.
- the opening position coordinate accuracy is higher than in the case of having this process. Will be reduced.
- the metal mask 10 having the slit 15 formed and having the general region 10a and the thick region 10b is fixed to the frame, the metal mask 10 fixed to the frame, and the resin plate 30 May be pasted together. Even with this method, the positional accuracy of the opening can be remarkably improved as described above.
- a laser is irradiated from the metal mask 10 side through the slit 15 to form an opening 25 corresponding to the pattern to be deposited on the resin plate 30, thereby forming the resin mask 20.
- the laser device used here is not particularly limited, and a conventionally known laser device may be used. Thereby, the vapor deposition mask 100 of one Embodiment of this invention as shown in FIG.16 (c) is obtained.
- the opening 25 when the opening 25 is provided in the resin plate fixed to the frame, a reference plate (not shown) in which a pattern for vapor deposition, that is, a pattern corresponding to the opening 25 to be formed is provided in advance, Laser irradiation corresponding to the pattern of the reference plate may be performed from the metal mask 10 side in a state where the reference plate is bonded to the surface of the resin plate on which the metal mask 10 is not provided.
- the opening 25 can be formed in a so-called facing-off state in which laser irradiation is performed while observing the pattern of the reference plate that is bonded to the resin plate, and the dimensional accuracy of the opening is extremely high.
- An opening 25 can be formed.
- this method forms the opening part 25 in the state fixed to the flame
- the resin plate has a certain thickness, it is necessary to use a transparent one.
- a preferable thickness considering the influence of the shadow for example, about 3 ⁇ m to 25 ⁇ m. In the case of the thickness, the reference plate pattern can be recognized even with a colored resin plate.
- the method for bonding the resin plate and the reference plate is not particularly limited.
- the metal mask 10 is a magnetic body, a magnet or the like is disposed behind the reference plate, and the resin plate 30 and the reference plate Can be attached by attracting.
- the resin plate 30 and the reference plate can also be bonded using an electrostatic adsorption method or the like.
- the reference plate include a TFT substrate having a predetermined opening pattern and a photomask.
- the slimming process has been described as a method for forming the general region 10a.
- the slimming process may be performed between or after the processes described above.
- the thickness of the metal plate 11 becomes the thickness of the thick region 10b as it is, but slimming is performed as necessary to adjust the thickness of the thick region 10b.
- the thickness of the general region 10a can be adjusted.
- the resin plate 30 to be the resin mask 20 and the metal plate 11 to be the metal mask 10 a metal plate that is thicker than the preferable thickness described above, for example, a metal plate that is thicker than the thickness of the thick region 10 b is used.
- a metal plate that is thicker than the thickness of the thick region 10 b is used.
- excellent durability and transportability can be imparted when the metal plate 11 or the resin plate 30 is transported alone during the manufacturing process.
- the thickness of the vapor deposition mask 100 obtained by the manufacturing method of one embodiment of the present invention is an optimal thickness.
- the slimming process is a useful process for optimizing the thickness of the vapor deposition mask 100 while satisfying durability and transportability during or after the manufacturing process.
- the slimming of the metal mask 10 and the thick region 10b of the metal plate 11 is performed between or after the above-described steps, or the surface of the metal plate 11 that is not in contact with the resin plate 30, or the resin plate 30 of the metal mask 10.
- it can be realized by etching the surface not in contact with the resin mask 20 by using an etching material capable of etching the metal plate 11 or the metal mask 10.
- the general region 10a may be masked so that the thickness of the general region 10a does not change any more, and the thickness of the general region 10a is adjusted simultaneously with the slimming of the thick region 10b. You may go. In this case, masking to the general area 10a is not necessary.
- An etching material that can etch the material of the resin plate 30 or the resin mask 20 on the surface of the resin plate 30 that does not contact the metal plate 11 or the metal mask 10 or the surface of the resin mask 20 that does not contact the metal mask 10. It can be realized by using and etching.
- both the metal mask 10 and the resin mask 30 can be etched, and both thicknesses can also be optimized.
- the vapor deposition mask preparation of one embodiment of the present invention is a vapor deposition mask in which a metal mask provided with a slit and a resin mask provided with an opening corresponding to a pattern formed by vapor deposition at a position overlapping the slit are laminated.
- a vapor deposition mask preparation for obtaining a metal mask having a slit provided on one surface of a resin plate, and the metal mask includes a general region provided with the slit, and the general region It is characterized by having a thicker region.
- the vapor deposition mask preparation of one embodiment of the present invention is common to the vapor deposition mask 100 of the one embodiment of the present invention described above except that the opening 25 is not provided in the resin plate 30, and is specific. Description is omitted.
- a specific configuration of the vapor deposition mask preparation a metal mask with a resin plate (see FIG. 17 (h)) prepared in the preparation step in the vapor deposition mask manufacturing method can be exemplified.
- vapor deposition mask preparation of one embodiment of the present invention by forming an opening in the resin plate of the vapor deposition mask preparation, both high definition and light weight are satisfied even when the size is increased, and high definition It is possible to obtain a vapor deposition mask capable of forming a proper vapor deposition pattern.
- the manufacturing method of the organic-semiconductor element of one Embodiment of this invention has the process of forming a vapor deposition pattern by the vapor deposition method using a vapor deposition mask with a flame
- An organic semiconductor device manufacturing method having a step of forming a vapor deposition pattern by a vapor deposition method using a vapor deposition mask with a frame includes an electrode forming step of forming an electrode on a substrate, an organic layer forming step, and a counter electrode forming step.
- the deposition pattern is formed on the substrate by a deposition method using a deposition mask with a frame in each optional step. For example, when the vapor deposition method using a vapor deposition mask with a frame is applied to the R, G, B light emitting layer forming step of the organic EL device, vapor deposition patterns of the respective color light emitting layers are formed on the substrate.
- the manufacturing method of the organic-semiconductor element of one Embodiment of this invention is not limited to these processes, It is applicable to the arbitrary processes in manufacture of the conventionally well-known organic-semiconductor element using a vapor deposition method.
- the deposition mask fixed to the frame is the deposition mask according to one embodiment of the present invention described above.
- Examples of the organic semiconductor element manufactured by the manufacturing method of the present invention include an organic layer, a light emitting layer, and a cathode electrode of an organic EL element.
- the method for producing an organic semiconductor element of the present invention can be suitably used for producing R, G, and B light emitting layers of organic EL elements that require high-definition pattern accuracy.
- the vapor deposition mask with a frame used for manufacturing the organic semiconductor element only needs to satisfy the condition that the vapor deposition mask of the embodiment of the present invention described above is fixed to the frame.
- the frame is not particularly limited and may be any member that can support the vapor deposition mask.
- a metal frame, a ceramic frame, or the like can be used.
- the metal frame is preferable in that it can be easily welded to the metal mask of the vapor deposition mask and the influence of deformation or the like is small.
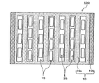
- an example using a metal frame as a frame will be mainly described. For example, as shown in FIG.
- a metal frame-equipped vapor deposition mask 200 in which one vapor deposition mask 100 is fixed to the metal frame 60 may be used.
- a vapor deposition mask 200 with a frame in which vapor deposition masks (four vapor deposition masks in the illustrated form) are fixed in a vertical direction or in a horizontal direction (in the illustrated form, fixed in a horizontal direction) may be used.
- 18 and 19 are front views of the vapor deposition mask 200 with a metal frame according to an embodiment as viewed from the resin mask 20 side.
- the metal frame 60 is a substantially rectangular frame member and has an opening for exposing the opening 25 provided in the resin mask 20 of the vapor deposition mask 100 to be finally fixed to the vapor deposition source side.
- the material of the metal frame is not particularly limited, but a metal material having high rigidity, for example, SUS or Invar material is preferable.
- the thickness of the metal frame is not particularly limited, but is preferably about 10 mm to 30 mm from the viewpoint of rigidity and the like.
- the width between the inner peripheral end face of the opening of the metal frame and the outer peripheral end face of the metal frame is not particularly limited as long as the metal frame and the metal mask of the vapor deposition mask can be fixed. A width of about 50 mm can be exemplified.
- a reinforcing frame 65 or the like may be present in the opening of the metal frame as long as exposure of the opening 25 of the resin mask 20 constituting the vapor deposition mask 100 is not hindered.
- the opening of the metal frame 60 may be divided by the reinforcing frame or the like.
- a plurality of reinforcing frames 65 extending in the horizontal direction are arranged in the vertical direction.
- a plurality of reinforcing frames extending in the vertical direction are arranged in the horizontal direction. May be.
- a plurality of reinforcing frames 65 extending in the vertical direction are arranged in the horizontal direction.
- the reinforcing frames extending in the horizontal direction are arranged in the vertical direction. A plurality of them may be arranged.
- the method for fixing the metal frame 60 to the vapor deposition mask 100 according to the embodiment of the present invention is not particularly limited, and can be fixed using spot welding, adhesive, screwing, or the like that is fixed by laser light or the like.
Landscapes
- Chemical & Material Sciences (AREA)
- Engineering & Computer Science (AREA)
- Manufacturing & Machinery (AREA)
- Chemical Kinetics & Catalysis (AREA)
- Materials Engineering (AREA)
- Mechanical Engineering (AREA)
- Metallurgy (AREA)
- Organic Chemistry (AREA)
- Health & Medical Sciences (AREA)
- Toxicology (AREA)
- Electroluminescent Light Sources (AREA)
- Physical Vapour Deposition (AREA)
Priority Applications (9)
| Application Number | Priority Date | Filing Date | Title |
|---|---|---|---|
| KR1020157019139A KR101901004B1 (ko) | 2013-03-26 | 2014-03-24 | 증착 마스크, 증착 마스크 준비체, 증착 마스크의 제조 방법 및 유기 반도체 소자의 제조 방법 |
| KR1020187026571A KR101934244B1 (ko) | 2013-03-26 | 2014-03-24 | 증착 마스크, 증착 마스크 준비체, 증착 마스크의 제조 방법 및 유기 반도체 소자의 제조 방법 |
| CN201480017634.6A CN105102668B (zh) | 2013-03-26 | 2014-03-24 | 蒸镀掩模、蒸镀掩模准备体、蒸镀掩模的制造方法、及有机半导体元件的制造方法 |
| KR1020207018239A KR102218952B1 (ko) | 2013-03-26 | 2014-03-24 | 증착 마스크, 증착 마스크 준비체, 증착 마스크의 제조 방법 및 유기 반도체 소자의 제조 방법 |
| US14/779,738 US10597766B2 (en) | 2013-03-26 | 2014-03-24 | Vapor deposition mask, vapor deposition mask preparation body, method for producing vapor deposition mask, and method for producing organic semiconductor element |
| KR1020187037203A KR102128752B1 (ko) | 2013-03-26 | 2014-03-24 | 증착 마스크, 증착 마스크 준비체, 증착 마스크의 제조 방법 및 유기 반도체 소자의 제조 방법 |
| US16/190,453 US10597768B2 (en) | 2013-03-26 | 2018-11-14 | Vapor deposition mask, vapor deposition mask preparation body, method for producing vapor deposition mask, and method for producing organic semiconductor element |
| US16/787,438 US10982317B2 (en) | 2013-03-26 | 2020-02-11 | Vapor deposition mask, vapor deposition mask preparation body, method for producing vapor deposition mask, and method for producing organic semiconductor element |
| US17/206,334 US20210207258A1 (en) | 2013-03-26 | 2021-03-19 | Vapor deposition mask, vapor deposition mask preparation body, method for producing vapor deposition mask, and method for producing organic semiconductor element |
Applications Claiming Priority (4)
| Application Number | Priority Date | Filing Date | Title |
|---|---|---|---|
| JP2013063295 | 2013-03-26 | ||
| JP2013-063295 | 2013-03-26 | ||
| JP2014-059432 | 2014-03-24 | ||
| JP2014059432A JP5812139B2 (ja) | 2013-03-26 | 2014-03-24 | 蒸着マスク、蒸着マスク準備体、蒸着マスクの製造方法、及び有機半導体素子の製造方法 |
Related Child Applications (2)
| Application Number | Title | Priority Date | Filing Date |
|---|---|---|---|
| US14/779,738 A-371-Of-International US10597766B2 (en) | 2013-03-26 | 2014-03-24 | Vapor deposition mask, vapor deposition mask preparation body, method for producing vapor deposition mask, and method for producing organic semiconductor element |
| US16/190,453 Continuation US10597768B2 (en) | 2013-03-26 | 2018-11-14 | Vapor deposition mask, vapor deposition mask preparation body, method for producing vapor deposition mask, and method for producing organic semiconductor element |
Publications (1)
| Publication Number | Publication Date |
|---|---|
| WO2014157068A1 true WO2014157068A1 (ja) | 2014-10-02 |
Family
ID=51624042
Family Applications (1)
| Application Number | Title | Priority Date | Filing Date |
|---|---|---|---|
| PCT/JP2014/058045 Ceased WO2014157068A1 (ja) | 2013-03-26 | 2014-03-24 | 蒸着マスク、蒸着マスク準備体、蒸着マスクの製造方法、及び有機半導体素子の製造方法 |
Country Status (6)
| Country | Link |
|---|---|
| US (4) | US10597766B2 (enExample) |
| JP (1) | JP5812139B2 (enExample) |
| KR (4) | KR101901004B1 (enExample) |
| CN (1) | CN105102668B (enExample) |
| TW (4) | TWI725466B (enExample) |
| WO (1) | WO2014157068A1 (enExample) |
Cited By (6)
| Publication number | Priority date | Publication date | Assignee | Title |
|---|---|---|---|---|
| WO2015041296A1 (ja) * | 2013-09-20 | 2015-03-26 | 株式会社ブイ・テクノロジー | 成膜マスク及びタッチパネル基板 |
| WO2016060216A1 (ja) * | 2014-10-15 | 2016-04-21 | シャープ株式会社 | 蒸着マスク、蒸着装置、蒸着方法、および蒸着マスクの製造方法 |
| KR20160082764A (ko) * | 2014-12-29 | 2016-07-11 | 삼성디스플레이 주식회사 | 스퍼터링 장치 |
| CN106367716A (zh) * | 2015-07-24 | 2017-02-01 | 上海和辉光电有限公司 | 掩模板及显示面板的制作方法 |
| CN109609902A (zh) * | 2018-10-26 | 2019-04-12 | 武汉华星光电半导体显示技术有限公司 | 一种掩模板及显示面板封装方法 |
| JP2022040070A (ja) * | 2020-08-26 | 2022-03-10 | 三星ディスプレイ株式會社 | マスク及びマスク製造方法 |
Families Citing this family (44)
| Publication number | Priority date | Publication date | Assignee | Title |
|---|---|---|---|---|
| TWI725466B (zh) | 2013-03-26 | 2021-04-21 | 日商大日本印刷股份有限公司 | 蒸鍍遮罩、附框架的蒸鍍遮罩、蒸鍍遮罩之製造方法、蒸鍍遮罩準備體、圖案之形成方法、及有機半導體元件之製造方法 |
| CN109554663B (zh) * | 2013-03-26 | 2020-03-17 | 大日本印刷株式会社 | 蒸镀掩模、带框架的蒸镀掩模、及它们的制造方法 |
| JP5780350B2 (ja) | 2013-11-14 | 2015-09-16 | 大日本印刷株式会社 | 蒸着マスク、フレーム付き蒸着マスク、及び有機半導体素子の製造方法 |
| JP6511908B2 (ja) * | 2014-03-31 | 2019-05-15 | 大日本印刷株式会社 | 蒸着マスクの引張方法、フレーム付き蒸着マスクの製造方法、有機半導体素子の製造方法、及び引張装置 |
| KR102352280B1 (ko) * | 2015-04-28 | 2022-01-18 | 삼성디스플레이 주식회사 | 마스크 프레임 조립체 제조 장치 및 이를 이용한 마스크 프레임 조립체 제조 방법 |
| CN104966791B (zh) * | 2015-07-01 | 2018-05-11 | 深圳市华星光电技术有限公司 | 一种掩膜板及其制造方法、oled器件封装方法 |
| JP6716878B2 (ja) * | 2015-09-25 | 2020-07-01 | 大日本印刷株式会社 | 蒸着マスク及び蒸着マスクの製造方法 |
| JP6935829B2 (ja) * | 2016-02-19 | 2021-09-15 | 凸版印刷株式会社 | メタルマスク用基材の製造方法、蒸着用メタルマスクの製造方法、メタルマスクユニットの製造方法、および、メタルマスクユニット |
| JP6724407B2 (ja) * | 2016-02-19 | 2020-07-15 | 凸版印刷株式会社 | メタルマスク用基材、蒸着用メタルマスク、および、メタルマスクユニット |
| JP6461423B2 (ja) * | 2016-03-18 | 2019-01-30 | 鴻海精密工業股▲ふん▼有限公司Hon Hai Precision Industry Co., Ltd. | 蒸着マスク、蒸着マスクの製造方法、および有機半導体素子の製造方法 |
| KR102649143B1 (ko) | 2016-05-12 | 2024-03-21 | 삼성디스플레이 주식회사 | 마스크 프레임 조립체 및 그 제조방법 |
| JP6465075B2 (ja) * | 2016-05-26 | 2019-02-06 | 大日本印刷株式会社 | 蒸着マスク、フレーム付き蒸着マスク、有機半導体素子の製造方法、及びに有機elディスプレイの製造方法 |
| JP7017032B2 (ja) | 2016-06-28 | 2022-02-08 | 大日本印刷株式会社 | 蒸着マスク、有機半導体素子の製造方法、および有機elディスプレイの製造方法 |
| WO2018003766A1 (ja) * | 2016-06-28 | 2018-01-04 | 大日本印刷株式会社 | 蒸着マスク、有機半導体素子の製造方法、および有機elディスプレイの製造方法 |
| TWI678824B (zh) * | 2016-07-29 | 2019-12-01 | 鴻海精密工業股份有限公司 | 掩膜及其製備方法 |
| KR20220104846A (ko) | 2016-10-07 | 2022-07-26 | 다이니폰 인사츠 가부시키가이샤 | 증착 마스크의 제조 방법, 증착 마스크가 배치된 중간 제품 및 증착 마스크 |
| JP6819931B2 (ja) * | 2016-11-18 | 2021-01-27 | 大日本印刷株式会社 | 蒸着マスク及び蒸着マスク製造方法 |
| KR102691002B1 (ko) | 2016-11-30 | 2024-08-05 | 엘지디스플레이 주식회사 | 증착용 마스크 및 그 제조방법 |
| KR20240113987A (ko) * | 2017-01-17 | 2024-07-23 | 다이니폰 인사츠 가부시키가이샤 | 증착 마스크 및 증착 마스크의 제조 방법 |
| JP6387198B1 (ja) | 2017-04-14 | 2018-09-05 | 堺ディスプレイプロダクト株式会社 | 有機el表示装置の製造方法及び製造装置 |
| KR102388719B1 (ko) * | 2017-07-20 | 2022-04-21 | 삼성디스플레이 주식회사 | 박막 증착용 마스크, 이의 제조 방법 및 이를 이용한 표시 장치 제조 방법 |
| KR102390841B1 (ko) * | 2017-09-04 | 2022-04-25 | 어플라이드 머티어리얼스, 인코포레이티드 | 고해상도 fmm을 위한 fmm 프로세스 |
| JP6319505B1 (ja) * | 2017-09-08 | 2018-05-09 | 凸版印刷株式会社 | 蒸着マスク用基材、蒸着マスク用基材の製造方法、蒸着マスクの製造方法および表示装置の製造方法 |
| KR20190096577A (ko) * | 2018-02-09 | 2019-08-20 | 주식회사 티지오테크 | 프레임 일체형 마스크 및 프레임 일체형 마스크의 제조 방법 |
| WO2019171432A1 (ja) * | 2018-03-05 | 2019-09-12 | 堺ディスプレイプロダクト株式会社 | 蒸着マスク、その製造方法及び有機el表示装置の製造方法 |
| JP6658790B2 (ja) * | 2018-04-19 | 2020-03-04 | 大日本印刷株式会社 | 蒸着マスク、フレーム付き蒸着マスク、蒸着マスク準備体、蒸着マスクの製造方法、有機半導体素子の製造方法、有機elディスプレイの製造方法、及びパターンの形成方法 |
| JP6588128B2 (ja) * | 2018-05-24 | 2019-10-09 | 堺ディスプレイプロダクト株式会社 | 有機el表示装置の製造方法及び製造装置 |
| CN108914055B (zh) * | 2018-07-05 | 2020-07-17 | 京东方科技集团股份有限公司 | 一种掩模板及蒸镀设备 |
| KR102236539B1 (ko) * | 2018-07-20 | 2021-04-06 | 주식회사 오럼머티리얼 | 프레임 일체형 마스크의 제조 방법 |
| JP6791226B2 (ja) * | 2018-10-18 | 2020-11-25 | 大日本印刷株式会社 | 蒸着マスク、フレーム付き蒸着マスク、有機半導体素子の製造方法、及び有機elディスプレイの製造方法 |
| CN109468585A (zh) * | 2018-12-18 | 2019-03-15 | 武汉华星光电技术有限公司 | 显示面板的蒸镀结构 |
| CN109881147A (zh) * | 2019-02-01 | 2019-06-14 | 云谷(固安)科技有限公司 | 蒸镀用掩膜板、制备方法、oled显示基板及显示装置 |
| CN210916231U (zh) * | 2019-10-18 | 2020-07-03 | 昆山国显光电有限公司 | 一种掩膜版 |
| CN111172495A (zh) * | 2020-01-22 | 2020-05-19 | 京东方科技集团股份有限公司 | 掩模板及其制备方法、掩模板组件 |
| JP7124941B2 (ja) * | 2020-06-19 | 2022-08-24 | 凸版印刷株式会社 | メタルマスク用基材の製造方法、蒸着用メタルマスクの製造方法、および、メタルマスク用基材 |
| KR20220004880A (ko) * | 2020-07-03 | 2022-01-12 | 삼성디스플레이 주식회사 | 마스크 어셈블리 및 이를 포함하는 증착 설비 |
| JP2022050818A (ja) * | 2020-09-18 | 2022-03-31 | 凸版印刷株式会社 | 蒸着マスク、蒸着マスクの製造方法、および、表示装置の製造方法 |
| KR102813889B1 (ko) * | 2020-10-30 | 2025-05-28 | 주식회사 에이피에스 | 증착 마스크 |
| KR20220081406A (ko) * | 2020-12-08 | 2022-06-16 | 삼성디스플레이 주식회사 | 마스크 제조 방법 및 마스크를 포함하는 증착 설비 |
| TWI757041B (zh) * | 2021-01-08 | 2022-03-01 | 達運精密工業股份有限公司 | 遮罩 |
| CN113078279A (zh) * | 2021-03-30 | 2021-07-06 | 京东方科技集团股份有限公司 | 一种掩膜版 |
| US20220406853A1 (en) * | 2021-06-21 | 2022-12-22 | Dai Nippon Printing Co., Ltd. | Organic device, group of masks, mask, and manufacturing method for organic device |
| KR20230020035A (ko) * | 2021-08-02 | 2023-02-10 | 삼성디스플레이 주식회사 | 증착용 마스크 |
| WO2024202048A1 (ja) * | 2023-03-31 | 2024-10-03 | 株式会社ボンマーク | 導電性物質搭載用マスク及び導電性物質搭載用マスクの製造方法 |
Citations (7)
| Publication number | Priority date | Publication date | Assignee | Title |
|---|---|---|---|---|
| JPH11214154A (ja) * | 1997-10-15 | 1999-08-06 | Toray Ind Inc | 有機電界発光装置の製造方法 |
| JP2002212721A (ja) * | 2001-01-10 | 2002-07-31 | Toppan Printing Co Ltd | スパッタ用メタルマスク |
| JP2004190057A (ja) * | 2002-12-09 | 2004-07-08 | Nippon Filcon Co Ltd | パターニングされたマスク被膜と支持体からなる積層構造の薄膜パターン形成用マスク及びその製造方法 |
| JP2005302457A (ja) * | 2004-04-09 | 2005-10-27 | Toray Ind Inc | 蒸着マスクおよびその製造方法並びに有機電界発光装置の製造方法 |
| JP2007173107A (ja) * | 2005-12-22 | 2007-07-05 | Kyocera Corp | マスク、マスク固定装置、及びマスクを使用して製造するディスプレイの製造方法 |
| JP2014098196A (ja) * | 2012-11-15 | 2014-05-29 | V Technology Co Ltd | 蒸着マスクの製造方法 |
| JP2014098194A (ja) * | 2012-11-15 | 2014-05-29 | V Technology Co Ltd | 蒸着マスクの製造方法及び蒸着マスク |
Family Cites Families (24)
| Publication number | Priority date | Publication date | Assignee | Title |
|---|---|---|---|---|
| JPH07300664A (ja) * | 1994-04-28 | 1995-11-14 | Fujitsu Ltd | メタルマスクの製造方法とその再生方法 |
| JP2002175878A (ja) * | 2000-09-28 | 2002-06-21 | Sanyo Electric Co Ltd | 層の形成方法及びカラー発光装置の製造方法 |
| JP4092914B2 (ja) * | 2001-01-26 | 2008-05-28 | セイコーエプソン株式会社 | マスクの製造方法、有機エレクトロルミネッセンス装置の製造方法 |
| US7396558B2 (en) * | 2001-01-31 | 2008-07-08 | Toray Industries, Inc. | Integrated mask and method and apparatus for manufacturing organic EL device using the same |
| JP2003332057A (ja) | 2002-05-16 | 2003-11-21 | Dainippon Printing Co Ltd | 有機el素子製造に用いる真空蒸着用多面付けマスク装置 |
| JP3775493B2 (ja) | 2001-09-20 | 2006-05-17 | セイコーエプソン株式会社 | マスクの製造方法 |
| JP2003272838A (ja) | 2002-03-14 | 2003-09-26 | Dainippon Printing Co Ltd | マスキング部材 |
| JP2004043898A (ja) * | 2002-07-12 | 2004-02-12 | Canon Electronics Inc | 蒸着用マスク、および有機エレクトロルミネセンス表示装置 |
| JP2004323888A (ja) * | 2003-04-23 | 2004-11-18 | Dainippon Printing Co Ltd | 蒸着マスク及び蒸着方法 |
| JP2005146338A (ja) | 2003-11-14 | 2005-06-09 | Sony Corp | 蒸着マスク |
| JP4441282B2 (ja) * | 2004-02-02 | 2010-03-31 | 富士フイルム株式会社 | 蒸着マスク及び有機el表示デバイスの製造方法 |
| JP2008208426A (ja) | 2007-02-27 | 2008-09-11 | Seiko Epson Corp | 成膜用マスクおよび成膜用マスクの製造方法 |
| KR20080111967A (ko) * | 2007-06-20 | 2008-12-24 | 삼성전기주식회사 | 섀도우 마스크 |
| JP2009052073A (ja) | 2007-08-24 | 2009-03-12 | Dainippon Printing Co Ltd | 蒸着マスク付シート、蒸着マスク装置の製造方法、および、蒸着マスク付シートの製造方法 |
| CN100560782C (zh) | 2008-01-22 | 2009-11-18 | 电子科技大学 | 一种有机电致发光器件的新型掩膜体系及制作方法 |
| JP5607312B2 (ja) * | 2009-04-02 | 2014-10-15 | 株式会社ボンマーク | 蒸着マスク及びその製造方法 |
| JP2013021165A (ja) * | 2011-07-12 | 2013-01-31 | Sony Corp | 蒸着用マスク、蒸着用マスクの製造方法、電子素子および電子素子の製造方法 |
| TWI555862B (zh) | 2011-09-16 | 2016-11-01 | V科技股份有限公司 | 蒸鍍遮罩、蒸鍍遮罩的製造方法及薄膜圖案形成方法 |
| WO2013039196A1 (ja) | 2011-09-16 | 2013-03-21 | 株式会社ブイ・テクノロジー | 蒸着マスク、蒸着マスクの製造方法及び薄膜パターン形成方法 |
| US9108216B2 (en) * | 2012-01-12 | 2015-08-18 | Dai Nippon Printing Co., Ltd. | Vapor deposition mask, method for producing vapor deposition mask device and method for producing organic semiconductor element |
| CN105821375A (zh) * | 2012-01-12 | 2016-08-03 | 大日本印刷株式会社 | 蒸镀掩模的制造方法及有机半导体元件的制造方法 |
| CN105296929B (zh) * | 2012-01-12 | 2018-06-08 | 大日本印刷株式会社 | 拼版蒸镀掩模的制造方法及有机半导体元件的制造方法 |
| KR20140019579A (ko) * | 2012-08-06 | 2014-02-17 | 삼성디스플레이 주식회사 | 증착 장치 |
| TWI725466B (zh) * | 2013-03-26 | 2021-04-21 | 日商大日本印刷股份有限公司 | 蒸鍍遮罩、附框架的蒸鍍遮罩、蒸鍍遮罩之製造方法、蒸鍍遮罩準備體、圖案之形成方法、及有機半導體元件之製造方法 |
-
2014
- 2014-03-24 TW TW108123462A patent/TWI725466B/zh active
- 2014-03-24 TW TW103110894A patent/TWI609978B/zh active
- 2014-03-24 TW TW108114754A patent/TWI671414B/zh active
- 2014-03-24 WO PCT/JP2014/058045 patent/WO2014157068A1/ja not_active Ceased
- 2014-03-24 US US14/779,738 patent/US10597766B2/en active Active
- 2014-03-24 KR KR1020157019139A patent/KR101901004B1/ko active Active
- 2014-03-24 CN CN201480017634.6A patent/CN105102668B/zh active Active
- 2014-03-24 JP JP2014059432A patent/JP5812139B2/ja active Active
- 2014-03-24 KR KR1020207018239A patent/KR102218952B1/ko active Active
- 2014-03-24 TW TW106135015A patent/TWI665320B/zh active
- 2014-03-24 KR KR1020187026571A patent/KR101934244B1/ko active Active
- 2014-03-24 KR KR1020187037203A patent/KR102128752B1/ko active Active
-
2018
- 2018-11-14 US US16/190,453 patent/US10597768B2/en active Active
-
2020
- 2020-02-11 US US16/787,438 patent/US10982317B2/en active Active
-
2021
- 2021-03-19 US US17/206,334 patent/US20210207258A1/en not_active Abandoned
Patent Citations (7)
| Publication number | Priority date | Publication date | Assignee | Title |
|---|---|---|---|---|
| JPH11214154A (ja) * | 1997-10-15 | 1999-08-06 | Toray Ind Inc | 有機電界発光装置の製造方法 |
| JP2002212721A (ja) * | 2001-01-10 | 2002-07-31 | Toppan Printing Co Ltd | スパッタ用メタルマスク |
| JP2004190057A (ja) * | 2002-12-09 | 2004-07-08 | Nippon Filcon Co Ltd | パターニングされたマスク被膜と支持体からなる積層構造の薄膜パターン形成用マスク及びその製造方法 |
| JP2005302457A (ja) * | 2004-04-09 | 2005-10-27 | Toray Ind Inc | 蒸着マスクおよびその製造方法並びに有機電界発光装置の製造方法 |
| JP2007173107A (ja) * | 2005-12-22 | 2007-07-05 | Kyocera Corp | マスク、マスク固定装置、及びマスクを使用して製造するディスプレイの製造方法 |
| JP2014098196A (ja) * | 2012-11-15 | 2014-05-29 | V Technology Co Ltd | 蒸着マスクの製造方法 |
| JP2014098194A (ja) * | 2012-11-15 | 2014-05-29 | V Technology Co Ltd | 蒸着マスクの製造方法及び蒸着マスク |
Cited By (10)
| Publication number | Priority date | Publication date | Assignee | Title |
|---|---|---|---|---|
| WO2015041296A1 (ja) * | 2013-09-20 | 2015-03-26 | 株式会社ブイ・テクノロジー | 成膜マスク及びタッチパネル基板 |
| WO2016060216A1 (ja) * | 2014-10-15 | 2016-04-21 | シャープ株式会社 | 蒸着マスク、蒸着装置、蒸着方法、および蒸着マスクの製造方法 |
| CN106795618A (zh) * | 2014-10-15 | 2017-05-31 | 夏普株式会社 | 蒸镀掩模、蒸镀装置、蒸镀方法以及蒸镀掩模的制造方法 |
| CN106795618B (zh) * | 2014-10-15 | 2019-08-27 | 夏普株式会社 | 蒸镀掩模、蒸镀装置、蒸镀方法以及蒸镀掩模的制造方法 |
| KR20160082764A (ko) * | 2014-12-29 | 2016-07-11 | 삼성디스플레이 주식회사 | 스퍼터링 장치 |
| KR102253877B1 (ko) * | 2014-12-29 | 2021-05-21 | 삼성디스플레이 주식회사 | 스퍼터링 장치 |
| CN106367716A (zh) * | 2015-07-24 | 2017-02-01 | 上海和辉光电有限公司 | 掩模板及显示面板的制作方法 |
| CN109609902A (zh) * | 2018-10-26 | 2019-04-12 | 武汉华星光电半导体显示技术有限公司 | 一种掩模板及显示面板封装方法 |
| US11309518B2 (en) | 2018-10-26 | 2022-04-19 | Wuhan China Star Optoelectronics Semiconductor Display Technology Co., Ltd. | Mask and encapsulating method of display panel |
| JP2022040070A (ja) * | 2020-08-26 | 2022-03-10 | 三星ディスプレイ株式會社 | マスク及びマスク製造方法 |
Also Published As
| Publication number | Publication date |
|---|---|
| CN105102668B (zh) | 2019-02-19 |
| US10597766B2 (en) | 2020-03-24 |
| US20210207258A1 (en) | 2021-07-08 |
| TWI609978B (zh) | 2018-01-01 |
| JP2014208899A (ja) | 2014-11-06 |
| KR20190000905A (ko) | 2019-01-03 |
| KR20180104200A (ko) | 2018-09-19 |
| TW201807222A (zh) | 2018-03-01 |
| US10597768B2 (en) | 2020-03-24 |
| TWI665320B (zh) | 2019-07-11 |
| KR102218952B1 (ko) | 2021-02-23 |
| KR20200078701A (ko) | 2020-07-01 |
| TWI725466B (zh) | 2021-04-21 |
| KR20150136043A (ko) | 2015-12-04 |
| KR101901004B1 (ko) | 2018-09-20 |
| TW201446987A (zh) | 2014-12-16 |
| KR102128752B1 (ko) | 2020-07-02 |
| US10982317B2 (en) | 2021-04-20 |
| JP5812139B2 (ja) | 2015-11-11 |
| US20190100835A1 (en) | 2019-04-04 |
| KR101934244B1 (ko) | 2018-12-31 |
| CN105102668A (zh) | 2015-11-25 |
| TW201932622A (zh) | 2019-08-16 |
| TW201938821A (zh) | 2019-10-01 |
| US20200173011A1 (en) | 2020-06-04 |
| TWI671414B (zh) | 2019-09-11 |
| US20160047030A1 (en) | 2016-02-18 |
Similar Documents
| Publication | Publication Date | Title |
|---|---|---|
| JP5812139B2 (ja) | 蒸着マスク、蒸着マスク準備体、蒸着マスクの製造方法、及び有機半導体素子の製造方法 | |
| JP6835283B2 (ja) | フレーム一体型の樹脂板付き金属マスク、フレーム一体型の蒸着マスクの製造方法、有機半導体素子の製造方法、及びパターンの形成方法 | |
| JP5741743B2 (ja) | 蒸着マスク、蒸着マスク準備体、蒸着マスクの製造方法、及び有機半導体素子の製造方法 | |
| JP6601483B2 (ja) | 蒸着マスク、蒸着マスク準備体、蒸着マスクの製造方法、及び有機半導体素子の製造方法 | |
| JP6569880B2 (ja) | フレーム付き蒸着マスク、フレーム付き蒸着マスクの製造方法、フレーム付き蒸着マスク準備体、パターンの製造方法、及び有機半導体素子の製造方法 | |
| JP6394877B2 (ja) | 蒸着マスク、蒸着マスクの製造方法、蒸着マスク準備体、フレーム付き蒸着マスク、及び有機半導体素子の製造方法 | |
| JP6197423B2 (ja) | 蒸着マスク、蒸着マスクの製造方法、及び有機半導体素子の製造方法 | |
| JP2017210687A (ja) | 蒸着マスク、蒸着マスクの製造方法、及び有機半導体素子の製造方法 |
Legal Events
| Date | Code | Title | Description |
|---|---|---|---|
| WWE | Wipo information: entry into national phase |
Ref document number: 201480017634.6 Country of ref document: CN |
|
| 121 | Ep: the epo has been informed by wipo that ep was designated in this application |
Ref document number: 14776015 Country of ref document: EP Kind code of ref document: A1 |
|
| ENP | Entry into the national phase |
Ref document number: 20157019139 Country of ref document: KR Kind code of ref document: A |
|
| WWE | Wipo information: entry into national phase |
Ref document number: 14779738 Country of ref document: US |
|
| NENP | Non-entry into the national phase |
Ref country code: DE |
|
| 122 | Ep: pct application non-entry in european phase |
Ref document number: 14776015 Country of ref document: EP Kind code of ref document: A1 |