WO2011024731A1 - 回転角検出装置 - Google Patents

回転角検出装置 Download PDF

Info

Publication number
WO2011024731A1
WO2011024731A1 PCT/JP2010/064105 JP2010064105W WO2011024731A1 WO 2011024731 A1 WO2011024731 A1 WO 2011024731A1 JP 2010064105 W JP2010064105 W JP 2010064105W WO 2011024731 A1 WO2011024731 A1 WO 2011024731A1
Authority
WO
WIPO (PCT)
Prior art keywords
rotation angle
sine wave
rotation
wave signal
sin
Prior art date
Legal status (The legal status is an assumption and is not a legal conclusion. Google has not performed a legal analysis and makes no representation as to the accuracy of the status listed.)
Ceased
Application number
PCT/JP2010/064105
Other languages
English (en)
French (fr)
Japanese (ja)
Inventor
上田 武史
Current Assignee (The listed assignees may be inaccurate. Google has not performed a legal analysis and makes no representation or warranty as to the accuracy of the list.)
JTEKT Corp
Original Assignee
JTEKT Corp
Priority date (The priority date is an assumption and is not a legal conclusion. Google has not performed a legal analysis and makes no representation as to the accuracy of the date listed.)
Filing date
Publication date
Application filed by JTEKT Corp filed Critical JTEKT Corp
Priority to US13/389,977 priority Critical patent/US20120143563A1/en
Priority to EP10811781.3A priority patent/EP2472233A4/en
Priority to CN201080037552XA priority patent/CN102575946A/zh
Publication of WO2011024731A1 publication Critical patent/WO2011024731A1/ja
Anticipated expiration legal-status Critical
Ceased legal-status Critical Current

Links

Images

Classifications

    • GPHYSICS
    • G01MEASURING; TESTING
    • G01DMEASURING NOT SPECIALLY ADAPTED FOR A SPECIFIC VARIABLE; ARRANGEMENTS FOR MEASURING TWO OR MORE VARIABLES NOT COVERED IN A SINGLE OTHER SUBCLASS; TARIFF METERING APPARATUS; MEASURING OR TESTING NOT OTHERWISE PROVIDED FOR
    • G01D5/00Mechanical means for transferring the output of a sensing member; Means for converting the output of a sensing member to another variable where the form or nature of the sensing member does not constrain the means for converting; Transducers not specially adapted for a specific variable
    • G01D5/12Mechanical means for transferring the output of a sensing member; Means for converting the output of a sensing member to another variable where the form or nature of the sensing member does not constrain the means for converting; Transducers not specially adapted for a specific variable using electric or magnetic means
    • G01D5/244Mechanical means for transferring the output of a sensing member; Means for converting the output of a sensing member to another variable where the form or nature of the sensing member does not constrain the means for converting; Transducers not specially adapted for a specific variable using electric or magnetic means influencing characteristics of pulses or pulse trains; generating pulses or pulse trains
    • G01D5/24471Error correction
    • G01D5/24476Signal processing

Definitions

  • the present invention relates to a rotation angle detection device that detects a rotation angle of a rotating body.
  • a brushless motor used in an electric power steering device or the like is controlled by passing a current through the stator winding in accordance with the rotation angle of the rotor.
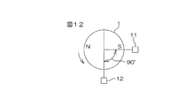
  • a rotation angle detection device shown in FIG. 12 is known.
  • the rotation angle detection device includes a rotor 1 including a magnet having two magnetic poles N and S, and two magnetic sensors 11 and 12 arranged at an angular interval of 90 ° about the rotation center axis of the rotor 1. Including.
  • Each magnetic sensor 11, 12 outputs a sine wave signal having a phase difference of 90 °.
  • the rotation angle detection device detects the rotation angle of the rotor 1 based on these two sine wave signals.
  • the direction indicated by the arrow in FIG. 12 is the positive rotation direction of the rotor 1.
  • the rotation angle of the rotor 1 is increased.
  • A1 and A2 each represent an amplitude.
  • one output signal V1 is V1.
  • V2 A ⁇ cos ⁇
  • the rotation angle ⁇ of the rotor can be obtained based on, for example, the following equation (1) using both output signals V1 and V2.
  • an object of the present invention is to provide a rotation angle detection device that can improve detection accuracy. Further, in the conventional rotation angle detection device as described above, there is a possibility that a detection error may occur due to the influence of noise included in the output signal of the magnetic sensor. Therefore, in order to reduce such a detection error, it is conceivable to obtain the final rotation angle by averaging the rotation angle detected based on the output signal of the magnetic sensor in the time direction. However, if this is done, when the rotor rotates at a high speed, the response of rotation angle detection becomes poor.
  • an object of the present invention is to provide a rotation angle detection device capable of reducing detection error due to the influence of noise while maintaining high responsiveness.
  • the first rotation angle detection device of the present invention outputs first, second and third sine wave signals having phase differences from each other in accordance with the rotation of the rotating body (1).
  • a rotation angle detection device (20, 70) that includes third sensors (11-13, 61-63) and detects the rotation angle of the rotating body based on the output signals of these sensors, wherein the first sensor A combination of the second sine wave signal and the second sine wave signal, a combination of the second sine wave signal and the third sine wave signal, and the second sine wave signal and the third sine wave signal.
  • Rotation angle calculation means (21, 22) for calculating a rotation angle corresponding to the rotation angle of the rotating body based on two sine wave signals included in the combination of two or more of the combinations 71-73) and the rotation angle calculation means The using a plurality of rotation angle, and a final rotation angle calculation means for calculating a final rotation angle (23,74).
  • alphanumeric characters in parentheses indicate corresponding components in the embodiments described later. However, this does not intend that the present invention should be construed as being limited to the embodiment.
  • Rotational angle calculated from two sine wave signals having a phase difference from each other has a rotational angle range in which a calculation error increases due to an arithmetic expression used for the calculation. Since the plurality of rotation angles calculated by the rotation angle calculation means are calculated from different combinations of sine wave signals, the calculation formulas used for these calculations are different. For this reason, the range of the rotation angle where the calculation error increases is different between the plurality of rotation angles. According to the above configuration, it is possible to calculate a rotation angle with less calculation error using a plurality of rotation angles. For this reason, the detection accuracy of the rotation angle can be increased.
  • the final rotation angle is calculated based on a plurality of rotation angles calculated by the rotation angle calculation means, so that detection errors due to the influence of noise included in the sensor output signal are reduced. it can.
  • the rotation angle calculation means calculates a first rotation angle corresponding to the rotation angle of the rotating body based on the first sine wave signal and the second sine wave signal. Based on the first rotation angle calculating means (21), the second sine wave signal, and the third sine wave signal, the second rotation angle corresponding to the rotation angle of the rotating body is calculated. 2 rotation angle calculation means (22). Then, the final rotation angle calculation means calculates a final rotation angle using the first rotation angle and the second rotation angle.
  • the first rotation angle corresponding to the rotation angle of the rotating body is calculated based on the first sine wave signal and the second sine wave signal.
  • a second rotation angle corresponding to the rotation angle of the rotating body is calculated based on the second sine wave signal and the third sine wave signal.
  • the final rotation angle is calculated using the first rotation angle and the second rotation angle.
  • the rotation angle calculated from two sine wave signals having a phase difference from each other has a rotation angle range in which a calculation error increases due to an arithmetic expression used for the calculation.
  • the first rotation angle is calculated from the first sine wave signal and the second sine wave signal
  • the second rotation angle is calculated from the second sine wave signal and the third sine wave signal.
  • the arithmetic expression used for the calculation is different.
  • the first rotation angle and the second rotation angle have different rotation angle ranges in which a calculation error increases. According to the above configuration, it is possible to calculate a rotation angle with less calculation error using the first rotation angle and the second rotation angle. For this reason, the detection accuracy of the rotation angle can be increased.
  • the final rotation angle calculation means is based on a rotation angle estimation means (31) for estimating a rotation angle of the rotating body, and a rotation angle estimation value estimated by the rotation angle estimation means.
  • calculating means (32) for calculating a final rotation angle using the first rotation angle and the second rotation angle.
  • the calculation means (32) determines a rotation angle with a smaller calculation error out of the first rotation angle and the second rotation angle in accordance with the rotation angle estimated value estimated by the rotation angle estimation means.
  • the final rotation angle may be selected.
  • the calculation means finally adds the weighting according to the rotation angle estimated value estimated by the rotation angle estimation means to each of the first rotation angle and the second rotation angle, and adds them.
  • a simple rotation angle may be obtained.
  • the rotation angle estimation means (31) may calculate an average value of the first rotation angle and the second rotation angle as the rotation angle estimation value.
  • the rotation angle estimation value for example, a first rotation angle, a second rotation angle, or the like can be used.
  • the currently selected first or second rotation angle is set as the rotation angle estimated value. You may make it use as.
  • the last rotation angle calculated last time may be used as the current rotation angle estimation value.
  • the rotation angle calculation means calculates a first rotation angle corresponding to the rotation angle of the rotating body based on the first sine wave signal and the second sine wave signal. Based on the first rotation angle calculation means (71) for calculating, the first sine wave signal, and the third sine wave signal, a second rotation angle corresponding to the rotation angle of the rotating body is calculated. Based on the second rotation angle calculation means (72), the second sine wave signal, and the third sine wave signal, a third rotation angle is calculated that corresponds to the rotation angle of the rotating body. Rotation angle calculation means (73). The final rotation angle calculation means calculates a final rotation angle based on the first, second, and third rotation angles.
  • the first rotation angle corresponding to the rotation angle of the rotating body is calculated based on the first sine wave signal and the second sine wave signal.
  • a second rotation angle corresponding to the rotation angle of the rotating body is calculated based on the first sine wave signal and the third sine wave signal.
  • a third rotation angle corresponding to the rotation angle of the rotating body is calculated based on the second sine wave signal and the third sine wave signal.
  • a final rotation angle is calculated based on the first, second, and third rotation angles.
  • the average value or median value of the first, second, and third rotation angles can be calculated as the final rotation angle.
  • the most out of the first, second, and third rotation angles can be excluded, and the other two average values can be calculated as the final rotation angle.
  • the same sensor output signal is shared for calculation of a plurality of rotation angles.
  • the first sine wave signal is shared for the calculation of the first rotation angle and the second rotation angle
  • the second sine wave signal is the first rotation angle and the third rotation.
  • the third sine wave signal is shared for calculating the angle
  • the third sine wave signal is shared for calculating the second rotation angle and the third rotation angle.
  • the sine wave signal V2 is output.
  • the sine wave signal V3 is output.
  • the first rotation angle calculation means obtains the first rotation angle ⁇ 1 by the following equation (i).
  • the second rotation angle calculation means obtains the second rotation angle ⁇ 2 by the following equation (ii).
  • the third rotation angle calculation means obtains the third rotation angle ⁇ 3 by the following equation (iii).
  • the first rotation angle ⁇ 1 is obtained by the equation (i)
  • the second rotation angle ⁇ 2 is obtained by the equation (ii)
  • the third rotation angle ⁇ 3 is obtained by the equation (iii). Desired.
  • a final rotation angle is calculated based on the first, second, and third rotation angles obtained in this way.
  • the first and second sensors (11) that respectively output first and second sine wave signals having a phase difference according to the rotation of the rotating body (1).
  • a rotation angle detection device for detecting the rotation angle of the rotating body based on the output signals of these sensors, wherein the first sine wave signal and the second sine wave signal And a first rotation angle calculation means (41) for calculating a first rotation angle corresponding to the rotation angle of the rotating body using a predetermined first calculation formula, and the first sine wave Based on the signal and the second sine wave signal, a second rotation angle corresponding to the rotation angle of the rotating body is calculated using a predetermined second calculation formula different from the first calculation formula. Using the second rotation angle calculating means (42), the first rotation angle and the second rotation angle. The rotational angle and a final rotation angle calculation means for calculating (43).
  • a first rotation angle corresponding to the rotation angle of the rotating body is calculated using a predetermined first calculation formula.
  • a second calculation expression that is different from the first calculation expression is used, and a second value corresponding to the rotation angle of the rotating body is obtained. The rotation angle is calculated. Then, the final rotation angle is calculated using the first rotation angle and the second rotation angle.
  • Rotational angle calculated from two sine wave signals having a phase difference from each other has a rotational angle range in which a calculation error increases due to an arithmetic expression used for the calculation.
  • the first rotation angle and the second rotation angle have different calculation formulas used for the calculation, and therefore the rotation angle range in which the calculation error increases is different. According to the above configuration, it is possible to calculate a rotation angle with less calculation error using the first rotation angle and the second rotation angle. For this reason, the detection accuracy of the rotation angle can be increased.
  • the final rotation angle calculation means is based on a rotation angle estimation means (51) for estimating a rotation angle of the rotating body, and a rotation angle estimation value estimated by the rotation angle estimation means.
  • calculating means (52) for calculating a final rotation angle using the first rotation angle and the second rotation angle.
  • the calculation means (52) selects a rotation angle having a smaller calculation error, out of the first rotation angle and the second rotation angle, according to the rotation angle estimated value estimated by the rotation angle estimation means.
  • the final rotation angle may be selected.
  • the calculation means finally adds the weighting according to the rotation angle estimated value estimated by the rotation angle estimation means to each of the first rotation angle and the second rotation angle, and adds them.
  • a simple rotation angle may be obtained.
  • the rotation angle estimation means (51) may calculate an average value of the first rotation angle and the second rotation angle as the rotation angle estimation value.
  • the rotation angle estimation value for example, a first rotation angle, a second rotation angle, or the like can be used.
  • the currently selected first or second rotation angle is set as the rotation angle estimated value. You may make it use as.
  • the last rotation angle calculated last time may be used as the current rotation angle estimation value.
  • FIG. 1 is a schematic diagram showing a configuration of a rotation angle detection device according to the first embodiment of the present invention.
  • FIG. 2 is an explanatory diagram for explaining a range in which a calculation error of the first rotation angle is large.
  • FIG. 3 is an explanatory diagram for explaining a range in which the calculation error of the second rotation angle is large.
  • FIG. 4 is an explanatory diagram for explaining the operation of the rotation angle selection unit.
  • FIG. 5 is a flowchart showing a procedure of rotation angle calculation processing by the rotation angle calculation device.
  • FIG. 6 is a schematic diagram showing a configuration of a rotation angle detection device according to the second embodiment of the present invention.
  • FIG. 7 is a flowchart showing a procedure of rotation angle calculation processing by the rotation angle calculation device.
  • FIG. 8 is an explanatory diagram for explaining a method of calculating a final rotation angle by adding a weight to the first rotation angle and the second rotation angle.
  • FIG. 9 is a schematic diagram showing a configuration of a rotation angle detection device according to the third embodiment of the present invention.
  • FIG. 10 is a functional block diagram showing a detailed configuration of the rotation angle calculation device.
  • FIG. 11 is a flowchart illustrating a procedure of rotation angle calculation processing by the rotation angle calculation device.
  • FIG. 12 is a schematic diagram for explaining a rotation angle detection method by a conventional rotation angle detection device.
  • FIG. 1 is a schematic diagram showing a configuration of a rotation angle detection device according to the first embodiment of the present invention.
  • This rotation angle detection device can be used, for example, to detect the rotation angle of a rotor of a brushless motor of an electric power steering device.
  • the rotation angle detection device has, for example, a detection rotor 1 (hereinafter referred to as “rotor 1”) that rotates according to the rotation of a brushless motor.
  • the rotor 1 includes a magnet having two magnetic poles N and S. The same applies to the rotation angle detection devices according to second and third embodiments described later.
  • three magnetic sensors 11, 12, and 13 are arranged at intervals in the circumferential direction of the rotor 1. These three magnetic sensors 11, 12, and 13 may be referred to as a first magnetic sensor 11, a second magnetic sensor 12, and a third magnetic sensor 13, respectively.
  • a sensor provided with an element having a characteristic in which an electrical characteristic is changed by the action of a magnetic field such as a Hall element or a magnetoresistive element (MR element) can be used.
  • the first magnetic sensor 11 and the second magnetic sensor 12 are arranged with an angular interval ⁇ around the rotation center axis of the rotor 1.
  • the first magnetic sensor 11 and the third magnetic sensor 13 are arranged with an angular interval of ⁇ larger than ⁇ around the rotation center axis of the rotor 1.
  • is set to 90 ° and ⁇ is set to 180 °. Therefore, in this embodiment, the angular interval between the second magnetic sensor 12 and the third magnetic sensor 13 is 90 °.
  • the direction indicated by the arrow in FIG. 1 is the positive rotation direction of the rotor 1.
  • the rotation angle of the rotor 1 is increased.
  • the rotation angle of the rotor 1 is decreased.
  • A1, A2, and A3 represent amplitudes, respectively.
  • each signal V1, V2 and V3 are expressed as A ⁇ sin ⁇ , A ⁇ sin ( ⁇ + ⁇ ) and A ⁇ sin ( ⁇ + ⁇ ), respectively.
  • A 1
  • the signals V1, V2, and V3 are expressed as sin ⁇ , sin ( ⁇ + ⁇ ), and sin ( ⁇ + ⁇ ), respectively.
  • V1 sin ⁇
  • the output signals V1, V2, and V3 of the magnetic sensors 11, 12, and 13 are input to the rotation angle calculation device 20.
  • the rotation angle calculation device 20 calculates the rotation angle ⁇ of the rotor 1 based on the output signals V1, V2, and V3 of the magnetic sensors 11, 12, and 13.
  • the rotation angle calculation device 20 is composed of, for example, a microcomputer, and includes a CPU (Central Processing Unit) and a memory (ROM, RAM, etc.).
  • the rotation angle calculation device 20 functions as a plurality of function processing units when the CPU executes a predetermined program stored in the ROM.
  • the plurality of function processing units include a first rotation angle calculation unit (first rotation angle calculation unit) 21, a second rotation angle calculation unit (second rotation angle calculation unit) 22, and a rotation angle selection unit (final rotation angle). Computing means) 23.
  • the first rotation angle calculation unit 21 is configured to output a first rotation angle corresponding to the rotation angle of the rotor 1 based on the output signal V 1 of the first magnetic sensor 11 and the output signal V 2 of the second magnetic sensor 12. Calculate ⁇ 1 .
  • the second rotation angle calculation unit 22 is a second rotation angle corresponding to the rotation angle of the rotor 1 based on the output signal V2 of the second magnetic sensor 12 and the output signal V3 of the third magnetic sensor 13. ⁇ 2 is calculated.
  • the rotation angle selector 23 selects one of the first rotation angle ⁇ 1 and the second rotation angle ⁇ 2 as the final rotation angle ⁇ according to the estimated rotation angle value of the rotor 1. .
  • the concept of rotation angle selection by the rotation angle selection unit 23 will be described.
  • the rotation angle ⁇ of the rotor 1 has a range in the vicinity of 90 ° (for example, a range of 90 ° ⁇ 22.5 °) and a range in the vicinity of 270 ° (for example, 270 ° ⁇ In the range of 22.5 °, the absolute value of sin ( ⁇ + 90 °) becomes small, and the calculation error of the first rotation angle ⁇ 1 becomes large.
  • a range near 0 ° eg, a range from 0 ° to 22.5 °
  • a range around 180 ° eg, a range of 180 ° ⁇ 22.5 °
  • a range around 360 ° eg, 337.5 In the range of ⁇ 360 °, the absolute value of sin ( ⁇ + 180 °) is small.
  • the calculation error of the second rotation angle ⁇ 2 becomes large.
  • the rotation angle selection unit 23 estimates the rotation angle of the rotor 1 from the first rotation angle ⁇ 1 and the second rotation angle ⁇ 2 and responds to the estimated rotation angle (rotation angle estimated value).
  • the one that is estimated to have a small calculation error (high calculation accuracy) is selected as the final rotation angle ⁇ from the first rotation angle ⁇ 1 and the second rotation angle ⁇ 2 .
  • the rotation angle selection unit 23 includes a rotation angle estimation unit 31 and a selection unit 32.
  • Selecting unit 32 using the rotation angle estimated value theta E obtained by the rotational angle estimation unit 31, in accordance with condition expressed by a following expression (5), the rotation angle of the first rotation angle theta 1 and the 2 theta 2 Is selected as the final rotation angle ⁇ .
  • FIG. 4 shows the change of sin ⁇ / sin ( ⁇ + 90 ° ) with respect to the rotation angle estimated value theta E, and a change in sin ( ⁇ + 90 °) / sin ( ⁇ + 180 °) with respect to the rotation angle estimated value theta E.
  • tan ⁇ 1 ⁇ (sin ⁇ °) / sin ( ⁇ + 90 °) ⁇ is used to calculate the first rotation angle ⁇ 1 and tan ⁇ 1 ⁇ (sin ( ⁇ + 90 °) / sin ( ⁇ + 180 °) ⁇ is used to calculate the second rotation angle ⁇ 2 .
  • the rotation angle estimated value ⁇ The rotation angle calculated using the thick line portion (high calculation accuracy portion) of the curve corresponding to E is selected as the final rotation angle ⁇ .
  • FIG. 5 is a flowchart showing the procedure of the rotation angle calculation process executed by the rotation angle calculation device 20.
  • the rotation angle calculation process is repeated every predetermined calculation cycle.
  • the first rotation angle calculation unit 21 of the rotation angle calculation device 20 calculates the first rotation angle ⁇ 1 based on the equation (2) using the output signals V1 and V2 captured in step S1. (Step S2).
  • the second rotation angle calculation unit 22 of the rotation angle calculation device 20 calculates the second rotation angle ⁇ 2 based on the expression (3) using the output signals V2 and V3 taken in step S1. (Step S3). Further, the rotation angle selection unit 23 of the rotation angle calculation unit 20 calculates the rotation angle estimated value theta E based on the first rotation angle theta 1 and second and the rotational angle theta 2 (step S4). For example, the rotation angle selection unit 23 obtains the average value of the first rotation angle ⁇ 1 and the second rotation angle ⁇ 2 as the rotation angle estimated value ⁇ E based on the equation (4).
  • the rotation angle selection unit 23 using the rotation angle estimated value theta E, according to the conditional expression in the equation (5), one of a first rotation angle theta 1 and the second rotation angle theta 2, Select as the final rotation angle ⁇ . (Step S5).
  • the rotation angle with the smaller calculation error is selected as the final rotation angle ⁇ of the rotor 1.
  • the detection accuracy of the rotation angle ⁇ can be increased.
  • three magnetic sensors are provided.
  • four or more magnetic sensors are provided, and a rotation angle corresponding to the rotation angle ⁇ of the rotor 1 is calculated for each set of two adjacent sensors.
  • three or more types of rotation angles that are candidates for the final rotation angle ⁇ may be obtained, and one of these rotation angle candidates may be selected as the final rotation angle ⁇ .
  • FIG. 6 is a schematic diagram showing a configuration of a rotation angle detection device according to the second embodiment of the present invention.
  • two magnetic sensors 11 and 12 are arranged at intervals in the circumferential direction of the rotor 1. These two magnetic sensors 11 and 12 may be referred to as a first magnetic sensor 11 and a second magnetic sensor 12, respectively.
  • the first magnetic sensor 11 and the second magnetic sensor 12 are arranged at an angular interval of ⁇ around the rotation center axis of the rotor 1. In this embodiment, ⁇ is set to 90 °.
  • the direction indicated by the arrow in FIG. 6 is the positive rotation direction of the rotor 1.
  • the output signals V1 and V2 of the magnetic sensors 11 and 12 are input to the rotation angle calculation device 40.
  • the rotation angle calculation device 40 calculates the rotation angle ⁇ of the rotor 1 based on the output signals V1 and V2 of the magnetic sensors 11 and 12.
  • the rotation angle calculation device 40 is composed of, for example, a microcomputer and includes a CPU (Central Processing Unit) and a memory (ROM, RAM, etc.).
  • the rotation angle calculation device 40 functions as a plurality of function processing units when the CPU executes a predetermined program stored in the ROM.
  • the plurality of function processing units include a first rotation angle calculation unit (first rotation angle calculation unit) 41, a second rotation angle calculation unit (second rotation angle calculation unit) 42, and a rotation angle selection unit (final rotation angle). Computing means) 43.
  • the first rotation angle calculation unit 41 is based on the output signal V1 of the first magnetic sensor 11 and the output signal V2 of the second magnetic sensor 12, and the calculation formula (hereinafter, “The first rotation angle ⁇ 1 corresponding to the rotation angle of the rotor 1 is calculated using “first calculation formula”.
  • the first arithmetic expression is the same as the expression (2) described in the first embodiment.
  • the second rotation angle calculation unit 42 calculates an expression (hereinafter, “The second rotation angle ⁇ 2 corresponding to the rotation angle of the rotor 1 is calculated using a “second calculation formula”.
  • the rotation angle selection unit 43 selects one of the first rotation angle ⁇ 1 and the second rotation angle ⁇ 2 as the final rotation angle ⁇ according to the estimated rotation angle value of the rotor 1. .
  • the rotation angle ⁇ of the rotor 1 is in the range near 90 ° (for example, the range of 90 ° ⁇ 22.5 °).
  • a range around 270 ° for example, a range of 270 ° ⁇ 22.5 °
  • the calculation error of the first rotation angle ⁇ 1 becomes large.
  • V1 ′ sin ( ⁇ + 180 °)
  • V1 ′ sin ( ⁇ + 180 °)
  • the rotation angle selection unit 43 estimates the rotation angle of the rotor 1 from the first rotation angle ⁇ 1 and the second rotation angle ⁇ 2, and responds to the estimated rotation angle (rotation angle estimated value).
  • the rotation angle selection unit 43 includes a rotation angle estimation unit 51 and a selection unit 52.
  • the rotation angle estimation unit 51 calculates the average rotation angle ⁇ 1 and the second rotation angle ⁇ 2 based on the following equation (8) to obtain the rotation angle estimation value ⁇ E. .
  • ⁇ E ( ⁇ 1 + ⁇ 2 ) / 2 (8)
  • Selecting unit 52 using the rotation angle estimated value theta E obtained by the rotational angle estimation unit 51, in accordance with condition expressed by a following expression (9), the rotation angle of the first rotation angle theta 1 and the 2 theta 2 Is selected as the final rotation angle ⁇ .
  • This conditional expression is the same as the conditional expression in the first embodiment (see the expression (5)).
  • FIG. 7 is a flowchart showing the procedure of the rotation angle calculation process executed by the rotation angle calculation device 40.
  • the rotation angle calculation process is repeated every predetermined calculation cycle.
  • the first rotation angle calculation unit 41 of the rotation angle calculation device 40 uses the output signals V1 and V2 fetched in step S11, and based on the first calculation formula shown in the formula (6), It computes the rotation angle theta 1 of (step S12).
  • the second rotation angle calculation unit 42 of the rotation angle calculation device 40 uses the output signals V1 and V2 fetched in step S11, and based on the second calculation formula shown in the formula (7), calculates the rotation angle theta 2 (step S13). Further, the rotation angle selection unit 43 of the rotation angle calculation unit 40 calculates the rotation angle estimated value theta E based on the first rotation angle theta 1 and second and the rotational angle theta 2 (step S14). For example, the rotation angle selection unit 43 obtains the average value of the first rotation angle ⁇ 1 and the second rotation angle ⁇ 2 as the rotation angle estimated value ⁇ E based on the equation (8).
  • the rotation angle selection unit 43 uses the rotation angle estimated value ⁇ E and determines one of the first rotation angle ⁇ 1 and the second rotation angle ⁇ 2 in accordance with the conditional expression of the equation (9). Select as the final rotation angle ⁇ . (Step S15).
  • the rotation angle with the smaller calculation error out of the first rotation angle ⁇ 1 and the second rotation angle ⁇ 2 is selected as the final rotation angle ⁇ of the rotor 1. Will be able to. For this reason, the detection accuracy of the rotation angle ⁇ can be increased.
  • two types of rotation angles ⁇ 1 and ⁇ 2 can be calculated from the output signals V 1 and V 2 of the two magnetic sensors 11 and 12, which have different angle ranges in which the calculation error increases. Therefore, there is an advantage that the number of magnetic sensors can be reduced as compared with the first embodiment.
  • one of the first rotation angle ⁇ 1 and the second rotation angle ⁇ 2 is finally determined according to the rotation angle estimated value ⁇ E.
  • the final rotation angle is obtained by adding a weight corresponding to the estimated rotation angle ⁇ E to each of the first rotation angle ⁇ 1 and the second rotation angle ⁇ 2. You may make it obtain
  • the formula (5) the angle when selecting the rotation angle according to the conditional expression, where the angular range in which the first rotation angle theta 1 is selected, the second rotation angle theta 2 is selected in (9)
  • the range is as shown in FIG. Therefore, as shown in FIG. 8B, the rotation angle estimated value ⁇ E is not 0 ° (360 °) or 180 °, which is the median value of the range in which the first rotation angle ⁇ 1 is selected. Then, the first rotation angle ⁇ 1 is set as the final rotation angle ⁇ .
  • the second rotation angle is the final rotation angle ⁇ . ⁇ 2 is set.
  • the weights w 1 and w 2 are obtained based on the following equation (10).
  • the rotation angle estimation value ⁇ E is obtained by calculating the average of the first rotation angle ⁇ 1 and the second rotation angle ⁇ 2 .
  • one of the rotation angle theta 1 or the second rotation angle theta 2 may be used as the rotation angle estimated value theta E.
  • the currently selected first or second rotation angle You may make it use (theta) 1, ( theta) 2 as rotation angle estimated value (theta) E.
  • the final rotation angle in after the first operation, a theta final rotation angle is previously calculated may be used as the current rotation angle estimated value theta E.
  • FIG. 9 is a schematic diagram showing a configuration of a rotation angle detection device according to the third embodiment of the present invention.
  • three magnetic sensors 61, 62, 63 are arranged at intervals in the circumferential direction of the rotor 1. These three magnetic sensors 61, 62, and 63 may be referred to as a first magnetic sensor 61, a second magnetic sensor 62, and a third magnetic sensor 63, respectively.
  • the first magnetic sensor 61 and the second magnetic sensor 62 are arranged at an angular interval of ⁇ around the rotation center axis of the rotor 1.
  • is set to 30 °, for example.
  • the first magnetic sensor 61 and the third magnetic sensor 63 are arranged with an angular interval of ⁇ larger than ⁇ around the rotation center axis of the rotor 1.
  • is set to 60 °, for example. Therefore, the angular interval between the second magnetic sensor 62 and the third magnetic sensor 63 is ( ⁇ ). In this example, ( ⁇ ) is 30 °.
  • the direction indicated by the arrow in FIG. 9 is the positive rotation direction of the rotor 1.
  • the output signals V1, V2, and V3 of the magnetic sensors 61, 62, and 63 are input to the rotation angle calculation device 70.
  • the rotation angle calculation device 70 calculates the rotation angle ⁇ of the rotor 1 based on the output signals V1, V2, V3 of the magnetic sensors 61, 62, 63.
  • the rotation angle calculation device 70 is composed of, for example, a microcomputer and includes a CPU (central processing unit) and a memory (ROM, RAM, etc.).
  • the rotation angle calculation device 70 functions as a plurality of function processing units when the CPU executes a predetermined program stored in the ROM.
  • the plurality of function processing units include a first rotation angle calculation unit (first rotation angle calculation unit) 71, a second rotation angle calculation unit (second rotation angle calculation unit) 72, and a third rotation angle calculation unit ( A third rotation angle calculation means) 73 and a final rotation angle calculation section (final rotation angle calculation means) 74.
  • the first rotation angle calculation unit 71 is a first rotation angle corresponding to the rotation angle of the rotor 1 based on the output signal V1 of the first magnetic sensor 61 and the output signal V2 of the second magnetic sensor 62. Calculate ⁇ 1 .
  • the second rotation angle calculation unit 72 generates a second rotation angle corresponding to the rotation angle of the rotor 1 based on the output signal V1 of the first magnetic sensor 61 and the output signal V3 of the third magnetic sensor 63.
  • ⁇ 2 is calculated.
  • the third rotation angle calculation unit 73 is a third rotation angle corresponding to the rotation angle of the rotor 1 based on the output signal V2 of the second magnetic sensor 62 and the output signal V3 of the third magnetic sensor 63. to calculate the ⁇ 3.
  • the final rotation angle calculation unit 74 includes first, second, and third rotation angles ⁇ 1 , ⁇ 2 , ⁇ 3 calculated by the first, second, and third rotation angle calculation units 71, 72, 73, respectively. Based on the above, the final rotation angle ⁇ is calculated.
  • FIG. 10 is a functional block diagram showing a more detailed configuration of the rotation angle calculation device 70.
  • the first rotation angle calculation unit 71 includes a signal generation unit 81 and an angle calculation unit 82.
  • the signal generator 81 on the basis of the following equation (11), generates a signal V 12.
  • the said Formula (11) can be derived
  • the second rotation angle calculation unit 72 includes a signal generation unit 91 and an angle calculation unit 92.
  • the signal generator 91 generates the signal V 13 based on the following equation (13).
  • cos ⁇ and sin ⁇ are stored in the memory in advance.
  • the said Formula (13) can be derived
  • the third rotation angle calculation unit 73 includes a signal generation unit 101, an angle calculation unit 102, and an angle calculation unit 103.
  • the signal generator 101 based on the following equation (15), generates a signal V 23.
  • cos ( ⁇ ) and sin ( ⁇ ) are stored in the memory in advance.
  • the angle calculation unit 103 calculates the third rotation angle ⁇ 3 based on the following equation (17).
  • the final rotation angle calculation unit 74 calculates the final rotation angle ⁇ based on, for example, the following equation (18). That is, the final rotation angle calculation unit 74 calculates the average value of the first, second, and third rotation angles ⁇ 1 , ⁇ 2 , ⁇ 3 as the final rotation angle ⁇ .
  • FIG. 11 is a flowchart showing the procedure of the rotation angle calculation process executed by the rotation angle calculation device 70.
  • the rotation angle calculation process is repeated every predetermined calculation cycle.
  • the first rotation angle calculation unit 71 of the rotation angle calculation device 70 outputs the output signals V1 and V2 fetched in step S21, the values of sin ⁇ and cos ⁇ stored in the memory, the equation (11), (12) and is used to computing the first rotation angle theta 1 (step S22).
  • the second rotation angle calculation unit 72 of the rotation angle calculation device 70 outputs the output signals V1 and V3 fetched in step S21, the values of sin ⁇ and cos ⁇ stored in the memory, the equation (13), (14) and is used to computing the second rotation angle theta 2 (step S23).
  • the third rotation angle calculation unit 73 of the rotation angle calculation device 70 outputs the output signals V2 and V3 taken in step S21, and ⁇ , sin ( ⁇ ) and cos ( ⁇ ) stored in the memory.
  • the third rotation angle ⁇ 3 is calculated using the value of ⁇ ) and the equations (15), (16), and (17) (step S24).
  • the final rotation angle calculation unit 74 of the rotation angle calculation device 70 calculates the final rotation angle ⁇ based on the first, second, and third rotation angles ⁇ 1 , ⁇ 2 , ⁇ 3 (step) S25). For example, the final rotation angle calculation unit 74 sets the average value of the first, second, and third rotation angles ⁇ 1 , ⁇ 2 , ⁇ 3 as the final rotation angle ⁇ based on the equation (18). Calculate. In the third embodiment, the average value of the three rotation angles ⁇ 1 , ⁇ 2 , ⁇ 3 is obtained as the final rotation angle ⁇ . For this reason, the detection error due to the influence of noise included in the output signal of the magnetic sensor can be reduced.
  • the final rotation angle ⁇ is calculated based on the three rotation angles ⁇ 1 , ⁇ 2 , ⁇ 3 calculated from the output signals V1, V2, and V3 generated at the same time. Compared with the case of calculating the final rotation angle by averaging the rotation angles, no time delay occurs in the rotation angle detection. For this reason, even when the rotational speed of the rotor 1 is high, high responsiveness can be realized. That is, according to the embodiment, it is possible to reduce detection errors due to the influence of noise while maintaining high responsiveness.
  • the output signal of the same magnetic sensor is used for calculating a plurality of rotation angles. Shared. Specifically, the signal V1 is shared for calculating ⁇ 1 and ⁇ 2 , the signal V2 is shared for calculating ⁇ 1 and ⁇ 3 , and the signal V3 is used for calculating ⁇ 2 and ⁇ 3. It is shared with. For this reason, there is an advantage that the number of magnetic sensors can be reduced as compared with a case where output signals of the same magnetic sensor are not shared for a plurality of rotation angle calculations. Specifically, when three types of rotation angles are calculated as described above, if the same output signal of the magnetic sensor is not used for calculation of a plurality of rotation angles, six magnetic sensors are required. In this embodiment, three is sufficient.
  • the final rotation angle calculation unit 74 calculates the average of the three rotation angles ⁇ 1 , ⁇ 2 , ⁇ 3 as the final rotation angle ⁇ .
  • the median value among ⁇ 1 , ⁇ 2 , and ⁇ 3 may be calculated as the final rotation angle ⁇ .
  • the final rotation angle calculation unit 74 excludes the most out of the three rotation angles ⁇ 1 , ⁇ 2 , ⁇ 3 and calculates the other two average values as the final rotation angle ⁇ . You may make it do.
  • the average value of the median value of the three rotation angles ⁇ 1 , ⁇ 2 , ⁇ 3 and the difference between the median value of the other two rotation angles is finally determined.
  • the rotation angle ⁇ is assumed.
  • three magnetic sensors are provided.
  • four or more magnetic sensors may be provided.
  • the present invention can also be applied when detecting the rotation angle of a rotating body other than the rotor of a brushless motor.

Landscapes

  • Engineering & Computer Science (AREA)
  • Signal Processing (AREA)
  • Physics & Mathematics (AREA)
  • General Physics & Mathematics (AREA)
  • Transmission And Conversion Of Sensor Element Output (AREA)
  • Control Of Electric Motors In General (AREA)
  • Control Of Motors That Do Not Use Commutators (AREA)
  • Measurement Of Length, Angles, Or The Like Using Electric Or Magnetic Means (AREA)
PCT/JP2010/064105 2009-08-26 2010-08-20 回転角検出装置 Ceased WO2011024731A1 (ja)

Priority Applications (3)

Application Number Priority Date Filing Date Title
US13/389,977 US20120143563A1 (en) 2009-08-26 2010-08-20 Rotation angle detection device
EP10811781.3A EP2472233A4 (en) 2009-08-26 2010-08-20 DEVICE FOR DETECTING A ROTATION ANGLE
CN201080037552XA CN102575946A (zh) 2009-08-26 2010-08-20 旋转角检测装置

Applications Claiming Priority (6)

Application Number Priority Date Filing Date Title
JP2009-195190 2009-08-26
JP2009195191 2009-08-26
JP2009-195191 2009-08-26
JP2009195190 2009-08-26
JP2010166122A JP5557021B2 (ja) 2009-08-26 2010-07-23 回転角検出装置
JP2010-166122 2010-07-23

Publications (1)

Publication Number Publication Date
WO2011024731A1 true WO2011024731A1 (ja) 2011-03-03

Family

ID=43627837

Family Applications (1)

Application Number Title Priority Date Filing Date
PCT/JP2010/064105 Ceased WO2011024731A1 (ja) 2009-08-26 2010-08-20 回転角検出装置

Country Status (5)

Country Link
US (1) US20120143563A1 (enExample)
EP (1) EP2472233A4 (enExample)
JP (1) JP5557021B2 (enExample)
CN (1) CN102575946A (enExample)
WO (1) WO2011024731A1 (enExample)

Cited By (2)

* Cited by examiner, † Cited by third party
Publication number Priority date Publication date Assignee Title
JP2015087113A (ja) * 2013-10-28 2015-05-07 日本電産サンキョー株式会社 検出装置におけるデータ検出方法および検出装置
CN111294457A (zh) * 2018-12-10 2020-06-16 北京小米移动软件有限公司 滑盖式终端、滑盖状态检测方法、装置及存储介质

Families Citing this family (14)

* Cited by examiner, † Cited by third party
Publication number Priority date Publication date Assignee Title
JP5660381B2 (ja) * 2011-03-09 2015-01-28 株式会社ジェイテクト 回転角検出装置
GB201110039D0 (en) * 2011-06-15 2011-07-27 Trw Ltd Measurement of motor rotor position or speed
JP6024970B2 (ja) * 2012-12-12 2016-11-16 株式会社ジェイテクト 回転角検出装置およびそれを備えた電動パワーステアリング装置
JP6024969B2 (ja) 2012-12-12 2016-11-16 株式会社ジェイテクト 回転角検出装置およびそれを備えた電動パワーステアリング装置
JP6086205B2 (ja) * 2012-12-12 2017-03-01 株式会社ジェイテクト 位相差検出装置およびそれを備えた回転角検出装置
JP6024971B2 (ja) 2012-12-12 2016-11-16 株式会社ジェイテクト 回転角検出装置
JP6548646B2 (ja) * 2014-06-30 2019-07-24 Phcホールディングス株式会社 回転角度検出回路、回転角度検出方法、試料分析装置および試料分析装置のためのコンピュータプログラム
DE102015212812A1 (de) * 2015-07-08 2017-01-12 Conti Temic Microelectronic Gmbh Betrieb einer rotierenden elektrischen Maschine
JP2017138143A (ja) * 2016-02-02 2017-08-10 Tdk株式会社 変位検出装置および角速度検出装置
CN107461288B (zh) * 2016-06-03 2018-12-25 纳博特斯克有限公司 检测装置以及起动装置
JP6758998B2 (ja) * 2016-08-24 2020-09-23 Ntn株式会社 電動モータ装置
JP7035608B2 (ja) * 2018-02-22 2022-03-15 株式会社デンソーウェーブ ロボットのアーム回転軸速度検出装置
JP7172797B2 (ja) * 2019-03-28 2022-11-16 株式会社デンソー 検出ユニット
JP7287375B2 (ja) * 2020-10-23 2023-06-06 Tdk株式会社 磁気センサアセンブリとこれを備えたカメラモジュール

Citations (13)

* Cited by examiner, † Cited by third party
Publication number Priority date Publication date Assignee Title
JPH0555022A (ja) 1991-08-26 1993-03-05 Sankyo Seiki Mfg Co Ltd 希土類ボンド磁石
JPH09508214A (ja) 1994-11-22 1997-08-19 ローベルト ボツシユ ゲゼルシヤフト ミツト ベシユレンクテル ハフツング 回転可能部材の無接触形回転角検出装置
JP2001324321A (ja) 2000-03-07 2001-11-22 Koyo Seiko Co Ltd 回転角度検出装置、トルク検出装置及び舵取装置
JP2002213944A (ja) 2001-01-18 2002-07-31 Niles Parts Co Ltd 回転角測定装置
JP2003240598A (ja) * 2002-02-13 2003-08-27 Asahi Kasei Corp デジタル角度測定システム
JP2004156961A (ja) 2002-11-05 2004-06-03 Koyo Seiko Co Ltd 回転角検出装置及びトルク検出装置
JP2004264167A (ja) * 2003-03-03 2004-09-24 Midori Sokki:Kk 回転角度センサ
JP2007155618A (ja) * 2005-12-07 2007-06-21 Denso Corp 回転角度検出装置
JP2008128961A (ja) * 2006-11-24 2008-06-05 Alps Electric Co Ltd 絶対角検出装置
JP2008241411A (ja) 2007-03-27 2008-10-09 Jtekt Corp 舵角検出装置
JP2009195191A (ja) 2008-02-22 2009-09-03 Hayashi Bussan Hatsumei Kenkyusho:Kk コケもしくは匍匐植物の育成具
JP2009195190A (ja) 2008-02-22 2009-09-03 Panasonic Electric Works Co Ltd 害虫防除装置
JP2010166122A (ja) 2009-01-13 2010-07-29 Olympus Corp 撮像装置及び画像処理方法

Family Cites Families (9)

* Cited by examiner, † Cited by third party
Publication number Priority date Publication date Assignee Title
DE19941101B4 (de) * 1999-08-30 2008-01-17 Delphi Technologies, Inc., Troy Sensoranordnung
JP2001114116A (ja) * 1999-10-19 2001-04-24 Alps Electric Co Ltd 回転角検出装置
JP4763296B2 (ja) * 2005-01-18 2011-08-31 古河電気工業株式会社 検知装置
EP1830155A1 (en) * 2005-02-10 2007-09-05 Matsushita Electric Industrial Co., Ltd. Rotation angle detection device and rotation angle correction method
DE112006001393B4 (de) * 2005-06-30 2010-01-28 Murata Mfg. Co., Ltd., Nagaokakyo-shi Erfassungsvorrichtung und Drehwinkelsensor
JP4797721B2 (ja) * 2005-10-20 2011-10-19 株式会社デンソー 回転角度検出装置
JP2008045881A (ja) * 2006-08-10 2008-02-28 Nsk Ltd 回転角度位置検出装置
KR100847491B1 (ko) * 2007-03-20 2008-07-21 대성전기공업 주식회사 조향각센서 오류검출 장치 및 방법
WO2008136054A1 (ja) * 2007-04-24 2008-11-13 Harmonic Drive Systems Inc. 磁気式エンコーダおよび絶対回転位置検出方法

Patent Citations (13)

* Cited by examiner, † Cited by third party
Publication number Priority date Publication date Assignee Title
JPH0555022A (ja) 1991-08-26 1993-03-05 Sankyo Seiki Mfg Co Ltd 希土類ボンド磁石
JPH09508214A (ja) 1994-11-22 1997-08-19 ローベルト ボツシユ ゲゼルシヤフト ミツト ベシユレンクテル ハフツング 回転可能部材の無接触形回転角検出装置
JP2001324321A (ja) 2000-03-07 2001-11-22 Koyo Seiko Co Ltd 回転角度検出装置、トルク検出装置及び舵取装置
JP2002213944A (ja) 2001-01-18 2002-07-31 Niles Parts Co Ltd 回転角測定装置
JP2003240598A (ja) * 2002-02-13 2003-08-27 Asahi Kasei Corp デジタル角度測定システム
JP2004156961A (ja) 2002-11-05 2004-06-03 Koyo Seiko Co Ltd 回転角検出装置及びトルク検出装置
JP2004264167A (ja) * 2003-03-03 2004-09-24 Midori Sokki:Kk 回転角度センサ
JP2007155618A (ja) * 2005-12-07 2007-06-21 Denso Corp 回転角度検出装置
JP2008128961A (ja) * 2006-11-24 2008-06-05 Alps Electric Co Ltd 絶対角検出装置
JP2008241411A (ja) 2007-03-27 2008-10-09 Jtekt Corp 舵角検出装置
JP2009195191A (ja) 2008-02-22 2009-09-03 Hayashi Bussan Hatsumei Kenkyusho:Kk コケもしくは匍匐植物の育成具
JP2009195190A (ja) 2008-02-22 2009-09-03 Panasonic Electric Works Co Ltd 害虫防除装置
JP2010166122A (ja) 2009-01-13 2010-07-29 Olympus Corp 撮像装置及び画像処理方法

Non-Patent Citations (1)

* Cited by examiner, † Cited by third party
Title
See also references of EP2472233A4 *

Cited By (2)

* Cited by examiner, † Cited by third party
Publication number Priority date Publication date Assignee Title
JP2015087113A (ja) * 2013-10-28 2015-05-07 日本電産サンキョー株式会社 検出装置におけるデータ検出方法および検出装置
CN111294457A (zh) * 2018-12-10 2020-06-16 北京小米移动软件有限公司 滑盖式终端、滑盖状态检测方法、装置及存储介质

Also Published As

Publication number Publication date
US20120143563A1 (en) 2012-06-07
EP2472233A4 (en) 2014-06-18
EP2472233A1 (en) 2012-07-04
CN102575946A (zh) 2012-07-11
JP2011069815A (ja) 2011-04-07
JP5557021B2 (ja) 2014-07-23

Similar Documents

Publication Publication Date Title
JP5557021B2 (ja) 回転角検出装置
JP5807770B2 (ja) 回転角検出装置
US8836326B2 (en) Rotation angle detection device
US8587296B2 (en) Rotation angle detecting device
JP6210284B2 (ja) 回転角検出装置
WO2011024730A1 (ja) 回転角検出装置
JP5660381B2 (ja) 回転角検出装置
US8710831B2 (en) Rotation angle detecting device
JP2012189376A (ja) 回転角検出装置およびトルク検出装置
JP6417699B2 (ja) 回転検知装置及び回転検知方法
JP6710994B2 (ja) 回転角検出装置
JP2011047735A (ja) 回転角検出装置
JP5454918B2 (ja) 回転角検出装置
JP2012073053A (ja) 回転角度検出装置
JP6112832B2 (ja) 角度補正装置及び回転角センサ
JP7224309B2 (ja) 角度検出装置
JP6377335B2 (ja) 検出装置におけるデータ検出方法および検出装置
JP2004077133A (ja) 回転角度検出装置の初期設定方法
JP7165691B2 (ja) 角度検出装置
JP6221307B2 (ja) 回転角検出装置及び電動パワーステアリング装置
JP2012237619A (ja) 回転角検出装置

Legal Events

Date Code Title Description
WWE Wipo information: entry into national phase

Ref document number: 201080037552.X

Country of ref document: CN

121 Ep: the epo has been informed by wipo that ep was designated in this application

Ref document number: 10811781

Country of ref document: EP

Kind code of ref document: A1

WWE Wipo information: entry into national phase

Ref document number: 13389977

Country of ref document: US

NENP Non-entry into the national phase

Ref country code: DE

WWE Wipo information: entry into national phase

Ref document number: 2010811781

Country of ref document: EP