KR970001552B1 - 연속주조 중 용융금속이 브레이크 아우트(break-out)될 가능성을 예측하는 방법 및 장치 - Google Patents

연속주조 중 용융금속이 브레이크 아우트(break-out)될 가능성을 예측하는 방법 및 장치 Download PDF

Info

Publication number
KR970001552B1
KR970001552B1 KR1019900003764A KR900003764A KR970001552B1 KR 970001552 B1 KR970001552 B1 KR 970001552B1 KR 1019900003764 A KR1019900003764 A KR 1019900003764A KR 900003764 A KR900003764 A KR 900003764A KR 970001552 B1 KR970001552 B1 KR 970001552B1
Authority
KR
South Korea
Prior art keywords
mold
molten metal
open end
temperature
metal level
Prior art date
Legal status (The legal status is an assumption and is not a legal conclusion. Google has not performed a legal analysis and makes no representation as to the accuracy of the status listed.)
Expired - Fee Related
Application number
KR1019900003764A
Other languages
English (en)
Other versions
KR900014058A (ko
Inventor
이 블래제크 케네쓰
지 스스도 이스마엘
Original Assignee
인랜드소틸 캄파니
찰스 비. 살로위츠
Priority date (The priority date is an assumption and is not a legal conclusion. Google has not performed a legal analysis and makes no representation as to the accuracy of the date listed.)
Filing date
Publication date
Application filed by 인랜드소틸 캄파니, 찰스 비. 살로위츠 filed Critical 인랜드소틸 캄파니
Publication of KR900014058A publication Critical patent/KR900014058A/ko
Application granted granted Critical
Publication of KR970001552B1 publication Critical patent/KR970001552B1/ko
Anticipated expiration legal-status Critical
Expired - Fee Related legal-status Critical Current

Links

Images

Classifications

    • BPERFORMING OPERATIONS; TRANSPORTING
    • B22CASTING; POWDER METALLURGY
    • B22DCASTING OF METALS; CASTING OF OTHER SUBSTANCES BY THE SAME PROCESSES OR DEVICES
    • B22D11/00Continuous casting of metals, i.e. casting in indefinite lengths
    • B22D11/16Controlling or regulating processes or operations

Landscapes

  • Engineering & Computer Science (AREA)
  • Mechanical Engineering (AREA)
  • Continuous Casting (AREA)

Abstract

내용 없음.

Description

연속주조 중 용융금속이 브레이크 아우트(break-out)될 가능성을 예측하는 방법 및 장치
제1도는 본 발명의 실시예에 사용되는 연속주조형의 사시도.
제2도는 제1도의 주형의 평면도.
제3도는 본 발명의 실시예를 나타내는 개략도.
제4도는 본 발명의 실시예부분을 나타내는 부분개략도(단면도).
제5도는 본 발명에 의한 방법을 나타내는 블록도.
제6도는 본 발명에 사용되는 주형의 다른 실시예를 나타내는 제2도와 유사한 평면도.
제7도는 제1도의 주형의 부분단면도(단면도).
제8도는 본 발명의 한가지 실시예에 의한 표시를 나타내는 일련의 그래프.
제9도는 본 발명의 다른 실시예에 의한 표시를 나타내는 일련의 그래프.
제10도는 주형벽온도-주형상부로부터의 거리를 도시하여 브레이크아우트의 개시 및 방지를 나타내느 일련의 그래프.
제11도는 주형벽온도-주형상부로부터의 거리를 도시하여 브레이크아우트의 개시 및 방지를 나타내는 일련의 그래프.
* 도면의 주요부분에 대한 부호의 설명
20 : 연속주조주형 21 : 상부개방단
22 : 하부개방단 23 : 냉각통로
24 : 유입구 25 : 유출구
26 : 유입구 라인 28 : 유입구헤더
29 : 유출구헤더 35,37 : 온도센서
36 : 유량측정장치 38 : 용융금속레벨측정장치
40 : 응용금속 42 : 주조금속쉘
62 : 열전대 51 : 컴퓨터
54 : 표시장치 60 : 경보장치.
본 발명은 일반적으로 용융금속의 연속주조에 관한 것으로, 보다 상세하게는 연속주조 중 용융금속이 브레이크아우트(break-out)될 가능성을 예측하는 방법 및 장치에 관한 것이다. 연속주조 공정에 있어서, 용융금속은 상부 개방단과 하부개방단을 보유하며 수직으로 배치되는 액냉식의 금속주형(금형)의 상부로 연속적으로 주입된다.
금속은 주형을 통해 하강되어, 부분적으로 응고된 금속이 주형의 밑부분으로부터 연속적으로 인출된다.
보다 상세히 설명하면, 용융금속이 주형을 통해 하강할때, 냉각식 주형의 내표면과 접촉하는 금속은 냉각되어 용융금속의 내부를 둘러싸는 주조금속쉘(cast metal shell)을 형성하며, 통상적으로는 이러한 것이 주형의 밑부분으로부터 금속이 인출될 때의 금속형태이다. 쉘의 밑부분이 응고된 후까지 주형내에 금속을 유지하기 위하여 종래장치들이 주작업 개시시에 사용된다. 쉘은 주형을 통과하여 하강하면서 두꺼워진다. 주조공정 중에, 주형내의 용융금속이 상면 약간 아래의 주형벽에 과열부(hot spot)가 발생하고, 그 상면은 통상 주형의 상단 근처에 유지된다. 스티커형(sticker type)또는 행거형(hanger type) 브레이크아우트의 개시시에 주조금속쉘이 주형을 통과하여 하강하면, 과열부도 마찬가지로 보다 저속으로 하강하여, 하강하는 과열부의 위치에서 주조금속쉘 내에 틈을 발생시키거나 주조금속쉘을 얇게한다. 과열부가 주형의 하부 개방단에 도달하면, 용융금속의 브레이크아우트가 발생한다. 브레이크아우트는 위험하고 비경제적이다.
브레이크아우트에는 행거형 또는 스티커형 등 2가지 주된 것이 있다. 행거형 브레이크아우트는 주형의 상부에서 넘쳐흐르는 용융금속에 의해 발생된다. 스티커형 브레이크아우트는 쉘의 상부 또는 쉘의 일부분이 주형벽에 둘러붙어서 하강쉘의 나머지부분으로부터 찢어질 때 발생한다.
과열부과 브레이크아우트에 대한 상세한 설명과 그것에 대한 고찰은 본 발명자의 논문 스티커형 및 행거형 브레이크아우트의 연구(1985년 5월 17∼19일), 브뤼셀개최, 제4회국제연속주조회, 페이지 668∼681)에 게재되어 있으며, 그 게재내용은 참고로 본명세서에 개재되어 있다. 수직으로 배치된 통상의 사용연속주조형에 있어서, 냉각액은 주형측벽내에 수직으로 배치된 통로를 통해 순환되다.
또한, 주형의 측벽내에서는 열전대(thermocouple)형태의 일련의 온도센서가 수직으로 간격을 두고 매설되어 이들 위치에서의 온도를 측정하도록 되어 있다. 이들 온도측정은 주형의 각 수직위치에서 주형내 금속쉘의 상대온도를 나타낸다.
종래, 연속주조주형의 하부 개방단에서 용융금속브레이크아우트의 가능성을 예측하기 위한 공지 방법에 있다. 이 방법은 상기한 주형벽의 열전대를 사용하여 수직으로 배치된 다수의 열전대, 예를들어 3개의 열전대 각각으로부터의 연속온도측정을 이용하여 종좌표는 온도, 횡좌표는 시간인 그래프를 구성한다. 브레이크아우트의 위험성이 없는 정상주조작업에서는 아래쪽으로 내려갈수록 열전대에서 판독되는 온도는 연속적으로 감소되어야 한다. 주형의 상부근처의 열전대에서 시간이 경과에 따라 온도강하 후에 온도가 약간 상승하는 것이 측정되고, 아래쪽으로 내려갈수록 연속해서 시간이 경과에 따라 온도강하 후에 온도가 약간 상승하는 것이 측정되고, 아래쪽으로 내려갈수록 연속해서 각 열전대에서 이러한 온도거동이 반복되면, 과열부가 하강하는 것을 의미하며, 대책이 취해지지 않으면 브레이크아우트의 위험성이 있음을 의미한다. 통상의 대책으로는 주형으로부터 연속적인 주조쉘의 인출을 늦추거나 중지하는 것이 있으며, 이에 의해 과열부의 위체에서 쉘내의 금속이 냉각하거나 또는 두꺼워질 기회를 부여한다.
상술한 브레이크아우트 예측방법의 상세한 설명은 쯔내오카의 논문 연속주조주형내의 응고의 측정 및 제어 시스템(1985년 AIME 제강학술회의 논문집, 페이지 3∼10)에 게재되어 있다. 브레이트아우트를 예측하기 위하여, 연속주조형의 벽에 매설된 열전대장치를 사용하는 방법의 결점은, 열전대가 극히 가혹한 사용조건에서 사용되므로 빈번한 보수가 대체가 필요하다는 것이다.
그러한 이유 때문에, 열전대는 연속해서 주형의 전체레벨에서 주형내의 온도조절을 항상 정확하게 나타낼 수는 없다.
시간의 경과에 따른 주형의 마찰 또는 전체 주형의 열전달률의 변화에 기초한 다른 브레이크아우트 예측장치와 방법들이 있지만 브레이크아우트를 예측하는데에는 충분하지 않으므로, 이 목적을 위해서 사용하기에는 적합하지 못하다.
본 발명에 의한 방법과 장치는, 브레이크아우트를 예측하기 위한 종래방법 고유의 결점들을 회피할 수 있다.
넓게보아서, 본 발명은, 주형의 상부에 대하여(a) 주형내 용융금속레벨의 위치와, (b) 주형내의 최고온도위치를 연속적으로 측정하고, (a)와 (b) 사이의 수직거리를 기록하고, 이 거리에 어떤 증가가 있는가를 검출하기 위해 그 거리를 연속적으로 감시하는 방법과 장치로 구성된다. 그 수직거리에 있어서의 실제적인 증가는 대책이 취해지지 않으면 브레이크아우트의 가능성이 있음을 나타낸다.
한가지 실시예에서, 최고온도의 위치는 주형의 상단과 하단 사이에 주형벽 내에 수직으로 간격을 둔 위치에 다수의 온도센서를 사용하여 측정될 수 있다. 다른 실시예에서는 주형벽 내의 온도센서가 불필요하다.
후자의 실시예에서는, 연속주조주형은 냉각액을 순환시키기 위한 수직으로 배치된 통로를 사용하지 않는다. 대신에, 주형은 주형의 상단과 하단 사이의 위치에 수직으로 간격을 두고 수평으로 배치된 다수의 냉각통로를 사용한다. 냉각액은 이들 통로를 통해 순환된다. 온도센서들은 주형의 측벽내에 위치되지 않으므로, 온도센서가 연속주조형의 측벽 내에 매설될 때 발생하는 가혹한 사용조건에 온도센서가 노출될 염려가 없다.
보다 상세하게는, 본 발명의 바람직한 실시예에서, 연속주조작업 중에 수평냉각통로로 유입되는 냉각액의 온도를 연속적으로 측정하기 위해서 1개 이상의 온도센서가 사용된다. 또한, 온도센서들은 냉각통로 각각에 대해 개별적으로 측정이 이루어져 이들 냉각통로로 각각에 존재하는 냉각액의 온도를 연속적으로 측정하기 위해 사용되며 이들 온도측정도 주조작업 내내 이루어진다. 바람직하게 각 냉각통로에서의 냉각액의 유량이 주조작업내내 측정된다. 이러한 모든 측정은 사용조건이 상대적으로 양호한 주형외부에서 이루어진다.
각 수평통로에 대한 냉각액 유입온도와 냉각액 배출 온도에 기초하여 냉각액의 온도차가 계산된다. 이 통로로 유입되는 냉각액의 유량과 함께 이 온도차는 그 통로에 대한 주형열전달율(MHTR)을 계산하기 위해 사용된다. 온도와 유량에 대한 연속측정은 온도차와 MHTR에 대한 순간값을 연속해서 계산할 수 있게 된다. 동일한 체적의 냉각액이 각 냉각통로에 일정하게 유입되도록 주의를 기울이면, 각 통로로 향하는 흐름이 복수의 흐름으로 나누어지기 전에 냉각액의 유량을 측정하는 것으로 충분하다. 각 통로를 통과하는 냉각액이 유량이 동일하면, MHTR을 계산할 필요가 없고 대신에 이하의 단계에서 설명되는 각 통로에 대한 냉각액온도차를 사용한다. 그러나 MHTR의 사용이 바람직하다.
모든 실시예에서, 주조작업동안 연속적으로 주형의 상부에 대한 주형내의 용융금속레벨의 위치가 측정된다. 상기한 모든 자료가 일단 얻어지면, 다음 단계는, (a) 하난의 좌표는 주형온도 또는 MHTR 또는 냉각액 온도차이고, (b) 다른 좌표는 주형의 상부로부터의 수직거리인 그래프상에 커어브를 구성하는 것이다. 이 커어브는 주형의 상단과 하단 사이에서의 주형벽온도의 변화 또는 MHTR또는 주형의 수직거리에 따른 온도차를 나타낸다. 또한, 그래프상에는 주형사부에 대한 용융금속레벨의 위치가 표시된다.
상기하 커어브는 주형벽온도에 있어서의 변화 또는 MHTR 또는 온도차를 나타내기 위해 주기적으로 변환된다. 마찬가지로, 그래프상의 용융금속레벨의 표시는 주형상부에 대한 용융금속레벨의 위치에 있어서 변화가 있다면 그 변화를 나타내기 위해 주기적으로 변화된다.
그래프상에 표시되는 정보로부터, (a) 최고주형벽온도 또는 최고 MHTR 또는 최고 온도미분의 위치와, (b)용융금속레벨의 위치 사이의 수직거리를 적당한 좌표로부터 기록한다. 정상작업중에, (a) 온도차, 또는 MHTR 또는 주형벽온도에 있어서 최고위치는, (b) 용융금속레벨의 위치바로 아래이다. 즉, 두 위치 사이의 거리는 작게된다.
그 사이의 거리에 있어서 증가가 검출된다. 그 거리가 점전적이고 연속적으로 증가하고, 그 증가가 상당하다면, 그것은 과열부가 형성되어 주형을 따라 점진적으로 하강함을 나타낸다.
또한, 어떤 대책이 취해지지 않으면, 연속주조주형의 밑부분에서 용융금속의 브레이크아우트가 발생할 가능성이 있음을 나타낸다.
대책이 취해지면, 하강하는 과열부가 없어지고, (a) 용융금속레벨위치와, (b) 주형벽온도 또는 MHTR 또는 온도미분에 있어서이 최고위치 사이의 거리가, 조만간에 둘 상이의 거리가 상대적으로 작은 정상태로 복귀한다.
본 발명에 의한 방법은, 적절한 계산과, 커어브구성 및 그래프표시를 하기 위해 컴퓨터 및 표시장치(예를들어 CRT 스크린)을 사용한다.
또한, (a) 용융금속레벨위치와, (b) 최고주형벽온도 또는 최고 MHTR 또는 최고온도차의 위치 사이의 거리가 소정량 이상으로 증가하면 컴퓨터에 의한 적당한 시청각경보장치가 작동될 수 있다.
본 발명에 의한 브레이크아우트 예측방법 및 장치는 소위 행거형브레이크아우트및 스티커형 브레이크아우트양쪽을 예측하는데 유용하다.
이하, 본 발명의 실시예에 대한 도면을 참조하여 상세하게 설명한다.
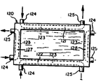
먼저, 제1,2도 및 제7도를 참조하면, 부호(20)는 본 발명의 실시예에 의해 구성된 연속주조주형을 나타낸다. 주형(20)은 통상 구리로 이루어진다. 주형은 사각형 수평단면(제2도)을 형성하는 끝벽(33)과 측벽(39), 및 상부개방단(21)과 하부개방단(22)을 보유한다. 각 냉각통로(23)는 유입구(24)와 유출구(25)를 연결하고 있다. 제1도의 실시예에서, 유입구(24)와 유출구(25)는 통로(23)를 통과하는 냉각액의 유동방향을 수직방향으로 차례대로 바꾸기 위해 수직으로 적층된다.
제3도를 참조하면, 각 유입구(24)는 냉각액공급원(32)(예를들어, 탱크, 통 또는 가정용급수관)에 메인라인(30)에 의해 연결된 유입구헤더(28)에 유입구라인(26)에 의해 연결된다. 제4도를 참조하면, 각 유출구(25)는 예를들어 도시하지 않는 배출장치 또느 재순환장치에 라인(31)에 의해 연결된 유출구헤더(29)에 라인(27)에 의해 연결된다. 메인라인(30)상의 펌프(34)는, 라인(30), 유입구헤더(28), 유입구라인(26), 유입구(24), 냉각통로(23), 유출구(25), 유출구라인(27), 유출구헤더(29) 및 유출구라인(31)을 통해 냉각액을 순환시킨다.
제3도에 표시된 바와같이, 온도센서(35)와 유량측정장치(36)는 라인(30)을 따라 배치된다. 온도센서(35)와 유량측정장치(36)는 설비공급자로부터 용이하게 입수할 수 있는 종래장치들이다. 제4도를 참조하면, 유출구라인(27) 각각에는 라인(30)에 사용되는 온도센서(35)와 같은 온도센서(37)가 배치된다. 제3도와 제4도를 참조하면, 주형(20)의 상부 개방단(21)위에는 주형(20)내 용융금속레벨을 측정하기 위한 장치(38)가 배치된다. 장치(38)는 설비공급자로부터 용이하게 입수할 수 있는 종래장치이다.
장치(36)는 유입구(24), 유입구라인(26), 유입구헤더(28) 및 메인라인(30)을 포함하는 통로(23)의 상류측뿐만 아니라 통로(23)에 유입하는 냉각액의 유량을 연속적으로 측정할 수 있게 한다. 온도센서(35)는 냉각통로(23)의 상류뿐 아니라 냉각통로(23)로 유입하는 냉각액의 온도를 연속적으로 측정할 수 있게 한다. 온도센서(37)는 각 통로에 대해 개별적으로 각 통로(23)에 존재하는 냉각액의 온도를 연속적으로 측정할 수 있게 한다.
제3도 및 제4도에 표시된 실시예는 유입구헤더(28)로부터 각 유입구라인(26)으로 유동하는 냉각액의 체적이 각 라인(26)에 대해 항상 동일하여, 각 통로(23)를 통과하는 유량이 동일하도록 한 것이다. 그러한 경우에는, 모든 통로에 필요한 유량측정을 예를들어 라인(30)상에서만 행하면 충분하다. 다른 실시예에서는, 유량이 각 통로에 대해 개별적으로, 예를들어 각 장치(36)로 각 유입구라인(26)에 대해 측정되어도 좋다. 마찬가지로, 하나의 유입구 위치, 예를들어 라이(30)상의 냉각액 유입온도를 측정하는 대신에, 각 온도센서(35)를 사용하여 각 냉각통로(23)에 대해 예를들어 각 유입구라인(26)에서 개별적으로 유입온도가 측정되어도 좋다. 각각 1개 이상의 유입구라인(26)에 연결되는 1개 이상의 유입구헤더(28)가 사용되어도 좋으며, 그 경우에는 적어도 각 헤더에 대해 하나의 유량측정장치(36)가 필요하다.
연속주조공정에 있어서는 제1도 및 제7도에 부호(40)로 표시된 용융금속이 주형(20)의 상부개방단(21)을 통해 유입되어, 주형을 충전하고 그후 주형의 하부개방단(22)를 통해 금속이 연속적으로 인출된다. 주형은 냉각통로(23)을 통해 순환되는 냉각액(예를들어, 대기온도나 그 이하 온도의 물)에 의해 냉각된다. 용융금속(40)이 주형을 통해 하강함에 따라, 냉각된 주형의 내면과 접촉하는 금속이 냉각되어 용융금속의 내부(43)를 둘러싸는 주조금속쉘(42)을 형성하며, 이것이 통상적으로 주형(20)의 하부개방단(22)으로부터 인출되는 금속의 형태이다. 제7도에 표시된 바와 같이, 쉘(42)은 냉각된 주형을 통해 하강함에 따라 두꺼워진다. 용융금속(40)은 보퉁 주형의 상부개방단(21) 근처에 유지되는 상면(41)을 보유한다.
주조중에, 제7도에 일정쇄선으로 표시되는 과열부(44)가 주형벽에 발생한다. 과열부(44)는 통상 주형내에서 용융금속의 상면(41)약간 아래에 발생한다. 행거형 또는 스티커형 브레이크아우트를 야기시킬수 있는 조건하에서, 다음과 같은 작용이 발생한다. 주조금속쉘(42)이 주형(20)을 통해 하강함에 따라, 과열부(44)도 통상쉘(42)의 속도의 1/2인 낮은 속도로 하강하여, 하강하는 과열부의 위치에서 주족금속쉘(42)내에 틈을 발생시키거나 주조금속쉘을 얇게 한다. 주형을 통과하는 과열부의 하강은 과열부가 용융금속의 브레이크아우트가 발생하는 시점인 하부개방단(22)에 도달할때까지 계속된다.
브레이크아우트는 조기에 검출될 수 있으면 충분히 방지될 수 있다.
브레이크아우트를 방지하는 방법에는, 주조금속쉘이 주형으로부터 인출되는 속도를 감속하거나, 또는 본 발명에 의한 주형(20)내 금속(40)의 상면(41) 또는 금속레벨을 상승시키는 방법이 있다.
상기한 구조와 장치는, 과열부의 위치를 검출하여 브레이크아우트의 가능성을 예측하기 위해 본 발명의 한가지 실시예에 사용된다. 또한, 이러한 목적을 위해서는 이하에 설명되는 부가적인 방법이 사용된다.
본 다른 실시예는 주형의 상부 개방단(21)과 하부 개방단(22) 사이에 수직으로 간격을 두고 복수의 위치에 배치된 주형벽 내의 열전대(62)등과 같은 온도센서를 사용한다. 열전대는 예를들어 냉각통로(23) 사이에 위치되거나, 또는 주형이 수직냉각통로를 사용하는 실시예에서는 냉각통로(23)의 위치에 배치되어도 좋다. 수직열의 열전대는 주형측벽(39)(제7도) 또는 끝벽(33)내에 배치되거나, 또는 둘 이상의 수직열의 열전대가 둘 이상의 주형벽내에 배치될 수 있다.
제5도는 본 발명 방법 실시예를 나타내는 블록도이다. 장치(38)로 행해지는 용융금속레벨측정은 블록(장치)(48)에 도식적으로 표시된다. 온도센서(35),(37)와 유량측정장치(38)에 의해 행해지는 온도와 유량측정은 블록(장치)(49)에 도식적으로 표시된다. 열전대(62)에 의해 행해지는 주형벽온도측정도 블록(장치)(49)에 의해 표시되는 측정내에 포함된다. 이들 측정블록(장치)(48),(49)에 의해 표시되는 측정내에 포함된다.이들 측정블록(장치)(48),(49) 모두는 종래회로에 의해 각각 종래의 컴퓨터에 공급된다. 주형(20)의 소정의 수직치수는 수동으로 컴퓨터(51)에 세트되며, 이 정보는 블록(장치)(53)에 도식적으로 표시되어 있다.
컴퓨터(51)는 종래의 것으로 상기한 각 기능을 수행하도록 프로그램될 수 있는 종래회로로 구성되어 있다. 컴퓨터(51)에 공급되는 온도 및 유량측정으로부터 컴퓨터는 각 통로(23)에서의 주형열전달률(MHTR)을 계산한다. MHTR을 계산하는 식의 다음과 같다.
Figure kpo00001
MHTR은 kw/㎥/sec로 표시된다.
F/R은 각 냉각통로(23)내에서의 냉각액의 체적유량이며, 리터/sec로 표시된다. B는 냉각액(예를들어, 물)의 열용량으로서 킬로주울/k。/g로 표시된다. Td는 각 통로(23)내의 냉각액에 대한 온도차이다. 온도차는 예를들어 온도센서(35)애소 측정되는 통로의 유입구온도와 예를들어 온도센서(37)에서 측정되는 통로의 유출구온도와의 사이의 차이이다. Td는 k。로 표시된다. D는 냉각액의 밀도이며, g/㎥로 표시된다. A는 각 냉각통로(23)에 의해 냉각되는 주형 내부면의 면적이며 ㎡로 표시된다.
상기한 식에서, B, D 및 A는 상수이므로, F/R이 냉각통로 각각에 대해 동일하면, MHTR 대신에 Td가 사용되어도 좋다. B, D 및 A는 통상 컴퓨터에 수동으로 세트되며, 이것은 제5도의 블록(장치)(53)에 표시되어 있다.
컴퓨터에 공급되는 자료로부터 컴퓨터(51)에 의해 전개되는 정보는 제5도의 블록(장치)(55)에 의해 표시되는 주형의 상부에 대한 용융금속 레벨의 위치와, 제5도의 블록(장치)(56)에 의해 표시되는 다음의 정보, 즉 주형의 상부로부터의 거리에 대한 각 냉각통로(23)의 MHTR 또는 그 대신에 각 통로(23)의 온도차(Td), 또는 주형벽온도[각 열전대(62)의 Tm]등을 포함한다.
컴퓨터(51)에는 종래의 CRT스크린등과 같은 표시장치(54)가 함께 연결된다. 컴퓨터(51)와 표시장치(54)는 한쪽 좌표가 MHTR 또는 주형벽온도이고, 다른쪽 좌표가 주형상부로부터의 수직거리인 그래프(제8도 및 제9도)를 표시한다. MHTR대신에, 한쪽 좌표는 대체가 가능한 경우에 냉각액의 온도차일 수도 있다.
컴퓨터(51)와 표시장치(54)는 상기한 그래프상에 주형의 상부 개방단(21)과 하부 개방단(22) 사이의 수직거리를 따라서 MHTR 또는 주형벽온도의 변화를 나타내는 커어브를 작성한다. (제8도 및 제9도), 또한, 컴퓨터(51)와 표시장치(54)는 상기한 그래프상에 주형상부에 대한 용융금속레벨의 위치(57)(제10도 및 제11도에 액체레벨로 표시)를 나타낸다. 컴퓨터는 MHTR 또는 주형벽온도에 있어서의 변화를 나타내기 위해 그래프상에 작성된 커어브를 주기적으로 변화시키도록 프로그램되어 있다.
또한, 컴퓨터 주형(20)상부에 대한 용융금속레벨 위치의 변화를 나타내기 위해 그래프상의 용융금속레벨 표시를 주기적으로 변화시키도록 프로그램되어 있다. 컴퓨터(51)는, 커이브상에 표시된 정보로부터, (a) 최고 MHTR 위치[제8도의 부호(58)] 또는 최고주형온도위치[제9도의 부호(68)]와, (b) 용융금속레벨의 위치(57) 사이의 수직거리를 기록하도록 프로그램되어 있다. 컴퓨터는 그 거리내에 어떤 증가를 검출하도록 프로그램된 회로를 포함한다.
본 발명의 한가지 실시예에 따라 이하에 설명되는 단계로 구성되어 있는 다음의 방법에 의해 주형의 하부 개방단(22)에서 용융금속의 브레이크아우트가 발생할 가능성이 예측될 수 있다. 주조작업중에, 냉각액은 통로(23)를 통해 연속적으로 순환된다. 각 통로(23)에 유입되는 냉각액의 유량은 주조작업 내내 연속적으로 측정된다. 각 통로(23)에 유입되는 냉각액의 온도는 주조작업 내내 연속적으로 측정된다. 또한, 온도센서(37) 각각에서 각 통로(23)에 대해 개별적으로, 각 통로(23)에 존재하는 냉각액의 온도도 주조작업 중에 연속적으로 측정된다. 상기한 측정단계에서 얻어진 자료로부터 각 통로(23)에서 주형 열전달율(MHTR)을 연속적으로 계산하기 위해 컴퓨터(51)가 사용된다.
또한,이 방법은 장치(38)를 사용하여 주조작업 내내 주형(20)의 용융금속레벨을 연속적으로 측정하는 것을 포함한다. 제8를 참조하면, 그 방법은, Y좌료가 MHTR이고, X좌표가 주형(20)의 상부로부터의 수직거리인 그래프상에, 주형의 상부 개방단과 하부 개방단 사이의 수직거리를 따라 MHTR의 변화를 나타내는 커어브(59)를 작성하는 것으로 구성되어 있다. 또한, 이 방법은 그래프상에 주형상부에 대한 용융금속레벨의 위치(57)를 나타내는 것으로 구성되어 있다. 커어브(59)는 MHTR의 변화를 반영하기 위해 주기적으로 변화된다. 용융금속레벨의 위치(57)는 주형상부에 대한 용융금속레벨의 위치에 어떤 변화가 있다면 그 변화를 나타내기 위해 주기적으로 변화된다.
제8도에서 알 수 있듯이, 커어브(59)상에는 최고 MHTR위치(58)가 있다. 그래프상에 표시된 정보로부터, (a) 최고 MHTR위치(58)와 (b) 용융금속레벨위치(57) 사이의 수직거리(즉, 제8도의 X좌표에 따른 거리가 기록되어 그 거리내의 증가가 검출된다.
과열부가 없는 정상작업조건하에서, 최고 MHTR 위치(58) 용융금속레벨위치(57) 사이의 수직거리는, 예를들어 3/4인치-2인치(1.8∼5.0㎝) 사이의 상대적으로 작다. 최고 MHTR 위치(58) 용융금속레벨위치(57) 사이의 수직거리에 점진적이고 연속적인 증가가 있고, 그 증가가 상당하면, 과열부가 형성되어 주형의 아래쪽으로 점전적으로 하강함을 특징으로 하는 것이다. 또한 대책이 취해지지 않으면, 주혀의 하부개방단(22)에서 용융금속의 브레이크아우트 가능성이 있음을 의미하는 것이다.
최고 MHTR 위치(58) 용융금속레벨위치(57) 사이의 수직거리에 있어서의 상당한 증가는, 주형의 수직거리에 따라 약 3인치(7.6㎝)의 증가 이상이다. 통상적으로 용융금속레벨위치(57)와 최고 MHTR 위치(58) 사이의 수직거리가 주형의 수직 치수의 15% 이상으로 되면, 상당한 증가가 있는 것이며, 브레이크아우트는 방지하기 위해 대책이 취해져야 한다고 결론지을 수 있다.
최고 MHTR 위치(58) 용융금속레벨위치(57) 사이의 수직거리에 있어서의 상당한 증가가 있을 때에 경보장치(60)를 작동시키도록 컴퓨터가 프로그램될 수 있다(제5도). 경보장치는 시각경보장치 또는 청각결보장치로 할 수 있으며, 예를들어 표시장치(54)의 스크린상에 배경색을 변화시켜서 할 수 있다. 바람직한 실시예에서, 스크린상의 배경색의 변화는 2가지 다른 단계로 발생가능한데, 첫째 단계는 위험한 조건이 발생할 수 있음을 관측자에게 경보하기 위한 경보단계(예를들어, 황색)이고, 두번째 단계는 대책이 취해지지 않으면 브레이크아우트가 임박했음을 나타내기 위해 제2색(예를들어, 적색)으로 변화하는 단계이다.
제8도 내지 제11도에 표시된 자료는, 정방형이고, 수평단면의 한변의 길이가 8.3㎝인 빌릿(billet)을 생산하는 소형연속주조장치로 부터 얻어졌다. 히트사이즈(heat size)는 136kg이다. 주형은 무산소동으로 이루어지고, 내부가 테이퍼지지 않고 직선이다. 주형의 내부는 연속주조용으로 종래에 사용되는 윤활유로 윤활된다. 액체레벨은 주조중에 주형의 상부로부터 7.5㎝(3인치)이었다.
주형은 주형캐비티의 전체둘레를 둘러싸며 등간격으로 연속해서 수평하게 배치된 27개의 냉각액통로(23)를 보유하였다. 주형의 외면은 빙돌아가는 냉각액 유동방향은 주형의 비틀림을 방지하기 위하여 주형의 상부와 하부 사이에서 15번 바뀌었다. 냉각액통로는 직경이 11㎜이고 주형의 내면에서 4.83㎜떨어져 배치되었다. 유입구 및 유출구의 냉각액온도는 종래의 저항온도장치를 사용하여 적당한 위치에서 측정되었고, 냉각액유량은 종래의 전자 유량계에 의해 적절한 위치에서 연속적으로 감시되었다. 주조중에, 주형벽온도는 주형의 내면으로부터 3㎜떨어져 수직으로 간격을 두고 배치된 16개의 열전대로 측정되었다. 이것은 (1) MHTR 대 주형상부로부터의 거리를 구성하는 그래프와, (2) 주형벽온도 대 주형상부로부터의 거리를 구성하는 그래프 사이의 비교를 가능하게 하여, 제1형태의 그래프는 제2형태의 그래프와 마찬가지로 과열부의 생성과 전달을 정확하게 나타낼 수 있음을 확인하기 위한 것이다. MHTR 대 주형상부로부터의 거리를 구성하는 제1형태의 그래프는 제8도에 표시된다. 주형벽온도 대 주형상부로부터의 거리를 구성하는 제2형태의 그래프는 제9도에 표시된다.
제8도에서, MHTR을 위한 Y축상의 스케일은 각 시간열 대하여 0∼2400 kw/㎥/sec이다.
제9도에서, 주형벽온도를 위한 축상의 스케일은 각 시간열에 대하여 0。∼240℃이다.
주형벽온도측정값들은 MHTR을 계산하기 위한 측정과 마찬가지로 동일한 컴퓨터로 공급되었다.
제8도 및 제9도는 주조작업중에 5개의 다른 시간열로 표시장치 스크린에 표시되는 것을 나타낸다.
제8도 및 제9도에 표시된 각 시간열 사이의 시간간격은 6초와 13초 사이에서 변화한다.
실제에 있어서, 스크린상의 표시는, 예를들어 일정한 시간에 사용되는 처리 및 장치의 파리미터에 따라서 10초 간격까지 사용될 수 있지만, 보다 짧은 간격으로 예를들어 5초 간격이하로 변화된다.
1초 이하의 시간간격이 사용될 수도 있다. 바람직하게는 두개의 시간간격에서의 데이터 사이의 비교와, 최고 MHTR과 용융금속레벨위치 사이의 거리의 변화를 검출하도록 연속하는 두개의 시간간격에서의 데이터를 나타내는 키이브를 동시에 스크린에 표시한다.
제8도 및 제9도의 비교에 의해 알수 있듯이, 두 도면에서 그래프들은 서로 매우 근사하게 진행한다.
주조작업이 진행함에 따라서, 약 32초 동안은 주조작업에 정상조건이 유세하였다. 즉, 최고 MHTR 위치(58)(제8도)와 최고주형벽 온도 위치(68)는 용융금속레벨위치(57)에서 수직거리가 거의 떨어져 있지 않았다. 34초에서, 과열부(양쪽 그래프에서 피크점)가 주형의 길이방향을 따라 아래쪽으로 전파되도록 발생하였으며 용융금속레벨은 실제적으로 동일위치에 남아 있었다.
제8도 및 제9도에 표시된 주조작업에 있어서는, 대책이 취해지지 않아, 과열부가 주형의 하부개방단에서 브레이크아우트로 진행하도록 되어 있다.
제10도와 제11도는 과열부가 브레이크아우트로 진행되도록 되어 있지 않고, 필요한 대책이 취해진 것의 표시 순서는 나타내고 있다. Y축상에 주형벽온도를 X측상에 주형상부로부터의 거리를 구성하는 제10도에서,Y축상의 온도스케일을 각 시간간격에 대해 25℃와 275℃사이이다. MHTR 대 주형상부로부터의 거리를 구성하는 제11도에서, Y축상의 스케일은 400∼2500kw/㎥/sec이다. 연속주조공정이 진행함에 따라서, 약 77초 동안은 주조공정에 정상조건이 우세하였다. 그 시간간격에서 최고 MHTR 위치(58)(제11도)와 최고주형벽온도위치(68)(제10도)는 용융금속레벨위치(57)에서 약 2㎝정도만 떨어져 있다. 하강하는 과열부의 개시는 주조공정중 약 79초에서 발생하였다. 과열부는 주조공정에서 약 110초까지 연속주조형을 따라 전파되었다. 주형으로부터의 금속인발속도가 실제감속될때인 약 107초에서 대책이 취해졌다.
107초에서 대책이 취해진 후에, 최고주형벽온도위치(68)와 최고 MHTR 위치(58) 양쪽은 시간의 증가함에 따라 감소되어, 비정상열조건으로부턴의 회복을 나타내었다. 주조작업개시후 127초에서, 정상적으로 복귀되어 최고주형벽온도위치(68)와 최고 MHTR 위치(58)는 용융금속레벨위치(57)로부터 아주 짧은 거리에 위치되었다.
상기한 바와같이, 제8도와 제11도는 MHTR 대 주형상부로부터의 거리를 구성하지만, MHTR을 온도차로 대체하기에 적당한 조건하에서 냉각액 온도차 대 주형상부로부터의 거리를 구성하면 동일한 형상의 그래프가 나타난다. 브레이크아우트의 가능성을 예측하기 위해서는, 주형상부로부터의 거리에 대하여 MHTR 또는 주형벽온도를 구성하는 것이 중요하다. 주형의 마찰 대 시간의 도표 또는 주형전체 MHTR 대 시간의 도표는 과열부를 나타내는 것 이외에도 다른 조건들을 나타내므로, 후자의 2도표는 브레이크아우트 가능성이 지표로서는 신뢰할 수 없다. MHTR 대 주형상부로부터의 거리 또는 주형벽온도 대 주형상부로부터의 거리를 구성하는 그래프에서, 용융금속레벨의 위치로부터의 실제거리인 최고 MHTR 위치 또는 최고주형벽위치의 이동은 브레이크아우트의 가능성만을 나타내는 지표이다. 브레이크아우트의 가능성을 제외한 다른 조건은, (b) 용융금속레벨의 위치로부터 떨어져 이동하는 (a) 최고 MHTR 또는 최고주형벽위치를 나타내지 않는다.
제8도 내지 제11도는 주형의 MHTR 대 주형상부로부터의 거리의 도표가, 주형벽 내에 열전대를 매설하는 단점이 제거되었지만 주형벽온도 대 주형상부로부터의 거리의 도표처럼 브레이크아우트의 가능성을 예측하기에 적합함을 나타낸다. 반대로 MHTR이 냉각액의 유입구 및 유출구라인 상에 배치된 유량계와 온도센서를 사용하여 주형의 외부에서 측정될 수 있다.
제1도와 제2도에 표시된 주형(20)의 실시예는 각 수평레벨에 1개의 냉각액유입구(24)와 1개의 냉각액유출구(25)를 사용한다. 제6도에 표시된 주형(120)의 실시예에는 주형벽 각각에 대해 별도의 냉각액 유입구(124)와 별도의 냉각액유출구(125)가 있다. 제6도에 표시된 형태의 장치는 제1도 및 제2도에 표시된 형태의 장치를 사용하여 행할 수 있는 제어에 비해, 연속주조주형벽 각각의 온도를 보다 가깝게 제어할 수 있게 한다.

Claims (30)

  1. 벽(33,39)과, 상부개방단(21)과, 하부개방단(22) 및 소정의 수직치수를 보유하며 수직으로 배치된 액체냉각주형(20)을 통해 용융금속이 하강 및 인출되어서 주조금속쉘(42)을 형성하는 연속주조공정중, 주형(20)의 하부개방단(22)에서, 상기 쉘(42)로부터 용융금속이 브레이크아우트될 가능성을 예측하는 방법에 있어서, 주형상부 개방단(22)에 대한 주형(20)내의 용융금속레벨위치(57)를 연속적으로 측정하는 단계와, 주형 상부개방단(21)에 대한 주형내의 최고온도위치[최고의 주형열전달률(MHTR) 위치(58) 또는 최고주형벽온도위치(68)]를 연속적으로 측정하는 단계와 (a) 전기한 최고온도위치(58 및 68)와 (b) 전기한 용융금속레벨위치(57) 사이의 수직거리를 기록하는 단계와, 전기한 수직거리의 증가를 검출하기 위해 수직거리를 연속적으로 감시하는 단계로 이루어진 것을 특징으로 하는 연속주조중 용융금속 브레이크아우트의 가능성을 예측하는 방법.
  2. 제1항에 있어서, 최고주형벽온도위치(68)를 측정하는 단계는 주형의 상부개방단(21)과 하부개방단(22) 사이에서 수직으로 간격을 두고 떨어진 다수의 위치 각각에서 주형벽온도를 측정하는 것으로 구성된 것을 특징으로 하는 연속주조중 용융금속 브레이크아우트의 가능성을 예측하는 방법.
  3. 제1항에 있어서, 전기한 주형의 상부개방단(21)과 하부개방단(22) 사이의 위치에 수직으로 간격을 두고 수평하게 배치된 다수의 냉각통로(23)를 설치하고, 통로(23) 각각을 통해 냉각액을 순환시키는 단계가 포함된 것을 특징으로 하는 연속주조중 용융금속브레이크아우트의 가능성을 예측하는 방법.
  4. 제3항에 있어서, 냉각액은 동일한 유량으로 각 통로(23)로 통해 순환되고, 최고 MHTR 위치(58)는 각 통로(23)에 유입 및 유출하는 냉각액에 대한 온도차를 측정하여 결정되는 것을 특징으로 하는 연속주조중 용융금속브레이크아우트의 가능성을 예측하는 방법.
  5. 제3항에 있어서, 최고 MHTR 위치(58)는 각 통로(23)에서 주형열전달율을 측정하여 결정되는 것을 특징으로 하는 연속주조중 용융금속 브레이크아우트의 가능성을 예측하는 방법.
  6. 제1항에 있어서, 전기한 거리의 상단한 증가의 검출에 대응하여 경보장치(60)를 작동시키는 단계를 포함하는 것을 특징으로 하는 연속주조중 용융금속 브레이크아우트의 가능성을 예측하는 방법.
  7. 제1항에 있어서, 전기한 거리가 3인치(7.6㎝)이상일 때 경보장치(60)를 작동시키는 단계를 포함하는 것을 특징으로 하는 연속주조중 용융금속브레이크아우트의 가능성을 예측하는 방법.
  8. 제1항에 있어서, 전기한 거리가 주형(20)의 수직치수의 15% 이상일때 경보장치(60)를 작동시키는 단계를 포함하는 것을 특징으로 하는 연속주조중 금속 브레이크아우트의 가능성을 예측하는 방법.
  9. 제1항에 있어서, 전기한 거리에 있어서의 상당한 증가의 검출에 대응하여 브레이크아우트를 방지하는 대책을 개시하는 단계를 포함하는 것을 특징으로 하는 연속주조중 용융금속 브레이크아우트의 가능성을 예측하는 방법.
  10. 제9항에 있어서, 전기한 대책은, (a) 쉘(42)이 주형(20)으로부터 인출되는 속도를 감소시키는 단계와, (b) 주형내의레벨위치(57)를 상승시키는 단계중 적어도 하나로 이루어진 것을 특징으로 하는 연속주조중 용융금속브레이크아우트의 가능성을 예측하는 방법.
  11. 벽(33,39)과, 상부개방단(21)과, 하부개방단(22) 및 소정의 수직치수를 보유하며 수직으로 배치된 액체냉각주형(20)을 통해 용융금속이 하강 및 인출되어서 주조금속쉘(42)을 형성하는 연속주조공정중, 주형(20)의 하부개방단(22)에서, 상기 쉘(42)로부터 용융금속이 브레이크아우트될 가능성을 예측하는 방법에 있어서, 주형의 상부개방단(21)과 하부개방단(21) 사이의 위치에 수직으로 간격을 두고 수평하게 배치되는 다수의 냉각통로(23)를 주형에 설치하는 단계와, 통로(23)를 통해 냉각액체를 순환시키는 단계와, 주조작업내내 각 통로(23)에 유입되는 액체의 유량을 연속적으로 측정하는 단계와, 주조작업내내 통로(23)의 각각으로 들어가는 액체의 온도를 연속적으로 측정하는 단계와, 주조작업내내 통로(23)의 각각에 대해 개별적으로 각 통로를 나가는 액체의 온도를 연속적으로 측정하는 단계와, 전기한 3개의 측정단계에서 얻어진 측정값으로부터 각 통로에서의 주형열전달율(MHTR)을 연속적으로 계산하는 단계와, 주조작업 내내 주형(20)내의 용융금속레벨위치(57)를 연속적으로 측정하는 단계와 한쪽 좌표가 전기한 MHTR이고 다른쪽 좌표가 주형상부 개방단(21)으로부터의 수직거리인 그래프상에 주형의 상부개방단(21)과 하부개방단(21) 사이의 수직거리를 따라서 MHTR을 나타내는 커어브를 작성하는 단계와, 전기한 그래프 상에 주형상부개방단(21)에 대한 용융금속레벨 위치를 표시하는 단계와, 전기한 MHTR의 변화를 나타내기 위해 전기한 커어브를 주기적으로 변경하는 단계와, 주형상부개방단(21)에 대한 용융금속레벨위치 변화를 나타내기 위해 용융금속레벨위치(57)의 전기한 그래프상의 표시를 주기적으로 변경하는 단계와, 전기한 커어브로부터 주형상부 개방단(21)에 대한 최고 MHTR의 위치(58)를 기록하는 단계와, 전기한 그래프상에 표시되는 정보로부터 (a) 최고 MHTR의 위치(58)와 (b) 용융금속레벨위치(57) 사이의 수직거리를 기록하는 단계와, 전기한 거리의 증가를 검출하기 위해 전기한 수직거리를 연속적으로 감시하는 단계로 이루어진 것을 특징으로 하는 연속주조중 용융금속 브레이크아우트의 가능성을 예측하는 방법.
  12. 벽(33,39)과, 상부개방단(21)과, 하부개방단(22) 및 소정의 수직치수를 보유하며 수직으로 배치된 액체냉각주형(20)을 통해 용융금속이 하강 및 인출되어서 주조금속쉘(42)을 형성하는 연속주조공정중, 주형(20)의 하부개방단(22)에서, 상기 쉘(42)로부터 용융금속이 브레이크아우트될 가능성을 예측하는 방법에 있어서, 주형의 상부개방단(21)과 하부개방단(21) 사이의 위치에 수직으로 간격을 두고 수평하게 배치되는 다수의 냉각통로(23)를 주형에 설치하는 단계와, 통로(22)를 통해 동일한 유량으로 냉각액체를 순환시키는 단계와, 주조작업중 내내 각 통로(23)에 유입되는 액체의 유량을 연속적으로 측정하는 단계와, 주조작업 내내 통로(23)의 각각에 대해 개별적으로 각 통로를 나가는 액체의 온도를 연속적으로 측정하는 단계와, 각 통로(23)에 대해 그 통로를 통과하는 순환되는 냉각액의 온도차를 연속적으로 계산하는 단계와, 주조작업 내내 주형(20)내의 용융금속레벨위치(57)를 연속적으로 측정하는 단계와 한쪽 좌표가 전기한 온도차이고 다른쪽 좌표가 주형상부 개방단(21)으로부터의 수직거리인 그래프상에 주형(20)의 상부개방단(21)과 하부개방단(22) 사이의 수직거리를 따라서 전기한 온도차를 나타내는 커어브를 작성하는 단계와, 전기한 그래프 상에 주형상부개방단(21)에 대한 용융금속레벨 위치(57)를 표시하는 단계와, 전기한 온도차의 변화를 나타내기 위하여 전기한 커어브를 주기적으로 변경하는 단계와, 주형상부개방단(21)에 대한 용융금속레벨위치(57)의 변화를 나타내기위해 용융금속레벨위치(57)의 전기한 그래프상의 표시를 주기적으로 변경하는 단계와, 전기한 커어브로부터 주형상부 개방단(21)에 대한 최고 MHTR의 위치(58)를 기록하는 단계와, 전기한 그래프상에 표시되는 정보로부터 (a) 최고 MHTR의 위치(58)와 (b) 용융금속레벨위치(57) 사이의 수직거리를 기록하는 단계와, 전기한 거리의 증가를 검출하기 위해 전기한 수직거리를 연속적으로 감시하는 단계로 이루어진 것을 특징으로 하는 연속주조중 용융금속 브레이크아우트의 가능성을 예측하는 방법.
  13. 제11항에 있어서, 전기한 커어브의 주기적 변화는 10초 미만의 시간간격으로 발생하는 것을 특징으로 하는 연속주조중 용융금속 브레이크아우트의 가능성을 예측하는 방법.
  14. 제13항에 있어서, 전기한 용융금속레벨 위치(57)표시의 주기적변화는 10초 미만의 시간간격으로 발생하는 것을 특징으로 하는 연속주조중 용융금속 브레이크아우트의 가능성을 예측하는 방법.
  15. 13항에 있어서, 전기한 시간간격은 5초 미만인 것을 특징으로 하는 연속주조중 용융금속 브레이크아우트의 가능성을 예측하는 방법.
  16. 벽(33,39)과, 상부개방단(21)과, 하부개방단(22) 및 소정의 수직치수를 보유하며 수직으로 배치된 액체냉각주형(20)을 통해 용융금속이 하강 및 인출되어서 주조금속쉘(42)을 형성하는 연속주조공정중, 주형(24)의 하부개방단(22)에서, 상기 쉘(42)로부터 용융금속이 브레이크아우트될 가능성을 예측하는 방법에 있어서, 주형의 상부개방단(21)과 하부개방단(21) 사이에 수직으로 간격을 떨어져 있는 복수의 위치 각가에서 주형(20)벽 온도를 연속적으로 측정하는 단계와, 주조 작업내내 주형(20)내의 용융금속 레벨위치(57)를 연속적으로 측정하는 단계와 한쪽 좌표가 주형벽온도이고 다른쪽 좌표른 주형상부 개방단(21)으로부터의 수직거리인 그래프상에 주형의 상부개방단(21)과 하부개방단(22) 사이의 수직거리를 따라서 주형벽온도를 나타내는 커어브를 작성하는 단계와, 전기한 그래프상에 주형상부 개방단(21)에 대한 용융금속레벨위치(57)를 표시하는 단계와, 주형벽온도의 변화를 나타내기 위하여 전기한 커어브를 주기적으로 변경하는 단계와, 주형상부개방단(21)에 대한 용융금속레벨위치(57)의 변화를 나타내기 위해 용융금속레벨위치의 전기한 그래프상의 표시를 주기적으로 변경하는 단계와, 전기한 커어브로부터 주형상부 개방단(21)에 대한 최고주형벽 온도위치(68)를 기록하는 단계와, 전기한 그래프상에 표시되는 정보로부터 (a) 최고주형벽 온도위치(68)와 (b)용융금속레벨위치(57) 사이의 수직거리를 기록하는 단계와, 전기한 거리의 증가를 검출하기 위해 전기한 수직거리를 연속적으로 감시하는 단계로 이루어진 것을 특징으로 하는 연속주조중 용융금속 브레이크아우트의 가능성을 예측하는 방법.
  17. 벽(33,39)과, 상부개방단(21)과, 하부개방단(22) 및 소정의 수직치수를 보유하며 수직으로 배치된 액체냉각주형(20)을 통해 용융금속이 하강 및 인출되어서 주조금속쉘(42)을 형성하는 연속주조공정중, 주형의 하부개방단(22)에서, 상기 쉘(42)로부터 용융금속이 브레이크아우트될 가능성을 예측하는 장치에 있어서, 이 장치가 주형상부 개방단(21)에 대한 주형내의 용융금속레벨위치(57)를 연속적으로 측정하는 장치(38)와 주형상부 개방단(21)대한 주형내의 최고온도위치(58 또는 68)를 연속적으로 측정하는 장치와, (a) 전기한 최고온도위치(58 또는 68)와 (b) 전기한 용융금속레벨위치(57) 사이의 수직거리를 기록하는 장치와, 전기한 수직거리의 증가를 검출하기 위해 수직거리를 연속적으로 감시하는 장치로 이루어진 것을 특징으로 하는 연속주조중 용융금속 브레이크아우트의 가능성을 예측하는 장치
  18. 제17항에 있어서, 최고온도위치(68)를 측정하는 장치는 주형내에 주형의 상부개방단(21)과 하부개방단(22)사이에서 수직으로 간격을 두고 떨어진 위치에 배치되는 다수의 열전대(62)로 구성된 것을 특징으로 하는 연속주조중 용융금속브레이크아우트의 가능성을 예측하는 장치.
  19. 제17항에 있어서, 전기한 주형(20)내의 주형의 상부개방단(21)과 하부개방단(22) 사이의 위치에 수직으로 간격을 두고 수평으로 배치된 다수의 냉각통로(23)와 전기한 통로(23) 각각을 통해 냉각액을 순환시키는 펌프(34)를 포함하는 것을 특징으로 하는 연속주조중 용융금속브레이크아우트의 가능성을 예측하는 장치.
  20. 제19항에 있어서, 냉각액을 동일한 유량으로 각 통로(23)를 통해 순환시키는 펌프(34)와, 각 통로(23)로 들어오고 나가는 냉각액에 대한 온도차를 측정하는 온도센서(35,37)로 구성되는 최고온도위치(58)를 결정하는 장치를 포함하는 것을 특징으로 하는 연속주조중 용융금속브레이크아우트의 가능성을 예측하는 장치.
  21. 제19항에 있어서, 전기한 최고온도위치(58)를 결정하는 장치가 전기한 각 통로에 대한 주형열전단율(MHTR)을 측정하는 장치[용융금속(35,37), 장치(49), 컴퓨터(51)]로 이루어진 것을 특징으로 하는 연속주조중 용융금속브레이크아우트의 가능성을 예측하는 장치.
  22. 제17항에 있어서, 전기한 거리의 실제적인 증가의 검출에 대응하는 경보장치(60)를 작동시키는 장치를 포함하는 것을 특징으로 하는 연속주조중 용융금속브레이크아우트의 가능성을 예측하는 장치.
  23. 제17항에 있어서, 전기한 거리가 3인치(7.6㎝) 이상일 때 경보장치(60)를 작동시키는 장치를 포함하는 것을 특징으로 하는 연속주조중 용융금속브레이크아우트의 가능성을 예측하는 장치.
  24. 제17항에 있어서, 전기한 거리가 주형의 수직치수의 15% 이상일 때 경보장치(60)를 작동시키는 장치를 포함하는 것을 특징으로 하는 연속주조중 용융금속브레이크아우트의 가능성을 예측하는 장치.
  25. 벽(33,39)과, 상부개방단(21)과, 하부개방단(22) 및 소정의 수직치수를 보유하며 수직으로 배치된 주형(20)을 통해 용융금속이 하강 및 인출되어서 용융금속으로부터 주조금속쉘(42)을 형성하는 연속주조공정중, 주형의 하부개방단(22)에서, 상기 쉘(42)로부터 용융금속이 브레이크아우트될 가능성을 예측하는 장치에 있어서, 이 장치가 주형내의 주형의 상부개방단(21)과 하부개방단(21) 사이의 위치에 수직으로 간격을 두고 수평하게 배치되는 다수의 냉각통로(23)와, 전기한 통로를 통해 냉각액을 순환시키는 펌프(34)와, 각 통로(23)에 유입되는 냉각액의 유량을 연속적으로 측정하는 장치(36)와, 각 통로(23)에 유입되는 냉각액의 온도를 연속적으로 측정하는 온도센서(35)와, 각 통로에 대해 개별적으로 각 통로를 나오는 냉각액의 온도를 연속적으로 측정하는 온도센서(37)와, 주형(20)내의 용융금속레벨위치(57)를 연속적으로 측정하는 장치(38)와, 컴퓨터(51)와, 컴퓨터(51)에 전기한 온도 및 유량측정값의 각각을 공급하는 장치(49)와, 컴퓨터에 용융금속레벨측정값을 공급하는 장치(48)로 구성되면, 컴퓨터(51)는 (a) 컴퓨터로 공급되는 온도 및 유량측정값으로부터 통로각각에서의 주형열전달율(MHTR)을 계산하는 장치와, (b) 한쪽좌표를 전기한 MHTR이고 다른쪽 좌표는 주형상부개방단(21)으로부터의 수직거리인 그래프를 표시하는 장치(54)와, (c)전기한 그래프상에 주형(20)의 상부개방단(21)과 하부개방단(22) 사이의 전기한 수직거리를 따라서 MHTR의 변화를 나타내는 커어브를 작성하는 장치와, (d) 전기한 그래프상에 주형상부개방단(21)에 대한 용융금속벨의 위치(57)를 표시하는 장치와, (e) 전기한 MHTR의 변화를 나타내기 위해 전기한 커어브를 주기적으로 변경하는 장치와 (f) 주형상부개방단(21)에 대한 용융금속레벨위치(57)의 변화를 나타내기 위하여 용융금속레벨위치의 전기한 그래프상에서의 그래프상에서의 표시를 주기적으로 변경하는 장치와, (g) 주형상부개방단(21)에 대한 최고 MHTR의 커어브상에서의 위치를 기록하는 장치와, (h) 전기한 커어브상에 표시된 정보로부터 최고 MHTR 위치(58)와 용융금속레벨위치(57) 사이의 수직거리를 기록하는 장치와 (i) 전기한 거리의 증가를 검출하기 위해 전기한 수직거리를 연속적으로 표시하는 장치(54)로 구성된 것을 특징으로 하는 연속주조중 용융금속브레이크아우트의 가능성을 예측하는 장치.
  26. 벽(33,39)과, 상부개방단(21)과, 하부개방단(22) 및 소정의 수직 치수를 보유하며 수직으로 배치된 주형(20)을 구비하여 용융금속으로부터 주조금속쉘(42)을 형성하는 연속주조공정중, 주형의 하부개방단(22)에서, 상기 쉘(42)로부터 용융금속이 브레이크아우트될 가능성을 예측하는 장치에 있어서, 이 장치가 주형(20)내의 주형의 상부개방단(21)과 하부개방단(21) 사이의 수직으로 간격을 두고 수평하게 배치된 다수의 냉각통로(23)와, 통로(23)를 통해 냉각액을 동일한 유량으로 순환시키는 펌프(34)와, 각 통로(23)로 유입되는 냉각액의 유동량을 연속적으로 측정하는 온도센서(35)와, 각 통로(23)에 대해 개별적으로 각 통로를 나오는 냉각액의 온도를 연속적으로 측정하는 온도센서(37)와, 주형(20)내의 용융금속레벨위치(57)를 연속적으로 측정하는 장치(38)와, 컴퓨터(51)와, 컴퓨터(51)에 전기한 온도 측정값의 각각을 공급하는 장치(49)와, 컴퓨터(51)에 용융금속레벨측정값을 공급하는 장치(48)로 구성되며, 컴퓨터(51)는 (a) 냉각액통로(23) 각각에 대해 그 통로를 통과하여 순환되는 냉각액의 온도차를 계산하는 장치와, (b)한쪽 좌표는 전기한 온도차이고 다른쪽 좌표는 주형상부개방단(21)으로부터의 수직거리인 그래프를 표시하는 장치(54)와, (c) 전기한 그래프상에 주형의 상부개방단(21)과 하부개방단(22) 사이의 전기한 수직거리를 따라서 온도차를 나타내는 커어브를 작성하는 장치와, (d) 전기한 그래프상에 주형상부 개방단(21)에 대한 용융금속레벨의 위치(57)를 표시하는 장치와, (e) 전기한 온도차의 변화를 나타내기 위해 전기한 커어브를 주기적으로 변경하는 장치와 (f) 주형상부개방단(21)에 대한 용융금속레벨위치(57)의 변화를 나타내기 위하여 용융금속레베위치의 전기한 그래프상에서의 표시를 주기적으로 변경하는 장치와, (g) 커어브상에 주형상부개방단(21)에 대한 최고온도차의 위치(58)를 기록하는 장치와 (h) 전기한 커어브 상에 표시된 정보로부터 최고온도차위치(58)와 용융금속레벨위치(57) 사이의 수직거리를 기록하는 장치와, (i) 전기한 거리의 증가를 검출하기 위해 전기한 수직거리를 연속적으로 표시하는 장치(54)로 구성된 것을 특징으로 하는 연속주조중 용융금속브레이크아우트의 가능성을 예측하는 장치.
  27. 벽(33,39)과, 상부개방단(21)과, 하부개방단(22) 및 소정의 수직치수를 보유하며 수직으로 배치된 주형(20)을 구비하여 용융금속으로부터 주조금속쉘(42)을 형성하는 연속주조공정중, 주형의 하부개방단(22)에서, 상기 쉘(42)로부터 용융금속이 브레이크아우트될 가능성을 예측하는 장치에 있어서, 이 장치가 주형의 상부개방단(21)과 하부개방단(21) 사이의 수직으로 간격을 두고 수평하게 배치된 다수의 위치 각각에서 주형벽온도를 연속적으로 측정하는 열전대(62)와, 주형(20)내 용융금속레벨위치(57)를 연속적으로 측정하는 장치(38)와, 컴퓨터(51)와, 컴퓨터(51)에 전기한 온도측정값의 각각을 공급하는 장치(49)와, 컴퓨터(51)에 용융금속레벨측정값을 공급하는 장치(48)로 구성되며, 컴퓨터(51) (a) 한쪽좌표는 전기한 주형벽온도이고 다른쪽좌표는 주형상부개방단(21)으로부터의 수직거리인 그래프를 표시하는 장치(54)와, (b) 전기한 그래프상에 주형의 상부개방단(21)과 하부개방단(22) 사이의 수직거리를 따라서 주형벽온도를 나타내는 커어브를 작성하는 장치와, (c) 전기한 그래프상에 주형상부개방단(21)에 대한 용융금속레벨위치(57)를 표시하는 장치와, (d) 주형벽온도의 변화를 나타내기 위해 전기한 커어브를 주기적으로 변경하는 장치와, (e) 주형상부개방단(21)에 대한 용융금속레벨위치(57)의 변화를 나타내기 위하여 용융금속레벨위치의 전기한 그래프상에서의 표시를 주기적으로 변경하는 장치와, (f) 커어브상에 주형상부개방단(21)에 대한 최고주형벽온도의 위치(68)를 기록하는 장치와, (g) 전기한 커어브상에 표시된 정보로부터 최고주형벽온도위치(68)와 용융금속레벨위치(57) 사이의 수직거리를 기록하는 장치와, (h) 전기한 거리의 증가를 검출하기 위해 전기한 수직거리를 연속적으로 표시하는 장치(54)로 구성된 것을 특징으로 하는 연속주조중 용융금속브레이크아우트의 가능성을 예측하는 장치.
  28. 제14항에 있어서, 전기한 시간간격은 5초 미만인 것을 특징으로 하는 연속주조중 용융금속브레이크아우트의 가능성을 예측하는 방법.
  29. 제12항에 있어서, 전기한 커어브의 주기적 변화는 10초 미만의 시간간격으로 발생하는 것을 특징으로 하는 연속주조중 용융금속 브레이크아우트의 가능성을 예측하는 방법.
  30. 제1항에 있어서, (a) 전기한 최고온도위치(58 또는 68)와 (b) 전기한 용융금속레벨위치(57) 사이의 거리의 상당한 증가에 기초하여 용융금속의 브레이크아우트 가능성을 예측하는 단계를 포함하는 것을 특징으로 하는 연속주조중 용융금속브레이크아우트의 가능성을 예측하는 방법.
KR1019900003764A 1989-03-20 1990-03-20 연속주조 중 용융금속이 브레이크 아우트(break-out)될 가능성을 예측하는 방법 및 장치 Expired - Fee Related KR970001552B1 (ko)

Applications Claiming Priority (3)

Application Number Priority Date Filing Date Title
US07/326,081 US5020585A (en) 1989-03-20 1989-03-20 Break-out detection in continuous casting
US07/326081 1989-03-20
US07/326,081 1989-03-20

Publications (2)

Publication Number Publication Date
KR900014058A KR900014058A (ko) 1990-10-22
KR970001552B1 true KR970001552B1 (ko) 1997-02-11

Family

ID=23270743

Family Applications (1)

Application Number Title Priority Date Filing Date
KR1019900003764A Expired - Fee Related KR970001552B1 (ko) 1989-03-20 1990-03-20 연속주조 중 용융금속이 브레이크 아우트(break-out)될 가능성을 예측하는 방법 및 장치

Country Status (10)

Country Link
US (1) US5020585A (ko)
EP (1) EP0389139B1 (ko)
JP (2) JP2609476B2 (ko)
KR (1) KR970001552B1 (ko)
CN (1) CN1045720A (ko)
AU (1) AU617274B2 (ko)
CA (1) CA1328341C (ko)
DE (1) DE69018863T2 (ko)
ES (1) ES2071762T3 (ko)
ZA (1) ZA901305B (ko)

Families Citing this family (27)

* Cited by examiner, † Cited by third party
Publication number Priority date Publication date Assignee Title
US5379828A (en) * 1990-12-10 1995-01-10 Inland Steel Company Apparatus and method for continuous casting of molten steel
FR2675062B1 (fr) * 1991-04-10 1993-07-16 Techmetal Promotion Procede de controle dynamique de la vitesse d'extraction lors d'un cycle de cicatrisation apres collage, dans un processus de coulee continue d'acier.
DE4125146C2 (de) * 1991-07-30 1996-12-05 Eko Stahl Gmbh Verfahren zur Erhöhung der Gießsicherheit
DE4137588C2 (de) * 1991-11-15 1994-10-06 Thyssen Stahl Ag Verfahren zum Gießen von Metallen in einer Stranggießanlage
US5494095A (en) * 1992-04-08 1996-02-27 Inland Steel Company Apparatus for continuous casting of molten steel
JP3035688B2 (ja) * 1993-12-24 2000-04-24 トピー工業株式会社 連続鋳造におけるブレークアウト予知システム
DE4442087C2 (de) * 1994-11-25 2003-07-03 Siemens Ag Einrichtung zur Durchbruch-Früherkennung beim Stranggießen
FR2761282B1 (fr) * 1997-03-26 1999-04-30 Lorraine Laminage Plaque de lingotiere de machine de coulee continue des metaux, et lingotiere incluant de telles plaques
DE19725433C1 (de) * 1997-06-16 1999-01-21 Schloemann Siemag Ag Verfahren und Vorrichtung zur Durchbruchfrüherkennung beim Stranggießen von Stahl mit einer oszillierenden Kokille
DE19808998B4 (de) * 1998-03-03 2007-12-06 Siemens Ag Verfahren und Einrichtung zur Durchbruchfrüherkennung in einer Stranggußanlage
MXPA00002784A (es) 1998-07-21 2005-08-16 Dofasco Inc Sistema basado en modelo estadistco multivariado pra verificar la operacion de un fundidor continuo y detectar la aparicion de rebabas por rotura de molde inminentes.
WO2000051762A1 (fr) * 1999-03-02 2000-09-08 Nkk Corporation Procede et dispositif permettant, en coulee continue, de predire et de reguler la configuration d'ecoulement de l'acier en fusion
KR100805715B1 (ko) * 2001-11-30 2008-02-21 주식회사 포스코 주편 제조용 주형 냉각장치
US6588493B1 (en) * 2001-12-21 2003-07-08 Nucor Corporation Model-based system for determining casting roll operating temperature in a thin strip casting process
KR20040038224A (ko) * 2002-10-31 2004-05-08 주식회사 포스코 열전대를 이용한 연주 몰드 용강 탕면 높이 검출장치
CA2414167A1 (en) * 2002-12-12 2004-06-12 Dofasco Inc. Method and online system for monitoring continuous caster start-up operation and predicting start cast breakouts
US6885907B1 (en) 2004-05-27 2005-04-26 Dofasco Inc. Real-time system and method of monitoring transient operations in continuous casting process for breakout prevention
CA2641174C (en) * 2006-02-01 2014-03-04 Nippon Steel Corporation Fracture prediction method
CN102699302B (zh) * 2012-07-10 2014-01-22 中冶赛迪电气技术有限公司 一种板坯连铸结晶器漏钢预报系统及其预报方法
KR101456453B1 (ko) 2012-07-24 2014-10-31 주식회사 포스코 주편 품질 예측 장치 및 그 방법
JP6381868B2 (ja) * 2013-01-25 2018-08-29 株式会社神戸製鋼所 チタンまたはチタン合金からなる鋳塊の連続鋳造方法
CN106794513B (zh) * 2014-10-15 2018-11-27 新日铁住金株式会社 连续铸造铸模内的熔液面水平检测装置、方法
JP6515329B2 (ja) * 2015-04-08 2019-05-22 日本製鉄株式会社 連続鋳造用鋳型
EP3270243B1 (en) * 2016-07-13 2019-10-23 Yokogawa Electric Corporation Methods and systems for context based operator assistance for control systems
KR101892732B1 (ko) * 2017-10-17 2018-08-28 한국원자력연구원 다접점 온도센서를 이용한 광대역 용융금속 액위 측정 장치 및 열 시스템
CN113579190B (zh) * 2021-06-24 2022-10-28 邯郸钢铁集团有限责任公司 一种基于区域特征的板坯连铸漏钢预报方法
CN115290033A (zh) * 2022-08-05 2022-11-04 上海交通大学 一种同时检测铸件温度和变形的检测装置

Family Cites Families (12)

* Cited by examiner, † Cited by third party
Publication number Priority date Publication date Assignee Title
GB777354A (en) * 1954-07-15 1957-06-19 British Iron Steel Research Improvements in or relating to the indication and regulation of liquid level
US3478808A (en) * 1964-10-08 1969-11-18 Bunker Ramo Method of continuously casting steel
US3537505A (en) * 1965-12-30 1970-11-03 Concast Ag Method of controlling continuous casting
US3797310A (en) * 1972-02-28 1974-03-19 Steel Corp Temperature sensing device
US4235276A (en) * 1979-04-16 1980-11-25 Bethlehem Steel Corporation Method and apparatus for controlling caster heat removal by varying casting speed
JPS6054138B2 (ja) * 1981-01-08 1985-11-28 新日本製鐵株式会社 連続鋳造鋳型における鋳造鋼の介在物検出方法
JPS5839068A (ja) * 1981-09-02 1983-03-07 Nippon Telegr & Teleph Corp <Ntt> 化合物半導体素子
JPS6138763A (ja) * 1984-07-31 1986-02-24 Nippon Kokan Kk <Nkk> 連続鋳造のブレ−クアウト予知方法
AU562731B2 (en) * 1985-02-01 1987-06-18 Nippon Steel Corporation Preventtion of casting defects in continuous casting
GB8507675D0 (en) * 1985-03-25 1985-05-01 Atomic Energy Authority Uk Metal product fabrication
JPS61289954A (ja) * 1985-06-14 1986-12-19 Nippon Steel Corp 連続鋳造における鋳型内鋳片シエルの破断検出方法
JPS629755A (ja) * 1985-07-06 1987-01-17 Hitachi Zosen Corp 薄板連続鋳造設備におけるツインロ−ル型モ−ルドの運転制御方法

Also Published As

Publication number Publication date
EP0389139A3 (en) 1991-05-15
AU4995490A (en) 1990-09-20
ES2071762T3 (es) 1995-07-01
EP0389139B1 (en) 1995-04-26
CA1328341C (en) 1994-04-12
JPH0999351A (ja) 1997-04-15
ZA901305B (en) 1991-12-24
EP0389139A2 (en) 1990-09-26
DE69018863D1 (de) 1995-06-01
KR900014058A (ko) 1990-10-22
DE69018863T2 (de) 1995-08-24
JP2609476B2 (ja) 1997-05-14
CN1045720A (zh) 1990-10-03
US5020585A (en) 1991-06-04
JPH02280951A (ja) 1990-11-16
AU617274B2 (en) 1991-11-21

Similar Documents

Publication Publication Date Title
KR970001552B1 (ko) 연속주조 중 용융금속이 브레이크 아우트(break-out)될 가능성을 예측하는 방법 및 장치
KR101456453B1 (ko) 주편 품질 예측 장치 및 그 방법
WO2000051763A1 (fr) Procede et dispositif d&#39;estimation/commande de motif d&#39;ecoulement d&#39;acier fondu dans un coulage en continu
US20210001393A1 (en) Continuous casting ingot mold for metals, and system and method for break-out detection in a continuous metal-casting machine
US4774998A (en) Method and apparatus for preventing cast defects in continuous casting plant
JP6859919B2 (ja) ブレークアウト予知方法
US9709515B2 (en) Device and method for diagnosing cracks in a solidified shell in a mold
JP4105839B2 (ja) 連続鋳造における鋳型内鋳造異常検出方法
US4066114A (en) Supervision and control of continuous casting
JP5092631B2 (ja) 連続鋳造におけるブレークアウト検出方法及び装置、該装置を用いた鋼の連続鋳造方法、ブレークアウト防止装置
JPH1190599A (ja) 連続鋳造の鋳型内異常判定方法
JP3598078B2 (ja) 連続鋳造鋳型内の流速ベクトル分布の推定方法及び可視化方法、並びにそれらの装置。
JPH0360852A (ja) オンライン鋳片の表面欠陥検出方法
JPH01210160A (ja) 連続鋳造における縦割れ予知方法
JPS5916865B2 (ja) ブレイクアウトの予知装置
JPH0929407A (ja) 連続鋳造機
JPH0790343B2 (ja) 連続鋳造におけるブレ−クアウト予知方法
KR101204943B1 (ko) 몰드 코팅층의 결함 진단장치 및 그 방법
JPS5929353B2 (ja) ブレイクアウト予知方法
KR101755401B1 (ko) 탕면 가시화 장치 및 이를 이용한 탕면 가시화 방법
EP4563264A1 (en) Casting mold, control equipment, and continuous casting method for steel
JP5412872B2 (ja) 連続鋳造におけるブレークアウト検出方法及び装置、該装置を用いた鋼の連続鋳造方法、ブレークアウト防止装置
JPS6330162A (ja) 連続鋳造におけるシエル厚測定方法
JPH03180261A (ja) ブレークアウト予知方法
JPH07232251A (ja) ブレークアウト予知方法

Legal Events

Date Code Title Description
PA0109 Patent application

St.27 status event code: A-0-1-A10-A12-nap-PA0109

R17-X000 Change to representative recorded

St.27 status event code: A-3-3-R10-R17-oth-X000

PG1501 Laying open of application

St.27 status event code: A-1-1-Q10-Q12-nap-PG1501

R17-X000 Change to representative recorded

St.27 status event code: A-3-3-R10-R17-oth-X000

A201 Request for examination
PA0201 Request for examination

St.27 status event code: A-1-2-D10-D11-exm-PA0201

E902 Notification of reason for refusal
PE0902 Notice of grounds for rejection

St.27 status event code: A-1-2-D10-D21-exm-PE0902

T11-X000 Administrative time limit extension requested

St.27 status event code: U-3-3-T10-T11-oth-X000

P11-X000 Amendment of application requested

St.27 status event code: A-2-2-P10-P11-nap-X000

P13-X000 Application amended

St.27 status event code: A-2-2-P10-P13-nap-X000

G160 Decision to publish patent application
PG1605 Publication of application before grant of patent

St.27 status event code: A-2-2-Q10-Q13-nap-PG1605

E701 Decision to grant or registration of patent right
PE0701 Decision of registration

St.27 status event code: A-1-2-D10-D22-exm-PE0701

GRNT Written decision to grant
PR0701 Registration of establishment

St.27 status event code: A-2-4-F10-F11-exm-PR0701

PR1002 Payment of registration fee

St.27 status event code: A-2-2-U10-U11-oth-PR1002

Fee payment year number: 1

FPAY Annual fee payment

Payment date: 20000120

Year of fee payment: 4

PR1001 Payment of annual fee

St.27 status event code: A-4-4-U10-U11-oth-PR1001

Fee payment year number: 4

LAPS Lapse due to unpaid annual fee
PC1903 Unpaid annual fee

St.27 status event code: A-4-4-U10-U13-oth-PC1903

Not in force date: 20010809

Payment event data comment text: Termination Category : DEFAULT_OF_REGISTRATION_FEE

PC1903 Unpaid annual fee

St.27 status event code: N-4-6-H10-H13-oth-PC1903

Ip right cessation event data comment text: Termination Category : DEFAULT_OF_REGISTRATION_FEE

Not in force date: 20010809

PN2301 Change of applicant

St.27 status event code: A-5-5-R10-R13-asn-PN2301

St.27 status event code: A-5-5-R10-R11-asn-PN2301

P22-X000 Classification modified

St.27 status event code: A-4-4-P10-P22-nap-X000

P22-X000 Classification modified

St.27 status event code: A-4-4-P10-P22-nap-X000