JP7586857B2 - 血液の付着流のための装置 - Google Patents

血液の付着流のための装置 Download PDF

Info

Publication number
JP7586857B2
JP7586857B2 JP2022097391A JP2022097391A JP7586857B2 JP 7586857 B2 JP7586857 B2 JP 7586857B2 JP 2022097391 A JP2022097391 A JP 2022097391A JP 2022097391 A JP2022097391 A JP 2022097391A JP 7586857 B2 JP7586857 B2 JP 7586857B2
Authority
JP
Japan
Prior art keywords
blood
flow
container
housing
flow channel
Prior art date
Legal status (The legal status is an assumption and is not a legal conclusion. Google has not performed a legal analysis and makes no representation as to the accuracy of the status listed.)
Active
Application number
JP2022097391A
Other languages
English (en)
Other versions
JP2022130497A (ja
Inventor
ケー.ボッカ スリニヴァサ ラオ キショア
キム ジャヨン
イヴォセビッチ ミラン
Current Assignee (The listed assignees may be inaccurate. Google has not performed a legal analysis and makes no representation or warranty as to the accuracy of the list.)
Becton Dickinson and Co
Original Assignee
Becton Dickinson and Co
Priority date (The priority date is an assumption and is not a legal conclusion. Google has not performed a legal analysis and makes no representation as to the accuracy of the date listed.)
Filing date
Publication date
Application filed by Becton Dickinson and Co filed Critical Becton Dickinson and Co
Publication of JP2022130497A publication Critical patent/JP2022130497A/ja
Priority to JP2023193039A priority Critical patent/JP7620069B2/ja
Application granted granted Critical
Publication of JP7586857B2 publication Critical patent/JP7586857B2/ja
Priority to JP2025003692A priority patent/JP7793082B2/ja
Active legal-status Critical Current
Anticipated expiration legal-status Critical

Links

Images

Classifications

    • AHUMAN NECESSITIES
    • A61MEDICAL OR VETERINARY SCIENCE; HYGIENE
    • A61BDIAGNOSIS; SURGERY; IDENTIFICATION
    • A61B5/00Measuring for diagnostic purposes; Identification of persons
    • A61B5/15Devices for taking samples of blood
    • A61B5/151Devices specially adapted for taking samples of capillary blood, e.g. by lancets, needles or blades
    • AHUMAN NECESSITIES
    • A61MEDICAL OR VETERINARY SCIENCE; HYGIENE
    • A61BDIAGNOSIS; SURGERY; IDENTIFICATION
    • A61B5/00Measuring for diagnostic purposes; Identification of persons
    • A61B5/15Devices for taking samples of blood
    • A61B5/150007Details
    • A61B5/150015Source of blood
    • A61B5/150022Source of blood for capillary blood or interstitial fluid
    • AHUMAN NECESSITIES
    • A61MEDICAL OR VETERINARY SCIENCE; HYGIENE
    • A61BDIAGNOSIS; SURGERY; IDENTIFICATION
    • A61B5/00Measuring for diagnostic purposes; Identification of persons
    • A61B5/15Devices for taking samples of blood
    • A61B5/150007Details
    • A61B5/150053Details for enhanced collection of blood or interstitial fluid at the sample site, e.g. by applying compression, heat, vibration, ultrasound, suction or vacuum to tissue; for reduction of pain or discomfort; Skin piercing elements, e.g. blades, needles, lancets or canulas, with adjustable piercing speed
    • A61B5/150061Means for enhancing collection
    • A61B5/150068Means for enhancing collection by tissue compression, e.g. with specially designed surface of device contacting the skin area to be pierced
    • AHUMAN NECESSITIES
    • A61MEDICAL OR VETERINARY SCIENCE; HYGIENE
    • A61BDIAGNOSIS; SURGERY; IDENTIFICATION
    • A61B5/00Measuring for diagnostic purposes; Identification of persons
    • A61B5/15Devices for taking samples of blood
    • A61B5/150007Details
    • A61B5/150053Details for enhanced collection of blood or interstitial fluid at the sample site, e.g. by applying compression, heat, vibration, ultrasound, suction or vacuum to tissue; for reduction of pain or discomfort; Skin piercing elements, e.g. blades, needles, lancets or canulas, with adjustable piercing speed
    • A61B5/150106Means for reducing pain or discomfort applied before puncturing; desensitising the skin at the location where body is to be pierced
    • AHUMAN NECESSITIES
    • A61MEDICAL OR VETERINARY SCIENCE; HYGIENE
    • A61BDIAGNOSIS; SURGERY; IDENTIFICATION
    • A61B5/00Measuring for diagnostic purposes; Identification of persons
    • A61B5/15Devices for taking samples of blood
    • A61B5/150007Details
    • A61B5/150206Construction or design features not otherwise provided for; manufacturing or production; packages; sterilisation of piercing element, piercing device or sampling device
    • A61B5/150251Collection chamber divided into at least two compartments, e.g. for division of samples
    • AHUMAN NECESSITIES
    • A61MEDICAL OR VETERINARY SCIENCE; HYGIENE
    • A61BDIAGNOSIS; SURGERY; IDENTIFICATION
    • A61B5/00Measuring for diagnostic purposes; Identification of persons
    • A61B5/15Devices for taking samples of blood
    • A61B5/150007Details
    • A61B5/150206Construction or design features not otherwise provided for; manufacturing or production; packages; sterilisation of piercing element, piercing device or sampling device
    • A61B5/150259Improved gripping, e.g. with high friction pattern or projections on the housing surface or an ergonometric shape
    • AHUMAN NECESSITIES
    • A61MEDICAL OR VETERINARY SCIENCE; HYGIENE
    • A61BDIAGNOSIS; SURGERY; IDENTIFICATION
    • A61B5/00Measuring for diagnostic purposes; Identification of persons
    • A61B5/15Devices for taking samples of blood
    • A61B5/150007Details
    • A61B5/150206Construction or design features not otherwise provided for; manufacturing or production; packages; sterilisation of piercing element, piercing device or sampling device
    • A61B5/150267Modular design or construction, i.e. subunits are assembled separately before being joined together or the device comprises interchangeable or detachable modules
    • AHUMAN NECESSITIES
    • A61MEDICAL OR VETERINARY SCIENCE; HYGIENE
    • A61BDIAGNOSIS; SURGERY; IDENTIFICATION
    • A61B5/00Measuring for diagnostic purposes; Identification of persons
    • A61B5/15Devices for taking samples of blood
    • A61B5/150007Details
    • A61B5/150343Collection vessels for collecting blood samples from the skin surface, e.g. test tubes, cuvettes
    • AHUMAN NECESSITIES
    • A61MEDICAL OR VETERINARY SCIENCE; HYGIENE
    • A61BDIAGNOSIS; SURGERY; IDENTIFICATION
    • A61B5/00Measuring for diagnostic purposes; Identification of persons
    • A61B5/15Devices for taking samples of blood
    • A61B5/150007Details
    • A61B5/150374Details of piercing elements or protective means for preventing accidental injuries by such piercing elements
    • A61B5/150381Design of piercing elements
    • A61B5/150389Hollow piercing elements, e.g. canulas, needles, for piercing the skin
    • AHUMAN NECESSITIES
    • A61MEDICAL OR VETERINARY SCIENCE; HYGIENE
    • A61BDIAGNOSIS; SURGERY; IDENTIFICATION
    • A61B5/00Measuring for diagnostic purposes; Identification of persons
    • A61B5/15Devices for taking samples of blood
    • A61B5/150007Details
    • A61B5/150374Details of piercing elements or protective means for preventing accidental injuries by such piercing elements
    • A61B5/150381Design of piercing elements
    • A61B5/150389Hollow piercing elements, e.g. canulas, needles, for piercing the skin
    • A61B5/150396Specific tip design, e.g. for improved penetration characteristics
    • AHUMAN NECESSITIES
    • A61MEDICAL OR VETERINARY SCIENCE; HYGIENE
    • A61BDIAGNOSIS; SURGERY; IDENTIFICATION
    • A61B5/00Measuring for diagnostic purposes; Identification of persons
    • A61B5/15Devices for taking samples of blood
    • A61B5/150007Details
    • A61B5/150374Details of piercing elements or protective means for preventing accidental injuries by such piercing elements
    • A61B5/150381Design of piercing elements
    • A61B5/150389Hollow piercing elements, e.g. canulas, needles, for piercing the skin
    • A61B5/150404Specific design of proximal end
    • AHUMAN NECESSITIES
    • A61MEDICAL OR VETERINARY SCIENCE; HYGIENE
    • A61BDIAGNOSIS; SURGERY; IDENTIFICATION
    • A61B5/00Measuring for diagnostic purposes; Identification of persons
    • A61B5/15Devices for taking samples of blood
    • A61B5/150007Details
    • A61B5/150374Details of piercing elements or protective means for preventing accidental injuries by such piercing elements
    • A61B5/150381Design of piercing elements
    • A61B5/150442Blade-like piercing elements, e.g. blades, cutters, knives, for cutting the skin
    • A61B5/15045Blade-like piercing elements, e.g. blades, cutters, knives, for cutting the skin comprising means for capillary action
    • AHUMAN NECESSITIES
    • A61MEDICAL OR VETERINARY SCIENCE; HYGIENE
    • A61BDIAGNOSIS; SURGERY; IDENTIFICATION
    • A61B5/00Measuring for diagnostic purposes; Identification of persons
    • A61B5/15Devices for taking samples of blood
    • A61B5/150007Details
    • A61B5/150374Details of piercing elements or protective means for preventing accidental injuries by such piercing elements
    • A61B5/150381Design of piercing elements
    • A61B5/150442Blade-like piercing elements, e.g. blades, cutters, knives, for cutting the skin
    • A61B5/150458Specific blade design, e.g. for improved cutting and penetration characteristics
    • AHUMAN NECESSITIES
    • A61MEDICAL OR VETERINARY SCIENCE; HYGIENE
    • A61BDIAGNOSIS; SURGERY; IDENTIFICATION
    • A61B5/00Measuring for diagnostic purposes; Identification of persons
    • A61B5/15Devices for taking samples of blood
    • A61B5/150007Details
    • A61B5/150748Having means for aiding positioning of the piercing device at a location where the body is to be pierced
    • AHUMAN NECESSITIES
    • A61MEDICAL OR VETERINARY SCIENCE; HYGIENE
    • A61BDIAGNOSIS; SURGERY; IDENTIFICATION
    • A61B5/00Measuring for diagnostic purposes; Identification of persons
    • A61B5/15Devices for taking samples of blood
    • A61B5/150007Details
    • A61B5/150755Blood sample preparation for further analysis, e.g. by separating blood components or by mixing
    • AHUMAN NECESSITIES
    • A61MEDICAL OR VETERINARY SCIENCE; HYGIENE
    • A61BDIAGNOSIS; SURGERY; IDENTIFICATION
    • A61B5/00Measuring for diagnostic purposes; Identification of persons
    • A61B5/15Devices for taking samples of blood
    • A61B5/151Devices specially adapted for taking samples of capillary blood, e.g. by lancets, needles or blades
    • A61B5/15101Details
    • A61B5/15103Piercing procedure
    • A61B5/15105Purely manual piercing, i.e. the user pierces the skin without the assistance of any driving means or driving devices
    • AHUMAN NECESSITIES
    • A61MEDICAL OR VETERINARY SCIENCE; HYGIENE
    • A61BDIAGNOSIS; SURGERY; IDENTIFICATION
    • A61B5/00Measuring for diagnostic purposes; Identification of persons
    • A61B5/15Devices for taking samples of blood
    • A61B5/151Devices specially adapted for taking samples of capillary blood, e.g. by lancets, needles or blades
    • A61B5/15142Devices intended for single use, i.e. disposable

Landscapes

  • Health & Medical Sciences (AREA)
  • Life Sciences & Earth Sciences (AREA)
  • Engineering & Computer Science (AREA)
  • Animal Behavior & Ethology (AREA)
  • Public Health (AREA)
  • Pathology (AREA)
  • Physics & Mathematics (AREA)
  • Biomedical Technology (AREA)
  • Heart & Thoracic Surgery (AREA)
  • Medical Informatics (AREA)
  • Molecular Biology (AREA)
  • Surgery (AREA)
  • Hematology (AREA)
  • General Health & Medical Sciences (AREA)
  • Biophysics (AREA)
  • Veterinary Medicine (AREA)
  • Dermatology (AREA)
  • Manufacturing & Machinery (AREA)
  • Pain & Pain Management (AREA)
  • Vascular Medicine (AREA)
  • Measurement Of The Respiration, Hearing Ability, Form, And Blood Characteristics Of Living Organisms (AREA)
  • Investigating Or Analysing Biological Materials (AREA)
  • External Artificial Organs (AREA)
  • Sampling And Sample Adjustment (AREA)

Description

本開示は、一般に、生体体液と共に使用するように適合された装置に関する。より詳細には、本開示は、血液の流れを制御するための装置に関する。
関連出願の相互参照
本出願は、「Finger-Based Capillary Blood Collection Device」と題された、2016年8月24日出願の米国特許仮出願第62/378,971号明細書の優先権を主張するものであり、その開示の全体が、参照によって本明細書に組み込まれる。
血液採取は、患者から血液の少なくとも液滴を引き出すことを伴う一般的な健康管理処置である。血液試料は、一般に、指腹での採血、かかとでの採血、または静脈穿刺によって、入院中の患者、在宅医療の患者、および救急処置室の患者から採取される。血液試料は、収集された後、たとえば、化学的組成物、血液学、または凝固を含む、医療的に有用な情報を得るために分析され得る。血液検査は、疾患、ミネラル含有量、薬物効果性、および器官機能などの、患者の生理学的および生化学的状態を決定する。血液検査は、臨床検査室、または患者近くのポイントオブケアにおいて実行され得る。
ランセット装置は、患者の皮膚を穿刺して、患者から毛細管血の少量の試料を得るために、医療分野において使用される。糖尿病などの特定の疾患は、患者の血液を定期的に検査して、たとえば患者の血糖値について監視することを必要とする。追加的に、コレステロール検査キットなどの検査キットも、分析のために少量の血液試料をしばしば必要とする。採血処置は、通常、血液試料を得るために指または他の適切な体の部分をちくりと刺すことを伴う。一般的には、そのような検査に必要とされる血液の量は、比較的に少量であり、通常は小さい穿刺傷または切開だけでこれらの検査に十分な血液量を提供する。
ランセット装置を使用して患者の皮膚を穿刺すると、血液は指の表面上に広がり、留まることになる。
本開示は、容器内に血液の流れを方向付け、収集部位から収集容器までの血流を確実にする制御された血流路を提供する、収集装置を提供する。
本開示の血液の付着流のための装置は、3つの重要な技術的要素を使用して血液の流れを所望の方法で制御することによってこれを達成する。第1に、血液試料を、患者の皮膚表面から第1の流れ方向付け付着部分を介して収集ハウジングまで制御し、案内する。第2に、血液試料を、収集ハウジングの第1の端部から毛細管移送によって収集ハウジングの第2の端部まで制御し、案内する。第3に、血液試料を、収集ハウジングの第2の端部から第2の流れ方向付け付着部分を介して収集容器の収集空洞内まで制御し、案内する。ハウジングの第1の端部が血液源と連通した状態で、第1の流れ方向付け付着部分、流れチャネル、第2の流れ方向付け付着部分、および容器の内壁面は、付着部分を提供して、血液の最初の液滴およびその後の血液がハウジングの第1の端部から容器の収集空洞までたどるための付着血流を確立する。
本発明の実施形態によると、血液の付着流のための装置は、中心線を画定し、第1の端部と、第2の端部と、入口および出口を有する流れチャネルとを有するハウジングであって、流れチャネルの一部分は、ハウジングの中心線からずらされ、流れチャネルは、入口に隣接する第1の流れ方向付け付着部分と、出口に隣接する第2の流れ方向付け付着部分とを有する、ハウジングと、ハウジングに取り外し可能に連結可能な容器であって、収集空洞を画定し、内壁を有する容器とを備え、容器がハウジングに連結された状態で、流れチャネルの出口は、容器の収集空洞と流体連通しており、流れチャネルの出口は、容器の内壁に隣接している。
1つの構成では、第1の流れ方向付け付着部分は、皮膚表面からハウジングの一部分までの血液の流れを制御するために血液が付着するための第1の流体付着点を提供する。別の構成では、第2の流れ方向付け付着部分は、ハウジングの一部分から容器の収集空洞までの血液の流れを制御するために血液が付着するための第2の流体付着点を提供する。さらに別の構成では、ハウジングの第1の端部が血液源と連通した状態で、第1の流れ方向付け付着部分、流れチャネル、第2の流れ方向付け付着部分、および容器の内壁は、付着部分を提供して、血液の最初の液滴およびその後の血液がハウジングの第1の端部から容器の収集空洞までたどるための付着血流を確立する。1つの構成では、流れチャネルの入口が血液源と連通した状態で、血液は、第1の流れ方向付け付着部分に流動しながら付着し、第1の流れ方向付け付着部分から流れチャネルまで流れる。別の構成では、血液は、その後、毛細管現象によって流れチャネルを通って第2の流れ方向付け付着部分まで引っ張られる。さらに別の構成では、血液は、第2の流れ方向付け付着部分および容器の内壁に流動しながら付着して流れチャネルから容器の収集空洞内に流れる。1つの構成では、ハウジングの第1の端部は、傾斜した壁面を含み、第1の流れ方向付け付着部分は、傾斜した壁面から延び、傾斜した壁面は、流れチャネル入口を画定する。別の構成では、第1の流れ方向付け付着部分は、付着柱である。さらに別の構成では、第1の流れ方向付け付着部分は、複数の付着柱を備える。1つの構成では、第2の流れ方向付け付着部分は、付着リップである。別の構成では、第2の流れ方向付け付着部分は、延長された毛細管部分である。さらに別の構成では、第2の流れ方向付け付着部分は、内向きに湾曲したリップである。1つの構成では、第2の流れ方向付け付着部分は、平坦な切断リップである。別の構成では、第2の流れ方向付け付着部分は、延長された柱構造体である。さらに別の構成では、流れチャネルの出口は、ハウジングの第2の端部を超えて延びている。
本発明の別の実施形態によれば、血液の付着流のための装置は、中心線を画定し、第1の端部と、第2の端部と、中空針と、入口および出口を有する流れチャネルとを有するハウジングであって、流れチャネルの一部分は、ハウジングの中心線からずらされ、流れチャネルは、出口に隣接する流れ方向付け付着部分を有し、中空針は、ハウジングの第1の端部と流れチャネルとの間にある、ハウジングと、ハウジングに取り外し可能に連結可能である容器であって、収集空洞を画定し、内壁を有する容器とを含み、容器がハウジングに連結された状態で、流れチャネルの出口は、容器の収集空洞と流体連通しており、流れチャネルの出口は、容器の内壁に隣接している。
1つの構成では、流れ方向付け付着部分は、ハウジングの一部分から容器の収集空洞までの血液の流れを制御するために血液が付着するための流体付着点を提供する。別の構成では、ハウジングの第1の端部が血液源と連通した状態で、中空針、流れチャネル、流れ方向付け付着部分、および容器の内壁は、付着部分を提供して、血液の最初の液滴およびその後の血液がハウジングの第1の端部から容器の収集空洞までたどるための付着血流を確立する。さらに別の構成では、流れチャネルの入口が血液源と連通した状態で、血液は、中空針の一部分に流動しながら付着し、中空針を通って流れチャネルに流れる。1つの構成では、血液は、その後、毛細管現象によって流れチャネルを通って流れ方向付け付着部分まで引っ張られる。別の構成では、血液は、流れ方向付け付着部分および容器の内壁に流動しながら付着して、流れチャネルから容器の収集空洞内に流れる。さらに別の構成では、ハウジングは、傾斜した壁面を中空針と流れチャネルとの間に含み、傾斜した壁面は、流れチャネル入口を画定する。1つの構成では、流れ方向付け付着部分は、付着リップである。別の構成では、流れ方向付け付着部分は、延長された毛細管部分である。さらに別の構成では、流れ方向付け付着部分は、内向きに湾曲したリップである。1つの構成では、流れ方向付け付着部分は、平坦な切断リップである。別の構成では、流れ方向付け付着部分は、延長された柱構造体である。さらに別の構成では、流れチャネルの出口は、ハウジングの第2の端部を超えて延びている。1つの構成では、装置は、中空針の周りに流れ方向付けリングをさらに含む。別の構成では、中空針は、ランシングブレードを含む。さらに別の構成では、ハウジングの第1の端部が血液源と連通した状態で、血液の最初の液滴は、ランシングブレードに付着し、中空針を通って流れチャネルに流れる。
添付の図面と併用して本開示の実施形態の以下の説明を参照することにより、本開示の上記で述べたおよびその他の特徴および利点、ならびにこれらに付随する方法は、より明白になり、本開示自体がより良好に理解されるであろう。
本発明の実施形態による、血液の付着流のための装置の断面図である。 本発明の実施形態による、指が係合した図1の装置の図である。 本発明の実施形態による、血液の付着流のための装置の第1の流れ方向付け付着部分の斜視図である。 本発明の別の実施形態による、血液の付着流のための装置の第1の流れ方向付け付着部分の斜視図である。 本発明の別の実施形態による、血液の付着流のための装置の第1の流れ方向付け付着部分の斜視図である。 本発明の別の実施形態による、血液の付着流のための装置の第1の流れ方向付け付着部分の斜視図である。 本発明の実施形態による、血液の付着流のための装置の第2の流れ方向付け付着部分の斜視図である。 本発明の実施形態による、血液の付着流ならびに第2の流れ方向付け付着部分および容器の内壁の斜視図である。 本発明の別の実施形態による、血液の付着流のための装置の第2の流れ方向付け付着部分の斜視図である。 本発明の別の実施形態による、血液の付着流ならびに第2の流れ方向付け付着部分および容器の内壁の斜視図である。 本発明の別の実施形態による、血液の付着流のための装置の第2の流れ方向付け付着部分の斜視図である。 本発明の別の実施形態による、血液の付着流ならびに第2の流れ方向付け付着部分および容器の内壁の斜視図である。 本発明の別の実施形態による、血液の付着流のための装置の第2の流れ方向付け付着部分の斜視図である。 本発明の別の実施形態による、血液の付着流ならびに第2の流れ方向付け付着部分および容器の内壁の斜視図である。 本発明の別の実施形態による、血液の付着流のための装置の断面図である。 本発明の別の実施形態による、図11のセクション12に沿って切り取られた連続気泡発泡体材料の拡大図である。 本発明の実施形態による、試料安定剤を有する容器の斜視図である。 本発明の別の実施形態による、試料安定剤を有する容器の斜視図である。 本発明の別の実施形態による、試料安定剤を有する容器の斜視図である。 本発明の別の実施形態による、試料安定剤を有する容器の斜視図である。 本発明の別の実施形態による、指が係合した、血液の付着流のための装置の断面図である。 本発明の実施形態による、血液の付着流のための装置の中空針の斜視図である。 本発明の別の実施形態による、血液の付着流のための装置の中空針の斜視図である。 本発明の別の実施形態による、血液の付着流のための装置の中空針の斜視図である。 本発明の別の実施形態による、血液の付着流のための装置の中空針の斜視図である。 本発明の別の実施形態による、血液の付着流のための装置の中空針の斜視図である。 本発明の別の実施形態による、血液の付着流のための装置の中空針の斜視図である。 本発明の別の実施形態による、血液の付着流のための装置の中空針の斜視図である。 本発明の実施形態による、容器がハウジングに連結されている、血液の付着流のための装置の容器の斜視図である。 本発明の実施形態による、容器がハウジングから取り外されて第1の位置にある、血液の付着流のための装置の容器の斜視図である。 本発明の実施形態による、容器がハウジングから取り外されて第2の位置にある、血液の付着流のための装置の容器の斜視図である。 本発明の別の実施形態による、容器がハウジングに連結されている、血液の付着流のための装置の容器の斜視図である。 本発明の別の実施形態による、容器がハウジングから取り外されている、血液の付着流のための装置の容器の斜視図である。 本発明の別の実施形態による、容器がハウジングに連結されている、血液の付着流のための装置の容器の斜視図である。 本発明の別の実施形態による、容器がハウジングから取り外されて第1の位置にある、血液の付着流のための装置の容器の斜視図である。 本発明の別の実施形態による、容器がハウジングから取り外されて第2の位置にある、血液の付着流のための装置の容器の斜視図である。 本発明の別の実施形態による、容器がハウジングに連結されている、血液の付着流のための装置の容器の斜視図である。 本発明の別の実施形態による、容器がハウジングから取り外されている、血液の付着流のための装置の容器の斜視図である。
対応する参照符号は、複数の図を通じて対応する部分を示す。本明細書に掲載する例証は、本開示の例示的な実施形態を示し、そのような例証は、本開示の範囲をいかなる形においても限定するものとして解釈されるものではない。
以下の説明は、本発明を実施するように企図された、説明する実施形態を当業者が作り出し、使用することを可能にするために提供される。しかし、さまざまな改変形態、等価物、変形形態、および代替策が、依然として当業者に容易に明白になるであろう。あらゆるすべてのそのような改変形態、変形形態、等価物、および代替策は、本発明の趣旨および範囲に含まれるように意図される。
本明細書のこれ以後の説明のために、用語「上側」、「下側」、「右」、「左」、「垂直」、「水平」、「上部」、「底部」、「横方向」、「長手方向」、およびそれらの派生語は、これが図に配向されるように本発明に関連付ける。しかし、そうではないと明白に指定しない限り、本発明は代替的な変形形態およびステップ順序をとり得ることを理解されたい。また、添付の図に示し、以下の明細書において説明する特有の装置およびプロセスは、本発明の例示的な実施形態にすぎないことも理解されたい。故に、本明細書において開示する実施形態に関連付けられた特有の寸法および他の物理的特性は、限定的であると考えられるものではない。
本開示の血液の付着流のための装置10は、収集部位から収集容器までの付着血流を確実にする、制御された血流路を提供する。本開示の血液の付着流のための装置10は、3つの重要な技術的要素を使用して血液の流れを所望の方法で制御することによってこれを達成する。第1に、血液試料を、患者の皮膚表面から第1の流れ方向付け付着部分を介して収集ハウジングまで制御し、案内する。第2に、血液試料を、収集ハウジングの第1の端部から毛細管移送によって収集ハウジングの第2の端部まで制御し、案内する。第3に、血液試料を、収集ハウジングの第2の端部から第2の流れ方向付け付着部分を介して収集容器の収集空洞内まで制御し、案内する。
図1~10Bは、本開示の血液の付着流のための装置の例示的な実施形態を示す。図1から10Bを参照すれば、本開示の血液の付着流のための装置10は、収集部位から収集容器までの付着血流を確実にする、制御された血流路を提供する。
一般的なランセット装置を使用して患者の皮膚を穿刺すると、血液は指の表面上に広がり留まる。血液および血液の流れを制御しない場合、血液は指の表面上に留まることがあり、収集容器まで容易に流れないことがある。
図1~10Bを参照すれば、1つの例示的な実施形態では、血液の付着流のための装置10、すなわち血液試料の流れを収集部位から収集容器まで案内し、制御するために血液試料が付着するための流れ方向付け付着部分を提供する装置は、通常、ハウジング12と、ハウジング12に取り外し可能に連結可能である収集容器14とを含む。容器14は、収集空洞70を画定し、内壁または内壁面72を含む。
図1~10Bを参照すれば、ハウジング12は、中心線CLを画定し、第1の端部20と、第2の端部22と、流れチャネル24とを含む。流れチャネル24は、入口26および出口28を含む。流れチャネル24の一部分、たとえば中央部分30は、ハウジング12の中心線CLからずらされる。これにより、流れチャネル24の出口28が容器14の内壁面72に隣接することが確実にされ、これは以下でより詳細に説明される。流れチャネル24はまた、入口26に第1の流れ方向付け付着部分32と、出口28に第2の流れ方向付け付着部分34とを含む。1つの実施形態では、流れチャネル24の出口28は、図1および2に示すようにハウジング12の第2の端部22を超えて延びている。
図1および2を参照すれば、容器14がハウジング12に連結された状態で、流れチャネル24の出口28は、容器14の収集空洞70と流体連通しており、流れチャネル24の出口28は、容器14の内壁面72に隣接している。
1つの実施形態では、ハウジング12の第1の端部20は、傾斜した壁面36を含む。このようにして、傾斜した壁面36は、第1の流れ方向付け付着部分32が上向きにそこから延びることを可能にする物理的構造、すなわち壁面を提供する。たとえば、図1を参照すれば、第1の流れ方向付け付着部分32は、傾斜した壁面36からハウジング12の入口26まで上向きに延びる。1つの実施形態では、傾斜した壁面38は、流れチャネル入口38を画定する。
本開示の血液の付着流のための装置10は、収集部位から収集容器までの付着血流を確実にする、制御された血流路を提供する。本開示の血液の付着流のための装置10は、3つの重要な技術的要素を使用して血液の流れを所望の方法で制御することによってこれを達成する。第1に、血液試料を、患者の皮膚表面から第1の流れ方向付け付着部分を介して収集ハウジングまで制御し、案内する。第2に、血液試料を、収集ハウジングの第1の端部から毛細管移送によって収集ハウジングの第2の端部まで制御し、案内する。第3に、血液試料を、収集ハウジングの第2の端部から第2の流れ方向付け付着部分を介して収集容器の収集空洞内まで制御し、案内する。
たとえば、図2を参照すれば、ハウジング12の第1の端部20が血液源16と連通した状態で、第1の流れ方向付け付着部分32、流れチャネル24、第2の流れ方向付け付着部分34、および容器14の内壁面72は、付着部分を提供して、血液16の最初の液滴およびその後の血液16がハウジング12の第1の端部20から容器14の収集空洞70までたどるための付着血流を確立する。
第1の重要な血流路要素40は、血液16の最初の液滴を収集容器14に向かう方向に指Fの表面Sから離れるように方向付けることを伴う。1つの実施形態では、ハウジング12の第1の端部20が血液源16と連通した状態で、第1の流れ方向付け付着部分32は、柱を提供し、この柱に、血液16の最初の液滴が、制御された方法で、付着し、流下してハウジング12の流れチャネル24に入る。換言すれば、血液16の最初の液滴は、第1の流れ方向付け付着部分32に付着し、第1の流れ方向付け付着部分32から流れチャネル24に流れる。
1つの実施形態では、傾斜した壁面36は、第1の流れ方向付け付着部分32からハウジング12の流れチャネル24までの下向きの付着流路を提供する。血液16の最初の液滴が第1の流れ方向付け付着部分32に付着し、流下した後、その後の血液16は、血液16の最初の液滴の付着血流路をハウジング12の第1の端部20から容器14の収集空洞70までたどる。
第2の重要な血流路要素42は、血液16を、収集容器14に向かう方向に第2の流れ方向付け付着部分34まで流れチャネル24を下降するように方向付けることを伴う。たとえば、血液16の最初の液滴およびその後の血液16は、毛細管作用によって流れチャネル24を通って第2の流れ方向付け付着部分34まで引っ張られる。1つの実施形態では、流れチャネル24は、毛細管流れチャネルである。1つの実施形態では、流れチャネル24は、毛細管力を使用して、血液16を指Fの表面Sから離れるように引っ張って流れチャネル24を下降させる毛細管である。
第3の重要な血流路要素44は、血液16を流れチャネル24から収集容器14内に方向付けることを伴う。本開示の装置10により、付着流による流れチャネル24から容器14までの移行が確実になる。たとえば、血液16は、第2の流れ方向付け付着部分34および容器14の内壁面72に付着して、流れチャネル24から容器14の収集空洞70内に流れる。
血液16を流れチャネル24から収集容器14内に方向付けることを伴う第3の重要な血流路要素44は、流れチャネル24の一部分、たとえば中央部分30がハウジング12の中心線CLからずらされることが重要であるという理由のために存在する。これにより、流れチャネル24の出口28、および第2の流れ方向付け付着部分34は、容器14の内壁面72に隣接して、流れチャネル24から容器14までの付着血流の移行が確実にされる。
血液16が付着する別の部分が見つかれば、血液16は流れチャネル24を流下して出て容器14内に入るだけである。第2の流れ方向付け付着部分34および容器14の内壁面72は、そのような付着部分を提供して、血液16を付着血流によって容器14の収集空洞70まで制御する。
上記で説明したように、付着血流のこの経路が確立されると、その後の血液16はこの付着血流をたどり、これに沿って流れる。上記で説明した方法で、本開示の装置10は、血液16の最初の液滴およびその後の血液16がハウジング12の第1の端部20から容器14の収集空洞70までたどるための付着血流を確立する。
第1の流れ方向付け付着部分32は、図3~6に示すように多様な異なる設計および構造を含むことができる。第1の流れ方向付け付着部分32の追加の代替的な設計および構造が、企図される。たとえば、図3を参照すれば、1つの実施形態では、第1の流れ方向付け付着部分32は付着柱50である。付着柱50は、可変の直径および長さを有することができる単一の柱構造体である。柱50は、親水性表面特性を含んで、血液の最初の液滴を引き付け、第2の毛細管セクションまでの流路を確立することができる。1つの実施形態では、柱50は、0.25mmから4mmの間の直径と、2mmから20mmの間の長さを有することができる。
図4を参照すれば、別の実施形態では、第1の流れ方向付け付着部分32は、複数の付着柱52である。複数の付着柱52は、多様な異なる数の柱を含む異なるサイズおよび構造体を有する柱を含むことができる。1つの構成では、複数の付着柱52は、血液の最初の液滴が、構造体の側部を汚すことなく、または望ましくない場所にたまることなく流路を確立するために複数の表面を提供する。複数の柱52はまた、個々の柱構造体間に作りだされた複数の毛細管セクションによって追加の毛細管現象を提供することもできる。1つの構成では、複数の付着柱52は、2本から10本の間の付着柱、たとえば5本から10本の間の付着柱を含むことができる。1つの実施形態では、各柱は、0.25mmから4mmの間の直径と、2mmから20mmの間の長さとを有することができる。
図5を参照すれば、別の実施形態では、第1の流れ方向付け付着部分32は、突起構造体54である。突起構造体54は、血液の付着流を案内し、異なる形状、サイズ、および構造体を含むことができる。この構成では、傾いた構造体は、血液の最初の液滴が付着し、第2の毛細管セクションまで案内されるための親水性表面を提供する。任意選択により、傾いた構造体の厚さは、約0.25から約5mmであってよい。
図6を参照すれば、別の実施形態では、第1の流れ方向付け付着部分32は、毛細管溝部分56である。毛細管溝部分56は、血液の付着流を案内し、異なる形状、サイズ、および数の溝を含むことができる。この構成では、溝を有する柱構造体は、溝内の表面が増大することによって毛細管力をより大きくすることを助け、それによって指から吸い取られる血液の最初の液滴を、第2の毛細管チャネルまで移送するための毛細管チャネルとして作用する。1つの構成では、設けられた溝の数は、1個から20個の間であってよく、各溝の直径は、0.25mmから1mmの間であってよい。
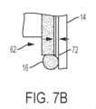
第2の流れ方向付け付着部分34は、図7A~10Bに示すように多様な異なる設計および構造体を含むことができる。第2の流れ方向付け付着部分34の追加の代替的な設計および構造体が、企図される。たとえば、図1および2を参照すれば、1つの実施形態では、第2の流れ方向付け付着部分34は、付着リップ60である。付着リップ60は、上記で説明したように容器14の収集空洞70内への付着血流を確立するように設計されたリップである。付着リップ60は、血液が膨張し、液滴を形成して収集空洞との付着を確立するための表面を提供する。
図7Aおよび7Bを参照すれば、別の実施形態では、第2の流れ方向付け付着部分34は、延長された毛細管部分62である。1つの構成では、延長された毛細管部分は、2mmから10mmの間で流れチャネル24を超えて延びることができる。延長された毛細管部分62は、収集容器の壁から1mm未満の距離だけ離間することができる。
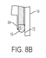
図8Aおよび8Bを参照すれば、別の実施形態では、第2の流れ方向付け付着部分34は、内向きに湾曲したリップ64である。内向きに湾曲したリップ構造体は、ハウジングの一部分から収集空洞の表面までの血液の付着を助ける。1つの構成では、内向きに湾曲したリップ構造体は、流れチャネル24を超えて約0.5から約10mm延びることができる。
図9Aおよび9Bを参照すれば、別の実施形態では、第2の流れ方向付け付着部分34は、平坦な切断リップ66である。平坦な切断リップ66もまた、血滴を形成し、収集空洞の表面との血液の付着を確立することを助ける。1つの構成では、平坦な切断リップは、約10°から約80°の角度を有することができる。
図10Aおよび10Bを参照すれば、別の実施形態では、第2の流れ方向付け付着部分34は、延長された柱構造体68である。1つの構成では、延長された柱構造体は、流れチャネル24を超えて約0.5mmから約10mmの距離だけ延びることができる。
図1、2、17、および25A~28Bを参照すれば、本開示の収集容器14の例示的な実施形態が示される。容器14の追加の代替的な設計および構造が、企図される。本開示の収集容器14は、ハウジング12に取り外し可能に連結可能である。容器14は、収集空洞70を画定し、内壁または内壁面72を含む。図1および図2を参照すれば、容器14がハウジング12に連結された状態で、流れチャネル24の出口28は容器14の収集空洞70と流体連通しており、流れチャネル24の出口28は容器14の内壁面72に隣接している。1つの構成では、流れチャネル24の内径は、約0.5mmから約2mmであってよい。
図25A~25Cを参照すれば、1つの実施形態では、容器14は、取り外し可能で連結可能なキャップ74と、繋ぎ要素76とを含む。そのような実施形態では、キャップ74は、容器14が図25Aに示したようにハウジング12に連結されたときに取り外される。繋ぎ要素76は、キャップ74が図25Bに示すように容器14の開放上端部78から連結解除された状態で、キャップ74が容器14の一部分に依然として固定されたままであることを確実にする。所望の量の血液16が容器14内に収集された後、容器14は、ハウジング12から取り外され、キャップ74は容器14に連結されて、図25Cに示すように血液16を保護するように容器14内に密封する。
図26B~26Bを参照すれば、1つの実施形態では、容器14は、再密封可能なセプタム80を含む。そのような実施形態では、容器14がハウジング12に連結された状態で、流れチャネル24の一部分は、セプタム80を穿孔し、それによって流れチャネル24は容器14の収集空洞70と流体連通する。所望の量の血液16が容器14内に収集された後、容器14はハウジング12から取り外され、セプタム80は、自動的に再密封して閉じられ密封位置になり、図26Bに示すように血液16を保護するように容器14内に密封する。
図27A~27Cを参照すれば、1つの実施形態では、容器14は、変形可能な投与部分82を含む。そのような実施形態では、容器14がハウジング12から取り外された状態で、血液16の一部分は、変形可能な部分82を動かすことによって容器14から投与され得る。たとえば、変形可能な部分82は、血液16が収集空洞70内に含まれる初期位置(図27A~27B)と、血液16の一部分が容器14の収集空洞70から排出される変形された位置(図27C)との間で移行可能である。変形可能な部分82は、圧迫されて初期位置(図27A~27B)から変形された位置(図27C)に移行する。このようにして、血液16は、医療施術者の血液試料への暴露を最小限に抑えながら、試料を分析するように意図された装置、たとえばポイントオブケア検査装置、カートリッジテスタ、または患者近くにおける検査装置などに移送され得る。1つの実施形態では、容器14はまた、端部キャップ84を含んで容器14の出口部分86を安全に密封する。ユーザが血液16の一部分を容器14から排出する準備ができたとき、端部キャップ84は、血液16を投与する前に、容器14の出口部分86から取り外される。
図28A~28Bを参照すれば、1つの実施形態では、容器14は、延長チューブ88を含む。延長チューブ88は、分析器および分析装置と適合可能である。
図17~24は、本開示の血液の付着流のための装置の別の例示的な実施形態を示す。図17~24を参照すれば、本開示の血液の付着流のための装置100は、収集部位から収集容器までの付着血流を確実にする、制御された血流路を提供する。
ランセット装置を使用して患者の皮膚を穿刺すると、血液は指の表面上に広がり、留まる。血液および血液の流れを制御しない場合、血液は指の表面上に留まり、収集容器まで流れない。
図17~24を参照すれば、1つの例示的な実施形態では、血液の付着流のための装置100は、通常、ハウジング112と、ハウジング112に取り外し可能に連結可能である収集容器14とを含む。容器14は、収集空洞70を画定し、内壁または内壁面72を含む。図1~10Bを参照して上記で説明した装置10と適合可能な同じ容器14は、図17~24を参照して説明した装置100と適合可能である。
図17を参照すれば、ハウジング112は、中心線CLを画定し、第1の端部120と、第2の端部122と、中空針123と、流れチャネル124とを含む。流れチャネル24は、入口126および出口128を含む。流れチャネル124の一部分、たとえば底部分130は、ハウジング112の中心線CLからずらされる。これにより、流れチャネル124の出口128が容器14の内壁面72に隣接することが確実にされ、これは以下でより詳細に説明される。流れチャネル124はまた、出口128に流れ方向付け付着部分134を含む。1つの実施形態では、流れチャネル124の出口128は、図17に示すようにハウジング112の第2の端部122を超えて延びている。1つの実施形態では、中空針123は、ハウジング112の第1の端部120と流れチャネル124との間にある。
図17~24に示す実施形態では、中空針123は、図1~10Bに示す装置10に関して上記で説明した第1の流れ方向付け付着部分32と同様に機能する。
図17を参照すれば、容器14がハウジング112に連結された状態で、流れチャネル124の出口128は容器14の収集空洞70と流体連通しており、流れチャネル124の出口128は容器14の内壁面72に隣接している。
ランセット装置を使用して患者の皮膚を穿刺すると、血液は指の表面上に広がり、留まる。血液および血液の流れを制御しない場合、血液は指の表面上に留まり、収集容器まで流れない。
本開示の血液の付着流のための装置100は、収集部位から収集容器までの付着血流を確実にする、制御された血流路を提供する。本開示の血液の付着流のための装置100は、3つの重要な技術的要素を使用して血液の流れを所望の方法で制御することによってこれを達成する。
たとえば、図17を参照すれば、ハウジング112の第1の端部120が血液源16と連通した状態で、中空針123、流れチャネル124、流れ方向付け付着部分134、および容器14の内壁面72は、付着部分を提供して、血液16の最初の液滴およびその後の血液16がハウジング112の第1の端部120から容器14の収集空洞70までたどるための付着血流を確立する。
第1の重要な血流路要素140は、血液16の最初の液滴を収集容器14に向かう方向に指Fの表面Sから離れるように方向付けることを伴う。1つの実施形態では、ハウジング112の第1の端部120が血液源16と連通した状態で、血液16の最初の液滴は、中空針123の一部分に付着し、図17に示すように制御された方法で中空針123を通って流れチャネル124に流れる。
このようにして、中空針123の一部分は、図1~10Bに示す装置10に関して上記で説明した第1の流れ方向付け付着部分32と同様に機能する付着部分を提供する。中空針123を含む本開示の装置100は、この中空針123を使用して指Fの皮膚表面Sを突いて血液源16を提供することもできるという点において利点を提供する。そのような実施形態では、別個のランセット装置は必要とされない。たとえば、1つの実施形態では、中空針123は、指Fの皮膚表面Sを突いて血液源16を提供するために使用することができるランシングブレード151を含むことができる。そのような実施形態では、ハウジング112の第1の端部120が血液源16と連通した状態で、血液16の最初の液滴、およびその後の血液16は、ランシングブレード151に付着し、中空針123を通って流れチャネル124に流れる。
血液16の最初の液滴が中空針123の一部分に付着し、中空針123を通って流れた後、その後の血液16は、血液16の最初の液滴の付着血流路をハウジング112の第1の端部120から容器14の収集空洞70までたどる。
第2の重要な血流路要素142は、毛細管作用によって流れ方向付け付着部分134まで流れチャネル124を通るように血液16を方向付けるか、または血液16を引っ張ることを伴う。1つの実施形態では、第2の重要な血流路要素142は、収集容器14に向かう方向に毛細管作用によって流れ方向付け付着部分134まで中空針123および流れチャネル124を通るように血液16を方向付けるか、または血液16を引っ張ることを伴う。たとえば、血液16の最初の液滴、およびその後の血液16は、毛細管作用によって流れチャネル124を通って流れ方向付け付着部分134まで引っ張られる。1つの実施形態では、流れチャネル124は、毛細管流れチャネルである。1つの実施形態では、流れチャネル124は、毛細管力を使用して、血液16を指Fの表面Sから離れるように引っ張って流れチャネル124を下降させる毛細管である。
1つの実施形態では、ハウジング112は、傾斜した壁面136を中空針123と流れチャネル124との間に含む。1つの実施形態では、傾斜した壁面138は、流れチャネル入口138を画定する。1つの実施形態では、傾斜した壁面136は、中空針123からハウジング112の流れチャネル124までの下向きの付着流路を提供する。
第3の重要な血流路要素144は、血液16を流れチャネル124から収集容器14内に方向付けることを伴う。本開示の装置100は、付着流による流れチャネル124から容器14までの移行を確実にする。たとえば、血液16は、流れ方向付け付着部分134および容器14の内壁面72に付着して、流れチャネル124から容器14の収集空洞70内に流れる。
血液16を流れチャネル124から収集容器14内に方向付けることを伴う第3の重要な血流路要素144は、流れチャネル124の一部分、たとえば底部分130が、ハウジング112の中心線CLからずらされることが重要であるという理由のために存在する。これにより、流れチャネル124の出口128および流れ方向付け付着部分134が、容器14の内壁面72に隣接して、流れチャネル124から容器14までの付着血流の移行を確実にすることが、確実となる。
血液16が付着する別の部分が見つかれば、血液16は流れチャネル124を流下して出て容器14内に入るだけである。流れ方向付け付着部分134および容器14の内壁面72は、そのような付着部分を提供して、血液16を付着血流によって容器14の収集空洞70まで制御する。
上記で説明したように、付着血流のこの経路が確立されると、その後の血液16は、この付着血流をたどり、これに沿って流れる。上記で説明した方法では、本開示の装置100は、血液16の最初の液滴およびその後の血液16がハウジング112の第1の端部120から容器14の収集空洞70までたどるための付着血流を確立する。
上記で論じたように、血液16の流れのための付着部分を提供する中空針123の一部分は、図1~10Bに示す装置10に関して上記で説明した第1の流れ方向付け付着部分32と同様に機能する。
中空針123は、図18~24に示すような多様な異なる設計および構造体を含むことができる。中空針123の追加の代替的な設計および構造体が、企図される。たとえば、図18および19を参照すれば、1つの実施形態では、中空針123は、ベベル切断された中空針を含む。1つの構成では、針のベベルは、3mmから6mmの間の長さであってよく、管腔内径は、0.25mmから4mmの間であってよい。
上記で論じたように、図20および21を参照すれば、1つの実施形態では、中空針123は、指Fの皮膚表面Sを突いて血液源16を提供するために使用することができるランシングブレード151を含むことができる。
図21を参照すれば、別の実施形態では、中空針123は、中空針123の周りに流れ方向付けリング155を含む。流れ方向付けリング155は、血液16が中空針123を流下することを防止し、血液16が中空針123を通って流れチャネル124に流れることを確実にする。図22~24は、中空針123の追加の代替的な設計および構造体を示す。針ベベルは、追加の第1の、流れが方向付けられた付着セクションとして、図3を参照して上記で説明した柱構造体部分32と同様に働く。
流れ方向付け付着部分134は、図7A~10Bに示すような多様な異なる設計および構造体を含むことができる。流れ方向付け付着部分134の追加の代替的な設計および構造体が、企図される。装置100の流れ方向付け付着部分134は、上記で説明し、図7A~10Bに示した装置10の第2の流れ方向付け付着部分34と同じ設計および構造体を含むことができる。
本開示の装置10、100の別の利点は、装置10、100が血液試料16内に試料安定剤200の分散された混合を実施できることである。図11および12を参照すれば、1つの実施形態では、試料安定剤200は、流れチャネル24、124の一部分内に配置され、それにより、血液試料16は、制御された付着血流を血液試料16が収集部位から本開示の収集容器までたどるときに、試料安定剤200を通過するようになる。このようにして、血液試料16は、装置10、100の一部分内に提供された、抗凝血剤または他の添加剤などの試料安定剤200と混合され得る。試料安定剤200は、抗凝血剤とすることができ、またはたとえば、RNA、タンパク質検体、または他の要素などの、血液内に特有の要素を保存するように設計された物質とすることができる。
図11および12を参照すれば、1つの実施形態では、試料安定剤200は、孔204と、材料202のこの孔204内にある乾燥抗凝血剤粉末206とを含む材料202を含む。このようにして、装置10、100は、流れチャネル24、124の一部分上またはその中に堆積された、ヘパリンまたはEDTAなどの乾燥抗凝血剤を含むことができる。1つの実施形態では、材料202は、連続気泡発泡体であり、連続気泡発泡体の気泡内に分散された乾燥抗凝血剤を含んで、流入混合および抗凝血剤の取り入れの効果を促進する。1つの実施形態では、試料安定剤200は、乾燥抗凝血剤粉末206である。
1つの実施形態では、連続気泡発泡体は、抗凝血剤によって処理されて、連続気泡発泡体の孔204にわたって細かく分散された乾燥抗凝血剤粉末206を形成することができる。血液試料16が流れチャネル24、124を通って流れるとき、血液試料16は、連続気泡発泡体を通過し、連続気泡発泡体の内部孔構造にわたって利用できる抗凝血剤粉末206に露出される。このようにして、血液試料16は、材料202または連続気泡発泡体を通過しながら、溶解し、乾燥抗凝血剤粉末206と混合する。
連続気泡発泡体は、たとえば、BASFから市販されているBasotect(登録商標)発泡体などのメラミン樹脂発泡体などの、血液に不活性である軟質の変形可能な連続気泡発泡体とすることができ、またはホルムアルデヒド-メラミン-重亜硫酸ナトリウムコポリマーからなることができる。連続気泡発泡体は、熱および有機溶剤に対して実質的に耐性を有する可撓性の親水性連続気泡発泡体であってもよい。1つの実施形態では、発泡体は、スポンジ材料を含むことができる。
抗凝血剤または他の添加剤は、発泡体を添加剤および水の液体溶液に浸し、その後水分を蒸発させて発泡体の内部構造にわたって細かく分散された乾燥添加剤粉末を形成することによって、連続気泡発泡体内に導入され得る。
図13~16は、容器14内に含まれる試料安定剤200の例示的な実施形態を示す。
たとえば、図13を参照すれば、1つの実施形態では、抗凝血剤凍結乾燥球210が容器14の収集空洞70内に提供される。血液16が本開示の付着流をたどって容器14内に入るとき、抗凝血剤凍結乾燥球210は、血液16と接触したときに血液16内に溶解する。
図14を参照すれば、別の実施形態では、試料安定剤200は、浮遊する抗凝血剤でコーティングされた連続気泡発泡体材料220を含む。図15を参照すれば、別の実施形態では、試料安定剤200は、浮遊する抗凝血剤でコーティングされた浮遊ボール230を含む。図16を参照すれば、別の実施形態では、容器14は、抗凝血剤でコーティングされた壁面240および混合ボール242を含む。
本開示を例示的な設計を有するものとして説明してきたが、本開示の趣旨および範囲内で本開示をさらに改変することができる。したがって、本出願は、その一般的原則を使用して本開示の任意の変形形態、使用、または適用を対象とするように意図される。さらに、本出願は、本開示が関係する当技術分野において知られているか、または慣習的な実践に含まれるような、かつ付属の特許請求の範囲の制限内に含まれる、本開示からのそのような逸脱を対象とするように意図される。

Claims (16)

  1. 血液の付着流のための装置であって、
    中心線を画定し、第1の端部と、第2の端部と、中空針と、入口および出口を有する流れチャネルとを有するハウジングであって、前記流れチャネルの一部分は、前記ハウジングの前記中心線からずらされ、前記流れチャネルは、前記出口に隣接する流れ方向付け付着部分を有し、前記中空針は、前記ハウジングの前記第1の端部と前記流れチャネルとの間にある、ハウジングと、
    前記ハウジングに取り外し可能に連結可能な容器であって、収集空洞を画定し、内壁を有する容器と
    を備え、
    前記容器が前記ハウジングに連結された状態で、前記流れチャネルの前記出口は、前記容器の前記収集空洞と流体連通しており、前記流れチャネルの前記出口は、前記容器の前記内壁に隣接しており、前記中空針は前記ハウジングの前記中心線に沿って設置される装置。
  2. 前記流れ方向付け付着部分は、前記ハウジングの一部分から前記容器の前記収集空洞までの血液の前記流れを制御するために血液が付着するための流体付着点を提供する請求項1に記載の装置。
  3. 前記ハウジングの前記第1の端部が血液源と連通した状態で、前記中空針、前記流れチャネル、前記流れ方向付け付着部分、および前記容器の前記内壁は、血液の最初の液滴およびその後の血液が前記ハウジングの前記第1の端部から前記容器の前記収集空洞までたどるための付着血流を確立するための付着部分を提供する請求項1に記載の装置。
  4. 前記流れチャネルの前記入口が血液源と連通した状態で、前記血液は、前記中空針の一部分に流動しながら付着し、前記中空針を通って前記流れチャネルに流れる請求項1に記載の装置。
  5. 前記血液は、毛細管現象によって前記流れチャネルを通って前記流れ方向付け付着部分まで引っ張られる請求項4に記載の装置。
  6. 前記血液は、前記流れ方向付け付着部分および前記容器の前記内壁に流動しながら付着し、前記流れチャネルから前記容器の前記収集空洞内に流れる請求項5に記載の装置。
  7. 前記ハウジングは、傾斜した壁面を前記中空針と前記流れチャネルとの間に含み、前記傾斜した壁面は、流れチャネル入口を画定する請求項1に記載の装置。
  8. 前記流れ方向付け付着部分は、付着リップである請求項1に記載の装置。
  9. 前記流れ方向付け付着部分は、延長された毛細管部分である請求項1に記載の装置。
  10. 前記流れ方向付け付着部分は、内向きに湾曲したリップである請求項1に記載の装置。
  11. 前記流れ方向付け付着部分は、平坦な切断リップである請求項1に記載の装置。
  12. 前記流れ方向付け付着部分は、延長された柱構造体である請求項1に記載の装置。
  13. 前記流れチャネルの前記出口は、前記ハウジングの前記第2の端部を超えて延びている請求項1に記載の装置。
  14. 前記中空針の周りに流れ方向付けリングをさらに備える請求項1に記載の装置。
  15. 前記中空針は、ランシングブレードを含む請求項1に記載の装置。
  16. 前記ハウジングの前記第1の端部が血液源と連通した状態で、血液の最初の液滴は、前記ランシングブレードに付着し、前記中空針を通って前記流れチャネルに流れる請求項15に記載の装置。
JP2022097391A 2016-08-24 2022-06-16 血液の付着流のための装置 Active JP7586857B2 (ja)

Priority Applications (2)

Application Number Priority Date Filing Date Title
JP2023193039A JP7620069B2 (ja) 2016-08-24 2023-11-13 血液の付着流のための装置
JP2025003692A JP7793082B2 (ja) 2016-08-24 2025-01-09 血液の付着流のための装置

Applications Claiming Priority (4)

Application Number Priority Date Filing Date Title
US201662378971P 2016-08-24 2016-08-24
US62/378,971 2016-08-24
JP2019511425A JP7092747B2 (ja) 2016-08-24 2017-08-23 血液の付着流のための装置
PCT/US2017/048147 WO2018039307A1 (en) 2016-08-24 2017-08-23 A device for the attached flow of blood

Related Parent Applications (1)

Application Number Title Priority Date Filing Date
JP2019511425A Division JP7092747B2 (ja) 2016-08-24 2017-08-23 血液の付着流のための装置

Related Child Applications (1)

Application Number Title Priority Date Filing Date
JP2023193039A Division JP7620069B2 (ja) 2016-08-24 2023-11-13 血液の付着流のための装置

Publications (2)

Publication Number Publication Date
JP2022130497A JP2022130497A (ja) 2022-09-06
JP7586857B2 true JP7586857B2 (ja) 2024-11-19

Family

ID=59746370

Family Applications (7)

Application Number Title Priority Date Filing Date
JP2019511425A Active JP7092747B2 (ja) 2016-08-24 2017-08-23 血液の付着流のための装置
JP2019511433A Active JP7104026B2 (ja) 2016-08-24 2017-08-23 血液サンプルを取得するための装置
JP2022097391A Active JP7586857B2 (ja) 2016-08-24 2022-06-16 血液の付着流のための装置
JP2022109845A Active JP7368555B2 (ja) 2016-08-24 2022-07-07 血液サンプルを取得するための装置
JP2023176633A Active JP7629497B2 (ja) 2016-08-24 2023-10-12 血液サンプルを取得するための装置
JP2023193039A Active JP7620069B2 (ja) 2016-08-24 2023-11-13 血液の付着流のための装置
JP2025014987A Pending JP2025062007A (ja) 2016-08-24 2025-01-31 血液サンプルを取得するための装置

Family Applications Before (2)

Application Number Title Priority Date Filing Date
JP2019511425A Active JP7092747B2 (ja) 2016-08-24 2017-08-23 血液の付着流のための装置
JP2019511433A Active JP7104026B2 (ja) 2016-08-24 2017-08-23 血液サンプルを取得するための装置

Family Applications After (4)

Application Number Title Priority Date Filing Date
JP2022109845A Active JP7368555B2 (ja) 2016-08-24 2022-07-07 血液サンプルを取得するための装置
JP2023176633A Active JP7629497B2 (ja) 2016-08-24 2023-10-12 血液サンプルを取得するための装置
JP2023193039A Active JP7620069B2 (ja) 2016-08-24 2023-11-13 血液の付着流のための装置
JP2025014987A Pending JP2025062007A (ja) 2016-08-24 2025-01-31 血液サンプルを取得するための装置

Country Status (13)

Country Link
US (5) US11399755B2 (ja)
EP (7) EP4233722A3 (ja)
JP (7) JP7092747B2 (ja)
KR (4) KR102458200B1 (ja)
CN (4) CN115192014B (ja)
AU (4) AU2017315323B2 (ja)
BR (2) BR112019003658A2 (ja)
CA (2) CA3034843A1 (ja)
ES (4) ES2921148T3 (ja)
MX (4) MX2019002218A (ja)
PL (1) PL3503807T3 (ja)
RU (4) RU2747438C2 (ja)
WO (2) WO2018039307A1 (ja)

Families Citing this family (35)

* Cited by examiner, † Cited by third party
Publication number Priority date Publication date Assignee Title
US20110009847A1 (en) 2009-03-02 2011-01-13 Seventh Sense Biosystems, Inc. Systems and methods for creating and using suction blisters or other pooled regions of fluid within the skin
WO2012018486A2 (en) 2010-07-26 2012-02-09 Seventh Sense Biosystems, Inc. Rapid delivery and/or receiving of fluids
US20120277629A1 (en) 2011-04-29 2012-11-01 Seventh Sense Biosystems, Inc. Systems and methods for collection and/or manipulation of blood spots or other bodily fluids
WO2012021801A2 (en) 2010-08-13 2012-02-16 Seventh Sense Biosystems, Inc. Systems and techniques for monitoring subjects
US8808202B2 (en) 2010-11-09 2014-08-19 Seventh Sense Biosystems, Inc. Systems and interfaces for blood sampling
AU2018342449A1 (en) * 2017-09-26 2020-04-16 Juno Diagnostics, Inc. Devices, systems and methods for biomarker analysis
US20190099117A1 (en) * 2017-10-02 2019-04-04 Reliant Immune Diagnostics, Inc Finger cuff having vibration mechanism for use in performing a finger prick
AU2018355575A1 (en) 2017-10-27 2020-05-21 Juno Diagnostics, Inc. Devices, systems and methods for ultra-low volume liquid biopsy
CA3095030A1 (en) 2018-03-30 2019-10-03 Juno Diagnostics, Inc. Deep learning-based methods, devices, and systems for prenatal testing
JP6905953B2 (ja) * 2018-05-15 2021-07-21 富士フイルム株式会社 血液検体案内器具、及び血液検査キット
ES2952408T3 (es) * 2018-05-25 2023-10-31 Becton Dickinson Co Conjunto de extracción de sangre con módulo de vibración
KR102827944B1 (ko) * 2018-09-06 2025-07-02 벡톤 디킨슨 앤드 컴퍼니 동맥혈 개스 수집 시스템
ES2953865T3 (es) * 2019-02-14 2023-11-16 Becton Dickinson Co Recolector capilar con conexión giratoria
BE1027338B1 (nl) * 2019-06-04 2021-01-14 Inst Of Tropical Medicine Vingerprikker-collector
JP7157711B2 (ja) * 2019-07-19 2022-10-20 株式会社日立ハイテク 採血装置
AU2020354484A1 (en) 2019-09-23 2022-05-19 Gateway Genomics, Llc Methods, compositions, and kits for determining the sex of a fetus
US20220386912A1 (en) * 2019-11-07 2022-12-08 Stichting Het Nederlands Kanker Instituut-Antoni van Leeuwenhoek Ziekenhuis Blood collection device and method for the self-collection of blood by a user
US20230138274A1 (en) * 2020-03-31 2023-05-04 Preci Health Sa Body Fluids Sampling Device and Method of using the Same
GB202004718D0 (en) * 2020-03-31 2020-05-13 Osler Diagnostics Ltd Capillary blood sampling
IL300264A (en) * 2020-08-23 2023-03-01 Preci Health Sa Capillary blood sampling device and method of use
GB2598334B (en) 2020-08-26 2022-11-30 Mowgli Innovations Ltd Finger receptacle and holding device
JP2024526238A (ja) * 2021-06-29 2024-07-17 ベクトン・ディキンソン・アンド・カンパニー 毛細管採血装置
US20240285201A1 (en) * 2021-06-29 2024-08-29 Becton, Dickinson And Company Capillary Blood Collection Device
KR20240024256A (ko) 2021-06-29 2024-02-23 백톤 디킨슨 앤드 컴퍼니 모세혈관 혈액 수집 디바이스
EP4362794A4 (en) * 2021-06-29 2025-07-23 Becton Dickinson Co CAPILLARY BLOOD COLLECTION DEVICE
MX2023015243A (es) 2021-06-29 2024-03-14 Becton Dickinson Co Kit de extraccion de sangre con dispositivos de extraccion de sangre de multiples tama?os y sistemas y metodos de dimensionamiento asociados.
US20240315618A1 (en) * 2021-06-29 2024-09-26 Becton, Dickinson And Company Sample Container for Capillary Blood Collection
US20240324921A1 (en) 2021-06-29 2024-10-03 Becton, Dickinson And Company Capillary Blood Collection Device
US20240363025A1 (en) 2021-06-29 2024-10-31 Becton, Dickinson And Company Simulation Device for Capillary Blood Collection
JP2024524404A (ja) * 2021-06-29 2024-07-05 ベクトン・ディキンソン・アンド・カンパニー 毛細血管採血装置
JP2024538133A (ja) * 2021-10-15 2024-10-18 ベクトン・ディキンソン・アンド・カンパニー 血液サンプル収集のための添加剤の混合
US11957465B2 (en) 2022-08-23 2024-04-16 Reddrop Dx, Inc. Accelerated ergonomic collection of capillary blood
BE1030990B1 (nl) * 2022-10-25 2024-05-28 Inst Voor Tropische Geneeskunde Apparaat voor het nemen van bloedmonsters voor het verzamelen van een bloedmonster uit een vinger of teen
JP2025013307A (ja) 2023-07-13 2025-01-24 ベクトン・ディキンソン・アンド・カンパニー 小容量収集容器用収集付属品および関連するサンプル収集方法
WO2025064983A1 (en) * 2023-09-21 2025-03-27 Becton, Dickinson And Company Lancing finger sleeve

Citations (3)

* Cited by examiner, † Cited by third party
Publication number Priority date Publication date Assignee Title
JP2000505344A (ja) 1996-03-07 2000-05-09 メディカル・セイフティー・プロダクツ・インコーポレーテッド プラスチック製のセグメントチューブから血液サンプルを採集するための装置
JP2008099991A (ja) 2006-10-20 2008-05-01 Olympus Corp 採血装置
US20160174888A1 (en) 2014-08-01 2016-06-23 Tasso, Inc. Devices, systems and methods for gravity-enhanced microfluidic collection, handling and transferring of fluids

Family Cites Families (156)

* Cited by examiner, † Cited by third party
Publication number Priority date Publication date Assignee Title
US2646799A (en) 1951-02-14 1953-07-28 Jr George W Jacoby Blood lancet
CH500707A (fr) * 1968-07-26 1970-12-31 Micromedic Systems Inc Dispositif pour effectuer une prise de sang percutanée et digitale
CH522395A (fr) 1968-07-26 1972-05-15 Micromedic Systems Inc Eprouvette destinée à la prise de sang percutanée et digitale
US3630191A (en) 1969-02-27 1971-12-28 Gilford Instr Labor Inc Apparatus and method for filling capillary tubing with fluids
CH538277A (fr) 1970-09-04 1973-06-30 Micromedic Systems Inc Dispositif pour prise de sang percutanée
US4024857A (en) 1974-12-23 1977-05-24 Becton, Dickinson And Company Micro blood collection device
US4411163A (en) 1981-07-27 1983-10-25 American Hospital Supply Corporation Ventable sample collection device
US4397318A (en) 1981-08-10 1983-08-09 Becton Dickinson And Company Blood collector for microcollection container
US4620549A (en) 1985-01-25 1986-11-04 Becton, Dickinson And Company Blood collection assembly
US4646753A (en) 1985-06-11 1987-03-03 Becton, Dickinson And Company Blood collector for microcollection container
DE3541041A1 (de) * 1985-11-19 1987-05-21 Sarstedt Kunststoff Blutsammelgefaess
US4690153A (en) * 1985-11-29 1987-09-01 Becton, Dickinson And Company Flow inducing means for small volume containers
US4791938A (en) 1987-11-16 1988-12-20 Nanci Van Valkenburg Capillary blood collector and method
US5070886A (en) 1988-01-22 1991-12-10 Safety Diagnostice, Inc. Blood collection and testing means
US5014718A (en) 1988-01-22 1991-05-14 Safety Diagnostics, Inc. Blood collection and testing method
DE4000968C1 (en) 1990-01-16 1991-06-20 Dieter 2090 Drage De Wendelborn Blood sampling apparatus - has blood observation chamber mounted in sampling vessel stopper
US5309924A (en) * 1992-04-29 1994-05-10 Peabody Alan M Spill-proof blood collection device
US5384096A (en) 1993-05-12 1995-01-24 Becton, Dickinson And Company Microcollection tube assembly
HU219921B (hu) 1993-10-20 2001-09-28 Ervin Lipscher Vérvételi eszköz, különösen ujjbegyből történő vérvételre
US5485856A (en) * 1994-04-22 1996-01-23 Buckland; Peter E. Hand immobilizing and positioning apparatus for x-ray examinations
JPH08317917A (ja) 1995-05-25 1996-12-03 Advance Co Ltd 採血装置
US5569223A (en) 1995-06-06 1996-10-29 Home Access Health Corporation Apparatus and method for enhancing blood flow to obtain a blood sample
DE29514084U1 (de) 1995-09-01 1995-11-02 Biosafe Diagnostics Corp., Lincolnshire, Ill. Blutentnahme- und -testvorrichtung
US5662127A (en) 1996-01-17 1997-09-02 Bio-Plas, Inc. Self-contained blood withdrawal apparatus and method
US5951493A (en) 1997-05-16 1999-09-14 Mercury Diagnostics, Inc. Methods and apparatus for expressing body fluid from an incision
US5857983A (en) 1996-05-17 1999-01-12 Mercury Diagnostics, Inc. Methods and apparatus for sampling body fluid
US20020010406A1 (en) 1996-05-17 2002-01-24 Douglas Joel S. Methods and apparatus for expressing body fluid from an incision
EP1579814A3 (en) 1996-05-17 2006-06-14 Roche Diagnostics Operations, Inc. Methods and apparatus for sampling and analyzing body fluid
WO1997042883A1 (en) 1996-05-17 1997-11-20 Mercury Diagnostics, Inc. Disposable element for use in a body fluid sampling device
US5951492A (en) 1996-05-17 1999-09-14 Mercury Diagnostics, Inc. Methods and apparatus for sampling and analyzing body fluid
US6706000B2 (en) 1997-11-21 2004-03-16 Amira Medical Methods and apparatus for expressing body fluid from an incision
US6086545A (en) 1998-04-28 2000-07-11 Amira Medical Methods and apparatus for suctioning and pumping body fluid from an incision
JP4210782B2 (ja) 1999-10-13 2009-01-21 アークレイ株式会社 採血位置表示具
DE10026172A1 (de) 2000-05-26 2001-11-29 Roche Diagnostics Gmbh System zur Entnahme von Körperflüssigkeit
DE10026170A1 (de) * 2000-05-26 2001-12-06 Roche Diagnostics Gmbh System zur Entnahme von Körperflüssigkeit
PL197142B1 (pl) 2000-06-09 2008-03-31 Diabetes Diagnostics Urządzenie nacinające do nacinania tkanki skórnej
US6551267B1 (en) 2000-10-18 2003-04-22 Becton, Dickinson And Company Medical article having blood-contacting surface
KR20030081375A (ko) 2001-01-12 2003-10-17 아크레이 인코퍼레이티드 천자장치, 그 제조방법, 펌프기구 및 흡인장치
JP2002219115A (ja) * 2001-01-26 2002-08-06 Matsushita Electric Works Ltd 採血装置
WO2002068019A2 (en) 2001-02-22 2002-09-06 Doron Kreiser Device and method for measuring fetal blood ph
US20020188223A1 (en) 2001-06-08 2002-12-12 Edward Perez Devices and methods for the expression of bodily fluids from an incision
AU2002348683A1 (en) * 2001-06-12 2002-12-23 Pelikan Technologies, Inc. Method and apparatus for lancet launching device integrated onto a blood-sampling cartridge
JP2003070771A (ja) 2001-09-07 2003-03-11 Omron Corp 生体情報測定器、生体情報測定システムおよび生体情報測定管理方法
WO2003039369A1 (en) 2001-09-26 2003-05-15 Roche Diagnostics Gmbh Method and apparatus for sampling bodily fluid
US20030212344A1 (en) * 2002-05-09 2003-11-13 Vadim Yuzhakov Physiological sample collection devices and methods of using the same
USD488588S1 (en) 2002-12-13 2004-04-13 James P. Murphy Finger accessory appliance
US20040127818A1 (en) 2002-12-27 2004-07-01 Roe Steven N. Precision depth control lancing tip
GB0301587D0 (en) * 2003-01-23 2003-02-26 Epsom & St Helier Nhs Trust A lancet holding device
AU2004218554B2 (en) 2003-02-13 2007-09-13 Mariko Nakayama Painless blood-collecting method
DE10315396A1 (de) 2003-04-04 2004-10-14 Lieblein, Martin, Dr. Vollautomatisches Blutzucker-Überwachungs-/ Warnsystem bei Hypo- und Hyperglyämie
USD488232S1 (en) 2003-06-30 2004-04-06 Nanma Ltd. Finger massager
DE10332283A1 (de) 2003-07-16 2005-02-03 Roche Diagnostics Gmbh System zur Entnahme von Körperflüssigkeit
DE10332488A1 (de) 2003-07-16 2005-02-24 Roche Diagnostics Gmbh Analysegerät und Analyseverfahren für Körperflüssigkeiten
JP2005094425A (ja) 2003-09-18 2005-04-07 Fuji Xerox Co Ltd リモートコントロール装置
JP4762341B2 (ja) * 2003-10-29 2011-08-31 アークレイ株式会社 穿刺装置
JP4484669B2 (ja) 2003-10-29 2010-06-16 アークレイ株式会社 穿刺装置
JP4621850B2 (ja) * 2003-10-29 2011-01-26 アークレイ株式会社 搾液具および穿刺装置
GB2409411A (en) * 2003-12-22 2005-06-29 William Thomas Dennis Bates Blood collection system
JP2007521121A (ja) * 2004-02-06 2007-08-02 バイエル・ヘルスケア・エルエルシー 体液中の分析対象物を測定する方法及び装置
US7201723B2 (en) 2004-03-25 2007-04-10 Roche Diagnostics Operations, Inc. Pulsating expression cap
US20050215923A1 (en) 2004-03-26 2005-09-29 Wiegel Christopher D Fingertip conforming fluid expression cap
WO2005096941A1 (de) 2004-04-10 2005-10-20 F. Hoffmann-La Roche Ag Verfahren und system zum entnehmen von körperflüssigkeit
US20050234486A1 (en) 2004-04-16 2005-10-20 Allen John J Apparatus for extracting bodily fluid
US20050234489A1 (en) 2004-04-16 2005-10-20 John Allen Method for lancing a dermal tissue target site
US20050234491A1 (en) 2004-04-16 2005-10-20 Allen John J Method for lancing a dermal tissue target site employing a dermal tissue lancing device with a tiltable cap
US9380975B2 (en) 2004-05-07 2016-07-05 Becton, Dickinson And Company Contact activated lancet device
US7322942B2 (en) 2004-05-07 2008-01-29 Roche Diagnostics Operations, Inc. Integrated disposable for automatic or manual blood dosing
DE102004024970A1 (de) 2004-05-21 2005-12-08 Roche Diagnostics Gmbh Vorrichtung und Verfahren zur Positionierung eines Körperteils
US20050277849A1 (en) 2004-06-10 2005-12-15 Daniel Wong Vacuum sample expression device
US7384402B2 (en) 2004-06-10 2008-06-10 Roche Diagnostics Operations, Inc. Expression pad
JP3926811B2 (ja) 2004-08-03 2007-06-06 株式会社ヒポクラテス 定量採血具
US20070060842A1 (en) 2005-08-29 2007-03-15 Manuel Alvarez-Icaza Lancing cap kit applied pressure sensing cap
US20070073191A1 (en) 2005-09-26 2007-03-29 Anne Thomson Device for promoting bodily fluid expression from a target site
JP5232003B2 (ja) 2005-09-30 2013-07-10 インテュイティ メディカル インコーポレイテッド 多部分体液試料採取及び分析カートリッジ
US20070093864A1 (en) 2005-10-20 2007-04-26 Pugh Jerry T Method for lancing a dermal tissue target site
US20070093863A1 (en) 2005-10-20 2007-04-26 Pugh Jerry T Cap for a dermal tissue lancing device
JP4874623B2 (ja) 2005-10-20 2012-02-15 積水化学工業株式会社 採血ホルダー
EP1785090A1 (de) 2005-11-10 2007-05-16 F.Hoffmann-La Roche Ag Stechelement, Stechsystem und Verfahren zur Hautdetektion
US20070112367A1 (en) 2005-11-17 2007-05-17 Olson Lorin P Method for lancing a dermal tissue target site using a cap with revolving body
EP1961381A4 (en) 2005-12-01 2011-04-13 Arkray Inc INTEGRATED SENSOR / LANZETTE DEVICE AND METHOD FOR COLLECTING BODY FLUID WITH THEREOF
JP4999372B2 (ja) 2006-06-30 2012-08-15 株式会社サカエ 液体採取具
KR20090031763A (ko) 2006-07-06 2009-03-27 라피딕스 리미티드. 일체로된 혈액 샘플링 및 검사 장치 및 그 방법
JP2008022988A (ja) * 2006-07-19 2008-02-07 Ritsumeikan 採血装置
US8372015B2 (en) 2006-08-28 2013-02-12 Intuity Medical, Inc. Body fluid sampling device with pivotable catalyst member
EP1929948A1 (de) 2006-12-08 2008-06-11 Roche Diagnostics GmbH Stechgerät
USD569514S1 (en) 2007-03-30 2008-05-20 Ethicon Endo-Surgery, Inc. Finger mounted locking forceps
USD582037S1 (en) 2007-03-30 2008-12-02 Ethicon Endo-Surgery, Inc. Finger mounted specialty grasper
USD576277S1 (en) 2007-03-30 2008-09-02 T.A.G. Medical Products A Limited Partnership. Finger mounting surgical instrument with spatula retractor
EP1982653A1 (de) 2007-04-18 2008-10-22 Roche Diagnostics GmbH Stechgerät und Analysegerät
US20110092854A1 (en) 2009-10-20 2011-04-21 Uwe Kraemer Instruments and system for producing a sample of a body fluid and for analysis thereof
US7591791B2 (en) 2007-06-21 2009-09-22 Inverness Medical Switzerland Gmbh Diagnostic thimble
JP4625062B2 (ja) * 2007-08-31 2011-02-02 テルモ株式会社 補助具
TW200918022A (en) 2007-10-26 2009-05-01 Delta Electronics Inc Bleeding apparatus
TW200918021A (en) 2007-10-26 2009-05-01 Delta Electronics Inc Bleeding apparatus
EP2230995A1 (en) 2007-12-10 2010-09-29 Bayer HealthCare, LLC Integrated fluid analyte meter system
WO2009081405A2 (en) 2007-12-25 2009-07-02 Rapidx Ltd. Devices and methods for reduced-pain blood sampling
US10631771B2 (en) 2008-01-07 2020-04-28 Morteza Naghavi Methods and apparatus for blood sampling
US7766846B2 (en) 2008-01-28 2010-08-03 Roche Diagnostics Operations, Inc. Rapid blood expression and sampling
US20090198152A1 (en) * 2008-02-02 2009-08-06 Stanley Kim Finger tip tourniquet
WO2009104765A1 (ja) 2008-02-21 2009-08-27 テルモ株式会社 針穿刺痛低減機構付き穿刺具および針穿刺痛低減器具
ES2938924T3 (es) * 2008-03-05 2023-04-17 Becton Dickinson Co Dispositivo de recogida de acción capilar
EP2262690B1 (en) 2008-03-05 2021-04-28 Becton, Dickinson and Company Co-molded pierceable stopper and method for making the same
FR2929135A1 (fr) * 2008-03-31 2009-10-02 Commissariat Energie Atomique Dispositif d'aliquotage et de dispense d'un liquide
CN101896121B (zh) 2008-05-09 2012-02-29 松下电器产业株式会社 皮肤切开器具以及使用该皮肤切开器具切开皮肤的方法
WO2009145920A1 (en) 2008-05-30 2009-12-03 Intuity Medical, Inc. Body fluid sampling device -- sampling site interface
EP2299903B1 (en) * 2008-06-06 2021-01-27 Intuity Medical, Inc. Detection meter and mode of operation
US20100022916A1 (en) 2008-07-24 2010-01-28 Javanbakhsh Esfandiari Method and Apparatus for Collecting and Preparing Biological Samples for Testing
EP2181651A1 (en) 2008-10-29 2010-05-05 Roche Diagnostics GmbH Instrument and system for producing a sample of a body liquid and for analysis thereof
EP2450070B1 (en) 2009-07-01 2013-10-16 Kawasumi Laboratories, Inc. Blood collection set, sampling holder, and needle cover for preventing erroneous needle insertion
CN102497814B (zh) 2009-07-30 2015-01-28 贝克顿·迪金森公司 具有鞍状尖端的采血设备
JP2011078518A (ja) 2009-10-06 2011-04-21 Panasonic Corp 血液検査装置
US8647357B2 (en) 2011-02-05 2014-02-11 Birch Narrows Development Llc Lancet device with flexible cover
ES2749508T3 (es) * 2011-06-08 2020-03-20 Becton Dickinson Co Jeringa de seguridad para recogida de sangre que tiene una aguja retráctil manualmente
ES2560405T3 (es) 2011-09-22 2016-02-18 Sanofi-Aventis Deutschland Gmbh Obtención de una muestra de sangre
US9289763B2 (en) 2012-07-23 2016-03-22 Tasso, Inc. Methods, systems, and devices relating to open microfluidic channels
WO2013112877A1 (en) 2012-01-25 2013-08-01 Tasso, Inc. Handheld device for drawing, collecting, and analyzing bodily fluid
BR302012006435S1 (pt) 2012-06-15 2014-06-03 Rml Engineering Ltd Configuração aplicada em recipiente
JP6405305B2 (ja) 2012-08-09 2018-10-17 エモリー ユニバーシティ ヘモグロビンの生理的レベルおよび/または範囲および/または疾患状態を判定するためのキットおよび方法
US9427184B2 (en) 2012-09-06 2016-08-30 Theranos, Inc. Systems, devices, and methods for bodily fluid sample collection
CN104470434B (zh) 2012-10-26 2016-10-12 张建铭 具有针尖保护套的整体式真空采血装置
RU2570750C2 (ru) * 2012-11-20 2015-12-10 Федеральное государственное бюджетное образовательное учреждение высшего профессионального образования "Московский государственный университет имени М.В. Ломоносова" (МГУ) Набор для получения, хранения и транспортировки сухих образцов крови для последующего проведения лабораторного анализа
US9681834B2 (en) 2013-03-05 2017-06-20 Carolyn Consulting, LLC Finger guide for testing blood glucose and associated methods
USD732684S1 (en) 2013-03-25 2015-06-23 Sysmex Corporation Container for analyzer
JP6177996B2 (ja) * 2013-04-15 2017-08-09 ベクトン・ディキンソン・アンド・カンパニーBecton, Dickinson And Company 生体液収集装置および生体液分離試験システム
EP3043165B1 (en) 2013-09-05 2018-05-30 Miyabi Co., Ltd. Bodily fluid sampler, bodily fluid container and bodily fluid sampling device
TW201513832A (zh) 2013-10-11 2015-04-16 Ysp Co Ltd 採血裝置及其採血針與採血筆
USD757267S1 (en) 2013-12-02 2016-05-24 Sterilance Medical (Suzhou) Inc. Lancet protective cap with two cup-shape openings
CA2926757C (en) 2013-12-02 2020-02-25 Praxair Technology, Inc. Method and system for producing hydrogen using an oxygen transport membrane based reforming system with secondary reforming
CA157667S (en) 2014-03-31 2015-04-30 Htl Strefa Spólka Akcyjna Lancet device
JP6424014B2 (ja) * 2014-05-27 2018-11-14 株式会社テクノメデイカ 指先駆血具
US10093918B2 (en) 2014-06-04 2018-10-09 Lucigen Corporation Sample collection and analysis devices
US20150351676A1 (en) * 2014-06-10 2015-12-10 Labatm, Inc. Automatic Blood Collection
US10391484B2 (en) * 2014-06-13 2019-08-27 Siemens Healthcare Diagnostics Inc. Sample delivery system
USD800333S1 (en) 2014-09-23 2017-10-17 Critical Care Diagnostics, Inc. Blood test kit
US10722163B2 (en) 2015-03-31 2020-07-28 Labrador Diagnostics Llc Methods, devices, systems, and kits for automated blood collection by fingerstick
CN204683616U (zh) * 2015-04-21 2015-10-07 中国人民解放军第四军医大学 一种用于血糖计的安全采血针
USD868268S1 (en) 2015-05-26 2019-11-26 Serenity Sayre Finger splint
JP6558971B2 (ja) 2015-06-17 2019-08-14 株式会社日立ハイテクノロジーズ 採血装置
US10371606B2 (en) 2015-07-21 2019-08-06 Theraos IP Company, LLC Bodily fluid sample collection and transport
USD856148S1 (en) 2016-05-05 2019-08-13 Csp Technologies, Inc. Container for sampling
US10136848B2 (en) 2016-05-20 2018-11-27 Winnoz Technology, Inc. Device and system of blood collection, and method thereof
JP6735161B2 (ja) 2016-06-21 2020-08-05 株式会社日立ハイテク 採血装置および採血装置の作動方法
US20210106262A1 (en) 2017-03-01 2021-04-15 Fenwal, Inc. Sample Tube Holder And System And Method Employing Same
US11202593B2 (en) 2017-04-21 2021-12-21 2Pi-Sigma Corp. Adjustable lancet and test cartridge for automated medical sample collection and testing
US11103163B2 (en) 2017-04-21 2021-08-31 2Pi-Sigma Corporation Test cartridge and lancet for automated medical sample collection and testing
US10928411B2 (en) 2017-04-21 2021-02-23 2Pi-Sigma Corporation Automated medical sample collection and testing
WO2018218341A1 (en) 2017-05-29 2018-12-06 Autograph Biosciences, Inc. System and method for collecting and preserving blood samples for subsequent antibody-independent imaging
US20190015030A1 (en) 2017-07-12 2019-01-17 Michael James Barker System, method and apparatus to facilitate drawing blood and extracting other bodily fluids
US20190099117A1 (en) 2017-10-02 2019-04-04 Reliant Immune Diagnostics, Inc Finger cuff having vibration mechanism for use in performing a finger prick
USD882113S1 (en) 2017-11-30 2020-04-21 Biotix, Inc. Fluid handling tube
US11154657B2 (en) 2017-12-15 2021-10-26 Arkray, Inc. Method of and apparatus for performing intravenous drip injection
USD881410S1 (en) 2018-01-19 2020-04-14 Biotix, Inc. Fluid handling tube
JP6905953B2 (ja) 2018-05-15 2021-07-21 富士フイルム株式会社 血液検体案内器具、及び血液検査キット
US11132878B2 (en) 2018-06-01 2021-09-28 Elizabeth Whitaker Fingertip medical vibratory device
CN112789114A (zh) 2018-08-28 2021-05-11 罗氏血液诊断股份有限公司 条纹试管和使用该条纹试管转移流体的方法
US10610142B1 (en) 2019-03-20 2020-04-07 Paulus Holdings Limited Vibrating tourniquet and methods of collecting blood using same

Patent Citations (3)

* Cited by examiner, † Cited by third party
Publication number Priority date Publication date Assignee Title
JP2000505344A (ja) 1996-03-07 2000-05-09 メディカル・セイフティー・プロダクツ・インコーポレーテッド プラスチック製のセグメントチューブから血液サンプルを採集するための装置
JP2008099991A (ja) 2006-10-20 2008-05-01 Olympus Corp 採血装置
US20160174888A1 (en) 2014-08-01 2016-06-23 Tasso, Inc. Devices, systems and methods for gravity-enhanced microfluidic collection, handling and transferring of fluids

Also Published As

Publication number Publication date
RU2021112145A (ru) 2021-05-13
AU2022203293B2 (en) 2023-08-10
EP3760122B1 (en) 2023-05-10
KR20220010056A (ko) 2022-01-25
AU2017315323B2 (en) 2022-07-21
MX2019002219A (es) 2019-10-30
BR112019003658A2 (pt) 2019-05-21
EP4364661A2 (en) 2024-05-08
JP2025062007A (ja) 2025-04-11
JP2023171602A (ja) 2023-12-01
RU2019108244A3 (ja) 2020-09-25
CN115192014B (zh) 2025-09-16
KR20220009488A (ko) 2022-01-24
CN109803581A (zh) 2019-05-24
US20240415431A1 (en) 2024-12-19
RU2019108245A3 (ja) 2020-10-09
MX2024004534A (es) 2024-04-29
KR20190041003A (ko) 2019-04-19
RU2747438C2 (ru) 2021-05-05
RU2021107303A3 (ja) 2021-10-20
JP7629497B2 (ja) 2025-02-13
RU2770395C2 (ru) 2022-04-15
JP2023184777A (ja) 2023-12-28
EP4233722A3 (en) 2023-09-06
ES2858340T3 (es) 2021-09-30
AU2022203293A1 (en) 2022-06-02
WO2018039305A1 (en) 2018-03-01
JP7104026B2 (ja) 2022-07-20
KR102349487B1 (ko) 2022-01-10
EP3503806A1 (en) 2019-07-03
CA3034843A1 (en) 2018-03-01
EP4233722A2 (en) 2023-08-30
JP2019526340A (ja) 2019-09-19
WO2018039307A1 (en) 2018-03-01
JP2022133435A (ja) 2022-09-13
EP4059427B1 (en) 2024-03-20
EP3503807A1 (en) 2019-07-03
US11771352B2 (en) 2023-10-03
US20220313130A1 (en) 2022-10-06
ES2834078T3 (es) 2021-06-16
EP4364661A3 (en) 2024-06-26
EP3503806B1 (en) 2020-09-30
JP7092747B2 (ja) 2022-06-28
BR112019003638A2 (pt) 2019-05-21
JP7620069B2 (ja) 2025-01-22
CN109788925A (zh) 2019-05-21
EP3811865A1 (en) 2021-04-28
RU2019108244A (ru) 2020-09-25
JP2022130497A (ja) 2022-09-06
MX2023004748A (es) 2023-05-10
US20190223772A1 (en) 2019-07-25
KR102349711B1 (ko) 2022-01-11
RU2019108245A (ru) 2020-09-25
EP3811865B1 (en) 2022-05-11
RU2021112145A3 (ja) 2021-11-10
ES2945225T3 (es) 2023-06-29
PL3503807T3 (pl) 2021-06-28
US11399755B2 (en) 2022-08-02
JP7368555B2 (ja) 2023-10-24
MX2019002218A (es) 2019-10-30
US20190216380A1 (en) 2019-07-18
AU2017315340B2 (en) 2022-02-24
AU2017315323A1 (en) 2019-03-14
CN109803581B (zh) 2023-04-04
EP4059427C0 (en) 2024-03-20
US12082932B2 (en) 2024-09-10
CA3034842A1 (en) 2018-03-01
AU2022256126A1 (en) 2022-11-24
US20230397857A1 (en) 2023-12-14
KR102458200B1 (ko) 2022-10-25
CN109788925B (zh) 2022-07-26
AU2017315340A1 (en) 2019-03-14
AU2022256126B2 (en) 2024-10-17
JP2019524379A (ja) 2019-09-05
RU2021107303A (ru) 2021-04-01
EP3760122A1 (en) 2021-01-06
ES2921148T3 (es) 2022-08-18
CN116211302A (zh) 2023-06-06
CN115192014A (zh) 2022-10-18
KR20190040060A (ko) 2019-04-16
RU2745436C2 (ru) 2021-03-25
RU2770394C2 (ru) 2022-04-15
EP4059427A1 (en) 2022-09-21
JP2025061177A (ja) 2025-04-10
KR102460682B1 (ko) 2022-10-28
EP3503807B1 (en) 2020-12-23

Similar Documents

Publication Publication Date Title
JP7620069B2 (ja) 血液の付着流のための装置
US9808192B2 (en) Biological fluid sampling transfer device and biological fluid separation and testing system
CN104107058B (zh) 生物流体取样装置
JP7793082B2 (ja) 血液の付着流のための装置

Legal Events

Date Code Title Description
A621 Written request for application examination

Free format text: JAPANESE INTERMEDIATE CODE: A621

Effective date: 20220719

A977 Report on retrieval

Free format text: JAPANESE INTERMEDIATE CODE: A971007

Effective date: 20230215

A131 Notification of reasons for refusal

Free format text: JAPANESE INTERMEDIATE CODE: A131

Effective date: 20230221

A521 Request for written amendment filed

Free format text: JAPANESE INTERMEDIATE CODE: A523

Effective date: 20230519

A02 Decision of refusal

Free format text: JAPANESE INTERMEDIATE CODE: A02

Effective date: 20230711

A521 Request for written amendment filed

Free format text: JAPANESE INTERMEDIATE CODE: A523

Effective date: 20231113

A911 Transfer to examiner for re-examination before appeal (zenchi)

Free format text: JAPANESE INTERMEDIATE CODE: A911

Effective date: 20231124

A912 Re-examination (zenchi) completed and case transferred to appeal board

Free format text: JAPANESE INTERMEDIATE CODE: A912

Effective date: 20240126

A61 First payment of annual fees (during grant procedure)

Free format text: JAPANESE INTERMEDIATE CODE: A61

Effective date: 20241107

R150 Certificate of patent or registration of utility model

Ref document number: 7586857

Country of ref document: JP

Free format text: JAPANESE INTERMEDIATE CODE: R150