JP6234589B2 - 軸流ファン、及び、その軸流ファンを有する空気調和機 - Google Patents

軸流ファン、及び、その軸流ファンを有する空気調和機 Download PDF

Info

Publication number
JP6234589B2
JP6234589B2 JP2016540221A JP2016540221A JP6234589B2 JP 6234589 B2 JP6234589 B2 JP 6234589B2 JP 2016540221 A JP2016540221 A JP 2016540221A JP 2016540221 A JP2016540221 A JP 2016540221A JP 6234589 B2 JP6234589 B2 JP 6234589B2
Authority
JP
Japan
Prior art keywords
rib
rotation axis
propeller fan
reinforcing rib
blade
Prior art date
Legal status (The legal status is an assumption and is not a legal conclusion. Google has not performed a legal analysis and makes no representation as to the accuracy of the status listed.)
Active
Application number
JP2016540221A
Other languages
English (en)
Other versions
JPWO2016021555A1 (ja
Inventor
慎悟 濱田
慎悟 濱田
宏治 幸本
宏治 幸本
洋輔 菊地
洋輔 菊地
孟 池田
孟 池田
小林 孝
小林  孝
平川 誠司
誠司 平川
浩司 吉川
浩司 吉川
中川 英知
英知 中川
牧野 浩招
浩招 牧野
Current Assignee (The listed assignees may be inaccurate. Google has not performed a legal analysis and makes no representation or warranty as to the accuracy of the list.)
Mitsubishi Electric Corp
Original Assignee
Mitsubishi Electric Corp
Priority date (The priority date is an assumption and is not a legal conclusion. Google has not performed a legal analysis and makes no representation as to the accuracy of the date listed.)
Filing date
Publication date
Application filed by Mitsubishi Electric Corp filed Critical Mitsubishi Electric Corp
Publication of JPWO2016021555A1 publication Critical patent/JPWO2016021555A1/ja
Application granted granted Critical
Publication of JP6234589B2 publication Critical patent/JP6234589B2/ja
Active legal-status Critical Current
Anticipated expiration legal-status Critical

Links

Images

Classifications

    • FMECHANICAL ENGINEERING; LIGHTING; HEATING; WEAPONS; BLASTING
    • F04POSITIVE - DISPLACEMENT MACHINES FOR LIQUIDS; PUMPS FOR LIQUIDS OR ELASTIC FLUIDS
    • F04DNON-POSITIVE-DISPLACEMENT PUMPS
    • F04D29/00Details, component parts, or accessories
    • F04D29/26Rotors specially for elastic fluids
    • F04D29/32Rotors specially for elastic fluids for axial flow pumps
    • FMECHANICAL ENGINEERING; LIGHTING; HEATING; WEAPONS; BLASTING
    • F04POSITIVE - DISPLACEMENT MACHINES FOR LIQUIDS; PUMPS FOR LIQUIDS OR ELASTIC FLUIDS
    • F04DNON-POSITIVE-DISPLACEMENT PUMPS
    • F04D29/00Details, component parts, or accessories
    • F04D29/26Rotors specially for elastic fluids
    • F04D29/32Rotors specially for elastic fluids for axial flow pumps
    • F04D29/325Rotors specially for elastic fluids for axial flow pumps for axial flow fans
    • F04D29/329Details of the hub
    • FMECHANICAL ENGINEERING; LIGHTING; HEATING; WEAPONS; BLASTING
    • F04POSITIVE - DISPLACEMENT MACHINES FOR LIQUIDS; PUMPS FOR LIQUIDS OR ELASTIC FLUIDS
    • F04DNON-POSITIVE-DISPLACEMENT PUMPS
    • F04D29/00Details, component parts, or accessories
    • F04D29/26Rotors specially for elastic fluids
    • F04D29/32Rotors specially for elastic fluids for axial flow pumps
    • F04D29/34Blade mountings
    • FMECHANICAL ENGINEERING; LIGHTING; HEATING; WEAPONS; BLASTING
    • F04POSITIVE - DISPLACEMENT MACHINES FOR LIQUIDS; PUMPS FOR LIQUIDS OR ELASTIC FLUIDS
    • F04DNON-POSITIVE-DISPLACEMENT PUMPS
    • F04D29/00Details, component parts, or accessories
    • F04D29/26Rotors specially for elastic fluids
    • F04D29/32Rotors specially for elastic fluids for axial flow pumps
    • F04D29/38Blades
    • FMECHANICAL ENGINEERING; LIGHTING; HEATING; WEAPONS; BLASTING
    • F04POSITIVE - DISPLACEMENT MACHINES FOR LIQUIDS; PUMPS FOR LIQUIDS OR ELASTIC FLUIDS
    • F04DNON-POSITIVE-DISPLACEMENT PUMPS
    • F04D29/00Details, component parts, or accessories
    • F04D29/26Rotors specially for elastic fluids
    • F04D29/32Rotors specially for elastic fluids for axial flow pumps
    • F04D29/38Blades
    • F04D29/384Blades characterised by form
    • FMECHANICAL ENGINEERING; LIGHTING; HEATING; WEAPONS; BLASTING
    • F04POSITIVE - DISPLACEMENT MACHINES FOR LIQUIDS; PUMPS FOR LIQUIDS OR ELASTIC FLUIDS
    • F04DNON-POSITIVE-DISPLACEMENT PUMPS
    • F04D29/00Details, component parts, or accessories
    • F04D29/26Rotors specially for elastic fluids
    • F04D29/32Rotors specially for elastic fluids for axial flow pumps
    • F04D29/38Blades
    • F04D29/388Blades characterised by construction

Landscapes

  • Engineering & Computer Science (AREA)
  • Mechanical Engineering (AREA)
  • General Engineering & Computer Science (AREA)
  • Structures Of Non-Positive Displacement Pumps (AREA)
  • Other Air-Conditioning Systems (AREA)
  • Air-Conditioning Room Units, And Self-Contained Units In General (AREA)

Description

本発明は、複数の翼を備えた軸流ファン、及び、その軸流ファンを有する空気調和機に関するものである。
従来の軸流ファンの模式図を図20〜23に示す。
図20は、従来のボス付の軸流ファンの斜視図である。
図21は、従来のボス付の軸流ファンを流体の流れの上流側から見た正面図である。
図22は、従来のボス付の軸流ファンを流体の流れの下流側から見た正面図である。
図23は、従来のボス付の軸流ファンを回転軸線の側方から見た側面図である。
従来の軸流ファンは、図20〜23に示すように円筒状のボスの周面に沿って複数枚の翼1を備えており、ボスに与えられる回転力にともなって回転方向11の方向に翼1が回転し、流体の流れ方向10に流体を搬送するものである。このような構成は、例えば特許文献1などにも開示されている。軸流ファンは、翼1が回転することで、翼間に存在している流体が翼面に衝突する。流体が衝突する面は圧力が上昇し、流体を翼1が回転する際の中心軸となる回転軸線方向に押し出して移動させる。
また、軸流ファンの形状としては、円筒状のボスを有さない、いわゆるボスレスファンが知られている(特許文献2を参照)。ボスレスファンは、複数枚の翼1のうち隣り合う翼の前縁側と後縁側とをボスを介さず連続面で接続した構造をしており、中心にはモータの駆動軸を固定する小径の円筒部を形成したものである。よって、回転軸線を中心とする翼間の連続面の最小半径は、駆動軸を固定する円筒部の半径より大きい寸法となっている。
特開2005−105865号公報 特開2010−101223号公報
このような従来のボスを備えた軸流ファンでは、ボスの重量がかさむため軽量化が難しく、省資源化(環境負荷低減)を進めることが困難である。加えて、ボス部は送風機能を有さないため、ファンの送風効率を向上させることが難しいという問題があった。
これに対していわゆるボスレスファンは、ボスがないため上記問題は軽減されるが、強度不足により回転による遠心力が翼に加わることによる翼の変形量が大きく、翼の形状を維持することができないため送風機能が低下する問題や、台風などの強風を受けてプロペラが高速回転し、遠心力によって翼が破断する問題があった。また、回転軸線近傍の肉厚を増やして強度を確保すると、ボスレス化のメリットである軽量化の効果を損なうこととなっていた。
本発明は、上記のような軸流ファンの課題を解決するためになされたもので、ボスレス化による軸流ファンの軽量化と、翼の強度の維持とを共に実現し、送風効率を向上させることを目的としている。
本発明に係る軸流ファンは、複数の翼が該翼の回転軸線を中心として回転し、流体を搬送する軸流ファンであって、前記複数の翼のそれぞれは、回転方向における前進側の前縁と、前記回転方向における後進側の後縁と、前記前縁と前記後縁とを接続する外周縁と、を有し、前記複数の翼のうち1枚の翼の前記前縁と、該翼の前記前縁に対して前記回転方向に隣接する翼の前記後縁とは、板状の連結部で接続され、前記複数の翼のそれぞれには、前記回転軸線の周囲から前記翼の外周縁に向けて板状の補強リブが少なくとも1枚配置され、前記補強リブは、前記回転軸線を中心とした放射状、または、前記前縁の向きに凸形状となるように形成され、前記複数の翼のうちの1枚に対して前記回転方向の上流側に位置する上流リブと、前記回転方向の下流側に位置する下流リブと、で少なくとも構成され、前記翼が回転した際に、前記下流リブは、前記上流リブが通過しない領域を通過する構成としたものである。
また、本発明に係る軸流ファンは、複数の翼が該翼の回転軸線を中心として回転し、流体を搬送する軸流ファンであって、前記複数の翼のそれぞれは、回転方向における前進側の前縁と、前記回転方向における後進側の後縁と、前記前縁と前記後縁とを接続する外周縁と、を有し、前記複数の翼のうち1枚の翼の前記前縁と、該翼の前記前縁に対して前記回転方向に隣接する翼の前記後縁とは、板状の連結部で接続され、前記複数の翼のそれぞれには、前記回転軸線の周囲から前記翼の外周縁に向けて板状の補強リブが少なくとも1枚配置され、前記補強リブは、前記回転軸線を中心とした放射状、または、前記前縁の向きに凸形状となるように形成され、前記翼と対向する一端側に上辺を有し、前記補強リブの前記上辺の断面形状は、前記回転方向の上流側に形成される第1円弧部と前記回転方向の下流側に形成される第2円弧部とを有し、前記第1円弧部の断面半径は、前記第2円弧部の断面半径よりも大きい。
また、本発明に係る軸流ファンは、複数の翼が該翼の回転軸線を中心として回転し、流体を搬送する軸流ファンであって、前記複数の翼のそれぞれは、回転方向における前進側の前縁と、前記回転方向における後進側の後縁と、前記前縁と前記後縁とを接続する外周縁と、を有し、前記複数の翼のうち1枚の翼の前記前縁と、該翼の前記前縁に対して前記回転方向に隣接する翼の前記後縁とは、板状の連結部で接続され、前記複数の翼のそれぞれには、前記回転軸線の周囲から前記翼の外周縁に向けて板状の補強リブが少なくとも1枚配置され、前記補強リブは、前記回転軸線を中心とした放射状、または、前記前縁の向きに凸形状となるように形成され、前記連結部は、隣接する前記翼の前記前縁から前記後縁に向けて前記流体の搬送方向の上流側に向かって傾斜して形成されている。
また、本発明に係る軸流ファンは、複数の翼が該翼の回転軸線を中心として回転し、流体を搬送する軸流ファンであって、前記複数の翼のそれぞれは、回転方向における前進側の前縁と、前記回転方向における後進側の後縁と、前記前縁と前記後縁とを接続する外周縁と、を有し、前記複数の翼のうち1枚の翼の前記前縁と、該翼の前記前縁に対して前記回転方向に隣接する翼の前記後縁とは、板状の連結部で接続され、前記複数の翼のそれぞれには、前記回転軸線の周囲から前記翼の外周縁に向けて板状の補強リブが少なくとも1枚配置され、前記回転軸線を中心軸とする円筒部が形成され、前記補強リブは、前記回転軸線を中心とした放射状、または、前記前縁の向きに凸形状となるように形成され、前記翼の形状は、該翼の翼弦中心線が前記円筒部の外周面にあたる当接点から前記回転軸線に垂直な方向に垂直面を設けた際に、前記翼弦中心線が前記垂直面よりも流体の搬送方向の下流側に位置する後傾形である。
本発明に係る軸流ファンによれば、ボスレス化による軸流ファンの軽量化と、翼の強度の維持とを共に実現するとともに、補強リブによる送風機能を付加して、送風効率を向上させることができる。
なお、以降に記載の「プロペラファン」は「軸流ファン」の一例として記載する。
実施の形態1に係るプロペラファンを流体流れ方向の上流側から見た正面図である。 実施の形態1に係るプロペラファンを流体流れ方向の下流側から見た正面図である。 実施の形態1に係るプロペラファンを流体流れ方向の下流側から見た斜視図である。 実施の形態1に係るプロペラファンを流体流れ方向の側方側から見た斜視図である。 実施の形態1に係るプロペラファンを流体流れ方向の側方側から見た側面図である。 実施の形態1に係るプロペラファンの補強リブにおける断面図である。 実施の形態1に係るプロペラファンの補強リブにおける比較用断面図である。 実施の形態1に係るプロペラファンにより形成される気流を示した回転軸線方向の風向図である。 実施の形態1の変形例1に係るプロペラファンを流体流れ方向の下流側から見た正面図である。 実施の形態2に係るプロペラファンを流体流れ方向の下流側から見た正面図である。 プロペラファンの送風性能を示すP−Q線図である。 実施の形態3に係るプロペラファンの正面図に翼弦中心線の位置を記載した図である。 実施の形態3に係る後傾形のプロペラファンを前傾形のプロペラファンと比較して側面図に翼弦中心線の位置を記載した図である。 実施の形態3に係る後傾形のプロペラファンの速度分布(後傾形)と前傾形のプロペラファンの速度分布(前傾形)と、を比較した図である。 実施の形態4に係る室外機に実施の形態1〜3に係るプロペラファンを取り付けた際の外観斜視図である。 実施の形態4に係る室外機に実施の形態1〜3に係るプロペラファンを取り付けた際の内部斜視図である。 実施の形態4に係る室外機のプロペラファンに外風が当たった時の補強リブの作用を説明する図である。 実施の形態1〜3におけるプロペラファンの梱包状態を示す模式図である。 従来のボス付のプロペラファンの梱包状態を示す模式図である。 従来のボス付の軸流ファンの斜視図である。 従来のボス付の軸流ファンを流体の流れの上流側から見た正面図である。 従来のボス付の軸流ファンを流体の流れの下流側から見た正面図である。 従来のボス付の軸流ファンを回転軸線の側方から見た側面図である。 従来のボス付のプロペラファンにより形成される気流を下流側から見た正面視での速度成分を示した説明図である。 従来のボス付のプロペラファンにより形成される気流の回転軸線方向の速度成分を示した説明図である。 従来のボス付のプロペラファンにより形成される気流を示した回転軸線方向の風向図である。 実施の形態1の変形例2に係るプロペラファンを流体流れ方向の下流側から見た斜視図である。 実施の形態1の変形例3に係るプロペラファンを流体流れ方向の下流側から見た斜視図である。 実施の形態1の変形例4に係るプロペラファンを流体流れ方向の下流側から見た斜視図である。 実施の形態1の変形例5に係るプロペラファンを流体流れ方向の下流側から見た斜視図である。 実施の形態1の変形例6に係るプロペラファンを流体流れ方向の下流側から見た斜視図である。 実施の形態1の変形例7に係るプロペラファンを流体流れ方向の下流側から見た斜視図である。 実施の形態1の変形例8に係るプロペラファンを流体流れ方向の下流側から見た斜視図である。 実施の形態1の変形例9に係るプロペラファンを流体流れ方向の下流側から見た斜視図である。 実施の形態1の変形例10に係るプロペラファンを流体流れ方向の下流側から見た斜視図である。 実施の形態1の変形例11に係るプロペラファンを流体流れ方向の下流側から見た斜視図である。 実施の形態2の変形例1に係るプロペラファンを流体流れ方向の下流側から見た斜視図である。 実施の形態2の変形例2に係るプロペラファンを流体流れ方向の下流側から見た斜視図である。 実施の形態2の変形例3に係るプロペラファンを流体流れ方向の下流側から見た斜視図である。 実施の形態2の変形例4に係るプロペラファンを流体流れ方向の下流側から見た斜視図である。 実施の形態2の変形例5に係るプロペラファンを流体流れ方向の下流側から見た斜視図である。 実施の形態5に係るプロペラファンを流体流れ方向の下流側から見た正面図である。 実施の形態5の変形例1に係るプロペラファンを流体流れ方向の下流側から見た正面図である。 実施の形態5の変形例2に係るプロペラファンを流体流れ方向の下流側から見た正面図である。 実施の形態6に係るプロペラファンを流体流れ方向の下流側から見た正面図である。 実施の形態6の変形例1に係るプロペラファンを流体流れ方向の下流側から見た正面図である。 実施の形態6の変形例2に係るプロペラファンを流体流れ方向の下流側から見た正面図である。 実施の形態7に係るプロペラファンを流体流れ方向の下流側から見た正面図である。 実施の形態7の変形例1に係るプロペラファンを流体流れ方向の下流側から見た正面図である。 実施の形態7の変形例2に係るプロペラファンを流体流れ方向の下流側から見た正面図である。 実施の形態8に係るプロペラファンを流体流れ方向の下流側から見た部分斜視図である。 実施の形態8の変形例1に係るプロペラファンを流体流れ方向の下流側から見た部分斜視図である。 実施の形態8の変形例2に係るプロペラファンを流体流れ方向の下流側から見た部分斜視図である。 実施の形態9に係るプロペラファンを流体流れ方向の下流側から見た正面図である。
実施の形態1.
図1〜5において実施の形態1におけるプロペラファンの構造を説明する。
図1は、実施の形態1に係るプロペラファンを流体流れ方向の上流側から見た正面図である。
図2は、実施の形態1に係るプロペラファンを流体流れ方向の下流側から見た正面図である。
図3は、実施の形態1に係るプロペラファンを流体流れ方向の下流側から見た斜視図である。
図4は、実施の形態1に係るプロペラファンを流体流れ方向の側方側から見た斜視図である。
図5は、実施の形態1に係るプロペラファンを流体流れ方向の側方側から見た側面図である。
図6は、実施の形態1に係るプロペラファンの補強リブにおける断面図である。
図7は、実施の形態1に係るプロペラファンの補強リブにおける比較用断面図である。
<プロペラファンの全体構成>
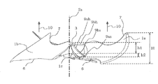
実施の形態1のプロペラファンは、回転軸線2aを中心軸として回転する。プロペラファンは、モータの駆動軸が係合する円筒形状の軸孔部2と、軸孔部2を支持する円筒部3とが回転軸線2aの周囲に形成され、円筒部3の外壁面に複数の翼1を固定した形状をしている。軸孔部2と円筒部3との間には、複数の結合リブ4が形成されている。
当該プロペラファンは、樹脂等で形成され、例えば射出成型等で成型される。プロペラファンの樹脂は、例えばポリプロピレンにガラス強化繊維とマイカ(雲母)を混ぜて強度を強くした材料等が使われる。従って、微細なガラスや石が混ざっている材料からポリプロピレン樹脂だけを分離することは容易ではなくリサイクルが困難であり、省資源化を進めるためには、出来る限り材料の使用量を削減することが望ましい。
翼1は、プロペラファンが回転する際の中心軸となる回転軸線2aに対して所定角度傾いて形成されており、プロペラファンの回転に伴って翼間に存在している流体を翼面で押して流体の流れ方向10に搬送する。この際、翼面のうち流体を押して圧力が上昇する面を圧力面1aとし、圧力面1aの裏面で圧力が下降する面を負圧面1bとする。
翼1は、翼1の回転方向11における前進側の前縁6と、翼1の回転方向11における後進側の後縁7と、翼1の外周にあたる外周縁8により形状が規定されている。
円筒部3の周囲における複数の翼1の間は、図1、2に示すように各翼1の前縁6と後縁7とを接続する連結部1cにより滑らかに接続されている。そして、回転軸線2aと連結部1cの周縁との最短距離を半径とする破線で示すような円形状の最小半径部1dが形成される。すなわち、回転軸線2aの周囲には、回転軸線2aと連結部1cの周縁との最短距離を半径とする最小半径部1dが形成され、最小半径部1dには、回転軸線2aを中心軸とし、最小半径部1dの半径よりも小さい外周半径を有する円筒部3が形成されている。
よって、回転軸線2aを中心とした最小半径部1dの半径は、円筒部3の外径の半径よりも大きい寸法となっている。このプロペラファンの形状をいわゆるボスレスファンという。
連結部1cは、特に図5に示すように隣接する翼1の前縁6から翼1の後縁7に向けて回転軸線2aと平行な流体の流れ方向10側に傾斜して設けられている。
円筒部3は、図5に示すように流体の流れ方向10の下流側である翼1の圧力面1a側の長さh1が負圧面1b側の長さh2より長く形成されている。また、円筒部3の外壁面と翼1の圧力面1a側との間には補強リブ9が立設されている。
<補強リブ9の構成>
補強リブ9は、例えば翼1の圧力面1aに回転軸線2aと平行に立設された板状部材である。補強リブ9は、円筒部3の外周面と複数の翼1とを接続して形成されている。補強リブ9を回転軸線2a方向から見た正面視の形状は、図2に示すようにプロペラファンの前縁6側に凸形となるように湾曲して(ターボ翼形状)構成されている。
補強リブ9は、1枚の翼1に対して例えば2枚(上流リブ9a、下流リブ9b)配置されている。上流リブ9aはプロペラファンの回転方向11における前進側に配置されており、下流リブ9bはプロペラファンの回転方向11における後進側に配置されている。
上流リブ9aと下流リブ9bとは、翼1との接続部分に対向する一端側に上辺9ah、9bhとを有している。上流リブ9aと下流リブ9bの形状は、図5に示すように上流リブ9aの上辺9ahが回転軸線2a方向に対して傾斜しており、下流リブ9bの上辺9bhが軸孔部2の回転軸線2a方向に対して略垂直となるように形成されている。上流リブ9aの上辺9ahの傾斜は、プロペラファンの外周に向かう程、流体の流れ方向10の上流側に向かうように傾斜している。
上流リブ9aの上辺9ahと翼1の圧力面1aとの接点である上流リブ接点9asと、下流リブ9bの上辺9bhと翼1の圧力面1aとの接点である下流リブ接点9bsとは、回転軸線2aに対して略同心円上に配置されている。
また、上流リブ接点9asと下流リブ接点9bsとは、翼1の前縁6近傍と、翼1の後縁7近傍に配置されており、翼1を支えている。
また、上流リブ接点9asは、下流リブ接点9bsよりも流体の流れ方向10の上流側に位置している。
また、円筒部3の外周面と上流リブ9aの上辺9ahとの交点は、円筒部3の外周面と下流リブ9bの上辺9bhとの交点と回転軸線2a方向で同一の位置となっている。
<補強リブ9の断面形状>
上流リブ9aの上辺9ahと下流リブ9bの上辺9bhの断面形状は、図6に示すように、プロペラファンの回転方向11の前縁側と後縁側とで2つの第1円弧9c1と第2円弧9c2とで形成されている。
ここで、前縁側の第1円弧9c1の断面半径r1が、後縁側の第2円弧9c2の断面半径r2よりも大きい半径で規定されている。
なお、図7には、図6との比較のため、第1円弧9c1と第2円弧9c2とを同一断面半径rとした場合の気流の流れを示した。
また、軸孔部2にはD形状断面を有する駆動軸が挿入され固定されるが、円筒部3の外壁面における翼1の間には、駆動軸のDカットにおける水平部の位置を示す印部3aが突起形状もしくは溝形状で形成されている。
<プロペラファンの各部位の寸法>
また、図1において、プロペラファンの翼1の最大外径寸法をφDとし、軸孔部2の外径寸法をφAとすると、φA/φDの値を0.02以上0.05以下となるようにφAを設定することが好ましい。
また、図1において、プロペラファンの翼1の最大外径寸法をφDとし、円筒部3の外径寸法をφBとすると、φB/φDの値を0.05以上0.15以下となるようにφBを設定することが好ましい。
さらに、図1において、プロペラファンの翼1の最大外径寸法をφDとし、結合リブ4の長さ寸法をL1(軸孔部2の外周面と円筒部3の内周面との長さ)とすると、L1/φDの値が0.01以上0.05以下となるようにL1を設定することが好ましい。
このような寸法に結合リブ4の長さ寸法L1を設定することで、結合リブ4を構成する樹脂材料が、モータの駆動軸の電磁気振動を低減する振動減衰効果を発揮することができる。
また、図2において、プロペラファンの翼1の最大外径寸法をφDとし、円筒部3の外径寸法をφCとすると、φC/φDの値を0.05以上0.15以下となるようにφCを設定することが好ましい。
また、図2において、プロペラファンの翼1の最大外径寸法をφDとし、上流リブ9aの径方向長さ寸法をL2(回転軸線2aと上流リブ接点9asとの長さ)とすると、L2/φDの値が0.1以上0.2以下となるようにL2を設定することが好ましい。
また、図2において、プロペラファンの翼1の最大外径寸法をφDとし、下流リブ9bの径方向長さ寸法をL3(回転軸線2aと下流リブ接点9bsとの長さ)とすると、L3/φDの値が0.1以上0.2以下となるようにL3を設定することが好ましい。
さらに、図2において、プロペラファンの翼1の最大外径寸法をφDとし、結合リブ4の長さ寸法をL4(軸孔部2の外周面と円筒部3の内周面との長さ)とすると、L4/φDの値が0.01以上0.05以下となるようにL4を設定することが好ましい。
このような寸法に結合リブ4の長さ寸法L4を設定することで、結合リブ4を構成する樹脂材料が、モータの駆動軸の電磁気振動を低減する振動減衰効果を発揮することができる。
また、図3において、プロペラファンの翼1の最大外径寸法をφDとし、上流リブ9aの回転軸線2a方向の長さをL5とすると、L5/φDの値を0.05以上0.15以下となるようにL5を設定することが好ましい。
また、図3において、プロペラファンの翼1の最大外径寸法をφDとし、下流リブ9bの回転軸線2a方向の長さをL6とすると、L6/φDの値を0.05以上0.15以下となるようにL5を設定することが好ましい。
また、図5において、プロペラファンの翼1の最大外径寸法をφDとし、円筒部3の圧力面1a側の長さをh1とすると、h1/φDの値を0.05以上0.2以下となるようにh1を設定することが好ましい。
また、図5において、プロペラファンの翼1の最大外径寸法をφDとし、円筒部3の負圧面1b側の長さをh2とすると、h2/φDの値を0.1以下となるようにh2を設定することが好ましい。
また、図6において、プロペラファンの翼1の最大外径寸法をφDとし、上流リブ9a及び下流リブ9bの厚さ寸法をL7とすると、L7/φDの値を0.0025以上0.025以下となるようにL7を設定することが好ましい。
<気流の流れ>
次に、実施の形態1に係るプロペラファンが回転した際の気流の流れについて図8、図24〜26を用いて説明する。
図8は、実施の形態1に係るプロペラファンにより形成される気流を示した回転軸線方向の風向図である。
図24は、従来のボス付のプロペラファンにより形成される気流を下流側から見た正面視での速度成分を示した説明図である。
図25は、従来のボス付のプロペラファンにより形成される気流の回転軸線方向の速度成分を示した説明図である。
図26は、従来のボス付のプロペラファンにより形成される気流を示した回転軸線方向の風向図である。
プロペラファンでは、吹き出し気流の外周側に強い遠心力が働くため、吹き出し気流20の吹き出し角度αは正の値(プラス)であり、図8のようにハの字に広がる吹き出し気流となる。
ここで、従来のボス付のプロペラファンの気流成分は図24、25に示すようになっており、吹き出し風速を回転系座標(r、θ、z)座標に分解して考えると、半径方向の風速成分をVr、回転方向11の風速成分をVθ、プロペラファンの回転軸線2a方向の風速成分をVzと定義することができる。
プロペラファンは、回転軸線2a方向に送風することが目的であるため、風速成分Vzのみが送風される風量に相当する。つまり、回転の外周方向に向かって広がるVr成分と、回転しているVθ成分は送風に関与していないため、吹き出された後は最終的に空気中の熱に変換されてエネルギーは消滅してしまう。よって、風速成分Vzを相対的に増やすことが送風効率を高めることとなり、電動機の消費電力の削減に貢献する。
また、図26に示すように回転軸線2a方向に吹き出した風は、回転軸線2a周囲ではプロペラファンに向けて逆流することが実測から明らかになっている。
実施の形態1に係るプロペラファンが回転した際の気流の流れは図8に示すようになっている。
圧力面1aから搬送された吹き出し気流20は、半径方向の速度成分をVr、回転方向11の速度成分をVθ、プロペラファンの回転軸線2a方向の速度成分をVzとしてそれらが合成された風向Vとなって吹き出される。
そして、プロペラファンの回転軸線2a部分では、吹き出し気流20に対して逆向きの気流21が生じ、プロペラファンの中心部に向けて逆流する。逆向きの気流21は、補強リブ9の回転によって作り出された負圧によって、旋回流となってプロペラファンの回転軸線2a方向に強制的に吸引される。この吸引作用は、補強リブ9の形状がプロペラファンの前縁6側に凸となる形状(ターボ翼形状)となっているため、ターボファンによる吸引側の気流と同じ効果を奏するためである。
プロペラファンの回転軸線2a方向に強制的に吸引された空気は、補強リブ9の圧力面で翼1の外周方向に反転気流23のように押し出され、翼1の圧力面1a上に流入する。すると、プロペラファンの回転軸線2a付近に負圧域が形成され、逆向きの気流21の流れを強くする効果をもたらす。
また、補強リブ9の高さは、上記のように上流リブ9aよりも下流リブ9bの方が高く構成されているため、上流リブ9aに衝突しなかった空気は下流リブ9bに衝突して、翼1の外周方向に移動し反転気流23となって、圧力面1a上に流入する。
そして、翼と翼の間を通過して通常に圧力面1aに流入した流入気流22と合流して吹き出し気流20方向に吹き出される。
ここで、補強リブ9の吸引効果を明確にするため、吸引効果の全くない従来のボス付きプロペラファンと気流を比較する。
従来のボス付きのプロペラファンの場合、図26に示すように、ボスの近傍で停滞していた流れは吹き出し気流20に誘引され循環している。これに対して実施の形態1に係るプロペラファンの場合、図8に示すように、補強リブ9があるため回転軸線2a付近に負圧を発生して逆向きの気流21を吸込むので、吹き出し気流20を回転軸線2a方向に竜巻のように巻き込み、吹き出し気流20の吹き出し角度αを小さくする効果を有する。すなわち、実施の形態1に係るプロペラファンの吹き出し角度α2は、従来のボス付プロペラファンの吹き出し角度α1よりも小さくなる。
回転軸線2a方向の風速成分Vz=COSα・Vであるため、吹き出し角度αが小さくなるほど吹き出し気流20の風向が閉じて、回転軸線2a方向の風速成分Vzを増加させ、送風効率を高めることができる。風速成分Vzが相対的に増えると、プロペラファンで同一風量を発生させるための回転数を下げることができるため、消費電力を削減することが可能となる。
<変形例1>
図9は、実施の形態1の変形例1に係るプロペラファンを流体流れ方向の下流側から見た正面図である。
上記実施の形態1に係るプロペラファンの説明では、補強リブ9の回転軸線2a方向からの正面視の形状を翼1の前縁6側に凸形となるターボ翼形状としたが、変形例1に係る補強リブ9は、図9に示すようにプロペラファンの回転軸線2aに対し放射状に伸びる直線状の平板形状となっている。
このような放射状の平板形状の補強リブ9としても、ターボ翼形状より若干弱いが補強リブ9の回転によって作り出された負圧によって、プロペラファンの回転軸線2a方向に気流を強制的に吸引させる効果を有する。よって、吹き出し角度αを小さくして回転軸線2a方向の風速成分Vzを増加させ、送風効率を高めることができる。
<効果>
このように構成された実施の形態1及びその変形例1に係るプロペラファンにおいては、いわゆるボスレス形のプロペラファンにおいて、連結部1cの最小半径部1dよりも小さい半径をもつ円筒部3の外周面から翼1の前縁6と後縁7に向かって補強リブ9を複数伸ばしているので、回転軸線2a付近の逆向きの気流21を補強リブ9が吸引する効果を有する。すると、風速が速くなった逆向きの気流21が吹き出し気流20を回転軸線2a方向に巻き込んで、吹き出し気流20の吹き出し角度αを小さくすることができる。よって、吹き出し気流20の回転軸線2a方向の風速成分Vzを相対的に増加させて、ファンの送風効率を上げることができる。
そして、各翼1を連結部1cにより滑らかに接続したことで、翼1に加わる遠心力による応力集中を分散させ、補強リブ9で支持するためボス付きのプロペラファンと同等の翼1の強度を確保し、翼1の変形を抑制して送風効率を向上させることができる。また、翼1の強度が向上するため、プロペラファンが回転した場合において、遠心力によって羽根が変形して送風性能が悪化することを抑制することができる。また、ボス部分に使われていた多くの樹脂を削減し、補強リブ9のみでボス付ファンと同等の強度を確保することができるので、軽量化(省資源化)を達成することができる。
また、上流リブ9aと下流リブ9bの形状は、図5に示すように上流リブ9aの上辺9ahが軸孔部2の中心軸方向に対して傾斜しており、下流リブ9bの上辺9bhが軸孔部2の中心軸方向に対して略垂直となるように形成されているため、上流リブ9aに当たらなかった気流は下流リブ9bにより翼1の圧力面1aに押し出される。すると、複数の補強リブ9が気流を吸引する効果を一周(360°)で6回(約60°毎)行って全周囲に分散させるので、吸引する負圧の変動を抑制することができ、安定した負圧による吸引効果を得ることができる。
さらに、図6のように補強リブ9の前縁側の第1円弧9c1の断面半径r1が、後縁側の第2円弧9c2の断面半径r2よりも大きい半径で規定されている。すると、図7に記載の均等断面半径の断面形状に比べて、大きな断面半径r1を持つ第1円弧9c1に沿って流体が滑らかに流れ、後縁側の第2円弧9c2上での気流の剥離渦が抑制される。よって、流体の損失エネルギーが低減されるので、プロペラファンを回転するための駆動力が低減され、モータの消費電力が削減される。
また、連結部1cは、特に図4に示すように隣接する翼1の前縁6から翼1の後縁7に向けて流体の流れ方向10に傾斜して設けられているため、連結部1cの圧力面1aに流入した気流をスムーズに補強リブ9に衝突させ、翼1の外周方向に押し出すことが可能になる。
また、円筒部3の外壁面における翼1の間には、駆動軸のDカットにおける水平部の位置を示す印部3aを形成したため、モータの駆動軸にプロペラファンの軸孔部2を挿通する際にプロペラファンの取付方向を特定し易くなり、組み付け時間を短縮し作業効率を向上させることができる。
次に、実施の形態1に係るプロペラファンの補強リブ9がターボ翼形状のときの変形例について説明する。
<変形例2>
図27は、実施の形態1の変形例2に係るプロペラファンの流体流れ方向の下流側から見た斜視図である。
変形例2に係る補強リブ9は、図27に示すように、実施の形態1(図2、図3を参照)に係る上流リブ9aと下流リブ9bとの間に3枚目の中間リブ9cが配置されたものである。
すなわち、補強リブ9は、プロペラファンの前縁6側に凸形となるターボ翼形状であり、1枚の翼1に対して上流リブ9a、中間リブ9c、下流リブ9bが配置されている。
なお、その他の構成は、実施の形態1に係るプロペラファンの構成と同一である。
<効果>
変形例2では、1枚の翼1に対して3枚の補強リブ9を配置することで実施の形態1に係る1枚の翼1に対して2枚の補強リブ9を配置したプロペラファンに比べて翼1の強度を向上させることができる。また、補強リブが合計で6枚から9枚となることで、回転軸線2a付近の逆向きの気流21を補強リブ9が吸引する効果が大きくなる。よって、吹き出し気流20の回転軸線2a方向の風速成分Vzを相対的に増加させて、ファンの送風効率を上げることができる。
<変形例3>
図28は、実施の形態1の変形例3に係るプロペラファンの流体流れ方向の下流側から見た斜視図である。
変形例3に係る補強リブ9は、図28に示すように、実施の形態1に係る円筒部3と軸孔部2と結合リブ4とが形成されておらず、6枚のターボ翼形状の補強リブ9(上流リブ9aと下流リブ9b)同士が回転軸線2aまで延設されて交差し、お互いに結合された構成になっている。すなわち、6枚の補強リブ9同士は、回転軸線2aにおいて交わることで軸線部2bを形成し、軸線部2bと複数の翼1とを接続している。
なお、その他の構成は、実施の形態1に係るプロペラファンの構成と同一である。
<効果>
変形例3では、実施の形態1に係る円筒部3と軸孔部2と結合リブ4とが形成されていないシンプルな構成ながら、補強リブ9を回転軸線2aまで延設してプロペラファンの翼1の強度を確保することができる。
<変形例4>
図29は、実施の形態1の変形例4に係るプロペラファンの流体流れ方向の下流側から見た斜視図である。
変形例4に係る補強リブ9は、図29に示すように、変形例3に係る上流リブ9aと下流リブ9bとの間に3枚目の中間リブ9cが配置されたものである。
補強リブ9は、プロペラファンの前縁6側に凸形となるターボ翼形状であり、1枚の翼1に対して上流リブ9a、中間リブ9c、下流リブ9bが配置されている。9枚の補強リブ9同士は、回転軸線2aにおいて交わることで軸線部2bを形成し、軸線部2bと複数の翼1とを接続している。
なお、その他の構成は、実施の形態1に係るプロペラファンの構成と同一である。
<効果>
変形例4では、1枚の翼1に対して3枚の補強リブ9を配置することで変形例3に係る1枚の翼1に対して2枚の補強リブ9を配置したプロペラファンに比べて翼1の強度を向上させることができる。また、補強リブが合計で6枚から9枚となることで、回転軸線2a付近の逆向きの気流21を補強リブ9が吸引する効果が大きくなる。よって、吹き出し気流20の回転軸線2a方向の風速成分Vzを相対的に増加させて、ファンの送風効率を上げることができる。
<変形例5>
図30は、実施の形態1の変形例5に係るプロペラファンの流体流れ方向の下流側から見た斜視図である。
変形例5に係る補強リブ9は、図30に示すように、実施の形態1に係る円筒部3と軸孔部2と結合リブ4とが形成されておらず、回転軸線2aの周囲にモータの駆動軸を取り付ける円形開口1eが開口している。6枚のターボ翼形状の補強リブ9(上流リブ9aと下流リブ9b)は、円形開口1eの開口縁まで延設されて形成された構成になっている。
すなわち、回転軸線2aの周囲に、回転軸線2aと連結部1cの周縁との最短距離を半径とする最小半径部1dが形成され、最小半径部1dには、回転軸線2aを中心軸とし、最小半径部1dの半径よりも小さい半径を有する円形開口1eが開口している。そして、補強リブ9は、円形開口1eの開口縁と複数の翼1とを接続している。
なお、その他の構成は、実施の形態1に係るプロペラファンの構成と同一である。
<効果>
変形例5では、実施の形態1に係る円筒部3と軸孔部2と結合リブ4とが形成されていないシンプルな構成ながら、補強リブ9を円形開口1eの開口縁まで延設してプロペラファンの翼1の強度を確保することができる。
<変形例6>
図31は、実施の形態1の変形例6に係るプロペラファンの流体流れ方向の下流側から見た斜視図である。
変形例6に係る補強リブ9は、図31に示すように、変形例5に係る上流リブ9aと下流リブ9bとの間に3枚目の中間リブ9cが配置されたものである。
すなわち、補強リブ9は、プロペラファンの前縁6側に凸形となるターボ翼形状であり、1枚の翼1に対して上流リブ9a、中間リブ9c、下流リブ9bが配置されている。
なお、その他の構成は、実施の形態1に係るプロペラファンの構成と同一である。
<効果>
変形例6では、1枚の翼1に対して3枚の補強リブ9を配置することで変形例5に係る1枚の翼1に対して2枚の補強リブ9を配置したプロペラファンに比べて翼1の強度を向上させることができる。また、補強リブが合計で6枚から9枚となることで、回転軸線2a付近の逆向きの気流21を補強リブ9が吸引する効果が大きくなる。よって、吹き出し気流20の回転軸線2a方向の風速成分Vzを相対的に増加させて、ファンの送風効率を上げることができる。
次に、プロペラファンの補強リブ9が回転軸線2aに対し放射状に伸びる直線状の平板形状のときの変形例について説明する。
<変形例7>
図32は、実施の形態1の変形例7に係るプロペラファンの流体流れ方向の下流側から見た斜視図である。
変形例7に係る補強リブ9は、図32に示すように、実施の形態1の変形例1(図9を参照)に係る上流リブ9aと下流リブ9bとの間に3枚目の中間リブ9cが配置されたものである。
すなわち、補強リブ9は、プロペラファンの回転軸線2aに対し放射状に伸びる直線状の平板形状であり、1枚の翼1に対して上流リブ9a、中間リブ9c、下流リブ9bが配置されている。
なお、その他の構成は、実施の形態1に係るプロペラファンの構成と同一である。
<効果>
変形例7では、1枚の翼1に対して3枚の補強リブ9を配置することで実施の形態1の変形例1に係る1枚の翼1に対して2枚の補強リブ9を配置したプロペラファンに比べて翼1の強度を向上させることができる。また、補強リブが合計で6枚から9枚となることで、回転軸線2a付近の逆向きの気流21を補強リブ9が吸引する効果が大きくなる。よって、吹き出し気流20の回転軸線2a方向の風速成分Vzを相対的に増加させて、ファンの送風効率を上げることができる。
<変形例8>
図33は、実施の形態1の変形例8に係るプロペラファンの流体流れ方向の下流側から見た斜視図である。
変形例8に係る補強リブ9は、図33に示すように、実施の形態1に係る円筒部3と軸孔部2と結合リブ4とが形成されておらず、6枚の回転軸線2aに対し放射状に伸びる直線状の平板形状の補強リブ9(上流リブ9aと下流リブ9b)同士が回転軸線2aまで延設されて交差し、お互いに結合された構成になっている。すなわち、6枚の補強リブ9同士は、回転軸線2aにおいて交わることで軸線部2bを形成し、軸線部2bと複数の翼1とを接続している。
なお、その他の構成は、実施の形態1に係るプロペラファンの構成と同一である。
<効果>
変形例8では、実施の形態1に係る円筒部3と軸孔部2と結合リブ4とが形成されていないシンプルな構成ながら、補強リブ9を回転軸線2aまで延設してプロペラファンの翼1の強度を確保することができる。
<変形例9>
図34は、実施の形態1の変形例9に係るプロペラファンの流体流れ方向の下流側から見た斜視図である。
変形例9に係る補強リブ9は、図34に示すように、変形例8に係る上流リブ9aと下流リブ9bとの間に3枚目の中間リブ9cが配置されたものである。
すなわち、補強リブ9は、プロペラファンの回転軸線2aに対し放射状に伸びる直線状の平板形状であり、1枚の翼1に対して上流リブ9a、中間リブ9c、下流リブ9bが配置されている。9枚の補強リブ9同士は、回転軸線2aにおいて交わることで軸線部2bを形成し、軸線部2bと複数の翼1とを接続している。
なお、その他の構成は、実施の形態1に係るプロペラファンの構成と同一である。
<効果>
変形例9では、1枚の翼1に対して3枚の補強リブ9を配置することで変形例8に係る1枚の翼1に対して2枚の補強リブ9を配置したプロペラファンに比べて翼1の強度を向上させることができる。また、補強リブが合計で6枚から9枚となることで、回転軸線2a付近の逆向きの気流21を補強リブ9が吸引する効果が大きくなる。よって、吹き出し気流20の回転軸線2a方向の風速成分Vzを相対的に増加させて、ファンの送風効率を上げることができる。
<変形例10>
図35は、実施の形態1の変形例10に係るプロペラファンの流体流れ方向の下流側から見た斜視図である。
変形例10に係る補強リブ9は、図35に示すように、実施の形態1に係る円筒部3と軸孔部2と結合リブ4とが形成されておらず、回転軸線2aの周囲にモータの駆動軸を取り付ける円形開口1eが開口している。6枚の回転軸線2aに対し放射状に伸びる直線状の平板形状の補強リブ9(上流リブ9aと下流リブ9b)は、円形開口1eの開口縁まで延設されて形成された構成になっている。
すなわち、回転軸線2aの周囲に、回転軸線2aと連結部1cの周縁との最短距離を半径とする最小半径部1dが形成され、最小半径部1dには、回転軸線2aを中心軸とし、最小半径部1dの半径よりも小さい半径を有する円形開口1eが開口している。そして、補強リブ9は、円形開口1eの開口縁と複数の翼1とを接続している。
なお、その他の構成は、実施の形態1に係るプロペラファンの構成と同一である。
<効果>
変形例10では、実施の形態1に係る円筒部3と軸孔部2と結合リブ4とが形成されていないシンプルな構成ながら、補強リブ9を円形開口1eの開口縁まで延設してプロペラファンの翼1の強度を確保することができる。
<変形例11>
図36は、実施の形態1の変形例11に係るプロペラファンの流体流れ方向の下流側から見た斜視図である。
変形例11に係る補強リブ9は、図36に示すように、変形例10に係る上流リブ9aと下流リブ9bとの間に3枚目の中間リブ9cが配置されたものである。
すなわち、補強リブ9は、プロペラファンの回転軸線2aに対し放射状に伸びる直線状の平板形状であり、1枚の翼1に対して上流リブ9a、中間リブ9c、下流リブ9bが配置されている。
なお、その他の構成は、実施の形態1に係るプロペラファンの構成と同一である。
<効果>
変形例11では、1枚の翼1に対して3枚の補強リブ9を配置することで変形例10に係る1枚の翼1に対して2枚の補強リブ9を配置したプロペラファンに比べて翼1の強度を向上させることができる。また、補強リブが合計で6枚から9枚となることで、回転軸線2a付近の逆向きの気流21を補強リブ9が吸引する効果が大きくなる。よって、吹き出し気流20の回転軸線2a方向の風速成分Vzを相対的に増加させて、ファンの送風効率を上げることができる。
なお、補強リブ9は、1枚の翼1に対して2枚や3枚配置する例を示したが4枚以上形成してもよい。
また、翼1の枚数は2枚以上であれば特段制約を受けない。
実施の形態2.
実施の形態2に係るプロペラファンは、実施の形態1に係るプロペラファンと補強リブ9の形状のみが異なるため補強リブ9の構成を説明する。
図10は、実施の形態2に係るプロペラファンの流体流れ方向の下流側から見た例の正面図である。
図10に示すように、実施の形態2に係る補強リブ9の形状は、回転軸線2a方向からの正面視の形状を翼1の後縁7側に凸形となるように湾曲させたシロッコ翼形状となっている。
<効果>
このようなシロッコ翼形状の補強リブ9とすると、補強リブ9の回転によって押された空気が回転軸線2a側に集められるので、軸方向に送風する効果を有する。つまり、翼1の中心部にミニプロペラファンを有するような効果を奏する。よって、回転軸線2a方向の風速成分Vzを増加させ、後述する低圧損の動作点においては送風効率を高めることができる。
ここで、実施の形態1に係る補強リブ9の形状を前縁6側に凸形となるターボ翼形状、及び、放射状に伸びる直線状の平板形状とした場合と、実施の形態2に係る後縁7側に凸形となるように湾曲させたシロッコ翼形状とした場合との効果の相違を説明する。
図11は、プロペラファンの送風性能を示すP−Q線図である。
一般的に、プロペラファンの送風性能は、図11に示すような流体の圧力(静圧)と単位時間あたりの風量の関係(P−Q線図)で表される。プロペラファンの風路に抵抗が多く存在すると、圧力損失カーブが通常圧損曲線Aから高圧損曲線Bへと立ち上がり、プロペラファンの能力特性曲線Cとの交点である動作点も移動することが知られている。高圧損曲線Bは、流路の圧力損失を通常圧損曲線Aの2倍に設定したものである。
通常圧損曲線Aと能力特性曲線Cとの交点が通常動作点となり、高圧損曲線Bと能力特性曲線Cとの交点が高圧損の動作点となり、静圧ゼロと能力特性曲線Cとの交点が低圧損の動作点となる。
実施の形態1における補強リブ9の形状を前縁6側に凸形となるターボ翼形状、及び、放射状に伸びる直線状の平板形状とした場合には、補強リブ9の回転によって作り出された負圧によって、プロペラファンの回転軸線2a方向に気流を強制的に吸引するターボ翼の効果により、静圧を必要とする通常動作点や高圧損の動作点となる流路抵抗のある使用条件が適している。
一方、実施の形態2における補強リブ9を後縁7側に凸形となるように湾曲させたシロッコ翼形状とした場合には、補強リブ9の回転によって押された空気が回転軸線2a側に集められるので、補強リブ9が回転軸線2a方向に送風するミニプロペラファンのような効果を有し、静圧を必要とせず風量を必要とする流路抵抗の少ない低圧損の動作点での使用が適している。
次に、実施の形態2に係るプロペラファンの補強リブ9がシロッコ翼形状のときの変形例について説明する。
<変形例1>
図37は、実施の形態2の変形例1に係るプロペラファンの流体流れ方向の下流側から見た斜視図である。
変形例1に係る補強リブ9は、図37に示すように、実施の形態2(図10を参照)に係る上流リブ9aと下流リブ9bとの間に3枚目の中間リブ9cが配置されたものである。
すなわち、補強リブ9は、プロペラファンの後縁7側に凸形となるシロッコ翼形状であり、1枚の翼1に対して上流リブ9a、中間リブ9c、下流リブ9bが配置されている。
なお、その他の構成は、実施の形態2に係るプロペラファンの構成と同一である。
<効果>
変形例1では、1枚の翼1に対して3枚の補強リブ9を配置することで実施の形態2に係る1枚の翼1に対して2枚の補強リブ9を配置したプロペラファンに比べて翼1の強度を向上させることができる。また、補強リブが合計で6枚から9枚となることで、補強リブ9の回転によって押された空気が回転軸線2a側に集められ、回転軸線2a方向に送風する効果が向上する。つまり、翼1の中心部にミニプロペラファンを有するような効果を奏する。よって、回転軸線2a方向の風速成分Vzを増加させ、低圧損の動作点においては送風効率を高めることができる。
<変形例2>
図38は、実施の形態2の変形例2に係るプロペラファンの流体流れ方向の下流側から見た斜視図である。
変形例2に係る補強リブ9は、図38に示すように、実施の形態2(図10を参照)に係る円筒部3と軸孔部2と結合リブ4とが形成されておらず、6枚のシロッコ翼形状の補強リブ9(上流リブ9aと下流リブ9b)同士が回転軸線2aまで延設されて交差し、お互いに結合された構成になっている。すなわち、6枚の補強リブ9同士は、回転軸線2aにおいて交わることで軸線部2bを形成し、軸線部2bと複数の翼1とを接続している。
なお、その他の構成は、実施の形態2に係るプロペラファンの構成と同一である。
<効果>
変形例2では、実施の形態2に係る円筒部3と軸孔部2と結合リブ4とが形成されていないシンプルな構成ながら、補強リブ9を回転軸線2aまで延設してプロペラファンの翼1の強度を確保することができる。
<変形例3>
図39は、実施の形態2の変形例3に係るプロペラファンの流体流れ方向の下流側から見た斜視図である。
変形例3に係る補強リブ9は、図39に示すように、変形例2に係る上流リブ9aと下流リブ9bとの間に3枚目の中間リブ9cが配置されたものである。
すなわち、補強リブ9は、プロペラファンの後縁7側に凸形となるシロッコ翼形状であり、1枚の翼1に対して上流リブ9a、中間リブ9c、下流リブ9bが配置されている。9枚の補強リブ9同士は、回転軸線2aにおいて交わることで軸線部2bを形成し、軸線部2bと複数の翼1とを接続している。
なお、その他の構成は、実施の形態2に係るプロペラファンの構成と同一である。
<効果>
変形例3では、1枚の翼1に対して3枚の補強リブ9を配置することで変形例2に係る1枚の翼1に対して2枚の補強リブ9を配置したプロペラファンに比べて翼1の強度を向上させることができる。また、補強リブが合計で6枚から9枚となることで、補強リブ9の回転によって押された空気が回転軸線2a側に集められ、回転軸線2a方向に送風する効果が向上する。つまり、翼1の中心部にミニプロペラファンを有するような効果を奏する。よって、回転軸線2a方向の風速成分Vzを増加させ、低圧損の動作点においては送風効率を高めることができる。
<変形例4>
図40は、実施の形態2の変形例4に係るプロペラファンの流体流れ方向の下流側から見た斜視図である。
変形例4に係る補強リブ9は、図40に示すように、実施の形態2に係る円筒部3と軸孔部2と結合リブ4とが形成されておらず、回転軸線2aの周囲にモータの駆動軸を取り付ける円形開口1eが開口している。6枚のシロッコ翼形状の補強リブ9(上流リブ9aと下流リブ9b)は、円形開口1eの開口縁まで延設されて形成された構成になっている。
すなわち、回転軸線2aの周囲に、回転軸線2aと連結部1cの周縁との最短距離を半径とする最小半径部1dが形成され、最小半径部1dには、回転軸線2aを中心軸とし、最小半径部1dの半径よりも小さい半径を有する円形開口1eが開口している。そして、補強リブ9は、円形開口1eの開口縁と複数の翼1とを接続している。
なお、その他の構成は、実施の形態2に係るプロペラファンの構成と同一である。
<効果>
変形例4では、実施の形態1に係る円筒部3と軸孔部2と結合リブ4とが形成されていないシンプルな構成ながら、補強リブ9を円形開口1eの周縁まで延設してプロペラファンの翼1の強度を確保することができる。
<変形例5>
図41は、実施の形態2の変形例5に係るプロペラファンの流体流れ方向の下流側から見た斜視図である。
変形例5に係る補強リブ9は、図41に示すように、変形例4に係る上流リブ9aと下流リブ9bとの間に3枚目の中間リブ9cが配置されたものである。
すなわち、補強リブ9は、プロペラファンの後縁7側に凸形となるシロッコ翼形状であり、1枚の翼1に対して上流リブ9a、中間リブ9c、下流リブ9bが配置されている。
なお、その他の構成は、実施の形態2に係るプロペラファンの構成と同一である。
<効果>
変形例5では、1枚の翼1に対して3枚の補強リブ9を配置することで変形例5に係る1枚の翼1に対して2枚の補強リブ9を配置したプロペラファンに比べて翼1の強度を向上させることができる。また、また、補強リブが合計で6枚から9枚となることで、補強リブ9の回転によって押された空気が回転軸線2a側に集められ、回転軸線2a方向に送風する効果が向上する。つまり、翼1の中心部にミニプロペラファンを有するような効果を奏する。よって、回転軸線2a方向の風速成分Vzを増加させ、低圧損の動作点においては送風効率を高めることができる。
実施の形態3.
実施の形態3は、実施の形態1または2に係るプロペラファンの翼1を流体の流れ方向10に倒した形状(後述する後傾形)とした場合の実施例である。
図12は、実施の形態3に係るプロペラファンの正面図に翼弦中心線15の位置を記載した図である。
図13は、実施の形態3に係る後傾形のプロペラファンを前傾形のプロペラファンと比較して側面図に翼弦中心線15の位置を記載した図である。
ここで、翼弦中心線15とは、翼1の特定の円周上における中央点の集合である。
図13において、後傾形の翼1の翼弦中心線15は、円筒部3の外壁面にあたる当接点15aから回転軸線2aに垂直な方向に延びた垂直面16を引くと、翼弦中心線15は垂直面16よりも流体の流れ方向10の下流側に位置している。これに対して、前傾形の翼弦中心線15は垂直面16よりも流体の流れ方向10の上流側に位置している。
よって、実施の形態3に係る後傾形のプロペラファンでは、翼1は、翼弦中心線15が垂直面16よりも流体の流れの下流側に配置される形状を備えている(以降、後傾形という)。
図13で示す翼1上の矢印は、翼1が回転した場合に空気が押される方向であり、後傾形のプロペラファンでは、翼1の内周側に向かって傾斜(=閉じた流れ)している。
比較のため図13の前傾形のプロペラファンでは、後傾形とは逆に、空気が押される方向が翼1の外周側に向かって傾斜(=開いた流れ)している。
次に、図14において、前傾形と後傾形のプロペラファンの回転軸線2aと平行な方向の風速成分Vzの違いについて説明する。
図14は、実施の形態3に係る後傾形のプロペラファンの速度成分25と、前傾形のプロペラファンの速度成分26と、を比較した図である。
風速成分Vzの最も高い(=風量が多い)場所は、空気が翼1に押される方向が異なるため、後傾形の速度成分25は、前傾形の速度成分26よりもピークの位置が翼1の内周側に寄る傾向がある。
図示のように実施の形態3に係る後傾形のプロペラファンは、気流の速度分布が翼1の外周側に広がることを抑えることで、吹き出し気流20の吹き出し角度α(図8で説明したようにαは正の値)を小さくすることができる。
なお、後傾形の翼弦中心線15が垂直面16よりも流体の流れの下流側に全て配置された翼形状の例を示したが、翼弦中心線15の長さの70%以上が垂直面16よりも流体の流れの下流側に配置されている翼1の形状であれば、上記と同様の機能及び効果を有する。
<効果>
実施の形態3に係るプロペラファンでは、このように後傾形の翼1を採用することで、実施の形態1に係る効果に加えて、さらに吹き出し気流20の吹き出し角度αを小さくすることができる。よって、吹き出し気流20の回転軸線2a方向の風速成分Vzを相対的に増加させて、ファンの送風効率を上げることができる。
実施の形態4.
実施の形態4に係るプロペラファンは、実施の形態1〜3に係るプロペラファンを空気調和機の室外機30に採用した実施例である。このプロペラファンは、室外熱交換器31に熱交換用の外気を送風する機能を有する。
図15は、実施の形態4に係る室外機に実施の形態1〜3に係るプロペラファンを取り付けた際の外観斜視図である。
図16は、実施の形態4に係る室外機に実施の形態1〜3に係るプロペラファンを取り付けた際の内部斜視図である。
図17は、実施の形態4に係る室外機のプロペラファンに外風が当たった時の補強リブの作用を説明する図である。
実施の形態4に係る室外機30のプロペラファンは、補強リブ9を回転軸線2a方向から見た正面視の形状で、図2に示すようにプロペラファンの前縁6側に凸形となるように湾曲して構成(ターボ翼形状)されているものである。
この補強リブ9は、実施の形態1に記載したように、通常の回転方向11に回転することで回転軸線2a近傍に負圧域を形成し、吹き出し気流20に対して逆向きの気流21を吸引する。
ここで、実施の形態3に係る室外機30が停止している時にプロペラファンに屋外の強風が当たる場合を考える。この強風は、プロペラファンが通常運転した時に発生させる流体の流れ方向10とは反対向きの逆風としてプロペラファンに作用する。
強風(逆風)は、プロペラファンの圧力面1aに衝突し、通常の回転方向11とは反対回転方向12に翼1を回転させる。すると、通常の回転方向11では回転方向11に凸形状に湾曲して構成(ターボ翼形状)された補強リブ9が、反対回転方向12の時には反対回転方向12に凹形状に湾曲した構成(シロッコ翼形状)となる。
<効果>
室外機30に設けたプロペラファンは、屋外の強風(逆風)が当たる時に高速で回転し遠心力で翼1が破断して破損することがある。実施の形態3に係るプロペラファンでは、強風がプロペラファンに当たると、補強リブ9が、反対回転方向12に凹形状に湾曲した構成(シロッコ翼形状)となるため、図15に示す各補強リブ9の間の空間40の空気がパラシュート作用により回転の抵抗となる。したがって、通常の回転方向11では実施の形態1に係る気流の吸引作用を有すると共に、強風による反対回転方向12では、プロペラファンの回転速度を抑制してプロペラファンの破損を防止することができる。
<プロペラファンの梱包>
実施の形態1〜3における、プロペラファンの梱包について説明する。
図18は、実施の形態1〜3におけるプロペラファンの梱包状態を示す模式図である。
図19は、従来のボス付のプロペラファンの梱包状態を示す模式図である。
図18において、梱包用のダンボール50内にボスレス形のプロペラファンが積層されて収納されており、ダンボール50の底面から翼1の前縁6までは距離Lが確保されているよう台座51が円筒部3の底面を支えるように配置されている。
実施の形態1〜3におけるプロペラファンは、従来のボス付プロペラファンにおけるボスの回転軸線方向寸法に比べて円筒部3の軸方向寸法が短いため、図18のように円筒部3の上面と下面とを当接して積層した際に積層方向の寸法を抑制し、梱包用のダンボール50内に従来より多くのプロペラファンを収納することが可能になる。
実施の形態5.
実施の形態1〜4に係るプロペラファンでは、1枚の翼1に対して上流リブ9aと下流リブ9bの2枚の補強リブ9を形成したが、実施の形態5は、1枚の翼1に対して上流リブ9aと下流リブ9bのうち下流リブ9bのみを1枚配置している。その他のプロペラファンの構成は、実施の形態1〜4と同一である。
図42は、実施の形態5に係るプロペラファンの流体流れ方向の下流側から見た正面図である。
図43は、実施の形態5の変形例1に係るプロペラファンの流体流れ方向の下流側から見た正面図である。
図44は、実施の形態5の変形例2に係るプロペラファンの流体流れ方向の下流側から見た正面図である。
実施の形態5に係るプロペラファンは、例えば図42に示すように翼1の前縁6側に凸形状となるターボ翼形状の補強リブ9を備えたプロペラファンである。補強リブ9は、実施の形態1(図2を参照)に記載の上流リブ9aと下流リブ9bのうち下流リブ9bのみが設置されている。
<変形例1>
また、実施の形態5の変形例1に係るプロペラファンは、例えば図43に示すように翼1の後縁7側に凸形状となるシロッコ翼形状の補強リブ9を備えたプロペラファンである。補強リブ9は、実施の形態2(図10を参照)に記載の上流リブ9aと下流リブ9bのうち下流リブ9bのみが設置されている。
<変形例2>
さらに、実施の形態5の変形例2に係るプロペラファンは、例えば図44に示すようにプロペラファンの回転軸線2aに対し放射状に伸びる直線状の平板形状の補強リブ9を備えたプロペラファンである。補強リブ9は、実施の形態1の変形例1(図9を参照)に記載の上流リブ9aと下流リブ9bのうち下流リブ9bのみが設置されている。
<効果>
実施の形態5及びその変形例1、2に係るプロペラファンは、1枚の翼1に対して下流リブ9bを1枚だけ配置した構成のため、プロペラファンの軽量化が可能となる。また、本実施の形態のプロペラファンは低速回転域の使用に適しており、下流リブ9bのみで翼1を支持しても強度を保つことが可能である。
さらに、実施の形態5及びその変形例1に係るターボ翼形状、及び、放射状に伸びる平板形状の下流リブ9bでは、回転軸線2a付近の逆向きの気流21を吸引する効果を発揮することができる。よって、吹き出し気流20の回転軸線2a方向の風速成分Vzを相対的に増加させて、ファンの送風効率を上げることができる。
また、変形例2に係るシロッコ翼形状の下流リブ9bでは、下流リブ9bの回転によって押された空気が回転軸線2a側に集められ、回転軸線2a方向に送風する効果が向上する。つまり、翼1の中心部にミニプロペラファンを有するような効果を奏する。よって、回転軸線2a方向の風速成分Vzを増加させ、低圧損の動作点においては送風効率を高めることができる。
実施の形態6.
実施の形態1〜4に係るプロペラファンでは、1枚の翼1に対して上流リブ9aと下流リブ9bの2枚の補強リブ9を形成したが、実施の形態6は、1枚の翼1に対して上流リブ9aと下流リブ9bのうち上流リブ9aのみを1枚配置している。その他のプロペラファンの構成は、実施の形態1〜4と同一である。
図45は、実施の形態6に係るプロペラファンの流体流れ方向の下流側から見た正面図である。
図46は、実施の形態6の変形例1に係るプロペラファンの流体流れ方向の下流側から見た正面図である。
図47は、実施の形態6の変形例2に係るプロペラファンの流体流れ方向の下流側から見た正面図である。
実施の形態6に係るプロペラファンは、例えば図45に示すように翼1の前縁6側に凸形状となるターボ翼形状の補強リブ9を備えたプロペラファンである。補強リブ9は、実施の形態1(図2を参照)に記載の上流リブ9aと下流リブ9bのうち上流リブ9aのみが設置されている。
<変形例1>
また、実施の形態6の変形例1に係るプロペラファンは、例えば図46に示すように翼1の後縁7側に凸形状となるシロッコ翼形状の補強リブ9を備えたプロペラファンである。補強リブ9は、実施の形態2(図10を参照)に記載の上流リブ9aと下流リブ9bのうち上流リブ9aのみが設置されている。
<変形例2>
さらに、実施の形態6の変形例2に係るプロペラファンは、例えば図47に示すようにプロペラファンの回転軸線2aに対し放射状に伸びる直線状の平板形状の補強リブ9を備えたプロペラファンである。補強リブ9は、実施の形態1の変形例1(図9を参照)に記載の上流リブ9aと下流リブ9bのうち上流リブ9aのみが設置されている。
<効果>
実施の形態6及びその変形例1、2に係るプロペラファンは、1枚の翼1に対して上流リブ9aを1枚だけ配置した構成のため、プロペラファンの軽量化が可能となる。また、本実施の形態のプロペラファンは実施の形態3に係るプロペラファンに比べて高速回転域の使用に適しており、翼1への応力が集中する前縁6側に上流リブ9aを配置することで強度を保つことが可能となる。
さらに、実施の形態6及びその変形例1に係るターボ翼形状、及び、放射状に伸びる平板形状の上流リブ9aでは、回転軸線2a付近の逆向きの気流21を吸引する効果を発揮することができる。よって、吹き出し気流20の回転軸線2a方向の風速成分Vzを相対的に増加させて、ファンの送風効率を上げることができる。
また、変形例2に係るシロッコ翼形状の上流リブ9aでは、上流リブ9aの回転によって押された空気が回転軸線2a側に集められ、回転軸線2a方向に送風する効果が向上する。つまり、翼1の中心部にミニプロペラファンを有するような効果を奏する。よって、回転軸線2a方向の風速成分Vzを増加させ、低圧損の動作点においては送風効率を高めることができる。
なお、実施の形態5、6では、1枚の翼1に対して上流リブ9aと下流リブ9bのうちの一方を配置した例を示したが、1枚の補強リブ9を配置する位置は翼1の前縁6側や後縁7側に近接して配置せず、任意の位置に形成すればよい。すなわち、翼1の前縁6と後縁7との間に収まるように配置されれば任意の位置を採用することが可能である。
実施の形態7.
実施の形態1〜6に係るプロペラファンでは、板材の厚みが均等な平板形状の補強リブ9を採用した例を示したが、実施の形態7に係る補強リブ9には、翼1の外周縁8側に翼1との接合面積を大きく取る拡開部60が形成されている。
その他のプロペラファンの構成は、実施の形態1〜6と同一である。
図48は、実施の形態7に係るプロペラファンを流体流れ方向の下流側から見た正面図である。
図49は、実施の形態7の変形例1に係るプロペラファンを流体流れ方向の下流側から見た正面図である。
図50は、実施の形態7の変形例2に係るプロペラファンを流体流れ方向の下流側から見た正面図である。
実施の形態7に係るプロペラファンは、例えば図48に示すように翼1の前縁6側に凸形状となるターボ翼形状の補強リブ9を備えたプロペラファンである。補強リブ9の外周縁8側の端部には、図48に示すように回転軸線2a方向から見て補強リブ9の厚さ方向に向けてY字形状に拡開する拡開部60が形成されている。すなわち、補強リブ9の外周縁8側の端部に、単位長さあたりで翼1との接合面積が増加する拡開部60が形成されている。
拡開部60は、補強リブ9の外周縁8側の端部に補強リブ9と翼1との接合面積が大きくなる形状として形成されれば図48に示すY字形状には限定されない。例えば、補強リブ9の外周縁8側の端部に補強リブ9の厚さ寸法よりも大きい外径寸法の円柱形状や多角柱形状などとして形成することができる。すなわち、拡開部60は、翼1の径方向における単位長さ当たりの翼1と補強リブ9との接合面積で比較したときに、補強リブ9の外周縁8側の端部以外の部分よりも接合面積が大きく形成された部位として定義される。
<変形例1>
実施の形態7の変形例1に係るプロペラファンは、例えば図49に示すように翼1の後縁7側に凸形状となるシロッコ翼形状の補強リブ9を備えたプロペラファンである。補強リブ9の外周縁8側の端部には、図49に示すように回転軸線2a方向から見て補強リブ9の厚さ方向に向けてY字形状に拡開する拡開部60が形成されている。すなわち、補強リブ9の外周縁8側の端部に、単位長さあたりで翼1との接合面積が増加する拡開部60が形成されている。拡開部60の形状は上記と同様にこのY字形状には限定されない。
<変形例2>
さらに、実施の形態7の変形例2に係るプロペラファンは、例えば図50に示すようにプロペラファンの回転軸線2aに対し放射状に伸びる直線状の平板形状の補強リブ9を備えたプロペラファンである。補強リブ9の外周縁8側の端部には、図50に示すように回転軸線2a方向から見て補強リブ9の厚さ方向に向けてY字形状に拡開する拡開部60が形成されている。すなわち、補強リブ9の外周縁8側の端部に、単位長さあたりで翼1との接合面積が増加する拡開部60が形成されている。拡開部60の形状は上記と同様にこのY字形状には限定されない。
<効果>
実施の形態7及びその変形例1、2に係るプロペラファンは、補強リブ9における翼1の外周縁8側に翼1との接合面積を大きく取る拡開部60が形成されているため、翼1の応力が最も大きく作用する補強リブ9の外周縁8側の端部において応力を分散して受けることができる。すなわち、拡開部60において翼1との接合面積を大きく確保し、翼1からの応力を分散加重として補強リブ9が受けることで補強リブ9と翼1との接合が破断することを防止することができる。特に室外機等で屋外の強風がプロペラファンに当たり、高速回転したときに、羽根割れを防止することができる。
実施の形態8.
実施の形態1〜7に係る補強リブ9は、プロペラファンの回転軸線2aと平行に補強リブ9の平板面が配置された例を示したが、実施の形態8に係るプロペラファンでは、ターボ翼形状の補強リブ9を構成する平板面を、その上辺9ah、9bhが前縁6側に倒れるように傾斜させたものである。
なお、その他のプロペラファンの構成は、実施の形態1〜7と同一である。
図51は、実施の形態8に係るプロペラファンを流体流れ方向の下流側から見た部分斜視図である。
実施の形態8に係る補強リブ9は、図51に記載のように前縁6側に凸形となるように湾曲して(ターボ翼形状)構成されている。補強リブ9は実施の形態1と同様に上流リブ9aと下流リブ9bとで2枚配置された例を示す。上流リブ9aと下流リブ9bとは、その上辺9ah、9bhが翼1の前縁6側に倒れるように、補強リブ9を構成する平板面が傾斜している。補強リブ9を構成する平板面と回転軸線2aとの成す角度は、図51に記載のようにβ1である。
<効果>
実施の形態8に係るプロペラファンは、このようにターボ翼形状の補強リブ9において、前縁6側に補強リブ9の上辺9ah、9bhが倒れるように傾斜させたので、回転軸線2aと平行に補強リブ9の平板面が配置された例に比べて、回転軸線2a付近の逆向きの気流21を吸引する効果をさらに高めることができる。
<変形例1>
次に、実施の形態8に係る補強リブ9の変形例1について図52を参照して説明する。
図52は、実施の形態8の変形例1に係るプロペラファンを流体流れ方向の下流側から見た部分斜視図である。
実施の形態8では、ターボ翼形状の補強リブ9において、前縁6側に補強リブ9の上辺9ah、9bhが倒れるように傾斜させたものであったが、変形例1では、ターボ翼形状の補強リブ9を構成する平板面を、その上辺9ah、9bhが後縁7側に倒れるように傾斜させたものである。
補強リブ9は、図52に記載のように前縁6側に凸形となるように湾曲して(ターボ翼形状)構成されている。補強リブ9は実施の形態1と同様に上流リブ9aと下流リブ9bとで2枚配置された例を示す。上流リブ9aと下流リブ9bとは、その上辺9ah、9bhが翼1の後縁7側に倒れるように、補強リブ9を構成する平板面が傾斜している。補強リブ9を構成する平板面と回転軸線2aとの成す角度は、図52に記載のようにβ2である。
<効果>
変形例1に係るプロペラファンは、台風などで屋外の強風がプロペラファンに当たると、補強リブ9が反対回転方向12に凹形状に湾曲した構成(シロッコ翼形状)となるため、パラシュート作用により回転の抵抗となる。したがって、通常の回転方向11では実施の形態1に係る気流の吸引作用を有すると共に、屋外の強風による反対回転方向12では、プロペラファンの回転速度を抑制してプロペラファンの破損を防止することができる。
<変形例2>
次に、実施の形態8に係る補強リブ9の変形例2について図53を参照して説明する。
図53は、実施の形態8の変形例2に係るプロペラファンを流体流れ方向の下流側から見た部分斜視図である。
実施の形態8の変形例1では、ターボ翼形状の補強リブ9において、後縁7側に補強リブ9の上辺9ah、9bhが倒れるように傾斜させたものであったが、変形例2では、シロッコ翼形状の補強リブ9を構成する平板面を、その上辺9ah、9bhが後縁7側に倒れるように傾斜させたものである。
補強リブ9は、図53に記載のように後縁7側に凸形となるように湾曲して(シロッコ翼形状)構成されている。補強リブ9は実施の形態1と同様に上流リブ9aと下流リブ9bとで2枚配置された例を示す。上流リブ9aと下流リブ9bとは、その上辺9ah、9bhが翼1の後縁7側に倒れるように、補強リブ9を構成する平板面が傾斜している。補強リブ9を構成する平板面と回転軸線2aとの成す角度は、図53に記載のようにγ1である。
<効果>
変形例2に係るプロペラファンは、このようにシロッコ翼形状の補強リブ9において、後縁7側に補強リブ9の上辺9ah、9bhが倒れるように傾斜させたので、実施の形態2に係る回転軸線2aと平行に補強リブ9の平板面が配置された例に比べて、補強リブ9によるミニプロペラファンの効果が大きくなり風量が増加する。よって、回転軸線2a方向の風速成分Vzを増加させ、送風効率を高めることができる。
実施の形態9.
実施の形態1〜8に係る補強リブ9は、プロペラファンの回転軸線2aと連結部1cの周縁との最短距離を半径とする円形状の最小半径部1dを超えて翼1を支える構成となっていたが、実施の形態9に係る補強リブ9は、最小半径部1d内に収まる長さとして規定されている。
なお、その他のプロペラファンの構成は、実施の形態1〜8と同一である。
図54は、実施の形態9に係るプロペラファンを流体流れ方向の下流側から見た正面図である。
実施の形態9に係る補強リブ9は、図54に記載のようにターボ翼形状の補強リブ9において、径方向の長さが最小半径部1d内に収まるように規定されている。すなわち、実施の形態1に係る補強リブ9に比べて径方向の長さが小さく形成されている。
図54において、プロペラファンの翼1の最大外径寸法をφDとし、補強リブ9の径方向長さ寸法をL(回転軸線2aと上流リブ接点9as、下流リブ接点9bsとの長さ)とすると、L/φDの値が0.025以上0.1以下となるようにLを設定することが好ましい。
<効果>
実施の形態9に係るプロペラファンは、図11における通常動作点と低圧損の動作点との間の静圧を必要とせず風量を必要とする流路抵抗の少ない低圧損の動作点での使用が適している。すると、構成上、補強リブ9を最小半径部1d内に収まる長さとして規定したため、プロペラファンの軽量化を実現することができる。
以上の実施の形態に記載したプロペラファンの翼形状は、様々な送風装置に採用することが可能であるが、例えば空気調和機の室外ユニットの他にも室内ユニットの送風装置として採用することができる。また、一般的な送風機や換気扇、ポンプなど、流体を搬送する軸流圧縮機形の翼形状として広く適用することが可能である。
1 翼、1a 圧力面、1b 負圧面、1c 連結部、1d 最小半径部、1e 円形開口、2 軸孔部、2a 回転軸線、2b 軸線部、3 円筒部、3a 印部、4 結合リブ、6 前縁、7 後縁、8 外周縁、9 補強リブ、9a 上流リブ、9ah 上辺、9as 上流リブ接点、9b 下流リブ、9bh 上辺、9bs 下流リブ接点、9c 中間リブ、9c1 第1円弧、9c2 第2円弧、10 回転軸線と平行な流体の流れ方向、11 回転方向、12 反対回転方向、15 中心線、15a 当接点、16 垂直面、20 吹き出し気流、21 逆向きの気流、22 流入気流、23 反転気流、25 後傾形のプロペラファンの速度成分、26 前傾形のプロペラファンの速度成分、30 室外機、31 室外熱交換器、40 空間、50 ダンボール、51 台座、60 拡開部、α1,α2 吹き出し角度、β1,β2,γ1 補強リブの角度。

Claims (15)

  1. 複数の翼が該翼の回転軸線を中心として回転し、流体を搬送する軸流ファンであって、
    前記複数の翼のそれぞれは、回転方向における前進側の前縁と、前記回転方向における後進側の後縁と、前記前縁と前記後縁とを接続する外周縁と、を有し、
    前記複数の翼のうち1枚の翼の前記前縁と、該翼の前記前縁に対して前記回転方向に隣接する翼の前記後縁とは、板状の連結部で接続され、
    前記複数の翼のそれぞれには、前記回転軸線の周囲から前記翼の外周縁に向けて板状の補強リブが少なくとも1枚配置され、
    前記補強リブは、前記回転軸線を中心とした放射状、または、前記前縁の向きに凸形状となるように形成され、前記複数の翼のうちの1枚に対して前記回転方向の上流側に位置する上流リブと、前記回転方向の下流側に位置する下流リブと、で少なくとも構成され、
    前記翼が回転した際に、前記下流リブは、前記上流リブが通過しない領域を通過する構成とした、軸流ファン。
  2. 前記上流リブと前記下流リブとは、前記翼と対向する一端側に上辺を有し、
    前記翼と前記上流リブの前記上辺との交点である上流リブ接点は、前記翼と前記下流リブとの交点である下流リブ接点よりも前記流体の搬送方向で上流側に位置する請求項に記載の軸流ファン。
  3. 複数の翼が該翼の回転軸線を中心として回転し、流体を搬送する軸流ファンであって、
    前記複数の翼のそれぞれは、回転方向における前進側の前縁と、前記回転方向における後進側の後縁と、前記前縁と前記後縁とを接続する外周縁と、を有し、
    前記複数の翼のうち1枚の翼の前記前縁と、該翼の前記前縁に対して前記回転方向に隣接する翼の前記後縁とは、板状の連結部で接続され、
    前記複数の翼のそれぞれには、前記回転軸線の周囲から前記翼の外周縁に向けて板状の補強リブが少なくとも1枚配置され、
    前記補強リブは、前記回転軸線を中心とした放射状、または、前記前縁の向きに凸形状となるように形成され、前記翼と対向する一端側に上辺を有し、
    前記補強リブの前記上辺の断面形状は、
    前記回転方向の上流側に形成される第1円弧部と前記回転方向の下流側に形成される第2円弧部とを有し、
    前記第1円弧部の断面半径は、前記第2円弧部の断面半径よりも大きい、軸流ファン。
  4. 複数の翼が該翼の回転軸線を中心として回転し、流体を搬送する軸流ファンであって、
    前記複数の翼のそれぞれは、回転方向における前進側の前縁と、前記回転方向における後進側の後縁と、前記前縁と前記後縁とを接続する外周縁と、を有し、
    前記複数の翼のうち1枚の翼の前記前縁と、該翼の前記前縁に対して前記回転方向に隣接する翼の前記後縁とは、板状の連結部で接続され、
    前記複数の翼のそれぞれには、前記回転軸線の周囲から前記翼の外周縁に向けて板状の補強リブが少なくとも1枚配置され、
    前記補強リブは、前記回転軸線を中心とした放射状、または、前記前縁の向きに凸形状となるように形成され
    前記連結部は、
    隣接する前記翼の前記前縁から前記後縁に向けて前記流体の搬送方向の上流側に向かって傾斜して形成されている、軸流ファン。
  5. 前記回転軸線の周囲には、前記回転軸線と前記連結部の周縁との最短距離を半径とする最小半径部が形成され、
    前記最小半径部には、前記回転軸線を中心軸とし、前記最小半径部の半径よりも小さい外周半径を有する円筒部が形成され、
    前記補強リブは、前記円筒部の外周面と前記複数の翼とを接続した請求項1〜4の何れか1項に記載の軸流ファン。
  6. 前記複数の翼に形成された補強リブ同士は、前記回転軸線において交わることで軸線部を形成し、
    前記補強リブは、前記軸線部と前記複数の翼とを接続する請求項1〜4の何れか1項に記載の軸流ファン。
  7. 前記回転軸線の周囲には、前記回転軸線と前記連結部の周縁との最短距離を半径とする最小半径部が形成され、
    前記最小半径部には、前記回転軸線を中心軸とし、前記最小半径部の半径よりも小さい半径を有する円形開口が開口し、
    前記補強リブは、前記円形開口の開口縁と前記複数の翼とを接続する請求項1〜4の何れか1項に記載の軸流ファン。
  8. 複数の翼が該翼の回転軸線を中心として回転し、流体を搬送する軸流ファンであって、
    前記複数の翼のそれぞれは、回転方向における前進側の前縁と、前記回転方向における後進側の後縁と、前記前縁と前記後縁とを接続する外周縁と、を有し、
    前記複数の翼のうち1枚の翼の前記前縁と、該翼の前記前縁に対して前記回転方向に隣接する翼の前記後縁とは、板状の連結部で接続され、
    前記複数の翼のそれぞれには、前記回転軸線の周囲から前記翼の外周縁に向けて板状の補強リブが少なくとも1枚配置され、
    前記回転軸線を中心軸とする円筒部が形成され、
    前記補強リブは、前記回転軸線を中心とした放射状、または、前記前縁の向きに凸形状となるように形成され
    前記翼の形状は、
    該翼の翼弦中心線が前記円筒部の外周面にあたる当接点から前記回転軸線に垂直な方向に垂直面を設けた際に、前記翼弦中心線が前記垂直面よりも流体の搬送方向の下流側に位置する後傾形である、軸流ファン。
  9. 前記回転軸線の周囲には、前記回転軸線と前記連結部の周縁との最短距離を半径とする最小半径部が形成され、
    前記円筒部は、
    前記最小半径部の半径よりも小さい外周半径を有し、
    前記補強リブは、前記円筒部の外周面と前記複数の翼とを接続した請求項に記載の軸流ファン。
  10. 前記円筒部の外周面における前記補強リブの間には、前記円筒部内に駆動軸を固定する位置を表示した印部が形成される請求項5、8、及び9の何れか1項に記載の軸流ファン。
  11. 前記補強リブの前記外周縁側の端部には、単位長さあたりで前記翼との接合面積が増加する拡開部が形成される請求項1〜10の何れか1項に記載の軸流ファン。
  12. 前記補強リブは、前記翼と対向する一端側に上辺を有し、
    前記補強リブを構成する平板面は、前記上辺が前記前縁側に倒れるように傾斜する請求項1〜11のいずれか1項に記載の軸流ファン。
  13. 前記補強リブは、前記翼と対向する一端側に上辺を有し、
    前記補強リブを構成する平板面は、前記上辺が前記後縁側に倒れるように傾斜する請求項1〜12のいずれか1項に記載の軸流ファン。
  14. 前記翼は、前記流体の流れ方向の下流側である圧力面と、前記圧力面の裏側の負圧面とから構成され、
    前記補強リブは、前記圧力面側に立設されている請求項1〜13のいずれか1項に記載の軸流ファン。
  15. 請求項1〜14のいずれか1項に記載の軸流ファンを備えた空気調和機。
JP2016540221A 2014-08-07 2015-08-03 軸流ファン、及び、その軸流ファンを有する空気調和機 Active JP6234589B2 (ja)

Applications Claiming Priority (3)

Application Number Priority Date Filing Date Title
JP2014161651 2014-08-07
JP2014161651 2014-08-07
PCT/JP2015/071968 WO2016021555A1 (ja) 2014-08-07 2015-08-03 軸流ファン、及び、その軸流ファンを有する空気調和機

Related Child Applications (1)

Application Number Title Priority Date Filing Date
JP2017141871A Division JP6470357B2 (ja) 2014-08-07 2017-07-21 軸流ファン、及び、その軸流ファンを有する空気調和機

Publications (2)

Publication Number Publication Date
JPWO2016021555A1 JPWO2016021555A1 (ja) 2017-04-27
JP6234589B2 true JP6234589B2 (ja) 2017-11-22

Family

ID=55263820

Family Applications (3)

Application Number Title Priority Date Filing Date
JP2016540221A Active JP6234589B2 (ja) 2014-08-07 2015-08-03 軸流ファン、及び、その軸流ファンを有する空気調和機
JP2017141871A Active JP6470357B2 (ja) 2014-08-07 2017-07-21 軸流ファン、及び、その軸流ファンを有する空気調和機
JP2019006031A Active JP6768852B2 (ja) 2014-08-07 2019-01-17 軸流ファン、及び、その軸流ファンを有する空気調和機

Family Applications After (2)

Application Number Title Priority Date Filing Date
JP2017141871A Active JP6470357B2 (ja) 2014-08-07 2017-07-21 軸流ファン、及び、その軸流ファンを有する空気調和機
JP2019006031A Active JP6768852B2 (ja) 2014-08-07 2019-01-17 軸流ファン、及び、その軸流ファンを有する空気調和機

Country Status (10)

Country Link
US (1) US10767656B2 (ja)
EP (2) EP3141760B1 (ja)
JP (3) JP6234589B2 (ja)
CN (2) CN106460868B (ja)
AU (1) AU2015300206B2 (ja)
MX (1) MX380464B (ja)
RU (1) RU2658442C1 (ja)
SG (2) SG10201912863UA (ja)
TR (1) TR201901081T4 (ja)
WO (1) WO2016021555A1 (ja)

Cited By (1)

* Cited by examiner, † Cited by third party
Publication number Priority date Publication date Assignee Title
JP2023134062A (ja) * 2022-03-14 2023-09-27 三菱電機株式会社 軸流ファンおよび換気扇

Families Citing this family (40)

* Cited by examiner, † Cited by third party
Publication number Priority date Publication date Assignee Title
SG10201912863UA (en) * 2014-08-07 2020-02-27 Mitsubishi Electric Corp Axial flow fan and air-conditioning apparatus having axial flow fan
JP6490421B2 (ja) * 2014-12-25 2019-03-27 テラル株式会社 ロータ
JP6597952B2 (ja) * 2015-01-23 2019-10-30 パナソニックIpマネジメント株式会社 軸流ファン
JP6592358B2 (ja) * 2015-03-03 2019-10-16 東芝キヤリア株式会社 プロペラファンおよび熱源ユニット
DE112016006555B4 (de) * 2016-03-07 2023-10-12 Mitsubishi Electric Corporation Axialventilator und Ausseneinheit
US20170369138A1 (en) * 2016-06-24 2017-12-28 Charles S. McKinny, JR. Propeller Assembly
KR102600955B1 (ko) * 2016-09-21 2023-11-13 삼성전자주식회사 프로펠러 팬 및 이를 구비하는 공기조화기
CN109891101B (zh) * 2016-10-27 2020-09-18 三菱电机株式会社 螺旋桨风扇、室外机和制冷循环装置
JP6745902B2 (ja) * 2016-11-25 2020-08-26 三菱電機株式会社 送風機、室外機及び冷凍サイクル装置
CN106903875A (zh) * 2017-03-16 2017-06-30 青岛科技大学 一种3d打印用小型螺杆塑化装置
FR3073582B1 (fr) * 2017-06-30 2022-07-22 Valeo Systemes Thermiques Helice pour ventilateur de systeme thermique de vehicule automobile, ventilateur et systeme thermique comprenant une telle helice
JP1600722S (ja) * 2017-08-09 2018-04-02
US11187239B2 (en) 2017-08-09 2021-11-30 Mitsubishi Electric Corporation Propeller fan, air-sending device, and refrigeration cycle apparatus
JP1600725S (ja) * 2017-08-09 2018-04-02
JP1600724S (ja) * 2017-08-09 2018-04-02
USD870254S1 (en) * 2017-08-09 2019-12-17 Mitsubishi Electric Corporation Propeller fan
CN110945250B (zh) * 2017-08-09 2021-09-28 三菱电机株式会社 螺旋桨风扇、送风装置及制冷循环装置
CN107436007B (zh) * 2017-09-12 2023-02-24 中山市壹比壹节能环保科技有限公司 一种轴流式静音空调扇
US10494070B2 (en) * 2017-11-02 2019-12-03 Charles S. McKinny, JR. Propeller assembly
KR101982148B1 (ko) * 2017-12-19 2019-05-24 주식회사 팬직 송풍기 팬
JP6696525B2 (ja) * 2018-03-22 2020-05-20 株式会社富士通ゼネラル プロペラファン
EP3830424B1 (en) 2018-08-02 2024-09-11 Horton, Inc. Low solidity vehicle cooling fan
WO2020103400A1 (zh) * 2018-11-22 2020-05-28 广东美的制冷设备有限公司 轴流风轮及具有其的空调器
JPWO2020110167A1 (ja) * 2018-11-26 2021-05-13 三菱電機株式会社 翼車および軸流送風機
CN113056611B (zh) * 2018-11-30 2023-12-26 富士通将军股份有限公司 螺旋桨式风扇
CN113167291B (zh) * 2018-11-30 2023-05-09 富士通将军股份有限公司 螺旋桨式风扇
WO2020110970A1 (ja) * 2018-11-30 2020-06-04 株式会社富士通ゼネラル プロペラファン
EP3889440B1 (en) * 2018-11-30 2023-08-23 Fujitsu General Limited Propeller fan
CN113825915B (zh) * 2019-05-21 2023-08-29 三菱电机株式会社 轴流风扇、送风装置及制冷循环装置
JP7270524B2 (ja) * 2019-10-30 2023-05-10 株式会社コロナ プロペラファン
CN111102242A (zh) * 2019-12-18 2020-05-05 珠海格力电器股份有限公司 风叶组件以及具有其的风扇
WO2021234859A1 (ja) * 2020-05-20 2021-11-25 三菱電機株式会社 軸流ファン、送風装置、及び、冷凍サイクル装置
CN112228395B (zh) * 2020-11-04 2021-06-08 珠海格力电器股份有限公司 轴流风叶和空调器
CN118382757A (zh) * 2021-12-13 2024-07-23 三菱电机株式会社 轴流风扇、送风机以及制冷循环装置
KR200497684Y1 (ko) * 2022-01-18 2024-01-25 주식회사 팬직 송풍기 팬의 구조
US11808282B1 (en) * 2022-03-02 2023-11-07 Aaon, Inc. Propeller fan assembly with silencer seeds and concentric hub and method of use
CN114909305B (zh) * 2022-04-28 2023-10-13 安徽理工大学 一种轴流式风机
USD1092715S1 (en) * 2023-02-13 2025-09-09 Multi-Wing International A/S Ventilator blade
USD1048368S1 (en) * 2023-03-09 2024-10-22 Regal Beloit Italy S.P.A. Fan wheel
CN117167324B (zh) * 2023-11-03 2023-12-29 佛山市南海九洲普惠风机有限公司 一种叶顶鱼尾形叶片及轴流风机叶轮

Family Cites Families (46)

* Cited by examiner, † Cited by third party
Publication number Priority date Publication date Assignee Title
DE641967C (de) * 1937-02-18 Max Weber Schraubenluefterfluegelrad
US713990A (en) * 1902-05-20 1902-11-18 James Keith Rotary fan.
US872307A (en) * 1905-09-27 1907-11-26 C G Sargents Sons Corp Propeller or fan.
US1519102A (en) * 1923-04-13 1924-12-16 Assala Anthony Propeller
US1738210A (en) * 1928-09-21 1929-12-03 Frederick G Sargent Device for increasing buoyancy
US2262695A (en) * 1940-08-12 1941-11-11 Knapp Monarch Co Fan construction
US2620970A (en) * 1950-08-07 1952-12-09 Palmer Mfg Corp Fan assembly
US2697589A (en) * 1951-02-19 1954-12-21 Davey Kingsley Impeller wheel
US3033049A (en) * 1956-03-14 1962-05-08 James W Morrow Fan drive and mounting
US2978040A (en) * 1958-02-04 1961-04-04 Oscar A Wirkkala Marine propeller
US3071315A (en) * 1961-07-11 1963-01-01 Alis Max Fan attachment for sewing machines
US3885888A (en) * 1973-03-26 1975-05-27 John G Warhol Cooling fan for radiators and the like
JPS5094514U (ja) * 1973-12-25 1975-08-08
US4172691A (en) * 1975-10-21 1979-10-30 Wallace Murray Corporation Sheet metal fan assembly
JPS5390009A (en) * 1977-01-19 1978-08-08 Wallace Murray Corp Thin plate fan assenmbly
JPS5434108A (en) 1977-08-23 1979-03-13 Mineichi Akaishi Propeller fan and method of producing same
US4671739A (en) 1980-07-11 1987-06-09 Robert W. Read One piece molded fan
US4721394A (en) * 1985-06-24 1988-01-26 Pro-Quip, Inc. Mixing blade construction
JPH0717838Y2 (ja) 1985-10-17 1995-04-26 臼井国際産業株式会社 合成樹脂製エンジン冷却用ファン
US5066196A (en) * 1988-04-21 1991-11-19 Usui Kokusai Sangyo Kabushiki Kaisha Engine-cooling fan made of synthetic resin
JPH05280494A (ja) * 1992-03-31 1993-10-26 Ono Sangyo Kk プロペラファン
JPH05340383A (ja) * 1992-06-05 1993-12-21 Daikin Ind Ltd ファン装置
JPH0667893U (ja) * 1993-02-25 1994-09-22 カルソニック株式会社 モータファン
US5437541A (en) * 1993-12-30 1995-08-01 Vainrub; John Blade for axial fan
US5454695A (en) * 1994-07-05 1995-10-03 Ford Motor Company High output engine cooling fan
JP2903124B2 (ja) * 1994-12-22 1999-06-07 三菱電機株式会社 空気調和機のモータ結合機構
JP2987133B2 (ja) * 1997-04-25 1999-12-06 日本電産コパル株式会社 軸流ファンと軸流ファンの羽根体の製造方法及び軸流ファンの羽根体の製造用金型
RU2124654C1 (ru) * 1998-02-06 1999-01-10 Открытое акционерное общество Московский вентиляторный завод Рабочее колесо осевого вентилятора
US6375427B1 (en) * 2000-04-14 2002-04-23 Borgwarner Inc. Engine cooling fan having supporting vanes
US6565320B1 (en) * 2000-11-13 2003-05-20 Borgwarner, Inc. Molded cooling fan
US6655929B2 (en) * 2001-10-09 2003-12-02 Adda Corporation Cooling fan dust guard
JP2003214389A (ja) * 2002-01-21 2003-07-30 Nippon Densan Corp ファン用インペラ
DE10238753B4 (de) * 2002-08-23 2021-11-04 Seg Automotive Germany Gmbh Radiallüfterrad zur Förderung von Kühlluft für eine elektrische Maschine
JP4062044B2 (ja) * 2002-10-09 2008-03-19 三菱電機株式会社 羽根及び送風機
JP3801162B2 (ja) 2003-09-29 2006-07-26 ダイキン工業株式会社 プロペラファン
CN100389267C (zh) * 2004-07-06 2008-05-21 鸿富锦精密工业(深圳)有限公司 风扇扇叶结构
FR2914943B1 (fr) * 2007-04-13 2011-04-01 Snecma Aube de soufflante
JP4388992B1 (ja) 2008-10-22 2009-12-24 シャープ株式会社 プロペラファン、流体送り装置および成型金型
JP2010255513A (ja) * 2009-04-24 2010-11-11 Mitsubishi Electric Corp 軸流ファン
DE102009041616A1 (de) * 2009-09-17 2011-03-24 Behr Gmbh & Co. Kg Lüfter für eine Brennkraftmaschine
CN201636038U (zh) * 2010-01-12 2010-11-17 雪龙集团有限公司 一种高效节能降本风扇
DE102010042325A1 (de) * 2010-10-12 2012-04-12 Behr Gmbh & Co. Kg Lüfter mit Lüfterschaufeln
JP5353994B2 (ja) * 2011-11-21 2013-11-27 ダイキン工業株式会社 軸流ファン
KR101386510B1 (ko) 2012-10-31 2014-04-17 삼성전자주식회사 프로펠러 팬 및 이를 구비하는 공기 조화기
JP5980180B2 (ja) * 2013-08-08 2016-08-31 三菱電機株式会社 軸流ファン、及び、その軸流ファンを有する空気調和機
SG10201912863UA (en) * 2014-08-07 2020-02-27 Mitsubishi Electric Corp Axial flow fan and air-conditioning apparatus having axial flow fan

Cited By (1)

* Cited by examiner, † Cited by third party
Publication number Priority date Publication date Assignee Title
JP2023134062A (ja) * 2022-03-14 2023-09-27 三菱電機株式会社 軸流ファンおよび換気扇

Also Published As

Publication number Publication date
SG11201609460VA (en) 2017-03-30
CN205136123U (zh) 2016-04-06
AU2015300206B2 (en) 2017-10-26
EP3141760A1 (en) 2017-03-15
JPWO2016021555A1 (ja) 2017-04-27
TR201901081T4 (tr) 2019-02-21
RU2658442C1 (ru) 2018-06-21
CN106460868A (zh) 2017-02-22
CN106460868B (zh) 2019-03-12
US20180003190A1 (en) 2018-01-04
JP2019090418A (ja) 2019-06-13
SG10201912863UA (en) 2020-02-27
EP3141760A4 (en) 2017-06-21
MX2017001604A (es) 2017-05-10
EP3141760B1 (en) 2018-12-12
US10767656B2 (en) 2020-09-08
EP3312430A1 (en) 2018-04-25
JP6768852B2 (ja) 2020-10-14
MX380464B (es) 2025-03-12
AU2015300206A1 (en) 2016-12-01
WO2016021555A1 (ja) 2016-02-11
JP2017214932A (ja) 2017-12-07
JP6470357B2 (ja) 2019-02-13

Similar Documents

Publication Publication Date Title
JP6470357B2 (ja) 軸流ファン、及び、その軸流ファンを有する空気調和機
KR101321604B1 (ko) 프로펠러 팬, 유체 이송 장치 및 성형 금형
JP4501575B2 (ja) 軸流送風機
KR102600955B1 (ko) 프로펠러 팬 및 이를 구비하는 공기조화기
JP2010121615A (ja) 直列式軸流ファン
JPWO2015092924A1 (ja) 軸流送風機
JP6192419B2 (ja) プロペラファン
WO2018020708A1 (ja) プロペラファンおよび流体送り装置
JP4388993B1 (ja) プロペラファン、流体送り装置および成型金型
CN209385404U (zh) 一种轮毂、轴流风叶及空调器
CN112983862B (zh) 离心风扇
KR20140057221A (ko) 프로펠러 팬 및 이를 구비하는 공기 조화기
JP4797776B2 (ja) 斜流送風機羽根車及び空気調和機
KR20170116754A (ko) 고정압 원심임펠러
CN102301143B (zh) 送风机叶轮
JP2012207612A (ja) 軸流ファン
JP2013174206A (ja) プロペラファン
JP4967883B2 (ja) 斜流送風機羽根車と空気調和機
JP2023134062A (ja) 軸流ファンおよび換気扇
JP2019060296A (ja) 扇風機用の軸流ファン
JP2013174205A (ja) プロペラファン
JP2006037929A (ja) 空調用送風機羽根車
JP2006200368A (ja) プロペラファンおよびそれを用いた空気調和機

Legal Events

Date Code Title Description
A131 Notification of reasons for refusal

Free format text: JAPANESE INTERMEDIATE CODE: A131

Effective date: 20170523

A521 Request for written amendment filed

Free format text: JAPANESE INTERMEDIATE CODE: A523

Effective date: 20170721

TRDD Decision of grant or rejection written
A01 Written decision to grant a patent or to grant a registration (utility model)

Free format text: JAPANESE INTERMEDIATE CODE: A01

Effective date: 20170926

A61 First payment of annual fees (during grant procedure)

Free format text: JAPANESE INTERMEDIATE CODE: A61

Effective date: 20171024

R150 Certificate of patent or registration of utility model

Ref document number: 6234589

Country of ref document: JP

Free format text: JAPANESE INTERMEDIATE CODE: R150

R250 Receipt of annual fees

Free format text: JAPANESE INTERMEDIATE CODE: R250

R250 Receipt of annual fees

Free format text: JAPANESE INTERMEDIATE CODE: R250

R250 Receipt of annual fees

Free format text: JAPANESE INTERMEDIATE CODE: R250

R250 Receipt of annual fees

Free format text: JAPANESE INTERMEDIATE CODE: R250

R250 Receipt of annual fees

Free format text: JAPANESE INTERMEDIATE CODE: R250

R250 Receipt of annual fees

Free format text: JAPANESE INTERMEDIATE CODE: R250