JP5919087B2 - 半導体装置の製造方法および半導体装置 - Google Patents

半導体装置の製造方法および半導体装置 Download PDF

Info

Publication number
JP5919087B2
JP5919087B2 JP2012108266A JP2012108266A JP5919087B2 JP 5919087 B2 JP5919087 B2 JP 5919087B2 JP 2012108266 A JP2012108266 A JP 2012108266A JP 2012108266 A JP2012108266 A JP 2012108266A JP 5919087 B2 JP5919087 B2 JP 5919087B2
Authority
JP
Japan
Prior art keywords
resist film
back surface
semiconductor device
leads
region
Prior art date
Legal status (The legal status is an assumption and is not a legal conclusion. Google has not performed a legal analysis and makes no representation as to the accuracy of the status listed.)
Expired - Fee Related
Application number
JP2012108266A
Other languages
English (en)
Other versions
JP2013235999A (ja
Inventor
博明 成田
博明 成田
Current Assignee (The listed assignees may be inaccurate. Google has not performed a legal analysis and makes no representation or warranty as to the accuracy of the list.)
Renesas Electronics Corp
Original Assignee
Renesas Electronics Corp
Priority date (The priority date is an assumption and is not a legal conclusion. Google has not performed a legal analysis and makes no representation as to the accuracy of the date listed.)
Filing date
Publication date
Application filed by Renesas Electronics Corp filed Critical Renesas Electronics Corp
Priority to JP2012108266A priority Critical patent/JP5919087B2/ja
Priority to TW102114249A priority patent/TWI584422B/zh
Priority to US13/889,349 priority patent/US9269671B2/en
Priority to CN201310177627.XA priority patent/CN103390604B/zh
Priority to CN2013202631343U priority patent/CN203300631U/zh
Publication of JP2013235999A publication Critical patent/JP2013235999A/ja
Priority to US14/953,397 priority patent/US20160079186A1/en
Application granted granted Critical
Publication of JP5919087B2 publication Critical patent/JP5919087B2/ja
Expired - Fee Related legal-status Critical Current
Anticipated expiration legal-status Critical

Links

Images

Classifications

    • HELECTRICITY
    • H01ELECTRIC ELEMENTS
    • H01LSEMICONDUCTOR DEVICES NOT COVERED BY CLASS H10
    • H01L23/00Details of semiconductor or other solid state devices
    • H01L23/562Protection against mechanical damage
    • HELECTRICITY
    • H01ELECTRIC ELEMENTS
    • H01LSEMICONDUCTOR DEVICES NOT COVERED BY CLASS H10
    • H01L21/00Processes or apparatus adapted for the manufacture or treatment of semiconductor or solid state devices or of parts thereof
    • H01L21/02Manufacture or treatment of semiconductor devices or of parts thereof
    • H01L21/04Manufacture or treatment of semiconductor devices or of parts thereof the devices having potential barriers, e.g. a PN junction, depletion layer or carrier concentration layer
    • H01L21/48Manufacture or treatment of parts, e.g. containers, prior to assembly of the devices, using processes not provided for in a single one of the groups H01L21/18 - H01L21/326 or H10D48/04 - H10D48/07
    • H01L21/4814Conductive parts
    • H01L21/4821Flat leads, e.g. lead frames with or without insulating supports
    • H01L21/4825Connection or disconnection of other leads to or from flat leads, e.g. wires, bumps, other flat leads
    • HELECTRICITY
    • H01ELECTRIC ELEMENTS
    • H01LSEMICONDUCTOR DEVICES NOT COVERED BY CLASS H10
    • H01L21/00Processes or apparatus adapted for the manufacture or treatment of semiconductor or solid state devices or of parts thereof
    • H01L21/02Manufacture or treatment of semiconductor devices or of parts thereof
    • H01L21/04Manufacture or treatment of semiconductor devices or of parts thereof the devices having potential barriers, e.g. a PN junction, depletion layer or carrier concentration layer
    • H01L21/50Assembly of semiconductor devices using processes or apparatus not provided for in a single one of the groups H01L21/18 - H01L21/326 or H10D48/04 - H10D48/07 e.g. sealing of a cap to a base of a container
    • H01L21/56Encapsulations, e.g. encapsulation layers, coatings
    • HELECTRICITY
    • H01ELECTRIC ELEMENTS
    • H01LSEMICONDUCTOR DEVICES NOT COVERED BY CLASS H10
    • H01L21/00Processes or apparatus adapted for the manufacture or treatment of semiconductor or solid state devices or of parts thereof
    • H01L21/02Manufacture or treatment of semiconductor devices or of parts thereof
    • H01L21/04Manufacture or treatment of semiconductor devices or of parts thereof the devices having potential barriers, e.g. a PN junction, depletion layer or carrier concentration layer
    • H01L21/50Assembly of semiconductor devices using processes or apparatus not provided for in a single one of the groups H01L21/18 - H01L21/326 or H10D48/04 - H10D48/07 e.g. sealing of a cap to a base of a container
    • H01L21/56Encapsulations, e.g. encapsulation layers, coatings
    • H01L21/561Batch processing
    • HELECTRICITY
    • H01ELECTRIC ELEMENTS
    • H01LSEMICONDUCTOR DEVICES NOT COVERED BY CLASS H10
    • H01L21/00Processes or apparatus adapted for the manufacture or treatment of semiconductor or solid state devices or of parts thereof
    • H01L21/02Manufacture or treatment of semiconductor devices or of parts thereof
    • H01L21/04Manufacture or treatment of semiconductor devices or of parts thereof the devices having potential barriers, e.g. a PN junction, depletion layer or carrier concentration layer
    • H01L21/50Assembly of semiconductor devices using processes or apparatus not provided for in a single one of the groups H01L21/18 - H01L21/326 or H10D48/04 - H10D48/07 e.g. sealing of a cap to a base of a container
    • H01L21/56Encapsulations, e.g. encapsulation layers, coatings
    • H01L21/565Moulds
    • HELECTRICITY
    • H01ELECTRIC ELEMENTS
    • H01LSEMICONDUCTOR DEVICES NOT COVERED BY CLASS H10
    • H01L21/00Processes or apparatus adapted for the manufacture or treatment of semiconductor or solid state devices or of parts thereof
    • H01L21/02Manufacture or treatment of semiconductor devices or of parts thereof
    • H01L21/04Manufacture or treatment of semiconductor devices or of parts thereof the devices having potential barriers, e.g. a PN junction, depletion layer or carrier concentration layer
    • H01L21/50Assembly of semiconductor devices using processes or apparatus not provided for in a single one of the groups H01L21/18 - H01L21/326 or H10D48/04 - H10D48/07 e.g. sealing of a cap to a base of a container
    • H01L21/56Encapsulations, e.g. encapsulation layers, coatings
    • H01L21/568Temporary substrate used as encapsulation process aid
    • HELECTRICITY
    • H01ELECTRIC ELEMENTS
    • H01LSEMICONDUCTOR DEVICES NOT COVERED BY CLASS H10
    • H01L21/00Processes or apparatus adapted for the manufacture or treatment of semiconductor or solid state devices or of parts thereof
    • H01L21/67Apparatus specially adapted for handling semiconductor or electric solid state devices during manufacture or treatment thereof; Apparatus specially adapted for handling wafers during manufacture or treatment of semiconductor or electric solid state devices or components ; Apparatus not specifically provided for elsewhere
    • H01L21/683Apparatus specially adapted for handling semiconductor or electric solid state devices during manufacture or treatment thereof; Apparatus specially adapted for handling wafers during manufacture or treatment of semiconductor or electric solid state devices or components ; Apparatus not specifically provided for elsewhere for supporting or gripping
    • H01L21/6835Apparatus specially adapted for handling semiconductor or electric solid state devices during manufacture or treatment thereof; Apparatus specially adapted for handling wafers during manufacture or treatment of semiconductor or electric solid state devices or components ; Apparatus not specifically provided for elsewhere for supporting or gripping using temporarily an auxiliary support
    • H01L21/6836Wafer tapes, e.g. grinding or dicing support tapes
    • HELECTRICITY
    • H01ELECTRIC ELEMENTS
    • H01LSEMICONDUCTOR DEVICES NOT COVERED BY CLASS H10
    • H01L21/00Processes or apparatus adapted for the manufacture or treatment of semiconductor or solid state devices or of parts thereof
    • H01L21/70Manufacture or treatment of devices consisting of a plurality of solid state components formed in or on a common substrate or of parts thereof; Manufacture of integrated circuit devices or of parts thereof
    • H01L21/77Manufacture or treatment of devices consisting of a plurality of solid state components or integrated circuits formed in, or on, a common substrate
    • H01L21/78Manufacture or treatment of devices consisting of a plurality of solid state components or integrated circuits formed in, or on, a common substrate with subsequent division of the substrate into plural individual devices
    • HELECTRICITY
    • H01ELECTRIC ELEMENTS
    • H01LSEMICONDUCTOR DEVICES NOT COVERED BY CLASS H10
    • H01L23/00Details of semiconductor or other solid state devices
    • H01L23/28Encapsulations, e.g. encapsulating layers, coatings, e.g. for protection
    • H01L23/29Encapsulations, e.g. encapsulating layers, coatings, e.g. for protection characterised by the material, e.g. carbon
    • H01L23/293Organic, e.g. plastic
    • HELECTRICITY
    • H01ELECTRIC ELEMENTS
    • H01LSEMICONDUCTOR DEVICES NOT COVERED BY CLASS H10
    • H01L23/00Details of semiconductor or other solid state devices
    • H01L23/28Encapsulations, e.g. encapsulating layers, coatings, e.g. for protection
    • H01L23/31Encapsulations, e.g. encapsulating layers, coatings, e.g. for protection characterised by the arrangement or shape
    • H01L23/3107Encapsulations, e.g. encapsulating layers, coatings, e.g. for protection characterised by the arrangement or shape the device being completely enclosed
    • H01L23/3114Encapsulations, e.g. encapsulating layers, coatings, e.g. for protection characterised by the arrangement or shape the device being completely enclosed the device being a chip scale package, e.g. CSP
    • HELECTRICITY
    • H01ELECTRIC ELEMENTS
    • H01LSEMICONDUCTOR DEVICES NOT COVERED BY CLASS H10
    • H01L23/00Details of semiconductor or other solid state devices
    • H01L23/48Arrangements for conducting electric current to or from the solid state body in operation, e.g. leads, terminal arrangements ; Selection of materials therefor
    • H01L23/488Arrangements for conducting electric current to or from the solid state body in operation, e.g. leads, terminal arrangements ; Selection of materials therefor consisting of soldered or bonded constructions
    • H01L23/495Lead-frames or other flat leads
    • H01L23/49503Lead-frames or other flat leads characterised by the die pad
    • HELECTRICITY
    • H01ELECTRIC ELEMENTS
    • H01LSEMICONDUCTOR DEVICES NOT COVERED BY CLASS H10
    • H01L23/00Details of semiconductor or other solid state devices
    • H01L23/48Arrangements for conducting electric current to or from the solid state body in operation, e.g. leads, terminal arrangements ; Selection of materials therefor
    • H01L23/488Arrangements for conducting electric current to or from the solid state body in operation, e.g. leads, terminal arrangements ; Selection of materials therefor consisting of soldered or bonded constructions
    • H01L23/495Lead-frames or other flat leads
    • H01L23/49517Additional leads
    • H01L23/4952Additional leads the additional leads being a bump or a wire
    • HELECTRICITY
    • H01ELECTRIC ELEMENTS
    • H01LSEMICONDUCTOR DEVICES NOT COVERED BY CLASS H10
    • H01L23/00Details of semiconductor or other solid state devices
    • H01L23/48Arrangements for conducting electric current to or from the solid state body in operation, e.g. leads, terminal arrangements ; Selection of materials therefor
    • H01L23/488Arrangements for conducting electric current to or from the solid state body in operation, e.g. leads, terminal arrangements ; Selection of materials therefor consisting of soldered or bonded constructions
    • H01L23/495Lead-frames or other flat leads
    • H01L23/49541Geometry of the lead-frame
    • HELECTRICITY
    • H01ELECTRIC ELEMENTS
    • H01LSEMICONDUCTOR DEVICES NOT COVERED BY CLASS H10
    • H01L23/00Details of semiconductor or other solid state devices
    • H01L23/544Marks applied to semiconductor devices or parts, e.g. registration marks, alignment structures, wafer maps
    • HELECTRICITY
    • H01ELECTRIC ELEMENTS
    • H01LSEMICONDUCTOR DEVICES NOT COVERED BY CLASS H10
    • H01L24/00Arrangements for connecting or disconnecting semiconductor or solid-state bodies; Methods or apparatus related thereto
    • H01L24/93Batch processes
    • H01L24/95Batch processes at chip-level, i.e. with connecting carried out on a plurality of singulated devices, i.e. on diced chips
    • H01L24/97Batch processes at chip-level, i.e. with connecting carried out on a plurality of singulated devices, i.e. on diced chips the devices being connected to a common substrate, e.g. interposer, said common substrate being separable into individual assemblies after connecting
    • HELECTRICITY
    • H01ELECTRIC ELEMENTS
    • H01LSEMICONDUCTOR DEVICES NOT COVERED BY CLASS H10
    • H01L2221/00Processes or apparatus adapted for the manufacture or treatment of semiconductor or solid state devices or of parts thereof covered by H01L21/00
    • H01L2221/67Apparatus for handling semiconductor or electric solid state devices during manufacture or treatment thereof; Apparatus for handling wafers during manufacture or treatment of semiconductor or electric solid state devices or components; Apparatus not specifically provided for elsewhere
    • H01L2221/683Apparatus for handling semiconductor or electric solid state devices during manufacture or treatment thereof; Apparatus for handling wafers during manufacture or treatment of semiconductor or electric solid state devices or components; Apparatus not specifically provided for elsewhere for supporting or gripping
    • H01L2221/68304Apparatus for handling semiconductor or electric solid state devices during manufacture or treatment thereof; Apparatus for handling wafers during manufacture or treatment of semiconductor or electric solid state devices or components; Apparatus not specifically provided for elsewhere for supporting or gripping using temporarily an auxiliary support
    • H01L2221/68327Apparatus for handling semiconductor or electric solid state devices during manufacture or treatment thereof; Apparatus for handling wafers during manufacture or treatment of semiconductor or electric solid state devices or components; Apparatus not specifically provided for elsewhere for supporting or gripping using temporarily an auxiliary support used during dicing or grinding
    • HELECTRICITY
    • H01ELECTRIC ELEMENTS
    • H01LSEMICONDUCTOR DEVICES NOT COVERED BY CLASS H10
    • H01L2221/00Processes or apparatus adapted for the manufacture or treatment of semiconductor or solid state devices or of parts thereof covered by H01L21/00
    • H01L2221/67Apparatus for handling semiconductor or electric solid state devices during manufacture or treatment thereof; Apparatus for handling wafers during manufacture or treatment of semiconductor or electric solid state devices or components; Apparatus not specifically provided for elsewhere
    • H01L2221/683Apparatus for handling semiconductor or electric solid state devices during manufacture or treatment thereof; Apparatus for handling wafers during manufacture or treatment of semiconductor or electric solid state devices or components; Apparatus not specifically provided for elsewhere for supporting or gripping
    • H01L2221/68304Apparatus for handling semiconductor or electric solid state devices during manufacture or treatment thereof; Apparatus for handling wafers during manufacture or treatment of semiconductor or electric solid state devices or components; Apparatus not specifically provided for elsewhere for supporting or gripping using temporarily an auxiliary support
    • H01L2221/6834Apparatus for handling semiconductor or electric solid state devices during manufacture or treatment thereof; Apparatus for handling wafers during manufacture or treatment of semiconductor or electric solid state devices or components; Apparatus not specifically provided for elsewhere for supporting or gripping using temporarily an auxiliary support used to protect an active side of a device or wafer
    • HELECTRICITY
    • H01ELECTRIC ELEMENTS
    • H01LSEMICONDUCTOR DEVICES NOT COVERED BY CLASS H10
    • H01L2221/00Processes or apparatus adapted for the manufacture or treatment of semiconductor or solid state devices or of parts thereof covered by H01L21/00
    • H01L2221/67Apparatus for handling semiconductor or electric solid state devices during manufacture or treatment thereof; Apparatus for handling wafers during manufacture or treatment of semiconductor or electric solid state devices or components; Apparatus not specifically provided for elsewhere
    • H01L2221/683Apparatus for handling semiconductor or electric solid state devices during manufacture or treatment thereof; Apparatus for handling wafers during manufacture or treatment of semiconductor or electric solid state devices or components; Apparatus not specifically provided for elsewhere for supporting or gripping
    • H01L2221/68304Apparatus for handling semiconductor or electric solid state devices during manufacture or treatment thereof; Apparatus for handling wafers during manufacture or treatment of semiconductor or electric solid state devices or components; Apparatus not specifically provided for elsewhere for supporting or gripping using temporarily an auxiliary support
    • H01L2221/68381Details of chemical or physical process used for separating the auxiliary support from a device or wafer
    • HELECTRICITY
    • H01ELECTRIC ELEMENTS
    • H01LSEMICONDUCTOR DEVICES NOT COVERED BY CLASS H10
    • H01L2223/00Details relating to semiconductor or other solid state devices covered by the group H01L23/00
    • H01L2223/544Marks applied to semiconductor devices or parts
    • H01L2223/54406Marks applied to semiconductor devices or parts comprising alphanumeric information
    • HELECTRICITY
    • H01ELECTRIC ELEMENTS
    • H01LSEMICONDUCTOR DEVICES NOT COVERED BY CLASS H10
    • H01L2223/00Details relating to semiconductor or other solid state devices covered by the group H01L23/00
    • H01L2223/544Marks applied to semiconductor devices or parts
    • H01L2223/54426Marks applied to semiconductor devices or parts for alignment
    • HELECTRICITY
    • H01ELECTRIC ELEMENTS
    • H01LSEMICONDUCTOR DEVICES NOT COVERED BY CLASS H10
    • H01L2223/00Details relating to semiconductor or other solid state devices covered by the group H01L23/00
    • H01L2223/544Marks applied to semiconductor devices or parts
    • H01L2223/54433Marks applied to semiconductor devices or parts containing identification or tracking information
    • HELECTRICITY
    • H01ELECTRIC ELEMENTS
    • H01LSEMICONDUCTOR DEVICES NOT COVERED BY CLASS H10
    • H01L2223/00Details relating to semiconductor or other solid state devices covered by the group H01L23/00
    • H01L2223/544Marks applied to semiconductor devices or parts
    • H01L2223/54473Marks applied to semiconductor devices or parts for use after dicing
    • HELECTRICITY
    • H01ELECTRIC ELEMENTS
    • H01LSEMICONDUCTOR DEVICES NOT COVERED BY CLASS H10
    • H01L2223/00Details relating to semiconductor or other solid state devices covered by the group H01L23/00
    • H01L2223/544Marks applied to semiconductor devices or parts
    • H01L2223/54473Marks applied to semiconductor devices or parts for use after dicing
    • H01L2223/54486Located on package parts, e.g. encapsulation, leads, package substrate
    • HELECTRICITY
    • H01ELECTRIC ELEMENTS
    • H01LSEMICONDUCTOR DEVICES NOT COVERED BY CLASS H10
    • H01L2224/00Indexing scheme for arrangements for connecting or disconnecting semiconductor or solid-state bodies and methods related thereto as covered by H01L24/00
    • H01L2224/01Means for bonding being attached to, or being formed on, the surface to be connected, e.g. chip-to-package, die-attach, "first-level" interconnects; Manufacturing methods related thereto
    • H01L2224/42Wire connectors; Manufacturing methods related thereto
    • H01L2224/47Structure, shape, material or disposition of the wire connectors after the connecting process
    • H01L2224/48Structure, shape, material or disposition of the wire connectors after the connecting process of an individual wire connector
    • H01L2224/4805Shape
    • H01L2224/4809Loop shape
    • H01L2224/48091Arched
    • HELECTRICITY
    • H01ELECTRIC ELEMENTS
    • H01LSEMICONDUCTOR DEVICES NOT COVERED BY CLASS H10
    • H01L2224/00Indexing scheme for arrangements for connecting or disconnecting semiconductor or solid-state bodies and methods related thereto as covered by H01L24/00
    • H01L2224/01Means for bonding being attached to, or being formed on, the surface to be connected, e.g. chip-to-package, die-attach, "first-level" interconnects; Manufacturing methods related thereto
    • H01L2224/42Wire connectors; Manufacturing methods related thereto
    • H01L2224/47Structure, shape, material or disposition of the wire connectors after the connecting process
    • H01L2224/48Structure, shape, material or disposition of the wire connectors after the connecting process of an individual wire connector
    • H01L2224/481Disposition
    • H01L2224/48135Connecting between different semiconductor or solid-state bodies, i.e. chip-to-chip
    • H01L2224/48137Connecting between different semiconductor or solid-state bodies, i.e. chip-to-chip the bodies being arranged next to each other, e.g. on a common substrate
    • HELECTRICITY
    • H01ELECTRIC ELEMENTS
    • H01LSEMICONDUCTOR DEVICES NOT COVERED BY CLASS H10
    • H01L2224/00Indexing scheme for arrangements for connecting or disconnecting semiconductor or solid-state bodies and methods related thereto as covered by H01L24/00
    • H01L2224/01Means for bonding being attached to, or being formed on, the surface to be connected, e.g. chip-to-package, die-attach, "first-level" interconnects; Manufacturing methods related thereto
    • H01L2224/42Wire connectors; Manufacturing methods related thereto
    • H01L2224/47Structure, shape, material or disposition of the wire connectors after the connecting process
    • H01L2224/48Structure, shape, material or disposition of the wire connectors after the connecting process of an individual wire connector
    • H01L2224/481Disposition
    • H01L2224/48151Connecting between a semiconductor or solid-state body and an item not being a semiconductor or solid-state body, e.g. chip-to-substrate, chip-to-passive
    • H01L2224/48221Connecting between a semiconductor or solid-state body and an item not being a semiconductor or solid-state body, e.g. chip-to-substrate, chip-to-passive the body and the item being stacked
    • H01L2224/48245Connecting between a semiconductor or solid-state body and an item not being a semiconductor or solid-state body, e.g. chip-to-substrate, chip-to-passive the body and the item being stacked the item being metallic
    • H01L2224/48247Connecting between a semiconductor or solid-state body and an item not being a semiconductor or solid-state body, e.g. chip-to-substrate, chip-to-passive the body and the item being stacked the item being metallic connecting the wire to a bond pad of the item
    • HELECTRICITY
    • H01ELECTRIC ELEMENTS
    • H01LSEMICONDUCTOR DEVICES NOT COVERED BY CLASS H10
    • H01L2224/00Indexing scheme for arrangements for connecting or disconnecting semiconductor or solid-state bodies and methods related thereto as covered by H01L24/00
    • H01L2224/74Apparatus for manufacturing arrangements for connecting or disconnecting semiconductor or solid-state bodies and for methods related thereto
    • H01L2224/78Apparatus for connecting with wire connectors
    • H01L2224/7825Means for applying energy, e.g. heating means
    • H01L2224/783Means for applying energy, e.g. heating means by means of pressure
    • H01L2224/78301Capillary
    • HELECTRICITY
    • H01ELECTRIC ELEMENTS
    • H01LSEMICONDUCTOR DEVICES NOT COVERED BY CLASS H10
    • H01L2224/00Indexing scheme for arrangements for connecting or disconnecting semiconductor or solid-state bodies and methods related thereto as covered by H01L24/00
    • H01L2224/80Methods for connecting semiconductor or other solid state bodies using means for bonding being attached to, or being formed on, the surface to be connected
    • H01L2224/85Methods for connecting semiconductor or other solid state bodies using means for bonding being attached to, or being formed on, the surface to be connected using a wire connector
    • H01L2224/8512Aligning
    • H01L2224/85148Aligning involving movement of a part of the bonding apparatus
    • H01L2224/85169Aligning involving movement of a part of the bonding apparatus being the upper part of the bonding apparatus, i.e. bonding head, e.g. capillary or wedge
    • H01L2224/8518Translational movements
    • H01L2224/85181Translational movements connecting first on the semiconductor or solid-state body, i.e. on-chip, regular stitch
    • HELECTRICITY
    • H01ELECTRIC ELEMENTS
    • H01LSEMICONDUCTOR DEVICES NOT COVERED BY CLASS H10
    • H01L2224/00Indexing scheme for arrangements for connecting or disconnecting semiconductor or solid-state bodies and methods related thereto as covered by H01L24/00
    • H01L2224/93Batch processes
    • H01L2224/95Batch processes at chip-level, i.e. with connecting carried out on a plurality of singulated devices, i.e. on diced chips
    • H01L2224/97Batch processes at chip-level, i.e. with connecting carried out on a plurality of singulated devices, i.e. on diced chips the devices being connected to a common substrate, e.g. interposer, said common substrate being separable into individual assemblies after connecting
    • HELECTRICITY
    • H01ELECTRIC ELEMENTS
    • H01LSEMICONDUCTOR DEVICES NOT COVERED BY CLASS H10
    • H01L2924/00Indexing scheme for arrangements or methods for connecting or disconnecting semiconductor or solid-state bodies as covered by H01L24/00
    • H01L2924/10Details of semiconductor or other solid state devices to be connected
    • H01L2924/11Device type
    • H01L2924/12Passive devices, e.g. 2 terminal devices
    • H01L2924/1204Optical Diode
    • H01L2924/12042LASER
    • HELECTRICITY
    • H01ELECTRIC ELEMENTS
    • H01LSEMICONDUCTOR DEVICES NOT COVERED BY CLASS H10
    • H01L2924/00Indexing scheme for arrangements or methods for connecting or disconnecting semiconductor or solid-state bodies as covered by H01L24/00
    • H01L2924/15Details of package parts other than the semiconductor or other solid state devices to be connected
    • H01L2924/151Die mounting substrate
    • H01L2924/156Material
    • H01L2924/157Material with a principal constituent of the material being a metal or a metalloid, e.g. boron [B], silicon [Si], germanium [Ge], arsenic [As], antimony [Sb], tellurium [Te] and polonium [Po], and alloys thereof
    • H01L2924/15738Material with a principal constituent of the material being a metal or a metalloid, e.g. boron [B], silicon [Si], germanium [Ge], arsenic [As], antimony [Sb], tellurium [Te] and polonium [Po], and alloys thereof the principal constituent melting at a temperature of greater than or equal to 950 C and less than 1550 C
    • H01L2924/15747Copper [Cu] as principal constituent
    • HELECTRICITY
    • H01ELECTRIC ELEMENTS
    • H01LSEMICONDUCTOR DEVICES NOT COVERED BY CLASS H10
    • H01L2924/00Indexing scheme for arrangements or methods for connecting or disconnecting semiconductor or solid-state bodies as covered by H01L24/00
    • H01L2924/15Details of package parts other than the semiconductor or other solid state devices to be connected
    • H01L2924/181Encapsulation
    • HELECTRICITY
    • H01ELECTRIC ELEMENTS
    • H01LSEMICONDUCTOR DEVICES NOT COVERED BY CLASS H10
    • H01L2924/00Indexing scheme for arrangements or methods for connecting or disconnecting semiconductor or solid-state bodies as covered by H01L24/00
    • H01L2924/15Details of package parts other than the semiconductor or other solid state devices to be connected
    • H01L2924/181Encapsulation
    • H01L2924/1815Shape
    • HELECTRICITY
    • H01ELECTRIC ELEMENTS
    • H01LSEMICONDUCTOR DEVICES NOT COVERED BY CLASS H10
    • H01L2924/00Indexing scheme for arrangements or methods for connecting or disconnecting semiconductor or solid-state bodies as covered by H01L24/00
    • H01L2924/15Details of package parts other than the semiconductor or other solid state devices to be connected
    • H01L2924/181Encapsulation
    • H01L2924/1815Shape
    • H01L2924/1816Exposing the passive side of the semiconductor or solid-state body
    • H01L2924/18165Exposing the passive side of the semiconductor or solid-state body of a wire bonded chip

Landscapes

  • Engineering & Computer Science (AREA)
  • Microelectronics & Electronic Packaging (AREA)
  • Computer Hardware Design (AREA)
  • Power Engineering (AREA)
  • Physics & Mathematics (AREA)
  • Condensed Matter Physics & Semiconductors (AREA)
  • General Physics & Mathematics (AREA)
  • Manufacturing & Machinery (AREA)
  • Lead Frames For Integrated Circuits (AREA)
  • Structures Or Materials For Encapsulating Or Coating Semiconductor Devices Or Solid State Devices (AREA)
  • Encapsulation Of And Coatings For Semiconductor Or Solid State Devices (AREA)

Description

本発明は半導体装置の製造技術および半導体装置に関し、例えばパッケージの裏面にリードを有する半導体装置の製造に好適に利用できるものである。
樹脂封止された半導体装置の特性選別においては、複数のリード(外部接続端子、外部端子、端子)のなかからインデックス(識別番号、通し番号、指標)として1番目のリードと定められた1pin(1ピン)の位置を認識する必要がある。
例えば特開2008−288304号公報(特許文献1)には、モールド樹脂の下面から露出する周辺部の吊りリードの先端部を補強端子部として構成し、1つの補強端子部を、他の補強端子部とはモールド樹脂から露出する形状が異なるものとすることにより、1pinを認識する技術が開示されている。
また、特開2011−091145号公報(特許文献2)には、樹脂パッケージの裏面に露出するアイランドのコーナー部の一部を切り欠くことで、アイランドの露出形状が位置認識マークとして利用される技術が開示されている。
また、特開2006−229263号公報(特許文献3)には、樹脂封止体の裏面から複数の吊りリードの一部を露出させ、そのうちの1本を樹脂封止体の向きを認識するためのインデックスとして用いる技術が開示されている。
また、特開2003−332513号公報(特許文献4)には、封止体の表面側の対角線方向に沿った2つのコーナー部に切り欠き部を設け、これら切り欠き部から、円形の平面形状を有する認識マークが設けられた吊りリードの一部を露出する技術が開示されている。
また、特開2004−327903号公報(特許文献5)には、リードの一面をハーフエッチング面、他面を非ハーフエッチング面とし、非ハーフエッチング面と外側側面とを樹脂から露出させ、これ以外を樹脂中にして樹脂封止した半導体装置が開示されている。
特開2008−288304号公報 特開2011−091145号公報 特開2006−229263号公報 特開2003−332513号公報 特開2004−327903号公報
樹脂封止された半導体装置(半導体パッケージ)においては、その裏面から露出する複数のリードのなかから1個のリードを「1pin」と定めている。この1pinは、半導体装置の向きの識別、または検査時において複数のリードの各々を識別する役割を担う。そのため、外観から容易に1pinを認識できることが必要である。しかし、パーツフィーダ方式の特性選別を採用する場合、タブレスパッケージでは1pinの位置認識ができないという課題が生じていた。
その他の課題と新規な特徴は、本明細書の記述および添付図面から明らかになるであろう。
一実施の形態によれば、吊りリードに連結され、樹脂封止体の裏面に露出する識別用目印を形成し、この識別用目印によって樹脂封止体の裏面に露出する複数のリードのなかから1pinの位置認識を行う。
一実施の形態によれば、タブレスパッケージにおいて1pinの位置認識を容易に行うことができる。
一実施の形態による半導体装置の裏面を示す要部平面図である。 一実施の形態による半導体装置の1番目のインデックスが付されたリード(1pin)が配置された外側側面を示す要部側面図である。 一実施の形態による半導体装置の最終番目のインデックスが付されたリードが配置された外側側面を示す要部側面図である。 一実施の形態によるウエハ準備工程における半導体装置の要部断面図である。 一実施の形態による樹脂シート貼り付け工程における半導体装置の要部断面図である。 一実施の形態によるダイシングテープ工程における半導体装置の要部断面図である。 一実施の形態によるウエハダイシング工程における半導体装置の要部断面図である。 一実施の形態によるリードフレームの表面を示す要部平面図である。 一実施の形態によるリードフレームの裏面を示す要部平面図である。 一実施の形態によるリードフレームの製作方法を説明する工程図である。 (a)および(b)はそれぞれ、一実施の形態によるリードフレームの製作工程におけるリードフレームの表面および裏面を示す要部平面図である。 一実施の形態によるリードフレームの製作工程におけるリードフレームの断面を示す要部断面図である。 (a)および(b)はそれぞれ、図11および図12に続く、図11(a)および(b)と同じ個所の要部平面図である。 図11および図12に続く、図12と同じ個所の要部断面図である。 (a)および(b)はそれぞれ、図13および14に続く、図11(a)および(b)と同じ個所の要部平面図である。 図13および図14に続く、図12と同じ個所の要部断面図である。 (a)および(b)はそれぞれ、図15および16に続く、図11(a)および(b)と同じ個所の要部平面図である。 図15および図16に続く、図12と同じ個所の要部断面図である。 (a)および(b)はそれぞれ、図17および18に続く、図11(a)および(b)と同じ個所の要部平面図である。 図17および図18に続く、図12と同じ個所の要部断面図である。 (a)および(b)はそれぞれ、図19および20に続く、図11(a)および(b)と同じ個所の要部平面図である。 図19および図20に続く、図12と同じ個所の要部断面図である。 一実施の形態によるダイボンディング工程における半導体装置の要部断面図である。 一実施の形態によるワイヤボンディング工程における半導体装置の要部断面図である。 一実施の形態によるモールド工程における半導体装置の要部断面図である。 一実施の形態によるレーザーマーク工程における半導体装置の要部断面図である。 一実施の形態によるパッケージダイシング工程における半導体装置の要部断面図である。 一実施の形態による半導体装置の表面を示す要部平面図である。 一実施の形態による半導体装置の裏面を示す要部平面図である。 一実施の形態による半導体装置の断面を示す要部断面図である。 一実施の形態による自動部品供給装置を説明する概略図である。 一実施の形態によるパーツフィーダー方式の特性選別を説明する工程図である。 一実施の形態による半導体装置の製造方法を説明する工程図である。 一実施の形態の第1変形例によるリードフレームの表面を示す要部平面図である。 一実施の形態の第1変形例によるリードフレームの裏面を示す要部平面図である。 一実施の形態の第2変形例による半導体装置の断面を示す要部断面図である。 一実施の形態の第2変形例による半導体装置の裏面を示す要部平面図である。 一実施の形態の第3変形例による半導体装置の裏面を示す要部平面図である。 一実施の形態の第3変形例による半導体装置の1番目のインデックスが付されたリード(1pin)が配置された外側側面を示す要部側面図である。 一実施の形態の第3変形例による半導体装置の最終番目のインデックスが付されたリードが配置された外側側面を示す要部側面図である。 一実施の形態の第3変形例による1個のリードを拡大して示すリードの要部断面図である。 一実施の形態の第3変形例による複数のリードを有する基材の製造方法を説明する工程図である。 一実施の形態の第3変形例による複数のリードを有する基材の製造方法を説明する製造工程中における基材の要部断面図である。 図43に続く、図43と同じ箇所の要部断面図である。 図44に続く、図43と同じ箇所の要部断面図である。 図45に続く、図43と同じ箇所の要部断面図である。 図46に続く、図43と同じ箇所の要部断面図である。 図47に続く、図43と同じ箇所の要部断面図である。 図48に続く、図43と同じ箇所の要部断面図である。 一実施の形態の第3変形例によるダイボンディング工程における半導体装置の要部断面図である。 一実施の形態の第3変形例によるワイヤボンディング工程における半導体装置の要部断面図である。 一実施の形態の第3変形例によるモールド工程における半導体装置の要部断面図である。 一実施の形態の第3変形例によるレーザーマーク工程における半導体装置の要部断面図である。 一実施の形態の第3変形例によるパッケージダイシング工程における半導体装置の要部断面図である。 一実施の形態の第3変形例による半導体装置の裏面を示す要部平面図である。 一実施の形態の第3変形例による半導体装置の断面を示す要部断面図である。 一実施の形態の第3変形例による半導体装置の製造方法を説明する工程図である。 本発明者らによって検討されたQFNの一例であるタブレスパッケージの裏面の要部平面図である。 本発明者らによって検討されたQFNの一例であるタブレスパッケージの第1変形例の裏面の要部平面図である。 本発明者らによって検討されたQFNの一例であるタブレスパッケージの第2変形例の裏面の要部平面図である。 本発明者らによって検討されたQFNの他の例であるタブ有りパッケージの裏面の要部平面図である。
以下の実施の形態において、便宜上その必要があるときは、複数のセクションまたは実施の形態に分割して説明するが、特に明示した場合を除き、それらはお互いに無関係なものではなく、一方は他方の一部または全部の変形例、詳細、補足説明等の関係にある。
また、以下の実施の形態において、要素の数等(個数、数値、量、範囲等を含む)に言及する場合、特に明示した場合および原理的に明らかに特定の数に限定される場合等を除き、その特定の数に限定されるものではなく、特定の数以上でも以下でも良い。さらに、以下の実施の形態において、その構成要素(要素ステップ等も含む)は、特に明示した場合および原理的に明らかに必須であると考えられる場合等を除き、必ずしも必須のものではないことは言うまでもない。同様に、以下の実施の形態において、構成要素等の形状、位置関係等に言及するときは、特に明示した場合および原理的に明らかにそうでないと考えられる場合等を除き、実質的にその形状等に近似または類似するもの等を含むものとする。このことは、上記数値および範囲についても同様である。
また、以下の実施の形態において、タブレスパッケージとは、半導体チップを搭載する基材(タブ、アイランド)がなく、半導体チップを封止する樹脂封止体の裏面(下面、底面)に上記基材が露出しない樹脂パッケージを言う。
また、以下の実施の形態で用いる図面においては、平面図であっても図面を見易くするためにハッチングを付す場合もある。また、以下の実施の形態を説明するための全図において、同一機能を有するものは原則として同一の符号を付し、その繰り返しの説明は省略する。以下、本実施の形態を図面に基づいて詳細に説明する。
(詳細な課題)
リードフレームに搭載された半導体チップを樹脂からなる封止体によって封止した半導体パッケージの一種にQFN(Quad Flat Non-leaded package)がある。
QFNは、封止体の中央部に半導体チップを配置し、半導体チップの周囲に複数のリードを配置し、封止体の内部において半導体チップの表面に形成された複数の電極パッドと複数のリードの表面とを複数のボンディングワイヤを介してそれぞれ電気的に接続し、複数のリードの裏面を封止体の裏面から露出する構造となっている。そして、封止体の裏面から露出した複数のリードのそれぞれの裏面を配線基板の電極(フットプリント)に半田付けすることによって、半導体パッケージは実装される。このQFNは、複数のリードが封止体の側面から横方向に延びるQFP(Quad Flat Package)に比べて、実装面積が小さくなるという利点を備えている。
図58に、QFNの一例であるタブレスパッケージの裏面の要部平面図を示す。封止体MO1の外周部の裏面には、複数(24個)のリードLE1の裏面がそれぞれ露出している。図58中に示す数字は各リードLE1のインデックス(識別番号、通し番号、指標)であり、インデックス1に該当するリードLE1を「1pin」と言う。
図59に、QFNの一例であるタブレスパッケージの第1変形例の裏面の要部平面図を示す。封止体MO2の外周部の裏面には、複数(20個)のリードLE2の裏面がそれぞれ露出している。前述の図58と同様に、図59中に示す数字は各リードLE2のインデックスであり、インデックス1に該当するリードLE2を「1pin」と言う。
封止体MO2から露出した1pinの裏面における封止体MO2の外周に沿った方向の幅が、封止体MO2から露出した他のリードLE2の裏面における封止体MO2の外周に沿った幅よりも大きく形成されている。すなわち、この1pinの封止体MO2の裏面から露出する形状は、他のリードLE2の封止体MO2の裏面から露出する形状とは相違しており、これにより、1pinを認識することができる。
図60に、QFNの一例であるタブレスパッケージの第2変形例の裏面の要部平面図を示す。封止体MO3の外周部の裏面には、複数(16個)のリードLE3の裏面がそれぞれ露出している。前述の図58と同様に、図60中に示す数字は各リードLE3のインデックスであり、インデックス1に該当するリードLE3を「1pin」と言う。
封止体MO3から露出した1pinの裏面における封止体MO3の外周に沿った方向と封止体MO3の裏面上で直交する方向の長さが、封止体MO3から露出した他のリードLE3の裏面における封止体MO3の外周に沿った方向と封止体MO3の裏面上で直交する方向の長さよりも短く形成されている。すなわち、この1pinの封止体MO3の裏面から露出する形状は、他のリードLE2の封止体MO3の裏面から露出する形状とは相違しており、これにより、1pinを認識することができる。
図61に、QFNの他の例であるタブ有りパッケージの裏面の要部平面図を示す。封止体MO4の外周部の裏面には、複数(20個)のリードLE4の裏面がそれぞれ露出している。さらに、封止体MO4の中央部の裏面には、1個の四角形のタブ(アイランド)LE5が露出している。前述の図58と同様に、図61中に示す数字は各リードLE4のインデックスであり、インデックス1に該当するリードLE4を「1pin」と言う。封止体MO4の裏面から露出しているタブLE5の1つの角部に切り欠け部を形成することにより、1pinを認識することができる。
ところで、このようなパッケージ構造を有する半導体装置の特性選別においては、従来トレイ方式の特性選別またはプローバー方式の特性選別を採用していた。
しかしながら、トレイ方式の特性選別は、個々の半導体装置(半導体パッケージ)をトレイに詰めるため、作業に長時間を要していた。また、プローバー方式の特性選別は、品種切り替えなどに時間がかかるためフレキシビリティが不足していた。さらに、トレイ方式の特性選別およびプローバー方式の特性選別では、検査装置による特性選別の後に、別途半導体装置を梱包する梱包装置が必要であった。
そこで、本発明者らは、パーツフィーダー方式の特性選別の採用を検討した。パーツフィーダ方式の特性選別は、トレイ方式の特性選別よりも作業時間が短縮でき、かつ品種切り替えも容易に行えるという利点を有している。さらに、半導体装置の検査および梱包も一台の装置において連続して行うことができる。
ところが、パーツフィーダー方式の特性選別では、ダイシングにより個片化された複数の半導体装置が一旦バラバラになるため、検査時には1pinを認識して、半導体装置の向きを揃える必要がある。なお、トレイ方式の特性選別では、ダイシングにより個片化された複数の半導体装置を、例えばコレットを用いて個々にトレイに詰めるため、1pinの識別は不要であった。また、プローバー方式の特性選別では、ダイシングにより個片化された複数の半導体装置を固定リング(Cリング)に貼り付けたまま検査を行うため、1pinの識別は不要であった。
しかし、前述の図58に示したタブレスパッケージでは、1pinの認識ができない。
また、前述の図59および図60に示したタブレスパッケージでは、1pinの認識は可能ではあるが、配線基板の電極を1pinの形状に合わせる必要があるため、1pinの形状を変更するには顧客の許可が必要となる。さらに、前述の図59および図60に示したタブレスパッケージでは、1pinの形状変更による面積の増減は数%程度であるため、半導体装置のサイズが、例えば1辺が2mm程度と小さくなると画像認識が難しくなり、1pinの正確な認識ができなくなる恐れがあった。
また、前述の図61に示したタブ有りパッケージでも、同様に、半導体装置のサイズが、例えば1辺が2mm程度と小さくなると画像認識が難しくなり、1pinの正確な認識ができなくなる恐れがあった。
本実施の形態では、吊りリードにより保持した識別用目印を形成し、この識別用目印を封止体の裏面から露出させることにより、特に、タブレスパッケージにおいて1pinの位置認識を容易に行うことができる技術を開示する。
(実施の形態)
≪半導体装置≫
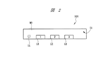
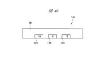
本実施の形態1による半導体装置の構造を図1〜図3を用いて説明する。ここでは、12個のリード(外部接続端子、外部端子、端子)を備えるタブレスパッケージを例示する。
図1は半導体装置の裏面を示す要部平面図、図2は半導体装置の1pin(インデックス1のリード)が配置された外側側面を示す要部側面図、図3は半導体装置の最終番目のインデックスが付されたリード(インデックス12のリード)が配置された外側側面を示す要部側面図である。
半導体装置(半導体パッケージ)SD1の平面視における形状は四角形であり、表面(上面)、裏面(下面、底面)、および4つの側面(第1側面S1、第2側面S2、第3側面S3、および第4側面S4)を有する。
半導体装置SD1は、例えば半導体チップ、半導体チップの周囲に設けられた複数のリード(外部接続端子、外部端子、端子)LE、半導体チップの表面に設けられた複数の電極パッド(ボンディングパッド、表面電極)と複数のリードLEの表面(上面)とをそれぞれ電気的に接続する複数の導電性ワイヤから構成されている。そして、半導体チップ、複数のリードLEの一部(表面(上面)と、側面の一部)、および複数の導電性ワイヤは樹脂封止体(封止体)MOによって封止されている。従って、樹脂封止体MOも平面視における形状は四角形であり、所定の厚さを持って、表面(上面)、表面と反対側の裏面(下面、底面)を有している。
図1に示すように、樹脂封止体MOの裏面には、複数のリードLEの裏面(下面、実装面)が露出する。ここでは12個のリードLEを有する半導体装置SD1を例示しているので、樹脂封止体MOの裏面には12個のリードLEの裏面が露出している。樹脂封止体MOの4つの角部のうち、1つの角部に最も近いリードLEの1個をインデックス1と定め、これを基準にして、連続して樹脂封止体MOの外周部の裏面に配置された複数のリードLEに、順次インデックス(識別番号、通し番号、指標)が付けられている。インデックス1に該当するリードLEを「1pin」と言う。
半導体装置SD1では、第1側面S1に沿ってインデックス1、2および3のリードLEが配置され、第2側面S2に沿ってインデックス4、5および6のリードLEが配置され、第3側面S3に沿ってインデックス7、8および9のリードLEが配置され、第4側面S4に沿ってインデックス10、11および12のリードLEが配置されている。図1中にリードLEと重ねて付した数字がインデックスである。
さらに、1pinに最も近い樹脂封止体MOの角部には、1pinに隣接して画像認識エリアPRAが設けられており、この画像認識エリアPRAにおいて、樹脂封止体MOの裏面に識別用目印PPの裏面(下面)が露出している。この識別用目印PPは、後に説明する吊りリードに保持されており、12個のリードLEと同一の導電性部材からなる。上記導電性部材は、例えば銅(Cu)であり、樹脂封止体MOの裏面から露出する12個のリードLEの裏面および識別用目印PPの裏面には、例えばパラジウム(Pd)膜が形成されている。
また、図2および図3に示すように、樹脂封止体MOの側面にも、12個のリードLEの側面の他部が露出する。図2および図3中にリードLEと重ねて付した数字がインデックスである。図2に示すように、第1側面S1にはインデックス1、2および3のリードLEの側面の他部が露出し、図3に示すように、第4側面S4にはインデックス10、11および12のリードLEの側面の他部が露出する。また、側面図は省略するが、第1側面S1および第4側面S4と同様に、第2側面S2にはインデックス4、5および6のリードLEの側面の他部が露出し、第3側面S3にはインデックス7、8および9のリードLEの側面の他部が露出する。
さらに、上記識別用目印PPを保持する吊りリードLLは、1pinが露出する樹脂封止体MOの第1側面S1に露出しており、1pinの傍に1pinと離間して位置する。同様に、上記識別用目印PPを保持する吊りリードLLは、第4側面S4にも露出しており、最終番目のインデックスが付されたリードLE(インデックス12のリードLE)の傍に、このリードLEと離間して位置する。
識別用目印PPは、画像認識により検知することができる。画像認識では、画像を2値化することにより識別用目印PPの有無を判断する。例えば半導体装置SD1の裏面の複数のリードLEが形成されていない四隅の領域(画像認識エリアPRAおよびこれと同一面積を有する他の三隅の領域)を抜き出して画像認識を行い、ピクセルの違いを判断する。ピクセルの違いが15%以上あれば、反射の有るところ(識別用目印PPの有るところ)と反射の無いところ(識別用目印PPの無いところ)を判断することが可能であるので、画像認識において画像処理する領域(画像認識エリアPRA)に対する識別用目印PPの平面面積は15%以上とすることが好ましい。
このように、1pinの傍に識別用目印PPを設けることにより、1pinの位置識別が容易となる。従って、1pinを認識して半導体装置SD1の向きを揃えることができるので、半導体装置SD1の検査において、パーツフィーダー方式の特性選別を採用することができる。
≪半導体装置の製造方法≫
次に、本実施の形態による半導体装置の製造方法を図4〜図33を用いて工程順に説明する。ここでは、12個のリード(外部接続端子、外部端子、端子)を備えるタブレスパッケージを例示する。
図4〜図7は半導体装置の製造方法を説明する製造工程中における半導体装置の要部断面図である。図8はリードフレームの表面を示す要部平面図、図9はリードフレームの裏面を示す要部平面図である。図10〜図22はリードフレームの製作工程を説明する図である。図23〜図27は半導体装置の製造方法を説明する製造工程中における半導体装置の要部断面図である。図28は半導体装置の表面を示す要部平面図、図29は半導体装置の裏面を示す要部平面図、図30は半導体装置の断面を示す要部断面図である。図31は自動部品供給装置を説明する概略図である。図32はパーツフィーダー方式の特性選別を説明する工程図である。図33は半導体装置の製造方法を説明する工程図である。
<ウエハ準備工程P1>
図4に示すように半導体ウエハ1を準備する。半導体ウエハ1は単結晶シリコンからなり、その直径は、例えば200mmまたは300mm、その厚さ(第1の厚さ)は、例えば0.7mm以上(製造工程への投入時の値)である。半導体ウエハ1は、第1主面(表面)1x、第1主面1xにマトリックス状に区画形成された複数のチップ領域1CA、複数のチップ領域1CAのうちの互いに隣り合うチップ領域1CA間に形成された切断領域(スクライブ領域、ダイシング領域、ダイシングライン)1SA、および第1主面1xとは反対側の第2主面(裏面)1yを有している。
半導体ウエハ1の第1主面1xの各チップ領域1CAには、これに限定されないが、複数の半導体素子と、絶縁層と配線層とをそれぞれ複数段積み重ねた多層配線層と、この多層配線層を覆うようにして形成された表面保護膜とから構成される集積回路が形成されている。上記絶縁層は、例えば酸化シリコン(SiO)膜で形成されている。上記配線層は、例えばアルミニウム(Al)、タングステン(W)、または銅などの金属膜で形成されている。上記表面保護膜は、例えば酸化シリコン膜または窒化シリコン(Si)膜等の無機絶縁膜および有機絶縁膜を積み重ねた多層膜で形成されている。また、半導体ウエハ1の第1主面1xの各チップ領域1CAには、上記複数の半導体素子と電気的に接続された複数の電極パッド(ボンディングパッド、表面電極)2が各チップ領域1CAの各辺に沿って配置されている(図4には、複数の電極パッド2のうちの一部を記載)。これら複数の電極パッド2は、上記多層配線層のうちの最上層の配線からなり、上記表面保護膜にそれぞれの電極パッド2に対応して形成された開口部により露出している。
<バックグラインド工程P2>
半導体ウエハ1の第1主面1x側に集積回路を覆う保護テープ(バックグラインドテープ)を貼り付けた後、半導体ウエハ1の第2主面1yを、研削材(例えば粗さ♯360)を用いて粗研削することにより、半導体ウエハ1の厚さを所定の厚さまで薄くする。続いて半導体ウエハ1の第2主面1yを、先に使用した研削材よりも目の粗さが細かい研削材(例えば粗さ♯1500または♯2000)を用いて仕上げ研削することにより、粗研削時に生じた半導体ウエハ1の第2主面1yの歪みを除去する(バックグラインド)。さらに、仕上げ研削時に生じた半導体ウエハ1の第2主面1yの研磨スジを、例えばスピンエッチ法、CMP(Chemical Mechanical Polishing)法などにより除去する(ストレスリリーフ)。上記バックグラインドおよび上記ストレスリリーフを終えた時点での半導体ウエハ1の厚さ(第2の厚さ)は、例えば0.13mmである。なお、上記ストレスリリーフは全ての半導体ウエハ1に対して行う必要はなく、半導体チップに要求される強度に応じて行う。
<樹脂シート貼り付け工程P3>
図5に示すように、半導体ウエハ1の第2主面1yに、フィルム状の樹脂シート(接着シート、接着フィルム、封止材)3を貼り付ける。樹脂シート3は、半導体装置SD1として完成した後において、半導体チップの裏面を保護する封止材として機能する。樹脂シート3は、例えば熱硬化型であり、フィラー(SiOの粒)を含有するエポキシ系樹脂からなる。その厚さは、例えば20〜30μmであり、25μmを中心値とする周辺範囲が好適である。また、そのフィラー含有量は、例えば60wt%である。その後、樹脂シート3が貼り付けられた半導体ウエハ1に対して熱処理を施す。
<ダイシングテープ工程P4>
図6に示すように、ダイシングテープ4を準備する。なお、図示はしないが、ダイシングテープ4の周縁部には、平面視において環状のフレームが貼り付けられている。ダイシングテープ4は、例えばポリオリフィンを基材とし、その厚さは、例えば90μmである。また、ダイシングテープ4の上面(半導体ウエハ1が固定される面)には、図示はしないが、接着層が形成されている。接着層は、例えばアクリル系UV硬化型の粘着剤であり、例えばUV照射前は200g/25mm、UV照射後は10〜20g/25mmの粘着力を有している。
次に、ダイシングテープ4の上面と半導体ウエハ1の第2主面1yとを対向させて、両者を樹脂シート3を介して貼り付ける。これにより、ダイシングテープ4の上面に、樹脂シート3を介して半導体ウエハ1が固定される。
<ウエハダイシング工程P5>
図7に示すように、例えばダイヤモンド微粒を貼り付けた極薄の円形刃を用いて、半導体ウエハ1を切断領域1SAに沿って縦、横に切断する。同時に、樹脂シート3も半導体ウエハ1の切断領域1SAに沿って縦、横に切断する。半導体ウエハ1は半導体チップ5に個片化されるが、個片化された後も半導体チップ5はダイシングテープ4を介してフレームに固定されているため、整列した状態を維持している。また、前の製造工程である樹脂シート貼り付け工程P3において、半導体ウエハ1の第2主面1yに樹脂シート3が強く接着されているので、半導体チップ5が樹脂シート3から剥がれて、半導体チップ5の飛散等の問題も生じることはない。
<リードフレーム準備工程P6>
図8および図9に示すように、リードフレームLF1を準備する。リードフレームLF1は、表面(上面)、表面と反対側の裏面(下面)とを有し、例えば銅などの導電性部材からなる。リードフレームLF1は、半導体製品1つ分に該当し、チップ搭載領域を囲む四角形の保持枠(保持部)に12個のリードLEおよび吊りリードLLを有する単位フレームが複数配列した構成となっている。図8および図9には単位フレームに該当するリードフレームLF1の一部を示している。
チップ搭載領域を囲む保持枠は、互いに離間して第1方向に延在する2つの第1保持部LH1と第3保持部LH3、互いに離間して第1方向と直交する第2方向に延在する2つの第2保持部LH2と第4保持部LH4により構成される。そして、単位フレームの中央部(チップ搭載領域)を囲むように、12個のリードLEが配置されている。12個のリードLEには、インデックス(識別番号、通し番号、指標)が付けられており、単位フレームの1つの角部を選択し、この角部に最も近いリードLEの1つをインデックス1と定める。そして、これを基準として、連続して単位フレームの周囲に配置されたリードLEに、順次インデックスが付けられている。インデックス1に該当するリードLEが、前述したように「1pin」である。図8および図9中にリードLEと重ねて付した数字がインデックスである。
また、これら12個のリードLEは第1保持部LH1、第2保持部LH2、第3保持部LH3、または第4保持部LH4に連結保持されている。例えば、インデックス1、2、および3に該当するリードLEは第1保持部LH1に連結保持され、インデックス4、5、および6に該当するリードLEは第2保持部LH2に連結保持され、インデックス7、8、および9に該当するリードLEは第3保持部LH3に連結保持され、インデックス10、11、および12に該当するリードLEは第4保持部LH4に連結保持されている。
さらに、吊りリードLLは、第1方向に沿って延在する第1部分と、第2方向に沿って延在する第2部分とから構成される。吊りリードLLの第2部分の一端は第1保持部LH1と第4保持部LH4とが交差する角部とインデックス1のリードLE(1pin)との間の第1保持部LH1に連結し、吊りリードLLの第1部分の一端は上記角部とインデックス12のリードLE(最終番目のインデックスが付されたリードLE)との間の第4保持部LH4とに連結する。そして、吊りリードLLの第1部分の他端と吊りリードLLの第2部分の他端とが識別用目印PPを保持している。
リードフレームLF1の表面は平坦であるが、リードフレームLF1の裏面の一部には、リードフレームLF1を厚さを約半分の厚さに加工するハーフエッチングが施されており(例えば図9に示すハッチングを付した部分)、リードフレームLF1の裏面は平坦ではない。リードフレームLF1のハーフエッチングが施されていない部分の厚さは、例えば0.125mmである。
12個のリードLEにおいては、後のモールド工程において、樹脂封止体の裏面から露出するリードLEの一部を除いて、リードLEの裏面側からハーフエッチングが施されている。ハーフエッチングが施されたリードLEの他部は、後のモールド工程において、樹脂封止体により封止される。その厚さは、例えば0.065mmである。
また、第1保持部LH1と第4保持部LH4とに繋がる吊りリードLLでは、吊りリードLLの裏面側からハーフエッチングが施されている。この吊りリードLLに保持され、ハーフエッチングが施されていない導電性部材が、後のモールド工程において、その裏面が樹脂封止体の裏面から露出する識別用目印PPとなる。ハーフエッチングが施された吊りリードLLは、後のモールド工程において、樹脂封止体により封止される。その厚さは、例えば0.065mmである。
また、保持部においては、第1保持部LH1と第2保持部LH2とが交差する角部、第2保持部LH2と第3保持部LH3とが交差する角部、第3保持部LH3と第4保持部LH4とが交差する角部、第4保持部LH4と第1保持部LH1とが交差する角部を除いて、第1保持部LH1、第2保持部LH2、第3保持部LH3、および第4保持部LH4には、これらの裏面側からハーフエッチングが施されている。ハーフエッチングが施された第1保持部LH1、第2保持部LH2、第3保持部LH3、および第4保持部LH4の厚さは、例えば0.065mmである。
次に、リードフレームLF1の製作工程について図10〜図22を用いて説明する。図10はリードフレームLF1の製作方法を説明する工程図である。図11(a)、図13(a)、図15(a)、図17(a)、図19(a)、および図21(a)はリードフレームLF1の表面を示す要部平面図、図11(b)、図13(b)、図15(b)、図17(b)、図19(b)、および図21(b)はリードフレームLF1の裏面を示す要部平面図である。図12、図14、図16、図18、図20、および図22はリードフレームLF1の断面を示す要部断面図である。
・P6−(1)銅生材準備工程
図11および図12に示すように、導電性部材、例えば銅生材6を準備する。銅生材6は、表面(上面)6xと、表面6xと反対側の裏面(下面)6yとを有し、その厚さは、例えば0.125mmである。
・P6−(2)レジスト塗布工程
図13および図14に示すように、銅生材6の表面6xおよび裏面6yにそれぞれレジスト膜7を塗布する。
・P6−(3)露光工程
図15および図16に示すように、レジスト膜7を残す領域(リードフレームが形成される領域)に銅生材6の表面6x側および裏面6y側からそれぞれ露光(UV(Ultra Violet)光)を照射して、レジスト膜7を硬化させる。図16中、レジスト膜7の硬化部分を符号7Aで示す。
・P6−(4)現像工程
図17および図18に示すように、レジスト膜7,7Aに現像処理を施して、硬化したレジスト膜7Aを銅生材6の表面6xおよび裏面6yに残す。銅生材6の表面6xに形成されたレジスト膜7Aの形状と、銅生材6の裏面6yに形成されたレジスト膜7Aの形状とは互いに異なっている。その異なる領域がハーフエッチングが施される領域となる。
すなわち、銅生材6の表面6x側から透視したときに、銅生材6の表面6xに形成されたレジスト膜7Aが覆う領域は、銅生材6の裏面6yに形成されたレジスト膜7Aが覆う領域よりも広いが、銅生材6の裏面6yに形成されたレジスト膜7Aが覆う領域は全て銅生材6の表面6xに形成されたレジスト膜7Aが覆う領域と重なる。
・P6−(5)エッチング工程
図19および図20に示すように、銅生材6の表面6x側および裏面6y側からそれぞれ溶解液8を銅生材6にスプレーして、レジスト膜7Aに覆われていない銅生材6をエッチングする。表面6xおよび裏面6yともにレジスト膜7Aが形成されていない領域の銅生材6は厚さ方向に全てエッチングされる。一方、表面6xにはレジスト膜7Aは形成されているが裏面6yにはレジスト膜7Aが形成されていない領域の銅生材6は、裏面6yから厚さ方向に約半分がエッチング(ハーフエッチング)される。
すなわち、銅生材6の表面6x側から透視したときに、銅生材6の表面6xに形成されたレジスト膜7Aと銅生材6の裏面6yに形成されたレジスト膜7Aとが重なっている領域では、銅生材6はエッチングされない。しかし、銅生材6の表面6x側から透視したときに、銅生材6の表面6xにレジスト膜7Aは形成されているが、銅生材6の裏面6yにレジスト膜7Aは形成されていない領域では、銅生材6は表面6x側に一部を残して、裏面6y側から厚さ方向にエッチングされる。
従って、識別用目印PPが形成される領域では、銅生材6の表面6x側から透視したときに、銅生材6の表面6xに形成されたレジスト膜7Aと銅生材6の裏面6yに形成されたレジスト膜7Aとが重なっており、銅生材6はエッチングされない。しかし、吊りリードLLが形成される領域では、銅生材6の表面6x側から透視したときに、銅生材6の表面6xにレジスト膜7Aは形成されているが、銅生材6の裏面6yにレジスト膜7Aは形成されておらず、銅生材6は表面6x側に一部を残して、裏面6y側から厚さ方向にエッチングされる。
・P6−(6)剥離工程
図21および図22に示すように、レジスト膜7Aを除去することにより、リードフレームLF1が完成する。
なお、本実施の形態では、平面視における識別用目印PPの形状を円形としたが、これに限定されるものではなく、例えば四角形であってもよい。
次に、リードフレームLF1にめっき処理を施して、リードフレームLF1の表面および裏面に、例えばパラジウム膜(図示は省略)をめっき法により形成する。
<ダイボンディング工程P7>
ダイシングテープ4の下面側から紫外線を照射して、ダイシングテープ4の上面に形成された接着層の接着力を、例えば10〜20g/25mm程度に低下させることにより、接着層を硬化させる。これにより、各半導体チップ5がダイシングテープ4から剥がれやすくなる。
次に、図23に示すように、リードフレームLF1の裏面と、熱源を有するヒートステージ9の表面(上面)9xとを対向させて、ヒートステージ9の表面9x上にフレームテープ10を介してリードフレームLF1を配置する。ヒートステージ9は、例えばステンレス(SUS430)などの導電性部材から成り、例えば40〜80℃に加熱されている。
次に、半導体チップ5の表面を円筒コレット11によって吸着し、保持した後、半導体チップ5をダイシングテープ4から引き剥がしてピックアップする。ダイシングテープ4の上面に形成された接着層の接着力が弱められているので、薄く強度が低下している半導体チップ5であっても確実にピックアップすることができる。半導体チップ5の裏面には、樹脂シート3が接着している。
次に、ピックアップされた半導体チップ5は、フレームテープ10の所定のチップ搭載領域に搬送される。続いて、半導体チップ5の裏面に接着している樹脂シート3を介して、フレームテープ10のチップ搭載領域に半導体チップ5を配置し、熱(例えば40〜80℃)を加えることで、フレームテープ10のチップ搭載領域に半導体チップ5を固定する。
<ワイヤボンディング工程P8>
図24に示すように、半導体チップ5の表面の縁辺に配置された複数の電極パッド2と、チップ搭載領域の周囲に位置する複数のリードLEの表面とを、例えば熱圧着に超音波振動を併用したネイルヘッドボンディング法(ボールボンディング法)により、複数の導電性ワイヤ12を用いてそれぞれ電気的に接続する。具体的には、導電性ワイヤ12の先端をアーク放電により溶融して表面張力でボールを形成し、それをキャピラリ(円筒状の接続治具)13により電極パッド2およびリードLEの表面に、例えば120kHzの超音波振動を加えながら熱圧着する。
また、主として、正ボンディング方式(半導体チップ5の電極パッド2と導電性ワイヤ12の一部を接続した後に、リードLEと導電性ワイヤ12の他部を接続する方式)を用いるが、逆ボンディング方式(リードLEと導電性ワイヤ12の一部を接続した後に、半導体チップ5の電極パッド2と導電性ワイヤ12の他部を接続する方式)を用いても良い。
<モールド工程P9>
図25に示すように、複数の半導体チップ5が搭載されたリードフレームLF1およびフレームテープ10を金型成型機にセットし、温度を上げて液状化した封止樹脂を金型成型機に圧送して流し込み、フレームテープ10の半導体チップ等が搭載された面側を封止樹脂で封入して、1つの樹脂封止体(封止体)MOを形成する。樹脂封止体MOは、低応力化を図ることを目的として、例えばフェノール系硬化剤、シリコーンゴム、および多数のフィラー(例えばシリカ)などが添加されたエポキシ系の熱硬化性絶縁樹脂からなる。
<ベーク工程P10>
例えば175℃の温度で5時間の熱処理(ポストキュアベーク)を施す。この熱処理は、例えばエア(Air)ベークである。これにより、複数の半導体チップ5、複数のリードLEのそれぞれの一部(表面と、側面の一部)、複数の導電性ワイヤ12、および識別用目印PPの一部(表面(上面)と、側面)などが樹脂封止体MOによって封止される。樹脂封止体MOの厚さは、例えば300μmである。
<レーザーマーク工程P11>
図26に示すように、フレームテープ10を除去した後、レーザー14を用いて樹脂封止体MOの上面に品名などを捺印する。
<パッケージダイシング工程P13>
図27に示すように、ダイシングテープ15を準備する。続いて、ダイシングテープ15の上面に、複数の半導体チップ5、複数のリードLEのそれぞれの一部(表面と、側面の一部)、および複数の導電性ワイヤ12などを被覆した樹脂封止体MOを固定する。
次に、例えばダイヤモンド微粒を貼り付けた極薄の円形刃を用いて、樹脂封止体MOの裏面側から樹脂封止体MO、複数のリードLE、および吊りリードLLをスクライブ領域に沿って縦、横に切断する。樹脂封止体MOは半導体装置(半導体パッケージ)SD1に個片化されるが、個片化された後も半導体装置SD1はダイシングテープ15を介して固定されているため、整列した状態を維持している。続いて、樹脂封止体MOを切断する際に発生した屑などを除去するために、半導体装置SD1を洗浄する。
<バラ落とし工程P14>
図28〜図30に示すように、ダイシングテープ15を除去することにより、個々の半導体装置SD1に分ける。図28に示すように、半導体装置SD1の表面には、レーザマークが印字されている。また、図29に示すように、半導体装置SD1の裏面には、12個のリードLEのそれぞれの裏面、および半導体チップ5の裏面に貼られた樹脂シート3が露出している。従って、半導体チップ5の裏面は、樹脂シート3に保護されている。また、半導体装置SD1の側面には、12個のリードの側面の一部が樹脂封止体MOから露出している。なお、樹脂シート3は樹脂封止体MOと区別して視認することが難しいため、後述する1pinの位置認識では樹脂シート3は認識されない。
個々に分けられた複数の半導体装置SD1は、後の工程において検査され、良品と判断された半導体装置SD1のみが梱包される。本実施の形態では、図31に示す自動部品供給装置AFを用いて検査および梱包を行う。従って、複数の半導体装置SD1は、自動部品供給装置AFのパーツフィーダー部AFPにバラバラの状態で投入される。パーツフィーダー部AFPに投入された複数の半導体装置SD1は、自動部品供給装置AFにおいて、順次検査され(テスト(特性選別)工程P15)、良品と判断された半導体装置SD1は梱包される(テーピング工程P16)。
<テスト(特性選別)工程P15>
図32に示すパーツフィーダー方式の特性選別の工程に従って、半導体装置SD1を自動部品供給装置AFのパーツフィーダー部AFPから検査部AFTに搬送し、製品規格に沿って選別する。自動部品供給装置AFのパーツフィーダー部AFPにバラバラに投入した複数の半導体装置SD1を一個ずつ自動部品供給装置AFの検査部AFTへ搬送する。
検査部AFTでは、まず、半導体装置SD1の形状および面積を判別して、樹脂封止体MOから露出している12個のリードLEおよび識別用目印PPを認識し、識別用目印PPから1pinの位置認識を行う。続いて、1pinの位置を基に半導体装置SD1を90°、180°、または−90°回転させて、整列させる。続いて、半導体装置SD1のテスト(特性選別)を行う。テストにおいて不良と判断された半導体装置SD1は取り除かれる。
<テーピング工程P16>
テストにおいて良と判断された半導体装置SD1を自動部品供給装置AFのテーピング部AFCにおいて、キャリアテープCTに収納する。その後、キャリアテープCTに収納された半導体装置SD1の外観、例えばレーザマークおよび傷の有無等が検査される。その後、例えばキャリアテープCTをリールに巻き取り、防湿された袋にリールを収納し、この状態で出荷する。
このように、本実施の形態1によれば、識別用目印PPにより1pinの位置を容易に認識できることから、タブレスパッケージであってもパーツフィーダ方式の特性選別を採用することができる。
(実施の形態の第1変形例)
前述した実施の形態では、例えば前述の図8および図9に示したように、識別用目印PPは、第1方向に延在する第1保持部LH1と第2方向に延在する第4保持部LH4とが交差する角部とインデックス1のリードLE(1pin)との間の第1保持部LH1に連結し、上記角部とインデックス12のリードLEとの間の第4保持部LH4に連結した吊りリードLLに保持されている。しかし、第1方向に延在する第1保持部LH1または第2方向に延在する第4保持部LH4のどちらか一方に連結する吊りリードによって識別用目印PPを保持しても良い。
リードフレームの第1変形例を図34および図35を用いて説明する。図34はリードフレームの表面を示す要部平面図、図35はリードフレームの裏面を示す要部平面図である。
図34および図35に示すように、リードフレームLF2は、前述の図8および図9に示したリードフレームLF1と同様に、第1保持部LH1、第2保持部LH2、第3保持部LH3、および第4保持部LH4を有し、単位フレームの中央部(チップ搭載領域)を囲むように、12個のリードLEが配置されている。また、12個のリードLEには、インデックス(識別番号、通し番号、指標)が付けられており、インデックス1に該当するリードLEが1pinである。また、1pinの傍に1pinと離間して、後のモールド工程において、その裏面が樹脂封止体の裏面から露出する識別用目印PPが形成されている。図34中に、リードLEと重ねて付した数字がインデックスである。
しかし、このリードフレームLF2では、識別用目印PPは、第1保持部LH1と第4保持部LH4とが交差する角部とインデックス1のリードLE(1pin)との間の第1保持部LH1のみに繋がる吊りリードLLに保持されている。すなわち、吊りリードLLの一端が第1保持部LH1に連結し、吊りリードLLの他端が識別用目印PPを保持している。
(実施の形態の第2変形例)
前述した実施の形態では、例えば前述の図30に示したように、1個の半導体チップを樹脂封止する構成の半導体装置SD1を例示したが、2個または3個の半導体チップを樹脂封止する構成の半導体装置にも、本実施の形態は適用することができる。
半導体装置の第2変形例の構造を図36および図37を用いて説明する。図36は半導体装置の断面を示す要部断面図、図37は半導体装置の裏面を示す要部平面図である。
図36に示すように、半導体装置(半導体パッケージ)SD2は、2個の半導体チップ5A,5B、半導体チップ5A,5Bのそれぞの裏面に形成された樹脂シート(接着接着シート、接着フィルム、封止材)3A,3B、半導体チップ5A,5Bの周囲に設けられた複数のリードLE、および半導体チップ5A,5Bのそれぞれの表面に配置された複数の電極パッド(ボンディングパッド)と複数のリードLEとを電気的に接続する複数の導電性ワイヤ12から構成されている。半導体チップ5A,5B、樹脂シート3A,3Bの側面、複数のリードLEのそれぞれの一部(表面(上面)と、側面の一部)、および複数の導電性ワイヤ12は樹脂封止体(封止体)MOによって封止されている。
また、図37に示すように、樹脂封止体MOの下面からは半導体チップ5A,5Bのそれぞれの裏面は露出しておらず、半導体チップ5A,5Bのそれぞれの裏面に接着された樹脂シート3A,3B、複数のリードLEのそれぞれの他部(裏面(下面、実装面))、および識別用目印PPの裏面が露出した構造となっている。なお、樹脂シート3は樹脂封止体MOと区別して視認することが難しいため、1pinの位置認識では樹脂シート3は認識されない。
(実施の形態の第3変形例)
前述した実施の形態では、半導体装置のリード(外部接続端子、外部端子、端子)をリードフレームにより形成したが、電解めっき法により形成したリードを用いても良い。
≪半導体装置≫
半導体装置の第3変形例の構造を図38〜図40を用いて説明する。ここでは、12個の電解めっき法により形成したリード(外部接続端子、外部端子、端子)を備えるタブレスパッケージを例示する。
図38は半導体装置の裏面を示す要部平面図、図39は半導体装置の1pin(インデックス1のリード)が配置された外側側面を示す要部側面図、図40は半導体装置の最終番目のインデックスが付されたリード(インデックス12のリード)が配置された外側側面を示す要部側面図である。
図38に示すように、前述の図1に示した半導体装置(半導体パッケージ)SD1と同様に、電解めっき法により形成したリードLEEを用いた半導体装置(半導体パッケージ)SD3も、その裏面(下面、底面)には、複数のリードLEEの裏面(下面、実装面)が露出する。ここでは12個のリードLEEを有する半導体装置SD3を例示しているので、樹脂封止体MOの裏面には12個のリードLEEの裏面が露出している。
そして、1pinに最も近い樹脂封止体MOの角部には、1pinに隣接して画像認識エリアPRAが設けられており、この画像認識エリアPRAにおいて、樹脂封止体MOの裏面に識別用目印PPの裏面が露出している。この識別用目印PPは、複数のリードLEEと同じ製造工程において形成され、12個のリードLEEと同一の導電性部材からなる。なお、図39および図40に示すように、樹脂封止体MOの側面には、12個のリードLEEの側面の一部のみが露出する。
このように、電解めっき法により形成したリードを採用した半導体装置SD3においても、1pinの傍に識別用目印PPを設けることができる。これにより、1pinを認識して半導体装置SD3の向きを揃えることができるので、半導体装置SD3の検査において、パーツフィーダー方式の特性選別を採用することができる。
≪半導体装置の製造方法≫
次に、半導体装置の第3変形例の製造方法を図41〜図57を用いて工程順に説明する。ここでは、電解めっき法により形成した12個のリード(外部接続端子、外部端子、端子)を備えるタブレスパッケージを例示する。
図41は1個のリードを拡大して示すリードの要部断面図である。図42は複数のリードを有する基材の製造方法を説明する工程図、図43〜図49は複数のリードを有する基材の製造方法を説明する製造工程中における基材の要部断面図、図50〜図54は半導体装置の製造方法を説明する製造工程中における半導体装置の要部断面図である。図55は半導体装置の裏面を示す要部平面図、図56は半導体装置の断面を示す要部断面図である。図57は半導体装置の製造方法を説明する工程図である。
ここでは、12個の電解めっき法により形成したリードを備える半導体装置の製造方法について説明するが、これに限定されるものではなく、例えば20個または24個のリードを有する半導体装置の製造方法にも適用することができる。
<ウエハ準備工程P101>から<ウエハダイシング工程P105>までは、前述した半導体装置SD1の製造方法の<ウエハ準備工程P1>から<ウエハダイシング工程P5>と同様であるので、ここでの説明は省略する。従って、<基板準備工程P106>以降の工程について、以下に説明する。
<基材準備工程P106>
まず、リードLEEおよび識別用目印PPの形状について説明する。
図41に示すように、リードLEEおよび識別用目印PPは、例えば電解めっき法により金(Au)膜LEE1、ニッケル(Ni)膜LEE2、および銀(Ag)膜LEE3(または金膜)を下から順次形成した積層膜により構成され、ニッケル膜LEE2がひさし状に張り出した迫り出し部を有するマッシュルーム形状を有している。リードLEEおよび識別用目印PPの表面(上面)は、母基板21の上面よりも高い位置にあるが、電解めっき法により形成するリードLEEおよび識別用目印PPは、導電性基板(金属板)をパターニングすることで形成されたリードフレームの一部からなるリードの厚さの約半分以下の厚さで形成することができる。また、リードLEEおよび識別用目印PPの形状をマッシュルーム形状とすることにより、後の製造工程であるモールド工程(P110)において、リードLEEおよび識別用目印PPのアンカー効果が期待できる。リードLEEおよび識別用目印PPを構成する金膜LEE1の厚さは、例えば0.03μm、ニッケル膜LEE2Bの厚さは、例えば60μm、銀膜LEE3(または金膜)の厚さは、例えば3μmである。
次に、図42〜図49を用いて複数のリードLEEが形成された基材の製造方法について説明する。図42は複数のリードを有する基材の製造方法を説明する工程図、図43〜図49は複数のリードを有する基材の製造方法を説明する製造工程中における基材の要部断面図である。
(P106−1:レジスト貼り付け工程〜露光工程)
図43に示すように、母基板21の上面(表面)にレジスト膜22を塗布した後、このレジスト膜22に、所定のパターンが形成されたフィルムマスク23を介して紫外線を露光する。同様に、母基板21の上面と反対側の下面(裏面)にレジスト膜24を塗布した後、このレジスト膜24に、所定のパターンが形成されたフィルムマスク25を介して紫外線を露光する。
(P106−2:現像工程)
図44に示すように、フィルムマスク23,25を除去した後に現像処理を施して、母基板21の上面に塗布されたレジスト膜22および母基板21の下面に塗布されたレジスト膜24をそれぞれパターニングする。これにより、母基板21の上面に塗布されたレジスト膜22に複数のリードLEEおよび識別用目印PPを形成するための複数のリード用の穴26を形成し、母基板21の下面に塗布されたレジスト膜24に複数のガイド用の穴27を形成する。
(P106−3:金めっき工程)
図45に示すように、母基板21の下面に形成されたレジスト膜24の表面を保護フィルム28で覆った後、電解めっき法により母基板21の上面に形成された複数のリード用の穴26の底部にそれぞれ金膜LEE1を形成(堆積)する。金膜LEE1の厚さは、例えば0.03μmである。
(P106−4:ニッケルめっき工程)
図46に示すように、さらに、電解めっき法により母基板21の上面に形成された複数のリード用の穴26の内部に、金膜LEE1に接続してニッケル膜LEE2をそれぞれ形成(堆積)する。このニッケル膜LEE2は、複数のリード用の穴26の内部のみでなく、レジスト膜22の表面にも拡がって形成されるので、オーバーハング(庇のようにはみ出した部位)を有するマッシュルーム形状に形成される。ニッケル膜LEE2の厚さは、例えば60μmである。
(P106−5:銀(または金)めっき工程)
図47に示すように、さらに、電解めっき法により母基板21の上面に形成された複数のニッケル膜LEE2の表面に、ニッケル膜LEE2に接続して銀膜LEE3(または金膜)をそれぞれ形成(堆積)する。銀膜LEE3(または金膜)の厚さは、例えば3μmである。なお、本実施の形態では、金膜LEE1、ニッケル膜LEE2、および銀膜LEE3(または金膜)を電解めっき法により形成することについて説明したが、無電解めっき法により形成してもよい。ただし、これらめっき膜の形成速度(堆積速度)を考慮した場合には、電解めっき法を用いることが好ましい。
(P106−6:フレームエッチング工程)
図48に示すように、母基板21の下面に形成されたレジスト膜24の表面を覆う保護フィルム28を除去した後、レジスト膜24をマスクとして母基板21をエッチングする。これにより、レジスト膜24に形成されたガイド用の穴27に対応して母基板21の外枠29を形成する。
(P106−7:除去工程)
図49に示すように、レジスト膜22,24を除去し、余分な母基板21の一部を除去することにより、複数のリードLEEおよび識別用目印PPを有する母基板21が略完成する。
<ダイボンディング工程P107>
ダイシングテープ4の下面側から紫外線を照射して、ダイシングテープ4の上面に形成された接着層の接着力を、例えば10〜20g/25mm程度に低下させることにより、接着層を硬化させる。これにより、各半導体チップ5がダイシングテープ4から剥がれやすくなる。
次に、図50に示すように、母基板21の下面と、熱源を有するヒートステージ9の表面(上面)9xとを対向させて、ヒートステージ9の表面9x上に複数のリードLEEを有する母基板21を配置する。ヒートステージ9は、例えばステンレス(SUS430)などの導電性部材から成り、例えば40〜80℃に加熱されている。ヒートステージ9の表面9x上に配置された母基板21にヒートステージ9の熱が伝わり、母基板21はヒートステージ9の温度と同等の温度に加熱されている。
次に、半導体チップ5の表面を円筒コレット11によって吸着し、保持した後、半導体チップ5をダイシングテープ4から引き剥がしてピックアップする。半導体チップ5の裏面には、樹脂シート3が接着している。ピックアップされた半導体チップ5は、フレームテープ10の所定のチップ搭載領域に搬送される。
次に、半導体チップ5の裏面に接着している樹脂シート3を介して、母基板21の上面のチップ搭載領域に半導体チップ5を配置し、熱(例えば40〜80℃)を加えることで、母基板21の上面のチップ搭載領域に半導体チップ5を固定する。
<樹脂シートベーク工程P108>
次に、複数の半導体チップ5が貼り付けられた母基板21に対して、圧力を加えることなく例えば150℃で60分程度の熱処理を施す。この熱処理は、例えばベーク炉(複数の半導体チップ5が貼り付けられた母基板21を収納する加熱された室内)を用いたエア(Air)ベークである。これにより、樹脂シート3の硬化反応を促進させて、樹脂シート3を介した半導体チップ5と母基板21との接着力が強くなり、また、樹脂シート3の硬度が高くなる。
<ワイヤボンディング工程P109>
図51に示すように、半導体チップ5の表面の縁辺に配置された複数の電極パッド2と、母基板21の上面のチップ搭載領域の周囲に位置する複数のリードLEEの表面とを、例えば熱圧着に超音波振動を併用したネイルヘッドボンディング法(ボールボンディング法)により、複数の導電性ワイヤ12を用いてそれぞれ電気的に接続する。
主として、正ボンディング方式(半導体チップ5の電極パッド2と導電性ワイヤ12の一部を接続した後に、リードLEEと導電性ワイヤ12の他部を接続する方式)を用いるが、逆ボンディング方式(リードLEEと導電性ワイヤ12の一部を接続した後に、半導体チップ5の電極パッド2と導電性ワイヤ12の他部を接続する方式)を用いても良い。
<モールド工程P110>
図52に示すように、複数の半導体チップ5が搭載された母基板21を金型成型機にセットし、温度を上げて液状化した封止樹脂を金型成型機に圧送して流し込み、母基板21の上面側を封止樹脂で封入して、1つの樹脂封止体(封止体)MOを形成する。樹脂封止体MOは、低応力化を図ることを目的として、例えばフェノール系硬化剤、シリコーンゴム、および多数のフィラー(例えばシリカ)などが添加されたエポキシ系の熱硬化性絶縁樹脂からなる。
<ベーク工程P111>
例えば175℃の温度で5時間の熱処理(ポストキュアベーク)を施す。この熱処理は、例えばエア(Air)ベークである。これにより、複数の半導体チップ5、複数のリードLEEのそれぞれの一部(表面と、側面の一部)、複数の導電性ワイヤ12、および識別用目印PPの一部(表面(上面)と、側面)などが樹脂封止体MOによって封止される。樹脂封止体MOの厚さは、例えば300μmである。
<SUS剥がし工程P112>
樹脂封止体MOから母基板21を折り曲げながら引き剥がす。これにより、樹脂封止体MOの裏面(下面)から樹脂シート3および複数のリードLEEのそれぞれの他部(裏面(下面、実装面))および認識用目印PPの裏面(下面)を露出させる。母基板21を引き剥がした後も、半導体チップ5の裏面には樹脂シート3が接着している。
<レーザーマーク工程P113>
図53に示すように、レーザー14を用いて樹脂封止体MOの上面に品名などを捺印する。
<パッケージダイシング工程P114>
図54に示すように、ダイシングテープ15を準備する。続いて、ダイシングテープ15の上面に、複数の半導体チップ5、複数のリードLEEのそれぞれの一部(表面と、側面の一部)、および複数の導電性ワイヤ12などを被覆した樹脂封止体MOを固定する。
次に、例えばダイヤモンド微粒を貼り付けた極薄の円形刃を用いて、樹脂封止体MOの裏面側から樹脂封止体MO、複数のリードLEE、および吊りリードLLをスクライブ領域に沿って縦、横に切断する。樹脂封止体MOは半導体装置(半導体パッケージ)SD3に個片化されるが、個片化された後も半導体装置SD3はダイシングテープ15を介して固定されているため、整列した状態を維持している。続いて、樹脂封止体MOを切断する際に発生した屑などを除去するために、半導体装置SD3を洗浄する。
<バラ落とし工程P115>
図55および図56に示すように、ダイシングテープ15を除去することにより、個々の半導体装置SD3に分ける。半導体装置SD3の表面には、レーザマークが印字されている。また、半導体装置SD3の裏面には、12個のリードLEEのそれぞれの裏面、および半導体チップ5の裏面に貼られた樹脂シート3が露出している。従って、半導体チップ5の裏面は、樹脂シート3に保護されている。また、半導体装置SD3の側面には、12個のリードLEEの側面の一部が樹脂封止体MOから露出している。なお、樹脂シート3は樹脂封止体MOと区別して視認することが難しいため、1pinの位置認識では樹脂シート3は認識されない。
個々に分けられた複数の半導体装置SD3は、前述した半導体装置SD1と同様に、前述の図31に示す自動部品供給装置AFを用いて検査および梱包を行う。従って、複数の半導体装置SD1は、自動部品供給装置AFのパーツフィーダー部AFPにバラバラの状態で投入される。
そして、前述した半導体装置SD1の製造方法と同様に、<テスト(特性選別)工程P116>および<テーピング工程P117>を経て、良品と判断された半導体装置SD3は出荷される。
このように、電解めっき法により形成したリードを採用した半導体装置SD3においても、識別用目印PPにより1pinの位置を容易に認識できることから、タブレスパッケージであってもパーツフィーダ方式の特性選別を採用することができる。
以上、本発明者によってなされた発明を実施の形態に基づき具体的に説明したが、本発明は前記実施の形態に限定されるものではなく、その要旨を逸脱しない範囲で種々変更可能であることはいうまでもない。
1 半導体ウエハ
1CA チップ領域
1SA 切断領域(スクライブ領域、ダイシング領域、ダイシングライン)
1x 第1主面(表面)
1y 第2主面(裏面)
2 電極パッド(ボンディングパッド、表面電極)
3,3A,3B 樹脂シート(接着シート、接着フィルム、封止材)
4 ダイシングテープ
5,5A,5B 半導体チップ
6 銅(Cu)生材
6x 表面(上面)
6y 裏面(下面)
7 レジスト膜
7A レジスト膜(硬化部分)
8 溶解液
9 ヒートステージ
9x 表面(上面)
10 フレームテープ
11 円筒コレット
12 導電性ワイヤ
13 キャピラリ(円筒状の接続治具)
14 レーザー
15 ダイシングテープ
21 母基板
22 レジスト膜
23 フィルムマスク
24 レジスト膜
25 フィルムマスク
26 リード用の穴
27 ガイド用の穴
28 保護フィルム
29 外枠
AF 自動部品供給装置
AFC テーピング部
AFP パーツフィーダー部
AFT 検査部
CT キャリアテープ
LE リード(外部接続端子、外部端子、端子)
LE1,LE2,LE3,LE4 リード(外部接続端子、外部端子、端子)
LE5 タブ(アイランド)
LEE リード(外部接続端子、外部端子、端子)
LEE1 金(Au)膜
LEE2 ニッケル(Ni)膜
LEE3 銀(Ag)膜
LF1,LF2 リードフレーム
LH1 第1保持部
LH2 第2保持部
LH3 第3保持部
LH4 第4保持部
LL 吊りリード
MO 樹脂封止体(封止体)
MO1,MO2,MO3,MO4 封止体
PP 識別用目印
PRA 画像認識エリア
S1 第1側面
S2 第2側面
S3 第3側面
S4 第4側面
SD1,SD2,SD3 半導体装置(半導体パッケージ)

Claims (13)

  1. 以下の工程を含む半導体装置の製造方法:
    (a)チップ搭載領域を囲む第1領域、前記第1領域を囲む導電性部材からなる四角形の保持枠、前記保持枠に連結保持され、前記チップ搭載領域を囲み、前記第1領域に配置された前記導電性部材からなる第1厚さの複数のリード、前記保持枠に連結保持された前記導電性部材からなる前記第1厚さよりも薄い第2厚さの吊りリード、および前記吊りリードに保持された前記導電性部材からなる前記第1厚さの識別用目印を有する単位フレームを複数配列したリードフレームを準備する工程;
    (b)第1主面、前記第1主面に設けられた複数のチップ領域、前記複数のチップ領域のうちの互いに隣り合うチップ領域間に設けられた切断領域、および前記第1主面とは反対側の第2主面を有する半導体ウエハを準備する工程;
    (c)前記半導体ウエハの前記第2主面に樹脂シートを貼り付ける工程;
    (d)前記工程(c)の後、前記切断領域に沿って前記半導体ウエハおよび前記樹脂シートを切断し、前記樹脂シートの一部を有する半導体チップを取得する工程;
    (e)前記工程(d)の後、ヒートステージの表面に配置されたフレームテープの上面に前記リードフレームを固定し、前記リードフレームを構成する前記単位フレームの前記チップ搭載領域に前記樹脂シートの前記一部を介して前記半導体チップを配置し、前記半導体チップを前記フレームテープの前記上面に固定する工程;
    (f)前記工程(e)の後、前記半導体チップの複数の電極パッドと前記複数のリードの表面とを複数の導電性ワイヤを介してそれぞれ電気的に接続する工程;
    (g)前記工程(f)の後、前記半導体チップ、前記複数の導電性ワイヤ、前記複数のリードの前記表面および側面、前記吊りリード、前記識別用目印の表面および側面、ならびに前記フレームテープの前記上面を樹脂で封止し、前記樹脂シートの前記一部を封止体の一部とすることで、前記封止体を形成する工程;
    (h)前記工程(g)の後、前記封止体から前記フレームテープを剥離し、前記封止体の裏面から前記複数のリードの裏面および前記識別用目印の裏面を露出する工程;
    (i)前記工程(h)の後、前記封止体、前記複数のリード、および前記吊りリードを切断し、個々の前記半導体装置を取得する工程
    ここで、前記工程(a)において、前記識別用目印および前記吊りリードは、平面視において前記第1領域に配置され、前記チップ搭載領域には配置されていない
  2. 請求項1記載の半導体装置の製造方法において、
    前記保持枠は、互いに離間して第1方向に延在する第1保持部と第3保持部、および互いに離間して前記第1方向と直交する第2方向に延在する第2保持部と第4保持部により構成され、
    前記第1保持部と前記第2保持部、前記第2保持部と前記第3保持部、前記第3保持部と前記第4保持部、前記第4保持部と前記第1保持部とがそれぞれ互いに連結し、
    前記吊りリードは前記第1方向に沿って延在する第1部分と、前記第2方向に沿って延在する第2部分とから構成され、前記吊りリードの前記第1部分の一端が前記第4保持部に連結し、前記吊りリードの前記第2部分の一端が前記第1保持部に連結し、前記吊りリードの前記第1部分の他端と前記吊りリードの前記第2部分の他端とが前記識別用目印を保持している。
  3. 請求項1記載の半導体装置の製造方法において、
    前記保持枠は、互いに離間して第1方向に延在する第1保持部と第3保持部、および互いに離間して前記第1方向と直交する第2方向に延在する第2保持部と第4保持部により構成され、
    前記第1保持部と前記第2保持部、前記第2保持部と前記第3保持部、前記第3保持部と前記第4保持部、前記第4保持部と前記第1保持部とがそれぞれ互いに連結し、
    前記吊りリードの一端が前記第1保持部に連結し、前記吊りリードの他端が前記識別用目印を保持している。
  4. 請求項1記載の半導体装置の製造方法において、
    前記封止体の前記裏面から露出する前記識別用目印の前記裏面の平面視における形状は、円形または四角形である。
  5. 請求項1記載の半導体装置の製造方法において、
    前記導電性部材は銅であり、前記複数のリードの前記裏面および前記識別用目印の前記裏面にはパラジウム膜が形成されている。
  6. 請求項1記載の半導体装置の製造方法において、
    前記工程(a)は、さらに以下の工程を含む:
    (a1)表面、および前記表面と反対側の裏面を有する前記導電性部材を準備する工程;
    (a2)前記導電性部材の前記表面に第1レジスト膜を塗布し、前記導電性部材の前記裏面に第2レジスト膜を塗布する工程;
    (a3)前記第1レジスト膜の一部領域および前記第2レジスト膜の一部領域にそれぞれ露光光を照射して、前記第1レジスト膜の前記一部領域および前記第2レジスト膜の前記一部領域を硬化させる工程;
    (a4)前記第1レジスト膜および前記第2レジスト膜に現像処理を施して、前記第1レジスト膜の前記一部領域および前記第2レジスト膜の前記一部領域を前記導電性部材の前記表面および前記裏面にそれぞれ残す工程;
    (a5)前記第1レジスト膜の前記一部領域および前記第2レジスト膜の前記一部領域をマスクとして前記導電性部材をエッチングし、前記導電性部材を加工する工程;
    (a6)前記第1レジスト膜の前記一部領域および前記第2レジスト膜の一部領域を除去する工程、
    ここで、前記導電性部材の前記表面側から透視したときに、前記第1レジスト膜の前記一部領域が覆う領域は前記第2レジスト膜の前記一部領域が覆う領域よりも広いが、前記第2レジスト膜の前記一部領域が覆う領域は全て前記第1レジスト膜の前記一部領域が覆う領域と重なる。
  7. 請求項6記載の半導体装置の製造方法において、
    前記工程(a5)では、前記導電性部材の前記表面側から透視したときに、前記第1レジスト膜の前記一部領域と前記第2レジスト膜の前記一部領域とが重なって形成されている領域では、前記導電性部材はエッチングされず、
    前記導電性部材の前記表面側から透視したときに、前記第1レジスト膜の前記一部領域は形成されているが、前記第2レジスト膜の前記一部領域は形成されていない領域では、前記導電性部材は前記表面側に一部を残して、前記裏面側から厚さ方向にエッチングされる。
  8. 請求項6記載の半導体装置の製造方法において、
    前記工程(a5)では、前記識別用目印が形成される領域では、前記導電性部材の前記表面側から透視したときに、前記第1レジスト膜の前記一部領域と前記第2レジスト膜の前記一部領域とが重なって形成されており、前記導電性部材はエッチングされず、
    前記吊りリードが形成される領域では、前記導電性部材の前記表面側から透視したときに、前記第1レジスト膜の前記一部領域は形成されているが、前記第2レジスト膜の前記一部領域は形成されておらず、前記導電性部材は前記表面側に一部を残して、前記裏面側から厚さ方向にエッチングされる。
  9. 請求項8記載の半導体装置の製造方法において、
    前記識別用目印の前記第1厚さは、前記吊りリードの前記第2厚さの半分である。
  10. 樹脂封止された半導体装置であって、
    前記半導体装置は、
    半導体チップと、
    前記半導体チップの裏面を封止する樹脂シートと、
    前記半導体チップの周囲に設けられた導電性部材からなる複数のリードと、
    前記半導体チップの複数の電極パッドと前記複数のリードとをそれぞれ電気的に接続する複数の導電性ワイヤと、
    前記複数のリードのうち1個のリードの傍に設けられた前記導電性部材からなる識別用目印と、
    前記識別用目印に連結する吊りリードと、
    前記半導体チップ、前記複数のリードの表面および側面の一部、前記複数の導電性ワイヤ、前記識別用目印の表面および側面、ならびに前記吊りリードの表面、裏面、および側面の一部を樹脂により封止する封止体と、
    を有し、
    前記封止体の裏面に、前記複数のリードの裏面および前記識別用目印の裏面が露出しており、
    前記封止体の前記裏面は、前記複数のリードで取り囲まれた第1領域と、前記第1領域を除く第2領域と、を有し、
    前記識別用目印および前記吊りリードは、平面視において前記第2領域に配置され、前記第1領域には配置されていない。
  11. 請求項10記載の半導体装置において、
    前記封止体は、さらに前記裏面の反対側の表面および前記裏面と前記表面との間の側面を有し、
    前記吊りリードは、さらに一端部と他端部とを有し、
    前記識別用目印は、前記一端部と前記他端部との間の前記吊りリードに設置され、
    前記吊りリードの前記一端部の一部は、前記封止体の前記側面から露出している。
  12. 請求項10記載の半導体装置において、
    前記導電性部材は銅であり、前記封止体の前記裏面から露出する前記複数のリードの前記裏面および前記識別用目印の前記裏面にはパラジウム膜が形成されている。
  13. 請求項10記載の半導体装置において、
    前記複数のリードのインデックスを前記識別用目印によって認識する。
JP2012108266A 2012-05-10 2012-05-10 半導体装置の製造方法および半導体装置 Expired - Fee Related JP5919087B2 (ja)

Priority Applications (6)

Application Number Priority Date Filing Date Title
JP2012108266A JP5919087B2 (ja) 2012-05-10 2012-05-10 半導体装置の製造方法および半導体装置
TW102114249A TWI584422B (zh) 2012-05-10 2013-04-22 半導體裝置之製造方法及半導體裝置
US13/889,349 US9269671B2 (en) 2012-05-10 2013-05-08 Semiconductor device manufacturing method and semiconductor device
CN201310177627.XA CN103390604B (zh) 2012-05-10 2013-05-10 半导体器件制造方法以及半导体器件
CN2013202631343U CN203300631U (zh) 2012-05-10 2013-05-10 半导体器件
US14/953,397 US20160079186A1 (en) 2012-05-10 2015-11-29 Semiconductor device manufacturing method and semiconductor device

Applications Claiming Priority (1)

Application Number Priority Date Filing Date Title
JP2012108266A JP5919087B2 (ja) 2012-05-10 2012-05-10 半導体装置の製造方法および半導体装置

Publications (2)

Publication Number Publication Date
JP2013235999A JP2013235999A (ja) 2013-11-21
JP5919087B2 true JP5919087B2 (ja) 2016-05-18

Family

ID=49534830

Family Applications (1)

Application Number Title Priority Date Filing Date
JP2012108266A Expired - Fee Related JP5919087B2 (ja) 2012-05-10 2012-05-10 半導体装置の製造方法および半導体装置

Country Status (4)

Country Link
US (2) US9269671B2 (ja)
JP (1) JP5919087B2 (ja)
CN (2) CN203300631U (ja)
TW (1) TWI584422B (ja)

Families Citing this family (16)

* Cited by examiner, † Cited by third party
Publication number Priority date Publication date Assignee Title
JP6526463B2 (ja) * 2015-03-31 2019-06-05 ルネサスエレクトロニクス株式会社 半導体装置の製造方法
JP6149072B2 (ja) 2015-07-07 2017-06-14 アオイ電子株式会社 半導体装置およびその製造方法
JP2017045944A (ja) * 2015-08-28 2017-03-02 ルネサスエレクトロニクス株式会社 半導体装置
CN106653955B (zh) * 2015-11-02 2019-02-01 上海博恩世通光电股份有限公司 一种识别芯片及其制作方法
CN105489542B (zh) * 2015-11-27 2019-06-14 矽力杰半导体技术(杭州)有限公司 芯片封装方法及芯片封装结构
JP6961337B2 (ja) * 2016-11-25 2021-11-05 ルネサスエレクトロニクス株式会社 半導体装置
JP2018085487A (ja) * 2016-11-25 2018-05-31 マクセルホールディングス株式会社 半導体装置の製造方法および半導体装置
US10629519B2 (en) * 2016-11-29 2020-04-21 Advanced Semiconductor Engineering, Inc. Semiconductor device package and method of manufacturing the same
JP2018164056A (ja) * 2017-03-27 2018-10-18 ルネサスエレクトロニクス株式会社 半導体装置の製造方法
KR20190014993A (ko) * 2017-08-04 2019-02-13 에스케이하이닉스 주식회사 지시 패턴을 포함하는 반도체 패키지
US10535812B2 (en) * 2017-09-04 2020-01-14 Rohm Co., Ltd. Semiconductor device
CN108183091A (zh) * 2017-12-28 2018-06-19 江苏长电科技股份有限公司 一种封装结构及其工艺方法
CN110473857A (zh) * 2018-05-10 2019-11-19 Oppo广东移动通信有限公司 半导体元件、贴片机及贴片系统
JP7243016B2 (ja) * 2019-01-30 2023-03-22 日清紡マイクロデバイス株式会社 半導体装置およびその製造方法
JP6846484B2 (ja) * 2019-08-26 2021-03-24 マクセルホールディングス株式会社 半導体装置用基板及びその製造方法、半導体装置
CN112768368A (zh) * 2021-02-26 2021-05-07 艾极倍特(上海)半导体设备有限公司 一种半导体大功率器件封装设备的制造方法

Family Cites Families (25)

* Cited by examiner, † Cited by third party
Publication number Priority date Publication date Assignee Title
JP2833965B2 (ja) * 1993-07-27 1998-12-09 日本電気株式会社 Icリード用パッド
JPH11103005A (ja) * 1997-09-29 1999-04-13 Hitachi Cable Ltd リードフレームの製造方法
KR100607926B1 (ko) * 1999-04-13 2006-08-03 삼성전자주식회사 휴대용단말기의 전력제어장치
MY133357A (en) * 1999-06-30 2007-11-30 Hitachi Ltd A semiconductor device and a method of manufacturing the same
US6700185B1 (en) 1999-11-10 2004-03-02 Hitachi Chemical Co., Ltd. Adhesive film for semiconductor, lead frame and semiconductor device using the same, and method for manufacturing semiconductor device
JP2001358276A (ja) * 2000-06-12 2001-12-26 Mitsui High Tec Inc 半導体装置およびリードフレーム
JP2002076040A (ja) * 2000-08-30 2002-03-15 Hitachi Ltd 半導体装置及びその製造方法
JP2002226796A (ja) * 2001-01-29 2002-08-14 Hitachi Chem Co Ltd ウェハ貼着用粘着シート及び半導体装置
JP3879410B2 (ja) * 2001-02-06 2007-02-14 凸版印刷株式会社 リードフレームの製造方法
JP4095827B2 (ja) 2002-05-10 2008-06-04 株式会社ルネサステクノロジ 半導体装置
TWI520269B (zh) * 2002-12-03 2016-02-01 濱松赫德尼古斯股份有限公司 Cutting method of semiconductor substrate
JP2004214233A (ja) * 2002-12-26 2004-07-29 Renesas Technology Corp 半導体装置およびその製造方法
JP4373122B2 (ja) 2003-04-28 2009-11-25 大日本印刷株式会社 樹脂封止型半導体装置とその製造方法
JP2005294443A (ja) * 2004-03-31 2005-10-20 Sony Corp 半導体装置及びその製造方法
JP2006287073A (ja) * 2005-04-04 2006-10-19 Matsushita Electric Ind Co Ltd 半導体装置およびその製造方法
JP4624170B2 (ja) * 2005-04-25 2011-02-02 ルネサスエレクトロニクス株式会社 半導体装置の製造方法
JP2007165740A (ja) * 2005-12-16 2007-06-28 Hitachi Ulsi Systems Co Ltd 半導体装置の製造方法
JP2006229263A (ja) 2006-06-05 2006-08-31 Renesas Technology Corp 半導体装置
EP2139027A4 (en) * 2007-04-06 2012-08-08 Hitachi Chemical Co Ltd Adhesive film for a semiconductor, composite film and method for producing a semiconductor chip using said
JP5034670B2 (ja) 2007-05-16 2012-09-26 株式会社デンソー モールドパッケージ
JP4215814B2 (ja) * 2008-03-17 2009-01-28 三洋電機株式会社 半導体装置の製造方法
JP5634033B2 (ja) 2008-08-29 2014-12-03 セミコンダクター・コンポーネンツ・インダストリーズ・リミテッド・ライアビリティ・カンパニー 樹脂封止型半導体装置とその製造方法
JP2009188423A (ja) * 2009-04-16 2009-08-20 Sanyo Electric Co Ltd 半導体装置およびその製造方法
JP2011091145A (ja) 2009-10-21 2011-05-06 Sanyo Electric Co Ltd 半導体装置及びその製造方法
JP5798834B2 (ja) * 2011-08-08 2015-10-21 ルネサスエレクトロニクス株式会社 半導体装置の製造方法

Also Published As

Publication number Publication date
CN103390604A (zh) 2013-11-13
CN203300631U (zh) 2013-11-20
US9269671B2 (en) 2016-02-23
JP2013235999A (ja) 2013-11-21
US20160079186A1 (en) 2016-03-17
TWI584422B (zh) 2017-05-21
US20130299956A1 (en) 2013-11-14
TW201351580A (zh) 2013-12-16
CN103390604B (zh) 2018-12-21

Similar Documents

Publication Publication Date Title
JP5919087B2 (ja) 半導体装置の製造方法および半導体装置
TWI284960B (en) Manufacturing method of semiconductor device
US8710663B2 (en) Method of manufacturing semiconductor device and semiconductor device
JP5798834B2 (ja) 半導体装置の製造方法
US9287142B2 (en) Method of manufacturing a semiconductor device using markings on both lead frame and sealing body
KR100517075B1 (ko) 반도체 소자 제조 방법
KR100859624B1 (ko) 반도체 장치의 제조 방법
US20070275543A1 (en) Manufacturing method of a semiconductor device
JP2003303919A (ja) 半導体装置及びその製造方法
JP2003303921A (ja) 半導体装置の製造方法
JPH0355859A (ja) 半導体ダイボンディング方法
JP2003124421A (ja) リードフレーム及びその製造方法並びに該リードフレームを用いた半導体装置の製造方法
JP2004207719A (ja) 半導体パッケージの組立て方法及び半導体パッケージ工程の保護テープの除去装置
US8922015B2 (en) Semiconductor device
JP2012243840A (ja) 半導体装置およびその製造方法
US7056768B2 (en) Cutting method and method of manufacturing semiconductor device
JP2007048876A (ja) 半導体装置の製造方法
JP2004281526A (ja) 半導体装置の製造方法
JP4033969B2 (ja) 半導体パッケージ、その製造方法及びウェハキャリア
KR20100093356A (ko) 퓨즈박스를 구비한 반도체 장치의 제조방법
JP2006237504A (ja) 半導体チップ剥離装置およびそれを用いた半導体装置の製造方法
JP2011171433A (ja) 半導体装置の製造方法および半導体装置
KR20000041299A (ko) 감광성 접착층을 이용한 반도체 칩 접착방법
JP2010050242A (ja) 半導体装置の製造方法

Legal Events

Date Code Title Description
A621 Written request for application examination

Free format text: JAPANESE INTERMEDIATE CODE: A621

Effective date: 20150204

A977 Report on retrieval

Free format text: JAPANESE INTERMEDIATE CODE: A971007

Effective date: 20151207

A131 Notification of reasons for refusal

Free format text: JAPANESE INTERMEDIATE CODE: A131

Effective date: 20151222

A521 Request for written amendment filed

Free format text: JAPANESE INTERMEDIATE CODE: A523

Effective date: 20160203

TRDD Decision of grant or rejection written
A01 Written decision to grant a patent or to grant a registration (utility model)

Free format text: JAPANESE INTERMEDIATE CODE: A01

Effective date: 20160405

A61 First payment of annual fees (during grant procedure)

Free format text: JAPANESE INTERMEDIATE CODE: A61

Effective date: 20160411

R150 Certificate of patent or registration of utility model

Ref document number: 5919087

Country of ref document: JP

Free format text: JAPANESE INTERMEDIATE CODE: R150

LAPS Cancellation because of no payment of annual fees