JP5628246B2 - 車両用衝撃吸収体及びそれを有する車両用内装部品 - Google Patents
車両用衝撃吸収体及びそれを有する車両用内装部品 Download PDFInfo
- Publication number
- JP5628246B2 JP5628246B2 JP2012169969A JP2012169969A JP5628246B2 JP 5628246 B2 JP5628246 B2 JP 5628246B2 JP 2012169969 A JP2012169969 A JP 2012169969A JP 2012169969 A JP2012169969 A JP 2012169969A JP 5628246 B2 JP5628246 B2 JP 5628246B2
- Authority
- JP
- Japan
- Prior art keywords
- side wall
- shock absorber
- rib
- door trim
- top surface
- Prior art date
- Legal status (The legal status is an assumption and is not a legal conclusion. Google has not performed a legal analysis and makes no representation as to the accuracy of the status listed.)
- Expired - Fee Related
Links
- 230000035939 shock Effects 0.000 title claims description 208
- 239000006096 absorbing agent Substances 0.000 title claims description 198
- 238000010521 absorption reaction Methods 0.000 description 44
- 238000010586 diagram Methods 0.000 description 9
- 238000012986 modification Methods 0.000 description 7
- 230000004048 modification Effects 0.000 description 7
- 229920005989 resin Polymers 0.000 description 7
- 239000011347 resin Substances 0.000 description 7
- 238000005452 bending Methods 0.000 description 6
- 238000002474 experimental method Methods 0.000 description 5
- 238000013461 design Methods 0.000 description 4
- 239000004743 Polypropylene Substances 0.000 description 3
- 238000006073 displacement reaction Methods 0.000 description 3
- 229920001155 polypropylene Polymers 0.000 description 3
- 229920002943 EPDM rubber Polymers 0.000 description 2
- 238000006243 chemical reaction Methods 0.000 description 2
- 239000012141 concentrate Substances 0.000 description 2
- 238000011161 development Methods 0.000 description 2
- 238000003780 insertion Methods 0.000 description 2
- 230000037431 insertion Effects 0.000 description 2
- 210000004705 lumbosacral region Anatomy 0.000 description 2
- 238000000034 method Methods 0.000 description 2
- -1 polypropylene Polymers 0.000 description 2
- 230000000694 effects Effects 0.000 description 1
- 238000005516 engineering process Methods 0.000 description 1
- 238000005259 measurement Methods 0.000 description 1
- 230000002250 progressing effect Effects 0.000 description 1
- 229920002725 thermoplastic elastomer Polymers 0.000 description 1
- 229920002397 thermoplastic olefin Polymers 0.000 description 1
- 229920005992 thermoplastic resin Polymers 0.000 description 1
- 230000009466 transformation Effects 0.000 description 1
- 238000003466 welding Methods 0.000 description 1
Images
Classifications
-
- B—PERFORMING OPERATIONS; TRANSPORTING
- B62—LAND VEHICLES FOR TRAVELLING OTHERWISE THAN ON RAILS
- B62D—MOTOR VEHICLES; TRAILERS
- B62D25/00—Superstructure or monocoque structure sub-units; Parts or details thereof not otherwise provided for
- B62D25/02—Side panels
-
- B—PERFORMING OPERATIONS; TRANSPORTING
- B60—VEHICLES IN GENERAL
- B60J—WINDOWS, WINDSCREENS, NON-FIXED ROOFS, DOORS, OR SIMILAR DEVICES FOR VEHICLES; REMOVABLE EXTERNAL PROTECTIVE COVERINGS SPECIALLY ADAPTED FOR VEHICLES
- B60J5/00—Doors
- B60J5/04—Doors arranged at the vehicle sides
- B60J5/042—Reinforcement elements
- B60J5/0451—Block or short strip-type elements
-
- B—PERFORMING OPERATIONS; TRANSPORTING
- B60—VEHICLES IN GENERAL
- B60R—VEHICLES, VEHICLE FITTINGS, OR VEHICLE PARTS, NOT OTHERWISE PROVIDED FOR
- B60R21/00—Arrangements or fittings on vehicles for protecting or preventing injuries to occupants or pedestrians in case of accidents or other traffic risks
- B60R21/02—Occupant safety arrangements or fittings, e.g. crash pads
- B60R21/04—Padded linings for the vehicle interior ; Energy absorbing structures associated with padded or non-padded linings
- B60R21/0428—Padded linings for the vehicle interior ; Energy absorbing structures associated with padded or non-padded linings associated with the side doors or panels, e.g. displaced towards the occupants in case of a side collision
Landscapes
- Engineering & Computer Science (AREA)
- Mechanical Engineering (AREA)
- Chemical & Material Sciences (AREA)
- Combustion & Propulsion (AREA)
- Transportation (AREA)
- Vehicle Interior And Exterior Ornaments, Soundproofing, And Insulation (AREA)
- Vibration Dampers (AREA)
Description
このような内装部品に設けられる、衝突に対して乗員の主に腰部や肩部を保護するためのエネルギ吸収体として、特許文献1には、熱可塑性樹脂からなる中空構造体の側壁に凹状リブを形成して、安定した衝撃吸収性能を得るようにした衝撃吸収体が開示されている。
また、特許文献2には、樹脂成形体からなる筒状部の側壁に薄肉部を設けて、衝撃エネルギを効率的に吸収するようにした衝撃吸収構造体が開示されている。
また、特許文献3には、側突時に座屈変形して衝撃を吸収するようにした樹脂製の中空ボックス体からなる衝撃吸収体が開示されている。この特許文献3の衝撃吸収体では、その頂面壁と2つの側面壁とのコーナー部にコーナーカット部を形成すると共に内面リブを設けて、衝突初期の反力の高騰を抑えると共に、衝突後半域での過度の反力低下をなくすようにしている。
しかしながら、上述した従来技術では、自動車メーカが設定する、車種毎又は取り付け位置毎の衝撃吸収体のスペックや制約を全て満たすことは難しく、より設計の汎用性が高く、且つ、要求される衝撃吸収特性を確実に満たすような衝撃吸収体の新たな構造が要望されている。
このように構成された本発明においては、衝撃吸収体の基部で囲まれる開口部が形成され、その基部から延びるスリットが、隣接する側壁部の境界部に形成され、且つ、複数の側壁部はその側方且つ外方に向けて傾斜する傾斜部を有しているので、衝突初期(衝撃吸収体が衝突荷重を受けた初期)に、スリットにより、まず、隣接する側壁部の境界部に亀裂を生じさせ、その亀裂の進展と共に、各側壁部が、傾斜部を有していることにより、効果的に、側方に向けて開くように変形させることが出来る。これにより、衝突初期の衝突エネルギを吸収させることが出来る。また、本発明では、隣接する側壁部を互いに連結するリブ部材が設けられているので、特に衝突中期には、そのようなリブ部材により、上述したような側壁部の開き変形の度合いを調節して衝突エネルギの吸収量を調節することが出来る。さらに、衝突中期及び衝突後期には、そのようなリブ部材自体の変形により、衝突エネルギを吸収させることが出来る。ここで、上述したような側壁部の開き変形による衝突エネルギ吸収量、その開き変形の度合いのリブ部材による調節量、及び、リブ部材自体の変形による衝突エネルギ吸収量は、例えば、各側壁部及びリブ部材の厚さ、高さ、及び、側壁部が有する傾斜部の傾斜角などを、所望する衝撃吸収特性が得られるよう、予め調整、即ち、設計段階で実験や解析などによって適正化することで、調節可能である。従って、衝突初期、中期及び後期にかけて、効果的に、所望する衝撃吸収特性を得ることが出来る。
このように構成された本発明においては、第1リブ部分、第2リブ部分及び第3リブ部分のそれぞれの厚さ、高さ、幅を、予め調整することにより、側壁部の開き変形による衝突エネルギ吸収量、及び、その開き変形の度合いのリブ部材による調節量を調節することが出来、これにより、所望する衝撃吸収特性を得ることが出来る。
また、本発明において、好ましくは、リブ部材の第1リブ部分は一方の側壁部に対して垂直方向に延び、リブ部材の第2リブ部分は他方の側壁部に対して垂直方向に延び、リブ部材の第3リブ部分は一方の側壁部及び他方の側壁部に対して斜め方向に延びる。
また、本発明において、好ましくは、リブ部材の第1リブ部分及び第2リブ部分は頂面部から第1の所定高さ位置まで延び、リブ部材の第3リブ部分は頂面部から第1の所定高さ位置よりも低い第2の所定高さ位置まで延びる。
また、本発明において、好ましくは、少なくとも2組のリブ部材は、それぞれ、折れ線状に延びて隣接する側壁部を互いに接続する。
また、本発明において、好ましくは、スリットは、三角形状に形成され、その頂点が隣接する側壁部の境界部の所定の高さ位置に位置するよう形成されている。
このように構成された本発明においては、スリットは、隣接する側壁部の境界部に頂点が形成されるような三角形状であるので、効果的に、隣接する側壁部の境界部に亀裂を生じさせることが出来る。また、スリットの基部からの高さ位置(所定の高さ位置)を予め調整することで、衝突初期の衝撃吸収特性の調整が可能である。
このように構成された本発明においては、側壁部の第1側壁部分の高さ方向の長さ(頂面部から所定の高さ位置までの距離)と、傾斜部である第2側壁部分の高さ方向の長さ(所定の高さから基部までの距離)とを、予め調整して、衝突初期からの側壁部の開き変形による衝突エネルギ吸収量を調節することにより、所望する衝撃吸収特性が得られるようにすることが出来る。
このように構成された本発明においては、側壁部の傾斜部は、頂面部から基部まで延びるので、側壁部を、より効果的に、側方に向けて開くように変形させることが出来る。
このように構成された本発明においては、リブ部材の基部側の端縁の高さ位置を予め調整することにより、側壁部の開き変形による衝突エネルギ吸収量、及び、その開き変形の度合いのリブ部材による調節量を調節することが出来る。
このように構成された本発明においては、リブ部材の少なくとも一部が基部の高さ位置まで延びるので、衝突初期から、側壁部の開き変形の度合いのリブ部材による調節量を調節することが出来る。
このように構成された本発明においては、隣接する側壁部の境界部にR形状部分が形成されているので、スリットによる亀裂の進展度合いを、隣接する側壁部の境界部にR形状部分が形成されていない場合よりも遅くし、又は、進展しないようにして、側壁部の開き変形による衝突エネルギ吸収量を、所望する衝撃吸収特性が得られるよう、調整することが出来る。
このように構成された本発明においては、隣接する側壁部の境界部に形成されたR形状部分は、リブ部材の側壁部への接続部とほぼ同じ高さまで形成されているので、スリットによる亀裂の進展度合いを、リブ部材が接続されている部分では進展しにくく、又は、進展しないようにして、側壁部の開き変形による衝突エネルギ吸収量、及び、その開き変形の度合いのリブ部材による調節量を調節し、且つ、リブ部材自体の変形によるエネルギ吸収をより確実に得るようにすることが出来る。
このように構成された本発明においては、衝撃吸収体の基部のドアトリムへの取付部は、側突時、その取付けが外れるように固定されているので、側突時、より効果的に、側壁部を側方に向けて開くように変形させることが出来る。
このように構成された本発明においては、衝撃吸収体の基部で囲まれる開口部が形成され、その基部から延びるスリットが、隣接する側壁部の境界部に形成され、且つ、複数の側壁部はその側方且つ外方に向けて傾斜する傾斜部を有しているので、衝突初期(衝撃吸収体が衝突荷重を受けた初期)に、スリットにより、まず、隣接する側壁部の境界部に亀裂を生じさせ、その亀裂の進展と共に、各側壁部が、傾斜部を有していることにより、効果的に、側方に向けて開くように変形させることが出来る。これにより、衝突初期の衝突エネルギを吸収させることが出来る。また、本発明では、隣接する側壁部を互いに連結するリブ部材が設けられているので、特に衝突中期には、そのようなリブ部材により、上述したような側壁部の開き変形の度合いを調節して衝突エネルギの吸収量を調節することが出来る。さらに、衝突中期及び衝突後期には、そのようなリブ部材自体の変形により、衝突エネルギを吸収させることが出来る。ここで、上述したような側壁部の開き変形による衝突エネルギ吸収量、その開き変形の度合いのリブ部材による調節量、及び、リブ部材自体の変形による衝突エネルギ吸収量は、主に、各側壁部及びリブ部材の厚さ、高さ、及び、側壁部が有する傾斜部の傾斜角などを、所望する衝撃吸収特性が得られるよう、予め調整、即ち、設計段階で実験や解析などによって適正化することで、調節可能である。従って、衝突初期、中期及び後期にかけて、上述したような衝撃吸収体により、効果的に、所望する衝撃吸収特性を得ることが出来る車両用内装部品を得ることが出来る。
先ず、図1乃至図3により、本発明の実施形態によるドアトリム、外板パネル及びそれらに対する衝撃吸収体の配置を説明する。図1は、本発明の実施形態による衝撃吸収体が設けられた車両用内装部品を車室側から示す斜視図であり、図2は、本発明の実施形態による衝撃吸収体が設けられた車両用内装部品を外板パネル側から示す斜視図であり、図3は、本発明の実施形態による衝撃吸収体の、車両用内装部品と車両のドアの外板パネルとの間における配置を説明するための、車両のドアの外板パネルと共に示す図2のIII−III線に沿って見た断面図である。
ここで、図2及び図3に示すように衝撃吸収体8がドアトリム2に取り付けられた場合、頂面部12は外板パネル10と対向するように配置される。これにより、側突時、車両外部からの荷重により変形した外板パネル10が頂面部12に接触し、頂面部12が外板パネル10からの衝突荷重を受けるようになっている。図3に示すように、本実施形態においては、外板パネル10からの衝突荷重をより有効に受けるために、頂面部12が外板パネル10とほぼ平行に配置されている。
より詳細には、各側壁部18は、頂面部12の縁部14からドアトリム2に向けてほぼ垂直方向に所定の高さ位置(すなわち頂面部12に垂直な方向に沿って頂面部12から所定の長さ離れた位置)まで延びる垂直側壁部分(第1側壁部分)18bと、その所定の高さ位置から、側壁部18における頂面部12とは反対側の端縁部18cまで延びる傾斜側壁部分(第2側壁部分)18aとを有する。これらのうち、傾斜側壁部分18aが、上述した傾斜部18aとなっており、衝撃吸収体8の側方且つ外方に向けて傾斜している。この垂直側壁部分18bと傾斜側壁部分18aの境界の高さ位置、及び、傾斜部18aの傾斜角は、衝撃吸収体8のスペックに応じて適宜設定される。
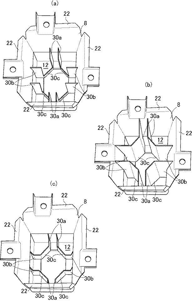
より詳細には、リブ部材30は、互いに隣接する2つの側壁部18の一方から中空の箱体の内方に向けてほぼ垂直に延びる第1リブ部分30aと、互いに隣接する2つの側壁部18の他方から中空の箱体の内方に向けてほぼ垂直に延びる第2リブ部分30bと、これらの第1リブ部分30a及び第2リブ部分30bを互いに接続するように延びる第3リブ部分30cとを有する。このうち、各々の第3リブ部分30cの頂面部12側の端縁は、頂面部12に形成された八角形の開口16のうちの1辺にそれぞれ接続される。
この変形例では、例えば、図7(a)に示すように、第1リブ部分30a及び第2リブ部分30bを、頂面部12と基部22との間の高さ位置まで延びるように形成し、且つ、第3リブ部分30cを第1リブ部分30a及び第2リブ部分30bよりも低い高さ位置まで延びるように形成してもよい。
また、図7(b)に示すように、第1リブ部分30a、第2リブ部分30b、及び第3リブ部分30cを、頂面部12から基部22の高さ位置まで延びるように形成してもよい。
また、図7(c)に示すように、第1リブ部分30a、第2リブ部分30b、及び第3リブ部分30cを、図5に示した例よりも低い高さ位置まで延びるように形成してもよい。
図8は、本発明の実施形態による衝撃吸収体8に作用する衝突荷重及び衝撃吸収体8の変形方向を、図3と同様の視点により示す図であり、図9は、本発明の実施形態による衝撃吸収体が側突時に衝突荷重を受けて変形する状態を説明するための斜視図であり、図9(a)は変形前の衝撃吸収体を示す図であり、図9(b)は変形後に衝撃吸収体のスリットが開いた状態を示す図であり、図10は、本発明の実施形態による衝撃吸収体が側突時に衝突荷重を受けて変形する状態を説明するための断面図であり、図10(a)は変形前の衝撃吸収体を示す図、図10(b)は衝突初期から中期における衝撃吸収体の変形状態を示す図、図10(c)は衝突中期から後期における衝撃吸収体の変形状態を示す図である。
すなわち、衝撃吸収体8は、ドアトリム2と外板パネル10から頂面部12にほぼ垂直な方向に荷重を受ける。この場合、衝撃吸収体8の各側壁部18が衝撃吸収体8の側方且つ外方に向けて傾斜する傾斜部18aを有しているので、各側壁部18には、各側壁部18をさらに側方且つ外方に広げるような、図8に示すような曲げモーメントが働く。また、側突時、樹脂ピンが取付部24から脱落し、ドアトリム2に対する取付部24の取付けが外れることにより、各側壁部18がさらに容易に側方且つ外方に向けて変形する。
その後、図10(c)に示すように、側壁部18が側方且つ外方にさらに開くと、リブ部材30が側壁部18に接続される接続部30dに応力が集中することにより、接続部30dに亀裂が生じ、リブ部材30が側壁部18から剥がれるように変形する。このように、リブ部材30が側壁部18から剥がれることにより、主に衝突中期から後期にかけて衝突エネルギが吸収される。
さらに、図示しないが、本実施形態のように、リブ部材30a、30b、30cの基部22側の端縁と基部22との間に所定の間隔が形成されるようにしている場合には、衝撃吸収体8の変形(つぶれ)が進んで、リブ部材30a、30b、30cの基部22側の端縁がドアトリム2と接触した後には、リブ部材30a、30b、30c自体が直接、衝突荷重を受けて、折れ、曲げ、捩れなどの変形をすることにより、特に衝突中期から衝突後期にかけて大きく衝突エネルギが吸収される。
図11は、衝撃吸収体8の衝撃吸収特性を測定するための実験装置の構成を示す断面図であり、図12は、図11に示した実験装置により衝撃吸収体8の衝撃吸収特性を測定した結果を示す線図である。
先ず、実験に供される衝撃吸収体8は、図11に示すようにドアトリム2に取り付けられており、その頂面部12が固定壁(治具)32に固定されている。ドアトリム2側から、頂面部12に垂直な方向(図11におけるx軸方向)に沿ってドアトリム2に向かって荷重体(乗員の腰部又は肩部などを想定した剛体)34を移動させて、ドアトリム2を介して衝撃吸収体8に荷重Fを加える。この時の荷重体34の変位(すなわち衝撃吸収体8のつぶれ量)及び荷重体34が与える平均荷重(すなわち衝撃吸収体8が受ける荷重)を測定することにより、衝撃吸収体8の衝撃吸収特性を特定することができる。
この実験では、図4乃至図6に示したような衝撃吸収体8(すなわち、リブ部材30が頂面部12と基部22との間の高さ位置まで延びている衝撃吸収体8であり、ここでは、第1衝撃吸収体8と呼ぶ)と、図7(b)に示したようにリブ部材30が基部22の高さ位置まで延びており且つ第1衝撃吸収体8よりもスリット26の高さが低い衝撃吸収体8(第2衝撃吸収体8と呼ぶ)の、2種類の衝撃吸収体8を用いた。なお、この実験に用いた何れの衝撃吸収体8も、側壁部18の厚さは2.5mm、リブ部材30の厚さは2.0mmである。
図12において、実線は第1衝撃吸収体8に対する平均荷重を示し、破線は第2衝撃吸収体8に対する平均荷重を示している。また、一点鎖線は第1衝撃吸収体8によるエネルギ吸収量を示し、2点鎖線は第2衝撃吸収体8によるエネルギ吸収量を示す。
さらに、リブ部材30が側壁部18に接続される接続部30dの長さは、第2衝撃吸収体8の方が長いため、リブ部材30が側壁部18から剥がれる際に吸収する衝突エネルギは、第1衝撃吸収体8より第2衝撃吸収体8の方が大きい。
したがって、図12に示すように、主に衝突中期から後期にかけて、第2衝撃吸収体8に対する平均荷重は第1衝撃吸収体8に対する平均荷重よりも大きくなり、第2衝撃吸収体8によるエネルギ吸収量は第1衝撃吸収体8によるエネルギ吸収量よりも大きくなっている。
ここで、スリット26の高さ並びにリブ部材30の厚さ及び高さの調整内容と、対応する衝撃吸収特性の変化との主な関係を、以下の表に示す。
さらに、側壁部18の厚さ、傾斜部18aの傾斜角度、あるいはR形状部分20の長さやそのRの大きさを予め調整することによって、衝撃吸収特性を変化させることができる。例えば、側壁部18の厚さを増大させることで、側壁部18の剛性が向上するため、衝突初期から後期にかけて平均荷重が増大する。また、傾斜部18aは、図示した本実施形態のものよりも、頂面部12の延びる方向と平行な方向に近づけるように、すなわち衝撃吸収体8の側方且つ外方に向かってさらに傾斜部18aの傾斜角度が大きくなるように、傾斜部18aの傾斜角度を調整することにより、衝突初期において側壁部18が衝撃吸収体8の側方且つ外方に変形し易くなるため、衝突初期の平均荷重が減少する。また、R形状部分20の長さを長くすることにより、境界部28において亀裂の進展長さを長くして、衝突初期から中期にかけてより確実に平均荷重を調節することができる。また、境界部28における亀裂の進展度合いを減少又は増大させるようR形状部分20のRの曲率半径を適宜選択することにより、衝突初期から中期にかけて平均荷重を減少又は増大させることができる。
上述した実施形態では、衝撃吸収体8は、直方体状の中空の箱体として形成されているが、衝撃吸収体8を、例えば、上述したような頂面部12が五角形を有し、上述したような側壁部18が5つ形成される、五角柱以上の多角柱状の中空箱体として形成してもよい。
本発明の実施形態による衝撃吸収体8は、衝撃吸収体8の基部22に開口が形成され、その基部22から延びるスリット26が隣接する側壁部18の境界部28に形成され、且つ、複数の側壁部18はその側方且つ外方に向けて傾斜する傾斜部18aを有しているので、衝突初期に、スリット26により、まず、隣接する側壁部18の境界部28に亀裂を生じさせ、その亀裂の進展と共に、各側壁部18が、傾斜部18aを有していることにより、効果的に、側方に向けて開くように変形させることが出来る。これにより、衝突初期の衝突エネルギを吸収させることが出来る。また、衝撃吸収体8には、隣接する側壁部18を互いに連結するリブ部材30が設けられているので、特に衝突中期には、そのようなリブ部材30により、上述したような側壁部18の開き変形の度合いを調節して衝突エネルギの吸収量を調節することが出来る。さらに、衝突中期及び衝突後期には、そのようなリブ部材30自体の変形により、衝突エネルギを吸収させることが出来る。ここで、上述したような側壁部18の開き変形による衝突エネルギ吸収量、その開き変形の度合いのリブ部材30による調節量、及び、リブ部材30自体の変形による衝突エネルギ吸収量は、主に、各側壁部18及びリブ部材30の厚さ、高さ、及び、側壁部18が有する傾斜部18aの傾斜角などを、所望する衝撃吸収特性が得られるよう、予め調整、即ち、設計段階で実験や解析などによって適正化することで、調節可能である。従って、衝突初期、中期及び後期にかけて、効果的に、所望する衝撃吸収特性を得ることが出来る。
2 ドアトリム
4 腰部衝突領域
6 肩部衝突領域
8 衝撃吸収体
10 外板パネル
12 頂面部
14 頂面部の縁部
18 側壁部
18a 側壁部の傾斜部、第2側壁部分
18b 側壁部の第1側壁部分
18c 側壁部の端縁部
20 R形状部分
22 基部
24 取付部
26 スリット
28 隣接する側壁部間の境界部、隣接する側壁部間の角部
30 リブ部材
30a 第1リブ部分
30b 第2リブ部分
30c 第3リブ部分
30d 接続部
Claims (13)
- 車両の外板パネルと、この外板パネルに取り付けられるドアトリムとの間に設けられる乗員保護用の衝撃吸収体であって、
この衝撃吸収体は、側突時、車室内の乗員の腰部又は肩部が上記ドアトリムに衝突し得る部分に設けられ、
上記衝撃吸収体は、側突時に上記外板パネルからの衝突荷重を受けるようになっている、少なくとも4つの直線状の縁部を有する頂面部と、この頂面部の各縁部から上記ドアトリムに向かって延びる複数の側壁部と、これらの側壁部の上記ドアトリム側の各端縁部から側方に延び、これらの各端縁部と共に側突時にドアトリムに衝突する乗員の衝突荷重を受けるようになっている基部とを有し、これらの基部で囲まれ、上記ドアトリムに向けて開口する開口部が形成されている中空の箱体であり、
上記衝撃吸収体の基部の一部が、上記ドアトリムに取り付けられ、
上記衝撃吸収体には、上記複数の側壁部の隣接する側壁部の境界部に、上記基部から延びるスリットが少なくとも2組形成され、
上記衝撃吸収体の複数の側壁部は、その側方且つ外方に向けて傾斜する傾斜部を有し、
上記衝撃吸収体は、さらに、上記中空の箱体の内方で上記頂面部から上記基部に向けて延びると共に隣接する側壁部を互いに連結するように延びるリブ部材が少なくとも2組設けられ、
これらの少なくとも2組のリブ部材は、互いに離間するよう形成され、
上記少なくとも2組のリブ部材は、それぞれ、互いに隣接する側壁部の一方の側壁部から上記中空の箱体の内方に向けて直線状に延びる第1リブ部分と、互いに隣接する側壁部の他方の側壁部から上記中空の箱体の内方に向けて直線状に延びる第2リブ部分と、これらの第1リブ部分及び第2リブ部分を互いに接続するように直線状に延びる第3リブ部分とを有することを特徴とする衝撃吸収体。 - 上記リブ部材の第1リブ部分は上記一方の側壁部に対して垂直方向に延び、
上記リブ部材の第2リブ部分は上記他方の側壁部に対して垂直方向に延び、
上記リブ部材の第3リブ部分は上記一方の側壁部及び上記他方の側壁部に対して斜め方向に延びる請求項1に記載の衝撃吸収体。 - 上記リブ部材の第1リブ部分及び第2リブ部分は上記頂面部から第1の所定高さ位置まで延び、上記リブ部材の第3リブ部分は上記頂面部から上記第1の所定高さ位置よりも低い第2の所定高さ位置まで延びる請求項1又は請求項2に記載の衝撃吸収体。
- 上記少なくとも2組のリブ部材は、それぞれ、上記隣接する側壁部を互いに連結するように折れ線状に延びる請求項1に記載の衝撃吸収体。
- 上記スリットは、三角形状に形成され、その頂点が上記隣接する側壁部の境界部の所定の高さ位置に位置するよう形成されている請求項1乃至4のいずれか1項記載の衝撃吸収体。
- 上記複数の側壁部は、上記頂面部から上記ドアトリムに向けてほぼ垂直方向に所定の高さ位置まで延びる第1側壁部分と、上記所定の高さ位置から上記基部まで延びる上記傾斜部である第2側壁部分とを有する請求項1乃至5のいずれか1項に記載の衝撃吸収体。
- 上記側壁部の傾斜部は、上記頂面部から上記基部まで延びるよう形成されている請求項1乃至5のいずれか1項に記載の衝撃吸収体。
- 上記リブ部材は、その上記基部側の端縁と上記基部との間に所定の間隔が形成されるように上記頂面部から所定の高さ位置まで延びる請求項1乃至7のいずれか1項に記載の衝撃吸収体。
- 上記リブ部材は、少なくともその一部が、上記頂面部から上記基部と同じ高さ位置まで延びる請求項1乃至8のいずれか1項に記載の衝撃吸収体。
- 上記隣接する側壁部の境界部の少なくとも一部にR形状部分が形成されている請求項1乃至9のいずれか1項に記載の衝撃吸収体。
- 上記リブ部材は、上記側壁部に沿って、上記頂面部の高さ位置から所定の高さ位置まで上記側壁部に接続され、
上記隣接する側壁部の境界部のR形状部分は、上記頂面部の高さ位置から、上記側壁部に沿って接続された上記リブ部材の高さ位置とほぼ同じ高さ位置まで形成されている請求項10に記載の衝撃吸収体。 - 上記衝撃吸収体の基部は、少なくとも2箇所で上記ドアトリムに取り付けられる取付部を有し、これらの取付部は、側突時、その取付けが外れるように固定されるようになっている請求項1乃至11のいずれか1項に記載の衝撃吸収体。
- 車両の外板パネルの車室側に設けられる車両用内装部品であって、
上記外板パネルに取り付けられるドアトリムと、
このドアトリムに取り付けられる乗員保護用の衝撃吸収体と、を有し、
この衝撃吸収体は、側突時、車室内の乗員の腰部又は肩部が上記ドアトリムに衝突し得る部分に設けられ、
上記衝撃吸収体は、側突時に上記外板パネルからの衝突荷重を受けるようになっている、少なくとも4つの直線状の縁部を有する頂面部と、この頂面部の各縁部から上記ドアトリムに向かって延びる複数の側壁部と、これらの側壁部の上記ドアトリム側の各端縁部から側方に延び、これらの各端縁部と共に側突時にドアトリムに衝突する乗員の衝突荷重を受けるようになっている基部とを有し、これらの基部で囲まれ、上記ドアトリムに向けて開口する開口部が形成されている中空の箱体であり、
上記衝撃吸収体の基部の一部が、上記ドアトリムに取り付けられるようになっており、
上記衝撃吸収体には、上記複数の側壁部の隣接する側壁部の境界部に、上記基部から延びるスリットが少なくとも2組形成され、
上記衝撃吸収体の複数の側壁部は、その側方且つ外方に向けて傾斜する傾斜部を有し、
上記衝撃吸収体は、さらに、上記中空の箱体の内方で上記頂面部から上記基部に向けて延びると共に隣接する側壁部を互いに連結するように延びるリブ部材が少なくとも2組設けられ、
これらの少なくとも2組のリブ部材は、互いに離間するよう形成され、
上記少なくとも2組のリブ部材は、それぞれ、互いに隣接する側壁部の一方の側壁部から上記中空の箱体の内方に向けて直線状に延びる第1リブ部分と、互いに隣接する側壁部の他方の側壁部から上記中空の箱体の内方に向けて直線状に延びる第2リブ部分と、これらの第1リブ部分及び第2リブ部分を互いに接続するように直線状に延びる第3リブ部分とを有することを特徴とする車両用内装部品。
Priority Applications (4)
| Application Number | Priority Date | Filing Date | Title |
|---|---|---|---|
| JP2012169969A JP5628246B2 (ja) | 2012-07-31 | 2012-07-31 | 車両用衝撃吸収体及びそれを有する車両用内装部品 |
| DE102013107901.6A DE102013107901A1 (de) | 2012-07-31 | 2013-07-24 | Fahrzeugaufpralldämpfender Körper und Fahrzeuginnenkomponente mit selbigem |
| CN201310327428.2A CN103569014B (zh) | 2012-07-31 | 2013-07-31 | 车辆用冲击吸收体及具有其的车辆用内饰部件 |
| US13/955,695 US8960774B2 (en) | 2012-07-31 | 2013-07-31 | Impact absorbing body for a vehicle door trim |
Applications Claiming Priority (1)
| Application Number | Priority Date | Filing Date | Title |
|---|---|---|---|
| JP2012169969A JP5628246B2 (ja) | 2012-07-31 | 2012-07-31 | 車両用衝撃吸収体及びそれを有する車両用内装部品 |
Publications (2)
| Publication Number | Publication Date |
|---|---|
| JP2014028572A JP2014028572A (ja) | 2014-02-13 |
| JP5628246B2 true JP5628246B2 (ja) | 2014-11-19 |
Family
ID=49944113
Family Applications (1)
| Application Number | Title | Priority Date | Filing Date |
|---|---|---|---|
| JP2012169969A Expired - Fee Related JP5628246B2 (ja) | 2012-07-31 | 2012-07-31 | 車両用衝撃吸収体及びそれを有する車両用内装部品 |
Country Status (4)
| Country | Link |
|---|---|
| US (1) | US8960774B2 (ja) |
| JP (1) | JP5628246B2 (ja) |
| CN (1) | CN103569014B (ja) |
| DE (1) | DE102013107901A1 (ja) |
Families Citing this family (25)
| Publication number | Priority date | Publication date | Assignee | Title |
|---|---|---|---|---|
| US9382732B2 (en) * | 2011-01-21 | 2016-07-05 | GM Global Technology Operations LLC | Door assembly with anti-theft device |
| CN104619533B (zh) * | 2012-07-23 | 2017-08-01 | 佛吉亚内饰系统印度私营责任有限公司 | 汽车减震器构件,包含该减震器构件的汽车门板组件和包括该汽车门板组件的汽车 |
| JP5802190B2 (ja) * | 2012-12-20 | 2015-10-28 | 河西工業株式会社 | 自動車の車室側壁構造 |
| JP6383169B2 (ja) * | 2014-03-31 | 2018-08-29 | ダイハツ工業株式会社 | 車両側部構造 |
| DE102014207752B4 (de) * | 2014-04-24 | 2022-08-11 | Bayerische Motoren Werke Aktiengesellschaft | Stoßaufnahmeelement, Fahrzeugwandung und Fahrzeug mit einer Fahrzeugwandung |
| JP6156291B2 (ja) * | 2014-09-01 | 2017-07-05 | トヨタ自動車株式会社 | 車両用ドア構造 |
| JP6278915B2 (ja) * | 2015-02-20 | 2018-02-14 | 株式会社ニフコ | 荷重伝達部材 |
| DE102015205779B4 (de) * | 2015-03-31 | 2021-02-25 | Bayerische Motoren Werke Aktiengesellschaft | Bedienelementengehäuse und Türinnenverkleidung mit einem solchen Bedienelementengehäuse |
| KR101732963B1 (ko) * | 2015-11-04 | 2017-05-10 | 덕양산업 주식회사 | 충격흡수구조를 갖는 도어트림 |
| CN105539348B (zh) * | 2016-02-02 | 2018-05-08 | 东风伟世通汽车饰件系统有限公司 | 一种汽车门饰板用吸能器 |
| JP6540529B2 (ja) * | 2016-02-04 | 2019-07-10 | テイ・エス テック株式会社 | 車両用内装部品 |
| US10479308B2 (en) * | 2016-02-10 | 2019-11-19 | Kasai Kogyo Co., Ltd. | Damping member for vehicle |
| US10000112B2 (en) * | 2016-09-08 | 2018-06-19 | Ford Global Technologies Llc | Pelvic load management using integrated collapsible features in door trim panel |
| JP6608796B2 (ja) | 2016-10-26 | 2019-11-20 | トヨタ自動車株式会社 | 車両用衝撃吸収構造 |
| US10336276B2 (en) * | 2017-01-05 | 2019-07-02 | Ford Global Technologies, Llc | Energy absorber with varying stiffness |
| JP6649911B2 (ja) * | 2017-03-10 | 2020-02-19 | トヨタ紡織株式会社 | 衝撃吸収部材 |
| JP6937649B2 (ja) * | 2017-09-29 | 2021-09-22 | アイシン軽金属株式会社 | 衝撃吸収部材及びそれを用いた衝撃吸収構造体 |
| DE102017222015A1 (de) * | 2017-12-06 | 2019-06-06 | Volkswagen Aktiengesellschaft | Verkleidungselement zur Verkleidung einer Seitenfläche eines Fahrzeuginnenraums |
| DE102017222274B4 (de) * | 2017-12-08 | 2024-03-07 | Bayerische Motoren Werke Aktiengesellschaft | Kraftfahrzeug |
| US10518615B2 (en) * | 2018-03-20 | 2019-12-31 | Ford Global Technologies, Llc | Upper reinforcement for a door trim panel and method of tuning performance characteristics thereof |
| US10953820B2 (en) | 2018-03-20 | 2021-03-23 | Ford Global Technologies, Llc | Upper reinforcement for a door trim panel and method of tuning performance characteristics thereof |
| JP7078518B2 (ja) * | 2018-11-07 | 2022-05-31 | トヨタ自動車株式会社 | 車両用ドア |
| JP7518368B2 (ja) * | 2020-09-01 | 2024-07-18 | テイ・エス テック株式会社 | 車両用内装部品 |
| DE102021109420B3 (de) | 2021-04-15 | 2022-10-20 | Bayerische Motoren Werke Aktiengesellschaft | Adapteranordnung zur lösbaren Befestigung wenigstens eines Kindersitzes an einer Fondsitzbank mittels eines Isofix-Befestigungssystems |
| DE102022206303A1 (de) | 2022-06-23 | 2023-12-28 | Volkswagen Aktiengesellschaft | Deformationselement und Fahrzeug mit wenigstens einem Deformationselement |
Family Cites Families (27)
| Publication number | Priority date | Publication date | Assignee | Title |
|---|---|---|---|---|
| JP3009483B2 (ja) | 1990-12-19 | 2000-02-14 | 株式会社リコー | 画像処理装置 |
| JP3328072B2 (ja) * | 1994-07-01 | 2002-09-24 | 河西工業株式会社 | 自動車用トリム |
| US5934730A (en) * | 1994-07-01 | 1999-08-10 | Nissan Motor Co., Ltd | Energy absorbing door panel |
| JP3214247B2 (ja) * | 1994-08-31 | 2001-10-02 | トヨタ自動車株式会社 | ドアトリムのエネルギ吸収構造 |
| US5636866A (en) * | 1994-09-21 | 1997-06-10 | Kojima Press Industry Co., Ltd. | Shock absorbing structure for motor vehicle |
| KR960013914A (ko) * | 1994-10-04 | 1996-05-22 | 고오사이 아끼오 | 충격흡수 구조체 |
| JP3403276B2 (ja) * | 1995-09-08 | 2003-05-06 | 本田技研工業株式会社 | ドアの衝撃吸収構造 |
| JP2000177518A (ja) * | 1998-12-16 | 2000-06-27 | Kasai Kogyo Co Ltd | 車両用側面衝突対応パッド構造 |
| JP2003220912A (ja) * | 2002-01-31 | 2003-08-05 | T S Tec Kk | 車輌における側突衝撃吸収体 |
| JP4063019B2 (ja) | 2002-09-03 | 2008-03-19 | 小島プレス工業株式会社 | 車両用衝撃吸収構造体 |
| JP4218879B2 (ja) | 2003-05-16 | 2009-02-04 | 河西工業株式会社 | 自動車用内装部品 |
| JP2004360790A (ja) * | 2003-06-04 | 2004-12-24 | Jsp Corp | エネルギー吸収部材 |
| DE102004046240B3 (de) * | 2004-09-22 | 2006-01-12 | Faurecia Innenraum Systeme Gmbh | Stoßabsorber aus einem Faserwerkstoff, insbesondere für eine Kraftfahrzeugtür |
| JP2009012560A (ja) | 2007-07-03 | 2009-01-22 | Kasai Kogyo Co Ltd | 自動車用内装部品 |
| JP4925450B2 (ja) | 2007-07-03 | 2012-04-25 | 河西工業株式会社 | 自動車用内装部品 |
| JP5080965B2 (ja) | 2007-12-31 | 2012-11-21 | キョーラク株式会社 | 車両用衝撃吸収体 |
| JP5125704B2 (ja) * | 2008-04-08 | 2013-01-23 | トヨタ紡織株式会社 | 側突用樹脂衝撃吸収体 |
| JP5355023B2 (ja) * | 2008-10-07 | 2013-11-27 | 河西工業株式会社 | 自動車用内装部品 |
| JP5288996B2 (ja) | 2008-10-31 | 2013-09-11 | キョーラク株式会社 | 車両用衝撃吸収体 |
| EP2223829B1 (en) | 2009-02-27 | 2014-04-16 | Kasai Kogyo Co., Ltd. | Automotive Interior component |
| US8011717B2 (en) | 2009-03-03 | 2011-09-06 | Kasai Kogyo Co., Ltd | Automotive interior component |
| CA2656902C (en) | 2009-03-03 | 2013-11-12 | Kasai Kogyo Co., Ltd. | Automotive interior component |
| MX2009002532A (es) | 2009-03-05 | 2010-09-27 | Kasai Kogyo Kk | Componente interior automotriz. |
| CN101850751B (zh) | 2009-04-03 | 2014-12-10 | 河西工业株式会社 | 汽车用内装部件 |
| JP5389508B2 (ja) * | 2009-04-07 | 2014-01-15 | 河西工業株式会社 | 自動車の車室側壁構造 |
| JP2010264971A (ja) * | 2009-04-14 | 2010-11-25 | Toyota Boshoku Corp | 側突用樹脂衝撃吸収体の取付構造 |
| JP5598693B2 (ja) * | 2009-08-24 | 2014-10-01 | 河西工業株式会社 | 車両用衝撃吸収体構造 |
-
2012
- 2012-07-31 JP JP2012169969A patent/JP5628246B2/ja not_active Expired - Fee Related
-
2013
- 2013-07-24 DE DE102013107901.6A patent/DE102013107901A1/de not_active Withdrawn
- 2013-07-31 US US13/955,695 patent/US8960774B2/en active Active
- 2013-07-31 CN CN201310327428.2A patent/CN103569014B/zh not_active Expired - Fee Related
Also Published As
| Publication number | Publication date |
|---|---|
| DE102013107901A1 (de) | 2014-02-06 |
| US20140035322A1 (en) | 2014-02-06 |
| CN103569014A (zh) | 2014-02-12 |
| JP2014028572A (ja) | 2014-02-13 |
| CN103569014B (zh) | 2017-07-14 |
| US8960774B2 (en) | 2015-02-24 |
Similar Documents
| Publication | Publication Date | Title |
|---|---|---|
| JP5628246B2 (ja) | 車両用衝撃吸収体及びそれを有する車両用内装部品 | |
| JP5125704B2 (ja) | 側突用樹脂衝撃吸収体 | |
| US8801059B2 (en) | Impact absorbing device for vehicle | |
| CN104884308B (zh) | 汽车的车厢侧壁构造 | |
| KR100897334B1 (ko) | 충격 흡수판 | |
| JP4815387B2 (ja) | 衝撃吸収部材 | |
| US20090289465A1 (en) | Automobile Bumper Back Beam Structure | |
| WO2011007844A1 (ja) | 衝撃吸収部材及び衝撃吸収構造 | |
| US10457238B2 (en) | Impact absorber | |
| JP2015086987A (ja) | 衝撃吸収部材 | |
| JP4845510B2 (ja) | 車両用ニープロテクタ | |
| EP2949517B1 (en) | Back beam for vehicle having reinforcement part | |
| JP4276630B2 (ja) | 車両のカウル構造 | |
| US10442383B2 (en) | Impact absorber | |
| US12049939B2 (en) | Impact absorbing body | |
| JP2022043371A (ja) | 車両の前部構造 | |
| JP7342576B2 (ja) | 電装部品支持構造 | |
| CN112672926B (zh) | 能量吸收装置、机动车辆车身及能量吸收装置的制造方法 | |
| JP6747928B2 (ja) | 衝撃吸収部材 | |
| JP7303086B2 (ja) | 衝撃吸収構造 | |
| KR101438605B1 (ko) | 차량용 크래시박스 | |
| JP2005162027A (ja) | 車両用エネルギ吸収構造 | |
| KR100889227B1 (ko) | 자동차 도어용 충격흡수부재 | |
| JP2006044512A (ja) | バンパービーム | |
| CN108068722B (zh) | 车辆前部结构 |
Legal Events
| Date | Code | Title | Description |
|---|---|---|---|
| A131 | Notification of reasons for refusal |
Free format text: JAPANESE INTERMEDIATE CODE: A131 Effective date: 20131107 |
|
| A521 | Request for written amendment filed |
Free format text: JAPANESE INTERMEDIATE CODE: A523 Effective date: 20140131 |
|
| A131 | Notification of reasons for refusal |
Free format text: JAPANESE INTERMEDIATE CODE: A131 Effective date: 20140514 |
|
| A521 | Request for written amendment filed |
Free format text: JAPANESE INTERMEDIATE CODE: A523 Effective date: 20140814 |
|
| TRDD | Decision of grant or rejection written | ||
| A01 | Written decision to grant a patent or to grant a registration (utility model) |
Free format text: JAPANESE INTERMEDIATE CODE: A01 Effective date: 20140901 |
|
| A61 | First payment of annual fees (during grant procedure) |
Free format text: JAPANESE INTERMEDIATE CODE: A61 Effective date: 20141001 |
|
| R150 | Certificate of patent or registration of utility model |
Ref document number: 5628246 Country of ref document: JP Free format text: JAPANESE INTERMEDIATE CODE: R150 |
|
| R250 | Receipt of annual fees |
Free format text: JAPANESE INTERMEDIATE CODE: R250 |
|
| R250 | Receipt of annual fees |
Free format text: JAPANESE INTERMEDIATE CODE: R250 |
|
| LAPS | Cancellation because of no payment of annual fees |
