JP5308795B2 - ポリオレフィン製造方法、並びに、噴流層装置を備えたポリオレフィン製造システム - Google Patents
ポリオレフィン製造方法、並びに、噴流層装置を備えたポリオレフィン製造システム Download PDFInfo
- Publication number
- JP5308795B2 JP5308795B2 JP2008304984A JP2008304984A JP5308795B2 JP 5308795 B2 JP5308795 B2 JP 5308795B2 JP 2008304984 A JP2008304984 A JP 2008304984A JP 2008304984 A JP2008304984 A JP 2008304984A JP 5308795 B2 JP5308795 B2 JP 5308795B2
- Authority
- JP
- Japan
- Prior art keywords
- gas
- olefin
- spouted bed
- polyolefin
- particles
- Prior art date
- Legal status (The legal status is an assumption and is not a legal conclusion. Google has not performed a legal analysis and makes no representation as to the accuracy of the status listed.)
- Expired - Fee Related
Links
Images
Classifications
-
- C—CHEMISTRY; METALLURGY
- C08—ORGANIC MACROMOLECULAR COMPOUNDS; THEIR PREPARATION OR CHEMICAL WORKING-UP; COMPOSITIONS BASED THEREON
- C08F—MACROMOLECULAR COMPOUNDS OBTAINED BY REACTIONS ONLY INVOLVING CARBON-TO-CARBON UNSATURATED BONDS
- C08F10/00—Homopolymers and copolymers of unsaturated aliphatic hydrocarbons having only one carbon-to-carbon double bond
-
- B—PERFORMING OPERATIONS; TRANSPORTING
- B01—PHYSICAL OR CHEMICAL PROCESSES OR APPARATUS IN GENERAL
- B01J—CHEMICAL OR PHYSICAL PROCESSES, e.g. CATALYSIS OR COLLOID CHEMISTRY; THEIR RELEVANT APPARATUS
- B01J8/00—Chemical or physical processes in general, conducted in the presence of fluids and solid particles; Apparatus for such processes
- B01J8/005—Separating solid material from the gas/liquid stream
- B01J8/0055—Separating solid material from the gas/liquid stream using cyclones
-
- B—PERFORMING OPERATIONS; TRANSPORTING
- B01—PHYSICAL OR CHEMICAL PROCESSES OR APPARATUS IN GENERAL
- B01J—CHEMICAL OR PHYSICAL PROCESSES, e.g. CATALYSIS OR COLLOID CHEMISTRY; THEIR RELEVANT APPARATUS
- B01J8/00—Chemical or physical processes in general, conducted in the presence of fluids and solid particles; Apparatus for such processes
- B01J8/18—Chemical or physical processes in general, conducted in the presence of fluids and solid particles; Apparatus for such processes with fluidised particles
- B01J8/24—Chemical or physical processes in general, conducted in the presence of fluids and solid particles; Apparatus for such processes with fluidised particles according to "fluidised-bed" technique
- B01J8/245—Spouted-bed technique
-
- B—PERFORMING OPERATIONS; TRANSPORTING
- B01—PHYSICAL OR CHEMICAL PROCESSES OR APPARATUS IN GENERAL
- B01J—CHEMICAL OR PHYSICAL PROCESSES, e.g. CATALYSIS OR COLLOID CHEMISTRY; THEIR RELEVANT APPARATUS
- B01J2208/00—Processes carried out in the presence of solid particles; Reactors therefor
- B01J2208/00008—Controlling the process
- B01J2208/00017—Controlling the temperature
- B01J2208/00106—Controlling the temperature by indirect heat exchange
- B01J2208/00265—Part of all of the reactants being heated or cooled outside the reactor while recycling
- B01J2208/00274—Part of all of the reactants being heated or cooled outside the reactor while recycling involving reactant vapours
-
- B—PERFORMING OPERATIONS; TRANSPORTING
- B01—PHYSICAL OR CHEMICAL PROCESSES OR APPARATUS IN GENERAL
- B01J—CHEMICAL OR PHYSICAL PROCESSES, e.g. CATALYSIS OR COLLOID CHEMISTRY; THEIR RELEVANT APPARATUS
- B01J2208/00—Processes carried out in the presence of solid particles; Reactors therefor
- B01J2208/00008—Controlling the process
- B01J2208/00017—Controlling the temperature
- B01J2208/00106—Controlling the temperature by indirect heat exchange
- B01J2208/00265—Part of all of the reactants being heated or cooled outside the reactor while recycling
- B01J2208/00283—Part of all of the reactants being heated or cooled outside the reactor while recycling involving reactant liquids
-
- B—PERFORMING OPERATIONS; TRANSPORTING
- B01—PHYSICAL OR CHEMICAL PROCESSES OR APPARATUS IN GENERAL
- B01J—CHEMICAL OR PHYSICAL PROCESSES, e.g. CATALYSIS OR COLLOID CHEMISTRY; THEIR RELEVANT APPARATUS
- B01J2208/00—Processes carried out in the presence of solid particles; Reactors therefor
- B01J2208/00008—Controlling the process
- B01J2208/00017—Controlling the temperature
- B01J2208/00106—Controlling the temperature by indirect heat exchange
- B01J2208/00265—Part of all of the reactants being heated or cooled outside the reactor while recycling
- B01J2208/00292—Part of all of the reactants being heated or cooled outside the reactor while recycling involving reactant solids
-
- B—PERFORMING OPERATIONS; TRANSPORTING
- B01—PHYSICAL OR CHEMICAL PROCESSES OR APPARATUS IN GENERAL
- B01J—CHEMICAL OR PHYSICAL PROCESSES, e.g. CATALYSIS OR COLLOID CHEMISTRY; THEIR RELEVANT APPARATUS
- B01J2208/00—Processes carried out in the presence of solid particles; Reactors therefor
- B01J2208/00008—Controlling the process
- B01J2208/00575—Controlling the viscosity
-
- C—CHEMISTRY; METALLURGY
- C08—ORGANIC MACROMOLECULAR COMPOUNDS; THEIR PREPARATION OR CHEMICAL WORKING-UP; COMPOSITIONS BASED THEREON
- C08F—MACROMOLECULAR COMPOUNDS OBTAINED BY REACTIONS ONLY INVOLVING CARBON-TO-CARBON UNSATURATED BONDS
- C08F110/00—Homopolymers of unsaturated aliphatic hydrocarbons having only one carbon-to-carbon double bond
- C08F110/04—Monomers containing three or four carbon atoms
- C08F110/06—Propene
Landscapes
- Chemical & Material Sciences (AREA)
- Chemical Kinetics & Catalysis (AREA)
- Organic Chemistry (AREA)
- Health & Medical Sciences (AREA)
- Medicinal Chemistry (AREA)
- Polymers & Plastics (AREA)
- Engineering & Computer Science (AREA)
- Combustion & Propulsion (AREA)
- Polymerisation Methods In General (AREA)
- Processing And Handling Of Plastics And Other Materials For Molding In General (AREA)
- Addition Polymer Or Copolymer, Post-Treatments, Or Chemical Modifications (AREA)
Description
「粉体工学用語辞典 第2版」、粉体工学会編、日刊工業新聞社発行、2000年、p.321
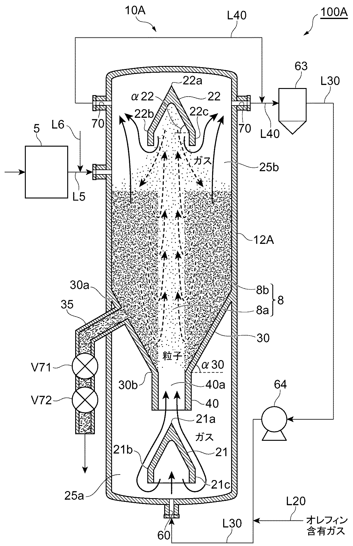
(ポリオレフィン製造システム)
図1に本実施形態に係るポリオレフィン製造システム100Aを示す。この製造システム100Aは、オレフィン事前重合反応装置5と、このオレフィン事前重合反応装置5の後段に接続されたオレフィン重合反応装置10Aとを備える。
オレフィン事前重合反応装置5は、オレフィン重合用触媒の存在下でオレフィンを重合させてポリオレフィン粒子を形成する。
オレフィン重合反応装置10Aは、オレフィン事前重合反応装置5によって生成したポリオレフィン粒子に対して、実質的に気相状態でオレフィン重合反応を行わせる装置である。
続いて、このようなシステムにおける、オレフィン、ポリオレフィン、触媒等について詳しく説明する。
(1)液状のマグネシウム化合物、あるいはマグネシウム化合物及び電子供与体からなる錯化合物を析出化剤と反応させたのち、チタン化合物、あるいはチタン化合物及び電子供与体で処理する方法。
(2)固体のマグネシウム化合物、あるいは固体のマグネシウム化合物及び電子供与体からなる錯化合物をチタン化合物、あるいはチタン化合物及び電子供与体で処理する方法。
(3)液状のマグネシウム化合物と、液状チタン化合物とを、電子供与体の存在下で反応させて固体状のチタン複合体を析出させる方法。
(4)(1)、(2)あるいは(3)で得られた反応生成物をチタン化合物、あるいは電子供与体及びチタン化合物で更に処理する方法。
(5)Si−O結合を有する有機ケイ素化合物の共存下アルコキシチタン化合物をグリニャール試薬等の有機マグネシウム化合物で還元して得られる固体生成物を、エステル化合物、エーテル化合物及び四塩化チタンで処理する方法。
(6)有機ケイ素化合物又は有機ケイ素化合物及びエステル化合物の存在下、チタン化合物を有機マグネシウム化合物で還元して得られる固体生成物を、エーテル化合物と四塩化チタンの混合物、次いで有機酸ハライド化合物の順で加えて処理したのち、該処理固体をエーテル化合物と四塩化チタンの混合物もしくはエーテル化合物と四塩化チタンとエステル化合物の混合物で処理する方法。
(7)金属酸化物、ジヒドロカルビルマグネシウム及びハロゲン含有アルコ−ルとの接触反応物をハロゲン化剤で処理した後あるいは処理せずに電子供与体及びチタン化合物と接触する方法。
(8)有機酸のマグネシウム塩、アルコキシマグネシウムなどのマグネシウム化合物をハロゲン化剤で処理した後あるいは処理せずに電子供与体及びチタン化合物と接触する方法。
(9)(1)〜(8)で得られる化合物を、ハロゲン、ハロゲン化合物又は芳香族炭化水素のいずれかで処理する方法。
R4 mAlY3−m
R5R6Al−O−AlR7R8
(R4〜R8は炭素数が1〜8個の炭化水素基を、Yはハロゲン原子、水素又はアルコキシ基を表す。R4〜R8はそれぞれ同一であっても異なっていてもよい。また、mは2≦m≦3で表される数である。)
(式中、R11〜R14は炭素数1〜20の線状又は分岐状のアルキル基、脂環式炭化水素基、アリール基、又はアラルキル基であり、R11又はR12は水素原子であってもよい。)で表されるジエーテル化合物があげられる。具体例としては、ジブチルエーテル、ジアミルエーテル、2,2−ジイソブチル−1,3−ジメトキシプロパン、2,2−ジシクロペンチル−1,3−ジメトキシプロパン等をあげることができる。
LxM
(式中、Mは遷移金属を表す。xは遷移金属Mの原子価を満足する数を表す。Lは遷移金属に配位する配位子であり、Lのうち少なくとも一つはシクロペンタジエニル骨格を有する配位子である。)
続いて、本実施形態に係る製造システム100Aを用いてポリオレフィンを製造する方法について説明する。
式中、dPは粒径を、ρSは粒子の密度を、ρGは反応領域の圧力・温度条件下におけるガスの密度を、ρAIRは室温条件下における空気の密度を、LSは噴流層高さを、それぞれ示す。噴流層の高さLsの下限は、容積効率やより安定な噴流層を形成させる観点から、噴流層の粉面が筒状バッフル30の上端30aよりも高い位置となるように設定することが好ましい。また、噴流層の高さLsの上限は、噴流層を形成させる観点から、噴流層の粉面がそらせ板の役割を果たす円錐バッフル22よりも低い位置となるように設定することが好ましい。
式中、utは粒子の終末速度を、umfは最小流動化速度を、それぞれ示す。
(ポリオレフィン製造システム)
第2実施形態に係るポリオレフィン製造システム100Bは、単段の噴流層8が形成されるオレフィン重合反応装置10Aの代わりに、多段の噴流層8が形成されるオレフィン重合反応装置10Bを採用することの他は、第1実施形態に係るポリオレフィン製造システム100Aと同様の構成を有する。以下、第2実施形態について説明するが、上記第1実施形態と相違する点について主に説明する。
続いて、本実施形態に係る製造システム100Bを用いて、ポリオレフィンを製造する方法について説明する。
本発明に係る噴流層装置で形成される噴流層の安定性を評価するため、円筒内に二段の噴流層を形成できる透明塩化ビニル樹脂製の円筒コールドモデル装置を準備した。この装置は、ガス導入オリフィスを有する逆円錐形状の筒状バッフルと円錐バッフル(第1の円錐バッフル)とからなる組み合わせ2組が円筒内に鉛直方向に且つ同軸に配置されている。
上段及び下段の反応領域に充填するポリプロピレン粒子の量を30kgとする代わりに、それぞれ25kgとしたことの他は、実施例1と同様にして、筒状バッフル上のポリプロピレン粒子の流動状態を観察した。
実施例1で用いた円錐バッフルに代えて、下記の構成の円錐バッフルを用いたことの他は、実施例1と同様にして、筒状バッフル上のポリプロピレン粒子の流動状態を観察した。すなわち、本実施例においては、内部が空洞であり且つ下端の外径が200mmであると共に、この下端の周縁部から下方に延在する筒状部(長さ:100mm、外径:200mm、内径:192mm)を有する円錐バッフルを用いた。
ガス導入オリフィスの開口径dA100mmの筒状バッフルの代わりに、開口径dA75mmの筒状バッフルが上段及び下段に装着されていることの他は、実施例1と同様の構成の円筒コールドモデル装置を用いて噴流層の安定性の評価を行った。本実施例で使用した装置の上段のガス導入部(タイプA−2)は、筒状バッフルの下端に延長管(長さ:100mm、内径:75mm)が接続されたものである。本実施例においては、ガス導入用オリフィスの開口径dAの円筒の内径dBに対する比率(dA/dB)は、0.15である。
延長管が接続された筒状バッフルの代わりに、延長管が接続されていない筒状バッフルが装着されていることの他は、実施例1と同様の構成の円筒コールドモデル装置を用いて噴流層の安定性の評価を行った。本比較例で使用した装置は、図11に示すタイプF−1のガス導入部を有するものである。
実施例3で用いた筒状バッフル(上段)及び円錐バッフルに代えて、下記の構成の筒状バッフル及び円錐バッフルをそれぞれ用いたことの他は、実施例3と同様の構成の円筒コールドモデル装置を用いて噴流層の安定性の評価を行った。すなわち、本比較例においては、延長管を有しないことの他は、実施例3で用いた上段の筒状バッフルと同様の構成のものを上段の筒状バッフルに用いた。また、内部が空洞であり且つ下端の外径が200mmであり、この下端の周縁部から下方に延在する筒状部を有しない円錐バッフルを用いた。本比較例で使用した装置は、図11に示すタイプF−1のガス導入部を有するものである。
実施例4で用いた筒状バッフル(上段)に代えて、延長管を有しない筒状バッフル(タイプF−2)を用いたことの他は、実施例4と同様の構成の円筒コールドモデル装置を用いて噴流層の安定性の評価を行った。
タイプA−1の構成の代わりに、タイプB−1の構成のガス導入部を採用したことの他は、実施例1と同様にして、筒状バッフル上のポリプロピレン粒子の流動状態を観察した。すなわち、本実施例においては、延長管内にこれと同軸に円筒部材(外径:85mm、内径:75mm)が装着された装置を使用して評価を行なった(図5(a)を参照)。
タイプA−1の構成の代わりに、タイプB−2の構成のガス導入部を採用したことの他は、実施例1と同様にして、筒状バッフル上のポリプロピレン粒子の流動状態を観察した。すなわち、本実施例においては、延長管内にこれと同軸に円筒部材I(外径:85mm、内径:75mm)及び円筒部材II(外径:48mm、内径:42mm)が装着された装置を使用して評価を行なった(図5(b)を参照)。
タイプA−1の構成の代わりに、タイプC−1の構成のガス導入部を採用したことの他は、実施例1と同様にして、筒状バッフル上のポリプロピレン粒子の流動状態を観察した。すなわち、本実施例においては、延長管内に19本の円筒部材(外径:20mm、内径:16mm)が装着された装置を使用して試験を行なった(図3(c)を参照)。なお、装置の上段及び下段には開口径dA150mmの筒状バッフルを装着した。
タイプA−1の構成の代わりに、タイプC−2の構成のガス導入部を採用したことの他は、実施例1と同様にして、筒状バッフル上のポリプロピレン粒子の流動状態を観察した。すなわち、本実施例においては、延長管内に81本の円筒部材(外径:10mm、内径:7mm)が装着された装置を使用して評価を行なった。なお、装置の上段及び下段には開口径dA150mmの筒状バッフルを装着した。
タイプA−1の構成の代わりに、タイプC−3の構成のガス導入部を採用したことの他は、実施例1と同様にして、筒状バッフル上のポリプロピレン粒子の流動状態を観察した。すなわち、本実施例においては、延長管内に128本の円筒部材(外径:10mm、内径:7mm)が装着された装置を使用して評価を行なった。なお、装置の上段及び下段には開口径dA125mmの筒状バッフルを装着した。
タイプA−1の構成の代わりに、タイプC−4の構成のガス導入部を採用したことの他は、実施例1と同様にして、筒状バッフル上のポリプロピレン粒子の流動状態を観察した。すなわち、本実施例においては、延長管内に185本の円筒部材(外径:10mm、内径:7mm)が装着された装置を使用して試験を行なった。なお、装置の上段及び下段には開口径dA150mmの筒状バッフルを装着した。
タイプA−1の構成の代わりに、タイプDの構成のガス導入部を採用したことの他は、実施例1と同様にして、筒状バッフル上のポリプロピレン粒子の流動状態を観察した。すなわち、本実施例においては、延長管内に上端が閉じられた円筒部材(外径:110mm)が装着された装置を使用して評価を行なった。なお、装置の上段及び下段には開口径dA150mmの筒状バッフルを装着した。
タイプA−1の構成の代わりに、タイプEの構成のガス導入部を採用したことの他は、実施例1と同様にして、筒状バッフル上のポリプロピレン粒子の流動状態を観察した。すなわち、本実施例においては、筒状部(外径:125mm)を有する円錐バッフル(第2の円錐バッフル)、閉鎖板及びガス導入管(内径:77mm)を備える装置を使用して試験を行なった(図7を参照)。なお、装置の上段及び下段には開口径dA150mmの筒状バッフルを装着した。
実施例13においては、噴流層型反応装置を用いてプロピレン単独重合を行なう工程(重合工程II)を有するポリオレフィン製造方法を実施した。なお、実施例13においては、以下のようにして重合体の物性測定及び評価を行った。
所定の濃度となるように重合体を1,2,3,4−テトラヒドロナフタレン溶媒に溶解させ、3種類の試料を調製した。それぞれの試料の重合体濃度は、0.1g/dl、0.2g/dl及び0.5g/dlとした。温度135℃の条件下、これらの試料の還元濃度をウベローデ型粘度計を用いて測定した。「高分子溶液、高分子実験学11」(1982年、共立出版会社刊)の第491頁に記載の計算法に従い、還元粘度を濃度に対しプロットし、濃度をゼロに外挿することによって極限粘度を求めた。
各重合工程において生成した重合体の質量(g)をその重合工程に供給した固体触媒成分の質量(g)で除すことによって、重合活性を算出した。
内容積3Lの撹拌機付きSUS製オートクレーブに、充分に脱水及び脱気処理したn−ヘキサン1.5L、トリエチルアルミニウム37.5ミリモル、シクロヘキシルエチルジメトキシシラン3.75ミリモルを収容させた。その中に固体触媒成分15gを添加し、オートクレーブ内の温度を約10℃に保ちながらプロピレン15gを約30分かけて連続的に供給して予備重合を行った。その後、予備重合スラリーを内容積150Lの攪拌機付きSUS316L製オートクレーブに移送し、液状ブタン100Lを加えて、予備重合触媒成分のスラリーとした。なお、固体触媒成分として、特開2004−182981号公報の実施例4(1)及び(2)に記載の方法と同様の方法によって調製したものを使用した。
内容積42Lの攪拌機付きSUS304製ベッセルタイプの塊状重合反応装置を用いて、プロピレンの単独重合を行った。すなわち、プロピレン、水素、トリエチルアルミニウム、シクロヘキシルエチルジメトキシシラン及び予備重合触媒成分のスラリーを反応装置に連続的に供給し、重合反応を行った。反応条件は以下の通りとした。
重合温度:70℃、
攪拌速度:150rpm、
反応装置の液レベル:30L、
プロピレンの供給量:16kg/時間、
水素の供給量:137NL/時間、
トリエチルアルミニウムの供給量:36.0ミリモル/時間、
シクロヘキシルエチルジメトキシシランの供給量:5.3ミリモル/時間、
予備重合触媒成分のスラリーの供給量(重合触媒成分換算):0.602g/時間、
重合圧力:4.2MPa(ゲージ圧)。
鉛直方向に2段の反応領域を有する噴流層型反応装置(内容積1440L、内径500mm)を準備した。筒状バッフル及び円錐バッフルの材質はJIS(日本工業規格)のSUS304(表面はバフ#300仕上げ)とし、これら以外の構成の材質はSUS316(表面はバフ#300仕上げ)とした。この反応装置は、攪拌機付き流動層型反応装置を改造したものである。すなわち、反応装置内の攪拌機及び分散板を撤去し、これらに代えて筒状バッフル及び円錐バッフルからなる組み合わせを鉛直方向に且つ同軸に2段配置したものである。なお、筒状バッフル及び円錐バッフルとして、実施例4において使用したものと同様の形状及び大きさのものを使用した。
重合温度:80℃、
重合圧力:1.8MPa(ゲージ圧)、
循環ガス風量:120m3/時間、
プロピレンの供給量:20kg/時間、
水素の供給量:1000NL/時間、
ポリプロピレン粒子のホールドアップ量:57kg(上段:28.5kg,下段:28.5kg)。
Claims (7)
- 鉛直方向に伸びる円筒部と、
前記円筒部に形成され、下方に行くほど内径が小さくなると共に下端にガス導入用開口を有する縮径部と、
前記ガス導入用開口の縁から下方に延びる管状部と、
を備える噴流層装置を用いて、
ポリオレフィン粒子による噴流層を形成させてオレフィンの重合を行うポリオレフィン製造方法。 - 前記噴流層装置は、下方に行くほど外径が大きくなると共に上端が閉じられ且つ下端が前記円筒部の内面から離間されている第1の円錐バッフルを更に備え、当該第1の円錐バッフルが前記管状部の下端よりも下方であり且つ前記管状部の下端と対向する位置に配設されている、請求項1に記載のポリオレフィン製造方法。
- 前記管状部は、その管路内を水平方向に区画する隔壁を更に有する、請求項1又は2に記載のポリオレフィン製造方法。
- 前記噴流層装置は、少なくとも一端が閉じられ且つ前記管状部の内部に配設された円筒部材を更に備え、ガス導入用開口に至るまでの管路が前記円筒部材の外面と前記管状部の内面とによって形成されるアニュラス部を有する、請求項1又は2に記載のポリオレフィン製造方法。
- 前記噴流層装置は、前記管状部の下端を閉じる閉鎖板と、前記管状部の管路よりも細い管路を有し、前記閉鎖板を貫通するように設けられたガス導入管と、下方に行くほど外径が大きくなると共に上端が閉じられ且つ下端が前記管状部の内面から離間されている第2の円錐バッフルとを更に備え、当該第2の円錐バッフルが前記ガス導入管の上端の直上に配設されている、請求項1又は2に記載のポリオレフィン製造方法。
- オレフィン重合用触媒の存在下でオレフィンを重合させて、ポリオレフィン粒子を形成するオレフィン事前反応装置と、
前記オレフィン事前反応装置の後段に接続された噴流層装置と、
を備え、
前記噴流層装置は、鉛直方向に伸びる円筒部と、前記円筒部に形成され下方に行くほど内径が小さくなると共に下端にガス導入用開口を有する縮径部と、前記ガス導入用開口の縁から下方に延びる管状部とを有するポリオレフィン製造システム。 - 請求項6に記載のポリオレフィン製造システムを用いてオレフィンの多段重合を行うポリオレフィン製造方法。
Priority Applications (1)
| Application Number | Priority Date | Filing Date | Title |
|---|---|---|---|
| JP2008304984A JP5308795B2 (ja) | 2007-12-11 | 2008-11-28 | ポリオレフィン製造方法、並びに、噴流層装置を備えたポリオレフィン製造システム |
Applications Claiming Priority (3)
| Application Number | Priority Date | Filing Date | Title |
|---|---|---|---|
| JP2007320166 | 2007-12-11 | ||
| JP2007320166 | 2007-12-11 | ||
| JP2008304984A JP5308795B2 (ja) | 2007-12-11 | 2008-11-28 | ポリオレフィン製造方法、並びに、噴流層装置を備えたポリオレフィン製造システム |
Publications (2)
| Publication Number | Publication Date |
|---|---|
| JP2009161733A JP2009161733A (ja) | 2009-07-23 |
| JP5308795B2 true JP5308795B2 (ja) | 2013-10-09 |
Family
ID=40680315
Family Applications (1)
| Application Number | Title | Priority Date | Filing Date |
|---|---|---|---|
| JP2008304984A Expired - Fee Related JP5308795B2 (ja) | 2007-12-11 | 2008-11-28 | ポリオレフィン製造方法、並びに、噴流層装置を備えたポリオレフィン製造システム |
Country Status (5)
| Country | Link |
|---|---|
| US (2) | US8313704B2 (ja) |
| JP (1) | JP5308795B2 (ja) |
| CN (1) | CN101455951B (ja) |
| DE (1) | DE102008061518A1 (ja) |
| SG (1) | SG153757A1 (ja) |
Families Citing this family (18)
| Publication number | Priority date | Publication date | Assignee | Title |
|---|---|---|---|---|
| JP5308794B2 (ja) * | 2007-12-11 | 2013-10-09 | 住友化学株式会社 | 噴流層装置を用いたポリオレフィン製造方法 |
| JP5308797B2 (ja) * | 2007-12-11 | 2013-10-09 | 住友化学株式会社 | オレフィン重合反応装置、ポリオレフィン製造システム、及び、ポリオレフィン製造方法 |
| JP5249730B2 (ja) * | 2007-12-11 | 2013-07-31 | 住友化学株式会社 | オレフィン重合反応装置及びポリオレフィン製造方法 |
| JP5308795B2 (ja) * | 2007-12-11 | 2013-10-09 | 住友化学株式会社 | ポリオレフィン製造方法、並びに、噴流層装置を備えたポリオレフィン製造システム |
| JP5545800B2 (ja) * | 2009-06-08 | 2014-07-09 | 住友化学株式会社 | 噴流−流動層型オレフィン重合反応装置、ポリオレフィン製造システム、及び、ポリオレフィン製造方法 |
| SG184672A1 (en) * | 2011-03-25 | 2012-10-30 | Sumitomo Chemical Co | Olefin polymerization reactor, polyolefin production system, and polyolefin production process |
| CN103717289A (zh) | 2011-04-11 | 2014-04-09 | Ada-Es股份有限公司 | 用于气体组分捕集的流化床方法和系统 |
| US10059613B1 (en) * | 2012-07-23 | 2018-08-28 | Peter F. Santina | Removal of contaminants from water |
| CN104812467B (zh) | 2012-09-20 | 2017-05-17 | Ada-Es股份有限公司 | 用于恢复被热稳定盐污染的吸附剂上的功能位置的方法和系统 |
| WO2015109384A1 (en) | 2014-01-27 | 2015-07-30 | Her Majesty The Queen In Right Of Canada As Represented By The Minister Of Natural Resources | Process for drying and powderizing functional foods, nutraceuticals, and natural health ingredients |
| CN104017113B (zh) * | 2014-06-13 | 2018-04-03 | 北京利和知信科技有限公司 | 用于烯烃聚合的催化剂组分和含该催化剂组分的催化剂及其应用 |
| JP6902337B2 (ja) | 2016-08-03 | 2021-07-14 | 住友化学株式会社 | ヘテロファジックプロピレン重合材料の製造方法 |
| IT201700010774A1 (it) * | 2017-02-01 | 2018-08-01 | Magaldi Power Spa | Dispositivo ed impianto ad alta efficienza energetica per l_impiego di energia termica di origine solare |
| TW201839259A (zh) * | 2017-02-01 | 2018-11-01 | 義大利商馬加帝電力公司 | 使用源自太陽之熱能之高能效率裝置、系統及方法 |
| ES2682960B1 (es) * | 2017-03-21 | 2019-07-05 | Univ Del Pais Vasco / Euskal Herriko Unibertsitatea | Confinador de fuente para contactor de lecho en surtidor y contactor de lecho en surtidor |
| US10654009B1 (en) | 2018-02-27 | 2020-05-19 | Mainstream Engineering Corporation | Spouted bed with venturi draft tube and method for improved gas-solid contacting |
| FR3094984B1 (fr) * | 2019-04-12 | 2024-08-16 | Ifp Energies Now | Reacteur triphasique avec coupelle de recycle de section decroissante et d’angle d’inclinaison variable |
| CN112246182B (zh) * | 2020-10-30 | 2025-01-03 | 大连海新工程技术有限公司 | 一种从填充式颗粒物料处理设备中气体均匀导出的结构 |
Family Cites Families (105)
| Publication number | Priority date | Publication date | Assignee | Title |
|---|---|---|---|---|
| CA739660A (en) | 1966-08-02 | Her Majesty The Queen, In Right Of Canada, As Represented By The Ministe R Of The National Research Council Of Canada | Multiple spouted bed | |
| US2477454A (en) | 1944-09-15 | 1949-07-26 | Dorr Co | Process of reducing ferric oxide to ferrosoferric oxide |
| US2447454A (en) * | 1946-08-22 | 1948-08-17 | Vanott Machine Corp | Buffing and polishing machine |
| US2890106A (en) * | 1951-01-19 | 1959-06-09 | Dorr Oliver Inc | Apparatus for heat treating fluidized solids |
| US2867506A (en) * | 1956-07-18 | 1959-01-06 | Dorr Oliver Inc | Producing sulphur dioxide gas |
| GB845655A (en) | 1957-04-18 | 1960-08-24 | Atomic Energy Commission | Multistage fluidized bed reactor |
| US2936303A (en) * | 1958-04-25 | 1960-05-10 | Phillips Petroleum Co | Olefin polymerization |
| DE1166158B (de) * | 1959-11-09 | 1964-03-26 | United Steel Companies Ltd | Rost fuer Wirbelschichtreaktoren |
| NL264927A (ja) | 1960-05-18 | 1900-01-01 | ||
| US3242586A (en) * | 1962-08-27 | 1966-03-29 | Ca Nat Research Council | Multiple spouted bed |
| US3262922A (en) * | 1963-02-08 | 1966-07-26 | Phillips Petroleum Co | Polymerization process |
| US3495952A (en) | 1966-10-05 | 1970-02-17 | Ceskoslovenska Akademie Ved | Arrangements for continuous contacting |
| DE1745114B2 (de) * | 1967-05-27 | 1980-10-02 | Chemische Werke Huels Ag, 4370 Marl | Verfahren zur Polymerisation von Äthylen, Propylen und/oder Butylen in der Gasphase |
| FR1604260A (ja) | 1967-09-29 | 1971-10-11 | ||
| DE1805765C3 (de) * | 1968-10-29 | 1980-09-11 | Basf Ag, 6700 Ludwigshafen | Verfahren zur Polymerisation von Propylen |
| US3644583A (en) * | 1969-04-23 | 1972-02-22 | Phillips Petroleum Co | Production and recovery of a solid mixed homo- and copolymer |
| US3661799A (en) | 1970-01-26 | 1972-05-09 | Standard Oil Co | Oxidative fluidized regeneration of petroleum conversion catalyst in separate dilute and dense phase zones |
| US3719029A (en) | 1971-03-23 | 1973-03-06 | Ube Industries | Process for treating gaseous products obtained by thermal cracking of hydrocarbons |
| US3776979A (en) * | 1971-11-05 | 1973-12-04 | Gulf Research Development Co | Olefin block copolymer fluidized-bed polymerization process |
| FR2207145B1 (ja) * | 1972-11-17 | 1975-09-12 | Naphtachimie Sa | |
| US3957448A (en) * | 1974-12-16 | 1976-05-18 | Standard Oil Company | Divided horizontal reactor for the vapor phase polymerization of monomers at different hydrogen levels |
| US3971768A (en) * | 1974-12-16 | 1976-07-27 | Standard Oil Company (Indiana) | Vapor phase reactor off-gas recycle system for use in the vapor state polymerization of monomers |
| CA1053846A (en) * | 1974-12-16 | 1979-05-01 | The Standard Oil Company | Horizontal reactor for the vapor phase polymerization of monomers |
| NO144570C (no) | 1974-12-16 | 1981-09-23 | Standard Oil Co | Kontinuerlig fremgangsmaate ved dampfasepolymerisering av en fordampbar polymer, samt apparat for utfoerelse av fremgangsmaaten |
| BE864590A (fr) | 1977-03-10 | 1978-09-06 | Inst Francais Du Petrole | Procede et appareil de mise en oeuvre de reactions catalytiques a trois phases |
| IT1110494B (it) * | 1978-08-02 | 1985-12-23 | Montedison Spa | Polimeri dell etilene e procedimento per la loro preparazione |
| JPS5612916A (en) | 1979-07-13 | 1981-02-07 | Seiichi Watanabe | Check valve of exhaust gas combustion device in excretion tank on excretion collecting truck |
| FR2472411A1 (fr) * | 1979-11-30 | 1981-07-03 | Charbonnages Ste Chimique | Appareil perfectionne pour la granu |
| JPS594745Y2 (ja) * | 1979-12-14 | 1984-02-13 | 三菱重工業株式会社 | 噴流層粒子落下防止装置 |
| IN155886B (ja) | 1980-05-07 | 1985-03-23 | Toyo Engineering Corp | |
| US4441822A (en) * | 1980-09-03 | 1984-04-10 | Foster Wheeler Energy Corporation | Apparatus for mixing and distributing solid particulate material |
| US4373272A (en) * | 1980-09-25 | 1983-02-15 | General Electric Company | System for controlling spouted bed inlet conditions |
| US4419330A (en) * | 1981-01-27 | 1983-12-06 | Ebara Corporation | Thermal reactor of fluidizing bed type |
| US4533367A (en) * | 1981-07-10 | 1985-08-06 | Dzemal Hadzismajlovic | Gas scrubbing method using gas liquid contact in a particulate bed |
| US4404083A (en) * | 1981-08-17 | 1983-09-13 | Standard Oil Company(Indiana) | Fluid bed retorting process and system |
| US4466082A (en) * | 1982-02-02 | 1984-08-14 | Foster Wheeler Energy Corporation | Apparatus for mixing and distributing solid particulate material |
| IT1150650B (it) * | 1982-03-10 | 1986-12-17 | Montedison Spa | Reattore a letto fluido |
| DZ520A1 (fr) | 1982-03-24 | 2004-09-13 | Union Carbide Corp | Procédé perfectionné pour accroitre le rendement espace temps d'une réaction de polymérisation exothermique en lit fluidisé. |
| JPS58210802A (ja) | 1982-05-31 | 1983-12-08 | ケルンフオルシユングスツエントルム・カ−ルスル−エ・ゲゼルシヤフト・ミツト・ベシユレンクテル・ハフツング | 抽出塔の物質転送の液体力学的安定性と有効性を高める方法 |
| DE3227932A1 (de) | 1982-07-27 | 1984-02-02 | Basf Ag, 6700 Ludwigshafen | Vorrichtung zur umsetzung von gasen und gasen oder feststoffen zu temperaturempfindlichen feststoffen in der wirbelschicht |
| US4457896A (en) * | 1982-08-02 | 1984-07-03 | Institute Of Gas Technology | Apparatus and process for fluidized solids systems |
| JPS59126406A (ja) | 1983-01-11 | 1984-07-21 | Mitsui Petrochem Ind Ltd | オレフインの気相重合方法 |
| ZA844157B (en) | 1983-06-06 | 1986-01-29 | Exxon Research Engineering Co | Process and catalyst for polyolefin density and molecular weight control |
| ES8604994A1 (es) | 1983-06-06 | 1986-02-16 | Exxon Research Engineering Co | Un procedimiento para preparar una mezcla de reactor de un polimero de etileno y al menos una alfa-olefina. |
| US4530914A (en) | 1983-06-06 | 1985-07-23 | Exxon Research & Engineering Co. | Process and catalyst for producing polyethylene having a broad molecular weight distribution |
| NL192055C (nl) * | 1983-07-22 | 1997-01-07 | Eskla Bv | Inrichting voor het bedrijven van fysische en/of chemische processen, in het bijzonder een warmtewisselaar met circulatie van korrelmassa. |
| JPS60165034U (ja) * | 1984-04-12 | 1985-11-01 | 三菱重工業株式会社 | 噴流層型固気接触装置 |
| JPH0788403B2 (ja) | 1984-11-01 | 1995-09-27 | 昭和電工株式会社 | ポリオレフインの製造方法 |
| US4578183A (en) * | 1984-11-30 | 1986-03-25 | Mobil Oil Corporation | Feed mixing technique for fluidized catalytic cracking of hydrocarbon oil |
| JPH0639496B2 (ja) | 1985-06-03 | 1994-05-25 | 旭化成工業株式会社 | オレフインの重合方法 |
| CA1268754A (en) | 1985-06-21 | 1990-05-08 | Howard Curtis Welborn, Jr. | Supported polymerization catalyst |
| SU1295183A1 (ru) * | 1985-10-29 | 1987-03-07 | Всесоюзный Институт По Проектированию Организации Энергетического Строительства "Оргэнергострой" | Установка дл термообработки в аэрофонтанном слое мелкозернистого вспучивающегос материала |
| JPH0676239B2 (ja) | 1986-08-29 | 1994-09-28 | 川崎重工業株式会社 | 噴流層による造粒方法 |
| JPH0780937B2 (ja) | 1986-10-01 | 1995-08-30 | 三井石油化学工業株式会社 | オレフインの重合方法 |
| NL192750C (nl) * | 1986-09-30 | 1998-01-06 | Eskla Bv | Inrichting voor het bedrijven van fysische en/of chemische processen, in het bijzonder een warmtewisselaar. |
| US5213768A (en) * | 1987-06-30 | 1993-05-25 | Bp Chemicals Ltd. | Fluidized bed apparatus and process for feeding gas to a fluidized bed apparatus |
| US4948477A (en) * | 1987-11-06 | 1990-08-14 | Carbotek, Inc. | Integrated lunar materials manufacturing process |
| US5034195A (en) * | 1988-11-18 | 1991-07-23 | Brown & Root Usa, Inc. | Apparatus for gas phase polymerization of olefins in vertically stacked reactors |
| US5245093A (en) * | 1989-01-26 | 1993-09-14 | Abb Lummus Crest Inc. | Reaction processes in a multi-stage fluidized bed |
| FR2642429B1 (fr) | 1989-01-31 | 1991-04-19 | Bp Chimie Sa | Procede et appareil de polymerisation d'olefines en phase gazeuse dans un reacteur a lit fluidise |
| US5235009A (en) * | 1989-10-16 | 1993-08-10 | Phillips Petroleum Company | Gas phase polymerization in multi-stage fluid beds |
| IL96810A0 (en) | 1990-01-02 | 1991-09-16 | Exxon Chemical Patents Inc | Supported ionic metallocene catalysts for olefin polymerization and methods for the preparation thereof |
| JP2825910B2 (ja) | 1990-02-13 | 1998-11-18 | 三井化学株式会社 | オレフィン重合用固体触媒およびオレフィンの重合方法 |
| JP2577697Y2 (ja) * | 1991-03-01 | 1998-07-30 | 川崎重工業株式会社 | 噴流層造粒炉 |
| US5244990A (en) * | 1992-01-07 | 1993-09-14 | Phillips Petroleum Company | Prepolymerized catalyst and use thereof |
| ES2097520T3 (es) | 1992-05-29 | 1997-04-01 | Amoco Corp | Polimerizacion de alfa-olefinas. |
| DE4228470A1 (de) * | 1992-08-27 | 1994-03-03 | Henkel Kgaa | Verfahren zur Phospatierung von einseitig verzinktem Stahlband |
| JPH06336502A (ja) | 1993-04-02 | 1994-12-06 | Tosoh Corp | オレフィン重合用触媒およびオレフィンの重合方法 |
| NL9300666A (nl) * | 1993-04-20 | 1994-11-16 | Bronswerk Heat Transfer Bv | Inrichting voor het uitvoeren van een fysisch en/of chemisch proces, zoals een warmtewisselaar. |
| JP3033452B2 (ja) | 1993-12-17 | 2000-04-17 | 東ソー株式会社 | オレフィン重合用触媒およびオレフィンの重合方法 |
| US5674308A (en) * | 1994-08-12 | 1997-10-07 | Midrex International B.V. Rotterdam, Zurich Branch | Spouted bed circulating fluidized bed direct reduction system and method |
| US6066701A (en) * | 1996-12-31 | 2000-05-23 | Exxon Chemical Patents Inc. | Multistage method for manufacturing polyolefins |
| US6048817A (en) * | 1997-04-25 | 2000-04-11 | Mitsubishi Chemical Corporation | Polymerization of olefins |
| JP3001190B2 (ja) * | 1997-05-21 | 2000-01-24 | ユー・エス・プラント株式会社 | 噴流型内熱低温乾留装置 |
| DE19744710A1 (de) * | 1997-10-10 | 1999-04-15 | Bayer Ag | Gasphasenpolymerisation in einem Kelchreaktor |
| JP2002515516A (ja) | 1998-05-15 | 2002-05-28 | バーゼル、ポリオレフィン、ゲゼルシャフト、ミット、ベシュレンクテル、ハフツング | 気相流動層反応器 |
| ES2190232T3 (es) | 1998-07-08 | 2003-07-16 | Basell Poliolefine Spa | Procedimiento y aparato para la polimerizacion en fase de gas. |
| DE19907021A1 (de) | 1999-02-19 | 2000-08-24 | Elenac Gmbh | Verfahren und Apparatur zur Gasphasenpolymerisation von alpha-Olefinen |
| WO2000054876A1 (fr) | 1999-03-18 | 2000-09-21 | Hosokawa Micron Corporation | Dispositif et procede de production de granules |
| US6306981B1 (en) | 1999-04-02 | 2001-10-23 | Union Carbide Chemicals & Plastics Technology Corporation | Gas phase polymerization process |
| JP3352059B2 (ja) | 1999-08-25 | 2002-12-03 | 株式会社パウレック | 噴流層装置 |
| WO2002040547A1 (en) | 2000-11-14 | 2002-05-23 | Dsm N.V. | Fluidised bed reactor |
| JP4742379B2 (ja) | 2001-05-07 | 2011-08-10 | 哲也 杉野 | 練り製品 |
| JP2003277412A (ja) | 2002-03-26 | 2003-10-02 | Sumitomo Chem Co Ltd | オレフィンの連続気相重合方法 |
| JP4112916B2 (ja) | 2002-07-02 | 2008-07-02 | クミアイ化学工業株式会社 | 農園芸用殺菌剤組成物およびカーバメート殺菌剤の効力増強剤 |
| US6659545B1 (en) * | 2002-08-09 | 2003-12-09 | Mcmillan Susan | Foam tray assembly with security strap |
| EP1549687B1 (en) * | 2002-10-09 | 2011-04-20 | Basell Poliolefine Italia S.r.l. | Polymerization process |
| JP4903360B2 (ja) | 2002-11-19 | 2012-03-28 | 住友化学株式会社 | プロピレンブロック共重合体製造用固体触媒成分、プロピレンブロック共重合体製造用触媒、およびプロピレンブロック共重合体の製造方法 |
| BRPI0409738B1 (pt) | 2003-04-17 | 2014-01-21 | Processo contínuo para a polimerização de olefinas em um reator de leito fluidizado | |
| EP1484343A1 (en) | 2003-06-06 | 2004-12-08 | Universiteit Twente | Process for the catalytic polymerization of olefins, a reactor system and its use in the same process |
| EP1577003A1 (en) * | 2004-03-15 | 2005-09-21 | Borealis Technology Oy | Method and apparatus for producing polymers |
| US7270791B2 (en) * | 2004-05-17 | 2007-09-18 | Univation Technologies, Llc | Angular flow distribution bottom head |
| JP4611670B2 (ja) | 2004-06-21 | 2011-01-12 | セコム株式会社 | 入金者管理システム |
| CN1993390B (zh) | 2004-08-27 | 2012-06-06 | 切夫里昂菲利普化学有限责任公司 | 能量有效的聚烯烃方法 |
| CN100376605C (zh) | 2004-09-16 | 2008-03-26 | 中国石油化工股份有限公司 | 用于烯烃气相聚合反应的装置 |
| JP5106386B2 (ja) | 2005-05-13 | 2012-12-26 | バーゼル・ポリオレフィン・イタリア・ソチエタ・ア・レスポンサビリタ・リミタータ | オレフィンの気相重合プロセス |
| CN100567329C (zh) | 2005-05-17 | 2009-12-09 | 住友化学株式会社 | 气相流化床式反应装置、多容器聚合反应装置以及聚烯烃聚合物的制造方法 |
| JP5357380B2 (ja) * | 2005-05-17 | 2013-12-04 | 住友化学株式会社 | 気相流動層式反応装置、多槽重合反応装置及びポリオレフィン重合体の製造方法 |
| KR101426308B1 (ko) | 2005-12-23 | 2014-08-06 | 바셀 폴리올레핀 이탈리아 에스.알.엘 | 올레핀의 중합을 위한 기체 상 방법 및 장치 |
| JP5308797B2 (ja) * | 2007-12-11 | 2013-10-09 | 住友化学株式会社 | オレフィン重合反応装置、ポリオレフィン製造システム、及び、ポリオレフィン製造方法 |
| JP5308794B2 (ja) * | 2007-12-11 | 2013-10-09 | 住友化学株式会社 | 噴流層装置を用いたポリオレフィン製造方法 |
| JP5308795B2 (ja) | 2007-12-11 | 2013-10-09 | 住友化学株式会社 | ポリオレフィン製造方法、並びに、噴流層装置を備えたポリオレフィン製造システム |
| JP4631969B2 (ja) | 2008-12-25 | 2011-02-16 | 富士ゼロックス株式会社 | ライセンス管理装置及びライセンス管理プログラム |
| JP5545800B2 (ja) * | 2009-06-08 | 2014-07-09 | 住友化学株式会社 | 噴流−流動層型オレフィン重合反応装置、ポリオレフィン製造システム、及び、ポリオレフィン製造方法 |
| JP5921321B2 (ja) | 2012-05-08 | 2016-05-24 | キヤノン株式会社 | 画像処理装置および画像処理方法 |
-
2008
- 2008-11-28 JP JP2008304984A patent/JP5308795B2/ja not_active Expired - Fee Related
- 2008-12-10 DE DE102008061518A patent/DE102008061518A1/de not_active Withdrawn
- 2008-12-10 US US12/332,112 patent/US8313704B2/en not_active Expired - Fee Related
- 2008-12-11 CN CN200810183734.2A patent/CN101455951B/zh not_active Expired - Fee Related
- 2008-12-11 SG SG200809157-1A patent/SG153757A1/en unknown
-
2011
- 2011-05-26 US US13/116,479 patent/US8084555B2/en not_active Expired - Fee Related
Also Published As
| Publication number | Publication date |
|---|---|
| US20110230628A1 (en) | 2011-09-22 |
| US20100069581A1 (en) | 2010-03-18 |
| CN101455951B (zh) | 2013-06-12 |
| US8313704B2 (en) | 2012-11-20 |
| JP2009161733A (ja) | 2009-07-23 |
| DE102008061518A1 (de) | 2009-06-18 |
| US8084555B2 (en) | 2011-12-27 |
| SG153757A1 (en) | 2009-07-29 |
| CN101455951A (zh) | 2009-06-17 |
Similar Documents
| Publication | Publication Date | Title |
|---|---|---|
| JP5308795B2 (ja) | ポリオレフィン製造方法、並びに、噴流層装置を備えたポリオレフィン製造システム | |
| JP5545800B2 (ja) | 噴流−流動層型オレフィン重合反応装置、ポリオレフィン製造システム、及び、ポリオレフィン製造方法 | |
| JP5308797B2 (ja) | オレフィン重合反応装置、ポリオレフィン製造システム、及び、ポリオレフィン製造方法 | |
| JP5308794B2 (ja) | 噴流層装置を用いたポリオレフィン製造方法 | |
| JP5890211B2 (ja) | オレフィン重合反応装置、ポリオレフィン製造システム、及び、ポリオレフィン製造方法 | |
| JP5249730B2 (ja) | オレフィン重合反応装置及びポリオレフィン製造方法 | |
| JP5545799B2 (ja) | オレフィン重合反応装置、ポリオレフィン製造システム、及び、ポリオレフィン製造方法 | |
| JP5427396B2 (ja) | 粉体移送装置、及び、ポリオレフィンの製造方法 | |
| JP5545801B2 (ja) | 噴流層装置、ポリオレフィン製造システム、及び、ポリオレフィン製造方法 | |
| JP5108280B2 (ja) | オレフィン重合反応装置、ポリオレフィン製造システム、及び、ポリオレフィン製造方法 | |
| JP2007084645A (ja) | オレフィン重合体の製造方法および多段重合反応装置 |
Legal Events
| Date | Code | Title | Description |
|---|---|---|---|
| A621 | Written request for application examination |
Free format text: JAPANESE INTERMEDIATE CODE: A621 Effective date: 20110825 |
|
| A977 | Report on retrieval |
Free format text: JAPANESE INTERMEDIATE CODE: A971007 Effective date: 20130404 |
|
| A131 | Notification of reasons for refusal |
Free format text: JAPANESE INTERMEDIATE CODE: A131 Effective date: 20130409 |
|
| A521 | Request for written amendment filed |
Free format text: JAPANESE INTERMEDIATE CODE: A523 Effective date: 20130604 |
|
| TRDD | Decision of grant or rejection written | ||
| A01 | Written decision to grant a patent or to grant a registration (utility model) |
Free format text: JAPANESE INTERMEDIATE CODE: A01 Effective date: 20130625 |
|
| A61 | First payment of annual fees (during grant procedure) |
Free format text: JAPANESE INTERMEDIATE CODE: A61 Effective date: 20130701 |
|
| R150 | Certificate of patent or registration of utility model |
Free format text: JAPANESE INTERMEDIATE CODE: R150 Ref document number: 5308795 Country of ref document: JP Free format text: JAPANESE INTERMEDIATE CODE: R150 |
|
| S531 | Written request for registration of change of domicile |
Free format text: JAPANESE INTERMEDIATE CODE: R313531 |
|
| R350 | Written notification of registration of transfer |
Free format text: JAPANESE INTERMEDIATE CODE: R350 |
|
| LAPS | Cancellation because of no payment of annual fees |
