JP5545800B2 - 噴流−流動層型オレフィン重合反応装置、ポリオレフィン製造システム、及び、ポリオレフィン製造方法 - Google Patents
噴流−流動層型オレフィン重合反応装置、ポリオレフィン製造システム、及び、ポリオレフィン製造方法 Download PDFInfo
- Publication number
- JP5545800B2 JP5545800B2 JP2009137388A JP2009137388A JP5545800B2 JP 5545800 B2 JP5545800 B2 JP 5545800B2 JP 2009137388 A JP2009137388 A JP 2009137388A JP 2009137388 A JP2009137388 A JP 2009137388A JP 5545800 B2 JP5545800 B2 JP 5545800B2
- Authority
- JP
- Japan
- Prior art keywords
- olefin
- gas
- olefin polymerization
- polyolefin
- reaction
- Prior art date
- Legal status (The legal status is an assumption and is not a legal conclusion. Google has not performed a legal analysis and makes no representation as to the accuracy of the status listed.)
- Expired - Fee Related
Links
Images
Classifications
-
- C—CHEMISTRY; METALLURGY
- C08—ORGANIC MACROMOLECULAR COMPOUNDS; THEIR PREPARATION OR CHEMICAL WORKING-UP; COMPOSITIONS BASED THEREON
- C08F—MACROMOLECULAR COMPOUNDS OBTAINED BY REACTIONS ONLY INVOLVING CARBON-TO-CARBON UNSATURATED BONDS
- C08F2/00—Processes of polymerisation
- C08F2/01—Processes of polymerisation characterised by special features of the polymerisation apparatus used
-
- B—PERFORMING OPERATIONS; TRANSPORTING
- B01—PHYSICAL OR CHEMICAL PROCESSES OR APPARATUS IN GENERAL
- B01J—CHEMICAL OR PHYSICAL PROCESSES, e.g. CATALYSIS OR COLLOID CHEMISTRY; THEIR RELEVANT APPARATUS
- B01J8/00—Chemical or physical processes in general, conducted in the presence of fluids and solid particles; Apparatus for such processes
- B01J8/005—Separating solid material from the gas/liquid stream
- B01J8/0065—Separating solid material from the gas/liquid stream by impingement against stationary members
-
- B—PERFORMING OPERATIONS; TRANSPORTING
- B01—PHYSICAL OR CHEMICAL PROCESSES OR APPARATUS IN GENERAL
- B01J—CHEMICAL OR PHYSICAL PROCESSES, e.g. CATALYSIS OR COLLOID CHEMISTRY; THEIR RELEVANT APPARATUS
- B01J8/00—Chemical or physical processes in general, conducted in the presence of fluids and solid particles; Apparatus for such processes
- B01J8/18—Chemical or physical processes in general, conducted in the presence of fluids and solid particles; Apparatus for such processes with fluidised particles
- B01J8/1818—Feeding of the fluidising gas
- B01J8/1827—Feeding of the fluidising gas the fluidising gas being a reactant
-
- B—PERFORMING OPERATIONS; TRANSPORTING
- B01—PHYSICAL OR CHEMICAL PROCESSES OR APPARATUS IN GENERAL
- B01J—CHEMICAL OR PHYSICAL PROCESSES, e.g. CATALYSIS OR COLLOID CHEMISTRY; THEIR RELEVANT APPARATUS
- B01J8/00—Chemical or physical processes in general, conducted in the presence of fluids and solid particles; Apparatus for such processes
- B01J8/18—Chemical or physical processes in general, conducted in the presence of fluids and solid particles; Apparatus for such processes with fluidised particles
- B01J8/24—Chemical or physical processes in general, conducted in the presence of fluids and solid particles; Apparatus for such processes with fluidised particles according to "fluidised-bed" technique
- B01J8/245—Spouted-bed technique
-
- B—PERFORMING OPERATIONS; TRANSPORTING
- B01—PHYSICAL OR CHEMICAL PROCESSES OR APPARATUS IN GENERAL
- B01J—CHEMICAL OR PHYSICAL PROCESSES, e.g. CATALYSIS OR COLLOID CHEMISTRY; THEIR RELEVANT APPARATUS
- B01J8/00—Chemical or physical processes in general, conducted in the presence of fluids and solid particles; Apparatus for such processes
- B01J8/18—Chemical or physical processes in general, conducted in the presence of fluids and solid particles; Apparatus for such processes with fluidised particles
- B01J8/24—Chemical or physical processes in general, conducted in the presence of fluids and solid particles; Apparatus for such processes with fluidised particles according to "fluidised-bed" technique
- B01J8/26—Chemical or physical processes in general, conducted in the presence of fluids and solid particles; Apparatus for such processes with fluidised particles according to "fluidised-bed" technique with two or more fluidised beds, e.g. reactor and regeneration installations
- B01J8/28—Chemical or physical processes in general, conducted in the presence of fluids and solid particles; Apparatus for such processes with fluidised particles according to "fluidised-bed" technique with two or more fluidised beds, e.g. reactor and regeneration installations the one above the other
-
- B—PERFORMING OPERATIONS; TRANSPORTING
- B01—PHYSICAL OR CHEMICAL PROCESSES OR APPARATUS IN GENERAL
- B01J—CHEMICAL OR PHYSICAL PROCESSES, e.g. CATALYSIS OR COLLOID CHEMISTRY; THEIR RELEVANT APPARATUS
- B01J8/00—Chemical or physical processes in general, conducted in the presence of fluids and solid particles; Apparatus for such processes
- B01J8/18—Chemical or physical processes in general, conducted in the presence of fluids and solid particles; Apparatus for such processes with fluidised particles
- B01J8/24—Chemical or physical processes in general, conducted in the presence of fluids and solid particles; Apparatus for such processes with fluidised particles according to "fluidised-bed" technique
- B01J8/34—Chemical or physical processes in general, conducted in the presence of fluids and solid particles; Apparatus for such processes with fluidised particles according to "fluidised-bed" technique with stationary packing material in the fluidised bed, e.g. bricks, wire rings, baffles
-
- B—PERFORMING OPERATIONS; TRANSPORTING
- B01—PHYSICAL OR CHEMICAL PROCESSES OR APPARATUS IN GENERAL
- B01J—CHEMICAL OR PHYSICAL PROCESSES, e.g. CATALYSIS OR COLLOID CHEMISTRY; THEIR RELEVANT APPARATUS
- B01J8/00—Chemical or physical processes in general, conducted in the presence of fluids and solid particles; Apparatus for such processes
- B01J8/18—Chemical or physical processes in general, conducted in the presence of fluids and solid particles; Apparatus for such processes with fluidised particles
- B01J8/24—Chemical or physical processes in general, conducted in the presence of fluids and solid particles; Apparatus for such processes with fluidised particles according to "fluidised-bed" technique
- B01J8/38—Chemical or physical processes in general, conducted in the presence of fluids and solid particles; Apparatus for such processes with fluidised particles according to "fluidised-bed" technique with fluidised bed containing a rotatable device or being subject to rotation or to a circulatory movement, i.e. leaving a vessel and subsequently re-entering it
- B01J8/384—Chemical or physical processes in general, conducted in the presence of fluids and solid particles; Apparatus for such processes with fluidised particles according to "fluidised-bed" technique with fluidised bed containing a rotatable device or being subject to rotation or to a circulatory movement, i.e. leaving a vessel and subsequently re-entering it being subject to a circulatory movement only
- B01J8/386—Chemical or physical processes in general, conducted in the presence of fluids and solid particles; Apparatus for such processes with fluidised particles according to "fluidised-bed" technique with fluidised bed containing a rotatable device or being subject to rotation or to a circulatory movement, i.e. leaving a vessel and subsequently re-entering it being subject to a circulatory movement only internally, i.e. the particles rotate within the vessel
-
- B—PERFORMING OPERATIONS; TRANSPORTING
- B01—PHYSICAL OR CHEMICAL PROCESSES OR APPARATUS IN GENERAL
- B01J—CHEMICAL OR PHYSICAL PROCESSES, e.g. CATALYSIS OR COLLOID CHEMISTRY; THEIR RELEVANT APPARATUS
- B01J8/00—Chemical or physical processes in general, conducted in the presence of fluids and solid particles; Apparatus for such processes
- B01J8/18—Chemical or physical processes in general, conducted in the presence of fluids and solid particles; Apparatus for such processes with fluidised particles
- B01J8/24—Chemical or physical processes in general, conducted in the presence of fluids and solid particles; Apparatus for such processes with fluidised particles according to "fluidised-bed" technique
- B01J8/44—Fluidisation grids
Landscapes
- Chemical & Material Sciences (AREA)
- Organic Chemistry (AREA)
- Chemical Kinetics & Catalysis (AREA)
- Engineering & Computer Science (AREA)
- Combustion & Propulsion (AREA)
- Health & Medical Sciences (AREA)
- Medicinal Chemistry (AREA)
- Polymers & Plastics (AREA)
- Polymerisation Methods In General (AREA)
Description
(ポリオレフィン製造システム)
図1に第1実施形態に係るポリオレフィン製造システム100Aを示す。この製造システム100Aは、オレフィン事前重合反応装置5と、このオレフィン事前重合反応装置5の後段に接続されたオレフィン重合反応装置10Aとを備える。
オレフィン事前重合反応装置5は、オレフィン重合用触媒の存在下でオレフィンを重合させてポリオレフィン粒子を形成する。
オレフィン重合反応装置10Aは、オレフィン事前重合反応装置5によって生成したポリオレフィン粒子に対して、実質的に気相状態でオレフィン重合反応を行わせる装置である。
続いて、このようなシステムにおける、オレフィン、ポリオレフィン、触媒等について詳しく説明する。
(1)液状のマグネシウム化合物、あるいはマグネシウム化合物及び電子供与体からなる錯化合物を析出化剤と反応させたのち、チタン化合物、あるいはチタン化合物及び電子供与体で処理する方法。
(2)固体のマグネシウム化合物、あるいは固体のマグネシウム化合物及び電子供与体からなる錯化合物をチタン化合物、あるいはチタン化合物及び電子供与体で処理する方法。
(3)液状のマグネシウム化合物と、液状チタン化合物とを、電子供与体の存在下で反応させて固体状のチタン複合体を析出させる方法。
(4)(1)、(2)あるいは(3)で得られた反応生成物をチタン化合物、あるいは電子供与体及びチタン化合物で更に処理する方法。
(5)Si−O結合を有する有機ケイ素化合物の共存下アルコキシチタン化合物をグリニャール試薬等の有機マグネシウム化合物で還元して得られる固体生成物を、エステル化合物、エーテル化合物及び四塩化チタンで処理する方法。
(6)有機ケイ素化合物又は有機ケイ素化合物及びエステル化合物の存在下、チタン化合物を有機マグネシウム化合物で還元して得られる固体生成物を、エーテル化合物と四塩化チタンの混合物、次いで有機酸ハライド化合物の順で加えて処理したのち、該処理固体をエーテル化合物と四塩化チタンの混合物もしくはエーテル化合物と四塩化チタンとエステル化合物の混合物で処理する方法。
(7)金属酸化物、ジヒドロカルビルマグネシウム及びハロゲン含有アルコ−ルとの接触反応物をハロゲン化剤で処理した後あるいは処理せずに電子供与体及びチタン化合物と接触する方法。
(8)有機酸のマグネシウム塩、アルコキシマグネシウムなどのマグネシウム化合物をハロゲン化剤で処理した後あるいは処理せずに電子供与体及びチタン化合物と接触する方法。
(9)(1)〜(8)で得られる化合物を、ハロゲン、ハロゲン化合物又は芳香族炭化水素のいずれかで処理する方法。
R4 mAlY3−m
R5R6Al−O−AlR7R8
(R4〜R8は炭素数が1〜8個の炭化水素基を、Yはハロゲン原子、水素又はアルコキシ基を表す。R4〜R8はそれぞれ同一であっても異なっていてもよい。また、mは2≦m≦3で表される数である。)
(式中、R11〜R14は炭素数1〜20の線状又は分岐状のアルキル基、脂環式炭化水素基、アリール基、又はアラルキル基であり、R11又はR12は水素原子であってもよい。)で表されるジエーテル化合物があげられる。具体例としては、ジブチルエーテル、ジアミルエーテル、2,2−ジイソブチル−1,3−ジメトキシプロパン、2,2−ジシクロペンチル−1,3−ジメトキシプロパン等をあげることができる。
LxM
(式中、Mは遷移金属を表す。xは遷移金属Mの原子価を満足する数を表す。Lは遷移金属に配位する配位子であり、Lのうち少なくとも一つはシクロペンタジエニル骨格を有する配位子である。)
続いて、このようなシステムを用いてポリオレフィンを製造する方法について説明する。まず、オレフィン事前重合反応装置5において、公知の方法によりオレフィン重合用触媒を用いて、重合活性のある触媒成分を含むポリオレフィン粒子を生成する。
式中、dPは粒径を、ρSは粒子の密度を、ρGは反応領域の圧力・温度条件下におけるガスの密度を、ρAIRは室温条件下における空気の密度を、LSは噴流層高さを、それぞれ示す。
式中、utは粒子の終末速度を、umfは最小流動化速度を、それぞれ示す。
図3に示す製造システム100Bは、オレフィン事前重合反応装置5と、オレフィン重合反応装置10Bとを備える。オレフィン重合反応装置10Bは、反応領域25内にドラフトチューブT1が設置されている点において、上記の反応装置10Aと相違する。ドラフトチューブT1を使用することで、優れた安定性を有し且つ圧力損失も更に低減し得る噴流層を反応領域25内に形成できる。
図4を参照しながら、オレフィン事前重合反応装置として塊状重合反応装置を採用すると共に、移送手段としてエジェクタ方式を採用したポリオレフィン製造システムの好適な構成を詳細に説明する。図4に示すポリオレフィン製造システム100Cは、塊状重合反応装置5と、上段及び下段の反応領域25を内部に有するオレフィン重合反応装置10Cとを備える。
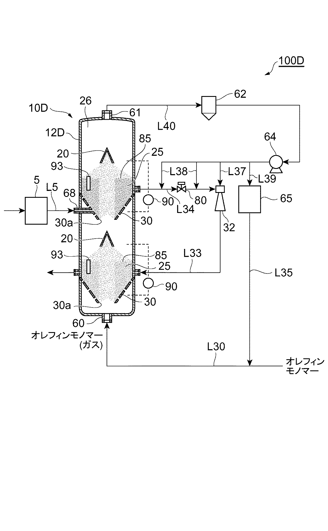
図5に示す製造システム100Dは、オレフィン事前重合反応装置5と、オレフィン重合反応装置10Dとを備える。オレフィン重合反応装置10Dは、安定した噴流層を形成しやすい粒子を扱う場合などに使用され、円筒12D内に仕切り板17及び延長管40、並びに、ラインL31a,L31bを具備しない点において、上記の反応装置10Aと相違する。
Claims (23)
- 鉛直方向に伸びる円筒部と、
前記円筒部に形成され、下方に行くほど内径が小さくなると共に下端にガス導入用開口を有する縮径部と、
前記縮径部の外面から内面にかけて貫通する複数の貫通孔と、
を備え、
前記縮径部の内面と当該縮径部よりも上方の前記円筒部の内面とによって囲まれた反応領域内にて反応を行う噴流−流動層型オレフィン重合反応装置。 - 前記円筒部内に設けられ、前記ガス導入用開口と離隔した位置から上方に伸びるドラフトチューブを更に備える、請求項1に記載のオレフィン重合反応装置。
- 前記反応領域内において、前記ガス導入用開口の上方に配設に配設され、下方に行くほど外径が大きくなると共に上端が閉じられ且つ下端が前記円筒部の内壁から離間されている第1の円錐バッフルを更に備える、請求項1又は2に記載のオレフィン重合反応装置。
- 複数の前記反応領域を有し、上流側の前記反応領域から下流側の前記反応領域へとポリオレフィン粒子が前記複数の反応領域を順次通過する、請求項1〜3のいずれか一項に記載のオレフィン重合反応装置。
- 上流側の前記反応領域から下流側の前記反応領域にポリオレフィン粒子を移送する移送手段を備える、請求項4に記載のオレフィン重合反応装置。
- 前記移送手段は、前記上流側の反応領域からポリオレフィン粒子を抜き出す粒子抜出管と、前記粒子抜出管に設けられたエジェクタと、前記エジェクタからのポリオレフィン粒子を前記下流側の反応領域に供給する粒子供給管と有する、請求項5に記載のオレフィン重合反応装置。
- 前記複数の反応領域は、鉛直方向に並ぶようにそれぞれ形成され、上方に位置する上流側の前記反応領域から下方に位置する下流側の前記反応領域へとポリオレフィン粒子が順次通過する、請求項4〜6のいずれか一項に記載のオレフィン重合反応装置。
- 前記複数の反応領域は、鉛直方向に並ぶようにそれぞれ形成され、下方に位置する上流側の前記反応領域から上方に位置する下流側の前記反応領域へとポリオレフィン粒子が順次通過する、請求項6に記載のオレフィン重合反応装置。
- 前記ガス導入用開口の開口径DOの前記円筒部の内径DRに対する比率DO/DRは、0.35以下である、請求項1〜8のいずれか一項に記載のオレフィン重合反応装置。
- 前記縮径部の前記ガス導入用開口の縁から下方に延びる管状部を更に備える、請求項1〜9のいずれか一項に記載のオレフィン重合反応装置。
- 前記管状部は、その管路内を水平方向に区画する隔壁を更に有する、請求項10に記載のオレフィン重合反応装置。
- 少なくとも一端が閉じられ且つ前記管状部の内部に配設された円筒部材を更に備え、ガス導入用開口に至るまでの管路が前記円筒部材の外面と前記管状部の内面とによって形成されるアニュラス部を有する、請求項10に記載のオレフィン重合反応装置。
- 前記管状部の下端を閉じる閉鎖板と、前記管状部の管路よりも細い管路を有し、前記閉鎖板を貫通するように設けられたガス導入管と、下方に行くほど外径が大きくなると共に上端が閉じられ且つ下端が前記管状部の内面から離間されている第2の円錐バッフルとを更に備え、当該第2の円錐バッフルが前記ガス導入管の上端の直上に配設されている、請求項10に記載のオレフィン重合反応装置。
- 前記第2の円錐バッフルは、当該第2の円錐バッフルの下端の周縁部から下方に延在する筒状部を有する、請求項13に記載のオレフィン重合反応装置。
- 前記円筒部内に設けられ、前記ガス導入用開口と離隔した位置から上方に伸びるドラフトチューブを備え、当該ドラフトチューブ内と連通しており、当該ドラフトチューブ内にガス又は液体を供給する配管を更に備える、請求項1〜14のいずれか一項に記載のオレフィン重合反応装置。
- 請求項1〜15のいずれか一項に記載のオレフィン重合反応装置を用いて、オレフィンの重合を行うポリオレフィン製造方法。
- 請求項1〜15のいずれか一項に記載のオレフィン重合反応装置を用いて、オレフィンの重合を行うポリオレフィン製造方法であり、前記反応領域の中心部に形成される噴流部の周囲を流れるオレフィン含有ガスの量が最小流動化速度未満となるように、前記反応領域内に供給するオレフィン含有ガスの量を制御してポリオレフィン粒子の噴流層を前記反応領域内に形成するポリオレフィン製造方法。
- 請求項15に記載のオレフィン重合反応装置を用いて、オレフィンの重合を行うポリオレフィン製造方法であり、前記配管を通じて前記ドラフトチューブ内にガス及び/又は液体を供給することにより、前記反応領域内において前記ドラフトチューブの内部及び外部に存在するガスの組成を互いに異なるものとするポリオレフィン製造方法。
- 請求項15に記載のオレフィン重合反応装置を用いて、オレフィンの重合を行うポリオレフィン製造方法であり、前記反応領域の中心部に形成させる噴流部の周囲を流れるオレフィン含有ガスの量が最小流動化速度未満となるように、前記反応領域に供給するオレフィン含有ガスの量を制御してポリオレフィン粒子の噴流層を前記反応領域内に形成すると共に、前記配管を通じて前記ドラフトチューブ内にガス及び/又は液体を供給することにより、前記反応領域内において前記ドラフトチューブの内部及び外部に存在するガスの組成を互いに異なるものとするポリオレフィン製造方法。
- 前記オレフィン重合反応装置に前記ガス導入用開口及び前記複数の貫通孔を通じてオレフィンを連続的に供給すると共に、前記オレフィン重合反応装置から未反応のオレフィンを含むガスを連続的に抜き出し、抜き出したガスを前記オレフィン重合反応装置に返送する工程と、
抜き出したガスの全部又は一部を冷却し、オレフィンを含む凝縮液を得る工程と、
を備える、請求項16〜19のいずれか一項に記載のポリオレフィン製造方法。 - 前記反応領域内に形成された噴流部に前記凝縮液を供給する工程を更に備える、請求項20に記載のポリオレフィン製造方法。
- オレフィン重合用触媒の存在下でオレフィンを重合させて、ポリオレフィン粒子を形成するオレフィン事前反応装置と、
前記オレフィン事前反応装置の後段に接続された請求項1〜15のいずれか一項に記載のオレフィン重合反応装置と、
を備えるポリオレフィン製造システム。 - 請求項22に記載のポリオレフィン製造システムを用いてオレフィンの多段重合を行うポリオレフィン製造方法。
Priority Applications (4)
| Application Number | Priority Date | Filing Date | Title |
|---|---|---|---|
| JP2009137388A JP5545800B2 (ja) | 2009-06-08 | 2009-06-08 | 噴流−流動層型オレフィン重合反応装置、ポリオレフィン製造システム、及び、ポリオレフィン製造方法 |
| US12/795,432 US8163246B2 (en) | 2009-06-08 | 2010-06-07 | Spouted-fluidized bed-type olefin polymerization reactor |
| DE102010023010.3A DE102010023010B4 (de) | 2009-06-08 | 2010-06-08 | Strahlschicht/Wirbelschicht-Olefinpolymerisationsreaktor |
| CN201010199913.2A CN101906178B (zh) | 2009-06-08 | 2010-06-08 | 喷射-流化床型烯烃聚合反应器 |
Applications Claiming Priority (1)
| Application Number | Priority Date | Filing Date | Title |
|---|---|---|---|
| JP2009137388A JP5545800B2 (ja) | 2009-06-08 | 2009-06-08 | 噴流−流動層型オレフィン重合反応装置、ポリオレフィン製造システム、及び、ポリオレフィン製造方法 |
Publications (2)
| Publication Number | Publication Date |
|---|---|
| JP2010280869A JP2010280869A (ja) | 2010-12-16 |
| JP5545800B2 true JP5545800B2 (ja) | 2014-07-09 |
Family
ID=43049500
Family Applications (1)
| Application Number | Title | Priority Date | Filing Date |
|---|---|---|---|
| JP2009137388A Expired - Fee Related JP5545800B2 (ja) | 2009-06-08 | 2009-06-08 | 噴流−流動層型オレフィン重合反応装置、ポリオレフィン製造システム、及び、ポリオレフィン製造方法 |
Country Status (4)
| Country | Link |
|---|---|
| US (1) | US8163246B2 (ja) |
| JP (1) | JP5545800B2 (ja) |
| CN (1) | CN101906178B (ja) |
| DE (1) | DE102010023010B4 (ja) |
Families Citing this family (21)
| Publication number | Priority date | Publication date | Assignee | Title |
|---|---|---|---|---|
| JP5308794B2 (ja) * | 2007-12-11 | 2013-10-09 | 住友化学株式会社 | 噴流層装置を用いたポリオレフィン製造方法 |
| JP5308795B2 (ja) * | 2007-12-11 | 2013-10-09 | 住友化学株式会社 | ポリオレフィン製造方法、並びに、噴流層装置を備えたポリオレフィン製造システム |
| JP5308797B2 (ja) * | 2007-12-11 | 2013-10-09 | 住友化学株式会社 | オレフィン重合反応装置、ポリオレフィン製造システム、及び、ポリオレフィン製造方法 |
| JP5249730B2 (ja) * | 2007-12-11 | 2013-07-31 | 住友化学株式会社 | オレフィン重合反応装置及びポリオレフィン製造方法 |
| JP5545800B2 (ja) | 2009-06-08 | 2014-07-09 | 住友化学株式会社 | 噴流−流動層型オレフィン重合反応装置、ポリオレフィン製造システム、及び、ポリオレフィン製造方法 |
| SG184672A1 (en) * | 2011-03-25 | 2012-10-30 | Sumitomo Chemical Co | Olefin polymerization reactor, polyolefin production system, and polyolefin production process |
| CN103717289A (zh) | 2011-04-11 | 2014-04-09 | Ada-Es股份有限公司 | 用于气体组分捕集的流化床方法和系统 |
| JP5872378B2 (ja) * | 2012-05-14 | 2016-03-01 | 住友化学株式会社 | オレフィン重合反応装置、ポリオレフィン製造システム、及び、ポリオレフィン製造方法 |
| CN104812467B (zh) | 2012-09-20 | 2017-05-17 | Ada-Es股份有限公司 | 用于恢复被热稳定盐污染的吸附剂上的功能位置的方法和系统 |
| CN103212346B (zh) * | 2013-03-01 | 2014-11-05 | 浙江大学 | 喷动床反应器及其烯烃聚合的方法 |
| EP3145632B1 (en) | 2014-05-20 | 2017-10-04 | Basell Polyolefine GmbH | Process for ethylene polymerization with improved slurry pump performance |
| JP6297205B2 (ja) * | 2014-08-07 | 2018-03-20 | バーゼル・ポリオレフィン・ゲーエムベーハー | 改良されたエチレン供給システムを有するエチレン重合方法 |
| JP6902337B2 (ja) | 2016-08-03 | 2021-07-14 | 住友化学株式会社 | ヘテロファジックプロピレン重合材料の製造方法 |
| BR112019020104A2 (pt) | 2017-03-29 | 2020-05-05 | Synthos Dwory 7 Spolka Z Ograniczona Odpowiedzialnoscia Spolka Jawna | aditivo polar para síntese de copolímeros de monômero de vinilaromático e monômero de dieno conjugado tendo alto teor de vinilaromático e baixo teor de vinila |
| CN107383245B (zh) * | 2017-07-26 | 2023-08-18 | 青岛竣翔新材料有限公司 | 一种二烯类液体橡胶的产业化聚合装置及聚合方法 |
| EP3450011B1 (en) * | 2017-08-29 | 2020-11-25 | Sumitomo Chemical Company, Limited | Method for producing polyolefin and polyolefin production system |
| JP6902965B2 (ja) * | 2017-08-29 | 2021-07-14 | 住友化学株式会社 | ポリオレフィンの製造方法 |
| US10654009B1 (en) | 2018-02-27 | 2020-05-19 | Mainstream Engineering Corporation | Spouted bed with venturi draft tube and method for improved gas-solid contacting |
| CN108579654A (zh) * | 2018-03-30 | 2018-09-28 | 东南大学 | 一种有序组织超细颗粒混合的流化床 |
| CN112047625B (zh) * | 2020-09-17 | 2022-04-15 | 成都光明光电股份有限公司 | 透紫外光学玻璃 |
| EP4059597A1 (de) * | 2021-03-16 | 2022-09-21 | Primetals Technologies Austria GmbH | Fliessbett- oder wirbelschichtreaktor zur behandlung von oxidischem feinerz, insbesondere eisenerz, und verfahren zur herstellung solch eines fliessbettreaktors |
Family Cites Families (102)
| Publication number | Priority date | Publication date | Assignee | Title |
|---|---|---|---|---|
| CA739660A (en) | 1966-08-02 | Her Majesty The Queen, In Right Of Canada, As Represented By The Ministe R Of The National Research Council Of Canada | Multiple spouted bed | |
| US2477454A (en) * | 1944-09-15 | 1949-07-26 | Dorr Co | Process of reducing ferric oxide to ferrosoferric oxide |
| US2890106A (en) * | 1951-01-19 | 1959-06-09 | Dorr Oliver Inc | Apparatus for heat treating fluidized solids |
| US2867506A (en) * | 1956-07-18 | 1959-01-06 | Dorr Oliver Inc | Producing sulphur dioxide gas |
| GB845655A (en) | 1957-04-18 | 1960-08-24 | Atomic Energy Commission | Multistage fluidized bed reactor |
| US2936303A (en) * | 1958-04-25 | 1960-05-10 | Phillips Petroleum Co | Olefin polymerization |
| DE1166158B (de) * | 1959-11-09 | 1964-03-26 | United Steel Companies Ltd | Rost fuer Wirbelschichtreaktoren |
| NL264927A (ja) | 1960-05-18 | 1900-01-01 | ||
| US3242586A (en) * | 1962-08-27 | 1966-03-29 | Ca Nat Research Council | Multiple spouted bed |
| US3262922A (en) * | 1963-02-08 | 1966-07-26 | Phillips Petroleum Co | Polymerization process |
| US3495952A (en) | 1966-10-05 | 1970-02-17 | Ceskoslovenska Akademie Ved | Arrangements for continuous contacting |
| DE1745114B2 (de) * | 1967-05-27 | 1980-10-02 | Chemische Werke Huels Ag, 4370 Marl | Verfahren zur Polymerisation von Äthylen, Propylen und/oder Butylen in der Gasphase |
| FR1604260A (ja) | 1967-09-29 | 1971-10-11 | ||
| JPS4611670Y1 (ja) | 1967-11-18 | 1971-04-22 | ||
| DE1805765C3 (de) * | 1968-10-29 | 1980-09-11 | Basf Ag, 6700 Ludwigshafen | Verfahren zur Polymerisation von Propylen |
| JPS4742379Y1 (ja) | 1969-03-04 | 1972-12-21 | ||
| JPS4631696Y1 (ja) | 1969-03-31 | 1971-11-02 | ||
| US3644583A (en) * | 1969-04-23 | 1972-02-22 | Phillips Petroleum Co | Production and recovery of a solid mixed homo- and copolymer |
| US3661799A (en) | 1970-01-26 | 1972-05-09 | Standard Oil Co | Oxidative fluidized regeneration of petroleum conversion catalyst in separate dilute and dense phase zones |
| US3719029A (en) * | 1971-03-23 | 1973-03-06 | Ube Industries | Process for treating gaseous products obtained by thermal cracking of hydrocarbons |
| US3776979A (en) * | 1971-11-05 | 1973-12-04 | Gulf Research Development Co | Olefin block copolymer fluidized-bed polymerization process |
| FR2207145B1 (ja) * | 1972-11-17 | 1975-09-12 | Naphtachimie Sa | |
| CA1053846A (en) * | 1974-12-16 | 1979-05-01 | The Standard Oil Company | Horizontal reactor for the vapor phase polymerization of monomers |
| US3971768A (en) * | 1974-12-16 | 1976-07-27 | Standard Oil Company (Indiana) | Vapor phase reactor off-gas recycle system for use in the vapor state polymerization of monomers |
| US3957448A (en) * | 1974-12-16 | 1976-05-18 | Standard Oil Company | Divided horizontal reactor for the vapor phase polymerization of monomers at different hydrogen levels |
| NO144570C (no) | 1974-12-16 | 1981-09-23 | Standard Oil Co | Kontinuerlig fremgangsmaate ved dampfasepolymerisering av en fordampbar polymer, samt apparat for utfoerelse av fremgangsmaaten |
| BE864590A (fr) | 1977-03-10 | 1978-09-06 | Inst Francais Du Petrole | Procede et appareil de mise en oeuvre de reactions catalytiques a trois phases |
| IT1110494B (it) * | 1978-08-02 | 1985-12-23 | Montedison Spa | Polimeri dell etilene e procedimento per la loro preparazione |
| JPS6035006B2 (ja) | 1979-04-10 | 1985-08-12 | 三菱電機株式会社 | 移動量計測装置 |
| JPS6035008B2 (ja) | 1979-05-15 | 1985-08-12 | 株式会社東精エンジニアリング | テ−パ−測定装置 |
| JPS6035007B2 (ja) | 1979-11-30 | 1985-08-12 | 株式会社森田商曾 | 角度測定器 |
| FR2472411A1 (fr) * | 1979-11-30 | 1981-07-03 | Charbonnages Ste Chimique | Appareil perfectionne pour la granu |
| IN155886B (ja) | 1980-05-07 | 1985-03-23 | Toyo Engineering Corp | |
| US4441822A (en) * | 1980-09-03 | 1984-04-10 | Foster Wheeler Energy Corporation | Apparatus for mixing and distributing solid particulate material |
| US4373272A (en) * | 1980-09-25 | 1983-02-15 | General Electric Company | System for controlling spouted bed inlet conditions |
| US4419330A (en) * | 1981-01-27 | 1983-12-06 | Ebara Corporation | Thermal reactor of fluidizing bed type |
| US4533367A (en) * | 1981-07-10 | 1985-08-06 | Dzemal Hadzismajlovic | Gas scrubbing method using gas liquid contact in a particulate bed |
| US4404083A (en) * | 1981-08-17 | 1983-09-13 | Standard Oil Company(Indiana) | Fluid bed retorting process and system |
| JPS5942039B2 (ja) | 1981-12-15 | 1984-10-12 | 横浜油脂工業株式会社 | 水洗トイレ用粉末芳香自動洗浄剤の製法 |
| US4466082A (en) * | 1982-02-02 | 1984-08-14 | Foster Wheeler Energy Corporation | Apparatus for mixing and distributing solid particulate material |
| IT1150650B (it) * | 1982-03-10 | 1986-12-17 | Montedison Spa | Reattore a letto fluido |
| DZ520A1 (fr) | 1982-03-24 | 2004-09-13 | Union Carbide Corp | Procédé perfectionné pour accroitre le rendement espace temps d'une réaction de polymérisation exothermique en lit fluidisé. |
| JPS5921321A (ja) | 1982-07-26 | 1984-02-03 | 株式会社スズテック | 床土を育苗箱に供給する装置 |
| DE3227932A1 (de) | 1982-07-27 | 1984-02-02 | Basf Ag, 6700 Ludwigshafen | Vorrichtung zur umsetzung von gasen und gasen oder feststoffen zu temperaturempfindlichen feststoffen in der wirbelschicht |
| US4457896A (en) * | 1982-08-02 | 1984-07-03 | Institute Of Gas Technology | Apparatus and process for fluidized solids systems |
| JPS59126406A (ja) | 1983-01-11 | 1984-07-21 | Mitsui Petrochem Ind Ltd | オレフインの気相重合方法 |
| ZA844157B (en) | 1983-06-06 | 1986-01-29 | Exxon Research Engineering Co | Process and catalyst for polyolefin density and molecular weight control |
| US4530914A (en) | 1983-06-06 | 1985-07-23 | Exxon Research & Engineering Co. | Process and catalyst for producing polyethylene having a broad molecular weight distribution |
| ES8604994A1 (es) | 1983-06-06 | 1986-02-16 | Exxon Research Engineering Co | Un procedimiento para preparar una mezcla de reactor de un polimero de etileno y al menos una alfa-olefina. |
| NL192055C (nl) * | 1983-07-22 | 1997-01-07 | Eskla Bv | Inrichting voor het bedrijven van fysische en/of chemische processen, in het bijzonder een warmtewisselaar met circulatie van korrelmassa. |
| JPS60165034U (ja) * | 1984-04-12 | 1985-11-01 | 三菱重工業株式会社 | 噴流層型固気接触装置 |
| JPH0788403B2 (ja) | 1984-11-01 | 1995-09-27 | 昭和電工株式会社 | ポリオレフインの製造方法 |
| US4578183A (en) * | 1984-11-30 | 1986-03-25 | Mobil Oil Corporation | Feed mixing technique for fluidized catalytic cracking of hydrocarbon oil |
| JPH0639496B2 (ja) | 1985-06-03 | 1994-05-25 | 旭化成工業株式会社 | オレフインの重合方法 |
| CA1268754A (en) | 1985-06-21 | 1990-05-08 | Howard Curtis Welborn, Jr. | Supported polymerization catalyst |
| SU1295183A1 (ru) | 1985-10-29 | 1987-03-07 | Всесоюзный Институт По Проектированию Организации Энергетического Строительства "Оргэнергострой" | Установка дл термообработки в аэрофонтанном слое мелкозернистого вспучивающегос материала |
| JPH0676239B2 (ja) | 1986-08-29 | 1994-09-28 | 川崎重工業株式会社 | 噴流層による造粒方法 |
| JPH0780937B2 (ja) | 1986-10-01 | 1995-08-30 | 三井石油化学工業株式会社 | オレフインの重合方法 |
| NL192750C (nl) * | 1986-09-30 | 1998-01-06 | Eskla Bv | Inrichting voor het bedrijven van fysische en/of chemische processen, in het bijzonder een warmtewisselaar. |
| US5213768A (en) * | 1987-06-30 | 1993-05-25 | Bp Chemicals Ltd. | Fluidized bed apparatus and process for feeding gas to a fluidized bed apparatus |
| US4948477A (en) * | 1987-11-06 | 1990-08-14 | Carbotek, Inc. | Integrated lunar materials manufacturing process |
| US5034195A (en) * | 1988-11-18 | 1991-07-23 | Brown & Root Usa, Inc. | Apparatus for gas phase polymerization of olefins in vertically stacked reactors |
| US5245093A (en) * | 1989-01-26 | 1993-09-14 | Abb Lummus Crest Inc. | Reaction processes in a multi-stage fluidized bed |
| FR2642429B1 (fr) | 1989-01-31 | 1991-04-19 | Bp Chimie Sa | Procede et appareil de polymerisation d'olefines en phase gazeuse dans un reacteur a lit fluidise |
| US5235009A (en) * | 1989-10-16 | 1993-08-10 | Phillips Petroleum Company | Gas phase polymerization in multi-stage fluid beds |
| IL96810A0 (en) | 1990-01-02 | 1991-09-16 | Exxon Chemical Patents Inc | Supported ionic metallocene catalysts for olefin polymerization and methods for the preparation thereof |
| JP2825910B2 (ja) | 1990-02-13 | 1998-11-18 | 三井化学株式会社 | オレフィン重合用固体触媒およびオレフィンの重合方法 |
| US5244990A (en) * | 1992-01-07 | 1993-09-14 | Phillips Petroleum Company | Prepolymerized catalyst and use thereof |
| JP2906004B2 (ja) | 1992-08-28 | 1999-06-14 | ミネベア株式会社 | 磁気ヘッド |
| ES2097520T3 (es) | 1992-05-29 | 1997-04-01 | Amoco Corp | Polimerizacion de alfa-olefinas. |
| JPH06336502A (ja) | 1993-04-02 | 1994-12-06 | Tosoh Corp | オレフィン重合用触媒およびオレフィンの重合方法 |
| NL9300666A (nl) * | 1993-04-20 | 1994-11-16 | Bronswerk Heat Transfer Bv | Inrichting voor het uitvoeren van een fysisch en/of chemisch proces, zoals een warmtewisselaar. |
| JP3033452B2 (ja) | 1993-12-17 | 2000-04-17 | 東ソー株式会社 | オレフィン重合用触媒およびオレフィンの重合方法 |
| US5674308A (en) * | 1994-08-12 | 1997-10-07 | Midrex International B.V. Rotterdam, Zurich Branch | Spouted bed circulating fluidized bed direct reduction system and method |
| US6066701A (en) * | 1996-12-31 | 2000-05-23 | Exxon Chemical Patents Inc. | Multistage method for manufacturing polyolefins |
| US6048817A (en) * | 1997-04-25 | 2000-04-11 | Mitsubishi Chemical Corporation | Polymerization of olefins |
| DE19744710A1 (de) * | 1997-10-10 | 1999-04-15 | Bayer Ag | Gasphasenpolymerisation in einem Kelchreaktor |
| JP2002515516A (ja) | 1998-05-15 | 2002-05-28 | バーゼル、ポリオレフィン、ゲゼルシャフト、ミット、ベシュレンクテル、ハフツング | 気相流動層反応器 |
| ES2190232T3 (es) | 1998-07-08 | 2003-07-16 | Basell Poliolefine Spa | Procedimiento y aparato para la polimerizacion en fase de gas. |
| DE19907021A1 (de) | 1999-02-19 | 2000-08-24 | Elenac Gmbh | Verfahren und Apparatur zur Gasphasenpolymerisation von alpha-Olefinen |
| US6306981B1 (en) | 1999-04-02 | 2001-10-23 | Union Carbide Chemicals & Plastics Technology Corporation | Gas phase polymerization process |
| JP3352059B2 (ja) * | 1999-08-25 | 2002-12-03 | 株式会社パウレック | 噴流層装置 |
| WO2002040547A1 (en) | 2000-11-14 | 2002-05-23 | Dsm N.V. | Fluidised bed reactor |
| JP4742379B2 (ja) | 2001-05-07 | 2011-08-10 | 哲也 杉野 | 練り製品 |
| JP2003277412A (ja) | 2002-03-26 | 2003-10-02 | Sumitomo Chem Co Ltd | オレフィンの連続気相重合方法 |
| JP4112916B2 (ja) | 2002-07-02 | 2008-07-02 | クミアイ化学工業株式会社 | 農園芸用殺菌剤組成物およびカーバメート殺菌剤の効力増強剤 |
| EP1549687B1 (en) * | 2002-10-09 | 2011-04-20 | Basell Poliolefine Italia S.r.l. | Polymerization process |
| EP1484343A1 (en) | 2003-06-06 | 2004-12-08 | Universiteit Twente | Process for the catalytic polymerization of olefins, a reactor system and its use in the same process |
| DE602004003590T2 (de) * | 2003-08-20 | 2007-09-27 | Basell Poliolefine Italia S.R.L. | Verfahren und vorrichtung zur polymerisation von ethylen |
| EP1577003A1 (en) * | 2004-03-15 | 2005-09-21 | Borealis Technology Oy | Method and apparatus for producing polymers |
| US7270791B2 (en) * | 2004-05-17 | 2007-09-18 | Univation Technologies, Llc | Angular flow distribution bottom head |
| JP4611670B2 (ja) | 2004-06-21 | 2011-01-12 | セコム株式会社 | 入金者管理システム |
| CN1993390B (zh) * | 2004-08-27 | 2012-06-06 | 切夫里昂菲利普化学有限责任公司 | 能量有效的聚烯烃方法 |
| CN101080267A (zh) * | 2004-12-21 | 2007-11-28 | 卫材R&D管理有限公司 | 流化床装置 |
| KR101426308B1 (ko) | 2005-12-23 | 2014-08-06 | 바셀 폴리올레핀 이탈리아 에스.알.엘 | 올레핀의 중합을 위한 기체 상 방법 및 장치 |
| JP5108280B2 (ja) * | 2006-11-09 | 2012-12-26 | 住友化学株式会社 | オレフィン重合反応装置、ポリオレフィン製造システム、及び、ポリオレフィン製造方法 |
| JP5308797B2 (ja) * | 2007-12-11 | 2013-10-09 | 住友化学株式会社 | オレフィン重合反応装置、ポリオレフィン製造システム、及び、ポリオレフィン製造方法 |
| JP5308795B2 (ja) * | 2007-12-11 | 2013-10-09 | 住友化学株式会社 | ポリオレフィン製造方法、並びに、噴流層装置を備えたポリオレフィン製造システム |
| JP5308794B2 (ja) * | 2007-12-11 | 2013-10-09 | 住友化学株式会社 | 噴流層装置を用いたポリオレフィン製造方法 |
| JP4631969B2 (ja) | 2008-12-25 | 2011-02-16 | 富士ゼロックス株式会社 | ライセンス管理装置及びライセンス管理プログラム |
| JP5545800B2 (ja) | 2009-06-08 | 2014-07-09 | 住友化学株式会社 | 噴流−流動層型オレフィン重合反応装置、ポリオレフィン製造システム、及び、ポリオレフィン製造方法 |
| JP5921321B2 (ja) | 2012-05-08 | 2016-05-24 | キヤノン株式会社 | 画像処理装置および画像処理方法 |
-
2009
- 2009-06-08 JP JP2009137388A patent/JP5545800B2/ja not_active Expired - Fee Related
-
2010
- 2010-06-07 US US12/795,432 patent/US8163246B2/en active Active
- 2010-06-08 CN CN201010199913.2A patent/CN101906178B/zh not_active Expired - Fee Related
- 2010-06-08 DE DE102010023010.3A patent/DE102010023010B4/de not_active Expired - Fee Related
Also Published As
| Publication number | Publication date |
|---|---|
| US8163246B2 (en) | 2012-04-24 |
| JP2010280869A (ja) | 2010-12-16 |
| CN101906178A (zh) | 2010-12-08 |
| DE102010023010B4 (de) | 2023-05-25 |
| DE102010023010A1 (de) | 2010-12-09 |
| US20100311923A1 (en) | 2010-12-09 |
| CN101906178B (zh) | 2013-04-10 |
Similar Documents
| Publication | Publication Date | Title |
|---|---|---|
| JP5545800B2 (ja) | 噴流−流動層型オレフィン重合反応装置、ポリオレフィン製造システム、及び、ポリオレフィン製造方法 | |
| JP5308795B2 (ja) | ポリオレフィン製造方法、並びに、噴流層装置を備えたポリオレフィン製造システム | |
| JP5308794B2 (ja) | 噴流層装置を用いたポリオレフィン製造方法 | |
| JP5308797B2 (ja) | オレフィン重合反応装置、ポリオレフィン製造システム、及び、ポリオレフィン製造方法 | |
| JP5890211B2 (ja) | オレフィン重合反応装置、ポリオレフィン製造システム、及び、ポリオレフィン製造方法 | |
| JP5545799B2 (ja) | オレフィン重合反応装置、ポリオレフィン製造システム、及び、ポリオレフィン製造方法 | |
| JP5249730B2 (ja) | オレフィン重合反応装置及びポリオレフィン製造方法 | |
| JP5427396B2 (ja) | 粉体移送装置、及び、ポリオレフィンの製造方法 | |
| JP5545801B2 (ja) | 噴流層装置、ポリオレフィン製造システム、及び、ポリオレフィン製造方法 | |
| JP5108280B2 (ja) | オレフィン重合反応装置、ポリオレフィン製造システム、及び、ポリオレフィン製造方法 | |
| JP2007084645A (ja) | オレフィン重合体の製造方法および多段重合反応装置 |
Legal Events
| Date | Code | Title | Description |
|---|---|---|---|
| A621 | Written request for application examination |
Free format text: JAPANESE INTERMEDIATE CODE: A621 Effective date: 20120405 |
|
| A977 | Report on retrieval |
Free format text: JAPANESE INTERMEDIATE CODE: A971007 Effective date: 20130828 |
|
| A131 | Notification of reasons for refusal |
Free format text: JAPANESE INTERMEDIATE CODE: A131 Effective date: 20130903 |
|
| A521 | Request for written amendment filed |
Free format text: JAPANESE INTERMEDIATE CODE: A523 Effective date: 20131031 |
|
| TRDD | Decision of grant or rejection written | ||
| A01 | Written decision to grant a patent or to grant a registration (utility model) |
Free format text: JAPANESE INTERMEDIATE CODE: A01 Effective date: 20140507 |
|
| A61 | First payment of annual fees (during grant procedure) |
Free format text: JAPANESE INTERMEDIATE CODE: A61 Effective date: 20140509 |
|
| R150 | Certificate of patent or registration of utility model |
Ref document number: 5545800 Country of ref document: JP Free format text: JAPANESE INTERMEDIATE CODE: R150 |
|
| S531 | Written request for registration of change of domicile |
Free format text: JAPANESE INTERMEDIATE CODE: R313531 |
|
| R350 | Written notification of registration of transfer |
Free format text: JAPANESE INTERMEDIATE CODE: R350 |
|
| LAPS | Cancellation because of no payment of annual fees |
