JP5259796B2 - 加熱調理器 - Google Patents

加熱調理器 Download PDF

Info

Publication number
JP5259796B2
JP5259796B2 JP2011182673A JP2011182673A JP5259796B2 JP 5259796 B2 JP5259796 B2 JP 5259796B2 JP 2011182673 A JP2011182673 A JP 2011182673A JP 2011182673 A JP2011182673 A JP 2011182673A JP 5259796 B2 JP5259796 B2 JP 5259796B2
Authority
JP
Japan
Prior art keywords
bone
soft
heating
fish
heating chamber
Prior art date
Legal status (The legal status is an assumption and is not a legal conclusion. Google has not performed a legal analysis and makes no representation as to the accuracy of the status listed.)
Active
Application number
JP2011182673A
Other languages
English (en)
Other versions
JP2013044475A (ja
Inventor
浩子 宇原
慶子 福岡
節子 小橋
良介 松浦
Current Assignee (The listed assignees may be inaccurate. Google has not performed a legal analysis and makes no representation or warranty as to the accuracy of the list.)
Sharp Corp
Original Assignee
Sharp Corp
Priority date (The priority date is an assumption and is not a legal conclusion. Google has not performed a legal analysis and makes no representation as to the accuracy of the date listed.)
Filing date
Publication date
Application filed by Sharp Corp filed Critical Sharp Corp
Priority to JP2011182673A priority Critical patent/JP5259796B2/ja
Priority to PCT/JP2012/071177 priority patent/WO2013027759A1/ja
Priority to CN201280040061.XA priority patent/CN103782104B/zh
Publication of JP2013044475A publication Critical patent/JP2013044475A/ja
Application granted granted Critical
Publication of JP5259796B2 publication Critical patent/JP5259796B2/ja
Active legal-status Critical Current
Anticipated expiration legal-status Critical

Links

Images

Classifications

    • AHUMAN NECESSITIES
    • A23FOODS OR FOODSTUFFS; TREATMENT THEREOF, NOT COVERED BY OTHER CLASSES
    • A23BPRESERVATION OF FOODS, FOODSTUFFS OR NON-ALCOHOLIC BEVERAGES; CHEMICAL RIPENING OF FRUIT OR VEGETABLES
    • A23B4/00Preservation of meat, sausages, fish or fish products
    • A23B4/005Preserving by heating
    • AHUMAN NECESSITIES
    • A23FOODS OR FOODSTUFFS; TREATMENT THEREOF, NOT COVERED BY OTHER CLASSES
    • A23LFOODS, FOODSTUFFS OR NON-ALCOHOLIC BEVERAGES, NOT OTHERWISE PROVIDED FOR; PREPARATION OR TREATMENT THEREOF
    • A23L17/00Food-from-the-sea products; Fish products; Fish meal; Fish-egg substitutes; Preparation or treatment thereof
    • A23L17/70Comminuted, e.g. emulsified, fish products; Processed products therefrom such as pastes, reformed or compressed products
    • FMECHANICAL ENGINEERING; LIGHTING; HEATING; WEAPONS; BLASTING
    • F24HEATING; RANGES; VENTILATING
    • F24CDOMESTIC STOVES OR RANGES ; DETAILS OF DOMESTIC STOVES OR RANGES, OF GENERAL APPLICATION
    • F24C15/00Details
    • F24C15/32Arrangements of ducts for hot gases, e.g. in or around baking ovens
    • F24C15/322Arrangements of ducts for hot gases, e.g. in or around baking ovens with forced circulation
    • F24C15/327Arrangements of ducts for hot gases, e.g. in or around baking ovens with forced circulation with air moisturising
    • FMECHANICAL ENGINEERING; LIGHTING; HEATING; WEAPONS; BLASTING
    • F24HEATING; RANGES; VENTILATING
    • F24CDOMESTIC STOVES OR RANGES ; DETAILS OF DOMESTIC STOVES OR RANGES, OF GENERAL APPLICATION
    • F24C7/00Stoves or ranges heated by electric energy
    • F24C7/08Arrangement or mounting of control or safety devices
    • F24C7/087Arrangement or mounting of control or safety devices of electric circuits regulating heat

Landscapes

  • Engineering & Computer Science (AREA)
  • Chemical & Material Sciences (AREA)
  • Life Sciences & Earth Sciences (AREA)
  • Combustion & Propulsion (AREA)
  • Zoology (AREA)
  • Food Science & Technology (AREA)
  • Polymers & Plastics (AREA)
  • Mechanical Engineering (AREA)
  • General Engineering & Computer Science (AREA)
  • Nutrition Science (AREA)
  • Health & Medical Sciences (AREA)
  • Marine Sciences & Fisheries (AREA)
  • Wood Science & Technology (AREA)
  • Meat, Egg Or Seafood Products (AREA)
  • Cookers (AREA)

Description

この発明は、過熱蒸気によって被加熱物としての食品を加熱調理する加熱調理器に関する。
従来、この種の加熱調理器としては、特開2006‐78172号公報(特許文献1)に記載されたものがある。
この従来の加熱調理器では、加熱室に過熱蒸気発生手段で発生させた過熱蒸気を供給して食品を調理し、加熱開始手段と加熱停止手段とで上記過熱蒸気発生手段を制御して、上記過熱蒸気発生手段が空焚き状態にならないようにしている。
ところで、近年、骨粗鬆症や集中力低下の原因ともなるカルシウムの摂取量の不足が問題となっている。日本には古来より魚を食す習慣があり、身近な小型や中型の魚を骨ごと食べることによって、簡単にカルシウムの摂取を行うことが可能になる。
しかしながら、魚を骨ごと食べるには骨の硬さが障害となり、特にカルシウムの摂取が必要な子供や女性に魚は敬遠されている。したがって、子供や女性が喜んで魚を骨ごと食べるようになるには、小型の魚を骨が飲み込める(嚥下できる)硬さまで柔らかくなるように調理する必要がある。
ところが、上記従来の加熱調理器では、過熱蒸気で食品を加熱することができるが、魚の骨を飲み込める(嚥下できる)程度まで軟らかくするためには時間が掛かりすぎ、実用性が悪いという問題がある。
特開2006‐78172号公報
そこで、この発明の課題は、過熱蒸気によって魚を骨が嚥下できる硬さまで柔らかくなるように加熱調理できる加熱調理器を提供することにある。
上記課題を解決するため、この発明の加熱調理器は、
被加熱物を収容して加熱するための加熱室と、
過熱蒸気を発生する過熱蒸気発生手段と、
上記過熱蒸気発生手段を制御する加熱制御部と、
魚を、調味液に浸した状態で、骨まで柔らかに煮るための骨柔らか煮調理を指定するための骨柔らか煮指定部と
を備え、
上記加熱制御部は、
上記加熱室内の温度を予め定めた高温度に到達させて魚の表面の蛋白質を変性させて硬くして煮崩れを防ぐと共に、焦げの発生を防止するような予め定めた第1時間の間、常圧下で加熱する第1骨柔らか煮制御と、
上記第1骨柔らか煮制御に続いて、上記魚の骨からコラーゲンを流出させて骨を7×10 4 N/m 2 以下の硬さまで柔らかくするように、上記加熱室内の温度を上記高温度よりも低い低温度で上記第1時間よりも長い第2時間の間、常圧下で加熱する第2骨柔らか煮制御と
を行う骨柔らか煮制御部を有し、
上記第2骨柔らか煮制御における上記低温度は、100℃以上且つ140℃以下である
ことを特徴としている。
尚、上記骨の硬さ「7×10 4 N/m 2 」とは、骨を厚さが80%になるまで圧縮するのに要する最大荷重である。
上記構成によれば、上記加熱制御部の骨柔らか煮制御部は、先ず、第1骨柔らか煮制御を行って、上記第1時間内で、加熱室内の温度を常圧下で上記高温度に到達させて調味液に浸した状態での魚の表面の蛋白質を変性させて硬くして煮崩れを防ぐと共に、焦げの発生を防止する。次に、上記骨柔らか煮制御部は、第2骨柔らか煮制御を行って、上記加熱室内の温度を上記低温度で上記第1時間よりも長い上記第2時間の間常圧下で加熱して、上記魚の骨からコラーゲンを流出させて骨を7×10 4 N/m 2 以下の硬さまで柔らかくする。
こうすることにより、上記魚の外側は身がしっかりして煮崩れしておらず、内側はジューシーな状態を維持しており、骨は食べたときに感じないほど柔らかくなっている。そして、上記骨にはカルシウムが充分に残っている。
したがって、特にカルシウムの摂取が必要ではあるが骨付きの魚を敬遠したがる子供や女性でも、喜んで魚を骨ごと食べることができるように、常圧下で加熱調理することができる。
さらに上記第2骨柔らか煮制御における上記低温度を100℃以上且つ140℃以下にすることによって、上記魚の骨からコラーゲンを流出させて骨を7×10 4 N/m 2 以下の硬さまで柔らかくできると共に、調味液が沸騰して煮詰まらないようにでき、上記魚の身をふっくらとジューシーに仕上げることができる。
また、1実施の形態の加熱調理器では、
上記第1骨柔らか煮制御における上記高温度は、上記第2骨柔らか煮制御における上記低温度よりも50℃以上高い。
この実施の形態によれば、上記魚の外側の蛋白質を効果的に変性させて収縮させ、身の煮崩れを確実に防止することができる。
以上より明らかなように、この発明の加熱調理器は、骨柔らか煮制御部によって、加熱室内の温度を高温度に到達させて調味液に浸した状態で魚の表面の蛋白質を変性させて硬くして煮崩れを防ぐと共に、焦げの発生を防止するような第1時間の間、常圧下で加熱する第1骨柔らか煮制御と、上記魚の骨からコラーゲンを流出させて骨を7×10 4 N/m 2 以下の硬さまで柔らかくするように、上記加熱室内の温度を上記高温度よりも低い低温度で上記第1時間よりも長い第2時間の間、常圧下で加熱する第2骨柔らか煮制御との2段階の制御を行うので、上記魚の外側は身がしっかりして煮崩れしておらず、内側はジューシーな状態を維持しており、骨は食べたときに感じないほど柔らかくなっている。また、上記骨にはカルシウムが充分に残っている。
したがって、この発明によれば、過熱蒸気によって魚を骨まで柔らかくなるように常圧下で加熱調理することができ、特にカルシウムの摂取が必要ではあるが骨付きの魚を敬遠したがる子供や女性でも魚を骨ごと食べることを可能にすることができる。
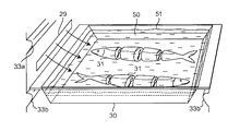
この発明の加熱調理器における正面斜視図である。 図1に示す加熱調理器の縦断図である。 図2に示す加熱調理器の制御ブロック図である。 図3における加熱制御部によって実行される「骨まで柔らか煮」のフローチャートである。 図4に示す「骨まで柔らか煮」を行った場合の加熱室内の温度変化を示す図である。 上記「骨まで柔らか煮」を行う場合のトレイ内の状態を示す図である。
以下、この発明を図示の実施の形態により詳細に説明する。
図1は、本実施の形態の加熱調理器における正面斜視図である。この加熱調理器は、直方体形状のケーシング1の正面に、下端側の辺を略中心に回動する扉2が取り付けられている。この扉2の上部にはハンドル3を取り付ける一方、略中央には耐熱ガラス4を取り付けている。また、扉2の図中右側には、操作パネル5を設けている。この操作パネル5は、カラー液晶表示部6とボタン群7とを有している。また、ケーシング1の上面における右側後方には排気ダクト8を設けている。さらに、ケーシング1の扉2の下方に、露受容器9を着脱自在に取り付けている。
ここで、上記カラー液晶表示部6は、カラー液晶パネル上にタッチパネルを重ねて構成されており、上記タッチパネルをタッチして上記カラー液晶パネルに表示されるメニュー等の画像を選択することができる。尚、この発明においては、上記カラー液晶パネルに限らず、有機ELなどの他の表示デバイスを用いてもよいし、白黒表示であってもよい。
図2は、図1に示す加熱調理器の扉2側(前側)から見た縦断面の模式図である。図2に示すように、この加熱調理器は、水タンク11から供給された水を蒸気発生装置12で加熱して飽和水蒸気を生成する。蒸気発生装置12で生成された飽和水蒸気は、蒸気供給通路(図示せず)を介して、加熱室13の図中右側面に取り付けられた循環ユニット14における蒸気吸込口15の加熱室13側に供給され、上記蒸気供給通路に接続された蒸気供給管16から噴き出される。
上記蒸気供給管16は、加熱室13の上記右側面と平行になるように、循環ユニット14の蒸気吸込口15の近傍に取り付けられている。また、循環ユニット14内には、蒸気吸込口15に対向するように、循環ファン用モータ18によって回転駆動される循環ファン17が配置されている。
上記加熱室13の天面および図中左側面を覆うように、L字状に折り曲げられた蒸気ダクト19を設けている。この蒸気ダクト19は、加熱室13の天面に固定された第1ダクト部20と、第1ダクト部20の左側から下側に屈曲する屈曲部21と、加熱室13の左側面に固定されて、屈曲部21を介して第1ダクト部20に連なる第2ダクト部22とを含んでいる。
上記蒸気ダクト19の第1ダクト部20には、過熱蒸気生成ヒータ23が収納されている。上記過熱蒸気生成ヒータ23と上記蒸気発生装置12とで過熱蒸気発生手段を構成している。
また、上記蒸気ダクト19における第1ダクト部20の図中右側は、接続管25を介して循環ユニット14の上部に設けられた蒸気供給口26に連通している。加熱室13の天板27には複数の第1蒸気噴出口28が設けられており、蒸気ダクト19の第1ダクト部20は、第1蒸気噴出口28を介して加熱室13内に連通している。一方、蒸気ダクト19における第2ダクト部22は、加熱室13の左側面に設けられた複数の第2蒸気噴出口29を介して加熱室13内に連通している。
上記加熱室13と蒸気ダクト19との隙間は、耐熱樹脂等によってシールされている。また、加熱室13と蒸気ダクト19とは、加熱室13の前面開口を除いて断熱材によって覆われている。
尚、上記加熱室13における上記右側面および上記左側面には、トレイ30の両端部を係止する係止部33a,33b,33cが、上下方向3段に設けられている。
また、上記加熱室13の下部には、図示しないマグネトロンが配置されている。このマグネトロンで発生したマイクロ波は、導波管(図示せず)によって加熱室13の下部中央に導かれ、モータ34によって駆動される回転アンテナ35によって攪拌されながら加熱室13内の上方に向かって放射されて被加熱物31を加熱する。上記過熱蒸気生成ヒータ23および上記マグネトロンで、加熱部を構成している。
また、上記ケーシング1内の下側には、冷却ファン(図示せず)と電装部品36とを配置している。電装部品36は、加熱調理器の各部を駆動する駆動回路やこの駆動回路を制御する制御回路等を含む制御装置を有している。
図3は、上記加熱調理器の制御ブロック図を示している。この加熱調理器は、マイクロコンピュータと入出力回路等からなる上記制御装置41を電装品部36(図2に示す)内に有している。そして、上記制御装置41には、過熱蒸気生成ヒータ23,循環ファン用モータ18,冷却ファン用モータ42,給気ダンパ用モータ43,排気ダンパ用モータ44,操作パネル5,庫内温度センサ45,給水ポンプ46,蒸気発生装置12およびマグネトロン47が接続されている。そして、操作パネル5からの信号および庫内温度センサ45からの検出信号に基づいて、上記制御装置41は、過熱蒸気生成ヒータ23,循環ファン用モータ18,冷却ファン用モータ42,給気ダンパ用モータ43,排気ダンパ用モータ44,操作パネル5,給水ポンプ46,蒸気発生装置12およびマグネトロン47等を制御する。
また、上記制御装置41は、カラー液晶表示部6の上記タッチパネルの操作に応じたメニューのための加熱調理を行う加熱制御部48と経過時間を計時する計時部49とを含んでいる。上記タッチパネルによって、骨柔らか煮調理を指定することができる。上記タッチパネルは骨柔らか煮指定部の一例である。骨柔らか煮指定部は、操作ボタン等によって構成することも可能である。一方、上記加熱制御部48は骨柔らか煮制御部48aを有している。
上記構成の加熱調理器において、過熱蒸気によって加熱調理を行う場合には、図2に示す蒸気発生装置12を駆動し、過熱蒸気生成ヒータ23をオンすると共に、循環ファン17を回転駆動する。そして、蒸気発生装置12から循環ユニット14の蒸気吸込口15の近傍上流側に供給された飽和水蒸気は、循環ファン17の回転によって負圧になっている循環ユニット14内に蒸気吸込口15を介して吸い込まれる。こうして、循環ユニット14と第1ダクト部20と加熱室13とそれらを接続する接続部材とによって形成される蒸気の循環経路を循環する循環気流に合流した飽和水蒸気は、蒸気供給口26から第1ダクト部20内に吹き出される。そして、第1ダクト部20内の過熱蒸気生成ヒータ23によって加熱されて過熱蒸気となる。この過熱蒸気の一部は、下側の加熱室13の天面に設けられた複数の第1蒸気噴出口27から、加熱室13内に下方に向かって噴き出される。また、過熱蒸気の他の一部は、蒸気ダクト19を介して加熱室13の第2蒸気噴出口29から加熱室13内に噴き出される。
そして、上記加熱室13内に供給された過熱蒸気は、トレイ30上に搭載された被加熱物31を加熱した後、加熱室13の右壁面に循環ユニット14の蒸気吸込口15に対向して形成された吸込口32から循環ユニット14内に吸い込まれる。そして、再び上記循環経路を通って加熱室13内に戻るという循環を繰り返す。
これに対して、非過熱蒸気によって被加熱物31を蒸すかまたは暖める運転を行う場合には、過熱蒸気生成ヒータ23をオフすると共に、循環ファン17を停止する。そうすると、循環ファン17が停止しているため、循環経路内に循環気流が発生することがなく、蒸気発生装置12から循環ユニット14の蒸気吸込口15の近傍上流側に供給された飽和水蒸気は、循環ユニット14内に強制的に吸い込まれない。これにより、蒸気圧によって自然に加熱室13内に流れ込む飽和水蒸気により、被加熱物31が蒸すかあるいは暖められる。
尚、上記冷却ファン用モータ42は、電装部品36冷却用の空気を取り入れる際に駆動される。また、給気ダンパ用モータ43は、加熱室13に空気を取り入れる際に駆動される。また、排気ダンパ用モータ44は、加熱室13内の蒸気を排気する際に駆動される。また、庫内温度センサ45は、加熱調理を行う場合に加熱室13内の温度を検出する。また、給水ポンプ46は、水タンク11から蒸気発生装置12に給水する際に駆動される。また、マグネトロン47は、被加熱物31をマイクロ波で加熱する際に駆動される。
以下、上記構成を有する加熱調理器によって実行される魚を骨まで柔らかくする加熱調理について説明する。
図4は、上記制御装置41の加熱制御部48によって実行される加熱制御動作のうち、特に魚を骨まで柔らかく調理する「骨まで柔らか煮」の部分のフローチャートである。また、図5は、「骨まで柔らか煮」を行った場合の加熱室13の温度変化を示す。また、図6は、「骨まで柔らか煮」を行う場合のトレイ30内の状態を示す。但し、図6においては、調理する魚として「秋刀魚」を例示している。
尚、図6においては、上記トレイ30として、秋刀魚の切り身を調味液50に浸る程度に入れることができる形状のトレイを例示している。しかしながら、秋刀魚の切り身が調味液50に浸る状態であればよく、バット等内の調味液に秋刀魚の切り身を浸して薄型の角皿や穴あきのトレイ等に載せてもよい。また、図6においては、被加熱物31が秋刀魚であることを分かり易くするために頭や尻尾が付いた状態で描いているが、骨の柔らかさについては、胴体のみを輪切りにして並べた状態で評価を行い、背骨が飲み込める(嚥下できる)硬さまで柔らかくなったことを確認した。
先ず、加熱調理として「骨まで柔らか煮」を行う場合には、図6に示すように、トレイ30内に調味液50を被加熱物31としての秋刀魚の切り身が浸る程度に入れ、秋刀魚の切り身を並べる。そして、調味液50が切り身全体を包むようにクッキングシート51で落とし蓋をする。この状態のトレイ30の両端部を、例えば中段の係止部33bに係止する。尚、中段の係止部33bに限らず、上段の係止部33aあるいは下段の係止部33cに係止してもよい。
そうした後、上記操作パネル5のカラー液晶表示部6からメニューとして「骨まで柔らか煮」が指定され、ボタン群7中のスタートボタンが押下されると、図4に示す加熱制御部48による加熱制御動作がスタートする。
すなわち、本実施の形態においては、上記カラー液晶表示部6で、骨柔らか煮指定部の一例を構成しているのである。
ステップS1で、上記蒸気発生装置12および過熱蒸気生成ヒータ23が駆動される。ステップS2で、カラー液晶表示部6から指定されたメニューが「骨まで柔らか煮」であるか否かが判別される。その結果、「骨まで柔らか煮」である場合にはステップS3に進み、そうでない場合にはステップS13に進む。ステップS3で、加熱室13内の目標温度が200℃に設定される。
ここで、ステップS3において設定される加熱室13内の目標温度は、上記200℃に限定されるものではない。要は、加熱室13内の昇温を速くし、魚(秋刀魚)の表面の蛋白質を変性させて硬くし、煮崩れを防止できる温度であればよい。
ステップS4で、上記給水ポンプ46が駆動され、水タンク11から蒸気発生装置12に給水されて飽和水蒸気が発生される。さらに、循環ファン17が駆動され、蒸気発生装置12からの飽和水蒸気が過熱蒸気生成ヒータ23で加熱されて過熱蒸気となり、第1蒸気噴出口27および第2蒸気噴出口29から加熱室13内に噴き出される。
ステップS5で、上記計時部49による計時が開始される。ステップS6で、庫内温度センサ45からの加熱室13内温度の検出信号に基づいて、加熱室13内の温度を200℃に到達させるように、蒸気発生装置12および過熱蒸気生成ヒータ23が交互に駆動制御される。詳しくは、蒸気発生装置12を12秒駆動し、次に過熱蒸気生成ヒータ23を48秒駆動し、これを交互に繰り返すのである。ステップS7で、計時部49による計時が開始されてから30分が経過したか否かが判別される。その結果、30分が経過すればステップS8に進み、そうでなければステップS6に戻る。
すなわち、本実施の形態においては、特許請求の範囲における「予め定めた高温度」を200℃とし、「第1時間」を30分とするのである。ここで、上記「第1時間」は上記30分に限定されるものではない。要は、加熱室13の温度が上記「予め定めた高温度」に到達でき、且つ上記「予め定めた高温度」での焦げの発生を防止できる時間であればよいのである。尚、ここで言う「焦げの発生を防止する」とは、全く焦げを発生させないの意味ではなく、煮魚としての見栄えを損なわない程度の極僅かな焦げを含む概念である。尤も、焦げが全くないのが最善である。
ステップS8で、加熱室13内の目標温度が120℃に設定される。ステップS9で、上記計時部49による計時が開始される。ステップS10で、庫内温度センサ45からの加熱室13内温度の検出信号に基づいて、加熱室13内の温度が「120℃±ΔT」となるように、蒸気発生装置12および過熱蒸気生成ヒータ23が制御される。ここで、「ΔT」は許容温度範囲であり、例えば5℃である。
ステップS11で、上記計時部49による計時が開始されてから2時間20分が経過したか否かが判別される。その結果、2時間20分が経過すればステップS12に進み、そうでなければステップS10に戻る。
すなわち、本実施の形態においては、特許請求の範囲における「低温度」を120℃とし、「第2時間」を2時間20分とするのである。ここで、ステップS8において設定される上記低温度としての加熱室13内の目標温度は、上記120℃に限定されるものではない。要は、上記魚の骨からコラーゲンを流出させて骨を柔らかくでき、且つ調味液50が沸騰して煮詰まらない温度であればよく、100℃〜140℃が好ましい。また、上記「第2時間」は上記2時間20分に限定されるものではない。要は、上記魚の骨を子供でも嚥下できる程度まで柔らかくできる時間であればよいのである。これらは、魚の種類によって異なるものである。
ステップS12で、上記給水ポンプ46が停止され、蒸気発生装置12による飽和水蒸気の発生が停止される。さらに、循環ファン17が停止され、蒸気発生装置12から第1ダクト部20への飽和水蒸気の供給が停止されて、過熱蒸気の生成および加熱室13内への噴き出しが停止される。そうした後、加熱制御動作が終了される。
ステップS13で、上記カラー液晶表示部6から指定された「骨まで柔らか煮」以外のメニューに基づいて、給水ポンプ46および循環ファン17が駆動され、蒸気発生装置12,給水ポンプ46および過熱蒸気生成ヒータ23が制御されて、当該メニューによる加熱調理が実行される。そうした後、加熱制御動作が終了される。
すなわち、本実施の形態においては、図4に示す加熱制御部48による加熱制御動作中におけるステップS3〜ステップS7の動作で、骨柔らか煮制御部48aによる特許請求の範囲の第1骨柔らか煮制御を構成し、ステップS8〜ステップS11の動作で、骨柔らか煮制御部48aによる特許請求の範囲の第2骨柔らか煮制御を構成しているのである。
そして、図6に示すように、上記調味液50を入れ、秋刀魚の切り身を並べ、クッキングシート51で落とし蓋をした状態のトレイ30に対して、ステップS3〜ステップS7による第1骨柔らか煮制御(第1段階の制御)を行った場合には、加熱室13内の温度は、図5に示すように、上記第1時間である30分以内に上記高温度である200℃に到達し、以後略200℃を維持する。こうすることによって、魚(秋刀魚)の表面側の蛋白質が変性して収縮し、外側が硬くなって煮崩れを防ぐことができる。また、上記第1段階の制御の加熱時間を30分にすることによって、魚(秋刀魚)の表面に煮魚としての見栄えを損なうような焦げが発生するのを防止することができる。
さらに、上記第1段階の制御である第1骨柔らか煮制御を行った後に、ステップS8〜ステップS11による第2骨柔らか煮制御(第2段階の制御)を行った場合には、加熱室13内の温度は、図5に示すように、200℃から上記低温度である120℃まで低下する。そして、以後「120℃±約5℃」の範囲内の温度が上記第2時間である2時間20分が経過するまで維持される。こうすることによって、魚(秋刀魚)の骨からコラーゲンが流出して、骨が子供でも嚥下できる程度まで柔らかくなる。その際に、調味液50が沸騰して煮詰まることはない。
以上のごとく、本実施の形態の骨柔らか煮制御においては、上記調味液50と被加熱物31としての魚とを入れたトレイ30に対して、30分を掛けて加熱室13内の温度を200℃に到達させる第1段階の制御と、上記第1段階の制御の後に、加熱室13内の温度を「120℃±約5℃」内に2時間20分が経過するまで維持する第2段階の制御との2段階の制御を行うようにしている。したがって、魚の外側は身がしっかりして煮崩れしておらず、内側はジューシーな状態を維持している。しかも、骨は食べたときに感じない程度に柔らかくなっており、且つカルシウムが充分に残っている。
尚、食品が飲み込み易いテクスチャーになって嚥下が起こる場合の硬さは、5〜7×104N/m2以下である。また、本実施の形態では、骨の硬さの評価値の一つとして、骨を厚さが80%になるまで圧縮するのに要する最大荷重を用いている。
ここで、魚を圧力鍋で煮ても、魚の骨を柔らかくすることは可能である。ところが、その場合には、骨はサクサクしているが、咀嚼されたテクスチャーは子供でも嚥下できる硬さではない場合がある。
また、魚を鍋で常圧下120℃の温度で長時間(4時間程度)煮ても、魚の骨を柔らかくすることは可能である。ところが、その場合には、魚の身は、長時間の煮込みで柔らかくなりすぎて煮崩れし易いという問題がある。
これに対し、本実施の形態の骨柔らか煮制御によれば、加熱室13内の温度を過熱蒸気で予め定めた高温度としての200℃に到達させて魚の表面の蛋白質を変性させて硬くして煮崩れを防ぐと共に、焦げの発生を防止するような予め定めた第1時間としての30分の間加熱する第1骨柔らか煮制御と、上記魚の骨からコラーゲンを流出させて骨を柔らかくするように、加熱室13内の温度を上記高温度よりも低い低温度としての120℃で、上記第1時間よりも長い第2時間としての2時間20分の間加熱する第2骨柔らか煮制御との2段階の制御を行うようにしている。そのため、上記魚の外側は身がしっかりして煮崩れしておらず、内側はジューシーな状態を維持しており、骨は食べたときに感じない程度に柔らかくなっており、且つカルシウムが充分に残っている。
したがって、本実施の形態によれば、特にカルシウムの摂取が必要ではあるが骨付きの魚を敬遠したがる子供や女性でも、喜んで魚を骨ごと食べることができるように常圧下で加熱調理することができる。
また、その場合における第2骨柔らか煮制御時の上記低温度を100℃〜140℃とすれば、上記魚の骨からコラーゲンを流出させて骨を柔らかくできると共に、調味液50が沸騰して煮詰まらないようにでき、上記魚の身の内側をふっくらと且つジューシーに仕上げることができる。
また、上記第1骨柔らか煮制御時の上記高温度を、上記第2骨柔らか煮制御時の上記低温度を100℃〜140℃よりも50℃以上高くすれば、確実に魚の外側の蛋白質を効果的に変性させて硬くし、身の煮崩れを防止することができる。
尚、上記実施の形態においては、調理する魚として「秋刀魚」を例に上げたが、「秋刀魚」に限らず、「鯵」や「鰯」等の小型の魚であっても、本実施の形態の骨柔らか煮制御を適用することが可能である。
また、上記実施の形態においては、蒸気発生装置12および過熱蒸気生成ヒータ23を備えて、過熱蒸気あるいは飽和蒸気によって被加熱物31を加熱調理する蒸気調理器を例示して説明を行ったが、この発明はそれに限定されるものではない。例えば、図示しないが、過熱蒸気生成ヒータ23とは別体に被加熱物31を輻射熱で加熱するための加熱ヒータを加熱室13内に設けて、過熱蒸気生成ヒータ23と上記加熱ヒータとを同時駆動または時分割駆動によって併用して上記骨柔らか煮制御を行ってもよい。
あるいは、図示しないが、蒸気発生装置と過熱蒸気生成ヒータとを一体構造にしてもよい。
あるいは、上記過熱蒸気生成ヒータ23を加熱室13内の上側に露出して配置し、加熱室13内に噴き出した水蒸気を加熱室13内で過熱蒸気生成ヒータ23によって加熱して過熱蒸気を生成する。こうして、上記生成された過熱蒸気と過熱蒸気生成ヒータ23からの輻射熱とによって、上記骨柔らか煮制御を行ってもよい。その場合、加熱室13内への水蒸気の噴き出しを間欠に行って、過熱蒸気生成ヒータ23を過熱蒸気生成用のヒータと輻射熱加熱用のヒータとに交互に機能させてもよい。
要は、少なくとも過熱蒸気を生成して加熱室内に吹き出す過熱蒸気生成装置としての機能を有している加熱調理器であれば、本実施の形態の骨柔らか煮制御部を適用することは可能なのである。
1…ケーシング、
2…扉、
5…操作パネル、
6…カラー液晶表示部、
7…ボタン群、
12…蒸気発生装置、
13…加熱室、
17…循環ファン、
23…過熱蒸気生成ヒータ、
28…第1蒸気噴出口、
29…第2蒸気噴出口、
30…トレイ、
31…被加熱物、
41…制御装置、
45…庫内温度センサ、
46…給水ポンプ、
48…加熱制御部、
48a…骨柔らか煮制御部、
49…計時部、
50…調味液、
51…クッキングシート。

Claims (2)

  1. 被加熱物を収容して加熱するための加熱室と、
    過熱蒸気を発生する過熱蒸気発生手段と、
    上記過熱蒸気発生手段を制御する加熱制御部と、
    魚を、調味液に浸した状態で、骨まで柔らかに煮るための骨柔らか煮調理を指定するための骨柔らか煮指定部と
    を備え、
    上記加熱制御部は、
    上記加熱室内の温度を予め定めた高温度に到達させて魚の表面の蛋白質を変性させて硬くして煮崩れを防ぐと共に、焦げの発生を防止するような予め定めた第1時間の間、常圧下で加熱する第1骨柔らか煮制御と、
    上記第1骨柔らか煮制御に続いて、上記魚の骨からコラーゲンを流出させて骨を7×10 4 N/m 2 以下の硬さまで柔らかくするように、上記加熱室内の温度を上記高温度よりも低い低温度で上記第1時間よりも長い第2時間の間、常圧下で加熱する第2骨柔らか煮制御と
    を行う骨柔らか煮制御部を有し、
    上記第2骨柔らか煮制御における上記低温度は、100℃以上且つ140℃以下である
    ことを特徴とする加熱調理器。
  2. 請求項1に記載の加熱調理器において、
    上記第1骨柔らか煮制御における上記高温度は、上記第2骨柔らか煮制御における上記低温度よりも50℃以上高い
    ことを特徴とする加熱調理器。
JP2011182673A 2011-08-24 2011-08-24 加熱調理器 Active JP5259796B2 (ja)

Priority Applications (3)

Application Number Priority Date Filing Date Title
JP2011182673A JP5259796B2 (ja) 2011-08-24 2011-08-24 加熱調理器
PCT/JP2012/071177 WO2013027759A1 (ja) 2011-08-24 2012-08-22 加熱調理器
CN201280040061.XA CN103782104B (zh) 2011-08-24 2012-08-22 加热烹调器

Applications Claiming Priority (1)

Application Number Priority Date Filing Date Title
JP2011182673A JP5259796B2 (ja) 2011-08-24 2011-08-24 加熱調理器

Publications (2)

Publication Number Publication Date
JP2013044475A JP2013044475A (ja) 2013-03-04
JP5259796B2 true JP5259796B2 (ja) 2013-08-07

Family

ID=47746497

Family Applications (1)

Application Number Title Priority Date Filing Date
JP2011182673A Active JP5259796B2 (ja) 2011-08-24 2011-08-24 加熱調理器

Country Status (3)

Country Link
JP (1) JP5259796B2 (ja)
CN (1) CN103782104B (ja)
WO (1) WO2013027759A1 (ja)

Families Citing this family (4)

* Cited by examiner, † Cited by third party
Publication number Priority date Publication date Assignee Title
CN107156697B (zh) * 2017-06-02 2020-11-06 山东东方海洋科技股份有限公司 一种鱼罐头的脱水方法及鱼罐头产品
WO2019220691A1 (ja) * 2018-05-16 2019-11-21 シャープ株式会社 加熱調理器
EP3653089A1 (en) 2018-11-15 2020-05-20 Koninklijke Philips N.V. Steam cooking apparatus and method
CN111011795A (zh) * 2019-11-22 2020-04-17 中国农业科学院农产品加工研究所 一种药膳鸡汤产品及其加工方法

Family Cites Families (12)

* Cited by examiner, † Cited by third party
Publication number Priority date Publication date Assignee Title
JPH0677537B2 (ja) * 1989-07-26 1994-10-05 山崎製パン株式会社 蒸しボックスにおける蒸し製品の蒸し方法と蒸しボックスの温度制御方法及びその装置
US5235903A (en) * 1992-03-17 1993-08-17 Tippmann Eugene R Subatmospheric pressure cook-and-hold steaming oven
JP4067183B2 (ja) * 1998-06-22 2008-03-26 株式会社アイホー 惣菜の蒸し調理方法
JP2005061669A (ja) * 2003-08-08 2005-03-10 Matsushita Electric Ind Co Ltd 加熱装置及びその駆動方法
JP3835804B2 (ja) * 2004-02-10 2006-10-18 松下電器産業株式会社 加熱調理器及び加熱調理方法
JP2005296001A (ja) * 2004-03-17 2005-10-27 Matsushita Electric Ind Co Ltd 調理方法およびそれを用いた調理機器
US7060941B1 (en) * 2005-04-20 2006-06-13 Whirlpool Corporation Method for baking a dessert using steam
JP2006333815A (ja) * 2005-06-03 2006-12-14 Matsushita Electric Ind Co Ltd 調理方法およびそれを用いた調理機器
JP4692926B2 (ja) * 2005-12-19 2011-06-01 三浦工業株式会社 蒸気調理方法
CN100477928C (zh) * 2006-02-13 2009-04-15 刘怀昌 无刺鱼的加工方法
FR2900796B1 (fr) * 2006-05-15 2012-06-08 Brandt Ind Procede de cuisson d'un aliment, et notamment d'un poisson.
JP5530676B2 (ja) * 2008-08-20 2014-06-25 ホシザキ電機株式会社 加熱調理器

Also Published As

Publication number Publication date
CN103782104A (zh) 2014-05-07
JP2013044475A (ja) 2013-03-04
CN103782104B (zh) 2016-02-24
WO2013027759A1 (ja) 2013-02-28

Similar Documents

Publication Publication Date Title
CN111035275B (zh) 控制方法、装置、设备和计算机可读存储介质
CN101485546B (zh) 蒸汽烹调器
CN110664222B (zh) 烹饪设备及其控制方法、计算机可读存储介质
CN104000506B (zh) 家用电热烹饪器具的控制方法
CN109642732B (zh) 加热烹调器
CN111000454A (zh) 烹饪设备、烹饪设备的控制方法和存储介质
JP5259796B2 (ja) 加熱調理器
JP4976937B2 (ja) 加熱調理器
JP2009198125A (ja) 加熱調理器
JP5241566B2 (ja) 加熱調理器
JP2010038406A (ja) 加熱調理器
JP6363248B2 (ja) 加熱調理器
JP5938291B2 (ja) 加熱調理器
JP7113369B2 (ja) 加熱調理器
JP2011043259A (ja) 加熱調理器
JP4222978B2 (ja) 加熱調理器
CN110268198A (zh) 加热烹调器和蒸汽烹调方法
JP2010255936A (ja) 高周波加熱装置
JP2006132929A (ja) 蒸気調理器
JP2012112572A (ja) 加熱調理器
JP2009250493A (ja) 加熱調理器
JP2009041818A (ja) 蒸気調理器
JP2006038254A (ja) 加熱調理器
JP2023085502A (ja) オーブンレンジ
JP2010133703A (ja) 加熱調理器

Legal Events

Date Code Title Description
TRDD Decision of grant or rejection written
A01 Written decision to grant a patent or to grant a registration (utility model)

Free format text: JAPANESE INTERMEDIATE CODE: A01

Effective date: 20130402

A61 First payment of annual fees (during grant procedure)

Free format text: JAPANESE INTERMEDIATE CODE: A61

Effective date: 20130424

FPAY Renewal fee payment (event date is renewal date of database)

Free format text: PAYMENT UNTIL: 20160502

Year of fee payment: 3

R150 Certificate of patent or registration of utility model

Ref document number: 5259796

Country of ref document: JP

Free format text: JAPANESE INTERMEDIATE CODE: R150

Free format text: JAPANESE INTERMEDIATE CODE: R150