JP5010703B2 - 帯電微粒子水によるエチレンガスの除去方法及びエチレンガス除去装置 - Google Patents

帯電微粒子水によるエチレンガスの除去方法及びエチレンガス除去装置 Download PDF

Info

Publication number
JP5010703B2
JP5010703B2 JP2010065701A JP2010065701A JP5010703B2 JP 5010703 B2 JP5010703 B2 JP 5010703B2 JP 2010065701 A JP2010065701 A JP 2010065701A JP 2010065701 A JP2010065701 A JP 2010065701A JP 5010703 B2 JP5010703 B2 JP 5010703B2
Authority
JP
Japan
Prior art keywords
water
fine particle
ethylene gas
charged fine
charged
Prior art date
Legal status (The legal status is an assumption and is not a legal conclusion. Google has not performed a legal analysis and makes no representation as to the accuracy of the status listed.)
Expired - Lifetime
Application number
JP2010065701A
Other languages
English (en)
Other versions
JP2010207223A (ja
Inventor
康成 前田
一雅 六嶋
重行 山口
範行 北地
秀昭 山田
Current Assignee (The listed assignees may be inaccurate. Google has not performed a legal analysis and makes no representation or warranty as to the accuracy of the list.)
Panasonic Corp
Panasonic Holdings Corp
Original Assignee
Panasonic Corp
Matsushita Electric Industrial Co Ltd
Priority date (The priority date is an assumption and is not a legal conclusion. Google has not performed a legal analysis and makes no representation as to the accuracy of the date listed.)
Filing date
Publication date
Family has litigation
First worldwide family litigation filed litigation Critical https://patents.darts-ip.com/?family=53943130&utm_source=google_patent&utm_medium=platform_link&utm_campaign=public_patent_search&patent=JP5010703(B2) "Global patent litigation dataset” by Darts-ip is licensed under a Creative Commons Attribution 4.0 International License.
Priority to JP2004247347A priority Critical patent/JP4517776B2/ja
Priority to JP2010065701A priority patent/JP5010703B2/ja
Priority to JP2010065702A priority patent/JP4730465B2/ja
Application filed by Panasonic Corp, Matsushita Electric Industrial Co Ltd filed Critical Panasonic Corp
Publication of JP2010207223A publication Critical patent/JP2010207223A/ja
Priority to JP2011007044A priority patent/JP2011092209A/ja
Priority to JP2012097547A priority patent/JP5391301B2/ja
Publication of JP5010703B2 publication Critical patent/JP5010703B2/ja
Application granted granted Critical
Priority to JP2013174244A priority patent/JP5712355B2/ja
Anticipated expiration legal-status Critical
Expired - Lifetime legal-status Critical Current

Links

Images

Landscapes

  • Storage Of Harvested Produce (AREA)
  • Storage Of Fruits Or Vegetables (AREA)
  • Food Preservation Except Freezing, Refrigeration, And Drying (AREA)
  • Cold Air Circulating Systems And Constructional Details In Refrigerators (AREA)
  • Electrostatic Spraying Apparatus (AREA)
  • Disinfection, Sterilisation Or Deodorisation Of Air (AREA)

Description

本発明は帯電微粒子水でエチレンガスを除去する方法及びエチレンガス除去装置に関するものである。
一般に果物や根菜のような野菜を保管した場合、時間の経過と共に黴や臭いが発生する。また水分の減少により新鮮さを失ってしまう。
近年、食品を収納して保存する収納庫内にマイナスイオンを発生するイオン発生器を設け、イオン発生器で発生したO 、CO 等のマイナスイオンを収納庫内に供給する食品保存庫が提供されている(例えば、特許文献1参照)。かかる食品保存庫ではイオン発生器で発生したマイナスイオンで食品周囲に浮遊している細菌類や食品に付着している細菌類が殺菌され、また食品の酸化変質が抑制される。またイオン発生器以外に加湿器を有しており、加湿器で水の粒子を食品の表面に当てることで水分補給できるようになっている。
特開平11−155540号公報
上記のように食品の表面にマイナスイオンを当てることにより黴の発生や酸化による劣化を抑えることができ、また水の粒子を食品の表面に当てることで保湿して新鮮さを失わないようになっているが、マイナスイオンや水の粒子を当てたとき食品の表面にしか当らず、食品の表皮の内部までマイナスイオンや水の粒子が浸透しないために殺菌効果や酸化防止効果や保湿効果が充分ではなく、また活性種が作用してエチレンガスを除去できるものでなかった。
本発明は上記の従来の問題点に鑑みて発明したものであって、防黴、防臭、エチレンガスの除去及び保湿等の効果を充分に発揮できる帯電微粒子水によるエチレンガスの除去方法及びエチレンガス除去装置を提供することを課題とするものである。
上記課題を解決するために本発明の帯電微粒子水によるエチレンガスの除去方法は、水Wを静電霧化して、ナノメータサイズの帯電微粒子水Mを生成し、この帯電微粒子水Mを食品収納庫内の空気中に浮遊させて当該帯電微粒子水Mに含まれる活性種とエチレンガスを反応させ、二酸化炭素と水に分解することを特徴とする。
また本発明のエチレンガス除去装置は、水粒子放出部1の水が静電霧化を起こす高電圧を印加する電圧印加部3を備え、当該電圧印加部3の高電圧の印加によって水Wを静電霧化することで、活性種とエチレンガスとを反応させて二酸化炭素と水に分解するためナノメータサイズの帯電微粒子水Mを生成し、この帯電微粒子水Mを食品収納庫内の空気中に浮遊させることを特徴とする。
また多孔質体からなる搬送部13の水粒子放出部1の水Wに、高電圧を印加してナノメータサイズで活性種を含む帯電微粒子水Mを生成し、この帯電微粒子水Mを食品収納庫内の空気中に浮遊させて当該帯電微粒子水Mに含まれる活性種とエチレンガスを反応させ、二酸化炭素と水に分解することも好ましい。
また空気を冷却することで結露水を生成し、当該結露水を静電霧化して、ナノメータサイズで活性種を含む帯電微粒子水Mを生成し、この帯電微粒子水を食品収納庫内の空気中に浮遊させて当該帯電微粒子水Mに含まれる活性種とエチレンガスを反応させ、二酸化炭素と水に分解することも好ましい。
また前記活性種は、ヒドロキシラジカル又はスーパーオキサイドであることも好ましい。
また500V/mm以上の電界強度を与えて前記帯電微粒子水Mを生成することも好ましい。
上記構成により、活性種を含んだ帯電微粒子水Mを生成して食品Fに供給でき、帯電微粒子水Mが食品Fの表皮の細孔の内部まで浸透すると共に帯電微粒子水Mが表皮の細孔内部に浸透した状態で活性種が作用するものであって、食品Fの表皮の細孔内部で活性種が作用して殺菌をしたり消臭したりエチレンガスを除去したりできると共に食品Fの表皮の細孔内部で保湿でき、従来に比べて防黴、防臭、エチレンガスの除去及び保湿等の効果を充分に発揮できて食品を長期に亙って新鮮に保存できる。
本発明は、活性種を含んだ帯電微粒子水を生成して食品に供給でき、帯電微粒子水が食品の表皮の細孔内部まで浸透すると共に帯電微粒子水が表皮の細孔内部に浸透した状態で活性種が作用するものであって、食品の表皮の細孔内部で活性種が作用して殺菌をしたり消臭したりエチレンガスを除去したりできると共に食品の表皮の細孔内部で保湿でき、従来に比べて防黴、防臭、エチレンガスの除去及び保湿等の効果を充分に発揮できて食品を長期に亙って新鮮に保存できるという効果がある。
本発明の実施の形態の一例の一部切欠斜視図である。 同上の空気循環ユニットの断面図である。 同上の静電霧化装置の構造の一例を説明する概念図である。 同上の静電霧化装置の構造の他例を説明する概念図である。 (a)(b)は食品を収納する状態を説明する概略断面図である。 同上の空気循環ユニットの他の例を示し、(a)はブロック図、(b)は断面図である。
以下、本発明を添付図面に示す実施形態に基いて説明する。キッチンに設ける収納庫4は本例の場合、床下収納庫であって、図1に示すようにキッチンのキッチンキャビネット8の手前の床下に設けてある。かかる収納庫4はキッチンキャビネット8内に設けられるものでも、キッチンのその他の部分に設けられるものでもよい。収納庫4内には収納庫4内に空気を循環させる空気循環ユニットBを内装してあり、空気循環ユニットB内には図2に示すようにダクト9を内装してあり、ダクト9の途中にはシロッコファンのようなファン5を内装してあり、ファン5を駆動することにより空気循環ユニットBの入口6から収納庫4内の空気を吸い込んで空気循環ユニットBの出口10から収納庫4内に吐出するようになっている。空気循環ユニットBの入口6にはフィルター7を設けてあり、空気循環ユニットBの出口10の近傍にはエチレンガス除去装置として静電霧化装置Aを内装してある。
静電霧化装置Aは、一対の電極として機能する水粒子放出部1及び対向電極2と、前記水粒子放出部1に水Wを供給するための水供給手段と、水粒子放出部1と対向電極2との間に高電圧を印加する電圧印加部3とを備えたもので、水粒子放出部1と対向電極2との間に高電圧を印加することで水粒子放出部1からナノメータサイズの帯電微粒子水(ミスト)Mを生成するものである。
図3に示す静電霧化装置Aの例では、液溜め部12と、下端が液溜め部12内に入れられて水Wに浸された多孔質材からなる棒状の搬送部13と、これらの搬送部13の保持及び水Wに対する電圧印加のための液印加電極14と、前記搬送部13の先端部の水粒子放出部1と対向する対向電極2と、上記液印加電極14と対向電極2との間に高電圧を印加する電圧印加部3とからなる。
対向電極2と液印加電極14は共にカーボンのような導電材を混入した合成樹脂やステンレス鋼のような金属で形成してある。
搬送部13は多孔質材で棒状に形成するもので、本実施形態では粒径が2〜500μmのセラミック粒子からなり、その隙間の細孔が1〜250μmで連続気泡状に配置されるように形成してある。搬送部13の上端は針状に尖った水粒子放出部1となっており、搬送部13の上部が液印加電極14よりも上方に突出し、下部が液印加電極14から下方に突出して上記液溜め部12内に入れられた水Wと接触するようになっている。
対向電極2は接地してあり、液印加電極14に電圧印加部3を接続して高電圧を印加すると共に、多孔質材で形成されている搬送部13が毛細管現象により液溜め部12に入れてある水Wを吸い上げている時、搬送部13の上端の水粒子放出部1が液印加電極14側の実質的な電極として機能する。電圧印加部3としては、電界強度が500V/mm以上、特に700〜1200V/mmの電界強度を与えることができるものが好ましい。
そして、電圧印加部3より搬送部13と対向電極2との間に高電圧を印加することで、水粒子放出部1の水Wが高電圧により大きなエネルギーを受けて表面張力を超えて分裂を繰り返すという所謂レイリー分裂を起こしてナノメータサイズの粒子径の帯電微粒子水M(例えば10〜30ナノメータ)を発生させる静電霧化がなされ、この時、同時に生成された反応性に富む活性種(ヒドロキシラジカル、スーパーオキサイド等の脱臭・除菌の源となる物質)が分裂した帯電微粒子水Mに内包されるように含まれて空気中に飛び出す。このようにして水粒子放出部1から活性種を含んだナノメータサイズの帯電微粒子水Mを発生させるものである。
活性種は非常に反応性に富むため、悪臭成分の分解や黴発生の抑制に高い効果を発揮するが、その反応性が高いため単独で存在する場合には寿命が非常に短い。しかしながら、静電霧化装置Aにより得られるナノメータサイズの帯電微粒子水Mにおいては、活性種が水分子に包み込まれているように存在しているため寿命が長くなり、しかも、上記のようにナノメータサイズと非常に小さいので空気中に長時間浮遊すると共に拡散性が高く、空間の広い範囲において活性種(ヒドロキシラジカル、スーパーオキサイド等)により空気中の脱臭効果、黴や菌の除菌や繁殖の抑制効果を高めることができ、更に、帯電微粒子水Mはナノメータサイズと非常に小さいので、果物や野菜等の食品Fの表面の細孔内部に入り込むことが可能で食品Fの表面の付着臭の除去ができることとなる。以下、臭気とナノメータサイズの帯電微粒子水Mに含まれた活性種の脱臭反応式を示す。
アンモニア 2NH+6・OH→N+6H
アセトアルデヒド CHCHO+6・OH+O→2CO+5H
酢酸 CHCOOH+4・OH+O→2CO+4H
メタンガス CH+4・OH+O→CO+4H
一酸化炭素 CO+2・OH→CO+H
一酸化窒素 2NO+4・OH→N+2O+2H
ホルムアルデヒド HCHO+4・OH→CO+3H
なお、・OHはヒドロキシラジカルを示す。
また上記ナノメータサイズの帯電微粒子水Mに含まれる活性種はエチレンガスも除去できる。この反応式を下記に示す。
エチレンガス C+12・OH→2CO+8H
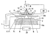
また図4に示す静電霧化装置Aの例では、ペルチェユニット16の放熱部16aと冷却部16bとを備えた水供給手段が設けてある。ペルチェユニット16は、熱伝導性の高いアルミナや窒化アルミニウム等からなる絶縁板Zの片面側に回路を形成してある一対のペルチェ回路板P(P,P)を、互いの回路側が向かい合うように対向させ、多数列設してある熱電素子Nを両ペルチェ回路板P(P,P)間で挟持すると共に隣接する熱電素子N同士を両側の回路で電気的に接続させ、ペルチェ入力リード線Lを介してペルチェユニット用電源20にてなされる熱電素子Nへの通電により一方のペルチェ回路板P側から他方のペルチェ回路板P側に向けて熱が移動するように設けたもので、前記一方のペルチェ回路板Pを冷却部16bに接続すると共にペルチェ回路板Pを放熱部16aに接続する。本例では図4に示すように、ペルチェ回路板Pを設けた絶縁板Zを放熱部16aとしての放熱フィンに接続すると共にペルチェ回路板Pを設けた絶縁板Zを後述する冷却部16bに接続するものである。
冷却部16bは、内部に結露水からなる水Wを溜めることができる液溜め部12が形成されるように上方に開口する略皿状に形成してあり、この冷却部16bの内部上面に液印加電極14が設けてある。
液印加電極14は、上端部が水粒子放出部1となるもので、多孔質材で形成されるか微細孔や微細溝(図4の例では微細孔17)を有しており、その下端部の液溜め部12に貯水されている水Wを毛細管現象にて放電部となる上端部の水粒子放出部1まで搬送可能な搬送部13となるようにしてある。また、水粒子放出部1を金属で形成したり金属製の表面膜を形成したりして表面の熱伝導性を高く形成すると共に冷却部16bに熱的に接続されるように取り付けることで、水粒子放出部1の表面に直接水Wを結露させるようにしてもよい。また上端部が水粒子放出部1となる多孔質セラミック等からなる搬送部13に液印加電極14を設けてもよい。
また冷却部16bには図4に示すうようにオーバーフロー孔Oが設けてあり、液溜め部12に溜められた水Wが一定水位以上となった時に余剰水としてオーバーフロー孔Oを介して下部の余剰水貯水タンクTへ排出することができるようになっている。
収納庫4内に果物や野菜等の食品Fを収納して保存する。食品Fを保存するとき空気循環ユニットBのファン5が駆動されて空気循環ユニットBの入口6から収納庫4内の空気が吸い込まれ、空気循環ユニットBの出口10から空気が収納庫4内に吐出するように空気が循環する。このとき、静電霧化装置Aでは電圧印加部3にて水粒子放出部1と対向電極2との間に高電圧が印加され、ナノメータサイズの粒子径の帯電微粒子水Mを生成させる静電霧化が行なわれる。この静電霧化により生成された帯電微粒子水Mはファン5によって送風される空気と一緒に収納庫4内を循環し、食品Fに帯電微粒子水Mが付与される。この静電霧化装置Aによる静電霧化にて活性種を含んだナノメータサイズの帯電微粒子水Mを生成して食品Fに供給できる。このナノメータサイズの帯電微粒子水Mは食品Fの表皮の細孔の内部まで浸透すると共に帯電微粒子水Mが表皮の細孔内部に浸透した状態で活性種が作用するものであって、食品Fの表皮の細孔内部で活性種が作用して殺菌をしたり消臭したりエチレンガスを除去したりできると共に食品Fの表皮の細孔内部で保湿することができる。これにより、従来に比べて防黴、防臭、エチレンガスの除去及び保湿等の効果を充分に発揮できて食品を長期に亙って新鮮に保存できる。また静電霧化装置Aで静電霧化した帯電微粒子水Mが空気循環ユニットBのファン5による送風にて循環させることができるため静電霧化装置Aにて霧化した帯電微粒子水Mを収納庫4の隅々まで行き亙らせて食品Fに隈なく付与できる。
上記のように静電霧化装置Aにて水Wを静電霧化して帯電微粒子水Mを生成するが、図4に示すような静電霧化装置Aを用いると、ペルチェユニット16の冷却により結露させた結露水を静電霧化により帯電微粒子水Mを形成するための水Wとして用いることができる。これにより、収納庫4内から回収した結露水を利用して静電霧化装置Aにて帯電微粒子水Mを生成できるものであって、水Wを補給したりすることなく帯電微粒子水Mを生成できる。また上記のように空気循環ユニットBのファン5による送風にて循環する空気からペルチェユニット16による冷却にて結露させるために循環する空気の除湿ができる。これにより収納庫4内の除湿をすることができ、収納庫4内に収納した食品Fが高湿度により劣化するのを防止できる。
また空気循環ユニットBのファン5を駆動して空気を収納庫4内に循環させたとき、空気循環ユニットBの入口6に設けたフィルター7にて入口6から入った空気から塵埃等が除去される。このとき静電霧化装置Aがペルチェユニット16の冷却により結露水を回収する構造の場合、結露水に塵埃等が混じることがなく、静電霧化装置Aで静電霧化して帯電微粒子水Mを生成するときの弊害を生じることがない。
またこのフィルター7にエチレン除去触媒を内蔵させてあることが好ましい。このエチレン除去触媒はハニカム等の構造にしてある。フィルター7にエチレン除去触媒を内蔵させてあると、空気循環ユニットBの入口6から入る空気からエチレンガスを除去でき、食品Fのエチレンガスによる劣化を一層防止できる。このエチレン除去触媒の具体的な例としては、活性炭やゼオライトなどの多孔質体にエチレン酸化酵素であるエチレンモノオキシナーゼを添加したもの、パラジウム触媒、光触媒等がある。
また本発明の食品収納庫の収納庫4内に食品Fを収納するとき、図5(a)に示すように収納庫4内で果物、野菜等の食品Fを単に積み重ねるように収納しても、図5(b)に示すように収納庫4内の空気循環ユニットBの上にスノコ21を介して果物、野菜等の食品Fを積み重ねるように収納してもよい。かかるスノコ21としては格子状のものでも網状のものでもよい。このようにスノコ21を介して食品Fを収納してあると、通気性を向上できる。
また図6は空気循環ユニットBの他の例を示すものである。空気循環ユニットB内のダクト9に入口6から出口10に向けて順にフィルター7、ファン5、結露水生成装置18、静電霧化装置Aを内装してある。静電霧化装置Aは図3に示すものと基本的に同じである。ファン5と静電霧化装置Aとの間に設ける結露水生成装置18は集水板19とペルチェユニット16とで構成されており、ペルチェユニット16で冷却して結露させた水を集水板19にて集水して静電霧化装置Aの液溜め部12に溜めるようになっている。
またフィルター7は第1フィルター7aと第2フィルター7bの二層構造となっている。第1フィルター7aは微細網目構造になっており、第2フィルター7bは活性炭若しくは酸化触媒を装填した構造になっている。ファン5を駆動して空気を循環させると、入口6から流入した空気は第1フィルター7a、第2フィルター7bを順に通過して浄化される。入口6から流入した空気が第1フィルター7aを通過することで空気中の埃や浮遊微粒子が除去され、第2フィルター7bを通過することで空気中の不快臭成分が除去される。これにより、塵埃や不快臭成分が除去された空気が結露水生成装置18に供給され、塵埃や不快成分が溶存しない結露水が結露水生成装置18にて形成され、清浄な水が静電霧化装置Aに供給されて静電霧化される。
上記第2フィルター7bには空気中の不快臭成分を除去する活性炭若しくは酸化触媒に加えてエチレンガスを除去するエチレン除去触媒も装填してあってもよい。
1 水粒子放出部
2 対向電極
3 電圧印加部
4 収納庫
5 ファン
6 入口
7 フィルター
A 静電霧化装置
B 空気循環ユニット
F 食品
M 帯電微粒子水
W 水

Claims (10)

  1. 水を静電霧化して、ナノメータサイズの帯電微粒子水を生成し、この帯電微粒子水を食品収納庫内の空気中に浮遊させて当該帯電微粒子水に含まれる活性種とエチレンガスを反応させ、二酸化炭素と水に分解することを特徴とする帯電微粒子水によるエチレンガスの除去方法。
  2. 多孔質体からなる搬送部の水粒子放出部の水に、高電圧を印加してナノメータサイズで活性種を含む帯電微粒子水を生成し、この帯電微粒子水を食品収納庫内の空気中に浮遊させて当該帯電微粒子水に含まれる活性種とエチレンガスを反応させ、二酸化炭素と水に分解することを特徴とする帯電微粒子水によるエチレンガスの除去方法。
  3. 空気を冷却することで結露水を生成し、当該結露水を静電霧化して、ナノメータサイズで活性種を含む帯電微粒子水を生成し、この帯電微粒子水を食品収納庫内の空気中に浮遊させて当該帯電微粒子水に含まれる活性種とエチレンガスを反応させ、二酸化炭素と水に分解することを特徴とする帯電微粒子水によるエチレンガスの除去方法。
  4. 前記活性種は、ヒドロキシラジカル又はスーパーオキサイドであることを特徴とする請求項1乃至3のいずれか1項に記載の帯電微粒子水によるエチレンガスの除去方法。
  5. 500V/mm以上の電界強度を与えて前記帯電微粒子水を生成することを特徴とする請求項1乃至3のいずれか1項に記載の帯電微粒子水によるエチレンガスの除去方法。
  6. 水粒子放出部の水が静電霧化を起こす高電圧を印加する電圧印加部を備え、当該電圧印加部の高電圧の印加によって水を静電霧化することで、活性種とエチレンガスとを反応させて二酸化炭素と水に分解するためのナノメータサイズの帯電微粒子水を生成し、この帯電微粒子水を食品収納庫内の空気中に浮遊させることを特徴とするエチレンガス除去装置。
  7. 水粒子放出部の水が静電霧化を起こす高電圧を印加する電圧印加部を備え、当該電圧印加部の高電圧の印加によって、多孔質体からなる搬送部の水粒子放出部の水に高電圧を印加して、活性種とエチレンガスとを反応させて二酸化炭素と水に分解するためのナノメータサイズの帯電微粒子水を生成し、この帯電微粒子水を食品収納庫内の空気中に浮遊させることを特徴とするエチレンガス除去装置。
  8. 水粒子放出部の水が静電霧化を起こす高電圧を印加する電圧印加部を備え、空気を冷却することで結露水を生成し、当該結露水を前記電圧印加部の高電圧の印加によって静電霧化することで、活性種とエチレンガスとを反応させて二酸化炭素と水に分解するためのナノメータサイズの帯電微粒子水を生成し、この帯電微粒子水を食品収納庫内の空気中に浮遊させることを特徴とするエチレンガス除去装置。
  9. 前記活性種は、ヒドロキシラジカル又はスーパーオキサイドであることを特徴とする請求項6乃至8のいずれか1項に記載のエチレンガス除去装置。
  10. 500V/mm以上の電界強度を与えて前記帯電微粒子水を生成することを特徴とする請求項6乃至9のいずれか1項に記載のエチレンガス除去装置。
JP2010065701A 2004-08-26 2010-03-23 帯電微粒子水によるエチレンガスの除去方法及びエチレンガス除去装置 Expired - Lifetime JP5010703B2 (ja)

Priority Applications (6)

Application Number Priority Date Filing Date Title
JP2004247347A JP4517776B2 (ja) 2004-08-26 2004-08-26 食品収納庫
JP2010065701A JP5010703B2 (ja) 2004-08-26 2010-03-23 帯電微粒子水によるエチレンガスの除去方法及びエチレンガス除去装置
JP2010065702A JP4730465B2 (ja) 2004-08-26 2010-03-23 静電霧化装置
JP2011007044A JP2011092209A (ja) 2004-08-26 2011-01-17 帯電微粒子水による食品保存方法及び食品保存装置
JP2012097547A JP5391301B2 (ja) 2004-08-26 2012-04-23 帯電微粒子水による食品保存方法及び食品保存装置
JP2013174244A JP5712355B2 (ja) 2004-08-26 2013-08-26 帯電微粒子水による食品保存方法

Applications Claiming Priority (6)

Application Number Priority Date Filing Date Title
JP2004247347A JP4517776B2 (ja) 2004-08-26 2004-08-26 食品収納庫
JP2010065701A JP5010703B2 (ja) 2004-08-26 2010-03-23 帯電微粒子水によるエチレンガスの除去方法及びエチレンガス除去装置
JP2010065702A JP4730465B2 (ja) 2004-08-26 2010-03-23 静電霧化装置
JP2011007044A JP2011092209A (ja) 2004-08-26 2011-01-17 帯電微粒子水による食品保存方法及び食品保存装置
JP2012097547A JP5391301B2 (ja) 2004-08-26 2012-04-23 帯電微粒子水による食品保存方法及び食品保存装置
JP2013174244A JP5712355B2 (ja) 2004-08-26 2013-08-26 帯電微粒子水による食品保存方法

Related Parent Applications (1)

Application Number Title Priority Date Filing Date
JP2004247347A Division JP4517776B2 (ja) 2004-08-26 2004-08-26 食品収納庫

Related Child Applications (1)

Application Number Title Priority Date Filing Date
JP2011007044A Division JP2011092209A (ja) 2004-08-26 2011-01-17 帯電微粒子水による食品保存方法及び食品保存装置

Publications (2)

Publication Number Publication Date
JP2010207223A JP2010207223A (ja) 2010-09-24
JP5010703B2 true JP5010703B2 (ja) 2012-08-29

Family

ID=53943130

Family Applications (6)

Application Number Title Priority Date Filing Date
JP2004247347A Expired - Fee Related JP4517776B2 (ja) 2004-08-26 2004-08-26 食品収納庫
JP2010065701A Expired - Lifetime JP5010703B2 (ja) 2004-08-26 2010-03-23 帯電微粒子水によるエチレンガスの除去方法及びエチレンガス除去装置
JP2010065702A Expired - Lifetime JP4730465B2 (ja) 2004-08-26 2010-03-23 静電霧化装置
JP2011007044A Pending JP2011092209A (ja) 2004-08-26 2011-01-17 帯電微粒子水による食品保存方法及び食品保存装置
JP2012097547A Expired - Lifetime JP5391301B2 (ja) 2004-08-26 2012-04-23 帯電微粒子水による食品保存方法及び食品保存装置
JP2013174244A Expired - Lifetime JP5712355B2 (ja) 2004-08-26 2013-08-26 帯電微粒子水による食品保存方法

Family Applications Before (1)

Application Number Title Priority Date Filing Date
JP2004247347A Expired - Fee Related JP4517776B2 (ja) 2004-08-26 2004-08-26 食品収納庫

Family Applications After (4)

Application Number Title Priority Date Filing Date
JP2010065702A Expired - Lifetime JP4730465B2 (ja) 2004-08-26 2010-03-23 静電霧化装置
JP2011007044A Pending JP2011092209A (ja) 2004-08-26 2011-01-17 帯電微粒子水による食品保存方法及び食品保存装置
JP2012097547A Expired - Lifetime JP5391301B2 (ja) 2004-08-26 2012-04-23 帯電微粒子水による食品保存方法及び食品保存装置
JP2013174244A Expired - Lifetime JP5712355B2 (ja) 2004-08-26 2013-08-26 帯電微粒子水による食品保存方法

Country Status (1)

Country Link
JP (6) JP4517776B2 (ja)

Families Citing this family (22)

* Cited by examiner, † Cited by third party
Publication number Priority date Publication date Assignee Title
JP4517776B2 (ja) * 2004-08-26 2010-08-04 パナソニック電工株式会社 食品収納庫
JP2008101817A (ja) * 2006-10-18 2008-05-01 Matsushita Electric Ind Co Ltd 冷蔵庫
JP2008122046A (ja) * 2006-11-16 2008-05-29 Matsushita Electric Ind Co Ltd 冷蔵庫
JP5245513B2 (ja) * 2007-04-26 2013-07-24 パナソニック株式会社 冷蔵庫
JP4333779B2 (ja) 2007-05-25 2009-09-16 パナソニック電工株式会社 送風装置
CN101874185B (zh) * 2007-10-09 2014-04-02 松下电器产业株式会社 冷藏库
JP5239456B2 (ja) * 2008-03-31 2013-07-17 パナソニック株式会社 冷蔵庫
CN101849153B (zh) * 2007-11-06 2012-11-07 松下电器产业株式会社 冰箱
JP5157476B2 (ja) * 2008-01-25 2013-03-06 パナソニック株式会社 冷蔵庫
JP2010063438A (ja) * 2008-09-12 2010-03-25 Panasonic Electric Works Co Ltd 静電霧化装置及びこれを備えた食料保存装置
JP2010075094A (ja) * 2008-09-25 2010-04-08 Panasonic Electric Works Co Ltd 生鮮食品又は/及び花の保存装置。
CN103148549B (zh) * 2009-03-27 2017-06-23 三菱电机株式会社 空气调节器
JP5416603B2 (ja) * 2010-01-25 2014-02-12 パナソニック株式会社 食品保管庫
JP5508206B2 (ja) 2010-09-27 2014-05-28 パナソニック株式会社 静電霧化装置
AU2013291144A1 (en) * 2012-07-18 2015-02-12 Sumitomo Chemical Company, Limited Electrostatic spraying device
WO2014136382A1 (ja) * 2013-03-06 2014-09-12 パナソニック株式会社 食品の鮮度保持方法、食品の鮮度保持装置及び該鮮度保持装置を備える食品収容庫
CN107405416B (zh) * 2015-04-23 2020-01-21 株式会社东芝 保存方法及杀菌装置
JP6666335B2 (ja) * 2015-04-23 2020-03-13 株式会社東芝 殺菌方法、殺菌システム及び保管方法
US20200390117A1 (en) 2016-02-04 2020-12-17 Nissho Chemical Co., Ltd. Functional film, functional container, and method for retaining freshness
CN110319633A (zh) * 2018-03-30 2019-10-11 松下电器研究开发(苏州)有限公司 冰箱
JP2021188757A (ja) * 2020-05-26 2021-12-13 日栄インテック株式会社 鮮度保持装置
US20230232870A1 (en) * 2020-05-29 2023-07-27 Aa Plasma Llc Food and fresh produce disinfection chamber utilizing fast mixed liquid and nonequilibrium plasma-generated species

Family Cites Families (19)

* Cited by examiner, † Cited by third party
Publication number Priority date Publication date Assignee Title
JPH0293629A (ja) * 1988-09-30 1990-04-04 Fuji Photo Film Co Ltd 画像収録装置
JP2686189B2 (ja) 1991-07-08 1997-12-08 三洋電機株式会社 冷蔵庫
JPH05137502A (ja) 1991-11-14 1993-06-01 Mitsubishi Heavy Ind Ltd エチレン除去装置
JPH0650564A (ja) * 1992-07-29 1994-02-22 Sharp Corp 冷暖房兼用一体型空気調和機
JPH07174455A (ja) 1993-12-20 1995-07-14 Hitachi Ltd 冷凍冷蔵庫
JPH07260331A (ja) * 1994-03-18 1995-10-13 Toshiba Corp 冷蔵庫
JP2838775B2 (ja) * 1995-03-24 1998-12-16 ニチアス株式会社 鮮度保持装置
JPH0837918A (ja) * 1995-07-27 1996-02-13 Sharp Corp 青果物保鮮装置
JP3666986B2 (ja) * 1996-04-30 2005-06-29 松下エコシステムズ株式会社 発芽用種子の保存方法
JPH1132672A (ja) * 1997-07-22 1999-02-09 Isuzu Motors Ltd 鮮度保持装置
JPH11155540A (ja) * 1997-11-26 1999-06-15 Sanden Corp 食品保存庫
JP2001330365A (ja) 2000-05-22 2001-11-30 Matsushita Refrig Co Ltd 冷蔵庫
JP2002203657A (ja) * 2000-12-27 2002-07-19 Daikin Ind Ltd イオン発生器
JP2003017297A (ja) * 2001-07-04 2003-01-17 Daikin Ind Ltd 放電装置及びプラズマ反応器
JP2003032561A (ja) 2001-07-17 2003-01-31 Canon Inc 番組選択装置及び方法、番組情報配信方法、受信装置、及び記憶媒体
JP5149473B2 (ja) * 2001-09-14 2013-02-20 パナソニック株式会社 脱臭装置
JP4004437B2 (ja) * 2002-06-25 2007-11-07 松下電工株式会社 空気清浄機
JP2004192944A (ja) * 2002-12-11 2004-07-08 Akiko Sugawara イオン発生装置、食品保存庫、ショーケース、殺菌庫、ビニールハウス、殺菌方法、植物育成方法、食品加工方法、食品流通方法、食品保存方法及び食品輸送方法
JP4517776B2 (ja) * 2004-08-26 2010-08-04 パナソニック電工株式会社 食品収納庫

Also Published As

Publication number Publication date
JP5712355B2 (ja) 2015-05-07
JP5391301B2 (ja) 2014-01-15
JP4517776B2 (ja) 2010-08-04
JP2014030425A (ja) 2014-02-20
JP4730465B2 (ja) 2011-07-20
JP2010207223A (ja) 2010-09-24
JP2010194536A (ja) 2010-09-09
JP2012135323A (ja) 2012-07-19
JP2011092209A (ja) 2011-05-12
JP2006061072A (ja) 2006-03-09

Similar Documents

Publication Publication Date Title
JP5010703B2 (ja) 帯電微粒子水によるエチレンガスの除去方法及びエチレンガス除去装置
JP5149473B2 (ja) 脱臭装置
JPWO2015015587A1 (ja) 放電を用いた除菌装置
KR101069685B1 (ko) 정화 살균 모듈 및 이를 구비한 공기정화 살균기
JP2011183204A (ja) 殺菌装置及び該殺菌装置を備えた空気清浄機
JP4349240B2 (ja) 静電霧化装置付き衣類収納庫
JP4349238B2 (ja) 静電霧化装置付き下駄箱
JP2010057908A (ja) 空気浄化装置、空気浄化方法、ウイルスの不活化方法及び脱臭方法
JP4407429B2 (ja) 静電霧化装置を備えた室内物干し装置及び静電霧化装置による室内干し洗濯物の処理方法
WO2005108137A1 (en) Automobile air filter
JP5302829B2 (ja) 静電霧化装置付きトイレ設備
JPH01234729A (ja) 空気調和機
EP1566103B1 (en) Method and device for converting ethylene in ethane and freshness keeping apparatus for fresh agricultural product
JP5755857B2 (ja) 空気清浄機
JP4669248B2 (ja) 静電霧化装置付きトイレ設備
JP2006061407A (ja) 静電霧化装置付き洗面化粧台
JP4679858B2 (ja) 空調空気の処理装置
JP2006061408A (ja) 脱衣室及び浴室の脱臭・防カビ装置
JP2012075487A (ja) 除菌装置及びこの除菌装置を備えた調湿装置
JPH04166207A (ja) 空気清浄装置
JP2006061402A (ja) 静電霧化装置付きサウナ室
JP4697598B2 (ja) オゾン脱臭装置
JP2009123564A (ja) イオン発生装置、静電霧化装置及びこれらを用いた空調装置
US12409410B1 (en) Refrigerator to reduce the deterioration rate of stored items using plasma and photocatalyst
JP2007007151A (ja) 空気清浄機

Legal Events

Date Code Title Description
RD04 Notification of resignation of power of attorney

Free format text: JAPANESE INTERMEDIATE CODE: A7424

Effective date: 20100628

A521 Request for written amendment filed

Free format text: JAPANESE INTERMEDIATE CODE: A523

Effective date: 20100802

A871 Explanation of circumstances concerning accelerated examination

Free format text: JAPANESE INTERMEDIATE CODE: A871

Effective date: 20100927

A975 Report on accelerated examination

Free format text: JAPANESE INTERMEDIATE CODE: A971005

Effective date: 20101026

A131 Notification of reasons for refusal

Free format text: JAPANESE INTERMEDIATE CODE: A131

Effective date: 20101116

A521 Request for written amendment filed

Free format text: JAPANESE INTERMEDIATE CODE: A523

Effective date: 20110117

A131 Notification of reasons for refusal

Free format text: JAPANESE INTERMEDIATE CODE: A131

Effective date: 20110322

A131 Notification of reasons for refusal

Free format text: JAPANESE INTERMEDIATE CODE: A131

Effective date: 20110712

A521 Request for written amendment filed

Free format text: JAPANESE INTERMEDIATE CODE: A523

Effective date: 20110912

A02 Decision of refusal

Free format text: JAPANESE INTERMEDIATE CODE: A02

Effective date: 20111101

A711 Notification of change in applicant

Free format text: JAPANESE INTERMEDIATE CODE: A712

Effective date: 20120113

A521 Request for written amendment filed

Free format text: JAPANESE INTERMEDIATE CODE: A523

Effective date: 20120125

A911 Transfer to examiner for re-examination before appeal (zenchi)

Free format text: JAPANESE INTERMEDIATE CODE: A911

Effective date: 20120209

TRDD Decision of grant or rejection written
A01 Written decision to grant a patent or to grant a registration (utility model)

Free format text: JAPANESE INTERMEDIATE CODE: A01

Effective date: 20120508

A01 Written decision to grant a patent or to grant a registration (utility model)

Free format text: JAPANESE INTERMEDIATE CODE: A01

A61 First payment of annual fees (during grant procedure)

Free format text: JAPANESE INTERMEDIATE CODE: A61

Effective date: 20120601

R150 Certificate of patent or registration of utility model

Ref document number: 5010703

Country of ref document: JP

Free format text: JAPANESE INTERMEDIATE CODE: R150

Free format text: JAPANESE INTERMEDIATE CODE: R150

FPAY Renewal fee payment (event date is renewal date of database)

Free format text: PAYMENT UNTIL: 20150608

Year of fee payment: 3

FPAY Renewal fee payment (event date is renewal date of database)

Free format text: PAYMENT UNTIL: 20150608

Year of fee payment: 3

EXPY Cancellation because of completion of term