JP4585196B2 - 電子部品のボンディング方法及び装置 - Google Patents

電子部品のボンディング方法及び装置 Download PDF

Info

Publication number
JP4585196B2
JP4585196B2 JP2003418128A JP2003418128A JP4585196B2 JP 4585196 B2 JP4585196 B2 JP 4585196B2 JP 2003418128 A JP2003418128 A JP 2003418128A JP 2003418128 A JP2003418128 A JP 2003418128A JP 4585196 B2 JP4585196 B2 JP 4585196B2
Authority
JP
Japan
Prior art keywords
circuit board
bonding
semiconductor chip
pressing
electronic component
Prior art date
Legal status (The legal status is an assumption and is not a legal conclusion. Google has not performed a legal analysis and makes no representation as to the accuracy of the status listed.)
Expired - Fee Related
Application number
JP2003418128A
Other languages
English (en)
Other versions
JP2005183459A (ja
Inventor
隆雄 西村
公一 中村
昌典 夏秋
晃 高島
Current Assignee (The listed assignees may be inaccurate. Google has not performed a legal analysis and makes no representation or warranty as to the accuracy of the list.)
Fujitsu Semiconductor Ltd
Original Assignee
Fujitsu Semiconductor Ltd
Priority date (The priority date is an assumption and is not a legal conclusion. Google has not performed a legal analysis and makes no representation as to the accuracy of the date listed.)
Filing date
Publication date
Application filed by Fujitsu Semiconductor Ltd filed Critical Fujitsu Semiconductor Ltd
Priority to JP2003418128A priority Critical patent/JP4585196B2/ja
Publication of JP2005183459A publication Critical patent/JP2005183459A/ja
Application granted granted Critical
Publication of JP4585196B2 publication Critical patent/JP4585196B2/ja
Anticipated expiration legal-status Critical
Expired - Fee Related legal-status Critical Current

Links

Images

Classifications

    • HELECTRICITY
    • H01ELECTRIC ELEMENTS
    • H01LSEMICONDUCTOR DEVICES NOT COVERED BY CLASS H10
    • H01L2224/00Indexing scheme for arrangements for connecting or disconnecting semiconductor or solid-state bodies and methods related thereto as covered by H01L24/00
    • H01L2224/01Means for bonding being attached to, or being formed on, the surface to be connected, e.g. chip-to-package, die-attach, "first-level" interconnects; Manufacturing methods related thereto
    • H01L2224/10Bump connectors; Manufacturing methods related thereto
    • H01L2224/15Structure, shape, material or disposition of the bump connectors after the connecting process
    • H01L2224/16Structure, shape, material or disposition of the bump connectors after the connecting process of an individual bump connector
    • HELECTRICITY
    • H01ELECTRIC ELEMENTS
    • H01LSEMICONDUCTOR DEVICES NOT COVERED BY CLASS H10
    • H01L2224/00Indexing scheme for arrangements for connecting or disconnecting semiconductor or solid-state bodies and methods related thereto as covered by H01L24/00
    • H01L2224/74Apparatus for manufacturing arrangements for connecting or disconnecting semiconductor or solid-state bodies and for methods related thereto
    • H01L2224/75Apparatus for connecting with bump connectors or layer connectors
    • HELECTRICITY
    • H01ELECTRIC ELEMENTS
    • H01LSEMICONDUCTOR DEVICES NOT COVERED BY CLASS H10
    • H01L2224/00Indexing scheme for arrangements for connecting or disconnecting semiconductor or solid-state bodies and methods related thereto as covered by H01L24/00
    • H01L2224/74Apparatus for manufacturing arrangements for connecting or disconnecting semiconductor or solid-state bodies and for methods related thereto
    • H01L2224/75Apparatus for connecting with bump connectors or layer connectors
    • H01L2224/757Means for aligning
    • H01L2224/75743Suction holding means
    • HELECTRICITY
    • H01ELECTRIC ELEMENTS
    • H01LSEMICONDUCTOR DEVICES NOT COVERED BY CLASS H10
    • H01L2224/00Indexing scheme for arrangements for connecting or disconnecting semiconductor or solid-state bodies and methods related thereto as covered by H01L24/00
    • H01L2224/80Methods for connecting semiconductor or other solid state bodies using means for bonding being attached to, or being formed on, the surface to be connected
    • H01L2224/83Methods for connecting semiconductor or other solid state bodies using means for bonding being attached to, or being formed on, the surface to be connected using a layer connector
    • H01L2224/8319Arrangement of the layer connectors prior to mounting
    • H01L2224/83191Arrangement of the layer connectors prior to mounting wherein the layer connectors are disposed only on the semiconductor or solid-state body
    • HELECTRICITY
    • H01ELECTRIC ELEMENTS
    • H01LSEMICONDUCTOR DEVICES NOT COVERED BY CLASS H10
    • H01L2224/00Indexing scheme for arrangements for connecting or disconnecting semiconductor or solid-state bodies and methods related thereto as covered by H01L24/00
    • H01L2224/80Methods for connecting semiconductor or other solid state bodies using means for bonding being attached to, or being formed on, the surface to be connected
    • H01L2224/83Methods for connecting semiconductor or other solid state bodies using means for bonding being attached to, or being formed on, the surface to be connected using a layer connector
    • H01L2224/8319Arrangement of the layer connectors prior to mounting
    • H01L2224/83192Arrangement of the layer connectors prior to mounting wherein the layer connectors are disposed only on another item or body to be connected to the semiconductor or solid-state body
    • HELECTRICITY
    • H01ELECTRIC ELEMENTS
    • H01LSEMICONDUCTOR DEVICES NOT COVERED BY CLASS H10
    • H01L2924/00Indexing scheme for arrangements or methods for connecting or disconnecting semiconductor or solid-state bodies as covered by H01L24/00
    • H01L2924/01Chemical elements
    • H01L2924/01019Potassium [K]
    • HELECTRICITY
    • H01ELECTRIC ELEMENTS
    • H01LSEMICONDUCTOR DEVICES NOT COVERED BY CLASS H10
    • H01L2924/00Indexing scheme for arrangements or methods for connecting or disconnecting semiconductor or solid-state bodies as covered by H01L24/00
    • H01L2924/01Chemical elements
    • H01L2924/01079Gold [Au]

Landscapes

  • Wire Bonding (AREA)

Description

本発明は、バンプが設けられた半導体チップを電極端子が設けられた回路基板に接合するようにした電子部品のボンディング方法及び装置に関する。また、本発明は電極端子が設けられた回路基板に関する。
バンプが設けられた半導体チップを電極端子が設けられた回路基板にフエイスダウン実装(ボンディング)することが知られている。従来の電子部品のボンディング方法では、半導体チップを回路基板に対向して配置し、半導体チップに荷重及び超音波振動を加えることによってバンプを電極端子に接合する。
半導体チップはボンディングツールに吸着保持され、ボンディングツールは半導体チップを保持するとともに、超音波振動する。回路基板はボンディングステージに吸着保持される。半導体チップと回路基板とのアライメントを行った後に、ボンディングツールを下降させて、バンプを電極端子に押しつけ、超音波振動を加えることによってバンプと電極端子との接続を行う。
超音波振動を付与してフエイスダウン実装を行う際に、一般に回路基板はボンディングステージに真空吸着されて固定される。しかし、回路基板のボンディングステージへの固定が十分でない場合には、半導体チップに超音波振動を付与した際に、バンプと電極端子との間で発生する摩擦により、超音波振動が半導体チップから回路基板に伝達され、バンプと電極端子との間での相対的な振動が低下し、その結果、接合強度の低下や接続不良などの接合品質の劣化が生じる問題がある。
半導体チップに超音波振動を印加することで半導体チップを回路基板にフエイスダウン実装する技術は、例えば、特許文献1及び特許文献2に開示されている。特許文献1では、超音波振動の振動方向を回路基板に対して垂直な方向にすることによって上記した問題点を解決しようとしている。さらに、特許文献1では、回路基板は吸着保持されるとともに、基板押さえによって所定の位置に保持されるようになっている。基板押さえは回路基板の側面に係合するようになっており、回路基板を上からボンディングステージに押しつけるものではない。
特許文献2では、ボンディング装置は、回路基板を収めるポケットを有するパレットと、突起を有するボンディングステージと、半導体チップを保持するボンディングツールと、回路基板を固定する一対の弾性押圧片とを有する。回路基板はパレットのポケットに収められてパレットとともにボンディングステージへ運ばれる。パレットのポケットの底部には回路基板よりも小さな貫通孔が設けられており、パレットがボンディングステージに降下されるときに、ボンディングステージの突起がパレットのポケットの底部の開口部に入り、回路基板を押し上げ、回路基板はパレットからリフトされる。回路基板は一対の押圧片によって押圧される。
回路基板は、平坦なものではなく、外周部が中央部よりも高く隆起した箱状の形状に形成されている。回路基板の外周部は突起よりも外側に延在し、回路基板と突起とはきのこ状の形体に重なる。一対の弾性押圧片はH形の溝を有する平坦な板によって形成され、ボンディングステージの表面と平行な水平な平面内に配置される。各弾性押圧片の根元部がボンディングステージの表面上にあり且つその先端部がボンディングステージの突起上の回路基板の外周部に接触するようになっている。こうして、回路基板は突起と弾性押圧片との間で挟持される。各弾性押圧片の弾性変形量は小さいため、大きな力で回路基板を押圧することができない。
特開2001−57376号公報(第3頁、第3図) 特開2001−21932号公報(第2〜3頁、第9図)
上記従来技術は、単一の半導体チップを搭載する個片基板としての回路基板や、比較的に剛性の高いセラミック回路基板を用いる場合に適している。しかし、回路基板が多数の半導体チップ実装部をマトリクス状に形成した大型の多面取り回路基板である場合には、基板全体が大きく反ったり、大きくうねりが生じたりするので、従来の回路基板の固定方法では、回路基板をボンディングステージに確実に且つ強く固定することが困難である。
また、弾性押圧片及び突起を備えたボンディングステージ(特許文献2)は、回路基板の外形サイズに合わせて個別に作成する必要があり、多品種対応の際、設備コストの点で不利となる。弾性押圧片による固定では、弾性力が不足して十分な保持効果が得られないという場合がある。また、弾性押圧片の占める面積が大きいので、使用できない場合もある。
また、回路基板が、ガラス−エポキシ基板、ガラス−BT(ビスマレイミドトリアジン)基板等の有機材料を用いた基板である場合には、有機基板はセラミック基板、シリコン基板、ガラス基板等に比べると剛性が低いために、上記問題がより顕著になる。
このように、比較的に軟らかい回路基板や、大型の回路基板の場合には、回路基板が大きく反ったり、うねったりするので、従来の方法では回路基板の固定が十分ではなく、半導体チップに超音波振動を付与した際に、バンプと電極端子との間の接続部での相対的な振動が低下し、接合強度の低下や接続不良などの接合品質の劣化が生じる問題がある。
本発明の目的は、接合品質の優れた電子部品のボンディング方法及び装置を提供することである。
また、本発明の目的は、接合品質の優れた電子部品のボンディング方法及び装置を実施するのに適した回路基板を提供することである。
本発明による電子部品のボンディング方法は、複数の電極端子を有する回路基板をボンディングステージに吸着保持し、複数の突起電極を有する半導体素子をボンディングツールに吸着保持し、前記回路基板のチップ搭載領域の外側でチップ搭載領域に近接する位置を接合時に半導体素子に付与される荷重の方向と同じ方向に押圧手段により押圧して、該回路基板を前記ボンディングステージに押圧固定する電子部品のボンディング方法において、半導体素子に前記回路基板方向への荷重と、該荷重の方向と直交する方向への超音波振動を付与して突起電極と電極端子とを接続すると共に、回路基板の表面に半導体素子がフリップチップ実装される領域の外周部の少なくとも2辺の外側に形成された凹又は凸又は凹凸形状のパターンに、前記押圧手段を嵌め合うようにして該回路基板を前記ボンディングステージに押圧固定することを特徴とする。
この構成によれば、回路基板は、吸着保持に加えて、押圧手段によってもボンディングステージに保持されるので、半導体素子に超音波振動が付与される際に回路基板は不動に固定され、突起電極と電極端子を信頼性よく接合することができる。
本発明による電子部品のボンディング装置は、複数の電極端子を有する回路基板を吸着保持するボンディングステージと、前記回路基板のチップ搭載領域の外側でチップ搭載領域に近接する位置を接合時に半導体素子に付与される荷重の方向と同じ方向に押圧して、該回路基板を前記ボンディングステージに押圧固定する押圧手段と、複数の突起電極を有する半導体素子を吸着保持するボンディングツールと、前記ボンディングツールを前記ボンディングステージに近づき又は遠ざかるように移動させて、該半導体素子に前記回路基板方向への荷重を付与する移動手段と、半導体素子に前記回路基板方向への荷重と直交する方向への超音波振動を付与するために前記ボンディングツールに超音波振動を付与する超音波振動付与手段と、を備えたことを特徴とする。
この構成によれば、回路基板は、吸着保持に加えて、押圧手段によってもボンディングステージに保持されるので、半導体素子に超音波振動が付与される際に回路基板は不動に固定され、突起電極と電極端子を信頼性よく接合することができる。
本発明による電子部品のボンディング方法は、複数の電極端子を有する回路基板を電極端子の外側で電極端子に近接する位置に設けられた吸着溝によりボンディングステージに吸着保持し、複数の突起電極を有する半導体素子をボンディングツールに吸着保持し、半導体素子に前記回路基板方向への荷重と、該荷重の方向と直交する方向の超音波振動を付与して突起電極と電極端子とを接続することを特徴とする。
本発明の電子部品のボンディング装置は、複数の電極端子を有する回路基板を吸着保持するために電極端子の外側で電極端子に近接するような位置に設けられた吸着溝を有するボンディングステージと、複数の突起電極を有する半導体素子を前記回路基板に対向させて吸着保持するボンディングツールと、前記ボンディングツールを前記ボンディングステージに近づき又は遠ざかるように移動させて、該半導体素子に前記回路基板方向への荷重を付与する移動手段と、半導体素子に前記回路基板方向への荷重と直交する方向の超音波振動を付与するために前記ボンディングツールに超音波振動を付与する超音波振動付与手段とを備えたことを特徴とする。
この構成によれば、回路基板は、電極端子の外側で電極端子に近接する位置に設けられた吸着溝によりボンディングステージに吸着保持される。吸着溝は長く延び、かつ、電極端子の外側で電極端子に近接する位置に設けられているので、確実に回路基板を吸着保持することができる。従って、突起電極と電極端子を信頼性よく接合することができる。
本発明による回路基板は、複数の突起電極を有する半導体素子がフリップチップ実装される回路基板であって、回路基板の表面に形成され、半導体素子の複数の突起電極が接続される複数の電極端子と、回路基板の該表面に半導体素子がフリップチップ実装される領域の外周部の少なくとも2辺の外側に形成された凹又は凸又は凹凸形状のパターンとを備えたことを特徴とする。
この構成によれば、回路基板は、ボンディング装置の押圧手段が凹又は凸又は凹凸形状のパターンに嵌合することによって、確実にボンディングステージに保持される。従って、突起電極と電極端子を信頼性よく接合することができる。
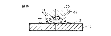
以下本発明の実施例について図面を参照して説明する。図1は本発明の一実施例の電子部品のボンディング装置を示す図である。電子部品のボンディング装置10は、テーブル12と、テーブル12に取付けられたボンディングステージ14とを有する。ボンディングステージ14は回路基板16を吸着保持する吸着溝18を有する。回路基板16は複数の電極端子16aを有する。ボンディングステージ14は、回路基板16のチップ実装面側(電極端子16aを含む領域)が上向きとなるように回路基板16を半導体チップ22と対向するように保持する。なお、ボンディングステージ14には、ボンディングツール20の面とボンディングステージ14の面との平行度を調整を行う機能を有していてもよい。
電子部品のボンディング装置10は、ボンディングツール20を有し、ボンディングステージ14の上方にある。ボンディングツール20は、半導体チップ22を吸着保持する吸着溝24を有する。半導体チップ22ははんだや金等の金属のバンプ(突起電極端子)22aを有し、半導体チップ22はボンディングツール20によってフエースダウン、すなわち、バンプ22aを有する半導体チップ22の回路面が下向きになるように保持される。半導体チップ22は回路基板16と対向して配置され、バンプ22aが電極端子16aに接続又は接合される。
ボンディングツール20は超音波ヘッド26に取付けられ、超音波ヘッド26は、超音波発振用の超音波ホーン及び超音波振動子を含む。超音波ヘッド26は、ボンディングツール20に吸着保持される半導体チップ22に対してボンディングツール20を介して超音波振動を付与する機能を有する。超音波ヘッド26の形状、構成は、特に限定するものではないが、ボンディングツール20は超音波ヘッド26と一体的に構成されていてもよい。超音波振動の方向は、水平方向(回路基板16と平行な方向)に振動するのが好ましい。超音波振動の周波数は例えば50kHz〜200kHzであり、超音波振動の振幅は例えば2μm以下である。
超音波ヘッド26は、連結部28を介して超音波ヘッド昇降装置30に結合されている。超音波ヘッド昇降装置30は、超音波ヘッド26を支持して、超音波ヘッド26の昇降動作を行う機構及びボンディング荷重を検知するためのロードセルを有する。
さらに、電子部品のボンディング装置10は、押圧ツール32を含む。押圧ツール32は、ボンディングツール20の近傍に配置され、ボンディングステージ14に吸着保持された回路基板16のチップ搭載領域に近接する押圧位置を上から押圧し、保持するものである。
押圧ツール昇降装置34は、押圧ツール32に結合されており、押圧ツール32を支持して、押圧ツール32を上下運動させる機構を有する。押圧ツール昇降装置34は、押圧ツール32の押圧荷重を検知するためのロードセルを有しておいてもよい。
カメラ36はボンディングステージ14に吸着保持された回路基板16及びボンディングツール20に吸着保持された半導体チップ22を観察する。カメラ36は、図示しない上下2視野の光学系、シャッタ、及び同軸落射照明及び斜光照明機能を有する。
電子部品のボンディング装置10は、ボンディングを行う一連の動作の制御をする主制御部38を含む。以下に説明する駆動制御部39〜46(及び後で説明するその他の制御部)は主制御部38に接続され、主制御部によりボンディングを行う一連の動作の制御をする際に制御される。
テーブル12は駆動制御部39により制御される。駆動制御部39は、駆動源となるサーボモータと、サーボモータを制御するコントローラを有しており、駆動対象となるテーブル12の水平方向の移動動作を制御する。これにより、ボンディングステージ14上の回路基板16を任意の水平位置に移動させることができる。
ボンディングステージ14の吸着のオンオフは吸着制御部40により制御され、ボンディングツール20の吸着のオンオフの制御は吸着制御部41により制御される。吸着溝18,24は真空導管により真空源に接続されており、真空導管に配置されたバルブをオンオフすることにより、吸着のオンオフを制御する。
超音波ヘッド26の超音波振動は、超音波振動制御部42により制御され、超音波ヘッド昇降装置30は駆動制御部43により制御される。超音波ヘッド昇降装置30は、超音波ヘッド駆動制御部43により制御されることで、超音波ヘッド26及びボンディングツール20を任意の高さに移動せしめ、これにより、半導体チップ22を回路基板16に対して任意の荷重を付与することができる。超音波ヘッド駆動制御部43は、駆動源となるサーボモータと、サーボモータを制御するコントローラを有しており、駆動対象となる超音波ヘッド26の上下動作を制御する。超音波ヘッド駆動制御部43には、超音波ヘッド26の上下動作のみでなく、水平方向の移動を可能にする駆動制御機能を有してもよい。
押圧ツール昇降装置34は、駆動制御部44により制御される。押圧ツール駆動制御部44は駆動源となるサーボモータと、サーボモータを制御するコントローラを有しており、駆動対象となる押圧ツール32の上下動作の駆動を制御する。押圧ツール駆動制御部44には、押圧ツール32の上下動作のみでなく、水平方向への移動を可能にする駆動制御機能を有してもよい。
また、カメラ36はカメラ駆動部45及び駆動制御部46により制御される。カメラ36はボンディングステージ14に吸着保持された回路基板16及びボンディングツール20に吸着保持された半導体チップ22を観察する。カメラ駆動部45は、カメラ36に結合されており、カメラ36の水平方向及び垂直方向の移動動作を行う機構を有する。これにより、カメラ36を対向配置された回路基板16と半導体チップ22との間に移動させ、カメラ36に備わった上下2視野の光学系により、回路基板16と半導体チップ22の観察を行うことができる。水平方向の移動により、回路基板16と半導体チップ22の任意の位置の観察を行うことができる。垂直方向の移動により、カメラ36の焦点の調整ができる。カメラ駆動制御部46は駆動源となるサーボモータと、サーボモータを制御するコントローラを有しており、駆動対象となるカメラ36の水平方向及び垂直方向の移動動作の駆動を制御する。照明制御部47は、カメラ36の照明の輝度及び光源の角度等の制御を行う。認識制御部48はカメラ36が観察した画像情報に基づき、認識処理動作の制御を行う。
図2は図1のボンディング装置の作用を説明する図である。図3は図1のボンディング装置の作用を説明するフローチャートである。図4は半導体チップを示す平面図である。図5は回路基板を示す平面図である。
図4において、半導体チップ22は一主面に少なくとも向かい合う2辺に沿って並列にまたは略環状配列に配置された複数のバンプ(突起電極端子)22aを有する。図4(A)においては、2列のバンプ22aが半導体チップ22の外周部の向かい合う2辺に沿って配置されている。図4(B)においては、4列のバンプ22aが半導体チップ22の外周部の2対の向かい合う2辺に沿って、略環状に配置されている。図4(C)においては、多数列のバンプ22aが半導体チップ22の外周部から内部まで各辺に平行な配列でマトリクス状に配置されている。
回路基板16は回路パターン及び電極端子16aを有し、電極端子16aは半導体チップ22のバンプ22aに対応して配置される。図5においては、電極端子16aは図4(B)の半導体チップ22のバンプ22aに対応して配置される。電極端子16aは図4(A),(C)の半導体チップ22のバンプ22aに対応して配置されることができることも明らかである。
図5において、50はチップ搭載領域を示し、52は押圧位置を示す。矢印Uは超音波ヘッド26が生じる超音波振動の振動方向を示す。チップ搭載領域52は電極端子16aを含み、半導体チップ22の面積に相当する領域である。押圧ツール32は接合時に超音波ヘッド昇降装置30の下降によって半導体チップ22に付与される荷重の方向と同じ方向に回路基板16を押圧する。押圧位置52は下降する押圧ツール32が接触する回路基板16の位置である。押圧位置52は記載を分かりやすくするために名称をつけているが、実質的には単なる位置であり、特にマーク等がある訳ではない。ただし、後で説明するように、押圧位置52に特別の構造を設ける場合もある。
押圧位置52は回路基板16のチップ搭載領域50の外側でチップ搭載領域50に近接する位置にある。より詳細には、回路基板16はチップ搭載領域50と外周縁部16Pとを有し、チップ搭載領域50と押圧位置52との間の距離は押圧位置52と外周縁部16Pとの間の距離よりも小さい。すなわち、押圧ツール32は回路基板16のチップ搭載領域50のすぐ外側の位置を垂直下向きに押圧する。例えば、チップ搭載領域50と押圧位置52との間の距離は0.1mm〜2.0mm程度にする。一方、回路基板16は1つの半導体チップ22と比べて十分に大きく、例えば多面取りの回路基板とすることができる。
また、押圧ツール32は垂直に立った板状の部材からなり、板の幅方向が回路基板16の辺に平行であり、板の厚さ方向が回路基板16の辺に垂直になっている。すなわち、押圧ツール32は回路基板16の辺に垂直な方向の寸法が回路基板16の辺に平行な方向の寸法よりも小さい板状の部材からなる。押圧ツール32はそれを形成する板の長さ方向に昇降する。従って、押圧ツール32は実質的に弾性変形することなく回路基板16を押圧することができる。
図5(A)においては、押圧位置52は回路基板16の矩形形状のチップ搭載領域52の一対の向かい合う2辺に沿って設けられる。押圧位置52の各辺に沿った長さは(すなわち、押圧ツール32の幅は)、半導体チップ22の辺の長さと同等かそれよりもわずかに長い。この場合、押圧位置52は半導体チップ22に付与される超音波振動の振動方向Uに直交する2辺である。
図5(B)においては、押圧位置52は回路基板16の矩形形状のチップ搭載領域52の一対の向かい合う2辺、及びもう一対の向かい合う2辺に沿って設けられる。つまり、押圧位置52は半導体チップ22の四辺を取り囲むように配置される。この場合、隣接する2つの押圧位置52の端部間には間隙があけられる。
図5(C)においては、押圧位置52は回路基板16の矩形形状のチップ搭載領域52の一対の向かい合う2辺、及びもう一対の向かい合う2辺に沿って設けられる。この場合、押圧位置52は半導体チップ22の四辺を取り囲むように、連続する環状に又は筒状に配置される。
図3において、ステップS1において、半導体チップ22をボンディングツール20に吸着保持し、ステップS2において、回路基板16をボンディングステージ14上に吸着保持する。ステップS3において、半導体チップ22を回路基板16に向かって下降し、半導体チップ22と回路基板16とを対向させて、カメラ36を使用して半導体チップ22のバンプ22aと回路基板16の電極端子16aとの位置合わせを行う。図2(A)はこの状態を示している。
図3のステップS4において、押圧ツール32を回路基板16に向かって下降させ、回路基板16を押圧ツール32によってボンディングステージ14に押圧固定する。押圧ツール32は少なくとも超音波振動の振動方向Uに対して直交する2辺部を押圧するようになっている。図2(B)はこの状態を示している。
図3のステップS5において、半導体チップ22のバンプ22aと回路基板16の電極端子16aとを接触させて半導体チップ22に荷重を付与し、ステップS6において、半導体チップ22に超音波振動を付与し、よってバンプ22aと電極端子16aとを接続する。この場合、荷重は超音波ヘッド昇降装置30によって付与され、超音波振動は超音波ヘッド26によって付与される。図2(C)はこの状態を示している。
このように、バンプ22aを回路基板16の電極端子16aに押し当てて、荷重と超音波振動とを半導体チップ22に印加することにより、バンプ22aと電極端子16aを接合させる。荷重と超音波振動を印加する際に、回路基板16を押圧ツール32によってボンディングステージ14に対して上部より押しつけて固定しておく。こうして、超音波振動が付与されている際には、回路基板16をボンディングステージ14に確実に固定保持しておくことができる。従って、超音波振動を半導体チップ22に付与した際に、回路基板16の電極端子16aと半導体チップ22のバンプ22aとの間の相対運動が減ずることがなく、バンプ22aを介して回路基板16に振動が吸収されることを抑制でき、バンプ22aと電極端子16aとの接合品質が向上する。
また、押圧ツール32はチップ搭載領域50の近傍を集中的に押圧しているので、回路基板16が比較的に軟らかい回路基板や、大型の回路基板であっても、接合部が動かないので、良好なボンディングを行うことができる。例えば、回路基板が多数の半導体チップ実装部をマトリクス状に形成した大型の多面取り回路基板である場合には、基板全体が大きく反ったり、大きくうねりが生じたりすることがあるが、本発明によれば、そのような回路基板をボンディングステージに確実に且つ強く保持固定することができる。また、回路基板16が、ガラス−エポキシ基板、ガラス−BT(ビスマレイミドトリアジン)基板等の有機材料を用いた剛性が低い回路基板であっても、本発明によれば、そのような回路基板をボンディングステージに確実に且つ強く保持固定することができる。
押圧ツール32はボンディングツール20の4側面のうち、少なくとも対向する2側面に近接して配置されるのが望ましい。この場合、ボンディングツール20の2側面は超音波ヘッド26からボンディングツール20に付与される超音波振動の振動方向に直交する2側面であるのが望ましい。また、押圧ツール32はボンディングツール20を周囲を全て囲むように配置してもよい。
回路基板16の押圧位置52に配線パターンや絶縁膜(ソルダレジスト)パターン等があり、複数の押圧位置52の高さが一定でないような回路基板や、それぞれの位置で反りやうねりが大きいような回路基板の場合には、図5(A),(B)に示される押圧位置52の配置が図5(C)に示される押圧位置52の配置よりも、独立して個別に荷重を制御して、押圧することができるので、より押圧固定効果を高めることができる。
図6は本発明の他の実施例の電子部品のボンディング装置を示す図である。電子部品のボンディング装置10は、図1のボンディング装置10の部材と類似した部材を含んでいる。図6においては、図1の部材と類似した部材には図1と同じ参照番号を付けてあるので、重複した説明は省略する。
図6においては、ボンディングステージ14には加熱手段(ヒータ)54が設けられている。また、押圧ツール32にも加熱手段(ヒータ)56が設けられている。また、ボンディングツールに加熱手段(ヒータ)を設けることもできる。加熱手段(ヒータ)54,56はそれぞれ温度制御部57,58によって制御される。加熱温度制御範囲は例えば25℃(室温)〜300℃である。
押圧ツール温度制御部58により、押圧ツール32の温度を制御する。温度制御部58は主制御部38によりボンディングを行う一連の動作の制御をする際に制御される。押圧ツール32に加熱機構を備えることで、押圧ツール32の先端が予め加熱された回路基板16に接触する際に、回路基板16の熱が押圧ツール32に伝わることで回路基板16の温度変化が生じることを防ぐことができる。
また、カメラ36にも加熱機構を設けることが望ましい。予め、カメラ36を加熱しておくことで、カメラ36が加熱された回路基板16上を移動した際に、カメラ36が急に加熱されることにより、カメラユニットが熱変形してしまい、認識位置精度が低下してしまう問題を回避できる。
図6のボンディング装置10の基本的な作用、効果は前述した通りである。さらに、バンプ22aと電極端子16aを常温で接合する場合に比べて、回路基板16の電極端子16aを加熱しておくことにより、バンプ接合強度が向上し、接合信頼性が向上する。ボンディングパラメータ(ボンディング荷重、荷重印加時間、超音波振動幅、超音波振動印加時間等)の設定値の組み合わせの範囲が拡大することで、製造時のマージンが向上し、製造歩留り向上につながる。(回路基板やバンプの品質にバラツキが大きい場合にも接合条件の設定変更で品質維持可能な範囲が広がる)。
また、常温で接合する場合に比べて、低荷重で接合が可能になり、半導体チップ22のバンプ形成部の下層部に与えるストレスを低減できる。このため、ストレスに対して比較的に脆い材質/構造を用いたような半導体チップ22のボンディングが可能になる。例えば、GaAs基板を用いた半導体チップや、配線層間の層間絶縁膜に比誘電率の値が3程度と低い、いわゆるLow−k材(例えば、SiO2にカーボンをドープしたSiOC。ダウケミカル社の層間絶縁膜用有機ポリマー、SiLK)を用いた半導体チップを用いることができる。
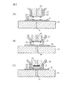
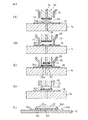
図7は他のボンディング装置の作用を説明するフローチャートである。図7のフローチャートは図3のステップS1〜S6と同様のステップS1〜S6を含む。図7においては、半導体チップ22をボンディングツール20に吸着保持するステップS1の前のステップS11において、半導体チップ22に接着性樹脂(樹脂接着剤)60を配設しておく。
図8(A)はこの状態を示す。例えば、樹脂接着剤60の半導体チップ22への配設は、バンプを形成したウエハに樹脂接着剤シートを貼りつけて行う。樹脂接着剤シートの貼りつけは、必要に応じて所定の温度(例えば室温〜100℃)に加熱しながら行う。あるいは、液状の接着性樹脂をウエハにスピンコートし、その後加熱することで樹脂を半硬化状態に(Bステージ化)し、均一な厚みの樹脂接着剤とする。この状態では、半導体チップ22のバンプ22aは樹脂接着剤60から外に突出していても、樹脂接着剤60に覆われていてもよい。
その後、ウエハをダイシングにて個々の半導体チップ22に切断すると、半導体チップ22の表面にフィルム状の樹脂接着剤60が配設されている。樹脂接着剤60は熱硬化性の樹脂材料で作るのが好ましい。例えば、そのような樹脂材料は、熱硬化性のエポキシ系樹脂、フェノール系樹脂、マレイミド系樹脂、シリコーン系樹脂エポキシ系、アクリル系樹脂等を使用できる。
半導体チップ22を回路基板16に向かって下降し、半導体チップ22と回路基板16とを対向させて、カメラ36を使用して半導体チップ22のバンプ22aと回路基板16の電極端子16aとの位置合わせを行う。それから、図8(B)に示されるように、押圧ツール32を回路基板16に向かって下降させ、回路基板16を押圧ツール32によってボンディングステージ14に押圧固定する。それから、図8(C)に示されるように、半導体チップ22に荷重を付与し、半導体チップ22に超音波振動を付与し、よってバンプ22aと電極端子16aとを接続する。それから、図8(D)に示されるように、ボンディングツール20の真空吸着を中止し、ボンディングツール20を半導体チップ22から上昇させる。図8(E)に示されるように、半導体チップ22が回路基板16に搭載されてなる電子部品(半導体装置)が製造される。
このように、バンプ22aを回路基板16の電極端子16aに押し当てて、荷重と超音波振動とを半導体チップ22に印加することにより、バンプ22aと電極端子16aを接合させる。荷重と超音波振動を印加する際に、回路基板16を押圧ツール32によってボンディングステージ14に対して上部より押しつけて固定しておく。こうして、超音波振動が付与されている際にも、回路基板16をボンディングステージ14に確実に固定保持しておくことができる。従って、超音波振動を半導体チップ22に付与した際に、回路基板16の電極端子16aと半導体チップ22のバンプ22aとの間の相対運動が減ずることがなく、バンプ22aを介して回路基板16に振動が吸収されることを抑制でき、バンプ22aと電極端子16aとの接合品質が向上する。
樹脂接着剤60を半導体チップ22と回路基板16の間に介在させておいて実装する方法は、樹脂接着剤60を80℃前後に加熱することにより、樹脂接着剤60の粘度を低下させて(樹脂接着剤60を液状又はゲル状にして)流動性を向上させることにより、バンプ22aと電極端子16aとを接合させつつ、樹脂接着剤60を半導体チップ22と回路基板16との間の半導体チップ22の全面に分布するように流動させることができる。接続が完了した電子部品はオーブン等で加熱され、樹脂接着剤60を完全に硬化させる。
図8(E)に示されるように、流動する樹脂接着剤60は半導体チップ22の外周部を覆い、これを硬化させることで、半導体チップ22の外周部にフィレット60Fが形成される。従って、半導体チップ22は半導体チップ22の回路基板16に対向する面ばかりでなく、半導体チップ22の外周部まで樹脂接着剤60で回路基板16に固定されるようになり、電子部品のバンプ接合部の接続信頼性が向上する。
このように、予め樹脂接着剤60を半導体チップ22に配設しておいて、それからバンプ22aを電極端子16aに接合することにより、バンプ22aを電極端子16aに接続した後で液状の樹脂接着剤60を注入する場合と比べて、生産性が高く、製造コストの低減を図ることができる。
フィルム状の樹脂接着剤60を用いると、液状樹脂接着剤を注入塗布する場合と比べて、樹脂接着剤60の量の制御が容易であるため、フリップチップボンディング時の製造歩留りが向上する。また、微細ブンプピッチの半導体チップ22のフリップチップボンディングへの対応が容易になる。すなわち、ピッチが微細になると、バンプの高さが低くなるため、チップと基板間に充填する樹脂接着剤の量が微量になり、より精度の高い樹脂接着剤の量の制御が必要になるからである。
また、半導体チップの厚みが薄くなった場合のフリップチップボンディングへの対応が容易になる。すなわち、半導体チップが薄くなると、半導体チップの外周部に流れだした樹脂接着剤が半導体チップの外周部に沿って這い上がりボンディングツール20に付着する不具合が発生しやすくなるため、より精度の高い樹脂接着剤の量の制御が必要になるからである。
押圧ツール32が半導体チップ22の外側で近傍にあると(特に、押圧ツール32が半導体チップ22の四辺の外側にある場合)、半導体チップ22に荷重と超音波振動を付与している間に、半導体チップ22の周辺に流れだした樹脂接着剤60は押圧ツール32によって規制されるため、不要な樹脂接着剤の濡れ広がりを抑制できる。これによって、チップ搭載領域50の近傍にその他の電極端子や配線16bが設けられている回路基板でも、その電極端子や配線16bの樹脂接着剤による汚染が抑制できる。例えば、半導体チップ22の上に上部半導体チップを搭載するスタック型の半導体装置では、上部半導体チップは電極端子や配線16bにワイヤボンディングされる。
図9は他のボンディング装置の作用を説明するフローチャートである。図9のフローチャートは図3及び図7のステップS1〜S6と同様のステップS1〜S6を含む。図9においては、回路基板16をボンディングステージ14に吸着保持するステップS2の後のステップS12において、半導体チップ22に樹脂接着剤60を塗布しておく。樹脂接着剤60は熱硬化性の樹脂材料で作るのが好ましい。例えば、そのような樹脂材料は、熱硬化性のエポキシ系樹脂、フェノール系樹脂、マレイミド系樹脂、シリコーン系樹脂エポキシ系、アクリル系樹脂等を使用できる。
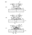
図10(A)はこの状態を示す。樹脂接着剤60は必ずしも平坦に均しておく必要はなく、例えばシリンジで液状に滴下したものとすることができる。それから、前の例と同様に、半導体チップ22と回路基板16とを対向させて、半導体チップ22のバンプ22aと回路基板16の電極端子16aとの位置合わせを行った後、図10(B)に示されるように、押圧ツール32を回路基板16に向かって下降させ、回路基板16を押圧ツール32によってボンディングステージ14に押圧固定する。それから、図10(C)に示されるように、半導体チップ22に荷重を付与し、半導体チップ22に超音波振動を付与し、よってバンプ22aと電極端子16aとを接続する。こうして、半導体チップ22が回路基板16に搭載されてなる電子部品(半導体装置)が製造される。
この例においても、樹脂接着剤60を半導体チップ22と回路基板16の間に介在させておいて実装するので、図7及び図8を参照して説明したのと同様な作用効果が得られる。さらに、図9及び図10においては、図7及び図8を参照して説明した例ではフィルム状の樹脂接着剤60をウエハの段階で配設していたが、この例の樹脂接着剤60は個々のチップに対して塗布される。樹脂接着剤60をウエハの段階で配設する場合には、結果的に不良品となる半導体チップの部分にも樹脂接着剤60が塗布されるため、材料コストの点で不利になるが、本例ではそのような問題がない。
図11は本発明の他の実施例の電子部品のボンディング装置を示す図である。電子部品のボンディング装置10は、図6のボンディング装置10の部材と類似した部材を含んでいる。図11においては、図6の部材と類似した部材には図6と同じ参照番号を付けてあるので、重複した説明は省略する。
図11においては、押圧ツール32と、ボンディングツール20の間に、圧縮ガス噴出用のノズル62が設けられている。ノズル62はノズル支持手段64によって支持されている。ノズル62は圧縮ガス源(図示せず)に接続され、ノズル62から圧縮ガスを噴出する。ノズル支持手段64はノズル62から噴出される圧縮ガスを加熱するヒータを含む。圧気制御部65はノズル62から噴出する圧縮ガスのオンオフ及び噴出量を制御し、温度制御手段66はノズル支持手段64に設けられたヒータの温度を制御する。ノズル62は例えば空気または窒素を噴出する。圧縮ガスの加熱温度範囲は例えば室温〜300℃である。
図12は図11のボンディング装置の作用を説明する図である。図12(A)においては、半導体チップ22に樹脂接着剤60を塗布しておく。図12(B)においては、押圧ツール32を回路基板16に向かって下降させ、回路基板16を押圧ツール32によってボンディングステージ14に押圧固定する。図11(C)においては、半導体チップ22に荷重を付与し、半導体チップ22に超音波振動を付与し、よってバンプ22aと電極端子16aとを接続する。こうして、半導体チップ22が回路基板16に搭載されてなる電子部品(半導体装置)が製造される。
このように、回路基板16には予め樹脂接着剤60が塗布されている。また、回路基板16は樹脂接着剤60が流動しやすいように、約80℃に加熱されている。押圧ツール32により回路基板16をボンディングステージ14に押圧固定した状態で、ボンディングツール20を介して半導体チップ22に荷重と超音波振動を付与している。押圧ツール32は半導体チップ13の4辺を囲むように回路基板16を押圧している。半導体チップ13の外側で押圧ツール32で囲まれた領域は、ノズル62からの高圧ガスの噴出により高圧にされている。ノズル62から噴出する高圧ガスは予めヒータにより加熱しておいてもよい。
このように、圧縮ガスを吹きつけ、半導体チップ22の外側の気圧を高める手段を備えることにより、半導体チップ22の外周部に流れだした樹脂接着剤60の回路基板16への濡れ広がりを抑制、制御することができる。
加熱した高圧ガスを吹きつけておくことで、半導体チップ22の外周部に流れだした樹脂接着剤60の表面部から急速に熱硬化を促進させることで、半導体チップ22の外周部での樹脂接着剤60の流動性を低下させて、回路基板16への濡れ広がりを抑制、制御することができる。
これにより、半導体チップ22の厚さが薄くなった場合の、フリップチップボンディングへの対応が容易になる。圧縮ガスを上部から吹きつけることで樹脂接着剤60の這い上がりを抑制し、気圧を高めることで樹脂接着剤60の濡れ広がる速度を低下することができる。さらに、圧縮ガスが加熱ガスである場合には、樹脂接着剤60の硬化を部分的に促進させ、流動性を緩和させることができるため、より制御効果が高まる。
図13は半導体チップが搭載された回路基板を示す平面図である。図13(A)は筒状の押圧ツール32を使用した場合を示し、図13(B)は4辺で分割されている押圧ツール32(図5(B)参照)を使用した場合を示す。上記したように、半導体チップ22の外周部に樹脂接着剤60のフィレット60Fが形成される。
押圧ツール32が4辺で分割されていて、圧縮ガスを吹きつける場合には、圧縮ガスは隣接する押圧ツール32の切れ目に相当する半導体チップ22の4隅部から押圧ツール32の外部へ噴出し、4隅部では圧力が低下することで、結果として、半導体チップ22の外周部に流れだした樹脂接着剤60の流動は、半導体チップ22の4隅部で大きくなるため、半導体チップ22の実装後の樹脂接着剤60のフィレット60F形状が図13(B)のように形成することができる。
温度サイクル試験等の信頼性試験においては、フリップチップ接合した半導体チップ22のコーナー部の近傍では、回路基板16の材料と半導体チップ13の材料との線膨張係数の差により応力が集中し、接合不良が発生しやすいが、半導体チップ22の4隅部の樹脂接着剤(アンダーフィル樹脂)60のフィレット60Fを大きく形成することができることで、接合の信頼性を向上させることができる。
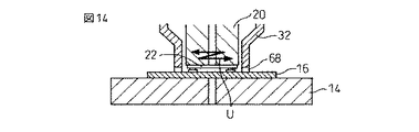
図14は変形例の押圧部材を含む装置を示す図である。押圧ツール32の先端(基板接触部)には、弾性材料部材68が配置されている。弾性材料部材68は例えばシリコンゴムで作られる。弾性材料部材68は樹脂接着剤60を介在させてボンディングする場合には、耐熱性を有するものが好ましく、また、樹脂接着剤60との離型性が高い材質であることが好ましい。
回路基板16の押圧位置50に回路基板16の回路パターンの一部があるような場合等には押圧ツール32と回路基板16との密着性に問題がある場合があるが、弾性材料部材68を配置することで、押圧ツール32が回路基板16の表面形状に追随して回路基板16と押圧ツール32の密着性が向上し、半導体チップ22に超音波振動が付与される際に、より強固に回路基板16を固定することができ、超音波振動の回路基板16への吸収を抑制できる。これにより、接合の信頼性を向上させることができる。
図15は変形例の押圧部材を含む装置を示す図である。押圧ツール32の先端(基板接触部)には、凹凸構造70が設けられる。凹凸構造70があると、押圧ツール32と回路基板16との摩擦力が増すため、より強固に回路基板16を固定することができ、接合の信頼性を向上させることができる。この例では、超音波振動の振動方向に対して直交する方向に凹凸構造70の溝又は突起が形成されている。
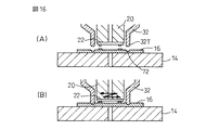
図16は変形例の押圧部材及び回路基板を含む装置を示す図である。回路基板16は押圧位置に凹部72が設けられている。押圧ツール32の先端(基板接触部)は回路基板16の凹部72に嵌合されるようになっている。凹部72は超音波振動の振動方向に対して直交する方向に延びる。図16(A)は押圧ツール32の先端が回路基板16の凹部72に嵌合される前の状態を示し、図16(B)は押圧ツール32の先端が回路基板16の凹部72に嵌合される後の状態を示している。
押圧ツール32の先端(基板接触部)は先細りのテーパー形状32Tになっている。しかし、押圧ツール32の先端の形状は回路基板16の凹部72に嵌合されるのであれば、どのような形状であってもよい。また、回路基板16の凹部72がテーパー形状を有するものであってもよい。
図17から図20は回路基板の例を示す図である。図17から図19において、(A)は平面図、(B)は断面図である。図17においては、回路基板16には押圧位置に凹部72が設けられている。
図18においては、回路基板16には押圧位置又は押圧位置の近くに凸部73が設けられている。押圧ツール32は凸部73を押圧し、又は凸部73の内側の回路基板16の部分を押圧する。図19においては、回路基板16には押圧位置又は押圧位置の近くに平行な2つの凸部73が設けられている。押圧ツール32は平行な2つの凸部73の間に嵌め合わせられ、2つの凸部73の間の回路基板16の部分を押圧する。図18及び図19においては、凸部73は電極端子16aを形成するときに電極端子16aと同じ材料で形成されることができる。
図20においては、回路基板16は多面取りの回路基板であり、複数のチップ搭載領域50とそれぞれのチップ搭載領域50に関連する押圧位置52とを有する。押圧位置52には凹部72が設けられている。押圧位置52又はその近傍には凹部72の代わりに凸部73を設けることもできる。このように、本発明においては、押圧ツール32は個別のチップ搭載領域50毎に回路基板16の部分を押圧することができるので、回路基板16は全体的に反ったり、うねったりしていても、チップ搭載領域50は確実に且つ強く固定することができる。
このように、回路基板16には押圧ツール32に対応する形で、凹部72、又は凸部73、又は凹凸形状が形成されていればよい。この押圧ツール32を用いて押圧することで、押圧ツール32による回路基板16の押圧固定の際に、押圧ツール32が回路基板16と嵌め合うように押圧される。押圧ツール32に水平方向に付与される超音波振動に対し、押圧ツール32と回路基板16との嵌め合いにより、超音波振動に直交する方向に対しても物理的に固定することができるため、より強固に回路基板16を固定しておくことができる。これにより、接合の信頼性を向上させることができる。
図21は変形例の押圧部材を含む装置を示す図である。図21(A)は押圧ツール32が回路基板16を押圧した状態を示し、図21(B)は押圧ツール32が回路基板16から持ち上げられた状態を示している。押圧ツール32の先端に離型シリコーン74が配置されている。離型シリコーン74は押圧ツール32の先端の少なくとも内側面に配置されているとよい。離型シリコーン74は塗布、吹きつけ等により、配設する。または、押圧ツール32の表面に硬化被膜の形で配設してもよい。なお、本実施例は、離型シリコーン74に限定されることなく、樹脂との離型性に優れた材料なら他の材料とすることができる。
樹脂接着剤60を配線基板16と半導体チップ22との間に介在させてボンディングする場合に、半導体チップ22の外周部に流動した樹脂接着剤60が押圧ツール32に接触しても、押圧ツール32の先端に配置した離型シリコーン74が樹脂接着剤60と離型性に優れるために、接続完了後に押圧ツール32が上昇したときに、押圧ツール32への樹脂接着剤60の付着が抑制される。従って、半導体チップ22の外周部における樹脂接着剤60のフィレット60Fの形状劣化を抑制できる。
図22は本発明の一実施例の電子部品のボンディング装置を示す図である。電子部品のボンディング装置10は、図1のボンディング装置10の部材と類似した部材を含んでいる。図22においては、図1の部材と類似した部材には図1と同じ参照番号を付けてあるので、重複した説明は省略する。
図22においては、超音波発振ユニット76が押圧ツール32に付随して設けられ、超音波振動制御部78が超音波発振ユニット76を制御する。超音波発振ユニット76は超音波発振用の超音波ホーン及び超音波振動子からなる。
図23は図22の超音波発振ユニット76を有する押圧ツール32の作用を説明する図である。図23(A)は押圧ツール32を用いて半導体チップ22を回路基板16に接合している状態振動の状態を示し、(B)はボンディングツール20を介して半導体チップ22に付与される超音波振動Uを示す波形図であり、(C)は押圧ツール32を介して回路基板16に付与される超音波振動Vを示す波形図である。図23(B)及び図23(C)において、横軸は時間を示し、縦軸は図23(A)におけるX方向の振幅を示す。ここでは、発振周波数1/(t2−t1)で振幅a1の振動が行われる。発振周波数は例えば、50kHz〜200kHzである。
図23(A)に示されるように、超音波振動Uが半導体チップ22に付与される。押圧ツール32は回路基板16を押圧するとともに、超音波振動Vを回路基板16に付与する。超音波振動Uと超音波振動Vとはともに水平な方向(X方向)に振動する。図23(B)及び図23(C)に示されるように、回路基板16に付与される超音波振動Vは、半導体チップ22に付与される超音波振動Uに対して、連動して同期的に振動し(同じ発振周波数)、発振時の超音波振動方向が逆になるように制御される。振動波形は逆位相になっている。このように、回路基板16に逆位相の超音波振動Vを付与することにより、半導体チップ22と回路基板16との間の相対振動がより十分に行われることになり、半導体チップ22と回路基板16との接合品質がより向上する。
図24は本発明の一実施例の電子部品のボンディング装置を示す図である。電子部品のボンディング装置10は、図1のボンディング装置10の部材と類似した部材を含んでいる。図24においては、図1の部材と類似した部材には図1と同じ参照番号を付けてあるので、重複した説明は省略する。
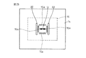
図24においては、図1の押圧ツール32がなく、吸着溝28が吸着溝80に修正されている。図25は図24のボンディングステージ及び回路基板を示す略断面図である。図25(A)は半導体チップ22を回路基板16に対向させた状態を示し、図25(B)は荷重及び超音波を付与しながら半導体チップ22を回路基板16に接合する状態を示している。図26は図24及び図25のボンディングステージを示す平面図である。
図24から図26において、吸着溝80(吸着溝80のボンディングステージ14の表面における開口部)は、電極端子16aの列の外側で近傍の位置に設けられている。図24から図26においては、2つの吸着溝80が対向する2列の電極端子16aの列の外側に設けられている。この場合、2つの吸着溝80は半導体チップ22に付与される超音波振動Uの振動方向に直交する長く設けられている。従って、荷重及び超音波を付与しながら半導体チップ22を回路基板16に接合する際に、回路基板16がボンディングステージ14に確実に吸着保持されるので、半導体チップ22のバンプ22aと回路基板16の電極端子16aとの間の相対振動が減ずることがなく、バンプ22aを介して回路基板16に振動が吸収されることを抑制でき、半導体チップ22のバンプ22aと回路基板16の電極端子16aとの接合品質が向上する。
図27は変形例のボンディングステージを示す平面図である。図27においては、図24から図26に示した吸着溝80に加えて、吸着溝80Aが設けられている。回路基板16の反りやうねりが大きい場合には、このように吸着溝80Aを適宜付加することにより、回路基板16をボンディングステージ14にさらに強固に吸着保持することができ、接合品質が向上する。また、この実施例及びその他の実施例において、前述した加熱手段や樹脂接着剤60を適宜付加するのも有利である。
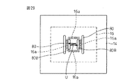
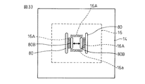
図28は変形例のボンディングステージ及び回路基板を示す略断面図である。図29は図28のボンディングステージを示す平面図である。この例では、図24から図26に示した吸着溝80に加えて、吸着溝80Bが設けられている。吸着溝80が電極端子16aの列の外側で近傍の位置に設けられているのに対して、吸着溝80Bは電極端子16aの列の内側で近傍の位置に設けられている。すなわち、吸着溝80と吸着溝80Bは電極端子16aの列をサンドイッチするように配置されている。吸着溝は電極端子16aの直下にはおかない。これにより、ボンディングステージ14への回路基板16の吸着保持効果がさらに高くなる。
図30は変形例のボンディングステージを示す平面図である。この例では、図24及び図25の吸着溝80及び吸着溝80Bがチップ搭載領域のまわりに連続的に環状に設けられている。これにより、ボンディングステージ14への回路基板16の吸着保持効果がさらに高くなる。
図31は本発明の一実施例の電子部品のボンディング装置を示す図である。電子部品のボンディング装置10は、図1のボンディング装置10の部材と類似した部材を含んでいる。図31においては、図1の部材と類似した部材には図1と同じ参照番号を付けてあるので、重複した説明は省略する。
図31においては、図1の吸着溝18が吸着溝80及び吸着溝80Bに修正されている。また、図24の実施例に対しては、図1の押圧ツール32が設けられている点を除くとほぼ等しい。
図32は図31のボンディングステージ及び回路基板を示す略断面図である。図33は図32のボンディングステージを示す平面図である。図32(A)は半導体チップ22を回路基板16に対向させた状態を示し、図32(B)は荷重及び超音波を付与しながら半導体チップ22を回路基板16に接合する状態を示している。このように、回路基板16の超音波振動方向に直交する2辺の接合部の近傍を押圧ツール32で固定するとともに、吸着溝80及び吸着溝80Bを用いて吸着保持することにより、ボンディングステージ14への回路基板16の吸着保持効果がさらに高くなり、接合品質が向上する。
以上説明した実施例は以下の特徴を含むものである。
(付記1)複数の電極端子を有する回路基板をボンディングステージに吸着保持し、
複数の突起電極を有する半導体素子をボンディングツールに吸着保持し、
前記回路基板のチップ搭載領域の外側でチップ搭載領域に近接する位置を接合時に半導体素子に付与される荷重の方向と同じ方向に押圧手段により押圧し、
半導体素子に荷重と超音波振動を付与して突起電極と電極端子とを接続する
電子部品のボンディング方法。(1)
(付記2)回路基板のチップ搭載領域と前記押圧される位置との間の距離は前記押圧される位置と回路基板の外周縁部との間の距離よりも小さいことを特徴とする付記1に記載の電子部品のボンディング方法。
(付記3)前記押圧手段は厚さが幅よりも小さい板状の部材からなり、該板状の部材はその長さ方向に移動させられることを特徴とする付記2に記載の電子部品のボンディング方法。
(付記4)前記チップ搭載領域は電極端子を含み且つほぼ矩形形状を有し、前記押圧される位置は第1の対の向かい合う2辺及び第2の対の向かい合う2辺のうちの少なくとも1対の向かい合う2辺に沿って設けられることを特徴とする付記1に記載の電子部品のボンディング方法。
(付記5)前記回路基板を押圧する1対の2辺は、半導体素子に付与される超音波振動の振動方向に直交する2辺であることを特徴とする付記4に記載の電子部品のボンディング方法。
(付記6)前記突起電極と前記電極端子とを超音波振動と荷重を付与して接続する際に、半導体素子及び回路基板の少なくとも一方に熱を印加することを特徴とする付記1から5のいずれかに記載の電子部品のボンディング方法。
(付記7)前記突起電極と前記電極端子とを接続する前に、樹脂接着剤を半導体素子と回路基板との間に供給することを特徴とする付記1から6のいずれかに記載の電子部品のボンディング方法。
(付記8)前記樹脂接着剤がフィルム状の接着剤であり、前記突起電極と前記電極端子とを接続する前にフィルム状の接着剤を半導体素子に配置しておくことを特徴とする付記7に記載の電子部品のボンディング方法。
(付記9)前記樹脂接着剤が液状の接着剤であり、該液状の接着剤が回路基板のチップ搭載領域の少なくとも一部に供給されることを特徴とする付記7に記載の電子部品のボンディング方法。
(付記10)前記押圧手段は回路基板のチップ搭載領域のまわりの4辺を押圧し、
前記突起電極と前記電極端子とを超音波振動を付与して接続する際に、前記樹脂接着剤を前記押圧手段の内側で半導体素子の外周部に流動させることを特徴とする付記7から9のいずれかに記載の電子部品のボンディング方法。
(付記11)前記樹脂接着剤を流動させる際に、半導体素子の外側であって前記押圧手段の内側の領域の圧力を高めておくことを特徴とする付記10に記載の電子部品のボンディング方法。
(付記12)前記樹脂接着剤を半導体素子の外周部に流動させる際に、前記樹脂接着剤の硬化反応を促進させることを特徴とする付記11又は12に記載の電子部品のボンディング方法。
(付記13)前記突起電極と前記電極端子とを接続した後に、前記樹脂接着剤を完全硬化させることを特徴とする付記11又は12に記載の電子部品のボンディング方法。
(付記14)前記押圧部材は弾性材料部材を介して回路基板を押圧することを特徴とする付記1から13のいずれかに記載の電子部品のボンディング方法。
(付記15)前記押圧部材が回路基板を押圧する際に、前記押圧手段は回路基板に形成された嵌合部に嵌合するように押圧されることを特徴とする付記1から14のいずれかに記載の電子部品のボンディング方法。
(付記16)複数の電極端子を有する回路基板を吸着保持するボンディングステージと、
前記回路基板のチップ搭載領域の外側でチップ搭載領域に近接する位置を接合時に半導体素子に付与される荷重の方向と同じ方向に押圧する押圧手段と、
複数の突起電極を有する半導体素子を吸着保持するボンディングツールと、
前記ボンディングツールを前記ボンディングステージに近づき又は遠ざかるように移動させる移動手段と、
半導体素子に超音波振動を付与するために前記ボンディングツールに超音波振動を付与する超音波振動付与手段と、
を備えた電子部品のボンディング装置。(2)
(付記17)回路基板のチップ搭載領域と前記押圧される位置との間の距離は前記押圧される位置と回路基板の外周縁部との間の距離よりも小さいことを特徴とする付記16に記載の電子部品のボンディング装置。
(付記18)前記押圧手段は厚さが幅よりも小さい板状の部材からなり、該板状の部材はその長さ方向に移動させられることを特徴とする付記17に記載の電子部品のボンディング装置。
(付記19)前記チップ搭載領域は電極端子を含み且つほぼ矩形形状を有し、前記押圧される位置は第1の対の向かい合う2辺及び第2の対の向かい合う2辺のうちの少なくとも1対の向かい合う2辺に沿って設けられることを特徴とする付記16から18のいずれかに記載の電子部品のボンディング装置。
(付記20)前記押圧手段をボンディングツールとは独立して駆動する駆動手段を有することを特徴とする付記16から19のいずれかに記載の電子部品のボンディング装置。
(付記21)前記ボンディングツールと前記押圧手段は、その移動方向と直交する方向における相対距離が一定であることを特徴とする付記16から20のいずれかに記載の電子部品のボンディング装置。
(付記22)前記押圧手段が押圧する2辺は、ボンディングツールに付与する超音波振動の振動方向に直交する2辺であることを特徴とする付記19に記載の電子部品のボンディング装置。
(付記23)前記押圧手段は押圧される位置に応じた数の押圧部材を含み、該押圧部材はそれぞれ独立して昇降可能で、且つ独立して加圧力の制御を行う機構を有することを特徴とする付記16から22のいずれかに記載の電子部品のボンディング装置。
(付記24)前記押圧手段の回路基板と接触する部分には弾性材料が配置されていることを特徴とする付記16から23のいずれかに記載の電子部品のボンディング装置。
(付記25)前記押圧手段の回路基板と接触する部分は凹形状又は凸形状又は凹凸形状を備えることを特徴とする付記16から24のいずれかに記載の電子部品のボンディング装置。
(付記26)前記押圧手段の回路基板と接触する部分が先細りのテーパー形状となっていることを特徴とする付記16から25のいずれかに記載の電子部品のボンディング装置。
(付記27)前記押圧手段のボンディング時に波動体チップと対向する部分には樹脂との離型性に優れる材料が配置されていることを特徴とする付記16から27のいずれかに記載の電子部品のボンディング装置。
(付記28)前記押圧手段に、ボンディングツールに付与する超音波振動とは逆方向の超音波振動を付与する手段を備えることを特徴とする付記16から27のいずれかに記載の電子部品のボンディング装置。
(付記29)前記ボンディングツール及び前記ボンディングステージの少なくとも一つを加熱する機構を備えることを特徴とする付記16から28のいずれかに記載の電子部品のボンディング装置。
(付記30)前記押圧手段を加熱する機構を備えることを特徴とする付記16から29のいずれかに記載の電子部品のボンディング装置。
(付記31)前記押圧手段と、前記ボンディングツールの間隙部に気体を噴出する手段を備えることを特徴とする付記16から30のいずれかに記載の電子部品のボンディング装置。
(付記32)前記気体を噴出する手段は気体を加熱する機構を備えることを特徴とする付記31に記載の電子部品のボンディング装置。
(付記33)前記回路基板のチップ搭載領域に近接する位置を接合時に半導体素子に付与される荷重の方向と同じ方向に押圧する押圧手段を備えることを特徴とする付記16から32のいずれかに記載の電子部品のボンディング装置。
(付記34)複数の電極端子を有する回路基板を電極端子の外側で電極端子に近接する位置に設けられた吸着溝によりボンディングステージに吸着保持し、
複数の突起電極を有する半導体素子をボンディングツールに吸着保持し、
半導体素子に荷重と超音波振動を付与して突起電極と電極端子とを接続する
電子部品のボンディング方法。(3)
(付記35)前記回路基板は少なくとも対向する2列の電極端子を有し、回路基板は前記2列の電極端子の外側で近傍の位置でボンディングステージに吸着保持されることを特徴とする付記34に記載の電子部品のボンディング方法。
(付記36)前記2列の電極端子は半導体素子に付与する超音波振動の振動方向に対して直交する方向に並んでいることを特徴とする付記35に記載の電子部品のボンディング方法。
(付記37)前記回路基板のチップ搭載領域の外側でチップ搭載領域に近接する位置を接合時に半導体素子に付与される荷重の方向と同じ方向に押圧手段により押圧することを特徴とする付記34から36のいずれかに記載の電子部品のボンディング方法。
(付記38)複数の電極端子を有する回路基板を吸着保持するために電極端子の外側で電極端子に近接するような位置に設けられた吸着溝を有するボンディングステージと、
複数の突起電極を有する半導体素子を前記回路基板に対向させて吸着保持するボンディングツールと、
前記ボンディングツールを前記ボンディングステージに近づき又は遠ざかるように移動させる移動手段と、
半導体素子に超音波振動を付与するために前記ボンディングツールに超音波振動を付与する超音波振動付与手段と
を備えた電子部品のボンディング装置。(4)
(付記39)前記回路基板は少なくとも対向する2列の電極端子を有し、前記吸着溝は回路基板の前記2列の電極端子の外側で近傍の位置でボンディングステージに設けられることを特徴とする付記38に記載の電子部品のボンディング装置。
(付記40)前記2列の電極端子は半導体素子に付与する超音波振動の振動方向に対して直交する方向に並んでいることを特徴とする付記39に記載の電子部品のボンディング装置。
(付記41)前記回路基板のチップ搭載領域に近接する位置を接合時に半導体素子に付与される荷重の方向と同じ方向に押圧する押圧手段を備えることを特徴とする付記38から40のいずれかに記載の電子部品のボンディング装置。
(付記42)複数の突起電極を有する半導体素子がフリップチップ実装される回路基板であって、
回路基板の表面に形成され、半導体素子の複数の突起電極が接続される複数の電極端子と、
回路基板の該表面に半導体素子がフリップチップ実装される領域の外周部の少なくとも2辺の外側に形成された凹又は凸又は凹凸形状のパターンと
を備えたことを特徴とする回路基板。(5)
(付記43)前記凹部は開口方向に対して広がるテーパー形状となっていることを特徴とする付記20に記載の回路基板。
(付記44)一つの回路基板内に、複数の同一半導体素子を超音波フリップチップ実装するための、電極端子群及び前記凹又は凸又は凹凸形状のパターンからなる同一の要素を、一表面内に複数繰り返して形成してなることを特徴とする付記42又は43に記載の回路基板。
(付記45)前記回路基板の材質が有機材料からなることを特徴とする付記42から44のいずれかに記載の回路基板。
以上説明したように、本発明によれば、半導体素子を超音波振動を付与する際に回路基板を確実に固定することができるので、接合品質の優れた電子部品を得ることができる。
図1は本発明の一実施例の電子部品のボンディング装置を示す図である。 図2は図1のボンディング装置の作用を説明する図である。 図3は図1のボンディング装置の作用を説明するフローチャートである。 図4は半導体チップを示す平面図である。 図5は回路基板を示す平面図である。 図6は本発明の一実施例の電子部品のボンディング装置を示す図である。 図7は他のボンディング装置の作用を説明するフローチャートである。 図8は図7のフローチャートによるボンディング装置の作用を説明する図である。 図9は他のボンディング装置の作用を説明するフローチャートである。 図10は図9のフローチャートによるボンディング装置の作用を説明する図である。 図11は本発明の一実施例の電子部品のボンディング装置を示す図である。 図12は図11のボンディング装置の作用を説明する図である。 図13は半導体チップが搭載された回路基板を示す平面図である。 図14は変形例の押圧部材を含む装置を示す図である。 図15は変形例の押圧部材を含む装置を示す図である。 図16は変形例の押圧部材及び回路基板を含む装置を示す図である。 図17は回路基板の例を示す図である。 図18は回路基板の例を示す図である。 図19は回路基板の例を示す図である。 図20は回路基板の例を示す図である。 図21は変形例の押圧部材を含む装置を示す図である。 図22は本発明の一実施例の電子部品のボンディング装置を示す図である。 図23は図22の超音波発振ユニットを有する押圧ツールの作用を説明する図である。 図24は本発明の一実施例の電子部品のボンディング装置を示す図である。 図25は図24のボンディングステージ及び回路基板を示す略断面図である。 図26は図24及び図25のボンディングステージを示す平面図である。 図27は変形例のボンディングステージを示す平面図である。 図28は変形例のボンディングステージ及び回路基板を示す略断面図である。 図29は図28のボンディングステージを示す平面図である。 図30は変形例のボンディングステージを示す平面図である。 図31は本発明の一実施例の電子部品のボンディング装置を示す図である。 図32は図31のボンディングステージ及び回路基板を示す略断面図である。 図33は図32のボンディングステージを示す平面図である。
符号の説明
10…ボンディング装置
12…テーブル
14…ボンディングステージ
16…回路基板
18…吸着溝
20…ボンディングツール
22…半導体チップ
24…吸着溝
26…超音波ヘッド
30…超音波ヘッド昇降装置
32…押圧ツール
34…押圧ツール昇降装置
50…チップ搭載領域
52…押圧位置
54…ヒータ
56…ヒータ
60…樹脂接着剤
62…ノズル
68…弾性材料
70…凹凸構造
72…凹部
73…凸部
74…離型シリコーン
76…超音波発振ユニット
80…吸着溝

Claims (1)

  1. 複数の電極端子を有する回路基板をボンディングステージに吸着保持し、
    複数の突起電極を有する半導体素子をボンディングツールに吸着保持し、
    前記回路基板のチップ搭載領域の外側でチップ搭載領域に近接する位置を接合時に半導体素子に付与される荷重の方向と同じ方向に押圧手段により押圧して、該回路基板を前記ボンディングステージに押圧固定する電子部品のボンディング方法において、
    半導体素子に前記回路基板方向への荷重と、該荷重の方向と直交する方向への超音波振動を付与して突起電極と電極端子とを接続すると共に、回路基板の表面に半導体素子がフリップチップ実装される領域の外周部の少なくとも2辺の外側に形成された凹又は凸又は凹凸形状のパターンに、前記押圧手段を嵌め合うようにして該回路基板を前記ボンディングステージに押圧固定することを特徴とする電子部品のボンディング方法。
JP2003418128A 2003-12-16 2003-12-16 電子部品のボンディング方法及び装置 Expired - Fee Related JP4585196B2 (ja)

Priority Applications (1)

Application Number Priority Date Filing Date Title
JP2003418128A JP4585196B2 (ja) 2003-12-16 2003-12-16 電子部品のボンディング方法及び装置

Applications Claiming Priority (1)

Application Number Priority Date Filing Date Title
JP2003418128A JP4585196B2 (ja) 2003-12-16 2003-12-16 電子部品のボンディング方法及び装置

Publications (2)

Publication Number Publication Date
JP2005183459A JP2005183459A (ja) 2005-07-07
JP4585196B2 true JP4585196B2 (ja) 2010-11-24

Family

ID=34780422

Family Applications (1)

Application Number Title Priority Date Filing Date
JP2003418128A Expired - Fee Related JP4585196B2 (ja) 2003-12-16 2003-12-16 電子部品のボンディング方法及び装置

Country Status (1)

Country Link
JP (1) JP4585196B2 (ja)

Families Citing this family (11)

* Cited by examiner, † Cited by third party
Publication number Priority date Publication date Assignee Title
JP4634227B2 (ja) * 2005-06-02 2011-02-16 芝浦メカトロニクス株式会社 電子部品の実装装置及び実装方法
JP2008218528A (ja) * 2007-02-28 2008-09-18 Fujitsu Ltd 電子部品の実装方法および製造装置
JP4711090B2 (ja) * 2007-12-28 2011-06-29 Tdk株式会社 超音波振動を用いて実装部品を被実装部品に実装する方法及び実装装置
JP5281498B2 (ja) * 2009-06-23 2013-09-04 東芝三菱電機産業システム株式会社 加圧式超音波振動接合方法および加圧式超音波振動接合装置
JP5663764B2 (ja) * 2010-06-14 2015-02-04 株式会社アドウェルズ 接合装置
JP5779386B2 (ja) * 2011-04-19 2015-09-16 富士機械製造株式会社 電気部品装着機
KR101332156B1 (ko) * 2012-06-18 2013-11-26 삼성전기주식회사 카메라 모듈의 제조장치
KR20170117607A (ko) * 2013-11-06 2017-10-23 도시바 미쓰비시덴키 산교시스템 가부시키가이샤 전극 접합 장치 및 전극 접합 방법
JP6451180B2 (ja) * 2014-09-26 2019-01-16 富士電機株式会社 半導体装置の製造装置及び半導体装置
JP6916687B2 (ja) * 2017-08-09 2021-08-11 東レエンジニアリング株式会社 実装装置ならびに実装方法およびこれを用いた半導体装置の製造方法
CN116830260A (zh) * 2021-02-12 2023-09-29 日本发条株式会社 电路基板以及制造方法

Family Cites Families (11)

* Cited by examiner, † Cited by third party
Publication number Priority date Publication date Assignee Title
JP2674786B2 (ja) * 1988-07-06 1997-11-12 ローム株式会社 Icの実装方法および実装装置
JPH0448629U (ja) * 1990-08-31 1992-04-24
JPH10144735A (ja) * 1996-11-06 1998-05-29 Sumitomo Metal Mining Co Ltd 補強板付きテープキャリアおよびその製造方法
JPH1197493A (ja) * 1997-09-19 1999-04-09 Toshiba Corp ボンディング方法および装置
JPH11288975A (ja) * 1998-04-03 1999-10-19 Toshiba Corp ボンディング方法及びボンディング装置
JP2001057376A (ja) * 1999-08-17 2001-02-27 Toshiba Corp ボンディング装置及び基板の製造方法
JP2001176933A (ja) * 1999-12-20 2001-06-29 Pfu Ltd ベアチップ部品の実装装置およびその実装方法
JP4445624B2 (ja) * 1999-12-28 2010-04-07 パナソニック株式会社 Icチップのフィルム状回路基板への接合方法及びicチップ接合体
JP3300698B2 (ja) * 2000-05-17 2002-07-08 松下電器産業株式会社 半導体実装対象中間構造体及び半導体装置の製造方法
JP2002118149A (ja) * 2000-10-05 2002-04-19 Hitachi Ltd 半導体装置の製造方法および半導体製造装置
JP4663183B2 (ja) * 2001-09-07 2011-03-30 新藤電子工業株式会社 Tabテープキャリアの反り防止方法及びtabテープキャリア

Also Published As

Publication number Publication date
JP2005183459A (ja) 2005-07-07

Similar Documents

Publication Publication Date Title
CN100435301C (zh) 半导体集成电路器件的制造方法
KR100899421B1 (ko) 칩 본딩 툴, 그 본딩 툴을 구비하는 플립 칩 본딩 장치 및 방법
TWI671875B (zh) 覆晶之雷射接合用的裝置以及覆晶之雷射接合方法
US10483228B2 (en) Apparatus for bonding semiconductor chip and method for bonding semiconductor chip
CN102709203B (zh) 接合装置及接合方法
JP4585196B2 (ja) 電子部品のボンディング方法及び装置
US7394163B2 (en) Method of mounting semiconductor chip
JP4014481B2 (ja) ボンディング方法およびその装置
JP6234277B2 (ja) 圧着ヘッド、それを用いた実装装置および実装方法
JP2016162920A (ja) 実装装置および実装方法
KR102221588B1 (ko) 반도체 칩 본딩 장치 및 반도체 칩 본딩 방법
CN110235230A (zh) 半导体装置的制造装置和制造方法
US7670873B2 (en) Method of flip-chip mounting
JP3848893B2 (ja) 部品の基板への部品押圧接合装置及び接合方法
TWI809393B (zh) 接合裝置以及接合頭調整方法
JPH10173007A (ja) ベアチップ搭載装置
JP6461822B2 (ja) 半導体装置の実装方法および実装装置
JP2003318218A (ja) 曲面チップ基板、その製造方法、および、バンプ形成装置
JP2001189553A (ja) 基板の接合装置及びその装置を用いた基板の接合方法
JP4622460B2 (ja) 電子部品実装方法及び装置
JP2010067715A (ja) 電子部品の実装装置及び実装方法
JP2025001389A (ja) 吸着機構、吸着ユニット、実装装置及びモジュールの製造方法
JP2004253563A (ja) 熱圧着装置
CN119852201A (zh) 封装设备、封装制程及压平装置
KR20070022058A (ko) 부품 실장방법 및 부품 실장장치

Legal Events

Date Code Title Description
A621 Written request for application examination

Free format text: JAPANESE INTERMEDIATE CODE: A621

Effective date: 20060925

A711 Notification of change in applicant

Free format text: JAPANESE INTERMEDIATE CODE: A712

Effective date: 20080730

A977 Report on retrieval

Free format text: JAPANESE INTERMEDIATE CODE: A971007

Effective date: 20080804

A131 Notification of reasons for refusal

Free format text: JAPANESE INTERMEDIATE CODE: A131

Effective date: 20090602

A521 Request for written amendment filed

Free format text: JAPANESE INTERMEDIATE CODE: A523

Effective date: 20090731

A131 Notification of reasons for refusal

Free format text: JAPANESE INTERMEDIATE CODE: A131

Effective date: 20100608

A521 Request for written amendment filed

Free format text: JAPANESE INTERMEDIATE CODE: A523

Effective date: 20100806

TRDD Decision of grant or rejection written
A01 Written decision to grant a patent or to grant a registration (utility model)

Free format text: JAPANESE INTERMEDIATE CODE: A01

Effective date: 20100824

A01 Written decision to grant a patent or to grant a registration (utility model)

Free format text: JAPANESE INTERMEDIATE CODE: A01

A61 First payment of annual fees (during grant procedure)

Free format text: JAPANESE INTERMEDIATE CODE: A61

Effective date: 20100903

R150 Certificate of patent or registration of utility model

Free format text: JAPANESE INTERMEDIATE CODE: R150

FPAY Renewal fee payment (event date is renewal date of database)

Free format text: PAYMENT UNTIL: 20130910

Year of fee payment: 3

S111 Request for change of ownership or part of ownership

Free format text: JAPANESE INTERMEDIATE CODE: R313111

R350 Written notification of registration of transfer

Free format text: JAPANESE INTERMEDIATE CODE: R350

LAPS Cancellation because of no payment of annual fees